Главная // Актуальные документы // ГОСТ (Государственный стандарт)СПРАВКА
Источник публикации
В данном виде документ опубликован не был.
Первоначальный текст документа опубликован в издании
М.: Издательство стандартов, 1986.
Информацию о публикации документов, создающих данную редакцию, см. в справке к этим документам.
Примечание к документу
Документ утратил силу с 01.03.2021 в связи с изданием
Приказа Росстандарта от 17.06.2020 N 256-ст. Взамен введен в действие
ГОСТ 5445-2020.
С 1 июля 2003 года до вступления в силу технических регламентов акты федеральных органов исполнительной власти в сфере технического регулирования носят рекомендательный характер и подлежат обязательному исполнению только в части, соответствующей целям, указанным в
пункте 1 статьи 46 Федерального закона от 27.12.2002 N 184-ФЗ.
Текст данного документа приведен с учетом
поправки, опубликованной в "ИУС", N 9, 2009.
Ограничение срока действия снято Постановлением Госстандарта СССР от 24.12.1991 N 2067 ("ИУС", N 4, 1992).
Изменение N 1, утв. Постановлением Госстандарта СССР от 24.12.1991 N 2067, введено в действие с 1 июля 1992 года.
Взамен ГОСТ 5445-69.
Название документа
"ГОСТ 5445-79. Государственный стандарт Союза ССР. Продукты коксования химические. Правила приемки и методы отбора проб"
(введен в действие Постановлением Госстандарта СССР от 17.04.1979 N 1406)
(ред. от 24.12.1991)
"ГОСТ 5445-79. Государственный стандарт Союза ССР. Продукты коксования химические. Правила приемки и методы отбора проб"
(введен в действие Постановлением Госстандарта СССР от 17.04.1979 N 1406)
(ред. от 24.12.1991)
Введен в действие
Постановлением Государственного
комитета СССР по стандартам
от 17 апреля 1979 г. N 1406
ГОСУДАРСТВЕННЫЙ СТАНДАРТ СОЮЗА ССР
ПРОДУКТЫ КОКСОВАНИЯ ХИМИЧЕСКИЕ
ПРАВИЛА ПРИЕМКИ И МЕТОДЫ ОТБОРА ПРОБ
Chemical products of coking. Acceptance regulations
and methods of sampling
ГОСТ 5445-79
| | Список изменяющих документов (в ред. Изменения N 1, утв. в апреле 1985 г., Госстандарта СССР от 24.12.1991 N 2067) | |
Группа Л39
ОКСТУ 2407
Взамен
ГОСТ 5445-69
Постановлением Государственного комитета СССР по стандартам от 17 апреля 1979 г. N 1406 срок введения установлен
с 1 января 1981 года
Проверен в 1985 г. Постановлением Госстандарта от 24.04.85 N 1186 срок действия продлен
до 1 января 1993 года
Переиздание (июнь 1986 г.) с Изменением N 1, утвержденным в апреле 1985 г. (ИУС 7-85).
Настоящий стандарт распространяется на химические продукты коксования (жидкие, сыпучие, в кусках и плитах) и устанавливает правила приемки и методы отбора проб у изготовителей и потребителей указанных продуктов.
(в ред.
Изменения N 2, утв. Постановлением Госстандарта СССР от 24.12.1991 N 2067)
1.1. Химические продукты коксования принимают партиями. Партией считают любое количество продукта, однородного по своим качественным показателям, оформленное одним документом о качестве.
Допускается ограничение массы партии. В этом случае массу партии указывают в нормативно-технической документации на конкретный вид продукта.
При поставке чистых бензольных продуктов по трубопроводу партией считают каждую перекачку из хранилища, оформленную документом о качестве.
(абзац введен
Изменением N 2, утв. Постановлением Госстандарта СССР от 24.12.1991 N 2067)
1.2. Каждая партия продукта должна сопровождаться документом о качестве установленной формы с указанием:
наименования предприятия-изготовителя или его товарный знак;
(в ред.
Изменения N 2, утв. Постановлением Госстандарта СССР от 24.12.1991 N 2067)
наименования продукта, марки, сорта;
номера партии;
даты изготовления;
массы нетто;
(в ред.
Изменения N 2, утв. Постановлением Госстандарта СССР от 24.12.1991 N 2067)
результатов проведенных анализов или подтверждения о соответствии качества продукта требованиям нормативно-технической документации;
обозначения нормативно-технической документации;
абзац исключен с 1 июля 1992 года. -
Изменение N 2, утв. Постановлением Госстандарта СССР от 24.12.1991 N 2067.
1.3. Для проверки качества продукта, соответствия транспортной тары, упаковки и правильности нанесения маркировки, от партии отбирают представительную выборку.
1.3.1. Объем выборки из потока составляет 40 точечных проб, равномерно распределенных в течение всего периода погрузки или выгрузки продукта, независимо от массы партии.
1.3.2. Объем выборки продукта, упакованного в мешки, бочки и другую транспортную тару, или в плитах, должен соответствовать таблице.
Объем партии, шт. | Объем выборки, шт. |
От 3 до 15 | 3 |
" 16 " 40 | 5 |
" 41 " 110 | 10 |
" 111 " 300 | 20 |
" 301 " 800 | 30 |
" 801 " 1300 | 35 |
" 1301 " 3200 | 40 |
Выборку составляют из единиц упаковки и плит методом случайного отбора в соответствии с
ГОСТ 18321-73.
Транспортная тара с продуктом или плиты, отобранные в выборку, должны быть тщательно очищены снаружи во избежание засорения продукта.
(в ред.
Изменения N 2, утв. Постановлением Госстандарта СССР от 24.12.1991 N 2067)
1.3.3. Если вагон, цистерна или битумовоз являются партией, то объем выборки от вагона составляет 15 точечных проб, а от цистерны и битумовоза - 1 точечную пробу. Если партия неупакованного продукта транспортируется в нескольких транспортных средствах, точечные пробы для составления объединенной пробы отбирают от каждого транспортного средства.
1.3.4. Объем выборки от штабеля составляет 15 точечных проб и от хранилища - 3 точечные пробы.
1.4. При получении неудовлетворительных результатов анализа хотя бы по одному из показателей проводят по нему повторный анализ пробы, отобранной от удвоенной выборки той же партии.
Результаты повторного анализа распространяются на всю партию.
2.1. Общие требования
2.1.1. Отбор проб из потока, специально подготовленных хранилищ и штабеля, а также из транспортных средств с неупакованным продуктом, проводят в следующем порядке:
а) отбирают точечные пробы;
б) из точечных проб составляют объединенную пробу;
в) из объединенной пробы сокращением получают среднюю лабораторную пробу.
2.1.2. Отбор проб от продукта, упакованного в бочки, мешки и другую транспортную тару, а также от плит, проводят в следующем порядке:
а) от единиц упаковки или плит, попавших в выборку, отбирают точечные пробы;
б) из точечных проб составляют объединенную пробу;
в) из объединенной пробы методом сокращения получают среднюю лабораторную пробу.
2.1.3. Сокращение объединенной пробы жидких продуктов проводят с помощью металлической воронки, сыпучих - механическими делителями.
2.1.4. Массу средней лабораторной пробы указывают в нормативно-технической документации на конкретный продукт.
Масса объединенной пробы должна быть не менее удвоенной массы средней лабораторной пробы.
2.1.5. Среднюю лабораторную пробу помещают в герметически закрывающуюся чистую сухую стеклянную или металлическую банку из некорродирующих и не взаимодействующих с пробой материалов или бутылку.
(в ред.
Изменения N 2, утв. Постановлением Госстандарта СССР от 24.12.1991 N 2067)
Допускается помещать среднюю лабораторную пробу сыпучих продуктов в полиэтиленовую банку или пакет из водонепроницаемого полимерного материала типа полиэтилена. Пакет с пробой завязывают, банку или бутылку герметично закрывают крышкой или пробкой.
2.1.6. На банку, бутылку или пакет со средней лабораторной пробой наклеивают этикетку с указанием наименования продукта, обозначения нормативно-технической документации, даты отбора пробы и фамилии пробоотборщика. Дополнительно на этикетке предприятия-потребители указывают наименование предприятия-изготовителя и номер партии.
2.1.7. Обработку проб следует проводить в закрытых, светлых, сухих помещениях, защищенных от попадания прямых солнечных лучей, вдали от отопительных приборов.
(Введен дополнительно, Изм. N 1).
2.1.8. Ручные пробоотборники, емкости для приемки и транспортирования проб (перед отбором проб) должны быть чистыми и сухими.
(п. 2.1.8 введен
Изменением N 2, утв. Постановлением Госстандарта СССР от 24.12.1991 N 2067)
2.2. Аппаратура
2.2.1. Для отбора проб из потока применяются:
Пробоотборник автоматический типа АП-2М1 для жидких продуктов
(черт. 1).
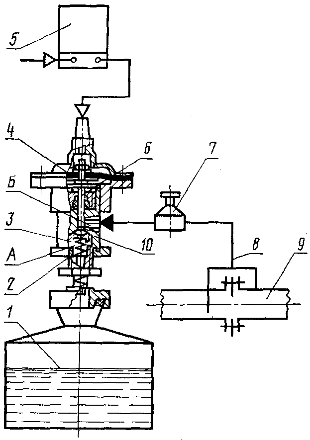
Автоматический пробоотборник типа АП-2М1
для жидких продуктов
А, Б - рабочие полости клапанного устройства;
1 - бачок; 2 - пружина; 3 - клапан; 4 - мембрана;
5 - генератор импульсов; 6 - толкатель; 7 - редуктор
давления жидкости; 8 - трубка подвода продукта;
9 - трубопровод с продуктом; 10 - седло клапана
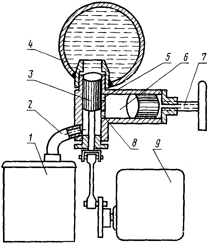
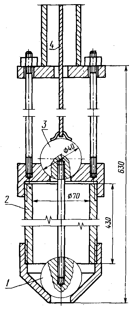
Пробоотборник механический для жидких продуктов
(черт. 2).
Механический пробоотборник для жидких продуктов
1 - емкость для пробы; 2 - сливная трубка;
3 - поршень; 4 - трубопровод с продуктом;
5 и 8 - отверстия для слива; 6 - дозирующая емкость;
7 - регулятор; 9 - исполнительный механизм
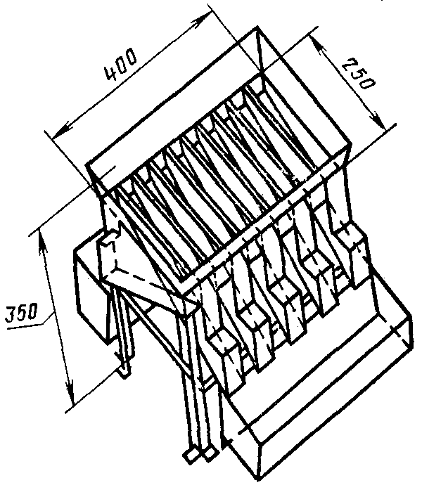
Пробоотборник механический порционный для сыпучих продуктов и продуктов в кусках
(черт. 3).
Механический порционный пробоотборник для сыпучих
продуктов и продуктов в кусках
1 - корпус; 2 - отбирающий барабан; 3 - секторное
углубление; 4 - наклонная стенка бункера;
5 - горловина корпуса; 6 - отводная трубка;
7 - емкость для пробы
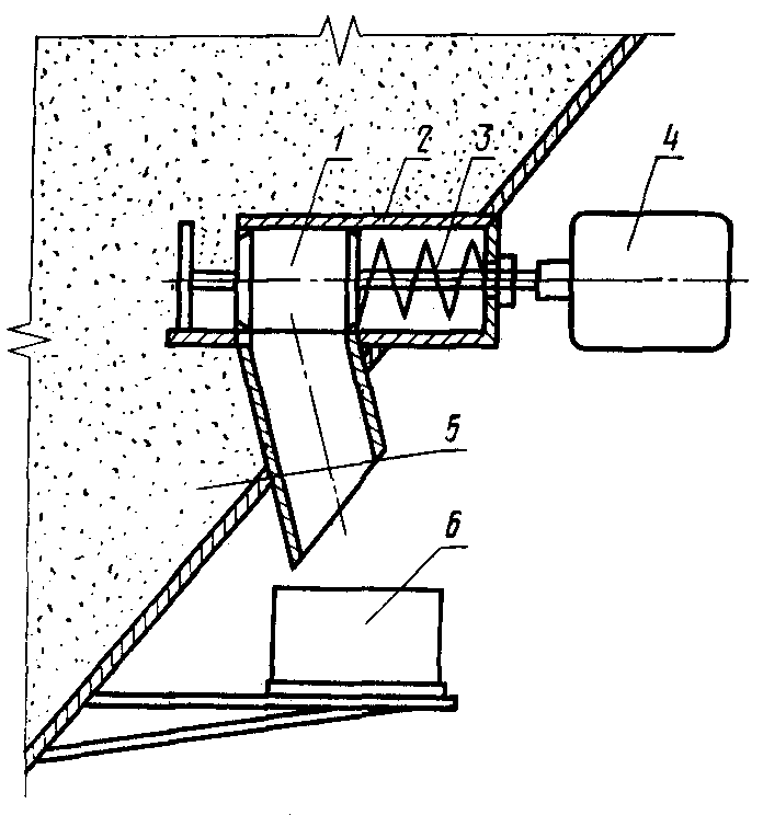
Пробоотборник механический порционный для сыпучих продуктов
(черт. 4).
Механический порционный пробоотборник для сыпучих продуктов
1 - дозатор; 2 - корпус; 3 - пружина;
4 - электромагнит; 5 - бункер; 6 - емкость для пробы
Пробоотборник-делитель механический типа МПД-75 для сыпучих продуктов
(черт. 5).
Механический пробоотборник-делитель типа МПД-75
для сыпучих продуктов
1 - отводная трубка; 2 - делитель; 3 - корпус;
4 - пробозаборный барабан; 5 - пробозаборный элемент;
6 - транспортирующий шнек.
(Измененная редакция, Изм. N 1).
2.2.2. Для отбора проб из транспортных средств, хранилищ, от плит и транспортной тары применяются:
Желонки внутренним диаметром 30 - 35 и 15 - 18 мм, длиной, обеспечивающей отбор пробы по всей высоте слоя анализируемого продукта. Желонка имеет внизу клапан, открывающийся и закрывающийся с помощью рукоятки, расположенной сверху.
Трубка стеклянная диаметром 15 - 18 мм с оттянутым концом и длиной, обеспечивающей отбор пробы по всей высоте слоя анализируемого продукта.
Бутылка в металлическом каркасе или банка, имеющие конструкцию, позволяющую отбирать пробы на любой глубине.
Пробоотборник для жидкого пека
1 - нижний клапан; 2 - корпус; 3 - верхний клапан;
4 - трос
Пробоотборник ручной щелевидный диаметром 30 - 35 мм, имеющий цилиндрическую или слегка коническую внутреннюю полость
(черт. 6).
Ручной щелевидный пробоотборник для сыпучих продуктов
Машина пневматическая сверлильная типа П-1008 или типа ИП-1022 со сверлом диаметром 15 мм.
(Измененная редакция, Изм. N 1).
2.2.3. Для сокращения проб применяются:
воронка металлическая диаметром 150 - 200 мм с двумя стеблями;
Делитель типа ДМП-1 или ДМП-2
1 - включатель; 2 - делитель; 3 - усреднитель;
4 - держатель; 5 - штанга; 6 - отсекатель;
7 - диафрагма; 8 - электродвигатель
Делитель Джонса
2.2.4. Допускается применять ручное сокращение проб, а также по согласованию с потребителем использовать аппаратуру другой конструкции, обеспечивающую отбор представительных проб и их сокращение.
При разногласиях в оценке качества продукции отбор и подготовку проб проводят пробоотборниками и делителями, предусмотренными настоящим стандартом.
(п. 2.2.4 в ред.
Изменения N 2, утв. Постановлением Госстандарта СССР от 24.12.1991 N 2067)
2.2.5. Детали аппаратуры, имеющие непосредственный контакт с пробой жидких продуктов, должны быть изготовлены из некорродирующих и не взаимодействующих с пробой материалов (латуни и бронзы любых марок, стали марки 1Х18Н9Т и других аналогичных материалов).
(Введен дополнительно, Изм. N 1).
2.3. Отбор проб жидких продуктов
2.3.1. Пробы чистых бензольных, пиридиновых и других гомогенных невязких продуктов из потока при погрузке и выгрузке транспортных средств, а также при заполнении хранилищ отбирают автоматическим пробоотборником типа АП-2М1.
После заполнения хранилища работники отдела технического контроля пломбируют задвижку на линии подачи продукта в него. Срок хранения продукта в хранилище не должен превышать 15 суток.
Во время перекачки продукта потребителю из хранилища по трубопроводу не допускается дополнительное поступление продукта в хранилище.
(абзац введен
Изменением N 2, утв. Постановлением Госстандарта СССР от 24.12.1991 N 2067)
2.3.2. Пробы из хранилища отбирают бутылкой в металлическом каркасе или банкой. Пробы отбирают из верхнего, среднего и нижнего слоев по одной порции.
2.3.3. Пробы каменноугольной смолы, масел, жидкого плавленого нафталина, а также других расслаивающихся и кристаллизующихся продуктов из потока отбирают механическим пробоотборником.
2.3.4. Пробу из цистерны (битумовоза) отбирают желонкой внутренним диаметром 30 - 35 мм или другими ручными пробоотборниками.
Желонку (пробоотборник) перед отбором пробы споласкивают продуктом или выдерживают в нем 5 - 10 мин.
Желонку с открытым клапаном медленно погружают до дна цистерны (битумовоза), затем клапан закрывают и желонку извлекают.
Пробоотборником для жидкого пека пробы отбирают от нижнего, среднего и верхнего слоев пека, загруженного в транспортное средство.
Изготовителю жидкого пека допускается отбирать пробу любым пробоотборником только от верхнего слоя продукта сразу же после его загрузки в транспортное средство.
(п. 2.3.4 в ред.
Изменения N 2, утв. Постановлением Госстандарта СССР от 24.12.1991 N 2067)
2.3.5. Пробы из бочек и другой транспортной тары отбирают стеклянной трубкой. Трубку, открытую с обеих концов, медленно погружают до дна тары оттянутым концом вниз, затем закрывают верхнее отверстие и трубку извлекают.
Пробы темных продуктов допускается отбирать желонкой диаметром 15 - 18 мм.
От каждой бочки, включенной в выборку, отбирают одну пробу.
2.4. Отбор проб сыпучих продуктов
2.4.1. Пробы сульфата аммония, гранулированного пека и других сыпучих продуктов из потока при погрузке или выгрузке продукта, отбирают механическими порционными пробоотборниками, а также механическим пробоотборником-делителем или ручными пробоотборниками, обеспечивающими полное пересечение потока в местах перепада, через равные интервалы времени в течение всего периода погрузки или выгрузки продукта.
2.4.2. Пробы из штабеля и от полностью загруженного открытого вагона отбирают ручным щелевидным пробоотборником по схеме, указанной на
черт. 9.
о - точки отбора
2.4.3. Из мешков отбирают по две пробы ручным щелевидным пробоотборником, погружая его на

глубины мешка, по схеме, указанной на
черт. 10.
2.5. Отбор проб продуктов в кусках
2.5.1. Пробы дробленого нафталина и других продуктов в кусках отбирают из потока механическим пробоотборником.
2.5.2. Пробы из мешков отбирают вручную совком из двух мест верхнего слоя мешка. Размер совка должен быть примерно в два раза больше максимального размера куска.
2.6. Отбор проб продуктов в плитах
2.6.1. Пробы кристаллического и прессованного нафталина отбирают пневматической сверлильной машиной или ручной дрелью, высверливая одно отверстие в бруске на глубину 50 мм в боковой грани плиты по радиусу или по большей оси симметрий (в зависимости от формы) до ее середины.
2.6.2. Пробу собирают в плоский приемный совок, расположенный под сверлом пробоотборника.
3. ТРЕБОВАНИЯ БЕЗОПАСНОСТИ
Госстандарта СССР от 24.12.1991 N 2067)
3.1. При выполнении работ по отбору проб должны соблюдаться требования, предусмотренные
ГОСТ 12.1.007-76 и правилами безопасности в коксохимической промышленности, утвержденными в установленном порядке.
3.2. Содержание вредных веществ в воздухе рабочей зоны не должно превышать предельно допустимых концентраций (ПДК).
Контроль за концентрацией вредных веществ проводят по методикам, разработанным в соответствии с
ГОСТ 12.1.016-79.
3.3. При ручном опробовании взрывоопасных, пожароопасных и токсичных химических продуктов коксования контролер отбирает пробы в присутствии представителя цеха производимой продукции.
3.4. При отборе проб контролер должен стоять боком к ветру в целях предотвращения вдыхания паров вредных продуктов.
3.5. В местах отбора проб должны быть установлены светильники во взрывозащищенном исполнении.
3.6. В целях защиты от вредного воздействия химических продуктов отбор проб проводят с применением средств индивидуальной защиты в соответствии с типовыми отраслевыми нормами бесплатной выдачи средств индивидуальной защиты рабочих и служащих.
Отбор проб легковоспламеняющихся жидкостей проводят в специальной одежде и обуви, изготовленных из материалов, не накапливающих статическое электричество, в соответствии с требованиями
ГОСТ 12.4.124-83.
3.7. Запрещается отбирать пробы химических продуктов коксования на открытом воздухе во время грозы, сильных атмосферных осадков и бури.
3.8. Для очистки посуды от остатков проб пека, смолы и ее продуктов используют поглотительное или соляровое масло.
Для удаления остатков проб пиридиновых оснований из посуды применяют раствор хлористого цинка или слабый раствор соляной кислоты.