Главная // Актуальные документы // ГОСТ (Государственный стандарт)СПРАВКА
Источник публикации
М.: Издательство стандартов, 1992
Примечание к документу
Документ утратил силу с 1 января 2016 года в связи с изданием
Приказа Росстандарта от 15.06.2015 N 681-ст. Взамен введен в действие
ГОСТ ISO 287-2014.
С 1 июля 2003 года до вступления в силу технических регламентов акты федеральных органов исполнительной власти в сфере технического регулирования носят рекомендательный характер и подлежат обязательному исполнению только в части, соответствующей целям, указанным в
пункте 1 статьи 46 Федерального закона от 27.12.2002 N 184-ФЗ.
Документ
введен в действие с 1 января 1993 года.
Взамен ГОСТ 13525.19-71.
Название документа
"ГОСТ 13525.19-91 (ИСО 287-85). Государственный стандарт Союза ССР. Бумага и картон. Определение влажности. Метод высушивания в сушильном шкафу"
(утв. и введен в действие Постановлением Госстандарта СССР от 27.12.1991 N 2204)
"ГОСТ 13525.19-91 (ИСО 287-85). Государственный стандарт Союза ССР. Бумага и картон. Определение влажности. Метод высушивания в сушильном шкафу"
(утв. и введен в действие Постановлением Госстандарта СССР от 27.12.1991 N 2204)
Утвержден и введен в действие
Постановлением Комитета
стандартизации и метрологии СССР
от 27 декабря 1991 г. N 2204
ГОСУДАРСТВЕННЫЙ СТАНДАРТ СОЮЗА ССР
БУМАГА И КАРТОН. ОПРЕДЕЛЕНИЕ ВЛАЖНОСТИ. МЕТОД ВЫСУШИВАНИЯ
В СУШИЛЬНОМ ШКАФУ
Paper and board. Determination of moisture content.
Oven-drying method
ГОСТ 13525.19-91
(ИСО 287-85)
Группа К69
ОКСТУ 5409
Дата введения
1 января 1993 года
1. Разработан и внесен Министерством лесной промышленности СССР.
Разработчик
М.А. Крушинская.
2. Утвержден и введен в действие Постановлением Комитета стандартизации и метрологии СССР от 27.12.91 N 2204. Настоящий стандарт разработан методом прямого применения международного стандарта ИСО 287-85 "Бумага и картон. Определение влажности. Метод высушивания в сушильном шкафу" с дополнительными требованиями, отражающими потребности народного хозяйства.
3. Срок первой проверки - 1997 г.
4. Взамен ГОСТ 13525.19-71.
5. Ссылочные нормативно-технические документы:
Обозначение НТД, на который дана ссылка | Номер пункта, раздела |
ГОСТ 8047-78 | |
1. НАЗНАЧЕНИЕ И ОБЛАСТЬ ПРИМЕНЕНИЯ
Настоящий стандарт устанавливает метод определения влажности бумаги и картона путем высушивания в сушильном шкафу в момент отбора проб.
Метод распространяется на бумагу и картон, включая гофрированный. Бумага и картон не должны содержать веществ, кроме воды, улетучивающихся при температуре испытания.
Экспресс-методы и метод определения влажности бумаги и картона для химических анализов приведены в
Приложении.
Дополнительные требования, отражающие потребности народного хозяйства, выделены курсивом или вертикальной чертой.
ГОСТ 8047-78 "Бумага и картон. Правила приемки. Отбор проб для определения среднего качества".
В настоящем стандарте приняты следующие определения.
3.1. Влажность - количество воды в бумаге или картоне.
На практике определяется отношение потери массы образца при высушивании к его первоначальной массе при отборе пробы в соответствии со стандартным методом испытания. Выражается в процентах.
3.2. Постоянная масса - масса испытуемого образца бумаги или картона, достигнутая после высушивания при установленной температуре до того момента, когда расхождение между двумя последующими взвешиваниями не будет превышать 0,1% относительно первоначальной массы испытуемого образца.
Метод заключается во взвешивании образца в момент отбора проб и после высушивания его до постоянной массы.
5.1. Весы с погрешностью взвешивания не более 0,05% взвешиваемой массы.
5.2. Сосуды, предназначенные для хранения и взвешивания испытуемых образцов, должны быть водопаронепроницаемыми, изготовленными из легкого материала, не изменяющего свойств во время проведения испытаний.
Для хранения образцов допускается использовать полиэтиленовые мешки.
5.3. Шкаф сушильный с вентиляцией, обеспечивающий постоянную температуру (105 +/- 2) °C в процессе удаления влаги из бумаги и картона.
Перед отбором проб чистые сухие сосуды нумеруют и доводят их температуру до температуры окружающей среды. Затем каждый сосуд взвешивают и хранят закрытым до момента отбора проб.
Пробы, предназначенные для исследования, должны отбираться в соответствии с ГОСТ 8047.
Примечание. При отборе проб необходимо применять меры предосторожности, исключающие загрязнение и изменение влажности бумаги и картона. В частности, рекомендуется пользоваться резиновыми перчатками. Во избежание изменений влажности образцов вследствие воздействия окружающей среды необходимо пробы сразу после отбора помещать в сосуды.
8. ОТБОР, ПОДГОТОВКА И ВЗВЕШИВАНИЕ ИСПЫТУЕМЫХ ОБРАЗЦОВ
С каждой испытуемой единицей продукции, отобранной от партии, поступают следующим образом:
8.1. Если единица продукции упакована - снимают упаковку.
8.1.1. Испытуемая единица продукции - целая, не делимая на мелкие части (на поддонах или без них)
8.1.1.1. Определение среднего значения влажности партии
8.1.1.1.1. Для бумаги или картона массой 1 м2 менее или равной 224 г/м2
С каждой испытуемой единицы продукции удаляют все поврежденные листы и не менее трех последующих неповрежденных листов, берут подряд четыре листа, быстро сгибают или разрезают и помещают в сосуд. Содержимое сосуда является испытуемым образцом, масса которого должна быть не менее 50 г. Сосуд с содержимым взвешивают и рассчитывают массу испытуемого образца.
Образцы взвешивают с точностью до второго десятичного знака.
Готовят образцы для параллельных определений (для каждой отобранной для испытания единицы продукции).
Примечания:
1. Количество удаляемых листов может быть увеличено в зависимости от качества упаковки и условий хранения.
2. Если испытания проводят на образцах легких бумаг, то объем образца массой 50 г будет очень большим, поэтому допускается использовать образцы меньшей массы, о чем необходимо указать в протоколе испытания.
8.1.1.1.2. Для бумаги и картона массой 1 м2 более 224 г/м2
С каждой испытуемой единицы продукции удаляют все поврежденные листы и один неповрежденный лист и из каждого отобранного листа нарезают полосы шириной (50 - 75) мм и длиной не менее 150 мм. Полосы, отобранные от единицы продукции, составляют образец, который быстро помещают в сосуд. Масса испытуемого образца должна быть не менее 50 г. Сосуд с содержимым взвешивают и рассчитывают массу испытуемого образца.
Образцы взвешивают с точностью до второго десятичного знака.
Готовят образцы для параллельных определений (для каждой отобранной для испытания единицы продукции).
8.1.1.2. Определение изменения влажности между серединой и краями листа
Удаляют листы в соответствии с
п. п. 8.1.1.1.1 и
8.1.1.1.2 и берут подряд достаточное количество листов для составления двух параллельных испытуемых образцов. Из отобранных листов пробы вырезают четыре комплекта полос шириной 50 - 75 мм и длиной не менее 150 мм, по одной полосе с каждого края листа и две полосы из середины, как указано на черт. 1, не разделяя ни листы, ни полоски, составляющие комплект.
Черт. 1
Более длинную сторону полосы нарезают в поперечном <*> направлении. Концы полос обрезают по 150 мм с каждого края отобранного слоя листов (см. черт. 1).
--------------------------------
<*> Это направление образца выбрано потому, что любое изменение влажности в машинном направлении, сохранившееся в бумаге после ее изготовления, будет равномерно представлено в каждой полосе.
От каждого комплекта отбрасывают верхнюю и нижнюю полосы. Комплект крайних полос составляет один образец для испытания, комплект средних - другой. Масса испытуемого образца должна быть не менее 50 г. Каждый испытуемый образец сразу же помещают в сосуд, взвешивают вместе с содержимым и рассчитывают массу испытуемого образца.
Образцы взвешивают с точностью до второго десятичного знака.
Готовят образцы для параллельных определений (для каждой отобранной для испытания единицы продукции и для каждого выбранного положения).
Примечание. Если испытания проводят на образцах легких бумаг, то объем образца массой 50 г будет очень большим, поэтому допускается использовать образцы меньшей массы, о чем необходимо указать в протоколе испытания.
8.1.2. Испытуемая единица продукции, состоящая из мелких совместно упакованных единиц - стоп или пачек (на поддонах или без них). Единицы продукции отбирают в соответствии с
ГОСТ 8047.
8.1.2.1. Определение среднего значения влажности партии
8.1.2.1.1. Для бумаги или картона массой 1 м2 менее или равной 224 г/м2.
Из середины каждой отобранной стопы или пачки отбирают подряд четыре листа и выполняют операции и требования в соответствии с
п. 8.1.1.1.1
8.1.2.1.2. Для бумаги или картона массой более 224 г/м2
Из середины каждой отобранной стопы, или пачки отбирают подряд несколько листов для составления двух испытуемых образцов каждый массой не менее 50 г и готовят их в соответствии с
п. 8.1.1.1.2
Готовят образцы для параллельных определений (для каждой отобранной для испытания единицы продукции и каждого выбранного положения).
8.1.2.2. Определение изменения влажности между серединой и краями листа
8.1.3. Испытуемой единицей продукции является рулон
8.1.3.1. Определение среднего значения влажности партии
С каждой испытуемой единицы продукции удаляют все поврежденные слои и не менее трех последующих неповрежденных слоев, если масса 1 м2 менее или равна 224 г/м2 и минимум один неповрежденный слой, если масса 1 м2 более 224 г/м2 (число удаляемых слоев может быть увеличено в зависимости от качества упаковки и условий хранения). Затем каждый отобранный рулон разрезают в поперечном направлении и снимают слой толщиной не менее 5 мм, который выпрямляют. Из отобранного слоя нарезают комплекты полос шириной 50 - 75 мм в машинном направлении по одному комплекту с каждого края рулона и один комплект из середины либо из полной ширины рулона. Не следует разделять листы, составляющие слой, или полосы, составляющие комплект. Из каждого комплекта удаляют верхнюю и нижнюю полосы.
Каждый комплект представляет собой испытуемый образец, который должен иметь массу не менее 50 г. Образец быстро сгибают или разрезают, помещают в сосуд, который взвешивают вместе с содержимым. Затем рассчитывают массу испытуемого образца.
Образцы взвешивают с точностью до второго десятичного знака.
Готовят образцы для параллельных определений (для каждой отобранной для испытания единицы продукции и для каждого выбранного положения).
Примечание. Если испытания проводят на образцах легких бумаг, то объем образца массой 50 г будет очень большим, поэтому допускается использовать образцы меньшей массы, о чем необходимо указать в протоколе испытания.
8.1.3.2. Определение изменения влажности по ширине рулона
Выполняют операции в соответствии с
п. 8.1.3.1. Из отобранного слоя бумаги или картона вырезают полосы не менее чем в трех точках по всей ширине рулона. Образцы нарезают шириной 50 - 75 мм в поперечном направлении. Более длинная сторона образца должна соответствовать машинному направлению. Комплект полос от каждой точки отбора составляет образец, влажность которого определяется отдельно. Результаты испытаний по каждой точке отбора образцов указывают в протоколе испытания. Готовят образцы для параллельных определений (для каждой отобранной для испытания единицы продукции и каждого выбранного положения).
8.2. Испытуемая единица продукции - упакованная продукция, которую нельзя или нецелесообразно вскрывать (рулоны, продукция, уложенная штабелем или на поддоны для хранения или отобранная покупателем).
8.2.1. Определение среднего значения влажности партии
8.2.1.1. Машинное направление бумаги или картона известно
Вырезают окно шириной 50 - 75 мм и длиной 150 мм, причем короткая сторона его должна быть параллельна машинному направлению. Вырез делают на глубину, позволяющую отобрать требуемое количество полос для составления испытуемого образца массой не менее 50 г, устранив при этом все поврежденные полосы и не менее трех следующих неповрежденных полос. Испытуемый образец быстро помещают в сосуд. Сосуд с содержимым взвешивают и рассчитывают массу испытуемого образца.
Образец взвешивают с точностью до второго десятичного знака.
Для каждой испытуемой единицы изменяют позицию вырезания окна. Готовят образцы для параллельных определений (для каждой отобранной для испытания единицы продукции и каждого выбранного положения).
Допускается использовать испытуемые образцы шириной 50 - 75 мм и длиной, соответствующей полной ширине листа в поперечном направлении.
Примечание. Если испытания проводят на образцах легких бумаг, то объем образца массой 50 г будет очень большим, поэтому допускается использовать образцы меньшей массы, о чем необходимо указать в протоколе испытаний.
8.2.1.2. Машинное направление бумаги или картона неизвестно
Вырезают окно размером 100 x 100 мм так, чтобы одна из сторон была параллельна длинной стороне листа. Затем выполняют операции и требования в соответствии с
п. 8.2.1.1.
Примечание. Если испытания проводят на образцах легких бумаг, то объем образца массой 50 г будет очень большим, поэтому допускается использовать образцы меньшей массы, о чем необходимо указать в протоколе испытания.
8.2.2. Определение изменения влажности по всей ширине рулона или между серединой и краями листа
Выполняют операции и требования в соответствии с
п. 8.2.1.1. Вырезают полосы шириной 50 - 75 мм и длиной не менее 150 мм. Длинная сторона должна быть параллельна машинному направлению. Полосы вырезают не менее чем в трех точках рулона или листа. Образцы от каждой позиции отбора испытывают и записывают результаты отдельно. Выполняют параллельные определения на образцах, отобранных из разных позиций.
9.1. Испытуемый образец сушат в сушильном шкафу
(п. 5.3) в сосуде
(п. 5.2) с открытой крышкой либо вынутым из сосуда. Температура сушки должна быть (105 +/- 2) °C. Если испытуемый образец состоит из нескольких полос, то при сушке их необходимо разъединить для более полной циркуляции воздуха. Если испытуемый образец сушат вне сосуда, то последний необходимо сушить в том же сушильном шкафу.
Примечание. В процессе сушки не следует помещать в сушильный шкаф новую партию испытуемых образцов.
9.2. По окончании сушки образец быстро помещают в сосуд, закрывают его крышкой и охлаждают в эксикаторе. При использовании некоторых типов сосудов для охлаждения требуется значительный промежуток времени. Давление воздуха внутри и снаружи сосуда уравновешивается, если мгновенно открывать и закрывать сосуд. Сосуд с содержимым взвешивают и рассчитывают массу высушенного испытуемого образца.
Взвешивание производят с точностью до второго десятичного знака.
Затем испытуемый образец и сосуд снова помещают в сушильный шкаф и сушат дополнительно в течение времени, составляющего не менее половины времени начальной сушки. Сосуд с испытуемым образцом снова взвешивают. Дополнительную сушку и повторное взвешивание необходимо выполнять до достижения постоянного значения массы. Продолжительность сушки между последующими взвешиваниями во всех случаях должна быть равна не менее половины всего времени сушки. Массу испытуемого образца считают достигшей постоянного значения, если два последующих взвешивания через определенный промежуток времени имеют расхождение не более чем на 0,1% первоначальной массы испытуемого образца. Начальная продолжительность сушки должна быть не менее 30 мин для бумаги и картона массой 1 м2 менее или равной 224 г/м2 и не менее 60 мин - для бумаги и картона массой 1 м2 более 224 г/м2.
10. ВЫРАЖЕНИЕ РЕЗУЛЬТАТОВ
10.1. Расчет
Результат, рассчитанный относительно первоначальной массы испытуемого образца, выражают в процентах и округляют до 0,1%.
10.2. Влажность образца бумаги или картона (W) в процентах вычисляют по формуле
где m - масса сосуда для взвешивания, г;

- масса сосуда для взвешивания с навеской до высушивания, г;

- масса сосуда для взвешивания с навеской после высушивания, г.
Результат испытания округляют до 0,1%.
10.3. Точность метода
Точность результатов зависит от: неоднородности влажности партии, количества испытаний для определения среднего значения влажности, способа отбора образцов, влияния окружающей среды.
В протокол испытания включают данные:
11.1. При определении среднего значения влажности партии (для всей отобранной партии):
а) среднее значение влажности;
б) минимальное и максимальное значение влажности;
в) среднее квадратическое отклонение результатов испытания;
г) количество испытаний.
11.2. При определении изменения влажности по всей ширине листа или рулона (для каждого отбора от партии согласно
п. 8.1 или
8.2):
а) среднее значение влажности;
б) минимальное и максимальное значение влажности;
в) среднее квадратическое отклонение результатов испытания;
г) количество испытаний;
д) точки отбора проб.
Следует указать, какие из вышеуказанных определений использованы, а также указать обстоятельства, повлиявшие на результаты испытания.
Рекомендуемая доверительная вероятность не менее 95%.
11.3. Если в стандартах на продукцию отсутствуют другие указания, то определяют среднее значение влажности бумаги и картона в партии.
За результат испытания принимают среднее арифметическое результатов всех полученных определений, округленное до 0,1%.
Рекомендуемое
ЭКСПРЕСС-МЕТОДЫ И МЕТОД ОПРЕДЕЛЕНИЯ ВЛАЖНОСТИ БУМАГИ
И КАРТОНА ДЛЯ ХИМИЧЕСКИХ АНАЛИЗОВ
1. ЭКСПРЕСС-МЕТОДЫ ОПРЕДЕЛЕНИЯ ВЛАЖНОСТИ
1.1. Отбор проб в соответствии с
разд. 7.
1.2. Отбор, подготовка и взвешивание испытуемых образцов в соответствии с
разд. 8.
1.3. Высушивание лампой инфракрасного излучения.
1.3.1. Оборудование, указанное в
разделе 5, кроме сушильного шкафа. Лампа инфракрасного излучения мощностью 500 Вт; автотрансформатор лабораторный; очки защитные темные; пинцет.
1.3.2. Подготовка сосудов в соответствии с
разд. 6.
1.3.3. Проведение испытания.
Открытый сосуд с навеской испытуемого образца и крышку помещают на подставку под лампу инфракрасного излучения на расстоянии 8 - 10 см от лампы. Высушивание проводят при температуре (100 - 130) °C не менее 10 мин, перемешивая пробу пинцетом один-два раза. По окончании сушки сосуд закрывают крышкой, не вынося из-под лампы, помещают в эксикатор, охлаждают и взвешивают. Повторные высушивания до постоянной массы проводят около 3 мин.
1.4. Высушивание электронагревательным прибором с прижимным устройством.
1.4.1. Оборудование, указанное в
разд. 5, кроме сушильного шкафа.
Электронагревательный прибор с прижимным устройством и автоматическим регулированием температуры в пределах 130 - 150 °C.
1.4.2. Проведение испытания.
Испытуемые образцы бумаги или картона помещают на выпуклую металлическую поверхность электронагревательного прибора, прижимают сеткой и высушивают до постоянной массы. Перед испытанием прибор нагревают до 130 - 150 °C.
По окончании высушивания испытуемые образцы помещают в эксикатор, охлаждают и взвешивают. Продолжительность высушивания - не менее 15 мин. Повторные высушивания до постоянной массы проводят в течение 3 - 5 мин.
1.5. Высушивание кондиционным аппаратом марки АК-2.
1.5.1. Оборудование, указанное в
разд. 5.
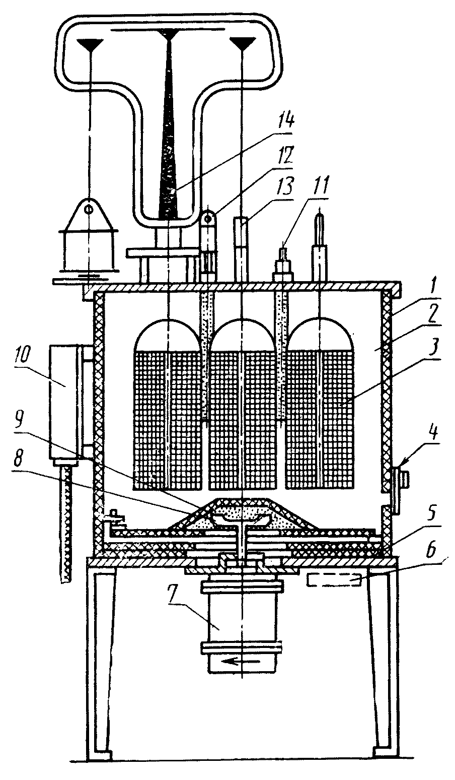
Аппарат марки АК-2 с вмонтированными лабораторными весами 3-го класса точности и автоматическим регулированием температуры в пределах 20 - 150 °C
(черт. 2).
1 - корпус; 2 - сушильная камера; 3 - корзина; 4 - заслонка; 5 - нагревательный элемент; 6 - магнитный пускатель; 7 - электродвигатель; 8 - вентилятор; 9 - диффузор; 10 - терморегулятор; 11 - контактный термометр; 12 - ртутный термометр; 13 - цилиндры; 14 - технические весы
1.5.2. Проведение испытания.
Испытуемые образцы бумаги или картона помещают в корзины аппарата, опускают в сушильную камеру, быстро взвешивают и высушивают до постоянной массы при температуре (105 +/- 2) °C. Продолжительность высушивания должна быть не менее 1 ч. Повторные высушивания до постоянной массы проводят в течение 10 мин.
2. ОПРЕДЕЛЕНИЕ ВЛАЖНОСТИ ДЛЯ ХИМИЧЕСКИХ АНАЛИЗОВ
2.1. Отбор проб в соответствии с
разд. 7.
2.2. Оборудование, указанное в
разд. 5.
2.3. Подготовка сосудов в соответствии с
разд. 6.
2.4. Подготовка образцов к испытанию.
Испытуемый образец массой около 2 г, взятый из пробы, предназначенной для анализа, быстро помещают в сосуды, закрывают их и взвешивают до третьего десятичного знака.
2.5. Проведение испытания.
Испытания проводят в соответствии с
разд. 9. Проводят два параллельных определения.
3.1. Влажность образца бумаги или картона (W) в процентах вычисляют по
формуле (1) или (2)
где

- масса образца бумаги или картона до высушивания, г;

- масса образца бумаги или картона после высушивания, г.
За результат испытания принимают среднее арифметическое результатов всех полученных определений, округленное до 0,1%.
Расхождение между двумя параллельными определениями влажности бумаги и картона для химических анализов при доверительной вероятности 95% не должно превышать 0,2%.
При разногласиях в оценке влажности бумаги и картона, а также при определении качества продукции, поставляемой на экспорт, испытания проводят по методу, установленному в
разд. 9.