Главная // Актуальные документы // ГОСТ (Государственный стандарт)СПРАВКА
Источник публикации
М.: Стандартинформ, 2013
Примечание к документу
Документ утратил силу с 1 января 2016 года в связи с изданием
Приказа Росстандарта от 05.09.2014 N 1006-ст. Взамен введен в действие
ГОСТ IEC 60947-5-1-2014.
Документ включен в
Перечень стандартов, в результате применения которых на добровольной основе обеспечивается соблюдение требований технического
регламента Таможенного союза "О безопасности низковольтного оборудования" (ТР ТС 004/2011) и
Перечень стандартов, содержащих правила и методы исследований (испытаний) и измерений, в том числе правила отбора образцов, необходимые для применения и исполнения требований технического
регламента Таможенного союза "О безопасности низковольтного оборудования" (ТР ТС 004/2011) и осуществления оценки (подтверждения) соответствия продукции (
Решение Комиссии Таможенного союза от 16.08.2011 N 768).
Документ
введен в действие с 1 января 2014 года.
Взамен ГОСТ Р 50030.5.1-2005 (МЭК 60947-5-1:2003).
Название документа
"ГОСТ 30011.5.1-2012 (IEC 60947-5-1:2003). Межгосударственный стандарт. Аппаратура распределения и управления низковольтная. Часть 5. Аппараты и коммутационные элементы цепей управления. Глава 1. Электромеханические аппараты для цепей управления"
(введен в действие Приказом Росстандарта от 15.11.2012 N 830-ст)
"ГОСТ 30011.5.1-2012 (IEC 60947-5-1:2003). Межгосударственный стандарт. Аппаратура распределения и управления низковольтная. Часть 5. Аппараты и коммутационные элементы цепей управления. Глава 1. Электромеханические аппараты для цепей управления"
(введен в действие Приказом Росстандарта от 15.11.2012 N 830-ст)
агентства по техническому
регулированию и метрологии
от 15 ноября 2012 г. N 830-ст
МЕЖГОСУДАРСТВЕННЫЙ СТАНДАРТ
АППАРАТУРА РАСПРЕДЕЛЕНИЯ И УПРАВЛЕНИЯ НИЗКОВОЛЬТНАЯ
ЧАСТЬ 5
АППАРАТЫ И КОММУТАЦИОННЫЕ ЭЛЕМЕНТЫ ЦЕПЕЙ УПРАВЛЕНИЯ
ГЛАВА 1
ЭЛЕКТРОМЕХАНИЧЕСКИЕ АППАРАТЫ ДЛЯ ЦЕПЕЙ УПРАВЛЕНИЯ
Low-voltage switchgear and controlgear.
Part 5. Control circuit devices and switching elements.
Section 1. Electromechanical control circuit devices
(IEC 60947-5-1:2003, MOD)
ГОСТ 30011.5.1-2012
(IEC 60947-5-1:2003)
Дата введения
1 января 2014 года
Цели, основные принципы и порядок проведения работ по межгосударственной стандартизации установлены
ГОСТ 1.0-92 "Межгосударственная система стандартизации. Основные положения" и
ГОСТ 1.2-2009 "Межгосударственная система стандартизации. Стандарты межгосударственные, правила и рекомендации по межгосударственной стандартизации. Правила разработки, принятия, применения, обновления и отмены".
1. Подготовлен АНО НТЦ "Энергия".
2. Внесен Федеральным агентством по техническому регулированию и метрологии (Росстандарт).
3. Принят Межгосударственным советом по стандартизации, метрологии и сертификации (протокол от 24 мая 2012 г. N 41).
За принятие проголосовали:
Краткое наименование страны по МК (ИСО 3166) 004-97 | Код страны по МК (ИСО 3166) 004-97 | Сокращенное наименование национального органа по стандартизации |
Азербайджан | AZ | Азстандарт |
Беларусь | BY | Госстандарт Республики Беларусь |
Казахстан | KZ | Госстандарт Республики Казахстан |
Киргизия | KG | Кыргызстандарт |
Россия | RU | Росстандарт |
Узбекистан | UZ | Узстандарт |
4.
Приказом Федерального агентства по техническому регулированию и метрологии от 15 ноября 2012 г. N 830-ст межгосударственный стандарт ГОСТ 30011.5.1-2012 (IEC 60947-5-1:2003) введен в действие в качестве национального стандарта Российской Федерации с 1 января 2014 г.
5. Настоящий стандарт модифицирован по отношению к международному стандарту IEC 60947-5-1:2003 Low-voltage switchgear and controlgear - Part 5-1: Control circuit devices and switching elements - Electromechanical control circuit devices (Аппаратура распределения и управления низковольтная. Часть 5. Аппараты и коммутационные элементы цепей управления. Глава 1. Электромеханические аппараты для цепей управления).
Сведения о соответствии межгосударственных стандартов ссылочным международным стандартам приведены в дополнительном
Приложении ДА.
Степень соответствия - модифицированная (MOD).
Стандарт подготовлен на основе применения ГОСТ Р 50030.5.1-2005 (МЭК 60947-5-1:2003).
6. Введен впервые.
Информация об изменениях к настоящему стандарту публикуется в ежегодном информационном указателе "Национальные стандарты", а текст изменений и поправок - в ежемесячном информационном указателе "Национальные стандарты". В случае пересмотра (замены) или отмены настоящего стандарта соответствующее уведомление будет опубликовано в ежемесячном информационном указателе "Национальные стандарты". Соответствующая информация, уведомление и тексты размещаются также в информационной системе общего пользования - на официальном сайте Федерального агентства по техническому регулированию и метрологии в сети Интернет.
Настоящий стандарт входит в комплекс межгосударственных стандартов на низковольтную аппаратуру распределения и управления, основополагающий межгосударственный стандарт этого комплекса -
ГОСТ 30011.1-2012 "Аппаратура распределения и управления низковольтная. Часть 1. Общие требования".
Настоящий стандарт устанавливает требования к конструкции и соответствующие методы испытаний для электромеханических аппаратов для цепей управления, дополняя требования межгосударственного стандарта
ГОСТ 30011.1-2012.
Настоящий стандарт может быть использован при оценке соответствия электромеханических аппаратов для цепей управления требованиям технических регламентов.
Настоящий стандарт должен использоваться совместно с
ГОСТ 30011.1.
Пункты, подпункты, рисунки и Приложения настоящего стандарта идентичны содержащимся в
ГОСТ 30011.1 при наличии ссылок на них.
Настоящий стандарт распространяется на аппараты для цепей управления и коммутационные элементы, предназначенные для управления, сигнализации, блокировки и т.д. аппаратуры управления.
Стандарт распространяется на аппараты для цепей управления на номинальное напряжение до 1000 В переменного тока (частотой не более 1000 Гц) или 600 В постоянного тока.
Рабочее напряжение переменного или постоянного тока ниже 100 В - по согласованию с изготовителем (см.
4.3.1.1).
Настоящий стандарт распространяется на следующие аппараты для цепей управления:
- с ручным приводом, например, кнопки, поворотные переключатели, педальные выключатели и т.д.;
- электромагнитные с выдержкой времени или без нее, например, контакторные реле;
- автоматические, например, выключатели давления, термодетекторы (термостаты), выключатели с программным устройством и т.д.;
- конечные (путевые) выключатели для цепей управления, например, приводимые в действие частью станка или механизма;
- аппаратура для цепей управления, например, снабженная сигнальными лампами и т.д.
Примечания. 1. Аппаратура для цепи управления содержит аппарат для цепи управления и связанные с ним устройства, например, световые индикаторы.
2. Аппарат для цепей управления содержит один или несколько коммутационных элементов и механизм передачи усилия переключения.
3. Коммутационный элемент может быть контактным или полупроводниковым.
Стандарт также распространяется на коммутационные элементы, соединенные с другими аппаратами (основные цепи которых являются объектами других стандартов), такими как:
- вспомогательные контакты аппаратов (например, контакторов, автоматических выключателей и т.д.), которые предусмотрены только для исключительного использования с катушкой этих аппаратов;
- контакты блокировки дверей оболочек;
- контакты цепей управления поворотных переключателей;
- контакты цепей управления реле перегрузки.
Контакторы должны удовлетворять требованиям и испытаниям ГОСТ 30011.4.1, за исключением категории применения, которая должна соответствовать требованиям настоящего стандарта.
Настоящий стандарт не распространяется на электрические реле, а также электрические аппараты автоматического управления для бытовой и аналогичной аппаратуры.
Требования к цветам световых индикаторов, кнопок и т.д. указаны в
ГОСТ Р МЭК 60073, а также в Публикации 2 Международной комиссии по освещению (МКО)
[1].
Настоящий стандарт устанавливает:
a) характеристики аппаратов для цепей управления;
b) электрические и механические требования относительно:
1) различных режимов работы,
2) значений номинальных характеристик и маркировки аппаратов,
3) испытаний по проверке номинальных характеристик;
c) условия функционирования, которым должны удовлетворять аппараты для цепей управления в отношении:
1) условий окружающей среды, в т.ч. для аппаратов в оболочке;
2) электрической прочности изоляции;
3) зажимов.
В настоящем стандарте использованы ссылки на следующие стандарты:
ГОСТ 30011.1-2012 (IEC 60947-1:2004) Аппаратура распределения и управления низковольтная. Часть 1. Общие требования и методы испытаний
ГОСТ 30011.4.1-96 (МЭК 60947-4-1-90) Аппаратура распределения и управления низковольтная. Часть 4-1. Контакторы и пускатели. Электромеханические контакторы и пускатели
ГОСТ 30011.5.5-2012 (IEC 60947-5-5:1997) Аппаратура распределения и управления низковольтная. Часть 5-5. Аппараты и элементы коммутации для цепей управления. Электрические устройства срочного останова с функцией механического защелкивания
ГОСТ 30804.4.2-2002 (МЭК 61000-4-2-95) Совместимость технических средств электромагнитная. Устойчивость к электростатическим разрядам. Требования и методы испытаний
ГОСТ 30804.4.3-2002 (МЭК 61000-4-3-98) Совместимость технических средств электромагнитная. Устойчивость к радиочастотному электромагнитному полю. Требования и методы испытаний
ГОСТ 30804.4.4-2002 (МЭК 61000-4-4-95) Совместимость технических средств электромагнитная. Устойчивость к наносекундным импульсным помехам. Требования и методы испытаний
ГОСТ 30804.4.5-2002 (МЭК 61000-4-5-95) Совместимость технических средств электромагнитная. Устойчивость к микросекундным импульсным помехам большой энергии. Требования и методы испытаний
ГОСТ 30804.4.6-2002 (МЭК 61000-4-6-96) Совместимость технических средств электромагнитная. Устойчивость к кондуктивным помехам, наведенным радиочастотными электромагнитными полями. Требования и методы испытаний
ГОСТ 30804.4.11-2002 (МЭК 61000-4-4-94) Совместимость технических средств электромагнитная. Устойчивость к динамическим изменениям напряжения электропитания. Требования и методы испытаний
ГОСТ 30805.11-2002 (СИСПР 11-97). Совместимость технических средств электромагнитная. Радиопомехи индустриальные от промышленных, научных, медицинских и бытовых (ПНМБ) высокочастотных устройств. Требования и методы испытаний
ГОСТ Р МЭК 60073-2000 Интерфейс человекомашинный. Маркировка и обозначение органов управления и контрольных устройств. Правила кодирования информации
ГОСТ Р МЭК 61140-2000 Защита от поражения электротоком. Общие положения по безопасности, обеспечиваемой электроустановками и электрооборудованием
ГОСТ 2.767-89 (МЭК 617-7-83) ЕСКД. Обозначения условные графические в электрических схемах. Реле защиты
ГОСТ 28198-89 (МЭК 68-1-88) Основные методы испытаний на воздействие внешних факторов. Часть 1. Общие положения и руководства
ГОСТ 28203-89 (МЭК 68-2-6-82) Основные методы испытаний на воздействие внешних факторов. Часть 2. Испытания. Испытание Fc и руководство: Вибрация (синусоидальная)
ГОСТ 28209-89 (МЭК 68-2-14-84) Основные методы испытаний на воздействие внешних факторов. Часть 2: Испытания. Испытание N: Смена температуры
ГОСТ 28213-89 (МЭК 68-2-27-87) Основные методы испытаний на воздействие внешних факторов. Часть 2. Испытания. Испытание Ea и руководство: Одиночный удар
ГОСТ 28216-89 (МЭК 68-2-30-87) Основные методы испытаний на воздействие внешних факторов. Часть 2: Испытания. Испытание Db и руководство: Влажное тепло, циклическое (12 + 12-часовой цикл)
ГОСТ 28312-89 (МЭК 417-73) Аппаратура радиоэлектронная профессиональная. Условные графические обозначения.
Примечание. При пользовании настоящим стандартом целесообразно проверить действие ссылочных стандартов в информационной системе общего пользования - на официальном сайте Федерального агентства по техническому регулированию и метрологии в сети Интернет или по ежегодному информационному указателю "Национальные стандарты", который опубликован по состоянию на 1 января текущего года, и по выпускам ежемесячного информационного указателя "Национальные стандарты" за текущий год. Если ссылочный стандарт заменен (изменен), то при пользовании настоящим стандартом следует руководствоваться заменяющим (измененным) стандартом. Если ссылочный стандарт отменен без замены, то положение, в котором дана ссылка на него, применяется в части, не затрагивающей эту ссылку.
В данном стандарте использованы термины и определения по
ГОСТ 30011.1, а также следующие определения.
2.1. Основные определения
2.1.1. аппаратура для цепей управления: Электрические устройства, предназначенные для управления, сигнализации, блокировки и т.д. систем управления и распределения.
Примечание. Аппаратура для цепей управления может включать в себя комплект устройств, требования к которым являются предметом других стандартов (например, приборы, потенциометры, реле), но используются в целях, указанных выше.
2.1.2. аппарат для цепей управления: Коммутационный контактный аппарат, предназначенный для управления работой систем управления и распределения электрической энергии, в т.ч. сигнализации, электрической блокировки и т.д.
Примечания. 1. Аппарат для цепей управления содержит один или несколько коммутационных элементов и общий механизм управления.
2. Это определение отличается от приведенного в МЭС 441-14-46
[2], поскольку аппарат для цепей управления может содержать полупроводниковые или контактные элементы (см.
2.3.2 и
2.3.3).
2.1.3. аппарат для цепей управления, применяемый для разъединения: Аппарат для цепей управления, который в разомкнутом положении удовлетворяет требованиям, предъявляемым для разъединения (см. ГОСТ 30011.1,
пункты 2.1.19 и
7.2.3.1, перечисление b).
Примечание. Такие аппараты для цепей управления предназначены для более высокой степени безопасности работающих на управляемом оборудовании. Для этой цели они должны допускать ручное управление, основанное на способности опытного персонала правильно реагировать в случае возможного отказа оборудования, например, в случае ненадежно разомкнутых контактов.
┌─────────────────────────────────────────────────────────────────────────┐
│ пульт управления: Система, образованная одним или несколькими│
│аппаратами цепей управления, расположенными на одной панели или в одном│
│корпусе. │
│ [МЭС 441-12-08] │
└─────────────────────────────────────────────────────────────────────────┘
Примечание. Панель или корпус пульта управления может содержать также аппаратуру смежного оборудования, например, потенциометр, световые индикаторы, контрольные приборы и т.д.
2.2. Аппараты для цепей управления
2.2.1. Аппараты автоматические для цепей управления
Примечание. Аппараты для цепей управления с автоматическим приводом работают по заданной программе (см. ГОСТ 30011.1,
подпункт 2.2.18,
подпункт 2.4.5).
┌─────────────────────────────────────────────────────────────────────────┐
│ контакторное реле мгновенного действия: Реле, работающее без│
│преднамеренной выдержки времени │
│ [МЭС 441-14-36] │
└─────────────────────────────────────────────────────────────────────────┘
Примечание. Если нет указаний по выдержке времени, контакторное реле является реле мгновенного действия.
┌─────────────────────────────────────────────────────────────────────────┐
│ контакторное реле мгновенного действия: Реле, работающее без│
│преднамеренной выдержки времени │
│ [МЭС 441-14-36] │
└─────────────────────────────────────────────────────────────────────────┘
Примечания. 1. Выдержка времени срабатывания может быть связана с включением напряжения (выдержка е), с выключением напряжения (выдержка d) или с тем и другим вместе.
2. Контакторное реле с выдержкой времени может иметь также контактные элементы мгновенного действия.
2.2.1.3. позиционный выключатель: Автоматический аппарат для цепей управления, передаточный механизм которого приводится в действие подвижной деталью машины, когда эта деталь достигает определенного положения.
[МЭС 441-14-49]
2.2.1.4. программатор: Аппарат для цепей управления, имеющий множество элементов коммутации, которые после их запуска срабатывают в определенной последовательности.
2.2.2. Аппараты для цепей управления с ручным приводом
Примечание. Аппараты для цепей управления с ручным приводом приводятся в действие усилием руки оператора (см. ГОСТ 30011.1,
подпункт 2.4.4).
┌─────────────────────────────────────────────────────────────────────────┐
│ кнопка нажимная: Аппарат для цепей управления, снабженный органом│
│управления, предназначенным для приведения в действие нажимным усилием│
│пальца или ладони оператора, и имеющий возвратный орган (пружину). │
│ [МЭС 441-14-53] │
└─────────────────────────────────────────────────────────────────────────┘
2.2.2.2. кнопка вытяжная: Аппарат для цепей управления, снабженный органом управления, предназначенным для вытягивания его рукой, и имеющий возвратный элемент (пружину).
2.2.2.3. кнопка нажимная - вытяжная: Аппарат для цепей управления, снабженный органом управления, предназначенным для приведения его в действие нажатием руки и затем вытягиванием в начальное положение или наоборот.
Примечание. Существуют также кнопки двойного нажатия, кнопки типа "нажатие-поворот" и кнопки с другими комбинациями действия.
2.2.2.4. кнопка поворотная (например, переключатель): Комбинация коммутационных элементов типа "нажимная кнопка", в которой орган управления приводится в действие нажимным усилием руки оператора (см. также
2.2.2.15 -
2.2.2.18).
Примечание. Кнопка поворотная может иметь более двух положений; она может иметь или не иметь возвратную пружину.
2.2.2.5. кнопка нажимная с защелкой: Аппарат, снабженный возвратной пружиной, которая остается в сжатом состоянии до тех пор, пока какой-либо стопор не будет освобожден отдельным воздействием (нажатием).
Примечание. Расстопорение может быть достигнуто новым воздействием (нажатие, поворот и т.д.) на ту же кнопку, воздействием на соседнюю кнопку, действием электромагнита и т.д.
2.2.2.6. кнопка нажимная с блокировкой: Аппарат, который может находиться в одном или нескольких положениях за счет отдельного воздействия (нажимного усилия).
Примечание. Блокировка может быть достигнута вращением кнопки, поворотом ключа, воздействием на рычаг и т.д.
2.2.2.7. кнопка нажимная, приводимая в действие ключом: Аппарат, который может быть приведен в действие только тогда, когда в него вставлен ключ.
Примечание. Может быть предусмотрена возможность извлечения ключа в любом положении.
2.2.2.8. кнопка нажимная с выдержкой возврата: Аппарат, контакты которого возвращаются в начальное положение только по окончании конкретного времени после отмены (снятия) усилия управления.
2.2.2.9. кнопка нажимная с выдержкой срабатывания: Аппарат, срабатывание которого происходит только спустя определенное время после начала нажатия.
2.2.2.10. кнопка нажимная с сигнализацией: Аппарат, в корпус которого встроена сигнальная лампа.
2.2.2.11. кнопка нажимная закрытая: Аппарат, корпус которого защищен от несвоевременного нажатия крышкой.
2.2.2.12. кнопка нажимная защищенная: Аппарат, корпус которого защищен от несвоевременного нажатия.
2.2.2.13. кнопка нажимная свободная: Аппарат, вращение органа управления которого относительно оси не ограничено.
2.2.2.14. кнопка нажимная с направляющей: Аппарат, вращение органа управления которого вокруг оси исключено.
Примечание. Примеры кнопок с направляющей: кнопки, орган управления которых имеет выступ, а также квадратное или прямоугольное сечение и т.д.
2.2.2.15. переключатель управления поворотный (переключатель поворотный): Аппарат для цепей управления, снабженный органом управления, приводимым в действие посредством вращения.
2.2.2.16. переключатель поворотный с ключом: Аппарат, в котором в качестве органа управления используется ключ.
Примечание. Может быть предусмотрена возможность извлечения ключа в любом положении переключателя.
2.2.2.17. переключатель поворотный с ограниченным ходом: Аппарат с ограничением углового перемещения органа управления.
2.2.2.18. переключатель поворотный на одно направление: Аппарат, механизм привода которого позволяет вращение только в одну сторону.
2.2.2.19. аппарат для цепей управления с направляющей тягой: Аппарат, снабженный органом управления, представляющим собой тягу, расположенную, как правило, перпендикулярно к панели или крышке устройства, когда она находится в одном из положений переключения, и предназначенную для углового перемещения контактов.
Примечания. 1. Аппарат с направляющей тягой может иметь более двух положений, связанных с различными направлениями перемещения тяги и контактных элементов. Такой аппарат называют переключателем с тягой.
2. Тяга может иметь или не иметь возвратной пружины.
2.2.2.20. аппарат для цепей управления со свободной тягой: Аппарат с направляющей тягой, одинаково воздействующей на все контактные элементы одинаковым образом независимо от направления перемещения.
┌────────────────────────────────────────────────────────────────────────┐
│ выключатель педальный: Аппарат для цепей управления, снабженный│
│органом управления, специально предназначенным для привода его│
│в действие нажатием ногой. │
│ [МЭС 441-14-52 модифицированный] │
└────────────────────────────────────────────────────────────────────────┘
2.3. Детали аппаратов для цепей управления
2.3.1. элемент коммутационный: Полупроводниковый (см.
2.3.2) или контактный (см.
2.3.3) элемент.
2.3.2. элемент полупроводниковый: Деталь аппарата, позволяющая переключать ток в электрической цепи посредством воздействия на проводимость полупроводникового материала.
2.3.3. элемент контактный (аппарат для цепей управления): Деталь аппарата для цепей управления (неподвижная и подвижная, проводящая и изолированная), необходимая для замыкания или размыкания единственного пути прохождения тока в цепи.
Примечания. 1. Контактный элемент и механизм передачи усилия могут быть объединены в единый узел, но чаще один или несколько элементов могут быть скомбинированы с одним или несколькими механизмами передачи усилия, и их конструкция может быть разной.
3. В состав контактных элементов не входят катушки и магниты управления.
Следующие определения относятся к контактным элементам аппаратов цепей управления.
2.3.3.1. элемент контактный одинарного разрыва цепи: Элемент, отключающий или включающий токоведущий участок цепи только в одном месте (см.
рисунок 4 a,
c).
2.3.3.2. элемент контактный двойного разрыва цепи: Элемент, отключающий или включающий токоведущий участок цепи последовательно в двух местах (см.
рисунок 4 b,
d,
e).
2.3.3.3. элемент контактный замыкающий: Элемент, замыкающий токоведущий участок при срабатывании аппарата для цепей управления.
2.3.3.4. элемент контактный размыкающий: Элемент, размыкающий токоведущий участок при срабатывании аппарата для цепей управления.
2.3.3.5. элемент контактный переключающий: Комбинированный элемент, содержащий один замыкающий и один размыкающий контактные элементы (см.
рисунок 4 c,
d,
e).
2.3.3.6. элемент контактный импульсный: Элемент, размыкающий или замыкающий цепь во время части перемещения механизма из одного положения в другое.
┌────────────────────────────────────────────────────────────────────────┐
│ элементы контактные электрически разделенные: Элементы одного│
│аппарата для цепей управления, но изолированные друг от друга так, что│
│могут быть подсоединены к электрическим раздельным цепям. │
│ [МЭС 441-15-24] │
└────────────────────────────────────────────────────────────────────────┘
2.3.3.8. элемент контактный мгновенного действия независимый: Элемент аппарата с автоматическим или ручным приводом, скорость перемещения контактов которого практически не зависит от скорости приводной системы.
2.3.3.9. элемент контактный зависимого действия: Элемент аппарата с автоматическим или ручным приводом, скорость движения которого зависит от скорости приводной системы.
2.3.3.10. контактный узел: Элемент или комбинация контактных элементов, которые могут быть объединены с подобными элементами, приводимыми в действие общим механизмом передачи.
2.3.4. кнопка: Внешняя часть органа управления нажимной кнопки, к которой прикладывают усилие нажатия.
2.3.4.1. кнопка утапливаемая: Кнопка, которая до нажатия расположена на уровне панели управления, а после нажатия - ниже панели управления.
2.3.4.2. кнопка утопленная: Кнопка, расположенная ниже панели управления до и после нажатия.
2.3.4.3. кнопка выступающая: Кнопка, расположенная выше панели управления до и после нажатия.
2.3.4.4. кнопка грибовидная: Кнопка, верхняя полусферическая выступающая часть которой имеет больший диаметр, чем нижняя часть.
2.3.5. механизм фиксации (поворотного переключателя): Часть управляющего устройства, удерживающая орган управления и (или) контактные элементы в конкретном положении.
2.3.6. упор: Устройство, ограничивающее перемещение подвижной детали аппарата.
Примечание. Упор может оказывать воздействие на орган управления или контактный элемент.
2.4. Приведение в действие аппаратов для цепей управления
2.4.1. Приведение в действие контакторных реле
2.4.1.1. выдержка времени e (контактного элемента): Выдержка при срабатывании контактного элемента контакторного реле при подаче напряжения на катушку электромагнита контакторного реле.
Например, задержка замыкания замыкающих контактов.
2.4.1.2. выдержка времени d (контактного элемента): Выдержка при срабатывании контактного элемента контакторного реле после отключения напряжения от катушки электромагнита контакторного реле.
Например, задержка размыкания замыкающих контактов.
Примечание. Термины
2.4.1.1 -
2.4.1.2 могут быть применены к контактным элементам любого вида (см.
2.3.3).
2.4.1.3. выдержка времени фиксированная (контактного элемента): Выдержка при срабатывании контактного элемента контакторного реле, не подлежащая регулированию.
2.4.1.4. выдержка времени регулируемая (контактного элемента): Выдержка при срабатывании контактного элемента контакторного реле, подлежащая регулированию после установки реле.
2.4.2. Приведение в действие аппаратов для цепей управления
2.4.2.1. фактор действия: Величина физического воздействия, значение которой вызывает срабатывание или несрабатывание автоматического аппарата для цепей управления.
2.4.2.2. величина рабочая: Значение величины воздействия, достаточное для приведения в действие автоматического аппарата для цепей управления.
2.4.2.3. величина возврата: Значение величины воздействия, достигнутое для возвращения в исходное состояние аппарата, находящегося во включенном состоянии.
2.4.2.4. величина дифференциальная: Разность между рабочей величиной и величиной возврата.
2.4.3. Приведение в действие поворотных переключателей
2.4.3.1. положение определенное (положение для поворотного переключателя): Положение, в котором механизм установки приводит в действие поворотный выключатель и удерживает его до тех пор, пока момент управляющего усилия не превысит конкретную величину.
2.4.3.2. положение покоя: Стабильное положение, в которое механизм установки положения приводит переключатель за счет накопленной энергии и в котором удерживает.
2.4.3.3. положение переходное: Положение, в котором механизм установки положения испытывает значительное изменение управляющего момента, но в котором орган управления не может оставаться.
2.4.3.4. положение вызова: Положение поворотного переключателя, в котором орган управления испытывает действие упора и с которого он возвращается в состояние покоя за счет накопленной энергии (например, с помощью пружины).
Примечание. При перемещении из положения вызова в положение покоя поворотный переключатель может пройти одно или несколько промежуточных положений.
2.4.3.5. положение фиксирования: Положение вызова, в котором механизм возврата удерживается с помощью устройства фиксирования.
Примечание. Фиксирующее устройство может быть отключено вручную или другим способом.
2.4.3.6. положение блокировки: Определенное положение, в котором поворотный переключатель удерживается отдельным механизмом.
Примечание. Блокировка может быть достигнута поворотом ключа, воздействием на рычаг и т.д.
2.4.3.7. диаграмма работы: Последовательность вступления в работу контактных элементов после приведения в действие поворотного выключателя.
2.4.4. Приведение в действие аппаратов для цепей управления с механическим приводом
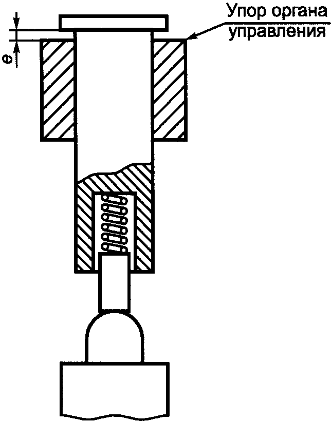
2.4.4.1. ход (люфт) начальный органа управления: Максимальное перемещение органа управления, которое не оказывает никакого действия на контактные элементы (отрезок a на
рисунке 2).
2.4.4.2. ход остаточный органа управления: Перемещение органа управления после того, как все контакты достигли положения замыкания (размыкания).
2.4.4.3. связь прямая: Связь между органом управления и контактным элементом, исключающим любой люфт органа управления.
2.4.4.4. связь зависимая: Связь между органом управления и контактным элементом, при котором усилие, приложенное к органу управления, непосредственно передается к контактному элементу.
2.4.4.5. связь независимая: Связь между органом управления и контактным элементом, ограничивающая усилие, передаваемое контактному элементу.
2.4.4.6. усилие (или момент) начальное минимальное: Наименьшее усилие (момент), вызывающее(ий) начало движения (холостого) органа управления.
2.4.4.7. усилие (или момент) срабатывания минимальное: Наименьшее усилие (момент), прикладываемое(ый) к органу управления для того, чтобы все контакты заняли положение замыкания (размыкания).
2.4.4.8. ход (люфт) начальный контактного элемента: Относительное перемещение контактных элементов до момента их замыкания (отрезок b,
рисунок 2).
2.4.4.9. ход остаточный контактного элемента: Относительное перемещение контактных элементов после достижения ими положения замыкания (размыкания) (отрезок d на
рисунке 2).
┌────────────────────────────────────────────────────────────────────────┐
│ время дребезга: Время между моментом, когда контакт замыкается│
│(размыкается) в первый раз, и моментом, когда цепь окончательно замкнута│
│(разомкнута) │
└────────────────────────────────────────────────────────────────────────┘
Контактные элементы классифицируют по:
a) категориям применения (см.
4.4);
b) номинальным электрическим характеристикам согласно категориям применения (см.
Приложение A);
c) одной из следующих букв, обозначающих формы контактных элементов (см.
рисунок 4):
1) A - замыкающий контактный элемент одинарного разрыва;
2) B - размыкающий контактный элемент одинарного разрыва;
3) C - контактный элемент на два направления одинарного разрыва;
4) X - замыкающий контактный элемент двойного разрыва;
5) Y - размыкающий контактный элемент двойного разрыва;
6) Z - контактный элемент на два направления двойного разрыва с четырьмя выводами;
d) по другим признакам, не указанным в
разделе 3.
Примечания. 1. Как показано на
рисунке 4e, две подвижные детали контактного элемента электрически разъединены (см.
2.3.3.7).
2. Различают контактные элементы на два направления: с замыканием цепи перед разрывом (перекрытие), для которых две цепи одновременно замкнуты во время прохождения части пути подвижными контактами из одного положения в другое, и с разрывом цепи перед замыканием (без перекрытия), для которых две цепи одновременно разомкнуты во время прохождения части пути подвижными контактами из одного положения в другое. Если нет других указаний, контактные элементы на два направления рассматривают как контакты с разрывом цепи перед замыканием.
3.2. Аппараты для цепей управления
Аппараты для цепей управления допускается классифицировать по функции их контактного элемента и конструкции механизма управления (например, нажимная кнопка, форма X).
3.3. Аппаратура для цепей управления
Аппаратуру для цепей управления допускается классифицировать в зависимости от аппарата управления и связанных с ним устройств для цепей управления (например, нажимная кнопка и световой индикатор).
3.4. Коммутационные элементы с выдержкой времени
Элементы различают по способу осуществления выдержки времени, например, выдержка электрическая, магнитная, механическая или пневматическая.
3.5. Монтаж аппаратов для цепей управления
Аппараты для цепей управления по способу монтажа допускается классифицировать в зависимости от размеров отверстий (например, D12, D16, D22, D30) (см.
6.3.1).
4.1. Перечень характеристик
Ниже перечислены следующие характеристики аппаратов и коммутационных элементов для цепей управления:
- тип аппарата (см.
4.2);
- номинальные значения характеристик коммутационных элементов (см.
4.3);
- категории применения коммутационных элементов (см.
4.4);
- характеристики в условиях нормальных нагрузок (см.
4.3.5);
- перегрузки, связанные с перенапряжением (см.
4.9).
4.1.1. Функционирование аппарата управления
Основное назначение аппарата для цепей управления - коммутация нагрузок для различных категорий применения (см.
таблицу 1).
Другие его функции, например, управление лампами накаливания с вольфрамовой нитью, небольшими двигателями и т.д., в настоящем стандарте не рассматриваются.
4.1.1.1. Нормальные условия эксплуатации
Нормальные условия эксплуатации аппарата для цепей управления состоят в замыкании, поддержании замкнутого состояния и размыкании цепей соответственно категории применения, приведенной в
таблице 1. Следует использовать также данные, приведенные в
таблице 4.
4.1.1.2. Условия эксплуатации при перегрузках
Перегрузки могут возникать, например, когда магнитная цепь электромагнита не замкнута, а на катушку подано напряжение (см.
таблицу 5).
Аппарат для цепей управления должен прерывать ток, соответствующий категории его применения.
4.2. Тип аппарата для цепей управления или коммутационного элемента
Для определения типа аппарата управления или коммутационного элемента должны быть уточнены следующие особенности.
4.2.1. Виды аппаратов для цепей управления:
- ручные аппараты для цепей управления, например, нажимные кнопки, поворотные переключатели, педальные выключатели и т.д.;
- электромагнитные выключатели для цепей управления с выдержкой времени или мгновенного действия, например, контакторные реле;
- автоматические аппараты для цепей управления, например, контактные датчики давления, контактные температурные датчики (термостаты), программаторы и т.д.;
- позиционные выключатели;
- связанная аппаратура управления, например, световые указатели и т.д.
4.2.2. Виды коммутационных элементов:
- вспомогательные контакты аппарата (например, контактор, автоматический выключатель и т.д.), которые не предназначены исключительно для использования в цепи с катушкой этих устройств;
- контакты блокировки дверей и крышек;
- контакты цепей управления поворотных переключателей;
- контакты цепей управления реле перегрузки.
4.2.3. Число полюсов
4.2.4. Род тока: переменный или постоянный
4.2.5. Среда переключения: воздух, масло, газ, вакуум и т.д.
4.2.6. Условия функционирования
4.2.6.1. Способы приведения в действие:
- ручной, электромагнитный, пневматический, электропневматический.
4.2.6.2. Способы управления:
- автоматический;
- неавтоматический;
- полуавтоматический.
4.3. Номинальные и предельные значения параметров коммутационных элементов
Номинальные предельные значения параметров коммутационных элементов аппаратов для цепей управления должны соответствовать требованиям
4.3.1 -
4.3.5.
4.3.1. Номинальные напряжения (коммутационного элемента)
Коммутационные элементы характеризуются следующими номинальными напряжениями:
4.3.1.1. Номинальное рабочее напряжение

Для трехфазных сетей

выражает действующее значение напряжения между фазами.
Примечания. 1. Один и тот же коммутационный элемент может характеризоваться несколькими комбинациями номинальных значений рабочего напряжения и рабочего тока.
2. Аппараты управления, рассматриваемые в настоящем стандарте, не предназначены для использования при очень низких напряжениях. Если речь идет об использовании их при низких напряжениях, например, при напряжении переменного или постоянного тока ниже 100 В, следует обратиться к изготовителю.
4.3.1.2. Номинальное напряжение изоляции

4.3.1.3. Номинальное выдерживаемое импульсное напряжение

4.3.2. Токи
Коммутационный элемент характеризуется следующими токами.
4.3.2.1. Условный тепловой ток на открытом воздухе

4.3.2.2. Условный тепловой ток в оболочке

4.3.2.3. Номинальный рабочий ток

4.3.3. Номинальная частота
4.3.4. Свободный пункт
4.3.5. Характеристики при нормальных условиях эксплуатации и в условиях перегрузки
4.3.5.1. Номинальная включающая и отключающая способности и работоспособность коммутационных элементов при нормальных условиях эксплуатации
Коммутационный элемент должен удовлетворять требованиям согласно установленной категории применения и требованиям, соответствующим номинальному рабочему напряжению (см.
таблицу 4).
Примечания. 1. Нет необходимости отдельно уточнять включающую и отключающую способности коммутационного элемента, для которых назначена какая-либо категория применения.
2. Коммутационный элемент, используемый для управления малогабаритными двигателями и лампами накаливания с вольфрамовой нитью, должен иметь категорию применения и соответствовать требованиям ГОСТ 30011.4.1.
4.3.5.2. Включающая и отключающая способности в условиях перегрузки
Коммутационный элемент должен соответствовать требованиям согласно установленной категории применения (см.
таблицу 5).
Примечание. Условия перегрузок, указанных в
таблице 5, соответствуют случаю, когда электромагнит не работает и коммутационные элементы должны отключать ток установившегося режима.
4.3.6. Характеристики короткого замыкания
4.3.6.1. Номинальный условный ток короткого замыкания
4.4. Категории применения коммутационных элементов
Категории применения, указанные в таблице 1, используют как стандартные. Любая другая категория применения должна быть согласована между изготовителем и потребителем.
Категории применения коммутационных элементов
Род тока | Категория | Характерные примеры применения |
Переменный ток | AC-12 | Управление омическими и статическими нагрузками, отключаемыми с помощью фотоэлементов |
AC-13 | Управление статическими нагрузками, отключаемыми с помощью трансформатора |
AC-14 | Управление электромагнитами малой мощности (до 72 Вт включительно) |
AC-15 | Управление электромагнитами большой мощности (свыше 72 Вт) |
Постоянный ток | DC-12 | Управление омическими и статическими нагрузками, отключаемыми с помощью фотоэлементов |
DC-13 | Управление электромагнитами |
DC-14 | Управление электромагнитами, снабженными ограничительными резисторами |
4.5. - 4.8. Свободные пункты
4.9. Коммутационные перенапряжения
4.10. Электрическая изоляция контактных элементов
Изготовитель должен указать, изолированы ли контактные элементы аппарата для цепей управления (см.
2.3.3.7).
4.11. Факторы срабатывания автоматических аппаратов для цепей управления
Рабочее и возвратное значения действующей величины следует определять по нормальным возрастающим и убывающим значениям действующей величины. При отсутствии других указаний скорость изменения должна быть постоянной и обеспечивать рабочее (или возвратное) значение не менее чем за 10 с.
Как рабочее, так и возвратное значения могут быть нерегулируемыми, или одна из них, или обе могут быть регулируемыми (или регулируемой может быть их разность).
Изготовитель должен указывать допустимое или максимальное значения, больше верхнего значения регулируемой уставки рабочего значения, либо минимальное значение, меньше нижнего значения регулируемой уставки возвратного значения.
При допустимом значении не должно быть повреждения автоматического аппарата для цепей управления или изменения его характеристик.
4.12. Автоматические аппараты для цепей управления с двумя или несколькими контактными элементами
Автоматические аппараты для цепей управления с двумя или несколькими контактными элементами, не имеющими индивидуальной регулировки, могут иметь различные рабочие и возвратные значения для каждого контактного элемента.
Автоматические аппараты для цепей управления с двумя или несколькими контактными элементами, которые имеют индивидуальную регулировку, считают комбинированными автоматическими аппаратами для цепей управления.
5. Информация об аппарате
Изготовитель должен представлять следующую информацию:
- идентификация:
a) наименование или торговая марка изготовителя;
b) обозначение типа или номера серии, позволяющее получить данные о коммутационном элементе (или аппарате для цепей управления) от изготовителя, или из каталога, или в соответствии с
Приложением A;
c) обозначение настоящего стандарта, если изготовитель подтверждает соответствие настоящему стандарту;
- номинальные параметры и основные категории применения:
d) номинальное рабочее напряжение (см.
4.3.1.1);
e) категория применения и номинальные рабочие токи при номинальных рабочих напряжениях аппарата для цепей управления;
f) номинальное напряжение изоляции (см.
4.3.1.2);
g) номинальное выдерживаемое импульсное напряжение (см.
4.3.1.3), если оно установлено;
h) коммутационное перенапряжение, если оно имеет место (см.
4.9);
i) обозначение степени защиты для аппарата для цепей управления в оболочке (см. ГОСТ 30011.1 (
подраздел 5.1 и
Приложение C));
j) степень загрязнения (см.
6.1.3.2);
k) тип и максимальные значения номинальных характеристик аппаратов защиты от токов короткого замыкания (см.
8.3.4.3);
l) условный ток короткого замыкания, если он менее 1000 А;
m) способность к разъединению (в случае необходимости) с обозначением 07-13-06 по
ГОСТ 2.767;
n) обозначение контактных элементов той же полярности.
5.2. Маркировка
5.2.1. Общие положения
Маркировку сведений, указанных в
5.1, перечисления a) и
b), обязательно наносят на табличку аппарата для цепей управления с тем, чтобы иметь возможность получить полную информацию, касающуюся изготовителя.
Надписи должны быть нестираемыми, легко читаемыми и не должны наноситься на головки винтов или подвижные шайбы.
Если позволяет место, то сведения в соответствии с
5.1, перечисления c) -
n), должны указываться на табличке или корпусе аппарата для цепей управления или в документах изготовителя.
5.2.2. Идентификация и маркировка выводов
5.2.3. Обозначение функции
На органы управления наносят гравировку обозначения функции. Если, например, кнопка останова имеет символ, выгравированный или нанесенный на орган управления другим способом, он должен быть в виде круга или овала. Эти символы могут быть использованы только для кнопок останова.
Если позволяет место, то для получения более полной информации допускается использовать буквы и слова. Во всех других случаях необходимое обозначение для идентификации кнопки наносят на табличку, закрепленную около каждого органа управления или расположенную возле него.
5.2.4. Срочный останов
Органы управления аппаратов, предназначенные для использования в качестве органов останова в аварийном порядке, должны быть окрашены в красный цвет и в случае использования нажимной кнопки иметь грибовидную форму.
Поскольку поворотный переключатель может иметь большое число контактных элементов и положений органа управления, изготовитель должен указывать взаимное расположение органов управления и контактных элементов.
Это соответствие должно быть представлено в виде диаграммы работы, пример которой с поясняющими примечаниями представлен на
рисунке 1.
5.2.5.1. Диаграмма работы
Указатели положений должны быть четкими, текст или используемые символы - нестираемыми и легко читаемыми.
5.2.5.2. Маркировка выводов для диаграммы работ
Маркировка выводов должна быть легко сопоставима с диаграммой работы.
5.2.6. Маркировка выдержки времени
Для контактных реле с выдержкой времени в маркировке должно быть указано значение выдержки, если она нерегулируемая, и диапазон выдержек времени - если регулируемая.
Если несколько контактных элементов имеют более одной выдержки времени, то относительную выдержку между операцией каждого контактного элемента и следующей операцией допускается указывать для контактных элементов, которые следуют за первой выдержкой.
Если несколько контактных элементов имеют регулируемые выдержки времени, то необходимо указывать, регулируются ли они индивидуально или нет.
Изготовитель должен указывать для каждого контактного элемента с выдержкой времени характеристики выдержки согласно
2.4.1.1 или
2.4.1.2.
5.3. Инструкция по монтажу, эксплуатации и обслуживанию
5.4. Дополнительная информация
Дополнительная информация, необходимая для некоторых типов аппаратов цепей управления, - в соответствии с
Приложениями J и
K.
Дополнительные сведения должны быть представлены изготовителем в виде схемы соединений или содержаться в руководстве по эксплуатации, поставляемом вместе с аппаратурой.
6. Нормальные условия эксплуатации,
монтажа и транспортирования
По ГОСТ 30011.1,
раздел 6 со следующими дополнениями:
6.1.3.2. Степень загрязнения
Если нет других указаний со стороны изготовителя, аппарат для цепей управления предназначен для установки в условиях, удовлетворяющих степени загрязнения 3. Однако в зависимости от микросреды могут применяться другие степени загрязнения.
6.3.1. Монтаж аппаратов в одно крепежное отверстие
Нажимные кнопки и световые индикаторы, предназначенные для монтажа в одно крепежное отверстие, устанавливают в отверстие круглой формы, имеющее вырез прямоугольной формы для выступа.
Размеры крепежного отверстия указаны в таблице 2.
Диаметр крепежного отверстия
и размеры выреза под имеющийся выступ
Размер элемента | Диаметр крепежного отверстия d, мм | Размер выреза под выступ | |
Высота h, мм | Ширина b, мм |
Номин. | Пред. откл. | Номин. | Пред. откл. | Номин. | Пред. откл. |
D30 | 30,5 | +0,5 0 | 33,0 | + 0,5 0 | 4,8 | + 0,2 0 |
D22 | 22,3 | +0,5 0 | 24,1 | + 0,4 0 | 3,2 |
D16 | 16,2 | +0,5 0 | 17,9 | +0,2 0 | 1,7 |
D12 | 12,1 | +0,5 0 | 13,0 |
6.3.1.1. Положение выреза под имеющийся выступ
Стандартным считают положение выреза сверху (положение 12 ч, соответствующее 12-часовой отметке циферблата), связанное с размером b в
таблице 3.
6.3.1.2. Толщина панели
Аппарат, снабженный герметической прокладкой, предусмотренной изготовителем, или без нее, должен допускать возможность монтажа на панели толщиной от 1 до 6 мм, при необходимости с помощью одной или нескольких поставляемых для этой цепи деталей.
Примечание. Герметизирующая прокладка - по документам изготовителя.
6.3.1.3. Группировка аппаратов
Если несколько аппаратов с установочными размерами, указанными в
6.3.1, устанавливают в ряд на одной панели, межосевые расстояния a в одном ряду и расстояния b между осевыми линиями рядов не должны быть менее значений, указанных в таблице 3, если нет иных указаний со стороны изготовителя.
Предпочтительные минимальные расстояния
между центрами установочных отверстий
В миллиметрах
Размер элемента | a | b |
D30 | 50 | 65 |
D22 | 30 | 50 |
D16 | 25 | 25 |
D12 | 20 | 20 |
Расстояния a и b могут быть взаимозаменяемыми.
Эти значения служат основой для модернизации аппаратов, однако когда аппараты, разные по конструкции, должны быть установлены в одной системе, заказчику необходимо проверить взаимозаменяемость этих аппаратов и убедиться в выполнении требований к расстояниям по изоляции и путям утечки, установленным для соединенных аппаратов в технической документации.
Примечание. Вследствие особенностей конструкции, соединений и т.д. некоторые аппараты допускают установку с расстояниями менее приведенных в
таблице 4 по согласованию с изготовителем. С другой стороны, некоторые типы аппаратов могут устанавливаться на больших расстояниях, чем указано в
таблице 3.
7. Требования к конструкции и работоспособности
7.1. Требования к конструкции
7.1.1. Материалы
Материалы должны быть пригодны для конкретной области применения аппарата и обеспечивать требования, предъявляемые к нему.
При выборе материалов следует обратить особое внимание на огнестойкость, влагостойкость и необходимость защиты некоторых материалов от воздействия влаги.
Примечание. Требования к материалам находятся в стадии рассмотрения.
7.1.2. Токоведущие части и их соединения
Токоведущие части аппаратов должны обладать достаточной механической прочностью и проводить ток в режимах, для которых они предназначены.
Контактное нажатие электрических соединений не должно передаваться через изоляционные материалы, за исключением керамики или других материалов, обладающих аналогичными характеристиками, если металлические части не обладают достаточной упругостью для компенсации любой усадки или случайного прогиба изоляционного материала.
7.1.3. Расстояния по изоляции и пути утечки тока
Для аппаратов для цепей управления, для которых изготовителем установлено значение номинального выдерживаемого импульсного напряжения

, минимальные значения воздушных зазоров и номинальные пути утечки - по ГОСТ 30011.1,
таблицы 13 и
15.
Для аппаратов цепей управления с неуказанной величиной

расстояния по изоляции и пути утечки - в соответствии с
Приложением D.
7.1.4.3. Усилие (момент) управления
Усилие (момент) управления, необходимое(ый) для воздействия на орган управления, должно(ен) соответствовать его применению. Следует принять во внимание размер органа управления, тип корпуса или панели, окружение аппарата и назначение его в системе.
Минимальное начальное усилие (момент) управления должно(ен) быть достаточно большим, чтобы воспрепятствовать случайному включению. Например, нажимные кнопки и поворотные переключатели, предназначенные для установки в корпусах, удовлетворяющих степеням защиты IPX5 или IPX6, не должны приводиться в действие силой потока воды во время испытаний, предусмотренных для устройств в оболочке.
7.1.4.4. Ограничение вращения (поворотных переключателей)
Если используемые органы управления аппарата имеют ограниченное или однонаправленное движение, то они должны быть снабжены прочными ограничителями, выдерживающими пятикратный по сравнению с нормальным воздействием момент.
7.1.4.5. Срочный останов
Предпочтительно, чтобы орган управления аппарата удерживался в рабочем (взведенном) положении с разомкнутым контактом. Это положение должно изменяться с заметным усилием, например, приложением тянущего усилия, вращением или использованием ключа.
Примечание. Дополнительные требования для стопорных устройств срочного останова указаны в ГОСТ 30011.5.5.
7.1.6. Требования к аппаратам для цепей управления, способных к разъединению
Аппарат должен иметь ручное управление с прямым размыканием цепи (см.
Приложение K) и обеспечивать в положении размыкания контактов функцию разъединения (см. ГОСТ 30011.1,
подпункты 2.1.19 и
7.1.6).
Положение размыкания контактов аппарата должно представлять собой положение, в котором аппарат может оставаться все время, пока к нему не приложено управляющее усилие.
Для того чтобы воспрепятствовать неожиданному переходу контактов в замкнутое состояние, переключение аппаратов должно блокироваться, когда контакты находятся в разомкнутом состоянии, что достигается применением замка или блокировочного устройства, доступ к которым невозможен без специального инструмента или ключа.
7.1.7. Аппараты для цепей управления класса II
Аппараты для цепей управления класса II не требуют защитного заземляющего устройства (см.
ГОСТ Р МЭК 61140).
Требования к аппаратам, залитым в капсулы, - в соответствии с
Приложением F.
7.1.8. Требования к аппаратам для цепей управления с кабелем, составляющим единое целое с аппаратом
Требования к аппаратам для цепей управления с кабелем, составляющим единое целое с аппаратом, - в соответствии с
Приложением G.
7.2. Требования к работоспособности
7.2.1.2. Пределы работоспособности контакторных реле
Пределы работоспособности контакторных реле - по ГОСТ 30011.4.1.
7.2.3. Электроизоляционные свойства
Электроизоляционные свойства - по ГОСТ 30011.1,
подпункт 7.2.3 со следующим дополнением:
Требования к аппаратам для цепей управления класса II, залитым в капсулы, - в соответствии с
Приложением F.
7.2.4. Включающая и отключающая способности аппаратов в условиях нормальной нагрузки и перегрузки
7.2.4.1. Включающая и отключающая способности:
a) коммутационные элементы в условиях нормальной нагрузки должны включать и отключать (без выхода из строя) токи, указанные в
таблицах 4a и
4b, для соответствующих категорий применения и числа циклов срабатывания в условиях, указанных в
8.3.3.5.2.
Коммутационные перенапряжения, возникающие в процессе этого испытания, не должны превышать значений импульсного выдерживаемого напряжения, установленных изготовителем;
b) коммутационные элементы в условиях перегрузки должны включать и отключать (без выхода из строя) токи для соответствующих категорий применения и числа циклов срабатывания (см.
таблицу 5).
7.2.4.2. Свободный пункт
a) механическая износостойкость
Механическую износостойкость аппарата проверяют при необходимости в ходе специального испытания, проводимого по согласованию с изготовителем. Проведение данного испытания - в соответствии с
Приложением C;
b) коммутационная износостойкость
Коммутационную износостойкость аппарата проверяют при необходимости в ходе специального испытания, проводимого по согласованию с изготовителем. Проведение испытания - в соответствии с
Приложением C.
7.2.5. Условный ток короткого замыкания
Коммутационные элементы должны выдерживать перегрузки, связанные с токами короткого замыкания, в условиях по
8.3.4.
7.2.6. Коммутационные перенапряжения
7.2.7. Дополнительные требования к аппаратам для цепей управления, способным к разъединению
Аппараты должны испытываться по ГОСТ 30011.1,
подпункт 8.3.3.4, при испытательном напряжении, значение которого указано в ГОСТ 30011.1,
таблица 14, и которое соответствует номинальному значению импульсного выдерживаемого напряжения

, установленному изготовителем.
Дополнительные требования к аппаратам для цепей управления, способным к разъединению, - в стадии рассмотрения.
7.3. Электромагнитная совместимость (ЭМС)
Электромагнитная совместимость ЭМС - по ГОСТ 30011.1,
подпункт 7.3, если иное не указано в настоящем стандарте.
Проверка включающей и отключающей способностей коммутационных
элементов в условиях нормальных нагрузок,
соответствующих категориям применения
Включающая и отключающая способности
коммутационных элементов
| | | Минимальная длительность протекания тока, мс | Число циклов (при 50 или 60 Гц) |
| | |  , мс | | | |  , мс |
AC-12 | 1 | 1 | 0,90 | - | 1 | 1 | 0,90 | - | - | 2 |
AC-13 | 2 | 0,65 | 0,65 | |
AC-14 | 6 | 0,30 | 0,30 |
AC-15 | 10 | 0,30 | 0,30 |
DC-12 | 1 | - | 1 | - | 1 | 25 | - |
DC-13 | 1 | | | |
DC-14 | 10 | 15 | 15 | |
 - номинальный рабочий ток, А;  - номинальное рабочее напряжение, В;  - мощность в установившемся режиме, Вт; I - ток включения и отключения, А; U - напряжение перед включением, В;  - время достижения 95% значения тока установившегося режима, мс. |
Число и частота повторения циклов включения - отключения
| Число циклов | Число циклов в минуту |
1 | | 6 |
2 | 10 | |
3 | 990 | 60 |
4 | 5000 | 6 |
|
<2> Допуски на испытательные параметры указаны в 8.3.2.2. |
<3> Каждая из двух фаз длительности протекания тока (для отключения и включения) должна быть равной 2 циклам (или 25 мс, для категории DC-14). |
<4> Первые 50 циклов включений - отключений должны выполняться при повышенном испытательном напряжении  и испытательном токе  , отрегулированным с  . |
<5> С максимальной возможной скоростью оперирования при полном замыкании и размыкании контактов. |
<6> Величина 6 · P является результатом эмпирического соотношения, которое, как полагают, представляет большинство магнитных нагрузок на постоянном токе вплоть до верхнего предела P = 50 Вт, т. е. 6 · P = 300 мс. Предполагается, что нагрузки мощностью более 50 Вт образованы несколькими резисторами меньшей мощности, включенными параллельно. Следовательно, величина 300 мс представляет верхний предел независимо от количества поглощаемой энергии. |
7) Для всех категорий применения последовательность проведения испытаний должна быть в указанном порядке. |
Проверка включающей и отключающей способностей
коммутационных элементов в условиях перегрузок,
соответствующих категориям применения
<1>
Категория применения | | | Минимальная длительность протекания тока, мс | Число циклов (при 50 или 60 Гц) | Операции включения и отключения |
| | |  , мс | | | |  , мс | Число циклов | Частота оперирования, мин |
AC-12 | - | - | - | - | - | - | - | - | - | - | - | - |
| 10,0 | 1,1 | 0,65 | 1,1 | 1,1 | 0,65 | | 10 | 6 |
AC-14 | 6,0 | 0,70 | 6,0 | 0,70 | 2 |
AC-15 | 10,0 | 0,30 | 10,0 | 0,30 |
DC-12 | - | - | - | - | - | - | - | - | - |
| 1,1 | 1,1 | | 1,1 | 1,1 | | | 10 | 6 |
DC-14 | 10,0 | 15 | 10,0 | 15 | |
 - номинальный рабочий ток, А;  - номинальное рабочее напряжение, В;  - мощность в установившемся режиме, Вт; I - ток включения или отключения, А; U - напряжение перед включением, В;  - время достижения 95% значения тока в установившемся режиме, мс. |
<1> Условия перегрузок моделируются с помощью электромагнита с воздушным зазором. |
<2> Допуски на испытательные параметры указаны в 8.3.2.2. |
<3> Для бесконтактных аппаратов при имитации условий перегрузок следует использовать устройство защиты от перегрузок, указанное изготовителем. |
<4> Каждая из двух фаз длительности протекания тока (для отключения и включения) должна быть равной 2 циклам (или 25 мс для категории DC-14). |
<5> Величина 6 · P является результатом эмпирического соотношения, которое, как полагают, представляет большинство магнитных нагрузок на постоянном токе вплоть до верхнего предела P = 50 Вт, т.е. 6 · P = 300 мс. Предполагается, что нагрузки мощностью более 50 Вт образованы несколькими резисторами меньшей мощности, включенными параллельно. Следовательно, величина 300 мс представляет верхний предел независимо от количества поглощаемой энергии. |
Для бесконтактных аппаратов максимальное значение постоянной времени должно быть 60 мс, т.е.  (3 x 60 мс). |
8.1. Виды испытаний
8.1.1. Общие положения
Типовые испытания предназначены для проверки соответствия конструкции аппаратов для цепей управления требованиям настоящего стандарта.
Они состоят из проверок следующих характеристик:
a) превышение температуры (см.
8.3.3.3);
b) электроизоляционные свойства (см.
8.3.3.4);
c) включающая и отключающая способности коммутационных элементов в условиях нормальных нагрузок (см.
8.3.3.5.2);
d) включающая и отключающая способности коммутационных элементов в условиях перегрузок (см.
8.3.3.5.3);
e) работоспособность в условиях короткого замыкания (см.
8.3.4);
f) конструктивные особенности (см.
8.2);
g) степень защиты аппаратов для цепей управления в оболочке (см.
8.3.1).
8.1.3. Контрольные испытания
Контрольные испытания проводятся изготовителем и ограничиваются в основном внешним осмотром органов управления и проверкой механического функционирования. В некоторых случаях, указанных в
Приложениях J и
K, внешний осмотр дополняется испытаниями на электрическую прочность изоляции.
Испытания на электрическую прочность изоляции проводят согласно
8.3.3.4 со следующими изменениями.
Минимальную длительность воздействия напряжения сокращают до 1 с, и отпадает необходимость в использовании металлической фольги и в подсоединении к зажимам внешних проводников.
Могут быть установлены дополнительные контрольные испытания для аппаратов для цепей управления или устройств для цепей управления. Может быть также принят план выборки образцов.
8.1.4. Выборочные испытания
Выборочные испытания должны проводиться на случайно отобранных аппаратах для проверки величины выдержки времени или диапазона выдержек времени, указанных изготовителем.
Примечание. Выборочные испытания на проверку воздушных зазоров согласно ГОСТ 30011.1,
подпункт 8.3.3.4.3 - в стадии рассмотрения.
8.1.5. Специальные испытания
Эти испытания проводят по соглашению между изготовителем и потребителем. Они включают проверку износостойкости аппаратов для цепей управления (см.
Приложение C).
Испытания на механическую и коммутационную износостойкость должны осуществляться воздействием на орган управления с помощью устройства, отвечающего требованиям
8.3.2.1.
8.2. Соответствие требованиям к конструкции
8.2.5. Проверка усилия (момента) управления
Если требуется по
7.1.4.3, усилие или минимальный момент управления должны проверяться во время цикла V по
8.3.1. Работоспособность также должна соответствовать требованиям
7.1.4.3.
8.2.6. Проверка ограничения поворота (поворотного переключателя)
Если требуется по
7.1.4.4, испытание проводится в цикле VI по
8.3.1. Испытуемый образец устанавливают согласно рекомендациям изготовителя.
Момент управления замеряют пять раз и регистрируют максимальное значение. Затем пятикратная величина максимального момента должна быть приложена к органу управления с преодолением воздействия ограничивающего устройства. Длительность приложения момента - 10 с.
Образец считается выдержавшим испытание, если ограничивающее устройство не сдвинулось с места в ходе испытаний с образованием зазоров и не повлияло на нормальную работу органа управления.
8.3. Работоспособность
Различают следующие виды и циклы испытаний, проводимых на типовых образцах:
- цикл испытаний I (образец N 1):
испытание N 1 - пределы работоспособности контакторных реле
(8.3.3.2);
испытание N 2 - стойкость к нагреву
(8.3.3.3);
испытание N 3 - электрическая прочность изоляции
(8.3.3.4);
испытание N 4 - механическая прочность выводов (ГОСТ 30011.1,
подпункт 8.2.4);
- цикл испытаний II (образец N 2):
испытание N 1 - включающая и отключающая способности коммутационных элементов в условиях нормальных нагрузок
(8.3.3.5.2);
- цикл испытаний III (образец N 3):
испытание N 1 - включающая и отключающая способности коммутационных элементов в условиях перегрузок
(8.3.3.5.3);
- цикл испытаний IV (образец N 4):
испытание N 1 - работоспособность при условном токе короткого замыкания
(8.3.4);
- цикл испытаний V (образец N 5):
испытание N 1 - степень защиты аппаратов для цепей управления в оболочке (ГОСТ 30011.1,
Приложение C);
испытание N 2 - проверка усилия или момента управления
(8.2.5);
- цикл испытаний VI (образец N 6):
испытание N 1 - измерение воздушных зазоров и путей утечки тока, в случае необходимости
(7.1.3);
испытание N 2 - проверка ограничения вращения поворотного переключателя
(8.2.6).
В процессе каждого из вышеперечисленных испытаний аппараты не должны иметь повреждений.
По согласованию с изготовителем несколько циклов или все циклы испытаний можно проводить на одном и том же образце. Однако для каждого образца испытания необходимо выполнять в порядке циклов, указанном выше.
Примечание. Для проведения испытаний аппаратов для цепей управления класса защиты II, залитых в капсулы, необходимо запросить дополнительные образцы (см.
Приложение F).
Требования к аппаратам для цепей управления с кабелем, представляющим единое целое с аппаратом, указаны в
Приложении G.
8.3.2. Общие условия для испытаний
Испытания проводят воздействием на орган управления с помощью устройства, отвечающего следующим требованиям:
a) для нажимных кнопок и (или) вспомогательных устройств управления усилие (момент) управления должно(ен) прикладываться в направлении движения органа управления.
Усилие (момент) или ход рабочего органа аппарата должны удовлетворять следующим условиям согласно указаниям изготовителя:
- максимальное усилие (момент), воздействующее(ий) на орган управления, не должно(ен) более чем в 1,5 раза превосходить усилие (момент), установленное(ый) для максимального остаточного хода контактного элемента (элементов);
- остаточный ход контактных элементов должен составлять 50 - 80% от полного остаточного хода, установленного конструкцией контактных элементов.
Во время всего цикла переключения, когда контакты перемещаются из разомкнутого положения в замкнутое (или наоборот), или, по крайней мере, в момент, когда осуществляется "операция коммутации", скорость рабочего органа аппарата для цепи управления, измеренная в диапазоне перемещений, где она касается органа управления, должна составлять от 0,05 до 0,15 м/с.
Механическая связь между аппаратом для цепей управления и органом управления должна иметь зазор (холостой ход), достаточный для того, чтобы аппараты управления не препятствовали свободному движению (перебросу) органа управления;
b) для переключателей с полным круговым вращением в обе стороны один цикл воздействия аппаратов управления включает либо полный оборот органа управления по часовой стрелке, либо полный оборот против часовой стрелки. Однако в этом случае около трех четвертей полного числа циклов испытания должны быть осуществлены в направлении по часовой стрелке, а остальная часть от общего числа циклов - в направлении против часовой стрелки. Скорость вращения должна составлять

.
8.3.2.2. Испытательные параметры
8.3.2.3. Оценка результатов испытаний
Состояние аппарата для цепей управления после каждого проведенного испытания должно быть проверено, как предусмотрено требованиями по испытаниям.
Аппарат для цепей управления рассматривают как отвечающий требованиям настоящего стандарта, если он удовлетворяет требованиям каждого испытания и (или) циклу испытаний в зависимости от случая.
8.3.2.4. Протоколы испытаний
8.3.3. Работоспособность при нулевой, нормальной нагрузках и перегрузке
8.3.3.1. Срабатывание
8.3.3.2. Пределы срабатывания контакторных реле
Должны соответствовать требованиям стандарта на конкретные контакторы (см. ГОСТ 30011.4.1).
8.3.3.3. Превышение температуры
Превышение температуры - по ГОСТ 30011.1,
подпункт 8.3.3.3, со следующим дополнением.
Все коммутационные элементы аппарата для цепей управления должны быть подвергнуты испытанию. Все коммутационные элементы, которые могут быть включены одновременно, должны быть испытаны одновременно. Однако коммутационные элементы, образующие общую часть с механизмом переключения и сконструированные так, что контакты не могут оставаться в замкнутом положении, испытанию не подвергают.
Примечание. Может потребоваться несколько испытаний по контролю превышения температуры, если устройство для цепи управления имеет несколько положений, в которых контактные элементы замкнуты.
Минимальная длина каждого временного соединения, измеренная от зажима до зажима, должна составлять 1 м.
8.3.3.4. Электроизоляционные свойства
Электроизоляционные свойства - по ГОСТ 30011.1,
подпункт 8.3.3.4, со следующим дополнением.
Требования к аппаратам для цепей управления класса защиты II, залитым в капсулы, - по
Приложению F.
8.3.3.4.1. Типовые испытания
Аппарат для цепей управления должен выдерживать испытательное напряжение, прикладываемое в следующих условиях:
- между токоведущими частями коммутационного элемента и частями аппарата для цепей управления, предназначенными для соединения с землей;
- между токоведущими частями коммутационного элемента и поверхностями аппарата для цепей управления, к которым возможно касание при эксплуатации и которые являются проводящими или стали таковыми после покрытия фольгой;
- между токоведущими частями коммутационных элементов, разделенных электрически.
8.3.3.5. Включающая и отключающая способности
Испытания на включающую и отключающую способности проводят в соответствии с
8.3.2.1.
8.3.3.5.1. Испытательные цепи и соединения
Испытания должны проводиться на однополюсном аппарате или на одном полюсе многополюсного аппарата при условии, что конструкция и принцип действия всех полюсов одинаковы.
Рядом расположенные контакторные элементы рассматривают как элементы разной полярности, если иное не оговорено изготовителем.
Контакты форм C и Za на два направления имеют одинаковую полярность, переключающие контакты формы Zb - разную.
Однополюсные устройства или контактные элементы многополюсного устройства, имеющие одинаковую полярность, должны соединяться по схеме, показанной на
рисунке 5. Контактные элементы, не подлежащие испытанию, не присоединяют.
Контакты форм C и Za на два направления испытывают поочередно в нормально открытом и нормально закрытом положениях и соединяют в соответствии с
рисунком 5.
Контактные элементы разной полярности должны соединяться согласно схеме, показанной на
рисунке 6.
Контактные элементы противоположной полярности, не подлежащие испытанию, подсоединяют, как показано на
рисунке 6, вместе к источнику питания.
Контакты формы Zb на два направления испытывают поочередно в нормально открытых и нормально закрытых положениях. Но два противоположно расположенных зажима подсоединяют к источнику питания, как показано на
рисунке 8 для контакта противоположной полярности.
Если для операций включения и отключения требуются различные усилия, то вместо нагрузки в соответствии с рисунком используют нагрузку

, в соответствии с
рисунками 5 и
6.
Испытания на переменном токе
Для получения требуемого коэффициента мощности нагрузка должна быть индуктивной, без магнитного сердечника, последовательно соединенной с резистором. Индуктивную нагрузку шунтируют резистором, через который протекает 3% испытательного тока (см.
рисунок 7).
Испытания на постоянном токе
Для получения требуемого тока в установившемся режиме испытательный ток увеличивают от нуля до установившегося значения в соответствии с графиком, показанным на
рисунке 9.
Напряжение и испытательный ток должны соответствовать значениям, указанным в
таблицах 4a,
4b и
5. Испытательная схема должна быть приведена в протоколе испытаний.
8.3.3.5.2. Включающая и отключающая способности в условиях нормальной нагрузки.
Цель испытания - установить способность аппарата для цепи управления осуществлять предназначенную ему функцию согласно категории применения.
Отрегулировав нагрузку согласно
таблицам 4a и
4b, 6050 операций включений - отключений выполняют следующим образом:
- 50 операций с интервалом 10 с - при напряжении

;
- 10 операций - с максимально возможной частотой при полном замыкании и размыкании контактов;
- 990 операций - с интервалом 1 с;
- 5000 операций - с интервалом 10 с.
Если конструкция аппарата не позволяет осуществить циклы быстрого включения-отключения, например реле перегрузки, то операции включения-отключения производят с интервалом 10 с или со скоростью, на которую рассчитан конкретный аппарат.
Для коммутационных аппаратов для цепей управления, например контакторов, автоматических выключателей, число циклов включений-отключений должно соответствовать установленным значениям рабочих характеристик конкретного коммутационного аппарата (см. стандарты на коммутационные аппараты конкретных видов).
8.3.3.5.3. Включающая и отключающая способности коммутационных элементов в условиях перегрузок
Цель испытания - проверка способности аппарата для цепей управления включать и отключать токи цепей с электромагнитными нагрузками.
Параметры нагрузок, а также циклы оперирования - в соответствии с
таблицей 5.
8.3.3.5.4. Свободный пункт
8.3.3.5.5. Результаты испытаний:
a) в процессе проведения испытаний по
8.3.3.5.2 и
8.3.3.5.3 не должно быть никаких электрических или механических повреждений аппарата, в т.ч. повреждений пайки контактов, затягивания дуги, выхода из строя предохранителей;
b) после проведения испытаний по
8.3.3.5.2 и
8.3.3.5.3 аппарат должен выдерживать испытательное напряжение промышленной частоты, равное

, но не ниже 1000 В, как указано в
8.3.3.4.1.
8.3.4. Работоспособность в условиях короткого замыкания
8.3.4.1. Основные условия испытаний при коротком замыкании
Коммутационный элемент должен быть новым и чистым, смонтированным в рабочем положении.
8.3.4.2. Разновидности испытаний
Допускается перед испытанием провести небольшое число переключений коммутационного элемента вхолостую или с переключением тока, значение которого не должно превышать номинальное.
Контактный элемент с двумя выводами испытывают с органом управления в положении, которое соответствует положению замыкания испытуемого коммутационного элемента.
Контактный элемент, подлежащий испытанию, соединяют последовательно с защитным устройством от токов короткого замыкания, с полным сопротивлением нагрузки и отдельным коммутационным устройством в однофазную схему в соответствии с
рисунком 8. Испытательные параметры должны соответствовать
8.3.4.
При испытании включение тока производят отдельным выключателем; испытательный ток поддерживают, пока не сработает устройство защиты от токов короткого замыкания.
Испытание проводят три раза на одном и том же контактном элементе; после каждого испытания устройство защиты от токов короткого замыкания (далее - УЗКЗ) должно быть отрегулировано снова или заменено.
Интервал между испытаниями должен быть не менее 3 мин.
Реальный интервал должен быть указан в протоколе испытаний.
Испытание контактных элементов на два направления проводят отдельно на замыкающих и размыкающих контактах.
Примечание. Аппараты для цепей управления, имеющие одновременно контактные элементы с двумя выводами и контактные элементы на два направления, должны испытываться как два аппарата разных типов.
Каждый контактный элемент испытывают на отдельном аппарате для цепей управления.
8.3.4.3. Испытательная схема и значения испытательных параметров
Коммутационный элемент монтируют последовательно с устройством защиты от токов короткого замыкания, тип и характеристики которого указывает изготовитель, и коммутационным аппаратом, предназначенным для замыкания цепи при испытании.
Испытательная цепь должна иметь коэффициент мощности от 0,5 до 0,7 посредством включения в нее индуктивности без магнитного сердечника, соединенного последовательно с резистором, и быть отрегулирована на предполагаемый ток 1000 А или другое значение, если это оговорено изготовителем, при номинальном значении рабочего напряжения. Не допускается дополнительное параллельное включение демпфирующей (сглаживающей) нагрузки.
Напряжение в разомкнутой цепи должно составлять 1,1 максимального номинального рабочего напряжения коммутационного элемента.
Коммутационный элемент должен быть подключен к цепи с помощью проводника общей длиной 1 м и сечением, соответствующим рабочему току коммутационного элемента.
8.3.4.4. Состояние коммутационного элемента после испытания:
a) после испытания на короткое замыкание должна быть обеспечена возможность отключения коммутационных элементов с помощью штатного механизма управления;
b) после испытания аппарат должен выдерживать испытательное напряжение промышленной частоты, равное

, но не менее 1000 В в соответствии с
8.3.3.4.1.
1) Контактный элемент замкнут только в положении 1 органа управления.
2) Контактный элемент замкнут только в положениях 2, 4 и 5 органа управления.
3) Два контактных элемента использованы как контактный элемент на два направления с тремя выводами.
4) Контактный элемент проходного контактирования, замыкающийся только между положениями 2 и 3 органа управления.
5) Контактный элемент проходного контактирования, размыкающийся только между положениями 3 и 4 органа управления.
6) Контактный элемент с контактом, удерживаемым между положениями 4 и 5 органа управления.
7) Два контактных элемента с перекрываемым контактированием между положениями 1 и 2 органа управления.
8) Два контактных элемента с неперекрываемым контактированием между положениями 1 и 2 органа управления <*>.
--------------------------------
<*> Контактные элементы без перекрытия могут быть использованы для разрыва тока в одной цепи раньше установления тока в другой цепи при условии, что интервал времени соответствует режиму работы цепей.
9) Конструкция, в которой контактный элемент B замыкается раньше и размыкается позже, чем контактный элемент A.
Рисунок 1. Примеры рекомендуемого метода представления
диаграмм работы поворотного переключателя
a - холостой ход органа управления; b - холостой ход
контактного элемента; c - минимальное требуемое расстояние
между разомкнутыми контактами; d - остаточный ход
контактного элемента; b + c + d - полный ход контактного
элемента; a + b + c + d + e <*> - полный ход
органа управления
--------------------------------
<*> Ввиду возможности установления упругой связи между органами управления и контактным элементом (см.
рисунок 3) остаточный ход органа управления может превышать остаточный ход контактного элемента на величину e.
Рисунок 2. Работа нажимной кнопки
Рисунок 3. Разность e между остаточным ходом
органа управления и контактного элемента
Номер рисунка | Рисунок | Символ | Форма | Описание |
| | | A | Контактный элемент одиночного разрыва с двумя выводами |
| B |
| | | X | Контактный элемент двойного разрыва с двумя выводами |
| Y |
| | | C | Контактный элемент одиночного разрыва с тремя выводами на два направления |
| | | Za | Контактный элемент двойного разрыва с четырьмя выводами на два направления. Контакты имеют одну и ту же полярность |
| | | Zb | Контактный элемент двойного разрыва с четырьмя выводами на два направления. Два подвижных контакта электрически разъединены |
<*> Символы соответствуют МЭК 60617 [4]. |
Рисунок 4. Примеры (схемы) контактных элементов
Рисунок 5. Испытательная схема для многополюсного
выключателя. Контакты одинаковой полярности,
электрически неразделенные
Рисунок 6. Испытательная схема для многополюсного
выключателя. Контакты разной полярности,
электрически разделенные

- нагрузка по схеме рисунка 7; F - предохранитель или устройство для измерения электрической прочности изоляции; 5 - контактный элемент (нормально разомкнутый или нормально замкнутый).
Рисунок 7. Схема нагрузки

для условий испытаний,
требующих различных значений токов включения и отключения
и (или) коэффициентов мощности (постоянной времени)
Примечание. Металлическая оболочка, последовательно соединенная с ограничивающим резистором и плавким элементом, подсоединенная к I или II.
Рисунок 8. Испытательная схема при проверке
условного тока короткого замыкания
Рисунок 9. Предельные значения соотношения ток/время
для испытательных цепей на постоянном токе (см.
8.3.3.5.3)
(обязательное)
ЭЛЕКТРИЧЕСКИЕ ХАРАКТЕРИСТИКИ
СОГЛАСНО КАТЕГОРИЯМ ПРИМЕНЕНИЯ (см.
3.1)
Таблица A.1
Примеры обозначения номинальных характеристик контактов
согласно категориям применения
| Категория применения | Условный тепловой ток в оболочке  , А | Номинальное значение рабочего тока  , А, при рабочих напряжениях  , В | Номинальная мощность, В · А |
Переменный ток | | 120 | 240 | 380 | 480 | 500 | 600 | Включение (M) | Отключение (P) |
A150 | AC-15 | 10,0 | 6,0 | - | - | - | - | - | 7200 | 720 |
A300 | 3,00 |
A600 | 1,90 | 1,500 | 1,40 | 1,2 |
B150 | 5,0 | 3,0 | - | - | - | - | - | 3600 | 360 |
B300 |
B600 | 1,50 | 0,95 | 0,750 | 0,72 | 0,6 |
C150 | 2,5 | 1,5 | - | - | - | - | 1800 | 180 |
C300 | - |
C600 | 0,75 | 0,47 | 0,375 | 0,35 | 0,3 |
D150 | AC-14 | 1,0 | 0,6 | - | - | - | - | 432 | 72 |
D300 | - |
E150 | 0,5 | 0,3 | 0,3 | 216 | 36 |
Постоянный ток | | 125 | 250 | - | 400 | 500 | 600 | Включение (M) | Отключение (P) |
N150 | DC-13 | 10,0 | 2,20 | - | - | - | - | - | 275 | 275 |
N300 | 1,10 |
N600 | 0,63 | 0,55 | 0,4 |
P150 | 5,0 | 1,10 | - | - | - | - | 138 | 138 |
P300 | 0,55 |
P600 | 0,31 | 0,27 | 0,2 |
Q150 | 2,5 | 0,55 | - | - | - | - | 69 | 69 |
Q300 | 0,27 |
Q600 | 0,15 | 0,13 | 0,1 |
R150 | 1,0 | 0,22 | - | - | - | - | 28 | 28 |
R300 | 0,10 |
Примечания |
1 Буква в обозначении указывает на условный тепловой ток в оболочке и его род (переменный или постоянный), например буква C означает 2,5 А переменного тока. Цифра, следующая за буквой, означает номинальное напряжение по изоляции. |
2 Соотношение между номинальным рабочим током  , А, номинальным рабочим напряжением  , В, и полной разрывной мощностью P, В · А, при отключении выражается формулой  . |
Таблица A.2
Примеры характеристик коммутационных элементов
при частоте 50 Гц и (или) 60 Гц <*>
--------------------------------
<*> Номинальное рабочее напряжение должно быть указано изготовителем.
В амперах
Обозначение коммутационного элемента | Номинальный рабочий ток  | Номинальный ток включения для категорий применения | Минимальный рабочий ток | Максимальный ток в отключенном состоянии |
AC-15 | AC-14 | AC-13 | AC-12 |
SA | 10,00 | 100,0 | 60,0 | 20,0 | 10,00 | 0,10 | 0,015 |
SB | 5,00 | 50,0 | 30,0 | 10,0 | 5,00 |
SC | 2,00 | 20,0 | 12,0 | 4,0 | 2,00 | 0,05 | 0,010 |
SD | 1,00 | 10,0 | 6,0 | 2,0 | 1,00 | 0,05 |
SE | 0,50 | 5,0 | 3,0 | 1,0 | 0,50 | 0,01 |
SF | 0,25 | 2,5 | 1,5 | 0,5 | 0,25 | 0,005 |
SG | 0,10 | 1,0 | 0,6 | 0,2 | 0,10 | 0,003 |
Таблица A.3
Примеры характеристик коммутационных элементов
на постоянном токе <*>
--------------------------------
<*> Номинальное рабочее напряжение должно быть указано изготовителем.
В амперах
Обозначение коммутационного элемента | Номинальный рабочий ток  | Номинальный ток включения для категорий применения | Максимальный ток в отключенном состоянии |
DC 14 | DC 13 | DC 12 |
SN | 10,0 | 100,0 | 10,00 | 10,00 | 0,0050 |
SP | 5,00 | 50,0 | 5,0 | 5,0 | 0,0040 |
SQ | 2,00 | 20,0 | 2,00 | 2,00 |
SR | 1,00 | 10,0 | 1,00 | 1,00 | 0,0020 |
SS | 0,50 | 5,0 | 0,50 | 0,50 |
ST | 0,25 | 2,5 | 0,25 | 0,25 | 0,0010 |
SU | 0,10 | 1,0 | 0,10 | 0,10 | 0,0004 |
SV | 0,05 | 0,5 | 0,05 | 0,05 | 0,0002 |
(обязательное)
ПРИМЕРЫ ИСПЫТАТЕЛЬНЫХ ИНДУКТИВНЫХ НАГРУЗОК КОНТАКТОВ
НА ПОСТОЯННОМ ТОКЕ
B.1. Общие положения
Индуктивные нагрузки в цепях управления постоянного тока возникают в основном в электромагнитных реле, контакторах и соленоидах с ферромагнитным сердечником мощностью 50 Вт или менее. Влияние таких нагрузок на контакты аппаратов для цепей управления определяется энергией, накопленной в индуктивности, которая зависит от среднего коэффициента нарастания тока в индуктивности и от величины индуктивности.
Опытным путем установлено, что индуктивные нагрузки до 50 Вт почти всегда имеют длительность возрастания тока до 95% значения тока установившегося режима

, равную 6 мс/Вт или менее.
B.2. Конструкция
Чтобы приблизиться к реальным нагрузкам для испытания контактов, используемых в цепях управления постоянного тока, допускается применять следующие индуктивные нагрузки.
Магнитная цепь должна состоять из двух стальных сердечников диаметром 44,5 мм, длиной 158,7 мм, прикрепленных за концы винтами к стальному ярму размером 25,4 x 63,5 x 152,4 мм. Расстояние между осями крепежных отверстий - 101,6 мм (см.
рисунок B.1). Используемая сталь имеет сопротивление от 13,3 мкОм/см до 19,9 мкОм/см (этому требованию удовлетворяют холоднокатаные стали с низким содержанием углерода марок AISI 1010, 1015, 1018 или 116).
Немагнитный зазор величиной от 0,127 до 0,762 мм должен быть расположен на конце каждого сердечника, между сердечником и ярмом. Для крепления ярма следует использовать немагнитные винты со стороны зазора и стальные винты - с другой стороны.
Катушка, показанная на
рисунке B.1, намотана на один из сердечников. Ток в катушке от источника испытательного напряжения регулируют до значений, указанных в
таблице B.1, с помощью последовательно включенного резистора.
Величину зазора подбирают таким образом, чтобы ток в катушке возрастал от 0% до 95% своего полного значения в пределах, указанных на
рисунке 9. Если ток снижается раньше длительности меньшей, чем предельная - сечение ярма увеличивают; если ток снижается после длительности большей, чем предельная, - сечение ярма уменьшают.
Рисунок B.1. Конструкция нагрузки для испытаний
контактов на постоянном токе
Таблица B.1
Нагрузки для цепей постоянного тока
Конструкция катушки |
Испытательное напряжение, В | Число витков | Сечение провода, мм2 | Ориентировочное сопротивление катушки, Ом | Предельный ток в цепи с последовательно включенным резистором, А | Мощность при испытательном напряжении, Вт |
125 | 7000 | 0,52 | 74 | 1,10 | 138 |
250 | 14000 | 0,26 | 295 | 0,55 |
600 | 33000 | 0,10 | 1680 | 0,20 | 120 |
(обязательное)
СПЕЦИАЛЬНЫЕ ИСПЫТАНИЯ НА ИЗНОСОСТОЙКОСТЬ
C.1. Общие положения
C.1.1. Износостойкость
Специальные испытания на износостойкость (см.
7.2.4.3) проводят по усмотрению изготовителя. Если изготовитель установил значение механической и (или) коммутационной износостойкости, то это значение должно соответствовать результатам, полученным при специальных испытаниях согласно
C.2 и (или)
C.3.
Примечание. Характеристика износостойкости относится к полностью собранным аппаратам для цепей управления.
Износостойкость выражают числом циклов оперирования (см.
C.2.1 и (или)
C.3.1).
Предпочтительными значениями износостойкости (в миллионах циклов) являются следующие: 0,01; 0,03; 0,1; 0,3; 1; 3; 10; 30 или 100.
C.1.2. Разновидности испытаний
C.1.2.1. Общие положения
Любое испытание проводят в соответствии с общими условиями по
8.3.2.1 при частоте оперирования, равной или превышающей значение, установленное изготовителем. Подвижные части аппарата должны достичь максимальных рабочих положений в каждом направлении движения, рекомендованном изготовителем.
Результаты испытаний должны быть проверены статистическим анализом в соответствии с методами испытаний: простое испытание восьми образцов (см.
C.1.2.2) или двойное испытание трех образцов (см.
C.1.2.3).
Изготовитель должен установить механическую износостойкость, основываясь на результатах испытаний аналогичного изделия.
Примечание. Простое испытание восьми образцов или двойное испытание трех образцов указаны в МЭК 60410
[5] (см. таблицы X-C-2 и X-D-2).
Испытания выбраны для проверки ограниченного количества аппаратов для цепей управления и получения тех же самых статистических характеристик (приемлемый уровень качества 10%). Допускается использовать другие методы для получения приемлемого уровня качества 10%.
C.1.2.2. Простое испытание восьми образцов
Восемь аппаратов для цепей управления должны быть испытаны на установленное число циклов оперирования.
Аппараты считают выдержавшими испытания, если имеются повреждения после испытаний не более чем на двух образцах.
C.1.2.3. Двойное испытание трех образцов
Три аппарата для цепей управления подвергают испытанию на установленное число циклов оперирования.
Результаты испытаний считают положительными, если на испытуемых образцах повреждений не обнаружено, и отрицательными - если повреждено более одного образца. При повреждении одного образца должны быть дополнительно испытаны еще три образца. Результаты испытания считают положительными, если на дополнительно отобранной партии образцов отсутствуют повреждения.
C.1.3. Критерий повреждения
Во время испытания электрического контакта по
C.2.2 и
C.3.2 не должно быть электрических и механических повреждений.
После испытания коммутационный элемент должен выдержать испытание электрической прочности изоляции по
8.3.3.4 испытательным напряжением, равным

, но не менее 1000 В.
C.2. Механическая износостойкость
Механическая износостойкость аппарата для цепей управления характеризуется числом циклов оперирования без нагрузки, которое без замены или ремонта деталей выдержали не менее 90% образцов.
C.2.2. Разновидность испытаний
Испытания проводят в соответствии с
C.1.2.
В процессе испытаний необходимо осуществлять периодический контроль за контактами при напряжении и токе, указанных изготовителем, при этом не должно быть повреждений контактов (см.
C.1.3).
C.3. Коммутационная износостойкость
Коммутационная износостойкость аппарата для цепей управления характеризуется числом циклов оперирования под нагрузкой, которое без замены или ремонта деталей выдержали не менее 90% образцов.
Испытания на коммутационную износостойкость включают в себя оперирование аппаратом в условиях в соответствии с
таблицей C.1, по
C.3.2.1 - при переменном токе или по
C.3.2.2 - при постоянном токе.
Каждый цикл механического оперирования должен состоять из включения и отключения испытательного тока.
Длительность протекания тока должна быть не более 50% и не менее 10% продолжительности цикла срабатываний. Если применяют испытательную схему, представленную на
рисунке C.1, продолжительность протекания тока при

должна быть такой, чтобы не вызвать чрезмерного перегрева.
Допускается также проведение данного испытания при реальной нагрузке, на которую рассчитан аппарат для цепей управления.
Таблица C.1
Включающая и отключающая способности при испытаниях
на коммутационную износостойкость
Род тока | Категория применения | Включение | Отключение |
I | U | | | I | U | | |
Переменный | AC-15 | | | | - | | | | - |
| DC-13 | | | - | | | | - | |
 - номинальный рабочий ток, А;  - номинальное рабочее напряжение, В;  - потребляемая мощность в установившемся режиме, Вт; I - ток включения или отключения, А; U - напряжение, В;  - время достижения 95% от тока установившегося режима, мс. |
<1> Значения коэффициентов мощности являются условными и применяются для цепей, которые имитируют электрические характеристики цепей катушки. Следует отметить, что для цепей с коэффициентом мощности 0,4 испытательная схема имеет параллельно включенные резисторы с целью имитации эффекта ослабления потерь реального электромагнита за счет токов Фуко. |
<2> Для электромагнитных нагрузок в цепях постоянного тока с коммутационной аппаратурой, снижающей сопротивление цепей, номинальный рабочий ток должен быть, по крайней мере, равным минимальной величине пускового тока. |
<3> Величина 6 · P является результатом эмпирического соотношения, которое, как полагают, представляет большинство электромагнитных нагрузок в цепях постоянного тока, до верхней мощности P = 50 Вт, т.е. 6 · P (мс). Предполагается, что нагрузки потребляемой мощности свыше 50 Вт составлены из нагрузок меньшей мощности, включенных параллельно. Следовательно, значение 6 · P = 300 мс должно составлять верхний предел независимо от величины поглощаемой энергии. |
C.3.2.1. Испытания на переменном токе
Используют схему, представленную на
рисунке C.1, содержащую:
- цепь включения тока, образованную индуктивностью без сердечника с последовательно включенным резистором, с коэффициентом мощности 0,7, пропускающую ток

;
- цепь отключения тока, образованную индуктивностью без сердечника и последовательно включенным резистором, параллельно которым включен резистор, через который проходит 3% тока отключения

так, что общий коэффициент мощности составляет 0,4.
Если контактный элемент имеет длительность дребезга менее 3 мс, можно проводить испытания по упрощенной схеме согласно
рисунку C.2.
В протоколе испытаний указывают вид используемой испытательной схемы.
C.3.2.2. Испытания на постоянном токе
Используемые испытательные схемы должны содержать:
a) индуктивность без сердечника с последовательно включенным резистором.
Резистор должен быть подключен к зажимам испытательной схемы для имитации ослабления тока, имеющего место за счет токов Фуко: величина резистора должна быть такой, чтобы через него протекал 1% испытательного тока, или
b) индуктивность с сердечником и последовательно соединенным резистором в случае необходимости с целью получения значения

, указанных в
таблице C.1.
С помощью осциллографа следует убедиться, что время достижения 95% тока установившегося режима равно величине, указанной в
таблице C.1, +/- 10%, и что время достижения 63% значения установившегося тока равно трети значения, указанного в
таблице C.1, +/- 20%.
Рисунок C.1. Полная схема (см.
C.3.2.1)
Рисунок C.2. Упрощенная схема (см.
C.3.2.1)
Рисунок C. Испытательные схемы на переменном токе
(обязательное)
ВОЗДУШНЫЕ ЗАЗОРЫ И ПУТИ УТЕЧКИ ТОКА
В АППАРАТАХ ДЛЯ ЦЕПЕЙ УПРАВЛЕНИЯ
D.1. Область применения
Требования настоящего Приложения применимы к аппаратам для цепей управления, рассматриваемым в настоящем стандарте. Они распространяются на аппараты, работающие на открытом воздухе и в нормальных атмосферных условиях по
6.1.3.2. В случае отличия атмосферных условий от нормальных их учитывают либо при выборе оболочек, либо принятием более длинных путей утечки. Выполнение этих требований не означает, что аппараты будут соответствовать условиям испытаний, указанным в настоящем стандарте.
Требования неприменимы к аппаратам, для которых указана величина

, а также к аппаратам, пригодным к разъединению, которые должны соответствовать требованиям
7.1.3.
D.2. Определения
Свободный пункт.
D.3. Общие положения
D.3.1. Рекомендуется предусматривать на поверхности изолирующих частей ребра, располагаемые так, чтобы прерывать любое проводящее покрытие, которое может образоваться.
D.3.2. Воздушные зазоры и пути утечки должны располагаться на элементах аппарата, которые не дают возможности образования дуги. Вблизи дуг или в промежутках там, где может находиться ионизированный газ, нормальные атмосферные условия по
6.1.3.2 не соблюдаются, и могут потребоваться большие размеры зазоров.
D.3.3. Воздушные зазоры не являются расстоянием между контактами одной полярности в разомкнутом положении.
D.3.4. Токоведущие части, покрытые только лаком или эмалью или защищенные только окислением, не рассматривают в качестве изолирующих.
D.3.5. Воздушные зазоры и пути утечки, указанные в
таблице D.1, должны сохранять свои значения в случаях:
a) отсутствия внешних электрических соединений токоведущих частей аппарата или когда изолированные или неизолированные проводники, по типам и размерам соответствующие аппарату, подключены в соответствии с указаниями изготовителя;
b) после замены сменных деталей с учетом максимальных допусков изготовителя;
c) с учетом возможных деформаций, связанных с влиянием температуры, старения, ударов и вибраций или в результате короткого замыкания, которым может подвергаться аппарат.
D.4. Определение размеров воздушных зазоров и путей утечки
Для определения размеров воздушных зазоров и путей утечки тока должно учитываться следующее.
D.4.1. Если на воздушный зазор или пути утечки влияют одна или несколько металлических деталей, необходимо, чтобы либо длина одного из сегментов, заключенных между этими деталями, была, по крайней мере, равна минимальному требуемому значению, либо чтобы сумма длин наиболее длинных сегментов была, по крайней мере, в 1,25 раза больше минимального требуемого значения. Сегменты длиной менее 2 мм не должны учитываться при определении полной длины воздушных зазоров и путей утечки.
D.4.2. Пути утечки тока ребра глубиной и шириной более 2 мм следует измерять вдоль их контуров. Ребра, один из размеров которых меньше указанного значения, а также те, которые могут быть покрыты пылью при работе, не учитывают при измерениях.
D.4.3. Пути утечки ребра высотой менее 2 мм не учитывают. Ребра высотой 2 мм и более измеряют:
- вдоль контура, если они составляют единое целое с деталью из изолирующего материала (например, литые или сварные);
- по наиболее короткой из двух траекторий - длине шва или профилю ребра, если они не являются продолжением изолирующей детали.
D.4.4. Методы измерения путей утечки и воздушных зазоров указаны по ГОСТ 30011.1 (
примеры 1 -
11 Приложения G).
D.5. Минимальные значения воздушных зазоров и путей утечки
D.5.1. Значения воздушных зазоров и путей утечки указаны в
таблице D.1 в зависимости от номинального напряжения по изоляции и условного теплового тока

устройства цепи управления.
D.5.2. Значения воздушных зазоров указаны, с одной стороны, как расстояние между двумя активными элементами (L - L) и, с другой стороны, - как расстояние между активным элементом и близлежащей проводящей деталью (L - A). Расстояние между активным элементом и элементом, связанным с "землей" (который не является частью близлежащего проводника), может быть указано соответственно расстоянию L - L для рассматриваемого напряжения.
D.5.3. Значение путей утечки (длина) зависит от вида изоляционного материала и формы изолирующей детали.
1) Керамические материалы (стеатит, фарфор).
2) Другие изолирующие материалы, из которых выполнены ребра или другие вертикально расположенные поверхности, для которых экспериментально доказано, что они соответствуют электроизоляционным требованиям при использовании их при таких же значениях путей утечки, что и керамические материалы.
Примечание. Такими могут быть материалы, имеющие сравнительный индекс трекингостойкости (СТИ), по крайней мере, 140 В, например материалы, полученные из фенольных смол методом литья.
Все другие случаи.
Значения в таблице D.1 приведены в качестве справочных и могут рассматриваться как минимальные.
Таблица D.1
Воздушные зазоры и пути утечки
Номинальное напряжение по изоляции  , В | Воздушные зазоры, мм | Пути утечки, мм |
L - L | L - A | | |
| 2 | 3 | 2 | 3 |
| 3 | 5 | 3 | 4 |
| 4 | 6 | 4 | 6 |
| 6 | 8 | 6 | 10 |
| 6 | 8 | 6 | 12 |
 , переменный ток | 10 | 14 | 10 | 14 |
 , переменный ток | 14 | 20 | 14 | 20 |
Примечания |
1 Значения относятся к атмосферным условиям, определенным в 6.1.3.2. При более жестких условиях значения путей утечки должны, как минимум, соответствовать значениям, приведенным в графе b. |
2 Когда воздушный зазор L - A больше соответствующей длины пути утечки, указанной в графах a или b, зазор не должен быть короче изолирующего промежутка между токоведущим элементом и близлежащим проводящим элементом. |
(обязательное)
ВОПРОСЫ, ЯВЛЯЮЩИЕСЯ ПРЕДМЕТОМ СОГЛАШЕНИЯ
ИЗГОТОВИТЕЛЯ С ПОТРЕБИТЕЛЕМ
Примечание. В настоящем Приложении слово "соглашение" понимают в очень широком смысле, а слово "потребитель" обозначает также и испытательные лаборатории.
ГОСТ 30011.1,
Приложение J применимо в части пунктов и разделов, на которые ссылаются в настоящем стандарте, со следующими дополнениями:
Номер пункта настоящего стандарта | Объект соглашения |
| Отношение между положениями органа управления поворотных переключателей и соответствующими положениями контактных элементов в диаграмме работы (указания изготовителя) |
| Характеристики временной задержки элементов с регулируемой задержкой вспомогательных контакторов (указание изготовителя) |
| Выбор соединительных проводников для позиционных переключателей с прямым движением размыкания |
| Испытательные циклы, осуществляемые на одном образце (по запросу изготовителя) |
| Испытания при условном токе короткого замыкания: - регулируемое значение для испытательной цепи, если предполагаемый ток отличается от 1000 А (требование изготовителя); - коэффициент мощности испытательной цепи менее 0,5 (по соглашению с изготовителем). |
(обязательное)
АППАРАТЫ КЛАССА II ДЛЯ ЦЕПЕЙ УПРАВЛЕНИЯ,
ИЗОЛИРОВАННЫЕ МЕТОДОМ ЗАЛИВКИ В КАПСУЛЫ
F.1. Общие положения
В настоящем Приложении изложены требования к конструкции и испытаниям, предъявляемые к аппаратам класса защиты II для цепей управления или к деталям этих аппаратов, у которых изоляция класса защиты II согласно
ГОСТ Р МЭК 61140 достигнута методом заливки в капсулы.
Воздушные зазоры и пути утечки негерметизированных деталей должны быть в два раза больше указанных в
7.1.3.
F.2. Термины и определения
В настоящем Приложении применены следующие термины с соответствующими определениями:
F.2.1. капсулирование (заливка): Метод, при котором все детали, провода и концы кабелей соответствующим способом покрываются изолирующим компаундом или заливаются в форму.
F.2.1.1. нанесение покрытия: Метод полного покрытия электрического изделия (изделий), состоящий в заливке аппарата (аппаратов) в форме, снимаемой после отвердения компаунда.
F.2.1.2. заливка в форме: Способ нанесения покрытия, при котором электрический аппарат остается в форме после заливки.
F.2.2. компаунд: Термореактивные, термопластичные материалы, отвердевающие при катализе, или эластомеры, застывающие под дополнительной нагрузкой или без нее.
F.2.3. Диапазон температур для компаунда: Диапазон температур окружающей среды, соответствующий ГОСТ 30011.1,
подпункт 6.1.1.
F.5. Маркировка
Аппараты класса II должны иметь следующую маркировку:
F.7. Требования к конструкции и работоспособности
F.7.1. Выбор компаунда
Компаунд должен выбираться так, чтобы аппараты, залитые в капсулы, удовлетворяли требованиям
F.8.
F.7.2. Адгезия компаунда
Адгезия компаунда должна быть достаточной для того, чтобы не допустить проникновения влаги между компаундом и всеми залитыми деталями, а также смещения кабеля.
Соответствие данным требованиям должно быть проверено испытаниями по
F.8.1.2.2 и
F.8.1.2.5.
Рисунок F.1. Изоляция заливкой в капсулы
F.7.3. Электроизоляционные свойства
При проверке импульсного выдерживаемого напряжения испытательное напряжение

должно на одну категорию превышать максимальное номинальное рабочее напряжение, указанное в ГОСТ 30011.1 (
первая графа таблицы H.1), для установленной категории перенапряжения.
При проверке выдерживаемого напряжения промышленной частоты испытательное напряжение должно соответствовать сумме напряжений, указанной в ГОСТ 30011.1 (таблица 12A
(Приложение A)) и 1000 В.
F.8.1. Виды испытаний
F.8.1.1. Общие положения
F.8.1.2. Типовые испытания
Цикл из шести испытаний проводят в установленном порядке на каждом из трех образцов.
F.8.1.2.1. Испытания на электрическую прочность изоляции на новом образце
Испытания проводят по ГОСТ 30011.1
(подпункт 8.3.3.4), за исключением того, что напряжение должно прикладываться между оголенными концами проводов, соединенными между собой, и точкой корпуса (или металлической фольгой на корпусе) аппарата, залитого в капсулу (см.
рисунок F.1). При этом не должно быть пробоя изоляции.
F.8.1.2.2. Проверка кабеля (при его применении)
Бесконтактные датчики сигналов с кабелем, представляющие единое целое с аппаратом, должны удовлетворять требованиям
Приложения G.
F.8.1.2.3. Испытание на стойкость к быстрой смене температур
Испытание Na проводят согласно
ГОСТ 28198, ГОСТ 28209 при следующих значениях параметров:
-

и

- минимальные и максимальные температуры, установленные в
F.2.3;
- время переноса

- 2 - 3 мин;
- число циклов - 5;
- время выдержки

- 3 ч.
После проведения испытаний на образцах не должно быть видимых повреждений <*>.
--------------------------------
<*> После проведения испытаний по
F.8.1.2.3,
F.8.1.2.4 допустимы мелкие трещины на компаунде. Они не должны влиять на результаты конечного испытания по
F.8.1.2.6.
F.8.1.2.4. Испытание на ударостойкость
Испытание проводят, как описано ниже (см. рисунок F.2).
Рисунок F.2. Испытательная установка
Испытуемый образец помещают на жесткую опору.
Наносят удар с энергией 0,5 Дж в центр самой большой поверхности или по самой длинной оси (при цилиндрической форме аппарата, залитого в капсулу).
Наносят удары стальным шариком массой 0,25 кг, падающим с высоты 0,20 м.
Опору считают достаточно жесткой, если перемещение, вызванное энергией удара, менее 0,1 мм.
После проведения испытания на поверхности аппарата не должно быть видимых повреждений <*>.
--------------------------------
<*> После проведения испытаний по
F.8.1.2.3,
F.8.1.2.4 допускаются мелкие трещины на компаунде. Они не должны влиять на результаты конечного испытания по
F.8.1.2.6.
F.8.1.2.5. Испытания на влажное циклическое тепло
Испытание Db проводят по
ГОСТ 28216 при следующих значениях параметров:
- максимальная температура 55 °C;
- число циклов - 6.
В протоколе испытаний указывают вариант испытаний: 1 или 2.
После проведенных испытаний не должно быть видимых повреждений <**>.
--------------------------------
<**> После проведения испытаний по
F.8.1.2.5 допускаются мелкие трещины на компаунде. Они не должны влиять на результаты конечного испытания по
F.8.1.2.6.
F.8.1.2.6. Испытание на электрическую прочность изоляции после механических нагрузок
После испытаний по
F.8.1.2.5 электрические свойства изоляции должны быть проверены повторными испытаниями по
8.3.3.4 с испытательным напряжением промышленной частоты, прикладываемым в течение 5 с.
Результаты должны соответствовать указанным в
8.3.3.4, но с более ограниченным током утечки, не превышающим 2 мА при напряжении

.
F.8.1.3. Контрольные испытания
Контрольные испытания - по
8.1.3. При этом проведение испытания на электрическую прочность изоляции является обязательным.
(обязательное)
ДОПОЛНИТЕЛЬНЫЕ ТРЕБОВАНИЯ К АППАРАТАМ ДЛЯ ЦЕПЕЙ УПРАВЛЕНИЯ
С КАБЕЛЕМ, СОСТАВЛЯЮЩИМ С АППАРАТОМ ЕДИНОЕ ЦЕЛОЕ
G.1. Общие положения
Настоящее Приложение содержит дополнительные требования, применяемые к аппаратам для цепей управления в оболочках с кабелем, составляющим единое целое с аппаратом и предназначенным для обеспечения электрического соединения с другим аппаратом и (или) источником электрической энергии.
Кабель, составляющий единое целое с подобными аппаратами для цепей управления, не может быть заменен потребителем. Настоящее Приложение устанавливает требования, предъявляемые к конструкции и характеристикам кабеля, его креплению и герметичности кабельного ввода.
G.2. Термины и определения
В настоящем Приложении применены следующие термины с соответствующими определениями:
G.2.1. аппарат для цепей управления с кабелем: Аппарат с кабелем, составляющим единое целое с аппаратом и предназначенным для создания электрического соединения с другим аппаратом и (или) источником электрической энергии.
G.2.2. средства герметизации кабельного ввода: Средства герметизации кабеля с оболочкой; обеспечивающие надежную защиту от скручивания кабеля и гарантирующие требуемую герметичность оболочки крепления кабеля.
G.2.3. крепление кабеля: Средства, уменьшающие механические нагрузки на конце кабеля и тем самым предотвращающие нарушение электрического соединения между ним и проводом.
G.7. Требования, предъявляемые к конструкции и параметрам (рабочим характеристикам)
G.7.1. Требования к конструкции
G.7.1.1. Материал кабеля
Аппарат для цепей управления должен быть снабжен гибким кабелем с соответствующими параметрами по напряжению, току, температуре и условиям окружающей среды.
Примечание. Длина кабеля должна быть установлена в стандарте на конкретное изделие.
G.7.1.2. Крепление кабеля
Крепление кабеля должно быть таким, чтобы усилие, прикладываемое к кабелю, не передавалось на электрические соединения внутри аппарата.
Смещение кабеля внутри или снаружи аппарата для цепей управления не должно нарушать соединение кабеля или деталей внутри него.
G.7.1.3. Уплотняющее устройство кабельного ввода
На вводе аппарата для цепей управления должно быть предусмотрено уплотняющее устройство, соответствующее степени защиты, указанной для конкретного аппарата (см. ГОСТ 30011.1,
Приложение C).
Примечание. Уплотняющее устройство может представлять собой единое целое с герметичным аппаратом.
G.7.2. Требования к рабочим характеристикам
Кабель и уплотняющее устройство кабельного ввода должны соответствовать требованиям к испытаниям, указанным в
G.8.
Целью испытаний является проверка целостности крепления кабеля во время эксплуатации и монтажа. После монтажа аппарат для цепей управления и кабель должны быть зафиксированы относительно друг друга.
G.8.1. Типовые испытания
Цикл из четырех испытаний проводят на типопредставителе в установленном порядке.
G.8.1.1. Проверка кабеля на вытягивающее усилие
Кабель подвергают испытанию на постоянное вытягивающее усилие, прикладываемое вдоль оси кабельного ввода на изолирующую гильзу кабеля в течение 1 мин.
Для кабелей диаметром, равным или более 8 мм, сила натяжения должна быть 160 Н. Вытягивающее усилие в ньютонах для кабелей диаметром менее 8 мм должно быть равно 20-кратному наружному диаметру кабеля, мм.
G.8.1.2. Испытание кабеля на кручение
Кабель подвергают воздействию крутящего момента 0,1 · Нм при ограничении вращения до 360°.
Крутящий момент прикладывают сначала по направлению часовой стрелки, затем - в обратном направлении на расстоянии 100 мм от кабельного ввода аппарата в течение 1 мин в каждом направлении.
G.8.1.3. Проверка кабеля на осевое давление
Нагрузку прикладывают вдоль оси кабеля, как можно ближе к кабельному вводу.
Нагрузку медленно увеличивают до 20 Н. Нагрузку прикладывают в течение 1 мин с интервалом в 1 мин.
После испытаний не должно быть видимого повреждения уплотняющего устройства кабельного ввода и смещения кабеля.
G.8.1.4. Испытание кабеля на изгиб
Кабель подвергают воздействию нагрузки и проверке на изгиб следующим образом:
a) груз массой 3 кг подвешивают к кабелю на расстоянии 1 м от кабельного ввода; ось кабельного ввода должна быть расположена вертикально;
b) наклоняют аппарат для цепей управления под углом 90° в одну сторону для получения изгиба кабеля 90° и удерживают его в этом положении в течение 1 мин;
c) наклоняют аппарат для цепей управления под углом 90° в противоположную сторону по отношению к первоначальной вертикальной оси кабеля для получения изгиба кабеля под углом 90° в другом направлении и удерживают его в этом положении в течение 1 мин.
G.8.2. Результаты испытаний
После проведения испытаний не должно быть повреждений кабеля, уплотняющего устройства кабеля, кабельного ввода и системы электрических соединений аппаратов для цепей управления.
Отсутствие повреждений должно быть подтверждено визуальным осмотром и проверкой на соответствие степени защиты.
(обязательное)
ДОПОЛНИТЕЛЬНЫЕ ТРЕБОВАНИЯ К БЕСКОНТАКТНЫМ КОММУТАЦИОННЫМ
ЭЛЕМЕНТАМ АППАРАТОВ ДЛЯ ЦЕПЕЙ УПРАВЛЕНИЯ
H.1. Общие положения
H.1.1. Область применения
Настоящее Приложение распространяется на аппараты для цепей управления, имеющие бесконтактные элементы для управления, сигнализации, блокировки и т.д.
Эти аппараты должны также соответствовать требованиям настоящего стандарта.
H.1.2. Цель
Настоящее Приложение устанавливает дополнительные требования к бесконтактным коммутационным элементам.
H.2. Термины и определения
В настоящем Приложении в дополнение к настоящему стандарту применены следующие термины с соответствующими определениями:
H.2.1. падение напряжения

: Напряжение, измеряемое на бесконтактном коммутационном элементе, когда по нему проходит рабочий ток в установленных условиях.
H.2.2. минимальный рабочий ток

: Ток, необходимый для поддержания бесконтактного коммутационного элемента в проводящем состоянии.
H.2.3. ток в отключенном состоянии элемента

: Ток, проходящий через цепь нагрузки, когда коммутационный элемент находится в закрытом состоянии.
H.3. Классификация
H.3.1. Бесконтактные коммутационные элементы
Бесконтактные коммутационные элементы подразделяют по:
1) категории применения (см.
4.4 и
H.4.2);
2) электрическим характеристикам согласно категориям применения (см.
Приложение A).
H.4. Характеристики (параметры)
H.4.1. Номинальное напряжение
H.4.1.1. Номинальное рабочее напряжение

Номинальное рабочее напряжение - по
4.3.1.1.
H.4.1.2. Рабочее напряжение
Рабочее напряжение может быть установлено для одного значения или для диапазона значений. Если напряжение устанавливают для диапазона значений, оно должно включать в себя все допуски

, и обозначено

. Соотношение

и

показано на рисунке H.1
Рисунок H.1. Соотношение между

и

H.4.2. Категории применения
Категории применения, указанные в
таблице 1, считают стандартными. Другие категории применения должны быть объектом соглашения между изготовителем и потребителем. Информация, представленная в каталогах, может быть предметом подобного соглашения.
H.5. Информация об изделии
Вид информации
Вид информации - по
5.1 со следующими дополнениями.
Основные параметры и применение:
a) падение напряжения (см.
H.7.1.1);
b) минимальный рабочий ток (см.
H.7.1.2);
c) ток в отключенном состоянии элемента (см.
H.7.1.3);
d) включающая и отключающая способности (см.
H.7.2.1);
e) условный ток короткого замыкания (см.
H.7.3);
f) электромагнитная совместимость (ЭМС) (см.
H.7.4).
H.7. Требования к конструкции и работоспособности
Требования к конструкции и работоспособности - по
7.2 со следующими дополнениями.
H.7.1.1. Падение напряжения

Падение напряжения, измеренное на коммутационном элементе в проводящем состоянии, должно быть установлено изготовителем и проверено по
H.8.2.
H.7.1.2. Минимальный рабочий ток

Минимальный рабочий ток должен быть установлен изготовителем и проверен по
H.8.3.
Примечание. В
таблицах A.2 и
A.3 минимальные рабочие токи установлены для конкретных характеристик.
H.7.1.3. Ток в отключенном состоянии

Максимальный ток

проходящий в цепи нагрузки в отключенном состоянии, должен соответствовать значениям, указанным в
таблицах A.2 и
A.3, за исключением требований, указанных в стандартах на аппарат конкретного типа. Ток в отключенном состоянии должен быть проверен по
H.8.4.
H.7.2. Включающая и отключающая способности в условиях нормальной нагрузки и перегрузки
H.7.2.1. Включающая и отключающая способности
Включающая и отключающая способности - по
4.3.5.
H.7.3. Условный ток короткого замыкания
| | ИС МЕГАНОРМ: примечание. В официальном тексте документа, видимо, допущена опечатка: пункт H.3.6 отсутствует. | |
Коммутационный элемент должен выдерживать нагрузки, возникающие при токах короткого замыкания, согласно условиям, указанным в H.3.6.
H.7.4. Электромагнитная совместимость (ЭМС)
H.8. Испытания
H.8.1. Типовые испытания
Типовые испытания - по
8.1.2 со следующими дополнениями:
a) падение напряжения (см.
H.8.2);
b) ток в отключенном состоянии (см.
H.8.4);
c) включающая и отключающая способности (см.
H.8.5);
d) работоспособность при коротком замыкании (см.
H.8.6);
e) проверка электромагнитной совместимости (см.
H.8.7);
| | ИС МЕГАНОРМ: примечание. В официальном тексте документа, видимо, допущена опечатка: пункт 6.3.3.4 отсутствует. | |
g) испытание на стойкость к воздействию импульсного напряжения (см. 6.3.3.4).
H.8.2. Падение напряжения

Падение напряжения измеряют на рабочих выходах коммутационного элемента в проводящем состоянии, через которые протекают токи

и

, при температуре окружающей среды (23 +/- 5) °C и номинальной частоте. Измерение проводят, используя схему, указанную на
рисунке H.2: выключатель S находится во включенном положении, нагрузки должны быть активными, резистор

должен быть отрегулирован так, чтобы получить испытательный ток и рабочее напряжение

.
Измеренное значение падения напряжения не должно превышать значения, указанного в
H.7.1.1.
H.8.3. Минимальный рабочий ток

Для проведения испытания коммутационный элемент подсоединяют к испытательной цепи согласно схеме на
рисунке H.2. При наличии рабочего напряжения

выключатель S находится в разомкнутом положении, коммутационный элемент - в проводящем состоянии, активная нагрузка

регулируется до получения тока

. Измеренная величина должна соответствовать
H.7.1.2.
H.8.4. Ток в отключенном состоянии

Для проведения испытания коммутационный элемент подсоединяют к испытательной цепи согласно схеме на
рисунке H.2. При наличии рабочего напряжения

выключатель S находится в замкнутом положении, активная нагрузка

регулируется до получения тока

. При выключении выключателя измеряется ток в непроводящем состоянии коммутационного элемента. Измеренное значение тока должно соответствовать
H.7.1.3.

- омическая нагрузка;

- омическая нагрузка;
V - вольтметр с полным сопротивлением 0,2 МОм/В;
A - амперметр; S - переключатель
Действующее значение - для переменного тока; среднее значение - для постоянного тока
Рисунок H.2. Схема для проверки падения напряжения,
минимального рабочего тока и тока в отключенном состоянии
H.8.5. Включающая и отключающая способности
Включающая и отключающая способности - по
8.3.3.5.
H.8.6. Работоспособность в условиях короткого замыкания
H.8.6.1. Испытательная схема и способ проведения испытания
Для проведения испытаний необходимо подсоединить к испытательной цепи новый коммутационный элемент так же, как в нормальных условиях эксплуатации на открытом воздухе, используя кабель общей длиной 2 м, рассчитанный на рабочий ток коммутационного элемента (см. рисунок H.3).
Рисунок H.3. Схема испытания на короткое замыкание
Устройство защиты от токов короткого замыкания (УЗКЗ) должно соответствовать типу и характеристикам, установленным изготовителем. УЗКЗ не применяют, если коммутационный элемент полностью защищен от токов короткого замыкания.
Нагрузки R и L выбирают такими, чтобы ток, проходящий через коммутационный элемент, был равен номинальному рабочему току

при номинальном напряжении

, коэффициенте мощности или постоянной времени

, указанным в
таблице 5. Источник питания S должен быть отрегулирован на ожидаемый ток короткого замыкания 1000 А (если иное не оговорено в стандарте на конкретное изделие) при рабочем напряжении

.
В цепи питания должны быть реактивные сопротивления, соединенные последовательно с резисторами для получения коэффициента мощности 0,5 - 0,7. К реактивным сопротивлениям не подсоединяют параллельно сглаживающую нагрузку. Напряжение в разомкнутой цепи должно быть равно 1,1-кратному максимальному рабочему напряжению коммутационного элемента.
Испытания проводят три раза, произвольно включая выключатель короткого замыкания. Испытательный ток поддерживают до тех пор, пока не сработает УЗКЗ, или в течение 30 мин при наличии самозащиты коммутационного элемента от токов короткого замыкания. Интервал времени между каждым испытанием должен быть не менее 3 мин. Реальный интервал времени между испытаниями указывают в протоколе испытаний.
H.8.6.2. Состояние коммутационного элемента после испытания
Состояние коммутационного элемента после испытания - по
8.3.4.4.
H.8.7. Проверка на электромагнитную совместимость
H.8.7.1. Общие положения
Испытания на излучение помех и стойкость к воздействию электромагнитных помех являются типовыми и должны быть проведены с соблюдением следующих общих условий.
Коммутационный элемент, установленный на открытом воздухе, подсоединяют к соответствующей нагрузке с номинальным рабочим током

, номинальным рабочим напряжением

(или с максимальным напряжением, выбранным из диапазона напряжений).
Длина соединений должна быть 2 м.
Коммутационный элемент испытывают:
a) в проводящем состоянии;
b) в непроводящем состоянии.
H.8.7.2. Стойкость к воздействию электромагнитных помех
H.8.7.2.1. Общие положения
| | ИС МЕГАНОРМ: примечание. В официальном тексте документа, видимо, допущена опечатка: имеется в виду ГОСТ Р 50030.1-2007, а не ГОСТ 50030.1-2007. | |
Критерии работоспособности основаны на критериях приемки по ГОСТ 50030.1
(таблица 24).
Критерии работоспособности A
Во время испытаний выходное состояние коммутационного элемента не должно меняться.
Критерии работоспособности B
Во время испытаний выходное состояние коммутационного элемента не должно меняться более чем на 1 мс для аппаратов постоянного тока или более одного полупериода частоты питания - для аппаратов переменного тока.
Критерии работоспособности C
Временная деградация или временная потеря работоспособности, которая самовосстанавливается или требует переуставки системы.
H.8.7.2.2. Стойкость к электростатическим разрядам
H.8.7.2.3. Стойкость к излучаемым низкочастотным электромагнитным полям
Если известны более жесткие условия, испытания проводят в этих условиях. В других случаях электромагнитное поле должно быть направлено в трех взаимно перпендикулярных направлениях по отношению к испытуемому аппарату.
H.8.7.2.4. Стойкость к наносекундным импульсным помехам
Испытание проводят по ГОСТ 30804.4.4 и
таблице H.1, нагрузки соединяют с помощью емкостного зажима.
Примечание. Емкостный зажим является предпочтительным методом испытаний, поскольку имитирует действительные электромагнитные помехи, присутствующие при обычной эксплуатации как результат параллельности проводов.
Таблица H.1
Испытания на стойкость к электромагнитным помехам
Тип испытания | Требуемый уровень жесткости испытаний | Критерии приемки |
Электростатические разряды по ГОСТ 30804.4.2 | 8 кВ/воздушный разряд или 4 кВ/контактный разряд | B |
Излучаемые радиочастотные электромагнитные поля (80 МГц - 1 ГГц) по ГОСТ 30804.4.3 | 10В/м | A |
Импульсные наносекундные помехи по ГОСТ 30804.4.4 | 2 кВ на силовых выводах <1>1 кВ на сигнальных выводах <2> | B |
Импульсы напряжения/ тока (1,2/50 - 8/20 мкс) по ГОСТ 30804.4.5 | 2 кВ (между фазой и землей) 1 кВ (между фазами) | B |
Кондуктивные помехи, наведенные радиочастотными полями (150 кГц - 80 МГц) по ГОСТ 30804.4.6 | 10 В | A |
Низкочастотные электромагнитные поля - по МЭК 61000-4-8 [6] | 30 А/м | A |
Динамические изменения напряжения электропитания по ГОСТ 30804.4.11 | Снижение до 30%  на 0,5 цикла Снижение до 60%  на 5 и 50 циклов | B |
Гармоники в сети электропитания - по МЭК 61000-4-13 [7] | Требования отсутствуют <4> | - |
<1> Силовой вывод: точка подключения проводника или кабеля, подводящего первичное электропитание для функционирования коммутационного элемента или связанного с ним оборудования. |
<2> Сигнальный вывод: точка подсоединения к коммутационному элементу проводника или кабеля, несущего информацию для передачи данных или сигналов. |
<3> Не применяют для выводов на номинальное напряжение 24 В постоянного тока и менее. |
<4> Уровни жесткости - в стадии изучения. |
H.8.7.2.5. Стойкость к воздействию импульсного напряжения
Испытание проводят по ГОСТ 30804.4.5 и
таблице H.1 с учетом следующих дополнительных требований, не влияющих на результат проверки соответствия требованиям с целью упрощения процедуры испытаний на ЭМС:
- к коммутационному элементу во время испытания не подают ток;
- импульс напряжения прикладывают:
а) между выводами, предназначенными для подсоединения к источнику питания;
б) между каждым зажимом на выходе и каждым зажимом для подсоединения к источнику питания;
- три положительных и три отрицательных импульса напряжения следует прикладывать между каждыми двумя точками с интервалом не менее 5 с.
H.8.7.2.6. Стойкость к кондуктивным помехам, наведенным радиочастотными полями
Испытание проводят в соответствии с ГОСТ 30807.4.6 и
таблицей H.1.
H.8.7.2.7. Стойкость к низкочастотным электромагнитным полям
Применяют только для оборудования, подверженного воздействию низкочастотных электромагнитных полей.
H.8.7.2.8. Стойкость к динамическим изменениям напряжения электропитания
Испытание проводят в соответствии с ГОСТ 30804.4.11 и
таблицей H.1.
Применяют только для коммутационных элементов переменного тока.
H.8.7.3. Помехоэмиссия
Испытание проводят в наиболее жестких условиях по классу A, группа 1 по ГОСТ 30805.11 и ГОСТ 30011.1
(подпункт 7.3.3.2).
Эти условия относятся к коммутационным элементам, предназначенным для применения исключительно в промышленной среде A. Если их применение возможно в бытовой среде B, в инструкции по эксплуатации должно быть сделано следующее предупреждение:
┌────────────────────────────────────────────────────────┐
│ ВНИМАНИЕ! │
│ Это изделие класса A. В бытовой среде данное изделие │
│ может вызвать радиопомехи, что потребует │
│ от потребителя принятия адекватных мер │
└────────────────────────────────────────────────────────┘
(обязательное)
СПЕЦИАЛЬНЫЕ ТРЕБОВАНИЯ К СВЕТОВЫМ ИНДИКАТОРАМ
И ИНДИКАТОРНЫМ СТОЙКАМ
J.1. Общие положения
J.1.1. Область определения
Настоящее Приложение распространяется на световые индикаторы, которые также должны удовлетворять соответствующим требованиям настоящего стандарта.
J.1.2. Цель
Настоящее Приложение содержит дополнительные требования, относящиеся к световым индикаторам, а также к определениям и терминам, необходимым для уточнения характеристик, требующихся для их реализации и функционирования.
J.2. Термины и определения
В настоящем Приложении применены следующие дополнительные термины с соответствующими определениями:
J.2.1. световой индикатор: Информационный указатель, функционирующий на основе загорания и погасания источника света.
J.2.2. светофильтр светового индикатора: Видимая часть, сменная или постоянная, с прозрачной или полупрозрачной поверхностью.
J.2.3. арматура: Устройство крепления светофильтра.
J.2.4. световой индикатор со встроенным устройством понижения напряжения: Световой индикатор, в корпусе которого содержится устройство (трансформатор, резистор и т.д.), предназначенное для получения на выводах лампы напряжения, отличающегося от номинального рабочего напряжения индикатора.
J.2.5. индикаторная стойка: Сборка, содержащая один или более сигнальных узлов, подающих информацию в виде световых или звуковых сигналов.
Примечание. Индикаторная стойка может содержать дополнительно другие элементы, например элементы сетевого интерфейса.
J.3. Классификация
Световые индикаторы классифицируют по:
- номинальной электрической мощности;
- цвету;
- диаметру отверстия крепления;
- способу подключения;
- роду тока и его частоте, если речь идет о переменном токе (например индикаторы со встроенным трансформатором);
- типу патрона.
J.4. Характеристики
J.4.1. Номинальное рабочее напряжение светового индикатора
Значение напряжения, установленного изготовителем, определяющее использование светового индикатора.
J.4.2. Номинальная тепловая мощность светового индикатора
Максимальная мощность лампы, которую выдерживает световой индикатор при конкретных условиях испытаний на нагрев.
Примечание. Поскольку мощность индикатора влияет на нагрев, это может привести к ограничению значения мощности в зависимости от условий монтажа; изготовитель должен указывать два значения номинальной мощности (см.
J.8.3.3.3):
- для монтажа на стальной пластине;
- для монтажа в пластмассовой оболочке.
J.4.3. Номинальные характеристики лампы
Номинальные характеристики лампы (ламп), при которых световой индикатор функционирует без достижения температур, могущих привести к выходу из строя его элементов, указываются изготовителем.
Примечания. 1. Номинальные мощность и напряжение допускается указывать в форме обозначения типа лампы.
2. Предполагается, что рассеивание лампы не превышает номинальной мощности при номинальном напряжении.
J.5. Сведения об аппарате
Применяют следующие требования:
- сведения, указанные на световом индикаторе:
1) номинальное напряжение светового индикатора;
2) номинальное напряжение лампы (если отличается от номинального напряжения индикатора);
3) номинальная мощность лампы или обозначение ее типа, или номинальный ток.
J.6. Нормальные условия эксплуатации, монтажа и транспортирования
Дополнительные указания отсутствуют.
Рекомендуемые установочные размеры для монтажа розетки индикаторной стойки, мм:
J.7. Требования к конструкции и работоспособности (эксплуатации)
Применяют
раздел 7 со следующими дополнениями.
J.7.1.12. Световые индикаторы со встроенным трансформатором
Трансформатор должен иметь разделенные обмотки.
Считают, что это условие может быть выполнено, если световой индикатор удовлетворяет требованиям
8.3.3.4.1.
J.7.1.13. Цвет лампового светофильтра
Рекомендуется выбирать цвет лампового светофильтра из указанных в
ГОСТ Р МЭК 60073, а также в Публикации 2 Международной комиссии по освещению (МКО)
[2].
Цвет должен сохраняться без старения, несмотря на вредное влияние окружающей среды, включая эффект ультрафиолетового облучения.
Цвета, используемые для идентификации, должны быть яркими и легко узнаваемыми.
Примечание. Для индикаторных стоек на станках определена следующая последовательность цветов в направлении сверху вниз: красный, желтый, синий, зеленый и белый.
J.7.2.1.6. Пределы работоспособности
Предельное значение напряжения питания на зажимах светового индикатора должно быть равно 1,1-кратному номинальному рабочему напряжению. Это требование проверяют только при испытании световых индикаторов со встроенным трансформатором согласно
J.8.3.4.
J.7.2.5.1. Стойкость встроенных трансформаторов к токам короткого замыкания
Трансформатор должен выдерживать долговременное короткое замыкание вторичной обмотки. Это условие считают выполненным, если световой индикатор соответствует требованиям
J.8.3.3.3.
J.8. Испытания
J.8.3. Испытания световых индикаторов и индикаторных стоек
Индикаторы подвергают только типовым испытаниям. Дополнительные (контрольные или специальные) испытания в настоящем Приложении не рассматриваются.
J.8.3.3.3. Испытания на нагрев
Испытание на нагрев проводят следующим образом:
a) если световой индикатор имеет одно и то же значение номинальной тепловой мощности (см.
J.4.2) независимо от условий монтажа, проводят только одно испытание индикатора в изолирующем кожухе;
b) если номинальная тепловая мощность зависит от условий монтажа, проводят два испытания индикаторов, расположенных:
- на стальной панели,
- в изолирующем кожухе;
c) монтаж на стальной панели:
пять индикаторов со светофильтрами зеленого цвета монтируют по указанной ниже схеме на стальной панели толщиной 2 мм, окрашенной в черный матовый цвет:
Размеры a и b должны быть:
1) для индикаторов, образующих единое целое с кнопкой, - в соответствии с
6.3.1.3;
2) для других индикаторов - согласно указаниям изготовителя, при этом используемые размеры должны быть указаны в протоколах испытаний.
Индикаторы оборудуют лампами в соответствии с указаниями изготовителя и в случае необходимости встроенными устройствами, такими как трансформаторы, резисторы и т.д.
Размеры проводников должны соответствовать
8.3.3.3.
Стальную панель устанавливают вертикально на стол и на индикаторы подают номинальное напряжение. Продолжительность испытания должна быть такой, чтобы достигалась температура установившегося режима;
d) монтаж в изолирующем кожухе:
испытание, приведенное в соответствии с
перечислением c), проводят с индикаторами, смонтированными в закрытом кожухе из изолирующего материала, например, гетинакса толщиной 2 мм, размеры передней поверхности те же, что и стальной панели, а глубина должна быть равна 110 мм. Индикаторы должны быть снабжены лампами, тип которых предусмотрен изготовителем; лампы питают номинальным рабочим напряжением.
Продолжительность испытания должна быть такой, чтобы достигалась температура установившегося режима;
e) результаты испытаний:
по окончании каждого испытания, проведенного в соответствии с
перечислениями c) и
d), измеряют температуру:
- на корпусе индикатора;
- на выводах;
- на доступной поверхности светофильтра.
Температура не должна превышать пределы по ГОСТ 30011.1,
пункт 7.2.2;
f) для индикаторных стоек размещение пяти световых сигнальных узлов должно выполняться в вертикальном положении. Три верхних сигнальных узла или максимальное их число, указанное изготовителем, если их число больше трех, по указанию изготовителя должны оснащаться лампами максимальной мощности из сигнальных узлов и питаться номинальным рабочим напряжением. После достижения стабильной температуры ее измеряют на верху стойки и на ламповом светофильтре центрального элемента всей стойки.
J.8.3.3.4. Испытание на электрическую прочность изоляции
J.8.3.3.4.3. Световые индикаторы со встроенным трансформатором
Проводят два дополнительных испытания на электрическую прочность изоляции, продолжительность каждого испытания 1 мин:
- между первичной и вторичной обмотками трансформатора прикладывают испытательное напряжение согласно
8.3.3.4;
- между вторичной обмоткой трансформатора и корпусом светового индикатора прикладывают испытательное напряжение 1000 В.
J.8.3.4. Испытание коротким замыканием (на встроенные трансформаторы, если они есть)
Испытание проводят при следующих условиях:
- напряжение первичной обмотки

;
- температура окружающего воздуха (20 +/- 5) °C;
- продолжительность испытания 1 ч.
Трансформатор должен быть замкнут накоротко с помощью проводника с очень малым сопротивлением.
По окончании испытания и после охлаждения до температуры окружающего воздуха трансформатор должен выдержать проверку электрической прочности изоляции по
8.3.3.4.
J.8.4.1. Прямой монтаж
J.8.4.1.1. Общие положения
Индикаторная стойка с пятью сигнальными узлами должна устанавливаться по указаниям изготовителя без выступающих полюсов и с подачей номинального напряжения к трем верхним узлам.
Испытания проводят следующим образом.
J.8.4.1.2. Удар
Испытания проводят в условиях в соответствии с
ГОСТ 28213.
Наносят по шесть ударов в каждом направлении вдоль трех взаимно перпендикулярных осей (всего 36 ударов):
- форма импульса - полусинусоидальная;
- амплитуда ускорения 15 g;
- длительность импульса 11 мс.
J.8.4.1.3. Вибрация
В соответствии с
ГОСТ 28203 вдоль трех взаимно перпендикулярных осей:
- диапазон частот 10 - 55 Гц;
- амплитуда 0,5 мм;
- длительность цикла качания 5 мин;
- длительность при резонансной частоте или при 55 Гц 30 мин в каждой из трех осей (всего 90 мин).
J.8.4.2. Непрямой опорный монтаж
Если информация об изделии содержит другие допустимые условия монтажа (например, монтаж полюсов), изготовитель должен указать уровень жесткости при испытаниях на удар и вибрацию, при котором соблюдаются требования J.8.4.3.
J.8.4.3. Ожидаемые результаты
После испытаний не должно быть видимых повреждений индикаторных стоек и сигнализация не должна быть повреждена.
J.8.5. Степень защиты индикаторных стоек
Если изготовитель указывает степень защиты, испытание проводят согласно ГОСТ 30011.1,
Приложение C, со всеми съемными частями, установленными как при нормальной эксплуатации.
(обязательное)
СПЕЦИАЛЬНЫЕ ТРЕБОВАНИЯ К АППАРАТАМ
ДЛЯ ЦЕПЕЙ УПРАВЛЕНИЯ С ПОЛНЫМ ОТКЛЮЧЕНИЕМ ЦЕПИ
K.1. Общие положения
K.1.1. Область применения
Настоящее Приложение распространяется на аппараты для цепей управления с полным отключением цепи.
Все аппараты должны также отвечать требованиям настоящего стандарта, а также
Приложений F,
G,
H и (или)
J.
K.1.2. Цель
В настоящем Приложении приведены дополнительные требования к аппаратам для цепей управления с полным отключением цепи, а также термины и определения, необходимые для уточнения характеристик.
K.2. Определения
В настоящем Приложении применены следующие дополнительные термины с соответствующими определениями:
K.2.1. аппарат для цепей управления с полным отключением цепи: Аппарат, содержащий один или несколько размыкающих контактных элементов, связанных с органом управления с помощью неупругих деталей таким образом, что полное размыкание контактов наступает после того, как орган управления переместится из отключенного положения за счет приложенного усилия (момента).
K.2.2. естественное (прямое) движение размыкания контактного элемента: Размыкание контактов непосредственно за счет движения органа управления, осуществляемое с помощью неупругих элементов (например без пружины).
K.2.3. ход естественного движения размыкания: Разность между положением начала движения органа управления и положением, соответствующим выполнению прямого движения размыкания.
K.2.4. сила (момент) прямого размыкания: Усилия, прикладываемые к органу управления для выполнения прямого движения размыкания.
K.3. Классификация
Существуют два типа аппаратов для целей управления с прямым движением контактов;
- тип 1 - с одним контактным элементом, являющимся контактным элементом с прямым размыканием;
- тип 2 - с одним или несколькими размыкающими контактными элементами и, возможно, с одним или несколькими замыкающими контактными элементами и (или) одним или несколькими двунаправленными контактами.
Все размыкающие контактные элементы, в т.ч. размыкающая часть двунаправленных контактных элементов, должны быть типа 1.
K.4. Характеристики
Применяют следующие дополнительные характеристики:
K.4.3.1.2. Номинальное напряжение изоляции
Минимальное значение номинального напряжения изоляции должно быть 250 В.
K.4.3.2.1. Условный тепловой ток на открытом воздухе
Минимальное значение условного теплового тока на открытом воздухе должно быть 2,5 А.
K.4.4. Категории применения коммутационных элементов
Должна выбираться категория применения AC-15 или DC-13 - по
таблице 1.
Примечание. Допускаются дополнительные категории применения AC-14, DC-14.
K.5. Сведения, помещаемые на изделии
Применяют
раздел 5 со следующими дополнениями.
K.5.2. Маркировка
K.5.2.7. Движение прямого размыкания
Каждый контактный элемент с прямым движением размыкания должен быть маркирован снаружи несмываемым и легкочитаемым обозначением
K.5.2.8. Электрическое разделение контактных элементов на два направления
Контактные элементы на два направления с четырьмя выводами должны быть маркированы с учетом нестираемости различимости соответствующими формами Za или Zb в соответствии с
рисунком 4.
K.5.4. Дополнительные сведения
K.5.4.1. Ход органа управления и усилие приведения в действие
Изготовитель указывает следующие данные:
a) минимальный ход прямого размыкания;
b) минимальное усилие, необходимое для выполнения прямого размыкания всех размыкающих контактов;
c) максимальный ход, включая превышающий минимальный (т.е. люфт);
d) максимальную скорость воздействия (только для конечных выключателей);
e) максимальную частоту переключения (только для конечных выключателей).
Эти данные маркируют на аппарате для цепей управления или приводят на схеме цепей или в других документах изготовителя.
2. Выключатели управления типа 2 могут быть разомкнуты с меньшим ходом, чем ход прямого размыкания, указанный изготовителем.
K.5.4.2. Защита от короткого замыкания
Обозначение типа устройства защиты от короткого замыкания должно быть нанесено на изделие либо указано в инструкции по эксплуатации.
K.6. Нормальные условия эксплуатации, монтажа и транспортирования
Принимают
раздел 6 со следующими дополнениями.
K.6.1.1. Температура окружающего воздуха
Применяют ГОСТ 30011.1,
подпункт 6.1.1, за исключением позиционных переключателей с прямым движением размыкания, верхние и нижние пределы температуры которых соответственно плюс 70 °C и минус 25 °C, а средняя температура, измеренная за 24 ч, не превышает 35 °C.
Примечание. Выбор соединительных проводников при необходимости может быть предметом соглашения между изготовителем и потребителем (см. ГОСТ 30011.1,
таблица 2, примечание 1).
K.7. Требования к конструкции и работоспособности
Применяют
раздел 7 со следующими дополнениями.
K.7.1.4.3.1. Прочность механизма управления
Чтобы иметь достаточную прочность, механизм управления должен соответствовать требованиям
K.8.3.7.
K.7.1.4.3.2. Прямое движение размыкания
Аппараты для цепей управления с прямым движением размыкания должны соответствовать требованиям, указанным в
K.8.3.4,
K.8.3.5 (в случае позиционного переключателя с прямым движением размыкания) и
K.8.3.7 без заметной деформации, способной уменьшить стойкость к воздействию импульсного напряжения, прикладываемого между разомкнутыми контактами.
K.7.1.4.5. Автоматическое размыкание выключателей с прямым движением размыкания, управляемых по кабелю
Выключатели должны автоматически возвращаться в разомкнутое состояние в случае дефекта в кабеле или его креплении.
K.7.1.4.6. Требования относительно прямого движения размыкания (см. ГОСТ 30011.1,
подпункт 2.4.10)
Для части хода, соответствующего разделению контактов, необходимо иметь зависимую связь без упругой детали (например, пружины) между подвижными контактами и точкой органа управления, к которой прикладывают управляющее усилие.
K.7.1.4.6.1. Типы контактных элементов
Аппараты для цепей управления с полным отключением цепи могут иметь контактные элементы мгновенного или зависимого действия.
Размыкающие контактные элементы должны быть электрически разделены и отделены от замыкающих контактов.
Если аппарат для цепей управления имеет контактные элементы на два направления формы C или Za (см.
рисунки 4c,
4d), следует использовать один контакт (замыкающий или размыкающий). При наличии контакта на два направления формы Zb могут быть использованы оба контакта.
K.7.1.5.3. Индикация хода органа управления
С целью облегчения регулировки органа управления по отношению к внешнему устройству переключения, например к кулачку, аппарат для цепей управления может иметь индикацию минимального требуемого хода для надежного размыкания, например, метку глубины погружения органа управления (см.
K.5.4.1, примечание 1,
перечисление a).
K.8. Испытания
K.8.3.1. Циклы испытаний
Применяют
8.3.1 со следующими дополнениями:
1) цикл испытаний VII (образец N 7) - механическое переключение позиционных выключателей с прямым движением размыкания:
- испытание N 1 - механическое переключение в температурных пределах (см.
K.8.3.5),
- испытание N 2 - проверка прямого движения размыкания (см.
K.8.3.6);
2) цикл испытаний VIII (образец N 8):
- проверка прочности механизма передачи усилия (см.
K.8.3.7).
K.8.3.4 Срабатывание при условном токе короткого замыкания
Применяют
8.3.4 со следующими дополнениями.
K.8.3.4.2.1. Проверка условного тока короткого замыкания
Испытание проводят в соответствии с
8.3.4.2, за исключением того, что ток устанавливается контактным элементом с прямым размыканием, а не дополнительной аппаратурой, и испытание проводят на каждом из трех аппаратов методом включения тока три раза тем же контактным элементом в однофазной цепи.
В случае аппаратов для целей управления типа 2 контактный элемент может быть выбран произвольно.
K.8.3.4.4.1. Работоспособность аппарата после испытания
После каждого испытания размыкающий контактный элемент должен разомкнуться в результате хода полного размыкания под действием усилия, оговоренного изготовителем (см.
K.5.4.1, перечисления a) и
b)).
Разомкнутое положение контактов должно быть проверено приложением импульсного испытательного напряжения 2500 В между разомкнутыми контактами.
K.8.3.5. Проверка механической работоспособности позиционных переключателей в температурных пределах
Это испытание применимо только для позиционных переключателей с прямым движением размыкания. Позиционный переключатель выдерживают при температуре 70 °C в течение 8 ч.
В конце выдержки при той же температуре через контакты пропускают максимальный рабочий ток в течение 10 мин. Контакты должны быть приведены в действие 10 раз посредством приложения усилия, установленного изготовителем, согласно
K.5.4.1, перечисление b). Затем проводят испытание на работоспособность при температуре минус 25 °C, но без пропускания тока.
В конце этих испытаний разомкнутое положение контактов должно быть проверено по
K.8.3.6.
K.8.3.6. Проверка прямого движения размыкания
Когда позиционный переключатель находится в положении, соответствующем ходу прямого размыкания, указанному в
K.5.4.1, перечисление a), расстояние между разомкнутыми контактами должно выдержать испытательное напряжение 2500 В.
Для позиционных переключателей, способных к разъединению, значение выдерживаемого импульсного напряжения должно соответствовать ГОСТ 30011.1,
таблица 14 и импульсному выдерживаемому напряжению

, указанному изготовителем.
K.8.3.7. Проверка прочности механизма передачи усилия
Замыкающие (размыкающие) контакты подвергают воздействию усилия

равного 10 Н (см.
рисунок K.1). Усилие (момент)

, превышающее(ий)

, установленное(ый) изготовителем, должно(ен) прикладываться к органу управления до исполнения хода прямого размыкания.
После этого испытания механизм передачи усилия и (или) контакты должны сохранять способность к функционированию и выдерживать испытательное импульсное напряжение согласно
K.8.3.6.
Для аппаратов для цепей управления, способных к разъединению, значение испытательного выдерживаемого импульсного напряжения должно соответствовать ГОСТ 30011.1,
таблица 14, и номинальному импульсному выдерживаемому напряжению

, указанному изготовителем.

- требуемое усилие (момент) размыкания, Н;

- усилие (момент), указанное(ый) изготовителем, Н
Рисунок K.1. Проверка прочности механизма передачи усилия
(обязательное)
СПЕЦИАЛЬНЫЕ ТРЕБОВАНИЯ К МЕХАНИЧЕСКИ
СВЯЗАННЫМ КОНТАКТНЫМ ЭЛЕМЕНТАМ
L.1. Общие положения
L.1.1. Область применения
Данное Приложение распространяется на механически связанные вспомогательные контактные элементы, входящие в состав аппаратов для цепей управления, в которых обеспечивается внутреннее приводное усилие, например, контакторное реле.
На соединение вспомогательных и главных контактов настоящее Приложение не распространяется.
Примечания. 1 Типичным примером применения механически связанных контактных элементов является самоконтроль в цепях управления станками.
2. Механически связанные контактные элементы ранее именовались силовыми контактами, контактами зависимого действия или связанными контактами.
3. Аппараты для цепей управления с внешним приводом (например, нажимные кнопки или конечные выключатели) имеют не ограниченное максимальным значением приводное усилие (см.
L.8.4, перечисление a), пункт 2), поэтому они не могут иметь механически связанных контактных элементов. В таких аппаратах в целях безопасности обычно применяют контакты с "прямым движением размыкания" (см.
Приложение K).
L.1.2. Цель
Настоящим Приложением предусмотрены дополнительные технические условия (определения, требования и испытания), необходимые для формулировки требуемых характеристик конструкции, маркировки и параметров механически связанных контактных элементов.
L.2. Термины и определения
L.2.1. механически связанные контактные элементы: Комбинация n-контактного (замыкающего) элемента (элементов) и m-контактного (размыкающего) элемента (элементов), расположенных таким образом, чтобы в условиях
L.8.4 они не смогли оказаться одновременно в замкнутом положении.
Примечания. 1. Одно устройство для цепи управления может иметь несколько групп механически связанных контактных элементов.
L.3. Классификация
L.4. Характеристики
Все механически связанные контактные элементы должны также отвечать требованиям настоящего стандарта.
L.5. Информация об изделии
Применяют
раздел 5 со следующим дополнением:
L.5.2.7. Идентификация и маркировка механически связанных контактных элементов
Механически связанные контактные элементы должны четко идентифицироваться:
- на самом аппарате для цепей управления; и (или)
- в документации изготовителя.
Механическая связь должна быть показана на схеме соединений двумя параллельными линиями, соединяющими залитый кружок на каждом из механически связанных контактных символов. Пример представлен на рисунке L.1.
Рисунок L.1. Пример механически связанных замыкающего
и размыкающего контактов и несвязанного
размыкающего контакта
Если аппараты, содержащие отдельные или все механически связанные контакты, маркируются, то следует использовать символ, показанный на рисунке L.2.
Рисунок L.2. Символ маркировки аппарата,
содержащего механически связанные контакты
L.6. Нормальные условия обслуживания, монтажа и транспортирования
Дополнительные требования отсутствуют.
L.7. Требования к конструкции и работоспособности
Применяют
раздел 7 со следующим дополнением:
L.7.1.9. Требования к механически связанным контактным элементам
Если один из n-контактных (замыкающих) элементов находится в замкнутом состоянии, то ни один из m-контактных (размыкающих) элементов не должен быть замкнут.
Если один из m-контактных (размыкающих) элементов находится в замкнутом состоянии, то ни один из n-контактных (замыкающих) элементов не должен быть замкнут.
L.8. Испытания
Применяют
раздел 8 со следующим дополнением:
L.8.4. Специальное испытание для механически связанных контактных элементов
Настоящее специальное испытание следует проводить на образце аппарата с сочетанием контактов m + n, где m - число размыкающих контактных элементов, а n - число замыкающих контактных элементов.
Каждое испытание проводят на новом образце.
Испытания следует проводить на новых и чистых аппаратах. Испытания проводят по следующей методике:
a) испытание нормально замкнутого контакта:
1) нормально замкнутый контактный элемент следует удерживать в замкнутом положении, например привариванием либо приклеиванием каждой точки контакта (например, двойной разрывной контакт приваривают в двух контактных точках). Толщина сварки или слоя клея должна быть такой, чтобы расстояние между контактами не превышало 0,02 мм;
2) приводное усилие следует прикладывать возбуждением катушки управления при 110% ее номинального напряжения;
3) при прикладывании усилия импульсное испытательное напряжение 2,5 кВ (1,2/50 мкс на уровне моря с учетом корректировки по ГОСТ 30011.1,
таблица 12) следует прикладывать к каждому нормально разомкнутому контакту. Не должно быть пробивного разряда.
Примечание. Согласно ГОСТ 30011.1,
таблица 13, данное испытание гарантирует минимальный зазор 0,5 мм.
b) испытание нормально разомкнутого контакта:
1) приводное усилие должно прикладываться возбуждением катушки управления при ее номинальном напряжении;
2) нормально разомкнутый контактный элемент следует удерживать в замкнутом положении, например, привариванием либо приклеиванием каждой точки контакта (например, двойной разрывной контакт приваривают в двух контактных точках). Толщина сварки или слоя клея должна быть такой, чтобы расстояние между контактами не превышало 0,02 мм;
3) приводное усилие следует прикладывать повторным возбуждением катушки управления;
4) при повторном возбуждении катушки управления импульсное испытательное напряжение, равное 2,5 кВ (1,2/50 мкс на уровне моря с учетом корректировки по ГОСТ 30011.1,
таблица 12), следует прикладывать к каждому нормально разомкнутому контакту. Не должно быть пробивного разряда.
Примечание. Согласно ГОСТ 30011.1,
таблица 13, данное испытание гарантирует минимальный зазор 0,5 мм.
(справочное)
АЛФАВИТНЫЙ УКАЗАТЕЛЬ ТЕРМИНОВ
А |
Аппарат автоматический для цепей управления | |
Аппарат для цепей управления | |
Аппарат для цепей управления, применяемый для разъединения | |
Аппарат для цепей управления с направляющей тягой | |
Аппарат для цепей управления с ручным приводом | |
Аппарат для цепей управления со свободной тягой | |
Аппаратура для цепей управления | |
В |
Величина возврата | |
Величина дифференциальная | |
Величина рабочая | |
Время дребезга | |
Выдержка времени d (контактного элемента) | |
Выдержка времени e (контактного элемента) | |
Выдержка времени регулируемая (контактного элемента) | |
Выдержка времени фиксированная (контактного элемента) | |
Выключатель педальный | |
Выключатель позиционный | |
Д |
Диаграмма работы | |
К |
Кнопка | |
Кнопка выступающая | |
Кнопка вытяжная | |
Кнопка грибовидная | |
Кнопка нажимная | |
Кнопка нажимная закрытая | |
Кнопка нажимная защищенная | |
Кнопка нажимная, приводимая в действие ключом | |
Кнопка нажимная с блокировкой | |
Кнопка нажимная с выдержкой возврата | |
Кнопка нажимная с выдержкой срабатывания | |
Кнопка нажимная - вытяжная | |
Кнопка нажимная с защелкой | |
Кнопка нажимная с направляющей | |
Кнопка нажимная с сигнализацией | |
Кнопка нажимная свободная | |
Кнопка поворотная (например, переключатель) | |
Кнопка утапливаемая | |
Кнопка утопленная | |
Контакторное реле мгновенного действия | |
Контакторное реле с выдержкой времени срабатывания | |
Контактный узел | |
М |
Механизм фиксации (поворотного переключателя) | |
Механически связанные контактные элементы | |
П |
Переключатель поворотный на одно направление | |
Переключатель поворотный с ключом | |
Переключатель поворотный с ограничением хода | |
Переключатель управления поворотный (переключатель поворотный) | |
Положение блокировки | |
Положение вызова | |
Положение определенное (положение поворотного переключателя) | |
Положение переходное | |
Положение покоя | |
Положение фиксирования | |
Программатор | |
Пульт управления | |
С |
Связь зависимая | |
Связь независимая | |
Связь прямая | |
У |
Упор | |
Усилие (или момент) начальное минимальное | |
Усилие (или момент) срабатывания минимальное | |
Ф |
Фактор действия | |
Х |
Ход (люфт) начальный контактного элемента | |
Ход (люфт) начальный органа управления | |
Ход остаточный контактного элемента | |
Ход остаточный органа управления | |
Э |
Элемент коммутационный | |
Элемент контактный (аппарата для цепей управления) | |
Элемент контактный двойного разрыва цепи | |
Элемент контактный зависимого действия | |
Элемент контактный замыкающий | |
Элемент контактный импульсный | |
Элемент контактный мгновенного действия независимый | |
Элемент контактный одинарного разрыва цепи | |
Элемент контактный переключающий | |
Элемент контактный размыкающий | |
Элементы контактные электрически разделенные | |
Элемент полупроводниковый | |
(справочное)
СВЕДЕНИЯ О СООТВЕТСТВИИ ССЫЛОЧНЫХ МЕЖГОСУДАРСТВЕННЫХ
СТАНДАРТОВ ССЫЛОЧНЫМ МЕЖДУНАРОДНЫМ СТАНДАРТАМ
Таблица ДА.1
Обозначение и наименование международного стандарта (международного документа) | Степень соответствия | Обозначение и наименование межгосударственного стандарта |
IEC 60947-1-99 Аппаратура коммутационная и механизмы управления низковольтные комплектные. Часть 1. Общие правила | MOD | ГОСТ 30011.1-2012 (IEC 60947-1:2004) Аппаратура распределения и управления низковольтная. Часть 1. Общие требования и методы испытаний |
IEC 60947-4-1-2000 Аппаратура коммутационная и механизмы управления низковольтные комплектные. Часть 4-1. Контакторы и пускатели электродвигателей. Электромеханические контакторы и пускатели электродвигателей | MOD | ГОСТ 30011.4.1-96 (МЭК 60947-4-1-90) Аппаратура распределения и управления низковольтная. Часть 4-1. Контакторы и пускатели. Электромеханические контакторы и пускатели |
IEC 60947-5-5-97 Аппаратура коммутационная и механизмы управления низковольтные комплектные. Часть 5-5. Устройства и коммутационные элементы цепей управления. Электрические устройства аварийной остановки с механической функцией фиксации | MOD | ГОСТ 30011.5.5-2012 (IEC 60947-5-5-97) Аппаратура распределения и управления низковольтная. Часть 5-5. Аппараты и элементы коммутации для цепей управления. Электрические устройства срочного останова с функцией механического защелкивания |
IEC 61000-4-2-99 Электромагнитная совместимость. Часть 4-2. Методики испытаний и измерений. Испытание на невосприимчивость к электростатическому разряду | MOD | ГОСТ 30804.4.2-2002 (МЭК 61000-4-2-95) Совместимость технических средств электромагнитная. Устойчивость к электростатическим разрядам. Требования и методы испытаний |
IEC 61000-4-3-99 Электромагнитная совместимость. Часть 4-3. Методики испытаний и измерений. Испытание на устойчивость к воздействию электромагнитного поля с излучением на радиочастотах | MOD | ГОСТ 30804.4.3-2002 (МЭК 61000-4-3-98) Совместимость технических средств электромагнитная. Устойчивость к радиочастотному электромагнитному полю. Требования и методы испытаний |
IEC 61000-4-4-99 Электромагнитная совместимость. Часть 4-4. Методы испытаний и измерений. Испытание на невосприимчивость к быстрым переходным процессам и всплескам | MOD | ГОСТ 30804.4.4-2002 (МЭК 61000-4-4-95) Совместимость технических средств электромагнитная. Устойчивость к наносекундным импульсным помехам. Требования и методы испытаний |
IEC 61000-4-5-99 Электромагнитная совместимость. Часть 4: Методики испытаний и измерений. Раздел 5: Испытание на невосприимчивость к выбросу напряжения | MOD | ГОСТ 30804.4.5-2002 (МЭК 61000-4-5-95) Совместимость технических средств электромагнитная. Устойчивость к микросекундным импульсным помехам большой энергии. Требования и методы испытаний |
IEC 61000-4-6-99 Электромагнитная совместимость. Часть 4-6. Методики испытаний и измерений. Защищенность от помех по цепи питания, наведенных радиочастотными полями | MOD | ГОСТ 30804.4.6-2002 (МЭК 61000-4-6-96) Совместимость технических средств электромагнитная. Устойчивость к кондуктивным помехам, наведенным радиочастотными электромагнитными полями. Требования и методы испытаний |
IEC 61000-4-6-99 Электромагнитная совместимость. Часть 4-11. Методики испытаний и измерений. Кратковременные понижения напряжения, короткие отключения | MOD | ГОСТ 30804.4.11-2002 (МЭК 61000-4-4-94) Совместимость технических средств электромагнитная. Устойчивость к динамическим изменениям напряжения электропитания. Требования и методы испытаний |
SISPR 11-97 Совместимость технических средств электромагнитная. Радиопомехи индустриальные от промышленных, научных, медицинских и бытовых (ПНМБ) высокочастотных устройств. Требования и методы испытаний | MOD | ГОСТ 30805.11-2002 (СИСПР 11-97) Совместимость технических средств электромагнитная. Радиопомехи индустриальные от промышленных, научных, медицинских и бытовых (ПНМБ) высокочастотных устройств. Требования и методы испытаний |
IEC 60073:2002 Основополагающие принципы и принципы безопасности для интерфейса человек-машина, маркировка и идентификация. Принципы кодирования для индикаторов и пускателей | MOD | ГОСТ Р МЭК 60073-2000 Интерфейс человекомашинный. Маркировка и обозначение органов управления и контрольных устройств. Правила кодирования информации |
IEC 61140:2001 Защита от поражения электрическим током. Общие аспекты, связанные с электроустановками и электрооборудованием | MOD | ГОСТ Р МЭК 61140-2000 Защита от поражения электротоком. Общие положения по безопасности, обеспечиваемой электроустановками и электрооборудованием |
IEC 60617-7-83 Графические символы для диаграмм. Часть 7. Реле защиты | MOD | ГОСТ 2.767-89 (МЭК 617-7-83) ЕСКД. Обозначения условные графические в электрических схемах. Реле защиты |
IEC 60068-1-88 Испытание на воздействие внешних факторов. Часть 1: Общие положения и руководство | MOD | ГОСТ 28198-89 (МЭК 68-1-88) Основные методы испытаний на воздействие внешних факторов. Часть 1. Общие положения и руководства |
IEC 60068-2-6-82 Испытания на воздействие внешних факторов. Часть 2: Испытания. Испытание Fc: Вибрация (синусоидальная) | MOD | ГОСТ 28203-89 (МЭК 68-2-6-82) Основные методы испытаний на воздействие внешних факторов. Часть 2. Испытания. Испытание Fc и руководство: Вибрация (синусоидальная) |
IEC 60068-2-14-84 Испытания на воздействие внешних факторов. Часть 2-14. Испытания. Испытание N: Смена температуры | MOD | ГОСТ 28209-89 (МЭК 68-2-14-84) Основные методы испытаний на воздействие внешних факторов - Часть 2: Испытания. Испытание N: Смена температуры |
IEC 60068-2-27-87 Испытания на воздействие внешних факторов. Часть 2. Испытания. Часть 2-27: Испытания. Испытание Ea и руководство: Удар | MOD | ГОСТ 28213-89 (МЭК 68-2-27-87) Основные методы испытаний на воздействие внешних факторов. Часть 2. Испытания. Испытание Ea и руководство: Одиночный удар |
IEC 60068-2-30-87 Испытания на воздействия внешних факторов. Часть 2. Испытания. Испытание Db и руководство: Влажное тепло, циклическое (12 + 12-часовой цикл) | MOD | ГОСТ 28216-89 (МЭК 68-2-30-87) Основные методы испытаний на воздействие внешних факторов. Часть 2: Испытания. Испытание Db и руководство: Влажное тепло, циклическое (12 + 12-часовой цикл) |
IEC 60417-73 Графические обозначения, применяемые на оборудовании | MOD | ГОСТ 28312-89 (МЭК 417-73) Аппаратура радиоэлектронная профессиональная. Условные графические обозначения |
В настоящей таблице использовано следующее условное обозначение степени соответствия стандартов: - MOD - модифицированные стандарты. |
Библиография
| Публикация 2 Международной комиссии по освещению (МКО) |
| МЭК 60050-441: 1984 | Международный электротехнический словарь. Глава 441. Коммутационная аппаратура управления и предохранители. Изменение 1 (2000) |
| МЭК 60050-446:1983 | Международный электротехнический словарь. Глава 446. Электрические реле |
| МЭК 60617-ОВ-12М: 2001 | Обозначения графические для схем |
| МЭК 60410:1973 | Правила и планы выборочного контроля по качественным признакам |
| МЭК 61000-4-8:1993 | Электромагнитная совместимость. Часть 4. Методики испытаний и измерений. Раздел 8. Испытания на помехоустойчивость в условиях магнитного поля промышленной частоты. Изменение 1 (2000) |
| МЭК 61000-4-13: 2002 | Электромагнитная совместимость. Часть 4. Методики испытаний и измерений. Раздел 13. Испытания низковольтной помехозащищенности от взрывных гармоник и промежуточных гармоник, включая сетевые сигналы, передаваемые в сеть переменного тока |