Главная // Актуальные документы // ГОСТ (Государственный стандарт)СПРАВКА
Источник публикации
М.: ИПК Издательство стандартов, 2004
Примечание к документу
С 1 июля 2003 года до вступления в силу технических регламентов акты федеральных органов исполнительной власти в сфере технического регулирования носят рекомендательный характер и подлежат обязательному исполнению только в части, соответствующей целям, указанным в
пункте 1 статьи 46 Федерального закона от 27.12.2002 N 184-ФЗ.
Документ
введен в действие с 1 июля 1974 года.
Взамен ГОСТ 9884-61 в части разд. 7.
Название документа
"ГОСТ 18995.7-73. Межгосударственный стандарт. Продукты химические органические. Методы определения температурных пределов перегонки"
(утв. и введен в действие Постановлением Госстандарта СССР от 17.07.1973 N 1740)
(ред. от 01.06.1986)
"ГОСТ 18995.7-73. Межгосударственный стандарт. Продукты химические органические. Методы определения температурных пределов перегонки"
(утв. и введен в действие Постановлением Госстандарта СССР от 17.07.1973 N 1740)
(ред. от 01.06.1986)
Утвержден и введен в действие
Постановлением Государственного
комитета стандартов
Совета Министров СССР
от 17 июля 1973 г. N 1740
МЕЖГОСУДАРСТВЕННЫЙ СТАНДАРТ
ПРОДУКТЫ ХИМИЧЕСКИЕ ОРГАНИЧЕСКИЕ
МЕТОДЫ ОПРЕДЕЛЕНИЯ ТЕМПЕРАТУРНЫХ ПРЕДЕЛОВ ПЕРЕГОНКИ
Organic chemical products.
Methods for determination of boiling range
ГОСТ 18995.7-73
| | Список изменяющих документов (в ред. Изменения N 1, утв. в июне 1986 г.) | |
Дата введения
1 июля 1974 года
1. Разработан и внесен Министерством химической промышленности СССР.
2. Утвержден и введен в действие Постановлением Государственного комитета стандартов Совета Министров СССР от 17.07.1973 N 1740.
3. Стандарт полностью соответствует СТ СЭВ 5099-85.
4. Взамен ГОСТ 9884-61 в части разд. 7.
5. Ссылочные нормативно-технические документы
Обозначение НТД, на который дана ссылка | Номер пункта, подпункта |
| |
| |
| |
6. Ограничение срока действия снято по Протоколу N 7-95 Межгосударственного совета по стандартизации, метрологии и сертификации (ИУС 11-95).
7. Издание (сентябрь 2004 г.) с Изменением N 1, утвержденным в июне 1986 г. (ИУС 10-86).
Настоящий стандарт распространяется на органические химические продукты (реактивы, особо чистые вещества и технические продукты) и устанавливает методы определения температурных пределов перегонки жидких продуктов, кипящих при нормальном давлении при температуре от 30 до 360 °C и не подвергающихся при этом разложению.
Сущность метода заключается в перегонке 100 см3 испытуемого продукта в установленных условиях и определении температуры начала и конца перегонки.
Термины, применяемые в стандарте, и их определения приведены в
Приложении 3.
1. ОПРЕДЕЛЕНИЕ ТЕМПЕРАТУРНЫХ ПРЕДЕЛОВ ПЕРЕГОНКИ
В ПРИБОРЕ С ВЕРТИКАЛЬНЫМ СТЕКЛЯННЫМ ХОЛОДИЛЬНИКОМ
1.1. Аппаратура
Прибор ТПП
(черт. 1), состоящий из следующих частей:
перегонной колбы 1 вместимостью 250 см3 (круглодонная колба - при использовании электрообогрева или остродонная колба - при обогреве газовой горелкой) с внутренним шлифом для присоединения насадки к колонке;
колонки 3, нижняя часть которой имеет наружный шлиф; над ним находится полый стеклянный шар 2, предотвращающий перегревание пара, поступающего в колонку и к термометру; верхняя часть колонки имеет внутренний шлиф для термометра 4 со шлифом; под шлифом находится пароотводная трубка 5, прочно соединенная с холодильником 7;
холодильника 7 с компенсационной трубкой 6, вставленной в верхнюю часть холодильника для уравнивания давления; при необходимости основной холодильник удлиняют вторым холодильником; при использовании одного холодильника применяют короткую компенсационную трубку, при использовании двух холодильников - длинную;
приемника 8 - мерного сосуда вместимостью 100 см3 с ценой деления 1 см3 для первых 5 см3 и последних 2 см3;
термометра 4 лабораторного стеклянного с взаимозаменяемыми конусами с ценой деления 0,2 или 0,5 °C с установленной поправкой; длина нижней части термометра должна быть достаточна для того, чтобы шарик термометра находился в половине колонки.
Барометр ртутный или пружинный с установленной поправкой по ртутному барометру с латунной шкалой.
Воронка Бабо.
Горелка газовая или электронагреватель, обеспечивающие регулирование скорости нагрева.
Секундомер или часы песочные на 1 или 5 мин.
(Измененная редакция, Изм. N 1).
1.2. Подготовка к испытанию
1.2.1. При перегонке продуктов с температурой кипения выше 100 °C используют один холодильник, при перегонке продуктов с температурой кипения ниже 100 °C - два холодильника.
Температура охлаждающей среды, испытуемой пробы и приемника должна быть указана в нормативно-технической документации на испытуемый продукт. Если такого указания нет, то температура охлаждающей среды, испытуемой пробы и приемника должна соответствовать значениям, указанным в
Приложении 1.
При перегонке продуктов, застывающих при температуре окружающего воздуха, температура охлаждающей среды, испытуемой пробы и приемника должна быть на 5 °C выше температуры застывания, если в нормативно-технической документации на испытуемый продукт нет других указаний.
(Измененная редакция, Изм. N 1).
1.2.2. При перегонке жидкостей с высокой температурой кипения, во избежание появления трещин в стекле из-за больших разностей температур, следует обмотать пароотводную трубку асбестовым шнуром.
1.2.3. (Исключен, Изм. N 1).
1.2.4. Прибор укрепляют на штативе; колбу помещают в воронку Бабо; между приемником и горелкой укрепляют асбестовую пластинку размером 30 x 30. Собранный прибор для безопасности устанавливают на противне с песком за экраном.
(Измененная редакция, Изм. N 1).
1.3. Проведение испытания
Мерным сосудом, являющимся впоследствии приемником для отгона, отмеряют 100 см3 испытуемого продукта при (20 +/- 3) °C и по возможности без остатка переливают в перегонную колбу. Во избежание перегрева жидкости в колбу помещают 3 - 5 небольших кусочков прокаленного, пористого, неглазурованного фарфора или запаянных с одной стороны капилляров. Невысушенный приемник закрепляют с помощью пружины на нижнем шлифе холодильника. Колбу соединяют с помощью пружины с колонкой.
В начале испытания отмечают барометрическое давление. Нагревание (электронагрев или газовый) ведут так, чтобы жидкость закипала через 10 - 15 мин после начала нагревания, и затем регулируют так, чтобы после падения в приемник пятой капли дистиллята скорость перегонки была две капли в секунду (3 - 4 см3/мин).
За начальную температуру перегонки

считают температуру, при которой пятая капля дистиллята падает в приемник.
За конечную температуру перегонки

считают температуру, при которой в приемник отогнан заданный объем продукта, указанный в нормативно-технической документации на испытуемый продукт.
(Измененная редакция, Изм. N 1).
2. ОПРЕДЕЛЕНИЕ ТЕМПЕРАТУРНЫХ ПРЕДЕЛОВ ПЕРЕГОНКИ
В ПРИБОРЕ С НАКЛОННЫМ СТЕКЛЯННЫМ ХОЛОДИЛЬНИКОМ
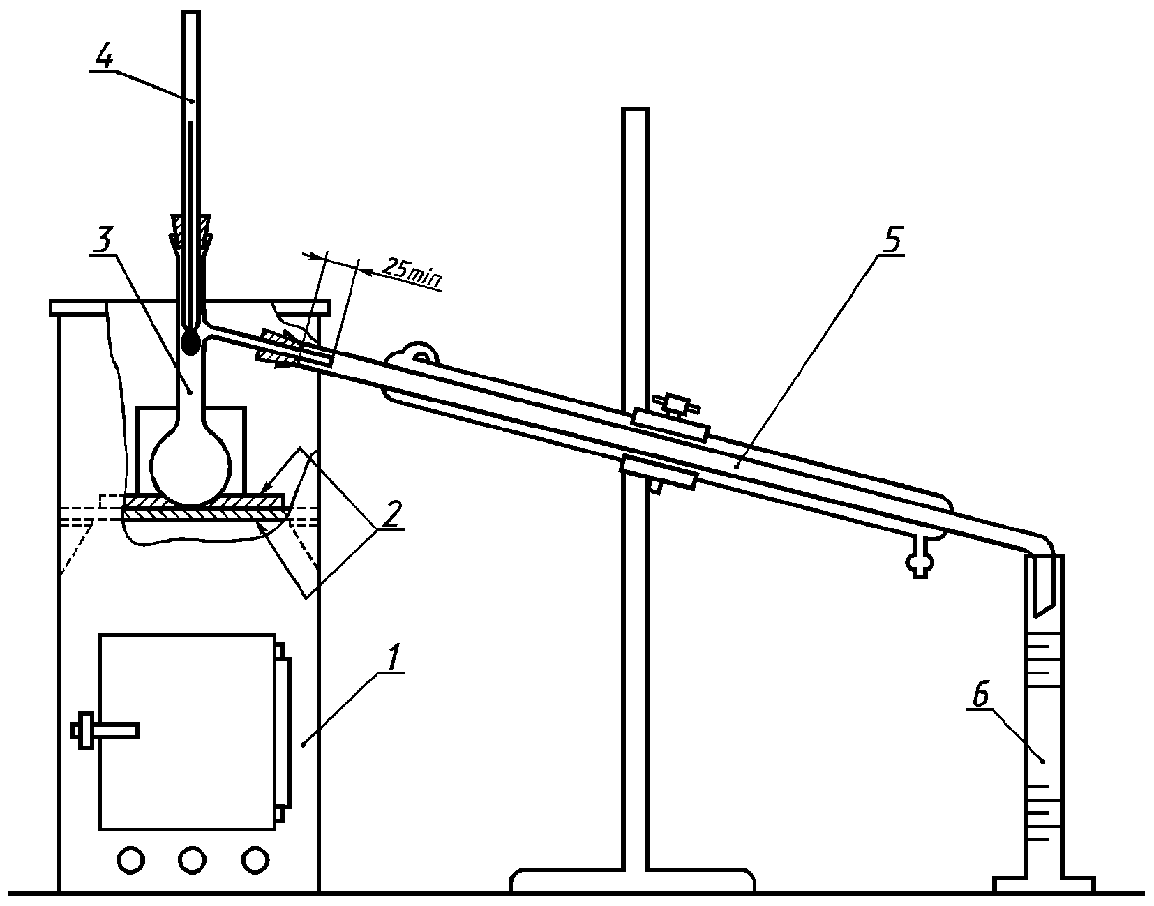
Прибор для перегонки
(черт. 2) состоит из следующих частей: колбы для перегонки 3 типа КРН по
ГОСТ 25336 вместимостью 100 см3;
цилиндра мерного 6 по
ГОСТ 1770 исполнения 1 вместимостью 100 см3 с ценой наименьшего деления 1 см3 или цилиндра мерного вспомогательного по
ГОСТ 1770 исполнения 1 вместимостью 10 см3 с ценой наименьшего деления 0,2 см3;
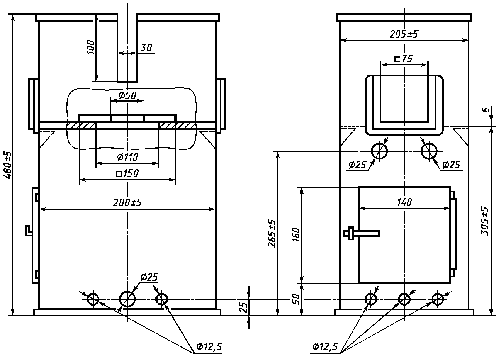
кожуха обогревательного устройства 1
(черт. 4), изготовленного из листовой стали толщиной 0,8 - 1 мм в форме правильной призмы, открытого сверху и снизу; в передней стенке кожуха находится дверца; над дверцей и на задней стенке кожуха находятся окошки из тугоплавкого стекла или слюды, в верхней части одной из боковых стенок - вырез; в передней и задней стенках кожуха на высоте 265 мм от основания расположены два отверстия диаметром 25 мм, центры которых находятся на расстоянии (68 +/- 1) мм от боковых кромок. Внутри кожуха на опорах из листового железа помещают пластинки 2 из теплостойкого материала толщиной 6 мм. В центре нижней пластинки, плотно прилегающей к стенкам кожуха, должно быть отверстие диаметром 110 мм, в центре верхней пластинки размером 150 x 150 мм должно быть отверстие диаметром 50 мм. Края пластинок из теплостойкого материала должны быть защищены от крошения пропиткой жидким стеклом. Допускается использование других конструкций кожуха, при этом модификация не должна влиять на тепловой режим перегонки;
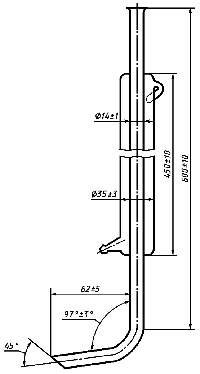
термометра измерительного 4 с ценой деления 0,1 - 1,0 °C с установленной поправкой, имеющего градуировку в диапазоне измерения температуры от начала до конца перегонки.
Барометр ртутный или пружинный с установленной поправкой по ртутному барометру с латунной шкалой.
Горелка газовая или электронагреватель, обеспечивающие регулирование скорости нагрева.
Секундомер или часы песочные на 5 или 10 мин.
Термометр вспомогательный ТЛ-2 1-А (Б) 1-2, ТЛ-6 3-Б 2 или ТЛ-4 4-Б 2.
2.2. Подготовка к испытанию
Перед проведением испытания собирают прибор для перегонки в соответствии с
черт. 2. Колбу 3 для перегонки устанавливают в вертикальном положении так, чтобы края отверстия верхней пластинки из огнестойкого материала плотно прилегали к стенкам колбы, а боковая трубка перегонной колбы располагалась соосно трубке холодильника 5. Измерительный термометр 4 закрепляют в центре горловины колбы с помощью плотно прилегающей корковой пробки.
Измерительный термометр устанавливают в перегонной колбе в соответствии с черт. 5.
Отметки температуры начала и конца перегонки испытуемого продукта должны находиться на той части шкалы термометра, которая выступает над верхним краем пробки.
Вспомогательный термометр устанавливают возле измерительного термометра так, чтобы центр его ртутного резервуара находился на уровне половины высоты выступающего над пробкой столбика ртути измерительного термометра в момент, когда объем дистиллята достигнет 50 см3.
Температура охлаждающей среды, испытуемой пробы в приемнике должна быть указана в нормативно-технической документации на испытуемый продукт. Если такого указания нет, то температура охлаждающей среды, испытуемой пробы и приемника должна соответствовать значениям, указанным в
Приложении 1.
При перегонке продуктов, застывающих при температуре окружающего воздуха, температура охлаждающей среды, испытуемой пробы и приемника должна быть на 5 °C выше температуры застывания, если в нормативно-технической документации на испытуемый продукт нет других указаний.
При перегонке легко летучих продуктов приемник погружают в водяную баню с температурой согласно
Приложению 1 и прикрывают его кружком фильтровальной бумаги с вырезанным отверстием, диаметр которого соответствует внешнему диаметру трубки холодильника, или ватным тампоном.
Собранный прибор в целях противопожарной безопасности устанавливают на противне с песком.
2.3. Проведение испытания
В сухой и чистый мерный цилиндр наливают 100 см3 испытуемого продукта, отсчитывая объем по нижнему мениску, при этом глаз должен находиться на уровне поверхности жидкости.
Из цилиндра жидкость переливают в сухую колбу для перегонки так, чтобы она не попала в отводную трубку. В колбу помещают несколько запаянных с одной стороны капилляров или кусочков прокаленного пористого неглазурованного фарфора. Соединения на пробках заливают коллодием, включают нагрев и регулируют скорость нагревания таким образом, чтобы первая капля дистиллята упала на дно мерного цилиндра через 5 - 10 мин. Если начальная температура перегонки продукта выше 100 °C, первая капля дистиллята должна упасть на дно мерного цилиндра через 10 - 15 мин.
В начале перегонки в качестве приемника допускается использовать вспомогательный цилиндр для измерения объема предгона и начальной скорости перегонки.
Мерный цилиндр, которым отмеряли испытуемый продукт, не высушивая, ставят под загнутый конец холодильника таким образом, чтобы можно было без затруднений отметить момент падения первой капли дистиллята. В момент падения в приемник первой капли дистиллята отмечают температуру начала перегонки

и после этого перемещают приемник так, чтобы конец холодильника касался его стенки и находился на высоте 25 - 30 мм ниже верхнего края, но не закрывал градуированной части цилиндра. В дальнейшем обогрев регулируют так, чтобы скорость дистилляции составляла 3 - 4 см3/мин.
После перегонки в мерный цилиндр 50 см3 испытуемого продукта записывают показания измерительного и вспомогательного термометров

и барометра (P) и измеряют высоту (h) выступающего над пробкой столбика ртути на измерительном термометре. Температуру по измерительному термометру отсчитывают, пользуясь лупой.
В момент испарения со дна перегонной колбы последней капли испытуемого продукта или в момент, когда в приемнике находится определенный объем дистиллята, указанный в нормативно-технической документации на испытуемый продукт, или в момент, когда достигнута максимальная температура перегонки, записывают температуру конца перегонки

.
После охлаждения колбы до комнатной температуры переливают сконденсированный остаток испытуемого продукта из перегонной колбы в мерный цилиндр. Общий объем дистиллята и остатка должен быть не менее 98 см3. Если объем дистиллята меньше, проверяют герметичность сборки прибора и определение повторяют.
Если в нормативно-технической документации на испытуемый продукт предусмотрено определение

для другого объема дистиллята, то

отмечают для указанного объема.
Если в нормативно-технической документации на испытуемый продукт предусмотрено определение объема остатка после перегонки, то его определяют с помощью мерного цилиндра с ценой наименьшего деления 0,1 см3.
2.1 - 2.3. (Измененная редакция, Изм. N 1).
3а. ОПРЕДЕЛЕНИЕ ТЕМПЕРАТУРНЫХ ПРЕДЕЛОВ ПЕРЕГОНКИ
В ПРИБОРЕ С НАКЛОННЫМ МЕТАЛЛИЧЕСКИМ ХОЛОДИЛЬНИКОМ
Температурные пределы перегонки определяют по
ГОСТ 2177 (метод А), при этом:
для испытания применяют термометры, указанные в
п. 2.1;
измерительный термометр устанавливают в колбе для перегонки, как указано на
черт. 5;
испытание проводят при значениях температуры охлаждающей среды, пробы и приемника, указанных в
Приложении 1;
обработку результатов проводят, как указано в разд. 3.
Разд. 3а. (Введен дополнительно, Изм. N 1).
3.1. Истинную температуру начала перегонки

и истинную температуру конца перегонки

в градусах Цельсия вычисляют по формулам

;

,
где

- температура начала перегонки, показанная измерительным термометром, °C;

- температурная поправка измерительного термометра по паспорту, °C;

- температурная поправка, учитывающая разницу между барометрическим и нормальным давлением, °C, вычисляемая по формуле

,
где K - коэффициент пересчета температуры перегонки при отклонении от нормального атмосферного давления, определяемый по таблице, °C/кПа;
101,3 - нормальное атмосферное давление, кПа;
P - атмосферное (барометрическое) давление, пересчитанное на давление при температуре 0 °C в соответствии с
Приложением 2;

- температурная поправка на выступающий над пробкой столбик ртути термометра при применении наклонного холодильника, °C, вычисляемая по формуле

,
где 0,00016 - коэффициент расширения ртути,

;
h - высота выступающего над пробкой столбика ртути измерительного термометра, выраженная в градусах шкалы термометра;

- температура, показанная измерительным термометром в момент перегонки 50 см3 испытуемого продукта или другого объема, указанного в нормативно-технической документации на испытуемый продукт, °C;

- температура окружающего воздуха, показанная вспомогательным термометром в момент перегонки 50 см3 испытуемого продукта или другого объема, указанного в нормативно-технической документации на испытуемый продукт, °C;

- температура конца перегонки, показанная измерительным термометром, °C.
Для продукта с интервалом перегонки до 2 °C значение поправки допускается определять по разнице между наблюдаемой температурой и истинной температурой перегонки при давлении 101,3 кПа.
За результат испытания принимают среднеарифметическое не менее чем двух результатов параллельных определений, допускаемые расхождения между которыми и количество параллельных определений должны быть указаны в нормативно-технической документации на испытуемый продукт. Если таких указаний нет, то за результат испытания принимают среднеарифметическое результатов двух параллельных определений, допускаемые расхождения между которыми не должны превышать 0,5 °C при определении в приборе с вертикальным стеклянным холодильником и 1 °C при определении в приборе с наклонным стеклянным холодильником.
Температурный диапазон, °C | Коэффициент пересчета, K, °C/кПа |
От 10 до 30 включ. | 0,25 |
Св. 30 до 50 " | 0,29 |
" 50 " 70 " | 0,30 |
" 70 " 90 " | 0,32 |
" 90 " 110 " | 0,34 |
" 110 " 130 " | 0,35 |
" 130 " 150 " | 0,38 |
" 150 " 170 " | 0,39 |
" 170 " 190 " | 0,41 |
" 190 " 210 " | 0,43 |
" 210 " 230 " | 0,44 |
" 230 " 250 " | 0,46 |
" 250 " 270 " | 0,48 |
" 270 " 290 " | 0,50 |
" 290 " 310 " | 0,52 |
" 310 " 330 " | 0,53 |
" 330 " 350 " | 0,56 |
" 350 " 370 " | 0,57 |
Разд. 3. (Измененная редакция, Изм. N 1).
Рекомендуемое
ТЕМПЕРАТУРА ОХЛАЖДАЮЩЕЙ СРЕДЫ, ИСПЫТУЕМОЙ ПРОБЫ
И ПРИЕМНИКА В ЗАВИСИМОСТИ ОТ НАЧАЛЬНОЙ
ТЕМПЕРАТУРЫ ПЕРЕГОНКИ
Начальная температура перегонки испытуемого продукта, °C | Температура охлаждающей среды, °C | Температура испытуемой пробы и приемника, °C |
До 50 | 0 - 3 | 0 - 3 |
От 50 до 70 включ. | 0 - 10 | 0 - 10 |
Св. 70 " 150 " | 25 - 30 | 20 - 30 |
" 150 | 35 - 50 | 20 - 30 |
ПРИЛОЖЕНИЕ 1. (Введено дополнительно, Изм. N 1).
Обязательное
ПЕРЕСЧЕТ АТМОСФЕРНОГО ДАВЛЕНИЯ ПРИ ТЕМПЕРАТУРЕ
ОКРУЖАЮЩЕЙ СРЕДЫ НА ДАВЛЕНИЕ ПРИ ТЕМПЕРАТУРЕ 0 °C
Температура окружающего воздуха, °C | Барометрическое давление, кПа |
94 | 95 | 96 | 97 | 98 | 99 | 100 | 101 | 102 | 103 | 104 |
Поправка к измеренному барометрическому давлению, кПа |
10 | 0,153 | 0,154 | 0,156 | 0,158 | 0,159 | 0,161 | 0,163 | 0,164 | 0,166 | 0,167 | 0,169 |
11 | 0,169 | 0,170 | 0,172 | 0,174 | 0,176 | 0,177 | 0,179 | 0,181 | 0,183 | 0,184 | 0,186 |
12 | 0,184 | 0,186 | 0,188 | 0,190 | 0,191 | 0,193 | 0,195 | 0,197 | 0,199 | 0,201 | 0,203 |
13 | 0,199 | 0,201 | 0,203 | 0,205 | 0,207 | 0,209 | 0,212 | 0,214 | 0,216 | 0,218 | 0,220 |
14 | 0,214 | 0,216 | 0,219 | 0,221 | 0,223 | 0,226 | 0,228 | 0,230 | 0,232 | 0,235 | 0,237 |
15 | 0,230 | 0,232 | 0,234 | 0,237 | 0,239 | 0,242 | 0,244 | 0,246 | 0,249 | 0,251 | 0,254 |
16 | 0,245 | 0,247 | 0,250 | 0,252 | 0,255 | 0,258 | 0,260 | 0,263 | 0,265 | 0,268 | 0,271 |
17 | 0,260 | 0,263 | 0,265 | 0,268 | 0,271 | 0,273 | 0,276 | 0,279 | 0,282 | 0,284 | 0,287 |
18 | 0,275 | 0,278 | 0,281 | 0,284 | 0,287 | 0,290 | 0,293 | 0,296 | 0,299 | 0,301 | 0,304 |
19 | 0,291 | 0,294 | 0,297 | 0,300 | 0,303 | 0,306 | 0,309 | 0,312 | 0,315 | 0,318 | 0,321 |
20 | 0,307 | 0,310 | 0,313 | 0,316 | 0,319 | 0,322 | 0,326 | 0,329 | 0,332 | 0,335 | 0,338 |
21 | 0,322 | 0,325 | 0,328 | 0,332 | 0,335 | 0,338 | 0,341 | 0,345 | 0,348 | 0,351 | 0,355 |
22 | 0,337 | 0,340 | 0,344 | 0,347 | 0,351 | 0,354 | 0,358 | 0,361 | 0,365 | 0,368 | 0,372 |
23 | 0,352 | 0,356 | 0,359 | 0,363 | 0,367 | 0,370 | 0,374 | 0,378 | 0,382 | 0,385 | 0,389 |
24 | 0,367 | 0,371 | 0,375 | 0,379 | 0,383 | 0,387 | 0,390 | 0,394 | 0,398 | 0,402 | 0,406 |
25 | 0,383 | 0,387 | 0,391 | 0,395 | 0,399 | 0,403 | 0,407 | 0,411 | 0,415 | 0,419 | 0,423 |
26 | 0,398 | 0,402 | 0,406 | 0,411 | 0,415 | 0,419 | 0,423 | 0,427 | 0,431 | 0,436 | 0,440 |
27 | 0,414 | 0,418 | 0,422 | 0,426 | 0,431 | 0,435 | 0,439 | 0,444 | 0,449 | 0,453 | 0,457 |
28 | 0,429 | 0,433 | 0,438 | 0,442 | 0,447 | 0,451 | 0,456 | 0,461 | 0,465 | 0,469 | 0,473 |
29 | 0,445 | 0,449 | 0,453 | 0,458 | 0,463 | 0,468 | 0,472 | 0,477 | 0,481 | 0,486 | 0,490 |
30 | 0,459 | 0,464 | 0,469 | 0,474 | 0,479 | 0,484 | 0,488 | 0,493 | 0,498 | 0,502 | 0,507 |
31 | 0,475 | 0,480 | 0,485 | 0,490 | 0,495 | 0,500 | 0,505 | 0,510 | 0,514 | 0,519 | 0,524 |
32 | 0,490 | 0,495 | 0,500 | 0,505 | 0,510 | 0,516 | 0,521 | 0,526 | 0,531 | 0,536 | 0,541 |
33 | 0,505 | 0,511 | 0,516 | 0,521 | 0,526 | 0,532 | 0,537 | 0,542 | 0,547 | 0,553 | 0,558 |
34 | 0,521 | 0,526 | 0,532 | 0,537 | 0,542 | 0,548 | 0,553 | 0,559 | 0,564 | 0,570 | 0,575 |
35 | 0,536 | 0,541 | 0,547 | 0,553 | 0,558 | 0,564 | 0,570 | 0,576 | 0,582 | 0,586 | 0,592 |
Примечание. Значение поправки, указанное в
таблице, вычитают из значения давления, показанного барометром с латунной шкалой.
ПРИЛОЖЕНИЕ 2. (Введено дополнительно, Изм. N 1).
Справочное
Термин | Определение |
1. Температура начала перегонки | Температура, отмеченная (если необходимо, скорректированная) в момент падения первой или пятой (в зависимости от метода) капли дистиллята с конца трубки холодильника во время перегонки, проводимой в стандартных условиях. |
2. Температура конца перегонки | Максимальная температура, отмеченная (если необходимо, скорректированная) в период завершения фазы перегонки, проводимой в стандартных условиях, или температура, отмеченная (если необходимо, скорректированная) в момент испарения последней капли жидкости со дна колбы во время перегонки, проводимой в стандартных условиях, не принимая во внимание капли жидкости, стекающие по стенкам колбы |
ПРИЛОЖЕНИЕ 3. (Введено дополнительно, Изм. N 1).