Главная // Актуальные документы // ГОСТ (Государственный стандарт)СПРАВКА
Источник публикации
В данном виде документ опубликован не был.
Первоначальный текст документа опубликован в издании
М.: Издательство стандартов, 1984.
Информацию о публикации документов, создающих данную редакцию, см. в справке к этим документам.
Примечание к документу
Документ утратил силу с 1 января 2017 года в части определения массовой доли воды, золы и посторонних примесей в связи с изданием
Приказа Росстандарта от 06.08.2015 N 1109-ст. Взамен введен в действие
ГОСТ 33331-2015.
Документ включен в
Перечень международных и региональных (межгосударственных) стандартов, а в случае их отсутствия - национальных (государственных) стандартов, содержащих правила и методы исследований (испытаний) и измерений, в том числе правила отбора образцов, необходимые для применения и исполнения требований технического
регламента Евразийского экономического союза "О безопасности рыбы и рыбной продукции" (ТР ЕАЭС 040/2016) и осуществления оценки соответствия объектов технического регулирования (
Решение Коллегии Евразийской экономической комиссии от 19.07.2022 N 107).
Документ включен в
Перечень стандартов, содержащих правила и методы исследований (испытаний) и измерений, в том числе правила отбора образцов, необходимые для применения и исполнения требований технического
регламента Евразийского экономического союза "О безопасности рыбы и рыбной продукции" (ТР ЕАЭС 040/2016) и осуществления оценки соответствия объектов технического регулирования (
Решение Коллегии Евразийской экономической комиссии от 29.08.2017 N 106).
Документ был включен в
Перечень стандартов, содержащих правила и методы исследований (испытаний) и измерений, в том числе правила отбора образцов, необходимые для применения и исполнения требований технического
регламента Таможенного союза "О безопасности отдельных видов специализированной пищевой продукции, в том числе диетического лечебного и диетического профилактического питания" (ТР ТС 027/2012) и осуществления оценки (подтверждения) соответствия продукции (
Решение Коллегии Евразийской экономической комиссии от 18.10.2012 N 191).
Ограничение срока действия снято по Протоколу Межгосударственного Совета по стандартизации, метрологии и сертификации ("ИУС", N 2, 1993).
Взамен ГОСТ 13929-68 в части определения хлористого натрия в водорослях и продуктах их переработки, ГОСТ 13930-68 в части определения влаги в водорослях и продуктах их переработки, ГОСТ 22455-77 в части разд. 3,
пп. 3.1 - 3.3, ГОСТ 6730-75 в части разд. 3,
пп. 3.1 -
3.5, ГОСТ 16280-70 в части разд. 2,
пп. 2.6 - 2.18.
Название документа
"ГОСТ 26185-84. Государственный стандарт Союза ССР. Водоросли морские, травы морские и продукты их переработки. Методы анализа"
(утв. и введен в действие Постановлением Госстандарта СССР от 07.05.1984 N 1585)
(ред. от 12.10.2017)
"ГОСТ 26185-84. Государственный стандарт Союза ССР. Водоросли морские, травы морские и продукты их переработки. Методы анализа"
(утв. и введен в действие Постановлением Госстандарта СССР от 07.05.1984 N 1585)
(ред. от 12.10.2017)
Утвержден и введен в действие
Постановлением Государственного
комитета СССР по стандартам
от 7 мая 1984 г. N 1585
ГОСУДАРСТВЕННЫЙ СТАНДАРТ СОЮЗА ССР
ВОДОРОСЛИ МОРСКИЕ, ТРАВЫ МОРСКИЕ И ПРОДУКТЫ ИХ ПЕРЕРАБОТКИ
МЕТОДЫ АНАЛИЗА
Seaweeds, sea-grasses and its processed products.
Methods of physical and chemical analysis
ГОСТ 26185-84
| | Список изменяющих документов Приказом Росстандарта от 12.10.2017 N 1408-ст, Приказом Росстандарта от 06.08.2015 N 1109-ст) | |
Постановлением Государственного комитета СССР по стандартам от 7 мая 1984 г. N 1585 срок действия установлен
с 1 января 1985 года
до 1 января 1990 года
--------------------------------
<*> ГОСТ 13929-68 (в части определения хлористого натрия в водорослях и продуктах их переработки),
ГОСТ 13930-68 (в части определения влаги в водорослях и продуктах их переработки),
ГОСТ 22455-77 (в части разд. 3,
пп. 3.1 - 3.3),
ГОСТ 16280-70 (в части разд. 2, пп. 2.6 - 2.18).
Разработан Министерством рыбного хозяйства СССР.
Исполнители: В.П. Быков, канд. техн. наук; А.Н. Головин, канд. техн. наук; С.Г. Кириченко, канд. биол. наук; Т.М. Лебедева.
Внесен Министерством рыбного хозяйства СССР.
Член Коллегии С.В. Бутысин.
Утвержден и введен в действие 7 мая 1984 г. N 1585.
Настоящий стандарт распространяется на морские водоросли, морские травы и продукты, вырабатываемые из них, и устанавливает методы физического и химического анализов.
Стандарт не распространяется на консервы и пресервы.
1. МЕТОДЫ ОТБОРА И СОСТАВЛЕНИЯ ПРОБ
(п. 1.1 в ред.
Изменения N 1, введенного в действие Приказом Росстандарта от 12.10.2017 N 1408-ст)
1.2. Составление средней пробы кулинарных изделий и полуфабрикатов
Среднюю пробу неизмельченных кулинарных изделий и полуфабрикатов составляют в виде трех кусков массой до 0,2 кг в каждом, а измельченных - три пробы массой до 0,1 кг в каждой.
Из замороженных в фасованном виде кулинарных изделий и полуфабрикатов отбирают по одной коробке от партии.
2. ПОДГОТОВКА СРЕДНЕЙ ПРОБЫ К АНАЛИЗУ
(в ред.
Изменения N 1, введенного в действие Приказом Росстандарта от 12.10.2017 N 1408-ст)
2.2. Из средней пробы морской травы, предназначенной для анализа, отбирают 100 листьев для определения их прочности, а оставшуюся часть измельчают на кусочки длиной от 1 до 2 см.
2.3. Среднюю пробу, составленную из кулинарных изделий и полуфабрикатов, измельчают мясорубкой, перемешивают и в количестве 300 - 500 г помещают в широкогорлую банку, которую плотно закрывают крышкой.
3. МЕТОДЫ ИССЛЕДОВАНИЯ МОРСКИХ ВОДОРОСЛЕЙ
(СЫРЦА, МОРОЖЕНЫХ И СУШЕНЫХ) И МОРСКИХ СУШЕНЫХ ТРАВ
3.1. Подготовка средней пробы к анализу - по
пп. 2.1 и
2.2.
(п. 3.2 в ред.
Изменения N 1, введенного в действие Приказом Росстандарта от 12.10.2017 N 1408-ст)
3.2.1 - 3.2.4. Исключены с 1 января 2019 года. -
Изменение N 1, введенное в действие Приказом Росстандарта от 12.10.2017 N 1408-ст.
(п. 3.3 в ред.
Изменения N 1, введенного в действие Приказом Росстандарта от 12.10.2017 N 1408-ст)
3.3.1 - 3.3.4. Исключены с 1 января 2019 года. -
Изменение N 1, введенное в действие Приказом Росстандарта от 12.10.2017 N 1408-ст.
3.4. Определение массовой доли общего азота
3.4.1. Сущность метода
Метод основан на окислении органического вещества при сжигании его в серной кислоте в присутствии катализатора, отгоне образующегося аммиака и улавливании его титрованным раствором серной кислоты с последующим обратным титрованием избытка ее. По количеству связанной аммиаком кислоты судят о массовой доле азота в навеске исследуемого образца.
3.4.2. Аппаратура, реактивы и материалы
Весы неавтоматического действия 2-го класса точности с максимальной нагрузкой 200 г и пределами абсолютной погрешности не более +/- 0,001 г - по
ГОСТ OIML R 76-1-2011.
(в ред.
Изменения N 1, введенного в действие Приказом Росстандарта от 12.10.2017 N 1408-ст)
Колбы плоскодонные или круглодонные по
ГОСТ 25336-82 вместимостью от 500 до 750 см
3.
Пемза.
Бумага лакмусовая.
Кислота серная по
ГОСТ 4204-77 концентрированная и раствор 0,05 моль/дм
3 (0,1 н).
Натрия гидроокись по
ГОСТ 4328-77, раствор 330 г/дм
3 (33%-ный).
Натрия гидроокись по
ГОСТ 4328-77, раствор 0,1 моль/дм
3 (0,1 н).
Метиловый красный по ГОСТ 5853-51, спиртовой раствор 0,02 г/дм3 (0,002%-ный).
3.4.3. Проведение испытания
Навеску тщательно измельченного продукта массой от 0,5 до 1 г взвешивают с абсолютной погрешностью не более 0,001 г и осторожно вносят в колбу для сжигания вместимостью от 100 до 250 см3, стараясь не задеть горлышка. В колбу прибавляют 10 см3 серной кислоты, 0,5 г сернокислой меди и от 0,5 до 1,0 г сернокислого калия или другого катализатора.
Колбу закрывают насадкой Кьельдаля и осторожно, во избежание потерь, нагревают на электроплитке под тягой. Когда образование пены уменьшится, нагревание постепенно усиливают, периодически взбалтывая содержимое колбы. Нагревание прекращают, как только содержимое колбы станет прозрачным и примет зеленовато-голубой цвет. Внутренние стенки колбы должны быть совершенно чистыми.
После охлаждения в колбу приливают небольшое количество дистиллированной воды, содержимое взбалтывают и количественно переносят через воронку в колбу для отгона вместимостью от 500 до 700 см3. Для устранения толчков при кипении в колбу для отгона помещают пемзу. Колбу для сжигания несколько раз ополаскивают небольшими порциями воды (общий объем 200 - 250 см3). Промывные воды переносят в колбу для отгона, соединенную с каплеуловителем. Колбу с каплеуловителем присоединяют к холодильнику. Приемником служит коническая колба вместимостью от 250 до 500 см3, в которую из бюретки приливают 50 см3 раствора 0,05 моль/дм3 серной кислоты и от 3 до 5 капель метилового красного в качестве индикатора. Конец трубки холодильника погружают в серную кислоту.
Когда прибор собран, в колбу для отгона приливают раствор 330 г/дм3 гидроокиси натрия, от 50 до 60 см3 на каждые 10 см3 серной кислоты, взятой для сжигания. Гидроокись натрия приливают осторожно по стенке, поддерживая колбу в наклонном положении. При этом гидроокись натрия стекает на дно, не смешиваясь с жидкостью. Этим устраняется опасность потери аммиака.
Колбу для отгона быстро закрывают пробкой, соединенной с насадкой, осторожно перемешивают содержимое и нагревают.
Не допускается ослаблять нагревание во время отгонки во избежание обратного втягивания жидкости из приемника.
Отгоняют не менее 2/3 содержимого колбы. Момент окончания отгонки определяют по красной лакмусовой бумаге. По окончании отгонки нагревание прекращают, отнимают приемник и конец трубки холодильника или форштосса обмывают дистиллированной водой из промывной склянки. Содержимое приемной колбы титруют раствором 0,1 моль/дм3 гидроокиси натрия. Необходимо проведение контрольного опыта, который ведут так же, как описано выше, но без навески продукта.
3.4.4. Обработка результатов
Массовую долю общего азота в продукте

в процентах, в пересчете на сухое вещество, вычисляют по формуле

,
где V - объем раствора 0,1 моль/дм3 (0,1 н) гидроокиси натрия, израсходованный на титрование серной кислоты в контрольном опыте, см3;

- объем раствора 0,1 моль/дм
3 (0,1 н) гидроокиси натрия, израсходованный на титрование избытка серной кислоты в рабочем опыте, см
3;
K - коэффициент пересчета на точный раствор 0,1 моль/дм3 гидроокиси натрия;
0,0014 - количество азота, эквивалентное 1 см3 раствора 0,1 моль/дм3 (0,1 н) гидроокиси натрия, г;

- массовая доля воды в продукте, %;
m - масса образца, г.
За окончательный результат анализа принимают среднее арифметическое значение результатов двух параллельных определений, допускаемые расхождения между которыми не должны превышать 0,2%. Вычисление проводят до второго десятичного знака.
3.5 - 3.5.4. Исключены с 1 января 2019 года. -
Изменение N 1, введенное в действие Приказом Росстандарта от 12.10.2017 N 1408-ст.
3.6. Определение массовой доли посторонних примесей в морских водорослях и морской траве свежих (сырце), а также в сушеной продукции - по
ГОСТ 33331-2015.
(п. 3.6 в ред.
Изменения N 1, введенного в действие Приказом Росстандарта от 12.10.2017 N 1408-ст)
3.6.1. Сущность метода
Метод основан на механическом отделении примесей и весовом определении их после промывки водорослей.
3.6.2. Аппаратура, материалы
Весы неавтоматического действия 2-го класса точности с максимальной нагрузкой 200 г и пределами абсолютной погрешности не более +/- 0,001 г - по
ГОСТ OIML R 76-1-2011.
(в ред.
Изменения N 1, введенного в действие Приказом Росстандарта от 12.10.2017 N 1408-ст)
| | ИС МЕГАНОРМ: примечание. Постановлением Госстандарта России от 02.06.1994 N 160 с 1 января 1995 года введен в действие ГОСТ 21239-93. | |
Ножницы медицинские по ГОСТ 21239-77.
Бумага фильтровальная лабораторная по
ГОСТ 12026-76 или фильтры бумажные.
| | ИС МЕГАНОРМ: примечание. Взамен ГОСТ 2874-73 Постановлением Госстандарта СССР от 18.10.1982 N 3989 с 1 января 1985 года введен в действие ГОСТ 2874-82. | |
Вода питьевая по ГОСТ 2874-73.
3.6.3. Проведение анализа
Навеску водорослей 100 г для филлофоры ребристой широкочленистой и шаровидной формы и 500 г филлофоры Броди отвешивают с абсолютной погрешностью не более 0,1 г, перебирают, удаляют ракушки, посторонние водоросли и другие крупные примеси. Филлофору Броди отстригают ножницами от мидиевой ракушки в месте ее прикрепления, сохраняя на ракушке остатки слоевищ длиной не более 2 мм.
Отделенные посторонние примеси взвешивают с абсолютной погрешностью не более 0,1 г.
Навеску водоросли помещают в кристаллизатор с водопроводной водой и тщательно промывают в течение 20 - 30 мин при соотношении водоросли и воды 1:10. Промывку повторяют три раза.
Количество воды и водорослей рассчитывают с учетом массы отобранных посторонних примесей. Промывные воды собирают, измеряют объем и фильтруют. Параллельно проводят контроль - фильтруют равный объем водопроводной воды.
Жидкости дают стечь с фильтров в течение 30 мин; фильтры переносят на предварительно высушенные до постоянной массы чашки Петри или бюксы и взвешивают с абсолютной погрешностью не более 0,1 г.
3.6.4. Обработка результатов
Массовую долю механических примесей

в процентах вычисляют по формуле

,
где m - масса водоросли, г;

- масса механических примесей, отделенных до промывки, г;

- масса влажного фильтра с остатком, г;

- масса влажного фильтра, г.
(п. 3.7 в ред.
Изменения N 1, введенного в действие Приказом Росстандарта от 12.10.2017 N 1408-ст)
3.7.1 - 3.7.4. Исключены с 1 января 2019 года. -
Изменение N 1, введенное в действие Приказом Росстандарта от 12.10.2017 N 1408-ст.
3.8. Определение прочности листа морской сушеной травы
3.8.1. Сущность метода
Метод основан на определении усилия, необходимого для разрыва листа морской сушеной травы.
3.8.2. Аппаратура и материалы
Штатив лабораторный в комплекте.
Зажим кровоостанавливающий зубчатый.
(в ред.
Изменения N 1, введенного в действие Приказом Росстандарта от 12.10.2017 N 1408-ст)
3.8.3. Проведение анализа
Для анализа применяют устройство (черт. 1), состоящее из штатива, двух зажимов и гирек, дополняющих массу нижнего зажима. Концы листа закрепляются в зажимах на глубину 15 мм. Расстояние между зажимами должно быть равным 20 см. Подняв верхний зажим и придав траве вертикальное положение, к нижнему зажиму прикрепляют груз массой 700 г при испытании филлоспадикса и массой 300 г при испытании листьев зостеры.
1 - штатив; 2 - муфта; 3 - зажим; 4 - зажим с кремальерой;
5 - лист филлоспадикса или зостеры; 6 - груз;
7 - квадратная коробка с проволочными крючками (для груза)
Черт. 1
Партию считают качественной, если 75% образцов, подвергшихся испытанию, выдерживают минимально допустимую нагрузку.
3.9. Определение массовой доли альгиновой кислоты
3.9.1. Сущность метода
Метод основан на обратном титровании серной кислотой избытка гидроокиси натрия, оставшейся после взаимодействия ее с альгиновой кислотой, содержащейся в исследуемом образце.
3.9.2. Аппаратура, реактивы и материалы
Весы неавтоматического действия 2-го класса точности с максимальной нагрузкой 200 г и пределами абсолютной погрешности не более +/- 0,001 г - по
ГОСТ OIML R 76-1-2011.
(в ред.
Изменения N 1, введенного в действие Приказом Росстандарта от 12.10.2017 N 1408-ст)
Цилиндры мерные лабораторные стеклянные или мензурки по
ГОСТ 1770-74 вместимостью 150 и 500 см
3.
Стекло часовое диаметром от 60 до 70 мм.
Кислота соляная по
ГОСТ 3118-77, раствор 5 г/дм
3 (0,5%-ный).
Кислота серная по
ГОСТ 4204-77, раствор 0,05 моль/дм
3 (0,1 н).
Натрия гидроокись по
ГОСТ 4328-77, раствор 0,1 моль/дм
3 (0,1 н).
(в ред.
Изменения N 1, введенного в действие Приказом Росстандарта от 12.10.2017 N 1408-ст)
| | ИС МЕГАНОРМ: примечание. ГОСТ 5850-72 утратил силу с 1 января 1989 года (ИУС "Государственные стандарты", N 8, 1988). | |
Фенолфталеин по ГОСТ 5850-72, спиртовой раствор 1 - 10 г/дм3 (0,1 - 1%-ный).
| | ИС МЕГАНОРМ: примечание. ГОСТ 10816-64 утратил силу с 1 января 1985 года (ИУС "Государственные стандарты", N 5, 1988). | |
Метиловый оранжевый по ГОСТ 10816-64, раствор 1 г/дм3 (0,1%-ный).
Рассев-анализатор лабораторный (РА-5) или комплект сит для разделения сыпучих веществ.
3.9.3. Проведение анализа
Для определения берут фракцию водорослей, прошедшую через сито со стороной отверстия 0,5 мм и оставшуюся на сите со стороной отверстия 0,25 мм.
0,5 г исследуемого образца, отвешенных с абсолютной погрешностью не более 0,001 г, помещают в коническую колбу вместимостью 150 см3, наливают 20 см3 раствора 5 г/дм3 соляной кислоты, экстрагируют при комнатной температуре три раза по 30 мин. Кислоту сливают через стеклянный пористый фильтр осторожно, не перенося частичек водорослей. Во время кислотной обработки содержимое колбочки через каждые 5 - 10 мин перемешивают стеклянной палочкой. После обработки кислотой осадок промывают три раза декантацией дистиллированной водой температурой 20 °C - 40 см3, каждый раз с предварительным настаиванием в течение 20 мин. Затем осадок промывают без настаивания три раза этиловым спиртом крепостью не ниже 60°, используя по 20 см3 на каждую промывку. После спирта промывают один раз 40 см3 дистиллированной воды и проводят испытание на кислотность промывной воды, применяя индикатор метилоранж. Дальше продолжают промывку дистиллированной водой до отрицательной реакции на кислоту по метилоранжу.
Промытый осадок количественно переносят обратно в коническую колбу и заливают 20 см3 свежепрокипяченной охлажденной дистиллированной воды. В колбу прибавляют 5 - 6 капель фенолфталеина и раствора 0,1 г/дм3 гидроокиси натрия в количестве, равном массе абсолютно сухой навески водоросли, умноженной на коэффициент от 20 до 50.
Колбу закрывают часовым стеклом, выдерживают 1 ч при периодическом перемешивании до получения вязкой массы, после чего оттитровывают избыток гидроокиси натрия раствором 0,05 моль/дм3 серной кислоты.
Примечания.
1. Одновременно с определением массовой доли альгиновой кислоты определяют массовую долю воды в водоросли.
2. При установлении титра гидроокиси натрия следует использовать тот же индикатор, что и при титровании альгиновой кислоты.
3. Для фильтрования допускается использование воронки с бумажным фильтром (белая или красная лента).
3.9.4. Обработка результатов
Массовую долю альгиновой кислоты

в процентах, в пересчете на сухое вещество, вычисляют по формуле

,
где

- объем добавленного раствора 0,1 моль/дм
3 (0,1 н) гидроокиси натрия, см
3;

- объем раствора 0,05 моль/дм
3 (0,1 н) серной кислоты, израсходованный на титрование избытка гидроокиси натрия, см
3;
K - коэффициент пересчета на точный раствор 0,1 моль/дм3 (0,1 г) гидроокиси натрия;
m - масса исследуемых водорослей, г;

- массовая доля воды в исследуемом образце, %;
0,01805 - количество альгиновой кислоты, соответствующее 1 см3 раствора 0,1 моль/дм3 гидроокиси натрия, г.
За окончательный результат анализа принимают среднее арифметическое значение результатов двух параллельных определений, допускаемые расхождения между которыми не должны превышать 0,5%. Вычисления проводят до первого десятичного знака.
3.10. Определение массовой доли агара в беломорской анфельции
(Весовой метод)
3.10.1. Сущность метода
Метод основан на экстрагировании студнеобразователя - агара слабым раствором гидроокиси натрия, желировании, промывке пластинок студня, высушивании и весовом определении его массы.
3.10.2. Аппаратура, реактивы и материалы
Весы неавтоматического действия 2-го класса точности с максимальной нагрузкой 200 г и пределами абсолютной погрешности не более +/- 0,001 г - по
ГОСТ OIML R 76-1-2011.
(в ред.
Изменения N 1, введенного в действие Приказом Росстандарта от 12.10.2017 N 1408-ст)
Колбы стеклянные лабораторные конические по
ГОСТ 25336-82 вместимостью 500 см
3.
Баня водяная.
Палочки стеклянные.
Бюксы металлические для желирования студня.
Натрия гидроокись по
ГОСТ 4328-77, раствор 30 г/дм
3 (3%-ный).
Марля медицинская по ГОСТ 9412-77.
3.10.3. Проведение анализа
20 г исследуемого образца, отвешенных с абсолютной погрешностью не более 0,01 г, помещают в колбу вместимостью 500 см3, приливают 50 см3 раствора 30 г/дм3 гидроокиси натрия комнатной температуры и 200 см3 горячей дистиллированной воды температурой от 85 до 95 °C.
Колбу соединяют с обратным холодильником, помещают ее в кипящую водяную баню и выдерживают 2 ч, периодически помешивая.
Экстракт сливают в предварительно взвешенную коническую колбу вместимостью 500 см3 через стеклянную воронку с фильтром из двух слоев марли так, чтобы на фильтр не попадали кусочки водоросли.
Остатки экстракта из марли отжимают на воронке стеклянной палочкой. Водоросли, попавшие на фильтр, переносят обратно в колбу.
Колбу с экстрактом оставляют в теплом месте, чтобы не допустить желирования. В колбу с водорослями вновь приливают 20 см3 раствора 30 г/дм3 гидроокиси натрия, 200 см3 горячей воды (температурой 85 - 95 °C) и нагревают еще 2 ч при периодическом перемешивании. Затем экстракт сливают в колбу через тот же фильтр. Водоросли вновь заливают 150 см3 горячей воды и нагревают еще 1 ч. Экстракт сливают, как указано выше.
Остаток водорослей заливают 100 см3 горячей воды и нагревают еще 1 ч. Экстракт сливают, содержимое колбы промывают 50 см3 горячей воды. Промывные воды через фильтр сливают в колбу с экстрактом.
Собранный экстракт взвешивают, перемешивают и берут навеску 10 г с абсолютной погрешностью не более 0,01 г в металлическую бюксу.
Бюксу с отвешенным экстрактом помещают в ванночку с водой температурой 20 °C для желирования на 1 ч. Вода должна находиться выше слоя экстракта в бюксе.
Зажелированный студень промывают в дистиллированной воде температурой 20 °C от 4 до 12 ч с периодической трех-, четырехразовой сменой промывной воды.
По окончании промывки студень должен быть прозрачным и иметь сероватый оттенок. Промытый студень помещают в предварительно высушенную и взвешенную бюксу и сушат при температуре от 102 до 105 °C до постоянной массы, охлаждают в эксикаторе и взвешивают с абсолютной погрешностью не более 0,01 г.
3.10.4. Обработка результатов
Массовую долю агара в водоросли

в процентах, в пересчете на сухое вещество, вычисляют по формуле

,
где m - масса собранного экстракта, г;

- масса исследуемых водорослей, г;

- масса высушенного студня из 10 г экстракта, г;

- масса экстракта, взятая для желирования, г;

- массовая доля воды в водорослях, взятых для анализа, %.
За окончательный результат анализа принимают среднее арифметическое значение результатов двух параллельных определений, допускаемые расхождения между которыми не должны превышать 0,5%. Вычисление проводят до первого десятичного знака.
3.11. Определение массовой доли агара в дальневосточной анфельции
3.11.1. Сущность метода
Метод основан на экстрагировании студнеобразователя - агара слабым раствором гидроокиси натрия, желировании, промывке раствора студня, высушивании и весовом определении его массы.
3.11.2. Аппаратура, материалы
Весы неавтоматического действия 2-го класса точности с максимальной нагрузкой 200 г и пределами абсолютной погрешности не более +/- 0,001 г - по
ГОСТ OIML R 76-1-2011.
(в ред.
Изменения N 1, введенного в действие Приказом Росстандарта от 12.10.2017 N 1408-ст)
Автоклав лабораторный.
Кастрюля эмалированная или из нержавеющей стали с крышкой вместимостью от 1,0 до 1,5 дм3 или стакан из белой жести с крышкой вместимостью от 1,5 до 2,0 дм3.
Стаканы стеклянные лабораторные по
ГОСТ 25336-82 вместимостью от 800 до 1000 см
3.
Марля медицинская по ГОСТ 9412-77.
3.11.3. Проведение анализа
Навеску средней пробы анфельции в количестве 100 г, взвешенную с абсолютной погрешностью не более 0,01 г, промывают в холодной воде до исчезновения мути в промывных водах, переносят без потерь в эмалированную кастрюлю (или стакан из белой жести), замачивают, заливая горячим (от 95 до 97 °C) раствором 10 г/дм3 окиси кальция при соотношении 1:15, и оставляют на 1 ч. Затем раствор сливают и после добавления к анфельции извести и воды в количествах, соответствующих каждой варке, кастрюлю (стакан) помещают в автоклав, где проводят трехкратную варку анфельции под давлением 117679,7 Па (1,2 кгс/см3) с периодическим сливом наваров.
На первую варку добавляется известь в расчете 5% окиси кальция к массе, взятой на варку анфельции, и соотношении анфельции к воде 1:10, на вторую варку - 2% окиси кальция и воды 1:6 и на третью варку - 1% окиси кальция и воды 1:4. Продолжительность варок составляет соответственно 10, 8, 6 ч.
Массу извести

в граммах, необходимую для варки 100 г анфельции, вычисляют по формуле

,
где

- массовая доля окиси кальция в извести, %;

- массовая доля окиси кальция, израсходованная на варку, %.
По окончании каждой варки анфельции навары отстаивают от 10 до 15 мин, затем сливают через ватно-марлевые фильтры в стаканы и желируют при комнатной температуре.
После желирования студень разрезают на пластинки толщиной от 5 до 6 мм и промывают в стеклянных стаканах до полного обесцвечивания холодной пресной водой в соотношении студня и воды 1:3 при периодическом перемешивании стеклянной палочкой. Вода по мере окрашивания сливается в канализацию через марлевую сетку.
Обесцвеченный студень раскладывают на хлопчатобумажную ткань, натянутую на рамы, и сушат при комнатной температуре или в сушильном шкафу при температуре от 60 до 65 °C. Высушенную пленку осторожно, без потерь снимают с ткани и сушат в сушильном шкафу до постоянной массы при 102 - 105 °C. В полученном агаре определяют массу золы.
3.11.4. Обработка результатов
Выход агара

определяют соотношением суммированной массы сухого агара, полученного от всех варок анфельции, пересчитанной на агар с массовой долей воды 18% и золы 6% (нормы для агара 1-го сорта по
ГОСТ 16280-70) и водоросли с нормированной массой воды и механических примесей. Расчет производят по формуле

,
где m - масса агара, полученная от всех варок, г;

- массовая доля воды, содержащаяся в анфельции, %;

- массовая доля золы, содержащаяся в агаре, %;

- массовая доля посторонних примесей, содержащаяся в анфельции, %;
0,921 - расчетный коэффициент, учитывающий нормированную массу воды и примесей в анфельции и нормированную массу воды и золы в агаре 1-го сорта.
3.12. Определение массовой доли агара в балтийской фурцеллярии
3.12.1. Сущность метода
Метод основан на выделении в свободном состоянии студнеобразователя (агара), промывании его, высушивании и весовом определении.
3.12.2. Аппаратура, реактивы и материалы
Весы неавтоматического действия 2-го класса точности с максимальной нагрузкой 200 г и пределами абсолютной погрешности не более +/- 0,001 г - по
ГОСТ OIML R 76-1-2011.
(в ред.
Изменения N 1, введенного в действие Приказом Росстандарта от 12.10.2017 N 1408-ст)
Колбы стеклянные лабораторные конические по
ГОСТ 25336-82 вместимостью 500 см
3.
Палочки стеклянные.
Марля медицинская по ГОСТ 9412-77.
Фильтры обеззоленные.
3.12.3. Проведение анализа
10 г исследуемого образца, отвешенных с абсолютной погрешностью не более 0,01 г, помещают в колбу вместимостью 500 см3, приливают 50 см3 16 г/дм3 раствора гидроокиси калия (20 °C) и 150 см3 горячей (85 - 95 °C) дистиллированной воды. Колбу с содержимым нагревают на электроплитке (слабый нагрев) до слабого кипения и кипятят 1 ч. Полученный экстракт сливают в сухую, предварительно взвешенную коническую колбу вместимостью 500 см3 (колба-приемник) через четыре слоя марли. Если экстракт слишком вязкий и плохо фильтруется, в варочную смесь добавляют 50 - 100 см3 горячей дистиллированной воды, доводят до кипения и выдерживают 5 мин.
Экстракт из марли отжимают стеклянной палочкой, а водоросль, попавшую на фильтр, переносят обратно в колбу.
Фильтрат (экстракт) сохраняют в теплом месте во избежание его желирования.
В колбу с фурцеллярией вновь приливают 10 см3 16 г/дм3 раствора гидроокиси калия, 100 см3 горячей дистиллированной воды и ведут экстракцию 1 ч, как описано выше. Полученный экстракт сливают через тот же фильтр в колбу-приемник. Затем фурцеллярию заливают 75 см3 горячей дистиллированной воды, нагревают массу 1 ч и сливают экстракт в ту же колбу через фильтр. Остаток водоросли экстрагируют еще два раза горячей дистиллированной водой по 30 мин, заливая каждый раз 50 см3 воды. Экстракты сливают в колбу-приемник.
Полученный сборный экстракт взвешивают, перемешивают и берут навеску массой 20 г в чашку Петри с абсолютной погрешностью не более 0,01 г, которую высушивают при 102 - 105 °C до образования сухой пленки агара.
Сухую пленку агара в той же чашке Петри осторожно промывают четыре-пять раз дистиллированной водой температурой от 10 до 20 °C, сливая промывные воды через взвешенный бумажный фильтр. В этом случае легко отмываются соли и красящие вещества, а пленка сохраняет прочность. Промывание проводят до получения бесцветного агара. Промытую пленку с фильтра помещают в сухую, предварительно взвешенную бюксу и высушивают при 102 - 105 °C до постоянной массы.
3.12.4. Обработка результатов
Массовую долю агара

в процентах, в пересчете на сухое вещество, вычисляют по формуле

,
где

- масса полученного экстракта, г;
m - масса водоросли, взятая на исследование, г;

- масса сухого студня в 20 г экстракта, г;

- масса экстракта, взятая на высушивание, г (20 г);

- массовая доля воды в водоросли (фурцеллярии), %.
За окончательный результат анализа принимают среднее арифметическое значение результатов двух параллельных определений, допускаемые расхождения между которыми не должны превышать 0,5%. Вычисление проводят до первого десятичного знака.
3.13. Определение массовой доли маннита
3.13.1. Сущность метода
Метод основан на водной экстракции маннита, образовании комплексного соединения его с сернокислой медью и определении количества по оптической плотности.
3.13.2. Аппаратура, реактивы и материалы
Весы неавтоматического действия 2-го класса точности с максимальной нагрузкой 200 г и пределами абсолютной погрешности не более +/- 0,001 г - по
ГОСТ OIML R 76-1-2011.
(в ред.
Изменения N 1, введенного в действие Приказом Росстандарта от 12.10.2017 N 1408-ст)
Баня водяная.
Центрифуга лабораторная.
Фотоэлектроколориметр по ГОСТ 12083-78 с пределами измерения оптической плотности от 0 до 1,3.
Колбы стеклянные лабораторные конические по
ГОСТ 25336-82 вместимостью 250 и 500 см
3.
Цилиндры лабораторные мерные стеклянные с пришлифованными пробками по
ГОСТ 1770-74 вместимостью 100 см
3.
Стекла часовые.
Медь сернокислая 5-водная, ч.д.а., по
ГОСТ 4165-78, раствор 5 г/дм
3 (0,5%-ный) и 125 г/дм
3 (12,5%-ный).
Натрия гидроокись по
ГОСТ 4328-77, раствор 4 моль/дм
3 (4 н).
Пробки грушевидные.
3.13.3. Проведение анализа
Навеску исследуемого образца 10 г, взятую с абсолютной погрешностью не более 0,01 г, помещают в коническую колбу, заливают 100 см3 горячего раствора (температура от 80 до 90 °C) 5 г/дм3 сернокислой меди и выдерживают на кипящей водяной бане 25 мин.
Экстракт сливают через стеклянный фильтр, на который уложен слой ваты, в предварительно взвешенную колбу вместимостью 500 см3 так, чтобы водоросли не попадали на фильтр. Экстракцию повторяют еще раз, добавляя 70 см3 горячего раствора сернокислой меди и выдерживая 25 мин на кипящей водяной бане. После этого в колбу еще дважды добавляют по 70 см3 горячего раствора сернокислой меди и оставляют на 25 мин. Все экстракты через тот же фильтр собирают в одну колбу. Растворы могут быть мутными.
Водоросли переносят на фильтр, промывают 50 см3 горячей воды и выбрасывают. Фильтрат присоединяют к общему экстракту. Экстракт перемешивают, охлаждают до комнатной температуры и взвешивают.
Для определения маннита параллельно отбирают две навески экстракта по 45 г в цилиндры с притертой пробкой, добавляют 0,5 см3 серной кислоты <*>, доводят объем дистиллированной водой до 50 см3 и выдерживают 30 мин. Приливают 25 см3 раствора гидроокиси натрия 4 моль/дм3 и 25 см3 раствора сернокислой меди 125 г/дм3.
--------------------------------
<*> При анализе растворов чистого маннита кислоту добавлять не следует.
Смесь тщательно взбалтывают, настаивают 1 ч, снова взбалтывают, отбирают 25 см3 и центрифугируют 3 мин при 5000 об/мин. После центрифугирования определяют колориметром оптическую плотность раствора при длине волны 597 нм в кюветах с рабочей длиной 1,0 и 3,0 мм против раствора 2 моль/дм3 (2 н) гидроокиси натрия. Массовую долю маннита, соответствующую определенной оптической плотности, определяют по градуировочному графику.
3.13.4. Построение градуировочного графика
Готовят ряд водных растворов чистого маннита с кратными концентрациями, охватывающими область изменений их в исследуемом растворе, и определяют оптическую плотность в кюветах с рабочей длиной 1,0 и 3,0 мм против раствора гидроокиси натрия 2 моль/дм3 (2 н). Оптическую плотность отсчитывают по левому барабану фотоэлектроколориметра. Измерение проводят три раза и вычисляют среднее арифметическое значение результатов.
3.13.5. Обработка результатов
Массовую долю

маннита в процентах, в пересчете на сухое вещество, вычисляют по формуле

,
где m - массовая доля маннита, соответствующая найденному значению оптической плотности;

- масса экстракта, г;
45 - масса экстракта, взятая на определение, г;

- масса воздушно-сухих водорослей, г;

- массовая доля воды в водорослях, %.
За окончательный результат анализа принимают среднее арифметическое значение результатов двух параллельных определений, допускаемые расхождения между которыми не должны превышать 0,5%. Вычисление проводят до первого десятичного знака.
3.14. Определение массовой доли иода
3.14.1. Качественное определение
3.14.1.1. Сущность метода
Метод основан на взаимодействии иода с крахмалом и образовании комплексного соединения, окрашенного в синий цвет.
3.14.1.2. Аппаратура, реактивы и материалы
Весы неавтоматического действия 2-го класса точности с максимальной нагрузкой 200 г и пределами абсолютной погрешности не более +/- 0,001 г - по
ГОСТ OIML R 76-1-2011.
(в ред.
Изменения N 1, введенного в действие Приказом Росстандарта от 12.10.2017 N 1408-ст)
Муфельная печь с диапазоном рабочих температур от 50 °C до 1150 °C с пределом абсолютной погрешности +/- 10 °C.
(в ред.
Изменения N 1, введенного в действие Приказом Росстандарта от 12.10.2017 N 1408-ст)
| | ИС МЕГАНОРМ: примечание. ГОСТ 215-73 утратил силу с 1 апреля 1989 года ("ИУС", N 4, 1989). Постановлением Госстандарта СССР от 30.03.1990 N 691 с 1 января 1991 года введен в действие ГОСТ 28498-90. | |
Термометр ртутный стеклянный лабораторный по ГОСТ 215-73 с пределами измерений от 0 до 200 °C.
Бумага лакмусовая.
Кислота серная по
ГОСТ 4204-77, х.ч., раствор 250 г/дм
3 (25%-ный).
3.14.1.3. Проведение испытания
В тигель отвешивают от 0,5 до 1,0 г исследуемого образца (порошка из ламинарии и др.) с абсолютной погрешностью не более 0,001 г, приливают 5 см3 раствора 200 г/дм3 углекислого натрия, высушивают и обугливают в электропечи сопротивления при слабом калении (400 - 450 °C) до сероватого цвета.
Обугленную массу заливают 25 см3 воды, отфильтровывают от угля и промывают еще 25 см3 воды. Промывные воды собирают вместе в стакан или колбу, подкисляют раствором 250 г/дм3 серной кислоты до кислой реакции на лакмус, прибавляют от 1 до 2 капель насыщенного раствора азотистокислого натрия и 1 см3 свежеприготовленного крахмала. Посинение раствора указывает на присутствие иода в продукте.
3.14.2. Количественное определение (титрометрический метод)
3.14.2.1. Сущность метода
Метод основан на образовании окрашенного комплексного соединения иода с азотистокислым натрием в кислой среде и титрометрическом определении его.
3.14.2.2. Аппаратура, реактивы и материалы
Весы неавтоматического действия 2-го класса точности с максимальной нагрузкой 200 г и пределами абсолютной погрешности не более +/- 0,001 г - по
ГОСТ OIML R 76-1-2011.
(в ред.
Изменения N 1, введенного в действие Приказом Росстандарта от 12.10.2017 N 1408-ст)
Муфельная печь с диапазоном рабочих температур от 50 °C до 1150 °C с пределом абсолютной погрешности +/- 10 °C.
(в ред.
Изменения N 1, введенного в действие Приказом Росстандарта от 12.10.2017 N 1408-ст)
Цилиндры мерные с притертой пробкой по
ГОСТ 1770-74 вместимостью 100 см
3.
(в ред.
Изменения N 1, введенного в действие Приказом Росстандарта от 12.10.2017 N 1408-ст)
Натрий азотистокислый по
ГОСТ 4197-74, х.ч., раствор 250 г/дм
3 (25%-ный).
3.14.2.3. Подготовка к испытанию
Приготовление раствора йодистого калия
5 г иодистого калия, отвешенных с абсолютной погрешностью не более 0,001 г, растворяют в 1 дм3 дистиллированной воды. В 1 см3 полученного раствора содержится 0,00382 г иода.
3.14.2.4. Проведение испытания
Навеску измельченного продукта от 0,5 до 1 г, взвешенную в тигле с абсолютной погрешностью не более 0,001 г, смачивают 5 - 10 каплями раствора 330 г/дм3 гидроокиси калия. Содержимое тигля подсушивают и осторожно обугливают в электропечи сопротивления при слабом калении (400 - 450 °C), периодически смачивая водой, до появления черно-стального оттенка.
Уголь измельчают стеклянной палочкой в порошок, обливают кипящей дистиллированной водой в количестве 10 см3, после чего перемешивают и фильтруют через бумажный фильтр в мерный цилиндр с притертой пробкой вместимостью 100 см3.
Уголь промывают кипящей дистиллированной водой на фильтре последовательно пять-шесть раз, причем общее количество фильтрата не должно превышать 60 см3. После охлаждения фильтрата объем жидкости в цилиндре доводят дистиллированной водой до 60 см3 и добавляют 10 см3 бензина (хлороформа), 6 - 7 капель концентрированной серной кислоты и 3 - 4 капли раствора 250 г/дм3 азотистокислого натрия. Смесь интенсивно взбалтывают в течение 2 мин.
Одновременно проводят контрольный опыт, используя вместо исследуемого образца дистиллированную воду и все реактивы, как в опыте.
Из бюретки по каплям приливают раствор йодистого калия до одинаковой окраски в рабочем и контрольном опытах.
3.14.2.5. Обработка результатов
Массовую долю иода

в продукте в процентах, в пересчете на сухое вещество, вычисляют по формуле

,
где V - объем раствора иодистого калия, израсходованных на титрование, см3;
m - масса образца, г;

- массовая доля воды в продукте, %.
За окончательный результат анализа принимают среднее арифметическое значение результатов двух параллельных определений, допускаемые расхождения между которыми не должны превышать 0,01%. Вычисление проводят до второго десятичного знака.
3.14.3. Количественное определение (колориметрический метод)
3.14.3.1. Сущность метода
Метод основан на образовании окрашенного комплексного соединения иода с азотистокислым натрием в кислой среде и колориметрическом определении его.
3.14.3.2. Аппаратура, реактивы и материалы
Весы неавтоматического действия 2-го класса точности с максимальной нагрузкой 200 г и пределами абсолютной погрешности не более +/- 0,001 г - по
ГОСТ OIML R 76-1-2011.
(в ред.
Изменения N 1, введенного в действие Приказом Росстандарта от 12.10.2017 N 1408-ст)
Фотоэлектроколориметр по ГОСТ 12083-78 с пределами измерения оптической плотности от 0 до 1,3.
Цилиндры мерные с притертой пробкой по
ГОСТ 1770-74 вместимостью 100 см
3.
Муфельная печь с диапазоном рабочих температур от 50 °C до 1150 °C с пределом абсолютной погрешности +/- 10 °C.
(в ред.
Изменения N 1, введенного в действие Приказом Росстандарта от 12.10.2017 N 1408-ст)
(в ред.
Изменения N 1, введенного в действие Приказом Росстандарта от 12.10.2017 N 1408-ст)
Кислота серная по
ГОСТ 4204-77, х.ч., раствор 250 г/дм
3 (25%-ный).
Натрий азотистокислый по
ГОСТ 4197-74, х.ч., раствор 250 г/дм
3 (25%-ный).
3.14.3.3. Проведение анализа
Навеску измельченного продукта от 0,5 до 1 г, взвешенную в тигле с абсолютной погрешностью не более 0,001 г, смачивают 5 - 6 каплями раствора 330 г/дм3 гидроокиси калия. Содержимое тигля подсушивают и осторожно обугливают в электропечи сопротивления при слабом калении (400 - 450 °C), периодически смачивая водой, до получения черно-стального оттенка. Уголь измельчают стеклянной палочкой в порошок, обливают 10 см3 кипящей дистиллированной воды, после чего перемешивают и фильтруют через бумажный фильтр в мерный цилиндр с притертой пробкой вместимостью 100 см3.
Уголь промывают кипящей дистиллированной водой на фильтре последовательно 5 - 6 раз, общее количество фильтрата не должно превышать 60 см3. После охлаждения фильтрата объем жидкости в цилиндре доводят дистиллированной водой до 60 см3 и добавляют 10 см3 бензина (хлороформа), 6 - 7 капель серной кислоты до кислой реакции по лакмусу и 3 - 4 капли раствора 250 г/дм3 азотистокислого натрия. Смесь интенсивно взбалтывают в течение 2 мин.
Оптическую плотность окрашенного бензинового слоя измеряют фотоэлектроколориметром в кюветах с рабочей длиной 10 мм при длине волны 490 нм против чистого бензина. Необходимо проводить контрольный опыт с использованием вместо фильтрата 60 см3 дистиллированной воды.
Измерения повторяют три раза и по полученным результатам определяют среднее арифметическое значение оптической плотности.
Количество иода, соответствующее определенной оптической плотности, рассчитывают по градуировочному графику.
3.14.3.4. Построение градуированного графика
Готовят раствор иодистого калия с содержанием его 0,00382 г/см3. Навеску массой 5 г свежеперекристаллизованного иодистого калия растворяют в мерной колбе вместимостью 1000 см3 дистиллированной водой.
В цилиндры с притертыми пробками вместимостью 100 см3 приливают 2, 3, 4, 5, 6, 7, 8, 9 см3 иодистого калия, затем - все реактивы, добавляемые к рабочей пробе.
Содержимое цилиндров энергично встряхивают. Оптическую плотность окрашенного бензинового слоя измеряют фотоэлектроколориметром в кюветах с рабочей длиной 10 мм при длине волны 490 нм.
3.14.3.5. Обработка результатов
Массовую долю иода в продукте

в процентах, в пересчете на сухое вещество, вычисляют по формуле

,
где m - масса иода, найденная по градуировочному графику, мг;

- масса исследуемого продукта, г;

- массовая доля воды в продукте, %.
За окончательный результат анализа принимают среднее арифметическое значение результатов двух параллельных определений, допускаемые расхождения между которыми не должны превышать 0,01%. Вычисление проводят до второго десятичного знака.
4. МЕТОДЫ ИССЛЕДОВАНИЯ ПИЩЕВЫХ, ТЕХНИЧЕСКИХ И МЕДИЦИНСКИХ
ПРОДУКТОВ ПЕРЕРАБОТКИ МОРСКИХ ВОДОРОСЛЕЙ (маннита, альгината
натрия, агара пищевого микробиологического и особой очистки,
агароида, муки и крупки водорослевых кормовых,
порошка пищевого)
4.1. Подготовка средней пробы к анализу - по
п. 2.1.
4.2. Методы анализа маннита - по ГОСТ 8321-74.
4.3. Методы анализа альгината натрия технического
4.3.1. Определение массовой доли воды - по
п. 3.2.
4.3.2. Определение массовой доли золы - по
п. 3.3.
Перед озолением альгинат натрия смачивают дистиллированной водой.
4.3.3. Определение запаха
4.3.3.1. Сущность метода
Метод основан на взаимодействии альгината натрия с водой с образованием ароматических веществ, которые определяют органолептически.
4.3.3.2. Проведение анализа
Небольшое количество продукции высыпают в горячую воду, взбалтывают и определяют запах паров органолептически.
4.3.4. Определение массовой доли веществ, не растворимых в кипящей воде
4.3.4.1. Сущность метода
Метод основан на выделении из альгината натрия водорастворимых веществ, высушивании остатка и определении его массы взвешиванием.
4.3.4.2. Аппаратура, реактивы и материалы
Весы неавтоматического действия 2-го класса точности с максимальной нагрузкой 200 г и пределами абсолютной погрешности не более +/- 0,001 г - по
ГОСТ OIML R 76-1-2011.
(в ред.
Изменения N 1, введенного в действие Приказом Росстандарта от 12.10.2017 N 1408-ст)
Шкаф сушильный лабораторный, обеспечивающий поддержание температуры (103 +/- 2) °C.
(в ред.
Изменения N 1, введенного в действие Приказом Росстандарта от 12.10.2017 N 1408-ст)
4.3.4.3. Проведение анализа
Навеску альгината натрия от 1 до 2 г, взвешенную с абсолютной погрешностью не более 0,001 г, заливают 300 см3 горячей дистиллированной воды, кипятят в течение 2 ч до полного растворения. Горячий раствор фильтруют через стеклянный фильтр с пористой пластинкой N 1, предварительно высушенный до постоянной массы. Остаток на фильтре промывают 100 см3 горячей дистиллированной воды, фильтр с осадком высушивают до постоянной массы в сушильном шкафу температурой от 102 до 105 °C, охлаждают в эксикаторе и взвешивают с абсолютной погрешностью не более 0,001 г.
4.3.4.4. Обработка результатов
Массовую долю не растворимых в кипящей воде веществ

в процентах, в пересчете на сухое вещество, определяют по формуле

,
где m - масса сухого осадка на фильтре, г;

- масса альгината, г;

- массовая доля воды в продукте, %.
За окончательный результат анализа принимают среднее арифметическое значение результатов двух параллельных определений, допускаемые расхождения между которыми не должны превышать 0,1%.
Вычисление проводят до первого десятичного знака.
4.3.5. Определение вязкости 1%-ного раствора альгината натрия
4.3.5.1. Сущность метода
Метод основан на определении вискозиметром скорости истечения раствора альгината натрия (по времени) по отношению к воде.
4.3.5.2. Аппаратура, реактивы и материалы
| | ИС МЕГАНОРМ: примечание. ГОСТ 5072-79 утратил силу с 1 января 1991 года (ИУС "Государственные стандарты", N 11, 1991). | |
Секундомер механический с ценой деления 0,2 с и максимальной погрешностью за 60 с - 0,3 с по ГОСТ 5072-79.
Баня водяная.
| | ИС МЕГАНОРМ: примечание. ГОСТ 215-73 утратил силу с 1 апреля 1989 года ("ИУС", N 4, 1989). Постановлением Госстандарта СССР от 30.03.1990 N 691 с 1 января 1991 года введен в действие ГОСТ 28498-90. | |
Термометр ртутный стеклянный лабораторный по ГОСТ 215-73 с пределами измерений от 0 до 200 °C.
Колба коническая лабораторная стеклянная по
ГОСТ 25336-82 вместимостью 500 см
3.
4.3.5.3. Подготовка к анализу
Перед каждым определением внутренний сосуд вискозиметра и его сточную трубку тщательно промывают чистым бензином и просушивают воздухом (допускается снимать капли фильтровальной бумагой).
Приготовление стандартного раствора
Навеску альгината натрия 5 г, отвешенную с абсолютной погрешностью не более 0,001 г, помещают в коническую колбу вместимостью 500 см3, заливают 350 см3 дистиллированной воды, закрывают пробкой и оставляют до полного растворения, периодически помешивая.
Для ускорения растворения альгината натрия допускается подогревание до 50 °C с последующим постепенным охлаждением, при этом колба должна быть соединена с обратным холодильником во избежание уменьшения объема залитой воды.
После полного растворения альгината натрия приливают дополнительное количество воды для получения стандартного раствора, содержащего 1% сухого вещества.
Количество воды

в см
3, необходимое для добавления, вычисляют по формуле

,
где V - общий объем раствора, см3 (500 см3);

- объем воды, в котором растворяется навеска альгината натрия, см
3 (350 см
3);
m - масса альгината натрия, г;

- массовая доля воды в альгинате натрия, %.
4.3.5.4. Проведение анализа
Часть приготовленного стандартного раствора объемом не менее 300 см3 профильтровывают через тройной слой марли и наполняют им внутренний сосуд вискозиметра. Необходимо следить за тем, чтобы при этом не образовалось пузырьков воздуха. Уровень залитого альгината натрия должен быть немного выше, чем острия штифтов. Деревянный штепсель должен плотно закрывать сточное отверстие. Раствор альгината натрия, заливаемый в вискозиметр, должен иметь температуру 20 °C. Для этого во внешний сосуд прибора наливают воду температурой выше 20 °C (23 - 25 °C).
Для того, чтобы во время опыта температура испытуемого раствора оставалась неизменной, поступают следующим образом: температуру раствора альгината натрия, заливаемого во внутренний сосуд, доводят до 20 °C и выдерживают ее в течение 5 мин. Температуру бани устанавливают на 0,2 °C выше температуры альгината натрия и поддерживают ее на этом уровне во время опыта, перемешивая содержимое бани мешалкой, и, если нужно, слегка подогревая.
Подняв немного деревянный штепсель, дают стечь раствору альгината натрия, чтобы уровень его совпадал с верхними точками одного и другого острия.
В том случае, когда вытечет больше раствора, чем нужно, следует добавить его по каплям, следя за тем, чтобы в растворе не оставалось пузырьков воздуха.
Установив прибор, закрывают его крышкой, под сточное отверстие ставят измерительную колбу. Раствор альгината натрия непрерывно перемешивают термометром, осторожно вращая вокруг штепселя крышку прибора, в которую вставлен термометр.
Когда находящийся в альгинате натрия термометр будет показывать 20 °C, быстро вынимают штепсель и одновременно нажимают кнопку секундомера. Как только уровень раствора альгината натрия в измерительной колбе дойдет до мерки 200 см, секундомер останавливают и отсчитывают время.
Частное от деления времени истечения раствора альгината натрия на водное число вискозиметра представляет собой вязкость однопроцентного раствора альгината натрия в градусах Энглера (°E).
4.3.5.5. Обработка результатов
Вязкость

в относительных единицах (°E) вычисляют по формуле

,
где

- время истечения из вискозиметра испытуемого раствора при температуре 20 °C, с;

- время истечения из вискозиметра дистиллированной воды при температуре 20 °C (водное число вискозиметра), с.
При определении водного числа вискозиметра Энглера расхождение между параллельными определениями не должно превышать 0,5 с.
При определении вязкости раствора расхождение между параллельными определениями не должно превышать 1,0 с.
4.3.6. Определение массовой доли альгиновых кислот в альгинате натрия
4.3.6.1. Сущность метода
Метод основан на установлении расхода гидроокиси натрия, вступающей во взаимодействие с альгиновой кислотой, определяемого обратным титрованием.
4.3.6.2. Аппаратура, реактивы и материалы
Весы неавтоматического действия 2-го класса точности с максимальной нагрузкой 200 г и пределами абсолютной погрешности не более +/- 0,001 г - по
ГОСТ OIML R 76-1-2011.
(в ред.
Изменения N 1, введенного в действие Приказом Росстандарта от 12.10.2017 N 1408-ст)
Рассев-анализатор лабораторный (РА-5) или комплект сит для разделения сыпучих веществ.
Баня водяная.
Колбы лабораторные стеклянные по
ГОСТ 25336-82 вместимостью 200 см
3.
Стекло часовое.
| | ИС МЕГАНОРМ: примечание. ГОСТ 215-73 утратил силу с 1 апреля 1989 года ("ИУС", N 4, 1989). Постановлением Госстандарта СССР от 30.03.1990 N 691 с 1 января 1991 года введен в действие ГОСТ 28498-90. | |
Термометр ртутный стеклянный лабораторный по ГОСТ 215-73 с пределами измерений от 0 до 100 °C.
Кислота соляная по
ГОСТ 3118-77, раствор 5 г/дм
3 (0,5%-ный).
Натрия гидроокись по
ГОСТ 4328-77, раствор 0,1 моль/дм
3 (0,1 н).
Кислота серная по
ГОСТ 4204-77, раствор 0,05 моль/дм
3 (0,1 н).
| | ИС МЕГАНОРМ: примечание. ГОСТ 5850-72 утратил силу с 1 января 1989 года (ИУС "Государственные стандарты", N 8, 1988). | |
Фенолфталеин по ГОСТ 5850-72, спиртовой раствор 10 г/дм3 (1%-ный).
Фильтры беззольные с белой лентой или стеклянные пористые N 1.
4.3.6.3. Проведение анализа
Для определения берут фракцию, прошедшую через сито со стороной отверстия 0,5 мм и оставшуюся на сите со стороной 0,25 мм.
Предварительно измельченную навеску альгината натрия массой 0,3 г, отвешенную с абсолютной погрешностью не более 0,001 г, помещают в колбу вместимостью 150 см3, заливают 20 см3 раствора 0,5 г/дм3 соляной кислоты и три раза экстрагируют по 30 мин, каждый раз сливая кислоту через бумажный фильтр с белой лентой, не перенося осадок на фильтр.
После экстракции осадок четыре раза промывают декантацией дистиллированной водой температурой 20 °C по 40 см3, каждый раз с предварительным настаиванием в течение 20 мин, затем осадок промывают три раза спиртом по 20 см3, каждый раз без настаивания (до отрицательной реакции на кислоту по метилоранжу).
Промытый осадок количественно переносят на фильтр для окончательного отделения от фильтрата. Осадок вместе с фильтром переносят в коническую колбу и заливают дистиллированной водой. В колбу прибавляют 5 - 6 капель фенолфталеина и раствор 0,1 моль/дм3 гидроокиси натрия в количестве, равном массе абсолютно сухой навески альгината натрия, умноженной на коэффициент 80 - 200.
Пробу закрывают часовым стеклом, предохраняя ее от попадания углекислоты, содержащейся в воздухе, выдерживают 1 ч при периодическом перемешивании до полного растворения содержимого, после чего оттитровывают избыток гидроокиси натрия раствором 0,05 моль/дм3 серной кислоты.
4.3.6.4. Обработка результатов
Массовую долю альгиновых кислот

в процентах, в пересчете на сухое вещество, вычисляют по формуле

,
где V - объем раствора 0,1 моль/дм3 (0,1 н) гидроокиси натрия, добавленный в колбу, см3;

- объем раствора 0,05 моль/дм
3 (0,1 н) серной кислоты, пошедший на титрование избытка гидроокиси натрия, см
3;
K - коэффициент пересчета на точный раствор гидроокиси натрия 0,1 моль/дм3 (0,1 н);
m - масса альгината натрия, г;

- массовая доля воды в альгинате натрия, %;
0,01805 - количество альгиновых кислот, эквивалентное 1 см3 раствора 0,1 моль/дм3 (0,1 н) гидроокиси натрия.
За окончательный результат анализа принимают среднее арифметическое значение результатов двух параллельных определений, допускаемые расхождения между которыми не должны превышать 0,5%.
Вычисление проводят до первого десятичного знака.
4.3.7. Определение pH однопроцентного раствора альгината натрия
4.3.7.1. Сущность метода
Метод основан на измерении концентрации водородных ионов в растворе.
4.3.7.2. Аппаратура, реактивы и материалы
Весы неавтоматического действия 2-го класса точности с максимальной нагрузкой 200 г и пределами абсолютной погрешности не более +/- 0,001 г - по
ГОСТ OIML R 76-1-2011.
(в ред.
Изменения N 1, введенного в действие Приказом Росстандарта от 12.10.2017 N 1408-ст)
Прибор для определения концентрации водородных ионов: лабораторный pH-метр-милливольтметр pH-121 и других аналогичных систем.
Колбы лабораторные мерные по
ГОСТ 1770-74 вместимостью 100 см
3.
Стаканы стеклянные лабораторные по
ГОСТ 25336-82 вместимостью 50 см
3.
Фильтры бумажные.
4.3.7.3. Проведение анализа
Навеску альгината натрия массой 1 г, отвешенную с абсолютной погрешностью не более 0,01 г, переносят в мерную колбу вместимостью 100 см3, заливают дистиллированной водой, не доводя до метки, и выдерживают в течение 1 ч при комнатной температуре, периодически встряхивая. По истечении 1 ч объем в колбе доводят до метки дистиллированной водой и отфильтровывают через бумажный фильтр. От общего количества фильтрата отбирают 25 - 30 см3 и определяют величину pH pH-метром со стеклянным электродом с абсолютной погрешностью не более 0,1 единиц pH.
4.3.8. Определение массовой доли сернокислых солей, растворимых в воде, в альгинате натрия
4.3.8.1. Сущность метода
Метод основан на экстракции сернокислых солей из альгинатов раствором соляной кислоты, осаждении их из раствора хлористым барием, отделении осадка фильтрованием, сжигании его и определении массы взвешиванием.
4.3.8.2. Аппаратура, реактивы и материалы
Весы неавтоматического действия 2-го класса точности с максимальной нагрузкой 200 г и пределами абсолютной погрешности не более +/- 0,001 г - по
ГОСТ OIML R 76-1-2011.
(в ред.
Изменения N 1, введенного в действие Приказом Росстандарта от 12.10.2017 N 1408-ст)
Баня водяная.
Шкаф сушильный лабораторный, обеспечивающий поддержание температуры (103 +/- 2) °C.
(в ред.
Изменения N 1, введенного в действие Приказом Росстандарта от 12.10.2017 N 1408-ст)
Муфельная печь с диапазоном рабочих температур от 50 °C до 1150 °C с пределом абсолютной погрешности +/- 10 °C.
(в ред.
Изменения N 1, введенного в действие Приказом Росстандарта от 12.10.2017 N 1408-ст)
Стаканы стеклянные лабораторные вместимостью 100 см
3 или колбы стеклянные лабораторные конические по
ГОСТ 25336-82 вместимостью 250 см
3.
Фильтры обеззоленные (синяя полоса).
Кислота соляная по
ГОСТ 3118-77, раствор 10 г/дм
3 (1%-ный), не содержащий серной кислоты или ее солей (проба с хлористым барием).
| | ИС МЕГАНОРМ: примечание. ГОСТ 5850-72 утратил силу с 1 января 1989 года (ИУС "Государственные стандарты", N 8, 1988). | |
Фенолфталеин по ГОСТ 5850-72.
4.3.8.3. Проведение анализа
От измельченной средней пробы альгината с определенной влажностью отвешивают, с абсолютной погрешностью не более 0,001 г, 2 г. Навеску помещают в стакан вместимостью 100 см3 или коническую колбу вместимостью 250 см3. Три раза экстрагируют раствором 10 г/дм3 соляной кислоты при комнатной температуре: первый раз 100 см3, два раза - по 50 см3. Затем три раза промывают (при перемешивании) водой - по 50 см3. Продолжительность настаивания 1 ч.
Экстракт и промывные воды сливают через фильтр так, чтобы на фильтр не попадали кусочки альгината, фильтрат нагревают до кипения. К фильтрату добавляют постепенно 20 см3 горячего раствора 50 г/дм3 хлористого бария. Смесь нагревают на кипящей водяной бане в течение 20 мин и оставляют стоять 12 - 15 ч при комнатной температуре (проверить на полноту осаждения хлористым барием).
Выпавший осадок сернокислого бария отфильтровывают через обеззоленный фильтр (синяя полоса), промывают теплой водой до отрицательной реакции на кислоты (по фенолфталеину), фильтр с осадком сушат при 102 - 105 °C и озоляют в прокаленном тигле при темно-красном калении (400 - 450 °C) до постоянной массы. Тигель с золой охлаждают в эксикаторе и взвешивают с абсолютной погрешностью не более 0,001 г.
4.3.8.4. Обработка результатов
Массовую долю сернокислых солей

в процентах, в пересчете на сухое вещество, вычисляют по формуле

,
где m - масса сернокислого бария, г;

- масса альгината натрия, г;

- массовая доля воды в альгинате натрия, %;
0,608576 - коэффициент пересчета на сернокислый натрий.
За окончательный результат анализа принимают среднее арифметическое значение результатов двух параллельных определений, допускаемые расхождения между которыми не должны превышать 0,5%.
Вычисление проводят до первого десятичного знака.
4.4. Агар из анфельции (пищевой, микробиологический и особой очистки) и агар из фурцеллярии пищевой
4.4.1. Методы определения прозрачности и цвета студня
4.4.1.1. Определение прозрачности и цвета студня колориметрическим методом
4.4.1.1.1. Сущность метода
Метод основан на фотометрическом измерении количества света, поглощаемого студнем.
4.4.1.1.2. Аппаратура, реактивы и материалы
Фотоэлектроколориметр по ГОСТ 12083-78 с пределами измерения оптической плотности от 0 до 1,3.
Весы неавтоматического действия 2-го класса точности с максимальной нагрузкой 200 г и пределами абсолютной погрешности не более +/- 0,001 г - по
ГОСТ OIML R 76-1-2011.
(в ред.
Изменения N 1, введенного в действие Приказом Росстандарта от 12.10.2017 N 1408-ст)
Баня водяная.
4.4.1.1.3. Проведение анализа
Для определения прозрачности и цвета используется студень, содержащий 0,85% сухого агара (высушенного до постоянной массы). Студень готовят следующим образом: навеску испытуемого агара, отвешенную с абсолютной погрешностью не более 0,001 г, помещают в колбу, заливают необходимым количеством дистиллированной воды и выдерживают для набухания не менее 1 ч. После этого колбу закрывают пробкой с обратным холодильником и нагревают на кипящей водяной бане до полного растворения агара. Полученный раствор агара охлаждают при комнатной температуре до 45 - 55 °C и разливают в кюветы с рабочей длиной 5 мм. После полного застывания раствора (30 мин) определяют оптическую плотность. Прозрачность, выраженную в процентах светопропускания, измеряют с абсолютной погрешностью не более 0,01 на фильтре 0, а цвет - при длине волны 670 нм.
В контрольных опытах используют дистиллированную воду, которая применялась для приготовления геля агара (студня).
4.4.1.1.4. Обработка результатов
Навеску испытуемого агара

в граммах для приготовления необходимого количества 8,5 г/дм
3 (0,85%-ного) студня вычисляют по формуле

,
где m - масса приготовляемого студня, г;

- массовая доля воды в испытуемом агаре;
0,85 - массовая доля сухого агара в приготовляемом студне, %.
За окончательный результат анализа принимают среднее арифметическое значение результатов двух параллельных определений, допускаемые расхождения между которыми не должны превышать 2%. Вычисление проводят до первого десятичного знака.
4.4.1.2. Определение прозрачности и цвета студня визуально - по ГОСТ 16280-70.
4.4.2. Определение прочности студня
4.4.2.1. Сущность метода
Метод основан на определении массы нагрузки, необходимой для разрушения структуры образца.
4.4.2.2. Аппаратура, материалы
Весы неавтоматического действия 2-го класса точности с максимальной нагрузкой 200 г и пределами абсолютной погрешности не более +/- 0,001 г - по
ГОСТ OIML R 76-1-2011.
(в ред.
Изменения N 1, введенного в действие Приказом Росстандарта от 12.10.2017 N 1408-ст)
Устройство Валента.
Стакан металлический вместимостью 30 см3 (высота - 24 мм, диаметр - 40 мм).
| | ИС МЕГАНОРМ: примечание. ГОСТ 215-73 утратил силу с 1 апреля 1989 года ("ИУС", N 4, 1989). Постановлением Госстандарта СССР от 30.03.1990 N 691 с 1 января 1991 года введен в действие ГОСТ 28498-90. | |
Термометр ртутный стеклянный лабораторный по ГОСТ 215-73 с пределами измерений от 0 до 100 °C.
4.4.2.3. Проведение анализа
200 г раствора горячего (не ниже 80 °C) агара, приготовленного по
п. 4.4.1.1.3, фильтруют при наличии не растворимых в воде примесей через сухую вату и разливают в пять металлических стаканчиков. Стаканчики с горячим раствором ставят в горизонтально установленный сосуд с плоским дном (кристаллизатор), наполненный водой температурой 20 °C, уровень которой немного ниже уровня раствора в стаканчиках. При определении прочности студня из фурцеллярии массовая доля сухого фурцелларана в растворе должна быть 25 г/дм
3 (2,5%), а в растворе с сахаром - 12,5 г/дм
3 (1,25%).
Допускается использование стеклянных стаканчиков вместимостью 100 см3. В этом случае уровень воды в кристаллизаторе должен быть немного выше уровня раствора в стаканчиках.
Стаканчики с раствором выдерживают 1 ч при 20 °C, поддерживая эту температуру добавлением в сосуд при размешивании холодной или теплой воды.
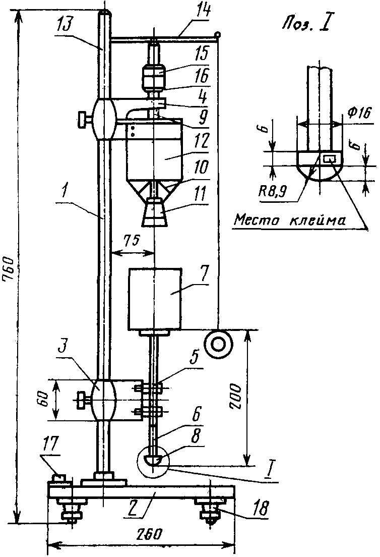
Через 1 ч стаканчики с образовавшимся студнем ставят на основание устройства Валента (черт. 2), установленного с помощью уровня, и на поверхность студня осторожно опускают грибообразную насадку диаметром 16 мм и высотой 10 мм. Поверхность, на которую давит такая насадка, имеет площадь 2 см2.
1 - штатив; 2 - основание; 3 - подвижный кронштейн;
4 - неподвижный кронштейн; 5 - ролики; 6 - шток с площадкой;
7 - стакан для приемки груза; 8 - грибовидная насадка;
9 - направляющая; 10 - запорный шток; 11 - пробка;
12 - грузовой стакан с отверстием в коническом дне;
13 - ось; 14 - рычаг; 15 - колпачок; 16 - гайка;
17 - уровень; 18 - регулировочные ножки
Черт. 2
Насадка находится на нижнем конце подвижного вертикально расположенного штока. Затем нажимают рычаг и сыпят песок из грузового стакана с отверстием в коническом дне в стакан для приемки груза до тех пор, пока насадка, прорвав студень, не пройдет через него. После этого взвешивают стакан для приема груза с имеющимся в нем песком с абсолютной погрешностью не более 1 г и рассчитывают прочность.
Песок следует насыпать с постоянной скоростью от 10 до 12 г/с, отрегулированной перед началом опыта. Для этого в стакан с отверстием в коническом дне засыпается сухой, промытый, прокаленный, просеянный песок и вращением колпачка, закрепленного гайкой до наружного положения, регулируется ход запорного штока. Перемещение колпачка по направляющей обусловливает ход запорного штока.
После регулировки штока нажимают на рычаг и одновременно засекают время по секундомеру.
Взвешивают песок, пересыпавшийся за определенный промежуток времени, и, если необходимо, снова регулируют ход штока. Эту операцию проводят до получения нужной скорости пересыпания песка. Необходимо также отрегулировать ход штока в направляющих роликах кронштейна. Регулировка проводится винтом. Шток должен ходить плавно, без заеданий и перекосов.
Масса подвижной системы, состоящая из грибовидной насадки, штока с площадкой и сосуда для груза, должна быть от 90 до 100 г. Насадка должна изготовляться из антикоррозийного материала, шаровая поверхность ее должна быть полированной.
4.4.2.4. Обработка результатов
Прочность студня выражают массой нагрузки в граммах, необходимой для прорыва студня, с учетом массы сосуда с песком и штока с насадкой и площадкой.
За окончательный результат анализа принимают среднее арифметическое значение результатов пяти параллельных определений, допускаемые расхождения между которыми не должны превышать 10%.
4.4.3. Определение прочности студня агара с сахаром
Метод основан на определении массы нагрузки, необходимой для разрушения структуры образца.
4.4.3.2. Аппаратура, материалы
Устройство Валента.
Весы неавтоматического действия 2-го класса точности с максимальной нагрузкой 200 г и пределами абсолютной погрешности не более +/- 0,001 г - по
ГОСТ OIML R 76-1-2011.
(в ред.
Изменения N 1, введенного в действие Приказом Росстандарта от 12.10.2017 N 1408-ст)
Стаканы стеклянные лабораторные по
ГОСТ 25336-82 вместимостью 100, 200 см
3.
Кастрюля медная, эмалированная или из нержавеющей стали с верхним диаметром 115 мм, нижним диаметром 75 мм и высотой 70 мм.
Сахар-песок по ГОСТ 21-78.
4.4.3.3. Проведение анализа
Прочность студня, содержащего 8,5 г/дм3 (0,85%) сухого агара и 700 г/дм3 (70%) сахара, определяют, применяя устройство Валента.
В стеклянный стакан вместимостью 250 см3 переносят 1,70 г агара (в пересчете на сухое вещество), взвешенного с абсолютной погрешностью не более 0,001 г, приливают 100 см3 воды и выдерживают от 30 мин до 2 ч до полного набухания агара.
После набухания агара содержимое стакана количественно переносят в заранее взвешенную кастрюлю и осторожно нагревают при помешивании до полного растворения агара. Для поддержания постоянного уровня жидкости в кастрюле по мере необходимости добавляют небольшое количество горячей воды.
После полного растворения агара в кастрюлю добавляют 140 г сахара, взвешенного с абсолютной погрешностью не более 0,1 г, и нагревание продолжают, доводя до кипения, кипятят от 2 до 3 мин, затем взвешивают и нагревание продолжают 15 - 20 мин, пока масса агарового сахарного раствора будет доведена до 200 г. Раствор немедленно разливают в стаканы, помещают в термостатируемый сосуд (кристаллизатор) с водой температурой 20 °C. Прочность студня агара с сахаром определяют по
п. 4.4.2.3.
4.4.4. Определение падения прочности студня после нагревания
Метод основан на определении массы нагрузки, необходимой для разрушения структуры образца
4.4.4.2. Аппаратура, материалы
Весы неавтоматического действия 2-го класса точности с максимальной нагрузкой 200 г и пределами абсолютной погрешности не более +/- 0,001 г - по
ГОСТ OIML R 76-1-2011.
(в ред.
Изменения N 1, введенного в действие Приказом Росстандарта от 12.10.2017 N 1408-ст)
Баня водяная.
Колбы стеклянные лабораторные с обратным холодильником по
ГОСТ 25336-82.
4.4.4.3. Проведение анализа
200 г раствора агара, приготовленного по
п. 4.4.1.1.3, нагревают в колбе с обратным холодильником в течение 2 ч на кипящей водяной бане. По окончании нагревания колбу с раствором быстро взвешивают с абсолютной погрешностью не более 1 г, горячий раствор фильтруют через воронку с сухой ватой. Определение проводят по
п. 4.4.2.3.
4.4.4.4. Обработка результатов
Падение прочности студня

в процентах вычисляют по формуле

,
где C - прочность студня до нагревания, г;

- прочность студня после нагревания, г.
4.4.5. Определение температуры плавления агарового студня в пробирках
Метод основан на визуальном определении точки плавления агарового студня.
4.4.5.2. Аппаратура, материалы
Пробирки с резиновыми пробками.
| | ИС МЕГАНОРМ: примечание. ГОСТ 215-73 утратил силу с 1 апреля 1989 года ("ИУС", N 4, 1989). Постановлением Госстандарта СССР от 30.03.1990 N 691 с 1 января 1991 года введен в действие ГОСТ 28498-90. | |
Термометр ртутный стеклянный лабораторный по ГОСТ 215-73 с пределами измерений 0 - 100 °C.
Баня водяная.
4.4.5.3. Проведение анализа
Для определения температуры плавления используют студень, полученный из раствора агара, приготовленного по
п. 4.4.1.1.3; определение проводят в пробирках.
Две пробирки заполняют приблизительно до половины их высоты раствором агара, после чего пробирки закрывают заранее подобранными резиновыми пробками.
Находящийся в пробирках раствор переводят в студень, для чего пробирки оставляют при температуре около 20 °C не менее чем на 3 ч.
Пробирки со студнем помещают в стакан с водой, имеющей температуру 60 °C, с погруженным в него термометром. Баню подогревают таким образом, чтобы скорость повышения температуры воды в стакане на 1 °C не превышала 2 или 3 мин. Через каждый градус повышения температуры одну из пробирок вынимают из стакана и, наклоняя ее, наблюдают, не расплавился ли студень.
Температуру, при которой содержимое пробирки перейдет в жидкое состояние, отмечают как температуру плавления агара.
За окончательный результат анализа принимают среднее арифметическое значение результатов двух параллельных определений, допускаемые расхождения между которыми не должны превышать 1 °C.
4.4.6. Определение температуры плавления агарового студня при помощи специального устройства (черт. 3)
1 - мешалка; 2 - термометр; 3 - латунный стержень;
4 - стакан с маслом или глицерином; 5 - латунный тигель;
6 - стакан с водой; 7 - штатив; 8 - держатель
для термометра
Черт. 3
4.4.6.1. Сущность метода
Метод основан на определении момента извлечения стержня из агарового студня.
4.4.6.2. Аппаратура, материалы
| | ИС МЕГАНОРМ: примечание. В официальном тексте документа, видимо, допущена опечатка: имеется в виду ГОСТ 215-73, а не ГОСТ 215-75. | |
Термометр ртутный стеклянный лабораторный по ГОСТ 215-75 с пределами измерений 0 - 100 °C.
4.4.6.3. Проведение анализа
В тигель наливают горячий раствор агара в таком количестве, чтобы после встряхивания латунного стержня часть раствора вытекала.
Раствор выдерживают в течение 6 ч при температуре 20 °C, после чего штифт с тиглем подвешивают на проволоке в масляную или глицериновую баню или стакан, которые затем нагревают так, чтобы температура бани поднималась на 1 °C в 1 мин.
В момент отрыва тигля от стержня отмечают показание термометра, находящегося во внутренней бане, и принимают его за температуру плавления студня.
За окончательный результат анализа принимают среднее арифметическое значение результатов двух параллельных определений, допускаемые расхождения между которыми не должны превышать 1 °C.
4.4.7. Определение температуры застудневания раствора агара
Метод основан на визуальном определении момента застудневания раствора агара.
4.4.7.2. Аппаратура, материалы
Термометр ртутный стеклянный лабораторный по ГОСТ 215-73 с пределами измерений 0 - 100 °C.
4.4.7.3. Проведение испытания
В раствор агара (0,85%-ный), оставшийся после определения его прозрачности и цвета фотометрическим методом
(п. 4.4.1.1.3), погружают термометр, по которому отмечают температуру застудневания. Количество раствора должно быть не менее 150 см
3. Температурой застудневания считают температуру, при которой содержимое колбы перейдет в студень.
4.4.8. Определение температуры застудневания раствора агара с сахаром в пробирках
| | ИС МЕГАНОРМ: примечание. ГОСТ 215-73 утратил силу с 1 апреля 1989 года ("ИУС", N 4, 1989). Постановлением Госстандарта СССР от 30.03.1990 N 691 с 1 января 1991 года введен в действие ГОСТ 28498-90. | |
Термометр ртутный стеклянный лабораторный по ГОСТ 215-73.
4.4.8.3. Проведение анализа с пределами измерений 0 - 100 °C
Определение проводят с раствором агара, приготовленным по
п. 4.4.1.1.3, и с раствором агара с сахаром, приготовленным по
п. 4.4.3.3, применяя пробирки.
В две пробирки наливают горячий раствор агара приблизительно до половины пробирок, после чего их закрывают резиновыми пробками, подобранными заранее по диаметру пробирок.
Пробирки помещают в стакан с водой, имеющей температуру 50 °C. Температуру контролируют термометром, помещенным в стакан с водой, и дают воде остыть, периодически ее перемешивая.
Когда температура воды снизится до 40 °C, одну из пробирок вынимают и, наклоняя ее, наблюдают подвижность раствора до момента его перехода в студнеобразное состояние.
Пробу повторяют при дальнейшем охлаждении через каждый градус падения температуры воды в стакане при 39, 38° и т.д. Падение температуры воды в стакане на 1° должно происходить не быстрее чем в течение 2 - 3 мин. При необходимости подливают в стакан небольшое количество воды с температурой 20 °C.
Правильность определения проверяют, пользуясь второй пробиркой, в которой состояние содержимого проверяют наклоном пробирки и измерением температуры студня.
За окончательный результат анализа принимают среднее арифметическое значение результатов двух параллельных определений, допускаемые расхождения между которыми не должны превышать 1 °C.
4.4.9. Определение температуры застудневания при помощи специального устройства
4.4.9.1. Сущность метода
Метод основан на определении момента изменения вязкости агарового раствора.
4.4.9.2. Аппаратура, посуда, реактивы
Штатив лабораторный в комплекте.
Термометр ртутный стеклянный лабораторный по ГОСТ 215-73 с пределами измерений от 0 до 100 °C.
Стаканы стеклянные лабораторные по
ГОСТ 25336-82 вместимостью 300, 500 см
3.
| | ИС МЕГАНОРМ: примечание. Взамен ГОСТ 6823-77 Постановлением Госстандарта России от 21.03.2001 N 125-ст с 1 января 2002 года введен в действие ГОСТ 6823-2000. | |
Глицерин по ГОСТ 6823-77.
4.4.9.3. Проведение анализа
В пробирку устройства (черт. 4) наливают 20 см3 раствора агара и добавляют дробь в количестве, необходимом для погружения пробирки в воду до отметки А и поддержания ее в воде в вертикальном положении.
1 - стеклянный стакан; 2 - мешалка; 3 - штатив;
4 - тонкостенная пробирка; 5 - направляющие кольца,
укрепленные на штативе; 6 - термометр; 7 - держатель
для термометра, укрепленный в штативе; 8 - кнопка
Черт. 4
При охлаждении раствора агара повышается его вязкость и пробирка при опускании термометра начинает погружаться в воду.
Когда при нажатии термометра пробирка погрузится в воду до отметки Б, отсчет проводят по термометру, который показывает температуру застудневания раствора.
За окончательный результат анализа принимают среднее арифметическое значение результатов двух параллельных определений, допускаемые расхождения между которыми не должны превышать 1 °C.
4.4.10. Определение массовой доли воды - по
п. 3.2.
4.4.11. Определение массовой доли золы - по
п. 3.3.
4.4.12. Определение массовой доли общего азота
4.4.12.1. Сущность метода
Метод основан на окислении органического вещества при сжигании его в серной кислоте в присутствии катализатора, отгоне образующегося аммиака, улавливании его титрованным раствором серной кислоты с последующим обратным титрованием избытка ее. По количеству связанной аммиаком кислоты судят о содержании азота во взятой навеске вещества.
4.4.12.2. Аппаратура, реактивы и материалы
Весы неавтоматического действия 2-го класса точности с максимальной нагрузкой 200 г и пределами абсолютной погрешности не более +/- 0,001 г - по
ГОСТ OIML R 76-1-2011.
(в ред.
Изменения N 1, введенного в действие Приказом Росстандарта от 12.10.2017 N 1408-ст)
Колбы плоскодонные или круглодонные по
ГОСТ 25336-82 вместимостью от 500 до 750 см
3.
Пемза.
Бумага лакмусовая.
Кислота серная по
ГОСТ 4204-77 концентрированная и раствор 0,025 моль/дм
3 (0,05 н).
Натрия гидроокись по
ГОСТ 4328-77, раствор 330 г/дм
3 (33%-ный).
Натрия гидроокись по
ГОСТ 4328-77, раствор 0,05 моль/дм
3 (0,05 н).
Метиловый красный по ГОСТ 5853-51, спиртовой раствор 0,02 г/дм3 (0,002%-ный).
4.4.12.3. Проведение анализа
Навеску тщательно измельченного продукта массой 1 г взвешивают в пробирку с абсолютной погрешностью не более 0,001 г и осторожно переводят в колбу для сжигания вместимостью от 100 до 250 см3, стараясь не задеть горлышка. В колбу прибавляют 10 см3 серной кислоты, 0,5 г сернокислой меди и от 0,5 до 1,0 г сернокислого калия или другой катализатор. Для устранения толчков при кипении в колбу помещают пемзу.
Колбу закрывают насадкой Кьельдаля и во избежание потерь осторожно нагревают на электроплитке под тягой.
Когда образование пены уменьшится, нагревание постепенно усиливают, периодически взбалтывая содержимое колбы. Нагревание прекращают, как только содержимое колбы станет прозрачным и примет зеленовато-голубой цвет. Внутренние стенки колбы должны быть совершенно чистыми.
После охлаждения в колбу приливают небольшое количество дистиллированной воды, содержимое взбалтывают и количественно переносят через воронку в колбу для отгона вместимостью от 500 до 700 см3. Колбу для сжигания несколько раз ополаскивают небольшими порциями воды (общий объем 200 - 250 см3). Промывные воды переносят в колбу для отгона, соединенную с каплеуловителем. Колбу для отгона с каплеуловителем присоединяют к холодильнику. Приемником служит коническая колба вместимостью от 250 до 500 см3, в которую из бюретки приливают 50 см3 раствора 0,025 моль/дм3 серной кислоты и от 3 до 5 капель метилового красного в качестве индикатора. Конец трубки холодильника погружают в серную кислоту.
Когда прибор собран, в колбу для отгона по стенкам, избегая смешивания жидкостей, осторожно приливают раствор 330 г/дм3 гидроокиси натрия от 50 до 60 см3 на каждые 10 см3 серной кислоты, взятой для сжигания.
Гидроокись натрия приливают осторожно по стенке, поддерживая колбу в наклонном положении. При этом гидроокись натрия стекает на дно, не смешиваясь с жидкостью. Этим устраняется возможность потери аммиака.
Колбу для отгона быстро закрывают пробкой, соединенной с насадкой, осторожно перемешивают содержимое и нагревают.
Отгоняют не менее 2/3 содержимого колбы. Момент окончания отгонки определяют по красной лакмусовой бумаге. По окончании отгонки нагревание прекращают, отнимают приемник и конец трубки холодильника или форштосса обмывают дистиллированной водой. Содержимое приемной колбы титруют раствором 0,05 моль/дм3 гидроокиси натрия. Необходимо проведение контрольного опыта, который ведут, как описано выше, но без навески продукта.
4.4.12.4. Обработка результатов
Массовую долю общего азота в продукте

в процентах, в пересчете на сухое вещество, вычисляют по формуле

,
где V - объем раствора 0,05 моль/дм3 (0,05 н) гидроокиси натрия, израсходованный на титрование в контрольном опыте, см3;

- объем раствора 0,05 моль/дм
3 (0,05 н) гидроокиси натрия, израсходованный на титрование в рабочем опыте, см
3;
K - коэффициент пересчета на точный раствор 0,05 моль/дм3 гидроокиси натрия;
0,0007 - количество азота, эквивалентное 1 см3 раствора 0,05 моль/дм3 гидроокиси натрия, г;

- массовая доля воды в продукте, %;
m - масса исследуемого образца, г.
За окончательный результат анализа принимают среднее арифметическое значение результатов двух параллельных определений, допускаемые расхождения между которыми не должны превышать 0,3%. Вычисление проводят до второго десятичного знака.
4.4.13. Определение присутствия иода в агаре - по
п. 3.14.
4.4.14. Определение присутствия тяжелых металлов - свинца, меди, олова, цинка и мышьяка - качественная реакция
4.4.14.1. Сущность метода
Метод основан на взаимодействии ионов тяжелых металлов с сероводородом с образованием окрашенного комплекса.
4.4.14.2. Аппаратура, реактивы и материалы
Весы неавтоматического действия 2-го класса точности с максимальной нагрузкой 200 г и пределами абсолютной погрешности не более +/- 0,001 г - по
ГОСТ OIML R 76-1-2011.
(в ред.
Изменения N 1, введенного в действие Приказом Росстандарта от 12.10.2017 N 1408-ст)
Кислота соляная по
ГОСТ 3118-77, растворы 2 моль/дм
3 (2 н) и 200 г/дм
3.
Железо сернистое.
Вода сероводородная свежеприготовленная.
4.4.14.3. Подготовка к анализу
Приготовление раствора сероводородной воды
Способ получения сероводорода основан на действии соляной кислоты 200 г/дм3 (20%-ной) на сернистое железо. Реакцию проводят в аппарате Киппа. Из газоотводной трубки сероводород пропускают через склянку с небольшим количеством воды, затем через сосуд с водой, охлаждаемый смесью воды со льдом, и через контрольную склянку с водой (через нее должен проходить один пузырек газа приблизительно через 2 с). Насыщение проводят 15 - 25 мин.
4.4.14.4. Проведение анализа
В коническую колбу вместимостью 100 см3 отвешивают от 4,5 до 5,7 г агара с абсолютной погрешностью не более 0,01 г, заливают его 10 см3 раствора соляной кислоты и нагревают для разрушения агара в течение 1 ч при кипячении с обратным холодильником. При появлении после нагревания осадка раствор отфильтровывают, фильтрат оставляют при комнатной температуре на 30 мин. При появлении осадка его снова отфильтровывают. Объем фильтрата доводят дистиллированной водой до 10 см3.
К 10 см3 прозрачного раствора приливают равный объем сероводородной воды. Через 30 мин содержимое колбы осматривают.
Осадок темного цвета или помутнение жидкости указывает на присутствие тяжелых металлов в агаре.
4.4.15. Определение массовой доли веществ, не растворимых в горячей воде, взвешиванием
4.4.15.1. Сущность метода
Метод основан на экстракции из агара водорастворимых веществ и определении оставшихся не растворимых в горячей воде веществ.
4.4.15.2. Аппаратура, материалы и реактивы
Весы неавтоматического действия 2-го класса точности с максимальной нагрузкой 200 г и пределами абсолютной погрешности не более +/- 0,001 г - по
ГОСТ OIML R 76-1-2011.
(в ред.
Изменения N 1, введенного в действие Приказом Росстандарта от 12.10.2017 N 1408-ст)
Баня водяная.
Шкаф сушильный лабораторный, обеспечивающий поддержание температуры (103 +/- 2) °C.
(в ред.
Изменения N 1, введенного в действие Приказом Росстандарта от 12.10.2017 N 1408-ст)
Воронка с обогревом.
Стаканы стеклянные лабораторные по
ГОСТ 25336-82 вместимостью 1 дм
3.
Палочки стеклянные.
Фильтры бумажные.
4.4.15.3. Проведение анализа
Отвешивают 0,5 г агара с абсолютной погрешностью не более 0,001 г, переводят навеску в стакан вместимостью 1 дм3 и приливают от 800 до 850 см3 воды.
После набухания агара в течение 1 ч стакан нагревают на водяной бане до растворения агара, помешивая содержимое стакана стеклянной палочкой.
Полученный раствор агара фильтруют, применяя воронку с обогревом, через предварительно высушенный до постоянной массы бумажный фильтр, взвешенный с погрешностью не более 0,001 г.
Осадок количественно переносят на фильтр, промывают 4 - 5 раз водой при температуре от 70 до 80 °C и высушивают фильтр при температуре от 102 до 105 °C до постоянной массы.
Горячий раствор агара может быть также профильтрован через предварительно взвешенный тигель с дном из пористого стекла (фильтр N 2), прогретый непосредственно перед фильтрованием агара промыванием горячей дистиллированной водой.
Фильтрование ведут под вакуумом. Осадок промывают от двух до пяти раз горячей дистиллированной водой, после чего тигель с осадком высушивают до постоянной массы при температуре от 102 до 105 °C. Тигель с осадком охлаждают в эксикаторе и взвешивают с абсолютной погрешностью не более 0,001 г.
4.4.15.4. Обработка результатов
Массовую долю веществ, не растворимых в горячей воде

, в процентах, в пересчете на сухой агар, вычисляют по формуле

,
где

- масса высушенного фильтра (тигля) с осадком, г;

- масса пустого высушенного фильтра (тигля), г;
m - масса агара, израсходованного для определения, г;

- массовая доля воды в агаре, %.
За окончательный результат анализа принимают среднее арифметическое значение результатов двух параллельных определений, допускаемые расхождения между которыми не должны превышать 0,05%.
Вычисление проводят до второго десятичного знака.
4.4.16. Определение массовой доли веществ, растворимых в воде комнатной температуры
4.4.16.1. Сущность метода
Метод основан на экстракции водорастворимых веществ водой комнатной температуры и определении их количества весовым методом (по разности).
4.4.16.2. Аппаратура, материалы и реактивы
Весы неавтоматического действия 2-го класса точности с максимальной нагрузкой 200 г и пределами абсолютной погрешности не более +/- 0,001 г - по
ГОСТ OIML R 76-1-2011.
(в ред.
Изменения N 1, введенного в действие Приказом Росстандарта от 12.10.2017 N 1408-ст)
Шкаф сушильный лабораторный, обеспечивающий поддержание температуры (103 +/- 2) °C.
(в ред.
Изменения N 1, введенного в действие Приказом Росстандарта от 12.10.2017 N 1408-ст)
Стаканы стеклянные лабораторные по
ГОСТ 25336-82 вместимостью 400 см
3.
4.4.16.3. Проведение анализа
Отвешивают от 4,5 до 5,5 г агара с абсолютной погрешностью не более 0,001 г, переносят в стакан вместимостью 400 см3, приливают 300 см3 дистиллированной воды при температуре от 15 до 20 °C и смесь оставляют стоять, периодически ее помешивая.
Через 4 - 5 ч или на следующий день воду осторожно сливают через предварительно взвешенный тигель с дном из пористого стекла (фильтр N 1), после чего в стакан наливают дистиллированную воду до первоначального уровня.
Воду меняют не менее пяти раз в течение 2 сут. Набухший агар количественно переносят в тигель и промывают два раза водой.
Тигель с осадком высушивают при температуре 102 - 105 °C, затем охлаждают и взвешивают с абсолютной погрешностью не более 0,001 г.
4.4.16.4. Обработка результатов
Массовую долю веществ, растворимых в воде комнатной температуры

, в процентах, в пересчете на сухой агар, вычисляют по формуле

,
где m - масса агара, израсходованная для определения, г;

- масса высушенного остатка в тигле, г;

- массовая доля воды в агаре, %.
За окончательный результат анализа принимают среднее арифметическое значение результатов двух параллельных определений, допускаемые расхождения между которыми не должны превышать 0,5%.
Вычисление проводят до первого десятичного знака.
4.4.17. Определение сцепления питательной среды с поверхностью стекла
4.4.17.1. Сущность метода
Метод основан на визуальном определении сцепления (адгезии) питательной среды с поверхностью стекла.
4.4.17.2. Аппаратура, материалы
Баня водяная.
Весы неавтоматического действия 2-го класса точности с максимальной нагрузкой 200 г и пределами абсолютной погрешности не более +/- 0,001 г - по
ГОСТ OIML R 76-1-2011.
(в ред.
Изменения N 1, введенного в действие Приказом Росстандарта от 12.10.2017 N 1408-ст)
Колбы-матрацы вместимостью 1,5 дм3.
Пробки ватно-марлевые с бумажными колпачками.
4.4.17.3. Проведение анализа
В 250 г питательной среды (Хотингера, мясо-пептонный бульон и др.) добавляют сухой агар в соответствии с ГОСТ 17206-71 и оставляют для набухания на 1 ч, после чего нагревают на водяной бане с обратным холодильником до полного растворения агара.
Раствор переливают в колбы-матрацы, которые закрывают ватно-марлевыми пробками с бумажными колпачками.
Для полного и равномерного образования студня раствор выдерживают в колбах-матрацах в горизонтальном положении, после чего в вертикальном положении помещают в термостат при 37 - 38 °C на 24 ч. По истечении этого времени агаровая пленка не должна сползать со стенок.
4.4.18. Определение pH раствора агара - по
п. 4.3.7.
4.5. Методы анализа агароида
4.5.1. Определение массовой доли воды - по
п. 3.2.
4.5.2. Определение прочности студня агароида с сахаром
4.5.2.2. Аппаратура, реактивы и материалы - по
п. 4.4.3.2.
4.5.2.3. Проведение анализа
Для определения прочности агароидно-сахарного студня применяют студень, приготовленный из 200 г раствора, содержащего 2,5% сухого агароида и 70% сахара. Прочность 2,5%-ного водного раствора агароида определяют по
п. 4.4.2.
Для приготовления раствора во взвешенную с абсолютной погрешностью не более 0,1 г медную, эмалированную или из нержавеющей стали кастрюлю с верхним диаметром 115 мм, нижним диаметром 75 мм и высотой 70 мм помещают 5 г агароида, взятого в пересчете на сухое вещество и взвешенного с абсолютной погрешностью не более 0,001 г, наливают 100 см3 дистиллированной воды и оставляют не менее чем на 0,5 ч.
После набухания агароида кастрюлю с содержимым осторожно нагревают при помешивании до полного растворения агароида, затем в кастрюлю добавляют 140 г сахара, взвешенного с погрешностью не более 0,1 г, и нагревание продолжают, доводя до кипения, кипятят 2 - 3 мин, затем взвешивают и нагревание продолжают 15 - 20 мин, пока масса агароидно-сахарного раствора не будет доведена до 200 г. Раствор немедленно разливают в стаканы и определяют прочность студня по
п. 4.4.2.3. Температура термостатирования студня 20 °C.
Примечание. Допускается увеличение массы подвижной системы, включая сосуд для песка, до 300 г при определении прочности студня агароида.
4.5.3. Определение падения прочности студня после нагревания
4.5.3.2. Аппаратура, реактивы и материалы - по
п. 4.4.4.2.
4.5.3.3. Проведение анализа
200 г 2,5%-ного раствора, приготовленного по
п. 4.4.1.1.3, нагревают в колбе с обратным холодильником в течение 2 ч на кипящей водяной бане.
Определение проводят по
п. 4.4.2.3. Падение прочности студня агароида выражают в процентах по отношению к прочности студня до нагревания.
4.5.4. Определение температуры плавления студня
4.5.4.2. Аппаратура, реактивы и материалы - по
п. 4.4.5.2.
4.5.4.3. Проведение анализа
Для определения температуры плавления берут студень, полученный из раствора агароида, приготовленного по
п. 4.4.1.1.3, применяя пробирки или специальное устройство.
Определение с помощью пробирок проводят следующим образом: две пробирки заполняют приблизительно до половины их высоты раствором агароида, после чего пробирки закрывают заранее подобранными резиновыми пробками. Находящийся в пробирках раствор переводят в студень, для чего пробирки оставляют при температуре не выше 15 °C не менее чем на 3 ч.
Пробирки со студнем помещают в стакан с водой, имеющей температуру 30 °C. Воду в стакане подогревают так, чтобы скорость повышения температуры на 1 °C не превышала 2 - 3 мин. Температуру контролируют термометром, помещенным в стакан. Через каждый градус повышения температуры одну из пробирок вынимают из стакана и, наклоняя ее, наблюдают, расплавился ли студень.
Температуру, при которой содержимое пробирки перейдет в жидкое состояние, отмечают как температуру плавления агароида. Допускаемые расхождения между параллельными определениями не должны превышать 1 °C.
Температуру плавления студня с помощью специального устройства определяют по
п. 4.4.6.2.
4.5.5. Определение температуры застудневания 2,5%-ного (водного и сахарно-водного) раствора агароида
Определение проводят по
п. 4.4.7. Пробирки помещают в стакан с водой, имеющей температуру 40 °C. При снижении температуры до 30 °C, а затем соответственно до 29, 28 °C и т.д. наклоняют пробирки и наблюдают подвижность раствора до момента перехода его в студнеобразное состояние.
4.5.6. Определение массовой доли золы - по
п. 3.3.
4.5.7. Определение массовой доли иода - по
п. 3.14.
4.5.8. Определение массовой доли общего азота - по
п. 3.4.
4.5.9. Определение присутствия тяжелых металлов - по
п. 4.4.14.
4.6. Методы анализа муки и крупки водорослевых кормовых и порошка пищевого
4.6.1. Определение массовой доли воды - по
п. 3.2.
4.6.2. Определение массовой доли золы - по
п. 3.3.
4.6.3. Определение массовой доли песка - по
п. 3.7.
(п. 4.6.4 в ред.
Изменения N 1, введенного в действие Приказом Росстандарта от 12.10.2017 N 1408-ст)
4.6.4.1 - 4.6.4.5. Исключены с 1 января 2019 года. -
Изменение N 1, введенное в действие Приказом Росстандарта от 12.10.2017 N 1408-ст.
4.6.5. Определение массовой доли иода (в порошке) - по
п. 3.14.
4.6.6. Определение крупности помола
4.6.6.1. Сущность метода
Под крупностью помола понимают степень измельчения порошка, муки или крупки, определяемую просеиванием через сито определенного номера.
4.6.6.2. Аппаратура, материалы
Весы неавтоматического действия 2-го класса точности с максимальной нагрузкой 200 г и пределами абсолютной погрешности не более +/- 0,001 г - по
ГОСТ OIML R 76-1-2011.
(в ред.
Изменения N 1, введенного в действие Приказом Росстандарта от 12.10.2017 N 1408-ст)
Рассев-анализатор лабораторный (РА-5) или комплект сит для разделения сыпучих веществ.
Шкаф сушильный лабораторный, обеспечивающий поддержание температуры (103 +/- 2) °C.
(в ред.
Изменения N 1, введенного в действие Приказом Росстандарта от 12.10.2017 N 1408-ст)
4.6.6.3. Проведение анализа
500 г муки или крупки подсушивают при температуре 102 - 105 °C в течение 2 ч, взвешивают 50 г с абсолютной погрешностью не более 0,1 г и просеивают через сито определенного номера.
Просеивание ведется в течение 15 мин. Остаток крупных частиц на сите переносят в тарированный стакан и взвешивают.
4.6.6.4. Обработка результатов
Массовую долю крупных частиц или частиц определенного размера

в процентах вычисляют по формуле

,
где m - масса продукта, г;

- масса остатка исследуемого продукта на сите, г.
За окончательный результат анализа принимают среднее арифметическое значение результатов двух параллельных определений, допускаемые расхождения между которыми не должны превышать 0,01%.
Вычисление проводят до второго десятичного знака.
5. МЕТОДЫ ИССЛЕДОВАНИЯ КУЛИНАРНЫХ ИЗДЕЛИЙ
И ПОЛУФАБРИКАТОВ ДЛЯ НИХ
5.1. Подготовка средней пробы к анализу - по
п. 2.3.
5.2. Определение массовой доли воды - по
п. 3.2.
5.3. Определение массовой доли хлористого натрия аргентометрическим методом
5.3.1. Сущность метода
Метод основан на взаимодействии хлористого натрия с азотнокислым серебром в присутствии хромовокислого калия с образованием в растворе красного осадка хромовокислого серебра.
5.3.2. Аппаратура, реактивы и материалы
Весы неавтоматического действия 2-го класса точности с максимальной нагрузкой 200 г и пределами абсолютной погрешности не более +/- 0,001 г - по
ГОСТ OIML R 76-1-2011.
(в ред.
Изменения N 1, введенного в действие Приказом Росстандарта от 12.10.2017 N 1408-ст)
Колбы стеклянные лабораторные конические по
ГОСТ 25336-82 вместимостью 100 см
3.
Стекло часовое.
Марля медицинская по ГОСТ 9412-77.
Серебро азотнокислое по
ГОСТ 1277-75, раствор 0,1 моль/дм
3 (0,1 н).
Калий хромовокислый по
ГОСТ 4459-75, раствор 100 г/дм
3 (10%-ный) или насыщенный раствор.
Натрий двууглекислый по
ГОСТ 2156-76, раствор 0,01 моль/дм
3 (0,01 н).
Кислота уксусная по
ГОСТ 61-75, раствор 0,01 моль/дм
3 (0,01 н).
| | ИС МЕГАНОРМ: примечание. ГОСТ 5850-72 утратил силу с 1 января 1989 года (ИУС "Государственные стандарты", N 8, 1988). | |
Фенолфталеин по ГОСТ 5850-72, раствор 10 г/дм3 (1%-ный).
Паранитрофенол, раствор 0,5 г/дм3 (0,05%-ный).
5.3.3. Проведение анализа
Навеску средней пробы продукта от 2 до 5 г, взвешенную с абсолютной погрешностью не более 0,01 г, помещают в мерную колбу вместимостью 200 см3 и заливают на 3/4 объема колбы дистиллированной водой, нагретой до 40 - 45 °C.
Содержимое колбы настаивают в течение 15 - 20 мин, периодически сильно взбалтывая колбу. Допускается экстрагирование продукта водой комнатной температуры, при этом время настаивания увеличивается на 25 - 30 мин. По окончании настаивания жидкость в колбе охлаждают до комнатной температуры и доводят объем водой до метки.
Содержимое мерной колбы тщательно взбалтывают и фильтруют через сухой бумажный фильтр, вату или двойной слои марли, причем первые 20 - 50 см3 фильтрата отбрасывают. Для устранения испарения жидкости во время фильтрования воронку с фильтром накрывают часовым стеклом.
Пипеткой отбирают 10 - 25 см3 фильтрата и титруют раствором азотнокислого серебра в присутствии 3 - 4 капель раствора 100 г/дм3 или 1 капли насыщенного раствора хромовокислого калия до получения неисчезающей красновато-бурой окраски.
В случае исследования продуктов, имеющих кислую или щелочную реакцию, перед титрованием отобранную порцию фильтрата нейтрализуют раствором 0,01 моль/дм3 двууглекислого натрия или раствором 0,01 моль/дм3 уксусной кислоты в присутствии индикаторов фенолфталеина или паранитрофенола. После нейтрализации фенолфталеин должен оставаться бесцветным, а паранитрофенол - приобретать слабо-желтую окраску.
5.3.4. Обработка результатов
Массовую долю хлористого натрия

в процентах вычисляют по формуле

,
где V - объем жидкости в мерной колбе, см3;

- объем раствора 0,1 моль/дм
3 азотнокислого серебра, израсходованный на титрование испытуемого раствора, см
3;

- объем водной вытяжки, израсходованный для титрования, см
3;
m - масса образца, г;
0,00585 - количество хлористого натрия, соответствующее 1 см3 раствора 0,1 моль/дм3 азотнокислого серебра, г;
K - коэффициент пересчета на точный раствор 0,1 моль/дм3 азотнокислого серебра.
За окончательный результат анализа принимают среднее арифметическое значение результатов двух параллельных определений, допускаемые расхождения между которыми не должны превышать 0,2%.
Вычисление проводят до первого десятичного знака.
5.4. Определение кислотности
5.4.1. Сущность метода
Метод основан на экстракции из продукта водорастворимых кислот и количественном определении их титрованием раствором гидроокиси натрия.
5.4.2. Аппаратура, реактивы и материалы
Весы неавтоматического действия 2-го класса точности с максимальной нагрузкой 200 г и пределами абсолютной погрешности не более +/- 0,001 г - по
ГОСТ OIML R 76-1-2011.
(в ред.
Изменения N 1, введенного в действие Приказом Росстандарта от 12.10.2017 N 1408-ст)
Колбы стеклянные лабораторные конические по
ГОСТ 25336-82 вместимостью 250 см
3.
Фенолфталеин по ГОСТ 5850-72, спиртовой раствор 10 г/дм3 (1%-ный).
Натрия гидроокись по
ГОСТ 4328-77, раствор 0,1 моль/дм
3 (0,1 н) или калия гидроокись по
ГОСТ 24363-80, раствор 0,1 моль/дм
3 (0,1 н).
Бумага лакмусовая.
5.4.3. Проведение анализа
Навеску средней пробы около 20 г отвешивают в фарфоровой чашке с абсолютной погрешностью не более 0,01 г и без потерь переносят, смывая горячей дистиллированной водой через воронку, в мерную колбу вместимостью 250 см3. В колбу приливают горячую дистиллированную воду температурой 80 °C до 3/4 объема, перемешивают и оставляют стоять 30 мин, периодически встряхивая. Колбу охлаждают водопроводной водой под краном, доводят объем дистиллированной водой до метки и, закрыв пробкой, перемешивают содержимое.
Жидкость фильтруют через сухой складчатый фильтр или вату в сухую колбу.
Из фильтрата отбирают 10 - 25 см3 и титруют растворам 0,1 моль/дм3 гидроокиси натрия в присутствии 2 - 3 капель спиртового раствора фенолфталеина 10 г/дм3.
5.4.4. Обработка результатов
Общую кислотность

в процентах вычисляют по формуле

,
где V - объем раствора 0,1 моль/дм3 гидроокиси натрия, пошедший на титрование, см3;

- объем жидкости в мерной колбе, см
3;
0,006 - коэффициент пересчета на уксусную кислоту;

- объем раствора, израсходованный для титрования, см
3;
m - масса образца, г;
K - коэффициент пересчета на 0,1 моль/дм3 раствора гидроокиси натрия.
За окончательный результат анализа принимают среднее арифметическое значение результатов двух параллельных определений, допускаемые расхождения между которыми не должны превышать 0,03%.
Вычисление проводят до второго десятичного знака.
5.5. Определение массовой доли песка - по
п. 3.7.
5.6. Определение посторонних примесей - по
п. 3.6.
(в ред.
Изменения N 1, введенного в действие Приказом Росстандарта от 12.10.2017 N 1408-ст)