Главная // Актуальные документы // ГОСТ (Государственный стандарт)
СПРАВКА
Источник публикации
М.: ФГБУ "Институт стандартизации", 2024
Примечание к документу
Отдельные положения данного документа включены в Перечень международных и региональных (межгосударственных) стандартов, а в случае их отсутствия - национальных (государственных) стандартов, в результате применения которых на добровольной основе обеспечивается соблюдение требований технического регламента Таможенного союза "О безопасности машин и оборудования" (ТР ТС 010/2011) (Решение Коллегии Евразийской экономической комиссии от 09.03.2021 N 28).

Документ вводится в действие с 01.01.2025.
Название документа
"ГОСТ ИСО 7918-2002. Межгосударственный стандарт. Машины для лесного хозяйства. Кусторезы бензиномоторные. Защитное устройство дискового полотна. Размеры"
(введен в действие Приказом Росстандарта от 26.01.2024 N 109-ст)

"ГОСТ ИСО 7918-2002. Межгосударственный стандарт. Машины для лесного хозяйства. Кусторезы бензиномоторные. Защитное устройство дискового полотна. Размеры"
(введен в действие Приказом Росстандарта от 26.01.2024 N 109-ст)


Содержание


Введен в действие
Приказом Федерального
агентства по техническому
регулированию и метрологии
от 26 января 2024 г. N 109-ст
МЕЖГОСУДАРСТВЕННЫЙ СТАНДАРТ
МАШИНЫ ДЛЯ ЛЕСНОГО ХОЗЯЙСТВА
КУСТОРЕЗЫ БЕНЗИНОМОТОРНЫЕ.
ЗАЩИТНОЕ УСТРОЙСТВО ДИСКОВОГО ПОЛОТНА
РАЗМЕРЫ
Forestry machinery. Gasoline brush-saws.
Circular saw-blade guard. Dimensions
(ISO 7918:1985, IDT)
ГОСТ ИСО 7918-2002
КГС Г51
МКС 65.060.80
Дата введения
1 января 2025 года
Предисловие
Цели, основные принципы и общие правила проведения работ по межгосударственной стандартизации установлены ГОСТ 1.0 "Межгосударственная система стандартизации. Основные положения" и ГОСТ 1.2 "Межгосударственная система стандартизации. Стандарты межгосударственные, правила и рекомендации по межгосударственной стандартизации. Правила разработки, принятия, обновления и отмены"
Сведения о стандарте
1 ПОДГОТОВЛЕН Межгосударственным техническим комитетом по стандартизации МТК 287 "Ручное портативное механизированное оборудование для лесной промышленности и лесного хозяйства" на основе собственного перевода на русский язык англоязычной версии стандарта, указанного в пункте 5
2 ВНЕСЕН Госстандартом России
3 ПРИНЯТ Межгосударственным советом по стандартизации, метрологии и сертификации (протокол от 6 ноября 2002 г. N 22-2002)
За принятие проголосовали:
Краткое наименование страны по МК (ИСО 3166) 004-97
Код страны по МК (ИСО 3166) 004-97
Сокращенное наименование национального органа по стандартизации
Азербайджан
AZ
Азстандарт
Армения
AM
ЗАО "Национальный орган по стандартизации и метрологии" Республики Армения
Беларусь
BY
Госстандарт Республики Беларусь
Казахстан
KZ
Госстандарт Республики Казахстан
Киргизия
KG
Кыргызстандарт
Молдова
MD
Институт стандартизации Молдовы
Россия
RU
Росстандарт
Таджикистан
TJ
Таджикстандарт
Туркменистан
TM
Главгосслужба "Туркменстандартлары"
Украина
UA
Минэкономики Украины
4 Приказом Федерального агентства по техническому регулированию и метрологии от 26 января 2024 г. N 109-ст межгосударственный стандарт ГОСТ ИСО 7918-2002 введен в действие в качестве национального стандарта Российской Федерации с 1 января 2025 г.
5 Настоящий стандарт идентичен международному стандарту ISO 7918:1985 "Машины для лесного хозяйства. Кусторезы бензиномоторные. Защитное устройство дискового полотна. Размеры" ("Forestry machinery; Portable brush-saws; Circular saw-blade guard; Dimensions", IDT)
Сведения о соответствии ссылочных международных стандартов межгосударственным стандартам приведены в дополнительном приложении ДА
6 ВВЕДЕН ВПЕРВЫЕ
Информация о введении в действие (прекращении действия) настоящего стандарта и изменений к нему на территории указанных выше государств публикуется в указателях национальных стандартов, издаваемых в этих государствах, а также в сети Интернет на сайтах соответствующих национальных органов по стандартизации.
В случае пересмотра, изменения или отмены настоящего стандарта соответствующая информация будет опубликована на официальном интернет-сайте Межгосударственного совета по стандартизации, метрологии и сертификации в каталоге "Межгосударственные стандарты"
1 Область применения
Настоящий стандарт устанавливает размеры защитного устройства дискового полотна кусторезов с двигателями внутреннего сгорания.
2 Нормативные ссылки
В настоящем стандарте использована нормативная ссылка на следующий стандарт:
ISO 7113 <*> Малогабаритные ручные машины для лесного хозяйства. Режущее оборудование кусторезов. Сплошные металлические режущие полотна
--------------------------------
<*> Действует до принятия межгосударственного стандарта, идентичного ИСО 7113-99.
Применение на добровольной основе разд. 3 обеспечивает соблюдение требований технического регламента Таможенного союза "О безопасности машин и оборудования" (ТР ТС 010/2011) (Решение Коллегии Евразийской экономической комиссии от 09.03.2021 N 28).
3 Размеры и общие требования
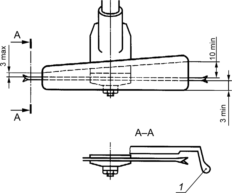
3.1 Защитное устройство должно перекрывать дисковое полотно сектором не менее 90° с тыльной стороны и обеспечивать максимальную защиту оператора (рисунок 1).
Рисунок 1 - Радиальные зазоры
Примечание - Если полотно пилы вращается в противоположном направлении, стороны рисунка поменяются.
Размеры режущих полотен - по ISO 7113.
3.2 Радиальный зазор между зубьями режущего полотна и защитным устройством должен быть не более 4 мм при входе полотна в защитное устройство и должен увеличиваться не менее чем до 10 мм при выходе из него (рисунок 1).
3.3 Осевой зазор между дисковым полотном и защитным устройством должен быть не более 3 мм в точке входа полотна в защитное устройство и увеличиваться не менее чем до 10 мм при выходе из него (рисунок 2).
1 - скругленная кромка для предотвращения зацепления
Рисунок 2 - Осевой зазор
Примечание - Если полотно пилы вращается в противоположном направлении, стороны рисунка поменяются.
3.4 Нижняя кромка защитного устройства должна перекрывать дисковое полотно не менее чем на 10 мм и быть закругленной (рисунок 2).
Приложение ДА
(справочное)
СВЕДЕНИЯ О СООТВЕТСТВИИ ССЫЛОЧНЫХ МЕЖДУНАРОДНЫХ СТАНДАРТОВ
МЕЖГОСУДАРСТВЕННЫМ СТАНДАРТАМ
Таблица ДА.1
Обозначение ссылочного международного стандарта
Степень соответствия
Обозначение и наименование соответствующего межгосударственного стандарта
ISO 7113:1999
-
<*> Соответствующий межгосударственный стандарт отсутствует.
УДК 631.242.1.072.3:006.354
МКС 65.060.80
(КГС Г51)
Ключевые слова: кусторезы, мотокосы, дисковое полотно, защитное устройство, окружная скорость, зазор, размеры