Главная // Актуальные документы // ГОСТ (Государственный стандарт)
СПРАВКА
Источник публикации
М.: ФГБУ "Институт стандартизации", 2024
Примечание к документу
Документ включен в Перечень международных и региональных (межгосударственных) стандартов, а в случае их отсутствия - национальных (государственных) стандартов, в результате применения которых на добровольной основе обеспечивается соблюдение требований технического регламента Таможенного союза "О безопасности машин и оборудования" (ТР ТС 010/2011), и отдельные положения данного документа в Перечень международных и региональных (межгосударственных) стандартов, а в случае их отсутствия - национальных (государственных) стандартов, содержащих правила и методы исследований (испытаний) и измерений, в том числе правила отбора образцов, необходимые для применения и исполнения требований технического регламента Таможенного союза "О безопасности машин и оборудования" (ТР ТС 010/2011) и осуществления оценки соответствия объектов технического регулирования (Решение Коллегии Евразийской экономической комиссии от 09.03.2021 N 28).

Документ вводится в действие с 01.01.2025.
Название документа
"ГОСТ ИСО 11449-2002. Межгосударственный стандарт. Культиваторы фрезерные, управляемые идущим рядом оператором. Требования безопасности и методы испытаний"
(введен в действие Приказом Росстандарта от 26.01.2024 N 116-ст)

"ГОСТ ИСО 11449-2002. Межгосударственный стандарт. Культиваторы фрезерные, управляемые идущим рядом оператором. Требования безопасности и методы испытаний"
(введен в действие Приказом Росстандарта от 26.01.2024 N 116-ст)


Содержание


Введен в действие
Приказом Федерального
агентства по техническому
регулированию и метрологии
от 26 января 2024 г. N 116-ст
МЕЖГОСУДАРСТВЕННЫЙ СТАНДАРТ
КУЛЬТИВАТОРЫ ФРЕЗЕРНЫЕ,
УПРАВЛЯЕМЫЕ ИДУЩИМ РЯДОМ ОПЕРАТОРОМ
ТРЕБОВАНИЯ БЕЗОПАСНОСТИ И МЕТОДЫ ИСПЫТАНИЙ
Walk-behind rotary cultivators.
Safety requirements and test methods
(ISO 11449:1994, IDT)
ГОСТ ИСО 11449-2002
МКС 13.110
Дата введения
1 января 2025 года
Предисловие
Цели, основные принципы и общие правила проведения работ по межгосударственной стандартизации установлены ГОСТ 1.0 "Межгосударственная система стандартизации. Основные положения" и ГОСТ 1.2 "Межгосударственная система стандартизации. Стандарты межгосударственные, правила и рекомендации по межгосударственной стандартизации. Правила разработки, принятия, обновления и отмены"
Сведения о стандарте
1 ПОДГОТОВЛЕН Межгосударственным техническим комитетом по стандартизации МТК 275 "Тракторы" на основе собственного перевода на русский язык англоязычной версии стандарта, указанного в пункте 5
2 ВНЕСЕН Федеральным агентством по техническому регулированию и метрологии Российской Федерации
3 ПРИНЯТ Межгосударственным советом по стандартизации, метрологии и сертификации (протокол от 6 ноября 2002 г. N 22-2002)
За принятие проголосовали:
Краткое наименование страны по МК (ИСО 3166) 004-97
Код страны по МК (ИСО 3166) 004-97
Сокращенное наименование национального органа по стандартизации
Азербайджан
AZ
Азстандарт
Армения
AM
ЗАО "Национальный орган по стандартизации и метрологии" Республики Армения
Беларусь
BY
Госстандарт Республики Беларусь
Казахстан
KZ
Госстандарт Республики Казахстан
Киргизия
KG
Кыргызстандарт
Молдова
MD
Молдова-Стандарт
Россия
RU
Росстандарт
Таджикистан
TJ
Таджикстандарт
Туркмения
TM
Главгосслужба "Туркменстандартлары"
Украина
UA
Минэкономики Украины
4 Приказом Федерального агентства по техническому регулированию и метрологии от 26 января 2024 г. N 116-ст межгосударственный стандарт ГОСТ ИСО 11449-2002 введен в действие в качестве национального стандарта Российской Федерации с 1 января 2025 г.
5 Настоящий стандарт идентичен международному стандарту ISO 11449:1994 "Культиваторы фрезерные, управляемые идущим рядом оператором. Требования безопасности и методы испытаний" (Walk-behind powered rotary tillers. Definitions, safety requirements and test procedures, IDT)
6 ВВЕДЕН ВПЕРВЫЕ
Информация о введении в действие (прекращении действия) настоящего стандарта и изменений к нему на территории указанных выше государств публикуется в указателях национальных стандартов, издаваемых в этих государствах, а также в сети Интернет на сайтах соответствующих национальных органов по стандартизации.
В случае пересмотра, изменения или отмены настоящего стандарта соответствующая информация будет опубликована на официальном интернет-сайте Межгосударственного совета по стандартизации, метрологии и сертификации в каталоге "Межгосударственные стандарты"
1 Область применения
Настоящий стандарт распространяется на фрезерные культиваторы с двигателем мощностью менее 7,5 кВт, управляемые идущим рядом оператором (далее - культиваторы), и устанавливает требования, обеспечивающие безопасность оператора, и методы испытаний.
Стандарт не распространяется на культиваторы с приводом от вала отбора мощности (ВОМ); передние культиваторы с приводом от электромотора питанием от электрической сети; культиваторы с приводом от электромотора постоянного тока напряжением более 42 В.
2 Нормативные ссылки
В настоящем стандарте использована нормативная ссылка на следующий стандарт:
ГОСТ 26336 (ИСО 3767-1-82, ИСО 3767-2-82, ИСО 3767-3-88) Тракторы и сельскохозяйственные машины, механизированное газонное и садовое оборудование. Система символов для обозначения органов управления и средств отображения информации. Символы
3 Определения
В настоящем стандарте применяют следующие термины с соответствующими определениями:
3.1 культиватор фрезерный: Почвообрабатывающая машина со снабжаемым энергией вращающимся рабочим органом (фрезой) с (или без) приводом ведущих колес, управляемая идущим рядом оператором.
3.2 передний культиватор: Культиватор, у которого сила сцепления с землей обеспечена ведущими колесами и рабочий орган расположен впереди ведущих колес (рисунок 1а).
3.3 задний культиватор: Культиватор, у которого сила сцепления с землей обеспечена ведущими колесами и рабочий орган расположен сзади ведущих колес (рисунок 1б).
3.4 ручной культиватор: Культиватор с опорным колесом или без него, у которого сила сцепления с землей обеспечена вращающимся рабочим органом так, что его вращающиеся звенья работают как копающие лезвия и производят движение вперед (рисунок 1в).
3.5 рабочий орган: Части вращающегося звена, находящиеся в контакте с почвой для ее рыхления.
3.6 устройство контроля присутствия оператора: Устройство на рукоятке управления, автоматически прерывающее поток энергии к рабочему органу после прекращения воздействия оператора на органы управления культиватором.
3.7 ручной запуск: Использование усилия оператора на пусковое устройство, обеспечивающее вращение коленчатого вала двигателя в целях запуска двигателя.
3.8 нормальное управление: Управление культиватором, выполняемое обычным пользователем с последовательными запуском, обработкой почвы, остановкой, транспортировкой и заправкой.
1 - рабочий орган; 2 - ведущие колеса
1 - рабочий орган; 2 - опорное колесо
а
1 - рабочий орган; 2 - ведущие колеса
1 - рабочий орган; 2 - опорное колесо
б
в
а - передний культиватор; б - задний культиватор;
в - ручной культиватор
Рисунок 1 - Типы культиваторов
4 Требования безопасности к культиватору
4.1 Приводные шестерни, цепи, звездочки, ремни, фрикционные передачи, шкивы, вентиляторы, приводы вентиляторов и другие движущиеся части везде, где они расположены и где эти части могут создать опасность для оператора при случайном контакте с ними во время пуска культиватора и управления культиватором, должны быть ограждены щитками или другими подобными защитными приспособлениями (далее - защитные устройства).
4.2 Все защитные устройства должны быть постоянно присоединены к культиватору и не должны быть съемными без использования инструментов. Открытие защитных устройств также должно требовать применения инструментов. Исключение составляет открытие защитных устройств для удаления почвы и доступа к частям двигателя.
4.3 Защитные устройства должны исключать контакт оператора с деталями системы выпуска двигателя площадью более 10 см и горячими поверхностями - поверхностями температурой свыше 70 °C - при нормальной работе культиватора.
4.4 Струя выпускных газов двигателя должна быть направлена в сторону от оператора при всех режимах работы.
4.5 Зубья рабочего органа заднего культиватора должны быть ограждены, как показано на рисунке 2.
Размер в миллиметрах
1 - защитное ограждение; 2 - окружность зубьев;
3 - зубья находятся на уровне опорной поверхности
Рисунок 2 - Защита рабочего органа заднего культиватора
Защитное ограждение должно быть предусмотрено сзади рабочего органа культиватора таким образом, что пока зубья рабочего органа расположены на уровне опорной поверхности, оно должно отстоять от уровня опорной поверхности максимум на 25 мм. Ширина защитного ограждения должна быть достаточной для закрытия зубьев. Любые подвижные щитки после открытия должны возвращаться в исходное положение.
4.6 Рабочий орган переднего и ручного культиваторов должен быть защищен жестким фиксированным ограждением, закрывающим вращающиеся элементы сзади по крайней мере на угол 60° от вертикали (рисунок 3а).
Размеры в миллиметрах
а - защитное ограждение (см. таблицу 1); б - рукоятки руля
с поперечиной; в - рукоятки руля без поперечины
Рисунок 3 - Защита почвообрабатывающих органов
переднего и ручного культиваторов
Минимальная ширина защитного ограждения должна соответствовать указанной в таблице 1.
Таблица 1
Ширина рабочего органа
Минимальная ширина защитного ограждения
< 600
Равная рабочей ширине
>= 600
600
Расстояние между проекцией на горизонтальную плоскость средней точки прямой линии, соединяющей окончания рукояток руля A, и проекцией на эту же плоскость наружной окружности вращающихся частей рабочих органов L должно быть не менее 900 мм и не менее 500 мм в случае поворота руля от направления движения культиватора (рисунок 3б).
Поперечина руля, при ее наличии, должна быть расположена между рукоятками руля и отстоять не более чем на 550 мм от окружности рабочего органа (рисунок 3б).
Поперечину можно не устанавливать, если при расстоянии 550 мм от рабочего органа расстояние между рукоятками руля меньше чем 320 мм (рисунок 3в).
Руль должен быть прикреплен к культиватору так, чтобы предотвратить потерю управления от неумышленного разъединения при работе.
Поперечина между рукоятками руля и корпусом машины должна быть сконструирована таким образом, чтобы не быть низкой при нормальной работе.
5 Требования безопасности к органам управления
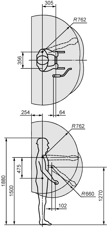
5.1 Органы управления должны быть приспособлены для мужчин-операторов с антропометрическими данными согласно рисунку 4.
Размеры в миллиметрах
Рисунок 4 - Рабочая зона оператора
К органам управления относят органы, отвечающие за:
- регулирование заглубления;
- запуск двигателя;
- присоединение устройств очистки культиватора;
- присоединение защитных устройств культиватора.
5.2 Место и зона расположения органов управления рабочим органом должны быть удобными для оператора и оставаться в пределах зоны оператора, указанной на рисунке 5.
Размеры в миллиметрах
1 - зона расположения ручных органов управления;
2 - зона оператора; 3 - вращающийся рабочий орган
а - левое расположение руля; б - правое расположение руля
Рисунок 5 - Зона оператора, идущего рядом с культиватором
Примечания
1 Нижняя передняя зона - площадь, в которой может работать оператор-мужчина низкого роста или оператор-женщина среднего роста.
2 Все защитные зазоры внутри зоны оператора уменьшают эту зону за счет пространства, занимаемого зазорами.
3 Зона оператора представляет собой пространство, в пределах которого оператор может выполнить максимальное число всех наиболее часто используемых управляющих движений, но не имеется в виду предпочтительное положение оператора.
Зона расположения органов управления, нечасто используемых, может быть расширена и находиться в пределах зоны оператора, установленной на рисунке 5. Туловище оператора, стоящего на обеих ногах во время работы на земле, должно находиться внутри той же зоны.
5.3 Управление запуском двигателя должно быть вынесено за пределы этой зоны, если запуск может быть выполнен при выключенном приводе.
5.4 Орган управления реверсированием привода ведущих колес должен требовать постоянного воздействия для обеспечения изменения направления движения и автоматически возвращаться в нейтральное положение.
У культиваторов, сцепление с землей которых обеспечено ведущими колесами, должно быть предусмотрено включение и выключение привода ведущих колес при вращающихся рабочих органах.
5.5 Культиватор должен быть оборудован устройством на рукоятке управления, которое должно автоматически останавливать вращение рабочего органа после снятия рук оператора с рукоятки. Это может быть выполнено остановкой двигателя или выключением сцепления.
5.6 Культиватор должен быть оборудован устройством, которое предотвращает запуск двигателя, если это может вызвать вращение колес и (или) рабочего органа. Устройство, которое можно рассматривать как отвечающее этим требованиям, позволяет, например, запустить двигатель только тогда, когда рычаг переключения передач находится в нейтральном положении, а рабочий орган отсоединен от привода (расцеплен).
Размер в миллиметрах
1 - опасная зона; 2 - кожух рабочего органа
Рисунок 6 - Пределы опасной зоны в случае, когда устройство
для запуска культиватора без реверсивной передачи
Такое устройство не является необходимым, если система запуска расположена так, что оператор при запуске двигателя не попадает в опасную зону. Опасная зона (рисунок 6) - продольная полоса, определенная рабочей шириной рабочего органа, ограниченная по направлению назад расстоянием 550 мм от наружного кожуха рабочего органа.
У культиваторов с реверсивным приводом ведущих колес опасная зона включает в себя продольную зону по направлению назад, ограниченную только рабочей шириной рабочего органа.
Место, принятое оператором при наклоне к культиватору для запуска двигателя, должно быть обозначено соответствующим символом.
Двигатель должен быть оборудован стартером с приводным кордшнуром или ремнем.
5.7 Орган управления оборотами двигателя, если оператор управляет им рукой, должен двигаться в сторону от оператора [в общем случае - вперед и (или) вверх] для увеличения скорости и в сторону к оператору [в общем случае - назад и (или) вниз] для уменьшения скорости.
Пушпульное управление числом оборотов двигателя должно быть осуществлено тянущим движением для их увеличения и толкающим - для уменьшения.
На всех культиваторах с реверсивной передачей должно быть обеспечено нейтральное положение механизма включения реверса. Для передних и задних культиваторов рабочие органы не должны быть приведены в движение при включенной реверсивной передаче. Таким образом:
- включение реверсивной передачи предусматривает одновременное выключение привода рабочего органа;
- включение привода рабочего органа предусматривает выключение реверсивной передачи.
5.8 Устройство управления выключением двигателя должно обеспечивать прекращение работы двигателя. Это устройство также должно требовать ручного интенсивного воздействия для того, чтобы запустить двигатель. Ключ или потайное устройство должны обеспечивать защиту от запуска двигателя посторонним человеком, если только ручной запуск - не единственное средство запуска двигателя.
5.9 Функции управления, перемещения органов управления и (или) методы управления этими органами должны быть четко обозначены (в том числе символами) на прочно прикрепленной к ним табличке или метке. Руководство для оператора должно содержать простые детальные инструкции по работе органов управления.
5.10 Символы должны соответствовать требованиям ГОСТ 26336.
5.11 Культиватор с бескатушечным стартером должен иметь обозначенную этикеткой площадь с указанием, где должна помещаться ступня или свободная рука оператора при ручном запуске двигателя.
6 Требования безопасности к электрооборудованию
6.1 Требования безопасности к электрооборудованию применяют только к электроцепям с питанием от батареи напряжением менее 42 В.
6.2 Отсек для хранения аккумуляторной батареи должен иметь отверстия для обеспечения вентиляции и дренажа.
6.3 Все контуры, за исключением стартерного и контура зажигания, должны иметь устройства защиты выключателей от перегрузки со стороны питания от батареи, за исключением двухпроводных незаземленных систем, у которых защита от перегрузки может находиться на каждой цепи.
6.4 Разъемы и неизолированные электрические части должны быть защищены от короткого замыкания на топливный бак или на рабочие органы при нормальном обслуживании, заправке и смазке.
7 Маркировка
7.1 На культиваторе должна быть установлена фирменная табличка и нанесен товарный знак. Допускается товарный знак размещать на табличке.
В фирменной табличке указывают наименование предприятия-изготовителя, модель культиватора, его порядковый номер, дату выпуска.
7.2 Каждый культиватор должен иметь хорошо видимую табличку с предупреждением "Предохранять органы зрения".
7.3 Таблички, дающие предупреждающую информацию, должны быть расположены на защитных ограждениях, закрывающих источник возможной опасности, и хорошо видны. Текст таблички должен быть выполнен на языке страны, в которую продают машины.
7.4 Не исчезающий под воздействием моющих средств, трения и т.п. знак безопасности должен быть расположен около зубьев, инструктируя оператора держать ступни в стороне от вращающихся частей (рисунок 7). Знак безопасности может быть трех- или двухпанельного формата и должен соответствовать требованиям ГОСТ 26336.
Рисунок 7 - Пример знаков безопасности для предупреждения
о риске от контакта с вращающимися зубьями
7.5 Таблички, служащие для обозначения и содержащие справочную и предупреждающую информацию, должны иметь срок службы не менее гарантийного срока службы культиватора для работы его в разных окружающих условиях и отвечать следующим требованиям:
а) должны быть прочно прикреплены к базовой поверхности;
б) должны быть устойчивыми к погодным условиям и при очистке не должны блекнуть, обесцвечиваться, трескаться или пузыриться; все надписи должны оставаться четкими;
в) не должны задираться по краям;
г) должны быть устойчивыми к очистке холодной водой под высоким давлением.
Разд. 8 содержит правила и методы исследований (испытаний) и измерений, в том числе правила отбора образцов, необходимые для применения и исполнения требований технического регламента Таможенного союза "О безопасности машин и оборудования" (ТР ТС 010/2011) и осуществления оценки соответствия объектов технического регулирования (Решение Коллегии Евразийской экономической комиссии от 09.03.2021 N 28).
8 Методы испытаний
8.1 Испытания при отключении источников энергии
8.1.1 Культиватор [кроме культиваторов с центробежным сцеплением и (или) с электрическим приводом] испытывают:
- при работе двигателя на холостом ходу;
- при работе двигателя в режиме максимальных оборотов по регуляторной характеристике.
При испытаниях культиватор устанавливают так, чтобы ведущие колеса и рабочий орган (с зубьями) были в поднятом над землей положении и привод их был включен. После запуска двигателя и выключения приводов ведущих колес и рабочего органа и опускания культиватора на твердое горизонтальное основание колеса должны перестать вращаться.
8.1.2 Культиваторы с центробежным сцеплением испытывают на оборотах холостого хода двигателя. После запуска двигателя осуществляют контролируемое управление оборотами ведущих колес и рабочего органа, включающее в себя плавное регулирование и отключение их приводов. По завершении испытаний ведущие колеса и рабочий орган должны перестать вращаться при опускании культиватора на горизонтальное твердое основание.
8.1.3 Культиватор с электрическим приводом испытывают в режиме работы мотора на скорости холостого хода. Культиватор устанавливают по 8.1.1. При отключении привода ведущих колес и рабочего органа и опускании культиватора на горизонтальное твердое основание колеса должны перестать вращаться.
8.2 Испытания при отключении ведущих колес
С отсоединенными от привода ведущими колесами и рабочим органом культиватор помещают перед ступенькой высотой 25,4 мм. Предпринимают попытку преодолеть ступеньку сначала, когда двигатель работает на оборотах холостого хода, затем при работе двигателя на максимальных оборотах по регуляторной характеристике. При этом культиватор с электрическим приводом испытывают в режиме работы электрического мотора на оборотах холостого хода.
Культиватор не должен перескакивать вертикальную ступеньку, и колеса не должны вращаться после отсоединения источника энергии.
8.3 Определение надежности нанесения текста на табличках
8.3.1 Устойчивость таблички к трению и бензину проверяют протиранием ее материей, смоченной водой, в течение 15 с и последующим повторным протиранием в течение 15 с материей, смоченной бензином.
9 Эксплуатационные документы
9.1 К оборудованию, рекомендованному изготовителем для обслуживания культиватора при работающем двигателе, прикладывают инструкцию по безопасности.
9.2 Изготовитель должен представить инструкцию по техническому обслуживанию культиватора.
9.3 Изготовитель должен вместе с культиватором представить инструкцию по безопасности согласно приложению А.
Приложение А
(обязательное)
ИНСТРУКЦИЯ ПО ТЕХНИКЕ БЕЗОПАСНОСТИ
ПРИ РАБОТЕ С КУЛЬТИВАТОРОМ
Инструкция по технике безопасности должна устанавливать меры безопасности при работе культиватора.
Приложение представляет меры обеспечения безопасности при работе культиваторов всех типов.
Меры, представленные в этом приложении, не являются всеобъемлющими, они должны быть конкретными для культиваторов каждого типа и отвечать особенностям конструкции. Инструкция по технике безопасности должна содержать разделы, в которых должны быть даны следующие указания:
А.1 При обучении:
а) Изучить инструкцию по эксплуатации и обслуживанию. Полностью ознакомиться с органами управления и назначением культиватора. Знать, как быстро можно остановить агрегат и отключить органы управления.
б) Не позволять детям работать с культиватором. Не позволять взрослым работать с культиватором, не ознакомившись с инструкцией.
в) Освободить площадь, на которой предстоит работать, в особенности от маленьких детей и домашних животных.
А.2 При подготовке к работе:
а) Полностью осмотреть площадь, на которой будет использован культиватор, и удалить все посторонние объекты.
б) Привести сцепления и валы в нейтральное положение для запуска двигателя (мотора).
в) Недопустимо работать с культиватором без наружной защитной одежды, необходимо использовать обувь для безопасной работы на скользкой поверхности.
г) Обращаться с топливом аккуратно - оно легко воспламеняемо:
1) использовать общепринятую топливную канистру;
2) запрещено добавлять топливо в бак при горячем или работающем двигателе;
3) заполнять топливный бак только вне помещений. Запрещено заполнять топливный бак в помещениях;
4) топливный бак должен быть закрыт крышкой.
д) Не допускается проводить какие-либо регулировки при работающем двигателе (моторе), за исключением случаев, рекомендованных изготовителем.
е) Необходимо пользоваться защитными очками при всех операциях подготовки к работе, эксплуатации и обслуживания.
А.3 При эксплуатации:
а) Не держать руки или ступни около вращающихся частей или под ними.
б) Принимать особые меры предосторожности при работе на каменистых, пересеченных участках и при движении по дорогам.
в) После столкновения с посторонним объектом необходимо остановить двигатель (мотор), тщательно осмотреть культиватор на предмет повреждений и устранить повреждения перед повторным запуском.
г) Всегда быть уверенным в невозможности поскользнуться или упасть.
д) Если культиватор был запущен с ненормальными вибрациями, остановить двигатель (мотор) и немедленно выявить причину. Появление вибрации - это предупреждение о неисправности.
е) Остановить двигатель (мотор), оставляя место работы, а также при очистке зубьев от забивания и проведении каких-либо исправлений, регулировок и осмотра.
ж) Принять все возможные меры предосторожности, оставляя машину без присмотра. Разъединить привод, опустить приспособления, поставить в нейтральное положение рычаг привода, остановить двигатель, вынуть ключ.
з) Перед очисткой, ремонтом или осмотром заглушить двигатель и убедиться в том, что все движущиеся части остановлены.
и) Не запускать двигатель в помещениях: выпускные газы опасны.
к) Никогда не работать без установленных защитных ограждений, щитков и других средств защиты.
л) Не допускать к культиватору детей и домашних животных.
м) Не перегружать культиватор, работая на слишком большую глубину и при высокой скорости.
н) Никогда не работать с культиватором на высоких скоростях на скользкой поверхности. Быть аккуратными при реверсировании.
о) Не позволять посторонним находиться в непосредственной близости от культиватора.
п) Использовать приспособления и аксессуары, принятые и одобренные изготовителем культиватора (балластные колесные грузы, противовесы и т.д.).
р) Никогда не работать при ограниченной видимости и освещенности.
с) Быть осторожными при работе на тяжелых почвах. Зубья могут застрять в земле и потянуть культиватор вперед. В этом случае отпустить рукоятку руля и не удерживать культиватор.
т) Не работать с культиватором на крутых склонах.
у) Для предупреждения опрокидывания работать с культиватором на склонах сверху вниз.
А.4 При уходе и хранении:
а) Хранить машину, приспособления и аксессуары, если требуется, батареи в рабочем состоянии. При необходимости снимать батарею для защиты от мороза и преждевременной разрядки.
б) Проверять крепления болтов установки двигателя и других болтов с частыми интервалами, чтобы быть уверенными, что культиватор находится в безопасном состоянии.
в) Внутри помещения культиватор хранить с остывшим двигателем в удалении от источников воспламенения.
г) Всегда следовать руководству для оператора при хранении (длительное время) ответственных деталей культиватора.
д) Комплектовать культиватор инструментом по назначению и инструкцией по демонтажу, сборке и ремонту.
УДК 619.114.2-181.4.001.4:006.354
МКС 13.110
IDT
Ключевые слова: культиватор, безопасность, оператор, рабочий орган, двигатель, электромотор, инструкция