Главная // Актуальные документы // ГОСТ (Государственный стандарт)
СПРАВКА
Источник публикации
М.: Издательство стандартов, 1985
Примечание к документу
Документ утратил силу с 1 июля 2013 года в связи с изданием Приказа Росстандарта от 29.10.2012 N 599-ст. Взамен введен в действие ГОСТ 24846-2012.

Документ включен в Перечень национальных стандартов, в результате применения которых на добровольной основе обеспечивается соблюдение требований Федерального закона от 30.12.2009 N 384-ФЗ "Технический регламент о безопасности зданий и сооружений" (Приказ Ростехрегулирования от 01.06.2010 N 2079).

С 1 июля 2003 года до вступления в силу технических регламентов акты федеральных органов исполнительной власти в сфере технического регулирования носят рекомендательный характер и подлежат обязательному исполнению только в части, соответствующей целям, указанным в пункте 1 статьи 46 Федерального закона от 27.12.2002 N 184-ФЗ.

Введен в действие с 1 января 1982 года (Постановление Госстроя СССР от 17.06.1981 N 96).
Название документа
"ГОСТ 24846-81. Грунты. Методы измерения деформаций оснований зданий и сооружений"
(введен в действие Постановлением Госстроя СССР от 17.06.1981 N 96)

"ГОСТ 24846-81. Грунты. Методы измерения деформаций оснований зданий и сооружений"
(введен в действие Постановлением Госстроя СССР от 17.06.1981 N 96)


Содержание


Введен в действие
Постановлением Госстроя СССР
от 17 июня 1981 г. N 96
ГОСУДАРСТВЕННЫЙ СТАНДАРТ СОЮЗА ССР
ГРУНТЫ
МЕТОДЫ ИЗМЕРЕНИЯ ДЕФОРМАЦИЙ ОСНОВАНИЙ ЗДАНИЙ И СООРУЖЕНИЙ
Soils. Measuring methods of strains
of structures and buildings bases
ГОСТ 24846-81
Группа Ж39
Срок введения
1 января 1982 года
Переиздание. Июнь 1985 г.
Настоящий стандарт распространяется на грунты всех видов и устанавливает методы измерения деформаций (вертикальных и горизонтальных перемещений, кренов) оснований фундаментов строящихся и эксплуатируемых зданий и сооружений.
Пояснения основных терминов, применяемых в настоящем стандарте, приведены в ГОСТ 22268-76 и ГОСТ 16263-70, а также в справочном Приложении 1.
1. ОБЩИЕ ПОЛОЖЕНИЯ
1.1. Измерения деформаций оснований фундаментов зданий и сооружений должны проводиться по программе, отвечающей требованиям, приведенным в обязательном Приложении 2, в целях:
определения абсолютных и относительных величин деформаций и сравнения их с расчетными;
выявления причин возникновения и степени опасности деформаций для нормальной эксплуатации зданий и сооружений; принятия своевременных мер по борьбе с возникающими деформациями или устранению их последствий;
получения необходимых характеристик устойчивости оснований и фундаментов;
уточнения расчетных данных физико-механических характеристик грунтов;
уточнения методов расчета и установления предельных допустимых величин деформаций для различных грунтов оснований и типов зданий и сооружений.
Программа проведения измерений составляется организацией, производящей измерения, на основе технического задания (рекомендуемое Приложение 3), выдаваемого проектно-изыскательской или научно-исследовательской организацией по согласованию с организациями, осуществляющими строительство или эксплуатацию.
1.2. Измерения деформаций оснований фундаментов строящихся зданий и сооружений следует проводить в течение всего периода строительства и в период эксплуатации до достижения условной стабилизации деформаций, устанавливаемой проектной или эксплуатирующей организацией и включаемой в техническое задание.
Измерения деформаций оснований фундаментов зданий и сооружений, находящихся в эксплуатации, следует проводить в случае появления недопустимых трещин, раскрытия швов, а также резкого изменения условий работы здания или сооружения.
1.3. В процессе измерений деформаций оснований фундаментов должны быть определены (отдельно или совместно) величины:
вертикальных перемещений (осадок, просадок, подъемов);
горизонтальных перемещений (сдвигов);
кренов.
1.4. Наблюдения за деформациями оснований фундаментов следует производить в следующей последовательности:
разработка программы измерений;
выбор конструкции, места расположения и установка исходных геодезических знаков высотной и плановой основы;
осуществление высотной и плановой привязки установленных исходных геодезических знаков;
установка деформационных марок на зданиях и сооружениях;
инструментальные измерения величин вертикальных и горизонтальных перемещений и кренов;
обработка и анализ результатов наблюдений.
1.5. Метод измерений вертикальных и горизонтальных перемещений и определения крена фундамента следует устанавливать программой измерения деформаций в зависимости от требуемой точности измерения, конструктивных особенностей фундамента, инженерно-геологической и гидрогеологической характеристик грунтов основания, возможности применения и экономической целесообразности метода в данных условиях.
1.6. Предварительное определение точности измерения вертикальных и горизонтальных деформаций надлежит выполнять в зависимости от ожидаемой величины перемещения, установленной проектом, в соответствии с табл. 1.
Таблица 1
мм
───────────────────┬──────────────────────────────────────────────
Расчетная величина│Допускаемая погрешность измерения перемещений
вертикальных или │ для периода
горизонтальных ├───────────────────────┬──────────────────────
перемещений, │ строительного │ эксплуатационного
предусмотренная ├───────────────────────┴──────────────────────
проектом │ Грунты
├──────────┬────────────┬───────────┬──────────
│ песчаные │ глинистые │ песчаные │ глинистые
───────────────────┼──────────┼────────────┼───────────┼──────────
До 50 │ 1 │ 1 │ 1 │ 1
Св. 50 до 100 │ 2 │ 1 │ 1 │ 1
" 100 " 250 │ 5 │ 2 │ 1 │ 2
" 250 " 500 │ 10 │ 5 │ 2 │ 5
" 500 │ 15 │ 10 │ 5 │ 10
На основании определенной по табл. 1 допускаемой погрешности устанавливается класс точности измерения вертикальных и горизонтальных перемещений фундаментов зданий и сооружений согласно табл. 2.
Таблица 2
мм
──────────────────┬───────────────────────────────────────────────
Класс точности │ Допускаемая погрешность измерения перемещений
измерений ├───────────────────────┬───────────────────────
│ вертикальных │ горизонтальных
──────────────────┼───────────────────────┼───────────────────────
I │ 1 │ 2
II │ 2 │ 5
III │ 5 │ 10
IV │ 10 │ 15
При отсутствии данных по расчетным величинам деформаций оснований фундаментов класс точности измерения вертикальных и горизонтальных перемещений допускается устанавливать:
I - для зданий и сооружений: уникальных; длительное время (более 50 лет) находящихся в эксплуатации; возводимых на скальных и полускальных грунтах;
II - для зданий и сооружений, возводимых на песчаных, глинистых и других сжимаемых грунтах;
III - для зданий и сооружений, возводимых на насыпных, просадочных, заторфованных и других сильно сжимаемых грунтах;
IV - для земляных сооружений.
2. ПОДГОТОВКА К ИЗМЕРЕНИЯМ
2.1. Подготовка к измерениям вертикальных перемещений
2.1.1. Перед началом измерений вертикальных перемещений фундаментов необходимо установить:
реперы - исходные геодезические знаки высотной основы;
деформационные марки - контрольные геодезические знаки, размещаемые на зданиях и сооружениях, для которых определяются вертикальные перемещения.
2.1.2. В зависимости от точности измерений следует устанавливать реперы следующих типов:
для I и II классов точности измерений - глубинные реперы, основания которых закладываются в скальные, полускальные или другие коренные практически несжимаемые грунты;
для III и IV классов точности измерений - грунтовые реперы, основания которых закладываются ниже глубины сезонного промерзания или перемещения грунта; стенные реперы, устанавливаемые на несущих конструкциях зданий и сооружений, осадка фундаментов которых практически стабилизировалась.
При наличии на строительной площадке набивных или забивных свай, верхним концом выступающих на поверхность, допускается их использовать в качестве грунтовых реперов с соответствующим оформлением верхней части сваи.
2.1.3. При установке реперов в особых грунтовых условиях следует:
в насыпных неоднородных по составу грунтах, процесс уплотнения которых не закончен, - применять реперы, заанкеренные или забитые в коренные грунты на глубину не менее 1,5 м ниже насыпной толщи, защищенные колодцами и предохраненные от смерзания с окружающим грунтом;
в просадочных грунтах - заделывать нижний конец репера на глубину не менее 1 м в песчаные или не менее 2 м в глинистые подстилающие грунты, а также не менее 5 м при толщине слоя просадочного грунта более 10 м;
в заторфованных грунтах - применять забивные сваи, погруженные до плотных малодеформируемых грунтов;
в вечномерзлых грунтах - применять: забивные реперы при пластично-мерзлых грунтах без крупнообломочных включений; реперы, погружаемые в пробуренные заполняемые грунтовым раствором скважины, при твердомерзлых грунтах, а также пластично-мерзлых, содержащих крупнообломочные включения. Реперы устанавливаются не менее чем на 2 м ниже расчетной глубины чаши оттаивания под зданием (сооружением) или не менее тройной толщины слоя сезонного оттаивания, если реперы устанавливаются за пределами чаши оттаивания;
в набухающих грунтах - заделывать нижний конец репера на глубину не менее 1 м ниже подошвы залегания набухающих грунтов. При значительной толщине набухающего слоя грунта башмак репера должен располагаться на глубине, где природное давление превышает давление набухания.
2.1.4. Число реперов должно быть не менее трех.
2.1.5. Реперы должны размещаться:
в стороне от проездов, подземных коммуникаций, складских и других территорий, где возможно разрушение или изменение положения репера;
вне зоны распространения давления от здания или сооружения;
вне пределов влияния осадочных явлений, оползневых склонов, нестабилизированных насыпей, торфяных болот, подземных выработок, карстовых образований и других неблагоприятных инженерно-геологических и гидрогеологических условий;
на расстоянии от здания (сооружения) не менее тройной толщины слоя просадочного грунта;
на расстоянии, исключающем влияние вибрации от транспортных средств, машин, механизмов;
в местах, где в течение всего периода наблюдений возможен беспрепятственный и удобный подход к реперам для установки геодезических инструментов.
Конкретное расположение и конструкцию реперов должна определять организация, выполняющая измерения, по согласованию с проектной, строительной или эксплуатирующей организацией, а также с соответствующими службами, имеющими в данном районе подземное хозяйство (кабельные, водопроводные, канализационные и другие инженерные сети).
2.1.6. После установки репера на него должна быть передана высотная отметка от ближайших пунктов государственной или местного значения геодезической высотной сети. При значительном (более 2 км) удалении пунктов геодезической сети от устанавливаемых реперов допускается принимать условную систему высот.
2.1.7. На каждом репере должны быть обозначены наименование организации, установившей его, и порядковый номер знака.
Установленные репера необходимо сдать на сохранение строительной или эксплуатирующей организациям по актам.
2.1.8. В процессе измерения вертикальных деформаций следует контролировать устойчивость исходных реперов для каждого цикла наблюдений.
2.1.9. Деформационные марки для определения вертикальных перемещений устанавливаются в нижней части несущих конструкций по всему периметру здания (сооружения), внутри его, в том числе на углах, на стыках строительных блоков, по обе стороны осадочного или температурного шва, в местах примыкания продольных и поперечных стен, на поперечных стенах в местах пересечения их с продольной осью, на несущих колоннах, вокруг зон с большими динамическими нагрузками, на участках с неблагоприятными геологическими условиями (рекомендуемое Приложение 4).
Конкретное расположение деформационных марок на зданиях и сооружениях, а также конструкции марок должна определять организация, выполняющая измерения, по согласованию с проектной, строительной или эксплуатирующей организацией, учитывая конструктивные особенности (форму, размеры, жесткость) фундамента здания или сооружения, статические и динамические нагрузки на отдельные их части, ожидаемую величину осадки и ее неравномерность, инженерно-геологические и гидрогеологические условия строительной площадки, особенности эксплуатации здания или сооружения, обеспечение наиболее благоприятных условий производства работ по измерению перемещений.
2.2. Подготовка к измерениям горизонтальных перемещений и кренов
2.2.1. Перед началом измерений горизонтальных перемещений и кренов фундамента или здания (сооружения) в целом необходимо установить:
опорные знаки в виде неподвижных в горизонтальной плоскости столбов, снабженных центрировочными устройствами в верхней части знаков для установки геодезического инструмента; в качестве опорных знаков допускается использовать обратные отвесы и реперы;
деформационные марки, размещаемые непосредственно на наружных и внутренних частях зданий или сооружений;
ориентирные знаки в виде неподвижных в горизонтальной плоскости столбов; в качестве ориентирных знаков допускается использовать пункты триангуляции или удобные для визирования точки зданий и сооружений.
2.2.2. В процессе измерений горизонтальных перемещений и кренов следует контролировать устойчивость пунктов опорной сети для каждого цикла наблюдений.
3. МЕТОДЫ ИЗМЕРЕНИЯ ВЕРТИКАЛЬНЫХ ПЕРЕМЕЩЕНИЙ
3.1. Вертикальные перемещения оснований фундаментов следует измерять одним из следующих методов или их комбинированием: геометрическим, тригонометрическим или гидростатическим нивелированием, фотограмметрией.
3.2. Отдельные методы измерения вертикальных перемещений должны приниматься в зависимости от классов точности измерения, целесообразных для данного метода:
метод геометрического нивелирования - I - IV классы
" тригонометрического нивелирования - II - IV "
" гидростатического нивелирования - I - IV "
" фотограмметрии - II - IV "
3.3. Метод геометрического нивелирования
3.3.1. Геометрическое нивелирование следует применять в качестве основного метода измерения вертикальных перемещений.
3.3.2. Основные технические характеристики и допуски для геометрического нивелирования должны приниматься в соответствии с табл. 3.
Таблица 3
────────────────────────┬─────────────────────────────────────────
Условия геометрического│ Основные технические характеристики и
нивелирования │допуски для геометрического нивелирования
│ классов
├─────────┬──────────┬─────────┬──────────
│ I │ II │ III │ IV
────────────────────────┼─────────┴──────────┼─────────┴──────────
Применяемые нивелиры │ Н-05 и равноточные│ Н-3 и равноточные
│ему │ему
────────────────────────┼────────────────────┼────────────────────
Применяемые рейки │ РН-05 (односторон-│ РН-3 (двусторонние
│ние штриховые с │шашечные)
│инварной полосой и │
│двумя шкалами) │
────────────────────────┼──────────┬─────────┼─────────┬──────────
Число станций незамк- │ 2 │ 3 │ 5 │ 8
нутого хода, не более │ │ │ │
─────────────┬──────────┼──────────┼─────────┼─────────┼──────────
Визирный │Длина, м, │ 25 │ 40 │ 50 │ 100
луч │не более │ │ │ │
├──────────┼──────────┼─────────┼─────────┼──────────
│Высота над│ 1,0 │ 0,8 │ 0,5 │ 0,3
│препятст- │ │ │ │
│вием, м, │ │ │ │
│не менее │ │ │ │
─────────────┴──────────┼──────────┼─────────┼─────────┼──────────
Неравенство плеч (рас-│ 0,2 │ 0,4 │ 1,0 │ 3,0
стояний от нивелира до │ │ │ │
реек), м, на станции, не│ │ │ │
более │ │ │ │
────────────────────────┼──────────┼─────────┼─────────┼──────────
Накопление неравенств │ 1,0 │ 2,0 │ 5,0 │ 10,0
плеч, м, в замкнутом хо-│ │ │ │
де, не более │ │ │ │
────────────────────────┼──────────┼─────────┼─────────┼──────────
Допускаемая невязка, │+/- 0,15 x│+/- 0,5 x│+/- 1,5 x│+/- 5 x
мм, в замкнутом ходе │ _ │ _ │ _ │ _
(n - число станций) │x \/n │x \/n │x \/n │x \/n
Способ проведения работ следует принимать для нивелирования классов:
I - двойным горизонтом, способом совмещения, в прямом и обратном направлении или замкнутый ход;
II - одним горизонтом, способом совмещения, замкнутый ход;
III - одним горизонтом, способом наведения, замкнутый ход;
IV - одним горизонтом, способом наведения.
3.4. Метод тригонометрического нивелирования
3.4.1. Тригонометрическое нивелирование следует применять при измерениях вертикальных перемещений фундаментов в условиях резких перепадов высот (больших насыпей, глубоких котлованов, косогоров и т.п.).
3.4.2. Измерение вертикальных перемещений методом тригонометрического нивелирования следует выполнять короткими визирными лучами (до 100 м), точными (Т-2, Т-5 и им равноточными) и высокоточными (Т-0,5, Т-1 и им равноточными) теодолитами с накладными цилиндрическими уровнями.
3.4.3. Допускаемые погрешности измерения расстояний и вертикальных углов в зависимости от выбранного класса точности измерений не должны превышать величин, приведенных в табл. 4.
Таблица 4
──────────┬───────────────────────────────────────────────────────
Класс │ Допускаемая погрешность измерения
точности ├────────────────────────────┬──────────────────────────
измерений│расстояний, мм, при значении│вертикальных углов, с, при
│ вертикальных углов, град. │ их значениях, град.
├──────────────┬─────────────┼────────────┬─────────────
│ до 10 │св. 10 до 40 │ до 10 │св. 10 до 40
──────────┼──────────────┼─────────────┼────────────┼─────────────
II │ 7 │ 1 │ 2,5 │ 1,5
III │ 15 │ 3 │ 5,0 │ 3,0
IV │ 35 │ 8 │ 12,0 │ 10,0
3.5. Метод гидростатического нивелирования
3.5.1. Гидростатическое нивелирование (переносным шланговым прибором или стационарной гидростатической системой, устанавливаемой по периметру фундамента) следует применять для измерения относительных вертикальных перемещений большого числа точек, труднодоступных для измерений другими методами, а также в случаях, когда нет прямой видимости между марками или когда в месте производства измерительных работ невозможно пребывание человека по условиям техники безопасности.
3.5.2. Проводить измерения вертикальных перемещений методом гидростатического нивелирования для зданий или сооружений, испытывающих динамические нагрузки и воздействия, не допускается.
4. МЕТОДЫ ИЗМЕРЕНИЙ ГОРИЗОНТАЛЬНЫХ ПЕРЕМЕЩЕНИЙ
4.1. Горизонтальные перемещения фундаментов зданий и сооружений следует измерять одним из следующих методов или их комбинированием: створных наблюдений; отдельных направлений; триангуляции; фотограмметрии. Допускается применять методы трилатерации и полигонометрии.
4.2. Отдельные методы измерений горизонтальных перемещений должны приниматься в зависимости от классов точности измерения, целесообразных для данного метода:
метод створных наблюдений - I - III классы
" отдельных направлений - I - III "
" триангуляции - I - IV "
" фотограмметрии - II - IV "
" трилатерации - I - IV "
" полигонометрии - III - IV "
4.3. Метод створных наблюдений
4.3.1. Метод створных наблюдений при измерениях горизонтальных перемещений фундаментов следует применять в случае прямолинейности здания (сооружения) или его части и при возможности обеспечить устойчивость концевых опорных знаков створа.
4.3.2. Отклонение деформационной марки от заданного створа во времени следует измерять способами: подвижной визирной цели; измерения малых (параллактических) углов при неподвижной визирной цели; струны.
4.3.3. Способ подвижной визирной цели следует применять для непосредственного измерения отклонения деформационной марки от створа в линейных величинах.
Визирование на подвижную визирную цель, строго центрированную на марке, необходимо осуществлять точными и высокоточными теодолитами, снабженными накладными уровнями.
При использовании в качестве визирной линии луча лазера роль подвижной визирной цели должен осуществлять приемник света с отчетным приспособлением.
4.3.4. Измерения способом подвижной визирной цели следует проводить при двух кругах теодолита в прямом и обратном направлениях, при этом число приемов измерения должно быть не менее 5. Расхождения между отдельными приемами не должны превышать 1 мм.
Отсчет положения подвижной визирной цели по микрометру теодолита необходимо производить не менее 3 раз, а расхождения в отсчетах не должны превышать 0,3 мм.
4.3.5. Для определения отклонения деформационной марки от створа при способе измерения малых (параллактических) углов необходимо провести измерение расстояний от пункта стояния инструмента до марки.
Измерение угла отклонения марки от створа следует проводить точным или высокоточным теодолитами, снабженными окулярным или оптическим микрометрами.
4.3.6. Число приемов и допускаемые средние квадратические погрешности измерения малых углов должны соответствовать приведенным в табл. 5.
Таблица 5
────────────────────┬───────────────────┬─────────────────────────
Расстояние от │Допускаемая средняя│ Число приемов для
опорного знака до │ квадратическая │ теодолита, снабженного
марки, м │ погрешность ├────────────┬────────────
│ измерения угла, с │ оптическим │ окулярным
│ │микрометром │микрометром
────────────────────┼───────────────────┼────────────┼────────────
100 и менее │ 2,0 │ 3 │ 2
200 │ 1,0 │ 6 │ 4
600 - 1000 │ 0,5 │ 12 │ 6
4.3.7. При измерениях малых углов окулярным микрометром теодолита расхождения не должны превышать:
между тремя наведениями в полуприемах, а также между значениями одного и того же угла, выведенного из полуприемов, - 1,5 деления окулярного микрометра;
между значениями одного и того же угла из разных приемов в прямом и обратном ходах - 1 деления окулярного микрометра.
4.3.8. При измерениях малых углов оптическим микрометром теодолита расхождения не должны превышать:
между значениями одного и того же угла, выведенного из полуприемов, - 3'';
между значениями одного и того же угла из разных приемов в прямом и обратном ходах - 1,5''.
4.3.9. Способ струны следует применять при прямолинейности здания или сооружения для непосредственного получения относительной величины линейного смещения фундаментов, определяемого как разность отклонения деформационной марки от линии створа в двух циклах измерений.
4.4. Метод отдельных направлений
4.4.1. Метод отдельных направлений следует применять для измерения горизонтальных перемещений зданий и сооружений при невозможности закрепить створ или обеспечить устойчивость концевых опорных знаков створа.
4.4.2. Для измерения горизонтальных перемещений методом отдельных направлений необходимо установить не менее трех опорных знаков, образующих треугольник с углами не менее 30°.
4.4.3. Величина горизонтального перемещения q, мм, деформационной марки с каждого опорного знака определяется по расстоянию L, мм, от опорного знака до марки (измеряемого с погрешностью 1/2000) и изменению направления Дельта альфа, с, между ориентирным знаком и маркой в двух циклах измерений по формуле q = Дельта альфа x L/ро, где ро = 206265''.
Величину и направление горизонтального перемещения каждой марки допускается определять графически.
В случае несовпадения направления вектора горизонтального перемещения с направлением силы, действующей на фундамент здания (сооружения), величину горизонтального перемещения деформационной марки по направлению силы получают как проекцию вектора на направление силы.
4.4.4. При измерении сдвигов методом отдельных направлений должны применяться высокоточные теодолиты. При этом необходимое число круговых приемов и соответствующие погрешности измерений не должны превышать значений, приведенных в табл. 6.
Таблица 6
──────┬─────────┬─────────────────────────────────────────────────
Теодо-│Необходи-│ Допускаемые погрешности измерений, с
лит │мое число├───────┬───────────┬────────────────┬────────────
│круговых │Замыка-│ Колебание │Колебание двой- │Средняя
│приемов │ние го-│направлений│ной коллимацион-│квадратичес-
│ │ризонта│в отдельных│ной ошибки (2С) │кая погреш-
│ │ │ приемах │в приеме │ность нап-
│ │ │ │ │равления
──────┼─────────┼───────┼───────────┼────────────────┼────────────
Т-05 │ 9 │ 3 │ 3 │ 10 │ 0,5
Т-1 │ 12 │ 4 │ 4 │ 10 │ 1,0
4.5. Метод триангуляции
4.5.1. Метод триангуляции следует применять для измерения горизонтальных перемещений фундаментов зданий и сооружений, возводимых в пересеченной или горной местности, а также при невозможности обеспечить устойчивость концевых опорных знаков створа.
4.5.2. Величину и направление горизонтального перемещения фундамента (или его части) следует определять по изменениям координат деформационных марок за промежуток времени между циклами наблюдений.
4.5.3. Для метода триангуляции допускается принимать условную систему координат. В этом случае оси координат X и У должны совпадать с поперечной и продольной осями здания или сооружения.
4.5.4. Измерение горизонтальных углов необходимо выполнять с погрешностью, не превышающей приведенной в табл. 7.
Таблица 7
────────────────┬─────────────────────────────────────────────────
Класс точности │ Допускаемая средняя квадратическая погрешность
измерений │ измерения углов, с, для расстояний, м
├────────┬───────┬───────┬───────┬────────┬───────
│ 50 │ 100 │ 150 │ 200 │ 500 │ 1000
────────────────┼────────┼───────┼───────┼───────┼────────┼───────
I │ 8 │ 4 │ 3 │ 2 │ 1 │ -
II │ 20 │ 10 │ 7 │ 5 │ 2 │ 1
III │ 40 │ 20 │ 14 │ 10 │ 4 │ 2
IV │ 60 │ 30 │ 20 │ 15 │ 6 │ 3
5. МЕТОДЫ ИЗМЕРЕНИЯ КРЕНОВ
5.1. Крен фундамента (или здания, сооружения в целом) следует измерять одним из следующих методов или их комбинированием: проецирования; координирования; измерения углов или направлений; фотограмметрии; механическими способами с применением кренометров, прямых и обратных отвесов.
5.2. Предельные погрешности измерения крена в зависимости от высоты H наблюдаемого здания (сооружения) не должны превышать величин, мм, для:
гражданских зданий и сооружений - 0,0001 Н;
промышленных зданий и сооружений, дымовых труб, доменных печей, мачт, башен и др. - 0,0005 Н;
фундаментов под машины и агрегаты - 0,00001 Н.
5.3. При измерении кренов фундамента (здания, сооружения) методом проецирования следует применять теодолиты, снабженные накладным уровнем, или приборы вертикального проецирования.
Проецирование верхней деформационной марки вниз и отсчитывание по палетке (рейке), устанавливаемой в цокольной части, должно выполняться при двух положениях визирной трубы оптического инструмента не менее чем тремя приемами.
Величина крена определяется по разности отсчетов, отнесенной к высоте здания (сооружения) в двух циклах наблюдений.
5.4. При измерении кренов методом координирования необходимо установить не менее двух опорных знаков, образующих базис, с концов которого определяются координаты верхней и нижней точек здания (сооружения).
В случае, если с концов базиса не видно основание здания (сооружения), необходимо способом засечек вычислить координаты верхней точки здания (сооружения), а координаты основания определить используя полигонометрический ход, проложенный от пунктов базиса и имеющий не более двух сторон.
5.5. Для измерения крена зданий и сооружений сложной геометрической формы следует использовать метод измерения горизонтальных направлений (по методике, изложенной в пп. 4.4 - 4.4.4 настоящего стандарта) с двух постоянно закрепленных опорных знаков, расположенных на взаимно перпендикулярных направлениях (по отношению к зданию, сооружению).
Величина крена (в угловой мере) должна определяться по линейной величине сдвига, отнесенной к высоте деформационной марки над подошвой фундамента.
5.6. Для измерения кренов фундаментов под машины и агрегаты в промышленных зданиях и сооружениях надлежит применять переносные или стационарные кренометры, позволяющие определить наклон в градусной или относительной мере.
5.7. Измерение крена гидротехнических сооружений следует проводить с помощью прямых и обратных отвесов, имеющих отсчетные устройства, или прибором для вертикального проецирования.
6. ФОТОГРАММЕТРИЧЕСКИЙ МЕТОД ИЗМЕРЕНИЯ ГОРИЗОНТАЛЬНЫХ
И ВЕРТИКАЛЬНЫХ ПЕРЕМЕЩЕНИЙ И КРЕНОВ
6.1. Фотограмметрический (стереофотограмметрический) метод следует применять для измерения осадок, сдвигов, кренов и других деформаций при неограниченном числе наблюдаемых марок, устанавливаемых в труднодоступных для измерений местах функционирующих зданий и сооружений.
6.2. Для измерений деформаций стереофотограмметрически одновременно по трем координатным осям (X, Y и Z) необходимо выполнять фототеодолитную съемку (фотографирование) с двух опорных знаков, являющихся концами базиса фотографирования, не изменяя местоположения и ориентирования фототеодолита в различных циклах наблюдений.
При этом следует использовать нормальный способ съемки. Допускается применять равномерно отклоненный (для определения деформаций зданий и сооружений большой протяженности) и конвергентный (для определения общего наклона высоких зданий и сооружений) способы съемок.
6.3. Длина базиса фотографирования должна приниматься в пределах 1/5 - 1/10 расстояния от фототеодолита до наблюдаемого объекта.
Погрешность измерения длины базиса не должна превышать 1 мм.
6.4. Для измерения фотограмметрически в одной плоскости ХZ фототеодолитную съемку следует проводить с одного опорного знака в различных циклах наблюдений.
6.5. Величины суммарных деформаций, происшедших за соответствующий период наблюдений, определяются по разности координат, полученных по данным текущего и начального циклов наблюдений.
7. НАБЛЮДЕНИЯ ЗА ТРЕЩИНАМИ
7.1. Систематическое наблюдение за развитием трещин следует проводить при появлении их в несущих конструкциях зданий и сооружений с тем, чтобы выяснить характер деформаций и степень опасности их для дальнейшей эксплуатации объекта.
7.2. При наблюдениях за развитием трещины по длине концы ее следует периодически фиксировать поперечными штрихами, нанесенными краской, рядом с которыми проставляется дата осмотра.
7.3. При наблюдениях за раскрытием трещин по ширине следует использовать измерительные или фиксирующие устройства, прикрепляемые к обеим сторонам трещины: маяки, щелемеры, рядом с которыми проставляются их номера и дата установки.
7.4. При ширине трещины более 1 мм необходимо измерять ее глубину.
8. ОБРАБОТКА РЕЗУЛЬТАТОВ ИЗМЕРЕНИЙ
8.1. В процессе работ по измерениям деформаций оснований фундаментов зданий и сооружений должна выполняться камеральная обработка полученных результатов: проверка полевых журналов; уравнивание геодезических сетей; составление ведомостей отметок и перемещений, направлений (углов), величина крена и перемещений деформационных марок, установленных на зданиях или сооружениях, по каждому циклу наблюдений; оценка точности проведенных измерений, включая сравнение полученных погрешностей (или невязок) с допускаемыми для данного метода и класса точности измерений; графическое оформление результатов измерений.
8.2. Графический материал по результатам наблюдений каждого объекта следует оформлять (рекомендуемое Приложение 5) в виде:
геологического разреза основания фундамента;
плана здания или сооружения с указанием мест расположения деформационных марок;
графиков и эпюр горизонтальных, вертикальных перемещений, кренов и развития трещин во времени, роста давления на основание фундамента.
8.3. По результатам измерений деформаций оснований фундаментов следует составлять технический отчет, который должен включать (помимо материалов, перечисленных в пп. 8.1 и 8.2):
краткое описание цели измерения деформаций на данном объекте;
характеристики геологического строения основания и физико-механических свойств грунтов;
конструктивные особенности здания (сооружения) и его фундамента;
схемы расположения, размеры и описание конструкций установленных реперов, опорных и ориентирных знаков, деформационных марок, устройств для измерения величин развития трещин;
примененную методику измерений;
перечень факторов, способствующих возникновению деформаций;
выводы о результатах наблюдений.
Приложение 1
Справочное
ПОЯСНЕНИЕ ТЕРМИНОВ, ПРИМЕНЯЕМЫХ В НАСТОЯЩЕМ СТАНДАРТЕ
─────────────────────────┬────────────────────────────────────────
Термин │ Определение
─────────────────────────┼────────────────────────────────────────
Вертикальные │ Осадки, происходящие в результате уп-
перемещения основания │лотнения грунта под воздействием внешних
фундамента │нагрузок и в отдельных случаях собствен-
│ной массы грунта; просадки, происходящие
│в результате уплотнения под воздействием
│как внешних нагрузок и собственной массы
│грунта, так и дополнительно с ними дей-
│ствующих факторов (замачивание просадоч-
│ного грунта, оттаивание ледовых прослоек
│в замерзшем грунте и т.п.); набухания и
│усадки, связанные с изменением объема
│некоторых видов глинистых грунтов при
│изменении их влажности, температуры (мо-
│розное пучение) или воздействии химичес-
│ких веществ
Горизонтальное │ Сдвиг фундамента или здания (сооруже-
перемещение фундамента │ния) в целом, происходящий под действием
│горизонтальных сил или при исчерпании
│несущей способности основания и других
│факторов
Крен фундамента │ Деформация, происходящая в результате
│неравномерной осадки, просадки, подъема
│и т.п. и характеризующаяся разностью
│вертикальных перемещений точек,
│отнесенной к расстоянию между ними
Точность измерений │ Качество измерений, отражающее
│близость их результатов к истинному
│значению измеряемой величины
Погрешность измерений │ Отклонение результата измерения от
│истинного значения измеряемой величины
Репер │ Геодезический знак, закрепляющий пункт
│нивелирной сети
Репер глубинный │ Геодезический знак, основание которого
│устанавливается на скальные, полускаль-
│ные или другие коренные практически
│несжимаемые грунты
Репер грунтовый │ Геодезический знак, основание которого
│устанавливается ниже глубины сезонного
│промерзания или перемещения грунта
Репер стенной │ Геодезический знак, устанавливаемый на
│несущих конструкциях зданий и сооруже-
│ний, осадка фундаментов которых практи-
│чески стабилизировалась
Деформационная марка │ Геодезический знак, жестко укрепленный
│на конструкции здания или сооружения
│(фундаменте, колонне, стене), меняющий
│свое положение вследствие осадки,
│просадки, подъема, сдвига или крена
│фундамента
Опорный знак │ Знак, практически неподвижный в гори-
│зонтальной плоскости, относительно кото-
│рого определяются сдвиги и крены фунда-
│ментов зданий или сооружений
Центрировочное │ Устройство на опорном знаке для много-
устройство │кратной установки геодезических инстру-
│ментов в одном и том же положении
Ориентирный знак │ Знак, служащий для обеспечения исход-
│ного ориентирного направления при изме-
│рении сдвигов и кренов фундаментов
│зданий и сооружений
Геометрическое │ Метод определения разности высот точек
нивелирование │при помощи геодезического прибора с
│горизонтальной визирной осью и отвесно
│установленных в этих точках реек
Тригонометрическое │ Метод определения превышений при помо-
нивелирование │щи геодезического прибора с наклонной
│визирной осью
Гидростатическое │ Метод определения разности высот
нивелирование │наблюдаемых точек посредством разностей
│уровней жидкости в сообщающихся сосудах
Стационарная │ Прибор для измерения осадок фундамен-
гидростатическая система │тов, состоящий из большого числа водо-
│мерных стаканов-пьезометров, жестко
│укрепленных на фундаментах или конструк-
│циях здания (сооружения)
Способ совмещения при │ Способ отсчета по рейке, при котором
нивелировании │вращением элевационного винта совмещают
│изображение концов пузырька уровня ниве-
│лира, а затем, изменяя наклон плоско-
│параллельной пластинки микрометром,
│совмещают биссектор со штрихом рейки
Способ наведения при │ Способ отсчета по рейке, когда нивели-
нивелировании │ром, приведенном в горизонтальное поло-
│жение, сетка нитей визирной трубы наво-
│дится на деления рейки
Метод створных │ Метод определения отклонений деформа-
наблюдений │ционных марок во времени, установленных
│на здании (сооружении), от линии створа,
│концы которого закрепляются неподвижными
│опорными знаками
Метод отдельных │ Метод определения отклонений деформа-
направлений │ционных марок по изменению горизонталь-
│ного угла и расстоянию от опорных знаков
│до марок во времени
Замыкание горизонта │ Вторичное наведение визирной оси
│теодолита на начальный ориентирный пункт
│и отсчет по горизонтальному кругу в
│целях контроля неподвижности круга в
│течение полуприема угловых измерений
Триангуляция │ Метод определения планового положения
│точек, являющихся вершинами построенных
│на местности смежно расположенных
│треугольников, в которых измеряют их
│углы и некоторые из сторон, а координаты
│вершин и длины других сторон получают
│тригонометрически
Трилатерация │ Метод определения планового положения
│точек, являющихся вершинами построенных
│на местности смежно расположенных
│треугольников, в которых измеряют все
│стороны, а координаты вершин и горизон-
│тальные углы между сторонами определяют
│тригонометрически
Полигонометрия │ Метод определения планового положения
│точек здания (сооружения) по разностям
│координат, полученных путем проложения
│полигонометрического хода по опорным
│знакам и деформационным маркам, в кото-
│ром измеряются все стороны, связывающие
│эти точки, и горизонтальные углы между
│ними
Способ малых │ Способ определения смещения точек зда-
(параллактических) углов │ния (сооружения), при котором расстояния
│определяются тригонометрическим путем по
│точно измеренному малому базису и лежа-
│щему против него острому (параллактичес-
│кому) углу
Способ струны │ Способ фиксирования направления какой-
│либо оси с помощью калиброванной сталь-
│ной (капроновой, нейлоновой) струны,
│натягиваемой между закрепленными на
│местности точками, и стационарных или
│переносных отсчетных приспособлений с
│верньерами, индикаторами часового типа и
│т.д., закрепленными под струной в местах
│установки деформационных марок
Полуприем измерения │ Однократное измерение угла при одном
│(любом) положении вертикального круга
│теодолита
Прием измерения │ Двукратное измерение угла при двух
│положениях вертикального круга теодолита
Нормальный способ │ Способ съемки (фотографирования) наб-
стереофотограмметрической│людаемого объекта, при котором оптичес-
съемки │кие оси левой и правой фотокамер уста-
│навливаются горизонтально и перпендику-
│лярно к базису фотографирования
Равномерно отклоненный │ Способ съемки (фотографирования) наб-
способ │людаемого объекта, при котором оптичес-
стереофотограмметрической│кие оси левой и правой фотокамер откло-
съемки │няются вправо и влево на одни и тот же
│угол
Конвергентный способ │ Способ съемки (фотографирования) наб-
стереофотограмметрической│людаемого объекта, при котором оптичес-
съемки │кие оси левой и правой фотокамер
│пересекаются
Метод проецирования │ Метод измерения крена здания (сооруже-
│ния), когда на двух взаимно перпендику-
│лярных осях объекта закладываются опор-
│ные знаки, с которых теодолитом проеци-
│руют заметную верхнюю точку на какую-
│либо горизонтально установленную палетку
│(рейку), закрепленную внизу здания
│(сооружения). Зафиксированный в течение
│времени на палетке ряд точек представля-
│ет собой центральную проекцию траектории
│верхней наблюдаемой точки на плоскость
Метод координирования │ Метод измерения крена здания (сооруже-
│ния), при котором вокруг объекта прокла-
│дывают замкнутый полигонометрический ход
│и вычисляют координаты трех или четырех
│постоянно закрепленных точек, с которых
│через определенные промежутки времени
│засечкой находят координаты хорошо
│заметной наверху здания, сооружения
│точки. По разности координат между цик-
│лами наблюдений находят величину крена и
│его направление
Кренометр │ Прибор, основной частью которого явля-
│ется точный уровень с измерительным вин-
│том на одном из его концов, позволяющий
│определять наклон в градусной или
│относительной мере
Обратный отвес │ Натянутая струна, закрепленная в ниж-
│них горизонтах. С помощью уровней или
│поплавка в жидкости нить приводится в
│отвесное положение, что позволяет пере-
│давать в верхний горизонт координаты
│нижней точки
Маяк │ Приспособление для наблюдения за
│развитием трещин: гипсовая или алебаст-
│ровая плитка, прикрепляемая к обоим
│краям трещины на стене; две стеклянные
│или плексигласовые пластинки, имеющие
│риски для измерения величины раскрытия
│трещины и др.
Щелемер │ Приспособление для измерения величины
│развития трещин по трем направлениям
Приложение 2
Обязательное
ТРЕБОВАНИЯ
К ПРОГРАММЕ ПРОВЕДЕНИЯ ИЗМЕРЕНИЙ ДЕФОРМАЦИЙ
ОСНОВАНИЙ ФУНДАМЕНТОВ ЗДАНИЙ И СООРУЖЕНИЙ
1. В программе проведения измерений деформаций оснований фундаментов зданий и сооружений должны быть освещены:
цели и задачи проводимых измерений;
характеристики фундаментов зданий и сооружений, их конструктивные особенности;
инженерно-геологические и гидрогеологические условия оснований;
расчетные величины деформаций основания;
установленная цикличность проведения работ по измерениям деформаций;
части зданий или сооружений, за которыми следует вести наблюдения;
для строящихся зданий (сооружений) - этапы выполнения строительных работ, результаты визуального осмотра котлована и фундаментов;
для эксплуатируемых зданий (сооружений) - период эксплуатации, результаты осмотра объекта, наличие трещин и места закладки маяков;
сведения о наличии пунктов государственной геодезической сети, а также знаков, установленных для целей строительства;
данные о системе координат и высотных отметок;
сведения о ранее выполненных работах по измерению деформаций и связь их с последующими работами;
описание мест закладки геодезических знаков, обоснование выбора типа знаков;
предварительная схема измерительной сети, расчет точности измерений деформаций;
методы измерений и применяемые инструменты;
порядок обработки результатов измерений.
2. В программе должна быть определена ответственность проектной (научно-исследовательской) организации за проект размещения знаков; строительной организации - за установку, сохранность и доступность знаков, закладываемых в здании (сооружении) и на строительной площадке; службы геодезии - за непосредственные измерения и первичную обработку результатов измерений; проектной (научно-исследовательской) организации - за составление технических отчетов.
3. В приложении к программе работ приводятся: копия технического задания, выданного заказчиком; схемы проектируемых геодезических сетей, чертежи геодезических знаков и другая необходимая документация; календарный план проведения работ и представления заказчику отчетных материалов; смета расходов на проведение измерительных работ.
Приложение 3
Рекомендуемое
СОГЛАСОВАНО УТВЕРЖДЕНО
____________________________ ____________________________
наименование организации, наименование организации,
должность, инициалы, должность, инициалы,
фамилия, дата фамилия, дата
ТЕХНИЧЕСКОЕ ЗАДАНИЕ
на производство измерений деформаций
оснований фундаментов зданий (сооружений)
1. Исполнитель работы ____________________________________________
наименование организации
2. Заказчик ______________________________________________________
наименование организации
3. Наименование объекта __________________________________________
4. Местоположение объекта (по административному делению) _________
__________________________________________________________________
5. Этапы (периоды) строительства, эксплуатации ___________________
6. Данные о назначении и видах зданий (сооружений), характеристики
их конструктивных особенностей и основных параметров (включая под-
земные части) ____________________________________________________
7. Сведения о типах, размерах и глубине заложения фундаментов ____
__________________________________________________________________
8. Инженерно-геологические и гидрогеологические условия оснований
фундаментов ______________________________________________________
9. Сведения о ранее выполненных работах по измерению деформаций
__________________________________________________________________
10. Части зданий (сооружений), за которыми следует вести
наблюдения _______________________________________________________
11. Периодичность и сроки проведения измерений ___________________
__________________________________________________________________
12. Требуемая точность геодезических измерений ___________________
13. Дополнительные указания ______________________________________
__________________________________________________________________
14. Приложения:
а) планы первого и нижележащих этажей фундаментов с указанием
предполагаемых мест заложения деформационных марок;
б) разрезы зданий или сооружений (продольный, поперечный) с
осевыми размерами и высотными отметками;
в) план размещения зданий, сооружений, инженерных коммуникаций
на территории объекта (топографический, ситуационный, генплан)
Задание составил ________________________ _____________ __________
наименование организации подпись, дата инициалы,
фамилия
Приложение 4
Рекомендуемое
ПРИМЕРЫ РАСПОЛОЖЕНИЯ ДЕФОРМАЦИОННЫХ МАРОК
НА ЗДАНИЯХ И СООРУЖЕНИЯХ
Приложение 5
Рекомендуемое
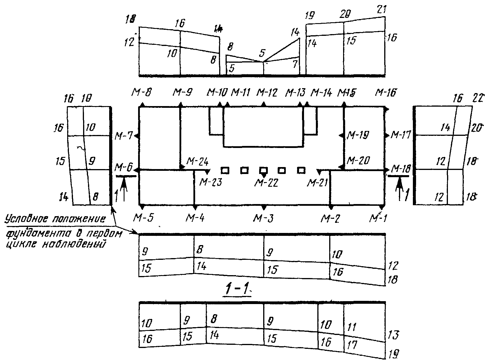
ОБРАЗЕЦ ГРАФИЧЕСКОГО ОФОРМЛЕНИЯ РЕЗУЛЬТАТОВ НАБЛЮДЕНИЙ
ЗА ДЕФОРМАЦИЯМИ ОСНОВАНИЙ ФУНДАМЕНТОВ
План расположения марок и эпюры перемещений
График давления на основание фундамента
График развития перемещений