Главная // Актуальные документы // ГОСТ (Государственный стандарт)СПРАВКА
Источник публикации
М.: ИПК Издательство стандартов, 1997
Примечание к документу
Документ утратил силу с 1 июля 2017 года в связи с изданием
Приказа Росстандарта от 14.12.2016 N 2033-ст. Взамен введен в действие
ГОСТ 21.705-2016.
Документ включен в
Перечень документов в области стандартизации, в результате применения которых на добровольной основе обеспечивается соблюдение требований Федерального
закона от 30.12.2009 N 384-ФЗ "Технический регламент о безопасности зданий и сооружений" (
Приказ Росстандарта от 30.03.2015 N 365).
Документ включен в
Перечень национальных стандартов, в результате применения которых на добровольной основе обеспечивается соблюдение требований Федерального
закона от 30.12.2009 N 384-ФЗ "Технический регламент о безопасности зданий и сооружений" (
Приказ Ростехрегулирования от 01.06.2010 N 2079).
С 1 июля 2003 года до вступления в силу технических регламентов акты федеральных органов исполнительной власти в сфере технического регулирования носят рекомендательный характер и подлежат обязательному исполнению только в части, соответствующей целям, указанным в
пункте 1 статьи 46 Федерального закона от 27.12.2002 N 184-ФЗ.
Документ
введен в действие с 1 июля 1983 года.
Название документа
"ГОСТ 21.605-82* (СТ СЭВ 5676-86). Государственный стандарт Союза ССР. Система проектной документации для строительства. Сети тепловые (тепломеханическая часть). Рабочие чертежи"
(утв. Постановлением Госстроя СССР от 16.11.1982 N 275)
(ред. от 01.10.1987)
"ГОСТ 21.605-82* (СТ СЭВ 5676-86). Государственный стандарт Союза ССР. Система проектной документации для строительства. Сети тепловые (тепломеханическая часть). Рабочие чертежи"
(утв. Постановлением Госстроя СССР от 16.11.1982 N 275)
(ред. от 01.10.1987)
от 16 ноября 1982 г. N 275
ГОСУДАРСТВЕННЫЙ СТАНДАРТ СОЮЗА ССР
СИСТЕМА ПРОЕКТНОЙ ДОКУМЕНТАЦИИ ДЛЯ СТРОИТЕЛЬСТВА
СЕТИ ТЕПЛОВЫЕ (ТЕПЛОМЕХАНИЧЕСКАЯ ЧАСТЬ)
РАБОЧИЕ ЧЕРТЕЖИ
System of design documents for construction.
Heat supply systems (thermomechanical part).
Working drawings
ГОСТ 21.605-82*
(СТ СЭВ 5676-86)
| | Список изменяющих документов (в ред. Изменения N 1, утв. в октябре 1987 г.) | |
Постановлением Государственного комитета СССР по делам строительства от 16 ноября 1982 г. N 275 срок введения установлен
с 1 июля 1983 года
* Переиздание (май 1997 г.) с Изменением N 1, утвержденным в октябре 1987 г. (ИУС 1-88).
Настоящий стандарт устанавливает состав и правила оформления рабочих чертежей тепловых сетей (тепломеханической части) объектов строительства всех отраслей промышленности и народного хозяйства.
Стандарт распространяется на тепловые сети (далее - сети) с параметрами теплоносителей:
- вода температурой t <= 200 °C и давлением

<= 2,5 МПа (25 кгс/см2);
- пар температурой t <= 440 °C и давлением

<= 6,4 МПа (64 кгс/см2).
Стандарт полностью соответствует СТ СЭВ 5676-86.
(Измененная редакция, Изм. N 1).
1.1. Рабочие чертежи сетей выполняют в соответствии с требованиями настоящего стандарта и других стандартов системы проектной документации для строительства, а также нормами проектирования сетей.
1.2. В состав рабочих чертежей сетей включают:
- рабочие чертежи, предназначенные для производства строительно-монтажных работ (основной комплект рабочих чертежей марки ТС);
- эскизные чертежи общих видов нестандартных (нетиповых) конструкций (далее - чертежи общих видов).
1.3. В состав основного комплекта рабочих чертежей марки ТС включают:
- общие данные по рабочим чертежам;
- планы сетей;
- схемы сетей;
- поперечные разрезы сетей;
- профили сетей;
- чертежи (планы, разрезы, схемы) узлов трубопроводов и П-образных компенсаторов.
1.4. К основному комплекту рабочих чертежей сетей составляют спецификацию оборудования по
ГОСТ 21.110-95 и ведомости потребности в материалах по
ГОСТ 21.110-95.
1.5. Для трубопроводов сетей принимают буквенно-цифровые обозначения по
ГОСТ 21.206-93 с указанием наружного диаметра и толщины стенки трубы на полке линии-выноски или под ней (
черт. 2 -
4 и
7 настоящего стандарта).
Проектируемые трубопроводы изображают сплошной толстой основной линией, существующие - сплошной тонкой линией, перспективные - штриховой линией. Для перспективных трубопроводов на полке линии-выноски указывают только диаметр условного прохода (

).
1.6. Условные графические изображения на планах различных способов прокладки сетей принимают по
ГОСТ 21.204-93. При этом подземные сети на чертежах марки ТС допускается условно изображать сплошными линиями.
Условные графические изображения, обозначения подземных и надземных сооружений на сетях (например, камер, павильонов, ниш), предназначенных для размещения узлов трубопроводов, компенсаторов и вентиляционных устройств, принимают в соответствии с
Приложением 1.
Условные графические обозначения оборудования, арматуры, элементов трубопроводов принимают по стандартам Единой системы конструкторской документации, приведенным в
Приложении 2.
1.7. Масштабы изображений на чертежах должны соответствовать приведенным в табл. 1.
Таблица 1
──────────────────────────────────────┬───────────────────────────
Наименование изображений │ Масштаб
──────────────────────────────────────┼───────────────────────────
План сетей │ 1:500, 1:1000
Схемы сетей и узлов трубопроводов │ Без масштаба
Профили сетей: │
- по горизонтали │ 1:500, 1:1000
- по вертикали │ 1:50, 1:100
Поперечные разрезы сетей │ 1:10, 1:20, 1:50
Планы и разрезы узлов трубопроводов │ 1:10, 1:20, 1:50, 1:100
и П-образных компенсаторов │
Чертежи общих видов │ 1:5, 1:10, 1:20, 1:50
1.8. Элементам сетей: узлам трубопроводов (местами с ответвлениями, секционирующими задвижками, дренажными устройствами, сальниковыми и волнистыми компенсаторами, опуском труб, пересечениями коммуникаций), компенсаторам, неподвижным опорам, поворотам трассы присваивают обозначения, состоящие из марки, принимаемой в соответствии с табл. 2, и порядкового номера по маркам (например, УТ5, Н12, УП8). Нумерацию элементов сетей начинают от источника тепловой энергии или границы проектирования. Для магистральных сетей допускается применять сквозную нумерацию элементов сетей без маркировки.
Таблица 2
───────────────────────────────────┬──────────────────────────────
Наименование элементов сетей │ Марка
───────────────────────────────────┼──────────────────────────────
Узлы трубопроводов │ УТ
П-образные компенсаторы │ К
Углы поворота │ УП
Неподвижные опоры вне узлов │ Н
трубопроводов │
Принятые обозначения элементов сетей должны быть сохранены в рабочих чертежах, входящих в основные комплекты других марок.
В чертежах сетей, при необходимости, указывают обозначения отдельно стоящих опор и колонн эстакад, принятые в строительных чертежах.
2. ОБЩИЕ ДАННЫЕ ПО РАБОЧИМ ЧЕРТЕЖАМ
2.1. В состав общих данных, кроме сведений, предусмотренных
ГОСТ 21.101-93, включают:
- ситуационный план сетей (без масштаба), с выделением проектируемого участка сети сплошной толстой основной линией;
- расчетные тепловые потоки - по форме 1.
Форма 1
При заполнении формы 1 в графе "Наименование потребителя" указывают наименование корпуса (цеха), задания, объекта.
Для магистральных сетей допускается указывать суммарные тепловые потоки с обязательной разбивкой по видам потребления: отопление, вентиляция, горячее водоснабжение, технологические нужды.
2.2. В общих указаниях, входящих в состав общих данных по рабочим чертежам марки ТС, кроме сведений, предусмотренных
ГОСТ 21.101-93, приводят:
- параметры транспортируемых теплоносителей;
- краткое описание системы теплоснабжения и способов регулирования отпуска тепловой энергии;
- технические характеристики труб и сталей, требования к поставке труб;
- требования по монтажу, антикоррозионной защите (наружной) и тепловой изоляции трубопроводов;
- требования по техническому надзору за строительством сетей;
- категорию трубопроводов по правилам Госгортехнадзора СССР;
- величины пробного давления для гидравлического испытания;
- перечень документов о согласовании со всеми заинтересованными организациями;
- другие необходимые указания.
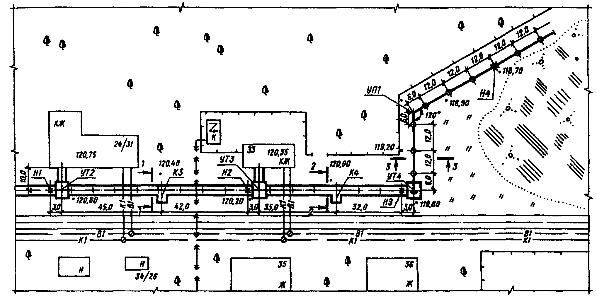
3.1. Для разработки планов сетей в качестве подосновы используют рабочие чертежи генерального плана, автомобильных и железных дорог или топографические планы.
3.2. На плане сетей указывают:
- проектируемые и существующие сети с координатами или привязками осей трасс;
- длины участков между элементами сетей или их координаты;
- величины углов поворотов, кроме углов 90°;
- маркировку и нумерацию элементов сетей.
На планах магистральных сетей, при необходимости, проставляют номера пикетов (ПК) и привязки к ближайшим пикетам элементов сетей.
3.3. На планах сетей в местах изменения диаметров трубопроводов, их размещения или способов прокладки указывают положение секущих плоскостей поперечных разрезов; направление взгляда для разрезов принимают от источника тепловой энергии.
Нумерацию поперечных разрезов принимают сквозной от источника тепловой энергии или границы проектирования.
3.4. Планы сетей допускается размещать как на отдельных листах, так и совместно с профилями сетей, схемами трубопроводов и поперечными разрезами сетей.
Пример оформления плана сетей приведен на черт. 1.
Черт. 1
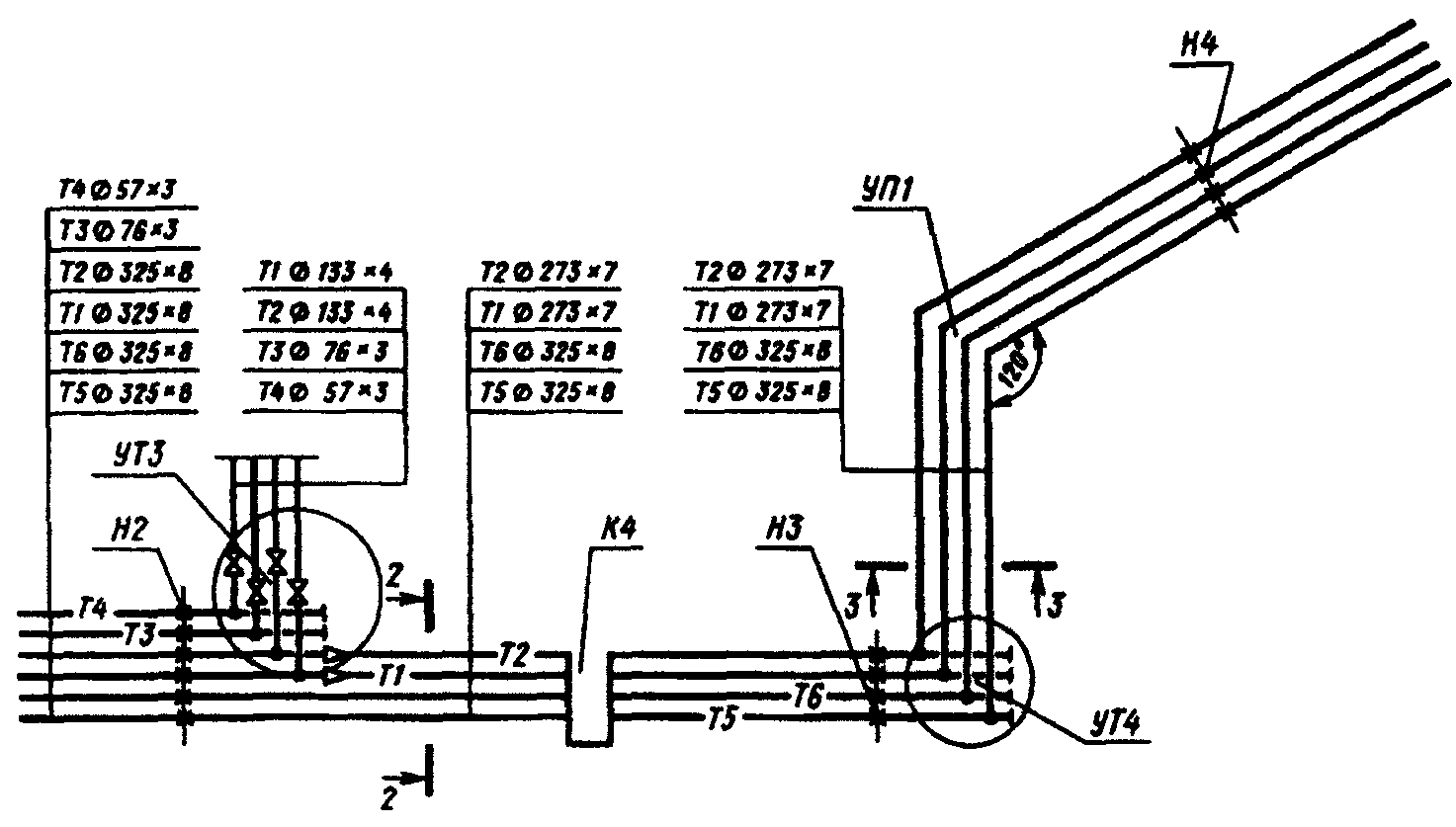
4.1. Схемы сетей (черт. 2) выполняют в горизонтальной плоскости.
─────────────────┬───────────────────────┬────────────────────────
D трубы, мм │ Тип подвижной опоры │Расстояние между опорами
y │ │ в каналах, м
─────────────────┼───────────────────────┼────────────────────────
50 │ ОПП-2 │ 3
65 │ ОПП-2 │ 3
100 │ ОПП-2 │ 4
250 │ ОПП-3 │ 7
300 │ ОПП-3 │ 8
На схемах сетей указывают:
- трубопроводы и их обозначение, арматуру, компенсаторы, неподвижные опоры, углы поворотов, опуски труб, точки дренажа трубопроводов;
- маркировку элементов сетей и их нумерацию;
- направление уклона;
- линии секущих плоскостей поперечных разрезов и их нумерацию;
- расчетные нагрузки на неподвижные опоры (при необходимости).
4.2. На схеме сетей или на одном из повторяющихся участков схемы показывают разбивку, привязку и тип всех подвижных опор трубопроводов или приводят таблицу с указанием типа опор и расстояний между ними для каждого диаметра труб.
4.3. При многотрубной, в несколько ярусов, прокладке сетей допускается выполнять схему для каждого яруса трубопроводов.
4.4. Допускается при двух- четырехтрубных сетях заменять схему сетей фрагментами схемы в пределах узлов трубопроводов, размещая фрагменты, как правило, на листах совместно с поперечными разрезами и планами сетей.
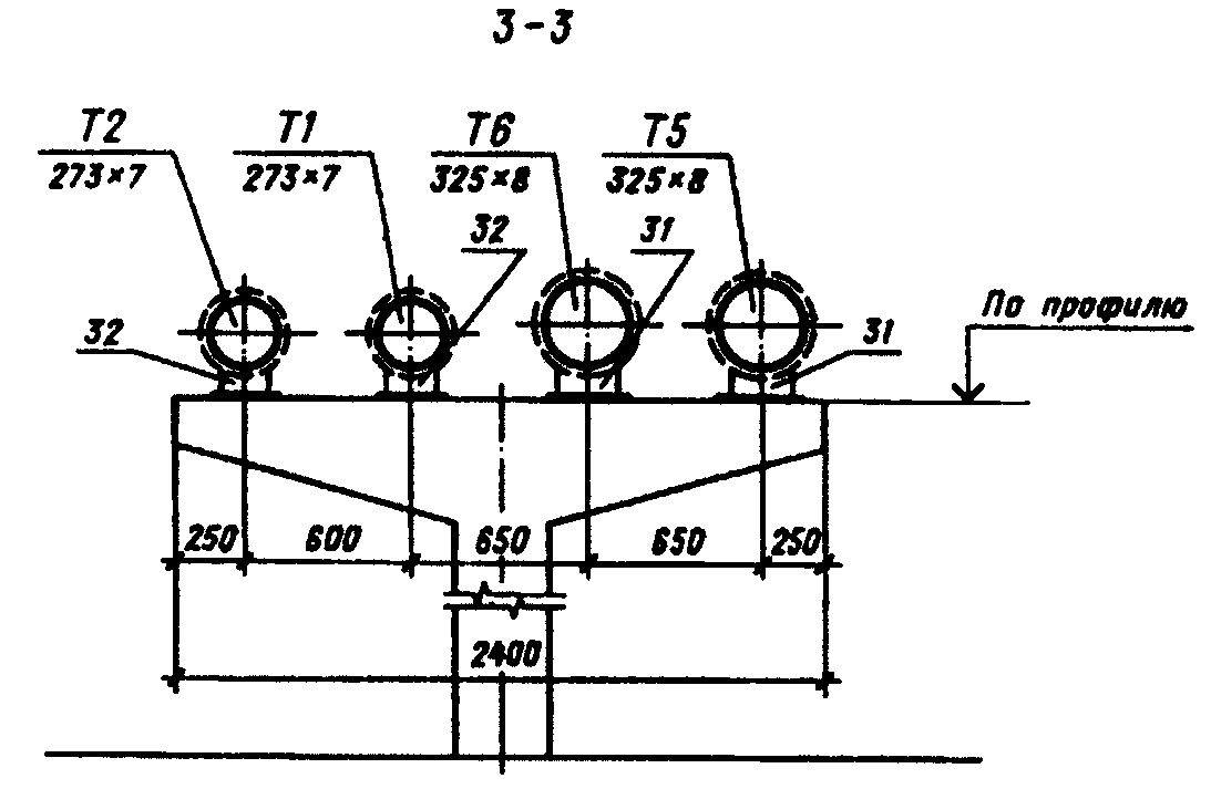
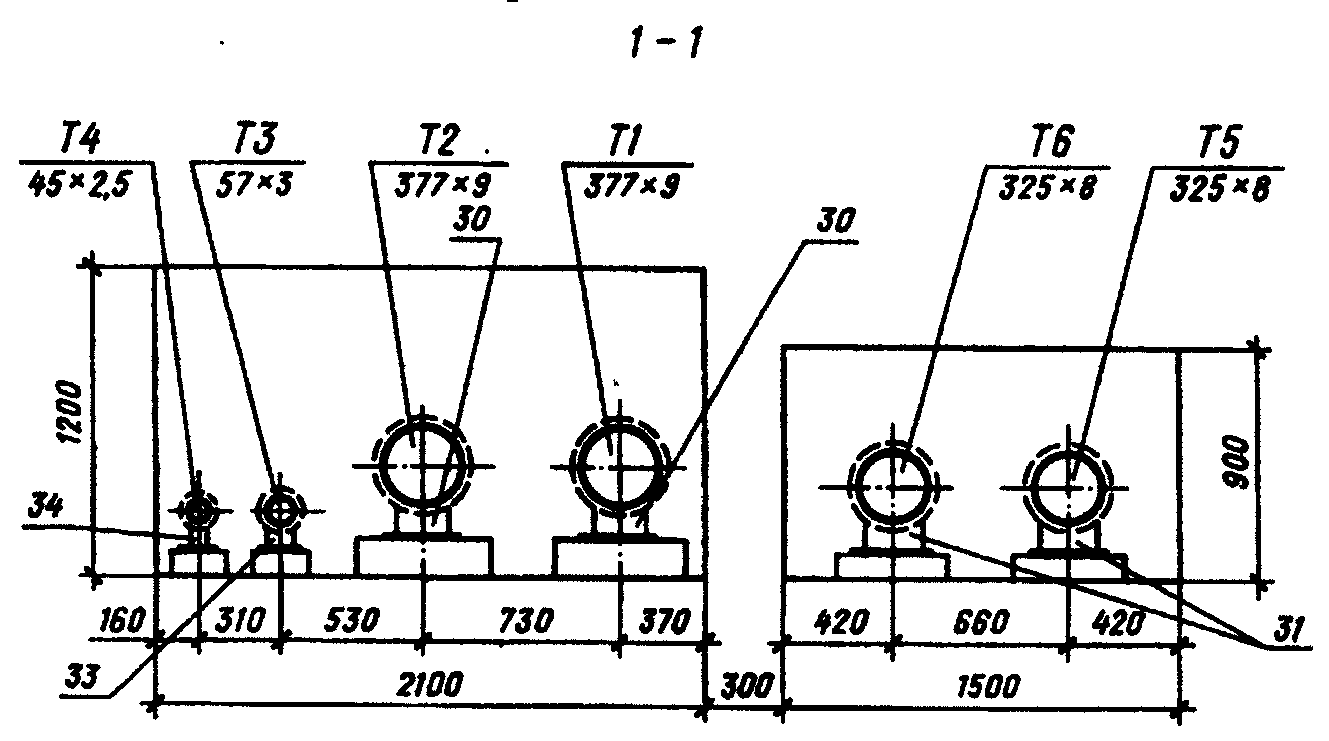
5. ПОПЕРЕЧНЫЕ РАЗРЕЗЫ СЕТЕЙ
5.1. На поперечных разрезах сетей указывают (
черт. 3,
4):
- каналы, тоннели, траншеи (для бесканальной прокладки), эстакады, отдельно стоящие опоры - в виде упрощенных контурных очертаний сплошной тонкой линией;
- трубопроводы, их привязку к строительным конструкциям и обозначения - в соответствии с указанием
п. 1.5;
- опоры трубопроводов - в виде упрощенных контурных очертаний сплошной тонкой линией;
- нумерацию позиций опор по спецификации - на полке линии-выноски;
- контуры тепловой изоляции - штриховой линией.
6.1. Профили сетей изображают в виде разверток по осям трасс сетей (черт. 5,
6).
Черт. 5
Примечание. В профильной части допускается приводить шкалу отметок.
6.2. На профилях сетей указывают:
- поверхности земли (проектную - сплошной тонкой линией, натурную - штриховой);
- уровень грунтовых вод - тонкой штрих-пунктирной линией;
- пересекаемые автомобильные дороги, железнодорожные и трамвайные пути, кюветы, а также другие подземные и надземные коммуникации и сооружения, влияющие на прокладку проектируемых сетей, с указанием их габаритных размеров, высотных отметок и, при необходимости, координат или привязок;
- каналы, тоннели, камеры, ниши П-образных компенсаторов, эстакады, отдельно стоящие опоры, вентиляционные шахты, павильоны и другие сооружения и конструкции сетей - упрощенными контурными очертаниями внутренних и наружных габаритов - сплошной тонкой линией;
- трубопроводы бесканальной прокладки - контурными очертаниями наружных габаритов сплошной тонкой линией с указанием осей труб;
- неподвижные опоры - условным графическим изображением.
Трубопроводы в каналах, тоннелях, камерах и нишах не изображают.
На профилях надземной прокладки сетей трубопроводы каждого яруса изображают одной сплошной основной линией.
6.3. Под профилями сетей помещают таблицу по форме 2 для подземной прокладки сетей и по форме 3 - для надземной прокладки.
Форма 2
Форма 3
Допускается, при необходимости, дополнять таблицы другими строками, например, "пикеты", "тип канала", "высота опор", "глубина траншеи".
При надземной прокладке трубопроводов в несколько ярусов строки "Отметка верха несущей конструкции" и "Отметка низа трубы" приводят для каждого яруса трубопроводов.
6.4. Отметки сетей проставляют в характерных точках, в местах пересечений с автомобильными и железными дорогами, трамвайными путями, инженерными коммуникациями и сооружениями, влияющими на прокладку проектируемых сетей.
Величины отметок и длины участков сетей указывают в метрах с двумя десятичными знаками, а величины уклонов - в процентах или промилле.
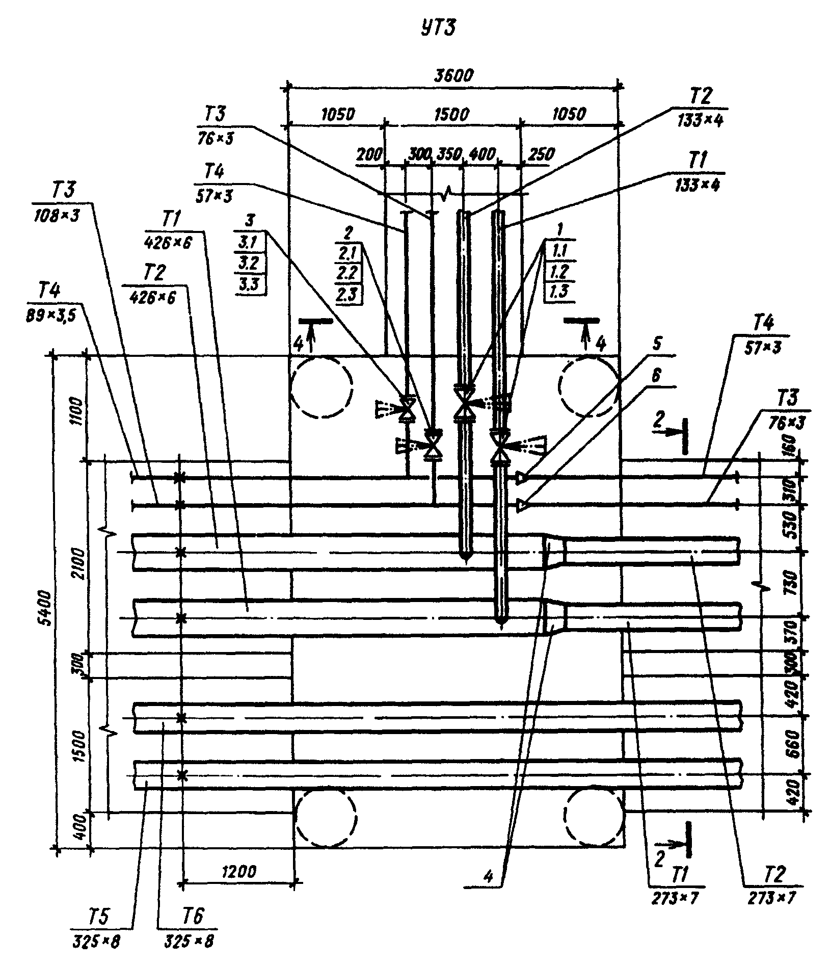
7. ЧЕРТЕЖИ (ПЛАНЫ, РАЗРЕЗЫ, СХЕМЫ) УЗЛОВ
ТРУБОПРОВОДОВ И П-ОБРАЗНЫХ КОМПЕНСАТОРОВ
7.1. На планах и разрезах узлов трубопроводов и П-образных компенсаторов указывают:
- контуры строительных конструкций, площадок и лестниц (сплошной тонкой линией) с указанием габаритных размеров и отметок;
- нумерацию поперечных разрезов участков сетей, примыкающих к узлам трубопроводов и П-образным компенсаторам (только на планах);
- трубопроводы, их детали, оборудование, арматуру, закладные конструкции для контрольно-измерительных приборов и их привязку к строительным конструкциям;
- обозначение трубопроводов в соответствии с указанием
п. 1.5;
- величину холодной растяжки П-образных компенсаторов и установочную длину сальниковых компенсаторов;
- номера позиций оборудования, арматуры, элементов трубопроводов в соответствии со спецификацией - на полке линии-выноски.
Допускается планы и разрезы однотипных П-образных компенсаторов выполнять в виде одного чертежа без масштаба с обозначениями размеров, диаметров труб и величины холодной растяжки по
форме 4 ГОСТ 21.602-79.
Трубопроводы с условным проходом менее 100 мм изображают одной линией, 100 мм и более - двумя линиями, оборудование и арматуру - условными графическими обозначениями или в виде упрощенных внешних очертаний. Для арматуры обязательно указывают вылет шпинделя.
Для простых узлов и П-образных компенсаторов допускается изображать трубопроводы одной линией независимо от диаметров.
Пример оформления плана узла трубопроводов приведен на черт. 7.
7.2. Схемы узлов трубопроводов разрабатывают, при необходимости, для сложных узлов с большим количеством арматуры, оборудования и трубопроводов.
7.3. Схему узла трубопроводов выполняют в горизонтальной плоскости. Допускается разрабатывать схему в аксонометрической проекции. На схеме указывают:
- трубопроводы и их обозначения в соответствии с указанием
п. 1.5.;
- оборудование, компенсаторы, арматуру, элементы трубопроводов, точки дренажа, закладные конструкции для контрольно-измерительных приборов - условными графическими обозначениями;
- направление уклона трубопроводов;
- линии секущих плоскостей поперечных разрезов;
- отметки трубопроводов (для схем в аксонометрической проекции);
- позиции оборудования, арматуры и деталей трубопроводов в соответствии со спецификацией - на полке линии-выноски.
7.4. На чертежах узлов трубопроводов приводят спецификацию на оборудование, компенсаторы, арматуру, элементы трубопроводов по
форме 1 ГОСТ 21.101-93. Если на чертеже размещены изображения нескольких узлов, спецификацию для них составляют общую, разделяя соответствующими подзаголовками.
Номера позиций в спецификации на чертежах узлов и номера позиций в спецификации оборудования по
ГОСТ 21.110-95 должны быть одинаковыми.
8.1. Чертежи общих видов выполняют по правилам выполнения чертежей общих видов, предусмотренным
ГОСТ 2.119-73, в объеме, необходимом для разработки конструкторской документации по
ГОСТ 2.103-68.
Обязательное
УСЛОВНЫЕ ГРАФИЧЕСКИЕ ОБОЗНАЧЕНИЯ
НА ПЛАНАХ ТЕПЛОВЫХ СЕТЕЙ
Наименование | Обозначение |
Прокладка в канале с попутным дренажом | |
Узел трубопроводов в камерах, тоннелях и при надземной прокладке (без павильонов) | |
Узел трубопроводов в наземном павильоне | |
Опуск трубопроводов при изменении типа прокладки | |
П-образный компенсатор: | |
при подземной прокладке | |
при надземной прокладке | |
Вход в тоннель | |
Вход в тоннель, совмещенный с приточной вентиляцией | |
Вход в тоннель, совмещенный с вытяжной вентиляцией | |
Люк на тоннеле | |
Примечание. Условные графические обозначения на планах тепловых сетей изображают в масштабе в соответствии с
п. 1.7, но не менее размеров, указанных в графе "Обозначение".
Справочное
СТАНДАРТОВ НА УСЛОВНЫЕ ОБОЗНАЧЕНИЯ, ПОДЛЕЖАЩИЕ
УЧЕТУ ПРИ ВЫПОЛНЕНИИ ЧЕРТЕЖЕЙ ТЕПЛОВЫХ СЕТЕЙ
ГОСТ 2.721-74 ЕСКД. Обозначения условные графические в схемах. Обозначения общего применения
ГОСТ 2.780-96 ЕСКД. Обозначения условные графические. Кондиционеры рабочей среды, емкости гидравлические и пневматические
ГОСТ 2.782-96 ЕСКД. Обозначения условные графические. Машины гидравлические и пневматические
ГОСТ 2.784-96 ЕСКД. Обозначения условные графические. Элементы трубопроводов
ГОСТ 2.785-70 ЕСКД. Обозначения условные графические. Арматура трубопроводная