Главная // Актуальные документы // ГОСТ (Государственный стандарт)СПРАВКА
Источник публикации
М.: Издательство стандартов, 1989
Примечание к документу
Утратил силу на территории Российской Федерации с 1 июля 2012 года в связи с изданием Приказа Росстандарта от 11.07.2011 N 176-ст. Взамен введен в действие
ГОСТ Р 54350-2011.
Документ включен в
Перечень национальных стандартов, содержащих правила и методы исследований (испытаний) и измерений, в том числе правила отбора образцов, необходимые для применения и исполнения Федерального
закона от 22.07.2008 N 123-ФЗ и осуществления оценки соответствия (
Распоряжение Правительства РФ от 10.03.2009 N 304-р).
С 1 июля 2003 года до вступления в силу технических регламентов акты федеральных органов исполнительной власти в сфере технического регулирования носят рекомендательный характер и подлежат обязательному исполнению только в части, соответствующей целям, указанным в
пункте 1 статьи 46 Федерального закона от 27.12.2002 N 184-ФЗ.
Ограничение срока действия снято Постановлением Госстандарта РФ от 10.09.1992 N 1156 ("ИУС", N 12, 1992).
Срок действия продлен до 1 января 1993 года Постановлением Госстандарта СССР N 2771 от 29.06.1987.
Введен в действие с 1 января 1983 года.
Взамен ГОСТ 13828-74, ГОСТ 17677-79.
Название документа
"ГОСТ 17677-82 (СТ СЭВ 3182-81, МЭК 598-1-86, МЭК 598-2-1-79, МЭК 598-2-2-79, МЭК 598-2-4-79, МЭК 598-2-19-81). Светильники. Общие технические условия"
(утв. Постановлением Госстандарта СССР от 27.07.1982 N 2894)
(ред. от 01.04.1989)
"ГОСТ 17677-82 (СТ СЭВ 3182-81, МЭК 598-1-86, МЭК 598-2-1-79, МЭК 598-2-2-79, МЭК 598-2-4-79, МЭК 598-2-19-81). Светильники. Общие технические условия"
(утв. Постановлением Госстандарта СССР от 27.07.1982 N 2894)
(ред. от 01.04.1989)
Утвержден и введен в действие
Постановлением Госстандарта СССР
от 27 июля 1982 г. N 2894
ГОСУДАРСТВЕННЫЙ СТАНДАРТ СОЮЗА ССР
СВЕТИЛЬНИКИ
ОБЩИЕ ТЕХНИЧЕСКИЕ УСЛОВИЯ
Luminaires. General specifications
ГОСТ 17677-82
(СТ СЭВ 3182-81, МЭК 598-1-86, МЭК 598-2-1-79,
МЭК 598-2-2-79, МЭК 598-2-4-79, МЭК 598-2-19-81)
| | Список изменяющих документов (в ред. Изменения N 1, утв. в декабре 1986 г., Изменения N 2, утв. в июне 1987 г., Изменения N 3, утв. в апреле 1989 г.) | |
Срок действия
с 1 января 1983 года
до 1 января 1993 года
1. Разработан и внесен Министерством электротехнической промышленности СССР.
Исполнители: А.И. Запенин (руководитель темы); Г.С. Сарычев, д-р техн. наук; А.В. Очкин; Ю.Б. Айзенберг, д-р техн. наук; В.В. Андреева; Т.Н. Никифорова; Ю.В. Корольков, канд. техн. наук; В.Ф. Ефимкина, канд. техн. наук.
2. Утвержден и введен в действие Постановлением Государственного комитета СССР по стандартам от 27 июля 1982 г. N 2894.
3. Стандарт полностью соответствует СТ СЭВ 3182-81. В стандарт введены МЭК 598-1-86, МЭК 598-2-1-79 с Изменением N 1 (1987), МЭК 598-2-2-79 с Изменением N 1 (1987), МЭК 598-2-4-79 с Изменениями N 1 (1983) и N 2 (1987), МЭК 598-2-19-81 с Изменением N 1 (1987).
4. Взамен ГОСТ 13828-74, ГОСТ 17677-79.
5. Периодичность проверки 5 лет.
6. Ссылочные нормативно-технические документы
───────────────────────────┬──────────────────────────────────────
Обозначение НТД, на который│Номер пункта, подпункта, перечисления,
дана ссылка │ приложения
───────────────────────────┼──────────────────────────────────────
ИС МЕГАНОРМ: примечание.
Приказом Ростехрегулирования от 22.06.2006 N 118-ст введен в
ИС МЕГАНОРМ: примечание.
Взамен ГОСТ 9.401-79 Постановлением Госстандарта СССР от
21.03.1989 N 575 с 1 июля 1990 года введен в действие
ИС МЕГАНОРМ: примечание.
Взамен ГОСТ 12.1.004-85 Постановлением Госстандарта СССР от
14.06.1991 N 875 с 1 июля 1992 года введен в действие
ИС МЕГАНОРМ: примечание.
Взамен ГОСТ 6825-74 Постановлением Госстандарта СССР от
22.03.1991 N 316 с 1 января 1993 года введен в действие
ИС МЕГАНОРМ: примечание.
Взамен ГОСТ 14254-80 Постановлением Госстандарта РФ от
18.10.1996 N 601 введен в действие с 1 января 1997 года ГОСТ
7. Срок действия продлен до 01.01.1993 Постановлением Госстандарта СССР N 2771 от 29.06.1987.
8. Переиздание (июнь 1989 г.) с Изменениями N 1, 2, 3, утвержденными в декабре 1986 г., июне 1987 г., апреле 1989 г. (ИУС 4-87, 11-87, 7-89).
Настоящий стандарт распространяется на светильники для внутреннего освещения жилых, общественных помещений, производственных (в т.ч. сельскохозяйственных) зданий и на светильники для наружного освещения, предназначенные для работы в сетях переменного тока напряжением до 1000 В, изготовляемые для нужд народного хозяйства и для экспорта.
Стандарт не распространяется на светильники:
для внутреннего освещения транспортных средств;
с индивидуальными источниками питания;
специальные медицинские;
судовые.
Термины и определения - по ГОСТ 16703-79.
(Измененная редакция, Изм. N 2, 3).
1.1. Классификация по светотехническим характеристикам
1.1.1. По классам светораспределения светильники подразделяются в соответствии с табл. 1.
Таблица 1
───────────────────────────────────────────┬──────────────────────
Класс светильника по светораспределению │ Доля светового
─────────┬─────────────────────────────────┤потока, направляемого
обозна- │ наименование │ в нижнюю полусферу,
чение │ │ от всего светового
│ │потока светильника, %
─────────┼─────────────────────────────────┼──────────────────────
П (I) │Прямого света │Св. 80
Н (II) │Преимущественно прямого света │" 60 до 80 включ.
Р (III) │Рассеянного света │" 40 " 60 "
В (IV) │Преимущественно отраженного света│" 20 " 40 "
О (V) │Отраженного света │ " 20 "
Примечание. В скобках указано обозначение по СТ СЭВ 3182-81, которое следует применять только в документации, сопровождающей светильники, изготовляемые для экспорта.
1.1.2. По типу кривой силы света светильника в любой меридиональной плоскости в верхней и (или) нижней полусфере светильники подразделяются в соответствии с табл. 2 и
черт. 1 и
2.
───────────────────────┬──────────────────────┬───────────────────
Тип кривой силы света │ Зона направлений │ Коэффициент формы
────────┬──────────────┤ максимальной силы │ кривой силы света
обозна- │ наименование │ света │
чение │ │ │
────────┼──────────────┼──────────────────────┼───────────────────
К (а) │ Концентриро- │0° - 15° │К >= 3
│ванная │ │ ф
────────┼──────────────┼──────────────────────┼───────────────────
Г (b) │ Глубокая │0° - 30°; 180° - 150° │2 <= К < 3
│ │ │ ф
────────┼──────────────┼──────────────────────┼───────────────────
Д (с) │ Косинусная │0° - 35°; 180° - 145° │1,3 <= К < 2
│ │ │ ф
────────┼──────────────┼──────────────────────┼───────────────────
Л (d) │ Полуширокая │35° - 55°; 145° - 125°│1,3 <= К
│ │ │ ф
────────┼──────────────┼──────────────────────┼───────────────────
Ш (е) │ Широкая │55° - 85°; 125° - 95° │1,3 <= К
│ │ │ ф
────────┼──────────────┼──────────────────────┼───────────────────
М (f) │ Равномерная │0° - 180° │К <= 1,3
│ │ │ ф
│ │ │при этом
│ │ │I > 0,4 I
│ │ │ min max
────────┼──────────────┼──────────────────────┼───────────────────
С (g) │ Синусная │70° - 90°; 110° - 90° │1,3 < К
│ │ │ ф
│ │ │при этом
│ │ │I < 0,7 I
│ │ │ 0 max
Примечание. В скобках указано обозначение по СТ СЭВ 3182-81, которое следует применять только в документации, сопровождающей светильники, изготовляемые для экспорта.

- коэффициент формы кривой силы света;

- значение силы света в направлении оптической оси светильника (0°);

,

- минимальное и максимальное значения силы света.
Типы кривых силы света (в относительных единицах)
Черт. 1
(в канделах, для светового потока светильника

= 1000 лм)
Черт. 2
1.1.1; 1.1.2. (Измененная редакция, Изм. N 2).
1.1.3. Полная светотехническая классификация светильника образуется из его класса по светораспределению (
п. 1.1.1) и формы его кривой силы света (
п. 1.1.2). При этом, как правило, указывается, какой полусфере или меридиональной плоскости свойственна данная форма кривой. При необходимости допускается указывать формы кривых силы света для обеих полусфер и для нескольких меридиональных плоскостей.
В классификации светильника не указывается, какой полусфере свойственна кривая, если основной светотехнической характеристикой данного светильника является его кривая в нижней полусфере. Для круглосимметричных светильников в классификации не указывается меридиональная плоскость, для которой дана кривая силы света. Для светильников с трубчатыми источниками света, имеющих две плоскости симметрии, допускается указывать только форму кривой силы света в поперечной плоскости, если кривая силы света в продольной плоскости является косинусной.
Допускается классификация светильников только по светораспределению, если указание формы кривой силы света нецелесообразно, например, для светильников местного освещения, светильников для жилых помещений, декоративных светильников и т.п.
1.1.4. Светильники с кривыми силы света, не соответствующими признакам, указанным в
табл. 2, являются светильниками со специальным распределением силы света.
1.2. Классификация по степени защиты от воздействия окружающей среды
| | ИС МЕГАНОРМ: примечание. Взамен ГОСТ 14254-80 Постановлением Госстандарта РФ от 18.10.1996 N 601 введен в действие с 1 января 1997 года ГОСТ 14254-96. | |
1.2.1. По степени защиты от воздействия окружающей среды - по ГОСТ 14254-80. Допускаются дополнительные степени защиты от пыли, при этом буквы IP не указываются:
2' - с характеристикой для степени защиты 2 по ГОСТ 14254-80, при этом попадание пыли ограничивается неуплотненными светопропускающими оболочками;
5' и 6' - с характеристиками для степеней защиты соответственно 5 и 6 по ГОСТ 14254-80, при этом колбы ламп не защищены от воздействия пыли.
1.3. Классификация по классу защиты от поражения электрическим током - по
ГОСТ 12.2.007.0-75 (0, 0I, I, II, III).
1.4. Классификация по климатическому исполнению и категории размещения - по
ГОСТ 15150-69.
1.5. Классификация по способу крепления или установки
Светильники стационарные - потолочные,
настенные,
встраиваемые,
подвесные,
пристраиваемые,
венчающие,
консольные,
торцевые.
Светильники нестационарные - настольные,
напольные,
ручные,
головные.
1.6. Классификация по пожаробезопасности
1.6.1. Светильники, пригодные для непосредственной установки на опорную поверхность из сгораемого материала.
К таким светильникам относятся:
светильники без встроенных пускорегулирующих аппаратов или трансформаторов (символическое обозначение отсутствует);
светильники со встроенными пускорегулирующими аппаратами или трансформаторами (маркируются символом

).
1.6.2. Светильники, предназначенные для непосредственной установки на опорную поверхность только из несгораемого материала.
Такие светильники должны иметь в эксплуатационном документе соответствующую запись.
1.6 - 1.6.2. (Измененная редакция, Изм. N 2).
2. УСЛОВНЫЕ ОБОЗНАЧЕНИЯ СВЕТИЛЬНИКОВ
2.1. Условное обозначение светильника должно соответствовать указанному:
Х Х Х ХХ - Х ХХ - ХХХ - ХХ
┬─ ─┬─ ─┬─ ─┬─ ─┬─ ─┬─ ──┬── ──┬─
└───┼───┼───┼───┼───┼────┼─────┼─> Буква, означающая источник
│ │ │ │ │ │ │ света (лампу):
│ │ │ │ │ │ │ Н - накаливания общего
│ │ │ │ │ │ │ назначения;
│ │ │ │ │ │ │ С - лампы-светильники
│ │ │ │ │ │ │ (зеркальные и диффузные);
│ │ │ │ │ │ │ И - кварцевые галогенные
│ │ │ │ │ │ │ (накаливания);
│ │ │ │ │ │ │ Л - прямые трубчатые
│ │ │ │ │ │ │ люминесцентные;
│ │ │ │ │ │ │ Ф - фигурные люминесцентные;
│ │ │ │ │ │ │ Э - эритемные люминесцентные;
│ │ │ │ │ │ │ Р - ртутные типа ДРЛ;
│ │ │ │ │ │ │ Г - ртутные типа ДРИ, ДРИШ;
│ │ │ │ │ │ │ Ж - натриевые типа ДНаТ;
│ │ │ │ │ │ │ Б - бактерицидные;
│ │ │ │ │ │ │ К - ксеноновые трубчатые
└───┼───┼───┼───┼────┼─────┼─> Буква, означающая способ
│ │ │ │ │ │ установки светильника:
│ │ │ │ │ │ С - подвесные;
│ │ │ │ │ │ П - потолочные;
│ │ │ │ │ │ В - встраиваемые;
│ │ │ │ │ │ Д - пристраиваемые;
│ │ │ │ │ │ Б - настенные;
│ │ │ │ │ │ Н - настольные, опорные;
│ │ │ │ │ │ Т - напольные, венчающие;
│ │ │ │ │ │ К - консольные, торцевые;
│ │ │ │ │ │ Р - ручные;
│ │ │ │ │ │ Г - головные
└───┼───┼───┼────┼─────┼─> Буква, означающая основное
│ │ │ │ │ назначение светильника:
│ │ │ │ │ П - для промышленных
│ │ │ │ │ и производственных зданий;
│ │ │ │ │ О - для общественных зданий;
│ │ │ │ │ Б - для жилых (бытовых)
│ │ │ │ │ помещений;
│ │ │ │ │ У - для наружного освещения;
│ │ │ │ │ Р - для рудников и шахт;
│ │ │ │ │ Т - для кинематографических
│ │ │ │ │ и телевизионных студий
└───┼───┼────┼─────┼─> Двузначное число (01 - 99),
│ │ │ │ означающее номер серии
└───┼────┼─────┼─> Цифра (цифры), означающая
│ │ │ количество ламп в светильнике
└────┼─────┼─> Цифры, означающие мощность ламп
│ │ в Вт
└─────┼─> Трехзначная цифра (001 - 999),
│ означающая номер модификации
└─> Буква и цифра, означающие
климатическое исполнение
и категорию размещения
Примечания. 1. Для светильников, рассчитанных на разные способы установки, указывается обозначение основного способа установки.
2. Номер серии светильников и номер модификации светильников для жилых помещений присваиваются головной организацией по виду продукции.
3. В одноламповых светильниках цифра 1, означающая количество ламп в светильнике, и знак умножения не указываются.
4. Климатическое исполнение УХЛ и категорию размещения 4 светильников для освещения жилых помещений и общественных зданий допускается не указывать.
5. Условные обозначения светильников устанавливаются на вновь разрабатываемые светильники и светильники, разработанные с 1975 года.
(Измененная редакция, Изм. N 2).
2.2. Условные обозначения светильников, в которых применяются лампы различной мощности или различного типа (например, люминесцентные и накаливания или люминесцентные и эритемные), должны содержать обозначения:
основного типа источника света;
способа установки светильника;
основного назначения светильника;
номера серии светильника;
числа и мощности основного типа ламп;
числа и мощности ламп другого типа или другой мощности, которые указываются в скобках, при этом должна указываться цифра 1, определяющая число ламп;
номера модификации светильника;
климатического исполнения и категории размещения по
ГОСТ 15150-69.
Допускается дополнительно к условному обозначению присваивать светильникам условное наименование.
Условное наименование должно размещаться после условного обозначения светильника.
Применение условного наименования без условного обозначения не допускается.
Примеры условных обозначений светильников:
подвесной светильник для производственных зданий с двумя прямыми трубчатыми люминесцентными лампами мощностью по 40 Вт, серии 01, модификации 024, климатического исполнения УХЛ, категории размещения 4:
Светильник ЛСП01 - 2 х 40 - 024 УХЛ4;
подвесной светильник для производственных зданий с одной лампой накаливания общего назначения мощностью 500 Вт, серии 05, модификации 016, климатического исполнения У, категории размещения 3:
Светильник НСП05 - 500 - 016 У3;
подвесной светильник для общественных зданий с двумя прямыми трубчатыми люминесцентными лампами мощностью по 40 Вт и одной эритемной люминесцентной лампой мощностью 30 Вт, серии 02, модификации 005, климатического исполнения УХЛ, категории размещения 4:
Светильник ЛСО02 - 2 х 40/1 х 30/ - 005 УХЛ4;
настольный светильник с двумя лампами накаливания общего назначения мощностью по 40 Вт, серии 02, модификации 005, климатического исполнения УХЛ, категории размещения 4 для освещения жилых помещений:
Светильник ННБ02 - 2 х 40 - 005 УХЛ4 "Орфей".
3. ТЕХНИЧЕСКИЕ ТРЕБОВАНИЯ
3.1. Светильники должны изготовляться в соответствии с требованиями настоящего стандарта, стандартов или технических условий на отдельные типы или группы светильников по технической документации, утвержденной в установленном порядке.
Требования, установленные настоящим стандартом, относящиеся к группам светильников, указаны в обязательном
Приложении 1.
3.2. Светотехнические требования
3.2.1. Класс светораспределения и типы кривых силы света светильников должны соответствовать требованиям настоящего стандарта. Для светильников со специальным распределением силы света тип кривой силы света, полусфера и меридиональная плоскость, в которых нормируется кривая силы света, должны быть указаны в стандартах или технических условиях на отдельные типы или группы светильников.
(Измененная редакция, Изм. N 2).
3.2.2. Светильники с зеркальными отражателями не должны создавать зеркального отражения светящего тела лампы в пределах защитных углов.
3.2.3. Для ограничения пульсации светового потока, создаваемого светильниками с люминесцентными лампами, должны быть приняты следующие меры:
в светильниках с числом ламп, кратным двум, должны применяться пускорегулирующие аппараты, состоящие из параллельных индуктивных и емкостных цепей (или параллельно соединенных индуктивных и емкостных балластных устройств), обеспечивающих сдвиг фаз между токами ламп (90 +/- 40)° при включении светильника в сеть переменного тока частоты 50 или 60 Гц;
одноламповые светильники местного освещения должны комплектоваться пускорегулирующими аппаратами, рассчитанными на питание переменным током частоты не менее 400 Гц.
Требования настоящего пункта не распространяются на светильники общего освещения с двумя люминесцентными лампами, включенными последовательно в сеть напряжением 220 В, на светильники общего освещения жилых помещений с компактными люминесцентными лампами, на экспозиционные и декоративные светильники и светильники для освещения внутренних объемов мебели, кухонных столов, мест мойки посуды в жилых помещениях, а также на светильники с полупроводниковыми пускорегулирующими аппаратами.
(Измененная редакция, Изм. N 2).
3.2.4. В стандартах или технических условиях на отдельные типы или группы светильников в зависимости от их назначения и выполняемой ими светотехнической функции должны быть указаны следующие светотехнические требования:
освещенность рабочей поверхности;
защитные углы;
коэффициент полезного действия;
габаритная яркость и зона ограничения яркости,
а также дополнительные светотехнические требования.
3.3. Электротехнические требования
3.3.1. Защита от поражения электрическим током
3.3.1.1. Светильники должны изготовляться классов защиты 0, 0I, I, II или III в соответствии с
ГОСТ 12.2.007.0-75.
Светильники, совмещенные с системой вентиляции или кондиционирования воздуха, должны изготовляться классов защиты I, II или III.
Подвижные светильники со специальным электромеханическим присоединительным устройством должны изготовляться классов защиты I или II.
Класс защиты светильников должен быть указан в стандартах или технических условиях на отдельные типы или группы светильников.
Светильники классов защиты 0 и 0I могут иметь отдельные части с двойной или усиленной изоляцией.
Светильники класса защиты II могут быть трех видов:
светильники, у которых оболочки из изоляционного материала закрывают все металлические части, за исключением частей (табличек, болтов, заклепок), отделенные от находящихся под напряжением частей равноценной усиленной изоляцией;
светильники с металлической оболочкой, имеющие везде двойную изоляцию, за исключением тех частей, для которых применена усиленная изоляция;
светильники, представляющие собой комбинацию первых двух видов.
3.3.1.2. Светильники классов защиты 0I и I должны иметь защитный зажим и знак заземления.
Защитный зажим должен быть расположен вблизи присоединительных контактных зажимов.
Защитный зажим должен быть винтовым, его номинальный размер должен равняться номинальному размеру присоединительных контактных зажимов, но не менее 4 мм.
Одна из частей защитного зажима должна быть изготовлена из стойкого к коррозии материала или иметь стойкое к коррозии покрытие.
Контактные поверхности защитного зажима должны быть надежно защищены от коррозии.
Знак заземления по
ГОСТ 21130-75 должен быть нанесен любым нестираемым способом около защитного зажима.
Заземляющие провода должны иметь желто-зеленую окраску.
Допускается применять провода с другой окраской, отличной от окраски питающих проводов или с соответствующей маркировкой.
Неизолированные медные заземляющие провода должны быть защищены от прикосновения к частям, изготовленным из алюминия и его сплавов.
Стыкуемые светильники со съемной панелью, на которой смонтирована электрическая схема, должны иметь два защитных зажима или один, рассчитанный для присоединения двух заземляющих проводов.
3.3.1.3. Металлические части светильников классов защиты 0I и I, доступные для прикосновения при замене ламп, стартеров и при чистке светильников, которые при нарушении изоляции могут оказаться под напряжением, должны иметь надежное и устойчивое токопроводящее соединение с защитным зажимом. Сопротивление между защитным зажимом и каждой доступной для прикосновения металлической нетоковедущей частью светильника, которая может оказаться под напряжением, не должно превышать 0,1 Ом.
3.3.1.4. К металлическим нетоковедущим частям светильников, которые могут не иметь токопроводящего соединения с защитным зажимом, относятся:
части, отделенные от деталей, находящихся под напряжением, заземленными металлическими частями;
металлические корпуса цоколей для люминесцентных ламп;
металлические корпуса стартеров;
снимаемые металлические крышки, рамы и дверцы, которые должны обеспечивать токопроводящее соединение только в рабочем положении.
3.3.1.5. Самонарезающие винты могут быть использованы для обеспечения непрерывности защитного соединения при условии, что при нормальной эксплуатации данное соединение не требует демонтажа. Для каждого соединения должно быть использовано не менее двух винтов.
3.3.1.1 - 3.3.1.5. (Измененная редакция, Изм. N 2).
3.3.1.6. Контактные поверхности частей светильников, предназначенные для обеспечения непрерывности защитного соединения, должны обеспечивать надежное токопроводящее соединение.
3.3.1.7. Светильники класса защиты III должны изготовляться без защитного зажима.
3.3.2. Сопротивление и электрическая прочность изоляции
3.3.2.1. Сопротивление изоляции светильников после пребывания их в камере влажности должно быть не менее значений, указанных в табл. 3. При этом в холодном обесточенном состоянии при нормальных климатических условиях по
ГОСТ 15150-69 оно должно быть не менее 20 МОм.
─────────────────────────────┬──────────────┬───────────────────────
Место измерения │Сопротивление │ Испытательное
│изоляции, МОм,│ напряжение, кВ
│ не менее │
├──────────────┴───────────────────────
│ светильников класса защиты
├─────┬───┬────┬────────┬────────┬─────
│ 0, │II │III │0, 0I, I│ II │ III
│0I, I│ │ │ │ │
─────────────────────────────┼─────┼───┼────┼────────┼────────┼─────
Между находящимися под │ 2 │ 2 │ 2 │ 2U + 1 │ 2U + 1 │0,5
напряжением частями, │ │ │ │ │ │
подключенными к различным │ │ │ │ │ │
Между находящимися под │ 2 │ 2 │ 2 │ 2U + 1 │ 2U + 1 │0,5
напряжением частями, которые │ │ │ │ │ │
при работе выключателя могут │ │ │ │ │ │
принимать разную полярность │ │ │ │ │ │
Между находящимися под │ 2 │ 4 │ 2 │ 2U + 1 │2U + 3,5│0,5
напряжением частями и │ │ │ │ │ │
доступными для прикосновения │ │ │ │ │ │
металлическими частями, │ │ │ │ │ │
доступными крепежными болтами│ │ │ │ │ │
или металлической фольгой на │ │ │ │ │ │
доступных для прикосновения │ │ │ │ │ │
изоляционных частях (кроме │ │ │ │ │ │
проходных выключателей) │ │ │ │ │ │
Между доступными для │ 2 │ 4 │ 2 │ 2U + 1 │2U + 3,5│0,5
прикосновения металлическими │ │ │ │ │ │
частями и металлической │ │ │ │ │ │
фольгой, соприкасающейся с │ │ │ │ │ │
внутренней поверхностью │ │ │ │ │ │
изоляционных облицовок и │ │ │ │ │ │
перегородок неизолированных │ │ │ │ │ │
токоведущих деталей │ │ │ │ │ │
Изоляционные втулки, │ 2 │ 4 │ 2 │ 2U + 1 │2U + 3,5│0,5
служащие для предохранения │ │ │ │ │ │
присоединительных проводов, │ │ │ │ │ │
шнуров кабелей и │ │ │ │ │ │
соединительных шнуров от │ │ │ │ │ │
механических повреждений │ │ │ │ │ │
Изоляция устройств для │ 2 │ 2 │ 2 │ 2U + 1 │ 2,5 │0,5
защиты от натяжения и │ │ │ │ │ │
скручивания │ │ │ │ │ │
Изоляция скоб, зажимов и │ 2 │ 2 │ 2 │ 2U + 1 │ 2,5 │0,5
других деталей для крепления │ │ │ │ │ │
проводов в местах, где │ │ │ │ │ │
провода подвергаются │ │ │ │ │ │
механическим воздействиям │ │ │ │ │ │
Основная изоляция │ - │ 2 │ - │ - │ 2U + 1 │ -
Дополнительная изоляция │ - │ 2 │ - │ - │ 2,5 │ -
--------------------------------
<*> Кроме светильников с разрядными лампами со встроенными ПРА.
Примечание. U - номинальное напряжение светильника, кВ.
Места измерения сопротивления изоляции должны соответствовать указанным в
табл. 3.
3.3.2.2. Изоляция светильников в местах, указанных в
табл. 3, должна выдерживать в течение 1 мин без пробоя или перекрытия в холодном обесточенном состоянии при нормальных климатических условиях по
ГОСТ 15150-69 испытательное напряжение переменного тока частоты 50 Гц, значение которого приведено в
табл. 3.
(Измененная редакция, Изм. N 2).
3.3.2.3. (Исключен, Изм. N 2).
3.3.3. Коэффициент мощности
3.3.3.1. Коэффициент мощности светильников с люминесцентными лампами должен быть не менее:
0,92 - для многоламповых светильников при применении пускорегулирующих аппаратов, состоящих из равного числа опережающих и отстающих ветвей и равного числа ламп в них;
0,85 - для многоламповых светильников при применении других схем пускорегулирующих аппаратов или при разном числе ламп в опережающих и отстающих ветвях, а также для одноламповых светильников.
Допускается:
изготовлять светильники с коэффициентом мощности менее указанного для осветительных установок с групповой компенсацией реактивной мощности;
отсутствие компенсации реактивной мощности в светильниках с лампами общей мощностью 32 Вт и менее, а также для двухламповых светильников, в которых лампы соединены последовательно;
коэффициент мощности менее указанного для одноламповых светильников мощностью более 32 Вт и светильников с двумя лампами мощностью 18, 20 и 22 Вт каждая, при этом светильники должны поставляться попарно с пускорегулирующими аппаратами (ПРА), один из которых с опережающей, а другой с отстающей ветвями. Общий коэффициент мощности такого комплекта светильников должен быть не менее 0,92.
(Измененная редакция, Изм. N 2).
3.3.3.2. Коэффициент мощности светильников с разрядными лампами высокого давления должен быть указан в стандартах или технических условиях на отдельные типы или группы светильников.
3.3.4. Защита от случайного прикосновения
3.3.4.1. Конструкция светильников должна исключать возможность случайного прикосновения к токоведущим частям при эксплуатации, а также при удалении всех деталей светильников (за исключением ламп и донышек байонетных патронов и резьбовых патронов с приспособлением для крепления на шнуре, а также корпусов байонетных и резьбовых патронов) без применения инструмента.
Требование не относится к цоколям люминесцентных ламп и металлическим оболочкам стартеров.
Металлические оболочки стартеров в светильниках класса защиты II при эксплуатации не должны быть доступны для случайного прикосновения.
Для светильников класса защиты II может появиться необходимость использования стартеров класса защиты II. В таких светильниках должен быть установлен патрон для стартера класса защиты II.
Эмаль, лакокрасочные покрытия, бумага и другие аналогичные материалы не считаются достаточной защитой частей, находящихся под напряжением, от случайного прикосновения.
(Измененная редакция, Изм. N 2, 3).
3.3.4.2. Устройство для защиты от случайного прикосновения должно быть механически прочным, надежно закрепленным и должно сниматься только при помощи инструмента.
Допускается:
конструкция устройств, снимаемых без применения инструмента, если блокировка обеспечивает снятие напряжения с защищаемых ими частей;
конструкция светильников, кроме светильников для освещения жилых помещений, в которых имеются специальные запоры (замки), которыми закрепляются детали, преграждающие доступ к токоведущим частям. Такие детали рассматриваются как снимаемые при помощи инструмента.
3.3.4.3. Конструкция светильников класса защиты II не должна:
допускать контакта между металлическими деталями светильника, доступными для случайного прикосновения, и проводами, имеющими только основную изоляцию. Изолирующая оболочка соединительного шнура (кабеля) не является дополнительной изоляцией при воздействии на нее избыточных механических и тепловых нагрузок. Данное требование достигается при применении проводов II класса защиты, защитных оболочек или других защитных элементов, которые удовлетворяют требованиям, предъявляемым к дополнительной изоляции;
допускать включения конденсаторов между частями, находящимися под напряжением, и корпусом светильника;
допускать снижения класса защиты стационарных светильников при их монтаже;
допускать, чтобы любой сборочный узел усиленной изоляции давал возможность прямого доступа к частям светильника, находящимся под напряжением.
Конструкция светильников класса защиты II должна обеспечивать невозможность случайного прикосновения к металлическим частям, которые изолированы от находящихся под напряжением деталей только рабочей изоляцией. Детали, обеспечивающие защиту от случайного прикосновения, должны сниматься только при помощи инструмента.
Держатели проводов, хомуты и другие приспособления для крепления проводов в подвижных светильниках класса защиты II должны быть изготовлены из изоляционного материала.
(Измененная редакция, Изм. N 3).
3.3.4.4. Конденсаторы емкостью более 0,5 мкФ в светильниках должны иметь разряжающее устройство, обеспечивающее остаточное напряжение на выводах конденсатора, спустя 1 мин после отключения светильника от сети, не более 50 В.
Светильники, присоединяемые к сети при помощи штепсельной вилки и имеющие конденсатор емкостью более 0,1 мкФ (в светильниках с номинальным напряжением ниже 150 В - 0,25 мкФ), должны иметь разряжающее устройство, обеспечивающее остаточное напряжение на штырьках штепсельной вилки, спустя 1 с после отключения светильника от сети, не более 34 В.
(Измененная редакция, Изм. N 2).
3.3.4.5. Переносные светильники (кроме ручных) класса защиты I, имеющие байонетные патроны, должны быть сконструированы так, чтобы цоколь лампы был недоступен для случайного прикосновения к открытым токоведущим частям, когда светильник полностью собран, или должны иметь заземленный металлический патрон.
(Введен дополнительно, Изм. N 3).
Уровни радиопомех, создаваемые при работе светильников, не должны превышать значений, установленных:
в ГОСТ 23511-79 - при эксплуатации светильников в жилых помещениях или подключении их к электрическим сетям жилых домов;
в ГОСТ 21177-82 - для светильников с люминесцентными лампами;
Общесоюзными нормами допускаемых индустриальных радиопомех:
в Нормах 8 - 72 - при эксплуатации светильников вне жилых помещений и не связанных с электрическими сетями жилых домов;
в Нормах 15 - 78 - при эксплуатации светильников в местах расположения служебных радиопринимающих устройств.
В стандартах или технических условиях на отдельные типы или группы светильников должен быть указан один из вышеперечисленных документов, нормирующих значения уровня радиопомех.
Затухание радиопомех, вносимых светильниками с люминесцентными лампами, определяют по ГОСТ 21177-82.
(Измененная редакция, Изм. N 2).
3.3.6. Пути утечки и воздушные зазоры
3.3.6.1. Пути утечки и воздушные зазоры в светильниках должны соответствовать указанным в табл. 4 и должны соблюдаться при подключении к контактным зажимам светильников проводов с наибольшим допустимым, для данного светильника, сечением.
───────────────────────────────┬──────────────────────────────────
Место измерения │ Пути утечки и воздушные зазоры,
│ не менее, мм, для класса защиты
├───────────────┬──────────────┬───
│ 0, 0I, I │ II │III
├───────────────┴──────────────┤
│для рабочего напряжения, В, до│
├────┬──────┬───┬────┬────┬────┤
│ 24 │ 250 │500│ 24 │250 │500 │
───────────────────────────────┼────┼──────┼───┼────┼────┼────┼───
Между находящимися под напря- │ 2 │ 3 │ 4 │ 2 │ 3 │ 4 │ 2
жением частями, подключенными │ │ │ │ │ │ │
к различным фазам │ │ │ │ │ │ │
Между находящимися под напря- │ 2 │3
<*> │ 5 │ 2 │ 8 │ 10 │ 2
жением частями и доступными │ │4
<**>│ │ │ │ │
для прикосновения металличес- │ │ │ │ │ │ │
кими частями или доступными │ │ │ │ │ │ │
для прикосновения поверхно- │ │ │ │ │ │ │
стями частей из изоляционного │ │ │ │ │ │ │
материала │ │ │ │ │ │ │
Между частями светильников │ - │ - │ - │ 2 │ 4 │ 5 │ -
класса защиты II, которые при │ │ │ │ │ │ │
повреждении рабочей изоляции │ │ │ │ │ │ │
могут оказаться под │ │ │ │ │ │ │
напряжением, и доступными │ │ │ │ │ │ │
наружными металлическими │ │ │ │ │ │ │
частями │ │ │ │ │ │ │
Между поверхностью соедини- │ - │ - │ - │ - │ 4 │ 5 │ -
тельного шнура или кабеля и │ │ │ │ │ │ │
доступными для прикосновения │ │ │ │ │ │ │
металлическими частями, к │ │ │ │ │ │ │
которым шнур (кабель) │ │ │ │ │ │ │
прикреплен при помощи скобы │ │ │ │ │ │ │
или зажима из изоляционного │ │ │ │ │ │ │
материала │ │ │ │ │ │ │
Между находящимися под │ - │ 2 │ - │ - │ 4 │ - │ -
напряжением деталями │ │ │ │ │ │ │
выключателей, встроенных в │ │ │ │ │ │ │
светильник, и металлическими │ │ │ │ │ │ │
частями после удаления │ │ │ │ │ │ │
изоляционной оболочки │ │ │ │ │ │ │
выключателя (если имеется) │ │ │ │ │ │ │
Между находящимися под │ │ │ │ │ │ │
напряжением частями и другими │ │ │ │ │ │ │
металлическими частями, │ │ │ │ │ │ │
расположенными между ними и │ │ │ │ │ │ │
опорной поверхностью
<***> или │ │ │ │ │ │ │
между находящимися под │ │ │ │ │ │ │
напряжением частями и опорной │ │ │ │ │ │ │
поверхностью: │ │ │ │ │ │ │
для находящихся под напря- │ 2 │ 6 │ 8 │ 2 │ 8 │ 10 │ 2
жением частями без покрытия │ │ │ │ │ │ │
или через заливочную массу │ │ │ │ │ │ │
толщиной менее 2,5 мм │ │ │ │ │ │ │
через заливочную массу │ - │ 4 │ 6 │ - │ 6 │ 8 │ -
толщиной не менее 2,5 мм │ │ │ │ │ │ │
--------------------------------
Примечания. 1. В частях, залитых компаундом или запаянных, пути утечки не измеряют.
2. На комплектующие изделия (ПРА, ЭУУ, лампы, стартеры и др.) требование не распространяется. Значения путей утечки и воздушных зазоров относятся только к установке этих изделий в светильник.
3. Требование не распространяется на провода электропроводки, к которым светильник присоединяют только при установке.
В светильниках с импульсным зажигающим устройством значения путей утечки и воздушных зазоров для функциональной изоляции цепей импульсного напряжения должны выбираться в зависимости от эффективного рабочего напряжения

в вольтах, которое вычисляют по формуле

,
где

- пиковое значение импульсного напряжения зажигающего устройства, В.
Значения путей утечки и воздушные зазоры для эффективного рабочего напряжения до 500 В включительно должны быть не менее указанных в
табл. 4, а для напряжения св. 500 В эти значения должны быть не менее:
между находящимися под напряжением частями, подключенными к различным фазам, а также между находящимися под напряжением частями и доступными для прикосновения металлическими частями или доступными для прикосновения поверхностями частей из изоляционного материала - 6 мм;
между находящимися под напряжением частями и другими металлическими частями, расположенными между ними и опорной поверхностью или между находящимися под напряжением частями и опорной поверхностью:
для находящихся под напряжением частями без покрытия или через заливочную массу толщиной менее 2,5 мм - 10 мм;
через заливочную массу толщиной не менее 2,5 мм - 8 мм.
(Измененная редакция, Изм. N 2).
3.3.6.2. Части светильников степени защиты выше IP20, изготовленные из изоляционных материалов, не защищенные от пыли и влаги и несущие или соприкасающиеся с деталями, находящимися под напряжением, должны быть изготовлены из материала, устойчивого к токам поверхностного разряда.
Защищенными от пыли и влаги считаются части светильников степени защиты IP54 и выше.
Изоляционные части патрона и штепсельных вилок, используемые в светильниках, предназначенных для работы в сложных условиях эксплуатации, должны быть изготовлены из материала, устойчивого к токам поверхностного разряда.
(Измененная редакция, Изм. N 2, 3).
3.3.6.3. Значения утечки тока (МА) между каждой фазой источника питания и металлическим корпусом светильника не должны быть более:
0,5 - для всех светильников класса защиты 0 и II;
1,0 - для переносных светильников класса защиты I;
1,0 - для стационарных светильников класса защиты I с номинальной мощностью до 1 кВт включительно.
Для стационарных светильников класса защиты I с номинальной мощностью свыше 1 кВт значения утечки тока рассчитываются из соотношения 1,0 мА/кВт, но не более 5,0 мА.
(Введен дополнительно, Изм. N 3).
3.4. Требования к конструкции
3.4.1. Климатическое исполнение
Климатическое исполнение и категория размещения светильников по
ГОСТ 15150-69 должны быть указаны в стандартах или технических условиях на отдельные типы или группы светильников. Светильники климатического исполнения УХЛ дополнительно должны соответствовать ГОСТ 17412-72.
Светильники климатического исполнения Т дополнительно должны соответствовать
ГОСТ 15963-79.
3.4.2. Защита от внешних воздействий
3.4.2.1. Светильники должны сохранять свои параметры в процессе и (или) после воздействия механических и климатических факторов, виды и значения которых указаны в стандартах или технических условиях на отдельные типы или группы светильников.
| | ИС МЕГАНОРМ: примечание. Взамен ГОСТ 14254-80 Постановлением Госстандарта РФ от 18.10.1996 N 601 введен в действие с 1 января 1997 года ГОСТ 14254-96. | |
3.4.2.2. Степени защиты оболочек светильников должны соответствовать ГОСТ 14254-80 и настоящему стандарту и быть не ниже:
IP20 - для светильников внутреннего освещения;
IP23 - для светильников наружного освещения.
Конкретная степень защиты оболочки должна быть указана в стандартах или технических условиях на отдельные типы или группы светильников.
Светильники степени защиты IPX1 и выше, кроме IPX7 и IPX8, должны иметь одно или несколько сливных отверстий для воды, если она в них накапливается.
Сливные отверстия, расположенные на поверхности светильника, предназначенной для крепления на опорную поверхность, должны отстоять от опорной поверхности не менее чем на 5 мм, что достигается, например, при помощи прокладок.
3.4.2.3. Светильники должны быть влагоустойчивыми и должны выдерживать непрерывное воздействие относительной влажности (95 +/- 3)% при температуре окружающей среды (25 +/- 5) °С в течение:
48 ч - для светильников степени защиты IP20;
168 ч - для светильников степени защиты выше IP20.
Данное требование распространяется на светильники категории размещения 4 по
ГОСТ 15150-69. Требования к светильникам других категорий размещения должны быть указаны в стандартах или технических условиях на отдельные типы или группы светильников.
3.4.2.2; 3.4.2.3. (Измененная редакция, Изм. N 3).
3.4.2.4. Механическая прочность светильников должна соответствовать ГОСТ 17516-72. Группа условий эксплуатации светильников по механической прочности по ГОСТ 17516-72 при необходимости должна указываться в стандартах или технических условиях на отдельные типы или группы светильников.
3.4.2.5. Узлы крепления подвесных светильников должны выдерживать в течение 1 ч статическую нагрузку, равную пятикратной массе светильника.
Масса светильника, подвешиваемого только на гибкий шнур, должна быть не более 5 кг; при этом усилие, приходящееся на 1 мм2 суммарного сечения жил шнура, должно быть не более 15 Н. Не допускается подвешивание светильника на шнуре с простой изоляцией без дополнительной оболочки.
При расчете усилия учитывают только токопроводящие жилы.
При массе светильника более 5 кг конструкция светильника и гибкого шнура должна исключать возможность приложения чрезмерных усилий к токопроводящим жилам.
Масса передвижного светильника со специальным электромеханическим присоединительным устройством не должна превышать значения максимальной нагрузки, указанного для систем подвески, по которой перемещается светильник.
(Измененная редакция, Изм. N 2, 3).
3.4.2.6. Подвесные светильники с одним жестким узлом крепления, кроме светильников, подвешиваемых на шнурах, тросах, цепях, должны выдерживать без повреждений и остаточных деформаций, видимых невооруженным глазом, крутящий момент 2,5 Н х м, приложенный к светильнику или к узлу крепления в плоскости, перпендикулярной оси подвеса.
3.4.2.7. Элементы светильников, разрушение которых может нарушить безопасность работы светильника, должны выдерживать энергию удара не менее указанной в табл. 5. Требование не распространяется на светопропускающие элементы, не обеспечивающие защиту от поражения электрическим током и не являющиеся частью защиты от пыли и влаги.
Таблица 5
───────────────────────────────────────────────────────┬──────────
Испытываемый элемент светильника │ Энергия
│удара, Дж
───────────────────────────────────────────────────────┼──────────
1. Светильники класса защиты II: │
светопропускающие элементы, служащие для защиты │ 0,35
от влаги и пыли, но не защищающие от прикосновения │
к находящимся под напряжением частям │
светопропускающие элементы, служащие для защиты от │ 0,50
прикосновения к находящимся под напряжением частям │
другие элементы, служащие для защиты от прикосновения │ 0,70
к находящимся под напряжением частям │
2. Светильники других классов защиты: │
светопропускающие элементы, служащие для защиты │ 0,20
от влаги и пыли, но не защищающие от прикосновения │
к находящимся под напряжением частям; элементы из │
керамических материалов; части нестандартных │
керамических ламповых патронов, являющихся составной │
частью светильника │
светопропускающие элементы, служащие для защиты от │ 0,35
прикосновения к находящимся под напряжением частям, │
другие элементы, за исключением элементов из │
керамических материалов │
3. Светильники встраиваемые и светильники, совмещенные│
с системой вентиляции и кондиционирования воздуха: │
элементы (кроме керамических), служащие для защиты │ 0,35
от прикосновения к находящимся под напряжением частям │
керамические элементы и другие элементы светильников │ 0,20
(Измененная редакция, Изм. N 2).
3.4.2.8. Металлические части светильника, закрывающие находящиеся под напряжением части, должны выдерживать нажим усилием 30 Н.
3.4.2.9. Крепление резьбовых и байонетных патронов должно выдерживать воздействие крутящих моментов, не менее:
0,5 Н х м - для патронов Е14 и В15 с ниппельным креплением для свечеобразных ламп;
1,2 Н х м - для патронов Е14 и В15;
2,0 Н х м - для патронов с пластмассовым корпусом типа Е27;
3,0 Н х м - для других патронов типов Е27 и В22;
4,0 Н х м - для патронов с пластмассовым корпусом типа Е40;
5,0 Н х м - для других патронов типа Е40.
Крепление резьбовых патронов, установленных на гибком шнуре, тросе или цепи, должно выдерживать крутящий момент не менее 0,8 Н х м.
Крепление патронов для люминесцентных ламп с цоколями типов G5 и G13, за исключением накидных патронов, должно выдерживать воздействие усилия не менее 40 Н в направлении оси лампы, со стороны вставления лампы, а также крутящий момент не менее 1 Н х м.
Крепление патронов для стартеров должно выдерживать воздействие усилия не менее 20 Н и крутящего момента не менее 1 Н х м.
3.4.2.10. Резьбовые соединения, кроме винтов, болтов, шпилек и шурупов, деталей светильников не должны ослабляться при воздействии крутящих моментов, не менее:
до М10 включ. - 2,5 Н х м;
св. М10 - 5,0 Н х м.
Требование не распространяется на крепление резьбовых и байонетных патронов, а также на резьбовые соединения декоративных элементов, которые при эксплуатации светильников не подвергаются механическим воздействиям.
3.4.2.11. Винты, болты, шпильки и шурупы, повреждение которых может вызвать понижение безопасности светильника, должны выдерживать воздействие крутящих моментов, указанных в табл. 6, при пятикратной затяжке и ослаблении.
──────────────────────────────┬───────────────────────────────────
Номинальный диаметр резьбы, мм│ Крутящий момент, Н х м, не менее
├──────────────────┬────────────────
│установочные винты│остальные винты
──────────────────────────────┼──────────────────┼────────────────
До 2,8 включ. │ 0,20 │ 0,4
Св. 2,8 до 3,0 " │ 0,25 │ 0,5
" 3,0 " 3,2 " │ 0,30 │ 0,6
" 3,2 " 3,6 " │ 0,40 │ 0,8
" 3,6 " 4,1 " │ 0,70 │ 1,2
" 4,1 " 4,7 " │ 0,80 │ 1,8
" 4,7 " 5,3 " │ 0,80 │ 2,0
" 5,3 " 6,0 " │ - │ 2,5
" 6,0 " 8,0 " │ - │ 8,0
" 8,0 " 10,0 " │ - │ 17,0
" 10,0 " 12,0 " │ - │ 29,0
" 12,0 " 14,0 " │ - │ 48,0
" 14,0 " 16,0 " │ - │ 114,0
Примечание. Винты, изготовленные из изоляционного материала, и винты, служащие для разгрузки проводов от натяжения, должны выдерживать крутящий момент 0,5 Н х м.
Не допускается изготовление винтов, болтов, шпилек, шурупов:
из мягкого или текучего металла (алюминий, медь и аналогичные металлы);
из изоляционного материала, если при их замене металлическими винтами (болтами, шпильками, шурупами) может быть нарушена эффективность дополнительной или усиленной изоляции светильника при его обслуживании.
3.4.2.9 - 3.4.2.11. (Измененная редакция, Изм. N 2).
3.4.2.12. Резьбовые сальники должны выдерживать при их затяжке крутящие моменты, указанные в табл. 7.
───────────────────────────────┬──────────────────────────────────
Диаметр цилиндрического │ Крутящий момент для резьбовых
металлического стержня │ сальников, Н х м, не менее
или суммарный диаметр ├────────────────┬─────────────────
цилиндрических металлических │ металлических │из изоляционного
стержней, мм │ │ материала
───────────────────────────────┼────────────────┼─────────────────
До 14 включ. │ 6,25 │ 3,5
Св. 14 до 20 " │ 7,50 │ 5,0
" 20 │ 10,00 │ 7,5
(Измененная редакция, Изм. N 2).
3.4.2.13. Резьбовые соединения с номинальным диаметром менее 3 мм, используемые при нормальной эксплуатации светильника, должны быть изготовлены из металла.
3.4.2.14. Резьба в изоляционном материале и резьба винта из изоляционного материала должна иметь длину зацепления:
(3 + 1/3

) мм, но не более 8 мм, где

- номинальный диаметр винта.
(Измененная редакция, Изм. N 3).
3.4.2.15. Металлические детали светильников должны быть защищены от коррозии в соответствии с условиями эксплуатации, для которых они предназначены.
Допускается:
детали, изготовленные из пружинной стали, защищать от коррозии нанесением жировой смазки;
выполнять без защитных покрытий детали светильников, изготовленных из коррозионно-стойких алюминиевых сплавов (АД-1, АД-31 и др.);
выполнять без защитных покрытий отрезаемые кромки и пробивные отверстия деталей, изготовленных из предварительно окрашенной стальной ленты или металлопласта, светильников степени защиты IP20 или 2,0, а также светильников с более высокой степенью защиты, если эти детали находятся в уплотненной зоне светильника.
(Измененная редакция, Изм. N 2).
3.4.2.16. Резиновые детали светильников должны быть устойчивыми к воздействию среды в соответствии с условиями их эксплуатации.
3.4.2.17. Конструкция светильников должна обеспечивать:
надежное крепление съемных частей, исключающее возможность их самопроизвольного ослабления и выпадения при эксплуатации;
легкий съем или откидывание всех частей, преграждающих доступ к источникам света, а также частей, подлежащих чистке, обслуживанию или замене в процессе эксплуатации;
удобство монтажа и подключения к сети.
3.4.2.18. В светильниках со смешанными источниками света патроны для разрядных ламп высокого давления должны иметь отличительную маркировку.
3.4.2.19. Выключатели, встроенные в светильниках, должны быть закреплены так, чтобы снимались только при помощи инструмента.
Светильники степени защиты IP20 или 2,0 с соединительным шнуром или кабелем, кроме ручных светильников, должны иметь выключатели на номинальный ток не менее 1 А.
3.4.2.20. Присоединительные размеры и резьба рассеивателей и защитных стекол из силикатного стекла - по ГОСТ 9503-86. Требование не устанавливается на рассеиватели и защитные стекла светильников для наружного освещения и получаемые по импорту, а также рассеиватели и защитные стекла, разработанные до 1971 г.
3.4.2.19; 4.3.2.20. (Измененная редакция, Изм. N 2).
3.4.2.21. Требования к защитным сеткам должны быть указаны в стандартах или технических условиях на отдельные группы или типы светильников.
Максимальный размер отверстий предохранительных сеток, защищающих против выпадения разбитого стекла, должен быть не более 100 мм.
3.4.2.22. Патроны с выключателем допускаются только в светильниках со степенью защиты IP20.
3.4.2.23. Фокусирующее устройство, если оно имеется в светильнике, должно обеспечивать установку ламп в расчетном положении или фокусе оптической системы светильника. При этом должно быть указано положение патрона для разных источников света и ограничены крайние положения патрона.
3.4.2.24. Конструкция шарниров и других подвижных элементов в регулируемых светильниках, внутри которых проходят провода, должна обеспечивать целостность этих проводов после числа циклов перемещений подвижных частей светильников, указанных в табл. 8, а также должна исключать возможность поворота подвижной части светильника на угол более 360°, при этом должно быть исключено повреждение провода и нарушение контактных соединений.
Таблица 8
─────────────────────────────────────┬────────────────────────────
Группа или тип светильника │Число циклов при положениях
├────────────────┬───────────
│предусмотренных │ возможных
│ рабочих │ крайних
─────────────────────────────────────┼────────────────┼───────────
Светильники, предназначенные для │ │
эксплуатации в условиях: │ │
частой перестройки регулирующих │ 1500 │ 150
устройств (настольные, напольные │ │
светильники и др.) │ │
редкой перестройки регулирующих │ 150 │ 15
устройств (светильники для подсветки │ │
картин, витрин и др.) │ │
перестройки регулирующих устройств │ 45 │ 5
только при установке │ │
Примечание. За цикл принимается перемещение подвижного элемента из одного крайнего положения в другое и обратно.
3.4.2.25. Конструкция регулируемых светильников степени защиты IP20 или 2,0 должна обеспечивать возможность фиксации их регулируемой части в рабочем положении без применения инструмента.
Самотормозящие шарниры и гибкие стойки должны выдерживать воздействие крутящего или изгибающего усилия, равного:
1,5 Н - в светильниках для освещения жилых помещений и общественных зданий;
3,0 Н - в других светильниках.
3.4.2.26. Установочные и присоединительные размеры светильников должны соответствовать требованиям ГОСТ 26092-84. Для светильников, не указанных в ГОСТ 26092-84, установочные и присоединительные размеры должны быть указаны в стандартах или технических условиях на отдельные типы или группы светильников.
3.4.2.27. Настольные и напольные светильники, предназначенные для свободной установки на опорную поверхность, должны быть устойчивы в их рабочем положении и не должны опрокидываться на поверхности с наклоном не менее 10°.
3.4.2.24 - 3.4.2.27. (Измененная редакция, Изм. N 2).
3.4.2.28. В светильниках с импульсным зажигающим устройством патроны для ламп, которые являются частью цепи импульсного напряжения, должны быть керамическими.
Это требование не распространяется на патроны, рассчитанные на номинальное напряжение 750 В.
3.4.2.29. Части светильников класса защиты II, выполняющие функции дополнительной или усиленной изоляции, должны быть жестко закреплены или должны иметь такую конструкцию, которая не позволяет их неправильную установку.
3.4.2.30. Светильники, совмещенные с системой вентиляции и кондиционирования воздуха, устанавливаемые в вентиляционных системах с повышенной пожароопасностью, должны отвечать следующим требованиям:
корпус светильника должен быть изготовлен из несгораемого материала;
температура корпуса светильника не должна превышать 100 °С;
отверстия в корпусе не должны превышать 10% поверхности корпуса;
ширина отверстий, расположенных на горизонтальной поверхности корпуса светильника, не должна превышать 6 мм, а ширина других отверстий не должна превышать 10 мм. При этом ширина их проекции на горизонтальную плоскость не должна превышать 6 мм. Требование не распространяется на светильники, подсоединяемые к вентиляционным каналам;
пускорегулирующие аппараты, соединительные устройства и провода, проходящие через светильник, должны иметь оболочку из несгораемого материала, обеспечивающего защиту от проникновения пыли. Эта оболочка может быть частью самого элемента. Требование не распространяется на патроны для ламп и стартеров, их соединительные устройства и провода длиной не более 200 мм, которые служат для их соединения, если номинальный ток, проходящий через них, не более 2 А.
3.4.2.31. Светильники, совмещенные с системой вентиляции и кондиционирования воздуха, имеющие специальные прокладки или другие аналогичные приспособления для предупреждения возможности воспламенения, обеспечивающие минимальный зазор между светильником и элементами конструкции здания, должны быть изготовлены так, чтобы была исключена возможность удаления этих прокладок или приспособлений без повреждения светильника или исключалась возможность его монтажа без указанных частей.
Данное требование не распространяется на прокладки, служащие для конструктивных целей и не оказывающие влияния на безопасность эксплуатации светильника.
3.4.2.32. Токоведущие части светильников должны быть стойкими к коррозии или защищены от коррозии. Медь и сплавы с содержанием меди не менее 50% удовлетворяют этому требованию.
3.4.2.28 - 3.4.2.32. (Введены дополнительно, Изм. N 2).
3.4.2.33. Направляющие шкивы для гибких шнуров регулируемых подвесных светильников должны иметь такие размеры, которые предотвращают любые повреждения шнуров из-за их чрезмерного перегиба.
Кольцевые канавки направляющих шкивов должны быть закруглены. Диаметр кольцевой канавки должен быть не менее трех диаметров гибкого шнура.
Металлические направляющие шкивы, доступные для прикосновения, должны быть заземлены.
(Введен дополнительно, Изм. N 3).
3.4.3. Внутренний монтаж светильников
3.4.3.1. Для внутреннего монтажа светильников должны применяться провода с медными или алюмомедными жилами с номинальным напряжением не менее номинального напряжения светильника, а в светильниках на номинальное напряжение 380 В - не менее 660 В. Применение алюминиевых проводов не допускается.
Для внутренних соединений, подвергаемых изгибу или скручиванию во время эксплуатации, а также в светильниках с люминесцентными лампами, при применении в них навесных патронов, должны применяться медные гибкие провода.
Сечение проводов внутреннего монтажа должно быть не менее сечения, допустимого для токовой нагрузки светильника.
Минимальное сечение проводов должно быть указано в стандартах или технических условиях на отдельные группы или типы светильников.
В светильниках с импульсными зажигающими устройствами провода внутреннего монтажа, на которые воздействует импульсное напряжение, должны иметь изоляцию, рассчитанную на напряжение не менее 660 В.
3.4.3.2. Провода внутреннего монтажа светильников со встроенными пускорегулирующими аппаратами для разрядных ламп в случае их соприкосновения с пускорегулирующим аппаратом должны быть защищены в этом месте при помощи теплостойких изоляционных трубок, длина которых должна составлять не менее полутора длины пускорегулирующего аппарата.
Требование не распространяется на провода с теплостойкой изоляцией.
3.4.3.1; 3.4.3.2. (Измененная редакция, Изм. N 2).
3.4.3.3. Провода внутреннего монтажа должны быть предохранены от натяжения или скручивания во всех местах, в которых при нормальной эксплуатации светильника такое воздействие может возникнуть.
3.4.3.4. Провода внутреннего монтажа следует соединять при помощи клеммных колодок по ГОСТ 17557-88, пайки, сварки, опрессовки, а также с помощью электрических соединителей.
Не допускается соединять провода только скруткой.
Оголенные участки проводов внутреннего монтажа должны быть защищены изоляцией, соответствующей требованиям
пп. 3.3.2.1 и
3.3.2.2.
(Измененная редакция, Изм. N 2).
3.4.3.5. Металлические скобы, служащие для крепления проводов внутреннего монтажа в светильниках, должны иметь изоляцию, защищающую провода от механического повреждения.
3.4.3.6. Контактные зажимы патронов для ламп, выключателей, служащие для соединений проводов внутреннего монтажа на несколько направлений, должны иметь соответствующие размеры и не должны использоваться для подсоединения к сети.
3.4.3.7. Для светильников с импульсным зажигающим устройством провод, проводящий зажигающий импульс к разрядной лампе, должен быть присоединен к центральному контакту резьбового патрона.
3.4.3.6; 3.4.3.7. (Введены дополнительно, Изм. N 2).
3.4.3.8. Импульсные зажигающие устройства, применяемые в светильниках, должны иметь электрические характеристики, совместимые с характеристиками пускорегулирующих аппаратов.
3.4.3.9. В переносных и регулируемых, кроме настенных, светильниках класса защиты II, в которых провода внутреннего монтажа и соединительные шнуры (кабели) соприкасаются с металлическими деталями, доступными для прикосновения, непосредственно или через другие металлические детали, отверстия для ввода проводов (шнуров, кабелей) должны быть оснащены прочными изоляционными втулками с плавно закругленными краями. Втулки должны быть закреплены так, чтобы исключалась возможность их свободного устранения из рабочего положения. Втулки, изготовленные из материала, который со временем подвержен разрушению, не должны использоваться для оснащения отверстий с острыми краями.
Примечание. К легко устранимым втулкам относят втулки, которые могут быть легко удалены рукой или при выдергивании провода (шнура, кабеля), а также резьбовые втулки без фиксации, например, стопорными гайками или самозатвердевающими смолами.
Если отверстия для ввода проводов внутреннего монтажа имеют плавно закругленные края и в процессе эксплуатации нет необходимости замены проводов, то допускается вместо изоляционной втулки применять отдельную защитную оболочку для провода, не имеющего никакой специальной защиты, или провод (шнур, кабель) класса защиты II.
Дополнительные защитные покрытия или защитные муфты, служащие для предохранения соединительных шнуров (кабелей) в местах их ввода в такие светильники, должны быть изготовлены из изоляционных материалов. Винтовые металлические пружины или другие аналогичные элементы не должны применяться в качестве дополнительных защитных покрытий.
3.4.3.10. Концы скрученных жил гибких проводов внутреннего монтажа и соединительных шнуров (кабелей) могут быть облужены, однако на них не должно быть лишнего припоя, кроме случаев, когда имеется специальное приспособление, предотвращающее ослабление затянутых соединений из-за холодного течения припоя. Данное требование выполняется при использовании пружинных контактных зажимов или винтовых контактных зажимов со специальным приспособлением (например, с пружинной шайбой и т.д.).
3.4.3.11. Если провода внутреннего монтажа выходят из светильника на длину более 80 мм и подвергаются во время эксплуатации механическим воздействиям, то к этим проводам предъявляются соответствующие требования п. 3.4.4.
3.4.3.8 - 3.4.3.11. (Введены дополнительно, Изм. N 3).
3.4.4. Присоединение светильников к сети
3.4.4.1. Светильники должны обеспечивать присоединение к сети одним из следующих способов:
при помощи контактных зажимов, которые являются составной частью светильника, или клеммных колодок по ГОСТ 17557-88;
при помощи электрических соединителей;
при помощи присоединительного провода или кабеля, которыми снабжен светильник;
при помощи соединительных шнуров по ГОСТ 7399-80 или кабелей, армированных штепсельными вилками;
при помощи специального электромеханического присоединительного устройства;
непосредственно к зажимам патрона.
Конкретный способ присоединения светильника к сети должен быть указан в стандартах или технических условиях на отдельные типы или группы светильников.
3.4.4.2. Присоединение соединительных шнуров по
ГОСТ 7399-80 и кабелей к светильнику должно осуществляться при помощи клеммных колодок по ГОСТ 17557-88.
Допускается присоединять соединительные шнуры и кабели к светильнику при помощи пайки, сварки или опрессовки, а также непосредственно к контактным зажимам патронов для ламп.
3.4.4.3. Сечение соединительного шнура по
ГОСТ 7399-80 или кабеля должно быть указано в стандартах или технических условиях на отдельные типы или группы светильников.
При поставке на экспорт присоединительный провод в светильниках класса защиты II с доступными для прикосновения металлическими частями, а также в напольных светильниках классов защиты I и II должен иметь кроме основной изоляции защитный изоляционный покров.
Соединительные шнуры и кабели светильников класса защиты II должны иметь штепсельные вилки, опрессованные вместе со шнуром или кабелем.
Соединительные шнуры или кабели светильников класса защиты III должны иметь штепсельные вилки, которые не могут быть введены в штепсельные розетки по ГОСТ 7396-85.
(Измененная редакция, Изм. N 2).
3.4.4.4. Крепление соединительного шнура по
ГОСТ 7399-80 или кабеля в светильнике должно исключать возможность его выдерживания и скручивания при воздействии растягивающего усилия и крутящего момента, указанных в табл. 9. Создание петель, изгиб на угол более 180° или привязывание шнура или кабеля не допускается.
Таблица 9
───────────────────────────────────┬─────────────┬────────────────
Суммарная номинальная площадь │Растягивающее│Крутящий момент,
поперечного сечения всех │ усилие, Н, │Н х м, не менее
токопроводящих жил соединительного │ не менее │
шнура (кабеля) в общей скрутке, мм2│ │
───────────────────────────────────┼─────────────┼────────────────
До 1,5 включ. │ 60 │ 0,15
Св. 1,5 до 3,0 " │ 60 │ 0,25
" 3,0 " 5,0 " │ 80 │ 0,35
" 5,0 " 8,0 " │ 120 │ 0,35
(Измененная редакция, Изм. N 2, 3).
3.4.4.5. Устройство для разгрузки от натяжения и скручивания должно быть из изоляционного материала или должно быть защищено от металлических нетоковедущих частей, доступных для прикосновения, прокладкой из изоляционного материала.
Требование не распространяется на настенные и пристраиваемые светильники и светильники, имеющие соединительный шнур с дополнительной изоляцией или соединительный кабель.
Одна из частей устройства для разгрузки должна представлять несъемную часть светильника или должна быть закреплена на нем. Требование считается выполненным, если устройство для разгрузки не имеет возможности перемещения в светильнике, когда шнур (провод, кабель) установлен в устройство и светильник полностью собран. Требование не распространяется на переносные светильники, корпус которых изготовлен из стекла или керамики.
Устройство для разгрузки от натяжения и скручивания должно быть выполнено таким образом, чтобы:
имелась возможность замены соединительного шнура или кабеля без применения специального инструмента соединительным шнуром или кабелем различного стандартного типа того же сечения провода, за исключением случая, когда светильник рассчитан только на один тип шнура или кабеля;
исключалась возможность повреждения соединительного шнура или кабеля, или самого устройства при его затягивании или ослаблении во время эксплуатации светильника;
соединительный шнур или кабель не касался зажимных винтов устройства, если винты изготовлены из металла и являются доступными или имеют контакт с доступными для случайного прикосновения металлическими частями светильника;
имелась возможность введения соединительного шнура или кабеля вместе с оболочкой, при ее наличии, вовнутрь устройства.
Непосредственное крепление соединительного шнура или кабеля в устройстве при помощи металлического винта не допускается.
(Измененная редакция, Изм. N 2, 3).
3.4.4.6. Пространство (полость) для присоединения сетевых проводов в светильнике должно иметь достаточные размеры для свободного изгиба и присоединения проводов.
Выламываемые отверстия в светильнике для ввода присоединительных сетевых проводов должны иметь диаметром в свету одной из пар: 10 и 19 мм или 14 и 22 мм.
3.4.4.7. Отверстия для ввода проводов питающей сети в металлических деталях стационарных светильников и соединительных шнуров или кабелей в нестационарных светильниках, а также отверстия для прокладки проводов внутреннего монтажа в металлических деталях регулируемых светильников должны иметь надежно закрепленные изоляционные втулки, а в изоляционных деталях - закругленные края.
В металлических деталях стационарных светильников класса защиты I взамен изоляционных втулок допускается развальцовка краев отверстия для ввода проводов.
Вводы проводов должны быть гладкими и без острых кромок, неровных швов, заусенцев и аналогичных дефектов, которые могут служить причиной повреждения изоляции проводов. Металлические установочные винты не должны попадать в пространство вводов проводов.
(Измененная редакция, Изм. N 2, 3).
3.4.4.8. Контактные зажимы, клеммные колодки или штепсельные разъемы, служащие в светильниках для присоединения их к сети, должны допускать присоединение как медных, так и алюминиевых проводов.
Допускаемое сечение присоединяемых проводов питающей сети должно указываться в стандартах или технических условиях на отдельные типы или группы светильников.
Присоединительные контактные зажимы светильников, предназначенные для прокладки магистральной электропроводки, должны допускать присоединение не менее трех проводов для каждой фазы сечением провода:
не менее 2,5 мм2 - в светильниках с лампами накаливания
и в светильниках с одной люминесцентной
лампой;
не менее 4 мм2 - в других светильниках.
В потолочных и настенных светильниках расположение клеммных колодок должно быть таким, чтобы после закрепления на опорной поверхности элемента светильника они обеспечивали возможность присоединения к ним без натяжения проводов питающей сети длиной не более 0,15 м.
Подвесные светильники для освещения жилых помещений (кроме светильников, подвешиваемых на шнурах) для присоединения к питающей сети должны иметь присоединительные провода, выходящие из светильников на длину не менее 0,1 м.
3.4.4.9. В нестационарных светильниках необходимо обеспечить, чтобы выскользнувшая из присоединительного контактного зажима отдельная проволока любой жилы соединительного шнура или кабеля не могла соприкоснуться с доступными для прикосновения металлическими частями.
Требование не распространяется на присоединительные контактные зажимы патронов для ламп по ГОСТ 361-85 и соединительные шнуры или кабели с разделкой концов менее 8 мм.
3.4.4.8; 3.4.4.9. (Измененная редакция, Изм. N 2).
3.4.4.10. Винты контактных зажимов не должны использоваться для крепления элементов светильника.
Электрические соединения должны выполняться так, чтобы контактное давление не передавалось через изоляционный материал, за исключением керамического или ему подобного материала. Это не относится к контактным соединениям, в которых усадка изоляционного материала компенсирована упругостью металлических частей.
3.4.4.11. Конструкция переносных светильников не должна повреждать изоляцию присоединительных шнуров при установке светильника на опорную поверхность.
(Введен дополнительно, Изм. N 2).
3.4.4.12. Дополнительные защитные покрытия и защитные муфты, предохраняющие провода (шнуры) от повреждения, должны обладать соответствующей механической и электрической прочностью и быть надежно зафиксированы в рабочем положении после монтажа выключателей, патронов для ламп, проводов (шнуров, кабелей) и других подобных элементов светильника. Для фиксации могут быть использованы самозатвердевающие смолы.
3.4.4.13. Отверстия для ввода в светильник соединительного шнура (кабеля) должны обеспечивать возможность ввода дополнительных защитных покрытий и защитных муфт таким образом, чтобы открытые токопроводящие жилы соединительного шнура (кабеля) были полностью защищены и обеспечена степень защиты от пыли и влаги в соответствии с классификацией светильника по степени защиты от воздействия окружающей среды, когда соединительный шнур (кабель) вместе с дополнительным защитным покрытием или защитной муфтой установлены в рабочее положение.
3.4.4.14. Соединительные шнуры (кабели) светильников, в которых предусмотрена их замена, должны подключаться так, чтобы замена осуществлялась без использования специального инструмента.
Соединительные шнуры (кабели), опрессованные вместе со светильником, не должны подключаться к светильнику при помощи винтовых соединений.
3.4.4.15. Сальниковые вводы, применяемые в переносных или регулируемых светильниках, не должны использоваться в качестве устройства для разгрузки от натяжения и скручивания, за исключением случаев, когда эти светильники имеют уплотнительные прокладки, пригодные для соединительных шнуров (кабелей) типов и размеров, которые могут быть использованы для данного типа светильника.
Использование устройства для разгрузки от натяжения и скручивания, выполненного в виде лабиринтного уплотнения, возможно только в том случае, если в конструкторской документации или соответствующей маркировкой дана полная информация о монтаже соединительного шнура (кабеля) в данном устройстве.
3.4.4.12 - 3.4.4.15. (Введены дополнительно, Изм. N 3).
3.4.5. Тепловой режим светильника
3.4.5.1. Предельная температура нагрева отдельных частей или деталей светильника, работающего при температуре окружающей среды (25 +/- 5) °С, в наиболее неблагоприятном, в отношении теплового режима, рабочем положении, должна быть не более указанной в табл. 10. Кроме того, предельная температура нагрева отдельных частей или элементов светильников со встроенными пускорегулирующими аппаратами для разрядных ламп или со встроенными трансформаторами для ламп накаливания, работающих при напряжении, равном 1,1 номинального в аномальном режиме работы, пускорегулирующего аппарата или трансформатора должна быть не более указанной в
табл. 11.
────────────────────────────────────────────────────┬─────────────
Элемент светильника │ Предельная
│ температура
│ нагрева, °С
────────────────────────────────────────────────────┼─────────────
Опорная поверхность из сгораемого материала
<*> │ 90
Цоколь лампы у стеклянной колбы
<**> │ 210
Изоляция проводов внутреннего монтажа и │
присоединительных проводов, шнуров, кабелей, │
не подвергаемых механической нагрузке: │
из резины │ 90
из поливинилхлорида │ 90
из теплостойкого поливинилхлорида │ 105
из кремнийорганической резины повышенной твердости │ 200
Изоляция проводов внутреннего монтажа и │
присоединительных проводов, шнуров, кабелей, │
подвергаемых механической нагрузке: │
из резины │ 70
из поливинилхлорида │ 70
из теплостойкого поливинилхлорида │ 90
из кремнийорганической резины повышенной твердости │ 180
Детали из изоляционных (кроме керамики) материалов │
в зависимости от типа патронов: │
Е14, В15 │ 135
Е27, В22 │ 165
Е40 │ 225
с указанием температуры t │ t
<***>
Детали из термореактивных пластмасс │
(кроме проводов и патронов): │
пресс-массы на основе фенольных смол с древесным │ 110
наполнителем │
пресс-массы на основе фенольных смол с минеральным │ 140
наполнителем │
пресс-массы на основе меламиновых смол │ 100
Детали из гетинакса и текстолита │ 110 - 125
Детали, окрашенные мочевиноформальдегидными │ 90
эмалями │
Детали из резины (не для изоляционных целей): │
обычной │ 70
силиконовой │ 195 - 230
Детали из дерева, бумаги, текстиля и т.п. │ 85
Выключатели: │
без указания температуры │ 55
с указанием температуры t │ t
<***>
Рукоятки, кнопки и т.п., а также наружные │
поверхности, которые в эксплуатации (при работе │
светильника) подлежат частому прикосновению: │
из металлов │ 60
из других материалов │ 75
Обмотки пускорегулирующих аппаратов: │
без указания температуры, с бумажной прокладкой │ 95
без указания температуры, без прокладки │ 85
с указанием температуры t │ t
<***>
w │ w
Корпуса конденсаторов: │
без указания температуры │ 50
с указанием температуры t │ t
<***>
c │ c
Неприведенные материалы │ t
<***>
Поверхность объекта, освещаемая экспозиционным │ 90
светильником │
--------------------------------
<*> Измерения проводят для светильников, устанавливаемых непосредственно на опорную поверхность.
<**> Если в стандартах или технических условиях на конкретные типы или группы ламп не указана другая температура.
<***> Допустимая рабочая температура, указанная в НТД на данный материал или изделие.
(Измененная редакция, Изм. N 2, 3).
───────────────────────────────────────────────────┬──────────────
Элемент светильника │ Предельная
│ температура
│ нагрева, °С
───────────────────────────────────────────────────┼──────────────
Обмотка пускорегулирующего аппарата │
или трансформатора: │
без указания температуры │ 170
с указанием температуры t 90 │ 170
w │
95 │ 177
100 │ 185
105 │ 193
110 │ 300
115 │ 208
120 │ 216
125 │ 223
130 │ 230
Корпус конденсатора: │
без указания температуры │ 60
с указанием температуры t │ t + 10
с │ с
Встраиваемые светильники: │
любая часть испытательного потолка │ 105
любая часть встроенной поверхности │ 155
(Измененная редакция, Изм. N 2).
3.4.5.2. Светильники должны выдерживать воздействие температур, возникающих при работе светильника.
(Измененная редакция, Изм. N 2).
3.4.5.3. Части светильников из изоляционных материалов, служащие для защиты от поражения электрическим током, а также части светильников, несущие на себе токоведущие детали в их нормальном рабочем положении, должны быть термостойкими.
3.4.5.4. Кабель (шнур), служащий для присоединения к сети питания встроенного светильника и светильника, совмещенного с системой вентиляции и кондиционирования воздуха, не должен подвергаться воздействию высоких температур.
3.4.5.5. Встраиваемые светильники и светильники, совмещенные с системой вентиляции и кондиционирования воздуха, не должны нагревать элементы конструкции ниш, в которые они встроены, более чем до:
90 °С - при нормальных условиях работы;
130 °С - при аномальном режиме работы.
3.4.5.4; 3.4.5.5. (Введены дополнительно, Изм. N 2).
Срок службы светильников должен быть не менее 5 лет.
Конкретный срок службы светильников должен указываться в стандартах или технических условиях на отдельные типы или группы светильников.
4. ТРЕБОВАНИЯ БЕЗОПАСНОСТИ
| | ИС МЕГАНОРМ: примечание. Взамен ГОСТ 12.1.004-85 Постановлением Госстандарта СССР от 14.06.1991 N 875 с 1 июля 1992 года введен в действие ГОСТ 12.1.004-91. | |
| | Применение на добровольной основе пунктов 4.1, 4.2, 4.3.3, 4.4 обеспечивает соблюдение требований Федерального закона от 22.07.2008 N 123-ФЗ "Технический регламент о требованиях пожарной безопасности" (Приказ Ростехрегулирования от 30.04.2009 N 1573). | |
4.1. Светильники должны быть пожаробезопасными и соответствовать ГОСТ 12.1.004-85.
4.2. Части светильников из изоляционного материала, несущие на себе токоведущие детали в их нормальном рабочем положении, должны быть устойчивыми к воспламенению.
(Измененная редакция, Изм. N 2).
4.3. Светильники, маркированные символом

, должны удовлетворять требованиям пп. 4.3.1 -
4.3.3.
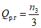
4.3.1. Все части светильника из сгораемого материала, на которые может распространяться действие воспламеняющего импульса от встроенного ПРА или трансформатора, должны быть отделены от опорной поверхности несгораемым материалом, в котором допускаются отверстия только для ввода проводов и крепления светильника.
4.3.2. Светильники должны иметь отверстия для ввода проводов диаметром не более 21 мм или щели с номинальными размерами 21 х 40 мм.
Отверстие в светильниках со встроенными индуктивными ПРА должно находиться на расстоянии не менее 35 мм от обмотки ПРА. На расстоянии менее 35 мм может находиться только отверстие площадью не более 10 мм2.
Требования не распространяются на светильники, совмещенные с системой вентиляции и кондиционирования воздуха.
4.3.3. Светильники со встроенными ПРА или трансформаторами в аномальном режиме работы при температуре окружающей среды (25 +/- 5) °С и напряжении питания, равном 1,1 от номинального, не должны нагревать опорную поверхность до температуры, превышающей 130 °С. Конструктивные решения, рекомендуемые для снижения температуры нагрева опорной поверхности, приведены в
Приложении 2А.
4.4. Светильники с лампами накаливания, пригодные для установки на сгораемый материал, должны удовлетворять следующим требованиям:
отверстия в светильнике должны соответствовать требованиям
п. 4.3.2;
светильники не должны нагревать опорную поверхность при температуре окружающей среды, равной (25 +/- 5) °С, до температуры, превышающей:
120 °С - для светильников с лампами общего назначения при напряжении питания, равном 1,1 от номинального;
175 °С - для светильников со специальными лампами при их замене лампами общего назначения той же мощности.
4.3 - 4.4. (Измененная редакция, Изм. N 2).
4.5 - 4.7. (Исключены, Изм. N 2).
4.8. В светильниках с люминесцентными лампами пускорегулирующие аппараты с заливочной массой должны быть установлены таким образом, чтобы под ними не было отверстий, через которые расплавленная заливочная масса могла бы попасть на детали из сгораемого материала, в случае тепловой перегрузки или возгорания ПРА.
(Измененная редакция, Изм. N 2).
4.9. (Исключен, Изм. N 3).
4.10. Светильники, предназначенные для внутреннего освещения зданий, с двухцокольными галогенными лампами накаливания должны иметь защитное устройство, например стеклянный экран, препятствующее выпадению осколков лампы, при ее разрушении, из светильника.
Защитное устройство должно быть механически прочным и противостоять ударам осколков лампы при ее разрушении.
Отверстия таких светильников должны быть сконструированы так, чтобы ни одна часть разрушенной лампы не могла выпасть из светильника.
(Введен дополнительно, Изм. N 3).
светильник;
запасные детали в соответствии со стандартами или техническими условиями на отдельные типы или группы светильников, а при поставках на экспорт - в соответствии с заказ-нарядом;
независимые пускорегулирующие аппараты и зажигающие устройства для светильников с газоразрядными лампами;
эксплуатационные документы:
| | ИС МЕГАНОРМ: примечание. Приказом Ростехрегулирования от 22.06.2006 N 118-ст введен в действие с 1 сентября 2006 года ГОСТ 2.601-2006. | |
по ГОСТ 2.601-68 - для светильников для освещения общественных и производственных зданий, а также для наружного освещения;
по ГОСТ 2.606-71 - для светильников для освещения жилых помещений.
Количество эксплуатационных документов должно указываться в стандартах или технических условиях на отдельные типы или группы светильников.
Лампы и стартеры в комплект не входят, если в стандартах или технических условиях на отдельные типы или группы светильников не указано иное.
5.2. Предприятия-изготовители по заказу потребителя должны поставлять для возможной замены в процессе эксплуатации узлы и детали (отражатели, рассеиватели, решетки и др.), входящие в комплект светильника, за исключением ПРА и патронов для ламп и стартеров, выключателей, клеммных колодок, штепсельных вилок и розеток.
5.1; 5.2. (Измененная редакция, Изм. N 2).
6.1. Для проверки соответствия светильников требованиям настоящего стандарта и стандартов или технических условий на отдельные типы или группы светильников изготовитель проводит приемосдаточные, периодические и типовые испытания.
6.2. Приемосдаточные испытания
6.2.1. Приемосдаточные испытания проводят на каждой партии светильников в объеме и последовательности, указанных в табл. 12.
─────────────┬─────────────┬─────────────────────┬────────┬───────
Наименование │ Испытания │ Пункт │Номера │Конт-
проверки ├────┬────┬───┼──────────┬──────────┤видов │роль
или испытания│при-│пе- │ти-│техничес- │ методов │испыта- │приемо-
│емо-│ри- │по-│ких требо-│испытаний │ний по │сдаточ-
│сда-│оди-│вые│ваний │ │ГОСТ │ных
│точ-│чес-│ │ │ │15962-71│испыта-
│ные │кие │ │ │ │ │ний
─────────────┼────┼────┼───┼──────────┼──────────┼────────┼───────
1. Проверка │ - │ - │ + │
8.6 │
7.19 │ - │ -
воздействия │ │ │ │ │ │ │
механических │ │ │ │ │ │ │
факторов │ │ │ │ │ │ │
внешней среды│ │ │ │ │ │ │
при транспор-│ │ │ │ │ │ │
тировании │ │ │ │ │ │ │
2. Проверка │ - │ - │ + │
8.5 │
7.18 │ - │ -
консервации │ │ │ │ │ │ │
и упаковки │ │ │ │ │ │ │
сопротивления│ │ │ │ │ │ │ной
изоляции в │ │ │ │ │ │ │
холодном │ │ │ │ │ │ │
обесточенном │ │ │ │ │ │ │
состоянии при│ │ │ │ │ │ │
нормальных │ │ │ │ │ │ │
климатических│ │ │ │ │ │ │
условиях │ │ │ │ │ │ │
испытаний │ │ │ │ │ │ │
4. Проверка │ + │ - │ + │
3.1 │
7.5 │ - │ То же
правильности │ │ │ │ │ │ │
сборки элект-│ │ │ │ │ │ │
ромонтажной │ │ │ │ │ │ │
схемы │ │ │ │ │ │ │
наличия и │ │ │ │ │ │ │рочный
правильности │ │ │ │ │ │ │
маркировки │ │ │ │ │ │ │
6. Проверка │ + │ - │ + │
5.1 │
7.7 │ - │ То же
комплектности│ │ │ │ │ │ │
на влаго- │ │ │ │ │ │ │
устойчивость │ │ │ │ │ │ │
электрической│ │ │ │ │ │ │рочный
прочности │ │ │ │ │ │ │
изоляции в │ │ │ │ │ │ │
холодном │ │ │ │ │ │ │
обесточенном │ │ │ │ │ │ │
состоянии при│ │ │ │ │ │ │
нормальных │ │ │ │ │ │ │
климатических│ │ │ │ │ │ │
условиях │ │ │ │ │ │ │
испытаний │ │ │ │ │ │ │
9. Светотех-│ + │ П12│ + │
3.2 │
7.9 │ - │ -
нические │ │ │ │ │ │ │
измерения │ │ │ │ │ │ │
защитных │ │ │ │ │ │ │
соединений │ │ │ │ │ │ │
ние коэффици-│ │ │ │ │ │ │
ента мощности│ │ │ │ │ │ │
13. Испыта- │ - │П12 │ + │
3.3.5 │
7.10 │ - │ -
ние на радио-│ │ │ │ │ │ │
помехи │ │ │ │ │ │ │
14. Испыта- │ - │ - │ + │ГОСТ │
7.11 │ - │ -
вень шума │ │ │ │ │ │ │
соответствия │ │ │ │
3.1 │ │ │
габаритных и │ │ │ │ │ │ │
установочных │ │ │ │ │ │ │
размеров │ │ │ │ │ │ │
чертежам │ │ │ │ │ │ │
16. Проверка│ - │П12 │ + │
3.1; │
7.14 │ - │ -
17. Проверка│ - │П12 │ + │
8.1 │
7.6.2 │ - │ -
прочности │ │ │ │ │ │ │
маркировки │ │ │ │ │ │ │
18. Испыта- │ - │ - │ + │ГОСТ │
7.15.1 │ - │ -
светильников │ │ │ │ │ │ │
к воздействию│ │ │ │ │ │ │
одиночных │ │ │ │ │ │ │
ударов │ │ │ │ │ │ │
ние узла │ │ │ │ │ │ │
крепления на │ │ │ │ │ │ │
растягивающее│ │ │ │ │ │ │
усилие │ │ │ │ │ │ │
ние узла │ │ │ │ │ │ │
крепления на │ │ │ │ │ │ │
воздействие │ │ │ │ │ │ │
крутящего │ │ │ │ │ │ │
момента │ │ │ │ │ │ │
21. Испыта- │ - │ - │ + │ГОСТ │
7.15.4 │ - │ -
крепления на │ │ │ │ │ │ │
воздействие │ │ │ │ │ │ │
изгибающего │ │ │ │ │ │ │
момента │ │ │ │ │ │ │
ние прочности│ │ │ │ │
7.15.6 │ │
крепления │ │ │ │ │ │ │
патронов │ │ │ │ │ │ │
ности корпу- │ │ │ │ │ │ │
сов и элемен-│ │ │ │ │ │ │
тов, обеспе- │ │ │ │ │ │ │
чивающих │ │ │ │ │ │ │
безопасность │ │ │ │ │ │ │
ление устой- │ │ │ │ │ │ │
чивости │ │ │ │ │ │ │
напольных │ │ │ │ │ │ │
и настольных │ │ │ │ │ │ │
светильников │ │ │ │ │ │ │
ние механи- │ │ │ │ │ │ │
ческой проч- │ │ │ │ │ │ │
ности прово- │ │ │ │ │ │ │
дов внутри │ │ │ │ │ │ │
шарниров │ │ │ │ │ │ │
угла поворота│ │ │ │ │ │ │
шарниров │ │ │ │ │ │ │
фиксации │ │ │ │ │ │ │
шарниров │ │ │ │ │ │ │
устройства │ │ │ │ │ │ │
для защиты │ │ │ │ │ │ │
проводов от │ │ │ │ │ │ │
натяжения │ │ │ │ │ │ │
и скручивания│ │ │ │ │ │ │
воздействия │ │ │ │ │ │ │
температур │ │ │ │ │ │ │
при длитель- │ │ │ │ │ │ │
ной работе │ │ │ │ │ │ │
вероятности │ │ │ │ │ │ │
возникновения│ │ │ │ │ │ │
пожара │ │ │ │ │ │ │
ния на устой-│ │ │ │ │ │ │
чивость к │ │ │ │ │ │ │
воспламенению│ │ │ │ │ │ │
ния устойчи- │ │ │ │ │ │ │
вости изоля- │ │ │ │ │ │ │
ционных дета-│ │ │ │ │ │ │
лей к токам │ │ │ │ │ │ │
поверхностно-│ │ │ │ │ │ │
го разряда │ │ │ │ │ │ │
допустимости │ │ │ │ │
7.16.3 │ │
установки на │ │ │ │ │ │ │
сгораемый │ │ │ │ │ │ │
материал │ │ │ │ │ │ │
устройств для│ │ │ │ │ │ │
разрядки │ │ │ │ │ │ │
конденсаторов│ │ │ │ │ │ │
ние старения │ │ │ │ │ │ │
резиновых │ │ │ │ │ │ │
деталей │ │ │ │ │ │ │
37. Проверка│ +* │ - │ + │
3.1 │
7.3 │ - │Выбо-
соответствия │ │ │ │ │ │ │рочный
деталей и │ │ │ │ │ │ │
сборочных │ │ │ │ │ │ │
единиц рабо- │ │ │ │ │ │ │
чей докумен- │ │ │ │ │ │ │
тации │ │ │ │ │ │ │
защиты от │ │ │ │ │
7.4.2 │ │
коррозии и │ │ │ │ │ │ │
качества │ │ │ │ │ │ │
декоративных │ │ │ │ │ │ │
покрытий │ │ │ │ │ │ │
прочности │ │ │ │ │ │ │рочный
сцепления │ │ │ │ │ │ │
лакокрасочных│ │ │ │ │ │ │
покрытий с │ │ │ │ │ │ │
основным │ │ │ │ │ │ │
материалом │ │ │ │ │ │ │
40. Проверка│ - │ - │ + │
3.2.3; │
7.13 │ - │ -
конструктив- │ │ │ │
3.2.4; │ │ │
предназначен-│ │ │ │
3.4.4.5 - │ │ │
присоединения│ │ │ │ │ │ │
светильников │ │ │ │ │ │ │
к сети │ │ │ │ │ │ │
соединений │ │ │ │ │ │ │
и резьбовых │ │ │ │ │ │ │
сальников │ │ │ │ │ │ │
ние путей │ │ │ │ │ │ │
утечки и │ │ │ │ │ │ │
воздушных │ │ │ │ │ │ │
зазоров │ │ │ │ │ │ │
44. Испыта- │ - │ - │ + │
3.4.2.1; │ - │ 101 │ -
ружение │ │ │ │ │ │ │
резонансных │ │ │ │ │ │ │
частот │ │ │ │ │ │ │
45. Испыта- │ - │П12 │ + │
3.4.2.1; │ - │ 102 │ -
устойчивость │ │ │ │ │ │ │
46. Испыта- │ - │ Н │ + │
3.4.2.1; │ - │ 103 │ -
прочность │ │ │ │ │ │ │
длительное │ │ │ │ │ │ │
47. Испыта- │ - │ Н │ + │
3.4.2.1; │ - │ 103 │ -
прочность │ │ │ │ │ │ │
кратковре- │ │ │ │ │ │ │
менное │ │ │ │ │ │ │
48. Испыта- │ - │ - │ + │
3.4.2.1; │ - │ 104 │ -
ную прочность│ │ │ │ │ │ │
49. Испыта- │ - │ - │ + │
3.4.2.1; │ - │ 105 │ -
ударную │ │ │ │ │ │ │
устойчивость │ │ │ │ │ │ │
50. Испыта- │ - │ - │ + │
3.4.2.1; │ - │ 106 │ -
воздействие │ │ │ │ │ │ │
одиночных │ │ │ │ │ │ │
ударов │ │ │ │ │ │ │
51. Испыта- │ - │ - │ + │
3.4.2.1 │ - │ 201 │ -
ние на тепло-│ │ │ │ │ │ │
устойчивость │ │ │ │ │ │ │
при эксплуа- │ │ │ │ │ │ │
тации │ │ │ │ │ │ │
52. Испыта- │ - │ - │ + │
8.6;
8.7 │ - │ 202 │ -
ние на тепло-│ │ │ │ │ │ │
устойчивость │ │ │ │ │ │ │
при темпера- │ │ │ │ │ │ │
туре транс- │ │ │ │ │ │ │
портирования │ │ │ │ │ │ │
и хранения │ │ │ │ │ │ │
53. Испыта- │ - │ - │ + │
3.4.2.1 │ - │ 205 │ -
ние на воз- │ │ │ │ │ │ │
действие сме-│ │ │ │ │ │ │
ны температур│ │ │ │ │ │ │
54. Испыта- │ - │ - │ + │
3.4.2.1 │ - │ 203 │ -
ние на холо- │ │ │ │ │ │ │
доустойчи- │ │ │ │ │ │ │
вость при │ │ │ │ │ │ │
эксплуатации │ │ │ │ │ │ │
55. Испыта- │ - │ - │ + │
8.6;
8.7 │ - │ 204 │ -
ние на холо- │ │ │ │ │ │ │
доустойчи- │ │ │ │ │ │ │
вость при │ │ │ │ │ │ │
температуре │ │ │ │ │ │ │
транспорти- │ │ │ │ │ │ │
рования и │ │ │ │ │ │ │
хранения │ │ │ │ │ │ │
56. Испыта- │ - │ - │ + │ГОСТ │ - │ 206 │ -
действие инея│ │ │ │ │ │ │
с последующим│ │ │ │ │ │ │
его оттаива- │ │ │ │ │ │ │
нием │ │ │ │ │ │ │
57. Испыта- │ - │ - │ + │
3.4.2.1 │ - │ 211 │ -
ние на воз- │ │ │ │ │ │ │
действие │ │ │ │ │ │ │
солнечной │ │ │ │ │ │ │
радиации │ │ │ │ │ │ │
58. Испыта- │ - │ - │ + │
3.4.2.1 │ - │ 212 │ -
ние на дина- │ │ │ │ │ │ │
мическое воз-│ │ │ │ │ │ │
действие пыли│ │ │ │ │ │ │
59. Испыта- │ - │ - │ + │
3.4.2.1 │ - │ 213 │ -
ние на стати-│ │ │ │ │ │ │
ческое воз- │ │ │ │ │ │ │
действие пыли│ │ │ │ │ │ │
60. Испыта- │ - │ - │ + │
3.4.2.1 │ - │ 214 │ -
ние на грибо-│ │ │ │ │ │ │
устойчивость │ │ │ │ │ │ │
61. Испыта- │ - │ - │ + │
3.4.2.1 │ - │ 215 │ -
ние на воз- │ │ │ │ │ │ │
действие со- │ │ │ │ │ │ │
ляного тумана│ │ │ │ │ │ │
ние на хими- │ │ │ │ │ │ │
ческую стой- │ │ │ │ │ │ │
кость │ │ │ │ │ │ │
ние на стой- │ │ │ │ │ │ │
кость к воз- │ │ │ │ │ │ │
действию де- │ │ │ │ │ │ │
зинфицирующих│ │ │ │ │ │ │
средств │ │ │ │ │ │ │
ния термо- │ │ │ │ │ │ │
стойкости │ │ │ │ │ │ │
деталей │ │ │ │ │ │ │
светильника │ │ │ │ │ │ │
устройств от │ │ │ │ │ │ │
разрушения │ │ │ │ │ │ │
лампы │ │ │ │ │ │ │
ние значения │ │ │ │ │ │ │
утечки тока │ │ │ │ │ │ │
Примечания. 1. Условные обозначения, принятые в таблице:
"+" - испытание проводят;
"-" - испытания не проводят;
"Н" - испытание проводят, если это указано в стандартах или технических условиях на конкретные типы светильников, один раз в 12 месяцев, при этом по крайней мере одно из испытаний (длительное или кратковременное) является обязательным;
* - рекомендуется проводить в процессе производства до сборочных операций;
П6 и П12 - испытания проводят один раз в 6 месяцев или один раз в 12 месяцев, соответственно.
2. Объем испытаний конкретного типа светильника определяется в зависимости от объема технических требований, установленных в стандартах или технических условиях на данный тип или группу светильников.
3. Светильники, подвергавшиеся периодическим и типовым испытаниям, поставке не подлежат.
4. В технически обоснованных случаях допускается изменение последовательности проведения испытаний.
За партию принимают светильники одного типа, изготовленные за одну смену.
(Измененная редакция, Изм. N 2, 3).
6.2.2. Порядок проведения выборочного контроля по
ГОСТ 18242-72; при этом план контроля должен соответствовать указанному в табл. 13 или
14. При объеме партии менее 26 шт. проводят сплошной контроль.
Таблица 13
План одноступенчатого контроля
─────────────┬────────────────────────────────────────────────────────────
Уровень │ Объем предъявляемой партии
контроля ├─────┬──────┬──────┬──────┬───────┬───────┬────────┬────────
│от 26│от 91 │от 151│от 281│от 501 │от 1201│от 3201 │от 10001
│до 90│до 150│до 280│до 500│до 1200│до 3200│до 10000│до 35000
─────┬───────┼─────┼──────┼──────┼──────┼───────┼───────┼────────┼────────
Уси-│ Объем │ 5 │ 8 │ 13 │ 20 │ 32 │ 50 │ 80 │ 125
лен- │выборки│ │ │ │ │ │ │ │
ный ├───────┼─────┼──────┼──────┼──────┼───────┼───────┼────────┼────────
конт-│ При- │ 0 │ 0 │ 1 │ 1 │ 1 │ 2 │ 3 │ 5
роль │емочное│ │ │ │ │ │ │ │
│число │ │ │ │ │ │ │ │
├───────┼─────┼──────┼──────┼──────┼───────┼───────┼────────┼────────
│ Брако-│ 1 │ 1 │ 2 │ 2 │ 2 │ 3 │ 4 │ 6
│вочное │ │ │ │ │ │ │ │
│число │ │ │ │ │ │ │ │
─────┼───────┼─────┼──────┼──────┼──────┼───────┼───────┼────────┼────────
Нор-│ Объем │ 5 │ 8 │ 13 │ 20 │ 32 │ 50 │ 80 │ 125
маль-│выборки│ │ │ │ │ │ │ │
ный ├───────┼─────┼──────┼──────┼──────┼───────┼───────┼────────┼────────
конт-│ При- │ 0 │ 0 │ 1 │ 1 │ 2 │ 3 │ 5 │ 7
роль │емочное│ │ │ │ │ │ │ │
│число │ │ │ │ │ │ │ │
├───────┼─────┼──────┼──────┼──────┼───────┼───────┼────────┼────────
│ Брако-│ 1 │ 1 │ 2 │ 2 │ 3 │ 4 │ 6 │ 8
│вочное │ │ │ │ │ │ │ │
│число │ │ │ │ │ │ │ │
─────┼───────┼─────┼──────┼──────┼──────┼───────┼───────┼────────┼────────
Об- │ Объем │ 2 │ 3 │ 5 │ 8 │ 13 │ 20 │ 32 │ 50
лег- │выборки│ │ │ │ │ │ │ │
чен- ├───────┼─────┼──────┼──────┼──────┼───────┼───────┼────────┼────────
ный │ При- │ 0 │ 0 │ 0 │ 0 │ 1 │ 1 │ 2 │ 3
конт-│емочное│ │ │ │ │ │ │ │
роль │число │ │ │ │ │ │ │ │
├───────┼─────┼──────┼──────┼──────┼───────┼───────┼────────┼────────
│ Брако-│ 1 │ 1 │ 2 │ 2 │ 3 │ 4 │ 5 │ 6
│вочное │ │ │ │ │ │ │ │
│число │ │ │ │ │ │ │ │
План двухступенчатого контроля
шт.
─────────────┬────┬────────────────────────────────────────────────────────────
Уровень │Вы- │ Объем предъявляемой партии
контроля │бор-├─────┬──────┬──────┬──────┬───────┬───────┬────────┬────────
│ка │от 26│от 91 │от 151│от 281│от 501 │от 1201│от 3201 │от 10001
│ │до 90│до 150│до 280│до 500│до 1200│до 3200│до 10000│до 35000
─────┬───────┼────┼─────┼──────┼──────┼──────┼───────┼───────┼────────┼────────
Уси-│ Объем │1-я │ 3 │ 5 │ 8 │ 13 │ 20 │ 32 │ 50 │ 80
лен- │выборки│2-я │ 3 │ 5 │ 8 │ 13 │ 20 │ 32 │ 50 │ 80
ный ├───────┼────┼─────┼──────┼──────┼──────┼───────┼───────┼────────┼────────
конт-│ При- │1-я │ 0 │ 0 │ 0 │ 0 │ 0 │ 0 │ 1 │ 2
роль │емочное│2-я │ 1 │ 1 │ 1 │ 1 │ 1 │ 3 │ 4 │ 6
│число │ │ │ │ │ │ │ │ │
├───────┼────┼─────┼──────┼──────┼──────┼───────┼───────┼────────┼────────
│ Брако-│1-я │ 2 │ 2 │ 2 │ 2 │ 2 │ 3 │ 4 │ 5
│вочное │2-я │ 2 │ 2 │ 2 │ 2 │ 2 │ 4 │ 5 │ 7
│число │ │ │ │ │ │ │ │ │
─────┼───────┼────┼─────┼──────┼──────┼──────┼───────┼───────┼────────┼────────
Нор-│ Объем │1-я │ 3 │ 5 │ 8 │ 13 │ 20 │ 32 │ 50 │ 80
маль-│выборки│2-я │ 3 │ 5 │ 8 │ 13 │ 20 │ 32 │ 50 │ 80
ный ├───────┼────┼─────┼──────┼──────┼──────┼───────┼───────┼────────┼────────
конт-│ При- │1-я │ 0 │ 0 │ 0 │ 0 │ 0 │ 1 │ 2 │ 3
роль │емочное│2-я │ 1 │ 1 │ 1 │ 1 │ 3 │ 4 │ 6 │ 8
│число │ │ │ │ │ │ │ │ │
├───────┼────┼─────┼──────┼──────┼──────┼───────┼───────┼────────┼────────
│ Брако-│1-я │ 2 │ 2 │ 2 │ 2 │ 3 │ 4 │ 5 │ 7
│вочное │2-я │ 2 │ 2 │ 2 │ 2 │ 4 │ 5 │ 7 │ 9
│число │ │ │ │ │ │ │ │ │
─────┼───────┼────┼─────┼──────┼──────┼──────┼───────┼───────┼────────┼────────
Об- │ Объем │1-я │ 2 │ 2 │ 3 │ 5 │ 8 │ 13 │ 20 │ 32
лег- │выборки│2-я │ 2 │ 2 │ 3 │ 5 │ 8 │ 13 │ 20 │ 32
чен- ├───────┼────┼─────┼──────┼──────┼──────┼───────┼───────┼────────┼────────
ный │ При- │1-я │ 0 │ 0 │ 0 │ 0 │ 0 │ 1 │ 2 │ 3
конт-│емочное│2-я │ 0 │ 0 │ 0 │ 1 │ 3 │ 4 │ 6 │ 8
роль │число │ │ │ │ │ │ │ │ │
├───────┼────┼─────┼──────┼──────┼──────┼───────┼───────┼────────┼────────
│ Брако-│1-я │ 2 │ 2 │ 3 │ 4 │ 4 │ 5 │ 7 │ 8
│вочное │2-я │ 2 │ 2 │ 4 │ 5 │ 6 │ 7 │ 9 │ 12
│число │ │ │ │ │ │ │ │ │
--------------------------------
<*> Табл. 15. (Исключена, Изм. N 1).
(Измененная редакция, Изм. N 2).
6.2.3. При получении неудовлетворительных результатов испытаний партия может быть предъявлена повторно после анализа причин брака и принятия мер по их устранению. Партию светильников, предъявленных повторно, проверяют в полном объеме приемосдаточных испытаний.
6.2.4. Приемку светильников останавливают, если из десяти последовательно предъявленных партий (включая повторно предъявленные) более трех партий были возвращены по повторяющимся видам дефектов или более четырех партий по любым видам дефектов.
Приемку возобновляют после анализа причин брака и принятия мер по их устранению.
6.2.3; 6.2.4. (Введены дополнительно, Изм. N 2).
6.2.5. (Исключен, Изм. N 1).
6.3. Периодические испытания
6.3.1. Периодические испытания проводят не реже одного раза в 6 или 12 месяцев на светильниках, отобранных из одной партии, изготовленной за контролируемый период и выдержавшей приемосдаточные испытания.
(Измененная редакция, Изм. N 2, 3).
6.3.2. Объем выборки устанавливают в зависимости от объема партии в соответствии с требованиями
табл. 13 или
14.
Объем испытаний на радиопомехи - по ГОСТ 16842-82.
(Измененная редакция, Изм. N 2).
6.3.3. Испытания проводят в объеме и последовательности, указанных в
табл. 12.
6.3.4. Приемку и поставку светильников до получения результатов первых периодических испытаний осуществляют на основе положительных результатов приемосдаточных испытаний.
6.3.5. Если выпуск светильников был прерван на срок более шести месяцев, то перед возобновлением приемки и поставки светильников должны быть проведены периодические испытания.
6.3.6. Результаты испытаний считают удовлетворительными, если количество дефектных светильников не превышает приемочного числа, указанного в
табл. 13 или
14.
6.3.7. При получении неудовлетворительных результатов испытаний приемку и поставку светильников, изготовленных, но не поставленных за контролируемый период, приостанавливают до получения положительных результатов повторных испытаний.
Повторные испытания проводят в полном объеме периодических испытаний на светильниках, изготовленных после внедрения мероприятий, направленных на устранение выявленных недостатков.
В технически обоснованных случаях допускается проведение испытаний только по тем пунктам требований, по которым были получены неудовлетворительные результаты.
Результаты повторных испытаний распространяются на всю партию.
Протоколы периодических испытаний предъявляют потребителю по его требованию.
6.3.8. При получении удовлетворительных результатов повторных испытаний приемку светильников возобновляют.
6.3.9. (Исключен, Изм. N 2).
6.4. Типовые испытания
6.4.1. Типовые испытания проводят с целью проверки соответствия светильников требованиям настоящего стандарта и стандартов или технических условий на отдельные типы или группы светильников при изменении конструкции, технологии, применяемых материалов, если эти изменения могут оказать влияние на качество светильников.
6.4.2. Испытания проводят на трех светильниках. Объем испытаний должен определяться изготовителем по согласованию с потребителем в соответствии с
табл. 12 в зависимости от степени возможного влияния предлагаемых изменений на качество светильников.
6.4.3. По результатам испытаний принимается решение о возможности и целесообразности внесения изменений в техническую документацию и изготовление светильников по измененной документации.
6.4.4. Результаты типовых испытаний оформляют протоколом, в котором должны быть даны заключение о результатах испытаний и рекомендация по внедрению проверяющегося изменения.
Протокол типовых испытаний предъявляется потребителю по его требованию.
6.5. Для проверки потребителем соответствия качества светильников, а также маркировки и упаковки требованиям настоящего стандарта и стандартов или технических условий на отдельные типы или группы светильников должны применяться планы контроля и методы испытаний, указанные в настоящем стандарте.
За партию принимают светильники одного типа, оформленные одним документом о качестве.
7.1. Аппаратура электроизмерительная
7.1.1. Для питания измерительных систем должны применяться источники переменного (50 Гц) и постоянного тока.
Если значение и форма напряжения могут повлиять на результаты измерений, то колебание напряжения не должно превышать 0,5%, а эффективное значение напряжения высших гармоник не должно превышать 3% эффективного значения напряжения основной гармоники.
7.1.2. Класс точности применяемых при испытаниях электроизмерительных приборов должен быть:
не ниже 1,0 - для измерения сопротивления изоляции и электрической прочности;
не ниже 1,0 - в цепи фотоприемника;
не ниже 0,2 для постоянного напряжения и не ниже 0,5 для переменного напряжения - для измерения электрического режима при световых измерениях;
не ниже 0,5 - для всех остальных случаев.
Приборы не должны быть чувствительны к отклонениям измеряемых величин от синусоидальной формы. Приборы должны показывать действующие значения измеряемых электрических величин.
Допускается при приемосдаточных и периодических испытаниях применение мегомметров класса точности не ниже 2,5, а для проверки электрической прочности изоляции - электроизмерительных приборов класса точности 4.
Ток, потребляемый электроизмерительными приборами, подключенными параллельно лампам, не должен превышать 3% от номинального значения тока ламп, а падение напряжения в последовательно включенных электроизмерительных приборах не должно превышать 2% от значения напряжения лампы.
Электроизмерительные приборы должны иметь пределы измерений, обеспечивающие отсчет измеряемой величины во второй половине шкалы.
7.1.1; 7.1.2. (Измененная редакция, Изм. N 2).
7.2. Общие условия проведения испытаний
7.2.1. Испытания светильников проводят в помещении с нормальными климатическими условиями испытаний по ГОСТ 16962-71, если в методике испытаний нет других указаний.
В воздухе помещения не должно быть пыли или других веществ, которые могли бы повлиять на точность испытаний.
Наличие производственных вибраций в помещении не допускается.
7.2.2. Испытаниям подвергают светильники, полностью собранные со всеми элементами, обеспечивающими их нормальную работу, с источниками света наибольшей мощности, указанной в маркировке, если в методике испытания нет иных указаний.
Допускается:
проведение испытаний без элементов светильника (подвески, отражатели, экранирующие решетки, рассеиватели и др.), которые не могут повлиять на результаты испытаний, при этом перечень таких элементов светильников для освещения общественных, производственных зданий и для наружного освещения должен быть указан в стандартах или технических условиях на отдельные типы или группы светильников;
проведение приемосдаточных испытаний светильников без элементов электрической схемы, снабженных электрическими соединителями или клеммными колодками, которые не устанавливаются в светильник при его транспортировании и хранении. Эти элементы испытывают отдельно, методы контроля указываются в технической документации.
(Измененная редакция, Изм. N 2).
7.2.3. При периодических и типовых испытаниях, а также при проверке потребителем, если перед испытанием светильники находились в условиях, не соответствующих
п. 7.2.1, светильники должны быть выдержаны до начала испытания не менее 12 ч в помещении с нормальными климатическими условиями испытаний по ГОСТ 16962-71.
7.2.4. Светильник во время испытаний должен быть неподвижен, если в методике испытаний нет иных указаний.
7.2.5. После испытаний, связанных с разборкой резьбовых соединений светильника, их сборку следует производить с приложением крутящего момента, указанного в
табл. 6 и
7.
(Измененная редакция, Изм. N 2).
7.3. Проверку соответствия деталей и сборочных единиц светильника требованиям технической документации, а также соответствия габаритных присоединительных и установочных размеров светильника чертежам проводят путем сравнения с чертежами и с помощью измерительного инструмента, обеспечивающего требуемую чертежами точность.
(Измененная редакция, Изм. N 2).
7.4. Проверка качества декоративных покрытий и защиты светильника от коррозии
7.4.1. Металлические и неметаллические неорганические покрытия элементов светильников испытывают по
ГОСТ 9.302-88. При приемосдаточных испытаниях проверяют наличие и внешний вид покрытий.
Следы коррозии на отрезаемых кромках и пробиваемых отверстиях деталей светильников, изготовленных из предварительно окрашенной стальной ленты или металлопласта, а также желтоватый налет, который удаляется при протирке хлопчатобумажной тканью, не учитываются при оценке результатов испытаний.
| | ИС МЕГАНОРМ: примечание. Взамен ГОСТ 9.401-79 Постановлением Госстандарта СССР от 21.03.1989 N 575 с 1 июля 1990 года введен в действие ГОСТ 9.401-89. | |
7.4.2. Элементы светильников, имеющих лакокрасочные покрытия, в зависимости от условий эксплуатации испытывают по ГОСТ 9.401-79, ГОСТ 9.404-81. При приемосдаточных испытаниях проверяют наличие и внешний вид покрытий. Результаты испытаний считают положительными, если отсутствуют трещины, отслаивания, вздутия и другие механические разрушения лакокрасочных покрытий.
Следы коррозии на отрезаемых кромках и пробиваемых отверстиях деталей светильников, изготовленных из предварительно окрашенной стальной ленты или металлопласта, а также желтоватый налет, который удаляется при протирке хлопчатобумажной тканью, не учитываются при оценке результатов испытаний.
7.4.1; 7.4.2. (Измененная редакция, Изм. N 2).
7.4.3. Прочность сцепления лакокрасочных покрытий с основным материалом
Прочность сцепления лакокрасочных покрытий с основным материалом проверяется методом нанесения решетки. Испытываемый образец устанавливается в горизонтальном положении и стальным стержнем при помощи металлического шаблона на покрытии наносятся 5 параллельных надрезов и потом еще 5 параллельных надрезов, перпендикулярно предыдущим, глубиной до основного материала и длиной около 50 мм; в местах пересечения надрезов образуется решетка. Расстояние между надрезами на покрытиях толщиной до 60 мкм должно быть 1 мм, свыше 60 мкм - 2 мм.
Поверхность покрытия в местах надрезов легко протирается сухим пальцем.
Результат испытания считается положительным, если покрытие между надрезами, вне решетки, не отслаивается, а внутри решетки отслаивается не более четырех квадратиков покрытия и под отслоившимся покрытием отсутствуют следы коррозии.
Допускается проверять прочность сцепления лакокрасочных покрытий с основным материалом на пластинах-спутниках, окрашенных одновременно с деталями светильника по той же технологии нанесения покрытий.
7.5. Проверку правильности сборки электромонтажной схемы проводят включением светильника в сеть с номинальным напряжением, указанным в маркировке светильника, до полного зажигания всех ламп или в сеть с безопасным напряжением, при этом должно быть установлено наличие тока в цепи.
Для светильников общего освещения жилых и общественных помещений с числом ламп накаливания более трех проверку правильности сборки электромонтажной схемы проводят для всех возможных вариантов включения ламп в отдельности.
У светильников с независимыми пускорегулирующими аппаратами или независимыми импульсными зажигающими устройствами проверку правильности сборки электромонтажной схемы при приемосдаточных испытаниях проводят без подключения этих элементов.
Допускается проводить проверку правильности сборки электромонтажной схемы светильников с люминесцентными лампами только на панели, если на ней полностью собрана электрическая схема светильника (за исключением розетки штепсельного разъема).
(Измененная редакция, Изм. N 2).
7.6. Проверка маркировки
7.6.1. Проверку наличия и правильности маркировки проводят внешним осмотром и сличением с технической документацией.
7.6.2. Проверку прочности нанесения маркировки, в случае нанесения ее краской при помощи штемпелей или печатью, проводят по
ГОСТ 18620-86. Прочность маркировки, нанесенной на отдельном ярлыке, не проверяется.
7.6.1; 7.6.2. (Измененная редакция, Изм. N 2).
7.7. Проверку комплектности проводят путем сличения с требованием технической документации.
7.8. Проверка электротехнических требований
7.8.1. Требования к защитным соединениям светильников проверяют внешним осмотром.
Сопротивление между защитным зажимом и наиболее удаленной от него, доступной для прикосновения, металлической нетоковедущей частью светильника, которая может оказаться под напряжением, определяют измерением падения напряжения при пропускании через них постоянного или переменного тока от источника с напряжением холостого хода не более 6 В. Мощность питающей установки должна быть не менее 70 В х А.
Значение тока I должно быть равно (10 +/- 1) А.
| | ИС МЕГАНОРМ: примечание. Взамен ГОСТ 14254-80 Постановлением Госстандарта РФ от 18.10.1996 N 601 введен в действие с 1 января 1997 года ГОСТ 14254-96. | |
Измерение проводят при помощи испытательного пальца по ГОСТ 14254-80 с жестко зажатыми шарнирами, который электрически соединяют с электроизмерительным прибором. Испытательный палец с усилием (30 +/- 1) Н прижимают к участку выбранной части светильника, с поверхности которого должно быть снято защитное, нетокопроводящее покрытие.
Сопротивление R, Ом, вычисляют как частное от деления падения напряжения на ток.
7.8.2. Измерение сопротивления изоляции светильника проводят без ламп и стартеров. Выключатели светильника, если они есть, должны находиться во включенном состоянии. У светильника с люминесцентными лампами электрическая цепь в местах разрыва должна быть замкнута при помощи специальных приспособлений.
При испытании изоляционных втулок, устройства для защиты от натяжений и скручивания, скоб зажимов и других деталей, служащих для крепления проводов, провод (шнур, кабель) покрывают металлической фольгой или заменяют штырем того же диаметра.
Сопротивление изоляции измеряют мегомметром постоянного тока напряжением 100 В для цепей с рабочим напряжением до 42 В и напряжением не менее 500 В для цепей с рабочим напряжением свыше 42 В. Отсчет показаний, определяющих сопротивление изоляции, проводят по истечении 1 мин после подачи напряжения. При приемосдаточных испытаниях отсчет допускается проводить непосредственно после установления показаний прибора.
Места измерений сопротивления изоляции указаны в
табл. 3, при этом, при приемосдаточных и периодических испытаниях измерения проводят:
между находящимися под напряжением частями, подключенными к различным фазам;
между находящимися под напряжением частями, которые при работе выключателя могут принимать разную полярность;
между находящимися под напряжением частями и доступными для прикосновения металлическими частями, доступными крепежными болтами или металлической фольгой на доступных для прикосновения изоляционных частях (кроме проходных выключателей);
между доступными для прикосновения металлическими частями и металлической фольгой, соприкасающейся с внутренней поверхностью изоляционных облицовок и перегородок неизолированных токоведущих деталей.
7.8.1; 7.8.2. (Измененная редакция, Изм. N 2).
7.8.3. Испытание электрической прочности изоляции проводят на светильниках, подготовленных к испытанию, и в местах согласно
п. 7.8.2.
Испытание проводят от источника синусоидального тока частоты 50 Гц и мощностью не менее 0,5 кВ х А. Испытательное напряжение плавно, в течение не более 20 с, поднимают от нуля до требуемой величины, поддерживают в течение не менее 1 мин, а затем плавно, в течение не более 10 с, снижают до нуля.
Допускается при приемосдаточных испытаниях прикладывать испытательное напряжение в течение 1 с при повышении его на 25%.
В светильниках класса защиты II, имеющих как усиленную, так и двойную изоляцию, испытательное напряжение, прикладываемое к первой из них, не должно быть больше значений, указанных в
табл. 3 для основной или дополнительной изоляции.
Результаты испытаний считают удовлетворительными, если не произошло перекрытия или пробоя изоляции светильника.
Токи поверхностного разряда, не вызывающие падение напряжения, не учитываются при оценке результатов испытаний.
(Измененная редакция, Изм. N 2, 3).
7.8.3а. Испытание электрической прочности изоляции светильников с импульсным зажигающим устройством проводят при типовых испытаниях.
Светильник с импульсным зажигающим устройством без лампы подключают к сети с номинальным напряжением на срок не более 30 сут. При выходе из строя зажигающего устройства в течение этого срока его заменяют другим. Допускается не более двух таких замен. Испытание проводят до выхода из строя третьего зажигающего устройства или по истечении 30 сут. Затем контактные зажимы зажигающего устройства, кроме заземляющего, закорачивают и на светильник подают испытательное напряжение, значение которого указано в
табл. 3.
Правила приложения напряжения и критерий оценки результатов испытания - по
п. 7.8.3.
(Введен дополнительно, Изм. N 2).
7.8.4. Коэффициент мощности измеряют по схеме, изображенной на черт. 3.
Черт. 3
При включенном вольтметре V, измеряющем напряжение питания, определяют потребляемый ток при замкнутой токовой и разомкнутой вольтметровой обмотках ваттметра W, а затем при закороченном амперметре А измеряют потребляемую мощность. Коэффициент мощности cos

вычисляют по формуле

,
где Р - мощность, измеряемая ваттметром, Вт;
U - напряжение сети, В;
I - потребляемый из сети ток, А.
При наличии параллельных ветвей или нескольких фаз приборы включают в каждую ветвь или фазу. Допускается проводить измерение коэффициента мощности с помощью фазометра.
| | ИС МЕГАНОРМ: примечание. Взамен ГОСТ 14254-80 Постановлением Госстандарта РФ от 18.10.1996 N 601 введен в действие с 1 января 1997 года ГОСТ 14254-96. | |
7.8.5. Проверку степени защиты оболочек светильников проводят по ГОСТ 14254-80, при этом продолжительность испытания светильников степени защиты IPX5 - 15 мин.
Проверку невозможности случайного прикосновения к токоведущим частям светильника проводят с установленными лампами, стартерами. Выключатели, если они есть, должны находиться во включенном состоянии.
Подвижные части светильника помещают в самое неблагоприятное положение для случайного прикосновения к токоведущим частям. Детали светильника, снимаемые без применения инструмента (за исключением ламп, стартеров и элементов патронов), удаляют.
Проверку проводят с присоединенными к контактным зажимам или клеммным колодкам проводами (шнурами, кабелями) максимального сечения, указанного в настоящем стандарте и в стандартах или технических условиях на отдельные типы или группы светильников, а также без присоединения проводов.
| | ИС МЕГАНОРМ: примечание. Взамен ГОСТ 14254-80 Постановлением Госстандарта РФ от 18.10.1996 N 601 введен в действие с 1 января 1997 года ГОСТ 14254-96. | |
Проверку проводят с помощью испытательного пальца по ГОСТ 14254-80, соединенного через электрический индикатор (лампу) с одним из полюсов источника тока безопасного напряжения.
Второй полюс источника тока должен быть подключен к токоведущим частям светильника.
Испытательным пальцем пытаются прикоснуться к открытым токоведущим частям светильника в любом возможном положении с усилием (30 +/- 1) Н.
Результаты испытаний считают удовлетворительными, если электрическая цепь испытательного пальца не замыкается.
7.8.6. Измерение пути утечки и воздушных зазоров проводят с помощью измерительного инструмента в соответствии с правилами, указанными в обязательном
Приложении 3.
| | ИС МЕГАНОРМ: примечание. Взамен ГОСТ 14254-80 Постановлением Госстандарта РФ от 18.10.1996 N 601 введен в действие с 1 января 1997 года ГОСТ 14254-96. | |
Металлические детали, закрывающие находящиеся под напряжением части, должны подвергаться воздействию усилия (30 +/- 1) Н при помощи стандартного испытательного пальца по ГОСТ 14254-80 (но с жестко зажатыми шарнирами). У светильников, снабженных приборной вилкой, измерения проводят при подключении к ней соответствующей штепсельной розетки. При измерении путей утечки через щели или отверстия во внешних частях изоляционного материала металлическая фольга должна иметь контакт с доступными для прикосновения металлическими частями. Фольгу вдавливают в углы и аналогичные места, за исключением отверстий, стандартным испытательным щупом. При этом пути утечки и электрические зазоры не должны становиться меньше величин, указанных в настоящем стандарте и в стандартах или технических условиях на отдельные типы или группы светильников.
(Измененная редакция, Изм. N 3).
| | Применение на добровольной основе пункта 7.8.7 обеспечивает соблюдение требований Федерального закона от 22.07.2008 N 123-ФЗ "Технический регламент о требованиях пожарной безопасности" (Приказ Ростехрегулирования от 30.04.2009 N 1573). | |
7.8.7. Испытания материалов изоляционных деталей на устойчивость к токам поверхностного разряда проводят при помощи электродов (черт. 4), создающих электрическую дугу.
1 - электрод; 2 - испытуемый образец;
3 - конец электрода скруглен
Электроды, изготовленные из пластины или другого коррозионно-устойчивого материала, должны быть присоединены к источнику питания.
Источник питания должен создавать на разомкнутых электродах синусоидальное напряжение (175 +/- 5) В частоты 50 Гц и ток в цепи короткозамкнутых электродов (1,0 +/- 0,1) А при cos

>= 0,9. В цепи электродов должно быть включено реле максимального тока с выдержкой времени не менее 0,5 с.
Испытываемый образец размерами не менее 15 х 15 мм устанавливают плоской поверхностью в горизонтальном положении и прижимают к ней электроды с усилием (1 +/- 0,1) Н, располагая их, как показано на
черт. 4.
Подают на электроды от источника питания требуемое напряжение, а поверхность испытываемого образца смачивают каплями раствора хлористого аммония (нашатырного спирта) в дистиллированной воде, падающими в центр между электродами с высоты 30 - 40 мм.
Раствор должен иметь концентрацию 0,1%, объем капли должен быть 20

мм3, а интервал падения капель (30 +/- 5) с.
Результат испытаний считают положительным, если между электродами не произошло электрического разряда за время падения 50 капель.
Если электрический разряд произошел после 20 капель, то изолирующие детали, изготовленные из испытываемого материала, могут использоваться в светильнике, если пути утечки и воздушные зазоры в последнем не менее чем в два раза превышают минимально допустимые, установленные в настоящем стандарте и стандартах или технических условиях на отдельные типы или группы светильников.
(Измененная редакция, Изм. N 2, 3).
7.8.8. Проверку работы устройств для разрядки конденсаторов проводят путем измерения напряжения на конденсаторах или штепсельных вилках, после отключения последних от сети с номинальным напряжением.
Измерения производятся прибором с высокоомным входом, не оказывающим заметного влияния на измеряемую величину.
Результаты испытаний считают положительными, если в процессе десяти измерений напряжение на конденсаторе или штепсельной вилке не превысит величины, указанной в настоящем стандарте.
7.8.9. Измерение значения утечки тока проводится между каждой фазой источника тока и металлическим корпусом при подаче на светильник напряжения 1,1 от номинального при номинальной частоте тока. Измерение проводят на светильнике без ламп и с лампами. Сопротивление измерительной цепи должно быть (2000 +/- 50 Ом).
(Введен дополнительно, Изм. N 3).
7.9. Методы светотехнических измерений
7.9.1. Светотехнические измерения светильников проводят при температуре воздуха (25 +/- 5) °С, причем во время измерения колебания температуры не должны быть более +/- 2 °С, относительная влажность воздуха от 45 до 80%, атмосферное давление от 84 до 107 кПа.
Воспроизводимость измерений не должна превышать значений, указанных в табл. 16.
Таблица 16
%
───────────────────────────────────┬──────────────────────────────
Параметры │ Воспроизводимость измерений
├────────────┬─────────────────
│ с лампами │с газоразрядными
│накаливания │ лампами
───────────────────────────────────┼────────────┴─────────────────
Защитный угол │ +/- 1°
───────────────────────────────────┼────────────┬─────────────────
Яркость │ +/- 15 │ +/- 20
───────────────────────────────────┼────────────┼─────────────────
КПД светильников: │ │
прямого и отраженного светораспре-│ +/- 6 │ +/- 8
деления │ │
других классов светораспределения │ +/- 4 │ +/- 6
───────────────────────────────────┼────────────┼─────────────────
Сила света │ +/- 6 │ +/- 10
───────────────────────────────────┼────────────┴─────────────────
Освещенность │ +/- 10
7.9.2. Аппаратура
7.9.2.1. Измерение светового потока проводят в фотометрическом шаре.
Фотометрический шар должен удовлетворять требованиям ГОСТ 17616-82 со следующими дополнениями:
диаметр шара должен превышать максимальный размер светящей поверхности светильника не менее чем в 4 раза, а для светильника с люминесцентными лампами - не менее чем в 2 раза;
экран, закрывающий физический приемник мощности излучения, должен находиться при измерении светильников с лампами накаливания и разрядными лампами высокого давления на расстоянии, равном одной трети радиуса внутренней поверхности светомерного шара, при измерении светильников с люминесцентными лампами - на расстоянии, равном половине радиуса шара.
Размеры экрана должны быть такими, чтобы высота тени от экрана на стенке шара при включенном светильнике или лампе была в два раза больше диаметра измерительного окна;
светильник с люминесцентными лампами должен быть расположен в шаре таким образом, чтобы его главная продольная плоскость была параллельна плоскости измерительного окна;
напольный светильник должен быть расположен в шаре так, чтобы его светящаяся часть находилась в центре шара.
Проверка селективности и равномерности окраски шара производится по ГОСТ 17616-82.
7.9.2.2. Измерение силы света проводится на распределительном фотометре по схеме, указанной в ГОСТ 17616-82.
Распределительный фотометр должен обеспечивать измерение силы света светильников и ламп в меридиональных и продольных плоскостях по ГОСТ 16703-79.
Фотометр должен иметь универсальное крепление для светильников различной конструкции.
Юстировка крепления измеряемого светильника должна обеспечивать точность совмещения плоскостей светильника по ГОСТ 16703-79 с плоскостью измерения +/- 15 мм.
Центр приемника излучения должен находиться на прямой, проходящей через световой центр светильника. Рабочая поверхность физического приемника мощности излучения должна быть перпендикулярна этой прямой.
Расстояние фотометрирования должно быть для светильников с глубокой и широкой кривой силы света не менее семикратного, с концентрированной кривой силы света - не менее десятикратного, для всех остальных типов кривых силы света - не менее пятикратного наибольшего размера выходного отверстия светильника.
7.9.2.3. Измерение освещенности, создаваемой светильниками местного или комбинированного освещения на горизонтальной поверхности, рекомендуется проводить на измерительном столе с нанесенной на нем координатной сеткой в полярной системе координат, контрольными кругами и прямоугольниками.
Установка должна обеспечивать возможность крепления в рабочем положении подвесных и настенных светильников, предназначенных для создания освещенности на горизонтальной поверхности.
7.9.2.1 - 7.9.2.3. (Измененная редакция, Изм. N 2).
7.9.2.4. Физический приемник мощности излучения (измерительный преобразователь излучения) должен удовлетворять следующим требованиям:
утомляемость (изменение величины фототока со временем) при постоянной освещенности 1000 лк через 5 мин после начала освещения не должна превышать 2% от начального фототока;
относительная спектральная чувствительность физического приемника мощности излучения должна быть приведена к функции относительной спектральной световой эффективности монохроматического излучения для дневного зрения (ГОСТ 8.332-78). Проверка качества исправления относительной спектральной чувствительности физического приемника мощности излучения, используемого для измерения светотехнических параметров светильников, проводится в установленном порядке;
стабильность работы приемника мощности излучения обеспечивается предварительным освещением его светочувствительной поверхности в течение 10 - 15 мин при освещенности, составляющей 100 - 150% рабочей освещенности.
7.9.2.5. Для измерения фототока должны применяться электроизмерительные приборы с внутренним сопротивлением, обеспечивающим прямую пропорциональную зависимость между освещенностью физического приемника мощности излучения и фототоком в диапазоне измеряемых величин. При отклонении от пропорциональности более чем на +/- 2% следует вводить поправки, соответствующие графику зависимости фототока от освещенности физического приемника мощности излучения.
7.9.2.6. Для световых измерений светильников должны быть применены источники света - измерительные лампы, отобранные согласно обязательному
Приложению 4.
При определении яркости и освещенности, создаваемой светильниками местного или комбинированного освещения на горизонтальной поверхности, световой поток измерительных ламп приводят к номинальному.
Перед испытаниями лампы необходимо протирать этиловым спиртом по
ГОСТ 5962-67.
(Измененная редакция, Изм. N 2).
7.9.3. Измерение силы света
7.9.3.1. В светильник устанавливают измерительную лампу. Для многолампового светильника лампы подбирают таким образом, чтобы их световые потоки не отличались более чем на 5%.
Люминесцентные рефлекторные лампы должны быть ориентированы в светильнике в соответствии с технической документацией, утвержденной в установленном порядке.
7.9.3.2. Измерение следует проводить:
светильников с лампами накаливания - не менее чем через 5 мин после включения их на номинальное напряжение сети;
светильников с разрядными лампами высокого давления - не менее чем через 15 мин после включения их на номинальное напряжение сети;
светильников с люминесцентными лампами - при установившемся тепловом режиме.
Ориентировочное время установления теплового режима светильников указано в справочном
Приложении 5.
Светильники устанавливаются на фотометре в рабочем положении. Допускается установка светильников в положение, отличающееся от рабочего, если вызванное этим изменение силы света светильника учитывается введением поправочного коэффициента.
7.9.3.3. С помощью оптических или визирных приспособлений плоскость светильника, в которой необходимо провести измерения силы света, совмещают с плоскостью измерения фотометра, а световой центр светильника - с центром вращения фотометра.
Плоскость измерения фотометра - плоскость, проходящая через центр физического приемника мощности излучения перпендикулярно оси вращения фотометра.
7.9.3.4. Для симметрических светильников измерения проводят во всех плоскостях симметрии, для круглосимметричных светильников - в двух взаимно перпендикулярных меридиональных плоскостях по ГОСТ 16703-79 в направлении углов

от 0 до 180°, через интервалы углов

в зависимости от типа отражателя (зеркального или диффузного), но не более чем через 5°.
Для светильников с концентрированной кривой силы света измерения в зоне максимального значения силы света проводят через интервалы углов

= 1 - 2°.
Для несимметричного светильника плоскости, в которых проводят измерения силы света, выбирают в соответствии с требованиями стандартов или технических условий на отдельные типы или группы светильников.
Количество измерительных плоскостей должно быть таким, чтобы светораспределение светильника устанавливалось однозначно.
Измерение силы света светильника с прямыми трубчатыми люминесцентными лампами (с диффузными отражателями, рассеивателями или преломлятелями) проводят в двух главных взаимно перпендикулярных плоскостях - продольной

и поперечной

по ГОСТ 16703-79 в направлениях углов

от 5 до 175°, через интервал

= 10°, а также в направлениях 0, 90 и 180°.
Для светильников с люминесцентными лампами (с зеркальными отражателями) или для светильников, светораспределение которых характеризуется глубокой или широкой кривой силы света, измерение силы света проводят в двух главных плоскостях

и

, а также в продольной плоскости Q по ГОСТ 16703-79 в зоне направления максимальной силы света, через интервалы углов

и

, равных 5°.
7.9.3.5. Измерение силы света светильников с фигурными люминесцентными лампами проводят в четырех меридиональных плоскостях по ГОСТ 16703-79.
Допускается для светильников с диффузными отражателями или рассеивателями измерение силы света проводить в двух главных плоскостях

и

.
7.9.3.6. При измерении силы света необходимо учитывать влияние постороннего света.
Для измерения величины постороннего света черный непрозрачный экран устанавливают между светильником и приемником излучения на расстоянии 2 м от светильника. Размер экрана не должен превышать размера выходного отверстия светильника и не должен допускать попадания прямого света от светильника на приемник излучения.
Посторонний свет определяют для углов 0, 90 и 180° для каждой меридиональной плоскости.
Среднее значение постороннего света вычитают из всех измеренных значений силы света для данной меридиональной плоскости.
7.9.3.7. Силы света

,

,

в направлении углов

,

,

определяют как среднее арифметическое измеренных значений для полуплоскостей с одинаковым светораспределением.
Силу света в направлении измерения

в канделах вычисляют по формуле

,
где

- освещенность физического приемника мощности излучения в направлении

, лк;
n - отсчет по электроизмерительному прибору, регистрирующему фототок и отградуированному на освещенность в паре с приемником излучения, деления;
с - цена деления, лк/деление;
l - расстояние от светового центра светильника до рабочей поверхности приемника излучения, м.
Влияние постороннего света учитывают по
п. 7.9.3.6.
7.9.3.8. По измеренным значениям строят кривую силу света для условного источника света со световым потоком 1000 лм,

, по формуле

,
где К - коэффициент пересчета;

- сила света в направлении

,

.
Коэффициент пересчета К вычисляют по формуле

,
где

- суммарный световой поток всех источников света в светильнике.
Для получения суммарного светового потока всех источников света определяют световой поток каждого источника света в отдельности и полученные значения складывают.
Световой поток ламп накаливания и разрядных ламп высокого давления

измеряют в фотометрическом шаре или вычисляют по формуле

,
где

- среднее значение силы света лампы, определенное как среднее арифметическое значений, полученных в двух взаимно перпендикулярных плоскостях в направлениях от 0 до 180° через каждые 5°, кд;

- зональный телесный угол, ср.
Величины зональных телесных углов приведены в справочном
Приложении 6.
Световой поток люминесцентных ламп

измеряют в фотометрическом шаре по методике ГОСТ 17616-82. Допускается световой поток прямых трубчатых люминесцентных ламп определять по формуле

,
где

- сила света лампы, измеренная в главной поперечной плоскости.
Силу света люминесцентных и разрядных ламп высокого давления измеряют с пускорегулирующей аппаратурой испытываемого светильника.
7.9.3.9. Тип кривой силы света светильника определяют по значению коэффициента формы

и зоны направления максимальной силы света по
табл. 2.
Коэффициент формы

вычисляют по формуле

,
где

- максимальная сила света в плоскости измерения, кд;

- среднее арифметическое значение силы света в этой же плоскости измерения, кд.
Значения

вычисляют по одной из следующих формул

- для нижней полусферы;

- для верхней полусферы,
где

- сила света в направлении измерения

, кд;

- принимает значения из арифметического ряда 5, 15, 25,..., 75, 85° или 95, 105, 115,..., 165, 175°.
7.9.4. Определение коэффициента полезного действия
7.9.4.1. Коэффициент полезного действия светильника

определяют одним из равноценных способов:
по методике пп. 7.9.4.2;
7.9.4.3 с использованием данных измерения силы света по
п. 7.9.3;
7.9.4.2. Коэффициент полезного действия светильника определяют как отношение светового потока светильника

к сумме световых потоков всех ламп

, измеренных вне светильника, при температуре окружающей среды плюс 25 °С

.
7.9.4.3. Световой поток светильника вычисляют по одной из формул, указанных в табл. 17.
Таблица 17
───────────────────────────────────┬──────────────────────────────
Вид светильника │ Формула
───────────────────────────────────┴──────────────────────────────
Светильники с лампами накаливания
или разрядными лампами высокого
давления:
для светильников, фотометрическое

тело которых имеет ось симметрии
для светильников, фотометрическое

тело которых имеет плоскость
симметрии
Светильник с люминесцентными
и другими трубчатыми лампами:
для нижней полусферы

для верхней полусферы

Примечание.

- зональный телесный угол, соответствующий

, ср;

- телесный угол, выделяемый в пространстве из зонального угла

двумя меридиональными плоскостями, координируемыми углами

, ср;

- экваториальный угол, °.
Коэффициент

определяется из соотношения светового потока светильника

, выделяемого в пространстве двумя продольными плоскостями Q, ориентированными углами

и

, к максимальной силе света в измеряемой зоне.
Коэффициент

вычисляют по формуле

,
где

- угол в продольной плоскости по ГОСТ 16703-79, °;

- телесный угол, выделяемый в пространстве продольными плоскостями Q и плоскостями, координируемыми углами

и

, ср.
Для светильников, относящихся по светораспределению к классам Н, Р, В и О, коэффициент

вычисляют для каждой полусферы.
Для светильников с широкой и глубокой типами кривой силы света коэффициент

вычисляют по данным измерения сил света в продольной плоскости, ориентированной в пространстве углом

, в которой сила света имеет максимальное значение.
7.9.4.4. Коэффициент полезного действия светильника в фотометрическом шаре

в процентах вычисляют по формуле

,
где

,

,

,

- показания электроизмерительного прибора в цепи приемника излучения для следующих четырех последовательно выполненных измерений, деления;

- светильник в рабочем положении помещен в шар и включен. Вспомогательная лампа выключена;

- светильник помещен в шар и выключен. Вспомогательная лампа включена. Вспомогательная лампа должна соответствовать требованиям
ГОСТ 2239-79;
| | ИС МЕГАНОРМ: примечание. Взамен ГОСТ 6825-74 Постановлением Госстандарта СССР от 22.03.1991 N 316 с 1 января 1993 года введен в действие ГОСТ 6825-91. | |

- светильник извлечен из шара. Лампа из светильника помещена в шар и включена (при многоламповом светильнике снимают показания для каждой лампы в отдельности и показания складывают). Методика измерения ламп должна соответствовать ГОСТ 17616-82. При измерении люминесцентных ламп при температуре окружающей среды, отличающейся от плюс 25 °С, необходимо в расчеты вводить поправочный коэффициент по ГОСТ 6825-74, учитывающий изменение светового потока ламп под влиянием температуры окружающей среды. Вспомогательная лампа выключена;

- светильник извлечен из шара. Лампа из светильника помещена в шар и выключена, вспомогательная лампа включена. При измерении нескольких ламп берут среднее арифметическое показаний прибора.
(Измененная редакция, Изм. N 2).
7.9.5. Измерение габаритной яркости
7.9.5.1. Габаритную яркость измеряют на распределительном фотометре, при этом светильник должен быть установлен на фотометре так, чтобы меридиональная плоскость светильника, в которой сила света имеет наибольшее значение, совместилась с измерительной плоскостью фотометра, а световой центр - с центром вращения фотометра. Для светильников с люминесцентными лампами главная поперечная плоскость

по ГОСТ 16703-79.
Проводят измерение силы света в зоне углов

, указанных в стандартах или технических условиях на отдельные типы или группы светильников.
Габаритную яркость светильника

в кд/м2 вычисляют по формуле

,
где

- максимальное значение силы света в направлении угла

, кд;

- площадь проекции видимой светлой поверхности светильника на плоскость, перпендикулярную направлению измерения, м2.
Для светильника с несколькими рассеивателями габаритную яркость рассчитывают для одного из них. Для светильника с несколькими оптическими элементами, участвующими в светораспределении, площадь проекции рассчитывают как суммарную всех элементов светильника.
При измерении габаритной яркости светильника с лампами, световой поток которых отличается от номинального, габаритную яркость необходимо пересчитать на номинальный световой поток по формуле

,
где

- номинальный световой поток лампы (ламп);

- световой поток измерительной лампы (ламп).
7.9.6. Измерение коэффициента отражения
7.9.6.1. Коэффициенты отражения общий

или зеркальный

определяют для плоских участков отражателя методом сравнения с поверочной пластинкой, проградуированной в единицах общего или зеркального коэффициентов отражения и вычисляют по формулам

;

,
где

,

- коэффициенты отражения поверочных пластинок, соответственно общий и зеркальный;

,

- отсчеты по шкале электроизмерительного прибора в цепи физического приемника мощности излучения, соответственно для измеряемой поверхности и поверочной пластинки.
У каждого образца коэффициент отражения определяют как среднее арифметическое не менее чем пяти точек измеряемой поверхности образца.
Допускается коэффициент отражения измерять на пластинках-спутниках, измеряемая поверхность которых имеет такое же покрытие, что и рабочая поверхность измеряемого светильника, и наносится на пластины в процессе изготовления светильников.
7.9.6.2. Коэффициент зеркального отражения поверхности измеряют при падении светового пучка под углом не более 20° к измеряемой поверхности.
7.9.7. Измерение коэффициента пропускания
7.9.7.1. Коэффициент пропускания

рассеивателей, защитных и декоративных стекол определяют по методике ГОСТ 10036-75.
7.9.7.2. Коэффициент пропускания

плоских защитных стекол и преломлятелей в зоне, свободной от призм, определяют как отношение светового потока, прошедшего через измеряемый образец, к падающему на него.
Измерения проводят объективным методом с помощью фотометрического шара при угле падения светового пучка не более 4° от нормали к измеряемому участку поверхности образца и вычисляют по формуле

,
где

,

- отсчеты по шкале электроизмерительного прибора в цепи физического приемника мощности излучения соответственно для измеряемой поверхности и без последней.
У каждого образца коэффициент пропускания определяют как среднее арифметическое не менее чем пяти точек измеряемой поверхности.
7.9.7.3. Относительная погрешность при измерении коэффициента пропускания не должна превышать 5%.
(Измененная редакция, Изм. N 2).
7.9.8. Измерение освещенности, создаваемой светильниками местного и комбинированного освещения на горизонтальной поверхности
7.9.8.1. Измерение освещенности проводят с помощью люксметра на измерительном столе по
п. 7.9.2.3 в контрольной площади и по ее периметру через 30° или 150 мм.
7.9.8.2. Светильники настольные, настенные, подвесные и пристраиваемые с лампами накаливания устанавливают таким образом, чтобы проекция меридиональной плоскости - плоскости симметрии светильника совпадала с диаметром контрольного круга. Проекция светового центра должна находиться на границе круга, основание - вне указанного круга. Основание настольных светильников с центральной стойкой должно примыкать к границе круга, при этом расположение светового центра не нормируется.
Проекция светового центра должна фиксироваться в протоколе.
7.9.8.3. Напольный светильник с лампами накаливания должен быть установлен около измерительного стола так, чтобы проекция меридиональной плоскости - плоскости симметрии светильника совпадала с диаметром контрольного круга, а проекция светового центра находилась на границе круга.
Основание светильника должно находиться вне круга.
7.9.8.4. Светильники с люминесцентными лампами устанавливают таким образом, чтобы проекция главной поперечной плоскости совпадала с малой осью симметрии контрольного прямоугольника, соответствующего данному типу или группе светильников, а основание светильника находилось вне контрольного прямоугольника.
Размеры контрольных прямоугольников должны соответствовать указанным в стандартах или технических условиях на отдельные типы или группы светильников.
(Измененная редакция, Изм. N 2).
7.9.8.5. Высота светового центра до поверхности измерительного стола должна соответствовать указанной в стандартах или технических условиях на отдельные типы или группы светильников.
При определении высоты светового центра необходимо учитывать высоту светочувствительной поверхности физического приемника мощности излучения над поверхностью стола.
Для исключения погрешности измерения, возникающей за счет высоты светочувствительной поверхности приемника мощности излучения от стола, необходимо настольные светильники устанавливать на подставку, высоту которой определяют высотой светочувствительной поверхности приемника мощности излучения.
7.9.8.6. При измерении светильников с лампами, световой поток которых отличается от номинального, необходимо измеренную люксметром освещенность привести к номинальному световому потоку ламп.
7.9.9. Коэффициент использования по освещенности для светильников, предназначенных для освещения улиц, дорог и площадей, вычисляют по формулам
для светильников с круглосимметричной

;
или боковой кривой силы света
для светильников с осевой или с

,
четырехсторонней кривой силы света
где

- световой поток светильника в зоне углов

,

, приведенный к условному источнику света, имеющему

= 1000 лм.
7.9.10. Определение значения защитного угла светильника
Защитный угол светильника

в градусах (
черт. 5 -
7) определяют с помощью измерительного инструмента, обеспечивающего требуемую чертежами точность, и вычисляют по формуле

,
где

- защитный угол светильника в верхней или нижней полусфере, °;

- минимальная высота светящего тела источника над горизонталью, проходящей через кран выходного отверстия светильника или экранирующей решетки, мм;

- максимальное расстояние по горизонтали от основания высоты до края выходного отверстия светильника или максимальное расстояние между экранирующими элементами решетки, мм.
Черт. 6
Допускается определение значения защитного угла светильника проводить по конструкторской документации.
(Измененная редакция, Изм. N 2).
7.9.11. Коэффициент усиления

для светильников наружного освещения вычисляют по формуле

,
где

- максимальная сила света светильника, кд;

- среднесферическая сила света лампы (для трубчатых ламп - сила света лампы в направлении максимальной силы света светильника), кд.
7.10. Испытание светильников на радиопомехи проводят по ГОСТ 16842-82.
Заземление светильников, где это необходимо, должно осуществляться при испытании путем присоединения его к нулевому проводу.
7.9.11; 7.10. (Измененная редакция, Изм. N 2).
7.11. Испытание на уровень шума светильников с разрядными лампами проводят по ГОСТ 12.1.028-80.
7.12. Проверка присоединения светильников к сети
7.12.1. (Исключен, Изм. N 2).
7.12.2. Проверка невозможности касания случайно выскользнувшей из присоединительного контактного зажима отдельной проволоки любой жилы присоединительного провода (шнура, кабеля) с доступными для прикосновения металлическими частями светильника проводится постепенным освобождением из каждой жилы присоединительного провода одной элементарной проволоки длиной (8 +/- 0,5) мм и изгибанием ее без резких перегибов во всех возможных направлениях. При этом провод должен быть введен в контактный зажим до самой изоляции. Результат испытания считается положительным, если проволока не коснулась доступных для прикосновения металлических частей светильника.
7.13. Проверка требований к конструкции
7.13.1. Проверка требований к конструкции, внутреннему монтажу и присоединению светильников к сети, для которых в настоящем стандарте не установлены специальные методы испытаний, проводят внешним осмотром с помощью измерительного инструмента, пробным монтажом или демонтажом.
7.13.2. Проверку высоты лампы по отношению к срезу отражателя или рассеивателя проводят на светильнике, укомплектованном лампами максимальной мощности, указанной в маркировке светильника, и имеющем максимальные габаритные размеры.
Проверку проводят с помощью измерительного инструмента или с помощью приспособления, представляющего собой ровную поверхность с размерами, превышающими не менее чем на 10 мм размеры среза рассеивателя или отражателя, при этом колба лампы не должна препятствовать соприкосновению приспособления со срезом отражателя или рассеивателя по всему периметру.
7.13.3. Проверку дополнительных защитных покрытий и защитных муфт проводят внешним осмотром, а надежность их закрепления проверяют вручную.
(Введен дополнительно, Изм. N 3).
7.14. Проверку массы светильника проводят взвешиванием светильника на весах с погрешностью не более 0,5%.
Светильник испытывают без ламп, если нет специальной оговорки в стандартах или технических условиях на отдельные типы или группы светильников. Результаты проверки считают удовлетворительными, если масса светильника не превышает указанную в технической документации на конкретные типы или группы светильников.
7.15. Методы механических испытаний
7.15.1. Проверку прочности ручных светильников к воздействию одиночных ударов проводят следующим образом. Светильник без лампы подвешивают за шнур (кабель) около кирпичной, каменной или бетонной стены, на которой закреплен стальной уголок размером 40 х 40 х 5 мм. Выступ уголка имеет радиус закругления 5 мм. Допускается закрепление уголка на стене проводить с помощью стальной прокладки, если форма светильника не позволяет нанести удар о выступ уголка по указанной точке светильника. Ось подвеса светильника должна быть параллельна стене. Места ударов светильников об уголок должны быть указаны в стандартах или технических условиях на отдельный тип или группу светильников. Высота закрепления шнура (кабеля) от места удара на светильнике должна составлять (400 +/- 1) см. Светильник рукой отводят от уголка в плоскости, перпендикулярной стене, до достижения шнуром (кабелем) горизонтального положения и отпускают. По каждому месту на светильнике должно быть нанесено 3 удара.
Затем испытание повторяют при высоте закрепления шнура (кабеля), равной (100 +/- 1) см.
Светильник считают выдержавшим испытание, если не произошло нарушения защиты от случайного прикосновения к токоведущим частям, светильник нормально функционирует и защитное средство от повреждения лампы осталось жестко закрепленным на корпусе светильника, растрескивания защитного стекла или другой светопропускающей оболочки, если они не являются единственным средством защиты лампы от повреждения, а также деформации средства защиты лампы от повреждения не считаются браковочным признаком.
(Измененная редакция, Изм. N 2, 3).
7.15.2. Испытание узла крепления светильников на воздействие растягивающей нагрузки проводят следующим образом: светильник крепят в рабочем положении и дополняют грузом, масса которого равна четырехкратной массе светильника, полностью укомплектованного лампами. Направление силы от дополнительного груза должно совпадать с вертикалью, проходящей через центр тяжести светильника. У светильников, подвешиваемых на гибком шнуре или тросе, перед началом испытания делают контрольные отметки на шнуре или тросе у места их крепления к узлу подвеса и к корпусу или патрону светильника.
Допускается проведение испытания узла крепления, отсоединенного от остальной арматуры светильника (кроме светильников, подвешиваемых на гибком шнуре, тросе или цепи).
Светильник считают выдержавшим испытание, если не произошло повреждения или не отмечено остаточных деформаций узла крепления, цепи или величина смещения контрольных отметок на гибком шнуре или тросе не превышает 10 мм.
(Измененная редакция, Изм. N 2).
7.15.3. При испытании узла крепления светильника на воздействие крутящего момента крепят узел крепления (или светильник) в рабочем положении.
Затем прикладывают к узлу крепления в плоскости, перпендикулярной его оси, крутящий момент по часовой и против часовой стрелки. Время приложения момента в каждом направлении не менее:
1,5 мин - для венчающих и консольных светильников наружного освещения;
1,0 мин - для остальных светильников.
При проведении испытания не допускается вращать узел крепления (светильник) более, чем на один оборот относительно закрепленной части в каждом направлении.
Светильник считают выдержавшим испытание, если не обнаружено остаточных деформаций узла крепления, заметных невооруженным глазом.
(Измененная редакция, Изм. N 2, 3).
7.15.4. При испытании узла крепления светильника на воздействие изгибающего момента крепят узел крепления (или светильник) в рабочем положении.
Затем прикладывают к узлу крепления изгибающий момент последовательно в вертикальной и горизонтальной плоскостях. Время приложения момента 1 мин в каждом направлении.
Для консолей, рассчитанных на малые нагрузки, данное испытание проводят при приложении к свободному концу консоли изгибающего момента не менее 1,0 Н х м.
Светильник считают выдержавшим испытания, если не обнаружено остаточных деформаций узла крепления, заметных невооруженным глазом.
(Измененная редакция, Изм. N 3).
7.15.5. Испытание прочности крепления резьбовых и байонетных патронов проводят следующим образом. Светильник закрепляют жестко. У светильников, подвешиваемых на гибком шнуре, тросе или цепи, жестко закрепляют к неподвижной опоре гибкий шнур, трос или цепь на возможно близком расстоянии от места крепления патронов.
В патроны ввертывают или вставляют контрольные цоколи по ГОСТ 361-85, к которым прикладывают по часовой стрелке крутящий момент.
У светильников, имеющих патроны с закреплением за ниппель, крутящий момент прикладывают к донышку патронов против часовой стрелки.
Время приложения момента не менее 1 мин.
Испытания проводят для каждого патрона в отдельности.
Светильник считают выдержавшим испытание, если под действием указанного крутящего момента не произошло проворачивания патрона относительно светильника, в котором патроны закреплены жестко, или не произошло ослабление крепления патрона, подвешенного на гибком шнуре, тросе или цепи, при повороте патрона на угол не более 360° относительно неподвижной опоры.
(Измененная редакция, Изм. N 2).
7.15.6. Испытание прочности крепления патронов для люминесцентных ламп (кроме накидных) и патронов для стартеров проводят следующим образом. Светильник жестко закрепляют, затем к патрону прикладывают поочередно усилие и крутящий момент.
Продолжительность приложения усилия (момента) 1 мин для каждого направления. Испытание проводят для каждого патрона в отдельности.
Светильник считают выдержавшим испытание, если не произошло заметного ослабления крепления патрона.
7.15.7. Испытание механической прочности элементов светильников, служащих для защиты от прикосновения к находящимся под напряжением частям, а также от влаги и пыли, проводят с помощью пружинного ударного устройства согласно справочному
Приложению 7. Перед испытанием открывают ослабленные стенки корпуса светильника и кабельные вводы (удаляют гайки, уплотняющие прокладки и другие детали). Винты, крепящие крышки и аналогичные элементы светильника, затягивают с крутящим моментом, равным 2/3 значения, указанного в
табл. 6. Затем светильник закрепляют жестко и по каждому элементу наносят три удара с помощью пружинного ударного устройства. При испытании пружинное ударное устройство должно располагаться перпендикулярно испытываемой поверхности, при этом удар наносят сверху вниз.
| | ИС МЕГАНОРМ: примечание. Взамен ГОСТ 14254-80 Постановлением Госстандарта РФ от 18.10.1996 N 601 введен в действие с 1 января 1997 года ГОСТ 14254-96. | |
Испытательный палец по ГОСТ 14254-80 с жестко закрепленными шарнирами прижимают с усилием (30 +/- 1) Н к металлическим частям, закрывающим находящиеся под напряжением детали.
Светильник считают выдержавшим испытание, если:
сохранена недоступность частей, находящихся под напряжением;
отсутствуют трещины, видимые невооруженным глазом, на корпусе и втулках кабельных вводов;
не снижена эффективность изолирующих прокладок и перегородок;
не нарушена степень защиты светильника;
не нарушена целостность крышек и других подобных элементов, а также изолирующих прокладок после их демонтажа;
металлические части во время приложения усилия не касаются находящихся под напряжением деталей, а пути утечки и электрические зазоры не становятся менее значений, указанных в настоящем стандарте и в стандартах или технических условиях на отдельные типы или группы светильников.
Повреждение корпуса в случае, когда внутри него имеется еще одна оболочка, выдерживающая самостоятельно данное испытание, повреждение покрытий, вмятины, не уменьшающие пути утечки и электрические зазоры, небольшие сколы, которые не ухудшают защиту от поражения электрическим током, воды и пыли, не являются браковочным признаком.
(Измененная редакция, Изм. N 2).
7.15.7.1. Светильники, имеющие в маркировке символ

, в том числе и переносные, кроме ручных, испытывают на механическую прочность следующим образом.
Светильник без лампы (ламп) закрепляют на жесткой опорной поверхности в рабочем положении (см. черт. 7а). Определяют три самых слабых в отношении механической прочности точки светильника. По данным точкам производят по одному удару путем падения стального шарика диаметром (50,0 +/- 0,5) мм и массой (0,510 +/- 0,001) кг с высоты (1,30 +/- 0,01) м, что обеспечивает энергию удара 6,5 Н х м.
1 - стальной шарик; 2 - светильник;
3 - опорная поверхность
Черт. 7а
Для нанесения боковых ударов светильник вместе с опорной поверхностью поворачивают на бок.
Светильники, имеющие в маркировке символ

и предназначенные для наружной установки, перед испытанием, указанным выше, охлаждают до температуры минус (5 +/- 2) °С и выдерживают при этой температуре в течение трех часов.
Результат испытаний считается положительным, если светильник не имеет повреждений, влияющих на его безопасность при дальнейшей эксплуатации, а части, защищающие лампу (лампы) от повреждения, не ослаблены или не деформированы. Разрушение защитного стекла или другой прозрачной оболочки не является браковочным признаком, если они не являются единственным средством защиты лампы от повреждения.
7.15.7.2. Ручные светильники, имеющие в маркировке символ

, испытывают на механическую прочность путем падения светильника на жесткую горизонтальную поверхность. Светильник поднимают над поверхностью на высоту (1,00 +/- 0,05) м так, чтобы ось светильника была параллельна этой поверхности, и отпускают. Испытание проводят четыре раза, при этом перед каждым падением светильник поворачивают вокруг оси на 90°. Испытание светильника проводят без ламп, защитные стекла, при их наличии, оставляют на светильнике.
7.15.7.1; 7.15.7.2. (Введены дополнительно, Изм. N 3).
7.15.8. Испытание резьбовых соединений, винтовых соединений и резьбовых сальников
7.15.8.1. Невозможность ослабления резьбового соединения деталей светильников проверяют приложением к нему в течение 1 мин крутящего момента, направленного на ослабление испытываемого соединения.
Светильник считают выдержавшим испытание, если не произошло ослабления резьбового соединения.
7.15.8.2. Винтовые соединения, обеспечивающие безопасность светильников, проверяют пятикратной затяжкой и ослаблением. Затяжку завершают приложением в течение 1 мин крутящего момента, указанного в
табл. 6.
Светильник считают выдержавшим испытание, если не наблюдается срыва резьбы.
7.15.8.3. Резьбовые сальники проверяют затяжкой с приложением в течение 1 мин крутящих моментов, указанных в
табл. 7.
В сальник перед испытанием вставляют металлический цилиндрический стержень (стержни) с диаметром, равным наружному диаметру провода, подводимому к светильнику.
Светильник считают выдержавшим испытание, если не наблюдается срыва резьбы сальников.
7.15.9. Определение устойчивости настольных и напольных светильников проводят с помощью платформы, имеющей угол наклона (10 +/- 0,5)°. Светильник свободно устанавливают на платформу в наименее устойчивом рабочем положении. Поверхность платформы должна исключать скольжение светильника. Светильник должен быть укомплектован лампами.
Результаты испытаний считают удовлетворительными, если светильник самопроизвольно не опрокинулся.
7.15.10. Испытание механической прочности проводов, проходящих внутри шарнирных соединений и других подвижных элементов.
Одну из частей шнура или подвижного элемента светильника закрепляют неподвижно, а другую перемещают из одного крайнего положения в другое с частотой не более 600 циклов в час.
Шаровые шарниры и аналогичные устройства, допускающие регулировку усилия затяжки, во время испытания должны находиться в минимально затянутом состоянии.
Светильник считается выдержавшим испытание, если не произошло нарушение целостности оболочки изоляции и токоведущих жил проводов, проходящих внутри шарнирных соединений и других подвижных элементов, электрическая прочность и сопротивление изоляции проводов соответствуют значениям, указанным в
табл. 3.
7.15.11. Проверку угла поворота шарнирных соединений проводят осмотром и поворотом рукой во всех возможных направлениях.
7.15.12. Проверку фиксации регулируемой части светильника проводят следующим образом. Регулируемую часть светильника фиксируют во всех возможных рабочих положениях (но не менее чем в трех, включая крайние и средние положения) при помощи руки.
К самотормозящим шарнирам и гибким стойкам прикладывают крутящее или изгибающее усилие. Время приложения усилия 1 мин. При этом не должно произойти смещения деталей светильника.
7.15.13. Устройство для разгрузки соединительного шнура или кабеля от натяжения и скручивания испытывают со шнурами или кабелями наименьшего и наибольшего сечений, предусмотренных для данного светильника.
Перед началом испытаний винтовые соединения устройства для разгрузки от натяжения и скручивания, а также контактные зажимы затягивают с усилиями, указанными в
табл. 6.
Затем проводят 25 циклов нагружения и ослабления соединительного шнура или кабеля с частотой 1 цикл/с. За один цикл к соединительному шнуру или кабелю в направлении его выхода из вводного отверстия в течение (0,5 +/- 0,15) с прикладывают растягивающее усилие.
Вслед за этим испытанием соединительный шнур или кабель подвергают воздействию крутящего момента. Крутящий момент прикладывают сначала по часовой стрелке, затем против. Время приложения момента 1 мин в каждом направлении.
Светильник считают выдержавшим испытание, если не произошло смещения соединительного шнура или кабеля более чем на 2 мм от отметки, нанесенной перед началом испытания на расстоянии (20 +/- 1) мм от устройства для разгрузки от натяжения и скручивания, в контактных зажимах не произошло заметного смещения проводников и не отмечено повреждения соединительного шнура или кабеля невооруженным глазом.
(Измененная редакция, Изм. N 2).
7.16. Методы климатических испытаний
7.16.1. Объем камер при климатических испытаниях должен превышать объем всех одновременно испытываемых светильников не менее чем в два раза.
7.16.2. Сопротивление изоляции проводов, служащих для подсоединения светильника внутри камеры влажности к клеммным зажимам, должно быть не менее 100 МОм в нормальных климатических условиях.
7.16.3. Измерение теплового режима
При измерении теплового режима проверяют температуру нагрева различных частей светильника.
Тепловой режим должен определяться контактным способом при помощи термоэлектрического преобразователя в специальной испытательной камере, описание которой приведено в справочном
Приложении 8. Рабочий спай термоэлектрического преобразователя должен иметь непосредственный контакт с измеряемой поверхностью, причем термоэлектрический преобразователь должен располагаться на измеряемой поверхности на расстоянии от 20 до 30 мм от ее рабочего спая.
Крепление термоэлектрического преобразователя не должно ослабевать во время испытания.
При измерении теплового режима должен быть использован компенсационный метод измерения температуры.
Измерения теплового режима светильников с лампами накаливания проводят с лампами максимальной мощности, указанной в маркировке светильника, но не менее чем:
60 Вт - для светильников, имеющих патроны типа Е27 или В22;
40 Вт - для светильников, имеющих патроны типов Е14 и В15.
Исключение составляют специальные лампы, а также светильники, в которых применение ламп большей мощности практически невозможно.
При измерениях применяют лампы для тепловых испытаний (ЛТИ), имеющие превышение температуры цоколя лампы:

°С - для ламп мощностью 60 Вт с цоколем Е27;

°С - то же с цоколем В22;

°С - для ламп мощностью 100 - 300 Вт с цоколем Е27;

°С - то же с цоколем В22.
Превышение температуры цоколя проверяют на лампе без арматуры.
Допускается при измерении использовать лампы накаливания, соответствующие требованиям НТД на них. Испытание в таком случае проводят при напряжении, при котором достигается мощность лампы, равная 1,05 номинальной, указанной в маркировке лампы.
Измерения светильников с разрядными лампами должны проводиться при напряжении, равном 1,06 номинального в случае нормального режима ПРА, и при напряжении, равном 1,10 номинального в наиболее тяжелом аномальном режиме ПРА по ГОСТ 16809-88.
Измерение температуры обмотки ПРА и трансформаторов с указанием температуры

проводят при номинальном напряжении в случае нормального режима ПРА и при напряжении 1,10 номинального при наиболее тяжелом аномальном режиме ПРА.
Температуру нагрева обмоток пускорегулирующих аппаратов для разрядных ламп измеряют методом сопротивления по ГОСТ 16809-88.
Светильник устанавливают в рабочем положении так, чтобы он находился в центральной части испытательной камеры. Светильник подвижной конструкции или универсальной по способу установки располагают в наиболее тяжелом в отношении теплового режима положении.
Температуру нагрева измеряют при установившемся тепловом режиме светильника. Ориентировочное время установления теплового режима светильника дано в справочном
Приложении 5.
Светильник считают выдержавшим испытание, если температура различных его элементов не превышает более чем на 5 °С предельных температур нагрева для этих материалов.
Передвижной светильник со специальным электромеханическим присоединительным устройством не должен нагревать подвеску до температуры, превышающей указанную изготовителем.
(Измененная редакция, Изм. N 2).
7.16.3.1. Температуру изоляции кабеля (шнура), служащего для присоединения к сети питания встроенного светильника или светильника, совмещенного с системой вентиляции и кондиционирования воздуха, измеряют, как указано в
п. 7.16.3, при номинальном напряжении сети. Светильники подключают к сети питания при помощи кабеля (шнура), которым снабжен светильник, или кабеля по
ГОСТ 7399-80, если светильник не комплектуется кабелем. После установления теплового режима светильника определяют самую горячую точку внутри светильника или на его наружной поверхности, к которой кабель (шнур) может прикоснуться при нормальной эксплуатации светильника. Кабель (шнур) прижимают к этой точке светильника и измеряют температуру его изоляции в месте контакта.
Результаты измерений считают положительными, если:
температура изоляции кабеля (шнура), которым снабжен светильник, не превышает значений, указанных в
табл. 10;
температура изоляции кабеля, не входящего в комплект светильника, не превышает значений, указанных в
табл. 10 для кабелей из поливинилхлорида, не подвергаемых механической нагрузке.
7.16.3.2. Температуру нагрева элементов конструкций ниш для встроенных светильников и светильников, совмещенных с системой вентиляции и кондиционирования воздуха, измеряют как указано в
п. 7.16.3.
Встроенные светильники измеряют в испытательном потолке (см.
Приложение 8). Светильники, имеющие маркировку символом

, устанавливают так, чтобы сальник касался своей верхней частью внутренней поверхности испытательного потолка, а светильники, не имеющие маркировки символом

, устанавливают так, чтобы расстояние от верхней части корпуса светильника до внутренней поверхности испытательного потолка составляло (25 +/- 2) мм.
Светильники, совмещенные с системой вентиляции и кондиционирования воздуха, измеряют в испытательном потолке (см.
Приложение 8). При испытании светильников, снабженных устройством для подключения к вентиляционным каналам, эти устройства соединяют с боковыми сторонами или верхом испытательного потолка. При испытании светильников с отверстиями для циркуляции воздуха, верх испытательного потолка делают из твердого картона или фанеры толщиной 4,5 мм, плотно закрепленного по сторонам испытательного потолка. По всей поверхности картона или фанеры должны располагаться отверстия диаметром 4,5 мм с расстоянием между осями отверстий (25 +/- 1) мм. Светильники, маркированные символом

, устанавливают так, чтобы светильник, снабженный устройствами для подключения к вентиляционным каналам, касался своей верхней частью внутренней поверхности испытательного потолка, а светильник с вентиляционными отверстиями устанавливают так, чтобы расстояние от верхней части корпуса светильника до внутренней поверхности испытательного потолка составляло (25 +/- 2) мм. Светильники, не имеющие маркировки символом

, устанавливают так, чтобы расстояние от верхней части корпуса светильника, снабженного устройствами для подключения к вентиляционным каналам, до внутренней поверхности испытательного потолка составляло (25 +/- 2) мм, а светильники с вентиляционными отверстиями устанавливают так, чтобы расстояние от верхней части корпуса светильника до внутренней поверхности испытательного потолка составляло (60 +/- 2) мм.
С целью обеспечения наиболее тяжелых условий испытаний светильников, совмещенных с системой вентиляции и кондиционирования воздуха и снабженных устройствами для подключения к вентиляционным каналам, систему циркуляции воздуха отключают, если эта система подает воздух, имеющий температуру ниже или равную температуре нормальных климатических условий испытаний по ГОСТ 16962-71.
Результаты измерений при нормальных условиях работы светильника считают положительными, если температура верхних поверхностей светильника, расположенных в зоне основного движения воздуха, не превышает 100 °С, кроме колбы люминесцентной лампы, температура которой не должна превышать 125 °С, температура конвекционных потоков воздуха, выходящего из светильника, не превышает 100 °С, а температура любой части испытательного потолка не превышает 90 °С.
При аномальном режиме работы результаты испытаний считают положительными, если температура верхних поверхностей светильников, расположенных в зоне основного движения воздуха, не превышает 130 °С, кроме колбы люминесцентной лампы, температура которой не должна превышать 150 °С, а температура любой части испытательного потолка не превышает 130 °С.
7.16.3.1; 7.16.3.2. (Введены дополнительно, Изм. N 2).
7.16.3.3. У светильников степени защиты свыше IP20 или 2'0 проводят измерение теплового режима после проверки степени защиты оболочек, но перед испытанием на влагоустойчивость.
(Введен дополнительно, Изм. N 3).
7.16.4. Проверку воздействия температуры при длительной работе светильника проводят в камере или помещении с температурой окружающей среды (t + 10) °С, где t = 25 °С, если в стандартах или технических условиях на отдельные типы или группы светильников не указана другая температура. Требуемая температура должна поддерживаться с точностью +/- 2 °С. Светильники устанавливают в рабочем, наиболее тяжелом в отношении теплового режима, положении.
Напряжение при испытании светильников с лампами накаливания устанавливается в соответствии с
п. 7.16.3, а с разрядными лампами - 1,10 номинального напряжения.
Светильники устанавливают как указано в
п. 7.16.3. Передвижной светильник со специальным электромеханическим присоединительным устройством устанавливают на подвеску со всеми элементами, входящими в систему подвески. Испытание состоит из 10 циклов. Во время каждого цикла светильник находится 20 ч во включенном состоянии, а затем в течение 4 ч - в выключенном состоянии.
После окончания испытаний проводят внешний осмотр светильника и измерение сопротивления изоляции согласно
п. 7.8.2.
Светильник считается выдержавшим испытание, если при внешнем осмотре не обнаружено отслаивания, растрескивания лакокрасочных и гальванических покрытий, растрескивания или обгорания пластмассовых, деревянных, фарфоровых, стеклянных деталей светильников и рассеивателей из пленочных материалов. Защита от поражения электрическим током и система подвески передвижного светильника со специальным электромеханическим присоединительным устройством не должна быть нарушена. Маркировка светильника должна оставаться четкой. Сопротивление изоляции светильника после испытания должно быть не менее 20 МОм.
(Измененная редакция, Изм. N 2).
7.16.5. Испытание на влагоустойчивость
7.16.5.1. Испытание на влагоустойчивость светильников, предназначенных для эксплуатации в условиях, соответствующих II, III, IV, V, VI, VII и VIII степеням жесткости по влажности воздуха, проводят по методу 207 ГОСТ 16962-71.
После окончания испытаний проверяют внутри камеры или вне ее, но не более чем на 5 мин сопротивление изоляции по
п. 7.8.2 и электрическую прочность изоляции по
п. 7.8.3, при этом значение испытательного напряжения должно составлять 0,6 значения, нормируемого для нормальных климатических условий испытаний.
| | ИС МЕГАНОРМ: примечание. Взамен ГОСТ 14254-80 Постановлением Госстандарта РФ от 18.10.1996 N 601 введен в действие с 1 января 1997 года ГОСТ 14254-96. | |
7.16.5.2. Испытание на влагоустойчивость светильников категории размещения 4 по
ГОСТ 15150-69 проводят во влагокамере при температуре (25 +/- 5) °С и относительной влажности (95 +/- 3)% в течение 168 ч для светильников, имеющих степень защиты выше IP20 или 2'0 по ГОСТ 14254-80, а для степеней защиты IP20 или 2'0 - в течение 48 ч.
При наличии вводные устройства должны быть открытыми. Электрические детали, крышки, защитные стекла и другие элементы светильника, которые могут быть удалены без помощи инструмента, снимают и подвергают испытанию на влагоустойчивость вместе со светильником.
По истечении времени пребывания светильника в камере измеряют сопротивление и испытывают электрическую прочность изоляции согласно
пп. 7.8.2 и
7.8.3 внутри камеры или вне ее, но не более чем через 5 мин после извлечения светильника из камеры.
7.16.5.1; 7.16.5.2. (Измененная редакция, Изм. N 2).
7.16.5.3. После извлечения из камеры светильник выдерживают в помещении с нормальными климатическими условиями в течение 24 ч и подвергают внешнему осмотру и испытанию по
п. 7.5.
7.16.5.4. Результаты испытания считают удовлетворительными, если сопротивление изоляции соответствуют значениям, указанным в
табл. 3, и не произошло перекрытия или пробоя изоляции светильников, если светильник нормально функционирует, а также, если отсутствуют трещины, отслаивания, вздутия и другие механические разрушения, а также размягчение материалов. Допустимые изменения внешнего вида лакокрасочных и гальванических покрытий, пластмасс и металлических деталей оговаривают в стандартах или технических условиях. Следы коррозии на острых краях металлических деталей или желтоватую пленку, которая легко удаляется простым стиранием, не считают браковочным признаком.
7.16.6. Испытания светильников сельскохозяйственного назначения на химическую стойкость проводят по ГОСТ 24683-81.
7.16.5.4; 7.16.6. (Измененная редакция, Изм. N 2).
7.16.6.1. (Исключен, Изм. N 2).
7.16.7. Испытания светильников сельскохозяйственного назначения на стойкость к воздействию дезинфицирующих средств проводят по ГОСТ 24683-81.
(Измененная редакция, Изм. N 2).
7.16.7.1. (Исключен, Изм. N 2).
7.16.8. Термостойкость частей светильника, несущих на себе токоведущие детали, проверяется нагреванием их до температуры [(t + 25) +/- 5] °С, но не меньшей 125 °С (t - наибольшая температура частей светильника, несущих на себе токоведущие детали, зафиксированная при проверке его нормального теплового режима по
п. 7.16.3).
Части светильника, служащие для защиты от поражения электрическим током, проверяются нагреванием их до температуры [(t + 25) +/- 5] °С, но не менее 75 °С.
Результаты испытаний считают положительными, если в испытуемых частях светильника, нагретых до требуемой температуры и выдержанных при ней в течение 1 ч, не возникают следующие дефекты: признаки подгорания изоляции; повреждения, ухудшающие защиту от поражения электрическим током и понижающие степень защиты светильника; ослабление электрических соединений; вытекание заливочной массы, обнажающее находящиеся под напряжением части; остаточные деформации, коробление или сморщивание, ухудшающее работоспособность светильника.
(Измененная редакция, Изм. N 2).
7.16.9. Проверка устойчивости к старению резиновых деталей светильников осуществляется в сушильном шкафу. Испытываемый образец помещается на 240 ч в шкаф с температурой (70 +/- 2) °С, состав воздуха и давление в котором соответствуют окружающей среде.
Результат испытаний считается положительным, если испытанные образцы могут выполнять свои функции в светильнике.
7.17. Проверка требований безопасности
7.17.1. Элементы из изоляционного материала, поддерживающие токоведущие детали, испытывают на устойчивость к воспламенению следующим способом.
Испытываемый образец устанавливают так, чтобы его плоский участок размером не менее 15 х 15 мм располагался горизонтально вниз. К плоскому участку образца подводят снизу пламя газообразного бутан-пропана по ГОСТ 20448-80, создаваемого горелкой с диаметром сопла (0,5 +/- 0,1) мм. Испытание проводят в спокойной атмосфере, при этом язык пламени в течение (120 +/- 5) с должен касаться образца не менее половины своей длины, равной (12 +/- 2) мм.
Элемент считается выдержавшим испытание, если самопроизвольно возникшее пламя погасло не более чем за 30 с после удаления пламени горелки, а горючие капли из проверяемого элемента не зажгли копировальную бумагу, находящуюся на деревянной сосновой доске толщиной (10 +/- 1) мм на расстоянии (250 +/- 5) мм под проверяемым элементом.
Патроны для ламп и стартеров, выключатели, штепсельные соединения, клеммные колодки и элементы светильников из керамики испытанию не подвергаются.
7.17.2. Испытание допустимости непосредственной установки светильника на опорную поверхность из сгораемого материала проводят внешним осмотром и проверкой с помощью измерительного инструмента соответствия конструкции светильника, а также проверкой теплового режима в аномальных условиях работы светильника.
Тепловой режим светильника проверяется по методике
п. 7.16.3 при следующих условиях:
светильник с лампами накаливания испытывается при напряжении, равном 1,1 номинального, с лампами по
п. 7.16.3 в наиболее неблагоприятном, в отношении теплового режима, положении;
светильник с люминесцентными лампами испытывается последовательно при напряжении, равном 0,9; 1,0 и 1,1 номинального, в аномальном режиме, создаваемом одним из следующих способов:
в светильнике со стартерной схемой зажигания 20% стартеров замкнуто накоротко (нецелое число округляют в большую сторону);
одна из ламп не вставлена;
один из электродов лампы нарушен;
одна из ламп дезактивирована.
Выбирается наиболее неблагоприятное в отношении теплового режима условие.
Значения температуры наносят на график согласно черт. 8 и соединяются прямой.
а, b, с - измеренные значения температуры
при 0,9-; 1,0- и 1,1-кратном номинального напряжения
Черт. 8
Светильник считается выдержавшим испытание, если при напряжении, равном 1,1 номинального, температура опорной поверхности светильника не превышает 120 °С, а также для светильников с люминесцентными лампами экстраполированная прямая на графике (черт. 8) не достигает при температуре обмотки ПРА ниже 350 °С температуры опорной поверхности светильника 180 °С.
7.17.1; 7.17.2. (Измененная редакция, Изм. N 2).
| | Применение на добровольной основе пункта 7.17.3 обеспечивает соблюдение требований Федерального закона от 22.07.2008 N 123-ФЗ "Технический регламент о требованиях пожарной безопасности" (Приказ Ростехрегулирования от 30.04.2009 N 1573). | |
7.17.3. Вероятность возникновения пожара (

) от светильников, предназначенных для внутреннего освещения жилых, общественных помещений и производственных зданий, вычисляют по формуле:
для светильников с лампами накаливания

;
для светильников с люминесцентными лампами

,
где

- вероятность эксплуатации светильника с лампой максимальной мощности, определяют по
табл. 18;

= 1 - для светильников с патронами типа Е14;

,

,

- соответственно вероятности нагрева опорной поверхности, рассеивателя и ПРА светильника до критической температуры;

- вероятность возникновения воспламеняющего импульса, определяют по
табл. 19;

- вероятность эксплуатации светильника в аномальном режиме, определяют по
табл. 20;

- вероятность воспламенения ПРА и (или) выброса из него раскаленных частиц и (или) пламени, определяют по ГОСТ 16809-78;

- вероятность эксплуатации ПРА, в i-м пожароопасном режиме, определяют по ГОСТ 16809-78;
k - количество пожароопасных аномальных режимов работы ПРА, определяют по ГОСТ 16809-78;

- вероятность воспламенения светильника при возгорании ПРА.
──────────┬───────────────────────────────────────────────────────────────────────
Тип цоколя│ Значения вероятности
<*> при номинальной мощности
по ГОСТ │ лампы накаливания, Вт
17100-79 ├─────┬─────┬─────┬─────┬─────┬─────┬─────┬─────┬─────┬─────┬─────┬─────
│ 15 │ 25 │ 40 │ 60 │ 75 │ 100 │ 150 │ 200 │ 300 │ 500 │ 750 │1000
──────────┼─────┼─────┼─────┼─────┼─────┼─────┼─────┼─────┼─────┼─────┼─────┼─────
Е27 (для │0,125│0,142│0,167│0,200│0,250│0,333│0,500│1,000│ - │ - │ - │ -
светильни-│ │ │ │ │ │ │ │ │ │ │ │
ков для │ │ │ │ │ │ │ │ │ │ │ │
жилых по- │ │ │ │ │ │ │ │ │ │ │ │
мещений) │ │ │ │ │ │ │ │ │ │ │ │
Е27 (для │0,111│0,125│0,142│0,167│0,200│0,250│0,333│0,500│1,000│ - │ - │ -
светильни-│ │ │ │ │ │ │ │ │ │ │ │
ков для │ │ │ │ │ │ │ │ │ │ │ │
обществен-│ │ │ │ │ │ │ │ │ │ │ │
ных и про-│ │ │ │ │ │ │ │ │ │ │ │
изводст- │ │ │ │ │ │ │ │ │ │ │ │
венных │ │ │ │ │ │ │ │ │ │ │ │
помещений)│ │ │ │ │ │ │ │ │ │ │ │
Е40 │ - │ - │ - │ - │ - │ - │ - │ - │0,250│0,333│0,500│1,000
--------------------------------
<*> Не зависит от числа ламп в светильнике.
────────────────┬──────┬──────┬──────┬──────┬──────┬──────┬───────
t │ 0,75 │ 0,80 │ 0,85 │ 0,90 │ 0,95 │ 1,0 │ 1,10
п │ │ │ │ │ │ │
---- │ │ │ │ │ │ │
t │ │ │ │ │ │ │
п.п │ │ │ │ │ │ │
────────────────┼──────┼──────┼──────┼──────┼──────┼──────┼───────
+6 │ │ │ │ │ │ │
Q х 10 │0,369 │0,473 │0,592 │0,747 │0,938 │ 1,13 │ 2,01
в.и │ │ │ │ │ │ │
Примечания. 1. Условные обозначения:

- измеренная температура, °С;

- предельная температура нагрева провода (см.
табл. 10), °С.
2. Если

, то

в формулах вероятности возникновения пожара (

) от светильников не учитывают. Если

, то

= 1.
3. Промежуточные значения

вычисляют по формуле

,
где

и

- соответственно, табличное значение

для табличных

значений меньшего и большего, чем получено при испытании;

и

- ближайшие табличные значения

, соответственно, меньшее и большее, чем полученные при испытании.
──────┬────────────────┬───────────────┬──────────────┬───────────
Вид │Характеристика │ Светильник │ Светильник │Светильник
ПРА │режима ПРА │ одноламповый │ двухламповый │ с числом
│ ├───────┬───────┼──────┬───────┤ламп больше
│ │емкост-│индук- │емко- │индук- │ двух
│ │ный ПРА│тивный │стный │тивный │
│ │ │ПРА │ПРА │ПРА │
──────┼────────────────┼───────┼───────┼──────┴───────┼───────────
Одно-│ Наиболее тяже- │ПК + ЗС│ ЗС │ЗС + (ПК + ЗС)│(ПК + ЗС) +
лампо-│лый аномальный │ │ │ │+ (ПК + ЗС)
вый │режим │ │ │ │
ПРА ├────────────────┼───────┼───────┼──────────────┼───────────
│ Вероятность │ 0,006 │ 0,06 │ 0,00034 │ 0,00036
│наступления │ │ │ │
│наиболее тяжело-│ │ │ │
│го аномального │ │ │ │
│режима │ │ │ │
──────┼────────────────┼───────┼───────┼──────┬───────┼───────────
Двух-│ Наиболее тяже- │ - │ - │ - │ЗС + ЗС│(ПК + ЗС) +
лампо-│лый аномальный │ │ │ │ │+ ЗС + ЗС
вый │режим │ │ │ │ │
ПРА ├────────────────┼───────┼───────┼──────┼───────┼───────────
│ Вероятность │ - │ - │ - │0,0036 │ 0,0000216
│наступления │ │ │ │ │
│наиболее тяжело-│ │ │ │ │
│го аномального │ │ │ │ │
│режима │ │ │ │ │
Примечание. ПК - режим работы ПРА, возникающий при короткозамкнутом конденсаторе; ЗС - режим работы ПРА, возникающий при незажигании лампы (длительный пусковой режим).
7.17.3.1. Вероятность достижения критической температуры опорной поверхности (

), рассеивателя (

) и ПРА (

) при работе светильника в наиболее тяжелом аномальном режиме определяют по формуле

, где

- параметр, значение которого определяют по табл. 21 в зависимости от

.
Таблица 21
Значение функции
────────────────────────────────┬─────────────────────────────────
альфа │ Q(альфа)
────────────────────────────────┼─────────────────────────────────
0,0 │ 0,000000
0,1 │ 0,078000
0,2 │ 0,154000
0,3 │ 0,228000
0,4 │ 0,300000
0,5 │ 0,370000
0,6 │ 0,434000
0,7 │ 0,496000
0,8 │ 0,554000
0,9 │ 0,606000
1,0 │ 0,654000
1,1 │ 0,696000
1,2 │ 0,736000
1,3 │ 0,770000
1,4 │ 0,800000
1,5 │ 0,828000
1,6 │ 0,852000
1,7 │ 0,872000
1,8 │ 0,890000
1,9 │ 0,906000
2,0 │ 0,920000
2,2 │ 0,940000
2,4 │ 0,956000
2,6 │ 0,968000
2,8 │ 0,976000
3,0 │ 0,984000
3,2 │ 0,983000
3,4 │ 0,990000
3,6 │ 0,992000
3,8 │ 0,994763
4,0 │ 0,996050
4,2 │ 0,997007
4,4 │ 0,997713
4,6 │ 0,998245
4,8 │ 0,998645
5,0 │ 0,998947
5,2 │ 0,999178
5,8 │ 0,999595
6,0 │ 0,999677
7,0 │ 0,999887
8,0 │ 0,999956
9,0 │ 0,999982
10,0 │ 0,999992
11,0 │ 0,999996
12,0 │ 0,999998
13,0 │ 0,999999
Значение

вычисляют по формуле

,
где

- критическая температура соответственно опорной поверхности рассеивателя и ПРА, °С;

- средняя температура соответственно опорной поверхности, рассеивателя и ПРА, °С;

- среднее квадратическое отклонение измеренных температур от

.
Если

, то

= 1.
Если

= 13, то

= 0 и, следовательно,

= 0.
Критическая температура опорной поверхности

= 238 °С.
Критическую температуру рассеивателя (

) определяют по табл. 22:

- для светильников для производственных и общественных зданий;

- для светильников для жилых помещений.
Примечание. Для текучих материалов вместо значений

или

должны использоваться значения

.
Таблица 22
───────────────────────────────┬──────────────────────────────────
Материал │ Температура, °С
<*>
├──────────┬─────────┬─────────────
│плавления │воспламе-│самовоспла-
│ Т │нения Т │менения Т
│ п.п │ в │ с.в
───────────────────────────────┼──────────┼─────────┼─────────────
Гетинакс │ - │ 285 │ 480
Текстолит │ - │ 358 │ 500
Стеклотекстолит │ - │ 671 │ 754
Полистирол │ 200 │ 210 │ 444
Полиэтилен: │ - │ 341 │ 349
высокого давления │ - │ - │ 400
низкого давления │ 300 │ 306 │ 417
Поливинилхлорид (ПВХ) │ - │ 391 │ 454
Полипропилен │ - │ 316 │ 325
Полиметилметакрилат │ 125 │ 214 │ 439
(оргстекло) │ │ │
Полиэтилентерефталат (лавсан) │ 250 │ 255 │ -
Полиамиды (капрон) │ 210 │ 215 │ -
Поликарбонат │ - │ 522 │ 550
Аминопласты │ - │ 430 │ -
Фенопласты (пресс-порошки) │ - │ 621 │ 754
на бумажной основе │ - │ 300 │ 430
Стеклопластики │ - │ 520 │ 571
--------------------------------
Критическую температуру ПРА определяют по ГОСТ 16809-88.
Среднюю температуру (

) в градусах Цельсия соответственно опорной поверхности, рассеивателя и ПРА, среднее квадратическое отклонение этих температур (

) в градусах Цельсия вычисляют по формулам:

;

,
где

- измеренная температура соответственно опорной поверхности, рассеивателя и ПРА, °С.
Примечание. Если измеренная температура опорной поверхности меньше измеренной температуры в точке

(см. табл. 23), то при расчете

опорной поверхности используют значение температуры, измеренное в точке

.
───────┬──────────────────────────────┬───────────────────────────
Обозна-│Светильники с люминесцентными │ Светильники с лампами
чение │ лампами │ накаливания
точки │ │
───────┼──────────────────────────────┼───────────────────────────
m │ На внутренней поверхности │ На внутренней поверхности
р1 │рассеивателя (экранирующей │рассеивателя и элементов
│решетки) в зоне проекции │конструкции из горючих
│одного из катодных пятен │материалов, примыкающих
│лампы, ближайшего к пуско- │к рассеивателю. В светиль-
│регулирующему аппарату (ПРА) │никах с несколькими
│ │рассеивателями термопары
│ │устанавливают на одном,
│ │имеющем наибольший нагрев.
│ │При отсутствии горючих
│ │материалов в элементах
│ │конструкции, примыкающих
│ │к рассеивателю, термопары
│ │устанавливают на
│ │пластмассовом патроне
m │ На наружной поверхности │ На наружной поверхности
р2 │светильника: │светильника:
│ а) сверху посередине проек- │ а) в месте контактирова-
│ции ПРА - для потолочных и │ния корпуса светильника с
│встраиваемых светильников; │опорной поверхностью - для
│ │потолочных, настенных и
│ │встраиваемых светильников;
│ б) в месте контактирования │ б) в месте контактирова-
│узла подвеса с потолком - для │ния узла подвеса с потол-
│подвесных светильников; │ком - для подвесных
│ │светильников;
│ в) в месте наибольшего │ в) в середине основания
│нагрева корпуса светильника, │светильников - для
│соприкасающегося с деревянным │настольных и напольных
│щитом - для настенных │светильников
│светильников; │
│ г) в середине основания │
│светильника - для настольных │
│и напольных светильников │
m │ На корпусе (поверхности) │ -
3 │наиболее нагретого ПРА │
m
<*>│ На изоляции проводов │ На изоляции проводов
н │внутреннего монтажа в месте │внутреннего монтажа в
│наибольшего нагрева │месте их ввода в патрон
m │ - │ На опорной поверхности
о │ │щита, на котором устанав-
│ │ливается (крепится)
│ │светильник в зоне прямого
│ │радиационного нагрева, при
│ │условии, что расстояние
│ │от центра колбы лампы
│ │накаливания до щита менее
│ │150 мм
--------------------------------
<*> Измерение температуры в точке "

" проводят при температуре (35 +/- 5) °С и напряжении 1,1 номинального с лампами номинальной мощности, указанной в маркировке светильника.
7.17.3.2. Температуру наиболее нагретых элементов светильников измеряют в точках, указанных в
табл. 23, при температуре окружающей среды (35 +/- 5) °С и напряжении 1,1 номинального через 2 ч после установления теплового режима светильника.
Измерения проводят в камере, обеспечивающей поддержание заданной температуры окружающей среды. Порядок размещения и установки светильников в камере должен соответствовать указанному в
Приложении 8.
7.17.3.3. Температуру светильников с люминесцентными лампами измеряют в наиболее тяжелом аномальном режиме ПРА, указанном в
табл. 20.
7.17.3.4. Температуру светильников с лампами накаливания измеряют с лампами максимально возможной мощности для данного типа патрона, установленного в светильнике, но не более:
40 Вт - для патронов типа Е14;
200 Вт - для патронов типа Е27 в светильниках для жилых помещений;
300 Вт - для патронов типа Е27 в светильниках для освещения общественных и производственных зданий;
1000 Вт - для патронов типа Е40 в светильниках для освещения производственных зданий.
При этом колба лампы накаливания не должна выходить за габаритные размеры рассеивателя светильника, а между колбой лампы и рассеивателем или защитным стеклом должен быть обеспечен зазор не менее 10 мм.
7.17.3.5. При выходе лампы из строя ее заменяют аналогичной лампой и измерение продолжают.
7.17.3.6. Вероятность распространения пламени от ПРА по всему светильнику определяют с помощью газовой горелки.
Из светильника удаляют ПРА или одно из ПРА, где возможно более вероятное распространение пламени. На место установки ПРА воздействуют пламенем пропан-бутановой смеси, как указано в
п. 7.17.1.
В уплотненных светильниках прорезают отверстие под шланг, через который подается газ.
Горелку в светильнике зажигают вручную или дистанционно с помощью искрового разряда. Регистрацию загорания газовой смеси осуществляют визуально или при помощи термопары.
Температуру элементов светильника в точках, указанных в
табл. 23, измеряют при помощи термопар.
Проверку проводят на обесточенном светильнике.
Если пламя горелки за указанное время погасло, то проверку повторяют снова. При повторном погасании пламени горелки за температуру в проверяемых точках принимают наибольшее из двух значений.
Вероятность распространения пламени от ПРА по всему светильнику (

) вычисляют по формуле

,
где

- количество случаев распространения пламени по всему светильнику или случаев, когда температура рассеивателя или опорной поверхности стали равны или больше значений их критических температур.
Допускается проверку вероятности распространения пламени от ПРА по всему светильнику не проводить, при этом принимают

= 1.
| | ИС МЕГАНОРМ: примечание. Взамен ГОСТ 12.1.004-85 Постановлением Госстандарта СССР от 14.06.1991 N 875 с 1 июля 1992 года введен в действие ГОСТ 12.1.004-91. | |
7.17.3.7. Результаты проверки считают положительными, если рассчитанное значение вероятности возникновения пожара соответствует ГОСТ 12.1.004-85.
7.17.3; 7.17.3.1 - 7.17.3.7. (Введены дополнительно, Изм. N 2).
7.17.4. Проверку защитных устройств от разрушения лампы проводят следующим образом.
Светильник устанавливают в рабочее положение и включают при номинальном напряжении лампы на (30 +/- 5) с. Затем резко повышают напряжение на лампе примерно на 30% с целью ее разрушения.
После разрушения лампы защитное устройство не должно иметь повреждений.
Затем испытание повторяют.
После разрушения второй лампы ее осколки не должны выпасть из светильника.
Растрескивание стеклянного защитного устройства не является браковочным признаком.
(Измененная редакция, Изм. N 3).
7.18. Проверка консервации и упаковки светильников проводится по
ГОСТ 23216-78.
7.19. Проверка воздействия на светильники механических факторов внешней среды в условиях транспортирования проводится по
ГОСТ 23216-78.
8. МАРКИРОВКА, УПАКОВКА, ТРАНСПОРТИРОВАНИЕ И ХРАНЕНИЕ
8.1. На корпусе или на одной из несъемных в процессе эксплуатации деталей светильника должна быть нанесена несмываемая отчетливая маркировка по
ГОСТ 18620-86, содержащая:
товарный знак предприятия-изготовителя (для экспорта - по согласованию с внешнеторговым объединением);
условное обозначение светильника.
Примечания. 1. Допускается дополнительно указывать условное наименование (если оно имеется).
2. Для светильников, предназначенных для соединения в светящую линию и допускающих соединение со светильниками другого типа, в маркировке или в эксплуатационном документе должно быть указано условное обозначение соединяемого светильника.
номинальное или расчетное напряжение, В.
Примечание. На маркировке переносных светильников класса защиты III указывают номинальное напряжение (на внешней стороне светильника).
номинальную частоту, Гц (если она отличается от 50 Гц) для светильников с разрядными лампами;
номинальную мощность ламп, Вт, которая должна быть видна при обслуживании светильника и замене лампы. На многоламповых светильниках записывается в виде (n х Р) Вт, где n - количество ламп в светильнике, Р - номинальная мощность лампы.
Примечание. Допускается на светильниках, снабженных патронами типа Е14 или В15, не наносить номинальную мощность ламп, если светильники удовлетворяют требованиям
п. 3.4.5.1 при испытании с лампами мощностью 60 Вт.
коэффициент мощности cos

для некомпенсированных светильников с разрядными лампами высокого давления;
степень защиты оболочки (светильники со степенью защиты IP20 не маркируются);
символ

для светильников класса защиты II или символ

для светильников класса защиты III. Длина стороны внешнего квадрата должна быть не менее 5 мм; если наибольший размер светильника менее 150 мм, допускается пропорционально уменьшить сторону квадрата до 3,5 мм;
символ

для светильников, пригодных для установки непосредственно на опорную поверхность из сгораемого материала. Соотношение сторон треугольника 1:1:1;
символ

, при необходимости, для светильников, предназначенных для работы в сложных условиях эксплуатации;
символ

, при необходимости, для светильников, сконструированных только для работы с лампами с зеркализованным куполом;
символ

, при необходимости, для экспозиционных светильников, означающий расстояние от светильника до освещаемого объекта, при этом оно должно быть не менее указанного в табл. 24.
Таблица 24
────────────────────────────┬─────────────────────────────────────
Номинальная мощность │ Расстояние до освещаемого объекта,
источника света, Вт │ м, не менее
────────────────────────────┼─────────────────────────────────────
До 100 включ. │ 0,5
Св. 100 до 300 " │ 0,8
" 300 " 500 " │ 1,0
Расстояние измеряется вдоль оптической оси светового прибора, от той его части или лампы, которые находятся на наиболее близком расстоянии от освещаемого объекта.
Примечание. Допускается вместо нанесения данного символа на светильник указывать минимальное расстояние до освещаемого объекта в эксплуатационном документе.
надпись "Снять треснувший защитный корпус" для светильников, имеющих стеклянный защитный корпус, при разрушении которого может появиться возможность прикосновения к открытым токоведущим частям;
месяц и год изготовления (при поставках на экспорт не указывается);
климатическое исполнение и категорию размещения по
ГОСТ 15150-69, если они не указаны в типе светильника (исполнение УХЛ4 для светильников для жилых помещений не указывается);
надпись "Сделано в СССР" на русском языке или языке, указанном в заказ-наряде внешнеторгового объединения, при поставках на экспорт;
изображение государственного Знака качества для светильников, которым он присвоен; при поставках на экспорт - по требованию внешнеторговых объединений;
тип лампы (если это необходимо для правильной эксплуатации и это не указано в условном обозначении светильника);
обозначение стандарта или технических условий, по которым выпускается светильник.
При поставке на экспорт - обозначение государственного стандарта, по которому выпускается светильник;
розничная цена - для светильников, поставляемых в розничную торговлю.
(Измененная редакция, Изм. N 3).
8.2. Для светильников, на которые невозможно или нецелесообразно наносить маркировку в полном объеме, допускается ее сокращение, при этом содержание маркировки должно быть указано в стандартах или технических условиях на отдельные типы или группы светильников.
Допускается указывать дополнительные реквизиты маркировки.
(Измененная редакция, Изм. N 2).
8.2.1. Встраиваемые светильники и светильники, совмещенные с системой вентиляции и кондиционирования воздуха, не имеющие маркировки символом

, должны иметь маркировку или указание в эксплуатационном документе о том, что расстояние между верхней частью корпуса светильника и поверхностью из сгораемого материала должно быть не менее 25 мм.
8.2.2. Светильники, совмещенные с системой вентиляции и кондиционирования воздуха и маркированные символом

, должны иметь указание в эксплуатационном документе о возможности их подключения к вентиляционным каналам или использовании их в вентилируемом пространстве.
Если в комплект светильника, предназначенного для использования в вентилируемом пространстве, входят приспособления, позволяющие их совмещать с вентиляционными каналами, то на этих приспособлениях должна быть нанесена маркировка: "Для подсоединения к вентиляционным каналам".
8.2.1; 8.2.2. (Введены дополнительно, Изм. N 2).
8.3. Способ нанесения маркировки должен указываться в стандартах или технических условиях на отдельные типы или группы светильников.
8.4. На транспортной таре должна быть нанесена маркировка по
ГОСТ 14192-77 со следующими манипуляционными знаками: "Осторожно, хрупкое", "Боится сырости", а также должен быть указан способ складирования, маркировка которого указана в
Приложении 9.
При транспортировании светильников повагонно пакетами, автомобильным транспортом или грузовыми контейнерами без транспортной тары маркировка способа складирования должна наноситься на внутреннюю упаковку или потребительскую тару.
Допускается не указывать способ складирования, если светильники транспортируются в грузовых контейнерах или в автомашинах, без внутренней упаковки и транспортной тары.
При необходимости на транспортной таре должны быть указаны другие манипуляционные знаки по
ГОСТ 14192-77.
8.5. Упаковка, хранение, транспортирование и консервация светильников должны соответствовать требованиям
ГОСТ 23216-78, при этом основным видом транспортной тары должны быть грузовые контейнеры.
При транспортировании грузовых мест пакетами они должны соответствовать требованиям
ГОСТ 21929-76.
Конкретный вид внутренней упаковки, транспортной тары, размеры и масса пакетов должны быть указаны в стандартах или технических условиях на отдельные типы или группы светильников.
Допускается раздельное упаковывание легкосъемных или снимаемых при монтаже деталей светильников (экранирующих решеток, защитных стекол, рассеивателей, отражателей, узлов подвеса и др.). При этом демонтаж электрической схемы светильника недопустим. Отсоединение клеммных колодок и отдельных элементов электрической схемы, снабженных электрическими соединителями или клеммными колодками, не считается демонтажом электрической схемы.
8.4; 8.5. (Измененная редакция, Изм. N 2).
8.6. Условия транспортирования светильников в части воздействия механических и климатических факторов внешней среды должны указываться в стандартах или технических условиях на отдельные типы или группы светильников.
8.7. Условия хранения и срок сохраняемости светильников должны указываться в стандартах или технических условиях на отдельные типы или группы светильников.
8.8. Упаковка, маркировка, хранение и транспортирование светильников, поставляемых в районы Крайнего Севера и труднодоступные районы, - по
ГОСТ 15846-79.
(Введен дополнительно, Изм. N 2).
9.1. Изготовитель гарантирует соответствие светильников требованиям настоящего стандарта при соблюдении условий эксплуатации, транспортирования, хранения и монтажа, установленных стандартом.
Гарантийный срок эксплуатации:
18 мес - со дня ввода светильников в эксплуатацию, кроме светильников для освещения жилых помещений;
24 мес - со дня продажи через розничную торговую сеть светильников для освещения жилых помещений с рассеивателями из пленочных материалов;
30 мес - со дня продажи через розничную торговую сеть прочих светильников для освещения жилых помещений.
Для светильников, поставляемых на экспорт, гарантийный срок эксплуатации 18 мес со дня ввода светильников в эксплуатацию, но не более 30 мес с момента их проследования через Государственную границу СССР.
(Измененная редакция, Изм. N 2).
Обязательное
ОТНОСЯЩИЕСЯ К ГРУППАМ СВЕТИЛЬНИКОВ
───────────┬─────────────────────┬──────────┬──────────┬──────────
Раздел, │ Светильники для │Светильни-│Светильни-│Светильни-
пункт │ освещения │ки для │ки для │ки ручные
настоящего ├──────────┬──────────┤производ- │наружного │
стандарта │ жилых │обществен-│ственных │освещения │
│помещений │ных зданий│зданий │ │
───────────┼──────────┼──────────┼──────────┼──────────┼──────────
3.2.1 │ + │ + │ + │ + │ -
3.2.2 │ + │ + │ + │ - │ -
3.2.3 │ + │ + │ + │ - │ -
3.2.4 │ + │ + │ + │ + │ +
3.3.5 │ + │ + │ + │ + │ -
3.4.1 │ + │ + │ + │ + │ +
3.4.6 │ + │ + │ + │ + │ +
(Измененная редакция, Изм. N 2, 3).
Справочное
ВСТРЕЧАЮЩИХСЯ В СТАНДАРТЕ
─────────────────────────┬────────────────────────────────────────
Термин │ Пояснение
─────────────────────────┼────────────────────────────────────────
Опорная поверхность │ Поверхность, на которой непосредст-
│венно монтируется или устанавливается
│светильник (потолки, стены, пол, крышка
│стола и т.п.)
Установившийся тепловой │ Тепловой режим светильника, при
режим светильника │котором температура различных элементов
│светильника не изменяется более чем
│на 1° за 30 мин
Токоведущие части │ Открытые токопроводящие части
│светильника, которые могут явиться
│причиной поражения электрическим током
│при эксплуатации
Соединительный шнур │ Гибкий шнур или кабель, являющийся
или кабель │составной частью светильника, служащий
│для присоединения светильника к
│питающей сети с помощью штепсельной
│вилки
Передвижной светильник │ Светильник, имеющий возможность
со специальным электро- │перемещения вдоль системы подвески,
механическим присоеди- │с которой он имеет механическое
нительным устройством │и электрическое соединение
Критическая температура │ Температура, при которой происходит
│разрушение сгораемых материалов
│(плавление, обугливание, выделение
│дыма, тление и т.д.)
материал │
Светильники для работы │ Светильники, предназначенные для
в сложных условиях │работы в сложных условиях эксплуатации
эксплуатации │в отношении механических нагрузок
│(группа условий эксплуатации не менее
│М2 по ГОСТ 17516-72). Примерами таких
│светильников являются светильники для
│ремонтных мастерских, строительных
│площадок и других аналогичных целей
(Измененная редакция, Изм. N 2, 3).
Рекомендуемое
РЕКОМЕНДУЕМЫЕ ДЛЯ СНИЖЕНИЯ ТЕМПЕРАТУРЫ
НАГРЕВА ОПОРНОЙ ПОВЕРХНОСТИ
1. Корпус ПРА в светильниках с корпусом из несгораемого материала должен быть отдален от опорной поверхности следующим образом:
расстояние между корпусом ПРА и опорной поверхностью должно быть не менее 10 мм;
воздушный зазор между наружной поверхностью корпуса светильника и опорной поверхностью должен быть менее 3 мм;
воздушный зазор между корпусом ПРА и внутренней поверхностью корпуса светильника должен быть не менее 3 мм по всей поверхности корпуса ПРА.
Если корпус светильника изготовлен из сгораемого материала, то он должен быть удален от ПРА на расстояние не менее 30 мм или между ПРА и корпусом светильника должна находиться перегородка из несгораемого материала (например, из листовой стали толщиной 0,5 мм) на расстоянии 3 мм от ПРА, причем должны сохраняться расстояния между корпусом ПРА и опорной поверхностью, между опорной поверхностью и внутренней и наружной поверхностью светильника.
2. Тепловая защита должна обеспечивать на опорной поверхности температуру, не превышающую 120 °С.
3. Если светильник, предназначенный для непосредственной установки на опорную поверхность из сгораемого материала, не удовлетворяет указанным выше требованиям, он должен быть сконструирован таким образом, чтобы в случае дефекта ПРА в течение 15 мин работы светильника температура обмотки ПРА не превышала 350 °С, а на опорной поверхности - 180 °С.
(Введено дополнительно, Изм. N 2).
Обязательное
ИЗМЕРЕНИЯ ПУТИ УТЕЧКИ ТОКА
1. Паз с параллельными стенками любой глубины (черт. 1). Здесь и далее путь утечки тока должен измеряться по длине пунктирной линии. Размеры даны в мм.
Черт. 1
2. U-образный паз с внутренним углом не более 80° (черт. 2).
Черт. 2
3. Путь утечки с ребром (черт. 3).
Черт. 3
4. Сочленения двух деталей (черт. 4).
1 и 2 - детали светильника
Черт. 4
5. Паз с расходящимися стенками (черт. 5).
Черт. 5
6. Паз между шестигранной головкой винта и изоляционной стенкой (черт. 6).
Черт. 6
7. Паз между круглой головкой винта и изоляционной стенкой (черт. 7).
Черт. 7
Обязательное
Измерительной лампой считают источник света со стабильным световым потоком, применяемый при испытаниях светильников и градуируемый путем сравнения с рабочими светоизмерительными лампами по ГОСТ 8.023-86.
Измерительные лампы отбирают из партии ламп, соответствующих требованиям стандартов или технических условий и подвергнутых предварительному старению.
Все элементы схемы, обеспечивающие нормальную работу лампы во время старения, а также при измерении электрических параметров и светового потока, должны соответствовать стандартам или техническим условиям на отдельный тип или группу ламп.
Световой поток измерительных ламп должен быть не менее 0,9 номинального светового потока.
Время старения ламп накаливания - 50 ч, газоразрядных ламп - 200 ч.
Стабильность светового потока измерительных ламп характеризует допустимое изменение светового потока. Оно определяется как среднее квадратическое отклонение не менее чем из трех измерений, произведенных после старения с интервалами времени не менее 24 ч. Допустимое изменение светового потока при этом - не более +/- 3%.
Время работы лампы должно быть зафиксировано в журнале с указанием даты, времени горения и подписи лица, проводящего измерения.
Световой поток измерительных ламп следует проверять для ламп накаливания - через 50 ч эксплуатации, для газоразрядных ламп мощностью до 15 Вт - через 100 ч эксплуатации; для газоразрядных ламп мощностью 15 Вт и более - через 200 ч эксплуатации. Допустимое изменение светового потока, определяемое так же, как и после старения - не более +/- 3%.
Измерительные лампы должны храниться в условиях, указанных в
п. 7.2.1, в местах, предохраняющих их от механических повреждений, а также защищенных от прямого воздействия лучистого потока света.
(Измененная редакция, Изм. N 2).
Справочное
ОРИЕНТИРОВОЧНОЕ ВРЕМЯ УСТАНОВЛЕНИЯ
ТЕПЛОВОГО РЕЖИМА СВЕТИЛЬНИКОВ
──────────────────────────────────────────────────┬───────────────
Вид светильника │ Время работы
│ светильника,
│ ч, не менее
──────────────────────────────────────────────────┼───────────────
Нормального исполнения │ 1,5
Защищенный от пыли и воды с лампами накаливания, │ 2,0
незащищенный открытый с газоразрядными лампами │
Защищенный от пыли и воды с газоразрядными │ 3,5
лампами │
Герметичный с газоразрядными лампами │ 4,0
Справочное
ЗОНАЛЬНЫХ ТЕЛЕСНЫХ УГЛОВ
Таблица 1
Зональные телесные углы

при

= 2°
──────────────────┬───────────────────────┬───────────────────────
Зона угла │ Направление │ Телесный угол, ср
──────────────────┼───────────────────────┼───────────────────────
0 - 2° │ 1° │ 0,00383
2 - 4 │ 3 │ 0,01150
4 - 6 │ 5 │ 0,01910
6 - 8 │ 7 │ 0,02667
8 - 10 │ 9 │ 0,03430
10 - 12 │ 11 │ 0,02115
12 - 14 │ 13 │ 0,04920
14 - 16 │ 15 │ 0,0567
16 - 18 │ 17 │ 0,0640
18 - 20 │ 19 │ 0,0714
20 - 22 │ 21 │ 0,0788
22 - 24 │ 23 │ 0,0855
24 - 26 │ 25 │ 0,0926
26 - 28 │ 27 │ 0,1001
28 - 30 │ 29 │ 0,1063
30 - 32 │ 31 │ 0,1128
32 - 34 │ 33 │ 0,1186
34 - 36 │ 35 │ 0,1254
36 - 38 │ 37 │ 0,1319
38 - 40 │ 39 │ 0,1376
40 - 42 │ 41 │ 0,1436
42 - 44 │ 43 │ 0,1494
44 - 46 │ 45 │ 0,1549
46 - 48 │ 47 │ 0,1605
48 - 50 │ 49 │ 0,1654
50 - 52 │ 51 │ 0,1703
52 - 54 │ 53 │ 0,1749
54 - 56 │ 55 │ 0,1793
56 - 58 │ 57 │ 0,1833
58 - 60 │ 69 │ 0,1872
60 - 62 │ 61 │ 0,1914
62 - 64 │ 63 │ 0,1953
64 - 66 │ 65 │ 0,1986
66 - 68 │ 67 │ 0,2017
68 - 70 │ 69 │ 0,2047
70 - 72 │ 71 │ 0,2072
72 - 74 │ 73 │ 0,2095
74 - 76 │ 75 │ 0,2121
76 - 78 │ 77 │ 0,2139
78 - 80 │ 79 │ 0,2149
80 - 82 │ 81 │ 0,2166
82 - 84 │ 83 │ 0,2177
84 - 86 │ 85 │ 0,2183
86 - 88 │ 87 │ 0,2187
88 - 90 │ 89 │ 0,2190
- │ - │ -
Таблица 2
Зональные телесные углы

при

= 5°
─────────────┬────────────┬───────────┬───────────────┬───────────
Зона угла │Направление │ Телесный │ Зона угла │Направление
│ │ угол, ср │ │
─────────────┼────────────┼───────────┼───────────────┼───────────
0 - 2,5° │ 0° │ 0,0060 │ 177,5 - 180° │ 180°
2,5 - 7,5 │ 5 │ 0,0478 │ 172,5 - 177,5 │ 175
7,5 - 12,5 │ 10 │ 0,0957 │ 167,5 - 172,5 │ 170
12,5 - 17,5 │ 15 │ 0,1419 │ 162,5 - 167,5 │ 165
17,5 - 22,5 │ 20 │ 0,1845 │ 157,5 - 162,5 │ 160
22,5 - 27,5 │ 25 │ 0,2317 │ 152,5 - 157,5 │ 155
27,5 - 32,5 │ 30 │ 0,2741 │ 147,5 - 152,5 │ 150
32,5 - 37,5 │ 35 │ 0,3144 │ 142,5 - 147,5 │ 145
37,5 - 42,5 │ 40 │ 0,3523 │ 137,5 - 142,5 │ 140
42,5 - 47,5 │ 45 │ 0,3876 │ 132,5 - 137,5 │ 135
47,5 - 52,5 │ 50 │ 0,4199 │ 127,5 - 132,5 │ 130
52,5 - 57,5 │ 55 │ 0,4490 │ 122,5 - 127,5 │ 125
57,5 - 62,5 │ 60 │ 0,4747 │ 117,5 - 122,5 │ 120
62,5 - 67,5 │ 65 │ 0,4968 │ 112,5 - 117,5 │ 115
67,5 - 72,5 │ 70 │ 0,5150 │ 107,5 - 112,5 │ 110
72,5 - 77,5 │ 75 │ 0,5295 │ 102,5 - 107,5 │ 105
77,5 - 82,5 │ 80 │ 0,5398 │ 97,5 - 102,5 │ 100
82,5 - 87,5 │ 85 │ 0,5461 │ 92,5 - 97,5 │ 95
87,5 - 90 │ 90 │ 0,2738 │ 90 - 92,5 │ 90
Таблица 3
Зональные телесные углы

при

= 10°
─────────────┬────────────┬───────────┬───────────────┬───────────
Зона угла │Направление │ Телесный │ Зона угла │Направление
│ │ угол, ср │ │
─────────────┼────────────┼───────────┼───────────────┼───────────
0 - 10° │ 5° │ 0,095 │ 170 - 180° │ 175°
10 - 20 │ 15 │ 0,283 │ 160 - 170 │ 165
20 - 30 │ 25 │ 0,463 │ 150 - 160 │ 155
30 - 40 │ 35 │ 0,628 │ 140 - 150 │ 145
40 - 50 │ 45 │ 0,774 │ 130 - 140 │ 135
50 - 60 │ 55 │ 0,897 │ 120 - 130 │ 125
60 - 70 │ 65 │ 0,993 │ 110 - 120 │ 115
70 - 80 │ 75 │ 1,058 │ 100 - 110 │ 105
80 - 90 │ 85 │ 1,091 │ 90 - 100 │ 95
Таблица 4
Четырехгранные телесные углы

при

= 5°
─────────────┬────────────┬───────────┬───────────────┬───────────
Зона угла │Направление │ Телесный │ Зона угла │Направление
│ │ угол, ср │ │
─────────────┼────────────┼───────────┼───────────────┼───────────
0 - 2,5° │ 0° │ 0,0038 │ 177,5 - 180° │ 180°
2,5 - 7,5 │ 5 │ 0,0076 │ 172,5 - 177,5 │ 175
7,5 - 12,5 │ 10 │ 0,0075 │ 167,5 - 172,5 │ 170
12,5 - 17,5 │ 15 │ 0,0074 │ 162,5 - 167,5 │ 165
17,5 - 22,5 │ 20 │ 0,0072 │ 157,5 - 162,5 │ 160
22,5 - 27,5 │ 25 │ 0,0069 │ 152,5 - 157,5 │ 155
27,5 - 32,5 │ 30 │ 0,0066 │ 147,5 - 152,5 │ 150
32,5 - 37,5 │ 35 │ 0,0062 │ 142,5 - 147,5 │ 145
37,5 - 42,5 │ 40 │ 0,0058 │ 137,5 - 142,5 │ 140
42,5 - 47,5 │ 45 │ 0,0054 │ 132,5 - 137,5 │ 135
47,5 - 52,5 │ 50 │ 0,0049 │ 127,5 - 132,5 │ 130
52,5 - 57,5 │ 55 │ 0,0044 │ 122,5 - 127,5 │ 125
57,5 - 62,5 │ 60 │ 0,0038 │ 117,5 - 122,5 │ 120
62,5 - 67,5 │ 65 │ 0,0032 │ 112,5 - 117,5 │ 115
67,5 - 72,5 │ 70 │ 0,0026 │ 107,5 - 112,5 │ 110
72,5 - 77,5 │ 75 │ 0,0020 │ 102,5 - 107,5 │ 105
77,5 - 82,5 │ 80 │ 0,0013 │ 87,5 - 102,5 │ 100
82,5 - 90 │ 85 │ 0,0007 │ 90 - 97,5 │ 95
Таблица 5
Четырехгранные телесные углы

при

= 10°
─────────────┬────────────┬───────────┬───────────────┬───────────
Зона угла │Направление │ Телесный │ Зона угла │Направление
│ │ угол, ср │ │
─────────────┼────────────┼───────────┼───────────────┼───────────
0 - 10° │ 5° │ 0,0303 │ 170 - 180° │ 175°
10 - 20 │ 15 │ 0,0294 │ 160 - 170 │ 165
20 - 30 │ 25 │ 0,0276 │ 150 - 160 │ 155
30 - 40 │ 35 │ 0,0249 │ 140 - 150 │ 145
40 - 50 │ 45 │ 0,0215 │ 130 - 140 │ 135
50 - 60 │ 55 │ 0,0174 │ 120 - 130 │ 125
60 - 70 │ 65 │ 0,0129 │ 110 - 120 │ 115
70 - 80 │ 75 │ 0,0079 │ 100 - 110 │ 105
80 - 90 │ 85 │ 0,0027 │ 90 - 100 │ 95
(Измененная редакция, Изм. N 2).
Справочное
ПРУЖИННОЕ УДАРНОЕ УСТРОЙСТВО
1 - кольцо стопорное; 2 - наконечник; 3 - пружина;
4 - головка; 5 - пружина; 6 - ось; 7 - фиксатор;
8 - корпус; 9 - гайка; 10 - пружина; 11 - колпачок;
12 - шток; 13 - ручка
Пружинное ударное устройство состоит из трех основных частей:
корпуса,
ударного элемента,
спускового механизма.
Корпус 8 состоит из кожуха, который является направляющей для ударного элемента и служит для жесткого крепления на нем всех частей устройства. Ударный элемент состоит из наконечника 2, штока 12, пружины 10 и ручки 13. Масса ударного элемента равна (0,250 +/- 0,001) кг. Наконечник молотка имеет полусферическую переднюю часть радиусом 10 мм, изготовленную из капрона В или полиамида с твердостью не менее 100 МПа (10 кгс/мм2). Наконечник закреплен на штоке молотка таким образом, что расстояние между его вершиной и плоскостью передней части корпуса в момент перед сбрасыванием спускового механизма равно 10 - 24 мм. Произведение усилия пружины в сжатом положении в ньютонах на ход пружины в миллиметрах должно быть равно 1000 Н х мм. Ход пружины и энергию удара регулируют при помощи гайки 9.
Спусковой механизм состоит из головки 6 и пружины 5. Масса головки равна 60 г. В момент, когда фиксатор опускает ударный элемент, пружина спусковой головки должна создавать усилие от 20 до 30 Н.
(Измененная редакция, Изм. N 2, 3).
Справочное
ДЛЯ ПРОВЕРКИ ТЕПЛОВОГО РЕЖИМА СВЕТИЛЬНИКА
Испытательная камера (
черт. 1) имеет форму куба или параллелепипеда, ее потолок и три боковые стенки выполнены двойными из перфорированного листового металла или сетки, расстояние между двойными стенками должно быть 150 мм, четвертая стенка выполнена из сплошного листа. Диаметр отверстий перфорированных стенок от 1 до 2 мм, поверхность отверстий занимает не менее 40% всей поверхности стен. Размеры внутреннего пространства камеры должны быть такие, чтобы расстояние между любой частью испытываемого светильника и внутренними стенками камеры было не менее 200 мм, внутренние размеры камеры должны быть не менее 900 х 900 х 900 мм. Внутренняя поверхность камеры должна иметь матовую черную окраску. При измерении камера должна быть закрыта.
Черт. 1
Помещение, в котором установлена камера, должно быть защищено от сквозняка, и во время измерений воздушные течения должны быть ограничены. Это не относится к конвекционным потокам, вызываемым нагревом светильника. Минимальное расстояние от верхней поверхности и наружных боковых стенок камеры до посторонних объектов должно составлять 300 мм.
Температура окружающей среды светильника внутри испытательной камеры измеряется при помощи термометра. Термометр должен находиться на уровне горизонтальной плоскости, проходящей через световой центр светильника и на расстоянии 150 мм от ближайшей к нему части испытываемого светильника. Термометр защищается от влияния прямого теплового излучения светильника при помощи двух цилиндров из полированного металла, вставленных один в другой, длиной 100 мм.
Подвесные светильники помещаются в испытательную камеру так, чтобы их световой центр находился в геометрическом центре камеры.
Потолочные и настенные светильники закрепляются на окрашенной в матовый черный цвет деревянной доске толщиной 15 мм. Размеры доски должны быть такими, чтобы ее края выступали за контуры закрепленного светильника на величину не менее 100 мм, расстояние от краев доски до внутренней поверхности камеры должно быть не менее 100 мм. Доска с закрепленным потолочным светильником помещается непосредственно на потолке, доска с закрепленным настенным светильником - непосредственно на сплошной стене испытательной камеры. Если светильник предназначен для непосредственной установки на опорную поверхность из несгораемого материала, то вместо деревянной доски используется панель из несгораемого изоляционного материала.
Светильники, предназначенные для крепления в углах помещения, испытывают в углу, образованном двумя или тремя досками. Требование к доскам аналогичны указанным выше.
Встраиваемые светильники испытывают на испытательном потолке, представленном на
черт. 2. Основу потолка изготавливают из деревянной доски толщиной 12 мм с отверстием для светильника. Размеры доски должны быть такими, чтобы ее края выступали за контуры светильника не менее чем на 100 мм. Боковые стенки изготавливают из деревянной доски толщиной 19 мм и помещают на расстоянии 50 - 75 мм от места установки светильника в основную доску. Верхняя стенка потолка из деревянной доски должна находиться на расстоянии около 25 мм от верхней плоской поверхности светильника и должна быть плотно соединена с боковыми стенками. Если на верхней поверхности светильника имеются дистанционные элементы или присоединительные коробки, то они должны непосредственно соприкасаться с верхней стенкой потолка. Основа и внутренняя поверхность потолка должны быть окрашены матовой неметаллической черной краской. Испытательный потолок должен находиться на расстоянии не менее 100 мм от стен, пола и потолка камеры.
1 - основа; 2 - боковая стенка; 3 - верхняя стенка;
4 - испытываемый светильник
Черт. 2
Светильники, встраиваемые в стену, испытываются на таком же испытательном потолке, но доски располагаются вертикально.
Переносные светильники устанавливаются на черной матовой деревянной доске толщиной 15 мм.
Размер доски должен быть таким, чтобы ее края выступали за контуры светильника, установленного в наиболее неблагоприятное рабочее положение, при котором он может опрокинуться, но не менее чем на 10 мм. Расстояние от краев доски до внутренней поверхности камеры должно быть не менее 100 мм.
(Измененная редакция, Изм. N 2, 3).
Рекомендуемое
СПОСОБА СКЛАДИРОВАНИЯ
Количество рядов складирования в высоту должно определяться изготовителем светильника для каждой конкретной упаковки. Вместо буквы "п" должно проставляться число последнего допустимого ряда, при котором гарантируется сохранность изделия и упаковки при ее транспортировании и хранении.
При складировании светильников только в один или два ряда штрихпунктирная линия на маркировочном знаке не проводится.
Размеры маркировочного знака выбираются изготовителем произвольно в зависимости от размеров упаковки, при этом длина каждого прямоугольника должна быть не менее двух размеров высоты. Расстояние между прямоугольниками, разделенными штрихпунктирной линией, должно быть не менее половины высоты прямоугольника.
Линии, перечеркивающие верхний прямоугольник, должны иметь толщину, превышающую не менее чем в два раза толщину линий контура прямоугольников, и выходить за их размеры не менее чем на 5 мм.
(Введено дополнительно, Изм. N 2).
Справочное
ОПРЕДЕЛЕНИЕ УСЛОВИЙ,
ПРИ КОТОРЫХ ТОКОПРОВОДЯЩИЕ ЧАСТИ СВЕТИЛЬНИКА
СЧИТАЮТСЯ НАХОДЯЩИМИСЯ ПОД НАПРЯЖЕНИЕМ
И СПОСОБНЫМИ ВЫЗВАТЬ ПОРАЖЕНИЕ ЭЛЕКТРИЧЕСКИМ ТОКОМ
С целью определения условий, при которых какая-либо токопроводящая часть светильника может считаться находящейся под напряжением и способной вызвать поражение электрическим током при случайном прикосновении, проводят следующие испытания.
Светильник подключают к источнику тока с номинальным значением напряжения и частоты тока, указанными в маркировке светильника. Один из полюсов источника тока должен быть заземлен.
Измеряют ток, который протекает между испытываемой частью светильника и заземляющим контактом. Сопротивление измерительной цепи при этом должно быть (2000 +/- 50) Ом и измерительная цепь не должна содержать индуктивности. Если пиковое значение измеренного тока превышает 0,7 мА, то данная испытываемая часть светильника считается находящейся под напряжением.
Проводят измерение напряжения между испытываемой частью светильника и любой его частью, доступной для случайного прикосновения. Сопротивление измерительной цепи при этом должно быть (50000 +/- 500) Ом.
Если пиковое значение измеренного напряжения более 34 В, то данная испытываемая часть светильника считается находящейся под напряжением.
(Введено дополнительно, Изм. N 3).