Главная // Актуальные документы // ГОСТ (Государственный стандарт)СПРАВКА
Источник публикации
М.: Госстрой России, ГУП ЦПП, 2001
Примечание к документу
Утратил силу с 1 января 2008 года в связи с изданием
Приказа Ростехрегулирования от 14.06.2007 N 138-ст. Взамен введен в действие
ГОСТ 30732-2006.
Текст документа приведен с учетом
поправки, опубликованной в "ИУС", N 9, 2002;
поправки, опубликованной в "ИУС", N 9, 2004.
Введен в действие с 1 июля 2001 года.
Название документа
"ГОСТ 30732-2001. Трубы и фасонные изделия стальные с тепловой изоляцией из пенополиуретана в полиэтиленовой оболочке. Технические условия"
(введен в действие Постановлением Госстроя РФ от 12.03.2001 N 19)
"ГОСТ 30732-2001. Трубы и фасонные изделия стальные с тепловой изоляцией из пенополиуретана в полиэтиленовой оболочке. Технические условия"
(введен в действие Постановлением Госстроя РФ от 12.03.2001 N 19)
от 12 марта 2001 г. N 19
МЕЖГОСУДАРСТВЕННЫЙ СТАНДАРТ
ТРУБЫ И ФАСОННЫЕ ИЗДЕЛИЯ СТАЛЬНЫЕ С ТЕПЛОВОЙ ИЗОЛЯЦИЕЙ
ИЗ ПЕНОПОЛИУРЕТАНА В ПОЛИЭТИЛЕНОВОЙ ОБОЛОЧКЕ
ТЕХНИЧЕСКИЕ УСЛОВИЯ
STEEL SHAPED PIPES AND PRODUCTS
WITH FOAMED POLYURETHANE THERMAL INSULATION
IN POLYETHYLENE JACKET
Technical specifications
ГОСТ 30732-2001
1. Разработан Ассоциацией производителей и потребителей трубопроводов с индустриальной полимерной изоляцией, Государственным унитарным предприятием "Научно-исследовательский институт Московского строительства" (ГУП "НИИМосстрой"), Федеральным государственным унитарным предприятием - Центром методологии нормирования и стандартизации (ФГУП ЦНС) и группой специалистов.
Внесен Госстроем России.
2. Принят Межгосударственной научно-технической комиссией по стандартизации, техническому нормированию и сертификации в строительстве (МНТКС) 30 мая 2001 г.
За принятие проголосовали
Наименование государства | Наименование органа государственного управления строительством |
Азербайджанская Республика | Госстрой Азербайджанской Республики |
Республика Казахстан | Казстройкомитет Республики Казахстан |
Кыргызская Республика | Государственный комитет по архитектуре и строительству при Правительстве Кыргызской Республики |
Республика Молдова | Министерство окружающей среды и благоустройства территорий Республики Молдова |
Российская Федерация | Госстрой России |
3. Введен впервые.
4. Введен в действие с 1 июля 2001 г. в качестве государственного стандарта Российской Федерации
Постановлением Госстроя России от 12.03.2001 N 19.
Стандарт на трубы и фасонные изделия стальные с тепловой изоляцией из пенополиуретана в полиэтиленовой оболочке составлен с учетом следующих европейских стандартов, разработанных Европейским Комитетом по Стандартизации (CEN):
EN 253-1994. Трубопроводы сварные, предварительно изолированные для подземных систем горячего водоснабжения. - Система трубопроводов, состоящая из стального магистрального трубопровода с полиуретановой теплоизоляцией и наружной оболочкой из полиэтилена.
EN 448-1994. Трубопроводы сварные, предварительно изолированные для подземных систем горячего водоснабжения. - Сборная арматура из стальных разводящих труб с полиуретановой теплоизоляцией и наружной оболочкой из полиэтилена.
В настоящем стандарте значения следующих показателей соответствуют указанным в европейских нормах: плотности, прочности при сжатии при 10%-ной деформации, теплопроводности, водопоглощения, объемной доли закрытых пор. Кроме того, требования к пенополиуретану с точки зрения требований безопасности и охраны окружающей среды (класс опасности, категория взрывоопасности производства, группа горючести пенополиуретана, требования по утилизации отходов, образующихся при производстве труб, их вывозу и захоронению) также соответствуют требованиям европейских стандартов.
В разработке стандарта принимали участие: канд. техн. наук И.Л. Майзель (Ассоциация производителей и потребителей трубопроводов с индустриальной полимерной изоляцией), канд. техн. наук А.В. Сладков, канд. техн. наук В.Г. Петров-Денисов (ГУП "НИИМосстрой"), канд. хим. наук И.В. Газуко, канд. техн. наук В.Б. Ковалевский (ВНИИСТ), канд. техн. наук Я.А. Ковылянский, канд. техн. наук Г.Х. Умеркин (ОАО Объединение ВНИПИ "Энергопром"), Д.П. Смекалова, канд. техн. наук Ю.Л. Есипов (ОАО "Полимерсинтез"), канд. хим. наук М.Я. Царфин, Г.Г. Васьков (ООО НПП "Изолан"), Ю.У. Юнусов (Мосинжпроект), В.Г. Кухтин, Ф.Х. Кужбаев, Г.В. Булыгин (ЗАО "МосФлоулайн"), канд. экон. наук В.С. Ромейко, канд. техн. наук А.Ф. Аникин, канд. техн. наук А.Я. Добромыслов (ОАО НПО "Стройполимер"), Л.Е. Любецкий (АОЗТ "Ленгазтеплострой"), Ш.Н. Абайбуров (АОЗТ "Корпорация ТВЭЛ"), А.В. Новиков (Тепловые сети Мосэнерго), Ю.И. Максимов (ООО "Полимерстрой"), Н.Н. Арефьев (ЗТГНТ "Александра"), В.А. Глухарев (Госстрой России), Л.С. Васильева (ФГУП ЦНС).
Настоящий стандарт распространяется на стальные трубы и фасонные изделия с тепловой изоляцией из пенополиуретана в полиэтиленовой оболочке (далее - изолированные трубы и изделия), предназначенные для подземной бесканальной прокладки тепловых сетей с расчетными параметрами теплоносителя: рабочим давлением до 1,6 МПа и температурой до 130 °C (допускается кратковременное повышение температуры до 150 °C).
Перечень нормативных документов, на которые даны ссылки в настоящем стандарте, приведен в Приложении А.
В настоящем стандарте применяют следующие термины с соответствующими определениями.
Бесканальная прокладка - прокладка трубопровода непосредственно в грунте.
Фасонные детали и изделия - отводы, тройники, неподвижные опоры и другие элементы, предназначенные для соединения труб при строительстве трубопроводов тепловых сетей.
Прочность на сдвиг при осевой и тангенциальной нагрузках - способность изолированной трубы выдерживать нагрузку сдвига, действующую между тепловой изоляцией из пенополиуретана с полиэтиленовой оболочкой и стальной трубой в осевом и тангенциальном направлениях.
4. Основные параметры и размеры
4.1. Трубы и фасонные изделия могут быть двух типов по толщине изоляции: тип 1 - стандартный, тип 2 - усиленный (
Приложение Б).
4.2. Размеры изолированных труб должны соответствовать значениям, указанным в таблице 1, конструкция -
рисунку 1.
В миллиметрах
┌──────────┬──────────────────────────┬──────────────────────────┐
│ Наружный │ Тип 1 │ Тип 2 │
│ диаметр ├────────────────┬─────────┼────────────────┬─────────┤
│ стальных │наружный диаметр│толщина │наружный диаметр│толщина │
│ труб d │ изоляции по │слоя │ изоляции по │слоя │
│ │ полиэтиленовой │пенополи-│ полиэтиленовой │пенополи-│
│ │ оболочке │уретана S│ оболочке │уретана S│
│ ├───────┬────────┤ ├───────┬────────┤ │
│ │номи- │предель-│ │номи- │предель-│ │
│ │нальный│ное от- │ │нальный│ное от- │ │
│ │D │клонение│ │D │клонение│ │
│ │ │(+) │ │ │(+) │ │
├──────────┼───────┼────────┼─────────┼───────┼────────┼─────────┤
│ 57 │ 125 │ 3,7 │ 31,5 │ 140 │ 4,1 │ 38,5 │
├──────────┼───────┼────────┼─────────┼───────┼────────┼─────────┤
│ 76 │ 140 │ 4,1 │ 29,0 │ 160 │ 4,7 │ 39,0 │
├──────────┼───────┼────────┼─────────┼───────┼────────┼─────────┤
│ 89 │ 160 │ 4,7 │ 32,5 │ 180 │ 5,4 │ 42,5 │
├──────────┼───────┼────────┼─────────┼───────┼────────┼─────────┤
│ 108 │ 180 │ 5,4 │ 33,0 │ 200 │ 5,9 │ 43,0 │
├──────────┼───────┼────────┼─────────┼───────┼────────┼─────────┤
│ 133 │ 225 │ 6,6 │ 42,5 │ 250 │ 7,4 │ 54,5 │
├──────────┼───────┼────────┼─────────┼───────┼────────┼─────────┤
│ 159 │ 250 │ 7,4 │ 41,5 │ 280 │ 8,3 │ 55,5 │
├──────────┼───────┼────────┼─────────┼───────┼────────┼─────────┤
│ 219 │ 315 │ 9,8 │ 42,0 │ 355 │ 10,4 │ 62,0 │
├──────────┼───────┼────────┼─────────┼───────┼────────┼─────────┤
│ 273 │ 400 │ 11,7 │ 57,0 │ 450 │ 13,2 │ 81,5 │
├──────────┼───────┼────────┼─────────┼───────┼────────┼─────────┤
│ 325 │ 450 │ 13,2 │ 55,5 │ 500 │ 14,6 │ 79,5 │
├──────────┼───────┼────────┼─────────┼───────┼────────┼─────────┤
│ 426 │ 560 │ 16,3 │ 58,2 │ 630 │ 16,3 │ 92,5 │
├──────────┼───────┼────────┼─────────┼───────┼────────┼─────────┤
│ 530 │ 710 │ 20,4 │ 78,9 │ - │ - │ - │
├──────────┼───────┼────────┼─────────┼───────┼────────┼─────────┤
│ 630 │ 800 │ 23,4 │ 72,5 │ - │ - │ - │
├──────────┼───────┼────────┼─────────┼───────┼────────┼─────────┤
│ 720 │ 900 │ 26,3 │ 76,0 │ - │ - │ - │
├──────────┼───────┼────────┼─────────┼───────┼────────┼─────────┤
│ 820 │ 1000 │ 29,2 │ 72,4 │ 1100 │ 32,1 │ 122,5 │
├──────────┼───────┼────────┼─────────┼───────┼────────┼─────────┤
│ 920 │ 1100 │ 32,1 │ 74,4 │ 1200 │ 35,1 │ 120,5 │
├──────────┼───────┼────────┼─────────┼───────┼────────┼─────────┤
│ 1020 │ 1200 │ 35,1 │ 70,4 │ - │ - │ - │
├──────────┴───────┴────────┴─────────┴───────┴────────┴─────────┤
│ Примечание. Предельное отклонение учитывает возможность│
│увеличения наружного диаметра полиэтиленовой оболочки после│
│заливки пенополиуретана до 2% номинального диаметра. │
└────────────────────────────────────────────────────────────────┘
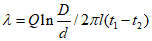
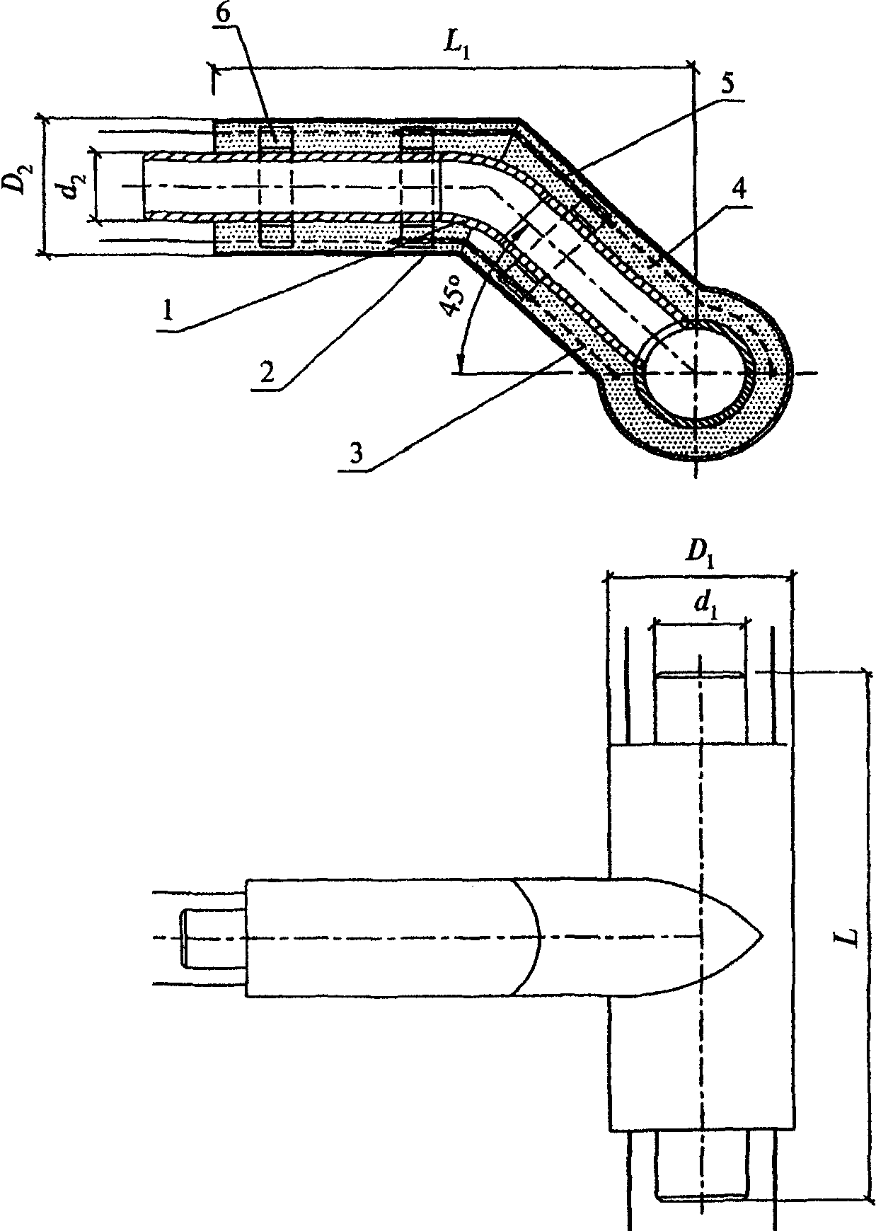
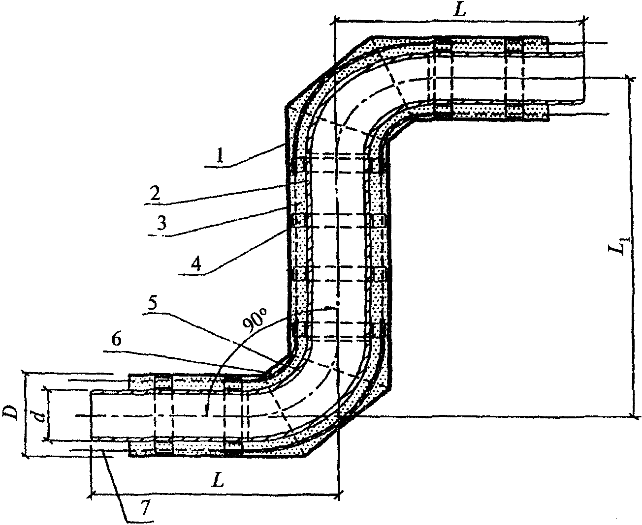
1 - центрирующая опора; 2 - изоляция из пенополиуретана;
3 - труба-оболочка из полиэтилена; 4 - стальная труба;
5 - проводники-индикаторы системы ОДК
(показаны условно)
4.3. Размеры полиэтиленовых труб-оболочек и предельные отклонения от них должны соответствовать величинам, приведенным в таблице 2.
В миллиметрах
┌───────────────────────────────┬────────────────────────────────┐
│ Наружный диаметр D │ Толщина стенки │
├───────────────┬───────────────┼────────────────┬───────────────┤
│ номинальный │ предельное │ номинальная │ предельное │
│ │отклонение (+) │ │отклонение (+) │
├───────────────┼───────────────┼────────────────┼───────────────┤
│ 125 │ 1,2 │ 2,5 │ 0,5 │
├───────────────┼───────────────┼────────────────┼───────────────┤
│ 140 │ 1,3 │ 3,0 │ 0,5 │
├───────────────┼───────────────┼────────────────┼───────────────┤
│ 160 │ 1,5 │ 3,0 │ 0,5 │
├───────────────┼───────────────┼────────────────┼───────────────┤
│ 180 │ 1,7 │ 3,0 │ 0,5 │
├───────────────┼───────────────┼────────────────┼───────────────┤
│ 200 │ 1,8 │ 3,2 │ 0,5 │
├───────────────┼───────────────┼────────────────┼───────────────┤
│ 225 │ 2,1 │ 3,5 │ 0,6 │
├───────────────┼───────────────┼────────────────┼───────────────┤
│ 250 │ 2,3 │ 3,9 │ 0,7 │
├───────────────┼───────────────┼────────────────┼───────────────┤
│ 280 │ 2,6 │ 4,4 │ 0,7 │
├───────────────┼───────────────┼────────────────┼───────────────┤
│ 315 │ 2,9 │ 4,9 │ 0,7 │
├───────────────┼───────────────┼────────────────┼───────────────┤
│ 355 │ 3,2 │ 5,6 │ 0,8 │
├───────────────┼───────────────┼────────────────┼───────────────┤
│ 400 │ 3,6 │ 6,3 │ 0,8 │
├───────────────┼───────────────┼────────────────┼───────────────┤
│ 450 │ 4,1 │ 7,0 │ 0,9 │
├───────────────┼───────────────┼────────────────┼───────────────┤
│ 500 │ 4,5 │ 7,8 │ 1,0 │
├───────────────┼───────────────┼────────────────┼───────────────┤
│ 560 │ 5,0 │ 8,8 │ 1,1 │
├───────────────┼───────────────┼────────────────┼───────────────┤
│ 630 │ 5,7 │ 9,8 │ 1,2 │
├───────────────┼───────────────┼────────────────┼───────────────┤
│ 710 │ 6,4 │ 11,1 │ 1,3 │
├───────────────┼───────────────┼────────────────┼───────────────┤
│ 800 │ 7,2 │ 12,5 │ 2,5 │
├───────────────┼───────────────┼────────────────┼───────────────┤
│ 900 │ 8,1 │ 14,0 │ 2,9 │
├───────────────┼───────────────┼────────────────┼───────────────┤
│ 1000 │ 9,0 │ 15,6 │ 3,2 │
├───────────────┼───────────────┼────────────────┼───────────────┤
│ 1100 │ 9,9 │ 17,6 │ 3,5 │
├───────────────┼───────────────┼────────────────┼───────────────┤
│ 1200 │ 10,8 │ 19,6 │ 3,8 │
└───────────────┴───────────────┴────────────────┴───────────────┘
4.4. Тип, конструкция и размеры изолированных фасонных изделий, в том числе неподвижной опоры, указаны в
Приложении В.
Размеры фасонных изделий (кроме диаметров стальной трубы и полиэтиленовой трубы-оболочки) являются рекомендуемыми и определяются проектным решением.
Допускается изготавливать неподвижные опоры иной конструкции, отличной от приведенной на
рисунке В.8 Приложения В, в соответствии с нормативной документацией завода-изготовителя.
4.5. Расчетная масса одного метра длины изолированной трубы указана в
Приложении Г.
4.6. Условное обозначение изолированной трубы или фасонного изделия состоит из наименования изделия - "труба", "отвод" и т.д., сокращенного наименования материала трубы - Ст, наружного диаметра и толщины стенки трубы в миллиметрах, типа изоляции (1 или 2), сокращенного наименования материала изоляционной конструкции: пенополиуретан - ППУ, полиэтиленовая оболочка - ПЭ и номера настоящего стандарта. Примеры условных обозначений фасонных изделий приведены в
Приложении В.
Пример условного обозначения стальной трубы наружным диаметром 57 мм, толщиной стенки 3 мм с изоляцией типа 1 из пенополиуретана в полиэтиленовой оболочке:
Труба Ст 57 x 3-1-ППУ-ПЭ ГОСТ 30732-2001.
5. Технические требования
Стальные трубы и фасонные детали
5.1.1. На поверхности стальных труб и деталей не должно быть трещин, рванин, закатов. Допускаются некоторые следы от ударов, мелкие вмятины, риски, тонкий слой окалины и следы от зачистки дефектов, если они не вызывают уменьшения толщины стенки, выводя ее за пределы минусовых допусков, регламентируемых соответствующими стандартами.
5.1.2. Поверхность стальных труб и фасонных деталей должна быть высушена и очищена от масла, жира, ржавчины, окалины, пыли до степени очистки 3 в соответствии с
ГОСТ 9.402.
5.1.3. Соединение труб и фасонных деталей должно производиться сваркой встык с полным проваром (проплавлением) в соответствии с требованиями
СНиП 3.05.03 и
ПБ 03-75.
5.1.4. Для поперечных стыковых сварных соединений длина свободного прямого участка в каждую сторону от оси шва должна быть не менее 130 мм с учетом свободных от изоляции концов фасонных изделий.
5.1.5. Толщину стенки трубы и фасонных деталей определяют расчетом.
Рекомендуемая толщина стенки трубы и фасонных деталей приведена в
Приложении В.
5.1.6. Для сварных стыковых соединений элементов трубопровода с различной толщиной стенок должен быть обеспечен плавный переход от большего к меньшему сечению путем соответствующей односторонней или двухсторонней механической обработки конца элемента с более толстой стенкой.
Угол наклона поверхностей перехода не должен превышать 15°.
Полиэтиленовые трубы-оболочки
5.1.7. Трубы-оболочки должны соответствовать характеристикам, указанным в таблице 3.
Таблица 3
┌──────────────────────┬─────────────────────────────────────────┐
│ Показатель │ Значение │
├──────────────────────┼─────────────────────────────────────────┤
│Качество поверхности │Трубы-оболочки должны иметь гладкую │
│ │наружную поверхность. Допускаются │
│ │незначительные продольные полосы и │
│ │волнистость, не выводящие толщину стенки │
│ │трубы за пределы допускаемых отклонений. │
│ │Внутренняя поверхность труб должна иметь │
│ │шероховатость. На наружной, внутренней и │
│ │торцевой поверхностях труб не допускаются│
│ │пузыри, трещины, раковины, посторонние │
│ │включения. Цвет труб - черный │
├──────────────────────┼─────────────────────────────────────────┤
│Относительное │ 350 │
│удлинение при разрыве,│ │
│%, не менее │ │
├──────────────────────┼─────────────────────────────────────────┤
│Изменение длины труб- │ 3 │
│оболочек после │ │
│прогрева при 110 °C, │ │
│%, не более │ │
├──────────────────────┼─────────────────────────────────────────┤
│Стойкость при │ 1000 │
│температуре 80 °C и │ (при начальном напряжении │
│постоянном внутреннем │ в стенке трубы 3,2 МПа) │
│давлении, ч, не менее │ │
└──────────────────────┴─────────────────────────────────────────┘
5.1.8. Концы труб-оболочек не должны иметь заусенцев.
5.1.9. Сварные швы труб-оболочек после заполнения пенополиуретаном должны быть герметичны.
Тепловая изоляция труб и фасонных изделий
5.1.10. Значения показателей тепловой изоляции труб и фасонных изделий должны соответствовать таблице 4.
Таблица 4
┌──────────────────────────────────────────────────────┬─────────┐
│ Показатель │Значение │
├──────────────────────────────────────────────────────┼─────────┤
│Плотность тепловой изоляции, кг/м3, не менее │ 60 │
├──────────────────────────────────────────────────────┼─────────┤
│Прочность при сжатии при 10%-ной деформации │ 0,3 │
│в радиальном направлении, МПа, не менее │ │
├──────────────────────────────────────────────────────┼─────────┤
│Объемная доля закрытых пор, %, не менее │ 88 │
├──────────────────────────────────────────────────────┼─────────┤
│Водопоглощение при кипячении в течение 90 мин, │ 10 │
│% по объему, не более │ │
├──────────────────────────────────────────────────────┼─────────┤
│Прочность на сдвиг в осевом направлении, МПа, │ │
│не менее, при температуре: │ │
│ (23 +/- 2) °C │ 0,12 │
│ (140 +/- 2) °C
<*> │ 0,08 │
├──────────────────────────────────────────────────────┼─────────┤
│Прочность на сдвиг в тангенциальном направлении, МПа, │ │
│не менее, при температуре
<*>: │ │
│ (23 +/- 2) °C │ 0,2 │
│ (140 +/- 2) °C │ 0,13 │
├──────────────────────────────────────────────────────┼─────────┤
│Радиальная ползучесть теплоизоляции при температуре │ │
│испытания 140 °C, мм, не более, в течение <*>: │ │
│ 100 ч │ 2,5 │
│ 1000 ч │ 4,6 │
├──────────────────────────────────────────────────────┼─────────┤
│Теплопроводность при средней температуре 50 °C, │ 0,033 │
│Вт/м x °C, не более │ │
├──────────────────────────────────────────────────────┴─────────┤
│ <*> Определяется факультативно. │
└────────────────────────────────────────────────────────────────┘
5.1.11. Тепловую изоляцию наносят на всю длину стальных труб и фасонных изделий за исключением концевых участков, равных

мм при диаметре труб до 219 мм и

мм при диаметре 273 мм и более.
5.1.12. Отклонение осевых линий труб от осей полиэтиленовых труб-оболочек не должно превышать значений, указанных в таблице 5.
Таблица 5
В миллиметрах
┌──────────────────────────────────┬─────────────────────────────┐
│ Наружный диаметр полиэтиленовых │ Отклонение осевых линий │
│ труб-оболочек │ │
├──────────────────────────────────┼─────────────────────────────┤
│До 160 │ 3 │
├──────────────────────────────────┼─────────────────────────────┤
│Св. 160 до 400 включ. │ 5 │
├──────────────────────────────────┼─────────────────────────────┤
│ " 400 " 630 " │ 8 │
├──────────────────────────────────┼─────────────────────────────┤
│ " 630 " 800 " │ 10 │
├──────────────────────────────────┼─────────────────────────────┤
│ " 800 " 1200 " │ 14 │
└──────────────────────────────────┴─────────────────────────────┘
5.1.13. Торцы тепловой изоляции труб и фасонных изделий могут иметь гидроизоляционное покрытие.
5.1.14. Долговечность тепловой изоляции труб и фасонных изделий в зависимости от температуры теплоносителя должна быть не менее значений, рассчитанных по
формуле (Д.2) Приложения Д.
5.1.15. Срок службы тепловой изоляции труб и фасонных изделий должен составлять не менее 25 лет.
Расчетный срок службы тепловой изоляции при изменении марок пенополиуретана или технологии изготовления определяют по
Приложению Д.
5.2. Требования к сырью, материалам и комплектующим изделиям
5.2.1. Для изготовления изолированных труб следует использовать стальные трубы наружным диаметром от 57 до 1020 мм, длиной до 12 м, соответствующие требованиям
ГОСТ 550,
ГОСТ 8731,
ГОСТ 8733,
ГОСТ 10705,
ГОСТ 20295,
СНиП 2.04.07 и
ПБ 03-75, а также требованиям нормативной документации завода-изготовителя, утвержденной в установленном порядке.
| | ИС МЕГАНОРМ: примечание. Взамен ГОСТ 17380-83 Постановлением Госстандарта РФ от 27.02.2002 N 205-ст с 1 января 2003 года введен в действие ГОСТ 17380-2001. | |
5.2.2. Стальные отводы, тройники, переходы и др. должны соответствовать требованиям ГОСТ 17375, ГОСТ 17376, ГОСТ 17378 и ГОСТ 17380.
5.2.3. Специальные стальные фасонные изделия и детали должны соответствовать нормативной документации завода-изготовителя.
5.2.4. Для изготовления полиэтиленовых труб-оболочек должен применяться термосветостабилизированный полиэтилен низкого давления высокой плотности черного цвета, выпускаемый по
ГОСТ 16338.
| | ИС МЕГАНОРМ: примечание. Взамен ГОСТ 18599-83 Постановлением Госстандарта РФ от 23.03.2002 N 112-ст с 1 января 2003 года введен в действие ГОСТ 18599-2001. | |
Допускается применение других марок полиэтилена, которые по показателям свойств труб-оболочек отвечают требованиям ГОСТ 18599 и настоящего стандарта.
5.2.5. Для изготовления труб-оболочек допускается использование чистых отходов полиэтилена от производства труб-оболочек в количестве не более 10% по массе.
5.2.6. Для теплоизоляционного слоя должны использоваться озонобезопасные системы жестких пенополиуретанов.
5.2.7. Центрирующие опоры должны быть изготовлены из литьевых марок полипропилена по
ГОСТ 26996. Допускается изготовление центрирующих опор из полиэтилена низкого давления. Допускается изготовление комбинированных опор с опорной частью из полипропилена или полиэтилена и стягивающих поясов из металлической или полимерной ленты.
5.2.8. Теплоизоляция стальных труб и фасонных изделий и деталей должна иметь не менее двух линейных проводников-индикаторов системы оперативного дистанционного контроля (ОДК) состояния влажности пенополиуретана в процессе эксплуатации теплопровода.
5.3.1. На поверхности полиэтиленовой оболочки изолированной трубы или фасонного изделия на расстоянии не менее 200 мм от торца изоляции с помощью трафарета или штампа должна быть нанесена светлой несмываемой краской маркировка. Допускается маркировка на бирке (этикетке), прикрепляемой к стальной трубе изделия или полиэтиленовой оболочке.
5.3.2. Маркировка должна содержать:
- условное обозначение изделия;
- товарный знак или наименование предприятия-изготовителя;
- номер партии (контракта);
- дату изготовления.
6. Требования безопасности
6.1. При изготовлении изолированных труб и фасонных изделий необходимо соблюдать указания по технике безопасности, изложенные в технических условиях на применяемые материалы, и в технологической инструкции на производство.
6.2. Основные требования к безопасности технологических процессов, хранению и транспортированию химических веществ должны соответствовать
ГОСТ 12.3.008.
6.4. Теплоизоляция из пенополиуретана в полиэтиленовой оболочке при нормальных условиях не выделяет в окружающую среду токсичных веществ и не оказывает вредного воздействия на организм человека при непосредственном контакте с ней. Ее применение не требует специальных мер предосторожности. Класс опасности 4 по
ГОСТ 12.1.007.
6.5. Категория взрывоопасности производства - В 3 по правилам определения категории помещений и зданий по взрывопожарной и пожарной опасности. Материалы теплоизоляции относятся к группе горючих Г 4.
6.6. К работе по нанесению ППУ, получению полиэтиленовых оболочек допускаются лица не моложе 18 лет, прошедшие медицинское освидетельствование, инструктаж и обучение по технике безопасности по утвержденной программе с последующими периодическими проверками знаний и имеющие допуск к самостоятельной работе.
6.7. Работа по производству пенополиуретановой изоляции (подготовка компонентов, подготовка труб и заливка композиции и др.) должна производиться в спецодежде с применением индивидуальных средств защиты (костюм х/б, обувь, перчатки резиновые, рукавицы х/б, очки защитные, респиратор).
6.8. На участке по заливке пенополиуретана должны находиться средства для нейтрализации применяемых веществ (5 - 10%-ный раствор аммиака, 5%-ный раствор соляной кислоты), а также аптечка первой помощи с медикаментами (1,3%-ный раствор поваренной соли, 5%-ный раствор борной кислоты, 2%-ный раствор питьевой соды, йод, бинт, вата, резиновый жгут).
6.9. Не допускается воздействие огня в виде открытого пламени или искр, а также воздействие температуры выше 120 °C на тепловую изоляцию по длине трубы и в торцевых сечениях.
6.10. Температура воспламенения пенополиуретана 550 - 600 °C. При горении из пенополиуретана выделяются высокотоксичные продукты. В случае загорания пламя необходимо тушить в изолирующем противогазе. Тушение можно производить любыми средствами пожаротушения.
7. Охрана окружающей среды
7.1. Для охраны атмосферного воздуха должен быть организован контроль за соблюдением предельно допустимых выбросов по
ГОСТ 17.2.3.02. Плановый лабораторный контроль за содержанием вредных веществ в атмосферном воздухе необходимо выполнять по графику, согласованному с территориальными органами Госсанэпиднадзора.
7.2. Промышленные отходы, образующиеся при производстве пенополиуретана, подлежат утилизации в соответствии с
СанПиН 3183 Минздрава России.
Неутилизованные компоненты для производства пенополиуретана (полиол и полиизоцианат) подлежат вывозу и захоронению по согласованию с органами Госсанэпиднадзора России.
7.3. Отходы пенополиуретана могут захораниваться на общих свалках по согласованию с территориальными органами Госсанэпиднадзора России.
8.1. Изолированные трубы и фасонные изделия должны быть приняты отделом технического контроля предприятия-изготовителя.
8.2. Трубы и фасонные изделия принимают партиями. Партией считают число труб или фасонных изделий одного типоразмера, изготовленных за 24 ч, или не более 100 шт. изделий на одной технологической линии из одной партии и марки сырья, сопровождаемых одним документом о качестве.
8.3. Для проверки соответствия изолированных труб и фасонных изделий требованиям настоящего стандарта проводят приемосдаточные и периодические испытания, приведенные в таблице 6.
Таблица 6
┌────────────────────┬──────────────────────┬──────────────────┬──────────┐
│ Показатель │ Номер пункта │Вид испытаний │ Объем │
│ ├───────────┬──────────┼─────────┬────────┤выборки от│
│ │технические│ методы │приемо- │периоди-│ партии │
│ │требования │испытания │сдаточные│ческие │ │
├────────────────────┼───────────┼──────────┼─────────┼────────┼──────────┤
│изолированной трубы,│
5.1.9,
5.3 │ │ │ │ │
│маркировка, герме- │ │ │ │ │ │
│тичность сварных │ │ │ │ │ │
│швов трубы-оболочки │ │ │ │ │ │
├────────────────────┼───────────┼──────────┼─────────┼────────┼──────────┤
│Основные размеры │
4.2 -
4.4 │
9.4 -
9.8 │ + │ - │Не менее │
│ │ │ │ │ │ 5 шт. │
├────────────────────┼───────────┼──────────┼─────────┼────────┼──────────┤
│Отклонение осевых │
5.1.12 │
9.9 │ + │ - │ То же │
│линий │ │ │ │ │ │
├────────────────────┼───────────┼──────────┼─────────┼────────┼──────────┤
│Относительное удли- │
5.1.7 │
9.16 │ - │ + │ 3 шт. │
│нение при разрыве │ │ │ │ │ │
│полиэтиленовой │ │ │ │ │ │
│трубы-оболочки │ │ │ │ │ │
├────────────────────┼───────────┼──────────┼─────────┼────────┼──────────┤
│Стойкость полиэтиле-│
5.1.7 │
9.23 │ - │ * │ 3 шт. │
│новой оболочки при │ │ │ │ │ │
│температуре 80 °C │ │ │ │ │ │
│и постоянном │ │ │ │ │ │
│внутреннем давлении │ │ │ │ │ │
├────────────────────┼───────────┼──────────┼─────────┼────────┼──────────┤
│Изменение длины │
5.1.7 │
9.5 │ - │ + │ 3 шт. │
│трубы-оболочки после│ │ │ │ │ │
│прогрева │ │ │ │ │ │
├────────────────────┼───────────┼──────────┼─────────┼────────┼──────────┤
│пенополиуретана │ │ │ │ │не менее │
│ │ │ │ │ │ 3 шт. │
├────────────────────┼───────────┼──────────┼─────────┼────────┼──────────┤
│пенополиуретана при │ │ │ │ │ │
│сжатии при 10%-ной │ │ │ │ │ │
│деформации в ра- │ │ │ │ │ │
│диальном направлении│ │ │ │ │ │
├────────────────────┼───────────┼──────────┼─────────┼────────┼──────────┤
│пенополиуретана │ │ │ │ │ │
│при кипячении │ │ │ │ │ │
├────────────────────┼───────────┼──────────┼─────────┼────────┼──────────┤
│закрытых пор │ │ │ │ │ │
├────────────────────┼───────────┼──────────┼─────────┼────────┼──────────┤
│Теплопроводность │
5.1.10 │
9.11 │ - │ + │ 3 шт. │
│пенополиуретана │ │ │ │ │ │
├────────────────────┼───────────┼──────────┼─────────┼────────┼──────────┤
│Прочность на сдвиг │
5.1.10 │
9.18 │ - │ + │ 3 шт. │
│в осевом направлении│ │ │ │ │ │
│при температуре │ │ │ │ │ │
│испытаний 23 °C │ │ │ │ │ │
├────────────────────┼───────────┼──────────┼─────────┼────────┼──────────┤
│Прочность на сдвиг │
5.1.10 │
9.19 │ - │ * │ 3 шт. │
│в осевом направлении│ │ │ │ │ │
│при температуре │ │ │ │ │ │
│140 °C │ │ │ │ │ │
├────────────────────┼───────────┼──────────┼─────────┼────────┼──────────┤
│Прочность на сдвиг │
5.1.10 │
9.20 │ - │ * │ 3 шт. │
│в тангенциальном │ │ │ │ │ │
│направлении при │ │ │ │ │ │
│температуре 23 °C │ │ │ │ │ │
├────────────────────┼───────────┼──────────┼─────────┼────────┼──────────┤
│Прочность на сдвиг │
5.1.10 │
9.21 │ - │ * │ 3 шт. │
│в тангенциальном │ │ │ │ │ │
│направлении при │ │ │ │ │ │
│температуре 140 °C │ │ │ │ │ │
├────────────────────┼───────────┼──────────┼─────────┼────────┼──────────┤
│Радиальная ползу- │
5.1.10 │
9.22 │ - │ * │ 3 шт. │
│честь изоляции при │ │ │ │ │ │
│температуре 140 °C │ │ │ │ │ │
├────────────────────┴───────────┴──────────┴─────────┴────────┴──────────┤
│ Примечание. Знак "+" означает, что испытания проводят; │
│знак "-" означает, что испытания не проводят; │
│знак "*" означает, что испытания проводят факультативно. │
└─────────────────────────────────────────────────────────────────────────┘
При приемосдаточных испытаниях проверке подвергают каждую партию. Периодические испытания проводят не реже двух раз в год.
8.4. Для проведения испытаний продукцию отбирают от партии методом случайного отбора по
ГОСТ 18321.
Из середины и с обеих сторон трубы на расстоянии не менее 0,5 м от концов изоляции и не менее 0,1 м в случае фасонного изделия вырезают фрагменты теплоизоляционного слоя с защитной оболочкой.
С тройниковых ответвлений отбор фрагментов производят как с основной трубы, так и с одного из ответвлений.
8.5. При соответствии изолированной трубы и фасонного изделия требованиям настоящего стандарта партию считают принятой. При получении неудовлетворительных результатов хотя бы по одному показателю проводят повторную проверку по этому показателю на удвоенном числе образцов, отобранных из той же партии. В случае неудовлетворительных результатов повторной проверки партия изделий приемке не подлежит.
8.6. Перед началом производства изделий из новых композиций сырьевых материалов или при изменении технологических режимов предприятие-изготовитель обязано проводить типовые испытания.
Типовые испытания проводят по всем показателям, предусмотренным настоящим стандартом. При изготовлении новой оснастки проводят контроль размеров по рабочим чертежам.
8.7. Каждую партию сопровождают документом о качестве, который должен содержать:
- наименование предприятия-изготовителя или его товарный знак;
- условное обозначение изделия;
- номер партии;
- размер партии;
- результаты испытаний;
- отметку отдела технического контроля;
- дату изготовления.
9.1. Входной контроль сырья, материалов, покупных изделий проводят на основании документации на них.
9.2. Испытания образцов следует проводить не ранее, чем через 24 ч после нанесения пенополиуретана на трубы и фасонные изделия.
9.3. Качество поверхности и маркировку проверяют визуально без применения увеличительных приборов сравнением контролируемого изделия с образцом-эталоном, утвержденным в установленном порядке.
9.4. Для контроля геометрических размеров: наружного диаметра, длины неизолированных концов труб и фасонных элементов, длины и толщины полиэтиленовой оболочки, длины трубы, толщины теплоизоляционного слоя применяют штангенциркуль по
ГОСТ 166, линейки по
ГОСТ 427, рулетки по
ГОСТ 7502.
Допускается применять другие измерительные инструменты, обеспечивающие соответствующую точность.
9.5. Наружный диаметр изолированной трубы рассчитывают по формуле (1). Предварительно проводят измерение периметра в двух местах поверх полиэтиленовой оболочки на расстоянии не менее 500 мм от торца изоляции.

, (1)
где P - периметр поперечного сечения трубы с изоляцией, мм;

- толщина ленты рулетки, мм;
0,2 - погрешность при замере периметра за счет перекоса рулетки при совмещении деления, мм.
9.6. Толщину стенки полиэтиленовой оболочки замеряют в четырех равномерно распределенных по окружности точках торца с точностью до 0,1 мм.
9.7. Длину полиэтиленовой оболочки, стальной трубы и неизолированных концов замеряют с точностью до 5 мм по наружной поверхности труб вдоль их оси.
9.8. Толщину теплоизоляционного слоя замеряют штангенциркулем или металлической линейкой с точностью 0,1 мм.
9.9. Отклонение осевой линии стальной трубы от оси полиэтиленовой оболочки в неторцевых сечениях определяют измерением расстояний от наружной поверхности полиэтиленовой трубы-оболочки до поверхности стальной трубы в положениях 12, 6, 9, 3 ч с последующим расчетом:

, (2)
где

;

;

,

,

,

- расстояние от верхнего края полиэтиленовой трубы-оболочки до поверхности стальной трубы, измеренное соответственно в положениях 12, 6, 9, 3 ч.
Измерения проводят не менее чем в трех точках по длине трубы.
9.10. Герметичность сварных швов трубы-оболочки после заполнения ППУ проверяют визуально по всей длине сварных швов.
9.12. Для изготовления образцов отделяют слой пенополиуретана от полиэтиленовой оболочки.
Пенополиуретановые и полиэтиленовые образцы должны быть отобраны с разных равномерно распределенных мест по окружности фрагмента.
С пенополиуретановых образцов удаляют слои пенопласта, непосредственно прилегавшие к стальной трубе и к полиэтиленовой оболочке, максимально возможной толщины, но не менее 3 мм.
Образцы должны иметь форму прямоугольного параллелепипеда размером 30 x 30 x t мм или цилиндра диаметром 30 мм и длиной t, где t - максимально достижимый размер в радиальном направлении, но не превышающий 30 мм.
Для испытания пенополиуретана контрольные образцы могут быть получены вспениванием в закрытой металлической форме размером 500 x 300 x 80 мм.
Число образцов должно быть не менее трех, полученных из каждого изделия.
Допускается восстановление теплоизолированных труб и изделий в местах отбора контрольных образцов с сохранением всех свойств пенополиуретана и полиэтиленовой трубы-оболочки.
9.13. Перед проведением испытаний образцы пенополиуретана кондиционируют при комнатной температуре в течение времени, указанного в технических условиях на данную композицию.
Образцы полиэтилена кондиционируют при комнатной температуре в течение 16 ч.
9.14. Образцы пенополиуретана должны иметь равномерную мелкоячеистую структуру. Исключается наличие трещин, пустот посторонних примесей и т.п.
9.15. Водопоглощение пенополиуретана определяют следующим образом.
Определяют массу образца

с точностью до 0,01 г, объем образца

с точностью до 0,1 мл на 5 образцах. Образец выдерживают в кипящей воде (дистиллированной) 90 мин, а затем в воде с температурой 20 °C в течение 60 мин. После истечения указанного времени с образца удаляют капли воды фильтровальной бумагой или мягкой тканью и определяют массу

с точностью до 0,01 г. Водопоглощение W, %, определяют по формуле

, (3)
где

- плотность воды, г/см3.
За результат измерений принимают среднеарифметическое значение водопоглощения 5 образцов.
9.16. Предел текучести при растяжении и относительное удлинение при разрыве полиэтилена определяют по
ГОСТ 11262 со следующими дополнениями.
Толщина образца-лопатки должна быть равна толщине стенки оболочки. Образцы-лопатки вырубают из отрезков оболочек так, чтобы ось образца-лопатки была параллельна образующей трубы. Испытания проводят при скорости перемещения захватов разрывной машины 50 мм/мин.
9.17. Изменение длины полиэтиленовой трубы-оболочки после нагрева при 110 °C и выдержки в течение 1 ч определяют по
ГОСТ 27078.
9.18. Прочность трубы на сдвиг в осевом направлении определяют при комнатной температуре (23 +/- 2) °C на образце, отрезанном под прямым углом к оси стальной трубы, длина которого составляет 2,5 толщины изоляции, но не менее 200 мм (
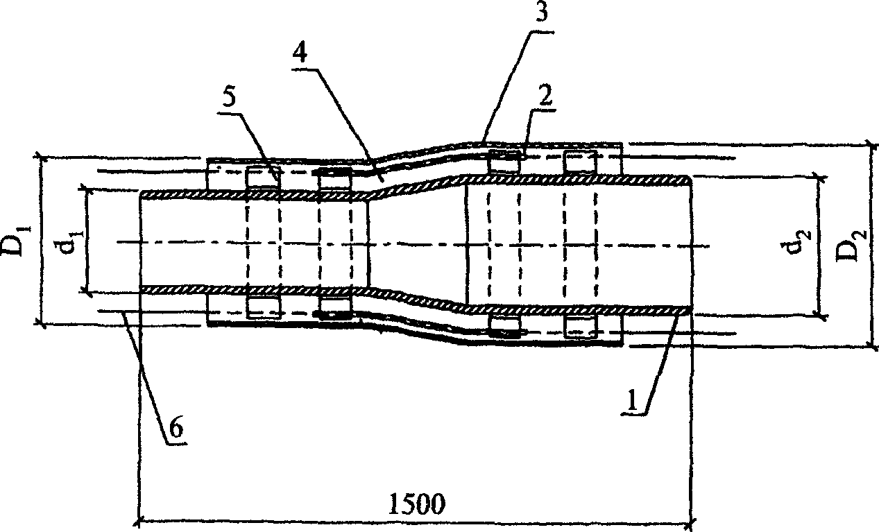
рисунок 2). На образец прикладывают осевую нагрузку со скоростью не более 5 мм/мин, фиксируют осевую нагрузку и рассчитывают прочность сдвига. За результат принимают среднеарифметическое значение трех измерений.
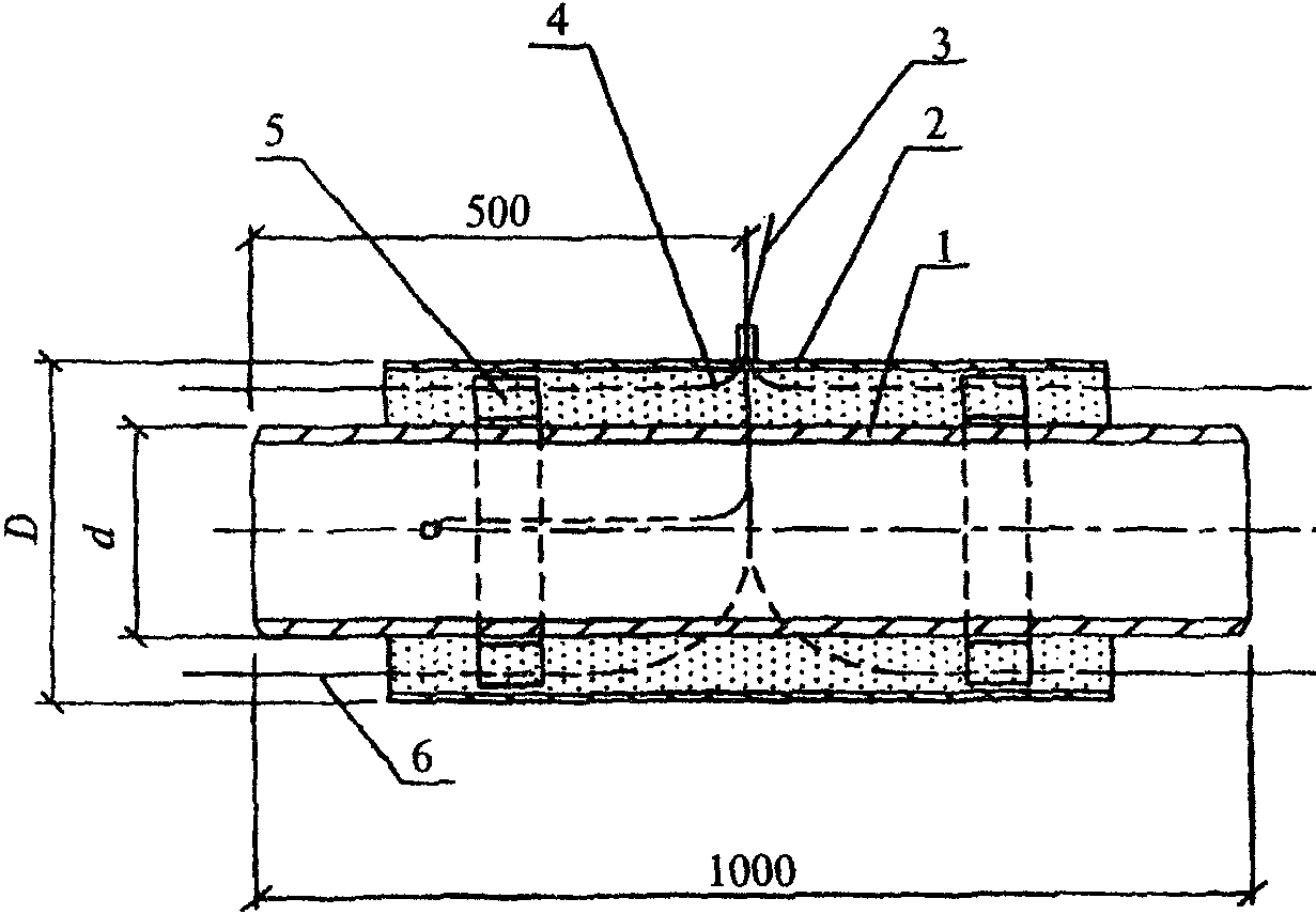
1 - стальная труба; 2 - труба-оболочка из полиэтилена;
3 - изоляция из пенополиуретана; 4 - направляющее кольцо;
5 - плита основания машины для испытания
Прочность на сдвиг в осевом направлении

, МПа, рассчитывают по формуле

, (4)
где

- осевая нагрузка, Н;
L - длина образца, мм;
d - наружный диаметр трубы, мм.
9.19. Прочность на сдвиг в осевом направлении при температуре (140 +/- 2) °C определяют в соответствии с требованиями настоящего стандарта при нагреве стальной трубы в течение 30 мин до 140 °C и ее выдержке при этой температуре в течение 30 мин до приложения нагрузки.
9.20. Прочность на сдвиг в тангенциальном направлении при температуре (23 +/- 2) °C определяют на отдельно изготовленном образце или на фрагменте изолированной трубы, из которой выделяют поперечными разрезами до стальной трубы слой тепловой изоляции длиной, равной 0,75 диаметра стальной трубы, но не менее 100 мм (рисунок 3).
1 - стальная труба; 2 - изоляция из пенополиуретана;
3 - труба-оболочка из полиэтилена; 4 - хомут;
5 - рычаг; 6 - неподвижная опора
Рисунок 3
Тангенциальную нагрузку прилагают к полиэтиленовой оболочке с помощью двух рычагов длиной по 1000 мм, расположенных соосно горизонтально с двух сторон оболочки. Скорость приложения нагрузки к концам рычагов должна быть равна 25 мм/мин.
Прочность на сдвиг в тангенциальном направлении

, МПа, рассчитывают по формуле

, (5)
где

- тангенциальная нагрузка, Н;
L - длина образца, мм;
d - наружный диаметр трубы, мм;
l - длина каждого рычага, мм.
9.21. Прочность на сдвиг в тангенциальном направлении при температуре (140 +/- 2) °C определяют в соответствии с
9.20 на образцах изолированных труб длиной 3 м на выделенных не менее трех участках тепловой изоляции, расположенных на расстоянии не менее 1 м от торцов теплоизоляции. При этом по трубе пропускают теплоноситель с температурой 170 °C в течение 1450 ч.
Затем температуру теплоносителя снижают до 140 °C и после выдержки в течение суток определяют значение прочности по
9.20.
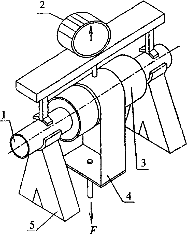
9.22. Радиальную ползучесть тепловой изоляции труб определяют на трех образцах с диаметром стальной трубы 57 мм, наружным диаметром полиэтиленовой оболочки 125 мм и длиной теплоизоляции 250 мм на выделенном поперечными разрезами фрагменте тепловой изоляции длиной 100 мм.
Свободные от тепловой изоляции концы стальных труб должны опираться на скользящие опоры согласно рисунку 4.
1 - стальная труба; 2 - индикатор; 3 - труба-оболочка
из полиэтилена и изоляция из пенополиуретана;
4 - приспособление для приложения нагрузки; 5 - опора
Рисунок 4
По образцам пропускают теплоноситель с температурой (140 +/- 2) °C в течение одной недели, после чего к фрагменту изоляции прилагают вертикальную нагрузку (1,5 +/- 0,01) кН (рисунок 4).
Радиальную ползучесть тепловой изоляции замеряют в верхней части середины фрагмента до начала нагрузки (исходное значение) и в период воздействия нагрузки через 100 ч и через 1000 ч.
Замеры производят индикатором часового типа с точностью до 0,05 мм.
Величину радиальной ползучести определяют как среднеарифметическое значение результатов испытаний трех образцов.
9.23. Стойкость полиэтиленовой оболочки при постоянном внутреннем давлении определяют на образцах трубы-оболочки по ГОСТ 24157.
10. Транспортирование и хранение
10.1. Перевозку изолированных труб и фасонных изделий осуществляют автомобильным, железнодорожным и водным транспортом в соответствии с правилами перевозки грузов, обеспечивающими сохранность изоляции и исключающими возникновение продольного прогиба.
10.2. Перевозку труб и фасонных изделий, погрузочно-разгрузочные работы осуществляют в интервале температур, указанных для проведения строительно-монтажных работ, но не ниже минус 18 °C.
10.3. Для погрузки и разгрузки труб и фасонных изделий следует применять специальные траверсы и мягкие полотенца шириной 50 - 200 мм. Не допускается использовать цепи, канаты и другие грузозахватные устройства, вызывающие повреждение изоляции.
Для труб диаметром более 108 мм возможно использование торцевых захватов со специальными траверсами.
10.4. Строго запрещается сбрасывание, скатывание, соударение труб, волочение их по земле.
10.5. Укладку труб в транспортные средства необходимо производить ровными рядами, не допуская перехлестов. В качестве амортизатора между трубами с целью исключения повреждения покрытия следует использовать поролон, резину и т.п.
Для обеспечения свободного пропуска обвязок между трубами и дном кузова автомашины укладывают прокладки.
Не допускается раскатывание нижнего ряда труб при транспортировании.
10.6. Трубы и фасонные изделия должны храниться на ровных горизонтальных площадках, очищенных от камней и других посторонних предметов, которые могут привести к повреждению полиэтиленовой оболочки.
10.7. Складирование труб производят штабелями высотой не более 2 м. Для предотвращения раскатывания труб в штабелях должны быть установлены боковые опоры. В штабеле должны быть уложены трубы одного типоразмера.
10.8. Фасонные изделия хранят в специально отведенных для них местах, рассортированными по виду и диаметрам.
10.9. Трубы и фасонные изделия при хранении более 2 недель на открытом воздухе должны быть защищены от воздействия прямых солнечных лучей (в тени, под навесом или прикрыты рулонными материалами).
Торцы труб должны быть защищены заглушками.
10.10. На строительных площадках трубы следует укладывать на песчаные подушки шириной до 1,2 м и высотой не менее 300 мм, отсыпанные перпендикулярно длине труб, под концы и середину трубы.
Для предупреждения попадания воды в теплоизоляционный слой с торцов крайние песчаные подушки располагают на расстоянии около 1 м от концов оболочки.
10.11. Не допускается складирование и хранение труб и фасонных изделий в местах, подверженных затоплению водой.
11. Гарантии изготовителя
11.1. Изготовитель гарантирует соответствие труб и изделий требованиям настоящего стандарта при соблюдении правил транспортирования, хранения, монтажа и эксплуатации.
11.2. Гарантийный срок хранения - 2 года со дня изготовления. Гарантийный срок эксплуатации - 5 лет со дня отгрузки изготовителем.
(справочное)
НОРМАТИВНЫХ ДОКУМЕНТОВ, ССЫЛКИ НА КОТОРЫЕ ПРИВЕДЕНЫ
В НАСТОЯЩЕМ СТАНДАРТЕ
ГОСТ 9.402-80. ЕСЗКС. Покрытия лакокрасочные. Подготовка металлических поверхностей перед окрашиванием
ГОСТ 12.1.007-76. ССБТ. Вредные вещества. Классификация и общие требования безопасности
ГОСТ 12.3.008-75. ССБТ. Производство покрытий металлических и неметаллических неорганических. Общие требования безопасности
ГОСТ 12.3.016-87. ССБТ. Строительство. Работы антикоррозионные. Требования безопасности
ГОСТ 12.3.038-85. ССБТ. Строительство. Работы по тепловой изоляции оборудования и трубопроводов. Требования безопасности
ГОСТ 17.2.3.02-78. Охрана природы. Атмосфера. Правила установления допустимых выбросов вредных веществ промышленными предприятиями
ГОСТ 409-77. Пластмассы ячеистые и резины губчатые. Метод определения кажущейся плотности
ГОСТ 427-75. Линейки измерительные металлические. Технические условия
ГОСТ 550-75. Трубы стальные бесшовные для нефтеперерабатывающей и нефтехимической промышленности. Технические условия
ГОСТ 7076-99. Материалы и изделия строительные. Метод определения теплопроводности и термического сопротивления при стационарном тепловом режиме
ГОСТ 7502-98. Рулетки измерительные металлические. Технические условия
ГОСТ 8731-74. Трубы стальные бесшовные горячедеформированные. Технические требования
ГОСТ 8733-74. Трубы стальные бесшовные холоднодеформированные и теплодеформированные. Технические требования
ГОСТ 10705-80. Трубы стальные электросварные. Технические условия
ГОСТ 17177-94. Материалы и изделия строительные теплоизоляционные. Методы испытаний
ГОСТ 17375-83. Детали трубопроводов стальные бесшовные приварные на

МПа (<= 100 кгс/см2). Отводы крутоизогнутые. Конструкция и размеры
ГОСТ 17376-83. Детали трубопроводов стальные бесшовные приварные на

МПа (<= 100 кгс/см2). Тройники. Конструкция и размеры
ГОСТ 17378-83. Детали трубопроводов стальные бесшовные приварные на

МПа (<= 100 кгс/см2). Переходы. Конструкция и размеры
| | ИС МЕГАНОРМ: примечание. Взамен ГОСТ 17380-83 Постановлением Госстандарта РФ от 27.02.2002 N 205-ст с 1 января 2003 года введен в действие ГОСТ 17380-2001. | |
ГОСТ 17380-83. Детали трубопроводов стальные бесшовные приварные на

МПа (<= 100 кгс/см2). Технические условия
ГОСТ 18321-73. Статистический контроль качества. Методы случайного отбора выборок штучной продукции
| | ИС МЕГАНОРМ: примечание. Взамен ГОСТ 18599-83 Постановлением Госстандарта РФ от 23.03.2002 N 112-ст с 1 января 2003 года введен в действие ГОСТ 18599-2001. | |
ГОСТ 18599-83. Трубы напорные из полиэтилена. Технические условия
ГОСТ 20295-85. Трубы стальные сварные для магистральных газонефтепроводов. Технические условия
ГОСТ 22056-76. Трубки электроизоляционные из фторопласта 4Д и 4ДМ. Технические условия
ГОСТ 23206-78. Пластмассы ячеистые жесткие. Метод испытания на сжатие
ГОСТ 24157-80. Трубы из пластмасс. Метод определения стойкости при постоянном внутреннем давлении
ГОСТ 26996-86. Полипропилен и сополимеры пропилена. Технические условия
ГОСТ 27078-86. Трубы из термопластов. Методы определения изменения длины труб после прогрева
ГОСТ 30256-94. Материалы и изделия строительные. Метод определения теплопроводности цилиндрическим зондом
ПБ 03-75-94. Правила устройства и безопасной эксплуатации трубопроводов пара и горячей воды
СанПиН 3183-84. Порядок накопления, транспортировки, обезвреживания и захоронения токсичных промышленных отходов.
(рекомендуемое)
ОПРЕДЕЛЕНИЕ ТРЕБУЕМОЙ ТОЛЩИНЫ
ПЕНОПОЛИУРЕТАНОВОЙ ТЕПЛОИЗОЛЯЦИИ СТАЛЬНЫХ ТРУБ
ПРИ БЕСКАНАЛЬНОЙ ПРОКЛАДКЕ ТЕПЛОВЫХ СЕТЕЙ
В РАЗЛИЧНЫХ КЛИМАТИЧЕСКИХ ЗОНАХ
Пример расчета толщины тепловой изоляции труб при бесканальной прокладке тепловых сетей приведен для России. Для других климатических зон расчет осуществляется аналогично с применением местных расчетных характеристик.
Толщина пенополиуретановой изоляции стальных труб для бесканальной прокладки тепловых сетей определена расчетом по
СНиП 2.04.14 с использованием нормированной плотности теплового потока.
В качестве расчетных значений плотности теплового потока через поверхность изоляции трубопроводов бесканальной прокладки приняты данные, приведенные в
СНиП 2.04.14.
В соответствии с рекомендациями
СНиП 2.04.14 за расчетные температуры подающего и обратного трубопроводов приняты средние за год температуры воды (таблица Б.1).
Таблица Б.1
Трубопровод | Расчетные температурные режимы, °C |
95 - 70 | 150 - 70 |
Подающий | 65 | 90 |
Обратный | 50 | 50 |
В качестве расчетной температуры окружающей среды используется средняя за год температура наружного воздуха, так как при определении толщины величина заглубления верха теплоизоляционной конструкции трубопроводов принята 0,7 м и менее (по действующим нормативным документам на тепловую изоляцию трубопроводов).
Среднегодовые температуры наружного воздуха по районам строительства должны приниматься по
СНиП 23-01.
Преобладающим видом грунта принят суглинок со средним влагосодержанием 0,27 кг/кг. На основании этих данных в качестве расчетной теплопроводности грунта принято значение 1,86 Вт/м x °C, а теплопроводность пенополиуретановой изоляции в оболочке из полиэтилена - 0,033 Вт/м x °C.
Расчетные значения толщины пенополиуретановой изоляции для различных районов строительства Российской Федерации представлены в таблице Б.2.
Таблица Б.2
В миллиметрах
┌────────┬───────────────────────────────────────────────────────────────────────┐
│Наружный│ Толщина изоляции/наружный диаметр оболочек │
│диаметр │ для территориальных районов │
│ труб ├──────────────────────────────┬─────────┬─────────┬──────────┬─────────┤
│ │ Европейские районы │ Урал │Западная │Восточная │ Дальний │
│ ├─────────┬─────────┬──────────┤ │ Сибирь │ Сибирь │ Восток │
│ │ юг │ центр │ север │ │ │ │ │
├────────┼─────────┼─────────┼──────────┼─────────┼─────────┼──────────┼─────────┤
│ 57 │31,5/125 │31,5/125 │ 31,5/125 │31,5/125 │31,5/125 │ 38,5/140 │31,5/125 │
├────────┼─────────┼─────────┼──────────┼─────────┼─────────┼──────────┼─────────┤
│ 76 │ 29/140 │ 29/140 │ 39/160 │ 39/160 │ 39/160 │ 39/160 │ 39/160 │
├────────┼─────────┼─────────┼──────────┼─────────┼─────────┼──────────┼─────────┤
│ 89 │32,5/160 │32,5/160 │ 42,5/180 │42,5/180 │42,5/180 │ 42,5/180 │42,5/180 │
├────────┼─────────┼─────────┼──────────┼─────────┼─────────┼──────────┼─────────┤
│ 108 │ 33/180 │ 33/180 │ 43/200 │ 43/200 │ 43/200 │ 43/200 │ 43/200 │
├────────┼─────────┼─────────┼──────────┼─────────┼─────────┼──────────┼─────────┤
│ 133 │42,5/225 │42,5/225 │ 42,5/225 │42,5/225 │42,5/225 │ 54,5/250 │42,5/225 │
├────────┼─────────┼─────────┼──────────┼─────────┼─────────┼──────────┼─────────┤
│ 159 │41,5/250 │41,5/250 │ 55,5/280 │41,5/250 │55,5/280 │ 55,5/280 │55,5/280 │
├────────┼─────────┼─────────┼──────────┼─────────┼─────────┼──────────┼─────────┤
│ 219 │ 42/315 │ 62/355 │ 62/355 │ 62/355 │ 62/355 │ 62/355 │ 62/355 │
├────────┼─────────┼─────────┼──────────┼─────────┼─────────┼──────────┼─────────┤
│ 273 │ 57/400 │ 57/400 │57/400
<*>│ 57/400 │ 57/400 │ 81,5/450 │ 57/400 │
├────────┼─────────┼─────────┼──────────┼─────────┼─────────┼──────────┼─────────┤
│ 325 │55,5/450 │55,5/450 │ 79,5/500 │55,5/450 │79,5/500 │ 79,5/500 │79,5/500 │
├────────┼─────────┼─────────┼──────────┼─────────┼─────────┼──────────┼─────────┤
│ 426 │58,2/560 │58,2/560 │ 92,4/630 │92,4/630 │92,4/630 │ 92,4/630 │92,4/630 │
├────────┼─────────┼─────────┼──────────┼─────────┼─────────┼──────────┼─────────┤
│ 530 │ 79/710 │ 79/710 │ 79/710 │ 79/710 │ 79/710 │ 79/710 │ 79/710 │
├────────┼─────────┼─────────┼──────────┼─────────┼─────────┼──────────┼─────────┤
│ 630 │72,5/800 │72,5/800 │ 72,5/800 │72,5/800 │72,5/800 │ 72,5/800 │72,5/800 │
├────────┼─────────┼─────────┼──────────┼─────────┼─────────┼──────────┼─────────┤
│ 720 │ 76/900 │ 76/900 │ 76/900 │ 76/900 │ 76/900 │76/900
<*>│ 76/900 │
├────────┼─────────┼─────────┼──────────┼─────────┼─────────┼──────────┼─────────┤
│ 820 │72,5/1000│72,5/1000│122,5/1100│72,5/1000│72,5/1000│122,5/1100│72,5/1000│
├────────┼─────────┼─────────┼──────────┼─────────┼─────────┼──────────┼─────────┤
│ 920 │74,5/1100│74,5/1100│120,5/1200│74,5/1100│74,5/1100│120,5/1200│74,5/1100│
│ │ │ │ │ │ <*> │ │ <*> │
├────────┼─────────┼─────────┼──────────┼─────────┼─────────┼──────────┼─────────┤
│ 1020 │70,5/1200│70,5/1200│ <**> │70,5/1200│ <**> │ <**> │ <**> │
│ │ │ <*> │ │ <*> │ │ │ │
├────────┴─────────┴─────────┴──────────┴─────────┴─────────┴──────────┴─────────┤
│ <*> Толщина теплоизоляции принята менее расчетной │
│по условиям нормированных теплопотерь. │
│ <**> Толщина теплоизоляции определяется нестандартным │
│наружным диаметром полиэтиленовой оболочки 1300 или 1400 мм. │
└────────────────────────────────────────────────────────────────────────────────┘
На основании этих данных, с учетом размеров полиэтиленовых труб-оболочек (
таблица 2), определена толщина пенополиуретановой изоляции индустриальных конструкций теплопроводов для бесканальной прокладки тепловых сетей (
таблица 1).
Рекомендации по применению изолированных труб типов 1 (стандартный) и 2 (усиленный) в зависимости от климатических районов строительства тепловых сетей приведены в таблице Б.3.
Таблица Б.3
┌─────────┬────────────┬─────────────────────────────────────────┐
│Наружный │Тип изолиро-│ Климатические районы строительства │
│диаметр │ванных труб │ │
│стальной │по толщине │ │
│трубы d, │изоляции │ │
├─────────┼────────────┼─────────────────────────────────────────┤
│ 57 │ 1 │ Европейский район - юг, центр, север; │
│ │ │ Урал, Западная Сибирь, Дальний Восток │
│ ├────────────┼─────────────────────────────────────────┤
│ │ 2 │ Восточная Сибирь │
├─────────┼────────────┼─────────────────────────────────────────┤
│ 76 │ 1 │ Европейский район - юг, центр │
│ ├────────────┼─────────────────────────────────────────┤
│ │ 2 │ Европейский район - север; │
│ │ │Урал, Западная Сибирь, Восточная Сибирь, │
│ │ │ Дальний Восток │
├─────────┼────────────┼─────────────────────────────────────────┤
│ 89 │ 1 │ Европейский район - юг, центр │
│ ├────────────┼─────────────────────────────────────────┤
│ │ 2 │ Европейский район - север; │
│ │ │Урал, Западная Сибирь, Восточная Сибирь, │
│ │ │ Дальний Восток │
├─────────┼────────────┼─────────────────────────────────────────┤
│ 108 │ 1 │ Европейский район - юг, центр │
│ ├────────────┼─────────────────────────────────────────┤
│ │ 2 │ Европейский район - север; │
│ │ │Урал, Западная Сибирь, Восточная Сибирь, │
│ │ │ Дальний Восток │
├─────────┼────────────┼─────────────────────────────────────────┤
│ 133 │ 1 │ Европейский район - юг, центр; │
│ │ │ Север, Урал, Западная Сибирь, │
│ │ │ Дальний Восток │
│ ├────────────┼─────────────────────────────────────────┤
│ │ 2 │ Восточная Сибирь │
├─────────┼────────────┼─────────────────────────────────────────┤
│ 159 │ 1 │ Европейский район - юг, центр, Урал │
│ ├────────────┼─────────────────────────────────────────┤
│ │ 2 │ Европейский район - север; │
│ │ │ Западная Сибирь, Восточная Сибирь, │
│ │ │ Дальний Восток │
├─────────┼────────────┼─────────────────────────────────────────┤
│ 219 │ 1 │ Европейский район - центр │
│ ├────────────┼─────────────────────────────────────────┤
│ │ 2 │ Европейский район - центр; │
│ │ │ Север, Урал, Западная Сибирь, │
│ │ │ Дальний Восток │
├─────────┼────────────┼─────────────────────────────────────────┤
│ 273 │ 1 │ Европейский район - юг, центр; │
│ │ │ Север, Урал, Западная Сибирь, │
│ │ │ Дальний Восток │
│ ├────────────┼─────────────────────────────────────────┤
│ │ 2 │ Восточная Сибирь │
├─────────┼────────────┼─────────────────────────────────────────┤
│ 325 │ 1 │ Европейский район - юг, центр; │
│ │ │ Урал, Западная Сибирь, Дальний Восток │
│ ├────────────┼─────────────────────────────────────────┤
│ │ 2 │ Европейский район - север; │
│ │ │ Западная Сибирь, Восточная Сибирь, │
│ │ │ Дальний Восток │
├─────────┼────────────┼─────────────────────────────────────────┤
│ 426 │ 1 │ Европейский район - юг, центр │
│ ├────────────┼─────────────────────────────────────────┤
│ │ 2 │ Европейский район - север; │
│ │ │Урал, Западная Сибирь, Восточная Сибирь, │
│ │ │ Дальний Восток │
├─────────┼────────────┼─────────────────────────────────────────┤
│ 530 │ 1 │ Все районы │
├─────────┼────────────┼─────────────────────────────────────────┤
│ 630 │ 1 │ То же │
├─────────┼────────────┼─────────────────────────────────────────┤
│ 720 │ 1 │ " │
├─────────┼────────────┼─────────────────────────────────────────┤
│ 820 │ 1 │ Европейский район - юг, центр; │
│ │ │Урал, Западная Сибирь, Восточная Сибирь, │
│ │ │ Дальний Восток │
│ ├────────────┼─────────────────────────────────────────┤
│ │ 2 │ Европейский район - север │
├─────────┼────────────┼─────────────────────────────────────────┤
│ 920 │ 1 │ Европейский район - юг, центр; │
│ │ │ Урал, Западная Сибирь, Дальний Восток │
│ ├────────────┼─────────────────────────────────────────┤
│ │ 2 │ Европейский район - север; │
│ │ │ Восточная Сибирь │
├─────────┼────────────┼─────────────────────────────────────────┤
│1020 <*> │ 1 │ Европейский район - юг, центр, север; │
│ │ │ Урал │
├─────────┴────────────┴─────────────────────────────────────────┤
│ <*> Изолированные стальные трубы диаметром 1020 мм могут│
│быть применены на севере Европейского района, в Западной и│
│Восточной Сибири и Дальнем Востоке при условии использования│
│полиэтиленовой оболочки нестандартного наружного диаметра│
│(1300 или 1400 мм). │
└────────────────────────────────────────────────────────────────┘
(рекомендуемое)
СОРТАМЕНТ ФАСОННЫХ ИЗДЕЛИЙ
В.1. Отвод
В.1.1. Конструкция и размеры отводов должны соответствовать рисунку В.1 и
таблице В.1.
1 - стальная труба; 2 - изоляция из пенополиуретана;
3 - оболочка из полиэтилена; 4 - центрирующая опора;
5 - стальной отвод; 6 - электроизоляционная трубка
по
ГОСТ 22056; 7 - проводник-индикатор системы ОДК
Рисунок В.1. Отвод
Таблица В.1
В миллиметрах
┌───────┬──────────────┬─────────────────────────────────────────┐
│Наруж- │Наружный диа- │ Угол альфа
<**> │
│ный │метр изоляции ├──────────┬──────────┬─────────┬─────────┤
│диаметр│(по полиэтиле-│ 90° │ 60° │ 45° │ 30° │
│сталь- │новой оболоч- │ │ │ │ │
│ного │ке) D │ │ │ │ │
│отвода ├───────┬──────┼──────────┴──────────┴─────────┴─────────┤
│d │ тип 1 │тип 2 │ L │
├───────┼───────┼──────┼──────────┬──────────┬─────────┬─────────┤
│ 57 │ 125 │ 140 │ 1000 │ 1000 │ 1000 │ 1000 │
├───────┼───────┼──────┤ │ │ │ │
│ 76 │ 140 │ 160 │ │ │ │ │
├───────┼───────┼──────┼──────────┼──────────┼─────────┼─────────┤
│ 89 │ 160 │ 180 │ 1000 │ 1000 │ 1000 │ 1000 │
├───────┼───────┼──────┤ │ │ │ │
│ 108 │ 180 │ 200 │ │ │ │ │
├───────┼───────┼──────┤ │ │ │ │
│ 133 │ 225 │ 250 │ │ │ │ │
├───────┼───────┼──────┤ │ │ │ │
│ 159 │ 250 │ 280 │ │ │ │ │
├───────┼───────┼──────┤ │ │ │ │
│ 219 │ 315 │ 355 │ │ │ │ │
├───────┼───────┼──────┤ │ │ │ │
│ 273 │ 400 │ 450 │ │ │ │ │
├───────┼───────┼──────┼──────────┼──────────┼─────────┼─────────┤
│ 325 │ 450 │ 500 │ 1050 │ 860 │ 786 │ 720 │
├───────┼───────┼──────┼──────────┼──────────┼─────────┼─────────┤
│ 426 │ 560 │ 630 │ 1100 │ 889 │ 807 │ 734 │
├───────┼───────┼──────┼──────────┼──────────┼─────────┼─────────┤
│ 530 │ 710 │ - │ 1200 │ 946 │ 848 │ 761 │
├───────┼───────┼──────┼──────────┼──────────┼─────────┼─────────┤
│ 630 │ 800 │ - │ 1200 │ 945 │ 848 │ 761 │
│ │ │ │(1280 <*>)│(1014 <*>)│(911 <*>)│(819 <*>)│
├───────┼───────┼──────┼──────────┼──────────┼─────────┼─────────┤
│ 720 │ 900 │ - │ 1370 <*> │ 1066 <*> │ 948 <*> │ 843 <*> │
├───────┼───────┼──────┼──────────┼──────────┼─────────┼─────────┤
│ 820 │ 1000 │ 1100 │ 1470 <*> │ 1073 <*> │ 990 <*> │ 820 <*> │
├───────┼───────┼──────┼──────────┼──────────┼─────────┼─────────┤
│ 920 │ 1100 │ 1200 │ 1570 <*> │ 1132 <*> │1032 <*> │ 846 <*> │
├───────┼───────┼──────┼──────────┼──────────┼─────────┼─────────┤
│ 1020 │ 1200 │ - │ 1620 <*> │ 1189 <*> │1022 <*> │ 874 <*> │
├───────┴───────┴──────┴──────────┴──────────┴─────────┴─────────┤
│ <*> Сварные отводы. │
│ <**> Допускается изготовление отводов с другими углами. │
└────────────────────────────────────────────────────────────────┘
В.1.2. Пример условного обозначения отвода 90° диаметром 57 мм толщиной стенки 3 мм с тепловой изоляцией типа 1:
Отвод Ст 57 x 3-90°-1-ППУ-ПЭ ГОСТ 30732-2001.
В.2. Переход
В.2.1. Конструкция и размеры переходов должны соответствовать рисунку В.2 и
таблице В.2.
1 - стальная труба; 2 - электроизоляционная трубка
по
ГОСТ 22056; 3 - оболочка из полиэтилена; 4 - изоляция
из пенополиуретана; 5 - центрирующая опора;
6 - проводник-индикатор системы ОДК
Рисунок В.2. Переход
Таблица В.2
В миллиметрах
┌───────┬─────────────────────────────────────────────────────────────┐
│ │ d │
│ │ 1 │
│ ├──┬──┬──┬───┬───┬───┬───┬───┬───┬───┬───┬───┬───┬───┬───┬────┤
│ │57│76│89│108│133│159│219│273│325│426│530│630│720│820│920│1020│
├──┬────┼──┼──┼──┼───┼───┼───┼───┼───┼───┼───┼───┼───┼───┼───┼───┼────┤
│d │ 76│X │ │ │ │ │ │ │ │ │ │ │ │ │ │ │ │
│ 2├────┼──┼──┼──┼───┼───┼───┼───┼───┼───┼───┼───┼───┼───┼───┼───┼────┤
│ │ 89│X │X │ │ │ │ │ │ │ │ │ │ │ │ │ │ │
│ ├────┼──┼──┼──┼───┼───┼───┼───┼───┼───┼───┼───┼───┼───┼───┼───┼────┤
│ │ 108│X │X │X │ │ │ │ │ │ │ │ │ │ │ │ │ │
│ ├────┼──┼──┼──┼───┼───┼───┼───┼───┼───┼───┼───┼───┼───┼───┼───┼────┤
│ │ 133│X │X │X │ X │ │ │ │ │ │ │ │ │ │ │ │ │
│ ├────┼──┼──┼──┼───┼───┼───┼───┼───┼───┼───┼───┼───┼───┼───┼───┼────┤
│ │ 159│X │X │X │ X │ X │ │ │ │ │ │ │ │ │ │ │ │
│ ├────┼──┼──┼──┼───┼───┼───┼───┼───┼───┼───┼───┼───┼───┼───┼───┼────┤
│ │ 219│X │X │X │ X │ X │ X │ │ │ │ │ │ │ │ │ │ │
│ ├────┼──┼──┼──┼───┼───┼───┼───┼───┼───┼───┼───┼───┼───┼───┼───┼────┤
│ │ 273│ │ │ │ X │ X │ X │ X │ │ │ │ │ │ │ │ │ │
│ ├────┼──┼──┼──┼───┼───┼───┼───┼───┼───┼───┼───┼───┼───┼───┼───┼────┤
│ │ 325│ │ │ │ X │ X │ X │ X │ X │ │ │ │ │ │ │ │ │
│ ├────┼──┼──┼──┼───┼───┼───┼───┼───┼───┼───┼───┼───┼───┼───┼───┼────┤
│ │ 426│ │ │ │ │ │ X │ X │ X │ X │ │ │ │ │ │ │ │
│ ├────┼──┼──┼──┼───┼───┼───┼───┼───┼───┼───┼───┼───┼───┼───┼───┼────┤
│ │ 530│ │ │ │ │ │ │ │ X │ X │ X │ │ │ │ │ │ │
│ ├────┼──┼──┼──┼───┼───┼───┼───┼───┼───┼───┼───┼───┼───┼───┼───┼────┤
│ │ 630│ │ │ │ │ │ │ │ │ X │ X │ X │ │ │ │ │ │
│ ├────┼──┼──┼──┼───┼───┼───┼───┼───┼───┼───┼───┼───┼───┼───┼───┼────┤
│ │ 720│ │ │ │ │ │ │ │ │ │ X │ X │ X │ │ │ │ │
│ ├────┼──┼──┼──┼───┼───┼───┼───┼───┼───┼───┼───┼───┼───┼───┼───┼────┤
│ │ 820│ │ │ │ │ │ │ │ │ │ X │ X │ X │ X │ │ │ │
│ ├────┼──┼──┼──┼───┼───┼───┼───┼───┼───┼───┼───┼───┼───┼───┼───┼────┤
│ │ 920│ │ │ │ │ │ │ │ │ │ │ X │ X │ X │ X │ │ │
│ ├────┼──┼──┼──┼───┼───┼───┼───┼───┼───┼───┼───┼───┼───┼───┼───┼────┤
│ │1020│ │ │ │ │ │ │ │ │ │ │ X │ X │ X │ X │ X │ │
├──┴────┴──┴──┴──┴───┴───┴───┴───┴───┴───┴───┴───┴───┴───┴───┴───┴────┤
│ Примечание. X - длина изделия равна 1500 мм. │
└─────────────────────────────────────────────────────────────────────┘
В.2.2. Пример условного обозначения стального перехода диаметром 89-76 мм с изоляцией типа 2:
Переход Ст 89-76-2-ППУ-ПЭ ГОСТ 30732-2001.
В.3. Тройник
В.3.1. Конструкция и размеры тройника должны соответствовать рисунку В.3 и
таблице В.3 и
В.5.
1 - оболочка из полиэтилена; 2 - изоляция
из пенополиуретана; 3 - центрирующая опора;
4 - проводник-индикатор системы ОДК; 5 - стальная труба
Рисунок В.3. Тройник
Таблица В.3
В миллиметрах
┌───────┬────────────────────────────────────────────────────────────────┐
│ │ d │
│ │ 2 │
│ ├──┬──┬──┬───┬───┬───┬───┬───┬───┬───┬───┬───┬────┬────┬────┬────┤
│ │57│76│89│108│133│159│219│273│325│426│530│630│720 │820 │920 │1020│
├──┬────┼──┼──┼──┼───┼───┼───┼───┼───┼───┼───┼───┼───┼────┼────┼────┼────┤
│d │ 57│X │ │ │ │ │ │ │ │ │ │ │ │ │ │ │ │
│ 1├────┼──┼──┼──┼───┼───┼───┼───┼───┼───┼───┼───┼───┼────┼────┼────┼────┤
│ │ 76│X │X │ │ │ │ │ │ │ │ │ │ │ │ │ │ │
│ ├────┼──┼──┼──┼───┼───┼───┼───┼───┼───┼───┼───┼───┼────┼────┼────┼────┤
│ │ 89│X │X │X │ │ │ │ │ │ │ │ │ │ │ │ │ │
│ ├────┼──┼──┼──┼───┼───┼───┼───┼───┼───┼───┼───┼───┼────┼────┼────┼────┤
│ │ 108│X │X │X │ X │ │ │ │ │ │ │ │ │ │ │ │ │
│ ├────┼──┼──┼──┼───┼───┼───┼───┼───┼───┼───┼───┼───┼────┼────┼────┼────┤
│ │ 133│X │X │X │ X │ X │ │ │ │ │ │ │ │ │ │ │ │
│ ├────┼──┼──┼──┼───┼───┼───┼───┼───┼───┼───┼───┼───┼────┼────┼────┼────┤
│ │ 159│X │X │X │ X │ X │ X │ │ │ │ │ │ │ │ │ │ │
│ ├────┼──┼──┼──┼───┼───┼───┼───┼───┼───┼───┼───┼───┼────┼────┼────┼────┤
│ │ 219│X │X │X │ X │ X │ X │ X │ │ │ │ │ │ │ │ │ │
│ ├────┼──┼──┼──┼───┼───┼───┼───┼───┼───┼───┼───┼───┼────┼────┼────┼────┤
│ │ 273│X │X │X │ X │ X │ X │ X │ X │ │ │ │ │ │ │ │ │
│ ├────┼──┼──┼──┼───┼───┼───┼───┼───┼───┼───┼───┼───┼────┼────┼────┼────┤
│ │ 325│X │X │X │ X │ X │ X │ X │ X │ X │ │ │ │ │ │ │ │
│ ├────┼──┼──┼──┼───┼───┼───┼───┼───┼───┼───┼───┼───┼────┼────┼────┼────┤
│ │ 426│X │X │X │ X │ X │ X │ X │ X │ X │ X │ │ │ │ │ │ │
│ ├────┼──┼──┼──┼───┼───┼───┼───┼───┼───┼───┼───┼───┼────┼────┼────┼────┤
│ │ 530│X │X │X │ X │ X │ X │ X │ X │ X │ X │ X │ │ │ │ │ │
│ ├────┼──┼──┼──┼───┼───┼───┼───┼───┼───┼───┼───┼───┼────┼────┼────┼────┤
│ │ 630│X │X │X │ X │ X │ X │ X │ X │ X │ X │ X │ X │ │ │ │ │
│ ├────┼──┼──┼──┼───┼───┼───┼───┼───┼───┼───┼───┼───┼────┼────┼────┼────┤
│ │ 720│X │X │X │ X │ X │ X │ X │ X │ X │ X │ X │ X │2020│ │ │ │
│ ├────┼──┼──┼──┼───┼───┼───┼───┼───┼───┼───┼───┼───┼────┼────┼────┼────┤
│ │ 820│X │X │X │ X │ X │ X │ X │ X │ X │ X │ X │ X │2020│2120│ │ │
│ ├────┼──┼──┼──┼───┼───┼───┼───┼───┼───┼───┼───┼───┼────┼────┼────┼────┤
│ │ 920│X │X │X │ X │ X │ X │ X │ X │ X │ X │ X │ X │2020│2120│2220│ │
│ ├────┼──┼──┼──┼───┼───┼───┼───┼───┼───┼───┼───┼───┼────┼────┼────┼────┤
│ │1020│X │X │X │ X │ X │ X │ X │ X │ X │ X │ X │ X │2020│2120│2220│2320│
├──┴────┴──┴──┴──┴───┴───┴───┴───┴───┴───┴───┴───┴───┴────┴────┴────┴────┤
│ Примечание. X - для всех тройников неуказанные типоразмеры │
│L = 2000 мм. │
└────────────────────────────────────────────────────────────────────────┘
В.3.2. Пример условного обозначения тройника диаметром 57-57 мм с изоляцией типа 1:
Тройник Ст 57-57-1-ППУ-ПЭ ГОСТ 30732-2001.
В.4. Тройниковое ответвление
1 - стальной отвод; 2 - оболочка из полиэтилена;
3 - проводник-индикатор системы ОДК; 4 - изоляция
из пенополиуретана; 5 - электроизоляционная трубка
Рисунок В.4. Тройниковое ответвление
Таблица В.4
В миллиметрах
┌───────┬───────────────────────────────────────────────────────────────────────────────┐
│ │ L при d │
│ │ 1 2 │
│ ├────┬────┬────┬────┬────┬────┬────┬────┬────┬────┬────┬────┬────┬────┬────┬────┤
│ │ 57 │ 76 │ 89 │108 │133 │159 │219 │273 │325 │426 │530 │630 │720 │820 │920 │1020│
├──┬────┼────┼────┼────┼────┼────┼────┼────┼────┼────┼────┼────┼────┼────┼────┼────┼────┤
│d │ 57│730 │ │ │ │ │ │ │ │ │ │ │ │ │ │ │ │
│ 1├────┼────┼────┼────┼────┼────┼────┼────┼────┼────┼────┼────┼────┼────┼────┼────┼────┤
│ │ 76│760 │770 │ │ │ │ │ │ │ │ │ │ │ │ │ │ │
│ ├────┼────┼────┼────┼────┼────┼────┼────┼────┼────┼────┼────┼────┼────┼────┼────┼────┤
│ │ 89│790 │800 │810 │ │ │ │ │ │ │ │ │ │ │ │ │ │
│ ├────┼────┼────┼────┼────┼────┼────┼────┼────┼────┼────┼────┼────┼────┼────┼────┼────┤
│ │ 108│810 │820 │830 │850 │ │ │ │ │ │ │ │ │ │ │ │ │
│ ├────┼────┼────┼────┼────┼────┼────┼────┼────┼────┼────┼────┼────┼────┼────┼────┼────┤
│ │ 133│850 │860 │870 │880 │900 │ │ │ │ │ │ │ │ │ │ │ │
│ ├────┼────┼────┼────┼────┼────┼────┼────┼────┼────┼────┼────┼────┼────┼────┼────┼────┤
│ │ 159│880 │900 │910 │920 │930 │950 │ │ │ │ │ │ │ │ │ │ │
│ ├────┼────┼────┼────┼────┼────┼────┼────┼────┼────┼────┼────┼────┼────┼────┼────┼────┤
│ │ 219│980 │990 │1000│1010│1030│1040│1070│ │ │ │ │ │ │ │ │ │
│ ├────┼────┼────┼────┼────┼────┼────┼────┼────┼────┼────┼────┼────┼────┼────┼────┼────┤
│ │ 273│1100│1110│1120│1130│1150│1160│1190│1220│ │ │ │ │ │ │ │ │
│ ├────┼────┼────┼────┼────┼────┼────┼────┼────┼────┼────┼────┼────┼────┼────┼────┼────┤
│ │ 325│1170│1180│1190│1200│1220│1230│1260│1290│1320│ │ │ │ │ │ │ │
│ ├────┼────┼────┼────┼────┼────┼────┼────┼────┼────┼────┼────┼────┼────┼────┼────┼────┤
│ │ 426│1320│1330│1340│1360│1370│1390│1420│1450│1480│1540│ │ │ │ │ │ │
│ ├────┼────┼────┼────┼────┼────┼────┼────┼────┼────┼────┼────┼────┼────┼────┼────┼────┤
│ │ 530│ │1550│1560│1570│1580│1600│1630│1660│1690│1750│1710│ │ │ │ │ │
│ ├────┼────┼────┼────┼────┼────┼────┼────┼────┼────┼────┼────┼────┼────┼────┼────┼────┤
│ │ 630│ │ │1680│1700│1710│1730│1760│1790│1820│1880│1840│1940│ │ │ │ │
│ ├────┼────┼────┼────┼────┼────┼────┼────┼────┼────┼────┼────┼────┼────┼────┼────┼────┤
│ │ 720│ │ │ │1840│1850│1870│1900│1930│1940│2020│1980│2080│2120│ │ │ │
│ ├────┼────┼────┼────┼────┼────┼────┼────┼────┼────┼────┼────┼────┼────┼────┼────┼────┤
│ │ 820│ │ │ │ │1990│2010│2040│2070│2100│2160│2120│2230│2260│2310│ │ │
│ ├────┼────┼────┼────┼────┼────┼────┼────┼────┼────┼────┼────┼────┼────┼────┼────┼────┤
│ │ 920│ │ │ │ │ │2140│2180│2220│2260│2300│2340│2380│2420│2455│2490│ │
│ ├────┼────┼────┼────┼────┼────┼────┼────┼────┼────┼────┼────┼────┼────┼────┼────┼────┤
│ │1020│ │ │ │ │ │ │2290│2330│2380│2420│2460│2510│2555│2590│2640│2680│
└──┴────┴────┴────┴────┴────┴────┴────┴────┴────┴────┴────┴────┴────┴────┴────┴────┴────┘
Окончание таблицы В.4
В миллиметрах
┌───────┬───────────────────────────────────────────────────────────────────────────────┐
│ │ L при d │
│ │ 1 2 │
│ ├────┬────┬────┬────┬────┬────┬────┬────┬────┬────┬────┬────┬────┬────┬────┬────┤
│ │ 57 │ 76 │ 89 │108 │133 │159 │219 │273 │325 │426 │530 │630 │720 │820 │920 │1020│
├──┬────┼────┼────┼────┼────┼────┼────┼────┼────┼────┼────┼────┼────┼────┼────┼────┼────┤
│d │ 57│1160│ │ │ │ │ │ │ │ │ │ │ │ │ │ │ │
│ 1├────┼────┼────┼────┼────┼────┼────┼────┼────┼────┼────┼────┼────┼────┼────┼────┼────┤
│ │ 76│1160│1180│ │ │ │ │ │ │ │ │ │ │ │ │ │ │
│ ├────┼────┼────┼────┼────┼────┼────┼────┼────┼────┼────┼────┼────┼────┼────┼────┼────┤
│ │ 89│1160│1180│1200│ │ │ │ │ │ │ │ │ │ │ │ │ │
│ ├────┼────┼────┼────┼────┼────┼────┼────┼────┼────┼────┼────┼────┼────┼────┼────┼────┤
│ │ 108│1160│1180│1200│1200│ │ │ │ │ │ │ │ │ │ │ │ │
│ ├────┼────┼────┼────┼────┼────┼────┼────┼────┼────┼────┼────┼────┼────┼────┼────┼────┤
│ │ 133│1160│1180│1200│1200│1245│ │ │ │ │ │ │ │ │ │ │ │
│ ├────┼────┼────┼────┼────┼────┼────┼────┼────┼────┼────┼────┼────┼────┼────┼────┼────┤
│ │ 159│1160│1180│1200│1200│1245│1270│ │ │ │ │ │ │ │ │ │ │
│ ├────┼────┼────┼────┼────┼────┼────┼────┼────┼────┼────┼────┼────┼────┼────┼────┼────┤
│ │ 219│1160│1180│1200│1200│1245│1270│1335│ │ │ │ │ │ │ │ │ │
│ ├────┼────┼────┼────┼────┼────┼────┼────┼────┼────┼────┼────┼────┼────┼────┼────┼────┤
│ │ 273│1160│1180│1200│1200│1245│1270│1335│1520│ │ │ │ │ │ │ │ │
│ ├────┼────┼────┼────┼────┼────┼────┼────┼────┼────┼────┼────┼────┼────┼────┼────┼────┤
│ │ 325│1160│1180│1200│1200│1245│1270│1335│1520│1570│ │ │ │ │ │ │ │
│ ├────┼────┼────┼────┼────┼────┼────┼────┼────┼────┼────┼────┼────┼────┼────┼────┼────┤
│ │ 426│1160│1180│1200│1200│1245│1270│1335│1520│1570│1680│ │ │ │ │ │ │
│ ├────┼────┼────┼────┼────┼────┼────┼────┼────┼────┼────┼────┼────┼────┼────┼────┼────┤
│ │ 530│ │1180│1200│1220│1245│1270│1335│1520│1570│1680│1830│ │ │ │ │ │
│ ├────┼────┼────┼────┼────┼────┼────┼────┼────┼────┼────┼────┼────┼────┼────┼────┼────┤
│ │ 630│ │ │1200│1220│1245│1270│1335│1520│1570│1680│1830│1920│ │ │ │ │
│ ├────┼────┼────┼────┼────┼────┼────┼────┼────┼────┼────┼────┼────┼────┼────┼────┼────┤
│ │ 720│ │ │ │1220│1245│1270│1335│1520│1570│1680│1830│1920│2020│ │ │ │
│ ├────┼────┼────┼────┼────┼────┼────┼────┼────┼────┼────┼────┼────┼────┼────┼────┼────┤
│ │ 820│ │ │ │ │1245│1270│1335│1520│1570│1680│1830│1920│2020│2120│ │ │
│ ├────┼────┼────┼────┼────┼────┼────┼────┼────┼────┼────┼────┼────┼────┼────┼────┼────┤
│ │ 920│ │ │ │ │ │1270│1335│1520│1570│1680│1830│1920│2020│2120│2220│ │
│ ├────┼────┼────┼────┼────┼────┼────┼────┼────┼────┼────┼────┼────┼────┼────┼────┼────┤
│ │1020│ │ │ │ │ │ │1335│1520│1570│1680│1830│1920│2020│2120│2220│2320│
└──┴────┴────┴────┴────┴────┴────┴────┴────┴────┴────┴────┴────┴────┴────┴────┴────┴────┘
Таблица В.5
В миллиметрах
┌────┬─────────┬────────────────────────────────────────────────────────────────────────────────────────────────────────────────────────┐
│ │ │ Трубы и допуски на ответвлениях │
├────┼─────────┼────────────┬────────────┬────────────┬─────────────┬──────────────┬────────────┬─────────┬─────────┬─────────┬─────────┤
│Ос- │ │ +2 │ │ │ │ │ │ │ │ │ │
│нов-│57 x 3 │57 x 3 │ │ │ │ │ │ │ │ │ │
│ная ├─────────┤ ├────────────┼────────────┼─────────────┼──────────────┼────────────┼─────────┼─────────┼─────────┼─────────┤
│тру-│ │ │ +2 │ │ │ │ │ │ │ │ │
│ба │76 x 3 │ │76 x 3 │ │ │ │ │ │ │ │ │
│ ├─────────┼────────────┼────────────┼────────────┼─────────────┼──────────────┼────────────┼─────────┼─────────┼─────────┼─────────┤
│ │ │ +2 │ +2 │ +2 │ │ │ │ │ │ │ │
│ │89 x 4 │57 x 4 │76 x 4 │89 x 4 │ │ │ │ │ │ │ │
│ ├─────────┤ -1 │ -1 │ ├─────────────┼──────────────┼────────────┼─────────┼─────────┼─────────┼─────────┤
│ │ │ │ │ │ +2 │ │ │ │ │ │ │
│ │108 x 4 │ │ │ │108 x 4 │ │ │ │ │ │ │
│ ├─────────┤ │ │ │ ├──────────────┼────────────┼─────────┼─────────┼─────────┼─────────┤
│ │ │ │ │ │ │ +2 │ │ │ │ │ │
│ │133 x 4 │ │ │ │ │133 x 4 │ │ │ │ │ │
│ ├─────────┼────────────┼────────────┼────────────┼─────────────┼──────────────┼────────────┼─────────┼─────────┼─────────┼─────────┤
│ │ │ +2 │ +2 │ +2 │ +2 │ +2 │ +2 │ │ │ │ │
│ │159 x 4,5│57 x 4,5 │76 x 4,5 │89 x 4,5 │108 x 4,5 │133 x 4,5 │159 x 4,5 │ │ │ │ │
│ │ │ -1,5│ -1,5│ -0,5│ -0,5│ -0,5 │ │ │ │ │ │
│ ├─────────┼────────────┼────────────┼────────────┼─────────────┼──────────────┼────────────┼─────────┼─────────┼─────────┼─────────┤
│ │ │ +/- 2 │ +/- 2 │ +/- 2 │ +/- 2 │ +/- 2 │ +2 │ +2│ │ │ │
│ │219 x 6 │57 x 6 │76 x 6 │89 x 6 │108 x 6 │133 x 6 │159 x 6 │219 x 6 │ │ │ │
│ │ │ │ │ │ │ │ -1,5 │ │ │ │ │
│ ├─────────┼────────────┼────────────┼────────────┼─────────────┼──────────────┼────────────┼─────────┼─────────┼─────────┼─────────┤
│ │ │ +/- 2 │ +/- 2 │ +/-2 │ +/- 2 │ +/- 2 │ +/- 2│ +2│ +2│ │ │
│ │273 x 7 │57 x 7 │76 x 7 │89 x 7 │108 x 7 │133 x 7 │159 x 7 │219 x 7 │273 x 7 │ │ │
│ │ │ │ │ │ │ │ │ -1│ │ │ │
│ ├─────────┤ │ │ │ │ │ │ │ ├─────────┼─────────┤
│ │ │ │ │ │ │ │ │ │ │ +2│ │
│ │325 x 7 │ │ │ │ │ │ │ │ │325 x 7 │ │
│ ├─────────┤ │ │ │ │ │ │ │ │ ├─────────┤
│ │ │ │ │ │ │ │ │ │ │ │ +2│
│ │426 x 7 │ │ │ │ │ │ │ │ │ │426 x 7 │
│ ├─────────┤ │ │ │ │ │ │ │ │ │ │
│ │530 x 7 │ │ │ │ │ │ │ │ │ │ │
└────┴─────────┴────────────┴────────────┴────────────┴─────────────┴──────────────┴────────────┴─────────┴─────────┴─────────┴─────────┘
Продолжение таблицы В.5
┌────┬─────────┬──────────────────────────────────────────────────────────────────────────────────────────────────────────────────────────────┐
│ │ │ Трубы и допуски на ответвлениях │
├────┼─────────┼───────────┬───────────┬───────────┬────────────┬────────────┬────────────┬────────────┬────────────┬────────────┬────────────┤
│Ос- │ │ +/- 2│ +/- 2│ +/- 2│ +/- 2│ +/- 2│ +/- 2│ +/- 2│ +2 │ +2 │ +2 │
│нов-│630 x 8 │57 x 8 │76 x 8 │89 x 8 │108 x 8 │133 x 8 │159 x 8 │219 x 8 │273 x 8 │325 x 8 │426 x 8 │
│ная ├─────────┤ │ │ │ │ │ │ │ -1 │ -1 │ -1 │
│тру-│720 x 8 │ │ │ │ │ │ │ │ │ │ │
│ба ├─────────┼───────────┼───────────┼───────────┼────────────┼────────────┼────────────┼────────────┼────────────┼────────────┼────────────┤
│ │ │ +/- 2│ +/- 2│ +/- 2│ +/- 2│ +/- 2│ +/- 2│ +/- 2│ +/- 2│ +/- 2│ +/- 2│
│ │820 x 9 │57 x 9 │76 x 9 │89 x 9 │108 x 9 │133 x 9 │159 x 9 │219 x 9 │273 x 9 │325 x 9 │426 x 9 │
│ ├─────────┤ │ │ │ │ │ │ │ │ │ │
│ │920 x 9 │ │ │ │ │ │ │ │ │ │ │
│ ├─────────┼───────────┼───────────┼───────────┼────────────┼────────────┼────────────┼────────────┼────────────┼────────────┼────────────┤
│ │ │ +2 │ +2 │ +2 │ +2 │ +2 │ +2 │ +2 │ +2 │ +2 │ +2 │
│ │1020 x 10│57 x 10 │76 x 10 │89 x 10 │108 x 10 │133 x 10 │159 x 10 │219 x 10 │273 x 10 │325 x 10 │426 x 10 │
│ │ │ -3 │ -3 │ -3 │ -3 │ -3 │ -3 │ -3 │ -3 │ -3 │ -3 │
└────┴─────────┴───────────┴───────────┴───────────┴────────────┴────────────┴────────────┴────────────┴────────────┴────────────┴────────────┘
Окончание таблицы В.5
┌────┬─────────┬────────────────────────────────────────────────────────────────────────────┐
│ │ │ Трубы и допуски на ответвлениях │
├────┼─────────┼────────────┬─────────────┬──────────────┬──────────┬───────────┬───────────┤
│Ос- │ │ +2 │ │ │ │ │ │
│нов-│530 x 7 │530 x 7 │ │ │ │ │ │
│ная ├─────────┼────────────┼─────────────┼──────────────┼──────────┼───────────┼───────────┤
│тру-│630 x 8 │ +2 │ +2 │ │ │ │ │
│ба ├─────────┤530 x 8 │630 x 8 ├──────────────┼──────────┼───────────┼───────────┤
│ │ │ -1 │ │ +2 │ │ │ │
│ │720 x 8 │ │ │720 x 8 │ │ │ │
│ ├─────────┼────────────┼─────────────┼──────────────┼──────────┼───────────┼───────────┤
│ │ │ +/- 2│ +2 │ +2 │ +2 │ │ │
│ │820 x 9 │530 x 9 │630 x 9 │720 x 9 │820 x 9 │ │ │
│ ├─────────┤ │ -1 │ -1 │ ├───────────┼───────────┤
│ │ │ │ │ │ │ +2 │ │
│ │920 x 9 │ │ │ │ │920 x 9 │ │
│ ├─────────┼────────────┼─────────────┼──────────────┼──────────┼───────────┼───────────┤
│ │ │ +2 │ +/- 2│ +/- 2 │ +2│ +2 │ +2│
│ │1020 x 10│530 x 10 │630 x 10 │720 x 10 │820 x 10 │920 x 10 │1020 x 10 │
│ │ │ -3 │ │ │ -1│ -1 │ │
└────┴─────────┴────────────┴─────────────┴──────────────┴──────────┴───────────┴───────────┘
В миллиметрах
┌─────────────────────────────────────────────────────────────┐
│ Диаметр ответвления │
├─────────┬───────────┬─────────┬─────────┬─────────┬─────────┤
│ 57 │ 76 │ 89 │ 108 │ 133 │ 159 │
├─────────┴───────────┴─────────┴─────────┴─────────┴─────────┤
│ толщина стенки │
├────┬────┬────┬──────┬────┬────┬────┬────┬────┬────┬────┬────┤
│тру-│от- │тру-│от- │тру-│от- │тру-│от- │тру-│от- │тру-│от- │
│бы │вода│бы │вода │бы │вода│бы │вода│бы │вода│бы │вода│
┌────┬─────────┼────┼────┼────┼──────┼────┼────┼────┼────┼────┼────┼────┼────┤
│Ос- │57 x 3 │ 3 │3; 5│ │ │ │ │ │ │ │ │ │ │
│нов-│ ├────┼────┼────┼──────┼────┼────┼────┼────┼────┼────┼────┼────┤
│ная │ │ 4 │ 5 │ │ │ │ │ │ │ │ │ │ │
│тру-│ ├────┼────┼────┼──────┼────┼────┼────┼────┼────┼────┼────┼────┤
│ба │ │ 5 │ 5 │ │ │ │ │ │ │ │ │ │ │
│ ├─────────┼────┼────┼────┼──────┼────┼────┼────┼────┼────┼────┼────┼────┤
│ │76 x 3 │ 3 │3; 5│ 3 │3,5; 6│ │ │ │ │ │ │ │ │
│ │ ├────┼────┼────┼──────┼────┼────┼────┼────┼────┼────┼────┼────┤
│ │ │ 4 │ 5 │ 4 │ 6 │ │ │ │ │ │ │ │ │
│ │ ├────┼────┼────┼──────┼────┼────┼────┼────┼────┼────┼────┼────┤
│ │ │ 5 │ 5 │ 5 │ 6 │ │ │ │ │ │ │ │ │
│ ├─────────┼────┼────┼────┼──────┼────┼────┼────┼────┼────┼────┼────┼────┤
│ │89 x 4 │ 3 │3; 5│ 3 │3,5; 6│ 4 │ 6 │ │ │ │ │ │ │
│ │ ├────┼────┼────┼──────┼────┼────┼────┼────┼────┼────┼────┼────┤
│ │ │ 4 │ 5 │ 4 │ 6 │ 5 │ 6 │ │ │ │ │ │ │
│ │ ├────┼────┼────┼──────┼────┼────┼────┼────┼────┼────┼────┼────┤
│ │ │ 5 │ 5 │ 5 │ 6 │ 6 │ 6 │ │ │ │ │ │ │
│ │ ├────┼────┼────┼──────┼────┼────┼────┼────┼────┼────┼────┼────┤
│ │ │ │ │ 6 │ 6 │ │ │ │ │ │ │ │ │
│ ├─────────┼────┼────┼────┼──────┼────┼────┼────┼────┼────┼────┼────┼────┤
│ │108 x 4 │ 3 │3; 5│ 3 │3,5; 6│ 4 │ 6 │ 4 │4; 6│ │ │ │ │
│ │ ├────┼────┼────┼──────┼────┼────┼────┼────┼────┼────┼────┼────┤
│ │ │ 4 │ 5 │ 4 │ 6 │ 5 │ 6 │ 5 │ 6 │ │ │ │ │
│ │ ├────┼────┼────┼──────┼────┼────┼────┼────┼────┼────┼────┼────┤
│ │ │ 5 │ 5 │ 5 │ 6 │ 6 │ 6 │ 6 │6; 8│ │ │ │ │
│ │ ├────┼────┼────┼──────┼────┼────┼────┼────┼────┼────┼────┼────┤
│ │ │ │ │ 6 │ 6 │ │ │ │ │ │ │ │ │
│ ├─────────┼────┼────┼────┼──────┼────┼────┼────┼────┼────┼────┼────┼────┤
│ │133 x 4 │ 3 │3; 5│ 3 │3,5; 6│ 4 │ 6 │ 4 │4; 6│ 4 │4; 5│ │ │
│ │ ├────┼────┼────┼──────┼────┼────┼────┼────┼────┼────┼────┼────┤
│ │ │ 4 │ 5 │ 4 │ 6 │ 5 │ 6 │ 5 │ 6 │ 5 │ 5 │ │ │
│ │ ├────┼────┼────┼──────┼────┼────┼────┼────┼────┼────┼────┼────┤
│ │ │ 5 │ 5 │ 5 │ 6 │ 6 │ 6 │ 6 │6; 8│ 6 │ 8 │ │ │
│ │ ├────┼────┼────┼──────┼────┼────┼────┼────┼────┼────┼────┼────┤
│ │ │ │ │ 6 │ 6 │ │ │ │ │6,5 │ 8 │ │ │
│ ├─────────┼────┼────┼────┼──────┼────┼────┼────┼────┼────┼────┼────┼────┤
│ │159 x 4,5│ 3 │3; 5│ 3 │3,5; 6│ 4 │ 6 │ 4 │4; 6│ 4 │4,5 │4,5 │ 6 │
│ │ ├────┼────┼────┼──────┼────┼────┼────┼────┼────┼────┼────┼────┤
│ │ │ 4 │ 5 │ 4 │ 6 │ 5 │ 6 │ 5 │ 6 │ 5 │ 5 │ 5 │ 6 │
│ │ ├────┼────┼────┼──────┼────┼────┼────┼────┼────┼────┼────┼────┤
│ │ │ 5 │ 5 │ 5 │ 6 │ 6 │ 6 │ 6 │6; 8│ 6 │ 8 │ 6 │6; 8│
│ │ ├────┼────┼────┼──────┼────┼────┼────┼────┼────┼────┼────┼────┤
│ │ │ │ │ 6 │ 6 │ │ │6,5 │ 8 │ 7 │ 8 │6,5 │ 8 │
│ │ ├────┼────┼────┼──────┼────┼────┼────┼────┼────┼────┼────┼────┤
│ │ │ │ │ │ │ │ │ │ │ 8 │ 8 │ │ │
└────┴─────────┴────┴────┴────┴──────┴────┴────┴────┴────┴────┴────┴────┴────┘
Продолжение таблицы В.6
┌────────────────────────────────────────────────────────────────────────────────────────────────────┐
│ Диаметр ответвления │
├─────────┬─────────┬─────────┬─────────┬─────────┬─────────┬──────────┬─────────┬─────────┬─────────┤
│ 57 │ 76 │ 89 │ 108 │ 133 │ 159 │ 219 │ 273 │ 325 │ 426 │
├─────────┴─────────┴─────────┴─────────┴─────────┴─────────┴──────────┴─────────┴─────────┴─────────┤
│ толщина стенки │
├────┬────┬────┬────┬────┬────┬────┬────┬────┬────┬────┬────┬────┬─────┬────┬────┬────┬────┬────┬────┤
│тру-│от- │тру-│от- │тру-│от- │тру-│от- │тру-│от- │тру-│от- │тру-│от- │тру-│от- │тру-│от- │тру-│от- │
│бы │вода│бы │вода│бы │вода│бы │вода│бы │вода│бы │вода│бы │вода │бы │вода│бы │вода│бы │вода│
┌────┬───────┼────┼────┼────┼────┼────┼────┼────┼────┼────┼────┼────┼────┼────┼─────┼────┼────┼────┼────┼────┼────┤
│Ос- │219 x 6│ 4 │ 5 │ 4 │ 6 │ 4 │ 6 │ 4 │4; 6│ 4 │4; 5│4,5 │ 6 │ 6 │ 8 │ │ │ │ │ │ │
│нов-│ ├────┼────┼────┼────┼────┼────┼────┼────┼────┼────┼────┼────┼────┼─────┼────┼────┼────┼────┼────┼────┤
│ная │ │ 5 │ 5 │ 5 │ 6 │ 5 │ 6 │ 5 │ 6 │ 5 │ 5 │ 5 │ 6 │ 7 │ 8 │ │ │ │ │ │ │
│тру-│ ├────┼────┼────┼────┼────┼────┼────┼────┼────┼────┼────┼────┼────┼─────┼────┼────┼────┼────┼────┼────┤
│ба │ │ │ │ 6 │ 6 │ 6 │ 6 │ 6 │6; 8│ 6 │ 8 │ 6 │6; 8│ 8 │8; 10│ │ │ │ │ │ │
│ │ ├────┼────┼────┼────┼────┼────┼────┼────┼────┼────┼────┼────┼────┼─────┼────┼────┼────┼────┼────┼────┤
│ │ │ │ │ │ │ │ │ 7 │ 8 │ 7 │ 8 │ 7 │ 8 │ │ │ │ │ │ │ │ │
│ │ ├────┼────┼────┼────┼────┼────┼────┼────┼────┼────┼────┼────┼────┼─────┼────┼────┼────┼────┼────┼────┤
│ │ │ │ │ │ │ │ │ 8 │ 8 │ 8 │ 8 │ 8 │ 8 │ │ │ │ │ │ │ │ │
│ ├───────┼────┼────┼────┼────┼────┼────┼────┼────┼────┼────┼────┼────┼────┼─────┼────┼────┼────┼────┼────┼────┤
│ │273 x 7│ 5 │ 5 │ 5 │ 6 │ 5 │ 6 │ 5 │ 6 │ 5 │ 5 │ 5 │ 6 │ 6 │ 8 │ 7 │ 10 │ │ │ │ │
│ │ ├────┼────┼────┼────┼────┼────┼────┼────┼────┼────┼────┼────┼────┼─────┼────┼────┼────┼────┼────┼────┤
│ │ │ │ │ 6 │ 6 │ 6 │ 6 │ 6 │6; 8│ 6 │ 8 │ 6 │6; 8│ 7 │ 8 │ 8 │ 10 │ │ │ │ │
│ │ ├────┼────┼────┼────┼────┼────┼────┼────┼────┼────┼────┼────┼────┼─────┼────┼────┼────┼────┼────┼────┤
│ │ │ │ │ │ │ │ │ 7 │ 8 │ 7 │ 8 │ 7 │ 8 │ 8 │8; 10│ 9 │ 10 │ │ │ │ │
│ │ ├────┼────┼────┼────┼────┼────┼────┼────┼────┼────┼────┼────┼────┼─────┼────┼────┼────┼────┼────┼────┤
│ │ │ │ │ │ │ │ │ 8 │ 8 │ 8 │ 8 │ 8 │ 8 │ 9 │ 10 │ │ │ │ │ │ │
│ ├───────┼────┼────┼────┼────┼────┼────┼────┼────┼────┼────┼────┼────┼────┼─────┼────┼────┼────┼────┼────┼────┤
│ │325 x 7│ 5 │ 5 │ 5 │ 6 │ 5 │ 6 │ 5 │ 6 │ 5 │ 5 │ 5 │ 6 │ 6 │ 8 │ 7 │ 10 │ 7 │ 10 │ │ │
│ │ ├────┼────┼────┼────┼────┼────┼────┼────┼────┼────┼────┼────┼────┼─────┼────┼────┼────┼────┼────┼────┤
│ │ │ │ │ 6 │ 6 │ 6 │ 6 │ 6 │6; 8│ 6 │ 8 │ 6 │6; 8│ 7 │ 8 │ 8 │ 10 │ 8 │ 10 │ │ │
│ │ ├────┼────┼────┼────┼────┼────┼────┼────┼────┼────┼────┼────┼────┼─────┼────┼────┼────┼────┼────┼────┤
│ │ │ │ │ │ │ │ │ 7 │ 8 │ 7 │ 8 │ 7 │ 8 │ 8 │8; 10│ 9 │ 10 │ 9 │ 10 │ │ │
│ │ ├────┼────┼────┼────┼────┼────┼────┼────┼────┼────┼────┼────┼────┼─────┼────┼────┼────┼────┼────┼────┤
│ │ │ │ │ │ │ │ │ 8 │ 8 │ 8 │ 8 │ 8 │ 8 │ 9 │ 10 │ │ │ │ │ │ │
│ ├───────┼────┼────┼────┼────┼────┼────┼────┼────┼────┼────┼────┼────┼────┼─────┼────┼────┼────┼────┼────┼────┤
│ │426 x 7│ 5 │ 5 │ 5 │ 6 │ 5 │ 6 │ 5 │ 6 │ 5 │ 5 │ 5 │ 6 │ 6 │ 8 │ 7 │ 10 │ 7 │ 10 │ 7 │ 10 │
│ │ ├────┼────┼────┼────┼────┼────┼────┼────┼────┼────┼────┼────┼────┼─────┼────┼────┼────┼────┼────┼────┤
│ │ │ │ │ 6 │ 6 │ 6 │ 6 │ 6 │6; 8│ 6 │ 8 │ 6 │6; 8│ 7 │ 8 │ 8 │ 10 │ 8 │ 10 │ 8 │ 10 │
│ │ ├────┼────┼────┼────┼────┼────┼────┼────┼────┼────┼────┼────┼────┼─────┼────┼────┼────┼────┼────┼────┤
│ │ │ │ │ │ │ │ │ 7 │ 8 │ 7 │ 8 │ 7 │ 8 │ 8 │8; 10│ 9 │ 10 │ 9 │ 10 │ 9 │ 10 │
│ │ ├────┼────┼────┼────┼────┼────┼────┼────┼────┼────┼────┼────┼────┼─────┼────┼────┼────┼────┼────┼────┤
│ │ │ │ │ │ │ │ │ 8 │ 8 │ 8 │ 8 │ 8 │ 8 │ 9 │ 10 │ │ │ │ │ │ │
│ ├───────┼────┼────┼────┼────┼────┼────┼────┼────┼────┼────┼────┼────┼────┼─────┼────┼────┼────┼────┼────┼────┤
│ │530 x 7│ 5 │ 5 │ 5 │ 6 │ 5 │ 6 │ 5 │ 6 │ 5 │ 5 │ 5 │ 6 │ 6 │ 8 │ 7 │ 10 │ 7 │ 10 │ 7 │ 10 │
│ │ ├────┼────┼────┼────┼────┼────┼────┼────┼────┼────┼────┼────┼────┼─────┼────┼────┼────┼────┼────┼────┤
│ │ │ │ │ 6 │ 6 │ 6 │ 6 │ 6 │6; 8│ 6 │ 8 │ 6 │6; 8│ 7 │ 8 │ 8 │ 10 │ 8 │ 10 │ 8 │ 10 │
│ │ ├────┼────┼────┼────┼────┼────┼────┼────┼────┼────┼────┼────┼────┼─────┼────┼────┼────┼────┼────┼────┤
│ │ │ │ │ │ │ │ │ 7 │ 8 │ 7 │ 8 │ 7 │ 8 │ 8 │8; 10│ 9 │ 10 │ 9 │ 10 │ 9 │ 10 │
│ │ ├────┼────┼────┼────┼────┼────┼────┼────┼────┼────┼────┼────┼────┼─────┼────┼────┼────┼────┼────┼────┤
│ │ │ │ │ │ │ │ │ 8 │ 8 │ 8 │ 8 │ 8 │ 8 │ 9 │ 10 │ │ │ │ │ │ │
└────┴───────┴────┴────┴────┴────┴────┴────┴────┴────┴────┴────┴────┴────┴────┴─────┴────┴────┴────┴────┴────┴────┘
Продолжение таблицы В.6
┌─────────────────────────────────────────────────────────────────────────────────────────────────────┐
│ Диаметр ответвления │
├─────────┬─────────┬─────────┬─────────┬─────────┬──────────┬──────────┬─────────┬─────────┬─────────┤
│ 57 │ 76 │ 89 │ 108 │ 133 │ 159 │ 219 │ 273 │ 325 │ 426 │
├─────────┴─────────┴─────────┴─────────┴─────────┴──────────┴──────────┴─────────┴─────────┴─────────┤
│ толщина стенки │
├────┬────┬────┬────┬────┬────┬────┬────┬────┬────┬────┬─────┬────┬─────┬────┬────┬────┬────┬────┬────┤
│тру-│от- │тру-│от- │тру-│от- │тру-│от- │тру-│от- │тру-│от- │тру-│от- │тру-│от- │тру-│от- │тру-│от- │
│бы │вода│бы │вода│бы │вода│бы │вода│бы │вода│бы │вода │бы │вода │бы │вода│бы │вода│бы │вода│
┌────┬─────────┼────┼────┼────┼────┼────┼────┼────┼────┼────┼────┼────┼─────┼────┼─────┼────┼────┼────┼────┼────┼────┤
│Ос- │630 x 8 │ 5 │ 5 │ 6 │ 6 │ 6 │ 6 │ 6 │6; 8│ 6 │ 8 │ 6 │6; 8 │ 6 │ 8 │ 7 │ 10 │ 7 │ 10 │ 7 │ 10 │
│нов-│ ├────┼────┼────┼────┼────┼────┼────┼────┼────┼────┼────┼─────┼────┼─────┼────┼────┼────┼────┼────┼────┤
│ная │ │ │ │ │ │ │ │ 7 │ 8 │ 7 │ 8 │ 7 │ 8 │ 7 │ 8 │ 8 │ 10 │ 8 │ 10 │ 8 │ 10 │
│тру-│ ├────┼────┼────┼────┼────┼────┼────┼────┼────┼────┼────┼─────┼────┼─────┼────┼────┼────┼────┼────┼────┤
│ба │ │ │ │ │ │ │ │ 8 │ 8 │ 8 │ 8 │ 8 │8; 10│ 8 │8; 10│ 9 │ 10 │ 9 │ 10 │ 9 │ 10 │
│ │ ├────┼────┼────┼────┼────┼────┼────┼────┼────┼────┼────┼─────┼────┼─────┼────┼────┼────┼────┼────┼────┤
│ │ │ │ │ │ │ │ │ │ │ │ │ 9 │ 10 │ 9 │ 10 │ 10 │ 10 │ 10 │ 10 │ 10 │ 10 │
│ │ ├────┼────┼────┼────┼────┼────┼────┼────┼────┼────┼────┼─────┼────┼─────┼────┼────┼────┼────┼────┼────┤
│ │ │ │ │ │ │ │ │ │ │ │ │ 10 │ 10 │ 10 │ 10 │ │ │ │ │ │ │
│ ├─────────┼────┼────┼────┼────┼────┼────┼────┼────┼────┼────┼────┼─────┼────┼─────┼────┼────┼────┼────┼────┼────┤
│ │720 x 8 │ 5 │ 5 │ 6 │ 6 │ 6 │ 6 │ 6 │7; 8│ 6 │ 8 │ 6 │6; 8 │ 6 │ 8 │ 7 │ 10 │ 7 │ 10 │ 7 │ 10 │
│ │ ├────┼────┼────┼────┼────┼────┼────┼────┼────┼────┼────┼─────┼────┼─────┼────┼────┼────┼────┼────┼────┤
│ │ │ │ │ │ │ │ │ 7 │ 8 │ 7 │ 8 │ 7 │ 8 │ 7 │ 8 │ 8 │ 10 │ 8 │ 10 │ 8 │ 10 │
│ │ ├────┼────┼────┼────┼────┼────┼────┼────┼────┼────┼────┼─────┼────┼─────┼────┼────┼────┼────┼────┼────┤
│ │ │ │ │ │ │ │ │ 8 │ 8 │ 8 │ 8 │ 8 │8; 10│ 8 │8; 10│ 9 │ 10 │ 9 │ 10 │ 9 │ 10 │
│ │ ├────┼────┼────┼────┼────┼────┼────┼────┼────┼────┼────┼─────┼────┼─────┼────┼────┼────┼────┼────┼────┤
│ │ │ │ │ │ │ │ │ │ │ │ │ 9 │ 10 │ 9 │ 10 │ 10 │ 10 │ 10 │ 10 │ 10 │ 10 │
│ │ ├────┼────┼────┼────┼────┼────┼────┼────┼────┼────┼────┼─────┼────┼─────┼────┼────┼────┼────┼────┼────┤
│ │ │ │ │ │ │ │ │ │ │ │ │ 10 │ 10 │ 10 │ 10 │ │ │ │ │ │ │
│ ├─────────┼────┼────┼────┼────┼────┼────┼────┼────┼────┼────┼────┼─────┼────┼─────┼────┼────┼────┼────┼────┼────┤
│ │820 x 9 │ 5 │ 5 │ 6 │ 6 │ 6 │ 6 │ 7 │ 8 │ 7 │ 8 │ 7 │ 8 │ 7 │ 8 │ 7 │ 10 │ 7 │ 10 │ 7 │ 10 │
│ │ ├────┼────┼────┼────┼────┼────┼────┼────┼────┼────┼────┼─────┼────┼─────┼────┼────┼────┼────┼────┼────┤
│ │ │ │ │ │ │ │ │ 8 │ 8 │ 8 │ 8 │ 8 │8; 10│ 8 │8; 10│ 8 │ 10 │ 8 │ 10 │ 8 │ 10 │
│ │ ├────┼────┼────┼────┼────┼────┼────┼────┼────┼────┼────┼─────┼────┼─────┼────┼────┼────┼────┼────┼────┤
│ │ │ │ │ │ │ │ │ │ │ │ │ 9 │ 10 │ 9 │ 10 │ 9 │ 10 │ 9 │ 10 │ 9 │ 10 │
│ │ ├────┼────┼────┼────┼────┼────┼────┼────┼────┼────┼────┼─────┼────┼─────┼────┼────┼────┼────┼────┼────┤
│ │ │ │ │ │ │ │ │ │ │ │ │ 10 │ 10 │ 10 │ 10 │ 10 │ 10 │ 10 │ 10 │ 10 │ 10 │
│ ├─────────┼────┼────┼────┼────┼────┼────┼────┼────┼────┼────┼────┼─────┼────┼─────┼────┼────┼────┼────┼────┼────┤
│ │920 x 9 │ 5 │ 5 │ 6 │ 6 │ 6 │ 6 │ 7 │ 8 │ 7 │ 8 │ 7 │ 8 │ 7 │ 8 │ 7 │ 10 │ 7 │ 10 │ 7 │ 10 │
│ │ ├────┼────┼────┼────┼────┼────┼────┼────┼────┼────┼────┼─────┼────┼─────┼────┼────┼────┼────┼────┼────┤
│ │ │ │ │ │ │ │ │ 8 │ 8 │ 8 │ 8 │ 8 │8; 10│ 8 │8; 10│ 8 │ 10 │ 8 │ 10 │ 8 │ 10 │
│ │ ├────┼────┼────┼────┼────┼────┼────┼────┼────┼────┼────┼─────┼────┼─────┼────┼────┼────┼────┼────┼────┤
│ │ │ │ │ │ │ │ │ │ │ │ │ 9 │ 10 │ 9 │ 10 │ 9 │ 10 │ 9 │ 10 │ 9 │ 10 │
│ │ ├────┼────┼────┼────┼────┼────┼────┼────┼────┼────┼────┼─────┼────┼─────┼────┼────┼────┼────┼────┼────┤
│ │ │ │ │ │ │ │ │ │ │ │ │ 10 │ 10 │ 10 │ 10 │ 10 │ 10 │ 10 │ 10 │ 10 │ 10 │
│ ├─────────┼────┼────┼────┼────┼────┼────┼────┼────┼────┼────┼────┼─────┼────┼─────┼────┼────┼────┼────┼────┼────┤
│ │1020 x 10│ 5 │ 5 │ 6 │ 6 │ 6 │ 6 │ 7 │ 8 │ 7 │ 8 │ 7 │ 8 │ 7 │ 8 │ 7 │ 10 │ 7 │ 10 │ 7 │ 10 │
│ │ ├────┼────┼────┼────┼────┼────┼────┼────┼────┼────┼────┼─────┼────┼─────┼────┼────┼────┼────┼────┼────┤
│ │ │ │ │ │ │ │ │ 8 │ 8 │ 8 │ 8 │ 8 │8; 10│ 8 │8; 10│ 8 │ 10 │ 8 │ 10 │ 8 │ 10 │
│ │ ├────┼────┼────┼────┼────┼────┼────┼────┼────┼────┼────┼─────┼────┼─────┼────┼────┼────┼────┼────┼────┤
│ │ │ │ │ │ │ │ │ │ │ │ │ 9 │ 10 │ 9 │ 10 │ 9 │ 10 │ 9 │ 10 │ 9 │ 10 │
│ │ ├────┼────┼────┼────┼────┼────┼────┼────┼────┼────┼────┼─────┼────┼─────┼────┼────┼────┼────┼────┼────┤
│ │ │ │ │ │ │ │ │ │ │ │ │ 10 │ 10 │ 10 │ 10 │ 10 │ 10 │ 10 │ 10 │ 10 │ 10 │
└────┴─────────┴────┴────┴────┴────┴────┴────┴────┴────┴────┴────┴────┴─────┴────┴─────┴────┴────┴────┴────┴────┴────┘
Продолжение таблицы В.6
┌────────────────────────────────────────────────────────────────────┐
│ Диаметр ответвления │
├───────────┬───────────┬────────────┬───────────┬─────────┬─────────┤
│ 530 │ 630 │ 720 │ 820 │ 920 │ 1020 │
├───────────┴───────────┴────────────┴───────────┴─────────┴─────────┤
│ толщина стенки │
├────┬──────┬────┬──────┬────┬───────┬────┬──────┬────┬────┬────┬────┤
│тру-│отвода│тру-│отвода│тру-│отвода │тру-│отвода│тру-│от- │тру-│от- │
│бы │ │бы │ │бы │ │бы │ │бы │вода│бы │вода│
┌────┬───────┼────┼──────┼────┼──────┼────┼───────┼────┼──────┼────┼────┼────┼────┤
│Ос- │530 x 7│ 7 │ 10 │ │ │ │ │ │ │ │ │ │ │
│нов-│ ├────┼──────┼────┼──────┼────┼───────┼────┼──────┼────┼────┼────┼────┤
│ная │ │ 8 │ 10 │ │ │ │ │ │ │ │ │ │ │
│тру-│ ├────┼──────┼────┼──────┼────┼───────┼────┼──────┼────┼────┼────┼────┤
│ба │ │ 9 │ 10 │ │ │ │ │ │ │ │ │ │ │
│ ├───────┼────┼──────┼────┼──────┼────┼───────┼────┼──────┼────┼────┼────┼────┤
│ │630 x 8│ 7 │ 10 │ 8 │ 10 │ │ │ │ │ │ │ │ │
│ │ ├────┼──────┼────┼──────┼────┼───────┼────┼──────┼────┼────┼────┼────┤
│ │ │ 8 │ 10 │ 9 │ 10 │ │ │ │ │ │ │ │ │
│ │ ├────┼──────┼────┼──────┼────┼───────┼────┼──────┼────┼────┼────┼────┤
│ │ │ 9 │ 10 │ 10 │10; 12│ │ │ │ │ │ │ │ │
│ │ ├────┼──────┼────┼──────┼────┼───────┼────┼──────┼────┼────┼────┼────┤
│ │ │ 10 │10; 12│ │ │ │ │ │ │ │ │ │ │
│ ├───────┼────┼──────┼────┼──────┼────┼───────┼────┼──────┼────┼────┼────┼────┤
│ │720 x 8│ 7 │ 10 │ 8 │ 10 │ 8 │11
<*> │ │ │ │ │ │ │
│ │ ├────┼──────┼────┼──────┼────┼───────┼────┼──────┼────┼────┼────┼────┤
│ │ │ 8 │ 10 │ 9 │ 10 │ 9 │11
<*> │ │ │ │ │ │ │
│ │ ├────┼──────┼────┼──────┼────┼───────┼────┼──────┼────┼────┼────┼────┤
│ │ │ 9 │ 10 │ 10 │10; 12│ 10 │11
<*> │ │ │ │ │ │ │
│ │ ├────┼──────┼────┼──────┼────┼───────┼────┼──────┼────┼────┼────┼────┤
│ │ │ 10 │10; 12│ │ │ │ │ │ │ │ │ │ │
│ ├───────┼────┼──────┼────┼──────┼────┼───────┼────┼──────┼────┼────┼────┼────┤
│ │820 x 9│ 7 │ 10 │ 8 │ 10 │ 8 │11
<*> │ 9 │11
<*>│ │ │ │ │
│ │ ├────┼──────┼────┼──────┼────┼───────┼────┼──────┼────┼────┼────┼────┤
│ │ │ 8 │ 10 │ 9 │ 10 │ 9 │11
<*> │ 10 │11
<*>│ │ │ │ │
│ │ ├────┼──────┼────┼──────┼────┼───────┼────┼──────┼────┼────┼────┼────┤
│ │ │ 9 │ 10 │ 10 │10; 12│ 10 │11
<*>;│ 11 │11
<*>│ │ │ │ │
│ │ │ │ │ │ │ │ 12 │ │ │ │ │ │ │
│ │ ├────┼──────┼────┼──────┼────┼───────┼────┼──────┼────┼────┼────┼────┤
│ │ │ 10 │10; 12│ 11 │ 12 │ 11 │11
<*>;│ │ │ │ │ │ │
│ │ │ │ │ │ │ │ 12 │ │ │ │ │ │ │
│ │ ├────┼──────┼────┼──────┼────┼───────┼────┼──────┼────┼────┼────┼────┤
│ │ │ 11 │ 12 │ │ │ │ │ │ │ │ │ │ │
└────┴───────┴────┴──────┴────┴──────┴────┴───────┴────┴──────┴────┴────┴────┴────┘
Окончание таблицы В.6
┌────────────────────────────────────────────────────────────────────────┐
│ Диаметр ответвления │
├───────────┬───────────┬────────────┬───────────┬───────────┬───────────┤
│ 530 │ 630 │ 720 │ 820 │ 920 │ 1020 │
├───────────┴───────────┴────────────┴───────────┴───────────┴───────────┤
│ толщина стенки │
├────┬──────┬────┬──────┬────┬───────┬────┬──────┬────┬──────┬────┬──────┤
│тру-│отвода│тру-│отвода│тру-│отвода │тру-│отвода│тру-│отвода│тру-│отвода│
│бы │ │бы │ │бы │ │бы │ │бы │ │бы │ │
┌────┬─────────┼────┼──────┼────┼──────┼────┼───────┼────┼──────┼────┼──────┼────┼──────┤
│Ос- │920 x 9 │ 7 │ 10 │ 8 │ 10 │ 8 │11
<*> │ 9 │11
<*>│ 9 │14
<*>│ │ │
│нов-│ ├────┼──────┼────┼──────┼────┼───────┼────┼──────┼────┼──────┼────┼──────┤
│ная │ │ 8 │ 10 │ 9 │ 10 │ 9 │11
<*> │ 10 │11
<*>│ 10 │14
<*>│ │ │
│тру-│ ├────┼──────┼────┼──────┼────┼───────┼────┼──────┼────┼──────┼────┼──────┤
│ба │ │ 9 │ 10 │ 10 │10; 12│ 10 │11
<*>;│ 11 │11
<*>│ 11 │14
<*>│ │ │
│ │ │ │ │ │ │ │ 12 │ │ │ │ │ │ │
│ │ ├────┼──────┼────┼──────┼────┼───────┼────┼──────┼────┼──────┼────┼──────┤
│ │ │ 10 │10; 12│ 11 │ 12 │ 11 │11
<*>;│ │ │ │ │ │ │
│ │ │ │ │ │ │ │ 12 │ │ │ │ │ │ │
│ │ ├────┼──────┼────┼──────┼────┼───────┼────┼──────┼────┼──────┼────┼──────┤
│ │ │ 11 │ 12 │ │ │ │ │ │ │ │ │ │ │
│ ├─────────┼────┼──────┼────┼──────┼────┼───────┼────┼──────┼────┼──────┼────┼──────┤
│ │1020 x 10│ 7 │ 10 │ 8 │ 10 │ 8 │11
<*> │ 9 │11
<*>│ 9 │14
<*>│ 10 │14
<*>│
│ │ ├────┼──────┼────┼──────┼────┼───────┼────┼──────┼────┼──────┼────┼──────┤
│ │ │ 8 │ 10 │ 9 │ 10 │ 9 │11
<*> │ 10 │11
<*>│ 10 │14
<*>│ 11 │14
<*>│
│ │ ├────┼──────┼────┼──────┼────┼───────┼────┼──────┼────┼──────┼────┼──────┤
│ │ │ 9 │ 10 │ 10 │10; 12│ 10 │11
<*>;│ 11 │11
<*>│ 11 │14
<*>│ 12 │14
<*>│
│ │ │ │ │ │ │ │ 12 │ │ │ │ │ │ │
│ │ ├────┼──────┼────┼──────┼────┼───────┼────┼──────┼────┼──────┼────┼──────┤
│ │ │ 10 │10; 12│ 11 │ 12 │ 11 │11 <*>;│ │ │ 12 │14 <*>│ │ │
│ │ │ │ │ │ │ │ 12 │ │ │ │ │ │ │
│ │ ├────┼──────┼────┼──────┼────┼───────┼────┼──────┼────┼──────┼────┼──────┤
│ │ │ 11 │ 12 │ 12 │ 12 │ 12 │ 12 │ │ │ │ │ │ │
│ │ ├────┼──────┼────┼──────┼────┼───────┼────┼──────┼────┼──────┼────┼──────┤
│ │ │ 12 │ 12 │ │ │ │ │ │ │ │ │ │ │
├────┴─────────┴────┴──────┴────┴──────┴────┴───────┴────┴──────┴────┴──────┴────┴──────┤
│ │
│ Примечание. При толщине стенки основной трубы, больше │
│указанной в таблице, толщина стенки ответвления должна │
│приниматься исходя из условий: │
│ 1) толщина патрубков ответвления должна быть равна толщине │
│ 2) толщина стенки отвода должна быть не меньше толщины │
│стенки патрубков ответвления. │
└───────────────────────────────────────────────────────────────────────────────────────┘
В.4.2. Пример условного обозначения тройникового ответвления диаметром 426-219 мм с изоляцией типа 1:
Тройниковое ответвление Ст 426-219-1 ППУ-ПЭ ГОСТ 30732-2001.
В.5. Тройник параллельный
В.5.1. Конструкция и размеры параллельного тройника должны соответствовать рисунку В.5 и
таблице В.7.
1 - стальной отвод; 2 - электроизоляционная трубка
4 - центрирующая опора; 5 - проводник-индикатор системы ОДК;
6 - стальная труба, 7 - оболочка из полиэтилена
Рисунок В.5. Тройник параллельный
Таблица В.7
Расстояние между оболочками

= 150
В миллиметрах
┌────┬─────┬─────┬─────┬─────┬─────┬─────┬─────┬─────┬─────┬─────┐
│ d │ 57 │ 76 │ 89 │ 108 │ 133 │ 159 │ 219 │ 273 │ 325 │ 426 │
│ 1 │ │ │ │ │ │ │ │ │ │ │
├────┼─────┼─────┼─────┼─────┼─────┼─────┼─────┼─────┼─────┼─────┤
│ d │ 57 │ 57 │ 57 │ 57 │ 57 │ 57 │ 57 │ 57 │ 57 │ 57 │
│ 2 │ │ │ │ │ │ │ │ │ │ │
├────┼─────┼─────┼─────┼─────┼─────┼─────┼─────┼─────┼─────┼─────┤
│ H │ 290 │ 300 │ 310 │ 320 │ 333 │ 345 │ 378 │ 420 │ 445 │ 500 │
├────┼─────┼─────┼─────┼─────┼─────┼─────┼─────┼─────┼─────┼─────┤
│ L │1000 │1000 │1000 │1500 │1500 │1500 │1500 │2000 │2000 │2000 │
├────┼─────┼─────┼─────┼─────┼─────┼─────┼─────┼─────┼─────┼─────┤
│ L │ 186 │ 187 │ 190 │ 191 │ 191 │ 191 │ 194 │ 209 │ 209 │ 212 │
│ 1 │ │ │ │ │ │ │ │ │ │ │
├────┼─────┼─────┼─────┼─────┼─────┼─────┼─────┼─────┼─────┼─────┤
│ L │ 425 │ 425 │ 425 │ 675 │ 675 │ 675 │ 675 │ 925 │ 925 │ 925 │
│ 2 │ │ │ │ │ │ │ │ │ │ │
└────┴─────┴─────┴─────┴─────┴─────┴─────┴─────┴─────┴─────┴─────┘
Продолжение таблицы В.7
Расстояние между оболочками

= 150
В миллиметрах
┌────┬─────┬─────┬─────┬─────┬─────┬─────┬─────┬─────┬─────┬─────┐
│ d │ 76 │ 89 │ 108 │ 133 │ 159 │ 219 │ 273 │ 325 │ 426 │ 530 │
│ 1 │ │ │ │ │ │ │ │ │ │ │
├────┼─────┼─────┼─────┼─────┼─────┼─────┼─────┼─────┼─────┼─────┤
│ d │ 76 │ 76 │ 76 │ 76 │ 76 │ 76 │ 76 │ 76 │ 76 │ 76 │
│ 2 │ │ │ │ │ │ │ │ │ │ │
├────┼─────┼─────┼─────┼─────┼─────┼─────┼─────┼─────┼─────┼─────┤
│ H │ 310 │ 320 │ 330 │ 343 │ 355 │ 388 │ 430 │ 455 │ 510 │ 585 │
├────┼─────┼─────┼─────┼─────┼─────┼─────┼─────┼─────┼─────┼─────┤
│ L │1000 │1000 │1500 │1500 │1500 │1500 │2000 │2000 │2000 │2000 │
├────┼─────┼─────┼─────┼─────┼─────┼─────┼─────┼─────┼─────┼─────┤
│ L │ 172 │ 175 │ 176 │ 176 │ 176 │ 178 │ 193 │ 194 │ 197 │ 220 │
│ 1 │ │ │ │ │ │ │ │ │ │ │
├────┼─────┼─────┼─────┼─────┼─────┼─────┼─────┼─────┼─────┼─────┤
│ L │ 400 │ 400 │ 650 │ 650 │ 650 │ 650 │ 900 │ 900 │ 900 │ 900 │
│ 2 │ │ │ │ │ │ │ │ │ │ │
└────┴─────┴─────┴─────┴─────┴─────┴─────┴─────┴─────┴─────┴─────┘
Продолжение таблицы В.7
Расстояние между оболочками

= 150
В миллиметрах
┌────┬─────┬─────┬─────┬─────┬─────┬─────┬─────┬─────┬─────┬─────┐
│ d │ 89 │ 108 │ 133 │ 159 │ 219 │ 273 │ 325 │ 426 │ 530 │ 630 │
│ 1 │ │ │ │ │ │ │ │ │ │ │
├────┼─────┼─────┼─────┼─────┼─────┼─────┼─────┼─────┼─────┼─────┤
│ d │ 89 │ 89 │ 89 │ 89 │ 89 │ 89 │ 89 │ 89 │ 89 │ 89 │
│ 2 │ │ │ │ │ │ │ │ │ │ │
├────┼─────┼─────┼─────┼─────┼─────┼─────┼─────┼─────┼─────┼─────┤
│ H │ 330 │ 340 │ 353 │ 365 │ 398 │ 440 │ 465 │ 520 │ 595 │ 640 │
├────┼─────┼─────┼─────┼─────┼─────┼─────┼─────┼─────┼─────┼─────┤
│ L │1000 │1500 │1500 │1500 │1500 │2000 │2000 │2000 │2000 │2000 │
├────┼─────┼─────┼─────┼─────┼─────┼─────┼─────┼─────┼─────┼─────┤
│ L │ 166 │ 166 │ 166 │ 166 │ 168 │ 183 │ 183 │ 187 │ 210 │ 205 │
│ 1 │ │ │ │ │ │ │ │ │ │ │
├────┼─────┼─────┼─────┼─────┼─────┼─────┼─────┼─────┼─────┼─────┤
│ L │ 380 │ 630 │ 630 │ 630 │ 630 │ 880 │ 880 │ 880 │ 880 │ 880 │
│ 2 │ │ │ │ │ │ │ │ │ │ │
└────┴─────┴─────┴─────┴─────┴─────┴─────┴─────┴─────┴─────┴─────┘
Продолжение таблицы В.7
Расстояние между оболочками

= 150
В миллиметрах
┌────┬─────┬─────┬─────┬─────┬─────┬─────┬─────┬─────┬─────┬─────┐
│ d │ 108 │ 133 │ 159 │ 219 │ 273 │ 325 │ 426 │ 530 │ 630 │ 720 │
│ 1 │ │ │ │ │ │ │ │ │ │ │
├────┼─────┼─────┼─────┼─────┼─────┼─────┼─────┼─────┼─────┼─────┤
│ d │ 108 │ 108 │ 108 │ 108 │ 108 │ 108 │ 108 │ 108 │ 108 │ 108 │
│ 2 │ │ │ │ │ │ │ │ │ │ │
├────┼─────┼─────┼─────┼─────┼─────┼─────┼─────┼─────┼─────┼─────┤
│ H │ 350 │ 363 │ 375 │ 408 │ 450 │ 475 │ 530 │ 605 │ 650 │ 700 │
├────┼─────┼─────┼─────┼─────┼─────┼─────┼─────┼─────┼─────┼─────┤
│ L │1500 │1500 │1500 │1500 │2000 │2000 │2000 │2000 │2000 │2000 │
├────┼─────┼─────┼─────┼─────┼─────┼─────┼─────┼─────┼─────┼─────┤
│ L │ 146 │ 146 │ 146 │ 148 │ 164 │ 163 │ 167 │ 190 │ 185 │ 190 │
│ 1 │ │ │ │ │ │ │ │ │ │ │
├────┼─────┼─────┼─────┼─────┼─────┼─────┼─────┼─────┼─────┼─────┤
│ L │ 600 │ 600 │ 600 │ 600 │ 850 │ 850 │ 850 │ 850 │ 850 │ 850 │
│ 2 │ │ │ │ │ │ │ │ │ │ │
└────┴─────┴─────┴─────┴─────┴─────┴─────┴─────┴─────┴─────┴─────┘
Продолжение таблицы В.7
Расстояние между оболочками

= 150
В миллиметрах
┌────┬─────┬─────┬─────┬─────┬─────┬─────┬─────┬─────┬─────┬─────┐
│ d │ 133 │ 159 │ 219 │ 273 │ 325 │ 426 │ 530 │ 630 │ 720 │ 820 │
│ 1 │ │ │ │ │ │ │ │ │ │ │
├────┼─────┼─────┼─────┼─────┼─────┼─────┼─────┼─────┼─────┼─────┤
│ d │ 133 │ 133 │ 133 │ 133 │ 133 │ 133 │ 133 │ 133 │ 133 │ 133 │
│ 2 │ │ │ │ │ │ │ │ │ │ │
├────┼─────┼─────┼─────┼─────┼─────┼─────┼─────┼─────┼─────┼─────┤
│ H │ 375 │ 388 │ 420 │ 463 │ 488 │ 543 │ 618 │ 663 │ 713 │ 763 │
├────┼─────┼─────┼─────┼─────┼─────┼─────┼─────┼─────┼─────┼─────┤
│ L │1500 │1500 │1500 │2000 │2000 │2000 │2000 │2000 │2000 │2000 │
├────┼─────┼─────┼─────┼─────┼─────┼─────┼─────┼─────┼─────┼─────┤
│ L │ 119 │ 118 │ 121 │ 136 │ 135 │ 140 │ 163 │ 158 │ 163 │ 163 │
│ 1 │ │ │ │ │ │ │ │ │ │ │
├────┼─────┼─────┼─────┼─────┼─────┼─────┼─────┼─────┼─────┼─────┤
│ L │ 560 │ 560 │ 560 │ 810 │ 810 │ 810 │ 810 │ 810 │ 810 │ 810 │
│ 2 │ │ │ │ │ │ │ │ │ │ │
└────┴─────┴─────┴─────┴─────┴─────┴─────┴─────┴─────┴─────┴─────┘
Продолжение таблицы В.7
Расстояние между оболочками

= 150
В миллиметрах
┌────┬─────┬─────┬─────┬─────┬─────┬─────┬─────┬─────┬─────┬─────┐
│ d │ 159 │ 219 │ 273 │ 325 │ 426 │ 530 │ 630 │ 720 │ 820 │ 920 │
│ 1 │ │ │ │ │ │ │ │ │ │ │
├────┼─────┼─────┼─────┼─────┼─────┼─────┼─────┼─────┼─────┼─────┤
│ d │ 159 │ 159 │ 159 │ 159 │ 159 │ 159 │ 159 │ 159 │ 159 │ 159 │
│ 2 │ │ │ │ │ │ │ │ │ │ │
├────┼─────┼─────┼─────┼─────┼─────┼─────┼─────┼─────┼─────┼─────┤
│ H │ 405 │ 435 │ 475 │ 500 │ 555 │ 630 │ 675 │ 725 │ 775 │ 825 │
├────┼─────┼─────┼─────┼─────┼─────┼─────┼─────┼─────┼─────┼─────┤
│ L │1500 │1500 │2000 │2000 │2000 │2000 │2000 │2000 │2000 │2000 │
├────┼─────┼─────┼─────┼─────┼─────┼─────┼─────┼─────┼─────┼─────┤
│ L │ 100 │ 100 │ 114 │ 113 │ 117 │ 140 │ 135 │ 140 │ 140 │ 140 │
│ 1 │ │ │ │ │ │ │ │ │ │ │
├────┼─────┼─────┼─────┼─────┼─────┼─────┼─────┼─────┼─────┼─────┤
│ L │ 525 │ 525 │ 775 │ 775 │ 775 │ 775 │ 775 │ 775 │ 775 │ 775 │
│ 2 │ │ │ │ │ │ │ │ │ │ │
└────┴─────┴─────┴─────┴─────┴─────┴─────┴─────┴─────┴─────┴─────┘
Продолжение таблицы В.7
Расстояние между оболочками

= 150
В миллиметрах
┌────┬─────┬─────┬─────┬─────┬─────┬─────┬─────┬─────┬─────┬─────┐
│ d │ 219 │ 273 │ 325 │ 426 │ 530 │ 630 │ 720 │ 820 │ 920 │1020 │
│ 1 │ │ │ │ │ │ │ │ │ │ │
├────┼─────┼─────┼─────┼─────┼─────┼─────┼─────┼─────┼─────┼─────┤
│ d │ 219 │ 219 │ 219 │ 219 │ 219 │ 219 │ 219 │ 219 │ 219 │ 219 │
│ 2 │ │ │ │ │ │ │ │ │ │ │
├────┼─────┼─────┼─────┼─────┼─────┼─────┼─────┼─────┼─────┼─────┤
│ H │ 565 │ 608 │ 633 │ 688 │ 763 │ 808 │ 858 │ 908 │ 958 │1008 │
├────┼─────┼─────┼─────┼─────┼─────┼─────┼─────┼─────┼─────┼─────┤
│ L │1500 │2000 │2000 │2000 │2000 │2000 │2000 │2000 │2000 │2000 │
├────┼─────┼─────┼─────┼─────┼─────┼─────┼─────┼─────┼─────┼─────┤
│ L │ 156 │ 171 │ 170 │ 175 │ 198 │ 198 │ 198 │ 198 │ 198 │ 198 │
│ 1 │ │ │ │ │ │ │ │ │ │ │
├────┼─────┼─────┼─────┼─────┼─────┼─────┼─────┼─────┼─────┼─────┤
│ L │ 450 │ 700 │ 700 │ 700 │ 700 │ 700 │ 700 │ 700 │ 700 │ 700 │
│ 2 │ │ │ │ │ │ │ │ │ │ │
└────┴─────┴─────┴─────┴─────┴─────┴─────┴─────┴─────┴─────┴─────┘
Продолжение таблицы В.7
Расстояние между оболочками

= 150
В миллиметрах
┌──────────┬─────┬─────┬─────┬─────┬─────┬─────┬─────┬─────┬─────┐
│ d │ 273 │ 325 │ 426 │ 530 │ 630 │ 720 │ 820 │ 920 │1020 │
│ 1 │ │ │ │ │ │ │ │ │ │
├──────────┼─────┼─────┼─────┼─────┼─────┼─────┼─────┼─────┼─────┤
│ d │ 273 │ 273 │ 273 │ 273 │ 273 │ 273 │ 273 │ 273 │ 273 │
│ 2 │ │ │ │ │ │ │ │ │ │
├──────────┼─────┼─────┼─────┼─────┼─────┼─────┼─────┼─────┼─────┤
│ H │ 650 │ 675 │ 730 │ 805 │ 850 │ 900 │ 950 │1000 │1050 │
├──────────┼─────┼─────┼─────┼─────┼─────┼─────┼─────┼─────┼─────┤
│ L │2000 │2000 │2000 │2000 │2000 │2000 │2000 │2000 │2000 │
├──────────┼─────┼─────┼─────┼─────┼─────┼─────┼─────┼─────┼─────┤
│ L │ 139 │ 138 │ 142 │ 165 │ 160 │ 165 │ 165 │ 165 │ 165 │
│ 1 │ │ │ │ │ │ │ │ │ │
├──────────┼─────┼─────┼─────┼─────┼─────┼─────┼─────┼─────┼─────┤
│ L │ 625 │ 625 │ 625 │ 625 │ 625 │ 625 │ 625 │ 625 │ 625 │
│ 2 │ │ │ │ │ │ │ │ │ │
└──────────┴─────┴─────┴─────┴─────┴─────┴─────┴─────┴─────┴─────┘
Продолжение таблицы В.7
Расстояние между оболочками

= 250
В миллиметрах
┌────────┬──────┬──────┬──────┬──────┬──────┬──────┬──────┬──────┐
│ d │ 325 │ 426 │ 530 │ 630 │ 720 │ 820 │ 920 │ 1020 │
│ 1 │ │ │ │ │ │ │ │ │
├────────┼──────┼──────┼──────┼──────┼──────┼──────┼──────┼──────┤
│ d │ 325 │ 325 │ 325 │ 325 │ 325 │ 325 │ 325 │ 325 │
│ 2 │ │ │ │ │ │ │ │ │
├────────┼──────┼──────┼──────┼──────┼──────┼──────┼──────┼──────┤
│ H │ 713 │ 763 │ 830 │ 875 │ 925 │ 975 │ 1025 │ 1075 │
├────────┼──────┼──────┼──────┼──────┼──────┼──────┼──────┼──────┤
│ L │ 2000 │ 2000 │ 2000 │ 2000 │ 2000 │ 2000 │ 2000 │ 2000 │
├────────┼──────┼──────┼──────┼──────┼──────┼──────┼──────┼──────┤
│ L │ 100 │ 100 │ 115 │ 110 │ 115 │ 115 │ 115 │ 115 │
│ 1 │ │ │ │ │ │ │ │ │
├────────┼──────┼──────┼──────┼──────┼──────┼──────┼──────┼──────┤
│ L │ 550 │ 550 │ 550 │ 550 │ 550 │ 550 │ 550 │ 550 │
│ 2 │ │ │ │ │ │ │ │ │
└────────┴──────┴──────┴──────┴──────┴──────┴──────┴──────┴──────┘
Продолжение таблицы В.7
Расстояние между оболочками

= 250
В миллиметрах
┌───────────────┬──────┬──────┬──────┬──────┬──────┬──────┬──────┐
│ d │ 426 │ 530 │ 630 │ 720 │ 820 │ 920 │ 1020 │
│ 1 │ │ │ │ │ │ │ │
├───────────────┼──────┼──────┼──────┼──────┼──────┼──────┼──────┤
│ d │ 426 │ 426 │ 426 │ 426 │ 426 │ 426 │ 426 │
│ 2 │ │ │ │ │ │ │ │
├───────────────┼──────┼──────┼──────┼──────┼──────┼──────┼──────┤
│ H │ 913 │ 985 │ 1030 │ 1080 │ 1130 │ 1180 │ 1230 │
├───────────────┼──────┼──────┼──────┼──────┼──────┼──────┼──────┤
│ L │ 2000 │ 2000 │ 2000 │ 2000 │ 2000 │ 2000 │ 2000 │
├───────────────┼──────┼──────┼──────┼──────┼──────┼──────┼──────┤
│ L │ 100 │ 120 │ 115 │ 120 │ 120 │ 120 │ 120 │
│ 1 │ │ │ │ │ │ │ │
├───────────────┼──────┼──────┼──────┼──────┼──────┼──────┼──────┤
│ L │ 400 │ 400 │ 400 │ 400 │ 400 │ 400 │ 400 │
│ 2 │ │ │ │ │ │ │ │
└───────────────┴──────┴──────┴──────┴──────┴──────┴──────┴──────┘
Продолжение таблицы В.7
Расстояние между оболочками

= 450
В миллиметрах
┌────────────────┬───────┬───────┬───────┬───────┬───────┬───────┐
│ d │ 530 │ 630 │ 720 │ 820 │ 920 │ 1020 │
│ 1 │ │ │ │ │ │ │
├────────────────┼───────┼───────┼───────┼───────┼───────┼───────┤
│ d │ 530 │ 530 │ 530 │ 530 │ 530 │ 530 │
│ 2 │ │ │ │ │ │ │
├────────────────┼───────┼───────┼───────┼───────┼───────┼───────┤
│ H │ 1160 │ 1205 │ 1255 │ 1305 │ 1355 │ 1405 │
├────────────────┼───────┼───────┼───────┼───────┼───────┼───────┤
│ L │ 2000 │ 2000 │ 2000 │ 2000 │ 2000 │ 2000 │
├────────────────┼───────┼───────┼───────┼───────┼───────┼───────┤
│ L │ 395 │ 390 │ 395 │ 395 │ 395 │ 395 │
│ 1 │ │ │ │ │ │ │
├────────────────┼───────┼───────┼───────┼───────┼───────┼───────┤
│ L │ 500 │ 500 │ 500 │ 500 │ 500 │ 500 │
│ 2 │ │ │ │ │ │ │
└────────────────┴───────┴───────┴───────┴───────┴───────┴───────┘
Продолжение таблицы В.7
Расстояние между оболочками

= 450
В миллиметрах
┌───────────────┬─────────┬─────────┬─────────┬─────────┬────────┐
│ d │ 630 │ 720 │ 820 │ 920 │ 1020 │
│ 1 │ │ │ │ │ │
├───────────────┼─────────┼─────────┼─────────┼─────────┼────────┤
│ d │ 630 │ 630 │ 630 │ 630 │ 630 │
│ 2 │ │ │ │ │ │
├───────────────┼─────────┼─────────┼─────────┼─────────┼────────┤
│ H │ 1250 │ 1300 │ 1350 │ 1400 │ 1450 │
├───────────────┼─────────┼─────────┼─────────┼─────────┼────────┤
│ L │ 2000 │ 2000 │ 2000 │ 2000 │ 2000 │
├───────────────┼─────────┼─────────┼─────────┼─────────┼────────┤
│ L │ 335 │ 340 │ 340 │ 340 │ 340 │
│ 1 │ │ │ │ │ │
├───────────────┼─────────┼─────────┼─────────┼─────────┼────────┤
│ L │ 400 │ 400 │ 400 │ 400 │ 400 │
│ 2 │ │ │ │ │ │
├───────────────┼─────────┼─────────┼─────────┼─────────┼────────┤
│ L <*> │ 260 │ 260 │ 260 │ 260 │ 260 │
│ 1 │ │ │ │ │ │
├───────────────┼─────────┼─────────┼─────────┼─────────┼────────┤
│ L <*> │ 320 │ 320 │ 320 │ 320 │ 320 │
│ 2 │ │ │ │ │ │
├───────────────┴─────────┴─────────┴─────────┴─────────┴────────┤
│ <*> Сварные отводы. │
└────────────────────────────────────────────────────────────────┘
Продолжение таблицы В.7
Расстояние между оболочками

= 700
В миллиметрах
┌────────────┬────────────┬────────────┬────────────┬────────────┐
│ d │ 720 │ 820 │ 920 │ 1020 │
│ 1 │ │ │ │ │
├────────────┼────────────┼────────────┼────────────┼────────────┤
│ d
<*> │ 720 │ 720 │ 720 │ 720 │
│ 2 │ │ │ │ │
├────────────┼────────────┼────────────┼────────────┼────────────┤
│ H │ 1500 │ 1550 │ 1600 │ 1650 │
├────────────┼────────────┼────────────┼────────────┼────────────┤
│ L │ 2000 │ 2000 │ 2000 │ 2000 │
├────────────┼────────────┼────────────┼────────────┼────────────┤
│ L │ 160 │ 160 │ 160 │ 160 │
│ 1 │ │ │ │ │
├────────────┼────────────┼────────────┼────────────┼────────────┤
│ L │ 230 │ 230 │ 230 │ 230 │
│ 2 │ │ │ │ │
├────────────┴────────────┴────────────┴────────────┴────────────┤
└────────────────────────────────────────────────────────────────┘
Продолжение таблицы В.7
Расстояние между оболочками

= 800
В миллиметрах
┌───────────────┬───────────────┬────────────────┬───────────────┐
│ d │ 820 │ 920 │ 1020 │
│ 1 │ │ │ │
├───────────────┼───────────────┼────────────────┼───────────────┤
│ d
<*> │ 820 │ 820 │ 820 │
│ 2 │ │ │ │
├───────────────┼───────────────┼────────────────┼───────────────┤
│ H │ 1800 │ 1850 │ 1900 │
├───────────────┼───────────────┼────────────────┼───────────────┤
│ L │ 2500 │ 2500 │ 2500 │
├───────────────┼───────────────┼────────────────┼───────────────┤
│ L │ 160 │ 160 │ 160 │
│ 1 │ │ │ │
├───────────────┼───────────────┼────────────────┼───────────────┤
│ L │ 380 │ 380 │ 380 │
│ 2 │ │ │ │
├───────────────┴───────────────┴────────────────┴───────────────┤
└────────────────────────────────────────────────────────────────┘
Продолжение таблицы В.7
Расстояние между оболочками

= 900
В миллиметрах
┌───────────────────┬──────────────────────┬─────────────────────┐
│ d │ 920 │ 1020 │
│ 1 │ │ │
├───────────────────┼──────────────────────┼─────────────────────┤
│ 2 │ │ │
├───────────────────┼──────────────────────┼─────────────────────┤
│ H │ 2000 │ 2050 │
├───────────────────┼──────────────────────┼─────────────────────┤
│ L │ 2500 │ 2500 │
├───────────────────┼──────────────────────┼─────────────────────┤
│ L │ 160 │ 160 │
│ 1 │ │ │
├───────────────────┼──────────────────────┼─────────────────────┤
│ L │ 280 │ 280 │
│ 2 │ │ │
├───────────────────┴──────────────────────┴─────────────────────┤
└────────────────────────────────────────────────────────────────┘
Окончание таблицы В.7
Расстояние между оболочками

= 1000
В миллиметрах
┌────────────────────────────────┬───────────────────────────────┐
│ d │ 1020 │
│ 1 │ │
├────────────────────────────────┼───────────────────────────────┤
│ 2 │ │
├────────────────────────────────┼───────────────────────────────┤
│ H │ 2200 │
├────────────────────────────────┼───────────────────────────────┤
│ L │ 2500 │
├────────────────────────────────┼───────────────────────────────┤
│ L │ 160 │
│ 1 │ │
├────────────────────────────────┼───────────────────────────────┤
│ L │ 230 │
│ 2 │ │
├────────────────────────────────┴───────────────────────────────┤
└────────────────────────────────────────────────────────────────┘
В.5.2. Пример условного обозначения параллельного тройника диаметром 426-219 мм с изоляцией типа 2:
Тройник параллельный Ст 426-219-2-ППУ-ПЭ ГОСТ 30732-2001.
В.6. Тройник с шаровым краном воздушника
В.6.1. Конструкция и размеры тройника с шаровым краном воздушника должны соответствовать рисунку В.6 и
таблице В.8.
1 - изоляция из пенополиуретана; 2 - центрирующая опора;
3 - проводник-индикатор системы ОДК; 4 - стальная труба;
6 - оболочка из полиэтилена
Рисунок В.6. Тройник с шаровым краном воздушника
Таблица В.8
Тройник с шаровым краном воздушника
В миллиметрах
┌────────────────┬───────────────┬───────────────┬───────────────┐
│ d │ d │ H │ H │
│ 1 │ 2 │ │ 1 │
├────────────────┼───────────────┼───────────────┼───────────────┤
│ 57 │ 32 │ 554 │ 375 │
├────────────────┼───────────────┼───────────────┼───────────────┤
│ 76 │ 32 │ 560 │ 380 │
├────────────────┼───────────────┼───────────────┼───────────────┤
│ 89 │ 32 │ 570 │ 390 │
├────────────────┼───────────────┼───────────────┼───────────────┤
│ 108 │ 32 │ 580 │ 400 │
├────────────────┼───────────────┼───────────────┼───────────────┤
│ 133 │ 32 │ 595 │ 425 │
├────────────────┼───────────────┼───────────────┼───────────────┤
│ 159 │ 32 │ 605 │ 425 │
├────────────────┼───────────────┼───────────────┼───────────────┤
│ 325 │ 32 │ 690 │ 510 │
├────────────────┼───────────────┼───────────────┼───────────────┤
│ 426 │ 32 │ 740 │ 560 │
├────────────────┼───────────────┼───────────────┼───────────────┤
│ 530 │ 57 │ 790 │ 610 │
├────────────────┼───────────────┼───────────────┼───────────────┤
│ 219 │ 32 │ 635 │ 455 │
├────────────────┼───────────────┼───────────────┼───────────────┤
│ 273 │ 32 │ 665 │ 480 │
├────────────────┼───────────────┼───────────────┼───────────────┤
│ 630 │ 57 │ 840 │ 660 │
├────────────────┼───────────────┼───────────────┼───────────────┤
│ 720 │ 57 │ 870 │ 685 │
├────────────────┼───────────────┼───────────────┼───────────────┤
│ 820 │ 57 │ 940 │ 755 │
├────────────────┼───────────────┼───────────────┼───────────────┤
│ 920 │ 57 │ 985 │ 805 │
├────────────────┼───────────────┼───────────────┼───────────────┤
│ 1020 │ 57 │ 1035 │ 855 │
└────────────────┴───────────────┴───────────────┴───────────────┘
В.6.2. Пример условного обозначения тройника с шаровым краном воздушника диаметром 159-32 мм с изоляцией типа 1:
Тройник с шаровым краном воздушника
Ст 159-32-1-ППУ-ПЭ ГОСТ 30732-2001.
В.7. Z-образный элемент
В.7.1. Конструкция и размеры Z-образного элемента должны соответствовать рисунку В.7 и
таблице В.9.
1 - оболочка из полиэтилена; 2 - стальная труба;
3 - изоляция из пенополиуретана; 4 - центрирующая опора;
5 - стальной отвод; 6 - электроизоляционная трубка
по
ГОСТ 22056; 7 - проводник-индикатор системы ОДК
Рисунок В.7. Z-образный элемент
Таблица В.9
В миллиметрах
┌─────────────────────┬─────────────────────┬────────────────────┐
│ D │ L │ L │
│ │ │ 1 │
├─────────────────────┼─────────────────────┼────────────────────┤
│ 57 │ 1000 │ 2000 │
├─────────────────────┼─────────────────────┼────────────────────┤
│ 76 │ 1000 │ 2000 │
├─────────────────────┼─────────────────────┼────────────────────┤
│ 89 │ 1000 │ 2000 │
├─────────────────────┼─────────────────────┼────────────────────┤
│ 108 │ 1000 │ 2000 │
├─────────────────────┼─────────────────────┼────────────────────┤
│ 133 │ 1000 │ 2000 │
├─────────────────────┼─────────────────────┼────────────────────┤
│ 159 │ 1000 │ 2000 │
├─────────────────────┼─────────────────────┼────────────────────┤
│ 219 │ 1000 │ 2000 │
├─────────────────────┼─────────────────────┼────────────────────┤
│ 273 │ 1000 │ 2000 │
├─────────────────────┼─────────────────────┼────────────────────┤
│ 325 │ 1050 │ 2100 │
├─────────────────────┼─────────────────────┼────────────────────┤
│ 426 │ 1100 │ 2200 │
├─────────────────────┼─────────────────────┼────────────────────┤
│ 530 │ 1200 │ 2400 │
├─────────────────────┼─────────────────────┼────────────────────┤
│ 630 │ 1280 │ 2560 │
├─────────────────────┼─────────────────────┼────────────────────┤
│ 720 │ 1370 │ 2770 │
├─────────────────────┼─────────────────────┼────────────────────┤
│ 820 │ 1470 │ 2940 │
├─────────────────────┼─────────────────────┼────────────────────┤
│ 920 │ 1570 │ 3140 │
├─────────────────────┼─────────────────────┼────────────────────┤
│ 1020 │ 1620 │ 3240 │
└─────────────────────┴─────────────────────┴────────────────────┘
В.7.2. Пример условного обозначения Z-образного элемента диаметром 108 мм с изоляцией типа 1:
Z-образный элемент Ст 108-1-ППУ-ПЭ ГОСТ 30732-2001.
В.8. Неподвижная опора
В.8.1. Конструкция и размеры неподвижной опоры должны соответствовать рисунку В.8 и
таблице В.10.
1 - оболочка из полиэтилена; 2 - стальная труба;
3 - проводник-индикатор системы ОДК; 4 - центрирующая опора;
5 - изоляция из пенополиуретана; 6 - неподвижная опора
Рисунок В.8. Неподвижная опора
Таблица В.10
В миллиметрах
┌────────────────┬───────────────┬────────────────┬──────────────┐
│ │ │ │ max │
├────────────────┼───────────────┼────────────────┼──────────────┤
│ 57 │ 255 │ 15,0 │ 7,5 │
├────────────────┼───────────────┼────────────────┼──────────────┤
│ 76 │ 275 │ 15,0 │ 7,5 │
├────────────────┼───────────────┼────────────────┼──────────────┤
│ 89 │ 295 │ 15,0 │ 12,5 │
├────────────────┼───────────────┼────────────────┼──────────────┤
│ 108 │ 315 │ 20,0 │ 20,5 │
├────────────────┼───────────────┼────────────────┼──────────────┤
│ 133 │ 340 │ 20,0 │ 26,5 │
├────────────────┼───────────────┼────────────────┼──────────────┤
│ 159 │ 400 │ 25,0 │ 36,0 │
├────────────────┼───────────────┼────────────────┼──────────────┤
│ 219 │ 460 │ 25,0 │ 50,0 │
├────────────────┼───────────────┼────────────────┼──────────────┤
│ 273 │ 550 │ 30,0 │ 75,0 │
├────────────────┼───────────────┼────────────────┼──────────────┤
│ 325 │ 650 │ 40,0 │ 90,0 │
├────────────────┼───────────────┼────────────────┼──────────────┤
│ 426 │ 750 │ 40,0 │ 120,0 │
├────────────────┼───────────────┼────────────────┼──────────────┤
│ 530 │ 900 │ 50,0 │ 150,0 │
├────────────────┼───────────────┼────────────────┼──────────────┤
│ 630 │ 1000 │ 50,0 │ 205,0 │
├────────────────┼───────────────┼────────────────┼──────────────┤
│ 720 │ 1100 │ 50,0 │ 235,0 │
├────────────────┼───────────────┼────────────────┼──────────────┤
│ 820 │ 1300 │ 50,0 │ 310,0 │
├────────────────┼───────────────┼────────────────┼──────────────┤
│ 920 │ 1300 │ 60,0 │ 430,0 │
├────────────────┼───────────────┼────────────────┼──────────────┤
│ 1020 │ 1400 │ 60,0 │ 470,0 │
├────────────────┴───────────────┴────────────────┴──────────────┤
│ <*> Максимальная нагрузка на элемент опоры. │
└────────────────────────────────────────────────────────────────┘
В.8.2. Пример условного обозначения неподвижной опоры для трубы диаметром 76 мм, высотой 275 мм и толщиной 15 мм с изоляцией типа 1:
Неподвижная опора
Ст 76 - 275 x 15-1-ППУ-ПЭ ГОСТ 30732-2001.
В.9. Металлическая заглушка изоляции
В.9.1. Конструкция и размеры металлической заглушки изоляции должны соответствовать рисунку В.9.
Рисунок В.9. Металлическая заглушка изоляции
В.9.2. Пример условного обозначения заглушки длиной 650 мм для трубы диаметром 108 мм:
Заглушка 108 x 650 ГОСТ 30732-2001.
В.10. Элемент трубопровода с кабелем вывода
В.10.1. Конструкция и размеры элемента трубопровода с кабелем вывода должны соответствовать рисунку В.10.
1 - стальная труба; 2 - оболочка из полиэтилена;
3 - кабельный вывод; 4 - изоляция из пенополиуретана;
5 - центрирующая опора; 6 - проводник-индикатор системы ОДК
Рисунок В.10. Элемент трубопровода с кабелем вывода
В.10.2. Пример условного обозначения элемента трубопровода с кабелем вывода диаметром 57 мм с изоляцией типа 1:
Элемент трубопровода с кабелем вывода
Ст 57-1-ППУ-ПЭ ГОСТ 30732-2001.
В.11. Концевой элемент трубопровода с кабелем вывода
В.11.1. Конструкция и размеры концевого элемента трубопровода с кабелем вывода должны соответствовать рисунку В.11.
1 - стальная труба; 2 - оболочка из полиэтилена;
3 - кабельный вывод; 4 - изоляция из пенополиуретана;
5 - центрирующая опора; 6 - проводник-индикатор
системы ОДК; 7 - металлическая заглушка изоляции;
8 - герметик (термоусадочное полотно)
Рисунок В.11. Концевой элемент трубопровода
с кабелем вывода
В.11.2. Пример условного обозначения концевого элемента трубопровода с кабелем вывода диаметром 76 мм с изоляцией типа 1:
Концевой элемент трубопровода с кабелем вывода
Ст 76-1-ППУ-ПЭ ГОСТ 30732-2001.
(справочное)
РАСЧЕТНАЯ МАССА ОДНОГО МЕТРА ДЛИНЫ ИЗОЛИРОВАННОЙ ТРУБЫ
Таблица Г.1
┌──────────────────────┬─────────────────────────────────────────┐
│ Наружный диаметр │ Масса, кг │
│ стальных труб, мм ├────────────────────┬────────────────────┤
│ │ тип 1 │ тип 2 │
├──────────────────────┼────────────────────┼────────────────────┤
│ 57 │ 6,45 │ 6,8 │
├──────────────────────┼────────────────────┼────────────────────┤
│ 76 │ 8,3 │ 9,0 │
├──────────────────────┼────────────────────┼────────────────────┤
│ 89 │ 9,8 │ 10,4 │
├──────────────────────┼────────────────────┼────────────────────┤
│ 108 │ 13,0 │ 13,8 │
├──────────────────────┼────────────────────┼────────────────────┤
│ 133 │ 16,8 │ 18,3 │
├──────────────────────┼────────────────────┼────────────────────┤
│ 159 │ 22,3 │ 24,8 │
├──────────────────────┼────────────────────┼────────────────────┤
│ 219 │ 38,9 │ 43,4 │
├──────────────────────┼────────────────────┼────────────────────┤
│ 273 │ 58,1 │ 62,6 │
├──────────────────────┼────────────────────┼────────────────────┤
│ 325 │ 69,5 │ 75,4 │
├──────────────────────┼────────────────────┼────────────────────┤
│ 426 │ 93,9 │ 102,0 │
├──────────────────────┼────────────────────┼────────────────────┤
│ 530 │ 125,6 │ - │
├──────────────────────┼────────────────────┼────────────────────┤
│ 630 │ 164,7 │ - │
├──────────────────────┼────────────────────┼────────────────────┤
│ 720 │ 193,4 │ - │
├──────────────────────┼────────────────────┼────────────────────┤
│ 820 │ 243,4 │ 254,8 │
├──────────────────────┼────────────────────┼────────────────────┤
│ 920 │ 299,8 │ 309,3 │
├──────────────────────┼────────────────────┼────────────────────┤
│ 1020 │ 363,4 │ - │
├──────────────────────┴────────────────────┴────────────────────┤
│ Примечание. Плотность пенополиуретана принята равной│
│80 кг/м3. │
└────────────────────────────────────────────────────────────────┘
(рекомендуемое)
МЕТОДИКА ИНТЕГРАЛЬНОЙ ОЦЕНКИ СРОКА СЛУЖБЫ
ПЕНОПОЛИУРЕТАНОВОЙ ИЗОЛЯЦИИ ТРУБ ТЕПЛОВЫХ СЕТЕЙ
ПРИ ПЕРЕМЕННОМ ТЕМПЕРАТУРНОМ ГРАФИКЕ ТЕПЛОНОСИТЕЛЯ
Интегральная оценка срока службы тепловой изоляции труб по данной методике производится в случае использования новых систем пенополиуретанов или новых технологий нанесения тепловой изоляции на трубы.
Методика предусматривает:
- определение долговечности тепловой изоляции труб в зависимости от температуры;
- оценку срока службы тепловой изоляции труб в зависимости от температурного графика теплоносителя.
Д.1. Методика определения долговечности пенополиуретана тепловой изоляции труб в зависимости от температуры
Долговечность тепловой изоляции определяют по критерию прочности на сдвиг в тангенциальном направлении.
В зависимости от температуры долговечность пенополиуретана в общем виде должна подчиняться экспоненциальному закону:

, (Д.1)
где

,

- время старения соответственно для одинакового уровня свойств того или иного критерия долговечности, сут;
T - температура теплоносителя, °C;

- температура ускоренных испытаний, °C;
E - эффективная энергия активации процесса старения (~= 150 кДж/моль x °C);
R - универсальная газовая постоянная (~= 8,33 Дж/моль).
Контрольные значения долговечности в зависимости от температуры определяют следующим уравнением:

. (Д.2)
Для определения кривых долговечности образцы стальных труб (например, диаметром 76 мм) с теплоизоляцией из пенополиуретана в полиэтиленовой оболочке длиной 3 м подвергают тепловому старению в воздушной среде на стенде путем пропуска по стальным трубам теплоносителя с температурами 165, 155, 145, 140 °C (по два образца на каждую температуру) в течение времени, приведенного в таблице Д.1.
Таблица Д.1
Температура теплоносителя T, °C | Время испытаний тау, сут |
165 | 7; 15; 30; 45 |
155 | 15; 30; 45; 60 |
145 | 30; 45; 60; 75 |
140 | 45; 65; 75; 90 |
После каждого цикла теплового старения теплоизоляцию образцов в средней части поперечно разрезают по периметру (до поверхности стальной трубы), выделяя участок длиной 200 мм. После чего температуру теплоносителя устанавливают на уровне 140 °C и пропускают его в течение суток и затем определяют прочность на сдвиг на тангенциальном направлении согласно
9.21 настоящего стандарта.
По результатам испытаний на сдвиг в тангенциальном направлении определяют экспериментальную зависимость прочности на сдвиг от времени теплового старения при различных температурах теплового старения.
После установления функциональной зависимости прочности на сдвиг от времени при температурах теплового старения определяют значения долговечности при температурах 140, 145, 155 и 165 °C при уровне прочности на сдвиг 0,13 МПа.
После определения значений долговечности:

- при температуре 140 °C,

- при температуре 145 °C,

- при температуре 155 °C и

- при температуре 165 °C устанавливают экспериментальную зависимость долговечности от температуры.
Значения долговечности, вычисленные по полученной эмпирической зависимости при различных температурах теплового старения, должны быть не менее контрольных значений долговечности, рассчитанных по
уравнению (Д.2) при тех же температурах.
Д.2. Оценка срока службы пенополиуретановой теплоизоляции труб тепловых сетей
Срок службы пенополиуретана теплоизоляции оценивают с учетом воздействия температур исходя из температурного графика теплоносителя применительно к различным климатическим зонам России. Для других климатических зон расчет осуществляется аналогично с применением местных расчетных характеристик.
Годовой температурный график приводится к виду, удобному для использования в последующих расчетах, например, для климатической зоны Западной Сибири:
- продолжительность воздействия в отопительный сезон

(в долях от года) температур до 102 °C (относят к температуре 102 °C), до 110 °C (относят к температуре 110 °C), до 128 °C (относят к температуре 128 °C), до 143 °C (относят к температуре 143 °C), до 149 °C (относят к температуре 149 °C) и до 150 °C (относят к температуре 150 °C).
При указанных температурах по полученной эмпирической зависимости

определяют долговечность пенополиуретана

(где n = 1 - 5).
Предполагаемый срок службы (в годах) вычисляют по формуле

. (Д.3)
(рекомендуемое)
ОПРЕДЕЛЕНИЕ ТЕПЛОПРОВОДНОСТИ ПО МЕТОДУ "ТРУБЫ"
Для определения теплопроводности тепловой изоляции трубы применяют установку (
рисунок Е.1), представляющую собой стальную трубу диаметром

= 100 - 150 мм, длиной не менее 2,0 м. Внутри трубы располагают нагревательный элемент, смонтированный на огнеупорном материале.
1 - стальная труба; 2 - электронагреватель;
3 - испытуемый материал; 4 - изоляция; 5 - термопары;
6 - вольтметр, 7 - амперметр; 8 - автотрансформатор;
9 - переключатель; 10 - гальванометр; 11 - сосуд
со льдом; 12 - самопишущий гальванометр
Нагревательный элемент разделяют на три самостоятельные секции по длине трубы. Центральная секция, занимающая 1/3 длины трубы, является рабочей, боковые секции служат для устранения утечек теплоты через торцы.
Трубу устанавливают на подставках на расстоянии 1,5 - 2 м от пола и стен помещения, в котором производят испытания.
Измерения температуры трубы и поверхности испытуемого материала производят термопарами. Путем регулировки электрической мощности, потребляемой охранными секциями, необходимо добиваться отсутствия перепада температур между рабочей и охранными секциями. Испытания проводят при установившемся тепловом режиме, при котором температура на поверхности трубы и изоляции постоянна во времени.
Расход электрической энергии рабочим нагревателем может определяться как ваттметром, так и отдельно вольтметром и амперметром.
Теплопроводность тепловой изоляции

, Вт/м x °C, определяют по формуле

, (Е.1)
где

и

- температура на поверхности трубы и изоляции, °C;
l - длина рабочей секции, м;
d - наружный диаметр стальной трубы, м;
D - наружный диаметр трубы-оболочки, м.
Тепловой поток Q, Вт, определяют по формуле

, (Е.2)
где I - среднее замеренное значение силы тока, A;
V - замеренное напряжение рабочего нагревателя, B.
(рекомендуемое)
ОПРЕДЕЛЕНИЕ СОДЕРЖАНИЯ ЗАКРЫТЫХ ПОР
Сущность метода заключается в измерении объема воздуха, вытесненного образцом в процессе испытания.
Ж.1. Аппаратура
Воздушный пикнометр (рисунок Ж.1).
1 - манометр с дибутилфталатом; 2 - ртутный манометр;
3 - камера; 4 - образец; 5 - воздушный кран;
6 - колба с ртутью; 7 - винт; 8 - подставка; 9 - кран
Рисунок Ж.1
Прибор состоит из двух симметрично расположенных и равных по объему систем (рабочей и контрольной), соединенных через два параллельных манометра. Один из манометров - ртутный (2), внутренним диаметром (5 +/- 0,5) мм и высотой (60 +/- 0,5) см, используется для одновременного изменения объемов систем на определенную величину, а также для выравнивания давлений в процессе проведения испытаний; другой манометр с дибутилфталатом (1), внутренним диаметром (3 +/- 0,3) мм и высотой (40 +/- 0,5) см, - для наблюдения за разностью давлений в обеих системах.
Рабочая система объемом (320 +/- 10) см3 включает в себя камеру 3 для образца 4 и левую половину манометров 1 и 2. Камера для образца объемом (300 +/- 10) см3 представляет собой цилиндрический сосуд с тщательно пришлифованной крышкой. С помощью крана 5 обе системы могут сообщаться с окружающей атмосферой или быть изолированными от нее и друг от друга. Колба 6 с ртутью служит для изменения давления в обеих системах прибора.
Весы с погрешностью не более 0,01 г.
Ж.2. Подготовка к испытанию и проведение испытания
Ж.2.1. Для испытания из средней части теплоизоляционного слоя вырезают три образца-кубика размером (25 +/- 0,5) мм. Допускается изготавливать образцы размером 25 x 25 x t мм, где t - толщина пенополиуретана.
На поверхности образцов не должно быть пустот (каверн), трещин и других видимых дефектов.
Перед испытанием образцы кондиционируют в течение 24 ч при температуре (23 +/- 2) °C.
Ж.2.2. Проверяют симметричность обеих систем прибора (отсутствие разности давлений в обеих системах при максимальном разряжении их без образца), для этого используют монолитный образец из полиуретана, размером по
Ж.2.1, объем которого

измеряют с погрешностью не более 0,1 см3.
Ж.2.3. Обе системы с окружающей атмосферой соединяют краном 5. Перемещая колбу 6 с помощью подставки 8 (грубо) и винта 7 (точно), устанавливают уровень ртути по нижней части мениска на отметке А.
Ж.2.4. Закрывают камеру крышкой и обе системы изолируют друг от друга и от окружающей атмосферы. Колбу 6 плавно опускают и устанавливают уровень на отметке Б. По истечении (30 +/- 1) с измеряют уровень ртути (

) в левом колене манометра 2.
Ж.2.5. Обе системы соединяют с окружающей атмосферой и повторяют испытание в соответствии с
Ж.2.3, Ж.2.4 до тех пор, пока три последовательных измерения не дадут одинаковых результатов. Расхождение между последовательными измерениями больше чем на 1 мм указывает на возможность утечки в приборе.
Ж.2.6. Монолитный образец взвешивают с погрешностью не более 0,01 г, помещают в камеру и плотно закрывают крышкой. Затем устанавливают уровень ртути на отметке А и обе системы изолируют друг от друга и от окружающей атмосферы. Уровень ртути устанавливают на отметке Б и по истечении (30 +/- 1) с кран 9 перекрывают. Перемещением колбы 3 уравнивают давление в обеих системах по манометру 1 и по истечении (30 +/- 1) с измеряют уровень ртути

в левом колене манометра 2.
Ж.2.7. Определяют постоянную прибора K из зависимости

. Метки А и Б должны находиться на таком расстоянии друг от друга, чтобы постоянная прибора составляла (1 +/- 0,1) см3/мм.
Ж.3. Проведение испытания
Ж.3.1. Измеряют линейные размеры и определяют объем и массу образцов из пенополиуретана.
Ж.3.2. Образец из пенополиуретана помещают в камеру и проводят испытание по
Ж.2.5,
Ж.2.6.
Ж.4. Обработка результатов
Ж.4.1. Объемное содержание закрытых пор

, %, вычисляют по формуле

, (Ж.1)
где V - объем испытуемого образца, см3.
Ж.4.2. За результат испытаний принимают среднеарифметическое параллельных определений.