Главная // Актуальные документы // ГОСТ (Государственный стандарт)СПРАВКА
Источник публикации
М.: ИПК Издательство стандартов, 1998
Примечание к документу
Утратил силу с 1 января 2008 года в связи с изданием Приказа Ростехрегулирования от 27.03.2007 N 42-ст. Взамен введен в действие
ГОСТ 12301-2006.
Ограничение срока действия снято по Протоколу N 4-93 Межгосударственного совета по стандартизации, метрологии и сертификации ("ИУС", N 4, 1994).
Введен в действие с 1 января 1983 года.
Взамен ГОСТ 12310-72, ГОСТ 13501-68.
Название документа
"ГОСТ 12301-81. Коробки из картона, бумаги и комбинированных материалов. Общие технические условия"
(утв. Постановлением Госстандарта СССР от 18.08.1981 N 3907)
(ред. от 01.05.1994)
"ГОСТ 12301-81. Коробки из картона, бумаги и комбинированных материалов. Общие технические условия"
(утв. Постановлением Госстандарта СССР от 18.08.1981 N 3907)
(ред. от 01.05.1994)
Утвержден и введен в действие
Постановлением Госстандарта СССР
от 18 августа 1981 г. N 3907
ГОСУДАРСТВЕННЫЙ СТАНДАРТ СОЮЗА ССР
КОРОБКИ ИЗ КАРТОНА, БУМАГИ
И КОМБИНИРОВАННЫХ МАТЕРИАЛОВ
ОБЩИЕ ТЕХНИЧЕСКИЕ УСЛОВИЯ
Cartons of paperboard, paper and composite materials.
General specifications
ГОСТ 12301-81
| | Список изменяющих документов (в ред. Изменения N 1, утв. в декабре 1983 г., Изменения N 2, утв. в марте 1987 г., Изменения N 3, утв. в августе 1989 г., Изменения N 4, утв. в мае 1994 г.) | |
Группа Д76
Дата введения
1 января 1983 года
1. Разработан и внесен Государственным комитетом СССР по материально-техническому снабжению.
Разработчики: В.А. Данилевский, Г.М. Рудин, Л.П. Макагон.
Утвержден и введен в действие Постановлением Государственного комитета СССР по стандартам от 18.08.1981 N 3907.
2. Срок проверки - 1986 г. Периодичность проверки - 5 лет.
| | ИС МЕГАНОРМ: примечание. В официальном тексте документа, видимо, допущена опечатка: имеется в виду ГОСТ 12301-72. | |
3. Взамен ГОСТ 12301-81, ГОСТ 13501-68.
4. Ссылочные нормативно-технические документы
────────────────────────────────────────┬─────────────────────────
Обозначение НТД, на который дана ссылка │Номер пункта, подпункта,
│ приложения
────────────────────────────────────────┼─────────────────────────
ИС МЕГАНОРМ: примечание.
Взамен ГОСТ 7502-89 Постановлением Госстандарта РФ от
27.07.1999 N 220-ст с 1 июля 2000 года введен в действие
5. Ограничение срока действия снято по протоколу N 4-93 Межгосударственного совета по стандартизации, метрологии и сертификации (ИУС 4-94).
6. Переиздание (декабрь 1997 г.) с Изменениями N 1, 2, 3, 4, утвержденными в декабре 1983 г., марте 1987 г., августе 1989 г., мае 1994 г. (ИУС 4-84, 6-87, 12-89, 8-94).
Настоящий стандарт распространяется на коробки из картона, бумаги и комбинированных материалов на основе картона и бумаги, предназначенные для упаковывания и хранения промышленной продукции.
1. ТИПЫ И ОСНОВНЫЕ РАЗМЕРЫ
1.1. Коробки должны изготовляться в соответствии с
черт. 1 -
22 и табл. 1.
Тип коробки и его характеристика | Обозначение типа | Чертеж |
1 - с телескопической крышкой | I-1 | Черт. 1 |
I-2 | Черт. 2 |
I-3 | Черт. 3 |
I-4 | Черт. 4 |
I-5а | |
I-5б | Черт. 5 |
I-6 | Черт. 6 |
I-7 | Черт. 7 |
I-8 | Черт. 8 |
I-9 | Черт. 9 |
I-10 | Черт. 10 |
I-11 | Черт. 11 |
I-12 | Черт. 12 |
I-13 | Черт. 13 |
I-14 | Черт. 14 |
I-15 | Черт. 15 |
II - с крышкой на шарнире | II-1 | Черт. 16 |
II-2 | Черт. 17 |
II-3 | Черт. 18 |
II-4 | Черт. 19 |
III - пенал | III-1 | Черт. 20 |
III-2 | Черт. 21 |
| Черт. 22 |
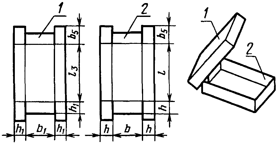
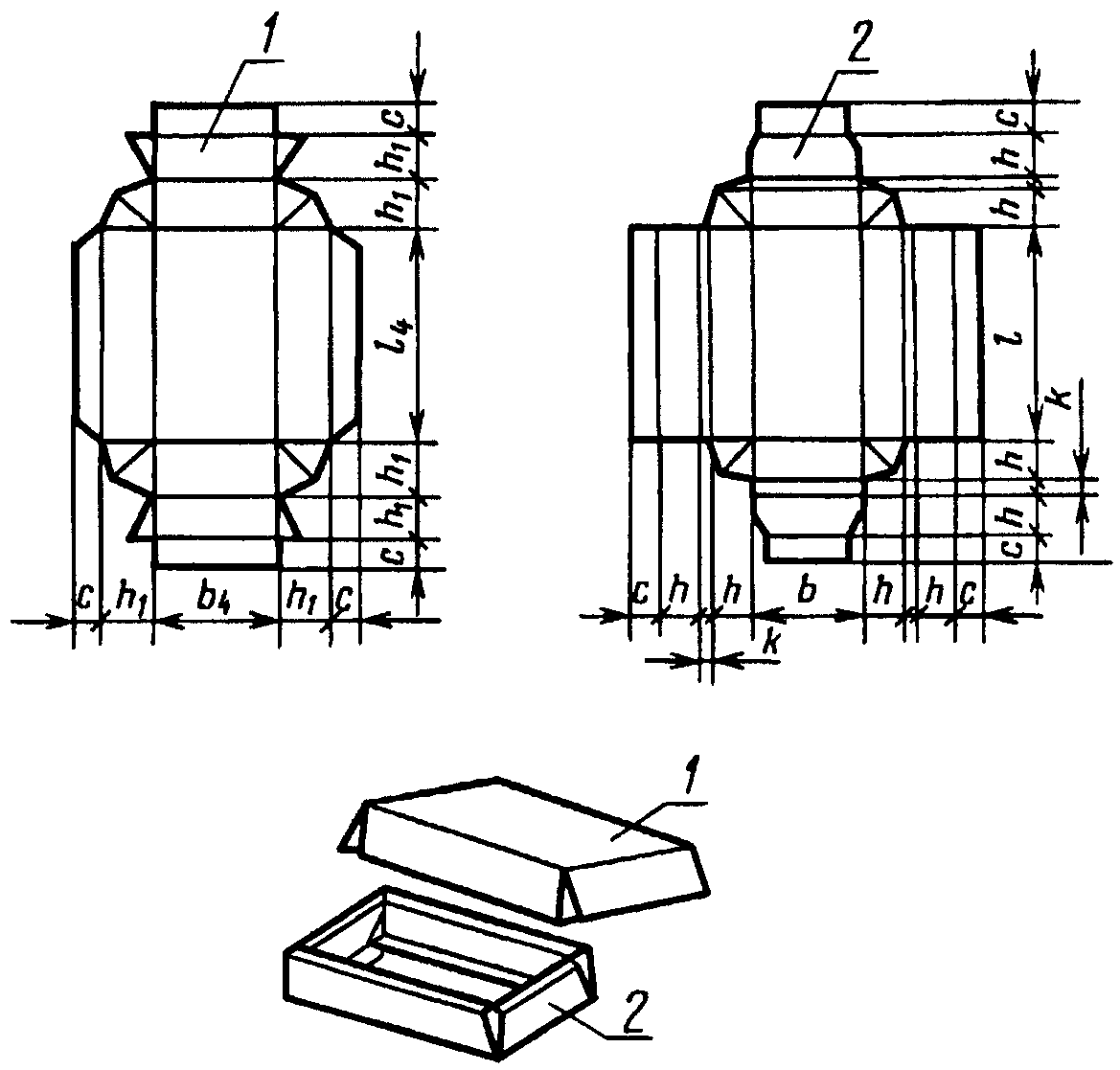
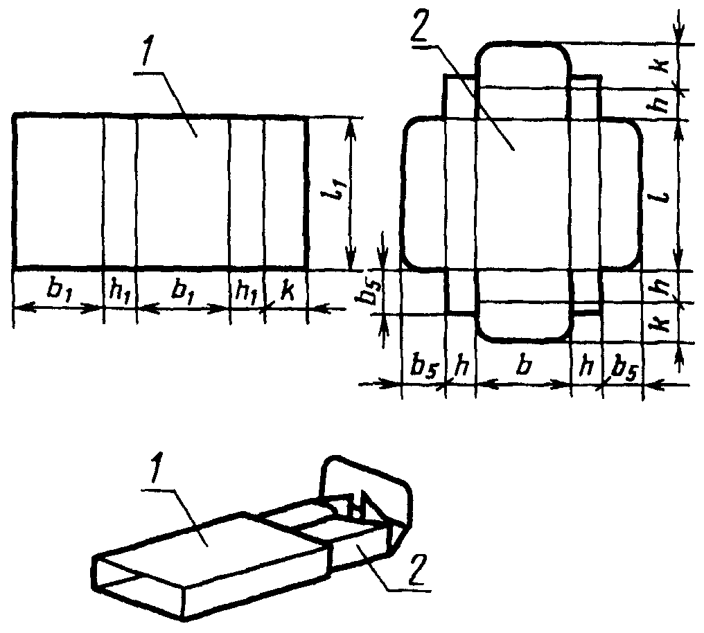
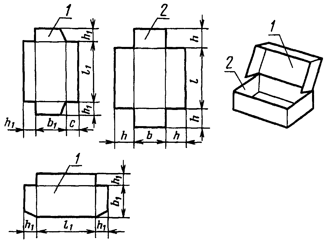
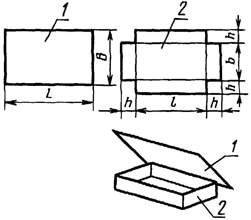
Условные обозначения размеров и деталей
1 - крышка коробки; 2 - дно коробки;
3 - корпус дна; L - длина развертки;
В - ширина развертки; b - ширина дна;

- ширина крышки;

- ширина корпуса дна;

- b + 4s;

- b + 6s;

- 0,5b;

- размеры, применяются конструктивно;
l - длина дна;

- длина крышки;

- длина корпуса дна;

- l + 4s;

- l + 6s;
с - ширина клапана принимается конструктивно;
s - толщина картона; h - высота дна;

- высота крышки;

- высота корпуса дна.
(Измененная редакция, Изм. N 3).
1.2. Допускается изготовление коробок круглой, эллипсовидной, многоугольной и другой формы с комбинацией конструктивных элементов различных типов.
1.3. Для коробок, в зависимости от характера упаковываемой продукции, допускается применять вспомогательные упаковочные средства: вкладыши, амортизаторы, решетки, перегородки, прокладки.
Виды, конструкции и размеры вспомогательных упаковочных средств и материалы для их изготовления должны быть предусмотрены в нормативно-технической документации или чертежах на коробки для конкретных видов продукции.
(Измененная редакция, Изм. N 3).
1.4. Теоретические наружные и соответствующие им внутренние размеры коробок всех форм устанавливают в соответствии с требованиями
ГОСТ 21140 по нормативно-технической документации на коробки для конкретных видов продукции с учетом особенностей упаковываемой продукции и требований к ее сохраняемости.
1.5. Предельные отклонения от внутренних размеров коробок не должны превышать указанных в табл. 2.
--------------------------------
<*> Таблицы 3 и 4. (Исключены, Изм. N 3).
мм
───────────────────────────────────────────┬──────────────────────
Внутренний размер коробок │ Отклонение, не более
(длина, ширина, высота) │
───────────────────────────────────────────┼──────────────────────
До 250 включ. │Минус 4
Св. 250 " 600 " │ " 6
" 600 " 800 " │ " 9
" 800 │ " 10
(Измененная редакция, Изм. N 1, 3).
1.6. Внутренние размеры крышек коробок типов I и II по длине и ширине и типа III по ширине и высоте определяют с учетом действительных наружных размеров дна (2) или корпуса дна (3) коробок и величины зазора, необходимого для свободного одевания крышек.
(Измененная редакция, Изм. N 2).
2. ТЕХНИЧЕСКИЕ ТРЕБОВАНИЯ
2.1. Коробки и вспомогательные упаковочные средства должны изготовляться в соответствии с требованиями настоящего стандарта и нормативно-технической документации на коробки для конкретных видов продукции.
Допускается изготовлять коробки в соответствии с требованиями настоящего стандарта по рабочим чертежам при:
- годовой потребности не более 50000 шт. коробок одного типоразмера;
- разработке коробок совместно с образцом-эталоном упаковываемой продукции (изделия) в соответствии с требованиями
ГОСТ 15.009.
2.2. Для изготовления коробок должны применяться следующие материалы:
- картон для потребительской тары по
ГОСТ 7933;
- картон склеенный облагороженный, с покрытиями из парафина, микровоска, алюминиевой фольги, полиэтилена по нормативно-технической документации;
- бумага этикеточная по
ГОСТ 7625, бумага для упаковывания продуктов на автоматах по ГОСТ 7247;
- бумага писчая цветная по ГОСТ 6861;
- бумага для оклейки бумажно-беловых товаров и картонажной продукции по ГОСТ 8589;
- переплетный материал с крахмально-каолиновым покрытием по
ГОСТ 5202;
- материал переплетный с нитроцеллюлозным покрытием по ГОСТ 8705;
- крахмал кукурузный по ГОСТ 7697;
- клей костный по ГОСТ 2067;
- дисперсия поливинилацетатная гомополимерная грубодисперсная по
ГОСТ 18992;
- проволока стальная низкоуглеродистая общего назначения диаметром 0,7 - 1,0 мм по
ГОСТ 3282.
Допускается применять другие материалы по качеству не ниже указанных и обеспечивающие сохранность упаковываемой продукции.
2.1, 2.2. (Измененная редакция, Изм. N 2, 3, 4).
2.3. Толщину картона и бумаги выбирают максимальной в зависимости от вместимости коробки или массы упаковываемой продукции в соответствии с
Приложением 2.
(Измененная редакция, Изм. N 3).
2.4. Линии сгиба должны быть нанесены рилевкой, биговкой, рицовкой или перфорированием <*>; они должны обеспечивать равномерный сгиб картона под углом 180°.
--------------------------------
Способ нанесения линий сгиба устанавливают с учетом толщины картона (см.
Приложение).
(Измененная редакция, Изм. N 2).
2.5. Линии сгиба и отреза ножницами должны быть взаимно перпендикулярны. Отклонение от перпендикулярности линий устанавливают в нормативно-технической документации или рабочих чертежах на конкретные виды коробок в пределах отклонений, установленных в
табл. 2.
(Измененная редакция, Изм. N 3).
2.6. Коробки не должны иметь разрывов, масляных пятен, расслаивания картона, следов клея. На поверхности высечек складных коробок допускается наличие следов от перемычек штампа. Края коробок должны иметь ровный обрез без разрывов и расслаивания картона.
2.7. Крышки коробок должны надеваться без деформации дна или корпуса коробки.
2.8. Шарнирное соединение корпуса и крышки коробок типа II должно выдерживать без повреждения 10 перегибов на 180°.
(Измененная редакция, Изм. N 2).
2.9. Клееные коробки должны быть оклеены отделочным материалом равномерно, без пузырей, морщин, перекосов. В углах коробок допускаются складки бумаги, не ухудшающие внешнего вида коробок.
2.10. Величина загиба отделочного материала по всему периметру дна и крышки коробки не должна превышать 25 мм.
2.11. Для сшитых коробок расстояние от первой скобы до верхнего края коробки должно быть не более 20 мм, до бокового края коробки должно быть (10 +/- 5) мм.
Расположение скоб и расстояние между ними должно устанавливаться в нормативно-технической документации или в рабочих чертежах на конкретные виды коробок.
(Измененная редакция, Изм. N 3).
2.12. (Исключен, Изм. N 3).
2.13. Художественное оформление и полиграфическое исполнение коробок должны соответствовать оригиналу или образцу-эталону, утвержденному в установленном порядке.
2.14. Материалы, из которых изготовляют коробки, контактирующие непосредственно с пищевыми продуктами, лекарственными средствами, игрушками, должны быть допущены для применения Министерством здравоохранения СССР.
3.1. Коробки принимают партиями. Партией считают коробки одного типа и размера, изготовленные из материала одной марки, оформленные одним документом о качестве, содержащим:
- наименование предприятия и (или) его товарный знак;
- наименование продукции;
- номер партии;
- количество кип в партии;
- дату изготовления;
- штамп отдела технического контроля.
3.2. Для контроля размеров и внешнего вида коробок из различных мест партии отбирают выборку в объеме, указанном в табл. 5.
────────────────────────┬───────┬───────┬────────┬───────┬────────
Объем партии │Выборка│ Объем │ Общий │Прие- │Брако-
│ │выборки│ объем │мочное │вочное
│ │ │выборки │число │число
────────────────────────┼───────┼───────┼────────┼───────┼────────
От 151 до 280 включ.│1 │20 │20 │0 │1
│2 │- │- │- │-
Св. 281 " 500 " │1 │32 │32 │0 │2
│2 │32 │64 │1 │2
" 501 " 1200 " │1 │50 │50 │0 │2
│2 │50 │100 │1 │2
" 1201 " 3200 " │1 │80 │80 │0 │3
│2 │80 │160 │3 │4
" 3201 " 10000 " │1 │125 │125 │1 │4
│2 │125 │250 │4 │5
" 10001 " 35000 " │1 │200 │200 │2 │5
│2 │200 │400 │6 │7
" 35001 " 150000 " │1 │315 │315 │3 │7
│2 │315 │630 │8 │9
3.3. Решение о партии
По результатам контроля первой выборки партию принимают, если количество коробок, не соответствующих требованиям настоящего стандарта, в первой выборке меньше или равно приемочному числу, указанному в
табл. 5, и бракуют, если это количество больше или равно браковочному числу, указанному в
табл. 5.
Если количество коробок, не соответствующих требованиям настоящего стандарта, в выборке больше приемочного числа, но меньше браковочного числа, указанных в
табл. 5, то отбирают вторую выборку.
По результатам контроля второй выборки партию принимают, если количество коробок, не соответствующих требованиям настоящего стандарта, в двух выборках меньше или равно приемочному числу, указанному в
табл. 5, и бракуют, если это количество больше или равно браковочному числу, указанному в
табл. 5.
3.1 - 3.3. (Измененная редакция, Изм. N 2).
4. МЕТОДЫ КОНТРОЛЯ И ИСПЫТАНИЯ
4.1. Внешний вид коробок контролируют визуально, без применения увеличительных приборов.
4.2. Внутренние размеры коробок контролируют измерением расстояния между ближайшими линиями сгиба высечки дна или корпуса дна коробки штангенциркулем по
ГОСТ 166.
4.3. Внутренние размеры крышек коробок контролируют измерением расстояния между ближайшими линиями сгиба высечки крышки штангенциркулем по
ГОСТ 166.
| | ИС МЕГАНОРМ: примечание. Взамен ГОСТ 7502-89 Постановлением Госстандарта РФ от 27.07.1999 N 220-ст с 1 июля 2000 года введен в действие ГОСТ 7502-98. | |
4.4. Соответствие требований
п. 2.5 контролируют угольником по
ГОСТ 3749,
пп. 2.10 -
2.12 - штангенциркулем по
ГОСТ 166 или рулеткой по ГОСТ 7502 с погрешностью не более 1 мм.
4.2 - 4.4. (Измененная редакция, Изм. N 2, 4).
4.5. Для определения прочности шарнирного соединения от выборки объемом до 100 шт. включительно отбирают 3 коробки, от выборки объемом свыше 100 шт. - 5 коробок. Крышку коробки закрывают и открывают. Если все отобранные коробки соответствуют требованиям
п. 2.8, то партию считают принятой по данному виду испытаний.
(Измененная редакция, Изм. N 2).
4.6. Для определения качества коробок по
п. 2.7 от выборки объемом до 100 шт. включительно отбирают 5 коробок, от выборки объемом свыше 100 шт. - 5%. Все отобранные коробки должны закрываться крышкой без деформации дна.
(Введен дополнительно, Изм. N 2).
5. УПАКОВКА, МАРКИРОВКА, ТРАНСПОРТИРОВАНИЕ И ХРАНЕНИЕ
5.1. Коробки поставляют в виде высечек или собранными. Высечки коробок поставляют комплектно.
(Измененная редакция, Изм. N 2).
5.2. Высечки коробок одного размера, конструкции одинакового художественного оформления формируют в кипы и ориентируют по наружному контуру. Предельная масса кипы не должна превышать 20 кг.
5.3. Кипы коробок упаковывают в один слой оберточной бумаги массой 1 м2 100 - 120 г или два слоя бумаги массой 1 м2 50 - 80 г по
ГОСТ 8273 и перевязывают шпагатом по
ГОСТ 17308 или другим обвязочным материалом, обеспечивающим прочность обвязки кип. На кромках кипы в местах перегиба под шпагат должны быть подложены прокладки картона для потребительской тары по
ГОСТ 7933.
(Измененная редакция, Изм. N 4).
5.4. Собранные коробки упаковывают в один слой оберточной бумаги массой 1 м2 100 - 120 г и два слоя бумаги массой 1 м2 50 - 80 г по
ГОСТ 8273 с последующей заклейкой кипы по торцам или обвязывают шпагатом крест-накрест. При упаковывании коробок из картона толщиной до 1 мм под шпагат должны быть подложены прокладки картона для потребительской тары по
ГОСТ 7933.
5.3, 5.4. (Измененная редакция, Изм. N 4).
5.5. По согласованию с потребителем допускается собранные коробки не упаковывать в бумагу. Кипу коробок обвязывают шпагатом или другим обвязочным материалом, обеспечивающим прочность обвязки и сохраняемость кипы.
5.6. По согласованию с потребителем допускается применять другие упаковочные материалы, обеспечивающие сохраняемость коробок при транспортировании и хранении.
5.7. Транспортная маркировка - по
ГОСТ 14192 с нанесением манипуляционного знака: "Беречь от влаги".
(Измененная редакция, Изм. N 1).
5.8. Кипы хранят в штабеле высотой не более 3,0 м в закрытых складских помещениях на расстоянии не менее 1 м от отопительных приборов. Расстояние между штабелем кип и полом склада должно быть не менее 100 мм.
5.9. Кипы транспортируют всеми видами транспорта в крытых транспортных средствах. Укладывание кип в транспортные средства должно быть плотным, без наличия свободных мест, исключающих возможность смещения и деформации кип.
При транспортировании кип, сформированных в транспортные пакеты, размеры и масса пакетов должны удовлетворять требованиям правил перевозки, действующих на соответствующих видах транспорта и требованиям
ГОСТ 26663.
5.10. На каждую кипу наклеивают бумажный ярлык с указанием:
- наименования предприятия-изготовителя или его товарного знака;
- типа и размера коробок;
- количества коробок в кипе;
- номера упаковщика;
- обозначения нормативно-технической документации на коробки.
На каждый ярлык наносят штамп отдела технического контроля.
5.8 - 5.10. (Измененная редакция, Изм. N 2).
5.11. Транспортирование - по группе условий хранения С по
ГОСТ 15150.
(Введен дополнительно, Изм. N 2).
Рекомендуемое
ВЫБОР СПОСОБА НАНЕСЕНИЯ ЛИНИЙ СГИБА
────────────────┬─────────────────────────────────────────────────
Толщина картона │ Способ нанесения линий сгиба
├─────────┬───────────┬───────────┬───────────────
│ рилевка │ биговка │ рицовка │перфорирование
────────────────┼─────────┼───────────┼───────────┼───────────────
От 0,30 до 0,70 │+ │+ │- │+
0,80 │+ │+ │+ │-
" 0,90 " 1,50 │+ │- │+ │-
(Введено дополнительно, Изм. N 2).
Рекомендуемое
РЕКОМЕНДУЕМЫЕ ТОЛЩИНЫ КАРТОНА И БУМАГИ В ЗАВИСИМОСТИ
ОТ ВМЕСТИМОСТИ КОРОБКИ И МАССЫ УПАКОВЫВАЕМОЙ ПРОДУКЦИИ
Таблица 1
─────────────────────────┬────────────────────────────────────────
Вместимость коробки, см3 │ Толщина картона и бумаги для марок, мм
├─────────┬───────┬──────────┬───────────
│хромовый,│коро- │хром-эрзац│ 0; А-I;
│ хром- │бочный │склеенный,│ А-II; Б-I
│ эрзац │ │коробочный│ по
│ │ │склеенный │ ГОСТ 7247
├─────────┴───────┴──────────┤
─────────────────────────┼─────────┬───────┬──────────┼───────────
До 1000 включ.│0,30 - │0,30 - │- │0,38; 0,40;
│ 0,40│ 0,60│ │0,42
Св. 1000 " 2000 " │0,40 - │0,60 - │- │0,38; 0,40;
│ 0,50│ 0,70│ │0,42
" 2000 " 3000 " │0,50 - │0,60 - │- │-
│ 0,60│ 0,70│ │
" 3000 " 4000 " │0,60 - │0,70 - │- │-
│ 0,70│ 0,80│ │
" 4000 " 5000 " │0,70 - │0,80 - │- │-
│ 0,80│ 0,90│ │
" 5000 " 6000 " │0,80 - │0,90 - │1,00 │-
│ 0,90│ 1,00│ │
" 6000 " 20000 " │0,90 - │1,00 - │1,00 - │-
│ 1,00│ 1,50│ 1,50│
" 20000 " 35000 " │1,00 - │1,50 - │1,50 - │-
│ 1,50│ 2,00│ 2,00│
" 35000 │ │2,00 - │2,00 - │-
│ │ 3,00│ 3,00│
Таблица 2
─────────────────────┬────────────────────────────────────────────
Масса упаковываемой │ Толщина картона и бумаги для марок, мм
продукции, кг ├───────────┬────────┬───────────┬───────────
│хромовый, │коро- │хром-эрзац │ 0; А-I;
│хром-эрзац │бочный │склеенный, │ А-II; Б-I
│ │ │коробочный │ по
│ │ │ склеенный │ ГОСТ 7247
├───────────┴────────┴───────────┤
─────────────────────┼───────────┬────────┬───────────┼───────────
До 0,5 включ.│0,30 - 0,40│0,30 - │- │0,38; 0,40;
│ │ 0,50│ │0,42
Св. 0,5 " 1,0 " │0,40 - 0,50│0,50 - │- │0,38; 0,40;
│ │ 0,60│ │0,42
" 1,0 " 1,5 " │0,50 - 0,60│0,60 - │- │-
│ │ 0,70│ │
" 1,5 " 2,0 " │0,60 - 0,70│0,70 - │- │-
│ │ 0,80│ │
" 2,0 " 4,0 " │0,70 - 0,80│0,80 - │- │-
│ │ 0,90│ │
" 4,0 " 6,0 " │0,80 - 1,00│0,90 - │1,00 │-
│ │ 1,00│ │
" 6,0 " 7,5 " │1,00 - 1,50│1,00 - │1,00 - 1,50│-
│ │ 1,50│ │
" 7,5 │ │1,50 - │1,50 - 3,00│-
│ │ 3,00│ │