Главная // Актуальные документы // ГОСТ (Государственный стандарт)СПРАВКА
Источник публикации
М.: Стандартинформ, 2019
Примечание к документу
Текст данного документа приведен с учетом
поправки, опубликованной в "ИУС", N 9, 2023.
В соответствии с
Приказом Росстандарта от 14.11.2019 N 1147-ст данный документ вводился в действие с 01.06.2020. В соответствии с изменениями, внесенными Приказами Росстандарта от 15.05.2020
N 208-ст, 26.01.2021
N 20-ст, срок введения в действие данного документа перенесен на 01.01.2022 с правом досрочного применения.
Название документа
"ГОСТ 34532-2019. Межгосударственный стандарт. Цементы тампонажные. Методы испытаний"
(введен в действие Приказом Росстандарта от 14.11.2019 N 1147-ст)
"ГОСТ 34532-2019. Межгосударственный стандарт. Цементы тампонажные. Методы испытаний"
(введен в действие Приказом Росстандарта от 14.11.2019 N 1147-ст)
агентства по техническому
регулированию и метрологии
от 14 ноября 2019 г. N 1147-ст
МЕЖГОСУДАРСТВЕННЫЙ СТАНДАРТ
ЦЕМЕНТЫ ТАМПОНАЖНЫЕ
МЕТОДЫ ИСПЫТАНИЙ
Well cements. Test methods
ГОСТ 34532-2019
| | Приказом Росстандарта от 26.01.2021 N 20-ст дата введения в действие перенесена на 01.01.2022 с правом досрочного применения. | |
Дата введения
1 июня 2020 года
Цели, основные принципы и общие правила проведения работ по межгосударственной стандартизации установлены
ГОСТ 1.0 "Межгосударственная система стандартизации. Основные положения" и
ГОСТ 1.2 "Межгосударственная система стандартизации. Стандарты межгосударственные, правила и рекомендации по межгосударственной стандартизации. Правила разработки, принятия, обновления и отмены"
1 РАЗРАБОТАН Некоммерческой организацией "Союз производителей цемента" (НО СОЮЗЦЕМЕНТ) и Обществом с ограниченной ответственностью Фирмой "ЦЕМИСКОН" (ООО Фирма "ЦЕМИСКОН") при участии Акционерного общества "Холдинговая компания "Сибирский цемент" (АО "ХК "Сибцем") и Открытого акционерного общества "Сухоложскцемент" (ОАО "Сухоложскцемент")
2 ВНЕСЕН Техническим комитетом по стандартизации ТК 144 "Строительные материалы и изделия"
3 ПРИНЯТ Межгосударственным советом по стандартизации, метрологии и сертификации (протокол от 28 июня 2019 г. N 55)
За принятие проголосовали:
Краткое наименование страны по МК (ИСО 3166) 004-97 | Код страны по МК (ИСО 3166) 004-97 | Сокращенное наименование национального органа по стандартизации |
Азербайджан | AZ | Азстандарт |
Армения | AM | Минэкономики Республики Армения |
Беларусь | BY | Госстандарт Республики Беларусь |
Киргизия | KG | Кыргызстандарт |
Россия | RU | Росстандарт |
4
Приказом Федерального агентства по техническому регулированию и метрологии от 14 ноября 2019 г. N 1147-ст межгосударственный стандарт ГОСТ 34532-2019 введен в действие в качестве национального стандарта Российской Федерации с 1 июня 2020 г.
Информация о введении в действие (прекращении действия) настоящего стандарта и изменений к нему на территории указанных выше государств публикуется в указателях национальных стандартов, издаваемых в этих государствах, а также в сети Интернет на сайтах соответствующих национальных органов по стандартизации.
В случае пересмотра, изменения или отмены настоящего стандарта соответствующая информация будет опубликована на официальном интернет-сайте Межгосударственного совета по стандартизации, метрологии и сертификации в каталоге "Межгосударственные стандарты"
Настоящий стандарт распространяется на все тампонажные цементы (далее - цементы) и устанавливает методы испытаний для определения, кроме типов I-G и I-H:
- растекаемости;
- плотности цементного теста;
- времени загустевания;
- водоотделения;
- прочности;
- линейного расширения.
Для тампонажных цементов типов I-G и I-H в настоящем стандарте установлены методы испытаний для определения:
- консистенции и времени загустевания;
- свободной жидкости;
- прочности при сжатии.
В настоящем стандарте использованы нормативные ссылки на следующие межгосударственные стандарты:
ГОСТ 166 Штангенциркули. Технические условия
ГОСТ 427 Линейки измерительные металлические. Технические условия
ГОСТ 1581 Портландцементы тампонажные. Технические условия
ГОСТ 1770 Посуда мерная лабораторная стеклянная. Цилиндры, мензурки, колбы, пробирки. Общие технические условия
ГОСТ 6613 Сетки проволочные тканые с квадратными ячейками. Технические условия
ГОСТ 28840 Машины для испытания материалов на растяжение, сжатие и изгиб. Общие технические требования
ГОСТ 29227 Посуда лабораторная стеклянная. Пипетки градуированные. Часть 1. Общие требования
ГОСТ 30744 Цементы. Методы испытаний с использованием полифракционного песка
ГОСТ OIML R 76-1 Государственная система обеспечения единства измерений. Весы неавтоматического действия. Часть 1. Метрологические и технические требования. Испытания
Примечание - При пользовании настоящим стандартом целесообразно проверить действие ссылочных стандартов и классификаторов на официальном интернет-сайте Межгосударственного совета по стандартизации, метрологии и сертификации (www.easc.by) или по указателям национальных стандартов, издаваемым в государствах, указанных в предисловии, или на официальных сайтах соответствующих национальных органов по стандартизации. Если на документ дана недатированная ссылка, то следует использовать документ, действующий на текущий момент, с учетом всех внесенных в него изменений. Если заменен ссылочный документ, на который дана датированная ссылка, то следует использовать указанную версию этого документа. Если после принятия настоящего стандарта в ссылочный документ, на который дана датированная ссылка, внесено изменение, затрагивающее положение, на которое дана ссылка, то это положение применяется без учета данного изменения. Если ссылочный документ отменен без замены, то положение, в котором дана ссылка на него, применяется в части, не затрагивающей эту ссылку.
3 Испытания тампонажных цементов (кроме типов I-G и I-H):
3.1.1 Испытания следует проводить в помещениях с температурой воздуха 20 +/- 2 °C и относительной влажностью не менее 50%.
3.1.3 В рабочем журнале записывают вид и состояние тары, в которой доставлена проба.
3.1.4 Пробы цемента до проведения испытания необходимо хранить в сухом помещении при относительной влажности не более 50%.
3.1.5 Перед испытанием каждую пробу цемента просеивают через сито с сеткой 09 по
ГОСТ 6613. Остаток на сите взвешивают и отбрасывают. Массу остатка, в процентах, а также его характеристику (наличие комков, кусков дерева, металла и пр.) регистрируют в рабочем журнале. После просеивания пробу цемента перемешивают.
3.1.6 Для приготовления цементного теста и хранения образцов применяют питьевую воду <1>.
--------------------------------
<1> В Российской Федерации требования к питьевой воде установлены в
ГОСТ Р 51232-98 "Вода питьевая. Общие требования к организации и методам контроля качества".
Сосуд для взвешивания и отмеривания воды тарируют в смоченном состоянии.
3.1.7 Перед испытанием цемент и воду выдерживают до температуры помещения.
3.1.8 Температура в камере (шкафу) влажного хранения должна быть 20 +/- 1 °C, относительная влажность - не менее 90%.
Температуру и влажность воздуха в камере (шкафу) следует ежедневно отмечать в рабочем журнале.
3.1.9 Цемент взвешивают с погрешностью +/- 1 г, воду взвешивают или отмеряют с погрешностью +/- 1 г (+/- 1 мл) соответственно.
3.1.10 Средства контроля, применяемые при испытаниях, должны быть изготовлены из материалов, не реагирующих с цементом.
Применение алюминиевых и оцинкованных форм, чаш, лопаток и т.п. не допускается.
3.1.11 Оборудование, применяемое при испытаниях, указано в
приложении А.
3.1.12 Испытания цемента по всем показателям проводят на цементном тесте при соотношении цемента и воды, приведенном в таблице 1.
Тип цемента | Водоцементное соотношение (В/Ц) | Масса воды, г | Масса пробы цемента, г, для одного затворения, при определении |
Растекаемости, плотности цементного теста, прочности образцов-балочек размером 20 x 20 x 100 мм, времени загустевания, водоотделения, линейного расширения | Прочности образцов-балочек размером 40 x 40 x 160 мм |
I, II | 0,50 | 350 | 700 | - |
600 | - | 1200 |
III-Об | 0,60 - 1,30 | - | 300 - 500 | 600 - 800 |
III-Ут | 0,30 - 0,40 | - | 800 | 1600 |
Примечания 1 Допускается определять растекаемость и плотность в пробах цементного теста, приготовленных для определения времени загустевания и водоотделения или прочности. 2 Величину В/Ц для цемента типа III подбирают по плотности цементного теста, рекомендуемой исходя из условий применения. |
3.2 Приготовление цементного теста
3.2.1 Средства контроля
3.2.1.2 Смеситель лопастной со скоростью вращения лопастного устройства (1500 +/- 100) об/мин; объем перемешиваемого раствора в стакане цилиндрической формы от 500 до 900 см3. Схема смесителя приведена на рисунке 1.
1 - лопастное устройство; 2 - стакан
Рисунок 1 - Лопастной смеситель
Допускается применение смесителей иной конструкции, обеспечивающих получение однородного цементного теста при времени перемешивания (180 +/- 5) и идентичности результатов испытаний.
3.2.2 Порядок приготовления цементного теста
3.2.2.1 Пробу цемента подготавливают по
3.1.5.
3.2.2.2 Масса пробы цемента и воды, используемых при приготовлении цементного теста для каждого вида испытания, должна соответствовать значениям, указанным в
таблице 1.
3.2.2.3 Цемент и воду для конкретного типа цемента и вида испытания в количестве, указанном в
таблице 1, помещают в стакан лопастного смесителя и перемешивают в течение (180 +/- 5) с при скорости вращения (1500 +/- 100) об/мин. Для гидрофобизированных цементов продолжительность перемешивания составляет (300 +/- 5) с. Цементное тесто готовят в соответствии с инструкцией, прилагаемой к смесителю.
3.2.3 Режим испытаний
3.2.3.1 Для всех типов цемента (в зависимости от температуры применения) режим испытаний для определения времени загустевания, линейного расширения и режим твердения для определения прочности при изгибе и сжатии должен соответствовать требованиям, указанным в таблице 2.
Температура применения цемента, °C | Температура, °C | Режимное давление, МПа | Время достижения режимных параметров, мин |
Предварительного прогрева | Режимная | Номин. | Пред. откл. | Номин. | Пред. откл. |
Номин. | Пред. откл. | Номин. | Пред. откл. |
Низкая и нормальная | 22 | +/- 2 | 22 | +/- 2 | Атмосферное | - | - |
Умеренная | 30 | +/- 3 | 75 | +/- 3 | " | 22 | +/- 3 |
Повышенная | 75 | +/- 3 | 120 | +/- 5 | 40 | +/- 6 | 25 | 75 |
3.2.3.2 При выходе на режим испытания температура и давление в соответствующих установках должны повышаться синхронно.
3.2.3.3 Для цемента типа III по согласованию с потребителем может быть установлен режим испытаний, отличающийся от указанного в
таблице 2.
3.3 Определение плотности цементного теста
3.3.1 Средства контроля
3.3.1.1 Средства контроля для приготовления цементного теста, указанные в
приложении А.
3.3.1.2 Пикнометр вместимостью 100 +/- 5 см3 (см. рисунок 2). Перед проведением испытаний пикнометр должен быть откалиброван.
Рисунок 2 - Пикнометр
3.3.2 Подготовка и проведение испытания
3.3.2.1 Определяют массу чистого сухого пикнометра.
3.3.2.2 Цементное тесто готовят по
3.2.2.
3.3.2.3 Заполняют цементным тестом пикнометр и закрывают его крышкой, при этом цементное тесто должно заполнить канал в крышке пикнометра. Избыток теста, выступивший из отверстия в крышке, удаляют влажной тканью.
3.3.2.4 Определяют массу пикнометра, заполненного цементным тестом.
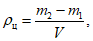
3.3.3 Обработка результатов
Плотность цементного теста

, г/см
3, вычисляют по формуле

(1)
где m1 - масса пустого пикнометра, г;
m2 - масса пикнометра с цементным тестом, г;
V - вместимость пикнометра, см3.
Если для цементов типа III плотность будет отличаться более чем на 0,004 г/см3 от необходимого значения, то испытание повторяют, соответственно увеличив или уменьшив В/Ц, до получения цементного теста с необходимой плотностью. Значение В/Ц, при котором достигнута необходимая плотность, отмечают в журнале и используют при последующих испытаниях.
Результат вычисления округляют до 0,01 г/см3.
3.4 Определение растекаемости цементного теста
3.4.1 Средства контроля
3.4.1.1 Средства контроля для приготовления цементного теста, указанные в
приложении А.
3.4.1.2 Форма-конус (рисунок 3).
Рисунок 3 - Форма-конус
3.4.1.3 Столик измерительный, установленный горизонтально по уровню, снабженный шкалой, представляющей собой концентрические окружности с минимальным диаметром 70 мм и максимальным - не менее 250 мм. Цена деления шкалы должна быть не более 5 мм. Столик должен быть покрыт стеклом.
3.4.1.6 Секундомер.
3.4.2 Подготовка и проведение испытания
3.4.2.1 Форму-конус устанавливают на стекло в центре измерительного столика таким образом, чтобы внутренняя окружность формы совпадала с начальной окружностью шкалы столика. Внутреннюю поверхность конуса и стекло перед испытанием протирают влажной тканью.
3.4.2.2 Цементное тесто готовят по
3.2.2.
3.4.2.3 Заполняют цементным тестом форму-конус до верхнего торца. Интервал времени от момента окончания перемешивания цементного теста до момента начала заполнения им формы-конуса не должен быть более 5 с. По окончании заполнения формы-конуса избыток теста удаляют ножом, расположенным под небольшим углом к торцевой поверхности. Затем форму-конус резко поднимают в вертикальном направлении.
3.4.2.4 Диаметр расплыва цементного теста измеряют линейкой или штангенциркулем в двух взаимно перпендикулярных направлениях; результат округляют до 1 мм.
3.4.2.5 За растекаемость принимают среднеарифметическое значение результатов двух измерений, расхождение между которыми не должно быть более 10 мм.
3.5 Определение времени загустевания
3.5.1 Средства контроля
3.5.1.1 Средства контроля для приготовления цементного теста, указанные в
приложении А.
3.5.1.2 Консистометр, работающий при атмосферном давлении, для испытания цементов, предназначенных для низких, нормальных и умеренных температур.
3.5.1.3 Консистометр, работающий при повышенном давлении, для испытания цементов, предназначенных для повышенных температур. Допускается применение консистометра для испытаний цементов, предназначенных для низких, нормальных и умеренных температур, эксплуатируемого в данном случае при атмосферном давлении.
Частота вращения консистометров должна быть (150 +/- 5) об/мин.
Консистометры должны быть откалиброваны в соответствии с инструкцией к прибору. Схема измерительного узла консистометра приведена на рисунке 4.
1 - лопастное устройство; 2 - стакан
Рисунок 4 - Схема измерительного узла консистометра
3.5.2 Подготовка и проведение испытания
| | ИС МЕГАНОРМ: примечание. В официальном тексте документа, видимо, допущена опечатка: пункт 3.1.13.2 отсутствует. | |
3.5.2.1 Цементное тесто готовят по 3.1.13.2.
3.5.2.2 Цементное тесто заливают в стакан консистометра до отметки на его внутренней стороне.
| | ИС МЕГАНОРМ: примечание. В официальном тексте документа, видимо, допущена опечатка: пункт 3.1.14 отсутствует. | |
Испытание проводят в соответствии с инструкцией к прибору. В зависимости от температуры применения цемента устанавливают режим испытания в соответствии с 3.1.14.
3.5.2.3 Время от начала затворения цемента до момента включения привода вращения стакана консистометра не должно превышать 10 мин.
3.5.2.4 Временем загустевания цементного теста считают время от начала затворения цемента водой до момента достижения цементным тестом консистенции 30 Bc.
3.6 Определение водоотделения
3.6.1 Средства контроля
3.6.1.1 Средства контроля для приготовления цементного теста, указанные в
приложении А.
3.6.1.2 Цилиндры мерные по
ГОСТ 1770 вместимостью 20 см
3 с ценой деления не более 0,2 см
3 и 250 см
3 высотой градуированной части не менее 230 и не более 250 мм.
3.6.2 Подготовка и проведение испытания
3.6.2.1 Цементное тесто готовят по
3.2.2.
3.6.2.2 Цементное тесто заливают в два цилиндра до отметки 250 см3 в каждом и оставляют для отстаивания. В течение всего времени испытания цилиндры должны стоять неподвижно и не подвергаться толчкам.
3.6.2.3 Через 2 ч +/- 5 мин отделившуюся на поверхности цементного теста воду отбирают пипеткой в мерный цилиндр вместимостью 20 см3 и замеряют объем отделившейся воды в каждом цилиндре.
Объем отделившейся воды (водоотделение), в миллилитрах, регистрируют в журнале.
3.6.2.4 За водоотделение принимают среднеарифметическое значение результатов двух параллельных определений, расхождение между которыми не должно быть более 0,2 мл. Результат вычисления округляют до 0,1 мл.
3.7 Определение прочности
3.7.1 Средства контроля
3.7.1.1 Средства контроля для приготовления цементного теста, указанные в
приложении А.
3.7.1.2 Форма размером 40 x 40 x 160 мм для изготовления образцов-балочек при испытании цементов для низких, нормальных и умеренных температур по
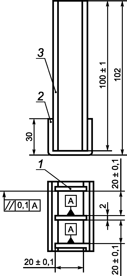
ГОСТ 30744.
3.7.1.3 Форма размером 20 x 20 x 100 мм для изготовления образцов-балочек при испытании цементов для повышенных температур (см.
рисунок 5).
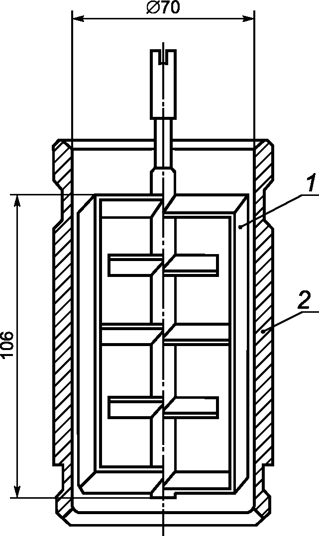
1 - перегородки (3 шт.); 2 - дно (1 шт.); 3 - стенка (2 шт.)
Рисунок 5 - Форма размером 20 x 20 x 100 мм
3.7.1.4 Пресс для испытания на сжатие. Для определения предела прочности образцов при сжатии могут быть использованы прессы любой конструкции с предельной нагрузкой до 500 кН, удовлетворяющие требованиям
ГОСТ 28840 и обеспечивающие нагружение образца в режиме чистого сжатия. Для компенсации пространственного отклонения от параллельности опорных граней образца пресс должен иметь подвижную шаровую опору.
Допускается применять шаровые опоры любой конструкции, обеспечивающей возможность проведения поверки пресса. Пресс должен быть снабжен приспособлением для центрированной установки нажимных пластинок, передающих нагрузку на образец.
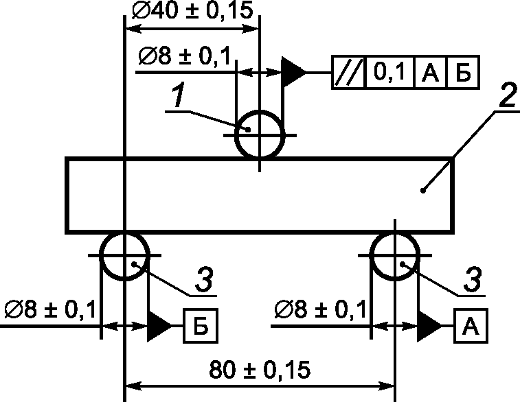
3.7.1.5 Пластинки нажимные для передачи нагрузки на половинки образцов-балочек размером 40 x 40 x 160 мм [должны быть изготовлены из нержавеющей стали твердостью не менее 60 HRC, размерами: толщина не менее 10 мм, ширина (40 +/- 0,1) мм, длина (40 +/- 0,1) мм]. Допускается использование нажимных пластинок, изготовленных из стали твердостью 56 - 61 HRC по форме и размерам, которые приведены на рисунке 6.
Рисунок 6 - Пластины для передачи нагрузки при испытании
на сжатие половинок образцов-балочек размером
40 x 40 x 160 мм
Нажимные пластинки для передачи нагрузки на половинки образцов-балочек размером 20 x 20 x 100 мм должны быть изготовлены из стали твердостью 56 - 61 HRS по форме и размерам, которые приведены на рисунке 7.
Рисунок 7 - Пластины для передачи нагрузки при испытании
на сжатие половинок образцов-балочек размером
20 x 20 x 100 мм
3.7.1.6 Приборы для испытания на растяжение при изгибе образцов-балочек размером 40 x 40 x 160 мм и 20 x 20 x 100 мм. Допускается использовать приборы любой конструкции, удовлетворяющие требованиям
ГОСТ 28840 и обеспечивающие возможность приложения нагрузки по заданной схеме (
рисунки 8 и
9) со средней скоростью нарастания нагрузки (50 +/- 10) Н/с для образцов-балочек размером 40 x 40 x 160 мм и (15 +/- 2) Н/с для образцов-балочек размером 20 x 20 x 100 мм и позволяющие измерять разрушающую нагрузку с погрешностью не более +/- 1%. Твердость поверхности опор и нагрузочного элемента прибора, изготовленных из стали, должна быть не ниже 55 HRS.
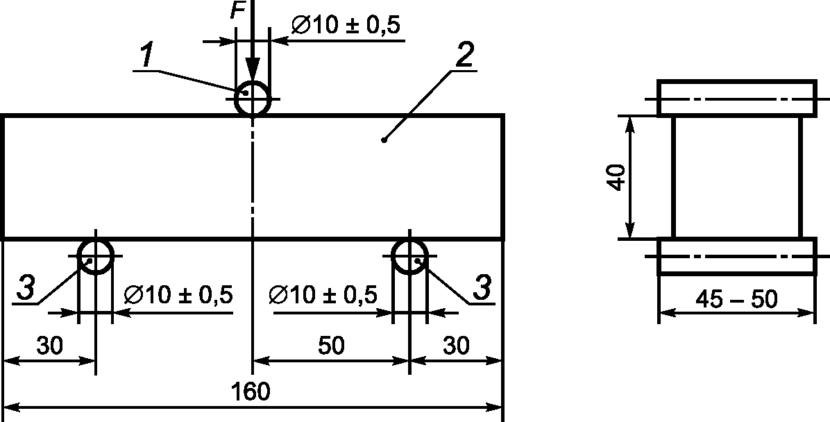
1 - нагрузочный элемент; 2 - образец-балочка; 3 - опора
Рисунок 8 - Схема расположения образца-балочки
40 x 40 x 160 мм при испытании на изгиб
1 - нагрузочный элемент; 2 - образец-балочка; 3 - опора
Рисунок 9 - Схема расположения образца-балочки
20 x 20 x 100 мм при испытании на изгиб
3.7.1.7 Камера (шкаф) влажного хранения и ванна для водного хранения образцов по
ГОСТ 30744.
3.7.1.8 Термостат водный для испытания образцов из цемента для умеренных температур, обеспечивающий подъем температуры со скоростью не менее 2 °C/мин и поддержание заданной температуры с погрешностью не более +/- 3 °C.
3.7.1.9 Автоклав для испытания образцов из цемента для повышенных температур, обеспечивающий:
- максимальный диапазон давлений и температур не менее значений, указанных в
таблице 2;
- подъем температуры в автоклаве со скоростью не менее 2 °C/мин;
- погрешность поддержания заданной температуры не более +/- 5 °C;
- равномерный подъем давления в процессе выхода на режим испытаний;
- погрешность поддержания заданного давления не более +/- 15%.
3.7.2 Подготовка и проведение испытания при атмосферном давлении
3.7.2.1 Цементное тесто готовят по
3.2.2.
Цементное тесто готовят в смесителе в два приема с последующим перемешиванием обеих порций в чаше вручную в течение 1 мин. Интервал между приготовлением обеих порций цементного теста не должен превышать 5 мин. Для перемешивания порций цементного теста следует использовать чашу и лопатку для перемешивания из нержавеющей стали согласно рисунку 10.
Рисунок 10 - Чаша и лопатка для перемешивания
3.7.2.2 Формы, подготовленные по
ГОСТ 30744, наполняют цементным тестом в два приема при непрерывном ручном перемешивании его в чаше. Через 1 ч после наполнения формы избыток цементного теста срезают ножом вровень с краями формы.
Для каждого установленного срока испытания изготавливают по три образца-балочки (одна форма).
3.7.2.3 Формы с образцами из цемента для низких и нормальных температур помещают в камеру (шкаф) влажного хранения. Через (24 +/- 1) ч с момента изготовления образцы вынимают из шкафа, осторожно расформовывают, маркируют и помещают в ванну с водой, температура которой должна составлять (20 +/- 2) °C, где их хранят до проведения испытаний.
3.7.2.4 Формы с образцами из цемента для умеренных температур покрывают стеклянной или металлической пластинкой и помещают в термостат, температура воды в котором соответствует температуре предварительного прогрева по
таблице 2. Через (24 +/- 1) ч образцы вынимают из термостата, расформовывают и маркируют.
Образцы из цемента, для которых по нормативному документу на соответствующий вид/тип цемента установлен срок испытаний 1 сут, охлаждают в ванне с водой при температуре (20 +/- 2) °C в течение 1 ч 30 мин.
Образцы из цемента, для которых по соответствующим нормативным документам установлен срок испытаний 2 сут, после расформовки снова помещают в термостат и хранят в нем до проведения испытаний. Перед испытанием образцы извлекают из термостата и охлаждают в ванне с водой, температура которой должна составлять (20 +/- 2) °C в течение 1 ч 30 мин.
| | ИС МЕГАНОРМ: примечание. В официальном тексте документа, видимо, допущена опечатка: пункт 8.2.3 отсутствует. | |
3.7.2.5 По истечении срока хранения по 8.2.3 или охлаждения по
3.6.2.4 образцы вынимают из воды и после этого, не позднее чем через 30 мин, испытывают по
3.7 и
3.8.
Непосредственно перед испытанием с поверхности образцов удаляют капли воды.
3.7.3 Подготовка и проведение испытания при повышенном давлении
3.7.3.1 Для изготовления образцов из цемента для повышенных температур используют две формы размером 20 x 20 x 100 мм. Перед наполнением цементным тестом внутренние поверхности форм смазывают машинным маслом, а затем проверяют герметичность форм, заполняя их водой. После проверки герметичности воду выливают.
| | ИС МЕГАНОРМ: примечание. В официальном тексте документа, видимо, допущена опечатка: пункт 3.1.13.2 отсутствует. | |
3.7.3.2 Формы наполняют цементным тестом, приготовленным по 3.1.13.2, избыток теста срезают ножом и не позднее чем через 30 мин от начала затворения цемента формы с образцами помещают в автоклав.
Температура предварительного прогрева автоклава, а также режимные температура и давление и время их достижения должны соответствовать нормативам
таблицы 2.
Время выдержки при рабочем режиме устанавливают по нормативному документу на цемент и отсчитывают от момента достижения режима твердения до момента отключения автоклава.
3.7.3.3 Перед извлечением форм с образцами из автоклава его следует охладить до температуры 75 °C и снизить давление до атмосферного.
3.7.3.4 Извлеченные из автоклава формы с образцами охлаждают (30 +/- 5) мин на воздухе при температуре (20 +/- 2) °C, расформовывают, образцы протирают ветошью, маркируют и помещают в ванну с водой.
Образцы испытывают по
3.8 и
3.9 не позднее, чем через 2 ч 30 мин после извлечения из автоклава. Непосредственно перед испытанием с поверхности образцов удаляют капли воды.
3.8 Определение прочности при изгибе
3.8.1 Прочность при изгибе образцов-балочек размером 40 x 40 x 160 мм определяют по
ГОСТ 30744.
3.8.2 Прочность при изгибе образцов-балочек размером 20 x 20 x 100 мм определяют в соответствии с инструкцией к прибору. Для испытания используют четыре образца-балочки.
3.8.3 Обработка результатов
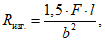
3.8.3.1 Прочность при изгибе Rизг., МПа, отдельного образца-балочки вычисляют по формуле

(2)
где F - разрушающая нагрузка, Н;
l - расстояние между осями опор, мм;
b - сторона квадратного сечения образца-балочки, мм.
За прочность при изгибе принимают среднеарифметическое значение результатов испытаний всех образцов. Результат вычисления округляют до 0,1 МПа.
3.8.3.2 Если один из результатов испытаний отличается более чем на 10% от среднеарифметического значения, этот результат следует исключить и рассчитывать среднеарифметическое значение для оставшихся результатов.
Если два результата испытаний отличаются более чем на 10% от среднеарифметического значения, испытания считают выполненными неудовлетворительно. В этом случае все результаты признают недействительными и испытания следует повторить.
3.9 Определение прочности на сжатие
3.9.1 Полученные после испытания на изгиб по
3.8 половинки образцов-балочек испытывают на сжатие по
ГОСТ 30744. Для передачи нагрузки на половинки образцов-балочек размером 20 x 20 x 100 мм используют пластины размером 20 x 25 мм.
3.9.2 Прочность на сжатие Rсж., МПа, отдельной половинки образца-балочки вычисляют по формуле

(3)
где Fсж. - разрушающая нагрузка, Н;
Sпл. - площадь рабочей поверхности пластины, мм2.
3.9.3 За прочность на сжатие принимают среднеарифметическое значение результатов испытаний всех половинок образцов-балочек. Результат вычисления округляют до 0,1 МПа.
3.9.4 Если один из результатов испытаний отличается более чем на 10% от среднеарифметического значения, то этот результат следует исключить и рассчитывать среднеарифметическое значение для оставшихся результатов.
Если два результата испытаний отличаются более чем на 10% от среднеарифметического значения, испытания считают выполненными неудовлетворительно. В этом случае все результаты признают недействительными и испытания следует повторить.
3.10 Определение линейного расширения
3.10.1 Средства контроля
3.10.1.1 Средства контроля для приготовления цементного теста, указанные в
приложении А.
3.10.1.3 Форма кольцевая для определения линейного расширения (
рисунки 11 -
17), изготовленная из нержавеющей стали. Наружный диаметр внутреннего кольца должен составлять 50,8 мм, а внутренний диаметр наружного кольца расширения должен составлять 88,9 мм. Внешнее кольцо должно подвергаться ежегодной калибровке. Упругость внешнего кольца должна быть такой, чтобы груз массой (1000 +/- 1) г, приложенный, как показано на рисунке 18, увеличивал расстояние между измерительными шариками на (2,0 +/- 0,3) мм.
Рисунок 11 - Внутреннее кольцо
Рисунок 12 - Внешнее кольцо
Рисунок 13 - Основание формы
Рисунок 14 - Крышка формы
Рисунок 15 - Кольцевая форма в сборе (разрез)
Рисунок 16 - Кольцевая форма в сборе (вид сверху)
Рисунок 17 - Кольцевая форма в сборе (вид сбоку)
1 - кольцо; 2 - масса 0 г; 3 - масса (1000 +/- 1) г
Рисунок 18 - Схема калибровочных измерений упругости
внешнего кольца
3.10.1.4 Термостат водный, обеспечивающий температуры термостатирования и точность поддерживания температуры в соответствии с
таблицей 2.
3.10.1.5 Ванна охлаждающая. Размер ванны должен быть таким, чтобы образец, охлаждаемый от температуры твердения, можно было полностью погрузить в воду, температура которой должна поддерживаться (27 +/- 3) °C.
3.10.2 Подготовка и проведение испытания
3.10.2.1 Для проведения испытания готовят две формы.
Перед началом испытаний все поверхности формы, соприкасающиеся с цементным раствором, должны быть смазаны тонким слоем инертной смазки.
3.10.2.2 Проверяют, чтобы внешнее кольцо собранной формы вращалось свободно, и поворачивают его таким образом, чтобы разрез кольца находился напротив отверстия диаметром 16 мм крышки формы. Во избежание вытекания цементного теста разрез кольца герметизируют слоем консистентной смазки.
3.10.2.3 Цементное тесто, приготовленное по
3.2.2, сразу после приготовления заливают в предварительно нагретую до температуры испытания и расположенную горизонтально форму через отверстие в крышке формы диаметром 16 мм до тех пор, пока раствор не покажется в отверстии диаметром 3 мм; для более вязких растворов допускается использовать легкие встряхивание или вибрацию формы для обеспечения ее полного заполнения.
3.10.2.4 С помощью микрометра с погрешностью, не превышающей 0,02 мм, измеряют расстояние между двумя измерительными шариками, расположенными у разреза внешнего кольца.
3.10.2.5 Помещают форму с цементным тестом в термостат, предварительно нагретый до температуры испытания.
3.10.2.6 По истечении времени испытания форму извлекают из термостата и помещают в охлаждающую ванну. После полного охлаждения формы ее извлекают из охлаждающей ванны, устанавливают горизонтально и повторно с помощью микрометра измеряют расстояние между измерительными шариками.
3.10.2.7 Относительное расширение цементного раствора в каждом кольце

, %, вычисляют по формуле

(4)
где 0,358 - коэффициент пересчета;
lисх и lкон - соответственно расстояние между измерительными шариками до и после помещения формы в термостат, мм.
3.10.2.8 За линейное расширение цементного раствора принимают среднеарифметическое значение результатов испытания, полученное для каждой формы. Результат вычисления округляют до 0,1%.
4 Испытания тампонажных цементов типов I-G и I-H
4.1.1 Температура воздуха в помещении для проведения испытаний, а также температура сухих материалов, форм, пластин основания, воды затворения, в емкостях для хранения должна быть (23 +/- 3) °C.
Относительная влажность в лаборатории должна быть не менее 50%.
4.1.2 Отбор проб выполняют по
ГОСТ 30515. Для проведения испытаний пробу цемента подготавливают по
3.1.
4.1.3 Для приготовления цементного теста и для охлаждения образцов применяют дистиллированную воду по
ГОСТ 6709.
Сосуд для отвешивания и отмеривания воды тарируют в смоченном состоянии.
Воду следует взвешивать в чистой сухой емкости непосредственно перед затворением цемента.
4.1.4 Перед испытанием цемент и воду выдерживают до температуры помещения.
4.1.5 Масса эталонных гирь должна быть точной в пределах допустимых отклонений, указанных в таблице 3.
Таблица 3
Масса | Допустимое отклонение, г | Масса | Допустимое отклонение, г |
1000 | +/- 1,0 | 200 | +/- 0,20 |
500 | +/- 0,50 | 100 | +/- 0,10 |
300 | +/- 0,30 | 50 | +/- 0,05 |
4.1.6 Средства контроля, применяемые при испытаниях цемента, должны быть изготовлены из материалов, не реагирующих с цементом. Применение алюминиевых и оцинкованных форм, чаш, лопаток и т.п. не допускается.
4.1.7 Оборудование, применяемое при испытаниях, указано в
приложении Б.
4.2 Приготовление цементного теста
4.2.1.1 Весы по
ГОСТ OIML R 76-1, обеспечивающие погрешность взвешивания не более 0,1% от фактической нагрузки. При измерениях в диапазоне от 0,1 г до 10 г погрешность взвешивания должна быть в пределах 0,01 г от фактической нагрузки.
4.2.1.2 Смеситель для приготовления цементного теста вместимостью 1,14 л лопастного типа, с нижним приводом, двухскоростной со скоростями вращения 4000 об/мин и 12000 об/мин. Лопасть и контейнер должны быть изготовлены из прочного коррозионно-стойкого металла. Узел лопастей для перемешивания должен быть сконструирован так, чтобы лопасть можно было снять для взвешивания и замены. Лопасть смесителя должна взвешиваться как в начале, так и периодически в процессе эксплуатации и должна быть заменена на новую до того, как потеря массы составит 10%.
4.2.2 Порядок приготовления цементного теста
Масса пробы цемента и воды, используемых для приготовления цементного теста, должна соответствовать значениям, указанным в таблице 4.
Таблица 4
Тип цемента | Водоцементное отношение (В/Ц) | Масса воды, г | Масса пробы цемента для одного затворения при определении времени загустевания, свободной жидкости и прочности, г |
I-G | 0,44 | 349 +/- 0,5 | 792 +/- 0,5 |
I-H | 0,38 | 327 +/- 0,5 | 860 +/- 0,5 |
Температура воды затворения в контейнере за 60 с до начала перемешивания должна быть (23 +/- 1) °C, температура цемента за 60 с до начала перемешивания должна быть (23 +/- 1) °C.
Необходимое количество воды наливают в контейнер, который помещают на основание смесителя. Включают смеситель и устанавливают скорость вращения равной (4000 +/- 200) об/мин. Равномерно, в течение 15 с, в контейнер всыпают пробу цемента, закрывают контейнер крышкой и переключают на скорость вращения (12000 +/- 500) об/мин; перемешивание продолжают в течение (35 +/- 1) с.
4.3 Определение консистенции и времени загустевания
4.3.1 Средства контроля
Консистометр, работающий при высоком давлении. Консистометр состоит из вращающегося цилиндрического контейнера для теста, оснащенного стационарной лопастью, заключенного в сосуд под давлением, способный выдерживать давление 35,6 МПа и температуру 52 °C. Пространство между контейнером для теста и стенками сосуда должно быть заполнено минеральным маслом. Выбранное масло должно иметь следующие характеристики:
- предел вязкости: 6 мм2/с до 79 мм2/с при 38 °C;
- удельная теплоемкость: 1,9 кДж/(кг·К) до 2,5 кДж/(кг·К);
- теплопроводность: 0,112 Вт/(м·К) до 0,138 Вт(м·К);
- удельная плотность: 0,83 до 0,93.
Скорость вращения контейнера с цементным тестом (150 +/- 15) об/мин.
Консистометр должен иметь нагреватель, обеспечивающий повышение температуры масляной ванны со скоростью 3 °C/мин, приборы для измерения и регулирования температуры масляной ванны и цементного теста с погрешностью не более +/- 2 °C, таймер с погрешностью не более +/- 30 с/час, а также потенциометрическое устройство для определения величины консистенции цементного теста. Калибровка консистометра высокого давления - по
приложению В.
4.3.2 Подготовка и проведение испытания
4.3.2.1 Цементное тесто, приготовленное по
4.2.2, заливают в цилиндрический контейнер. В процессе заполнения контейнера цементное тесто следует слегка перемешивать шпателем, чтобы предотвратить его расслоение. Расслоение будет меньше, если время заполнения сведено к минимуму. После заполнения контейнера необходимо постучать по нему снаружи, чтобы удалить воздух, который поднимается наверх теста.
4.3.2.2 Закрепляют основание контейнера на место.
4.3.2.3 В основание контейнера устанавливают центральную пробку (шарнирная опора).
4.3.2.4 Контейнер с цементным тестом помещают на подвижное основание в камере повышенного давления, начинают вращение контейнера, потенциометр устанавливают до соприкосновения с поворотным устройством и начинают заполнение камеры маслом.
4.3.2.5 Плотно закрывают верхний узел камеры повышенного давления, вставляют термопару, частично ввинтив ее резьбу. Используемая термопара должна быть совместима с моделью консистометра: конец термопары должен быть расположен вертикально в чаше с тестом на расстоянии между 45 мм и 89 мм выше внутренней стороны основания контейнера с образцом.
4.3.3 Время от окончания перемешивания цементного теста по
4.2.2 до начала режима испытания должно составлять 5 мин +/- 15 с.
4.3.4 Испытание проводят по режиму в соответствии с таблицами 5 и
6.
Таблица 5
| | ИС МЕГАНОРМ: примечание. Шапка в таблице дана в соответствии с официальным текстом документа. | |
Предварительный прогрев | Режим испытания |
Давление, МПа | Температура, °C | Условия выхода на режим испытания | Время достижения режимных параметров, мин | Режимные параметры |
Давление, МПа | Температура, ° |
6,9 +/- 0,7 | 27 +/- 1 | | 28 +/- 1 | 35,6 +/- 0,7 | 52 +/- 1 |
Время, мин | Давление, МПа, +/- 0,7 | Температура, °C, +/- 1 |
0 | 6,9 | 27 |
2 | 9,0 | 28 |
4 | 11,1 | 30 |
6 | 13,1 | 32 |
8 | 15,2 | 34 |
10 | 17,3 | 36 |
12 | 19,3 | 37 |
14 | 21,4 | 39 |
16 | 23,4 | 41 |
18 | 25,5 | 43 |
20 | 27,6 | 44 |
22 | 29,6 | 46 |
24 | 31,7 | 48 |
26 | 33,8 | 50 |
28 | 35,6 | 52 |
4.3.5 В течение периода от 15 до 30 мин режима испытания определяют консистенцию цементного теста, значение которой должно соответствовать требованию
ГОСТ 1581.
4.3.6 Временем загустевания цементного теста считают время от начала режима испытания до момента достижения цементным тестом консистенции 100 Bc.
4.4 Определение свободной жидкости
4.4.1 Средства контроля
4.4.1.1 Консистометр атмосферного давления или консистометр высокого давления используют для перемешивания и выдержки цементного теста для определения содержания свободной жидкости. Консистометр атмосферного давления состоит из вращающегося цилиндрического контейнера для теста, оборудованного стационарным лопастным узлом, находящимся в ванне водного хранения с регулируемой температурой. Он должен поддерживать температуру в ванне на уровне (27 +/- 2) °C и вращать контейнер с тестом со скоростью 150 об/мин +/- 15 об/мин во время перемешивания и выдержки цементного теста. Лопасть и все другие части контейнера, подверженные воздействию цементного теста, должны быть изготовлены из коррозионно-стойких материалов. Скорость вращения контейнера с цементным тестом должна проверяться не реже одного раза в квартал и корректироваться при выявлении отклонений от данного диапазона. Погрешность таймера не должна превышать +/- 30 сек/час. Он должен проверяться не реже, чем раз в год, и при обнаружении несоответствия должен быть исправлен или заменен.
4.4.1.2 Весы должны соответствовать требованиям, установленным в
4.2.1.
4.4.1.3 Колба коническая 500 мл (рисунок 19).
--------------------------------
<a> Толщина стенок.
<b> Внешний диаметр (в самой широкой части).
Рисунок 19 - Коническая колба для измерения
свободной жидкости
4.4.1.4 Цилиндр мерный с ценой деления 0,1 мл.
4.4.2 Проведение испытания
4.4.2.1 Заполняют чистый и сухой контейнер консистометра до отмеченного уровня цементным тестом, приготовленным по
4.2.2.
4.4.2.2 Собирают контейнер и вспомогательные части, помещают их в консистометр и запускают двигатель в соответствии с инструкцией по эксплуатации оборудования. Интервал между окончанием перемешивания и началом работы консистометра не должен превышать 1 мин.
4.4.2.3 Перемешивают тесто в консистометре в течение 20 мин +/- 30 с, обеспечивая при этом в течение всего периода перемешивания температуру теста на уровне (27 +/- 2) °C и атмосферное давление.
4.4.2.4 В течение 1 мин после окончания перемешивания помещают (790 +/- 5) г теста цемента класса H или (760 +/- 5) г теста цемента класса G в чистую сухую коническую колбу 500 мл, записывают фактически перемещенную в колбу массу цементного теста.
4.4.2.5 Закрывают колбу во избежание испарения воды и ставят ее на плоскую невибрирующую поверхность. Температура воздуха в лаборатории, в которой выдерживается наполненная тестом колба, должна быть (23 +/- 3) °C. Наполненная тестом колба должна оставаться в состоянии покоя в течение 2 ч +/- 5 мин.
4.4.2.6 По истечении периода 2 ч +/- 5 мин аккуратно собирают образовавшуюся на поверхности теста жидкость пипеткой или шприцем. Измеряют объем поверхностной жидкости с точностью +/- 0,1 мл.
4.4.2.7 Обработка результатов
Относительный объем свободной жидкости в цементном тесте

, %, рассчитывают по формуле

(5)
где V - объем собранной свободной жидкости, мл;

- удельный вес цементного теста, равный 1,98 г/см
3 для класса H при водоцементном отношении 0,38 и 1,91 г/см
3 для класса G при водоцементном отношении 0,44; если удельный вес исходного цемента отличается от типичного значения (3,18 +/- 0,04) г/см
3, то удельный вес цементного теста определяют и при расчете используют фактический удельный вес цементного теста;
m - масса цементного теста, перенесенного в колбу, г.
4.5 Определение прочности при сжатии
4.5.1 Средства контроля
4.5.1.1 Формы трехгнездовые размером 50 x 50 x 50 мм для изготовления образцов-кубиков. Формы должны быть изготовлены из твердого металла, устойчивого к воздействию цементного раствора. Для новых форм твердость по шкале Роквелла не менее 55. Части форм в собранном виде должны плотно прилегать друг к другу и к поддону для предотвращения вытекания воды из формы при изготовлении образцов. Для предотвращения протечек для герметизации внешних контактных точек применяется герметик с консистенцией, удобной в использовании, водостойкий и нечувствительный к цементу.
Формы должны проверяться на допустимые отклонения раз в два года.
Размеры форм и предельные отклонения от них указаны в таблице 7.
Показатель | Номинальный размер | Предельное отклонение при |
изготовлении | эксплуатации |
Шероховатость поверхности сторон, мм | - | < 0,025 | < 0,05 |
Расстояние между противоположными гранями, мм | | +/ - 0,13 | +/- 0,50 |
Высота форм (отдельно каждого отделения), мм | | +0,25 | +0,25 |
-0,13 | -0,38 |
Угол между внутренними гранями, между внутренними гранями и верхней (нижней) плоскостью, град | 90,0 | +/- 0,5 |
Отклонение от плоскостности внутренних поверхностей форм, град | - | 0,025 |
<*> Допускается применять формы с размерами, равными 50,80 мм (2 дюйма). |
4.5.1.2 Машина для испытания на сжатие. Для испытания на сжатие образцов-кубиков могут быть использованы машины любой конструкции с предельной нагрузкой до 500 кН. Силовая рама для измерения силы разрушения цементного образца должна калиброваться не реже, чем один раз в год. Указанная сила не должна отклоняться больше, чем на 2% от реальной нагрузки или на одно минимальное деление шкалы.
4.5.1.3 Термостат водный для выдержки изготовленных образцов-кубиков при атмосферном давлении и температуре 66 °C или меньше. Термостат должен обеспечивать полное погружение образцов в воду, иметь мешалку или систему циркуляции воды, а также приборы для измерения и регулирования температуры с погрешностью не более +/- 1,7 °C. Термостат должен быть заполнен дистиллированной водой.
4.5.1.4 Штыковка диаметром 6 мм из коррозионно-стойкого материала.
4.5.1.5 Ванна для охлаждения образцов размерами, достаточными для полного погружения образцов в воду, с устройством для поддерживания температуры воды 27 +/- 3 °C.
Термостат и ванна должны быть снабжены решетками для установки формы или образца.
4.5.1.6 Система измерения температуры в диапазоне 21 - 82 °C с ценой деления 1 °C.
4.5.2 Подготовка и проведение испытания
4.5.2.1 Собирают форму размером 50 x 50 x 50 мм. Внутренние грани отделений формы должны быть чистыми и сухими и непосредственно перед изготовлением образцов смазаны тонким слоем смазки для форм.
4.5.2.2 Форму наполняют цементным тестом, приготовленным по
4.2.2, на половину ее глубины, поочередно во все отделения и утрамбовывают штыковкой по 27 ударов на каждый образец.
После укладки первого слоя оставшееся тесто в контейнере смесителя перемешивают штыковкой для исключения расслоения.
Затем форму полностью заполняют вторым слоем теста и вновь штыкуют так же, как и первый слой. Избыток цементного теста с верха формы снимают линейкой.
4.5.2.3 Форму с образцами накрывают чистой сухой крышкой для предотвращения попадания внутрь формы воды. Используют крышки из листового стекла, латуни или нержавеющей стали толщиной не менее 6 мм. Для каждого испытания следует использовать не менее трех образцов.
Форму помещают в термостат, предварительно прогретый до режимной температуры испытаний 38 °C или 60 °C.
Время от окончания перемешивания цементного теста по
4.2.2 до установки формы с образцами в термостат не должно превышать 5 мин +/- 15 с.
4.5.2.4 Время выдержки образцов в термостате должно составлять 7 ч 15 мин +/- 5 мин (время с момента, когда образец помещается в термостат, до момента, когда форма извлекается из термостата для расформовки).
4.5.2.5 Формы с образцами, выдержанные при режимной температуре, извлекают из термостата, расформовывают, образцы маркируют и помещают на 45 +/- 5 мин для охлаждения в ванну для охлаждения, в которой поддерживается температура воды 27 +/- 3 °C. Нельзя оставлять образцы вне воды более чем на 5 мин во избежание их высыхания.
Образцы следует погружать в ванну с водой заглаженной поверхностью вверх и так, чтобы они не соприкасались друг с другом.
4.5.2.6 Образцы должны быть испытаны через 8 ч +/- 15 мин с момента помещения их в термостат.
4.5.2.7 Перед испытанием удаляют с поверхности образцов следы влаги и определяют отклонение от плоскостности граней образца, которые при испытании будут соприкасаться с плитами, передающими нагрузку на образец.
Для измерения отклонения от плоскостности линейку ребром прикладывают к поверхности образца один раз в направлении любой диагонали и измеряют максимальный зазор между поверхностью образца и ребром линейки.
В случае если отклонение от плоскостности любой из измеренных граней образца не удовлетворяет требованиям
таблицы 7, образец бракуют.
Испытания на прочность следует проводить не менее чем на двух образцах.
4.5.2.8 Образец устанавливают на пресс любыми боковыми гранями, находившимися при изготовлении в контакте с боковыми (вертикальными) поверхностями формы (не в контакте с основанием или крышкой) и удовлетворяющими требованиям
4.5.2.7.
Образец должен быть отцентрирован по верхней нагружающей плите.
Не допускается помещать прокладки между образцом и плитами пресса. Нагрузку на образец повышают со скоростью 72 +/- 7 кН/мин при ожидаемой прочности образца более 3,4 МПа и скоростью 18 +/- 2 кН/мин при ожидаемой прочности менее 3,4 МПа, до разрушения образца.
При испытании не допускается регулировка машины, если образец проявляет пластическую деформацию.
4.5.3 Обработка результатов
4.5.3.1 Прочность на сжатие Rсж., МПа, отдельного образца вычисляют по формуле

(6)
где Fсж - разрушающая нагрузка, Н;
Sобр. - площадь рабочей поверхности образца, мм2.
За прочность на сжатие принимают среднеарифметическое значение результатов испытаний всех образцов. Результат вычисления округляют до 0,05 МПа. При этом результаты испытания не менее чем двух образцов и среднее значение всех испытанных образцов должны иметь или превосходить минимальную прочность при сжатии, приведенную в таблице 8.
Таблица 8
Класс цемента | Температура твердения, °C | Минимальная прочность при сжатии через 8 час +/- 15 мин, МПа |
G, H | 38 | 2,1 |
60 | 10,3 |
4.5.3.2 Если для определения прочности при сжатии осталось менее двух результатов, то проводят повторные испытания.
(обязательное)
ОБОРУДОВАНИЕ И СРЕДСТВА ИЗМЕРЕНИЙ,
Поверке подлежат испытательное оборудование и средства измерений согласно таблице А.1.
Таблица А.1
Объект поверки (аттестации) | Поверяемые узлы или детали | Поверяемые параметры |
Форма-конус | Форма в целом | Внутренние размеры |
Пикнометр | Прибор в сборе | Вместимость |
Консистометр | Средства измерения температуры и давления Привод стакана, прибор в целом | Показания средств измерения Скорость вращения, показания в единицах Бердена |
Автоклав | Средства измерения температуры и давления | Показания средств измерения |
Термостат | Средства измерения температуры | Показания средств измерения |
Смеситель для перемешивания цементного теста | Механизм в сборе | Скорость вращения, продолжительность перемешивания, размер лопасти |
Формы для изготовления образцов-балочек | Формы в сборе | Внутренние размеры, параллельность и перпендикулярность стенок формы |
Прибор для определения прочности на растяжение при изгибе | Опоры и элемент, передающий нагрузку Прибор в целом | Размеры элементов и их взаимное расположение Точность воспроизведения нагрузок, средняя скорость нарастания нагрузки |
Машина для определения прочности на сжатие | Машина в целом | Точность воспроизведения нагрузок, средняя скорость нарастания нагрузки |
Пластины для передачи нагрузки | Состояние рабочей поверхности, геометрические размеры |
Форма для определения линейного расширения | Внешнее и внутреннее кольцо | Внешний диаметр внутреннего и внутренний диаметр внешнего кольца Упругость внешнего кольца |
Ванна охлаждающая | Средства измерения температуры | Показания средств измерения |
(обязательное)
ОБОРУДОВАНИЕ И СРЕДСТВА ИЗМЕРЕНИЙ,
Калибровка испытательного оборудования и поверка средств измерений проводятся согласно таблице Б.1.
Таблица Б.1
Оборудование | Периодичность калибровки, поверки | Проверяемые узлы, детали, параметры | Допустимые отклонения |
Весы | 1 раз в год | - | - |
Смеситель для приготовления цементного теста | 1 раз в год | Лопасть (масса, внешний вид) | Лопасть миксера должна быть заменена на новую при ее деформации, а также при потере массы 10% |
" | Скорость вращения | +/- 200 об/мин при скорости вращения 4000 об/мин +/- 500 об/мин при скорости вращения 12000 об/мин |
" | Таймер | +/- 30 с/час |
Консистометр атмосферного давления | 1 раз в квартал | Система измерения и регулировки температуры (термометр, термопара, терморегулятор) | +/- 2 °C |
" | Скорость вращения контейнера с цементным тестом | +/- 15 об/мин |
1 раз в год | Таймер | +/- 30 сек/час |
Консистометр высокого давления | 1 раз в квартал | Система измерения и регулировки температуры (термометр, термопара, терморегулятор) | +/- 2 °C |
1 раз в год | Система измерения давления (при 17 МПа, 34 МПа и 52 МПа) | +/- 1,7 МПа |
1 раз в год | Скорость вращения контейнера с цементным тестом | +/- 15 об/мин |
1 раз в год | Таймер | +/- 30 с/час |
Кубические формы для изготовления образцов | 1 раз в 2 года | Поверхность сторон, расстояние между противоположными гранями, высота форм (отдельно каждого отделения), угол между внутренними гранями, между внутренними гранями и верхней (нижней) плоскостью, отклонение от плоскостности внутренних поверхностей форм | - |
Ванна водного хранения атмосферного давления | 1 раз в квартал | Система измерения и регулировки температуры (термометр, термопара, терморегулятор) | +/- 2 °C |
Ванна для охлаждения | 1 раз в квартал | Система измерения и регулировки температуры (термометр, термопара, терморегулятор) | +/- 2 °C |
Машина для определения прочности на сжатие | 1 раз в год | - | +/- 2% от прилагаемой нагрузки |
(обязательное)
КАЛИБРОВКА КОНСИСТОМЕТРА ВЫСОКОГО ДАВЛЕНИЯ
В.1 Консистенция цементного теста выражается в единицах Бердена (Bc). Это значение определяется потенциометром и цепью напряжения, которые калибруются за месяц до использования консистометра и всякий раз, когда калибровочная пружина, резистор и контактная клемма регулируются или заменяются.
В.2 Контрольное грузовое устройство (
рисунок В.1 - типичное калибровочное устройство потенциометра и
рисунок В.2 - типичный потенциометр) используют для получения ряда эквивалентных значений вращающего момента консистенции для калибровки. Контрольные гири используются для обеспечения вращающегося момента пружине потенциометра, используя радиус рамки потенциометра в качестве плеча рычага. Как только добавляют контрольные гири, пружина отклоняется, что приводит к возрастанию постоянного напряжения и/или консистенции
(таблица В.1).
Рисунок В.1 - Типичное калибровочное
устройство потенциометра
1 - резистор; 2 - вал подшипника; 3 - контактная рукоятка;
4 - кольцо, пружина; 5 - переходная втулка, пружина;
6 - стопор, пружина опоры вала; 7 - зажим, пружинное
натяжное устройство; 8 - изолятор; 9 - регулятор, пружина;
10 - резистор; 11 - корпус, основание; 12 - стопор,
монтажная рама; 13 - контактные пружины; 14 - подшипник,
корпус; 15 - рукоятка, стопор
Рисунок В.2 - Типичный потенциометр для консистометра
высокого давления
Эквивалентная калибровочная величина вращающего момента T, гс·см, определяется по формуле
T = 78,2 + 20,02·Bc, (В.1)
где Bc - консистенция, берден.
Таблица В.1
Консистенция цементного теста относительно эквивалента
вращающего момента (для потенциометра с радиусом
Эквивалент вращающего момента, г·см | Масса контрольных гирь, г | Консистенция цементного теста, Bc |
260 | 50 | 9 +/- 5 |
520 | 100 | 22 +/- 5 |
780 | 150 | 35 +/- 5 |
1040 | 200 | 48 +/- 5 |
1300 | 250 | 61 +/- 5 |
1560 | 300 | 74 +/- 5 |
1820 | 350 | 87 +/- 5 |
2080 | 400 | 100 +/- 5 |
<*> Для потенциометра с другими радиусами применять соответствующую таблицу с эквивалентным допуском. |
Система измерения температуры должна быть откалибрована с точностью +/- 2 °C. Калибровка должна производиться не реже одного раза в квартал.
УДК 691.54.001.4-006.354 | |
Ключевые слова: тампонажные цементы, методы испытаний, тонкость помола, растекаемость, плотность цементного теста, время загустевания, водоотделения, прочность при изгибе, прочность на сжатие |