Главная // Актуальные документы // ГОСТ (Государственный стандарт)
СПРАВКА
Источник публикации
М.: ФГБУ "Институт стандартизации", 2024
Примечание к документу
Документ вводится в действие с 01.12.2024 с правом досрочного применения.
Название документа
"ГОСТ ISO 6259-3-2023. Межгосударственный стандарт. Трубы из термопластов. Определение механических свойств при растяжении. Часть 3. Трубы из полиолефинов"
(введен в действие Приказом Росстандарта от 28.12.2023 N 1715-ст)

"ГОСТ ISO 6259-3-2023. Межгосударственный стандарт. Трубы из термопластов. Определение механических свойств при растяжении. Часть 3. Трубы из полиолефинов"
(введен в действие Приказом Росстандарта от 28.12.2023 N 1715-ст)


Содержание


Введен в действие
Приказом Федерального
агентства по техническому
регулированию и метрологии
от 28 декабря 2023 г. N 1715-ст
МЕЖГОСУДАРСТВЕННЫЙ СТАНДАРТ
ТРУБЫ ИЗ ТЕРМОПЛАСТОВ
ОПРЕДЕЛЕНИЕ МЕХАНИЧЕСКИХ СВОЙСТВ ПРИ РАСТЯЖЕНИИ
ЧАСТЬ 3
ТРУБЫ ИЗ ПОЛИОЛЕФИНОВ
Thermoplastics pipes. Determination of tensile properties.
Part 3. Polyolefin pipes
(ISO 6259-3:2015, IDT)
ГОСТ ISO 6259-3-2023
МКС 23.040.20
Дата введения
1 декабря 2024 года
с правом досрочного применения
Предисловие
Цели, основные принципы и общие правила проведения работ по межгосударственной стандартизации установлены ГОСТ 1.0 "Межгосударственная система стандартизации. Основные положения" и ГОСТ 1.2 "Межгосударственная система стандартизации. Стандарты межгосударственные, правила и рекомендации по межгосударственной стандартизации. Правила разработки, принятия, обновления и отмены"
Сведения о стандарте
1 ПОДГОТОВЛЕН Обществом с ограниченной ответственностью "Группа ПОЛИПЛАСТИК" (ООО "Группа ПОЛИПЛАСТИК") на основе собственного перевода на русский язык англоязычной версии стандарта, указанного в пункте 5
2 ВНЕСЕН Федеральным агентством по техническому регулированию и метрологии
3 ПРИНЯТ Межгосударственным советом по стандартизации, метрологии и сертификации (протокол от 27 декабря 2023 г. N 168-П)
За принятие проголосовали:
Краткое наименование страны по МК (ИСО 3166) 004-97
Код страны по МК (ИСО 3166) 004-97
Сокращенное наименование национального органа по стандартизации
Беларусь
BY
Госстандарт Республики Беларусь
Киргизия
KG
Кыргызстандарт
Россия
RU
Росстандарт
Узбекистан
UZ
Узстандарт
4 Приказом Федерального агентства по техническому регулированию и метрологии от 28 декабря 2023 г. N 1715-ст межгосударственный стандарт ГОСТ ISO 6259-3-2023 введен в действие в качестве национального стандарта Российской Федерации с 1 декабря 2024 г. с правом досрочного применения
5 Настоящий стандарт идентичен международному стандарту ISO 6259-3:2015 "Трубы из термопластов. Определение механических свойств при растяжении. Часть 3. Трубы из полиолефинов" ("Thermoplastics pipes - Determination of tensile properties - Part 3: Polyolefin pipes", IDT).
Международный стандарт разработан Техническим комитетом по стандартизации ISO/TC 138 "Пластмассовые трубы, фитинги и арматура для транспортирования жидких и газообразных сред", подкомитетом SC 5 "Общие свойства труб, фитингов и арматуры из пластмасс и их комплектующих. Методы испытаний и основные технические требования" Международной организации по стандартизации (ISO).
При применении настоящего стандарта рекомендуется использовать вместо ссылочных международных стандартов соответствующие им межгосударственные стандарты, сведения о которых приведены в дополнительном приложении ДА
6 ВВЕДЕН ВПЕРВЫЕ
7 Настоящий стандарт подготовлен на основе применения ГОСТ Р 53652.3-2009 <*>
--------------------------------
<*> Приказом Федерального агентства по техническому регулированию и метрологии от 28 декабря 2023 г. N 1715-ст ГОСТ Р 53652.3-2009 отменен с 1 декабря 2024 г.
Информация о введении в действие (прекращении действия) настоящего стандарта и изменений к нему на территории указанных выше государств публикуется в указателях национальных стандартов, издаваемых в этих государствах, а также в сети Интернет на сайтах соответствующих национальных органов по стандартизации.
В случае пересмотра, изменения или отмены настоящего стандарта соответствующая информация будет опубликована на официальном интернет-сайте Межгосударственного совета по стандартизации, метрологии и сертификации в каталоге "Межгосударственные стандарты"
Введение
Настоящий стандарт устанавливает метод определения свойств при растяжении труб из полиолефинов.
Полученные результаты испытаний могут быть использованы при проведении научных исследований и разработках.
Данный метод не применяют, если условия приложения усилия значительно отличаются от условий, описанных в данном методе, например испытания на удар, ползучесть и усталость.
Испытание на растяжение следует рассматривать, прежде всего, как испытание материала в форме трубы. Результаты могут применяться для контроля процесса переработки материала, но не для количественной оценки длительной эксплуатационной прочности труб.
ISO 6259 был разработан на основе ISO 527.
Стандарт преимущественно разрабатывался как полноценный документ, который может использоваться для определения свойств труб из термопластов при растяжении. В случае необходимости получения дополнительных результатов испытаний, не описанных в настоящем стандарте, следует использовать ISO 527.
Однако следует отметить, что ISO 527 распространяется на материалы в форме листов, тогда как ISO 6259 относится только к материалам в форме труб.
Поскольку метод предписывает проводить испытания на образцах труб в том виде, в котором они поставляются, т.е. без уменьшения толщины, возникают трудности при выборе испытуемого образца.
Серия стандартов ISO 527 устанавливает толщину испытуемого образца в несколько миллиметров, в то время как толщина стенки трубы может превышать 50 мм. В связи с этим были введены некоторые изменения в настоящий стандарт.
Для тонкостенных труб испытуемый образец может быть получен вырубкой штампом-просечкой, тогда как для толстостенных - только путем механической обработки.
Серия стандартов ISO 6259 состоит из трех частей. В первой части изложены общие требования, при которых определяют свойства труб из термопластов при растяжении. В двух других частях представлена информация о проведении испытаний труб, изготовленных из различных материалов.
Основные технические требования для различных материалов изложены в справочных приложениях соответствующих частей.
Серия ГОСТ ISO 6259 состоит из следующий частей под общим названием "Трубы из термопластов. Определение механических свойств при растяжении":
- Часть 1. Общий метод испытания;
- Часть 2. Трубы из термопластов. Определение механических свойств при растяжении. Часть 2. Трубы из непластифицированного поливинилхлорида (НПВХ), ориентированного непластифицированного поливинилхлорида (ПВХ-О) хлорированного поливинилхлорида (ХПВХ) и ударопрочного поливинилхлорида (УПВХ);
- Часть 3. Трубы из полиолефинов.
Основные технические требования для различных материалов изложены в справочных приложениях соответствующих частей серии стандартов.
1 Область применения
Настоящий стандарт устанавливает метод определения свойств при растяжении труб, изготовленных из полиолефинов (полиэтилена, сшитого полиэтилена, полипропилена и полибутена), включая следующие свойства:
- предел текучести при растяжении;
- относительное удлинение при разрыве.
Настоящий стандарт содержит рекомендуемые основные технические требования, приведенные в приложениях A - D для ознакомительных целей.
2 Нормативные ссылки
В настоящем стандарте использованы нормативные ссылки на следующие стандарты [для датированных ссылок применяют только указанное издание ссылочного стандарта, для недатированных - последнее издание (включая все изменения)]:
ISO 527-1:2012, Plastics - Determination of tensile properties - Part 1: General principles (Пластмассы. Определение механических свойств при растяжении. Часть 1. Общие принципы)
ISO 6259-1:2015, Thermoplastics pipes - Determination of tensile properties - Part 1: General test method (Трубы из термопластов. Определение свойств при растяжении. Часть 1. Общий метод испытания)
3 Термины и определения
В настоящем стандарте применены термины по ISO 6259-1.
4 Сущность метода
В соответствии с разделом 4 ISO 6259-1:2015 применительно к термопластичным материалам, указанным в настоящем стандарте.
5 Оборудование
В соответствии с разделом 5 ISO 6259-1:2015 применительно к термопластическим материалам, указанным в данном стандарте.
6 Образцы для испытаний
6.1 Отбор образцов для испытаний
6.1.1 Общие требования
Образцы получаются путем вырубки штампом-просечкой или механической обработкой.
Примечание 1 - При толщине стенки трубы 12 мм и менее, образцы для испытаний изготавливают штампом-просечкой. Если толщина стенки трубы более 12 мм, образцы изготавливают механической обработкой.
Примечание 2 - При получении образцов для испытаний вырубкой штамп-просечкой необходимо соблюдать осторожность, чтобы не повредить образец и не получить непараллельные стороны.
6.1.2 Размеры образцов для испытаний
Применяют образцы для испытаний типа 1, форма и размеры которых приведены на рисунке 1 и в таблице 1, типа 2, форма и размеры которых приведены на рисунке 2 и в таблице 2, или типа 3, форма и размеры которых приведены на рисунке 3 и в таблице 3. Выбор типа образца для испытания зависит от толщины стенки трубы, из которой он изготовлен (см. 6.2).
Примечание 1 - Образец типа 1 соответствует типу 1B, указанному в ISO 527-2 [1]. Образец типа 2 идентичен образцу типа 2, указанному в ISO 6259-2 [2]. Образец типа 3 идентичен образцу типа B в ISO 13953 [3].
Примечание 2 - Для того, чтобы избежать скольжения образцы для испытания в зажимах, рекомендуется увеличить ширину головки b2 пропорционально толщине стенки en в соответствии с формулой
B = en + 15 мм. (1)
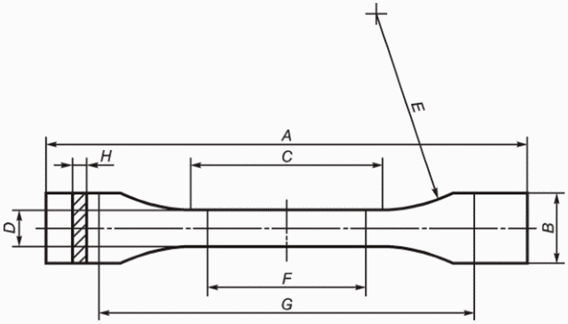
Рисунок 1 - Образец типа 1
Таблица 1
Размеры образца для испытания,
изготовленного механической обработкой
Обозначение
Параметр
Размеры, мм
A
Общая длина (не менее)
150
B
Ширина головки <a>
20 +/- 1
C
Длина рабочей части, параллельная часть
60 +/- 1
D
Ширина рабочей части, параллельная часть
10 +/- 0,2
E
Радиус закругления
60 +/- 1
F
Расчетная длина
50 +/- 1
G
Начальное расстояние между зажимами
115 +/- 5
H
Толщина
Соответствует толщине стенки трубы
<a> Этот размер может быть больше в соответствии с примечанием 2 к пункту 6.1.2.
Рисунок 2 - Образец типа 2
Таблица 2
Размеры образца для испытания,
изготовляемого вырубкой штампом-просечкой
Обозначение
Параметр
Размеры, мм
A
Общая длина, min
115
B
Ширина головки
25 +/- 1
C
Длина рабочей части, параллельная часть
33 +/- 2
D
Ширина рабочей части, параллельная часть
E
Малый радиус закругления
14 +/- 1
F
Большой радиус закругления
25 +/- 2
G
Расчетная длина
25 +/- 1
H
Начальное расстояние между зажимами
80 +/- 5
I
Толщина
Соответствует толщине стенки трубы
Рисунок 3 - Образец типа 3
Таблица 3
Размеры образца для испытания типа 3
Обозначение
Параметр
Размеры, мм
A
Общая длина, min
250
B
Ширина головки
100 +/- 3
C
Длина рабочей части, параллельная часть
25 +/- 1
D
Ширина рабочей части, параллельная часть
25 +/- 1
E
Радиус закругления
25 +/- 1
G
Расчетная длина
20 +/- 1
H
Начальное расстояние между центрами несущих болтов
165 +/- 5
I
Толщина
Соответствует толщине стенки трубы <a>
J
Диаметр отверстий
30 +/- 5
<a> Толщина образцов, полученных из трубы толщиной > 50 мм, может быть уменьшена путем механической обработки таким образом, чтобы уменьшенная толщина параллельной части образца была как минимум в два раза больше ширины, т.е. >= 50 мм. Рекомендуется применять механическую обработку с обеих сторон испытуемого образца с толщиной стенки > 50 мм таким образом, чтобы испытательный образец выходил из центра стенки трубы. В случае разногласий испытание проводят на образцах с толщиной соответствующей толщине стенки трубы.
6.2 Изготовление образцов для испытаний
Образцы изготовляют из центральной части полосы, вырезанной из отрезка трубы, в соответствии с пунктом 6.2.1 ISO 6259-1:2015. Тип образца для испытания должен быть выбран в зависимости от толщины трубы в соответствии с таблицей 4.
Таблица 4
Типы образцов для испытаний
Номинальная толщина стенки трубы en, мм
Тип образца для испытания
en <= 5
Тип 2
5 < en <= 12
Тип 1
12 < en <= 25
Тип 1 или тип 3
en > 25
Тип 3
6.3 Способ вырубки штампом-просечкой
Применяют штамп-просечку (см. ISO 6259-1:2015, пункт 5.6) с профилем, соответствующим образцу типа 1 или типа 2, в зависимости от толщины стенки трубы.
Образец вырубают при температуре окружающей среды, устанавливая штамп-просечку на внутреннюю сторону полосы и прикладывая постоянное непрерывное давление.
6.4 Способ механической обработки
В соответствии с пунктом 6.2.2.3 ISO 6259-1:2015.
7 Кондиционирование
В соответствии с разделом 7 ISO 6259-1:2015.
8 Скорость испытания
Скорость испытания, т.е. скорость раздвижения зажимов, зависит от толщины стенки трубы, определенной в таблице 5. Допуск на скорость испытания в соответствии с таблицей 1 ISO 527-1:2012.
Если необходимо провести испытания при скорости испытания, отличной от установленной в данном стандарте, то предварительно стоит доказать ее корреляцию с установленной. В случае разногласий применяют скорость испытания, установленную в настоящем стандарте.
Таблица 5
Скорость испытания
Номинальная толщина стенки трубы, en, мм
Тип образцов для испытания
Скорость испытания, мм/мин
en <= 5
Тип 2
100
5 < en <= 12
Тип 1
50
12 < en <= 25
Тип 1
25
Тип 3
10
en > 25
Тип 3
10
9 Проведение испытания
В соответствии с разделом 9 ISO 6259-1:2015.
Примечание - Если существует определенное требование к удлинению образцов для испытаний, испытание может быть остановлено при достижении этого требования без разрыва образца.
10 Обработка результатов
В соответствии с разделом 10 ISO 6259-1:2015.
11 Протокол испытания
В соответствии с разделом 11 ISO 6259-1:2015.
Приложение A
(справочное)
ТРУБЫ ИЗ ПОЛИЭТИЛЕНА. ОСНОВНЫЕ ТЕХНИЧЕСКИЕ ТРЕБОВАНИЯ
Рекомендуемое относительное удлинение при разрыве труб из полиэтилена, включая полиэтилен повышенной термостойкости (PE-RT), определенное в условиях испытания ISO 6259-1:
eb >= 350%.
Примечание - Предел текучести при растяжении не нормируется.
Приложение B
(справочное)
ТРУБЫ ИЗ СШИТОГО ПОЛИЭТИЛЕНА.
ОСНОВНЫЕ ТЕХНИЧЕСКИЕ ТРЕБОВАНИЯ
Рекомендуемое относительное удлинение при разрыве труб из сшитого полиэтилена, определенное по ISO 6259-1:
eb >= 350%.
Примечание - Предел текучести при растяжении не нормируется.
Приложение C
(справочное)
ТРУБЫ ИЗ ПОЛИПРОПИЛЕНА. ОСНОВНЫЕ ТЕХНИЧЕСКИЕ ТРЕБОВАНИЯ
Рекомендуемое относительное удлинение при разрыве для следующих типов труб из полипропилена:
- гомополимер;
- блок-сополимер (гетерофазный);
- статистический сополимер;
определенное по ISO 6259-1:
eb >= 200%.
Примечание 1 - Для толстостенных труб могут применяться более низкие значения относительного удлинения при разрыве.
Примечание 2 - Предел текучести при растяжении не нормируется.
Приложение D
(справочное)
ТРУБЫ ИЗ ПОЛИБУТЕНА. ОСНОВНЫЕ ТЕХНИЧЕСКИЕ ТРЕБОВАНИЯ
Рекомендуемое относительное удлинение при разрыве труб из полибутена с толщиной стенки <= 5 мм, определенное по ISO 6259-1:
eb >= 125%.
Примечание 1 - Для толстостенных труб могут применяться более низкие значения относительного удлинения при разрыве.
Примечание 2 - Предел текучести при растяжении не нормируется.
Приложение ДА
(справочное)
СВЕДЕНИЯ О СООТВЕТСТВИИ ССЫЛОЧНЫХ МЕЖДУНАРОДНЫХ СТАНДАРТОВ
МЕЖГОСУДАРСТВЕННЫМ СТАНДАРТАМ
Таблица ДА.1
Обозначение ссылочного международного стандарта
Степень соответствия
Обозначение и наименование межгосударственного стандарта
ISO 527-1:2012
MOD
ГОСТ 34370-2017 (ISO 527-1:2012) "Пластмассы. Определение механических свойств при растяжении. Часть 1. Общие принципы"
ISO 6259-1:2015
IDT
ГОСТ ISO 6259-1-2023 "Трубы из термопластов. Определение механических свойств при растяжении. Часть 1. Общий метод испытания"
Примечание - В настоящей таблице использованы следующие условные обозначения степени соответствия стандартов:
- IDT - идентичный стандарт;
- MOD - модифицированный стандарт.
БИБЛИОГРАФИЯ
[1]
ISO 527-2:2012
Plastics - Determination of tensile properties - Part 2: Test conditions for moulding and extrusion plastics
[2]
ISO 6259-2:1997
Thermoplastics pipes - Determination of tensile properties - Part 2: Pipes made of unplasticized poly(vinyl chloride) (PVC-U), chlorinated poly(vinyl chloride) (PVC-C) and high-impact poly(vinyl chloride) (PVC-HI)
[3]
ISO 13953:2001
Polyethylene (PE) pipes and fittings - Determination of the tensile strength and failure mode of test pieces from a butt-fused joint
УДК 678.017:006.354
МКС 23.040.20
IDT
Ключевые слова: трубы, термопласты, метод испытания, свойства при растяжении