Главная // Актуальные документы // ГОСТ (Государственный стандарт)
СПРАВКА
Источник публикации
М.: ФГБУ "Институт стандартизации", 2023
Примечание к документу
Документ вводится в действие с 01.12.2024 с правом досрочного применения.
Название документа
"ГОСТ ISO 13957-2023. Межгосударственный стандарт. Трубы и фитинги из пластмасс. Т-отбразные седловые отводы из полиэтилена (ПЭ). Метод определения стойкости к удару"
(введен в действие Приказом Росстандарта от 07.07.2023 N 481-ст)


"ГОСТ ISO 13957-2023. Межгосударственный стандарт. Трубы и фитинги из пластмасс. Т-отбразные седловые отводы из полиэтилена (ПЭ). Метод определения стойкости к удару"
(введен в действие Приказом Росстандарта от 07.07.2023 N 481-ст)


Содержание


Введен в действие
Приказом Федерального
агентства по техническому
регулированию и метрологии
от 7 июля 2023 г. N 481-ст
МЕЖГОСУДАРСТВЕННЫЙ СТАНДАРТ
ТРУБЫ И ФИТИНГИ ИЗ ПЛАСТМАСС
Т-ОТБРАЗНЫЕ СЕДЛОВЫЕ ОТВОДЫ ИЗ ПОЛИЭТИЛЕНА (ПЭ)
МЕТОД ОПРЕДЕЛЕНИЯ СТОЙКОСТИ К УДАРУ
Plastics pipes and fittings. Polyethylene (PE) tapping tees.
Test method for impact resistance
(ISO 13957:1997, IDT)
ГОСТ ISO 13957-2023
МКС 23.040.20
Дата введения
1 декабря 2024 года
с правом досрочного применения
Предисловие
Цели, основные принципы и общие правила проведения работ по межгосударственной стандартизации установлены ГОСТ 1.0 "Межгосударственная система стандартизации. Основные положения" и ГОСТ 1.2 "Межгосударственная система стандартизации. Стандарты межгосударственные, правила и рекомендации по межгосударственной стандартизации. Правила разработки, принятия, обновления и отмены"
Сведения о стандарте
1 ПОДГОТОВЛЕН Обществом с ограниченной ответственностью "Группа ПОЛИПЛАСТИК" (ООО "Группа ПОЛИПЛАСТИК") на основе собственного перевода на русский язык англоязычной версии стандарта, указанного в пункте 5
2 ВНЕСЕН Федеральным агентством по техническому регулированию и метрологии
3 ПРИНЯТ Межгосударственным советом по стандартизации, метрологии и сертификации (протокол от 31 марта 2023 г. N 160-П)
За принятие проголосовали:
Краткое наименование страны по МК (ИСО 3166) 004-97
Код страны по МК (ИСО 3166) 004-97
Сокращенное наименование национального органа по стандартизации
Армения
AM
ЗАО "Национальный орган по стандартизации и метрологии" Республики Армения
Беларусь
BY
Госстандарт Республики Беларусь
Казахстан
KZ
Госстандарт Республики Казахстан
Киргизия
KG
Кыргызстандарт
Россия
RU
Росстандарт
Узбекистан
UZ
Узстандарт
4 Приказом Федерального агентства по техническому регулированию и метрологии от 7 июля 2023 г. N 481-ст межгосударственный стандарт ГОСТ ISO 13957-2023 введен в действие в качестве национального стандарта Российской Федерации с 1 декабря 2024 г.
5 Настоящий стандарт идентичен международному стандарту ISO 13957:1997 "Трубы и фитинги из пластмасс. Т-образные седловые отводы из полиэтилена (ПЭ). Метод определения стойкости к удару" ("Plastics pipes and fittings - Polyethylene (PE) tapping tees - Test method for impact resistance", IDT).
Международный стандарт разработан подкомитетом SC 5 "Общие свойства труб, фитингов и арматуры из пластмасс и их комплектующих. Методы испытаний и основные технические требования" Технического комитета по стандартизации ISO/TC 138 "Пластмассовые трубы, фитинги и арматура для транспортирования жидких и газообразных сред" Международной организации по стандартизации (ISO)
6 ВВЕДЕН ВПЕРВЫЕ
Информация о введении в действие (прекращении действия) настоящего стандарта и изменений к нему на территории указанных выше государств публикуется в указателях национальных стандартов, издаваемых в этих государствах, а также в сети Интернет на сайтах соответствующих национальных органов по стандартизации.
В случае пересмотра, изменения или отмены настоящего стандарта соответствующая информация будет опубликована на официальном интернет-сайте Межгосударственного совета по стандартизации, метрологии и сертификации в каталоге "Межгосударственные стандарты"
1 Область применения
Настоящий стандарт устанавливает метод испытаний на стойкость к удару Т-образных седловых отводов, изготовленных из полиэтилена (ПЭ).
Настоящий стандарт применим к седловым отводам из полиэтилена, предназначенным для транспортировки текучих сред.
2 Сущность метода
На крышку (или верхнюю часть ответвления) седлового отвода с ответвлением воздействует сила падающего с постоянной высоты груза, направленная параллельно оси трубы, к которой приварен отвод.
После двух ударов в противоположных направлениях, параллельных оси трубы, проверяют седловой отвод на наличие видимых повреждений и потерю герметичности.
Испытание проводят при температуре (0 +/- 2) °C или при температуре, указанной в документации на изделие.
3 Аппаратура
3.1 Машина для испытания падающим грузом, включающая основную раму с направляющими шинами или направляющую трубку, закрепленную в вертикальном положении для направления бойка таким образом, чтобы при освобождении боек падал вертикально и свободно, а скорость бойка в момент удара по седловому отводу составляла не менее 95% от заданной скорости.
3.2 Боек массой (2500 +/- 20) г или (5000 +/- 20) г с полусферической ударной поверхностью диаметром 50 мм.
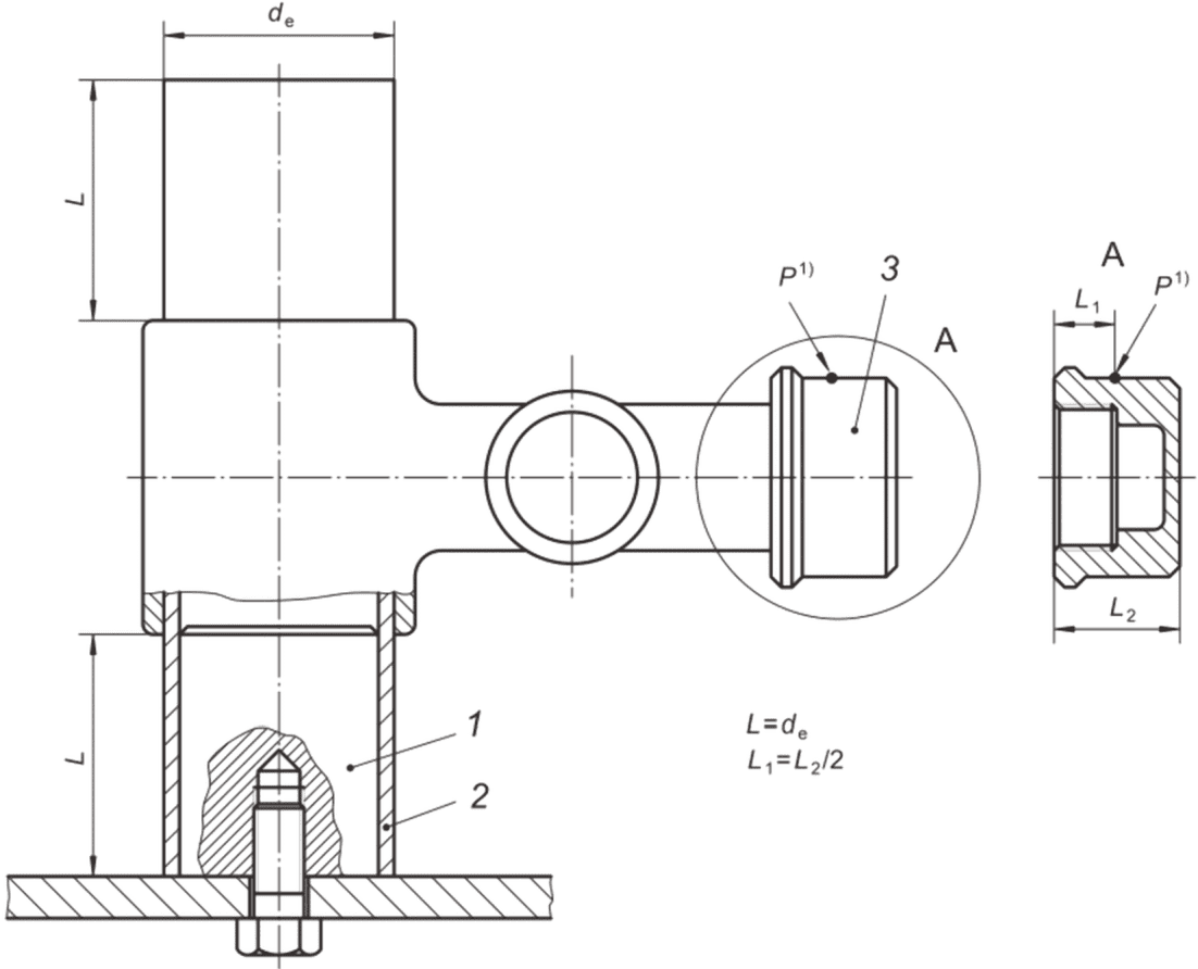
3.3 Жесткий держатель испытательного образца со стальной оправкой, способный удерживать испытуемый образец в положении, указанном на рисунке 1, и предотвращать любое вращение испытуемого образца во время испытания.
--------------------------------
<1> P - точка удара.
1 - стальной стержень; 2 - труба; 3 - крышка
Рисунок 1 (приведен только в качестве примера)
4 Испытуемый образец
Следует испытывать не менее трех образцов для заданного размера Т-образного седлового отвода.
Испытуемый образец должен состоять из трубы со сваренным седловым отводом, длина L которой равна или более de (см. рисунок 1). При необходимости зажим для позиционирования снимают.
Сварку всех соединений следует производить в соответствии с инструкциями изготовителя Т-образного седлового отвода, включая обрезку основной трубы, или в соответствии с требованиями, приведенными в соответствующих стандартах.
Перед проведением испытания каждый испытуемый образец проверяют на герметичность при давлении 25 мбар или 6 бар и температуре (23 +/- 2) °C (см. раздел 6).
5 Кондиционирование
Испытания проводят не ранее, чем через 8 ч после сварки Т-образного отвода с трубой. Перед испытанием на удар образец кондиционируют в течение 4 ч в воздушной среде или 2 ч в жидкой среде при температуре (0 +/- 2) °C.
6 Проведение испытания
Испытание по 6.1 - 6.4 следует проводить в течение 30 с после извлечения испытуемого образца из среды кондиционирования.
Если указанное время превышено, испытуемый образец повторно кондиционируют не менее 5 мин при условии его нахождения вне кондиционируемой среды не более 3 мин.
6.1 Устанавливают испытуемый образец на стальной стержень, как показано на рисунке 1.
6.2 Наносят удар бойком (3.2) по крышке (или верхней части ответвления) Т-образного седлового отвода с ответвлением с высоты (2000 +/- 10) мм вдоль оси, параллельной оси трубы, к которой приварен испытуемый образец. Точка удара P должна располагаться на расстоянии не более 30 мм от верха ответвления. Если седловой отвод снабжен крышкой (как на рисунке 1), точка удара предпочтительно должна быть на цилиндрической части крышки.
6.3 Поворачивают образец, чтобы ударить по противоположной стороне крышки или ответвления.
6.4 Повторяют процедуру, указанную в 6.2, с теми же условиями.
6.5 Визуально, без использования увеличительных приборов, оценивают место соединения и отмечают наличие трещин и разрывов, а также их положение и размеры.
6.6 Проверяют герметичность испытуемого образца при температуре (23 +/- 2) °C, используя внутреннее давление 25 мбар или 6 бар.
7 Протокол испытания
Протокол испытания должен содержать:
a) обозначение настоящего стандарта;
b) полную идентификацию испытуемого образца, включая тип материала, код производителя и размеры трубы и седлового отвода;
c) температуру испытания;
d) массу падающего груза;
e) высоту сброса груза;
f) количество испытуемых образцов;
g) тип(ы) разрушения;
h) наблюдения, сделанные во время испытания;
i) любые факторы, которые могут оказать влияние на результаты, такие как непредвиденные ситуации или технические детали, не указанные в настоящем стандарте;
j) дату проведения испытания;
k) наименование лаборатории, которая проводила испытание.
УДК 678.5-462:620.162.4:006.354
МКС 23.040.20
IDT
Ключевые слова: трубы и фитинги из пластмасс, Т-образные седловые отводы из полиэтилена (ПЭ), метод определения стойкости к удару