Главная // Актуальные документы // ГОСТ (Государственный стандарт)
СПРАВКА
Источник публикации
М.: ФГБУ "Институт стандартизации", 2024
Примечание к документу
Документ включен в Перечень международных и региональных (межгосударственных) стандартов, а в случае их отсутствия - национальных (государственных) стандартов, в результате применения которых на добровольной основе обеспечивается соблюдение требований технического регламента Таможенного союза "О безопасности машин и оборудования" (ТР ТС 010/2011) (Решение Коллегии Евразийской экономической комиссии от 09.03.2021 N 28).

Документ вводится в действие с 01.01.2025.
Название документа
"ГОСТ ISO 13539-2014. Межгосударственный стандарт. Машины землеройные. Траншеекопатели. Термины, определения и технические характеристики для коммерческой документации"
(введен в действие Приказом Росстандарта от 26.01.2024 N 83-ст)

"ГОСТ ISO 13539-2014. Межгосударственный стандарт. Машины землеройные. Траншеекопатели. Термины, определения и технические характеристики для коммерческой документации"
(введен в действие Приказом Росстандарта от 26.01.2024 N 83-ст)


Содержание


Введен в действие
Приказом Федерального
агентства по техническому
регулированию и метрологии
от 26 января 2024 г. N 83-ст
МЕЖГОСУДАРСТВЕННЫЙ СТАНДАРТ
МАШИНЫ ЗЕМЛЕРОЙНЫЕ
ТРАНШЕЕКОПАТЕЛИ
ТЕРМИНЫ, ОПРЕДЕЛЕНИЯ И ТЕХНИЧЕСКИЕ ХАРАКТЕРИСТИКИ
ДЛЯ КОММЕРЧЕСКОЙ ДОКУМЕНТАЦИИ
Earth-moving machinery. Trenchers.
Definitions and commercial specifications
(ISO 13539:1998, IDT)
ГОСТ ISO 13539-2014
МКС 01.040.53,
53.100
Дата введения
1 января 2025 года
Предисловие
Цели, основные принципы и общие правила проведения работ по межгосударственной стандартизации установлены ГОСТ 1.0 "Межгосударственная система стандартизации. Основные положения" и ГОСТ 1.2 "Межгосударственная система стандартизации. Стандарты межгосударственные, правила и рекомендации по межгосударственной стандартизации. Правила разработки, принятия, обновления и отмены"
Сведения о стандарте
1 ПОДГОТОВЛЕН Научно-производственным республиканским унитарным предприятием "Белорусский государственный институт стандартизации и сертификации" (БелГИСС) на основе собственного перевода на русский язык англоязычной версии стандарта, указанного в пункте 5
2 ВНЕСЕН Госстандартом Республики Беларусь
3 ПРИНЯТ Межгосударственным советом по стандартизации, метрологии и сертификации (протокол от 14 ноября 2014 г. N 72-П)
За принятие проголосовали:
Краткое наименование страны по МК (ИСО 3166) 004-97
Код страны по МК (ИСО 3166) 004-97
Сокращенное наименование национального органа по стандартизации
Армения
AM
ЗАО "Национальный орган по стандартизации и метрологии" Республики Армения
Беларусь
BY
Госстандарт Республики Беларусь
Казахстан
KZ
Госстандарт Республики Казахстан
Киргизия
KG
Кыргызстандарт
Россия
RU
Росстандарт
Молдова
MD
Институт стандартизации Молдовы
Украина
UA
Минэкономики Украины
4 Приказом Федерального агентства по техническому регулированию и метрологии от 26 января 2024 г. N 83-ст межгосударственный стандарт ГОСТ ISO 13539-2014 введен в действие в качестве национального стандарта Российской Федерации с 1 января 2025 г.
5 Настоящий стандарт идентичен международному стандарту ISO 13539:1998 "Машины землеройные. Траншеекопатели. Определения и технические характеристики для коммерческой документации" ("Earth-moving machinery - Trenchers - Definitions and commercial specifications", IDT).
Международный стандарт разработан подкомитетом SC 4 "Классификация и технические характеристики для коммерческой документации" технического комитета по стандартизации ISO/TC 127 "Землеройные машины" Международной организацией по стандартизации (ISO).
Сведения о соответствии ссылочных международных стандартов межгосударственным стандартам приведены в дополнительном приложении ДА
6 ВВЕДЕН ВПЕРВЫЕ
Информация о введении в действие (прекращении действия) настоящего стандарта и изменений к нему на территории указанных выше государств публикуется в указателях национальных стандартов, издаваемых в этих государствах, а также в сети Интернет на сайтах соответствующих национальных органов по стандартизации.
В случае пересмотра, изменения или отмены настоящего стандарта соответствующая информация будет опубликована на официальном интернет-сайте Межгосударственного совета по стандартизации, метрологии и сертификации в каталоге "Межгосударственные стандарты"
1 Область применения
Настоящий стандарт устанавливает термины, определения и содержание технической характеристики для коммерческой документации по самоходным траншеекопателям и их рабочему оборудованию, как определено в разделе 3.
2 Нормативные ссылки
В настоящем стандарте использованы нормативные ссылки на следующие стандарты [для датированных ссылок применяют только указанное издание ссылочного стандарта, для недатированных - последнее издание (включая все изменения)]:
ISO 3450:2011 Earth-moving machinery - Wheeled or high-speed rubber-tracked machines - Performance requirements and test procedures for brake systems (Машины землеройные. Колесные машины или скоростные машины на резиновых гусеницах. Требования к эффективности и методы испытаний тормозных систем)
ISO 5010:2007 Earth-moving machinery - Rubber-tyred machines - Steering requirements (Машины землеройные. Машины на резиновых шинах. Требования к системам рулевого управления)
ISO 6014:1986 Earth-moving machinery - Determination of ground speed (Машины землеройные. Определение скорости движения)
ISO 6016:2008 Earth-moving machinery - Methods of measuring the masses of whole machines, their equipment and components (Машины землеройные. Методы измерения масс машин в целом, рабочего оборудования и составных частей)
ISO 6165:1997 Earth-moving machinery - Basic types - Vocabulary (Машины землеройные. Классификация. Термины и определения)
ISO 6746-1:2003 Earth-moving machinery - Definitions of dimensions and codes - Part 1: Base machine (Машины землеройные. Определения и условные обозначения размерных характеристик. Часть 1. Базовая машина)
ISO 6746-2:2003 Earth-moving machinery - Definitions of dimensions and codes - Part 2: Equipment and attachments (Машины землеройные. Определения и условные обозначения размерных характеристик. Часть 2. Оборудование и приспособления)
ISO 7457:1997 Earth-moving machinery - Determination of turning dimensions of wheeled machines (Машины землеройные. Определение параметров поворота колесных машин)
ISO 8812:1999 Earth-moving machinery - Backhoe loaders - Definitions and commercial specifications (Машины землеройные. Экскаваторы-погрузчики. Определения и технические характеристики для коммерческой документации)
ISO 9249:2007 Earth-moving machinery - Engine test code - Net power (Машины землеройные. Правила испытаний двигателей. Полезная мощность)
ISO 10265:2008 Earth-moving machinery - Crawler machines - Performance requirements and test procedures for braking systems (Машины землеройные. Гусеничные машины. Требования к эксплуатационным характеристикам и методы испытаний тормозных систем)
3 Термины и определения
В настоящем стандарте применены следующие термины с соответствующими определениями:
3.1 траншеекопатель (trencher): Самоходная гусеничная или колесная машина с установленным спереди или сзади рабочим (3.6) [сменным (3.7)] оборудованием, предназначенным для прокладки траншеи (3.2) при непрерывной работе за счет движения машины. Сменным оборудованием являются: цепь, ротор, фреза, плужный отвал или другое аналогичное оборудование (ISO 6165:1997).
3.1.1 траншеекопатель, управляемый рядом идущим оператором (pedestrian-operated trencher): Траншеекопатель (3.1), управляемый оператором во время ходьбы либо вдоль боковой стороны или находящимся на одной прямой линии с машиной.
3.1.2 траншеекопатель с рабочим местом оператора (rider-operated trencher): Траншеекопатель (3.1), управляемый оператором при нахождении на машине.
3.2 траншея (trench): Узкая выемка, у которой, как правило, глубина больше, чем ширина.
3.3 грунт (spoil): Земля, камень и т.п., извлеченные при создании траншеи (3.2).
3.4 базовая машина (base machine): Траншеекопатель (3.1) с местами крепления, необходимыми для установки рабочего оборудования (3.6), соответствующий технической характеристике изготовителя.
3.5 составная часть (component): Деталь или сборочный узел, составляющие базовую машину (3.4), рабочее оборудование (3.6) или сменное оборудование (3.7).
Примечание - На основании ISO 6016:2008.
3.6 рабочее оборудование (equipment): Комплект составных частей (3.5), монтируемых на базовую машину (3.4) для обеспечения выполнения сменным оборудованием (3.7) ее основной функции в соответствии с назначением.
Примечание - На основании ISO 6016:2008.
3.7 сменное оборудование (attachment): Сборочные узлы из составных частей (3.5), которые могут быть установлены на базовую машину (3.4) или рабочее оборудование (3.6) для специального использования.
Примечание - На основании ISO 6016:2008.
3.8 Размеры базовой машины
Для определения размеров см. также ISO 6746-1.
3.8.1 максимальная общая высота H1 (maximum total height): Расстояние по вертикали от опорной плоскости отсчета (GRP) до самой верхней точки базовой машины (3.4).
См. рисунки 1 - 3.
3.8.2 максимальная высота рабочего/сменного оборудования H2 (maximum equipment/attachment height): Расстояние по вертикали от опорной плоскости отсчета (GRP) до самой верхней точки рабочего (3.6) [сменного (3.7)] оборудования в максимально поднятом положении.
См. рисунки 1 - 3.
3.8.3 максимальная ширина W1 (maximum width): Расстояние между крайними точками, расположенными на каждой стороне машины, перпендикулярное направлению движения.
См. рисунки 1 - 3.
3.8.4 колея гусеничной машины W2 (track gauge): Расстояние между продольными осевыми линиями звездочек гусеницы.
См. рисунок 3.
3.8.5 колея колесной машины W3 (tread width): Расстояние между продольными осевыми линиями шин.
См. рисунки 1 и 2.
3.8.6 максимальная длина L1 (maximum length): Расстояние между крайними точками на передней и задней частях машины.
См. рисунки 1 - 3.
3.8.7 база гусеничной машины L2 (crawler base): Расстояние между центрами ведущей и направляющей звездочек.
См. рисунок 3.
3.8.8 база колесной машины L3 (wheel base): Расстояние между центрами передних и задних колес машины, находящейся в положении прямолинейного движения.
См. рисунки 1 и 2.
3.8.9 угол переднего свеса A1 (angle of approach): Угол между опорной плоскостью отсчета (GRP) и плоскостью, расположенной касательно к шинам передних колес или гусеницам машины и проходящей через нижнюю точку любой выступающей конструкции или составной части (3.5) в передней части шин или гусениц, что ограничивает величину угла.
См. рисунки 2 и 3.
3.8.10 угол заднего свеса A2 (angle of departure): Угол между опорной плоскостью отсчета (GRP) и плоскостью, расположенной касательно к шинам задних колес или гусеницам машины и проходящей через нижнюю точку любой выступающей конструкции или составной части (3.5) за задними колесами или гусеницами, что ограничивает величину угла.
См. рисунки 1 и 3.
Рисунок 1 - Траншеекопатель, управляемый
рядом идущим оператором
Рисунок 2 - Колесный траншеекопатель
с рабочим местом оператора
Рисунок 3 - Гусеничный траншеекопатель
с рабочим местом оператора
4 Типы траншеекопателей
См. также ISO 6746-1 для определения размеров.
4.1 цепной траншеекопатель (chain-line trencher): Траншеекопатель (3.1) с установленным режущим(и) цепным(и) рабочим(и) органом(ами), имеющим(и) инструменты (зубья, резцы, ковши и т.д.), для разрезания траншеи (3.2) и выемки грунта (3.3) из нее.
См. рисунки 4 и 5 относительно размеров и условных обозначений, соответственно.
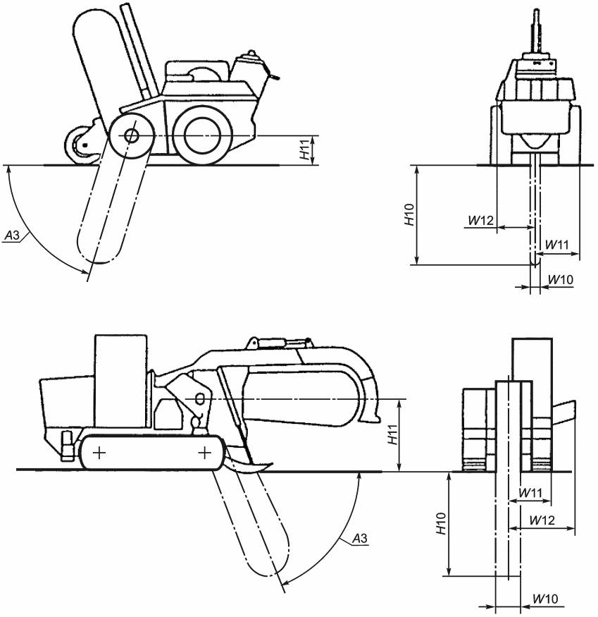
4.1.1 глубина траншеи H10 (trench depth): Расстояние по вертикали от опорной плоскости отсчета (GRP) до дна траншеи (3.2), освобожденной от грунта (3.3).
4.1.2 ширина траншеи W10 (trench width): Ширина траншеи (3.2), измеренная для указанных режущих составных частей (3.5).
4.1.3 смещение траншеи W11 (trench offset): Расстояние от осевой линии траншеи (3.2) до вертикальной плоскости, проходящей через крайнюю точку, расположенную на боковой стороне машины.
4.1.4 зона разгрузки грунта W12 (spoil discharge reach): Расстояние от осевой линии траншеи (3.2) до вертикальной плоскости, проходящей через крайний элемент конвейера системы транспортирования грунта.
4.1.5 угол наклона стрелы A3 (boom angle): Максимальный угол наклона режущей стрелы, измеренный от опорной плоскости отсчета (GRP) до линии, проходящей через центр ведущего вала и неприводную ось.
4.1.6 высота расположения ведущего вала H11 (head-shaft height): Расстояние по вертикали от опорной плоскости отсчета (GRP) до оси ведущего вала.
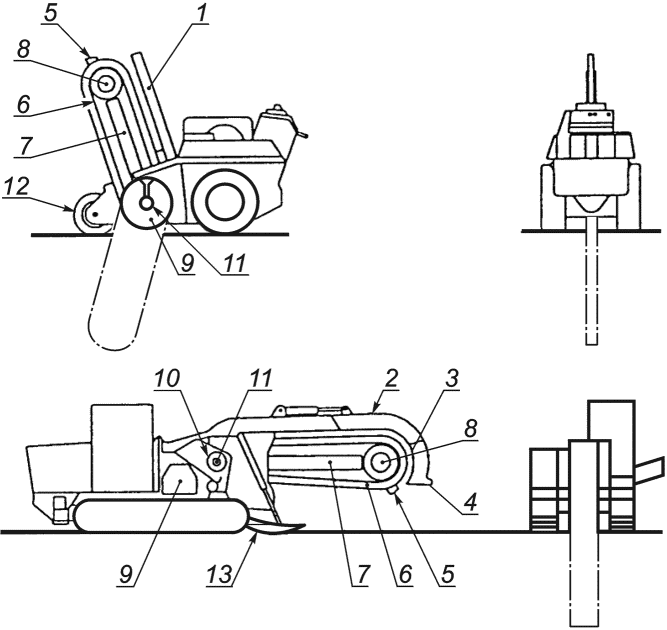
Рисунок 4 - Размеры цепного траншеекопателя
1 - защитное ограждение; 2 - планка чистика траншеекопателя;
3 - подрезной торец чистика траншеекопателя; 4 - башмак
чистика траншеекопателя; 5 - режущий рабочий орган (ковшовые
зубья, режущая пластина и др.); 6 - режущий цепной рабочий
орган (один или более); 7 - режущая стрела; 8 - направляющее
колесо у конца стрелы; 9 - система транспортирования грунта
(приводной вал с винтовыми лопастями, приводной
промежуточный шнек, конвейер, лоток и др.); 10 - ведущая
звездочка режущего цепного рабочего органа; 11 - ведущий
вал; 12 - поворотное колесо; 13 - стабилизатор
Рисунок 5 - Условные обозначения цепного траншеекопателя
4.2 дисковый траншеекопатель (disc-trencher): Траншеекопатель (3.1) с установленным вращающимся диском с режущими инструментами (дисковая фреза) обычно используемыми для разрезания твердых пород, твердых поверхностей или дорожных покрытий, таких как асфальт и бетон.
См. рисунки 6 и 7 относительно размеров и условных обозначений, соответственно.
4.2.1 диаметр диска D1 (disc diameter): Расстояние между наружными концами режущих инструментов на диске.
Примечание - Для определения размеров H10, W10, W11 и W12 см. 4.1.1 - 4.1.4.
Рисунок 6 - Размеры дискового траншеекопателя
1 - чистик траншеекопателя; 2 - дисковая фреза;
3 - система транспортирования грунта (шнек, конвейер и др.);
4 - резец; 5 - стабилизатор
Рисунок 7 - Условные обозначения дискового траншеекопателя
4.3 роторный траншеекопатель (wheel trencher): Траншеекопатель (3.1) с установленным вращающимся колесом и расположенными на нем ковшами с зубчатыми режущими кромками, предназначенными для разрезания и выемки грунта (3.3) из траншеи (3.2).
См. рисунки 8 и 9 относительно размеров и условных обозначений, соответственно.
4.3.1 глубина траншеи H10 (trench depth): Расстояние от опорной плоскости отсчета (GRP) до дна траншеи (3.2), не учитывая воздействие на измерения любого грунта (3.3), который может присутствовать.
4.3.2 диаметр ротора D2 (wheel diameter): Расстояние между наружными концами режущих инструментов на колесе.
4.3.3 дорожный просвет ротора H12 (wheel clearance): Максимальное расстояние от опорной плоскости отсчета (GRP) до самой нижней точки инструмента колеса в его поднятом положении.
4.3.4 высота разгрузки грунта H13 (spoil discharge height): Расстояние от опорной плоскости отсчета (GRP) до разгрузочного конвейера.
Примечание - Для определения размеров W10, W11 и W12 см. 4.1.2 - 4.1.4
Рисунок 8 - Размеры роторного траншеекопателя
1 - каретка; 2 - конвейер с боковой разгрузкой;
3 - рама стрелы; 4 - режущее колесо; 5 - режущий ковш;
6 - чистик траншеекопателя; 7 - распорки; 8 - ротор;
9 - ведущий вал и звездочка; 10 - подъемный механизм
Рисунок 9 - Условные обозначения роторного траншеекопателя
4.4 плужный траншеекопатель (direct-burial plough): Траншеекопатель (3.1), использующий тяговое усилие для перемещения рыхлителя подобного плугу через почву одновременно с прокладкой подземных коммуникаций; его рабочим оборудованием (3.6) может быть статический плуг, использующий тяговое усилие для перемещения плуга через почву или вибрационный плуг, использующий колебательные движения для уменьшения тягового усилия, необходимого для перемещения плуга через почву.
См. рисунки 10 и 11 относительно размеров и условных обозначений, соответственно.
4.4.1 глубина подающего плуга H20 (feed blade cover depth): Расстояние по вертикали от опорной плоскости отсчета (GRP) до горизонтальной линии, расположенной касательно к внутренней поверхности подающей трубы на выходном конце с плугом, находящимся на глубине.
4.4.2 ширина подающего плуга W20 (feed blade width): Расстояние между двумя вертикальными плоскостями, расположенными касательно к внутренним поверхностям подающей трубы в самом узком поперечном сечении.
4.4.3 радиус кривизны подающего плуга R20 (feed blade bend radius): Наименьший радиус кривизны направляющей подающей трубы, измеренный от внутренней поверхности подающей трубы.
4.4.4 угол поворота плуга A20 (blade steer angle): Максимальный угол с учетом того, что плуг может быть поворотным, измеренный по горизонтали от осевой линии рычага плуга, находящегося в его среднем положении, до его максимального повернутого положения.
4.4.5 регулировка угла плуга A21 (blade angle adjustment): Диапазон регулировки угла передней режущей кромки плуга, измеренный по вертикали в плоскости установки плуга.
4.4.6 дорожный просвет плуга H21 (blade ground clearance): Расстояние по вертикали от опорной плоскости отсчета (GRP) до самой нижней точки плуга с рычагом(ами), поднятым(и) и расположенным(и) параллельно вертикальной плоскости, проходящей через продольную осевую линию машины.
4.4.7 смещение плуга от осевой линии W21 (blade offset from centreline): Расстояние от вертикальной плоскости, проходящей через продольную осевую линию машины до максимального поперечного смещения плуга, расположенного параллельно вертикальной плоскости и находящегося на уровне заглубления от опорной плоскости отсчета (GRP).
1 - плуг
Рисунок 10 - Размеры плужного траншеекопателя
1 - плуг (режущий, тяговый и др.); 2 - режущая пластина
плуга; 3 - подающая труба (неподвижная, шарнирная,
плавающая, одна или несколько и др.); 4 - направляющая
подающей трубы; 5 - тяговая проушина; 6 - тяговое
устройство; 7 - пуля; 8 - вибратор; 9 - рычаг(и) плуга;
10 - тормозной башмак или опорное колесо
Рисунок 11 - Условные обозначения плужного траншеекопателя
5 Сменное оборудование
См. также ISO 6746-2 для определения размеров.
5.1 держатель барабана (reel carrier): Неразъемная конструкция, транспортирующая и распределяющая кабель, намотанный на барабан или другой материал, укладываемые непосредственно в грунт во время вспашки.
См. рисунки 12 и 13 относительно размеров и условных обозначений, соответственно.
5.1.1 внутренняя ширина WW1 (internal width): Минимальное расстояние между соседними рычагами держателя барабана (5.1).
5.1.2 максимальный диаметр барабана DD1 (maximum reel diameter): Двойной минимальный радиальный зазор между держателем барабана (5.1) и центром вала.
5.1.3 высота расположения вала HH1 (spindle height): Расстояние по вертикали от опорной плоскости отсчета (GRP) до центра вала в максимально поднятом положении.
5.1.4 расположение вала LL1 (spindle location): Расстояние по горизонтали от центра ближайшего колеса или звездочки гусеницы в контакте с грунтом, до центра вала в максимально поднятом положении.
Рисунок 12 - Размеры держателя барабана
1 - держатель барабана; 2 - вал; 3 - барабан;
4 - направляющее устройство для укладки материала
Рисунок 13 - Условные обозначения
5.2 навесное оборудование обратная лопата (backhoe attachment): Сменное оборудование (3.7), которое может быть установлено на передней или задней части траншеекопателя (3.1).
См. рисунок 14 и ISO 8812 относительно размеров и условных обозначений.
1 - обратная лопата
Рисунок 14 - Траншеекопатель с ковшом типа "обратная лопата"
5.3 засыпной отвал (backfill blade): Сменное оборудование (3.7), которое может быть установлено на передней или задней части траншеекопателя (3.1) для засыпки грунта (3.3) в траншею (3.2).
См. рисунок 15 и ISO 6746-2 относительно размеров и условных обозначений.
1 - засыпной отвал
Рисунок 15 - Траншеекопатель с засыпным отвалом
6 Технические характеристики для коммерческой документации
Следующая информация должна быть указана в коммерческой документации. Должны быть использованы единицы Международной системы единиц СИ.
6.1 Двигатель
Следующая информация должна быть указана для двигателя:
a) изготовитель и модель;
b) тип воспламенения, например с воспламенением от сжатия или с искровым зажиганием;
c) число цилиндров;
d) диаметр цилиндра и ход поршня;
e) рабочий объем цилиндра;
f) система охлаждения;
g) максимальный крутящий момент при установленной частоте вращения;
h) полезная мощность на маховике при установленной частоте вращения двигателя в соответствии с ISO 9249;
i) напряжение в системе электрооборудования.
6.2 Система привода от колес
Следующая информация должна быть указана для системы привода от колес:
a) тип приводной системы, т.е. механическая или гидростатическая;
b) максимальная скорость передвижения передним и задним ходом в соответствии с ISO 6014.
6.3 Система привода рабочих органов
Следующую информацию приводят для системы привода рабочих органов:
a) тип приводной системы, т.е. механическая или гидростатическая;
b) рабочие скорости для
- цепного траншеекопателя: скорости цепи,
- дискового и роторного траншеекопателя: скорости вращения режущего рабочего органа,
- плужного траншеекопателя: частота вибраций и вибрационное усилие.
6.4 Система рулевого управления
Следующую информацию приводят для системы рулевого управления:
a) тип рулевого управления - см. ISO 5010;
b) габаритный диаметр поворота машины - в соответствии с ISO 7457
- только переднее рулевое управление,
- скоординированное рулевое управление.
6.5 Тормозная система
См. ISO 3450 и ISO 10265.
Должен быть указан тип рабочего и стояночного тормоза.
6.6 Шины
Следующую информацию приводят для шин:
a) размер и тип;
b) номинальная нагрузка при указанном давлении.
6.7 Гусеница
Следующую информацию приводят для гусениц:
a) тип башмака;
b) размеры.
6.8 Гидросистема
Должна быть указана подача насоса при пониженном давлении.
6.9 Заправочные емкости
Следующую информацию приводят для заправочных емкостей:
a) топливо;
b) гидросистема.
6.10 Массы
Следующую информацию приводят по массам:
a) эксплуатационная масса в соответствии с ISO 6016;
b) отгрузочная масса в соответствии с ISO 6016.
Приложение ДА
(справочное)
СВЕДЕНИЯ О СООТВЕТСТВИИ ССЫЛОЧНЫХ МЕЖДУНАРОДНЫХ СТАНДАРТОВ
МЕЖГОСУДАРСТВЕННЫМ СТАНДАРТАМ
Таблица ДА.1
Обозначение ссылочного международного стандарта
Степень соответствия
Обозначение и наименование соответствующего межгосударственного стандарта
ISO 3450:2011
IDT
ГОСТ ISO 3450-2015 "Машины землеройные. Колесные машины или высокоскоростные резиногусеничные машины. Требования к эффективности и методы испытаний тормозных систем"
ISO 5010:2007
IDT
ГОСТ ISO 5010-2011 "Машины землеройные. Системы рулевого управления колесных машин"
ISO 6014:1986
MOD
ГОСТ 27927-88 (ИСО 6014-86) "Машины землеройные. Определение скорости движения"
ISO 6016:2008
MOD
ГОСТ 27922-88 (ИСО 6016-82) "Машины землеройные. Методы измерения масс машин в целом, рабочего оборудования и составных частей"
ISO 6165:1997
IDT
ГОСТ ISO 6165-2002 "Машины землеройные. Классификация. Термины и определения"
ISO 6746-1:2003
IDT
ГОСТ ISO 6746-1-2014 "Машины землеройные. Определение и условные обозначения размерных характеристик. Часть 1. Базовая машина"
ISO 6746-2:2003
IDT
ГОСТ ISO 6746-2-2014 "Машины землеройные. Определения и условные обозначения размерных характеристик. Часть 2. Рабочее оборудование"
ISO 7457:1997
IDT
ГОСТ ISO 7457-2017 "Машины землеройные. Определение размеров поворота колесных машин"
ISO 8812:1999
IDT
ГОСТ ISO 8812-2014 "Машины землеройные. Экскаваторы-погрузчики. Термины и определения и технические характеристики для коммерческой документации"
ISO 9249:2007
IDT
ГОСТ ISO 9249-2017 "Машины землеройные. Методы испытания двигателей. Полезная мощность"
ISO 10265:2008
IDT
ГОСТ ISO 10265-2013 "Машины землеройные. Машины на гусеничном ходу. Эксплуатационные требования и методы испытаний тормозных систем"
<*> Соответствующий межгосударственный стандарт отсутствует.
Примечание - В настоящей таблице использованы следующие условные обозначения степени соответствия стандартов:
- IDT - идентичные стандарты;
- MOD - модифицированные стандарты.
УДК 621.879:001.4(083.74)(476)
IDT
Ключевые слова: машины землеройные, траншеекопатели, сменное оборудование, рабочее оборудование, цепной траншеекопатель, дисковый траншеекопатель