Главная // Актуальные документы // ГОСТ (Государственный стандарт)СПРАВКА
Источник публикации
В данном виде документ опубликован не был.
Первоначальный текст документа опубликован в издании
М.: Стандартинформ, 2013.
Информацию о публикации документов, создающих данную редакцию, см. в справке к этим документам.
Примечание к документу
Документ включен в
Перечень документов в области стандартизации, в результате применения которых на добровольной основе обеспечивается соблюдение требований Федерального
закона от 30.12.2009 N 384-ФЗ "Технический регламент о безопасности зданий и сооружений" (
Приказ Росстандарта от 02.04.2020 N 687).
Документ включен в
Перечень документов в области стандартизации, в результате применения которых на добровольной основе обеспечивается соблюдение требований Федерального
закона от 30.12.2009 N 384-ФЗ "Технический регламент о безопасности зданий и сооружений" (
Приказ Росстандарта от 17.04.2019 N 831).
Документ включен в
Перечень документов в области стандартизации, в результате применения которых на добровольной основе обеспечивается соблюдение требований Федерального
закона от 30.12.2009 N 384-ФЗ "Технический регламент о безопасности зданий и сооружений" (
Приказ Росстандарта от 30.03.2015 N 365).
Текст данного документа приведен с учетом
поправки, опубликованной в "ИУС", N 6, 2022.
Название документа
"ГОСТ 28622-2012. Межгосударственный стандарт. Грунты. Метод лабораторного определения степени пучинистости"
(введен в действие Приказом Росстандарта от 27.12.2012 N 2016-ст)
(ред. от 29.12.2021)
"ГОСТ 28622-2012. Межгосударственный стандарт. Грунты. Метод лабораторного определения степени пучинистости"
(введен в действие Приказом Росстандарта от 27.12.2012 N 2016-ст)
(ред. от 29.12.2021)
агентства по техническому
регулированию и метрологии
от 27 декабря 2012 г. N 2016-ст
МЕЖГОСУДАРСТВЕННЫЙ СТАНДАРТ
ГРУНТЫ
МЕТОД ЛАБОРАТОРНОГО ОПРЕДЕЛЕНИЯ СТЕПЕНИ ПУЧИНИСТОСТИ
Soils. Laboratory method for determination
of frost-heave degree
ГОСТ 28622-2012
| | Список изменяющих документов Приказом Росстандарта от 29.12.2021 N 1874-ст) | |
Дата введения
1 ноября 2013 года
Цели, основные принципы и основной порядок работ по межгосударственной стандартизации установлены
ГОСТ 1.0-92 "Межгосударственная система стандартизации. Основные положения" и
ГОСТ 1.2-2009 "Межгосударственная система стандартизации. Стандарты межгосударственные, правила и рекомендации по межгосударственной стандартизации. Правила разработки, принятия, применения, обновления и отмены"
1 РАЗРАБОТАН Акционерным обществом "Научно-исследовательский центр "Строительство" (АО "НИЦ "Строительство") - Научно-исследовательский, проектно-изыскательский и конструкторско-технологический институт оснований и подземных сооружений (НИИОСП) им. Н.М. Герсеванова, Обществом с ограниченной ответственностью "Геоиннотех МГУ" (ООО "Геоиннотех МГУ")
(п. 1 в ред.
Изменения N 1, введенного в действие Приказом Росстандарта от 29.12.2021 N 1874-ст)
2 ВНЕСЕН Техническим комитетом ТК 465 "Строительство"
3 ПРИНЯТ Межгосударственной научно-технической комиссией по стандартизации, техническому нормированию и оценке соответствия в строительстве (протокол от 18 декабря 2012 г. N 41)
За принятие стандарта проголосовали:
Краткое наименование страны по МК (ИСО 3166) 004-97 | Код страны по МК (ИСО 3166) 004-97 | Сокращенное наименование органа государственного управления строительством |
Азербайджан | AZ | Госстрой |
Армения | AM | Министерство градостроительства |
Киргизия | KG | Госстрой |
Молдова | MD | Министерство строительства и регионального развития |
Россия | RU | Департамент регулирования градостроительной деятельности Министерства регионального развития |
Таджикистан | TJ | Агентство по строительству и архитектуре при Правительстве |
Туркмения | TM | Главгосслужба "Туркменстандартлары" |
Узбекистан | UZ | Госархитектстрой |
Украина | UA | Министерство регионального развития, строительства и ЖКХ |
4
Приказом Федерального агентства по техническому регулированию и метрологии от 27 декабря 2012 г. N 2016-ст межгосударственный стандарт ГОСТ 28622-2012 введен в действие в качестве национального стандарта Российской Федерации с 1 ноября 2013 г.
Информация об изменениях к настоящему стандарту публикуется в ежегодном информационном указателе "Национальные стандарты", а текст изменений и поправок - в ежемесячном информационном указателе "Национальные стандарты". В случае пересмотра (замены) или отмены настоящего стандарта соответствующее уведомление будет опубликовано в ежемесячном информационном указателе "Национальные стандарты". Соответствующая информация, уведомление и тексты размещаются также в информационной системе общего пользования - на официальном сайте Федерального агентства по техническому регулированию и метрологии в сети Интернет
(раздел 1 в ред.
Изменения N 1, введенного в действие Приказом Росстандарта от 29.12.2021 N 1874-ст)
Настоящий стандарт распространяется на глинистые, крупнообломочные (с содержанием глинистого заполнителя более 10% общей массы), песчаные органические и органоминеральные, засоленные и техногенные грунты, кроме просадочных, и устанавливает метод лабораторного определения степени их пучинистости при исследованиях грунтов для инженерного освоения районов распространения многолетне-мерзлых и сезонно-мерзлых грунтов.
В настоящем стандарте использованы нормативные ссылки на следующие стандарты:
ГОСТ 5180-84 Грунты. Методы лабораторного определения физических характеристик
ГОСТ 12071-2000 Грунты. Отбор, упаковка, транспортирование и хранение образцов
Ссылка исключена с 01.09.2022. -
Изменение N 1, введенное в действие Приказом Росстандарта от 29.12.2021 N 1874-ст.
ГОСТ 12536 Грунты. Методы лабораторного определения гранулометрического (зернового) и микроагрегатного состава
(ссылка введена
Изменением N 1, введенным в действие Приказом Росстандарта от 29.12.2021 N 1874-ст)
(ссылка введена
Изменением N 1, введенным в действие Приказом Росстандарта от 29.12.2021 N 1874-ст)
ГОСТ 30416 Грунты. Лабораторные испытания. Общие положения
(ссылка введена
Изменением N 1, введенным в действие Приказом Росстандарта от 29.12.2021 N 1874-ст)
(ссылка введена
Изменением N 1, введенным в действие Приказом Росстандарта от 29.12.2021 N 1874-ст)
Примечание - При пользовании настоящим стандартом целесообразно проверить действие ссылочных стандартов в информационной системе общего пользования - на официальном сайте Федерального агентства по техническому регулированию и метрологии в сети Интернет или по ежегодному информационному указателю "Национальные стандарты", который опубликован по состоянию на 1 января текущего года, и по выпускам ежемесячного информационного указателя "Национальные стандарты" за текущий год. Если ссылочный стандарт заменен (изменен), то при пользовании настоящим стандартом следует руководствоваться заменяющим (измененным) стандартом. Если ссылочный стандарт отменен без замены, то положение, в котором дана ссылка на него, применяется в части, не затрагивающей эту ссылку.
3 Термины с соответствующими определениями
(в ред.
Изменения N 1, введенного в действие Приказом Росстандарта от 29.12.2021 N 1874-ст)
3.1 морозное пучение: Деформирование промерзающих влажных грунтов, приводящее к увеличению их объема вследствие кристаллизации поровой и мигрирующей воды с образованием кристаллов и линз льда.
(в ред.
Изменения N 1, введенного в действие Приказом Росстандарта от 29.12.2021 N 1874-ст)
3.2 степень пучинистости грунта: Показатель пучинистости грунта, определяемый по относительной деформации морозного пучения образца грунта.
(в ред.
Изменения N 1, введенного в действие Приказом Росстандарта от 29.12.2021 N 1874-ст)
3.3
относительная деформация морозного пучения образца грунта 
: Отношение абсолютной вертикальной деформации морозного пучения промерзающего грунта к мощности промерзшего слоя.
(в ред.
Изменения N 1, введенного в действие Приказом Росстандарта от 29.12.2021 N 1874-ст)
3.4 природное давление: Давление, равное напряжению от собственного веса грунта на глубине отбора образца.
(п. 3.4 введен
Изменением N 1, введенным в действие Приказом Росстандарта от 29.12.2021 N 1874-ст)
4.1 Степень пучинистости грунта следует определять по значению относительной деформации морозного пучения

, полученному по результатам испытаний образцов грунта в специальных устройствах, обеспечивающих вертикальное промораживание образца исследуемого грунта в заданном температурном и влажностном режимах с возможностью внешнего массообмена в условиях компрессии, и измерение перемещений его поверхности. Степень пучинистости грунта определяют по
ГОСТ 25100 в зависимости от относительной деформации морозного пучения образца грунта

.
(в ред.
Изменения N 1, введенного в действие Приказом Росстандарта от 29.12.2021 N 1874-ст)
4.2 Общие требования к лабораторным испытаниям грунтов, оборудованию и приборам, лабораторным помещениям, способам изготовления образцов, погрешностям при проведении измерений - в соответствии с
ГОСТ 30416.
(п. 4.2 в ред.
Изменения N 1, введенного в действие Приказом Росстандарта от 29.12.2021 N 1874-ст)
Таблица 1 исключена с 01.09.2022. -
Изменение N 1, введенное в действие Приказом Росстандарта от 29.12.2021 N 1874-ст.
4.3 Испытания проводят на образцах грунта ненарушенного сложения с природной плотностью и влажностью или искусственно приготовленных образцах с заданной плотностью и влажностью, значения которых устанавливаются программой испытаний в зависимости от возможных изменений водно-физических свойств грунта в процессе строительства и эксплуатации сооружения.
4.4 Испытания проводят не менее чем на трех параллельных образцах исследуемого грунта.
4.5 Значение

вычисляют как среднеарифметическое результатов параллельных определений. В случае если разница между параллельными определениями превышает 30%, число определений следует увеличить.
4.6 Для испытуемых грунтов должны быть определены следующие физические характеристики: влажность, плотность, плотность частиц (см.
ГОСТ 5180), гранулометрический и микроагрегатный составы грунтов (см.
ГОСТ 12536) (при необходимости), а также должны быть вычислены коэффициенты пористости и водонасыщения, показатель влажности на границе текучести и раскатывания, число пластичности и показатель текучести.
(п. 4.6 в ред.
Изменения N 1, введенного в действие Приказом Росстандарта от 29.12.2021 N 1874-ст)
4.7 В процессе испытаний ведут журнал, форма которого приведена в
приложении А, а при автоматизации процесса данные испытаний сохраняют в памяти компьютера.
(п. 4.7 введен
Изменением N 1, введенным в действие Приказом Росстандарта от 29.12.2021 N 1874-ст)
4.8 Результаты испытаний грунта заносят в протокол испытаний по ГОСТ ISO/IEC 17025-2019 (
пункты 7.8.1 -
7.8.3). В протоколе испытаний указывают:
- идентификацию образца (номер испытания, номер буровой скважины, номер пробы, глубину отбора и т.п.);
- метод подготовки образца (ненарушенного или нарушенного сложения);
- температуру испытаний;
- размеры образца;
- физические характеристики грунта;
- режим нагружения;
- числовое значение полученных результатов.
В протоколе испытаний, при необходимости, отмечают характерные особенности образца грунта (текстура, слоистость, наличие включений и т.п.).
(п. 4.8 введен
Изменением N 1, введенным в действие Приказом Росстандарта от 29.12.2021 N 1874-ст)
4.9 Температура "холодного" торца образца должна быть установлена ниже температуры начала замерзания грунта на минус (4 +/- 0,2) °C. Температура "теплого" торца образца должна составлять (1,0 +/- 0,2) °C.
Примечание - Допускается температуру испытаний принимать, исходя из температурных и грунтовых условий исследуемой площадки. Задаваемая температура должна обеспечить скорость перемещения фронта промерзания аналогично природным условиям.
(п. 4.9 введен
Изменением N 1, введенным в действие Приказом Росстандарта от 29.12.2021 N 1874-ст)
(раздел 5 в ред.
Изменения N 1, введенного в действие Приказом Росстандарта от 29.12.2021 N 1874-ст)
5.1 В состав устройства для определения относительной деформации морозного пучения должны входить:
- устройство для создания, поддержания и контроля заданных температурных условий промораживания образца грунта [охлаждающий циркуляционный термостат и (или) холодильная камера и т.п.];
- устройство для измерения температуры образца грунта (термодатчики, прибор для измерений температуры и т.п.);
- механизм для вертикального нагружения образца грунта (рычажный, гидравлический, пневматический, электромеханический и т.п.);
- устройство для измерения вертикальных деформаций образца грунта (индикатор часового типа, датчик положения, прибор для автоматической записи деформаций, штангенциркуль и т.п.);
- емкость с водой, заполненная капиллярно-пористым материалом, или система подачи воды к образцу со стороны "теплого" торца;
- устройство, обеспечивающее поддержание положительной температуры воды в емкости (тэн, термодатчик, терморегулятор и т.п.);
- обойма для образца грунта;
- теплоизоляционный кожух.
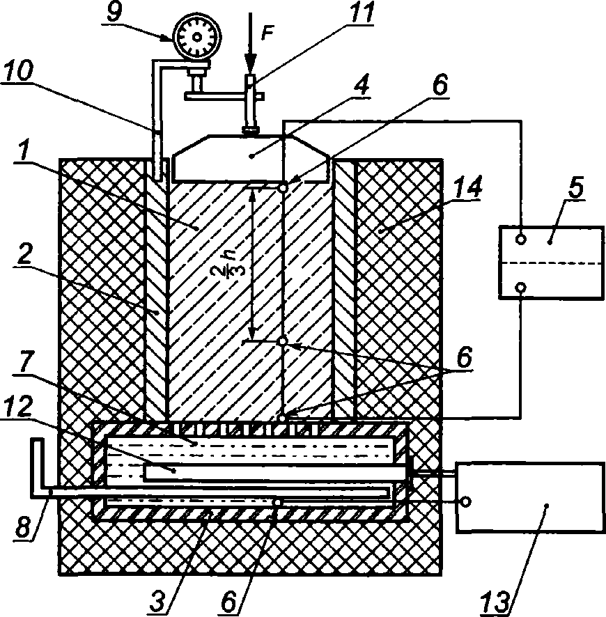
Схема установки для определения степени пучинистости грунта приведена в
приложении Б.
Примечание - Допускается применять другие установки, позволяющие проводить испытания с обеспечением задания вертикальной нагрузки, замера деформаций и температуры с точностью, соответствующей
ГОСТ 30416.
5.2 Конструкция установки для определения степени пучинистости грунта должна обеспечивать:
- одностороннее промораживание образца грунта с принятым температурным режимом;
- возможность вертикального нагружения образца грунта природным давлением, равным давлению от собственного веса грунта на горизонте отбора образца и (или) предполагаемому давлению от сооружения на заданной глубине;
- термическое сопротивление обоймы для грунта или теплоизоляционного кожуха не менее 0,8 м2 К/Дж должно обеспечивать промораживание грунта в вертикальном направлении;
- поддержание положительной температуры воды в емкости.
5.3 Измерительные устройства должны обеспечивать:
- измерение вертикальной деформации образца грунта с погрешностью не более 0,1 мм;
- измерение температуры образца грунта с погрешностью не более 0,2 °C.
5.4 Внутренний диаметр обоймы цилиндрической формы для образца грунта должен быть не менее 100 мм, а высота - не менее 150 мм. При этом высота образца должна быть не меньше его диаметра. Внутренняя поверхность обоймы должна быть гладкой, гидрофобной и обладать антифрикционными свойствами. Прочность обоймы на разрыв от внутреннего бокового давления должна быть не менее 0,1 МПа.
5.5 В качестве капиллярно-пористого материала в емкости обоймы может быть использован мелкозернистый песок, мелкозернистый карборунд и т.п. без примеси солей и с содержанием пылевато-глинистой фракции менее 5%. Высота слоя капиллярно-пористого материала должна составлять 50 мм или 1/3 высоты образца при отсутствии внешнего напорного водопритока.
6 Подготовка образцов грунта
(раздел 6 в ред.
Изменения N 1, введенного в действие Приказом Росстандарта от 29.12.2021 N 1874-ст)
6.1 Отбор, упаковка, транспортирование и хранение монолитов и образцов грунта нарушенного сложения должны проводиться в соответствии с требованиями
ГОСТ 12071.
6.2 В случае отбора грунта в мерзлом состоянии его предварительно оттаивают под природным давлением, равным давлению от собственного веса грунта на глубине отбора монолита.
6.3 Размер крупноблочных включений в образце не должен превышать 1/5 диаметра образца.
6.4 Образец грунта ненарушенного сложения вырезают из монолитов с помощью металлической формы, внутренние размеры которой соответствуют размерам образца грунта, методом режущего кольца, приведенным в
ГОСТ 5180. С помощью приспособления для выдавливания образец грунта извлекают из формы и помещают в обойму устройства для испытаний. Неровности поверхности образца крупнообломочного грунта заполняют материалом заполнителя того же грунта.
6.5 Образец грунта нарушенного сложения с заданными значениями плотности и влажности приготавливают в обойме методом послойного трамбования или уплотняют под прессом. Внутреннюю поверхность обоймы смазывают тонким слоем технического вазелина или покрывают слоем антифрикционного материала (например, полиэтиленовой или фторопластовой пленкой). Обойму помещают вместе с грунтом в устройство для испытаний.
6.6 Торцевые поверхности образцов должны быть плоскими и параллельными между собой.
7.1 Образец грунта в обойме помещают в испытательное устройство на капиллярно-пористый материал, насыщенный водой, и проводят следующие операции:
(в ред.
Изменения N 1, введенного в действие Приказом Росстандарта от 29.12.2021 N 1874-ст)
- проверяют положение штока механизма для нагружения образца по отношению к центру образца;
- устанавливают устройство для измерения вертикальных деформаций образца грунта;
(в ред.
Изменения N 1, введенного в действие Приказом Росстандарта от 29.12.2021 N 1874-ст)
- заполняют емкость с капиллярно-пористым материалом водой, подключают систему непрерывного подтока воды к "теплому" торцу образца;
(в ред.
Изменения N 1, введенного в действие Приказом Росстандарта от 29.12.2021 N 1874-ст)
- устанавливают термодатчики в образец грунта в соответствии со схемой, приведенной в
приложении Б;
(в ред.
Изменения N 1, введенного в действие Приказом Росстандарта от 29.12.2021 N 1874-ст)
- к образцу грунта плавно, не допуская ударов, прикладывают нагрузку, создавая давление в соответствии с
5.2;
(в ред.
Изменения N 1, введенного в действие Приказом Росстандарта от 29.12.2021 N 1874-ст)
- записывают начальные показания измерительных устройств.
(в ред.
Изменения N 1, введенного в действие Приказом Росстандарта от 29.12.2021 N 1874-ст)
7.2 Устройство помещают в холодильную камеру и (или) устанавливают охлаждающий циркуляционный термостат и выдерживают при температуре (1 +/- 0,5) °C не менее суток. Включают устройство для создания, поддержания и контроля заданных температурных условий промораживания образца грунта согласно
4.9. Температура на верхнем торце образца грунта должна составлять минус (4 +/- 0,2) °C, для засоленных грунтов

, где

- температура начала замерзания исследуемого грунта. Допускается температуру испытаний принимать, исходя из температурных и грунтовых условий исследуемой площадки. Задаваемая температура должна обеспечить скорость перемещения фронта промерзания аналогично природным условиям.
(в ред.
Изменения N 1, введенного в действие Приказом Росстандарта от 29.12.2021 N 1874-ст)
7.3 Исключен с 01.09.2022. -
Изменение N 1, введенное в действие Приказом Росстандарта от 29.12.2021 N 1874-ст.
7.4 В ходе испытания два раза в сутки (например, в начале и в конце рабочего дня) снимают показания устройств для измерения вертикальной деформации и температуры внутри образца, температуры "теплого" и "холодного" торцов образца.
(п. 7.4 в ред.
Изменения N 1, введенного в действие Приказом Росстандарта от 29.12.2021 N 1874-ст)
Примечание - Во избежание переохлаждения грунта через 8 ч после начала испытания следует вызвать начало кристаллизации влаги в образце грунта легким постукиванием по штампу.
(в ред.
Изменения N 1, введенного в действие Приказом Росстандарта от 29.12.2021 N 1874-ст)
7.5 Во время испытания следят за непрерывностью подтока воды к образцу грунта и поддержанием температуры "теплого" и "холодного" торцов образца.
(в ред.
Изменения N 1, введенного в действие Приказом Росстандарта от 29.12.2021 N 1874-ст)
Примечание - В обоснованных случаях допускается проведение испытаний без дополнительного увлажнения образца грунта. При этом между образцом грунта и капиллярно-пористым материалом укладывают влагонепроницаемую пленку.
7.6 Испытание прекращают при промораживании образца грунта до глубины 2/3 высоты образца. Допускается промораживание на большую глубину, вплоть до полного промораживания образца.
(п. 7.6 в ред.
Изменения N 1, введенного в действие Приказом Росстандарта от 29.12.2021 N 1874-ст)
7.7 После окончания испытания образец грунта извлекают из обоймы, измеряют фактическую толщину промерзшего слоя, при необходимости описывают его криогенную текстуру или делают фотофиксацию.
(п. 7.7 в ред.
Изменения N 1, введенного в действие Приказом Росстандарта от 29.12.2021 N 1874-ст)
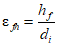
Относительную деформацию морозного пучения образца грунта

вычисляют с точностью 0,01 по формуле

, (1)
где

- вертикальная деформация образца грунта в конце испытания, мм;
di - толщина промерзшего слоя образца грунта за вычетом hf, мм.
(в ред.
Изменения N 1, введенного в действие Приказом Росстандарта от 29.12.2021 N 1874-ст)
(рекомендуемое)
для определения степени пучинистости
Объект ____________________________________________________________________
Номер выработки ___________________________________________________________
Глубина отбора образца __________________ Дата отбора _____________________
Лабораторный номер образца ________________________________________________
Наименование грунта _______________________________________________________
Строение грунта ___________________________________________________________
Условия проведения испытаний ______________________________________________
Диаметр образца d ______________________ Высота образца h _________________
Площадь образца А ______________________ Влажность образца ________________
Плотность образца ______________________
Дата испытания | Время отсчета, ч | Вертикальная нагрузка | Вертикальная деформация пучения  , мм | Толщина промерзшего слоя  , мм | Относительная деформация пучения  , д. е. | Степень пучинистости |
Нагрузка на рычаг F, МН, или показание динамометра | Давление в образце  , МПа |
1 | 2 | 3 | 4 | 5 | 6 | 7 | 8 |
| | | | | | | |
n - отношение плеч рычага.
Руководитель лаборатории __________________________________________________
подпись, фамилия, инициалы
Ответственный исполнитель _________________________________________________
должность, подпись, фамилия, инициалы
(обязательное)
(в ред.
Изменения N 1, введенного в действие Приказом Росстандарта от 29.12.2021 N 1874-ст)
СХЕМА УСТАНОВКИ ДЛЯ ОПРЕДЕЛЕНИЯ СТЕПЕНИ ПУЧИНИСТОСТИ ГРУНТА
Росстандарта от 29.12.2021 N 1874-ст)
1 - образец грунта; 2 - обойма; 3 - емкость с водой
и капиллярно-пористым материалом; 4 - штамп; 5 - прибор
для измерения температуры; 6 - датчики температуры; 7 - вода
и капиллярно-пористый материал; 8 - устройство для подачи
воды (емкость с водой); 9 - индикатор перемещения;
10 - кронштейн; 11 - шток механизма для нагружения образца
грунта; 12 - тэн; 13 - терморегулятор;
14 - теплоизоляционный кожух
Росстандарта от 29.12.2021 N 1874-ст)
Рисунок Б.1 - Схема установки для определения степени
пучинистости грунта
УДК 624.131.3.001.4:006.354 | | |
Ключевые слова: морозное пучение, степень пучинистости, измерение |