Главная // Актуальные документы // ГОСТ Р (Государственный стандарт)СПРАВКА
Источник публикации
М.: ИПК Издательство стандартов, 2000
Примечание к документу
Документ утратил силу с 15 февраля 2014 года в связи с изданием
Приказа Росстандарта от 29.11.2012 N 1871-ст. Взамен введен в действие
ГОСТ 30852.6-2002.
Документ включен в
Перечень национальных стандартов, в результате применения которых на добровольной основе обеспечивается соблюдение требований
Постановления Правительства РФ от 24.02.2010 N 86 "Технический регламент о безопасности оборудования для работы во взрывоопасных средах" (
Приказ Росстандарта от 31.08.2010 N 3347).
Документ включен в
Перечень документов в области стандартизации, содержащих правила и методы исследований (испытаний) и измерений, в том числе правила отбора образцов, необходимых для применения и исполнения технического
регламента о безопасности оборудования для работы во взрывоопасных средах и осуществления оценки соответствия. (
Распоряжение Правительства РФ от 05.08.2010 N 1332-р).
С 1 июля 2003 года до вступления в силу технических регламентов акты федеральных органов исполнительной власти в сфере технического регулирования носят рекомендательный характер и подлежат обязательному исполнению только в части, соответствующей целям, указанным в
пункте 1 статьи 46 Федерального закона от 27.12.2002 г. N 184-ФЗ.
Введен в действие с 1 января 2001 года.
Название документа
"ГОСТ Р 51330.6-99 (МЭК 60079-5-97). Электрооборудование взрывозащищенное. Часть 5. Кварцевое заполнение оболочки q"
(принят и введен в действие Постановлением Госстандарта РФ от 09.12.1999 N 497-ст)
"ГОСТ Р 51330.6-99 (МЭК 60079-5-97). Электрооборудование взрывозащищенное. Часть 5. Кварцевое заполнение оболочки q"
(принят и введен в действие Постановлением Госстандарта РФ от 09.12.1999 N 497-ст)
Принят и введен в действие
от 9 декабря 1999 г. N 497-ст
ГОСУДАРСТВЕННЫЙ СТАНДАРТ РОССИЙСКОЙ ФЕДЕРАЦИИ
ЭЛЕКТРООБОРУДОВАНИЕ ВЗРЫВОЗАЩИЩЕННОЕ
ЧАСТЬ 5
КВАРЦЕВОЕ ЗАПОЛНЕНИЕ ОБОЛОЧКИ q
Electrical apparatus for explosive gas atmospheres.
Part 5. Powder filling q
ГОСТ Р 51330.6-99
(МЭК 60079-5-97)
Дата введения
1 января 2001 года
1. Разработан Негосударственным фондом "Межотраслевой орган сертификации "Сертиум" (МОС "Сертиум").
Внесен Техническим комитетом по стандартизации ТК 403 "Взрывозащищенное и рудничное электрооборудование".
2. Принят и введен в действие
Постановлением Госстандарта России от 9 декабря 1999 г. N 497-ст.
3. Настоящий стандарт представляет собой аутентичный текст международного стандарта МЭК 60079-5-97 "Электрооборудование взрывозащищенное. Часть 5. Кварцевое заполнение оболочки q" с дополнительными требованиями, отражающими потребности экономики страны.
4. Введен впервые.
| | ИС МЕГАНОРМ: примечание. Дополнительные требования, выделенные в официальном тексте документа курсивом, в электронной версии документа отмечены знаком "&". | |
Настоящий стандарт дополняет
ГОСТ Р 51330.0, требования которого применимы к электрооборудованию с взрывозащитой вида "кварцевое заполнение оболочки". Дополнительные по отношению к МЭК 60079-5-97 требования, отражающие потребности экономики страны, выделены в настоящем стандарте курсивом.
ГОСТ 22782.2-77 не ограничивал мощность и уровень напряжения взрывозащищенного электрооборудования с кварцевым заполнением оболочки, а его реализация позволяла создавать взрывозащищенное электрооборудование с особовзрывобезопасным и взрывобезопасным уровнями взрывозащиты. Несмотря на это широкого применения взрывозащищенное электрооборудование большой мощности с кварцевым заполнением оболочки не нашло, что было обусловлено необходимостью реализации сложных конструкторских решений, сложностью эксплуатации такого электрооборудования и экономической неэффективностью. Поэтому при разработке настоящего стандарта было принято решение взять за основу концепцию, изложенную в МЭК 60079-5-97, ограничить действие взрывозащиты "кварцевое заполнение оболочки" на электрооборудование, напряжение переменного и постоянного тока которого не превышает 1140 В, ток 16 А, а мощность составляет не более 1000 В x А, а также принять практически без изменений требования и методы испытаний МЭК 60079-5-97, которые в совокупности обеспечивают уровень взрывозащиты электрооборудования "повышенная надежность против взрыва".
Настоящий стандарт устанавливает требования к конструированию, испытаниям и маркировке взрывозащищенного электрооборудования, составным его частям и Ex-компонентам с взрывозащитой вида "кварцевое заполнение оболочки", предназначенным для применения во взрывоопасных средах газа, пара или тумана.
Примечание. Электрооборудование и Ex-компоненты с кварцевым заполнением могут содержать электрические цепи, трансформаторы, защитные предохранители, реле, переключатели, оборудование и т.п., расположенные вне взрывоопасной зоны, но электрически соединенные с электрооборудованием, находящимся во взрывоопасной зоне.
Требования настоящего стандарта распространяются на взрывозащищенное электрооборудование, его составные части и Ex-компоненты:
- номинальный ток которых меньше или равен 16 А;
- мощность которых меньше или равна 1000 В x А и напряжение питания переменного или постоянного тока не более &1140 В&.
&Требования настоящего стандарта являются обязательными&.
В настоящем стандарте использованы ссылки на следующие стандарты:
&
ГОСТ 14254-96 (МЭК 529-89). Степени защиты, обеспечиваемые оболочками (Код IP)
| | ИС МЕГАНОРМ: примечание. Взамен ГОСТ Р 50339.0-92 Постановлением Госстандарта РФ от 26.12.2003 N 387-ст с 1 января 2005 года введен в действие ГОСТ Р 50339.0-2003. | |
ГОСТ Р 50339.0-92 (МЭК 261-1-86). Низковольтные плавкие предохранители. Общие требования
| | ИС МЕГАНОРМ: примечание. Взамен ГОСТ Р 50537-93 Приказом Ростехрегулирования от 28.12.2005 N 417-ст с 1 января 2007 года введен в действие ГОСТ Р МЭК 60127-1-2005. | |
ГОСТ Р 50537-93 (МЭК 127-1-88). Миниатюрные плавкие предохранители. Терминология для миниатюрных плавких предохранителей и общие требования к миниатюрным плавким вставкам
ГОСТ Р 51330.0-99 (МЭК 60079-0-98). Электрооборудование взрывозащищенное. Часть 0. Общие требования&.
В настоящем стандарте используют следующие термины с соответствующими определениями, которые дополняют определения, приведенные в
ГОСТ Р 51330.0.
3.1. Кварцевое заполнение оболочки q: вид взрывозащиты, при котором части, способные воспламенить взрывоопасную смесь, фиксируются в определенном положении и полностью окружены заполнителем, предотвращающим воспламенение окружающей взрывоопасной среды.
Примечание. Электрооборудование и Ex-компоненты с кварцевым заполнением оболочки могут содержать электрические цепи, трансформаторы, защитные предохранители, реле, переключатели, оборудование и т.п., расположенные вне взрывоопасной зоны, но электрически соединенные с электрооборудованием, находящимся во взрывоопасной зоне.
3.2. Заполнитель: кварцевые или стеклянные частицы.
3.3. Максимальное внешнее приложенное напряжение

: максимальное напряжение переменного тока или максимальное напряжение постоянного тока, предписанное изготовителем, которое может быть приложено к зажимам электрооборудования без нарушения вида взрывозащиты "кварцевое заполнение".
3.4. Рабочее напряжение: наибольшее значение напряжения постоянного или переменного тока, которое может возникнуть (локально) по любой изоляции при номинальном напряжении питания (колебаниями напряжений можно пренебречь) в нормальных режимах работы или при разомкнутой электрической цепи.
3.5. Путь утечки: кратчайшее расстояние между токоведущими частями разного потенциала или между токоведущей и заземленной частью электрооборудования по поверхности изоляционного материала.
3.6. Путь утечки под покрытием: кратчайшее расстояние между двумя токоведущими частями по поверхности электроизоляционной среды.
3.7. Расстояние через заполняющий материал: кратчайшее расстояние между двумя токоведущими частями через заполняющий материал.
| | ИС МЕГАНОРМ: примечание. Взамен ГОСТ Р 50537-93 Приказом Ростехрегулирования от 28.12.2005 N 417-ст с 1 января 2007 года введен в действие ГОСТ Р МЭК 60127-1-2005. | |
3.8. Номинальные значения предохранителя

: номинальный ток предохранителя в соответствии с ГОСТ Р 50537 или согласно спецификации изготовителя.
4. Конструктивные требования
4.1.1. Механическая прочность
Оболочки электрооборудования, составных частей электрооборудования и Ex-компонентов с кварцевым заполнением должны соответствовать высокой степени механической прочности согласно требованиям
ГОСТ Р 51330.0, а также выдерживать испытания давлением, указанным в
5.1 и
5.2 настоящего стандарта.
Оболочки электрооборудования и Ex-компонентов, предназначенные для установки внутри другой оболочки, удовлетворяющей требованиям
ГОСТ Р 51330.0, должны выдерживать только испытание давлением в соответствии с
5.1 и
5.2 настоящего стандарта. Это оборудование должно маркироваться знаком X согласно
ГОСТ Р 51330.0, если оно не относится к Ex-компоненту.
4.1.2. Степень защиты оболочки от внешних воздействий
Оболочки электрооборудования, составных частей оборудования и Ex-компонентов с кварцевым заполнением в нормальных режимах работы (т.е. все отверстия закрыты) должны иметь степень защиты от внешних воздействий не ниже IP54 по
ГОСТ 14254. Если степень защиты IP55 или выше, оболочки должны быть снабжены вентиляционными устройствами.
Оболочки с вентиляционными устройствами должны обеспечивать степень защиты от внешних воздействий IP54 по
ГОСТ 14254.
Оболочки электрооборудования, составных частей оборудования и Ex-компонентов с кварцевым заполнением, предназначенные для применения только в чистых сухих помещениях, могут иметь степень защиты IP43 по
ГОСТ 14254. Маркировка таких оболочек должна иметь знак X.
Если оболочки электрооборудования, составных частей электрооборудования и Ex-компоненты с кварцевым заполнением предназначены для установки внутри другой оболочки, соответствующей требованиям
ГОСТ Р 51330.0, то эта наружная оболочка должна иметь степень защиты не ниже IP54. К внутренней оболочке требования по степени защиты не предъявляют.
Максимальный зазор в оболочке должен быть не менее чем на 0,1 мм меньше минимального размера материала заполнителя, но не более 0,9 мм для того, чтобы заполнитель не мог высыпаться.
&Подвижные и нормально искрящие части электрооборудования не должны находиться в контакте с заполнителем, а должны быть заключены в самостоятельную оболочку со степенью защиты не ниже IP54 по
ГОСТ 14254 и погружены со своей оболочкой в заполнитель.
Смонтированные таким образом части должны быть включены в электрические цепи, не опасные в отношении аварийного дугового разряда. Это требование не относится к размещаемым в заполнителе герметичным вакуумным контактам в собственных оболочках&.
4.1.3. Заполнение
Кварцевое заполнение оболочки должно выполняться таким образом, чтобы не оставалось никаких пустот внутри заполняющего материала (например, с помощью принудительной вибрации). Свободное пространство внутри оболочки электрооборудования, составных частей электрооборудования и Ex-компонентов должно быть полностью наполнено заполнителем (см. также
4.3.2).
&Токоведущие или находящиеся под напряжением части (в дальнейшем - электрические части) электрооборудования, в том числе общего назначения, встроенного в оболочку с кварцевым заполнением, должны находиться под защитным слоем заполнителя, толщина которого должна быть не менее удвоенного значения соответствующего расстояния заполнителя согласно таблице 1. Для неэлектрических частей слой заполнителя не нормируют&.
Таблица 1
┌───────────────────────────────────┬────────────────────────────┐
│ Напряжение постоянного или │ Расстояния в заполнителе, │
│ переменного тока, В, не более │ мм, не менее │
├───────────────────────────────────┼────────────────────────────┤
│ U <= 275 │ 5 │
├───────────────────────────────────┼────────────────────────────┤
│ 275 < U <= 420 │ 6 │
├───────────────────────────────────┼────────────────────────────┤
│ 420 < U <= 550 │ 8 │
├───────────────────────────────────┼────────────────────────────┤
│ 550 < U <= 750 │ 10 │
├───────────────────────────────────┼────────────────────────────┤
│ 750 < U <= 1000 │ 14 │
├───────────────────────────────────┼────────────────────────────┤
│ 1000 < U <= 3000 │ 36 │
├───────────────────────────────────┼────────────────────────────┤
│ 3000 < U <= 6000 │ 60 │
├───────────────────────────────────┼────────────────────────────┤
│ 6000 < U <= 10000 │ 100 │
├───────────────────────────────────┴────────────────────────────┤
│ U - напряжение постоянного или переменного тока. │
└────────────────────────────────────────────────────────────────┘
&Заполнение оболочки кварцем должно производиться при принудительной вибрации с частотой от 25 до 50 Гц и амплитудой колебаний (1,0 +/- 0,2) мм в течение не менее 5 мин&.
Оболочки электрооборудования, составных частей электрооборудования и Ex-компонентов с кварцевым заполнением должны закрываться изготовителем так, чтобы их открывание было затруднено или приводило к разрушению оболочки или средств закрытия. Заполняющие отверстия должны быть выполнены таким же образом.
Примечание. Приемлемыми средствами являются, например, сварка, пайка, склеивание мест соединений, заклепывание, соединение винтами.
&4.1.5. Оболочка должна быть выполнена так, чтобы при снятии крышек или отсоединении сборочных единиц конструкции электрооборудования в его рабочем положении не происходило высыпание заполнителя.
4.1.6. На крышке оболочки с болтовым креплением должно быть не менее двух невыпадающих блокировочных болтов с головками, утопленными впотай (или имеющими охранные кольца), или с опломбированными головками без размещения впотай. В соединениях оболочек электрооборудования группы II выполнение блокировочных болтов невыпадающими не обязательно.
Болтовые соединения оболочки должны быть защищены от самоотвинчивания&.
4.2.1. Требования к документации
Документация, представленная изготовителем и проверенная испытательной организацией в соответствии с требованиями ГОСТ Р 51300.0 (см. виды проверок документов), должна содержать подробную информацию о заполняющем материале, описание процесса заполнения и средств контроля правильности заполнения.
Описание должно включать:
- наименование и адрес изготовителя, заполняющего материала;
- точные и полные технические данные заполнителя;
- размеры гранул (см. 4.2.2).
4.2.2. Требования к заполнителю
Размеры гранул не должны превышать следующих размеров сита согласно ИСО 565
[1]:
- верхний предел - металлопроволочная ткань или перфорированный металлический лист с номинальными размерами отверстий 1 мм;
- нижний предел - металлопроволочная ткань с номинальными размерами отверстий 0,5 мм.
Допускаются только &сухой& кварцевый песок или твердые стеклянные частички, &не содержащие металлических примесей&.
Испытательная организация не проводит оценку заполнителя в соответствии с
4.2.1 и
4.2.2.
4.2.3. Требования к испытаниям
Заполнитель должен проходить испытания на пробивное напряжение согласно
5.1 и
5.2.
4.3. Расстояния в заполнителе
4.3.1. За исключением специально указанных в настоящем стандарте случаев, минимальные расстояния в заполняющем материале между двумя токопроводящими частями оборудования и изоляционными компонентами, с одной стороны, и внутренними стенками оболочки, с другой стороны, должны удовлетворять требованиям
таблицы 1. Эти требования не распространяются на проводники, применяемые для внешних подсоединений, которые проходят через стенки оболочки. Такие проводники должны удовлетворять требованиям
4.3.3.
Рабочее напряжение и аварийные режимы работы в соответствии с
4.8 должны рассматриваться с учетом максимального значения питающего напряжения.
Примечание. Несмотря на то, что требования настоящего стандарта распространяются на электрооборудование на напряжение не более &1140 В&, в
таблице 1 указаны напряжения св. &1140 В&, которые могут развиваться или генерироваться в электрооборудовании.
4.3.2. Следующие требования действуют в случае, если в электрооборудовании находятся компоненты, которые имеют свободный объем, не наполненный заполнителем (например, реле):
- если свободный объем компонента менее 3 см3, то минимальное расстояние по заполнителю между стенками компонента и внутренней поверхностью оболочки должно удовлетворять требованиям
таблицы 1;
- если свободный объем компонента более 3 см3, но менее 30 см3, то минимальное расстояние по заполнителю между стенкой компонента и внутренней поверхностью оболочки должно удовлетворять требованиям
таблицы 1, но составлять не менее 15 мм;
- компонент должен быть жестко установлен таким образом, чтобы его перемещение в оболочке не допускалось;
- свободный объем более 30 см3 не допускается;
- оболочка компонента должна быть термоустойчивой и механически прочной (в т.ч. в аварийных режимах работы в соответствии с
4.8), т.е. не должно быть никаких ее повреждений или разрушений, которые могли бы привести к снижению защиты, обеспечиваемой заполнителем.
4.3.3. Электрические устройства и компоненты, не удовлетворяющие
4.3.1 или
4.3.2, должны иметь взрывозащиту одного из видов, приведенных в
ГОСТ Р 51330.0.
4.4. Применяемые материалы
Материалы, устанавливаемые между токоведущими частями и стенками оболочки (кроме изоляции внешних проводников и заполнителя), в случаях, оговоренных в
4.3, должны удовлетворять требованиям на горючесть, как указано в
5.1.3.
4.5.1. Кабельные вводы и проходные зажимы электрооборудования с кварцевым заполнением оболочки, составных частей электрооборудования и Ex-компонентов не должны ухудшать степень защиты оболочки, предписанную в
4.1.2.
4.5.2. Кабельные вводы и проходные зажимы электрооборудования должны быть защищены и уплотнены, как указано в
4.1.4 настоящего стандарта. Требования
ГОСТ Р 51330.0 не распространяются на кабельные вводы и проходные зажимы оболочек, заполненных кварцем и устанавливаемых внутри другой оболочки, отвечающей требованиям
4.1.2 настоящего стандарта.
4.6. Элементы, аккумулирующие электрическую энергию
Энергия всех конденсаторов, установленных в электрооборудовании с кварцевым заполнением оболочки, а также в составных частях электрооборудования и Ex-компонентах, не должна превышать 20 Дж в нормальных режимах работы.
Применение химических источников тока и батарей, которые могут нарушить взрывозащиту данного вида, не допускается.
4.7. Температурные пределы
Электрооборудование, его составные части и Ex-компоненты с кварцевым заполнением оболочки должны быть защищены от таких аварийных повреждений, как короткое замыкание или тепловая перегрузка, таким образом, чтобы допустимые температурные пределы принятого температурного класса не были превышены как на стенке оболочки, так и внутри заполнителя до глубины не менее 5 мм, считая от стенки оболочки.
4.8. Аварийные повреждения
Взрывозащита вида "кварцевое заполнение оболочки" должна сохраняться и в случае перегрузок, оговоренных в стандарте на изделия, и при любом одном электрическом повреждении, которое может вызвать или перенапряжения, или перегрузки по току, например:
- короткое замыкание любого компонента;
- разрыв электрической цепи из-за повреждений какого-либо компонента;
- повреждения печатной платы и т.д.
Если внесенное повреждение может вызвать серию повреждений, например перегрузку элементов, то первичное и последующие повреждения считают как одно повреждение.
В случае, если стандарт на изделие отсутствует, перегрузки должны быть регламентированы изготовителем.
При рассмотрении повреждений к клеммам должно подаваться максимальное напряжение питания

.
4.8.1. Неучитываемые повреждения
Следующие повреждения могут не учитываться:
а) значение сопротивления ниже номинального значения для резисторов пленочного типа, проволочных резисторов и катушек, намотанных в один слой в форме спирали, когда они нагружены не более чем на 2/3 своей номинальной величины по напряжению и мощности, как указано изготовителем;
б) короткое замыкание пластмассовых, керамических и бумажных конденсаторов, когда они нагружены не более чем на 2/3 их номинальной величины по напряжению, регламентируемой изготовителем;
в) пробой изоляции оптронов и реле, предназначенных для разделения различных цепей, если суммарная величина напряжения максимальных значений напряжений двух цепей не превышает &1140 В&, а номинальное напряжение компонента между двумя различными цепями превышает U не менее чем в 1,5 раза.
Трансформаторы, катушки и обмотки, удовлетворяющие требованиям взрывозащиты вида e, или трансформаторы, удовлетворяющие требованиям взрывозащиты вида "искробезопасная электрическая цепь", не рассматривают как повреждаемые.
Считают, что короткое замыкание не возникнет, если зазоры и пути утечки между оголенными токоведущими частями или печатными дорожками не меньше величин, указанных в
таблице 2 (методика измерения зазоров указана в стандартах на взрывозащиту видов e и i).
Амплитудные значения напряжений, приведенные в
таблице 2, должны рассматриваться как максимальные амплитудные значения напряжения между токоведущими частями. Если части электрически изолированы, то сумма амплитудных значений напряжений двух цепей должна рассматриваться в качестве амплитудного значения напряжения.
Амплитудное значение напряжения должно быть учтено при нормальном режиме работы (переходными процессами можно пренебречь) и при аварийных повреждениях с учетом требований настоящего стандарта.
Пути утечки под покрытием должны соответствовать требованиям
таблицы 2, а само покрытие должно:
- быть влагостойким;
- иметь хорошую адгезию с токопроводниками и изоляционным материалом;
- наноситься в два слоя, если используется метод пульверизации;
- быть эффективным и не разрушаться при других разовых способах нанесения, например окунанием, нанесением с помощью кисти, вакуумной пропиткой;
- не повреждаться во время затвердевания;
- твердое покрытие считают как одно покрытие, т.к. оно не повреждается во время нанесения.
Выступающие токопроводящие части (включая штыри) не считают покрытыми, если не предусмотрены специальные средства для получения эффективного неразрушающего покрытия.
При оголенном проводнике сравнительный индекс трекингостойкости (СИТ), указанный в таблице 2, применяют как к изоляции, так и к соответствующему покрытию.
Таблица 2
Пути утечки и расстояния по заполнителю
Размеры в миллиметрах
┌─────────────┬────────────┬───────────┬───────────┬─────────────┐
│ Амплитудное │Минимальное │Путь утечки│Путь утечки│Расстояния по│
│ значение │значение СИТ│ │ под │ заполнителю │
│напряжения, В│ │ │ покрытием │ │
├─────────────┼────────────┼───────────┼───────────┼─────────────┤
│ 10 │ - │ 1,5 │ 0,6 │ 1,5 │
├─────────────┼────────────┼───────────┼───────────┤ │
│ 30 │ 100 │ 2,0 │ 0,7 │ │
├─────────────┤ ├───────────┼───────────┤ │
│ 60 │ │ 3,0 │ 1,0 │ │
├─────────────┤ ├───────────┼───────────┼─────────────┤
│ 90 │ │ 4,0 │ 1,3 │ 2,0 │
├─────────────┼────────────┼───────────┼───────────┼─────────────┤
│ 190 │ 175 │ 8,0 │ 2,6 │ 3,0 │
├─────────────┤ ├───────────┼───────────┤ │
│ 375 │ │ 10,0 │ 3,3 │ │
├─────────────┤ ├───────────┼───────────┤ │
│ 550 │ │ 15,0 │ 5,0 │ │
├─────────────┤ ├───────────┼───────────┼─────────────┤
│ 750 │ │ 18,0 │ 6,0 │ 5,0 │
├─────────────┤ ├───────────┼───────────┤ │
│ 1000 │ │ 25,0 │ 8,3 │ │
├─────────────┤ ├───────────┼───────────┼─────────────┤
│ 1300 │ │ 36,0 │ 12,0 │ 10,0 │
├─────────────┤ ├───────────┼───────────┤ │
│ 1575 │ │ 49,0 │ 13,3 │ │
└─────────────┴────────────┴───────────┴───────────┴─────────────┘
Амплитудные значения напряжения, превышающие 1575 В, всегда рассматривают в качестве основания для признания аварийного повреждения.
Примечание. Индекс СИТ не определяют для изоляционных материалов при напряжении 10 В и менее.
4.8.2. Защитные устройства для ограничения температуры
Ограничение температуры может быть достигнуто внешними или внутренними электрическими или тепловыми защитными устройствами. Устройства не должны быть самовосстанавливающимися.
| | ИС МЕГАНОРМ: примечание. Взамен ГОСТ Р 50537-93 Приказом Ростехрегулирования от 28.12.2005 N 417-ст с 1 января 2007 года введен в действие ГОСТ Р МЭК 60127-1-2005. | |
| | ИС МЕГАНОРМ: примечание. Взамен ГОСТ Р 50339.0-92 Постановлением Госстандарта РФ от 26.12.2003 N 387-ст с 1 января 2005 года введен в действие ГОСТ Р 50339.0-2003. | |
Если в качестве защитных устройств используют предохранители с плавкими вставками, то плавкий элемент должен быть закрыт, например, помещен в стеклянный или керамический корпус. При напряжениях св. 60 В предохранители должны иметь разрывную мощность в соответствии с ГОСТ Р 50537 или ГОСТ Р 50339.0.
4.8.3. Токи короткого замыкания источников питания
Электрооборудование, составные части электрооборудования и Ex-компоненты с кварцевым заполнением оболочки, предназначенные для подсоединения к источникам питания напряжением не выше 250 В переменного тока, должны быть рассчитаны на ожидаемый ток короткого замыкания 1500 А, если в маркировке не указана допустимая величина тока короткого замыкания. Защита от токов св. 1500 А должна быть предусмотрена в самих установках.
Если необходимо ограничить ток до значения, не превышающего номинальную разрывную мощность предохранителя, то в качестве токоограничительного элемента должен использоваться резистор в соответствии с
4.8.1а, номинальные величины которого должны быть следующими:
- номинальное значение тока 1,5 x 1,7 x

предохранителя (где

- номинальный ток предохранителя);
- максимальное значение напряжения питания

;
- номинальное значение мощности равно 1,5 x 1,7 x

(где R - сопротивление ограничительного элемента).
5.1. Контрольные проверки и испытания
5.1.1. Контрольные испытания оболочки внутренним избыточным давлением
Независимо от объема оболочка должна выдерживать испытания внутренним избыточным давлением 0,5 бар (50000 Па) в течение

с без обнаружения остаточной деформации, превышающей 0,5 мм в каком-либо измерении.
Электрооборудование с кварцевым заполнением оболочки без смотровых окон и вентиляционных устройств, содержащее конденсаторы (кроме пластмассовых, бумажных или керамических), объем которых в восемь раз больше объема заполнителя, должны испытываться избыточным давлением 15 бар (1,5 МПа) в течение

с.
Испытания проводят в нормальном режиме работы оборудования, но могут быть выполнены без заполнителя.
5.1.2. Испытания оболочки на соответствие степени защиты
Испытания оболочки на соответствие степени ее защиты от внешних воздействий требованиям настоящего стандарта проводят на типовом образце электрооборудования по методике
ГОСТ 14254. Все вентиляционные устройства должны быть в рабочем состоянии. Эти испытания проводят после испытаний оболочки внутренним избыточным давлением в соответствии с
5.1.1 настоящего стандарта.
5.1.3. Горючесть материалов
Должны выполняться требования по горючести материала, предъявляемые
ГОСТ Р 51330.0.
5.1.4. Испытания диэлектрических свойств заполнителя
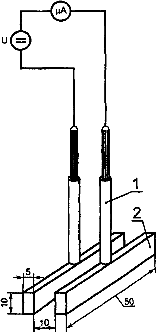
Диэлектрические свойства заполнителя определяют до процесса заполнения используемого образца заполнителя. Испытания проводят на установке, представленной на рисунке 1. Электроды погружают в заполнитель на глубину не менее 10 мм по всем направлениям.
1 - изоляция; 2 - латунные электроды
Предельные отклонения размеров +/- 1 мм
Рисунок 1. Испытательная установка для определения
диэлектрических свойств заполнителя
Испытания проводят в течение 24 ч при температуре (23 +/- 2) °C и относительной влажности воздуха 45 - 55%. К электродам прикладывают напряжение &1140 В& постоянного тока (допустимые колебания напряжения +5%).
Заполнитель соответствует требованиям, если ток утечки не превышает

А. Если заполнитель не выдержал испытаний, то повторно испытания не проводят.
5.1.5. Максимальные температуры
Если в качестве защитных устройств для ограничения температуры используют предохранители с плавкими вставками, то необходимо измерить в аварийном режиме максимальную температуру при длительном токе, не превышающем 1,7-кратный номинальный ток плавкой вставки, протекающий через цепь предохранителя.
Примечание. Чтобы смоделировать аварийные повреждения, которые могут привести к превышению температуры по сравнению с температурой при нормальном режиме работы, допускается применение более мощных компонентов, чем установленные в электрооборудовании, выделяющих необходимую максимальную энергию. Компоненты должны быть выбраны и установлены в оборудовании таким образом, чтобы они по тепловым характеристикам были репрезентативными по отношению к компонентам, вместо которых их устанавливают.
5.2. Приемосдаточные проверки и испытания
5.2.1. Приемосдаточные испытания оболочки повышенным давлением
Каждая оболочка объемом св. 100 см3 должна подвергаться индивидуальным испытаниям давлением 0,5 бар (50 кПа) в течение

с без появления остаточной деформации, превышающей 0,5 мм в каком-либо измерении.
Испытания проводят в нормальном режиме работы оборудования, но могут быть выполнены без заполнителя.
Если оболочка выдержала контрольные испытания четырехкратным давлением 0,5 или 15 бар (50 или 1500 кПа) в соответствии с
5.1.1, то индивидуальные испытания давлением можно не проводить.
5.2.2. Испытания заполняющего материала пробивным напряжением
Диэлектрические свойства заполнителя должны быть проверены на образце до процесса засыпки. Для этого используют испытательную установку, приведенную на
рисунке 1. Электроды должны быть погружены в заполняющий материал на глубину не менее 10 мм по всем направлениям. Испытательное напряжение &1140 В& постоянного тока (допустимые колебания напряжения +5%) подают при следующих климатических условиях:
- температура окружающей среды (23 +/- 2) °C;
- относительная влажность воздуха от 45 до 55%.
Если ток утечки не превышает

А, то заполнитель считают выдержавшим испытание.
Если заполнитель первоначально не соответствует этим требованиям, то он может быть высушен и переиспытан.
Маркировка должна соответствовать требованиям
ГОСТ Р 51330.0, а также содержать следующую дополнительную информацию:
- предупредительную надпись "Оболочка опломбирована. Открывать запрещается";
- каждое присоединяемое устройство (внешние подсоединения) должно иметь маркировку с указанием номинальных значений напряжения и тока (например: "24 В постоянного тока, 200 мА", "230 В, 100 мА");
- информационные данные внешнего предохранителя, если вид защиты зависит от такого предохранителя, например: "Требуется внешний предохранитель 315 мА";
- допустимые значения тока короткого замыкания питающей сети, если оборудование сконструировано для токов короткого замыкания, отличных от 1500 А в соответствии с
4.8.3, например: "Допустимый ток КЗ: 35 А".
БИБЛИОГРАФИЯ
[1] ИСО 565-90. Испытательные сетки. Металлическое проволочное полотно, перфорированные металлические листы и электросформированные листы. Номинальные размеры отверстий.