Главная // Актуальные документы // ГОСТ Р (Государственный стандарт)СПРАВКА
Источник публикации
М.: Стандартинформ, 2009
Примечание к документу
Документ утратил силу с 1 января 2014 года в связи с изданием
Приказа Росстандарта от 22.07.2013 N 433-ст. Взамен введен в действие
ГОСТ 30805.16.1.4-2013.
Введен в действие с 1 июля 2009 года.
Название документа
"ГОСТ Р 51318.16.1.4-2008 (СИСПР 16-1-4:2007). Требования к аппаратуре для измерения параметров индустриальных радиопомех и помехоустойчивости и методы измерений. Часть 1-4. Аппаратура для измерения параметров индустриальных радиопомех и помехоустойчивости. Устройства для измерения излучаемых радиопомех и испытаний на устойчивость к излучаемым радиопомехам"
(утв. Приказом Ростехрегулирования от 25.12.2008 N 707-ст)
"ГОСТ Р 51318.16.1.4-2008 (СИСПР 16-1-4:2007). Требования к аппаратуре для измерения параметров индустриальных радиопомех и помехоустойчивости и методы измерений. Часть 1-4. Аппаратура для измерения параметров индустриальных радиопомех и помехоустойчивости. Устройства для измерения излучаемых радиопомех и испытаний на устойчивость к излучаемым радиопомехам"
(утв. Приказом Ростехрегулирования от 25.12.2008 N 707-ст)
Утвержден и введен в действие
от 25 декабря 2008 г. N 707-ст
НАЦИОНАЛЬНЫЙ СТАНДАРТ РОССИЙСКОЙ ФЕДЕРАЦИИ
СОВМЕСТИМОСТЬ ТЕХНИЧЕСКИХ СРЕДСТВ ЭЛЕКТРОМАГНИТНАЯ
ТРЕБОВАНИЯ
К АППАРАТУРЕ ДЛЯ ИЗМЕРЕНИЯ ПАРАМЕТРОВ
ИНДУСТРИАЛЬНЫХ РАДИОПОМЕХ И ПОМЕХОУСТОЙЧИВОСТИ
И МЕТОДЫ ИЗМЕРЕНИЙ
ЧАСТЬ 1-4
АППАРАТУРА ДЛЯ ИЗМЕРЕНИЯ ПАРАМЕТРОВ ИНДУСТРИАЛЬНЫХ
РАДИОПОМЕХ И ПОМЕХОУСТОЙЧИВОСТИ. УСТРОЙСТВА ДЛЯ ИЗМЕРЕНИЯ
ИЗЛУЧАЕМЫХ РАДИОПОМЕХ И ИСПЫТАНИЙ НА УСТОЙЧИВОСТЬ
К ИЗЛУЧАЕМЫМ РАДИОПОМЕХАМ
Electromagnetic compatibility of technical equipment.
Specification for radio disturbance and immunity measuring
apparatus and methods. Part 1-4. Radio disturbance
and immunity measuring apparatus. Radiated radio
disturbance measuring and immunity test apparatus
CISPR 16-1-4:2007
Specification for radio disturbance and immunity measuring
apparatus and methods - Part 1-4: Radio disturbance
and immunity measuring apparatus - Ancillary
equipment - Radiated disturbances
(MOD)
ГОСТ Р 51318.16.1.4-2008
(СИСПР 16-1-4:2007)
Группа Э02
Дата введения
1 июля 2009 года
Цели и принципы стандартизации в Российской Федерации установлены Федеральным
законом от 27 декабря 2002 г. N 184-ФЗ "О техническом регулировании", а правила применения национальных стандартов Российской Федерации -
ГОСТ Р 1.0-2004 "Стандартизация в Российской Федерации. Основные положения".
1. Разработан ФГУП "Ленинградский отраслевой научно-исследовательский институт радио" (ЛОНИИР) и Техническим комитетом по стандартизации ТК 30 "Электромагнитная совместимость технических средств" на основе собственного аутентичного перевода стандарта, указанного в
пункте 4.
2. Внесен Техническим комитетом по стандартизации ТК 30 "Электромагнитная совместимость технических средств".
3. Утвержден и введен в действие
Приказом Федерального агентства по техническому регулированию и метрологии от 25 декабря 2008 г. N 707-ст.
| | ИС МЕГАНОРМ: примечание. Текст, выделенный курсивом в официальном тексте документа, в электронной версии документа отмечен знаком "&". | |
4. Настоящий стандарт является модифицированным по отношению к международному стандарту СИСПР 16-1-4:2007 "Требования к аппаратуре для измерения радиопомех и помехоустойчивости и методы измерений. Часть 1-4. Аппаратура для измерения радиопомех и помехоустойчивости. Вспомогательное оборудование. Излучаемые радиопомехи" (CISPR 16-1-4:2007 "Specification for radio disturbance and immunity measuring apparatus and methods - Part 1-4: Radio disturbance and immunity measuring apparatus - Ancillary equipment - Radiated disturbances"). При этом дополнительные положения и требования, включенные в текст стандарта для учета потребностей национальной экономики Российской Федерации и особенностей российской национальной стандартизации, выделены в тексте курсивом.
Наименование настоящего стандарта изменено относительно наименования указанного международного стандарта для приведения в соответствие с ГОСТ Р 1.5-2004
(подраздел 3.5).
При применении настоящего стандарта рекомендуется использовать вместо ссылочных международных стандартов соответствующие им национальные стандарты Российской Федерации, сведения о которых приведены в дополнительном
Приложении G.
5. Введен впервые.
Информация об изменениях к настоящему стандарту публикуется в ежегодно издаваемом информационном указателе "Национальные стандарты", а текст изменений и поправок - в ежемесячно издаваемых информационных указателях "Национальные стандарты". В случае пересмотра (замены) или отмены настоящего стандарта соответствующее уведомление будет опубликовано в ежемесячно издаваемом информационном указателе "Национальные стандарты". Соответствующая информация, уведомления и тексты размещаются также в информационной системе общего пользования - на официальном сайте Федерального агентства по техническому регулированию и метрологии в сети Интернет.
Предисловие к СИСПР 16-1-4:2007
Международный стандарт СИСПР 16-1-4:2007 подготовлен Международным специальным комитетом по радиопомехам (СИСПР) Международной электротехнической комиссии (МЭК), подкомитетом А "Измерения радиопомех и статистические методы".
Настоящее второе издание международного стандарта СИСПР 16-1-4:2007 отменяет и заменяет первое издание, опубликованное в 2003 г., Изменение 1 (2004 г.) и Изменение 2 (2005 г.).
Настоящий стандарт является основополагающим стандартом, устанавливающим характеристики и качество функционирования устройств для измерения излучаемых индустриальных радиопомех (ИРП) и испытаний на устойчивость к излучаемым радиопомехам в полосе частот от 9 кГц до 18 ГГц.
Настоящий стандарт устанавливает технические требования к измерительным площадкам, измерительным антеннам, ТЕМ-камерам и реверберационным камерам.
Требования настоящего стандарта должны выполняться на всех частотах и для всех уровней излучаемых радиопомех в пределах диапазонов измерений СИСПР, установленных для измерительных устройств.
Методы измерений приведены в
[1] <1>, общая информация, относящаяся к ИРП, - в
[2].
--------------------------------
<1> &Национальный стандарт на основе применения&
[1] &находится на разработке. До введения указанного национального стандарта в действие допускается при установлении методов измерений применять
ГОСТ Р 51320.&
| | ИС МЕГАНОРМ: примечание. ГОСТ Р 51318.16.4.2-2006 утратил силу с 1 января 2014 года в связи с введением в действие ГОСТ 30805.16.4.2-2013 (Приказ Росстандарта от 22.07.2013 N 430-ст). | |
Информация о неопределенностях измерений, статистике и моделировании норм ИРП приведена в &ГОСТ Р 51318.16.4.2& и
[3].
В настоящем стандарте использованы нормативные ссылки на следующие стандарты:
ГОСТ Р 51318.16.1.1-2007 (СИСПР 16-1-1:2006). Совместимость технических средств электромагнитная. Требования к аппаратуре для измерения параметров индустриальных радиопомех и помехоустойчивости и методы измерений. Часть 1-1. Аппаратура для измерения параметров индустриальных радиопомех и помехоустойчивости. Приборы для измерения индустриальных радиопомех
| | ИС МЕГАНОРМ: примечание. ГОСТ Р 51318.16.4.2-2006 утратил силу с 1 января 2014 года в связи с введением в действие ГОСТ 30805.16.4.2-2013 (Приказ Росстандарта от 22.07.2013 N 430-ст). | |
ГОСТ Р 51318.16.4.2-2006 (СИСПР 16-4-2:2003). Совместимость технических средств электромагнитная. Неопределенность измерений в области электромагнитной совместимости
ГОСТ Р 51320-99. Совместимость технических средств электромагнитная. Радиопомехи индустриальные. Методы испытаний технических средств - источников индустриальных радиопомех
Примечание. При пользовании настоящим стандартом целесообразно проверить действие ссылочных стандартов в информационной системе общего пользования - на официальном сайте Федерального агентства по техническому регулированию и метрологии в сети Интернет или по ежегодно издаваемому информационному указателю "Национальные стандарты", который опубликован по состоянию на 1 января текущего года, и по соответствующим ежемесячно издаваемым информационным указателям, опубликованным в текущем году. Если ссылочный стандарт заменен (изменен), то при пользовании настоящим стандартом следует руководствоваться заменяющим (измененным) стандартом. Если ссылочный стандарт отменен без замены, то положение, в котором дана ссылка на него, применяется в части, не затрагивающей эту ссылку.&
В настоящем стандарте применены термины по &
ГОСТ 30372-95&
[4], а также следующие термины с соответствующими определениями:
3.1. Ширина полосы пропускания (bandwidth)

: ширина полосы частот измерительного приемника, на границах которой значение характеристики его частотной избирательности равно заданному значению в децибелах. Индекс n - заданное значение характеристики частотной избирательности.
3.2. Диапазон измерений СИСПР (CISPR indicating range): диапазон измерений, установленный производителем, определяющий максимальное и минимальное показания прибора, в пределах которых измерительный приемник отвечает требованиям настоящего стандарта.
3.3. Измерительная площадка для определения градуировочных коэффициентов антенн (calibration test site): открытая измерительная площадка с металлической пластиной заземления, имеющая строго определенную характеристику затухания при горизонтальной и вертикальной поляризациях электромагнитного поля.
Результаты измерения затухания данной измерительной площадки сравнивают с результатами измерения затухания измерительной площадки для испытаний технических средств (ТС) на соответствие нормам ИРП для того, чтобы оценить качество функционирования измерительной площадки для испытаний ТС на соответствие нормам.
3.4. Измерительная площадка для испытаний ТС на соответствие нормам ИРП (compliance test site): измерительная площадка, отвечающая условиям, при которых обеспечивается правильность и повторяемость результатов измерений напряженности поля ИРП от испытуемого ТС для сравнения их с соответствующей установленной нормой.
3.5. Антенна (antenna): часть передающей или приемной системы, предназначенная для излучения или приема электромагнитных волн.
Примечания. 1. В контексте требований настоящего стандарта симметрирующее устройство является частью антенны.
2. См. также 3.7.
3.6. Симметрирующее устройство (balun): пассивная электрическая схема для перехода от симметричной линии передачи (или симметричного устройства) к несимметричной и наоборот.
3.7. Резонансный диполь свободного пространства (free-space resonant dipole): проволочная антенна, состоящая из двух прямых соосных проводников одинаковой длины, расположенных концами друг к другу и разделенных небольшим зазором. При этом длина каждого проводника приблизительно равна четверти длины волны, так что на этой частоте входное полное сопротивление проволочной антенны, измеренное на зазоре, будет активным, что соответствует характеристикам диполя, расположенного в свободном пространстве.
Примечания. 1. В контексте требований настоящего стандарта данная проволочная антенна, подсоединенная к симметрирующему устройству, также называется "измерительной антенной".
2. Данная проволочная антенна также называется "настроенным симметричным вибратором".
3.8. Затухание площадки (site attenuation): затухание между двумя определенными точками на измерительной площадке, определяемое в результате двух измерений как значение вносимых потерь, когда непосредственное электрическое соединение между выходом генератора и входом измерителя ИРП заменяется подключением передающей антенны к выходу генератора и приемной антенны - ко входу измерителя ИРП.
3.9. Измерительная антенна (антенна для проведения измерений) (test antenna): комбинация резонансного диполя свободного пространства и соответствующего симметрирующего устройства.
Примечание. Данное определение термина - только для использования в настоящем стандарте.
3.10. Проволочная антенна (wire antenna): определенная конструкция, состоящая из одной или более металлических проволок или штырей для излучения или приема электромагнитных волн.
Примечание. Проволочная антенна не имеет симметрирующего устройства.
3.11. Полностью безэховая камера (fully anechoic room): экранированное помещение, внутренние поверхности которого полностью покрыты высокочастотным материалом (ВЧ поглотителем), поглощающим электромагнитную энергию в рабочей полосе частот.
3.12. Измерительная площадка квазисвободного пространства (quasi-free space test site): измерительная площадка, затухание которой на любой частоте рабочего диапазона, измеренное с помощью настроенных симметричных вибраторов с вертикальной поляризацией, отличается не более чем на +/- 1 дБ от расчетного значения затухания в свободном пространстве.
3.13. Рабочий объем (test volume): объем в полностью безэховой камере, в котором размещается испытуемое ТС.
Примечание. В данном объеме выполняются требования к измерительной площадке квазисвободного пространства. Поверхности, ограничивающие данный объем, обычно находятся на расстоянии 0,5 м или более от поглощающего материала полностью безэховой камеры.
&3.14. Измеритель напряженности поля: измерительный комплект, состоящий из измерителя ИРП, калиброванной измерительной антенны и ВЧ кабеля.
3.15.
┌─────────────────────────────────────────────────────────────────────────┐
│ Валидация: подтверждение на основе представления объективных│
│свидетельств того, что требования, предназначенные для конкретного│
│предлагаемого использования или применения, выполнены. │
└─────────────────────────────────────────────────────────────────────────┘
4. Антенны для измерения излучаемых ИРП
Антенна и схема ее подключения к измерителю ИРП не должны существенным образом влиять на общие характеристики измерителя ИРП. Если антенна подсоединяется к измерителю ИРП, измерительная система должна соответствовать требованиям по ширине полосы, установленным в &ГОСТ Р 51318.16.1.1& для соответствующей полосы частот.
Антенна должна иметь линейную поляризацию. Она должна быть ориентирована так, чтобы можно было провести измерения при соответствующей поляризации поля. Может потребоваться регулировка высоты центра антенны над землей в соответствии с применяемым методом испытаний.
Примечание. Дополнительная информация о параметрах широкополосных антенн приведена в
Приложении A.
4.1. Погрешность измерения напряженности поля
Погрешность измерения напряженности однородного поля синусоидального характера должна быть не хуже +/- 3 дБ. При измерениях должна быть использована антенна, соответствующая требованиям
раздела 4, с измерительным приемником, соответствующим требованиям &ГОСТ Р 51318.16.1.1&.
Примечание. Данное требование не учитывает влияния измерительной площадки.
4.2. Полоса частот от 9 до 150 кГц
Опыт показал, что в данной полосе частот именно магнитная составляющая поля является основной причиной наблюдаемых эффектов воздействия ИРП.
Для измерений магнитной составляющей излучения может быть использована электрически экранированная рамочная антенна в виде квадрата со сторонами, равными 60 см, либо соответствующая ферритовая антенна.
Напряженность магнитного поля измеряется в мкА/м или в дБ (исх. 1 мкА/м). Далее в тексте вместо дБ (исх. 1 мкА/м) применяется форма записи дБ (1 мкА/м). Значение нормы излучаемых ИРП в полосе частот от 9 до 150 кГц также должно быть выражено в этих единицах.
Примечание. Возможно проведение прямых измерений магнитной составляющей напряженности излучаемого поля в дБ (1 мкА/м) или мкА/м в ближней и дальней зонах. Однако многие измерители напряженности поля градуированы в единицах эквивалентной напряженности электрического поля плоской волны дБ (исх. 1 мкВ/м) [далее дБ (1 мкВ/м)], т.е. при допущении, что соотношение составляющих E и H равно

(377 Ом). Это допущение справедливо в условиях дальней зоны на расстояниях от источника, превышающих 1/6 длины волны

, и в этих случаях значение составляющей H может быть получено делением значения E, отмеченного на измерителе ИРП, на 377 или вычитанием значения 51,5 дБ из значения E, дБ (1 мкВ/м), что дает значение H, дБ (1 мкА/м).
Следует иметь в виду, что приведенное выше фиксированное соотношение значений H и E применимо только в условиях дальней зоны.
Для получения значения H, мкА/м, необходимо разделить показание E, мкВ/м, на 377 Ом:
H (мкА/м) = E [(мкВ/м)]/377 (Ом). (1)
Значение H, дБ (1 мкА/м), получают вычитанием значения 51,5, дБ (исх. 1 Ом) [далее дБ (1 Ом)], из показания E, дБ (1 мкВ/м):
H [дБ (1 мкА/м)] = E [дБ (1 мкВ/м)] - 51,5 [дБ (1 Ом)]. (2)
Полное сопротивление Z = 377 Ом или в логарифмических единицах, 20 log Z = 51,5 дБ (1 Ом), используемое в приведенных выше преобразованиях, представляет собой постоянную величину.
Симметрия антенны должна быть такой, чтобы при вращении антенны в однородном поле уровень напряжения на выходе антенны при перекрестной поляризации поля был, по крайней мере, на 20 дБ ниже уровня, измеренного при параллельной поляризации.
4.3. Полоса частот от 150 кГц до 30 МГц
4.3.1. Электрическая антенна
Для измерения электрической составляющей излучения допускается использование как симметричной, так и несимметричной антенны. Если используется несимметричная (штыревая) антенна, то будет измеряться только значение при вертикальной поляризации электрического поля. Тип используемой антенны должен быть указан вместе с результатами измерений в протоколе.
Примечание. Информация, относящаяся к расчету характеристик функционирования штыревой антенны длиной 1 м, и характеристики схемы ее согласования приведены в
Приложении B.
Если расстояние между источником излучения и антенной менее 10 м, то общая длина антенны должна быть равна 1 м. Для расстояний более 10 м рекомендуемая длина антенны - 1 м, однако возможна и другая длина антенны, но она не должна превышать 10% длины измерительного расстояния.
Единицей измерения напряженности электрического поля является мкВ/м или, в логарифмических единицах, дБ (1 мкВ/м).
Нормы излучаемых ИРП должны быть выражены в этих единицах.
4.3.2. Магнитная антенна
Для измерений магнитной составляющей излучения должна использоваться электрически экранированная рамочная антенна в соответствии с
4.2.1.
Для выполнения измерений магнитных полей, имеющих низкое значение напряженности, вместо ненастроенных электрически экранированных рамочных антенн допускается использовать настроенные электрически симметричные рамочные антенны.
4.3.3. Симметрия антенны
Если используется симметричная электрическая или магнитная антенна, она должна соответствовать требованиям
4.2.2.
4.4. Полоса частот от 30 до 300 МГц
4.4.1. Электрическая антенна
В качестве опорной антенны применяют симметричный диполь.
4.4.1.1. Симметричный диполь
Для частот 80 МГц или выше антенна должна быть настраиваемой, а для частот ниже 80 МГц размер антенны должен соответствовать частоте 80 МГц. Антенна должна быть согласована с антенным кабелем с помощью согласующей цепи (устройства). Подсоединение к входу измерительного оборудования должно осуществляться после преобразования симметричного сигнала в несимметричный.
4.4.1.2. Укороченный диполь
Допускается применять диполь короче половины длины волны при выполнении следующих условий:
a) его общая длина должна быть более 1/10 длины волны на частоте измерения;
b) диполь подсоединяют к кабелю, достаточно хорошо согласованному со стороны измерителя ИРП, что гарантирует значение коэффициента стоячей волны по напряжению

на кабеле не более 2 - 1. При определении градуировочного коэффициента диполя значение

должно быть учтено;
c) диполь должен обладать симметрией, аналогичной симметрии настроенного диполя (см.
4.4.2). Для этого может быть использован симметрирующий трансформатор;
d) для определения значения измеряемой напряженности поля используется градуировочная кривая, причем градуировочные коэффициенты антенны измеряют при соблюдении измерительного расстояния (т.е. при расстоянии, равном не менее трех длин диполя);
Примечание. Полученные таким образом градуировочные коэффициенты антенны должны обеспечить выполнение требования к погрешности измерений (не хуже +/- 3 дБ) однородных синусоидальных полей.
Примеры градуировочных коэффициентов приведены на
рисунке 1. Коэффициенты отражают теоретическую зависимость между напряженностью поля и напряжением на входе измерителя ИРП с входным полным сопротивлением 50 Ом для различных отношений I/d (см.
рисунок 1). При построении данного графика симметрирующее устройство считается идеальным трансформатором с коэффициентом передачи, равном единице. Однако в графике на
рисунке 1 не учтены потери в симметрирующем устройстве и кабеле, а также потери, обусловленные рассогласованием между кабелем и измерителем ИРП.
Рисунок 1. Градуировочные коэффициенты коротких
дипольных антенн при

e) несмотря на снижение чувствительности измерителя напряженности поля ИРП при большом значении градуировочного коэффициента антенны, обусловленное малой длиной диполя, предел измерения измерителя напряженности поля (определяемый, например, шумом измерителя ИРП и коэффициентом передачи диполя) должен быть на 10 дБ ниже уровня измеряемого сигнала.
4.4.1.3. Широкополосная антенна
Использование широкополосной антенны допускается при условии, что она соответствует требованиям, установленным в
4.5.2 для сложной антенны.
4.4.2.1. Введение
На поверхности кабеля, подсоединенного к приемной антенне (антенного кабеля), в процессе измерения ИРП могут возникать общие несимметричные токи. Эти общие несимметричные токи создают электромагнитные поля, которые могут восприниматься антенной и оказывать влияние на результаты измерения излучаемых ИРП.
Наибольшее влияние при наведении общих несимметричных токов в антенном кабеле оказывают:
a) электрическое поле, создаваемое испытуемым ТС, если поле имеет составляющую, параллельную антенному кабелю;
b) преобразование симметричного (полезного) сигнала антенны в общий несимметричный сигнал из-за несовершенства симметрирующего устройства приемной антенны.
В данном подпункте рассматривается влияние преобразования симметричного сигнала в общий несимметричный сигнал в симметрирующем устройстве на результаты измерения излучаемых ИРП.
Оценка влияния электрического поля, создаваемого испытуемым ТС [см. перечисление a)] - на рассмотрении (см. также
примечание 1 к 4.4.2.2).
Как правило, логопериодические дипольные антенные решетки не требуют проверки преобразования симметричного сигнала в общий несимметричный сигнал в симметрирующем устройстве. С другой стороны, симметрирующие устройства дипольных, биконических и гибридных (совмещенных) биконическо-логопериодических антенн должны быть проверены.
4.4.2.2. Проверка преобразования симметричного сигнала в общий несимметричный сигнал в симметрирующем устройстве
Приведенный ниже метод основан на измерении двух напряжений

и

в полосе частот использования приемной антенны. Отношение этих напряжений, выраженных в одинаковых единицах (например, в дБ (1 мкВ/м)), является характеристикой преобразования симметричного сигнала в общий несимметричный сигнал в симметрирующем устройстве. Порядок проведения испытаний:
1) Испытуемую приемную антенну с вертикальной поляризацией устанавливают так, чтобы ее центр находился на высоте 1,5 м над пластиной заземления. Антенный кабель выводят горизонтально на (1,5 +/- 0,1) м за последний приемный элемент антенны, а затем опускают его вертикально до пластины заземления, подводят к измерителю ИРП и подключают.
2) Передающую антенну с вертикальной поляризацией размещают на расстоянии 10 м (по горизонтали от центра испытуемой антенны) и устанавливают ее на высоте, при которой конец вибратора антенны находится на расстоянии 0,10 м от пластины заземления. Если на измерительной площадке обеспечивается измерительное расстояние 3 м, то необходимо провести проверку преобразования симметричного сигнала в общий несимметричный сигнал в симметрирующем устройстве, используя расстояние 3 м (если проверка преобразования уже была проведена при расстоянии 10 м и показала изменение менее +/- 0,5 дБ, то в проведении отдельного измерения при расстоянии 3 м нет необходимости).
3) Передающую антенну соединяют с источником сигнала, например, со следящим генератором; установив выходной уровень генератора таким, чтобы во всей рассматриваемой полосе частот отношение сигнал/шум превышало 10 дБ (к шумам относят внешние помехи и собственные шумы измерителя ИРП).
4) Регистрируют в рассматриваемой полосе частот напряжение измерителя ИРП

.
5) Испытуемую приемную антенну поворачивают на 180°, не меняя положения антенного кабеля и не вводя каких-либо изменений в размещение передающей антенны.
6) Регистрируют в рассматриваемой полосе частот напряжение измерителя ИРП

.
7) Вычисляют значение

; если

, то преобразование симметричного сигнала в общий несимметричный сигнал в симметрирующем устройстве будет достаточно низким.
Примечания. 1. Если критерий преобразования симметричного сигнала в общий несимметричный сигнал в симметрирующем устройстве по перечислению 7) не выполняется, то уровень общих несимметричных токов может быть уменьшен за счет установки ферритовых колец на антенный кабель. Ферритовые кольца также могут быть использованы для проверки влияния на антенный кабель электрического поля, создаваемого испытуемым ТС [см.
4.4.2.1, перечисление a)]. Целесообразно повторить измерения по
перечислениям 1) -
7) при установке на антенный кабель четырех ферритовых колец на расстоянии 20 см друг от друга. Если при использовании этих колец требования к преобразованию симметричного сигнала в общий несимметричный сигнал в симметрирующем устройстве будут обеспечены, то ферритовые кольца должны применяться при проведении измерений излучаемых ИРП. Кроме того, уменьшить наводку на антенный кабель возможно путем его протягивания на несколько метров по оси симметрии антенны, прежде чем опустить его к пластине заземления.
2. Если испытуемая приемная антенна установлена в полностью безэховой камере, возможно проведение проверки преобразования симметричного сигнала в общий несимметричный сигнал в симметрирующем устройстве в данной камере. При этом приемная антенна должна располагаться в месте выполнения измерений, а передающая антенна - в центре рабочего объема этой камеры. Камера должна отвечать критерию +/- 4 дБ.
3. Измерительная площадка с пластиной заземления или полностью безэховая камера должны соответствовать требованиям, предъявляемым к нормализованному затуханию площадки.
4. Во время измерений излучаемых ИРП при вертикальной поляризации необходимо, чтобы антенный кабель располагался горизонтально на расстоянии не менее 1,5 м по оси симметрии антенны.
5. Эффект наводки общих несимметричных токов в большой степени обусловлен взаимодействием антенны и части антенного кабеля, проходящего параллельно элементам антенны. Существует и значительно меньшее воздействие, которое зависит от неоднородности поля, воздействующего на антенну при стандартных условиях измерений на открытых измерительных площадках или в полностью безэховой камере.
6. У симметрирующих устройств, имеющих разъем для подключения кабеля измерителя ИРП сбоку (90° по направлению к траверсе антенны), следует использовать прямоугольный разъем для минимизации сдвига кабеля.
4.4.3. Кросс-поляризационная характеристика антенны
При размещении антенны в плоскополяризованном электромагнитном поле напряжение на нагрузке при ортогональной поляризации антенны и поля должно быть не менее чем на 20 дБ ниже напряжения на нагрузке при совпадении поляризации поля и антенны. Требование к кросс-поляризационной характеристике антенны следует применять к логопериодическим дипольным антенным решеткам, две половины каждого диполя которых расположены друг за другом. Следует учитывать, что большинство испытаний с применением таких антенн проводят на частотах свыше 200 МГц, а данное требование относится также к измерениям на частотах ниже 200 МГц. Однако для дипольных и биконических антенн данное требование не является обязательным, поскольку в силу симметрии их конструкции коэффициент ослабления поперечной поляризации у них более 20 дБ, причем данное значение является неотъемлемой характеристикой таких антенн. Эти антенны, а также рупорные антенны должны иметь коэффициент ослабления поперечной поляризации более 20 дБ, что должно быть подтверждено типовым испытанием, проводимым изготовителем антенн.
Для обеспечения условий квазисвободного пространства (см.
3.12) следует использовать безэховую камеру высокого качества или штативы для установки антенн на открытом полигоне, обеспечивающие установку антенн на достаточной высоте над землей. Для минимизации отражений от земли следует применять измерительные антенны с вертикальной поляризацией. Испытуемая антенна должна облучаться плоской волной. Разнесение между центром испытуемой антенны и антенной источника сигнала должно быть более одной длины волны.
Примечание. Для обеспечения облучения испытуемой антенны плоской волной необходимо использовать измерительную площадку хорошего качества.
Если мешающий сигнал на 20 дБ ниже уровня полезного сигнала, максимальное значение погрешности измерения полезного сигнала будет +/- 0,9 дБ. Максимальная погрешность возникает, если сигнал с поперечной поляризацией находится в фазе с сигналом с совпадающей (продольной) поляризацией.
Если отклик при приеме логопериодической дипольной антенной решеткой сигнала с поперечной поляризацией менее 20 дБ по сравнению с откликом при приеме сигнала с продольной поляризацией, оператор должен рассчитать неопределенность измерений и привести ее значение в протоколе вместе с результатом измерения.
Например, если для антенны отклик на сигнал с поперечной поляризацией равен минус 14 дБ относительно полезного сигнала с продольной поляризацией (уровень полезного сигнала 0 дБ), то максимальная неопределенность измерений будет иметь значение от минус 1,9 до плюс 1,6 дБ.
Для получения границ интервала неопределенности измерений необходимо сначала преобразовать напряжение путем деления сигналов с уровнем 0 дБ и 14 дБ на 20 и вычислить антилогарифм. Затем необходимо сложить меньший сигнал с большим, провести логарифмирование и полученный результат умножить на 20. В результате получится значение положительной погрешности измерения 1,6 дБ. Затем необходимо повторить эти вычисления при вычитании меньшего сигнала из большего, в результате получится значение отрицательной погрешности измерения минус 1,9 дБ.
| | ИС МЕГАНОРМ: примечание. ГОСТ Р 51318.16.4.2-2006 утратил силу с 1 января 2014 года в связи с введением в действие ГОСТ 30805.16.4.2-2013 (Приказ Росстандарта от 22.07.2013 N 430-ст). | |
При расчете стандартной неопределенности измерений используют большее значение при U-образной функции распределения вероятностей (см. &ГОСТ Р 51318.16.4.2&).
При вычислении значения неопределенности измерений излучаемых ИРП следует иметь в виду, что если уровень сигнала, измеренного при одной поляризации, превышает на 6 дБ или более уровень сигнала, измеренного при ортогональной поляризации, то логопериодическая дипольная антенная решетка, отклик которой на сигнал с поперечной поляризацией равен минус 14 дБ относительно отклика при приеме сигнала с продольной поляризацией, должна считаться отвечающей требованиям 20 дБ. Если разность между уровнями сигналов при вертикальной и горизонтальной поляризациях менее 6 дБ, то при использовании логопериодической дипольной антенной решетки, отклик которой при приеме сигнала с поперечной поляризацией составляет минус 14 дБ относительно отклика при приеме сигнала с продольной поляризацией, следует рассчитать дополнительную неопределенность измерений.
4.5. Полоса частот от 300 до 1000 МГц
4.5.1. Электрическая антенна
Если используется симметричный вибратор, то его характеристики должны соответствовать требованиям
4.4.1.1 и
4.4.2.
Так как в полосе частот от 300 до 1000 МГц чувствительность простой дипольной антенны низка, можно использовать более сложную антенну. Такая антенна должна удовлетворять условиям перечислений a) -
d):
a) антенна должна иметь плоскую поляризацию. Симметрия антенны должна быть проверена так же, как симметрия простой дипольной антенны;
b) главный лепесток диаграммы излучения антенны должен быть таким, чтобы отклики в направлении прямого луча и в направлении луча, отраженного от земли, отличались не более чем на 1 дБ.
Чтобы выполнить данное условие, полный вертикальный угол раскрыва

измерительной антенны, внутри которого коэффициент усиления антенны находится в пределах 1 дБ от максимального значения, должен быть таким, чтобы:
- при установке измерительной антенны в горизонтальное положение, соблюдалось условие

, (3)
- при наклоне измерительной антенны в направлении земли в оптимальном положении (так, что прямой и отраженный лучи попадают в апертуру

), соблюдалось условие

, (4)
где

- высота измерительной антенны;

- высота установки испытуемого ТС;
d - расстояние по горизонтали между измерительной антенной и испытуемым ТС.
При измерении диаграммы направленности антенну ориентируют для измерения поля вертикальной поляризации, а диаграмму измеряют в горизонтальной плоскости. При этом полагают, что диаграмма направленности антенны и, в частности, угол раскрыва антенны

при горизонтальной поляризации те же, что и в случае измерения при вертикальной поляризации. Важно также учесть изменение эффективного расстояния антенны от источника и изменение ее коэффициента усиления при изменении частоты;
c) КСВ по напряжению антенны с подсоединенным антенным кабелем, измеренный со стороны измерителя ИРП, не должен быть более двух;
d) должен быть установлен градуировочный коэффициент антенны, обеспечивающий выполнение требований к погрешности измерений по
4.1.
4.6. Полоса частот от 1 до 18 ГГц
Измерения излучаемых помех на частотах свыше 1 ГГц должны проводиться с использованием линейно поляризованных антенн. К ним относятся двойные гребенчатые волноводные рупоры, волноводные рупоры прямоугольного сечения, пирамидальные рупоры, рупоры с оптимальным усилением (оптимальные рупорные антенны) и рупоры с установленным усилением (опорные рупорные антенны). Ширина главного лепестка диаграммы направленности любой используемой антенны должна быть достаточно большой для охвата испытуемого ТС при его размещении на требуемом измерительном расстоянии или должны быть предусмотрены меры для перемещения испытуемого ТС с тем, чтобы обнаружить направление или источник излучаемых им помех. Ширину главного лепестка определяют на уровне минус 3 дБ от максимального значения, а информация, дающая возможность определения этого параметра, должна быть указана в технической документации на конкретную антенну. Размеры рупорных антенн должны быть достаточно малы, чтобы измерительное расстояние

, м, было равно или превышало минимальное расстояние:

, (5)
где D - наибольший размер раскрыва антенны, м;

- длина волны в свободном пространстве на частоте измерения, м.
В спорном случае преимущество отдается результатам измерений, выполненным с рупорной антенной с установленным усилением или аналогичной рупорной антенной, с предварительно определенными градуировочными коэффициентами.
Примечание. Для выполнения измерений в полосе частот от 1 до 18 ГГц может быть использована любая линейно поляризованная антенна с определенными градуировочными коэффициентами, например логопериодическая вибраторная антенна. В данной полосе частот коэффициент усиления многих антенн, отличных от рупорных, может быть недостаточным, особенно при использовании в качестве измерителя ИРП анализаторов спектра. Следует убедиться, что при используемом измерительном расстоянии полная чувствительность измерения будет, по крайней мере, на 6 дБ ниже применяемой нормы, и что любые меры, используемые для повышения чувствительности (например предусилитель), не вызовут искажений, паразитных сигналов или других проблем, связанных с перегрузкой. Так как ширина диаграммы направленности логопериодической вибраторной антенны больше, чем у рупорной антенны, то при измерениях, проводимых с логопериодической вибраторной антенной, отражения от пластины заземления могут вызвать значительную погрешность.
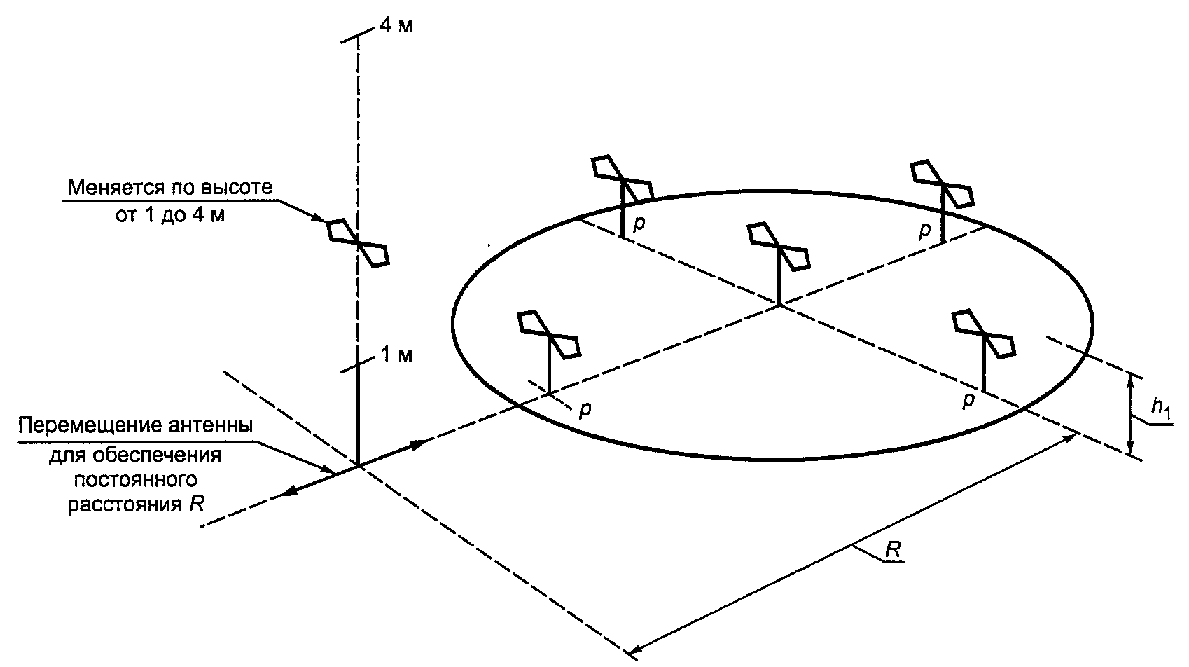
4.7. Система рамочных антенн
В полосе частот от 9 кГц до 30 МГц влияние магнитной составляющей поля ИРП, излучаемого одиночным испытуемым ТС, может быть определено с помощью специальной системы рамочных антенн. При использовании системы рамочных антенн магнитные составляющие поля ИРП измеряют в единицах силы тока, наводимого магнитным полем во взаимно перпендикулярных больших рамочных антеннах. Применение системы рамочных антенн позволяет проводить измерения в помещении.
Система рамочных антенн состоит из трех круговых антенн диаметром 2 м (трехкоординатных рамочных антенн, ТРА), установленных на неметаллической подставке.
Примечание. Описание системы рамочных антенн приведено в
Приложении C.
Испытуемое ТС устанавливают в центре системы рамочных антенн. Максимальные размеры испытуемого ТС должны быть такими, чтобы расстояния между границами ТС и ТРА были не менее 0,2 м. Кабели, подключаемые к испытуемому ТС, должны быть собраны вместе и выходить из объема рамки в одном октанте камеры на расстоянии не менее 0,4 м от любой рамочной антенны.
Примечание. Методические указания по прокладке сигнальных кабелей приведены в
Приложении C.
Наличие трех взаимно перпендикулярных рамочных антенн (ТРА) позволяет проводить измерения излучаемого поля для всех видов поляризации с необходимой точностью и без вращения испытуемого ТС или изменения ориентации рамочных антенн.
Каждая из трех рамочных антенн должна пройти процедуру валидации в соответствии с требованиями, изложенными в Приложении C,
раздел C.4.
Примечание. Допускается применение круговых рамочных антенн диаметром, отличным от диаметра 2 м, при условии, что их диаметр D <= 4 м и расстояние между испытуемым ТС и рамочной антенной составляет не менее 0,1D. Коэффициенты коррекции для нестандартных диаметров см. в Приложении C,
раздел C.6.
5. Измерительные площадки для измерения напряженности
поля ИРП в полосе частот от 30 до 1000 МГц
При проведении измерений напряженности поля ИРП от испытуемых ТС необходимы условия окружающей обстановки, обеспечивающие правильность и повторяемость результатов измерений. Для ТС, испытания которых могут быть проведены только на месте их эксплуатации, необходимо использовать другие условия.
5.1. Открытая измерительная площадка
Измерения напряженности поля помех обычно проводят на открытой измерительной площадке. Открытые измерительные площадки представляют собой площадки, отличительной особенностью которых является ровный горизонтальный характер земной поверхности. Такие площадки должны быть свободны от зданий, электрических линий, ограждений, деревьев и т.п., а также свободны от подземных кабелей, трубопроводов и т.п. за исключением тех, которые необходимы для питания и работы испытуемого ТС.
Примечания. 1. Особенности конструкции открытых измерительных площадок для измерений электромагнитных полей в полосе частот от 30 МГц до 1 ГГц приведены в
Приложении D.
2. Процедура валидации открытой измерительной площадки установлена в
5.6. Дополнительная информация, относящаяся к валидации измерительных площадок, приведена в
Приложении E.
3. Критерий пригодности измерительной площадки см. в
Приложении F.
5.2. Укрытия для защиты от атмосферных воздействий
Если измерительная площадка используется в течение всего года, она должна иметь защиту от негативных атмосферных воздействий. Конструкция защитного сооружения может обеспечивать защиту либо всей площадки, включая испытуемое ТС и измерительную антенну, либо только испытуемого ТС. Используемые материалы должны быть прозрачными для радиочастотного излучения, чтобы не вызывать нежелательных отражений и затухания излучаемого поля испытуемого ТС.
Защитное сооружение должно иметь форму, позволяющую легко удалять снег, лед или воду.
Примечание. Более подробная информация приведена в
Приложении D.
5.3. Зона, свободная от препятствий
Для открытых измерительных площадок при измерении напряженности поля требуется зона вокруг испытуемого ТС и измерительной антенны, свободная от препятствий. Эта зона должна быть свободна от крупных объектов, отражающих электромагнитные поля, и должна быть достаточно большой, чтобы такие объекты вне свободной зоны оказывали минимальное воздействие на поля, измеряемые с помощью антенны. Для определения адекватности зоны, свободной от препятствий, необходимо провести испытания с целью валидации открытой измерительной площадки.
Так как параметры поля, отраженного от объекта, зависят от многих факторов (размера объекта, расстояния и ориентации относительно испытуемого ТС, удельной электропроводности и диэлектрической проницаемости объекта, частоты и т.п.), то определять приемлемую свободную зону, необходимую и достаточную для всех применений, очень сложно. Размеры и контур зоны, свободной от препятствий, зависят от измерительного расстояния и от того, нужно ли поворачивать испытуемое ТС. Если площадка оснащена поворотной платформой, то рекомендуется, чтобы зона, свободная от препятствий, была эллиптической формы. При этом измерительная антенна и испытуемое ТС должны располагаться в фокусах эллипса, главная ось должна быть равна удвоенному измерительному расстоянию, а малая ось - произведению измерительного расстояния на

(см. рисунок 2).
Рисунок 2. Зона измерительной площадки с поворотным столом,
свободная от препятствий (см.
5.3)
Для данного эллипса трасса мешающего луча, отраженного от любого объекта на периметре, равна удвоенной длине трассы прямого луча между фокусами. Если на поворотную платформу устанавливается испытуемое ТС больших размеров, то зона, свободная от препятствий, должна быть расширена.
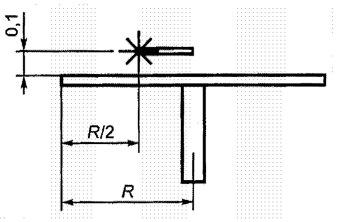
Если площадка не оснащена поворотной платформой, т.е. испытуемое ТС является стационарным, то рекомендуемая зона, свободная от препятствий, представляет собой круг такого диаметра, чтобы радиальное расстояние от контура испытуемого ТС до границы зоны было равно измерительному расстоянию, умноженному на 1,5 (см. рисунок 3). В этом случае антенну перемещают вокруг испытуемого ТС с сохранением измерительного расстояния.
Рисунок 3. Зона, свободная от препятствий
при испытании стационарного ТС (см.
5.3)
Территория в пределах свободной зоны должна быть плоской. Допустимы небольшие скаты для обеспечения необходимого дренажа. Гладкость металлической пластины заземления (если используется) регламентируется в Приложении D,
раздел D.2. Измерительная аппаратура и операторы, проводящие измерения, должны располагаться вне свободной зоны.
5.4. Внешние радиочастотные электромагнитные поля на измерительной площадке
Уровни внешних радиочастотных электромагнитных полей на измерительной площадке должны быть достаточно низкими в сравнении с уровнями измеряемых излучаемых ИРП. Качество площадки в этом отношении целесообразно оценивать применительно к четырем категориям (a - d), приведенным ниже в порядке снижения практической пригодности площадки:
- категория a - внешние излучения имеют уровни не менее чем на 6 дБ ниже уровней измеряемых ИРП;
- категория b - уровни некоторых внешних излучений отличаются от уровней измеряемых ИРП менее чем на 6 дБ;
- категория c - уровни некоторых внешних излучений превышают уровни измеряемых ИРП либо периодически (например, в случае, если достаточно продолжительные перерывы радиопередач позволяют провести измерения на измерительной площадке), либо длительное время, но лишь на ограниченных идентифицируемых частотах;
- категория d - внешние излучения имеют уровни, превышающие уровни измеряемых ИРП в большей части полосы частот измерений, и действуют длительное время.
При выборе измерительной площадки следует обратить внимание на обеспечение точности измерений при существующей электромагнитной обстановке и степень подготовленности имеющегося персонала.
Примечание. Для обеспечения качественных измерений рекомендуется, чтобы уровень внешних излучений был на 20 дБ ниже уровня излучений ИРП, подлежащих измерению.
5.5. Металлическая пластина заземления
Для изготовления пластины заземления могут использоваться различные материалы вплоть до металлов с высокой проводимостью. В качестве пластины заземления можно использовать почву.
Пластина заземления может быть расположена на уровне земли или поднята над землей с использованием платформы подходящих размеров или крыши здания. Предпочтительной является металлическая пластина заземления, однако в стандартах, распространяющихся на ТС определенных видов и применений, могут быть рекомендации не использовать такую пластину заземления. Пригодность металлической пластины заземления будет зависеть от того, соответствует ли измерительная площадка требованиям к валидации площадки в соответствии с
5.6. Если металлический материал не используется, необходимо с особым вниманием отнестись к выбору измерительной площадки с тем, чтобы ее отражающие свойства не менялись в зависимости от времени, погодных условий или из-за находящихся в земле металлических предметов, таких, например, как трубы, кабели и т.д., или из-за неоднородности почвы. Такие измерительные площадки обычно имеют характеристики затухания, отличные от затухания площадок с металлической пластиной заземления.
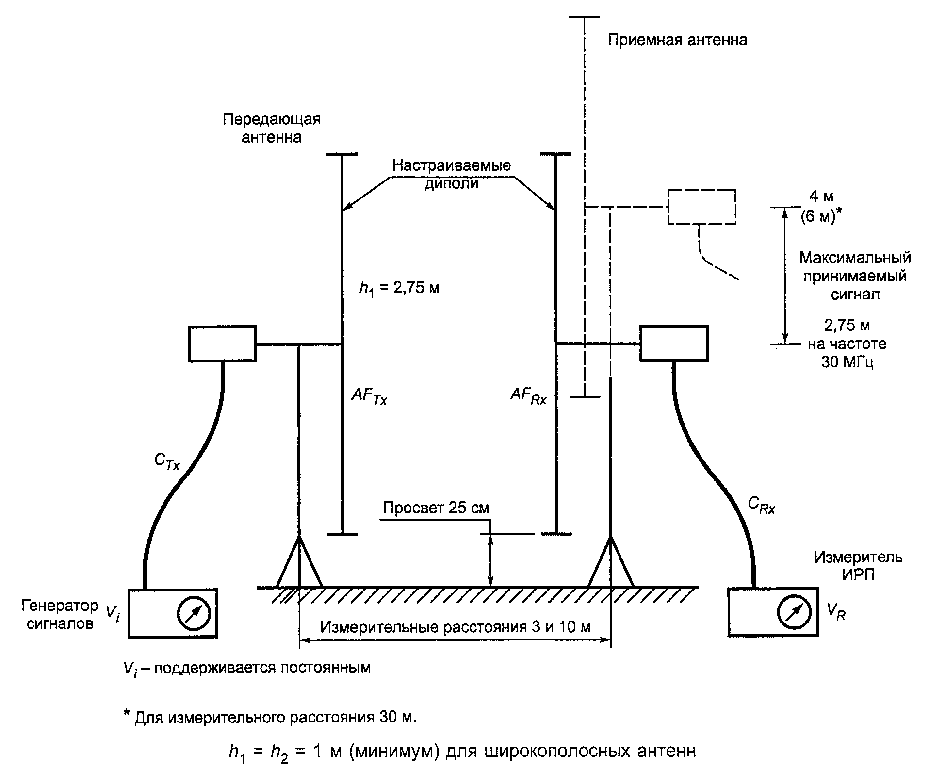
5.6. Процедура валидации открытой измерительной площадки
Приведенную ниже процедуру валидации открытой измерительной площадки и требования к нормализованному затуханию площадки применяют для оценки измерительной площадки с металлической пластиной заземления. Для других измерительных площадок данная процедура валидации используется при определении возможных неоднородностей площадки, которые необходимо исследовать. Процедуру валидации открытой измерительной площадки не применяют к безэховым камерам. Процедура валидации безэховой камеры требует более детальных технических требований.
Валидация открытой измерительной площадки проводится при помощи двух антенн, ориентированных горизонтально и вертикально относительно земли в соответствии с
рисунками 4 и
5. Затухание открытой площадки может быть получено из отношения напряжения источника

, подключенного к передающей антенне, и полученного напряжения

, измеряемого на зажимах приемной антенны. Измерения напряжений проводят в системе 50 Ом. Если значения

и

измеряют не на входе и выходе передающей и приемной антенн соответственно, то требуется внесение соответствующих корректировок на потери в кабелях. Затем этот коэффициент затухания площадки делят на произведение градуировочных коэффициентов двух используемых антенн. Результат представляет собой значение нормализованного затухания площадки

, дБ. Площадка считается пригодной, если измеренные значения нормализованного затухания площадки при вертикальной и горизонтальной поляризациях находятся в пределах +/- 4 дБ от значений, приведенных в Приложении E,
таблицы E.1 -
E.3 соответственно. Если предел +/- 4 дБ (критерий пригодности площадки) превышен, измерительная площадка должна быть проверена в соответствии с Приложением E,
пункт E.4.
Примечание. Обоснование критерия пригодности измерительной площадки 4 дБ приведено в
Приложении F.
Рисунок 4. Расположение оборудования для измерения
затухания площадки при горизонтальной поляризации
Рисунок 5. Расположение оборудования для измерения
затухания площадки при вертикальной поляризации
с использованием настраиваемых диполей
Отклонение измеренного значения нормализованного затухания площадки от теоретического значения не должно использоваться для корректировки измеренного значения напряженности поля испытуемого ТС. Данная процедура должна применяться только для валидации открытой измерительной площадки.
Таблица E.1 (см. Приложение E) используется для широкополосных антенн, таких например, как биконические антенны или логопериодические решетки, ориентированных как горизонтально, так и вертикально относительно плоскости земли.
Таблица E.2 (см. Приложение E) относится к настроенным полуволновым диполям, ориентированным горизонтально относительно плоскости земли;
таблица E.3 (см. Приложение E) - к настроенным полуволновым диполям, ориентированным вертикально относительно плоскости земли. В
таблице E.3 приведены ограничения по высоте перемещения измерительной антенны

(нижний конец приемного диполя не должен находиться на расстоянии менее 25 см от плоскости земли).
Примечание. Причина различий в
таблицах E.1 -
E.3 (см. Приложение E) заключается в том, что для широкополосной антенны и настроенного полуволнового диполя выбраны различные геометрические параметры, прежде всего вследствие практических ограничений, связанных с применением диполя.
Значения нормализованного затухания площадки для частот, отличных от приведенных в
таблицах E.1 -
E.3, можно получить с помощью линейной интерполяции табличных значений.
R - измерительное расстояние по горизонтали между проекциями передающей и приемной антенн на плоскости земли, м;

- высота расположения центра передающей антенны над плоскостью земли, м;

- диапазон значений высоты центра приемной антенны над плоскостью земли, м. При измерениях нормализованного затухания площадки используется максимальное значение принятого сигнала в данном диапазоне сканирования по высоте;

- частота измерения, МГц;

- значение нормализованного затухания площадки NSA [см.
(6)].
Примечание. Измерительное расстояние R между логопериодическими антенными решетками измеряется от проекции на плоскость земли средней точки траверсы каждой антенны.
Рекомендуется сначала проводить измерения нормализованного затухания площадки при горизонтальной поляризации. Так как такие измерения менее чувствительны, чем измерения при вертикальной поляризации, то измеренные значения нормализованного затухания площадки должны удовлетворять критерию +/- 4 дБ относительно значений, приведенных в Приложении E,
таблицы E.1 -
E.3. Если есть превышение критерия +/- 4 дБ, следует провести перепроверку метода измерения нормализованного затухания площадки, правильность мест расположения измерительных приборов и точность градуировочных коэффициентов антенн. Если все же критерий +/- 4 дБ будет превышен, это означает, что измерительная площадка имеет значительную аномалию, которую необходимо обнаружить и устранить до проведения измерения нормализованного затухания площадки при вертикальной поляризации.
5.6.1. Измерение нормализованного затухания площадки
Для измерения нормализованного затухания площадки для каждой конкретной частоты при каждой поляризации проводят два измерения напряжения

. Первое показание

отсчитывают при отсоединении двух коаксиальных кабелей от двух антенн и соединении их друг с другом через переход. Второе показание

отсчитывают, когда коаксиальные кабели снова подсоединены к своим антеннам и измерен максимальный сигнал при сканировании приемной антенны по высоте (от 1 до 4 м - для измерительных расстояний 3 и 10 м; и от 1 до 4 м или от 2 до 6 м - для измерительного расстояния 30 м). При этих измерениях напряжение источника сигнала

поддерживают постоянным. Значения

и

подставляют в уравнение (6) для определения измеренного значения нормализованного затухания площадки

(все члены уравнения выражены в децибелах):

, (6)
где

- градуировочный коэффициент передающей антенны;

- градуировочный коэффициент приемной антенны;

- поправочный коэффициент, учитывающий взаимное полное сопротивление антенн.
Первые два члена уравнения характеризуют реальное измерение затухания площадки, то есть разность

представляет собой классический вид затухания площадки, которое определяется вносимыми потерями на трассе распространения с учетом двух используемых антенн.
Теоретические значения

приведены в Приложении E,
таблица E.4.
Значения

и

должны быть измерены.
Необходимо также отметить, что

, (7)
где

- напряжение источника сигнала;

и

- потери в кабелях, которые не должны измеряться по отдельности.
Поправочный коэффициент в соответствии с Приложением E,
таблица E.4, учитывающий взаимное полное сопротивление антенн, применяют лишь для рекомендуемой геометрии площадок при измерительном расстоянии 3 м, горизонтальной поляризации и использовании настраиваемых полуволновых диполей.
При проведении измерений нормализованного затухания площадки допускается использование двух методов в зависимости от имеющихся в наличии измерительных приборов и от того, какая измерительная антенна применяется - широкополосная или настроенный диполь. Как указано в
Приложении E, оба метода измерений при правильном их применении дают близкие результаты. Ниже приведено краткое описание каждого метода измерения.
a) Метод дискретных частот
Измерения при данном методе проводят по очереди на определенных частотах, представленных в
таблицах E.1 -
E.3. На каждой частоте приемную антенну перемещают по высоте в пределах, указанных в таблице, и фиксируют максимальный принимаемый сигнал. Измеренные значения подставляют в
уравнение (3) для получения измеренного значения нормализованного затухания площадки.
Примечание. Рекомендуемая процедура записи данных, вычислений измеренных значений нормализованного затухания площадки и сравнения их с теоретическими значениями нормализованного затухания площадки приведены в
Приложении E.
b) Метод сканирования частоты
Измерения данным методом проводят с использованием широкополосных антенн и автоматизированного измерительного оборудования со следящим генератором (трекинг-генератором), имеющего возможность накопления измеренных данных и определения пиковых (максимальных) значений. Применяя этот метод, необходимо осуществлять сканирование высоты антенны и одновременное сканирование по частоте в установленных пределах. Скорость сканирования по частоте должна быть значительно выше скорости сканирования высоты антенны.
В остальном метод измерения b) является таким же, как и метод измерения a).
5.6.2. Определение градуировочного коэффициента антенн
При измерении нормализованного затухания площадки необходимо учитывать точные значения градуировочных коэффициентов антенн. Как правило, значения коэффициентов калибровки, сообщаемые изготовителем антенн, неприменимы, за исключением случаев, когда они соответствуют конкретному образцу антенн или были измерены индивидуально. При измерениях необходимо применять линейно поляризованные антенны. Градуировочные коэффициенты антенн, сообщаемые изготовителем антенн, допускается использовать для определения потерь, вносимых симметрирующим устройством, в числе потерь, обусловленных другими факторами. Если применяются отдельные симметрирующие устройства или любые кабельные системы (переходы), их влияние должно быть учтено.
Формулы расчета градуировочных коэффициентов при использовании настраиваемых полуволновых диполей приведены в
Приложении E.
5.6.3. Отклонения нормализованного затухания площадки
Если отклонения измеренных значений нормализованного затухания площадки от установленных превышают значение +/- 4 дБ, то необходимо еще раз проверить:
a) правильность процедуры измерений;
b) точность измерения градуировочных коэффициентов антенн;
c) отклонение значения напряжения источника сигнала или точность измерений и установки входного аттенюатора приемника или анализатора спектра.
Если ошибки по перечислениям a) - c) не выявлены, то измерительную площадку следует признать непригодной для проведения измерений и необходимы детальные исследования возможных причин превышения критерия +/- 4 дБ.
Возможные ошибки, которые могут появиться при измерениях нормализованного затухания площадки, приведены в
Приложении F.
В связи с тем, что измерения при вертикальной поляризации антенн, как правило, более восприимчивы к аномалиям площадки, необходимо отметить, что исследования аномалий следует проводить преимущественно по результатам этих более чувствительных измерений, а не по результатам измерения при горизонтальной поляризации.
Ключевые вопросы исследований включают в себя:
a) соответствие размеров и конструкции пластины заземления установленным требованиям;
b) наличие препятствий по периметру измерительной площадки, которые могут вызвать нежелательное рассеяние электромагнитных волн;
c) характеристики укрытия от влияния атмосферных явлений;
d) неоднородность пластины заземления по окружности (периметру) поворотного стола (платформы), когда поверхность поворотного стола выполнена из проводящего материала и находится на той же высоте, что и пластина заземления;
e) целостность тонких диэлектрических покрытий пластины заземления;
f) наличие технологических отверстий в пластине заземления.
5.7. Пригодность альтернативных измерительных площадок с пластиной заземления
Существует большое число различных измерительных площадок, созданных для измерений излучаемых помех. Большинство из них защищены от воздействия атмосферных явлений и нежелательного влияния окружающей среды. К ним относятся открытые измерительные площадки с укрытиями от атмосферных явлений и альтернативные измерительные площадки - экранированные помещения, облицованные поглощающим материалом (безэховые камеры).
Вне зависимости от материала, применяемого при строительстве помещения, включающего в себя измерительную площадку, существует вероятность того, что результаты одиночного измерения нормализованного затухания площадки, проведенные в соответствии с
5.6, не будут адекватно подтверждать пригодность указанной альтернативной измерительной площадки.
Для оценки пригодности альтернативной измерительной площадки рекомендуется приведенная ниже процедура, основанная на проведении множественных измерений нормализованного затухания площадки применительно к объему, занимаемому испытуемым ТС. Альтернативную измерительную площадку можно считать пригодной для проведения измерений, если отклонения всех указанных измерений нормализованного затухания площадки находятся в пределах допускаемой погрешности +/- 4 дБ.
Требования, установленные в настоящем разделе, относятся к альтернативным измерительным площадкам с проводящей пластиной заземления.
5.7.1. Нормализованное затухание для альтернативных измерительных площадок с пластиной заземления
Для альтернативной измерительной площадки с пластиной заземления проведение одного измерения нормализованного затухания не является достаточным для того, чтобы обнаружить возможные отражения от элементов конструкции или ВЧ поглощающего материала, нанесенного на стены и потолок камеры. Для таких площадок указывают "рабочий объем" как объем, который "занимает" самое большое подлежащее испытанию ТС или система при его (ее) вращении на 360° относительно положения центра, например, на поворотном столе. Поэтому для оценки пригодности площадки может в общем случае потребоваться выполнение не менее 20 отдельных измерений нормализованного затухания площадки - в пяти позициях на плоскости площадки (в центре, слева, справа, спереди и сзади относительно центра рабочего объема), при двух видах поляризации (горизонтальной и вертикальной) и двух значениях высоты (1 и 2 м - при горизонтальной, 1 и 1,5 м - при вертикальной поляризациях). Типичные схемы измерений представлены на
рисунках 6 a) и
b).
Указанные выше измерения проводят с помощью широкополосной антенны, расстояния измеряют относительно места расположения центра антенны. Приемная и передающая антенны должны устанавливаться так, чтобы их элементы были параллельны друг другу и перпендикулярны к оси измерения.
При вертикальной поляризации положения передающей антенны (кроме центрального) должны находиться на краю рабочего объема. При этом нижний конец антенны должен находиться на высоте не менее 25 см от пола, поэтому при измерениях в самой нижней точке высота центра антенны может несколько превышать 1 м.
Если расстояние между конструкциями или поглощающим материалом на боковых стенах и периферией испытуемого ТС менее 1 м, то при измерениях при горизонтальной поляризации в положениях справа и слева антенна сдвигается в направлении к центру так, чтобы конец антенны был на периферии испытуемого ТС либо отстоял от него не более чем на 10% диаметра рабочего объема. Передняя и задняя позиции антенны должны находиться на периферии рабочего объема.
Число необходимых измерений можно уменьшить при следующих условиях:
a) измерения при вертикальной и горизонтальной поляризациях в задней позиции можно не проводить, если ближайшая точка камеры или поглощающего материала отстоит от задней границы рабочего объема более чем на 1 м;
Примечание. У источников излучаемых помех, расположенных вблизи диэлектрических конструкций, могут происходить изменения в распределении токов, что может сказаться на свойствах излучения источника в данной позиции. Если испытуемое ТС размещается рядом с такими конструкциями, требуются дополнительные измерения затухания площадки.
b) общее число измерений при горизонтальной поляризации и размещении антенны вдоль диаметра рабочего объема в левом и правом положениях может быть уменьшено до минимального, при котором площади, ограниченные линией пересечения диаграммы направленности антенн, охватывают 90% диаметра;
c) измерения при вертикальной поляризации антенны на высоте 1,5 м можно не проводить, если высота испытуемого ТС, включая все, что находится на столе, будет менее 1,5 м;
d) если размеры рабочего объема не более 1 м в глубину, 1,5 м - в ширину и 1,5 м в высоту, включая стол (если используется), то при горизонтальной поляризации требуется проведение измерений только в центральной, передней и задней позициях на высоте 1 и 2 м. Если действуют требования
перечисления a), то измерения в задней позиции допускается не проводить. При этом потребуется не менее восьми измерений - в четырех позициях при вертикальной поляризации (слева, в центре, справа и спереди) для одной высоты и в четырех позициях при горизонтальной поляризации (в центре и спереди) для двух значений высоты; см.
рисунки 6 c) и
d).
Измерения нормализованного затухания площадки должны проводиться при постоянном расстоянии между приемной и передающей антеннами в соответствии с таблицами 1 и
2, включающими в себя значения нормализованного затухания площадки при ограничении высоты сканирования значениями от 1 до 4 м (для измерительного расстояния 30 м). Для сохранения соответствующего расстояния приемную антенну нужно передвигать по линии к центру поворотного стола (см.
рисунок 6, листы 1 - 4).
Таблица 1
Нормализованное затухание площадки (рекомендуемая геометрия
для настраиваемых полуволновых диполей
при горизонтальной поляризации)
┌─────────────┬───────────────────────────────────────────────────────────┐
│ Частота │ Нормализованное затухание площадки A , дБ, │
│измерения f ,│ N │
│ m │ для измерительного расстояния R, высоты расположения │
│ МГц │передающей антенны h = 2 м и высоты расположения приемной │
│ │ 1 │
│ │ антенны h = 1 - 4 м │
│ │ 2 │
│ ├───────────────────┬───────────────────┬───────────────────┤
│ │ R = 3 м │ R = 10 м │ R = 30 м │
├─────────────┼───────────────────┼───────────────────┼───────────────────┤
│ 30 │ 11,0 │ 24,1 │ 41,7 │
├─────────────┼───────────────────┼───────────────────┼───────────────────┤
│ 35 │ 8,8 │ 21,6 │ 39,1 │
├─────────────┼───────────────────┼───────────────────┼───────────────────┤
│ 40 │ 7,0 │ 19,4 │ 36,8 │
├─────────────┼───────────────────┼───────────────────┼───────────────────┤
│ 45 │ 5,5 │ 17,5 │ 34,7 │
├─────────────┼───────────────────┼───────────────────┼───────────────────┤
│ 50 │ 4,2 │ 15,9 │ 32,9 │
├─────────────┼───────────────────┼───────────────────┼───────────────────┤
│ 60 │ 2,2 │ 13,1 │ 29,8 │
├─────────────┼───────────────────┼───────────────────┼───────────────────┤
│ 70 │ 0,6 │ 10,9 │ 27,2 │
├─────────────┼───────────────────┼───────────────────┼───────────────────┤
│ 80 │ -0,7 │ 9,2 │ 24,9 │
├─────────────┼───────────────────┼───────────────────┼───────────────────┤
│ 90 │ -1,8 │ 7,8 │ 23,0 │
├─────────────┼───────────────────┼───────────────────┼───────────────────┤
│ 100 │ -2,8 │ 6,7 │ 21,2 │
├─────────────┼───────────────────┼───────────────────┼───────────────────┤
│ 120 │ -4,4 │ 5,0 │ 18,2 │
├─────────────┼───────────────────┼───────────────────┼───────────────────┤
│ 140 │ -5,8 │ 3,5 │ 15,8 │
├─────────────┼───────────────────┼───────────────────┼───────────────────┤
│ 160 │ -6,7 │ 2,3 │ 13,8 │
├─────────────┼───────────────────┼───────────────────┼───────────────────┤
│ 180 │ -7,2 │ 1,2 │ 12,0 │
├─────────────┼───────────────────┼───────────────────┼───────────────────┤
│ 200 │ -8,4 │ 0,3 │ 10,6 │
├─────────────┼───────────────────┼───────────────────┼───────────────────┤
│ 250 │ -10,6 │ -1,7 │ 7,8 │
├─────────────┼───────────────────┼───────────────────┼───────────────────┤
│ 300 │ -12,3 │ -3,3 │ 6,1 │
├─────────────┼───────────────────┼───────────────────┼───────────────────┤
│ 400 │ -14,9 │ -5,8 │ 3,5 │
├─────────────┼───────────────────┼───────────────────┼───────────────────┤
│ 500 │ -16,7 │ -7,6 │ 1,6 │
├─────────────┼───────────────────┼───────────────────┼───────────────────┤
│ 600 │ -18,3 │ -9,3 │ 0 │
├─────────────┼───────────────────┼───────────────────┼───────────────────┤
│ 700 │ -19,7 │ -10,6 │ -1,4 │
├─────────────┼───────────────────┼───────────────────┼───────────────────┤
│ 800 │ -20,8 │ -11,8 │ -2,5 │
├─────────────┼───────────────────┼───────────────────┼───────────────────┤
│ 900 │ -21,8 │ -12,9 │ -3,5 │
├─────────────┼───────────────────┼───────────────────┼───────────────────┤
│ 1000 │ -22,7 │ -13,8 │ -4,5 │
└─────────────┴───────────────────┴───────────────────┴───────────────────┘
Таблица 2
Нормализованное затухание площадки (рекомендуемая геометрия
для широкополосных антенн) при горизонтальной
и вертикальной поляризациях антенны
┌─────────┬────────────────────────────────────────────────────────────────────┐
│ Частота │ Нормализованное затухание площадки
<*> A , дБ, │
│измерения│ N │
│ f , МГц │ для измерительного расстояния R, высоты расположения передающей │
│ m │ антенны h , высоты расположения приемной антенны h = 1 - 4 м │
│ │ 1 2 │
│ ├────────────────────────────┬───────────────────────────────────────┤
│ │ при горизонтальной │ при вертикальной поляризации │
│ │ поляризации │ │
│ ├────────┬─────────┬─────────┼────────┬──────────┬─────────┬─────────┤
│ │R = 3 м;│R = 10 м;│R = 30 м;│R = 3 м;│ R = 3 м; │R = 10 м;│R = 30 м;│
│ │h = 1 м│h = 1 м │h = 1 м │h = 1 м│h = 1,5 м│h = 1 м │h = 1 м │
│ │ 1 │ 1 │ 1 │ 1 │ 1 │ 1 │ 1 │
├─────────┼────────┼─────────┼─────────┼────────┼──────────┼─────────┼─────────┤
│ 30 │ 15,8 │ 29,8 │ 47,8 │ 8,2 │ 9,3 │ 16,7 │ 26,0 │
├─────────┼────────┼─────────┼─────────┼────────┼──────────┼─────────┼─────────┤
│ 35 │ 13,4 │ 27,1 │ 45,1 │ 6,9 │ 8,0 │ 15,4 │ 24,7 │
├─────────┼────────┼─────────┼─────────┼────────┼──────────┼─────────┼─────────┤
│ 40 │ 11,3 │ 24,9 │ 42,8 │ 5,8 │ 7,0 │ 14,2 │ 23,5 │
├─────────┼────────┼─────────┼─────────┼────────┼──────────┼─────────┼─────────┤
│ 45 │ 9,4 │ 22,9 │ 40,8 │ 4,9 │ 6,1 │ 13,2 │ 22,5 │
├─────────┼────────┼─────────┼─────────┼────────┼──────────┼─────────┼─────────┤
│ 50 │ 7,8 │ 21,1 │ 38,9 │ 4,0 │ 5,4 │ 12,3 │ 21,6 │
├─────────┼────────┼─────────┼─────────┼────────┼──────────┼─────────┼─────────┤
│ 60 │ 5,0 │ 18,0 │ 35,8 │ 2,6 │ 4,1 │ 10,7 │ 20 │
├─────────┼────────┼─────────┼─────────┼────────┼──────────┼─────────┼─────────┤
│ 70 │ 2,8 │ 15,5 │ 33,1 │ 1,5 │ 3,2 │ 9,4 │ 18,7 │
├─────────┼────────┼─────────┼─────────┼────────┼──────────┼─────────┼─────────┤
│ 80 │ 0,9 │ 13,3 │ 30,8 │ 0,6 │ 2,6 │ 8,3 │ 17,5 │
├─────────┼────────┼─────────┼─────────┼────────┼──────────┼─────────┼─────────┤
│ 90 │ -0,7 │ 11,4 │ 28,8 │ -0,1 │ 2,1 │ 7,3 │ 16,5 │
├─────────┼────────┼─────────┼─────────┼────────┼──────────┼─────────┼─────────┤
│ 100 │ -2,0 │ 9,7 │ 27 │ -0,7 │ 1,9 │ 6,4 │ 15,6 │
├─────────┼────────┼─────────┼─────────┼────────┼──────────┼─────────┼─────────┤
│ 120 │ -4,2 │ 7,0 │ 23,9 │ -1,5 │ 1,3 │ 4,9 │ 14,0 │
├─────────┼────────┼─────────┼─────────┼────────┼──────────┼─────────┼─────────┤
│ 140 │ -6,0 │ 4,8 │ 21,2 │ -1,8 │ -1,5 │ 3,7 │ 12,7 │
├─────────┼────────┼─────────┼─────────┼────────┼──────────┼─────────┼─────────┤
│ 160 │ -7,4 │ 3,1 │ 19 │ -1,7 │ -3,7 │ 2,6 │ 11,5 │
├─────────┼────────┼─────────┼─────────┼────────┼──────────┼─────────┼─────────┤
│ 180 │ -8,6 │ 1,7 │ 17 │ -1,3 │ -5,3 │ 1,8 │ 10,5 │
├─────────┼────────┼─────────┼─────────┼────────┼──────────┼─────────┼─────────┤
│ 200 │ -9,6 │ 0,6 │ 15,3 │ -3,6 │ -6,7 │ 1,0 │ 9,6 │
├─────────┼────────┼─────────┼─────────┼────────┼──────────┼─────────┼─────────┤
│ 250 │ -11,7 │ -1,6 │ 11,6 │ -7,7 │ -9,1 │ -0,5 │ 7,7 │
├─────────┼────────┼─────────┼─────────┼────────┼──────────┼─────────┼─────────┤
│ 300 │ -12,8 │ -3,3 │ 8,8 │ -10,5 │ -10,9 │ -1,5 │ 6,2 │
├─────────┼────────┼─────────┼─────────┼────────┼──────────┼─────────┼─────────┤
│ 400 │ -14,8 │ -5,9 │ 4,6 │ -14,0 │ -12,6 │ -4,1 │ 3,9 │
├─────────┼────────┼─────────┼─────────┼────────┼──────────┼─────────┼─────────┤
│ 500 │ -17,3 │ -7,9 │ 1,8 │ -16,4 │ -15,1 │ -6,7 │ 2,1 │
├─────────┼────────┼─────────┼─────────┼────────┼──────────┼─────────┼─────────┤
│ 600 │ -19,1 │ -9,5 │ 0 │ -16,3 │ -16,9 │ -8,7 │ 0,8 │
├─────────┼────────┼─────────┼─────────┼────────┼──────────┼─────────┼─────────┤
│ 700 │ -20,6 │ -10,8 │ -1,3 │ -18,4 │ -18,4 │ -10,2 │ -0,3 │
├─────────┼────────┼─────────┼─────────┼────────┼──────────┼─────────┼─────────┤
│ 800 │ -21,3 │ -12,0 │ -2,5 │ -20,0 │ -19,3 │ -11,5 │ -1,1 │
├─────────┼────────┼─────────┼─────────┼────────┼──────────┼─────────┼─────────┤
│ 900 │ -22,5 │ -12,8 │ -3,5 │ -21,3 │ -20,4 │ -12,6 │ -1,7 │
├─────────┼────────┼─────────┼─────────┼────────┼──────────┼─────────┼─────────┤
│ 1000 │ -23,5 │ -13,8 │ -4,4 │ -22,4 │ -21,4 │ -13,6 │ -3,5 │
├─────────┴────────┴─────────┴─────────┴────────┴──────────┴─────────┴─────────┤
│ <*> Данные применимы к антеннам, имеющим просвет над пластиной │
│заземления не менее 25 см при высоте расположения их центра на высоте │
│1 м над пластиной заземления при вертикальной поляризации. │
└──────────────────────────────────────────────────────────────────────────────┘
Альтернативная измерительная площадка с пластиной заземления считается пригодной для проведения испытания на излучаемые помехи, если все измерения нормализованного затухания площадки, приведенные выше, соответствуют требованиям 5.7.2 и требованиям к пластине заземления в соответствии с
5.7.3.
Примечание. Если для подтверждения пригодности альтернативной измерительной площадки необходимы другие испытания, проводят дополнительные исследования.
5.7.2. Затухание площадки
Измерительная площадка считается пригодной для проведения измерений излучаемого электромагнитного поля, если результаты измерения нормализованного затухания площадки при вертикальной и горизонтальной поляризациях находятся в пределах +/- 4 дБ от теоретического значения нормализованного затухания для идеальной площадки.
5.7.3. Проводящая пластина заземления
На площадке для измерений излучаемых ИРП необходимо иметь проводящую пластину заземления. Проводящая пластина заземления должна выступать, по крайней мере, на 1 м за периферию испытуемого ТС и измерительной антенны, а также покрывать всю площадь между испытуемым ТС и антенной. Пластина заземления должна быть металлической без отверстий или зазоров, имеющих профильные размеры более 1/10 длины волны на максимальной частоте измерения. Если результаты измерения нормализованного затухания площадки не отвечают критерию +/- 4 дБ, может потребоваться проводящая пластина заземления

размеров.
Примечание. Проводимые в настоящее время исследования свидетельствуют о необходимости установления минимальных размеров проводящей пластины заземления.
p - контур ТС при вращении на 360°;

- 1 и 1,5 м;
R - расстояние, поддерживаемое между вертикальной
проекцией центра передающей и приемной антенн
a) При вертикальной поляризации антенны
p - контур ТС при вращении на 360°;

- 1 и 2 м;
R - расстояние, поддерживаемое между вертикальной
проекцией центра передающей и приемной антенн
b) При горизонтальной поляризации антенны
Рисунок 6. Расположение антенн на альтернативной
измерительной площадке при измерении нормализованного
затухания площадки, лист 1
R - расстояние, поддерживаемое между вертикальной
проекцией центра передающей и приемной антенн
c) При вертикальной поляризации антенн при испытании ТС,
размеры которого не превышают объема глубиной 1 м, шириной
1,5 м, высотой 1,5 м и с периферией, находящейся
на расстоянии более 1 м от ближайшей
конструкции из материала, который может
вызвать нежелательные отражения
R - расстояние, поддерживаемое между вертикальной
проекцией центра передающей и приемной антенн
d) При горизонтальной поляризации антенн при испытании ТС,
размеры которого не превышают объема глубиной 1 м, шириной
1,5 м, высотой 1,5 м и с периферией, находящейся
на расстоянии более 1 м от ближайшей
конструкции из материала, который может
вызвать нежелательные отражения
Рисунок 6, лист 2
5.8. Пригодность измерительных площадок без пластины заземления
В настоящем подразделе приведена процедура валидации измерительных площадок без пластины заземления, предназначенных для проведения испытаний в полосе частот от 30 до 1000 МГц.
5.8.1. Измерения на измерительных площадках, обеспечивающих условия свободного пространства, реализованные в экранированных помещениях, полностью облицованных поглощающим материалом
Экранированное помещение, полностью покрытое поглощающим материалом (полностью безэховая камера), может быть использовано для измерений излучаемых ИРП. Нормы излучаемых ИРП при использовании полностью безэховых камер должны быть установлены в соответствующих стандартах в области ЭМС (общих стандартах, стандартах на группы ТС или ТС конкретного вида). Соответствие нормам ИРП при измерениях в полностью безэховых камерах должно устанавливаться так же, как при измерениях на открытой измерительной площадке.
Полностью безэховая камера предназначена для моделирования свободного пространства с тем, чтобы на приемную измерительную антенну приходил только прямой луч от передающей антенны или от испытуемого ТС. Все отраженные лучи должны минимизироваться за счет применения на всех стенах, потолке и полу безэховой камеры соответствующего ВЧ поглощающего материала.
5.8.2. Пригодность измерительной площадки
Для определения пригодности измерительной площадки, обеспечивающей условия свободного пространства, должна быть проведена валидация площадки. Валидацию безэховых камер проводят методами, приведенными ниже, - методом опорной измерительной площадки и методом нормализованного затухания площадки.
5.8.2.1. Теоретическое нормализованное затухание площадки
Ниже приведены сведения о нормализованном затухании измерительных площадок, обеспечивающих условия свободного пространства для бесконечно малых антенн.
Затухание площадки SA определяют как потери при передаче между разъемами двух антенн на конкретной площадке. Для условий свободного пространства затухание площадки SA, дБ, можно аппроксимировать уравнением

, (8)
где

,

- градуировочные коэффициенты приемной и передающей антенн, дБ/м;
d - расстояние между фазовыми центрами обеих антенн, м;

- опорное полное сопротивление (50 Ом);

;

- частота измерения, МГц.
Примечание. На частотах ниже 110 МГц при измерении на расстоянии 3 м и на частотах ниже 60 МГц при измерении на расстоянии 5 м имеют место эффекты ближнего поля. Их можно рассчитать для каждой отдельной измерительной площадки.
Теоретическое нормализованное затухание площадки NSA, дБ, определяют как затухание площадки за вычетом соответствующих коэффициентов калибровки антенн следующим образом:

. (9)
На частотах ниже 60 МГц при измерительном расстоянии 5 м или на частотах ниже 110 МГц при измерительном расстоянии 3 м при анализе каждого из испытательных объемов, указанных в
таблице 3, и сравнении нормализованного затухания площадки с теоретическим значением нормализованного затухания площадки (см.
рисунок 7) необходимо применить коэффициенты коррекции для ближнего поля. Коэффициенты коррекции для ближнего поля зависят от характеристик антенн, измерительного расстояния, используемого рабочего объема и должны быть определены методами числового моделирования.
Рисунок 7. Зависимость теоретического нормализованного
затухания измерительной площадки NSA в свободном
пространстве от частоты при измерительных
расстояниях 3; 5; 10 и 30 м
При использовании альтернативного метода опорной измерительной площадки (см.
5.8.2.2.1) коэффициенты коррекции для ближнего поля не применяют, если при измерениях на опорной измерительной площадке и при валидации безэховой камеры используются те же антенны и частоты.
При измерительных расстояниях 10 и 30 м члены
уравнения (9), относящиеся к ближнему полю, можно исключить, и тогда уравнение упростится до следующего вида:

. (10)
Если вместо
уравнения (8) используют упрощенное уравнение (10), то для частот свыше 60 МГц (при измерительном расстоянии 5 м) и свыше 110 МГц (при измерительном расстоянии 3 м) вносится погрешность менее 0,1 дБ. Из-за эффектов ближнего поля на частотах ниже 60 МГц (при измерительном расстоянии 5 м) и ниже 110 МГц (при измерительном расстоянии 3 м) погрешность будет превышать 0,1 дБ. На частоте 30 МГц при измерительном расстоянии 3 м максимальная погрешность равна 1 дБ. Для уменьшения этой погрешности следует использовать
уравнение (8).
5.8.2.2. Процедура валидации измерительной площадки
Значения нормализованного затухания площадки должны соответствовать требованиям
5.8.3 в пределах цилиндрического рабочего объема, образуемого вращением испытуемого ТС на поворотном столе. Испытуемое ТС включает в себя блоки, составляющие ТС, и соединительные кабели.
Максимальный диаметр

и высота рабочего объема

в зависимости от измерительного расстояния установлены в соответствии с таблицей 3 (

). Установленное соотношение между размерами рабочего объема и измерительным расстоянием обеспечивает приемлемое значение погрешности измерений излучаемых ИРП.
Таблица 3
Зависимость максимальных размеров рабочего объема
от измерительного расстояния
┌────────────────────────────────────────────────┬────────────────────────┐
│Максимальный диаметр d и высота h рабочего│Измерительное расстояние│
│ max max │ D , м │
│ объема, м (d = h ) │ nom │
│ max max │ │
├────────────────────────────────────────────────┼────────────────────────┤
│ 1,5 │ 3,0 │
├────────────────────────────────────────────────┼────────────────────────┤
│ 2,5 │ 5,0 │
├────────────────────────────────────────────────┼────────────────────────┤
│ 5,0 │ 10,0 │
└────────────────────────────────────────────────┴────────────────────────┘
Измерение затухания площадки SA в одной единственной позиции является недостаточным для обнаружения возможных отражений, зависящих от конструкции камеры и поглощающего материала, которым должны быть покрыты стены, пол, потолок безэховой камеры и поворотный стол.
Поэтому измерения затухания площадки SA в полностью безэховой камере и валидация измерительной площадки должны проводиться в 15 измерительных позициях при вертикальной и горизонтальной поляризациях передающей антенны в рабочем объеме (см.
рисунок 8):
- при трех значениях высоты рабочего объема - низ, середина и верх;
- при пяти позициях в каждой из трех горизонтальных плоскостей, соответствующих трем значениям высоты рабочего объема, - в центре, слева, справа, спереди и сзади. Если расстояние между тыльной позицией ТС и поглощающим материалом более 0,5 м, то измерение сзади допускается не проводить. При измерениях излучаемых ИРП тыльную позицию испытуемого ТС и поворотного стола разворачивают вперед, и тогда дополнительный сигнал от отражения сзади не будет влиять на измеряемый сигнал.

- фиксированное расстояние между опорными точками антенн
Измерения в этих позициях должны выполняться при вертикальной и горизонтальной поляризациях антенн.
Рисунок 8. Измерительные позиции антенн при процедуре
валидации измерительной площадки
Для измерений SA следует использовать две широкополосные антенны - одну передающую антенну, опорная точка которой находится в измеряемых позициях рабочего объема, и одну приемную антенну с конкретной поляризацией, находящуюся в заданной позиции вне этого рабочего объема. Передающая антенна должна иметь приблизительно всенаправленную диаграмму направленности в плоскости H (при измерительном расстоянии 3 м максимальный размер антенны не должен превышать 40 см; при больших измерительных расстояниях допускается соответственно масштабировать размер антенны).
Типичными приемными антеннами при валидации измерительной площадки и испытаниях ТС являются:
- гибридные антенны (комбинация биконической и логопериодической антенн) - для полосы частот от 30 до 1000 МГц;
- биконические антенны - для полосы частот от 30 до 200 МГц;
- логопериодические дипольные антенны - для полосы частот от 200 до 1000 МГц.
Примечание. Из-за больших физических размеров не рекомендуется использовать гибридные антенны при валидации безэховой камеры и испытаниях ТС при измерительном расстояний 3 м.
Для измерений опорных значений затухания площадки SA на измерительной площадке квазисвободного пространства в соответствии с
5.8.2.2.2 следует использовать те же антенны, ферриты, аттенюаторы, усилитель, генератор сигналов и измеритель ИРП, которые применяются при измерениях затухания площадки SA полностью безэховой камеры. Приемная антенна, используемая при валидации камеры, должна относиться к тому же типу, что и антенна, используемая при испытании ТС на излучаемые ИРП.
При измерении рабочего объема при горизонтальной и вертикальной поляризациях и всех позициях передающей антенны в данном рабочем объеме положение приемной антенны по высоте в безэховой камере должно устанавливаться на фиксированном среднем уровне рабочего объема в соответствии с
рисунками 8 и
9. Для выравнивания осей обеих антенн в одну ось (ось измерения) может потребоваться небольшой наклон антенн. Расстояние между опорной точкой расположения антенны (определяемой при калибровке) и передней позицией рабочего объема устанавливают равным

. Ось измерения - это линия между приемной и передающей антеннами, вдоль которой указано расстояние

. При всех позициях и поляризациях приемная и передающая антенны должны быть направлены друг на друга, а их элементы должны быть параллельны друг другу (при наклоне - см. рисунок 9). Антенные мачты и вспомогательные настилы при проведении валидации должны находиться на своем постоянном месте.

Примечание. Антенна имеет горизонтальную поляризацию, позиция наверху справа.
Рисунок 9. Пример одной из измерительных позиций и наклона
антенны при процедуре валидации измерительной площадки
Передающая и приемная антенны должны быть выровнены по оси измерения при всех позициях передающей антенны в рабочем объеме и при обоих видах поляризации - вертикальной и горизонтальной.
В определенных позициях необходимо произвести наклон антенн (см. рисунок 9).
Значение

должно быть одинаковым:
- при установке измерительного расстояния, соотносимого с нормой ИРП;
- установке фиксированного расстояния между антеннами при проведении процедуры валидации измерительной площадки;
- разнесении антенн при определении их градуировочных коэффициентов.
Положение передающей антенны в рабочем объеме по высоте определяют следующим образом:
- "среднее" положение устанавливают (при возможности) вдоль виртуальной оси в середине высоты и середине ширины полностью безэховой камеры;
- "верхнее

" и "нижнее

" - устанавливают с учетом половины значения

(см.
таблицу 3) минус половина размера передающей антенны (например 20 см для малой биконической антенны).
Измерения на этих переменных позициях должны проводиться как при вертикальной, так и горизонтальной поляризации. При измерении нормализованного затухания площадки расстояние между верхней и нижней плоскостями и поглощающим материалом на потолке и полу камеры соответственно задается характеристикой поглощающего материала, но для недопущения связи "испытуемое ТС - поглощающий материал" расстояние должно быть не менее 0,5 м.
Максимальный шаг по частоте при дискретном частотном измерении должен соответствовать значениям, приведенным в таблице 4.
Таблица 4
Полосы частот и размер шага по частоте
Полоса частот, МГц | Максимальный шаг по частоте, МГц |
30 - 100 | 1 |
100 - 500 | 5 |
500 - 1000 | 10 |
При валидации измерительной площадки допускается использование двух методов:
a) метода опорной измерительной площадки, который следует применять при измерительных расстояниях менее 5 м;
b) метода нормализованного затухания измерительной площадки, который следует применять при измерительных расстояниях не менее 5 м.
Оба метода валидации должны приводить к одинаковому результату при измерениях на идеальной площадке.
Для уменьшения неопределенности измерений допускаются любые методы, применимые на конкретной испытательной установке, не противоречащие процедуре измерений и не маскирующие какие-либо недостатки площадки, например наличие резонансов.
Для уменьшения неопределенности измерений при валидации измерительной площадки следует применять меры, указанные ниже.
1) При измерении вертикально поляризованных полей длина экранированных кабелей за каждой из антенн до их спуска к земле должна быть не менее 2 м. Если возможно, кабели должны проходить через проходные соединители в стене камеры. Целесообразно использовать ферриты, установленные на кабелях. Другой альтернативой уменьшения влияния кабелей является использование оптико-волоконных линий.
2) Установка аттенюаторов на антенных разъемах (например, затуханием 6 или 10 дБ) позволяет уменьшить влияние большого рассогласования полного сопротивления антенн.
3) Необходимо использование антенн с симметрирующим устройством, обеспечивающим высокую симметрию (показание измерителя ИРП меняется не более чем на +/- 0,5 дБ при повороте антенны относительно ее оси на 180°). Оценку симметрии антенны проводят в соответствии с
4.4.2.
4) Целесообразно использование отдельных биконических и логопериодических дипольных антенн (замену антенн производят при частоте 200 МГц), если они будут использоваться для измерения помех от испытуемых ТС. Может использоваться также гибридная (биконическо-логопериодическая антенна), если механические размеры антенны для данного измерительного расстояния достаточно малы.
Процедуру валидации полностью безэховой камеры следует проводить периодически, с определенными интервалами для выявления долгосрочных изменений параметров безэховой камеры и изменений, которые могут повлиять на характеристики распространения электромагнитных волн.
5.8.2.2.1. Метод опорной измерительной площадки
Сначала проводят измерения затухания площадки SA с использованием двух антенн (передающей и приемной) на измерительной площадке квазисвободного пространства, которые необходимы для использования в качестве опорных значений. Процедура определения затухания опорной площадки

установлена в
5.8.2.2.2. При этом учитывается общая взаимная связь антенн и эффекты ближней зоны, которые могут существенно влиять на результаты измерений при измерительных расстояниях 3 м. Измерение затухания опорной площадки

осуществляется при номинальном расстоянии

между приемной и передающей антеннами.
Процедура валидации измерительной площадки для каждой позиции рабочего объема выполняется в три этапа:
1) измеряют измерителем ИРП уровень

- опорный уровень, дБ (1 мкВ), когда кабели соединены вместе. Обычно данное измерение проводят один раз перед проведением серии испытаний в рабочем объеме;
2) измеряют измерителем ИРП уровень

- уровень, дБ (1 мкВ), при установленных антеннах.
Затухание измерительной площадки

, дБ, рассчитывают по формуле

; (11)
3) рассчитывают отклонение

, дБ, измеренного затухания площадки

от опорного затухания площадки

с помощью уравнения

. (12)
5.8.2.2.2. Определение затухания опорной площадки
В качестве опорной измерительной площадки используют измерительную площадку квазисвободного пространства. На ней должны быть размещены две неметаллические антенные мачты (деревянные или пластмассовые с диэлектрической проницаемостью

, имеющие низкие потери и как можно меньший диаметр при сохранении механической прочности), которые позволяют устанавливать антенны на необходимой высоте над уровнем земли (см.
рисунок 10).
Примечание. Затухание опорной площадки измеряют отдельно для каждой из позиций, представленных на
рисунке 8.

- расстояние при валидации; h - высота антенн относительно пластины заземления или уровня земли;

,

- коаксиальные кабели передающей и приемной антенн должны идти по оси симметрии антенн горизонтально, причем длина этих горизонтальных участков должна как можно точнее (насколько это возможно физически) приближаться к 2 м.
В полностью безэховой камере необходимо располагать кабель горизонтально, лучше всего пропуская через отверстие в стенке камеры или использовать оптоволоконный кабель, подключенный к выходу антенны.
Рисунок 10. Типичная установка для измерения затухания
опорной площадки свободного пространства
Для обеспечения точных измерений при измерительных расстояниях менее 5 м для определения затухания опорной площадки рекомендуется использовать две специальные антенны (передающую и приемную). Одним из возможных методов обеспечения характеристики +/- 1 дБ для опорной измерительной площадки является выбор высоты установки антенн h, м, в соответствии с соотношением
h >= d x 8/3, (13)
где d - расстояние между антеннами, м.
Для уменьшения влияния земли рекомендуется высота h >= d x 8/3 или на земле должен быть уложен поглощающий материал, нижняя частота эффективной работы которого не менее 30 МГц.
Примечание. На частоте 30 МГц при расстоянии между антеннами 3 м в
выражении (10) появляется член, характеризующий эффект ближнего поля

, который уже сам по себе вносит ошибку 0,8 дБ при высоте установки антенны 3 x 5/3 = 5 м. Для обеспечения опорного значения затухания площадки при неопределенности менее +/- 0,5 дБ рекомендуется использовать высоту установки антенны 3 x 8/3 = 8 м, если на земле не уложен поглощающий материал.
Измерительное расстояние должно быть равно расстоянию между антеннами

, используемому в полностью безэховой камере. Антенны должны иметь вертикальную поляризацию (горизонтальная поляризация не должна использоваться из-за более сильной интерференции с отраженным от земли сигналом). При этом обеспечивается хорошая аппроксимация свободного пространства. Расстояние до зданий, деревьев и т.п. должно быть более d x 8/3, иначе они будут оказывать воздействие на антенны, имеющие вертикальную поляризацию.
Необходимо обеспечить отсутствие влияния фидеров антенных кабелей на результат измерения. Для этого необходимо расположить кабели в соответствии с
рисунком 10 или использовать преобразование сигнала и передачу его по оптико-волоконным линиям.
Результат оценки полностью безэховой камеры непосредственно зависит от качества опорной испытательной установки.
Значение затухания опорной площадки

определяют в три этапа:
1) измеряют измерителем ИРП опорный уровень

, дБ (1 мкВ), когда кабели соединены вместе;
2) измеряют измерителем ИРП опорный уровень

, дБ (1 мкВ), когда антенны установлены на расстоянии

;
3) рассчитывают затухание измерительной площадки

, дБ, по формуле

. (14)
При валидации измерительной площадки с измерительным расстоянием 3 м следует устанавливать антенну на высоте не менее 4 м над уровнем земли, что является типовым значением для дистанционно управляемых антенных мачт, используемых для измерений излучения ИРП. В этом случае на земле между антеннами необходимо уложить поглощающий материал. Края поглощающего материала должны выходить за пределы элементов антенн во всех направлениях так, чтобы было обеспечено выполнение условий квазисвободного пространства в соответствии с
5.8.1. При валидации площадки при измерительном расстоянии d > 3 м используют высоту установки антенн h > d x 8/3 или альтернативную испытательную установку, соответствующую выполнению условий затухания опорной измерительной площадки +/- 1 дБ.
5.8.2.2.3. Метод нормализованного затухания измерительной площадки
Для использования данного метода необходимо знать градуировочные коэффициенты передающей и приемной антенн в свободном пространстве.
Валидация площадки для каждой измерительной позиции проводится в четыре этапа:
1) измеряют измерителем ИРП уровень

, дБ (1 мкВ), когда кабели соединены вместе;
2) измеряют измерителем ИРП уровень

, дБ (1 мкВ), когда антенны установлены на расстоянии

;
3) рассчитывают нормализованное затухание измерительной площадки

, дБ, с помощью уравнения

, (15)
где

и

- коэффициенты калибровки антенн в свободном пространстве, дБ/м;
4)рассчитывают отклонение

, дБ, с помощью уравнения

, (16)
Рассчитанное значение

сравнивают с установленным критерием +/- 4 дБ в соответствии с 5.8.3.
Примечание. Расстояние d между опорными точками передающей и приемной антенн должно быть равно

. Эффективное расстояние между антеннами меняется в зависимости от частоты из-за позиций их фазовых центров, поэтому передаточные потери должны быть скомпенсированы с учетом расстояния

.
5.8.3. Критерий валидации площадки
Измерительная площадка, обеспечивающая условия свободного пространства, должна соответствовать следующим требованиям:
- отклонения затухания площадки SA или нормализованного затухания площадки NSA [см.
уравнения (12) или
(16)] от установленных значений должны быть менее +/- 4 дБ для горизонтальной и вертикальной поляризаций и для каждой позиции и частоты измерения;
| | ИС МЕГАНОРМ: примечание. ГОСТ Р 51318.16.4.2-2006 утратил силу с 1 января 2014 года в связи с введением в действие ГОСТ 30805.16.4.2-2013 (Приказ Росстандарта от 22.07.2013 N 430-ст). | |
- при валидации измерительной площадки должна быть указана неопределенность измерений в соответствии с &ГОСТ Р 51318.16.4.2&. Составляющие неопределенности должны соответствовать учитываемым при измерениях напряженности поля с применением альтернативных измерительных площадок с пластиной заземления.
5.9. Влияние установочного стола и антенной мачты на результаты измерений
5.9.1. Введение
При измерениях напряженности поля ИРП испытуемое ТС размещают на установочном столе (см. Приложение D,
раздел D.5). Форма, конструкция и диэлектрическая проницаемость материала стола могут влиять на результаты измерений напряженности поля. Метод оценки влияния установочного стола на результаты измерения напряженности поля и оценка неопределенности измерений, связанной с применением установочного стола в полосе частот от 30 до 1000 МГц, представлены в 5.9.2.
Примечания. 1. При измерениях используют только горизонтальную поляризацию передающей антенны, размещенной над установочным столом, что соответствует случаю наибольшего воздействия стола на результаты измерений.
2. Дополнительные измерения для определения влияния антенной мачты на результат измерений не проводят, так как ее влияние уже учтено при измерении нормализованного затухания площадки.
5.9.2. Метод измерения влияния установочного стола (настольные ТС)
Тип, форма и материалы элементов установочного стола (далее - стол) могут влиять на результаты измерений напряженности поля. Для определения этого влияния и оценки систематической погрешности, обусловленной столом, необходимо проводить измерения указанным ниже методом. Выполняют два измерения напряженности поля сигнала - с применением стола и без него - с использованием конкретной передающей антенны и конкретной схемы измерения. Разница между результатами измерений с применением стола и без него позволяет оценить влияние установочного стола на результаты измерений.
Стол размещают на измерительной площадке в определенном месте, при этом его наибольший размер (т.е. диагональ для стола с прямоугольной крышкой или радиус - для стола с круглой крышкой) ориентирован на приемную антенну (см.
рисунок 11). В полосе частот до 1000 МГц включительно над столом размещают биконическую антенну общей длиной не более 0,4 м с горизонтальной поляризацией. Расстояние между поверхностью стола и средней точкой вибраторов антенны должно быть 0,1 м (см.
рисунок 12). Биконическую антенну размещают так, чтобы средняя точка вибраторов антенны находилась посередине между центром и краем стола в направлении приемной антенны.
а) Вид сверху
б) Вид сбоку
Примечание. В испытательных лабораториях обычно используют столы разных конструкций из материалов с различными характеристиками. При определении влияния установочного стола на результаты измерений достаточно определить значение

для наихудшего случая (см.
5.9.2).
Рисунок 11. Расположение антенны над прямоугольным
установочным столом
Возбуждение передающей антенны, находящейся над столом, обеспечивает генератор сигналов. Шаг частоты должен составлять не более 0,5% наибольшего значения используемой частоты. Уровень напряжения сигнала на выходе приемной антенны должен быть по крайней мере на 20 дБ выше уровня шума измерителя ИРП. Кабель должен проходить по оси симметрии антенны горизонтально на расстоянии приблизительно 2 м. На кабель питания приемной антенны надевают ферритовые кольца (трубки) с интервалом между ними, обеспечивающим отсутствие влияния этого кабеля на измерения.
Для получения наибольшего значения напряжения на выходе приемной антенны

следует провести два измерения сигнала при неизменном положении передающей антенны в каждом измерении (одно - со столом, другое - без него). В полосе частот ниже 1 ГГц измерения выполняют на частотах от 200 МГц <1> до 1 ГГц. На открытой измерительной площадке или в полубезэховой камере высоту приемной антенны изменяют от 1 до 4 м, а в полностью безэховой камере высота антенны остается постоянной.
--------------------------------
<1> При данном методе проверки влияние установочного стола на частотах ниже 200 МГц пренебрежимо мало.
Затем вычисляют разницу

, дБ (1 мкВ), между результатами двух измерений, используя уравнение

, (17)
где

- напряжение, измеренное на конкретной частоте с применением стола;

- напряжение, измеренное на конкретной частоте без стола.
Значение максимальной разницы

в полосе частот от 200 до 1000 МГц используют как оценочную максимальную разницу [при

в дБ]:

. (18)
Стандартную неопределенность

, обусловленную влиянием установочного стола, оценивают при условии прямоугольного распределения измеренной максимальной разницы

.
Следовательно,

, дБ, можно рассчитать с помощью уравнения

. (19)
5.9.3. Метод измерения влияния установочного стола (напольные ТС)
При напольных испытуемых ТС установочный стол должен быть из непроводящего материала с низкой диэлектрической проницаемостью. Если периметр крышки стола меньше или равен периметру испытуемого ТС у основания, то оценивать влияние установочного стола не требуется.
6. Реверберационная камера для измерения
полной излучаемой мощности
Для испытуемых ТС некоторых видов, работающих в микроволновом диапазоне, имеющих сложные диаграммы направленности излучения в трех плоскостях, целесообразно измерять не напряженность излучаемого поля, а полную излучаемую мощность. Это связано со сложной характеристикой взаимодействия измерительных антенн с испытуемым ТС, взаимным влиянием диаграмм направленности и т.д. Полная излучаемая мощность от испытуемого ТС может быть измерена при размещении его в камере с металлическими стенами.
Для того, чтобы исключить влияние эффектов стоячих волн, которые при их появлении могут вызвать неоднородное распределение плотности энергии в зависимости от места расположения ТС в камере, устанавливают специальные устройства, "рассеивающие" радиоволны (далее - рассеивающие устройства). При соответствующих размерах, форме, местоположении и скорости рассеивания данного рассеивающего устройства плотность энергии в любой точке камеры изменяется случайно при равномерном статистическом распределении поля по фазе, амплитуде и поляризации.
6.1. Камера
6.1.1. Размер и форма
Линейные размеры камеры должны быть большими по сравнению с длиной волны, соответствующей самой низкой частоте измерений. Камера также должна быть достаточно большой, чтобы вместить испытуемое ТС, рассеивающие устройства для создания определенной конфигурации поля в камере и приемные измерительные антенны. Размеры ТС, испытываемых в камере, могут быть различными - от небольшой микроволновой настольной печи объемом около 0,2 м3 до больших устройств высотой 1,7 м с основанием 0,76 м.
Камера может быть любой формы при условии, что ее размеры по трем измерениям имеют один порядок. Рекомендуется, чтобы размеры по трем измерениям были разными. Для самой низкой частоты 1 ГГц камера должна иметь объем не менее 8 м3. Реальные размеры будут зависеть от физических характеристик камеры. Метод определения пригодности камеры приведен в
6.1.4.
Стены камеры и рассеивающие устройства должны быть металлическими. Соединения между металлическими частями должны быть механически прочными и иметь низкое электрическое сопротивление по всей длине, на поверхности металлических частей не должно быть коррозии. Внутри камеры не должно быть поглощающих материалов.
6.1.2. Дверь, отверстия в стенах и монтажные скобы
Дверь камеры должна быть достаточно большой для проноса оборудования и прохода операторов. Она должна открываться наружу и иметь плотную подгонку (без щелей) для минимизации потерь энергии. Для удобства монтажа передающие и приемные антенны внутри камеры могут прикрепляться к стенам при помощи монтажных скоб.
6.1.3. Рассеивающие устройства для создания однородного распределения энергии поля в камере
Далее приведено описание двух типов рассеивающих устройств, помогающих избежать стоячих волн в камере. Допускаются также другие виды этих устройств при условии, что эффективность рассеяния соответствует критерию, установленному в
6.1.4.
6.1.3.1. Рассеивающее устройство с вращающимися пластинами
При применении рассеивающего устройства с вращающимися пластинами эти устройства размещают на смежных стенах камеры на расстоянии от стен, составляющем, по крайней мере, 1/4 максимальной длины волны, используемой при измерениях.
Толщина пластины должна быть достаточной для обеспечения жесткости. Максимальная длина пластины определяется размерами стен, ширина должна быть около 1/5 их длины.
6.1.3.2. Рассеивающее устройство с вращающимися лопатками
При использовании вращающихся лопаток две или три лопатки монтируют на соседних стенах камеры. Лопатки должны быть взаимно перпендикулярны. Пример формы лопаток рассеивающего устройства приведен на рисунке 12, они должны вращаться относительно оси, параллельной их длинной стороне. Диаметр вовлеченного в процесс рассеивания радиоволн пространства (в форме цилиндра) должен быть, по крайней мере, равен максимальной длине волны, используемой при измерениях, а длина лопаток должна быть максимальной в той мере, насколько это позволяют размеры стен. Конструкция рассеивающего устройства должна быть жесткой.
Рисунок 12. Пример лопаточного рассеивающего устройства
6.1.3.3. Скорость вращения
Скорость вращения рассеивающих устройств, размещенных в камере, должна быть различной. Наибольшее время одного оборота рассеивающих устройств должно быть не более 1/5 времени интегрирования индикаторного прибора. Для испытуемых ТС в соответствии с
6.1.5 скорость вращения должна быть в пределах от 50 до 200 об/мин. Рекомендуется, чтобы двигатели, используемые для вращения рассеивающих устройств, вместе с их редукторами находились вне камеры.
6.1.4. Испытания для проверки эффективности рассеивающих устройств
Необходимую однородность распределения энергии в камере определяют по "сглаживанию" изменения переходного затухания сигнала между передающей и приемной антеннами в камере в зависимости от частоты (далее - затухание связи в камере) (см.
6.1.5). На низких частотах из-за значительных длин волн труднее достигнуть однородности; при таких длинах волн существуют резко выраженные минимальные и максимальные значения затухания связи в камере. Чем выше эффективность рассеивающих устройств, тем меньшими являются минимальные и максимальные значения затухания и связи в камере, следовательно, ниже частота, на которой можно выполнять измерения. Затухание связи в камере измеряют во всей рабочей полосе частот камеры. На более низких частотах, на которых наблюдаются минимальные и максимальные значения затухания связи, измерения проводят с шагом по частоте 100 МГц. При проведении испытаний положение приемной антенны остается фиксированным, а передающую антенну последовательно поворачивают вокруг оси с шагом 45°. Измерения проводят при каждом положении передающей антенны и для каждой частоты измерения. Затем все измерения повторяют вновь при повороте приемной антенны на угол 90°.
Рассеивающие устройства считаются пригодными, если в результате их работы значение разности огибающих графика максимальных и минимальных значений затухания связи в камере не превышает 2 дБ при любом положении передающей антенны, и средние значения огибающих четырех графиков различаются не более чем на 2 дБ.
Зависимость затухания связи в камере от частоты для лопаточного рассеивающего устройства представлена на рисунке 13.
Примечание. Все измеренные точки должны находиться внутри коридора 2 дБ, отмеченного пунктирной линией.
Рисунок 13. Зависимость затухания связи от частоты
для лопаточного перемешивающего устройства,
6.1.5. Затухание связи в камере
Затухание связи в камере представляет собой значение вносимых потерь, измеряемых между зажимами передающей и приемной антенн, установленных в камере.
Для подачи мощности на передающую антенну с малыми потерями (например, рупорную антенну), установленную внутри (или на стене) камеры, используют генератор сигналов, выходная мощность которого может быть измерена с достаточной точностью. Приемную антенну допускается размещать в любой точке камеры при обеспечении следующих условий: расстояние от антенны до стены камеры должно составлять, по крайней мере, 1/4 длины волны; приемная антенна не должна быть направлена на передающую антенну, ближайшую стену камеры и не должна быть ориентирована вдоль какой-либо из осей камеры.
К приемной антенне через фильтр верхних частот подключают радиочастотный усилитель с низким уровнем шумов, к выходу усилителя через полосовой фильтр подключают детектор. Полосовой фильтр с нормированной шириной полосы пропускания должен быть настроен на частоту измерений. Выход детектора подключают к вольтметру пиковых значений с установленным временем запоминания измеренных пиковых значений (зависящим от характеристик испытуемого ТС). При таких измерениях также может быть использован анализатор спектра.
Отмечают значение мощности на входе передающей антенны P по показанию вольтметра. Затем генератор сигналов подключают ко входу усилителя с низким уровнем шума и его выходную мощность p регулируют так, чтобы на вольтметре было то же самое показание. Значение затухания связи в камере равно 10 lg (P/p), дБ.
7. ТЕМ-камеры для измерения помехоустойчивости
по отношению к излучаемым помехам
Вопрос на рассмотрении.
8. Измерительные площадки для измерения напряженности
поля ИРП в полосе частот от 1 до 18 ГГц
Измерительная площадка для измерения напряженности поля ИРП в полосе частот от 1 до 18 ГГц должна соответствовать условиям отсутствия отражений. Для обеспечения таких условий может потребоваться использование поглощающего материала или увеличение высоты расположения испытуемого ТС.
Примечание. В случае испытаний напольных ТС может оказаться, что достижение условий отсутствия отражений вблизи поверхности земли невозможно.
8.1. Опорная измерительная площадка
В качестве опорной измерительной площадки в полосе частот от 1 до 18 ГГц используют открытую площадку, соответствующую условиям свободного пространства, на которой предприняты меры для исключения влияния отражений на результаты измерений.
8.2. Валидация измерительной площадки
Измерительную площадку считают пригодной для проведения измерений излучаемого электромагнитного поля в полосе частот от 1 до 18 ГГц, если она соответствует критерию, приведенному в
8.2.1; процедура валидации площадки установлена в
8.2.2. Для испытаний на соответствие нормам ИРП, установленным в стандартах, разработанных на основе стандартов СИСПР, валидацию площадки проводят в полосе частот от 1 ГГц до наибольшей частоты измерений на площадке. Наибольшая частота измерений, обеспечиваемая площадкой, должна быть не менее 2 ГГц.
Конструкция измерительных площадок, используемых для проведения измерений в полосе частот от 1 до 18 ГГц, должна минимизировать влияние отражений излучаемых полей радиопомех на сигнал, принимаемый измерительной антенной. Такая минимизация влияния отражений возможна, например, в безэховой камере. Если конструкция площадки не обеспечивает полностью безэховых условий (например, полубезэховая камера), используют поглощающий материал для частичного покрытия металлической пластины заземления.
В случае, если рабочий объем камеры расположен выше проводящего пола и испытуемого ТС (что является типичным для напольных ТС), при валидации площадки в ее рабочем объеме размещают поглощающий материал. Если испытуемое ТС невозможно установить над пластиной заземления, эту пластину покрывают поглощающим материалом для устранения излучения внутри рабочего объема на высоте более 30 см.
При испытании напольных ТС находящийся на полу поглощающий материал, используемый при валидации измерительной площадки, можно передвинуть из зоны вблизи основания испытуемого ТС так, чтобы он отступал от основания ТС на 10 см.
В случае, если рабочий объем находится выше уровня поглощающего материала, что соответствует условиям испытания настольных ТС, поглощающий материал можно размещать под рабочим объемом как при валидации площадки, так и при испытаниях ТС. В отчет о валидации площадки необходимо включить фотографии, показывающие конфигурацию поглощающего материала на площадке и места установки передающей и приемной антенн.
Валидацию измерительной площадки проводят путем измерения коэффициента стоячей волны по напряжению данной площадки

. При этом рабочий объем площадки оценивают при конкретной комбинации на площадке приемной антенны, поглощающего материала, установленного на пластине заземления, и соблюдении измерительного расстояния. Пригодность площадки оценивают в соответствии с критерием
8.2.1.
Влияние мачты приемной антенны (установленной в положение, соответствующее испытаниям для валидации площадки) и стационарных объектов, находящихся в рабочем объеме (например, поворотного стола), оценивают при валидации, и эта оценка должна быть включена в процедуру валидации. Вносимые объекты, например переносной испытательный стол, могут отсутствовать при испытаниях, проводимых при валидации площадки, если их влияние оценивается отдельно с помощью дополнительных процедур, как указано в
5.9.
Проверку

площадки проводят с целью определения влияния отражений при испытаниях ТС произвольного размера и формы, находящегося в рабочем объеме.

площадки - это отношение максимального принимаемого сигнала к минимальному принимаемому сигналу, обусловленное интерференцией между прямым и отраженным сигналами:

, (20)
где

и

- значения максимального и минимального принимаемых сигналов, мкВ/м;

и

- измеренные значения напряжений, когда для приема используют измерительный приемник или анализатор спектра, мкВ.
При валидации площадки в соответствии с требованиями, установленными в настоящем разделе, значения напряженности поля и напряжения сигнала измеряются, как правило, в дБ (исх. 1 мкВ/м) и дБ (исх. 1 мкВ) в зависимости от измерительных приборов или используемого детектора сигналов. Значения

,

,

,

, выраженные в этих единицах, обозначены соответственно

, дБ,

, дБ,

, дБ,

, дБ.

. (21)
Примечание. Значение

измерительной площадки вычисляют исходя из соотношений максимального и минимального сигналов, полученных на каждой частоте измерения и при каждой поляризации для серии из шести измерений, как указано в
8.2.2.
8.2.1. Критерий оценки при валидации площадки
Значение

измерительной площадки непосредственно зависит от воздействия нежелательных отражений на результаты испытаний ТС. Критерием оценки при валидации площадки в полосе частот от 1 до 18 ГГц будет значение

или

при его измерении в соответствии с процедурой, указанной в 8.2.2.
8.2.2. Процедура валидации площадки
Ниже установлена процедура валидации (оценки

) площадки.
8.2.2.1. Требования к антенне
Для того, чтобы во время измерения обеспечить облучение всех отражающих поверхностей и имитировать возможные характеристики малонаправленного излучения реальных испытуемых ТС, в настоящем пункте указаны характеристики испытательного оборудования, используемого при определении

площадки.
8.2.2.1.1. Испытательное оборудование для стандартной процедуры определения

площадки
Приемная антенна должна иметь линейную поляризацию и быть того же типа, что и антенна, используемая при измерении излучаемых ИРП от испытуемых ТС.
Для передающей антенны опорным углом 0° характеристик диаграммы направленности является угол, при котором эта антенна направлена на приемную антенну (плоскости апертур параллельны); эту позицию называют направлением пеленга B.
Антенна, используемая в качестве передающей, должна иметь линейную поляризацию, а ее диаграмма направленности - соответствовать диаграмме направленности диполя.
Диаграмму направленности антенны по частоте определяют с шагом по частоте не более 1 ГГц <1>.
--------------------------------
<1> Данное ограничение обеспечивает гладкую диаграмму в области пеленга и приемлемую ненаправленную характеристику.
8.2.2.1.1.1. Диаграмма направленности передающей антенны в плоскости E
Диаграмму направленности передающей антенны с линейной поляризацией в плоскости E можно измерить в одной из множества возможных плоскостей сечения (постоянный азимутальный угол) сферы излучения.
При измерениях диаграммы направленности плоскость сечения выбирает производитель антенны, она должна указываться в описании характеристик антенны.
Наиболее оптимальной для измерений считается плоскость, в которой находится высокочастотный разъем и проложены кабели.
Измерение диаграммы направленности проводят следующим образом:
a) выбирают направление главного лепестка M для правой и левой стороны каждой диаграммы направленности, значение M должно находиться в пределах 0° +/- 15° и 180° +/- 15° соответственно;
b) на чертеже обозначают так называемую "запретную зону", симметричную направлениям основного лепестка по обеим сторонам диаграммы направленности, когда амплитуда сигнала менее минус 3 дБ при угле, равном +/- 15°. Границы диаграммы направленности в плоскости E не должны пересекать запретную зону.
Диаграмма направленности передающей антенны в плоскости E приведена на
рисунке 14 в качестве примера.
Примечание. Приведенный пример диаграммы относится к антенне, соответствующей требованиям к диаграмме направленности в плоскости E, указанным в
8.2.2.1. Направления главного лепестка M для правой и левой сторон каждой диаграммы направленности находятся в пределах 0° +/- 15° и 180° +/- 15° соответственно. Затененными областями обозначают "запретную зону", вне которой амплитуда менее минус 3 дБ при +/- 15° в каждом основном лепестке. Границы диаграммы направленности не должны пересекать "запретную зону".
Рисунок 14. Диаграмма направленности передающей
антенны в плоскости E (один из примеров)
8.2.2.1.1.2. Диаграмма направленности передающей антенны в плоскости H
Существует только одна возможная плоскость, в которой измеряют диаграмму направленности дипольной антенны в плоскости H, - это плоскость, ортогональная оси диполя и проходящая через его центр. В эту плоскость может попасть симметрирующее устройство, высокочастотный разъем или соединитель и входной кабель. Производитель антенны должен указать в документации на антенну тип установки, используемой для измерения диаграмм направленности, включая схему разводки фидерных кабелей и местоположение соединителей.
Для определения диаграммы направленности следует:
a) усреднить данные диаграммы направленности в децибелах в диапазоне углов +/- 135° (0° - угол пеленга). Максимальный шаг данных в этой диаграмме должен быть 5° в полосе частот от 1 до 6 ГГц и 1° - в полосе частот от 6 до 18 ГГц;
b) отклонение диаграммы направленности от усредненного значения для углов +/- 135° не должно превышать значений, приведенных ниже.
Таблица 5
Отклонение диаграммы направленности
от усредненного значения
Диапазон углов | Полоса частот, ГГц |
От 1 до 6 | От 6 до 18 |
От -60° до +60° | +/- 2 дБ | +/- 3 дБ |
От -60° до -135°, от +60° до +135° | +/- 3 дБ | +/- 4 дБ |
От -135° до -180°, от +135° до +180° | < +3 дБ | < +4 дБ |
Примечание. Несмотря на то, что нижняя граница диаграммы направленности в плоскости H вне угла +/- 135° не указана, желательно, чтобы диаграмма в плоскости H не была нулевой при угле +/- 180°, но при этом была бы ненаправленной. Для минимизации нежелательных влияний на диаграмму в плоскости H вне угла +/- 135° необходимо следовать рекомендациям технической документации на антенну конкретного типа по прокладке фидерных кабелей и установке антенной мачты.
Диаграмма направленности антенны в плоскости H в полосе частот от 1 до 18 ГГц, отвечающая указанным выше требованиям, приведена на рисунке 15 (
листы 1,
2) в качестве примера.
а) В полосе частот от 1 до 6 ГГц
Рисунок 15. Диаграмма направленности передающей антенны
в плоскости H (один из примеров), лист 1
б) В полосе частот от 6 до 18 ГГц
Примечание. Представленный пример относится к антенне, соответствующей требованиям в плоскости H. Затененными областями обозначают максимально допустимые отклонения, указанные в
8.2.2.1.1.2. Данная антенна соответствует требованиям к диаграмме направленности в плоскости H, указанным в
8.2.2.1, так как диаграмма направленности не входит в затененные области.
8.2.2.1.2. Испытательное оборудование для альтернативной процедуры определения

Излучающая антенна должна быть того же типа, что и антенна, используемая при измерении излучаемых ИРП от испытуемых ТС. Используемый изотропный пробник поля должен быть всенаправленным при изотропности не менее 3 дБ.
8.2.2.2. Расположение оборудования при валидации площадки
Валидацию площадки выполняют для рабочего объема, имеющего форму цилиндра (далее - цилиндр). Днище цилиндра представляет собой поверхность, необходимую для установки испытуемого ТС. Максимальной высотой, которую может занимать испытуемое ТС или его вертикальные воздушные кабели, считается высота, на которой находится верхняя плоскость цилиндра. Диаметр цилиндра определяется наибольшим размером, необходимым для размещения испытуемого ТС, включая кабели. Если кабели выходят из рабочего объема, то размеры этого объема определяют с учетом длины 30 см этих кабелей. Для установки напольного оборудования, которое невозможно приподнять над опорной поверхностью, допускается ограничение облучения рабочего объема на высоте не более 30 см от днища цилиндра, обусловленное размещением поглощающего материала на пластине заземления. В соответствии с процедурой, указанной в
8.2.2.3, оценку

площадки проводят при размещении приемной антенны в позиции, установленной для валидации рабочего объема, и размещении передающего источника в указанных местах. В ином случае при использовании альтернативной процедуры определения

, указанной в
8.2.2.4, для размещения пробника поля в испытательном объеме используют позиции, указанные ниже.
Позиции, необходимые для проведения измерений

, зависят от размеров рабочего объема. Подробная информация о требованиях к дополнительным позициям, используемым при испытании, приведена в
8.2.2.5.

площадки оценивают в каждой необходимой позиции и при каждой поляризации путем последовательного проведения шести измерений вдоль линии, направленной на опорную точку приемной антенны.
Все возможные необходимые позиции испытательного оборудования приведены на рисунках 16 и
17, включая дополнительные позиции, указанные в
8.2.2.5. На рисунках 16 и
17 последовательности из шести измерений вдоль линии к приемной антенне обозначены кружками.
Рисунок 16. Позиции при измерении


- часть объема, перекрытая поглощающим материалом, находящимся на полу (максимум 0,3 м);

- высота в середине рабочего объема или 1,0 м относительно основания рабочего объема, в зависимости от того, что меньше;

- высота до верхнего основания рабочего объема; испытание на этой высоте требуется, если

отстоит от

не менее чем на 0,5 м (более подробную информацию см.
8.2.2.5).
Рисунок 17. Позиции при измерении

(требования по высоте)
8.2.2.2.1. Описание позиций при измерении

в горизонтальной плоскости
a) Фронтальные позиции 1 - 6 (с F1 по F6) находятся на прямой линии, проведенной от центра рабочего объема к опорной точке приемной антенны. Для установки мест этих позиций сначала определяют место для позиции F6 перед рабочим объемом на расстоянии D по оси измерения, выходящей из опорной точки приемной антенны.
Позиции F5 - F1 определяют относительно позиции F6 следующим образом (в направлении от приемной антенны):
1) F5 = F6 + 2 см от приемной антенны;
2) F4 = F6 + 10 см от приемной антенны;
3) F3 = F6 + 18 см от приемной антенны;
4) F2 = F6 + 30 см от приемной антенны;
5) F1 = F6 + 40 см от приемной антенны.
b) Позиции справа 1 - 6 (с R1 по R6) определяют относительно позиции R6. Позицию R6 устанавливают определением размера рабочего объема справа (позиция R1) и последующим передвижением на 40 см по линии в направлении опорной точки приемной антенны (см.
рисунок 17).
Позиции R5 - R1 определяют относительно позиции R6 следующим образом (в направлении от приемной антенны):
1) R5 = R6 + 2 см от приемной антенны;
2) R4 = R6 + 10 см от приемной антенны;
3) R3 = R6 + 18 см от приемной антенны;
4) R2 = R6 + 30 см от приемной антенны;
5) R1 = R6 + 40 см от приемной антенны.
c) Позиции слева 1 - 6 (с L1 по L6) определяют относительно позиции L6. Позицию L6 устанавливают определением размера рабочего объема слева (позиция L1) и последующим передвижением на 40 см по линии в направлении опорной точки приемной антенны (см.
рисунок 16).
Позиции L5 - L1 рассчитывают относительно позиции L6 следующим образом (в направлении от приемной антенны):
1) L5 = L6 + 2 см от приемной антенны;
2) L4 = L6 + 10 см от приемной антенны;
3) L3 = L6 + 18 см от приемной антенны;
4) L2 = L6 + 30 см от приемной антенны;
5) L1 = L6 + 40 см от приемной антенны.
d) Позиции по центру 1 - 6 (с C1 по C6) определяют относительно позиции C6. Позиция C6 находится в центре рабочего объема. Испытание в позициях с C1 по C6 требуется при диаметре рабочего объема более 1,5 м (см.
8.2.2.5).
Позиции C5 - C1 рассчитывают относительно позиции C6 следующим образом (в направлении от приемной антенны):
1) C5 = C6 + 2 см от приемной антенны;
2) C4 = C6 + 10 см от приемной антенны;
3) C3 = C6 + 18 см от приемной антенны;
4) C2 = C6 + 30 см от приемной антенны;
5) C1 = C6 + 40 см от приемной антенны.
8.2.2.2.2. Описание дополнительных позиций при измерении

площадки
Помимо позиций, указанных на
рисунке 16, в зависимости от высоты объема может потребоваться дополнительная плоскость при испытании на

на вершине рабочего объема. Позиции при измерении

при дополнительных требованиях по высоте приведены на
рисунке 17. Испытания на второй высоте проводят только для фронтальной позиции.
В таблице 6 приведена сводка испытательных позиций. В таблице позиции сгруппированы по высоте

,

и местоположению (фронтальное, слева, справа, по центру). Для каждого местоположения обозначена опорная позиция, которую будут использовать для расчетов с использованием
уравнения (21).
Таблица 6
Сводка испытательных позиций при измерении

измерительной площадки
┌───────────┬────────┬──────┬──────────────┬────────┬─────────────────────┐
│Обозначение│Местопо-│Высота│ Поляризация │Опорная │ Местоположение │
│ позиции │ложение │ │ │позиция │относительно опорной │
│ │ │ │ │при D │ позиции │
│ │ │ │ │ изм│ │
├───────────┴────────┴──────┴──────────────┴────────┴─────────────────────┤
│ Фронтальные позиции (фронт, h ) при первой высоте │
│ 1 │
├───────────┬────────┬──────┬──────────────┬────────┬─────────────────────┤
│ F1h1H │Фронт │ h │Горизонтальная│ F6h1 │+40 см от приемной │
│ │ │ 1 │ │ │антенны │
├───────────┼────────┼──────┼──────────────┼────────┼─────────────────────┤
│ F1h1V │Фронт │ h │Вертикальная │ F6h1 │+40 см от приемной │
│ │ │ 1 │ │ │антенны │
├───────────┼────────┼──────┼──────────────┼────────┼─────────────────────┤
│ F2h1H │Фронт │ h │Горизонтальная│ F6h1 │+30 см от приемной │
│ │ │ 1 │ │ │антенны │
├───────────┼────────┼──────┼──────────────┼────────┼─────────────────────┤
│ F2h1V │Фронт │ h │Вертикальная │ F6h1 │+30 см от приемной │
│ │ │ 1 │ │ │антенны │
├───────────┼────────┼──────┼──────────────┼────────┼─────────────────────┤
│ F3h1H │Фронт │ h │Горизонтальная│ F6h1 │+18 см от приемной │
│ │ │ 1 │ │ │антенны │
├───────────┼────────┼──────┼──────────────┼────────┼─────────────────────┤
│ F3h1V │Фронт │ h │Вертикальная │ F6h1 │+18 см от приемной │
│ │ │ 1 │ │ │антенны │
├───────────┼────────┼──────┼──────────────┼────────┼─────────────────────┤
│ F4h1H │Фронт │ h │Горизонтальная│ F6h1 │+10 см от приемной │
│ │ │ 1 │ │ │антенны │
├───────────┼────────┼──────┼──────────────┼────────┼─────────────────────┤
│ F4h1V │Фронт │ h │Вертикальная │ F6h1 │+10 см от приемной │
│ │ │ 1 │ │ │антенны │
├───────────┼────────┼──────┼──────────────┼────────┼─────────────────────┤
│ F5h1H │Фронт │ h │Горизонтальная│ F6h1 │+2 см от приемной │
│ │ │ 1 │ │ │антенны │
├───────────┼────────┼──────┼──────────────┼────────┼─────────────────────┤
│ F5h1V │Фронт │ h │Вертикальная │ F6h1 │+2 см от приемной │
│ │ │ 1 │ │ │антенны │
├───────────┼────────┼──────┼──────────────┼────────┼─────────────────────┤
│ F6h1H │Фронт │ h │Горизонтальная│ F6h1 │Опорная позиция │
│ │ │ 1 │ │ │(фронт, h ) │
│ │ │ │ │ │ 1 │
├───────────┼────────┼──────┼──────────────┼────────┼─────────────────────┤
│ F6h1V │Фронт │ h │Вертикальная │ F6h1 │Опорная позиция │
│ │ │ 1 │ │ │(фронт, h ) │
│ │ │ │ │ │ 1 │
├───────────┴────────┴──────┴──────────────┴────────┴─────────────────────┤
ИС МЕГАНОРМ: примечание.
В официальном тексте документа, видимо, допущена опечатка: п. 8.2.4.2
отсутствует.
│ Позиции по центру (центр, h ) при первой высоте │
│ 1 │
│ (при необходимости см. 8.2.4.2) │
├───────────┬────────┬──────┬──────────────┬────────┬─────────────────────┤
│ C1h1H │Центр │ h │Горизонтальная│ C6h1 │+40 см от приемной │
│ │ │ 1 │ │ │антенны │
├───────────┼────────┼──────┼──────────────┼────────┼─────────────────────┤
│ C1h1V │Центр │ h │Вертикальная │ C6h1 │+40 см от приемной │
│ │ │ 1 │ │ │антенны │
├───────────┼────────┼──────┼──────────────┼────────┼─────────────────────┤
│ C2h1H │Центр │ h │Горизонтальная│ C6h1 │+30 см от приемной │
│ │ │ 1 │ │ │антенны │
├───────────┼────────┼──────┼──────────────┼────────┼─────────────────────┤
│ C2h1V │Центр │ h │Вертикальная │ C6h1 │+30 см от приемной │
│ │ │ 1 │ │ │антенны │
├───────────┼────────┼──────┼──────────────┼────────┼─────────────────────┤
│ C3h1H │Центр │ h │Горизонтальная│ C6h1 │+18 см от приемной │
│ │ │ 1 │ │ │антенны │
├───────────┼────────┼──────┼──────────────┼────────┼─────────────────────┤
│ C3h1V │Центр │ h │Вертикальная │ C6h1 │+18 см от приемной │
│ │ │ 1 │ │ │антенны │
├───────────┼────────┼──────┼──────────────┼────────┼─────────────────────┤
│ C4h1H │Центр │ h │Горизонтальная│ C6h1 │+10 см от приемной │
│ │ │ 1 │ │ │антенны │
├───────────┼────────┼──────┼──────────────┼────────┼─────────────────────┤
│ C4h1V │Центр │ h │Вертикальная │ C6h1 │+10 см от приемной │
│ │ │ 1 │ │ │антенны │
├───────────┼────────┼──────┼──────────────┼────────┼─────────────────────┤
│ C5h1H │Центр │ h │Горизонтальная│ C6h1 │+2 см от приемной │
│ │ │ 1 │ │ │антенны │
├───────────┼────────┼──────┼──────────────┼────────┼─────────────────────┤
│ C5h1V │Центр │ h │Вертикальная │ C6h1 │+2 см от приемной │
│ │ │ 1 │ │ │антенны │
├───────────┼────────┼──────┼──────────────┼────────┼─────────────────────┤
│ C6h1H │Центр │ h │Горизонтальная│ C6h1 │Опорная позиция │
│ │ │ 1 │ │ │(центр, h ) │
│ │ │ │ │ │ 1 │
├───────────┼────────┼──────┼──────────────┼────────┼─────────────────────┤
│ C6h1V │Центр │ h │Вертикальная │ C6h1 │Опорная позиция │
│ │ │ 1 │ │ │(центр, h ) │
│ │ │ │ │ │ 1 │
├───────────┴────────┴──────┴──────────────┴────────┴─────────────────────┤
│ Позиции справа при первой высоте │
├───────────┬────────┬──────┬──────────────┬────────┬─────────────────────┤
│ R1h1H │Справа │ h │Горизонтальная│ R6h1 │+40 см от приемной │
│ │ │ 1 │ │ │антенны справа │
│ │ │ │ │ │от рабочего объема │
├───────────┼────────┼──────┼──────────────┼────────┼─────────────────────┤
│ R1h1V │Справа │ h │Вертикальная │ R6h1 │+40 см от приемной │
│ │ │ 1 │ │ │антенны справа │
│ │ │ │ │ │от рабочего объема │
├───────────┼────────┼──────┼──────────────┼────────┼─────────────────────┤
│ R2h1H │Справа │ h │Горизонтальная│ R6h1 │+30 см от приемной │
│ │ │ 1 │ │ │антенны │
├───────────┼────────┼──────┼──────────────┼────────┼─────────────────────┤
│ R2h1V │Справа │ h │Вертикальная │ R6h1 │+30 см от приемной │
│ │ │ 1 │ │ │антенны │
├───────────┼────────┼──────┼──────────────┼────────┼─────────────────────┤
│ R3h1H │Справа │ h │Горизонтальная│ R6h1 │+18 см от приемной │
│ │ │ 1 │ │ │антенны │
├───────────┼────────┼──────┼──────────────┼────────┼─────────────────────┤
│ R3h1V │Справа │ h │Вертикальная │ R6h1 │+18 см от приемной │
│ │ │ 1 │ │ │антенны │
├───────────┼────────┼──────┼──────────────┼────────┼─────────────────────┤
│ R4h1H │Справа │ h │Горизонтальная│ R6h1 │+10 см от приемной │
│ │ │ 1 │ │ │антенны │
├───────────┼────────┼──────┼──────────────┼────────┼─────────────────────┤
│ R4h1V │Справа │ h │Вертикальная │ R6h1 │+10 см от приемной │
│ │ │ 1 │ │ │антенны │
├───────────┼────────┼──────┼──────────────┼────────┼─────────────────────┤
│ R5h1H │Справа │ h │Горизонтальная│ R6h1 │+2 см от приемной │
│ │ │ 1 │ │ │антенны │
├───────────┼────────┼──────┼──────────────┼────────┼─────────────────────┤
│ R5h1V │Справа │ h │Вертикальная │ R6h1 │+2 см от приемной │
│ │ │ 1 │ │ │антенны │
├───────────┼────────┼──────┼──────────────┼────────┼─────────────────────┤
│ R6h1H │Справа │ h │Горизонтальная│ R6h1 │Опорная позиция │
│ │ │ 1 │ │ │(справа, h ) │
│ │ │ │ │ │ 1 │
├───────────┼────────┼──────┼──────────────┼────────┼─────────────────────┤
│ R6h1V │Справа │ h │Вертикальная │ R6h1 │Опорная позиция │
│ │ │ 1 │ │ │(справа, h ) │
│ │ │ │ │ │ 1 │
├───────────┴────────┴──────┴──────────────┴────────┴─────────────────────┤
│ Позиции слева при первой высоте │
├───────────┬────────┬──────┬──────────────┬────────┬─────────────────────┤
│ L1h1H │Слева │ h │Горизонтальная│ L6h1 │+40 см от приемной │
│ │ │ 1 │ │ │антенны слева │
│ │ │ │ │ │от рабочего объема │
├───────────┼────────┼──────┼──────────────┼────────┼─────────────────────┤
│ L1h1V │Слева │ h │Вертикальная │ L6h1 │+40 см от приемной │
│ │ │ 1 │ │ │антенны слева │
│ │ │ │ │ │от рабочего объема │
├───────────┼────────┼──────┼──────────────┼────────┼─────────────────────┤
│ L2h1H │Слева │ h │Горизонтальная│ L6h1 │+30 см от приемной │
│ │ │ 1 │ │ │антенны │
├───────────┼────────┼──────┼──────────────┼────────┼─────────────────────┤
│ L2h1V │Слева │ h │Вертикальная │ L6h1 │+30 см от приемной │
│ │ │ 1 │ │ │антенны │
├───────────┼────────┼──────┼──────────────┼────────┼─────────────────────┤
│ L3h1H │Слева │ h │Горизонтальная│ L6h1 │+18 см от приемной │
│ │ │ 1 │ │ │антенны │
├───────────┼────────┼──────┼──────────────┼────────┼─────────────────────┤
│ L3h1V │Слева │ h │Вертикальная │ L6h1 │+18 см от приемной │
│ │ │ 1 │ │ │антенны │
├───────────┼────────┼──────┼──────────────┼────────┼─────────────────────┤
│ L4h1H │Слева │ h │Горизонтальная│ L6h1 │+10 см от приемной │
│ │ │ 1 │ │ │антенны │
├───────────┼────────┼──────┼──────────────┼────────┼─────────────────────┤
│ L4h1V │Слева │ h │Вертикальная │ L6h1 │+10 см от приемной │
│ │ │ 1 │ │ │антенны │
├───────────┼────────┼──────┼──────────────┼────────┼─────────────────────┤
│ L5h1H │Слева │ h │Горизонтальная│ L6h1 │+2 см от приемной │
│ │ │ 1 │ │ │антенны │
├───────────┼────────┼──────┼──────────────┼────────┼─────────────────────┤
│ L5h1V │Слева │ h │Вертикальная │ L6h1 │+2 см от приемной │
│ │ │ 1 │ │ │антенны │
├───────────┼────────┼──────┼──────────────┼────────┼─────────────────────┤
│ L6h1H │Слева │ h │Горизонтальная│ L6h1 │Опорная позиция │
│ │ │ 1 │ │ │(слева, h ) │
│ │ │ │ │ │ 1 │
├───────────┼────────┼──────┼──────────────┼────────┼─────────────────────┤
│ L6h1V │Слева │ h │Вертикальная │ L6h1 │Опорная позиция │
│ │ │ 1 │ │ │(слева, h ) │
│ │ │ │ │ │ 1 │
├───────────┴────────┴──────┴──────────────┴────────┴─────────────────────┤
ИС МЕГАНОРМ: примечание.
В официальном тексте документа, видимо, допущена опечатка: п. 8.2.4.2
отсутствует.
│ Фронтальные позиции при второй высоте (при необходимости см. 8.2.4.2) │
├───────────┬────────┬──────┬──────────────┬────────┬─────────────────────┤
│ F1h2H │Фронт │ h │Горизонтальная│ F6h2 │+40 см от приемной │
│ │ │ 2 │ │ │антенны │
├───────────┼────────┼──────┼──────────────┼────────┼─────────────────────┤
│ F1h2V │Фронт │ h │Вертикальная │ F6h2 │+40 см от приемной │
│ │ │ 2 │ │ │антенны │
├───────────┼────────┼──────┼──────────────┼────────┼─────────────────────┤
│ F2h2H │Фронт │ h │Горизонтальная│ F6h2 │+30 см от приемной │
│ │ │ 2 │ │ │антенны │
├───────────┼────────┼──────┼──────────────┼────────┼─────────────────────┤
│ F2h1V │Фронт │ h │Вертикальная │ F6h2 │+30 см от приемной │
│ │ │ 2 │ │ │антенны │
├───────────┼────────┼──────┼──────────────┼────────┼─────────────────────┤
│ F3h2H │Фронт │ h │Горизонтальная│ F6h2 │+18 см от приемной │
│ │ │ 2 │ │ │антенны │
├───────────┼────────┼──────┼──────────────┼────────┼─────────────────────┤
│ F3h2V │Фронт │ h │Вертикальная │ F6h2 │+18 см от приемной │
│ │ │ 2 │ │ │антенны │
├───────────┼────────┼──────┼──────────────┼────────┼─────────────────────┤
│ F4h2H │Фронт │ h │Горизонтальная│ F6h2 │+10 см от приемной │
│ │ │ 2 │ │ │антенны │
├───────────┼────────┼──────┼──────────────┼────────┼─────────────────────┤
│ F4h2V │Фронт │ h │Вертикальная │ F6h2 │+10 см от приемной │
│ │ │ 2 │ │ │антенны │
├───────────┼────────┼──────┼──────────────┼────────┼─────────────────────┤
│ F5h2H │Фронт │ h │Горизонтальная│ F6h2 │+2 см от приемной │
│ │ │ 2 │ │ │антенны │
├───────────┼────────┼──────┼──────────────┼────────┼─────────────────────┤
│ F5h2V │Фронт │ h │Вертикальная │ F6h2 │+2 см от приемной │
│ │ │ 2 │ │ │антенны │
├───────────┼────────┼──────┼──────────────┼────────┼─────────────────────┤
│ F6h2H │Фронт │ h │Горизонтальная│ F6h2 │Опорная позиция │
│ │ │ 2 │ │ │(фронт, h ) │
│ │ │ │ │ │ 2 │
├───────────┼────────┼──────┼──────────────┼────────┼─────────────────────┤
│ F6h2V │Фронт │ h │Вертикальная │ F6h2 │Опорная позиция │
│ │ │ 2 │ │ │(фронт, h ) │
│ │ │ │ │ │ 2 │
├───────────┴────────┴──────┴──────────────┴────────┴─────────────────────┤
│ Примечание. Измерения КСВ можно выполнять в любой│
│ н │
│последовательности. │
└─────────────────────────────────────────────────────────────────────────┘
8.2.2.3. Валидация площадки в отношении

- стандартная процедура испытания
При проведении стандартной процедуры испытания позиции обозначают как

, где обозначения в индексе соответствуют позициям, перечисленным в первой колонке
таблицы 6. Измеренный сигнал M представляет собой результат измерения поля E или напряжения в каждой из позиций; его обозначают как

. Например

, равное

, - это позиция

при высоте

и горизонтальной поляризации; измеренный в этой позиции сигнал

будет

, дБ.
Процедуру проводят в следующем порядке:
a) Устанавливают передающую антенну так, чтобы ее опорная точка находилась во фронтальной позиции 6, при высоте

, горизонтальной поляризации

. Устанавливают приемную антенну в плоскости горизонтальной поляризации на испытательном расстоянии D, измеряемом от источника до опорной точки приемной антенны. При всех измерениях высота приемной антенны должна быть такой же, как и высота передающей антенны.
b) Проверяют уровень отображаемого принимаемого сигнала. Его значение должно быть по крайней мере на 20 дБ выше уровня внешних помех и уровня собственных шумов измерительного приемника или анализатора спектра во всей измеряемой полосе частот. Если уровень отображаемого принимаемого сигнала меньше, то может потребоваться дополнительное оборудование (антенны, кабели, генераторы сигналов, предварительный усилитель) или использование полос частот, при которых можно обеспечить необходимый уровень отображаемого принимаемого сигнала.
c) Регистрируют уровень измеренного сигнала

на каждой частоте. Можно использовать измерение с разверткой или пошаговым приращением частоты. При использовании пошагового приращения частоты это приращение должно быть не более 50 МГц.
d) Повторяют измерения по
перечислениям a) и
b), когда передающая антенна находится в других пяти фронтальных позициях, указанных в
таблице 7 (см. 8.2.2.6) при высоте

и горизонтальной поляризации.
Получают результаты шести фронтальных измерений при высоте

и горизонтальной поляризации (от

до

) с приращениями разделительного расстояния от приемной антенны, указанными в
таблице 6.
e) Меняют поляризацию передающей и приемной антенн на вертикальную и повторяют указанную выше процедуру для позиций с

по

для получения результата измерений с

по

.
f) Нормируют данные, полученные при всех измерениях напряженности поля E или напряжения, к расстоянию, относящемуся к опорной позиции, указанной в
таблице 6, с помощью уравнения

, (22)
где mnopq - индексы позиций;

- измерительное реальное расстояние до места измерения, м;

- измерительное расстояние, отмеренное от опорной точки, м;

- измеренный сигнал (напряженность поля E или напряжение, измеренное приемником), дБ.
При этом каждое место измерения должно иметь свою опорную позицию, соответствующую позиции 6, как указано в
таблице 7 для

.
g) Рассчитывают

для горизонтальной поляризации с помощью
уравнения (20) или
(21). При использовании
уравнения (21) 
можно вычислить вычитанием минимального принимаемого сигнала

из максимального принимаемого сигнала

после проведения корректировки расстояния
[перечисление e)] для шести позиций. Повторяют расчет для показаний, полученных при вертикальной поляризации.
h)

для каждой поляризации должен соответствовать критерию, установленному в
8.2.1.
i) Повторяют измерения по
перечислениям a) - h) для позиций, находящихся слева и справа от рабочего объема. При перемещении передающей антенны влево или вправо направление максимума ее диаграммы направленности должно быть ориентировано на приемную антенну. Однако приемная антенна должна оставаться "смотрящей" в центр (не на боковые позиции), что является тем же направлением, на которое она будет ориентирована при последующих измерениях, проводимых с испытуемыми ТС.
j) Повторяют, если потребуется (в соответствии с
8.2.2.5), процедуру измерений для центральной позиции и измерений, необходимых при второй высоте. При измерениях, проводимых при второй высоте, приемная антенна должна находиться на той же высоте, что и передающая антенна.
8.2.2.4. Валидация площадки в отношении

- альтернативная процедура испытания с использованием изотропного пробника поля
В экранированных помещениях (например, в полностью безэховых или полубезэховых камерах) допускается проводить оценку

с помощью изотропного пробника поля, размещаемого в установленных позициях, указанных в
таблице 6, при облучении рабочего объема той же антенной, которая затем при испытаниях ТС будет использоваться в качестве приемной измерительной антенны. В настоящем стандарте данный метод называют "альтернативным" методом определения

.
При альтернативном методе антенну, которую затем при испытаниях ТС на излучаемые ИРП будут использовать в качестве приемной, считают "передающей" антенной, т.к. ее используют для передачи энергии на пробник, установленный в рабочем объеме. Необходимо, чтобы изотропный пробник поля соответствовал требованиям к диаграмме направленности, указанным в
8.2.2.1. Пробник должен соответствовать поляризации передающей антенны, т.е. должны быть известны расположение и ориентация чувствительных элементов пробника.
Альтернативную процедуру испытаний при валидации измерительной площадки с использованием изотропного пробника поля проводят в следующем порядке:
a) помещают пробник поля во фронтальную позицию 6 при первой высоте и горизонтальной поляризации

. Устанавливают передающую антенну на измерительном расстоянии D, измеренном от периметра рабочего объема до опорной точки антенны. Высота установки передающей антенны должна быть равна той высоте, на которой находится пробник во всех позициях;
b) проверяют, чтобы значение напряженности поля было достаточным для нормального функционирования пробника. Для установки соответствующих значений напряженности поля следует пользоваться данными, приведенными в технической документации на пробник (адекватная чувствительность и неопределенность измерения). Помимо этого передающую антенну и систему пробника проверяют на линейность, а гармоники подавляют до уровня не менее чем на 15 дБ ниже уровня основного сигнала. Для наблюдения за уровнем выходной мощности во время испытания рекомендуется использовать направленный ответвитель, поскольку изменения уровня выходной мощности приводят к изменениям в результатах испытания. Важно обеспечить стабильные выходные сигналы, т.к. любое изменение сигнала из-за нестабильности источника сигналов (например, плохих кабельных разъемов, изменения теплового режима предварительного усилителя со временем и т.п.) приведет к дополнительным изменениям результатов (например, нереально высоким значениям

);
c) регистрируют измеренный уровень сигнала

на каждой частоте. Допускается использовать измерения с разверткой или частотными приращениями. При использовании приращений частоты значение приращения должно быть не более 50 МГц;
d) повторяют процедуру по перечислению c) при размещении пробника поля в других пяти фронтальных позициях, указанных в
таблице 7 (см. 8.2.2.6), первой высоте и горизонтальной поляризации. В итоге будут шесть фронтальных измерений при первой высоте и горизонтальной поляризации (от

до

) с приращениями разделительного расстояния от приемной антенны, указанными в
таблице 6;
| | ИС МЕГАНОРМ: примечание. В официальном тексте документа, видимо, допущена опечатка: перечисление г) отсутствует. | |
e) меняют поляризацию пробника поля на вертикальную и повторяют процедуру по перечислению г) в позициях с

по

для получения

;
f) нормируют данные, полученные для всех измерений, с помощью
уравнения (21);
g) рассчитывают

для горизонтальной поляризации с помощью
уравнений (20) или
(21). При использовании
уравнения (21) 
можно вычислить вычитанием минимального принимаемого сигнала

, дБ, из максимального принимаемого сигнала

, дБ, после проведения корректировки расстояния [перечисление f)] для шести позиций.
Повторяют расчет для показаний, полученных при вертикальной поляризации;
h)

для каждой поляризации должен соответствовать критерию, указанному в
8.2.1.
i) повторяют процедуру по
перечислениям a) - h) для позиций, находящихся слева и справа от рабочего объема. Следует отметить, что при этой процедуре альтернативного определения

для обеспечения постоянного направления на опорную точку приемной антенны пробник можно настраивать. Однако приемная антенна должна оставаться "смотрящей" в центр объема (не на боковые позиции) по направлению, на которое она будет ориентирована при последующих измерениях, проводимых с испытуемым ТС;
j) повторяют, если это потребуется в соответствии с 8.2.2.5, приведенную процедуру для измерений в центральной позиции, необходимых при второй высоте. При измерениях, проводимых при второй высоте, пробник должен находиться на той же высоте, что и передающая антенна.
8.2.2.5. Требования к дополнительным испытательным позициям, необходимым при определенных условиях
В зависимости от размера рабочего объема требуется проведение измерений в дополнительных позициях, как показано на
рисунках 16,
17 и в соответствии с
таблицей 6.
Алгоритм проверки пригодности измерительной площадки представлен на
рисунке 18.
Примечание. Порядок проведения измерений не регламентируется, он может быть любым, но данные должны быть полными.
Рисунок 18. Алгоритм проверки пригодности
измерительной площадки
Если требуются дополнительные испытательные позиции,

определяют на каждой частоте при проведении серии измерений по шесть измерений, для горизонтальной и вертикальной поляризаций на основе процедур, указанных в
8.2.2.3 или
8.2.2.4.
8.2.2.6. Отчет о валидации площадки путем определения

Результаты измерения и расчета

измерительной площадки, полученные в необходимых и дополнительных позициях, указанных в
8.2.2.5, представлены в таблице 7.
Таблица 7
Результаты измерений

измерительной площадки
┌──────┬───┬────────┬────────┬───────────────────────────────────────────────────────┐
│Пози- │Вы-│Поляри- │Необхо- │ КСВ площадки, дБ │
│ция │со-│зация │димость │ н │
│ │та,│ │измере- │ │
│ │м │ │ния │ │
├──────┼───┼────────┼────────┼───────────────────────────────────────────────────────┤
│Фронт │ h │Горизон-│Необхо- │(КСВ ... КСВ ) - (КСВ ... КСВ ) │
│ │ 1│тальная │димое │ F1h1H F6h1H max F1h1H F6h1H min│
├──────┼───┼────────┼────────┼───────────────────────────────────────────────────────┤
│Фронт │ h │Верти- │Необхо- │(КСВ ... КСВ ) - (КСВ ... КСВ ) │
│ │ 1│кальная │димое │ F1h1V F6h1V max F1h1V F6h1V min│
├──────┼───┼────────┼────────┼───────────────────────────────────────────────────────┤
│Справа│ h │Горизон-│Необхо- │(КСВ ... КСВ ) - (КСВ ... КСВ ) │
│ │ 1│тальная │димое │ R1h1H R6h1H max R1h1H R6h1H min│
├──────┼───┼────────┼────────┼───────────────────────────────────────────────────────┤
│Справа│ h │Верти- │Необхо- │(КСВ ... КСВ ) - (КСВ ... КСВ ) │
│ │ 1│кальная │димое │ R1h1V R6h1V max R1h1V R6h1V min│
├──────┼───┼────────┼────────┼───────────────────────────────────────────────────────┤
│Слева │ h │Горизон-│Необхо- │(КСВ ... КСВ ) - (КСВ ... КСВ ) │
│ │ 1│тальная │димое │ L1h1H L6h1H max L1h1H L6h1H min│
├──────┼───┼────────┼────────┼───────────────────────────────────────────────────────┤
│Слева │ h │Верти- │Необхо- │(КСВ ... КСВ ) - (КСВ ... КСВ ) │
│ │ 1│кальная │димое │ L1h1V L6h1V max L1h1V L6h1V min│
├──────┼───┼────────┼────────┼───────────────────────────────────────────────────────┤
│Центр │ h │Горизон-│Дополни-│(КСВ ... КСВ ) - (КСВ ... КСВ ) │
│ │ 1│тальная │тельное │ C1h1H C6h1H max C1h1H C6h1H min│
├──────┼───┼────────┼────────┼───────────────────────────────────────────────────────┤
│Центр │ h │Верти- │Дополни-│(КСВ ... КСВ ) - (КСВ ... КСВ ) │
│ │ 1│кальная │тельное │ C1h1V C6h1V max C1h1V C6h1V min│
├──────┼───┼────────┼────────┼───────────────────────────────────────────────────────┤
│Фронт │ h │Горизон-│Дополни-│(КСВ ... КСВ ) - (КСВ ... КСВ ) │
│ │ 2│тальная │тельное │ F1h2H F6h2H max F1h2H F6h2H min│
├──────┼───┼────────┼────────┼───────────────────────────────────────────────────────┤
│Фронт │ h │Верти- │Дополни-│(КСВ ... КСВ ) - (КСВ ... КСВ ) │
│ │ 2│кальная │тельное │ F1h2V F6h2V max F1h2V F6h2V min│
└──────┴───┴────────┴────────┴───────────────────────────────────────────────────────┘
Требования к значениям

должны выполняться на каждой частоте измерений.
8.2.2.7. Ограничения метода валидации площадки в отношении

Измерения в точках, выбранных в
8.2.2.2 и используемых при валидации площадки, полностью обеспечивают получение значений

измерительной площадки в полосе частот от 1 до 18 ГГц. Следует отметить, что с помощью измерений, проводимых в соответствии с
8.2.2.3 или
8.2.2.4, не всегда удается выявить максимальное значение

на конкретной частоте f. Поэтому нельзя делать выводы о соответствии

площадки на основании измерений, проведенных на одной частоте. Тем не менее, максимальное значение, выявленное посредством указанных выше процедур в пределах соседних октав 0,5 - 2f, обычно является репрезентативным для

наихудшего случая на всех частотах, входящих в данную полосу.
В тех случаях, когда на одной частоте требуется более точное значение

, приведенный метод можно улучшить за счет измерения более чем в шести позициях, находящихся на линиях, показанных на
рисунках 16 и
17. Дополнительные точки сбора данных должны находиться на разных расстояниях друг от друга, их выбирают, перемещая антенну источника (или пробника тока в методе альтернативного определения

) с шагом, равным четверти длины волны на рассматриваемой частоте.
8.3. Альтернативная измерительная площадка
Любая площадка для измерений, на которой могут быть обеспечены условия свободного пространства, может быть использована как альтернативная измерительная площадка.
&Используемые средства измерения должны иметь действующие свидетельства о поверке. Аттестацию испытательного оборудования проводят в установленном порядке.&
(обязательное)
ПАРАМЕТРЫ ШИРОКОПОЛОСНЫХ АНТЕНН
A.1. Введение
При измерениях излучаемых радиопомех и помехоустойчивости в широкой полосе частот в качестве измерителя ИРП часто используются сканирующие приемники или анализаторы спектра, совместно с которыми применяются широкополосные антенны, параметры которых должны быть известны. В различных нормативных документах указываются конкретные антенны, которые должны использоваться при выполнении измерений. На частотах свыше 80 МГц обычно применяют настроенные полуволновые резонансные дипольные антенны. Могут применяться и другие типы антенн, например широкополосные, при условии, что результаты измерений, полученные при использовании тех и других антенн, совпадают. Для сравнения широкополосных антенн с резонансными необходимо иметь перечень параметров антенн обоих типов. Значения этих параметров должны быть определяющими для производителя антенн при разработке технологии изготовления широкополосных антенн, используемых для проведения измерений радиопомех.
A.2. Параметры широкополосных антенн
Общей характеристикой всех широкополосных измерительных антенн, используемых в соответствии с требованиями стандартов, разработанных на основе стандартов СИСПР, является наличие у них линейной поляризации. Широкополосные антенны предназначены для использования в широкой полосе частот. При этом могут применяться антенны с ограниченной настройкой длины или могут добавляться дополнительные секции элементов антенн. Полное сопротивление таких антенн обычно имеет действительную и мнимую части.
В технических документах на антенны, применяемые для измерений, должны быть указаны характеристики антенн, приведенные ниже.
A.2.1. Тип антенн
Для описания физических свойств широкополосных антенн необходимо знать их общие характеристики, приводимые обычно в технических документах на антенну. Для некоторых антенн отдельные характеристики могут не указываться.
A.2.1.1. Антенна с фиксированной или переменной длиной
Если антенна имеет переменную длину, должно быть указано число секций, которые добавляют или убирают для изменения основной фиксированной длины.
A.2.1.2. Длина и ширина антенны (или диаметр - для рамочной антенны)
Для логопериодической антенной решетки должна быть указана длина несущей конструкции вдоль оси (траверсы) и ширина самого большого элемента. Для рамочной антенны должен указываться диаметр.
Размеры должны указываться в метрах.
A.2.1.3. Активная или пассивная антенна
Широкополосная антенна считается активной, если в ее состав входят усилители, предусилители и другие нелинейные активные элементы, которые усиливают сигнал или формируют амплитудно-частотную характеристику. Принадлежность антенны к активному или пассивному типу должна быть указана.
A.2.1.4. Установка антенны
Если имеются специальные требования по установке антенны, то они должны быть указаны.
A.2.1.5. Тип разъема
Тип ВЧ разъема - байонетный (BNC) и др. должны быть указаны.
A.2.1.6. Тип симметрирующего устройства
Тип симметрирующего устройства (СУ) должен быть указан.
Например, СУ на сосредоточенных или распределенных элементах.
A.2.2. Технические требования к антенне
A.2.2.1. Полоса рабочих частот
Полоса рабочих частот, в которой может быть использована антенна, должна быть указана в технической документации на антенну.
A.2.2.2. Коэффициент усиления и градуировочный коэффициент антенны
A.2.2.2.1. Коэффициент усиления
Для направленных антенн должен быть указан коэффициент усиления в децибелах (дБ) относительно изотропного излучателя (

).
A.2.2.2.2. Градуировочный коэффициент антенны
Для измерительных антенн должен быть указан градуировочный коэффициент антенны, дБ (исх. 1/м).
Коэффициент усиления и градуировочный коэффициент следует измерять в соответствии с методом, указанным в
A.2.3.1.
A.2.2.3. Коэффициент направленного действия (КНД) и диаграмма направленности
Для направленных антенн необходимо приводить диаграмму направленности антенны в градусах на графике с полярными координатами в плоскостях E и H или указывать КНД.
Если антенна является всенаправленной или имеет диаграмму направленности диполя, это должно быть отражено в технической документации на антенну.
A.2.2.4.

и полное сопротивление
Максимальные значения

и номинального входного полного сопротивления, Ом, должны быть указаны в технической документации на антенну.
A.2.2.5. Характеристика активной антенны
Для активных антенн должны быть указаны уровни продуктов интермодуляции, уровень защищенности по отношению к паразитной напряженности электрического и магнитного поля и приведена методика проверки работоспособности антенны.
A.2.2.6. Максимальная подводимая мощность
Для передающих антенн должна быть указана максимальная подводимая мощность, Вт.
A.2.2.7. Другие условия
Должны быть указаны диапазоны температур и влажности, в которых может работать антенна. Кроме того, должны быть описаны меры предосторожности при работе с антеннами.
A.2.3. Определение градуировочного коэффициента антенны
A.2.3.1. Метод градуировки
Должен быть приведен используемый метод градуировки:
a) при расчетном методе приводят используемую формулу;
b) при выполнении измерений градуировочного коэффициента приводят метод измерения или указывают ссылку на метод в применяемом стандарте.
Примечание. При измерениях помехоустойчивости испытуемого ТС градуировку напряженности поля обычно проводят с помощью дополнительной измерительной антенны, расположенной в том месте, где находится испытуемое ТС, поэтому передающую антенну не градуируют.
A.2.3.2. Частоты измерения
Должны быть приведены частоты в мегагерцах или килогерцах, на которых проводилась градуировка антенны; если применяется метод частотной развертки, это необходимо указать в протоколе испытаний.
A.2.3.3. Погрешность градуировки
Необходимо указать погрешность градуировки в децибелах (+/-) (указывают наибольшую погрешность и частоты, на которых проводилась градуировка).
A.2.3.4. Корреляция с рекомендуемыми или указанными антеннами
Если антенна заменяет рекомендуемую антенну, указанную в нормативных документах, необходимо привести коэффициенты корреляции в децибелах для коррекции результатов измерений, полученных при использовании широкополосной антенны. Также необходимо привести коэффициент, используемый для пересчета напряженности магнитного поля в электрическое или наоборот.
A.2.3.5. Единицы измерения
Значение градуировочного коэффициента необходимо указывать в единицах, используемых при проведении измерений напряженности электрического или магнитного полей.
A.2.4. Информация об использовании антенны
A.2.4.1. Использование антенны
Должно быть представлено описание метода использования антенны, имеющее наличие ссылок на специальные меры предосторожности или ограничения для уменьшения вероятности неправильного использования.
A.2.4.2. Рекомендации по использованию антенны
При использовании антенны должны учитываться:
a) минимальная высота установки антенны над пластиной заземления;
b) рекомендуемая поляризация относительно пластины заземления;
c) специальное использование, т.е. использование только в качестве приемной или передающей антенны;
d) необходимость проверки сопротивления для установления непрерывной целостности антенны;
e) минимальное расстояние между испытуемым ТС и ближайшим к нему элементом антенны.
(обязательное)
ГРАДУИРОВОЧНОГО КОЭФФИЦИЕНТА ШТЫРЕВОЙ АНТЕННЫ
ДЛИНОЙ 1 М ПРИ ПОМОЩИ ЭКВИВАЛЕНТА АНТЕННЫ
B.1. Введение
Штыревые антенны обычно используют на частотах до 30 МГц, но в ряде случаев и на более высоких частотах. Метод, представленный в данном приложении, применяют для частот до 30 МГц. При соблюдении условий, изложенных ниже, этот метод позволяет определять градуировочный коэффициент антенны с погрешностью менее 1 дБ. На более высоких частотах данный метод неприменим.
Основной метод определения градуировочного коэффициента антенны заключается в облучении антенны равномерным полем (плоской волной) известной напряженности. В настоящем приложении изложен альтернативный метод, при котором штыревую антенну заменяют конденсатором. Для того, чтобы определить истинный градуировочный коэффициент антенны с погрешностью +/- 1 дБ, при использовании данного метода требуется высокая квалификация операторов. При использовании метода замены штыревой антенны конденсатором особое внимание требуется уделить элементам подключения, особенно на частотах свыше 10 МГц, а также при использовании активных антенн.
B.1.1. Основные уравнения, описывающие параметры штыревой антенны
Для определения действующей высоты антенны, собственной емкости и коэффициента коррекции по высоте штыревых или однополюсных антенн нестандартных размеров используют приведенные ниже уравнения.
Данные уравнения справедливы только для цилиндрических штыревых антенн длиной менее

:

; (B.1)

; (B.2)

, (B.3)
где

- действующая высота антенны, м;
h - реальная высота штыревого элемента антенны, м;

- длина волны, м;

- собственная емкость штыревой антенны, пФ;
a - радиус штыревого элемента антенны, м;

- коэффициент коррекции по высоте, дБ (исх. 1 м).
B.2. Метод определения калибровочного коэффициента штыревой антенны с помощью эквивалента антенны
При измерениях данным методом вместо реальной штыревой антенны используют эквивалент антенны, который представляет собой конденсатор емкостью, равной собственной емкости штыревой антенны. На эквивалент антенны подают сигнал с выхода генератора сигналов и затем измеряют уровень сигнала на выходе антенны с помощью схемы измерения, представленной на
рисунке B.1. Градуировочный коэффициент антенны AF, дБ (1/м), определяют из выражения (B.4):

, (B.4)
где

- сигнал, измеренный на выходе генератора сигналов, дБ (1 мкВ);

- сигнал, измеренный на выходе антенны, дБ (1 мкВ);

- коэффициент коррекции по высоте (для действующей высоты), дБ (1 м).
Примечания. 1. Эквивалент антенны размещают как можно ближе к испытуемому ТС. Т-соединитель устанавливают как можно ближе к эквиваленту антенны.
Длина и тип кабелей между Т-соединителем и входом опорного канала и между Т-соединителем и измерительным каналом с портом измерения 50 Ом должны быть одинаковыми.
2. Для анализатора цепей постоянные аттенюаторы не требуются.
Рисунок B.1. Метод градуировки с использованием
анализатора цепей
Для штыревой антенны высотой 1 м, обычно используемой при измерениях в области ЭМС, действующая высота

равна 0,5 м, коэффициент коррекции по высоте

равен минус 6 дБ (1 м), а собственная емкость

равна 10 пФ.
| | ИС МЕГАНОРМ: примечание. В официальном тексте документа, видимо, допущена опечатка: возможно имеется в виду пункт B.1.1, а не пункт B.1.2. | |
Примечание. Формулы для расчета действующей высоты, коэффициента коррекции по высоте и собственной емкости штыревых антенн нестандартных размеров приведены в
B.1.2.
Допускается использовать любой из двух описанных ниже методов: метод анализатора цепей в соответствии с B.2.1 или метод генератора сигналов и измерителя ИРП в соответствии с
B.2.2. В обоих методах используют один и тот же эквивалент антенны. При разработке эквивалента антенны необходимо руководствоваться положениями
B.3. Измерения выполняют на достаточном числе частот с тем, чтобы получить кривую значений градуировочного коэффициента антенны в зависимости от частоты во всей рабочей полосе частот антенны.
B.2.1. Метод анализатора цепей
a) Градуируют анализатор цепей с кабелями, которые будут использоваться при измерениях.
c) Измеряют напряжение в опорном канале

. Измеряют напряжение в измерительном канале

. Рассчитывают градуировочный коэффициент по
формуле (B.4).
Примечание. Так как значения полных сопротивлений каналов анализатора цепей очень близки к 50 Ом и во время градуировки анализатора корректируются любые ошибки, фиксированные аттенюаторы не требуются. При желании можно использовать фиксированные аттенюаторы, но их включение усложняет градуировку анализатора цепей.
B.2.2. Метод генератора сигналов и измерителя ИРП
a) Собирают схему измерений в соответствии с рисунком B.2.
Примечания. 1. Эквивалент антенны размещают как можно ближе к испытуемому ТС. Т-соединитель устанавливают как можно ближе к эквиваленту антенны.
2. Если

измерителя ИРП и генератора сигналов малы, постоянные аттенюаторы могут не потребоваться, или их затухание можно уменьшить до 6 или 3 дБ.
3. Для уменьшения

в эквивалент антенны могут встраиваться другие элементы согласования.
Рисунок B.2. Метод градуировки с использованием
генератора сигналов и измерителя ИРП
b) Измеряют напряжение сигнала

, дБ (1 мкВ), на ВЧ выходе антенны, когда оборудование подсоединено, как указано на рисунке B.2, и Т-соединитель (А) нагружен на 50 Ом.
c) Переключают нагрузку 50 Ом на ВЧ выход антенны, а входной кабель измерителя ИРП - на Т-соединитель (А), оставляя неизменным уровень ВЧ напряжения на выходе генератора сигналов. Измеряют уровень напряжения сигнала

, дБ (1 мкВ). Рассчитывают градуировочный коэффициент по
формуле (B.4).
При нагрузке 50 Ом коэффициент стоячей волны (КСВ) должен быть очень низким (менее 1,05). Измеритель ИРП должен иметь КСВ менее 2. Частота и амплитуда выходного сигнала генератора сигналов должны быть стабильны.
Примечание. В градуировке генератора сигналов нет необходимости, так как он используется в качестве сравнительного источника.
Конденсатор, используемый в качестве эквивалента антенны, должен монтироваться в небольшом металлическом корпусе на небольшой металлической раме. Выводы эквивалента должны быть как можно короче (длина выводов не более 8 мм). Они должны находиться на расстоянии от 5 до 10 мм от поверхности металлического корпуса рамы в соответствии с рисунком B.3.
| | ИС МЕГАНОРМ: примечание. В официальном тексте документа, видимо, допущена опечатка: имеется в виду уравнение B.2, а не Б.2. | |
C - емкость антенны

, рассчитанная из
уравнения (Б.2); допуск 5%, серебряная слюда; S - расстояние до вывода от 5 до 10 мм (при заключении в корпус - 10 мм от всех поверхностей); L - длина вывода; должна быть как можно меньше (не более 8 мм; общая длина провода не должна быть более 40 мм, включая длину обоих выводов конденсатора и длину разъема штыревой антенны).
Рисунок B.3. Пример конструкции эквивалента антенны
Т-соединитель, используемый в установке для измерения градуировочного коэффициента калибровки антенны, допускается встраивать в корпус эквивалента антенны. Резистивный аттенюатор для обеспечения согласования с генератором также может быть встроен в корпус эквивалента антенны.
B.4. Правильное применение штыревой антенны
Конструкция штыревой антенны предполагает ее использование с противовесом и для установки на пластине заземления. Для получения правильных значений напряженности поля необходимо следовать инструкциям производителя или рекомендациям для использования противовеса или пластины заземления.
Если в антенне имеется телескопический штыревой элемент, то он должен быть вытянут на длину, указанную в технической документации на антенну.
Противовес штыревой антенны должен крепиться к пластине заземления.
(обязательное)
СИСТЕМА РАМОЧНЫХ АНТЕНН ДЛЯ ИЗМЕРЕНИЙ ТОКА,
НАВОДИМОГО МАГНИТНЫМ ПОЛЕМ
В ПОЛОСЕ ЧАСТОТ ОТ 9 кГц ДО 30 МГц
C.1. Введение
В настоящем приложении приведены описание системы трехкоординатных рамочных антенн (ТРА) для полосы частот от 9 кГц до 30 МГц, метод ее валидации, а также коэффициенты пересчета, устанавливающие соотношения между током, наведенным магнитным полем, создаваемым испытуемым ТС, расположенным в центре ТРА, и значением магнитного поля, измеренного обычной рамочной антенной, расположенной на определенном расстоянии от испытуемого ТС.
Система ТРА состоит из трех взаимно перпендикулярных рамочных антенн большого диаметра, описанных в
разделе C.3 и представленных на
рисунке C.1. Вся система ТРА должна быть расположена на неметаллической подставке.
S - антенная прорезь; C - токосъемник;
F - ферритовый поглотитель
Рисунок C.1. Система трехкоординатных рамочных антенн (ТРА)
Коаксиальный кабель 50 Ом между токосъемником и коаксиальным переключателем, а также кабель между этим переключателем и измерителем ИРП должны иметь поверхностное погонное полное сопротивление не более 10 мОм/м на частоте 100 кГц и 1 мОм/м - на частоте 10 МГц. Это требование выполняется, например, при использовании экранированного коаксиального кабеля RG 223/U с двойным экраном.
Все соединительные элементы должны иметь поверхностное погонное полное сопротивление, сопоставимое с поверхностным погонным полным сопротивлением коаксиального кабеля. Данное требование выполняется, например, при использовании байонетных разъемов BNC хорошего качества с цанговым (муфтовым) зажимом.
Все кабели должны быть снабжены ферритовыми поглотителями, что обеспечивает последовательное сопротивление для синфазного сигнала

на частоте 10 МГц. Данное требование обеспечивается, например, если конструкция ферритового тороида состоит из 12 колец, имеющих магнитную проницаемость в пределах от 100 до 400 и следующие минимальные размеры: 29 мм - внешний диаметр; 19 мм - внутренний диаметр; 7,5 мм - высота.
C.3. Конструкция системы ТРА
Конструкция, представляющая систему ТРА, выполняется из коаксиального кабеля, поверхностное погонное полное сопротивление которого соответствует требованиям
C.2. Кроме того, сопротивление внутреннего проводника ТРА должно быть достаточно низким (см.
примечание 1). Оба требования выполняются, например, при использовании экранированного коаксиального кабеля RG 223/U с двойным экраном.
Для сохранения круговой формы рамки и защиты конструкции прорези кабель укладывают в тонкостенную неметаллическую трубку внутренним диаметром приблизительно 25 мм, как показано на рисунке C.2. Для той же цели можно использовать и другие неметаллические конструкции.
Рисунок C.2. Большая рамочная антенна с двумя
противоположными прорезями, расположенными симметрично
относительно токосъемника C
Стандартный диаметр рамки D равен 2 м. В случае необходимости, например, при больших размерах испытуемого ТС, он может быть увеличен. Однако в полосе частот до 30 МГц максимальный допустимый диаметр должен быть не более 4 м. Дальнейшее увеличение диаметра может вызвать резонансы на верхних частотах.
Следует отметить, что с увеличением диаметра рамки чувствительность к внешнему полю (источник поля находится вне системы рамочных антенн) увеличивается пропорционально диаметру, а чувствительность к измеряемым сигналам обратно пропорциональна квадрату диаметра.
Две прорези в большой рамочной антенне расположены друг против друга симметрично относительно токосъемника. Ширина прорезей во внешнем проводнике коаксиального кабеля антенны должна быть не более 7 мм, как показано на рисунке C.3. Края прорези должны быть соединены через две параллельные пары резисторов по 100 Ом, соединенных последовательно, а середина каждой последовательной цепи - соединена с внутренним проводником коаксиального кабеля антенны.
Рисунок C.3. Конструкция антенной прорези
С каждой стороны прорези внешний экран коаксиального кабеля антенны крепят с помощью скобы к двум прямоугольникам из медной фольги на печатной плате, расстояние между которыми должно быть не менее 5 мм (см. рисунок C.4).
Рисунок C.4. Пример конструкции антенной прорези
Чувствительность токосъемника, расположенного вокруг внутреннего проводника коаксиального кабеля антенны, должна быть не хуже 1 В/А в полосе частот от 9 кГц до 30 МГц. Вносимые потери токосъемника тока должны быть достаточно низкими (см.
примечание 1).
Внешний проводник этого кабеля должен соединяться с металлическим корпусом, в котором находится токосъемник (см.
рисунок C.5). Максимальные размеры данного корпуса должны быть приблизительно равны:
- ширина - 80 мм;
- длина - 120 мм;
- высота - 80 мм.
Примечания. 1. Для того, чтобы получить плоскую частотную характеристику большой рамочной антенны на нижнем участке полосы частот от 9 кГц до 30 МГц, вносимые потери

токосъемника должны быть менее

на частоте f = 9 кГц, где

- индуктивность токосъемника.
Кроме того, должны выполняться условия:

на частоте 9 кГц, где

- сопротивление внутреннего проводника рамки, а L - индуктивность рамки. Эта индуктивность должна быть равна приблизительно 1,5 мкГн.
Следовательно, для стандартизованной трехкоординатной рамочной антенны на частоте f = 9 кГц значение

.
2. Для исключения паразитной емкостной связи между испытуемым ТС и трехкоординатной рамочной антенной расстояние между ними должно составлять не менее 0,1 диаметра рамки. Особое внимание следует обратить на кабели испытуемого ТС. Кабели должны быть уложены вместе и выходить из объема рамки в одном октанте на расстоянии не менее 0,4 м от любой из рамок системы антенн (см.
рисунок C.6).
Рисунок C.5. Конструкция токосъемника
в металлическом корпусе
Рисунок C.6. Пример прокладки нескольких кабелей
от испытуемого ТС
C.4. Валидация трехкоординатной рамочной антенны (ТРА)
Валидацию и градуировку ТРА выполняют измерением тока

, наводимого в ТРА опорным симметричным диполем, описанным в
C.5, на который подается напряжение от ВЧ генератора, имеющего выходное полное сопротивление 50 Ом. Значение этого сигнала

измеряется на выходе генератора на нагрузке 50 Ом (согласованный режим). Магнитное поле, излучаемое диполем, позволяет оценить чувствительность ТРА к магнитному полю.
Наведенный ток должен измеряться в полосе частот от 9 кГц до 30 МГц при восьми положениях диполя. При проведении измерений диполь должен находиться в плоскости испытуемой ТРА (см. рисунок C.7).
Рисунок C.7. Восемь позиций установки диполя
при валидации большой рамочной антенны
В каждом из восьми положений коэффициент оценки, выраженный в дБ

не должен отличаться более чем на +/- 2 дБ от коэффициента оценки, приведенного на рисунке C.8.
Рисунок C.8. Коэффициент оценки большой
рамочной антенны диаметром 2 м
Значения коэффициента оценки, представленные на рисунке C.8, справедливы для круговой большой рамочной антенны со стандартным диаметром D = 2 м. Если диаметр круговой большой рамочной антенны отличен от 2 м, то коэффициент оценки для нестандартной большой рамочной антенны можно получить из данных, приведенных на рисунках C.8 и
C.11.
Диполь предназначен для излучения магнитного поля, которое измеряют с помощью ТРА (см.
рисунок C.9).
Рисунок C.9. Конструкция диполя с симметрирующим
трансформатором
Диполь выполнен из коаксиального кабеля типа РК-50, ширина диполя W = 150 см, высота H = 10 см (расстояние между центрами кабелей) в соответствии с рисунком C.9.
Прорезь во внешнем проводнике коаксиального кабеля делит диполь на две половины. Одна половина диполя (правая - см. рисунок C.9) замыкается накоротко на корпус байонетного разъема BNC. К центральному штырю байонетного разъема подсоединяется внутренний проводник коаксиального кабеля диполя, формирующего левую половину диполя, а внешний проводник - к корпусу разъема BNC.
Для экранирования соединений вблизи разъема используется небольшой металлический корпус. Внешний проводник двух половин коаксиального кабеля диполя подсоединяется к этому корпусу, который является опорным заземлением разъема BNC.
Для обеспечения жесткой конструкции диполь устанавливают на непроводящую подставку.
C.6. Коэффициенты пересчета
С помощью коэффициента пересчета ток I, наводимый в ТРА испытуемым ТС, пересчитывают в напряженность магнитного поля H на определенном расстоянии d от испытуемого ТС (см. рисунок C.10).
Рисунок C.10. Коэффициенты пересчета

[для пересчета
в дБ (1 мкА/м)] и

[для пересчета в дБ (1 мкВ/м)] для двух
стандартных измерительных расстояний d (3 и 10 м)
С помощью коэффициента относительной чувствительности осуществляется пересчет тока, измеренного в ТРА с нестандартным диаметром, в ток, измеренный при использовании ТРА со стандартным диаметром D = 2 м (см. рисунок C.11).
Рисунок C.11. Чувствительность

большой рамочной
антенны диаметром D относительно большой
рамочной антенны диаметром 2 м
Коэффициент пересчета, зависимость которого от частоты представлена на
рисунке C.10, применяют при расположении источника поля в центре ТРА и пересчитывают в показания рамочных антенн в соответствии с
4.2. Рамочную антенну всегда устанавливают в вертикальной плоскости, а источник ИРП поворачивают только вокруг вертикальной оси. В этом случае измеряют только горизонтальные составляющие магнитного поля, параллельные пластине заземления. Для вертикальной составляющей магнитного поля использовать коэффициент пересчета не допускается. Однако данный коэффициент можно применять, если рамочную антенну устанавливают в горизонтальной плоскости или испытуемое ТС поворачивают на 90° при вертикальном положении антенны, что соответствует измерению вертикальной составляющей магнитного поля.
Если реальное местоположение источника помех внутри испытуемого ТС находится на расстоянии менее 0,5 м от центра стандартизованной рамочной антенны, результаты измерения должны отличаться от результатов, полученных при размещении источника в центре, не более чем на 3 дБ.
Напряженность магнитного поля H, дБ (1 мкА/м) при токе I, дБ (1 мкА), измеренная на расстоянии d, имеет вид

, (C.1)
где

, дБ (1/м) - коэффициент пересчета тока в поле для конкретного расстояния d, когда H выражена в дБ (1 мкА/м).
Коэффициент пересчета

является частотно-зависимой величиной и для стандартизованных измерительных расстояний 3 и 10 м представлен на
рисунке C.10.
Относительная чувствительность

, дБ, тока, измеренного в большой рамочной антенне диаметром D, м, и тока, измеренного в большой рамочной антенне со стандартным диаметром D = 2 м, представлена на
рисунке C.11 для нескольких значений D. В этом случае соотношение будет иметь вид:

. (C.2)
Примечание. Для расчетов помех используют значение напряженности магнитного поля H, дБ (1 мкА/м) вместо дБ (1 мкВ/м). При необходимости такого пересчета соотношение H в дБ (мкА/м) и в дБ (мкВ/м), должно быть

. (C.3)
Для удобства на
рисунке C.10 также представлен коэффициент пересчета

для преобразования I [дБ (1 мкА)] в H [дБ (1 мкВ/м)].
&Пример 1. Частота измерения f = 100 кГц, диаметр рамки D = 2 м, ток в рамке I = X дБ (1 мкА).
- при d = 3 м

;
- при d = 3 м

.
Пример 2. Частота измерения f = 100 кГц, диаметр рамки D = 4 м, ток в рамке I = X дБ (1 мкА).
Используя
рисунок C.11, получаем, что то же самое испытуемое ТС наводит ток

в большой рамочной антенне со стандартным диаметром D = 2 м.
Пример 3. Необходимо провести валидацию ТРА диаметром D = 3 м.
В этом случае коэффициент пересчета находят путем добавления

к коэффициенту оценки, представленному на
рисунке C.8, на каждой частоте в соответствии с
рисунком C.11. Следовательно, если частота измерения равна 100 кГц, коэффициент оценки для ТРА диаметром D = 3 м равен разности [73,5 - (-7,5)] = 81 дБ (1 Ом).&
(справочное)
ОСОБЕННОСТИ КОНСТРУКЦИИ ОТКРЫТЫХ ИЗМЕРИТЕЛЬНЫХ ПЛОЩАДОК
В ПОЛОСЕ ЧАСТОТ ОТ 30 ДО 1000 МГц
D.1. Общие положения
Основные положения, касающиеся конструкции открытых измерительных площадок, приведены в
5.1 -
5.5 настоящего стандарта. В настоящем приложении приведена дополнительная информация, полезная при проектировании площадки и защитного всепогодного сооружения. Пригодность конструкции открытых измерительных площадок на практике определяют измерением нормализованного затухания площадки (NSA) в соответствии с
5.6.
D.2. Конструкция пластины заземления
D.2.1. Материал
Рекомендуемым материалом для пластины заземления измерительных площадок является металл. Однако на практике не всегда возможно использование металлических пластин заземления для измерения всех типов оборудования. В качестве пластин заземления могут использоваться сплошные металлические листы, металлическая фольга, перфорированный металл, армированная ткань, проволочный экран и металлическая решетка. Пластина заземления не должна иметь никаких разрывов. Рекомендуемый максимальный размер отверстий для перфорированных пластин или решетки составляет 1/10 длины волны на самой высокой частоте измерения (около 3 см на частоте 1000 МГц). Пластина, собираемая из отдельных листов, рулонов или частей, должна быть пропаяна или сварена по стыкам предпочтительно непрерывным швом, но в любом случае пропуски пайки или сварки не должны превышать 1/10 длины волны. Наличие толстых диэлектрических покрытий (таких, например, как песок, асфальт или дерево) на поверхности металлических пластин заземления может привести к тому, что характеристики затухания площадки будут неприемлемы.
D.2.2. Неровность поверхности
Критерий шероховатости (по Релею) обеспечивает полезную оценку максимально допустимой неровности пластины заземления в среднеквадратичных значениях (см. рисунок 1). Для большинства используемых на практике измерительных площадок, особенно при измерительном расстоянии 3 м, допустимой считается неровность площадки 4,5 см. Для площадок с измерительным расстоянием 10 и 30 м допускается

неровность поверхности. Для того, чтобы определить, является ли значение неровности допустимым, необходимо осуществить процедуру валидации площадки в соответствии с
5.6.
Рисунок 1. Критерий шероховатости поверхности
пластины заземления (по Релею)
┌─────────────┬────────────────┬───────────────┬──────────────────────────┐
│Измерительное│Высота источника│Максимальная │Максимальная среднеквадра-│
│расстояние R,│ помех h , м │высота прием- │тичная неровность b │
│ м │ 1 │ной антенны h ,├───────────┬──────────────┤
│ │ │ 1 │в единицах │ при │
│ │ │м │длины волны│f = 1000 МГц, │
│ │ │ │ │ см │
├─────────────┼────────────────┼───────────────┼───────────┼──────────────┤
│ 3 │ 1 │ 4 │0,15 лямбда│ 4,5 │
│ 10 │ 1 │ 4 │0,28 лямбда│ 8,4 │
│ 30 │ 2 │ 6 │0,49 лямбда│ 14,7 │
└─────────────┴────────────────┴───────────────┴───────────┴──────────────┘
Значения b вычисляют по формуле

,
где

- угол падения луча.
D.3. Система обеспечения работы испытуемого ТС
Подводка сети питания или системы электроснабжения к испытуемому ТС должна выполняться (если возможно) под пластиной заземления и предпочтительно под прямым углом к оси измерения. Все провода, кабели и тракты, идущие к поворотной платформе или шасси испытуемого ТС, должны проходить под пластиной заземления. В случае, если такую трассировку выполнить невозможно, то провода жизнеобеспечения испытуемого ТС прокладывают по поверхности пластины заземления, но заподлицо с ней и крепят к ней.
D.4. Конструкция навеса, защищающего от атмосферных явлений
D.4.1. Материалы и крепления
До частоты 1000 МГц тонкие секции из стекловолокна и большинства других пластмасс, специально обработанных деревянных и тканевых материалов не будут вызывать ощутимого затухания излучений от испытуемого ТС. Однако поглощение влаги некоторыми материалами (например, деревом и нейлоном) может вызвать потери передачи, если излучение ИРП измеряют через такой материал. Необходимо позаботиться о том, чтобы влага, стоячая вода и лед не накапливались на конструкциях или в материале, формирующем данную конструкцию. Периодически следует проводить проверки на наличие посторонних предметов, которые могут оказаться на конструкциях и вызвать ошибки при измерениях.
Использование металла выше пластины заземления должно быть сведено к минимуму. Рекомендуется применять пластмассовые или тканевые крепежные элементы. Любые анкеры, сваи или аналогичные конструкции должны быть вынесены достаточно далеко от рабочего объема с целью устранения их влияния на измерения.
D.4.2. Дополнительные приспособления
Все детали конструкции должны быть выполнены из материалов, не отражающих электромагнитные поля. Вентиляторы или трубопроводы для нагревания, охлаждения или подачи воздуха (если они не выполнены из непроводящего материала или не могут быть расположены под металлической пластиной заземления) должны располагаться вне зоны измерений или значительно ниже неметаллической пластины заземления. Для обеспечения нормальной работы оборудования рекомендуется контролировать температуру и влажность окружающей среды. Перегородки или окна не должны иметь металлических покрытий или рам. Если над пластиной заземления размещают поручни или сходни, то их изготавливают из непроводящего материала.
D.4.3. Размер
Размер защитного сооружения (например, навеса) зависит от размера испытуемого ТС и от того, следует ли включать в зону, охватываемую защитным сооружением, места расположения антенн или только зону над испытуемым ТС. При этом следует учитывать зону над измерительной установкой или зону, включающую в себя расположение приемной антенны, и наибольшую высоту подъема приемной антенны при измерениях вертикальной поляризации.
D.4.4. Стабильность свойств материала в зависимости от времени и погодных условий
Для обнаружения аномалий, вызванных ухудшением состояния навеса для защиты от негативных погодных условий (например, от поглощения влаги) или порчей материалов навеса, рекомендуется периодически проводить измерения нормализованного затухания площадки. При этом также следует проверять калибровку ВЧ кабелей, приборов и инструментов, используемых при измерениях. Если признаки ухудшения материала не обнаружены (например, материал не меняет цвет), проведение измерений один раз в шесть месяцев обычно является достаточным.
D.5. Поворотный стол (платформа) и установочный стол
Для удобства измерения электромагнитного излучения ИРП со всех сторон испытуемого ТС рекомендуется использовать поворотный стол и стол для размещения испытуемого ТС (далее - установочный стол). Поворотный стол имеет узел вращения, а установочный стол используют для позиционирования испытуемого ТС на измерительной площадке. Далее рассмотрены конструкции поворотного и установочного столов.
У поворотного стола с узлом вращения, расположенным ниже уровня земли, вращающаяся поверхность (крышка) имеет электрическое соединение с пластиной заземления. На вращающейся крышке размещают установочный стол; высота установочного стола должна быть равна (0,8 +/- 0,01) м при измерении поля ИРП от настольных ТС, и его размещают так, чтобы его центр в горизонтальной плоскости совпадал с центром поворотного стола, обеспечивающим вращение. При измерении нормализованного затухания площадки установочный стол убирают.
При измерении поля ИРП от напольных ТС они должны быть изолированы от проводящей поверхности поворотного стола (соединенного с пластиной заземления) путем установки их на непроводящую подставку. Высота непроводящей подставки должна быть 0,15 м. Если у испытуемого ТС есть неметаллические колесики, непроводящая подставка не требуется. При измерении нормализованного затухания площадки непроводящую подставку убирают.
Если узел вращения встроен в установочный стол, находящийся на поворотном столе (соединенным с пластиной заземления) или на пластине заземления без поворотного стола, высота установочного стола должна быть (0,8 +/- 0,01) м - для настольных ТС или не превышать 0,15 м - для напольных ТС.
Высоту установочного стола для испытуемого ТС в полностью безэховых камерах не указывают, она зависит от характеристики поглощающего материала и рабочего объема полностью безэховой камеры. При измерении нормализованного затухания площадки установочный стол убирают.
Примечание. Если в комплекте испытуемого ТС имеется стол-подставка, являющийся составной частью ТС, то его следует использовать вместо установочного стола.
D.6. Установка мачты приемной антенны
Приемную антенну крепят на непроводящей мачте (штативе), обеспечивающей(ем) подъем антенны на высоту от 1 до 4 м - при измерительных расстояниях 10 м и менее; и от 1 до 4 м или от 2 до 6 м - при измерительных расстояниях более 10 м.
Кабель подсоединяют к симметрирующему устройству антенны так, чтобы для антенн с горизонтальной поляризацией он был перпендикулярен оси расположения элементов антенны при любой высоте антенны для обеспечения баланса относительно земли. Кабель от симметрирующего устройства приемной антенны должен быть расположен на расстоянии приблизительно на 1 м или более позади приемной антенны, а затем опущен вертикально к заземляющей пластине. Из этой точки он должен быть проложен по пластине заземления или под ней так, чтобы не мешать процессу измерения. Кабель между антенной и измерителем ИРП должен быть как можно короче для обеспечения приемлемых уровней принимаемого сигнала на частоте 1000 МГц.
Для антенн дипольного типа с вертикальной поляризацией кабель к измерителю ИРП должен быть расположен за приемной антенной по горизонтали, т.е. параллельно пластине заземления, на расстоянии приблизительно 1 м или более, а затем опущен к пластине заземления. Достаточной будет длина несущей конструкции антенны приблизительно 1 м. Далее расположение кабеля к измерителю ИРП должно совпадать с расположением для антенны с горизонтальной поляризацией.
В обоих случаях способ крепления антенны и расположение коаксиальных кабелей, подсоединенных к антенне, не должны оказывать влияния на коэффициент ее калибровки.
(обязательное)
МЕТОД ВАЛИДАЦИИ ОТКРЫТОЙ ИЗМЕРИТЕЛЬНОЙ ПЛОЩАДКИ
ДЛЯ ПОЛОСЫ ЧАСТОТ ОТ 30 ДО 1000 МГц
В
5.6 настоящего стандарта содержатся основные требования и методы определения пригодности площадки с помощью измерений нормализованного затухания площадки NSA. В настоящем приложении приведена пошаговая методика выполнения измерений NSA.
E.2. Метод дискретных частот
E.2.1. Измерительная установка
Элементы измерительной установки показаны на
рисунках 4,
5, иллюстрирующих расположение оборудования для измерения затухания площадки при горизонтальной и вертикальной поляризациях антенн. Генератор сигналов соединяется с передающей антенной при помощи ВЧ кабеля. Передающую антенну размещают на высоте

(значения

приведены в таблицах E.1 -
E.3) и выбирают нужную поляризацию. Если используется настраиваемый по длине диполь, то регулируют его длину.
Таблица E.1
Нормализованное затухание площадки (с рекомендуемыми
геометрическими параметрами для широкополосных антенн)
┌─────┬────────────────────────────────────────────────────────────────────────────────────────┐
│Час- │ Нормализованное затухание площадки
<*> A , дБ, для измерительного │
│тота │ Nm │
│изме-│ расстояния R, м, высоты расположения передающей антенны h = 1 м │
│рения│ 1 │
│f , │ и высоты расположения приемной антенны h , м │
│ m │ 2 │
│МГц ├───────────────────────────────────────────┬────────────────────────────────────────────┤
│ │ для горизонтальной поляризации │ для вертикальной поляризации │
│ ├──────────┬──────────┬──────────┬──────────┼───────────┬──────────┬──────────┬──────────┤
│ │ R = 3; │ R = 10; │ R = 30; │ R = 30; │ R = 3; │ R = 10; │ R = 30; │ R = 30; │
│ │h = 1 - 4│h = 1 - 4│h = 2 - 6│h = 1 - 4│h = 1 - 4 │h = 1 - 4│h = 2 - 6│h = 1 - 4│
│ │ 2 │ 2 │ 2 │ 2 │ 2 │ 2 │ 2 │ 2 │
├─────┼──────────┼──────────┼──────────┼──────────┼───────────┼──────────┼──────────┼──────────┤
│ 30 │ 15,8 │ 29,8 │ 44,4 │ 47,8 │ 8,2 │ 16,7 │ 26,1 │ 26,0 │
├─────┼──────────┼──────────┼──────────┼──────────┼───────────┼──────────┼──────────┼──────────┤
│ 35 │ 13,4 │ 27,1 │ 41,7 │ 45,1 │ 6,9 │ 15,4 │ 24,7 │ 24,7 │
├─────┼──────────┼──────────┼──────────┼──────────┼───────────┼──────────┼──────────┼──────────┤
│ 40 │ 11,3 │ 24,9 │ 39,4 │ 42,8 │ 5,8 │ 14,2 │ 23,6 │ 23,5 │
├─────┼──────────┼──────────┼──────────┼──────────┼───────────┼──────────┼──────────┼──────────┤
│ 45 │ 9,4 │ 22,9 │ 37,3 │ 40,8 │ 4,9 │ 13,2 │ 22,5 │ 22,5 │
├─────┼──────────┼──────────┼──────────┼──────────┼───────────┼──────────┼──────────┼──────────┤
│ 50 │ 7,8 │ 21,1 │ 35,5 │ 38,9 │ 4,0 │ 12,3 │ 21,6 │ 21,6 │
├─────┼──────────┼──────────┼──────────┼──────────┼───────────┼──────────┼──────────┼──────────┤
│ 60 │ 5,0 │ 18,0 │ 32,4 │ 35,8 │ 2,6 │ 10,7 │ 20,1 │ 20 │
├─────┼──────────┼──────────┼──────────┼──────────┼───────────┼──────────┼──────────┼──────────┤
│ 70 │ 2,8 │ 15,5 │ 29,7 │ 33,1 │ 1,5 │ 9,4 │ 18,7 │ 18,7 │
├─────┼──────────┼──────────┼──────────┼──────────┼───────────┼──────────┼──────────┼──────────┤
│ 80 │ 0,9 │ 13,3 │ 27,5 │ 30,8 │ 0,6 │ 8,3 │ 17,6 │ 17,5 │
├─────┼──────────┼──────────┼──────────┼──────────┼───────────┼──────────┼──────────┼──────────┤
│ 90 │ -0,7 │ 11,4 │ 25,5 │ 28,8 │ -0,1 │ 7,3 │ 16,6 │ 16,5 │
├─────┼──────────┼──────────┼──────────┼──────────┼───────────┼──────────┼──────────┼──────────┤
│ 100 │ -2,0 │ 9,7 │ 23,7 │ 27 │ -0,7 │ 6,4 │ 15,7 │ 15,6 │
├─────┼──────────┼──────────┼──────────┼──────────┼───────────┼──────────┼──────────┼──────────┤
│ 120 │ -4,2 │ 7,0 │ 20,6 │ 23,9 │ -1,5 │ 4,9 │ 14,1 │ 14,0 │
├─────┼──────────┼──────────┼──────────┼──────────┼───────────┼──────────┼──────────┼──────────┤
│ 140 │ -6,0 │ 4,8 │ 18,1 │ 21,2 │ -1,8 │ 3,7 │ 12,8 │ 12,7 │
├─────┼──────────┼──────────┼──────────┼──────────┼───────────┼──────────┼──────────┼──────────┤
│ 160 │ -7,4 │ 3,1 │ 15,9 │ 19 │ -1,7 │ 2,6 │ 11,7 │ 11,5 │
├─────┼──────────┼──────────┼──────────┼──────────┼───────────┼──────────┼──────────┼──────────┤
│ 180 │ -8,6 │ 1,7 │ 14,0 │ 17 │ -1,3 │ 1,8 │ 10,8 │ 10,5 │
├─────┼──────────┼──────────┼──────────┼──────────┼───────────┼──────────┼──────────┼──────────┤
│ 200 │ -9,6 │ 0,6 │ 12,4 │ 15,3 │ -3,6 │ 1,0 │ 9,9 │ 9,6 │
├─────┼──────────┼──────────┼──────────┼──────────┼───────────┼──────────┼──────────┼──────────┤
│ 250 │ -11,9 │ -1,6 │ 9,1 │ 11,6 │ -7,7 │ -0,5 │ 8,2 │ 7,7 │
├─────┼──────────┼──────────┼──────────┼──────────┼───────────┼──────────┼──────────┼──────────┤
│ 300 │ -12,8 │ -3,3 │ 6,7 │ 8,8 │ -10,5 │ -1,5 │ 6,8 │ 6,2 │
├─────┼──────────┼──────────┼──────────┼──────────┼───────────┼──────────┼──────────┼──────────┤
│ 400 │ -14,8 │ -5,9 │ 3,6 │ 4,6 │ -14,0 │ -4,1 │ 5,0 │ 3,9 │
├─────┼──────────┼──────────┼──────────┼──────────┼───────────┼──────────┼──────────┼──────────┤
│ 500 │ -17,3 │ -7,9 │ 1,7 │ 1,8 │ -16,4 │ -6,7 │ 3,9 │ 2,1 │
├─────┼──────────┼──────────┼──────────┼──────────┼───────────┼──────────┼──────────┼──────────┤
│ 600 │ -19,1 │ -9,5 │ 0 │ 0 │ -16,3 │ -8,7 │ 2,7 │ 0,8 │
├─────┼──────────┼──────────┼──────────┼──────────┼───────────┼──────────┼──────────┼──────────┤
│ 700 │ -20,6 │ -10,8 │ -1,3 │ -1,3 │ -18,4 │ -10,2 │ -0,5 │ -0,3 │
├─────┼──────────┼──────────┼──────────┼──────────┼───────────┼──────────┼──────────┼──────────┤
│ 800 │ -21,3 │ -12,0 │ -2,5 │ -2,5 │ -20,0 │ -11,5 │ -2,1 │ -1,1 │
├─────┼──────────┼──────────┼──────────┼──────────┼───────────┼──────────┼──────────┼──────────┤
│ 900 │ -22,5 │ -12,8 │ -3,5 │ -3,5 │ -21,3 │ -12,6 │ -3,2 │ -1,7 │
├─────┼──────────┼──────────┼──────────┼──────────┼───────────┼──────────┼──────────┼──────────┤
│1000 │ -23,5 │ -13,8 │ -4,5 │ -4,4 │ -22,4 │ -13,6 │ -4,2 │ -3,5 │
├─────┴──────────┴──────────┴──────────┴──────────┴───────────┴──────────┴──────────┴──────────┤
│ <*> Эти данные относятся к антеннам, имеющим просвет относительно │
│пластины заземления не менее 25 см, в случае, если центр антенн находится │
│на расстоянии 1 м над пластиной заземления при вертикальной поляризации. │
└──────────────────────────────────────────────────────────────────────────────────────────────┘
Таблица E.2
Нормализованное затухание площадки <*> (с рекомендуемыми
геометрическими параметрами для настраиваемых полуволновых
диполей, горизонтальная поляризация)
--------------------------------
<*> Для сравнения с теоретическими значениями для идеальной площадки, представленной в настоящей таблице, следует вычесть из измеренных значений поправочные коэффициенты передаточного полного сопротивления (см.
таблицу 4) для горизонтально поляризованных настраиваемых полуволновых диполей, отстоящих друг от друга на расстояние 3 м.
┌─────────┬───────────────────────────────────────────────────────────────┐
│ Частота │Нормализованное затухание площадки A , дБ, для измерительного │
│измерения│ Nm │
│ f , МГц │ расстояния R, м, высоты расположения передающей антенны │
│ m │ h = 2 м и высоты расположения приемной антенны h , м │
│ │ 1 2 │
│ │ (горизонтальная поляризация) │
│ ├─────────────────────┬────────────────────┬────────────────────┤
│ │ R = 3; h = 1 - 4 │ R = 10; h = 1 - 4 │ R = 30; h = 2 - 6 │
│ │ 2 │ 2 │ 2 │
├─────────┼─────────────────────┼────────────────────┼────────────────────┤
│ 30 │ 11,0 │ 24,1 │ 38,4 │
│ 35 │ 8,8 │ 21,6 │ 35,8 │
│ 40 │ 7,0 │ 19,4 │ 33,5 │
│ 45 │ 5,5 │ 17,5 │ 31,5 │
│ 50 │ 4,2 │ 15,9 │ 29,7 │
│ 60 │ 2,2 │ 13,1 │ 26,7 │
│ 70 │ 0,6 │ 10,9 │ 24,1 │
│ 80 │ -0,7 │ 9,2 │ 21,9 │
│ 90 │ -1,8 │ 7,8 │ 20,1 │
│ 100 │ -2,8 │ 6,7 │ 18,4 │
│ 120 │ -4,4 │ 5,0 │ 15,7 │
│ 140 │ -5,8 │ 3,5 │ 13,6 │
│ 160 │ -6,7 │ 2,3 │ 11,9 │
│ 180 │ -7,2 │ 1,2 │ 10,6 │
│ 200 │ -8,4 │ 0,3 │ 9,7 │
│ 250 │ -10,6 │ -1,7 │ 7,7 │
│ 300 │ -12,3 │ -3,3 │ 6,1 │
│ 400 │ -14,9 │ -5,8 │ 3,5 │
│ 500 │ -16,7 │ -7,6 │ 1,6 │
│ 600 │ -18,3 │ -9,3 │ 0 │
│ 700 │ -19,7 │ -10,6 │ -1,3 │
│ 800 │ -20,8 │ -11,8 │ -2,4 │
│ 900 │ -21,8 │ -12,9 │ -3,5 │
│ 1000 │ -22,7 │ -13,8 │ -4,4 │
└─────────┴─────────────────────┴────────────────────┴────────────────────┘
Таблица E.3
Нормализованное затухание площадки (с рекомендуемыми
геометрическими параметрами для настраиваемых полуволновых
диполей, вертикальная поляризация)
┌─────────┬───────────────────────────────────────────────────────────────┐
│ Частота │Нормализованное затухание площадки A , дБ, для измерительного │
│измерения│ Nm │
│ f , МГц │ расстояния R, м, высоты расположения передающей антенны │
│ m │ h = 2,75 м и высоты расположения приемной антенны h , м │
│ │ 1 2 │
│ │ (горизонтальная поляризация) │
│ ├────────────────────┬─────────────────────┬────────────────────┤
│ │ R = 3 │ R = 10 │ R = 30 │
│ ├──────────┬─────────┼──────────┬──────────┼──────────┬─────────┤
│ │ h │ A │ h │ A │ h │ A │
│ │ 2 │ N │ 2 │ N │ 2 │ N │
├─────────┼──────────┼─────────┼──────────┼──────────┼──────────┼─────────┤
│ 30 │ 2,75 - 4 │ 12,4 │ 2,75 - 4 │ 18,8 │ 2,75 - 6 │ 26,3 │
│ 35 │ 2,39 - 4 │ 11,3 │ 2,39 - 4 │ 17,4 │ 2,39 - 6 │ 24,9 │
│ 40 │ 2,13 - 4 │ 10,4 │ 2,13 - 4 │ 16,2 │ 2,13 - 6 │ 23,8 │
│ 45 │ 1,92 - 4 │ 9,5 │ 1,92 - 4 │ 15,1 │ 2 - 6 │ 22,8 │
│ 50 │ 1,75 - 4 │ 8,4 │ 1,75 - 4 │ 14,2 │ 2 - 6 │ 21,9 │
│ 60 │ 1,50 - 4 │ 6,3 │ 1,50 - 4 │ 12,6 │ 2 - 6 │ 20,4 │
│ 70 │ 1,32 - 4 │ 4,4 │ 1,32 - 4 │ 11,3 │ 2 - 6 │ 19,1 │
│ 80 │ 1,19 - 4 │ 2,8 │ 1,19 - 4 │ 10,2 │ 2 - 6 │ 18,0 │
│ 90 │ 1,08 - 4 │ 1,5 │ 1,08 - 4 │ 9,2 │ 2 - 6 │ 17,1 │
│ 100 │ 1 - 4 │ 0,6 │ 1 - 4 │ 8,4 │ 2 - 6 │ 16,3 │
│ 120 │ 1 - 4 │ -0,7 │ 1 - 4 │ 7,5 │ 2 - 6 │ 15,0 │
│ 140 │ 1 - 4 │ -1,5 │ 1 - 4 │ 5,5 │ 2 - 6 │ 14,1 │
│ 160 │ 1 - 4 │ -3,1 │ 1 - 4 │ 3,9 │ 2 - 6 │ 13,3 │
│ 180 │ 1 - 4 │ -4,5 │ 1 - 4 │ 2,7 │ 2 - 6 │ 12,8 │
│ 200 │ 1 - 4 │ -5,4 │ 1 - 4 │ 1,6 │ 2 - 6 │ 12,5 │
│ 250 │ 1 - 4 │ -7,0 │ 1 - 4 │ -0,6 │ 2 - 6 │ 8,6 │
│ 300 │ 1 - 4 │ -8,9 │ 1 - 4 │ -2,3 │ 2 - 6 │ 6,5 │
│ 400 │ 1 - 4 │ -11,4 │ 1 - 4 │ -4,9 │ 2 - 6 │ 3,8 │
│ 500 │ 1 - 4 │ -13,4 │ 1 - 4 │ -6,9 │ 2 - 6 │ 1,8 │
│ 600 │ 1 - 4 │ -14,9 │ 1 - 4 │ -8,4 │ 2 - 6 │ 0,2 │
│ 700 │ 1 - 4 │ -16,3 │ 1 - 4 │ -9,7 │ 2 - 6 │ -1,0 │
│ 800 │ 1 - 4 │ -17,4 │ 1 - 4 │ -10,9 │ 2 - 6 │ -2,4 │
│ 900 │ 1 - 4 │ -18,5 │ 1 - 4 │ -12,0 │ 2 - 6 │ -3,3 │
│ 1000 │ 1 - 4 │ -19,4 │ 1 - 4 │ -13,0 │ 2 - 6 │ -4,2 │
└─────────┴──────────┴─────────┴──────────┴──────────┴──────────┴─────────┘
Приемную антенну монтируют на мачте, позволяющей производить сканирование по высоте от

до

, на расстоянии R от передающей антенны и подключают к измерителю ИРП (измерительному приемнику или анализатору спектра) с помощью ВЧ кабеля. Устанавливают ту же поляризацию, что и у передающей антенны и, если используют настраиваемый диполь, его настраивают на требуемую частоту. Вертикально-ориентированный настраиваемый диполь устанавливают так, чтобы расстояние (просвет) от его приемного элемента до земли было 25 см (см.
таблицу E.3).
Если при измерениях нормализованного затухания площадки используют настраиваемые диполи, то их настраивают на каждую частоту, включая частоты от 30 до 80 МГц.
E.2.2. Процедура измерений
Измерения проводят для каждой частоты, указанной в
таблицах E.1 -
E.3, сначала при горизонтально-ориентированных, а затем - при вертикально-ориентированных антеннах. При этом передающая антенна устанавливается на высоте

.
Порядок проведения измерений:
1) устанавливают выходной уровень генератора сигналов таким, чтобы уровень измеряемого напряжения был выше уровня собственных шумов измерителя ИРП и уровня внешних помех электромагнитной обстановки;
2) меняют высоту расположения приемной антенны

в пределах сканирования, как указано в
таблицах E.1 -
E.3, до получения максимального уровня сигнала;
4) отсоединяют кабели от передающей и приемной антенн. Соединяют кабели напрямую через переход;
6) подставляют значения

и

на каждой частоте и при каждой поляризации в
уравнение (6) (см. 5.6.1);
7) вводят в
уравнении (6) коэффициенты калибровки приемной и передающей антенн на частоте измерения;
8) вводят в
уравнении (6) поправочный коэффициент, учитывающий взаимное полное сопротивление антенн

из
таблицы E.4, который применяется только при горизонтальной поляризации настраиваемых диполей, находящихся на расстоянии 3 м. Для всех других геометрий

;
9) определяют нормализованное затухание площадки

для используемой частоты измерения и поляризации;
10) вычитают полученное значение из значения нормализованного затухания площадки, приведенного в
таблицах E.1 - E.3 для той же комбинации частоты и поляризации;
11) если результаты отличаются менее чем на +/- 4 дБ, то площадку считают соответствующей требованиям на заданной частоте и при данной поляризации антенны;
12) повторяют измерения по
перечислениям 1) - 11) для следующей комбинации частоты и поляризации.
Таблица E.4
Поправочные коэффициенты, учитывающие взаимное полное
сопротивление антенн при использовании резонансных
настраиваемых диполей при измерительном расстоянии 3 м
┌─────────────────┬───────────────────────────────────────────────────────┐
│Частота измерения│ Суммарный поправочный коэффициент Дельта AF , дБ │
│ f , МГц │ TOT │
│ m ├───────────────────────────┬───────────────────────────┤
│ │ для горизонтальной │ для вертикальной │
│ │ поляризации: h = 2 м; │ поляризации: h = 2,75 м; │
│ │ 1 │ 1 │
│ │ 2 │ 2 │
├─────────────────┼───────────────────────────┼───────────────────────────┤
│ 30 │ 3,1 │ 2,9 │
│ 35 │ 4,0 │ 2,6 │
│ 40 │ 4,1 │ 2,1 │
│ 45 │ 3,3 │ 1,6 │
│ 50 │ 2,8 │ 1,5 │
│ 60 │ 1,0 │ 2,0 │
│ 70 │ -0,4 │ 1,5 │
│ 80 │ -1,0 │ 0,9 │
│ 90 │ -1,0 │ 0,7 │
│ 100 │ -1,2 │ 0,1 │
│ 120 │ -0,4 │ -0,2 │
│ 125 │ -0,2 │ -0,2 │
│ 140 │ -0,1 │ 0,2 │
│ 150 │ -0,9 │ 0,4 │
│ 160 │ -1,5 │ 0,5 │
│ 175 │ -1,8 │ -0,2 │
│ 180 │ -1,0 │ -0,4 │
├─────────────────┴───────────────────────────┴───────────────────────────┤
│ Примечания. 1. Имеются в виду значения теоретических градуировочных│
│коэффициентов антенн в свободном пространстве для идеальных резонансных│
│диполей с потерями симметрирующего устройства 0,5 дБ (для каждой│
│антенны). │
│ 2. Приведенные в таблице поправочные коэффициенты не полностью│
│описывают градуировочные коэффициенты, измеренные над пластиной│
│заземления, например на высоте 3 или 4 м, так как на нижних частотах│
│эти градуировочные коэффициенты антенн отличаются от градуировочных│
│коэффициентов антенн в свободном пространстве. Однако в пределах границ│
│погрешностей эти значения приемлемы для определения аномалий площадки. │
│ 3. Пользователь должен помнить, что некоторые полуволновые диполи│
│или антенны с нестандартными симметрирующими устройствами могут иметь│
│характеристики, отличающиеся от характеристик антенны, указанных в│
│ 4. Поправочные коэффициенты взаимной связи для измерительных│
│расстояний 10 и 30 м предлагается принять равными нулю. │
└─────────────────────────────────────────────────────────────────────────┘
E.3. Метод сканирования частоты
E.3.1. Измерительная установка
Измерительная установка должна быть аналогична приведенной в
E.2.1, за исключением того, что используются широкополосные антенны. Ввиду малого физического размера таких антенн нет необходимости вводить ограничения на перемещение вертикально-поляризованной антенны.
E.3.2. Процедура измерения
Сначала проводят измерения при горизонтально-поляризованных антеннах, а затем - при вертикально-поляризованных. При этом передающая антенна устанавливается на высоте

.
Порядок проведения измерений:
1) устанавливают выходной уровень трекинг-генератора таким, чтобы уровень измеряемого напряжения был выше уровня собственных шумов измерителя ИРП и уровня внешних помех;
2) устанавливают приемную антенну на мачте в верхней точке высоты

в соответствии с
E.1;
3) устанавливают развертку анализатора спектра на соответствующий частотный диапазон. Устанавливают амплитудную характеристику анализатора спектра такой, чтобы на его шкале мог отображаться сигнал, увеличенный на 60 дБ. Это позволит измерять уровни при выполнении шага 5);
4) опускают медленно приемную антенну до минимальной высоты, указанной в таблицах для соответствующей геометрии площадки. Регистрируют максимальный уровень сигнала

, дБ (1 мкВ). (Время перемещения антенны вниз должно быть намного больше времени развертки анализатора спектра);
5) отсоединяют кабели от передающей и приемной антенн. Соединяют кабели напрямую через переход. Регистрируют уровень сигнала при соединенных друг с другом кабелях

[см.
5.6.1 уравнение (6)];
6) вычитают на каждой частоте значение напряжения

из значения напряжения

. Вычитают также коэффициенты калибровки приемной и передающей антенн

, дБ/м, и AF, дБ/м, соответственно. (Коэффициенты калибровки антенн как непрерывные функции от частоты могут быть получены с помощью простой линейной кривой, соответствующей набору дискретных значений коэффициентов калибровки антенн):

.
Измеренное значение

представляют в виде графика во всем диапазоне используемых частот. Теоретическое значение

идеальной площадки приведено в
таблице E.1;
7) значения разности между теоретическим

и измеренным значением

не должны превышать +/- 4 дБ.
Примечание. Для обоих методов измерения нормализованного затухания площадки рассогласование полного сопротивления на выходе источника сигнала или на входе измерителя ИРП или анализатора спектра может привести к отражениям, которые могут вызвать ошибки. Рассогласования можно избежать путем использования согласующих аттенюаторов по 10 дБ на выходных концах кабелей передающей или приемной антенн, которые должны быть включены во все время измерений нормализованного затухания площадки.
E.4. Возможные причины превышения норм при приемке площадки
Если значение разности между теоретическим и измеренным значением нормализованного затухания площадки превышает +/- 4 дБ, необходимо проанализировать условия проведения измерений.
Сначала проверяют градуировку измерительных систем. Если у генератора сигналов и измерительных приборов не произошло отклонения уровня за время измерений, то следует проверить значения коэффициентов антенн. Неисправными могут быть также сами антенны.
После проверки повторяют измерение. Если отклонение превышает +/- 4 дБ, то причина может заключаться в аномалии площадки и окружающей территории. Наиболее чувствительными к аномалии площадки являются измерения при вертикальной поляризации антенн. Поэтому при выявлениях причины несоответствия площадки необходимо использовать измерения при вертикальной поляризации антенн. Причинами несоответствия площадки могут быть: неправильная конструкция пластины заземления, близость отражающих объектов, ухудшение характеристики защитных навесов от негативных погодных условий, а также затухание сигнала в связи с загрязнением воздушной среды.
Неточность значений градуировочных коэффициентов антенны, полученных от производителей, может привести к несовпадению измеренных и теоретических значений нормализованного затухания площадки. Градуировочные коэффициенты антенны обычно учитывают потери в симметрирующем устройстве. Если используют отдельное симметрирующее устройство, то необходимо учесть его влияние. Когда передающая антенна находится на высоте не менее 1 м над пластиной заземления, изменения градуировочных коэффициентов антенны в зависимости от геометрии и поляризации весьма незначительны, что справедливо для типов широкополосных антенн, обычно используемых для измерений на частотах ниже 1 ГГц (например, биконических антенн, тонких диполей и логопериодических антенн). В случае предположения, что изменения градуировочных коэффициентов антенн происходят из-за нестандартного использования антенн или влияния геометрии измерений, а также из-за взаимной связи или затухания поля, особенно для измерительного расстояния 3 м, то градуировочные коэффициенты антенн необходимо сначала измерить при этих условиях.
Обычно затухание площадки измеряют в 50-Омной системе, т.е. генератор сигналов и измеритель ИРП имеют полные сопротивления 50 Ом, а сопротивления излучения передающей и приемной антенн симметричны и согласованы через симметрирующее устройство.
Градуировочные коэффициенты антенн, предоставляемые изготовителем, обычно также указывают для полного сопротивления 50 Ом. В значении градуировочного коэффициента антенны учитывают поправочный коэффициент, учитывающий взаимное полное сопротивление антенн и потери симметрирующего устройства (если используется).
Градуировочные коэффициенты для свободного пространства при использовании полуволновых настраиваемых диполей AF, дБ, можно рассчитать по формулам:

; (E.1)
где f - частота измерения, МГц.
Примечание. На практике на градуировочные коэффициенты антенны влияет высота подвеса дипольной антенны над землей из-за общего передаточного полного сопротивления диполя и его зеркального отображения в земле.
Средние потери в симметрирующем устройстве для хорошо сконструированного настраиваемого полуволнового диполя составляют приблизительно 0,5 дБ. Для этого случая
уравнение (E.2) будет иметь вид:
AF = 20lgf - 31,4. (E.3)
Потери в симметрирующем устройстве могут быть измерены соединением симметрирующих устройств приемной и передающей антенн друг с другом до того, как они будут установлены в корпусах. Потери каждого симметрирующего устройства составляют 1/2 измеренных суммарных потерь при условии, что оба симметрирующих устройства одинаковы.
Важно проверить, чтобы расчетные значения градуировочных коэффициентов антенн могли выступать в качестве репрезентативных значений для настраиваемых диполей, используемых при измерениях нормализованного затухания площадки. Наиболее простая проверка заключается в измерении

с собранными антеннами, когда их элементы настроены в резонанс. Антенна должна размещаться на высоте не менее 4 м над землей, а если возможно, то и выше, с тем, чтобы минимизировать влияние земли; элементы антенны должны быть настроены в резонанс при измерениях на частотах, приведенных в
таблице E.3. Достаточно проверить

антенн на частотах в нижней, средней и верхней частях полосы рабочих частот антенн.
На частотах ниже 100 МГц проверку изъятых из корпусов симметрирующих устройств также можно проводить подключением резистора 70 Ом параллельно антенным зажимам и измерением значения

нагруженного симметрирующего устройства. Значение

должно быть менее 1,5.
(справочное)
ПРИМЕНЕНИЕ КРИТЕРИЯ 4 дБ ПРИ ОПРЕДЕЛЕНИИ
ПРИГОДНОСТИ ИЗМЕРИТЕЛЬНОЙ ПЛОЩАДКИ
F.1. Общие положения
В настоящем приложении рассмотрено обоснование значения критерия пригодности +/- 4 дБ для измерений нормализованного затухания площадки в соответствии с
5.6.
F.2. Анализ погрешностей
В
таблице F.1 приведен анализ погрешностей измерения нормализованного затухания площадки в соответствии с
5.6.
Значение критерия пригодности площадки +/- 4 дБ определяется полной оцененной погрешностью, включающей в себя неопределенность измерений (~= 3 дБ) и дополнительные погрешности, обусловленные несовершенством площадки (~= 1 дБ).
В перечне погрешностей, приведенном в
таблице F.1, не учитываются неопределенности, возникающие из-за нестабильности амплитуды генератора сигналов, следящего генератора или усилителей, которые могут использоваться при измерениях, а также потенциальные погрешности методов измерения. Выходной уровень большинства генераторов сигналов и следящих генераторов будет изменяться с течением времени и в зависимости от температуры; коэффициент усиления большинства усилителей изменяется при изменении температуры. Необходимо, чтобы погрешности, обусловленные этими источниками, поддерживались на незначительном уровне, либо их можно было корректировать при проведении измерений, в противном случае площадка может не соответствовать критерию применимости только из-за проблем, связанных с измерительными приборами.
Таблица F.1
Анализ погрешностей измерения нормализованного
затухания площадки
Источник погрешности | Метод дискретных частот | Метод сканирования частоты |
Градуировочный коэффициент передающей | +/- 1 | +/- 1 |
Градуировочный коэффициент приемной | +/- 1 | +/- 1 |
Вольтметр, дБ | 0 | |
Аттенюатор, дБ | +/- 1 | 0 |
Несовершенство площадки, дБ | +/- 1 | +/- 1 |
Общая погрешность, дБ | +/- 4 | +/- 4,6 |
<*> На частотах свыше 800 МГц погрешности градуировочных коэффициентов антенн могут достигать значений +/- 1,5 дБ. <**> Из инструкции по эксплуатации. |
Анализ инструкций по эксплуатации некоторых автоматических анализаторов спектра показывает, что если предпринять все возможные меры для исключения или компенсации каждой потенциальной ошибки, остаточные амплитудные погрешности будут равны:
1) +/- 0,2 дБ - за счет неопределенности;
2) +/- 1,0 дБ - за счет равномерности частотной характеристики;
3) +/- 1,0 дБ - за счет переключений входного аттенюатора;
4) +/- 0,4 дБ - за счет неопределенности коэффициента усиления по радиочастоте и промежуточной частоте.
Общая потенциальная погрешность анализатора спектра может достигать значения +/- 2,6 дБ. Сюда не входит температурный дрейф, равный +/- 0,05 дБ/°К.
Опыт свидетельствует, что при проведении измерений с использованием метода замещения значения погрешностей, вызванных неравномерностью частотной характеристики и переключением позиций входного аттенюатора обычно на 1 дБ меньше, чем указанные в
перечислениях 2),
3), так что суммарное значение погрешности анализатора спектра, используемого в качестве вольтметра с двумя входными зажимами, будет +/- 1,6 дБ или менее, в соответствии с
таблицей F.1.
При проведении отдельных измерений число погрешностей может возрастать или уменьшаться. Так, например, некоторые типы аттенюаторов имеют абсолютную точность намного ниже, чем другие. Если при измерениях методом сканирования частоты с автоматическим анализатором спектра используется дополнительный внешний аттенюатор, он также может вносить дополнительные погрешности.
В перечень погрешностей не входят погрешности из-за временного и температурного дрейфа коэффициентов усиления, выходных уровней или амплитудных характеристик оборудования, используемого при измерении. Но такие погрешности могут существовать, и для того чтобы их избежать, необходимо принимать меры для более быстрого выполнения измерений.
На практике все описанные выше погрешности редко имеют один и тот же знак. Соответствие критерию +/- 4 дБ для хорошо сконструированной и расположенной площадки может реально допускать аномальное отклонение конкретной площадки от идеальной не более чем +/- 1 дБ.
(справочное)
ССЫЛОЧНЫХ МЕЖДУНАРОДНЫХ СТАНДАРТОВ
НАЦИОНАЛЬНЫМ СТАНДАРТАМ РОССИЙСКОЙ ФЕДЕРАЦИИ,
ИСПОЛЬЗОВАННЫМ В НАСТОЯЩЕМ СТАНДАРТЕ
В КАЧЕСТВЕ НОРМАТИВНЫХ ССЫЛОК
Таблица G.1
┌─────────────────────────────┬───────────────────────────────────────────┐
│ Обозначение ссылочного │ Обозначение и наименование ссылочного │
│ национального стандарта │ международного стандарта и условное │
│ Российской Федерации │ обозначение степени его соответствия │
│ │ ссылочному национальному стандарту │
├─────────────────────────────┼───────────────────────────────────────────┤
│ГОСТ Р 51318.16.1.1-2007 │СИСПР 16-1-1:2006. Требования к аппаратуре │
│(СИСПР 16-1-1:2006) │для измерения радиопомех │
│ │и помехоустойчивости и методы измерений. │
│ │Часть 1-1. Аппаратура для измерения │
│ │радиопомех и помехоустойчивости. │
│ │Измерительная аппаратура (MOD) │
ИС МЕГАНОРМ: примечание.
ГОСТ Р 51318.16.4.2-2006 утратил силу с 1 января 2014 года в связи
с введением в действие ГОСТ 30805.16.4.2-2013 (Приказ Росстандарта
от 22.07.2013 N 430-ст).
│ГОСТ Р 51318.16.4.2-2006 │СИСПР 16-4-2:2003. Требования к аппаратуре │
│(СИСПР 16-4-2:2003) │для измерения радиопомех │
│ │и помехоустойчивости и методы измерений. │
│ │Часть 4-2. Неопределенности, статистика │
│ │и моделирование норм. Неопределенность при │
│ │измерениях в области ЭМС (MOD) │
│ │для измерения радиопомех │
│ │и помехоустойчивости и методы измерений. │
│ │Часть 2. Методы измерений радиопомех │
│ │и помехоустойчивости (NEQ) │
│ │электротехнический словарь. Глава 161. │
│ │Электромагнитная совместимость (NEQ) │
├─────────────────────────────┴───────────────────────────────────────────┤
│ Примечание. В настоящей таблице использованы следующие обозначения│
│степени соответствия стандартов: │
│ - MOD - модифицированный стандарт; │
│ - NEQ - неэквивалентный стандарт. │
└─────────────────────────────────────────────────────────────────────────┘
[1] СИСПР 16-2-3:2006. Требования к аппаратуре для измерения радиопомех и помехоустойчивости и методы измерений. Часть 2-3. Методы измерения радиопомех и помехоустойчивости. Измерения излучаемых помех
(CISPR 16-2-3:2006) (Specification for radio disturbance and immunity measuring apparatus and methods - Part 2-3: Methods of measurement of disturbances and immunity - Radiated disturbance measurements)
[2] СИСПР 16-3:2003. Требования к аппаратуре для измерения радиопомех и помехоустойчивости и методы измерений. Часть 3. Технические отчеты СИСПР
(CISPR/TR 16-3:2003) (Specification for radio disturbance and immunity measuring apparatus and methods - Part 3: CISPR technical reports)
[3] СИСПР 16-4-1:2003. Требования к аппаратуре для измерения радиопомех и помехоустойчивости и методы измерений. Часть 4-1. Неопределенности, статистика и моделирование норм. Неопределенности в стандартизованных испытаниях ЭМС
(CISPR 16-4-1:2003) (Specification for radio disturbance and immunity measuring apparatus and methods - Part 4-1: Uncertainties, statistics and limit modelling - Uncertainties in standardized EMC tests)
[4] МЭК 60050 (161):1990. Международный электротехнический словарь. Глава 161. Электромагнитная совместимость
(IEC 60050 (161):1990) (International Electrotechnical Vocabulary - Chapter 161: Electromagnetic compatibility).