Главная // Актуальные документы // ГОСТ Р (Государственный стандарт)СПРАВКА
Источник публикации
В данном виде документ опубликован не был.
Первоначальный текст документа опубликован в издании
М.: Стандартинформ, 2008.
Информацию о публикации документов, создающих данную редакцию, см. в справке к этим документам.
Примечание к документу
Документ утратил силу с 1 января 2014 года в связи с изданием
Приказа Росстандарта от 17.10.2012 N 517-ст. Взамен введен в действие
ГОСТ IEC 60335-2-24-2012.
Документ включен в
Перечень национальных стандартов, содержащих правила и методы исследований (испытаний) и измерений, в том числе правила отбора образцов, необходимых для применения и исполнения Федерального
закона от 27.12.2009 N 347-ФЗ и осуществления оценки соответствия (
Распоряжение Правительства РФ от 29.07.2010 N 1284-р).
Документ включен в
Перечень национальных стандартов, содержащих правила и методы исследований (испытаний) и измерений, в том числе правила отбора образцов, необходимых для применения и исполнения технического
регламента о безопасности машин и оборудования, а также для осуществления оценки соответствия (
Распоряжение Правительства РФ от 05.08.2010 N 1328-р).
Документ включен в
Перечень документов в области стандартизации, в результате применения которых на добровольной основе обеспечивается соблюдение требований Федерального
закона от 27.12.2009 N 347-ФЗ "Технический регламент о безопасности низковольтного оборудования" (
Приказ Росстандарта от 14.09.2010 N 3546).
Документ включен в
Перечень национальных стандартов, содержащих правила и методы исследований (испытаний) и измерений, в том числе правила отбора образцов, необходимых для применения и исполнения Федерального
закона от 22.07.2008 N 123-ФЗ и осуществления оценки соответствия (
Распоряжение Правительства РФ от 10.03.2009 N 304-р).
Изменение N 1, утв.
Приказом Ростехрегулирования от 16.11.2009 N 503-ст, введено в действие с 1 января 2011 года.
Название документа
"ГОСТ Р 52161.2.24-2007 (МЭК 60335-2-24:2005). Национальный стандарт Российской Федерации. Безопасность бытовых и аналогичных электрических приборов. Часть 2.24. Частные требования к холодильным приборам, мороженицам и устройствам для производства льда"
(утв. и введен в действие Приказом Ростехрегулирования от 19.11.2007 N 314-ст)
(ред. от 16.11.2009)
"ГОСТ Р 52161.2.24-2007 (МЭК 60335-2-24:2005). Национальный стандарт Российской Федерации. Безопасность бытовых и аналогичных электрических приборов. Часть 2.24. Частные требования к холодильным приборам, мороженицам и устройствам для производства льда"
(утв. и введен в действие Приказом Ростехрегулирования от 19.11.2007 N 314-ст)
(ред. от 16.11.2009)
Утвержден и введен в действие
от 19 ноября 2007 г. N 314-ст
НАЦИОНАЛЬНЫЙ СТАНДАРТ РОССИЙСКОЙ ФЕДЕРАЦИИ
БЕЗОПАСНОСТЬ БЫТОВЫХ И АНАЛОГИЧНЫХ ЭЛЕКТРИЧЕСКИХ ПРИБОРОВ
ЧАСТЬ 2.24
ЧАСТНЫЕ ТРЕБОВАНИЯ К ХОЛОДИЛЬНЫМ ПРИБОРАМ,
МОРОЖЕНИЦАМ И УСТРОЙСТВАМ ДЛЯ ПРОИЗВОДСТВА ЛЬДА
Safety of household and similar electrical appliances.
Part 2.24. Particular requirements for refrigerating
appliances, ice-cream appliances and ice-makers
IEC 60335-2-24:2005
Household and similar electrical appliances - Safety -
Part 2-24: Particular requirements for refrigerating
appliances, ice-cream appliances and ice-makers
(MOD)
ГОСТ Р 52161.2.24-2007
(МЭК 60335-2-24:2005)
| | Список изменяющих документов Ростехрегулирования от 16.11.2009 N 503-ст) | |
Дата введения
1 января 2009 года
Цели и принципы стандартизации в Российской Федерации установлены Федеральным
законом от 27 декабря 2002 г. N 184-ФЗ "О техническом регулировании", а правила применения национальных стандартов Российской Федерации -
ГОСТ Р 1.0-2004 "Стандартизация в Российской Федерации. Основные положения".
1. Подготовлен ООО "ТЕСТБЭТ" на основе представленного ООО "Ассоциация "Холод-быт" аутентичного перевода стандарта, указанного в пункте 4.
2. Внесен Техническим комитетом по стандартизации ТК 19 "Электрические приборы бытового назначения".
3. Утвержден и введен в действие
Приказом Федерального агентства по техническому регулированию и метрологии от 19 ноября 2007 г. N 314-ст.
4. Настоящий стандарт является модифицированным по отношению к международному стандарту МЭК 60335-2-24:2005 "Бытовые и аналогичные электрические приборы. Безопасность. Часть 2-24. Частные требования для холодильных приборов, морожениц и устройств для производства льда" (IEC 60335-2-24:2005 "Household and similar electrical appliances - Safety - Part 2-24: Particular requirements for refrigerating appliances, ice-cream appliances and ice-makers", издание 6.1 с Изменением N 2 (2007)) путем внесения дополнительных требований, объяснение которых приведено во
Введении к настоящему стандарту.
(в ред.
Изменения N 1, утв. Приказом Ростехрегулирования от 16.11.2009 N 503-ст)
Наименование настоящего стандарта изменено относительно наименования указанного международного стандарта для приведения в соответствие с ГОСТ Р 1.5-2004
(подраздел 3.5).
Информация об изменениях к настоящему стандарту публикуется в ежегодно издаваемом информационном указателе "Национальные стандарты", а текст изменений и поправок - в ежемесячно издаваемых информационных указателях "Национальные стандарты". В случае пересмотра (замены) или отмены настоящего стандарта соответствующее уведомление будет опубликовано в ежемесячно издаваемом информационном указателе "Национальные стандарты". Соответствующая информация, уведомление и тексты размещаются также в информационной системе общего пользования - на официальном сайте Федерального агентства по техническому регулированию и метрологии в сети Интернет.
Настоящий стандарт относится к группе стандартов, регламентирующих требования безопасности бытовых и аналогичных электрических приборов, состоящей из
части 1 (ГОСТ Р 52161.1-2004), устанавливающей общие требования безопасности к приборам, а также частей, устанавливающих частные требования к конкретным видам приборов.
Настоящий стандарт содержит нормы, правила и методы испытаний, которые дополняют, изменяют или исключают соответствующие разделы и (или) пункты
ГОСТ Р 52161.1.
| | ИС МЕГАНОРМ: примечание. Методы испытаний, выделенные курсивом в официальном тексте документа, в электронной версии документа отмечены знаком "&"; термины, выделенные полужирным шрифтом в официальном тексте документа, в электронной версии документа отмечены знаком "#". | |
Методы испытаний выделены курсивом.
Термины, применяемые в настоящем стандарте, выделены полужирным шрифтом.
Номера пунктов настоящего стандарта, которые дополняют разделы
ГОСТ Р 52161.1, начинаются с цифры 101.
Текст Изменения N 1 (2005) к международному стандарту МЭК 60335-2-24:2005 выделен сплошной вертикальной линией, расположенной справа от приведенного текста изменения.
Стандарт дополнен
Приложением 2, которое содержит полный текст международного стандарта МЭК 60079-4А:1970 "Электрическое оборудование для взрывоопасных сред. Часть 4. Метод испытания для определения температуры воспламенения".
| | ИС МЕГАНОРМ: примечание. Ссылки, выделенные подчеркиванием сплошной горизонтальной линией в официальном тексте документа, в электронной версии документа отмечены знаком "$". | |
В настоящем стандарте
раздел "Нормативные ссылки" изложен в соответствии с
ГОСТ Р 1.5-2004 и выделен сплошной вертикальной линией, расположенной слева от приведенного текста. В тексте стандарта соответствующие ссылки выделены подчеркиванием сплошной горизонтальной линией.
Сведения о соответствии ссылочных международных стандартов национальным стандартам Российской Федерации, использованным в настоящем стандарте в качестве нормативных ссылок, приведены в
Приложении 3.
Этот
раздел части 1 заменен следующим.
Настоящий стандарт устанавливает требования безопасности к следующим приборам номинальным напряжением не более 250 В для однофазных приборов, 480 В - для других приборов и 24 В постоянного тока - для приборов, работающих от батарей:
- #холодильным приборам# для бытового и аналогичного использования;
- #устройствам для производства льда# со встроенным мотор-компрессором и #устройствам для производства льда#, предназначенным для размещения в отделениях для хранения замороженных продуктов;
- #холодильным приборам и устройствам для производства льда#, используемым в кемпингах, жилых автоприцепах и на катерах для проведения досуга.
Эти приборы могут работать как от сети или от отдельной батареи, так и объединять в себе возможность питания от данных источников.
Настоящий стандарт также устанавливает требования безопасности к #мороженицам#, предназначенным для бытового использования, #номинальным напряжением# не более 250 В для однофазных приборов и 480 В - для других приборов.
Настоящий стандарт также распространяется #на приборы компрессионного типа# для бытового или аналогичного использования, в которых применяются воспламеняющиеся хладагенты.
Настоящий стандарт не учитывает особенности конструкции и функционирования #холодильных приборов#, рассматриваемые в стандартах ИСО.
Приборы, не предназначенные для бытового использования, но которые, тем не менее, могут быть источником опасности для людей, например приборы, используемые неспециалистами в магазинах, легкой промышленности и на фермах, входят в область распространения настоящего стандарта.
Насколько это возможно, настоящий стандарт устанавливает основные виды опасностей приборов, с которыми люди сталкиваются внутри и вне дома. Стандарт не учитывает опасности, возникающие в следующих случаях:
- использовании приборов без надзора и инструкций людьми (включая детей), у которых есть физические, нервные или психические отклонения или недостаток опыта и знаний, препятствующие безопасной эксплуатации прибора без надзора и инструкций;
(в ред.
Изменения N 1, утв. Приказом Ростехрегулирования от 16.11.2009 N 503-ст)
- использовании приборов детьми для игр.
(в ред.
Изменения N 1, утв. Приказом Ростехрегулирования от 16.11.2009 N 503-ст)
Примечания. 104. Следует учитывать, что:
- для приборов, предназначенных для использования в транспортных средствах, на борту кораблей, самолетов, могут быть необходимы дополнительные требования;
- во многих странах национальные органы здравоохранения, охраны труда и др. предъявляют к приборам дополнительные требования.
105. Настоящий стандарт не распространяется:
- на приборы, предназначенные для использования на открытом воздухе;
- приборы, сконструированные исключительно для промышленных целей;
- приборы, предназначенные для применения в местах, где преобладают особые условия, например коррозионная или взрывоопасная среда (пыль, пар или газ);
- приборы, включающие в себя батарею, используемую в качестве источника питания для режима охлаждения;
- приборы, собираемые на месте эксплуатации;
- приборы с отдельными мотор-компрессорами;
- мотор-компрессоры $(ГОСТ Р МЭК 60335-2-34)$;
- торговые дозирующие устройства и торговые автоматы;
- торговые установки для производства мороженого.
Этот
раздел части 1 применяют, за исключением следующего.
│ Дополнение
ИС МЕГАНОРМ: примечание.
ГОСТ Р 12.2.142-99 утратил силу с 1 января 2014 года в связи с
N 1000-ст).
│ ГОСТ Р 12.2.142-99 (ИСО 5149-93). Система стандартов безопасности
│труда. Системы холодильные холодопроизводительностью свыше 3,0 кВт.
│Требования безопасности
│труда. Цвета сигнальные, знаки безопасности и разметка сигнальная.
│Назначение и правила применения. Общие технические требования и
│характеристики. Методы испытаний
│взрывозащищенное. Часть 4. Метод определения температуры
│самовоспламенения
│взрывозащищенное. Часть 20. Данные по горючим газам и парам, относящиеся к
│эксплуатации электрооборудования
│аналогичных электрических приборов. Часть 1. Общие требования
│аналогичных электрических приборов. Часть 2.5. Частные требования для
│посудомоечных машин
ИС МЕГАНОРМ: примечание.
Взамен ГОСТ 52350.15-2005 Приказом Росстандарта от 30.11.2010 N 717-ст
с 1 января 2012 года введен в действие ГОСТ Р МЭК 60079-15-2010.
│ ГОСТ Р 52350.15-2005 (МЭК 60079-15:2005). Электрооборудование для
│взрывоопасных газовых сред. Часть 15. Конструкция, испытания и маркировка
│электрооборудования с видом защиты "n"
ИС МЕГАНОРМ: примечание.
Взамен ГОСТ Р МЭК 60227-5-2002 Приказом Ростехрегулирования от
26.06.2009 N 221-ст с 1 января 2010 года введен в действие
│ ГОСТ Р МЭК 60227-5-2002. Кабели с поливинилхлоридной изоляцией на
│номинальное напряжение до 450/750 В включительно. Гибкие кабели (шнуры)
ИС МЕГАНОРМ: примечание.
ГОСТ Р 52161.2.34-2009 утратил силу с 1 января 2014 года в связи с
введением в действие ГОСТ IEC 60335-2-34-2012 (Приказ Росстандарта
от 17.10.2012 N 529-ст).
│ ГОСТ Р 52161.2.34-2009. Безопасность бытовых и аналогичных
│электрических приборов. Часть 2.34. Частные требования к мотор-
│компрессорам
│(в ред.
Изменения N 1, утв. Приказом Ростехрегулирования от 16.11.2009
│N 503-ст)
│методы испытаний
│Общие требования и методы испытаний
│
ГОСТ 3882-74 (ИСО 513-75). Сплавы твердые спеченные. Марки
│
ГОСТ 7399-97. Провода и шнуры на номинальное напряжение до 450/750 В.
│Технические условия
│
ГОСТ 14254-96 (МЭК 529-89). Степени защиты, обеспечиваемые оболочками
│(Код IP)
│
ГОСТ 16317-87. Приборы холодильные электрические бытовые. Общие
│технические условия.
Примечание. При пользовании настоящим стандартом целесообразно проверить действие ссылочных стандартов в информационной системе общего пользования - на официальном сайте Федерального агентства по техническому регулированию и метрологии в сети Интернет или по ежегодно издаваемому указателю "Национальные стандарты", который опубликован по состоянию на 1 января текущего года, и по соответствующим ежемесячно издаваемым информационным указателям, опубликованным в текущем году. Если ссылочный стандарт заменен (изменен), то при пользовании настоящим стандартом следует руководствоваться заменяющим (измененным) стандартом. Если ссылочный стандарт отменен без замены, то положение, в котором дана ссылка на него, применяется в части, не затрагивающей эту ссылку.
Этот
раздел части 1 применяют, за исключением следующего.
#Нормальная работа# (normal operation): работа прибора в следующих условиях.
3.1.9.101. #Нормальная работа холодильного прибора# (normal operation of a refrigerating appliance): работа пустого холодильного прибора с закрытыми дверцами и крышками при температуре окружающей среды в соответствии с
5.7. Настраиваемые потребителем термоуправляющие устройства, которые управляют работой мотор-компрессора #в приборах компрессионного типа#, замыкают накоротко или иным способом приводят в нерабочее состояние.
3.1.9.102. #Нормальная работа устройства для изготовления льда# (normal operation of an ice-maker): работа при температуре окружающей среды в соответствии с
5.7 при подаче воды температурой (15 +/- 2) °C.
3.1.9.103. #Нормальная работа встроенного устройства для изготовления льда# (normal operation of an incorporated ice-maker): работа при нормальной температуре отделения для хранения замороженных продуктов при подаче воды температурой (15 +/- 2) °C.
3.1.9.104. #Нормальная работа мороженицы# (normal operation of an ice-cream appliance): работа при использовании максимального количества смешиваемых ингредиентов, указанных в инструкциях; используют смесь, дающую наиболее неблагоприятные результаты, начальная температура смеси - (23 +/- 2) °C.
3.101. #Холодильный прибор# (refrigerating appliance): герметичный теплоизолированный прибор соответствующего объема для бытового использования, охлаждаемый встроенным устройством и имеющий одно или несколько отделений, предназначенных для хранения пищевых продуктов.
3.102. #Прибор компрессионного типа# (compression-type appliance): прибор, в котором охлаждение осуществляется за счет испарения жидкого хладагента при низком давлении в теплообменнике #(испарителе)#; пары хладагента при высоком давлении, достигнутом в результате их механического сжатия, превращаются в жидкость в другом охлаждаемом теплообменнике #(конденсаторе)#.
3.103. #Устройство для изготовления льда# (ice-maker): устройство, в котором лед образуется путем замораживания воды при потреблении электрической энергии и которое имеет отделение для хранения льда.
3.104. #Встроенное устройство для изготовления льда# (incorporated ice-maker): #устройство для изготовления льда#, специально сконструированное для размещения в отделении для хранения замороженных продуктов, не имеющее независимых способов для замораживания воды.
3.105. #Нагревательная система# (heating system): нагревательный элемент, укомплектованный специальными устройствами, такими как таймеры, выключатели, #терморегуляторы# и другие управляющие устройства.
3.106. #Прибор абсорбционного типа# (absorption-type appliance): прибор, в котором охлаждение осуществляется за счет испарения жидкого хладагента в теплообменнике #(испарителе)#, после чего образующиеся пары поглощаются абсорбентом, из которого они затем выделяются при более высоком парциальном давлении пара путем нагревания и переходят в жидкое состояние при охлаждении в другом теплообменнике #(конденсаторе)#.
3.107. #Конденсатор# (condenser): теплообменник, в котором после сжатия парообразный хладагент переходит в жидкое состояние, отдавая тепло во внешнюю охлаждающую среду.
3.108. #Испаритель# (evaporator): теплообменник, в котором после понижения давления жидкий хладагент переходит в парообразное состояние, поглощая тепло из охлаждаемой среды.
| | ИС МЕГАНОРМ: примечание. ГОСТ Р 12.2.142-99 утратил силу с 1 января 2014 года в связи с введением в действие ГОСТ 12.2.233-2012 (Приказ Росстандарта от 21.11.2012 N 1000-ст). | |
3.109. #Воспламеняющийся хладагент# (flammable refrigerant): хладагент, по классификации воспламеняемости относящийся ко 2-й или 3-й группе по $ГОСТ Р 12.2.142$.
Примечание. Для смеси хладагентов, которая может быть классифицирована по-разному, для характеристики воспламеняемости используется наиболее неблагоприятная классификация.
3.110. #Мороженица# (ice-cream appliance): #прибор компрессионного типа#, предназначенный для приготовления мороженого.
3.111. #Свободное пространство# (free space): пространство объемом более 60 л, в котором может поместиться ребенок и которое становится доступным после открывания любой дверцы, крышки или удаления съемного ящика и любой #съемной внутренней части#, включая полки, контейнеры или съемные ящики, доступ к которым обеспечивается только после открывания любой дверцы или крышки. При расчете объема не учитываются пространства, в которых один из размеров менее 150 мм или любые два ортогональных размера, каждый из которых менее 200 мм.
Этот
раздел части 1 применяют, за исключением следующего.
Дополнение
Примечание 101. Применение #воспламеняющихся хладагентов# связано с дополнительными опасностями, которые не присущи приборам, использующим невоспламеняющиеся хладагенты.
Настоящий стандарт рассматривает опасности, связанные с воспламенением вытекающего #воспламеняющегося хладагента# от потенциальных источников воспламенения, имеющихся в приборе.
Опасность воспламенения вытекающего #воспламеняющегося хладагента# от внешних потенциальных источников воспламенения, связанную с условиями, в которых установлен прибор, рассматривают как маловероятную.
5. Общие условия испытаний
Этот
раздел части 1 применяют, за исключением следующего.
&Для проведения испытания по
22.107 требуется, по крайней мере, один дополнительный, специально подготовленный образец прибора&.
Примечания. 101. Если для мотор-компрессора отсутствует подтверждение соответствия $ГОСТ Р МЭК 60335-2-34$, то, по крайней мере, один дополнительный, специально подготовленный образец может потребоваться для проведения испытания по
19.1.
102. По крайней мере один дополнительный образец двигателя вентилятора и его тепловая защита могут потребоваться для проведения испытания по
19.1.
103. Испытание по
22.7 может быть проведено на отдельных образцах.
104. Из-за потенциальной опасности, которая может возникнуть при проведении испытаний по
22.107,
22.108 и
22.109, необходимо принять специальные меры, обеспечивающие безопасное проведение этих испытаний.
&Перед началом испытаний необходимо, чтобы:
- #мороженицы# отработали пустыми #при номинальном напряжении# в течение 1 ч или в течение максимального периода времени, на который рассчитан встроенный таймер, в зависимости от того, какой период окажется короче;
- другие #приборы компрессионного типа# должны отработать #при номинальном напряжении# в течение не менее 24 ч, после чего их выключают и выдерживают в течение не менее 12 ч.
Испытание по
15.105 проводят сразу же после испытания по
11.102.
&Испытания проводят при использовании каждого источника энергии (электричество, газ или другое топливо) поочередно. В газовые приборы газ подают при соответствующем номинальном давлении.
Испытания проводят дополнительно со всеми комбинациями источников энергии, подающими энергию одновременно, за исключением случаев, когда имеются блокировочные устройства&.
&#Для морожениц# испытания, указанные в
разделах 10,
11 и
13, проводят при температуре окружающей среды (23 +/- 2) °C.
Для других приборов испытания, указанные в
разделах 10,
11,
13 и
19.103, проводят при следующих значениях температуры окружающей среды:
(32 +/- 1) °C - для приборов расширенного умеренного (SN) и умеренного (N) климатических классов;
(38 +/- 1) °C - для приборов субтропического климатического класса (ST);
(43 +/- 1) °C - для приборов тропического климатического класса (T).
Перед началом испытания прибор с открытыми дверцами и крышками должен иметь температуру, отличающуюся от заданного значения температуры окружающей среды не более чем на 2 °C.
Приборы, классифицированные по нескольким климатическим классам, испытывают при температуре окружающей среды, соответствующей более высокому климатическому классу.
Другие испытания проводят при температуре окружающей среды (20 +/- 5) °C&.
Примечание 101. Установившееся состояние считают достигнутым, если три последовательных значения температуры, измеренные с интервалом примерно 60 мин в определенной точке любого рабочего цикла, отличаются не более чем на 1 °C.
&Приборы, которые могут работать от батареи, испытывают при наиболее неблагоприятной полярности подключения, если зажимы источника питания или выводы для присоединения батареи не имеют обозначений полярностей&.
&Приборы, содержащие #устройство для изготовления льда#, испытывают при работающем #устройстве для изготовления льда# с целью получения наиболее неблагоприятных результатов&.
&Для проведения испытаний по
22.107,
22.108 и
22.109 прибор должен быть пустым и установлен, как указано ниже.
#Встраиваемые приборы# устанавливают в соответствии с инструкциями по установке.
Другие приборы помещают за испытательное ограждение; стенки, ограждающие прибор, располагают как можно ближе ко всем его сторонам и верху прибора, кроме случаев, когда изготовителем в инструкции по установке указано свободное расстояние, которое должно просматриваться между стенками и потолком; в этом случае это расстояние является наблюдаемым в течение испытания&.
Примечание 101. Общепринятые крепежные средства, такие как винты и болты, не требуется поставлять с закрепляемым прибором.
5.101. &Приборы, которые сконструированы так, что могут содержать #устройства для изготовления льда#, следует испытывать с соответствующим #устройством для изготовления льда#&.
5.102. &#Приборы компрессионного типа с нагревательными системами# и термоэлектрические приборы испытывают как #комбинированные приборы#&.
5.103. &#Приборы компрессионного типа#, в которых используются #воспламеняющиеся хладагенты# и которые в соответствии с инструкциями могут эксплуатироваться с другими электрическими приборами, размещаемыми внутри отделения для хранения продуктов, испытывают со встроенными рекомендуемыми приборами, работающими как при нормальной эксплуатации&.
Примечание. Примерами таких электрических приборов являются устройства для изготовления мороженого и дезодораторы.
Этот
раздел части 1 применяют, за исключением следующего.
6.101. Приборы, кроме #морожениц#, должны соответствовать одному или нескольким следующим климатическим классам:
- приборы расширенного умеренного климатического класса (SN);
- приборы умеренного климатического класса (N);
- приборы субтропического климатического класса (ST);
- приборы тропического климатического класса (T).
&Соответствие требованию проверяют осмотром&.
7. Маркировка и инструкции
Этот
раздел части 1 применяют, за исключением следующего.
На приборах должна быть нанесена маркировка:
- потребляемой мощности #нагревательных систем# в ваттах, если она превышает 100 Вт;
- потребляемой мощности оттаивания в ваттах, если ее значение превышает значение #номинальной потребляемой мощности#;
- #номинальной потребляемой мощности# в ваттах или #номинального тока# в амперах, за исключением #приборов компрессионного типа#, кроме #морожениц#, которые маркируют только значением #номинального тока# в амперах;
- климатического класса прибора, обозначаемого символами SN, N, ST или T;
- максимальной номинальной мощности ламп в ваттах;
- общей массы хладагента.
Примечание 101. #Для приборов абсорбционного типа#, в которых используется аммиак, под общей массой хладагента подразумевается масса используемого аммиака.
- для хладагента, состоящего из одного компонента по крайней мере одного из следующих обозначений:
химического наименования,
химической формулы,
номера хладагента;
- для хладагента, представленного смесью компонентов, по крайней мере одного из следующих обозначений:
химического наименования и номинальной доли каждого компонента,
химической формулы и номинальной доли каждого компонента,
номера хладагента и номинальной доли каждого компонента,
номеров хладагентов, присутствующих в смеси;
- химического наименования или номера хладагента основного компонента вспененной теплоизоляции.
| | ИС МЕГАНОРМ: примечание. ГОСТ Р 12.2.142-99 утратил силу с 1 января 2014 года в связи с введением в действие ГОСТ 12.2.233-2012 (Приказ Росстандарта от 21.11.2012 N 1000-ст). | |
Примечание 102. Номера хладагентов по $ГОСТ Р 12.2.142$.
#Для приборов компрессионного типа# потребляемая мощность оттаивания в ваттах должна быть маркирована отдельно, если ток, соответствующий потребляемой мощности оттаивания, превышает #номинальный ток# прибора.
Приборы, которые могут работать как от сети, так и от батареи, должны иметь маркировку напряжения батареи.
Приборы, которые могут работать от батареи, должны иметь маркировку типа батареи, позволяющую при необходимости отличить перезаряжаемые батареи от неперезаряжаемых, если это имеет значение для работы прибора.
Средства для подсоединения любого дополнительного источника электропитания должны иметь маркировку напряжения и вида источника питания.
Приборы, предназначенные для встраивания #устройства для изготовления льда#, должны иметь маркировку максимальной потребляемой мощности #встраиваемого устройства для изготовления льда#, если она превышает 100 Вт.
#Устройства для изготовления льда# без автоматического регулирования уровня воды должны иметь маркировку максимально допустимого уровня воды.
Приборы должны иметь подробную маркировку характеристик источника питания, отличных от электрических, если такие имеются.
Приборы #с холодильными системами компрессионного типа# должны также иметь маркировку массы хладагента для каждого отдельного охлаждающего контура.
#Приборы компрессионного типа#, использующие #воспламеняющиеся хладагенты#, должны иметь символ "Внимание: опасность возгорания".
(в ред.
Изменения N 1, утв. Приказом Ростехрегулирования от 16.11.2009 N 503-ст)
Символ - "Внимание: опасность возгорания".
Примечание. Правила, установленные для предупредительных знаков в $
ГОСТ Р 12.4.026$, применены к цвету и форме символа.
(п. 7.6 в ред.
Изменения N 1, утв. Приказом Ростехрегулирования от 16.11.2009 N 503-ст)
Примечание 101. В качестве альтернативы на шкале управления могут быть приведены значения температуры в градусах Цельсия.
В инструкциях для #холодильных приборов и устройств для изготовления льда# для кемпингов или аналогичного использования указывают следующие данные:
- приборы предназначены для использования в кемпинге;
- приборы могут быть подключены к более чем одному источнику энергии.
Примечание 101. Эту позицию не применяют к приборам, которые предназначены для работы только от электрической сети.
- приборы не должны подвергаться воздействию дождя.
Примечание 102. Эту позицию не применяют для приборов со степенью защиты от вредного воздействия воды по крайней мере IPX4 по $
ГОСТ 14254$.
В инструкциях #для устройств для изготовления льда#, не предназначенных для подключения к источнику водоснабжения, указывают следующее предупреждение:
"ВНИМАНИЕ! Заполнять только питьевой водой".
#Для приборов компрессионного типа#, использующих #воспламеняющиеся хладагенты#, инструкции должны содержать информацию по установке, управлению, обслуживанию и утилизации прибора.
Инструкции по эксплуатации приборов #компрессорного типа#, в которых используются #огнеопасные хладагенты#, должны дополнительно содержать приведенные ниже предупреждения:
(в ред.
Изменения N 1, утв. Приказом Ростехрегулирования от 16.11.2009 N 503-ст)
- "ВНИМАНИЕ! Не загораживайте вентиляционные отверстия, расположенные в корпусе прибора или во встраиваемой конструкции";
- "ВНИМАНИЕ! Не используйте механические устройства или другие средства для ускорения процесса оттаивания, кроме рекомендуемых изготовителем";
- "ВНИМАНИЕ! Не допускайте повреждения контура хладагента".
Примечание 103. Это предупреждение применимо только к приборам, имеющим контуры хладагентов в пределах досягаемости для потребителя.
- "ВНИМАНИЕ! Не используйте электрические приборы внутри отделений приборов для хранения продуктов, если только они не являются типом, рекомендуемым изготовителем".
Для приборов, в которых используется воспламеняющаяся вспененная теплоизоляция, инструкции должны содержать информацию по утилизации прибора.
Инструкции #для морожениц# должны включать в себя перечень ингредиентов и максимальное количество смесей, которые могут быть использованы в приборе.
В инструкциях должен быть описан способ замены ламп освещения.
В инструкциях на приборы, допускающих встраивание #устройств для производства льда#, должен быть приведен перечень типов устройств, которые могут быть встроены.
Инструкции должны содержать информацию по установке #встраиваемых устройств для производства льда#, которые приобретаются отдельно и самостоятельно устанавливаются потребителем. Если предполагается, что #встраиваемые устройства для производства льда# устанавливаются только изготовителем или специалистом сервисной службы, то это должно быть указано.
В инструкциях по эксплуатации #устройств для производства льда#, предназначенных для подключения к источнику водоснабжения, должно содержаться следующее предупреждение:
"ВНИМАНИЕ: Подключать только к источнику питьевой воды.
(в ред.
Изменения N 1, утв. Приказом Ростехрегулирования от 16.11.2009 N 503-ст)
Инструкции #для закрепляемых приборов# должны содержать следующее предупреждение:
"ВНИМАНИЕ! Во избежание опасности, связанной с неустойчивостью прибора, его следует закреплять в соответствии с инструкциями".
Этот пункт применяют также #к закрепляемым приборам#.
Высота треугольника символа "Внимание: опасность возгорания" должна быть не менее 15 мм.
(п. 7.14 введен
Изменением N 1, утв. Приказом Ростехрегулирования от 16.11.2009 N 503-ст)
Маркировка максимальной номинальной мощности ламп освещения должна быть хорошо видна при замене лампы.
#Для приборов компрессионного типа# маркировка типа #воспламеняющегося хладагента# и воспламеняющейся вспененной теплоизоляции, а также символ "Внимание: опасность возгорания", должны быть видны при доступе к мотор-компрессору.
(в ред.
Изменения N 1, утв. Приказом Ростехрегулирования от 16.11.2009 N 503-ст)
Для других приборов маркировку типа воспламеняющейся вспененной теплоизоляции следует наносить на корпус прибора снаружи.
7.101. Для приборов, которые могут работать от батареи, зажимы источника питания или выводы для подключения батареи должны быть четко обозначены символом "+" или красным цветом, соответствующим положительной полярности, и символом "-" или черным цветом, соответствующим отрицательной полярности, если полярность имеет значение.
&Соответствие требованию проверяют осмотром&.
8. Защита от доступа к токоведущим частям
Этот
раздел части 1 применяют, за исключением следующего.
Лампы не удаляют при условии, что прибор может быть отключен от источника питания при помощи вилки шнура питания или выключателя всех полюсов. Однако в процессе установки или удаления ламп должна быть обеспечена защита от контакта с #токоведущими частями# цоколя лампы&.
9. Пуск электромеханических приборов
Этот
раздел части 1 не применяют.
10. Потребляемая мощность и ток
Этот
раздел части 1 применяют, за исключением следующего.
- прибор работает в условиях #нормальной работы#, за исключением настраиваемых потребителем терморегулирующих устройств, которые устанавливают в положение, обеспечивающее наименьшее значение температуры&.
Дополнение
&Считается, что потребляемая мощность стабилизировалась при достижении установившегося состояния или при срабатывании любого встроенного таймера в зависимости от того, что произойдет раньше.
За характерный период принимают период между замыканием и размыканием терморегулирующего устройства или период между максимальными и минимальными измеренными значениями потребляемой мощности, исключая значение потребляемой мощности при пуске прибора, но учитывая потребляемую мощность #встроенного устройства для изготовления льда#, если оно имеется&.
Примечание 101. Потребляемую мощность системы оттаивания, которую маркируют на приборе отдельно, при проведении испытаний во внимание не принимают.
- прибор работает в условиях #нормальной работы#, за исключением настраиваемых потребителем термоуправляющих устройств, которые устанавливают в положение, обеспечивающее наименьшее значение температуры&.
Дополнение
&Прибор работает в течение 1 ч или период времени при максимальной уставке встроенного таймера в зависимости от того, что окажется короче. Определяют максимальное значение тока, которое усредняют каждые 5 мин, за исключением пускового тока. Интервалы между измерениями тока не должны превышать 30 с&.
Примечание 101. Значение пускового тока не учитывают, если первое измерение проведено примерно через 1 мин после пуска.
10.101. Потребляемая мощность системы оттаивания не должна отличаться от маркированной на приборе более чем на значение, приведенное в
таблице 1.
&Соответствие требованию проверяют во время работы прибора #при номинальном напряжении# и измерением потребляемой мощности системы оттаивания после ее стабилизации&.
10.102. Потребляемая мощность любой #нагревательной системы# не должна отличаться от маркированной на приборе более чем на значение, приведенное в
таблице 1.
&Соответствие требованию проверяют во время работы прибора при #номинальном напряжении# и измерением потребляемой мощности #нагревательной системы# после ее стабилизации&.
| | Применение на добровольной основе раздела 11 обеспечивает соблюдение требований Федерального закона от 22.07.2008 N 123-ФЗ "Технический регламент о требованиях пожарной безопасности" (Приказ Ростехрегулирования от 30.04.2009 N 1573). | |
Этот
раздел части 1 применяют, за исключением следующего.
&Соответствие требованию проверяют определением превышения температуры различных частей при условиях, указанных в
11.2 -
11.7.
Если температура обмоток мотор-компрессоров превышает значения, указанные в таблице 101, соответствие требованию проверяют проведением испытания по
11.101&.
Таблица 101
Максимальные значения температур для мотор-компрессоров
┌───────────────────────────────────────────────────────┬─────────────────┐
│ Часть мотор-компрессора │ Температура, °C │
├───────────────────────────────────────────────────────┼─────────────────┤
│ Обмотки: │ │
│ - с синтетической изоляцией │ 140 │
│ - с изоляцией из целлюлозы или аналогичного материала│ 130 │
│ Внешний кожух │ 150 │
└───────────────────────────────────────────────────────┴─────────────────┘
&Температуру обмоток мотор-компрессоров, соответствующих требованиям $ГОСТ Р МЭК 60335-2-34$, включая приложение AA указанного стандарта, не измеряют&.
&#Встраиваемые приборы# устанавливают в соответствии с инструкциями по установке.
#Мороженицы# располагают как можно ближе к стенам испытательного угла, если только изготовителем в инструкциях по эксплуатации не указано, что вокруг стен прибора должно оставаться свободное пространство. В этом случае указанное расстояние следует выдерживать в течение испытания. Если средства вентиляции входят в комплект поставки, то их закрепляют, как предписано.
Другие приборы помещают в испытательном ограждении. Стены ограждения располагают как можно ближе к боковым стенкам и верхней части прибора, если только изготовителем в инструкциях по установке не указано, что вокруг стен приборов должно оставаться свободное пространство. В этом случае указанное расстояние следует выдерживать в течение испытания.
Для изготовления испытательного угла, опор и приспособлений #для встраиваемых приборов#, а также для изготовления испытательного ограждения для других приборов используют фанеру толщиной приблизительно 20 мм, окрашенную матовой черной краской&.
&Прибор работает до достижения установившегося состояния&.
Во время испытания #защитные устройства#, кроме устройств тепловой защиты с самовозвратом мотор-компрессоров, не должны срабатывать. Когда установившееся состояние будет достигнуто, устройства тепловой защиты с самовозвратом мотор-компрессоров не должны срабатывать.
Если имеется герметизирующая масса, то в процессе испытания она не должна вытекать.
В процессе испытания превышение температуры контролируют непрерывно.
Для приборов расширенного умеренного (SN) или умеренного (N) климатических классов превышение температуры не должно превышать значений, указанных в $ГОСТ Р 52161.1
(таблица 3)$.
Для приборов субтропического (ST) и тропического (T) климатических классов превышение температуры не должно превышать значений, указанных в $ГОСТ Р 52161.1
(таблица 3)$, уменьшенных на 7 °C&.
Дополнение
| | ИС МЕГАНОРМ: примечание. ГОСТ Р 52161.2.34-2009 утратил силу с 1 января 2014 года в связи с введением в действие ГОСТ IEC 60335-2-34-2012 (Приказ Росстандарта от 17.10.2012 N 529-ст). | |
&Для компрессоров со встроенным электродвигателем, не соответствующих $ГОСТ Р 52161.2.34$, включая те, которые соответствуют приложению AA указанного стандарта, температура не должна превышать значений, указанных в таблице 101:
- кожухов мотор-компрессоров и
- обмоток мотор-компрессоров.
Для компрессоров со встроенным электродвигателем, соответствующих $ГОСТ Р 52161.2.34$, включая те, которые соответствуют приложению AA указанного стандарта, не измеряют температуру следующих частей:
- корпуса компрессора,
- обмотки компрессора и
- других частей, таких как система защиты и система управления, и всех прочих компонентов, испытываемых совместно с мотор-компрессором в ходе испытаний, указанных в $ГОСТ Р 52161.2.34$ и соответствующих приложению AA.
Значения, указанные в $ГОСТ Р 52161.1
(таблица 3)$, относящиеся к превышению температуры внешнего кожуха #электромеханических приборов#, применимы ко всем приборам, входящим в область применения настоящего стандарта. Однако их не применяют к следующим частям внешнего кожуха:
- #к доступным частям#, которые становятся недоступными после установки прибора, выполненной в соответствии с инструкциями по установке, - #для встраиваемых приборов#;
- к тем частям, которые в соответствии с инструкциями по установке предназначены для размещения у стен с соблюдением свободного пространства, не превышающего 75 мм, - для других приборов&.
Таблица 101
Максимальные значения температур для мотор-компрессоров
┌────────────────────────────────────────────┬──────────────────────┐
│ Часть мотор-компрессора │ Температура, °С │
├────────────────────────────────────────────┼──────────────────────┤
│ Обмотки: │ │
│ - с синтетической изоляцией │ 140 │
│ - с изоляцией из целлюлозы или аналогичного│ 130 │
│материала │ │
│ Корпус │ 150 │
└────────────────────────────────────────────┴──────────────────────┘
&Температура обмоток балласта ламп освещения и подсоединенных к ним проводов не должна превышать значений, установленных в $ГОСТ Р МЭК 60598-1
(пункт 12.4)$, которую измеряют при установившихся условиях&.
(в ред.
Изменения N 1, утв. Приказом Ростехрегулирования от 16.11.2009 N 503-ст)
11.101. &Если температура обмоток мотор-компрессоров, кроме тех, которые соответствуют требованиям $ГОСТ Р МЭК 60335-2-34$, включая приложение AA указанного стандарта, окажется выше предельных значений, установленных в
таблице 101, то испытание повторяют: #терморегулятор# или аналогичное управляющее устройство устанавливают на минимальную температуру, а цепь короткого замыкания настраиваемого потребителем терморегулирующего устройства удаляют.
Температуру обмоток измеряют в конце рабочего цикла.
Температура не должна быть выше предельных значений, указанных в
таблице 101&.
11.102. Любая система оттаивания не должна вызывать чрезмерного превышения температуры.
&Соответствие требованию проверяют следующим испытанием.
Прибор работает при наиболее неблагоприятном напряжении от 0,94 до 1,06 #номинального напряжения# в следующих случаях:
- если в приборе процесс оттаивания контролируют вручную до тех пор, пока #испаритель# не покроется слоем инея;
- если в приборе процесс оттаивания контролируется автоматически или полуавтоматически до тех пор, пока #испаритель# не покроется слоем инея; однако этот слой не должен быть толще того, который образуется при нормальной эксплуатации в течение интервалов времени между последующими операциями оттаивания при автоматическом режиме или который намерзает между интервалами по оттаиванию, рекомендуемыми изготовителем (если указаны) при полуавтоматическом режиме&.
Примечание 1. Один из методов наращивания инея #для холодильных приборов# приведен в
Приложении BB.
&При работающей системе оттаивания напряжение сети питания должно быть&:
- для &#приборов абсорбционного типа# и #приборов компрессионного типа#, в которых система оттаивания может быть включена при отключении питания от остальной части прибора, - как указано в
11.4&;
- для &других #приборов компрессионного типа# - как указано в
11.6&.
Примечание 2. Систему оттаивания считают способной включаться отдельно, если это может быть выполнено без использования #инструмента#.
&Если время оттаивания контролируют регулируемым устройством, то его устанавливают на время, рекомендуемое производителем. Если используется управляющее устройство, которое прекращает процедуру оттаивания при заданной температуре или давлении, то период оттаивания автоматически заканчивается при включении такого управляющего устройства.
При ручном управлении процессом оттаивания испытание прекращают при достижении установившегося состояния или продолжают до тех пор, пока период оттаивания не будет автоматически прерван при воздействии управляющего устройства.
Температуру горючих материалов и электрических компонентов, которые могут быть повреждены в процессе оттаивания, измеряют при помощи термопар.
Температура и превышения температуры должны быть не более значений, указанных в
11.8&.
Примечание 3. В период восстановления после оттаивания может срабатывать устройство защиты от тепловой перегрузки мотор-компрессора.
11.103. #Нагревательные системы#, кроме систем оттаивания, встроенные в прибор, не должны вызывать чрезмерного превышения температур.
&Соответствие проверяют следующим испытанием.
#Нагревательные системы#, кроме систем оттаивания, включают следующим образом:
- для #приборов абсорбционного типа# и #приборов компрессионного типа#, в которых #нагревательная система# может быть включена при отключении питания от остальной части прибора, напряжение питания, - как указано в
11.4;
- для других #приборов компрессионного типа# напряжение питания - как указано в
11.6&.
Примечание. Систему оттаивания считают способной включаться отдельно, если это может быть выполнено без использования #инструмента#.
&Испытание продолжают до достижения установившегося состояния.
Превышения температуры измеряют при помощи термопар, закрепленных на внешней поверхности изоляции #нагревательных систем#.
Превышения температуры не должны превышать значений, приведенных в
11.8&.
13. Ток утечки и электрическая прочность
при рабочей температуре
Этот
раздел части 1 применяют, за исключением следующего.
Испытания по 13.2 не применяют к цепям батареи.
&Вместо значений токов утечки, указанных #для приборов класса 01# и различных типов #приборов класса I#, применяют следующие значения:
0,75 мА - #для приборов класса 01#;
указанные значения для различных типов стационарных #приборов класса I - для холодильных приборов класса I#;
1,5 мА - #для# других #приборов класса I#&.
&Испытательное напряжение, указанное в
таблице 4 #для усиленной изоляции#, прикладывают между отдельными цепями для работы от батареи и от сети питания&.
14. Динамические перегрузки по напряжению
Этот
раздел части 1 применяют.
Этот
раздел части 1 применяют, за исключением следующего.
&Крышки ламп не снимают&.
15.101. Приборы, в которых возможна утечка жидкости из контейнеров на внутренние стенки корпуса или отделения или на верхнюю часть корпуса, должны быть спроектированы так, чтобы утечка жидкости не повреждала их электрическую изоляцию.
&Соответствие требованию проверяют испытаниями по 15.102,
15.103 и
15.104&.
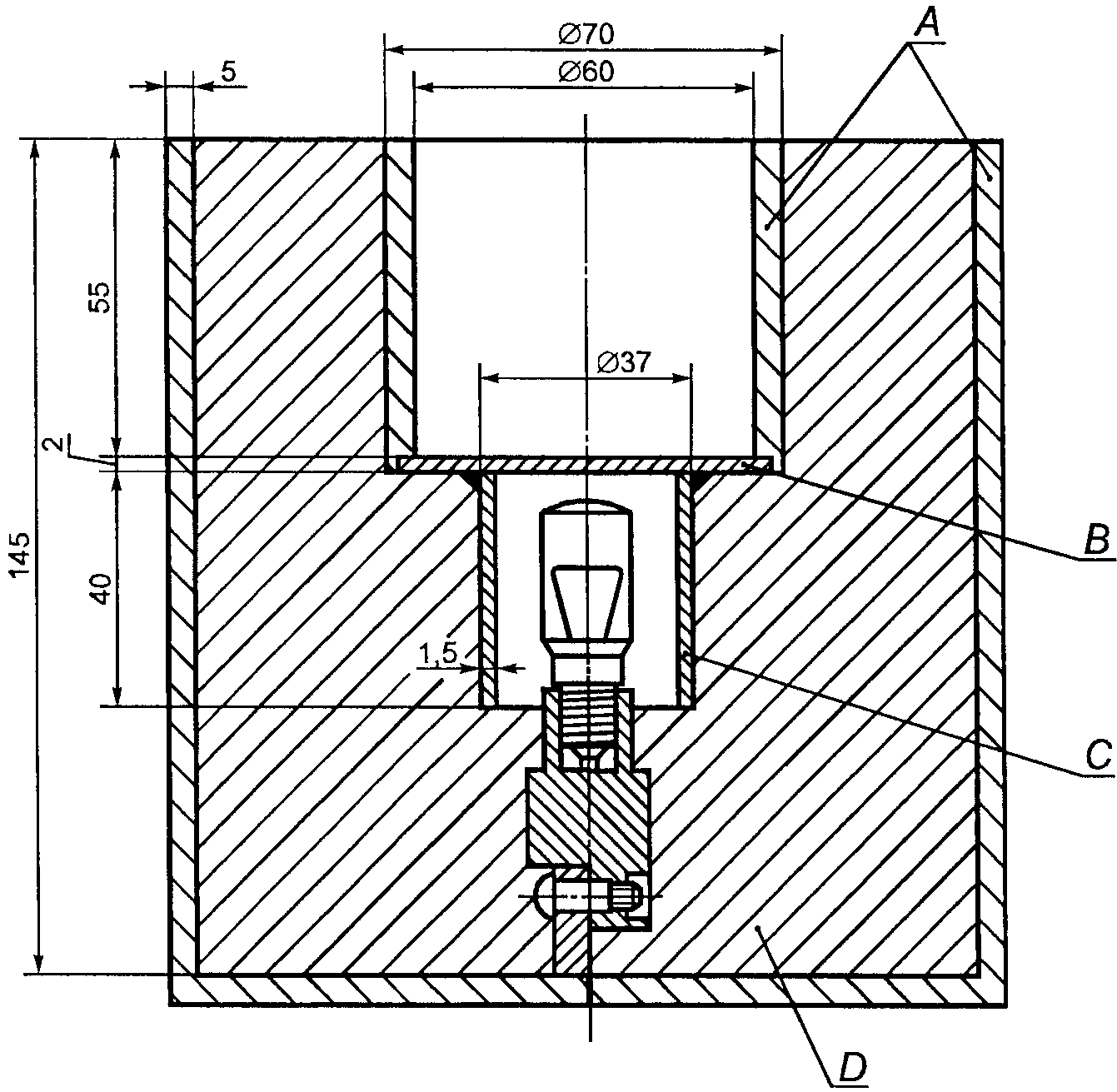
15.102. &Приспособление, приведенное на
рисунке 101, заполняют до края водой, содержащей приблизительно 1% NaCl и 0,6% кислого ополаскивающего средства, указанного в $ГОСТ Р 52161.2.5
(приложение AA)$, а передвижной блок, вытесняющий жидкость, закрепляют непосредственно над поверхностью воды при помощи любого подходящего отпускающего механизма и удерживающей пластины.
A - передвижной блок; B - освобождающий штифт;
C - съемная удерживающая пластина
Вместимость передвижного блока составляет (140 +/- 5) мл, масса - (200 +/- 10) г. Размеры блока приблизительно 112 x 50 x 25 мм.
Размеры сосуда приспособления измеряют по внутренним стенкам с допускаемым отклонением +/- 2 мм.
Рисунок 101. Приспособление для испытания обливанием
Все полки и контейнеры, которые могут быть удалены без применения #инструмента#, удаляют, а прибор отключают от питания. Крышки ламп не снимают.
Приспособление закрепляют так, чтобы его основание располагалось горизонтально в таком месте и на такой высоте, чтобы после освобождения отпускающего механизма вода стекала самым неблагоприятным образом по задней стенке и внутренним боковым стенкам корпуса или отделения, попадая на любые электрические компоненты, закрепленные на них. Испытание проводят однократно для каждого положения приспособления, но допускается проводить его многократно для различных положений при условии, что на частях, увлажненных при предыдущем испытании, не будет оставаться влага.
Непосредственно после проведения испытания обливанием прибор должен выдержать испытание на электрическую прочность по
16.3, а осмотр должен показать, что на изоляции нет следов воды, которая может привести к уменьшению #воздушных зазоров# и #путей утечки# ниже значений, указанных в
разделе 29.
Кроме того, если осмотр показал, что вода попала на нагревательный элемент системы оттаивания или на его изоляцию, то прибор затем должен выдержать испытание по
22.102&.
15.103. &Приборы, кроме #встроенных приборов, устройств для изготовления льда# и #морожениц#, наклоняют на угол не более 2° по отношению к положению нормальной эксплуатации в направлении, которое является наиболее неблагоприятным для данного испытания. 0,5 л воды, содержащей приблизительно 1% NaCl и 0,6% кислого ополаскивающего средства, указанного в $ГОСТ Р 52161.2.5
(приложение AA)$, равномерно выливают на верхнюю часть прибора в самом неблагоприятном месте с высоты около 50 мм приблизительно за 60 с, при этом прибор должен быть отключен от сети, а управляющие устройства установлены во включенное положение.
Непосредственно после проведения этого испытания прибор должен выдержать испытание на электрическую прочность по
16.3, а осмотр должен показать, что на изоляции нет следов воды, которая может привести к уменьшению #воздушных зазоров# и #путей утечки# ниже значений, указанных в
разделе 29.&
15.104. &#Устройства для изготовления льда#, которые подключены непосредственно к источнику водоснабжения, контейнеры или те части прибора, которые заменяют контейнеры, наполняют водой, как при нормальной эксплуатации. Впускной клапан остается открытым, и наполнение продолжается в течение 1 мин после появления первого признака переполнения.
В тех случаях, когда перелив воды не происходит из-за наличия устройства, предотвращающего его, то впускной клапан остается открытым в течение 5 мин после начала работы устройства.
Непосредственно после проведения этого испытания прибор должен выдержать испытание на электрическую прочность по
16.3, а осмотр должен показать, что на изоляции нет следов воды, которая может привести к уменьшению #воздушных зазоров# и #путей утечки# ниже значений, указанных в
разделе 29&.
15.105. Функционирование системы оттаивания не должно влиять на электрическую изоляцию нагревательных элементов системы оттаивания.
&Соответствие требованию проверяют следующим испытанием.
Непосредственно после проведения испытания по
11.102 прибор должен выдержать испытание на электрическую прочность по
16.3, а осмотр должен показать, что на изоляции нет следов воды, которая может привести к уменьшению #воздушных зазоров# и #путей утечки# ниже значений, указанных в
разделе 29.
Кроме того, если осмотр показал, что вода попала на нагревательный элемент системы оттаивания или на его изоляцию, прибор затем должен выдержать испытания по
22.102&.
16. Ток утечки и электрическая прочность
Этот
раздел части 1 применяют, за исключением следующего.
Испытание по 16.2 не проводят с цепями батарей.
&Вместо значений токов утечки, указанных #для приборов класса 01# и различных типов #приборов класса I#, применяют следующие значения:
0,75 мА - #для приборов класса 01#;
указанные значения для различных типов стационарных #приборов класса I - для холодильных приборов класса I#;
1,5 мА - #для# других #приборов класса I#&.
&Испытательное напряжение, указанное в
таблице 7 #для усиленной изоляции#, прикладывают между отдельными цепями для работы от батареи и от сети питания&.
17. Защита от перегрузки трансформаторов
и соединенных с ними цепей
Этот
раздел части 1 применяют.
Этот
раздел части 1 не применяют.
| | Применение на добровольной основе раздела 19 обеспечивает соблюдение требований Федерального закона от 22.07.2008 N 123-ФЗ "Технический регламент о требованиях пожарной безопасности" (Приказ Ростехрегулирования от 30.04.2009 N 1573). | |
Этот
раздел части 1 применяют, за исключением следующего.
&К #нагревательным системам# требования
19.2 и
19.3 не применяют.
Для двигателей вентиляторов и их тепловых защитных устройств, если таковые имеются, проводят дополнительное испытание, указанное в
Приложении AA&.
Примечание 101. Для любой комбинации данного типа двигателя вентилятора и теплового защитного устройства это испытание выполняют только один раз.
&Мотор-компрессор, который не испытывали на соответствие требованиям $ГОСТ Р МЭК 60335-2-34$, подвергают испытаниям по $ГОСТ Р МЭК 60335-2-34 (пункты 19.101 и 19.102)$, а также он должен быть испытан по $ГОСТ Р МЭК 60335-2-34 (пункт 19.104)$&.
Примечание 102. Для любого данного типа мотор-компрессора это испытание выполняют только один раз.
&Двигатели вентиляторов #морожениц# испытывают в течение 5 мин&.
&Данное испытание не применяют к трехфазным мотор-компрессорам, соответствующим требованиям $ГОСТ Р МЭК 60335-2-34$&.
&Температуру кожуха мотор-компрессоров, кроме соответствующих требованиям $ГОСТ Р МЭК 60335-2-34$, определяют в конце испытательного периода, и она не должна превышать 150 °C&.
19.101. #Нагревательные системы# должны иметь такие размеры и быть расположены так, чтобы исключить опасность возгорания даже в случае ненормальной работы.
&Соответствие требованию проверяют осмотром и следующим испытанием.
Дверцы и крышки прибора закрывают, а систему охлаждения выключают.
Любую #нагревательную систему#, которую включает и выключает потребитель, устанавливают во включенное положение.
#Нагревательные системы# должны быть постоянно подключены к источнику питания с напряжением, в 1,1 раза превышающим их #рабочее напряжение#, до достижения установившегося состояния. Если имеется более одной #нагревательной системы#, то они работают по очереди, если только неисправность одного компонента не приведет к срабатыванию двух или более систем. В этом случае их испытывают совместно&.
Примечание. Может возникнуть необходимость в коротком замыкании одного или более компонентов, которые работают в условиях #нормальной работы#, для обеспечения постоянного подключения #нагревательных систем# к источнику питания. #Термовыключатели с самовозвратом# замыкают накоротко, если только они не соответствуют требованиям
24.1.2. Число циклов включения должно быть 100000.
&Систему охлаждения не выключают, если это препятствует работе #нагревательной системы#.
Во время и после испытания прибор должен соответствовать требованиям
19.13&.
19.102. #Устройства для изготовления льда# и #мороженицы# должны быть сконструированы так, чтобы не возникало опасности возгорания, механической опасности или опасности поражения электрическим током даже в случае ненормальной работы.
&Соответствие требованию проверяют имитацией любой неисправности, возможной при нормальной эксплуатации, когда #устройство для изготовления льда, встроенное устройство для изготовления льда# или #мороженица# работают в условиях #нормальной работы# при #номинальном напряжении#. Одновременно имитируют только одну неисправность, а испытания проводят последовательно.
Во время испытаний температура обмоток #устройства для изготовления льда, встроенного устройства для изготовления льда, мороженицы# или прибора, в котором размещается #устройство для изготовления льда#, не должна превышать значений, указанных в
таблице 8.
Во время и после испытаний прибор должен соответствовать требованиям
19.13&.
Примечания. 1. Примерами неисправностей являются следующие:
- остановка таймера в любом положении;
- отключение и повторное включение одной или более фаз источника питания в процессе выполнения любой части программы;
- размыкание или короткое замыкание компонентов;
- неисправность электромагнитного клапана;
- эксплуатация с пустым контейнером.
2. В основном испытания ограничивают случаями, которые могут привести к более неблагоприятным результатам.
3. Испытания проводят с открытым или закрытым краном в зависимости от того, какое состояние приводит к наиболее неблагоприятным результатам.
4. Для проведения данных испытаний терморегулирующие устройства не замыкают накоротко.
5. Компоненты, соответствующие конкретному стандарту, не отключают и не замыкают накоротко при условии, что требования этих стандартов соответствуют условиям применения компонентов в приборе.
6. Выключатели уровня воды, соответствующие требованиям
$ГОСТ Р МЭК 61058-1$, не замыкают накоротко при проведении данных испытаний.
7. Испытание, при проведении которого устройство автоматического наполнения держат открытым, уже проведено во время испытания по
15.104.
19.103. Приборы, предназначенные для кемпингов и аналогичного использования, должны быть сконструированы так, чтобы в случае эксплуатации прибора в наклонном положении исключались, насколько это возможно, опасность возгорания, механическая опасность, поражение электрическим током.
&Соответствие требованию проверяют следующим испытанием.
Прибор устанавливают на опору с наклоном 5° в наиболее неблагоприятном положении, и он работает в условиях #нормальной работы# при #номинальном напряжении# до достижения установившегося состояния.
Во время испытания #термовыключатели без самовозврата#, которые могут быть доступны только при помощи #инструмента# или которые требуют замены деталей, не должны срабатывать, и воспламеняющийся газ не должен скапливаться в приборе.
Во время и после испытания прибор должен соответствовать требованиям
19.13&.
19.104. Осветительное оборудование не должно создавать опасности│
возгорания в условиях ненормальной работы. │
&Соответствие требованию проверяют следующим испытанием, при котором│
прибор пуст, система охлаждения выключена, а дверцы или крышки полностью│
открыты или закрыты, в зависимости от того, что более неблагоприятно. │
Укомплектованное осветительное оборудование, включающее в себя│
защитное покрытие, с подходящей лампой, рекомендованной изготовителем,│
работает в течение 12 ч при 1,06 #номинального напряжения#. │
Если потребляемая мощность лампы не достигает максимальной номинальной│
мощности #при номинальном напряжении#, то напряжение изменяют до тех пор,│
пока не будет достигнута максимальная номинальная мощность, после чего│
напряжение увеличивают до 1,06 этого напряжения. │
ИС МЕГАНОРМ: примечание.
В официальном тексте документа, видимо, допущена опечатка: пункт 12.2.1
отсутствует. Возможно, имеются в виду перечисления a), b) и e)
пункта 12.3.1.
Осветительное оборудование, имеющее газоразрядные лампы, работает при│
условиях неисправностей, приведенных в $ГОСТ Р МЭК 60598-1 (перечисления│
a),
b) и
e) 12.2.1)$, при этом прибор питают #номинальным напряжением# до│
стабилизации температуры измеряемых частей. │
(в ред.
Изменения N 1, утв. Приказом Ростехрегулирования от 16.11.2009│
N 503-ст) │
Во время проведения испытаний и по их окончании прибор должен│
соответствовать требованиям 19.13. │
(в ред.
Изменения N 1, утв. Приказом Ростехрегулирования от 16.11.2009│
N 503-ст) │
Температура обмоток, балласта ламп освещенияи подсоединенных│
к ним проводов не должна превышать значений, приведенных в $ГОСТ Р МЭК│
60598-1
(пункт 12.5)$, измеренных при установившихся условиях&. │
(в ред.
Изменения N 1, утв. Приказом Ростехрегулирования от 16.11.2009
N 503-ст)
19.105. Приборы, предназначенные для работы от батареи и имеющие маркировку полярностей, которая нанесена на выводы или соединения или рядом с ними, должны быть сконструированы так, чтобы исключался риск опасности возгорания, механической опасности или опасности поражения электрическим током в случае подключения с нарушением полярности.
&Соответствие требованию проверяют работой прибора при условиях, указанных в
разделе 11, но при полностью заряженной батарее емкостью 70 А x ч, подключенной с нарушением полярностей.
Во время и после испытания прибор должен соответствовать требованиям
19.13&.
20. Устойчивость и механические опасности
Этот
раздел части 1 применяют.
"#Мороженица# должна иметь достаточную устойчивость".
20.101. #Холодильные приборы# и #устройства для изготовления льда# должны иметь достаточную устойчивость. Если устойчивость прибора обеспечивается с помощью открытой дверцы, то конструкцией дверцы должна быть предусмотрена опора.
Данное требование не применяют #к встраиваемым приборам#.
&Соответствие требованию проверяют осмотром и испытаниями по
20.102,
20.103 и
20.104, которые выполняют после того, как пустой прибор отключают от источника питания, устанавливают на горизонтальную опору и выравнивают в соответствии с инструкциями по установке при помощи поворотных колес или роликов, если они имеются, ориентируя или устанавливая их в наиболее неблагоприятное положение. #Закрепляемые приборы# высотой более 1,3 м устанавливают в соответствии с инструкциями по установке&.
Примечание 1. #Закрепляемые приборы# высотой не более 1,3 м испытывают как свободно стоящие приборы.
&Во время испытаний прибор не должен опрокидываться, а после испытаний должен соответствовать требованиям
разделов 8,
16 и
29&.
Примечание 2. Любое смещение прибора по отношению к его горизонтальному положению более чем на 2° рассматривают как опрокидывание.
20.102. &Приборы, имеющие дверцы, подвергают следующему испытанию.
Если не указано иное, то все дверные полки, кроме предназначенных специально для хранения яиц, следует нагружать при помощи цилиндрических грузов диаметром 80 мм и массой 0,5 кг&.
Примечание 1. Если ячейки для хранения яиц могут быть удалены, то соответствующая полка не считается предназначенной специально для хранения яиц.
&Как можно больше грузов помещают горизонтально на полки дверцы,│
начиная как можно дальше от петли дверцы. Грузы соприкасаются друг с│
другом вдоль полки, даже если они выходят за края полки, за исключением│
пространства менее 80 мм в конце полки. │
Три груза из них размещают в каждой позиции на полках, где свободная│
высота над полкой составляет не менее 340 мм, два груза располагают в│
каждой позиции на полках, где свободная высота над полкой от 170 до│
340 мм, и один груз - в каждой позиции на полках, где свободная высота над│
полкой менее 170 мм. Полки, которые могут быть установлены в разные│
позиции пользователем, располагают в позиции, которая будет давать│
наиболее неблагоприятные результаты&. │
Примечание 2. Если полка слишком узкая для расположения на ней грузов плоской поверхностью, то грузы могут свешиваться с нее или могут быть перевернуты вверх ребром.
&Контейнеры для жидкости, расположенные на дверце, наполняют водой до указанного уровня, а при отсутствии метки заполняют полностью.
Для приборов, имеющих только одну дверцу, ее открывают на угол приблизительно 90° и груз массой 2,3 кг помещают на верхнюю часть двери на расстоянии 40 мм от самого удаленного от петель торца.
Для приборов, имеющих более одной дверцы, любые две дверцы в наиболее неблагоприятной комбинации открывают на угол приблизительно 90°. Полки закрытых дверец не нагружают. На верхнюю часть одной из открытых дверец помещают груз массой 2,3 кг на расстоянии 40 мм от самого удаленного от петель торца; дверцу выбирают с учетом создания наиболее неблагоприятных условий испытаний.
Испытание повторяют при открывании дверцы или дверец на угол приблизительно 180° или до ограничителя открывания дверцы в зависимости от того, какой из вариантов дает меньший угол открывания.
Если приборы оснащены двусторонними дверцами, то испытание при открывании дверец на угол 180° или до ограничителя открывания дверцы повторяют после перевешивания дверец на другую сторону, выполняемого в соответствии с инструкциями, если это обеспечивает более неблагоприятные результаты&.
20.103. &Приборы, оснащенные выдвижными ящиками, располагающимися внутри отделений для хранения продуктов, подвергают следующему испытанию.
Каждый ящик нагружают при равномерном распределении нагрузки в объеме хранения ящика из расчета 0,5 кг/л&.
Примечание. Объем хранения представляет собой геометрический объем ящика с учетом размеров пространства над ящиком.
&В приборах, имеющих до трех выдвижных ящиков в отделении для хранения продуктов, один из ящиков, который дает наиболее неблагоприятные результаты, выдвигают до критического положения или до ограничителей, если таковые имеются, причем соответствующую дверцу открывают на угол приблизительно 90°.
В приборах, имеющих более трех выдвижных ящиков в отделениях для хранения продуктов, два несмежных ящика, которые дают наиболее неблагоприятные результаты, выдвигают до критического положения или до ограничителей, если таковые имеются, причем дверцу, обеспечивающую доступ к этим ящикам, открывают на угол приблизительно 90°.
Полки открытых дверец нагружают в соответствии с
20.102&.
20.104. &Приборы, оснащенные выдвижными ящиками, доступ к которым осуществляется без открывания дверцы, подвергают следующему испытанию.
Каждый ящик нагружают при равномерном распределении нагрузки в объеме хранения ящика из расчета 0,5 кг/л&.
Примечание. Объем хранения представляет собой геометрический объем ящика с учетом размеров пространства над ящиком.
&Ящик, отобранный как имеющий наиболее неблагоприятные результаты, выдвигают в критическое положение или до ограничителей, если таковые имеются, и груз массой 23 кг осторожно помещают или подвешивают в центр ящика.
Если прибор оснащен одной дверцей или несколькими дверцами, то полки дверец нагружают в соответствии с
20.102, если не указано иное.
Для приборов, имеющих только одну дверцу, ее открывают на угол приблизительно 90° и груз массой 2,3 кг помещают на ее верхнюю часть на расстоянии 40 мм от самого удаленного от петель торца.
Для приборов, имеющих более одной дверцы, любые две дверцы в наиболее неблагоприятной комбинации открывают на угол приблизительно 90°. Полки закрытых дверец не нагружают. На верхнюю часть одной из открытых дверец помещают груз массой 2,3 кг на расстоянии 40 мм от самого удаленного от петель торца, который выбирают так, чтобы создать наиболее неблагоприятные условия для испытаний&.
21. Механическая прочность
Этот
раздел части 1 применяют, за исключением следующего.
Примечание 101. Крышки ламп, расположенных внутри прибора, считают легкоповреждаемыми при нормальной эксплуатации. Лампы не испытывают.
21.101. Приборы для кемпингов или аналогичного назначения должны выдерживать воздействие падения и вибрации.
&Соответствие требованию проверяют следующим испытанием.
Приборы устанавливают на горизонтальной деревянной плоскости, которую подвергают падению 50 раз с высоты 50 мм на жесткое деревянное основание.
Затем прибор в обычном эксплуатационном положении закрепляют на вибростенде при помощи ремней, обвязанных вокруг корпуса. Тип вибрации - синусоидальный, направление - вертикальное, режим испытаний следующий:
- длительность - 30 мин;
- амплитуда - 0,35 мм;
- диапазон частоты колебаний - (10 - 55 - 10) Гц;
- скорость изменения частоты колебаний - приблизительно одна октава в минуту.
После испытания прибор не должен иметь повреждений, влияющих на безопасность; в особенности не должно быть ослабления соединений или крепления деталей, что может привести к нарушению требований безопасности&.
21.102. Лампы должны быть защищены от механических ударов.
&Соответствие требованию проверяют приложением сферы диаметром (75 +/- 0,5) мм без заметного усилия при попытке прикоснуться к лампе, имеющей защитную крышку.
Сфера не должна касаться лампы&.
Этот
раздел части 1 применяют, за исключением следующего.
#Терморегуляторы#, за исключением их термочувствительных частей, не должны находиться в контакте #с испарителем#, если они не защищены соответствующим образом от образования конденсата на холодных поверхностях и от воздействия воды, образующейся в процессе оттаивания.
Примечание 101. Следует обратить внимание на то, что жидкости могут попадать на такие части терморегуляторов, как штоки и трубки.
#Приборы компрессионного типа#, включая защитные ограждения защищенной системы охлаждения, использующей #воспламеняющиеся хладагенты#, должны выдерживать:
- давление, в 3,5 раза превышающее давление насыщенных паров хладагента при температуре 70 °C, для частей, которые в процессе нормальной эксплуатации подвергаются воздействию давления на стороне нагнетания (высокая сторона давления);
- давление, в 5 раз превышающее давление насыщенных паров хладагента при температуре 20 °C, для частей, которые в процессе нормальной эксплуатации подвергаются воздействию давления только на стороне всасывания (низкая сторона давления).
Примечания. 101. Специальные требования к конструкции приборов с защищенной системой охлаждения указаны в
22.107.
102. Давление во всех случаях измеряют при помощи манометра.
&Соответствие требованию проверяют следующим испытанием.
Соответствующую часть испытуемого прибора подвергают воздействию давления, которое постепенно увеличивают при помощи гидравлической системы до достижения требуемого для испытания значения. Это давление выдерживают в течение 1 мин. В испытуемой части не должно возникать утечки&.
Примечание 103. Испытание не проводят на мотор-компрессорах, соответствующих $ГОСТ Р МЭК 60335-2-34$.
22.17. Требование не применяют #к холодильным приборам и устройствам для изготовления льда#.
Нагревательные проводники, имеющие только один слой изоляции, при нормальной эксплуатации не должны находиться в непосредственном контакте с водой или льдом.
Примечание 101. Замерзшая вода рассматривается как проводящая жидкость.
22.101. Ламповые патроны должны быть закреплены таким образом, чтобы при нормальной эксплуатации они не могли перемещаться и крутиться без приложения силы, равной или меньшей указанному ниже значению.
Примечание. Нормальная эксплуатация включает замену ламп.
&Соответствие проверяют осмотром и, если необходимо, приложением к ламповым патронам крутящего момента силой 0,15 Н x м для патронов Е14 и В15 и силой 0,25 Н x м - для ламповых патронов Е27 и В22. Затем ламповые патроны должны выдержать воздействие силы на сжатие и растяжение (10 +/- 1) Н, каждое из которых прикладывают в течение 1 мин в направлении оси лампового патрона.
После испытаний крепление ламповых патронов не должно быть ослаблено.
Патроны для флуоресцентных ламп должны соответствовать требованиям испытаний, указанных в $ГОСТ Р МЭК 60598-1,
пункт 4.4.4, перечисление i)$&.
(абзац введен
Изменением N 1, утв. Приказом Ростехрегулирования от 16.11.2009 N 503-ст)
22.102. Изолированные проволочные нагреватели и их соединения, расположенные внутри термоизоляции и в контакте с ней, должны быть защищены от попадания воды.
&Соответствие требованию проверяют погружением трех образцов укомплектованных нагревательных элементов в 1%-ный водный раствор NaCl температурой (20 +/- 5) °C на 24 ч.
Затем испытательное напряжение, равное 1250 В, прикладывают в течение 15 мин между частью(ями), находящейся(имися) под напряжением, нагревательного элемента и водой.
Во время испытания не должно быть пробоя изоляции&.
Примечание. Подсоединения к электрическим клеммам не считают соединениями.
22.103. Свободен.
(п. 22.103 в ред.
Изменения N 1, утв. Приказом Ростехрегулирования от 16.11.2009 N 503-ст)
22.104. Приборы с двумя или более терморегулирующими устройствами, управляющими работой одного и того же мотор-компрессора, не должны вызывать неправильного срабатывания устройства тепловой защиты мотор-компрессора.
&Соответствие требованию проверяют следующим испытанием.
Прибор работает #при номинальном напряжении# в условиях #нормальной работы#, за исключением того, что настраиваемые потребителем терморегулирующие устройства включают для обеспечения циклической работы.
После достижения установившегося состояния и непосредственно после отключения первого термоуправляющего устройства включают второе терморегулирующее устройство. Устройство тепловой защиты мотор-компрессора не должно сработать.
Испытания приборов, у которых более двух терморегулирующих устройств могут воздействовать на мотор-компрессор, проводят отдельно для каждой комбинации терморегулирующих устройств&.
22.105. Для приборов, работающих от сети, но которые также могут работать от батареи, цепь батареи должна быть изолирована #от частей, находящихся под напряжением, двойной# или #усиленной изоляцией#.
Кроме того, #токоведущие части# должны быть расположены так, чтобы к ним невозможно было прикоснуться при подключении к батарее. Это требование относится даже к тем случаям, когда крышки или иные части, которые следует удалять для выполнения подключения, являются #несъемными частями#.
&Соответствие требованию проверяют осмотром и испытаниями, установленными #для двойной# или #усиленной изоляции#&.
22.106. Масса хладагента #в приборах компрессионного типа#, в охлаждающей системе которых используют #воспламеняющийся хладагент#, не должна превышать 150 г в каждом отдельном контуре хладагента.
&Соответствие требованию проверяют осмотром&.
22.107. #Приборы компрессионного типа# с защищенной охлаждающей системой, использующие #воспламеняющиеся хладагенты#, должны быть сконструированы так, чтобы исключалась любая опасность возгорания или взрыва в случае утечки хладагента из охлаждающей системы.
Примечания. 1. Отдельные компоненты, такие как #терморегуляторы#, которые содержат менее 0,5 г воспламеняющегося газа, считают неспособными стать источником опасности возгорания или взрыва в случае утечки из самого компонента.
2. Приборы с защищенной охлаждающей системой могут быть следующими:
- без размещения каких-либо частей охлаждающей системы внутри отделения для хранения продуктов;
- с такой конструкцией любых частей охлаждающей│
системы, располагающихся внутри отделения для│
хранения продуктов, при которой хладагент заключен в кожух, состоящий, по крайней мере, из двух слоев металла, отделяющих хладагент от отделения для хранения продуктов; каждый слой должен иметь толщину не менее 0,1 мм; кожух не имеет других соединений, кроме соединений испарителя, причем шов соединения имеет ширину не менее 6 мм;
- с такой конструкцией любых частей охлаждающей системы, располагающихся внутри отделения для хранения продуктов, при которой хладагент заключен в кожух, который, в свою очередь, заключен в отдельную защитную оболочку; если произойдет утечка из кожуха, то вытекший хладагент остается внутри защитной оболочки и прибор перестает нормально функционировать; защитную оболочку также испытывают по
22.7. Ни одна из критических точек защитной оболочки не должна располагаться внутри отделения для хранения продуктов.
3. Отделения с общей циркуляцией воздуха считают единым отделением.
&Соответствие требованию проверяют осмотром и испытаниями по
22.107.1 и
22.107.2&.
Примечание 4. Прибор с защищенной охлаждающей системой, который не соответствует требованиям для защищенной охлаждающей системы, можно считать имеющим незащищенную охлаждающую систему, если он выдержал испытания по
22.108 на соответствие требованиям для незащищенной охлаждающей системы.
22.107.1. &Имитация утечки в наиболее критической точке охлаждающей системы&
Примечание 1. Критическими точками являются только соединения между частями контура хладагента, включая в себя прокладку полугерметичного мотор-компрессора. Сварные телескопические соединения на кожухе мотор-компрессора, сварные соединения на трубках, проходящих через кожух мотор-компрессора, и сварные соединения на трубке для зарядки мотор-компрессора не считают соединениями на системе трубопроводов. Для обнаружения критической точки охлаждающей системы может потребоваться несколько испытаний.
&Метод имитации утечки заключается во впрыскивании паров хладагента через капиллярную трубку в критическую точку. Капиллярная трубка должна иметь диаметр (0,7 +/- 0,05) мм и длину от 2 до 3 м&.
Примечание 2. Следует обратить внимание на то,│
чтобы размещение капиллярной трубки не влияло│
отрицательным образом на результаты испытания и чтобы пена не проникла в капиллярную трубку в процессе вспенивания теплоизоляции. Может потребоваться размещение капиллярной трубки до вспенивания теплоизоляции на приборе.
&Во время испытания дверцы и крышки прибора должны быть закрыты, а прибор должен быть выключен или работать в условиях #нормальной работы при номинальном напряжении# в зависимости от того, что покажет более неблагоприятные результаты.
Во время испытания, при котором прибор работает, впрыскивание газа начинается одновременно с первым включением прибора.
Количество впрыскиваемого хладагента указанного изготовителем типа, достигает 80% от его номинальной заправки +/- 1,5 г или от максимального количества, которое может впрыскиваться за 1 ч в зависимости от того, какое значение окажется меньше.
Впрыскиваемое количество отбирается из парового пространства баллона, содержащего такое количество жидкого хладагента, которое обеспечит его присутствие в баллоне до конца испытаний.
Если смесь может разделяться на составляющие, то испытание проводят при использовании той фракции, которая имеет самый низкий уровень нижнего предела взрываемости.
Баллон выдерживают при температуре:
a) (32 +/- 1) °C - при имитации утечки в контурах с давлением на стороне всасывания (на низкой стороне давления);
b) (70 +/- 1) °C - при имитации утечки в контурах с давлением на стороне нагнетания (на высокой стороне давления)&.
Примечание 3. Количество впрыскиваемого газа предпочтительно определять взвешиванием баллона.
&Концентрацию вытекшего хладагента внутри отделений для хранения
продуктов и внутри любого внутреннего или наружного
отсека для электрических компонентов, которые в
условиях #нормальной работы# или ненормальной работы│
создают искрение или электрическую дугу,│
измеряют по крайней мере каждые 30 с от начала испытания в течение 1 ч после прекращения впрыскивания газа.
Концентрацию хладагента не измеряют около:
- #защитных устройств без самовозврата#, необходимых для соответствия
разделу 19, даже если они создают электрическую дугу или искрение во время работы;
- частей (деталей), преднамеренно выводимых из цепи для проведения испытаний по
разделу 19, даже если они создают электрическую дугу или искрение во время работы;
- электрических устройств, испытанных и признанных, по крайней мере,│
Примечания. 4. Прибор, используемый для измерения концентрации газа, например, с ИК контролем, должен иметь быструю реакцию в течение 2 или 3 с и не должен отрицательным образом влиять на результаты испытания.
5. При использовании газовой хроматографии отбор газа должен проводиться со скоростью, не превышающей 2 мл каждые 30 с.
6. Допускается использовать другие приборы при условии, что они не будут отрицательно влиять на результаты испытаний.
&Измеренное значение не должно превышать 75% нижнего предела взрывоопасного диапазона хладагента, указанного в
таблице 102, и 50% нижнего предела взрывоопасного диапазона хладагента, указанного в таблице 102, для периода, превышающего 5 мин&.
Примечание 7. Для приборов с защищенной охлаждающей системой не предъявляют дополнительных требований к электрическим компонентам, расположенным внутри отделений для хранения продуктов.
Таблица 102
Параметры воспламеняемости хладагента
┌──────────┬────────────┬─────────────────────┬─────────────┬─────────────┐
│ Номер │Наименование│ Химическая формула │ Температура │Нижний предел│
│хладагента│ хладагента │ хладагента │воспламенения│взрываемости │
│ │ │ │ хладагента │ хладагента │
├──────────┼────────────┼─────────────────────┼─────────────┼─────────────┤
│ R50 │ Метан │ CH │ 537 │ 4,4 │
│ │ │ 4 │ │ │
├──────────┼────────────┼─────────────────────┼─────────────┼─────────────┤
│ R290 │ Пропан │ CH CH CH │ 470 │ 1,7 │
│ │ │ 3 2 3 │ │ │
├──────────┼────────────┼─────────────────────┼─────────────┼─────────────┤
│ R600 │ n-Бутан │ CH CH CH CH │ 372 │ 1,4 │
│ │ │ 3 2 2 3 │ │ │
├──────────┼────────────┼─────────────────────┼─────────────┼─────────────┤
│ R600a │ Изобутан │ CH(CH ) │ 494 │ 1,8 │
│ │ │ 3 3 │ │ │
├──────────┴────────────┴─────────────────────┴─────────────┴─────────────┤
│ <a> Значения для других #воспламеняющихся хладагентов# приведены в│
ИС МЕГАНОРМ: примечание.
ГОСТ Р 12.2.142-99 утратил силу с 1 января 2014 года в связи с
N 1000-ст).
│ <b> Значения для других #воспламеняющихся хладагентов# приведены в│
ИС МЕГАНОРМ: примечание.
В официальном тексте документа, видимо, допущена опечатка: имеется
в виду МЭК 60079-19, а не ГОСТ Р МЭК 60079-19.
│$ГОСТ Р 12.2.142$ может быть использован в том случае, если необходимые│
│данные не содержатся в $ГОСТ Р МЭК 60079-19$. │
│ <d> Концентрация хладагента в сухом воздухе. │
└─────────────────────────────────────────────────────────────────────────┘
&22.107.2. На все доступные поверхности компонентов защищенной охлаждающей системы, в том числе доступные поверхности, находящиеся в тесном контакте с защищенными охлаждающими системами, наносят царапины при помощи инструмента, приведенного на рисунке 102&.
A - твердосплавный наконечник типа К10
Рисунок 102. Детальное изображение
наконечника инструмента для нанесения царапин
&Инструмент применяют с учетом следующих параметров:
- сила, направленная под прямым углом к испытуемой поверхности, - (35 +/- 3) Н;
- сила, направленная параллельно к испытуемой поверхности, - не более 250 Н.
Инструмент перемещают по испытуемой поверхности со скоростью приблизительно 1 мм/с.
Царапины наносят на испытуемую поверхность в трех различных местах в направлении, перпендикулярном к оси канала, и в трех различных местах канала параллельно его направлению. В последнем случае длина царапины должна составлять приблизительно 50 мм.
Царапины не должны пересекаться.
Соответствующая часть прибора должна выдерживать испытание по
22.7 при уменьшении испытательного давления на 50%&.
22.108. Для #приборов компрессионного типа# с незащищенными системами│
охлаждения, в которых используются #воспламеняющиеся хладагенты#, любой│
электрический компонент, расположенный внутри отделения для хранения│
продуктов, который в условиях #нормальной работы# или ненормальной работы│
создает электрическую дугу или искрение, должен быть испытан и должен│
электрооборудования подгруппы IIA, использующего газы или хладагент. │
Данное требование не применяют:
- к #защитным устройствам без самовозврата#, необходимым для обеспечения соответствия
разделу 19, даже если они создают электрическую дугу или искрение во время работы, а также
- частям (деталям), преднамеренно выводимым из цепи для проведения испытаний по
разделу 19, даже если они создают электрическую дугу или искрение во время работы.
Утечка хладагента в отделения для хранения продуктов не должна│
создавать взрывоопасную среду за пределами отделения для хранения│
продуктов в местах установки электрических компонентов, которые в условиях│
#нормальной работы# или ненормальной работы создают электрическую дугу или│
искрение, когда дверцы или крышки остаются закрытыми или когда их│
открывают или закрывают, пока эти компоненты не будут испытаны и не будут│
электрооборудования подгруппы IIA, использующего газы или хладагент. │
Данное требование не применяют:
- #к защитным устройствам без самовозврата#, необходимым для обеспечения соответствия
разделу 19, даже если они создают электрическую дугу или искрение во время работы, а также
- частям (деталям), преднамеренно выводимым из цепи для проведения испытаний по
разделу 19, даже если они создают электрическую дугу или искрение во время работы.
Примечания. 1. Отдельные комплектующие, такие как #терморегулятор#, которые содержат менее 0,5 г воспламеняющегося газа, не считают способными стать источником возгорания или взрыва в случае утечки непосредственно из самого компонента.
2. К приборам с незащищенной системой охлаждения относятся такие приборы, в которых по крайней мере одна часть охлаждающей системы располагается внутри отделения для хранения продуктов или которые не соответствуют требованиям
22.107.
3. Допускаются также другие способы защиты для электрических устройств, используемых в потенциально взрывоопасной атмосфере, рассмотренных в $ГОСТ Р 52350.15$ и других стандартах данной группы.
4. Замена лампы не является потенциальной опасностью для взрыва, так как при выполнении этой операции дверца или крышка остаются открытыми.
&Соответствие требованию проверяют осмотром, соответствующими испытаниями по $ГОСТ Р 52350.15$ и следующим испытанием&.
Примечания. 5. Испытания по
Приложению CC могут быть выполнены при│
стехиометрической концентрации используемого хладагента. Однако│
устройства, которые были испытаны отдельно и соответствуют требованиям│
Приложения CC для электрооборудования подгруппы IIA, использующего газы│
или хладагент, испытанию не подлежат. │
6. Независимо от требования, приведенного в $ГОСТ Р 52350.15│
(подраздел 5.4)$, предельные значения температуры поверхностей установлены│
&Испытание проводят в месте, защищенном от сквозняков, на выключенном приборе или приборе, работающем в условиях #нормальной работы при номинальном напряжении#, в зависимости от того, какое состояние дает наиболее неблагоприятный результат.
Во время проведения испытания на работающем приборе впрыскивание газа начинается одновременно с первым включением прибора.
Испытание проводят дважды и повторяют третий раз, если в одном из первых двух испытаний будет получено значение, превышающее 40% нижнего предела взрываемости.
Хладагент в количестве 80% номинальной заправки +/- 1,5 г в парообразном состоянии впрыскивают через соответствующее отверстие в отделение для хранения продуктов в течение не более 10 мин. Затем отверстие закрывают. Впрыскивание следует проводить как можно ближе к середине задней стенки отделения на расстоянии от верха отделения, приблизительно равном одной трети высоты отделения. Через 30 мин после завершения впрыскивания дверцу или крышку плавно открывают с одинаковой периодичностью от 2 до 4 с на угол 90° или на максимально возможный в зависимости от того, какой окажется меньше.
Для приборов с более чем одной дверцей или крышкой выбирают наиболее неблагоприятную последовательность или комбинацию открывания дверец или крышек.
Для приборов, оснащенных электродвигателями вентиляторов, испытание проводят при наиболее неблагоприятных условиях работы электродвигателя.
Концентрацию вытекающего хладагента измеряют
как можно ближе к электрическим
компонентам, по крайней мере, каждые 30 с с│
момента начала испытания. Однако концентрацию не│
измеряют в местах расположения:
- #защитных устройств без самовозврата#, необходимых для обеспечения соответствия
разделу 19, даже если они создают электрическую дугу или искрение во время работы;
- частей (деталей), преднамеренно выводимых из цепи для проведения испытаний по
разделу 19, даже если они создают электрическую дугу или искрение во время работы.
Значения концентрации регистрируют в течение периода, равного 15 мин, до тех пор, пока не обозначится тенденция к ее снижению.
Измеренное значение не должно превышать 75% нижнего предела взрываемости для хладагента, указанного в
таблице 102, и 50% нижнего предела взрываемости хладагента, указанного в
таблице 102, в течение периода, превышающего 5 мин.
Данное испытание повторяют с той разницей, что дверцу или крышку циклически открывают/закрывают с равномерной скоростью за период от 2 до 4 с, при этом дверцу или крышку открывают на угол 90° или на максимально возможный в зависимости от того, какой окажется меньше, и закрывают в течение цикла&.
22.109. #Приборы компрессионного типа#, в которых используются #воспламеняющиеся хладагенты#, должны иметь такую конструкцию, чтобы вытекающий хладагент не скапливался, создавая опасность возгорания или взрыва за пределами отделений для хранения продуктов, в местах, где расположены электрические элементы, создающие электрическую дугу или искрение, или светильники.
Данное требование не применяют к местам расположения:
- #защитных устройств без самовозврата#, необходимых для обеспечения соответствия
разделу 19, даже если они создают электрическую дугу или искрения во время работы, а также
- частей (деталей), преднамеренно выводимых из цепи для проведения испытаний по
разделу 19, даже если они создают электрическую дугу или искрение во время работы.
Примечание 1. Отдельные компоненты, такие как #терморегуляторы#, которые содержат менее 0,5 г воспламеняющегося газа, считают неспособными стать источником возгорания или взрыва в случае утечки из самого компонента.
&Соответствие требованию проверяют следующим испытанием, кроме│
светильников и компонентов, создающих электрическую дугу или искрение в│
условиях #нормальной работы# или ненормальной работы, которые расположены│
в рассматриваемых местах и должны быть испытаны и соответствовать, по│
крайней мере, требованиям
Приложения CC для электрооборудования подгруппы│
IIA, использующего газы или хладагент. │
Примечания. 2. Независимо от требования, приведенного в $ГОСТ Р│
52350.15 (подраздел 5.4)$, предельные значения температуры поверхности│
3. Допускаются также другие способы защиты для электрических│
устройств, используемых в потенциально взрывоопасной атмосфере и│
рассмотренных в $ГОСТ Р 52350.15$ и других стандартах данной группы. │
&Испытание проводят в месте, защищенном от сквозняков, при выключенном приборе или приборе, работающем #при нормальном режиме работы при номинальном напряжении#, в зависимости от того, какое состояние дает наиболее неблагоприятный результат.
Для проведения испытания на работающем приборе впрыскивание газа начинается одновременно с первым включением прибора.
Количество хладагента, равное 50% его заправки +/- 1,5 г, впрыскивается в рассматриваемую зону.
Впрыскивание следует проводить с постоянной скоростью в течение 1 ч в точку, расположенную в непосредственной близости к рассматриваемому электрическому компоненту от одного из следующих мест:
- стыков системы трубопроводов во внешних частях охлаждающего контура;
- уплотнения полугерметичных мотор-компрессоров.
Любое прямое впрыскивание следует исключить&.
Примечание 4. Сварные телескопические соединения на кожухе мотор-компрессора, сварные соединения на трубках, проходящих через кожух мотор-компрессора, и сварные соединения на трубке для зарядки мотор-компрессора не считают соединениями на системе трубопроводов.
&Концентрацию вытекающего хладагента измеряют
как можно ближе к электрическому компоненту
не реже, чем через каждые 30 с с момента и в течение│
не менее 15 мин до момента начала ее│
снижения.
Измеренное значение не должно превышать 75% нижнего предела взрываемости хладагента, указанного в
таблице 102, и 50% нижнего предела взрываемости хладагента, указанного в
таблице 102, в течение периода, превышающего 5 мин&.
22.110. Температура поверхностей, на которые возможно попадание вытекающего #воспламеняющегося хладагента#, должна быть не менее чем на 100 °C ниже температуры воспламенения хладагента, указанной в
таблице 102.
&Соответствие требованию проверяют измерением температуры соответствующей поверхности во время испытаний по
разделам 11 и
19.
Температуру #защитных устройств без самовозврата#, работающих во время испытаний, указанных в
разделе 19, или частей (деталей), преднамеренно выводимых из цепи для проведения испытаний по
разделу 19, не измеряют во время тех испытаний по
разделу 19, которые вызывают срабатывание этих устройств&.
22.111. Дверцы и крышки отделений в приборах, имеющих #свободное пространство#, должны иметь возможность открывания изнутри.
&Соответствие требованию проверяют следующим испытанием.
Пустой прибор отключают от сети, устанавливают на горизонтальную опору и выравнивают в соответствии с инструкцией по установке, причем поворотные колеса и ролики, если таковые имеются, регулируют или блокируют таким образом, чтобы исключить перемещение прибора. Замки на дверцах или крышках, если они имеются, оставляют незапертыми.
Двери и крышки закрывают на 15 мин.
Затем прикладывают силу в точке, эквивалентной доступной внутренней точке каждой дверцы или крышки прибора и расположенной в середине стороны, противоположной креплению петель, в направлении, перпендикулярном к плоскости крышки или дверцы.
Силу следует прикладывать со скоростью не более 15 Н/с, а крышка или дверца должна открываться до тех пор, пока сила не превысит 70 Н&.
Примечания. 1. Сила может быть приложена при помощи динамометрического устройства, а при необходимости при помощи присоски в той точке на наружной поверхности дверцы или крышки, которая соответствует доступной внутренней точке.
2. Если ручка дверцы или крышки располагается в середине противоположной от петель стороны, то силу можно приложить к ручке при помощи динамометрического устройства. В этом случае значение силы, необходимой для открывания дверцы или крышки изнутри, может быть определена пропорциональным пересчетом в соответствии с расстояниями от ручки и доступной внутренней точки до оси петель.
22.112. Выдвижные ящики, которые становятся доступными только после открывания дверцы или крышки, не должны содержать #свободного пространства#.
&Соответствие требованию проверяют осмотром и измерением&.
22.113. Выдвижные ящики, которые доступны без открывания дверцы или крышки и которые содержат #свободное пространство#, должны:
- иметь проем в задней стенке высотой, равной, по крайней мере, 250 мм, и шириной, равной, по крайней мере, двум третям внутренней ширины выдвижного ящика;
- иметь возможность открывания изнутри.
&Соответствие требованию проверяют осмотром, измерением и проведением следующего испытания, при котором внутрь выдвижного ящика помещается груз массой 23 кг.
Пустой прибор отключают от источника питания, устанавливают на горизонтальной опоре и выравнивают в соответствии с инструкциями по установке, причем поворотные колеса и ролики, если таковые имеются, ориентируют, регулируют или блокируют так, чтобы исключить перемещение прибора. Замки на ящиках, если имеются, оставляют незапертыми.
Выдвижные ящики оставляют закрытыми в течение 15 мин.
Затем к выдвижному ящику прибора прикладывают силу в геометрическом центре его передней панели, эквивалентном доступной внутренней точке, в направлении, перпендикулярном к передней панели выдвижного ящика.
Сила должна быть приложена со скоростью не более 15 Н/с, а выдвижной ящик должен открываться до тех пор, пока сила не превысит 70 Н&.
22.114. В приборах, предназначенных для бытового использования и содержащих отделения #со свободным пространством#, любая дверца или выдвижной ящик, обеспечивающие доступ в отделения, не должны быть оснащены самозащелкивающимся замком.
Замки, отпирающиеся ключом, должны иметь конструкцию, приводимую в действие при помощи двух независимых операций, или принадлежать к такому типу, который автоматически выталкивает ключ в незапертом состоянии.
Примечание. Нажатие и поворот являются примером двух независимых операций.
&Соответствие требованию проверяют осмотром и испытанием&.
Этот
раздел части 1 применяют, за исключением следующего.
Примечание 101. Требования к спиральным пружинам, витки которых не соприкасаются друг с другом, не предъявляют к наружным проводникам.
24. Комплектующие изделия
Этот
раздел части 1 применяют, за исключением следующего.
&Мотор-компрессоры, не испытанные отдельно на соответствие требованиям $ГОСТ Р МЭК 60335-2-34$, считают соответствующими требованиям $ГОСТ Р МЭК 60335-2-34$, если они соответствуют требованиям настоящего стандарта&.
&Число срабатываний для других выключателей должно быть следующим:
300 - для выключателей режима быстрого замораживания;
300 - для ручных и полуавтоматических выключателей режима оттаивания;
50000 - для дверных выключателей;
300 - для выключателей электропитания&.
&100000 - #для термовыключателей с самовозвратом#, которые могут повлиять на результаты испытаний по
19.101 и которые не замыкают накоротко во время испытания по
19.101;
100000 - #для терморегуляторов#, управляющих работой мотор-компрессора;
100000 - для пусковых реле мотор-компрессора;
не менее 2000, но не менее числа срабатываний при испытании с заторможенным ротором - для автоматических устройств тепловой защиты мотор-компрессоров герметичного и полугерметичного типов;
50 - для устройств тепловой защиты с ручным возвратом мотор-компрессоров герметичного и полугерметичного типов;
2000 - для других автоматических устройств тепловой защиты мотор-компрессоров, за исключением двигателей вентиляторов;
(в ред.
Изменения N 1, утв. Приказом Ростехрегулирования от 16.11.2009 N 503-ст)
30 - для других устройств тепловой защиты мотор-компрессоров с ручным возвратом&.
Переключатели напряжения в приборах, предназначенных для кемпингов или аналогичного применения, должны иметь контактное разделение на всех полюсах, обеспечивая полное отключение от источника питания при условиях категории перенапряжения III.
&Напряжение на пусковых конденсаторах не должно превышать более чем в 1,3 раза номинальное напряжение конденсатора при работе прибора при 1,1 #номинального напряжения#&.
24.101. Ламповые патроны должны быть изолированного типа.
&Соответствие требованию проверяют осмотром&.
25. Присоединение к источнику
питания и внешние гибкие шнуры
Ростехрегулирования от 16.11.2009 N 503-ст)
Этот
раздел части 1 применяют, за исключением следующего.
Дополнение
Аналогичный
раздел части 1 не применяют к частям мотор-компрессоров, оснащенным средствами для подсоединения #шнура питания#, соответствующими требованиям $ГОСТ Р МЭК 60335-2-34$.
&Заменить данное требование следующим&.
Приборы, работающие от сети, не должны иметь более одного средства для подсоединения к источнику питания, кроме:
- приборов, состоящих из двух или более независимых устройств, встроенных вместе в один корпус;
- соответствующих цепей, достаточно изолированных друг от друга.
Приборы, которые могут работать от сети и от батареи, должны быть обеспечены отдельными средствами для подсоединения к сети и к батарее.
- легкий гибкий шнур в поливинилхлоридной оболочке (кодовое обозначение 60227 IEC 52 по $ГОСТ Р МЭК 60227-5$ или $тип ШВВП по
ГОСТ 7399$).
Дополнение
Требования данного пункта не применяют к гибким проводам или гибким шнурам, используемым для подсоединения прибора к внешней батарее или батарейному ящику.
25.13. Дополнение к пункту
Требования данного пункта не применяют к гибким проводам или шнурам, используемым для подсоединения прибора к внешней батарее или батарейному ящику.
Если батарея в приборах, которые могут работать от батареи, размещена в отдельном ящике, то гибкий провод или гибкий шнур, используемый для соединения батарейного отсека с прибором, считают #промежуточным шнуром#.
25.101. Приборы, которые могут работать от батареи, должны иметь соответствующие средства для подключения батареи.
Приборы должны быть оснащены зажимами или гибкими проводами, или гибким шнуром для подключения к зажимам батареи, которые могут быть оснащены клеммами или другими приспособлениями, применимыми для использования с батареей, тип которой маркирован на приборе.
&Соответствие требованию проверяют осмотром&.
26. Зажимы для внешних проводов
Этот
раздел части 1 применяют, за исключением следующего.
Дополнение
Данный раздел не применяют к частям мотор-компрессоров, оснащенных средствами для подсоединения #шнура питания# и соответствующих требованиям $ГОСТ Р МЭК 60335-2-34$.
26.11. Дополнение (после первого абзаца)
Зажимы, предназначенные для подсоединения гибких проводов или шнура с #креплением типа X#, соединяющие внешнюю батарею или батарейный ящик, должны быть расположены таким образом или иметь такую защиту, чтобы исключить риск случайного замыкания выводов батареи.
Этот
раздел части 1 применяют, за исключением следующего.
Дополнение
&Соответствие не проверяют на частях, относящихся к мотор-компрессорам, если мотор-компрессор соответствует требованиям $ГОСТ Р МЭК 60335-2-34$&.
Этот
раздел части 1 применяют, за исключением следующего.
Дополнение
&Соответствие требованию не проверяют на частях, относящихся к мотор-компрессорам, если мотор-компрессор соответствует требованиям $ГОСТ Р МЭК 60335-2-34$&.
29. Воздушные зазоры, пути утечки и непрерывная изоляция
Этот
раздел части 1 применяют, за исключением следующего.
Дополнение
&Соответствие требованию не проверяют на частях, относящихся к мотор-компрессорам, если мотор-компрессор соответствует требованиям $ГОСТ Р МЭК 60335-2-34$. Для мотор-компрессоров, не соответствующих требованиям $ГОСТ Р МЭК 60335-2-34$, применяют дополнения и изменения, указанные в $ГОСТ Р МЭК 60335-2-34$&.
Изоляция #в холодильных приборах# и #устройствах для производства льда# имеет степень загрязнения 3 и значение СИТ для нее должно быть не менее 250, кроме случаев, когда изоляция является защищенной или расположена так, что воздействие на нее загрязнения, вызываемого конденсацией, маловероятно.
| | Применение на добровольной основе раздела 30 обеспечивает соблюдение требований Федерального закона от 22.07.2008 N 123-ФЗ "Технический регламент о требованиях пожарной безопасности" (Приказ Ростехрегулирования от 30.04.2009 N 1573). | |
30. Теплостойкость и огнестойкость
Этот
раздел части 1 применяют, за исключением следующего.
Примечание 101. #Доступные части# из неметаллического материала, расположенные в отделении для хранения продуктов, считают наружными частями.
&Испытание давлением шарика не применяют к частям, относящимся к мотор-компрессору, если он соответствует требованиям $ГОСТ Р МЭК 60335-2-34$&.
Примечание 102. Превышение температуры, измеренное во время испытания по
19.101, во внимание не принимают.
Изменение
&#Для доступных частей# из неметаллического материала, расположенных в отделении для хранения продуктов, температуру (75 +/- 2) °C следует заменить на (65 +/- 2) °C&.
&Настоящие испытания не применяют к частям мотор-компрессора, если он соответствует $ГОСТ Р МЭК 60335-2-34$ в части требований к невоспламеняемости&.
Этот
раздел части 1 применяют.
32. Радиация, токсичность и подобные опасности
Этот
раздел части 1 не применяют.
Приложения части 1 применяют, за исключением следующего.
(обязательное)
ИСПЫТАНИЕ ДВИГАТЕЛЕЙ НА СТАРЕНИЕ
Дополнение
Данное
приложение не применяют к мотор-компрессорам.
(обязательное)
ТЕРМОЗАЩИТНЫЕ УСТРОЙСТВА ДВИГАТЕЛЕЙ
Ростехрегулирования от 16.11.2009 N 503-ст)
Дополнение
Данное
приложение не применяют к мотор-компрессорам и конденсаторным электродвигателям вентилятора.
(справочное)
РУКОВОДСТВО ПО ПРИМЕНЕНИЮ ДАННОГО СТАНДАРТА К ПРИБОРАМ,
ИСПОЛЬЗУЕМЫМ В ТЕПЛОМ ВЛАЖНОМ РАВНОМЕРНОМ КЛИМАТЕ
Ростехрегулирования от 16.11.2009 N 503-ст)
Это
приложение части 1 применяют, за исключением следующего.
#5. Общие условия испытаний#
&Температура окружающей среды при проведении испытаний, указанных в разделах 10, 11 и 13, должна быть (43 +/- 1) °С, как это указано для приборов тропического класса (Т) в 5.7&.
&Значения, приведенные в таблице 3, снижают на 18 К&.
(обязательное)
ИСПЫТАНИЕ ДВИГАТЕЛЕЙ ВЕНТИЛЯТОРОВ С ЗАТОРМОЖЕННЫМ РОТОРОМ
Обмотка двигателя вентилятора не должна чрезмерно нагреваться, если двигатель заблокирован или не запускается.
&Соответствие требованию проверяют следующим испытанием.
Вентилятор и его двигатель закрепляют на поверхности, изготовленной из дерева или аналогичного материала. Ротор двигателя блокируют. Лопасти вентилятора и крепежные элементы двигателя не снимают.
На двигатель подают #номинальное напряжение#. Схема цепи питания представлена на рисунке AA.1&.
S - источник питания; H - корпус; R - устройство
остаточного тока

; P - устройство
тепловой защиты двигателя (наружное или внутреннее),
если имеется; M - двигатель
Примечания. 1. Цепь питания для испытания трехфазных двигателей вентиляторов модифицируют.
2. Следует уделять внимание системе заземления для обеспечения правильного функционирования устройства защитного отключения, имеющего или не имеющего автоматический выключатель.
Рисунок AA.1. Цепь питания для испытания
однофазного двигателя вентилятора с заторможенным ротором
&В указанных условиях двигатель должен работать в течение 15 сут (360 ч), если только #защитное устройство#, если таковое имеется, не разомкнет цепь до истечения указанного времени. В этом случае испытание считают законченным.
(в ред.
Изменения N 1, утв. Приказом Ростехрегулирования от 16.11.2009 N 503-ст)
Если температура обмоток двигателя остается ниже 90 °C, то испытание заканчивают при достижении установившегося состояния.
Температуру измеряют в условиях, указанных в
11.3.
Во время испытания температура обмоток не должна превышать значений, указанных в $ГОСТ Р 52161.1
(таблица 8)$.
Через 72 ч после начала испытания двигатель также должен выдержать испытание на электрическую прочность по
16.3.
Устройство защитного отключения с номинальным остаточным током 30 мА подключают для того, чтобы отключить источник питания в случае чрезмерного повышения тока утечки на землю.
В конце испытания ток утечки измеряют между обмотками и корпусом при напряжении, в два раза превышающем #номинальное напряжение#. Значение тока утечки должно быть не более 2 мА&.
(обязательное)
&Наращивание инея возможно с помощью устройства, снабженного регулируемым источником тепла, направленным на отмеренное количество воды с целью ее испарения в течение заранее установленного периода времени с наименьшими посторонними потерями тепла на шкаф #холодильного прибора#.
Аппарат общепринятой формы должен включать в себя кожух из теплоизоляционного материала, имеющий вертикальное отверстие в центре, и лампу, установленную в нижнем патроне прямо под испарительной чашкой с основанием из материала с высокой теплопроводностью и стенками из материала с низкой теплопроводностью (см. рисунки BB.1 и
BB.2)&.
A - изолирующий материал; B - медная пластина;
C - медная трубка; D - вспененная термоизоляция
Рисунок BB.1. Схема устройства
для испарения воды и наращивания инея
Рисунок BB.2. Устройство для испарения
воды и наращивания инея
&Данное устройство должно быть установлено в геометрическом центре шкафа #холодильного прибора#, а электрическое соединение должно быть выведено наружу удобным образом так, чтобы можно было изменять приложенное напряжение и подводимую мощность, когда дверь #холодильного прибора# находится в закрытом положении.
Затем в испарительную чашку по трубке небольшого диаметра, проходящей в шкаф, с нужной скоростью подают воду. Непрерывный поток не нужен, вода должна впрыскиваться через определенные интервалы времени.
Следует предусмотреть меры (например, при управлении подачей электроэнергии к устройству), гарантирующие в условиях нормальной эксплуатации поддержание интенсивности испарения воды, равной 2 г воды на литр общего объема шкафа в неделю.
Электроэнергия, подводимая к устройству, не должна быть чрезмерной, но достаточной для того, чтобы гарантировать полное испарение воды.
Количество инея, которое должно образоваться к началу испытания на оттаивание, следует рассчитывать, исходя из расхода воды и интервала времени между двумя последующими циклами оттаивания, указанными в инструкциях&.
Примечание. Например, если в инструкциях рекомендовано проводить оттаивание два раза в неделю, то #для холодильного прибора# общим объемом 140 л потребуется количество воды, г, рассчитываемое по формуле
2 x 140/2 = 140.
&При некоторых обстоятельствах приведенная норма может быть превышена.
Максимальное испарение воды в аппарате, описанном выше, должно быть приблизительно 2 г/ч при работе с потребляемой мощностью 4 Вт и водой, поступающей в аппарат для испарения, имеющей температуру шкафа холодильного прибора&.
(обязательное)│
│
НЕИСКРЯЩИЕ "n" ЭЛЕКТРИЧЕСКИЕ УСТРОЙСТВА │
│
Следующие пункты применяют, как указано ниже, там, где приведена│
ссылка на ГОСТ Р 52350.15. │
#21. Дополнительные требования к неискрящим светильникам# │
Применяют все пункты раздела 21, кроме 21.2.5.1, 21.2.5.5, 21.2.7,│
21.2.8, 21.2.9, 21.2.10, 21.2.11, 21.2.12 и 21.3. │
#26. Общие дополнительные требования к оборудованию, создающему│
дуговые и искровые разряды или имеющему нагретые поверхности# │
Раздел 26 применяют. │
#27. Дополнительные требования к контактным устройствам│
во взрывонепроницаемой оболочке и неподжигающим компонентам, создающим│
дуговые и искровые разряды или имеющим нагретые поверхности# │
Раздел 27 применяют. │
#28. Дополнительные требования к электрооборудованию в герметично│
запаянной оболочке, создающему дуговые или искровые разряды или имеющему│
нагретые поверхности# │
Раздел 28 применяют. │
#29. Дополнительные требования к электрооборудованию в герметично│
плотной оболочке или залитому компаундом оборудованию, создающему дуговые│
и искровые разряды или имеющему нагретые поверхности# │
Применяют все пункты раздела 29, кроме 29.1 и 29.8, которые заменены│
следующими. │
#29.1. Неметаллические материалы# │
Уплотнения испытывают, применяя требования 33.5. Однако если│
устройство испытывают в приборе, то требования 33.5.1 и 33.5.2 не│
применяют. После испытаний по $ГОСТ Р 52161.2.24 (раздел 19)$ при осмотре│
не должно быть нарушения герметизации, что может ухудшить тип защиты,│
в результате появления трещин в смоле или повреждения частей, залитых│
компаундом. │
(в ред.
Изменения N 1, утв. Приказом Ростехрегулирования от 16.11.2009│
N 503-ст) │
#29.8. Типовые испытания# │
Типовые испытания, приведенные в 33.5, должны быть выполнены там,│
где требуется. │
#30. Дополнительные требования к искробезопасному оборудованию "n"│
и искробезопасным цепям "n", создающим дуговые и искровые разряды или│
имеющим нагретые поверхности# │
Применяют все пункты раздела 30, кроме 30.5, 30.6 и 30.10. │
#31. Дополнительные требования к электрооборудованию в оболочках│
с ограниченным пропуском газа, создающему дуговые и искровые разряды или│
имеющему нагретые поверхности# │
Применяют все пункты раздела 31, кроме 31.6, который заменен│
следующим. │
#31.6. Техническое обслуживание# │
Оболочки с ограниченным пропусканием газа должны быть подвергнуты│
типовым испытаниям, включая устройство кабельного ввода. │
(обязательное)
ТЕМПЕРАТУР ВОСПЛАМЕНЕНИЯ
Настоящее приложение полностью соответствует международному стандарту МЭК 60079-4А.
Примечание 1. В
таблице приведены значения, определенные методом, указанным в $
ГОСТ Р 51330.5$, по данным лабораторных испытаний по меньшей мере в двух различных странах, результаты которых имеют предельные отклонения не более 5%, предусмотренные в
7.2 $ГОСТ Р 51330.5$.
Примечание 2. Незначительные изменения в чистоте образцов могут существенно влиять на температуру воспламенения. Например, лабораторные испытания показали, что температура воспламенения трихлорсилана составляет 230 °C, если образцы испытаны сразу после изготовления. После выдерживания образца и возможных при этом изменений была получена температура воспламенения 185 °C.
┌─────────────────────────┬─────────────────────────────┬─────────────────┐
│ Наименование вещества │ Химическая формула │ Температура │
│ │ │воспламенения, °C│
└─────────────────────────┴─────────────────────────────┴─────────────────┘
Ангидрид уксусной кислоты

334

535
Ацетон

560
Бензол

430
Бутадиен 1,3 (дивинил)

408
Изобутанол

102
Сероуглерод

637
Хлорбензол

259
Циклогексан
Циклогексанон

419
(циклический кетон)
1,4 Диоксан

379
(диэтилендиоксид)
Этилбензол

431
n-Гептан

215
n-Гексан

233
Диметоксиметан

236
Нафталин

528
n-Ноан

205
2,2,4-триметилпентан

411
(изо-октан)
n-Тетрадекан

201
(диметилдодекан)
Тетрагидрофуран (фуранид)

224
Толуол (Метилбензол)

535
Трихлорсилан

230
Винилацетат

385
Ксилол (диметилбензол)

528
───────────────────────────────────────────────────────────────────────────
(справочное)
СВЕДЕНИЯ О СООТВЕТСТВИИ ССЫЛОЧНЫХ МЕЖДУНАРОДНЫХ
СТАНДАРТОВ НАЦИОНАЛЬНЫМ СТАНДАРТАМ РОССИЙСКОЙ ФЕДЕРАЦИИ,
ИСПОЛЬЗОВАННЫМ В НАСТОЯЩЕМ СТАНДАРТЕ В КАЧЕСТВЕ
НОРМАТИВНЫХ ССЫЛОК
Таблица 3.1
┌──────────────────────────┬──────────────────────────────────────────────┐
│ Обозначение ссылочного │ Обозначение и наименование ссылочного │
│ национального стандарта │ международного стандарта и условное │
│ Российской Федерации │ обозначение степени его соответствия │
│ │ ссылочному национальному стандарту │
├──────────────────────────┼──────────────────────────────────────────────┤
│
ГОСТ 3882-74 │ ИСО 513-75 "Сплавы твердые спеченные. Марки" │
│ │(MOD) │
├──────────────────────────┼──────────────────────────────────────────────┤
ИС МЕГАНОРМ: примечание.
ГОСТ Р 12.2.142-99 утратил силу с 1 января 2014 года в связи с
N 1000-ст).
│ГОСТ Р 12.2.142-99 │ ИСО 5149:1993 "Механические охлаждающие │
│(ИСО 5149-93) │системы, используемые для охлаждения и │
│ │нагрева. Требования безопасности" (MOD) │
├──────────────────────────┼──────────────────────────────────────────────┤
│ │безопасности" (NEQ) │
├──────────────────────────┼──────────────────────────────────────────────┤
│(МЭК 60079-4-75) │взрывозащищенное. Часть 4. Метод определения │
│ │температуры воспламенения" (MOD) │
├──────────────────────────┼──────────────────────────────────────────────┤
│(МЭК 60079-20-96) │взрывоопасных газовых сред. Часть 20. Данные │
│ │по горючим газам и парам, относящиеся к │
│ │эксплуатации оборудования" (MOD) │
├──────────────────────────┼──────────────────────────────────────────────┤
│(МЭК 60335-1:2001) │электрические приборы. Безопасность. Часть 1. │
│ │Общие требования" (MOD) │
├──────────────────────────┼──────────────────────────────────────────────┤
│(МЭК 60335-2-5:2002) │электрические приборы. Безопасность. │
│ │Часть 2.5. Частные требования для │
│ │посудомоечных машин" (MOD) │
├──────────────────────────┼──────────────────────────────────────────────┤
ИС МЕГАНОРМ: примечание.
Взамен ГОСТ 52350.15-2005 Приказом Росстандарта от 30.11.2010 N 717-ст
с 1 января 2012 года введен в действие ГОСТ Р МЭК 60079-15-2010.
│ГОСТ Р 52350.15-2005 │ МЭК 60079-15:2005 "Электрооборудование │
│(МЭК 60079-15:2005) │для взрывоопасных газовых сред. Часть 15. │
│ │Конструкция, испытания и маркировка │
│ │электрооборудования с видом защиты "n" (IDT) │
├──────────────────────────┼──────────────────────────────────────────────┤
ИС МЕГАНОРМ: примечание.
Взамен ГОСТ Р МЭК 60227-5-2002 Приказом Ростехрегулирования от
26.06.2009 N 221-ст с 1 января 2010 года введен в действие
│ГОСТ Р МЭК 60227-5-2002 │ МЭК 60227-5:1997 "Кабели с поливинилхлоридной│
│ │изоляцией на номинальное напряжение │
│ │до 450/750 В включительно" (MOD) │
├──────────────────────────┼──────────────────────────────────────────────┤
│ГОСТ Р МЭК 60335-2-34-2000│ МЭК 60335-2-34:1996 "Бытовые и аналогичные │
│ │электрические приборы. Безопасность. Часть 2. │
│ │Частные требования для мотор-компрессоров" │
│ │(MOD) │
├──────────────────────────┼──────────────────────────────────────────────┤
│ │требования и методы испытаний" (MOD) │
├──────────────────────────┼──────────────────────────────────────────────┤
│ │Часть 1. Общие требования" (MOD) │
├──────────────────────────┼──────────────────────────────────────────────┤
│(МЭК 60529:1989) │обеспечиваемые оболочками (Код IP)" (MOD) │
├──────────────────────────┴──────────────────────────────────────────────┤
│ Примечание. В настоящей таблице использованы следующие условные│
│обозначения степени соответствия стандартов: │
│ - IDT - идентичные стандарты; │
│ - MOD - модифицированные стандарты; │
│ - NEQ - неэквивалентные стандарты. │
└─────────────────────────────────────────────────────────────────────────┘