Главная // Актуальные документы // ГОСТ Р (Государственный стандарт)
СПРАВКА
Источник публикации
М.: Стандартинформ, 2012
Примечание к документу
Документ утратил силу с 01.01.2022 в связи с изданием Приказа Росстандарта от 23.06.2021 N 580-ст. Взамен действует ГОСТ IEC 61439-4-2015, утв. Приказом Росстандарта от 12.07.2016 N 833-ст.

Текст документа приведен с учетом поправки, опубликованной в "ИУС", N 1, 2013.

Документ введен в действие с 01.01.2013.

Взамен ГОСТ Р 51321.4-2000 (МЭК 60439-4-90).
Название документа
"ГОСТ Р 51321.4-2011 (МЭК 60439-4:2004). Национальный стандарт Российской Федерации. Устройства комплектные низковольтные распределения и управления. Часть 4. Дополнительные требования к устройствам комплектным для строительных площадок (НКУ СП)"
(утв. и введен в действие Приказом Росстандарта от 06.12.2011 N 697-ст)

"ГОСТ Р 51321.4-2011 (МЭК 60439-4:2004). Национальный стандарт Российской Федерации. Устройства комплектные низковольтные распределения и управления. Часть 4. Дополнительные требования к устройствам комплектным для строительных площадок (НКУ СП)"
(утв. и введен в действие Приказом Росстандарта от 06.12.2011 N 697-ст)


Содержание


Утвержден и введен в действие
Приказом Федерального
агентства по техническому
регулированию и метрологии
от 6 декабря 2011 г. N 697-ст
НАЦИОНАЛЬНЫЙ СТАНДАРТ РОССИЙСКОЙ ФЕДЕРАЦИИ
УСТРОЙСТВА КОМПЛЕКТНЫЕ НИЗКОВОЛЬТНЫЕ
РАСПРЕДЕЛЕНИЯ И УПРАВЛЕНИЯ
ЧАСТЬ 4
ДОПОЛНИТЕЛЬНЫЕ ТРЕБОВАНИЯ
К УСТРОЙСТВАМ КОМПЛЕКТНЫМ ДЛЯ СТРОИТЕЛЬНЫХ ПЛОЩАДОК
(НКУ СП)
Low-voltage switchgear and controlgear assemblies.
Part 4. Particular requirements for assemblies
for construction sites (ACS)
IEC 60439-4:2004
Low-voltage switchgear and controlgear assemblies -
Part 4: Particular requirements for assemblies
for construction sites (ACS)
(MOD)
ГОСТ Р 51321.4-2011
(МЭК 60439-4:2004)
Группа Е71
ОКС 29.240.30
Дата введения
1 января 2013 года
Предисловие
Цели и принципы стандартизации в Российской Федерации установлены Федеральным законом от 27 декабря 2002 г. N 184-ФЗ "О техническом регулировании", а правила применения национальных стандартов Российской Федерации - ГОСТ Р 1.0-2004 "Стандартизация в Российской Федерации. Основные положения".
Сведения о стандарте
1. Подготовлен Обществом с ограниченной ответственностью "ВНИИэлектроаппарат" на основе собственного аутентичного перевода на русский язык международного стандарта, указанного в пункте 4.
2. Внесен Техническим комитетом по стандартизации ТК 331 "Низковольтная коммутационная аппаратура и комплектные устройства распределения, защиты, управления и сигнализации".
3. Утвержден и введен в действие Приказом Федерального агентства по техническому регулированию и метрологии от 6 декабря 2011 г. N 697-ст.
4. Настоящий стандарт является модифицированным по отношению к международному стандарту МЭК 60439-4:2004 "Устройства комплектные низковольтные распределения и управления. Часть 4. Дополнительные требования к устройствам комплектным для строительных площадок (НКУ СП)" (IEC 60947-4:2004 "Low-voltage switchgear and controlgear - Part 4: Particular requirements for assemblies for construction sites (ACS)"). При этом разделы 1 - 8 полностью идентичны, а Приложение ДА дополняет их с учетом потребностей национальной экономики Российской Федерации и/или особенностей Российской национальной стандартизации.
Приложение ДБ содержит сведения о соответствии национальных и межгосударственных стандартов международным стандартам, использованным в качестве ссылочных в примененном международном стандарте.
5. Взамен ГОСТ Р 51321.4-2000 (МЭК 60439-4-90).
Информация об изменениях к настоящему стандарту публикуется в ежегодно издаваемом информационном указателе "Национальные стандарты", а текст изменений и поправок - в ежемесячно издаваемых информационных указателях "Национальные стандарты". В случае пересмотра (замены) или отмены настоящего стандарта соответствующее уведомление будет опубликовано в ежемесячно издаваемом информационном указателе "Национальные стандарты". Соответствующая информация, уведомление и тексты размещаются также в информационной системе общего пользования - на официальном сайте Федерального агентства по техническому регулированию и метрологии в сети Интернет.
Введение
Разделы настоящего стандарта дополняют, изменяют или исключают разделы ГОСТ Р 51321.1.
Исходя из того, что настоящий стандарт следует применять совместно со стандартом ГОСТ Р 51321.1, сохранена нумерация разделов и пунктов последнего, за исключением пунктов, введенных в настоящий стандарт дополнительно. Дополнительные к имеющимся в ГОСТ Р 51321.1 пункты и рисунки нумеруются, начиная со 101.
Если в настоящем стандарте отсутствует какой-либо раздел или пункт, то действует без изменения соответствующий раздел или пункт ГОСТ Р 51321.1.
Сведения о ссылочных международных стандартах, не введенных в качестве национальных, или при отсутствии соответствующих национальных стандартов, приведены в разделе "Библиография".
Настоящий стандарт может быть использован при оценке соответствия низковольтных комплектных устройств распределения и управления, в том числе осветительных щитков для промышленных, общественных и жилых зданий, требованиям технических регламентов.
1. Общие положения
1.1. Область применения и назначение
Три последних абзаца изложить в новой редакции:
Настоящий стандарт распространяется на полностью испытанные комплектные устройства распределения и управления (ПИ НКУ), предназначенные для применения на строительных площадках, на которых ведется строительство, монтаж, ремонт, перестройка, снос жилых и общественных зданий и гражданских сооружений, проводятся экскаваторные или другие аналогичные работы, т.е. временных местах расположения без доступа широкого круга лиц.
Такие НКУ могут быть передвижными (полустационарными) или подвижными.
Настоящий стандарт не распространяется на НКУ, применяемые в административных зданиях стройплощадок (офисах, раздевалках, помещениях для НКУ, буфетах, ресторанах, спальнях, туалетах и т.д.).
Паспортные значения напряжений первичной и вторичной обмоток трансформаторов в составе НКУ СП не должны выходить за пределы, указанные в ГОСТ Р 51321.1.
Требования к электрической защите, обеспечиваемой оборудованием, отвечающим настоящему стандарту, должны соответствовать требованиям, указанным в ГОСТ Р 50571.23.
Примечание. Настоящий стандарт может быть применен в качестве руководящего документа для НКУ, прошедшего частичные типовые испытания (ЧИ НКУ), изготовленного по соглашению между изготовителем и потребителем, при условии учета рода тока источника питания и/или распределительной сети, а также конкретных требований, предъявляемых к электроустановке.
1.2. Нормативные ссылки
ГОСТ Р 51321.1 дополнить следующими нормативными ссылками:
ГОСТ Р 50571.3-2009 (МЭК 60364-4-41:2005). Электроустановки низковольтные. Часть 4-41. Требования для обеспечения безопасности. Защита от поражения электрическим током
ГОСТ Р 50571.23-2000 (МЭК 60364-7-704:89). Электроустановки зданий. Часть 7. Требования к специальным электроустановкам. Раздел 704. Электроустановки строительных площадок
ГОСТ Р 51321.1-2007 (МЭК 60439-1:2004). Устройства комплектные низковольтные распределения и управления. Часть 1. Устройства, испытанные полностью или частично. Общие технические требования и методы испытаний
ГОСТ Р 51323.1-99 (МЭК 60309-1:99). Вилки, штепсельные розетки и соединительные устройства промышленного назначения. Часть 1. Общие требования
ГОСТ Р 51323.2-99 (МЭК 60309-2:99). Вилки, штепсельные розетки и соединительные устройства промышленного назначения. Часть 2. Требования к взаимозаменяемости размеров штырей и контактных гнезд соединителей
ГОСТ Р МЭК 61140-2000 (МЭК 61140:1997). Защита от поражения электрическим током. Общие положения по безопасности, обеспечиваемой электрооборудованием и электроустановками в их взаимосвязи
ГОСТ 11478-88 (МЭК 68-2-27:1987). Аппаратура радиоэлектронная бытовая. Нормы и методы испытаний на воздействие внешних механических и климатических факторов
ГОСТ 14254-96 (МЭК 529-89). Степени защиты, обеспечиваемые оболочками (Код IP)
ГОСТ 28226-89 (МЭК 68-2-42-82). Основные методы испытаний на воздействие внешних факторов. Часть 2. Испытания. Испытание Kc: Испытание контактов и соединений на воздействие двуокиси серы.
Примечание. При пользовании настоящим стандартом целесообразно проверить действие ссылочных стандартов в информационной системе общего пользования - на официальном сайте Федерального агентства по техническому регулированию и метрологии в сети Интернет или по ежегодно издаваемому информационному указателю "Национальные стандарты", который опубликован по состоянию на 1 января текущего года, и по соответствующим ежемесячно издаваемым информационным указателям, опубликованным в текущем году. Если ссылочный стандарт заменен (изменен), то при пользовании настоящим стандартом следует руководствоваться заменяющим (измененным) стандартом. Если ссылочный стандарт отменен без замены, то положение, в котором дана ссылка на него, применяется в части, не затрагивающей эту ссылку.
2. Термины и определения
Настоящий раздел дополняет, изменяет и исключает термины и соответствующие определения ГОСТ Р 51321.1.
2.1.1.2. НКУ распределения и управления, прошедшее частичные типовые испытания (ЧИ НКУ) (partially type-tested low-voltage switchgear and controlgear assembly (PTTA)).
Исключить.
Примечание. См. также примечание в разделе 1.1 настоящего стандарта.
2.1.101. Низковольтное комплектное устройство распределения и управления для строительных площадок (НКУ СП) (low-voltage switchgear and controlgear assembly for construction sites (ACS)): комбинация одного или нескольких трансформаторных или коммутационных устройств с общей аппаратурой управления, измерения, сигнализации, защиты и регулирования, оснащенной всеми внутренними электрическими и механическими соединениями и конструкционными частями (см. 2.4), предназначенная для применения на строительных площадках внутри и вне помещений.
2.1.102. Измерительный блок (metering unit): функциональный блок, оснащенный аппаратурой для измерения электроэнергии.
2.1.103. Трансформаторный блок (transformer unit): функциональный блок, состоящий из одного или нескольких трансформаторов.
2.3.1. Открытое НКУ (open-type assembly).
Исключить.
2.3.2. НКУ, защищенное с передней стороны (dead-front assembly).
Исключить.
2.3.3. Защищенное НКУ СП (enclosed ACS): НКУ СП, защищенное со всех сторон.
2.3.3.4. Ящичное НКУ СП (box-type ACS): защищенное НКУ СП, предназначенное для установки:
- либо на вертикальной поверхности;
- либо на горизонтальной поверхности, опирающееся на ножки или подставки (присоединяемые или нет) или на опорную поверхность, не являющуюся частью НКУ СП (см. 2.4.2).
2.3.4. Система сборных шин (busbar trunking system).
Исключить.
2.5.1. НКУ для внутренней установки (assembly for indoor installation).
Исключить (см. термин по 2.1.101).
2.5.2. НКУ для наружной установки (assembly for outdoor installation).
Исключить (см. термин по 2.1.101).
2.5.3. Стационарное НКУ (stationary assembly).
Исключить.
2.5.4. Передвижное НКУ (movable assembly).
Исключить.
2.5.101. Передвижное (полустационарное) НКУ СП (transportable (or semi-fixed) ACS): НКУ СП, предназначенное для применения в местах, где оно не закреплено постоянно, т.е. при эксплуатации на стройплощадке его местоположение может меняться. Если оборудование необходимо переместить в другое место, прежде всего его отсоединяют от источника питания.
2.5.102. Подвижное НКУ (mobile ACS): НКУ СП, способное к перемещению по стройплощадке в ходе эксплуатации без отсоединения его от источника питания.
2.7. Проходы внутри НКУ (gangways within assemblies).
Исключить.
2.101. Функции НКУ СП (function of the ACS).
2.101.1. Функция вводного питания (incoming supply function): пригодность НКУ СП для подсоединения к общественным электросетям или к трансформаторной подстанции, или к генератору на стройплощадке.
2.101.2. Измерительная функция (metering function): пригодность для измерения электроэнергии, потребляемой на стройплощадке.
2.101.3. Распределительная функция (distribution function): пригодность для обеспечения распределения электроэнергии и защиты источника питания на стройплощадке посредством стационарных кабельных линий или штепсельных розеток.
2.101.4. Трансформаторная функция (transformer function): пригодность для обеспечения средств трансформации напряжений или мер электрозащиты.
2.102. Серия совместимых НКУ для строительных площадок (series of compatible assemblies for construction sites): НКУ СП, предназначенные для взаимных соединений для образования электроустановки или части электроустановки.
Примечание. Требования приведены в 101.1.
3. Классификация низковольтных комплектных устройств
распределения и управления для строительных площадок
НКУ СП классифицируют по:
- функции (функциям), предписанным изготовителем (см. 2.101);
- внешней конструкции (см. 2.3);
- подвижности (см. 2.5.101 и 2.5.102);
- типу оболочки (см. 7.1.1);
- степени защиты (см. 7.2.1);
- способу установки, например стационарные или съемные части (см. 7.6.3 и 7.6.4);
- мерам защиты персонала (см. 7.4);
- виду внутреннего разделения (см. 7.7);
- типу электрических соединений функциональных блоков (см. 7.11);
- коррозиестойкости (см. 7.1.101).
4. Электрические характеристики низковольтных
комплектных устройств распределения и управления
для строительных площадок
4.101. Номинальный ток НКУ СП
Номинальным током НКУ СП является ток, указанный изготовителем в качестве номинального тока входной цепи. Данный ток должен проходить без превышения температуры отдельных частей за пределы, указанные в 7.3, при испытании согласно 8.2.1.
5. Информация, предоставляемая о низковольтных
комплектных устройствах распределения и управления
для строительных площадок
5.1. Паспортная табличка
На каждое НКУ СП должна быть прикреплена одна или несколько табличек со стойкой к внешним воздействиям маркировкой, которые после установки НКУ СП должны быть расположены на видном месте. На паспортной табличке должна быть приведена информация, содержащаяся в перечислениях a) - g). Если наименование или товарный знак изготовителя нанесены на НКУ СП, эту информацию на паспортной табличке не приводят.
Информация, содержащаяся в перечислениях h) - s), при необходимости может быть приведена на паспортных табличках, в соответствующей документации, схемах цепей или каталогах изготовителя. Однако, если вес НКУ превышает 30 кг, он должен быть указан на паспортной табличке.
a) наименование или товарный знак изготовителя НКУ СП;
Примечание. Предприятие, осуществляющее окончательную сборку НКУ, считают его изготовителем.
b) обозначение типа или идентификационный номер, или другой знак, позволяющий получить необходимую информацию от изготовителя;
c) обозначение настоящего стандарта;
d) род тока (и частота для переменного тока);
e) номинальные рабочие напряжения по 4.1.1;
f) номинальный ток НКУ СП по 4.101;
g) степень защиты по 7.2.1;
h) номинальное напряжение изоляции по 4.1.2 и номинальное импульсное выдерживаемое напряжение по 4.1.3, если оно установлено изготовителем;
i) устойчивость к токам короткого замыкания по 7.5.2.1;
l) условия эксплуатации при специальном назначении, если они отличаются от обычных условий, указанных в 6.1;
m) вид (виды) системы (систем) заземления, принятой при проектировании НКУ СП (см. 7.4.3);
n) размеры;
o) масса (см. выше);
p) вид внутреннего разделения по 7.7;
q) типы электрических соединений функциональных блоков по 7.11;
r) коррозиестойкость по 7.1.101, если она отличается от соответствующей нормальным условиям эксплуатации;
s) функция (функции) по 2.101.
5.3. Инструкции по монтажу, эксплуатации и техническому обслуживанию
Дополнить абзацем:
Изготовитель должен снабдить НКУ специальной табличкой, прикрепленной к нему, с указанием других типов НКУ, с которыми оно может быть соединено. Для каждого типа НКУ указывается: вид используемой системы заземления или (и) необходимость координации электрозащиты в пределах электроустановки в целом.
Примечание. Изготовитель должен предоставить соответствующую документацию в интересах обеспечения мер защиты и координации защитных устройств в пределах электроустановки в целом.
6. Условия эксплуатации
6.1. Нормальные условия эксплуатации
6.1.1. Температура окружающего воздуха
6.1.1.1. Температура окружающего воздуха при внутренней установке.
Исключить.
6.1.2. Атмосферные условия
6.1.2.1. Атмосферные условия при установке внутри помещений.
Исключить.
6.1.2.3. Степень загрязнения
Применяют только степени загрязнения 3 и 4.
7. Конструктивное исполнение
7.1. Механическая часть конструкции
7.1.1. Общие положения
Дополнить абзацами:
НКУ СП должны быть низковольтными комплектными устройствами распределения и управления, полностью прошедшими типовые испытания (ПИ НКУ).
Вся аппаратура должна размещаться внутри оболочки, снабженной такими съемными частями, как панели, крышки или двери, необходимыми для подсоединений или технического обслуживания, за исключением деталей, перечисленных в 7.2.103, при условии, что они выдерживают условия эксплуатации по разделу 6, а также 7.1.101 и 7.1.102.
7.1.3.2. Последний абзац изложить в новой редакции:
Все внешние подсоединения кабелей должны быть заменяемыми либо выполнены с использованием штепсельных розеток. Штепсельные розетки должны соответствовать требованиям конкретных стандартов и быть рассчитаны на номинальный ток не менее 16 А.
Примечание. В Австралии применяют штепсельные розетки промышленного назначения с более низким номинальным током.
7.1.3.4. Примечание 2 не применяют.
7.1.3.6. Изложить в новой редакции:
Отверстия кабельных вводов, закрывающие пластины и т.д., должны быть устроены так, чтобы при надлежащей установке кабелей, включая устройства защиты от натяжения, соблюдались предписанные меры защиты от контакта с частями, находящимися под напряжением, и указанная степень защиты. Устройства для кабельных вводов выбирает изготовитель и указывает их в своих инструкциях.
7.1.101. Защита от коррозии
НКУ СП должны быть защищены от коррозии применением соответствующих материалов либо покрытием наружных поверхностей.
Коррозиеустойчивость проверяют по 8.2.102.1 и 8.2.102.2.
Испытанию по 8.2.102.1 подвергают оборудование, работающее в нормальных условиях эксплуатации, а по 8.2.102.2 - оборудование, работающее в атмосферных условиях с сильным загрязнением.
7.1.102. Механическая прочность
Конструкция НКУ СП должна выдерживать механические удары синусоидальными импульсами половинной амплитуды длительностью 11 мс с ускорением 500 м/с2 (что соответствует условиям обычной длительной перевозки незакрепленного груза автомобильным или железнодорожным транспортом).
НКУ СП должно также выдерживать удары 6 Дж, что должно имитировать ситуации механического перемещения оборудования на стройплощадке (см. ГОСТ 11478).
7.2. Оболочка и степень защиты
Изложить в новой редакции:
Степень защиты НКУ СП от контакта с частями, находящимися под напряжением, от попадания твердых посторонних предметов и жидкости обозначают кодом IP в соответствии с ГОСТ 14254. Степень защиты всех частей НКУ СП должна быть не ниже IP44 при закрытых дверях и установленных съемных панелях и закрывающих пластинах.
Вентиляционные и дренажные отверстия не должны снижать степень защиты.
Примечание. В Испании согласно нормам на электропроводку (RD 842/2002) минимальная степень защиты для оболочек, аппаратуры распределения и управления, штепсельных розеток и других элементов электроустановок, предназначенных для применения на открытых строительных площадках, должна быть IP45.
Степень защиты оперативной поверхности за дверью должна быть не ниже, чем IP21, при условии, что дверь может быть закрыта при всех условиях эксплуатации. Если дверь при эксплуатации не может быть закрыта, тогда степень защиты оперативной поверхности должна быть не ниже, чем IP44.
7.2.1.2. Не применяют.
7.2.1.3. Если не указано иное, степень защиты, указанная изготовителем, относится к НКУ СП в целом, если оно установлено в рабочем положении по инструкции изготовителя (см. также 7.1.3.6).
Штепсельные розетки, не защищенные оболочкой НКУ СП, должны иметь степень защиты не менее IP44 как в сочлененном, так и расчлененном положении.
7.2.1.4. Если степень защиты внутренней части НКУ СП отличается от степени защиты НКУ в целом, изготовитель должен отдельно указать степень защиты этой части. Например, IP44, оперативная поверхность - IP21.
Такая информация должна содержаться в каталоге или инструкции по оперированию НКУ СП или блока.
7.2.1.6. Не применяют.
7.2.101. Доступные части НКУ СП
Только штепсельные розетки, рукоятки и кнопки управления могут быть доступны без применения ключа или специального инструмента.
Орган управления вводным выключателем должен быть легко доступным (см. ГОСТ Р 50571.23 (раздел 704.537)).
7.2.102. Опоры и средства крепления НКУ СП
Каждое НКУ СП должно оснащаться опорами, позволяющими устанавливать его на горизонтальной поверхности (например, ножки, прикрепляемые или неприкрепляемые), или системой крепления его к вертикальной стене, скрепляемой с оболочкой или опорным каркасом.
Такие опоры или средства крепления должны размещаться снаружи оболочки, но быть жестко скреплены с ней. Они должны соответствовать особенностям конструкции (весу, среде и т.д.) и рабочим характеристикам НКУ СП.
Все НКУ СП должны иметь конструкцию, позволяющую минимизировать повреждение таких компонентов, как штепсельные розетки и сочленяемые с ними вилки.
Кабельный ввод должен быть на минимальном расстоянии от земли относительно радиуса кривизны наибольшего кабеля, который может быть подсоединен к НКУ СП.
7.2.103. Устройства для подъема и манипулирования НКУ СП
На НКУ СП должны быть предусмотрены кольца и/или ручки для подъема (или что-то подобное); они должны быть жестко скреплены с оболочкой или опорным каркасом.
7.4. Защита от поражения электрическим током
7.4.2. Защита от прямого прикосновения к токоведущим частям (см. 2.6.8)
Изложить в новой редакции:
Защита от прямого прикосновения к токоведущим частям может быть обеспечена конструкцией самого НКУ СП. Из приведенных ниже мер защиты может быть выбрана одна или несколько с учетом требований, изложенных в настоящем разделе.
7.4.2.2.1. Изложить в новой редакции:
Все внешние поверхности должны иметь степень защиты не ниже указанной в 7.2.1.1. Расстояние между токоведущими частями и механическими устройствами, которые их защищают, должно быть не меньше значений воздушных зазоров и расстояний утечки по 7.1.2, если эти механические устройства не выполнены из изоляционного материала.
7.4.2.2.3. Перечисление d) не применяют.
7.4.2.3. Защита путем создания препятствий
Исключить.
7.4.3. Защита от косвенного прикосновения к токоведущим частям
Изложить в новой редакции:
Потребитель обязан указывать защитные меры, применяемые им в электроустановке. Кроме того, при этом должны выполняться требования ГОСТ Р 50571.23 в части защиты от косвенного прикосновения к токоведущим частям для электроустановки в целом.
7.4.3.1.1. Второй абзац исключить.
7.4.3.1.5. Перечисление e) изложить в новой редакции:
e) если оболочка НКУ СП является частью защитной цепи, должны выполняться следующие условия:
- непрерывность электрической цепи должна быть защищена от механических, химических и электрохимических воздействий;
- проводимость должна быть не менее указанной в 7.4.3.1.7;
- должно быть возможно подсоединение дополнительных защитных проводников в любой заранее подготовленной точке отвода.
Перечисление f) дополнить предложением:
При применении штепсельных соединителей важно предусмотреть подсоединение защитного проводника между главными выводами заземления НКУ СП и выводами заземления штепсельных соединителей.
7.4.3.1.7. Дополнить перечислением c):
c) площадь поперечного сечения каждого защитного проводника внутри НКУ СП, который не является частью кабеля и не проходит в трубопроводе, не должна превышать 2,5 мм2.
7.4.3.2.2. Полная изоляция
Перечисление f) исключить.
7.4.5. Служебные проходы внутри НКУ, оперативные и для технического обслуживания
Исключить.
7.4.6. Обеспечение доступа для технического обслуживания НКУ квалифицированным персоналом
Исключить.
7.5. Защита от короткого замыкания и стойкость к токам короткого замыкания
7.5.1. Общие положения
Последний абзац не применяют.
7.5.2. Сведения, касающиеся стойкости НКУ к токам короткого замыкания
7.5.2.2. Не применяют.
7.5.2.3. Не применяют.
7.5.4. Координация устройств для защиты от токов короткого замыкания
7.5.4.1. Изложить в новой редакции:
Условия координации устройств защиты должны быть согласованы между изготовителем и потребителем до подписания контракта. Сведения, приводимые в информационных материалах изготовителем, могут использоваться в качестве такого соглашения без проведения переговоров (см. 101.1).
7.6. Встроенные в НКУ коммутационные аппараты и комплектующие элементы
7.6.1. Выбор коммутационных аппаратов и комплектующих элементов
Заменить обозначение пункта 7.6.1 ГОСТ Р 51321.1 на перечисление a).
Дополнить перечислениями:
b) Вилки на разные номинальные токи или напряжения не должны быть взаимозаменяемыми во избежание ошибочных соединений (см. ГОСТ Р 51323.1 и ГОСТ Р 51323.2).
c) Соединения для трехфазных штепсельных розеток должны быть выполнены так, чтобы сохранялся один и тот же порядок фаз.
7.7. Внутреннее разделение НКУ с помощью ограждений или перегородок
Два последних абзаца исключить.
Дополнить новым абзацем:
В одной оболочке должно устанавливаться оборудование, имеющее один и тот же силовой источник питания, исключение составляют цепи управления и сигнализации и питание от резервных источников (см. также ГОСТ Р 50571.23 (704.313.1.3)). Однако номинальное напряжение функциональных блоков внутри оболочки может быть неодинаковым.
7.8. Требования к цепям питания электронного оборудования
7.9.101. Если условия строительной площадки более жесткие, чем указано в ГОСТ Р 51321.1 (7.9.1 - 7.9.4), их квалифицируют как особые условия эксплуатации, поэтому характеристики электронного оборудования и источников питания для него указывают по соглашению между изготовителями НКУ СП и электронного оборудования.
8. Виды и методы испытаний
8.1. Классификация испытаний
8.1.1. Типовые испытания (см. 8.2)
Дополнить перечислениями:
h) проверка механической прочности (8.2.101);
i) проверка коррозиестойкости (8.2.102).
8.2. Типовые испытания
8.2.1.1. Общие положения
Шестой и седьмой абзацы исключить.
Таблицу 7 изложить в новой редакции:
Таблица 7
Виды проверок и испытаний, которым подвергают НКУ СП
┌──────────────────────────┬────────────┬─────────────────────────────────┐
│Проверяемая характеристика│Пункт ГОСТ Р│ Вид проверки и испытания │
│ │ 51321.1 │ │
├──────────────────────────┼────────────┼─────────────────────────────────┤
│ 1. Предельные значения │ 8.2.1 │ Проверка предельных значений │
│превышения температуры │ │превышения температуры в процессе│
│ │ │типовых испытаний │
├──────────────────────────┼────────────┼─────────────────────────────────┤
│ 2. Электроизоляционные │ 8.2.2 │ Проверка электроизоляционных │
│свойства │ │свойств в процессе типовых │
│ │ │испытаний │
├──────────────────────────┼────────────┼─────────────────────────────────┤
│ 3. Стойкость к токам │ 8.2.3 │ Проверка стойкости к токам │
│короткого замыкания │ │короткого замыкания в процессе │
│ │ │типовых испытаний │
├──────────────────────────┼────────────┼─────────────────────────────────┤
│ 4. Эффективность │ 8.2.4 │ │
│срабатывания цепи защиты │ │ │
│ 4.1. Надежность │ 8.2.4.1 │ Проверка надежности соединения │
│соединения открытых │ │открытых токопроводящих частей │
│токопроводящих частей НКУ │ │НКУ с цепью защиты путем осмотра │
│с цепью защиты │ │или измерения сопротивления │
│ │ │в процессе типовых испытаний │
│ 4.2. Эффективность │ 8.2.4.2 │ Проверка эффективности │
│срабатывания цепи защиты │ │срабатывания цепи защиты при │
│при коротком замыкании │ │коротком замыкании в процессе │
│ │ │типовых испытаний │
├──────────────────────────┼────────────┼─────────────────────────────────┤
│ 5. Воздушные зазоры │ 8.2.5 │ Проверка размеров воздушных │
│и расстояния утечки │ │зазоров и расстояний утечки │
│ │ │в процессе типовых испытаний │
├──────────────────────────┼────────────┼─────────────────────────────────┤
│ 6. Механическая │ 8.2.6 │ Проверка механической │
│работоспособность │ │работоспособности в процессе │
│ │ │типовых испытаний │
├──────────────────────────┼────────────┼─────────────────────────────────┤
│ 7. Степень защиты │ 8.2.7 │ Проверка степени защиты │
│ │ │в процессе типовых испытаний │
├──────────────────────────┼────────────┼─────────────────────────────────┤
│ 8. Механическая прочность│8.2.101 <*> │ Проверка механической прочности │
│ │ │в процессе типовых испытаний │
├──────────────────────────┼────────────┼─────────────────────────────────┤
│ 9. Коррозиестойкость │8.2.102 <*> │ Проверка коррозиестойкости │
│ │ │в процессе типовых испытаний │
├──────────────────────────┼────────────┼─────────────────────────────────┤
│ 10. Монтаж, опробование │ 8.3.1 │ Осмотр НКУ, включающий в себя │
│функционирования │ │проверку монтажа и, при │
│ │ │необходимости, опробование │
│ │ │функционирования в процессе │
│ │ │приемо-сдаточных испытаний │
├──────────────────────────┼────────────┼─────────────────────────────────┤
│ 11. Изоляция │ 8.3.2 │ Проверка электрической прочности│
│ │ │изоляции в процессе приемо- │
│ │ │сдаточных испытаний │
├──────────────────────────┼────────────┼─────────────────────────────────┤
│ 12. Средства защиты │ 8.3.3 │ Проверка средств защиты и │
│ │ │электрической непрерывности цепей│
│ │ │защиты в процессе приемо- │
│ │ │сдаточных испытаний │
├──────────────────────────┴────────────┴─────────────────────────────────┤
│ <*> Указаны пункты настоящего стандарта. │
│ │
│ Примечание. Виды проверок и испытаний проводят с учетом указаний по│
разделу 8 настоящего стандарта. │
└─────────────────────────────────────────────────────────────────────────┘
8.2.2.1. Общие положения
Второй абзац исключить.
8.2.3.2.6. Исключить.
8.2.101. Проверка механической прочности
8.2.101.1. Общие положения
a) Данным испытаниям подвергают испытательный образец НКУ в состоянии эксплуатации, но при отключении от источника питания.
Испытательный образец должен быть полностью освобожден от упаковки.
b) Испытания включают две разные процедуры:
- испытание на удар;
- испытание на воздействие вибрации.
Испытания проводят при температуре окружающего воздуха (20 +/- 5) °C, после того как образец НКУ выдерживался при этой температуре не менее 12 ч.
8.2.101.2. Испытание на удар
a) Принцип испытания
Собранное НКУ СП (со всеми компонентами, установленными внутри) подвергают серии ударов 6 Дж, прикладываемых к оболочке (не к компонентам внутри) по 7.1.102.
b) Методика испытания
Испытуемое оборудование должно фиксироваться на опоре соответствующей жесткости, ограничивающей смещение НКУ СП до 0,1 мм под действием предписанных ударов. К каждой поверхности испытуемого НКУ СП прикладывают последовательно три удара одним из следующих способов:
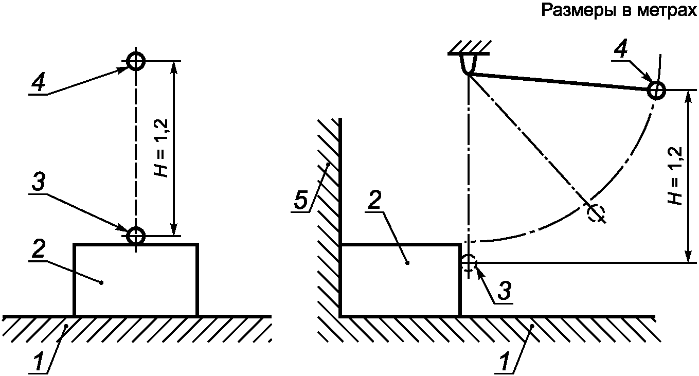
1) твердым гладким стальным шариком диаметром приблизительно 50 мм и массой (500 +/- 25) г, который из неподвижного положения свободно падает вертикально с высоты 1,2 м на поверхность оболочки, расположенную в горизонтальной плоскости.
Твердость шарика должна быть не менее 50 HR и не более 58 HR; или
2) аналогичным стальным шариком, подвешенным на шнуре в качестве маятника для нанесения горизонтальных ударов при падении с вертикальной высоты 1,2 м.
Испытательная установка представлена на рисунке 101.
Наклонные поверхности подвергают испытанию с маятниковым устройством, при необходимости испытуемую поверхность располагают в горизонтальной плоскости поворотом испытуемого образца на опоре; испытание проводят в соответствии с перечислением 1). Перед каждым испытанием проводят осмотр шарика с целью проверки отсутствия заусенцев и дефектов.
Испытание должно быть отлажено так, чтобы удары прикладывались в наиболее слабых местах поверхностей НКУ СП. Всего следует приложить 18 ударов.
Испытанию не подвергают такие компоненты, как штепсельные розетки, приводные рукоятки, осветительные фонари, кнопки, органы управления и т.д., если эти компоненты установлены утопленными по отношению к основным поверхностям так, чтобы расстояние между наиболее выступающими частями этих компонентов и упомянутыми поверхностями составляло не менее 1 см.
c) Оценка результатов испытаний
После испытания оболочка должна продолжать обеспечивать степени защиты, указанные в 7.2.1.1, при этом любые искривления и деформации оболочки и компонентов не должны ни нарушить должное функционирование НКУ СП, ни снизить воздушные зазоры и расстояния утечки ниже требуемых значений; органы управления, рукоятки и т.п. должны остаться в рабочем состоянии.
Примечание. Искривление или деформацию пластмассовых частей, которое можно вернуть в первоначальное состояние простым действием (например, открыванием или закрыванием крышки), не считают способным нарушить должное функционирование НКУ СП.
Поверхностные повреждения, снятие краски, разрушение охлаждающих ребер или аналогичных частей, небольшие зазубрины, трещины, невидимые нормальным или скорректированным зрением, без дальнейшего увеличения, или поверхностные трещины не являются причиной для отбраковки при испытании.
8.2.101.3. Испытание на воздействие вибрации
a) Принцип испытания
НКУ СП подвергают одиночному удару полуамплитудной синусоидальной волны с ускорением 500 м/с2 (50 г) длительностью 11 мс.
b) Методика испытания
НКУ СП в состоянии эксплуатации следует испытывать по ГОСТ 11478. По соглашению между изготовителем и потребителем испытание можно проводить на отдельных секциях НКУ СП.
c) Оценка результатов испытаний
Оценку результатов испытаний проводят по перечислению c) 8.2.101.2.
8.2.102. Проверка коррозиестойкости
Стойкость НКУ СП к коррозии проверяют в процессе следующих испытаний.
8.2.102.1. Проверка коррозиестойкости в нормальных условиях эксплуатации
a) Принцип испытания
Собранное НКУ СП помещают в климатическую камеру в указанном положении установки или монтажа и выдерживают в условиях изменения температуры и влажности.
b) Методика испытания и атмосферные условия испытания
Испытание проводят в трех циклах, каждый из которых длится 24 ч. Изменения температуры и влажности для каждого цикла приведены на рисунке 102.
c) Оценка результатов испытаний
НКУ СП считают успешно выдержавшими испытание, если:
- отсутствуют следы коррозии как внутри, так и снаружи (не считая острых краев);
- отсутствуют повреждения, возникшие в результате конденсации влаги в электроустановке, проверяемые в процессе испытания по 8.2.2.
8.2.102.2. Проверка коррозиестойкости в атмосферных условиях сильного загрязнения
a) Принцип испытания
Данное испытание предназначено для оценки воздействия коррозии в промышленных атмосферных условиях, т.е. в условиях загрязнения двуокисью серы.
Собранное НКУ СП помещают в такие условия на десять дней.
b) Методика испытания и атмосферные условия испытания
Собранное НКУ СП испытывают в соответствии с ГОСТ 28226.
c) Оценка результатов испытания
НКУ СП считают успешно выдержавшими испытание, если:
- отсутствуют следы коррозии как внутри, так и снаружи (не считая острых краев);
- отсутствуют повреждения, возникшие в электроустановке, проверяемые в процессе испытания по 8.2.2 спустя 24 ч после извлечения НКУ СП из испытательной камеры.
8.2.102.3. Альтернативное испытание
В качестве альтернативного испытания собранного НКУ СП по 8.2.101.1 и 8.2.102.2 можно провести испытание на испытательном образце оборудования, представляющем собой по одному образцу каждого типа блоков, содержащихся в рассматриваемом НКУ СП, со всеми видами материалов, имеющих одинаковое покрытие поверхности и степень защиты от коррозии, электрическую и механическую конструкции, аналогичные рассматриваемому НКУ СП.
8.3.2. Электроизоляционные испытания
Второй абзац исключить.
8.3.4. Проверка сопротивления изоляции
Исключить.
101. Дополнительные характеристики НКУ СП
101.1. Общие требования и функции
НКУ СП состоит из одного блока ввода и одного или нескольких блоков вывода и может содержать измерительный блок (блоки) и трансформаторный блок (блоки).
Блок (блоки) вывода могут обеспечивать разные функции, например подача питания к другим НКУ СП, осветительным цепям, станкам или электроинструментам или другому оборудованию строительной площадки.
НКУ СП могут быть также предназначены для подсоединения к электроустановке или части электроустановки в форме серии совместимых НКУ СП. Кроме всех своих характеристик, они также соответствуют всем нормам защиты от поражения электрическим током и, при возможности, обеспечивают селективную защиту по выбору, например отключающей способности, токовой уставки и времени срабатывания.
Эти характеристики устанавливаются изготовителем или соглашением между изготовителем и потребителем с учетом вида источника питания и/или электросети и соответствующих требований к электроустановке.
101.2. Блок ввода
Средства кабельного подсоединения (выводы, соединительные устройства, соединители или вилки и штепсельные розетки) должны быть совместимы с параметрами тока НКУ. Следует предусмотреть разъединительное устройство и устройство для защиты от сверхтока. Необходимо предусмотреть средство блокировки разъединительного устройства в разомкнутом положении. Наличие устройства для защиты от сверхтока не обязательно, если НКУ питается от другого НКУ, т.е. имеет соответствующую защиту.
Примечание. Согласно ГОСТ Р 50571 вилки и штепсельные розетки могут быть использованы в качестве разъединительных устройств.
101.3. Измерительный блок
Измерительный блок должен разрабатываться энергоснабжающей организацией или по согласованию с ней, если в нем предусмотрено размещение измерительных устройств учета потребленной электроэнергии для оплаты потребителями. Измерительный блок, не предназначенный для этих целей, может не разрабатываться энергоснабжающей организацией и не согласовываться с ней.
101.4. Трансформаторный блок
Трансформаторный блок может содержать блоки трансформатора сверхнизкого напряжения (СНН) и разделительного трансформатора.
101.4.1. Блок сверхнизкого напряжения
Данный блок может быть либо безопасного сверхнизкого напряжения (БСНН), либо защитного сверхнизкого напряжения (ЗСНН).
Соответствует требованиям ГОСТ Р МЭК 61140, ГОСТ Р 50571.3 (раздел 411), МЭК 61201 [1].
Примечание. ЗСНН рекомендуется применять только при нагреве бетона.
Блоки сверхнизкого напряжения в основном состоят из:
a) устройств защиты и управления первичной цепи;
b) трансформатора, соответствующего МЭК 61558-2-23 [2];
c) устройств защиты и управления для выходных цепей.
101.4.2. Блок разделительного трансформатора
Соответствует требованиям ГОСТ Р 50571.3 (раздел 413).
Каждый блок разделительного трансформатора в основном состоит из:
a) устройств защиты и управления первичной цепи;
b) разделительного трансформатора по МЭК 61558-1 [3];
c) устройств защиты и управления для выходных цепей;
d) выходов либо выводов, или штепсельных розеток; штепсельные розетки должны быть защищены согласно (перечислению d) 101.5.
Независимо от указания в перечислении b), трансформатор не считают разделительным, если его нейтральная точка соединена кабелем с выводом заземления снаружи оболочки. Наличие такого кабеля указывается на табличке, размещенной внутри оболочки у вывода. В этом случае также действуют перечисления a), c) и d).
101.5. Блок вывода
Каждый блок состоит из одной или нескольких выходных цепей:
a) устройств для разъединения, коммутации нагрузки, защиты от сверхтока и защиты от непрямого контакта с токоведущими частями. Данные функции могут обеспечиваться одним или несколькими устройствами;
b) устройств для коммутации нагрузки, легко доступных без помощи ключа или инструмента;
c) коммутационных устройств, которые должны срабатывать одновременно во всех полюсах и соединять все фазные проводники. Коммутация нейтрального проводника по МЭК 60364-5-53 (раздел 536) [4];
d) штепсельных розеток, которые должны быть защищены:
- от прямого или непрямого контакта с токоведущими частями по ГОСТ Р 50571.23 (раздел 704-471);
Примечания
1. Если в качестве устройства защиты применяют УДТ, то одно УДТ может защищать несколько штепсельных розеток. Однако следует учитывать явление ложного срабатывания, например, если УДТ защищает более 6 штепсельных розеток.
2. При использовании УДТ следует учитывать вид нагрузки, например присутствие токов высокой частоты и/или составляющих постоянного тока.
- от сверхтоков с помощью защитных устройств на номинальные токи не более номинального тока штепсельной розетки. Одно защитное устройство может защищать более одной штепсельной розетки.
Примечание. Следует учитывать явление ложного срабатывания, например, если УДТ защищает более одной штепсельной розетки.
1 - жесткая опорная поверхность; 2 - испытательный образец;
3 - положение ударного элемента в момент удара;
4 - начальное положение ударного элемента;
5 - жесткая задняя опорная поверхность
Рисунок 101. Испытание на удар с применением
ударного элемента
Рисунок 102. Диаграммы температуры и влажности
Приложение ДА
(обязательное)
ДОПОЛНИТЕЛЬНЫЕ ТРЕБОВАНИЯ,
УЧИТЫВАЮЩИЕ ПОТРЕБНОСТИ ЭКОНОМИКИ СТРАНЫ
И ТРЕБОВАНИЯ НАЦИОНАЛЬНЫХ СТАНДАРТОВ
НА ЭЛЕКТРОТЕХНИЧЕСКИЕ ИЗДЕЛИЯ
(Эти требования являются дополнительными относительно требований международного стандарта МЭК 60439-4 и приведены для учета основополагающих стандартов, действующих в Российской Федерации и устанавливающих требования в части внешних воздействующих факторов, порядок постановки продукции на производство, а также другие требования).
Дополнительные требования, учитывающие потребности экономики и требования национальных стандартов Российской Федерации на электротехнические изделия, - по ГОСТ Р 51321.1 (приложение K).
Приложение ДБ
(справочное)
СВЕДЕНИЯ О СООТВЕТСТВИИ ССЫЛОЧНЫХ НАЦИОНАЛЬНЫХ
И МЕЖГОСУДАРСТВЕННЫХ СТАНДАРТОВ МЕЖДУНАРОДНЫМ СТАНДАРТАМ,
ИСПОЛЬЗОВАННЫМ В КАЧЕСТВЕ ССЫЛОЧНЫХ В ПРИМЕНЕННОМ
МЕЖДУНАРОДНОМ СТАНДАРТЕ
Таблица ДБ.1
Обозначение ссылочного
национального,
межгосударственного
стандарта
Степень
соответ-
ствия
Обозначение и наименование ссылочного
международного стандарта
(МЭК 364-4-41:2005)
NEQ
МЭК 60364-4-41:2005 "Электроустановки
зданий. Часть 4-41. Защита для
обеспечения безопасности. Защита
от поражения электрическим током"
(МЭК 60364-7-704:1989)
MOD
МЭК 60364-7-704:1989 "Электроустановки
зданий. Часть 7. Требования к
специальным электроустановкам. Раздел
704. Монтаж и демонтаж электроустановок
для строительных площадок"
(МЭК 60439-1:2004)
MOD
МЭК 60439-1:1999 "Устройства
комплектные низковольтные распределения
и управления. Часть 1. Устройства,
испытанные полностью или частично.
Общие технические требования и методы
испытаний"
(МЭК 60309-1:1999)
MOD
МЭК 60309-1:1999 "Вилки, штепсельные
розетки и соединительные устройства
промышленного назначения. Часть 1.
Общие требования"
(МЭК 60309-2:1999)
MOD
МЭК 60309-2:1999 "Вилки, штепсельные
розетки и соединительные устройства
промышленного назначения. Часть 2.
Требования к взаимозаменяемости размеров
штырей и контактных гнезд соединителей"
(МЭК 61140:1997)
NEQ
МЭК 61140:2001 "Защита от поражения
электрическим током. Общие положения
по безопасности, обеспечиваемой
электроустановками и
электрооборудованием в их взаимосвязи"
ГОСТ 11478-88
(МЭК 68-2-27-87)
NEQ
МЭК 60068-2-27:1987 "Испытания на
воздействие внешних факторов. Часть 2.
Испытания. Испытание Ea и руководство.
Механический удар"
(МЭК 529-89)
NEQ
МЭК 60529:2001 "Степени защиты,
обеспечиваемые корпусами (Код IP)"
ГОСТ 28226-89
(МЭК 68-2-42-82)
NEQ
МЭК 60068-2-42:2003 "Испытания
на воздействие внешних факторов.
Часть 2-42. Испытания. Испытание Kc.
Испытание контактов и их соединений
двуокисью серы"
Примечание. В настоящей таблице использованы следующие условные
обозначения степени соответствия стандартов:
- MOD - модифицированные стандарты;
- NEQ - неэквивалентные стандарты.
БИБЛИОГРАФИЯ
[1] МЭК 61201:1992 Сверхнизкое напряжение (СНН). Предельные
значения
(IEC 61201:1992. Extra-low voltage (ELV) -
Limit values)
[2] МЭК 61558-2-23:2000 Безопасность силовых трансформаторов, силовых
блоков питания и аналогичных устройств.
Часть 2-23. Дополнительные требования к
трансформаторам для строительных площадок
(IEC 61558-2-23. Safety of power transformers,
power supply units and similar devices -
Part 2-23: Particular requirements for
transformers for construction sites)
[3] МЭК 61558 (все части) Безопасность силовых трансформаторов, силовых
блоков питания и аналогичных устройств
(IEC 61558 (all parts). Safety of power
transformers, power supply units and similar
devices)
[4] МЭК 60364-5-53:2001 Электроустановки зданий. Часть 5-53. Выбор
и монтаж электрооборудования. Разъединение,
коммутация и управление
(IEC 60364-5-53:2001. Electrical installations
of buildings - Part 5-53; Selection and erection
of electrical equipment - Isolation, switching
and control)