Главная // Актуальные документы // ГОСТ Р (Государственный стандарт)СПРАВКА
Источник публикации
М.: Издательство стандартов, 1993
Примечание к документу
Документ включен в
Перечень документов в области стандартизации, в результате применения которых на добровольной основе обеспечивается соблюдение требований Федерального
закона от 22.07.2008 N 123-ФЗ "Технический регламент о требованиях пожарной безопасности" (
Приказ Росстандарта от 14.07.2020 N 1190).
Документ включен в
Перечень документов в области стандартизации, в результате применения которых на добровольной основе обеспечивается соблюдение требований Федерального
закона от 22.07.2008 N 123-ФЗ "Технический регламент о требованиях пожарной безопасности" (
Приказ Росстандарта от 03.06.2019 N 1317).
Документ включен в
Перечень документов в области стандартизации, в результате применения которых на добровольной основе обеспечивается соблюдение требований Федерального
закона от 22.07.2008 N 123-ФЗ "Технический регламент о требованиях пожарной безопасности" (
Приказ Росстандарта от 17.04.2019 N 832).
Документ включен в
Перечень документов в области стандартизации, в результате применения которых на добровольной основе обеспечивается соблюдение требований Федерального
закона от 22.07.2008 N 123-ФЗ "Технический регламент о требованиях пожарной безопасности" (
Приказ Росстандарта от 16.04.2014 N 474).
Документ включен в
Перечень национальных стандартов и сводов правил, в результате применения которых на добровольной основе обеспечивается соблюдение требований Федерального
закона от 22.07.2008 N 123-ФЗ "Технический регламент о требованиях пожарной безопасности" (
Приказ Ростехрегулирования от 30.04.2009 N 1573).
Документ включен в
Перечень национальных стандартов, содержащих правила и методы исследований (испытаний) и измерений, в том числе правила отбора образцов, необходимых для применения и исполнения Федерального
закона от 22.07.2008 N 123-ФЗ "Технический регламент о требованиях пожарной безопасности" и осуществления оценки соответствия (
Распоряжение Правительства РФ от 10.03.2009 N 304-р).
С 1 июля 2003 года до вступления в силу технических регламентов акты федеральных органов исполнительной власти в сфере технического регулирования носят рекомендательный характер и подлежат обязательному исполнению только в части, соответствующей целям, указанным в
пункте 1 статьи 46 Федерального закона от 27.12.2002 N 184-ФЗ.
Введен в действие с 1 января 1994 года.
Взамен ГОСТ 12962-80.
Название документа
"ГОСТ Р 50409-92. Генераторы пены средней кратности. Технические условия"
(утв. Постановлением Госстандарта РФ от 25.11.1992 N 1512)
"ГОСТ Р 50409-92. Генераторы пены средней кратности. Технические условия"
(утв. Постановлением Госстандарта РФ от 25.11.1992 N 1512)
Утвержден и введен в действие
Постановлением Госстандарта РФ
от 25 ноября 1992 г. N 1512
ГОСУДАРСТВЕННЫЙ СТАНДАРТ РОССИЙСКОЙ ФЕДЕРАЦИИ
ГЕНЕРАТОРЫ ПЕНЫ СРЕДНЕЙ КРАТНОСТИ
ТЕХНИЧЕСКИЕ УСЛОВИЯ
Medium expansion foam-making branch pipes.
Specifications
ГОСТ Р 50409-92
Дата введения
1 января 1994 года
1. Разработан и внесен ТК 274 "Пожарная безопасность".
Разработчики: А.В. Макеев; В.Ф. Федотов; В.В. Бабак; Г.М. Павелко (руководитель темы); И.В. Герасимчук; Д.И. Юрченко.
2. Утвержден и введен в действие Постановлением Госстандарта России от 25.11.1992 N 1512.
3. Срок проверки - 1998 г.
Периодичность проверок - 5 лет.
5. Ссылочные нормативно-технические документы
─────────────────────────────────────────┬────────────────────────
Обозначение НТД, на который дана ссылка │ Номер пункта
─────────────────────────────────────────┼────────────────────────
ИС МЕГАНОРМ: примечание.
29.02.1996 N 130 с 1 июля 1996 года введен в действие
ИС МЕГАНОРМ: примечание.
Взамен ГОСТ 1583-89 Постановлением Госстандарта РФ от
19.06.1996 N 402 с 1 января 1997 года введен в действие
ИС МЕГАНОРМ: примечание.
Взамен ГОСТ 16093-81 Приказом Ростехрегулирования от
02.03.2005 N 39-ст с 1 июля 2005 года введен в действие
ИС МЕГАНОРМ: примечание.
Взамен ГОСТ 23676-79 Постановлением Госстандарта РФ от
27.03.1992 N 294 с 1 января 1994 года введен в действие
ИС МЕГАНОРМ: примечание.
Взамен ГОСТ 24705-81 Приказом Ростехрегулирования от
02.03.2005 N 36-ст с 1 июля 2005 года введен в действие
Настоящий стандарт распространяется на генераторы пены (далее - генераторы), предназначенные для получения из водного раствора пенообразователя воздушно-механической пены средней кратности.
Стандарт не распространяется на генераторы, предназначенные для работы на морской воде.
Требования
разд. 1 -
5;
пп. 6.1;
6.2;
6.4;
6.5;
разд. 7 -
9 настоящего стандарта являются обязательными, другие требования настоящего стандарта - рекомендуемыми.
1. ОСНОВНЫЕ ПАРАМЕТРЫ И РАЗМЕРЫ
1.1. Генераторы должны изготовляться в климатических исполнениях У, ХЛ и Т для категории размещения 1 по
ГОСТ 15150.
1.2. Основные параметры и размеры генераторов должны соответствовать значениям, приведенным в таблице и
черт. 1 -
3.
──────────────────────────────────┬───────────────────────────────
Наименование параметра │ Значения для типоразмера
├─────────┬─────────┬───────────
│ ГПС-200 │ ГПС-600 │ ГПС-2000
──────────────────────────────────┼─────────┼─────────┼───────────
Производительность по пене, л/с │ 200 │ 600 │ 2000
Расход 4 - 6%-го раствора │1,6 - 2,0│4,8 - 6,0│16,0 - 20,0
пенообразователя типа ПО-1Д, л/с │ │ │
Давление перед распылителем, │ 0,4 - 0,6 (4 - 6)
МПа (кгс/см2) │
Кратность пены │ 100 +/- 30
Дальность подачи пены, м, │ 10 │ 13
не менее │ │
Высота подачи пены, м, не менее │ 3 │ 5 │ 6
Габаритные размеры, мм, не более:│ │ │
длина L │ 485 │ 610 │ 1060
высота H │ 230 │ 353 │ 510
Масса, кг, не более │ 2,40 │ 4,45 │ 13,00
Примечания. 1. Производительность по пене - произведение расхода на кратность пены.
2. Производительность указана при максимальных значениях расхода раствора пенообразователя и кратности пены 100.
3. Кратность пены - отношение количества полученной пены к количеству исходного раствора.
4. Кратность пены, дальность и высота подачи пены указаны при давлении перед генератором 0,6 МПа (6 кгс/см2).
5. Пенообразователь - по ТУ 38-10799.
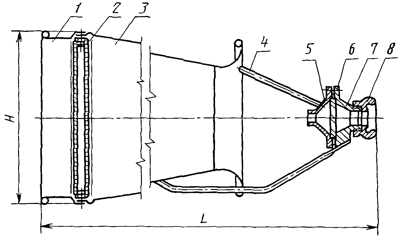
Генератор средней кратности ГПС-200
1 - насадок; 2 - кассета сеток; 3 - корпус генератора;
4 - корпус распылителя; 5 - распылитель;
6 - соединительная головка ГМ-50
Черт. 1
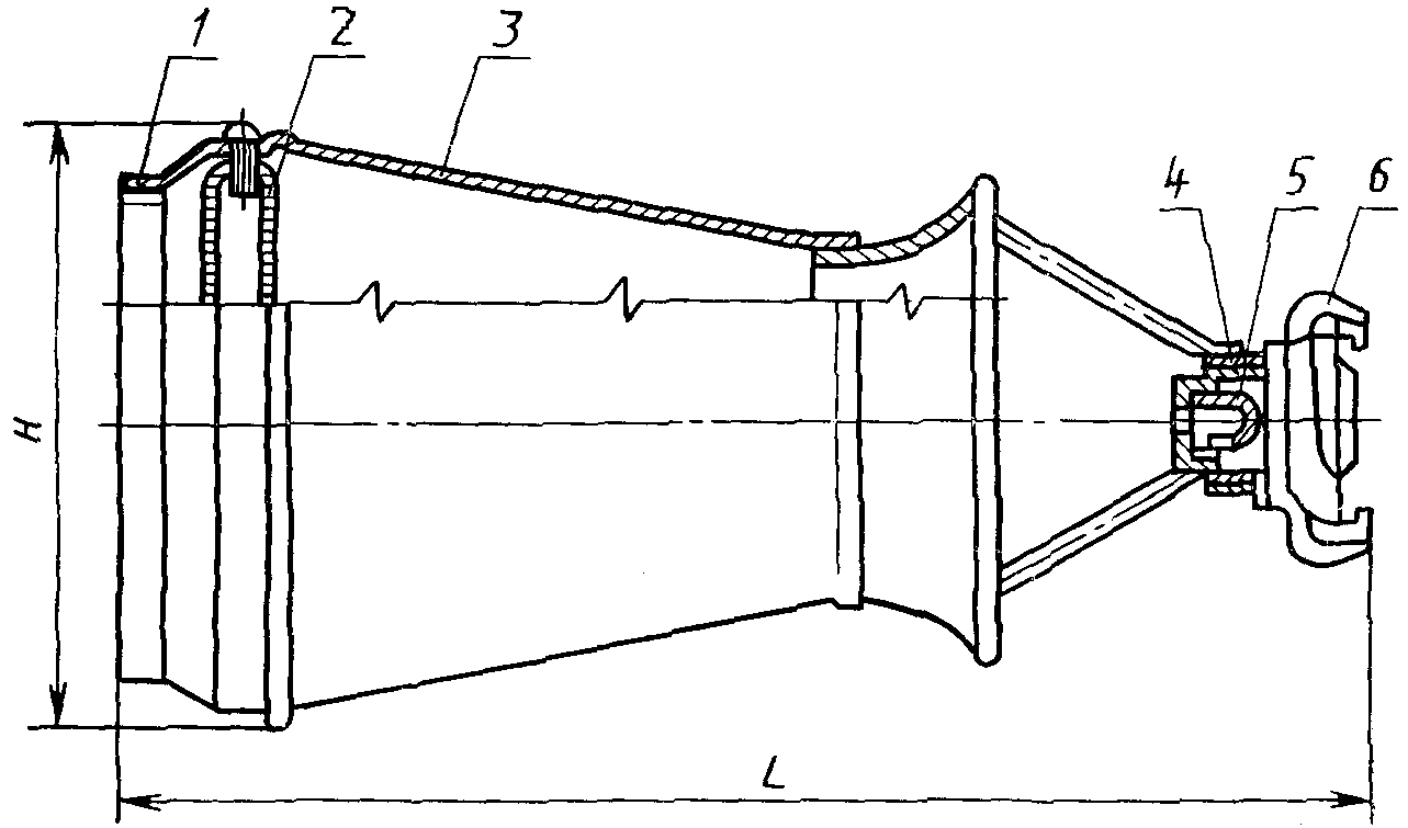
Генератор пены средней кратности ГПС-600
1 - насадок; 2 - кассета сеток; 3 - корпус генератора;
4 - корпус распылителя; 5 - распылитель;
6 - соединительная головка ГМ-70; 7 - ремень; 8 - ручка
Черт. 2
Генератор пены средней кратности ГПС-2000
1 - насадок; 2 - кассета сеток; 3 - корпус генератора;
4 - стойка (ручка); 5 - сопло; 6 - распылитель;
7 - корпус распылителя; 8 - соединительная головка ГМ-80
Черт. 3
Примечание.
Черт. 1 - 3 не определяют конструкцию генераторов.
Пример условного обозначения генератора типоразмера ГПС-600 исполнения У:
Генератор ГПС-600 У ГОСТ Р 50409-92
исполнения ХЛ:
Генератор ГПС-600 ХЛ ГОСТ Р 50409-92
исполнения Т:
Генератор ГПС-600 Т ГОСТ Р 50409-92
2. ТЕХНИЧЕСКИЕ ТРЕБОВАНИЯ
2.1. Генераторы должны изготовляться в соответствии с требованиями настоящего стандарта,
ГОСТ 12.2.037 по чертежам, утвержденным в установленном порядке.
2.2. Генераторы должны выдерживать гидравлическое давление

(

). При этом не допускается появление следов воды (в виде капель) на наружных поверхностях корпусов распылителей и течь в местах соединений.
2.3. При работе генератора должно обеспечиваться полное заполнение пеной контура выхода из насадка.
2.4. Сетки генератора должны быть прочно закреплены в корпусах и равномерно натянуты.
Прогиб натянутых сеток от груза массой (2 +/- 0,1) кг, расположенного на площади 40 см2 в центре сетки, а также после испытаний гидравлическим давлением перед распылителем 0,9 - 1,0 МПа (9 - 10 кгс/см2) должен быть не более:
2 мм - для ГПС-200;
5 мм - для ГПС-600;
10 мм - для ГПС-2000.
2.5. Для кассеты должна быть применена сетка с номинальным размером стороны ячейки в свету 0,8 - 1,2 мм по
ГОСТ 3826, изготовленная из проволоки диаметром 0,3 - 0,4 мм из высоколегированной стали, или сетка по
ГОСТ 6613 из полутомпаковой проволоки с таким же размером стороны ячейки и диаметром проволоки.
2.6. Генераторы ГПС-600, предназначенные для комплектации пожарной техники, должны иметь плечевой ремень и ручку 8
(черт. 2).
2.7. Корпуса генераторов не должны иметь вмятин и других повреждений.
| | ИС МЕГАНОРМ: примечание. Взамен ГОСТ 1583-89 Постановлением Госстандарта РФ от 19.06.1996 N 402 с 1 января 1997 года введен в действие ГОСТ 1583-93. | |
2.8. Литые детали генераторов должны быть изготовлены из алюминиевого сплава марки АК7 (АК7) или АК7ч (АЛ9) по ГОСТ 1583 или из сплавов других марок с механическими и антикоррозионными свойствами, не уступающими указанным сплавам.
2.9. Предельные отклонения размеров отливок деталей генераторов, мм:
+/- 0,6 - для номинальных размеров до 60 мм включ.
+/- 0,7 " " " св. 60 до 100 мм включ.
+/- 0,8 " " " св. 100 до 160 мм "
+/- 0,9 " " " св. 160 до 250 мм "
2.10. Поверхности литых деталей не должны иметь трещин, посторонних включений и других дефектов, влияющих на прочность и герметичность генераторов и ухудшающих внешний вид.
2.11. Сварные швы не должны иметь посторонних включений, наплывов, непроваров и прожогов.
| | ИС МЕГАНОРМ: примечание. Взамен ГОСТ 16093-81 Приказом Ростехрегулирования от 02.03.2005 N 39-ст с 1 июля 2005 года введен в действие ГОСТ 16093-2004. | |
| | ИС МЕГАНОРМ: примечание. Взамен ГОСТ 24705-81 Приказом Ростехрегулирования от 02.03.2005 N 36-ст с 1 июля 2005 года введен в действие ГОСТ 24705-2004. | |
2.12. Метрические резьбы должны выполняться по ГОСТ 24705 с полями допусков по ГОСТ 16093: 7H - для внутренних резьб и 8g - для наружных резьб.
Трубные цилиндрические резьбы - по
ГОСТ 6357, класс B.
Резьбы должны быть полного профиля, без вмятин, забоин, подрезов и сорванных ниток.
Не допускаются местные срывы, выкрашивания и дробления резьбы общей длиной более 10% длины нарезки, при этом на одном витке - более 0,2 его длины.
2.13. Стальные детали генераторов, кроме изготовляемых из листового проката и труб, должны иметь покрытие Ц18.хр для исполнения У и Ц24.хр - для исполнений ХЛ и Т; крепежные детали - покрытие Ц9.хр. Покрытия - в соответствии с требованиями
ГОСТ 9.301.
2.14. Кольца кассет должны быть изготовлены из стали 12Х18Н10Т по
ГОСТ 5632 или из стали других марок с механическими и антикоррозионными свойствами, не уступающими указанной стали.
2.15. Уплотнительные прокладки генераторов должны быть изготовлены из картона марки А по
ГОСТ 9347 или другого материала, обеспечивающего герметичность соединений.
2.17. Резьбовые части деталей должны быть смазаны солидолом по
ГОСТ 4366.
2.18. Наружные и внутренние поверхности корпусов распылителей, насадков, а также наружные поверхности стоек должны быть покрыты эмалью красного цвета марки ПФ-115 по
ГОСТ 6465 или другим лакокрасочным материалом того же цвета, по защитным свойствам не уступающим указанной эмали.
Кассеты генераторов и выходные цилиндрические отверстия корпусом распылителей не окрашиваются.
2.19. Генераторы должны соответствовать следующим показателям надежности:
гамма-процентный (

) полный срок службы

- не менее 8 лет;
гамма-процентный (

) срок сохраняемости

- не менее 1 года;
вероятность безотказной работы для генераторов ГПС-200 и ГПС-600 за 50 ч, ГПС-2000 за 25 ч Р (t) - 0,993.
3.1. Для проверки соответствия генераторов требованиям настоящего стандарта предприятие-изготовитель должно проводить приемосдаточные, периодические испытания и испытания на надежность.
| | ИС МЕГАНОРМ: примечание. В официальном тексте документа, видимо, допущена опечатка: пункты 7.4, 7.5 и 8.2 отсутствуют. | |
3.2. При приемосдаточных испытаниях каждый генератор проверяют на соответствие требованиям
пп. 2.2,
2.6,
2.7,
2.10,
2.11,
2.13,
2.16,
2.18,
5.1,
5.2,
6.1,
6.2,
7.1,
7.2, 7.4, 7.5, 8.2.
3.3. Периодические испытания проводят не реже одного раза в год на соответствие генераторов всем требованиям настоящего стандарта (кроме
п. 2.19) на трех генераторах каждого типоразмера и климатического исполнения из числа прошедших приемосдаточные испытания.
3.4. Испытания на надежность
(п. 2.19) проводят не реже одного раза в 5 лет. Испытаниям подвергают генераторы, отобранные методом случайного отбора, из числа прошедших приемосдаточные испытания.
Показатели полного срока службы и срока сохраняемости по
п. 2.18 контролируют в соответствии с
РД 50-690 при следующих исходных данных:
доверительная вероятность - 0,9;
регламентированная вероятность - 0,9;
число испытываемых генераторов - 20 (каждого типоразмера независимо от климатического исполнения);
приемочное число предельных состояний - 0;
приемочное число отказов - 0.
Показатель вероятности безотказной работы по
п. 2.19 контролируют в соответствии с
ГОСТ 27.410 одноступенчатым методом при следующих исходных данных:
риск изготовителя - 0,1;
риск потребителя - 0,1;
приемочный уровень - 0,999;
браковочный уровень - 0,993;
число испытываемых генераторов - 2 (каждого типоразмера, независимо от климатического исполнения);
приемочное число отказов - 0.
3.5. Качество генераторов проверяют на изделиях в количестве 3% от партии, но не менее 3 шт., в объеме приемосдаточных испытаний. Партия состоит из генераторов одного типоразмера и климатического исполнения, изготовленных в одну смену или предъявленных к приемке по одному документу.
Результаты проверки распространяются на всю партию.
| | ИС МЕГАНОРМ: примечание. В официальном тексте документа, видимо, допущена опечатка: пункты 7.4, 7.5 и 8.2 отсутствуют. | |
4.1. Соответствие генераторов требованиям
пп. 2.4 (в части крепления кассеты),
2.5,
2.7,
2.10,
2.11,
2.13,
2.16,
2.17,
2.18,
5.1,
5.2,
6.1,
6.2,
7.1,
7.2, 7.4, 7.5, 8.2 проверяют визуально.
4.2. Линейные размеры генераторов по
пп. 1.1,
2.4,
2.9 проверяют линейкой по
ГОСТ 427 с ценой деления 1 мм и штангенциркулем по
ГОСТ 166 с ценой деления 0,1 мм.
| | ИС МЕГАНОРМ: примечание. Взамен ГОСТ 23676-79 Постановлением Госстандарта РФ от 27.03.1992 N 294 с 1 января 1994 года введен в действие ГОСТ 29329-92. | |
4.3. Массу по
п. 1.1 генераторов ГПС-200 и ГПС-600 проверяют на весах по ГОСТ 23676 с ценой деления 0,01 кг; массу генератора ГПС-2000, массу брутто по
п. 7.3 - на весах по ГОСТ 23676 с ценой деления 0,1 кг.
4.4. Трубные цилиндрические резьбы по
п. 2.12 проверяют резьбовыми пробками по ГОСТ 18925, ГОСТ 18926 и резьбовыми кольцами по ГОСТ 18929 и ГОСТ 18930.
4.5. Качество покрытий по
п. 2.13 проверяют по
ГОСТ 9.302 (контроль толщины и внешнего вида покрытия).
4.7. Расход раствора пенообразователя, давление перед распылителем, дальность подачи пены, высоту подачи пены по
п. 1.1, прочность и герметичность по
п. 2.2, заполнение пеной контура выхода из насадка по
п. 2.3, закрепление и натяжение сеток по
п. 2.4 проверяют на испытательном стенде.
Класс точности приборов, используемых для испытаний, должен быть не ниже 1,6.
Расход раствора пенообразователя определяют как расход воды, проходящей через генератор при давлении 0,4 - 0,6 МПа (4 - 6 кгс/см2). Значение расхода определяют с погрешностью измерения не более 2%.
Высоту подачи определяют как геометрическую высоту подъема пены по трубопроводу диаметром 600 - 800 мм.
Прочность и герметичность генераторов по
п. 2.2 и прогиб натянутых сеток по
п. 2.4 проверяют в течение 2 мин.
4.8. Проверку показателя гамма-процентного полного срока службы по
п. 2.19 следует проводить обработкой данных, полученных в условиях эксплуатации, путем сбора информации в соответствии с требованиями
РД 50-204.
Предельным состоянием следует считать такое техническое состояние генератора, при котором восстановление его работоспособности нецелесообразно или невозможно.
Показатель срока сохраняемости следует проверять после хранения генераторов в условиях завода-изготовителя в течение 1 года в объеме приемосдаточных испытаний.
Показатель вероятности безотказной работы следует проверять на стенде. Испытания проводят на воде при давлении 0,4 - 0,6 МПа (4 - 6 кгс/см2).
Отказом следует считать разрыв сетки.
Контроль проводят через каждые 3 ч наработки для генераторов ГПС-200 и ГПС-600, через 1 ч - для ГПС-2000.
5.1. К генераторам должен быть приложен паспорт, объединенный с техническим описанием и инструкцией по эксплуатации в соответствии с ГОСТ 2.601; число паспортов, прилагаемых к партии разветвлений, - по согласованию предприятия-изготовителя с заказчиком.
5.2. В комплект каждого генератора исполнений У и Т должны входить запасная кассета и запасное резиновое кольцо по ГОСТ 6557; к генератору должен прилагаться паспорт, объединенный с техническим описанием и инструкцией по эксплуатации в соответствии с ГОСТ 2.601, и товаросопроводительная документация в соответствии с условиями договора между предприятием-изготовителем и заказчиком.
6.1. На каждом генераторе на корпусе (или отдельной табличке) должна быть нанесена маркировка, содержащая следующие данные:
товарный знак предприятия-изготовителя;
условное обозначение генератора;
год выпуска;
обозначение настоящего стандарта;
рабочее давление.
Маркировка должна сохраняться в течение всего срока службы генераторов.
6.2. Генераторы должны быть упакованы в решетчатые ящики по
ГОСТ 2991 или обрешетки по
ГОСТ 12082. Генераторы исполнений У и Т, предназначенные для комплектации пожарных машин, должны быть упакованы в ящики, выложенные изнутри бумагой по
ГОСТ 515.
6.3. Генераторы, изготовленные по договору между изготовителем и заказчиком, должны быть обернуты бумагой марки Б-70 по
ГОСТ 8828 или БП-3-35 по
ГОСТ 9569 и упакованы в сплошные ящики типа II или III по
ГОСТ 2991, изготовленные с учетом требований
ГОСТ 24634 и выложенные изнутри бумагой по
ГОСТ 515.
Ящики должны быть окрашены эмалью марки ХВ-124 по
ГОСТ 10144, или древесина должна быть пропитана антисептиками.
Сетки кассет генераторов должны быть закрыты с обеих сторон, а запасные кассеты обернуты бумагой по
ГОСТ 515.
6.4. Масса брутто с упакованными генераторами не должна превышать 80 кг.
6.5. Маркировка на ящиках должна соответствовать требованиям
ГОСТ 14192, а на ящиках для экспорта -
ГОСТ 24634 и договора между изготовителем и заказчиком.
6.6. Паспорт и сопроводительная документация генераторов и запасные резиновые кольца генераторов исполнения Т должны быть вложены в пакеты из поливинилхлоридной пленки В-0,15 по
ГОСТ 16272 или полиэтиленовой пленки по
ГОСТ 10354. Пакеты должны быть заварены и завернуты в бумагу по
ГОСТ 515.
Запасные резиновые кольца генераторов исполнения У должны быть завернуты в бумагу марки Б-70 по
ГОСТ 8828 или БП-3-35 по
ГОСТ 9569.
7. ТРАНСПОРТИРОВАНИЕ И ХРАНЕНИЕ
7.1. Транспортирование генераторов допускается транспортом любого вида в соответствии с правилами, действующими на транспорте данного вида.
Транспортирование генераторов в универсальных контейнерах и автомобильным транспортом может осуществляться без упаковки в тару с предохранением от механических повреждений.
7.2. Консервация выходных отверстий и стальных деталей корпусов распылителей - по варианту защиты ВЗ1
ГОСТ 9.014.
7.3. Условия хранения генераторов исполнений У и Х - по группе 2, исполнения Т - по группе 3; условия транспортирования - по группе 4, 6, 7, 9 по
ГОСТ 15150.
8. УКАЗАНИЯ ПО ЭКСПЛУАТАЦИИ
Генераторы должны эксплуатироваться в соответствии с паспортом, объединенным с техническим описанием и инструкцией по эксплуатации.
9.1. Изготовитель гарантирует соответствие качества генераторов требованиям настоящего стандарта при соблюдении требований к эксплуатации, транспортированию и хранению.
9.2. Гарантийный срок эксплуатации - 24 мес, исчисляется со дня ввода генераторов в эксплуатацию.