Главная // Актуальные документы // ГОСТ Р (Государственный стандарт)СПРАВКА
Источник публикации
М.: Стандартинформ, 2011
Примечание к документу
По сведениям, размещенным на Информационном портале Росстандарта по адресу http://standard.gost.ru/, данный документ утратил силу с 01.03.2021 в связи с изданием Приказа Росстандарта от 04.08.2020 N 465-ст. Взамен введен в действие
ГОСТ IEC 60898-1-2020.
Отдельные положения данного документа были включены в
Перечень документов в области стандартизации, в результате применения которых на добровольной основе обеспечивается соблюдение требований Федерального
закона от 22.07.2008 N 123-ФЗ "Технический регламент о требованиях пожарной безопасности" (
Приказ Росстандарта от 14.07.2020 N 1190).
Отдельные положения данного документа включены в
Перечень документов в области стандартизации, в результате применения которых на добровольной основе обеспечивается соблюдение требований Федерального
закона от 22.07.2008 N 123-ФЗ "Технический регламент о требованиях пожарной безопасности" (
Приказ Росстандарта от 03.06.2019 N 1317).
Документ включен в
Перечень стандартов, в результате применения которых на добровольной основе обеспечивается соблюдение требований технического
регламента Таможенного союза "О безопасности низковольтного оборудования" (ТР ТС 004/2011) и в
Перечень стандартов, содержащих правила и методы исследований (испытаний) и измерений, в том числе правила отбора образцов, необходимые для применения и исполнения требований технического
регламента Таможенного союза "О безопасности низковольтного оборудования" (ТР ТС 004/2011) и осуществления оценки соответствия объектов технического регулирования (
Решение Комиссии Таможенного союза от 16.08.2011 N 768).
Документ включен в
Перечень национальных стандартов, содержащих правила и методы исследований (испытаний) и измерений, в том числе правила отбора образцов, необходимых для применения и исполнения Федерального
закона от 22.07.2008 N 123-ФЗ "Технический регламент о требованиях пожарной безопасности" и осуществления оценки соответствия (
Распоряжение Правительства РФ от 10.03.2009 N 304-р).
Документ
введен в действие с 01.01.2012.
Название документа
"ГОСТ Р 50345-2010 (МЭК 60898-1:2003). Национальный стандарт Российской Федерации. Аппаратура малогабаритная электрическая. Автоматические выключатели для защиты от сверхтоков бытового и аналогичного назначения. Часть 1. Автоматические выключатели для переменного тока"
(утв. и введен в действие Приказом Росстандарта от 30.11.2010 N 710-ст)
"ГОСТ Р 50345-2010 (МЭК 60898-1:2003). Национальный стандарт Российской Федерации. Аппаратура малогабаритная электрическая. Автоматические выключатели для защиты от сверхтоков бытового и аналогичного назначения. Часть 1. Автоматические выключатели для переменного тока"
(утв. и введен в действие Приказом Росстандарта от 30.11.2010 N 710-ст)
Утвержден и введен в действие
Российской Федерации по техническому
регулированию и метрологии
от 30 ноября 2010 г. N 710-ст
НАЦИОНАЛЬНЫЙ СТАНДАРТ РОССИЙСКОЙ ФЕДЕРАЦИИ
АППАРАТУРА МАЛОГАБАРИТНАЯ ЭЛЕКТРИЧЕСКАЯ
АВТОМАТИЧЕСКИЕ ВЫКЛЮЧАТЕЛИ ДЛЯ ЗАЩИТЫ ОТ СВЕРХТОКОВ
БЫТОВОГО И АНАЛОГИЧНОГО НАЗНАЧЕНИЯ
ЧАСТЬ 1
АВТОМАТИЧЕСКИЕ ВЫКЛЮЧАТЕЛИ ДЛЯ ПЕРЕМЕННОГО ТОКА
Electrical accessories. Circuit-breakers for overcurrent
protection for household and similar installations.
Part 1. Circuit-breakers for a.c. operation
IEC 60898-1:2003
Electrical accessories - Circuit-breakers for overcurrent
protection for household and similar installations -
Part 1: Circuit-breakers for a.c. operation
(MOD)
ГОСТ Р 50345-2010
(МЭК 60898-1:2003)
Дата введения
1 января 2012 года
Цели и принципы стандартизации в Российской Федерации установлены Федеральным
законом от 27 декабря 2002 г. N 184-ФЗ "О техническом регулировании", а правила применения национальных стандартов Российской Федерации -
ГОСТ Р 1.0-2004 "Стандартизация в Российской Федерации. Основные положения".
1 ПОДГОТОВЛЕН Обществом с ограниченной ответственностью "ВНИИэлектроаппарат" на основе собственного аутентичного перевода на русский язык международного стандарта, указанного в
пункте 4
2 ВНЕСЕН Техническим комитетом по стандартизации ТК 331 "Низковольтная коммутационная аппаратура и комплектные устройства распределения, защиты, управления и сигнализации"
3 УТВЕРЖДЕН И ВВЕДЕН В ДЕЙСТВИЕ
Приказом Федерального агентства Российской Федерации по техническому регулированию и метрологии от 30 ноября 2010 г. N 710-ст
| | ИС МЕГАНОРМ: примечание. В официальном тексте документа, видимо, допущена опечатка: Федеральный закон имеет название "Технический регламент о требованиях пожарной безопасности", а не "Технический регламент о пожарной безопасности". | |
4 Настоящий стандарт является модифицированным по отношению к международному стандарту МЭК 60898-1:2003 (издание 1.2) "Аппаратура малогабаритная электрическая. Автоматические выключатели для защиты от сверхтоков бытового и аналогичного назначения. Часть 1. Автоматические выключатели для переменного тока" (IEC 60898-1:2003 "Electrical accessories - Circuit-breakers for overcurrent protection for household and similar installations - Part 1: Circuit-breakers for a.c. operation"). При этом
разделы 1 -
9 и
Приложения A -
L полностью идентичны, а
Приложение ДА дополняет его с учетом потребностей национальной экономики Российской Федерации и/или особенностей российской национальной стандартизации. Кроме того, добавлены
Приложение ДБ, в котором в соответствии с Федеральным
законом "Технический регламент о пожарной безопасности" изложены требования пожарной безопасности к выключателям и методы испытаний;
Приложение ДВ, учитывающее требования к выключателям, оснащенным независимым расцепителем или модулем дистанционного отключения, а также
Приложения ДГ со сведениями о соответствии ссылочных национальных стандартов международным стандартам, и
ДД со сведениями о международных стандартах, на которые имеются ссылки в настоящем стандарте и которые не введены в качестве национальных стандартов в Российской Федерации или в качестве межгосударственных стандартов, действующих на территории Российской Федерации, или не имеют эквивалентной замены.
Информация об изменениях к настоящему стандарту публикуется в ежегодно издаваемом информационном указателе "Национальные стандарты", а текст изменений и поправок - в ежемесячно издаваемых информационных указателях "Национальные стандарты". В случае пересмотра (замены) или отмены настоящего стандарта соответствующее уведомление будет опубликовано в ежемесячно издаваемом информационном указателе "Национальные стандарты". Соответствующая информация, уведомление и тексты размещаются также в информационной системе общего пользования - на официальном сайте Федерального агентства по техническому регулированию и метрологии в сети Интернет
Задачи, основные принципы и правила проведения работ по стандартизации в Российской Федерации установлены Федеральным
законом от 27 декабря 2002 г. N 184-ФЗ "О техническом регулировании", а правила применения национальных стандартов Российской Федерации -
ГОСТ Р 1.0-2004 "Стандартизация в Российской Федерации. Основные положения".
Национальный стандарт "Аппаратура малогабаритная электрическая. Автоматические выключатели для защиты от сверхтоков бытового и аналогичного назначения. Часть 1. Автоматические выключатели для переменного тока" разработан в целях прямого применения МЭК 60898-1-2003, издание 1.2 аналогичного наименования с дополнениями.
Стандарт содержит аутентичный текст международного стандарта МЭК 60898-1-2003.
Требования к выключателям, применяемым при постоянном и переменном токе, следует рассматривать совместно с требованиями
ГОСТ Р МЭК 60898-2.
Настоящий стандарт отменяет действующий стандарт
ГОСТ Р 50345-99 (МЭК 60898-95).
1 Область применения и цель
Настоящий стандарт распространяется на воздушные автоматические выключатели (далее - выключатели) для переменного тока для работы при частоте 50 или 60 Гц на номинальное напряжение (между фазами) не более 440 В, номинальный ток не более 125 А и номинальную отключающую способность не более 25000 А.
Они пригодны для разъединения.
Стандарт устанавливает требования к выключателям, рассчитанным на несколько значений номинального тока при условии, что устройство перехода от одного номинального значения тока к другому недоступно при нормальной эксплуатации и этот переход невозможен без применения инструмента.
По возможности он согласуется с требованиями, содержащимися в ГОСТ Р 50030.2.
Выключатели предназначены для защиты от сверхтоков электроустановок в зданиях и аналогичных установок. Они рассчитаны на использование не обученными специально людьми и не нуждаются в обслуживании.
Выключатели предназначены для применения в окружающей среде со степенью загрязнения 2.
Согласно настоящему стандарту выключатели, кроме тех, что рассчитаны на номинальное напряжение 120 или 120/240 В (см. таблицу 1), пригодны для применения в системах IT при условии соблюдения ими требований
ГОСТ Р 50571.9.
Таблица 1
Предпочтительные значения номинального напряжения
Выключатель | Сеть питания выключателя | Номинальное напряжение выключателя, В, для систем на 230, 30/400, 400 В | Номинальное напряжение выключателя, В, для систем на 120/240, 240 В |
Однополюсный | Однофазная (между фазой и нейтралью или между фазами) | 230 | - |
Трехфазная (четырехпроводная) | 230 | - |
Однофазная (между фазой и заземленным центральным проводником или между фазой и нейтралью) | - | 120 |
Однофазная (между фазой и нейтралью) или трехфазная (для трех однополюсных выключателей) (трех- или четырехпроводная) | 230/400 | - |
Двухполюсный | Однофазная (между фазой и нейтралью или между фазами) | 230 | - |
Однофазная (между фазами) | 400 | 240 |
Однофазная (трехпроводная между фазами) | - | 120/240 |
Трехфазная (четырехпроводная) | 230 | - |
Трехполюсный | Трехфазная (трех- или четырехпроводная) | 400 | 240 |
Четырехполюсный | Трехфазная (четырехпроводная) | 400 | - |
Примечания 1 По ГОСТ 29322 стандартизовано значение сетевого напряжения 230/400 В. Это значение должно постепенно заменить значения 220/380 В и 240/415 В. 2 Указанные в настоящем стандарте значения 230 или 400 В могут быть приняты как 220 или 240 В, 380 или 415 В соответственно. 3 Указанные в настоящем стандарте значения 120 или 120/240 В могут быть приняты как 100 или 100/200 В соответственно. |
Настоящий стандарт не распространяется на выключатели:
- предназначенные для защиты двигателей;
- ток уставки которых регулируется средствами, доступными для потребителя.
Для выключателей со степенью защиты выше чем IP20 по
ГОСТ 14254, используемых в местах с жесткими условиями окружающей среды (например, с чрезмерной влажностью, слишком высокой или низкой температурой, с отложениями пыли) и в опасных условиях (например, взрывоопасных), может потребоваться особая конструкция.
Требования к выключателям, применяемым при постоянном и переменном токе, изложены в
ГОСТ Р МЭК 60898.2.
Инструкция по координации выключателей в условиях короткого замыкания с другим устройством защиты от короткого замыкания (УЗКЗ) приведена в
Приложении D.
Примечания. 1. В более жестких условиях перенапряжений следует применять выключатели, соответствующие другим стандартам (например,
ГОСТ Р 50030.1).
2. В условиях окружающей среды с более высокой степенью загрязнения следует применять оболочки с соответствующей степенью защиты.
3. Выключатели, на которые распространяется настоящий стандарт, могут быть применены для защиты от электрических ударов при авариях в зависимости от их характеристик расцепления и технических характеристик установки.
В настоящем стандарте приведены все требования, соблюдение которых должно обеспечить соответствие рабочим характеристикам, необходимым для выключателей согласно типовым испытаниям.
В нем содержатся также требования, относящиеся к испытаниям и методам испытаний, необходимые для обеспечения воспроизводимости результатов испытаний.
Настоящий стандарт устанавливает:
a) характеристики выключателей;
b) условия, которым должны отвечать выключатели относительно:
1) работы и поведения в нормальных условиях эксплуатации;
2) работы и поведения при перегрузках;
3) работы и поведения при коротких замыканиях до номинальной наибольшей отключающей способности;
4) электроизоляционных свойств;
c) испытания, предназначенные для подтверждения соответствия техническим требованиям, и методы, которыми следует проводить эти испытания;
d) данные, маркируемые на выключателях;
e) циклы испытаний и число образцов для сертификационных испытаний (см.
Приложение C);
f) координацию в условиях короткого замыкания с другим устройством защиты от короткого замыкания (УЗКЗ), включенным в одну цепь с выключателем (см.
Приложение D);
g) контрольные испытания, проводимые на каждом выключателе в целях выявления недопустимых отклонений в материалах или производстве, способных нарушить безопасность изделий (см.
Приложение I).
В настоящем стандарте использованы нормативные ссылки на следующие стандарты:
ГОСТ Р 50030.1-2007 (МЭК 60947-1:2004) Аппаратура распределения и управления низковольтная. Часть 1. Общие требования
ГОСТ Р 50030.2-2010 (МЭК 60947-2:2006) Аппаратура распределения и управления низковольтная. Часть 2. Автоматические выключатели
| | ИС МЕГАНОРМ: примечание. ГОСТ Р 50030.5.1-2005 утратил силу с 1 января 2014 года в связи с введением в действие ГОСТ 30011.5.1-2012 (Приказ Росстандарта от 15.11.2012 N 830-ст). | |
ГОСТ Р 50030.5.1-2005 (МЭК 60947-5-1:2003) Аппаратура распределения и управления низковольтная. Часть 5. Аппараты и коммутационные элементы цепей управления. Глава 1. Электромеханические аппараты для цепей управления
ГОСТ Р 50571 (все части) Электроустановки зданий
ГОСТ Р 50571.3-2009 (МЭК 60364-4-41:2005) Электроустановки низковольтные. Часть 4-41. Требования по обеспечению безопасности. Защита от поражения электрическим током
ГОСТ Р 50571.9-94 (МЭК 364-4-473-77) Электроустановки зданий. Часть 4. Требования по обеспечению безопасности. Применение мер защиты от сверхтоков
ГОСТ Р 51327.1-2010 (МЭК 61009-1-2006) Выключатели автоматические, управляемые дифференциальным током, бытового и аналогичного назначения со встроенной защитой от сверхтоков. Часть 1. Общие требования и методы испытаний
ГОСТ Р 51327.2.1-99 (МЭК 61009-2-1-91) Выключатели автоматические, управляемые дифференциальным током, бытового и аналогичного назначения со встроенной защитой от сверхтоков. Часть 2-1. Применяемость основных норм к АВДТ, функционально независящим от напряжения сети
ГОСТ Р 51327.2.2-99 (МЭК 61009-2-2-91) Выключатели автоматические, управляемые дифференциальным током, бытового и аналогичного назначения со встроенной защитой от сверхтоков. Часть 2-2. Применяемость основных норм к АВДТ, функционально зависящим от напряжения сети
| | ИС МЕГАНОРМ: примечание. ГОСТ Р 51701-2000 утратил силу с 1 января 2014 года в связи с введением в действие ГОСТ 31604-2012 (Приказ Росстандарта от 15.11.2012 N 859-ст). | |
ГОСТ Р 51701-2000 (МЭК 61545-96) Соединительные устройства. Устройства для присоединения алюминиевых проводников к зажимам из любого материала и медных проводников к зажимам из алюминиевых сплавов. Общие требования и методы испытаний
ГОСТ Р 52161.1-2004 (МЭК 60335-1:2001) Безопасность бытовых и аналогичных электрических приборов. Часть 1. Общие требования
ГОСТ Р МЭК 60227-1-2009 Кабели с поливинилхлоридной изоляцией на номинальное напряжение до 450/750 В включительно. Часть 1. Общие требования
ГОСТ Р МЭК 60898.2-2006 Выключатели автоматические для защиты от сверхтоков электроустановок бытового и аналогичного назначения. Часть 2. Выключатели автоматические для переменного и постоянного тока
ГОСТ Р МЭК 61210-99 Устройства присоединительные. Зажимы плоские быстросоединяемые для медных электрических проводников. Требования безопасности
ГОСТ 14254-96 (МЭК 529-89) Степени защиты, обеспечиваемые оболочками (код IP)
ГОСТ 15150-69 Машины, приборы и другие технические изделия. Исполнения для различных климатических районов. Категории, условия эксплуатации, хранения и транспортирования в части воздействия климатических факторов внешней среды
ГОСТ 15543.1-89 Изделия электротехнические. Общие требования в части стойкости к климатическим внешним воздействующим факторам
ГОСТ 16504-81 Система государственных испытаний продукции. Испытания и контроль качества продукции. Основные термины и определения
ГОСТ 16962.1-89 (МЭК 68-2-1-74) Изделия электротехнические. Методы испытаний на устойчивость к климатическим внешним воздействующим факторам
ГОСТ 16962.2-90 Изделия электротехнические. Методы испытаний на стойкость к механическим внешним воздействующим факторам
ГОСТ 17516.1-90 Изделия электротехнические. Общие требования в части стойкости к механическим внешним воздействующим факторам
ГОСТ 23216-78 Изделия электротехнические. Хранение, транспортирование, временная противокоррозионная защита, упаковка. Общие требования и методы испытаний
ГОСТ 24622-91 (ИСО 2039-2-87) Пластмассы. Определение твердости. Твердость по Роквеллу
ГОСТ 24682-81 Изделия электротехнические. Общие технические требования в части стойкости к воздействию специальных сред
ГОСТ 24683-81 Изделия электротехнические. Методы контроля стойкости к воздействию специальных сред
ГОСТ 25874-83 Аппаратура радиоэлектронная, электронная и электротехническая. Условные функциональные обозначения
ГОСТ 27473-87 (МЭК 112-79) Материалы электроизоляционные твердые. Метод определения сравнительного и контрольного индексов трекингостойкости во влажной среде
ГОСТ 27483-87 (МЭК 695-2-1-80) Испытания на пожароопасность. Методы испытаний. Испытания нагретой проволокой
ГОСТ 28779-90 (МЭК 707-81) Материалы электроизоляционные твердые. Методы определения воспламеняемости под воздействием источника зажигания
Примечание. При пользовании настоящим стандартом целесообразно проверить действие ссылочных стандартов и классификаторов в информационной системе общего пользования - на официальном сайте Федерального агентства по техническому регулированию и метрологии в сети Интернет или по ежегодно издаваемому информационному указателю "Национальные стандарты", который опубликован по состоянию на 1 января текущего года, и по соответствующим ежемесячно издаваемым информационным указателям, опубликованным в текущем году. Если ссылочный стандарт заменен (изменен), то при пользовании настоящим стандартом следует руководствоваться заменяющим (измененным) стандартом. Если ссылочный стандарт отменен без замены, то положение, в котором дана ссылка на него, применяется в части, не затрагивающей эту ссылку.
В настоящем стандарте применены термины по МЭК 60050
[1], в том числе следующие термины с соответствующими определениями.
3.1.1 коммутационный аппарат (switching device): Аппарат, предназначенный для включения или отключения тока в одной или более электрических цепях. [МЭС 441-14-01] |
3.1.2 механический коммутационный аппарат (mechanical switching device): Коммутационный аппарат, предназначенный для замыкания и размыкания одной или более электрических цепей с помощью разъединяемых контактов. [МЭС 441-14-02] |
3.1.3 плавкий предохранитель (fuse): Коммутационный аппарат, который вследствие расплавления одного или более специально спроектированных и калиброванных элементов размыкает цепь, в которую он включен, и отключает ток, когда тот превышает заданную величину в течение достаточного времени. [МЭС 441-18-01] |
3.1.4 автоматический выключатель (механический) (circuit-breaker (mechanical)): Механический коммутационный аппарат, способный включать, проводить и отключать токи в нормальном состоянии цепи, а также включать, проводить в течение заданного времени и автоматически отключать токи в указанном аномальном состоянии цепи, например токи короткого замыкания. [МЭС 441-14-20] |
3.1.5.
автоматический выключатель втычного типа (plug-in circuit-breaker): Автоматический выключатель с одним или несколькими штыревыми выводами (см.
3.3.20), предназначенный для применения с соответствующим устройством для штепсельного соединения.
3.2.1 сверхток (overcurrent): Любой ток, превышающий номинальный. [МЭС 441-11-06] |
3.2.2. ток перегрузки (overload current): Сверхток в электрически не поврежденной цепи.
Примечание. Достаточно длительный ток перегрузки может привести к повреждению.
3.2.3 ток короткого замыкания (short-circuit current): Сверхток, обусловленный замыканием с ничтожно малым полным сопротивлением между точками, которые в нормальных условиях эксплуатации должны иметь разный потенциал. [МЭС 441-14-07] |
Примечание. Ток короткого замыкания может явиться результатом повреждения или неправильного соединения.
3.2.4. главная цепь (автоматического выключателя) [main circuit (of a circuit-breaker)]: Совокупность всех токопроводящих частей автоматического выключателя, входящих в цепь, которую он предназначен замыкать и размыкать.
3.2.5. цепь управления (автоматическим выключателем) [control circuit (of a circuit-breaker)]: Цепь (кроме главной цепи), предназначенная для осуществления замыкания или размыкания или осуществления обеих функций автоматического выключателя.
3.2.6. вспомогательная цепь (автоматического выключателя) [auxiliary circuit (of a circuit-breaker)]: Совокупность токопроводящих частей автоматического выключателя, предназначенных для включения в цепь, кроме главной цепи и цепи управления автоматического выключателя.
3.2.7. полюс (автоматического выключателя) [pole (of a circuit-breaker)]: Часть автоматического выключателя, связанная исключительно с одним электрически независимым токопроводящим путем главной цепи и имеющая контакты, предназначенные для замыкания и размыкания главной цепи, и не включающая элементы, предназначенные для монтажа и оперирования всеми полюсами.
3.2.7.1.
защищенный полюс (protected pole): Полюс, оснащенный максимальным расцепителем тока (см.
3.3.6).
3.2.7.2.
незащищенный полюс (unprotected pole): Полюс, не оснащенный максимальным расцепителем тока (см.
3.3.6), но в остальном способный функционировать так же, как защищенный полюс того же автоматического выключателя.
Примечания. 1. Во исполнение этого требования незащищенный полюс может иметь такую же конструкцию, как один или более защищенных полюсов, или особую конструкцию.
2. Если отключающая способность незащищенного полюса иная, чем одного или более защищенных полюсов, это должно быть оговорено изготовителем.
3.2.7.3.
отключающий нейтральный полюс (switched neutral pole): Полюс, предназначенный только для отключения нейтрального проводника и непредназначенный для отключения токов короткого замыкания.
3.2.8.
замкнутое положение (closed position): Положение, в котором обеспечивается заданная непрерывность главной цепи автоматического выключателя.
3.2.9.
разомкнутое положение (open position): Положение, в котором обеспечивается заданный зазор между разомкнутыми контактами в главной цепи автоматического выключателя.
3.2.10. температура воздуха
3.2.10.1 температура окружающего воздуха (ambient air temperature): Определенная в предписанных условиях температура воздуха, окружающего автоматический выключатель (для автоматического выключателя, заключенного в оболочку, это температура воздуха вне оболочки). [МЭС 441-11-13] |
3.2.10.2. контрольная температура (reference ambient air temperature): Температура окружающего воздуха, при которой устанавливают время-токовые характеристики.
3.2.11. срабатывание (operation): Переход одного или более подвижных контактов из разомкнутого в замкнутое положение и наоборот.
Примечание. Для установления различия срабатывание под нагрузкой (например, включение или отключение тока) обозначает коммутацию, а без нагрузки (например, замыкание или размыкание цепи без тока) - механическое срабатывание.
3.2.12. цикл оперирования (operating cycle): Последовательность переходов из одного положения в другое с возвратом в начальное положение.
3.2.13 последовательность срабатываний (operation sequence): Последовательность заданных оперирований с указанными интервалами времени. [МЭС 441-16-03] |
3.2.14.
продолжительный режим (uninterrupted duty): Режим, при котором главные контакты автоматического выключателя остаются замкнутыми, непрерывно проводя установившийся ток в течение длительного времени (неделями, месяцами или даже годами).
3.3. Конструкционные элементы
3.3.1. главный контакт (main contact): Контакт, включенный в главную цепь автоматического выключателя и предназначенный для проведения в замкнутом положении тока главной цепи.
3.3.2 дугогасительный контакт (arcing contact): Контакт, на котором предполагается возникновение дуги. Примечание - Дугогасительный контакт может выполнять роль главного контакта, но может быть и отдельным контактом, спроектированным так, чтобы размыкаться позже, а замыкаться раньше другого контакта, для защиты которого он предназначен. [МЭС 441-15-08] |
3.3.3. контакт управления (control contact): Контакт, входящий в цепь управления автоматического выключателя и механически приводимый в действие этим автоматическим выключателем.
3.3.4. вспомогательный контакт (auxiliary contact): Контакт, входящий во вспомогательную цепь автоматического выключателя и механически приводимый в действие этим выключателем (например, для указания положения контактов).
3.3.5. расцепитель (release): Устройство, механически связанное с автоматическим выключателем (или встроенное в него), которое освобождает удерживающее устройство в механизме автоматического выключателя и вызывает автоматическое срабатывание выключателя.
3.3.6.
максимальный расцепитель тока (overcurrent release): Расцепитель, вызывающий срабатывание автоматического выключателя, с выдержкой времени или без нее, когда ток в этом расцепителе превышает заданное значение.
Примечание. В некоторых случаях эта величина может зависеть от скорости нарастания тока.
3.3.7. максимальный расцепитель тока с обратно-зависимой выдержкой времени (inverse time-delay overcurrent release): Максимальный расцепитель тока, срабатывающий после выдержки времени, находящейся в обратной зависимости от значения сверхтока.
Примечание. Такой расцепитель может быть спроектирован так, чтобы выдержка времени при высоких значениях сверхтока достигала определенного минимального значения.
3.3.8. максимальный расцепитель тока прямого действия (direct overcurrent release): Максимальный расцепитель тока, срабатывающий непосредственно от протекающего тока в главной цепи автоматического выключателя.
3.3.9. расцепитель перегрузки (overload release): Максимальный расцепитель тока, предназначенный для защиты от перегрузок.
3.3.10. токопроводящая часть (conductive part): Часть, способная проводить ток, но не обязательно предназначенная для проведения тока в нормальных условиях эксплуатации.
3.3.11. открытая токопроводящая часть (exposed conductive part): Токопроводящая часть, открытая для прикосновения и в нормальных условиях эксплуатации не находящаяся под напряжением, но которая может оказаться под напряжением в аварийных условиях.
Примечание. Типичные открытые токопроводящие части - стенки металлических оболочек, металлические ручки управления и т.п.
3.3.12. вывод (terminal): Токопроводящая часть аппарата, предназначенная для электрического соединения с внешними цепями.
3.3.13. резьбовой вывод (screw-type terminal): Вывод для присоединения и отсоединения проводника или разъемного соединения между собой двух или нескольких проводников, осуществляемого прямо или косвенно винтами или гайками любого типа.
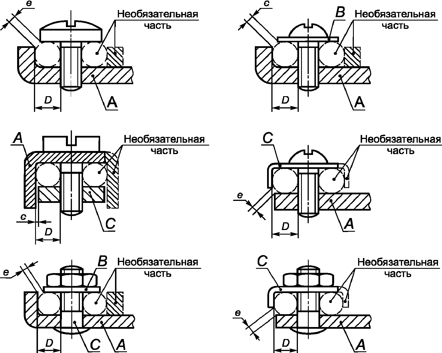
3.3.14. столбчатый вывод (pillar terminal): Резьбовой вывод, в котором проводник вводится в отверстие или полость и зажимается одним или более винтами. Давление зажима может передаваться непосредственно винтом или через промежуточный зажимный элемент, прижимаемый винтом.
Примечание. Примеры столбчатых выводов представлены на
рисунке F.1 (Приложение F).
3.3.15. винтовой вывод (screw terminal): Резьбовой вывод, в котором проводник зажимается под головкой винта. Давление зажима передается непосредственно головкой винта или через промежуточный элемент типа шайбы, зажимной пластины или устройства, препятствующего выскальзыванию проводника.
Примечание. Примеры винтовых выводов представлены на
рисунке F.2 (Приложение F).
3.3.16. болтовой вывод (stud terminal): Резьбовой вывод, в котором проводник зажимается под гайкой. Зажимное давление может передаваться от гайки соответствующей конфигурации или через промежуточный элемент типа шайбы, зажимной пластины или устройства, препятствующего выскальзыванию проводника.
Примечание. Примеры болтовых выводов представлены на
рисунке F.2 (Приложение F).
3.3.17. пластинчатый вывод (saddle terminal): Резьбовой вывод, в котором проводник зажимается под изогнутой пластиной двумя или более винтами или гайками.
Примечание. Примеры пластинчатых выводов представлены на
рисунке F.3 (Приложение F).
3.3.18. вывод для кабельных наконечников и шин (lug terminal): Винтовой или болтовой вывод, предназначенный для зажима наконечника или шины с помощью винта или гайки.
Примечание. Примеры выводов для кабельных наконечников и шин представлены на
рисунке F.4 (Приложение F).
3.3.19. безрезьбовой вывод (screwless terminal): Вывод для присоединения и последующего отсоединения одного проводника или разъемного соединения между собой двух или более проводников, осуществляемого прямо или косвенно пружинами, клиньями, эксцентриками, конусами и т.п. без специальной подготовки проводника, за исключением удаления изоляции.
3.3.20.
штыревой вывод (plug-in terminal): Вывод, электрическое присоединение и отсоединение которого осуществляется без перемещения проводников соответствующей цепи.
Присоединение осуществляется без использования инструмента и обеспечивается упругостью неподвижных и/или подвижных частей и/или пружинами.
3.3.21. самонарезающий винт (tapping screw): Винт, изготовленный из материала с более высоким сопротивлением деформации и вставляемый посредством вращения в отверстие, выполненное в материале с меньшим сопротивлением деформации.
Винт имеет коническую резьбу, т.е. с уменьшением диаметра резьбы на конце винта.
Резьба при ввинчивании надежно формуется только после числа оборотов, превышающего число витков резьбы на коническом участке.
3.3.22.
самонарезающий формующий винт (thread-forming tapping screw): Самонарезающий винт с непрерывной резьбой, не предназначенный для удаления материала из отверстия.
Примечание. Пример самонарезающего формующего винта представлен на
рисунке 1.
3.3.23.
самонарезающий режущий винт (thread-cutting tapping screw): Самонарезающий винт с непрерывной резьбой, предназначенный для удаления материала из отверстия.
Примечание. Пример самонарезающего режущего винта представлен на
рисунке 2.
3.4. Условия оперирования
3.4.1. замыкание (closing operation): Перевод контактов выключателя из разомкнутого положения в замкнутое.
3.4.2. размыкание (opening operation): Перевод контактов выключателя из замкнутого положения в разомкнутое.
3.4.3 ручное управление при наличии зависимого привода (dependent manual operation): Управление исключительно путем прямого приложения физической энергии оператора, от которой зависит скорость и сила оперирования. [МЭС 441-16-13] |
3.4.4 ручное управление при наличии привода независимого действия (independent manual operation): Оперирование за счет энергии оператора, накопленной в механизме, при которой скорость и сила, развиваемые механизмом, не зависят от действия оператора. [МЭС 441-16-16] |
3.4.5. автоматический выключатель со свободным расцеплением (trip-free circuit-breaker): Выключатель, подвижные контакты которого возвращаются в разомкнутое положение и остаются в нем, когда операция автоматического размыкания начинается после начала операции замыкания, даже если сохраняется команда на замыкание.
Примечание. Чтобы обеспечивалось полное отключение тока, который мог бы включиться, может потребоваться мгновенное достижение контактами замкнутого положения.
3.5. Характеристические параметры
При отсутствии других указаний все значения тока и напряжения действующие.
3.5.1. номинальное значение (rated value): Указанное значение любого характеристического параметра, определяющее рабочие условия, для которых спроектирован и построен автоматический выключатель.
3.5.2 ожидаемый ток (цепи и применительно к автоматическому выключателю) (prospective current (of a circuit, and with respect to a circuit-breaker)): Ток, который протекал бы в цепи, если бы каждый полюс выключателя был заменен проводником с ничтожно малым сопротивлением. [МЭС 441-17-01] |
Примечание. Ожидаемый ток можно квалифицировать так же, как фактический, например ожидаемый ток отключения, ожидаемый пиковый ток.
3.5.3 ожидаемый пиковый ток (prospective peak current): Пиковое значение ожидаемого тока во время переходного периода после его возникновения. [МЭС 441-17-02] |
Примечание. Это определение подразумевает, что ток выключается идеальным автоматическим выключателем, т.е. с мгновенным переходом от бесконечного к нулевому значению полного сопротивления. Для цепей, в которых ток может проходить по нескольким различным путям, например многофазных цепей, предполагается также, что ток включается одновременно во всех полюсах, даже если рассматривается ток только в одном полюсе.
3.5.4 максимальный ожидаемый пиковый ток (цепи переменного тока) (maximum prospective peak current (of an a.c. circuit)): Ожидаемый пиковый ток, возникающий в момент, обусловливающий его наибольшее значение. [МЭС 441-17-04] |
Примечание. В многополюсном автоматическом выключателе, входящем в многофазную цепь, максимальный ожидаемый пиковый ток относится только к одному полюсу.
3.5.5. наибольшая включающая и отключающая способность (short-circuit (making and breaking) capacity): Переменная составляющая ожидаемого тока, выраженная его действующим значением, которую выключатель должен включать, проводить в течение времени отключения и отключать в заданных условиях.
3.5.5.1.
предельная наибольшая отключающая способность (ultimate short-circuit breaking capacity): Отключающая способность, для которой предписанные условия, соответствующие указанному циклу испытаний, не предусматривают способности выключателя проводить в течение условного времени ток, равный 0,85 тока нерасцепления.
3.5.5.2.
рабочая наибольшая отключающая способность (service short-circuit breaking capacity): Отключающая способность, для которой предписанные условия, соответствующие указанному циклу испытаний, предусматривают способность выключателя проводить в течение условного времени ток, равный 0,85 тока нерасцепления.
3.5.6. ток отключения (breaking current): Ток в полюсе выключателя в момент возникновения дуги при отключении.
3.5.7.
напряжение до включения (applied voltage): Напряжение между выводами полюса выключателя непосредственно перед включением тока.
Примечание. Данное определение относится к однополюсному выключателю. В многополюсном выключателе напряжение до включения - напряжение между входными выводами аппарата.
3.5.8 восстанавливающееся напряжение (recovery voltage): Напряжение, появляющееся на выводах полюса автоматического выключателя после отключения тока. [МЭС 441-17-25] |
Примечания. 1. Данное напряжение можно рассматривать на протяжении двух последовательных интервалов времени, на первом из которых напряжение переходное, а на последующем втором - напряжение промышленной частоты.
2. Данное определение относится к однополюсному выключателю. Для многополюсного выключателя - это напряжение между входными выводами аппарата.
3.5.8.1 переходное восстанавливающееся напряжение (transient recovery voltage): Напряжение в период, когда оно носит в значительной степени переходный характер. [МЭС 441-17-26] |
Примечание. Это переходное напряжение может быть колебательным, или неколебательным, или их комбинацией в зависимости от характеристик цепи и выключателя. При этом учитывают сдвиг напряжения нейтрали многофазной цепи.
3.5.8.2 возвращающееся напряжение промышленной частоты (power-frequency recovery voltage): Возвращающееся напряжение после исчезновения переходных процессов. [МЭС 441-17-27] |
3.5.9. время размыкания (opening time): Время, измеренное от момента, когда в выключателе, находящемся в замкнутом положении, ток в главной цепи достигает уровня срабатывания максимального расцепителя тока, до момента разъединения дугогасительных контактов во всех полюсах.
Примечание. Время размыкания обычно называют временем расцепления, хотя, точнее, время расцепления относится к интервалу между начальным моментом размыкания и моментом, когда команда на размыкание становится необратимой.
3.5.10. время горения дуги
3.5.10.1 время горения дуги в полюсе (arcing time of a pole): Интервал между моментом появления дуги и моментом окончательного гашения дуги в этом полюсе. [МЭС 441-17-37] |
3.5.10.2 время горения дуги в многополюсном выключателе (arcing time of a multipole circuit-breaker): Интервал между моментом первого появления дуги и моментом окончательного гашения дуг во всех полюсах. [МЭС 441-17-38] |
3.5.11. время отключения (break time): Интервал между началом размыкания выключателя и концом времени дуги.
3.5.12.
I2t (интеграл Джоуля) (

(Joule integral)): Интеграл квадрата силы тока по данному интервалу времени

.
3.5.13.
характеристика I2t выключателя (

characteristic of a circuit-breaker): Кривая, дающая максимальное значение

как функцию ожидаемого тока в заданных условиях эксплуатации.
3.5.14. координация между последовательно соединенными аппаратами защиты от сверхтоков:
3.5.14.1 координация по сверхтоку устройств защиты от сверхтоков (overcurrent protective coordination of overcurrent protective devices): Координация двух или нескольких устройств, соединенных последовательно, для обеспечения селективности при сверхтоках и/или резервной защиты. |
3.5.14.2 селективность по сверхтокам (overcurrent discrimination): Координация рабочих характеристик двух или нескольких устройств для защиты от сверхтоков с таким расчетом, чтобы в случае возникновения сверхтоков в пределах указанного диапазона срабатывало только устройство, предназначенное для оперирования в данном диапазоне, а прочие не срабатывали. [МЭС 441-17-15] |
3.5.14.3 резервная защита (back-up protection): Координация по сверхтокам двух устройств для защиты от сверхтока, соединенных последовательно, когда защитное устройство, расположенное, как правило, но не обязательно на входной стороне, осуществляет защиту от сверхтока с помощью или без помощи второго защитного устройства и предохраняет последнее от чрезмерной нагрузки. |
3.5.14.4 полная селективность [total discrimination (total selectivity)]: Селективность по сверхтокам, когда при последовательном соединении двух аппаратов для защиты от сверхтоков аппарат, расположенный со стороны нагрузки, осуществляет защиту от сверхтока без срабатывания второго защитного аппарата. |
3.5.14.5 частичная селективность (partial discrimination (partial selectivity)): Селективность по сверхтокам, когда при последовательном соединении двух аппаратов для защиты от сверхтоков аппарат, расположенный со стороны нагрузки, осуществляет защиту до определенного уровня сверхтока без срабатывания второго защитного аппарата. |
3.5.14.6.
предельный ток селективности (Is) (selectivity limit current

): Токовая координата точки пересечения время-токовой характеристики в зоне наибольшей отключающей способности защитного аппарата на стороне нагрузки с преддуговой характеристикой (для предохранителя) или время-токовой характеристикой расцепителя (для автоматического выключателя) другого защитного аппарата.
Предельный ток селективности - это предельное значение тока [см.
рисунок D.1 (Приложение D)]:
- ниже которого при наличии двух последовательно соединенных аппаратов защиты от сверхтока аппарат со стороны нагрузки успевает завершить процесс отключения до того, как его начнет второй аппарат (т.е. селективность обеспечивается);
- выше которого при наличии двух последовательно соединенных аппаратов защиты от сверхтока аппарат со стороны нагрузки может не успеть завершить процесс отключения до того, как его начнет второй аппарат (т.е. селективность не обеспечивается).
3.5.14.7 ток координации (IB) [take-over current ( IB)]: Токовая координата точки пересечения время-токовых характеристик двух аппаратов защиты от сверхтоков. [МЭС 441-17-16] |
Примечание. Ток координации - это токовая координата точки пересечения характеристик "максимальное время отключения - ток" двух аппаратов защиты от сверхтоков.
3.5.14.8 условный ток короткого замыкания (в цепи или коммутационном аппарате) (conditional short-circuit current (of a circuit or a switching device)): Ожидаемый ток, который цепь или коммутационный аппарат, защищенный заданным устройством для защиты от коротких замыканий, способны удовлетворительно выдерживать в течение всего времени срабатывания защитного устройства в указанных условиях эксплуатации и поведения. |
Примечания. 1. В настоящем стандарте устройством для защиты от коротких замыканий служит, как правило, автоматический выключатель или плавкий предохранитель.
2. Данное определение отличается от формулировки МЭК 60050 (441-17-20) расширением понятия токоограничивающего аппарата до устройства для защиты от коротких замыканий, функция которого не сводится только к токоограничению.
3.5.14.9 номинальный условный ток короткого замыкания (Inc) (rated conditional short-circuit current ( Inc)): Указанное изготовителем значение ожидаемого тока, который этот аппарат, оснащенный предусмотренным изготовителем устройством для защиты от коротких замыканий, может удовлетворительно выдерживать в течение времени срабатывания этого устройства в условиях испытания, оговоренных в стандарте на конкретный аппарат. |
3.5.15.
условный ток нерасцепления (Inc) [conventional non-tripping current (пункт

)]: Установленное значение тока, который автоматический выключатель способен проводить, не срабатывая, в течение заданного (условного) времени.
3.5.16.
условный ток расцепления (It) (conventional tripping current

): Установленное значение тока, которое вызывает срабатывание автоматического выключателя в течение заданного (условного) времени.
3.5.17.
ток мгновенного расцепления (instantaneous tripping current): Минимальное значение тока, вызывающее автоматическое срабатывание выключателя без преднамеренной выдержки времени.
3.6. Определения, касающиеся координации изоляции
3.6.1 координация изоляции (insulation co-ordination): Соотносительность изоляционных характеристик электрооборудования, предполагаемой микросреды и воздействующих факторов. [МЭК 60664-1, пункт 1.3.1] [2] |
3.6.2 эксплуатационное напряжение (working voltage): Наибольшее действующее значение напряжения переменного или наибольшее значение напряжения постоянного тока по конкретной изоляции, которое может возникать при номинальном напряжении питания. [МЭК 60664-1, пункт 1.3.5] |
Примечания. 1. Переходные явления не учитывают.
2. С учетом условий разомкнутой цепи и нормальных рабочих условий.
3.6.3 перенапряжение (overvoltage): Любое напряжение, пиковое значение которого превышает пиковое значение максимального установившегося напряжения в нормальных рабочих условиях. [МЭК 60664-1, пункт 1.3.7] |
3.6.4 импульсное выдерживаемое напряжение (impulse withstand voltage): Наибольшее пиковое значение импульсного напряжения предписанной формы и полярности, не вызывающее пробоя в заданных условиях. [МЭК 60664-1, пункт 1.3.8.1] |
3.6.5 категория перенапряжения (overvoltage category): Число, характеризующее условия переходного перенапряжения. [МЭК 60664-1, пункт 1.3.10] |
3.6.6 макросреда (macro-environment): Условия окружающей среды помещения или места, в котором установлено или эксплуатируется электрооборудование. [МЭК 60664-1, пункт 1.3.12.1] |
3.6.7 микросреда (micro-environment): Условия среды, непосредственно окружающей изоляцию, которые, в частности, влияют на величину расстояний тока утечки. [МЭК 60664-1, пункт 1.3.12.2] |
3.6.8 загрязнение (pollution): Любое добавление инородных веществ, твердых, жидких или газообразных, которые могли бы уменьшить электрическую прочность изоляции или ее поверхностное удельное сопротивление. [МЭК 60664-1, пункт 1.3.11] |
3.6.9 степень загрязнения (pollution degree): Числовая характеристика предполагаемого загрязнения микросреды. [МЭК 60664-1, пункт 1.3.13] |
Примечание. Степень загрязнения, воздействию которого подвергается аппарат, может отличаться от степени загрязнения макросреды, в которой установлен этот аппарат, в результате защиты, обеспечиваемой оболочкой, или внутреннего нагрева, препятствующего абсорбции или конденсации влаги.
3.6.10 разъединение (функция) (isolation (isolating function)): Действие, направленное на отключение питания всей установки или ее отдельной части путем отделения этой установки или ее части от любого источника электрической энергии по соображениям безопасности. |
3.6.11 изолирующий промежуток (isolating distance (of a pole of a mechanical switching device)): Воздушный зазор между разомкнутыми контактами, отвечающий требованиям по безопасности, предъявляемым к разъединению. [МЭС 441-17-35] |
3.6.12 воздушный зазор (clearance): Кратчайшее расстояние по воздуху между двумя токопроводящими частями вдоль линии наименьшей протяженности между этими токоведущими частями (см. Приложение B). [МЭС 441-17-31] |
Примечание. При определении воздушного зазора до доступных частей доступную поверхность изолирующей оболочки следует считать проводящей, как если бы она была покрыта металлической фольгой везде, где ее можно коснуться рукой или стандартным испытательным пальцем, представленным на
рисунке 9.
3.6.13 расстояние утечки (creepage distance): Кратчайшее расстояние по поверхности изоляционного материала между двумя токопроводящими частями (см. Приложение B). [МЭС 151-03-37] |
Примечание. При определении расстояния утечки до доступных частей доступную поверхность изолирующей оболочки следует считать проводящей, как если бы она была покрыта металлической фольгой везде, где ее можно коснуться рукой или стандартным испытательным пальцем, представленным на
рисунке 9.
Автоматические выключатели классифицируют по ряду критериев.
- однополюсные;
- двухполюсные с одним защищенным полюсом;
- двухполюсные с двумя защищенными полюсами;
- трехполюсные с тремя защищенными полюсами;
- четырехполюсные с тремя защищенными полюсами;
- четырехполюсные с четырьмя защищенными полюсами.
Примечание. Полюс, не являющийся защищенным, может быть:
- коммутирующим нейтраль (см.
3.2.7.3).
4.2. Защита от внешних воздействий:
- закрытого исполнения (не нуждающиеся в соответствующей оболочке);
- открытого исполнения (для использования с соответствующей оболочкой).
- настенного типа;
- утопленного типа;
- панельно-щитового типа для установки в распределительных шкафах.
Примечание. Данные типы исполнений могут предназначаться для установки на рейках.
4.4. Способ присоединения:
4.4.1. По способу крепления:
- выключатели, электрическое присоединение которых не связано с механическими креплениями;
- выключатели, электрическое присоединение которых связано с механическими креплениями.
Примечание. Примерами последнего типа являются: втычной тип, болтовой тип, ввинчиваемый тип.
Некоторые выключатели могут быть втычного или болтового типа только со стороны питания, а выходные выводы обычно пригодны для присоединения проводников.
4.4.2. По типу выводов:
- выключатели с резьбовыми выводами для медных проводников;
- выключатели с безрезьбовыми выводами для медных проводников;
Примечание. Требования к выключателям с выводами данного типа приведены в
Приложении J.
- выключатели с плоскими выводами для быстрого присоединения медных проводников;
Примечание. Требования к выключателям с выводами данного типа приведены в
Приложении K.
- выключатели с выводами резьбового типа для алюминиевых проводников.
Примечание. Требования к выключателям с выводами данного типа - в стадии рассмотрения.
4.5. Ток мгновенного расцепления (см.
3.5.17):
- типа B;
- типа C;
- типа D.
Примечание. Выбор конкретного типа может зависеть от правил монтажа.
4.6. Характеристика

В дополнение к характеристике

, указанной изготовителем, выключатели могут классифицироваться по их характеристике

.
5 Характеристики автоматических выключателей
5.1. Перечень характеристик
Характеристики выключателей должны быть выражены следующими определениями:
- число полюсов (см.
4.1);
- защита от внешних воздействий (см.
4.2);
- способ монтажа (см.
4.3);
- способ присоединения (см.
4.4);
- значение номинального рабочего напряжения (см.
5.3.1);
- значение номинального тока (см.
5.3.2);
- значение номинальной частоты (см.
5.3.3);
- диапазон токов мгновенного расцепления (см.
4.5 и
5.3.5);
- значение номинальной наибольшей отключающей способности (см.
5.3.4);
- характеристика

(см.
3.5.13);
- классификация по

(см.
4.6).
5.2. Номинальные значения
5.2.1. Номинальные напряжения
5.2.1.1. Номинальное рабочее напряжение

Номинальное рабочее напряжение (далее - номинальное напряжение) выключателя - установленное изготовителем значение напряжения, при котором определена работоспособность выключателя (особенно при коротких замыканиях).
Примечание. Для одного и того же выключателя может быть установлено несколько значений номинального напряжения и соответственно несколько значений номинальной наибольшей отключающей способности.
5.2.1.2. Номинальное напряжение изоляции

Номинальное напряжение изоляции выключателя - это установленное изготовителем значение напряжения, при котором определяют испытательное напряжение при испытании на электрическую прочность изоляции и расстояния утечки.
При отсутствии других указаний номинальное напряжение изоляции - это максимальное значение номинального напряжения выключателя. Значение максимального номинального напряжения не должно превышать значения номинального напряжения изоляции.
5.2.1.3. Номинальное импульсное выдерживаемое напряжение

Номинальное импульсное выдерживаемое напряжение выключателя должно быть равно или превышать стандартные значения номинального импульсного выдерживаемого напряжения, приведенные в
таблице 3.
5.2.2. Номинальный ток (In)
Установленный изготовителем ток, который выключатель способен проводить в продолжительном режиме (см.
3.2.14) при указанной контрольной температуре окружающего воздуха.
Стандартная контрольная температура окружающего воздуха 30 °C. Если для данного выключателя используется другое значение контрольной температуры окружающего воздуха, необходимо учитывать ее влияние на защиту кабелей от перегрузки, поскольку это тоже зависит от контрольной температуры окружающего воздуха согласно монтажным правилам.
Примечание. В качестве контрольной температуры для защиты кабелей от перегрузок принята температура 25 °C согласно
ГОСТ Р 50571.
5.2.3. Номинальная частота
Номинальная частота выключателя - это промышленная частота, на которую рассчитан выключатель и которой соответствуют значения других характеристик.
Один и тот же выключатель может быть рассчитан на несколько значений номинальной частоты.
5.2.4. Номинальная наибольшая отключающая способность (Icn)
Номинальная наибольшая отключающая способность - это значение предельной наибольшей отключающей способности (см.
3.5.5.1), указанное для выключателя изготовителем.
Примечание. Выключатель с указанной номинальной наибольшей отключающей способностью

имеет соответствующую ей рабочую наибольшую отключающую способность

(см.
таблицу 18).
5.3. Стандартные и предпочтительные значения
5.3.1. Предпочтительные значения номинального напряжения
К предпочтительным значениям номинального напряжения относят значения, указанные в
таблице 1.
5.3.2. Предпочтительные значения номинального тока
К предпочтительным значениям номинального тока относятся:
6, 8, 10, 13, 16, 20, 25, 32, 40, 50, 63, 80, 100, 125 А.
5.3.3. Стандартные значения номинальной частоты
Стандартными значениями номинальной частоты являются 50 и 60 Гц.
5.3.4. Стандартные значения номинальной наибольшей отключающей способности
5.3.4.1. Стандартные значения до 10000 А включительно
Стандартными значениями номинальной наибольшей отключающей способности до 10000 А включительно являются:
1500, 3000, 4500, 6000, 10000 А.
Примечание. В некоторых странах также считают стандартными значения 1000, 2000, 2500, 5000, 7500 и 9000 А.
Соответствующие диапазоны значений коэффициента мощности приведены в
9.12.5.
5.3.4.2. Значения св. 10000 до 25000 А включительно
Для значений св. 10000 А до 25000 А включительно предпочтительным является 20000 А.
Соответствующие диапазоны значений коэффициента мощности приведены в
9.12.5.
5.3.5. Стандартные диапазоны токов мгновенного расцепления
Стандартные диапазоны токов мгновенного расцепления приведены в таблице 2.
Таблица 2
Диапазоны токов мгновенного расцепления
Тип | Диапазон |
B | Св.  до  включ. |
C | "  "  " |
D | "  "  <*> " |
<*> В некоторых случаях могут также применяться значения до 50In. |
5.3.6. Стандартные значения номинального импульсного выдерживаемого напряжения (Uimp)
В таблице 3 приведены стандартные значения номинального импульсного выдерживаемого напряжения в качестве функции номинального напряжения электроустановки.
Таблица 3
Номинальное импульсное выдерживаемое напряжение в качестве
функции номинального напряжения электроустановки
Номинальное импульсное выдерживаемое напряжение (Uimp), кВ | Номинальное напряжение электроустановки, В |
Трехфазные системы | Однофазная система с заземленной средней точкой |
2,5 <a> | - | 120/240 <b> |
4,0 <a> | 230/400, 250/440 | 120/240, 240 <c> |
<a> Значения 3 и 5 кВ соответственно применяют при проверке изолирующих промежутков через разомкнутые контакты на высоте 2000 м (см. таблицы 4 и 13). <b> Из практики электроустановок в Японии. <c> Из практики электроустановок в странах Северной Америки. Примечания 1 Напряжения для испытания изоляции см. в таблице 14. 2 Напряжения для испытания изолирующего промежутка через разомкнутые контакты см. в таблице 13. |
6 Маркировка и другая информация об изделии
Каждый выключатель должен иметь стойкую маркировку с указанием следующих данных:
a) наименование изготовителя или торговый знак;
b) обозначение типа, каталожного номера или номера серии;
c) номинальное (номинальные) напряжение (напряжения);
d) номинальный ток без символа "A" с предшествующим обозначением типа характеристики мгновенного расцепления (B, C или D), например: B 16 - выключатель типа B на номинальный ток 16 А;
e) номинальная частота, если выключатель разработан для работы только на одной частоте (см.
5.3.3);
f) номинальная наибольшая отключающая способность в амперах;
g) схема соединений, если правильный способ соединения не очевиден;
h) контрольная температура окружающего воздуха, если она отличается от 30 °C;
i) степень защиты, если только она отличается от IP20;
j) для выключателей типа D максимальный ток мгновенного расцепления, если он выше чем

(см.
таблицу 2);
k) номинальное импульсное выдерживаемое напряжение

.
Маркировка по
перечислению d) должна быть видимой после установки выключателя. Если габариты выключателя не позволяют нанести на аппарат все указанные выше данные, то маркировка по
перечислениям a),
b),
c),
e),
f),
h), i) и j) может быть нанесена на боковой или задней поверхности выключателя. Информация по
перечислению g) может быть размещена на внутренней поверхности любой крышки, которую следует снимать для присоединения подводящих проводов, но не должна быть нанесена на табличку, подвешиваемую на выключатель. Информация по остальным пунктам должна быть приведена в документации и каталогах изготовителя.
Пригодность для разъединения, которая обеспечивается всеми выключателями по настоящему стандарту, может быть обозначена символом

, нанесенным на аппарат. Когда эта маркировка прикреплена, она может быть включена в схему подключения в сочетании с символами других функций (например, защита от перегрузки) или другими символами. Когда символ используют сам по себе (не в схеме подключения), его сочетание с символами других функций не допустимо.
Примечания. 1. В некоторых странах на выключателе обязательна маркировка символом, указывающим на пригодность к разъединению для нижестоящей электроустановки. Нанесенный символ должен быть четким и безошибочно читаемым, когда выключатель установлен как для эксплуатации и его орган управления доступен.
2. В Австралии такая маркировка на автоматическом выключателе обязательна, но не требуется, чтобы она была видимой после установки.
Если на аппарате маркирована степень защиты выше чем IP20, он должен ей соответствовать независимо от способа установки. Если повышенная степень защиты достигается исключительно с помощью особого способа монтажа и/или с применением специальных дополнительных установочных узлов (например, крышки для выводов, оболочки и т.д.), это должно быть отражено в документации изготовителя.
По запросу изготовитель должен предоставить характеристику

(см.
3.5.13).
Изготовитель может указать классификацию по

(см.
4.6) и нанести на выключатель соответствующую маркировку.
Для выключателей, кроме управляемых нажимными кнопками, отключенное положение должно обозначаться символом "O" (кружок), включенное положение - символом "I" (короткая вертикальная черта).
Для этого обозначения допускается применение дополнительных национальных символов. Временно разрешено применение только национальных обозначений. Эти обозначения должны быть хорошо видны на установленном выключателе.
Для выключателей, управляемых двумя нажимными кнопками, кнопка, предназначенная только для операции отключения, должна быть красного цвета и/или обозначена символом "O".
Красный цвет не должен быть использован для других кнопок выключателя.
Если кнопка служит для замыкания контактов и ясно распознается как таковая, то для указания замкнутого положения контактов достаточно ее утопленного положения. Если одну и ту же кнопку используют и для замыкания, и для размыкания контактов и она идентифицируется как таковая, то для указания замкнутого положения контактов достаточно, когда она остается в утопленном положении. С другой стороны, если кнопка не остается утопленной, следует предусмотреть дополнительный указатель положения контактов.
Для выключателей с несколькими номинальными токами следует маркировать максимальное значение тока, как указано в
перечислении d), и, кроме того, значение номинального тока, на который отрегулирован выключатель.
Если необходимо различать входные и выходные выводы, первые следует обозначить стрелками, направленными к выключателю, а вторые - стрелками, направленными от него.
Выводы, предназначенные исключительно для нейтрали, следует обозначить буквой N.
Выводы, предназначенные для защитного проводника, если он предусмотрен, должны обозначаться знаком

по
ГОСТ 25874.
Примечание. Ранее рекомендованное обозначение

по
ГОСТ 25874 должно заменяться вышеуказанным символом.
Маркировка должна быть нестираемой, хорошо видимой и не должна наноситься на винты, шайбы и другие съемные части.
Соответствие проверяют осмотром и испытанием по
9.3.
7 Стандартные условия эксплуатации
Выключатели, соответствующие требованиям настоящего стандарта, должны быть работоспособны в стандартных условиях, приведенных в настоящем разделе.
7.1. Диапазон температур окружающего воздуха
Температура окружающего воздуха не должна превышать 40 °C, а ее среднее значение в течение 24 ч не должно превышать 35 °C.
Нижний предел температуры окружающего воздуха составляет минус 5 °C.
Выключатели для эксплуатации при температуре окружающего воздуха выше 40 °C (например, в тропических странах) или ниже минус 5 °C необходимо проектировать специально для этих условий или эксплуатировать по соглашению между изготовителем и потребителем.
7.2. Высота над уровнем моря
Высота установки над уровнем моря не должна превышать 2000 м.
Если выключатель будет эксплуатироваться на высоте более 2000 м, необходимо учитывать снижение электрической прочности изоляции и охлаждающее действие воздуха. Выключатель для эксплуатации в этих условиях необходимо специально проектировать или использовать по соглашению между изготовителем и потребителем. Заменой такого соглашения может служить информация, приведенная в каталоге изготовителя.
Воздух должен быть чистым, относительная влажность не должна превышать 50% при максимальной температуре 40 °C.
При более низких температурах допускается более высокая относительная влажность, например 90% при 20 °C.
Следует принять меры защиты (например, предусмотреть дренажные отверстия) против умеренной конденсации влаги, которая может быть обусловлена колебаниями температуры.
Монтаж выключателей необходимо производить в соответствии с инструкциями изготовителя.
Выключатели, соответствующие настоящему стандарту, предназначены для эксплуатации в среде со степенью загрязнения 2, т.е. только нормально нетокопроводящее загрязнение. Однако следует допустить возможность временной проводимости из-за конденсации.
8 Требования к конструкции и работоспособности
8.1. Механическая конструкция
| | Применение на добровольной основе пункта 8.1.1 обеспечивает соблюдение требований Федерального закона от 22.07.2008 N 123-ФЗ "Технический регламент о требованиях пожарной безопасности" (Приказ Росстандарта от 16.04.2014 N 474). | |
Выключатели должны быть разработаны и изготовлены так, чтобы при нормальной эксплуатации их функционирование было надежным и не представляло опасности для потребителя и окружающей среды.
Выполнение этого требования проверяют проведением всех предусмотренных для этих целей испытаний.
Подвижные контакты всех полюсов многополюсных выключателей должны быть соединены механически таким образом, чтобы все полюса, за исключением коммутирующего нейтраль, если имеется, включали и отключали ток практически одновременно, независимо от того, осуществляется оперирование вручную или автоматически, даже если перегрузке подвергается только один защищенный полюс.
Полюс, коммутирующий нейтраль (см.
3.2.7.3), должен размыкаться позже и замыкаться раньше защищенных полюсов.
Соответствие проверяют осмотром и испытанием вручную с использованием необходимых средств (например, индикаторная лампа, осциллоскоп и т.д.).
Если полюс с соответствующей наибольшей включающей и отключающей способностью используют как нейтральный полюс, а выключатель снабжен независимым ручным приводом (см.
3.4.4), тогда все полюса, включая и нейтральный, могут срабатывать практически одновременно.
Выключатель должен иметь механизм свободного расцепления.
Должна быть предусмотрена возможность включать и отключать ток вручную. Для выключателей втычного исполнения без рукоятки управления это требование не выполняют, поскольку возможно снятие выключателя с основания вручную.
Выключатель должен быть сконструирован так, чтобы подвижные контакты могли находиться в состоянии покоя только в замкнутом (см.
3.2.8) или только в разомкнутом (см.
3.2.9) положении, даже если орган управления освобождается в промежуточном положении.
Согласно требованиям к функции разъединения (см.
8.3) выключатели в разомкнутом положении (см.
3.2.9) должны обеспечивать изолирующий промежуток.
Указание положения разомкнутых или замкнутых главных контактов должно быть обеспечено одним или двумя из следующих способов:
- положением органа управления (что предпочтительнее) или
- отдельным механическим индикаторным устройством.
При применении отдельного механического индикатора для указания положения главных контактов в нем красный цвет указывает на замкнутое положение контактов ("вкл."), зеленый - на разомкнутое ("откл.").
Способ индикации контактного положения должен быть надежным.
Соответствие проверяют осмотром и испытанием по
9.10.2.
Конструкцией выключателя должна быть предусмотрена единственно правильная установка органа управления, фронтальной панели или крышки, обеспечивающая безошибочную индикацию положения контактов.
Если орган управления применяют для указания положения контактов, тогда он в свободном состоянии должен автоматически занимать положение, которое соответствует положению подвижных контактов; в этом случае орган управления должен иметь два различных состояния покоя, соответствующие положению контактов, однако для автоматического срабатывания может быть предусмотрено третье отдельное положение органа управления.
Действие механизма выключателя не должно зависеть от положения оболочек, крышек или любой съемной части.
Крышку, залитую при сборке изготовителем, считают несъемной частью.
Если крышку используют в качестве направляющей для нажимных кнопок, удаление кнопок извне должно быть невозможным.
Органы управления должны быть надежно закреплены на своих осях, и снятие их без помощи инструмента должно быть невозможным.
Допускается крепление органов управления непосредственно к крышкам.
Если орган управления переключается движением в вертикальной плоскости "вверх-вниз", когда выключатель установлен как при нормальной эксплуатации, контакты должны замыкаться движением органа управления снизу вверх.
Примечание. В некоторых странах допускается замыкание контактов при движении органа управления сверху вниз.
Соответствие вышеуказанным требованиям проверяют внешним осмотром и испытанием вручную.
Если изготовителем предусмотрено замыкание органа управления в разомкнутом положении, то блокировка в этом положении должна быть единственно возможна, если главные контакты находятся в разомкнутом состоянии.
Примечание. Блокировка органа управления в замкнутом положении допускается в особых случаях.
Соответствие проверяют осмотром согласно указаниям изготовителя.
8.1.3. Воздушные зазоры и расстояния утечки (см. Приложение B)
Минимальные значения воздушных зазоров и расстояний утечки, приведенные в таблице 4, предназначены для выключателей, эксплуатируемых в окружающей среде со степенью загрязнения 2.
Таблица 4
Минимальные значения воздушных зазоров и расстояний утечки
Описание | Минимальные значения воздушных зазоров, мм, при Uimp, кВ/номинальном напряжении, В |
2,5 | 4,0 | 4,0 |
120/240 120 | 120/240 120 | 230/400 230 400 |
1 Между частями, находящимися под напряжением, разъединенными, когда главные контакты АВДТ разомкнуты <a> | 2,0 | 4,0 | 4,0 |
2 Между частями различной полярности, находящимися под напряжением <a> | 1,5 | 3,0 | 3,0 |
3 Между цепями, питаемыми от разных источников, один из которых PELV или SELV <g> | 3,0 | 6,0 | 8,0 |
4 Между частями, находящимися под напряжением, и: | 1,5 | 3,0 | 3,0 |
- доступными поверхностями органов управления; - винтами и другими средствами крепления крышек, которые снимают при монтаже выключателя; - поверхностью, на которой монтируют основание выключателя <b>; - винтами и другими средствами крепления выключателя <b>; - металлическими крышками или коробками <b>; - прочими доступными металлическими частями <c>; - металлическими опорными рамами выключателя скрытого монтажа | | | |
5 Между металлическими частями механизма и: | 1,5 | 3,0 | 3,0 |
- доступными металлическими частями <c>; - винтами и другими средствами крепления выключателя; - металлическими опорными рамами выключателя скрытого монтажа | | | |
Продолжение таблицы 4
Описание | Минимальные значения расстояний утечки <e>, <f>, мм |
(175 В <= СИТ < 400 В) <d> | Группа II (400 В <= СИТ < 600 В) <d> | Группа I |
Эксплуатационное напряжение <e>, В |
> 25 | 120 | 250 | 400 | > 25 | 120 | 250 | 400 | > 25 | 120 | 250 | 400 |
1 Между частями, находящимися под напряжением, разъединенными, когда главные контакты АВДТ разомкнуты <a> | 1,2 | 2,0 | 4,0 | 4,0 | 0,9 | 2,0 | 4,0 | 4,0 | 0,6 | 2,0 | 4,0 | 4,0 |
2 Между частями различной полярности, находящимися под напряжением <a> | 1,2 | 1,5 | 3,0 | 4,0 | 0,9 | 1,5 | 3,0 | 3,0 | 0,6 | 1,5 | 3,0 | 3,0 |
3 Между цепями, питаемыми от разных источников, один из которых PELV или SELV <g> | - | 3,0 | 6,0 | 8,0 | - | 3,0 | 6,0 | 8,0 | - | 3,0 | 6,0 | 8,0 |
Окончание таблицы 4
Описание | Номинальное напряжение, В |
120/240 | 230/240 | 120/240 | 230/240 | 120/240 | 230/240 |
4 Между частями, находящимися под напряжением, и: | 1,5 | 4,0 | 1,5 | 3,0 | 1,5 | 3,0 |
- доступными поверхностями органов управления; - винтами и другими средствами крепления крышек, которые снимают при монтаже выключателя; - поверхностью, на которой монтируют основание выключателя <b>; - винтами и другими средствами крепления выключателя <b>; - металлическими крышками или коробками <b>; - прочими доступными металлическими частями <c>; - металлическими опорными рамами выключателя скрытого монтажа | | | | | | |
5 Между металлическими частями механизма и: | 1,5 | 4,0 | 1,5 | 3,0 | 1,5 | 3,0 |
- доступными металлическими частями <c>; - винтами и другими средствами крепления выключателя; - металлическими опорными рамами выключателя скрытого монтажа | | | | | | |
<a> Значения для вспомогательных контактов и контактов управления приведены в соответствующем стандарте. <b> Значения удваиваются, если воздушные зазоры и расстояния утечки между частями аппарата, находящимися под напряжением, и металлическим экраном или монтажной поверхностью выключателя зависят не только от конструкции выключателя, они могут быть уменьшены, когда выключатель установлен в самых неблагоприятных условиях. <c> Включая металлическую фольгу в контакте с поверхностями изоляционного материала, которые доступны после монтажа для нормальной эксплуатации. Фольгу заправляют в углы, углубления и т.п. с помощью прямого несочлененного испытательного пальца согласно 9.6 (см. рисунок 9). <e> Допускается интерполирование при определении расстояний утечки, соответствующих значениям напряжения, промежуточным к указанным в качестве эксплуатационного напряжения. Определение расстояний утечки см. в Приложении B. <f> Воздушные зазоры не могут быть меньше соответствующих расстояний утечки. <g> С учетом всех разных напряжений, в т.ч. сверхнизкого напряжения во вспомогательном контакте. <h> Для материалов группы IIIb (100 В <= СИТ < 175 В) применяют значения для материалов группы IIIa, умноженные на 1,6. <i> Для эксплуатационных напряжений до 25 В включительно можно ссылаться на МЭК 60664-1. Примечания 1 Значения, приведенные для 400 В, также действительны для 440 В. 2 Части нейтрали, если имеется, считаются частями, находящимися под напряжением. 3 Вопрос о воздушных зазорах и расстояниях утечки для твердой изоляции - в стадии рассмотрения. 4 Следует обратить внимание на соблюдение соответствующих воздушных зазоров и расстояний утечки между частями выключателя разной полярности, находящимися под напряжением, например втычного типа, смонтированными близко одна к другой. |
Изоляционные материалы классифицированы по группам согласно сравнительному индексу трекингостойкости (СИТ) в соответствии с МЭК 60664-1, подпункты 2.7.1.1 и 2.7.1.3.
8.1.4. Винты, токопроводящие части и соединения
8.1.4.1. Соединения как электрические, так и механические, должны выдерживать механические нагрузки, характерные для нормальной эксплуатации.
Винты, применяемые для монтажа выключателей, не должны быть самонарезающего типа.
Примечание. К винтам или гайкам, используемым для монтажа выключателя, относят винты для крепления крышек и закрывающих пластин, но не для присоединения вводных сальников и крепления основания выключателя.
Соответствие данному требованию проверяют внешним осмотром и испытанием по
9.4.
Примечание. Резьбовые соединения проверяют в ходе испытаний по
9.8,
9.9,
9.12,
9.13 и
9.14.
8.1.4.2. Для винтов, входящих в зацепление с резьбой в изоляционном материале, которые используют при монтаже выключателей, должен быть обеспечен правильный ввод винта в резьбовое отверстие или гайку.
Соответствие проверяют внешним осмотром и проверкой вручную.
Примечание. Требование к правильному вводу винта удовлетворяется, если, например, исключить перекос винта на входе, используя в качестве направляющей для него на закрепляемой части фаску на заходной части внутренней резьбы, в которую он ввинчивается, или сняв часть резьбы с заходной части винта.
8.1.4.3. Электрические соединения должны быть спроектированы так, чтобы контактное давление не передавалось через изоляционный материал, кроме керамики, чистой слюды или других материалов с аналогичными характеристиками, если металлические части недостаточно упруги, чтобы компенсировать любые возможные усадку или пластичность изоляционного материала.
Соответствия проверяют осмотром.
Примечание. Пригодность материалов оценивают по стабильности размеров.
8.1.4.4. Токопроводящие части, включая предназначенные для защитных проводников, если они имеются, должны быть выполнены из:
- меди;
- сплава, содержащего не менее 58% меди для частей, подлежащих холодной обработке, и не менее 50% меди для других частей;
- другого металла или металла с соответствующим покрытием, не менее устойчивого к коррозии, чем медь, и с не менее пригодными механическими свойствами.
Примечание. Новые требования и испытания для определения антикоррозионной стойкости находятся на рассмотрении. Эти требования должны допускать применение других материалов с соответствующими покрытиями.
Требования данного пункта не применяют к контактам, магнитным контурам, нагревательным элементам, биметаллам, токоограничивающим элементам, шунтам, частям электронных устройств, а также винтам, гайкам, шайбам, зажимным пластинам и аналогичным частям выводов.
8.1.5. Выводы для внешних проводников
8.1.5.1. Выводы для внешних проводников должны обеспечивать такое присоединение проводников, чтобы постоянно поддерживалось необходимое контактное давление.
Допускается применение устройств, предназначенных для присоединения шин, при условии, что они не используются для присоединения кабелей.
Такие устройства могут быть втычного или болтового типа.
Выводы должны быть легкодоступными для присоединения проводников в предполагаемых условиях эксплуатации.
Проверку осуществляют путем осмотра и испытаний по
9.5 для резьбовых выводов, специальных испытаний для выключателей втычного и болтового типов, соответствующих настоящему стандарту, или испытаний согласно
Приложению J или
K в соответствии с типом присоединения.
8.1.5.2. Выключатели должны быть оснащены выводами, допускающими присоединение медных проводников номинальной площадью поперечного сечения согласно таблице 5.
Примечание. Примеры конструкций резьбовых выводов приведены в
Приложении F.
Таблица 5
Поперечные сечения медных проводников, присоединяемых
к резьбовым выводам
| Диапазон номинальных поперечных сечений присоединяемых проводников, мм2 | | Диапазон номинальных поперечных сечений присоединяемых проводников, мм2 |
До 13 включ. | От 1,0 до 2,5 | " 32 " 50 " | " 4,0 " 16,0 |
Св. 13 до 16 включ. | " 1,0 " 4,0 | " 50 " 80 " | " 10,0 " 25,0 |
" 16 " 25 " | " 1,5 " 6,0 | " 80 " 100 " | " 16,0 " 35,0 |
" 25 " 32 " | " 2,5 " 10,0 | " 100 " 125 " | " 25,0 " 50,0 |
<a> Требуется, чтобы при номинальных токах до 50 А включительно выводы были рассчитаны на зажим как однопроволочных, так и жестких многопроволочных проводников; допускается применение гибких проводников. В то же время допускается, чтобы выводы для проводников с поперечным сечением от 1,0 до 6,0 мм2 были рассчитаны на зажим только однопроволочных проводников. |
Проверку осуществляют путем осмотра, измерений и поочередного ввода одного проводника с минимальной и одного с максимальной указанной площадью поперечного сечения.
Примечание. Размеры медных проводников в системе AWG см. в
Приложении G.
8.1.5.3. Зажимные элементы для проводников в выводах не должны служить для крепления каких-либо других элементов, хотя они могут удерживать выводы на месте или препятствовать их проворачиванию.
Соответствие проверяют осмотром и испытаниями по
9.5.
8.1.5.4. Выводы на номинальные токи до 32 А включительно должны позволять присоединение проводников без специальной подготовки.
Соответствие проверяют осмотром.
Примечание. Термин "специальная подготовка" подразумевает пропаивание жилы проводника, использование кабельных наконечников, формовку петель и т.д., но никак не восстановление формы проводника перед вводом его в зажим или скручивание гибкого проводника для укрепления его конца.
8.1.5.5. Выводы должны иметь необходимую механическую прочность.
Винты и гайки для зажима проводников должны иметь метрическую резьбу ISO или другую резьбу, сопоставимую по шагу и механической прочности.
Соответствие проверяют осмотром и испытаниями по
9.4 и
9.5.1.
8.1.5.6. Выводы должны иметь такую конструкцию, чтобы зажимать проводник без чрезмерных повреждений.
Соответствие проверяют осмотром и испытанием по
9.5.2.
8.1.5.7. Выводы должны иметь такую конструкцию, чтобы надежно зажимать проводник между металлическими поверхностями.
Соответствие проверяют осмотром и испытаниями по
9.4 и
9.5.1.
8.1.5.8. Выводы должны быть сконструированы или расположены так, чтобы избежать выскальзывания жесткого однопроволочного проводника и проволок многопроволочного проводника при затягивании винтов или гаек.
Это требование не применяют к выводам под наконечник.
Соответствие проверяют испытанием по
9.5.3.
8.1.5.9. Выводы должны быть закреплены и расположены таким образом, чтобы при затягивании или отпускании зажимных винтов или гаек не ослаблялись крепления выводов к выключателям.
Примечания. 1. Эти требования не означают, что выводы должны быть спроектированы таким образом, чтобы не допускалось их вращение или перемещение, однако любое их движение должно быть определенным образом ограничено, чтобы избежать несоответствия требованиям настоящего стандарта.
2. Применение уплотняющей массы или смолы для предотвращения ослабления выводов считают достаточным при условии, что:
- уплотняющая масса или смола не подвергается нагрузкам при нормальной эксплуатации;
- эффективность уплотняющей массы или смолы не снижается при воздействии температур, достигаемых выводом при наиболее неблагоприятных условиях, указанных в настоящем стандарте.
Соответствие проверяют осмотром, измерениями и испытанием по
9.4.
8.1.5.10. Зажимные винты или гайки выводов, предназначенных для присоединения защитных проводников, должны быть надежно защищены от случайного ослабления их затяжки.
Соответствие проверяют испытанием вручную.
Примечание. Конструкции выводов, примеры которых приведены в
Приложении F, в целом достаточно упруги и удовлетворяют данному требованию. Для других конструкций могут потребоваться дополнительные меры, например применение соответствующей упругой части, которую невозможно было бы удалить случайно.
8.1.5.11. Столбчатые зажимы должны допускать полный ввод и надежный зажим проводника.
Проверку осуществляют путем осмотра после полного ввода и зажима крутящим моментом по
таблице 10 одножильного проводника с наибольшей площадью поперечного сечения, соответствующей номинальному току по
таблице 5.
8.1.5.12. Винты и гайки выводов, предназначенных для присоединения внешних проводников, должны ввинчиваться (навинчиваться) на резьбовые детали, выполненные в металле. Применение самонарезающих винтов не допускается.
8.1.6. Отсутствие взаимозаменяемости
Конструкция выключателя, предназначенного для монтажа в основании, образующем с ним единую конструкцию (втычного или ввинчиваемого типа), не должна допускать возможности без применения инструмента его замены после монтажа и подключения как при нормальной эксплуатации на выключатель такого же типа, но с более высоким номинальным током.
Соответствие проверяют путем осмотра.
Примечание. Термин "как при нормальной эксплуатации" подразумевает, что выключатель устанавливают в соответствии с инструкциями изготовителя.
8.1.7. Механическая установка выключателей втычного типа
Механическая установка выключателей втычного типа, фиксация которых обеспечивается не только за счет собственного штепсельного соединения, должна быть надежной и иметь соответствующую устойчивость.
8.1.7.1. Выключатели втычного типа, фиксация которых обеспечивается не только за счет штепсельного соединения
Проверку осуществляют испытанием по
9.13.
8.1.7.2. Выключатели втычного типа, фиксация которых обеспечивается только за счет штепсельного соединения
Проверку осуществляют испытанием по
9.13.
8.2. Защита от поражения электрическим током
Выключатели должны быть спроектированы так, чтобы после монтажа и подсоединения как для нормальной эксплуатации (см.
8.1.6) их части, находящиеся под напряжением, были недоступны для прикосновения.
Часть считают доступной для прикосновения, если ее можно коснуться стандартным испытательным пальцем (см.
9.6).
В выключателях, кроме втычного исполнения, наружные части, за исключением винтов или других средств для крепления крышек и табличек, доступные после монтажа и присоединения выключателя как для нормальной эксплуатации, должны быть либо изготовлены из изоляционного материала, либо полностью покрыты изоляционным материалом, если доступные части, находящиеся под напряжением, не помещены во внутреннюю оболочку из изоляционного материала.
Оболочка должна быть закреплена таким образом, чтобы она не могла потеряться во время монтажа выключателя. Она должна иметь толщину стенок, обеспечивающую необходимую механическую прочность, в том числе на углах и ребрах, для выполнения защитной функции оболочки.
Входные отверстия для кабелей или проводов должны быть выполнены из изоляционного материала либо оснащены втулками или другими аналогичными приспособлениями из изоляционного материала. Такие приспособления должны быть надежно закреплены и обладать достаточной механической прочностью.
Наружные части выключателей втычного исполнения, кроме винтов или других средств крепления крышек и табличек, доступные при нормальной эксплуатации, необходимо изготовлять из изоляционного материала.
Металлические органы управления должны быть изолированы от частей, находящихся под напряжением, а их открытые части, за исключением обеспечивающих связь изолированных органов управления нескольких полюсов, должны быть покрыты изоляционным материалом.
Металлические части механизма должны быть недоступны. Кроме того, они должны быть изолированы от доступных металлических частей, металлических монтажных панелей выключателей утопленного монтажа, винтов и других средств крепления основания к панели и металлической панели, используемой в качестве монтажной.
Должна быть предусмотрена возможность легкой замены АВДТ втычного исполнения без касания частей, находящихся под напряжением.
Лак и эмаль не считают обеспечивающими необходимую изоляцию для защиты от поражения электрическим током.
Соответствие проверяют осмотром и испытанием по
9.6.
8.3. Электроизоляционные свойства и способность к разъединению
Выключатели должны обладать необходимыми электроизоляционными свойствами и обеспечивать разъединение.
8.3.1. Электрическая прочность изоляции при промышленной частоте
Выключатели должны иметь адекватные электроизоляционные свойства при промышленной частоте.
Проверку осуществляют испытаниями по
9.7.1 -
9.7.3 на выключателе в новом состоянии.
Кроме того, после испытаний на износостойкость по
9.11 и испытаний на короткое замыкание по
9.12 выключатели должны выдерживать испытание по
9.7.3, но с пониженным испытательным напряжением, указанным в
9.11.3 или в
9.12.12.2 соответственно, и без предварительного выдерживания в камере влаги по
9.7.1.
8.3.2. Способность к разъединению
Выключатели должны быть пригодны для разъединения.
Проводят проверку на соответствие с минимальными воздушными зазорами и расстояниями утечки по пункту 1
таблицы 4 и испытания по
9.7.6.1 и
9.7.6.3.
8.3.3. Электрическая прочность изоляции при номинальном импульсном выдерживаемом напряжении (Uimp)
Выключатели должны адекватно выдерживать импульсные напряжения.
Соответствие проверяют испытаниями по
9.7.6.2.
8.4. Превышение температуры
8.4.1. Пределы превышения температуры
Превышение температуры частей выключателя, указанное в таблице 6, измеренное при условиях, определенных в
9.8.2, не должно превосходить предельных значений, установленных в данной таблице.
Таблица 6
Значения превышения температуры
| Превышение температуры, К |
Выводы для внешних соединений <c> | 60 |
Наружные части, к которым приходится прикасаться во время ручного управления выключателем, включая органы управления, выполненные из изоляционного материала, и металлические связи для соединения изолированных органов управления нескольких полюсов | 40 |
Наружные металлические части органов управления | 25 |
Другие наружные части, включая поверхность выключателя, непосредственно соприкасающуюся с монтажной поверхностью | 60 |
<a> Значения для контактов не устанавливают, поскольку конструкция большинства выключателей не допускает прямого измерения их температуры без риска вызвать необратимые изменения или смещение деталей, способные повлиять на воспроизводимость результатов испытаний. Для косвенной проверки работоспособности контактов с точки зрения чрезмерного перегрева при эксплуатации считают достаточным 28-суточное испытание (см. 9.9). <b> Для других частей, кроме перечисленных в таблице, значения превышения температуры не указывают, но они не должны вызывать повреждений соседних частей из изоляционного материала, снижающих работоспособность выключателя. <c> Для выключателя втычного типа - выводы основания, на котором устанавливают выключатель. |
Выключатель не должен иметь повреждений, препятствующих выполнению его функций и нарушающих безопасность эксплуатации.
| | Применение на добровольной основе пункта 8.4.2 обеспечивает соблюдение требований Федерального закона от 22.07.2008 N 123-ФЗ "Технический регламент о требованиях пожарной безопасности" (Приказ Росстандарта от 16.04.2014 N 474). | |
8.4.2. Температура окружающего воздуха
Предельные значения превышения температуры, приведенные в
таблице 6, применимы для значений температур окружающего воздуха по
7.1.
8.5. Продолжительный режим эксплуатации
Выключатели должны обеспечивать защитную характеристику даже после длительной эксплуатации.
Проверку осуществляют испытанием по
9.9.
| | Применение на добровольной основе пункта 8.6 обеспечивает соблюдение требований Федерального закона от 22.07.2008 N 123-ФЗ "Технический регламент о требованиях пожарной безопасности" (Приказ Росстандарта от 16.04.2014 N 474). | |
8.6. Автоматическое оперирование
8.6.1. Нормальная время-токовая характеристика
Характеристика расцепления выключателей должна обеспечивать эффективную защиту цепи без срабатывания при номинальном токе.
Эта время-токовая характеристика (характеристика расцепления) выключателя определяется условиями и значениями согласно таблице 7.
Таблица 7
Время-токовые рабочие характеристики
Испытание | Тип | Испытательный ток | Начальное состояние | Время расцепления или нерасцепления | Требуемый результат | Примечание |
a | B, C, D | 1,13In | | t <= 1 ч (при In <= 63 А) t <= 2 ч (при In > 63 А) | Без расцепления | - |
b | B, C, D | 1,45In | Сразу же после испытания <a> | t < 1 ч (при In <= 63 А) t < 2 ч (при In > 63 А) | Расцепление | Непрерывное нарастание тока в течение 5 с |
| B, C, D | 2,55In | | 1 с < t < 60 с (при In < 32 А) 1 с < t < 120 с (при In > 32 А) | Расцепление | - |
d | B | 3In | | t <= 0,1 с | Без расцепления | Ток создается замыканием вспомогательного выключателя |
C | 5In |
D | 10In |
e | B | 5In | | t < 0,1 с | Расцепление | Ток создается замыканием вспомогательного выключателя |
C | 10In |
D | 20In <b> |
<a> Термин "холодное состояние" означает, что при контрольной температуре калибровки ток предварительно не пропускают. <b> В особых случаях 50In. |
Примечание - Для выключателей типа D рассматривается возможность дополнительного испытания для промежуточного значения между c и d. |
Таблица 7 действительна для выключателя, смонтированного в соответствии с условиями
9.2, работающего при температуре

.
Проверку осуществляют проведением испытаний по
9.10.
Испытания проводят при любой температуре воздуха, а результаты корректируют по температуре 30 °C на основании поправочных коэффициентов, предоставленных изготовителем.
В любом случае отклонение испытательного тока от указанного в
таблице 7 не должно превышать 1,2% на 1 °C изменения температуры калибровки.
Если выключатель маркирован температурой калибровки, отличной от 30 °C, испытание проводят для этой температуры.
Изготовитель должен подготовить данные по изменению характеристики расцепления для температур калибровки, отличных от контрольного значения.
8.6.2. Условные параметры
Условное время равно 1 ч для выключателей с номинальным током до 63 А включительно и 2 ч с номинальным током св. 63 А.
8.6.2.2. Условный ток нерасцепления

Условный ток нерасцепления АВДТ равен 1,13 его номинального тока.
8.6.2.3. Условный ток расцепления

Условный ток расцепления выключателя равен 1,45 его номинального тока.
8.6.3. Характеристика расцепления
Характеристика расцепления выключателя должна проходить в зоне, определенной
8.6.1.
Примечания. 1. Температура и условия монтажа, отличающиеся от указанных в
9.2 (например, монтаж в специальных оболочках, компоновка нескольких выключателей в одной оболочке и т.п.), могут влиять на характеристику расцепления выключателя.
2. Изготовитель должен быть готов предоставить информацию об изменениях характеристики расцепления при температуре окружающего воздуха, отличающейся от контрольного значения в пределах, указанных в
7.1.
8.6.3.1. Влияние однополюсной нагрузки на характеристику расцепления многополюсного выключателя
Если в выключателе с более чем одним защищенным полюсом проходит ток нагрузки только через один защищенный полюс, начиная с холодного состояния, выключатель должен расцепляться в пределах условного времени, указанного в
8.6.2.1, при токе, равном:
- 1,1 условного тока расцепления для двухполюсных выключателей с двумя защищенными полюсами;
- 1,2 условного тока расцепления для трех- и четырехполюсных выключателей.
8.6.3.2. Влияние температуры окружающего воздуха на характеристику расцепления
Температура окружающего воздуха, отличающаяся от контрольной, находящаяся в диапазоне от минус 5 °C до плюс 40 °C, не должна существенно отражаться на характеристике расцепления выключателя.
Соответствие проверяют испытаниями по
9.10.4.
8.7. Механическая и коммутационная износостойкость
Выключатели должны быть способны выполнять установленное количество механических и электрических циклов оперирования при номинальном токе.
Соответствие проверяют испытанием по
9.11.
8.8. Работоспособность при токах короткого замыкания
Выключатели должны быть способны выполнить установленное число циклов оперирования при коротком замыкании, не представляя опасности для оператора и не вызывая перекрытия между находящимися под напряжением проводящими частями либо между этими частями и землей.
Соответствие проверяют испытанием по
9.12.
Выключатели должны быть способны включать и отключать любой ток до уровня, соответствующего номинальной наибольшей коммутационной способности включительно, при номинальной частоте и восстанавливающемся напряжении промышленной частоты, равном (105 +/- 5)% номинального напряжения при любом коэффициенте мощности, не менее нижнего предела диапазона, указанного в
9.12.5; требуется также, чтобы соответствующее значение

было ниже характеристики

(см.
3.5.13).
8.9. Стойкость к механическому толчку и удару
Выключатели должны обладать соответствующей механической прочностью, чтобы противостоять механическим нагрузкам, возникающим при монтаже и эксплуатации.
Соответствие проверяют испытанием по
9.13.
Выключатели должны быть достаточно термостойкими.
Соответствие проверяют испытанием по
9.14.
| | Применение на добровольной основе пункта 8.11 обеспечивает соблюдение требований Федерального закона от 22.07.2008 N 123-ФЗ "Технический регламент о требованиях пожарной безопасности" (Приказ Росстандарта от 16.04.2014 N 474). | |
8.11. Стойкость против аномального нагрева и огня
Наружные части выключателей, выполненные из изоляционного материала, не должны легко воспламеняться и распространять огонь, если близлежащие токопроводящие части достигают высокой температуры при аварии или перегрузке.
Соответствие проверяют осмотром и испытанием по
9.15.
8.12. Коррозиеустойчивость
Части, выполненные из черных металлов, должны быть в достаточной степени защищены от коррозии.
Проверку осуществляют испытанием по
9.16.
9.1. Типовые испытания и их последовательность
9.1.1. Характеристики выключателей проверяют при проведении типовых испытаний.
Перечень типовых испытаний приведен в таблице 8.
Таблица 8
Перечень типовых испытаний
Испытание | Пункт |
Стойкость маркировки | |
Надежность винтов, токопроводящих частей и соединений | |
Надежность выводов для внешних проводников | |
Защита от поражения электрическим током | |
Электроизоляционные свойства и способность к разъединению | |
Превышение температуры | |
28-суточное испытание | |
Характеристика расцепления | |
Механическая и коммутационная износостойкость | |
Короткое замыкание | |
Стойкость к механическому толчку и удару | |
Термостойкость | |
Стойкость против аномального нагрева и огня | |
Коррозиеустойчивость | |
Для проверки соответствия настоящему стандарту типовые испытания выполняют циклами.
Циклы испытаний и число испытуемых образцов указаны в
Приложении C.
В отсутствие других указаний каждому типовому испытанию (или циклу) подвергают чистые и новые выключатели.
Примечание. Испытания на соответствие стандартам могут быть выполнены:
- изготовителем при заполнении декларации о соответствии поставки;
- независимой организацией в целях сертификации продукции.
При этом термин "сертификация" может быть применен только во втором случае.
Выключатель устанавливают отдельно, вертикально, на открытом воздухе при температуре окружающей среды от 20 °C до 25 °C, если не указано иное, в месте, защищенном от чрезмерного внешнего нагрева или охлаждения.
Выключатели, предназначенные для установки в индивидуальных оболочках, испытывают в наименьшей из оболочек, указанных изготовителем.
Если не указано иное, выключатели присоединяют с помощью кабеля с площадью поперечного сечения S, указанной в таблице 9, и закрепляют на фанерном щите толщиной около 20 мм, окрашенном матовой черной краской; способ крепления должен соответствовать предписаниям изготовителя в отношении монтажа выключателя.
Таблица 9
Поперечные сечения S испытательных медных проводников
в соответствии с номинальным током
Поперечное сечение S, мм2 | Значение номинального тока In, А |
1,0 | In <= 6 |
1,5 | 6 < In <= 13 |
2,5 | 13 < In <= 20 |
4,0 | 20 < In <= 25 |
6,0 | 25 < In <= 32 |
10,0 | 32 < In <= 50 |
16,0 | 50 < In <= 63 |
25,0 | 63 < In <= 80 |
35,0 | 80 < In <= 100 |
50,0 | 100 < In <= 125 |
Если допускаемые отклонения не указаны, типовые испытания проводят при значениях не менее жестких, чем приведенные в настоящем стандарте.
Если не указано иное, испытание проводят при номинальной частоте +/- 5% и любом приемлемом напряжении.
Во время испытаний не допускают разборку или обслуживание образцов.
Для испытаний по
9.8 -
9.11 выключатели подсоединяют следующим образом:
a) соединения выполняют одножильными медными кабелями с поливинилхлоридной изоляцией согласно
ГОСТ Р МЭК 60227-1;
b) испытания проводят однофазным током с последовательным соединением всех полюсов, за исключением испытаний по
9.8.2,
9.10.2 и
9.11;
c) соединения размещают на открытом воздухе с промежутками не менее расстояния между выводами;
d) минимальная длина каждого временного соединения от вывода до вывода составляет:
- 1 м - для сечений до 10 мм2 включительно;
- 2 м - для сечений св. 10 мм2.
Затягивающий крутящий момент, прикладываемый к винтам, должен составлять 2/3 значений, указанных в таблице 10.
Примечание. Сечения медных проводников в системе AWG см. в
Приложении G.
Таблица 10
Диаметры резьбы и прикладываемые крутящие моменты
Номинальный диаметр резьбы, мм | Крутящий момент, Н·м |
I | II | III |
До 2,8 включ. | 0,20 | 0,4 | 0,4 |
Св. 2,8 до 3,0 включ. | 0,25 | 0,5 | 0,5 |
" 3,0 " 3,2 " | 0,30 | 0,6 | 0,6 |
" 3,2 " 3,6 " | 0,40 | 0,8 | 0,8 |
" 3,6 " 4,1 " | 0,70 | 1,2 | 1,2 |
" 4,1 " 4,7 " | 0,80 | 1,8 | 1,8 |
" 4,7 " 5,3 " | 0,80 | 2,0 | 2,0 |
" 5,3 " 6,0 " | 1,20 | 2,5 | 3,0 |
" 6,0 " 8,0 " | 2,50 | 3,5 | 6,0 |
" 8,0 " 10,0 " | - | 4,0 | 10,0 |
Примечания Графу I применяют для винтов без головки, если винт в затянутом положении не выступает из гнезда, и для других винтов, которые не могут быть затянуты с помощью отвертки с шириной лезвия большей, чем диаметр винта. Графу II применяют для других винтов, которые затягивают с помощью отвертки. Графу III применяют для винтов и гаек, затягиваемых другими способами, без отвертки. Если винт снабжен шестигранной головкой "под ключ" со шлицем для отвертки, а значения в графах II и III различны, то испытания проводят дважды: сначала прикладывают к шестигранной головке ключом момент, указанный в графе III, а затем на другом образце с помощью отвертки прикладывают крутящий момент, указанный в графе II. Если значения в графах II и III одинаковы, проводят испытание только с отверткой. |
9.3. Проверка стойкости маркировки
Проверку проводят вручную трением маркировки в течение 15 с ватой, смоченной водой, и затем в течение 15 с ватой, смоченной алифатическим гексановым растворителем (с содержанием ароматических углеводородов не более 0,1% по объему, каурибутаноловым числом 29, начальной температурой кипения приблизительно 65 °C, конечной температурой кипения приблизительно 69 °C и плотностью приблизительно 0,68 г/см3).
Маркировку, выполненную тиснением, литьем или гравировкой, данному испытанию не подвергают.
После этого испытания маркировка должна быть легко различимой. Маркировка также должна оставаться легко различимой после всех испытаний по настоящему стандарту.
Таблички не должны легко отделяться или скручиваться.
9.4. Проверка надежности винтов, токопроводящих частей и соединений
Соответствие требованиям
8.1.4 проверяют внешним осмотром, а для винтов и гаек, используемых для монтажа и подсоединения выключателя, следующим испытанием.
Винты и гайки затягивают и отпускают:
- 10 раз при зацеплении винтов с резьбой в изоляционном материале;
- 5 раз во всех других случаях.
Винты и гайки, зацепляющиеся с резьбой в изоляционном материале, каждый раз вынимают полностью и вставляют заново.
Испытание проводят с использованием соответствующей испытательной отвертки или гаечного ключа с приложением крутящего момента согласно
таблице 10.
Винты и гайки не следует затягивать рывками.
Проводник смещают каждый раз, когда винт или гайку освобождают.
Проверку штыревых соединений выполняют путем пятикратной стыковки и расстыковки выключателя.
После испытания соединения не должны ослабляться и ухудшать электрические функции.
Во время испытаний винтовые соединения не должны ослабляться и не должно быть повреждений, таких, как поломка винтов, повреждение шлицев, резьбы, шайб и хомутиков, ухудшающих дальнейшую эксплуатацию выключателя.
Кроме того, не должно быть повреждений крышек и оболочек.
Проверку штыревых соединений выполняют путем пятикратной стыковки и расстыковки выключателя.
После испытания соединения не должны ослабляться и ухудшать электрические функции.
9.5. Испытания на надежность резьбовых выводов для внешних медных проводников
Соответствие требованиям
8.1.5 проверяют:
- осмотром, испытаниями по
9.4, для чего в зажим вывода помещают жесткий медный проводник наибольшего сечения из указанных в
таблице 5 (при номинальной площади поперечного сечения св. 6 мм
2 используют жесткий многопроволочный провод, для других сечений - однопроволочный);
- испытаниями по 9.5.1 -
9.5.3. Эти последние испытания проводят с помощью соответствующей испытательной отвертки или гаечного ключа, прикладывая крутящий момент по
таблице 10.
9.5.1. Выводы оснащают медными одно- и многопроволочными проводниками наименьшего и наибольшего сечений из указанных в
таблице 5, выбирая наименее благоприятные.
Проводник вставляют в вывод на минимальное предписанное расстояние или в отсутствие предписаний до появления конца проводника с противоположной стороны зажима и в положении, наиболее благоприятном для выскальзывания однопроволочного проводника или проволоки (проволок) многопроволочного проводника.
Затем зажимные винты затягивают моментом, равным 2/3 значения, указанного в соответствующей графе
таблицы 10.
Затем каждый проводник подвергают вытягиванию с усилием, указанным в таблице 11.
Таблица 11
Усилия вытягивания проводников
Сечение проводника, зажимаемого в выводе, мм2 | До 4 | До 6 | До 10 | До 16 | До 50 |
Вытягивающее усилие, Н | 50 | 60 | 80 | 90 | 100 |
Вытягивание производят без рывков в течение 1 мин в направлении оси канала проводника.
Во время этого испытания проводник не должен сдвигаться в выводе.
9.5.2. Выводы оснащают медными одно- и многопроволочными проводниками наименьшего и наибольшего сечений из указанных в
таблице 5, выбирая наименее благоприятные, и зажимные винты затягивают моментом, равным 2/3 значения, указанного в соответствующей графе
таблицы 10.
Затем винты отпускают и ту часть проводника, которая может быть повреждена зажимом, осматривают.
Проводники не должны иметь чрезмерных повреждений или оборванных проволок.
Примечание. Проводники считают чрезмерно поврежденными при наличии глубоких вмятин или надрезов.
Во время испытаний выводы не должны ослабляться и не должно быть их повреждений, таких, как поломка винтов, повреждение шлицев, резьбы, шайб и хомутиков, ухудшающих дальнейшую эксплуатацию вывода.
9.5.3. Выводы оснащают жесткими многопроволочными медными проводниками, имеющими структуру согласно таблице 12.
Таблица 12
Номинальное сечение зажимаемых проводников, мм2 | Многопроволочный проводник |
Число проволок | Диаметр проволок, мм |
| 7 | 0,67 |
| 7 | 0,85 |
| 7 | 1,04 |
" 2,5 " 10,0 | 7 | 1,35 |
" 4,0 " 16,0 | 7 | 1,70 |
" 10,0 " 25,0 | 7 | 2,14 |
" 16,0 " 35,0 | 19 | 1,53 |
" 25,0 " 50,0 | 19 | 1,83 |
<a> Если вывод предназначен для зажима только однопроволочных проводников (см. примечание к таблице 5), испытание не проводят. |
Перед вводом в зажим проволокам проводника придают соответствующую форму.
Проводник вводят в зажим до упора в его дно или до выхода конца проводника с противоположной стороны зажима и в положении, наиболее благоприятном для выскальзывания проволоки (проволок). Зажимные болты или гайки затем затягивают моментом, равным 2/3 момента, указанного в соответствующей графе
таблицы 10.
После испытания ни одна проволока проводника не должна оказаться вне зажима.
9.6. Проверка защиты от поражения электрическим током
Испытание проводят с применением стандартного испытательного пальца (см.
рисунок 9) на образце, смонтированном как для нормальной эксплуатации (см.
примечание к 8.1.6), оснащенном проводниками с наименьшим и наибольшим сечениями из указанных в
таблице 9.
Палец должен быть спроектирован так, чтобы каждая из его сочлененных секций могла поворачиваться под углом 90° по отношению к оси пальца только в одном направлении.
Стандартный испытательный палец прикладывают в каждом возможном изогнутом положении, как у настоящего пальца. Для определения электрического контакта с частями, находящимися под напряжением, следует использовать индикатор электрического контакта.
Для индикации контакта рекомендуется использовать электрическую лампочку на напряжение не менее 40 В.
Выключатели с оболочками или крышками из термопластичных материалов подвергают следующим дополнительным испытаниям при температуре окружающего воздуха (35 +/- 2) °C и такой же температуре выключателя.
К выключателю в течение 1 мин прикладывают с усилием 75 Н кончик прямого (неизогнутого) испытательного пальца таких же размеров, как и стандартный испытательный палец. Этот палец прикладывают во всех местах, где размягчение изоляционного материала могло бы повлиять на целостность и безопасность выключателя, кроме пробивных диафрагм.
При испытании оболочки или крышки не должны деформироваться в такой степени, чтобы находящихся под напряжением частей можно было коснуться жестким испытательным пальцем.
Выключатели открытого исполнения, имеющие части, которые не предполагается защищать оболочками, смонтированные как для нормальной эксплуатации (см.
8.1.6), подвергают испытанию с установленной металлической передней панелью.
9.7. Проверка электроизоляционных свойств и способности к разъединению
9.7.1.1. Подготовка выключателя к испытанию
Кабельные вводы при наличии оставляют открытыми; если предусмотрены пробивные диафрагмы, одну из них вскрывают.
Части выключателя, которые могут быть сняты без помощи инструмента, снимают и подвергают влажной обработке вместе с главной частью; пружинные крышки при обработке держат открытыми.
9.7.1.2. Условия испытания
Влажную обработку проводят в камере с относительной влажностью от 91% до 95%.
Температуру воздуха в камере, в которой находится образец, поддерживают с погрешностью +/- 1 °C при любом подходящем значении температуры t между 20 °C и 30 °C.
Перед помещением образца в камеру его температуру доводят до температуры от t °C до (t + 4) °C.
9.7.1.3. Методика испытания
Образец выдерживают в камере 48 ч.
Примечания. 1. Относительную влажность от 91% до 95% можно обеспечить, поместив в камеру насыщенный водный раствор сульфата натрия

или нитрата калия

, имеющий достаточно большую поверхность контактирования с воздухом.
2. Для достижения предписанных условий в камере рекомендуется обеспечить постоянную циркуляцию воздуха и использовать камеру с теплоизоляцией.
9.7.1.4. Состояние выключателя после испытания
После данной обработки образец должен быть исправным в соответствии с требованиями настоящего стандарта и выдерживать испытания по 9.7.2 и
9.7.3.
9.7.2. Сопротивление изоляции главной цепи
Выключатель обрабатывают, как указано в
9.7.1, а затем извлекают из камеры влаги. Спустя 30 - 60 мин после этой обработки измеряют сопротивление изоляции в течение 5 с при напряжении постоянного тока приблизительно 500 В в такой последовательности:
a) при выключателе в разомкнутом состоянии - между каждой парой выводов, электрически соединенных между собой, когда выключатель замкнут, - в каждом полюсе поочередно;
b) при замкнутом выключателе - между каждым полюсом поочередно и остальными полюсами, соединенными вместе;
c) при замкнутом выключателе - между всеми полюсами, соединенными вместе, и корпусом, включая металлическую фольгу, контактирующую с наружной поверхностью внутренней оболочки из изоляционного материала, при ее наличии;
d) между металлическими частями механизма и корпусом;
Примечание. Для этой проверки могут быть использованы специально подготовленные образцы.
e) для выключателя в металлической оболочке, выложенной изнутри обшивкой из изоляционного материала, - между корпусом и металлической фольгой, соприкасающейся с внутренней поверхностью обшивки из изоляционного материала, включая втулки и другие аналогичные приспособления.
Измерения по
перечислениям a) -
c) выполняют после подключения к корпусу всех вспомогательных цепей.
Термин "корпус" подразумевает:
- все доступные металлические части и металлическую фольгу, соприкасающуюся с поверхностями из изоляционного материала, которые доступны после установки выключателя как для нормальной эксплуатации;
- поверхность, на которой монтируют основание выключателя, покрытую при необходимости металлической фольгой;
- винты и другие средства крепления основания к опоре;
- винты для крепления крышек, которые приходится снимать при монтаже выключателя, и металлические части органов управления, упомянутые в
8.2.
Если выключатель снабжен выводом, предназначенным для присоединения защитных проводников, этот вывод должен быть присоединен к корпусу.
Для измерений по
перечислениям b) -
e) металлическую фольгу необходимо накладывать таким образом, чтобы можно было эффективно испытать заливочный компаунд при его наличии.
Сопротивление изоляции должно быть не менее:
5 МОм - при других измерениях.
9.7.3. Электрическая прочность изоляции главной цепи
После испытания по
9.7.2 испытательное напряжение, оговоренное в
9.7.5, подают в течение 1 мин между частями, указанными в
9.7.2.
Вначале подают не более половины заданного испытательного напряжения, затем в течение 5 с его повышают до полного значения.
Во время испытания не допускаются перекрытия и пробои изоляции.
Тлеющие разряды, не вызывающие падения напряжения, во внимание не принимают.
9.7.4. Электрическая прочность изоляции вспомогательных цепей и цепей управления
Для данных испытаний главную цепь подсоединяют к корпусу выключателя.
Затем подают в течение 1 мин испытательное напряжение по 9.7.5 в следующем порядке:
a) между всеми соединенными между собой вспомогательными цепями и цепями управления, которые обычно соединены с главной цепью, и корпусом выключателя;
b) где приемлемо, между каждой частью вспомогательных цепей и цепей управления, которую можно отсоединить от прочих частей вспомогательных цепей, и этими прочими частями, соединенными вместе.
9.7.5. Значение испытательного напряжения
Испытательное напряжение должно иметь практически синусоидальную форму волны и частоту от 45 до 65 Гц.
Источник испытательного напряжения должен быть в состоянии обеспечить ток короткого замыкания не менее 0,2 А.
Токовое защитное устройство трансформатора не должно срабатывать, если ток в выходной цепи менее 100 мА.
Значения испытательного напряжения должны быть следующие:
a) для главной цепи, вспомогательных цепей, предназначенных для подсоединения к главной цепи, и для цепей управления:
b) для вспомогательных цепей и цепей управления, по указанию изготовителя не подлежащих подсоединению к главной цепи:
- 1000 В, если номинальное напряжение изоляции

не превышает 60 В;
-

+ 1000 В при минимальном значении 1500 В, если номинальное напряжение изоляции

св. 60 В.
9.7.6. Проверка способности выдерживать импульсные напряжения (через воздушные зазоры и твердую изоляцию) и ток утечки на разомкнутых контактах
9.7.6.1. Проверка способности выдерживать импульсное напряжение на разомкнутых контактах (пригодность к разъединению)
Испытание проводят на выключателе, закрепленном на металлической опоре, как при нормальной эксплуатации.
Положительные и отрицательные импульсы, подающиеся генератором, имеют длительность фронта 1,2 мкс и длительность на уровне 0,5 величины - 50 мкс с точностью:
+/- 5% - для пикового значения;
+/- 30% - для длительности фронта;
+/- 20% - для длительности на уровне 0,5.
Волновое сопротивление испытательного прибора должно быть 500 Ом.
Форму импульсов устанавливают при подключенном к генератору импульсов испытуемом выключателе. Для этой цели должны быть использованы соответствующие делители и датчики напряжения.
Допускаются незначительные колебания импульсов при условии, что их амплитуда вблизи пика импульсов составляет не более 5% амплитудного значения импульса.
Допустимы колебания в первой половине фронта импульса амплитудой не более 10% пикового значения импульса.
Импульс длительностью 1,2/50 мкс согласно рисунку 6 МЭК 60060-1
[3] прикладывают между входными выводами, соединенными вместе, и выходными выводами, соединенными вместе, с контактами в разомкнутом положении.
Прикладывают по три положительных и отрицательных импульса с интервалом между последующими импульсами одной и той же полярности не менее 1 с и между импульсами противоположной полярности не менее 10 с.
Значения испытательного импульсного напряжения следует выбирать по таблице 13 в соответствии с номинальными импульсными напряжениями выключателя, приведенными в
таблице 3. Данные значения корректируют по таблице 13 согласно барометрическому давлению и/или высоте проведения испытаний над уровнем моря.
Таблица 13
Испытательное напряжение на разомкнутых контактах
для проверки пригодности к разъединению соответственно
номинальному импульсному выдерживаемому напряжению
выключателя и высоте проведения испытаний
Номинальное импульсное выдерживаемое напряжение Uimp, кВ | Испытательные напряжения на соответствующих высотах над уровнем моря |
U1,2/50 пиковое переменного тока, кВ |
| Уровень моря | 200 м | 500 м | 1000 м | 2000 м |
2,5 | 3,5 | 3,5 | 3,4 | 3,2 | 3,0 |
4,0 | 6,2 | 6,0 | 5,8 | 5,6 | 5,0 |
Во время испытания не должно быть непреднамеренных разрушительных разрядов.
9.7.6.2. Проверка импульсным выдерживаемым напряжением частей, не испытанных согласно
9.7.6.1
Испытание проводят на выключателе в замкнутом положении, закрепленном на металлической опоре.
Положительные и отрицательные импульсы, подающиеся генератором, имеют длительность фронта 1,2 мкс и длительность на уровне 0,5 величины - 50 мкс с точностью:
+/- 5% - для пикового значения;
+/- 30% - для длительности фронта;
+/- 20% - для длительности на уровне 0,5.
Волновое сопротивление испытательного прибора должно быть 500 Ом.
Форму импульсов устанавливают при подключенном к генератору импульсов испытуемом выключателе. Для этой цели должны быть использованы соответствующие делители и датчики напряжения.
Примечание. Для выключателя со встроенными импульсными разрядниками форму импульсов устанавливают без подключения выключателя к генератору импульсов.
Допускаются незначительные колебания импульсов при условии, что их амплитуда вблизи пика импульсов составляет не более 5% амплитудного значения импульса.
Допустимы колебания в первой половине фронта импульса амплитудой не более 10% пикового значения импульса.
В первой серии испытаний импульсы прикладывают между фазным полюсом (полюсами, соединенными вместе) и нейтральным полюсом (или путем) выключателя, что применимо.
Во второй серии испытаний импульсы прикладывают между металлической опорой, соединенной с выводом (выводами), предназначенным для защитного проводника (проводников), если таковой имеется, и фазным полюсом (полюсами) и нейтральным полюсом (или путем), соединенными вместе.
В обоих случаях прикладывают по три положительных и отрицательных импульса с интервалом между последующими импульсами одной и той же полярности не менее 1 с и между импульсами противоположной полярности не менее 10 с.
Значения испытательного импульсного напряжения следует выбирать по таблице 14 в соответствии с номинальными импульсными напряжениями выключателя, приведенными в
таблице 3. Данные значения корректируют по таблице 14 согласно барометрическому давлению и/или высоте проведения испытаний над уровнем моря.
Таблица 14
Испытательное напряжение для проверки устойчивости
к импульсному выдерживаемому напряжению частей,
Номинальное импульсное выдерживаемое напряжение Uimp, кВ | Испытательные напряжения на соответствующих высотах над уровнем моря |
U1,2/50 пиковое переменного тока, кВ |
| Уровень моря | 200 м | 500 м | 1000 м | 2000 м |
2,5 | 2,9 | 2,8 | 2,8 | 2,7 | 2,5 |
4,0 | 4,9 | 4,8 | 4,7 | 4,4 | 4,0 |
Во время испытаний не должно быть перекрытий, а также непреднамеренных разрушительных разрядов. Если, однако, имел место только один такой разрушительный разряд, то дополнительно прикладывают шесть импульсов той же полярности, что и вызвавший разрушительный разряд; соединения при этом должны быть такими же, как при разряде.
Не должно быть дальнейших разрушительных разрядов.
Примечание. Термин "непреднамеренный разрушительный разряд" означает явление, объединяющее электрический пробой изоляции, падение напряжения и протекание тока.
9.7.6.3. Проверка токов утечки на разомкнутых контактах (пригодность к разъединению)
К каждому полюсу выключателя в разомкнутом положении, подвергнутому одному из приемлемых испытаний по
9.12.11.2, или
9.12.11.3, или
9.12.11.4.2, или
9.12.11.4.3, подают испытательное напряжение, равное 1,1 номинального рабочего напряжения.
Измеренный ток утечки на разомкнутых контактах не должен превышать 2 мА.
9.8. Проверка превышения температуры и измерение потерь мощности
9.8.1. Температура окружающего воздуха
Температура окружающего воздуха должна быть измерена в течение последней четверти периода испытания с помощью не менее двух термометров или термопар, симметрично расположенных относительно выключателя, приблизительно на половине его высоты и на расстоянии около 1 м от выключателя.
Термометры и термопары должны быть защищены от сквозняков и теплового излучения.
9.8.2. Методика испытания
Ток, равный

, при любом подходящем напряжении пропускают одновременно через все полюса выключателя в течение времени, достаточного для того, чтобы превышение температуры достигло установившегося значения, либо в течение условного времени, выбирают то, что больше.
Практически это условие достигается, когда изменение превышения температуры не превосходит 1 К за 1 ч.
Для четырехполюсных выключателей с тремя защищенными полюсами испытание вначале проводят пропусканием заданного тока только через три защищенных полюса.
Затем испытание повторяют, пропуская тот же ток через полюс, предназначенный для присоединения нейтрали, и соседний защищенный полюс.
В течение этих испытаний значения превышения температуры не должны быть более значений, указанных в
таблице 6.
9.8.3. Измерение температуры частей
Температуру различных частей, приведенных в
таблице 6, измеряют с помощью тонкопроволочных термопар или эквивалентных приборов, установленных как можно ближе к наиболее горячим точкам.
Следует обеспечить хорошую теплопроводность между термопарой и поверхностью испытуемой части.
9.8.4. Превышение температуры части
Превышение температуры части есть разница между температурой этой части, измеренной в соответствии с 9.8.3, и температурой окружающего воздуха, измеренной в соответствии с
9.8.1.
9.8.5. Измерение потерь мощности
Переменный ток, равный

, при напряжении не менее 30 В пропускают главным образом в цепи сопротивления через каждый полюс выключателя.
Потери мощности на полюс рассчитывают путем измерения падений напряжения между его выводами в установившемся режиме, и они не должны превышать значений, приведенных в таблице 15.
Примечания. 1. Испытательное напряжение менее 30 В может стать отдельным пунктом соглашения с изготовителем.
2. Измерение падений напряжения может быть проведено во время испытания на превышение температуры при условии выполнения испытательных условий по данному пункту.
Таблица 15
Максимальные потери мощности на полюс
Ряд номинальных токов In, А | Максимальная потеря мощности на полюс, Вт |
In <= 10 | 3,0 |
10 < In <= 16 | 3,5 |
16 < In <= 25 | 4,5 |
25 < In <= 32 | 6,0 |
32 < In <= 40 | 7,5 |
40 < In <= 50 | 9,0 |
50 < In <= 63 | 13,0 |
63 < In <= 100 | 15,0 |
100 < In <= 125 | 20,0 |
9.9. Двадцативосьмисуточное испытание
Выключатель подвергают воздействию 28 циклов испытаний, в каждом из которых выключатель находится 21 ч под нагрузкой номинальным током, при напряжении разомкнутой цепи не менее 30 В, и 3 ч - в обесточенном состоянии в условиях испытания по
9.2.
Выключатель находится в замкнутом положении, а ток включают и отключают вспомогательным выключателем. Во время этого испытания выключатель не должен расцепляться.
В последний период прохождения тока следует измерить превышение температуры выводов.
Это превышение температуры не должно превосходить температуру, замеренную при испытании по
9.8, более чем на 15 °C.
Немедленно после этого измерения превышения температуры в течение 5 с ток плавно повышают до условного тока расцепления.
Расцепление выключателя должно произойти в течение условного времени.
9.10. Проверка характеристики расцепления
Данное испытание предназначено для проверки соответствия выключателя требованиям
8.6.1.
9.10.1. Проверка время-токовой характеристики
9.10.1.1 Ток, равный

(условный ток нерасцепления), пропускают в течение условного времени (см.
8.6.1 и
8.6.2) через все полюса, начиная с холодного состояния (см.
таблицу 7).
Выключатель не должен расцепляться.
Затем ток плавно повышают в течение 5 с до

(условного тока расцепления).
Выключатель должен расцепляться в пределах условного времени.
9.10.1.2. Ток, равный

, пропускают через все полюса, начиная с холодного состояния.
Время размыкания должно составлять не менее 1 с и не более:
- 60 с - при номинальных токах до 32 А включительно;
- 120 с - при номинальных токах св. 32 А.
9.10.2. Проверка мгновенного расцепления и точного размыкания контактов
9.10.2.1. Общие условия испытаний
С низкими значениями испытательного тока по
9.10.2.2,
9.10.2.3 и
9.10.2.4 соответственно испытания проводят один раз при любом удобном напряжении.
С высокими значениями испытательного тока испытание проводят при номинальном напряжении

(между фазой и нейтралью) с коэффициентом мощности от 0,95 до 1.
Последовательность операций такая:
O - t - CO - t - CO - t - CO.
Время расцепления операции O измеряют.
После каждой операции устройства индикации должны указывать на разомкнутое положение контактов.
9.10.2.2. Для выключателей типа B
Ток, равный

, пропускают через все полюса, начиная с холодного состояния.
Время размыкания должно быть не менее 0,1 с.
Затем ток, равный

, пропускают через все полюса, снова начиная с холодного состояния.
Время размыкания должно быть менее 0,1 с.
9.10.2.3. Для выключателей типа C
Ток, равный

, пропускают через все полюса, начиная с холодного состояния.
Время размыкания должно быть не менее 0,1 с.
Затем ток, равный

, пропускают через все полюса, снова начиная с холодного состояния.
Время размыкания должно быть менее 0,1 с.
9.10.2.4. Для выключателей типа D
Ток, равный

, пропускают через все полюса, начиная с холодного состояния.
Время размыкания должно быть не менее 0,1 с.
Затем ток, равный

, или максимальный ток мгновенного расцепления пропускают через все полюса, снова начиная с холодного состояния.
Время размыкания должно быть менее 0,1 с.
9.10.3. Проверка влияния однополюсной нагрузки на характеристику расцепления многополюсного выключателя
Проверку проводят испытанием выключателя, смонтированного согласно
9.2, в условиях, указанных в
8.6.3.1.
Выключатель должен расцепиться в пределах условного времени (см.
8.6.2.1).
9.10.4. Проверка влияния температуры окружающей среды на характеристику расцепления
Соответствие проверяют проведением следующих испытаний:
a) выключатель помещают в среду с температурой на (35 +/- 2) °C ниже контрольной температуры окружающего воздуха и выдерживают до достижения температурного равновесия.
Ток, равный

(условный ток нерасцепления), пропускают в течение условного времени через все полюса.
Затем ток в течение 5 с плавно повышают до

.
Выключатель должен расцепиться в установленное время;
b) выключатель помещают в среду с температурой на (10 +/- 2) °C выше контрольной температуры окружающего воздуха и выдерживают до достижения температурного равновесия.
Ток, равный

, пропускают через все полюса.
Выключатель не должен расцепиться в установленное время.
9.11. Проверка механической и коммутационной износостойкости
9.11.1. Общие условия испытаний
Выключатель прикрепляют к металлической опоре. Если же он предназначен для монтажа в отдельной оболочке, его устанавливают в такой оболочке по
9.2.
Испытание проводят при номинальном рабочем напряжении, токе, равном номинальному, что обеспечивается с помощью сопротивлений и катушек индуктивности, включенных последовательно и присоединенных к выходным выводам выключателя.
Если используют катушки индуктивности с воздушными сердечниками, то параллельно каждой из них подсоединяют сопротивление, отводящее на себя около 0,6% тока, проходящего через катушку.
Ток должен иметь практически синусоидальную форму волны, а коэффициент мощности должен быть от 0,85 до 0,9.
При испытаниях однополюсных выключателей и двухполюсных с двумя защищенными полюсами металлическую опору для первой половины всего числа срабатываний подключают к одной стороне источника питания, для второй - к другой.
При испытаниях двухполюсных выключателей с одним защищенным полюсом металлическую опору присоединяют к нейтрали источника питания.
Испытания однополюсных выключателей на номинальное напряжение 230/400 В необходимо проводить при низшем значении напряжения.
Выключатели подсоединяют к цепи проводниками согласно
таблице 9.
9.11.2. Методика испытания
Выключатели должны быть подвергнуты 4000 циклам оперирования под нагрузкой номинальным током.
Каждый цикл оперирования состоит из замыкания и последующего размыкания.
Для выключателей с номинальным током до 32 А включительно частота оперирования должна составлять 240 циклов оперирования в час. Во время каждого цикла выключатель должен оставаться разомкнутым не менее 13 с.
Для выключателей с номинальным током св. 32 А частота оперирования должна составлять 120 циклов оперирования в час. Во время каждого цикла выключатель должен оставаться разомкнутым не менее 28 с.
Выключатель следует оперировать как при нормальной эксплуатации.
Внимание обращают на то, чтобы:
- испытательное устройство не повреждало испытуемый выключатель;
- не нарушалось свободное движение механизма управления испытуемого выключателя;
- скорость приводного механизма испытательного устройства не влияла чрезмерно на механизм управления выключателем при испытании.
Выключатель с зависимым ручным управлением должен управляться со скоростью 0,1 м/с +/- 25%, причем скорость измеряют в тот момент и в том месте, где механизм управления испытательного устройства касается привода испытуемого выключателя. Для поворотных рукояток угловая скорость должна в основном соответствовать вышеуказанным условиям в том, что касается скорости механизма управления (в его пределах) испытуемого выключателя.
9.11.3. Состояние выключателя после испытания
После испытания по
9.11.2 образец не должен иметь:
- чрезмерного износа;
- различий положения подвижных контактов и соответствующего положения индикаторного устройства;
- повреждений оболочки, дающих возможность проникновения стандартного испытательного пальца к частям, находящимся под напряжением (см.
9.6);
- ослабления электрических или механических соединений;
- вытекания заливочного компаунда, если таковой имеется.
Кроме того, выключатель должен удовлетворительно выдержать испытание по
9.10.1.2 и проверку электрической прочности изоляции по
9.7.3, но при напряжении на 500 В ниже предписанного в
9.7.5 и без предварительной обработки в камере влаги.
9.12. Испытания на короткое замыкание
9.12.1. Стандартные испытания для проверки работоспособности при коротких замыканиях содержат циклы операций включения и отключения согласно проверяемым функциям, которые сведены в таблицу 16.
Таблица 16
Перечень испытаний при коротком замыкании
Вид испытания | Испытуемый выключатель | Пункт |
| Все выключатели | |
| Все выключатели, за исключением на номинальное напряжение 120 или 120/240 В |
| Все выключатели |
Испытания на рабочую наибольшую отключающую способность (9.12.11.4.2) | Выключатели, имеющие Icn > 1500 А | |
Испытания на номинальную наибольшую отключающую способность (9.12.11.4.3) | |
Все выключатели испытывают при более высоком из двух токов:
- 500 А или

, выбирают то, что больше, - согласно
9.12.11.2 или
Выключатели с номинальной наибольшей коммутационной способностью св. 1500 А дополнительно испытывают:
- при рабочей наибольшей отключающей способности (см.
3.5.5.2) - согласно
9.12.11.4.2 и
9.12.12.1; рабочую наибольшую отключающую способность определяют умножением номинальной наибольшей отключающей способности на коэффициент K, значения которого приведены в
таблице 18;
- при номинальной наибольшей отключающей способности (см.
5.2.4) согласно
9.12.11.4.3 и
9.12.12.2, если коэффициент K менее 1, то необходимо использовать новые образцы.
9.12.2. Значения испытательных параметров
Все испытания, относящиеся к проверке на номинальную наибольшую отключающую способность, необходимо проводить со значениями параметров, установленных изготовителем, согласно соответствующим таблицам настоящего стандарта.
Величина прикладываемого напряжения должна быть такой, какая необходима для получения заданного восстанавливающегося напряжения промышленной частоты.
Значение восстанавливающегося напряжения промышленной частоты (см.
3.5.8.2) должно быть равным 105% номинального напряжения испытуемого выключателя.
Для однополюсных выключателей с двойным номинальным напряжением (например, 230/400 В) возвращающееся напряжение промышленной частоты должно составлять 105% его наибольшего значения (например, 400 В) при испытаниях по
перечислению d) 9.12.11.4.2,
перечислению b) 9.12.11.4.3 и
9.12.11.2.2 и 105% его наименьшего значения (например, 230 В) при всех остальных испытаниях по
9.12.
Для двухполюсных выключателей с двойным номинальным напряжением (например, 120/240 В) возвращающееся напряжение промышленной частоты должно составлять 105% его наименьшего значения (например, 120 В) при испытаниях по
9.12.11.2 и 105% его наибольшего значения (например, 230 В) при всех остальных испытаниях по
9.12.
Примечание. Значение (105 +/- 5)% номинального напряжения считают перекрывающим влияние колебаний сетевого напряжения при нормальных условиях эксплуатации. Верхний предел напряжения может быть повышен с согласия изготовителя.
9.12.3. Допуски на испытательные параметры
Испытания рассматривают как действительные, если значения, зафиксированные в протоколе испытаний, находятся в пределах следующих допусков:
- ток: +5%;
- напряжение (включая восстанавливающееся напряжение): +/- 5%;
- частота: +/- 5%.
9.12.4. Испытательная цепь для проверки работоспособности в условиях короткого замыкания
На
рисунках 3 -
6 соответственно приведены схемы цепей, предназначенных для испытаний, относящихся к:
- двухполюсному выключателю с одним защищенным полюсом
(рисунок 4a);
- двухполюсному выключателю с двумя защищенными полюсами
(рисунок 4b);
Сопротивления и катушки индуктивности с полным сопротивлением Z и

должны регулироваться для достижения заданных условий испытаний.
Катушки индуктивности должны быть предпочтительно с воздушными сердечниками. Они всегда должны присоединяться последовательно к сопротивлениям, а их заданная индуктивность должна быть обеспечена последовательным соединением отдельных катушек; параллельное соединение катушек индуктивности допускается с практически равными постоянными времени.
Поскольку переходные характеристики восстанавливающегося напряжения (см.
3.5.8.1) испытательных цепей, включающих в себя катушки индуктивности с воздушными сердечниками, не типичны для обычных условий эксплуатации, катушки с воздушными сердечниками в каждой фазе должны быть шунтированы сопротивлениями, отводящими приблизительно 0,6% тока, протекающего через катушку.
Если используют катушки с железными сердечниками, то мощность потерь в железе сердечников не должна превышать мощности, рассеиваемой на сопротивлениях, включенных параллельно катушкам с воздушными сердечниками.
В каждой испытательной цепи для проверки на номинальную наибольшую отключающую способность между источником питания S и испытуемым выключателем включают сопротивления Z.
Если испытания проводят при токах меньших, чем номинальная наибольшая отключающая способность, на выходной стороне выключателя вводят дополнительные сопротивления

.
Для испытаний на номинальную и рабочую наибольшие отключающие способности выключатель подключают кабелями длиной по 0,75 м на полюс и максимальным сечением в зависимости от номинального тока согласно
таблице 5.
Примечание. Рекомендуется использовать 0,5 м на входной и 0,25 м кабеля на выходной стороне испытуемого выключателя.
Резистор

приблизительно 0,5 Ом соединяют последовательно с отрезком медной проволоки F в следующем порядке:
- для цепей на
рисунках 3 и
4a - между металлической опорой и селекторным выключателем P, находящимся в одном из двух своих положений на протяжении приблизительно половины срабатываний автоматического выключателя, а остальная часть срабатываний - в другом положении;
- для цепей на
рисунках 4b,
5 и
6 - между металлической опорой и нейтралью источника питания.
Медная проволока F должна иметь длину, как минимум, 50 мм и диаметр:
- 0,1 мм - для выключателей, испытуемых на открытом воздухе и монтируемых на металлической опоре;
- 0,3 мм - для выключателей, испытуемых в наименьшей оболочке, указанной изготовителем.
Сопротивления

, проводящие ток 10 А на фазу, подключают на входной стороне выключателя между полными сопротивлениями для доведения ожидаемого тока до значения номинальной наибольшей отключающей способности выключателя.
9.12.5. Коэффициент мощности испытательной цепи
Коэффициент мощности каждой фазы испытательной цепи необходимо определять признанным методом, который следует указать в протоколе испытаний.
В
Приложении A приведены два примера определения коэффициентов мощности.
Коэффициент мощности многофазной цепи определяют как среднее значение коэффициентов мощности всех фаз.
Диапазоны значений коэффициентов мощности приведены в таблице 17.
Таблица 17
Диапазоны коэффициентов мощности испытательных цепей
Испытательный ток Icc, А | Соответствующий диапазон коэффициента мощности |
До 1500 включительно | От 0,93 до 0,98 |
Свыше 1500 до 3000 включ. | " 0,85 " 0,90 |
" 3000 " 4500 " | " 0,75 " 0,80 |
" 4500 " 6000 " | " 0,65 " 0,70 |
" 6000 " 10000 " | " 0,45 " 0,50 |
" 10000 " 25000 " | " 0,20 " 0,25 |
9.12.6. Измерение и проверка I2t и пикового тока (Ip)
При испытании выключателей в трехфазных цепях значения

должны быть измерены на каждом полюсе.
Максимальные измеренные значения

должны быть отражены в протоколе испытания и не должны превышать соответствующих значений характеристики

, установленных изготовителем.
9.12.7. Калибровка испытательной цепи
9.12.7.1. Для калибровки испытательной цепи перемычки G, сопротивление которых пренебрежимо мало по сравнению с полным сопротивлением испытательной цепи, подключают в местах, указанных на
рисунках 3 -
6.
9.12.7.2. Для получения ожидаемого тока, равного номинальной наибольшей коммутационной способности выключателя, при соответствующем коэффициенте мощности, как установлено в
таблице 17, на входной стороне перемычек G вводят полные сопротивления Z.
9.12.7.3. Для получения испытательного тока ниже, чем номинальная наибольшая отключающая способность, на выходной стороне перемычек G вводят дополнительные полные сопротивления

как показано на
рисунках 3 -
6.
9.12.8. Толкование записей
9.12.8.1. Определение напряжения до включения и возвращающегося напряжения промышленной частоты
Напряжение до включения и возвращающееся напряжение промышленной частоты определяют по записи, соответствующей операции отключения O испытуемого выключателя и оценивают, как показано на
рисунке 7.
Напряжение на входной стороне выключателя необходимо измерять на протяжении первого периода после гашения дуги во всех полюсах и после затухания высокочастотных явлений.
9.12.8.2. Определение ожидаемого тока короткого замыкания
Периодическую составляющую ожидаемого тока приравнивают к периодической составляющей тока калибровки (значение, соответствующее

на
рисунке 7).
Где применимо, ожидаемый ток короткого замыкания определяют как среднее значение ожидаемых токов во всех фазах.
9.12.9. Условия испытания
Выключатели испытывают на открытом воздухе по
9.12.9.1, за исключением тех случаев, когда они разработаны для применения только в оболочке, указанной изготовителем, или предназначены для применения только в индивидуальных оболочках; в таких случаях они должны быть испытаны по
9.12.9.2 либо с согласия изготовителя по
9.12.9.1.
Примечание. Индивидуальная оболочка - это оболочка, предназначенная для размещения только одного устройства.
Выключателем следует управлять вручную или с помощью механизма управления испытательного устройства, имитирующего возможно более точно обычную операцию включения.
Внимание обращают на то, чтобы:
- испытательное устройство не повреждало испытуемый выключатель;
- не нарушалось свободное движение механизма управления испытуемого выключателя;
- механизм управления испытуемого выключателя не оказывал чрезмерного влияния на скорость механизма управления испытательного устройства.
По запросу изготовителя выключатель с зависимым ручным управлением должен срабатывать со скоростью 0,1 м/с +/- 25%. Эту скорость измеряют, когда механизм управления испытательного устройства касается механизма управления испытуемого выключателя. Для поворотных рукояток угловая скорость, особенно при вышеуказанных условиях, должна в основном соотноситься со скоростью механизма управления (в его пределах) испытуемого выключателя.
9.12.9.1. Испытания на открытом воздухе
АВДТ при испытаниях устанавливают так, как показано на
рисунке H.1 (Приложение H).
Полиэтиленовый лист и изолирующую перегородку, указанные в
Приложении H, устанавливают, как показано на
рисунке H.1, только для операции отключения O.
Решетка (решетки), указанные в
Приложении H, должны быть установлены так, чтобы основная масса выделяющихся ионизированных газов проходила через них. Решетка (решетки) должна быть расположена в самом неблагоприятном месте.
Примечание. Если расположение отверстий для выхлопа газов не очевидно или отверстия отсутствуют, изготовитель должен предоставить соответствующую информацию.
Контур решеток (см.
рисунок H.3) должен быть соединен с точками B и C, как указано в схемах испытательных цепей на
рисунках 3 -
6. Для испытания однополюсных выключателей на номинальное напряжение 230/400 В контур решеток должен быть подсоединен в точках B и C' между фазами, как указано в схеме испытательной цепи на
рисунке 3.
Резистор R' должен иметь сопротивление 1,5 Ом. Медная проволока F' (см.
рисунок H.3) должна иметь длину 50 мм и диаметр 0,12 мм для выключателей на номинальное напряжение 230 В и 0,16 мм для выключателей на номинальные напряжения 400 или 230/400 В.
Для выключателей на номинальные напряжения 120 или 120/240 В резистор R' должен иметь сопротивление 0,75 Ом, а медная проволока F' иметь диаметр 0,12 мм.
Для испытательных токов до 1500 А включительно расстояние a должно быть 35 мм.
Для более высоких значений токов короткого замыкания вплоть до

расстояние a может быть увеличено, и в этом случае расстояние a следует выбирать из ряда 40, 45, 50, 55 мм по согласованию с изготовителем.
Для испытаний токами св. 1500 А могут быть установлены дополнительные перегородки или изоляционные средства, позволяющие уменьшить расстояние a, как будет указано изготовителем.
9.12.9.2. Испытание в оболочке
Выключатель помещают в оболочку, имеющую самую неудобную форму, и испытание проводят при самых неблагоприятных условиях.
Решетка или изолирующая перегородка, показанная на
рисунке H.1, отсутствует.
Примечание. Все это означает, что если другие выключатели (или другие устройства) обычно устанавливают в тех местах, где могла быть установлена решетка (решетки), то эти выключатели должны быть установлены там же. Их подключают как при нормальной эксплуатации, но через F' и R' согласно
9.12.9.1 и как показано на соответствующем рисунке (
3,
4a,
4b,
5 или
6).
В соответствии с инструкциями изготовителя могут потребоваться перегородки или другие защитные средства или соответствующие воздушные зазоры для предотвращения воздействия ионизированных газов на установку.
Полиэтиленовый лист, описанный в
Приложении H, размещают, как показано на
рисунке H.1, на расстоянии 10 мм от органов управления только для операции отключения O.
9.12.10. Состояние выключателя в ходе испытаний на короткое замыкание
Во время цикла оперирования по
9.12.11.2, или
9.12.11.3, или
9.12.11.4 выключатель не должен представлять опасности для испытателя, а также должен допускать повторное включение спустя время t, как указано в 9.12.11.1, без снятия его с испытательного устройства.
На полиэтиленовом листе не должно быть отверстий, видимых нормальным или скорректированным зрением без дополнительного увеличения.
Кроме того, не должно быть устойчивой дуги, перекрытия между полюсами или между полюсами и корпусом, не должен расплавляться предохранитель F, а также предохранитель F' (если применен).
9.12.11. Методика испытания
9.12.11.1. Общие положения
Процедура испытаний состоит в выполнении циклов оперирования.
Для обозначения циклов оперирования используют следующие символы:
"O" - автоматическое отключение;
"CO" - операция включения с последующим автоматическим отключением;
"t" - интервал времени между двумя последовательными срабатываниями при коротком замыкании, который должен составлять 3 мин или быть более длительным настолько, сколько может потребоваться тепловому расцепителю, чтобы допустить повторное включение выключателя.
Фактическое значение t должно быть указано в протоколе испытаний. Если спустя время, указанное изготовителем, не произошло повторного включения выключателя, считают, что произошел отказ.
После погасания дуги должно не менее 0,1 с поддерживаться восстанавливающееся напряжение.
9.12.11.2. Испытание при пониженных токах короткого замыкания
9.12.11.2.1. Дополнительные сопротивления

(см.
9.12.7.3) регулируют таким образом, чтобы получить ток, равный 500 А или

. Выбирают больше значение при коэффициенте мощности от 0,93 до 0,98.
Каждый защищенный полюс АВДТ подвергают отдельно испытанию в цепи, схема которой приведена на
рисунке 3.
Выключатель подвергают автоматическому размыканию девять раз, цепь замыкают шесть раз с помощью вспомогательного выключателя A и три раза с помощью самого выключателя.
Последовательность операций должна быть такой:
O - t - O - t - O - t - O - t - O - t - O - t - CO - t - CO - t - CO.
Для испытания вспомогательный выключатель A синхронизируют относительно волны напряжения таким образом, чтобы шесть точек начала операции размыкания равномерно распределялись по полуволне с отклонением +/- 5°.
9.12.11.2.2. Испытание на короткое замыкание выключателей при номинальном напряжении 230 В, или 240 В, или 230/240 В для проверки их пригодности к применению в системах IT.
Дополнительные сопротивления

(см.
9.12.7.3) регулируют таким образом, чтобы получить ток, равный 500 А, или 1,2 максимального тока мгновенного расцепления, приведенного в
таблице 2. Выбирают большее значение, но не св. 2500 А при коэффициенте мощности от 0,93 до 0,98 и напряжении, равном 105% максимального номинального напряжения.
Однополюсный выключатель и каждый защищенный полюс многополюсного выключателя отдельно подвергают испытанию в цепи, схема соединений которой приведена на
рисунке 3, в которой соединение N следует заменить соединением с фазой.
Последовательность операций такая:
O - t - CO.
Для операции O на первом защищенном полюсе вспомогательный выключатель A синхронизирован по отношению к волне напряжения так, чтобы цепь замыкалась в точке 0° волны.
Для последующих операций O на других испытуемых защищенных полюсах [см.
C.2 (Приложение C)] данная точка каждый раз сдвигается на 30° по волне по сравнению с предыдущим испытанием с отклонением +/- 5°.
9.12.11.3. Испытание на ток 1500 А
Для выключателей с номинальной наибольшей отключающей способностью 1500 А испытательную цепь калибруют согласно
9.12.7.1 и
9.12.7.2 для получения тока 1500 А при коэффициенте мощности, соответствующем этому току, по
таблице 17.
Для выключателей с номинальной наибольшей коммутационной способностью св. 1500 А испытательную цепь калибруют согласно
9.12.7.1 и
9.12.7.3 при коэффициенте мощности, соответствующем току 1500 А, по
таблице 17.
Однополюсные выключатели испытывают в цепи, схема которой приведена на
рисунке 3.
Двухполюсные выключатели с одним защищенным полюсом испытывают в цепи, схема которой приведена на
рисунке 4a.
Двухполюсные выключатели с двумя защищенными полюсами испытывают в цепи, схема которой приведена на
рисунке 4b.
Трехполюсные и четырехполюсные выключатели с тремя защищенными полюсами испытывают в цепях, схемы которых приведены на
рисунках 5 и
6 соответственно.
Для трехполюсных выключателей не производят соединение между нейтралью источника питания и общей точкой, если она имеется на выходной стороне выключателя.
Для четырехполюсных выключателей с тремя защищенными полюсами нейтраль источника питания соединяют через незащищенный полюс или полюс, коммутирующий нейтраль, с общей точкой на выходной стороне выключателя.
Если нейтраль четырехполюсного выключателя не маркирована изготовителем, испытания повторяют с тремя новыми образцами, используя поочередно каждый полюс в качестве нейтрали.
Для испытания одно- и двухполюсных выключателей вспомогательный выключатель A синхронизируют относительно волны напряжения таким образом, чтобы шесть точек начала операции размыкания равномерно распределились по полуволне с отклонением +/- 5°.
Последовательность операций должна соответствовать указанной в
9.12.11.2, за исключением однополюсных выключателей с номинальным напряжением 230/400 В. Для них после шести операций O выполняют только две операции CO; а затем эти выключатели дополнительно испытывают путем одновременного осуществления одной операции O с подключением по одному такому выключателю к каждой фазе испытательной цепи, предусмотренной для трехполюсного выключателя
(рисунок 5) без синхронизации вспомогательного выключателя, создающего короткое замыкание.
Для трех- и четырехполюсных выключателей допустимо испытание с произвольным выбором точки по волне.
9.12.11.4. Испытание на токах св. 1500 А
9.12.11.4.1. Соотношение между рабочей и номинальной наибольшими отключающими способностями (коэффициент K)
Соотношение коэффициента K между рабочей и номинальной наибольшими отключающими способностями должно соответствовать указанному в таблице 18.
Таблица 18
Соотношение между рабочей

и номинальной

наибольшими
отключающими способностями (коэффициент K)
Icn, А | K |
До 6000 включ. | 1,00 |
Св. 6000 до 10000 включ. | 0,75 <a> |
Св. 10000 | 0,50 <b> |
<a> Минимальное значение Ics = 6000 А. <b> Минимальное значение Ics = 7500 А. |
9.12.11.4.2. Испытание при рабочей наибольшей отключающей способности

Испытанию подвергают три образца в цепи согласно
9.12.11.3.
Если входные и выходные выводы испытуемых выключателей не маркированы, то два образца присоединяют в одном направлении, а третий - в обратном.
b) Для одно- и двухполюсных выключателей последовательность операций такая:
O - t - O - t - CO.
Для операций O вспомогательный выключатель A синхронизируют по отношению к волне напряжения таким образом, чтобы цепь замыкалась в точке 0° на волне для операции O на первом образце. Затем эту точку смещают на 45° для второй операции O на первом образце; для второго образца две операции O должны быть синхронизированы при 15° и 60°, а для третьего образца - при 30° и 75°.
Допустимое отклонение по синхронизации +/- 5°.
Процедура испытания приведена в таблице 19.
Таблица 19
Процедура испытания при

для одно-
и двухполюсных выключателей
Операция | Образец |
1 | 2 | 3 |
1 | O (0°) | O (15°) | O (30°) |
2 | O (45°) | O (60°) | O (75°) |
3 | CO | CO | CO |
c) Для трех- и четырехполюсных выключателей последовательность операций такая:
O - t - CO - t - CO.
Для операций O вспомогательный выключатель A синхронизируют по отношению к волне напряжения таким образом, чтобы цепь замыкалась в любой точке x° по волне для операции O на первом образце.
Затем эту точку смещают на 60° для операции O на втором образце и еще на 60° для операции O на третьем образце.
Допустимое отклонение по синхронизации +/- 5°.
В целях синхронизации для различных образцов следует использовать в качестве контрольного один и тот же полюс.
Процедура этого испытания приведена в таблице 20.
Таблица 20
Процедура испытания при

для трех-
и четырехполюсных выключателей
Операция | Образец |
1 | 2 | 3 |
1 | O (x°) | O (x° + 60°) | O (x° + 120°) |
2 | CO | CO | CO |
3 | CO | CO | CO |
d) Для однополюсных выключателей на номинальное напряжение 230/400 В испытанию в цепи согласно
рисунку 5 подвергают дополнительный комплект из трех образцов.
Эти образцы включают по одному в каждую фазу испытательной цепи без синхронизации вспомогательного выключателя A, создающего короткое замыкание.
Не производят соединение между нейтралью источника питания и общей точкой на выходной стороне выключателя.
Процедура испытания приведена в таблице 21.
Примечание. Во время этого испытания не требуется измерять

.
Таблица 21
Процедура испытания при

в трехфазной цепи
для однополюсных выключателей на номинальное
напряжение 230/400 В
Операция | Образец |
1 | 2 | 3 |
1 | O | O | O |
2 | - | CO | O |
3 | CO | - | CO |
4 | CO | CO | - |
9.12.11.4.3. Испытание при номинальной наибольшей отключающей способности

Испытанию подвергают три образца в цепи согласно
9.12.11.3.
Если входные и выходные выводы испытуемых выключателей не маркированы, то два образца присоединяют в одном направлении, а третий - в обратном.
Последовательность операций такая:
O - t - CO.
Для операций O вспомогательный выключатель A синхронизируют по отношению к волне напряжения таким образом, чтобы цепь замыкалась в точке 15° по волне для операции O на первом образце.
Затем эту точку смещают на 30° для операции O на втором образце и еще на 30° для операции O на третьем образце.
Допустимое отклонение по синхронизации +/- 5°.
В целях синхронизации у многополюсных выключателей следует использовать один и тот же полюс в качестве контрольного.
Процедура этого испытания приведена в таблице 22.
Таблица 22
Процедура испытания при

Операция | Образец |
1 | 2 | 3 |
1 | O (15°) | O (45°) | O (75°) |
2 | CO | CO | CO |
b) Для однополюсных выключателей на номинальное напряжение 230/400 В подвергают испытанию в цепи по
рисунку 5 дополнительный комплект из четырех образцов.
Три образца включают по одному в каждую фазу испытательной цепи без синхронизации вспомогательного выключателя A, создающего короткое замыкание.
Не производят соединение между нейтралью источника питания и общей точкой на выходной стороне выключателя.
Процедура испытания приведена в таблице 23.
Таблица 23
Процедура испытания при

в трехфазной цепи
для однополюсных выключателей на номинальное
напряжение 230/400 В
Операция | Образец |
1 | 2 | 3 | 4 |
1 | O | O | O | - |
2 | O | CO | - | - |
3 | - | - | CO | O |
После второй операции O с первым образцом по
таблице 23 этот образец заменяют четвертым образцом.
Примечание. Во время этого испытания не требуется измерять

.
9.12.12. Проверка выключателя после испытания на короткое замыкание
9.12.12.1. Проверка выключателя после испытаний при пониженных токах короткого замыкания, при токе 1500 А и при рабочей наибольшей отключающей способности
После каждого из испытаний по
9.12.11.2, или
9.12.11.3, или
9.12.11.4.2 выключатели не должны иметь повреждений, препятствующих их дальнейшей эксплуатации, и должны быть способны без обслуживания выдерживать следующие испытания:
a) на ток утечки на разомкнутых контактах согласно
9.7.6.3;
b) на электрическую прочность изоляции в соответствии с
9.7.3, проведенные через 2 - 24 ч после испытания на короткое замыкание при напряжении на 500 В ниже значения, указанного в
9.7.5, и без предварительной влажной обработки.
В ходе этих испытаний следует проверить, что устройство индикации после испытания согласно условиям, указанным в
перечислении a) 9.7.2, указывает на разомкнутое положение контактов, а после испытания по
перечислению b) 9.7.2 - на замкнутое положение;
c) кроме того, после испытаний по
9.12.11.3 или
9.12.11.4.2 выключатели не должны расцепляться при пропускании тока, равного 0,85 условного тока нерасцепления, в течение условного времени через все полюса, начиная с холодного состояния.
По окончании этой проверки ток постепенно увеличивают в течение 5 с до 1,1 условного тока расцепления.
Выключатели должны расцепиться в течение условного времени.
9.12.12.2. Проверка после испытания при номинальной наибольшей отключающей способности
После испытаний согласно
9.12.11.4.3 полиэтиленовый лист не должен иметь отверстий, видимых при нормальном или скорректированном зрении без дополнительного увеличения, а выключатели не должны иметь повреждений, препятствующих их дальнейшей эксплуатации, и должны быть способны без обслуживания выдержать следующие испытания:
a) на ток утечки на разомкнутых контактах согласно
9.7.6.3;
b) на электрическую прочность изоляции в соответствии с
9.7.3, проведенные через 2 - 24 ч после испытания на короткое замыкание при напряжении 900 В и без предварительной влажной обработки.
В ходе этих испытаний следует проверить, что устройство индикации после испытания согласно условиям, указанным в
перечислении a) 9.7.2, указывает на разомкнутое положение контактов, а при испытании по
перечислению b) 9.7.2 - на замкнутое положение;
c) кроме того, выключатели должны расцепиться в течение времени согласно
испытанию c) по таблице 7 при прохождении через все полюса тока, равного

, но при нижнем пределе времени 0,1 с вместо 1 с.
Образец 1 по
таблице 23 не подвергают проверке по данному пункту, тем не менее, он должен соответствовать требованиям
9.12.10.
9.13. Проверка стойкости к механическому толчку и удару
9.13.1. Механический толчок
9.13.1.1. Испытательное устройство
Выключатель подвергают механическим толчкам с использованием устройства, показанного на
рисунке 8.
К бетонному блоку крепят деревянное основание A, к нему на шарнире крепят деревянную платформу B. На этой платформе устанавливают деревянную плиту C, которая может фиксироваться на разных расстояниях от шарнира и иметь два вертикальных положения. Конец платформы B снабжен металлическим пластинчатым упором D, который опирается на спиральную пружину с коэффициентом упругости 25 Н/мм.
Выключатель надежно закрепляют на плите C так, что расстояние горизонтальной оси образца от платформы B составляет 180 мм, плиту C, в свою очередь, крепят так, что расстояние от монтажной поверхности до шарнира составляет 200 мм, как показано на
рисунке 8.
На поверхности плиты C, противоположной монтажной поверхности выключателя, крепят дополнительную массу таким образом, что на упор D создают статическое давление, равное 25 Н, для того, чтобы обеспечить практически постоянный момент инерции всей системы.
9.13.1.2. Методика испытания
При выключателе, находящемся в замкнутом положении, но не подключенном к какому-либо источнику тока, платформу B 50 раз поднимают за свободный конец и отпускают с высоты 40 мм с такими интервалами между последовательными падениями, чтобы образец имел возможность перейти в состояние покоя.
Затем выключатель крепят на противоположной поверхности плиты C и платформу B снова 50 раз сбрасывают.
После этого испытания плиту C поворачивают на 90° вокруг вертикальной оси и при необходимости перемещают так, чтобы вертикальная ось симметрии выключателя находилась на расстоянии 200 мм от шарнира.
Затем платформе B позволяют упасть 50 раз с выключателем, закрепленным на одной стороне плиты C, и 50 раз с выключателем, установленным с противоположной стороны плиты C.
Перед каждым изменением положения выключатель вручную замыкают и размыкают.
Входе испытаний выключатель не должен отключаться.
9.13.2. Механический удар
Проверку открытых частей выключателя, установленного как для нормальной эксплуатации (см.
примечание к 8.1.6), которые могут подвергаться механическим ударам при нормальной эксплуатации, проводят по
9.13.2.1 для выключателей всех типов и дополнительно по:
-
9.13.2.2 - для ввинчиваемых выключателей;
-
9.13.2.3 - для выключателей, предназначенных для монтажа на рейке, и для всех типов втычных выключателей, предназначенных для наружной установки;
-
9.13.2.4 - для выключателей втычного типа, крепления которых зависят только от их втычного присоединения.
Выключатели, предназначенные для применения только в полностью закрытых оболочках, не подлежат данному испытанию.
9.13.2.1. Образцы проверяют ударами с помощью ударного испытательного устройства, показанного на
рисунках 10 -
14.
Головку ударного элемента выполняют полусферической формы радиусом 10 мм из полиамида, имеющего твердость по Роквеллу 100 HR. Ударный элемент имеет массу (150 +/- 1) г и жестко закреплен на нижнем конце стальной трубы наружным диаметром 9 мм и толщиной стенки 0,5 мм, шарнирно подвешенной верхним концом таким образом, чтобы она могла качаться только в вертикальной плоскости.
Ось шарнира находится на высоте (1000 +/- 1) мм над осью ударного элемента.
Для определения твердости полиамида головки ударного элемента по шкале Роквелла используют следующие условия:
- диаметр шарика (12,7 +/- 0,0025) мм;
- начальная нагрузка (100 +/- 2) Н;
- дополнительная нагрузка (500 +/- 2,5) Н.
Примечание. Дополнительная информация, касающаяся определения твердости пластмасс по Роквеллу, приведена в ГОСТ 24622.
Конструкция испытательного устройства такова, что для удержания трубы в горизонтальном положении к лицевой поверхности ударного элемента необходимо приложить усилие от 1,9 до 2 Н.
Выключатели поверхностного монтажа монтируют на фанерном листе размерами 175 x 175 мм и толщиной 8 мм, закрепленном своими верхней и нижней кромками в жестких кронштейнах, являющихся частью монтажной опоры, как показано на
рисунке 12.
Монтажная опора должна иметь массу (10 +/- 1) кг и быть установлена на жесткой раме с помощью шарниров. Раму крепят к массивной стене.
Выключатели утопленного монтажа монтируют в испытательном устройстве, как показано на
рисунке 13, которое, в свою очередь, закрепляют на монтажной опоре, как показано на
рисунке 12.
Выключатели, предназначенные для монтажа на распределительном щите, устанавливают в испытательном устройстве, как показано на
рисунке 14, которое закрепляют на монтажной опоре, как показано на
рисунке 12.
Выключатели втычного типа устанавливают с помощью собственных средств крепления на их собственных основаниях, которые закрепляют на фанерном листе для настенного монтажа или в устройствах по
рисунку 13 - для утопленного монтажа или по
рисунку 14 - для монтажа в щитках и на панелях, что применимо.
Выключатели ввинчиваемого типа монтируют в собственном патроне, который жестко прикрепляют к монтажной опоре из квадратного фанерного листа со стороной 175 мм, толщиной 8 мм.
Выключатели винтового крепления закрепляют винтами.
Выключатели реечного монтажа устанавливают на соответствующей рейке.
Выключатели, предназначенные для винтового и реечного монтажа, для испытаний необходимо закреплять винтами.
Конструкция испытательного устройства такова, что:
- образец может быть перемещен горизонтально и повернут вокруг оси, перпендикулярной поверхности фанерного листа;
- фанерный лист может вращаться вокруг вертикальной оси.
Выключатели с крышками (при наличии) монтируют как для нормальной эксплуатации на фанерном листе или в соответствующем испытательном устройстве так, чтобы точка удара лежала в вертикальной плоскости, проходящей через ось качания маятника.
Кабельные вводы, которые не снабжены пробиваемыми диафрагмами, оставляют открытыми. Если они снабжены диафрагмами, то две из них пробивают.
Перед нанесением ударов винты для крепления оснований, крышек и т.д. затягивают моментом, равным 2/3 указанного в
таблице 10.
Ударный элемент сбрасывают с высоты 10 см на поверхности, которые доступны, когда выключатель смонтирован как для нормальной эксплуатации.
Высоту падения определяют как вертикальное расстояние между положениями контрольной точки в момент отпускания и в момент удара маятника.
Контрольную точку отмечают на поверхности ударного элемента в месте пересечения с ней линии, проходящей через точку пересечения осей стальной трубы маятника и ударного элемента перпендикулярно плоскости, в которой лежат обе оси.
Примечание. Теоретически контрольной точкой должен быть центр тяжести ударного элемента, но, поскольку его центр тяжести трудно определить, контрольную точку выбирают, как указано выше.
Каждый выключатель подвергают десяти ударам, два из которых наносят на орган управления, а остальные равномерно распределяют по тем частям образца, которые предположительно наиболее подвержены ударам.
Удары не наносят по пробиваемым диафрагмам или каким-либо отверстиям, закрытым прозрачным материалом.
Как правило, один удар наносят по каждой боковой стенке образца после поворота вокруг вертикальной оси насколько возможно, но не более чем на 60°, и два удара - приблизительно посредине между точкой удара по боковой стенке и точками ударов по органу управления.
Остальные удары наносят подобным образом после поворота образца на 90° вокруг оси, перпендикулярной фанерному листу.
Если предусмотрены кабельные вводы или пробиваемые диафрагмы, то образец устанавливают так, чтобы обе линии нанесения ударов располагались по возможности на равных расстояниях от этих отверстий.
Из двух ударов по органу управления один наносят, когда орган управления находится в положении "вкл.", а другой - в положении "откл.".
После испытания образцы не должны иметь повреждений в пределах действия настоящего стандарта, в особенности крышки, которые, будучи сломаны, делают доступными части под напряжением или препятствуют дальнейшей эксплуатации выключателя. Органы управления, прокладки и перегородки из изоляционного материала не должны иметь повреждений.
В сомнительных случаях проверяют возможность удаления или замены внешних частей, таких, как оболочки или крышки, без повреждения этих частей или их прокладок.
Примечание. Ухудшением внешнего вида, небольшими вмятинами, не уменьшающими расстояний утечки или воздушных зазоров до значений ниже указанных в
8.1.3, и мелкими сколами, не снижающими защиты от электрического удара, пренебрегают.
9.13.2.2. Выключатели ввинчиваемого исполнения вкручивают до упора в соответствующий патрон с приложением в течение 1 мин крутящего момента 2,5 Н x м.
После испытания не должно быть повреждений, ухудшающих эксплуатационные свойства образца.
9.13.2.3. Выключатели, предназначенные для крепления на рейке, монтируют как для нормальной эксплуатации на рейке, жестко закрепленной на твердой вертикальной стене, но без подключенных кабелей, установленных крышек или защитных пластин.
Выключатели втычного исполнения устанавливают вместе с соответствующими основаниями в сочлененном положении, но без подсоединяемых кабелей или крышек.
К передней поверхности выключателя без рывков в течение 1 мин прикладывают направленное сверху вниз вертикальное усилие 50 Н, затем быстро в течение 1 мин прикладывают снизу вверх вертикальное усилие 50 Н (см.
рисунок 15).
Во время испытания крепление выключателя не должно расслабляться; после испытания выключатель не должен иметь повреждений, нарушающих его дальнейшую эксплуатацию.
9.13.2.4. Выключатели втычного типа, крепления которых зависят исключительно от их втычного присоединения, устанавливают вместе с соответствующими основаниями в сочлененном положении, но без подсоединяемых кабелей или крышек, которые прикрепляют к вертикальной жесткой стене.
К выключателю в точке, равноотстоящей от втычных присоединений, прикладывают без рывков в течение 1 мин усилие 20 Н (см.
рисунок 17).
Во время испытания обе сочленяемые части: выключатель и основание - не должны ослабляться и смещаться, а после испытания не должны иметь повреждений, ухудшающих их дальнейшую эксплуатацию.
9.14. Проверка термостойкости
9.14.1. Образцы без съемных крышек при их наличии выдерживают 1 ч в камере тепла при температуре (100 +/- 2) °C; съемные крышки при их наличии выдерживают в течение 1 ч в камере тепла при температуре (70 +/- 2) °C.
Во время испытаний образцы не должны претерпевать изменений, препятствующих их дальнейшей эксплуатации, а заливочный компаунд при его наличии не должен вытечь настолько, чтобы открылись части, находящиеся под напряжением.
После испытания и естественного охлаждения образцов приблизительно до комнатной температуры находящиеся под напряжением части, которые были недоступны, должны оставаться недоступными при монтаже, как в нормальных условиях эксплуатации, даже если применяют стандартный испытательный палец с усилием не более 5 Н.
После испытания маркировка должна оставаться четкой.
Обесцвечивание, вздутия или незначительные смещения заливочного компаунда не учитывают, если при этом не снижается безопасность, требования к которой установлены настоящим стандартом.
9.14.2. Наружные части АВДТ, выполненные из изоляционного материала и предназначенные для удержания в нужном положении токопроводящих частей или частей защитной цепи, подвергают испытанию давлением шарика с помощью устройства, приведенного на
рисунке 16, исключая, где это применимо, изоляционные части, необходимые для удержания в нужном положении выводов для защитных проводников, смонтированных в коробке, которые необходимо испытывать согласно
9.14.3.
Подлежащую испытанию часть устанавливают на стальной опоре так, чтобы предназначенная для испытания поверхность оказалась в горизонтальном положении, и к этой поверхности с усилием 20 Н прижимают стальной шарик диаметром 5 мм.
Испытание проводят в камере тепла при температуре (125 +/- 2) °C.
Через 1 ч шарик снимают с образца, образец охлаждают в течение 10 с до приблизительно комнатной температуры путем погружения в холодную воду.
Измеренный отпечаток шарика не должен превышать 2 мм в диаметре.
9.14.3. Наружные части АВДТ из изоляционных материалов, не предназначенные для удержания в нужном положении токопроводящих частей или частей защитной цепи, даже если они находятся в контакте с последними, подвергают испытанию давлением шарика в соответствии с
9.14.2, но при температуре более высокой из двух: либо (70 +/- 2) °C, либо (40 +/- 2) °C плюс наибольшее превышение температуры соответствующей части, определенное при испытании по
9.8.
Примечания. 1. Для целей испытаний по
9.14.2 и 9.14.3 основания выключателей настенного монтажа считают наружными частями.
2. Испытаниям по
9.14.2 и
9.14.3 не подвергают части, изготовленные из керамических материалов.
3. Если две или более изоляционные части, упомянутые в
9.14.2 или
9.14.3, выполнены из одного и того же материала, испытанию подвергают только одну из этих частей по
9.14.2 или
9.14.3, что применимо.
9.15. Стойкость против аномального нагрева и огня (испытание раскаленной проволокой)
Испытания раскаленной проволокой выполняют в соответствии с
ГОСТ 27483,
раздел 4, в следующих условиях:
- для наружных частей выключателей, выполненных из изоляционного материала и предназначенных для удержания в заданном положении токопроводящих частей и частей защитной цепи, испытание проводят при температуре (960 +/- 15) °C;
- для всех остальных наружных частей, выполненных из изоляционного материала, испытание проводят при температуре (650 +/- 10) °C.
Примечания. 1. Испытания раскаленной проволокой проводят для гарантии того, что нагретая электрическим током испытательная проволока в определенных условиях испытания не вызовет воспламенения изоляционных частей или эти части в случае возможного воспламенения будут гореть ограниченное время без распространения пламени, или выделения горящих частиц, или образования расплавленных капель, стекающих с испытуемой части.
2. Для целей данного испытания основания выключателей поверхностного монтажа считают наружными частями.
3. Испытаниям не подвергают части, изготовленные из керамических материалов.
4. Если наружные части из изоляционного материала сделаны из одного материала, испытанию подвергают только одну из них при соответствующей температуре раскаленной проволоки.
Испытание проводят на одном образце.
В случае сомнения испытание должно быть повторено еще на двух образцах.
Испытание проводят с приложением раскаленной проволоки один раз.
При испытании образец должен быть установлен в самое неблагоприятное возможное положение его предполагаемого использования (испытуемой поверхностью в вертикальном положении).
Конец раскаленной проволоки прикладывают к поверхности испытуемого образца с учетом предполагаемых условий эксплуатации, при которых нагретый или раскаленный элемент может войти в контакт с поверхностью образца.
Образец считают выдержавшим испытание раскаленной проволокой, если:
- либо отсутствуют видимое пламя и длительное тление;
- либо пламя и тление на образце самостоятельно гаснут в течение 30 с после удаления раскаленной проволоки.
Не должно быть загорания папиросной бумаги или подпаливания сосновой доски, которые подкладывают под образец во время испытания.
9.16. Испытание на коррозиеустойчивость
Подлежащие испытанию части полностью обезжиривают путем погружения в холодный химреагент типа метилхлороформа или очищенного бензина на 10 мин. Затем эти части погружают на 10 мин в 10%-ный водный раствор хлористого аммония при температуре (20 +/- 5) °C.
Без сушки, не стряхивая капли, эти части помещают еще на 10 мин в камеру с воздухом, насыщенным влагой, при температуре (20 +/- 5) °C.
После 10 мин сушки этих частей в камере тепла при температуре (100 +/- 5) °C на поверхности частей не должно быть следов коррозии.
Примечания. 1. Следы ржавчины на острых кромках и желтоватую пленку, удаляемую протиранием, не учитывают.
2. При использовании указанных реагентов необходимы меры предосторожности во избежание вдыхания паров.
Для небольших пружин и аналогичных деталей, а также для недоступных частей, подверженных абразивному износу, достаточную защиту от коррозии может обеспечить слой смазки. Такие части подвергают испытанию только при возникновении сомнений относительно эффективности смазочной пленки, и в этом случае испытание проводят без предварительного обезжиривания.
Рисунок 1. Самонарезающий формующий винт
(3.3.22)
Рисунок 2. Самонарезающий режущий винт
(3.3.23)
Рисунок 3. Однополюсный автоматический выключатель
Рисунок 4a. Двухполюсный автоматический
выключатель с одним защищенным полюсом
Рисунок 4b. Двухполюсный автоматический
выключатель с двумя защищенными полюсами
Рисунок 5. Трехполюсный автоматический выключатель
(или три однополюсных автоматических выключателя)
Рисунок 6. Четырехполюсный автоматический выключатель
S - источник питания; N - нейтраль; Z - полные сопротивления для настройки контура на токи короткого замыкания на уровне номинальной наибольшей отключающей способности;

- полные сопротивления для настройки контура на токи короткого замыкания ниже номинальной наибольшей отключающей способности;

- сопротивления; E - оболочка или опора; A - вспомогательный выключатель, синхронизированный по волне напряжения (Примечание. На
рисунках 3 и
4a A может быть однополюсным выключателем.); G - перемычки из проводников малого сопротивления для настройки контура перед испытанием;

- сопротивление 0,5 Ом; F - медная проволочка; P - селекторный переключатель; B, C и C' - точки присоединения решетки, указанной в
Приложении H (см.
9.12.9.1).
Сечение проводников длиной 0,25 и 0,50 м, указанных на рисунке, выбирают по
таблице 4 (см.
9.12.4).
Рисунки 3 - 6. Схемы испытаний автоматических
выключателей на короткое замыкание
a) Калибровка цепи:

- ожидаемый ток включения (пиковое значение);

- ожидаемый симметричный ток отключения (действующее значение);

- напряжение до включения (действующее значение) (см.
3.5.7);
b) Операция O или CO:

- включающая способность (пиковое значение);

- отключающая способность (действующее значение);

- восстанавливающееся напряжение (действующее значение) (см.
3.5.8).
Примечание. Амплитуда записи напряжения после подачи испытательного тока меняется в зависимости от относительного положения замыкающего устройства, регулируемых полных сопротивлений, датчиков напряжения и в соответствии с испытательной схемой.
Рисунок 7. Пример записи осциллограмм тока и напряжения
при испытаниях на включение и отключение токов короткого
замыкания однополюсным автоматическим выключателем
в однофазной цепи переменного тока
Последовательность положений образца при испытании
1 - шарнир; 2 - дополнительная масса; 3 - образец;
4 - металлическая плита; 5 - бетонный блок
Рисунок 8. Устройство для испытаний
на механический толчок (см.
9.13.1)
Неуказанные допуски на размеры:
- угловые: - 10';
- линейные:
- до 25 мм - 0,05;
- св. 25 мм +/- 2.
Материал пальца: термообработанная сталь.
Оба шарнира пальца могут изгибаться под углом

, но только в одном направлении.
Использование штифта и канавки - один из вариантов ограничения угла изгиба шарнира на угол 90°. Поэтому размеры данных деталей и их предельные отклонения на рисунке не указаны. Реальная конструкция пальца должна обеспечивать угол изгиба в шарнире

.
Рисунок 9. Стандартный испытательный палец (см.
9.6)
1 - опора; 2 - образец; 3 - монтажная опора
Рисунок 10. Устройство для испытания
на механический удар (см.
9.13.2)
Материал деталей устройства:
1 - полиамид; 2 - 5 - сталь 35
Рисунок 11. Ударный элемент маятника устройства
для испытания на механический удар (см.
9.13.2)
1 - главная опора массой (10 +/- 1) кг; 2 - стержень
для поворота вокруг вертикальной оси; 3 - монтажная
опора (из древесины - для настенной установки;
4 - зажимы для поворота в горизонтальной плоскости
Рисунок 12. Монтажная опора
для испытаний на механический удар
1 - съемная стальная панель толщиной 1 мм; 2 - алюминиевые
листы толщиной 8 мм; 3 - монтажная плита; 4 - рейка
для установки выключателей реечного монтажа; 5 - окно
в панели для выхода выключателя: a - зазор между краями
окна в панели и корпусом автоматического выключателя должен
составлять 1 - 2 мм; b - высоту алюминиевых листов следует
выбирать так, чтобы стальная панель опиралась на выступы
корпуса выключателя, а при их отсутствии обеспечивался
зазор 8 мм между панелью и частями выключателя,
находящимися под напряжением и требующими защиты
дополнительной крышкой, расположенной снаружи панели
Рисунок 13. Пример монтажа автоматического
выключателя для крепления сзади при испытании
на механический удар (см.
9.13.2)
1 - съемная панель из стального листа толщиной 1,5 мм;
2 - алюминиевые листы толщиной 8 мм; 3 - монтажная панель;
4 - окно для выхода корпуса выключателя из стальной панели
Примечание. В отдельных случаях допустимо увеличение размеров.
Рисунок 14. Пример монтажа автоматического выключателя
панельно-щитового типа при испытании на механический удар
Рисунок 15. Прикладывание испытательного усилия
к выключателю реечного монтажа при испытании
1 - стальной шарик; 2 - испытуемый образец
Рисунок 16. Установка для испытаний давлением шарика
Рисунок 17. Пример прикладывания усилия при испытании
на механический удар к двухполюсному выключателю
втычного типа, крепление которого зависит только
от его втычного присоединения (см.
9.13.2.4)
(рекомендуемое)
МЕТОДЫ ОПРЕДЕЛЕНИЯ КОЭФФИЦИЕНТА
МОЩНОСТИ ПРИ КОРОТКОМ ЗАМЫКАНИИ
Единого метода определения коэффициента мощности в условиях короткого замыкания не установлено. В настоящем приложении приведены два рекомендованных метода.
Метод 1 - Определение по составляющей постоянного тока
Угол

может быть определен по кривой непериодической составляющей волны асимметричного тока в интервале между моментами короткого замыкания и разъединения контактов следующим способом:
1. По формуле составляющей постоянного тока

,
где

- значение составляющей постоянного тока в момент t;

- значение составляющей постоянного тока в принятый начальный момент времени;
L - индуктивность цепи, Гн;
R - активное сопротивление цепи, Ом;
t - время, прошедшее с начального момента, с;
e - основание натурального логарифма.
Постоянная времени L/R может быть определена по вышеприведенной формуле следующим образом:
a) измерить значение

в момент короткого замыкания и

в другой момент t перед разделением контактов;
b) определить величину

, разделив

на

;
c) по таблице значений

установить величину

, соответствующую значению соотношения

;
d) в этом случае

соответствует Rt/L, откуда рассчитывают L/R.
2. Угол

рассчитывают по формуле

,
где

(где f - фактическая частота).
Этот метод не используют, если токи измеряют с применением трансформаторов тока.
Метод 2 - Определение с помощью задающего генератора
Если применяют задающий генератор, смонтированный на одном валу с испытательным генератором, напряжение этого задающего генератора можно сравнить на осциллограмме по фазе вначале с напряжением испытательного генератора, а затем с током испытательного генератора.
Разность между фазовыми углами напряжений задающего генератора и главного генератора, с одной стороны, и напряжения задающего генератора и тока испытательного генератора - с другой, позволяет установить фазовый угол между напряжением и током испытательного генератора, а из него вывести коэффициент мощности.
(обязательное)
ОПРЕДЕЛЕНИЕ ВОЗДУШНЫХ ЗАЗОРОВ И РАССТОЯНИЙ УТЕЧКИ
При определении воздушных зазоров и расстояний утечки рекомендуется учитывать следующее.
Если на воздушный зазор или расстояние утечки влияют одна металлическая часть или более, сумма отрезков должна быть не меньше заданной минимальной величины.
При расчете общей длины воздушных зазоров и расстояний утечки не следует принимать во внимание отдельные отрезки длиной менее 1 мм.
При определении расстояний утечки:
- канавки шириной и глубиной не менее 1 мм следует измерять по контуру;
- канавками любых меньших размеров следует пренебречь;
- ребра высотой - не менее 1 мм:
- измеряют по контуру, если они составляют неотъемлемую часть детали из изоляционного материала (например, литую, приваренную или прикрепленную);
- измеряют по более короткому из двух путей: вдоль стыка или по профилю ребра, если они не составляют неотъемлемой части детали из изоляционного материала.
Применение этих рекомендаций проиллюстрировано на следующих рисунках:
- на
рисунках B.1a -
B.1c показано включение или исключение канавки при определении расстояния утечки;
- на
рисунках B.1d и
B.1e показано включение или исключение ребра при определении расстояния утечки;
- на
рисунке B.1f показан способ учета стыка, когда ребро образовано вставленным изоляционным барьером, наружный профиль которого длиннее длины стыка;
- на
рисунках B.2a -
B.2d показано, как определять расстояние утечки до средств крепления, утопленных в изоляции частей из изоляционного материала.
Рисунок B.1b
Рисунок B.2b
Рисунок B.2c
Размеры на рисунках в миллиметрах
Рисунки B.1 - B.2. Примеры применения рекомендаций
по определению расстояний утечки
(обязательное)
ЧИСЛО ПРЕДСТАВЛЯЕМЫХ ОБРАЗЦОВ И ЦИКЛЫ
ПРИМЕНЯЕМЫХ ИСПЫТАНИЙ ДЛЯ ПРОВЕРКИ СООТВЕТСТВИЯ
(ИСО/МЭК РУКОВОДСТВО 2
[4], ПУНКТ 13.5)
Примечание. Испытания может выполнять:
- изготовитель в целях заполнения декларации о соответствии поставки (ИСО/МЭК Руководство 2, подпункт 13.5.1);
- независимая организация в целях сертификации (ИСО/МЭК Руководство 2, подпункт 13.5.2).
В определениях ИСО/МЭК Руководство 2 термин "сертификация" применяют только во втором случае.
C.1. Циклы испытаний
Испытания проводят по таблице C.1, где испытания в каждом цикле выполняют в указанном порядке.
Таблица C.1
Цикл испытаний | Раздел или пункт | Испытание (или проверка) |
A | | Маркировка |
| Общие положения |
| Механизм |
| Стойкость маркировки |
| Воздушные зазоры и расстояния утечки (только внешние части) |
| Отсутствие взаимозаменяемости |
| Надежность винтов, токопроводящих частей и соединений |
| Надежность резьбовых выводов для внешних проводников |
| Защита от поражения электрическим током |
| Воздушные зазоры и расстояния утечки (только внутренние части) |
| Термостойкость |
| Стойкость против аномального нагрева и огня |
| Коррозиеустойчивость |
B | | Электроизоляционные свойства |
| Превышение температуры |
| 28-суточное испытание |
C | C1 | | Механическая и коммутационная износостойкость |
| Работоспособность при пониженных токах короткого замыкания |
| Проверка выключателя после испытания на короткое замыкание |
C2 | | Испытание на короткое замыкание выключателей для проверки их пригодности к применению в системах IT |
| Проверка выключателя после испытания на короткое замыкание |
D | D0 | | Характеристика расцепления |
D1 | | Стойкость к механическому толчку и удару |
| Работоспособность при токе короткого замыкания 1500 А |
| Проверка выключателя после испытания на короткое замыкание |
E | E1 | | Рабочая наибольшая отключающая способность (Ics) |
| Проверка выключателя после испытания на короткое замыкание |
E2 | | Номинальная наибольшая отключающая способность (Icn) |
| Проверка выключателя после испытания на короткое замыкание |
Примечание - По согласованию с изготовителем одни и те же образцы могут быть использованы более чем для одного цикла испытаний. |
C.2. Число представляемых образцов для полной процедуры испытаний и критерии приемки
Если испытанию подвергают только один номинал выключателя (т.е. только с одним рядом номинальных характеристик, см.
5.2) и одного типа (по числу полюсов, типу мгновенного расцепления), то число образцов, подвергаемых различным циклам испытаний, указано в таблице C.2, в которой приведены критерии приемки.
Таблица C.2
Число образцов для полной процедуры испытаний
Цикл испытаний | Число образцов | Минимальное число образцов, прошедших испытания <a>, <b> | Число образцов для повторных испытаний <c> |
A | 1 | 1 | - |
B | 3 | 2 | 3 |
C | C1 | 3 | | 3 |
| 3 | | 3 |
D | 3 | | 3 |
E1 | | | |
E2 | | | |
<a> В целом только два цикла испытаний могут быть выполнены повторно. <b> Предполагается, что образец, который не прошел испытание, не отвечает требованиям вследствие дефектов изготовления или сборки, не показательных для конструкции. <c> При повторном испытании все результаты должны быть положительными. <d> Дополнительные образцы только для однополюсных выключателей на номинальное напряжение 230/400 или 240/415 В (см. таблицу 1). <f> Для данного цикла вместо "число образцов" читай "число защищенных полюсов". |
Соответствие стандарту подтверждается, если все образцы согласно
таблице C.2 выдерживают испытания. Если испытания выдерживают только минимальное число образцов, указанных в
таблице C.2, то испытывают дополнительное число образцов, указанное в
таблице C.2, которые должны полностью отвечать требованиям цикла испытаний.
Для выключателей, имеющих более чем один номинальный ток, испытаниям в каждом цикле подвергают два раздельных комплекта выключателей одного и того же типа: один - при максимальном, другой - при минимальном номинальном токе. Дополнительно испытанию подвергают один образец всех остальных номинальных токов (цикл
таблицы C.1).
C.3. Число представляемых образцов для упрощенной процедуры испытаний
Этот раздел применяют при одновременном испытании серии выключателей одинаковой принципиальной конструкции.
C.3.1. Для серии выключателей одинаковой принципиальной конструкции число подлежащих испытанию образцов может быть уменьшено согласно
C.3.2 и
C.3.3.
Что касается остальных дополнений (например, других значений номинальных токов, другого типа по току мгновенного расцепления, другого числа полюсов), то к такой серии выключателей предъявляют те же требования.
Примечание. Если конструкция выключателей имеет незначительные различия по сравнению с уже одобренной серией выключателей, то ее подвергают типовым испытаниям, а уменьшение количества образцов и испытаний может быть согласовано дополнительно.
Выключатели считают принципиально одинаковыми, если они имеют:
- одинаковую конструкцию;
- одинаковые внешние физические размеры на полюс;
- идентичные материалы, покрытия и размеры внутренних токопроводящих частей, кроме приведенных в
перечислении a);
- идентичные размеры контактов, их материал, форму и способ крепления;
- аналогичные ручные механизмы управления (их материал и физические характеристики);
- идентичные литьевые и изолирующие материалы;
- идентичные материалы, конструкцию и принцип действия дугогасительного устройства;
- одинаковую базовую конструкцию расцепителей тока перегрузки, кроме приведенных в
перечислении b);
- одинаковую базовую конструкцию расцепителей мгновенного отключения, кроме приведенных в
перечислении c).
А также если:
- их номинальное напряжение предназначено для одного вида распределительной цепи (см.
таблицу 1);
- многополюсные выключатели или состоят из однополюсных выключателей, или сконструированы из тех же узлов, что и однополюсные выключатели с одинаковыми размерами на полюс, за исключением внешних перемычек между полюсами.
Допускаются следующие различия в:
a) площади поперечного сечения внутренних токопроводящих соединений;
b) размерах и материале расцепителей тока перегрузки;
c) числе витков и площади поперечного сечения катушки расцепителя мгновенного отключения;
C.3.2. Для образцов с одинаковым классом мгновенного расцепления по
4.5 число подлежащих испытанию образцов можно сократить согласно таблице C.3.
Таблица C.3
Сокращенное число образцов для серии автоматических
выключателей с различным числом полюсов
Цикл испытаний | Число образцов в зависимости от числа полюсов <a> |
| | | |
A | 1 с максимальным номинальным током | 1 с максимальным номинальным током <g>, <i> | 1 с максимальным номинальным током <i> | 1 с максимальным номинальным током <i> |
B | 3 с максимальным номинальным током | 3 с максимальным номинальным током <g> | 3 с максимальным номинальным током | 3 с максимальным номинальным током |
C | C1 | 3 с максимальным номинальным током | 3 с максимальным номинальным током <g> | 3 с максимальным номинальным током | 3 с максимальным номинальным током |
C2 | 3 с максимальным номинальным током | 2 с максимальным номинальным током для двух защищенных полюсов или 3 с максимальным номинальным током для одного защищенного полюса | 1 с максимальным номинальным током | 1 с максимальным номинальным током |
D0 + D1 | 3 с максимальным номинальным током | 3 с максимальным номинальным током <h> | 3 с максимальным номинальным током | 3 с максимальным номинальным током |
D0 | 1 из всех остальных номинальных токов | - | - | - |
E1 | 3 + 4 <f> с максимальным номинальным током 3 + 4 <f> с минимальным номинальным током | 3 с максимальным номинальным током 3 с минимальным номинальным током | 3 с максимальным номинальным током 3 с минимальным номинальным током | 3 с максимальным номинальным током 3 с минимальным номинальным током |
E2 | 3 + 4 <f> с максимальным номинальным током 3 + 4 <f> с минимальным номинальным током | 3 с максимальным номинальным током 3 с минимальным номинальным током | 3 с максимальным номинальным током 3 с минимальным номинальным током | 3 с максимальным номинальным током 3 с минимальным номинальным током |
<a> Если испытание следует повторить после допускаемого отказа согласно таблице C.2, используют новый комплект образцов для соответствующего цикла испытаний. При повторных испытаниях все результаты должны быть положительными. <b> Если испытывают только многополюсные выключатели, эта графа должна относиться к комплекту образцов с наименьшим числом полюсов (вместо соответствующей графы). <c> Действительно для двухполюсных выключателей с двумя защищенными полюсами или с одним защищенным полюсом. <d> Эту графу не применяют, если одновременно испытывают четырехполюсные выключатели. <e> Действительно также для выключателей с тремя защищенными полюсами и нейтральным полюсом. <f> Дополнительные образцы для однополюсных выключателей по таблице 1. <g> Это испытание излишне, если уже испытаны трех- или четырехполюсные выключатели. <h> Это испытание излишне для двухполюсных выключателей с двумя защищенными полюсами, если уже испытаны трех- или четырехполюсные выключатели. <i> Если представлены многополюсные автоматические выключатели, то испытанию по 9.5 подвергаются максимально четыре зажима винтового типа для внешних проводников: два - со стороны питания и два - со стороны нагрузки. |
C.3.3. Кроме того, для выключателей с одинаковой принципиальной конструкцией, как указано в
C.3.1, но с различными типами мгновенного расцепления по
4.5, можно сократить число образцов согласно таблице C.4 по сравнению с числом образцов, указанных в
таблице C.3.
Таблица C.4
Циклы испытаний для серии выключателей
с различными типами мгновенного расцепления
Тип выключателя, испытываемого первым | Циклы испытаний для выключателей типов |
B | C | D |
B | - | (D0 + D1) + E | (D0 + D1) + E |
C | D0 <a> + B <a> | - | (D0 + D1) + E |
D | D0 <a> + B <a> | D0 <a> + B <a>, <b> | - |
<a> Для этих циклов требуются только испытания по 9.8 и 9.10.2. <b> Если сертификации подлежат одновременно выключатели типов B, C и D с одинаковой номинальной отключающей способностью, проводят только цикл D0, если образцы B и D уже испытаны. |
(обязательное)
КООРДИНАЦИЯ В УСЛОВИЯХ КОРОТКОГО ЗАМЫКАНИЯ
МЕЖДУ АВТОМАТИЧЕСКИМ ВЫКЛЮЧАТЕЛЕМ И ДРУГИМ УСТРОЙСТВОМ
ЗАЩИТЫ ОТ КОРОТКОГО ЗАМЫКАНИЯ, ОБЪЕДИНЕННЫМИ В ОДНОЙ ЦЕПИ
D.1. Введение
Для обеспечения координации в условиях короткого замыкания между автоматическим выключателем

и другим устройством защиты от короткого замыкания (далее - УЗКЗ), объединенными в одной цепи, необходимо учитывать характеристики каждого из устройств, а также их поведение в этом объединении.
Примечание. УЗКЗ может включать дополнительные защитные устройства, например расцепитель перегрузки.
УЗКЗ может состоять из плавкого предохранителя (или комплекта плавких предохранителей) (см.
рисунок D.1) или другого выключателя

(см.
рисунки D.2 и
D.3).
I - ожидаемый ток короткого замыкания;

- номинальная предельная наибольшая отключающая способность
(5.2.4);

- предельный ток селективности
(3.5.14.6);

- ток координации
(3.5.14.7); A - преддуговая характеристика плавкого предохранителя; B - рабочая характеристика плавкого предохранителя; C - рабочая характеристика нетокоограничивающего выключателя (N) (время отключения/ток и

).
Примечания. 1. A считают нижним пределом, B и C - верхними пределами.
2. Неадиабатическая зона для

показана пунктиром.
Рисунок D.1. Координация по сверхтокам между автоматическим
выключателем и предохранителем или резервной защитой,
осуществляемой предохранителем. Рабочие характеристики

- токоограничивающий выключатель (L) (характеристика
времени отключения);

- нетокоограничивающий
выключатель (N) (характеристика срабатывания)
Примечание. Значения

не указаны.

- нетокоограничивающий выключатель (N)
(характеристика времени отключения);

- выключатель
с преднамеренной кратковременной выдержкой времени (КВВ)
(характеристика срабатывания)
Рисунок D.2. Полная селективность между двумя выключателями

- нетокоограничивающий выключатель (N);

- токоограничивающий выключатель (L)
b

,

- нетокоограничивающие выключатели (N);

- ток координации
Примечания. 1. Где необходимо, происходит восстановление подачи питания посредством

.
2.

.
3. Для значений

графиком является график комбинации (жирная линия), данные для которого получены при испытании.
Рисунок D.3. Рабочие характеристики автоматического
выключателя, осуществляющего резервную защиту
Сравнение индивидуальных рабочих характеристик каждого из двух объединенных устройств может быть недостаточным, поэтому необходимо обратить внимание на поведение этих двух устройств, включенных последовательно, поскольку полным сопротивлением устройств не всегда можно пренебречь. Рекомендуется это учитывать. Для токов короткого замыкания рекомендовано вместо времени сделать ссылку на

.

часто соединяют последовательно с другим УЗКЗ по разным причинам, например из-за способа распределения энергии, принятого для данной установки, или вследствие того, что наибольшая отключающая способность одного

может быть недостаточной для данного назначения. В таких случаях УЗКЗ может быть установлено в удалении от

. УЗКЗ может защищать линию питания нескольких выключателей

или лишь одного выключателя.
В таком случае потребителю или компетентной службе приходится чисто теоретически принимать решение о способах достижения оптимального уровня координации. Настоящее приложение должно способствовать принятию такого решения и формированию представления о типе информации, которую изготовитель должен предоставить потенциальному потребителю.
В приложении приведены также требования к испытаниям, если для предполагаемой области применения они необходимы.
Рассмотрение селективности может быть проведено чисто теоретически (см.
D.5), в то время как для проверки резервной защиты обычно требуются испытания (см.
D.6).
В зависимости от выбранного критерия при проверке отключающей способности возможно указание номинальной предельной наибольшей отключающей способности

и

, если оба они - автоматические выключатели, соответствуют настоящему стандарту, или предельной наибольшей отключающей способности

, если

является автоматическим выключателем, соответствующим
ГОСТ Р 50030.2.
D.2. Область применения и цель
Настоящее приложение является рекомендацией для выработки требований по координации выключателей с другими УЗКЗ, объединенными в одной цепи как в отношении селективности, так и резервной защиты.
Цель данного приложения - установление:
- общих требований к координации выключателя с другим УЗКЗ;
- методов и испытаний (при необходимости) для проверки соблюдения условий координации.
D.3. Общие требования к координации автоматического выключателя с другим УЗКЗ
D.3.1. Общие положения
Теоретически координация должна быть такой, чтобы выключатель

срабатывал один при любых значениях сверхтока, вплоть до предельных значений номинальной наибольшей отключающей способности

.
Примечание. Если значение ожидаемого тока повреждения в данной точке установки ниже номинальной наибольшей отключающей способности

, можно предположить, что включение в цепь УЗКЗ не связано с резервной защитой.
На практике получается следующее:
a) если значение предельного тока селективности

(см.
3.5.14.6) слишком низкое, существует опасность нежелательной потери селективности;
b) если значение ожидаемого тока повреждения в данной точке установки превышает номинальную наибольшую отключающую способность

, УЗКЗ должно быть выбрано так, чтобы поведение

соответствовало
D.3.3, а ток координации

(см.
3.5.14.7), если имеется, удовлетворял требованиям D.3.2.
Где это возможно, УЗКЗ должно размещаться со стороны питания

. Если УЗКЗ размещено со стороны нагрузки, соединение между

и УЗКЗ должно быть таким, чтобы свести к минимуму опасность возникновения короткого замыкания.
С точки зрения резервной защиты ток координации

не должен превышать номинальную наибольшую отключающую способность

отдельного

(см.
рисунок D.3 a).
D.3.3. Поведение C1 в комбинации с другим УЗКЗ
Для всех значений сверхтока, вплоть до наибольшей отключающей способности комбинации,

должен соответствовать требованиям
8.8.
D.4. Тип и характеристики взаимодействующего УЗКЗ
По запросу изготовитель выключателя должен предоставить информацию о типе и характеристиках УЗКЗ, используемого с

, и о максимальном ожидаемом токе короткого замыкания, на который рассчитана комбинация, при заданном рабочем напряжении.
Подробное описание УЗКЗ, используемого для любых испытаний в соответствии с настоящим приложением, а именно: наименование изготовителя, типоисполнение, номинальное напряжение, номинальный ток и наибольшая отключающая способность должны быть указаны в протоколе испытаний.
Максимальный условный ток короткого замыкания

(см.
3.5.14.8) не должен превышать:
- номинальной наибольшей коммутационной способности, если УЗКЗ является выключателем, соответствующим настоящему стандарту;
- номинальной наибольшей отключающей способности, если УЗКЗ является плавким предохранителем.
Если УЗКЗ является выключателем, он должен соответствовать требованиям настоящего стандарта или любого другого стандарта на выключатели.
Если взаимодействующим УЗКЗ является предохранитель, он должен отвечать требованиям соответствующего стандарта на предохранители.
D.5. Проверка селективности
Селективность обычно можно проверить чисто теоретически, т.е. путем сравнения рабочих характеристик

и согласованного УЗКЗ, например, когда взаимодействующим УЗКЗ является выключатель

с преднамеренной задержкой срабатывания.
Изготовители

, равно как и УЗКЗ, должны предоставить необходимую информацию, касающуюся соответствующих рабочих характеристик, позволяющих определить

для каждой отдельной комбинации.
В определенных случаях испытания при

необходимы для комбинации, если, например:
-

токоограничивающего типа, а

не снабжен заданной задержкой срабатывания;
- время срабатывания УЗКЗ меньше, чем время, соответствующее одному полупериоду.
Чтобы добиться необходимой селективности, когда взаимодействующее УЗКЗ является выключателем, заданная кратковременная задержка срабатывания может потребоваться для

.
Селективность может быть частичной (см.
рисунок D.3 a) или полной, вплоть до номинальной наибольшей отключающей способности

.
Для получения полной селективности характеристика несрабатывания

или преддуговая характеристика предохранителя должна проходить выше характеристики срабатывания (полного времени)

.
D.6. Проверка резервной защиты
D.6.1. Определение тока координации
Соответствие требованиям
D.3.2 можно проверить сравнением рабочих характеристик

и взаимодействующего УЗКЗ на всех уставках

и для всех уставок

, если имеются.
D.6.2. Проверка резервной защиты
D.6.2.1. Проверка испытанием
Соответствие требованиям
D.3.3 обычно проверяют испытанием по
D.6.3. В этом случае должны быть соблюдены все условия испытаний, указанные в
9.12.11.4.3, при регулируемых резисторах и катушках индуктивности для испытаний на короткое замыкание со стороны питания комбинации.
Примечание. Пример схемы соединений приведен в ГОСТ Р 50030.2
(рисунок A.6).
D.6.2.2. Проверка сравнением характеристик
На практике, если УЗКЗ является выключателем (см.
рисунки D.2a и
D.2b), возможно сравнение рабочих характеристик

и взаимодействующего УЗКЗ, при этом особо рекомендуется учитывать:
- значение интеграла Джоуля

при его

и это же значение УЗКЗ при ожидаемом токе комбинации;
- влияние на

(к примеру, энергии дуги, максимального пикового тока, тока отсечки) при пиковом рабочем токе УЗКЗ.
Пригодность комбинации можно оценивать по полной максимальной рабочей характеристике

УЗКЗ в диапазоне от номинальной наибольшей отключающей способности

до ожидаемого тока короткого замыкания данного назначения, но не более максимального сквозного

для

при его номинальной наибольшей отключающей способности или другом более низком предельном значении, указанном изготовителем.
Примечание. Если взаимодействующим УЗКЗ является предохранитель, ограничиваются теоретическим значением

для

.
D.6.3. Испытание для проверки резервной защиты
Если УЗКЗ является автоматическим выключателем

, оснащенным регулируемыми максимальными расцепителями тока, то применяемые рабочие характеристики должны соответствовать максимальным уставкам по времени и току.
Если взаимодействующее УЗКЗ состоит из комплекта предохранителей, испытание каждый раз необходимо проводить на новом комплекте предохранителей, даже если какой-то из них во время предыдущих испытаний не вышел из строя.
Где необходимо, должны быть использованы соединительные провода, как указано в
9.12.4, за исключением того, что, если взаимодействующее УЗКЗ является выключателем

, кабель полной длины (75 см), связанный с данным выключателем, может быть установлен со стороны питания.
Каждое испытание должно состоять из цикла операций O - t - CO, выполняемых в соответствии с
9.12.11.4.3 при

, операцию CO выполняют на

.
Испытание проводят с максимальным ожидаемым током для предлагаемого назначения. Он не должен превышать номинальный условный ток короткого замыкания

(см.
3.5.14.9).
Далее необходимо проводить испытание при значении ожидаемого тока, равном номинальной наибольшей отключающей способности

, для которого может быть использован новый образец

, а также, если взаимодействующим УЗКЗ является выключатель, новый образец

.
Во время каждой операции:
a) если взаимодействующим УЗКЗ является автоматический выключатель

:
- либо

и

должны сработать при обоих испытательных токах, тогда дальнейших испытаний не требуется.
Это общий случай, который гарантирует только резервную защиту;
- либо

должен сработать, а

должен быть в замкнутом положении в конце каждой операции при обоих испытательных токах, тогда не требуется дальнейших испытаний.
При этом требуется, чтобы контакты

кратковременно размыкались во время каждой операции. В этом случае обеспечивается восстановление подачи питания в дополнение к резервной защите (см.
примечание 1 к рисунку D.3 a). Длительность прерывания подачи питания, если имеет место, должна быть зарегистрирована;
- либо

должен сработать при более низком испытательном токе или

и

должны сработать при более высоком испытательном токе.
При этом требуется, чтобы контакты

кратковременно размыкались при более низком токе. Дополнительные испытания должны быть проведены при промежуточных токах для определения наименьшего тока, при котором

и

сработают, вплоть до тока, при котором обеспечивается восстановление подачи питания. Длительность прерывания подачи питания, если имеет место, должна быть зарегистрирована;
b) если взаимодействующим УЗКЗ является предохранитель (или комплект предохранителей) при испытании при номинальном условном токе короткого замыкания:
- в однофазной цепи по крайней мере один предохранитель должен перегореть;
- в многофазной цепи должны перегореть либо два или более предохранителей, либо один предохранитель, а

должен сработать.
При испытании при номинальной наибольшей отключающей способности

должен сработать и хотя бы один предохранитель должен перегореть.
D.6.4. Ожидаемые результаты
В результате испытаний

должен соответствовать
9.12.12.2.
Кроме того, если взаимодействующим УЗКЗ является выключатель

, следует проверить вручную или другим подходящим способом, что контакты

не приварились.
(обязательное)
ДОПОЛНИТЕЛЬНЫЕ ТРЕБОВАНИЯ
К ВСПОМОГАТЕЛЬНЫМ ЦЕПЯМ С БЕЗОПАСНЫМ СВЕРХНИЗКИМ НАПРЯЖЕНИЕМ
8.1.3. Воздушные зазоры и расстояния утечки
| | ИС МЕГАНОРМ: примечание. В официальном тексте документа, видимо, допущена опечатка: пункт 411.1.3.3 в ГОСТ Р 50571.3-2009 отсутствует. | |
5. Находящиеся под напряжением части вспомогательных цепей, предназначенных для присоединения к источнику безопасного сверхнизкого напряжения, должны быть отделены от цепей с более высоким напряжением согласно требованиям
ГОСТ Р 50571.3, пункт 411.1.3.3.
9.7.4. Электрическая прочность изоляции вспомогательных цепей и цепей управления
Дополнить примечанием:
Примечание. Испытание цепей, предназначенных для присоединения к источнику безопасного сверхнизкого напряжения, - в стадии рассмотрения.
9.7.5. Значение испытательного напряжения
Примечание. Значения испытательных напряжений для цепей с безопасным сверхнизким напряжением - в стадии рассмотрения.
(рекомендуемое)
В настоящем приложении приведены примеры конструкций выводов. В выводах канал для подсоединения проводника должен иметь диаметр, достаточный для размещения жесткого однопроволочного проводника, и площадь поперечного сечения, достаточную, чтобы в нее можно было вставить жесткий многопроволочный проводник (см.
8.1.5).
Выводы с хомутиком
Выводы без прижимных пластин
Выводы с прижимными пластинами
Часть вывода, снабженная резьбовым отверстием, и часть, к которой винтом прижимают провод, могут быть различными частями, как в выводе с хомутиком.
Рисунок F.1. Примеры столбчатых выводов
Часть, удерживающая проводник в заданном положении, может быть выполнена из изоляционного материала при условии, что давление, необходимое для зажима проводника, не передается через изоляционный материал.
Рисунок F.2. Пример винтовых и штыревых выводов
A - планка; B - неподвижная часть;
C - штырь; D - канал для проводника
Обе стороны планки могут иметь различную форму для размещения проводников с малой или большой площадью поперечного сечения посредством переворачивания планки.
Выводы могут иметь более двух зажимных винтов или штырей.
Рисунок F.3. Примеры пластинчатых выводов
A - запорное устройство; B - кабельный наконечник
или шина; E - неподвижная часть; F - штырь
Для выводов этого типа необходимы упругая шайба или аналогичное эффективное запорное устройство, и поверхность в зоне зажима должна быть гладкой.
Для некоторых типов оборудования допускается применение выводов для кабельных наконечников или шин меньших размеров, чем требуется.
Рисунок F.4. Примеры выводов для кабельных наконечников
(справочное)
СООТНОШЕНИЕ МЕЖДУ СОРТАМЕНТОМ МЕДНЫХ ПРОВОДОВ ISO И AWG
Поперечное сечение по ISO, мм2 | AWG |
Размер | Поперечное сечение, мм2 |
1,0 | 18 | 0,82 |
1,5 | 16 | 1,30 |
2,5 | 14 | 2,10 |
4,0 | 12 | 3,30 |
6,0 | 10 | 5,30 |
10,0 | 8 | 8,40 |
16,0 | 6 | 13,30 |
25,0 | 3 | 26,70 |
35,0 | 2 | 33,60 |
50,0 | 0 | 53,50 |
В основном применяют размеры ISO. По запросу изготовителя могут быть использованы размеры AWG.
(обязательное)
УСТРОЙСТВО ДЛЯ ИСПЫТАНИЙ НА КОРОТКОЕ ЗАМЫКАНИЕ
Испытуемый аппарат монтируют, как показано на рисунке H.1, при этом может потребоваться доработка с учетом особенностей конструкции аппарата в соответствии с инструкциями изготовителя.
1 - к предохранителю F; 2 - металлическая панель;
3 - кабель; 4 - выхлопное окно; 5 - решетка;
6 - барьер; 7 - полиэтиленовый лист; 8 - рама
Рисунок H.1. Испытательное устройство
Если необходимо для операций отключения O, чистый полиэтиленовый лист толщиной (0,05 +/- 0,01) мм, размерами в каждом направлении по крайней мере на 50 мм больше наибольших размеров фронтальной стороны аппарата, но не менее чем 200 x 200 мм крепят и в разумных пределах натягивают на раме, расположенной на расстоянии 10 мм от наибольшего выступа органа управления для аппарата без углубления для органов управления либо от края углубления для аппарата с углублением для органов управления.
Физические характеристики полиэтиленового листа:
- плотность при 23 °C: (0,92 +/- 0,05) г/см3;
- точка плавления: 110 °C - 120 °C.
Если необходимо, в целях предотвращения повреждения листа горячими частицами, вылетающими из отверстий для выхлопа дуги, между отверстиями для выхода дуги и листом размещают, как показано на
рисунке H.1, барьер из изоляционного материала толщиной не менее 2 мм.
Если необходимо, на расстоянии a, мм, от каждого отверстия для выхлопа дуги с двух сторон аппарата располагают решетку (решетки) согласно
рисунку H.2. Цепь решетки
(рисунок H.3) должна быть присоединена к точкам B, или C, или C' (см.
рисунки 3 -
6).
1 - рама из изоляционного материала;
2 - решетка из медных проволочек; 3 - металлическая
панель, соединенная с медными проволочками
Рисунок H.3. Цепь решетки
Параметры цепи решетки:
- резистор R': 1,5 Ом;
- медная проволока плавкого предохранителя F': длина 50 мм, диаметр по
9.12.9.1.
(обязательное)
ПРИЕМО-СДАТОЧНЫЕ ИСПЫТАНИЯ
Испытания, указанные в настоящем стандарте, предназначены для определения при условии сохранения целостности неприемлемых отклонений в материале и технологии.
Испытания необходимо проводить для установления того, что каждый выключатель соответствует образцам, которые выдержали испытания по настоящему стандарту, согласно опыту, накопленному производителем.
I.1. Проверка расцепления
a) Проверка время-токовой характеристики
Ток любого подходящего значения между условным током расцепления и наименьшим значением из диапазона мгновенного расцепления по
таблице 2 (согласно типу автоматического выключателя - B, C или D) пропускают отдельно через каждый защищенный полюс, начиная с холодного состояния.
Выключатель должен расцепиться в пределах времени, соответствующего точке, выбранной изготовителем, расположенной между предельными значениями времени характеристики расцепления.
b) Проверка мгновенного расцепления
Каждый выключатель необходимо подвергать испытанию на мгновенное расцепление по
9.10.2 при наибольшем значении испытательного тока согласно типу автоматического выключателя - B, C или D. Испытание проводят при любом подходящем напряжении.
I.2. Проверка воздушных зазоров на разомкнутых контактах
Напряжение 1500 В частотой 50/60 Гц практически синусоидальной формы волны должно прикладываться в течение 1 с при выключателе в разомкнутом состоянии - между выводами, которые электрически соединены, когда выключатель замкнут.
Перекрытий или пробоев происходить не должно.
Для проверки воздушных зазоров на разомкнутых контактах может быть применен любой подходящий альтернативный метод (например, исследование X-лучами).
(обязательное)
ДОПОЛНИТЕЛЬНЫЕ ТРЕБОВАНИЯ
К АВТОМАТИЧЕСКИМ ВЫКЛЮЧАТЕЛЯМ С ВЫВОДАМИ БЕЗВИНТОВОГО ТИПА
ДЛЯ ПРИСОЕДИНЕНИЯ ВНЕШНИХ МЕДНЫХ ПРОВОДНИКОВ
J.1. Область применения
Данное приложение распространяется на автоматические выключатели в пределах применения
раздела 1, оснащенные безвинтовыми выводами на токи не более 20 А, которые предназначены преимущественно для присоединения неподготовленных (см.
J.3.6) медных проводников поперечного сечения до 4 мм
2.
Примечание. В ряде стран (Австрия, Чешская Республика, Германия, Дания, Нидерланды, Норвегия и Швейцария) верхний предел тока для безвинтовых выводов составляет 16 А.
В настоящем приложении: безвинтовые выводы (далее - выводы) и медные проводники (далее - проводники).
J.2. Нормативные ссылки
J.3. Определения
J.3.1. зажимной элемент (clamping units): Части вывода, необходимые для механического прижима и электрического соединения проводников, включая части, которые требуются для обеспечения надлежащего давления контакта.
J.3.2. безвинтовой вывод (screwless-type terminal): Вывод, предназначенный для присоединения и последующего отсоединения проводников непосредственно или с помощью пружин, клиньев и аналогичных элементов.
J.3.3. универсальный вывод (universal terminal): Вывод, предназначенный для присоединения и отсоединения проводников всех типов (жестких и гибких).
Примечание. В ряде стран (Австрия, Бельгия, Китай, Дания, Германия, Испания, Франция, Италия, Португалия, Швеция и Швейцария) допускается применение только универсальных безвинтовых выводов.
J.3.4. неуниверсальный вывод (non-universal terminal): Вывод, предназначенный для присоединения и отсоединения проводников определенного типа (например, только жестких одножильных или только жестких одножильных и многожильных проводников).
J.3.5. вывод с обжимом проводника (push-wire terminal): Неуниверсальный вывод, в котором соединение обеспечивается обжимом проводника (одножильного или многожильного) с помощью зажимных средств.
J.3.6.
неподготовленный проводник (unprepared conductor): Отрезок провода, с конца которого снята на определенную длину изоляция для подсоединения к выводу.
Примечания. 1. Проводник, имеющий такую форму, которая позволяет легко вводить его в вывод или концы жил которого скручены в целях укрепления, считают неподготовленным проводником.
2. Термин "неподготовленный проводник" означает проводник, жилы которого не спаяны или конец которого не снабжен кабельным наконечником, ушком и т.п., но форма которого изменена для вставки в вывод или жилы которого скручены для упрочнения конца.
J.4. Классификация
J.5. Характеристики автоматических выключателей
J.6. Маркировка
Раздел 6 дополнить следующими требованиями:
Универсальные выводы:
- без маркировки.
Неуниверсальные выводы:
- выводы, предназначенные для жестких одножильных проводников, следует маркировать буквами "sol";
- выводы, предназначенные для жестких одножильных и многожильных проводников, следует маркировать буквой "r";
- выводы, предназначенные для гибких проводников, следует маркировать буквой "f".
Маркировку следует наносить на автоматический выключатель или при недостатке места на наименьшую единицу упаковки либо маркировка должна быть указана в технической информации изготовителя.
Маркировка, обозначающая длину снятия изоляции перед введением проводника в вывод, должна быть нанесена на выключатель.
Изготовитель в своих каталогах должен предусмотреть информацию о максимальном числе проводников, зажимаемых в выводе.
J.7. Стандартные условия эксплуатации
J.8. Требования к конструкции
Соответствие устанавливают осмотром и проведением испытаний по
J.9.1 и
J.9.2 настоящего приложения вместо
9.4 и
9.5.
Кроме того,
дополнить следующими требованиями:
J.8.1. Присоединение и отсоединение проводников
Присоединение и отсоединение проводников необходимо выполнять:
- с помощью инструмента общего назначения либо удобного устройства, составляющего единое целое с выводом и позволяющего открыть его в целях введения и отсоединения проводников (например, в универсальных выводах);
- для жестких проводников путем простого введения. Для отсоединения проводников может потребоваться иная операция, чем простое выдергивание проводника из вывода (например, обжим проводника).
Универсальные выводы должны допускать подсоединение жестких (одножильных и многожильных) и гибких неподготовленных проводников.
Неуниверсальные выводы должны допускать подсоединение типов проводников, указанных изготовителем.
Соответствие проверяют осмотром и испытаниями по
J.9.1 и
J.9.2.
J.8.2. Размеры присоединяемых проводников
Размеры присоединяемых проводников приведены в таблице J.1.
Таблица J.1
Присоединяемые проводники
Сечение и теоретический диаметр проводников |
Метрическая система | AWG |
Жесткие | Гибкие | Жесткие | Гибкие |
Сечение | Диаметр | Сечение | Диаметр | Калибр | Диаметр | Калибр | Диаметр многожильных проводников классов I, K, M <b> |
Одножильные | Многожильные | | Многожильные класса B <a> |
мм2 | мм | мм | мм2 | мм | мм | мм | мм |
1,0 | 1,2 | 1,4 | 1,0 | 1,5 | 18 | 1,02 | 1,16 | 18 | 1,28 |
1,5 | 1,5 | 1,7 | 1,5 | 1,8 | 16 | 1,29 | 1,46 | 16 | 1,60 |
2,5 | 1,9 | 2,2 | 2,5 | 2,3 | 14 | 1,63 | 1,84 | 14 | 2,08 |
4,0 | 2,4 | 2,7 | 4,0 | 2,9 | 12 | 2,05 | 2,32 | 12 | 2,70 |
<b> Допуск наибольшего диаметра +5% для любого из трех классов I, K и M. Примечание - Наибольшие диаметры жестких и гибких проводников приведены по таблице 1 МЭК 60228А [5], а для проводников в системе AWG - по ASTM B172-71 [6]. |
Соединительную способность выводов проверяют осмотром и испытаниями по
J.9.1 и
J.9.2.
J.8.3. Поперечные сечения присоединяемых проводников
Номинальные поперечные сечения присоединяемых проводников приведены в таблице J.2.
Таблица J.2
Поперечные сечения медных проводников,
присоединяемых безвинтовыми выводами
Номинальный ток, А | Номинальные поперечные сечения присоединяемых проводников, мм2 |
До 13 включ. | От 1,0 до 2,5 включ. |
Св. 13 " 20 " | " 1,5 " 4,0 " |
Соответствие проверяют осмотром и испытаниями по
J.9.1 и
J.9.2.
J.8.4. Присоединение и отсоединение проводников
Введение и отсоединение проводников необходимо выполнять согласно инструкциям изготовителя.
Соответствие проверяют осмотром.
J.8.5. Дизайн и конструкция выводов
Выводы должны быть так спроектированы и изготовлены, чтобы:
- каждый проводник прижимался отдельно;
- в ходе операции по присоединению и отсоединению проводники могли присоединяться и отсоединяться либо одновременно, либо по отдельности;
- исключалось неправильное введение проводников.
Необходимо обеспечивать надежное крепление максимально предусмотренного числа проводников.
Соответствие проверяют осмотром и испытаниями по J.9.1 и
J.9.2.
J.8.6. Устойчивость к старению
Выводы должны быть устойчивы к старению.
Соответствие проверяют испытанием по
J.9.3.
J.9. Испытания
J.9.1. Проверка надежности безвинтовых выводов
J.9.1.1. Надежность безвинтовой системы
Испытание проводят на трех выводах полюсов новых образцов с медными проводниками номинальных поперечных сечений по
таблице J.2. Типы проводников - в соответствии с
J.8.1.
Присоединение и последующее отсоединение необходимо выполнять пять раз с проводником наименьшего диаметра и последовательно пять раз с проводником наибольшего диаметра.
Каждый раз должны быть использованы новые проводники, за исключением пятой проверки, когда проводник, использованный для четвертой проверки, оставляют на месте. Перед введением в вывод проволокам многожильных жестких проводников следует придать соответствующую форму, а проволоки гибких проводников должны быть скручены для упрочнения конца.
При каждом введении конец проводника должен быть вставлен в вывод на максимально возможную глубину либо правильность его введения должна быть очевидна.
После каждого введения проводник поворачивают вокруг его продольной оси на 90° на уровне зажатого участка и затем его отсоединяют.
После испытания вывод не должен иметь повреждений, влияющих на его дальнейшую эксплуатацию.
J.9.1.2. Проверка надежности соединения
Три вывода полюсов новых образцов оснащают новыми медными проводниками, сечения которых указаны в
таблице J.2.
Типы проводников должны соответствовать
J.8.1.
Перед введением в вывод проволокам многожильных жестких проводников следует придать соответствующую форму, а проволоки гибких проводников должны быть скручены для упрочнения конца.
Проводник должен входить в универсальный вывод без чрезмерного усилия, а в вывод с обжимом проводника с незначительным усилием, прикладываемым вручную.
При каждом введении конец проводника должен быть вставлен в вывод на максимально возможную глубину либо правильность его введения должна быть очевидна.
После проведения испытаний ни одна жила проводника не должна выпасть из вывода.
J.9.2. Проверка надежности выводов для присоединения внешних проводников: механическая прочность
Для испытания на натяжение три вывода полюсов новых образцов оснащают новыми проводниками типов, максимальных и минимальных сечений, соответствующих
таблице J.2.
Перед введением в вывод проволокам многожильных жестких проводников следует придать соответствующую форму, а проволоки гибких проводников должны быть скручены для упрочнения конца.
Затем каждый проводник подвергают тянущему усилию, указанному в таблице J.3, без рывков в течение 1 мин в направлении оси проводника.
Таблица J.3
Тянущие усилия
Сечение проводника, мм2 | Тянущее усилие, Н |
1,0 | 35 |
1,5 | 40 |
2,5 | 50 |
4,0 | 60 |
Во время испытания проводник не должен выпасть из вывода.
J.9.3. Циклическое испытание
Испытание проводят с новыми проводниками поперечных сечений по
таблице 9.
Испытание проводят на новых образцах (один образец - один полюс), число которых указано ниже согласно типу выводов:
- универсальные выводы для жестких (одно- и многожильных) и гибких проводников: по три образца для каждых (всего шесть образцов);
- неуниверсальные выводы только для одножильных проводников: три образца;
- неуниверсальные выводы для жестких (одно- и многожильных) проводников: по три образца для каждых (всего шесть образцов);
Примечание. Если проводники жесткие, следует применять одножильные (если в конкретной стране не применяют одножильные проводники, тогда допускается применение многожильных).
- неуниверсальные выводы только для гибких проводников: три образца.
Проводник поперечным сечением по
таблице 9 последовательно соединяют, как при нормальной эксплуатации, с каждым комплектом из трех образцов, как показано на рисунке J.1.
Рисунок J.1. Схема соединения образцов
На образце должно быть предусмотрено отверстие для измерения падения напряжения на выводе.
При проведении испытаний образец с проводниками помещают в камеру тепла, в которой предварительно устанавливают температуру (20 +/- 2) °C.
Во избежание перемещения образцов до окончания измерения падений напряжения рекомендуется закрепить все полюса на общей опоре.
В течение испытания, за исключением периода охлаждения, в цепь подается испытательный ток, соответствующий номинальному току выключателя.
Затем образцы подвергают 192 температурным циклам, каждый цикл длительностью около 1 ч, и его проводят следующим образом.
Температуру воздуха в камере тепла примерно за 20 мин повышают до 40 °C. Испытательную температуру поддерживают с погрешностью +/- 5 °C приблизительно 10 мин.
Затем образцы подвергают в течение 20 мин естественному охлаждению до температуры около 30 °C, допускается принудительное охлаждение. Их выдерживают при этой температуре около 10 мин и за это время измеряют падение напряжения, при необходимости образцы охлаждают до температуры (20 +/- 2) °C.
Максимально допустимое падение напряжения, измеренное на каждом выводе в конце 192-го цикла при номинальном токе, не должно превышать наименьшего из двух значений: 22,5 мВ или полуторакратного значения, полученного после 24-го цикла.
Измерения следует проводить как можно ближе к месту контакта.
Если точка измерения не совпадает с точкой контакта, то величину падения напряжения в пределах части проводника между точкой измерения и точкой контакта вычитают из измеренного значения падения напряжения испытуемого образца.
Температуру в камере тепла измеряют на расстоянии приблизительно 50 мм от испытуемых образцов.
После этих испытаний выводы подвергают внешнему осмотру невооруженным глазом (с нормальным зрением), при котором не должны быть выявлены изменения, препятствующие их дальнейшей эксплуатации, например трещины, деформации и т.п.
Рисунок J.2. Примеры безвинтовых выводов
J.10. Библиография
(обязательное)
ДОПОЛНИТЕЛЬНЫЕ ТРЕБОВАНИЯ
К АВТОМАТИЧЕСКИМ ВЫКЛЮЧАТЕЛЯМ С ПЛОСКИМИ
БЫСТРОСОЕДИНЯЕМЫМИ ВЫВОДАМИ
K.1. Область применения
Настоящее приложение распространяется на автоматические выключатели в пределах действия
раздела 1, оснащенные плоскими быстросоединяемыми выводами, состоящими из штыревого наконечника (см.
K.3.2) типоразмера 6,3 мм шириной 0,8 мм и гнездового наконечника и предназначенными для присоединения электрических медных проводников на номинальные токи до 16 А включительно в соответствии с инструкциями изготовителя.
Примечание. В ряде стран (Бельгия, Франция, Италия, Испания, Португалия и США) допускается применение плоских быстросоединяемых выводов на номинальные токи до 20 А включительно.
Присоединяемые электрические медные проводники (далее - проводники) могут быть гибкими с поперечными сечениями до 4 мм2 включительно или жесткими многожильными с поперечными сечениями до 2,5 мм2 включительно (в системе AWG 12 и св.).
Данное приложение распространяется исключительно на выключатели со штыревыми выводами, выполненными как одно целое с аппаратом.
K.2. Нормативные ссылки
ГОСТ Р МЭК 61210-99 Устройства присоединительные. Зажимы плоские быстросоединяемые для медных электрических проводников. Требования безопасности.
K.3. Определения
K.3.1. плоский быстросоединяемый вывод (flat quick-connect termination): Электрическое соединение, состоящее из штыревого и гнездового наконечников, сочленяемых и расчленяемых с помощью и без помощи инструмента.
K.3.2.
штыревой наконечник (male tab): Часть плоского быстросоединяемого вывода, вводимая для сочленения в гнездовой наконечник.
K.3.3. гнездовой наконечник (female connector): Часть плоского быстросоединяемого вывода, в которую вводится штыревой наконечник.
K.3.4. фиксирующий элемент (detent): Углубление (выемка) или отверстие в штыревом наконечнике, которое взаимодействует с выступающей частью гнездового наконечника и обеспечивает фиксацию сочленяемых частей.
K.4. Классификация
K.5. Характеристики автоматических выключателей
K.6. Маркировка
Следующая информация, касающаяся гнездовых наконечников по ГОСТ Р МЭК 61210 и типа применяемых проводников, должна быть приведена в инструкциях изготовителя:
l) наименование изготовителя или товарный знак;
m) тип изделия;
n) сечение проводников и цветовой код изолированных гнездовых наконечников (см. таблицу K.1);
o) применение чисто серебряных или медных с гальваническим покрытием оловом сплавов.
Таблица K.1
Цветовой код гнездовых соединителей
и соответствующие сечения проводников
Сечение проводников, мм2 | Цветовой код гнездовых соединителей |
1,0 | Красный |
1,5 | Красный или синий |
2,5 | Синий или желтый |
4,0 | Желтый |
K.7. Стандартные условия эксплуатации
K.8. Требования к конструкции
Заменить
8.1.3 следующим:
K.8.1. Воздушные зазоры и расстояния утечки (см.
Приложение B)
По
8.1.3; гнездовые наконечники сочленяются со штыревыми наконечниками автоматического выключателя.
Заменить
8.1.5 следующим:
K.8.2. Выводы для внешних проводников
K.8.2.1. Штыревые и гнездовые наконечники должны быть выполнены из материалов, механическая прочность, электрическая проводимость и коррозионная стойкость которых соответствуют их назначению.
Примечание. Примерами таких материалов являются серебряные или медные сплавы с гальваническим покрытием оловом.
K.8.2.2. Типоразмер штыревого наконечника составляет 6,3 мм при толщине 0,8 мм, применяется на номинальные токи до 16 А включительно.
Примечание. В ряде стран (Бельгия, Франция, Италия, Испания, Португалия и США) допускается применение на номинальные токи до 20 А включительно.
Размеры штыревых наконечников должны соответствовать размерам, указанным в
таблице K.3 и на
рисунках K.2 -
K.5. Размеры A, B, C, D, E, F, J, M, N и Q являются обязательными.
Примечание. Формы некоторых частей могут отличаться от показанных на рисунках при условии неизменности указанных размеров и соответствия требованиям к испытанию, например рифленые или развальцованные наконечники.
Соответствие проверяют осмотром и измерением.
K.8.2.3. Штыревые наконечники должны быть надежно закреплены.
Соответствие проверяют испытанием на стойкость к механической нагрузке по K.9.1.
K.9. Испытания
K.9.1. Стойкость к механической нагрузке
Испытание проводят на 10 выводах выключателей, установленных как для нормальной эксплуатации со смонтированными проводниками.
Усилие нажатия и затем вытягивающие осевые усилия, значение которых соответствует значениям, указанным в таблице K.2, прикладывают плавно только один раз к штыревому вмонтированному наконечнику подходящим испытательным устройством.
Таблица K.2
Усилия для испытания на стойкость к механической нагрузке
Усилие нажатия, Н | Вытягивающее усилие, Н |
96 | 88 |
Не должно быть повреждения, влияющего на дальнейшую эксплуатацию штыревого наконечника или выключателя, в который этот наконечник вмонтирован.
Тонкопроволочные термопары располагают так, чтобы не влиять на контакт или присоединительную площадь испытуемого образца. Пример расположения приведен на рисунке K.1.
Рисунок K.1. Пример расположения термопары
при измерении превышения температуры
Таблица K.3
Размеры штыревых наконечников
Размеры в миллиметрах
Номинальный размер | Способ фиксации | A | B мин | C | D | E | F | J | M | N | P | Q мин |
6,3 x 0,8 | углублением | 1,0 | - | 0,84 | 6,40 | 4,1 | 2,0 | 12° | 2,5 | 2,0 | 1,8 | - |
0,7 | 7,8 | 0,77 | 6,20 | 3,6 | 1,6 | 8° | 2,2 | 1,8 | 0,7 | 8,9 |
отверстием | 1,0 | - | 0,84 | 6,40 | 4,7 | 2,0 | 12° | - | - | 1,8 | - |
0,5 | 7,8 | 0,77 | 6,20 | 4,3 | 1,6 | 8° | - | - | 0,7 | 8,9 |
Примечания 2 Две строки в графе приводят максимальный и минимальный размеры. |
Вариант скоса
Примечания. 1. Скос 45° не должен быть прямой линией, если находится в указанных пределах.
2. Размер L не задан и может быть установлен в зависимости от конструкции (например, для фиксации).
3. Размер C может определяться толщиной применяемого материала при условии, что указанный размер отвечает требованиям настоящего стандарта. Допускается скругление по продольному краю штекеров.
4. На рисунке указаны размеры элементов штекеров, но не приведена их конструкция.
5. Размер C - толщина штекера может быть иной за пределами размеров Q или B + 1,14 мм.
6. Все части штекеров должны быть плоскими и не иметь заусенцев или выступов, за исключением выступа над допуском толщины 0,025 мм с каждой стороны в области линии упора, на расстоянии 1,3 мм от нее.
Рисунок K.2. Размеры штыревых контактов (штекеров)
Допуск расположения углублений относительно центральных осей штекера 0,076 мм.
Рисунок K.3. Размеры круглых
Допуск расположения углублений относительно центральных осей штекера 0,13 мм.
Рисунок K.4. Размеры прямоугольных
Допуск расположения отверстия относительно центральных осей штекера 0,076 мм.
Рисунок K.5. Размеры отверстий для фиксации
Размеры B3 и L1 являются обязательными.
Примечания. 1. Для определения размеров гнездового наконечника размеры B3 и L2 необходимо согласовать с размерами штыревого наконечника для гарантии обеспечения надежного сочленения в наихудших условиях (а также размеры элементов фиксации при их наличии).
2. Если предусмотрен упор, размер X определяет изготовитель, исходя из обеспечения требований работоспособности соединения.
3. Гнездовые наконечники должны иметь конструкцию, позволяющую обеспечить правильную фиксацию при введении штыревого наконечника в гнездовой и исключить создание препятствия оконцованной частью проводника введению штыревого наконечника в гнездовой до полной фиксации соответствующими фиксирующими элементами.
4. Чертеж является общей рекомендацией для проектирования гнездового наконечника, при этом указанные на чертеже размеры являются обязательными.
Рисунок K.6. Размеры гнездовых наконечников
Таблица K.4
Размеры гнездовых наконечников
Размеры штыревого наконечника, мм | Размеры гнездового наконечника, мм |
B3, максимальный | L2, максимальный |
6,3 x 0,8 | 7,8 | 3,5 |
K.10. Библиография
Ссылочные документы в приложении отсутствуют.
(обязательное)
ДОПОЛНИТЕЛЬНЫЕ ТРЕБОВАНИЯ
К АВТОМАТИЧЕСКИМ ВЫКЛЮЧАТЕЛЯМ С ВИНТОВЫМИ ВЫВОДАМИ
ДЛЯ ВНЕШНИХ НЕПОДГОТОВЛЕННЫХ АЛЮМИНИЕВЫХ ПРОВОДНИКОВ
И С АЛЮМИНИЕВЫМИ ВИНТОВЫМИ ВЫВОДАМИ ДЛЯ МЕДНЫХ
ИЛИ АЛЮМИНИЕВЫХ ПРОВОДНИКОВ
L.1. Область применения
Настоящее приложение распространяется на автоматические выключатели в пределах действия настоящего стандарта, оснащенные винтовыми выводами из меди или медных сплавов, содержащих не менее 58% меди (для частей, изготовляемых холодным способом) и не менее 50% меди (для частей другого способа изготовления), или из другого металла или металла с соответствующим покрытием, не менее коррозиеустойчивого, чем медь, и с не менее пригодными механическими свойствами, применяемыми с неподготовленными алюминиевыми проводниками, либо оснащенные винтовыми выводами из алюминиевого материала для присоединения медных или алюминиевых проводников.
В данном приложении алюминиевые проводники с покрытием медью или никелем считаются алюминиевыми.
Примечание. В Австрии, Австралии и Германии применение алюминиевых винтовых выводов для присоединения медных проводников недопустимо.
В Австрии, Швейцарии и Германии применение выводов только для алюминиевых проводников запрещено.
В Испании не допустимо применение алюминиевых проводников в концевых цепях в бытовых и аналогичных электроустановках, например, офисах, магазинах и т.п.
В Дании минимальное поперечное сечение алюминиевых проводников составляет 16 мм2.
L.2. Нормативные ссылки
| | ИС МЕГАНОРМ: примечание. ГОСТ Р 51701-2000 утратил силу с 1 января 2014 года в связи с введением в действие ГОСТ 31604-2012 (Приказ Росстандарта от 15.11.2012 N 859-ст). | |
ГОСТ Р 51701-2000 (МЭК 61545-96) Соединительные устройства. Устройства для присоединения алюминиевых проводников к зажимам из любого материала и медных проводников к зажимам из алюминиевых сплавов. Общие требования и методы испытаний.
L.3. Определения
L.3.1. подготовленный проводник (treated conductor): Проводник, с внешних жил которого в контактной его части снят окисный слой и/или залита уплотняющая масса для обеспечения хорошей проводимости и/или предохранения от коррозии.
L.3.2. неподготовленный проводник (untreated/unprepared conductor): Проводник, с конца которого на определенную длину снята изоляция для ввода его в вывод.
Примечание. Проводник, имеющий такую форму, которая позволяет легко вводить его в вывод или концы жил которого скручены в целях укрепления, считают неподготовленным проводником.
L.3.3.
эквалайзер (выравниватель) (equalizer): Устройство, применяемое в испытательном контуре и обеспечивающее эквипотенциальную и однородную плотность тока в многожильном проводнике без изменения температуры проводника.
L.3.4. контрольный проводник (reference conductor): Проводник большой протяженности того же типа и сечения, что и присоединенный к испытуемому выводу, включенный последовательно в ту же цепь. Он обеспечивает определяемую контрольную температуру и при необходимости контрольное сопротивление.
L.3.5.
коэффициент устойчивости (Sf) (stability factor

): Измерение стабильности температуры вывода при циклических испытаниях током.
L.5. Характеристики автоматических выключателей
L.6. Маркировка
Маркировку, указанную в таблице L.1, необходимо наносить на автоматический выключатель у выводов.
Таблица L.1
Тип присоединяемого проводника | Маркировка |
Только медный | Нет |
Только алюминиевый | Al |
Алюминиевый и медный | Al/Cu |
Информацию, относящуюся к числу проводников, значениям крутящих моментов (если отличаются от приведенных в
таблице 10) и сечениям проводников, необходимо наносить на выключатель.
Изготовитель в своих каталогах должен указать значения затягивающих моментов и способы крепления алюминиевых проводников.
L.7. Стандартные условия эксплуатации
L.8. Требования к конструкции
Для присоединения алюминиевых проводников выключатель должен быть оснащен винтовыми выводами для присоединения проводников с номинальными поперечными сечениями по таблице L.2.
Таблица L.2
Поперечные сечения алюминиевых проводников,
присоединяемых к винтовым выводам
| Диапазон номинальных поперечных сечений <b> присоединяемых проводников, мм 2 |
До 13 включ. | От 1,0 до 4,0 |
Св. 13 до 16 включ. | " 1,0 " 6,0 |
" 16 " 25 " | " 1,5 " 10,0 |
" 25 " 32 " | " 2,5 " 16,0 |
Св. 32 до 50 включ. | От 4,0 до 25,0 |
" 50 " 80 " | " 10,0 " 35,0 |
" 80 " 100 " | " 16,0 " 50,0 |
" 100 " 125 " | " 25,0 " 70,0 |
<a> Требуется, чтобы при номинальных токах до 50 А включительно выводы были рассчитаны на зажим как однопроволочных, так и жестких многопроволочных проводников; допускается применение гибких проводников. В то же время допускается, чтобы выводы для проводников с поперечным сечением от 1,0 до 10,0 мм 2 были рассчитаны на зажим только однопроволочных проводников. |
| | ИС МЕГАНОРМ: примечание. ГОСТ Р 51701-2000 утратил силу с 1 января 2014 года в связи с введением в действие ГОСТ 31604-2012 (Приказ Росстандарта от 15.11.2012 N 859-ст). | |
|
<b> Максимальные сечения проводников по таблице 5 увеличены в соответствии с таблицей D.2 ГОСТ Р 51701. |
Выводы для присоединения алюминиевых проводников и выводы из алюминия для присоединения медных или алюминиевых проводников должны обладать соответствующей механической прочностью, чтобы выдержать испытания по
9.4 с проводниками, затянутыми моментом, указанным в
таблице 10 либо указанным изготовителем, причем значение, указанное изготовителем, не должно быть ниже указанного в
таблице 10.
Соответствие проверяют осмотром, измерением и поочередным введением проводника наименьшего и наибольшего сечения из указанных.
8.1.5.4. Текст пункта заменить следующим:
Выводы должны допускать присоединение проводников без специальной подготовки.
Соответствие проверяют осмотром и испытанием по L.9.
L.9. Испытания
По
разделу 9 со следующими изменениями/дополнениями:
Для испытаний в зависимости от вида материала вывода и типа присоединяемых проводников применяют условия испытаний в соответствии с таблицей L.3.
Таблица L.3
Перечень испытаний в зависимости
от материала проводников и выводов
Материал выводов | | |
| Al | Cu | Al |
| | |
| | | |
| | | |
9.5.2. Повреждение проводника | | | |
9.5.3. Введение проводника | | | |
9.8. Превышение температуры | | | |
9.9. 28-суточное испытание | | | |
L.9.2. Циклическое испытание | | | |
<a> Согласно циклам A и B и числу образцов, указанным в Приложении C. Для выключателей, предназначенных для присоединения алюминиевых и медных проводников, число циклов испытаний и образцов удваивают (по одному для медного и одному для алюминиевого проводника). <b> Для испытаний на вытягивание по 9.5.1 значение для провода сечением 70 мм 2 - на рассмотрении. |
Дополнительно проводят испытание по
L.9.2 на выводах отдельно от выключателя.
Таблица L.4
Сечение и теоретический диаметр присоединяемых проводников
Метрическая система | AWG |
Жесткие | Гибкие (только медные) | Жесткие | Гибкие (только медные) |
Сечение | Диаметр | Сечение | Диаметр | Калибр | Диаметр | Калибр | Диаметр многожильных проводников классов I, K, M <b> |
Одножильные | Многожильные | | Многожильные класса B <a> |
мм2 | мм | мм | мм2 | мм | мм | мм | мм |
1,0 | 1,2 | 1,4 | 1,0 | 1,5 | 18 | 1,07 | 1,23 | 18 | 1,28 |
1,5 | 1,5 | 1,7 | 1,5 | 1,8 | 16 | 1,35 | 1,55 | 16 | 1,50 |
2,5 | 1,9 | 2,2 | 2,5 | | 14 | 1,71 | 1,95 | 14 | 2,08 |
4,0 | 2,4 | 2,7 | 4,0 | | 12 | 2,15 | 2,45 | 12 | 2,70 |
6,0 | 2,9 | 3,3 | 4,0 | | 10 | 2,72 | 3,09 | - | - |
10,0 | 3,7 | 4,2 | 6,0 | 3,9 | 8 | 3,43 | 3,89 | 10 | 3,36 |
16,0 | 4,6 | 5,3 | 10,0 | 5,1 | 6 | 4,32 | 4,91 | 8 | 4,32 |
25,0 | - | 6,6 | 16,0 | 6,3 | 4 | 5,45 | 6,18 | 6 | 5,73 |
35,0 | - | 7,9 | 25,0 | 7,8 | 2 | 6,87 | 7,78 | 4 | 7,25 |
- | - | - | - | - | 1 | 7,72 | 8,85 | - | - |
50,0 | - | 9,1 | 35,0 | 9,2 | 0 | 8,51 | 9,64 | - | 12,08 |
70,0 | - | 12,0 | 50,0 | 12,0 | 00 | 9,266 | 10,64 | - | - |
<a> Допуск номинального диаметра +5%. <b> Допуск наибольшего диаметра +5% для любого из трех классов I, K и M. <c> Размеры только для гибких проводников класса 5 согласно МЭК 60228А. Примечание - Наибольшие диаметры жестких и гибких проводников приведены по таблице 1 МЭК 60228А, а для проводников в системе AWG - по ASTM B 172-71. |
L.9.1. Условия испытаний
По
9.1, кроме того, что параметры присоединяемых алюминиевых проводников должны соответствовать таблице L.5.
Таблица L.5
Поперечные сечения алюминиевых проводников
соответственно номинальным токам
Сечение проводника (S), мм2 | Номинальные токи (In), А |
1,5 | До 6 включ. |
2,5 | Св. 6 до 13 включ. |
4,0 | " 13 " 20 " |
6,0 | " 20 " 25 " |
10,0 | " 25 " 32 " |
16,0 | Св. 32 до 50 включ. |
25,0 | " 50 " 63 " |
35,0 | " 63 " 80 " |
50,0 | " 80 " 100 " |
70,0 | " 100 " 125 " |
L.9.2. Циклические испытания током
Данным испытанием проверяют устойчивость винтового вывода путем сравнения температурной характеристики с характеристикой контрольного проводника в условиях ускоренных циклических испытаний.
Испытание проводят на отдельных выводах.
L.9.2.1. Подготовка к испытанию
Испытание проводят на четырех образцах, каждый из которых образован парой выводов и представляет условия его применения в автоматическом выключателе (см. примеры на
рисунках L.2 -
L.6). Винтовые выводы, снятые с выключателя, присоединяют к токопроводящим частям такого же сечения, формы, металла и покрытия, что и смонтированные в выключателе. Крепление выводов к токопроводящим частям выполняют таким же образом (положение, крутящий момент и т.д.), как в выключателе. Если во время испытаний на одном образце произойдет отказ, испытания проводят на четырех дополнительных образцах, отказов быть не должно.
L.9.2.2. Испытательное устройство
Испытательное устройство должно быть таким, как показано на
рисунке L.1.
1 - подвод питания; 2 - эквалайзеры; 3 - контрольный
проводник; 4 - шина эквалайзера; 5 - сварка; 6 - испытуемый
образец; 7 - термоизолирующая перегородка (4 шт.);
8 - шина; 9 - испытательный проводник; ТП - термопара
Рисунок L.1. Испытательное устройство
Примечание. Токопроводящая часть может быть прикручена болтами, припаяна или приварена.
Рисунок L.3
Рисунок L.4
Рисунок L.5
К испытуемым образцам должно быть приложено 90% значения момента, указанного изготовителем, а в отсутствие указаний - выбранного по
таблице 10.
Испытание проводят с проводниками по
таблице L.5. Длина испытательного проводника от точки ввода в образец винтового вывода до эквалайзера (см.
L.3.3) должна соответствовать указанной в таблице L.6.
Таблица L.6
Длина испытательного проводника
Сечение проводника, мм2 | Размер проводника в системе AWG | Минимальная длина проводника, мм |
До 10 включ. | До 8 включ. | 200 |
От 16,0 до 25,0 включ. | От 6 до 3 | 300 |
" 35,0 " 70,0 " | " 2 " 00 | 460 |
Испытательные проводники соединяют последовательно с контрольным проводником такого же поперечного сечения.
Длина контрольного проводника должна соответствовать приблизительно двойной длине испытательного проводника.
Каждый свободный конец испытательного и контрольного проводников, не присоединенный к образцу винтового вывода, должен быть приварен или припаян твердым припоем к небольшому отрезку эквалайзера из того же материала, что и проводник, и поперечным сечением, не более указанного в таблице L.7. Все жилы проводника должны быть приварены или спаяны для надежного электрического соединения с эквалайзером.
Таблица L.7
Размеры эквалайзеров и шин
Диапазоны испытательных токов, А | Максимальное поперечное сечение, мм2 |
Al | Cu |
От 0 до 50 | 45 | 45 |
" 51 " 125 | 105 | 85 |
" 126 " 225 | 185 | 155 |
С согласия изготовителя и при условии сохранения рабочих характеристик для эквалайзера можно применять несварные соединения прижимного типа, выполняемые с помощью инструмента.
Расстояние между испытательными и контрольными проводниками должно быть не менее 150 мм.
Испытуемый образец должен быть подвешен в воздухе в вертикальном или горизонтальном положении, эквалайзер или шина должны поддерживаться непроводящими опорами, чтобы избежать растягивающей нагрузки на прижимной винтовой узел. Между проводниками должны быть установлены термоизолирующие перегородки шириной (25 +/- 5) мм и высотой (150 +/- 5) мм над винтовыми выводами (см.
рисунок L.1). Термоизолирующие перегородки не требуются, если расстояние между образцами составляет не менее 450 мм.
Образцы следует размещать на расстоянии не менее 600 мм от пола, стен и потолка.
Испытуемые образцы следует размещать в среде, где практически отсутствуют вибрация и сквозняки, при температуре окружающего воздуха от 20 °C до 25 °C. С началом испытания максимальное допустимое изменение пределов диапазона не должно превышать +/- 1 °C.
L.9.2.3. Измерение температуры
Измерения температуры выполняют с помощью термопар с проволочками сечением не более 0,07 мм2 (приблизительно 30 AWG).
Для винтовых выводов термопара должна быть размещена на винтовом выводе со стороны ввода проводника у контактной поверхности.
Для контрольного проводника термопары должны быть размещены посредине от концов проводника под изоляцией.
Размещение термопар не должно повреждать винтовой вывод или контрольный проводник.
Примечание. Высверливание небольшого отверстия и последующее крепление термопары является приемлемым методом при условии неизменности рабочих характеристик и наличия согласования изготовителя.
Температуру среды необходимо измерять с помощью двух термопар таким образом, чтобы достичь среднего стабильного показания вблизи испытательного контура и избежать внешних воздействий. Термопары должны быть размещены в горизонтальной плоскости, пересекающей образцы на минимальном расстоянии 600 мм от них.
Примечание. Приемлемым методом достижения стабильности измерений является крепление термопар на медных опорах размером 50 x 50 мм и толщиной от 6 до 10 мм.
L.9.2.4. Методика испытания и критерии соответствия
Примечание. Оценка работоспособности основана на предельном превышении температуры винтового вывода и изменении температуры в ходе испытания.
Испытательный контур должен подвергнуться 500 циклам в течение 1 ч под нагрузкой и в течение 1 ч без нагрузки током, начиная со значения переменного тока, равного 1,12 испытательного тока, указанного в таблице L.8. К концу каждого периода под нагрузкой в течение первых 24 циклов ток должен быть отрегулирован на повышение температуры контрольного проводника до 75 °C.
Таблица L.8
Испытательный ток как функция номинального тока
Метрическая система | AWG |
Номинальный ток, А | Сечение алюминиевого проводника, мм2 | Испытательный ток, А | Номинальный ток, А | Размер алюминиевого проводника | Испытательный ток, А |
0 <= In <= 15 | 2,5 | 26 | 0 <= In <= 15 | 12 | 30 |
15 < In <= 20 | 4,0 | 35 | 15 < In <= 25 | 10 | 40 |
20 < In <= 25 | 6,0 | 46 | 25 < In <= 40 | 8 | 53 |
25 < In <= 32 | 10,0 | 60 | 40 < In <= 50 | 6 | 69 |
32 < In <= 50 | 16,0 | 79 | 50 < In <= 65 | 4 | 99 |
50 < In <= 65 | 25,0 | 99 | 65 < In <= 75 | 3 | 110 |
65 < In <= 80 | 35,0 | 137 | 75 < In <= 90 | 2 | 123 |
80 < In <= 100 | 50,0 | 171 | 90 < In <= 100 | 1 | 152 |
100 < In <= 125 | 70,0 | 190 | 100 < In <= 120 | 0 | 190 |
На 25-м цикле испытательный ток должен быть отрегулирован в последний раз, и установившуюся температуру записывают в качестве первого измерения. Больше до конца испытания регулировок тока быть не должно.
Температуру необходимо записывать в течение хотя бы одного цикла каждого рабочего дня и после 25, 50, 75, 100, 125, 175, 225, 275, 350, 425 и 500 циклов.
Температуру необходимо измерять в течение последних 5 мин под нагрузкой. В том случае, если размер комплекта испытуемых образцов либо скорость системы обработки информации таковы, что не все измерения могут быть завершены в течение 5 мин, время нахождения под нагрузкой должно быть продлено до завершения измерений.
После первых 25 циклов время без нагрузки может быть сокращено до периода на 5 мин больше, чем необходимо всем образцам выводов для охлаждения до температуры между температурой среды

и температурой

в течение периода без нагрузки. Для сокращения времени отключения с согласия изготовителя может быть применено принудительное охлаждение. В этом случае принудительному охлаждению должен быть подвергнут весь испытательный контур, и температура струи воздуха не должна быть ниже температуры окружающего воздуха.
Коэффициент устойчивости

для каждого из 11 измерений определяют путем вычитания отклонения D средней температуры из отклонения d 11 значений температуры.
Отклонение температуры d для 11 отдельных измерений получают путем вычитания объединенной температуры контрольных проводников из температуры безвинтового вывода.
Примечание. Значение d будет положительным, если температура винтового вывода выше температуры контрольного проводника, и отрицательным, если ниже.
Для каждого винтового вывода:
- превышение температуры не должно быть св. 110 °C;
- коэффициент устойчивости

не должен превышать +/- 10 °C.
Пример расчета для одного винтового вывода приведен в таблице L.9.
Таблица L.9
Пример вычисления по определению
отклонения D средней температуры
Измерения температуры | Число циклов | Температура | Отклонение температуры d = a - b | Коэффициент устойчивости Sf = d - D |
винтового вывода a, °C | контрольного проводника b, °C |
1 | 25 | 79 | 78 | 1 | 0,18 |
2 | 50 | 80 | 77 | 3 | 2,18 |
3 | 75 | 78 | 78 | 0 | -0,82 |
4 | 100 | 76 | 77 | -1 | -1,82 |
5 | 125 | 77 | 77 | 0 | -0,82 |
6 | 175 | 78 | 77 | 1 | 0,18 |
7 | 225 | 79 | 76 | 3 | 2,18 |
8 | 275 | 78 | 76 | 2 | 1,18 |
9 | 350 | 77 | 78 | -1 | -1,82 |
10 | 425 | 77 | 79 | -2 | -2,82 |
11 | 500 | 81 | 78 | 3 | 2,18 |
Отклонение средней температуры

.
(обязательное)
ДОПОЛНИТЕЛЬНЫЕ ТРЕБОВАНИЯ
К ВЫКЛЮЧАТЕЛЯМ ДЛЯ ЗАЩИТЫ ОТ СВЕРХТОКОВ БЫТОВОГО
И АНАЛОГИЧНОГО НАЗНАЧЕНИЯ, УСТАНАВЛИВАЕМЫЕ В СТАНДАРТАХ
И ТЕХНИЧЕСКИХ УСЛОВИЯХ НА ИЗДЕЛИЯ КОНКРЕТНЫХ СЕРИЙ
И ТИПОВ И УЧИТЫВАЮЩИЕ ПОТРЕБНОСТИ ЭКОНОМИКИ СТРАНЫ
ДА.1. Виды климатических исполнений - по ГОСТ 15150.
Виды климатических исполнений и номинальные значения климатических факторов должны быть установлены в стандартах и технических условиях на выключатели конкретных видов.
ДА.3. Номинальные значения механических внешних воздействующих факторов - по ГОСТ 17516.1 и должны быть установлены в стандартах и технических условиях на выключатели конкретных видов.
ДА.4. В части стойкости к воздействию специальных сред выключатели должны соответствовать требованиям ГОСТ 24682.
ДА.5. Транспортирование и хранение выключателей - по ГОСТ 23216.
Условия транспортирования и хранения и допустимые сроки сохраняемости должны быть установлены в стандартах и технических условиях на автоматические выключатели конкретных видов.
ДА.6. Упаковка и временная противокоррозионная защита для условий транспортирования и хранения по ГОСТ 23216 должны быть установлены в стандартах и технических условиях на выключатели конкретных видов.
ДА.7. Виды испытаний автоматических выключателей - по ГОСТ 16504.
Для проверки соответствия выключателей требованиям настоящего стандарта, а также стандартов и технических условий на выключатели конкретных видов изготовитель проводит приемо-сдаточные, периодические и типовые испытания, а при постановке выключателей на производство - квалификационные.
Испытания на воздействие климатических, механических внешних воздействующих факторов и специальных сред проводят в соответствии с ГОСТ 16962.1, ГОСТ 16962.2, ГОСТ 24683 и должны быть установлены в стандартах и технических условиях на автоматические выключатели конкретных видов.
Испытания трехполюсных и четырехполюсных автоматических выключателей номинального тока до 63 А включительно по 9.8 допускается проводить однофазным переменным током при последовательном соединении полюсов, для выключателей номинального тока свыше 63 А - с согласия изготовителя.
ДА.8. Гарантии изготовителя
Изготовитель гарантирует соответствие выключателей требованиям настоящего стандарта при соблюдении условий эксплуатации, транспортирования и хранения, установленных настоящим стандартом.
Гарантийные сроки должны быть установлены в стандартах и технических условиях на выключатели конкретных видов.
(обязательное)
| | Применение на добровольной основе Приложения ДБ обеспечивает соблюдение требований Федерального закона от 22.07.2008 N 123-ФЗ "Технический регламент о требованиях пожарной безопасности" (Приказ Росстандарта от 16.04.2014 N 474). | |
ПОЖАРНОЙ БЕЗОПАСНОСТИ К АВТОМАТИЧЕСКИМ ВЫКЛЮЧАТЕЛЯМ
ДЛЯ ЗАЩИТЫ ОТ СВЕРХТОКОВ БЫТОВОГО И АНАЛОГИЧНОГО НАЗНАЧЕНИЯ
В настоящем приложении изложены требования пожарной безопасности к автоматическим выключателям для защиты от сверхтоков бытового и аналогичного назначения (далее - выключатели), главные контакты которых предназначены для коммутации цепей напряжением до 1000 В переменного или 1500 В постоянного тока в соответствии с Федеральным законом "Технический регламент о требованиях пожарной безопасности", и методы испытаний.
ДБ.1. Требования пожарной безопасности:
ДБ.1.1. Требования к электроизоляционным и конструкционным пластическим материалам
ДБ.1.1.1. Части выключателей, выполненные из полимерных материалов, должны быть стойкими к пламени горелки Бунзена по ДБ.2.2.3. Части выключателей, поддерживающие контактные соединения, должны быть выполнены из материала класса FV(ПВ)0, остальные части - из полимерных материалов класса FV(ПВ)1 по ГОСТ 28779.
ДБ.1.1.2. Части выключателей, выполненные из полимерных материалов, должны быть стойкими к воздействию накаленных элементов (нагретой проволоки).
ДБ.1.1.3. Части, удерживающие в заданном положении проводники тока, находящиеся под напряжением, должны быть выполнены из материалов, стойких к образованию токопроводящих мостиков при испытании напряжением исходя из условий эксплуатации, указанных в технических условиях, каталожной и (или) информационной документации изготовителя на конкретные типы выключателей.
Примечание. Для целей настоящего примечания нормальными условиями эксплуатации считаются условия, вызывающие степень загрязнения 1 и 2 по классификации ГОСТ Р 50030.1, подпункт 6.1.3.2, жесткими условиями - степень загрязнения 3, сверхжесткими условиями - степень загрязнения 4.
ДБ.1.2. Требования по выдерживанию превышения номинального тока
При 2,55-кратном превышении значения номинального тока время срабатывания выключателей должно соответствовать его время-токовой характеристике. Функциональные (защитные) характеристики выключателей должны соответствовать требованиям, изложенным в настоящем стандарте.
ДБ.1.3. Требования по предотвращению возникновения загорания при коммутации токов короткого замыкания
При коммутации токов короткого замыкания выключатель не должен вызывать и распространять горения.
После коммутации выделяющиеся из выключателя газы не должны гореть более 30 с, при этом высота пламени не должна быть более 50 мм.
Вылетающие из выключателя при коммутации раскаленные частицы не должны поджигать расположенную ниже выключателя на расстоянии 300 мм бумагу.
ДБ.2. Методы испытаний
ДБ.2.1. Общие требования и условия испытаний
ДБ.2.1.1. Перечень необходимых испытаний на пожарную безопасность приведен в таблице ДБ.1.
Таблица ДБ.1
Вид испытания | Номер пункта |
Требование | Метод испытания |
Испытание на стойкость к воздействию пламени горелки Бунзена частей материалов выключателей | | |
Испытание к воздействию накаленных элементов (нагретой проволоки) частей выключателей | | |
Испытание на образование токопроводящих мостиков частей материалов выключателей | | |
Испытание при величине тока, равной 2,55-кратному значению номинального тока выключателей | | |
Испытание на отсутствие загорания при коммутации тока короткого замыкания (при испытании на коммутационную способность, IcДБ и Ics) | | |
ДБ.2.1.2. Образец выключателя, предъявленный на испытание, должен представлять собой законченное изделие (готовую продукцию). Его конструкция, материал и технология изготовления должны быть такими же, как у изделия, поставляемого потребителю.
ДБ.2.1.3. На испытание представляют не менее трех образцов выключателей каждой модификации. При отличии выключателей только по номинальному току допускается представлять на испытание образцы из полного ряда изделий с минимальным и максимальным значениями номинальных токов.
ДБ.2.1.4. Испытание проводят, установив образец в рабочем положении, предусмотренном инструкцией по монтажу, в котором ожидается наибольший нагрев изделия.
Выключатель закрепляют в соответствии с технической документацией.
Испытания на соответствие требованиям ДБ.1.1.1 - ДБ.1.1.3 допускается проводить на образцах материалов соответствующей части выключателя.
ДБ.2.1.5. Для выключателей, имеющих несколько значений уставок тока, испытания проводят для минимального и максимального значений.
ДБ.2.1.6. Испытание проводят при температуре окружающей среды от 20 °C до 25 °C.
ДБ.2.1.7. Измерительные приборы, используемые в испытаниях, следует выбирать с учетом указанных отклонений измеряемых параметров.
ДБ.2.1.8. Испытания выключателей проводят в два этапа:
ДБ.2.1.8.1. Этап 1 - испытание выключателей на:
- нагрев;
- защиту от сверхтока;
- устойчивость к загоранию и распространению огня при коротком замыкании.
ДБ.2.1.8.2. Этап 2 - испытание электроизоляционных и конструкционных материалов:
- пламенем горелки Бунзена;
- нагретой проволокой;
- на стойкость к образованию токоведущих мостиков.
ДБ.2.2. Проведение испытаний
ДБ.2.2.1. Испытание при величине тока, равной 2,55-кратному значению номинального тока выключателей
Испытание проводят по 9.10.1.2 настоящего стандарта со следующим дополнением:
Результат считают положительным, если в процессе испытания при данном значении тока произошло срабатывание выключателя, не произошли изменения, ухудшающие эксплуатационные свойства выключателя, а значение температуры на наружной поверхности электроизоляционных материалов, поддерживающих выводы, не превышало 140 °C.
ДБ.2.2.2. Испытание на устойчивость к загоранию и распространению огня при коротком замыкании (при испытании на коммутационную способность
и
)
Для оценки возможности распространения горения, например, путем отделения от образца горящих или раскаленных частиц вследствие коммутационных процессов внизу на расстоянии (300 +/- 5) мм размещают плиту из сосновой доски толщиной около 10 мм, покрытую одним слоем папиросной бумаги плотностью от 12 до 30 г/м2.
При необходимости в доске выполняют пазы или отверстия для проводников.
Выключатель считают отвечающим требованиям пожарной безопасности, если горение образца прекращается в течение 30 с, а также отсутствует загорание папиросной бумаги, а диаметр пятен обугливания сосновой доски не превышает 0,8 мм.
ДБ.2.2.3. Испытание на стойкость к воздействию пламени горелки Бунзена частей материалов выключателей
Методика проведения испытания - в соответствии с ГОСТ 28779 (метод FV(ПВ)).
Испытание проводят на выключателе или образце материала, из которого изготовлен выключатель. Толщина образца должна быть не более толщины электроизоляционной детали выключателя.
Образец считают выдержавшим испытание, если для наружных частей из неметаллических материалов, для частей изделия, удерживающих токоведущие части и поддерживающих соединения в определенном положении, материал соответствует классу FV(ПВ)0, а для других частей из неметаллических материалов - классу FV(ПВ)1.
ДБ.2.2.4. Испытание к воздействию накаленных элементов (раскаленной проволоки) частей выключателей
Стойкость против аномального нагрева и огня (испытание раскаленной проволокой) проводят по 9.15 настоящего стандарта.
ДБ.2.2.5. Испытание на образование токопроводящих мостиков частей материалов выключателей
Методика проведения испытания - в соответствии с ГОСТ 27473. Напряжение, при котором испытывают изоляционные материалы, выбирают в соответствии с ГОСТ Р МЭК 335-1 исходя из условий эксплуатации (нормальные, жесткие или сверхжесткие), указанных в технических условиях или каталожной документации на конкретные типы выключателей.
ДБ.3. Оценка результатов испытаний
Выключатели соответствуют требованиям пожарной безопасности, если результаты испытаний продукции удовлетворяют требованиям настоящего приложения. Результаты испытаний включают в протокол испытаний на соответствие настоящему стандарту или оформляют отдельным протоколом.
(обязательное)
К ВЫКЛЮЧАТЕЛЯМ, ОСНАЩЕННЫМ НЕЗАВИСИМЫМ РАСЦЕПИТЕЛЕМ
ИЛИ МОДУЛЕМ ДИСТАНЦИОННОГО ОТКЛЮЧЕНИЯ
В настоящем приложении изложены требования к выключателям, оснащенным независимым расцепителем или модулем дистанционного отключения (далее - независимые расцепители).
Эти требования являются дополнительными относительно требований международного стандарта МЭК 60898-1 и приведены для учета дополнительных функциональных возможностей выключателей в части обеспечения дистанционного отключения при использовании в системах пожарной автоматики и других аналогичных системах автоматического управления электропитания потребителей.
Основную часть настоящего стандарта применяют во всех отношениях к выключателям, охватываемым данным приложением.
ДВ.1. Общие положения
Основную часть настоящего стандарта применяют во всех отношениях к устройствам, охватываемым настоящим приложением, если не указано иное.
ДВ.1.1. Область применения
Требования настоящего приложения распространяются на выключатели, имеющие независимый расцепитель или имеющие автономный модуль дистанционного отключения (независимый расцепитель), предназначенный для сборки с выключателем изготовителем или потребителем на месте эксплуатации согласно инструкциям изготовителя.
ДВ.3. Определения
По разделу 3 со следующими изменениями/дополнениями:
Дополнить раздел 3 настоящего стандарта следующим определением:
3.3.24. независимый расцепитель: Расцепитель, возбуждаемый источником напряжения. [МЭК 60050 (441-16-41)] |
Примечание. Источник напряжения может быть независимым от напряжения в главной цепи.
3.3.25. модуль дистанционного отключения: Независимый расцепитель, выполненный в виде отдельного модуля, предназначенный для сборки с выключателем на месте эксплуатации согласно инструкциям изготовителя.
ДВ.4. Классификация
По разделу 4 со следующими изменениями/дополнениями:
Дополнить раздел 4 настоящего стандарта следующим:
4.7. Тип независимого расцепителя (при наличии) (см. 3.3.24 и 3.3.25):
- встроенный;
- в виде отдельного модуля.
ДВ.5. Характеристики автоматических выключателей
По разделу 5 со следующими изменениями/дополнениями:
- значение номинального рабочего напряжения независимого расцепителя.
5.2.5. Номинальное рабочее напряжение независимого расцепителя 
Номинальное рабочее напряжение (далее - номинальное напряжение) независимого расцепителя - установленное изготовителем значение напряжения, при котором определена работоспособность расцепителя.
5.3. Стандартные и предпочтительные значения
Дополнить пунктом:
5.3.7. Стандартные значения номинального рабочего напряжения независимого расцепителя:
- постоянного тока - 12, 24, 36, 48, 110, 220 В;
- переменного тока частоты 50, 60 Гц - 12, 24, 36, 48, 110, 120, 220, 230, 380, 400 В;
- переменного тока 220 В частоты 50, 60 Гц специального исполнения для систем управления пожарной автоматикой и пожаротушением (ПА);
- постоянного тока 9 - 24 В специального исполнения для применения в системах телемеханики (расцепитель типа ДУ).
Примечание. Допускаются по согласованию с потребителем иные значения напряжения.
ДВ.6. Маркировка и другая информация об изделии
По разделу 6 со следующими изменениями/дополнениями:
Ввести перечисления:
l) номинальное напряжение независимого расцепителя
с символом рода тока и дополнительно обозначением ПА для расцепителей специального исполнения, например
;
m) обозначения выводов цепи независимого расцепителя
и
;
n) графическое изображение цепи независимого расцепителя (при необходимости), например:
Маркировка по перечислению d) должна быть видимой после установки выключателя.
Маркировку по перечислению m) наносят в районе соответствующих выводов.
Если габариты выключателя не позволяют нанести на аппарат все указанные выше данные, то маркировка по перечислениям a), b), c), e), f), h), i), j), l), m) и n) может быть нанесена на боковой или задней поверхности выключателя.
Информация по перечислениям l), m) и n) для независимых расцепителей в виде отдельного модуля должна быть размещена на модуле.
Информация по перечислению g) может быть размещена на внутренней поверхности любой крышки, которую следует снимать для присоединения подводящих проводов, но не должна быть нанесена на табличку, подвешиваемую на выключатель.
Информация по остальным пунктам должна быть приведена в документации и каталогах изготовителя.
Изготовитель предпочтительно должен указать в каталожной и иной информационной документации данные и характеристики срабатывания независимых расцепителей при номинальных рабочих напряжениях: номинальную мощность в Вт или ВА или значение тока в цепи расцепителя в А, предельное время срабатывания в с, значения сопротивления обмотки расцепителя в Ом.
Маркировка независимого расцепителя типа ДУ - в соответствии с ДГ.6 ГОСТ Р 51327.1.
ДВ.7. Стандартные условия эксплуатации
По разделу 7 со следующими изменениями/дополнениями:
7.4. Условия монтажа
Монтаж выключателей и модулей дистанционного отключения необходимо производить в соответствии с инструкциями изготовителя.
Крепление модулей дистанционного отключения к выключателям необходимо производить только крепежными элементами, приложенными в комплекте с модулями.
ДВ.8. Требования к конструкции и работоспособности
По разделу 8 со следующими изменениями/дополнениями:
Дополнить подпункт 8.1.2:
В конструкции независимого расцепителя должен быть нормально замкнутый контакт, обеспечивающий разрыв цепи одновременно с отключением главных контактов.
Дополнить подпункт 8.1.3 ниже таблицы 4 текстом:
| | ИС МЕГАНОРМ: примечание. ГОСТ Р 50030.5.1-2005 утратил силу с 1 января 2014 года в связи с введением в действие ГОСТ 30011.5.1-2012 (Приказ Росстандарта от 15.11.2012 N 830-ст). | |
Воздушные зазоры и расстояния утечки для цепи независимого расцепителя - в соответствии с ГОСТ Р 50030.5.1.
Требования к конструкции независимых расцепителей типа ДУ - в соответствии с ДГ.8 ГОСТ Р 51327.1.
8.1.5.2. Выключатели должны быть оснащены выводами, допускающими присоединение медных проводников номинальной площадью поперечного сечения согласно таблице 5. Выводы цепи независимых расцепителей должны допускать присоединение медных проводников сечением от 1 до 2,5 мм2.
Примечания. 1. Примеры конструкций резьбовых выводов приведены в Приложении F.
2. По согласованию между изготовителем и потребителем допускается применение выводов для медных проводников с меньшим диапазоном присоединяемых сечений в пределах вышеуказанного диапазона, например от 1 до 1,5 мм2.
Проверку осуществляют путем осмотра, измерений и поочередного ввода одного проводника с минимальной и одного с максимальной указанной площадью поперечного сечения.
8.13. Пределы срабатывания независимых расцепителей
Независимый размыкающий расцепитель должен вызывать расцепление в любых рабочих условиях, когда питающее напряжение независимого расцепителя, замеренное во время расцепления, остается в пределах от 70% до 110% номинального напряжения управления и при номинальной частоте, если ток переменный.
При включенном выключателе цепь расцепителя типа ПА должна длительно пропускать ток до 6 мА и кратковременно до 12 мА, не вызывая при этом срабатывания выключателя.
Требования к пределам срабатывания независимого расцепителя типа ДУ - в соответствии с ДГ.8.19 и ДГ.8.20 ГОСТ Р 51327.1.
ДВ.9. Испытания
По разделу 9 со следующими изменениями/дополнениями:
9.5.4. Испытания на надежность резьбовых выводов для внешних медных проводников цепи независимого расцепителя проводят в соответствии с 9.5.1 - 9.5.3.
Испытания сопротивления изоляции главной цепи выключателей с независимым расцепителем типа ДУ проводят по 9.7.2 ГОСТ Р 51327.1.
Испытания электрической прочности изоляции главной цепи выключателей с независимым расцепителем типа ДУ проводят по 9.7.3 ГОСТ Р 51327.1.
Испытания сопротивления изоляции и электрической прочности изоляции вспомогательной цепи выключателей с независимым расцепителем типа ДУ проводят по 9.7.4 ГОСТ Р 51327.1.
"Преднамеренные разряды" относятся к разрядам во встроенных ограничителях напряжения.
9.10.5. Проверка срабатывания независимых расцепителей
Независимые расцепители должны соответствовать требованиям ДВ.8.
Испытания проводят без тока в главной цепи.
Необходимо проверить, чтобы расцепитель сработал на размыкание выключателя при значении испытательного напряжения 70% номинального напряжения независимого расцепителя и при значении испытательного напряжения 110%. Проводят по пять отключений под действием расцепителя при верхнем и нижнем значениях отключающего напряжения с интервалами между отключениями 10 с.
Расцепители типа ПА дополнительно проверяют на отсутствие срабатывания и возможность длительного протекания тока величиной 6 мА, для чего ток в цепи выдерживают в течение 10 мин. Затем производят проверку на отсутствие срабатывания при кратковременном (0,5 - 1 с) протекании тока 12 мА.
Выключатель не должен расцепляться, а расцепитель не должен выходить из строя (проверяют однократным отключением при подаче номинального напряжения).
Проверку срабатывания расцепителей типа ДУ проводят в соответствии с ДГ.9.9.4 ГОСТ Р 51327.1.
Каждый цикл оперирования состоит из замыкания и последующего размыкания. Для выключателя без независимого расцепителя все циклы осуществляются с использованием органа ручного управления. Для выключателя с независимым расцепителем операция размыкания последних 500 циклов осуществляется посредством срабатывания под действием независимого расцепителя при номинальном напряжении расцепителя или сети, что применимо.
Выключатели с независимыми расцепителями также должны расцепляться посредством срабатывания под действием независимого расцепителя при номинальном напряжении расцепителя или сети, что применимо.
(справочное)
СВЕДЕНИЯ О СООТВЕТСТВИИ ССЫЛОЧНЫХ НАЦИОНАЛЬНЫХ
И МЕЖГОСУДАРСТВЕННЫХ СТАНДАРТОВ МЕЖДУНАРОДНЫМ
СТАНДАРТАМ, ИСПОЛЬЗОВАННЫМ В КАЧЕСТВЕ ССЫЛОЧНЫХ
В ПРИМЕНЕННОМ МЕЖДУНАРОДНОМ СТАНДАРТЕ
Таблица ДГ.1
Обозначение ссылочного национального, межгосударственного стандарта | Степень соответствия | Обозначение и наименование ссылочного международного стандарта |
| MOD | МЭК 60947-1:2004 "Аппаратура коммутационная и механизмы управления низковольтные комплектные. Часть 1: Общие правила" |
| MOD | МЭК 60947-2:2006 "Аппаратура коммутационная и механизмы управления низковольтные комплектные. Часть 2: Автоматические выключатели" |
| MOD | МЭК 60364-4-41:2005 "Электрические установки зданий. Часть 4: Мероприятия по обеспечению безопасности. Глава 41: Защита от электрического удара" |
| MOD | МЭК 60364-4-443:95 "Электрические установки зданий. Часть 4: Защита, обеспечивающая безопасность. Раздел 443: Защита от перенапряжений атмосферного происхождения или возникающих при переключении" |
| MOD | МЭК 60755:83 "Устройства защитные, работающие по принципу остаточного тока. Общие требования. Изменение 1" |
| MOD | МЭК 60884-1:94 "Вилки и розетки бытового и аналогичного назначения. Часть 1: Общие требования и методы испытаний" |
| MOD | МЭК 61008-1:90 "Выключатели автоматические без встроенной защиты от перегрузок, управляемые от остаточного тока, бытового и аналогичного назначения. Часть 1: Общие правила" |
| MOD | МЭК 61543:95 "Устройства защиты от токов замыкания на землю в бытовых и аналогичных условиях. Электромагнитная совместимость" |
| MOD | МЭК 60529:89 "Степени защиты, обеспечиваемые корпусами (Код IP)" |
ГОСТ 24622-91 | MOD | ИСО 2039-2:87 "Пластики. Определение твердости. Часть 2: Твердость по Роквеллу" |
| NEQ | МЭК 60112:79 "Материалы электроизоляционные твердые. Методы определения нормативного и сравнительного индексов трекингостойкости во влажной среде" |
| MOD | МЭК 60695-2-1:80 "Испытания на пожароопасность. Методы испытаний. Испытания нагретой проволокой" |
ГОСТ 28214-81 | MOD | МЭК 60068-2-28:90 "Испытания на воздействие внешних факторов. Часть 2: Испытания. Руководство по испытаниям на влажное тепло" |
| MOD | МЭК 60068-2-30:80 "Испытания на воздействия внешних факторов. Часть 2. Испытания. Испытание Db и руководство: Влажное тепло, циклическое (12 + 12-часовой цикл)" |
| MOD | МЭК 60417:73 "Графические обозначения, применяемые на оборудовании. 12-месячная подписка на интерактивную базу данных, включающую все части МЭК 60417" |
| MOD | МЭК 60038:83 "Напряжения стандартные по МЭК" |
| MOD | МЭК 60051-1:97 "Приборы аналоговые, электроизмерительные, показывающие, прямого действия и части к ним. Часть 1. Определения и основные требования, общие для всех частей" |
Примечание - В настоящей таблице использованы следующие условные обозначения степени соответствия стандартов: - MOD - идентичные стандарты; - NEQ - неэквивалентные стандарты. |
(справочное)
| МЭК 60050 | Международный электротехнический словарь (МЭС) (International Electrotechnical Vocabulary (IEV) |
| МЭК 60664-1:2007 | Координация изоляции для оборудования в низковольтных системах. Часть 1. Принципы, требования и испытания (Insulation coordination for equipment within lowvoltage systems - Part 1: Principles, requirements and tests) |
| МЭК 60060-1:1989 | Технология испытаний высоким напряжением. Часть 1. Общие определения и требования к испытаниям (High-voltage test techniques; part 1: general definitions and test requirements) |
| ИСО/МЭК Руководство 2:1991 | Общие термины и определения, относящиеся к деятельности по стандартизации (General terms and their definitions concerning standardization and related activities) |
| МЭК 60228А:1982 | Первое дополнение к Публикации 228. Провода изолированных кабелей. Руководство по выбору размерных пределов круглых проводников (First supplement to Publication 228, Conductors of insulated cables. Guide to the dimensional limits of circular conductors |
| ASTM B 172 | Стандартная спецификация на многожильные медные провода со сложной скруткой пучков многожильных проводов для электрических медных проводников (Standard Specification for Rope-Lay-Stranded Copper Conductors Having Bunch-Stranded Members, for Electrical Conductors) |