Главная // Актуальные документы // ГОСТ Р (Государственный стандарт)СПРАВКА
Источник публикации
М.: Стандартинформ, 2009
Примечание к документу
Отдельные положения данного документа включены в
Перечень документов в области стандартизации, в результате применения которых на добровольной основе обеспечивается соблюдение требований Федерального
закона от 22.07.2008 N 123-ФЗ "Технический регламент о требованиях пожарной безопасности" (
Приказ Росстандарта от 14.07.2020 N 1190).
Отдельные положения данного документа включены в
Перечень документов в области стандартизации, в результате применения которых на добровольной основе обеспечивается соблюдение требований Федерального
закона от 22.07.2008 N 123-ФЗ "Технический регламент о требованиях пожарной безопасности" (
Приказ Росстандарта от 03.06.2019 N 1317).
Отдельные положения данного документа включены в
Перечень документов в области стандартизации, в результате применения которых на добровольной основе обеспечивается соблюдение требований Федерального
закона от 22.07.2008 N 123-ФЗ "Технический регламент о требованиях пожарной безопасности" (
Приказ Росстандарта от 17.04.2019 N 832).
Документ включен в
Перечень национальных стандартов, содержащих правила и методы исследований (испытаний) и измерений, в том числе правила отбора образцов, необходимых для применения и исполнения Федерального
закона от 22.07.2008 N 123-ФЗ "Технический регламент о требованиях пожарной безопасности" и осуществления оценки соответствия (
Распоряжение Правительства РФ от 10.03.2009 N 304-р).
В соответствии с
Приказом Ростехрегулирования от 18.02.2009 N 83-ст данный документ введен в действие с 1 мая 2009 года.
Название документа
"ГОСТ Р 53307-2009. Конструкции строительные. Противопожарные двери и ворота. Метод испытаний на огнестойкость"
(утв. Приказом Ростехрегулирования от 18.02.2009 N 83-ст)
"ГОСТ Р 53307-2009. Конструкции строительные. Противопожарные двери и ворота. Метод испытаний на огнестойкость"
(утв. Приказом Ростехрегулирования от 18.02.2009 N 83-ст)
Утвержден и введен в действие
от 18 февраля 2009 г. N 83-ст
НАЦИОНАЛЬНЫЙ СТАНДАРТ РОССИЙСКОЙ ФЕДЕРАЦИИ
КОНСТРУКЦИИ СТРОИТЕЛЬНЫЕ
ПРОТИВОПОЖАРНЫЕ ДВЕРИ И ВОРОТА
МЕТОД ИСПЫТАНИЙ НА ОГНЕСТОЙКОСТЬ
Elements of building constructions.
Fire doors and gates. Fire resistance test method
ГОСТ Р 53307-2009
Дата введения
1 января 2010 года
с правом досрочного применения
Цели и принципы стандартизации в Российской Федерации установлены Федеральным
законом от 27 декабря 2002 г. N 184-ФЗ "О техническом регулировании", а правила применения национальных стандартов Российской Федерации -
ГОСТ Р 1.0-2004 "Стандартизация в Российской Федерации. Основные положения".
1. Разработан ФГУ ВНИИПО МЧС России, ГУП ЦНИИСК им. В.А. Кучеренко.
2. Внесен Техническим комитетом по стандартизации ТК 274 "Пожарная безопасность".
3. Утвержден и введен в действие
Приказом Федерального агентства по техническому регулированию и метрологии от 18 февраля 2009 г. N 83-ст.
Информация об изменениях к настоящему стандарту публикуется в ежегодно издаваемом информационном указателе "Национальные стандарты", а текст изменений и поправок - в ежемесячно издаваемых информационных указателях "Национальные стандарты". В случае пересмотра (замены) или отмены настоящего стандарта соответствующее уведомление будет опубликовано в ежемесячно издаваемом информационном указателе "Национальные стандарты". Соответствующая информация, уведомление и тексты размещаются также в информационной системе общего пользования - на официальном сайте Федерального агентства по техническому регулированию и метрологии в сети Интернет.
| | Применение на добровольной основе пункта 1 обеспечивает соблюдение требований Федерального закона от 22.07.2008 N 123-ФЗ "Технический регламент о требованиях пожарной безопасности" (Приказ Росстандарта от 16.04.2014 N 474). | |
| | Применение на добровольной основе пункта 1 обеспечивает соблюдение требований Федерального закона от 22.07.2008 N 123-ФЗ "Технический регламент о требованиях пожарной безопасности" (Приказ Ростехрегулирования от 30.04.2009 N 1573). | |
Настоящий стандарт устанавливает метод испытания на огнестойкость различных типов дверей, ворот и люков, предназначенных для заполнения проемов в противопожарных преградах. Стандарт может применяться при проведении сертификационных испытаний данной продукции. Настоящий стандарт не распространяется на испытания:
- дверей с площадью светопрозрачного заполнения 25% и более от площади дверного проема в свету;
- дверей, ворот и люков на дымо- и газопроницаемость;
- дверей шахт лифтов;
- клапанов и инженерного оборудования зданий;
- конструкций заполнения проемов при прохождении через них конвейеров и транспортерных лент.
В настоящем стандарте использованы нормативные ссылки на следующие стандарты:
ГОСТ 12.1.004-91. Система стандартов безопасности труда. Пожарная безопасность. Общие требования
ГОСТ 12.1.019-79. Система стандартов безопасности труда. Электробезопасность. Общие требования и номенклатура видов защиты
ГОСТ 30247.0-94. Конструкции строительные. Методы испытаний на огнестойкость. Общие требования
ГОСТ 30247.1-94. Конструкции строительные. Методы испытаний на огнестойкость. Несущие и ограждающие конструкции.
Примечание. При пользовании настоящим стандартом целесообразно проверить действие ссылочных стандартов в информационной системе общего пользования - на официальном сайте Федерального агентства по техническому регулированию и метрологии в сети Интернет или по ежегодно издаваемому информационному указателю "Национальные стандарты", который опубликован по состоянию на 1 января текущего года, и по соответствующим ежемесячно издаваемым информационным указателям, опубликованным в текущем году. Если ссылочный стандарт заменен (изменен), то при пользовании настоящим стандартом следует руководствоваться заменяющим (измененным) стандартом. Если ссылочный стандарт отменен без замены, то положение, в котором дана ссылка на него, применяется в части, не затрагивающей эту ссылку.
В настоящем стандарте применены следующие термины с соответствующими определениями:
3.1. Противопожарные дверь, ворота, люк: конструктивные элементы в сборе, состоящие из подвижных и неподвижных элементов (коробки, полотна, направляющих, включая элементы крепления к ограждениям и т.п.), служащие для заполнения проемов в противопожарных преградах и препятствующие распространению пожара в примыкающие помещения в течение нормируемого времени.
3.2. Фрамуга: часть заполнения проема, остекленная или глухая, имеющая общую коробку с конструкцией двери или ворот.
3.3. Порог: нижняя часть притвора дверного полотна или ворот.
3.4. Фрагмент ограждающей конструкции: конструкция, предназначенная для закрытия проема огневой камеры печи (установки) и закрепления образцов для испытаний.
3.5. Образец для испытания: дверь, ворота, люк, изготовленные в полном соответствии с технической документацией и предназначенные для проведения испытаний на огнестойкость.
Сущность метода заключается в определении времени (в минутах) от начала одностороннего теплового воздействия на образец для испытания до наступления одного из нормируемых предельных состояний конструкции по огнестойкости в соответствии с настоящим стандартом.
5.1. При испытании опытного образца различают следующие предельные состояния:
5.1.1. Потеря целостности (E) - вследствие:
- появления устойчивого пламени на необогреваемой поверхности опытного образца длительностью 10 с и более;
- воспламенения или возникновения тления со свечением ватного тампона в результате воздействия огня или горячих газов, проникающих через трещины, щели, отверстия, притворы;
- образования в конструкции образца сквозных отверстий (щелей) с размерами, позволяющими щупу диаметром (6 +/- 2) мм приникать и перемещаться вдоль отверстия (щели) на расстояние не менее 150 мм, или щупу диаметром (25 +/- 2) мм беспрепятственно проникать в сквозные отверстия. Длина щупов должна быть не менее 500 мм;
- выпадения полотна (полотен) опытного образца из коробки или же самой коробки из стандартной ограждающей конструкции.
5.1.2. Потеря теплоизолирующей способности (I) - вследствие повышения температуры на необогреваемой поверхности полотна опытного образца в среднем более чем на 140 °C, или в любой контролируемой точке этой поверхности на 180 °C в сравнении с температурой конструкции до испытания, или достижения температуры 300 °C на коробке опытного образца независимо от температуры конструкции до испытания.
6. Стендовое оборудование и измерительная аппаратура
6.1. Для проведения испытаний используют:
- испытательную печь (установку) с системой подачи и сжигания топлива (далее - печь) - по
ГОСТ 30247.0;
- систему дымовых каналов с регулирующим устройством, обеспечивающую избыточное давление в огневой камере печи по
8 настоящего стандарта;
- систему измерения и регистрации параметров - по
ГОСТ 30247.0;
- переносную термопару (см. рисунок 1), служащую для определения температуры в любой точке необогреваемой поверхности конструкции, в которой ожидается наибольшее повышение температуры;
- фрагмент ограждающей конструкции для установки образцов для испытания, обеспечивающую соблюдение условий крепления двери, ворот, люка в проеме в соответствии с технической документацией на изделие.
1 - двуканальная керамическая трубка; 2 - медный диск
толщиной 0,5 мм; 3 - термопарные провода диаметром 0,7 мм
Рисунок 1. Конструкция переносной термопары
6.1.1. Печь должна обеспечивать возможность теплового воздействия на образец для испытания с одной стороны.
Температурный режим в печи должен соответствовать требованиям
ГОСТ 30247.0.
8.1. При испытании избыточное давление в огневой камере печи должно создаваться и поддерживаться в верхнем 2/3 проеме печи.
Через (5,0 +/- 0,5) мин после испытания величина избыточного давления на 3/4 высоты от порога испытываемой конструкции должна составлять (10 +/- 2) Па.
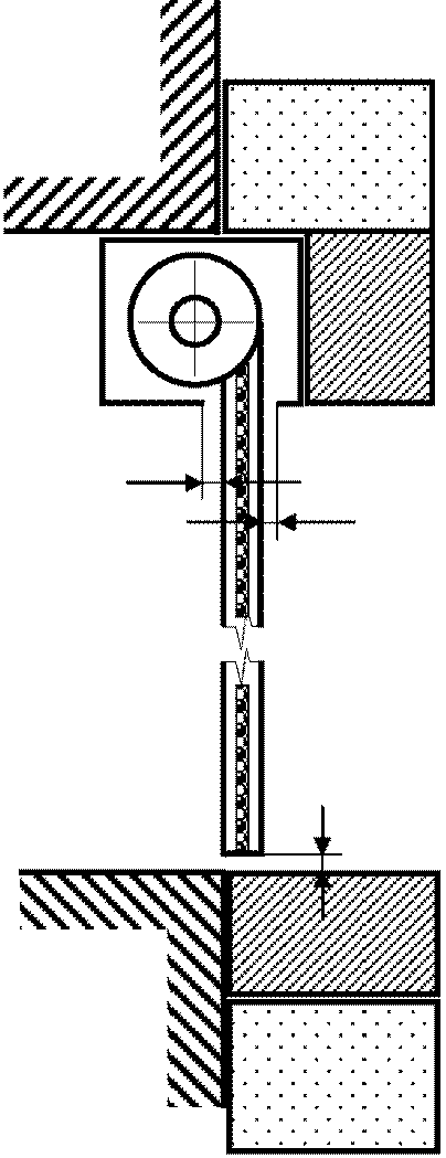
8.2. Давление в огневой камере печи измеряется при помощи устройства, представленного на рисунке 2.
1 - стальная труба; 2 - стандартная ограждающая конструкция;
3 - стальной лист;

- направление теплового воздействия
Рисунок 2. Устройство для измерения давления в печи
Образец для испытания и все его комплектующие детали должны иметь размеры, предусмотренные технической документацией.
Двери и ворота, имеющие габаритные размеры по ширине и (или) высоте более 2600 мм, допускается изготавливать с уменьшением этого размера (этих размеров) до 2600 мм, сохраняя при этом их конструктивные особенности, влияющие на огнестойкость.
В том случае, когда при пожаре дверь, ворота, люк могут подвергаться тепловому воздействию с любой из двух сторон, изготавливают два образца для проведения по одному испытанию при воздействии тепла с каждой стороны.
В случае, когда при пожаре дверь, ворота, люк могут подвергаться тепловому воздействию только с одной стороны, допускается испытывать один образец при воздействии тепла только с этой стороны, что должно быть оговорено заказчиком и отражено в отчете.
9.3. Конструкция
Образцы для испытаний должны быть изготовлены, укомплектованы и собраны в полном соответствии с технической документацией, включая декоративные детали и облицовки, которые могут повлиять на результаты испытаний.
Если конструкция двери (ворот) содержит вставки, фрамуги с остеклением или глухие, то их следует считать частью конструкции двери (ворот).
9.4. Отбор образцов для испытаний
При испытаниях с целью сертификации отбор образцов продукции проводится в соответствии с требованиями, установленными законодательством Российской Федерации.
9.5. Комплект поставки
Комплект поставки должен включать:
- технические условия на изделие;
- чертежи со спецификацией используемых в изделии материалов, с указанием соответствующей нормативно-технической документации;
- техническое описание конструкции, включающее наименование и назначение изделия; сторону нагрева; размеры дверного полотна, коробки, зазоров, основных узлов и деталей; толщину каждого составляющего слоя по толщине полотна (в том числе изоляции, обшивки, облицовки);
- паспорт на изделие;
- инструкцию по монтажу.
9.6. Входной контроль
Образцы, представленные для испытаний, подвергают входному контролю, при котором выявляют комплектность каждого образца и его соответствие технической документации.
Данные входного контроля заносят в отчет об испытании.
10. Подготовка и проведение испытаний
10.1. Установка (монтаж) образца
10.1.1. Образец должен устанавливаться во фрагмент ограждающей конструкции, используемой на практике (см. рисунки 3 и
4).
1 - фрагмент ограждающей конструкции;
2 - образец для испытания;
3 - рама для установки фрагмента ограждающей конструкции;

- направление теплового воздействия
Рисунок 3. Конструкция двери
в жестком фрагменте ограждающей конструкции
1 - фрагмент ограждающей конструкции;
2 - образец для испытания;
3 - рама для установки фрагмента ограждающей конструкции;
4 - теплоизоляционная прокладка;

- направление теплового воздействия
Рисунок 4. Конструкция двери
в гибком фрагменте ограждающей конструкции
10.1.2. При использовании минеральных вяжущих для заполнения зазоров между коробкой изделия и ограждающей конструкцией, испытание может быть проведено только по истечении нормативного времени отверждения вяжущего.
10.1.3. Расстояние с каждой из сторон проема фрагмента ограждающей конструкции, в который устанавливается образец, до краев проема огневой камеры печи должно быть не менее 200 мм.
Схемы монтажа образцов во фрагменте ограждающей конструкции представлены на рисунках 5 -
9.
1 - фрагмент ограждающей конструкции;
2 - теплоизоляционная прокладка;
3 - рама для установки фрагмента ограждающей конструкции;

- направление теплового воздействия
Рисунок 5. Схемы монтажа образцов распашных дверей
(горизонтальное сечение)
1 - фрагмент ограждающей конструкции;

- направление теплового воздействия
Рисунок 6. Схемы монтажа образцов распашных дверей
(вертикальное сечение)
1 - фрагмент ограждающей конструкции;
2 - рама для установки фрагмента ограждающей конструкции;

- направление теплового воздействия
Рисунок 7. Схемы монтажа образцов откатной двери (ворот)
1 - фрагмент ограждающей конструкции;
2 - пол (жесткий негорючий материал);
3 - рама для установки фрагмента ограждающей конструкции;

- направление теплового воздействия
Рисунок 8. Схема монтажа образцов складывающейся двери
1 - фрагмент ограждающей конструкции;
2 - рама для установки фрагмента ограждающей конструкции;

- направление теплового воздействия
Рисунок 9. Схема монтажа образцов скручивающихся ворот
10.1.4. Фрагмент ограждающей конструкции может иметь более одного проема, используемых для установки образцов, при наличии необходимых разрывов между ними (не менее двух толщин ограждающей конструкции) и краями проема огневой камеры печи.
10.1.5. Образец для испытаний устанавливается в соответствии с инструкцией по монтажу заказчиком или специализированной организацией, имеющей допуск.
10.2. Фрагменты ограждающих конструкций
10.2.1. Общие сведения
Огнестойкость ограждающей конструкции должна быть выше ожидаемой огнестойкости испытываемого образца.
Огнестойкость собственно ограждающей конструкции не может определяться при испытании двери, ворот, люка, которые в нее установлены.
10.2.2. Жесткая ограждающая конструкция
10.2.2.1. Конструкция с высокой степенью жесткости
Стена из камней, кирпичной кладки, монолитного бетона или бетонных блоков и т.п. должна иметь толщину (200 +/- 50) мм и общую плотность (1200 +/- 400) кг/м3.
10.2.2.2. Конструкция с низкой степенью жесткости
Стена из блоков вспененного бетона толщиной не менее 100 мм и общей плотностью (650 +/- 150) кг/м3.
10.2.3. Гибкая ограждающая конструкция
Перегородки из листовых и плитных материалов (гипсокартонные листы, гипсоволокнистые листы и т.п.) на тонкостенном стальном каркасе толщиной от 0,5 до 1,5 мм, шириной от 65 до 75 мм. Число и толщина слоев облицовки из гипсокартонных (гипсоволокнистых) листов, устанавливаемые с каждой стороны каркаса, следующие:
- для предполагаемой огнестойкости образца для испытания до 30 минут - по одному слою толщиной 15 мм или по два слоя толщиной (9,5 +/- 0,5) мм;
- для огнестойкости от 30 до 60 минут - по два слоя толщиной (12,5 +/- 0,5) мм;
- для огнестойкости от 60 до 90 минут - по три слоя толщиной (12,5 +/- 0,5) мм.
Каркас перегородки заполняется негорючими теплоизоляционными волокнистыми материалами.
В многослойных конструкциях расположение вертикальных (горизонтальных) стыков между слоями листов должно быть выполнено в шахматном порядке.
10.2.4. Раствор
Для сборки отдельных элементов конструкций, указанных в
10.2.2.1 и
10.2.2.2, применяется цементно-песчаный раствор в соотношении 1:4.
Заполнение стыков между листами в конструкциях, указанных в
10.2.3, выполняется гипсовой штукатуркой или пастами, применяемыми на практике.
10.2.5. Выдержка ограждающих конструкций
Конструкции, указанные в
10.2.2.1 и
10.2.2.2, должны выдерживаться в течение 28 дней до проведения испытания на огнестойкость.
Конструкции, указанные в
10.2.3, должны выдерживаться не менее 24 часов.
10.3. Термоэлектрические преобразователи (термопары) на необогреваемой поверхности образца для испытания
10.3.1. Общие положения
Термопары не устанавливаются на ручки, личины врезных замков, шпингалеты и петли образца.
Термопары должны располагаться на расстоянии (100 +/- 5) мм от любого металлического скобяного изделия.
Термопары для измерения температуры на необогреваемой поверхности устанавливают в соответствии со схемами, приведенными на рисунках 10 -
22.
Рисунок 10. Схема установки термопар
на необогреваемой поверхности однопольной двери
Рисунок 11. Схема установки термопар
на необогреваемой поверхности распашной двупольной двери
(ширина полотен различная)
B - ширина проема в свету;

- вид на необогреваемую поверхность
Рисунок 12. Схема установки термопар на необогреваемой
поверхности полотна распашной однопольной двери
в зоне 100 мм от его торцевых поверхностей и проема в свету
(горизонтальное сечение)
Рисунок 13. Схема установки термопар на необогреваемой
поверхности полотен распашной двупольной двери
в районе среднего притвора (горизонтальное сечение)
B - ширина проема в свету
Рисунок 14. Схема установки термопар на необогреваемой
поверхности полотна откатной двери (ворот)

- направление теплового воздействия
Рисунок 15. Схема установки термопар на необогреваемой
поверхности полотна откатной двери (ворот) в зоне 100 м
от его торцевых поверхностей, края, коробки и проема в свету
B - ширина проема в свету
Рисунок 16. Схема установки термопар на необогреваемых
поверхностях полотен подъемных и скручивающихся ворот
а)
б)
в)

- место установки термопар;

- вид с необогреваемой стороны
Рисунок 17. Схема установки термопар на коробке
распашных однопольных и двупольных дверей, ворот, люков
Рисунок 18. Схема установки термопар
на необогреваемой поверхности распашной двупольной двери
(ширина полотен различная) с фрамугой
Рисунок 19. Схема установки термопар на необогреваемой
поверхности распашной двупольной двери
с симметричными полотнами по ширине и с фрамугой
Рисунок 20. Схема установки термопар на необогреваемой
поверхности распашной двупольной двери с фрамугой
в зоне 100 мм от торцевых поверхностей коробки
(вертикальное сечение)
Рисунок 21. Схема установки термопар на необогреваемой
поверхности распашной однопольной двери
с частичным остеклением
Рисунок 22. Схема установки термопар на необогреваемой
поверхности распашных двупольных ворот со встроенной дверью
10.3.2. Расположение термопар для определения среднеарифметического значения температуры
Среднеарифметическое значение температуры определяется пятью термопарами 1 - 5 (для двупольных ворот термопарами 1 - 3, 11 - 15), обозначенными на
рисунках 10,
11,
14,
16,
18,
19,
21, 22 знаком "

" и расположенными:
а) в центре площади полотна (полотен) опытного образца;
б) в центре каждой четверти площади полотна (полотен) опытного образца.
Термопары должны располагаться на расстоянии (100 +/- 5) мм от любого стыка, ребра жесткости или сквозной детали.
При испытаниях двупольных распашных или откатных дверей и ворот с полотнами одинаковой ширины, центральная термопара смещается на расстояние (100 +/- 5) мм вправо (влево) от притвора между полотнами.
При испытании многосекционной складывающейся скользящей двери или ворот, открывающихся в одну или обе стороны, с шириной секции, не превышающей 200 мм - все секции рассматриваются как одно (два) полотно (полотна).
При испытании дверей или ворот, содержащих отдельные элементы (например, фрамугу сплошного заполнения), площадью больше или равно 0,1 м2 термопары должны быть равномерно распределены по всей поверхности этих элементов с плотностью одна термопара на 1 м2, но не менее двух. Показания этих термопар учитываются при расчете среднеарифметического значения температуры.
Если площадь отдельного элемента двери или ворот меньше 0,1 м2, то показания установленных термопар в определение среднеарифметического значения температуры не входят.
10.3.3. Расположение термопар для определения максимального значения температуры
Максимальное значение температуры определяется термопарами, обозначенными на
рисунках 10 -
16;
18 -
22 знаком "

" и расположенными в следующих точках:
а) для однопольных и двупольных распашных дверей, люков, ворот посередине высоты с обеих сторон полотен, в (100 +/- 2) мм:
- от края его видимых вертикальных торцевых поверхностей при открывании из печи;
- вертикальных поверхностей проема в свету при открывании в печь;
- для откатных дверей или ворот посередине высоты с обеих сторон полотна, в 100 мм:
- от края заходной коробки и видимой торцевой поверхности при обогреве со стороны, противоположной расположению подвески;
- вертикальных поверхностей проема в свету при обогреве со стороны расположения подвески;
для подъемных и скручивающихся ворот посередине высоты с обеих сторон полотна, в (100 +/- 2) мм:
- от краев направляющих конструкций при обогреве со стороны, противоположной расположению подвески;
- вертикальных поверхностей проема в свету при обогреве со стороны расположения подвески;
б) посередине ширины полотна, в 100 мм от видимой горизонтальной торцевой поверхности, как указано выше;
в) в 100 мм от видимых вертикальных и горизонтальных торцевых поверхностей полотна, как указано выше.
Если в опытном образце расстояние между термопарами, указанными в б) и в), составляет менее 500 мм, то термопара по б) не устанавливается (см.
рисунок 22).
10.3.4. Расположение термопар для определения максимального значения температуры фрамуги
Термопары должны располагаться в следующих точках (см.
рисунок 18 и
19):
а) посередине ширины фрамуги, в 100 мм от верхней и нижней горизонтальных коробок фрамуги;
б) в 100 мм от вертикальных и горизонтальных коробок фрамуги.
Если в опытном образце расстояние между термопарами, указанными в а) и б), составляет менее 500 мм, то термопара по а) не устанавливается (см. рисунок 23).
1, 3, 4, 6 - термопары устанавливаются обязательно;
2, 5 - термопары не устанавливаются, если размеры
между термопарами меньше указанных на рисунке
Рисунок 23. Количество термопар, устанавливаемых
в зависимости от ширины полотна (коробки)
10.3.5. Расположение термопар для определения температур на коробке
Термопары должны устанавливаться в каждой из следующих точек:
а) посередине высоты каждой вертикальной части коробки (см.
рисунок 17, термопары 11 и 15);
б) на верхней горизонтальной части коробки (и фрамуги шириной больше или равно 30 мм, если таковая имеется) посередине (100 мм от среднего притвора рабочего полотна двупольных дверей или ворот с одинаковой шириной полотен) (см.
рисунок 17, термопара 13;
рисунок 19, термопары 24, 28);
в) на верхней горизонтальной части коробки (и фрамуги шириной больше или равно 30 мм, если таковая имеется) в (50 +/- 5) мм от внутренних углов проема в свету.
В каждой точке центр термопары должен располагаться на расстоянии (5 +/- 2) мм от места соединения коробки и стандартной ограждающей конструкции. Независимо от этого, расстояние этих термопар от внутренних углов коробки не должно превышать 100 мм.
Если у однопольной двери расстояние между термопарами, указанными в
б) и
в), составляет менее 550 мм, то термопара по
б) не устанавливается (см.
рисунок 23).
Если часть коробки или вся коробка оштукатуривается (см.
рисунок 17, г и
д), то термопары на нее не устанавливаются.
10.3.6. Способы установки термопар
Термопары на необогреваемой поверхности опытного образца могут устанавливаться с использованием термостойкого клея или механического крепления (винтами, заклепками, скобами).
Каждая термопара должна закрываться накладкой из негорючего теплоизоляционного материала размером (30 x 30 x 2,0 +/- 0,5) мм. При этом не допускается наличие следов клея между поверхностью опытного образца и спаем термопары, а механические крепления не должны способствовать передаче тепла от поверхности к спаю термопары.
10.3.7. Рекомендуемые способы крепления термопар к различным материалам
10.3.7.1. Сталь
Крепление термоизолирующей накладки совместно с термопарой осуществляется на чистой поверхности стали с использованием:
- термостойкого клея, имеющего соответствующую консистенцию для удерживания накладки в течение процесса сушки (возможно использование фиксирующей клейкой ленты, которая сохраняется до полного высыхания клея);
- винтов, заклепок, подпружиненных скоб.
Если на поверхности опытного образца тонким слоем нанесено декоративное покрытие (например, краска), то в местах установки термопар его следует удалить зачисткой до чистого металла.
10.3.7.2. Дерево
Крепление термоизолирующей накладки совместно с термопарой осуществляется при помощи металлических скрепок, не имеющих контакта с термопарой, или термостойкого клея.
10.4. Измерения зазоров
Перед началом испытания должны быть замерены зазоры между подвижными и неподвижными частями конструкции опытного образца. Количество замеров по каждой боковой, верхней и нижней стороне опытного образца должно быть не менее трех. Точки замеров зазоров располагаются на расстоянии не более 700 мм друг от друга.
Точность замера зазоров +/- 0,5 мм. Величины замеренных зазоров должны находиться в пределах допусков, задаваемых заказчиком. Результаты замеров зазоров фиксируются в отчете.
Примеры замеров зазоров приведены на рисунках 24 -
27.
Рисунок 24. Примеры замеров зазоров распашных дверей
(вертикальное сечение)
Рисунок 25. Примеры замеров зазоров распашных дверей
(горизонтальное сечение)
а - откатная дверь (ворота)
б - подъемные, скручивающиеся ворота
в - складывающаяся дверь (ворота)
Рисунок 26. Примеры замеров зазоров
(горизонтальное сечение)
а - откатная дверь (ворота)
б - подъемные, скручивающиеся ворота
в - складывающаяся дверь (ворота)
Рисунок 27. Примеры замеров зазоров (вертикальное сечение)
10.5. Проверка перед испытанием
До начала испытания опытный образец должен быть проверен на закрывание, включающее открывание полотна на расстоянии около 300 мм и возвращение в закрытое состояние. Это должно быть сделано устройством закрывания. Если закрывающее устройство отсутствует, то полотно закрывается вручную.
Полотна распашных дверей и ворот в коробке (между собой для двупольных конструкций) следует фиксировать защелкой.
Не допускается запирать дверь на замок и оставлять ключ в замке.
10.7. В процессе испытания регистрируют:
- температуру на необогреваемой поверхности опытного образца в точках по
6.1 и
10.3.2 -
10.3.5;
- время появления и характер развития в опытном образце трещин, отверстий, щелей (зазоров), через которые могут проникать пламя или горячие газы на необогреваемую поверхность;
- время начала разрушения конструкции или ее частей (петель, механизмов фиксации, притворов, перекос полотна и др.);
- время, место и характер изменения состояния материалов конструкции (взрывообразное разрушение, обугливание, воспламенение, выделение продуктов горения и др.);
- время воспламенения (тление со свечением) ватного тампона;
- время и место появления пламени на необогреваемой поверхности и длительность устойчивого пламени.
Испытание проводят до наступления одного из предельных состояний по огнестойкости. Испытание может быть продолжено после наступления предела огнестойкости (кроме критерия - потеря целостности E) для получения дополнительной информации.
Если испытание заканчивается до наступления предельных состояний, причина окончания должна быть указана в отчете. В этом случае величиной фактического предела огнестойкости изделия является продолжительность испытания.
Испытание может быть остановлено, если существует опасность для обслуживающего персонала или надвигающаяся угроза оборудованию, что также фиксируется в отчете.
11. Оценка результатов испытаний
11.1. Потеря целостности определяется с помощью тампона из хлопка или натуральной ваты. Размеры тампона должны быть (100 x 100 x 20 +/- 2) мм, массой от 3 до 4 г. До использования тампона в течение 24 часов выдерживают в сушильном шкафу при температуре (100 +/- 5) °C. Из сушильного шкафа тампон вынимают не ранее чем за 30 минут до начала испытания, вкладывают в проволочную рамку с ручкой соответствующей длины, как показано на рисунке 28. Рамку с тампоном подносят к местам, где ожидается проникновение пламени или продуктов горения, и в течение (10 +/- 0,1) с удерживают на расстоянии (30 +/- 5) мм от поверхности образца.
1 - ручка; 2 - зажим (открыто); 3 - ватный тампон;
4 - поверхность опытного образца
Рисунок 28. Рамка для закрепления ватного тампона
Время от начала испытания до воспламенения или возникновения тления со свечением тампона является пределом огнестойкости конструкции по признаку потери целостности.
Обугливание тампона без тления со свечением не учитывают.
Повторное использование тампона не допускается.
11.2. Потеря теплоизолирующей способности
11.2.1. Величину превышения первоначальной температуры на необогреваемой поверхности опытного образца на 140 °C определяют как среднеарифметическое значение показаний термопар, установленных в точках, указанных в
10.3.2 а) и
б).
11.2.2. Величину превышения первоначальной температуры на необогреваемой поверхности опытного образца на 180 °C определяют по показаниям термопар, установленных в точках, указанных в
10.3.2,
10.3.3,
10.3.4.
11.2.3. Достижение температуры (300 +/- 2) °C на необогреваемой поверхности коробки опытного образца определяют по показаниям термопар, установленных в точках, указанных в
10.3.5.
11.3. При испытаниях двух опытных образцов по
9.2 за фактический предел огнестойкости принимают минимальное значение времени наступления предельного состояния.
12. Обозначение предела огнестойкости
Обозначение предела огнестойкости конструкции принимают по
ГОСТ 30247.0.
13. Область применения результатов испытаний
13.1. Допускается распространять результаты испытаний опытных образцов со светопрозрачным заполнением площадью менее 25% от площади проема в свету на образцы со сплошным заполнением, если их конструкция идентична, при этом конфигурация светопрозрачного заполнения во внимание не принимается.
13.2. Результаты испытаний, полученные для однопольных конструкций, не могут быть распространены на двупольные конструкции и наоборот.
13.3. Результаты испытаний, полученные для опытного образца с определенным количеством точек крепления коробки к ограждающей конструкции, могут быть распространены на конструкции с большим количеством точек крепления, но не с меньшим, при этом расстояние между точками крепления может быть уменьшено, но не увеличено.
13.4. Результаты испытаний, полученные для неокрашенных конструкций, могут быть распространены на окрашенные любой краской, не увеличивающей их предел огнестойкости.
13.5. Результаты испытаний опытных образцов с деревянными полотном и коробкой, полученные при их установке в стандартную ограждающую конструкцию с высокой степенью жесткости, могут быть распространены на опытные образцы, установленные в ограждающую конструкцию с низкой степенью жесткости или гибкую конструкцию и наоборот.
13.6. Результаты испытаний опытных образцов с деревянными полотном и металлической коробкой, полученные при установке в гибкой конструкции, могут быть перенесены на опытные образцы, установленные в ограждающую конструкцию с высокой и низкой степенью жесткости, но не наоборот.
13.7. Результаты испытаний опытных образцов с металлическими полотном и коробкой, полученные при их установке в ограждающую конструкцию с высокой степенью жесткости, не могут быть распространены на опытные образцы, установленные в гибкие конструкции и наоборот.
13.8. Количество таких элементов конструкции, как защелки, петли, пассивные ригели, может увеличиваться, но не уменьшаться.
13.9. Результаты испытаний, представленные в отчете, действительны для дверей и люков данного типа с отклонениями их габаритных размеров по высоте и ширине от плюс 15% до минус 30% с округлением в большую сторону до 50 мм и в меньшую - до 100 мм от вычисленной величины.
Требования данного пункта на конструкции ворот не распространяются.
13.10. Результаты испытаний распространяются на двери и ворота больших размеров, если они прошли испытания с уменьшением размеров по высоте и ширине в соответствии с
9.1. В этом случае требования
13.9 не учитываются.
14.1. Отчет об испытаниях должен содержать следующую информацию:
- наименование и адрес организации, проводящей испытание;
- наименование организации - изготовителя опытных образцов и ее адрес;
- дату проведения испытаний;
- характеристику заказываемой услуги;
- наименование стандарта на метод испытания;
- наименование изделия, товарный знак и маркировку образца с указанием технической документации на конструкцию;
- код ОКП (ТН ВЭД) на изделие;
- эскизы, описание и чертежи конструкции, представленные заказчиком;
- описание стандартной ограждающей конструкции;
- данные о входном контроле;
- данные о контрольных измерениях;
- данные о свойствах материалов и их влажности;
- метод сборки и монтажа опытного образца;
- сведения о выдержке опытного образца;
- сведения об отборе образцов (при проведении сертификационных испытаний);
- направление теплового воздействия на образец;
- условия окружающей среды при проведении испытаний;
- сведения об испытательном оборудовании и средствах измерения;
- информацию о местах установки термоэлектрических преобразователей (термопар);
- значение давления в огневой камере печи;
- изменение температуры во времени в огневой камере печи;
- температурные кривые прогрева конструкции;
- наблюдения в процессе испытания;
- оценку результатов испытания;
- вид и характер предельного состояния и фактического предела огнестойкости;
- область распространения полученных результатов;
- обозначение предела огнестойкости.
14.2. Отчет об испытании является документом, указывающим фактическую огнестойкость изделия, образец которого прошел испытания.
14.3. Отчет об испытании действует в течение трех лет, если за этот период времени не были произведены изменения:
- конструкторской документации и (или) комплектности на изделие;
- организации и (или) технологии производства.
В случае если вышеуказанное имело место, то сообщение об этом должно быть направлено заказчиком в лабораторию, проводившую испытание. На основании анализа влияния этих изменений на огнестойкость изделия, испытательная лаборатория принимает решение о продлении (или окончании) действия отчета еще на три года.