Главная // Актуальные документы // ГОСТ Р (Государственный стандарт)
СПРАВКА
Источник публикации
М.: Стандартинформ, 2008
Примечание к документу
Введен в действие с 1 июля 2009 года.
Название документа
"ГОСТ Р 52949-2008. Фитинги-переходники из меди и медных сплавов для соединения трубопроводов. Технические условия"
(утв. Приказом Ростехрегулирования от 14.08.2008 N 172-ст)


"ГОСТ Р 52949-2008. Фитинги-переходники из меди и медных сплавов для соединения трубопроводов. Технические условия"
(утв. Приказом Ростехрегулирования от 14.08.2008 N 172-ст)


Содержание


Утвержден и введен в действие
Приказом Ростехрегулирования
от 14 августа 2008 г. N 172-ст
НАЦИОНАЛЬНЫЙ СТАНДАРТ РОССИЙСКОЙ ФЕДЕРАЦИИ
ФИТИНГИ-ПЕРЕХОДНИКИ ИЗ МЕДИ И МЕДНЫХ СПЛАВОВ
ДЛЯ СОЕДИНЕНИЯ ТРУБОПРОВОДОВ
ТЕХНИЧЕСКИЕ УСЛОВИЯ
Fittings-adapters from copper and copper alloys
for connecting the pipelines. Specifications
ГОСТ Р 52949-2008
Группа В64
ОКС 23.040.15
ОКП 18 4450
Дата введения
1 июля 2009 года
Предисловие
Цели и принципы стандартизации в Российской Федерации установлены Федеральным законом от 27 декабря 2002 г. N 184-ФЗ "О техническом регулировании", а правила применения национальных стандартов Российской Федерации - ГОСТ Р 1.0-2004 "Стандартизация в Российской Федерации. Основные положения".
Сведения о стандарте
1. Разработан Техническим комитетом по стандартизации ТК 106 "Цветметпрокат", Научно-исследовательским, проектным и конструкторским институтом сплавов и обработки цветных металлов "Открытое акционерное общество "Институт Цветметобработка".
2. Внесен Техническим комитетом по стандартизации ТК 106 "Цветметпрокат".
3. Утвержден и введен в действие Приказом Федерального агентства по техническому регулированию и метрологии от 14 августа 2008 г. N 172-ст.
4. Настоящий стандарт разработан с учетом основных нормативных положений регионального стандарта ЕН 1254-4:1998 "Медь и медные сплавы. Фитинги. Часть 4. Фитинги, присоединяемые комбинацией капиллярной пайки твердым или мягким припоем или обжатия с другими типами соединений (EN 1254-4:1998 "Copper and copper alloys - Plumbing fittings - Part 4: Fittings combining other end connections with capillary or compression ends", NEQ).
5. Введен впервые.
Информация об изменениях к настоящему стандарту публикуется в ежегодно издаваемом информационном указателе "Национальные стандарты", а текст изменений и поправок - в ежемесячно издаваемых информационных указателях "Национальные стандарты". В случае пересмотра (замены) или отмены настоящего стандарта соответствующее уведомление будет опубликовано в ежемесячно издаваемом информационном указателе "Национальные стандарты". Соответствующая информация, уведомление и тексты размещаются также в информационной системе общего пользования - на официальном сайте Федерального агентства по техническому регулированию и метрологии в сети Интернет.
1. Область применения
Настоящий стандарт распространяется на фитинги-переходники из меди и медных сплавов с разными концами: для пайки или прессования с одной стороны и резьбовыми - с другой, предназначенные для соединения медных труб, изготовленных по ГОСТ Р 52318, и устанавливает требования к фитингам-переходникам, используемым в системах: питьевого водоснабжения, холодного и горячего водоснабжения, водяного (парового) отопления, нагревательных и охлаждающих, канализации, водоочистных сооружений и газоснабжения.
Стандарт устанавливает резьбовые соединения концов фитингов, типы и размеры резьбы.
2. Нормативные ссылки
В настоящем стандарте использованы нормативные ссылки на следующие стандарты:
ГОСТ Р 52318-2005. Трубы медные круглого сечения для воды и газа. Технические условия
ГОСТ Р 52922-2008. Фитинги из меди и медных сплавов для соединения медных труб способом капиллярной пайки. Технические условия
ГОСТ Р 52948-2008. Фитинги из меди и медных сплавов для соединения медных труб способом прессования. Технические условия
ГОСТ 2533-88. Калибры для трубной цилиндрической резьбы. Допуски
ГОСТ 6211-81. Основные нормы взаимозаменяемости. Резьба трубная коническая
ГОСТ 6357-81. Основные нормы взаимозаменяемости. Резьба трубная цилиндрическая
ГОСТ 7157-79. Калибры для трубной конической резьбы. Типы. Основные размеры и допуски
ГОСТ 24939-81. Калибры для цилиндрических резьб. Виды.
Примечание. При пользовании настоящим стандартом целесообразно проверить действие ссылочных стандартов в информационной системе общего пользования - на официальном сайте Федерального агентства по техническому регулированию и метрологии в сети Интернет или по ежегодно издаваемому информационному указателю "Национальные стандарты", который опубликован по состоянию на 1 января текущего года, и по соответствующим ежемесячно издаваемым информационным указателям, опубликованным в текущем году. Если ссылочный стандарт заменен (изменен), то при пользовании настоящим стандартом следует руководствоваться заменяющим (измененным) стандартом. Если ссылочный стандарт отменен без замены, то положение, в котором дана ссылка на него, применяется в части, не затрагивающей эту ссылку.
3. Термины и определения
В настоящем стандарте применены следующие термины с соответствующими определениями:
3.1. Фитинг: устройство в трубопроводной системе, предназначенное для соединения труб между собой или с другими компонентами этой системы.
3.2. Резьбовое соединение: соединение, которое обеспечивает разъединение системы без нарушения других секций трубы.
Резьбовое соединение может быть: сфера в конус, конус в конус или конус в радиус или в плоскую поверхность с уплотнителем.
Составные части резьбового соединения должны быть только от одного конкретного производителя.
4. Технические требования
4.1. Материалы, технические требования, методы контроля и испытаний, правила приемки, маркировка, упаковка, транспортирование и хранение должны соответствовать требованиям для фитингов-переходников:
- с концом для капиллярной пайки по ГОСТ Р 52922;
- с концом для прессования по ГОСТ Р 52948.
4.2. Резьбовое соединение при сборке должно выдерживать максимальное эксплуатационное давление для соответствующего конца трубы. При разъединении и повторном присоединении резьбовое соединение должно выдерживать максимальное эксплуатационное давление.
4.3. При монтаже трубопровода должны быть применены внутреннее и наружное цилиндрические и наружное коническое резьбовые соединения.
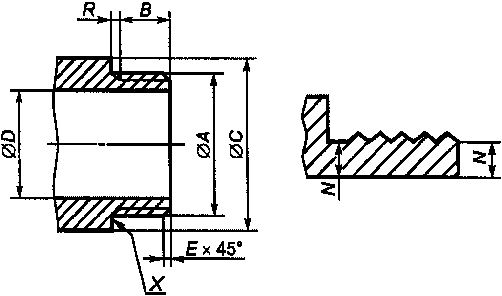
4.4. Внутреннее цилиндрическое резьбовое соединение приведено на рисунках 1 и 2.
Рисунок 1. Внутреннее цилиндрическое
резьбовое соединение с резьбой по ГОСТ 6357
Рисунок 2. Внутреннее цилиндрическое
резьбовое соединение с резьбой по ГОСТ 6357
Размеры внутренней цилиндрической резьбы должны соответствовать указанным в таблицах 1 и 2.
Таблица 1
Размеры внутренней цилиндрической резьбы
по ГОСТ 6357
В миллиметрах
┌──────────┬───────────┬─────────────┬─────────┬────────┬────────┬────────┐
│Обозначе- │ Длина │ Диаметр │ Диаметр │ Фаска │Диаметр │ Длина │
│ние резьбы│внутреннего│прессованного│ литого │ E <1>, │ торца │ резьбы │
│A │ участка │ фитинга │ фитинга │не более│фитинга │ G, │
│ │ фитинга │ или прутка │из латуни│ │ F, │не менее│
│ │под резьбу │из латуни D, │ D, │ │не менее│ │
│ │B, не менее│ не менее │не менее │ │ │ │
├──────────┼───────────┼─────────────┼─────────┼────────┼────────┼────────┤
│ Rp 1/8 │ 7,4 │ 11,6 │ 11,8 │ 0,9 │ 14,3 │ 4,5 │
├──────────┼───────────┼─────────────┼─────────┼────────┼────────┼────────┤
│ Rp 1/4 │ 11,0 │ 15,2 │ 15,4 │ 1,3 │ 18,2 │ 7,0 │
├──────────┼───────────┼─────────────┼─────────┼────────┼────────┼────────┤
│ Rp 3/8 │ 11,4 │ 19,1 │ 19,1 │ 1,3 │ 22,0 │ 7,0 │
├──────────┼───────────┼─────────────┼─────────┼────────┼────────┼────────┤
│ Rp 1/2 │ 15,0 │ 23,8 │ 23,8 │ 1,8 │ 26,7 │ 9,0 │
├──────────┼───────────┼─────────────┼─────────┼────────┼────────┼────────┤
│ Rp 3/4 │ 16,3 │ 29,3 │ 29,7 │ 1,8 │ 33,5 │ 10,0 │
├──────────┼───────────┼─────────────┼─────────┼────────┼────────┼────────┤
│ Rp 1 │ 19,1 │ 36,3 │ 36,9 │ 2,3 │ 40,9 │ 11,5 │
├──────────┼───────────┼─────────────┼─────────┼────────┼────────┼────────┤
│ Rp 1 1/4 │ 21,4 │ 45,6 │ 46,2 │ 2,3 │ 49,0 │ 13,5 │
├──────────┼───────────┼─────────────┼─────────┼────────┼────────┼────────┤
│ Rp 1 1/2 │ 21,4 │ 51,4 │ 52,0 │ 2,3 │ 56,6 │ 13,5 │
├──────────┼───────────┼─────────────┼─────────┼────────┼────────┼────────┤
│ Rp 2 │ 25,7 │ 63,7 │ 64,3 │ 2,3 │ 69,4 │ 17,0 │
├──────────┼───────────┼─────────────┼─────────┼────────┼────────┼────────┤
│ Rp 2 1/2 │ 30,2 │ 80,4 │ 80,8 │ 2,3 │ 86,2 │ 18,5 │
├──────────┼───────────┼─────────────┼─────────┼────────┼────────┼────────┤
│ Rp 3 │ 33,3 │ 93,5 │ 94,0 │ 2,3 │ 98,0 │ 21,0 │
├──────────┼───────────┼─────────────┼─────────┼────────┼────────┼────────┤
│ Rp 4 │ 39,3 │ 120,0 │ 121,0 │ 2,3 │ 120,0 │ 26,0 │
├──────────┴───────────┴─────────────┴─────────┴────────┴────────┴────────┤
│ <1> По согласованию изготовителя с потребителем допускается взамен│
│фаски E снятие первого витка резьбы. │
└─────────────────────────────────────────────────────────────────────────┘
Таблица 2
Размеры внутренней цилиндрической резьбы
по ГОСТ 6357
В миллиметрах
┌──────────┬───────────┬──────────────┬─────────┬───────┬────────┬────────┐
│Обозначе- │ Длина │ Диаметр │ Диаметр │ Фаска │Диаметр │ Длина │
│ние резьбы│внутреннего│деформируемого│ литого │E <1>, │ торца │ резьбы │
│A │ участка │ фитинга из │ фитинга │ не │фитинга │ G, │
│ │ фитинга │меди и медных │ из меди │ более │ F <2>, │не менее│
│ │под резьбу │ сплавов D │и медных │ │не менее│ │
│ │B, не менее│ │сплавов D│ │ │ │
├──────────┼───────────┼──────────────┼─────────┼───────┼────────┼────────┤
│ G 1/8 │ 5,6 │ 11,6 │ 11,8 │ 0,9 │ 14,3 │ 4,5 │
├──────────┼───────────┼──────────────┼─────────┼───────┼────────┼────────┤
│ G 1/4 │ 8,0 │ 15,2 │ 15,4 │ 1,3 │ 18,2 │ 7,0 │
├──────────┼───────────┼──────────────┼─────────┼───────┼────────┼────────┤
│ G 3/8 │ 8,5 │ 19,1 │ 19,1 │ 1,3 │ 22,0 │ 7,0 │
├──────────┼───────────┼──────────────┼─────────┼───────┼────────┼────────┤
│ G 1/2 │ 10,5 │ 23,8 │ 23,8 │ 1,8 │ 26,7 │ 9,0 │
├──────────┼───────────┼──────────────┼─────────┼───────┼────────┼────────┤
│ G 3/4 │ 12,0 │ 29,3 │ 29,7 │ 1,8 │ 33,5 │ 10,0 │
├──────────┼───────────┼──────────────┼─────────┼───────┼────────┼────────┤
│ G 1 │ 13,5 │ 36,3 │ 36,9 │ 2,3 │ 40,9 │ 11,5 │
├──────────┼───────────┼──────────────┼─────────┼───────┼────────┼────────┤
│ G 1 1/4 │ 15,5 │ 45,6 │ 46,2 │ 2,3 │ 49,0 │ 13,5 │
├──────────┼───────────┼──────────────┼─────────┼───────┼────────┼────────┤
│ G 1 1/2 │ 15,5 │ 51,4 │ 52,0 │ 2,3 │ 56,6 │ 13,5 │
├──────────┼───────────┼──────────────┼─────────┼───────┼────────┼────────┤
│ G 2 │ 19,0 │ 63,7 │ 64,3 │ 2,3 │ 69,4 │ 17,0 │
├──────────┼───────────┼──────────────┼─────────┼───────┼────────┼────────┤
│ G 2 1/2 │ 20,0 │ 80,4 │ 80,8 │ 2,3 │ 86,2 │ 18,5 │
├──────────┼───────────┼──────────────┼─────────┼───────┼────────┼────────┤
│ G 3 │ 21,0 │ 93,5 │ 94,0 │ 2,3 │ 98,0 │ 20,0 │
├──────────┼───────────┼──────────────┼─────────┼───────┼────────┼────────┤
│ G 4 │ 23,0 │ 120,0 │ 121,0 │ 2,3 │ 120,0 │ 22,0 │
├──────────┴───────────┴──────────────┴─────────┴───────┴────────┴────────┤
│ <1> По согласованию изготовителя с потребителем допускается взамен│
│фаски E снятие первого витка резьбы. │
│ <2> При уплотнении торец X должен быть обработан резанием. │
│ │
│ Примечания. 1. На фитинги без подрезки по согласованию изготовителя│
│с потребителем наносят обозначение и маркировку: │
│ - для класса 1 - размер B (рисунок 2б); │
│ - для класса 2 - размер G (рисунок 2а). │
│ 2. Не допускается использовать внутреннюю цилиндрическую резьбу│
│в сочетании с наружной конической резьбой. │
└─────────────────────────────────────────────────────────────────────────┘
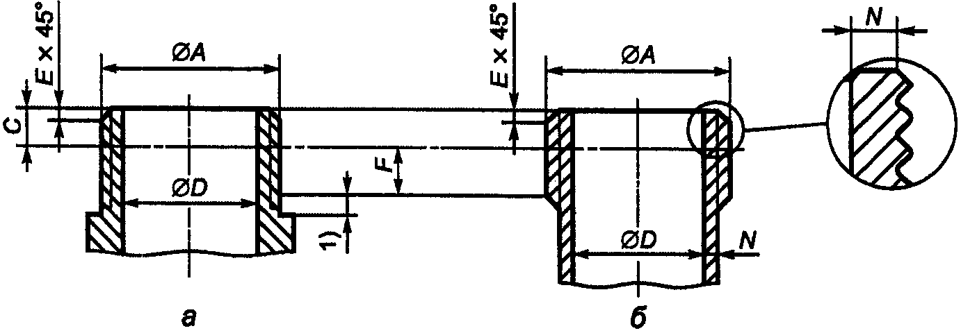
4.5. Наружное коническое резьбовое соединение приведено на рисунках 3 и 4.
--------------------------------
<1> R - сбег резьбы.
Рисунок 3. Наружное коническое резьбовое соединение
с резьбой по ГОСТ 6211
--------------------------------
<1> R - сбег резьбы.
Рисунок 4. Наружное модифицированное коническое
резьбовое соединение Rk по ГОСТ 6211
Размеры наружной конической резьбы должны соответствовать указанным в таблицах 3 и 4.
Таблица 3
Размеры наружной конической резьбы
по ГОСТ 6211
В миллиметрах
┌───────────┬─────────────┬─────────────────────────┬───────────┬─────────┐
│Обозначение│Длина резьбы │Длина резьбы от торца до │ Диаметр │Фаска E, │
│ резьбы A │ от основной │ основной плоскости C │фитинга D, │не более │
│ │плоскости до ├────────────┬────────────┤ не менее │ │
│ │сбега резьбы │ не более │ не менее │ │ │
│ │ F, не менее │ │ │ │ │
├───────────┼─────────────┼────────────┼────────────┼───────────┼─────────┤
│ R 1/8 │ 2,5 │ 4,9 │ 3,1 │ 4 │ 0,9 │
├───────────┼─────────────┼────────────┼────────────┼───────────┼─────────┤
│ r 1/4 │ 3,7 │ 7,3 │ 4,7 │ 6 │ 1,3 │
├───────────┼─────────────┼────────────┼────────────┼───────────┼─────────┤
│ R 3/8 │ 3,7 │ 7,7 │ 5,1 │ 9 │ 1,3 │
├───────────┼─────────────┼────────────┼────────────┼───────────┼─────────┤
│ R 1/2 │ 5,0 │ 10,0 │ 6,4 │ 10 │ 1,8 │
├───────────┼─────────────┼────────────┼────────────┼───────────┼─────────┤
│ R 3/4 │ 5,0 │ 11,3 │ 7,7 │ 18 │ 1,8 │
├───────────┼─────────────┼────────────┼────────────┼───────────┼─────────┤
│ R 1 │ 6,4 │ 12,7 │ 8,1 │ 23 │ 2,3 │
├───────────┼─────────────┼────────────┼────────────┼───────────┼─────────┤
│ R 1 1/4 │ 6,4 │ 15,0 │ 10,4 │ 29 │ 2,3 │
├───────────┼─────────────┼────────────┼────────────┼───────────┼─────────┤
│ R 1 1/2 │ 6,4 │ 15,0 │ 10,4 │ 36 │ 2,3 │
├───────────┼─────────────┼────────────┼────────────┼───────────┼─────────┤
│ R 2 │ 7,5 │ 18,2 │ 13,6 │ 47 │ 2,3 │
├───────────┼─────────────┼────────────┼────────────┼───────────┼─────────┤
│ R 2 1/2 │ 9,2 │ 21,0 │ 14,0 │ 55 │ 2,3 │
├───────────┼─────────────┼────────────┼────────────┼───────────┼─────────┤
│ R 3 │ 9,2 │ 24,1 │ 17,1 │ 59 │ 2,3 │
├───────────┼─────────────┼────────────┼────────────┼───────────┼─────────┤
│ R 4 │ 10,4 │ 28,9 │ 21,9 │ 75 │ 2,3 │
└───────────┴─────────────┴────────────┴────────────┴───────────┴─────────┘
Таблица 4
Размеры наружной модифицированной
конической резьбы Rk по ГОСТ 6211
В миллиметрах
┌───────────┬─────────────┬─────────────────────────┬───────────┬─────────┐
│Обозначение│Длина резьбы │Длина резьбы от торца до │ Диаметр │Фаска E, │
│ резьбы A │ от основной │ основной плоскости C │фитинга D, │не более │
│ │плоскости до ├────────────┬────────────┤ не менее │ │
│ │сбега резьбы │ не более │ не менее │ │ │
│ │ F, не менее │ │ │ │ │
├───────────┼─────────────┼────────────┼────────────┼───────────┼─────────┤
│ Rk 1/8 │ 1,5 │ 4,5 │ 2,6 │ 4 │ 0,6 │
├───────────┼─────────────┼────────────┼────────────┼───────────┼─────────┤
│ Rk 1/4 │ 2,3 │ 6,6 │ 4,0 │ 6 │ 0,9 │
├───────────┼─────────────┼────────────┼────────────┼───────────┼─────────┤
│ Rk 3/8 │ 2,3 │ 6,6 │ 4,0 │ 9 │ 0,9 │
├───────────┼─────────────┼────────────┼────────────┼───────────┼─────────┤
│ Rk 1/2 │ 3,2 │ 8,5 │ 4,0 │ 10 │ 1,2 │
├───────────┼─────────────┼────────────┼────────────┼───────────┼─────────┤
│ Rk 3/4 │ 3,2 │ 9,5 │ 5,3 │ 18 │ 1,2 │
├───────────┼─────────────┼────────────┼────────────┼───────────┼─────────┤
│ Rk 1 │ 4,0 │ 10,5 │ 5,4 │ 23 │ 1,5 │
├───────────┼─────────────┼────────────┼────────────┼───────────┼─────────┤
│ Rk 1 1/4 │ 4,0 │ 12,0 │ 6,9 │ 29 │ 1,5 │
├───────────┼─────────────┼────────────┼────────────┼───────────┼─────────┤
│ Rk 1 1/2 │ 4,0 │ 12,6 │ 8,0 │ 36 │ 1,5 │
├───────────┼─────────────┼────────────┼────────────┼───────────┼─────────┤
│ Rk 2 │ 5,2 │ 13,6 │ 9,0 │ 47 │ 1,5 │
├───────────┼─────────────┼────────────┼────────────┼───────────┼─────────┤
│ Rk 2 1/2 │ 5,8 │ 16,3 │ 9,3 │ 55 │ 1,5 │
├───────────┼─────────────┼────────────┼────────────┼───────────┼─────────┤
│ Rk 3 │ 5,8 │ 17,0 │ 11,0 │ 59 │ 1,5 │
├───────────┼─────────────┼────────────┼────────────┼───────────┼─────────┤
│ Rk 4 │ 6,9 │ 21,0 │ 14,7 │ 76 │ 1,5 │
└───────────┴─────────────┴────────────┴────────────┴───────────┴─────────┘
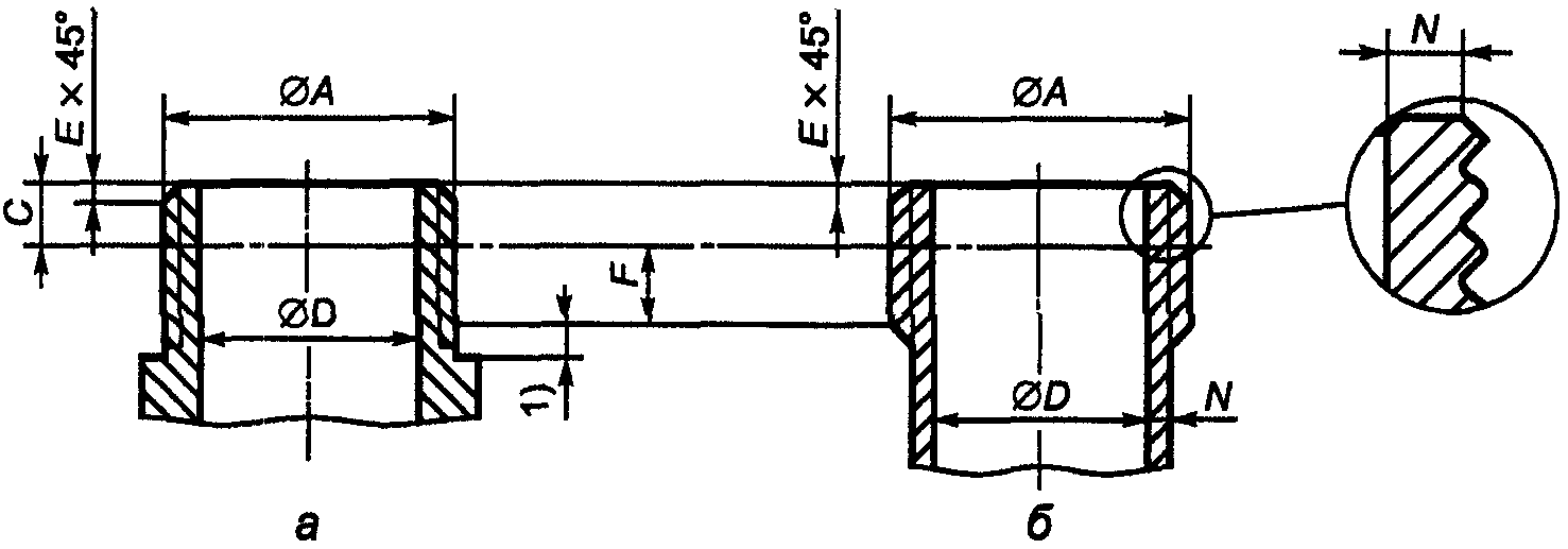
4.6. Наружное цилиндрическое резьбовое соединение приведено на рисунке 5.
Рисунок 5. Наружное цилиндрическое резьбовое
соединение по ГОСТ 6357
Размеры наружной цилиндрической резьбы должны соответствовать указанным в таблице 5.
Таблица 5
Размеры наружной цилиндрической резьбы
по ГОСТ 6357
В миллиметрах
┌───────────┬─────────────────┬────────┬───────┬────────┬─────────────────┐
│Обозначение│ Длина резьбы │Диаметр │Диаметр│ Фаска │ Сбег резьбы R │
│ резьбы A │ B <1> │ торца │фитинга│ E, │ │
│ ├────────┬────────┤фитинга │ D │не более├────────┬────────┤
│ │не более│не менее│ C <2>, │ │ │не более│не менее│
│ │ │ │не менее│ │ │ │ │
├───────────┼────────┼────────┼────────┼───────┼────────┼────────┼────────┤
│ G 1/8 B │ 6,5 │ 4,5 │ 11,6 │ 4 │ 0,9 │ 0,9 │ 1,8 │
├───────────┼────────┼────────┼────────┼───────┼────────┼────────┼────────┤
│ G 1/4 B │ 7,5 │ 6,0 │ 15,2 │ 6 │ 1,3 │ 1,3 │ 2,6 │
├───────────┼────────┼────────┼────────┼───────┼────────┼────────┼────────┤
│ G 3/8 B │ 9,0 │ 7,0 │ 19,1 │ 9 │ 1,3 │ 1,3 │ 2,6 │
├───────────┼────────┼────────┼────────┼───────┼────────┼────────┼────────┤
│ G 1/2 B │ 8,5 │ 7,0 │ 23,8 │ 10 │ 1,8 │ 1,8 │ 3,6 │
├───────────┼────────┼────────┼────────┼───────┼────────┼────────┼────────┤
│ G 3/4 B │ 10,0 │ 8,5 │ 29,3 │ 18 │ 1,8 │ 1,8 │ 3,6 │
├───────────┼────────┼────────┼────────┼───────┼────────┼────────┼────────┤
│ G 1 B │ 11,0 │ 9,5 │ 36,3 │ 23 │ 2,3 │ 2,3 │ 4,6 │
├───────────┼────────┼────────┼────────┼───────┼────────┼────────┼────────┤
│ G 1 1/4 B │ 12,5 │ 11,0 │ 45,6 │ 29 │ 2,3 │ 2,3 │ 4,6 │
├───────────┼────────┼────────┼────────┼───────┼────────┼────────┼────────┤
│ G 1 1/2 B │ 14,0 │ 12,5 │ 51,4 │ 36 │ 2,3 │ 2,3 │ 4,6 │
├───────────┼────────┼────────┼────────┼───────┼────────┼────────┼────────┤
│ G 2 B │ 15,5 │ 14,0 │ 63,7 │ 47 │ 2,3 │ 2,3 │ 4,6 │
├───────────┼────────┼────────┼────────┼───────┼────────┼────────┼────────┤
│ G 2 1/2 B │ 17,5 │ 15,5 │ 80,4 │ 55 │ 2,3 │ 2,3 │ 4,6 │
├───────────┼────────┼────────┼────────┼───────┼────────┼────────┼────────┤
│ G 3 B │ 19,5 │ 17,5 │ 93,7 │ 60 │ 2,3 │ 2,3 │ 4,6 │
├───────────┼────────┼────────┼────────┼───────┼────────┼────────┼────────┤
│ G 4 B │ 21,5 │ 19,5 │ 119,6 │ 75 │ 2,3 │ 2,3 │ 4,6 │
├───────────┴────────┴────────┴────────┴───────┴────────┴────────┴────────┤
│ <1> Допускается для специальных целей увеличение максимальной│
│длины B. │
│ <2> При уплотнении торец X должен быть обработан резанием с│
│минимальным размером C поперек торца. │
└─────────────────────────────────────────────────────────────────────────┘
4.7. Предельное отклонение по диаметру фитингов с резьбовыми концами проверяют при помощи калибров по ГОСТ 2533, ГОСТ 7157 и ГОСТ 24939.
4.8. Момент вращения при уплотнении требуется прикладывать к гайке и на прямой участок трубы.
4.9. Минимальная толщина стенки у резьбовой части фитинга должна соответствовать указанной в таблице 6.
Таблица 6
Минимальная толщина стенки фитинга
В миллиметрах
┌──────────────────┬─────────────────────────────────────────────┐
│Обозначение резьбы│Минимальная толщина стенки фитинга N из меди │
│ │ и медных сплавов │
│ ├──────────────────────┬──────────────────────┤
│ │ деформируемых │ литых │
├──────────────────┼──────────────────────┼──────────────────────┤
│ 1/8 │ 1,0 │ 1,0 │
├──────────────────┼──────────────────────┼──────────────────────┤
│ 1/4 │ 1,0 │ 1,0 │
├──────────────────┼──────────────────────┼──────────────────────┤
│ 3/8 │ 1,1 │ 1,1 │
├──────────────────┼──────────────────────┼──────────────────────┤
│ 1/2 │ 1,2 │ 1,2 │
├──────────────────┼──────────────────────┼──────────────────────┤
│ 3/4 │ 1,4 │ 1,5 │
├──────────────────┼──────────────────────┼──────────────────────┤
│ 1 │ 1,5 │ 1,8 │
├──────────────────┼──────────────────────┼──────────────────────┤
│ 1 1/4 │ 1,6 │ 1,8 │
├──────────────────┼──────────────────────┼──────────────────────┤
│ 1 1/2 │ 1,8 │ 2,0 │
├──────────────────┼──────────────────────┼──────────────────────┤
│ 2 │ 1,9 │ 2,3 │
├──────────────────┼──────────────────────┼──────────────────────┤
│ 2 1/2 │ 2,0 │ 2,4 │
├──────────────────┼──────────────────────┼──────────────────────┤
│ 3 │ 2,3 │ 2,6 │
├──────────────────┼──────────────────────┼──────────────────────┤
│ 4 │ 2,8 │ 2,9 │
└──────────────────┴──────────────────────┴──────────────────────┘
4.10. Минимальное поперечное сечение для фитингов с разными концами не распространяется на другие выходные отверстия.
4.11. Минимальный наружный диаметр торца на фитингах, имеющих уплотняющую фаску, должен соответствовать размеру C, указанному в таблице 5.
4.12. Свободные фланцы и крепеж на фитингах фланцевого типа может быть из черного металла, если другой не указан.
Примечание. Требования к защите от коррозии фланцев и крепежа из черных металлов указывает потребитель.