Главная // Актуальные документы // ГОСТ Р (Государственный стандарт)СПРАВКА
Источник публикации
М.: Стандартинформ, 2016
Примечание к документу
Действие данного документа приостановлено с 14.01.2020 на период до 01.01.2022
Приказом Росстандарта от 14.01.2020 N 2-ст.
Документ
введен в действие с 1 мая 2017 года.
Название документа
"ГОСТ Р 57263-2016/EN 845-1:2013. Национальный стандарт Российской Федерации. Изделия крепежные для каменной кладки. Технические условия"
(утв. и введен в действие Приказом Росстандарта от 16.11.2016 N 1693-ст)
"ГОСТ Р 57263-2016/EN 845-1:2013. Национальный стандарт Российской Федерации. Изделия крепежные для каменной кладки. Технические условия"
(утв. и введен в действие Приказом Росстандарта от 16.11.2016 N 1693-ст)
Утвержден и введен в действие
агентства по техническому
регулированию и метрологии
от 16 ноября 2016 г. N 1693-ст
НАЦИОНАЛЬНЫЙ СТАНДАРТ РОССИЙСКОЙ ФЕДЕРАЦИИ
ИЗДЕЛИЯ КРЕПЕЖНЫЕ ДЛЯ КАМЕННОЙ КЛАДКИ
ТЕХНИЧЕСКИЕ УСЛОВИЯ
Fasteners for masonry. Specifications
(EN 845-1:2013,
Specification for ancillary components for masonry
- Part 1: Wall ties, tension straps, hangers and brackets,
IDT)
ГОСТ Р 57263-2016/EN 845-1:2013
Дата введения
1 мая 2017 года
1 ПОДГОТОВЛЕН структурным подразделением Акционерного общества "Научно-исследовательский центр "Строительство" (АО НИЦ "Строительство"), Центральным научно-исследовательским институтом строительных конструкций им. В.А. Кучеренко (ЦНИИСК им. В.А. Кучеренко), Объединением юридических лиц "Союз производителей композитов" (Союзкомпозит) и Национальным исследовательским Московским государственным строительным университетом (НИУ МГСУ) на основе официального перевода на русский язык немецкоязычной версии указанного в пункте 4 стандарта, который выполнен Федеральным государственным унитарным предприятием "Российский научно-технический центр информации по стандартизации, метрологии и оценке соответствия" (ФГУП "СТАНДАРТИНФОРМ")
2 ВНЕСЕН Техническим комитетом по стандартизации ТК 465 "Строительство"
3 УТВЕРЖДЕН И ВВЕДЕН В ДЕЙСТВИЕ
Приказом Федерального агентства по техническому регулированию и метрологии от 16 ноября 2016 г. N 1693-ст
4 Настоящий стандарт идентичен европейскому стандарту EN 845-1:2013 "Вспомогательные компоненты каменной кладки. Технические условия. Часть 1. Анкерные связи, стяжные ленты, опоры балок и кронштейны" (EN 845-1:2013 "Specification for ancillary components for masonry - Part 1: Wall ties, tension straps, hangers and brackets", IDT).
Наименование настоящего стандарта изменено относительно наименования указанного европейского стандарта для приведения в соответствие с ГОСТ Р 1.5-2012
(пункт 3.5).
При применении настоящего стандарта рекомендуется использовать вместо ссылочных международных и европейских стандартов соответствующие им национальные и межгосударственные стандарты, сведения о которых приведены в дополнительном
приложении ДА
5 ВВЕДЕН ВПЕРВЫЕ
Правила применения настоящего стандарта установлены в
статье 26 Федерального закона от 29 июня 2015 г. N 162-ФЗ "О стандартизации в Российской Федерации". Информация об изменениях к настоящему стандарту публикуется в ежегодном (по состоянию на 1 января текущего года) информационном указателе "Национальные стандарты", а официальный текст изменений и поправок - в ежемесячном информационном указателе "Национальные стандарты". В случае пересмотра (замены) или отмены настоящего стандарта соответствующее уведомление будет опубликовано в ежемесячном информационном указателе "Национальные стандарты". Соответствующая информация, уведомление и тексты размещаются также в информационной системе общего пользования - на официальном сайте Федерального агентства по техническому регулированию и метрологии в сети Интернет (www.gost.ru)
1.1 Настоящий стандарт устанавливает требования к анкерным связям, натяжным скобам, опорным балкам и кронштейнам, предназначенным для соединения наружного и внутреннего слоев многослойной кладки, соединения с другими конструкциями зданий и сооружений (междуэтажными перекрытиями, балками, элементами навесных фасадных систем).
1.2 Стандарт не распространяется на крепежные элементы, используемые:
a) для элементов усиления поврежденных конструкций;
b) навесных панелей, крепящихся либо к железобетонному каркасу (конструкциям), либо непосредственно к кладке;
c) крепления вспомогательных (временных) конструкций (например, строительные леса и люльки, осветительное оборудование и кондиционеры).
Настоящий стандарт распространяется на анкерные крепежные элементы (изделия), выполненные из следующих материалов:
- сталь;
- нержавеющая сталь и алюминий;
- композитный материал.
1.3 Стандарт распространяется на крепежные изделия, предназначенные для использования в конструкциях, эксплуатируемых в средах с различной степенью агрессивного воздействия и пожарной безопасности.
1.4 Стандарт распространяется на крепежные изделия для конструкций зданий, возводимых как в несейсмичных, так и сейсмоопасных регионах Российской Федерации. При использовании в зданиях, строящихся в сейсмоопасных регионах, крепежные изделия, с помощью которых осуществляется соединение строительных элементов, должны пройти динамические испытания.
Следующие документы, цитированные частично или полностью, необходимы для применения данного документа. В случае датированных ссылок действует только указанное издание. В случае недатированных ссылок действует последнее издание в отношении нормативного документа (включая все изменения).
EN 771 (все части), Festlegungen

mauersteine (Технические условия для единиц кладки)
Specification for masonry units
Methods of test for ancillary components for masonry - Part 2: Determination of bond strength of prefabricated bed joint reinforcement in mortar joints
EN 846-3,

Mauerwerk - Teil 3: Bestimmung der

der

in vorgefertigter Lagerfugenbewehrung (Вспомогательные компоненты каменной кладки. Методы испытания. Часть 3. Определение допускаемой нагрузки на срез сварных швов в готовой арматуре для горизонтальных швов кладки)
Methods of tests for ancillary components for masonry - Part 3: Determination of shear load capacity of welds in prefabricated bed joint reinforcement
Methods of test for ancillary components for masonry - Part 4: Determination of load capacity and load-deflection characteristics of straps
EN 846-5,

Mauerwerk - Teil 5: Bestimmung der Zug- und

sowie der Steifigkeit von Mauerankern (Steinpaar-

) [Вспомогательные компоненты каменной кладки. Методы испытания. Часть 5. Определение несущей способности при растяжении и сжатии и характеристик деформации под нагрузкой для анкеров, крепящих каменную кладку (испытание между двумя элементами)]
Methods of test for ancillary components for masonry - Part 5: Determination of tensile and compressive load capacity and load displacement characteristics of wall ties (couplet test)
EN 846-6,

Mauerwerk - Teil 6: Bestimmung der Zug- und

sowie der Steifigkeit von Mauerankern (Einseitige

) [Вспомогательные компоненты каменной кладки. Методы испытания. Часть 6. Определение несущей способности при растяжении и сжатии и характеристик деформации нагрузкой для анкеров, крепящих каменную кладку (испытание с одного конца)]
Methods of test for ancillary components for masonry - Part 6: Determination of tensile and compressive load capacity and load displacement characteristics of wall ties (single end test)
EN 846-7,

Mauerwerk - Teil 7: Bestimmung der

und der Steifigkeit von Mauerverbindern (Steinpaar-

in

) [Вспомогательные компоненты каменной кладки. Методы испытания. Часть 7. Определение несущей способности при сдвиге и характеристик деформации под нагрузкой анкеров, крепящих кладку, стойких к срезу и скольжению (испытание между двумя элементами в растворных швах)]
Methods of test for ancillary components for masonry - Part 7: Determination of shear load capacity and load displacement characteristics of shear ties and slip ties (couplet test for mortar joint connection)
Methods of tests for ancillary components for masonry - Part 8: Determination of load capacity and load-deflection characteristics of joist hangers
EN 846-9,

Mauerwerk - Teil 9: Bestimmung der Biege- und

von

(Вспомогательные компоненты каменной кладки. Методы испытания. Часть 9. Определение прочности на изгиб и на срез перемычек)
Methods of tests for ancillary components for masonry - Part 9: Determination of flexural resistance and shear resistance of lintels
Methods of test for ancillary components for masonry - Part 10: Determination of load capacity and load deflection characteristics of brackets
EN 846-11,

Mauerwerk - Teil 11: Bestimmung der

und der

von

(Вспомогательные компоненты каменной кладки. Методы испытания. Часть 11. Определение размеров и обратного прогиба перемычек)
Methods of test for ancillary components for masonry. Determination of dimensions and bow of lintels
Methods of test for ancillary components for masonry - Part 13: Determination of resistance to impact, abrasion and corrosion of organic coatings
EN 846-14,

Mauerwerk - Teil 14: Bestimmung der Anfangsscherfestigkeit des Verbunds zwischen dem vorgefertigten Teil eines teilweise vorgefertigten, bauseits

Sturzes und dem

dem Sturz befindlichen Mauerwerk (Вспомогательные компоненты каменной кладки. Методы испытания. Часть 14. Определение начальной прочности на срез при сцеплении между перемычкой заводского изготовления, дополняемой на строительной площадке, и опирающейся кладкой)
Methods of test for ancillary components for masonry - Part 14: Determination of the initial shear strength between the prefabricated part of a composite lintel and the masonry above it
EN 998-2, Festlegungen

im Mauerwerksbau - Teil 2:

(Растворы строительные для каменной кладки. Технические условия. Часть 2. Кладочный раствор)
Specification for mortar for masonry - Part 2: Masonry mortar
EN 10020, Begriffsbestimmung

die Enteilung der

(Определение и классификация сталей)
Definition and classification of grades of steel
EN 10029 Warmgewalztes Stahlblech von 3 mm Dicke an -

und Formtoleranzen (Листы стальные горячекатаные толщиной 3 мм и более. Допуски на размеры и форму)
Hot-rolled steel plates 3 mm thick or above - Tolerances on dimensions and shape
EN 10088 (все части), Nichtrostende

(Стали нержавеющие)
Stainless steels
EN 10143, Kontinuierlich schmelztauchveredeltes Blech und Band aus Stahl -

und Formtoleranzen (Листы и полосы стальные с горячим непрерывным металлическим покрытием. Допуски на размеры и форму)
Continuously hot-dip coated steel sheet and strip - Tolerances on dimensions and shape
EN 10244 (все части), Stahldraht und Drahterzeugnisse -

aus Nichteisenmetall auf Stahldraht (Проволока стальная и изделия из нее. Покрытия из цветных металлов)
Steel wire and wire products. Non-ferrous metallic coatings on steel wire
EN 10245-1, Stahldraht und Drahterzeugnisse - Organische Beschichtungen auf Stahldraht - Teil 1: Allgemeine Regeln (Проволока стальная и изделия из нее. Органические покрытия. Часть 1. Общие правила)
Steel wire and wire products - Organic coatings on steel wire - Part 1: General rules
EN 10245-2, Stahldraht und Drahterzeugnisse - Organische Beschichtungen auf Stahldraht - Teil 2: PVC-beschichteter Draht (Проволока стальная и изделия из нее. Органические покрытия. Часть 2. Проволока с поливинилхлоридным покрытием)
Steel wire and wire products - Organic coatings on steel wire - Part 2: PVC finished wire
EN 10245-3, Stahldraht und Drahterzeugnisse - Organische Beschichtungen auf Draht - Teil 3: PE-beschichteter Draht (Проволока стальная и изделия из нее. Органические покрытия. Часть 3. Проволока с полиэтиленовым покрытием)
Steel wire and wire products - Organic coatings on wire - Part 3: PE coated wire
EN 10346, Kontinuierlich schmelztauchveredelte Flacherzeugnisse aus Stahl - Technische Lieferbedingungen (Прокат плоский стальной с непрерывным покрытием, нанесенным методом погружения в расплав. Технические условия поставки)
Continuously hot-dip coated steel flat products - Technical delivery conditions
EN ISO 75 (все части), Kunststoffe - Bestimmung der

(Пластмассы. Определение температуры прогиба под нагрузкой)
Plastics - Determination of temperature of deflection under load
EN ISO 178, Kunststoffe - Bestimmung der Biegeeigenschaften (Пластмассы. Определение свойств при изгибе)
Plastics - Determination of flexural properties
EN ISO 180:2000, Kunststoffe - Bestimmung der Izod-

(Пластмассы. Определение ударной вязкости по Изоду)
Plastics - Determination of Izod impact strength
EN ISO 306, Kunststoffe - Thermoplaste - Bestimmung der Vicat-Erweichungstemperatu (VST) (ISO 306) [Пластмассы. Термопластичные материалы. Определение точки размягчения по Вика (VST) (ISO 306)]
Plastics - Thermoplastic materials - Determination of Vicat softening temperature (VST) (ISO 306)
EN ISO 527 (все части), Kunststoffe - Bestimmung der Zugeigenschaften (Пластмассы. Определение механических свойств при растяжении)
Plastics - Determination of tensile properties
EN ISO 1133 (все части), Kunststoffe - Bestimmung der Schmelze-

(MVR) und Schmelze-

(MFR) von Thermoplasten [Пластмассы. Определение индекса текучести расплава термопластов по массе (MFR) и по объему (MVR)]
Plastics - Determination of the melt mass-flow rate (MFR) and the melt volume-flow rate (MVR) of thermoplastics
EN ISO 1461, Durch Feuerverzinken auf Stahl aufgebrachte

- Anforderungen und

(ISO 1461) [Покрытия, нанесенные методом горячего цинкования на изделиях из чугуна и стали. Технические условия и методы испытаний (ISO 1461)]
Hot dip galvanized coatings on fabricated iron and steel articles - Specifications and test methods (ISO 1461)
EN ISO 1463, Metall- und Oxidschichten - Schichtdickenmessung - Mikroskopisches Verfahren (Покрытия металлические и оксидные. Измерение толщины покрытия. Микроскопический метод)
Metallic and oxide coatings - Measurement of coating thickness - Microscopical method
EN ISO 2039-2, Kunststoffe - Bestimmung der

- Teil 2:

(Пластмассы. Определение твердости. Часть 2. Твердость по Роквеллу)
Plastics - Determination of hardness - Part 2: Rockwell hardness
ISO 427, Kupfer-Zinn Knetlegierungen; chemische Zusammensetrung und Formen von Kneterzeugnissen (Сплавы медно-оловянные деформируемые. Химический состав и формы деформированных изделий)
Wrought copper-tin alloys; Chemical composition and forms of wrought products
ISO 428, Kupfer-Aluminium Knetlegierungen; chemische Zusammensetrung und Formen von Kneterzeugnissen (Сплавы медно-алюминиевые деформируемые. Химический состав и формы деформированных изделий)
Wrought copper-aluminium alloys; Chemical composition and forms of wrought products
ISO 431, Formen des Raffinade Kupfers (Профили медные рафинированные)
Copper refinery shapes
ISO 1183 (все части), Kunststoffe - Verfahren zur Bestimmung der Dichte von nicht

Kunststoffen (Пластмассы. Методы определения плотности непористых пластмасс)
Plastics - Methods for determining the density of non-cellular plastics
В настоящем стандарте применены следующие термины с соответствующими определениями:
3.1 асимметричная анкерная связь (asymmetric anchor link
<*>, asymmetrischer Maueranker
<**>): 1) Анкерная связь для каменной кладки, зоны анкеровки (или заделываемые концы) которой имеют различную конструкцию. Поперечное сечение средней части может быть симметричным или асимметричным; 2) Анкерная связь для каменной кладки, зоны анкеровки (или заделываемые концы) которой имеют одинаковую конструкцию, но зажимаются различными способами. Для целей испытания такой анкер также определяется как асимметричный.
3.2 кронштейн (bracket <*>, Konsole <**>): Закрепляемое на несущих строительных элементах приспособление, которое состоит из одной опоры на два смежных строительных блока, образующих часть стены из каменной кладки.
--------------------------------
3.3 гибкая анкерная связь (flexible anchor link
<*>, Luftschichtanker
<**>): Приспособление для соединения одной каменной оболочки с другой через зазор между ними или каменной оболочки с рамной конструкцией, которое может воспринимать усилия растяжения и сжатия при одновременной незначительной разности перемещений в плоскости стены.
Примечание - Помимо этого анкерные связи подразделяют на асимметричные и симметричные, горизонтальные, анкерные связи для разновысоких швов, анкерные связи для разности перемещений в плоскости стены.
3.4 зазор между оболочками (the gap between the shells
<*>, Schalenabstand
<**>): Измеряемое перпендикулярно к плоскости стены расстояние между поверхностями каменных оболочек двухоболочковой стены, обращенных к промежутку между ними.
3.5 декларируемое значение (the declared value
<*>, Deklarierter wert
<**>): Значение характеристики продукта, определенное согласно данному стандарту, о надежном соблюдении которого с учетом точности испытаний и отклонений в процессе производства заявляет производитель.
3.6 минимальная длина зоны анкеровки (the minimum length of the anchor zone
<*>,
<**>): Минимальная длина части анкерной связи или опоры для балки, предусмотренная для заложения в раствор, требуемая для достижения декларируемого значения.
Примечание - Предназначенная для заделки в стену длина должна быть больше минимальной длины, указанной производителем, чтобы на месте установки было возможно скомпенсировать отклонения размеров.
3.7 крепежный элемент (fastener
<*>, Befestigungsmittel
<**>): Приспособление (например, гвоздь, винт, шуруп, дюбель, анкер или болт), используемое для соединения вспомогательных строительных элементов с каменной кладкой или с несущими конструкциями для восприятия усилий растяжения или сдвига.
3.8 горизонтальная анкерная связь (horizontal anchor link
<*>, horizontaler maueranker
<**>): Гибкая анкерная связь, вмонтированная приблизительно горизонтально в плоскость шва и проходящая через зазор между оболочками.
3.9 опора балки (для крепления к плоскости) [beam support (for attachment to the plane)
<*>, Balkenauflager (

eine

Befestigung)
<**>]: Приспособление для крепления и создания опоры бруса, балки, фермы или стропила на стене из каменной кладки с помощью крепежных болтов или винтов.
3.10 опора балки (для заделки в растворный шов) [support beams (to be embedded in the mortar joint)
<*>, Balkenauflager (

den Einban in

)
<**>]: Приспособление для крепления и создания бруса, балки, фермы или стропила на стене из каменной кладки, при котором нагрузка передается непосредственно через фланец, заделанный в растворный шов.
3.11 несущая способность (bearing capacity
<*>,
<**>): Единичное значение предельной разрушающей нагрузки или нагрузки при предельном значении смещения, определенное путем соответствующего испытания, причем решающим является меньшее значение.
3.12 несущая способность при растяжении (bearing capacity tensile
<*>, tragkraft beim dehnen
<**>): Среднее значение несущей способности анкерных связей, испытываемых при нагружении растяжением.
3.13 несущая способность при сжатии (bearing capacity under compression
<*>,
<**>): Среднее значение несущей способности анкерных связей, испытываемых при нагружении сжатием.
3.14 несущая способность при сдвиге (bearing capacity shear
<*>,
<**>): Среднее значение несущей способности анкерных связей, испытываемых при нагружении сдвигом.
3.15 несущая способность при вертикальной нагрузке (bearing capacity under vertical load
<*>,

bei vertikaler belastung
<**>): Среднее значение несущей способности опор балок/кронштейнов во время испытания.
3.16 гибкая анкерная связь для разности перемещений между каменными оболочками (flexible anchor link for the difference of displacements between the stone shells
<*>, Luftschichtanker

Bewegungsunterschiede zwischen den Mauerschalen
<**>): Гибкая анкерная связь для двухоболочковой каменной кладки, рассчитанная на то, чтобы допускать большие разности перемещений оболочек кладки в их плоскостях без создания высоких напряжений среза; это достигается благодаря использованию гибких материалов, сквозных вставных анкерных систем, шарниров или других вспомогательных средств.
3.17 высота профиля (profile height <*>,

<**>): Наибольшая общая высота (расстояние между верхней и нижней поверхностью, измеренное перпендикулярно к длине и ширине шва) зоны анкеровки анкерной связи, стяжной ленты или опоры балки.
--------------------------------
3.18 анкер, работающий на сдвиг (anchor, working on shear
<*>; Schubanker
<**>): Анкерная связь, предусмотренная для восприятия усилий сдвига, растяжения и сжатия между двумя смежными участками каменной кладки или между кладкой и рамной конструкцией.
Примечание - Анкеры, работающие на сдвиг, подразделяют на симметричные и асимметричные.
3.19 скользящий анкер (стандартное исполнение) [sliding anchor (standard version)
<*>, Gleitanker

]: Анкер, предусмотренный исключительно для восприятия усилий среза между двумя смежными участками каменной кладки или между кладкой и рамной конструкцией, при этом возможны смещения в продольном направлении анкера.
3.20 гибкая анкерная связь для разновысоких швов (flexible anchor connection for the uneven seams
<*>, Anker

unterschiedliche

der Fugen
<**>): Гибкая анкерная связь, которая должна надежно функционировать при значительном наклоне анкера относительно горизонтали.
3.21 вставной анкер (plug-in anchor
<*>, Einschubanker
<**>): Анкерная связь, один конец которой с помощью клинообразного гребня (например, типа "ласточкин хвост") вставляется в паз, вмонтированный в бетонную стену или закрепленный на поверхности бетонной, стальной или кирпичной стены или рамной конструкции. Этот вставной конец анкера или только во время его установки (для выравнивания), или как во время установки, так и во время функционирования может свободно скользить в пазу (для выравнивания разности перемещений).
3.22 симметричная анкерная связь (symmetrical anchor link
<*>, symmetrischer Anker
<**>): Анкерная связь, зоны анкеровки (или заделываемые концы) которой имеют одинаковую конструкцию и заделываются идентичным способом.
Примечание - Поперечное сечение средней части анкера может быть симметричным или асимметричным.
3.23 стяжная лента (tension band
<*>, Zugband
<**>): Приспособление для соединения стен из каменной кладки со смежными строительными элементами, например с междуэтажными перекрытиями или крышами, которое воспринимает усилия растяжения.
3.24 анкерная связь (anchor link <*>, Maueranker <**>): Приспособление для передачи нагрузок между оболочками каменной кладки или между каменной кладкой и другими конструкциями, предназначенное для ограничения их относительного перемещения только в одной плоскости или в нескольких плоскостях, в зависимости от требований.
--------------------------------
4. Требования к материалам крепежных изделий
4.1 Общие положения
4.1.1 Материалы для изготовления крепежных изделий следует принимать по
приложению B.
4.1.2 В паспорте на крепежное изделие производитель должен указывать краткое обозначение, комбинируя наименования материала и покрытия.
4.1.3 Материалы, из которых состоит крепежное изделие, должны быть совместимы и не образовывать гальванической пары.
4.2 Крепежные изделия
4.2.1 В паспорте на крепежное изделие должны быть указаны комбинации каменных изделий и растворных смесей, соответствующие декларируемым значениям поставляемого изделия.
4.2.2 Если производителем крепежных изделий не установлены параметры кладки, указанные в 4.2.1, то необходимо проведение соответствующих испытаний с использованием кладочных материалов с нормируемой прочностью: R1 <= 5 Н/мм2 - для каменных материалов и R2 <= 1,0 Н/мм2 - для раствора.
4.2.3 Материалы, из которых изготовлены крепежные изделия, а также материалы строительных конструкций не должны образовывать гальваническую пару.
5. Технические требования к крепежным изделиям
5.1 Общие положения
5.1.1 Требования к крепежным изделиям и их характеристики, установленные в настоящем стандарте, подлежат контролю испытаниями с учетом требований соответствующих нормативных документов.
5.1.2 Крепежные изделия следует изготовлять по технологической документации, утвержденной в установленном порядке.
5.2 Конструктивные требования к крепежным изделиям
5.2.1 Анкерные связи
5.2.1.1 Проектная глубина заложения анкерных связей должна соответствовать требованиям проекта и быть не менее 40 мм.
5.2.1.2 Общая длина анкеров может отклоняться от декларируемого значения не более чем на 2,5%.
5.2.1.3 Для каждого конца анкерной связи следует указывать проектную длину зоны анкеровки в каждый из слоев конструкции с указаниями по их закреплению и диапазон зазора между слоями многослойной кладки. Кроме того, следует указать наименьшую толщину шва кладки, для которой пригодно крепежное изделие.
5.2.2 Натяжные скобы
5.2.2.1 В документации на натяжные скобы следует указывать массу каждой части скобы, а также число, размеры и расположение крепежных изделий по площади строительного элемента, к которому они крепятся.
5.2.2.2 Допускается отклонение геометрических параметров натяжных скоб от декларируемых значений не более чем на +/- 5% или 3 мм (решающим является наименьшее значение).
5.2.3 Опоры балок
5.2.3.1 Минимальная длина зоны анкеровки опор балок (для заделки в швы кладки) должна составлять не менее 50 мм. Длина в свету фланца для опирания балок (всех видов) - не менее 75 мм.
5.2.3.2 При отборе образцов крепежных изделий допускается отклонение измеренных размеров от декларируемых значений не более чем на +/- 5% или 3 мм (решающим является меньшее значение) для указанных ниже параметров:
- длина в свету фланца на каменной кладке;
- длина в свету фланца для опирания балки;
- вертикальное расстояние между несущей поверхностью фланца на кладке и несущей поверхностью фланца для опирания балки (относится только к опорам балок, заделываемых в швы кладки);
- ширина балки, для которой предусмотрена опора.
5.2.4 Стяжные ленты
5.2.4.1 В паспорте на стяжные ленты должны быть указаны размеры и положения крепежных изделий на кладке.
5.2.4.2 Допускается отклонение размеров стяжных лент от декларируемых значений не более чем на +/- 5% или на 3 мм. Решающим является наименьшее значение.
5.2.5 Кронштейны
5.2.5.1 В проектном решении кронштейна следует указывать общую длину L, считая от поверхности крепления до наружного конца опорного фланца. При отборе проб допускается отклонение измеренного значения L от декларируемого значения не более чем на +/- 5% или 3 мм, причем решающим является меньшее значение.
5.2.5.2 В качестве расчетной несущей способности кронштейна следует принимать минимальные значения несущей способности одного из элементов кронштейна либо зоны его крепления к каменной кладки.
5.2.5.3 Несущая способность каждого элемента кронштейна, в том числе зоны опирания на каменную кладку, определенная по результатам его испытания на действие вертикальной нагрузки, должна быть не менее 90% декларируемого значения.
5.3 Требования к механической прочности крепежных изделий
5.3.1 Механическая прочность анкерных связей для разновысоких швов должна соответствовать декларируемым значениям. При этом для гибких анкерных связей механическую прочность определяют при наибольшем смещении одного конца связи относительно другого.
5.3.2 Несущая способность анкерной связи может иметь несколько декларируемых значений в зависимости от способа крепления в стеновую конструкцию.
5.3.3 В протоколе испытаний анкерной связи следует указывать вид отказа крепления анкерной связи в каменную кладку (отказ крепежного изделия или отказ материала, в который установлена анкерная связь).
5.3.4 Несущая способность на вырыв каждого испытуемого образца анкерной связи должна быть не менее 70% декларируемого значения.
5.3.5 При использовании асимметричных анкеров, концы которых испытывают независимо друг от друга, определяющей является несущая способность при растяжении более слабого конца.
5.3.6 Среднее значение несущей способности группы анкерных связей при сжатии должно быть не меньше декларируемого значения. При этом несущая способность отдельно испытываемого образца должна быть не менее 70% декларируемого значения.
5.3.7 Предельное смещение каждой отдельной анкерной связи определяют при нагрузке, составляющей одну треть декларируемого значения несущей способности анкерной связи при растяжении или сжатии.
5.3.8 Несущая способность при растяжении, сжатии или сдвиге каждого отдельно испытываемого анкера, работающего на сдвиг, должна быть не менее 70% декларируемого значения.
5.3.9 При использовании скользящих анкеров необходимо указывать в паспортных данных их несущую способность при сдвиге. При этом несущая способность каждого отдельно испытываемого образца должна быть не менее 70% декларируемого значения.
5.3.10 При декларировании величины несущей способности крепежных изделий в виде опор балок за расчетное значение принимают минимальное значение несущей способности части опоры (либо зоны крепления опоры, либо опорной части).
5.4 Обозначение и требования к материалам и конструкциям крепежных изделий
Таблица 5.1
| | ИС МЕГАНОРМ: примечание. Сноски в таблице даны в соответствии с официальным текстом документа. | |
| | ИС МЕГАНОРМ: примечание. В официальном тексте документа, видимо, допущена опечатка: таблица A.1 отсутствует. | |
Требуемые данные | Гибкая анкерная связь | Анкеры, работающие на сдвиг | Скользящие анкеры | Стяжные ленты | Опоры балок | Кронштейны |
1 Требования к материалу и покрытию по таблице A.1, а также указание марки стали для продуктов соответствующих типов | + | + | + | + | + | + |
| + | + | + | + | + | + |
3 Указанная минимальная длина зоны анкеровки | + | + | + | - | + | - |
4 Декларируемое значение несущей способности при растяжении и вид отказа | + | + | - | + | - | - |
5 Декларируемое значение несущей способности при сжатии и вид отказа | + | + | - | - | - | - |
6 Декларируемое значение несущей способности при сдвиге и вид отказа | - | + | + | - | - | - |
7 Декларируемое значение несущей способности при вертикальной нагрузке и вид отказа | - | - | - | - | + | + |
8 Декларируемое значение среднего смещения/средней деформации | + | + | + | + | + | + |
9 Указание о симметричном или асимметричном исполнении строительного элемента | + | + | + | + | - | - |
10 Указание, используется ли элемент для разновысоких швов, и если да, указание наибольшей и наименьшей разности высоты между наружной и внутренней оболочками, для которых этот элемент применяется | + | - | - | - | - | - |
11 Указание, используется ли элемент для разности перемещений между двумя оболочками каменной кладки, включая наибольшие допустимые пределы перемещений | + | - | - | - | - | - |
12 Указание о том, предотвращает ли строительный элемент передачу воды через зазор между оболочками | + | - | - | - | - | - |
13 Правила использования, включая ограничительные требования к несущей способности на сжатие, данные о типе строительных блоков и раствора, а также о типе, размерах, числе и расположении крепежных элементов и об особых инструкциях по сборке и установке | + | + | + | + | + | + |
14 Данные по идентификации продукта (см. раздел 7) | + | + | + | + | + | + |
15 Наименьшая толщина шва кладки, для которой пригоден строительный элемент (если применимо) | + | + | + | + | + | + |
16 Требования ко всем крепежным элементам, которые не поставляются производителем и не упаковываются вместе с продуктом | + | + | + | + | + | + |
<a> К дополнительным данным могут относиться параметры звукоизоляции, теплотехнические показатели и инструкции по безопасности при установке. Примечание - "+" - требуется указание данных; "-" - указание данных не требуется. |
6.1 На продукте или на упаковке, в накладной, счете-фактуре или в сопроводительных документах необходимо отчетливым и несмываемым способом наносить маркировку, содержащую следующие данные:
a) обозначение и год издания настоящего стандарта;
b) название или логотип, а также юридический адрес производителя или его уполномоченного представителя;
c) однозначный идентификационный номер, обозначение или код, с помощью которого продукт может быть идентифицирован и который подразумевает его описание и обозначение.
7.1 Общие положения
7.1.1 Соответствие крепежных изделий требованиям настоящего стандарта и декларируемым значениям должно быть подтверждено посредством:
- первичного контроля и испытаний изделия;
- заводского производственного контроля.
7.1.2 Вместо эталонных методов испытаний, установленных настоящим стандартом, допускается применять альтернативные методы, за исключением первичных испытаний и спорных случаев, при условии, что альтернативные методы испытаний будут отвечать следующим требованиям:
- между результатами эталонных методов испытаний, с одной стороны, и альтернативными методами испытаний, с другой стороны, может быть подтверждено соответствие;
- данные, на которых основывается соответствие, доступны.
7.2 Первичный контроль и испытания
7.2.1 После завершения разработки нового типа изделий и до начала его производства и реализации должны быть проведены соответствующие первичные испытания в целях подтверждения того, что достигнутые свойства изделия отвечают требованиям настоящего стандарта и значениям, декларируемым разработчиком.
7.2.2 В случае изменения исходных материалов или технологии производства соответствующие первичные испытания и контроль повторяют.
7.2.3 По результатам установленных настоящим стандартом испытаний должны быть подтверждены характеристики крепежного изделия, которые выбирают с учетом предусмотренной проектом цели применения данного изделия из указанных ниже данных:
b) размеры и допустимые отклонения;
c) несущая способность при растяжении;
d) несущая способность при сжатии;
e) несущая способность при сдвиге;
f) несущая способность при приложении вертикальной нагрузки в соответствии с типом изделия;
g) смещения (деформации) на 1 или 2 мм при нагрузке, составляющей 1/3 среднего значения несущей способности.
7.2.4 Результаты первичного контроля необходимо запротоколировать.
7.2.5 Если для оценки несущей способности изделия при первичном контроле используют расчетные модели, то для составления расчетной модели должны быть учтены следующие позиции:
- если опытные данные отсутствуют, то программа испытаний, положенная в основу расчетной модели, должна обеспечивать соответствие между принятой статической схемой и реальной конструкцией;
- если крепежное изделие имеет такое же исполнение и такие же характеристики, что и крепежное изделие, изготовленное другим производителем, и для него имеется расчетная модель, то данную расчетную модель допускается использовать по согласованию со сторонами - участниками первичного контроля.
7.3 Внутризаводской производственный контроль
7.3.1 Общие положения
7.3.1.1 Производитель изделия должен создать систему заводского производственного контроля с соответствующим документооборотом, чтобы обеспечить соответствие крепежных изделий, поставляемых на рынок, требованиям настоящего стандарта и декларируемым значениям.
7.3.1.2 Система заводского производственного контроля должна состоять исключительно из методов, ориентированных на процессы, относящиеся к конечному продукту.
7.3.1.3 Система заводского производственного контроля должна описывать методы: контроля продукции; проверки, проводимой производителем; испытаний продукции.
7.3.1.4 Производитель должен документально оформить все меры, принятые в случае несоответствия контролируемого параметра установленным в настоящем стандарте значениям.
7.3.1.5 Все используемое оборудование для взвешивания, измерений и испытаний, которое может повлиять на декларируемые значения, должно проходить регулярные поверку и калибровку.
7.3.1.6 Если система заводского производственного контроля включает в себя методы контроля процессов, то все средства производства, которые являются частью этих методов, должны проходить регулярную проверку.
7.3.1.7 Система заводского контроля должна включать в себя план отбора образцов и установление периодичности испытаний конечного продукта. Результаты отбора образцов и периодичность испытаний необходимо запротоколировать.
7.3.1.8 В таблице 7.1 приведено минимальное значение числа образцов для проведения единичных испытаний.
Таблица 7.1
Отбор проб. Число испытуемых образцов
| Минимальное число для единичного испытания |
Анкерные связи для соединения двух оболочек двухоболочковой каменной кладки или для соединения облицовки с рамой | |
Анкеры, работающие на сдвиг | |
Скользящие анкеры | |
Опоры балок | 5 |
Кронштейны | 5 |
Стяжные ленты | 5 для каждого конца |
<a> Для испытаний органических покрытий см. требования к отбору образцов, установленные в ЕН 846-13. <b> Число удваивают, если оба конца асимметричных анкеров испытывают по отдельности. |
7.3.1.9 При первичном контроле и испытаниях объем партии, из которой отбирают образцы, должен не менее чем в 100 раз превышать число образцов, отбираемых для единичных испытаний.
7.3.1.10 При необходимости проверки соответствия партии или всего объема изделий, поставленного на строительную площадку или смонтированного на строительном объекте, пробные образцы отбирают из партии или всего объема поставки выборочным способом. Число выборочных проб должно быть не менее числа, указанного в
таблице 7.1.
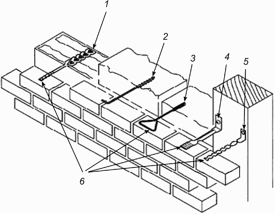
(справочное)
КОНСТРУКТИВНЫЕ РЕШЕНИЯ КРЕПЕЖНЫХ ИЗДЕЛИЙ
И ИХ РАСПОЛОЖЕНИЕ В КЛАДКЕ
Примечание - В целях большей наглядности на рисунке не показана теплоизоляция.
1 - заделка заднего конца в шве из раствора, укладываемого
тонким слоем; 2 - винтовое крепление; 3 - крепление
с помощью дюбелей (раствор на основе синтетических смол);
4 - анкерная связь, привинченная к деревянной раме шурупом;
5 - анкерная связь, прибитая к деревянной раме гвоздем;
6 - заделка переднего конца в растворе
Рисунок A.1 - Асимметричная анкерная связь
Примечание - В целях большей наглядности на рисунке не изображена теплоизоляция.
1 - фасонный пластинчатый анкер, закрепленный передним
концом в кладочном растворе и задним - в шве кладки
из раствора, укладываемого тонким слоем; 2 - спиральный
анкер, закрепленный передним концом в кладочном растворе
и задним концом в строительный блок
Рисунок A.2 - Симметричный стеновой анкер
1 - высота профиля; 2 - толщина шва кладки; 3 - блоки,
образующие наружную оболочку; 4 - зона анкеровки;
5 - зазор между оболочками; 6 - слезник; 7 - держатель
для термоизоляции; 8 - толщина термоизоляции;
9 - термоизоляция; 10 - материал внутренней
оболочки, например, древесина; 11 - диаметр
проволоки или толщина пластинки
Рисунок A.3 - Гибкая анкерная связь
a) Выравнивание опорных поверхностей
с помощью рифленых пластинок и подложки
b) Выравнивание опорных поверхностей
с помощью болтов и подложки
d) Зубчатый держатель, выравниваемый
с помощью подвижного вставного уголка
d) Выравнивание опорной поверхности
с помощью кулачковой пластины
Рисунок A.4 - Конструкции кронштейнов
Примечание - В целях большей наглядности на рисунке не изображена теплоизоляция.
1 - анкерные пластины (из тонколистового металла);
2 - резьбовой (спиральный) анкер; 3 - анкерные пластины
(из толстолистового металла); 4 - проволочные анкеры
Рисунок A.5 - Виды симметричных анкерных связей
Примечание - В целях большей наглядности на рисунке не показана теплоизоляция.
1 - монтаж с благоприятным наклоном анкера;
2 - монтаж на одной высоте; 3 - монтаж
с неблагоприятным наклоном анкера
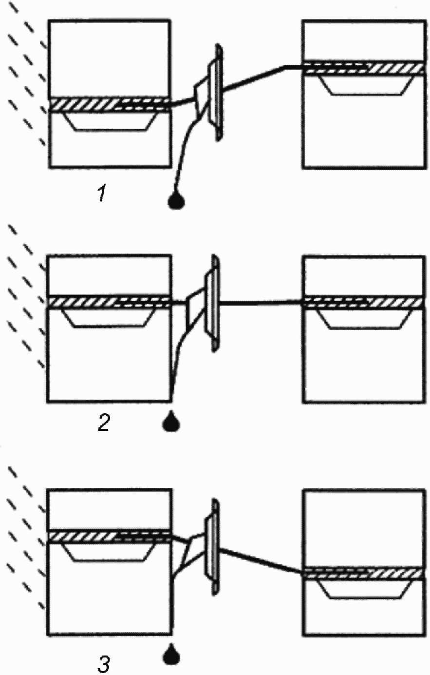
Рисунок A.6 - Гибкие анкерные связи для разновысоких швов
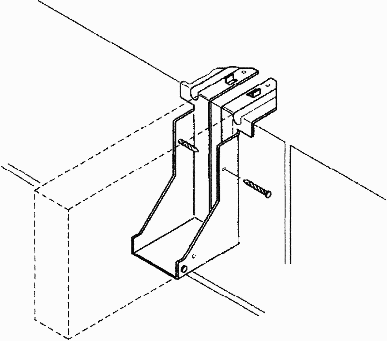
Рисунок A.7 - Конструкция кронштейнов под опорой балок
(для плоскостного закрепления)
Рисунок A.8 - Конструкция кронштейна под опорой балки
(для установки в швы кладки)
Примечание - В целях большей наглядности на рисунке не показана теплоизоляция.
1 - анкерная связь с универсальным шарниром;
2 - анкер в элементе скольжения
Рисунок A.9 - Конструкции гибкой анкерной связи
для многослойной стены из различных материалов
Примечание - В целях большей наглядности на рисунке не показана теплоизоляция.
1 - торцовый паз; 2 - анкерная шина с элементом скольжения
в пазу; 3 - клиновидный паз; 4 - паз "ласточкин хвост"
Рисунок A.10 - Конструкции вставных анкеров
Примечание - В целях большей наглядности на рисунке не изображена теплоизоляция.
1 - симметричный анкер с раздвоенными концами;
2 - асимметричный Т-образный анкер
Рисунок A.11 - Конструкции анкеров, работающих на сдвиг
1 - асимметричный скользящий анкер с креплением;
2 - симметричный скользящий анкер; 3 - асимметричный
скользящий анкер с раздвоенным концом
Рисунок A.12 - Конструкции скользящих анкеров,
устанавливаемых в зонах деформационных швов
Примечание - В целях большей наглядности на рисунке не изображена теплоизоляция.
1 - торцовое анкерное крепление облицовочной оболочки
Рисунок A.13 - Конструкция анкера для крепления
облицовочного слоя к несущим конструкциям
Примечание - В целях большей наглядности на рисунке не изображена теплоизоляция.
1 - анкерное крепление двухоболочковой
каменной кладки к потолку
Рисунок A.14 - Конструкции скользящих анкеров для крепления
многослойной стены к железобетонной плите перекрытия
Примечание - В целях большей наглядности на рисунке не изображена теплоизоляция.
1 - изогнутая скоба, используемая в горизонтальном
положении, для скрепления междуэтажного
перекрытия со стеной
Рисунок A.15 - Конструкция анкера
в виде изогнутой скобы для крепления
внутреннего слоя многослойной стены к перекрытию
1 - изогнутая лента, используемая в вертикальном положении
для крепления крыши; 2 - мауэрлатный брус
Рисунок A.16 - Конструкция анкера в виде
изогнутой скобы для крепления парапетного
элемента стены (мауэрлатный брус) к кладке
1 - лента для анкерного крепления крыши к стене
Рисунок A.17 - Конструкция анкера в виде натяжной скобы
для крепления элементов крыши к кирпичной кладке
(обязательное)
МАТЕРИАЛЫ И ЗАЩИТНЫЕ ПОКРЫТИЯ
Таблица B.1
Материалы и системы защиты от коррозии
Материал | Требования для материала <a> | Требования для покрытия | Толщина органического покрытия <e>, мкм | Краткое обозначение материала/покрытия |
Масса <b> для одной стороны, г/м 2 | Масса <c> для двух сторон, г/м 2 | |
Аустенитная нержавеющая сталь (сплав, содержащий молибден, хром и никель) | ЕН 10088 | - | - | - | - | 1 |
| | ИС МЕГАНОРМ: примечание. В официальном тексте документа, видимо, допущена опечатка: таблица A.3 отсутствует. | |
|
Пластмассы для корпуса анкера | Полипропилен по таблице A.3 | - | - | - | - | 2 |
Аустенитная нержавеющая сталь (хромоникелевый сплав) | ЕН 10088 | - | - | - | - | 3 |
Ферритная нержавеющая сталь | ЕН 10088 | - | - | - | - | 4 |
Фосфористая бронза | ИСО 427: CuSn4, CuSn5, CuSn7 | - | - | - | - | 5 |
Алюминиевая бронза | ИСО 428: CuAl17 | - | - | - | - | 6 |
Медь | ИСО 431: марки Cu-ETP, Cu-FRTP, Cu-OF, Cu-DHP | - | - | - | - | 7 |
Оцинкованная стальная проволока | ЕН 10020, с цинковым покрытием по ЕН 10244 | 940 | - | - | - | 8 |
Оцинкованный стальной строительный элемент | ИСО 1461, оцинкованная сталь | 940 | - | 130 | - | 10 |
710 | - | 100 | - | 10 |
460 | - | 65 | - | 11 |
Оцинкованная стальная полоса или оцинкованный стальной лист с органическим покрытием на всех наружных поверхностях начисто обработанного вспомогательного строительного элемента | ЕН 10327/ЕН 10326: предварительное цинкование, органическое покрытие типа 1 | - | 600 | 42 | 25 | 12.1 |
ЕН 10327/ЕН 10326: предварительное цинкование, органическое покрытие типа 2 | - | 600 | 42 | | 12.2 |
Оцинкованная стальная проволока | ЕН 10020 с цинковым покрытием по ЕН 10244 | 265 | - | - | - | 13 |
Оцинкованная стальная полоса или оцинкованный стальной лист с органическим покрытием на всех режущих кромках | ЕН 10327/ЕН 10326: предварительное цинкование, органическое покрытие типа 1 | - | 600 | 42 | 25 | 14 |
Предварительно оцинкованная стальная полоса или предварительно оцинкованный стальной лист | ЕН 10327/ЕН 10326: предварительное цинкование | - | 600 | 42 | - | 15 |
Оцинкованная стальная полоса или оцинкованный стальной лист с органическим покрытием на всех наружных поверхностях начисто обработанного вспомогательного строительного элемента | ЕН 10327/ЕН 10326: предварительное цинкование, органическое покрытие типа 1 | - | 275 | 19 | 25 | 16.1 |
ЕН 10327/ЕН 10326: предварительное цинкование, органическое покрытие типа 2 | - | 275 | 19 | | 16.2 |
Предварительно оцинкованная стальная полоса с оцинкованными краями | ЕН 10327/ЕН 10326: предварительное цинкование | - | 275 | 19 | - | 17 |
Оцинкованная стальная проволока с органическим покрытием на всех наружных поверхностях начисто обработанного вспомогательного строительного элемента | ЕН 10020 с цинковым покрытием по ЕН 10244 и органическим покрытием по ЕН 10245-1, ЕН 10245-2, класс 2a или 2b, ЕН 10245-3, тип III | 60 | - | - | Наименьшее значение: 80. Среднее значение: 100 | 18 |
Оцинкованная стальная проволока | ЕН 10020, с цинковым покрытием по ЕН 10244 | 105 | - | - | - | 19 |
65 | - | - | - | 20 |
Предварительно оцинкованный стальной лист | ЕН 10327/ЕН 10326: оцинкованная сталь | - | 275 | 19 | - | 21 |
<a> Если не установлено иное, допускается выбор подходящего сорта стали, отвечающего требованиям ЕН 10020 к оцинкованным изделиям. <b> Масса покрытия означает массу цинка; она указана для одной стороны проволоки и для нанесенных позднее покрытий. <c> Масса покрытия означает массу цинка; ее указывают для двух сторон предварительно оцинкованных пластинчатых продуктов. Среднее значение для одной стороны равно 50% значения для двух сторон, однако это не означает, что покрытие распределено равномерно. <d> Толщина покрытия - минимальная толщина защитного металлического покрытия на всех поверхностях продукта или нанесенного позднее цинкового покрытия продукта, не являющихся поверхностями поперечного сечения. <e> Число указывают в целях однозначного обозначения материала; оно не позволяет судить о сравнительных эксплуатационных и качественных показателях. <f> Для органических покрытий типа 2 установлены требования не к толщине, а к функционированию покрытий. |
Таблица B.2
Органические защитные покрытия
для оцинкованных металлических продуктов
Тип органического покрытия | Описание |
1 | Битуминозная растворимая краска с толщиной сухого слоя не менее 25 мкм или "упаковка" из химически устойчивой краски прочного сцепления с толщиной слоя не менее 25 мкм, измеренной по ЕН ИСО 1463 |
2 | Система покрытия, отвечающая требованиям к ударной прочности, сопротивлению истиранию и коррозии, установленным в ЕН 846-13:2001, перечисления a) и b) пункта 6.2 и ЕН 846-13:2001, перечисления a) и b) пункта 7.2 |
Таблица B.3
Требования к полипропилену
<a>, применяемому
в анкерных связях, и к полиамиду
<b>,
применяемому в распорных дюбелях
Характеристика | Метод испытаний | Требуемое значение |
Полипропилен | Дюбели из полиамида |
Индекс расплава (MFR) 230 C/2, 16 кг, г/10 мин | ИСО 1133 | 2 +/- 0,5 | - |
Плотность, кг/м3 | ИСО 1183 | 905 +/- 10 | 1130 +/- 110 |
Предел текучести при растягивающей нагрузке, МПа | ИСО 527 | 23 +/- 2 | 70 +/- 10 |
Модуль упругости при изгибе, МПа | ИСО 178 | 1000 +/- 100 | 2000 +/- 200 |
Твердость по Роквеллу (градусов по шкале Роквелла) | ИСО 2039-2 | 75 +/- 5 | - |
Прочность при ударном изгибе по Изоду, кДж/м2, при температуре: 23 °C, | ИСО 180:200 (1A) | 50 +/- 5 | 50 +/- 5 |
0 °C | | -13 +/- 1,3 | - |
-20 °C | | 9 +/- 0,9 | - |
-40 °C | | 6 +/- 0,6 | - |
Температура тепловой деформации, °C, при нагрузке: | ИСО 75 | | |
455 кН/м2 (HDT B) | | 80 +/- 5 | 190 +/- 20 |
1820 кН/м2 (HDT A) | | 50 +/- 5 | 85 +/- 15 |
Температура размягчения (VST/A/50) | ИСО 306 | 148 +/- 5 | 220 +/- 20 |
<a> Благодаря механическим свойствам и устойчивости формы полипропилен является оптимальным блоксополимером для высоких нагрузок. <b> В качестве полиамида следует выбирать "полиамид 6"; число означает показатель после распрессования. В ходе эксплуатации полиамид впитывает некоторое количество влаги, в связи с чем это значение подвергается значительным изменениям. Примечание - Свойства пластмасс зависят от множества факторов, например, от температуры и времени воздействия нагрузки. Поэтому большинство значений, указанных в настоящей таблице, не следует использовать для расчетов, поскольку они относятся только к определенным условиям испытаний. Пластмассы нельзя применять для ситуаций, когда продукты подвергаются воздействию света или долговременных нагрузок. |
(обязательное)
ПЛАН ВНУТРИЗАВОДСКОГО КОНТРОЛЯ ПРОИЗВОДСТВА
C.1 Общие положения
Основные положения по внутризаводскому контролю, приведенные в
7.3, см. ниже C.2,
C.3 и
C.4.
C.2 Проектирование изделий
C.2.1 Проектирование и расчет
Производитель в руководстве по внутризаводскому контролю описывает методы определения, проверки, контроля и актуализации требований к расчетам и критериев расчета, имеющих существенное значение для применения изделий и правильного использования их технических характеристик.
C.2.2 Обмен информацией
Производитель описывает способы обмена информацией между проектным и производственным отделами на предприятии - изготовителе изделий или между предприятиями-субподрядчиками.
C.3 Процесс производства изделий
C.3.1 Исходное сырье или поставленные материалы для изготовления изделий
Производитель устанавливает критерии приемки поставляемых материалов для изготовления изделий и применяемые им методы по контролю соответствия этим критериям.
C.3.2 Технология производства
В системе внутризаводского контроля производства должны быть установлены значимые признаки оборудования или технологии производства с указанием периодичности контроля, проверок и испытаний, а также показатели и критерии, требуемые для контроля оборудования и процесса производства. В случае возникновения несоответствий установленным данным или критериям должны быть указаны предпринимаемые меры. Весовое и измерительное оборудование калибруют в соответствии с действующими национальными нормами.
C.3.3 Испытания готового или частично готового изделия
Если система внутризаводского контроля производства включает в себя испытания образцов готовой продукции или частично готовых изделий или состоит только из этих испытаний, то число пробных образцов и периодичность отбора проб подлежат регистрации вместе с полученными результатами испытаний в целях подтверждения выпускаемой партии требованиям настоящего стандарта и декларируемым значениям свойств продукта. Данные записи следует предоставлять при проведении проверок соответствующими органами. Для типовых испытаний готовых или частично готовых изделий выборочным способом отбирают образцы из текущего процесса производства.
C.3.4 Оборудование для испытаний
Испытательное оборудование, влияющее на результаты испытаний, калибруют в соответствии с действующими на национальном уровне нормативными документами.
C.4 Оценка результатов испытаний и дальнейшие действия по регистрации изделия
C.4.1 Общие положения
Указанные ниже пункты, применяемые при необходимости, относятся как к проектированию (см.
C.2), так и к процессу производства (см.
C.3).
C.4.2 Оценка результатов
По возможности результаты проверок и испытаний подвергают статистическому анализу на основании атрибутов и переменных в целях установления соответствия продукции требованиям настоящего стандарта и декларируемым значениям.
C.4.3 Регистрация
Детали и результаты проверок и испытаний регистрируют с указанием соответствующей даты.
C.4.4 Обратный контроль за изделиями
В руководстве по внутризаводскому контролю производства (далее - руководство) устанавливают системы обратного контроля за изделиями, поставленными материалами и использованием материалов.
В руководстве определяют систему контролирования складских запасов готовой продукции.
C.4.5 Корректировочные меры для материалов и изделий, не соответствующих требованиям
В руководстве надлежит описать и зарегистрировать неотложные меры, предпринимаемые в случае несоответствия поставленных материалов или готовых изделий установленным требованиям. Данные меры должны включать в себя необходимые действия по устранению дефекта, переработке руководства (при необходимости), обнаружению и отбраковке некачественного исходного сырья, некачественных поставленных материалов и некачественных готовых изделий, а также по принятию решения о том, подлежат ли некачественные готовые изделия выбраковке или исправлению одним из возможных методов, применяемых при их изготовлении.
Примечание - Производители, работающие по системе обеспечения качества по ЕН ИСО 9001, должны соответствовать требованиям настоящего приложения.
(справочное)
СВЕДЕНИЯ О СООТВЕТСТВИИ ССЫЛОЧНЫХ МЕЖДУНАРОДНЫХ
И ЕВРОПЕЙСКИХ СТАНДАРТОВ НАЦИОНАЛЬНЫМ СТАНДАРТАМ
РОССИЙСКОЙ ФЕДЕРАЦИИ И ДЕЙСТВУЮЩИМ В ЭТОМ
КАЧЕСТВЕ МЕЖГОСУДАРСТВЕННЫМ СТАНДАРТАМ
Таблица ДА.1
Обозначение ссылочного международного, европейского стандарта | Степень соответствия | Обозначение и наименование соответствующего национального, межгосударственного стандарта |
EN 846-4 | - | |
EN 846-5 | - | |
EN 846-6 | - | |
EN 846-7 | - | |
EN 846-8 | - | |
EN 846-10 | - | |
EN 846-13 | - | |
EN 10020 | MOD | ГОСТ Р 54384-2011 (ЕН 10020:2000) "Сталь. Определение и классификация по химическому составу и классам качества" |
EN 10088-1 | - | |
EN 10088-2 | - | |
EN 10088-3 | - | |
EN 10143:2006 | - | |
EN 10244-1 | - | |
EN 10245-1 | - | |
EN 245-2 | - | |
EN 10245-3 | - | |
EN 10326 | - | |
EN 10327 | - | |
EN ISO 1461 | IDT | ГОСТ 9.307-89 (ИСО 1461-89, СТ СЭВ 4663-84) "Единая система защиты от коррозии и старения. Покрытия цинковые горячие. Общие требования и методы контроля" |
EN ISO 1463-82 | NEQ | ГОСТ 9.302-88 (ИСО 1463-82, ИСО 2064-80, ИСО 2106-82, ИСО 2128-76, ИСО 2177-85, ИСО 2178-82, ИСО 2360-82, ИСО 2361-81, ИСО 2819-80, ИСО 3497-76, ИСО 3543-81, ИСО 3613-80, ИСО 3882-86, ИСО 3892-80, ИСО 4516-80, ИСО 4518-80, ИСО 4522-1-85, ИСО 4522-2-85, ИСО 4524-85, ИСО 4524-3-85, ИСО 4524-5-85, ИСО 8401-86) "Единая система защиты от коррозии и старения. Покрытия металлические и неметаллические неорганические. Методы контроля" |
ИСО 75-1:2004 | MOD | ГОСТ 32657-2014 (ISO 75-1:2004, ISO 75-3:2004) "Композиты полимерные. Методы испытаний. Определение температуры изгиба под нагрузкой" |
ISO 75-2 | - | |
ISO 178 | MOD | ГОСТ 4648-2014 (ISO 178:2010) "Пластмассы. Метод испытания на статический изгиб" |
ISO 180:2000 | - | |
ISO 306 | IDT | ГОСТ Р ИСО 306-2012 "Пластмассы. Термопластичные материалы. Определение температуры размягчения по методу Вика" |
ISO 427 | - | |
ISO 428 | - | |
ISO 193-79 | IDT | ГОСТ 193-79 (ИСО 431-81) "Слитки медные. Технические условия" |
ISO 527-1 | - | |
ISO 527-2 | - | |
ISO 1133 | - | |
ISO 1183 | - | <*> |
ISO 2039-2 | IDT | ГОСТ 24622-91 (ИСО 2039/2-87) "Пластмассы. Определение твердости. Твердость по Роквеллу" |
<*> Соответствующий национальный (межгосударственный) стандарт отсутствует. До его принятия рекомендуется использовать перевод на русский язык данного международного (европейского) стандарта. Примечание - В настоящей таблице использованы следующие условные обозначения степени соответствия стандартов: - IDT - идентичные стандарты; - MOD - модифицированные стандарты; - NEQ - неэквивалентные стандарты. |
EN 1996-1-1 | Eurocode 6 Bemessung und Konstruktion von Mauerwerksbauten. Teil 1-1: Allgemeine Regeln fur bewehrtes und unbewehrtes Mauerwerk |
EN 1996-2 | Eurocode 6 Design von Mauerwerk - Teil 2:  bei der Gestaltung, Auswahl der Materialien und  von Mauerwerk |
EN ISO 9001:2000 |  management systeme - Anforderungen |