Главная // Актуальные документы // ГОСТ Р (Государственный стандарт)СПРАВКА
Источник публикации
М.: ИПК Издательство стандартов, 2002
Примечание к документу
Документ утратил силу с 1 сентября 2018 года в связи с изданием
Приказа Росстандарта от 19.07.2018 N 420-ст.
Документ
введен в действие с 1 января 2002 года.
Название документа
"ГОСТ Р 41.12-2001 (Правила ЕЭК ООН N 12). Государственный стандарт Российской Федерации. Единообразные предписания, касающиеся официального утверждения транспортных средств в отношении защиты водителя от удара о систему рулевого управления"
(принят и введен в действие Постановлением Госстандарта России от 29.03.2001 N 145-ст)
"ГОСТ Р 41.12-2001 (Правила ЕЭК ООН N 12). Государственный стандарт Российской Федерации. Единообразные предписания, касающиеся официального утверждения транспортных средств в отношении защиты водителя от удара о систему рулевого управления"
(принят и введен в действие Постановлением Госстандарта России от 29.03.2001 N 145-ст)
Принят и введен в действие
от 29 марта 2001 г. N 145-ст
ГОСУДАРСТВЕННЫЙ СТАНДАРТ РОССИЙСКОЙ ФЕДЕРАЦИИ
ЕДИНООБРАЗНЫЕ ПРЕДПИСАНИЯ,
КАСАЮЩИЕСЯ ОФИЦИАЛЬНОГО УТВЕРЖДЕНИЯ ТРАНСПОРТНЫХ СРЕДСТВ
В ОТНОШЕНИИ ЗАЩИТЫ ВОДИТЕЛЯ ОТ УДАРА О СИСТЕМУ
РУЛЕВОГО УПРАВЛЕНИЯ
Uniform provisions concerning the type approval
of vehicles with regard to the protection
of the driver against the steering mechanism
in the event of impact
ГОСТ Р 41.12-2001
(Правила ЕЭК ООН N 12)
Группа Д25
ОКС 43.040.60
ОКП 45 1400
Дата введения
1 января 2002 года
1 РАЗРАБОТАН Всероссийским научно-исследовательским институтом стандартизации и сертификации в машиностроении (ВНИИНМАШ) на основе Правил ЕЭК ООН N 12, принятых Рабочей группой по конструкции транспортных средств КВТ ЕЭК ООН
ВНЕСЕН Госстандартом России
2 ПРИНЯТ И ВВЕДЕН В ДЕЙСТВИЕ
Постановлением Госстандарта России от 29 марта 2001 г. N 145-ст
3 Настоящий стандарт представляет собой идентичный текст Правил ЕЭК ООН N 12 с поправками серии 03 (с 24.08.88) "Единообразные предписания, касающиеся официального утверждения транспортных средств в отношении защиты водителя от удара о систему рулевого управления" и включает в себя:
- Пересмотр 3 (документ E/ECE/324-E/ECE/TRANS/505/Add.11/Rev.3);
- Пересмотр 3 - поправка 1 (документ E/ECE/324-E/ECE/TRANS/505/Add.11/Rev.3/Amend.1);
- Пересмотр 3 - поправка 2 (документ E/ECE/324-E/ECE/TRANS/505/Add.11/Rev.3/Amend.2)
4 ВВЕДЕН ВПЕРВЫЕ
Настоящий стандарт вводит в действие Правила ЕЭК ООН N 12 (далее - Правила).
1.1 Настоящие Правила регламентируют поведение системы рулевого управления автотранспортных средств категории M1 и транспортных средств категории N1 с максимальной допустимой массой, не превышающей 1500 кг в отношении защиты водителя в случае лобового столкновения.
1.2 По просьбе предприятия-изготовителя транспортным средствам, за исключением упомянутых в 1.1, могут предоставляться официальные утверждения в соответствии с Правилами ЕЭК ООН N 12.
В настоящих Правилах применяют следующие термины с соответствующими определениями:
2.1 официальное утверждение транспортного средства: Официальное утверждение типа транспортного средства в отношении защиты водителя от удара о систему рулевого управления.
2.2 тип транспортного средства: Механические транспортные средства, не имеющие различий:
2.2.1 Для транспортных средств, приводимых в движение с помощью двигателя внутреннего сгорания в части:
2.2.1.1 устройств, размеров, формы и материалов той части транспортного средства, которая расположена перед рулевой колонкой;
2.2.1.2 массы транспортного средства в снаряженном состоянии, определенной в
2.18.
2.2.2 Для транспортных средств, приводимых в движение с помощью электродвигателя в части:
2.2.2.1 размеров, массы, конструкции транспортного средства, формы и составляющих его материалов, места расположения частей двигателя, места расположения аккумулятора или частей тягового аккумулятора;
2.2.2.2 массы транспортного средства в снаряженном состоянии в соответствии с определением, которое приводится в
2.18.
(Поправка серии 03)
2.3 официальное утверждение органа рулевого управления: Официальное утверждение типа органа рулевого управления в отношении защиты водителя от удара об элементы руля.
2.4 орган рулевого управления: Категория органов рулевого управления, которые не отличаются между собой по:
2.4.1 конструкции, размерам, очертаниям и материалам.
2.5 рулевое управление: Орган управления, как правило, рулевое колесо, приводимое в действие водителем.
2.6 универсальный орган рулевого управления: Орган управления, который может быть установлен на нескольких официально утвержденных типах транспортных средств таким образом, что различия в креплении этого органа к рулевой колонке не влияют на его поведение при ударе.
2.7 надувная подушка: Упругая подушка, предназначенная для наполнения газом под давлением и:
2.7.1 служащая для защиты водителя транспортного средства от удара о рулевое колесо;
2.7.2 наполняемая газом при помощи устройства, которое срабатывает при ударе транспортного средства.
2.8 обод рулевого колеса: Квазитороидальное внешнее кольцо рулевого колеса, за которое обычно держится водитель при управлении транспортным средством.
2.9 спица: Стержень, соединяющий кольцо рулевого колеса со ступицей.
2.10 ступица: Деталь рулевого колеса, обычно расположенная в центре:
2.10.1 соединяет рулевое колесо с рулевым валом;
2.10.2 передает рулевому валу крутящий момент, приложенный к рулевому колесу.
2.11 центр ступицы рулевого колеса: Точка на поверхности ступицы, которая лежит на оси рулевого вала.
2.12 плоскость рулевого управления: Плоская поверхность, которая разделяет обод рулевого колеса на равные части между водителем и передней частью автомобиля.
2.13 рулевой вал: Элемент, который передает механизму рулевого управления момент вращения, приложенный к рулевому колесу.
2.14 рулевая колонка: Предохранительный кожух рулевого вала.
2.15 система рулевого управления: Рулевое колесо, рулевая колонка, кожух рулевого вала, рулевой вал, механизм управления, а также другие элементы, способствующие поглощению энергии при ударе о рулевое управление.
2.16 салон: Пространство, предназначенное для водителя и пассажиров и ограниченное крышей, полом, боковыми стенками, дверцами, окнами, передней перегородкой и плоскостью перегородки заднего отделения или плоскостью опоры спинки заднего сиденья и, в случае необходимости, части полки (полок), предназначенной (предназначенных) для установки моноблоков тягового аккумулятора электромобиля.
(Поправка серии 03)
2.17 ударный элемент: Полусферический муляж головы диаметром 165 мм, отвечающий
требованиям 3 приложения 5.
2.18 снаряженная масса: Масса транспортного средства без водителя, пассажиров и груза, но с топливом, охлаждающей жидкостью, смазочными веществами, инструментом, запасным колесом, если таковые предусматриваются предприятием-изготовителем в качестве комплектного оборудования и полкой (полками), на котором (которых) установлен тяговый аккумулятор, включая моноблоки тягового аккумулятора электромобиля.
(Поправка серии 03)
2.19 моноблок: Наименьший элемент тягового источника электроэнергии.
2.20 тяговый аккумулятор: Совокупность блоков, образующих источник электроэнергии.
2.21 полка для тягового аккумулятора: Полка, предназначенная для установки одного или нескольких моноблоков; транспортное средство может не иметь полки вообще либо иметь одну или несколько полок.
3. Заявка на официальное утверждение
3.1 Тип транспортного средства
3.1.1 Заявка на официальное утверждение типа транспортного средства в отношении защиты водителя от удара о систему рулевого управления подается предприятием-изготовителем транспортного средства или его уполномоченным представителем.
3.1.2 К каждой заявке должны быть приложены указанные ниже документы в трех экземплярах и следующие данные:
3.1.2.1 подробное описание типа транспортного средства в отношении конструкции, размеров, формы и материалов той части транспортного средства, которая расположена перед рулевой колонкой;
3.1.2.2 достаточно подробные чертежи системы рулевого управления и ее крепления к шасси и кузову транспортного средства в соответствующем масштабе;
3.1.2.3 техническое описание системы рулевого управления;
3.1.2.4 указание массы веса транспортного средства в снаряженном состоянии;
3.1.2.5 в соответствующих случаях - свидетельство о том, что орган рулевого управления официально утвержден в соответствии с
5.2.
3.1.3 Технической службе, уполномоченной проводить испытания для официального утверждения, должны быть представлены:
3.1.3.1 транспортное средство того типа, который подлежит официальному утверждению, для проведения испытания, предусмотренного в
5.1;
3.1.3.2 транспортное средство другого типа либо детали транспортного средства, которые он считает необходимыми для проведения испытания, предусмотренного в
5.2 и
5.3, по выбору предприятия-изготовителя и при согласии технических служб;
3.1.3.3 прежде чем предоставить официальное утверждение типа, компетентный орган проверяет наличие механизмов обеспечения эффективного контроля за соответствием производства.
3.2 Тип органа рулевого управления
3.2.1 Заявка на официальное утверждение типа органа рулевого управления в отношении защиты водителя от удара об элементы руля подается предприятием - изготовителем органа рулевого управления и его уполномоченным представителем.
3.2.2 К заявке должны быть приложены указанные ниже документы в трех экземплярах и следующие данные:
3.2.2.1 подробное описание типа органа рулевого управления в отношении конструкции, размеров и материалов, из которых он изготовлен;
3.2.2.2 подробные чертежи системы рулевого управления и его крепления к шасси и кузову транспортного средства.
3.2.3 Для проведения испытания, предусмотренного в
5.2 и
5.3, технической службе, уполномоченной проводить испытания для официального утверждения, должны быть представлены орган рулевого управления, представляющий данный тип, подлежащий официальному утверждению, а также, по усмотрению, предприятия-изготовителя и при согласии технической службы, те части транспортного средства, которые он считает необходимыми для проведения этого испытания.
4. Официальное утверждение
4.1 К удостоверению об официальном утверждении типа прилагается удостоверение, соответствующее образцу, указанному в 4.1.1 или 4.1.2:
4.2 Тип транспортного средства
4.2.1 Если транспортное средство, представленное на официальное утверждение в соответствии с настоящими Правилами, удовлетворяет требованиям
разделов 5 и
6 и
приложений 4 -
6, то данный тип транспортного средства считается официально утвержденным.
4.2.2 Каждому официально утвержденному типу транспортного средства присваивается номер официального утверждения. Первые две цифры (в настоящее время 03) означают номер последней серии основных технических поправок, внесенных в Правила к моменту предоставления официального утверждения. Одна и та же Договаривающаяся сторона не может присвоить этот номер другому типу транспортного средства с другой системой рулевого управления или другому типу транспортного средства, определенному в
2.2.
4.2.3 Стороны
Соглашения, применяющие настоящие Правила, уведомляются об официальном утверждении, распространении официального утверждения или об отказе в официальном утверждении типа транспортного средства на основании настоящих Правил посредством карточки, соответствующей образцу, приведенному в
приложении 1A.
4.2.4 На каждом транспортном средстве, соответствующем типу транспортного средства, официально утвержденному на основании настоящих Правил, должен проставляться на видном и легкодоступном месте, указанном в регистрационной карточке официального утверждения, международный знак официального утверждения, состоящий:
4.2.4.1 из круга, в котором проставлена буква "E", за которой следует отличительный номер страны, предоставившей официальное утверждение
<1>;
4.2.4.2 из номера настоящих Правил, за которым следует буква "R", тире и номер официального утверждения, расположенные справа от круга, указанного в
пункте 4.2.4.1.
4.2.5 Если транспортное средство соответствует типу транспортного средства, официально утвержденному на основании других приложенных к
Соглашению Правил в той же стране, которая предоставила официальное утверждение на основании настоящих Правил, то не следует повторять обозначение, предусмотренное в
4.2.4.1; в этом случае номера Правил и официального утверждения, а также дополнительные обозначения всех Правил, на основании которых предоставляется официальное утверждение в стране, предоставившей официальное утверждение на основании настоящих Правил, должны быть расположены в вертикальных колонках, помещаемых справа от обозначения, предусмотренного в
4.2.4.1.
4.2.6 Знак официального утверждения должен быть четким и нестираемым.
4.2.7 Знак официального утверждения помещается рядом с табличкой, на которой приводятся характеристики транспортного средства, или наносится на эту табличку.
4.3 Тип органа рулевого управления
4.3.1 Если орган рулевого управления, представленный для отдельного официального утверждения на основании настоящих Правил, удовлетворяет требованиям
разделов 5 и
6, а также
приложений 4 -
6, то данный тип органа рулевого управления считается официально утвержденным. Это касается только тех органов рулевого управления, конструкция которых не включает подушки безопасности.
(Поправка серии 03)
4.3.2 Каждому официально утвержденному типу органа рулевого управления присваивается номер официального утверждения. Первые две цифры (в настоящее время 03) указывают номер последней серии основных технических поправок, внесенных в Правила к моменту предоставления официального утверждения. Одна и та же Договаривающаяся сторона не может присвоить этот номер другому типу органа рулевого управления, определенному в
2.4.
4.3.3 Стороны
Соглашения, применяющие настоящие Правила, уведомляются об официальном утверждении, распространении официального утверждения или об отказе в официальном утверждении типа органа рулевого управления на основании настоящих Правил посредством карточки, соответствующей образцу, приведенному в
приложении 1B.
4.3.4 На каждом органе рулевого управления, соответствующем данному типу, официально утвержденному на основании настоящих Правил, должен проставляться на видном и легкодоступном месте, указанном в регистрационной карточке официального утверждения, международный знак официального утверждения, состоящий:
4.3.4.1 из круга, в котором проставлена буква "E", за которой следует отличительный номер страны, предоставившей официальное утверждение <1>;
4.3.4.2 из номера официального утверждения, помещенного под кругом.
--------------------------------
<1> 1 - Германия, 2 - Франция, 3 - Италия, 4 - Нидерланды, 5 - Швеция, 6 - Бельгия, 7 - Венгрия, 8 - Чешская Республика, 9 - Испания, 10 - Югославия, 11 - Соединенное Королевство, 12 - Австралия, 13 - Люксембург, 14 - Швейцария, 15 - не присвоен, 16 - Норвегия, 17 - Финляндия, 18 - Дания, 19 - Румыния, 20 - Польша, 21 - Португалия, 22 - Российская Федерация, 23 - Греция, 24 - Ирландия, 25 - Хорватия, 26 - Словения, 27 - Словакия, 28 - Беларусь, 29 - Эстония, 30 - не присвоен, 31 - Босния и Герцеговина, 32 - Латвия, 33 - не присвоен, 34 - Болгария, 35 - 36 - не присвоены, 37 - Турция, 38 - 39 - не присвоены, 40 - бывшая югославская Республика Македония, 41 - не присвоен, 42 - Европейское сообщество (официальные утверждения предоставляются его государствами-членами с использованием их соответствующего символа ЕЭК), 43 - Япония, 44 - не присвоен, 45 - Австралия и 46 - Украина. Следующие порядковые номера будут присваиваться другим странам в хронологическом порядке ратификации ими
Соглашения о принятии единообразных технических предписаний для колесных транспортных средств, предметов оборудования и частей, которые могут быть установлены и (или) использованы на колесных транспортных средствах, и об условиях взаимного признания официальных утверждений, выдаваемых на основе этих предписаний или в порядке их присоединения к этому
Соглашению, и присвоенные им таким образом номера будут сообщаться Генеральным секретарем Организации Объединенных Наций Договаривающимся сторонам
Соглашения.
4.3.5 Знак официального утверждения должен быть четким и нестираемым.
4.4 В
приложении 2 приведены в качестве примера схемы знаков официального утверждения.
5. Технические требования
5.1 Во время испытаний на столкновение порожнего транспортного средства в снаряженном состоянии без манекена, с барьером и при скорости 48,3 км/ч (30 миль/ч) верхняя часть рулевой колонки и рулевого вала не должна перемещаться назад в горизонтальном направлении и параллельно продольной оси транспортного средства более чем на 12,7 см и в вертикальном направлении вверх более чем на 12,7 см, при этом оба размера рассматриваются по отношению к какой-либо точке транспортного средства, которая не переместилась в результате этого столкновения <1>.
--------------------------------
<1> Под термином "по горизонтали" подразумевается: в горизонтальной плоскости по отношению к салону неподвижного транспортного средства перед испытанием, а не в горизонтальной плоскости по отношению к грунту во время движения транспортного средства, а под термином "по вертикали" подразумевается: в вертикальной плоскости, перпендикулярной горизонтальной плоскости, определенной понятием "по горизонтали" и направленной вверх.
5.1.1 Если транспортное средство приводится в движение с помощью электродвигателя, то испытание на столкновение, предписанное в
5.1, проводится с установленным общим выключателем тягового аккумулятора в положение "ВКЛЮЧЕНО". Кроме того, в ходе проведения испытания и после него должно обеспечиваться выполнение нижеследующих предписаний:
5.1.1.1 моноблоки должны оставаться закрепленными в местах их установки.
5.1.1.2 жидкий электролит не должен попадать в отделение для пассажиров; допускается небольшая утечка, но за пределами транспортного средства и при условии, что объем жидкости, которая была пролита в течение первого часа после испытания, не превышает 7% от общего объема жидкого электролита в тяговом аккумуляторе.
5.2 Если рулевая колонка сталкивается с моделью туловища, которая ударяется об эту колонку с относительной скоростью не менее 24,1 км/ч (15 миль/ч), то сила, с которой рулевая колонка воздействует на модель туловища, не должна превышать 1,111 даН.
5.3 Если рулевое колесо подвергается удару со стороны ударного элемента, который сталкивается с ним с относительной скоростью 24,1 км/ч, то в соответствии с требованиями, указанными в
приложении 5, замедление ударного элемента в общей сложности не должно превышать 80g в течение более чем 3 миллисекунд. Замедление должно всегда составлять менее 120g для КЧХ 600 Гц.
5.4 Рулевое управление должно быть спроектировано, сконструировано и установлено таким образом, чтобы:
5.4.1 до испытания на удар, указанного в
5.2 и
5.3, ни на одном из участков поверхности рулевого управления, которые обращены к водителю и которых может коснуться сфера диаметром 165 мм, не было опасных неровностей или острых граней с радиусом кривизны менее 2,5 мм;
5.4.1.1 после любого испытания на удар, указанного в
5.2 и
5.3, на том участке поверхности рулевого управления, который обращен к водителю, не было никаких острых или неровных граней, которые могли бы увеличить опасность или серьезность ранений водителя. Незначительные трещины и разрывы на поверхности не принимаются во внимание.
5.4.1.1.1 В том случае, если имеется выступающая деталь, изготовленная из нежесткого материала твердостью менее 50 единиц по шкале Шора A и смонтированная на жесткой опоре, требования
5.4.1.1 применяются лишь к жесткой опоре.
5.4.2 Рулевое управление должно быть спроектировано, сконструировано и смонтировано таким образом, чтобы на нем не было элементов или вспомогательных приспособлений, включая привод сигнального прибора и элементы обшивки, за которые могут зацепиться одежда или украшения водителя в обычных условиях управления транспортным средством.
5.4.3 Если рулевое управление не входит в комплектное оборудование, то оно должно отвечать спецификациям, которые проверяются в ходе испытаний в соответствии с
2.1.3 приложения 4 и
2.3 приложения 5.
5.4.4 В случае "универсального органа рулевого управления" эти требования должны удовлетворяться в отношении:
5.4.4.1 всех возможных углов наклона рулевой колонки, причем испытание должно проводиться, по крайней мере, для максимального и минимального углов наклона рулевой колонки в отношении всех официально утвержденных типов транспортных средств, для которых предназначается это рулевое управление;
5.4.4.2 всех возможных положений ударного элемента и макета туловища по отношению к рулевому управлению, причем испытания должны проводиться, по крайней мере, для среднего положения на всех официально утвержденных типах транспортных средств, для которых предназначено это рулевое управление. В тех случаях, когда используют рулевую колонку, она должна быть такого типа, который соответствовал бы "наихудшим" условиям.
5.4.5 Если для установки единого типа органа рулевого управления на различные рулевые колонки применяются переходные устройства и если можно показать, что при использовании таких переходных устройств характеристика поглощения энергии системы является аналогичной, то все испытания можно проводить с переходным устройством одного типа.
6.1 Контроль за соблюдением требований, содержащихся в
разделе 5, должен проводиться в соответствии с методами, изложенными в
приложениях 3 -
5.
6.2 Однако по усмотрению органа, предоставляющего официальное утверждение, может быть разрешено проведение других испытаний при условии, если будет доказана их эквивалентность. В таком случае к документации об официальном утверждении прилагается протокол испытаний с описанием применяемых методов и полученных результатов.
7. Модификации типа транспортного средства
или рулевого управления и распространение
официального утверждения
7.1 Любая модификация типа транспортного средства или типа рулевого управления либо того и другого доводится до сведения административного органа, который предоставил официальное утверждение данному типу транспортного средства или данному типу рулевого управления. Этот орган может:
7.1.1 либо прийти к заключению, что внесенные изменения не будут иметь значительного отрицательного влияния и что во всяком случае транспортное средство по-прежнему удовлетворяет предписаниям;
7.1.2 либо потребовать новый протокол технической службы, уполномоченной проводить испытания.
7.2 При условии соблюдения требований
7.1, не будет рассматриваться как изменение типа транспортного средства такой вариант, когда снаряженная масса будет меньше массы транспортного средства, представленного для испытания на официальное утверждение.
7.3 Подтверждение или отказ в официальном утверждении с указанием изменений направляется сторонам
Соглашения, применяющим настоящие Правила, в соответствии с процедурой, указанной в
4.2.3 или
4.3.3.
7.4 Компетентный орган, предоставивший распространение официального утверждения, присваивает такому распространению соответствующий номер серии и уведомляет об этом другие стороны
Соглашения 1958 г., применяющие настоящие Правила, посредством карточки сообщения, соответствующей образцу, приведенному в
приложении 1A или
1B.
8. Соответствие производства
8.1 Каждое транспортное средство или рулевое управление, официально утвержденное на основании настоящих Правил, должно соответствовать официально утвержденному типу и отвечать требованиям, изложенным в
разделах 5 и
6.
8.2 Для проверки соответствия требованиям, изложенным в 8.1, проводятся надлежащие проверки производства.
8.3 Владелец официального утверждения, должен:
8.3.1 обеспечить наличие процедур для эффективного контроля качества транспортного средства или рулевого управления;
8.3.2 иметь доступ к испытательному оборудованию, необходимому для проверки соответствия каждого официально утвержденного типа;
8.3.3 обеспечить регистрацию данных об испытаниях и доступ к прилагаемым документам в течение периода, определяемого по соглашению с административным органом;
8.3.4 проанализировать результаты каждого типа испытания с целью проверки и обеспечения соответствия характеристик транспортного средства или рулевого управления с учетом допустимых отклонений в промышленном производстве;
8.3.5 обеспечить для каждого типа транспортного средства или рулевого управления проведение, по крайней мере, тех испытаний, которые позволяют осуществлять необходимые измерения;
8.3.6 произвести, в случае несоответствия любого комплекта испытательных образцов и проб, обнаруженного в ходе данного типа испытания, новый отбор образцов и новые испытания. В этой связи должны быть приняты все необходимые меры для восстановления соответствия производства.
8.4 Компетентный орган, выдавший официальное утверждение по типу конструкции, может в любой момент проверить методы контроля соответствия, применяемые в каждом производственном подразделении.
8.4.1 В ходе каждой проверки инспектору предоставляются протоколы испытаний и записи наблюдения за ходом производства.
8.4.2 Инспектор может провести произвольный отбор образцов для испытания в лаборатории предприятия-изготовителя. Минимальное количество образцов может определяться в зависимости от результатов собственных проверок предприятия-изготовителя.
8.4.3 Если уровень качества не удовлетворяет требованиям или если необходимо проверить правильность испытаний, проведенных в соответствии с
8.4.2, инспектор отбирает образцы, которые направляют технической службе, проводившей испытания на официальное утверждение по типу конструкции.
8.4.4 Компетентный орган может провести любое испытание, предусмотренное в настоящих Правилах. Обычная частота проверок, разрешенных компетентным органом, - один раз в год. В случае обнаружения в ходе одной из таких проверок неудовлетворительных результатов компетентный орган обеспечивает принятие всех необходимых мер для восстановления соответствия производства в кратчайшие сроки.
9. Санкции, налагаемые за несоответствие производства
9.1 Официальное утверждение типа транспортного средства или органа рулевого управления, предоставленное на основании настоящих Правил, может быть отменено, если не соблюдаются требования, изложенные в
8.1, или если отобранное транспортное средство (отобранные транспортные средства) или орган (органы) рулевого управления не выдержали проверки, предусмотренной в
8.2.
9.2 Если какая-либо Договаривающаяся сторона
Соглашения, применяющая настоящие Правила, отменяет предоставленное ею ранее официальное утверждение, она немедленно сообщает об этом другим Договаривающимся сторонам, применяющим настоящие Правила, посредством карточки сообщения, соответствующей образцу, приведенному в
приложении 1A или
1B.
Если тип органа управления направляется отдельно от транспортного средства, в инструкциях, касающихся упаковки и установки, должно ясно говориться о том, для какого типа (каких типов) транспортного средства оно предназначается.
11. Окончательное прекращение производства
Если владелец официального утверждения полностью прекращает производство типа транспортного средства или типа органа рулевого управления, утвержденного в соответствии с настоящими Правилами, он сообщает об этом компетентному органу, предоставившему официальное утверждение. По получении этого сообщения компетентный орган информирует об этом другие стороны
Соглашения 1958 г., применяющие настоящие Правила, посредством карточки сообщения, соответствующей образцу, приведенному в
приложении 1A или
1B.
12. Наименования и адреса технических служб,
уполномоченных проводить испытания для официального
утверждения, и административных органов
Стороны
Соглашения, применяющие настоящие Правила, сообщают Секретариату Организации Объединенных Наций наименования и адреса технических служб, уполномоченных проводить испытания для официального утверждения, а также административных органов, которые предоставляют официальное утверждение и которым следует направлять выдаваемые в других странах карточки официального утверждения, распространения официального утверждения, отказа в официальном утверждении или отмены официального утверждения.
13.1 С момента официального вступления в силу поправок серии 03 к настоящим Правилам Договаривающиеся стороны не должны отказывать в принятии заявки на официальное утверждение, представленной в соответствии с настоящими Правилами, с внесенными в них поправками серии 03.
13.2 Официальное утверждение типа транспортного средства
13.2.1 По истечении 36 месяцев с официальной даты вступления в силу Договаривающиеся стороны, применяющие настоящие Правила, предоставляют официальное утверждение транспортным средствам категории M
1 с вынесенным вперед постом управления и транспортным средствам категории N
1 массой менее 1,5 т только в том случае, если данный тип транспортного средства отвечает требованиям настоящих Правил с внесенными в них поправками серии 03, за исключением положений, изложенных в
5.1 и регламентирующих максимальное вертикальное перемещение рулевой колонки, которые применяются в случае таких новых официальных утверждений только по истечении дополнительных 12 месяцев.
13.2.2 По истечении 48 месяцев с официальной даты вступления в силу Договаривающиеся стороны, применяющие настоящие Правила, предоставляют официальное утверждение транспортным средствам категории M1, кроме транспортных средств с вынесенным вперед постом управления, только в том случае, если данный тип транспортного средства удовлетворяет требованиям настоящих Правил с внесенными в них поправками серии 03.
13.2.3 По истечении 60 месяцев с официальной даты вступления в силу Договаривающиеся стороны, применяющие настоящие Правила, могут отказать в признании официальных утверждений данного типа транспортного средства, которые были предоставлены на основании настоящих Правил без учета поправок серии 03.
13.3 Официальное утверждение типа рулевого управления
13.3.1 По истечении 24 месяцев с официальной даты вступления в силу Договаривающиеся стороны, применяющие настоящие Правила, предоставляют официальное утверждение только в том случае, если тип рулевого управления удовлетворяет требованиям настоящих Правил с внесенными в них поправками серии 03.
13.3.2 По истечении 36 месяцев с официальной даты вступления в силу Договаривающиеся стороны, применяющие настоящие Правила, могут отказать в признании официальных утверждений типа рулевого управления, предоставленных без учета поправок серии 03 к настоящим Правилам.
13.3.3 Начиная с официальной даты вступления в силу дополнения 2 к поправкам серии 03 Договаривающиеся стороны не должны предоставлять отдельные официальные утверждения типа рулевого управления со встроенной подушкой безопасности.
13.3.4 Начиная с официальной даты вступления в силу дополнения 2 к поправкам серии 03 Договаривающиеся стороны могут отказывать в признании отдельных официальных утверждений типа рулевого управления со встроенной подушкой безопасности.
(обязательное)
[Максимальный формат: А4 (210 x 297 мм)]
| направленное | |
|
|
| наименование административного органа |
| ОФИЦИАЛЬНОГО УТВЕРЖДЕНИЯ, РАСПРОСТРАНЕНИЯ ОФИЦИАЛЬНОГО УТВЕРЖДЕНИЯ, ОТКАЗА В ОФИЦИАЛЬНОМ УТВЕРЖДЕНИИ, ОТМЕНЫ ОФИЦИАЛЬНОГО УТВЕРЖДЕНИЯ, ОКОНЧАТЕЛЬНОГО ПРЕКРАЩЕНИЯ ПРОИЗВОДСТВА |
типа транспортного средства в отношении защиты водителя от удара о систему рулевого управления на основании Правил ЕЭК ООН N 12. |
Официальное утверждение N | | Распространение N | |
1 Фабричная или торговая марка транспортного средства | |
2 Тип транспортного средства | |
3 Наименование и адрес предприятия-изготовителя | |
4 Фамилия и адрес представителя предприятия-изготовителя (в соответствующих случаях) | |
| . |
5 Краткое описание системы рулевого управления и элементов транспортного средства, имеющих значение с точки зрения защиты водителя от удара о систему рулевого управления |
| |
6 Масса транспортного средства при испытании | |
на переднюю ось | | |
на заднюю ось | | |
общая масса | | |
7 Представлено на официальное утверждение (дата) | |
8 Техническая служба, уполномоченная проводить испытания для официального утверждения | |
|
9 Дата протокола испытания | |
10 Номер протокола испытания | |
11 Официальное утверждение предоставлено/в официальном утверждении отказано/официальное утверждение распространено/официальное утверждение отменено <2> |
12 Место проставления на транспортном средстве знака официального утверждения | |
13 Место | |
14 Дата | |
15 Подпись | |
16 Перечень документов, переданных на хранение административной службе, которая предоставила официальное утверждение, приводится в приложении к настоящему сообщению; эти документы могут быть получены по запросу. |
--------------------------------
<1> Номер, присвоенный стране, которая предоставила/распространила/отменила официальное утверждение/отказала в нем (см. положения
об официальном утверждении в Правилах).
(обязательное)
[Максимальный формат: А4 (210 x 297 мм)]
| направленное | |
|
|
| наименование административного органа |
| ОФИЦИАЛЬНОГО УТВЕРЖДЕНИЯ, РАСПРОСТРАНЕНИЯ ОФИЦИАЛЬНОГО УТВЕРЖДЕНИЯ, ОТКАЗА В ОФИЦИАЛЬНОМ УТВЕРЖДЕНИИ, ОТМЕНЫ ОФИЦИАЛЬНОГО УТВЕРЖДЕНИЯ, ОКОНЧАТЕЛЬНОГО ПРЕКРАЩЕНИЯ ПРОИЗВОДСТВА |
типа органа рулевого управления в отношении защиты водителя от удара о систему рулевого управления на основании соответствующего раздела Правил ЕЭК ООН N 12. |
Официальное утверждение N | | Распространение N | |
1 Фабричная или торговая марка системы рулевого управления | |
2 Наименование и адрес предприятия-изготовителя | |
3 Фамилия и адрес представителя предприятия-изготовителя (в соответствующих случаях) | |
| . |
4 Тип (типы) транспортного средства, на который (которые) предполагается установить орган рулевого управления |
| |
5 Краткое описание системы рулевого управления и элементов транспортного средства, имеющих значение с точки зрения защиты водителя от удара о систему рулевого управления |
| |
6 Система рулевого управления представлена на официальное утверждение (дата) | |
7 Техническая служба, уполномоченная проводить испытания для официального утверждения |
| |
8 Дата протокола испытания | |
9 Номер протокола испытания | |
10 Официальное утверждение предоставлено/в официальном утверждении отказано/официальное утверждение распространено/официальное утверждение отменено <2> |
11 Место проставления на системе рулевого управления знака или знаков официального утверждения |
|
12 Место | |
13 Дата | |
14 Подпись | |
15 Перечень документов, переданных на хранение административной службе, которая предоставила официальное утверждение, приводится в приложении к настоящему сообщению; эти документы могут быть получены по запросу. |
--------------------------------
<1> Номер, присвоенный стране, которая предоставила/распространила/отменила официальное утверждение/отказала в нем (см. положения
об официальном утверждении в Правилах).
(обязательное)
ЗНАКОВ ОФИЦИАЛЬНОГО УТВЕРЖДЕНИЯ
Образец A
Рисунок 2.1
Приведенный знак официального утверждения, проставленный на транспортном средстве, указывает, что данный тип транспортного средства официально утвержден в Нидерландах (E4) в отношении защиты водителя от удара о систему рулевого управления на основании Правил ЕЭК ООН N 12. Номер официального утверждения указывает на то, что официальное утверждение было предоставлено в соответствии с предписаниями Правил ЕЭК ООН N 12 с внесенными в них поправками серии 03.
Образец B
Рисунок 2.2
Приведенный на рисунке 2.2 знак официального утверждения, проставленный на транспортном средстве, указывает, что данный тип транспортного средства официально утвержден в Нидерландах (E4) на основании Правил ЕЭК ООН N 12 и Правил ЕЭК ООН N 39 <1>. Номера официального утверждения указывают, что в момент предоставления соответствующих официальных утверждений Правила ЕЭК ООН N 12 включали поправки серии 03, а Правила ЕЭК ООН N 39 - поправки серии 04.
--------------------------------
<1> Второй номер приведен только в качестве примера.
Образец C
Рисунок 2.3
Приведенный на рисунке 2.3 знак официального утверждения, проставленный на органе рулевого управления, указывает, что данный тип органа рулевого управления официально утвержден в Нидерландах (E4) в отношении защиты водителя от удара о систему рулевого управления на основании соответствующего раздела Правил ЕЭК ООН N 12 с внесенными в них поправками серии 03.
(обязательное)
ИСПЫТАНИЕ НА ЛОБОВОЙ УДАР О БАРЬЕР
1 Цель испытания
Это испытание имеет целью проверить, соответствует ли транспортное средство требованиям, изложенным в
5.1.
2 Установки, метод испытания и измерительные приборы
2.1 Место проведения испытания
Место, где проводят испытание, должно иметь достаточную площадь, для того чтобы можно было оборудовать полосу разгона транспортных средств, поставить барьер и техническое оборудование, необходимое для проведения испытания. Конечная часть полосы разгона, по крайней мере, за 5 м до барьера должна быть горизонтальной (допускается уклон не более 3%, измеренный на длине в 1 м), плоской и ровной.
2.2 Барьер
Барьер представляет собой железобетонный блок шириной по фронту не менее 3 м и высотой не менее 1,5 м. Толщина барьера определяется с таким расчетом, чтобы его вес был не менее 70 т. Фронтальная сторона блока должна быть плоской, вертикальной и перпендикулярной по отношению к оси дорожки разгона и должна быть покрыта хорошей фанерной облицовкой толщиной (19 +/- 1) мм. Между фанерной облицовкой и барьером может располагаться стальная плита толщиной не менее 25 мм. Может также применяться барьер, имеющий иные характеристики, при условии, что площадь поверхности барьера будет больше фронтальной поверхности испытываемого транспортного средства и при условии, что он даст аналогичные результаты.
2.3 Движение транспортного средства
В момент столкновения транспортное средство не должно больше подвергаться воздействию дополнительного управляющего или толкающего устройства. Оно должно соприкоснуться с препятствием по траектории, перпендикулярной поверхности барьера, с которой происходит столкновение; максимально допустимое боковое отклонение между средней вертикальной линией передней стенки транспортного средства и средней вертикальной линией поверхности барьера, с которой происходит столкновение, составляет +/- 30 см.
2.4 Состояние транспортного средства
2.4.1 Испытываемое транспортное средство должно либо иметь все элементы и нормальное оборудование, включенные в его порожнюю массу в снаряженном состоянии, либо находиться в состоянии, соответствующем требованиям в отношении элементов и оборудования, относящихся к салону, и в отношении распределения массы всего транспортного средства в снаряженном состоянии.
По просьбе предприятия-изготовителя в отступление от требований
5.1 настоящих Правил при испытании допускается установка манекенов, при условии, что они никоим образом не будут мешать функционированию рулевого механизма. Их масса не учитывается при определении результатов испытания.
2.4.2 Если транспортное средство перемещается за счет внешнего источника энергии, то система питания должна быть заполнена, как минимум, на 90% емкости невоспламеняющейся жидкостью с удельным весом от 0,7 до 1. Все остальные жидкостные системы (резервуар тормозной жидкости, радиатор и т.д.) могут быть порожними.
2.4.3 Если транспортное средство перемещается при помощи собственного двигателя, топливный бак должен быть заполнен, как минимум, на 90% емкости. Остальные резервуары должны быть заполнены полностью.
По просьбе предприятия-изготовителя и при согласии технических служб топливо может подаваться в двигатель из дополнительного топливного бака небольшой емкости. В этом случае топливный бак должен быть заполнен не менее чем на 90% своей емкости невоспламеняющейся жидкостью с удельным весом от 0,7 до 1.
2.4.4 По просьбе предприятия-изготовителя техническая служба, уполномоченная проводить испытания, может разрешить использование для испытаний, предусмотренных настоящими Правилами, транспортного средства, которое использовалось для испытаний, предписываемых другими Правилами (включая испытания, затрагивающие его конструкцию).
Скорость при ударе должна составлять 48,3 км/ч (30 миль/ч) и 53,1 км/ч (33 мили/ч). Однако испытание считается выдержанным и в том случае, если оно проводится при большей скорости при ударе и если транспортное средство удовлетворяет предъявляемым требованиям.
2.6 Измерительные приборы
Измерительный прибор, используемый для записи скорости, указанной в
2.5 настоящего приложения, должен давать возможность проводить измерения с точностью до 1%.
3 Результаты
3.1 Для определения перемещения назад и вверх органа рулевого управления во время столкновения регистрируется
<1> изменение расстояния, измеряемого по горизонтали
<2> и параллельно продольной оси транспортного средства и по вертикали - в направлении, перпендикулярном этой оси, между верхней частью рулевой колонки (и вала) и какой-либо точкой транспортного средства, которая не переместилась в результате этого столкновения. Наибольшее значение этого изменения расстояния, измеренного на основании регистрации, принимается за перемещение назад и вверх.
--------------------------------
<1> Вместо регистрации можно измерить максимальные значения.
<2> Под термином "по горизонтали" подразумевается: в горизонтальной плоскости по отношению к салону неподвижного транспортного средства перед испытанием, а не в горизонтальной плоскости по отношению к грунту во время движения транспортного средства, а под термином "по вертикали" подразумевается: в вертикальной плоскости, перпендикулярной горизонтальной плоскости, определенной понятием "по горизонтали" и направленной вверх.
3.2 После проведения испытания повреждения транспортного средства отмечаются в протоколе; следует сделать, по крайней мере, один фотоснимок каждого вида транспортного средства:
3.2.1 сбоку (справа и слева),
3.2.2 спереди,
3.2.3 снизу,
3.2.4 поврежденное место внутри салона.
4 Поправочные коэффициенты
4.1 Обозначения
V - зарегистрированная скорость, км/ч;
m0 - масса прототипа в состоянии, соответствующем
2.4 настоящего приложения;
m1 - масса прототипа с измерительной аппаратурой;
D0 - изменение расстояния, измеренное во время удара, определение которого дается в
3.1 настоящего приложения;
D1 - изменение расстояния, служащее для определения результатов испытания;
K1 - наибольшее из двух чисел

и 0,83;
K2 - наибольшее из двух чисел

и 0,8.
4.2 Исправленное значение размера D1, используемое для проверки соответствия опытного образца требованиям настоящих Правил, рассчитывается по следующей формуле
D1 = D0K1K2.
4.3 На транспортном средстве, аналогичном рассматриваемому опытному образцу по характеристикам, определенным в
2.2 настоящих Правил, но имеющем массу
m1, превышающую
m0, не нужно проводить нового испытания на лобовой удар о барьер, если
m1 не превышает 1,25
m0 и если исправленное значение
D2, получаемое на основании
D1 по формуле

, таково, что из этого следует, что новое транспортное средство еще отвечает требованиям
раздела 5 настоящих Правил.
5 Эквивалентные процедуры
5.1 Альтернативные испытания могут допускаться с согласия органа, предоставившего официальное утверждение, при условии обеспечения их эквивалентности. К документации об официальном утверждении должен прилагаться отчет с описанием используемого метода и полученных результатов либо с указанием причин, по которым данное испытание не проводилось.
5.2 Если используется альтернативный метод, то его равноценность должна быть доказана предприятием-изготовителем или его представителем, применяющим такой метод.
(обязательное)
ИСПЫТАНИЕ С ИСПОЛЬЗОВАНИЕМ МОДЕЛИ ТУЛОВИЩА
1 Цель испытания
Это испытание имеет целью проверить, удовлетворяет ли транспортное средство требованиям
5.2 настоящих Правил.
2 Установка, процедуры и измерительные приборы
2.1 Установка рулевого колеса
2.1.1 Рулевое колесо должно устанавливаться в передней части транспортного средства, получаемой в результате поперечного сечения корпуса кузова на уровне передних сидений таким образом, чтобы по возможности исключить крышу, ветровое стекло и дверь. Эта часть должна быть жестко закреплена на испытательном стенде таким образом, чтобы она не перемещалась от удара манекена. Допуск на угол установки руля должен составлять +/- 2° по отношению к расчетному углу.
2.1.2 Тем не менее по просьбе предприятия-изготовителя и при согласии технической службы рулевое колесо может быть установлено на раме, имитирующей установку системы рулевого управления, при условии, что макет "рама/рулевое управление" будет иметь по сравнению с действительной моделью "передняя часть кузова/рулевое управление":
2.1.2.1 то же геометрическое расположение;
2.1.2.2

жесткость.
2.1.3 Установка рулевого управления осуществляется только при подаче заявки на его официальное утверждение в качестве отдельного механизма. Рулевое управление испытывается в полностью укомплектованном виде. Рулевое колесо должно устанавливаться таким образом, чтобы минимальное ударное расстояние между ним и испытательным стендом составляло 100 мм. Рулевой вал должен быть жестко закреплен на испытательном стенде таким образом, чтобы он не перемещался от удара.
2.2 Установка органа рулевого управления для проведения испытаний
2.2.1 Во время первого испытания рулевое управление должно быть в таком положении, чтобы наиболее жесткая его часть была перпендикулярна манекену в точке их соприкосновения; если орган рулевого управления представляет собой рулевое колесо, то испытание должно быть повторено таким образом, чтобы наиболее гибкая часть рулевого колеса была перпендикулярна манекену в той же точке соприкосновения. В случае регулируемого рулевого управления оба вышеуказанных испытания должны проводиться, когда рулевое управление находится в среднем положении регулировки.
2.2.2 Если транспортное средство оборудовано приспособлением для регулирования наклона и положения рулевого колеса, то испытание осуществляется, когда рулевое колесо находится в обычном эксплуатационном положении, указанном предприятием-изготовителем, и рассматривается лабораторией в качестве типового с точки зрения поглощения энергии.
2.2.3 Если рулевое управление оснащено рулевым колесом с надувной подушкой, то испытание проводится с надувной подушкой. По просьбе предприятия-изготовителя и с согласия технической службы испытание может проводиться без надувной подушки.
2.3 Манекен
Манекен должен иметь форму, размеры, массу и характеристики, указанные в
дополнении к настоящему приложению.
2.4.1 Максимальная сила, воздействующая на манекен в результате удара о систему рулевого управления, должна измеряться горизонтально и параллельно продольной оси транспортного средства.
2.4.2 Эта сила может измеряться либо непосредственно, либо косвенно или же исчисляться на основе величин, измеренных во время испытаний.
2.5 Приведение в движение модели туловища
2.5.1 Можно использовать любой метод приведения в движение, если оно производится таким образом, что в момент столкновения модели туловища с рулевым колесом она совершенно не связана с устройством, приводящим ее в движение. Манекен должен соприкоснуться с рулевым колесом при движении по прямой, параллельной продольной оси транспортного средства.
2.5.2 Точка H на манекене, обозначенная специальным знаком, должна быть установлена таким образом, чтобы перед ударом она находилась в горизонтальной плоскости, проходящей через точку R, как указано предприятием - изготовителем транспортного средства.
2.6 Скорость
Столкновение манекена с рулевым управлением производится при скорости (24,1 +/- 1,2) км/ч (15 +/- 0,8) мили/ч. Однако испытание считается выдержанным и в том случае, если оно проводится при большей скорости удара и если управление удовлетворяет предъявляемым требованиям.
2.7 Измерительные приборы
2.7.1 Приборы, применяемые для записи параметров, указанных в
5.2 настоящих Правил, должны обеспечивать следующую точность измерений:
2.7.1.1 скорость перемещения манекена с точностью до 2%;
2.7.1.2 запись времени с точностью до одной тысячной секунды.
2.7.1.3 Начало удара (нулевая точка) в момент первого соприкосновения манекена с рулевым управлением должно быть отмечено в записях и на пленках, используемых для анализа результатов испытания.
2.7.1.4 Измерение силы
Используемые приборы должны соответствовать стандарту ИСО 6487:1987, если в настоящих Правилах не указано иное.
2.7.1.4.1 Измерение с помощью датчика нагрузки, встроенного в систему управления:
максимальная нагрузка, которую можно измерить с помощью датчика, должна составлять 1960 даН (2000 кг), канал частотных характеристик - 600.
2.7.1.4.2 Измерение с помощью датчиков ускорения или нагрузки, встроенных в испытательный стенд: в поперечной плоскости, проходящей через центр тяжести манекена симметрично устанавливаются два датчика ускорения для измерения ускорения в одном направлении. Максимальное ускорение, которое можно измерить с помощью датчика, должно составлять 60g, а канал частотных характеристик - 180. Допускаются другие методы измерения с иным числом и расположением датчиков ускорения, как, например, метод разделения испытательного оборудования на отдельные части, в центре тяжести которых расположены датчики для измерения ускорения в горизонтальной плоскости и параллельно продольной оси транспортного средства. Результирующей силой является максимальная сумма сил, рассчитанных или измеренных непосредственно для каждой части манекена.
2.8 Окружающая температура должна быть (20 +/- 5) °C.
3 Результаты
3.1 После испытания необходимо выявить повреждения системы рулевого управления и занести их в письменном виде в протокол; необходимо сделать, по крайней мере, один фотоснимок сбоку и один фотоснимок фронтальной части "рулевое колесо/рулевая колонка/приборная доска".
3.2 Максимальное значение силы должно измеряться или вычисляться в соответствии с
2.4 настоящего приложения.
(обязательное)
МАНЕКЕН (МАССА 34 - 36 кг)
Степень упругости: 107 - 143 кгс/см
Степень упругости определяется с помощью нагрузки на швеллер сечением 100 мм, помещенный под углом 90° к продольной оси модели туловища, параллельной опорной плите. Нагрузка измеряется в тот момент, когда швеллер проникает на глубину 12,7 мм.
(обязательное)
ИСПЫТАНИЕ С ИСПОЛЬЗОВАНИЕМ МУЛЯЖА ГОЛОВЫ
1 Цель испытания
Это испытание имеет целью проверить, удовлетворяет ли рулевое управление требованиям
5.3 настоящих Правил.
2 Установки, процедуры и измерительные приборы
2.1 Общие положения
2.1.1 Рулевое управление испытывается в полностью укомплектованном виде.
2.1.2 Если рулевое управление оснащено рулевым колесом с надувной подушкой, то испытание проводится с надувной подушкой. По просьбе предприятия-изготовителя и с согласия технической службы испытание может проводиться без надувной подушки.
2.2 Установка рулевого управления при официальном утверждении рулевого управления в связи с официальным утверждением транспортного средства
2.2.1 Рулевое колесо должно устанавливаться в передней части транспортного средства, получаемой в результате поперечного сечения кузова на уровне передних сидений таким образом, чтобы в нее, по возможности, не попадали крыша, ветровое стекло и двери.
Эта часть должна быть жестко закреплена на испытательном стенде таким образом, чтобы она не перемещалась от удара муляжа головы.
Допуск на угол установки руля должен составлять +/- 2° по отношению к расчетному углу.
2.2.2 Однако по просьбе предприятия-изготовителя и с согласия технической службы рулевое колесо может быть установлено на раме, имитирующей установку системы рулевого управления, при условии, что макет "рама/рулевое управление" будет иметь по сравнению с натурной моделью "передняя часть кузова/рулевое управление":
2.2.2.1 то же геометрическое расположение;
2.2.2.2

жесткость.
2.3 Установка рулевого управления при официальном утверждении рулевого управления в качестве отдельного механизма
Рулевое управление испытывается в полностью укомплектованном виде. Рулевое колесо должно быть установлено таким образом, чтобы минимальное ударное расстояние между ним и испытательным стендом составляло 100 мм. Рулевой вал должен быть жестко закреплен на испытательном стенде таким образом, чтобы он не перемещался от удара (см.
рисунки 1а и
1б).
2.3.1 Однако по просьбе предприятия-изготовителя испытание может проводиться в условиях, указанных в
2.2 настоящего приложения. В таком случае официальное утверждение действительно только для указанного типа (типов) транспортного средства (транспортных средств).
3 Испытательная установка
3.1 Испытательная установка представляет собой жесткий ударный элемент вытянутой формы и с точно заданным направлением движения, масса которой составляет 6,8 кг. Ее ударная поверхность имеет полусферическую форму диаметром 165 мм.
3.2 Муляж головы должен быть оборудован двумя акселерометрами и прибором для измерения скорости, которые обеспечивают проведение измерений в направлении удара.
3.3 Измерительные приборы
3.3.1 Используемые измерительные приборы должны соответствовать стандарту ИСО 6487:1987. Кроме того, они должны обладать следующими характеристиками:
3.3.2 Ускорение
Класс канала амплитудных характеристик: 150 г КАХ.
Класс канала частотных характеристик: 600 Гц КЧХ.
3.3.3 Скорость
Точность +/- 1%.
3.3.4 Регистрация времени
Приборы должны обеспечивать запись всего процесса с точностью до одной тысячной секунды. За начало удара принимается момент первого соприкосновения ударного элемента с рулевым колесом. Этот момент регистрируется в целях анализа результатов испытаний.
4 Порядок проведения испытания
4.1 Рулевое колесо должно быть установлено в плоскости, перпендикулярной направлению удара.
4.2 Каждый тип рулевого колеса проходит испытание на удар максимум в четырех и минимум в трех точках. Для каждого удара используется новое рулевое колесо. При последовательных ударах ось ударного элемента должна находиться на уровне с одной из следующих точек:
4.2.1 центр ступицы рулевого колеса;
4.2.2 точка соединения наиболее жесткой или наиболее прочной спицы с ободом рулевого колеса с внутренней стороны;
4.2.3 средняя точка наиболее короткого свободного (без спицы) участка обода рулевого колеса, на который приходится удар муляжа головы;
4.2.4 точка, определяемая с согласия органа, предоставляющего официальное утверждение по типу конструкции, и соответствующая "наихудшему положению" рулевого колеса.
4.3 Скорость удара, производимого ударным элементом по рулевому колесу, должна составлять 24,1 км/ч; данная скорость достигается либо только при помощи двигателя, либо при помощи дополнительной силовой установки.
5 Результаты
5.1 При вышеупомянутом порядке проведения испытаний за коэффициент замедления ударного элемента принимается среднеарифметическое значение двух деселерометров.
6 Эквивалентные процедуры испытаний
6.1 Альтернативные испытания могут допускаться с согласия органа, предоставляющего официальное утверждение, при условии обеспечения их эквивалентности. К документации об официальном утверждении прилагается отчет с описанием используемого метода и полученных результатов.
6.2 Если используется альтернативный метод, его равноценность должна быть доказана предприятием-изготовителем или его представителем, применяющим такой метод.
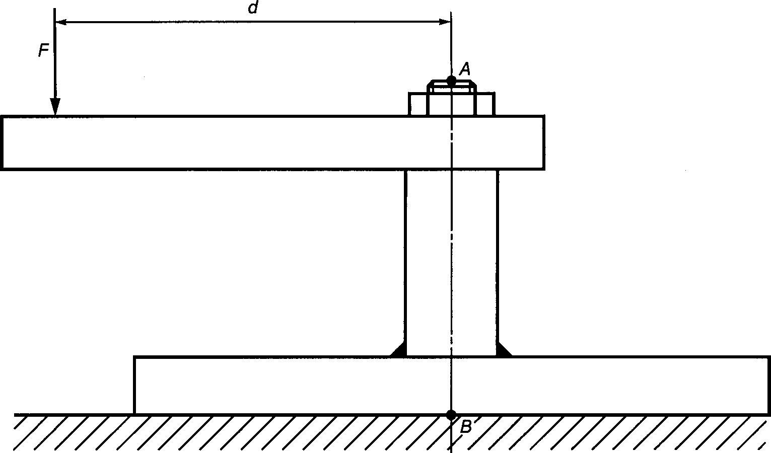
Рисунок 1а - Испытательная установка
Рисунок 1б - Измерение жесткости
крепления испытательной установки
При нагрузке 800 даН, создающей крутящий момент, равный 160 м·даН, по отношению к точке B, перемещение точки A в любом направлении должно составлять менее 2 мм.
(обязательное)
ОПРЕДЕЛЕНИЯ ТОЧКИ H И ФАКТИЧЕСКОГО УГЛА НАКЛОНА
ТУЛОВИЩА СИДЯЩЕГО В АВТОМОБИЛЕ ВОДИТЕЛЯ ИЛИ ПАССАЖИРА
1 Цели
Описываемая в настоящем приложении процедура предназначена для определения положения точки H и фактического угла наклона туловища для одного или нескольких мест для сидения в автомобиле и для проверки соотношения между измеренными параметрами и конструктивными спецификациями, указанными предприятием-изготовителем <1>.
--------------------------------
<1> В отношении любых мест для сидения, за исключением передних сидений, для которых точка H не может определяться посредством применения объемного механизма определения точки H или соответствующих методов, в качестве контрольной точки может применяться, по усмотрению компетентного органа, точка R, указанная предприятием-изготовителем.
2 Определения
В настоящем приложении применяют следующие термины с соответствующими определениями:
2.1 контрольный параметр: Одна или несколько из следующих характеристик места для сидения:
2.1.1 точку H и точку R и их соотношение,
2.1.2 фактический угол наклона туловища, конструктивный угол наклона туловища и их соотношение;
2.2 объемный механизм определения точки
H: Устройство, применяемое для определения точки
H и фактического угла наклона туловища. Описание этого устройства содержится в
дополнении 1 к настоящему приложению;
2.3 точка
H: Центр вращения туловища и бедра объемного механизма определения точки
H, установленного на сиденье транспортного средства в соответствии с требованиями
раздела 4. Точка
H располагается в середине осевой линии устройства, проходящей между визирными метками точки
H с обеих сторон механизма определения точки
H. Теоретическая точка
H соответствует (допуски см.
3.2.2) точке
R. После определения точки
H в соответствии с требованиями
раздела 4 считается, что эта точка является фиксированной по отношению к подушке сиденья и перемещается вместе с ней при регулировке сиденья;
2.4 точка R или контрольная точка места для сидения: Условная точка, указываемая предприятием-изготовителем для каждого места для сидения и устанавливаемая относительно трехмерной системы координат;
2.5 линия туловища: Центральная линия штыря объемного механизма определения точки H, когда штырь находится в крайнем заднем положении;
2.6 фактический угол наклона туловища: Угол, измеряемый между вертикальной линией, проходящей через точку
H, и линией туловища посредством кругового сектора объемного механизма определения точки
H. Теоретически фактический угол наклона туловища соответствует конструктивному углу наклона туловища (допуски см.
3.2.2);
2.7 конструктивный угол наклона туловища: Угол, измеряемый между вертикальной линией, проходящей через точку R, и линией туловища в положении, соответствующем конструктивному положению спинки сиденья, указанному предприятием - изготовителем транспортного средства;
2.8 центральная плоскость водителя или пассажира (C/LO): Средняя плоскость объемного механизма определения точки H, расположенного на каждом указанном месте для сидения; она представлена координатой точки H относительно оси Y. На отдельных сиденьях центральная плоскость сиденья совпадает с центральной плоскостью водителя или пассажира. На других сиденьях центральная плоскость водителя или пассажира определяется предприятием-изготовителем;
2.9 трехмерная система координат: Система, описанная в
дополнении 2 к настоящему приложению;
2.10 исходная точка отсчета: Физические точки (отверстия, плоскости, метки и углубления) на кузове транспортного средства, указанные предприятием-изготовителем;
2.11 положение для измерения на транспортном средстве: Положение транспортного средства, определенное координатами исходных точек отсчета в трехмерной системе координат.
3 Предписания
3.1 Представление данных
Для каждого места для сидения, контрольные параметры которого будут использованы для проверки соответствия положениям настоящих Правил, представляются все или соответствующая выборка следующих данных в том виде, как это указано в
дополнении 3 к настоящему приложению:
3.1.1 координаты точки R относительно трехмерной системы координат;
3.1.2 конструктивный угол наклона туловища;
3.1.3 все указания, необходимые для регулировки сиденья (если сиденье регулируемое) и установки его в положение для измерения, определенное в
4.3 настоящего приложения.
3.2 Соотношение полученных данных и конструктивных спецификаций
3.2.1 Координаты точки
H и фактического угла наклона туловища, установленные в соответствии с порядком, указанным в
разделе 4, сравнивают, соответственно, с координатами точки
R и конструктивным углом наклона туловища, указанными предприятием-изготовителем.
3.2.2 Относительное положение точек
R и
H и соотношение между конструктивным углом наклона туловища и фактическим углом наклона туловища считаются отвечающими предписаниям для рассматриваемого места для сидения, если точка
H, определенная ее координатами, находится в пределах квадрата с горизонтальными и вертикальными сторонами длиной 50 мм и диагоналями, пересекающимися в точке
R, и если фактический угол наклона туловища не отличается от конструктивного угла наклона туловища более чем на 5°.
3.2.3 В случае удовлетворения этих условий точка
R и конструктивный угол наклона туловища используются для проверки соответствия положениям настоящих Правил.
3.2.4 Если точка
H или фактический угол наклона туловища не соответствуют требованиям
3.2.2, то точка
H и фактический угол наклона туловища определяются еще два раза (всего три раза). Если результаты этих трех измерений удовлетворяют требованиям, то применяются положения
3.2.3 настоящего приложения.
3.2.5 Если результаты по меньшей мере двух из трех измерений, определенных в
3.2.4, не удовлетворяют требованиям
3.2.2 настоящего приложения или если проверка невозможна в связи с тем, что предприятие - изготовитель транспортного средства не представил данных, касающихся положения точки
R или конструктивного угла наклона туловища, может использоваться центр инерции трех полученных точек или средние значения трех измеренных углов, которые будут считаться приемлемыми во всех случаях, когда в настоящих Правилах упоминается точка
R или конструктивный угол наклона туловища.
4 Порядок определения точки H и фактического угла наклона туловища
4.1 Испытываемое транспортное средство должно быть выдержано при температуре (20 +/- 10) °C по выбору предприятия-изготовителя, для того чтобы температура материала, из которого изготовлены сиденья, достигла комнатной. Если испытываемое сиденье никогда не использовалось, то на него необходимо поместить дважды в течение одной минуты человека или устройство весом от 70 до 80 кг, для того чтобы размять подушку сиденья и спинку. По просьбе завода-изготовителя все комплекты сидений выдерживают в ненагруженном состоянии в течение не менее 30 мин до установки на них объемного механизма определения точки
H (см.
рисунок 1 дополнения 1 к настоящему приложению).
4.2 Транспортное средство должно быть установлено в положение для измерения, определенное в
2.11 настоящего приложения.
4.3 Если сиденье является регулируемым, то оно устанавливается сначала в крайнее заднее нормальное при управлении или использовании положение, предусмотренное заводом - изготовителем транспортного средства, за счет одной лишь продольной регулировки сиденья и без его перемещения, предусмотренного для целей, иных, чем нормальное управление или использование. В случае наличия других способов регулировки сиденья (вертикальной, угла наклона спинки и т.д.) оно должно приводиться в положение, определенное предприятием - изготовителем транспортного средства. Для откидных сидений жесткая фиксация сиденья в вертикальном положении должна соответствовать нормальному положению при управлении, указанному предприятием-изготовителем.
4.4 Поверхность места для сидения, с которой соприкасается объемный механизм определения точки H, покрывается муслиновой хлопчатобумажной тканью достаточного размера и соответствующей текстуры, определяемой как гладкая хлопчатобумажная ткань, имеющая 18,9 ниток на 1 см2 и весящая 0,228 кг/м2, или как вязаная или нетканая материя, имеющая аналогичные характеристики. Если испытание проводится на сиденье вне транспортного средства, то пол, на который устанавливается сиденье, должен иметь те же основные характеристики <1>, что и пол транспортного средства, в котором будет установлено такое сиденье.
--------------------------------
<1> Угол наклона, разница в высоте крепления сиденья, текстура поверхности и т.д.
4.5 Поместить основание и спинку объемного механизма определения точки H таким образом, чтобы центральная плоскость водителя или пассажира (C/LO) совпадала с центральной плоскостью механизма определения точки H. По просьбе предприятия-изготовителя механизм определения точки H может быть передвинут внутрь относительно C/LO, если он находится снаружи и кромка сиденья не позволяет произвести его выравнивание.
4.6 Прикрепить ступни и голени к основанию корпуса либо отдельно, либо посредством Т-образного коленного шарнира. Линия, проходящая через визирные метки определения точки H, должна быть параллельной грунту и перпендикулярной продольной центральной плоскости сиденья.
4.7 Расположить ступни и ноги объемного механизма определения точки H следующим образом:
4.7.1 Сиденья водителя и пассажира рядом с водителем
4.7.1.1 Ступни и ноги перемещаются вперед таким образом, чтобы ступни заняли естественное положение, в случае необходимости, между рабочими педалями. Левая ступня по возможности устанавливается таким образом, чтобы она находилась приблизительно на таком же расстоянии с левой стороны от центральной плоскости механизма определения точки H, на котором находится правая ступня с правой стороны. С помощью уровня проверки поперечной ориентации устройства оно приводится в горизонтальное положение либо за счет регулировки, в случае необходимости, основания корпуса, либо за счет перемещения ступней и ног назад. Линия, проходящая через визирные метки точки H, должна быть перпендикулярной продольной центральной плоскости сиденья.
4.7.1.2 Если левая нога не может удержаться параллельно правой ноге, а левая ступня не может быть установлена на элементах конструкции транспортного средства, то необходимо переместить левую ступню таким образом, чтобы установить ее на опору. Горизонтальность определяется по визирным меткам.
4.7.2 Задние боковые сиденья
Что касается задних или приставных сидений, то ноги необходимо располагать так, как предписывается предприятием-изготовителем. Если при этом ступни опираются на части пола, которые находятся на различных уровнях, то та ступня, которая первой прикоснулась к переднему сиденью, служит в качестве исходной, а другая ступня располагается таким образом, чтобы обеспечить горизонтальное положение устройства, проверяемое с помощью уровня поперечной ориентации основания корпуса.
4.7.3 Другие сиденья
Следует придерживаться общего порядка, указанного в
4.7.1 настоящего приложения, за исключением порядка установки ступней, который определяется заводом - изготовителем транспортного средства.
4.8 Размещают грузы на голенях и бедрах и устанавливают объемный механизм определения точки H в горизонтальное положение.
4.9 Наклоняют заднюю часть основания туловища вперед до остановки и отводят объемный механизм определения точки H от спинки сиденья с помощью Т-образного коленного шарнира. Вновь устанавливают механизм на прежнее место на сиденье посредством одного из нижеследующих способов:
4.9.1 Если объемный механизм определения точки H скользит назад, необходимо поступить следующим образом: дать объемному механизму возможность скользить назад до тех пор, пока не отпадет необходимость в использовании передней ограничительной горизонтальной нагрузки на Т-образный коленный шарнир, т.е. до тех пор, пока задняя часть механизма не соприкоснется со спинкой сиденья. В случае необходимости следует изменить положение голени и ступни.
4.9.2 Если объемный механизм определения точки
H не скользит назад, необходимо поступить следующим образом: отодвигать объемный механизм определения точки
H назад за счет использования горизонтальной задней нагрузки, прилагаемой к Т-образному коленному шарниру, до тех пор, пока задняя часть механизма не войдет в соприкосновение со спинкой сиденья (см.
рисунок 2 дополнения 1).
4.10 Прилагают нагрузку (100 +/- 10) Н к задней части и основанию механизма определения точки
H на пересечении кругового сектора бедра и кожуха Т-образного коленного шарнира. Это усилие должно быть все время направлено вдоль линии, проходящей через вышеуказанное пересечение, до точки, находящейся выше кожуха кронштейна бедра (см.
рисунок 2 дополнения 1 к настоящему приложению). После этого осторожно вернуть назад спинку механизма до соприкосновения со спинкой сиденья. Оставшуюся процедуру необходимо проводить с осторожностью, с тем чтобы не допустить соскальзывания объемного механизма определения точки
H вперед.
4.11 Размещают грузы на правой и левой частях основания туловища и затем попеременно восемь грузов на спине. Поддерживают объемный механизм определения точки H в горизонтальном положении.
4.12 Наклоняют спинку объемного механизма определения точки
H вперед, чтобы устранить давление на спинку сиденья. Производят три полных цикла бокового качания объемного механизма определения точки
H по дуге в 10° (5° в каждую сторону от вертикальной центральной плоскости), для того чтобы выявить и устранить возможные точки
H трения между объемным механизмом определения точки
H и сиденьем.
В ходе раскачивания Т-образный шарнир объемного механизма определения точки H может отклоняться от установленного горизонтального и вертикального направлений. Поэтому во время раскачивания механизма Т-образный шарнир должен удерживаться соответствующей поперечной силой. При удерживании шарнира и раскачивании объемного механизма определения точки H необходимо проявлять осторожность, чтобы не допустить появления непредусмотренных внешних вертикальных или продольных нагрузок.
При этом не следует удерживать ступни механизма определения точки H или ограничивать их перемещение. Если ступни изменят свое положение, они должны оставаться на некоторое время в новом положении.
Осторожно вернуть назад спинку механизма до соприкосновения со спинкой сиденья и вывести оба уровня в нулевое положение. В случае перемещения ступней во время раскачивания объемного механизма определения точки H их следует вновь установить следующим образом:
попеременно приподнимают каждую ступню с пола на минимальную величину, необходимую для того, чтобы предотвратить ее дополнительное перемещение. При этом необходимо удерживать ступни таким образом, чтобы они могли вращаться; применение каких-либо продольных или поперечных сил исключается. Когда каждая ступня опять устанавливается в свое нижнее положение, пятка должна войти в соприкосновение с соответствующим элементом конструкции;
выводят поперечный уровень в нулевое положение; в случае необходимости прилагают поперечную нагрузку к верхней части спинки механизма; нагрузка должна быть достаточной для установки в горизонтальное положение спинки объемного механизма на сиденье.
4.13 Придерживают Т-образный шарнир, для того чтобы не допустить соскальзывания механизма определения точки H вперед на подушку сиденья, и затем:
a) возвращают назад спинку механизма до соприкосновения со спинкой сиденья;
b) попеременно прилагают и убирают горизонтальную нагрузку, действующую в заднем направлении и не превышающую 25 Н, к штанге угла наклона спинки на высоте приблизительно центра крепления грузов к спине, пока круговой сектор бедра не покажет, что после устранения действия нагрузки достигнуто устойчивое положение. Необходимо обеспечить, чтобы на механизм определения точки
H не действовали какие-либо внешние силы, направленные вниз или вбок. В случае необходимости повторной ориентации механизма определения точки
H в горизонтальном направлении наклонить спинку механизма вперед, вновь проверить его горизонтальное положение и повторить процедуру, указанную в
4.12 настоящего приложения.
4.14 Производят все измерения:
4.14.1 координаты точки H измеряются относительно трехмерной системы координат;
4.14.2 фактический угол наклона туловища определяют по круговому сектору наклона спинки объемного механизма определения точки H, причем штырь должен находиться в крайнем заднем положении.
4.15 В случае повторной установки объемного механизма определения точки H сиденье должно быть свободным от любых нагрузок в течение минимум 30 мин до начала установки. Объемный механизм определения точки H не следует оставлять на сиденье сверх того времени, которое необходимо для проведения данного испытания.
4.16 Если сиденья, находящиеся в одном и том же ряду, могут рассматриваться как одинаковые (многоместное сиденье, идентичные сиденья и т.п.), то в этом случае следует определять только одну точку
H и один фактический угол наклона спинки сиденья для каждого ряда, помещая объемный механизм определения точки
H, описанный в
дополнении 1 к настоящему приложению, в месте, которое можно рассматривать как типичное для данного ряда сидений. Этим местом является:
4.16.1 в переднем ряду - место водителя;
4.16.2 в заднем ряду или рядах - одно из крайних мест.
ОПИСАНИЕ ОБЪЕМНОГО МЕХАНИЗМА ОПРЕДЕЛЕНИЯ ТОЧКИ
H <1>
--------------------------------
<1> За подробной информацией о конструктивных особенностях объемного механизма определения точки H обращаться по адресу: Society of Automobile Engineers (SAE), 400 Commonwealth Drive, Warrendale. Pennsylvania 15096, United States of America.
Механизм соответствует требованиям, установленным в стандарте ИСО 6549-1980.
1 Спинка и основание
Спинка и основание изготовлены из арматурного пластика и металла; они моделируют туловище и бедра человека и крепятся друг к другу механически в точке H. На штырь, укрепленный в точке H, устанавливается круговой сектор для измерения фактического угла наклона спинки. Регулируемый шарнир бедра, соединяемый с основанием туловища, определяет центральную линию бедра и служит исходной линией для кругового сектора наклона бедра.
2 Элементы туловища и ног
Элементы, моделирующие ступни и голени, соединяются с основанием туловища с помощью Т-образного коленного шарнира, который является продольным продолжением регулируемого кронштейна бедра. Для измерения угла сгиба колена элементы голени и лодыжки оборудованы круговыми секторами. Элементы, моделирующие ступни, имеют градуировку для определения угла наклона ступни. Ориентация устройства обеспечивается за счет использования двух уровней. Грузы, размещаемые на туловище, устанавливаются в соответствующих центрах тяжести и обеспечивают давление на подушку сиденья, равное тому, которое оказывается пассажиром - мужчиной весом 76 кг. Все шарнирные соединения механизма определения точки H должны быть проверены на предмет их нормальной работы без какого-либо заметного трения.
1 - спинка; 2 - кронштейн спинных грузов; 3 - уровень
угла наклона спинки; 4 - круговой сектор наклона бедра;
5 - основание; 6 - кронштейн набедренных грузов;
7 - Т-образный коленный шарнир; 8 - штырь; 9 - круговой
сектор наклона спинки; 10 - визитные метки точки H;
11 - ось вращения точки H; 12 - поперечный уровень;
13 - кронштейн бедра; 14 - круговой сектор сгиба колена;
15 - круговой сектор сгиба ступни
Рисунок 1 - Обозначение элементов объемного механизма
определения точки H
1 - спинные грузы; 2 - седалищные грузы; 3 - набедренные
грузы; 4 - ножные грузы; 5 - направление
и точка приложения нагрузки
Рисунок 2 - Размеры элементов объемного механизма
определения точки H и распределения грузов
ТРЕХМЕРНАЯ СИСТЕМА КООРДИНАТ
1 Трехмерная система координат определяется тремя ортогональными плоскостями, установленными предприятием - изготовителем транспортного средства (см.
рисунок 6.1) <1>.
--------------------------------
<1> Система координат соответствует требованиям стандарта ИСО 4130-1978.
2 Положение для измерения на транспортном средстве устанавливается за счет помещения данного транспортного средства на опорную поверхность таким образом, чтобы координаты исходных точек отсчета соответствовали значениям, указанным предприятием-изготовителем.
3 Координаты точек R и H устанавливаются относительно исходных точек отсчета, определенных предприятием - изготовителем транспортного средства.
Рисунок 6.1 - Трехмерная система координат
ИСХОДНЫЕ ДАННЫЕ, КАСАЮЩИЕСЯ МЕСТ ДЛЯ СИДЕНИЯ
1 Кодирование исходных данных
Исходные данные перечисляются последовательно по каждому месту для сидения. Места для сидения определяются двузначным кодом. Первый знак представляет собой арабскую цифру и обозначает ряд мест; отсчет мест ведется спереди назад. Вторым знаком является заглавная буква, которая обозначает расположение места для сидения в ряду, обращенном в направлении движения транспортного средства вперед; при этом используются следующие буквы:
L - левое;
C - центральное;
R - правое.
2 Определение положения транспортного средства, установленного для измерения
2.1 Координаты исходных точек отсчета
X ___________________________________________________________
Y ___________________________________________________________
Z ___________________________________________________________
3 Перечень исходных данных
3.1. Место для сидения: _________________________________________
3.1.1 Координаты точки R
X ___________________________________________________________
Y ___________________________________________________________
Z ___________________________________________________________
3.1.2 Конструктивный угол наклона туловища:
3.1.3 Положение для регулировки сиденья
<1>: ____________________
горизонтальное _______________________
вертикальное _______________________
угловое _______________________
угол наклона туловища _______________________
Примечание - Перечислить исходные данные для других мест для сидения в 3.2, 3.3 и т.д.
--------------------------------