Главная // Актуальные документы // ГОСТ Р (Государственный стандарт)СПРАВКА
Источник публикации
М.: ИПК Издательство стандартов, 2003
Примечание к документу
Документ утратил силу с 1 июня 2016 года в связи с изданием
Приказа Росстандарта от 24.06.2015 N 791-ст. Взамен введен в действие
ГОСТ 12.4.293-2015.
Документ включен в
Перечень стандартов, в результате применения которых на добровольной основе обеспечивается соблюдение требований технического
регламента Таможенного союза "О безопасности средств индивидуальной защиты" (ТР ТС 019/2011) и
Перечень документов в области стандартизации, содержащих правила и методы исследований (испытаний) и измерений, в том числе правила отбора образцов, необходимые для применения и исполнения требований технического
регламента Таможенного союза "О безопасности средств индивидуальной защиты" (ТР ТС 019/2011) и осуществления оценки (подтверждения) соответствия продукции (
Решение Комиссии Таможенного союза от 09.12.2011 N 878).
Документ включен в
Перечень национальных стандартов, содержащих правила и методы исследований (испытаний) и измерений, в том числе правила отбора образцов, необходимые для применения и исполнения Технического
регламента "О безопасности средств индивидуальной защиты" и осуществления оценки соответствия (
Распоряжение Правительства РФ от 15.02.2011 N 222-р).
Документ
введен в действие с 1 января 2003 года.
Название документа
"ГОСТ Р 12.4.189-99. Государственный стандарт Российской Федерации. Система стандартов безопасности труда. Средства индивидуальной защиты органов дыхания. Маски. Общие технические условия"
(принят и введен в действие Постановлением Госстандарта России от 28.12.1999 N 729-ст)
(ред. от 01.11.2001)
"ГОСТ Р 12.4.189-99. Государственный стандарт Российской Федерации. Система стандартов безопасности труда. Средства индивидуальной защиты органов дыхания. Маски. Общие технические условия"
(принят и введен в действие Постановлением Госстандарта России от 28.12.1999 N 729-ст)
(ред. от 01.11.2001)
Принят и введен в действие
Постановлением Госстандарта России
от 28 декабря 1999 г. N 729-ст
ГОСУДАРСТВЕННЫЙ СТАНДАРТ РОССИЙСКОЙ ФЕДЕРАЦИИ
СИСТЕМА СТАНДАРТОВ БЕЗОПАСНОСТИ ТРУДА
СРЕДСТВА ИНДИВИДУАЛЬНОЙ ЗАЩИТЫ ОРГАНОВ ДЫХАНИЯ
МАСКИ
ОБЩИЕ ТЕХНИЧЕСКИЕ УСЛОВИЯ
Occupational safety standards system.
Respiratory protective devices. Masks.
General specifications
ГОСТ Р 12.4.189-99
| | Список изменяющих документов (в ред. Изменения N 1, утв. в ноябре 2001 г.) | |
Группа Л07
ОКС 13.340.30
ОКП 25 3921
Дата введения
1 января 2003 года
1. Разработан Рабочей группой ПК 2 "Средства индивидуальной защиты органов дыхания" Технического комитета по стандартизации ТК 320 "СИЗ".
Внесен Техническим комитетом по стандартизации средств индивидуальной защиты ТК 320 "СИЗ".
2. Принят и введен в действие Постановлением Госстандарта России от 28 декабря 1999 г. N 729-ст.
3. Настоящий стандарт представляет собой аутентичный текст регионального стандарта ЕН 136-98 "Средства индивидуальной защиты органов дыхания. Маски. Требования, испытания, маркировка" и содержит дополнительные требования, отражающие потребности экономики страны.
4. Введен впервые.
5. Издание (июль 2003 г.) с Изменением N 1, принятым в ноябре 2001 г. (ИУС 2-2002) и Поправкой (ИУС 10-2002).
Настоящий стандарт распространяется на маски, предназначенные для использования в качестве лицевой части в средствах индивидуальной защиты органов дыхания (далее - СИЗОД), и устанавливает общие технические требования к ним, испытания и маркировку.
| | ИС МЕГАНОРМ: примечание. Дополнительные требования, выделенные курсивом в официальном тексте документа, в электронной версии отмечены знаком "#". | |
#Стандарт не распространяется на маски, используемые в следующих специальных видах СИЗОД:
- пожарных;
- военных;
- медицинских;
- для подводных работ;
- авиационных.#
Дополнительные требования, отражающие потребности экономики страны, выделены курсивом.
В настоящем стандарте использованы ссылки на следующие стандарты:
ГОСТ Р 12.4.214-99 Система стандартов безопасности труда. Средства индивидуальной защиты органов дыхания. Резьба для лицевых частей. Стандартное резьбовое соединение
ГОСТ Р 12.4.215-99 Система стандартов безопасности труда. Средства индивидуальной защиты органов дыхания. Резьба для лицевых частей. Центральное резьбовое соединение
ГОСТ Р 12.4.216-99 Система стандартов безопасности труда. Средства индивидуальной защиты органов дыхания. Резьба для лицевых частей. Резьбовое соединение М 45 x 3.
В настоящем стандарте применяют следующие термины с соответствующими определениями:
маска: лицевая часть, обеспечивающая подачу очищенного воздуха или дыхательной смеси в органы дыхания и закрывающая лицо:
маска категории 1: маска облегченной конструкции, не предназначенная для использования в качестве лицевой части фильтрующих СИЗОД, применяющихся в тяжелых условиях труда, а также для изолирующих СИЗОД,
маска категории 2: маска общего назначения, предназначенная для использования в качестве лицевой части для фильтрующих и изолирующих СИЗОД, но не для применения в условиях аварий,
маска категории 3: маска специального назначения, предназначенная для применения в качестве лицевой части в условиях аварий.
4. Общие технические требования
4.1.1. Материалы масок не должны менять своих свойств в процессе хранения и эксплуатации в течение срока годности.
4.1.2. Материалы масок не должны менять своих свойств при использовании чистящих или дезинфицирующих средств, рекомендуемых изготовителем.
4.1.3. Кромки деталей маски, которые могут контактировать с пользователем, не должны иметь острых краев и заусенцев.
4.1.4. Испытания следует проводить в соответствии с требованиями
7.3 и
7.19.
4.2. Устойчивость к температурному воздействию
4.2.1. До и после температурного воздействия на маску в соответствии с
7.4 и последующего обретения маской комнатной температуры маска не должна быть деформирована. При этом соединительные узлы, соответствующие ГОСТ Р 12.4.214 - ГОСТ Р 12.4.216, не должны претерпевать после температурного воздействия видимых изменений и должны соответствовать требованиям вышеуказанных стандартов.
Резьбовые соединения должны быть проверены на исправность путем присоединения к лицевой части соответствующих элементов СИЗОД при комнатной температуре.
4.2.2. После температурного воздействия на маску категории 3 в соответствии с
7.4 ее соединительные узлы, соответствующие ГОСТ Р 12.4.214 - ГОСТ Р 12.4.216, должны быть проверены на исправность путем присоединения к лицевой части соответствующих элементов СИЗОД при комнатной температуре.
4.2.3. До и после температурного воздействия маски должны соответствовать требованиям
4.11.
4.2.4. Испытания следует проводить в соответствии с требованиями
7.3 -
7.5,
7.14 и
7.17.
4.2 - 4.2.4 (Измененная редакция, Изм. N 1).
4.3. Устойчивость к воспламенению
До и после испытаний на устойчивость к воспламенению маска должна отвечать требованиям
4.11.
Составные элементы маски, подвергаемые воздействию пламени, не должны воспламеняться и продолжать гореть в течение 5 с после их извлечения из пламени.
Испытания следует проводить в соответствии с требованиями
7.3 и
7.6.1.1.
4.3.2. Маски категорий 2 и 3
Составные элементы маски, подвергаемые воздействию пламени, не должны воспламеняться и продолжать гореть в течение 5 с после их извлечения из пламени.
Испытания следует проводить в соответствии с требованиями
7.3 и
7.6.1.2.
4.3.1, 4.3.2 (Измененная редакция, Изм. N 1).
4.3.3 - 4.3.4 (Исключены, Изм. N 1).
4.3а. Устойчивость к тепловому излучению
4.3а.1. Маски категории 3 должны быть устойчивы к тепловому излучению.
Маску считают устойчивой к тепловому излучению, если она остается герметичной после 20 мин испытаний, хотя и может иметь видимую деформацию.
4.3а.2. До и после испытания тепловым излучением маска должна отвечать требованию
4.11.
4.3а.3. Испытания следует проводить в соответствии с требованиями
7.6.
4.3а - 4.3а.3 (Введены дополнительно, Изм. N 1).
4.4.1. Если узлы и детали маски категории 3, а именно: подмасочник, ремни крепления и/или оголовье, смотровое стекло, соединительные узлы, клапаны вдоха и выдоха, переговорная мембрана, устройство, препятствующее запотеванию стекла, - предусмотрены как заменяемые, то их замена не должна приводить к снижению защитных и иных свойств маски в соответствии с требованиями
4.14 и
4.16.
Испытания следует проводить в соответствии с требованиями
7.3,
7.17 и
7.19.
(Измененная редакция, Изм. N 1).
4.4.2. Маски категорий 1 и 2 должны содержать минимальное число сменных элементов.
Испытания следует проводить в соответствии с требованиями
7.3.
4.5. Ремни крепления и/или оголовье
4.5.1. Ремни крепления и/или оголовье должны быть сконструированы таким образом, чтобы маску можно было легко снимать и надевать.
Испытания следует проводить в соответствии с требованиями
7.3 и
7.19.
4.5.2. Ремни крепления и/или оголовье должны регулироваться (или саморегулироваться) и обеспечивать надежную и комфортную фиксацию лицевой части в нужном положении.
Испытания следует проводить в соответствии с требованиями
7.3 и
7.19.
4.5.3. Прочность
4.5.3.1. Для масок категории 1 каждый ремень крепления и/или оголовья должен выдерживать силу растяжения 100 Н, приложенную в направлении растяжения в течение 10 с.
Застежки и соединительные элементы (если таковые имеются) должны выдерживать то же растяжение.
Испытания следует проводить в соответствии с требованиями
7.3 и
7.9.1.
4.5.3.2. Для масок категорий 2 и 3 каждый ремень крепления и/или оголовья должен выдерживать силу растяжения 150 Н, приложенную в направлении растяжения в течение 10 с.
Застежки и соединительные элементы (если таковые имеются) должны выдерживать то же растяжение.
Испытания следует проводить в соответствии с требованиями
7.3 и
7.9.1.
4.5.4. На любом из ремней крепления и/или оголовья не должно быть долговременной линейной деформации более 5% после испытания на растяжение усилием 50 Н в течение 10 с.
Испытания следует проводить в соответствии с требованиями
7.3 и
7.9.2.
4.5.5. Для масок категории 3 ремни крепления и/или оголовье должны легко регулироваться (или саморегулироваться).
Испытания следует проводить в соответствии с требованиями
7.3 и
7.19.
4.6. Соединительные элементы
(Измененная редакция, Изм. N 1).
4.6.1. Соединения между маской и другими элементами СИЗОД могут осуществляться либо с помощью постоянных соединительных узлов или соединений специального типа, либо посредством резьбового соединения.
4.6.2. Если конструкция лицевой части содержит более одного соединительного узла, то конструкция маски и остального СИЗОД должна быть такой, чтобы использование различных типов СИЗОД или их комбинаций не снижало защитных свойств.
4.6.3. Все имеющиеся съемные элементы должны легко соединяться и надежно закрепляться без применения специальных инструментов, если это отдельно не оговорено в указаниях по эксплуатации. Все виды уплотнения должны оставаться на своих местах при замене съемных элементов.
4.6.4. Должно быть обеспечено правильное и надежное соединение между лицевой частью и другими частями СИЗОД.
4.6.5. Испытания следует проводить в соответствии с требованиями
7.3,
7.17,
7.19.
Маски категории 1 не должны иметь резьбовых соединений, описанных в ГОСТ Р 12.4.214 - ГОСТ Р 12.4.216.
Испытания следует проводить в соответствии с требованиями
7.3.
4.6.7. Маски категорий 2 и 3
4.6.7.1. Маски категорий 2 и 3 должны иметь не более одного резьбового соединения, описанного в ГОСТ Р 12.4.214 - ГОСТ Р 12.4.216.
4.6.7.2. Если используют какой-либо другой соединительный элемент, то должна быть исключена возможность его присоединения к резьбовым соединениям, описанным в ГОСТ Р 12.4.214 - ГОСТ Р 12.4.216.
4.6.7.3. Испытания следует проводить в соответствии с требованиями
7.3.
4.6.8. Прочность соединения
4.6.8.1. До и после этого испытания маска должна соответствовать требованию
4.11.
4.6.8.2. Для масок категории 1 соединение между лицевой частью и соединительным элементом должно быть прочным и должно выдерживать силу растяжения 250 Н, направленную перпендикулярно к плоскости соединительного узла.
Испытания следует проводить в соответствии с требованиями
7.10 и
7.14.
4.6.8.3. Для масок категорий 2 и 3 соединение между лицевой частью и соединительным узлом должно быть прочным и должно выдерживать силу растяжения 500 Н, направленную перпендикулярно к плоскости соединительного узла.
Испытания следует проводить в соответствии с требованиями
7.10 и
7.14.
4.7. Переговорная мембрана
4.7.1. В тех случаях, когда маска включает в себя переговорную мембрану, она должна быть защищена от механических повреждений. Испытания следует проводить в соответствии с требованиями
7.3.
4.7.2. Переговорная мембрана должна выдерживать разницу давлений 8 кПа (статическое давление) при положительном давлении снаружи (окружающая атмосфера).
Испытания следует проводить в соответствии с требованиями
7.3 и
7.11.1.
4.7.3. Узел переговорной мембраны должен выдерживать силу растяжения 150 Н, направленную перпендикулярно к плоскости переговорной мембраны и прилагаемую в течение 10 с.
Испытание должно быть повторено девять раз с интервалами в 10 с.
Испытания следует проводить в соответствии с требованиями
7.3 и
7.11.2.
4.7.4. После испытания на устойчивость к тепловому излучению в соответствии с требованиями
7.7 и приобретения комнатной температуры маски категории 3 должны соответствовать требованиям
4.7.1 и
4.7.2.
Испытания следует проводить в соответствии с требованиями
7.3 и
7.11.1,
7.11.2.
4.7.3, 4.7.4 (Измененная редакция, Изм. N 1).
4.8.1. Смотровые стекла должны быть присоединены к корпусу маски таким образом, чтобы соединение было надежным и газонепроницаемым.
Испытания следует проводить в соответствии с требованиями
7.3 и
7.17.
4.8.2. Смотровые стекла и смотровые щитки не должны искажать зрительное восприятие.
Испытания следует проводить в соответствии с требованиями
7.19.
4.8.3. Изготовитель должен предоставить средства по снижению запотевания смотровых стекол с тем, чтобы зрительное восприятие не искажалось в рабочих условиях. При использовании химических соединений против запотевания в соответствии с указаниями по эксплуатации они не должны оказывать раздражающего или какого-либо иного вредного воздействия на здоровье пользователя.
Испытания следует проводить в соответствии с требованиями
7.3 и
7.19.
4.8.4. После испытаний на механическую прочность смотровых стекол маска не должна иметь каких-либо повреждений, делающих ее применение неэффективным и вызывающих опасность травмирования пользователя. Эффективность проверяют путем сравнения плотности прилегания маски до и после испытания. Маска должна отвечать требованию
4.11 как до, так и после испытаний на механическую прочность смотровых стекол.
Испытания следует проводить в соответствии с требованиями
7.3,
7.12 и
7.14.
(Измененная редакция, Изм. N 1).
4.9. Клапаны вдоха и выдоха
4.9.1.1. Конструкция клапанов должна обеспечивать простоту в обращении и обслуживании, а также их правильную замену.
4.9.1.2. Конструкция клапанов должна исключать функционирование клапанов выдоха в цикле вдоха или клапанов вдоха в цикле выдоха.
4.9.1.3. Допускается замена клапанов на клапаны иной конструкции, а также их составных частей, если это предусмотрено изготовителем.
4.9.1.4. Допускается замена клапанов выдоха в сборе и клапанов вдоха в сборе на идентичные, если это оговорено в указаниях по эксплуатации.
4.9.1.5. Детали клапанов вдоха и выдоха должны быть четко описаны в информации изготовителя и маркированы. В указаниях по эксплуатации должен быть описан способ проверки правильности сборки (визуальная проверка, проверка пользователем, испытание персоналом по техническому обслуживанию - по обстоятельствам).
4.9.1.6. Испытания следует проводить в соответствии с требованиями
7.3.
4.9.2.1. Клапаны вдоха должны правильно функционировать во всех положениях маски и отвечать требованиям
4.13.
4.9.2.2. Маска с резьбовым соединением по ГОСТ Р 12.4.215 не должна иметь клапана вдоха.
4.9.2.3. Маска с резьбовым соединением по ГОСТ Р 12.4.214 должна иметь клапан вдоха.
4.9.2.4. Маска, предназначенная для использования с фильтрами, должна оснащаться клапаном вдоха, если в фильтре клапана вдоха нет.
4.9.2.5. Испытания следует проводить в соответствии с требованиями
7.3.
4.9.3.1. Клапаны выдоха должны правильно функционировать во всех положениях маски и отвечать требованиям
4.13.
Испытания следует проводить в соответствии с требованиями
7.3 и
7.16.
(Измененная редакция, Изм. N 1).
4.9.3.2. Маска с резьбовым соединением по ГОСТ Р 12.4.215 не должна иметь клапана выдоха.
Испытания следует проводить в соответствии с требованиями
7.3.
4.9.3.3. Маска, оснащенная резьбовым соединением по ГОСТ Р 12.4.214 или ГОСТ Р 12.4.216, и маска категории 1 должны иметь, по крайней мере, один клапан выдоха или другое устройство для удаления выдыхаемого и/или избыточного воздуха.
Испытания следует проводить в соответствии с требованиями
7.3.
4.9.3.4. Клапан выдоха должен быть защищен от попадания грязи и механических повреждений корпусом или, при необходимости, любым другим устройством для того, чтобы маска соответствовала требованиям
4.14.
Испытания следует проводить в соответствии с требованиями
7.3,
7.17.
(Измененная редакция, Изм. N 1).
4.9.3.5. Клапаны выдоха должны продолжать правильно функционировать и удовлетворять требованиям
4.13 после:
а) прохождения через клапан выдоха постоянного потока воздуха расходом 300 дм3/мин;
б) создания в подмасочном пространстве отрицательного (статического) давления 8 кПа.
Время испытаний - 30 с для каждого испытания.
Испытания следует проводить в соответствии с требованиями
7.3 и
7.13.1.
4.10. Устойчивость к растяжению
4.10.1. Маски категории 1
4.10.1.1. До и после испытаний маска должна отвечать требованию
4.11.
4.10.1.2. Корпус клапана выдоха, подсоединенный к лицевой части, должен выдерживать силу растяжения 50 Н, направленную перпендикулярно к плоскости корпуса клапана и прикладываемую в течение 10 с. Испытания следует проводить девять раз с интервалами в 10 с.
4.10.1.3. Испытания следует проводить в соответствии с требованиями
7.3 и
7.13.2.
4.10.2. Маски категорий 2 и 3
4.10.2.1. До и после испытаний маска должна отвечать требованиям
4.11.
4.10.2.2. Корпус клапана выдоха, подсоединенный к маске, должен выдерживать силу растяжения 150 Н, направленную перпендикулярно к плоскости корпуса клапана и прикладываемую в течение 10 с. Испытания следует повторять девять раз с интервалами в 10 с.
(Измененная редакция, Изм. N 1).
4.10.2.3. Испытания следует проводить в соответствии с требованиями
7.3 и
7.13.2.
При испытании разрежением в 1 кПа изменение давления под маской в течение одной минуты не должно превышать 100 Па.
Испытания следует проводить в соответствии с требованиями
7.14.
4.12. Содержание диоксида углерода во вдыхаемом воздухе
Содержание диоксида углерода во вдыхаемом воздухе при применении маски не должно превышать в среднем 1,0% по объему.
Испытания следует проводить в соответствии с требованиями
7.15.
4.13. Начальное сопротивление воздушному потоку
4.13.1. Маска, в соответствии с категорией, включая вид соединения (кроме применяемых в изолирующих СИЗОД открытого типа с избыточным давлением), должна удовлетворять требованиям
4.13.3 или
4.13.4.
4.13.2. Если маска имеет специальное соединение, предназначенное только для изолирующих СИЗОД открытого типа с избыточным давлением, то ее сопротивление постоянному воздушному потоку должно определяться не отдельно, а только в качестве составной части СИЗОД, удовлетворяющего требованиям соответствующего стандарта.
4.13.3. Маски с соединениями типов, не указанных в
4.13.4 и
4.13.5, должны удовлетворять требованиям таблицы 1.
Таблица 1
Сопротивление на вдохе, Па | Сопротивление на выдохе, Па |
при 30 дм3/мин постоянного воздушного потока | при 95 дм3/мин постоянного воздушного потока | при 160 дм3/мин постоянного воздушного потока или 50 дм3/мин синусоидального потока [25 цикл/мин, (2,0 дм3/ход)] | при 160 дм3/мин постоянного воздушного потока или 50 дм3/мин синусоидального потока [25 цикл/мин, (2,0 дм3/ход)] |
<= 50 | <= 150 | <= 250 | <= 300 |
4.13.4. Маски категорий 2 и 3 без клапанов с резьбовым соединением по ГОСТ Р 12.4.215 должны удовлетворять требованиям, приведенным в таблице 2.
Таблица 2
Сопротивление на вдохе, Па | Сопротивление на выдохе, Па |
при 160 дм3/мин постоянного воздушного потока или 50 дм3/мин синусоидального потока [25 циклов/мин (2,0 дм3/ход)] | при 160 дм3/мин постоянного воздушного потока или 50 дм3/мин синусоидального потока [25 циклов/мин (2,0 дм3/ход)] |
<= 60 | <= 60 |
Испытания следует проводить в соответствии с требованиями
7.16.1,
7.16.3.
4.13.5. Маски категорий 2 и 3 с резьбовым соединением по ГОСТ Р 12.4.216, предназначенные для использования с изолирующими СИЗОД, должны удовлетворять требованиям таблицы 3.
Таблица 3
Сопротивление на вдохе, Па | Сопротивление на выдохе, Па |
при 100 дм3/мин синусоидального потока [40 циклов/мин (2,5 дм3/ход)] | при 10 дм3/мин постоянного воздушного потока | при 50 дм3/мин синусоидального воздушного потока [25 циклов/мин (2,0 дм3/ход)] | при 100 дм3/мин синусоидального воздушного потока [40 циклов/мин (2,5 дм3/ход)] |
<= 350 | >= 420 | <= 700 | <= 1000 |
Испытания следует проводить в соответствии с требованиями
7.16.1,
7.16.4.
4.14. Коэффициент подсоса под маску
Коэффициент подсоса тест-вещества под маску, включающий коэффициент подсоса по полосе обтюрации, через клапан (клапаны) выдоха и другие конструктивные элементы маски, не должен превышать в среднем для любого из упражнений и любого испытателя 0,05%.
Испытания следует проводить в соответствии с требованиями
7.17.
4.13 - 4.14 (Измененная редакция, Изм. N 1).
4.15. Площадь поля зрения
4.15.1. Маска, снабженная одним панорамным стеклом, должна обеспечивать площадь поля зрения не менее 70% по отношению к площади поля зрения без маски, а перекрытое поле зрения должно составлять не менее 80% от перекрытого поля зрения без маски.
4.15.2. Маска с двумя смотровыми стеклами должна обеспечивать площадь поля зрения не менее 70% относительно площади поля зрения без маски, а перекрытое поле зрения должно составлять не менее 20% от перекрытого поля зрения без маски.
4.15.1, 4.15.2 (Измененная редакция, Изм. N 1).
4.15.3. Испытания следует проводить в соответствии с требованиями
7.18.
4.16. Эксплуатационные свойства
4.16.1. Эксплуатационные свойства маски следует определять после прохождения всех испытаний, за исключением устойчивости к воспламенению и подсоса под маску.
4.16.2. Эксплуатационные свойства маски следует определять в условиях моделирования трудовой деятельности в соответствии с методикой испытаний, указанной в
7.19.
(Измененная редакция, Изм. N 1).
4.16.3. Сведения об испытаниях эксплуатационных свойств масок, проведенных в соответствии с требованиями
7.19, должны быть отражены в протоколе испытательной лаборатории. В случае получения отрицательного заключения хотя бы по одному из пунктов требований
7.19 заявитель имеет право обратиться в другую аккредитованную испытательную лабораторию для повторных испытаний.
5. Требования безопасности
5.1. Для изготовления масок следует применять материалы, разрешенные органами здравоохранения для использования в контакте с кожей и вдыхаемым воздухом.
5.2. Для масок категорий 2 и 3, предназначенных для использования в условиях возможного возникновения пожароопасных и взрывоопасных ситуаций, не допускается применение чистого алюминия, магния и титана или сплавов, содержащих эти материалы в пропорциях, которые в процессе эксплуатации могут привести к возникновению искры. Информация об этом должна содержаться в нормативном документе на изделие и указаниях по эксплуатации масок.
Правила приемки устанавливают в нормативном документе изделий конкретных видов.
Количество и виды показателей, необходимых для определения при приемосдаточных испытаниях, устанавливают в нормативном документе на изделие конкретного вида.#
(Измененная редакция, Изм. N 1).
Если не оговорено применение специальных измерительных приборов и методов, то следует использовать обычные приборы и методы.
Маски, предназначенные для использования в средствах с положительным давлением под лицевой частью, следует испытывать в составе полностью укомплектованного СИЗОД, предоставляемого заявителем.
Перечень показателей, проверяемых при испытаниях масок, представлен в таблице 4.
Таблица 4
Перечень показателей, проверяемых при испытаниях масок
Перечень показателей | Категория | Номер пункта требований | | Предварительная подготовка образцов | Номер пункта методов испытаний |
Визуальный контроль | 1, 2, 3 | | Все | - | |
Материалы | 2, 3 | | Все | ПП | |
Устойчивость к температурному воздействию | 1, 2, 3 | | 2 | ПП | |
Устойчивость к воспламенению | 1, 2, 3 | | 3 | 1-ПП, 2-ТВ | |
| 3 | 1-ПП, 2-ТВ | |
Устойчивость к тепловому излучению | 3 | | 5 | ПП | |
Чистка и дезинфекция | 1, 2, 3 | | 2 (в случае определения коэффициента подсоса) | - | В соответствии с информацией изготовителя 7.8 |
Кромки деталей | 1, 2, 3 | | Все | ПП | |
Заменяемые элементы | 1, 2, 3 | | Все | ПП | |
3 | | 2 | ПП | |
Ремни крепления и/или оголовье | 1, 2, 3 | | 2 | ТВ | |
1, 2, 3 | | 2 | ТВ | |
1 | | 3 | ПП | |
2, 3 | | 3 | ПП | |
1, 2, 3 | | 3 | ПП | |
3 | | 2 | ТВ | |
Соединительные элементы | 1, 2, 3 | | 2 | ПП | |
1 | | 2 | ПП | |
2, 3 | | 2 | ПП | |
1 | | 3 | ПП | |
2, 3 | | 3 | ПП | |
Переговорная мембрана | 1, 2, 3 | | 3 | ПП | |
1, 2, 3 | | 3 | ПП | |
3 | | 3 | ПП | |
3 | | 3 | ТВ | |
Смотровые стекла | 1, 2, 3 | | 2 | ПП | |
1, 2, 3 | | 2 | ТВ | |
1, 2, 3 | | 2 | ТВ | |
1, 2, 3 | | 5 | ПП | |
Клапаны вдоха и выдоха | 1, 2, 3 | | 3 | ПП | |
1, 2, 3 | | 3 | ПП | |
1, 2, 3 | | 3 | ПП | |
1 | | 3 | ПП | |
2, 3 | | 3 | ПП | |
Герметичность | 1, 2, 3 | | Все | Согласно требованию | |
Содержание  во вдыхаемом воздухе | 1, 2, 3 | | 1 | ПП | |
Начальное сопротивление воздушному потоку | 1, 2, 3 | | 3 | ПП | |
2, 3 | | 3 | ПП | |
2, 3 | | 3 | ПП | |
Коэффициент подсоса под маску | 1, 2, 3 | | 2 | 1-ПП, 1-ТВ | |
Площадь поля зрения | 1, 2, 3 | | 1 | ПП | |
Эксплуатационные свойства | 1, 2, 3 | | 2 | ПП | |
Маркировка | 1, 2, 3 | | Все | ПП | |
Указания по эксплуатации | 1, 2, 3 | | 1 | - | |
<1> Большинство образцов используются более, чем в одном испытании. Сокращения: ПП - состояние после поставки; ТВ - температурное воздействие в соответствии с 7.4. |
(Измененная редакция, Изм. N 1).
7.2. Номинальные значения и допустимые отклонения
Все значения величин, приведенные в настоящем стандарте, являются номинальными. Допускается отклонение +/- 5% от указанного значения температуры, не оговоренного в стандарте как максимальное или минимальное. При этом температура воздуха при испытаниях (24 +/- 8) °C.
Исключение составляют испытания на механическую прочность, которые допускается проводить при температуре (20 +/- 10) °C. Все другие значения температур должны задаваться с точностью +/- 1 °C, а относительная влажность должна составлять (50 +/- 30) %.
Визуальный контроль проводят до и во время проведения испытаний. При визуальном контроле также проверяют маркировку и наличие соответствующих указаний по эксплуатации.
7.4. Предварительная подготовка образцов
При предварительной подготовке температурному воздействию подлежат два образца после поставки. Каждая из масок должна проходить следующий термический цикл:
а) нагревание до (70 +/- 3) °C в сухой атмосфере в течение 72 ч;
б) нагревание до (70 +/- 3) °C при относительной влажности 95 - 100% в течение 72 ч;
в) охлаждение до (минус 30 +/- 3) °C в течение 24 ч.
После каждой процедуры цикла образцы должны выдерживаться до комнатной температуры.
7.5. Устойчивость к температурному воздействию
После температурного воздействия в соответствии с
7.4 резьбовые соединения должны быть проверены на исправность путем присоединения к лицевой части соответствующих элементов СИЗОД при комнатной температуре.
Для масок категории 3 это испытание должно быть проведено в течение 30 с после окончания последнего испытания в соответствии с требованиями
7.4.
7.3 - 7.5 (Измененная редакция, Изм. N 1).
7.6. Устойчивость к воспламенению
7.6.1. Сущность метода
Надетая на металлическую голову-манекен маска проходит через установленное пламя с последующей регистрацией воздействия пламени на маску.
7.6.1.1. Маски категории 1
7.6.1.1.1. Подготовка образцов к испытаниям
Испытаниям подлежат три образца: один в состоянии после поставки, два, подвергнутые температурному воздействию
(7.4), после приобретения ими температуры окружающего воздуха.
7.6.1.1.2. Оборудование
Во время испытаний маску надевают на голову металлического манекена, приводимого в движение двигателем таким образом, чтобы маска описывала в горизонтальной плоскости круг (см. рисунок 1).
1 - резервуар с пропаном; 2 - клапан; 3 - редуктор давления;
4 - манометр; 5 - блокиратор обратного зажигания;
6 - горелка; 7 - двигатель привода вращения
и регулирования скорости
Рисунок 1. Схема установки для испытания устойчивости
к воспламенению масок категории 1
Установка снабжения газом состоит из баллона с пропаном с клапаном регулирования газового потока, манометром и блокиратором обратного зажигания.
Газовая горелка регулируется по высоте. Горелка представляет собой горелку типа "TEKLU". Следует использовать термопару диаметром 1,5 мм с минеральной изоляцией.
7.6.1.1.3. Подготовка и проведение испытаний
Во время испытаний изделие надевают на голову металлического манекена, приводимого в движение двигателем таким образом, чтобы маска описывала горизонтальный круг с линейной скоростью (60 +/- 5) мм/с. Голова манекена должна проходить над пропановой горелкой, положение которой может регулироваться. Расстояние между верхом горелки и нижней частью маски, проходящей непосредственно над пламенем, устанавливается равным 20 мм.
Горелку поджигают, предварительно убедившись в том, что воздушный канал горелки полностью закрыт, и регулируют клапан контроля потока таким образом, чтобы высота пламени над вершиной горелки составляла (40 +/- 4) мм, а температура пламени на высоте 20 мм над верхом горелки была (800 +/- 50) °C. Измерение температуры осуществляют с помощью термопары.
Маска, надетая на голову-манекен, должна пройти через пламя со скоростью (60 +/- 5) мм/с. Испытание следует повторить для того, чтобы сделать возможной оценку всех материалов с наружной стороны лицевой части. Некоторые компоненты маски могут проходить через пламя только один раз.
В протоколе испытаний следует зафиксировать, продолжают ли гореть более 5 с маска или ее компоненты после прохождения их через пламя.
7.6.1.2. Маски категорий 2 и 3
7.6.1.2.1. Подготовка образцов к испытаниям
Испытаниям подлежат три образца: один в состоянии после поставки, два, подвергнутые температурному воздействию
(7.4), после приобретения ими температуры окружающего воздуха. Маску испытывают на устойчивость к воспламенению за короткий период времени с помощью испытательной установки, изображенной на рисунках 2 и
3.
Рисунок 2. Схема установки, состоящая
из шести пропановых горелок
1 - резервуар с пропаном; 2 - высокочувствительный манометр
и регулирующее устройство; 3 - блокиратор обратного
зажигания; 4 - соединительные шланги (той же длины),
ведущие к пропановым горелкам; 5 - пропановая горелка
Рисунок 3. Схема установки для испытаний на устойчивость
к воспламенению масок категорий 2 и 3
(Измененная редакция, Изм. N 1).
7.6.1.2.2. Оборудование
Основными частями испытательного оборудования являются: резервуар, содержащий пропан с контрольно-регулировочным устройством и высокочувствительным манометром; блокиратор обратного зажигания горелки; шесть пропановых горелок, регулируемых по высоте, и голова-манекен, установленная с возможностью поворота в вертикальном и горизонтальном направлениях.
7.6.1.2.3. Подготовка к испытаниям
Испытательный стенд настраивается таким образом.
Расстояние между маской и верхом горелок должно составлять 250 мм.
Следует полностью открыть регулирующий подачу пропана клапан на каждой из шести горелок с предварительно закрытым клапаном, регулирующим подачу воздуха.
Установить расход пропана из баллона регулятором на такое давление, чтобы расходомер на основной линии подачи пропана показывал общий расход пропана, поступающего к горелкам, равный (21 +/- 0,5) дм3/мин.
Для измерения температуры пламени следует использовать термопару с минеральной изоляцией диаметром 1,5 мм. Температуру следует измерять на высоте 250 мм над верхними концами горелок в центре пламени. Горелки в совокупности должны давать температуру пламени (950 +/- 50) °C. Перед измерением температуры пламени положение горелок необходимо отрегулировать по высоте.
Для получения нужной температуры может возникнуть необходимость задействования клапана, регулирующего подачу воздуха на каждой горелке, и экранирования всей испытательной аппаратуры от воздействия внешних воздушных потоков.
(Измененная редакция, Изм. N 1).
7.6.1.2.4. Проведение испытаний
Маску надевают на металлическую голову-манекен, а свободные концы головных ремней располагают между головой-манекеном и ремнями. Маску подвергают воздействию языков пламени в течение 5 с. В тех случаях, когда такие элементы, как клапан(ы), переговорная мембрана и т.п., располагаются на других частях корпуса маски, испытание должно быть повторено с использованием других образцов маски, ориентированных в соответствующем положении.
Для сравнения герметичности маски до и после испытания на воспламеняемость рекомендуется оставить маску на голове стенда для испытания на воспламеняемость.
7.7. Устойчивость к тепловому излучению
7.7.1. Сущность метода
Маску подвергают воздействию теплового излучения с заданным значением потока тепловой энергии

и регистрируют последствия этого воздействия.
(Измененная редакция, Изм. N 1).
7.7.2. Подготовка образцов к испытаниям
Испытанию подлежат пять образцов в состоянии после поставки.
7.7.3. Оборудование
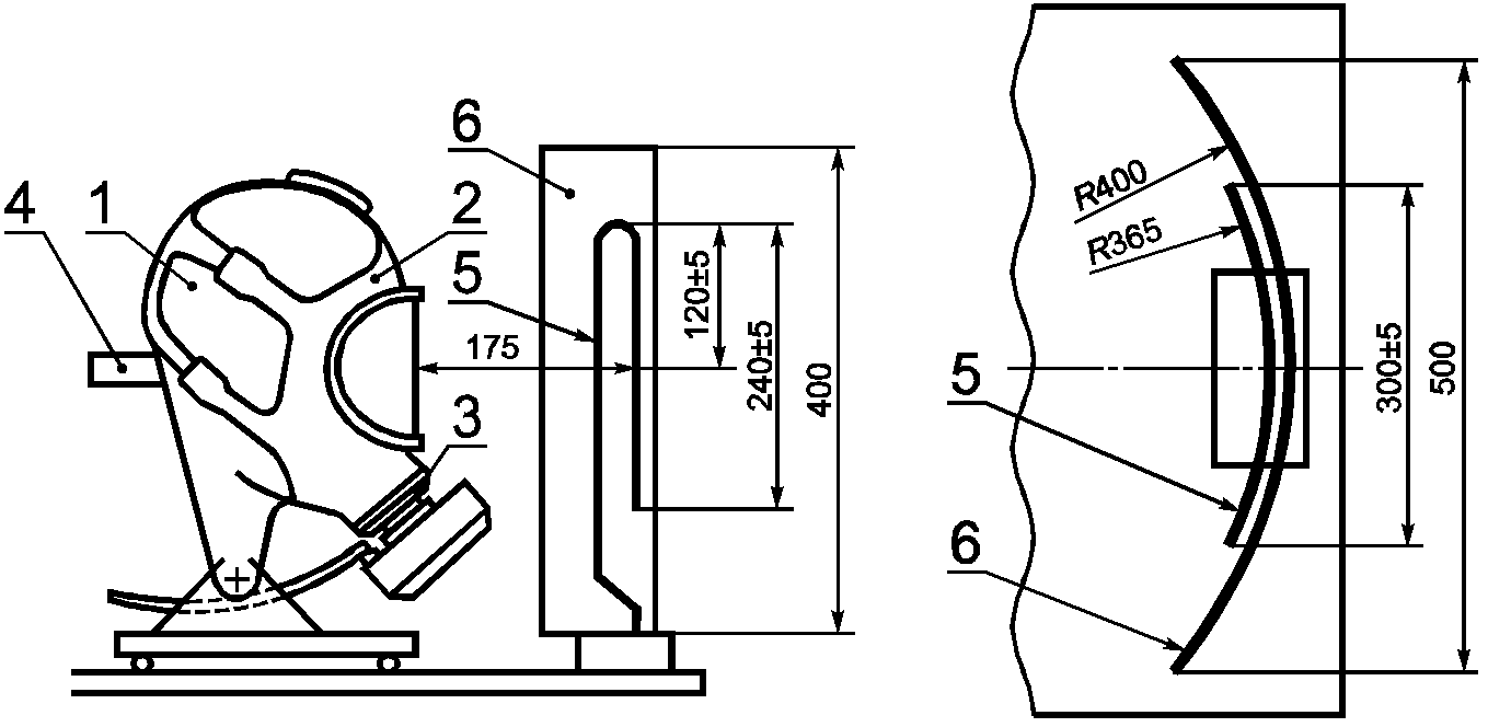
Оборудование состоит из головы-манекена, дыхательной машины и источника теплового излучения. Для определения величины потока тепловой энергии применяют калориметр либо иной прибор, регистрирующий мощность потока тепловой энергии. Испытательная установка показана на рисунке 4.
1 - металлическая голова-манекен; 2 - маска;
3 - соединительный элемент оборудования; 4 - соединительный
элемент для подключения дыхательной машины; 5 - источник
теплового излучения; 6 - рефлектор
Рисунок 4. Установка для испытаний на устойчивость
к тепловому излучению
Источник теплового излучения, схематично изображенный на
рисунке 4, создает поток тепловой энергии

на расстоянии примерно 175 мм, измеренном по центральной линии. Допускается использовать другие подобные источники теплового излучения.
7.7.4. Условия испытаний
Поток энергии: энергия

на расстоянии 175 мм.
Дыхательная машина: 20 циклов/мин (1,5 дм3/ход).
7.7.5. Подготовка и проведение испытаний
После проверки герметичности
(7.14) маску закрепляют герметично без деформации на металлической голове-манекене и подсоединяют к дыхательной машине.
При регулировании головы-манекена маску следует расположить таким образом, чтобы центр смотрового стекла находился на центральной линии источника теплового излучения на расстоянии приблизительно 175 мм. Маску следует располагать вертикально относительно теплового потока.
После этого голову-манекен с маской заменяют калориметром. Калориметр следует разместить на расстоянии приблизительно 175 мм от источника теплового излучения в том месте, где в процессе экспозиции на центральной линии будет находиться наружная поверхность стекол лицевой части.
Источник теплового излучения регулируют таким образом, чтобы создавался поток энергии

на расстоянии примерно 175 мм. При необходимости электрическое питание стабилизируют. Между калориметром и источником теплового излучения размещают изолирующий разделитель.
После этого калориметр заменяют головой-манекеном с лицевой частью. Смотровое стекло маски должно занять место калориметра. Испытания проводят в вышеуказанных условиях.
Затем включают дыхательную машину. Через 3 мин разделитель удаляется. Время удаления разделителя считается временем начала испытания.
Маску следует испытывать:
а) в течение 20 мин;
б) или пока не обнаружат явных искажений видимости или не будет отмечено каких-либо иных нарушений.
7.7.3 - 7.7.5 (Измененная редакция, Изм. N 1).
7.7.6. Оценка герметичности
До и после испытаний герметичность должна отвечать требованиям
4.11.
Для сравнения герметичности маски до и после испытания на воздействие теплового излучения после испытания рекомендуется оставить маску, прошедшую испытания на воздействие теплового излучения, на голове манекена.
Испытания следует проводить в соответствии с требованиями
7.14.
(Введен дополнительно, Изм. N 1).
7.8. Чистка и дезинфекция
Чистку и дезинфекцию осуществляют по информации изготовителя в соответствии с требованиями
4.1.2. После испытания образцы должны удовлетворять требованиям
7.17 и
7.19.
(Измененная редакция, Изм. N 1).
7.9. Испытания ремней крепления и/или оголовья
7.9.1. Испытаниям подлежат три образца в состоянии после поставки.
Маску плотно закрепляют на голове манекена. Силу 100 Н (для масок категории 1) и 150 Н (для масок категорий 2 и 3) следует прикладывать к свободному концу ремней крепления и/или оголовья в течение 10 с.
7.9.2. Испытаниям подлежат три образца в состоянии после поставки.
Маску плотно закрепляют на голове манекена. Силу 50 Н следует прикладывать к свободному концу ремней крепления и/или оголовья в течение 10 с.
Остаточную линейную деформацию измеряют спустя 4 ч после испытания на растяжение.
7.10. Испытания соединительного элемента
7.10.1. Подготовка образцов к испытаниям
Испытаниям подлежат три образца в состоянии после поставки.
7.10.2. Подготовка и проведение испытаний
Маску надевают на голову-манекен, которую регулируют таким образом, чтобы нагрузка прикладывалась перпендикулярно к плоскости соединения. В дополнение на корпус маски следует надеть систему сдерживающих ремней или лент вокруг соединения таким образом, чтобы нагрузка прикладывалась, по возможности, непосредственно к оправе соединения в корпусе маски и сдерживающее усилие не прикладывалось полностью к оголовью (см. рисунок 5).
Рисунок 5. Устройство для испытания соединительного элемента
Время испытания - 10 с.
7.11. Переговорная мембрана
(Измененная редакция, Изм. N 1).
7.11.1. Испытаниям подлежат три образца в состоянии после поставки.
Маску надевают на голову манекена (рисунок 6). При этом в подмасочном пространстве создается отрицательное (статическое) давление 8 кПа.
1 - втулка для измерения сопротивления воздушному потоку;
2 - измерение

(на вдохе)
Рисунок 6. Шеффилдская голова-манекен для испытания
по определению содержания диоксида углерода во вдыхаемом
воздухе и сопротивления постоянному воздушному потоку
Время испытания - 30 с для каждого образца.
7.11.2. Испытаниям подлежат три образца в состоянии после поставки.
7.11.1, 7.11.2 (Введены дополнительно, Изм. N 1).
7.12.1. Подготовка к испытаниям
Испытаниям подлежат пять образцов в состоянии после поставки.
7.12.2. Подготовка и проведение испытаний
Механическую прочность испытывают на полностью собранной маске, надетой на голову-манекен таким образом, чтобы стальной шарик диаметром 22 мм, массой 43,8 г падал вертикально с высоты 1,3 м в центр смотрового стекла.
Герметичность испытывается до и после испытаний на механическую прочность в соответствии с требованиями
7.14.
7.13. Клапаны вдоха и выдоха
7.13.1. Испытаниям подлежат три образца в состоянии после поставки.
Маску надевают на голову манекена (см.
рисунок 6). При этом, в случае необходимости, поддерживают разрежение, равное 8 кПа, путем откачки воздуха.
7.13.2. Испытаниям подлежат три образца в состоянии после поставки.
7.14.1. Сущность метода
Сущность метода состоит в измерении падения давления в подмасочном пространстве. До проведения испытаний маска должна быть разобрана на составные части и затем собрана вновь.
7.14.2. Подготовка образцов к испытаниям
Все образцы должны быть испытаны на герметичность в соответствии с
таблицей 4.
7.14.3. Подготовка и проведение испытаний
Испытание следует проводить с использованием головы-манекена и при разрежении в 1 кПа, создаваемом в полости маски. При проведении этого испытания клапан вдоха должен быть закрыт, а диск клапана выдоха увлажнен.
Давление следует измерять с помощью откалиброванной трубки со шкалой деления не более 10 Па.
7.15. Содержание диоксида углерода во вдыхаемом воздухе
7.15.1. Подготовка образцов к испытаниям
Подлежащий испытанию один образец в состоянии после поставки следует использовать в трех видах испытаний.
7.15.2. Оборудование
Установка состоит из дыхательной машины с соленоидными клапанами, контролируемыми дыхательной машиной, соединителя, расходомера

, анализатора

. Установка не должна содержать "дополнительного вентилятора", используемого в испытаниях, т.е. не должно быть потока воздуха в направлении лицевой части со скоростью 0,5 м/мин.
Примечание. Измеренный уровень диоксида углерода дает, скорее, оценку "мертвого пространства" маски, нежели реальное измерение уровня содержания диоксида углерода во вдыхаемом воздухе.
7.15.3. Подготовка и проведение испытаний
Образец маски, подсоединенный к данной установке, включается в дыхательный цикл, обеспечиваемый дыхательной машиной.
Маска должна надежно, герметично и без деформации надеваться на голову манекена. В случае необходимости лицевая часть может быть прикреплена к голове манекена с помощью поливинилхлоридной ленты или другого уплотнителя (см.
рисунок 6).
При измерении содержания диоксида углерода не следует использовать вставку для измерения сопротивления воздушному потоку
(рисунок 6).
Как показано на рисунке 7, концентрические трубки должны заканчиваться на уровне губ манекена, а трубка для отбора проб должна находиться на уровне конца концентрических трубок.
1 - дыхательная машина; 2 - вспомогательное "легкое";
3 - односторонний клапан; 4 - измеритель потока;
5 - компенсатор; 6 - анализатор диоксида углерода;
7 - соленоидный клапан; 8 - голова-манекен; 9 - трубка отбора
10 - поглотитель диоксида углерода
Рисунок 7. Схема установки для испытания по определению
содержания диоксида углерода во вдыхаемом воздухе
Воздух подается от дыхательной машины, отрегулированной на 25 циклов/мин и 2,0 дм3/ход. При этом содержание диоксида углерода в выдыхаемом воздухе должно составлять 5 об.%. При увеличении концентрации

при работе установки следует поместить абсорбер

между соленоидным клапаном и дыхательной машиной в цикл вдоха.
Схема установки по определению содержания диоксида углерода во вдыхаемом воздухе представлена на
рисунке 7.

подают в дыхательную машину через контрольный клапан, расходомер, компенсационный резервуар и два односторонних клапана.
Непосредственно перед соленоидным клапаном проводят постоянный отбор небольшого количества выдыхаемого воздуха через линию отбора проб, который потом вновь возвращается в выдыхаемый воздух через анализатор

.
Для измерения содержания

во вдыхаемом воздухе 5% объема "вдоха" дыхательной машины отбирают в определенном месте с помощью вспомогательного "легкого" и затем подают в анализатор

. Общий объем "мертвого пространства" воздушной линии (за исключением дыхательной машины) испытательной установки не должен превышать 2 дм3.
Необходимо проводить постоянное измерение и регистрацию содержания диоксида углерода во вдыхаемом воздухе.
Уровень содержания диоксида углерода в окружающей атмосфере следует определять на уровне кончика носа головы манекена на расстоянии 1 м от лица. Уровень содержания диоксида углерода в окружающей атмосфере следует измерять после стабилизации содержания диоксида углерода во вдыхаемом воздухе. Другим способом определения уровня содержания диоксида углерода в окружающей атмосфере является проведение измерений в трубке для отбора проб при отключенной подаче диоксида углерода.
Испытания проводят до установления постоянного содержания диоксида углерода во вдыхаемом воздухе.
Из измеренного значения вычитают уровень содержания диоксида углерода в окружающей атмосфере. При уровне содержания диоксида углерода в окружающей атмосфере, не превышающем 0,1%, результаты считаются действительными.
Образец трижды закрепляют на голове манекена с каждым последующим измерением содержания диоксида углерода. На основании усреднения полученных результатов трех опытов определяют содержание диоксида углерода во вдыхаемом воздухе.
Лицевые части без клапанов вдоха следует испытывать в комплекте СИЗОД. Исключение составляют лицевые части, сконструированные для применения с дыхательными аппаратами замкнутого типа. Это позволяет проводить испытания масок с клапанами или без клапанов вдоха и/или выдоха. При необходимости изготовитель, исходя из конструкции, вправе оговаривать в качестве особого условия проведение испытаний маски только в комплекте с СИЗОД.
7.16. Начальное сопротивление воздушному потоку
(Измененная редакция, Изм. N 1).
7.16.1. Подготовка образцов к испытаниям
Испытанию подлежат три образца в состоянии после поставки.
Маску плотно надевают на голову манекена. Сопротивление на выдохе измеряют у ротового отверстия головы манекена с использованием адаптера (см.
рисунок 6).
Испытания по определению сопротивления дыханию проводят последовательно при пяти определенных ориентациях маски, надежно (но без деформации) закрепленной на голове манекена:
- с лицевой частью, смотрящей вперед; вертикально направленной вверх; вертикально опущенной вниз;
- с обычной вертикальной осью головы, расположенной горизонтально;
- с лицевой частью, смотрящей вправо и влево.
7.16.3. Подготовка и проведение испытаний масок с резьбовым соединением, отличным от ГОСТ Р 12.4.216
Начальное сопротивление воздушному потоку определяют с использованием дыхательной машины с установленным режимом работы 25 циклов/мин и 2,0 дм3/ход или постоянного воздушного потока 160 дм3/мин.
Испытание сопротивления воздушному потоку на вдохе проводят при постоянном воздушном потоке 30 и 95 дм3/мин.
7.16.4. Подготовка и проведение испытаний масок с резьбовым соединением по ГОСТ Р 12.4.216.
Начальное сопротивление воздушному потоку определяют с использованием дыхательной машины с установленным режимом работы 25 циклов/мин и 2,0 дм3/ход или 40 циклов/мин и 2,5 дм3/ход.
Испытание сопротивления воздушному потоку на выдохе проводят при постоянном воздушном потоке 10 дм3/мин.
7.16.5. Корректировка
Сопротивление воздушному потоку приводят к нормальным условиям: температура 20 °C и давление 1 атм.
7.17. Коэффициент подсоса под маску
7.17.1. Сущность метода
Сущность метода определения коэффициента подсоса под маску заключается в определении отношения концентрации тест-вещества в подмасочном пространстве маски, надетой на испытателя, к концентрации тест-вещества в атмосфере камеры.
Для определения коэффициента подсоса под маску может быть использован как метод с использованием гексафторида серы, так и аэрозоля хлорида натрия.
7.17.2. Подготовка образцов к испытаниям
Испытанию подлежат два образца: один - в состоянии после поставки и один - после температурного воздействия
(7.4).
7.17.3. Испытатели
К испытаниям привлекают практически здоровых людей без бороды и бакенбардов, знакомых с данным или подобным оборудованием, ознакомленных также с характером испытаний и условиями их проведения, в количестве десяти человек.
Не следует привлекать к испытаниям людей, для которых невозможно добиться удовлетворительного прилегания маски.
Протокол испытаний должен содержать описание четырех основных параметров лиц испытателей в миллиметрах (для информации), показанных на рисунке 8.
Рисунок 8. Параметры лица
При наличии нескольких размеров лицевых частей испытатели должны подобрать себе наиболее подходящий размер.
7.17.4. Оборудование для испытаний
7.17.4.1. Атмосфера в камере
Воздух, содержащий тест-вещество, должен преимущественно поступать в верхнюю часть камеры через распределитель потока и направляться вниз к голове испытателя со скоростью потока от 0,1 до 0,2 м/с. Скорость потока измеряют вблизи головы испытателя. Следует проверить равномерность распределения концентрации тест-вещества внутри эффективного рабочего объема.
Конструкция камеры должна предусматривать возможность поступления к испытателю во время испытания воздуха, не содержащего тест-вещества.
7.17.4.2. Тредбан
Тредбан, расположенный внутри испытательной камеры, должен обеспечивать движение по нему испытателя со скоростью 6 км/ч.
7.17.4.3. Моделирование фильтров
Если маску предстоит использовать с фильтром, имеющим резьбы по ГОСТ Р 12.4.214, то необходимо устройство (см. рисунок 9), имитирующее сопротивление фильтров, разрешенных для использования с масками такого типа. Это имитирующее устройство соединяется с источником подачи чистого воздуха посредством сверхлегкого гибкого шланга.
Параметры имитатора фильтра: масса 500 г, равномерно распределенная по длине; сопротивление воздушному потоку 1 кПа при расходе постоянного потока воздуха 95 дм3/мин.
Размер 7,6 мм может быть отрегулирован (если необходимо) для достижения надлежащего падения давления при соответствующем расходе потока.
Рисунок 9. Моделирование фильтра для фильтров/масок
на резьбовом соединении
Если в маске применено специальное соединение, то источник подачи чистого воздуха должен быть присоединен к фильтру максимальной массы и/или сопротивления воздушному потоку, сконструированному для использования с лицевой частью, как указано изготовителем в указании по эксплуатации. Важно, чтобы крепление шланга для подачи чистого воздуха к маске не нарушало плотности прилегания лицевой части к лицу испытателя и не требовало удаления каких-либо уплотнительных прокладок, встроенных в маску. При необходимости для шланга должна быть создана опора.
7.17.5. Методика проведения испытаний
Испытатели должны быть ознакомлены с указаниями по эксплуатации и в случае наличия масок разных размеров подобрать себе наиболее подходящие. При необходимости испытателю должна быть оказана помощь в правильном надевании маски в соответствии с указаниями по эксплуатации.
Следует проинформировать испытателей о том, что они, при желании, могут подгонять маску во время испытания. При этом следует повторить ту часть испытания, которая имеет отношение к проведенной подгонке.
До окончания испытаний испытателям не следует сообщать никаких результатов.
После надевания маски необходимо спросить каждого испытателя, хорошо ли прилегает маска. Если ответ положительный, то следует начать испытание, если отрицательный, то испытателя нужно заменить другим.
7.17.5.1. Порядок проведения испытаний
Порядок проведения испытания должен быть следующим:
а) убедиться в том, что доступ воздуха, содержащего тест-вещество, в камеру перекрыт;
б) поместить испытателя в камеру. Подсоединить пробоотборник к лицевой части. Попросить испытателя двигаться со скоростью 6 км/ч в течение 2 мин. Измерить концентрацию тест-вещества в подмасочном пространстве для определения фонового уровня;
в) получить воспроизводимые показания;
г) включить подачу воздуха, содержащего тест-вещество, в испытательную камеру;
д) испытатель должен продолжать ходьбу в течение следующих 2 мин или до достижения заданных параметров концентрации тест-вещества в испытательной камере;
е) во время испытаний испытатель должен:
1) выполнять ходьбу в течение 2 мин без поворотов головы и разговоров;
2) поворачивать голову из стороны в сторону (приблизительно 15 раз) в течение 2 мин, как бы осматривая стенки камеры;
3) поднимать и опускать голову (приблизительно 15 раз) в течение 2 мин, как бы осматривая пол и потолок;
4) произносить вслух алфавит или предусмотренный текст, как бы общаясь со своим коллегой в течение 2 мин;
5) выполнять ходьбу в течение 2 мин без поворотов головы и разговоров;
ж) при этом регистрируют:
1) концентрацию тест-вещества под колпаком камеры;
2) концентрацию тест-вещества в подмасочном пространстве после каждого действия испытателя;
и) отключить подачу воздуха, содержащего тест-вещество, в испытательную камеру;
к) после очищения колпака трубопровода камеры от тест-вещества вывести из нее испытателя;
л) повторить испытание с привлечением другого испытателя и другого образца маски.
После каждого испытания маска должна быть очищена, продезинфицирована и высушена до того, как она будет использована во втором испытании на подсос под маску.
7.17.5.2. Испытательное оборудование
Вышеописанная методика применима для масок, предназначенных для использования в фильтрующих СИЗОД. Она также применима для масок с соединениями, отвечающими ГОСТ Р 12.4.214, предназначенных для использования с изолирующими СИЗОД. Для масок с соединениями, отличающимися от тех, которые отвечают требованиям ГОСТ Р 12.4.214, следует устанавливать и использовать для испытания полное оборудование.
7.17.6. Метод с использованием гексафторида серы

7.17.6.1. Сущность метода
Сущность метода состоит в определении отношения концентрации гексафторида серы в подмасочном пространстве маски, надетой на испытателя, к концентрации гексафторида серы в испытательной камере.
7.17.6.2. Оборудование для испытаний
Схема испытательной установки приведена на рисунке 10.
1 - тредбан; 2 - колпак/камера; 3 - распределитель потока;
4 - подвеска; 5 - шланг для подачи тест-вещества; 6 - место
разбавления

воздухом; 7 - расходомер воздуха, снабженный
контрольным устройством; 8 - расходомер

, снабженный
контрольным устройством; 9 - пробоотборник для отбора пробы
тест-вещества; 10 - прибор для измерения концентрации
тест-вещества; 11 - трубка для отбора проб для определения
концентрации тест-вещества; 12 - прибор для измерения
концентрации тест-вещества во вдыхаемом воздухе;
13 - регистрирующее устройство; 14 - имитатор фильтра;
15 - воздух для дыхания, не содержащий тест-вещества
Рисунок 10. Схема испытательной установки для определения
коэффициента подсоса под маску с использованием
гексафторида серы
7.17.6.3. Тест-вещество
В качестве тест-вещества используют

. Испытатель в маске стоит таким образом, чтобы его голова находилась в атмосфере смеси тест-вещества с воздухом.
Чувствительность детектора должна быть такой, чтобы обеспечить определение коэффициента подсоса под маску от 0,01 до 20% в зависимости от концентрации гексафторида серы.
Примечание. Рекомендуется создавать концентрацию гексафторида серы в камере 0,1 - 1% по объему.
7.17.6.4. Измерение концентрации
В ходе испытаний проводят постоянный контроль за содержанием

в атмосфере камеры с использованием анализатора (например, основанного на измерении теплопроводности или ИК-спектрометрии).
Недопустимо помещать пробоотборник атмосферы в камере за клапаном выдоха.
Концентрацию

в подмасочном пространстве измеряют с помощью детектора электронного захвата (ДЭЗ) или ИК-спектрометра как можно ближе ко рту испытателя (приблизительно на расстоянии 5 мм в центре лицевой части).
При испытаниях следует регистрировать температуру и влажность окружающей среды.
7.17.6.5. Отбор проб
При проведении испытаний в лицевой части или смотровом стекле и подмасочнике (если он плотно прилегает) проделывают отверстия. Тонкую максимально короткую трубку, проходящую внутрь лицевой части, герметично соединяют с анализатором.
Скорость отбора проб должна быть постоянной в пределах от 0,3 до 1,5 дм3/мин.
Следует применять пробоотборник со многими отверстиями. Такой пробоотборник представлен на рисунке 11.
Рисунок 11. Пробоотборник
7.17.6.6. Обработка результатов
Коэффициент подсоса под маску K, %, рассчитывают по результатам измерений за последние 100 с каждого упражнения, чтобы не смешивать результаты последовательных упражнений:

, (1)
где

- концентрация тест-вещества в камере, мг/м3;

- усредненная концентрация в подмасочном пространстве, мг/м3.
При измерении

может быть использован интегрирующий самописец.
7.17.7. Метод с использованием аэрозоля хлорида натрия
7.17.7.1. Сущность метода
Сущность метода состоит в определении отношения концентрации аэрозоля хлорида натрия в подмасочном пространстве маски, надетой на испытателя, к концентрации аэрозоля хлорида; натрия в испытательной камере.
7.17.7.2. Оборудование для испытаний
Установка представлена на рисунке 12.
1 - генератор аэрозоля; 2 - насос; 3 - клапан переключения;
4 - фильтр; 5 - испытательная камера; 6 - отбор пробы
из испытательной камеры; 7 - отбор пробы из подмасочного
пространства маски; 8 - манометр; 9 - фотометр;
10 - имитатор фильтра/чистый воздух; 11 - тредбан;
12 - трубопровод и турбулизатор потока;
13 - дополнительная подача воздуха; 14 - система
разделения фаз вдоха-выдоха при отборе проб
Рисунок 12. Установка для определения коэффициента
подсоса под маску
7.17.7.2.1. Генератор аэрозоля
Аэрозоль NaCl генерируется из 2%-ного раствора NaCl (х.ч.) в дистиллированной воде при использовании распылителя Коллисона, представленного на рисунке 13.
1 - стеклянный сосуд с навинчивающейся крышкой; 2 - сопло;
3 - волокнистая прокладка (наружный диаметр - 4,5 мм,
внутренний диаметр - 2 мм, толщина прокладки - 0,8 мм);
4 - втулка; 5 - стержень; 6 - резиновая прокладка;
7 - головка втулки; 8 - резиновая прокладка (наружный
диаметр - 25 мм, внутренний диаметр - 10 мм,
толщина - 1,5 мм, уплотнитель для герметизации);
9 - гайка; 10 - завинчивающаяся крышка
Рисунок 13. Распылитель
Сопла генератора не должны быть направлены к выходным отверстиям резервуара.
При этом требуется расход воздуха 100 дм3/мин под давлением

. Распылитель и его корпус помещают в воздуховод, через который поддерживается прохождение постоянного потока воздуха. Для получения сухого аэрозоля хлорида натрия, при необходимости, следует нагревать воздух или использовать другой способ его осушения.
7.17.7.2.2. Тест-аэрозоль
Средняя концентрация NaCl в испытательной камере должна составлять (8 +/- 4) мг/м3. Допускается отклонение средней концентрации NaCl по всему эффективному рабочему объему испытательной камеры, не превышающее 10%. Распределение частиц по размеру должно быть от 0,02 до 2 мкм (аэродинамический диаметр) при среднемассовом диаметре 0,6 мкм.
7.17.7.2.3. Пламенный фотометр
Для измерения концентрации аэрозоля NaCl в подмасочном пространстве применяется пламенный фотометр со следующими основными характеристиками:
а) фотометр должен быть предназначен непосредственно для анализа частиц аэрозоля NaCl с диапазоном измерения концентрации NaCl от 15 мг/м3 до 5 нг/м3;
б) расход постоянного потока в пробе, отбираемой из камеры на фотометр, не должен превышать 15 дм3/мин;
в) время отклика фотометра без системы отбора проб не должно превышать 500 мс;
г) необходимо снизить чувствительность фотометра по отношению к другим химическим элементам, в частности, к углероду, концентрация которого меняется в процессе дыхательного цикла. Это достигается обеспечением ширины полосы пропускания интерференционного фильтра не более чем 3 нм и при наличии всех необходимых фильтров для других побочных полос.
#Допускается применение других пламенных фотометров, обеспечивающих требуемую чувствительность, а также проведение испытаний в условиях, указанных в 7.17.#
(Измененная редакция, Изм. N 1).
7.17.7.2.4. Устройство для отбора проб
Необходимо применять систему, подающую пробу в фотометр только на фазе вдоха. Во время выдоха в фотометр следует подавать чистый воздух. Основные элементы такой системы следующие:
а) электрический клапан со временем отклика порядка 100 мс. Клапан должен иметь минимально возможное "мертвое пространство" и возможность прохождения прямого неограниченного потока в открытом положении;
б) датчик давления, который способен фиксировать минимальные изменения давления приблизительно 5 Па и который подключен к пробоотборнику, вставленному в маску. Датчик должен иметь контролируемый порог чувствительности и сигнализировать о его прохождении в том или обратном направлении. Датчик должен надежно работать при ускорении, вызываемом движениями головы испытателя;
в) систему раздела фаз вдоха-выдоха, приводящую в действие клапан в ответ на сигнал, получаемый от датчика давления;
г) таймер для регистрации пропорциональности общего дыхательного цикла, во время которого происходит отбор проб.
Схема такой системы отбора проб представлена на
рисунке 12.
7.17.7.2.5. Пробоотборник
Для подготовки к испытаниям следует проделать отверстие в корпусе маски или в смотровом стекле и подмасочнике, если таковой имеется. В отверстие следует ввести тонкую трубку, которая герметично подсоединяется к анализатору. Длина трубки должна быть настолько короткой, насколько это возможно. Скорость отбора проб должна быть постоянной в интервале от 0,3 до 1,5 дм3/мин.
Следует использовать пробоотборник со множеством отверстий, представленный на
рисунке 11.
7.17.7.2.6. Насос для отбора проб
Если в состав фотометра не входит насос, то используют насос непрерывного действия для отбора проб воздуха из-под маски во время испытания.
Допускается применение некоторых типов насосов с возвратно-поступательным ходом поршня. Насос должен быть таким, чтобы были сведены к минимуму потери аэрозоля внутри насоса, а также изменения в расходе, вызванные изменениями давления в зоне отбора проб.
Насос настраивается таким образом, чтобы происходил постоянный забор пробы из пробоотборника со скоростью 1 дм3/мин. В фотометрах некоторых типов возникает необходимость разбавления пробы чистым воздухом.
7.17.7.2.7. Отбор проб из испытательной камеры
Концентрацию аэрозоля в испытательной камере контролируют во время испытания с помощью отдельной системы отбора проб для предотвращения загрязнения линии отбора проб из-под маски. Для этой цели желательно использовать отдельный пламенный фотометр.
При отсутствии второго фотометра для определения концентрации NaCl в испытательной камере можно использовать тот же фотометр, что и для определения концентрации NaCl в подмасочном пространстве маски. При этом необходимо дождаться сброса предыдущих показаний фотометра.
7.17.7.2.8. Пробоотборник для регистрации давления
Второй пробоотборник прикрепляют вблизи первого и подсоединяют к датчику давления.
7.17.7.3. Обработка результатов
Коэффициент подсоса под маску K, %, рассчитывают по результатам измерений за последние 100 с каждого упражнения, чтобы не смешивать результаты последовательных упражнений по формуле

, (2)
где

- концентрация тест-вещества в камере, мг/м3;

- усредненная концентрация в подмасочном пространстве, мг/м3;

- суммарная продолжительность фаз вдоха за 100 с измерений, с;

- суммарная продолжительность фаз выдоха за 100 с измерений, с.
При измерении

может быть использован интегратор.
(Поправка).
7.18. Площадь поля зрения
7.18.1. Сущность метода
Сущность метода состоит в измерении ограничения площади поля зрения, создаваемого маской, надетой на голову манекена.
7.18.2. Подготовка образцов к испытаниям
Испытаниям подлежит один образец после поставки.
7.18.3. Подготовка и проведение испытаний
Маску надевают на голову-манекен (см. рисунок 14). При этом, в первую очередь, в "чашечку" лицевой части помещают подбородок, после чего лицевая часть плотно надевается на голову-манекен. Тесемки пропускают поверх головы-манекена и регулируют в целях обеспечения максимального поля зрения. Тесемки на голове уплотняют в целях поддержания симметрии лицевой части на голове-манекене, для чего используют тальк в целях сведения к минимуму трения между головой манекена и тесемками. Тесемки затягивают до натяжения усилием 50 Н.
а) перенести площадь поля зрения на диаграмму.
Рисунок 14. Апертометр
Измерения поля зрения и перекрытого поля зрения проводят для трех отдельных надеваний маски на голову-манекен.
Для оценки используют диаграмму, представленную на рисунке 15.
Значения показателей без маски.
Площади, охваченные круглыми линиями на диаграмме, пропорциональны соответствующим площадям, отмеченным на сферической оболочке апертометра.
Полусферическая поверхность, представленная внутри круга 90°, равная 126,9 см2.
Площадь поля зрения внутри круга 90°, равная 100,0 см2.
Площадь поля зрения за пределами круга 90°, равная 12,0 см2.
Площадь поля зрения в целом, равная 112,0 см2 (100%).
Площадь перекрытого поля зрения, равная 39,0 см2 (100%).
Показатели, определяемые по диаграмме при испытаниях маски.
Форма стекол _____________ Модель маски _____________
(размеры) ______________
При измерении площадь поля зрения, как она наблюдается апертометром, должна быть перенесена на диаграмму.
Планиметрируется и отмечается, см2, только площадь поля зрения и площадь перекрытого поля зрения.
Измеренная планиметром площадь поля зрения (в целом) ____ см2.
Измеренная планиметром площадь перекрытого поля зрения ____ см2.
Площадь поля зрения ____ %.
Площадь перекрытого поля зрения ____ %.
Рисунок 15. Диаграмма апертометра
Для измерения допускается использовать как планиметрический, так и гравиметрический методы.
Среднее значение трех результатов записывают в качестве общего поля зрения и площади перекрытого поля зрения.
Примечание. Следует обратить внимание на то, чтобы край цилиндра апертометра располагался точно по линии нити накаливания электрических лампочек головы-манекена.
(Измененная редакция, Изм. N 1).
7.19. Определение эксплуатационных свойств
7.19.1. Общие положения
Испытаниям подлежат два образца после температурного воздействия
(7.4).
Все испытания проводят два испытателя при температуре окружающей среды с регистрацией влажности и температуры на месте испытаний.
Для проведения испытаний привлекают лица, знакомые с данной или подобной маской.
При испытаниях маски испытатель дает субъективную оценку ее работы. После испытания в протокол следует занести замечания испытателя:
а) комфортность ремней крепления и/или оголовья;
б) надежность креплений и соединений;
в) комфортность контрольных приборов (если они имеются);
г) видимость через СИЗОД (искажение, запотеваемость);
д) передач речи;
е) другие комментарии испытателя (по требованию).
7.19.2. Испытания при ходьбе
Испытатели надевают обычную рабочую одежду и маску. Испытатели должны идти со скоростью 6 км/ч по тредбану в течение 10 мин.
7.19.3. Испытания, моделирующие трудовую деятельность
Продолжительность испытаний - 20 мин.
Должны быть выполнены следующие действия:
а) ходьба в течение 5 мин в помещении, высота которого составляет (1,3 +/- 0,2) м;
б) продвижение ползком в течение 5 мин в помещении, высота которого составляет (0,7 +/- 0,05) м;
в) заполнение небольшой емкости (приблизительного объема 8 дм3, см. рисунок 16) резиновой стружкой или другим подобным материалом из контейнера высотой 1,5 м с отверстием у дна, позволяющим выгребать его содержимое, и открытым верхом для высыпания содержимого уже заполненной емкости.
Рисунок 16. Корзина и контейнер с резиновыми стружками
Заполняя емкость стружкой, испытатель должен наклоняться или, по желанию, становиться на колени. Затем он должен поднять ведро и высыпать его содержимое обратно в контейнер. Данная операция должна быть повторена 19 раз в течение 10 мин.
Примечание. Последовательность приведенных действий определяет испытательная лаборатория.
Маркировка на масках, отвечающих требованиям настоящего стандарта, должна быть четко различимой и стойкой и содержать следующие сведения:
- фирменное наименование, торговую марку или другое обозначение изготовителя;
- идентификацию типа СИЗОД на всех частях одной модели;
- номер и дату утверждения настоящего стандарта;
- категорию вслед за буквами "CL", которые следуют непосредственно за номером стандарта, например ГОСТ Р 12.4.189 Cl 3;
- в тех случаях, когда надежность работы отдельных компонентов может зависеть от срока их использования, маркировка должна содержать дату (по крайней мере год) их изготовления;
- для тех деталей, которые не могут быть надежно маркированы, например ремни, ленты, головные ремни, соответствующая информация должна быть отражена в указаниях по эксплуатации;
- детали, предназначенные для замены обученным пользователем, или сборные комплекты со значительным сроком годности должны быть четко маркированы.
(Измененная редакция, Изм. N 1).
#9. Транспортирование и хранение
Правила транспортирования и хранения устанавливают в нормативных документах конкретных видов изделий.#
10. Указания по эксплуатации
10.1. Каждая маска должна быть снабжена указаниями по эксплуатации.
10.2. Указания по эксплуатации должны быть составлены на официальном(ых) языке(ах) страны назначения.
10.3. Указания по эксплуатации должны содержать следующие сведения:
- область применения (ограничения);
- категорию маски;
- метод проверки перед использованием;
- метод проверки плотности прилегания;
- способы чистки и дезинфекции;
- правила использования;
- правила ухода (желательно в отдельной инструкции);
- условия хранения;
#- требования по утилизации.#
10.4. Указания по эксплуатации должны быть точными и понятными. По мере необходимости они могут содержать иллюстрации, нумерацию отдельных частей и маркировку.
10.5. Указания по эксплуатации должны содержать сведения о возможных осложнениях, возникающих в процессе эксплуатации маски пользователем, например:
- нарушение плотности прилегания маски;
- влияние растительности на лице пользователя;
- влияние состава воздуха, содержащего загрязняющие вещества, дефицита кислорода, обогащенной кислородом атмосферы;
- ограничения по применению во взрывоопасной атмосфере;
- недопустимость использования масок категории 1 в изолирующих СИЗОД;
- сведения о необходимости другой защиты помимо защиты органов дыхания, например: защита в процессе воздействия на переговорную мембрану определенных проникающих загрязняющих трансурановых веществ высокого специфического действия, защита от отлетающих с высокой скоростью частиц смотровым стеклом, защита от химических веществ; использование в комбинации с другими средствами индивидуальной защиты.
(рекомендуемое)
МАРКИРОВКА СОСТАВНЫХ ЭЛЕМЕНТОВ И СБОРОЧНЫХ УЗЛОВ
Рекомендуется маркировать следующие составные элементы и сборочные узлы для их идентификации.
Таблица А.1
Составной элемент или сборочный узел | Маркировка элемента | Дата изготовления |
Лепесток клапана вдоха <1> | - | - |
Лепесток клапана выдоха <1> | - | + |
Соединительный элемент (если есть) | + | - |
Корпус маски | + | + |
Ремни крепления/оголовье <1> | + | + |
| + | - |
| + | - |
Подмасочник | + | + |
Блок обратного клапана <1> | - | - |
Узел переговорной мембраны <1> | + | + |
<1> Детали, информация о маркировке которых должна быть включена в руководство по эксплуатации. |
Примечание. Знак "+" означает, что марка необходима; знак "-" - в маркировке нет необходимости. |
Составные элементы сборочных узлов не требуют маркировки, если сборочный блок может быть легко идентифицирован. Такие составные части, не предлагаемые изготовителем в качестве запасных частей, не следует маркировать. Вместе с тем соответствующая информация должна быть включена в указания по эксплуатации.