Главная // Актуальные документы // ГОСТ Р (Государственный стандарт)СПРАВКА
Источник публикации
М.: Стандартинформ, 2016
Примечание к документу
Документ
введен в действие с 01.04.2016.
Название документа
"ГОСТ Р 53734.4.4-2015 (МЭК 61340-4-4:2012). Национальный стандарт Российской Федерации. Электростатика. Часть 4-4. Методы испытаний для прикладных задач. Мягкие контейнеры для сыпучих материалов. Классификация по электростатическим свойствам"
(утв. и введен в действие Приказом Росстандарта от 11.08.2015 N 1126-ст)
"ГОСТ Р 53734.4.4-2015 (МЭК 61340-4-4:2012). Национальный стандарт Российской Федерации. Электростатика. Часть 4-4. Методы испытаний для прикладных задач. Мягкие контейнеры для сыпучих материалов. Классификация по электростатическим свойствам"
(утв. и введен в действие Приказом Росстандарта от 11.08.2015 N 1126-ст)
Утвержден и введен в действие
по техническому регулированию
и метрологии
от 11 августа 2015 г. N 1126-ст
НАЦИОНАЛЬНЫЙ СТАНДАРТ РОССИЙСКОЙ ФЕДЕРАЦИИ
ЭЛЕКТРОСТАТИКА
ЧАСТЬ 4-4
МЕТОДЫ ИСПЫТАНИЙ ДЛЯ ПРИКЛАДНЫХ ЗАДАЧ
МЯГКИЕ КОНТЕЙНЕРЫ ДЛЯ СЫПУЧИХ МАТЕРИАЛОВ
КЛАССИФИКАЦИЯ ПО ЭЛЕКТРОСТАТИЧЕСКИМ СВОЙСТВАМ
Electrostatics. Part 4-4. Standard test methods for specific
applications. Flexible intermediate bulk
containers. Electrostatic classification
IEC 61340-4-4:2012
Electrostatics - Part 4-4: Standard test methods
for specific applications - Electrostatic classification
of flexible intermediate bulk containers (FIBC)
(MOD)
ГОСТ Р 53734.4.4-2015
(МЭК 61340-4-4:2012)
Дата введения
1 апреля 2016 года
1 ПОДГОТОВЛЕН Закрытым акционерным обществом "Научно-производственная фирма "Диполь" (ЗАО "Научно-производственная фирма "Диполь") на основе собственного аутентичного перевода на русский язык международного стандарта, указанного в
пункте 4
2 ВНЕСЕН Техническим комитетом по стандартизации ТК 072 "Электростатика"
3 УТВЕРЖДЕН И ВВЕДЕН В ДЕЙСТВИЕ
Приказом Федерального агентства по техническому регулированию и метрологии от 11 августа 2015 г. N 1126-ст
4 Настоящий стандарт является модифицированным по отношению к международному стандарту МЭК 61340-4-4:2012 "Электростатика. Часть 4-4. Стандартные методы испытаний для специальных случаев применения. Электростатическая классификация гибких контейнеров средней грузоподъемности для насыпных грузов" (IEC 61340-4-4:2012 "Electrostatics - Part 4-4: Standard test methods for specific applications - Electrostatic classification of flexible intermediate bulk containers (FIBC))".
При этом дополнительные слова (фразы, показатели, ссылки), включенные в текст стандарта с учетом потребностей экономики Российской Федерации и особенностей российской национальной стандартизации выделены в тексте курсивом
5 ВВЕДЕН ВПЕРВЫЕ
Правила применения настоящего стандарта установлены в ГОСТ Р 1.0-2012 (раздел 8). Информация об изменениях к настоящему стандарту публикуется в ежегодном (по состоянию на 1 января текущего года) информационном указателе "Национальные стандарты", а официальный текст изменений и поправок - в ежемесячном информационном указателе "Национальные стандарты". В случае пересмотра (замены) или отмены настоящего стандарта соответствующее уведомление будет опубликовано в ближайшем выпуске ежемесячного информационного указателя "Национальные стандарты". Соответствующая информация, уведомление и тексты размещаются также в информационной системе общего пользования - на официальном сайте Федерального агентства по техническому регулированию и метрологии в сети Интернет (www.gost.ru)
Мягкие контейнеры для сыпучих материалов (МКСМ) широко используются для хранения, транспортировки и обращения с порошкообразными, хлопьевидными и гранулированными материалами. Как правило, их изготавливают из тканого полипропиленового полотна в виде прямоугольных мешков объемом около 1 м3, тем не менее они могут отличаться по форме и по размеру от 0,25 до 3 м3. При изготовлении может использоваться однослойная ткань, ламинированная многослойная или ткань с покрытием. Необработанный полипропилен представляет собой электроизоляционный материал, как и многие материалы, помещаемые в МКСМ. Существует высокая вероятность образования электростатического заряда во время наполнения и опустошения, поэтому высокоуровневые заряды могут быстро увеличиваться в незащищенном МКСМ. В таких случаях возникновение электростатических разрядов неизбежно, и это может стать серьезной проблемой при использовании МКСМ во взрывоопасной среде.
Взрывоопасная среда может возникать при обращении с мелкодисперсными порошками, которые создают облака пыли или тонкие слои порошка, способные воспламеняться от электростатических разрядов. Взрывоопасная атмосфера может также возникать при использовании газов или летучих растворителей. В таких промышленных ситуациях совершенно очевидна необходимость предотвращения воспламеняющих электростатических разрядов.
Аналогично любому промышленному оборудованию, необходимо проводить тщательную оценку риска перед использованием МКСМ в потенциально опасных ситуациях. Настоящая часть стандарта 53734 описывает систему классификации, методы испытаний, требования к эксплуатационным характеристикам и конструкции, а также процедуры безопасного использования, которые могут применяться производителями, испытателями и конечными пользователями в рамках оценки риска любого МКСМ, предназначенного для использования во взрывоопасных атмосферах. Тем не менее она не включает процедуры для оценки специфических рисков электростатических разрядов, связанных с материалами в МКСМ, например конические (диффузорные) разряды, разряды от персонала или от оборудования, используемого рядом с МКСМ. Информация о рисках, связанных с коническими (диффузорными) разрядами, приведена в
приложении E.
ВНИМАНИЕ! Методы испытаний, указанные в настоящем стандарте, предполагают использование источников высокого напряжения и горючих газов, которые могут представлять опасность при неправильном обращении, особенно неквалифицированного или неопытного персонала. Пользователям настоящего стандарта рекомендуется проводить оценку риска и уделять надлежащее внимание действующим нормам безопасности, прежде чем приступать к проведению каких-либо испытаний.
Настоящий стандарт устанавливает требования к мягким контейнерам средней грузоподъемности для сыпучих материалов (МКСМ) объемом от 0,25 до 3 м3, предназначенным для использования во взрывоопасных атмосферах. Взрывоопасная атмосфера может возникнуть в зависимости от содержания в МКСМ или может существовать вне МКСМ.
Требования включают:
- классификацию и маркировку МКСМ;
- классификацию внутренних вкладышей;
- технические требования к методам испытаний для каждого типа МКСМ и внутренних вкладышей;
- требования к эксплуатационным характеристикам и конструкции МКСМ и внутренних вкладышей;
- безопасное использование МКСМ (в том числе с внутренними вкладышами) в разных зонах, определенных для взрывоопасных сред, указанных для областей, где присутствует или может присутствовать горючая пыль
(ГОСТ IEC 60079-10-2), и для взрывоопасных газовых сред
(ГОСТ IEC 60079-10-1);
- процедуры сертификации и квалификации типов МКСМ, в том числе для безопасного использования внутренних вкладышей.
Примечание -
Руководство по методам испытаний, которые могут применяться для контроля качества производства, приведено в приложении C.
Требования настоящего стандарта распространяются на все виды МКСМ и внутренние вкладыши, которые подвергаются испытанию после изготовления, а также перед применением и предназначены для использования во взрывоопасных атмосферах:
зоны 1 и
2 (только
группы II A и
II B) и
зоны 21 и
22 (
классификацию опасных зон и групп взрывоопасности см. в приложении D). Для некоторых типов МКСМ требования настоящего стандарта применяются только для использования во взрывоопасных атмосферах с энергией воспламенения не менее 0,14 мДж или более, в которых ток заряда не превышает 3,0 мкА.
Примечание - 0,14 мДж - минимальная энергия воспламенения газа или пара
Группы II B. Несмотря на то, что существуют более чувствительные материалы, 0,14 мДж - самая низкая минимальная энергия воспламенения любого материала, который может присутствовать при опустошении МКСМ. 3,0 мкА - самый высокий зарядный ток, который можно обнаружить в обычных производственных условиях. Такое сочетание минимальной энергии воспламенения и зарядного тока представляет собой самые суровые условия, которые можно было бы ожидать на практике.
Соблюдение требований, указанных в настоящем стандарте, не всегда гарантирует, что опасные электростатические разряды, например конусные разряды, не будут возникать под влиянием содержимого в МКСМ. Информация о рисках, связанных с коническими (диффузорными) разрядами, приведена в
приложении E.
Соответствие требованиям настоящего стандарта не ослабляет необходимость комплексной оценки риска. Например, металлические и другие проводящие порошки, а также порошковые тонеры могут требовать дополнительных мер предосторожности во избежание опасных выбросов из порошков.
Примечание - В примерах, указанных в
предыдущем абзаце, при наличии металлического или другого проводящего порошка могут понадобиться дополнительные меры, потому что, если порошок изолируется и становится заряженным, могут появиться зажигательные искры, а в случае порошковых тонеров могут произойти зажигательные разряды во время быстрого наполнения и опустошения. В стандарте IEC/TS 60079-32-1(2013)
[1] приведена инструкция относительно дополнительных мер, которые могут потребоваться в дальнейшем.
Методы испытаний, входящие в настоящий стандарт, могут использоваться в сочетании с другими требованиями к эксплуатационным характеристикам, например, когда согласно оценке риска минимальная энергия воспламенения меньше 0,14 мДж, зарядные токи больше 3,0 мкА или условия окружающей среды находятся вне диапазона, указанного в настоящем стандарте.
Соблюдение требований, указанных в настоящем стандарте, не всегда гарантирует, что персонал защищен от ударов током от МКСМ при нормальном использовании.
В настоящем стандарте использованы нормативные ссылки на следующие стандарты:
ГОСТ Р МЭК 61241-2-3-99 Электрооборудование, применяемое в зонах, опасных по воспламенению горючей пыли. Часть 2. Методы испытаний. Раздел 3. Метод определения минимальной энергии зажигания пылевоздушных смесей
| | ИС МЕГАНОРМ: примечание. В официальном тексте документа, видимо, допущена опечатка: имеется в виду ГОСТ Р 53734.1-2014, а не ГОСТ Р 53734-1-2013. | |
ГОСТ Р 53734-1-2013 (МЭК 61340-1:2012) Электростатика. Часть 1. Электростатические явления. Принципы и измерения
ГОСТ Р 53734.2.1-2012 (МЭК 61340-2-1:2002) Электростатика. Часть 2-1: Методы испытаний. Способность материалов и изделий рассеивать электростатические заряды
ГОСТ Р 53734.2.3-2010 (МЭК 61340-2-3:2000) Электростатика. Часть 2-3. Методы определения электрического сопротивления твердых плоских материалов, используемых с целью предотвращения накопления электростатического заряда
Примечание - При пользовании настоящим стандартом целесообразно проверить действие ссылочных стандартов в информационной системе общего пользования - на официальном сайте Федерального агентства по техническому регулированию и метрологии в сети Интернет или по ежегодному информационному указателю "Национальные стандарты", который опубликован по состоянию на 1 января текущего года, и по выпускам ежемесячного информационного указателя "Национальные стандарты" за текущий год. Если заменен ссылочный стандарт, на который дана недатированная ссылка, то рекомендуется использовать действующую версию этого стандарта с учетом всех внесенных в данную версию изменений. Если заменен ссылочный стандарт, на который дана датированная ссылка, то рекомендуется использовать версию этого стандарта с указанным выше годом утверждения (принятия). Если после утверждения настоящего стандарта в ссылочный стандарт, на который дана датированная ссылка, внесено изменение, затрагивающее положение, на которое дана ссылка, то это положение рекомендуется применять без учета данного изменения. Если ссылочный стандарт отменен без замены, то положение, в котором дана ссылка на него, рекомендуется применять в части, не затрагивающей эту ссылку.
3.1 гашение: Воздействие твердых предметов, выступающих в качестве поглотителя тепла в присутствии газа.
3.2 критическое расстояние гашения: Максимальный зазор между противоположными электродами, в пределах которого гашение предотвращает воспламенение при заданной энергии.
Примечание - Для того чтобы произошло воспламенение, зазор между электродами должен быть больше критического расстояния.
3.3 легковоспламеняющиеся вещества: Вещество в виде газа, паров, жидкости, твердого вещества или смеси из них, способное легко воспламеняться при воздействии источника зажигания.
3.4 взрывная атмосфера: Смесь горючих веществ в виде газов, паров, тумана или пыли с воздухом при атмосферных условиях, в которой после воспламенения горение распространяется на всю несгоревшую смесь.
3.5 взрывоопасная атмосфера: Взрывоопасная атмосфера, присутствующая в таких количествах, что возникает необходимость в мерах предосторожности против воспламенения.
3.6 минимальная энергия воспламенения: Наименьшее количество электрической энергии искры чисто емкостного происхождения (т.е. без добавления индуктивности), требуемое для зажигания пыли, газа или паров.
3.7 зарядный ток: Количество электричества в единицу времени, впадающее в МКСМ.
3.8 конический (диффузорный) разряд: Электростатический разряд протекает наружу по всей поверхности от наиболее насыщенной верхней части, изолирующий порошок скапливается в больших контейнерах.
3.9 кистевой разряд: Электростатический разряд от непроводящей, твердой или жидкой поверхности.
3.10 искра: Электростатический разряд от электрически изолированного проводящего объекта или поверхности.
3.11 распространяющийся кистевой разряд: Мощные разряды на проводящей поверхности изоляционной оболочки, слоя или покрытия, или материал с высоким сопротивлением и высоким напряжением пробоя с двумя поверхностями, напряженными в противоположной полярности.
3.12 внутренний вкладыш: Встроенный или съемный контейнер, вставляемый в МКСМ (равнозначно подкладке).
3.13 поверхностное сопротивление: Эквивалентно поверхностному сопротивлению квадратной области материала, имеющего электроды на двух противоположных сторонах.
3.14 объемное сопротивление: Эквивалентно объемному сопротивлению куба материала с единицей длины, имеющего электроды на двух противоположных поверхностях.
3.15
испытание на соответствие техническим характеристикам типа: Испытание, проводимое, чтобы определить тип МКСМ, как указано в
4.1, и продемонстрировать, что МКСМ соответствует требованиям
раздела 7.
3.16 контроль качества: Испытание, предназначенное для обеспечения изготовителей и пользователей информацией, которая демонстрирует, что все изготовленные и поставленные МКСМ, по существу, такие же, как образец МКСМ, используемый для оценки конструкции МКСМ.
3.17 точка заземления: Точка на МКСМ, указанная изготовителем как место для крепления заземляющего устройства или кабеля заземления или других средств заземления МКСМ.
Примечание - Возможно наличие одной или нескольких заземляющих точек на каждом МКСМ. Подъемные стропы также могут быть обозначены как заземляемые точки, но нельзя использовать случайное заземление через подъемные крюки, поскольку они могут быть окрашены/облицованы или покрыты порошком и т.д. и могут затруднить необходимое заземление.
4.1 Принципы классификации МКСМ
МКСМ можно классифицировать по четырем типам:
тип A,
тип B,
тип C и
тип D. Типы определяются в зависимости от конструкции МКСМ, характера их планируемого использования и соответствующих требований к эксплуатационным характеристикам.
Каждый индивидуальный МКСМ можно отнести только к одному типу; например, один МКСМ не может быть классифицирован одновременно как
тип B и
тип D или как
тип C и
тип D.
МКСМ типа A изготавливаются из ткани или пластика без каких-либо мер против накопления статического электричества. Любой МКСМ, который не соответствует требованиям, указанным в
разделе 7, или который не был испытан в соответствии с требованиями, относится к типу A.
МКСМ типа B изготавливаются из ткани или пластика, которые предназначены для предотвращения появления искры и распространяющихся кистевых разрядов.
МКСМ типа C изготавливаются из проводящей ткани или пластика или переплетаются с проводящими нитями или волокнами и предназначены для предотвращения возникновения воспламеняющих искр, кистевых разрядов и распространяющихся кистевых разрядов. МКСМ типа C предназначены для подключения к земле во время наполнения и опустошения.
МКСМ типа D изготавливаются из антистатической ткани, предназначенной для предотвращения возникновения воспламеняющих искр, кистевых разрядов и распространяющихся кистевых разрядов без необходимости подключения к заземлению.
4.2 Принципы классификации и требования к внутренним вкладышам
4.2.1 Измерение поверхностного сопротивления внутренних вкладышей
Поверхностное сопротивление измеряется в соответствии с
ГОСТ Р 53734.2.3. Необходимо выполнить не менее десяти измерений в точках, равномерно распределенных по поверхности внутренних вкладышей. Все измерения должны быть в пределах, указанных для данного типа испытуемых внутренних вкладышей.
Внутренние вкладыши, изготовленные из материалов с проводящим слоем, расположенным между двумя изолирующими слоями, не должны использоваться в МКСМ
типа B или
типа D. Если такой внутренний вкладыш используется в МКСМ
типа C, проводящий слой должен быть надежно соединен с землей. Толщина изолирующих слоев должна быть менее 700 мкм, а напряжение пробоя, измеряемое между электродом, размещенным на каждой поверхности по очереди и проводящим слоем, должно быть не менее 4 кВ. Измерение производится в соответствии с
9.1 и в условиях, указанных в
8.2.
Примечание - Во избежание воспламеняющего кистевого разряда толщина любого открытого изолирующего слоя в контакте с неизолированными слоями ограничена максимум до 700 мкм.
Внутренние вкладыши типа L1 изготовлены из материалов с поверхностным сопротивлением, по меньшей мере, одной поверхности, менее или равным 1,0x10
7 Ом (см.
приложение F). Измерения выполняются при условиях, указанных в
8.2. Внутренние вкладыши типа L1 могут быть использованы в МКСМ
типа C.
Если материал многослойный или имеет одну поверхность с поверхностным сопротивлением более 1,0x10
12 Ом, то напряжение пробоя через материал должно быть не менее 4 кВ. Измерения выполняются в соответствии с
9.1 при условиях, указанных в
8.2.
Толщина любого слоя с поверхностным сопротивлением более 1,0x1012 Ом на стороне материала внутреннего вкладыша должна быть не менее 700 мкм.
Допустимые конфигурации и требования к внутренним вкладышам типа L1 приведены в
таблице 1.
Таблица 1
Допустимые конфигурации и требования к внутренним вкладышам
типа L1
Конфигурация | Параметры |
Сопротивление внутренней поверхности  | Сопротивление внешней поверхности  | Напряжение пробоя VВ | Толщина d |
1 | | | Измерение не требуется | Без ограничений |
2A | | | Измерение не требуется | Без ограничений |
2B | | | Измерение не требуется | Без ограничений |
3 | | | VВ < 4 кВ | Без ограничений |
4 | | | VВ < 4 кВ | d < 700 мкм |
Внутренние вкладыши типа L2 изготовлены из материалов с поверхностным сопротивлением, по меньшей мере, одной поверхности между 1,0x10
9 Ом и 1,0x10
12 Ом (см.
приложение F). Сопротивление измеряется в условиях, указанных в
8.3. Внутренние вкладыши типа L2 могут быть использованы в упаковках МКСМ
типов B,
C и
D.
Если внутренние вкладыши используются в МКСМ
типа B, зарядный ток не должен превышать 3 мкА.
Если материал многослойный или имеет одну поверхность с поверхностным сопротивлением более 1,0x10
12 Ом, то напряжение пробоя через материал должно быть не менее 4 кВ. Измерения выполняются в соответствии с
9.1 при условиях, указанных в
8.2.
Толщина любого слоя с поверхностным сопротивлением более 1,0x1012 Ом на внутренней стороне материала внутреннего вкладыша должна быть не менее 700 м.
Допустимые конфигурации и требования к внутренним вкладышам типа L2 приведены в
таблице 2.
Таблица 2
Допустимые конфигурации и требования к внутренним вкладышам
типа L2
Конфигурация | Параметры |
Сопротивление внутренней поверхности  | Сопротивление внешней поверхности  | Напряжение пробоя VВ | Толщина d |
1 | | | Измерение не требуется | Без ограничений |
2 | | | VВ < 4 кВ | Без ограничений |
3 | | | VВ < 4 кВ | d < 700 мкм |
Внутренние вкладыши типа L3 изготовлены из материалов с поверхностным сопротивлением более 1,0x10
12 Ом. Измерения выполняются в условиях, указанных в
8.2. Внутренние вкладыши типа L3 могут быть использованы в МКСМ
типа B.
Напряжение пробоя через материал должно быть не менее 4 кВ. Измерения выполняются в соответствии с
9.1 при условиях, указанных в
8.2.
Допустимые конфигурации и требования к внутренним вкладышам типа L3 приведены в
таблице 3.
Таблица 3
Допустимые конфигурации и требования к внутренним вкладышам
типа L3
Конфигурация | Параметры |
Сопротивление внутренней поверхности | Сопротивление внешней поверхности | Напряжение пробоя | Толщина d |
1 | | | VВ < 4 кВ | Без ограничений |
4.3 Сочетание МКСМ и внутренних вкладышей
Вложение внутренних вкладышей в МКСМ никак не влияет на классификацию типов МКСМ. Например, МКСМ
типа A с внутренним вкладышем
типа L1 так и остается МКСМ
типа A и подлежит всем ограничениям на использование МКСМ
типа A.
Требования к напряжению пробоя для МКСМ и внутренних вкладышей применяются отдельно. Для МКСМ
типов B,
C и
D с внутренними вкладышами, которые имеют требования к напряжению пробоя, требуется две серии измерения напряжения пробоя: одна серия измерений для материала МКСМ и одна серия для материала внутренних вкладышей. Например, если МКСМ
типа B оснащен внутренним вкладышем
типа L3, напряжение пробоя материала МКСМ измеряется отдельно и должно быть не менее 6 кВ, измерение напряжения пробоя проводится на материале внутреннего вкладыша и должно быть не менее 4 кВ.
5 Безопасное использование МКСМ
Требования и характеристики, которым должны соответствовать МКСМ, и способы их применения зависят от характера и чувствительности любой взрывоопасной атмосферы, присутствующей во время наполнения и опустошения. Конечная цель изготовления МКСМ заключается в том, чтобы исключить воспламеняющие разряды от ткани МКСМ во время их использования по назначению. МКСМ, изготовленные в соответствии с требованиями, указанными в настоящем стандарте, не являются абсолютной гарантией, что опасные электростатические разряды, например конусные разряды, не будут возникать из-за содержимого МКСМ. Информация о рисках, связанных с коническими (диффузорными) разрядами, приведена в
приложении E.
Таблица 4
Использование различных типов МКСМ
Насыпная продукция в МКСМ | Окружающие условия |
Минимальная энергия воспламенения (МЭВ) пыли <a> | Невоспламеняемая атмосфера | | |
МЭВ > 1000 мДж | | | |
1000 мДж >= МЭВ <= 3 мДж | | | |
МЭВ >= 3 мДж <d> | | | |
| | ИС МЕГАНОРМ: примечание. В официальном тексте документа, видимо, допущена опечатка: имеется в виду ГОСТ Р 53734.2.3-2010, а не ГОСТ Р 53734.2.33. | |
|
<a> Измеряется в соответствии с ГОСТ Р 53734.2.33, цепь емкостного разряда (без добавления индуктивности). <b> Толкование опасных зон, областей и групп взрывоопасности см. в приложении D. <d> Объяснение ограничения до 3 мДж по отношению к коническим (диффузорным) разрядам см. в приложении E. Примечания 1 Дополнительные меры предосторожности, как правило, необходимы, когда внутри МКСМ присутствует атмосфера в форме горючего газа или пара, например в случае порошков, пропитанных растворителем. 2 Негорючая атмосфера содержит пыли с МЭВ > 1000 мДж. |
Возможность безопасного использования МКСМ в опасных взрывоопасных средах может измениться, если внутренний вкладыш установлен в МКСМ. Сочетания МКСМ и внутренних вкладышей, которые можно безопасно использовать во взрывоопасных атмосферах, приведены в
таблице 5. Помимо отдельных требований к МКСМ и внутренним вкладышам, существуют требования, которым определенные сочетания МКСМ и внутренних вкладышей должны соответствовать. Эти требования также приведены в
таблице 5.
Таблица 5
Внутренние вкладыши и МКСМ: допустимые и недопустимые
сочетания во взрывоопасных атмосферах
МКСМ | Внутренние вкладыши |
| | |
| Не допустимо | Допустимо | Допустимо |
| Допустимо <a> | Допустимо | Не допустимо |
| Не допустимо | Допустимо <b> | Не допустимо |
<a> Для обеспечения правильного заземления внутренней прокладки сопротивление, по крайней мере, с одной стороны внутреннего вкладыша к заземляемой точке на МКСМ должно быть не менее 1,0 x 10 7 Ом. Измерение выполняется в соответствии с 9.3 при условиях, указанных в 8.2. <b> Сочетание МКСМ и внутреннего вкладыша должно соответствовать требованиям п. 7.3.2, испытанным в условиях, указанных в 8.3. Дополнительные меры предосторожности: МКСМ типа A не должны использоваться во взрывоопасных атмосферах, независимо от типа используемого вкладыша. Вкладыши не должны удаляться из пустого МКСМ в опасных взрывоопасных средах. |
Изолированные проводящие предметы (например, инструменты, болты, зажимы и т.д.) не должны храниться на МКСМ, быть прикрепленными к МКСМ или даже временно размещенными на любом типе МКСМ во время наполнения и опустошения. Даже при использовании МКСМ
типа C грубая природа некоторых материалов МКСМ может помешать проводящим предметам, размещенным на МКСМ, соприкасаться с проводящими элементами ткани МКСМ.
В соответствии с общим руководством безопасности (см. стандарт IEC/TS 60079-32-1
[1]) все проводящие объекты во взрывоопасной атмосфере должны быть правильно заземлены.
Необходимо принимать меры предосторожности для предотвращения загрязнения любого МКСМ веществами (например, вода, ржавчина, масла, смазки и т.д.), которые могут создать опасность воспламенения или рассеивание заряда.
МКСМ, для которых декларируется (подтверждается) соответствие настоящему стандарту, должны маркироваться с помощью крепкой, несъемной этикетки или иным способом с указанием следующей минимальной информации:
a) обозначение настоящего стандарта;
b) тип МКСМ, т.е.
тип B,
C или
D (обозначение типа должно быть выделено так, чтобы оно легко читалось с первого взгляда);
Примечание - МКСМ
типа A не требуют маркировки.
c) обозначение ISO 7000-2415 (2004-01)
[3] на этикетках для
типов B,
C и
D, указывающее защиту от статического электричества;
g) для
типа C фраза "МКСМ должен быть правильно заземлен в соответствии с инструкциями изготовителя";
h) для
типа D фраза "МКСМ не требует заземления";
i) для
типа B,
типа C и
типа D фраза "электрические свойства могут пострадать от пользования, загрязнения и ремонта";
j) для
типа B и
типа D фраза "все проводящие объекты в пределах 1 м должны быть подсоединены к земле во время наполнения и опустошения";
k) орган по сертификации и номер сертификата (только для МКСМ, сертифицированных независимыми органами по сертификации).
Намеченные точки заземления на МКСМ
типа C должны также иметь этикетку со знаком общей точки заземления (IEC 60417-5019 (2006-08)
[4]), как показано, например, на
рисунке 4. Цвет фона для этикеток должен быть желтым, надписи должны быть черного цвета. Этикетка может быть объединена с другой этикеткой, необходимой для других целей.
Примеры подходящих этикеток для каждого типа МКСМ показаны на
рисунках 1 -
3.
Рисунок 1 - Пример этикетки для МКСМ
типа B
Рисунок 2 - Пример этикетки для МКСМ
типа C
Рисунок 3 - Пример этикетки для МКСМ
типа D
Рисунок 4 - Пример этикетки общей точки заземления
МКСМ не должны маркироваться способом, который противоречит требованиям настоящего стандарта, или в любом случае, который может привести к путанице касательно классификации или ограничений в использовании (например, "Тип CD" не допускается). К обозначению типа не должно добавляться никаких дополнительных надписей или символов (например, "Тип D +" не допускается).
Изготовитель МКСМ должен обеспечить репрезентативность образца(ов) испытания для производства МКСМ, к которым прилагаются этикетки.
Этикетка МКСМ
типа B не должна изготавливаться из материала с поверхностным сопротивлением менее 1,0x10
9 Ом, измеренным в соответствии с
ГОСТ Р 53734.2.3 при условиях, указанных в
8.2.
Этикетки МКСМ
типа C, площадь которых превышает 100 см
2 или толщина которых больше или равна 700 мкм, не должны изготовляться из материала с поверхностным сопротивлением более 1,0x10
12 Ом, измеренным в соответствии с
ГОСТ Р 53734.2.3 при условиях, указанных в
8.2.
Этикетки МКСМ
типа C, изготовленные из материалов с поверхностным сопротивлением менее 1,0x10
7 Ом, измеренным в соответствии с
ГОСТ Р 53734.2.3 при условиях, указанных в
8.2, можно использовать при условии, что сопротивление к заземляемой точке, измеренное в соответствии с
9.3, меньше предела, указанного в
7.3.1. Можно использовать этикетки МКСМ
типа C, изготовленные из материалов с поверхностным сопротивлением между 1,0x10
9 Ом и 1,0x10
12 Ом, измеренным в соответствии с
ГОСТ Р 53734.2.3 при условиях, указанных в
8.3.
Этикетки МКСМ
типа D, площадь которых превышает 100 см
2, должны проходить испытание на воспламеняемость в соответствии с
9.2 и должны соответствовать требованиям, указанным в
7.3.2.
МКСМ, предназначенный для использования в присутствии легковоспламеняющихся материалов или в опасной, взрывоопасной атмосфере, не должен сам производить воспламеняющие разряды. Отсутствие воспламеняющих разрядов должно проверяться, по крайней мере, для самых маленьких и самых больших размеров МКСМ конкретной конструкции, соответствующих одному из требований, перечисленных в
7.2 и
7.3, при испытании после изготовления, перед использованием.
Методы контроля качества, описанные в
приложении C, не должны заменять методы испытаний на соответствие техническим характеристикам, указанным в
разделе 9.
Примечание - Требования настоящего стандарта могут не выполняться для МКСМ, которые загрязнены или испорчены при использовании или используются вопреки рекомендациям производителей. Если МКСМ используются для многократных циклов наполнения/чистки/опустошения, рекомендуется проводить испытания в соответствии с
разделом 9, чтобы проверить, соответствует ли МКСМ требованиям
раздела 7 после необходимого числа циклов использования.
Сертификаты соответствия требованиям настоящего стандарта должны подтверждаться отчетом об испытании, в том числе данными, указанными в
разделе 10. Если не указано иное или не согласовано заинтересованными сторонами, сертификат на соответствие техническим характеристикам типа для конструкции МКСМ действует в течение трех лет с момента выдачи.
7.2 Применение в запыленной окружающей среде с МЭВ более 3 мДж (применяется к МКСМ типов B, C и D)
Для гарантии, что распространяющиеся кистевые разряды не могут возникать на стенках МКСМ, предназначенного для использования в присутствии горючей пыли, но в отсутствие горючих паров или газов, он должен изготавливаться из материалов с электрическим напряжением пробоя меньше или равным 6 кВ, при испытании - в соответствии с
9.1. Материалы, используемые для построения внутренних перегородок, кроме сетки или перегородок из сетки, также должны соответствовать этим требованиям.
7.3 Применение в паро- и газообразных атмосферах и в запыленной окружающей среде с МЭВ 3 мДж или менее
МКСМ
типа C, предназначенные для использования в присутствии горючих паров или газов, или горючей пыли с энергией воспламенения 3 мДж или менее (см.
приложение E), должны иметь сопротивление к заземляемой точке менее 1,0x10
7 Ом (см.
приложение F), при испытании - в соответствии с
9.3. Кроме того, МКСМ должны изготавливаться полностью из проводящего материала или, по крайней мере, должны содержать полностью взаимосвязанные проводящие нити или ленты с максимальным шагом 20 мм, если нити или ленты сплетены в узор, или 50 мм, если они в форме решетки.
Для МКСМ, изготовленных из многослойных материалов, внутренняя или наружная поверхности МКСМ должны иметь сопротивление к заземляемой точке менее 1,0x10
7 Ом, при испытании - в соответствии с
9.3. Если сопротивление внутреннего слоя заземляемой точке более 1,0x10
7 Ом, то материал должен также соответствовать требованиям, указанным в
7.2. Все слои многослойных материалов должны оставаться в тесном контакте во время наполнения и опустошения.
Материалы, используемые для построения внутренних перегородок, кроме сетки или перегородок из сетки, должны также соответствовать этим требованиям и должны быть включены в испытания, проводимые в соответствии с
9.3.
МКСМ
типа D, предназначенный для использования в присутствии горючих паров или газов, или горючей пыли с энергией воспламенения 3 мДж или менее (см.
приложение E), не должен приводить к воспламенению при испытании в соответствии с
9.2.
Кроме того, для МКСМ
типа D, сделанного из материала, который имеет изолирующий слой (например, пленочное покрытие или ламинирование) на внутренней стороне контейнера, материал должен соответствовать требованиям, указанным в
7.2. Все слои многослойных материалов должны оставаться в тесном контакте во время наполнения и опустошения.
Для целей испытаний на соответствие техническим характеристикам типа, где диапазон выходных размеров доступен для конкретной конструкции, испытание на воспламенение в соответствии с
9.2 осуществляется на испытуемом МКСМ с выходным размером менее a) 400 мм или b) с максимальным выходным размером для испытываемой конструкции.
Материалы, используемые для построения внутренних перегородок, кроме сетки или перегородок из сетки, должны быть такими же, как и материалы, используемые для построения крупных панелей МКСМ.
8 Условия выдержки, испытаний и калибровки оборудования
8.1 Продолжительность выдержки
Выдержка проводится перед испытанием и длится не менее 12 ч, испытуемые образцы должны висеть свободно, обеспечивая достаточную циркуляцию воздуха. Когда наступает время испытаний, которые проводятся в соответствии с
9.2, гранулы засыпаются в МКСМ на период, соответствующий установленному интервалу выдержки.
8.2 Испытание на напряжение электрического пробоя и сопротивление к заземляемой точке
Испытуемые образцы и оборудование должны быть выдержаны, откалиброваны и пройти испытания в условиях (23 +/- 2) °C и (20 +/- 5)% относительной влажности.
8.3 Испытание на воспламеняемость
Испытуемые образцы и оборудование должны быть выдержаны, откалиброваны и должны пройти испытания в следующих условиях:
a) (23 +/- 2) °C и (20 +/- 5)% относительной влажности;
b) (23 +/- 2) °C и (60 +/- 10)% относительной влажности.
9.1 Напряжение электрического пробоя
Напряжение пробоя определяется в соответствии с IEC 60243-1
[5] и IEC 60243-2
[6]. Используемый метод указан в IEC 60243-1:1998, подраздел 9.1
[5]: кратковременное испытание (быстрое нарастание). Испытание должно проводиться с неодинаковыми электродами при применении прямого напряжения со скоростью нарастания 300 В/с. Максимальный выходной ток от источника питания постоянного тока составляет 1 мА.
Что касается многослойных материалов, то все слои должны испытываться вместе и испытательные образцы должны располагаться таким образом, чтобы высоковольтный электрод находился в контакте с поверхностью материала, который, как правило, находится на внутренней стороне МКСМ.
Пример графика напряжения/времени для материалов с отдельным пробоем показан на
рисунке A.1. Некоторые материалы, используемые в изготовлении МКСМ, могут обладать проводимостью, которая предотвратит внезапный пробой. Как правило, такие материалы способствуют снижению скорости нарастания напряжения, когда заряд протекает через материал. Пример показан на
рисунке A.2. Материалы такого рода не допускают увеличения нарастающих кистевых разрядов, и считается, что они соответствуют требованиям
7.2.
Если выходной ток от источника питания постоянного тока достигает 1 мА до того, как напряжение электрода достигает 6 кВ, испытываемый материал считается соответствующим требованиям
7.2.
9.2 Испытание на воспламеняемость
Устройство, отличающееся от указанного ниже, может использоваться при условии, что оно удовлетворяет тем же функциональным требованиям и обеспечивает сопоставимость результатов.
9.2.1.1 Зонд воспламенения
Зонд воспламенения представляет собой цилиндр из жесткого, непроводящего материала, такого, как поликарбонат или акрил с внутренним диаметром (70 +/- 5) мм и внутренней длиной (100 +/- 5) мм (см.
рисунок 5). Материал, используемый для построения зонда, должен иметь достаточную толщину и прочность, чтобы выдержать повторное воспламенение без трещин, деформации или иных дефектов.
1 - коронирующий электрод; 2 - регулируемый кожух,
изготовленный из изоляционного материала (например,
поликарбонат или акрил); 3 - цилиндр, изготовленный
из изоляционного материала (например, поликарбонат
или акрил); 4 - перфорированная металлическая пластина
(номинальная толщина - 2 мм); 5 - тонкая металлическая сетка
или марля (например, медная); 6 - шарики (например,
стеклянные или фарфоровые), номинальный диаметр 1 - 2 мм;
7 - устойчивое замыкание на землю; 8 - клемма заземления;
9 - входное отверстие для горючего газа
Рисунок 5 - Зонд воспламенения
Один конец цилиндра закрыт и расположен в стороне от центрального порта, чтобы дать возможность притоку горючего газа. Размер впускного отверстия не критичен, но должен быть достаточно большим, чтобы достичь требуемой скорости потока без чрезмерного повышения давления. Подходящий пламегаситель должен быть установлен в линии подачи газа как можно ближе к зонду воспламенения.
На другом конце цилиндра установлена металлическая пластина, чтобы сформировать базу для фиксации разрядного электрода (см.
рисунок 6). Металлическая пластина имеет просверленные отверстия, (5 +/- 1) мм в диаметре для создания равномерного потока газа через нее и вокруг коронирующего электрода.
1 - перфорация диаметром (5 +/- 1) мм; 2 - крепежное
отверстие для коронирующего электрода; 3 - болт
для крепления пластины к корпусу зонда воспламенения
Рисунок 6 - Перфорированная металлическая пластина
для использования в зонде воспламенения
Сферический металлический электрод диаметром (20 +/- 5) мм вмонтирован в центр металлической пластины. Электрод, металлическая пластина и любой другой металл или проводящий материал в зонде воспламенения подключены к общей точке заземления через низкое сопротивление (< 10 Ом) соединения. Точка заземления будет общей точкой заземления для общих конструкций и оборудования в МКСМ, таких, как проводящие части испытательного стенда МКСМ. Общая точка может быть подключена к источнику электропитания на земле. Связь между электродом, металлической пластиной и разъемом заземления должна быть достаточно прочной, чтобы выдержать физические и тепловые удары. Перед использованием необходимо проверить электрическую цепь между разрядным электродом и разъемом заземления.
Зонд воспламенения наполнен стеклянными или фарфоровыми шариками с номинальным диаметром от 1 до 2 мм, которые удерживает тонкая металлическая сетка с обоих концов главного цилиндра. Шарики помогают смешивать газы, а также способствуют предотвращению распространения пламени обратно через зонд.
Регулируемый кожух, изготовленный из изоляционного материала, устанавливается на цилиндре для направления газа мимо коронирующего электрода и в область перед коронирующим электродом, где присутствуют электростатические разряды. Отверстие в кожухе равно (40 +/- 5) мм.
9.2.1.2 Устройство регулирования и смешивания газа
Горючий газ образуется путем смешивания этилена (минимальная чистота 99,5%) с воздухом. Используемый воздух должен содержать (21,0 +/- 0,5)% кислорода и (79,0 +/- 0,5)% азота. Устройство регулирования и смешивания газа используется для направления газа в соответствующих пропорциях в зонд воспламенения (см.
рисунок 7).
1 - зонд воспламенения; 2 - огнезадерживающий клапан;
3 - запорный клапан для этилена; 4 - расходомеры; 5 - воздух
или смесь кислорода/азота; 6 - этилен; 7 - анализатор
этилена
Рисунок 7 - Устройство регулирования и смешивания газа
(принципиальная схема)
Объемные концентрации используемого газа показаны в
таблице 6.
Таблица 6
Объемная концентрация смеси легковоспламеняющихся газов
Газ | Состав | Объемная концентрация, % | Минимальная энергия воспламенения | Критическая зона охлаждения, мм |
Этилен | >= 99,5% C2H4 | 5,4 +/- 0,1 | 0,14 +/- 0,1 | 1,8 +/- 0,1 |
Воздух | (21,0 +/- 0,5)% O2 (79,0 +/- 0,5)% N2 | 94,6 +/- 0,1 |
Регулирование газовой смеси в пределах допустимых объемов должно проверяться с помощью, например, инфракрасного газоанализатора этилена, выбирая линию подачи газовой смеси.
Если используется газовая смесь кроме той, что указана в
таблице 6, то необходимо проверить минимальную энергию зажигания газовой смеси с помощью метода ASTM E582
[7] (0,14 +/- 0,01) мДж.
Примечание - Если используется газ кроме этилена, критическая зона охлаждения может отличаться от той, которая указана в
таблице 6.
Для поставки газа удобно использовать баллоны со сжатым газом, но можно использовать и другие источники поставок.
Цилиндр с предварительно смешанной смесью из (21,0 +/- 0,5)% кислорода и (79,0 +/- 0,5)% азота может использоваться вместо воздуха. При необходимости фильтры молекулярного сита можно использовать для обеспечения низкого содержания влаги в газах. Это особенно важно, например, при использовании воздуха непосредственно от компрессора. Необходимо использовать газы чистотой не менее 99,5%.
Примечание - В "атмосферном воздухе" концентрация кислорода выше, чем указанно в
таблице 6, поэтому не рекомендуется его использовать. Некоторые молекулярные сита могут поглощать этилен, поэтому нужно расположить фильтр сита до того, как газ достигнет контрольного оборудования.
Каждая подача газа регулируется и контролируется с помощью расходомеров и клапанов. Комбинированный расход всех газов через зонд воспламенения должен быть равен (0,21 +/- 0,04) л/с.
Быстродействующий запорный клапан используется для остановки потока этилена при воспламенении. Запорный клапан останавливает подачу этилена, при этом позволяя воздуху течь свободно для обеспечения охлаждения и сушки зонда воспламенения после воспламенения. Тип и расположение запорного клапана должны выбираться в зависимости от конкретной конструкции всего устройства.
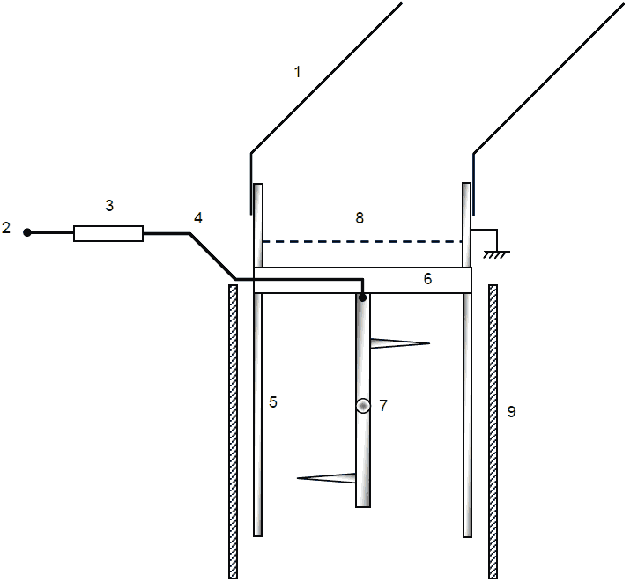
9.2.1.3 Циркуляционная установка наполнения МКСМ
Жесткий стальной каркас или другая подходящая опора используется для поддержки испытываемого МКСМ, позволяя ему заполниться заряженными материалами (см.
рисунок 8). Чтобы свести к минимуму влияние стального каркаса на электростатические поля, связанные с заряженным МКСМ, любой стальной каркас вокруг МКСМ должен быть отдален от его боков не менее чем на 1 м.
Примечание - На этом рисунке показан пример установки для МКСМ с четырьмя стропами; при тестировании, например, МКСМ с одной стропой может понадобиться другая конструкция.
1 - средство подачи гранул; 2 - перекачивающий трубопровод;
3 - устройство для коронарного разряда; 4 - изолирующий
кожух; 5 - средство поддержки МКСМ; 6 - МКСМ; 7 - сборный
бункер
Рисунок 8 - Установка для наполнения МКСМ
(принципиальная схема)
Испытуемый МКСМ заполнен полипропиленовыми гранулами (см.
приложение B) с объемным сопротивлением, как минимум 1,0 x 1012 Ом. Гранулы должны быть гомополимерными, без наполнителей, пигментов, антистатических добавок и т.д. Другие материалы могут использоваться только после того, как будет определено, что они имеют такие же результаты и не образуют конусные разряды.
Примечание - Одним из способов проверки схожести различных гранул является проведение процедуры, предусмотренной в
9.2.2, т.е. установить, что напряжение, приложенное к установке для коронарного разряда, образует такой же зарядный ток.
Одним из способов циркуляции гранул является размещение воронки непосредственно под испытываемым МКСМ для сбора гранул и подачи их на конвейер, где они транспортируются к заправочному желобу и возвращаются назад в испытываемый МКСМ. Другие средства циркуляции гранул могут быть одинаково пригодными. Степень наполнения должна равняться (1,1 +/- 0,1) кг в секунду.
Посредством трибоэлектрического действия полипропиленовые гранулы естественным образом подзарядятся, но дополнительный заряд будет введен путем добавления точек коронарных разрядов высокого напряжения внутрь заправочной трубы (см.
рисунок 9). Изоляционный кожух, окружающий устройство для коронарного разряда, предотвращает прямой контакт с МКСМ. Высоковольтный источник питания постоянного тока используется для регулировки устройства для коронарного разряда, которое должно поддерживать средний зарядный ток на (3,0 +/- 0,2) мкА с мгновенным максимумом, не превышающим 4,0 мкА, и мгновенным минимумом, не менее 2,0 мкА. Полярность заряда должна быть отрицательная. Устройство для коронарного разряда не должно подавать разряд в испытываемый МКСМ при отсутствии потока гранул.
Примечание - Рекомендуется регулярно менять гранулы. Трудно определить периодичность смены гранул, но рекомендовано заменять их, когда уже присутствуют явные признаки загрязнения, выраженные физические дефекты, когда уровень трибоэлектрического заряда значительно снижен или когда виден существенный рост измельченных гранул.
1 - перекачивающий трубопровод; 2 - выход из высоковольтного
источника питания постоянного тока (отрицательная
полярность); 3 - развязывающий резистор ~ 107 Ом;
4 - высоковольтный изолированный соединительный шнур;
5 - заземленный металлический цилиндр; 6 - изолирующая
штанга (например, фторопласт); 7 - металлический стержень
с массивом острых коронирующих электродов; 8 - заземленная
металлическая сетка для предотвращения повреждения
коронарного массива крупными объектами (размер ячейки >
размера гранул); 9 - изоляционный кожух для предотвращения
контакта МКСМ с устройством для коронарного разряда
Рисунок 9 - Зарядка коронарным разрядом
(принципиальная схема)
Все части испытываемого МКСМ, в том числе выпускной желоб, должны быть доступны для варианта с зондом воспламенения.
В зависимости от конструкции установки наполнения и ее расположения может возникнуть необходимость в обеспечении рабочей платформы для поддержки испытательного оборудования и персонала.
Для МКСМ, которые не требуют заземления при нормальном использовании, изоляция должна быть вставлена между стропами и точками опоры на металлическом каркасе так, чтобы сопротивление на землю было не менее 1,0 x 1012 Ом.
Все металлические опоры, каркасы, рабочие платформы и любые другие проводники, в том числе персонал в пределах 1 м от испытываемого МКСМ, должны быть заземлены, независимо от типа испытываемого МКСМ.
9.2.1.4 Устройство для измерения заряда
Устройство для измерения заряда состоит из двух основных частей: цилиндр Фарадея для сбора заряженных гранул и средство измерения заряда, поступающего в цилиндр Фарадея. Очень удобно использовать проводящий МКСМ как цилиндр Фарадея. МКСМ должен быть изготовлен полностью из проводящего материала или, по крайней мере, должен содержать полностью взаимосвязанные проводящие нити или ленты с максимальным шагом 20 мм, если нити или ленты выполнены в виде узоров, или 50 мм, если они в виде сетки. Сопротивление МКСМ к заземляемой точке должно быть не менее 1,0x10
7 Ом, при измерении - в соответствии с
9.3.
Электрометр используется для измерения заряда, поступающего в проводящий МКСМ. Электрометр должен иметь либо среднее, минимальное и максимальное значения, либо надлежащий выходной сигнал, с которого средний, минимальный и максимальный зарядный ток можно определить посредством подходящего инструмента (например, цифровой универсальный измеритель, осциллограф, регистратор данных и т.д.).
9.2.2 Установка правильного зарядного тока
Установите проводящий МКСМ
(9.2.1.4) в установку для наполнения
(9.2.1.3), убедившись, что сопротивление от проводящего МКСМ на установку для наполнения или от проводящего МКСМ на любое другое заземляющее соединение не менее 1,0x10
12 Ом.
Подключите электрометр
(9.2.1.4) к заземляемой точке на проводящем МКСМ и заземлите электрометр. Если необходимо использовать какой-либо усредняющий инструмент
(9.2.1.4), подключите его к электрометру.
Запустите поток гранул (1,1 +/- 0,1) кг/с в МКСМ и подайте необходимое напряжение на устройство для коронарного разряда.
После того как дно МКСМ заполнится гранулами и будет сформирован единообразный конус гранул, приступите к выполнению средних измерений.
Используя среднее значение на электрометре или каком-либо усредняющем инструменте, три раза выполните выборку данных продолжительностью одна минута и запишите средний зарядный ток для каждого одноминутного периода. Усредните три средних значения, полученных в течение одноминутной выборки, и запишите средний зарядный ток с напряжением, подаваемым на устройство для коронарного разряда.
Повторите эту процедуру, пока не определится уровень напряжения (3,0 +/- 0,2) мкА, подаваемого на устройство для коронарного разряда. В последующих испытаниях этот уровень напряжения следует применять к блоку коронарного заряда.
9.2.3 Испытание на воспламеняемость
9.2.3.1 Общие положения
Испытания на воспламеняемость выполняются путем установки зонда воспламенения
(9.2.1.1) на стену заряженного испытываемого МКСМ со смесью горючего газа, протекающего через зонд. Следующая последовательность операций предназначена для выполнения не менее 200 испытаний на воспламеняемость испытываемого МКСМ. Выполнение последовательных операций можно прекратить в любое время после появления одного, подтвержденного воспламенения, при котором испытываемый МКСМ не прошел испытание на соответствие требованиям, указанным в
7.3.2.
Возможно, потребуется несколько раз заполнять и опустошать испытываемый МКСМ, чтобы выполнить необходимое количество попыток воспламенения. Для МКСМ без выпускного отверстия необходимо сделать отверстие подходящего размера. В этом случае разумно будет использовать несколько МКСМ одной и той же конструкции и размера, чтобы выполнить полную последовательность испытаний.
Все последовательные попытки воспламенения необходимо производить в точке, расположенной равномерно на каждой из четырех стенок испытываемого МКСМ (50 попыток воспламенения на каждой стенке). Для МКСМ, не имеющих четырех четко определенных сторон, необходимо будет произвести 200 попыток воспламенения в точках, равномерно распределенных по площади МКСМ. Дополнительные попытки воспламенения (10 на каждой панели) должны быть сделаны на любой панели, прикрепленной к испытываемому МКСМ (например, заслонки для труб), на любой панели, которая существенно отличается по своей конструкции по сравнению с остальной частью испытываемого МКСМ, а также на любой этикетке или чехле с документами площадью более 100 см2. Этикетки и чехлы с документами площадью менее 100 см2, а также стропы не подвергаются испытаниям.
По договоренности между заинтересованными сторонами, попытки воспламенения могут проводиться в других местах в дополнение к указанным в настоящем стандарте. В таких случаях положение дополнительных точек измерения должно быть описано в отчете об испытаниях. Любое поддающееся испытанию воспламенение (см.
9.2.3.4), которое возникает во время такого испытания, влечет за собой несоответствие испытываемого МКСМ требованиям
7.3.2.
9.2.3.2 Порядок испытания
При закрытом разгрузочном желобе МКСМ запустите поток гранул со скоростью (1,1 +/- 0,1) кг/с и подайте напряжение, указанное в
9.2.2, на устройство для коронарного разряда.
Пусть гранулы заполнят основание МКСМ. Когда уровень заполнения начнет двигаться вверх по стенке МКСМ, начните вводить поток газовой смеси через зонд воспламенения и позвольте ему течь не менее 30 с, прежде чем приступите к попытке воспламенения.
Попытка воспламенения производится путем установки зонда воспламенения на одну стенку МКСМ в точке не менее 100 мм ниже уровня заполнения. Скорость достижения зонда должна составлять (0,75 +/- 0,25) м/с. Слишком медленное достижение может привести к снижению локальных уровней коронарного заряда. Слишком быстрое достижение может привести к тушению зарождающегося ядра пламени.
Примечание - Чтобы избежать возникновения конусных разрядов во время этой процедуры испытания, зонд воспламенения устанавливается на МКСМ не менее 100 мм ниже уровня заполнения.
9.2.3.3 Отсутствие воспламенения
Если воспламенение не произошло, уберите зонд воспламенения и подождите 10 - 15 с, прежде чем перенесете зонд к следующей точке измерения и продолжите процедуру испытания на воспламеняемость.
Выполните как можно больше попыток в различных точках на стенке МКСМ, в том числе в краевых швах, до тех пор, пока МКСМ не наполнится на три четверти.
После каждых 10 попыток производится визуальный контроль для удостоверения, что напряжение, подаваемое на устройство для коронарного разряда, равно значению, указанному в
9.2.2, а скорость подачи газа и концентрация этилена равны значениям, указанным в
9.2.1.2. При необходимости перед продолжением испытаний на воспламеняемость подстройте устройства для испытания так, чтобы все параметры находились в пределах указанных диапазонов, и аннулируйте предыдущие 10 попыток.
Когда МКСМ заполнится на три четверти, остановите поток гранул и коронарную зарядку. Если у МКСМ есть выпускное отверстие, откройте отверстие и, пока гранулы будут высыпаться из МКСМ, произведите как можно больше попыток воспламенения, чередуясь между стеной и, если есть, спускным желобом. Время между последующими попытками воспламенения, пока МКСМ опустошается, не должно превышать 2 с. Если конструкция МКСМ позволяет полностью открывать основание, то, возможно, будет только одна попытка воспламенения, которая должна быть произведена непосредственно перед тем, как МКСМ полностью опустеет.
Если МКСМ оснащен внутренним вкладышем и сливной желоб внутреннего вкладыша выступает наружу из сливного желоба МКСМ во время опустошения, дополнительные попытки воспламенения должны быть направлены на сливной желоб внутреннего вкладыша.
Если МКСМ не оснащен выходным патрубком и сконструирован для опустошения при вакууме или опрокидывании, не нужно проводить испытание на воспламенение во время опустошения МКСМ.
Если МКСМ не оснащен выходным патрубком и сконструирован для опустошения путем разрезания основания или бросания МКСМ на острие, то отверстие, сделанное в основании, должно быть равно фактическому размеру, используемому на практике, и до того как МКСМ опустеет, можно произвести столько попыток воспламенения, сколько возможно.
Если по завершении как минимум 200 попыток воспламенения воспламенение не произошло, то испытываемый МКСМ соответствует требованиям, указанным в
7.3.2.
Если воспламенение произошло, удалите зонд воспламенения и убедитесь, что пламя полностью потушено, отключите подачу горючего газа. Сразу же проверьте, что концентрация этилена, скорость потока воздуха и зарядный ток находятся в пределах указанных диапазонов. Если все параметры находятся в пределах допусков, воспламенение фиксируется, а испытываемый МКСМ считается не соответствующим требованиям, указанным в
7.3.2, и испытание на воспламеняемость может быть остановлено.
Если концентрация этилена, скорость потока воздуха или зарядный ток находятся не в пределах допусков, воспламенение аннулируется, а также все попытки с последнего момента, когда параметры испытаний были проверены. При необходимости настройте устройства для испытаний, чтобы все параметры находились в пределах указанных диапазонов, и возобновите испытание на воспламенение.
Если подтвержденное воспламенение произошло и принято решение о дальнейшем испытании для получения необходимой дополнительной информации, позвольте воздуху (или кислороду/азоту) циркулировать не менее 60 с, чтобы охладить и высушить зонд воспламенения, заново запустите горючий поток газа и подождите не менее 30 с, прежде чем перенести зонд к следующей точке измерения и продолжить процедуру испытания на воспламенение.
Визуальный контроль производится после каждых 10 попыток, чтобы убедиться, что напряжение, подаваемое на устройство для коронарного разряда, равно значению, указанному в
9.2.2, а скорость подачи газа и концентрация этилена равны значениям, указанным в
п. 9.2.1.2. При необходимости перед продолжением испытаний на воспламенение настройте устройства для испытаний, чтобы все параметры находились в пределах указанных диапазонов, и аннулируйте предыдущие 10 попыток.
Когда МКСМ заполнится на три четверти, остановите поток гранул и коронарную зарядку. Если у МКСМ есть выпускное отверстие, откройте отверстие и, пока гранулы будут высыпаться из МКСМ, произведите как можно больше попыток воспламенения, чередуя между стеной и, если есть, спускным желобом. Время между последующими попытками воспламенения, пока МКСМ опустошается, не должно превышать 2 с. Если конструкция МКСМ позволяет полностью открывать основание, то, возможно, будет только одна попытка воспламенения, которая должна быть произведена непосредственно перед тем, как МКСМ полностью опустеет.
Если МКСМ оснащен внутренним вкладышем и сливной желоб внутреннего вкладыша выступает наружу из сливного желоба МКСМ во время опустошения, дополнительные попытки воспламенения должны быть направлены на сливной желоб внутреннего вкладыша.
Если МКСМ не оснащен выходным патрубком и сконструирован для опустошения вакуумом или опрокидыванием, то нет необходимости в испытаниях на воспламеняемость при опустошении МКСМ.
Если МКСМ не оснащен выходным патрубком и сконструирован для опустошения путем разрезания основания или бросания МКСМ на острие, то отверстие, сделанное в основании, должно быть равно фактическому размеру, и до того, как МКСМ опустеет, можно произвести столько попыток воспламенения, сколько возможно.
9.2.3.5 Запись результатов
Запишите общее количество приемлемых попыток воспламенения и количество подтвержденных воспламенений горючей газовой смеси.
Испытываемый МКСМ считается соответствующим требованиям
7.3.2, если не произошло воспламенения, а общее число попыток воспламенения при правильных условиях испытаний составляет не менее 200.
Если одно или несколько возгораний были аннулированы из-за неправильных условий испытаний (см.
9.2.3.4), МКСМ считается соответствующим требованиям
7.3.2, только если при последующих испытаниях того же МКСМ не произошло ни одного подтвержденного воспламенения, а общее число попыток воспламенения при правильных условиях испытаний составляет не менее 200.
Испытываемый МКСМ считается не соответствующим требованиям
7.3.2 в случае возникновения одного или нескольких подтвержденных воспламенений.
9.3 Сопротивление к заземляемой точке
9.3.1.1 Устройство для измерения сопротивления
Автономный измеритель сопротивления (Омметр) или блок питания и амперметр в соответствующей конфигурации для измерения сопротивления, с точностью +/- 10%, соответствует следующим требованиям:
а) Для лабораторных оценок
Устройство должно иметь напряжение цепи под нагрузкой (10 +/- 0,5) В при сопротивлении ниже 1,0x106 Ом, (100 +/- 5) В при сопротивлении между 1,0x106 Ом и 1,0x1011 Ом и (500 +/- 25) В при сопротивлении выше 1,0x1011 Ом. Диапазон измерений устройства должен быть не менее одного порядка по обе стороны от ожидаемого диапазона измеряемого сопротивления. Устройство должно использоваться таким образом, чтобы непреднамеренные заземляющие контуры не влияли на измерения.
б) Для приемочных испытаний
Для приемо-сдаточных испытаний должно использоваться устройство для лабораторных оценок [см.
9.3.1.1, а)] или устройство, удовлетворяющее следующим требованиям.
Устройство должно иметь напряжение разомкнутой цепи (10 +/- 0,5) В при сопротивлении ниже 1,0x106 Ом, (100 +/- 5) В при сопротивлении между 1,0x106 Ом и 1,0x1011 Ом и (500 +/- 25) В при сопротивлении выше 1,0x1011 Ом. Диапазон измерений устройства должен быть не менее одного порядка по обе стороны от ожидаемого диапазона измеряемого сопротивления. Устройство должно использоваться таким образом, чтобы непреднамеренные заземляющие контуры не влияли на измерения.
В случае возникновения спора необходимо использовать устройство для лабораторных оценок.
9.3.1.2 Измерительные электроды
а) Материал без проводящих нитей
Измерительный электрод для материалов без проводящих нитей состоит из металлической пластины или блока с площадью контакта (25 +/- 1) мм x (25 +/- 1) мм. Электрод имеет насадку из мягкой электропроводящей резины (номинальная твердость по дюрометру Шора А - 30 и объемное сопротивление менее 1,0x104 м) с такой же площадью контакта. Кроме того, непроводящая резина или пена могут использоваться с покрытием из фольги алюминия для обеспечения электрического контакта с металлической пластиной или блоком.
б) Материал с проводящими нитями
Измерительный электрод для материалов с проводящими нитями должен представлять собой острый металлический конец с радиусом кривизны (0,25 +/- 0,05) мм, конусным углом на кончике (20 +/- 1)0 и основным диаметром (1,5 +/- 0,5) мм.
Подвесьте испытываемый МКСМ на стропах так, чтобы он свободно висел, не касаясь пола или любой другой конструкции ни одной частью основного мешка. Сопротивление между любой частью МКСМ и землей должно быть не менее 1,0 x 1012 Ом.
У МКСМ, содержащих проводящие элементы в стропах, изоляция должна быть установлена между стропами и точками опоры на металлическом каркасе таким образом, чтобы сопротивление на землю было не менее 1,0 x 1012 Ом.
Подключите один испытательный отвод от устройства для измерения сопротивления к заземляемой точке на МКСМ с помощью клеммы, которая гарантирует хороший электрический контакт.
Подключите другой испытательный отвод от устройства для измерения сопротивления к измерительному электроду.
Для материалов без проводящих нитей поместите электрод с головкой, оборудованной мягкой вставкой [см.
9.3.1.2, а)] напротив поверхности испытываемого МКСМ. Возможно, будет необходимо вставить в МКСМ немного изоляционного материала с достаточным весом, чтобы поддерживать стороны МКСМ в натяжении во время измерений.
Для материалов с проводящими нитями выберите одну нить и убедитесь, что заостренный электрод [см.
9.3.1.2, б)] замыкает контакт. В некоторых случаях тканевая конструкция или покрытие могут покрывать проводящую нить. Острый конец позволяет электроду проникать в ткань или покрытие, чтобы замкнуть контакт с проводящей нитью.
Начиная с напряжения, установленного на 10 В, приступайте к измерению сопротивления (15 +/- 2) с после подачи испытательного напряжения. Если значение превышает 1,0 x 10
6 Ом, выберите 100 В и повторите измерение. Если значение для второго измерения превышает 1,0 x 10
11 Ом, выберите 500 В и выполните последнее измерение. Запишите показания, которые соответствуют напряжению и диапазону сопротивлений, как указанно в
9.3.1.1, если ни одна из следующих ситуаций не происходит:
a) измеренное сопротивление при 10 В превышает 1,0 x 106 Ом, а измеренное сопротивление при 100 В меньше 1,0 x 106 Ом или
b) измеренное сопротивление при 100 В превышает 1,0 x 1011 Ом, а измеренное сопротивление при 500 В меньше 1,0 x 1011 Ом.
В этом случае необходимо записать измерение сопротивления, производящееся на более высоком уровне напряжения.
Необходимо произвести не менее 10 измерений на участках, распределенных равномерно на каждой панели в МКСМ, включая внутренние подкрепления и выпускную трубу, а также полная серия измерений повторяется для каждой заземляемой точки, в том числе подъема для строп, если они обозначены как таковые. Если испытываемый МКСМ содержит проводящие нити, 10 измерений, производящиеся на каждой панели, должны проводиться на разных нитях.
Дополнительные измерения производятся на любой этикетке или других присоединенных деталях, изготовленных из материалов с поверхностным сопротивлением менее 1,0 x 10
9 Ом, измеренным в соответствии с
ГОСТ Р 53734.2.3 при условиях, указанных в
8.2.
Для МКСМ, которые не имеют четырех четко определенных сторон, производится не менее 40 измерений в местах, равномерно распределенных по площади МКСМ.
Производится тщательный визуальный осмотр всего МКСМ, чтобы определить любую область, которая чем-либо отличается от остальной части МКСМ. Если испытываемый МКСМ содержит проводящие нити, необходимо провести визуальный осмотр для выявления возможных точек останова, отсутствующих или поврежденных нитей. Дополнительные измерения сопротивления должны проводиться во всех зонах, выявленных в ходе визуального осмотра.
Отчет об испытаниях должен содержать, по меньшей мере, следующую информацию:
10.1 Отчет для всех типов испытаний
a) ссылка на настоящий стандарт;
b) дата испытания;
c) сведения о калибровке оборудования;
d) атмосфера для выдержки и испытаний;
e) описание испытуемых образцов (описание МКСМ должно соответствовать указаниям, приведенным в
таблице 7);
f) сведения о какой-либо предварительной обработке;
g) для каждого испытываемого образца МКСМ - заключение о соответствии или несоответствии требованиям, указанным в
разделе 7;
h) для каждого испытываемого образца - заключение о соответствии или несоответствии требованиям, указанным в
4.2;
i) сведения о каких-либо отклонениях от стандарта.
Таблица 7
Пример полного описания образца, который будет включен
в отчет об испытаниях
Подробная информация | Примечания |
Описание МКСМ | Код и торговое наименование |
Наименование и адрес компании изготовителя | |
Метод построения | |
Номинальная нагрузка (кг) | |
Тип и класс материала | |
Масса тары (кг) | |
Слойность | |
Плотность материала на кв. метр (г/м2) | |
Ткань (основа/уток), ленты на 100 мм | |
Материал покрытия, толщина (мкм), вес (г/м2) | |
Прокладочный материал, толщина (мкм) | |
Проектный чертеж | |
Размеры (мм) | |
Отверстие заполнения | Положение, конструкция, внутренний диаметр (мм), материал корпуса и плотность (г/м2) |
Выпускное отверстие | Положение, конструкция, внутренний диаметр (мм), материал корпуса и плотность (г/м2) |
Пошив | Тип, основная нить |
Токопроводящая нить или токоотводящая пряжа, ленты и покрытия | Тип, расстояние между нитями (мм), положение клемм заземления |
Форма крепления прокладки | |
Шнур, уплотняющий шов | |
Адгезионный тип | |
10.2 Отчет для испытания на напряжение электрического пробоя
a) максимальное напряжение электрического пробоя, измеренное для каждого материала в МКСМ или внутреннем вкладыше; или
b) заключение о невозможности определить электрическое напряжение пробоя из-за проводимости внутри материала.
10.3 Отчет для испытания на воспламеняемость
a) были ли МКСМ изолированы или заземлены во время тестирования и как МКСМ были заземлены, в том числе сопротивление к земле;
b) объемные концентрации газовой смеси;
c) минимальная энергия воспламенения газовой смеси;
d) для каждого испытываемого образца количество сделанных попыток воспламенения;
e) для каждого испытываемого образца расположение любых дополнительных точек измерения;
f) для каждого испытываемого образца количество воспламенений.
10.4 Отчет для испытания на сопротивление к заземляемой точке
a) максимальное сопротивление к заземляемой точке;
b) приложенное напряжение испытания.
10.5 Отчет для испытания поверхностного сопротивления внутренних вкладышей
a) минимальное и максимальное поверхностное сопротивление на каждой стороне образца;
b) приложенное напряжение испытания.
10.6 Отчет по результатам испытаний, составляемый аккредитованными организациями
a) номер аттестата аккредитации;
b) уникальный номер сертификата или испытания.
(обязательное)
НАПРЯЖЕНИЕ ЭЛЕКТРИЧЕСКОГО ПРОБОЯ. ТИПИЧНЫЕ ГРАФИКИ ВРЕМЕНИ
И НАПРЯЖЕНИЯ
Рисунки A.1 и
A.2 отображают графики напряжения/времени для измерений напряжения электрического пробоя, выполненных с помощью метода, указанного в
9.1.
Рисунок A.1 - Пример графика времени/напряжения
для материала, который показывает отдельный пробой
Рисунок A.2 - Пример графика времени/напряжения
для материала, который показывает снижение скорости
нарастания напряжения вследствие проводимости
исследуемого материала
(обязательное)
ПОЛИПРОПИЛЕНОВЫЕ ГРАНУЛЫ ДЛЯ ИСПЫТАНИЯ НА ВОСПЛАМЕНЯЕМОСТЬ
Гранулометрический состав номинально сферических полипропиленовых гранул, пригодных для использования при испытании на воспламеняемость (см.
9.2), показан в
таблице B.1.
Таблица B.1
Гранулометрический состав полипропиленовых гранул
Наименование показателя | Размер сита | Общая масса |
4 | 4 x 5 | 5 x 6 | 6 x 8 | 8 x 12 | 12 x 16 | 16 x 30 | 30 x 40 | PAN |
Средний размер ячейки (мм) | - | 4,38 | 3,68 | 2,87 | 2,03 | 1,44 | 0,89 | 0,51 | - | 283,04 |
Масса (г) | 0,00 | 1,22 | 15,28 | 86,94 | 124,47 | 52,64 | 2,46 | 0,02 | 0,01 |
Массовая доля (%) | 0,00 | 0,43 | 5,40 | 30,72 | 43,98 | 18,60 | 0,87 | 0,01 | 0,00 |
Средний размер частиц: 2,27 мм |
(справочное)
РУКОВОДСТВО ПО МЕТОДАМ ИСПЫТАНИЙ ДЛЯ ПРОИЗВОДСТВЕННОГО
КОНТРОЛЯ КАЧЕСТВА
C.1 Вступительные замечания
Изготовитель проводит контроль качества для того, чтобы убедиться, что МКСМ соответствуют спецификациям изготовителя перед отправкой с завода. Подобные процедуры испытаний также могут выполняться пользователями, которые хотят убедиться, что МКСМ удовлетворяют их требованиям, прежде чем принять их для использования на своих объектах.
Так как контроль качества может проводиться ежедневно, и часто на нескольких образцах, предпочтительно, чтобы методы и процедуры были простыми и быстрыми для обеспечения приемлемой стоимости испытаний. Процедуры испытаний, указанные в
разделе 9, могут использоваться для контроля качества, но для многих изготовителей и пользователей они могут показаться слишком сложными, слишком длительными или слишком затратными.
В отличие от испытания на соответствие техническим характеристикам типа, где МКСМ оцениваются на основе стандартизованных критериев приемки, контроль качества позволяет изготовителям и пользователям оценить МКСМ на основе собственных критериев приемки, которые они установили сами и которые, как правило, действительны только для конкретной модели МКСМ или применения. По этой причине методы контроля качества и критерии приемки, используемые одним изготовителем или пользователем, могут не подходить для оценки МКСМ других изготовителей или МКСМ, предназначенных для других конкретных целей.
Методы испытаний, указанные в
разделе C.2, могут быть полезны при проведении контроля качества. Список методов испытаний не является исчерпывающим, и могут существовать другие методы испытаний, которые в равной степени пригодны. Изготовители или пользователи должны убедиться, что контроль качества подходит для их собственных нужд.
Контроль качества предназначен для обеспечения изготовителей и пользователей информацией, которая демонстрирует, что все изготовленные и поставленные МКСМ, по существу, такие же, как образец МКСМ, используемый для оценки конструкции МКСМ. Методы контроля качества, кроме тех, которые указаны в
разделе 9, не должны служить заменой методам оценки соответствия техническим характеристикам типа и не должны использоваться изготовителем для продвижения МКСМ таким образом, чтобы противоречить требованиям, указанным в
разделе 7.
C.2.1 Измерение сопротивления
Устройство для измерения сопротивления, кроме указанного в
9.3.1.1, может использоваться для проведения контроля качества. Простые измерители сопротивления или универсальные измерительные приборы, которые повсеместно доступны по низким ценам, могут использоваться вместо более дорогого устройства лабораторного класса для быстрой проверки непрерывности электроцепи между панелями в МКСМ
типа C. Измерения также можно сделать на материалах, чтобы убедиться, что они достаточно проводящие для использования в МКСМ
типа C.
Например, для удобства измерения сопротивления для контроля качества могут проводиться на МКСМ, пока они находятся на испытательном столике. Следует проявлять осторожность, чтобы не допустить создания электрических соединений между панелями, которые не могут присутствовать при нормальном наполнении и опустошении МКСМ.
Измерения сопротивления можно использовать для контроля качества некоторых конструкций МКСМ
типа D. Процедуры испытаний, указанные в
9.3, или другие процедуры могут использоваться для проверки, что сопротивление материалов было не слишком низкое и не слишком высокое.
C.2.2 Измерение убывания заряда
В стандарте
ГОСТ Р 53734.2.1 перечислены методы испытаний для измерения способности материалов и изделий рассеивать заряд статического электричества. Устройство, указанное в
4.3, может быть полезным для контроля качества некоторых материалов, используемых в конструкции МКСМ
типа D.
Точка, в которой начинается и останавливается отсчет времени, а также приемлемое время убывания заряда должны выбираться изготовителем или пользователем в соответствии с их собственными требованиями. Очень короткое время снижения может означать, что испытываемый материал слишком проводящий и может породить искры. Чрезмерно длительное время убывания может указывать на то, что испытываемый материал не обладает способностью рассеивать заряд с частотой, необходимой для МКСМ
типа D, и может породить кистевые разряды. Как правило, приемлемой является постоянная времени убывания между 500 мс и 30 с. Однако следует отметить, что у некоторых материалов, используемых в конструкции МКСМ
типа D, время убывания заряда может быть вне этих пределов.
C.2.3 Измерение переноса заряда
Принцип измерений переноса заряда заключается в том, чтобы вызвать электростатический разряд на электроде, подключенном к измерительной системе, для определения количества заряда, перенесенного в разряде.
Зарядка МКСМ должна осуществляться с использованием циркуляционной установки наполнения МКСМ, описанной в
9.2.1.3. Чтобы зарядить материалы и МКСМ, когда использование циркуляционной установки наполнения МКСМ недоступно или непрактично, можно применить другие альтернативные методы зарядки, например трение с другими материалами, которые в сочетании с материалом МКСМ имеют способность накопления электростатических зарядов, или заряжанием с помощью коронарного разряда высокого напряжения.
Стандарт IEC/TS 60079-32-1
[1] описывает испытательное оборудование и процедуры, которые можно использовать для зарядки материалов и измерения переноса заряда. Указанные трущиеся материалы могут не подходить для зарядки всех типов МКСМ, в этом случае их можно заменить другими, более подходящими материалами.
Максимальные пределы переноса заряда, приведенные в стандарте IEC/TS 60079-32-1, основаны на электростатических разрядах из однородных, непроводящих материалов. Природа электростатических разрядов из какого-либо антистатического МКСМ может отличаться как пространственными, так и временными характеристиками типа разряда, используемого для получения данных, показанных в стандарте IEC/TS 60079-32-1. Для контроля качества изготовители или пользователи должны установить максимальные пределы переноса заряда, относящиеся к их собственной продукции или применению.
(обязательное)
КЛАССИФИКАЦИЯ ОПАСНЫХ ЗОН И ОБЛАСТЕЙ
Таблица D.1
Классификация | Описание области |
I | Шахты, восприимчивые к рудничному газу |
II | Места с взрывоопасной газовой атмосферой, кроме шахт, состоящей из: |
| Нормальновоспламеняемых газов и паров, например гексан, метан, ацетон |
| Высоковоспламеняемых газов и паров, например диэтиловый эфир, этилен, циклопентан |
C | Чрезвычайно воспламеняемых газов и паров, например водород, ацетилен, сероуглерод |
III | Места с взрывоопасной атмосферой, подверженной скоплению пыли, кроме шахт, состоящей из: |
A | Горючих взвесей |
B | Непроводящей пыли |
C | Проводящей пыли |
Примечания 1 Вещество, отнесенное к конкретной группе взрывоопасности, образует площадь этой группы в непосредственной близости от нее. 2 Опасность воспламенения возрастает от A до C. |
Таблица D.2
Зона | Описание зоны |
0 | Место, в котором взрывоопасная атмосфера в виде смеси горючих веществ в форме газа, пара или тумана с воздухом присутствует постоянно или в течение длительного времени |
| Место, в котором взрывоопасная атмосфера в виде смеси горючих веществ в форме газа, пара или тумана с воздухом может образовываться при нормальной работе |
| Место, в котором образование взрывоопасной атмосферы в виде смеси горючих веществ в форме газа, пара или тумана с воздухом маловероятно при нормальной работе, а если она и образуется, то присутствует лишь кратковременно |
20 | Место, в котором взрывоопасная атмосфера в форме облака горючей пыли в воздухе, присутствует постоянно, в течение длительного времени, или часто, но кратковременно Примечание - Места, где присутствуют груды пыли, но пылевые облака не присутствуют, ни постоянно, ни в течение длительного периода, а часто совсем не входят в эту зону |
| Место, в котором взрывоопасная атмосфера в форме облака горючей пыли в воздухе может образовываться при нормальной работе |
| Место, в котором образование взрывоопасной атмосферы в форме облака горючей пыли в воздухе маловероятно при нормальной работе, а если она и образуется, то присутствует лишь кратковременно |
(справочное)
РИСКИ, СВЯЗАННЫЕ С ДИФФУЗОРНЫМИ (КОНИЧЕСКИМИ) РАЗРЯДАМИ
Настоящий стандарт описывает процедуры оценки риска воспламенения, возникающего от электростатических разрядов, связанных с конструкцией, тканью и всеми частями самого МКСМ в горючих или взрывоопасных средах.
Следует, однако, иметь в виду, что заполнение емкости заряженным порошком с высоким сопротивлением может создать область очень высокой плотности пространственного заряда в куче порошка. Это приводит к высоким электрическим полям в верхней части кучи. В этих условиях наблюдается протекание больших разрядов (в радиальном направлении в случае цилиндрических контейнеров) вдоль поверхности. Эти разряды связаны с зарядом, сохранившимся на материале. Они возникают независимо от типа заполняемого МКСМ. Они также встречаются в заземленном металлическом контейнере.
Условия, необходимые для такого типа разряда, достаточно сложны; влияющим фактором являются сопротивление насыпаемых порошков, зарядный ток, объем и геометрия насыпаемого порошка и размер частиц. Сообщается, что атмосферы горючих газов и паров, а также атмосферы чувствительных горючих порошков могут воспламеняться от такого типа разряда. Усредненная энергия, выделяемая в конических разрядах, зависит от диаметра контейнера и размера частиц (средний) материала, образующих кучу порошка.
Предел МЭВ (минимальной энергии воспламенения) 3 мДж, указанный в
таблице 4, основан на воспламеняемости конусных разрядов. Конусные разряды могут иметь гораздо более высокую энергию в МКСМ
типа B, чем в МКСМ
типа C или
D, потому что стенки МКСМ
типа C или
D будут близко к нулевым потенциалам. Исходя из этого распределение внутреннего поля будет таким, что в МКСМ
типа C или
D конусные разряды будут в большинстве только прыгать через половину диаметра МКСМ, но в МКСМ
типа B конусные разряды могут прыгать по всему диаметру МКСМ. Энергетические расчеты предсказывают, что в МКСМ
типа B, конусные разряды могут вызвать воспламенение порошков с МЭВ до 3 мДж, в то время как в МКСМ
типа C и
типа D расчеты для тех же порошков предсказывают энергию конусного разряда ниже МЭВ порошка.
Более подробная информация о конических (диффузорных) разрядах приведена в стандарте IEC/TS 60079-32-1
[1].
(справочное)
ОБОСНОВАНИЕ ПРЕДЕЛОВ ЭЛЕКТРИЧЕСКОГО СОПРОТИВЛЕНИЯ
F.1 Предел сопротивления к точке заземления для МКСМ типа C
Максимально допустимое сопротивление между проводником и землей определяется зарядным током. Опасные искры от проводов можно устранить путем подключения проводника к земле через сопротивление, которое не должно превышать значение, полученное путем деления напряжения начала искры зарядным током. Предел сопротивления к заземляемой точке 1,0 x 107 Ом таков, что зарядный ток значительно больше 10 мкА, необходимых для образования опасных потенциалов на FIBC
типа C. Такие высокие зарядные токи не образуются при обычном заполнении и опустошении МКСМ. Поэтому, установив предельное сопротивление заземляемой точки 1,0 x 107 Ом, МКСМ
типа C могут использоваться без дальнейшего рассмотрения зарядного тока.
F.2 Сопротивление внутренних вкладышей
Верхний предел сопротивления для внутренних вкладышей
типа L1 устанавливается на 1,0 x 10
7 Ом таким образом, чтобы они были совместимы с требованиями к МКСМ
типа C, как указано в
разделе F.1.
Эмпирические данные (например,
[8],
[9]) показывают, что электростатические разряды от изолированных материалов с сопротивлением между 10
9 Ом и 10
12 Ом представляют минимальный риск воспламенения взрывоопасной атмосферы.
Изолированные материалы с сопротивлением менее 109 Ом, как правило, производят искры как разряды. Однако искры характеризуются тем, что они высвобождают большую часть электрической энергии, накопленной на заряженном материале. Что касается металлов и других материалов с очень низким сопротивлением, то практически вся хранящаяся электрическая энергия высвобождается в искровой промежуток и может вызвать воспламенение. Материалы с большим сопротивлением поглощают некоторое количество энергии, когда заряд проходит через них, и выпускают меньше энергии в искровой промежуток, которая может вызвать воспламенение. В какой-то момент материал поглощает такое количество энергии, что энергии, переданной во время искрового промежутка, не достаточно для воспламенения.
Материалы с сопротивлением более 1012 Ом считаются изоляционными и не допускают свободное передвижение заряда. Локализованные участки на изоляторах могут накопить достаточно высокую поверхностную плотность заряда, что может привести к кистевым разрядам, которые высвобождают энергию, достаточную для воспламенения.
Внутренние вкладыши
типа L2 могут использоваться в МКСМ
типов B и
D, в этом случае они, как правило, изолированы от земли. Таким образом, сопротивление внутренних вкладышей
типа L2 не должно быть меньше 1,0 x 10
9 Ом, в противном случае могут появиться опасные искры. Чтобы избежать опасных кистевых разрядов, допустимый верхний предел сопротивления внутренних вкладышей
типа L2 установлен на 1,0 x 10
12 Ом.
Дополнительная информация о требованиях к заземлению, искрам и кистевым разрядам приведена в стандартах
ГОСТ Р 53734.1 и IEC/TS 60079-32-1
[1].
| IEC/TS 60079-32-1(2013) Explosive atmospheres - Part 32-1: Electrostatic hazards, guidance |
| ISO 21898 Упаковка. Контейнеры мягкие (FIBC) для неопасных грузов |
| ISO 7000:2012 Графические символы, наносимые на оборудование. Регистрационные символы |
| IEC 60417-5019:2006 Графические символы, наносимые на аппаратуру |
| IEC 60243-1:1998 Материалы твердые изоляционные. Методы определения электрической прочности. Часть 1. Испытания на промышленных частотах |
| IEC 60243-2 Материалы твердые изоляционные. Методы испытания электрической прочности. Часть 2. Дополнительные требования к испытаниям при постоянном напряжении |
| ASTM E582 Стандартный метод испытаний для определения минимальной энергии воспламенения и зоны охлаждения в газовых смесях |
| БАТТЕРВОРТ Дж. Дж., ЧУББ Дж. Н. и ПОЛ Е. С. "Изучение воспламеняемости электрических разрядов между плоскими резистивными электродами". Серия конференций института физики, N 66, 1983 г. |
| САЛМЕЛА Х., ПААСИ Дж., КАЛЛИОХАКА Т. и ФАСТ L. "Измерения воздушного разряда от изолирующих, электростатических рассеивающих и проводящих материалов с различными зондами электростатического разряда". Журнал электростатики, N 63 (6 - 10), 2005 г. |
УДК 621.316.9:006.354 | |
Ключевые слова: электростатика, методы испытаний, классификации, отчет, риски |