Главная // Актуальные документы // ГОСТ Р (Государственный стандарт)
СПРАВКА
Источник публикации
М.: Стандартинформ, 2020
Примечание к документу
Отдельные положения данного документа включены в Перечень международных и региональных (межгосударственных) стандартов, а в случае их отсутствия - национальных (государственных) стандартов, в результате применения которых на добровольной основе обеспечивается соблюдение требований технического регламента Таможенного союза "Электромагнитная совместимость технических средств" (ТР ТС 020/2011), и Перечень международных и региональных (межгосударственных) стандартов, а в случае их отсутствия - национальных (государственных) стандартов, содержащих правила и методы исследований (испытаний) и измерений, в том числе правила отбора образцов, необходимые для применения и исполнения требований технического регламента Таможенного союза "Электромагнитная совместимость технических средств" (ТР ТС 020/2011) и осуществления оценки соответствия объектов технического регулирования (Решение Коллегии Евразийской экономической комиссии от 29.06.2021 N 77).

Документ включен в Перечень актов и их отдельных частей (положений), содержащих обязательные требования, соблюдение которых оценивается при проведении мероприятий по контролю в рамках осуществления государственного контроля (надзора) за соблюдением обязательных требований национальных стандартов и технических регламентов (Приказ Росстандарта от 30.05.2019 N 1199).

Документ включен в Перечень правовых актов и их отдельных частей (положений), содержащих обязательные требования, соблюдение которых оценивается при проведении мероприятий по контролю в рамках осуществления государственного контроля (надзора) за соблюдением обязательных требований национальных стандартов и технических регламентов (Приказ Росстандарта от 28.12.2016 N 2024).

Документ был включен в Перечень стандартов, в результате применения которых на добровольной основе обеспечивается соблюдение требований технического регламента Таможенного союза "Электромагнитная совместимость технических средств" (ТР ТС 020/2011), и Перечень стандартов, содержащих правила и методы исследований (испытаний) и измерений, в том числе правила отбора образцов, необходимые для применения и исполнения требований технического регламента Таможенного союза "Электромагнитная совместимость технических средств" (ТР ТС 020/2011) и осуществления оценки (подтверждения) соответствия продукции (Решение Комиссии Таможенного союза от 09.12.2011 N 879).

Документ введен в действие с 01.01.2010.
Название документа
"ГОСТ Р 52459.20-2009 (ЕН 301 489-20-2002). Национальный стандарт Российской Федерации. Совместимость технических средств электромагнитная. Технические средства радиосвязи. Часть 20. Частные требования к земным станциям подвижной спутниковой службы"
(утв. и введен в действие Приказом Ростехрегулирования от 14.09.2009 N 344-ст)

"ГОСТ Р 52459.20-2009 (ЕН 301 489-20-2002). Национальный стандарт Российской Федерации. Совместимость технических средств электромагнитная. Технические средства радиосвязи. Часть 20. Частные требования к земным станциям подвижной спутниковой службы"
(утв. и введен в действие Приказом Ростехрегулирования от 14.09.2009 N 344-ст)


Содержание


Утвержден и введен в действие
Приказом Федерального агентства
по техническому регулированию
и метрологии
от 14 сентября 2009 г. N 344-ст
НАЦИОНАЛЬНЫЙ СТАНДАРТ РОССИЙСКОЙ ФЕДЕРАЦИИ
СОВМЕСТИМОСТЬ ТЕХНИЧЕСКИХ СРЕДСТВ ЭЛЕКТРОМАГНИТНАЯ
ТЕХНИЧЕСКИЕ СРЕДСТВА РАДИОСВЯЗИ
ЧАСТЬ 20
ЧАСТНЫЕ ТРЕБОВАНИЯ К ЗЕМНЫМ СТАНЦИЯМ
ПОДВИЖНОЙ СПУТНИКОВОЙ СЛУЖБЫ
Electromagnetic compatibility of technical equipment. Radio
communication equipment. Part 20. Specific requirements
for earth stations used in the mobile satellite services
[EN 301 489-20 V1.2.1 (2002-11), Electromagnetic
compatibility and radio spectrum matters
(ERM) - Electromagnetic compatibility (EMC) standard
for radio equipment and services - Part 20: Specific
conditions for mobile earth stations (MES) used
in the mobile satellite services (MSS), MOD]
ГОСТ Р 52459.20-2009
(ЕН 301 489-20-2002)
ОКС 33.100
Дата введения
1 января 2010 года
Предисловие
1 ПОДГОТОВЛЕН ФГУП "Ленинградский отраслевой научно-исследовательский институт радио" (ЛОНИИР) и Техническим комитетом по стандартизации ТК 30 "Электромагнитная совместимость технических средств" на основе собственного перевода на русский язык англоязычной версии стандарта, указанного в пункте 4
2 ВНЕСЕН Техническим комитетом по стандартизации ТК 30 "Электромагнитная совместимость технических средств"
3 УТВЕРЖДЕН И ВВЕДЕН В ДЕЙСТВИЕ Приказом Федерального агентства по техническому регулированию и метрологии от 14 сентября 2009 г. N 344-ст
4 Настоящий стандарт является модифицированным по отношению к европейскому стандарту ЕН 301 489-20 версия 1.2.1 (2002-11) "Электромагнитная совместимость и вопросы радиочастотного спектра. Стандарт электромагнитной совместимости (ЭМС) для радиооборудования и служб. Часть 20. Особые условия для подвижных земных станций, используемых в подвижной спутниковой службе" [EN 301 489-20 V1.2.1 (2002-11) "Electromagnetic compatibility and radio spectrum matters (ERM) - Electromagnetic compatibility (EMC) standard for radio equipment and services - Part 20: Specific conditions for mobile earth stations (MES) used in the mobile satellite services (MSS)", MOD].
При этом дополнительные положения и требования, включенные в текст стандарта для учета потребностей национальной экономики Российской Федерации и особенностей российской национальной стандартизации, выделены в тексте стандарта курсивом.
Наименование настоящего стандарта изменено относительно наименования указанного европейского стандарта для приведения в соответствие с ГОСТ Р 1.5-2012 (пункт 3.5).
В обозначении и тексте настоящего стандарта год принятия регионального стандарта EN 301 489-20 V1.2.1 обозначен четырьмя цифрами, отделенными тире от регистрационного номера.
Сведения о соответствии ссылочных национальных и межгосударственных стандартов международным и европейским стандартам, использованным в качестве ссылочных в примененном европейском стандарте, приведены в дополнительном приложении ДА
5 ВВЕДЕН ВПЕРВЫЕ
6 ПЕРЕИЗДАНИЕ. Май 2020 г.
Правила применения настоящего стандарта установлены в статье 26 Федерального закона от 29 июня 2015 г. N 162-ФЗ "О стандартизации в Российской Федерации". Информация об изменениях к настоящему стандарту публикуется в ежегодном (по состоянию на 1 января текущего года) информационном указателе "Национальные стандарты", а официальный текст изменений и поправок - в ежемесячном информационном указателе "Национальные стандарты". В случае пересмотра (замены) или отмены настоящего стандарта соответствующее уведомление будет опубликовано в ближайшем выпуске ежемесячного информационного указателя "Национальные стандарты". Соответствующая информация, уведомление и тексты размещаются также в информационной системе общего пользования - на официальном сайте Федерального агентства по техническому регулированию и метрологии в сети Интернет (www.gost.ru)
Предисловие к ЕН 301 489-20-2002
Европейский стандарт ЕН 301 489-20-2002 (телекоммуникационная серия) разработан Техническим комитетом "Электромагнитная совместимость и вопросы радиочастотного спектра" Европейского института телекоммуникационных стандартов (ЕТСИ).
Настоящий стандарт предназначен для применения в качестве гармонизированного стандарта, сведения о котором опубликованы в Официальном журнале ЕС для обеспечения соответствия основным требованиям европейских директив 2004/108/ЕС ("Директива ЭМС") [1] и 1999/5/ЕС ("Директива о радио- и оконечном телекоммуникационном оборудовании") [2].
Настоящий стандарт представляет собой часть 20 европейских стандартов серии ЕН 301 489 [3] в области электромагнитной совместимости радиооборудования и служб.
Сведения о составе европейских стандартов серии ЕН 301 489 [3] приведены в [4].
Перечень национальных стандартов, разработанных на основе европейских стандартов серии ЕН 301 489, приведен в приложении B.
1 Область применения
Настоящий стандарт совместно с ГОСТ Р 52459.1 устанавливает требования электромагнитной совместимости к подвижным земным станциям, используемым в подвижной спутниковой службе и связанному с ними вспомогательному оборудованию, а также соответствующие методы испытаний.
Настоящий стандарт не устанавливает требований, относящихся к антенному порту оборудования подвижных земных станций и электромагнитной эмиссии от порта корпуса этого оборудования.
В настоящем стандарте установлены условия испытаний, порядок оценки функционирования и критерии качества функционирования подвижных земных станций и связанного с ними вспомогательного оборудования.
Сведения об оборудовании, на которое распространяются требования настоящего стандарта, приведены в приложении A.
В случае различий между требованиями настоящего стандарта и ГОСТ Р 52459.1 (например, относящихся к специальным условиям испытаний, определениям, сокращениям) преимущество имеют требования настоящего стандарта.
Условия электромагнитной обстановки и требования к электромагнитным помехам и помехоустойчивости установлены в настоящем стандарте, в соответствии с ГОСТ Р 52459.1, за исключением любых специальных условий, установленных в настоящем стандарте.
Условия электромагнитной обстановки, для применения в которой предназначено оборудование, относящееся к области применения настоящего стандарта, должны указываться изготовителем.
При испытаниях комбинированных радиостанций требования настоящего стандарта применяют только к радиооборудованию, используемому в подвижной спутниковой службе.
2 Нормативные ссылки
В настоящем стандарте использованы нормативные ссылки на следующие стандарты:
ГОСТ Р 52459.1-2009 (ЕН 301 489-1-2008) Совместимость технических средств электромагнитная. Технические средства радиосвязи. Часть 1. Общие технические требования и методы испытаний <1>
--------------------------------
<1> Действует ГОСТ 32134.1-2013.
ГОСТ 24375 Радиосвязь. Термины и определения
ГОСТ 30372 (IEC 60050-161:1990) Совместимость технических средств электромагнитная. Термины и определения
Примечание - При пользовании настоящим стандартом целесообразно проверить действие ссылочных стандартов в информационной системе общего пользования - на официальном сайте Федерального агентства по техническому регулированию и метрологии в сети Интернет или по ежегодному информационному указателю "Национальные стандарты", который опубликован по состоянию на 1 января текущего года, и по выпускам ежемесячного информационного указателя "Национальные стандарты" за текущий год. Если заменен ссылочный стандарт, на который дана недатированная ссылка, то рекомендуется использовать действующую версию этого стандарта с учетом всех внесенных в данную версию изменений. Если заменен ссылочный стандарт, на который дана датированная ссылка, то рекомендуется использовать версию этого стандарта с указанным выше годом утверждения (принятия). Если после утверждения настоящего стандарта в ссылочный стандарт, на который дана датированная ссылка, внесено изменение, затрагивающее положение, на которое дана ссылка, то это положение рекомендуется применять без учета данного изменения. Если ссылочный стандарт отменен без замены, то положение, в котором дана ссылка на него, рекомендуется применять в части, не затрагивающей эту ссылку.
3 Термины и определения
В настоящем стандарте применены термины по ГОСТ Р 52459.1, ГОСТ 24375, ГОСТ 30372, [5], а также следующие термины с соответствующими определениями:
3.1 режим "несущая включена" [carrier-on state (allocated a channel)]: Состояние земной станции, когда она осуществляет радиопередачу в непрерывном или прерывистом режиме.
3.2 режим "несущая выключена" [carrier-off state (idle mode)]: Состояние земной станции, когда включено питание, но станция не осуществляет радиопередачу, т.е. находится в пассивном режиме (режиме ожидания).
3.3 основное оборудование (host equipment): Любое оборудование, выполняющее установленные функции без подключения к подвижной земной станции, к которому подвижная земная станция должна быть подключена для обеспечения дополнительных функциональных возможностей.
3.4 устанавливаемое оборудование (installable equipment, internally and externally): Оборудование, предназначенное для установки снаружи и внутри транспортного средства. Устанавливаемое оборудование может состоять из одного или нескольких модулей. Устанавливаемое оборудование, состоящее из модулей, предназначенных для установки снаружи транспортного средства, должно быть декларировано изготовителем как оборудование, устанавливаемое снаружи транспортного средства. Остальные модули земной станции представляют собой оборудование, устанавливаемое внутри транспортного средства.
3.5 комбинированная подвижная земная станция (multimode mobile earth station): Подвижная земная станция, включающая в себя радиостанции различных систем спутниковой связи.
3.6 портативное оборудование (portable equipment): Переносное оборудование, применяемое, как правило, автономно, получающее питание от собственной встроенной батареи, располагаемое в любом месте.
Примечания
1 Обычно портативное оборудование состоит из одного модуля, но может включать в себя несколько соединенных между собой модулей.
2 Конкретное оборудование в соответствии с указаниями изготовителя относительно его использования по назначению может быть отнесено к нескольким классам по ГОСТ Р 52459.1-2009, подраздел 5.3.
3.7 режим "радиопередача невозможна" (transmission disabled state): Состояние земной станции, когда служба контроля сети запрещает радиопередачу.
4 Условия испытаний
Испытания подвижных земных станций на соответствие требованиям ЭМС проводят по ГОСТ Р 52459.1-2009, раздел 4.
В настоящем стандарте установлены дополнительные условия испытаний, относящиеся непосредственно к подвижным земным станциям.
4.1 Общие положения
При испытаниях земных станций спутниковой связи со вспомогательным оборудованием или без него и/или при наличии портов наземной связи должны быть определены возможные испытательные конфигурации. Оценку соответствия требованиям ЭМС проводят для нескольких представительных конфигураций земной станции и вспомогательного оборудования, обеспечивающих адекватную проверку оборудования. Данные конфигурации должны быть отражены в протоколе испытаний.
В приведенном ниже тексте настоящего стандарта под испытуемым оборудованием понимают земную станцию с выбранной конфигурацией вспомогательного оборудования.
Используемые при испытании рабочие частоты испытуемого оборудования должны быть отражены в протоколе испытаний.
Любые преобразователи напряжения, физически отдельные от земной станции при использовании по назначению, при испытании должны составлять часть испытуемого оборудования.
Если испытуемое оборудование имеет встроенную антенну, его испытания проводят при установке антенны для применения земной станции по назначению.
Если земную станцию для обеспечения дополнительных функциональных возможностей подключают к основному оборудованию, то конфигурация земной станции при проведении испытаний должна соответствовать приведенной в 5.2.
4.2 Подача сигналов при испытаниях
Применяют требования ГОСТ Р 52459.1-2009, подраздел 4.2.
Для испытаний земной станции на электромагнитные помехи и помехоустойчивость при рабочих условиях изготовитель должен предоставить следующее оборудование:
a) специальное испытательное оборудование, обеспечивающее функционирование земной станции при испытаниях в соответствии с назначением. Данное оборудование должно обеспечить подачу полезных сигналов для имитации рабочих условий радиоприема, а также контроль испытуемого оборудования в режиме радиопередачи, в том числе переключение "несущая включена"/"несущая выключена" и "радиопередача невозможна";
b) специальные приборы для определения качества передачи (QTMA).
Параметры качества передачи должны включать в себя: качество звукового сигнала; коэффициент ошибок на бит BER; пропускную способность линии связи при передаче сообщений; непрерывность работы линии связи или комбинации этих параметров.
При испытаниях на помехоустойчивость должна быть установлена линия связи между испытуемым оборудованием и испытательной системой. Испытуемое оборудование должно находиться в рабочем режиме.
Для испытуемого оборудования, которому для обеспечения функциональных возможностей требуется подключение к основному оборудованию, изготовитель должен указать конфигурацию, используемую для оценки качества функционирования.
4.2.1 Полезные сигналы на входе радиопередатчика
Применяют требования ГОСТ Р 52459.1-2009, пункт 4.2.1.
4.2.2 Полезные сигналы на выходе радиопередатчика
Применяют требования ГОСТ Р 52459.1-2009, пункт 4.2.2, с дополнениями, приведенными ниже.
Радиопередатчик должен работать при максимальной номинальной радиочастотной выходной пиковой мощности огибающей или со значением мощности не менее минус 6 дБ относительно мощности, указанной изготовителем для случая температурных ограничений.
Сигнал радиопередатчика должен модулироваться нормальным полезным сигналом, как указано изготовителем.
Линия связи должна устанавливаться в начале испытания и поддерживаться в течение всего испытания.
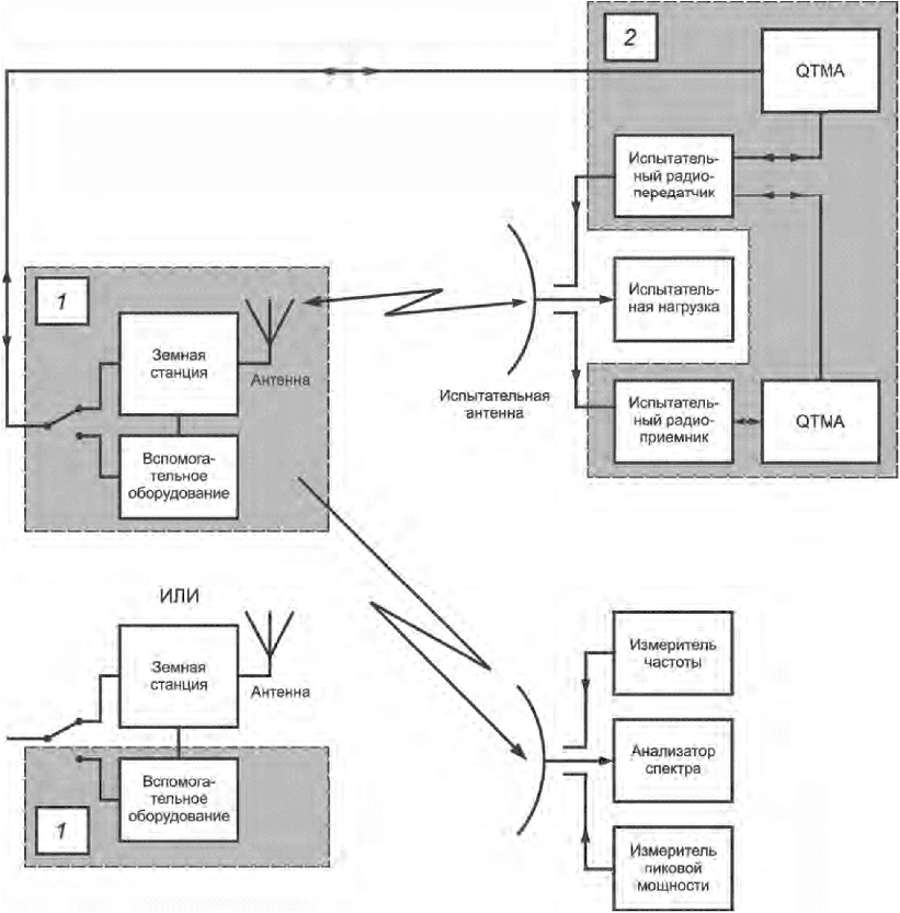
Конфигурация оборудования при испытаниях представлена на рисунке 1.
1 - испытуемое оборудование; 2 - испытательная система;
QTMA - приборы для измерения параметров качества передачи
Рисунок 1 - Конфигурация оборудования при испытаниях
4.2.3 Полезные сигналы на входе радиоприемника
Применяют требования ГОСТ Р 52459.1, пункт 4.2.3, с дополнениями, приведенными ниже.
При испытаниях радиоприемников на помехоустойчивость полезный входной сигнал, подаваемый на радиоприемник, должен быть модулирован сигналом, обеспечивающим работу станции по назначению.
При оценке качества передачи необходимо установить линию связи и подать полезный входной сигнал на радиочастотный вход радиоприемника. Для настройки уровня сигнала на входе радиоприемника проводят настройку выходного уровня испытательного радиопередатчика так, чтобы уровень принимаемого радиочастотного сигнала соответствовал уровню сигнала при работе по назначению.
Специальное испытательное оборудование с источником полезного сигнала и приборы для определения параметров качества передачи (QTMA) должны находиться вне помещения для испытаний.
4.2.4 Полезные сигналы на выходе радиоприемника
Применяют требования ГОСТ Р 52459.1-2009, пункт 4.2.4, с дополнениями, приведенными ниже.
При определении качества передачи следует перевести испытуемое оборудование в специальный режим работы, когда принимаемые данные "возвращаются" на модуляционный вход радиопередающей части испытуемого оборудования.
4.2.5 Подача сигналов при совместных испытаниях радиопередатчика и радиоприемника (испытаниях системы)
Применяют требования ГОСТ Р 52459.1-2009, пункт 4.2.5.
4.3 Ограничение полос частот при испытаниях
Применяют требования ГОСТ Р 52459.1-2009, подраздел 4.3, с дополнениями, приведенными ниже.
При испытаниях устанавливают указанные ниже полосы исключенных частот радиопередатчика и радиоприемника. Для вспомогательного оборудования полосы исключенных частот не устанавливают.
4.3.1 Полоса исключенных частот радиопередатчика
Полоса исключенных частот радиопередатчика - это полоса частот, в которой не проводят испытания радиопередатчика на помехоустойчивость по отношению к излучаемому электромагнитному полю.
Нижняя частота полосы исключенных частот радиопередатчика равна центральной частоте минус удвоенное значение необходимой ширины полосы радиочастот.
Верхняя частота полосы исключенных частот радиопередатчика равна центральной частоте плюс удвоенное значение необходимой ширины полосы радиочастот.
4.3.2 Полоса исключенных частот радиоприемника
Полоса исключенных частот радиоприемника - это полоса частот, в которой не проводят испытания радиоприемника на помехоустойчивость по отношению к излучаемому электромагнитному полю.
Нижняя частота полосы исключенных частот радиоприемника равна значению нижней частоты всей полосы радиоприема испытуемого оборудования минус 5% этой нижней частоты.
Верхняя частота полосы исключенных частот радиоприемника равна верхнему значению частоты всей полосы радиоприема испытуемого оборудования плюс 5% этой верхней частоты.
4.4 Узкополосные реакции радиоприемников при испытаниях на помехоустойчивость
Требования ГОСТ Р 52459.1-2009, подраздел 4.4, не применяют.
5 Оценка качества функционирования оборудования при испытаниях на помехоустойчивость
5.1 Общие положения
Применяют требования ГОСТ Р 52459.1-2009, подраздел 5.1, с дополнениями, приведенными ниже.
При предоставлении оборудования для испытаний изготовитель должен указать назначение оборудования и предоставить документацию, необходимую для работы пользователя, проведения испытаний и оценки качества функционирования оборудования.
Данная документация должна включать в себя:
- области изменений рабочих параметров, например мощности, подаваемой в антенну, полосы частот, применяемых рабочих частот;
- описание вспомогательного и/или основного оборудования, подключаемого для испытаний к земной станции (если это необходимо);
- функции управления пользователя, необходимые для обеспечения нормальной работы;
- метод и критерии, используемые для оценки качества передачи.
Предоставленные сведения должны быть отражены в протоколе испытаний.
5.2 Земная станция, подключаемая к основному оборудованию
При испытаниях частей земной станции, которые для обеспечения дополнительных функциональных возможностей подключают к основному оборудованию или объединяют с ним, допускается применение двух альтернативных вариантов конфигурации.
5.2.1 Вариант A - составное оборудование
Для испытаний в соответствии с требованиями настоящего стандарта используют комбинацию земной станции и основного оборудования конкретного вида.
Если возможны несколько таких комбинаций, испытания земной станции для всех комбинаций с основным оборудованием не повторяют, если основное оборудование относится к аналогичному виду и маловероятно, чтобы различные образцы основного оборудования существенно влияли на помехоустойчивость и электромагнитные помехи от земной станции.
Если образцы основного оборудования нельзя считать аналогичными, проводят испытание одной комбинации на соответствие всем требованиям к электромагнитным помехам и помехоустойчивости; все другие комбинации испытывают отдельно и только в отношении эмиссии электромагнитных помех.
5.2.2 Вариант B - использование специального испытательного устройства
Если земная станция предназначена для применения совместно с основным оборудованием разных видов, изготовитель должен предоставить специальное испытательное устройство, являющееся представительным для различных образцов основного оборудования. Испытательное устройство должно обеспечивать питание земной станции и ее работу аналогично питанию и работе при подключении к основному оборудованию или установке в нем. При этом испытания проводят на соответствие всем требованиям к электромагнитным помехам и помехоустойчивости.
Конструкция испытательного устройства должна быть такой, чтобы изменение характеристик помехоустойчивости и электромагнитных помех собственно земной станции было минимальным.
5.3 Вспомогательное оборудование
Применяют требования ГОСТ Р 52459.1-2009, подраздел 5.4.
5.4 Классификация оборудования
Применяют требования ГОСТ Р 52459.1-2009, подраздел 5.5, с дополнениями, приведенными ниже.
При классификации земных станций учитывают следующие требования:
- земные станции, устанавливаемые на транспортных средствах с питанием от основного аккумулятора транспортного средства, должны соответствовать требованиям к подвижному оборудованию;
- портативные земные станции с питанием от автономного аккумулятора должны соответствовать требованиям к портативному оборудованию;
- земные станции для стационарного применения с питанием от сети переменного или постоянного тока должны соответствовать требованиям к стационарному оборудованию.
6 Критерии качества функционирования при испытаниях на помехоустойчивость
6.1 Общие положения
Испытуемое оборудование должно соответствовать минимальным критериям качества функционирования, установленным в 6.2 и 6.3.
Для оценки выполнения основных (первичных) функций оборудования во время испытания и после него используют в качестве критериев качества функционирования установление линии связи в начале испытания, ее поддержание и оценку восстановленного сигнала.
6.2 Критерии качества функционирования при воздействии непрерывных помех
Во время каждого отдельного испытания, входящего в последовательность испытаний, проверяют QTMA с применением приборов измерения параметров качества передачи, поставляемых изготовителем, поддержание линии связи и отсутствие ухудшения качества передачи ниже уровня, заявленного изготовителем.
По завершении испытания необходимо проверить, что:
- испытуемое оборудование работает по назначению без прекращения выполнения функций управления пользователем и хранимых данных, как указано изготовителем;
- установленная линия связи поддерживалась в течение всего испытания;
- параметры качества передачи не ниже заявленных изготовителем.
Непреднамеренные радиопередачи во время испытаний не допускаются.
6.3 Критерии качества функционирования при воздействии помех переходного характера
Во время каждого отдельного испытания, входящего в последовательность испытаний, проверяют QTMA с применением приборов измерения параметров качества передачи, поставляемых изготовителем, поддержание линии связи и отсутствие ухудшения качества передачи ниже уровня, заявленного изготовителем.
По завершении испытания необходимо проверить, что:
- испытуемое оборудование работает по назначению без потери функций управления пользователем и хранимых данных, как указано изготовителем;
- установленная линия связи поддерживалась в течение всего испытания;
- параметры качества передачи не ниже заявленных изготовителем.
Непреднамеренные радиопередачи во время испытаний не допускаются.
7 Применимость требований ЭМС
7.1 Электромагнитные помехи
7.1.1 Общие положения
Применимость норм электромагнитных помех для соответствующих портов радиооборудования и/или связанного с ним вспомогательного оборудования установлена в ГОСТ Р 52459.1-2009, таблица 2.
7.1.2 Частные требования
К испытуемому оборудованию, на которое распространяются требования настоящего стандарта, частные требования не применяют.
7.2 Помехоустойчивость
7.2.1 Общие положения
Применимость испытаний на помехоустойчивость для соответствующих портов радиооборудования и/или связанного с ним вспомогательного оборудования - в соответствии с ГОСТ Р 52459.1-2009, таблица 2.
7.2.2 Частные требования
Частные требования, относящиеся к методам испытаний на помехоустойчивость и используемым критериям качества функционирования, указанным в ГОСТ Р 52459.1-2009, раздел 9, приведены в таблице 1.
Таблица 1
Частные требования при испытаниях на помехоустойчивость,
относящиеся к подвижным земным станциям, дополнительно
к условиям ГОСТ Р 52459.1-2009, раздел 9
Частные требования
9.7.3 Критерии качества функционирования (провалы и кратковременные прерывания напряжения электропитания)
При воздействии провалов напряжения длительностью 10 мс со снижением напряжения на 30% применяют критерий качества функционирования при воздействии непрерывных помех (см. 6.2)
Приложение A
(справочное)
СВЕДЕНИЯ ОБ ОБОРУДОВАНИИ, НА КОТОРОЕ РАСПРОСТРАНЯЮТСЯ
ТРЕБОВАНИЯ НАСТОЯЩЕГО СТАНДАРТА
К области применения настоящего стандарта относят оборудование земных станций, указанное ниже.
A.1 Подвижные земные станции диапазона 1,6/2,4 ГГц
Требования настоящего стандарта применяют к подвижным земным станциям, выполняющим функции радиопередачи и радиоприема, предназначенным для работы в сети персональной спутниковой связи.
Оборудование подвижных земных станций может быть носимым, портативным/переносным или устанавливаемым в транспортных средствах. Требования настоящего стандарта, если в нем нет других указаний, применяют только к частям комбинированных радиостанций, используемым в подвижной спутниковой службе.
A.2 Подвижные земные станции диапазона 1,5/1,6 ГГц
Требования настоящего стандарта применяют к подвижным земным станциям, выполняющим функции радиопередачи и радиоприема, предназначенным для работы в сети персональной спутниковой связи.
Оборудование подвижных земных станций может быть носимым, портативным/переносным или устанавливаемым в транспортных средствах. Требования настоящего стандарта, если в нем нет других указаний, применяют только к частям комбинированных радиостанций, используемым в подвижной спутниковой службе.
A.3 Подвижные земные станции диапазона 2 ГГц
Требования настоящего стандарта применяют к подвижным земным станциям, выполняющим функции радиопередачи и радиоприема, предназначенным для работы в сети персональной спутниковой связи.
Оборудование подвижных земных станций может быть носимым, портативным/переносным или устанавливаемым в транспортных средствах. Требования настоящего стандарта, если в нем нет других указаний, применяют только к частям комбинированных радиостанций, используемым в подвижной спутниковой службе.
A.4 Подвижные земные станции, работающие на частотах ниже 1 ГГц
Требования настоящего стандарта применяют к подвижным наземным станциям, выполняющим функции радиопередачи и радиоприема, предназначенным для работы в низкоорбитальной сети спутниковой связи с низкоскоростной передачей данных.
Оборудование земных станций может быть носимым, портативным/переносным или устанавливаемым в транспортных средствах.
A.5 Подвижные земные станции диапазонов 11/12/14 ГГц
Требования настоящего стандарта применяют к подвижным земным станциям, передающим данные с использованием геостационарных спутников.
Оборудование земных станций может устанавливаться в транспортных средствах или быть портативным/переносным.
Приложение B
(справочное)
ПЕРЕЧЕНЬ НАЦИОНАЛЬНЫХ СТАНДАРТОВ, РАЗРАБОТАННЫХ
НА ОСНОВЕ СТАНДАРТОВ СЕРИИ ЕН 301 489
Ниже представлен перечень национальных стандартов, разработанных на основе европейских стандартов серии ЕН 301 489.
ГОСТ Р 52459.1-2009 (ЕН 301 489-1-2008) Совместимость технических средств электромагнитная. Технические средства радиосвязи. Часть 1. Общие технические требования и методы испытаний
ГОСТ Р 52459.2-2009 (ЕН 301 489-2-2002) Совместимость технических средств электромагнитная. Технические средства радиосвязи. Часть 2. Частные требования к оборудованию пейджинговых систем связи
ГОСТ Р 52459.3-2009 (ЕН 301 489-3-2002) Совместимость технических средств электромагнитная. Технические средства радиосвязи. Часть 3. Частные требования к устройствам малого радиуса действия, работающим на частотах от 9 кГц до 40 ГГц
ГОСТ Р 52459.4-2009 (ЕН 301 489-4-2002) Совместимость технических средств электромагнитная. Технические средства радиосвязи. Часть 4. Частные требования к радиооборудованию станций фиксированной службы и вспомогательному оборудованию
ГОСТ Р 52459.5-2009 (ЕН 301 489-5-2002) Совместимость технических средств электромагнитная. Технические средства радиосвязи. Часть 5. Частные требования к подвижным средствам наземной радиосвязи личного пользования и вспомогательному оборудованию
ГОСТ Р 52459.6-2009 (ЕН 301 489-6-2002) Совместимость технических средств электромагнитная. Технические средства радиосвязи. Часть 6. Частные требования к оборудованию цифровой усовершенствованной беспроводной связи (DECT)
ГОСТ Р 52459.7-2009 (ЕН 301 489-7-2005) Совместимость технических средств электромагнитная. Технические средства радиосвязи. Часть 7. Частные требования к подвижному и портативному радиооборудованию и вспомогательному оборудованию систем цифровой сотовой связи (GSM и DCS)
ГОСТ Р 52459.8-2009 (ЕН 301 489-8-2002) Совместимость технических средств электромагнитная. Технические средства радиосвязи. Часть 8. Частные требования к базовым станциям системы цифровой сотовой связи GSM
ГОСТ Р 52459.9-2009 (ЕН 301 489-9-2002) Совместимость технических средств электромагнитная. Технические средства радиосвязи. Часть 9. Частные требования к беспроводным микрофонам, аналогичному радиооборудованию звуковых линий, беспроводной аудиоаппаратуре и располагаемым в ухе устройствам мониторинга
ГОСТ Р 52459.10-2009 (ЕН 301 489-10-2002) Совместимость технических средств электромагнитная. Технические средства радиосвязи. Часть 10. Частные требования к оборудованию беспроводных телефонов первого и второго поколений
ИС МЕГАНОРМ: примечание.
ГОСТ Р 52459.11-2009 утратил силу с 01.01.2014 в связи с введением в действие ГОСТ 32134.11-2013 (Приказ Росстандарта от 22.07.2013 N 412-ст).
ГОСТ Р 52459.11-2009 (ЕН 301 489-11-2006) Совместимость технических средств электромагнитная. Технические средства радиосвязи. Часть 11. Частные требования к радиовещательным передатчикам
ИС МЕГАНОРМ: примечание.
ГОСТ Р 52459.12-2009 утратил силу с 01.01.2014 в связи с введением в действие ГОСТ 32134.12-2013 (Приказ Росстандарта от 22.07.2013 N 410-ст).
ГОСТ Р 52459.12-2009 (ЕН 301 489-12-2003) Совместимость технических средств электромагнитная. Технические средства радиосвязи. Часть 12. Частные требования к земным станциям с малой апертурой фиксированной спутниковой службы, работающим в полосах частот от 4 до 30 ГГц
ИС МЕГАНОРМ: примечание.
ГОСТ Р 52459.13-2009 утратил силу с 01.01.2014 в связи с введением в действие ГОСТ 32134.13-2013 (Приказ Росстандарта от 22.07.2013 N 409-ст).
ГОСТ Р 52459.13-2009 (ЕН 301 489-13-2002) Совместимость технических средств электромагнитная. Технические средства радиосвязи. Часть 13. Частные требования к средствам радиосвязи личного пользования, работающим в полосе частот от 26965 до 27860 кГц, и вспомогательному оборудованию
ИС МЕГАНОРМ: примечание.
ГОСТ Р 52459.14-2009 утратил силу с 01.01.2014 в связи с введением в действие ГОСТ 32134.14-2013 (Приказ Росстандарта от 22.07.2013 N 408-ст).
ГОСТ Р 52459.14-2009 (ЕН 301 489-14-2003) Совместимость технических средств электромагнитная. Технические средства радиосвязи. Часть 14. Частные требования к аналоговым и цифровым телевизионным радиопередатчикам
ГОСТ Р 52459.15-2009 (ЕН 301 489-15-2002) Совместимость технических средств электромагнитная. Технические средства радиосвязи. Часть 15. Частные требования к коммерческому оборудованию для радиолюбителей
ГОСТ Р 52459.16-2009 (ЕН 301 489-16-2002) Совместимость технических средств электромагнитная. Технические средства радиосвязи. Часть 16. Частные требования к подвижному и портативному радиооборудованию аналоговой сотовой связи
ГОСТ Р 52459.17-2009 (ЕН 301 489-17-2008) Совместимость технических средств электромагнитная. Технические средства радиосвязи. Часть 17. Частные требования к оборудованию широкополосных систем передачи в диапазоне 2,4 ГГц, высокоскоростных локальных сетей в диапазоне 5 ГГц и широкополосных систем передачи данных в диапазоне 5,8 ГГц
ГОСТ Р 52459.18-2009 (ЕН 301 489-18-2002) Совместимость технических средств электромагнитная. Технические средства радиосвязи. Часть 18. Частные требования к оборудованию наземной системы транкинговой радиосвязи (TETRA)
ГОСТ Р 52459.19-2009 (ЕН 301 489-19-2002) Совместимость технических средств электромагнитная. Технические средства радиосвязи. Часть 19. Частные требования к подвижным земным приемным станциям спутниковой службы, работающим в системе передачи данных в диапазоне 1,5 ГГц
ГОСТ Р 52459.20-2009 (ЕН 301 489-20-2002) Совместимость технических средств электромагнитная. Технические средства радиосвязи. Часть 20. Частные требования к земным станциям подвижной спутниковой службы
ГОСТ Р 52459.22-2009 (ЕН 301 489-22-2003) Совместимость технических средств электромагнитная. Технические средства радиосвязи. Часть 22. Частные требования к наземному подвижному и стационарному радиооборудованию диапазона ОВЧ воздушной подвижной службы
ГОСТ Р 52459.23-2009 (ЕН 301 489-23-2007) Совместимость технических средств электромагнитная. Технические средства радиосвязи. Часть 23. Частные требования к базовым станциям и ретрансляторам IMT-2000 CDMA с прямым расширением спектра и вспомогательному оборудованию
ГОСТ Р 52459.24-2009 (ЕН 301 489-24-2007) Совместимость технических средств электромагнитная. Технические средства радиосвязи. Часть 24. Частные требования к подвижному и портативному радиооборудованию IMT-2000 CDMA с прямым расширением спектра и вспомогательному оборудованию
ГОСТ Р 52459.25-2009 (ЕН 301 489-25-2005) Совместимость технических средств электромагнитная. Технические средства радиосвязи. Часть 25. Частные требования к подвижным станциям CDMA 1x с расширенным спектром и вспомогательному оборудованию
ГОСТ Р 52459.26-2009 (ЕН 301 489-26-2005) Совместимость технических средств электромагнитная. Технические средства радиосвязи. Часть 26. Частные требования к базовым станциям и ретрансляторам CDMA 1x с расширенным спектром и вспомогательному оборудованию
ГОСТ Р 52459.27-2009 (ЕН 301 489-27-2004) Совместимость технических средств электромагнитная. Технические средства радиосвязи. Часть 27. Частные требования к активным медицинским имплантатам крайне малой мощности и связанным с ними периферийным устройствам
ГОСТ Р 52459.28-2009 (ЕН 301 489-28-2004) Совместимость технических средств электромагнитная. Технические средства радиосвязи. Часть 28. Частные требования к цифровому оборудованию беспроводных линий видеосвязи
ГОСТ Р 52459.31-2009 (ЕН 301 489-31-2005) Совместимость технических средств электромагнитная. Технические средства радиосвязи. Часть 31. Частные требования к радиооборудованию для активных медицинских имплантатов крайне малой мощности и связанных с ними периферийных устройств, работающему в полосе частот от 9 до 315 кГц
ГОСТ Р 52459.32-2009 (ЕН 301 489-32-2005) Совместимость технических средств электромагнитная. Технические средства радиосвязи. Часть 32. Частные требования к радиолокационному оборудованию, используемому для зондирования земли и стен
Приложение ДА
(справочное)
СВЕДЕНИЯ О СООТВЕТСТВИИ ССЫЛОЧНЫХ НАЦИОНАЛЬНЫХ
И МЕЖГОСУДАРСТВЕННЫХ СТАНДАРТОВ МЕЖДУНАРОДНЫМ
И ЕВРОПЕЙСКИМ СТАНДАРТАМ, ИСПОЛЬЗОВАННЫМ В КАЧЕСТВЕ
ССЫЛОЧНЫХ В ПРИМЕНЕННОМ ЕВРОПЕЙСКОМ СТАНДАРТЕ
Таблица ДА.1
Обозначение ссылочного национального, межгосударственного стандарта
Степень соответствия
Обозначение и наименование ссылочного международного, европейского стандарта
(ЕН 301 489-1-2008)
MOD
EN 301 489-1 версия 1.8.1 (2008-04) "Электромагнитная совместимость и вопросы радиочастотного спектра. Стандарт электромагнитной совместимости для радиооборудования и служб. Часть 1. Общие технические требования"
MOD
IEC 60050-161:1990 "Международный электротехнический словарь. Глава 161. Электромагнитная совместимость"
Примечание - В настоящей таблице использовано следующее условное обозначение степени соответствия стандартов:
- MOD - модифицированные стандарты.
БИБЛИОГРАФИЯ
[1]
О сближении законодательных актов государств-членов об электромагнитной совместимости и отмене Директивы 89/336/ЕЕС
(2004/108/ЕС)
(On the approximation of the laws of the member states relating to electromagnetic compatibility and repealing directive 89/336/EEC)
[2]
О радиооборудовании и оконечном телекоммуникационном оборудовании и взаимном признании их соответствия
(1999/5/ЕС)
(On radio equipment and telecommunications terminal equipment and the mutual recognition of their conformity)
[3]
ЕН 301 489
(серия стандартов)
Электромагнитная совместимость и вопросы радиочастотного спектра. Стандарт электромагнитной совместимости для радиооборудования и служб
(EN 301 489 series)
[Electromagnetic compatibility and radio spectrum matters (ERM) - Electromagnetic compatibility (EMC) standard for radio equipment and services]
[4]
ЕН 301 489-1
версия 1.8.1 (2008-04)
Совместимость технических средств электромагнитная. Технические средства радиосвязи. Часть 1. Общие технические требования
[EN 301 489-1
V1.8.1 (2008-04)]
[Electromagnetic compatibility and radio spectrum matters (ERM) - Electromagnetic compatibility (EMC) standard for radio equipment and services - Part 1: Common technical requirements]
[5]
МЭК 60050-161:1990
Международный электротехнический словарь. Глава 161. Электромагнитная совместимость
(IEC 60050-161:1990)
[International electrotechnical vocabulary (IEV) - Chapter 161: Electromagnetic compatibility]
УДК 621.396/.397.001.4:006.354
ОКС 33.100
Ключевые слова: электромагнитная совместимость, технические средства радиосвязи, подвижные земные станции спутниковой связи, радиоприемники, радиопередатчики, электромагнитные помехи, помехоустойчивость, нормы, требования, критерии качества функционирования, методы испытаний