Главная // Актуальные документы // ГОСТ Р (Государственный стандарт)СПРАВКА
Источник публикации
М.: Стандартинформ, 2010
Примечание к документу
Документ утрачивает силу с 01.12.2024 в связи с изданием
Приказа Росстандарта от 28.12.2023 N 1714-ст. Взамен вводится в действие
ГОСТ ISO 6259-2-2023.
Документ
введен в действие с 01.01.2011.
Название документа
"ГОСТ Р 53652.2-2009 (ИСО 6259-2:1997). Национальный стандарт Российской Федерации. Трубы из термопластов. Метод определения свойств при растяжении. Часть 2. Трубы из непластифицированного поливинилхлорида, хлорированного поливинилхлорида и ударопрочного поливинилхлорида"
(утв. и введен в действие Приказом Ростехрегулирования от 15.12.2009 N 1013-ст)
"ГОСТ Р 53652.2-2009 (ИСО 6259-2:1997). Национальный стандарт Российской Федерации. Трубы из термопластов. Метод определения свойств при растяжении. Часть 2. Трубы из непластифицированного поливинилхлорида, хлорированного поливинилхлорида и ударопрочного поливинилхлорида"
(утв. и введен в действие Приказом Ростехрегулирования от 15.12.2009 N 1013-ст)
Утвержден и введен в действие
агентства по техническому
регулированию и метрологии
от 15 декабря 2009 г. N 1013-ст
НАЦИОНАЛЬНЫЙ СТАНДАРТ РОССИЙСКОЙ ФЕДЕРАЦИИ
ТРУБЫ ИЗ ТЕРМОПЛАСТОВ
МЕТОД ОПРЕДЕЛЕНИЯ СВОЙСТВ ПРИ РАСТЯЖЕНИИ
ЧАСТЬ 2
ТРУБЫ ИЗ НЕПЛАСТИФИЦИРОВАННОГО
ПОЛИВИНИЛХЛОРИДА, ХЛОРИРОВАННОГО ПОЛИВИНИЛХЛОРИДА
И УДАРОПРОЧНОГО ПОЛИВИНИЛХЛОРИДА
Thermoplastics pipes. Method for determination
of tensile properties. Part 2. Pipes made of unplasticized
poly(vinil chloride), chlorinated poly(vinil chloride)
and high impact poly(vinil chloride)
ISO 6259-2:1997
Thermoplastics pipes - Determination of tensile properties -
Part 2: Pipes made of unplasticized poly(vinil chloride)
(PVC-U), chlorinated poly(vinil chloride) (PVC-C)
and high impact poly(vinil chloride) (PVC-HI)
(MOD)
ГОСТ Р 53652.2-2009
(ИСО 6259-2:1997)
Дата введения
1 января 2011 года
Цели и принципы стандартизации в Российской Федерации установлены Федеральным
законом от 27 декабря 2002 г. N 184-ФЗ "О техническом регулировании", а правила применения национальных стандартов Российской Федерации -
ГОСТ Р 1.0-2004 "Стандартизация в Российской Федерации. Основные положения".
1. Разработан Техническим комитетом по стандартизации ТК 241 "Пленки, трубы, фитинги, листы и другие изделия из пластмасс" на основе собственного аутентичного перевода на русский язык стандарта, указанного в
пункте 4.
2. Внесен Техническим комитетом по стандартизации ТК 241 "Пленки, трубы, фитинги, листы и другие изделия из пластмасс".
3. Утвержден и введен в действие
Приказом Федерального агентства по техническому регулированию и метрологии от 15 декабря 2009 г. N 1013-ст.
| | ИС МЕГАНОРМ: примечание. Структурные элементы, выделенные вертикальной линией, расположенной на полях, в официальном тексте документа, в электронной версии документа отмечены знаком "#". | |
4. Настоящий стандарт является модифицированным по отношению к международному стандарту ИСО 6259-2:1997 "Трубы из термопластов. Определение свойств при растяжении. Часть 2. Трубы из непластифицированного поливинилхлорида (PVC-U), хлорированного поливинилхлорида (PVC-C) и ударопрочного поливинилхлорида (PVC-HI)" [ISO 6259-2:1997 "Thermoplastics pipes - Determination of tensile properties - Part 2: Pipes made of unplasticized poly(vinil chloride) (PVC-U), chlorinated poly(vinil chloride) (PVC-C) and high impact poly(vinil chloride) (PVC-HI)]" путем изменения содержания отдельных структурных элементов, которые выделены вертикальной линией, расположенной на полях (оригинальный текст этих структурных элементов примененного международного стандарта и объяснения причин внесения технических отклонений приведены в дополнительном
Приложении ДА); путем изменения отдельных слов, которые выделены курсивом; путем введения примечания и ссылки, выделенных полужирным курсивом; замены нормативной ссылки.
Наименование настоящего стандарта изменено относительно наименования указанного международного стандарта для приведения в соответствие с ГОСТ Р 1.5-2004
(подраздел 3.5).
5. Введен впервые.
Информация об изменениях к настоящему стандарту публикуется в ежегодно издаваемом информационном указателе "Национальные стандарты", а текст изменений и поправок - в ежемесячно издаваемых информационных указателях "Национальные стандарты". В случае пересмотра (замены) или отмены настоящего стандарта соответствующее уведомление будет опубликовано в ежемесячно издаваемом информационном указателе "Национальные стандарты". Соответствующая информация, уведомление и тексты размещаются также в информационной системе общего пользования - на официальном сайте Федерального агентства по техническому регулированию и метрологии в сети Интернет.
Настоящий стандарт устанавливает метод определения свойств при растяжении труб, изготовленных из непластифицированного поливинилхлорида (НПВХ) (PVC-U), хлорированного поливинилхлорида (ХПВХ) (PVC-C) и ударопрочного поливинилхлорида (УПВХ) (PVC-HI), включая следующие:
- предел текучести при растяжении;
- относительное удлинение при разрыве.
Примечание. Общие требования к методу определения свойств при растяжении труб из термопластов приведены в
ГОСТ Р 53652.1.
Настоящий стандарт содержит рекомендуемые основные технические требования, приведенные в
Приложениях А,
Б и
В.
В настоящем стандарте использованы нормативные ссылки на следующие стандарты:
ГОСТ Р 53652.1-2009 (ИСО 6259-1:1993) Трубы из термопластов. Метод определения свойств при растяжении. Часть 1. Общие требования
(ИСО 6259-1:1993 "Трубы из термопластов. Метод определения свойств при растяжении. Часть 1. Общий метод испытания", MOD)
ГОСТ 11262-80 Пластмассы. Метод испытания на растяжение
(ИСО 527-2:1993 "Пластмассы. Определение свойств при растяжении. Часть 2. Условия испытаний для литьевых и экструзионных пластмасс", NEQ)
Примечание. При пользовании настоящим стандартом целесообразно проверить действие ссылочных стандартов в информационной системе общего пользования - на официальном сайте Федерального агентства по техническому регулированию и метрологии в сети Интернет или по ежегодно издаваемому информационному указателю "Национальные стандарты", который опубликован по состоянию на 1 января текущего года, и по соответствующим ежемесячно издаваемым информационным указателям, опубликованным в текущем году. Если ссылочный стандарт заменен (изменен), то при пользовании настоящим стандартом следует руководствоваться заменяющим (измененным) стандартом. Если ссылочный стандарт отменен без замены, то положение, в котором дана ссылка на него, применяется в части, не затрагивающей эту ссылку.
См.
раздел 3 ГОСТ Р 53652.1 применительно к термопластам, указанным в настоящем стандарте.
5.1. Типы испытуемых образцов
5.1.1. Общие требования
Примечание. Образец типа 1 соответствует образцу типа 1 по ГОСТ 11262.
#
Рисунок 1. Образец типа 1, изготовляемый
вырубкой штампом-просечкой
Таблица 1
Размеры образца типа 1, изготовляемого
вырубкой штампом-просечкой
Параметр | Размеры, мм |
Общая длина  , не менее | 115 |
Начальное расстояние между зажимами  | 80 +/- 5 |
Длина рабочей части (параллельная часть)  | 33 +/- 2 |
Расчетная длина  | 25 +/- 1 |
Ширина головки  | 25 +/- 2 |
Ширина рабочей части (параллельная часть)  | 6 +/- 0,4 |
Толщина e | Соответствует толщине стенки трубы |
Большой радиус закругления  | 25 +/- 2 |
Малый радиус закругления  | 14 +/- 1 |
Примечание. См.
ДА.1 (Приложение ДА).
Рисунок 2. Образец типа 2А,
изготовляемый механической обработкой
Таблица 2
изготовляемого механической обработкой
Параметр | Размеры, мм |
Общая длина  , не менее | 115 |
Начальное расстояние между зажимами  | 80 +/- 5 |
Длина рабочей части (параллельная часть)  | 33 +/- 2 |
Расчетная длина  | 25 +/- 1 |
Ширина головки  | >= 15 |
Ширина рабочей части (параллельная часть)  | 6 +/- 0,4 |
Толщина e | Соответствует толщине стенки трубы |
Радиус закругления r | 14 +/- 1 |
Примечание. См.
ДА.2 (Приложение ДА).#
5.2. Изготовление образцов
5.2.1. Образцы изготовляют из центральной части полосы, вырезанной из отрезка трубы в соответствии с
5.2.1 ГОСТ Р 53652.1 и 5.2.2 или
5.2.3 настоящего стандарта.
5.2.2. Для труб из непластифицированного поливинилхлорида (НПВХ) и ударопрочного поливинилхлорида (УПВХ) образцы изготовляют в соответствии с перечислением а) или
б):
а) Трубы толщиной стенки 12 мм и менее
Образцы изготовляют как вырубкой штампом-просечкой
(рисунок 1), так и механической обработкой
(рисунок 2). В случае сравнительных межлабораторных испытаний или разногласий образцы изготовляют только механической обработкой;
б) Трубы толщиной стенки более 12 мм
Образцы изготовляют только механической обработкой
(рисунок 2).
5.2.3. Для труб, изготовленных из хлорированного поливинилхлорида (ХПВХ) и из смеси поливинилхлорида и хлорированного поливинилхлорида (НПВХ/ХПВХ), образцы изготовляют только механической обработкой, независимо от толщины стенки.
5.3. Способ вырубки штампом-просечкой (см.
5.2.2.1 ГОСТ Р 53652.1)
Для изготовления образцов применяют штамп-просечку (
4.6 ГОСТ Р 53652.1) с профилем, показанным на
рисунке 1.
Нагревают полосу в воздушном термошкафу при температуре от 125 °C до 130 °C в течение 1 мин на миллиметр толщины.
Вырубают образец сразу после извлечения полосы из термошкафа, устанавливая штамп-просечку на внутреннюю поверхность и прикладывая постоянное непрерывное давление. Затем охлаждают полученный образец на воздухе при температуре окружающей среды.
Примечание. При необходимости штамп-просечку нагревают.
5.4. Способ механической обработки (см.
5.2.2.2 ГОСТ Р 53652.1)
Для труб номинальным наружным диаметром более 110 мм полосы подвергают фрезерованию без предварительной обработки.
Для труб номинальным наружным диаметром 110 мм и менее полосы подвергают фрезерованию после их распрямления при следующих условиях:
а) температура
- от 125 °C до 130 °C - для труб из НПВХ или УПВХ;
- от 135 °C до 140 °C - для труб из ХПВХ или труб, изготовленных из смеси НПВХ/ХПВХ;
б) длительность прогрева - 1 мин на миллиметр толщины;
в) давление при распрямлении не должно вызывать изменения толщины стенки полосы.
Охлаждают полосы на воздухе до температуры окружающей среды.
Скорость испытания, т.е. скорость раздвижения зажимов, должна быть (5 +/- 0,5) мм/мин для всех образцов, независимо от толщины.
(справочное)
ТРУБЫ ИЗ НЕПЛАСТИФИЦИРОВАННОГО ПОЛИВИНИЛХЛОРИДА (НПВХ).
ОСНОВНЫЕ ТЕХНИЧЕСКИЕ ТРЕБОВАНИЯ
Рекомендуемые минимальные значения свойств при растяжении труб из непластифицированного поливинилхлорида (НПВХ), определенные в условиях испытания по
ГОСТ Р 53652.1, следующие:
а) предел текучести при растяжении -

;
б) относительное удлинение при разрыве -

.
(справочное)
ТРУБЫ ИЗ ХЛОРИРОВАННОГО ПОЛИВИНИЛХЛОРИДА (ХПВХ) И ТРУБЫ
ИЗ СМЕСИ ПОЛИВИНИЛХЛОРИДА И ХЛОРИРОВАННОГО ПОЛИВИНИЛХЛОРИДА
(НПВХ/ХПВХ). ОСНОВНЫЕ ТЕХНИЧЕСКИЕ ТРЕБОВАНИЯ
Рекомендуемые минимальные значения свойств при растяжении труб из ХПВХ (PVC-C) и труб, изготовленных из смеси НПВХ/ХПВХ, определенные в условиях испытания по
ГОСТ Р 53652.1, следующие:
а) напорные трубы:
- предел текучести при растяжении -

;
- относительное удлинение при разрыве -

.
б) безнапорные трубы:
- предел текучести при растяжении -

;
- относительное удлинение при разрыве -

.
(справочное)
ТРУБЫ ИЗ УДАРОПРОЧНОГО ПОЛИВИНИЛХЛОРИДА (УПВХ).
ОСНОВНЫЕ ТЕХНИЧЕСКИЕ ТРЕБОВАНИЯ
Рекомендуемые минимальные значения свойств при растяжении труб из УПВХ, определенные в условиях испытания по
ГОСТ Р 53652.1, следующие:
a) предел текучести при растяжении -

;
b) относительное удлинение при разрыве -

.
(справочное)
ТЕХНИЧЕСКИХ ОТКЛОНЕНИЙ НАСТОЯЩЕГО СТАНДАРТА
ПО ОТНОШЕНИЮ К ИСО 6259-2
ДА.1. В
пункте 5.1.2 рисунок 1 заменен рисунком 2. На рисунке 1 изменено обозначение размеров (в соответствии с системой ЕСКД) и обозначение типа образца в наименовании рисунка.
Таблица 1 заменена таблицей 2. В таблице 1 изменены обозначения параметров размеров образца и предельные отклонения на ширину рабочей части.
Рисунок 1 и таблица 1 по ИСО 6259-2 приведены ниже.
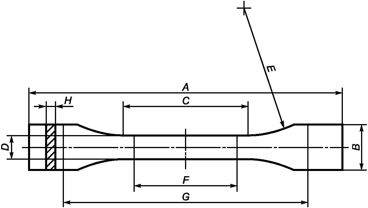
Рисунок 1. Испытуемый образец, изготовляемый
механической обработкой (тип 1)
Таблица 1
Размеры испытуемого образца,
изготовленного механической обработкой
Обозначение | Параметр | Размеры, мм |
A | Минимальная общая длина | 115 |
B | Ширина головки | >= 15 |
C | Длина рабочей части, плоскопараллельная часть | 33 +/- 2 |
D | Ширина рабочей части, плоскопараллельная часть | |
E | Радиус закругления | 14 +/- 1 |
F | Базовая длина | 25 +/- 1 |
G | Начальное расстояние между зажимами | 80 +/- 5 |
H | Толщина | Соответствует толщине стенки трубы |
ДА.2. В
пункте 5.1.2 рисунок 2 заменен рисунком 1. На рисунке 2 изменено обозначение размеров (в соответствии с системой ЕСКД) и обозначение типа образца в наименовании рисунка.
В таблице 2 изменены обозначения параметров размеров образца и предельные отклонения на ширину головки и ширину рабочей части.
Рисунок 2 и таблица 2 по ИСО 6259-2 приведены ниже.
Рисунок 2. Испытуемый образец, изготовляемый
вырубкой штампом-просечкой (тип 2)
Таблица 2
Размеры испытуемого образца,
изготовляемого вырубкой штампом-просечкой
Обозначение | Параметр | Размеры, мм |
A | Минимальная общая длина | 115 |
B | Ширина головки | 25 +/- 1 |
C | Длина рабочей части, плоскопараллельная часть | 33 +/- 2 |
D | Ширина рабочей части, плоскопараллельная часть | |
E | Малый радиус закругления | 14 +/- 1 |
F | Большой радиус закругления | 25 +/- 2 |
G | Базовая длина | 25 +/- 1 |
H | Начальное расстояние между зажимами | 80 +/- 5 |
I | Толщина | Соответствует толщине стенки трубы |
Примечание. Внесение указанных изменений направлено на учет особенностей объекта стандартизации, характерных для Российской Федерации.