Главная // Актуальные документы // ГОСТ Р (Государственный стандарт)
СПРАВКА
Источник публикации
М.: Стандартинформ, 2013
Примечание к документу
Документ введен в действие с 1 июля 2013 года.
Название документа
"ГОСТ Р 43.0.7-2011. Национальный стандарт Российской Федерации. Информационное обеспечение техники и операторской деятельности. Гибридно-интеллектуализированное человекоинформационное взаимодействие. Общие положения"
(утв. и введен в действие Приказом Росстандарта от 13.12.2011 N 1242-ст)

"ГОСТ Р 43.0.7-2011. Национальный стандарт Российской Федерации. Информационное обеспечение техники и операторской деятельности. Гибридно-интеллектуализированное человекоинформационное взаимодействие. Общие положения"
(утв. и введен в действие Приказом Росстандарта от 13.12.2011 N 1242-ст)


Содержание


Утвержден и введен в действие
Приказом Федерального
агентства по техническому
регулированию и метрологии
от 13 декабря 2011 г. N 1242-ст
НАЦИОНАЛЬНЫЙ СТАНДАРТ РОССИЙСКОЙ ФЕДЕРАЦИИ
ИНФОРМАЦИОННОЕ ОБЕСПЕЧЕНИЕ ТЕХНИКИ
И ОПЕРАТОРСКОЙ ДЕЯТЕЛЬНОСТИ
ГИБРИДНО-ИНТЕЛЛЕКТУАЛИЗИРОВАННОЕ
ЧЕЛОВЕКОИНФОРМАЦИОННОЕ ВЗАИМОДЕЙСТВИЕ
ОБЩИЕ ПОЛОЖЕНИЯ
Informational ensuring of equipment and operational
activity. Hybrid intellectualized man - information
interaction. General principles
ГОСТ Р 43.0.7-2011
Группа П85
ОКС 35.020
Дата введения
1 июля 2013 года
Предисловие
Цели и принципы стандартизации в Российской Федерации установлены Федеральным законом от 27 декабря 2002 г. N 184-ФЗ "О техническом регулировании", а правила применения национальных стандартов Российской Федерации - ГОСТ Р 1.0-2004 "Стандартизация в Российской Федерации. Основные положения"
Сведения о стандарте
1. РАЗРАБОТАН Образовательным учреждением "Центр "НООН" исследований и поддержки интеллектуальной деятельности" (ОУ "Центр "НООН")
2. ВНЕСЕН Техническим комитетом по стандартизации ТК 379 "Информационное обеспечение техники и операторской деятельности"
3. УТВЕРЖДЕН И ВВЕДЕН В ДЕЙСТВИЕ Приказом Федерального агентства по техническому регулированию и метрологии от 13 декабря 2011 г. N 1242-ст
4. ВВЕДЕН ВПЕРВЫЕ
Информация об изменениях к настоящему стандарту публикуется в ежегодно издаваемом указателе "Национальные стандарты", а текст изменений и поправок - в ежемесячно издаваемых информационных указателях "Национальные стандарты". В случае пересмотра (замены) или отмены настоящего стандарта соответствующее уведомление будет опубликовано в ежемесячно издаваемом информационном указателе "Национальные стандарты". Соответствующая информация, уведомление и тексты размещаются также в информационной системе общего пользования - на официальном сайте Федерального агентства по техническому регулированию и метрологии в сети Интернет
Введение
Настоящий стандарт в комплексе стандартов в области информационного обеспечения техники и операторской деятельности устанавливает общие, основные положения, относящиеся к гибридно-интеллектуализированному человекоинформационному взаимодействию оператора в технической деятельности.
Стандарт состоит из двух основных разделов:
- "Общие положения", в котором приведены общие сведения, относящиеся к гибридно-интеллектуализированному человекоинформационному взаимодействию оператора в технической деятельности;
- "Основные положения", в котором приведены основные сведения, относящиеся к осуществлению оператором гибридно-интеллектуализированного человекоинформационного взаимодействия при проведении им технической деятельности.
1. Область применения
Настоящий стандарт устанавливает общие и основные положения, относящиеся к гибридно-интеллектуализированному человекоинформационному взаимодействию (ГИЧИВ) оператора в технической деятельности.
Положения настоящего стандарта, относящиеся к подготовке и проведению ГИЧИВ, могут быть использованы для нормативно-регулируемого применения процессов образования и использования:
- естественно-интеллектуализированного человекоинформационного взаимодействия;
- искусственно-интеллектуализированного человекоинформационного взаимодействия;
- естественного интеллекта;
- гибридного интеллекта;
- компонентного искусственного интеллекта;
- искусственного интеллекта (ИИ).
Положения настоящего стандарта могут быть также использованы для нормативного регулирования:
- процессов разработки и совершенствования знаковых компонентов языка операторской деятельности, сведений, обеспечивающих представление их в активно управляемом виде для изложения технических сообщений;
- процессов проведения направленной установленно-корректируемой интеллектуализации мышления оператора при обучении, осуществлении им практической деятельности.
2. Нормативные ссылки
В настоящем стандарте использованы нормативные ссылки на следующие стандарты:
ГОСТ Р 43.0.1-2005 Информационное обеспечение техники и операторской деятельности. Общие положения
ГОСТ Р 43.0.3-2009 Информационное обеспечение техники и операторской деятельности. Ноон-технология в технической деятельности. Общие положения
ГОСТ Р 43.2.1-2007 Информационное обеспечение техники и операторской деятельности. Язык операторской деятельности. Общие положения.
Примечание - При пользовании настоящим стандартом целесообразно проверить действие ссылочных стандартов в информационной системе общего пользования - на официальном сайте Федерального агентства по техническому регулированию и метрологии в сети Интернет или по ежегодно издаваемому информационному указателю "Национальные стандарты", который опубликован по состоянию на 1 января текущего года, и по соответствующим ежемесячно издаваемым информационным указателям, опубликованным в текущем году. Если ссылочный стандарт заменен (изменен), то при пользовании настоящим стандартом следует руководствоваться заменяющим (измененным) стандартом. Если ссылочный стандарт отменен без замены, то положение, в котором дана ссылка на него, применяется в части, не затрагивающей эту ссылку.
3. Термины и определения
В настоящем стандарте применены следующие термины с соответствующими определениями:
3.1. активно управляемая импрувизирующая информация: Управляемая машинным способом сеттлизированная информация с некорректируемым изменением, образуемая с использованием ноон-моделирования, моделинг-ноонинга для интенсификации деятельности мышления оператора.
3.2. аттрактивное: Обладающее повышенным уровнем выразительности представленного в образно-воспринимаемом виде.
3.3. аттрактивное представление сведений: Представление сведений, фрагментов сведений, содержащихся в информации, в образно-воспринимаемом виде, обеспечивающем повышенный уровень выразительности их восприятия.
3.4. аттрактивизирующие информационные средства: Информационные средства, обеспечивающие повышение выразительности восприятия, представленных с применением в образно-воспринимаемом виде сведений, фрагментов сведений, содержащихся в информации.
3.5. аттрактивизирующие способы представления информации: Способы представления в образно-воспринимаемом виде сведений, фрагментов сведений, содержащихся в информации, обеспечивающие повышенную выразительность их для восприятия.
3.6. аттрактор: Фактор саморазвития системы, влияющий на ее самоорганизацию, способность к взаимосодействию ее основных частей.
3.6.1. аттракторизованное: Обладающее самоорганизующимся существованием.
3.7. гибридный интеллект: Деятельность мышления, осуществляемая с использованием гибридно-интеллектуализированного человекоинформационного взаимодействия.
3.8
гибридно-интеллектуализированное человекоинформационное взаимодействие: Интеллектуализированное (клиаративно-креативное) взаимодействие человека с информацией, осуществляемое с использованием машинно-активизированной (компьютерно-активизированной) его мыслительной деятельности.
[ГОСТ Р 43.0.4-2009, пункт 3.2]
3.9. гибридно-интеллектуализированные информационные ресурсы: Информационные ресурсы, предназначенные для проведения ГИЧИВ.
3.10. дисайдное (принимающее решение) состояние мышления: Состояние мышления, при котором используемая им информация в зависимости от характера ее процедуризированности может определенным образом изменяться при принятии решений мышлением.
3.11
естественно-интеллектуализированное человекоинформационное взаимодействие: Интеллектуализированное (клиаративно-креативное) взаимодействие человека с информацией, осуществляемое с использованием возможностей его собственной мыслительной деятельности.
[ГОСТ Р 43.0.4-2009, пункт 3.3]
3.12. естественный интеллект: Мышление человека, осуществляемое с использованием естественно-интеллектуализированного человекоинформационного взаимодействия.
3.13. импрессизация мышления (в технической деятельности): Формирование мышления оператора информационными воздействиями на функциональную психическую деятельность его мозга для управления информационно-интеллектуальной деятельностью оператора.
3.14. импрувизация мышления: Улучшение деятельности мышления человека.
3.15. импрувизированная информация, сообщения, сведения: Информация, сообщения, сведения, обеспечивающие улучшение функционирования информационно-психических (инициирующих), психоинформационных (формирующе-инициирующих) процессов (например, восприятия, запоминания, принятия решений).
3.16. импрувизация информации: Целенаправленный сеттлинг информации, улучшающий соответствующее представление информации для повышения эффективности ее применения.
3.17. импрувизирующая информация, сообщения, сведения: Сеттлизированно-дисайдизированные информация, сообщения, сведения, обеспечивающие улучшение функционирования информационно-психических (инициирующих), психоинформационных (формирующе-инициирующих) процессов в мышлении оператора (например, процессов восприятия, запоминания информации, принятия решений).
3.18. интеллектуализация мыслительной деятельности: Повышение имеющихся возможностей мыслительной деятельности человека в клиаративном, креативном использовании информации, воспринимаемой из внешней среды и имеющейся в памяти человека.
3.19
искусственно-интеллектуализированное человекоинформационное взаимодействие: Интеллектуализированное (клиаративно-креативное) взаимодействие человека с информацией, осуществляемое с использованием активизации мышления, искусственно имитируемой (машинно-имитируемой) мыслительной деятельностью.
[ГОСТ Р 43.0.5-2009, пункт 3.16]
3.20. искусственный интеллект: Моделируемая (искусственно-воспроизводимая) интеллектуальная деятельность мышления человека.
3.21. клиаративное использование информации: Использование информации с пониманием.
3.22. компонентный искусственный интеллект: Информационно-предметная реализация искусственного интеллекта, позволяющая осуществлять имитацию отдельных компонентов естественно-интеллектуальной деятельности мышления.
3.23. компоненты организованной информации, сведений: Компонентами организованной информации, сведений могут являться соответствующие информационные образования с определенными параметрами, свойствами (например, семиотико-организованные, аттрактивно-организованные, грамматико-организованные, аттракторизованно-организованные, строй-организованные компоненты).
3.24. контент: Содержательная часть сообщений, сведений.
3.25. креативное использование информации: Использование информации с ее творческим применением.
3.26. моделинг-ноонинг: Знаковое (знакообразуемое) пикториальное, пикториально-аудиальное представление технических сведений с применением грамматики, семантики используемой знаковой системы в виде картинно-воспринимаемых сообщений, соответствующих психофизиологии мышления оператора (специалиста).
3.27. ноон-моделирование: Представление сведений, содержащихся в информации, с использованием раздельного или интегрированного объектно-ориентированного (познавательного), интерпретационно-имитационного предметного (прагматического) моделирования в виде картинных с необходимым аудиальным сопровождением образно-воспринимаемых знаковых моделей, соответствующих психофизиологии мышления человека-оператора, применяющего эти модели.
3.28
ноон-технология: Технология создания информации в виде, соответствующем психофизиологии человека (с использованием результатов исследований, полученных в ноонике), для реализации оптимизированных информационно-обменных процессов в СЧИ при создании, хранении, передаче, применении сообщений.
[ГОСТ Р 43.0.2-2006, статья А.2 (приложение А)]
3.29. пассивное управление информацией: Управление информацией с применением специальных способов использования графических средств, имитирующих динамику корректируемого изменения информации в процессе естественной умственной деятельности мышления.
3.30. параметры организованной информации, сведений, характеризующиеся способом их изложения: Параметрами организованной информации, сведений, характеризующимися способом их изложения, могут быть параметры, обеспечивающие упорядоченность, повышенную выразительность представления организованной информации, сведений (например, параметры, обеспечивающие для организованной информации сведений их семиотическое, аттрактивизирующее, аттракторивизирующее, грамматическое, строй-образующее представления).
3.31. пространство сознания (подсознания): Пространство сущего, сознательно (подсознательно) воспринимаемого мышлением человека.
3.32. процедуризация информации: Представление сведений, содержащихся в информации, в виде, обеспечивающем управление ими по каким-либо параметрам.
3.33. пэсификация информации: Представление не воспринимаемых в образном виде сведений, содержащихся в информации, в пикториальном виде.
3.34. репрезентация: Информационное замещение.
3.35. репрезентирование: Проведение информационного замещения.
3.36. рефлектизация информации: Представление сведений, содержащихся в информации в пикториальном виде, с повышенным уровнем отражательных характеристик.
3.37. речемыслительная деятельность: Мыслительная деятельность, осуществляемая с использованием информации в виде воспринимаемой как речь, реализуемая на алфавите соответствующего естественного языка.
3.38. свойства организованной информации, сведений: Свойствами организованной информации, сведений могут быть свойства, выражающиеся в возможностях организованной информации, сведений упорядоченно отражать при репрезентации реальную предметно-информационную среду (например, семиотические, аттрактивные, грамматические, аттракторные, синтезированные свойства).
3.39. СГС параметры: Семиотические (семиотико-аттрактивные), грамматические (грамматико-аттрактные), синтезируемые (синтез-фрагментные) параметры сведений, содержащиеся в информации, управление которыми некоторым способом может влиять на изменение внутреннего информационного семантического (контент-сенсентного), дисайдного (принимающего решение) состояний мышления.
3.40. сенсент: Смысловая часть сообщений, сведений.
3.41. сеттлинг информации, сведений: Целенаправленно-упорядоченное с соответствующим представлением (например, информативным, лингвистизированным представлением) изложение информации, сведений.
3.42. сеттлизированная информация: Упорядоченно изложенная с соответствующим представлением (например, по информативному, лингвистизированному представлению) информация.
3.43. сеттлизированное представление сведений: Представление сведений, содержащихся в информации в определенном упорядоченном виде, адаптированном к естественным возможностям мышления.
3.44. строй информации: Представление информации с отображением сведений, содержащихся в ней, обеспечивающих ее общее грамматическое восприятие.
3.45. строй сеттлизированной информации: Представление информации с отображением сведений, содержащихся в ней, обеспечивающих ее целенаправленное упорядоченное грамматическое восприятие.
3.46. синтез-фрагментное представление информации: Представление информации в виде сообщений, целенаправленно синтезированных из фрагментно образованных сведений.
3.47
техника: Совокупность технических устройств, предназначенных для использования в деятельности человека, общества.
[ГОСТ Р 43.0.2-2006, статья А.4 (приложение А)]
3.48. умозрительная мыслительная деятельность: Мыслительная деятельность мышления, осуществляемая с использованием информации, представляемой в образно-воспринимаемом, в том числе пикториальном, виде.
3.49. техносфера: Область распространения техники, определяемая потребностями социума.
3.50. цефализация мышления (в технической деятельности): Формирование мышления оператора информационными воздействиями на физиологическую структурно-организменную деятельность его мозга для управления информационно-интеллектуальной деятельностью оператора.
3.51. язык операторской деятельности: Единый технический язык пикториального типа с высокой степенью соответствия его знаковых обозначений, соответствующих техническим объектам, которые они замещают.
4. Сокращения
В настоящем стандарте применены следующие сокращения:
АУИИ - активно управляемая импрувизирующая информация;
АИС - аттрактивизирующие информационные средства;
АСПИ - аттрактивизирующие способы представления информации;
ГИИД - гибридно-интеллектуализированная информационная деятельность;
ГИИР - гибридно-интеллектуализированные информационные ресурсы;
ГИЧИВ - гибридно-интеллектуализированное человекоинформационное взаимодействие;
ГИ - гибридный интеллект;
ДИПЯ - дифференциальное информационно-психическое явление;
ДПИЯ - дифференциальное психоинформационное явление;
ДПЯ - дифференциальное психическое явление;
ЕИ - естественный интеллект;
ЕИЧИВ - естественно-интеллектуализированное человекоинформационное взаимодействие;
ИАУИ - интерактивное, активное управление информацией;
ИИ - искусственный интеллект;
ИИД - информационно-интеллектуальная деятельность;
ИИПД - информационно-интеллектуальная психическая деятельность;
ИИЧИВ - искусственно интеллектуализированное человекоинформационное взаимодействие;
ИМИ МД - искусственно машинно-имитируемая мыслительная деятельность;
ИОТОД - информационное обеспечение техники и операторской деятельности;
ИОП - информационно-обменный процесс;
ИПЯ - интегральное психическое явление;
ИЧИВ - интеллектуализированное человекоинформационное взаимодействие;
ИЧИМС - интегрированная человекоинформационная машинная система;
ИЧИМС АУИИ - интегрированная человекоинформационная машинная система, активно управляющая импрувизирующей информацией;
ИЧИМС И АУИИ - интегрированная человекоинформационная машинная система интерактивно, активно управляющая импрувизирующей информацией;
ИЧИМС И АУИИ - интегрированная человекоинформационная машинная система, информирующая и активно управляющая импрувизирующей информацией;
ИЧИМС О АУИИ - интегрированная человекоинформационная машинная система, обучающая и активно управляющая импрувизирующей информацией;
ИЧИМС П АУИИ - интегрированная человекоинформационная машинная система проектирования, активно управляющая импрувизирующей информацией;
ИЧИМС Р АУИИ - интегрированная человекоинформационная машинная система развлечений, активно управляющая импрувизирующей информацией;
ИЧИМС С АУИИ - интегрированная человекоинформационная машинная система связи, активно управляющая импрувизирующей информацией;
ИЧИМС У АУИИ - интегрированная человекоинформационная машинная система управления, активно управляющая импрувизирующей информацией;
КИИ - компонентный искусственный интеллект;
КМТС - концептуальная модель технической сущности;
МД - мыслительная деятельность;
НУКИМ - направленная установленно-корректируемая интеллектуализация мышления;
РмД - речемыслительная деятельность;
СГС параметры - семиотические, грамматические, синтезирующие параметры;
СПД - средства поддержки деятельности;
ТПИС - техническая предметно-информационная среда;
УМД - умозрительная мыслительная деятельность;
УМР МД - умозрительно-речевая мыслительная деятельность;
ЯзОД - язык операторской деятельности.
5. Общие положения
5.1. ГИЧИВ возникает у оператора в результате семантического функционирования его мышления, осуществляемого при взаимодействии в мышлении оператора внутренней информации из его памяти с АУИИ, воспринимаемой оператором из внешней среды, без реализации принимаемых сознательно или подсознательно мышлением решений.
5.2. ГИЧИВ, образующиеся в мышлении оператора, относятся к представляющим процессы интегральным психическим явлениям (ИПЯ), отличающимся сложной многоуровневой иерархической организацией активно управляемого развития.
5.3. Выбор для проведения оператором ИИД ГИЧИВ в качестве необходимого при восприятии соответствующей информации или ее частей определяется целесообразностью импрувизации мышления оператора, машинной интенсификацией его МД с применением активного управления сведениями, которые содержатся в используемой информации, например для управления сведениями, относящимся к описанию устройства простых технических изделий, процессов в них (см. приложение А).
5.4. Проведение оператором технической информационной деятельности с использованием ГИЧИВ является необходимым:
- для повышения эффективности процессов мышления при восприятии, осмыслении технической информации, активно управляемой машинными средствами;
- для интенсификации интеллектуальной МД с использованием активно управляемой технической информации в учебных, практических и теоретических целях.
5.5. В процессе ГИЧИВ для проведения НУКИМ оператора с применением АУИИ может быть осуществлено активное управление:
- предъявлением информации;
- параметрами аттрактивизированных сведений (например, представленных в мультимедийном виде);
- грамматико-образующими, строй-образующими параметрами информации;
- контентом, сенсентом сеттлизированных сведений, репрезентирующих соответствующую информацию;
- изменением семантики сведений в информации;
- ИОП, ДПЯ (ДИПЯ, ДПИЯ), ИПЯ, ИИПД, ИИД;
- изменением семантики мышления;
- сеттлизированными сведениями, репрезентирующими необходимую информацию, для достижения импрувизации деятельности мышления оператора оптимизацией проведения совместной УМД, РмД.
5.6. В процессе ГИЧИВ интенсификацией МД при проведении НУКИМ оператора с применением АУИИ могут быть достигнуты:
- оптимизация совместного активизированного проведения УМД, РмД мышления;
- импрувизация мышления оператора с применением соответствующим образом представленной (сеттлизированной) импрувизирующей технической информации, необходимой ИЧИМС;
- интеллектуализация реальной деятельности в реальной ТПИС;
- интеллектуализация виртуальной деятельности в виртуальной ТПИС;
- повышение интеллектуализации проводимой теоретической, практической, учебной деятельности в технике;
- цефализация, импрессизация мышления оператора.
5.7. Применение в процессе ГИЧИВ сведений, содержащихся в АУИИ с активным управлением их параметрами, может приводить к возникновению необходимых синергических эффектов (эффектов взаимосодействия) в МД оператора от совместного воздействия этих сведений на его мышление, обеспечивающее повышение эффективности осуществления оператором необходимой ИИД.
5.8. При проведении ГИЧИВ происходят целенаправленное машинно-активизированное возникновение и функционирование в мышлении оператора ИОП, инициирующих направленное возникновение и поддержку ИИПД, с помощью которой могут образовываться ДПЯ, ИПЯ, обеспечивающих проведение определенной ИИД по выполнению оператором соответствующих когнитивных (познавательных), исполнительских информационных задач.
5.9. Необходимая естественная (неорганизованная) и (или) организованная информация, репрезентирующая информацию из ТПИС, после соответствующей подготовки в синтактическом и грамматическом представлении с использованием активно машиноуправляемых знаковых средств ЯзОД могут быть применены оператором в процессе ГИЧИВ в активизированном виде.
Использование свойств активно машиноуправляемых знаков ЯзОД при подготовке информации для ГИЧИВ и в процессе проведения ГИЧИВ с применением подготовленной информации приведено на рисунке 1.
Рисунок 1 - Использование свойств знаков ЯзОД в процессе
ГИЧИВ при разработке и применении сведений, сообщений
5.10. В процессе ГИЧИВ может происходить интенсификация функционирования семантических ИОП с помощью активно управляемых машинно-организованных, в том числе электронных, методов информационного воздействия на сознательное и подсознательное мышление операторов, обеспечивающее как импрессизацию, так и цефализацию их мышления, с целью достижения необходимой эффективности проводимой операторами ИИД (см. приложение Б).
5.11. В результате ГИЧИВ может происходить образование машинно-активизированного расширенного сознания, подсознания (с возможностью проведения извне направленно-установленного изменения конфигурации, внутренней структуры пространства сознания, подсознания) (см. приложение В).
При проведении ГИЧИВ с возникновением ИПЯ может происходить активизированное направленно-установленное изменение семантики сознания, подсознания мышления оператора, влияющее на образование в мышлении необходимых КМТС (см. приложение В).
5.12. Формирование необходимых организованных направленно-установленных семантических, дисайдных (обеспечивающих принятие решений) психоинформационных состояний на сознательном, подсознательном уровнях мышления оператора с применением ноон-технологии может осуществляться в результате клиаративного восприятия активно управляемой информации, оптимизированно используемой в процессе совместной УМД, РмД в качестве УМР МД адаптированной, в том числе интегрированно адаптированной к технологическим процессам в научно-технической деятельности.
5.13. Проведение ГИЧИВ в необходимых случаях должно обеспечиваться воздействием на мышление оператора сеттлизированными (предварительно подготовленными с определенной затратой временных ресурсов) по информативному, лингвистизированному представлению сведениями в необходимой для использования неорганизованной и (или) организованной информации.
5.14. Подготовка информации к ГИЧИВ и проведение ГИЧИВ в мышлении оператора должны проводиться с учетом понимания существа возникновения и функционирования ИОП в ходе ЕИЧИВ.
5.15. Представление информации для проведения ГИЧИВ при осуществлении технической деятельности может осуществляться в нормативно-регулируемом порядке с применением ГОСТ Р 43.0.1, ЯзОД ГОСТ Р 43.2.1, ноон-технологии ГОСТ Р 43.0.3.
5.16. Активно управляемое машинными средствами взаимодействие оператора с информацией с целью направленно-установленной интеллектуализации его мышления, интенсификации семантического использования сведений, содержащихся в информации в процессе их восприятия, осмысления, применения, может быть достигнуто изложением сведений, репрезентирующих используемую информацию для ГИЧИВ в сеттлизированном виде:
- по информативности представления сведений;
- по лингвистизированному представлению сведений.
Изложение сведений в сеттлизированном виде по информативности их представления осуществляется с применением следующих пассивно управляемых способов их изложения: рефлектизации, пэсификации, процедуризации сведений.
Изложение сведений в сеттлизированном виде по их лингвистизированному представлению осуществляется с применением следующих активно управляемых способов их изложения:
- семиотико-аттрактивизированного;
- грамматико-аттракторизованного;
- синтез-фрагментированного (в виде объединенного единого целого).
5.17. Подготовка информации на основе ноон-технологии для применения ее в процессе ГИЧИВ операторами может осуществляться машинными средствами, в том числе выполняющими свое назначение с использованием программного обеспечения для сеттлизированного изложения сведений, репрезентирующих соответствующую информацию из внешней ТПИС с применением:
- пассивного (неактивизированного) проведения в процессе естественной мыслительной деятельности рефлектизации, пэсификации, процедуризации необходимых репрезентирующих сведений;
- машинизированного активного управления семиотическим представлением с аттрактивизацией выбираемых знаков ЯзОД для необходимых репрезентирующих сведений;
- машинизированного активного управления грамматическим представлением в пикториальном, пикториально-аудиальном воспринимаемом виде с аттракторизацией необходимых репрезентирующих сведений;
- машинизированного активного управления строй-образующим представлением необходимых репрезентирующих сведений (см. приложение Г).
5.18. С применением машинных средств активно управляемые семиотические (семиотико-аттрактивизированные), грамматические (грамматико-аттракторизованные), синтезированные (синтез-фрагментированные) параметры (СГС параметры) сведений, создаваемых с использованием знаков, синтаксиса ЯзОД в пикториально-воспринимаемом виде, могут быть необходимым образом изменены для применения в качестве сеттлизированных по лингвистическому представлению сведений в процессах ГИЧИВ (см. приложение Г).
5.19. Сеттлизированное по информативному, лингвистическому представлению изложение пикториально-воспринимаемых сведений, содержащихся в используемой информации, с учетом общих особенностей интеллектуальной деятельности мышления операторов, обеспечивает для процессов ГИЧИВ установленное активное управление семантико-дисайдным параметрами используемой информации (см. приложение Г).
5.20. ГИЧИВ при воздействии на оператора активно управляемой машинными средствами пикториально-воспринимаемой информации с учетом общих особенностей интеллектуальной деятельности оператора может быть проведено при изложении этой информации с применением ноон-технологии в сеттлизированном виде:
- по информативности пикториального представления с применением пассивного управления ее рефлектизацией, пэсификацией, процедуризацией;
- по лингвистическому пикториальному представлению информации с применением машинных средств активного управления СГС параметрами информации (см. приложение Г).
5.21. Сеттлизированные сведения, обладающие активной управляемостью в части семантико-дисайдных параметров, могут быть в качестве сведений, импрувизирующих мышление оператора (пользователя машинной системой), использованы в соответствующих ИЧИМС АУИИ для выполнения оператором (пользователем машинной системы) необходимой клиаратизированной ИИД (см. приложение Д).
5.22. ГИЧИВ может возникать при применении оператором ИЧИМС АУИ (см. приложение Д), обеспечивающей направленные информационные воздействия на соответствующие процессы мышления оператора при восприятии им форматов сеттлизированной информации (ноон-информации), представляемых ИЧИМС АУИИ, в том числе выполняющих свое назначение с использованием программного обеспечения (см. приложение Е).
Сеттлизированное представление сведений с применением ИЧИМС АУИИ может обеспечить установленное без обратной связи активизированное функционирование семантики мышления оператора с интенсификацией его МД.
5.23. В процессе ГИЧИВ с использованием сеттлизированной информации оператор может осуществлять восприятие и осмысление сведений, содержащихся в информации, в активизированном виде, например в динамическом, анимационном, мультимедийном представлениях, с установленно-управляемым контентом, сенсентом этих сведений, выполненных с применением ноон-технологии, ЯзОД.
ГИЧИВ оператора с использованием активно управляемого контента, сенсента сведений, содержащихся в информации, представленной с применением ноон-технологии, ЯзОД, может оказывать направленно-установленное импровизирующее влияние на мышление оператора, повышение эффективности проведения им ИИД.
5.24. ГИЧИВ может проводиться в процессе воздействия воспринятой и осмысленной активно управляемой информации на мышление оператора с учетом как общих для всех людей, так и индивидуальных особенностей конкретного человека в способах осуществления мышления, с обеспечением направленной установленно-корректируемой его деятельности.
5.25. В процессе ГИЧИВ, при осуществлении машинно-организованной, в том числе электронизированной, направленной установленно-корректируемой интеллектуальной деятельности, с применением информации, созданной с использованием ноон-технологии, учитывающей психофизиологию мышления операторов - пользователей информации при осуществлении ими деятельности, может применяться активное управление:
- знаковыми средствами ЯзОД, в том числе в форматах данных, знаний (баз данных, знаний);
- функционированием семантических информационно-обменных процессов;
- формированием семантики мышления (высшего функционального состояния психики человека) у отдельного оператора;
- информационной деятельностью отдельного оператора;
- формированием семантики совместного мышления у группы операторов;
- деятельностью группы операторов, объединенных общими интересами.
5.26. В процессе ГИЧИВ с восприятием активно управляемых баз данных, знаний по сравнению с восприятием несистемно представленной информации значительно более эффективнее могут формироваться в мышлении оператора:
- концептуальные модели технических сущностей;
- соответствующие представления о структурах, процессах, процедурах, ситуациях, относящихся к каким-либо материальным объектам;
- процессы когнитивного (познавательного) перерабатывания (осмысления) информации;
- процессы обработки информации дисайдно-командные, связанные с прогнозированием и принятием решений;
- процессы обработки информации исполнительские, связанные с осуществлением какой-либо деятельности.
5.27. Методы представления знаний с применением ноон-технологии в активно управляемом виде для ГИЧИВ обеспечивают их интерпретированное изложение с учетом того, что мыслительная деятельность оператора связана с действиями, образами и формированием итогового результата этой деятельности в образном виде.
5.28. Активное управление семантикой мышления, в том числе электронными методами в процессе ГИЧИВ, может влиять на улучшение мотивационных, эмоциональных состояний психики оператора, которые сами интенсифицируют процессы семантической деятельности мышления, вызывая рост продуктивности интеллектуальной мыслительной деятельности (образование новых межинформационных связей, ускорение восприятия, переработки информации, запоминания и т.д.).
5.29. При возникновении и функционировании активно управляемых ИОП, обеспечивающих проведение ГИЧИВ, может направленно формироваться у оператора необходимая установленно-корректируемая семантика мышления (базовый компонент интеллектуальной составляющей мышления).
В направленном формировании установленно-корректируемой семантики мышления могут участвовать с использованием активно управляемой информации:
- память (директивная, процедурная);
- речь;
- предварительные процессы обработки информации, связанные с восприятием.
5.30. Для ГИЧИВ методы машинного, электронного управления интеллектуальной деятельностью должны обеспечивать как активное управление предъявлением информации (в виде организованных определенным образом сведений, электронных баз данных, знаний), так и активное управление параметрами сведений в информации, обеспечивающее изменение семантики сведений и мышления (см. приложение А).
5.31. При осуществлении какого-либо ГИЧИВ, проводимого с применением активно управляемой информации, создаваемой на основе ноон-технологии с использованием АУИИ, в мышлении оператора как компонента СЧИ могут образовываться инициируемые машинными, в том числе компьютеризированными, средствами регулируемые и управляемые ДИПЯ, инициирующие возникновение МД, ДПИЯ, формирующие процесс МД.
ДИПЯ, ДПИЯ в определенных состояниях могут образовываться в процессе ГИЧИВ в результате информационно-интеллектуальной психической деятельности (ИИПД), являясь одним из конечных результатов соответствующего ГИЧИВ, в сокращенном виде идентифицируемых как ДИПЯ ГИЧИВ, ДПИЯ ГИЧИВ.
Образование в мышлении человека в процессе ГИЧИВ определенных ДИПЯ, ДПИЯ может приводить к возникновению в мышлении соответствующих ИПЯ, обеспечивающих проведение специалистом необходимой ИИД.
5.32. Образование в процессе ГИЧИВ, активно регулируемых и управляемых ДИПЯ, ДПИЯ, ИПЯ в ИИПД мышления оператора, может происходить при целенаправленном воздействии на его МД информации (сведений), содержащей аттракторы.
Активно управляемые аттракторы в ГИЧИВ - чувственно-воспринимаемые (например, цветовые, пороговые регуляторы), семантически воспринимаемые (например, точки инициации, фрагменты соответствия, фрагменты психологической разгрузки) информационные средства воздействия на ИИПД оператора.
Аттракторы в необходимом активизированном виде могут быть инициированы с помощью машинных средств для более эффективного формирования у оператора соответствующей семантики мышления с целью использования ее при осуществлении деятельности в развивающихся во времени эргатических информационных ситуациях.
Аттракторы в соответствующей активно управляемой информации в процессе ГИЧИВ могут быть использованы с помощью машинных (компьютеризированных) средств, применяющих АУИИ в качестве факторов, влияющих на самоорганизацию процессов ИИПД оператора, для более эффективного формирования у него требуемой семантики мышления с целью использования ее при осуществлении деятельности в развивающихся во времени эргатических информационных ситуациях.
5.33. Генерализованная схема подготовки сеттлизированных по информативности представления сведений к применению для проведения ГИЧИВ и их использования в деятельности оператора с применением ГИЧИВ приведена в приложении Ж.
ГИЧИВ может проводиться с применением машинных средств, обеспечивающих активное управление информацией, например с применением кино-, видео-, компьютерной техники.
6. Основные положения
6.1. С применением в ГИЧИВ информации, созданной с использованием ноон-технологии, может быть достигнута импрувизация мышления (улучшение мышления, достигаемое использованием импрувизирующей машинно-активизированной сеттлизированной информации) для осуществления оператором деятельности повышенной эффективности в реальной или виртуальной ТПИС (см. приложение Ж).
6.2. Для сеттлинга необходимой информации, предназначенной для проведения ГИЧИВ, предварительно определяются информационные образования с морфологическим представлением в виде знаков ЯзОД, репрезентирующих соответствующие фрагменты рассматриваемой информации, с учетом их назначения, вида и целевого применения сведений, в которых будут применяться эти информационные образования (знаки ЯзОД) (см. приложение И).
Информационные образования в виде знаков ЯзОД, репрезентирующие соответствующие фрагменты применяемой информации с использованием пассивного управления информацией, могут быть рефлектизированны, пэсифицированны, процедуризированны.
С применением машинных средств активно управляемые синтактические, аттрактивные, семантические, дисайдные параметры информационных образований в виде реотивных, изобразительных, иконических, геометрических, линейных знаков ЯзОД могут быть необходимым образом изменены, а затем использованы для синтаксического представления сеттлизируемых сведений, репрезентирующих рассматриваемую информацию (см. приложение К).
6.3. Активно управляемое в процессе ГИЧИВ аттрактивное представление в информации пикториально изложенных сведений или отдельных фрагментов этих сведений может быть выполнено с применением:
- АИС: точек, линий, фактур, текстур, цвета, форм (контурных фигур);
- АСПИ: комбинаторики, композиции, гармонии, контраста, пропорционирования.
6.4. Сеттлинг необходимой информации для ГИЧИВ обеспечивается упорядоченным представлением репрезентирующих ее сведений, излагаемых в определенном порядке в машинно-активизированном виде, с учетом следующего:
- информация из внешней ТПИС, репрезентируемая сведениями, представляемыми с использованием знаков, синтаксиса ЯзОД, может быть явления-отражающей или сущности-отражающей;
- репрезентирующие сведения, создаваемые с использованием знаков, синтаксиса ЯзОД, по своему назначению могут быть концептуальные (предназначенные для теоретического применения) или актуальные (предназначенные для практического применения);
- репрезентирующие сведения, создаваемые с использованием знаков, синтаксиса ЯзОД, по своему виду могут быть описательные или инструкционные.
6.5. ГИЧИВ может происходить в мышлении оператора с возникновением соответствующей СЧИ при применении сеттлизированной информации с определенными вариантами комбинаций сведений, изложенных с использованием аттрактивизированных семиотических компонентов ЯзОД, аттракторизованной грамматики ЯзОД, активизированных машинным управлением:
- семиотическими параметрами сведений;
- грамматическими параметрами сведений;
- строй-образующими представлениями сведений;
- семантико-дисайдными представлениями сведений (см. приложение К).
6.6. В процессе ГИЧИВ на оператора может воздействовать техническая информация со следующими основными активно управляемыми строй-образующими представлениями сведений, содержащихся в ней:
- структурированными представлениями (получаемыми структуризацией сведений, содержащихся в информации, с обеспечением их грамматико-семантического структурированно-оформленного изложения);
- интерпретированными представлениями (получаемыми интерпретацией сведений, содержащихся в информации, с обеспечением облегченного восприятия, понимания, использования сведений, входящих в информацию);
- редукционизированными представлениями (получаемыми редукционизацией сведений, содержащихся в информации, с обеспечением приведения сложного представления сведений, входящих в информацию, к более простому);
- релевантизированными представлениями (получаемыми релевантизацией сведений, содержащихся в информации с обеспечением оптимизации избыточности сведений, входящих в информацию);
- контекстизированными представлениями (получаемыми контекстизацией сведений, содержащихся в информации, с обеспечением восприятия отдельных сведений, входящих в информацию во взаимосвязи с общим восприятием информации);
- компрессизированными представлениями (получаемыми компрессизацией сведений, содержащихся в информации, с обеспечением восприятия семиотических, семантических компонентов сведений, содержащихся в информации в сжатом виде);
- доминантизированными представлениями (получаемыми доминантизацией изложения сведений, содержащихся в информации, с обеспечением восприятия сведений с выделением в них основного содержания);
- антиципазационными представлениями (получаемыми антиципазацией изложения сведений, содержащихся в информации, с обеспечением предвидения пользователем информации смыслового развития сведений в процессе их восприятия);
- антирегрессизационными представлениями (получаемыми антирегрессизацией изложения сведений, содержащихся в информации, с обеспечением последовательно-развивающегося безвозвратного способа восприятия сведений);
- леарнизированными представлениями (получаемыми леарнизацией изложения сведений, содержащихся в информации, с обеспечением облегченной узнаваемости их пользователем информации с учетом приобретенного им на сознательном или подсознательном уровне мышления социум-значимых знаний);
- алгоритмизированными представлениями (получаемыми алгоритмизацией изложения сведений, содержащихся в информации, с обеспечением упорядоченного изложения сведений по определенным правилам);
- акцентизированными представлениями (получаемыми акцентизацией изложения сведений, содержащихся в информации, с обеспечением привлечения внимания пользователей информацией к восприятию особо значимых для достижения каких-либо целей сведений);
- агглютинизированными представлениями (получаемыми агглютинизацией изложения сведений, содержащихся в информации, с обеспечением изложения фрагментов сведений в виде, позволяющем пользователям информации синтезировать из них адаптированные для каких-либо целей необходимые сообщения);
- трансформатизированными представлениями (получаемыми трансформатизацией изложения сведений, содержащихся в информации, с обеспечением возможности преобразования, морфинга одного содержательно-смыслового исполнения сведений в другое);
- реколлектизированными представлениями (получаемыми реколлектизацией изложения сведений, содержащихся в информации, обеспечивающей облегченное вспоминание пользователем информации при ее применении в каких-либо целях).
В ноон-технологии для образования ГИЧИВ могут быть применены другие строй-образующие представления сведений, используемые в семантическом изложении информации с машинно-активизированным управлением.
6.7. В процессе ГИЧИВ с помощью компьютерной техники с соответствующим программным обеспечением может быть достигнуто одновременно интегрированное и избирательное применение направленных методов активизированного информационного воздействия на мышление.
6.8. В процессе ГИЧИВ используются возможности ИЧИМС АУИИ:
- в активизированном электронном представлении сведений;
- в сжатии семантического представления сведений;
- в активном управлении контекстными представлениями семантизированных сведений.
6.9. ГИЧИВ позволяет решить задачу управления поведением оператора в ходе обучения, основанного на знаниях (управления когнитивным поведением), в том числе с использованием активизации дисайдной (обеспечивающей принятие решений) деятельности мышления оператора.
6.10. Проведение ГИЧИВ в ходе функционирования мышления оператора с применением ИЧИМС АУИИ возможно по последующей схеме использования специально подготовленной информации:
- восприятие данных, знаний;
- восприятие виртуального информационного пространства деятельности;
- использование информации из виртуальных информационных пространств деятельности в целях необходимой клиаратизации мышления;
- использование информации из реальных информационных пространств деятельности в необходимых целях.
6.11. Методы представления знаний для ГИЧИВ с применением ноон-технологии могут быть направлены на создание благоприятных условий для направленно-установленной интеллектуализации деятельности операторов как с конвергентным мышлением (при котором все интеллектуальные усилия оператора концентрируются на поиске единственно правильного решения), так и с дивергентным мышлением (при котором интеллектуальные усилия оператора осуществляются по всем возможным направлениям поиска правильного решения).
Эти методы также обеспечивают активизированным применением информации корректировку и развитие знаний, сформированных у операторов-пользователей определенных интеллектуальных способностей в ходе практического применения этих знаний, организованного обучения или самообучения.
6.12. Обеспечение в процессе ГИЧИВ улучшения у операторов креативности мышления (творческого использования информации) на сознательном и подсознательном уровнях их мышления достигается улучшением клиаративности их мышления с использованием активизированной с помощью ИЧИМС АУИИ сеттлизированной информации и приемов ее применения, повышающих продуктивность работы мозга.
6.13. Результативность направленного воздействия форматов информации, предъявляемых ИЧИМС АУИИ в процессе ГИЧИВ на эмоциональное состояние оператора-пользователя, может, например, зависеть от эффекта восприятия:
- активно управляемых аттрактивизированно-представленных сведений с использованием различных параметров этих сведений, т.е. различимости (четкости), цветотекстуры, цветозвуковой динамики и т.д.;
- динамики изменения сведений;
- активно управляемого развития контента, сенсента предъявляемых сведений.
6.14. С применением ноон-технологии для обеспечения высокоэффективного проведения операторами ГИЧИВ при осуществлении ими деятельности технические сведения могут излагаться в образно воспринимаемом, активно управляемом виде с использованием:
- грамматического (морфолого-синтаксического), неграмматического (аттрактивного) их представления;
- приемов натурализованного представления сведений, в том числе с применением иконических графических средств.
6.15. Примером ГИЧИВ оператора с эргатической информацией (информацией, предназначенной для осуществления человеком в процессе необходимого ИЧИВ практической деятельности) являются взаимодействия оператора с сообщениями, представленными в образно воспринимаемом виде с активными способами управления, содержащимися в этих сообщениях сведениями, относящимися к:
- изменениям во внешней ТПИС;
- предметной среде, с которой взаимодействует оператор;
- алгоритмизированному порядку применения органов управления, СПД, придаваемых техническому изделию;
- изменениям в состоянии процессов, с которыми взаимодействует оператор;
- процессам, связанным с восприятием информации с органов контроля и индикации.
6.16. В процессе ГИЧИВ при осуществлении технической ИИД с использованием активно управляемой информацией, разработанной с применением ноон-технологии, могут решаться задачи:
- приобретения операторами - пользователями информации знаний с повышенным уровнем их восприятия, осмысления и усвоения;
- создания необходимых условий для выработки у операторов интеллектуальных навыков, умений, в том числе в предвидении;
- оказания операторам информационной поддержки повышенной эффективности для проведения соответствующей технической предметной деятельности;
- приобретения операторами необходимой интеллектуальной готовности к проведению соответствующей технической деятельности.
6.17. При проведении ГИЧИВ с использованием оператором активизированной процедуризированной информации, относящейся к обращению оператора с техникой, может быть обеспечено:
- виртуальное отображение деятельности по применению технических изделий, их обслуживанию и ремонту;
- виртуальное отображение процессов применения техники на различных уровнях сложности как двухполярного (дуального), так и многополярного характера взаимодействия с внешней ТПИС, с учетом управления техническими средствами в реальном режиме времени;
- необходимый уровень подготовки персонала к оперативному ситуационному реагированию на любое состояние техники для достижения необходимой готовности техники, в том числе находящейся на хранении, к немедленному применению.
6.18. Создание баз данных для ГИЧИВ осуществляется активизированным экстенсиональным представлением необходимой информации (представлением конкретных данных в активно управляемом декларативно-формализованном виде) для обеспечения:
- активизированной понятийно-систематизирующей деятельности мышления человека;
- алгоритмической систематизирующей обработки информации машинными средствами.
6.19. Создание баз знаний для ГИЧИВ осуществляется активизированным экстенсионально-интенсиональным представлением необходимой информации (представлением конкретных данных в активно управляемом декларативно-процедуризированном виде) для обеспечения:
- активизированной информационно-преобразовательной деятельности мышления человека;
- алгоритмической преобразовательной обработки информации машинными средствами.
6.20. Для повышения эффективности ГИЧИВ необходимо проведение оптимизированного семантического разделения (семантического форматирования) излагаемых сведений, содержащихся в информации, с учетом установленных форматов для их представления, с целью создания необходимых условий для реализации активного управления этими сведениями.
6.21. В процессе ГИЧИВ активное управление предъявлением информации в целом или отдельными частями пользователю может обеспечиваться машинными средствами, установленным изменением временных параметров взаимодействия пользователя с информацией с учетом ее сложности, обеспечивающее создание необходимых условий для восприятия, осмысления информации, осуществления необходимой ИИД.
6.22. В процессе ГИЧИВ, образующегося в возникающих СЧИ при применении сеттлизированной информации с машинно-активизированным управлением семантического представления сведений, содержащихся в этой информации, в мышлении оператора - пользователя информацией могут появляться различные варианты комбинаций ДИПЯ (инициирующего действия), ДПИЯ (формирующего действия).
Проведение ГИЧИВ ДИПЯ, ГИЧИВ, ДПИЯ в определенных сочетаниях может приводить к появлению в мышлении оператора - пользователя информацией как итоговой деятельности его ИИПД соответствующих ИПЯ мышления, обеспечивающих осуществление необходимой для него ИИД.
6.23. Активное управление необходимым изменением семантики информации, используемой оператором с применением машинных средств, может относиться к ГИЧИВ только в том случае, если при целенаправленном воздействии на параметры информации, воспринимаемой оператором, могут быть созданы соответствующие условия для возникновения в его мышлении необходимых ДПЯ, ИПЯ.
С возникновением необходимых ИПЯ у оператора может формироваться соответствующим образом изменяемая психика сознания, подсознания с направленно-установленной организацией внутренней психодинамики их развития, оказывающая влияние на повышение эффективности МД (УМД, РМД) оператора.
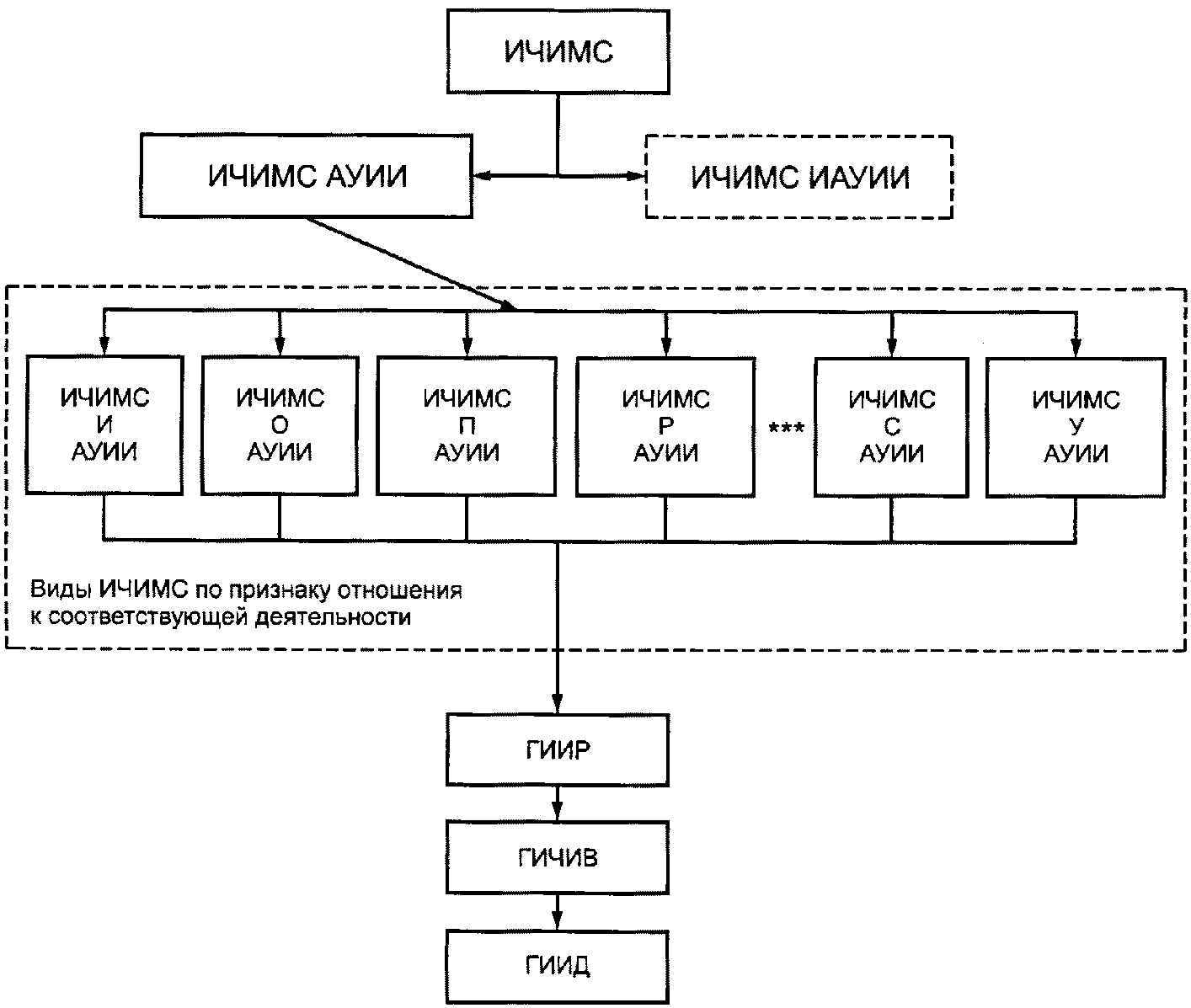
6.24. Формирование ГИЧИВ, ГИИД с использованием необходимых ГИИР в процессе машинизированной (технетезированной) деятельности может осуществляться с применением ИЧИМС АУИИ различного назначения (см. приложение Л), например в виде:
- ИЧИМС И АУИИ;
- ИЧИМС О АУИИ;
- ИЧИМС П АУИИ;
- ИЧИМС Р АУИИ;
- ИЧИМС С АУИИ;
- ИЧИМС У АУИИ.
6.25. Примером ИЧИМС И АУИИ могут являться большие экранные системы, работа которых основана на различных физических принципах, предназначенные для активизированного представления разного вида информирующих сообщений.
6.26. Примером ИЧИМС О АУИИ могут быть различного вида воспроизводящие технические устройства, представляющие пользователю учебную информацию в активизированном (динамическом, анимационном) виде без возможности изменения содержащегося в ней контента, сенсента.
6.27. Примером ИЧИМС П АУИИ могут являться технические системы, осуществляющие автоматическое конструирование каких-либо изделий с активизированным контролем процесса конструирования на экране дисплея.
6.28. Примером ИЧИМС Р АУИИ могут быть различного рода воспроизводящие технические устройства, представляющие пользователю развлекательную информацию в активизированном (динамическом, анимационном) виде без возможности изменения пользователем содержащегося в ней контента, сенсента.
6.29. Примером ИЧИМС С АУИИ могут быть технические средства связи, осуществляющие передачу необходимой активизированной (динамически изменяемой) информации с контролем ее получения на различных индикаторах.
6.30. Примером ИЧИМС У АУИИ могут являться активно управляемые дисплейные системы предупреждения об опасных ситуациях, контролируемые оператором, без непосредственного его участия в автоматически осуществляемых процессах регулирования, управления, обеспечивающих предотвращение развития опасных ситуаций.
6.31. Создание соответствующих условий для проведения ГИЧИВ операторами с применением ГИИР, образуемых с использованием активизированной информации, разрабатываемой с необходимым нормативным регулированием, может обеспечить возникновение в мышлении операторов оптимизированных сочетаний активизированных УМД и РмД.
6.32. Создание возможностей для операторов (специалистов) - пользователей информацией оптимально осуществлять ЕИЧИВ, ГИЧИВ может приводить к созданию в машинизированных СЧИ (СЧИМ, ИСЧИМ) с участием операторов (специалистов) - пользователей информацией определенных условий для возникновения ГИ, поддерживающего техническую деятельность.
6.33. Формирование ГИИР в технике может осуществляться с использованием необходимой технической инфраструктуры (для тиражирования, хранения, передачи носителей информации), обеспечивающей их накопление.
Формирование целенаправленно организованной ГИИД может проводиться с использованием необходимых специальных технических ресурсов, ГИИР.
ГИИР, ГИЧИВ, ГИИД могут создать необходимые условия для проведения клиаративной ИИД повышенной эффективности в технике (см. приложение Л).
Приложение А
(справочное)
ГИБРИДНО-ИНТЕЛЛЕКТУАЛИЗИРОВАННОЕ ЧЕЛОВЕКОИНФОРМАЦИОННОЕ
ВЗАИМОДЕЙСТВИЕ В ЭРГАТИЧЕСКОЙ ТЕХНИЧЕСКОЙ
ИНФОРМАЦИОННО-ИНТЕЛЛЕКТУАЛЬНОЙ ДЕЯТЕЛЬНОСТИ
--------------------------------
<*> Импрувизирующая информация.
Рисунок А.1 - Схема ГИЧИВ в эргатической ИИД оператора
Приложение Б
(справочное)
ГИБРИДНО-ИНТЕЛЛЕКТУАЛИЗИРОВАННОЕ ЧЕЛОВЕКОИНФОРМАЦИОННОЕ
ВЗАИМОДЕЙСТВИЕ В СОВЕРШЕНСТВОВАНИИ ПСИХОСЕМАНТИКИ МЫШЛЕНИЯ
ОПЕРАТОРА С ПРИМЕНЕНИЕМ НООН-ТЕХНОЛОГИИ
Рисунок Б.1 - Схема ГИЧИВ в совершенствовании психосемантики
мышления оператора с применением ноон-технологии
Приложение В
(справочное)
ОБРАЗОВАНИЕ КОНЦЕПТУАЛЬНЫХ МОДЕЛЕЙ ТЕХНИЧЕСКИХ
СУЩНОСТЕЙ В ПРОЦЕССЕ ГИБРИДНО-ИНТЕЛЛЕКТУАЛИЗИРОВАННОГО
ЧЕЛОВЕКОИНФОРМАЦИОННОГО ВЗАИМОДЕЙСТВИЯ
┌─────────────────────────────────────────────────────────────────────────┐
│ Внешняя среда │
│ ┌─────────────────────────────────────────────────────────────────────┐ │
│ │ Мышление │ │
│ │ ┌───────────┐ ┌─────────────────────────────┐ ┌───────────┐ │ │
│─┼──>│ Ощущения │<──┤ Направленно-формируемая ├──>│ Эмоции │<──┼─│
│ │ │ ├──>│ в установленном порядке │<──┤ │ │ │
│ │ └───────────┘ │ в процессе ГИЧИВ │ └───────────┘ │ │
│ │ ┌───────────┐ │ семантика сознания │ ┌───────────┐ │ │
│─┼──>│Восприятие │<──┤ ├──>│Способности│<──┼─│
│ │ │ ├──>│ ┌─────────────────────────┐ │<──┤ │ │ │
│ │ └───────────┘ │ │Направленно-установленная│ │ └───────────┘ │ │
│ │ ┌───────────┐ │ │ семантика подсознания │ │ ┌───────────┐ │ │
│─┼──>│ Внимание │<──┤ │ в процессе ГИЧИВ │ ├──>│ Мотивации │<──┼─│
│ │ │ ├──>│ │ │ │<──┤ │ │ │
│ │ └───────────┘ │ │ ┌─────────────────────┐ │ │ └───────────┘ │ │
│ │ ┌───────────┐ │ │ │ КМТС <*> │ │ │ ┌───────────┐ │ │
│─┼──>│ Память │<──┤ │ │ (внутренней │ │ ├──>│Темперамент│<──┼─│
│ │ │ ├──>│ │ │ информационной │ │ │<──┤ │ │ │
│ │ └───────────┘ │ │ │ среды) │ │ │ └───────────┘ │ │
│ │ ┌───────────┐ │ │ └─────────────────────┘ │ │ ┌───────────┐ │ │
│─┼──>│Воображение│<──┤ │ │ ├──>│ Характер │<──┼─│
│ │ │ ├──>│ └─────────────────────────┘ │<──┤ │ │ │
│ │ └───────────┘ │ │ └───────────┘ │ │
│ │ ┌───────────┐ │ │ ┌───────────┐ │ │
│─┼──>│Внутренняя │<──┤ ├──>│ Воля │<──┼─│
│ │ │ речь ├──>│ │<──┤ │ │ │
│ │ └───────────┘ └─────────────────────────────┘ └───────────┘ │ │
│ │ │ │
│ └─────────────────────────────────────────────────────────────────────┘ │
│─────> Активно управляемые информационные воздействия на мышление │
│ оператора в процессе ГИЧИВ с возникновением ИПЯ, обеспечивающие │
│ образование необходимых КМТС. │
└─────────────────────────────────────────────────────────────────────────┘
--------------------------------
<*> КМТС - концептуальные модели технических сущностей (в виде семантических форматов внутренней информационной среды мышления).
Рисунок В.1 - Схема образования концептуальных моделей
технических сущностей в процессе ГИЧИВ
Приложение Г
(справочное)
СЕТТЛИЗАЦИЯ ИНФОРМАЦИИ С ПРИМЕНЕНИЕМ
НООН-ТЕХНОЛОГИИ ДЛЯ ГИБРИДНО-ИНТЕЛЛЕКТУАЛИЗИРОВАННОГО
ЧЕЛОВЕКОИНФОРМАЦИОННОГО ВЗАИМОДЕЙСТВИЯ
Рисунок Г.1 - Схема клиаративного сеттлинга информации
с применением ноон-технологии для ГИЧИВ
Приложение Д
(справочное)
ГИБРИДНО-ИНТЕЛЛЕКТУАЛИЗИРОВАННОЕ ЧЕЛОВЕКОИНФОРМАЦИОННОЕ
ВЗАИМОДЕЙСТВИЕ В ТЕХНИЧЕСКОЙ ДЕЯТЕЛЬНОСТИ (ВАРИАНТ)
Рисунок Д.1 - Схема проведения ГИЧИВ в технической
деятельности (вариант)
Приложение Е
(справочное)
СТРУКТУРА
ПРОГРАММНОЙ ОБОЛОЧКИ ДЛЯ ОБЕСПЕЧЕНИЯ
ГИБРИДНО-ИНТЕЛЛЕКТУАЛИЗИРОВАННОГО ЧЕЛОВЕКОИНФОРМАЦИОННОГО
ВЗАИМОДЕЙСТВИЯ (ВАРИАНТ)
┌──────────────────────────────────────────────────────────┐
│ Программная оболочка обеспечения ГИЧИВ │
│ для освоения и применения знаний, управления интеллектом │
└─────────────────────────────┬────────────────────────────┘
\/
┌───────────────┬────────────┬───────────────┬────────────────┬────────────┬───────────┐
│ │ │ \/ │ │ │
┌──────┼───────────────┼────────────┼──────┐ ┌───────────┐ ┌───────┼────────────┼───────────┼──────┐
│ \/ \/ \/ │ │ │ │ \/ \/ \/ │
│┌────────────┐┌─────────────┐┌───────────┐│ │ │ │┌─────────────┐┌──────────┐┌──────────┐│
││ Сеттлизиро-││ Управление ││ Сервис ││<─┤Управляющий├─>││Моделирование││ Анализ ││ Синтез ││
││ ванная ││ информацией ││ информации││ │ блок ПО │ ││ информации ││информации││информации││
││ информация │└┬────────────┘└┬──────────┘│ │ │ │└┬────────────┘└┬─────────┘└┬─────────┘│
│└┬───────────┘ │Информационный│блок ПО │ └───────────┘ │ │ Моделирующий│блок ПО │ │
└─┼─────────────┼──────────────┼───────────┘ └─┼──────────────┼───────────┼──────────┘
│┌───────────┐│┌────────────┐│┌──────────┐ │┌────────────┐│┌─────────┐│┌─────────┐
││По информа-│└┤ Активное │├┤Накопление│ └┤ Интерпрета-│└┤ Аналити-│└┤ Рекомен-│
├┤ тивному │ └────────────┘│└──────────┘ │ ционное │ │ ческий │ │ дации │
││представле-│ │┌──────────┐ └────────────┘ └─────────┘ └─────────┘
││ нию │ ├┤ Хранение │
│└───────────┘ │└──────────┘
│┌───────────┐ │┌──────────┐
││ По │ ├┤Предъявле-│
││ лингвисти-│ ││ ние │
└┤зированному│ │└──────────┘
│ представ- │ │┌──────────┐
│ лению │ └┤ Передача │
└───────────┘ └──────────┘
Рисунок Е.1 - Схема структуры программной оболочки
для обеспечения ГИЧИВ (вариант)
Приложение Ж
(справочное)
ПОДГОТОВКА СЕТТЛИЗИРОВАННЫХ ПО ИНФОРМАТИВНОСТИ
ПРЕДСТАВЛЕНИЯ СВЕДЕНИЙ К ПРИМЕНЕНИЮ ПРИ ПРОВЕДЕНИИ
ГИБРИДНО-ИНТЕЛЛЕКТУАЛИЗИРОВАННОГО ЧЕЛОВЕКОИНФОРМАЦИОННОГО
ВЗАИМОДЕЙСТВИЯ И ИХ ИСПОЛЬЗОВАНИЕ В ДЕЯТЕЛЬНОСТИ ОПЕРАТОРА
С ПРИМЕНЕНИЕМ ГИБРИДНО-ИНТЕЛЛЕКТУАЛИЗИРОВАННОГО
ЧЕЛОВЕКОИНФОРМАЦИОННОГО ВЗАИМОДЕЙСТВИЯ
Рисунок Ж.1 - Генерализованная схема подготовки
сеттлизированных по информативности представления сведений
к применению при проведении ГИЧИВ и их использование
в деятельности оператора с применением ГИЧИВ
ИС МЕГАНОРМ: примечание.
Нумерация приложений дана в соответствии с официальным текстом документа.
Приложение И
(справочное)
СОЗДАНИЕ ИНФОРМАЦИОННЫХ
ОБРАЗОВАНИЙ С МОРФОЛОГИЧЕСКИМ ПРЕДСТАВЛЕНИЕМ В ВИДЕ
ЗНАКОВ ЯЗЫКА ОПЕРАТОРСКОЙ ДЕЯТЕЛЬНОСТИ, РЕПРЕЗЕНТИРУЮЩИХ
ОТДЕЛЬНЫЕ ФРАГМЕНТЫ ВОСПРИНИМАЕМОЙ ИНФОРМАЦИИ
ДЛЯ ПРОВЕДЕНИЯ ГИБРИДНО-ИНТЕЛЛЕКТУАЛИЗИРОВАННОГО
ЧЕЛОВЕКОИНФОРМАЦИОННОГО ВЗАИМОДЕЙСТВИЯ
Рисунок И.1 - Схема создания информационных
образований с морфологическим представлением в виде
знаков ЯзОД, репрезентирующих отдельные фрагменты
воспринимаемой информации для проведения ГИЧИВ
Приложение К
(справочное)
СОЗДАНИЕ СВЕДЕНИЙ С ИСПОЛЬЗОВАНИЕМ СИНТАКСИСА ЯЗЫКА
ОПЕРАТОРСКОЙ ДЕЯТЕЛЬНОСТИ, РЕПРЕЗЕНТИРУЮЩИХ ВОСПРИНИМАЕМУЮ
ИНФОРМАЦИЮ ДЛЯ ПРОВЕДЕНИЯ ГИБРИДНО-ИНТЕЛЛЕКТУАЛИЗИРОВАННОГО
ЧЕЛОВЕКОИНФОРМАЦИОННОГО ВЗАИМОДЕЙСТВИЯ
Рисунок К.1 - Схема создания клиаративно-сеттлизированных
сведений с применением синтаксиса ЯзОД, репрезентирующих
воспринимаемую информацию для проведения ГИЧИВ
Приложение Л
(справочное)
ИСПОЛЬЗОВАНИЕ ГИБРИДНО-ИНТЕЛЛЕКТУАЛИЗИРОВАННЫХ
ИНФОРМАЦИОННЫХ РЕСУРСОВ ДЛЯ ОБЕСПЕЧЕНИЯ
ГИБРИДНО-ИНТЕЛЛЕКТУАЛИЗИРОВАННОГО ЧЕЛОВЕКОИНФОРМАЦИОННОГО
ВЗАИМОДЕЙСТВИЯ, ГИБРИДНО-ИНТЕЛЛЕКТУАЛИЗИРОВАННОЙ
ИНФОРМАЦИОННОЙ ДЕЯТЕЛЬНОСТИ С ПРИМЕНЕНИЕМ ИНТЕГРИРОВАННЫХ
ЧЕЛОВЕКОИНФОРМАЦИОННЫХ МАШИННЫХ СИСТЕМ В ТЕХНИКЕ (ВАРИАНТ)
Рисунок Л.1 - Схема использования ГИИР для обеспечения
ГИЧИВ, ГИИД с применением ИЧИМС (вариант)