Главная // Актуальные документы // ГОСТ Р (Государственный стандарт)
СПРАВКА
Источник публикации
М.: Стандартинформ, 2019
Примечание к документу
Отдельные положения данного документа включены в Перечень международных и региональных (межгосударственных) стандартов, а в случае их отсутствия - национальных (государственных) стандартов, в результате применения которых на добровольной основе обеспечивается соблюдение требований технического регламента Таможенного союза "О безопасности средств индивидуальной защиты" (ТР ТС 019/2011) и в Перечень международных и региональных (межгосударственных) стандартов, а в случае их отсутствия - национальных (государственных) стандартов, содержащих правила и методы исследований (испытаний) и измерений, в том числе правила отбора образцов, необходимые для применения и исполнения требований технического регламента Таможенного союза "О безопасности средств индивидуальной защиты" (ТР ТС 019/2011) и осуществления оценки соответствия объектов технического регулирования (Решение Коллегии Евразийской экономической комиссии от 03.03.2020 N 30).

Документ введен в действие с 01.12.2013.
Название документа
"ГОСТ Р 12.4.276-2-2012. Национальный стандарт Российской Федерации. Система стандартов безопасности труда. Средства индивидуальной защиты органов дыхания. Дыхательный аппарат с линией подачи сжатого воздуха. Часть 2. Аппараты с полумаской и избыточным давлением. Технические требования. Методы испытаний. Маркировка"
(утв. и введен в действие Приказом Росстандарта от 29.11.2012 N 1839-ст)

"ГОСТ Р 12.4.276-2-2012. Национальный стандарт Российской Федерации. Система стандартов безопасности труда. Средства индивидуальной защиты органов дыхания. Дыхательный аппарат с линией подачи сжатого воздуха. Часть 2. Аппараты с полумаской и избыточным давлением. Технические требования. Методы испытаний. Маркировка"
(утв. и введен в действие Приказом Росстандарта от 29.11.2012 N 1839-ст)


Содержание


Утвержден и введен в действие
Приказом Федерального
агентства по техническому
регулированию и метрологии
от 29 ноября 2012 г. N 1839-ст
НАЦИОНАЛЬНЫЙ СТАНДАРТ РОССИЙСКОЙ ФЕДЕРАЦИИ
СИСТЕМА СТАНДАРТОВ БЕЗОПАСНОСТИ ТРУДА.
СРЕДСТВА ИНДИВИДУАЛЬНОЙ ЗАЩИТЫ ОРГАНОВ ДЫХАНИЯ
ДЫХАТЕЛЬНЫЙ АППАРАТ С ЛИНИЕЙ ПОДАЧИ СЖАТОГО ВОЗДУХА
ЧАСТЬ 2
АППАРАТЫ С ПОЛУМАСКОЙ И ИЗБЫТОЧНЫМ ДАВЛЕНИЕМ
ТЕХНИЧЕСКИЕ ТРЕБОВАНИЯ.
МЕТОДЫ ИСПЫТАНИЙ.
МАРКИРОВКА
Occupational safety standards system. Respiratory protective
devices. Compressed air line supply breathing apparatus.
Part 2. Apparatus with half mask at positive pressure.
Techical requirements. Test methods. Marking
(EN 14593-2:2005, NEQ)
ГОСТ Р 12.4.276-2-2012
ОКС 13.340.30
Дата введения
1 декабря 2013 года
Предисловие
1 РАЗРАБОТАН Открытым акционерным обществом "КАМПО" (ОАО "КАМПО")
2 ВНЕСЕН Техническим комитетом по стандартизации средств индивидуальной защиты ТК 320 "СИЗ"
3 УТВЕРЖДЕН И ВВЕДЕН В ДЕЙСТВИЕ Приказом Федерального агентства по техническому регулированию и метрологии от 29 ноября 2012 г. N 1839-ст
4 Настоящий стандарт разработан с учетом основных нормативных положений европейского регионального стандарта ЕН 14593-2:2005 "Средства индивидуальной защиты органов дыхания. Дыхательный аппарат с линией подачи сжатого воздуха с легочным автоматом. Часть 2. Аппарат с полумаской и избыточным давлением. Требования, испытания, маркировка" (EN 14593-2:2005 "Respiratory protective devices - Compressed air line breathing apparatus with demand valve - Part 2: Apparatus with a half mask at positive pressure - Requirements, testing, marking", NEQ)
5 ВВЕДЕН ВПЕРВЫЕ
6 ПЕРЕИЗДАНИЕ. Июнь 2019 г.
Правила применения настоящего стандарта установлены в статье 26 Федерального закона от 29 июня 2015 г. N 162-ФЗ "О стандартизации в Российской Федерации". Информация об изменениях к настоящему стандарту публикуется в ежегодном (по состоянию на 1 января текущего года) информационном указателе "Национальные стандарты", а официальный текст изменений и поправок - в ежемесячном информационном указателе "Национальные стандарты". В случае пересмотра (замены) или отмены настоящего стандарта соответствующее уведомление будет опубликовано в ближайшем выпуске ежемесячного информационного указателя "Национальные стандарты". Соответствующая информация, уведомление и тексты размещаются также в информационной системе общего пользования - на официальном сайте Федерального агентства по техническому регулированию и метрологии в сети Интернет (www.gost.ru)
1 Область применения
Настоящий стандарт распространяется на шланговые неавтономные дыхательные аппараты с линией подачи сжатого воздуха, полумаской и легочным автоматом, открытым контуром для защиты органов дыхания и зрения человека от вредного воздействия атмосферы при работе в непригодной для дыхания токсичной и задымленной газовой среде и аварийно-спасательных работах в зданиях, сооружениях и на производственных объектах различного назначения, а также на кораблях и судах.
Настоящий стандарт устанавливает технические требования, методы испытаний и требования к маркировке аппаратов.
Настоящий стандарт не распространяется на следующие специальные средства индивидуальной защиты органов дыхания:
- пожарные;
- военные;
- медицинские;
- авиационные;
- для подводных работ;
- для горноспасательных подземных работ.
Настоящий стандарт пригоден для целей сертификации.
2 Нормативные ссылки
В настоящем стандарте использованы нормативные ссылки на следующие стандарты:
ГОСТ 2.103 Единая система конструкторской документации. Стадии разработки
ГОСТ 12.4.157-75 Система стандартов безопасности труда. Противогазы и респираторы промышленные фильтрующие. Нефелометрические методы определения коэффициента подсоса масляного тумана под лицевую часть
ГОСТ 6433.2 Материалы электроизоляционные твердые. Методы определения электрического сопротивления при постоянном напряжении
ГОСТ 8762-75 Резьба круглая диаметром 40 мм для противогазов и калибры к ней. Основные размеры
ГОСТ 15150 Машины, приборы и другие технические изделия. Исполнения для различных климатических районов. Категории, условия эксплуатации, хранения и транспортирования в части воздействия климатических факторов внешней среды
ГОСТ 16504 Система государственных испытаний продукции. Испытания и контроль качества продукции. Основные требования и определения
ГОСТ 24997 (ИСО 1502:1996) Калибры для метрической резьбы. Допуски
ГОСТ Р 8.568 Государственная система обеспечения единства измерений. Аттестация испытательного оборудования. Основные положения
ГОСТ Р 12.4.186-2012 <1> Система стандартов безопасности труда. Средства индивидуальной защиты органов дыхания. Аппараты изолирующие автономные со сжатым воздухом. Технические требования. Методы испытаний. Маркировка. Правила отбора образцов
--------------------------------
<1> Действует ГОСТ 12.4.238-2015.
ИС МЕГАНОРМ: примечание.
В официальном тексте документа, видимо, допущена опечатка: стандарт имеет номер ГОСТ Р 12.4.189-99, а не ГОСТ 12.4.189.
ГОСТ 12.4.189 <2> Система стандартов безопасности труда. Средства индивидуальной защиты органов дыхания. Общие технические условия
--------------------------------
<2> Действует ГОСТ 12.4.293-2015 (EN 136:1998).
ГОСТ Р 12.4.190-99 <3> Система стандартов безопасности труда. Средства индивидуальной защиты органов дыхания. Полумаски и четвертьмаски из изолирующих материалов. Общие технические условия
--------------------------------
<3> Действует ГОСТ 12.4.244-2013.
ГОСТ Р 12.4.214 Система стандартов безопасности труда. Средства индивидуальной защиты органов дыхания. Резьба для лицевых частей. Стандартное резьбовое соединение
ГОСТ Р 12.4.215 Система стандартов безопасности труда. Средства индивидуальной защиты органов дыхания. Резьба для лицевых частей. Центральное резьбовое соединение
ГОСТ Р 12.4.216 Система стандартов безопасности труда. Средства индивидуальной защиты органов дыхания. Резьба для лицевых частей. Резьбовое соединение М45 x 3
ГОСТ Р 12.4.252-2009 (ЕН 138:1994) <4> Система стандартов безопасности труда. Средства индивидуальной защиты органов дыхания. Дыхательные аппараты со шлангом подачи чистого воздуха, используемые с масками и полумасками
--------------------------------
<4> Действует ГОСТ 12.4.236-2012 (EN 138:1994).
ГОСТ Р 15.201 <5> Система разработки и постановки продукции на производство. Продукция производственно-технического назначения. Порядок разработки и постановки продукции на производство
--------------------------------
<5> Действует ГОСТ Р 15.301-2016.
ГОСТ Р 51652 <6> Спирт этиловый ректификованный из пищевого сырья. Технические условия
--------------------------------
<6> Действует ГОСТ 5962-2013.
Примечание - При пользовании настоящим стандартом целесообразно проверить действие ссылочных стандартов в информационной системе общего пользования - на официальном сайте Федерального агентства по техническому регулированию и метрологии в сети Интернет или по ежегодному информационному указателю "Национальные стандарты", который опубликован по состоянию на 1 января текущего года, и по выпускам ежемесячного информационного указателя "Национальные стандарты" за текущий год. Если заменен ссылочный стандарт, на который дана недатированная ссылка, то рекомендуется использовать действующую версию этого стандарта с учетом всех внесенных в данную версию изменений. Если заменен ссылочный стандарт, на который дана датированная ссылка, то рекомендуется использовать версию этого стандарта с указанным выше годом утверждения (принятия). Если после утверждения настоящего стандарта в ссылочный стандарт, на который дана датированная ссылка, внесено изменение, затрагивающее положение, на которое дана ссылка, то это положение рекомендуется применять без учета данного изменения. Если ссылочный стандарт отменен без замены, то положение, в котором дана ссылка на него, рекомендуется применять в части, не затрагивающей эту ссылку.
3 Термины и определения
В настоящем стандарте применены следующие термины с соответствующими определениями:
3.1 дыхательный аппарат с линией подачи сжатого воздуха и легочным автоматом с открытым контуром: Неавтономный изолирующий дыхательный аппарат с легочным автоматом, предназначенный для использования с полумаской, в котором пригодный для дыхания воздух подается по шлангу подачи от внешнего источника сжатого воздуха (станции воздухоснабжения) при максимальном давлении 1,0 МПа. При работе аппарата вдох осуществляется из источника сжатого воздуха, а выдох - в атмосферу.
3.2 подвесная система аппарата: Составная часть аппарата, предназначенная для фиксации аппарата на теле человека, состоящая, как правило, из спинки (основания), системы ремней (плечевых, поясных, концевых) с пряжками для регулирования и фиксации аппарата.
3.3 внешнее дыхание или легочное дыхание: Совокупность процессов, при которых осуществляется обмен воздуха между внешней средой и легкими, а также обмен газов между поступившим в легкие воздухом и кровью, т.е. процессы, происходящие непосредственно в органах дыхания человека.
3.4 дыхательный режим: Совокупность взаимосвязанных значений следующих параметров: легочной вентиляции (в кубических дециметрах на минуты), частоты дыхания (в циклах дыхания "вдох-выдох" в минуту) и дыхательного объема (в кубических дециметрах).
3.5 легочная вентиляция: Объем воздуха, прошедший при дыхании через легкие человека за 1 мин.
3.6 дыхательный объем: Объем воздуха, прошедший через легкие человека за один вдох (глубина одного вдоха).
3.7 полумаска: Лицевая часть, обеспечивающая подачу очищенного воздуха или дыхательной смеси к органам дыхания и закрывающая нос, рот и подбородок.
3.8 сигнальное устройство: Устройство, предназначенное для подачи звукового сигнала работающему о том, что основной запас воздуха в аппарате израсходован и остался только резервный запас.
3.9 резервный запас воздуха: Оставшийся запас воздуха в баллоне(ах) после срабатывания сигнального устройства, необходимый для выхода из непригодной для дыхания среды.
3.10 станция воздухоснабжения: Система подачи воздуха, которая может включать в себя компрессор, фильтры, баллоны со сжатым воздухом, используемая в качестве мобильного источника сжатого воздуха.
3.11 дыхательный шланг: Шланг, соединяющий лицевую часть с легочным автоматом.
3.12 соединительный шланг среднего давления: Шланг, ведущий от редуктора к легочному автомату.
3.13 шланг подачи сжатого воздуха: Шланг, ведущий от внешнего источника сжатого воздуха к аппарату.
4 Технические требования
4.1 Требования назначения
4.1.1 Дыхательный аппарат должен быть работоспособным при подаче воздуха от внешнего источника давления с давлением до 1,0 МПа в диапазоне температур окружающей среды минус 40 °C - плюс 60 °C и относительной влажности до 95% (при температуре 35 °C).
По согласованию с потребителем допускается выпуск аппаратов с другим диапазоном рабочих температур.
Испытания проводят в соответствии с 10.23.3.
4.1.2 В состав аппарата должны входить:
- подвесная система;
- лицевая часть - полумаска;
- легочный автомат;
- соединительный шланг среднего давления;
- мобильная система подачи воздуха со шлангом подачи воздуха.
В состав аппарата может входить устройство дополнительной подачи воздуха.
Испытания проводят в соответствии с 10.2.
4.1.3 Под полумаской аппарата должно поддерживаться избыточное давление не более 500 Па при легочной вентиляции 100 дм3/мин (синусоидальный поток 40 циклов в минуту, по 2,5 дм3 за один цикл).
Испытания проводят в соответствии с 10.23.3.
4.1.4 Сопротивление выдоху не должно превышать:
- 600 Па - при постоянном расходе 10 дм3/мин;
- 700 Па - при легочной вентиляции 50 дм3/мин (синусоидальный поток 25 циклов в минуту, по 2,0 дм3 за один цикл);
- 1000 Па - при легочной вентиляции 100 дм3/мин (синусоидальный поток 40 циклов в минуту, по 2,5 дм3 за один цикл).
Испытания проводят в соответствии с 10.5, 10.21 и 10.23.3.
4.1.5 Расход воздуха через устройство дополнительной подачи воздуха (при наличии) должен быть не менее 60 дм3/мин при минимальном подводимом давлении через шланг подачи сжатого воздуха, заявленном производителем.
Испытания проводят в соответствии с 10.10.
4.2 Требования эргономики
4.2.1 Подвесная система аппарата должна быть выполнена таким образом, чтобы аппарат прочно фиксировался, не вызывая потертостей и ушибов при работе.
Испытания проводят в соответствии с 10.24.1.
4.2.2 Подвесная система должна позволять человеку быстро, просто и без посторонней помощи надевать аппарат и отрегулировать его крепление. Система ремней аппарата должна быть снабжена устройствами для регулирования их длины и степени натяжения. Все приспособления для регулирования положения аппарата (пряжки, карабины, застежки и др.) должны быть выполнены таким образом, чтобы ремни после регулирования прочно фиксировались. Регулирование ремней подвесной системы не должно нарушаться.
Испытания проводят в соответствии с 10.24.1.
4.3 Требования к материалам
Требования к материалам - в соответствии с ГОСТ Р 12.4.252-2009 (пункты 5.1.1 - 5.1.4).
Испытания проводят в соответствии с 10.2.
4.4 Эксплуатационные свойства
Требования к эксплуатационным свойствам аппарата - в соответствии с ГОСТ Р 12.4.252-2009 (подраздел 5.4).
Испытания проводят в соответствии с 10.24.1.
4.5 Требования к полумаске
4.5.1 Полумаска должна соответствовать требованиям ГОСТ Р 12.4.190-99 (кроме пунктов 4.9 - 4.11).
Испытания проводят в соответствии с 10.1.
4.5.2 Коэффициент подсоса под полумаску при испытании в комплекте с аппаратом не должен превышать 0,5%.
Испытания проводят в соответствии с 10.24.2.
4.5.3 Аппарат должен иметь один или более клапанов выдоха и может быть снабжен одним или более клапанами вдоха.
Конструкция клапанов должна обеспечивать простоту обслуживания и быструю установку при замене. Недопустима возможность установки клапанов вдоха вместо клапанов выдоха и наоборот.
Испытания проводят в соответствии с 10.2.
4.6 Требования к соединительным узлам
4.6.1 Требования к соединительным узлам - в соответствии с ГОСТ Р 12.4.252-2009 (пункты 5.5.1 и 5.5.2).
Испытания проводят в соответствии с 10.8.
4.6.2 Соединение дыхательного шланга с полумаской и легочным автоматом или между соединительным узлом и легочным автоматом должно выдерживать силу 50 Н.
Испытания проводят в соответствии с 10.9.
4.6.3 Соединение между аппаратом и полумаской может быть произведено посредством постоянного, специального или резьбового соединительного элемента.
Для соединения аппарата и полумаски не следует использовать резьбу, соответствующую ГОСТ Р 12.4.214 - ГОСТ Р 12.4.216.
Испытания проводят в соответствии с 10.7.
4.6.4 Конструкцией аппарата должно быть предусмотрено исключение возможности присоединения шланга подачи воздуха непосредственно к соединительному шлангу среднего давления, дыхательному шлангу и полумаске.
Испытания проводят в соответствии с 10.2 и 10.24.1.
4.7 Требования к шлангам аппарата
4.7.1 Шланг подачи сжатого воздуха и соединительный шланг среднего давления и их крепления должны выдерживать давление 3 МПа в течение 15 мин без каких-либо повреждений.
Испытания проводят в соответствии с 10.16.
4.7.2 В процессе эксплуатации шланг подачи сжатого воздуха должен сохранять форму круговой петли или спирали, не должен деформироваться с образованием изломов и перегибов, уменьшающих поток воздуха через него более чем на 10% по сравнению со шлангом в выпрямленном состоянии.
Испытания проводят в соответствии с 10.19.
4.7.3 Расход воздуха через шланг подачи сжатого воздуха и дыхательный шланг не должен снижаться более чем на 10% под нагрузкой, приложенной перпендикулярно к продольной оси шланга:
- 1000 Н - для шланга подачи сжатого воздуха;
- 50 Н - для дыхательного шланга.
Испытания проводят в соответствии с 10.17.
4.7.4 При максимальном рабочем давлении шланг подачи сжатого воздуха должен быть способен к однократному перекручиванию вокруг барабана диаметром 300 мм.
Испытания проводят в соответствии с 10.19.
4.7.5 Требования по механической прочности шланга подачи сжатого воздуха при растягивающей силе 1000 Н - в соответствии с ГОСТ Р 12.4.252-2009 (пункт 5.11.3).
Испытания проводят в соответствии с 10.18.
4.7.6 Требования по термостойкости шланга подачи сжатого воздуха - в соответствии с ГОСТ Р 12.4.252-2009 (пункт 5.11.5).
Испытания проводят в соответствии с 10.20.
4.7.7 Шланг подачи сжатого воздуха должен обладать антистатическими свойствами. Электрическое сопротивление должно быть в диапазоне 103 - 108 Ом.
Испытания проводят в соответствии с 10.22.
4.7.8 При наличии быстроразъемного соединения на выходе шланга подачи сжатого воздуха должен быть предусмотрен обратный клапан для предотвращения утечки воздуха при расстыковке.
Испытания проводят в соответствии с 10.2.
4.7.9 В процессе эксплуатации дыхательный шланг аппарата должен позволять свободное движение головы, не должен деформироваться, ограничивать или перекрывать подачу воздуха под давлением подбородка или руки.
Испытания проводят в соответствии с 10.24.1.
Применение на добровольной основе п.п. 4.8, 4.9, 4.10.1.2 обеспечивает соблюдение требований технического регламента Таможенного союза "О безопасности средств индивидуальной защиты" (ТР ТС 019/2011) (Решение Коллегии Евразийской экономической комиссии от 03.03.2020 N 30).
4.8 Требования к содержанию диоксида углерода
Содержание диоксида углерода во вдыхаемом воздухе в аппарате, включая полумаску, не должно превышать в среднем 1% по объему.
Испытания проводят в соответствии с 10.23.4.
4.9 Требования к органам управления
Требования к органам управления - в соответствии с ГОСТ Р 12.4.186-2012 (пункт 4.5.7).
Испытания проводят в соответствии с 10.4.
4.10 Требования к мобильной системе подачи воздуха (станции воздухоснабжения)
4.10.1 Общие положения
4.10.1.1 При работе от мобильной системы подачи воздуха аппарат должен соответствовать требованиям 4.1.3.
Испытания проводят в соответствии с 10.5 и 10.23.3.
4.10.1.2 Если к одному регулятору давления подключены несколько пользователей, в ходе испытаний отвод первого пользователя прикрепляется к дыхательной аппаратуре, а все остальные аппараты функционируют при непрерывном потоке 160 дм3/мин.
Мобильная система подачи воздуха должна обеспечивать поступление пригодного для дыхания воздуха в соответствии с таблицей 1 и быть снабжена регулятором давления, манометром высокого давления, манометром среднего давления, предохранительным клапаном и сигнальным устройством.
Таблица 1
Наименование показателя
Значение
Содержание окиси углерода, мл/м3, не более
15,0
Содержание масла, мг/м3, не более
0,5
Содержание двуокиси углерода, мл/м3, не более
500,0
Влагосодержание (при давлении 19,6 - 29,4 МПа), мг/м3, не более
25,0
Испытания проводят в соответствии с 10.23.3.
4.10.2 Регулятор давления мобильной системы подачи воздуха
Регулятор давления в сочетании с легочным автоматом и шлангом подачи сжатого воздуха должен соответствовать требованиям 4.1.3.
Испытания проводят в соответствии с 10.23.3.
4.10.3 Предохранительный клапан регулятора давления
4.10.3.1 Регулятор давления должен быть оснащен предохранительным клапаном.
Испытания проводят в соответствии с 10.1 и 10.2.
4.10.3.2 Предохранительный клапан должен обеспечивать прохождение потока воздуха 400 дм3/мин при среднем давлении не более 3 МПа. При работе предохранительного клапана сопротивление дыханию в аппарате на вдохе и выдохе не должно превышать 2,5 кПа.
Испытания проводят в соответствии с 10.15.
4.10.4 Требования к сигнальному устройству мобильной системы подачи воздуха
4.10.4.1 Сигнальное устройство должно срабатывать при минимальной подаче воздуха, заявленной производителем.
Испытания проводят в соответствии с 10.1 и 10.23.3.
4.10.4.2 Если производителем предусмотрена работа системы подачи воздуха без участия оператора, контролирующего подачу воздуха, то сигнальное устройство должно быть переносным и быть установлено на аппарате пользователя.
Испытания проводят в соответствии с 10.1 и 10.2.
4.10.4.3 Если производителем предусмотрена работа системы подачи воздуха с участием оператора для контроля подачи воздуха, то сигнальное устройство должно предупреждать оператора и пользователя.
Испытания проводят в соответствии с 10.1 и 10.2.
4.10.4.4 Сигнальное устройство должно срабатывать при давлении (5,5 +/- 0,5) МПа.
Испытания проводят в соответствии с 10.6 и 10.23.3.
4.10.4.5 Продолжительность сигнала должна быть:
- для непрерывного сигнала - не менее 60 с;
- для прерывистого сигнала - не менее 15 с, затем сигнал должен возобновиться с интервалом не более 60 с и продолжать звучать до давления 1 МПа.
Испытания проводят в соответствии с 10.6 и 10.23.3.
4.10.5 Требование к звуковому сигнальному устройству
Применение на добровольной основе п. 4.10.5.1 обеспечивает соблюдение требований технического регламента Таможенного союза "О безопасности средств индивидуальной защиты" (ТР ТС 019/2011) (Решение Коллегии Евразийской экономической комиссии от 03.03.2020 N 30).
4.10.5.1 Уровень звукового давления должен быть не менее 90 дБ в диапазоне частот 2000 - 4000 Гц при измерении в области уха пользователя аппарата или на расстоянии не более 1 м от мобильной системы подачи воздуха (при наличии оператора). Сигнал может быть непрерывным или прерывистым.
Испытания проводят в соответствии с 10.6 и 10.23.3.
4.10.5.2 Продолжительность сигнала должна быть:
- для непрерывного сигнала - не менее 60 с;
- для прерывистого сигнала - не менее 15 с, затем сигнал должен возобновиться с интервалом не более 60 с и продолжать звучать до давления 1 МПа.
Испытания проводят в соответствии с 10.6 и 10.23.3.
4.10.5.3 При срабатывании сигнальное устройство не должно оказывать влияния на работу в аппарате.
Испытания проводят в соответствии с 10.24.1.
4.10.5.4 Средний расход воздуха на работу сигнального устройства не должен превышать 5 дм3/мин от начала работы сигнального устройства до давления 1 МПа. Сигнальное устройство должно продолжать работать в диапазоне температур 0 °C - 10 °C при относительной влажности 90%.
Испытания проводят в соответствии с 10.3.
Применение на добровольной основе п. 4.11 обеспечивает соблюдение требований технического регламента Таможенного союза "О безопасности средств индивидуальной защиты" (ТР ТС 019/2011) (Решение Коллегии Евразийской экономической комиссии от 03.03.2020 N 30).
4.11 Требования по герметичности аппарата
Шланг подачи сжатого воздуха, соединительный шланг среднего давления, соединения, легочный автомат и дыхательный шланг (при наличии) должны быть герметичны при погружении в воду на 1 мин.
Испытания проводят в соответствии с 10.11.
4.12 Требования стойкости к внешним воздействиям
4.12.1 Требования по сохранению аппаратом работоспособности после вибронагрузки - в соответствии с ГОСТ Р 12.4.186-2012 (пункт 4.3.1).
Испытания проводят в соответствии с 10.12.
4.12.2 Требования по сохранению аппаратом работоспособности после воздействия транспортных ударных нагрузок - в соответствии с ГОСТ Р 12.4.186-2012 (пункт 4.3.2).
Испытания проводят в соответствии с 10.12.
4.12.3 Аппарат должен сохранять работоспособность после воздействия климатических факторов:
- температуры (60 +/- 3) °C в течение не менее 4 ч при относительной влажности не менее 95%;
- температуры минус (50 +/- 3) °C в течение не менее 4 ч.
Испытания проводят в соответствии с 10.12.
4.12.4 Лицевая часть и легочный автомат должны быть устойчивы к воздействию дезинфицирующих растворов, рекомендованных изготовителем, а также ректификованного этилового спирта по ГОСТ Р 51652.
Испытания проводят в соответствии с 10.13.
Применение на добровольной основе п. 4.12.5 обеспечивает соблюдение требований технического регламента Таможенного союза "О безопасности средств индивидуальной защиты" (ТР ТС 019/2011) (Решение Коллегии Евразийской экономической комиссии от 03.03.2020 N 30).
4.12.5 Требования по устойчивости составных частей аппарата, включая шланг подачи воздуха, к воздействию открытого пламени - в соответствии с ГОСТ Р 12.4.252-2009 (подраздел 5.9). Требования не предъявляют к частям систем подачи сжатого воздуха (кроме шланга подачи воздуха).
Испытания проводят в соответствии с 10.14.
4.12.6 Аппарат должен сохранять работоспособность и соответствовать требованиям 4.1.3 и 4.1.4 после погружения в воду.
Испытания проводят в соответствии с 10.21.
Примечание - Аппарат не предназначен для использования под водой.
5 Требования надежности
5.1 Вероятность безотказной работы аппарата за время защитного действия должна быть не менее 0,99 при доверительной вероятности 0,9.
Испытания проводят в соответствии с 10.25.
5.2 Срок службы аппарата должен быть не менее 10 лет.
Испытания проводят в соответствии с 10.25.
Применение на добровольной основе разд. 6 обеспечивает соблюдение требований технического регламента Таможенного союза "О безопасности средств индивидуальной защиты" (ТР ТС 019/2011) (Решение Коллегии Евразийской экономической комиссии от 03.03.2020 N 30).
6 Маркировка
6.1 Каждый аппарат должен иметь заводской знак со следующими данными:
- условным обозначением аппарата;
- номером технических условий или номером стандарта, в соответствии с которым он изготовлен;
- наименованием предприятия-изготовителя или его товарным знаком;
- серийным номером изделия;
- датой изготовления (год и месяц);
- наименованием страны-изготовителя.
Проверку проводят в соответствии с 10.2.
6.2 Заводской знак с маркировкой должен быть прикреплен к аппарату в месте, защищенном от механических повреждений.
Проверку проводят в соответствии с 10.2.
6.3 Шланг подачи сжатого воздуха должен иметь следующую обязательную маркировку:
- номер партии или условное обозначение типа;
- год выпуска;
- наименование предприятия-изготовителя или его товарный знак.
6.4 Все детали должны быть снабжены идентифицирующей маркировкой согласно приложению А. Маркировка должна быть четко видимой и как можно более долговечной. Детали, подлежащие замене пользователем в процессе эксплуатации, и основные сборочные единицы должны быть легко идентифицируемыми.
Проверку проводят в соответствии с 10.2.
7 Требования к содержанию эксплуатационной документации
7.1 Руководство по эксплуатации аппарата должно содержать следующие сведения:
- назначение аппарата;
- условия эксплуатации;
- комплектность;
- основные технические характеристики;
- состав аппарата;
- устройство и принцип действия составных частей;
- проверку, регулирование и обслуживание аппарата;
- установки (приборы), которыми изготовитель рекомендует осуществлять проверки аппарата;
- требования безопасности;
- правила пользования аппаратом;
- возможные неисправности аппарата и методы их устранения;
- необходимые указания по обучению пользователей аппарата;
- информацию о маркированных деталях.
Проверку проводят в соответствии с 10.1.
7.2 Паспорт на аппарат должен содержать следующие сведения:
- данные об изготовителе;
- основные технические характеристики;
- комплектность;
- отметку о приемке изделия;
- гарантийные обязательства изготовителя на аппарат, которые должны быть не менее 12 мес;
- гарантийные обязательства изготовителя на редуктор, которые должны быть не менее трех лет.
Примечание - Эксплуатационная документация на аппарат должна быть на русском языке.
Проверку проводят в соответствии с 10.1.
8 Требования безопасности
8.1 Требования безопасности к аппарату должны быть изложены в соответствующих разделах руководства по эксплуатации аппарата и баллона.
Применение на добровольной основе п. 8.2 обеспечивает соблюдение требований технического регламента Таможенного союза "О безопасности средств индивидуальной защиты" (ТР ТС 019/2011) (Решение Коллегии Евразийской экономической комиссии от 03.03.2020 N 30).
8.2 Сжатый воздух, предназначенный для заполнения баллонов аппарата, должен соответствовать требованиям таблицы 1.
9 Правила приемки
9.1 Стадии и этапы разработки и приемки
Аппарат должен пройти все стадии и этапы разработки и приемки, предусмотренные ГОСТ Р 15.201 и ГОСТ 2.103.
9.2 Виды испытаний
Для контроля качества аппаратов проводят следующие виды испытаний:
- предварительные (заводские);
- приемочные;
- квалификационные;
- приемо-сдаточные;
- периодические;
- типовые.
Виды испытаний - по ГОСТ 16504.
9.2.1 Предварительные испытания
9.2.1.1 Предварительные испытания аппаратов проводит предприятие-изготовитель с целью предварительной оценки соответствия опытных образцов аппарата требованиям технического задания, а также определения готовности опытных образцов к приемочным испытаниям.
9.2.1.2 Программа и методика предварительных и приемочных испытаний должны включать в себя проверку всех показателей и характеристик, указанных в настоящем стандарте, а также другие требования и методы испытаний в соответствии с техническим заданием (техническими условиями) на конкретный тип аппарата.
9.2.1.3 К лабораторным испытаниям с участием испытателей допускаются только те аппараты, которые прошли испытания с использованием приборов и испытания на стенде-имитаторе внешнего дыхания человека (см. приложение Б).
9.2.2 Приемочные испытания
9.2.2.1 Приемочные испытания аппаратов проводит предприятие-изготовитель с целью оценки всех определенных техническим заданием характеристик аппарата, а также для принятия решения вопроса о возможности постановки аппарата на серийное производство.
9.2.2.2 Приемочным испытаниям подвергают опытные образцы аппарата.
9.2.3 Квалификационные испытания
9.2.3.1 Квалификационные испытания аппаратов проводит предприятие-изготовитель с целью определения готовности предприятия к серийному производству аппаратов.
9.2.3.2 Квалификационные испытания проводят по отдельной программе и методике испытаний, утвержденными предприятием-изготовителем.
9.2.4 Приемо-сдаточные испытания
9.2.4.1 Приемо-сдаточные испытания проводят в порядке и объеме, установленными в технической документации изготовителя.
9.2.4.2 Приемо-сдаточным испытаниям подвергают каждый аппарат.
9.2.5 Периодические испытания
9.2.5.1 Периодические испытания аппаратов проводят один раз в два года с целью контроля стабильности качества аппаратов.
9.2.5.2 Периодические испытания проводят в порядке и объеме, установленными в технической документации изготовителя.
9.2.6 Типовые испытания
9.2.6.1 Типовые испытания аппаратов проводят с целью оценки эффективности и целесообразности внесения изменений в конструкцию аппаратов.
9.2.6.2 Программа и методика типовых испытаний должны содержать проверку тех характеристик и параметров, на которые могут повлиять данные изменения.
9.2.6.3 Программу и методику типовых испытаний разрабатывает предприятие-изготовитель.
9.2.6.4 Результаты типовых испытаний оформляют протоколом с заключением о целесообразности внесения изменений.
10 Методы испытаний
Испытания, за исключением специально оговоренных, проводят при нормальных климатических условиях по ГОСТ 15150.
Испытательное оборудование должно быть аттестовано в соответствии с ГОСТ Р 8.568.
Средства измерений должны быть утвержденного типа и быть поверены в соответствии с [1].
Допускается применять другие средства измерений, обеспечивающие необходимую точность измерений.
10.1 Проверка документов
Результат проверки считают положительным, если при рассмотрении документов на аппарат установлено соответствие его содержания требованиям настоящего стандарта.
Применение на добровольной основе п.п. 8.2, 10.4, 10.6 обеспечивает соблюдение требований технического регламента Таможенного союза "О безопасности средств индивидуальной защиты" (ТР ТС 019/2011) (Решение Коллегии Евразийской экономической комиссии от 03.03.2020 N 30).
10.2 Проверка внешнего вида, комплектности и маркировки аппарата
Испытания проводят в соответствии с ГОСТ Р 12.4.252-2009 (подраздел 6.2).
Результат проверки считают положительным, если при визуальном осмотре аппарата установлено его соответствие требованиям настоящего стандарта.
10.3 Проверка среднего расхода воздуха на работу звукового сигнального устройства
10.3.1 Средства измерений
Средство измерений - ротаметр РМ-0,4 с верхним пределом измерений 0,4 м3/ч (до 6,7 дм3/мин по воздуху) и погрешностью не более 2,5%.
10.3.2 Проведение испытаний
Пневматическое сигнальное устройство проверяемого аппарата помещают в приспособление, позволяющее направить поток воздуха, возникающий при срабатывании сигнального устройства, к ротаметру.
Проводят измерение расхода воздуха на работу сигнального устройства при давлении в баллоне аппарата 5 и 1 МПа.
Результат проверки считают положительным, если средний расход не превышает 5 дм3/мин, что соответствует требованию 4.10.5.4.
10.4 Проверка силы срабатывания органов управления
Определяют силу, которую необходимо приложить к органам управления аппаратом (кнопкам, рычагам, маховикам и др.) для их включения (выключения). Проверку проводят в соответствии с ГОСТ Р 12.4.186-2012 (подраздел 8.4).
Результат проверки считают положительным, если значение силы, необходимой для включения (выключения) органов управления аппаратом, не превышает 80 Н, что соответствует требованию 4.9.
10.5 Определение сопротивления выдоху при расходе воздуха 10 дм3/мин
10.5.1 Проверку проводят при нормальной температуре окружающего воздуха.
Регистрируют избыточное давление воздуха в подмасочном пространстве лицевой части при расходе воздуха через клапан выдоха 10 дм3/мин.
10.5.2 Оборудование и средства измерений
Для проведения испытаний необходимы следующие оборудование и средства измерений:
- муляж головы человека;
- мановакуумметр с пределом измерений до 1000 Па и погрешностью не более 20 Па;
- ротаметр РМ-1,0 с верхним пределом измерений 1,0 м3/ч (до 16,6 дм3/мин по воздуху) и погрешностью не более 2,5%.
10.5.3 Проведение испытаний
Надевают на муляж головы человека лицевую часть аппарата. Муляж подключают к мановакуумметру. Легочный автомат присоединяют к лицевой части. Патрубок вдоха заглушают. В патрубок выдоха муляжа головы человека создают расход в подмасочное пространство лицевой части 10 дм3/мин, контролируемый по ротаметру. По мановакуумметру определяют избыточное давление воздуха в подмасочном пространстве лицевой части.
Результат проверки считают положительным, если в подмасочном пространстве лицевой части поддерживается избыточное давление, не превышающее 600 Па, что соответствует требованию 4.1.4.
10.6 Проверка работоспособности сигнального устройства
Проверку проводят в соответствии с ГОСТ Р 12.4.186-2012 (подраздел 8.7).
Результат проверки считают положительным, если выполнены требования 4.10.4.4, 4.10.4.5, 4.10.5.1 и 4.10.5.2.
10.7 Проверка резьбы в штуцере легочного автомата
Проверку резьбы проводят с использованием калибров для метрической резьбы по ГОСТ 24997.
Результат проверки считают положительным, если выполнены требования 4.6.3.
10.8 Проверка соединительных узлов
Испытания проводят в соответствии с 10.2 и 10.24.1.
Результат проверки считают положительным, если после ее окончания установлено, что отсутствуют визуально наблюдаемые изменения внешнего вида соединительных узлов, а также выполнены требования 4.6.1.
10.9 Проверка прочности соединения легочного автомата и лицевой части
Проверку проводят в соответствии с ГОСТ Р 12.4.186-2012 (подраздел 8.10) при приложении силы 50 Н.
Результат проверки считают положительным, если после ее окончания установлено, что отсутствуют визуально наблюдаемые изменения внешнего вида соединения легочного автомата и лицевой части, а также выполнено требование 4.6.2.
10.10 Проверка расхода воздуха при работе устройства дополнительной подачи воздуха (при наличии)
Проверку проводят в соответствии с ГОСТ Р 12.4.186-2012 (подраздел 8.11).
Результат проверки считают положительным, если выполнено требование 4.1.5.
Применение на добровольной основе п.п. 10.11, 10.14 обеспечивает соблюдение требований технического регламента Таможенного союза "О безопасности средств индивидуальной защиты" (ТР ТС 019/2011) (Решение Коллегии Евразийской экономической комиссии от 03.03.2020 N 30).
10.11 Проверка герметичности аппарата
При максимальном эксплуатационном давлении, предусмотренном для данного аппарата, шланг подачи сжатого воздуха, соединительный шланг среднего давления, соединения, легочный автомат и дыхательный шланг (при наличии) должны пройти проверку на герметичность путем погружения в воду на 1 мин. Легочный автомат должен быть включен, а место соединения с лицевой частью - загерметизировано.
Проверку проводят перед и после испытаний за исключением испытаний на устойчивость к воздействию открытого пламени. Утечка не допускается.
Результат проверки считают положительным, если выполнено требование 4.11.
10.12 Испытания на стойкость аппарата к механическим и климатическим воздействиям
Испытания заключаются в том, что аппарат последовательно подвергают внешним воздействиям с параметрами, указанными в 4.12.1 - 4.12.3, и после каждого вида воздействия визуально определяют отсутствие механических повреждений аппарата, влияющих на его работоспособность, а также определяют соответствие аппарата требованиям 4.1.3, 4.1.4 и 4.11.
Испытания проводят последовательно на одном аппарате.
Результат проверки считают положительным, если выполнены требования 4.12.1 - 4.12.3.
10.12.1 Проверка сохранения работоспособности аппарата после воздействия вибронагрузки
Испытания проводят по методикам ГОСТ Р 12.4.186-2012 (пункт 8.18.1).
10.12.2 Проверка сохранения работоспособности аппарата после воздействия транспортных ударных нагрузок
Испытания проводят по методикам ГОСТ Р 12.4.186-2012 (пункт 8.18.2).
10.12.3 Проверка сохранения работоспособности аппарата после воздействия на него климатических факторов
Испытания проводят в климатической камере, обеспечивающей поддержание заданных параметров, установленных в 4.12.3.
Испытания проводят в следующей последовательности:
- воздействие температуры (60 +/- 3) °C в течение не менее 4 ч при относительной влажности не менее 95%;
- воздействие температуры минус (50 +/- 3) °C в течение не менее 4 ч.
10.13 Проверка устойчивости лицевой части и легочного автомата к воздействию дезинфицирующих растворов
Проверку проводят в соответствии с ГОСТ Р 12.4.186-2012 (подраздел 8.19).
Результат проверки считают положительным, если после протирок дезинфицирующими растворами, спиртом отсутствуют визуально наблюдаемые разрушения поверхностных слоев обработанных составных частей аппарата, что соответствует требованиям 4.12.4.
10.14 Проверка устойчивости дыхательного аппарата к воздействию открытого пламени температурой (800 +/- 50) °C
Проверку проводят в соответствии с ГОСТ Р 12.4.252-2009 (подраздел 6.8), но при воздействии открытого пламени в течение (5,0 +/- 0,2) с.
Результат проверки считают положительным, если после ее окончания отсутствуют разрушения составных частей подвесной системы дыхательного аппарата, составные части не поддерживали горение или тление более (5,0 +/- 0,2) с, а пряжки выполняют свои функции, что соответствует требованиям 4.12.5.
10.15 Проверка конструкции предохранительного клапана редуктора
10.15.1 Оборудование и средства измерений
При проведении испытаний необходимы следующие оборудование и средства измерений:
- ротаметр РМ-25 с верхним пределом измерений 25 м3/ч (до 420 дм3/мин по воздуху) и погрешностью не более 2,5%;
- манометр с верхним пределом измерений до 4 МПа и погрешностью не более 0,06 МПа;
- мановакуумметр с пределом измерений до 2500 Па и погрешностью не более 20 Па.
10.15.2 Проведение испытаний
Регулятор давления подсоединяют через тройник к полости низкого давления проверяемого редуктора и манометру. Ротаметр подсоединяют к выходу предохранительного клапана. Медленно повышая давление подачи воздуха, создают расход 400 дм3/мин через предохранительный клапан проверяемого редуктора и определяют давление по манометру.
Затем регулятор давления и мановакуумметр подсоединяют к легочному автомату, соединенному с полумаской аппарата, надетой на муляж головы человека. Муляж головы соединяют с искусственными легкими, отрегулированными на легочную вентиляцию 50 дм3/мин, и мановакуумметром, измеряющим сопротивление дыханию. Регулятором давления создают выше определенное давление, включают искусственные легкие и фиксируют сопротивление дыханию.
Результат проверки считают положительным, если выполнены требования 4.10.3.2.
10.16 Проверка работоспособности шланга подачи сжатого воздуха и соединительного шланга среднего давления и их креплений
10.16.1 Средства измерений
При проведении испытаний необходимы следующие средства измерений:
- манометр с верхним пределом измерений до 4 МПа и погрешностью не более 0,06 МПа;
- секундомер с погрешностью не более 1 с.
10.16.2 Проведение испытаний
Испытания проводят на шланге, снятом с аппарата. На один конец шланга устанавливают заглушку, а к другому концу шланга подводят давление, вдвое превышающее давление срабатывания предохранительного клапана редуктора или не менее 3 МПа и делают выдержку в течение 15 мин.
Результат проверки считают положительным, если не произошло разрывов, трещин в шланге, что соответствует требованиям 4.7.1.
10.17 Проверка устойчивости шланга подачи сжатого воздуха и дыхательного шланга к повреждениям
10.17.1 Оборудование и средства измерений
При проведении испытаний необходимы следующие оборудование и средства измерений:
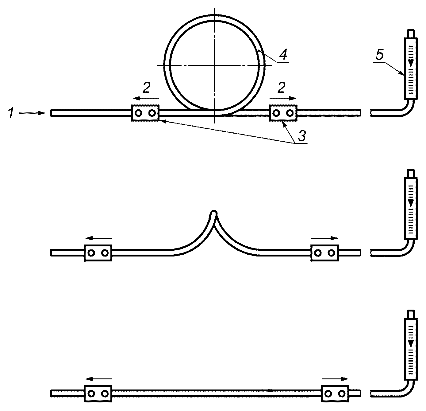
- две квадратные металлические пластины размером 100 x 100 мм или круглые диаметром 100 мм и толщиной не менее 10 мм. Одна пластина зафиксирована, а другая подвижна под прямым углом к плоскости пластины. Подвижная пластина способна выдерживать нагрузку силой 50 Н, прикладываемую между пластинами (см. рисунок 1);
- динамометр с пределом измерений не более 100 Н и погрешностью не более 2%;
- секундомер с погрешностью не более 1 с;
- ротаметр РМ-10 с верхним пределом измерений 10 м3/ч (до 170 дм3/мин по воздуху) и погрешностью не более 2,5%.
Рисунок 1 - Испытания шланга подачи сжатого воздуха
на устойчивость к повреждениям
10.17.2 Проведение испытаний
Шланг подачи сжатого воздуха располагают между пластинами, создают расход через шланг 120 дм3/мин. К верхней пластине прикладывают силу 50 Н и измеряют расход воздуха через шланг. Определяют уменьшение расхода воздуха.
Результат проверки считают положительным, если уменьшение расхода составило не более 10%, что соответствует требованию 4.7.3.
10.18 Проверка механической прочности шланга подачи сжатого воздуха
10.18.1 Оборудование и средства измерений
Для проведения испытаний необходимы следующие оборудование и средства измерений:
- имитационный корпус;
- динамометр с пределом измерений не менее 1000 Н и погрешностью не более 2%;
- секундомер с погрешностью не более 1 с.
10.18.2 Проведение испытаний
Пояс со шлангом подачи сжатого воздуха крепят к имитационному корпусу в вертикальном положении.
К шлангу подачи сжатого воздуха прикладывают силу 1000 Н в течение 5 мин (см. рисунок 2).
Результат проверки считают положительным, если шланг подачи сжатого воздуха не отделился от пояса, что соответствует требованию 4.7.5.
Рисунок 2 - Испытания механической прочности крепления
шланга подачи сжатого воздуха к поясу
10.19 Проверка устойчивости шланга подачи сжатого воздуха к деформации
10.19.1 Оборудование и средства измерений
Для проведения испытаний необходимы следующие оборудование и средства измерений:
- ротаметр РМ-25 с верхним пределом измерений 25 м3/ч (до 420 дм3/мин по воздуху) и погрешностью не более 2,5%;
- металлическая линейка до 1000 мм с погрешностью не более 0,15 мм.
10.19.2 Проведение испытаний
Шланг подачи сжатого воздуха размещают на горизонтальной поверхности и приводят его в форму однопетлевого витка диаметром (300 +/- 10) мм, создают расход воздуха через шланг 120 дм3/мин.
Тянут за концы петли по касательной к петле и в плоскость петли, пока шланг не примет форму прямой линии, и фиксируют расход воздуха через шланг (см. рисунок 3).
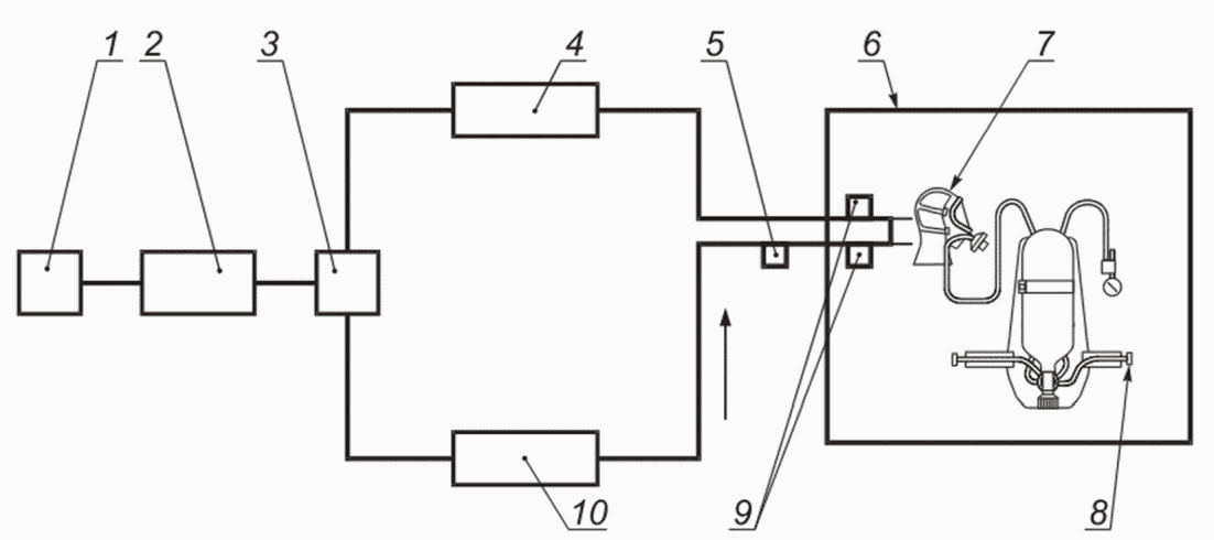
1 - подача воздуха; 2 - направление движения; 3 - зажимы;
4 - шланг; 5 - ротаметр
Рисунок 3 - Испытания шланга подачи
сжатого воздуха на деформацию
Результат проверки считают положительным, если во время испытаний шланг не деформировался до такой степени, что могло бы способствовать уменьшению расхода воздуха через шланг более чем на 10%, что соответствует требованиям 4.7.2 и 4.7.4.
10.20 Проверка термостойкости шланга подачи сжатого воздуха
Шланг подачи сжатого воздуха подсоединяют к аппарату. Аппарат подсоединяют к искусственным легким, отрегулированным на легочную вентиляцию 50 дм3/мин (синусоидальный поток 25 циклов в минуту, по 2 дм3 за один цикл). В шланге подачи создают максимально допустимое давление. Приблизительно 100 мм шланга подачи приводят в контакт с горячей пластиной температурой (135 +/- 5) °C, а оставшуюся часть шланга погружают в кипящую воду. Включают искусственные легкие и через 15 мин убирают шланг от горячей пластины и кипящей воды.
Проверяют, имеются ли следы повреждений, и убеждаются, что нет сильных изменений в качестве воздуха, что соответствует требованиям 4.7.6.
10.21 Испытания аппарата на работоспособность после погружения в воду
10.21.1 Оборудование
Для проведения испытаний необходимо следующее оборудование - стенд-имитатор внешнего дыхания человека, описание которого дано в приложении Б.
10.21.2 Проведение испытаний
Полумаску собранного аппарата надевают на муляж головы человека, который, в свою очередь, присоединяют к искусственным легким с помощью гибкого шланга.
Проверку осуществляют при настройке искусственных легких на легочную вентиляцию 50 дм3/мин (синусоидальный поток 25 циклов в минуту, по 2 дм3 за один цикл). Полностью собранный аппарат погружают в воду на глубину 0,25 - 0,80 м на три - пять полных дыхательных циклов. Выполняют серию тестов с погружением аппарата и муляжа головы в два положения, отражающие соответственно максимально и минимально дифференциальное давление между легочным автоматом и клапаном выдоха.
Аппарат и муляж головы извлекают из воды после каждого теста в каждом положении и измеряют сопротивление дыханию аппарата. Сопротивление дыханию записывают до и сразу после каждого погружения. Наличие воды в лицевой маске после испытания не является показателем отказа аппарата, и попавшую воду можно удалить до измерения сопротивления дыханию.
Результат проверки считают положительным, если сопротивление дыханию до и после проверки соответствует 4.1.4 и 4.12.6.
10.22 Проверка антистатических свойств шланга подачи сжатого воздуха
Поверхностное сопротивление шланга определяют по ГОСТ 6433.2.
Результат проверки считают положительным, если выполняются требования 4.7.7.
10.23 Испытания аппарата на стенде-имитаторе внешнего дыхания человека
10.23.1 Оборудование
Для проведения испытаний необходимо следующее оборудование - стенд-имитатор внешнего дыхания человека, описание которого дано в приложении Б.
10.23.2 Подготовка к испытаниям
При подготовке аппарата к испытаниям допускается вмешательство в его конструкцию, необходимое для определения некоторых параметров, при условии, что это не нарушит нормальной работы аппарата. Допускается присоединение к лицевой части приспособления для отбора проб газовоздушной смеси.
Аппарат снаряжают и проверяют в соответствии с инструкцией по эксплуатации.
Стенд настраивают на дыхательный режим, соответствующий условиям конкретного испытания.
Значения показателей режимов работы стенда во время испытаний должны соответствовать значениям, приведенным в таблице 2, с учетом допусков, приведенных в приложении Б.
Таблица 2
Наименование показателя
Работа
средней тяжести
тяжелая
очень тяжелая
Легочная вентиляция, дм3/мин
30
35
50
60
100
Дыхательный объем, дм3
1,50
1,75
2,00
2,40
2,50
Частота дыхания, мин-1
20
20
25
25
40
Аппарат помещают в климатическую камеру в вертикальном положении, к аппарату подключают шланг подачи сжатого воздуха, лицевую часть надевают на муляж головы человека (см. рисунок 4), подключенный к стенду, и закрывают камеру.
1 - патрубок для измерения сопротивления дыхания;
2 - патрубок для измерения диоксида углерода
Рисунок 4 - Муляж головы человека (голова "Шеффилда")
Применение на добровольной основе п. 10.23.3 обеспечивает соблюдение требований технического регламента Таможенного союза "О безопасности средств индивидуальной защиты" (ТР ТС 019/2011) (Решение Коллегии Евразийской экономической комиссии от 03.03.2020 N 30).
10.23.3 Проведение испытаний
Испытания проводят при различных условиях дыхания и значениях температуры воздуха в климатической камере.
Испытания аппарата проводят при каждом из двух дыхательных режимов, характеризующихся совокупностью показателей, приведенных в таблице 2.
Число испытаний для каждого режима, определяемого совокупностью дыхательного режима и значения температуры, приведено в таблице 3.
Таблица 3
Температура в климатической камере, °C
Число испытаний при легочной вентиляции, дм3/мин
50
100
25 +/- 3
1
1
60 +/- 3
-
-
Минус (40 +/- 3)
1
-
Перед испытанием аппарат выдерживают в климатической камере при соответствующей температуре в течение (30 +/- 1) мин.
При испытаниях аппарата при температуре 25 °C лицевую часть надевают на муляж головы человека и подключают ее к аппарату. Открывают вентили мобильной системы подачи воздуха. В шланге подачи сжатого воздуха создают необходимое давление. Включают стенд, производят наработку в течение 60 мин.
При работе стенда через равные промежутки времени, но не реже чем через 10 мин, регистрируют в протоколе следующие параметры работы проверяемого аппарата:
- давление воздуха в баллонах мобильной системы подачи воздуха;
- давление воздуха в подмасочном пространстве лицевой части (капюшона) на вдохе и выдохе (сопротивление дыханию).
Затем сбрасывают воздух из баллонов мобильной системы подачи воздуха, фиксируют давление в баллонах мобильной системы подачи воздуха, при котором включается сигнальное устройство. Прекращают сброс воздуха. Фиксируют продолжительность сигнала.
Рассчитывают резервный запас воздуха в баллонах мобильной системы подачи воздуха.
При испытаниях аппарата при температуре минус 40 °C предварительную выдержку в климатической камере проводят без лицевой части. Лицевую часть надевают на муляж головы человека и подключают ее к аппарату после его выдержки в климатической камере при соответствующей температуре, производят наработку в течение 45 мин.
При работе стенда через равные промежутки времени, но не реже чем через 10 мин, регистрируют в протоколе следующие параметры работы проверяемого аппарата:
- давление воздуха в баллоне;
- давление воздуха в подмасочном пространстве лицевой части (капюшона) на вдохе и выдохе (сопротивление дыханию).
По окончании испытания в протоколе регистрируют:
- работоспособность аппарата;
- фактическое время защитного действия.
Форма протокола приведена в приложении В.
Испытания проводят до исчерпания защитной способности аппарата, которую определяют наступлением одного из нижеперечисленных событий:
- уменьшением давления воздуха в баллоне до 1 МПа;
- несоответствием требованию 4.1.3 или 4.1.4.
При испытании аппарата при легочной вентиляции 100 дм3/мин проводят проверку избыточного давления в подмасочном пространстве лицевой части, сопротивления дыханию на выдохе, давления срабатывания сигнального устройства.
Испытания аппарата при легочной вентиляции 100 дм3/мин проводят в течение (10 +/- 1) мин.
Во время испытаний при температуре минус 40 °C должно отсутствовать замерзание смотрового стекла лицевой части.
Результат проверки считают положительным, если выполнены требования 4.1.1, 4.1.3, 4.1.4, 4.7.9, 4.10.1, 4.10.2, 4.10.4.1, 4.10.4.4, 4.10.4.5, 4.10.5.1 и 4.10.5.2.
Применение на добровольной основе п. 10.23.4 обеспечивает соблюдение требований технического регламента Таможенного союза "О безопасности средств индивидуальной защиты" (ТР ТС 019/2011) (Решение Коллегии Евразийской экономической комиссии от 03.03.2020 N 30).
10.23.4 Проверка содержания диоксида углерода на вдохе в лицевой части
Проверку проводят при испытаниях аппарата на стенде-имитаторе внешнего дыхания человека. Концентрацию диоксида углерода определяют с помощью газоанализатора для определения концентрации диоксида углерода в диапазоне 0% - 5% (по объему) с погрешностью не более 0,3%.
Результат проверки считают положительным, если при проведении испытаний содержание диоксида углерода не превышает 1% (по объему), что соответствует требованию 4.8.
10.24 Испытания аппарата с участием испытателей
10.24.1 Испытания аппарата с участием испытателей проводят с целью оценки эксплуатационных свойств самоспасателя, комфортности дыхания в аппарате, требований эргономики, удобства при выполнении различных работ.
ИС МЕГАНОРМ: примечание.
В официальном тексте документа, видимо, допущена опечатка: имеется в виду ГОСТ Р 12.4.252-2009, а не ГОСТ 12.4.252-2009.
Испытания проводят по методикам ГОСТ 12.4.252-2009 (подраздел 6.4).
Результат проверки считают положительным, если выполнены требования 4.2.1, 4.2.2, 4.4, 4.6.4 и 4.10.5.3.
10.24.2 Проверка коэффициента подсоса масляного тумана в подмасочное пространство лицевой части аппарата
10.24.2.1 Аппаратура и материалы
Комплект аппаратуры и материалов - в соответствии с ГОСТ 12.4.157-75 (подраздел 2.1).
10.24.2.2 Проведение испытаний
Испытания проводят в соответствии с ГОСТ 12.4.157-75 (разделы 2 и 3).
В испытаниях должны участвовать не менее трех человек с различными антропометрическими размерами головы [по вертикальному обхвату - длины круговой линии, проходящей по подбородку и щекам через высшую точку головы (макушки) - 610 - 720 мм, и морфологической высоты лица - расстояния от наиболее углубленной точки спинки носа (переносицы) до наиболее выступающей точки подбородка - 110 - 140 мм].
Результат проверки считают положительным, если подсос масляного тумана в подмасочное пространство лицевой части соответствует требованиям 4.5.2.
10.25 Испытания на надежность
Проверку проводят в соответствии с ГОСТ Р 12.4.186-2012 (подраздел 8.27).
Результат проверки считают положительным, если выполнены требования 5.1 и 5.2.
Приложение А
(рекомендуемое)
МАРКИРОВКА
Рекомендуемые сборочные единицы и детали, подлежащие идентификации маркировкой, представлены в таблице А.1.
Таблица А.1
Сборочная единица/деталь
Маркировка
Дата изготовления
Обозначение нормативного документа
Редуктор
+
+
Легочный автомат
+
+
Дыхательный шланг (при наличии)
+
+
Лепесток клапана вдоха
+
+
Лепесток клапана выдоха
+
+
Полнолицевая маска
Ременные крепежи/пояс
-
-
Соединительный шланг среднего давления (при наличии)
-
+
Шланг подачи сжатого воздуха
+
+
Баллон
Согласно соответствующим стандартам
Вентиль
Согласно соответствующим стандартам
<1> Соответствующую информацию о деталях, которые нельзя маркировать, необходимо включать в информацию, предоставляемую изготовителем.
Примечание - Знак "+" означает, что маркировка требуется; знак "-" означает, что маркировка не требуется.
Детали сборочных единиц не подлежат маркировке, когда сборочный узел можно идентифицировать. Детали, не поставляемые в качестве запасных частей изготовителем, не подлежат маркировке, но соответствующая информация должна быть указана в информации, предоставляемой изготовителем.
Приложение Б
(рекомендуемое)
СТЕНД-ИМИТАТОР ВНЕШНЕГО ДЫХАНИЯ ЧЕЛОВЕКА
Стенд-имитатор внешнего дыхания человека предназначен для объективной оценки аппарата при работе с различной дыхательной нагрузкой и в различных внешних микроклиматических условиях.
Принципиальная схема стенда показана на рисунке Б.1.
1 - привод насоса "искусственные легкие"; 2 - насос
"искусственные легкие"; 3 - клапанная коробка с клапанами
вдоха и выдоха; 4 - осушитель; 5 - датчики температуры;
6 - климатическая камера; 7 - "Шеффилдский" муляж головы
человека; 8 - дыхательный аппарат; 9 - датчики сопротивления
дыханию; 10 - термостат с увлажнителем
Рисунок Б.1 - Принципиальная схема стенда-имитатора внешнего
дыхания человека
При испытании аппарата на стенде определяют время защитного действия, условия дыхания, параметры основных систем и устройств.
Стенд имитирует вентиляционную функцию легких. Для имитации вентиляционной функции легких стенд создает пульсирующий поток газа с изменением объемного расхода, близким к синусоидальному, и равной продолжительностью фаз вдоха и выдоха.
Стенд имитирует температурно-влажностный режим выдоха путем нагревания и увлажнения выдыхаемой газовоздушной смеси.
Мгновенные значения объемного расхода не должны отличаться от синусоидальных более чем на 4%.
Объем дыхательного цикла должен быть 1,5 - 2,5 дм3, частота дыхания должна быть 20 - 40 мин-1.
Температура и относительная влажность газовоздушной смеси на выдохе из муляжа должны соответствовать (36,5 +/- 0,5) °C и (95 +/- 3)% соответственно.
В состав стенда должна входить климатическая камера, где поддерживается температура в пределах минус 50 °C - плюс 60 °C с отклонением от заданного значения не более 2 °C.
Стенд должен быть укомплектован устройствами и контрольно-измерительными приборами, позволяющими устанавливать и контролировать параметры дыхательной нагрузки и регистрировать сопротивление дыханию в аппарате в диапазоне минус 1000 - плюс 1000 Па с погрешностью не более 20 Па.
При включении стенда на холостой ход трехходовые краны устанавливают в положение, при котором имитатор дыхания соединяется по воздуховодной системе стенда с окружающей средой. В этом положении испытуемый аппарат отключен от имитатора дыхания. Избыточное давление воздуха под лицевой частью измеряют в подмасочном пространстве лицевой части (полумаске).
Приложение В
(обязательное)
ПРОТОКОЛ
ИСПЫТАНИЯ АППАРАТА НА СТЕНДЕ-ИМИТАТОРЕ ВНЕШНЕГО
ДЫХАНИЯ ЧЕЛОВЕКА
Протокол N _____
___________________________________________________
наименование организации, проводившей испытания,
подразделение
________________________________________________________
место проведения испытания, организация, подразделение,
город, дата
В.1 Общие сведения
В.1.1 Наименование аппарата и его обозначение _____________________________
В.1.2 Изготовитель ________________________________________________________
В.1.3 Обозначение нормативного документа, в соответствии с которым
изготовлен аппарат ________________________________________________________
___________________________________________________________________________
В.1.4 Номер аппарата ______________________________________________________
В.1.4.1 Номер редуктора ___________________________________________________
В.1.4.2 Тип и номер легочного автомата ____________________________________
В.1.5 Дата изготовления аппарата __________________________________________
В.1.6 Рабочее давление в баллоне, МПа _____________________________________
В.1.7 Вместимость, л ______________________________________________________
В.1.8 Лицевая часть _______________________________________________________
В.2 Параметры аппарата до испытания
Наименование параметра
Значение параметра
1 Герметичность аппарата
2 Избыточное давление под лицевой частью при нулевом расходе, Па (среднее)
3 Давление воздуха, при котором срабатывает сигнальное устройство, МПа
В.3 Условия испытаний
Наименование показателя
Заданное значение
Фактическое значение
1 Температура воздуха в камере, °C
2 Легочная вентиляция, дм3/мин
3 Частота дыхания, мин-1
В.4 Запись наблюдений в процессе испытания
Время от начала опыта, мин
Давление воздуха в шланге подачи, МПа
Давление воздуха под лицевой частью на вдохе, Па
Сопротивление дыханию на выдохе, Па
Фактическое сопротивление дыханию на выдохе, Па
Минимальное значение
Среднее значение
Максимальное значение
Давление воздуха, при котором сработало сигнальное устройство, МПа ________
Продолжительность работы сигнального устройства, мин ______________________
Дополнительные данные _____________________________________________________
В.5 Замечания
___________________________________________________________________________
Ответственный за испытание ___________________ ____________________________
личная подпись расшифровка подписи
БИБЛИОГРАФИЯ
[1]
Порядок проведения поверки средств измерений, требования к знаку поверки и содержанию свидетельства о поверке, утвержденный Приказом Минпромторга России от 2 июля 2015 г. N 1815
УДК 614.894:006.354
ОКС 13.340.30
Ключевые слова: аппарат дыхательный, линия подачи, сжатый воздух, полумаска, избыточное давление, сопротивление дыханию, время защитного действия, спасательное устройство, легочная вентиляция, технические требования, методы испытаний, маркировка