Главная // Актуальные документы // ГОСТ Р (Государственный стандарт)СПРАВКА
Источник публикации
В данном виде документ опубликован не был.
Первоначальный текст документа опубликован в издании
М.: Стандартинформ, 2014.
Информацию о публикации документов, создающих данную редакцию, см. в справке к этим документам.
Примечание к документу
Документ включен в Перечень международных и региональных (межгосударственных) стандартов (
п. п. 191,
193,
195), а в случае их отсутствия - национальных (государственных) стандартов, содержащих правила и методы исследований (испытаний) и измерений, в том числе правила отбора образцов, необходимые для применения и исполнения требований технического
регламента Таможенного союза "О требованиях к автомобильному и авиационному бензину, дизельному и судовому топливу, топливу для реактивных двигателей и мазуту" (ТР ТС 013/2011) и осуществления оценки соответствия объектов технического регулирования (
Решение Коллегии Евразийской экономической комиссии от 15.08.2023 N 114).
Документ включен в Перечень стандартов (
пункты 254,
259 и
264), содержащих правила и методы исследований (испытаний) и измерений, в том числе правила отбора образцов, необходимые для применения и исполнения требований технического
регламента Таможенного союза "О требованиях к автомобильному и авиационному бензину, дизельному и судовому топливу, топливу для реактивных двигателей и мазуту" (ТР ТС 013/2011) и осуществления оценки соответствия объектов технического регулирования (
Решение Комиссии Таможенного союза от 18.10.2011 N 826).
Взамен ГОСТ Р 52954-2008.
Название документа
"ГОСТ Р 52954-2013. Национальный стандарт Российской Федерации. Нефтепродукты. Определение термоокислительной стабильности топлив для газовых турбин"
(утв. и введен в действие Приказом Росстандарта от 16.04.2013 N 51-ст)
(ред. от 19.12.2016)
"ГОСТ Р 52954-2013. Национальный стандарт Российской Федерации. Нефтепродукты. Определение термоокислительной стабильности топлив для газовых турбин"
(утв. и введен в действие Приказом Росстандарта от 16.04.2013 N 51-ст)
(ред. от 19.12.2016)
Утвержден и введен в действие
Приказом Федерального агентства
по техническому регулированию
и метрологии
от 16 апреля 2013 г. N 51-ст
НАЦИОНАЛЬНЫЙ СТАНДАРТ РОССИЙСКОЙ ФЕДЕРАЦИИ
НЕФТЕПРОДУКТЫ
ОПРЕДЕЛЕНИЕ ТЕРМООКИСЛИТЕЛЬНОЙ СТАБИЛЬНОСТИ ТОПЛИВ
ДЛЯ ГАЗОВЫХ ТУРБИН
Petroleum products. Determination of thermal oxidation
stability of gas turbine fuels
ГОСТ Р 52954-2013
| | Список изменяющих документов Росстандарта от 19.12.2016 N 2045-ст) | |
Дата введения
1 января 2014 года
1 ПОДГОТОВЛЕН Федеральным государственным унитарным предприятием "Всероссийский научно-исследовательский центр стандартизации, информации и сертификации сырья, материалов и веществ" (ФГУП "ВНИЦСМВ") на основе собственного аутентичного перевода на русский язык стандарта, указанного в
пункте 4
2 ВНЕСЕН Техническим комитетом по стандартизации ТК 31 "Нефтяные топлива и смазочные материалы"
3 УТВЕРЖДЕН И ВВЕДЕН В ДЕЙСТВИЕ Приказом Федерального агентства по техническому регулированию и метрологии от 16 апреля 2013 г. N 51-ст
4 Настоящий стандарт идентичен стандарту АСТМ Д 3241-13 "Стандартный метод определения термоокислительной стабильности авиационных турбинных топлив" (ASTM D 3241-13 "Standard test method for thermal oxidation stability of aviation turbine fuels").
(в ред.
Изменения N 1, утв. Приказом Росстандарта от 19.12.2016 N 2045-ст)
Наименование настоящего стандарта изменено относительно наименования указанного стандарта для приведения в соответствие с ГОСТ Р 1.5-2012
(подраздел 3.5).
При применении настоящего стандарта рекомендуется использовать вместо ссылочных стандартов соответствующие им национальные стандарты Российской Федерации и межгосударственные стандарты,
сведения о которых приведены в дополнительном приложении ДА
5 ВЗАМЕН ГОСТ Р 52954-2008
Правила применения настоящего стандарта установлены в статье 26 Федерального закона от 29 июня 2015 г. N 162-ФЗ "О стандартизации в Российской Федерации". Информация об изменениях к настоящему стандарту публикуется в ежегодном (по состоянию на 1 января текущего года) информационном указателе "Национальные стандарты", а официальный текст изменений и поправок - в ежемесячном информационном указателе "Национальные стандарты". В случае пересмотра (замены) или отмены настоящего стандарта соответствующее уведомление будет опубликовано в ближайшем выпуске ежемесячного информационного указателя "Национальные стандарты". Соответствующая информация, уведомление и тексты размещаются также в информационной системе общего пользования - на официальном сайте Федерального агентства по техническому регулированию и метрологии в сети Интернет (www.gost.ru)
(в ред.
Изменения N 1, утв. Приказом Росстандарта от 19.12.2016 N 2045-ст)
1.1 Настоящий стандарт устанавливает метод оценки склонности топлив для газовых турбин к образованию отложений в топливной системе.
1.2 Значения перепада давления в миллиметрах ртутного столба определены только в терминах настоящего метода испытаний.
1.3 Значения, указанные в единицах системы СИ, следует рассматривать как стандартные.
1.4 Предупреждение - Ртуть является опасным материалом, который может вызвать паралич центральной нервной системы и поражение почек и печени. Ртуть или ее пары опасны для здоровья и коррозионноактивны для материалов. Следует соблюдать осторожность при работе с ртутью и продуктами, содержащими ртуть. Конкретная информация приведена в соответствующем разделе паспорта безопасности - MSDS. Пользователи стандарта должны знать, что продажа ртути и/или продуктов, содержащих ртуть, может быть запрещена законодательством.
1.5 Применение настоящего стандарта связано с использованием в процессе испытания опасных материалов, операций и оборудования. В настоящем стандарте не предусмотрено рассмотрение всех вопросов обеспечения безопасности. Пользователь настоящего стандарта несет ответственность за установление соответствующих правил по технике безопасности и охране труда, а также определяет целесообразность применения законодательных ограничений перед его использованием. Особые требования к мерам предосторожности приведены в
6.1.1;
7.2;
7.2.1;
7.3;
11.1.1 и
приложении A3.
В настоящем стандарте использованы нормативные ссылки на следующие стандарты:
--------------------------------
<1> Уточнить ссылки на стандарты АСТМ можно на сайте АСТМ, www.astm.org или в службе поддержки клиентов АСТМ: service@astm.org. В информационном томе ежегодного сборника стандартов (Annual Book of ASTM Standards) следует обращаться к сводке стандартов ежегодного сборника стандартов на странице сайта.
АСТМ Д 1655 Спецификация на авиационные турбинные топлива (ASTM D 1655, Standard specification for aviation turbine fuels)
АСТМ Д 4306 Требования к контейнерам для образцов авиационных турбинных топлив для испытаний, зависящих от наличия следовых загрязнений (ASTM D 4306, Standard practice for aviation fuel sample containers for tests affected by trace contamination)
АСТМ Е 177 Правила применения терминов, касающихся прецизионности и отклонения в методах испытаний по АСТМ (ASTM E 177, Standard practice for use of the terms precision and bias in ASTM test methods)
АСТМ Е 691 Правила проведения межлабораторных исследований по определению прецизионности метода испытания (ASTM E 691, Standard practice for conducting an interlaboratory study to determine the precision of a test method)
--------------------------------
<2> Доступны в Международной организации по стандартизации (ISO), 1, ch. De la Voie-Creuse, CP 56, CH-1211 Geneva 20, Switzerland, http://www.iso.org.
ИСО 3274 Геометрические характеристики изделий (GPS). Структура поверхности. Профильный метод. Номинальные характеристики контактных (щуповых) приборов [ISO 3274, Geometrical product specifications (GPS) - Surface texture - Profile method - Nominal characteristics of contact (stylus) instruments]
ИСО 4288 Геометрические характеристики изделий (GPS). Структура поверхности. Профильный метод. Правила и процедуры оценки структуры поверхности [ISO 4288, Geometrical product specifications (GPS) - Surface texture - Profile method - Rules and procedures for the assessment of surface texture]
--------------------------------
<3> Можно получить в ASTM International Headquarters. Заказ дополнения - по номеру ADJD3241. Оригинальное дополнение сделано в 1986 г.
Цветовая шкала для оценки отложений на трубке - эталон цвета
3 Термины, определения и обозначения
3.1 В настоящем стандарте применены следующие термины с соответствующими определениями:
3.1.1 отложения (deposits): Продукты окисления топлива, отложившиеся на поверхности трубки нагревателя или осадившиеся на испытательном фильтре, или и то, и другое.
3.1.1.1 Отложения обычно образуются на самом горячем участке поверхности трубки нагревателя на отрезке от 30 до 50 мм.
3.1.2 трубка нагревателя (heater tube): Образец алюминиевой трубки при контролируемой повышенной температуре, поверх которой прокачивается испытуемое топливо.
3.1.2.1 Трубка нагревается с помощью резисторного нагревателя, температура контролируется термопарой, помещенной внутри трубки. Критическая площадь испытательной трубки - самый тонкий участок длиной 60 мм между плечиками трубки. Подвод топлива к трубке находится в позиции "0 мм", а выпуск топлива - в позиции "60 мм".
3.2 Обозначения
3.2.1

- перепад давления.
4.1 Для оценки термоокислительной стабильности топлив для газовых турбин методом настоящего стандарта используют установку, в которой испытуемое топливо подвергают воздействию в условиях, близких к происходящим в топливной системе газотурбинного двигателя.
Топливо прокачивают по поверхности нагревателя с заданной постоянной объемной скоростью, затем оно поступает на испытательный фильтр из нержавеющей стали, улавливающий продукты разложения топлива.
4.1.1 Для 2,5-часового испытания на установке требуется 450 см3 топлива. Оцениваемыми показателями являются характеристика отложений на алюминиевой трубке нагревателя и скорость забивания фильтра номинальной пористостью 17 мкм, расположенного непосредственно за трубкой нагревателя.
5 Назначение и использование
5.1 Результаты испытаний, проведенных в соответствии с настоящим стандартом, характеризуют эксплуатационные характеристики топлива во время работы газовой турбины и могут быть использованы для оценки отложений, образующихся при соприкосновении жидкого топлива с нагретой до определенной температуры поверхностью трубки.
6.1 Установка для определения термоокислительной стабильности топлив для газовых турбин <4>.
--------------------------------
<4> Для разработки настоящего метода испытаний было использовано оборудование <
A>, приведенное в
таблице 1 и исследовательском отчете RR:D02-1309.
Оборудование <
B>, указанное в
таблице 1 как эквивалентное, приведено в исследовательском отчете RR:D02-1631, предоставлено PAC, 8824 Fallbrook Drive, Houston, TX 77064.
Оборудование <
C>, указанное в
таблице 1 как эквивалентное, приведено в исследовательском отчете RR:D02-1728, предоставлено Falex Corporation, 1020 Airpark Dr., Sugar Grove, IL, 60554-9585. Это не подтверждает одобрение или сертификацию продукции ASTM International.
Можно использовать восемь моделей установки, приведенных в
таблице 1.
(в ред.
Изменения N 1, утв. Приказом Росстандарта от 19.12.2016 N 2045-ст)
Таблица 1
Модели установки для определения термоокислительной
стабильности топлив для газовых турбин
Модель | Средство для создания повышенного давления | Тип насоса | Средство измерения перепада давления |
| Азот | Шестеренчатый | Ртутный манометр, без записи |
| Азот | Шестеренчатый | Манометр + графическая запись |
| Азот | Шестеренчатый | Датчик + запись на принтере |
| Гидравлика | Шприцевый | Датчик + распечатка |
| Гидравлика | Шприцевый | Датчик + распечатка |
| Гидравлика | Двухпоршневый (типа для ВЭЖХ) | Датчик + распечатка |
| Гидравлика | Однопоршневый (типа для ВЭЖХ) | Датчик + распечатка |
(позиция введена Изменением N 1, утв. Приказом Росстандарта от 19.12.2016 N 2045-ст) |
| Гидравлика | Двухпоршневый (типа для ВЭЖХ) | Датчик + распечатка |
< A> См. исследовательский отчет RR:D02-1309. < B> См. исследовательский отчет RR:D02-1631. < C> См. исследовательский отчет RR:D02-1728. < D> См. исследовательский отчет RR:D02-1757. |
(сноски введены Изменением N 1, утв. Приказом Росстандарта от 19.12.2016 N 2045-ст) |
6.1.1 Отдельные этапы метода могут быть автоматизированы. Подробности приведены в инструкции по эксплуатации соответствующей используемой модели, прилагаемой к каждой испытательной установке.
Предупреждение - Прежде чем приступить к работе на установке, следует ознакомиться со всеми ее деталями и функцией каждой из них.
6.1.2 Для получения достоверных и правильных результатов очень важны определенные рабочие параметры установок, приведенные в
таблице 2.
Таблица 2
Критические рабочие параметры установок
Параметр | Характеристика |
Аппаратура для испытания | |
Образец для испытания |
| Специально изготовленная алюминиевая трубка с контролируемой температурой испытательной поверхности, новая для каждого испытания. В нижнюю часть трубки нагревателя может быть встроено электронное записывающее устройство, например устройство радиочастотной идентификации (RFID) |
(в ред. Изменения N 1, утв. Приказом Росстандарта от 19.12.2016 N 2045-ст) |
Идентификация трубки | Каждую трубку идентифицируют по серийному номеру, присвоенному изготовителем, что обеспечивает прослеживаемость партии трубок. Эти данные могут быть сохранены на электронном записывающем устройстве, например RFID, встроенном в трубку нагревателя |
(в ред. Изменения N 1, утв. Приказом Росстандарта от 19.12.2016 N 2045-ст) |
Материал трубки | Алюминий марки 6061-Т6, соответствующий следующим требованиям: a) соотношение Mg:Si - не более 1,9:1,0 b) содержание Mg2Si - не более 1,85% |
Параметры трубки, мм: |
длина трубки | 161,925 +/- 0,254 |
длина центрального участка | 60,325 +/- 0,051 |
наружный диаметр: | |
плечиков | 4,724 + 0,025 |
центрального участка | 3,175 +/- 0,051 |
внутренний диаметр | 1,651 +/- 0,051 |
полное измеренное радиальное биение, не более | 0,013 |
чистота механической обработки, нм, не более (по ИСО 3274 и ИСО 4288 используют длину оценки четырех измерений 1,25 мм) | 50 +/- 20 |
| Фильтрующий элемент из сетки из нержавеющей стали номинальной пористостью 17 мкм для улавливания продуктов разложения топлива, новый для каждого испытания |
Параметры установки: |
объем пробы | Аэрируют 600 см3 пробы, затем аэрированным топливом заполняют резервуар, оставляя пространство для поршня; при правильно проведенном испытании прокачивают (450 +/- 45) см3 топлива |
скорость аэрации | 1,5 дм3/мин сухого воздуха через барботер |
скорость потока во время испытания | 3,0 см3/мин +/- 10% (2,7 - 3,3 см3/мин) |
механизм нагнетания | Принудительный: шестеренчатый или поршень шприца |
охлаждение | Постоянный температурный профиль трубки нагревателя поддерживается жидкостью, охлаждающей шины |
термопара (TC) | Тип J в оплетке или в кожухе из инконеля или тип K в кожухе из инконеля |
Рабочее давление: |
в системе | 3,45 МПа +/- 10% на образце создается давлением инертного газа (азота) или гидравлически и ограничивается на выходе выпускным клапаном |
на прецизионном фильтре | Перепад давления  измеряется на поверхности испытательного фильтра с помощью ртутного манометра или электронного преобразователя, мм рт. ст. |
Рабочая температура: |
испытания | Значение температуры устанавливается в спецификации на топливо |
точность поддержания температуры | Не более +/-2 °C от установленной температуры |
калибровка | По чистому олову при температуре 232 °C только для моделей 230 и 240 (по чистому свинцу при температуре 327 °C - для высоких температур, по воде со льдом - для низких температур) |
< A> При разработке настоящего метода испытания были использованы трубки нагревателя, изготовленные PAC, 8824 Fallbrook Drive, Houston, TX 77064. Это не является одобрением или сертификацией продукции ASTM International (Американского общества по испытанию материалов). < B> Протокол испытаний по определению эквивалентности трубок нагревателя хранится в штаб-квартире ASTM International и может быть получен по запросу исследовательского отчета RR:D02-1550. < C> Была установлена эквивалентность трубок нагревателя и комплектов фильтров, изготовленных Falex Corporation, 1020 Airpark Dr., Sugar Grove, IL, 60554-9585 (протокол испытаний RR:D02-1550), оборудованию, использованному при разработке настоящего метода испытания. Результаты испытаний подробно изложены в исследовательском отчете RR: D02-1714. Это не является одобрением или сертификацией продукции ASTM International. <5> Для разработки настоящего метода испытаний было использовано оборудование, приведенное в таблице 1 и RR: D02-1309, эквивалентное оборудование приведено в RR: D02-1631, RR: D02-1728I. |

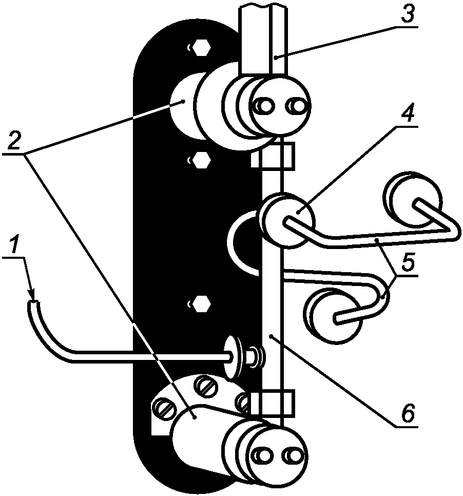
1 - впуск топлива; 2 - охлаждаемые шины; 3 - термопара;
4 - испытательный фильтр; 5 - выпуск топлива;
6 - испытательная секция нагревателя
Рисунок 1 - Стандартная секция нагревателя, общая
для установок всех типов
6.2 Аппаратура для оценки отложений, образующихся на трубке нагревателя
6.2.1 Устройство для визуальной оценки трубки нагревателя - тубератор, требования к которому приведены в
приложении A1.
6.3 Поскольку термоокислительную стабильность реактивного топлива определяют только в терминах настоящего метода испытания, который связан с применением конкретного оборудования, испытания следует проводить только на оборудовании, использованном при разработке настоящего метода или эквивалентном.
7.1 При необходимости для установок моделей 230 и 240 используют дистиллированную (предпочтительно) или деионизированную воду в резервуаре вместо израсходованного образца.
7.2 В качестве обычного растворителя для очистки используют метилпентан, 2,2,4-триметилпентан или
н-гептан (технический, чистотой не ниже 95 мол.%).
Растворитель эффективно очищает внутренние металлические поверхности аппаратуры перед испытанием, особенно поверхности перед испытательной секцией, которые контактируют со свежим образцом.
Предупреждение - Легковоспламеняющийся, вреден при вдыхании (см.
приложение A3).
7.2.1 Для очистки внутренней (рабочей) поверхности испытательной секции в качестве растворителя используют тройной растворитель (смесь ацетона, толуола, изопропанола в равных частях).
Предупреждение - Ацетон чрезвычайно воспламеняем, пары могут явиться причиной пожара; толуол и изопропанол воспламеняемы. Пары всех трех растворителей вредны. Раздражают кожу, глаза, слизистые оболочки.
7.3 В качестве осушителя воздуха для аэрации используют гранулы, состоящие из смеси сульфата кальция и хлорида кобальта (смесь 97 + 3). Гранулированный осушитель постепенно меняет цвет от голубого до розового, что указывает на степень насыщения водой.
Предупреждение - Осторожно. Вдыхание и проглатывание пыли может вызвать расстройство желудка.
8 Условия проведения испытания
8.1 Стандартные условия метода испытания
8.1.1 Объем топлива
Используют не менее 450 см3 топлива для испытания и приблизительно 50 см3 для заполнения системы.
8.1.2 Подготовка топлива
Фильтруют не более 1000 см3 образца топлива через один слой беззольной фильтровальной бумаги общего назначения, затем в течение 6 мин проводят аэрацию воздухом со скоростью 1,5 дм3/мин, используя для подачи воздуха трубку из боросиликатного стекла диаметром 12 мм.
8.1.3 Давление в топливной системе - 3,45 МПа [500 фунтов/квадратный дюйм (psi)] +/- 10%.
8.1.4 Положение термопары - на уровне 39 мм.
8.1.5 Для предварительной очистки топливной системы применяют фильтровальную бумагу пористостью 0,45 мкм.
8.1.6 Предварительно устанавливают температуру трубки нагревателя согласно соответствующей спецификации на топливо.
8.1.7 Скорость потока топлива - 3,0 см3/мин +/- 10%.
8.1.8 Минимальный объем топлива, прокачиваемый во время испытания, составляет 405 см3.
8.1.9 Продолжительность испытания - (150 +/- 2) мин.
8.1.10 Скорость потока охлаждающей жидкости - приблизительно 39 дм3/ч или в центре зеленого диапазона на счетчике охлаждающей жидкости.
8.1.11 Установка мощности - от 75 до 100 для моделей без компьютера; для моделей с компьютером мощность устанавливает компьютер.
9.1 Очистка и монтаж испытательной секции нагревателя
9.1.1 Для удаления отложений внутреннюю поверхность испытательной секции нагревателя очищают нейлоновой щеткой, хорошо смоченной трехкомпонентным растворителем.
9.1.2 Трубку нагревателя проверяют на наличие поверхностных дефектов и прямолинейность в соответствии с методикой, изложенной в
A1.10, приложение A1. Чтобы не поцарапать плечики трубки, проверку проводят аккуратно, т.к. для обеспечения герметичности в условиях потока при испытании плечики трубки должны быть гладкими.
9.1.3 Собирают секцию нагревателя, используя новые детали: 1) визуально проверенную трубку подогревателя, 2) испытательный фильтр и 3) три уплотнительных кольца. Проверяют изоляторы на наличие повреждений.
Примечание 1 - Трубки нагревателя повторно не используют. Испытания показывают, что при нормальных условиях испытания магний мигрирует к поверхности трубки нагревателя и может снижать адгезию отложений на поверхности при повторном использовании.
9.1.4 Во время сборки секции нагревателя аккуратно обращаются с трубкой, чтобы не коснуться ее центральной части. При касании центральной части трубки нагревателя трубку бракуют, т.к. загрязненная поверхность может влиять на характеристики отложений, образующихся на трубке.
9.2 Очистка и сборка остальных деталей испытательной установки
9.2.1 Перед проведением испытания выполняют следующие действия в указанной последовательности.
Примечание 2 - Предполагается, что аппаратура после предыдущего испытания была разобрана (см.
приложение A2 или соответствующее руководство пользователя по монтажу и демонтажу).
9.2.2 Осматривают и очищают составные детали, контактирующие с испытуемым образцом, заменяют пришедшие в негодность или вызывающие сомнение: 1) уплотнение на поршне, 2) уплотнительные кольца крышки резервуара, крышки фильтра предварительной очистки и линий.
9.2.3 Устанавливают подготовленную секцию нагревателя (
9.1.1 -
9.1.4).
9.2.4 Собирают фильтр предварительной очистки с новым фильтрующим элементом и устанавливают в аппарат.
9.2.5 Проверяют правильное исходное положение термопары, затем устанавливают в стандартное рабочее положение.
9.2.6 Для установок моделей 230 и 240 стакан для воды должен быть пустым.
10 Калибровка и стандартизация
10.1 Проверку основных деталей выполняют с периодичностью, указанной в приложениях к настоящему стандарту или инструкциях по эксплуатации.
10.1.1 Термопару калибруют при первой установке и затем обычно после 30 - 50 испытаний, но не реже 1 раза в 6 месяцев (
A2.2.8, приложение A2).
10.1.2 Устройство измерения перепада давления проверяют 1 раз в год или при установке нового элемента (
A2.2.6, приложение A2).
10.1.3 Осушитель воздуха для аэрации проверяют 1 раз в месяц и меняют при изменении цвета, указывающего на значительное поглощение воды
(7.3).
10.1.4 Для дозирующего насоса проводят две проверки скорости потока для каждого испытания, как указано в
разделе 11.
10.1.5 Байпасный клапан фильтра для установок моделей 202, 203 и 215 проверяют на герметичность не реже 1 раза в год (
X1.6, приложение X1).
11.1 Подготовка образца топлива
11.1.1 Образец топлива фильтруют и аэрируют при стандартных рабочих условиях
(A2.2.9).
Предупреждение - Все реактивные топлива, за исключением JP5 и JP7, следует считать легковоспламеняющимися. Их пары опасны для здоровья (
A3.3,
A3.6 и
A3.7, приложение A3).
Примечание 3 - Перед началом работы следует обратить внимание на предупреждение в
6.1.1.
Примечание 4 - Результаты испытания по настоящему методу очень чувствительны к следовым загрязнениям контейнеров для проб. Рекомендуемые контейнеры приведены в АСТМ Д 4306.
11.1.2 Во время аэрации температура образца должна быть 15 °C - 32 °C. При необходимости изменения температуры резервуар с образцом помещают в горячую или холодную водяную баню.
11.1.3 Время между окончанием аэрации и началом нагревания образца не должно превышать 1 ч.
11.2 Окончательная сборка
11.2.1 Собирают секцию резервуара (см. инструкцию по эксплуатации).
11.2.2 Устанавливают резервуар и соединяют линии в соответствии с инструкцией по эксплуатации используемой модели.
11.2.3 Удаляют защитный колпачок и подсоединяют выпускное отверстие для топлива к секции нагревателя. Эту операцию проводят быстро для сокращения потерь топлива.
11.2.4 Проверяют все линии на герметичность.
11.2.5 Повторно проверяют положение термопары. Она должна быть расположена на уровне 39 мм.
11.2.6 Убеждаются, что приемник конденсата пустой (только для моделей 230 и 240).
11.3 Включение питания и создание повышенного давления
11.3.1 Переключают тумблер питания "POWER" в позицию "ON" (включено).
11.3.2 Включают сигнализацию

в моделях с ручным включением сигнализации (модели 202, 203 и 215).
11.3.3 Медленно повышают давление в системе приблизительно до 3,45 МПа, как указано в инструкции по эксплуатации для моделей 202, 203 и 215 (
A2.2.5, приложение A2).
11.3.4 Проверяют систему на герметичность. При необходимости снижают давление в системе настолько, чтобы герметизировать протекающие соединения.
11.3.5 Устанавливают системы управления в соответствии со стандартными рабочими условиями.
11.3.6 Нагревают трубку нагревателя, контролируя ее температуру термопарой и обеспечивая температуру испытания в соответствии с требованиями спецификации на топливо. К показаниям термопары применяют поправку, полученную при последней калибровке (
A2.2.8, приложение A2).
Примечание 5 - Испытание можно проводить при температуре трубки не выше 350 °C. Температуру проведения испытания и критерии оценки результатов обычно указывают в спецификации на топливо.
11.4 Пуск
11.4.1 Для каждой модели используют процедуру, описанную в соответствующей инструкции по эксплуатации.
11.4.2 Некоторые модели могут выполнять отдельные этапы автоматически, но следует убедиться в том, что:
11.4.2.1 С начала аэрации топлива до начала нагревания прошло не более 1 ч.
11.4.2.2 Байпасный клапан манометра закрывается, как только температура трубки нагревателя достигает температуры испытания, и топливо начинает протекать через испытательный фильтр (
A2.2.6, приложение A2).
11.4.2.3 Манометр устанавливают на нуль (
A2.2.6, приложение A2).
11.4.3 Проверяют скорость потока топлива в стандартных рабочих условиях по времени истечения определенного объема топлива или скорости подачи по каплям в течение первых 15 мин испытания (
X1.5, приложение X1).
Примечание 6 - При подсчете скорости падения капель первую каплю считают нулевой и начинают отсчет времени. При падении 20-й капли отмечают общее время.
11.5 Проведение испытания
11.5.1 Во время испытания регистрируют перепад давления на испытательном фильтре каждые 30 мин.
11.5.2 Если перепад давления на фильтре начинает резко увеличиваться, а требуется провести полное (150 мин) испытание, должен быть открыт общий для всех моделей байпасный клапан. Подробности работы байпасной системы приведены в соответствующей инструкции по эксплуатации и
A2.2.2, приложение A2.
11.5.3 Перед завершением испытания проводят еще одну проверку потока в течение последних 15 мин (
11.4.3 и
примечание 6;
X1.5, приложение X1).
11.6 Температурный профиль трубки нагревателя
При необходимости определяют температурный профиль трубки нагревателя в соответствии с
X1.4 приложения X1.
11.7 Выключение
11.7.1 Только для установок моделей 202, 203 и 215:
11.7.1.1 Выключают нагреватель "HEATER", затем насос "PUMP", установив соответствующие тумблеры в положение "OFF" (выключено).
11.7.1.2 Закрывают клапан подачи азота "NITROGEN PRESSURE VALVE" и открывают ручной байпасный клапан "MANUAL BYPASS VALVE".
11.7.1.3 Медленно открывают выпускной клапан азота "NITROGEN BLEED VALVE" (при наличии) для снижения давления в системе со скоростью приблизительно 0,15 МПа/с.
11.7.2 Модели 230 и 240 выключаются автоматически.
11.7.2.1 После выключения переключатель клапана потока "FLOW SELECTOR VALVE" устанавливают в положение "VENT" (вентиляция) для сброса давления.
11.7.2.2 Привод поршня отключается автоматически.
11.7.2.3 Измеряют объем конденсата в приемнике ловушки, затем его утилизируют.
11.8 Демонтаж
11.8.1 Отсоединяют линию ввода топлива в секцию нагревателя и закрывают впускное отверстие колпачком для предотвращения утечки топлива из резервуара.
11.8.2 Отсоединяют секцию нагревателя.
11.8.2.1 Аккуратно отсоединяют трубку нагревателя от секции нагревателя, не касаясь центральной части трубки, утилизируют испытательный фильтр.
11.8.2.2 Промывают трубку растворителем
(7.2) сверху вниз, включая участок, за который ее держали. Сушат, возвращают трубку в исходный контейнер, маркируют для идентификации и сохраняют для оценки.
11.8.3 Отсоединяют резервуар.
11.8.3.1 Измеряют объем прокачанного во время испытания топлива. Если объем менее 405 см3, испытание бракуют.
11.8.3.2 Утилизируют использованное топливо.
12 Оценка трубки нагревателя
12.1 Отложения на трубке нагревателя оценивают визуально в соответствии с
приложением A1.
12.2 Трубку возвращают в исходный контейнер, регистрируют данные, сохраняют для повторной визуальной оценки (при необходимости).
13.1 Протокол испытания должен содержать:
13.1.1 Контрольную температуру трубки нагревателя, т.е. температуру испытания топлива.
13.1.2 Оценку отложений на трубке нагревателя.
13.1.3 Максимальный перепад давления на испытательном фильтре во время проведения испытания или время, необходимое для достижения перепада давления 25 мм рт. ст. Для установок моделей 202, 203 записывают максимальный зарегистрированный перепад давления

, полученный при испытании.
13.1.4 Если испытание было завершено ранее установленного времени испытания - 150 мин, например, если испытание было прервано из-за недостаточности перепада давления, указывают время испытания и соответствующую ему оценку осадка на трубке нагревателя.
Примечание 7 - Для определения "выдерживает" или "не выдерживает" образец топлива испытание при заданной температуре используют оценку трубки или критерий

, или оба фактора.
13.1.5 Объем топлива, израсходованного при обычном испытании, - это объем жидкости, находящейся над плавающим поршнем, или общий объем жидкости в стакане после вытеснения воды в зависимости от модели установки.
13.1.6 Можно указать серийный номер трубки нагревателя.
14 Прецизионность и отклонение
14.1 Межлабораторные испытания по определению термоокислительной стабильности проводились в соответствии с АСТМ Е 691 в 11 лабораториях с использованием 13 установок двух моделей на пяти образцах топлива при двух температурах, т.е. всего на 10 образцах. Каждая лаборатория получила по два результата для каждого образца
<6>.
--------------------------------
<6> Подтверждающие данные хранятся в ASTM International Headquarters и могут быть получены по запросу исследовательского отчета RR:D02-1309.
14.1.1 В данном разделе термины повторяемость и воспроизводимость используют в соответствии с АСТМ Е 177.
14.2 Прецизионность
Прецизионность настоящего метода установить не представляется возможным, т.к. было определено, что результаты метода испытания нельзя анализировать с помощью стандартных статистических методов.
14.3 Отклонение
Отклонение настоящего метода оценить невозможно, т.к. результаты испытания термоокислительной стабильности реактивного топлива определяют только в терминах настоящего метода.
(обязательные)
A1 Метод визуальной оценки трубки нагревателя
A1.1 Область применения
A1.1.1 Данный метод устанавливает процедуру визуальной оценки трубки нагревателя по настоящему стандарту.
A1.1.2 Окончательным результатом метода испытания является оценка цвета отложений на трубке по шкале, установленной для данного метода испытания, и двух дополнительных критериев "да/нет", указывающих на наличие избыточного количества отложений или необычного отложения, или и того, и другого.
A1.2 Нормативные ссылки
A1.2.1 Дополнение АСТМ
<3>
--------------------------------
<3> Можно получить в ASTM International Headquarters. Заказ дополнения - по номеру ADJD3241. Оригинальное дополнение сделано в 1986 г.
Эталон цвета для оценки отложений на трубке
A1.3 Термины и определения
A1.3.1 аномальный (abnormal): Цвет отложения на трубке, который не является переливчатым цветом и не похож на эталон цвета.
A1.3.1.1 Пояснение
Это относится к отложениям таких цветов, как синие (голубые) и серые, которые не соответствуют эталону цвета.
A1.3.2 цвет побежалости (peacock): Многоцветное радужное отложение на трубке.
A1.3.2.1 Пояснение
Этот вид отложения обусловлен эффектом интерференции, если толщина отложения превышает четверть длины волны видимого света.
A1.3.3 оценка трубки (tube rating): Шкала, состоящая из 10 отдельных делений от 0 до > 4 с промежуточным уровнем для каждого номера, начиная с единицы, описываемым как меньшие, чем последующие значения.
A1.3.3.1 Пояснение
Шкала состоит из 5 цветов: 0; 1; 2; 3; 4 по эталону цвета АСТМ. Полная шкала составляет: 0, < 1,1, < 2,2, < 3,3, < 4,4, > 4. Необязательно, чтобы каждое деление имело одинаковое абсолютное значение. Чем выше номер, тем темнее отложение.
A1.4 Сущность метода
A1.4.1 Для осмотра трубки нагревателя используют специально сконструированную световую камеру. Трубку закрепляют в камере с помощью специального держателя. Однородность поверхности новой трубки оценивают при оптимальных условиях освещения камеры. Цвет трубки оценивают сравнением с эталоном цвета, помещаемым в оптимальное положение сразу за трубкой при освещении и увеличении.
A1.5 Значение и применение
A1.5.1 Окончательной оценкой трубки является характеристика отложений, образованных разложившимся топливом.
Эта оценка является основанием для заключения о термоокислительной стабильности образца топлива.
A1.6 Аппаратура
A1.6.1 Аппаратура для оценки отложения на трубке нагревателя
Цвета отложений на трубке нагревателя оценивают с помощью тубератора и эталона цвета.
A1.7 Испытуемые образцы
A1.7.1 Следует аккуратно обращаться с трубкой нагревателя, не следует касаться ее центральной части.
Примечание A1.1 - Прикосновение к центральной части испытуемой трубки загрязняет или нарушает поверхность трубки или отложений (или и то, и другое).
A1.8 Стандартные рабочие условия
A1.8.1 Внутренняя сторона световой камеры должна быть черной и непрозрачной.
A1.8.2 В качестве источника света используют три работающие лампы накаливания отражающего типа мощностью 30 Вт, обеспечивающие оптимальные условия осмотра трубки.
A1.8.3 Две лампы должны быть расположены внизу, одна - сверху; каждую лампу направляют на держатель трубки и эталон цвета.
A1.8.4 Обеспечивают двукратное увеличение области обзора смотрового окна.
A1.8.5 Эксперты, оценивающие цвет, не должны быть дальтониками.
A1.9 Калибровка и стандартизация
A1.9.1 Для данного испытательного оборудования не требуется стандартизация. Установлено, что эталон цвета выцветает и его следует хранить в темном месте.
Примечание A1.2 - Срок годности эталона цвета не устанавливают, т.к. он зависит от периодичности воздействия на него света. Целесообразно хранить отдельный эталон в темноте для периодического сравнения с ним регулярно используемого эталона. Во время сравнения оптимальными условиями являются условия световой камеры для оценки трубки.
A1.9.2 Стандартизация технических приемов оценки
A1.9.2.1 При оценке отложений на трубке нагревателя самыми важными являются темные отложения. Оценивают самое темное однородное отложение, а не усредненный цвет отложений.
A1.9.2.2 При оценке отложений рассматривают участок с самым темным сплошным цветом площадью, равной или большей, чем круг диаметром, равным половине диаметра трубки.
A1.9.2.3 Не учитывают полоску отложений шириной менее четверти диаметра трубки, независимо от ее длины.
A1.9.2.4 Не учитывают пятна, полоски или царапины на трубке, рассматривая их как дефекты трубки. Обычно они отсутствуют, т.к. перед использованием трубку осматривают, чтобы исключить брак.
A1.10 Предварительная оценка новой трубки
A1.10.1 Осматривают трубку при лабораторном освещении без увеличения.
При обнаружении дефекта трубку бракуют. Затем с помощью тубератора осматривают центральный более тонкий участок трубки на 5 - 55 мм выше нижнего плечика. При обнаружении дефекта площадью более 2,5 мм
2 трубку бракуют. На
рисунке A1.1 приведены примеры дефектов трубки, эквивалентные площади 2,5 мм
2.
1 - испытуемая поверхность длиной 60 мм; 2 - примеры
дефектов поверхности площадью 2,5 мм2: квадрат, пятно,
полоска шириной 0,8 мм
Рисунок A1.1 - Примеры дефектов поверхности трубки
A1.10.2 Проверяют трубку на прямолинейность, перекатывая ее по плоской поверхности и отмечая зазор между плоской поверхностью и центральной частью. Изогнутую трубку бракуют.
A1.11 Процедуры
A1.11.1 Установка
A1.11.1.1 Фиксируют верхний конец трубки нагревателя в зажиме держателя трубки.
A1.11.1.2 Продвигают трубку нагревателя в держатель до упора.
A1.11.1.3 Перемещают держатель с трубкой нагревателя по направляющему стержню в тубератор.
A1.11.1.4 Поворачивают держатель, располагая трубку нагревателя так, чтобы была видна сторона с самым темным отложением.
A1.11.1.5 Помещают эталон цвета в тубератор.
A1.11.2 Оценка
A1.11.2.1 Сравнивают цвет самого темного отложения на трубке нагревателя, расположенного на 5 - 55 мм выше нижнего плечика с эталоном цвета. Отложение оценивают только в том случае, если его площадь более 2,5 мм
2 и ширина полоски или пятна более 0,8 мм. На
рисунке A1.1 приведен пример пятен или полосок площадью 2,5 мм
2.
A1.11.2.2 Если цвет самого темного отложения соответствует эталону цвета, записывают его номер.
A1.11.2.3 Если цвет самого темного оцениваемого отложения на трубке нагревателя находится между любыми двумя смежными делениями эталона цвета, фиксируют оценку менее, чем более темное отложение [т.е. записывают больший номер с указанием "менее" (см. примеры
A.1.12.2)].
A1.11.2.4 В случае, если цвет отложения на трубке нагревателя не соответствует цветам эталона, используют следующие правила оценки и стандартные термины:
- если отложение имеет цвет побежалости, ему присваивают код P, а также характеризуют любое отложение, которое имеет нормальный цвет;
- если отложение имеет аномальный цвет, ему присваивают код A, а также оценивают любое отложение, которое имеет нормальный цвет.
A1.11.3 Удаляют трубку нагревателя и возвращают ее в исходный контейнер.
A1.12 Отчет
A1.12.1 Регистрируют цифровую характеристику трубки нагревателя и код A или P, или при необходимости и то, и другое с дополнительным описанием.
A1.12.1.1 При записи полной оценки регистрируют максимальную оценку, но если присутствуют цвета, которые не соответствуют эталону цвета, их тоже регистрируют.
A1.12.1.2 Если присутствуют отложения только кодов P или A, или обоих, записывают только их, при этом цифровую характеристику не приводят.
A1.12.2.1 Пример 1 - Трубка нагревателя имеет максимальное отложение, попадающее между оценками 2 и 3 эталона цвета, отложения других цветов отсутствуют. Общая оценка трубки будет менее 3.
A1.12.2.2 Пример 2 - Самое темное отложение на трубке соответствует оценке 3, но также присутствует радужное отложение. Полную оценку трубки записывают как 3P.
A1.12.2.3 Пример 3 - Трубка нагревателя имеет отложение, которое соответствует оценке 1 эталона цвета, но также имеет необычное отложение. Полную оценку трубки записывают как 1A.
A1.13 Прецизионность и отклонение
A1.13.1 Прецизионность
Прецизионность метода оценки отложений на трубке по настоящему приложению не определена.
A1.13.2 Отклонение
Поскольку оценка отложений на трубке определена только в терминах настоящего метода, определить отклонение метода оценки отложения на трубке невозможно.
A2.1 Испытательная установка
A2.1.1 В настоящем приложении описана установка для определения термоокислительной стабильности авиационного турбинного топлива. Существует 5 моделей, описание которых приведено ниже. Все модели снабжены устройством для однократной подачи образца топлива через испытательную систему по поверхности металлической испытательной трубки и через испытательный фильтр. Установка имеет средства контроля и измерения температуры испытуемого образца, давления в системе и перепада давления на фильтре, однако для каждой модели методы контроля и измерения разные. Подачу образца осуществляют принудительно с помощью шестеренчатого или поршневого насоса.
A2.2 Подробности испытания
A2.2.1 Общие требования
В установке используют фиксированный объем реактивного топлива, которое предварительно фильтруют и затем аэрируют для насыщения образца топлива воздухом. Во время испытания топливо прокачивают с постоянной скоростью вдоль поверхности нагретой алюминиевой трубки, поддерживая относительно высокую температуру, обычно 260 °C, однако в некоторых спецификациях на топливо температура может быть выше.
Топливо, насыщенное кислородом с помощью аэрации, может разлагаться на горячей алюминиевой трубке нагревателя, образуя отложения в виде видимой пленки. Кроме того, продукты разложения могут уходить с потоком топлива и захватываться испытательным фильтром. Для определения окислительной стабильности топлива используют как увеличение перепада давления на испытательном фильтре, так и окончательную оценку трубки нагревателя.
Сразу же после фильтрования и аэрации топливо помещают в резервуар, затем один раз прокачивают через установку в приемник для использованного образца. Топливо прокачивают, используя поршневый насос, поддерживающий скорость потока 3,0 см3/мин + 10% и преодолевающий начальную забивку фильтра, влияющую на расход топлива. При значительной забивке фильтра для завершения испытания можно открыть байпасный клапан, расположенный перед испытательным фильтром. После завершения испытания оценивают любое отложение на трубке нагревателя.
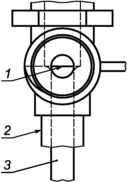
A2.2.2.1 Основой испытательной системы является кожухотрубный теплообменник или испытательная секция, в которой поток топлива направляется поверх испытательной трубки нагревателя. Центрируют трубку нагревателя в испытательной секции нагревателя, как приведено на
рисунке A2.1. Этот узел является общим для всех моделей установок и имеет решающее значение для получения воспроизводимых результатов.
1 - плечико трубки нагревателя, расположенное по центру
выпускного отверстия; 2 - кожух трубки нагревателя;
3 - трубка нагревателя
Рисунок A2.1 - Центрирование трубки нагревателя
A2.2.2.2 Для топливной системы важны следующие процедуры:
1) фильтруют свежее топливо перед поступлением из резервуара в испытательную секцию нагревателя, используя бумажный фильтр с размером пор 0,45 мкм;
2) герметизируют трубку нагревателя в испытательной секции нагревателя с помощью эластомерных уплотнительных колец
(рисунок A2.2);
3) при увеличении перепада давления (обычно при давлении 125 мм рт. ст.) на испытательном фильтре из нержавеющей стали пористостью 17 мкм подается звуковой сигнал, предупреждающий оператора. При необходимости можно выполнить обход фильтра;
4) используют один топливный резервуар со свободно плавающим поршнем для разделения свежего топлива (на дне) и использованного топлива (сверху) для установки моделей 202, 203 и 215. В моделях установки 230 и 240 используют два топливных резервуара: один - для свежего топлива, другой - для использованного;
5) визуально контролируют поток топлива во всех моделях, подсчитывая скорость каплепадения топлива. Модели 230 и 240 обеспечивают более точное измерение потока за счет измерения объема потока в зависимости от времени.
Рисунок A2.2 - Сборочный чертеж испытательной секции трубки
нагревателя
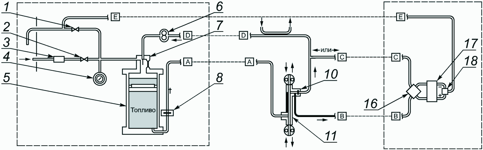
A2.2.2.3 Основные схемы топливной системы для трех основных моделей установки приведены на
рисунке A2.3.
Модель 203 - пневматическое создание повышенного давления,
шестеренчатый насос, ртутный манометр, стандартная
испытательная секция
Модель 215 - пневматическое создание повышенного давления,
шестеренчатый насос, дифференциальный преобразователь,
стандартная испытательная секция
Модель 230 - гидравлическое создание повышенного давления,
шприцевый насос, дифференциальный преобразователь,
стандартная испытательная секция
1 - выпускной клапан азота; 2 - клапан подачи азота;
3 - ограничитель давления; 4 - манометр; 4а - манометр
абсолютного давления (датчик); 5 - резервуар для топлив
с поршнем и уплотнением; 5а - гидравлический топливный
резервуар; 6 - дозирующий насос с постоянной скоростью
подачи; 7 - индикатор каплепадения; 8 - мембрана фильтра
предварительной очистки; 9 - регулятор давления;
10 - испытательный фильтр; 11 - стандартная секция
нагревателя испытательной трубки; 12 - ручной выпускной
клапан; 13 - байпасный клапан фильтра; 14 - поплавковый
запорный клапан; 15 - манометр; 16 - четырехходовый
байпасный клапан преобразователя; 17 - жидкостный полный
дифференциальный преобразователь; 18 - трехходовый
вентиляционный (выпускной) клапан; 19 - пятиходовый
вентиляционный (выпускной) клапан; 20 - закрытый выход;
21 - сосуд-воздухоуловитель; 22 - использованная жидкость;
23 - приемник; 24 - запорный клапан
Рисунок A2.3 - Схемы топливной системы
A2.2.3 Система нагревания/контроля температуры
Алюминиевую трубку с резистивным нагревательным элементом нагревают электрическим током высокой силы и низкого напряжения, поступающим от трансформатора. Трубку нагревателя закрепляют в сравнительно тяжелых токопроводящих шинах, охлаждаемых водой, температура которых повышается незначительно.
A2.2.3.1 Во всех моделях регулятор температуры является индикатором и контроллером. В автоматическом режиме контроллер обеспечивает постоянную температуру нагревания во время испытания, при необходимости изменяя мощность для поддержания заданного значения температуры. В ручном режиме контроллер обеспечивает только индикацию температуры. Рабочий температурный диапазон испытания - от температуры окружающей среды до максимально возможной температуры, равной 350 °C.
A2.2.3.2 При контроле температуры важное значение имеет положение термопары, откалиброванной для обеспечения необходимой точности измерения температуры. Кончик термопары должен быть расположен так, чтобы показание температуры во время автоматического контроля соответствовало значению температуры самого горячего участка трубки нагревателя. Простая механическая устанавливающая система обеспечивает легкое и точное размещение термопары.
A2.2.3.3 На
рисунке A2.4 приведена схема основной системы нагревания.
1 - нижняя шина; 2 - трубка нагревателя; 3 - подвижная
термопара; 4 - верхняя шина; 5 - провод термопары;
6 - охлаждающая вода; 7 - система контроля питания;
8 - низковольтный трансформатор; 9 - электропитание
Рисунок A2.4 - Схема основной системы нагревания трубки
нагревателя и контроля температуры
A2.2.4 Система охлаждения
Для нормальной работы необходим отвод тепла от токопроводящих шин, нагревающихся от горячей трубки нагревателя. У моделей 202, 203 и 215 охлаждающая водопроводная вода циркулирует через каждую шину, у моделей 230 и 240 использована система внутренней циркуляции и охлаждающий радиатор. Для системы охлаждения не используют охлаждающие жидкости, содержащие примеси или соли, которые могут загрязнить систему.
A2.2.5 Создание повышенного давления
При правильном проведении испытания реактивное топливо обычно кипит при температуре трубки нагревателя. Это затрудняет точный контроль температуры и препятствует естественному формированию отложений. Поэтому система должна работать под общим давлением приблизительно 3,45 МПа (500 фунтов/дюйм2), поддерживаемым в каждой модели установки или с помощью азота (модели 202, 203 и 215), или гидравлическим поршневым насосом (модели 230 и 240).
A2.2.5.1 Для измерения и контроля общего давления в системе используют манометр или датчик. Системы с давлением, создаваемым с помощью газа, после повышения давления эксплуатируют закрытыми, системы с давлением, создаваемым гидравлически, имеют предохранительный клапан, через который жидкость во время испытания проходит постоянным потоком. Для контроля работы предохранительного клапана с любым топливом используют камеру вытеснительного типа, в которую через предохранительный клапан, вытесняя воду со дна, поступает использованное топливо. Клапан работает устойчиво и чувствителен только к воде.
A2.2.6 Измерение перепада давления
Для измерения перепада давления

на испытательном фильтре, обусловленного улавливанием фильтром продуктов разложения топлива во время испытания, в установках используют приборы двух конструкций. Установки моделей 202 и 203 (выпущенные до 1984 г.) оборудованы ртутными манометрами с возможностью применения ленточного самописца. В моделях 215, 230 и 240 использован электронный датчик

. Подробности включения приборов этих двух конструкций в топливную систему приведены на схемах
(рисунок A2.3).
A2.2.6.1 Применение разных измерительных устройств требует две специальные процедуры: использование байпаса и выпуск воздуха. Первое устройство при необходимости позволяет потоку топлива обходить фильтр. Второе устройство используют для удаления воздуха или азота, который может улавливаться ячейкой камеры.
Показание манометра определяют по высоте ртутного столба. Показание датчика отображается на цифровом экране.
A2.2.6.2 Особенностью манометра является отклонение из-за присутствия над ртутью топлива вместо обычного воздуха. Поэтому значение давления, выраженное высотой ртутного столба, завышено приблизительно на 6% от истинного значения. Датчику не характерна такая неточность измерения, поэтому, чтобы получить одни и те же значения давления с манометра и датчика, к показаниям датчика прибавляют отклонение 6% и, таким образом, получают то же значение, что и для манометра.
A2.2.6.3 При работе установки в начале испытания следует устанавливать на нуль применяемое устройство измерения

в условиях протекания топлива, т.к. в системе при течении топлива происходит небольшое снижение давления.
Установка датчика или манометра на нуль в начале испытания компенсирует влияние потока.
A2.2.7 Стандартизация измерения перепада давления 
Точность измерения

можно проверить с помощью методики определения давления, создаваемого столбиком жидкости известной плотности на каждой стороне элемента измерения

.
Подробное описание этой процедуры является отдельной частью каждой инструкции по эксплуатации. Данная процедура является проверкой работы элемента измерения

и не является истинной калибровкой элемента.
Если предусмотрена калибровка, ее осуществляет изготовитель элемента по результатам стандартизации.
A2.2.8 Калибровка термопары
Важное значение имеет точность термопары. Процедура калибровки термопары по веществам с известными температурами плавления подробно описана в инструкции по эксплуатации каждой установки. Для первых моделей установки в качестве металла-индикатора использовали только чистое олово.
Начиная с моделей 230 и 240, для калибровки применяют два металла - чистое олово с температурой плавления 232 °C и чистый свинец с температурой плавления 327 °C для определения двух точек, охватывающих обычный диапазон испытания. Для установления контрольной температуры 0 °C используют смесь воды со льдом.
A2.2.8.1 Принцип калибровки с использованием температуры плавления металла заключается в погружении кончика термопары в расплавленный металл и последующем охлаждении металла. Поскольку металл при этом проходит через температуру точки его затвердевания, показание термопары некоторое время будет постоянным, указывая температуру затвердевания металла.
A2.2.8.2 Разность между известным значением температуры затвердевания металла и показанием термопары является поправкой для установки температуры испытания. Например, если при использовании олова с известной температурой затвердевания 232 °C
(рисунок A2.5) температура, зафиксированная термопарой при затвердевании металла, выше 232 °C, то термопара завышает показание и установленную разницу принимают за поправку, на которую снижают значение температуры испытания. При использовании двух металлов и воды со льдом (нижняя точка) принцип калибровки тот же, но поправка рассчитывается автоматически и учитывается встроенным компьютером.
1 - переохлаждение; 2 - затвердевание; 3 - твердое состояние
Рисунок A2.5 - Характеристика затвердевания олова
A2.2.9 Устройство аэрации топлива
Все модели установки имеют устройство для аэрации образца перед испытанием. При отсутствии кислорода в образце испытание считают недостоверным. Через образец топлива в течение 6 мин со скоростью приблизительно 1,5 дм3/мин (9 дм3 воздуха) пропускают фильтрованный сухой воздух, обеспечивая 97%-ное насыщение образца.
A2.2.10 Измерение времени проведения испытания
В зависимости от модели установки используют разные методы измерения времени проведения испытания. Индикатором времени является, как правило, время текущего испытания, но в некоторых моделях отсчет времени фиксирования данных

выполняется другим таймером. Поскольку эти два таймера могут быть разными, последняя точка данных может быть пропущена, если испытание прекращают до момента последнего отсчета данных по времени. В инструкциях по эксплуатации для разных моделей аппаратуры приводят технические приемы, чтобы избежать потерь данных.
A3 Положения по технике безопасности
A3.1 Ацетон
A3.1.1 Следует хранить вдали от тепла, искр и открытого пламени.
A3.1.2 Емкость с ацетоном должна быть закрытой. Используют с соответствующей вентиляцией.
A3.1.3 Избегают образования паров и устраняют все источники воспламенения, особенно взрывоопасную электроаппаратуру и нагреватели.
A3.2 Толуол
A3.2.1 Избегают длительного или повторного вдыхания паров или аэрозоля.
A3.2.2 Используют только с соответствующей вентиляцией.
A3.2.3 Признаками отравления являются раздражение глаз и головокружение.
A3.2.4 Не следует принимать внутрь.
A3.2.5 Прием внутрь наносит вред, может явиться причиной болезни или смерти.
A3.2.6 Избегают длительного или повторного контакта с кожей.
A3.2.7 Следует беречь глаза от попадания толуола.
A3.2.8 При соприкосновении с пламенем, раскаленными поверхностями или электрическими дугами толуол может выделять токсичные пары.
A3.3 Изопропанол (2-пропанол)
A3.3.1 Следует хранить вдали от тепла, искр и открытого пламени.
A3.3.2 Держат контейнер вдали от тепла, искр и открытого пламени.
A3.3.3 Контейнер должен быть закрыт.
A3.3.4 Используют только с соответствующей вентиляцией.
A3.3.5 Избегают образования паров и устраняют все источники воспламенения, особенно взрывоопасные электроприборы и нагреватели.
A3.3.6 Избегают длительного вдыхания паров или аэрозоля.
A3.3.7 Избегают длительного и неоднократного контакта с кожей.
A3.4 н-Гептан
A3.4.1 Следует хранить вдали от тепла, искр и открытого пламени.
A3.4.2 Контейнер держат закрытым.
A3.4.3 Используют только с соответствующей вентиляцией.
A3.4.4 Избегают длительного вдыхания паров или аэрозоля.
A3.4.5 Избегают длительного и неоднократного контакта с кожей.
A3.5 Сжатые газы (азот)
A3.5.1 Вентиль баллона должен быть закрыт (если баллон не используют).
A3.5.2 Не входят в хранилище, где хранятся баллоны, если оно соответствующим образом не проветрено.
A3.5.3 Всегда следует пользоваться регулятором давления.
A3.5.4 Прежде чем открыть баллон, ослабляют натяжение регулятора.
A3.5.5 Не переносят в другой баллон, используют в том, в котором газ получен.
A3.5.6 Не смешивают газы в баллонах.
A3.5.7 Не следует ронять баллоны.
A3.5.8 Проверяют прочность установления баллона.
A3.5.9 При открытии вентиля баллона стоят вдали от его выходного отверстия.
A3.5.10 Хранят баллон защищенным от воздействия солнечных лучей и тепла.
A3.5.11 Защищают баллон от коррозионной среды.
A3.5.12 Не используют баллон без этикетки.
A3.5.13 Не используют поврежденные баллоны.
A3.5.14 Используют только для технических целей.
A3.5.15 Не используют для вдыхания.
A3.6 Авиационное турбинное топливо [реактивное топливо B (Jet-B) по АСТМ Д 1655]
A3.6.1 Следует хранить вдали от тепла, искр и открытого пламени.
A3.6.2 Емкость с топливом должна быть закрыта.
A3.6.3 Используют только с соответствующей вентиляцией.
A3.6.4 Избегают вдыхания паров или аэрозоля.
A3.6.5 Избегают длительного или неоднократного контакта с кожей.
A3.7 Авиационное турбинное топливо [реактивное топливо A или A-1 (Jet A или Jet A-1) по АСТМ Д 1655]
A3.7.1 Следует хранить вдали от тепла, искр и открытого пламени.
A3.7.2 Емкость с топливом должна быть закрыта.
A3.7.3 Используют только с соответствующей вентиляцией.
A3.7.4 Избегают образования паров и устраняют все источники воспламенения, особенно взрывоопасные электроприборы и нагреватели.
A3.7.5 Избегают вдыхания паров или аэрозоля.
A3.7.6 Избегают длительного и неоднократного контакта с кожей.
A3.8 Ртуть
A3.8.1 Не следует вдыхать пары.
A3.8.2 Контейнер с ртутью должен быть закрыт.
A3.8.3 Используют только с соответствующей вентиляцией.
A3.8.4 Избегают попадания внутрь.
A3.8.5 Сводят к минимуму испарение ртути, покрывая ее поверхность водой.
A3.8.6 Не следует нагревать.
A3.8.7 Перед заменой или очисткой отработанную ртуть хранят в плотно закрытых емкостях.
A3.8.8 Не выливают в раковину или в мусор.
(справочные)
X1 Монтаж, обслуживание и специальные проверки
X1.1 Требования к размещению установки в лаборатории
X1.1.1 Испытательную установку размещают на горизонтальной поверхности лабораторного стола, перед установкой должно быть свободное пространство шириной 200 - 300 мм. Для технического обслуживания обеспечивают свободный доступ к задней стенке установки. При монтаже или эксплуатации вентиляционное отверстие сверху или сбоку кожуха установки должно быть открытым. Обеспечивают достаточную вентиляцию и используют соответствующие способы обращения с растворителями и углеводородами. Для ранних моделей установки может потребоваться трансформатор постоянного напряжения. Используют однофазный ток: 115 В - 60 Гц - 15 А или 220 В - 50 Гц - 8 А с заземлением.
X1.1.2 Для пневматической модели установки баллон для подачи азота с соответствующим регулятором, обеспечивающим давление 3,45 МПа, размещают подходящим образом для его соединения с установкой с помощью трубки диаметром 3,2 мм. Трубку диаметром 6,4 мм используют для соединения входного отверстия для воды "WATER INLET" с водопроводом, работающим под давлением от 200 до 700 кПа, и для соединения сливного отверстия "WATER DRAIN" с водостоком, способным пропускать 80 дм3/ч.
X1.2 Замена металла в автоматическом калибраторе
X1.2.1 Олово (и свинец, при его использовании), находящееся в гнезде калибратора термопары, следует заменить, если его количество ниже минимального уровня или при загрязнении металла.
X1.2.2 Для удаления металла переворачивают автоматический калибратор и устанавливают его между неподвижной верхней шиной и плавающей нижней шиной.
X1.2.3 Для улавливания расплавленного металла помещают папиросную бумагу или тряпку под гнездо.
X1.2.4 Подают энергию к автоматическому калибратору, как во время обычной калибровки, осторожно постукивая по гнезду до полного удаления расплавленного металла.
X1.2.5 Снимают автоматический калибратор, устанавливают его вертикально и заполняют новой порцией металла. Для одного заполнения необходимо 1,5 - 1,9 г олова и 3,3 - 4,7 г свинца.
X1.3 Замена и регулировка положения термопары
X1.3.1 Термопару, используемую для измерения и регулирования температуры трубки нагревателя, при повреждении или поломке меняют.
При использовании простой заглушки снимают термопару, ослабляя ее зажим, зажим опоры и соединения термопары на задней стороне регулятора температуры.
X1.3.2 Устанавливают новую термопару в порядке, обратном снятию старой. При необходимости меняют и затягивают винты. Затягивают винт Аллена зажима термопары, следя чтобы кончик термопары был установлен на одном уровне с верхней частью закрепленной верхней шины при положении термопары на контрольной отметке индикатора.
X1.3.3 Проверяют показания термопары при рабочих условиях испытания.
X1.4 Температурный профиль трубки нагревателя
X1.4.1 При определении температурного профиля трубки нагревателя измерение проводят по истечении первого часа испытания или перед значительным перепадом давления

по методике, приведенной в инструкции по эксплуатации конкретной модели установки.
X1.5 Проверка скорости потока
X1.5.1 Установка с шестеренчатым насосом (модели 202, 213, 215)
Проверяют поток, наблюдая стекание капель в ловушку конденсата и измеряя время падения 20 капель. Время должно быть равно (9 +/- 1) с.
X1.5.2 Установка с шприцевым насосом (модели 230, 240)
X1.5.2.1 Метод определения скорости каплепадения
Проверяют поток, наблюдая стекание капель в корпусе конденсатной ловушки и измеряя время падения 20 капель. Время должно быть равно (19 +/- 1) с.
X1.5.2.2 Объемный метод
Проверяют поток, измеряя время сбора 15 см3 топлива в мерный цилиндр. Время должно быть 4 мин 33 с - 5 мин 33 с.
X1.5.2.3 Для установки с шприцевым насосом объемный метод является арбитражным.
Примечание X1.1 - Для получения точного измерения времени падения 20 капель определение скорости каплепадения начинают с нуля (капля 0, капля 1, капля 2, ...., капля 20).
X1.6 Проверка герметичности байпасного клапана фильтра (только для установок моделей 202, 203 и 215)
X1.6.1 Берут использованный фильтр и закупоривают впускную сторону любым быстросохнущим промышленным клеем. Устанавливают этот фильтр вместе с любой трубкой нагревателя в испытательную секцию.
X1.6.2 Прокачивают чистое фильтрованное топливо под давлением 3,45 МПа по системе с байпасным клапаном "MAN BYPASS", установленным в открытое положение (нагрев не применяют).
X1.6.3 После того, как в смотровом окне появится устойчивый поток [20 капель за (9,0 +/- 1,0) с], закрывают байпасный клапан "MAN BYPASS" и сразу включают секундомер. Отмечают время достижения перепада давления

100 мм. Сразу же открывают байпасный клапан "MAN BYPASS" для возобновления нормального потока жидкости.
X1.6.4 Байпасный клапан "MAN BYPASS" и топливный насос отвечают нормальным эксплуатационным требованиям, если время достижения перепада давления

100 мм равно 60 с или менее.
X1.6.5 Время достижения перепада давления

100 мм может быть очень коротким; в некоторых установках это может произойти почти мгновенно в зависимости от режима работы насоса (состояния насоса) и конструкции системы. Такой быстрый подъем перепада давления

считают приемлемым и рассматривают как находящийся в диапазоне ожидаемой и нормальной работы.
X1.6.6 Если время достижения перепада давления

100 мм превышает 60 с, это означает, что байпасный клапан негерметичен или дозирующий насос подачи топлива неисправен. В этом случае проверяют работу насоса, чтобы определить необходимость замены насоса или байпасного клапана фильтра.
X1.7 Проверка насоса подачи топлива (только для шестеренчатых насосов)
X1.7.1 Устанавливают забитый фильтр, использованную трубку нагревателя и обеспечивают нормальный поток топлива.
X1.7.2 После стабилизации потока регулируют клапан "MAN BYPASS", чтобы получить устойчивый перепад давления

, равный 50 мм.
X1.7.3 С помощью секундомера через смотровое окошко определяют время истечения 20 капель.
X1.7.4 Нормально работающий насос должен обеспечивать истечение 20 капель топлива за (9,0 +/- 1,0) с. Насос, для которого время истечения 20 капель топлива более 10 с, меняют.
X1.7.5 После установки нового насоса повторяют проверку насоса.
X1.7.6 Если скорость истечения 20 капель топлива по-прежнему низкая, промывают все трубопроводы и фитинги от испытательного фильтра через дозирующий насос до топливного резервуара трехкомпонентным раствором. Заменяют трубопроводы по мере необходимости. Снова проверяют насос.
X1.8 Руководство по техническому обслуживанию
В руководстве по техническому обслуживанию приведена дополнительная информация по техническому обслуживанию установки, например описание электрической схемы (приведено на внутренней стороне задней дверцы кожуха прибора).
Все подробности работы с установками разных моделей приведены в инструкциях по эксплуатации, прилагаемых к каждой установке.
X2 Определение контрольной точки
X2.1 Термин и определение
X2.1.1
контрольная точка (breakpoint): Максимальное значение температуры испытания по настоящему стандарту, при которой топливо соответствует требованиям спецификации по оценке трубки нагревателя и перепаду давления

.
X2.1.1.1 Пояснение
Это определение контрольной точки описывает максимально допустимую температуру испытания топлива. Следует учесть, что в некоторых опубликованных документах термин "контрольная точка" применяли для описания минимальной температуры отказа, равной температуре (x + 5) °C, которая описана ниже.
X2.2 Определение контрольной точки
X2.2.1 Контрольную точку можно определить, проведя ряд испытаний при разных значениях контрольной температуры, чтобы определить значение температуры
x (°C), при которой топливо соответствует требованиям спецификации по оценке трубки нагревателя и перепаду давления

и когда результат испытания при температуре, равной (
x + 5) °C, будет браковочным (т.е. не будет удовлетворять требованиям по оценке трубки нагревателя и перепаду давления

).
Температуру x (°C) регистрируют как контрольную точку по настоящему методу.
(справочное)
СВЕДЕНИЯ О СООТВЕТСТВИИ ССЫЛОЧНЫХ СТАНДАРТОВ НАЦИОНАЛЬНЫМ
СТАНДАРТАМ РОССИЙСКОЙ ФЕДЕРАЦИИ (И ДЕЙСТВУЮЩИМ В ЭТОМ
КАЧЕСТВЕ МЕЖГОСУДАРСТВЕННЫМ СТАНДАРТАМ)
Таблица ДА.1
Обозначение ссылочного стандарта | Степень соответствия | Обозначение и наименование национального стандарта |
АСТМ Д 1655 | NEQ | ГОСТ Р 52050-2006 "Топливо авиационное для газотурбинных двигателей Джет А-1 (Jet A-1). Технические условия" <**> |
АСТМ Д 4306 | - | <*> |
АСТМ Е 177 | - | <*> |
АСТМ Е 691 | - | <*> |
ИСО 3274 | - | <*> |
ИСО 4288 | - | <*> |
<*> Соответствующий национальный стандарт отсутствует. До его утверждения рекомендуется использовать перевод на русский язык данного стандарта. Перевод данного стандарта находится в Федеральном информационном фонде технических регламентов и стандартов. <**> Введен АСТМ Д 1655-2006. Примечание - В настоящей таблице использовано следующее условное обозначение степени соответствия стандартов: NEQ - неэквивалентные стандарты. |