Главная // Актуальные документы // ГОСТ Р (Государственный стандарт)СПРАВКА
Источник публикации
В данном виде документ опубликован не был.
Первоначальный текст документа опубликован в издании
М.: Стандартинформ, 2018.
Информацию о публикации документов, создающих данную редакцию, см. в справке к этим документам.
Примечание к документу
Название документа
"ГОСТ Р 50862-2017 (EN 1143-1:2019). Национальный стандарт Российской Федерации. Сейфы, сейфовые комнаты и хранилища ценностей. Требования и методы испытаний на устойчивость к взлому"
(утв. и введен в действие Приказом Росстандарта от 26.12.2017 N 2090-ст)
(ред. от 08.02.2022)
"ГОСТ Р 50862-2017 (EN 1143-1:2019). Национальный стандарт Российской Федерации. Сейфы, сейфовые комнаты и хранилища ценностей. Требования и методы испытаний на устойчивость к взлому"
(утв. и введен в действие Приказом Росстандарта от 26.12.2017 N 2090-ст)
(ред. от 08.02.2022)
Утвержден и введен в действие
агентства по техническому
регулированию и метрологии
от 26 декабря 2017 г. N 2090-ст
НАЦИОНАЛЬНЫЙ СТАНДАРТ РОССИЙСКОЙ ФЕДЕРАЦИИ
СЕЙФЫ, СЕЙФОВЫЕ КОМНАТЫ И ХРАНИЛИЩА ЦЕННОСТЕЙ
ТРЕБОВАНИЯ И МЕТОДЫ ИСПЫТАНИЙ НА УСТОЙЧИВОСТЬ К ВЗЛОМУ
Safes, safe rooms and strongrooms. Requirements and methods
of tests for resistance to burglary
(EN 1143-1:2012, Secure storage units - Requirements,
classification and methods of test for resistance
to burglary - Part 1: Safes, ATM safes,
strongroom doors and strongrooms, MOD)
ГОСТ Р 50862-2017
(EN 1143-1:2019)
| | Список изменяющих документов Росстандарта от 08.02.2022 N 60-ст) | |
Дата введения
1 июля 2018 года
1 ПОДГОТОВЛЕН Рабочей группой ООО "НПО Промет" на основе собственного перевода на русский язык немецкоязычной версии стандарта, указанного в
пункте 4
2 ВНЕСЕН Проектным техническим комитетом по стандартизации ТК 701 "Средства надежного хранения денежных средств, ценностей и носителей информации"
3 УТВЕРЖДЕН И ВВЕДЕН В ДЕЙСТВИЕ
Приказом Федерального агентства по техническому регулированию и метрологии от 26 декабря 2017 г. N 2090-ст
4 Настоящий стандарт является модифицированным по отношению к европейскому стандарту EN 1143-1:2019 "Устройства для безопасного хранения. Требования, классификация и методы испытаний на устойчивость к взлому. Часть 1. Сейфы, сейфы для банкоматов, двери для сейфовых хранилищ и сейфовые хранилища" (EN 1143-1:2012 "Secure storage units - Requirements, classification and methods of test for resistance to burglary - Part 1: Safes, ATM safes, strongroom doors and strongrooms", MOD) путем:
(в ред.
Изменения N 1, утв. Приказом Росстандарта от 08.02.2022 N 60-ст)
- изменения слов (фраз, показателей, ссылок), которые выделены в тексте курсивом;
- внесения отдельных слов, фраз, которые выделены в тексте полужирным курсивом, включенных в текст стандарта для учета потребностей национальной экономики Российской Федерации;
- изменения структуры. Сопоставление структуры настоящего стандарта со структурой указанного стандарта приведено в дополнительном
приложении ДА.
Наименование настоящего стандарта изменено относительно наименования указанного стандарта для приведения в соответствие с ГОСТ Р 1.5-2012
(пункт 3.5).
Сведения о соответствии ссылочного межгосударственного стандарта европейскому стандарту, использованному в качестве ссылочного в примененном стандарте, приведены в дополнительном
приложении ДБ
(в ред.
Изменения N 1, утв. Приказом Росстандарта от 08.02.2022 N 60-ст)
Правила применения настоящего стандарта установлены в статье 26 Федерального закона от 29 июня 2015 г. N 162-ФЗ "О стандартизации в Российской Федерации". Информация об изменениях к настоящему стандарту публикуется в ежегодном (по состоянию на 1 января текущего года) информационном указателе "Национальные стандарты", а официальный текст изменений и поправок - в
ежемесячном информационном указателе "Национальные стандарты". В случае пересмотра (замены) или отмены настоящего стандарта соответствующее уведомление будет опубликовано в ближайшем выпуске ежемесячного информационного указателя "Национальные стандарты". Соответствующая информация, уведомление и тексты размещаются также в информационной системе общего пользования -
на официальном сайте Федерального агентства по техническому регулированию и метрологии в сети Интернет (www.gost.ru)
Сейфы проходят испытания, результаты которых используют для классификации их устойчивости к взлому. Полученную классификацию можно использовать для создания систем безопасного хранения с оговоркой, что в зависимости от квалификации преступника, условий на месте преступления и наличия инструментария при реальном взломе на вскрытие сейфа может уйти значительно больше времени, чем при испытании.
Результаты и повторяемость испытаний сильно зависят от мастерства команды испытателей. Разрабатываются машинные методы испытаний, которые могут быть включены в настоящий стандарт в ходе последующего пересмотра.
Настоящий стандарт гармонизован со стандартом EN 1143-1:2019, часть 1. "Устройства для безопасного хранения. Требования, классификация и методы испытаний на устойчивость к взлому. Сейфы, сейфы для банкоматов, двери для хранилищ и хранилища ценностей". Применение данного стандарта позволит установить более тесные связи между российскими и европейскими системами сертификации, а также облегчить процесс сертификации продукции российских производителей на европейском рынке.
(в ред.
Изменения N 1, утв. Приказом Росстандарта от 08.02.2022 N 60-ст)
При разработке настоящего стандарта были использованы технические разработки ведущих в этой области производственных и торговых компаний, изучены и учтены существующие государственные стандарты и международный опыт.
Настоящий стандарт устанавливает основы для испытания и классификации свободно стоящих сейфов, встраиваемых (в стены и пол) сейфов, сейфов и оснований для банкоматов, дверей для хранилищ ценностей и хранилищ ценностей (с дверью или без двери), сейфовых комнат с точки зрения их устойчивости к взлому. Настоящий стандарт не охватывает испытания и классификацию систем депонирования и комплексов банкоматов.
В настоящем стандарте использованы нормативные ссылки на следующие стандарты:
ГОСТ 12.2.007.0 Система стандартов безопасности труда. Изделия электротехнические. Общие требования безопасности
ГОСТ 34024-2016 Замки сейфовые. Требования и методы испытаний на устойчивость к несанкционированному открыванию
(ссылка введена
Изменением N 1, утв. Приказом Росстандарта от 08.02.2022 N 60-ст)
Ссылка исключена с 01.03.2022. -
Изменение N 1, утв. Приказом Росстандарта от 08.02.2022 N 60-ст.
Примечание - При пользовании настоящим стандартом целесообразно проверить действие ссылочных стандартов в информационной системе общего пользования - на официальном сайте Федерального агентства по техническому регулированию и метрологии в сети Интернет или по ежегодному информационному указателю "Национальные стандарты", который опубликован по состоянию на 1 января текущего года, и по выпускам ежемесячного информационного указателя "Национальные стандарты" за текущий год. Если заменен ссылочный стандарт, на который дана недатированная ссылка, то рекомендуется использовать действующую версию этого стандарта с учетом всех внесенных в данную версию изменений. Если заменен ссылочный стандарт, на который дана датированная ссылка, то рекомендуется использовать версию этого стандарта с указанным выше годом утверждения (принятия). Если после утверждения настоящего стандарта в ссылочный стандарт, на который дана датированная ссылка, внесено изменение, затрагивающее положение, на которое дана ссылка, то это положение рекомендуется применять без учета данного изменения. Если ссылочный стандарт отменен без замены, то положение, в котором дана ссылка на него, рекомендуется применять в части, не затрагивающей эту ссылку.
В настоящем стандарте применены следующие термины с соответствующими определениями:
3.1 сейф: Средство надежного хранения, обладающее регламентированными защитными свойствами взломостойкости и/или огнестойкости и в закрытом состоянии имеющее как минимум одну внутреннюю сторону длиной не более 1 м.
3.2 взломостойкий сейф: Сейф, обладающий регламентированными свойствами взломостойкости.
3.3 свободно стоящий сейф: Сейф, регламентированные защитные свойства которого определяются только его конструкцией и свойствами материалов, использованных при его изготовлении.
3.4 встраиваемый сейф: Сейф, регламентированные защитные свойства которого определяются его конструкцией, свойствами материалов, использованных при его изготовлении, а также свойствами материалов, добавленных или присоединенных к нему в процессе установки и способа монтажа.
Примечание - Встраиваемые сейфы делятся на встраиваемые в стену и встраиваемые в пол.
3.5 хранилище ценностей: Помещение, обладающее регламентированными свойствами взломостойкости, предназначенное для хранения ценностей, все внутренние размеры которого больше 1 м.
Примечание - Сейфовые хранилища могут быть изготовлены на месте, собраны из предварительно изготовленных элементов или изготовлены комбинированным способом (часть изготовлена на месте, часть собрана из готовых элементов).
3.6 сейфовая комната: Хранилище ценностей, предназначенное для хранения ценностей в установленных внутри него сейфах.
3.7 дверь хранилища ценностей: Дверь для доступа в хранилище ценностей, обладающая регламентированными свойствами взломостойкости, с сейфовым замком (сейфовыми замками), ригельной системой и рамой.
3.8
сейф для банкомата: Сейф взломостойкий, являющийся составной частью конструкции банкомата, предназначенный для обеспечения сохранности денежных средств.
3.9 основание банкомата: Часть конструкции банкомата, находящаяся между сейфом банкомата и поверхностью, на которой этот сейф будет закреплен.
3.10
внутреннее пространство: Часть сейфа банкомата, ограниченная внутренними поверхностями корпуса сейфа банкомата и крышкой (крышками), закрывающими ригельный механизм двери сейфа банкомата.
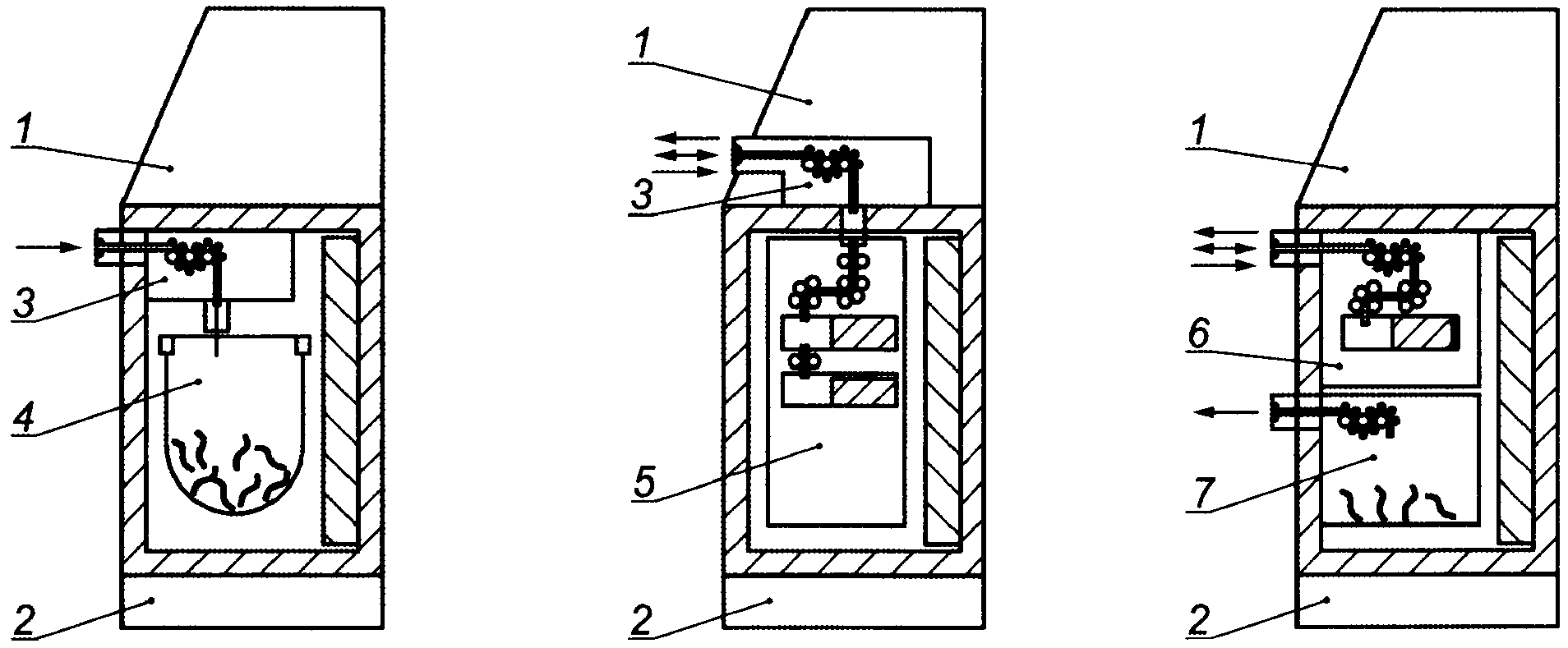
3.11 комплекс банкомата: Совокупность устройств, которые обеспечивают функционирование банкомата, а также обеспечивают безопасность наличных средств и/или ценностей, хранящихся в сейфе банкомата.
Примечание - Пример комплекса банкомата показан на рисунке 1.
Рисунок 1 - Пример комплекса банкомата
Примечание - Из устройств, показанных на
рисунке 1, механизм банкомата и блок управления банкомата не подлежат испытаниям в соответствии с настоящим стандартом.
3.12 дополнительное оборудование: Устройства/приспособления, входящие в состав конструкции или проходящие сквозь конструкцию сейфового хранилища или двери (дверей) хранилища в целях вентиляции или депонирования наличных средств и ценностей.
Примечание - Дополнительное оборудование может быть всегда открытым, обычно открытым (но закрываться в критических случаях) или обычно закрытым (можно открыть в случае необходимости).
3.13 рабочее время: Время, в течение которого в процессе испытания используют инструменты для внесения изменений в испытуемый образец.
Примечание - В рамках данного стандарта также учитывается рабочее время, в течение которого не производится видимых переделок/изменений на испытуемом образце.
3.14 единица устойчивости к взлому (EC): Устойчивость к взлому, которая соответствует противостоянию в течение одной минуты инструменту, имеющему коэффициент 1 и базисное значение 0.
3.15 класс устойчивости к взлому: Обозначение в классификации по устойчивости к взлому.
3.16 значение устойчивости к взлому: Численное значение в единицах устойчивости к взлому, рассчитываемое в каждом испытании.
3.17 базисное значение (BV): Число в единицах устойчивости, назначенное для конкретного инструмента.
Примечание - Базисное значение учитывает сложности в приобретении, доставке к месту, использовании и функционировании соответствующего инструмента в рассматриваемом месте, а также знания и опыт, которые необходимы для его эффективного использования.
3.18 коэффициент инструмента: Число единиц устойчивости к взлому в минуту, присваиваемое группе инструментов.
Примечание - Коэффициент инструмента учитывает и такие факторы, как шум, дым, резкие запахи и другие эффекты, которые увеличивают риск обнаружения попытки взлома.
3.19 ригельный механизм: Механизм, посредством которого закрытая дверь удерживается так, что пока этот механизм находится в закрытом положении, дверь открыть невозможно без разрушения конструкции.
3.20 сейфовый замок: Замок высокой секретности, предназначенный для запирания ригельной системы средств надежного хранения, с регламентированными свойствами.
3.21 блокирующее устройство: Система, включающая распознающие и блокирующие элементы, которая не дает вывести ригели из зацепления при обнаружении попытки взлома.
Примечание - Блокирующее устройство может быть частью запирающего механизма (например, активный блокиратор) или независимым элементом (например, пассивный блокиратор).
3.22 закрыть: Переместить дверь таким образом, чтобы можно было запереть ее с помощью ригелей.
3.23 запереть с помощью ригелей: Выдвинуть ригельный механизм или ригель замка (в случае отсутствия ригельного механизма) в позицию, в которой он фиксирует дверь в закрытом положении.
3.24 запереть: Заблокировать выдвинутый ригельный механизм посредством замка.
3.25 защитный материал сейфа (барьерный материал): Материал, непосредственно влияющий на взломостойкость сейфа.
4.1 Сейфы классифицируют по классу устойчивости к взлому согласно таблице 1.
Минимальные требования для классификации сейфов
(за исключением сейфов банкоматов) по классу
устойчивости к взлому
Росстандарта от 08.02.2022 N 60-ст)
Класс устойчивости к взлому | Испытание на взлом с использованием инструмента (см. 7.3) | | Замки | Дополнительные требования для обозначения "EX" (не обязательно) (см. 7.4) | Дополнительные требования для обозначения "CD" (не обязательно) (см. 7.6) | Дополнительные требования для обозначения "T2" (не обязательно) (см. 7.3.4.5) |
Значение устойчивости, EC, для | Требуемое усилие, кН | Число | | Значение устойчивости к взлому после взрыва <d>, EC | Значение устойчивости к взлому, EC | Значение устойчивости, EC, для |
частичного доступа | полного доступа | частичного доступа | полного доступа |
0 | 30 | 30 | 50 | 1 | A | | | | |
I | 30 | 50 | 50 | 1 | A | | | | |
II | 50 | 80 | 50 | 1 | A | | | | |
III | 80 | 120 | 50 | 1 | B | | | 80 | 120 |
IV | 120 | 180 | 100 | 2 | B | 9 | 1000 | 120 | 180 |
V | 180 | 270 | 100 | 2 | B | 14 | 1000 | 180 | 270 |
VI | 270 | 400 | 100 | 2 | C | 20 | 1000 | 270 | 400 |
VII | 400 | 600 | 100 | 2 | C | 30 | 1000 | 400 | 600 |
VIII | 550 | 825 | 100 | 2 | C | 41 | 1000 | 550 | 825 |
IX | 700 | 1050 | 100 | 2 | C | 53 | 1000 | 700 | 1050 |
X | 900 | 1350 | 100 | 2 | C | 68 | 1000 | 900 | 1350 |
<a> Применимо только к свободно стоящим сейфам массой менее 1000 кг. <b> Обозначение "EX" невозможно для классов устойчивости к взлому 0, I, II, III.<c> Обозначение "CD" невозможно для классов устойчивости к взлому 0 - III.<d> Значения устойчивости к взлому для частичного доступа. <e> Обозначение "T2" невозможно для классов устойчивости к взлому 0 - II. |
4.2 Сейфы для банкоматов классифицируют по классу устойчивости к взлому согласно таблице 2.
Минимальные требования для классификации сейфов
банкоматов по классу устойчивости к взлому
Росстандарта от 08.02.2022 N 60-ст)
Класс устойчивости | Испытание на взлом с использованием инструментов (см. 7.3) Значение устойчивости, EC, для | | Испытание на разрушение элементов крепления (см. 7.3.7.2) | Замки | Дополнительные требования для обозначения "EX" (не обязательно) (см. 7.4) | Дополнительные требования для обозначения "T2" (не обязательно) (см. 7.8) |
частичного доступа | полного доступа, EC | Требуемое усилие, кН | Значение устойчивости, EC | Число | | Значение устойчивости к взлому после взрыва <d>, EC | Значение устойчивости, EC, для |
частичного доступа | полного доступа, EC |
общие | |
общие | |
L | | 20 | 20 | 30 | 50 | 30 | 1 | A | | | - | |
дверь | 30 | 30 | 50 | 30 | | - | |
I | 30 | 30 | 50 | 50 | 50 | 1 | A | | | | |
II | 50 | 35 | 80 | 50 | 50 | 1 | A | | | | |
III | 80 | 65 | 120 | 50 | 50 | 1 | B | | 80 | 65 | 120 |
IV | 120 | 100 | 180 | 100 | 50 | 2 | B | 9 | 120 | 100 | 180 |
V | 180 | 145 | 270 | 100 | 50 | 2 | B | 14 | 180 | 145 | 270 |
VI | 270 | 220 | 400 | 100 | 70 | 2 | C | 20 | 270 | 220 | 400 |
VII | 400 | 350 | 600 | 100 | 120 | 2 | C | 30 | 400 | 350 | 600 |
VIII | 550 | 500 | 825 | 100 | 160 | 2 | C | 41 | 550 | 500 | 825 |
<a> Значения устойчивости к взлому не применимы к корпусу сейфов банкоматов класса L, которые соответствуют требованиям 7.3.5.5. <b> Применимо только к фактически используемым отверстиям; заделанные и неиспользуемые отверстия должны удовлетворять общим значениям. <c> Обозначение "EX" невозможно для классов устойчивости к взлому L, I, II, III.<d> Значения устойчивости к взлому для частичного доступа. <e> Обозначение "T2" невозможно для классов устойчивости к взлому 0 - II. |
4.3 Двери для
хранилищ ценностей и хранилища ценностей (с дверью или без нее), сейфовые комнаты классифицируют по классу устойчивости к взлому согласно таблице 3.
Минимальные требования для классификации хранилищ ценностей,
сейфовых комнат и дверей для хранилищ ценностей
по классу устойчивости к взлому
Росстандарта от 08.02.2022 N 60-ст)
Класс устойчивости к взлому | Испытание на взлом с использованием инструментов (см. 7.3) | | Дополнительные требования для обозначения "EX" (не обязательно) (см. 7.4) | Дополнительные требования для обозначения "CD" (не обязательно) (см. 7.6) | Дополнительные требования для обозначения "T2" (не обязательно) (см. 7.8) |
Значение устойчивости к полному доступу, EC | Число | | Значение устойчивости к взлому после взрыва, EC | Значение устойчивости к взлому <c>, EC | Значение устойчивости к полному доступу, EC |
0 | 30 | 1 | A | | | |
I | 50 | 1 | A | | | |
II | 80 | 1 | A | | | |
III | 120 | 1 | B | | | 120 |
IV | 180 | 2 | B | 9 | | 180 |
V | 270 | 2 | B | 14 | | 270 |
VI | 400 | 2 | C | 20 | | 400 |
VII | 600 | 2 | C | 30 | | 600 |
VIII | 825 | 2 | C | 41 | 10000 | 825 |
IX | 1050 | 2 | C | 53 | 10000 | 1050 |
X | 1350 | 2 | C | 68 | 10000 | 1350 |
XI | 2000 | 3 | C | 100 | 10000 | 2000 |
2 | D |
XII | 3000 | 3 | C | 150 | 10000 | 3000 |
2 | D |
XIII | 4500 | 2 | D | 225 | 10000 | 4500 |
<a> Не применяется при классификации хранилищ ценностей без дверей. <b> Обозначение "EX" невозможно для классов устойчивости к взлому 0, I, II, III.<c> Значение устойчивости к взлому, к полному доступу, путем колонкового сверления. <d> Обозначение "CD" невозможно для классов устойчивости к взлому 0 - VII.<e> Обозначение "T2" невозможно для классов устойчивости к взлому 0 - II. |
4.4 Все изделия должны удовлетворять общим требованиям в соответствии с
5.1, а изделия с обозначением "EX", "GAS", "CD" и "T2" должны выполнять также дополнительные требования в соответствии с
5.2 (в случае маркировки "EX"),
5.3 (в случае маркировки "GAS"),
5.4 (в случае маркировки "CD"),
5.5 (в случае маркировки "T2")
.
(п. 4.4 в ред.
Изменения N 1, утв. Приказом Росстандарта от 08.02.2022 N 60-ст)
5.1.1 Сейфы, двери для хранилищ ценностей, хранилища ценностей и сейфовые комнаты
В защитном материале не допускаются сквозные отверстия, кроме отверстий для замков, кабелей и анкерного крепления или для крепления аксессуаров к дверям хранилищ ценностей и хранилищам ценностей.
Площадь каждого из отверстий для кабелей в сейфах, дверях для хранилищ ценностей и хранилищах ценностей (с дверью или без двери) не более 100 мм2. Неиспользуемые входные кабельные отверстия закрывают специальными приспособлениями, которые невозможно удалить извне без оставления видимых следов. Допускаются отверстия для ввода коммуникаций для систем вентиляции и пожаротушения в оболочку хранилищ, сейфовых комнат площадью более 100 мм2 во взломостойком исполнении.
Свободно стоящие сейфы массой менее 1000 кг должны иметь, по крайней мере, одно отверстие, с помощью которого сейф можно надежно закрепить. Узел анкерного крепления на каждое анкерное отверстие выдерживает усилие, указанное в
таблице 1.
5.1.2 Сейфы для банкоматов
Неиспользуемые отверстия в сейфах для банкоматов закрывают специальными приспособлениями, которые невозможно удалить извне без оставления видимых следов.
Примечания
1 В сейфах банкоматов допускаются сквозные отверстия в защитном материале, необходимые для функционирования банкомата.
2 Площади входных отверстий для кабелей в сейфах банкоматов могут быть больше 100 мм2.
Сейфы банкоматов
должны иметь возможность надежного закрепления, которое выдерживает усилие, указанное в
таблице 2.
5.1.3 Крышка, закрывающая ригельный механизм
Сейфы, сейфы банкоматов и двери для хранилищ ценностей должны иметь внутреннюю крышку, закрывающую ригельный механизм, которая предохраняет замки и ригельный механизм от несанкционированного наблюдения и доступа к ним, когда дверь открыта. Закрывающие ригельный механизм крышки крепятся таким образом, чтобы их нельзя было открыть или удалить, не оставляя видимых следов.
5.1.4 Отверстия для кабеля
Сейфы, хранилища ценностей и двери для хранилищ ценностей класса III и более высокого класса должны иметь отверстие для кабеля или подготовку, облегчающую присоединение системы сигнализации после установки хранилища.
5.1.5 Инструкции по эксплуатации
Сейфы, хранилища ценностей и сейфы банкоматов поставляют с инструкциями по эксплуатации и техническому обслуживанию, включая инструкции на замки. Свободно стоящие сейфы и сейфы банкоматов поставляют с инструкциями по закреплению, встраиваемые сейфы, хранилища ценностей и двери для хранилищ ценностей - с инструкциями по монтажу.
5.2 Дополнительные требования для получения обозначения "EX" (устойчивость к взрыву)
При испытаниях в соответствии с
разделом 7 сейфы классов устойчивости к взлому от
IV до X для получения обозначения "EX" должны как минимум иметь значения устойчивости после взрыва, приведенные в
таблице 1. Сейфы класса устойчивости к взлому 0, I,
II, III не могут иметь обозначение "EX".
При испытаниях в соответствии с
7.4 сейфы для банкоматов классов устойчивости к взлому от
IV до X для получения обозначения "EX" должны как минимум иметь значения устойчивости после взрыва, приведенные в
таблице 2. Сейфы для банкоматов класса устойчивости к взлому L и I,
II, III не могут иметь обозначение "EX".
При испытаниях в соответствии с
7.4 хранилища ценностей (с дверями или без дверей) и двери для хранилищ ценностей классов устойчивости к взлому от
IV до XIII для получения обозначения "EX" должны как минимум иметь значения устойчивости после взрыва, приведенные в
таблице 3. Хранилища ценностей и двери для хранилищ ценностей класса устойчивости к взлому 0, I,
II, III не могут иметь обозначение "EX".
При испытаниях в соответствии с
7.4 конструкция входных отверстий
для систем вентиляции и пожаротушения хранилищ ценностей (с дверями или без дверей), дверей для хранилищ ценностей, сейфовых комнат должна препятствовать размещению через них взрывчатых веществ в
форме запалов или зарядов.
5.3 Дополнительные требования для обозначения "GAS" (устойчивость к взрыву газом)
Во время испытаний в соответствии с
7.5 сейфы для банкоматов с классами взломостойкости от II до VIII с обозначением "GAS" должны
достичь значений устойчивости к взлому после взрыва, которые приведены в
таблице 2. Обозначение "GAS" не
применимо к сейфам для банкоматов с классами взломостойкости L и I.
5.4 Дополнительные требования для получения обозначения "CD" (устойчивость к колонковому бурению)
При испытаниях в соответствии с
7.6 сейфы классов устойчивости к взлому IV - X для получения обозначения "CD" должны как минимум иметь значения устойчивости к взлому, приведенные в
таблице 1. Сейфы класса устойчивости к взлому 0 - III и сейфы для банкоматов не могут иметь обозначение "CD".
(в ред.
Изменения N 1, утв. Приказом Росстандарта от 08.02.2022 N 60-ст)
При испытаниях в соответствии с
7.6 хранилища ценностей (с дверями или без дверей) и двери для хранилищ ценностей классов устойчивости к взлому от V до XIII для получения обозначения "CD" должны как минимум иметь значения устойчивости, приведенные в
таблице 3.
Хранилища ценностей и двери для
хранилищ ценностей класса устойчивости к взлому 0 - III не могут иметь обозначение "CD".
5.5 Дополнительные требования для получения обозначения "T2" (устойчивость к взлому дополнительным инструментом) <1>.
(подраздел 5.5 введен
Изменением N 1, утв. Приказом Росстандарта от 08.02.2022 N 60-ст)
--------------------------------
<1> При наличии требований заказчика в соответствии с
приложением B.
При испытаниях в соответствии с
7.7 сейфы классов устойчивости к взлому III - X для получения обозначения "T2" должны как минимум иметь значения устойчивости к взлому, приведенные в
таблице 1.
При испытаниях в соответствии с
7.7 сейфы для банкоматов классов устойчивости к взлому III - VIII для получения обозначения "T2" должны как минимум иметь значения устойчивости к взлому, приведенные в
таблице 2.
При испытаниях в соответствии с
7.7 хранилища ценностей (с дверями или без дверей) и двери для хранилищ ценностей классов устойчивости к взлому III - XIII для получения обозначения "T2" должны как минимум иметь значения устойчивости к взлому, приведенные в
таблице 3.
6 Требования безопасности
Изделия, а также их элементы и фрагменты, имеющие электрооборудование, должны соответствовать требованиям безопасности ГОСТ 12.2.007.0.
7.1 Техническая документация
Техническая документация должна включать следующую информацию:
7.1.1 На каждой странице
представленной технической документации должны быть проставлены дата выпуска документа и наименование изготовителя
(или наименование и статус заявителя на испытания);
7.1.2 Заявление о типе изделия,
например, свободно стоящий сейф, встраиваемый сейф (в стену или в пол), сейф для банкомата, дверь
хранилища ценностей или
хранилище ценностей (с дверью или без двери) с перечнем размеров для одинаковых по конструкции изделий;
7.1.3 Чертежи образца для испытания, включающие следующее:
a) масса, наружные и внутренние размеры с учетом допусков;
b) горизонтальные и вертикальные поперечные сечения;
c) количество, схема размещения и характеристики замков, ригельного механизма и блокирующего устройства;
d) количество, шаг и позиция дверных ригелей, их размеры (например, диаметр поперечного сечения), ход, способ зацепления и их тип (например, активный или пассивный);
e) расположение и конструкция локальных участков, исполненных из специальных защитных материалов;
f) подробное описание способов крепления, сборки или анкерных креплений всех элементов, влияющих на физическую безопасность, таких как конструкция и расположение соединений и мест сварки, средств, с помощью которых дверь и/или рама присоединяется к стенкам, средств, с помощью которых соединяются готовые панели;
g) обозначение, расположение и размеры всех отверстий, которые проходят через защитный материал, с подробным описанием специально защищенных участков;
h) описание возможных опций.
Примечание - Например, установки замка с таймером или замка с отложенным запиранием;
i) для сейфов банкоматов описание основания банкомата, если оно имеется, должно быть описано изготовителем.
7.1.4 Перечень всех замков,
которые могут быть установлены на данном изделии, с указанием производителя,
названия или номера модели.
7.1.5
Описание материалов конструкции, если они не указаны в чертежах.
7.1.6 Подробное описание материалов или устройств(а), которые могут генерировать газ, дым, сажу и т.д. при физическом воздействия на сейф, а также материалов и устройств, которые могут выделять вредные вещества при испытании.
7.1.7 Описание характера и расположения кабелей и/или элементов для систем обнаружения
попытки взлома, для монтажа электромеханических устройств безопасности, сигнализации и т.д.
7.1.8 Инструкции по установке, в которых описаны следующие подробности:
a) метод анкеровки свободно стоящих сейфов массой менее 1000 кг;
b) метод монтажа встраиваемых сейфов, т.е. какую часть корпуса необходимо заключить в защитную оболочку; минимальные размеры и толщину защитной оболочки в разных направлениях; минимальные требования к качеству материала оболочки; любые усиливающие или анкерные приспособления, которые необходимо включить в массу оболочки.
Примечание - Требования к качеству материала оболочки могут включать типы и доли наполнителей, цемента и других компонентов, текучесть свежеприготовленной массы и прочность бетона на сжатие после 28-дневного отверждения, а также методы испытания для определения этих характеристик;
c) методика создания монолитных хранилищ ценностей с помощью заливки на месте, включая следующее: минимальные требования к качеству бетона; упрочняющие элементы, которые необходимо включить в конструкцию хранилища ценностей; способы, с помощью которых к стенкам присоединяются дверь и рама, и способы, с помощью которых арматура и крепления присоединяются к элементам хранилища.
Примечание - Требования к качеству бетона могут включать типы и доли наполнителей, цемента и других компонентов, текучесть свежеприготовленной массы и прочность бетона на сжатие после 28-дневного отверждения, а также методы испытания для определения этих характеристик;
d) метод сборки хранилищ ценностей из готовых элементов;
e) метод, посредством которого сейф банкомата или объединенные сейф банкомата с основанием банкомата крепятся к полу или другой поверхности.
7.2 Образец для испытаний
7.2.1 Образец для испытаний представляет собой готовый сейф, сейф банкомата, дверь для хранилища ценностей или хранилище ценностей (с дверью или без двери). Образец хранилища ценностей для испытания должен состоять из элементов, представляющих все соединения и узлы, необходимые для испытания. Необязательные элементы (см.
7.1.3), которые могут уменьшить устойчивость к взлому, также должны быть представлены в образце. Необязательные элементы (см.
7.1.3) и дополнительное оборудование, такие как
замок с таймером или
замок с отложенным запиранием, которые могут увеличить значение устойчивости к взлому, должны быть либо удалены, либо деактивированы на время испытания на взлом
с использованием инструментов.
Образец для испытания сейфа для банкомата должен включать основание банкомата, если оно требуется для монтажа.
7.2.2 Входы для кабеля систем сигнализации и/или дополнительное оборудование, указанные в технической документации, должны быть представлены в образце для испытания.
7.2.3 Образцы для испытания встраиваемых сейфов и заливаемых на месте хранилищ ценностей должны быть сконструированы с использованием поставленных компонентов и в соответствии с инструкциями по монтажу (см.
7.1.8).
7.2.4 Количество образцов для проведения испытаний определяется испытательной лабораторией и должно обеспечить осуществление всех обязательных методик испытаний для конкретного типа продукции. Для проведения испытаний продукции с заявленным классом устойчивости к взлому до III включительно предоставляется не менее двух образцов, для проведения испытания изделия с заявленным классом от IV и выше -
не менее трех образцов.
7.3 Испытание для определения класса устойчивости к взлому
Испытание служит для установления минимальных значений устойчивости к взлому при полном, а для сейфов и сейфов для банкоматов также при частичном доступе в испытуемый образец и для подтверждения прочности анкерного закрепления.
Отдельно стоящие сейфы, сейфы для банкоматов, сейфы, встраиваемые в стену или в пол, а также двери хранилищ ценностей испытывают на устойчивость к взлому с соблюдением следующего порядка испытаний:
a) Группа испытателей изучает испытуемый образец (см. 7.4) наряду с технической документацией и разрабатывает план взлома испытуемого образца.
b) Группа испытателей взламывает испытуемые образцы. Время, требуемое для достижения частичного или полного доступа, оцениваемого с помощью вставленного шаблона, регистрируют и используют для расчета значений устойчивости к взлому.
Инструменты и программа взлома, использованные в ходе испытаний, должны быть наиболее подходящими, с точки зрения команды испытателей, для получения наименьших значений устойчивости к взлому. Возможно проведение предварительных исследовательских испытаний.
c) Для отдельно стоящих сейфов и сейфов банкоматов прочность анкерного крепления сейфа измеряют путем приложения нагрузки к анкеру.
Примечания
1 Доступ к испытуемым образцам, технической документации и к наблюдению за испытанием должны иметь только лица, специально уполномоченные на это органом сертификации. Такие уполномоченные лица не имеют права передавать информацию неуполномоченным лицам.
2 Наблюдатели за испытаниями могут включать представителей заявителя, представителей от органа по сертификации, например инспекторов, представителей руководства испытательной лаборатории. Количество наблюдателей может быть ограничено испытательной лабораторией, а список наблюдателей должен быть согласован испытательной лабораторией и заявителем до начала испытаний.
3 Поскольку некоторые испытания, предусмотренные настоящим стандартом, включают процедуры, угрожающие здоровью их участников, к их проведению допускается только подготовленный персонал. При проведении работ следует учитывать нормы и правила охраны труда и техники безопасности, предусмотренные законодательством РФ.
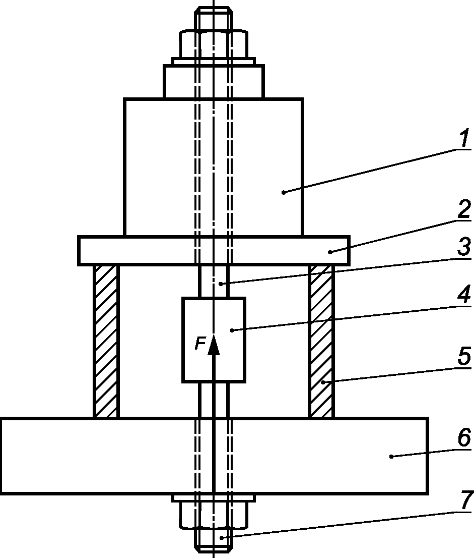
7.3.2.1 Оборудование для испытания прочности анкерного крепления отдельно стоящих сейфов
Оборудование для испытания на растяжение должно иметь усилие не менее 100 кН. Нагрузку следует прикладывать, как показано на
рисунке 2. Измерение приложенной нагрузки следует проводить с точностью не менее +/- 5% от
максимальной приложенной нагрузки.
F - направление приложения усилия;
1 - гидроцилиндр; 2 - стальная опорная плита; 3 - узел
крепления; 4 - переходник и блок измерения нагрузки;
5 - поддерживающий цилиндр внутренним диаметром
2,5d +/- 0,5d (d - толщина стенки сейфа); 6 - стенка
сейфа толщиной d (в мм) с анкерным отверстием;
7 - элементы крепления в соответствии с описанием
в инструкции по монтажу
Рисунок 2 - Пример оборудования для нагружения
7.3.2.2 Оборудование для испытания прочности анкерного крепления сейфов для банкоматов
Оборудование, обеспечивающее приложение к испытуемому образцу горизонтального усилия, должно обеспечивать усилие не менее 100 кН и измерять приложенное усилие с точностью не менее +/- 5% от максимальной приложенной нагрузки.
Стальная пластина, к которой сейф для банкомата (или сейф для банкомата с основанием банкомата) должен быть прикреплен, должна выдерживать полную нагрузку при испытаниях без разрушения.
7.3.2.3 Инструменты для определения устойчивости к взлому
Любому инструменту, используемому для испытания, должны быть присвоены коэффициент и базисное значение согласно
приложению A.
Не допускается вносить изменения в инструменты, за исключением так называемых "изготовленных на заказ инструментов", например, не допускается увеличивать размеры форсунок, удлинять электроды, стержни или рычаги и т.д.
Примечание - Нельзя удалять с инструментов или заменять предохранительные устройства, например, защитные кожухи, плавкие предохранители и другие ограничивающие электрический ток приспособления и/или ограничители максимальной скорости.
Чтобы защитить оператора(ов), в случае применения ручного ударного инструмента и зубила, можно использовать специально сконструированный держатель для зубила. Такой держатель следует рассматривать как ручной фиксирующий инструмент (см.
таблицу A.2).
Примечание - Испытательные лаборатории должны иметь перечень используемых инструментов с указанием их категории в соответствии с
приложением A.
Инструменты для определения устойчивости к взлому "T2"
(абзац введен
Изменением N 1, утв. Приказом Росстандарта от 08.02.2022 N 60-ст)
Любому инструменту, используемому для испытания, должны быть присвоены коэффициент и базисное значение согласно
приложению B.
(абзац введен
Изменением N 1, утв. Приказом Росстандарта от 08.02.2022 N 60-ст)
Дополнительно при испытаниях допускается использование инструмента согласно
приложению A. В таком случае им также должны быть присвоены коэффициент и базисное значение согласно
приложению A.
(абзац введен
Изменением N 1, утв. Приказом Росстандарта от 08.02.2022 N 60-ст)
Не допускается вносить изменения в заводскую конструкцию инструмента.
(абзац введен
Изменением N 1, утв. Приказом Росстандарта от 08.02.2022 N 60-ст)
Хронометраж необходимо выполнять с помощью хронометра, точность которого составляет не менее 1/60 мин на 10 мин измерения, а его шкала должна иметь цену деления 1/60 мин.
Хронометр должен быть виден всем наблюдателям, а начало и конец каждого измеряемого периода должен отмечаться звуковым или оптическим сигналом.
7.3.2.5 Испытательные шаблоны
Испытательные шаблоны должны быть изготовлены из жесткого материала.
Испытательные шаблоны для определения частичного доступа:
Могут быть использованы три испытательных шаблона, каждый длиной 150 мм со следующим поперечным сечением:
a) круг диаметром 125 мм;
b) квадрат со стороной 112 мм, углы которого скруглены радиусом 5 мм;
c) прямоугольник с длиной сторон 100 x 125 мм, углы которого скруглены радиусом 5 мм.
Допуск для всех размеров должен составлять

Испытательные шаблоны для определения полного доступа
Могут быть использованы три испытательных блока, каждый длиной 400 мм со следующим поперечным сечением:
a) круг диаметром 350 мм;
b) квадрат со стороной 315 мм, углы которого скруглены радиусом 10 мм;
c) прямоугольник с длиной сторон 300 x 330 мм, углы которого скруглены радиусом 10 мм.
Допуск для всех размеров должен составлять

7.3.3.1 Критерии испытаний для определения устойчивости к взлому
Образец для испытания на взлом с использованием инструментов считается вскрытым:
a) путем частичного доступа, если один из испытательных шаблонов, описанных в
7.3.3.2, может проникнуть полностью в испытуемый образец через проделанное в нем отверстие;
b) путем полного доступа, если выполнено одно из следующих условий:
| | ИС МЕГАНОРМ: примечание. В официальном тексте документа, видимо, допущена опечатка: пункт 7.3.3.3 отсутствует. | |
один из испытательных шаблонов, описанных в 7.3.3.3, может проникнуть полностью в испытуемый образец через проделанное в нем отверстие;
дверь снята или открыта так, что ширина и высота свободного проема составляет не менее 80% от соответствующих внутренних размеров образца;
c) при испытаниях воздействием инструментов на крепежные узлы сейфа для банкомата: крепежные узлы должны быть полностью отделены.
В случае встраиваемого сейфа полным доступом также считается его извлечение из защитной оболочки.
Любое испытание с использованием инструментов должно продолжаться до тех пор, пока еще остается возможность получить информацию, необходимую для определения класса устойчивости к взлому. Остановка испытаний может произойти, если значение устойчивости, полученное в предыдущих испытаниях, превышено.
Прерванное испытание на взлом с использованием инструментов должно засчитываться как одно из испытаний, описанных в
7.3.5.
7.3.3.2 Критерии испытания на прочность крепления сейфа
Отдельно стоящий сейф считается прошедшим испытание анкерного крепления, если узел крепления и анкерный болт не были разрушены и болт не вышел целиком из зацепления со стенкой или основанием.
Сейф для банкомата с основанием или без него считается прошедшим анкерное испытание, если не произошло смещения сейфа банкомата более чем на 200 мм и наклона сейфа банкомата больше чем на 60°.
7.3.4.1 Свободно стоящие сейфы
Испытания должны включать не менее одной попытки взлома с использованием инструментов, чтобы получить:
a) частичный доступ внутрь испытуемого образца через
центр боковой стенки корпуса сейфа;
b) частичный доступ внутрь испытуемого образца через угол боковой стенки корпуса сейфа;
c) частичный доступ внутрь испытуемого образца через дверь сейфа;
d) частичный доступ внутрь испытуемого образца через стенки, частично ослабленные конструктивными элементами сейфа, такими как отверстия для заполнения сейфа и т.д.;
e) полный доступ через стенку корпуса сейфа;
f) полный доступ через открытие двери сейфа с предварительным выводом из зацепления с ригельной системой язычка замка путем демонтажа замка, выбивания язычка замка, выжигания язычка замка или деформации элементов ригельной системы;
g) полный доступ через открытие двери сейфа с предварительным выводом ригелей из зацепления с силовыми ответными элементами корпуса сейфа, путем демонтажа, выбивания или выжигания ригелей или деформации элементов ригельной системы.
При выборе места доступа необходимо учитывать конструктивные особенности изделия, такие как элементы усиления, ребра и несъемные элементы конструкции, чтобы выбрать наиболее уязвимое место доступа.
Испытатели не ограничены в количестве попыток проведения атак, за исключением ограничений, наложенных требованиями к количеству образцов.
Дополнительные испытания на взлом с использованием инструментов стенок, верхней части, основания или двери в соответствии с
a) и
b) проводят, если испытуемый образец имеет отличающиеся по конструкции участки или зоны, для которых можно ожидать более низкое значение устойчивости (например, на участке, где имеются отверстия).
7.3.4.2 Сейфы, встраиваемые в стену или в пол
Испытание должно включать не менее одной попытки воздействия инструментом, чтобы получить:
a) частичный доступ внутрь испытуемого образца через дверь сейфа;
b) частичный доступ внутрь испытуемого образца через защитную оболочку, добавленную в процессе установки;
c) полный доступ через открытие двери сейфа с предварительным выводом из зацепления с ригельной системой язычка замка путем демонтажа замка, выбивания язычка замка, выжигания язычка замка или деформации элементов ригельной системы;
d) полный доступ через открытие двери сейфа с предварительным выводом ригелей из зацепления с силовыми ответными элементами корпуса сейфа, путем демонтажа, выбивания или выжигания ригелей или деформации элементов ригельной системы;
e) извлечение вмонтированного сейфа из оболочки.
При выборе места доступа необходимо учитывать конструктивные особенности изделия, такие как элементы усиления, ребра и несъемные элементы конструкции, чтобы выбрать наиболее уязвимое место доступа.
Испытатели не ограничены в количестве попыток проведения атак, за исключением ограничений, наложенных требованиями к количеству образцов.
Дополнительные испытания на взлом с использованием инструментов в соответствии с
a) и
b) требуются, если испытуемый образец имеет отличающиеся по конструкции участки или зоны, для которых можно ожидать более низкое значение устойчивости (например, на участке, где имеются отверстия).
7.3.4.3 Хранилища ценностей
Общие положения
Испытание должно включать не менее двух попыток взлома с использованием инструментов, чтобы получить полный доступ через стену хранилища ценностей, и одной попытки взлома с получением полного доступа - через дверь хранилища ценностей.
Хранилище ценностей без двери
Испытание должно включать не менее двух попыток взлома с использованием инструментов, чтобы получить полный доступ.
Дополнительные испытания на взлом с использованием инструментов потолка, основания и стенок хранилища ценностей для получения полного доступа требуются, если хранилище ценностей имеет отличающиеся по конструкции участки или зоны, для которых можно ожидать более низкое значение устойчивости к взлому (например, на участке, где имеются отверстия).
Двери для хранилищ ценностей
Испытание должно включать не менее одной попытки взлома двери с использованием инструментов (включая раму и участки стены, к которой она присоединяется, если это необходимо), чтобы получить полный доступ.
Дополнительные испытания на взлом с использованием инструментов для получения полного доступа требуются, если испытуемый образец имеет отличающиеся по конструкции участки или зоны, для которых можно ожидать более низкое значение устойчивости (например, на участке, где имеются отверстия).
7.3.4.4 Сейфы для банкоматов классов I - VIII
Общие положения
Испытания сейфов для банкоматов классов I - VIII должны включать не менее одной попытки взлома с использованием инструментов, чтобы получить:
a) частичный доступ через корпус и дверь;
b) полный доступ через корпус и дверь;
c) отрезание или разрушение узла крепления прямым воздействием на любое крепежное устройство.
Дополнительные испытания на взлом с использованием инструментов в соответствии с
a) и
b) требуются, если испытуемый образец имеет отличающиеся по конструкции участки или зоны, для которых можно ожидать более низкое значение устойчивости (например, на участке, где имеются отверстия).
Испытания на частичный доступ
Испытания на частичный доступ сейфов для банкоматов классов I - VIII должны включать:
a) не менее одной попытки взлома с использованием инструментов корпуса или двери, выполненной таким образом, чтобы имеющиеся отверстия (заглушенные или нет) не являлись частью зоны частичного проникновения. Требования к устойчивости к взлому путем частичного доступа (для сейфов различных классов) при таких испытаниях указаны в
таблице 2 в столбце с заголовком "общие";
b) не менее одной попытки взлома с использованием инструментов должно быть выполнено так, чтобы при частичном доступе пытаться увеличить незаглушенные проемы для выдачи или депонирования наличных денег (если такие проемы имеются на испытуемом образце). Требования к устойчивости к взлому путем частичного доступа (для сейфов различных классов) при таких испытаниях указаны в
таблице 2 в столбце с заголовком "через отверстия";
c) попытку взлома с использованием инструментов заглушенных проемов для выдачи или депонирования наличных денег (если такие проемы имеются на испытуемом образце). Требования к устойчивости к взлому путем частичного доступа (для сейфов различных классов) при таких испытаниях указаны в
таблице 2 в столбце с заголовком "общие".
Дополнительные испытания на взлом с использованием инструментов путем частичного доступа требуются, если испытуемый образец имеет отличающиеся по конструкции участки, зоны или особенности (включая участки с различными заглушенными неиспользуемыми отверстиями), для которых можно ожидать более низкое значение устойчивости.
Испытание на полный доступ
Испытание на полный доступ сейфов для банкоматов классов I - VIII должно включать испытания на взлом с использованием инструментов на корпус или дверь. Дополнительные испытания на полный доступ требуются, если испытуемый образец имеет отличающиеся по конструкции участки и зоны, для которых можно ожидать более низкое значение устойчивости.
Испытания прямым воздействием на крепления
Необходимо провести испытание по прямому воздействию на крепежные устройства сейфов для банкоматов классов I - VIII путем отрезания или разрушения крепежа.
7.3.4.5 Сейфы, испытываемые с использованием инструментов "T2"
Испытания должны включать не менее одной попытки взлома с использованием инструментов согласно
приложениям A и
B, чтобы получить:
a) частичный доступ через центр боковой стенки корпуса сейфа;
b) частичный доступ через угол боковой стенки корпуса сейфа;
c) полный доступ через дверь сейфа;
d) полный доступ через стенку корпуса сейфа.
(п. 7.3.4.5 в ред.
Изменения N 1, утв. Приказом Росстандарта от 08.02.2022 N 60-ст)
7.3.5 Условия проведения испытаний
7.3.5.1 Перед выполнением испытания на взлом с использованием инструментов можно провести предварительные испытания. Эти испытания не должны повлиять на число испытаний, требуемых в
7.3.5.
7.3.5.2 Неразрушающие манипуляции с замком или вскрытие замка отмычками не допускаются.
7.3.5.3 Все отверстия (за исключением отверстий в основании сейфа, предназначенных для анкерного крепления сейфа), которые имеются на испытуемом образце, можно задействовать в испытании.
7.3.5.4 В ходе испытаний
испытатели не могут извлекать механические преимущества из искусственно созданных для испытуемого образца условий. Например, инструменты нельзя использовать ниже плоскости основания свободно стоящего сейфа, поставленного в ходе испытания на подставки,
упирая инструменты в подставку.
7.3.5.5 При испытаниях сейфов и сейфов для банкоматов можно использовать только инструменты категорий A, B, C и D. Хранилища ценностей и двери для хранилищ ценностей можно испытывать с использованием инструментов категорий A, B, C, D и S.
7.3.5.6 Во время испытаний на взлом с использованием инструментов следующие инструменты нельзя использовать одновременно в ходе любого одного испытания:
d) электроинструмент и термический инструмент;
e) ручной ударный инструмент и электроинструмент;
f) ручной ударный инструмент и термический инструмент;
g) два изготовленных на заказ электроинструмента (см.
таблицу A.6).
7.3.5.7 Для ручных ударных инструментов, удерживаемых двумя руками, число ударов в ходе одного испытания ограничено 250 ударами.
7.3.5.8 В любом испытании на взлом с использованием инструментов к работе над испытуемым образцом допускаются только два оператора и руководитель группы. Одновременно работать над испытуемым образцом разрешается только двум людям.
7.3.5.9 В испытании на взлом с использованием инструментов не допускается применение балансировочных устройств.
7.3.5.10 Для очистки испытуемого образца можно использовать пылесос и сжатый воздух.
7.3.5.11 Испытание следует выполнять только на тех участках или в отношении тех характеристик, которые не были ослаблены в ходе предыдущих испытаний.
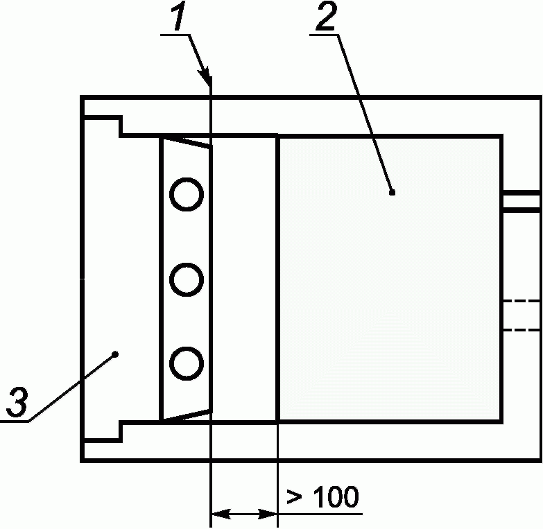
7.3.5.12 При испытаниях на открывание двери сейфа для банкомата используемые инструменты не должны заходить во внутреннее пространство сейфа на расстояние более 100 мм от плоскости крышки ригельного механизма.
Воздействие инструментом для открывания двери сейфа для банкомата не должно проходить через внутреннее пространство, на участке, отстоящем более чем на 100 мм от плоскости пластины, закрывающей блокирующий механизм (см. рисунок 3).
1 - плоскость крышки, закрывающей ригельный механизм;
2 - воздействующие инструменты не должны попадать
во внутренний объем, обозначенный затененной
областью; 3 - дверь
Рисунок 3 - Схематическая диаграмма, показывающая
внутреннее пространство сейфа для банкомата, в которое
не должен попадать инструмент при открывании двери
7.3.5.13 Для испытаний с использованием инструментов с воздействием на внешние узлы крепления сейфа для банкомата можно использовать только инструменты категорий A, B, C и D. Не следует использовать инструменты, перечисленные в
таблице A.6, и вспомогательные средства, перечисленные в
таблице A.13.
На крепежные болты можно воздействовать через основание банкомата или через существующие отверстия в сейфе для банкомата, если эти отверстия находятся на расстоянии не более 250 мм от болта, на который воздействуют.
7.3.5.14 При получении частичного или полного доступа (как через дверь, так и через корпус), при использовании в конструкции металлических листов толщиной 3 мм и более допускается применять только термические или электрические инструменты для резки данных листов. Ручной инструмент может быть использован только для удаления уже надрезанных листов.
(п. 7.3.5.14 введен
Изменением N 1, утв. Приказом Росстандарта от 08.02.2022 N 60-ст)
7.3.6 Проведение испытания на определение устойчивости к взлому
При получении образца лабораторией записывают даты получения образца для испытания (см.
7.2) и технической документации (см.
7.1) и их уникальный идентификационный номер.
Испытуемый образец (см.
7.2) должен соответствовать требованиям технической документации (см.
7.1).
Инструменты должны быть подготовлены для испытания таким образом, чтобы их можно было немедленно применить. Время подготовки инструмента к первому использованию уже учтено при определении его базисного значения. Поэтому оно не должно приниматься во внимание при определении устойчивости к взлому. Например, электродрели необходимо оснастить сверлом, на угловые шлифовальные машины должны быть установлены режущие диски, термические инструменты - оснащены соответствующими горелками, стойки для дрелей должны стоять у испытуемого образца и т.д.
Испытуемый образец закрывают и запирают, если это может повлиять на результат испытания.
Для запирания замков использовать ключ или код.
В начале испытания образец свободно стоящего сейфа или сейфа для банкомата располагают на полу или имитации пола на его обычной высоте и, при необходимости, закрепляют для удобства проведения испытания. Закреплять анкерными болтами испытуемые образцы свободно стоящего сейфа или сейфа для банкомата при испытаниях на полный или частичный доступ не обязательно. В процессе испытания на частичный доступ свободно стоящий сейф или сейф для банкомата можно опрокинуть таким образом, чтобы можно было испытать все его стороны; время, необходимое для опрокидывания, должно засчитываться как рабочее время. При испытаниях на взлом через дверь образцов сейфов для банкоматов опрокидывать их нельзя.
При испытании на взлом с использованием инструментов регистрируют все происходившие при этом события.
7.3.6.1 Измерение рабочего времени при испытаниях
a) Для каждого используемого инструмента замеряют и записывают рабочее время. При каждой операции хронометр включают, как только инструмент коснется образца, и останавливают хронометр, когда инструмент прекращает касаться испытуемого образца.
Время, необходимое для помещения инструмента внутрь испытуемого образца, замеряется и учитывается как рабочее время.
Записанное рабочее время округляется до следующей целой секунды 1/60 мин.
b) При использовании ручных ударных инструментов (см.
таблицу A.5), удерживаемых двумя руками, рабочее время рассчитывается по числу ударов следующим образом:
Инструменты категории A:
Каждый удар засчитывается как 1/60 мин, если удар инструмента приходится непосредственно на испытуемый образец;
каждый удар засчитывается как 1/40 мин, если сила удара передается на испытуемый образец с помощью аксессуаров (см.
таблицу A.5).
Инструменты категории B:
Каждый удар засчитывается как 1/30 мин, если удар инструмента приходится непосредственно на испытуемый образец;
каждый удар засчитывается как 1/15 мин, если сила удара передается на испытуемый образец с помощью аксессуаров (см.
таблицу A.5).
При использовании ручных ударных инструментов (см. таблицу A.5), удерживаемых одной рукой, рабочее время замеряется хронометром.
Если в ходе испытания одновременно используют ударный инструмент, удерживаемый двумя руками, рабочее время которого рассчитывают по числу ударов, и другой метод механического воздействия, например, используют ломик, тогда в качестве рабочего времени засчитывают то время, которое будет больше, т.е. либо фактическое рабочее время, либо рабочее время, рассчитанное по числу ударов.
c) В рабочее время включают также время, затраченное на извлечение инструмента (или частей инструмента), удаление которого необходимо для продолжения испытания. Рабочее время также включает в себя время на перестановку испытуемого образца в процессе испытания.
d) В рабочее время включают также все время, в течение которого инструмент удаляют от контакта с испытуемым образцом на короткий период, если это необходимо для более эффективного продолжения испытания с использованием инструментов (например, когда электроперфоратор необходимо убрать из зоны контакта для того, чтобы можно было изменить точку или угол воздействия).
e) В рабочее время не включают:
время на прерывание (по указанию руководителя группы) испытания с использованием инструментов, по соображениям безопасности операторов, если из испытуемого образца происходит чрезмерное выделение газа, дыма, сажи и т.д. или для очистки и удаления мусора из рабочей зоны;
время, которое затрачивается с разрешения руководителя на контроль состояния испытуемого образца;
время, в течение которого используют вспомогательные средства (см.
таблицу A.13), а также пылесос или сжатый воздух для очистки.
7.3.6.2 Расчет значений устойчивости к взлому
Для каждого испытания на взлом с использованием инструментов рассчитывают значения устойчивости к взлому VR по следующей формуле:

(1)
где

- сумма всех значений рабочего времени в минутах;
c - самый
большой коэффициент инструмента для инструментов, использованных в данном испытании (см.
приложение A);

- сумма базисных значений для всех инструментов, использованных в данном испытании.
Рассчитанное значение необходимо округлить до следующего целого числа. Это значение представляет собой значение устойчивости к взлому в единицах устойчивости к взлому EC по результатам данного испытания на взлом с использованием инструментов.
7.3.6.3 Протокол испытания
Для каждого испытания на взлом с использованием инструментов записывают, как минимум, следующую информацию:
a) номер протокола испытания;
b) наименование испытательной лаборатории;
c) дата и место выполнения испытания;
d) состав группы испытателей, с указанием руководителя группы, хронометриста и операторов;
e) фамилия, инициалы наблюдателей за испытанием, если они присутствовали;
f) тип изделия (см.
7.1.2);
g) идентификация испытуемого образца (см.
7.2);
h) описание каждого испытания на взлом с использованием инструментов (в хронологическом порядке) с подробным описанием зоны воздействия, использованных инструментов, выполненных измерений и событий, а также записи всех значений рабочего времени и ссылки на сделанные фотографии и видеозаписи;
i) расчет значения устойчивости VR в единицах устойчивости к взлому EC.
7.3.7 Испытание на прочность закрепления
7.3.7.1 Свободно стоящие сейфы
Принцип
Прочность закрепления свободно стоящих сейфов следует измерять путем приложения нагрузки, согласно
рисунку 2.
Проведение испытания
Подготовка
Испытуемый образец для свободно стоящего сейфа присоединяют к нагружающему оборудованию. При этом, в соответствии с инструкциями по установке (см.
7.1.8), используют узел крепления через одно из отверстий для крепления.
Нагружение
Требуемая нагрузка (см.
таблицу 1) должна быть приложена в направлении, в котором предполагается вытащить крепеж из стенки или основания сейфа. Нагрузку увеличивают постепенно, чтобы до достижения требуемого значения нагрузки прошло 2 - 3 мин. Удерживают нагрузку на этом уровне в течение 1 мин и затем снимают.
Представление результатов испытания
Необходимо записать значение приложенной нагрузки с указанием, выдерживается ли эта нагрузка без поломки болта и не происходит ли при этом вытаскивание головки болта через стенку или основание сейфа.
7.3.7.2 Сейфы для банкоматов
Принцип
Прочность закрепления сейфов для банкоматов следует оценивать путем приложения горизонтального усилия к испытуемому образцу.
Проведение испытания
Подготовка
Для испытания крепления сейфа для банкомата без основания банкомата сейф необходимо прикрепить к стальной плите, используя способ крепления, рекомендованный изготовителем.
Для испытания крепления сейфа для банкомата с основанием банкомата сейф для банкомата необходимо сваркой или болтами, в соответствии с инструкциями производителя, прикрепить к основанию банкомата, а затем основание банкомата прикрепить к стальной плите, используя способ крепления, рекомендованный изготовителем.
Для встраиваемых в стену сейфов для банкоматов сейф необходимо повернуть на 90° и присоединить к горизонтальной стальной плите так, чтобы стальная плита имитировала вертикальную стену, в которую встраивается сейф.
Для каждого испытания прочности крепления необходимо использовать новые крепежные болты и другие сопутствующие элементы.
К сейфам для банкоматов разрешается добавить компоненты, облегчающие приложение требуемой для испытаний нагрузки; например, приварить к сейфу для банкомата стальной пруток, на который будет воздействовать домкрат, или приспособление, за которое можно тянуть.
Нагружение
Испытание следует выполнять на закрытом и запертом сейфе для банкомата.
Перед приложением усилия необходимо попытаться снять или ослабить внешние крепежные элементы. Это осуществляется с помощью ручных инструментов для сборки-разборки категории A (см.
таблицу A.1) максимально до 50 EC (или до 30 EC для сейфов для банкомата класса L).
В начале испытания усилие требуется прилагать горизонтально. Для сейфов для банкоматов, монтируемых в пол, точка приложения усилия находится на расстоянии 100+10 мм ниже верха сейфа. Для сейфов банкоматов, встраиваемых в стену, необходимо приложить усилие на расстоянии 100+10 мм ниже самой верхней точки сейфа.
1 - направление прикладываемой нагрузки; 2 - образец
для испытания; 3 - стальная пластина
Рисунок 4 - Пример нагружения
Если во время испытания угол применяемой нагрузки отклонился от горизонтали на +/- 15%, зафиксированная точка нагрузки механизма должна быть переустановлена, чтобы возобновить горизонтальную нагрузку.
Нагрузку увеличивают равномерно до достижения требуемой силы в течение 2 - 3 мин. Удерживают максимальную нагрузку на этом уровне в течение одной минуты и снимают нагрузку.
Руководитель группы выбирает направление нагрузки на образец.
Инструментальное испытание
проводят после того, как нагрузка на образец снизится до нуля. Испытание
проводят независимо от того, испытывался ли сейф для банкомата вместе с основанием или без. Цель этого испытания - полностью оторвать сейф для банкомата от анкерного оборудования, или полностью оторвать сейф для банкомата от основания, или полностью оторвать основание от анкерного оборудования. Использование инструментов для этого испытания должно соответствовать условиям
7.3.5.5 -
7.3.5.12. Попытки взломать дверь сейфа для получения доступа к анкерным болтам не разрешаются. Атаки на анкерные болты внутри сейфа через отверстия в сейфе не разрешаются.
Повторные испытания в другом направлении будут разрешены на похожих неиспытанных и неповрежденных образцах оснований для сейфов, если есть основания полагать, что сейф для банкомата и основание не пройдут испытание при нагрузке в противоположном направлении.
Руководитель группы может остановить нагрузочное испытание раньше, чем оно достигнет указанный силовой критерий (независимо от продолжительности нагружения), чтобы начать инструментальное испытание, если он решит, что при этом может быть достигнут результат с меньшей устойчивостью к взлому.
Представление результатов испытания
| | ИС МЕГАНОРМ: примечание. В официальном тексте документа, видимо, допущена опечатка: пункт 7.3.9 отсутствует. | |
В протоколе испытания анкерного крепления необходимо указать направление силовой нагрузки на сейф, продолжительность времени использования каждого инструмента при инструментальном испытании и расчет значения устойчивости к взлому при инструментальном испытании в соответствии с 7.3.9.
7.4 Испытания на устойчивость после взрыва
Это испытание проводят с целью определения устойчивости к воздействию взрывчатых веществ. Испытание выполняют только в случае, когда заявитель хочет сертифицировать сейф на обозначение "EX".
После подрыва заложенного в средство надежного хранения взрывчатого вещества проводят испытание на взлом с использованием инструментов для измерения остаточного значения устойчивости к взлому.
7.4.2 Образец для испытания
Образец для испытания должен иметь такую же конструкцию, что и образец для испытания на взлом с использованием инструментов.
Испытанию подвергают неповрежденный пустой образец. Образец, который ранее подвергался испытаниям на устойчивость к взлому с использованием инструментов, допускается испытывать, только если предыдущие испытания не повлияют на результат испытания взрывом.
Абзац исключен с 01.03.2022. -
Изменение N 1, утв. Приказом Росстандарта от 08.02.2022 N 60-ст.
7.4.3 Взрывчатые вещества
В качестве заряда используют пентаэритритола тетранитрат (PETN) со следующими характеристиками:
плотность (1500 +/- 50) кг/м3;
удельная энергия (5000 +/- 500) Дж/г;
скорость взрыва (7500 +/- 500) м/с.
(в ред.
Изменения N 1, утв. Приказом Росстандарта от 08.02.2022 N 60-ст)
7.4.4 Определение массы заряда взрывчатого вещества
Масса заряда взрывчатого вещества - в соответствии с таблицей 4.
Таблица 4
Масса заряда взрывчатого вещества
для классов устойчивости II - XIII
Класс устойчивости | Масса активного заряда взрывчатого вещества, г, с допуском +/- 2% |
Сейфы | Сейфы для банкоматов | Хранилища ценностей и двери для хранилищ ценностей |
IV | 70 | 70 | 70 |
(в ред. Изменения N 1, утв. Приказом Росстандарта от 08.02.2022 N 60-ст) |
V, VI и VII | 100 | 100 | 125 |
VIII | 200 | 200 | 250 |
IX и X | 200 | Не применяется | 250 |
XI, XII и XIII | Не применяется | Не применяется | 375 |
(в ред.
Изменения N 1, утв. Приказом Росстандарта от 08.02.2022 N 60-ст)
7.4.5 Условия проведения испытаний на устойчивость к взлому после взрыва
7.4.5.1 Сейфы и сейфы для банкоматов
Заряд взрывчатого вещества в компактной форме помещают в геометрический центр объема сейфа, предназначенного для хранения. Закрывают, запирают дверь сейфа и взрывают заряд.
После взрыва необходимо провести испытания на взлом с использованием инструментов до достижения частичного доступа в сейф (в соответствии с
7.3.3.1 b) или пока не будет достигнуто заявленное значение устойчивости к взлому после взрыва (для сейфов - см.
таблицу 1; для сейфов для банкоматов - см.
таблицу 2). Эти испытания записывают как испытание на взлом после взрыва с использованием инструментов.
(в ред.
Изменения N 1, утв. Приказом Росстандарта от 08.02.2022 N 60-ст)
Применяемые инструменты для испытаний на взлом после взрыва с использованием инструментов ограничены инструментами категорий A, B, C и D. Любое испытание после взрыва с использованием инструментов должно продолжаться до тех пор, пока еще остается возможность получить информацию, необходимую для определения устойчивости к взлому после взрыва.
7.4.5.2 Двери для хранилищ ценностей и хранилища ценностей
| | ИС МЕГАНОРМ: примечание. В официальном тексте документа, видимо, допущена опечатка: пункт 7.3.9 отсутствует. | |
После проведения испытаний на устойчивость к взлому с использованием инструментов согласно
7.3 могут быть проведены подготовительные работы к испытаниям устойчивости после взрыва для того, чтобы создать отверстия для последующего размещения заряда из взрывчатых веществ. Инструменты и рабочее время при этом ограничены так, чтобы не превысить 25% (в EC) от нормативного значения для полного доступа по тому классу устойчивости ко взлому, по которому образец уже был сертифицирован в соответствии с
таблицей 3. Для подготовительных работ можно использовать только инструменты категорий A, B, C и D. Расчет значения устойчивости к взлому для таких предварительных работ следует выполнять в соответствии с 7.3.9.
Заряд взрывчатого вещества помещают в отверстия, отверстия закрывают и заряд взрывают.
После взрыва необходимо провести испытания на взлом с использованием инструментов до достижения полного доступа или пока не будет достигнуто заявленное значение устойчивости к взлому после взрыва в соответствии с
таблицей 3. Эти испытания записывают как испытание на взлом после взрыва с использованием инструментов.
Для испытаний на устойчивость к взлому после взрыва с использованием инструментов можно использовать только инструменты категорий A, B, C и D.
Любое испытание с использованием инструментов после взрыва следует продолжать до тех пор, пока еще остается возможность получить информацию, необходимую для определения устойчивости к взлому после взрыва.
7.4.6 Расчет значений устойчивости к взлому после взрыва для испытаний с использованием инструментов
Значение устойчивости к взлому после взрыва RVPD при использовании инструментов рассчитывают по следующей формуле:

(2)
где

- сумма всех значений рабочего времени, затраченного на воздействие инструментами после взрыва;
c - самый
большой коэффициент инструмента из инструментов, использованных в испытании после взрыва (см.
приложение A);

- сумма базисных значений всех использованных только в испытании после взрыва инструментов. Эта сумма не включает в себя базисные значения инструментов, использованных в подготовительных работах.
Рассчитанное значение необходимо округлить до следующего целого числа. Это значение представляет собой величину устойчивости к взлому после взрыва в единицах EC.
В протокол испытания на взлом после взрыва с использованием инструментов в хронологической последовательности записывают следующую информацию:
- точка воздействия;
- используемые инструменты;
- запись всех значений рабочего времени;
- выполненные измерения и события;
- ссылка на сделанные фотографии и видеозаписи;
- значение устойчивости к взлому в единицах ЕС.
7.5 Испытание газовым взрывом
Испытание газовым взрывом определяет устойчивость к атакам газом. Испытание проводят только в том случае, если заявитель хочет сертифицировать сейф на обозначение "GAS". Газовый заряд помещают внутрь сейфа и взрывают. После этого проводят испытание на устойчивость к взлому при помощи инструментов.
7.5.2 Образец для испытания
Образец для испытания должен быть без повреждений и такой же конструкции [включая отверстия (см.
5.1.2)], что и образец, используемый при инструментальном испытании. Внутренний объем образца должен быть пустым (то есть без оборудования для наличных денег). Неиспользуемые отверстия в сейфе, которые обычно не закрыты, должны быть открыты во время испытания. Образец, который ранее был подвержен инструментальному испытанию, может быть использован, если это испытание не повлияет на результат испытания газовым взрывом.
Заряд должен состоять из газа (ацетилен C2H2 + кислород O2) и стехиометрической и однородной смеси (1 C2H2 + 2,5 O2), чистота газового компонента должна быть более 99%.
Объемы C2H2 и O2 должны быть откорректированы под условия 20 °C и 1013 гПа с допуском +/- 5%.
7.5.4 Определение объема заряда газа
Объем заряда газа зависит от объема внутреннего пространства сейфа. Методы расчета массы заряда приведены в таблице 5.
Таблица 5
Методы расчета массы заряда
Класс устойчивости к взлому | Метод расчета |
IV | Метод 1 |
V, VI, VII, VIII | Метод 2 |
Метод 1
Vз = 50 л < 50%·Vвп < 100 л;
где Vз - объем заряда газа,
Vвп - объем внутреннего пространства.
Примечание - Метод 1 подразумевает, что внутреннее пространство сейфа заполнено механизмами банкомата. Свободный объем не должен превышать 100 л. Для достижения этого объема необходимо установить дополнительное оборудование, например, производителем банкомата.
Метод 2
Vз = 50 л < 90%·(Vвп - Vисп) < 100 л;
где Vз - объем заряда газа,
Vвп - объем внутреннего пространства,
Vисп. - внутреннее пространство согласно
3.10.
Рассчитанный объем округляют до большего целого числа.
(п. 7.5.4 в ред.
Изменения N 1, утв. Приказом Росстандарта от 08.02.2022 N 60-ст)
7.5.5 Оборудование для проведения испытания атаки с газом
Оборудование для измерения расхода газа должно соответствовать требованиям
7.6.3 (по составу, объему и однородности). Для
размещения газа лаборатория должна использовать гибкие емкости. Свойства этих емкостей, такие как размеры, материал и надежность, должны быть выбраны так, чтобы не оказывать влияния на результаты атаки (например, находиться под давлением менее 1 гПа, и не поглощать энергию).
7.5.6 Процедура проведения испытания атаки с газом
С целью
обеспечения воспроизводимости результата и создания самых
сложных условий взрыватель и гибкая емкость,
заполненная газом, должны быть
размещены вблизи геометрического центра внутреннего объема сейфа для банкомата (см.
3.8).
Последовательность процедуры следующая:
- Наполняют гибкую емкость воздухом или инертным газом, чтобы проверить герметичность и правильность расположения;
- опорожняют гибкую емкость;
- закрывают и запирают дверь;
- наполняют гибкую емкость однородной и стехиометрической взрывной смесью;
- взрывают заряд.
Примечание - Для достижения однородной взрывной смеси компоненты могут быть смешаны или до наполнения гибкого контейнера (например, при помощи такого устройства как форсунка) или после него (например, при помощи циркуляционного насоса).
Для контроля утечки газа и правильности положения контейнера может быть использована видеокамера.
После взрыва необходимо провести испытания на взлом с использованием инструментов до достижения полного доступа (в соответствии с
7.3.4 b) или пока не будет достигнуто заявленное значение устойчивости к взлому в соответствии с
таблицей 3. Эти испытания
оформляют, как испытание
на устойчивость к взлому после взрыва с использованием инструментов.
Для испытаний на устойчивость к взлому после взрыва с использованием инструментов можно использовать только инструменты категорий A, B, C и D.
Любое испытание с использованием инструментов после взрыва следует продолжать до тех пор, пока еще остается возможность получить информацию, необходимую для определения устойчивости к взлому после взрыва.
7.5.7 Расчет значений устойчивости к взлому после взрыва газа RVg для испытаний с использованием инструментов
Значение устойчивости к взлому после взрыва при использовании инструментов рассчитывают по следующей формуле:

(3)
где

- сумма всех значений рабочего времени, затраченного на воздействие инструментами после взрыва;
c - самый
большой коэффициент инструмента из инструментов, использованных в испытании после взрыва (см.
приложение A);

- сумма базисных значений всех инструментов, использованных при испытании после взрыва. Эта сумма не включает в себя базисные значения инструментов, использованных в подготовительных работах.
Рассчитанное значение необходимо округлить до следующего целого числа. Это значение представляет собой величину устойчивости к взлому после взрыва в единицах EC.
Перед взрывом:
- протоколируют объемы, состав газа и процедуру смешивания;
После взрыва:
- протоколируют эффект, который взрыв произвел на образец.
В протокол испытания на взлом после взрыва газа с использованием инструментов в хронологической последовательности вносят следующую информацию:
- точка воздействия;
- используемые инструменты;
- запись всех значений рабочего времени;
- результаты замеров;
- ссылки на сделанные в ходе испытаний фотографии и видеозаписи;
- расчетное значение устойчивости к взлому в единицах EC.
7.6 Испытание устойчивости к колонковому высверливанию
В процессе испытания устанавливают устойчивость к взлому при использовании в качестве основного инструмента колонкового сверлильного инструмента. Эти испытания применимы только к сейфам, дверям для хранилищ ценностей и к хранилищам ценностей и выполняются, только если заявитель желает сертифицировать свои изделия на обозначение "CD".
7.6.2 Образец для испытания
Испытание на колонковое высверливание можно выполнять на образцах, использованных ранее в испытаниях на взлом с использованием инструментов. Если это согласовано с испытательной лабораторией, то в качестве альтернативы в испытаниях можно использовать другую панель, конструкция которой идентична конструкции, использованной ранее в образце для испытаний на взлом с использованием инструментов.
| | ИС МЕГАНОРМ: примечание. В официальном тексте документа, видимо, допущена опечатка: пункт 7.3.9 отсутствует. | |
Испытание следует проводить с использованием электроинструментов категории D (в соответствии с
таблицей A.10), с применением колонковой буровой коронки диаметром (150 +/- 5) мм категории D или S (в соответствии с
таблицей A.10). Перед колонковым сверлением допускается проведение подготовительных работ с использованием инструментов категорий B и C (в соответствии с
таблицей A.11). Выбор инструментов для подготовительных работ и их время работы ограничиваются так, чтобы значение устойчивости к взлому при этих подготовительных работах не превысило 150 EC. Расчет устойчивости к взлому при этих подготовительных работах проводят в соответствии с 7.3.9.
7.6.3.2 Двери для хранилищ ценностей и хранилища ценностей
Испытания следует проводить с использованием электроинструментов категории S в соответствии с
таблицей A.10 и с применением колонковой коронки диаметром (150 +/- 5) мм или диаметром (400 +/- 10) мм категории S в соответствии с
таблицей A.10. Не допускается менять диаметр коронки после начала испытания.
В испытании колонковым сверлением допускается использовать вспомогательные инструменты:
- либо термические инструменты (
таблица A.11, инструмент категории C), либо шлифовальные и режущие инструменты (
таблица A.10, инструмент категории C);
- молоток с массой головки до 1,5 кг (
таблица A.5, инструмент категории A);
- любое количество отверток и зубил (
таблица A.1, инструмент категории A).
| | ИС МЕГАНОРМ: примечание. В официальном тексте документа, видимо, допущена опечатка: пункт 7.3.9 отсутствует. | |
Значение устойчивости к взлому при использовании вспомогательных инструментов рассчитывают в соответствии с 7.3.9 с соответствующими базисными значениями и коэффициентом инструмента 35 EC/мин. Выбор вспомогательных инструментов и их время работы ограничиваются так, чтобы значение устойчивости к взлому при их работах не превысило 800 EC. Рассчитанное значение устойчивости при использовании вспомогательных инструментов прибавляется к значению устойчивости при использовании оборудования для колонкового сверления.
Колонковое сверление следует использовать для создания частичного доступа через испытуемый образец сейфа, а также полного доступа через образец дверей для хранилищ ценностей или собственно хранилищ ценностей. Коронка колонкового бура может заменяться в ходе испытания.
Вследствие медленного проникновения или постоянных остановок сверления, или повреждений буровой коронки испытатель может прийти к выводу, что требование к значению устойчивости к взлому в соответствии с
таблицей 1 (сейфы) или
таблицей 3 (двери для хранилищ ценностей или хранилища ценностей) будет выполнено. Тогда испытание на колонковое сверление можно прервать и считать, что требования для присвоения обозначения CD выполнены.
Примечания
1 Для размещения испытательного оборудования и фиксации его относительно испытуемого образца можно использовать другие инструменты, но использовать их только для этой цели, но не для влияния на время проникновения.
| | ИС МЕГАНОРМ: примечание. В официальном тексте документа, видимо, допущена опечатка: пункт 7.3.3.3 отсутствует. | |
2 Полного доступа (в соответствии с 7.3.3.3) через двери для хранилищ ценностей или через стены хранилищ ценностей можно достичь в результате одного проникновения или нескольких перекрывающихся проникновений.
7.6.5 Расчет значения устойчивости к взлому
| | ИС МЕГАНОРМ: примечание. В официальном тексте документа, видимо, допущена опечатка: пункт 7.3.9 отсутствует. | |
Значение устойчивости к взлому для частичного доступа в сейфы, а также полного доступа через двери для хранилищ ценностей или в хранилища ценностей следует рассчитывать в соответствии с 7.3.9.
Базисные значения для инструментов, используемых для размещения и фиксации оборудования для колонкового сверления, не следует включать в расчет. В расчет рабочего времени также не включают время, затраченное на размещение и фиксацию оборудования. Время, затраченное на заточку или иную обработку коронки колонкового бура для восстановления его режущей способности, включают в рабочее время.
7.7 Испытания на взлом с использованием инструмента "T2"
(подраздел 7.7 в ред.
Изменения N 1, утв. Приказом Росстандарта от 08.02.2022 N 60-ст)
В процессе испытаний устанавливают устойчивость к взлому образца с применением профессионального инструмента согласно
приложению B.
Испытания проводятся только при наличии требования заказчика.
7.7.2 Образец для испытаний
Образец представляется на испытания на взлом с использованием инструмента "T2" только после прохождения образца аналогичной конструкции испытаний согласно
7.3.6 и
7.3.7.
7.7.3 Проведение испытаний
При проведении испытаний используют инструменты, приведенные в
приложении B. Дополнительно допускается использовать инструменты, приведенные в
приложении A. Проведение испытаний, измерение рабочего времени и расчет значений устойчивости к взлому аналогично
7.3.6.
Протокол испытания на взлом с использованием инструмента "T2" должен содержать следующую информацию:
a) номер протокола испытания;
b) наименование испытательной лаборатории;
c) дата и место выполнения испытания;
d) состав группы испытателей, с указанием руководителя группы, хронометриста и операторов;
e) тип изделия (см.
7.1.2);
f) описание каждого испытания на взлом с использованием инструментов "T2" (в хронологическом порядке) с подробным описанием зоны воздействия, использованных инструментов, выполненных измерений и событий, а также записи всех значений рабочего времени и ссылки на сделанные фотографии и видеозаписи:
g) расчет значения устойчивости VR в единицах устойчивости к взлому EC;
7.8 Общий протокол испытания
(подраздел 7.8 введен
Изменением N 1, утв. Приказом Росстандарта от 08.02.2022 N 60-ст)
7.8.1 В протокол вносят его уникальный идентификационный номер.
7.8.2 Если испытание на устойчивость после взрыва не проводилось, то протокол должен содержать следующую информацию:
a) наименование изготовителя, место и год изготовления;
b) техническая документация, поставляемая в соответствии с
5.1.5 и
7.1, и в случае встраиваемого сейфа или заливаемого на месте хранилища ценностей - описание и качество работ по изготовлению защитной оболочки, выполненных на месте испытания;
c) заводской номер (или другой способ идентификации, использованный изготовителем) испытуемого образца;
d) описание и результат любого предварительного исследования;
e) план проведения испытания, разработанный на основе начального обследования;
f) дата и место проведения испытаний;
g) состав группы испытателей, ФИО руководителя группы, хронометриста и операторов; ФИО независимых технических экспертов-консультантов;
h) спецификации использованных при испытаниях инструментов;
i) рассчитанное значение устойчивости для каждого испытания на взлом с использованием инструментов;
j) прилагаемое усилие (нагрузка) в килоньютонах (кН) при испытаниях на прочность анкерного крепления и описание любой деформации или разрушения в стенке или основании сейфа (если имеется);
при выполнении испытания взрывом в дополнение к вышеперечисленному сообщают следующее:
k) спецификации использованных при испытаниях инструментов;
l) торговая марка и тип взрывчатых веществ, масса заряда и описание местоположения заряда;
m) описание испытаний с использованием инструментов после взрыва и расчет результирующего значения устойчивости к взлому.
Примечание - Протокол испытания должен включать заявление о том, что полученные результаты относятся только к испытанным образцам и должны рассматриваться только как основа для сертификации. Протокол испытания сам по себе не может служить сертификатом соответствия.
8.1 Общие требования к маркировке
Изделие, для которого установлен класс устойчивости к взлому со ссылкой на классификацию в соответствии с европейским стандартом, должно иметь соответствующую маркировку.
Маркировка (на металлической пластине) должна быть нестираема и прочно закреплена на внутренней стороне дверцы или в запирающейся камере или с лицевой стороны готового элемента хранилища ценностей.
Маркировка должна включать следующее:
a) наименование или идентификационный код изготовителя;
b) обозначение стандарта и класс устойчивости к взлому;
c) обозначение "EX" (если оно присвоено);
d) обозначение "CD" (если оно присвоено);
e) обозначение "GAS" (если оно присвоено);
f) год изготовления;
g) тип продукции (см.
5.2);
Дополнительно маркировка может включать:
h) тип, номер модели, ее обозначение или размер;
i) серийный номер.
8.2 - 8.4 Исключены с 01.03.2022. -
Изменение N 1, утв. Приказом Росстандарта от 08.02.2022 N 60-ст.
(обязательное)
ИНСТРУМЕНТЫ ДЛЯ ИСПЫТАНИЙ
В данном приложении представлены коэффициенты и базисные значения (см.
таблицы A.1 -
A.13) для каждого инструмента и каждой категории инструментов (A, B, C, D и S), которые допускаются к применению в испытании на взлом с использованием инструментов. Кроме того, описано назначение каждого инструмента. Мощностные характеристики определяют по данным производителя инструмента.
Примечание - В некоторых случаях базисное значение также может меняться в рамках одной категории инструмента.
Инструменты, перечисленные в
таблицах A.1 -
A.6, используются только вручную, без внешнего энергообеспечения. Инструменты, перечисленные в
таблицах A.7 -
A.10, используются с источниками внешнего питания и обычно (за исключением инструментов категории A) зависят от внешних источников питания. Инструменты в
таблицах A.7,
A.8 и
A.10 можно использовать со смазочно-охлаждающими жидкостями и/или охлаждающими жидкостями.
Инструменты используют в соответствии с их предназначением. Если какой-либо инструмент используют вместо инструмента другого типа, то при расчетах применяют коэффициент заменяемого или имитированного инструмента (если он выше).
Например, если отвертка используется в качестве зубила, то ее нельзя рассматривать как ручной инструмент для сборки-разборки - она считается специальным вспомогательным инструментом с базовым значением BV 1 EC.
Для того, чтобы получить минимальное значение сопротивления к взлому, при испытаниях используют инструмент, наиболее близкий по мощности к предельным значениям, указанным в таблицах A.7 - A.10.
Таблица A.1
Ручные инструменты для сборки-разборки
Категория инструмента |
A | B | C | D | S |
Коэффициент инструмента: 5 EC/мин | Коэффициент инструмента: 7,5 EC/мин | Коэффициент инструмента: 10 EC/мин | Коэффициент инструмента: 15 EC/мин | Коэффициент инструмента: 35 EC/мин |
Масса <= 1,5 кг; длина <= 400 мм BV: 0 EC | Масса <= 3,0 кг; длина <= 1500 мм; BV: 5 EC | - | - | - |
Примечание - Эти инструменты используют для неразрушающей сборки и разборки съемных элементов, например, чтобы вывинтить винты, шпильки или болты, пружинные зажимы. Пример инструментов: отвертки, гаечные ключи для вильчатых гаек. |
Таблица A.2
Ручные фиксирующие инструменты
Категория инструмента |
A | B | C | D | S |
Коэффициент инструмента: 5 EC/мин | Коэффициент инструмента: 7,5 EC/мин | Коэффициент инструмента: 10 EC/мин | Коэффициент инструмента: 15 EC/мин | Коэффициент инструмента: 35 EC/мин |
Масса <= 1,5 кг; длина <= 400 мм BV: 0 EC | Длина <= 1500 мм; BV: 7 EC | - | - | - |
Примечание - Эти инструменты используют для фиксации (удерживания) других инструментов и материалов, например, для крепления/удерживания зубила. Пример инструментов: универсальные пассатижи, гаечные ключи, держатели для долота, кузнечные клещи. |
Таблица A.3
Ручные рычажные инструменты
Категория инструмента |
A | B | C | D | S |
Коэффициент инструмента: 5 EC/мин | Коэффициент инструмента: 7,5 EC/мин | Коэффициент инструмента: 10 EC/мин | Коэффициент инструмента: 15 EC/мин | Коэффициент инструмента: 35 EC/мин |
Длина <= 300 мм; BV: 2 EC длина <= 750 мм BV: 5 EC | Длина <= 1500 мм BV: 7 EC | - | - | - |
Примечание - Эти инструменты используют для передачи физического усилия с помощью рычага, например, для отжатия двери, деформирования или разрушения слабых элементов. Пример инструмента: гвоздодер, монтировка, ручной ломик, лапчатый рычаг. |
Таблица A.4
Ручные пилящие, режущие и сверлящие инструменты
Росстандарта от 08.02.2022 N 60-ст)
Категория инструмента |
A | B | C | D | S |
Коэффициент инструмента: 5 EC/мин | Коэффициент инструмента: 7,5 EC/мин | Коэффициент инструмента: 10 EC/мин | Коэффициент инструмента: 15 EC/мин | Коэффициент инструмента: 35 EC/мин |
Масса <= 1,5 кг; длина <= 400 мм BV: 0 EC | - | - | - | - |
Сверло HSS <a> BV: 1 EC полотно пилы BV: 1 EC |
<a> HSS - быстрорежущая (инструментальная) сталь. Примечание - Это инструменты без электропривода, которые используют для ручного шлифования, резки и удаления различных материалов, например, для резки стальных листов. Пример инструмента: ручные дрели, пилы, напильники, кромкообрезные ножницы, болторезные ножницы, ножницы для резки листовых материалов, ножницы по металлу. |
Таблица A.5
Ручные ударные инструменты
Категория инструмента |
A | B | C | D | S |
Коэффициент инструмента: 5 EC/мин | Коэффициент инструмента: 7,5 EC/мин | Коэффициент инструмента: 10 EC/мин | Коэффициент инструмента: 15 EC/мин | Коэффициент инструмента: 35 EC/мин |
Масса головки <= 1,5 кг; момент <= 10 Нм; длина <= 750 мм BV: 5 EC | Масса головки <= 3,0 кг; момент <= 25 Нм; длина <= 1000 мм BV: 7 EC | - | - | - |
Долото BV: 1 EC клин BV: 1 EC пробойник BV: 1 EC | Долото BV: 1 EC клин BV: 1 EC пробойник BV: 1 EC |
Примечание - Эти инструменты используют для разрушения различных материалов и приведения в движение других инструментов, таких как зубила, пробойники и клинья. Пример инструмента: молотки, кувалды, кирки, колуны. |
Таблица A.6
Изготовленные на заказ инструменты
Категория инструмента |
A | B | C | D | S |
Коэффициент инструмента: 5 EC/мин | Коэффициент инструмента: 7,5 EC/мин | Коэффициент инструмента: 10 EC/мин | Коэффициент инструмента: 15 EC/мин | Коэффициент инструмента: 35 EC/мин |
Потребляемая мощность <= 500 Ватт; длина <= 400 мм; масса <= 1,5 кг BV: 18 EC | Потребляемая мощность <= 800 Ватт; длина <= 750 мм; масса <= 3,0 кг BV: 28 EC | - | - | - |
Примечание - Это инструменты, которых обычно нет в продаже, но они разрабатываются и изготавливаются на заказ специально для испытаний. В базисные значения включены источники электрического тока напряжением < 240 В, которые используются для питания этого инструмента. |
Таблица A.7
Безударные электроинструменты
Категория инструмента |
A | B | C | D | S |
Коэффициент инструмента: 5 EC/мин | Коэффициент инструмента: 7,5 EC/мин | Коэффициент инструмента: 10 EC/мин | Коэффициент инструмента: 15 EC/мин | Коэффициент инструмента: 35 EC/мин |
Масса <= 3,0 кг; потребляемая мощность <= 500 Ватт BV: 7 EC | Потребляемая мощность <= 900 Ватт BV: 11 EC | Потребляемая мощность <= 1350 Ватт BV: 25 EC Опциональная приставка для сверлильного устройства BV: 11 EC | - | - |
BV: 1 EC полотно пилы BV: 1 EC | Сверла HSS/с твердосплавным наконечником BV: 2 EC полотно пилы BV: 2 EC | Сверла HSS/с твердосплавным наконечником BV: 3 EC |
<a> HSS - быстрорежущая (инструментальная) сталь. Примечание - Это инструменты с электроприводом для безударного сверления или резки. Пример инструмента: электродрели, приставки для сверлильного устройства - магнитная станина. |
Таблица A.8
Ударные вращательные электроинструменты
Категория инструмента |
A | B | C | D | S |
Коэффициент инструмента: 5 EC/мин | Коэффициент инструмента: 7,5 EC/мин | Коэффициент инструмента: 10 EC/мин | Коэффициент инструмента: 15 EC/мин | Коэффициент инструмента: 35 EC/мин |
- | Потребляемая мощность <= 900 Ватт; мощность одного удара <= 15 Дж BV: 11 EC | Потребляемая мощность <= 1350 Ватт; мощность одного удара <= 15 Дж BV: 25 EC | - | - |
Сверла HSS <a> /с твердосплавным наконечником BV: 2 EC долото/наконечник BV: 3 EC | Долото/сверло BV: 4 EC |
<a> HSS - быстрорежущая (инструментальная) сталь. Примечание - Это сверлильные инструменты, которые можно использовать как с ударом, так и без удара. Пример инструмента: ударная дрель, бурильный молоток, перфоратор. |
Таблица A.9
Ударные невращающиеся электроинструменты
Категория инструмента |
A | B | C | D | S |
Коэффициент инструмента: 5 EC/мин | Коэффициент инструмента: 7,5 EC/мин | Коэффициент инструмента: 10 EC/мин | Коэффициент инструмента: 15 EC/мин | Коэффициент инструмента: 35 EC/мин |
- | Потребляемая мощность <= 800 Ватт; мощность одного удара <= 6 Дж BV: 11 EC | Потребляемая мощность <= 1350 Ватт; мощность одного удара от до 20 Дж BV: 25 EC | - | - |
Долото/наконечник BV: 3 EC | Долото BV: 4 EC |
(в ред. Изменения N 1, утв. Приказом Росстандарта от 08.02.2022 N 60-ст) |
Примечание - Эти инструменты обычно используют для ударного разрушения или деформирования. Пример инструмента: строительные перфораторы. |
Шлифовальные и режущие электроинструменты
Росстандарта от 08.02.2022 N 60-ст)
Категория инструмента |
A | B | C | D | S |
Коэффициент инструмента: 5 EC/мин | Коэффициент инструмента: 7,5 EC/мин | Коэффициент инструмента: 10 EC/мин | Коэффициент инструмента: 15 EC/мин | Коэффициент инструмента: 35 EC/мин |
- | Потребляемая мощность <= 800 Ватт с абразивным диском толщиной >= 2,5 мм BV: 14 EC | Потребляемая мощность <= 1350 Ватт BV: 25 EC потребляемая мощность <= 1350 Ватт BV: 35 EC | Потребляемая мощность <= 2300 Ватт со сверлом длиной <= 450 мм BV: 49 EC потребляемая мощность <= 2300 Ватт со сверлом длиной <= 1000 мм BV: 63 EC | Потребляемая мощность <= 11000 Ватт со сверлом длиной <= 450 мм BV: 245 EC потребляемая мощность <= 11000 Ватт со сверлом длиной <= 1000 мм BV: 300 EC потребляемая мощность <= 11000 Ватт с пилой для распилки стены BV: 245 EC |
- | Абразивный диск BV: 4 EC | Абразивный диск BV: 5 EC алмазный диск BV: 14 EC | Алмазный бур длиной <= 450 мм BV: 14 EC алмазный бур длиной <= 1000 мм BV: 28 EC | Диск для резки стен BV: 70 EC |
- | - | Абразивный диск BV: 5 EC алмазный диск BV: 14 EC | Абразивный диск BV: 6 EC алмазный диск BV: 15 EC | - |
Примечание - Эти инструменты обычно используют для резки или абразивной обработки. Пример инструмента: дисковые угловые шлифовальные машинки, колонковые буры с алмазной коронкой. |
Таблица A.11
Термические режущие и сварочные инструменты
Категория инструмента |
A | B | C | D | S |
Коэффициент инструмента: 5 EC/мин | Коэффициент инструмента: 7,5 EC/мин | Коэффициент инструмента: 10 EC/мин | Коэффициент инструмента: 15 EC/мин | Коэффициент инструмента: 35 EC/мин |
- | Потребление кислорода BV: 14 EC | Потребление кислорода BV: 28 EC | Потребление кислорода приставка для источника питания ток <= 350 A BV: 25 EC | Потребление кислорода BV: 70 EC |
Сопло BV: 4 EC | Сопло BV: 5 EC | Стержень стальной  <= 16 мм BV: 6/м копья/электроды, тип 1, с наружным  <= 6,5 мми длиной <= 1200 мм BV: 10 копья/электроды, тип 2, с наружным  <= 7,0 мм, внутренним  <= 3,5 мм и длиной <= 450 мм BV: 8 EC сопло BV: 6 EC | Кислородное копье длиной 3,0 м BV: 32 EC |
(в ред. Изменения N 1, утв. Приказом Росстандарта от 08.02.2022 N 60-ст) |
<a> При стандартной температуре окружающей среды. Чистота кислорода более 99,0 %. <b> BV применяется при использовании копья/электрода типа 1 или 2. <c> Сноска исключена с 01.03.2022. - Изменение N 1, утв. Приказом Росстандарта от 08.02.2022 N 60-ст. |
Примечание - Эти термические инструменты получают необходимую энергию либо за счет экзотермической реакции или за счет электрической дуги. Пример инструмента: газовая резка и сварка, кислородная горелка, электродуговая резка и сварка. |
Таблица A.12
Инструменты разные
Категория инструмента |
A | B | C | D | S |
Коэффициент инструмента: 5 EC/мин | Коэффициент инструмента: 7,5 EC/мин | Коэффициент инструмента: 10 EC/мин | Коэффициент инструмента: 15 EC/мин | Коэффициент инструмента: 35 EC/мин |
Крюк BV: 1 EC Шнур BV: 1 EC Проволока BV: 1 EC стандартные захватывающие инструменты BV: 5 EC электрооборудование постоянного тока, с используемым напряжением < 24 В; силой тока < 100 мА BV: 1 EC электрический разъем BV: 1 EC соединительный кабель BV: 1 EC | - | Растворы кислот/ щелочей за литр использованного объема BV: 7 EC | - | - |
Примечание - Эта группа включает приспособления, специальные методики и устройства, которые невозможно отнести к какой-либо из ранее выделенных категорий, но их использование также должно быть принято во внимание. Их применение хронометрируется. Пример инструмента: Электрические лампы, работающие на аккумуляторах и батареях, охлаждающие/смазочно-охлаждающие жидкости, химические вещества, крюки, захватывающие приспособления, промышленные электрические батареи. |
Таблица A.13
Оборудование | BV, EC |
Измерительное оборудование | 0 |
Электрический фонарь | 1 |
Мастика/пена за каждые использованные 300 мл | 7 |
Домкрат <= 30 кН | 7 |
Эндоскоп с жестким каналом | 14 |
Эндоскоп с гибким каналом | 35 |
Гидравлическое оборудование <= 200 кН за каждое применение | 35 |
Примечание - Эти приспособления используются для облегчения работы в ходе испытания. Их применение не хронометрируется, но их базисные значения учитываются. Пример инструмента: электрический фонарь, эндоскопы, оптиковолоконные и электронные приборы. |
(обязательное)
ИНСТРУМЕНТЫ ДЛЯ ИСПЫТАНИЙ
Росстандарта от 08.02.2022 N 60-ст)
В данном приложении представлены коэффициенты и базисные значения для инструментов "T2", которые допускаются к применению в испытании на взлом. Кроме того, описано назначение каждого инструмента. Мощностные характеристики определяют по данным производителя инструмента.
При проведении испытаний категория инструмента выбирается испытателем с учетом класса устойчивости к взлому и коэффициента инструмента.
Таблица B.1
Дополнительные ручные пилящие,
режущие и сверлящие инструменты
Категория инструмента |
A | B | C | D | S |
Коэффициент инструмента: 5 EC/мин | Коэффициент инструмента: 7,5 EC/мин | Коэффициент инструмента: 10 EC/мин | Коэффициент инструмента: 15 EC/мин | Коэффициент инструмента: 35 EC/мин |
- | Масса <= 3 кг; длина <= 1000 мм BV: 7 EC | - | - | - |
Сверла HSS <a> с твердосплавным наконечником BV: 2 EC полотно пилы BV: 2 EC |
<a> HSS - быстрорежущая (инструментальная) сталь. Примечание - Эти инструменты без электропривода используют для ручного шлифования, резки и удаления различных материалов, например, для резки стальных листов. Пример инструмента: ручные дрели, пилы, болторезные ножницы. |
Таблица B.2
Дополнительные ударные невращающиеся электроинструменты
Категория инструмента |
A | B | C | D | S |
Коэффициент инструмента: 5 EC/мин | Коэффициент инструмента: 7,5 EC/мин | Коэффициент инструмента: 10 EC/мин | Коэффициент инструмента: 15 EC/мин | Коэффициент инструмента: 35 EC/мин |
- | - | - | Потребляемая мощность <= 2300 Ватт; мощность одного удара <= 30 Дж BV: 37 EC | - |
Долото BV: 5 EC |
Примечание - Эти инструменты обычно используют для ударного разрушения или деформирования. Пример инструмента: строительные перфораторы. |
Таблица B.3
Дополнительные шлифовальные и режущие электроинструменты
Категория инструмента |
A | B | C | D | S |
Коэффициент инструмента: 5 EC/мин | Коэффициент инструмента: 7,5 EC/мин | Коэффициент инструмента: 10 EC/мин | Коэффициент инструмента: 15 EC/мин | Коэффициент инструмента: 35 EC/мин |
- | Потребляемая мощность <= 800 Ватт BV: 14 EC | Потребляемая мощность <= 2300 Ватт при использовании обычной или HSS коронки BV: 25 EC потребляемая мощность <= 2300 Ватт при использовании цепи с карбидным наконечником  BV: 36 EC | Потребляемая мощность <= 2300 Ватт с колонковым алмазным буром или сверлом длиной <= 450 мм BV: 49 EC потребляемая мощность <= 2300 Ватт с колонковым буром или сверлом длиной <= 1000 мм BV: 63 EC | Потребляемая мощность <= 11000 Ватт с колонковым буром или сверлом длиной <= 450 мм BV: 245 EC потребляемая мощность <= 11000 Ватт с колонковым буром или сверлом длиной <= 1000 мм BV: 300 EC |
Обычная или HSS коронка BV: 2 EC | Обычная или HSS коронка BV: 3 EC Коронка с карбидным наконечником  BV: 12 EC Бур BV: 11 EC | Алмазная коронка длиной <= 450 мм BV: 14 EC Коронка длиной <= 1000 мм BV: 28 EC | Коронка длиной <= 450 мм BV: 70 EC Коронка длиной <= 1000 мм BV: 140 EC |
Примечание - Эти инструменты обычно используют для резки или абразивной обработки. Пример инструмента: колонковые буры с алмазной коронкой. |
Таблица B.4
Дополнительные электрические режущие инструменты
Категория инструмента |
A | B | C | D | S |
Коэффициент инструмента: 5 EC/мин | Коэффициент инструмента: 7,5 EC/мин | Коэффициент инструмента: 10 EC/мин | Коэффициент инструмента: 15 EC/мин | Коэффициент инструмента: 35 EC/мин |
- | - | Потребляемая мощность <= 1350 Ватт с абразивным диском толщиной >= 1,0 мм и  BV: 18 EC потребляемая мощность <= 2300 Ватт с алмазным диском толщиной >= 1,0 мм и  BV: 27 EC | Потребляемая мощность <= 2600 Ватт с абразивным диском толщиной >= 1,9 мм и  BV: 28 EC потребляемая мощность <= 2300 Ватт с алмазным диском толщиной >= 1,9 мм и  BV: 37 EC | - |
Абразивный диск BV: 5 EC алмазный диск BV: 14 EC | Абразивный диск BV: 6 EC алмазный диск BV: 15 EC |
Примечание - Эти инструменты обычно используют для резки или абразивной обработки. Пример инструмента: УШМ. |
Таблица B.5
Циркулярные пилы
Категория инструмента |
A | B | C | D | S |
Коэффициент инструмента: 5 EC/мин | Коэффициент инструмента: 7,5 EC/мин | Коэффициент инструмента: 10 EC/мин | Коэффициент инструмента: 15 EC/мин | Коэффициент инструмента: 35 EC/мин |
- | - | Потребляемая мощность <= 1350 Ватт с диском с карбидом вольфрама толщиной >= 1,0 мм и  BV: 27 EC потребляемая мощность <= 2300 Ватт с алмазным диском толщиной >= 2,5 мм и  BV: 34 EC | Потребляемая мощность <= 2600 Ватт с диском с карбидом вольфрама толщиной >= 1,9 мм и  BV: 37 EC | - |
Диск с карбидом вольфрама BV: 14 EC | Диск с карбидом вольфрама BV: 14 EC |
Примечание - Эти инструменты обычно используют для резки или абразивной обработки. Пример инструмента: УШМ. |
Таблица B.6
Дополнительные термические режущие и сварочные инструменты
Категория инструмента |
A | B | C | D | S |
Коэффициент инструмента: 5 EC/мин | Коэффициент инструмента: 7,5 EC/мин | Коэффициент инструмента: 10 EC/мин | Коэффициент инструмента: 15 EC/мин | Коэффициент инструмента: 35 EC/мин |
- | - | - | Потребление кислорода копья/электроды типа 3, с наружным  и длиной <= 1200 мм BV: 55 EC | - |
Дополнительные копья/электроды типа 3, с наружным  и длиной <= 1200 мм BV: 20 EC |
<a> При стандартной температуре окружающей среды. Чистота кислорода более 99,0%. Примечание - Эти термические инструменты получают необходимую энергию или за счет экзотермической реакции, или за счет электрической дуги. Пример инструмента: кислородное копье. |
(справочное)
Росстандарта от 08.02.2022 N 60-ст)
Внешний вид комплексов банкоматов, которые используют сейфы для банкомата, согласно требованиям настоящего стандарта представлен на рисунке C.1.
1 - блок управления банкомата; 2 - основание банкомата
(опционально); 3 - механизм банкомата для подсчета;
4 - место хранения; 5 - механизм банкомата для безопасной
транспортировки и хранения; 6 - механизм банкомата
для безопасной транспортировки и хранения с возможностью
подсчета; 7 - контейнер для депозитов
Рисунок C.1
(справочное)
СОПОСТАВЛЕНИЕ СТРУКТУРЫ НАСТОЯЩЕГО СТАНДАРТА
СО СТРУКТУРОЙ ПРИМЕНЕННОГО СТАНДАРТА
Росстандарта от 08.02.2022 N 60-ст)
Таблица ДА.1
Структура настоящего стандарта | Структура стандарта EN 1143-1:2019 |
Раздел | Подраздел | Пункт | Раздел | Подраздел | Пункт |
| | - | - | - | - |
| - |
| - |
| - |
| | | 4 | 4.2 | 4.2.1 |
| 4.2.2 |
| 4.2.3 |
| 4.2.4 |
| 4.2.5 |
| - | 4.3 | - |
| - | 4.4 | - |
| - | 4.5 | - |
| - | 4.6 | - |
| - | - | - | - |
| | | 5 | 5.1 | - |
| 5.2 | - |
| 5.3 | - |
| 5.4 | - |
| 5.5 | - |
| 5.6 | - |
| 5.7 | - |
| 5.8 | - |
| | 6 | 6.1 | - |
| 6.2 | - |
| 6.3 | - |
| - | - |
| | | 7 | 7.1 | - |
| 7.3 | 7.3 |
| - | 7.1.2 |
| 7.2.2 |
| 7.3.1 |
| 7.3.1 |
| 7.3.1 |
7.3.1 |
| - |
| 7.4 | - |
| - | 7.1.5, 7.2.5 |
| 7.5 | - |
| - | 7.5.1 |
| 7.5.2 |
| 7.5.3 |
- | 7.5.3.1 |
- | 7.5.3.2 |
- | 7.5.3.3 |
| 7.5.4 |
- | 7.5.4.1 |
- | 7.5.4.2 |
- | 7.5.4.3 |
- | 7.5.4.4 |
| 7.5.5 |
- | 7.5.5.1 |
- | 7.5.5.2 |
- | 7.5.5.3 |
| | | | 7.6 | - |
| 7.6.1 |
| 7.6.2 |
| 7.6.3 |
| 7.6.4 |
| 7.6.5 |
| 7.6.6 |
| 7.6.7 |
| 7.6.8 |
| 7.6.9 |
| 7.6.10 |
| 7.6.11 |
| 7.6.12 |
| 7.6.13 |
| - |
| 7.7 | - |
| 7.8 | - |
| 7.9 | - |
| 7.10 | - |
| | | 8 | 8.1 | - |
| 8.1.1 |
- | 8.1.3 |
- | 8.1.3.1 |
- | 8.1.3.2 |
| 8.1.4 |
| 8.2 | 8.2.1 |
- | 8.2.2 |
- | 8.2.2.1 |
- | 8.2.2.2 |
- | 8.2.2.3 |
- | 8.2.3 |
- | 8.2.3.1 |
- | 8.2.3.2 |
- | 8.2.4 |
- | 8.2.5 |
| | 9 | 9.1 | - |
| 9.2 | - |
| 9.3 | - |
| 9.4 | - |
| 9.5 | 9.5.1 |
| 9.5.2 |
| - |
| 9.6 | - |
| 9.7 | - |
| | | 10 | 10.1 | - |
| 10.2 | - |
| 10.3 | - |
| 10.4 | - |
| 10.5 | - |
| 10.6 | - |
| 10.7 | - |
| 10.8 | - |
| | 11 | 11.1 | - |
| 11.2 | - |
| 11.3 | - |
| - | 11.3.1 |
| - | 11.3.2 |
| 11.4 | - |
| 11.5 | - |
| | 12 | 12.1 | - |
| 12.1 | - |
| 12.1 | - |
| - | - |
| | 13 | - | - |
| - | - |
| | - | 12 | 12.2 | - |
11.6 | |
10.9 | |
Приложения | | Приложения | A |
| B |
| C |
| - |
| - |
Примечания 1 Сопоставление структуры стандартов приведено начиная с раздела 4, т.к. предыдущие разделы стандартов и их структурные элементы идентичны. 2 Включение в настоящий стандарт дополнительных приложений ДА, ДБ обусловлено необходимостью приведения его в соответствие с требованиями ГОСТ 1.5. |
(справочное)
СВЕДЕНИЯ О СООТВЕТСТВИИ ССЫЛОЧНОГО МЕЖГОСУДАРСТВЕННОГО
СТАНДАРТА ЕВРОПЕЙСКОМУ СТАНДАРТУ, ИСПОЛЬЗОВАННОМУ В КАЧЕСТВЕ
ССЫЛОЧНОГО В ПРИМЕНЕННОМ СТАНДАРТЕ
Росстандарта от 08.02.2022 N 60-ст)
Таблица ДБ.1
Обозначение ссылочного межгосударственного стандарта | Степень соответствия | Обозначение и наименование ссылочного европейского стандарта |
| NEQ | EN 1300:2004 "Устройства, обеспечивающие безопасность хранения. Классификация замков повышенной безопасности по их устойчивости к несанкционированному открыванию" |
Примечание - В настоящей таблице использовано следующее условное обозначение степени соответствия стандарта: - NEQ - неэквивалентный стандарт. |
УДК 683.34:006.354 | | | |
Ключевые слова: сейфы, защитные банковские средства, безопасность эксплуатации, устойчивость к взлому, требования, сейфовые замки |