Главная // Актуальные документы // ЕНИР (Единые нормы и расценки)
СПРАВКА
Источник публикации
В данном виде документ опубликован не был.
Первоначальный текст документа опубликован в издании
М.: Стройиздат, 1988
Информацию о публикации документов, создающих данную редакцию, см. в справке к этим документам.
Примечание к документу
Документ утратил силу с 01.01.2021 в связи с изданием Постановления Правительства РФ от 13.06.2020 N 857.
Название документа
"ЕНиР. Единые нормы и расценки на строительные, монтажные и ремонтно-строительные работы. Сборник Е39. Подводно-технические работы"
(утв. Постановлением Госстроя СССР, Госкомтруда СССР, Секретариата ВЦСПС от 05.12.1986 N 43/512/29-50)
(ред. от 28.09.1989)


"ЕНиР. Единые нормы и расценки на строительные, монтажные и ремонтно-строительные работы. Сборник Е39. Подводно-технические работы"
(утв. Постановлением Госстроя СССР, Госкомтруда СССР, Секретариата ВЦСПС от 05.12.1986 N 43/512/29-50)
(ред. от 28.09.1989)


Содержание


Утверждены
Постановлением Госкомтруда СССР,
Госстроя СССР и ВЦСПС
от 5 декабря 1986 г. N 43/512/29-50
ЕНиР. ЕДИНЫЕ НОРМЫ И РАСЦЕНКИ НА СТРОИТЕЛЬНЫЕ,
МОНТАЖНЫЕ И РЕМОНТНО-СТРОИТЕЛЬНЫЕ РАБОТЫ
СБОРНИК Е39
ПОДВОДНО-ТЕХНИЧЕСКИЕ РАБОТЫ
Список изменяющих документов
(в ред. Дополнений и изменений, Выпуск 2,
утв. Постановлением Госстроя СССР, Госкомтруда СССР
и Секретариата ВЦСПС от 28.09.1989 N 139/327/20-46)
Предназначены для применения в строительно-монтажных, ремонтно-строительных и приравненных к ним организациях, а также в подразделениях (бригадах, участках) производственных объединений, предприятий, организаций и учреждений, осуществляющих строительство и капитальный ремонт хозяйственным способом, переведенных на новые условия оплаты труда работников в соответствии с Постановлением ЦК КПСС, Совета Министров СССР и ВЦСПС "О совершенствовании организации заработной платы и введении новых тарифных ставок и должностных окладов работников производственных отраслей народного хозяйства".
Разработаны Государственным институтом проектирования на речном транспорте (Гипроречтранс) Министерства речного флота РСФСР под методическим руководством и при участии Центрального бюро нормативов по труду в строительстве (ЦБНТС) при ВНИПИ труда в строительстве Госстроя СССР.
Технология производства работ, предусмотренная в сборнике, согласована с отделом проектирования подводных сооружений Гипроречтранса.
ВВОДНАЯ ЧАСТЬ
1. Сборник содержит нормы на подводно-технические работы по обследованию дна водоема и конструкций частей гидросооружений, устройство подводных траншей и котлованов, укладку трубопроводов в подводные траншеи, работы с металлическими и деревянными конструкциями под водой, подводные взрывные работы, а также на ряд специфических водолазных работ.
2. Нормами настоящего Сборника предусмотрено выполнение работ с соблюдением правил техники безопасности в соответствии со СНиП III-4-80 "Техника безопасности в строительстве", действующими правилами техники безопасности на реках, водохранилищах, озерах и морях, а также действующей системой стандартов безопасности труда (ССБТ), "Едиными правилами охраны труда на водолазных работах".
3. Нормами предусмотрено производство работ на плаву с применением самоходных и несамоходных судов, плавучих технических средств, а также с берега или с гидротехнических и других сооружений, и со льда. В последних случаях плавучие технические средства заменяются механизмами и оборудованием, обеспечивающими безопасное выполнение работ. Состав и количество судов, плавучих технических средств и механизмов, обеспечивающих производственный процесс и не указанных в параграфах норм, устанавливаются проектом производства работ. Применяемые суда и плавучие технические средства должны отвечать требованиям правил плавания, Речного Регистра РСФСР или Регистра СССР. Оплата экипажей судов и плавучих технических средств нормами и расценками не учтена.
4. Нормами учтено и дополнительной оплате не подлежит время, необходимое на перемещение материалов и изделий только в пределах места работы (подноска, разноска и подъем на подмости и т.п.) на расстояние до 20 м, за исключением отдельных случаев, оговоренных в соответствующих параграфах; перемещение плавучих технических средств в процессе работ в пределах рабочей зоны; перемещение водолазных станций и судов на расстояние до 30 м; подготовку водолазного снаряжения, одевание, раздевание, спуск и подъем водолаза.
Подноска материалов и изделий на расстояние св. 20 м, перемещение плавучих технических средств вне пределов рабочей зоны, водолазных станций на расстояние св. 30 м, перемещение судов и плавучих технических средств к месту работ и обратное возвращение их к местам постоянной стоянки нормируются отдельно.
5. В параграфах, предусматривающих применение плавучих технических средств и механизмов (водолазных катеров, катеров буксирных, барж, плавучих кранов и плавучих средств для работы водолазной станции с передвижным компрессором или помпой, шлюпок, гидромониторов, электросварочных аппаратов, насосов и других машин и плавучих средств), оборудования, инвентаря и т.п., нормы времени и расценки исчислены только для тех рабочих, которые участвуют в монтаже, строповке и перемещении элементов конструкций. Оплата экипажей судов, плавучих технических средств нормами и расценками не учтена. Нормы времени рабочих, обслуживающих плавучие технические средства и механизмы, а также обеспечивающих работу водолазной станции, определяются по норме времени водолазной станции, умноженной на коэффициент 1,14, учитывающий разницу в недельной продолжительности рабочего времени водолазов и рабочих (соответственно 36 и 41 ч).
В параграфах, в которых предусматривается дежурство водолазной станции, затраты труда последней определяются проектом производства работ, а оплата производится повременно.
6. При наличии факторов, замедляющих темпы работ или вынуждающих временно приостанавливать работы (метеорологические условия, пропуск судов, плотов и т.п.), время простоя оплачивается особо на основании справок гидрометеослужбы или соответствующих актов.
7. В Сборнике нормы времени водолазных станций приводятся в станцие-часах, рабочих - в человеко-часах. В параграфах, предусматривающих выполнение работ машинами, в скобках приводятся Н. вр. одной машины в машино-часах.
8. При производстве подводных работ размещение водолазных станций предусматривается на специальных водолазных судах или других плавучих технических средствах.
9. Нормами предусматривается полное укомплектование водолазных станций снаряжением и оборудованием (в том числе и страхующим), а также всеми необходимыми средствами обеспечения работ на течении, при волнении, на глубине, в различное время суток, предусмотренными "Едиными правилами безопасности труда на водолазных работах".
10. Нормы разработаны из условий работы на водолазной станции не менее трех водолазов при использовании мягкого трехболтового или двенадцатиболтового водолазного снаряжения вентилируемого типа.
Запрещается использование норм настоящего Сборника при нормировании подводно-технических работ, выполняемых водолазами в инжекторно-регенеративном и регенеративном снаряжении, а также в снаряжении с открытой схемой дыхания.
11. Во всех параграфах норм, предусматривающих работы с применением водолазных станций, подача воздуха водолазу предусмотрена от водолазного компрессора, расположенного на водолазных катерах. При размещении водолазных станций на берегу, сооружении на льду или на плавучих средствах, не имеющих водолазных компрессоров, подача воздуха водолазу производится от водолазного электрокомпрессора или мотокомпрессора. В состав звена при этом следует вводить машиниста водолазного компрессора 5 разр., а при подаче воздуха от водолазной помпы с ручным приводом - речных рабочих 2 разр. (качальщиков) в следующем количестве: при работе водолаза на глубине до 6 м - 3 чел.; св. 6 м до 12 м - 4 чел.; св. 12 до 20 м - 8 чел.
В последнем случае воздух должен подаваться от двух спаренных водолазных помп с ручным приводом, с обслуживанием каждой помпы четырьмя речными рабочими 2 разр. (качальщиками).
На глубинах св. 20 м воздух водолазу должен подаваться только от водолазного компрессора, причем водолазные спуски должны быть обеспечены декомпрессионными камерами, работа по обслуживанию которых учитывается особо.
Нормы времени машиниста водолазного компрессора и речных рабочих (качальщиков) определяются но нормам времени водолазной станции, умноженным на коэффициент 1,14.
12. Нормы рассчитаны исходя из выполнения водолазных работ в объеме, соответствующем выработке водолазной станции за один водолазный спуск продолжительностью не менее половины рабочей смены.
13. Нормами предусматривается выполнение подводно-технических работ водолазами на реках, водохранилищах, озерах и морях (за исключением оговоренных случаев) в нормальных условиях.
Нормальными условиями для выполнения подводно-технических водолазных работ считаются: скорость течения воды не менее 0,5 м/с; волнение менее 2 баллов (высота волны менее 50 см); глубина от 2,5 до 12 м; радиус видимости под водой не менее 1 м; передвижение водолаза на грунте свободное; температура воды не менее 4° и не выше 37 °С; работа в светлое время суток; отсутствие загрязненности воды вредными примесями.
14. При производстве водолазных работ в условиях, отличных от нормальных, к нормам времени и расценкам водолазных станций, рабочих, обслуживающего персонала плавучих технических средств, непосредственно обеспечивающих работу водолазов, следует применять коэффициенты, приведенные в таблице, за исключением случаев, оговоренных в соответствующих параграфах. Применение указанных коэффициентов допускается только при подтверждении условий работ справками гидрометеослужбы и соответствующими актами.
В исключительных случаях (невозможность получения гидрометеоданных в районе производства работ) условия работ могут быть подтверждены специальными двусторонними актами.
──────────────────────────────────────┬───────────────────────────
Условия работы │ Коэффициент
──────────────────────────────────────┼───────────────────────────
При работе на глубине, м: │
менее 2,5 и от 12 до 20 │1,1 (ВЧ-1)
св. 20 " 25 │1,4 (ВЧ-2)
" 25 " 30 │2,3 (ВЧ-3)
" 30 " 35 │3,2 (ВЧ-4)
" 35 " 40 │4,3 (ВЧ-5)
" 40 " 45 │5,2 (ВЧ-6)
" 45 " 50 │8,6 (ВЧ-7)
" 50 " 55 │11 (ВЧ-8)
" 55 " 60 │12 (ВЧ-9)
──────────────────────────────────────┼──────────────────────────
При скорости течения, м/с: │
от 0,5 до 1 │1,2 (ВЧ-10)
св. 1 " 1,5 │1,4 (ВЧ-11)
──────────────────────────────────────┼──────────────────────────
При волнении от 2 до 3 баллов │1,4 (ВЧ-12)
──────────────────────────────────────┼──────────────────────────
При температуре воды ниже 4 °С (при │1,25 (ВЧ-13)
отсутствии обогревающих костюмов) и │
выше 37 °С, а также при наличии заг- │
рязненности воды вредными примесями │
──────────────────────────────────────┼──────────────────────────
При работе на вязком или захламленном │1,15 (ВЧ-14)
грунте, с беседки или подо льдом │
──────────────────────────────────────┼──────────────────────────
При работе в стесненных условиях │1,3 (ВЧ-15)
(колодцы, туннели, трубопроводы, │
патерны при расстоянии между сваями, │
трубами и др. менее 1,5 м) │
──────────────────────────────────────┼──────────────────────────
При радиусе видимости под водой, м: │
менее 1 │1,2 (ВЧ-16)
──────────────────────────────────────┼──────────────────────────
При отсутствии видимости │1,3 (ВЧ-17)
Коэффициенты на условия видимости применяются для общего состояния водоема в период работ. Изменение видимости в процессе выполнения отдельных операций нормами учтено.
Состав и допускаемые предельные показатели вредных примесей в воде, обусловливающие применение коэффициента 1,25, при производстве водолазных работ регламентируются органами санитарного надзора.
При наличии одновременно нескольких видов специфических условий работы водолазов соответствующие коэффициенты перемножаются.
На подводно-технические работы, не связанные с затратами труда водолазов и выполняемые при отрицательной температуре воздуха в надводных условиях, следует применять усредненные коэффициенты на зимние условия работ, приведенные в Общей части ЕНиР. Применение этих коэффициентов на водолазные работы, а также на работы, выполняемые только в зимних условиях, запрещается.
15. Коэффициенты к Н. вр. и Расц. на видимость, приведенные в п. 14 к § Е39-6 и § Е39-7, не применять.
16. При выполнении водолазных работ в темное время суток должно применяться подводное и надводное освещение. На поверхности должны освещаться места, где производятся подготовка к спуску и спуск водолазов, приборы управления устройствами, обеспечивающими спуск и выполнение работ, поверхность воды над местом работы водолазов.
Для подводного освещения в целях увеличения освещенности и дальности видимости предметов применяются специальные светильники. Обслуживание осветительных установок нормами не учитывается и оплачивается отдельно.
17. Выполнение водолазных работ при волнении на акватории морей, озер и водохранилищ св. 3 баллов, а также при работе возле берега в зоне прибоя на глубине до 3 м не разрешается.
18. Все ледокольные работы (устройство майн, околка льда около судов, плавучих технических средств, трубопроводов и др.) нормами не учитываются и должны нормироваться по соответствующим параграфам сб. В13 "Строительство речных гидротехнических сооружений и подводных переходов", вып. 1 "Выправительные и берегоукрепительные работы".
19. Нормами предусмотрено выполнение водолазных работ на высоте 0,6 до 1 м от поверхности грунта. При работе на высоте менее 0,6 м от поверхности грунта Н. вр. и Расц. применять коэффициент 1,4 (ВЧ-18). При работе на высоте св. 1 м от поверхности грунта работу следует выполнять с подвесной беседки и применять коэффициент в соответствии с п. 14.
20. Тарифные ставки водолазов приняты в соответствии с "Положением об условиях оплаты труда водолазов", утвержденным Постановлением Госкомтруда СССР и Секретариата ВЦСПС от 28 августа 1987 г. N 521/25-49. Расценки для водолазной станции приведены для первой группы специализации водолазных работ из расчета часовой тарифной ставки трех водолазов III класса (1 - 26 x 3 = 3 - 78 руб.) при шестичасовом рабочем дне. В тех случаях, когда по условиям производства работ число водолазов на одной водолазной станции увеличивается, расценки пересчитываются умножением Н. вр. водолазной станции на тарифную ставку водолаза III класса и число водолазов.
Увеличение числа водолазов (св. 3) принимается в соответствии с действующей системой стандартов безопасности труда на водолазных работах.
Водолазам II и I класса выплачивается ежемесячная надбавка в размере 15 и 25% тарифной ставки водолаза III класса.
21. Расценки для рабочих подсчитаны без учета повышения тарифных ставок на работах с тяжелыми, вредными, особо тяжелыми и особо вредными условиями труда.
22. Тарификация рабочих произведена по ЕТКС, вып. 3 раздел "Строительные, монтажные и ремонтно-строительные работы", утвержденным Госкомтрудом СССР, Госстроем СССР и ВЦСПС 17 июля 1985 г. Речные рабочие на подводно-технических, габионных и фашинных работах, выполняемых с поверхности; машинисты передвижных электросварочных агрегатов с двигателем внутреннего сгорания, машинисты компрессоров передвижных с двигателем внутреннего сгорания в составе звеньев параграфов норм для краткости именуются соответственно "речные рабочие", "машинисты электросварочных агрегатов" и "машинисты компрессоров".
ГЛАВА 1. ВОДОЛАЗНОЕ ОБСЛЕДОВАНИЕ
И ПОДВОДНЫЕ ЗЕМЛЯНЫЕ РАБОТЫ
Техническая часть
1. Нормами настоящей главы предусмотрены водолазное обследование, устройство подводных выемок грунторазрабатывающими механизмами и разные земляные работы, выполняемые водолазами.
2. Водолазное обследование дна водоема и подводных частей гидротехнических сооружений проводят с целью получения исходных данных для организации производства работ по строительству и ремонту подводных сооружений и обеспечения контроля за правильным исполнением работ в процессе строительства, ремонта и эксплуатации.
3. Классификация грунтов для разработки их гидромониторами и плавучими землесосными снарядами принята в соответствии со СНиП IV-2-82.
4. Во всех параграфах настоящей главы нормы исчислены для грунтов в состоянии естественной плотности по замеру в котловане или траншее. Объемы работ определяются по профилям, снятым до начала и после окончания работ.
5. При устройстве траншей и котлованов, сложенных грунтами различных групп, нормы времени определяются как средневзвешенные по соотношению объемов грунтов различных групп, залегающих в пределах забоя.
Пример. При разработке подводной траншеи объемом 300 м3, в том числе: 100 м3 - 33% песчано-илистого грунта и 200 м3 - 67% гравелистого грунта, канатно-скреперной установкой с ковшом емкостью 0,75 м3 при длине скреперования до 50 м средняя норма времени в соответствии с § Е39-5, табл. 3, пп. 2 "а" и 2 "б" будет равна: 0,33 x 9,4 + 0,67 x 16,5 = 14,16 маш.-ч на 100 м3 грунта.
6. До начала производства подводных земляных работ должны быть выполнены следующие подготовительные работы: а) водолазное обследование зоны разработки грунта и очистка ее от топляков, деревьев, пней, кустарника, металлического лома и камней; б) разбивка прорезей трассы траншеи и установка створных знаков; в) установка вех и светящихся буев для обозначения мест отвала грунта, расположенного вблизи судоходного фарватера; г) установка основной и контрольных водомерных реек и увязка их нулей с отсчетным уровнем и постоянным репером.
Водомерная рейка должна устанавливаться вблизи места работы снаряда, быть неподвижной и удобной для пользования ею.
Перечисленные подготовительные работы нормами не учитываются.
7. Нормами настоящей главы учтена разработка грунтов в забоях, засоренность которых не превышает 5%.
При разработке грунтов в забоях, засоренность которых превышает 5% (заросли камыша, камни, топляки, пни, деревья и т.п.), к Н. вр. § Е39-6 и Е39-7 следует применять коэффициенты, приведенные в п. 13 Технической части, гл. 1, сб. Е2 "Земляные работы" вып. 2 "Гидромеханизированные земляные работы".
Необходимость применения указанных коэффициентов должна подтверждаться соответствующими актами.
(п. 7 в ред. Дополнений и изменений, Выпуск 2, утв. Постановлением Госстроя СССР, Госкомтруда СССР и Секретариата ВЦСПС от 28.09.1989 N 139/327/20-46)
8. При разработке грунта в траншее и котловане производятся периодические промеры с целью определения размеров выемок и проверки соответствия оси разрабатываемой траншеи проектному створу перехода.
Методы производства промерных работ, а также необходимые для этих целей технические средства устанавливаются проектом производства работ.
9. Нормами настоящей главы не предусмотрены и оплачиваются особо следующие работы: а) околка льда вокруг плавсредств; б) потери времени, связанные с периодическими пропусками судов и плотов; в) периодические промеры разрабатываемых выемок; г) обслуживание дежурной водолазной станцией канатно-скреперной установки и работы по устранению обрывов тросов и опрокидываний ковшей при разработке подводных траншей.
10. При разработке грунта в зимних условиях в связи с отрицательной температурой воздуха, что вызывает усложнение технологического процесса и уменьшение коэффициента использования рабочего времени, а также в связи с наличием факторов, снижающих производительность труда рабочих (стесненность движений теплой одеждой, неудобства при работе в рукавицах, понижение видимости в зимнее время, наличие на рабочем месте снега и т.п.), нормы выработки § Е39-5 следует умножать на коэффициенты, приведенные в соответствующей таблице сб. Е2 "Земляные работы", вып. 2 "Гидромеханизированные земляные работы".
Таблица 1
Распределение грунтов по группам при разработке
их гидромониторами и земснарядами производительностью
14 - 18 м3/ч при работе на размыв
─────┬──────────────┬────────────────────────────────────────────────────
Груп-│ Грунты │ Гранулометрическая характеристика грунтов (размеры
па │ │ частиц, мм, количество их по массе, %)
грун-│ ├──────┬───────┬──────────────────────┬──────┬───────
тов │ │гли- │пыле- │ песчаных │гра- │галеч-
│ │нистых│ватых ├──────┬───────┬───────┤вийных│ных
│ │менее │0,005 -│мелких│средних│крупных│2 - 40│40 - 60
│ │0,005 │ 0,05│0,05 -│0,25 - │0,5 - 2│ │
│ │ │ │ 0,25│ 0,5│ │ │
─────┼──────────────┼──────┼───────┴──────┴───────┼───────┼──────┼───────
I │Грунты, пред- │До 40 │Не регламентируются │До 50 │- │-
│варительно │ │ │ │ │
│разрыхленные, │ │ │ │ │
│неслежавшиеся │ │ │ │ │
─────┼──────────────┼──────┼───────┬──────┬───────┴───────┼──────┼───────
II │Пески мелкие │До 3 │До 15 │Св. 50│До 50 │До 1 │-
├──────────────┼──────┼───────┴──────┼───────────────┼──────┼───────
│Пески пылева- │До 3 │Не регламен- │ │ │-
│тые │ │тируются │ │ │
├──────────────┼──────┤ │ │ │
│Супеси (частиц│3 - 6 │ │ │ │-
│менее 0,005 до│ │ │ │ │
│6%) │ │ │ │ │
├──────────────┼──────┼───────┬──────┴───────────────┤ │
│Лесс высокопо-│До 8 │До 70 │Не регламентируются │ │-
│ристый (коэф- │ │ │ │ │
│фициент порис-│ │ │ │ │
│тости св. 0,8)│ │ │ │ │
─────┼──────────────┤ ├───────┴──────────────────────┼──────┼───────
III │Торф, сильно │ │Не регламентируются │- │-
│разложившийся │ │ │ │
├──────────────┼──────┼──────────────────────────────┼──────┼───────
│Пески средней │До 3 │Не регла- Св. 50 До 50 │До 5 │До 1
│крупности │ │ментируются │ │
├──────────────┼──────┼──────────────────────────────┼──────┼───────
│Супеси (частиц│6 - 10│Не регламентируются До 50 │До 5 │До 1
│менее 0,005 до│ │ │ │
│10%) │ │ │ │
├──────────────┼──────┤ │ │
│Суглинки │До 15 │ │ │
│(частиц менее │ │ │ │
│0,005 до 15%) │ │ │ │
├──────────────┤ ├──────────────────────────────┤ │
│Лесс низко- │ │До 70 Не регламентируются │ │
│пористый │ │ │ │
│(коэффициент │ │ │ │
│пористости │ │ │ │
│меньше 0,8) │ │ │ │
─────┼──────────────┼──────┼──────────────────────────────┼──────┼───────
IV │Пески крупные │До 3 │Не регламентируются Св. 50│5 - 15│До 1
├──────────────┼──────┤ │ │
│Супеси (частиц│6 - 15│ │ │
│менее 0,005 до│ │ │ │
│15%) │ │ │ │
├──────────────┼──────┼──────────────────────────────┼──────┤
│Суглинки │15 - │Не регламентируются │До 10 │
│(частиц менее │ 30 │ │ │
│0,005 до 30%) │ │ │ │
├──────────────┼──────┤ │ │
│Глины (частиц │До 40 │ │ │
│менее 0,005 до│ │ │ │
│40%) │ │ │ │
─────┼──────────────┼──────┼──────────────────────────────┼──────┴───────
V │Пески граве- │До 5 │То же │До 25
│листые │ │ │
├──────────────┼──────┤ ├──────────────
│Глины (частиц │40 - │ │До 15
│менее 0,005 до│ 50 │ │
│50%) │ │ │
─────┼──────────────┼──────┼──────────────────────────────┼──────────────
VI │Пески граве- │До 5 │" │До 40
│листые │ │ │
├──────────────┼──────┤ ├──────────────
│Глины (частиц │50 - │ │до 15
│менее 0,005 до│ 60 │ │
│60%) │ │ │
Примечание. По группе 1 нормируются предварительно разрыхленные грунты, предусмотренные настоящей таблицей, кроме грунтов с содержанием гравия св. 1% и глин VI группы. Грунты с содержанием гравия и гальки св. 1% и глины VI группы, предварительно разрыхленные, относятся к ближайшей низшей по трудности разработки группе; например, предварительно разрыхленные грунты V группы относятся к IV группе.
Таблица 2
Распределение грунтов по группам при разработке их
плавучими землесосными снарядами производительностью 45, 29, 11 м3/ч
при работе на отсос и грунтососами
─────┬───────────────────────┬────────────────────────────────────
Груп-│ Грунты │ Гранулометрическая характеристика
па │ │ грунтов (размеры частиц, мм,
грун-│ │ количество их по массе, %)
тов │ ├──────┬───────┬─────────────────────
│ │гли- │пылева-│песчаных
│ │нистых│тых ├──────┬───────┬──────
│ │менее │0,005 -│мелких│средних│круп-
│ │0,005 │ 0,05│0,05 -│0,25 - │ных
│ │ │ │ 0,25│ 0,5 │0,5 -
│ │ │ │ │ │ 2
─────┼───────────────────────┼──────┼───────┼──────┼───────┼──────
I │Пески мелкие │До 3 │До 15 │Св. 50│До 50 │До 15
├───────────────────────┤ │ ├──────┼───────┤
│Пески средней крупности│ │ │До 50 │Св. 50 │
├───────────────────────┤ ├───────┼──────┴───────┴──────
│Пески пылеватые │ │До 20 │Не регламентируются
├───────────────────────┤ ├───────┼─────────────────────
│Илы (коэффициент │ │ │Не регламентируются
│пористости св. 1,5) │ │ │
─────┼───────────────────────┼──────┼───────┼──────┬───────┬──────
II │Пески средней крупнос- │До 3 │До 15 │До 50 │До 50 │Св. 15
│ти, пески крупные и │ │ │ │ │
│гравелистые │ │ │ │ │
├───────────────────────┼──────┼───────┼──────┴───────┴──────
│Пески пылеватые │До 3 │20 - 50│Не регламентируются
├───────────────────────┼──────┼───────┤
│Супеси (частиц менее │3 - 6 │До 50 │
│0,005 до 6%) │ │ │
─────┼───────────────────────┼──────┼───────┴─────────────────────
III │Пески средней крупности│До 3 │Не регламентируются
├───────────────────────┼──────┼───────┬─────────────────────
│Супеси (частиц менее │6 - 10│До 50 │Не регламентируются
│0,005 до 10%) │ │ │
─────┼───────────────────────┼──────┼───────┴─────────────────────
IV │Пески гравелистые │До 3 │Не регламентируются
├───────────────────────┼──────┤
│Суглинки (частиц менее │10 - │
│0,005 до 15%) │ 15 │
─────┼───────────────────────┼──────┼─────────────────────────────
V │Гравийный │До 5 │То же
├───────────────────────┼──────┤
│Суглинки (частиц менее │15 - │
│0,005 до 20%) │ 20 │
─────┼───────────────────────┼──────┼─────────────────────────────
VI │Гравийный │До 5 │Не регламентируются
├───────────────────────┼──────┤
│Суглинки (частиц менее │20 - │
│0,005 до 30%) │ 30 │
├───────────────────────┼──────┤
│Глины (частиц менее │До 40 │
│0,005 до 40%) │ │
Продолжение табл. 2
─────┬───────────────┬─────────────────────────────────────────────
Груп-│ Грунты │ Гранулометрическая характеристика грунтов
па │ │ (размеры частиц, мм, количество их по
грун-│ │ массе, %)
тов │ ├─────────────────────────────────────────────
│ │ гравийно-галечных фракций в зависимости от
│ │ производительности землесосных снарядов (по
│ │ пульпе), м3/ч
│ ├──────────────┬──────────────┬───────────────
│ │ до 1000 │ до 2000 │ св. 2000
│ ├────┬────┬────┼────┬────┬────┼────┬────┬─────
│ │2-20│2-40│2-60│2-20│2-60│2-80│2-20│2-60│2-120
─────┼───────────────┼────┼────┼────┼────┼────┼────┼────┼────┼─────
I │Пески мелкие │3 │2 │1 │4 │2 │1 │5 │3 │1
├───────────────┤ │ │ │ │ │ │ │ │
│Пески средней │ │ │ │ │ │ │ │ │
│крупности │ │ │ │ │ │ │ │ │
├───────────────┤ │ │ │ │ │ │ │ │
│Пески пылеватые│ │ │ │ │ │ │ │ │
├───────────────┤ │ │ │ │ │ │ │ │
│Илы (коэффици- │ │ │ │ │ │ │ │ │
│ент пористости │ │ │ │ │ │ │ │ │
│св. 1,5) │ │ │ │ │ │ │ │ │
─────┼───────────────┼────┼────┼────┼────┼────┼────┼────┼────┼─────
II │Пески средней │6 │5 │3 │8 │6 │3 │10 │7 │5
│крупности, пес-│ │ │ │ │ │ │ │ │
│ки крупные и │ │ │ │ │ │ │ │ │
│и гравелистые │ │ │ │ │ │ │ │ │
├───────────────┤ │ │ │ │ │ │ │ │
│Пески пылеватые│ │ │ │ │ │ │ │ │
├───────────────┤ │ │ │ │ │ │ │ │
│Супеси (частиц │ │ │ │ │ │ │ │ │
│менее 0,005 до │ │ │ │ │ │ │ │ │
│до 6%) │ │ │ │ │ │ │ │ │
─────┼───────────────┼────┼────┼────┼────┼────┼────┼────┼────┼─────
III │Пески средней │12 │10 │8 │12 │11 │10 │15 │12 │10
│крупности │ │ │ │ │ │ │ │ │
├───────────────┼────┼────┼────┼────┼────┼────┼────┼────┼─────
│Супеси (частиц │8 │6 │5 │10 │8 │6 │12 │10 │8
│менее 0,005 до │ │ │ │ │ │ │ │ │
│10%) │ │ │ │ │ │ │ │ │
─────┼───────────────┼────┼────┼────┼────┼────┼────┼────┼────┼─────
IV │Пески гравелис-│25 │22 │20 │30 │25 │20 │30 │27 │25
│тые │ │ │ │ │ │ │ │ │
├───────────────┼────┼────┼────┼────┼────┼────┼────┼────┼─────
│Суглинки (час- │12 │8 │6 │14 │10 │8 │15 │12 │10
│тиц менее 0,005│ │ │ │ │ │ │ │ │
│до 15%) │ │ │ │ │ │ │ │ │
─────┼───────────────┼────┼────┼────┼────┼────┼────┼────┼────┼─────
V │Гравийный │35 │30 │25 │35 │30 │25 │40 │35 │30
├───────────────┼────┼────┼────┼────┼────┼────┼────┼────┼─────
│Суглинки (час- │15 │12 │10 │15 │12 │10 │20 │15 │12
│тиц менее 0,005│ │ │ │ │ │ │ │ │
│до 20%) │ │ │ │ │ │ │ │ │
─────┼───────────────┼────┼────┼────┼────┼────┼────┼────┼────┼─────
VI │Гравийный │45 │40 │35 │45 │40 │35 │50 │45 │40
├───────────────┼────┼────┼────┼────┼────┼────┼────┼────┼─────
│Суглинки (час- │15 │12 │10 │15 │12 │10 │20 │15 │10
│тиц менее 0,005│ │ │ │ │ │ │ │ │
│до 30%) │ │ │ │ │ │ │ │ │
├───────────────┤ │ │ │ │ │ │ │ │
│Глины (частиц │ │ │ │ │ │ │ │ │
│менее 0,005 до │ │ │ │ │ │ │ │ │
│40%) │ │ │ │ │ │ │ │ │
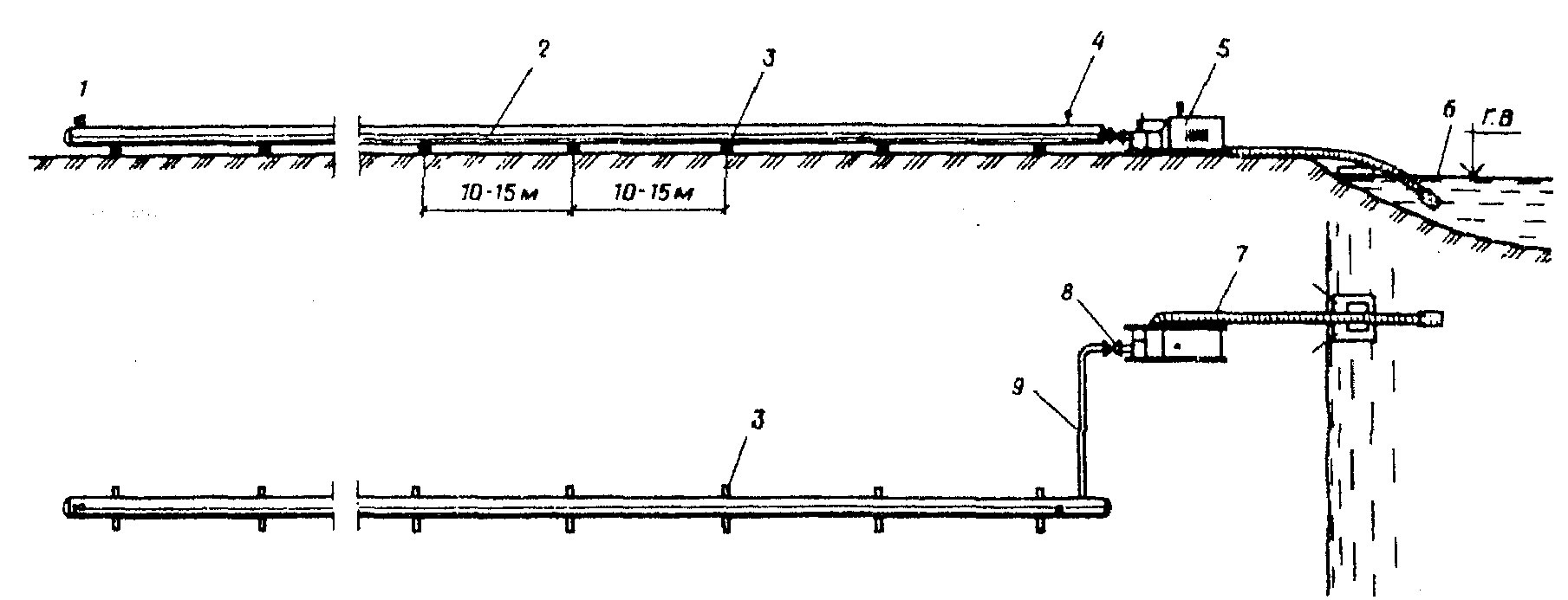
§ Е39-1. Водолазное обследование дна акватории
по ходовому тросу
Указания по применению норм
Нормами предусмотрены водолазное обследование дна водоема и подводных котлованов (рис. 1) для определения степени их засоренности посторонними предметами с определением характера и положения их на грунте, установка плавучих знаков в местах обнаружения препятствий или предметов, проверка границ котлованов по контуру и осям, а также состояния дна и откосов.
Рис. 1. Водолазное обследование дна водоема по ходовому тросу
1 - водолазный бот; 2 - границы обследования;
3 - обследуемая полоса (ширина); 4 - ось обследуемой полосы;
5 - ходовой трос; 6 - буйки; 7 - направляющие тросы
Нормами учтено обследование дна акватории с разбивкой на полосы шириной до 50 м, по обеим сторонам которых по дну укладываются направляющие тросы.
В начале обследуемой полосы, поперек ее, укладывается ходовой трос (лучше белый хлопчатобумажный) длиной 60 м, имеющий на концах балласт с буйками.
Водолаз осматривает дно, передвигаясь вдоль ходового троса от одного конца к другому. После перемещения ходового троса на расстояние двойной видимости в данных условиях водолаз передвигается вдоль этого троса в обратном направлении, обследуя следующий участок дна водоема. Перемещение ходового троса вместе с балластом и буями осуществляется речными рабочими с плавсредств.
Обнаруженные предметы отмечаются буйками, доставляемыми на шлюпке речными рабочими.
Состав работы
1. Разбивка обследуемого участка акватории на полосы. 2. Установка створных знаков. 3. Укладка ходового троса и перемещение его в процессе обследования. 4. Осмотр водолазом дна акватории с определением характера и положения предметов на грунте. 5. Установка буйков над обнаруженными предметами. 6. Перемещение водолазного катера с перекладкой якорей. 7. Уборка ходового троса и створных знаков.
Состав звена
Водолазная станция - 1
Речные рабочие 2 разр. - 3
Нормы времени и расценки на обследование 100 м2
дна акватории
────────────┬──────────┬─────────────┬─────────────┬──────────┬───
Видимость │ До 1 м │Св. 1 до 3 м │Св. 3 до 5 м │ Св. 5 м │
────────────┼──────────┼─────────────┼─────────────┼──────────┼───
Водолазная │0,23 │0,16 │0,11 │0,08 │1
станция │------ │------ │------ │------ │
│0-86,9 │0-60,5 │0-41,6 │0-30,2 │
────────────┼──────────┼─────────────┼─────────────┼──────────┼───
Рабочие │0,79 │0,55 │0,38 │0,27 │2
│------ │------ │------ │------ │
│0-50,6 │0-35,2 │0-24,3 │0-17,3 │
────────────┼──────────┼─────────────┼─────────────┼──────────┼───
│а │б │в │г │N
Примечания. 1. Нормами предусмотрена работа водолазов с водолазного катера. При работе с несамоходных плавучих средств Н. вр. и Расц. водолазной станции и речных рабочих умножать на 1,2 (ПР-1).
2. Коэффициенты на видимость в соответствии с п. 14 Вводной части сб. Е39 не применять (ПР-2).
§ Е39-2. Водолазное обследование конструкций
подводных частей гидротехнических сооружений
Указания по применению норм
Нормами предусмотрено водолазное обследование подводных частей гидротехнических сооружений с целью выявления состояния подводной части, а также характера возможных повреждений или дефектов подводных конструкций.
Нормами учтено обследование гидротехнических сооружений с водолазного катера.
Состав работы
1. Разбивка сооружений на участки с помощью буйков. 2. Установка вешек на сооружение по буйкам. 3. Установка люлек, футштоков. 4. Осмотр подводной части сооружения с детальным выяснением конструкции и размеров. 5. Выявление состояния и характера повреждений конструкций с выносом образцов на поверхность. 6. Уборка буйков, вешек, люлек и футштоков.
Состав звена
Водолазная станция - 1
Речные рабочие 2 разр. - 2
Нормы времени и расценки на обследование 100 м2
конструкций гравитационных сооружений и на 100 м
элементов свайных конструкций
────────────────┬──────────────────────────┬───────────────────┬──
Тип сооружения │ Гравитационный │ Свайный │
├─────────────┬────────────┼─────────┬─────────┤
│ с детальным │без деталь- │с деталь-│без де- │
│обследованием│ного обсле- │ным об- │тального │
│ конструкций │дования │следова- │обследо- │
│ │конструкций │нием │вания │
│ │ │конст- │конструк-│
│ │ │рукций │ций │
────────────────┼──────┬──────┼─────┬──────┼─────────┼─────────┼──
Подводная высота│До 6 │Св. 6 │До 6 │Св. 6 │До 13 │До 13 │
сооружения, м │ │до 13 │ │до 13 │ │ │
────────────────┼──────┼──────┼─────┼──────┼─────────┼─────────┼──
Водолазная │3,6 │7,1 │2,5 │5 │5 │3,5 │1
станция │----- │----- │---- │----- │----- │----- │
│13-61 │26-84 │9-45 │18-90 │18-90 │13-23 │
────────────────┼──────┼──────┼─────┼──────┼─────────┼─────────┼──
Рабочие │8,2 │16 │5,7 │11,5 │11,5 │8 │2
│---- │----- │---- │---- │---- │---- │
│5-25 │10-24 │3-65 │7-36 │7-36 │5-12 │
────────────────┼──────┼──────┼─────┼──────┼─────────┼─────────┼──
│а │б │в │г │д │е │N
Примечание. При наличии надводных частей сооружений, связанных с берегом, обследование может производиться непосредственно с сооружений, при этом нормы времени и расценки следует применять с коэффициентом 0,7 (ПР-1).
§ Е39-3. Водолазное обследование уложенных трубопроводов
Указания по применению норм
Нормами предусмотрено обследование водолазами уложенных трубопроводов с целью проверки правильности положения трубопровода на дне подводной траншеи, определения характера и объема работ по подбивке грунта под трубопровод на участках его провиса и по срезке грунта под ним, а также на участках, где вследствие обвалов бровки при укладке и заносов траншеи трубопровод лежит выше проектных отметок.
Состав работы
1. Установка водолазного катера с укладкой якорей. 2. Обследование трубопровода. 3. Установка буйков в местах, где требуются работы по подбивке или срезке грунта. 4. Перемещение водолазного катера с перекладкой якорей.
Нормы времени и расценки на обследование 100 м трубопровода
─────────────────────────────┬──────────────────────┬─────────────
Состав звена │ Водолазная станция │ Рабочие
─────────────────────────────┼──────────────────────┼─────────────
Водолазная станция - 1 │0,72 │3,3
Речные рабочие 2 разр. - 4 │---- │----
│2-72 │2-11
─────────────────────────────┼──────────────────────┼────────────
│а │б
Примечания. 1. Нормами предусмотрена работа водолазов с водолазного катера. При работе с несамоходных плавучих средств Н. вр. и Расц. водолазной станции и речных рабочих умножать на 1,2 (ПР-1).
2. Нормами предусмотрено обследование подводных трубопроводов диаметром до 630 мм. При обследовании трубопроводов диаметром от 720 до 1620 мм к Н. вр. и Расц. применять коэффициент 1,1 (ПР-2).
§ Е39-4. Снятие поперечников (профилей) с прощупыванием грунта
Указания по применению норм
Нормами предусмотрены работы по снятию поперечников подводных сооружений и выемок (траншей и котлованов) при длине поперечника до 15 м и расстоянии между промерными точками 2 м.
Промеры глубин и прощупывание дна поперечника осуществляются с участием водолазной станции.
Снятие поперечников на глубине до 5 м производится нивелиром или футштоком, а на глубине св. 15 м - лотом с привязкой отметок к гидрологическому (водомерному) посту.
Оборудование гидрологического поста нормами не учтено.
Состав работы
1. Разбивка поперечников с установкой вех. 2. Натягивание троса над промеряемым сооружением или выемкой. 3. Подводное обследование со снятием профиля сооружения с помощью нивелира, футштока, рейки или лота. 4. Промеры глубин и прощупывание дна. 5. Перемещение водолазного катера с перекладкой якорей.
Состав звена
Водолазная станция - 1
Речные рабочие 2 разр. - 2
Нормы времени и расценки на 1 поперечник
──────────────────────┬──────────────────────┬─────────────────┬──
Глубина воды в месте │ Водолазная станция │ Рабочие │
промеров, м │ │ │
──────────────────────┼──────────────────────┼─────────────────┼──
До 6 │0,92 │2,1 │1
│---- │---- │
│3-48 │1-34 │
──────────────────────┼──────────────────────┼─────────────────┼──
Св. 6 │0,96 │2,2 │2
│---- │---- │
│3-63 │1-41 │
──────────────────────┼──────────────────────┼─────────────────┼──
│а │б │N
§ Е39-5. Разработка подводного грунта канатно-скреперной
установкой
Указания по применению норм
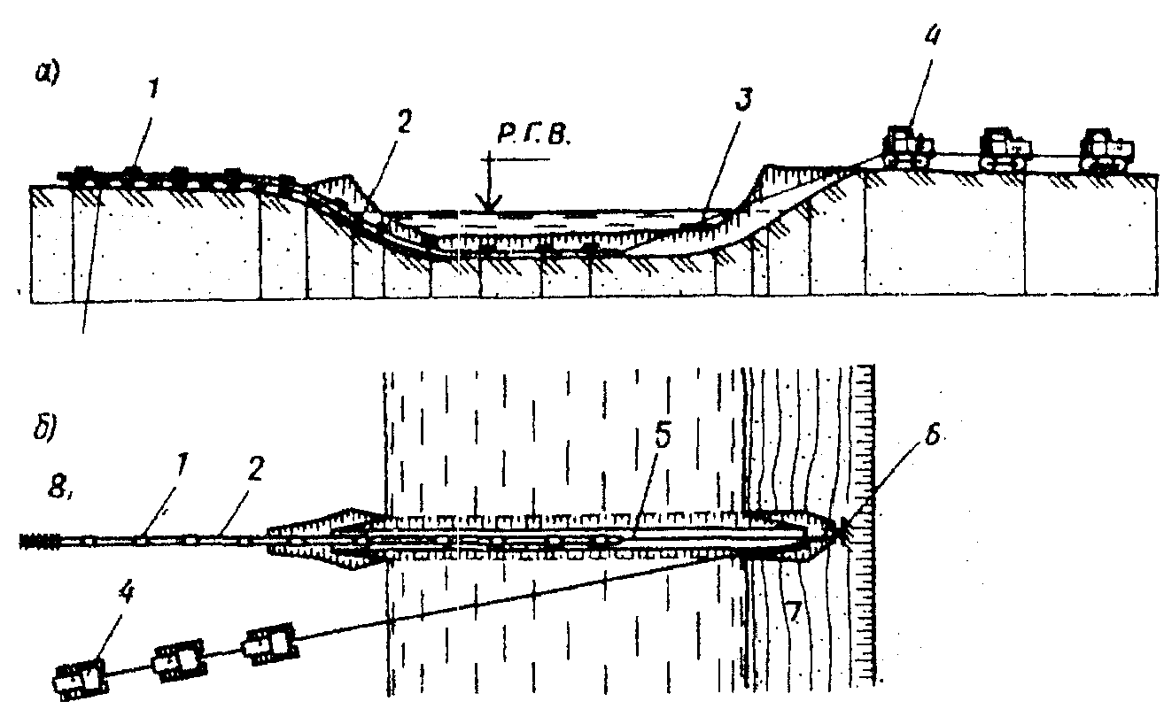
Нормами предусмотрено устройство подводной траншеи канатно-скреперной установкой (рис. 2) в песчано-илистых, гравелистых и глинистых грунтах при длине разрабатываемых траншей до 150 м.
Рис. 2. Схема работы канатно-скреперной установки
1 - скреперная тракторная лебедка; 2 - рабочий трос;
3 - скреперный ковш; 4 - холостой трос; 5 - хвостовая
опора; 6 - мертвяк
Разработка грунта осуществляется перемещением его в отвал скреперным ковшом от хвостового блока к головной опоре с последующим перемещением грунта в сторону с помощью бульдозера.
Транспортирование грунта бульдозером нормами не учитывается.
Работы по устранению обрывов тросов и опрокидывания ковша выполняются дежурной водолазной станцией.
Ширина траншеи по дну зависит от габаритов скреперного ковша и приводится в табл. 1.
Таблица 1
───────────────────────────────────────┬──────────────────────────
Вместимость ковша канатно-скреперной │ Ширина траншеи, м
установки, м3 │
───────────────────────────────────────┼──────────────────────────
0,5 │1
0,75 │1,5
1 │1,5
1,5 │1,75
Скреперование ковшами вместимостью 0,5 и 0,75 м3 производится с помощью двухбарабанной фрикционной лебедки мощностью до 73,5 кВт (100 л.с.), грузоподъемностью 3 - 5 т, с ковшами вместимостью 1 и 1,5 м3 с помощью тракторных лебедок типа ТЛ-11.
Нормами предусмотрены расстояния скреперования: до 50 м, св. 50 до 100 м и св. 100 до 150 м, в связи с чем нормы должны применяться по отдельным участкам.
Пример. Определить нормативные затраты времени в маш.-ч на разработку подводной траншеи в песчаном грунте скрепером с ковшом вместимостью 0,5 м3 при длине траншеи 140 м и объеме грунта 1020 м3, в том числе на первом участке на расстоянии до 50 м - 420 м3, на втором - св. 50 до 100 м - 310 м3 и на третьем - св. 100 до 140 м - 290 м3.
Принимаем нормы по строке N 1 граф "а", "г", "ж" табл. 3 настоящего параграфа. В этом случае затраты времени будут составлять: 14 x 4,20 + 21,5 x 3,10 + 31,5 x 2,90 = 216,8 маш.-ч.
Монтаж скреперной установки, устройство П-образной опоры, закладка мертвяков и якорей, прокладка тросов, установка электродвигателя и лебедки нормами не учтены.
Состав работы
1. Подготовка и пуск установки. 2. Скреперование грунта. 3. Вытаскивание ковша на берег. 4. Разгрузка грунта в отвал. 5. Очистка ковша от налипающего грунта. 6. Смена ковша и тросов (при необходимости). 7. Перестроповка блоков.
Состав звена
Тракторист 5 разр. - 1
Речной рабочий 4 разр. - 1
Таблица 2
Нормы выработки в м3 за 1 ч
────────────┬─────┬───────────────────────────────────────────────┬─
Тип лебедки │Вмес-│ Расстояние скреперования, м │
│ти- ├───────────────┬───────────────┬───────────────┤
│мость│ до 50 │ св. 50 до 100 │св. 100 до 150 │
│ков- ├───────────────┴───────────────┴───────────────┤
│ша, │ Грунт │
│м3 ├─────┬────┬────┬─────┬────┬────┬─────┬────┬────┤
│ │пес- │гра-│гли-│пес- │гра-│гли-│пес- │гра-│гли-│
│ │чано-│ве- │нис-│чано-│ве- │нис-│чано-│ве- │нис-│
│ │илис-│лис-│тый │илис-│лис-│тый │илис-│лис-│тый │
│ │тый │тый │ │тый │тый │ │тый │тый │ │
────────────┼─────┼─────┼────┼────┼─────┼────┼────┼─────┼────┼────┼─
Двухбарабан-│0,5 │7,1 │3,9 │3,6 │4,7 │2,9 │2,5 │3,2 │1,9 │1,7 │1
ная фрикци- ├─────┼─────┼────┼────┼─────┼────┼────┼─────┼────┼────┼─
онная грузо-│0,75 │10,6 │6,1 │5,4 │7,1 │3,9 │3,5 │4,4 │2,7 │2,3 │2
подъемностью│ │ │ │ │ │ │ │ │ │ │
3 - 5 т │ │ │ │ │ │ │ │ │ │ │
────────────┼─────┼─────┼────┼────┼─────┼────┼────┼─────┼────┼────┼─
Тракторная │1 │14,3 │8 │7,1 │8,7 │4,7 │4,1 │5,9 │3,4 │2,7 │3
ТЛ-11 ├─────┼─────┼────┼────┼─────┼────┼────┼─────┼────┼────┼─
│1,5 │20 │11,2│9,5 │12,3 │7,1 │5,9 │8 │4,4 │3,9 │4
────────────┴─────┼─────┼────┼────┼─────┼────┼────┼─────┼────┼────┼─
│а │б │в │г │д │е │ж │з │и │N
Таблица 3
Нормы времени и расценки на 100 м3 грунта
────────┬──────┬─────────────────────────────────────────────────────────────┬─
Лебедка │Вмес- │ Расстояние скреперования, м │
│ти- ├───────────────────┬────────────────────┬────────────────────┤
│мость │ до 50 │ св. 50 до 100 │ св. 100 до 150 │
│ковша,├───────────────────┴────────────────────┴────────────────────┤
│м3 │ Грунт │
│ ├─────┬──────┬──────┬──────┬──────┬──────┬──────┬──────┬──────┤
│ │пес- │граве-│гли- │пес- │граве-│гли- │пес- │граве-│гли- │
│ │чано-│листый│нистый│чано- │листый│нистый│чано- │листый│нистый│
│ │илис-│ │ │илис- │ │ │илис- │ │ │
│ │тый │ │ │тый │ │ │тый │ │ │
────────┼──────┼─────┼──────┼──────┼──────┼──────┼──────┼──────┼──────┼──────┼─
Двухба- │0,5 │28 │51 │55 │43 │69 │81 │63 │107 │118 │1
рабанная│ │(14) │(25,5)│(27,5)│(21,5)│(34,5)│(40,5)│(31,5)│(53,5)│(59) │
фрик- │ │-----│------│------│------│------│------│------│------│------│
ционная │ │23-80│43-35 │46-75 │36-55 │58-65 │68-85 │53-55 │90-95 │100-30│
грузо- ├──────┼─────┼──────┼──────┼──────┼──────┼──────┼──────┼──────┼──────┼─
подъем- │0,75 │18,8 │33 │37 │28 │51 │57 │45 │75 │87 │2
ностью │ │(9,4)│(16,5)│(18,5)│(14) │(25,5)│(28,5)│(22,5)│(37,5)│(43,5)│
3 - 5 т │ │-----│------│------│----- │------│------│------│------│------│
│ │15-98│28-05 │31-45 │23-80 │43-35 │48-45 │38-25 │63-75 │73-95 │
────────┼──────┼─────┼──────┼──────┼──────┼──────┼──────┼──────┼──────┼──────┼─
Трак- │1 │14 │25 │28 │23 │43 │49 │34 │59 │73 │3
торная │ │(7) │(12,5)│(14) │(11,5)│(21,5)│(24,5)│(17) │(29,5)│(36,5)│
ТЛ-11 │ │-----│------│----- │------│------│------│----- │------│------│
│ │11-90│21-25 │23-80 │19-55 │36-55 │41-65 │28-90 │50-15 │62-05 │
├──────┼─────┼──────┼──────┼──────┼──────┼──────┼──────┼──────┼──────┼─
│1,5 │10 │17,8 │21 │16,2 │28 │34 │25 │45 │51 │4
│ │(5) │(8,9) │(10,5)│(8,1) │(14) │(17) │(12,5)│(22,5)│(25,5)│
│ │---- │----- │------│----- │----- │----- │------│------│------│
│ │8-50 │15-13 │17-85 │13-77 │23-80 │28-90 │21-25 │38-25 │43-35 │
────────┴──────┼─────┼──────┼──────┼──────┼──────┼──────┼──────┼──────┼──────┼─
│а │б │в │г │д │е │ж │з │и │N
Примечание. При применении тракторных лебедок типа ТЛ-5 вместо ТЛ-11 (строки 3 - 4) Н. вр. и Расц. умножать на 1,15 (ПР-1).
§ Е39-6. Разработка (размыв) подводного грунта
гидромониторами
Указания по применению норм
Нормами предусмотрен размыв грунта гидромониторами для устройства подводных траншей (прорезей) шириной по дну до 5 м и глубиной до 1 м.
Гидромониторная установка (рис. 3) располагается на плавучей площадке, на льду или берегу и включает в себя центробежный насос с подачей 70 - 120 м3/ч и напором 150 - 80 м, шланги и сменные гидромониторные насадки с внутренним диаметром выходного сечения от 15 до 30 мм.
Рис. 3. Схема разработки грунта гидромонитором
1 - водолазный бот; 2 - плавучая площадка;
3 - гидромонитор; 4 - напорный шланг гидромонитора
Для погашения реактивной силы струи к шлангу гидромонитора на расстоянии 1,5 - 2 м от насадки прикрепляется балласт массой 40 - 70 кг.
Состав работы
1. Осмотр участка и подготовка рабочего места. 2. Подача водолазу забалластированного шланга с насадком. 3. Размыв грунта. 4. Уборка шлангов с насадком по окончании работы.
Состав звена
Водолазная станция - 1
Машинист насосной установки 3 разр. - 1
Речные рабочие 2 разр. - 2
Таблица 1
Нормы выработки в м3 за 1 ч
────────┬──────────────────────────────────────────────────────┬──
Группа │ Ширина траншеи по дну, м │
грунтов├────────────────┬──────────────────┬──────────────────┤
│ до 1 │ св. 1 до 3 │ св. 3 до 5 │
├────────────────┴──────────────────┴──────────────────┤
│ Глубина траншеи, м │
├───┬──────┬─────┬────┬───────┬─────┬────┬───────┬─────┤
│до │св. │св. │до │ св. │св. │до │ св. │св. │
│0,5│0,5 до│0,75 │0,5 │0,5 до │0,75 │0,5 │0,5 до │0,75 │
│ │ 0,75 │до 1 │ │ 0,75 │до 1 │ │ 0,75 │до 1 │
────────┼───┼──────┼─────┼────┼───────┼─────┼────┼───────┼─────┼──
I │4,8│3,8 │2,9 │3,7 │3,3 │2,5 │3,1 │2,6 │1,9 │1
────────┼───┼──────┼─────┼────┼───────┼─────┼────┼───────┼─────┼──
II │4 │3,2 │2,4 │3,1 │2,8 │2,1 │2,6 │2,2 │1,6 │2
────────┼───┼──────┼─────┼────┼───────┼─────┼────┼───────┼─────┼──
III │3,1│2,4 │2 │2,4 │2,2 │1,7 │2 │1,7 │1,3 │3
────────┼───┼──────┼─────┼────┼───────┼─────┼────┼───────┼─────┼──
IV │2,4│1,8 │1,5 │1,9 │1,6 │1,3 │1,6 │1,3 │1 │4
────────┼───┼──────┼─────┼────┼───────┼─────┼────┼───────┼─────┼──
V │2 │1,5 │1,2 │1,6 │1,4 │1,1 │1,3 │1,1 │0,77 │5
────────┼───┼──────┼─────┼────┼───────┼─────┼────┼───────┼─────┼──
VI │1,8│1,4 │1,1 │1,4 │1,2 │0,9 │1,2 │0,91 │0,77 │6
────────┼───┼──────┼─────┼────┼───────┼─────┼────┼───────┼─────┼──
│а │б │в │г │д │е │ж │з │и │N
Таблица 2
Нормы времени и расценки на размыв 1 м3 грунта
─────────┬────────┬──────────────────────────────────────────────────────────────┬──
Группа │ Состав │ Ширина траншеи по дну, м │
грунтов │ звена ├────────────────────┬────────────────────┬────────────────────┤
(табл. 1,│ │ до 1 │ св. 1 до 3 │ св. 3 до 5 │
гл. 1) │ ├────────────────────┴────────────────────┴────────────────────┤
│ │ Глубина траншеи, м │
│ ├──────┬──────┬──────┬──────┬──────┬──────┬──────┬──────┬──────┤
│ │до 0,5│ св. │ св. │до 0,5│ св. │ св. │до 0,5│ св. │ св. │
│ │ │0,5 до│0,75 │ │0,5 до│0,75 │ │0,5 до│0,75 │
│ │ │ 0,75 │ до 1 │ │ 0,75 │ до 1 │ │ 0,75 │ до 1 │
─────────┼────────┼──────┼──────┼──────┼──────┼──────┼──────┼──────┼──────┼──────┼──
I │Водолаз-│0,21 │0,26 │0,34 │0,27 │0,3 │0,4 │0,32 │0,39 │0,52 │1
│ная │------│------│---- │---- │---- │---- │---- │---- │---- │
│станция │0-79,4│0-98,3│1-29 │1-02 │1-13 │1-51 │1-21 │1-47 │1-97 │
├────────┼──────┼──────┼──────┼──────┼──────┼──────┼──────┼──────┼──────┼──
│Машинист│0,24 │0,3 │0,39 │0,31 │0,34 │0,46 │0,36 │0,44 │0,59 │2
│ │------│---- │------│------│------│------│------│------│------│
│ │0-16,8│0-21 │0-27,3│0-21,7│0-23,8│0-32,2│0-25,2│0-30,8│0-41,3│
├────────┼──────┼──────┼──────┼──────┼──────┼──────┼──────┼──────┼──────┼──
│Рабочие │0,48 │0,6 │0,78 │0,62 │0,68 │0,92 │0,72 │0,88 │1,18 │3
│ │------│------│------│------│------│------│------│------│------│
│ │0-30,7│0-38,4│0-49,9│0-39,7│0-43,5│0-58,9│0-46,1│0-56,3│0-75,5│
─────────┼────────┼──────┼──────┼──────┼──────┼──────┼──────┼──────┼──────┼──────┼──
II │Водолаз-│0,25 │0,31 │0,41 │0,32 │0,36 │0,47 │0,38 │0,46 │0,61 │4
│ная │------│---- │---- │---- │---- │---- │---- │---- │---- │
│станция │0-94,5│1-17 │1-55 │1-21 │1-36 │1-78 │1-44 │1-74 │2-31 │
├────────┼──────┼──────┼──────┼──────┼──────┼──────┼──────┼──────┼──────┼──
│Машинист│0,29 │0,35 │0,47 │0,36 │0,41 │0,54 │0,43 │0,52 │0,7 │5
│ │------│------│------│------│------│------│------│------│---- │
│ │0-20,3│0-24,5│0-32,9│0-25,2│0-28,7│0-37,8│0-30,1│0-36,4│0-49 │
├────────┼──────┼──────┼──────┼──────┼──────┼──────┼──────┼──────┼──────┼──
│Рабочие │0,58 │0,7 │0,94 │0,72 │0,82 │1,08 │0,86 │1,04 │1,4 │6
│ │------│------│------│------│------│------│---- │------│------│
│ │0-37,1│0-44,8│0-60,2│0-46,1│0-52,5│0-69,1│0-55 │0-66,6│0-89,6│
─────────┼────────┼──────┼──────┼──────┼──────┼──────┼──────┼──────┼──────┼──────┼──
III │Водолаз-│0,32 │0,41 │0,51 │0,41 │0,46 │0,6 │0,49 │0,59 │0,77 │7
│ная │---- │---- │---- │---- │---- │---- │---- │---- │---- │
│станция │1-21 │1-55 │1-93 │1-55 │1-74 │2-27 │1-85 │2-23 │2-91 │
├────────┼──────┼──────┼──────┼──────┼──────┼──────┼──────┼──────┼──────┼──
│Машинист│0,36 │0,47 │0,58 │0,47 │0,52 │0,68 │0,56 │0,67 │0,88 │8
│ │------│------│------│------│------│------│------│------│------│
│ │0-25,2│0-32,9│0-40,6│0-32,9│0-36,4│0-47,6│0-39,2│0-46,9│0-61,6│
├────────┼──────┼──────┼──────┼──────┼──────┼──────┼──────┼──────┼──────┼──
│Рабочие │0,72 │0,94 │1,16 │0,94 │1,04 │1,36 │1,12 │1,34 │1,76 │9
│ │---- │---- │---- │---- │---- │---- │---- │---- │---- │
│ │1-59 │2-08 │2-57 │2-04 │2-31 │2-91 │2-42 │2-99 │3-74 │
─────────┼────────┼──────┼──────┼──────┼──────┼──────┼──────┼──────┼──────┼──────┼──
IV │Водолаз-│0,42 │0,55 │0,68 │0,54 │0,61 │0,77 │0,64 │0,79 │0,99 │10
│ная │---- │---- │---- │---- │---- │---- │---- │---- │---- │
│станция │1-17 │1-54 │1-90 │1-51 │1-71 │2-15 │1-79 │2-21 │2-77 │
├────────┼──────┼──────┼──────┼──────┼──────┼──────┼──────┼──────┼──────┼──
│Машинист│0,48 │0,63 │0,78 │0,62 │0,7 │0,88 │0,73 │0,9 │1,1 │11
│ │------│------│------│------│---- │------│------│---- │---- │
│ │0-33,6│0-44,1│0-54,6│0-43,4│0-49 │0-61,6│0-51,1│0-63 │0-77 │
├────────┼──────┼──────┼──────┼──────┼──────┼──────┼──────┼──────┼──────┼──
│Рабочие │0,96 │1,26 │1,56 │1,24 │1,4 │1,76 │1,46 │1,8 │2,2 │12
│ │------│------│------│------│------│---- │------│---- │---- │
│ │0-61,4│0-80,6│0-99,8│0-79,4│0-89,6│1-13 │0-93,4│1-15 │1-41 │
─────────┼────────┼──────┼──────┼──────┼──────┼──────┼──────┼──────┼──────┼──────┼──
V │Водолаз-│0,5 │0,66 │0,81 │0,64 │0,74 │0,94 │0,77 │0,94 │1,3 │13
│ная │---- │---- │---- │---- │---- │---- │---- │---- │---- │
│станция │1-89 │2-49 │3-06 │2-42 │2-80 │3-55 │2-91 │3-55 │4-91 │
├────────┼──────┼──────┼──────┼──────┼──────┼──────┼──────┼──────┼──────┼──
│Машинист│0,57 │0,75 │0,92 │0,73 │0,84 │1,1 │0,88 │1,1 │1,5 │14
│ │------│------│------│------│------│---- │------│---- │---- │
│ │0-39,9│0-52,5│0-64,4│0-51,1│0-58,8│0-77 │0-61,6│0-77 │1-05 │
├────────┼──────┼──────┼──────┼──────┼──────┼──────┼──────┼──────┼──────┼──
│Рабочие │1,14 │1,5 │1,84 │1,46 │1,68 │2,2 │1,76 │2,2 │3 │15
│ │---- │---- │---- │------│---- │---- │---- │---- │---- │
│ │0-73 │0-96 │1-18 │0-93,4│1-08 │1-41 │1-13 │1-41 │1-92 │
─────────┼────────┼──────┼──────┼──────┼──────┼──────┼──────┼──────┼──────┼──────┼──
VI │Водолаз-│0,55 │0,72 │0,88 │0,7 │0,81 │1,1 │0,84 │1,1 │1,3 │16
│ная │---- │---- │---- │---- │---- │---- │---- │---- │---- │
│станция │2-08 │2-72 │3-33 │2-65 │3-06 │4-16 │3-18 │4-16 │4-91 │
├────────┼──────┼──────┼──────┼──────┼──────┼──────┼──────┼──────┼──────┼──
│Машинист│0,63 │0,82 │1 │0,8 │0,92 │1,3 │0,96 │1,3 │1,5 │17
│ │------│------│---- │---- │------│---- │------│---- │---- │
│ │0-44,1│0-57,4│0-70 │0-56 │0-64,4│0-91 │0-67,2│0-91 │1-05 │
├────────┼──────┼──────┼──────┼──────┼──────┼──────┼──────┼──────┼──────┼──
│Рабочие │1,26 │1,64 │2 │1,6 │1,84 │2,6 │1,92 │2,6 │3 │18
│ │------│---- │---- │---- │---- │---- │---- │---- │---- │
│ │0-80,6│1-05 │1-28 │1-02 │1-18 │1-66 │1-23 │1-66 │1-92 │
─────────┴────────┼──────┼──────┼──────┼──────┼──────┼──────┼──────┼──────┼──────┼──
│а │б │в │г │д │е │ж │з │и │N
Примечания. 1. При устройстве траншей и котлованов шириной по низу св. 5 за каждый дополнительный метр размыва Н. вр. и Расц. умножать на 1,1 (ПР-1).
Например: при ширине выемки по дну 7 м, глубине 1 м и грунте I группы (графа "и", строка 1) Н. вр. водолазной станции будет равна 1,1 x 1,1 x 0,52 = 0,63 станцие-ч.
2. При замыве траншей ранее извлеченным грунтом, находящимся на бровке траншеи, Н. вр. и Расц. умножать на 0,6 (ПР-2).
3. Допустимые перемывы грунта в нормах учтены (ПР-3).
4. При отмыве грунта непосредственно от стенок сооружений (на расстояние до 3 м) Н. вр. и Расц. умножать на 1,2 (ПР-4).
5. При разработке подводного грунта гидромонитором с подачей 50 м3/ч и напором 150 м Н. вр. и Расц. умножать на 1,18 (ПР-5).
§ Е39-7. Разработка подводного грунта грунтососами
Указания по применению норм
Нормами предусмотрен отсос грунта водоструйными или пневматическими грунтососами с диаметром приемной трубы 125 и 150 мм с одновременным рыхлением грунта струей гидромонитора. Грунтососы располагаются на плавучей площадке, на льду или берегу. Вода к водоструйному грунтососу подается от центробежного насоса, а воздух к пневматическому - от компрессора. Разрыхление грунта вокруг всасывающего наконечника грунтососа осуществляется струей от гидромониторной установки (рис. 4). Подача рабочей воды водоструйного насоса - 70 - 180 м3/ч при напоре 150 - 80 м, подача воздуха, подаваемого от компрессора к пневматическому грунтососу, - 0,075 м3/с при давлении 0,3 - 0,5 МПа (3 - 5 кгс/см2). Нормами учтено транспортирование пульпы в непосредственной близости от грунтососа.
Рис. 4. Схема разработки грунта пневматическим грунтососом
с одновременным рыхлением его гидромонитором
1 - водолазный бот; 2 - плавучая площадка;
3 - гидромониторная установка; 4 - грунтосос;
5 - кран-укосина; 6 - компрессор
Состав работы
1. Осмотр участка и подготовка рабочего места. 2. Подача шлангов грунтососа и гидромонитора. 3. Разработка грунта с одновременным рыхлением его гидромониторной струей. 4. Уборка шлангов грунтососа и гидромонитора по окончании работы.
Состав звена
Водолазная станция - 1
Машинист компрессора 4 разр. - 1
Машинист насосной установки 3 разр. - 1
Речные рабочие 2 разр. - 2
Таблица 1
Нормы выработки в м3 за 1 ч
───────────────────┬──────────────────────────────────────────┬───
Диаметр приемной │ Группа грунтов (табл. 2, гл. 1) │
трубы грунтососа, ├──────┬──────┬───────┬──────┬──────┬──────┤
мм │ I │ II │ III │ IV │ V │ VI │
───────────────────┼──────┼──────┼───────┼──────┼──────┼──────┼───
125 │5,6 │4,3 │2,9 │2,3 │1,9 │1,7 │1
───────────────────┼──────┼──────┼───────┼──────┼──────┼──────┼───
150 │7,1 │5,3 │3,6 │2,8 │2,3 │2 │2
───────────────────┼──────┼──────┼───────┼──────┼──────┼──────┼───
│а │б │в │г │д │е │N
Таблица 2
Нормы времени и расценки на отсос 1 м3 грунта
────────────┬─────────┬─────────────────────────────────────────┬─
Диаметр при-│ Состав │ Группа грунта (табл. 2, гл. 1) │
емной трубы │ звена ├──────┬──────┬──────┬──────┬──────┬──────┤
грунтососа, │ │ I │ II │ III │ IV │ V │ VI │
мм │ │ │ │ │ │ │ │
────────────┼─────────┼──────┼──────┼──────┼──────┼──────┼──────┼─
125 │Водолаз- │0,18 │0,23 │0,35 │0,44 │0,54 │0,6 │1
│ная стан-│---- │------│---- │---- │---- │---- │
│ция │0-68 │0-86,9│1-32 │1-66 │2-04 │2-27 │
├─────────┼──────┼──────┼──────┼──────┼──────┼──────┼─
│Машинисты│0,42 │0,52 │0,8 │1 │1,24 │1,36 │2
│ │------│------│------│------│------│---- │
│ │0-31,3│0-38,7│0-59,6│0-74,5│0-92,4│1-01 │
├─────────┼──────┼──────┼──────┼──────┼──────┼──────┼─
│Рабочие │0,42 │0,52 │0,8 │1 │1,24 │1,36 │3
│ │------│------│------│---- │------│---- │
│ │0-26,9│0-33,3│0-51,2│0-64 │0-79,4│0-87 │
────────────┼─────────┼──────┼──────┼──────┼──────┼──────┼──────┼─
150 │Водолаз- │0,14 │0,19 │0,28 │0,36 │0,44 │0,5 │4
│ная стан-│------│------│---- │---- │---- │---- │
│ция │0-52,9│0-71,8│1-06 │1-36 │1-66 │1-89 │
├─────────┼──────┼──────┼──────┼──────┼──────┼──────┼─
│Машинисты│0,32 │0,44 │0,64 │0,82 │1 │1,14 │5
│ │------│------│------│------│------│------│
│ │0-23,8│0-32,8│0-47,7│0-61,1│0-74,5│0-84,9│
├─────────┼──────┼──────┼──────┼──────┼──────┼──────┼─
│Рабочие │0,32 │0,44 │0,64 │0,82 │1 │1,14 │6
│ │------│------│---- │------│---- │---- │
│ │0-20,5│0-28,2│0-41 │0-52,5│0-64 │0-73 │
────────────┴─────────┼──────┼──────┼──────┼──────┼──────┼──────┼─
│а │б │в │г │д │е │N
§ Е39-8. Заполнение камнем или щебнем размывов (пустот)
под трубопроводами
Указания по применению норм
Нормами предусмотрено заполнение размывов под трубами и равнение бермы и откосов на участках, где провис трубопровода над дном траншеи составляет не более 0,5 м. Подача материалов под воду по лоткам или трубам осуществляется вручную.
Нормами не учитываются предварительное обследование места работ, доставка камня или щебня к месту подбивки, осуществляемая в баржах или шаландах, а также установка лотков, труб и других приспособлений.
Состав работы
1. Подача материалов (камня или щебня) под воду по лоткам или трубам с плавсредств с одновременной засыпкой по месту. 2. Плотная подбивка камня или щебня под трубопровод с устройством бермы и откоса.
Нормы времени и расценки на 1 м3 засыпки
────────────────────────────┬────────────────────┬────────────────
Состав звена │ Водолазная станция │ Рабочие
────────────────────────────┼────────────────────┼────────────────
Водолазная станция - 1 │0,53 │1,8
Речные рабочие 2 разр. - 3 │---- │----
│1-48 │1-15
────────────────────────────┼────────────────────┼────────────────
│а │б
ГЛАВА 2. СВАРОЧНО-МОНТАЖНЫЕ РАБОТЫ И УКЛАДКА
ТРУБОПРОВОДОВ ЧЕРЕЗ РЕКИ И ВОДОЕМЫ
Техническая часть
1. Нормами настоящей главы предусмотрены работы, связанные со строительством подводных трубопроводов различного назначения из углеродистых и низколегированных сталей.
2. В параграфах, предусматривающих сварочно-монтажные работы, учтены повышенные требования, предъявляемые к сварке подводных трубопроводов, выполняемые в соответствии с требованиями правил Госгортехнадзора.
3. Работы по обслуживанию газогенератора (доставка карбида кальция и воды, заправка и т.д.) или сварочного агрегата с двигателем внутреннего сгорания (заправка, пуск, смазка, наблюдение за работой и т.п.) нормами не учтены и, как правило, должны производиться машинистом или специально выделенным рабочим. При обслуживании сварочного агрегата или газогенератора самим сварщиком Н. вр. и Расц. следует умножать на 1,2 в соответствии с п. 5 Вводной части сб. Е22 "Сварочные работы", вып. 2 "Трубопроводы" (ТЧ-1).
4. При выполнении работ по укладке подводных трубопроводов необходимо на весь период укладки предусматривать дежурную водолазную станцию.
5. Во всех параграфах диаметры трубопроводов приводятся наружные.
§ Е39-9. Сборка звеньев труб диаметром 1620 мм в плеть
Указания по применению норм
Нормами предусмотрена сборка в плеть звеньев труб диаметром 1620 мм, длиной до 18 м на монтажной площадке с помощью крана-трубоукладчика, который подтаскивает звено к плети на расстояние до 20 м и поддерживает его в процессе стыковки. Центровка стыка осуществляется с помощью двух направляющих стержней на конце плети и струбцин, привариваемых снаружи стыка, с одновременной правкой кромок и прихваткой их ручной электродуговой сваркой электродами УОНИ-13/55. В процессе стыковки струбцины переставляют по периметру стыка. Сборка производится в неповоротном положении.
Состав работы
1. Подтаскивание звеньев труб краном-трубоукладчиком на расстояние до 20 м. 2. Зачистка кромок труб. 3. Приварка направляющих стержней к плети трубопровода. 4. Центровка стыка с одновременной правкой кромок и перестановка струбцин. 5. Прихватка стыка в неповоротном положении.
Нормы времени и расценки на 1 стык
─────────────────────────────────────────────┬────────────────┬───
Состав звена │ Н. вр. │
│ ------ │
│ Расц. │
─────────────────────────────────────────────┼────────────────┼───
Машинист крана-трубоукладчика 5 разр. - 1 │1,2 │1
│---- │
│1-09 │
─────────────────────────────────────────────┼────────────────┼───
Электросварщик ручной сварки 5 разр. - 1 │1,2 │2
│---- │
│1-09 │
─────────────────────────────────────────────┼────────────────┼───
Монтажник наружных трубопроводов 5 разр. - 1 │2,4 │3
То же 4 " - 1 │---- │
│2-04 │
─────────────────────────────────────────────┼────────────────┼───
│а │N
Примечание. Сварка стыка нормами не учтена (ПР-1).
§ Е39-10. Изготовление заглушек на трубопроводы
Указания по применению норм
Нормами предусмотрено изготовление плоских заглушек из листовой стали.
Состав работы
1. Разметка по шаблону листовой стали. 2. Вырезка газовой резкой плоской заглушки. 3. Зачистка кромок после резки.
Состав звена
Газорезчик 3 разр. - 1
Монтажник наружных трубопроводов 2 разр. - 1
Нормы времени и расценки на 1 заглушку
──────┬──────┬──────┬──────┬──────┬──────┬──────┬──────┬──────┬────┬──────┬──────┬──────┬──────┬──────┬──────┬──────┬────┬────┬─
Диа- │ 219 │ 245 │ 273 │ 299 │ 325 │ 351 │ 377 │ 426 │478 │ 529 │ 630 │ 720 │ 820 │ 920 │ 1020 │ 1220 │1420│1620│
метр │ │ │ │ │ │ │ │ │ │ │ │ │ │ │ │ │ │ │
трубо-│ │ │ │ │ │ │ │ │ │ │ │ │ │ │ │ │ │ │
про- │ │ │ │ │ │ │ │ │ │ │ │ │ │ │ │ │ │ │
вода, │ │ │ │ │ │ │ │ │ │ │ │ │ │ │ │ │ │ │
мм │ │ │ │ │ │ │ │ │ │ │ │ │ │ │ │ │ │ │
──────┼──────┼──────┼──────┼──────┼──────┼──────┼──────┼──────┼────┼──────┼──────┼──────┼──────┼──────┼──────┼──────┼────┼────┼─
Газо- │0,26 │0,28 │0,31 │0,34 │0,36 │0,38 │0,41 │0,46 │0,5 │0,55 │0,65 │0,75 │0,87 │0,96 │1,1 │1,3 │1,5 │1,7 │1
резчик│------│------│------│------│------│------│------│------│----│------│------│------│------│------│---- │---- │----│----│
│0-18,2│0-19,6│0-21,7│0-23,8│0-25,2│0-26,6│0-28,7│0-32,2│0-35│0-38,5│0-45,5│0-52,5│0-60,9│0-67,2│0-77 │0-91 │1-05│1-19│
──────┼──────┼──────┼──────┼──────┼──────┼──────┼──────┼──────┼────┼──────┼──────┼──────┼──────┼──────┼──────┼──────┼────┼────┼─
Мон- │0,26 │0,28 │0,31 │0,34 │0,36 │0,38 │0,41 │0,46 │0,5 │0,55 │0,65 │0,75 │0,87 │0,96 │1,1 │1,3 │1,5 │1,7 │2
тажник│------│------│------│------│---- │------│------│------│----│------│------│---- │------│------│------│------│----│----│
наруж-│0-16,6│0-17,9│0-19,8│0-21,8│0-23 │0-24,3│0-26,2│0-29,4│0-32│0-35,2│0-41,6│0-48 │0-55,7│0-61,4│0-70,4│0-83,2│0-96│1-09│
ных │ │ │ │ │ │ │ │ │ │ │ │ │ │ │ │ │ │ │
трубо-│ │ │ │ │ │ │ │ │ │ │ │ │ │ │ │ │ │ │
про- │ │ │ │ │ │ │ │ │ │ │ │ │ │ │ │ │ │ │
водов │ │ │ │ │ │ │ │ │ │ │ │ │ │ │ │ │ │ │
──────┼──────┼──────┼──────┼──────┼──────┼──────┼──────┼──────┼────┼──────┼──────┼──────┼──────┼──────┼──────┼──────┼────┼────┼─
│а │б │в │г │д │е │ж │з │и │к │л │м │н │о │п │р │с │т │N
Примечание. При вырезке заглушек криволинейного очертания из труб соответствующего диаметра Н. вр. и Расц. умножать на 1,4 (ПР-1).
§ Е39-11. Гидравлическое испытание трубопроводов
Указания по применению норм
Нормами предусмотрены работы по приварке на концах трубопровода заглушек, установке арматуры и приборов для испытания (патрубков, штуцеров, манометров и др.), гидравлическое испытание трубопровода с заливом его водой насосной установкой малой мощности и доведением давления до 1 МПа (10 кгс/см2) и последующим подъемом давления ручным гидравлическим прессом до 1,5 МПа (15 кгс/см2) (рис. 5). Выкладка трубопровода на монтажной площадке, очистка его от мусора, грунта и окалины, проверка исправности манометров нормами не учтены.
Рис. 5. Схема гидравлического испытания трубопровода
1 - вантуз для спуска воздуха; 2 - трубопровод;
3 - подкладки (опоры); 4 - манометр;
5 - наполнительно-опрессовочный агрегат; 6 - водоем;
7 - водозаборный шланг;
8 - кран высокого давления;
9 - трубопроводная арматура высокого давления
Проведение гидравлического испытания при температуре окружающего воздуха ниже 0 °С допускается лишь при условии предохранения трубопровода и линейной арматуры от замораживания.
Состав работ
При приварке заглушек
1. Установка заглушек на трубопроводе с прихваткой. 2. Приварка заглушек двухслойным швом. 3. Очистка шва от шлака и окалины.
При установке и снятии арматуры
1. Вырезка отверстий в трубопроводе. 2. Установка манометра, ручного гидравлического пресса, патрубка заливки воды и штуцера для спуска воздуха. 3. Срезка установленной арматуры газовой резкой после испытания трубопровода и спуска воды. 4. Заварка отверстий после срезки арматуры. 5. Зачистка заваренных мест.
При испытании трубопровода
1. Подготовка к работе насосной установки. 2. Присоединение шлангов для заливки трубопровода водой. 3. Заполнение трубопровода водой с помощью насосной установки и подъем давления до 1 МПа (10 кгс/см2). 4. Подъем давления до 1,5 МПа (15 кгс/см2) ручным гидравлическим прессом. 5. Уборка насосной установки, пресса, приборов и шлангов после окончания испытаний.
Таблица 1
Состав звена
──────────────────────┬───────────────────────────────────────────
Профессия и разряд │ Вид работ
рабочих ├─────────────────┬────────────┬────────────
│приварка плоских │установка и │ испытание
│ заглушек │снятие арма-│трубопровода
│ │туры │
──────────────────────┼─────────────────┼────────────┼────────────
Монтажник наружных │- │- │1
трубопроводов 6 разр. │ │ │
То же 4 " │- │- │2
" 3 " │- │- │1
Электросварщик ручной │- │1 │-
сварки 6 разр. │ │ │
То же 5 " │1 │- │-
Машинист насосной │- │- │1
установки 3 разр. │ │ │
Газорезчик 3 разр. │- │1 │-
Таблица 2
Нормы времени и расценки на 1 плеть
────────┬────────┬──────────────────────────────────────────────────────────────┬─
Наимено-│Профес- │ Диаметр трубопровода, мм │
вание │сия ├──────┬──────┬──────┬──────┬──────┬──────┬──────┬──────┬──────┤
работ │ │ 219 │ 245 │ 273 │ 299 │ 325 │ 351 │ 377 │ 426 │ 478 │
────────┴────────┼──────┼──────┼──────┼──────┼──────┼──────┼──────┼──────┼──────┼─
Гидравлическое │15,45 │15,85 │16,2 │16,4 │17,0 │17,3 │17,5 │18,4 │19,2 │1
испытание трубо- │----- │----- │----- │----- │----- │----- │----- │----- │----- │
провода │13-30 │13-65 │19-96 │14-14 │14-63 │14-91 │15-08 │15-85 │16-52 │
────────┬────────┼──────┼──────┼──────┼──────┼──────┼──────┼──────┼──────┼──────┼─
В том │ │ │ │ │ │ │ │ │ │ │
числе: │ │ │ │ │ │ │ │ │ │ │2
привар-│Элек- │1,8 │2 │2,2 │2,3 │2,4 │2,6 │2,7 │3 │3,3 │
ка двух │тро- │---- │---- │---- │---- │---- │---- │---- │---- │---- │
плоских │сварщик │1-64 │1-82 │2-00 │2-09 │2-18 │2-37 │2-46 │2-73 │3-00 │
заглушек│ │ │ │ │ │ │ │ │ │ │
────────┼────────┼──────┼──────┼──────┼──────┼──────┼──────┼──────┼──────┼──────┼─
уста- │Электро-│8,8 │8,9 │9 │9,1 │9,1 │9,2 │9,3 │9,4 │9,4 │3
новка и │сварщик,│---- │---- │---- │---- │---- │---- │---- │---- │---- │
снятие │газо- │7-74 │7-83 │7-92 │8-01 │8-01 │8-10 │8-18 │8-27 │8-27 │
арматуры│резчик │ │ │ │ │ │ │ │ │ │
────────┼────────┼──────┼──────┼──────┼──────┼──────┼──────┼──────┼──────┼──────┼─
испыта- │Рабочие │3,88 │3,96 │4 │4 │4,4 │4,4 │4,4 │4,8 │5,2 │4
ние тру-│ │---- │---- │---- │---- │---- │---- │---- │---- │---- │
бопро- │ │3-24 │3-31 │3-34 │3-34 │3-67 │3-67 │3-67 │4-01 │4-34 │
вода ├────────┼──────┼──────┼──────┼──────┼──────┼──────┼──────┼──────┼──────┼─
│Машинист│0,97 │0,99 │1 │1 │1,1 │1,1 │1,1 │1,2 │1,3 │5
│ │------│------│---- │---- │---- │---- │---- │---- │---- │
│ │0-67,9│0-69,3│0-70 │0-70 │0-77 │0-77 │0-77 │0-84 │0-91 │
────────┴────────┼──────┼──────┼──────┼──────┼──────┼──────┼──────┼──────┼──────┼─
Нормы строк N 1 и│0,05 │0,06 │0,08 │0,09 │0,12 │0,13 │0,16 │0,19 │0,24 │6
4 учитывают за- │---- │------│------│------│------│------│------│------│------│
ливку водой │0-04 │0-04,8│0-06,5│0-07,3│0-09,7│0-10,5│0-12,9│0-15,4│0-19,4│
трубопровода при │ │ │ │ │ │ │ │ │ │
длине плети до │ │ │ │ │ │ │ │ │ │
100 м. При длине │ │ │ │ │ │ │ │ │ │
плети св. 100 м │ │ │ │ │ │ │ │ │ │
на каждые │ │ │ │ │ │ │ │ │ │
последующие 50 м │ │ │ │ │ │ │ │ │ │
к нормам строк N │ │ │ │ │ │ │ │ │ │
1 и 4 добавлять │ │ │ │ │ │ │ │ │ │
─────────────────┼──────┼──────┼──────┼──────┼──────┼──────┼──────┼──────┼──────┼─
│а │б │в │г │д │е │ж │з │и │N
Продолжение табл. 2
────────┬───────┬─────────────────────────────────────────────────────────┬─
Наимено-│Профес-│ Диаметр трубопровода, мм │
ние │сия ├─────┬──────┬──────┬──────┬──────┬─────┬─────┬─────┬─────┤
работ │ │ 529 │ 630 │ 720 │ 820 │ 920 │1020 │1220 │1420 │ 1620│
────────┴───────┼─────┼──────┼──────┼──────┼──────┼─────┼─────┼─────┼─────┼─
Гидравлическое │20,4 │22,6 │24,1 │26,6 │29,1 │31,1 │35,7 │41,2 │46,6 │1
испытание │-----│----- │----- │----- │----- │-----│-----│-----│-----│
трубопровода │17-56│19-43 │20-70 │22-80 │24-92 │26-58│30-44│35-02│39-55│
────────┬───────┼─────┼──────┼──────┼──────┼──────┼─────┼─────┼─────┼─────┼─
В том │ │ │ │ │ │ │ │ │ │ │
числе: │ │ │ │ │ │ │ │ │ │ │
привар-│Элект- │3,5 │4,1 │4,6 │5,1 │5,6 │6,1 │7,2 │8,2 │9,1 │2
ка двух │ро- │---- │---- │---- │---- │---- │---- │---- │---- │---- │
плоских │сварщик│3-19 │3-73 │4-19 │4-64 │5-10 │5-55 │6-55 │7-46 │8-28 │
заглушек│ │ │ │ │ │ │ │ │ │ │
────────┼───────┼─────┼──────┼──────┼──────┼──────┼─────┼─────┼─────┼─────┼─
установ-│Элект- │9,9 │10,5 │10,5 │11 │11,5 │11,5 │12 │12,5 │13,5 │3
ка и │росвар-│---- │---- │---- │---- │----- │-----│-----│-----│-----│
снятие │щик, │8-71 │9-24 │9-24 │9-68 │10-12 │10-12│10-56│11-00│11-88│
арматуры│газо- │ │ │ │ │ │ │ │ │ │
│резчик │ │ │ │ │ │ │ │ │ │
────────┼───────┼─────┼──────┼──────┼──────┼──────┼─────┼─────┼─────┼─────┼─
испыта- │Рабочие│5,6 │6,4 │7,2 │8,4 │9,6 │10,8 │13,2 │16,4 │19,2 │4
ние тру-│ │---- │---- │---- │---- │---- │---- │-----│-----│-----│
бопро- │ │4-68 │5-34 │6-01 │7-01 │8-02 │9-02 │11-02│13-69│16-03│
вода ├───────┼─────┼──────┼──────┼──────┼──────┼─────┼─────┼─────┼─────┼─
│Маши- │1,4 │1,6 │1,8 │2,1 │2,4 │2,7 │3,3 │4,1 │4,8 │5
│нист │---- │---- │---- │---- │---- │---- │---- │---- │---- │
│ │0-98 │1-12 │1-26 │1-47 │1-68 │1-89 │2-31 │2-87 │3-36 │
────────┴───────┼─────┼──────┼──────┼──────┼──────┼─────┼─────┼─────┼─────┼─
Нормы строк N 1 │0,31 │0,45 │0,59 │0,77 │0,98 │1,2 │1,8 │2,4 │3 │6
и 4 учитывают │---- │------│------│------│------│---- │---- │---- │---- │
заливку водой │0-25 │0-36,4│0-47,7│0-62,2│0-79,2│0-97 │1-45 │1-94 │2-42 │
трубопровода при│ │ │ │ │ │ │ │ │ │
длине плети до │ │ │ │ │ │ │ │ │ │
100 м. При длине│ │ │ │ │ │ │ │ │ │
плети св. 100 м │ │ │ │ │ │ │ │ │ │
на каждые │ │ │ │ │ │ │ │ │ │
последующие 50 м│ │ │ │ │ │ │ │ │ │
к нормам строк N│ │ │ │ │ │ │ │ │ │
1 и 4 добавлять │ │ │ │ │ │ │ │ │ │
────────────────┼─────┼──────┼──────┼──────┼──────┼─────┼─────┼─────┼─────┼─
│к │л │м │н │о │п │р │с │т │N
Примечания. 1. При приварке заглушек трехслойным швом Н. вр. и Расц. строки N 2 умножить на 1,4 (ПР-1).
2. При приварке заглушек криволинейного очертания Н. вр. и Расц. строки N 2 умножать на 2 (ПР-2).
3. При испытании плетей на давление св. 1,5 МПа до 7,8 МПа (св. 15 до 80 кгс/см2) с применением опрессовочного агрегата Н. вр. и Расц. строки N 5 умножать на 2 (ПР-3).
4. Время выдержки трубопровода под давлением нормами не учтено (ПР-4).
§ Е39-12. Монтаж и сварка плетей трубопроводов на плаву
Указания по применению норм
Нормами предусмотрены стыковка и неповоротная сварка плетей трубопровода, находящихся на плаву перед укладкой их в подводную траншею.
Нормами учтено выполнение работ по монтажу плетей с помощью плавкрана при волнении не более 1 балла.
Установка и уборка приспособлений, обслуживание их и транспортирование плетей к месту работы, а также работа подручного сварщика при подварке корня шва на трубопроводах диаметром св. 720 мм нормами не учтены.
А. МОНТАЖ ПЛЕТЕЙ
Состав работы
1. Подача плетей к крану. 2. Застроповка концов плетей. 3. Срезка заглушек. 4. Зачистка и правка кромок труб. 5. Стыковка плетей. 6. Центровка плетей. 7. Прихватка в неповоротном положении. 8. Отстроповка плетей.
Таблица 1
Состав звена
───────────────────────────┬──────────────────────────────────────
Профессия и разряд рабочих │ Диаметр трубопровода, мм
├────────────┬───────────┬─────────────
│ 219 - 478 │ 529 - 820 │ 920 - 1620
───────────────────────────┼────────────┼───────────┼─────────────
Электросварщик ручной │1 │1 │1
сварки 6 разр. │ │ │
Газорезчик 4 разр. │1 │1 │1
Монтажники наружных │1 │1 │1
трубопроводов 6 разр. │ │ │
То же 3 разр. │3 │5 │7
Таблица 2
Нормы времени и расценки на 1 стык
────────┬────┬─────┬─────┬─────┬─────┬─────┬─────┬─────┬─────┬─────┬─────┬─────┬─────┬─────┬─────┬─────┬──────┬─────┬─
Диаметр │219 │ 245 │ 273 │ 299 │ 325 │ 351 │ 377 │ 426 │ 478 │ 529 │ 630 │ 720 │ 820 │ 920 │1020 │1220 │ 1420 │1620 │
трубо- │ │ │ │ │ │ │ │ │ │ │ │ │ │ │ │ │ │ │
провода,│ │ │ │ │ │ │ │ │ │ │ │ │ │ │ │ │ │ │
мм │ │ │ │ │ │ │ │ │ │ │ │ │ │ │ │ │ │ │
────────┼────┼─────┼─────┼─────┼─────┼─────┼─────┼─────┼─────┼─────┼─────┼─────┼─────┼─────┼─────┼─────┼──────┼─────┼─
Электро-│6 │6,8 │7,4 │8 │8,6 │9,2 │9,8 │11 │12,4 │10,2 │12 │13,6 │15,4 │13,6 │15,2 │18 │21 │24 │1
сварщик,│----│---- │---- │---- │---- │---- │---- │-----│-----│---- │-----│-----│-----│-----│-----│-----│----- │-----│
газо- │5-55│6-29 │6-85 │7-40 │7-96 │8-51 │9-07 │10-18│11-47│9-44 │11-10│12-58│14-25│12-58│14-06│16-65│19-43 │22-20│
резчик │ │ │ │ │ │ │ │ │ │ │ │ │ │ │ │ │ │ │
────────┼────┼─────┼─────┼─────┼─────┼─────┼─────┼─────┼─────┼─────┼─────┼─────┼─────┼─────┼─────┼─────┼──────┼─────┼─
Монтаж- │12 │13,6 │14,8 │16 │17,2 │18,4 │19,6 │22 │24,8 │30,6 │36 │40,8 │46,2 │54,4 │60,8 │72 │84 │96 │2
ник │(3) │(3,4)│(3,7)│(4) │(4,3)│(4,6)│(4,9)│(5,5)│(6,2)│(5,1)│(6) │(6,8)│(7,7)│(6,8)│(7,6)│(9) │(10,5)│(12) │
наружных│----│-----│-----│-----│-----│-----│-----│-----│-----│-----│-----│-----│-----│-----│-----│-----│------│-----│
трубо- │9-48│10-74│11-69│12-64│13-59│14-54│15-48│17-38│19-59│23-26│27-36│31-01│35-11│40-53│45-30│53-64│62-58 │71-52│
проводов│ │ │ │ │ │ │ │ │ │ │ │ │ │ │ │ │ │ │
────────┼────┼─────┼─────┼─────┼─────┼─────┼─────┼─────┼─────┼─────┼─────┼─────┼─────┼─────┼─────┼─────┼──────┼─────┼─
│а │б │в │г │д │е │ж │з │и │к │л │м │н │о │п │р │с │т │N
Б. СВАРКА ПЛЕТЕЙ
Состав работы
1. Подмащивание концов плетей для сварки. 2. Сварка расчетно-непроницаемым швом в три слоя в неповоротном положении. 3. Очистка слоев от шлака и окалины.
Состав звена
Электросварщик ручной сварки 6 разр. - 1
Таблица 3
Нормы времени и расценки на 1 стык
───────────────┬──────────────────────────────────────────────┬───
Диаметр трубо- │ Сварка плетей при толщине стенок, мм │
провода, мм ├──────────┬───────────┬───────────┬───────────┤
│ 11 │ 12 │ 13 │ 14 │
───────────────┼──────────┼───────────┼───────────┼───────────┼───
219 │1,7 │- │- │- │1
│---- │ │ │ │
│1-80 │ │ │ │
───────────────┼──────────┼───────────┼───────────┼───────────┼───
245 │2 │- │- │- │2
│---- │ │ │ │
│2-12 │ │ │ │
───────────────┼──────────┼───────────┼───────────┼───────────┼───
273 │2,2 │- │- │- │3
│---- │ │ │ │
│2-33 │ │ │ │
───────────────┼──────────┼───────────┼───────────┼───────────┼───
299 │- │2,3 │- │- │4
│ │---- │ │ │
│ │2-44 │ │ │
───────────────┼──────────┼───────────┼───────────┼───────────┼───
325 │- │2,6 │- │- │5
│ │---- │ │ │
│ │2-76 │ │ │
───────────────┼──────────┼───────────┼───────────┼───────────┼───
351 │- │2,8 │- │- │6
│ │---- │ │ │
│ │2-97 │ │ │
───────────────┼──────────┼───────────┼───────────┼───────────┼───
377 │- │3 │- │- │7
│ │---- │ │ │
│ │3-18 │ │ │
───────────────┼──────────┼───────────┼───────────┼───────────┼───
426 │- │3,4 │- │- │8
│ │---- │ │ │
│ │3-60 │ │ │
───────────────┼──────────┼───────────┼───────────┼───────────┼───
478 │- │3,8 │- │- │9
│ │---- │ │ │
│ │4-03 │ │ │
───────────────┼──────────┼───────────┼───────────┼───────────┼───
529 │- │4,2 │- │- │10
│ │4-45 │ │ │
───────────────┼──────────┼───────────┼───────────┼───────────┼───
630 │- │5 │5,5 │6 │11
│ │---- │---- │---- │
│ │5-30 │5-83 │6-36 │
───────────────┼──────────┼───────────┼───────────┼───────────┼───
720 │- │5,7 │6,3 │6,9 │12
│ │---- │---- │---- │
│ │6-04 │6-68 │7-31 │
───────────────┼──────────┼───────────┼───────────┼───────────┼───
820 │- │6,6 │7,2 │7,9 │13
│ │---- │---- │---- │
│ │7-00 │7-63 │8-37 │
───────────────┼──────────┼───────────┼───────────┼───────────┼───
920 │- │7,3 │8,1 │8,5 │14
│ │---- │---- │---- │
│ │7-74 │8-59 │9-01 │
───────────────┼──────────┼───────────┼───────────┼───────────┼───
1020 │- │8,1 │9 │9,9 │15
│ │---- │---- │----- │
│ │8-59 │9-54 │10-49 │
───────────────┼──────────┼───────────┼───────────┼───────────┼───
1220 │- │9,9 │11 │11,5 │16
│ │----- │----- │----- │
│ │10-49 │11-66 │12-19 │
───────────────┼──────────┼───────────┼───────────┼───────────┼───
1420 │- │11,5 │12,5 │13,5 │17
│ │----- │----- │----- │
│ │12-19 │13-25 │14-31 │
───────────────┼──────────┼───────────┼───────────┼───────────┼───
1620 │- │12,5 │14 │15,5 │18
│ │----- │----- │----- │
│ │13-25 │14-84 │16-43 │
───────────────┼──────────┼───────────┼───────────┼───────────┼───
│а │б │в │г │N
§ Е39-13. Монтаж и приварка "уток" к трубопроводу
Указания по применению норм
Нормами предусмотрены монтаж и приварка "уток" к трубопроводу, спущенному на воду с помощью плавучего крана, портала с лебедками, понтона, автомобильного крана или трубоукладчика. "Утка" - участок трубопровода (подводный и надводный), находящийся в приурезной части водоема и имеющий один или несколько углов поворота.
Состав работ
При монтаже "утки"
1. Застропка и разворот трубопровода и "утки" с помощью портала, крана или трубоукладчика. 2. Подъем конца трубопровода из воды в положение для монтажа или вытаскивание конца трубопровода на берег. 3. Установка талей. 4. Срезка заглушки трубопровода. 5. Стыковка "утки" с трубопроводом. 6. Приварка скоб и направляющих уголков. 7. Центровка "утки" с трубопроводом. 8. Правка кромок. 9. Прихватка "утки" к трубопроводу. 10. Спуск на плав и отстроповка трубопровода с "уткой".
При приварке "утки"
1. Приварка "утки" к трубопроводу в неповоротном положении расчетно-непроницаемым швом в три слоя. 2. Очистка слоев от шлака и окалины в процессе сварки. 3. Перемещение сварщика на понтон или шлюпку и обратно при сварке на плаву.
Таблица 1
Состав звена
────────────────────────────────────┬────────────────────┬────────
Профессия и разряд рабочих │Монтаж "утки" при │Приварка
│диаметре трубопрово-│ "утки"
│да, мм │
├─────────┬──────────┤
│219 - 630│720 - 1620│
────────────────────────────────────┼─────────┼──────────┼────────
Электросварщик ручной сварки 6 разр.│1 │1 │1
Газорезчик 5 " │1 │1 │-
Монтажники наружных трубопроводов │1 │1 │-
6 разр.│ │ │
То же 3 разр.│7 │9 │-
Таблица 2
Нормы времени и расценки на 1 "утку"
─────┬────────────────────────────────────────┬────────────────┬──
Диа- │ Монтаж "утки" │ Приварка "утки"│
метр ├──────────────────────────┬─────────────┼────────────────┤
тру- │при длине до 6 м и сборка │добавлять на │при толщине │
бо- ├────────────┬─────────────┤каждый после-│стенки трубопро-│
про- │ на плаву │с вытаскива- │дующий 1 м │вода, мм │
вода,│ │нием конца │ "утки" ├────┬─────┬─────┤
мм │ │трубопровода │ │6 - │10 - │12 - │
│ │на берег │ │ 10│ 12 │ 14 │
├────────────┴─────────────┴─────────────┤ │ │ │
│ Профессия │ │ │ │
├──────┬─────┬──────┬──────┬──────┬──────┤ │ │ │
│элек- │мон- │элек- │мон- │элек- │мон- │ │ │ │
│тро- │таж- │тро- │таж- │тро- │таж- │ │ │ │
│свар- │ники │свар- │ники │свар- │ники │ │ │ │
│щик, │на- │щик, │наруж-│щик, │наруж-│ │ │ │
│газо- │руж- │газо- │ных │газо- │ных │ │ │ │
│резчик│ных │рез- │трубо-│резчик│трубо-│ │ │ │
│ │тру- │чик │прово-│ │прово-│ │ │ │
│ │бо- │ │дов │ │дов │ │ │ │
│ │про- │ │ │ │ │ │ │ │
│ │водов│ │ │ │ │ │ │ │
─────┼──────┼─────┼──────┼──────┼──────┼──────┼────┼─────┼─────┼──
219 │0,92 │3,68 │0,7 │2,8 │0,14 │0,56 │1,4 │1,9 │- │1
│(0,46)│---- │(0,35)│---- │(0,07)│------│----│---- │ │
│------│2-74 │------│2-09 │------│0-41,7│1-48│2-01 │ │
│0-90,6│ │0-69 │ │0-13,8│ │ │ │ │
─────┼──────┼─────┼──────┼──────┼──────┼──────┼────┼─────┼─────┼──
245 │1 │4 │0,76 │3,04 │0,16 │0,64 │1,5 │2 │- │2
│(0,5) │---- │(0,38)│---- │(0,08)│------│----│---- │ │
│------│2-98 │------│2-26 │------│0-47,7│1-59│2-12 │ │
│0-98,5│ │0-74,9│ │0-15,8│ │ │ │ │
─────┼──────┼─────┼──────┼──────┼──────┼──────┼────┼─────┼─────┼──
273 │1,08 │4,32 │0,82 │3,28 │0,16 │0,64 │1,6 │2,1 │- │3
│(0,54)│---- │(0,41)│---- │(0,08)│------│----│---- │ │
│------│3-22 │------│2-44 │------│0-47,7│1-70│2-23 │ │
│1-06 │ │0-80,8│ │0-15,8│ │ │ │ │
─────┼──────┼─────┼──────┼──────┼──────┼──────┼────┼─────┼─────┼──
299 │1,16 │4,64 │0,86 │3,44 │0,18 │0,72 │1,7 │2,1 │- │4
│(0,58)│---- │(0,43)│---- │(0,09)│------│----│---- │ │
│------│3-46 │------│2-56 │------│0-53,6│1-80│2-23 │ │
│1-14 │ │0-84,7│ │0-17,7│ │ │ │ │
─────┼──────┼─────┼──────┼──────┼──────┼──────┼────┼─────┼─────┼──
325 │1,24 │4,96 │0,92 │3,68 │0,18 │0,72 │1,8 │2,4 │- │5
│(0,62)│---- │(0,46)│---- │(0,09)│------│----│---- │ │
│------│3-70 │------│2-74 │------│0-53,6│1-91│2-54 │ │
│1-22 │ │0-90,6│ │0-17,7│ │ │ │ │
─────┼──────┼─────┼──────┼──────┼──────┼──────┼────┼─────┼─────┼──
351 │1,3 │5,2 │0,98 │3,92 │0,2 │0,8 │1,9 │2,5 │- │6
│(0,65)│---- │(0,49)│---- │(0,1) │------│----│---- │ │
│------│3-87 │------│2-92 │------│0-59,6│2-01│2-65 │ │
│1-28 │ │0-96,5│ │0-19,7│ │ │ │ │
─────┼──────┼─────┼──────┼──────┼──────┼──────┼────┼─────┼─────┼──
377 │1,36 │5,44 │1,02 │4,08 │0,22 │0,88 │2 │2,6 │- │7
│(0,68)│---- │(0,51)│---- │(0,11)│------│----│---- │ │
│------│4-05 │------│3-04 │------│0-65,6│2-12│2-76 │ │
│1-34 │ │1-00 │ │0-21,7│ │ │ │ │
─────┼──────┼─────┼──────┼──────┼──────┼──────┼────┼─────┼─────┼──
426 │1,54 │6,16 │1,16 │4,64 │0,24 │0,96 │2,2 │3 │- │8
│(0,77)│---- │(0,58)│---- │(0,12)│------│----│---- │ │
│------│4-59 │------│3-46 │------│0-71,5│2-33│3-18 │ │
│1-52 │ │1-14 │ │0-23,6│ │ │ │ │
─────┼──────┼─────┼──────┼──────┼──────┼──────┼────┼─────┼─────┼──
478 │1,7 │6,8 │1,28 │5,12 │0,26 │1,04 │2,5 │3,3 │- │9
│(0,85)│---- │(0,64)│---- │(0,13)│------│----│---- │ │
│------│5-07 │------│3-81 │------│0-77,5│2-65│3-50 │ │
│1-67 │ │1-26 │ │0-25,6│ │ │ │ │
─────┼──────┼─────┼──────┼──────┼──────┼──────┼────┼─────┼─────┼──
529 │1,84 │7,36 │1,38 │5,52 │0,28 │1,12 │2,7 │3,6 │- │10
│(0,92)│---- │(0,69)│---- │(0,14)│------│----│---- │ │
│------│5-48 │------│4-11 │------│0-83,4│2-86│3-82 │ │
│1-81 │ │1-36 │ │0-27,6│ │ │ │ │
─────┼──────┼─────┼──────┼──────┼──────┼──────┼────┼─────┼─────┼──
630 │2,2 │8,8 │1,62 │6,48 │0,34 │1,36 │3,3 │4,2 │- │11
│(1,1) │---- │(0,81)│---- │(0,17)│---- │----│---- │ │
│----- │6-56 │------│4-83 │------│1-01 │3-50│4-45 │ │
│2-17 │ │1-60 │ │0-33,5│ │ │ │ │
─────┼──────┼─────┼──────┼──────┼──────┼──────┼────┼─────┼─────┼──
720 │2,2 │11 │1,62 │8,1 │0,34 │1,7 │3,7 │4,8 │6,3 │12
│(1,1) │---- │(0,81)│---- │(0,17)│---- │----│---- │---- │
│----- │8-10 │------│5-96 │------│1-25 │3-92│5-09 │6-68 │
│2-17 │ │1-60 │ │0-33,5│ │ │ │ │
─────┼──────┼─────┼──────┼──────┼──────┼──────┼────┼─────┼─────┼──
820 │2,2 │11 │1,72 │8,6 │0,38 │1,9 │4,2 │5,6 │7 │13
│(1,1) │---- │(0,86)│---- │(0,19)│---- │----│---- │---- │
│----- │8-10 │------│6-33 │------│1-40 │4-45│5-94 │7-42 │
│2-17 │ │1-69 │ │0-37,4│ │ │ │ │
─────┼──────┼─────┼──────┼──────┼──────┼──────┼────┼─────┼─────┼──
920 │2,4 │12 │1,92 │9,6 │0,42 │2,1 │4,8 │6,3 │8 │14
│(1,2) │---- │(0,96)│---- │(0,21)│---- │----│---- │---- │
│----- │8-83 │------│7-07 │------│1-55 │5-09│6-68 │8-48 │
│2-36 │ │1-89 │ │0-41,4│ │ │ │ │
─────┼──────┼─────┼──────┼──────┼──────┼──────┼────┼─────┼─────┼──
1020 │2,8 │14 │2 │10 │0,48 │2,4 │5,3 │7 │8,9 │15
│(1,4) │-----│(1) │---- │(0,24)│---- │----│---- │---- │
│----- │10-30│---- │7-36 │------│1-77 │5-62│7-42 │9-43 │
│2-76 │ │1-97 │ │0-47,3│ │ │ │ │
─────┼──────┼─────┼──────┼──────┼──────┼──────┼────┼─────┼─────┼──
1220 │3,2 │16 │2,4 │12 │0,58 │2,9 │6,6 │8,7 │10,5 │16
│(1,6) │-----│(1,2) │---- │(0,29)│---- │----│---- │-----│
│----- │11-78│----- │8-83 │------│2-13 │7-00│9-22 │11-13│
│3-15 │ │2-36 │ │0-57,1│ │ │ │ │
─────┼──────┼─────┼──────┼──────┼──────┼──────┼────┼─────┼─────┼──
1420 │3,8 │19 │2,8 │14 │0,7 │3,5 │7,7 │10 │12,5 │17
│(1,9) │-----│(1,4) │----- │(0,35)│---- │----│-----│-----│
│----- │13-98│----- │10-30 │------│2-58 │8-16│10-60│13-25│
│3-74 │ │2-76 │ │0-69 │ │ │ │ │
─────┼──────┼─────┼──────┼──────┼──────┼──────┼────┼─────┼─────┼──
1620 │4,4 │22 │3,2 │16 │0,74 │3,7 │9 │12 │19,5 │18
│(2,2) │-----│(1,6) │----- │(0,37)│---- │----│-----│-----│
│----- │16-19│----- │11-78 │------│2-72 │9-54│12-72│20-67│
│4-33 │ │3-15 │ │0-72,9│ │ │ │ │
─────┼──────┼─────┼──────┼──────┼──────┼──────┼────┼─────┼─────┼──
│а │б │в │г │д │е │ж │з │и │N
§ Е39-14. Футеровка трубопроводов деревянными рейками
Указания по применению норм
Нормами предусмотрена футеровка трубопроводов деревянными рейками с целью защиты изоляционного покрытия от повреждений при укладке трубопроводов через водные преграды.
При строительстве подводных переходов применяется как сплошная, так и несплошная футеровка (рис. 6). Сплошная футеровка производится, когда трубопровод протаскивается по дну подводной траншеи. Несплошная футеровка (в сечении) применяется при опускании трубопровода на дно подводной траншеи для перекладки его и поддерживания кранами.
Рис. 6. Футеровка трубопровода деревянными рейками
Сечение трубопровода: А - при сплошной футеровке,
Б - при несплошной футеровке
1 - деревянные рейки; 2 - изоляция; 3 - скрутки
из проволоки
Для трубопроводов диаметром до 426 мм применяются рейки длиной 2 м, сечением 20 x 50 мм, а св. 426 мм - 30 x 60 мм.
Рейки прикрепляются к трубопроводу хомутами (скрутками) из 6-миллиметровой проволоки, которые устанавливаются через 1 м.
Количество реек зависит от диаметра трубопровода и приведено в табл. 2.
Перед футеровкой трубопровод должен быть уложен на подкладки. Эта работа нормами не учтена.
Состав работы
1. Раскладка реек вдоль трубопровода. 2. Укладка по тросам (ремням) реек. 3. Обжим трубопровода тросами (ремнями) с разравниванием реек. 4. Крепление реек к трубопроводу проволочными хомутами (скрутками).
Таблица 1
Состав звена
─────────────────────────────────────────┬────────────────────────
Профессия и разряд рабочих │Диаметр трубопровода, мм
├────────────┬───────────
│ 219 - 325 │ 351 - 1620
─────────────────────────────────────────┼────────────┼───────────
Монтажники наружных трубопроводов 3 разр.│1 │1
То же 2 " │1 │1
Такелажники на монтаже 2 разр.│1 │2
Подсобный (транспортный) рабочий 1 разр. │1 │1
Таблица 2
Нормы времени и расценки на 100 м футеровки трубопровода
─────────┬─────┬─────┬─────┬─────┬─────┬─────┬────┬─────┬─────┬─────┬─────┬─────┬─────┬─────┬─────┬─────┬─────┬─────┬─
Диаметр │ 219 │ 245 │ 273 │ 299 │ 325 │ 351 │377 │ 426 │ 478 │ 529 │ 630 │ 720 │ 820 │ 920 │1020 │1220 │1420 │1620 │
трубо- │ │ │ │ │ │ │ │ │ │ │ │ │ │ │ │ │ │ │
провода, │ │ │ │ │ │ │ │ │ │ │ │ │ │ │ │ │ │ │
мм │ │ │ │ │ │ │ │ │ │ │ │ │ │ │ │ │ │ │
─────────┼─────┼─────┼─────┼─────┼─────┼─────┼────┼─────┼─────┼─────┼─────┼─────┼─────┼─────┼─────┼─────┼─────┼─────┼─
Количест-│7 │8 │9 │10 │11 │12 │13 │14 │15 │17 │20 │23 │26 │29 │32 │39 │45 │51 │1
во реек в│ │ │ │ │ │ │ │ │ │ │ │ │ │ │ │ │ │ │
сечении, │ │ │ │ │ │ │ │ │ │ │ │ │ │ │ │ │ │ │
шт. │ │ │ │ │ │ │ │ │ │ │ │ │ │ │ │ │ │ │
─────────┼─────┼─────┼─────┼─────┼─────┼─────┼────┼─────┼─────┼─────┼─────┼─────┼─────┼─────┼─────┼─────┼─────┼─────┼─
Н. вр. │12,8 │12,8 │13,6 │14 │14,4 │14,5 │15 │16 │17 │18 │19,5 │21,5 │23,5 │26 │28 │32 │37 │42 │2
------ │(3,2)│(3,2)│(3,4)│(3,5)│(3,6)│(2,9)│(3) │(3,2)│(3,4)│(3,6)│(3,9)│(4,3)│(4,7)│(5,2)│(5,6)│(6,4)│(7,4)│(8,4)│
Расц. │-----│-----│-----│-----│-----│-----│----│-----│-----│-----│-----│-----│-----│-----│-----│-----│-----│-----│
│8-22 │8-22 │8-74 │9-00 │9-25 │9-31 │9-63│10-27│10-91│11-56│12-52│13-80│15-09│16-69│17-98│20-54│23-75│26-96│
─────────┼─────┼─────┼─────┼─────┼─────┼─────┼────┼─────┼─────┼─────┼─────┼─────┼─────┼─────┼─────┼─────┼─────┼─────┼─
│а │б │в │г │д │е │ж │з │и │к │л │м │н │о │п │р │с │т │N
Примечание. При увеличении числа реек в сечении трубопровода к Н. вр. и Расц. табл. 2 добавлять на каждую дополнительную рейку Н. вр. 0,84 чел.-ч и Расц. 0-41,6 (ПР-1).
§ Е39-15. Устройство опор спусковой дорожки
Указания по применению норм
Нормой предусмотрено устройство инвентарных роликовых опор для узкой дорожки, предназначенной для спуска трубопроводов диаметром до 1220 мм при укладке их через водные преграды.
Нормой учтена укладка шпал на грунт на расстоянии 1,2 м друг от друга с креплением к ним роликовых опор с помощью костылей.
Планировка грунта под спусковую дорожку нормой не учтена.
Состав работы
1. Подноска шпал, роликовых опор на расстояние до 50 м. 2. Укладка шпал с заглублением их в грунт на 20 см. 3. Постановка на шпалы роликовых опор. 4. Крепление опор к шпалам костылями.
Нормы времени и расценки на 1 опору
────────────────────────────────────────────────┬─────────────────
Состав звена │ Н. вр.
│ ------
│ Расц.
────────────────────────────────────────────────┼─────────────────
Монтажник наружных трубопроводов 3 разр. - 1 │2,7
То же 2 " - 1 │----
│1-81
§ Е39-16. Укладка плетей трубопроводов кранами-трубоукладчиками
на спусковую дорожку
Указания по применению норм
Нормами предусмотрена укладка смонтированной плети трубопровода на спусковую дорожку для протаскивания через водоем. Плеть располагается на стапеле или подкладках (опорах) параллельно спусковому пути на расстоянии 1,5 м от оси пути. Кран-трубоукладчик, передвигаясь вдоль спусковой дорожки, производит через 15 - 20 м подъем плети, перемещение ее и укладку на вагонетки.
При невозможности подкатки плети производится предварительная перекладка трубопровода краном-трубоукладчиком к пути на расстояние до 5 м.
Состав работы
1. Застроповка плети трубопровода на гаки кранов-трубоукладчиков. 2. Укладка трубопровода на вагонетки. 3. Отстроповка трубопровода. 4. Перемещение кранов-трубоукладчиков вдоль плети. 5. Перекладка трубопровода кранами-трубоукладчиками на расстояние до 5 м с застропкой, отстропкой и переходами кранов-трубоукладчиков.
Таблица 1
Состав звена
─────────────────────────────────────────┬────────────────────────
Профессия и разряд рабочих │ При диаметре
│ трубопровода, мм
├─────────┬──────────────
│219 - 630│ 720 - 1620
─────────────────────────────────────────┼─────────┼──────────────
Машинист крана-трубоукладчика 6 разр. │2 │3
Монтажник наружных трубопроводов 6 разр. │1 │1
То же 3 " │2 │3
Таблица 2
Нормы времени и расценки на 100 м трубопровода
─────────┬─────────────────────────┬───────────────────────────┬──
Диаметр │Укладка трубопровода на │ Укладка трубопровода на │
трубо- │вагонетки без перекладки │вагонетки с перекладкой на │
провода, │ │ расстояние до 5 м │
мм ├─────────────────────────┴───────────────────────────┤
│ Н. вр. │
│ ------ │
│ Расц. │
├─────────────┬───────────┬─────────────┬─────────────┤
│монтажников │машинистов │монтажников │ машинистов │
│ наружных │ │ наружных │ │
│трубопроводов│ │трубопроводов│ │
─────────┼─────────────┼───────────┼─────────────┼─────────────┼──
219 │1,44 │0,96 │2,85 │1,9 │1
│---- │---- │---- │---- │
│1-18 │1-02 │2-34 │2-01 │
─────────┼─────────────┼───────────┼─────────────┼─────────────┼──
245 │1,65 │1,1 │3,15 │2,1 │2
│---- │---- │---- │---- │
│1-35 │1-17 │2-58 │2-23 │
─────────┼─────────────┼───────────┼─────────────┼─────────────┼──
273 │1,8 │1,2 │3,45 │2,3 │3
│---- │---- │---- │---- │
│1-48 │1-27 │2-83 │2-44 │
─────────┼─────────────┼───────────┼─────────────┼─────────────┼──
299 │1,95 │1,3 │3,75 │2,5 │4
│---- │---- │---- │---- │
│1-60 │1-38 │3-08 │2-65 │
─────────┼─────────────┼───────────┼─────────────┼─────────────┼──
325 │2,1 │1,4 │4,05 │2,7 │5
│---- │---- │---- │---- │
│1-72 │1-48 │3-32 │2-86 │
─────────┼─────────────┼───────────┼─────────────┼─────────────┼──
351 │2,1 │1,4 │4,2 │2,8 │6
│---- │---- │---- │---- │
│1-72 │1-48 │3-44 │2-97 │
─────────┼─────────────┼───────────┼─────────────┼─────────────┼──
377 │2,25 │1,5 │4,5 │3 │7
│---- │---- │---- │---- │
│1-85 │1-59 │3-69 │3-18 │
─────────┼─────────────┼───────────┼─────────────┼─────────────┼──
426 │2,55 │1,7 │4,95 │3,3 │8
│---- │---- │---- │---- │
│2-09 │1-80 │4-06 │3-50 │
─────────┼─────────────┼───────────┼─────────────┼─────────────┼──
478 │2,85 │1,9 │5,55 │3,7 │9
│---- │---- │---- │---- │
│2-34 │2-01 │4-55 │3-92 │
─────────┼─────────────┼───────────┼─────────────┼─────────────┼──
529 │3,15 │2,1 │6,15 │4,1 │10
│---- │---- │---- │---- │
│2-58 │2-23 │5-04 │4-35 │
─────────┼─────────────┼───────────┼─────────────┼─────────────┼──
630 │3,75 │2,5 │8,1 │5,4 │11
│---- │---- │---- │---- │
│3-08 │2-65 │6-64 │5-72 │
─────────┼─────────────┼───────────┼─────────────┼─────────────┼──
720 │4,28 │3,21 │8,12 │6,09 │12
│---- │---- │---- │---- │
│3-38 │3-40 │6-41 │6-46 │
─────────┼─────────────┼───────────┼─────────────┼─────────────┼──
820 │4,8 │3,6 │9,2 │6,9 │13
│---- │---- │---- │---- │
│3-79 │3-82 │7-27 │7-31 │
─────────┼─────────────┼───────────┼─────────────┼─────────────┼──
920 │5,32 │3,99 │10,28 │7,71 │14
│---- │---- │----- │---- │
│4-20 │4-23 │8-12 │8-17 │
─────────┼─────────────┼───────────┼─────────────┼─────────────┼──
1020 │5,88 │4,41 │11,32 │8,49 │15
│---- │---- │----- │---- │
│4-65 │4-67 │8-94 │9-00 │
─────────┼─────────────┼───────────┼─────────────┼─────────────┼──
1220 │6,92 │5,19 │13,32 │9,99 │16
│---- │---- │----- │----- │
│5-47 │5-50 │10-52 │10-59 │
─────────┼─────────────┼───────────┼─────────────┼─────────────┼──
1420 │8,12 │6,09 │15,32 │11,49 │17
│---- │---- │----- │----- │
│6-41 │6-46 │12-10 │12-18 │
─────────┼─────────────┼───────────┼─────────────┼─────────────┼──
1620 │9,2 │6,9 │17,32 │12,99 │18
│---- │---- │----- │----- │
│7-27 │7-31 │13-68 │13-77 │
─────────┼─────────────┼───────────┼─────────────┼─────────────┼──
│а │б │в │г │N
§ Е39-17. Спуск со стапеля на воду плетей трубопровода
Указания по применению норм
Нормами предусмотрен спуск на воду плетей трубопровода путем скатывания их с помощью лебедок, установленных на другом берегу водоема, или на понтонах, установленных на якорях, с применением трактора при скатывании и буксирного катера для прокладки тросов и швартовки спущенных плетей трубопровода. При скатывании трубопровода со сварочно-монтажного стапеля на воду необходимо:
а) обеспечить равномерность и надежность крепления тросов к трубопроводу, лебедок и плавучих средств к мертвякам и якорям;
б) отвести плавучие средства от участка скатывания трубопровода.
Количество механизмов и плавсредств определяется в проекте производства работ по расчету в зависимости от длины и массы трубопровода.
Установка и снятие понтонов, лебедок, мертвяков и якорей, а также вытаскивание троса нормами не учтены.
Состав работы
1. Прокладка тросов через водоем. 2. Накладывание 6 - 8 витков троса на плети трубопровода. 3. Закрепление тросов на лебедках. 4. Спуск плетей трубопровода по лагам на воду. 5. Подкладка лаг по ходу спуска. 6. Уборка лаг после скатывания. 7. Швартовка спущенных плетей трубопровода в пределах участка спуска.
Таблица 1
Состав звена
─────────────────────────────────────────┬────────────────────────
Профессия и разряд рабочих │Диаметр трубопровода, мм
├────────────┬───────────
│ 351 - 720 │ 820 - 1620
─────────────────────────────────────────┼────────────┼───────────
Монтажник наружных трубопроводов 6 разр. │1 │1
То же 4 " │1 │1
" 3 " │3 │3
Подсобные (транспортные) рабочие 1 разр. │2 │3
Таблица 2
Нормы времени и расценки на 100 м трубопровода
──────────┬──────────────────────────────────────────────────────────────────────────────────────┬─
Расстояние│ Диаметр трубопровода, мм │
перемеще- ├──────┬──────┬──────┬──────┬──────┬──────┬──────┬──────┬──────┬─────┬─────┬─────┬─────┤
ния трубо-│ 351 │ 377 │ 426 │ 478 │ 529 │ 630 │ 720 │ 820 │ 920 │1020 │1220 │1420 │1620 │
провода, м│ │ │ │ │ │ │ │ │ │ │ │ │ │
──────────┼──────┼──────┼──────┼──────┼──────┼──────┼──────┼──────┼──────┼─────┼─────┼─────┼─────┼─
До 15 │14,7 │15,4 │16,8 │18,9 │21 │24,5 │27,3 │31,2 │35,2 │39,2 │48 │56 │64,8 │1
│(2,1) │(2,2) │(2,4) │(2,7) │(3) │(3,5) │(3,9) │(3,9) │(4,4) │(4,9)│(6) │(7) │(8,1)│
│------│----- │----- │----- │----- │----- │----- │----- │----- │-----│-----│-----│-----│
│10-77 │11-29 │12-31 │13-85 │15-39 │17-96 │20-01 │22-31 │25-17 │28-03│34-32│40-04│46-33│
──────────┼──────┼──────┼──────┼──────┼──────┼──────┼──────┼──────┼──────┼─────┼─────┼─────┼─────┼─
Добавлять │3,08 │3,22 │3,64 │3,99 │4,41 │5,25 │6,02 │6,88 │7,76 │8,8 │10,4 │12 │13,6 │2
на каждые │(0,44)│(0,46)│(0,52)│(0,57)│(0,63)│(0,75)│(0,86)│(0,86)│(0,97)│(1,1)│(1,3)│(1,5)│(1,7)│
последую- │------│------│------│------│------│------│------│------│------│-----│-----│-----│-----│
щие 10 м │2-26 │2-36 │2-67 │2-92 │3-23 │3-85 │4-41 │4-92 │5-55 │6-29 │7-44 │8-58 │9-72 │
──────────┼──────┼──────┼──────┼──────┼──────┼──────┼──────┼──────┼──────┼─────┼─────┼─────┼─────┼─
│а │б │в │г │д │е │ж │з │и │к │л │м │н │N
§ Е39-18. Укладка трубопроводов в подводную траншею
протаскиванием по дну
Указания по применению норм
Нормами предусмотрено протаскивание трубопровода без балластных грузов по дну водоема или подводной траншеи по одной из следующих схем (рис. 7): протаскивание трубопровода тракторами или тракторными лебедками, находящимися на противоположном от спускового пути берегу реки; протаскивание трубопровода тракторами или тракторными лебедками, находящимися на том же берегу, что и плети трубопровода, через блок, установленный на противоположном берегу.
Рис. 7. Схема протаскивания трубопровода
а - при расположении тяговых средств и трубопровода на
противоположных берегах; б - при расположении тяговых
средств и трубопровода на одном берегу; 1 - разгружающие
понтоны; 2 - трубопровод; 3 - тяговый трос; 4 - тракторы;
5 - вагонетки; 6 - анкер; 7 - поворотный блок;
8 - рельсовая спусковая дорожка
Подрезка троса нормами не учтена.
Выбор схемы зависит от естественных условий (состояния берегов, ширины водоема, наличия тяговых средств и т.п.).
Плети трубопровода подаются трубоукладчиками к спусковому пути, по которому трубопровод подается в воду для укладки.
При использовании тележек для протаскивания в конце спускового пути устраивается приямок, из которого тележки извлекаются автокраном.
После протаскивания первой плети ее конец оставляется на урезе, к нему пристыковывается вторая плеть и после сварки, изоляции и футеровки стыкового соединения трубопровод протаскивается на длину новой плети (рис. 8).
Рис. 8. Схема протаскивания с последовательным
наращиванием трубопровода
1 - секции труб; 2 - тяговый трос; 3 - тракторы
В аналогичной последовательности протаскиваются последующие плети.
Состав и количество плавучих средств, механизмов и другого оборудования определяются проектом производства работ.
Нормами не учтены работы по подрезке троса, установке балластных грузов и разгружающих понтонов, обслуживанию плавучих средств и механизмов, а также дежурство водолазной станции.
Состав работы
1. Установка мертвяков и лебедок. 2. Расстановка плавсредств и механизмов. 3. Прокладка тросов через водоем. 4. Запасовка блоков. 5. Застропка головной плети. 6. Протаскивание первой плети. 7. Наращивание второй плети: срезка заглушек со снятием фасок под сварку, стыковка, сварка, изоляция и футеровка мест стыковки. 8. Протаскивание и наращивание последующих плетей. 9. Уборка плавсредств и механизмов.
Таблица 1
────────────────────────────────────────┬─────────────────────────
Профессия и разряд рабочих │Диаметр трубопровода, мм
├─────────┬───────────────
│от 219 до│от 426 до 1620
│ 377 │
────────────────────────────────────────┼─────────┼───────────────
Монтажник наружных трубопроводов 6 разр.│2 │2
То же, 5 " │1 │1
" 4 " │2 │2
" 3 " │3 │3
────────────────────────────────────────┼─────────┼───────────────
Изолировщик на гидроизоляции 5 разр.│1 │1
То же 3 " │- │1
────────────────────────────────────────┼─────────┼───────────────
Электросварщик ручной сварки 6 разр. │1 │1
────────────────────────────────────────┼─────────┼───────────────
Газорезчик 4 разр. │1 │1
────────────────────────────────────────┼─────────┼───────────────
Речные рабочие 2 разр. │2 │4
Таблица 2
Нормы времени и расценки на протаскивание 100 м трубопровода
───────┬────────────┬─────────────────────────────────────────────────────┬─
Длина │Состав звена│ Диаметр трубопровода, мм │
трубо- │ ├─────┬─────┬─────┬─────┬─────┬─────┬─────┬─────┬─────┤
прово- │ │ 219 │ 245 │ 273 │ 299 │ 325 │ 351 │ 377 │ 426 │ 478 │
да, м │ │ │ │ │ │ │ │ │ │ │
───────┼────────────┼─────┼─────┼─────┼─────┼─────┼─────┼─────┼─────┼─────┼─
До 200 │Изолировщик │2,7 │3 │3,3 │3,6 │3,9 │4,2 │4,4 │8 │9 │1
│ │---- │---- │---- │---- │---- │---- │---- │---- │---- │
│ │2-46 │2-73 │3-00 │3-28 │3-55 │3-82 │4-00 │6-44 │7-25 │
├────────────┼─────┼─────┼─────┼─────┼─────┼─────┼─────┼─────┼─────┼─
│Электро- │5,4 │6 │6,6 │7,2 │7,8 │8,4 │8,8 │8 │9 │2
│сварщик, │---- │---- │---- │---- │---- │---- │---- │---- │---- │
│газорезчик │5-00 │5-55 │6-11 │6-66 │7-22 │7-77 │8-14 │7-40 │8-33 │
├────────────┼─────┼─────┼─────┼─────┼─────┼─────┼─────┼─────┼─────┼─
│Рабочие │27 │30 │33 │36 │39 │42 │44 │48 │54 │3
│ │(2,7)│(3) │(3,3)│(3,6)│(3,9)│(4,2)│(4,4)│(4) │(4,5)│
│ │-----│-----│-----│-----│-----│-----│-----│-----│-----│
│ │21-57│23-97│26-37│28-76│31-16│33-56│35-16│37-08│41-72│
───────┼────────────┼─────┼─────┼─────┼─────┼─────┼─────┼─────┼─────┼─────┼─
Св. 200│Изолировщик │1,9 │2 │2,2 │2,4 │2,6 │2,8 │3 │5,4 │6 │4
│ │---- │---- │---- │---- │---- │---- │---- │---- │---- │
│ │1-73 │1-82 │2-00 │2-18 │2-37 │2-55 │2-73 │4-35 │4-83 │
├────────────┼─────┼─────┼─────┼─────┼─────┼─────┼─────┼─────┼─────┼─
│Электро- │3,8 │4 │4,4 │4,8 │5,2 │5,6 │6 │5,4 │6 │5
│сварщик, │---- │---- │---- │---- │---- │---- │---- │---- │---- │
│газорезчик │3-52 │3-70 │4-07 │4-44 │4-81 │5-18 │5-55 │5-00 │5-55 │
├────────────┼─────┼─────┼─────┼─────┼─────┼─────┼─────┼─────┼─────┼─
│Рабочие │19 │20 │22 │24 │26 │28 │30 │32,4 │36 │6
│ │(1,9)│(2) │(2,2)│(2,4)│(2,6)│(2,8)│(3) │(2,7)│(3) │
│ │-----│-----│-----│-----│-----│-----│-----│-----│-----│
│ │15-18│15-98│17-58│19-18│20-77│22-37│23-97│25-03│27-81│
───────┴────────────┼─────┼─────┼─────┼─────┼─────┼─────┼─────┼─────┼─────┼─
│а │б │в │г │д │е │ж │з │и │N
Продолжение табл. 2
───────┬───────────┬────────────────────────────────────────────────────────┬─
Длина │ Состав │ Диаметр трубопровода, мм │
трубо- │ звена ├─────┬─────┬─────┬─────┬─────┬─────┬──────┬──────┬──────┤
прово- │ │ 529 │ 630 │ 720 │ 820 │ 920 │1020 │ 1220 │ 1420 │ 1620 │
да, м │ │ │ │ │ │ │ │ │ │ │
───────┼───────────┼─────┼─────┼─────┼─────┼─────┼─────┼──────┼──────┼──────┼─
До 200 │Изолировщик│10 │11,6 │13,2 │14,8 │16,6 │18,4 │22 │25 │29 │1
│ │---- │---- │-----│-----│-----│-----│----- │----- │----- │
│ │8-05 │9-34 │10-63│11-91│13-36│14-81│17-71 │20-13 │23-35 │
├───────────┼─────┼─────┼─────┼─────┼─────┼─────┼──────┼──────┼──────┼─
│Электро- │10 │11,6 │13,2 │14,8 │16,6 │18,4 │22 │25 │29 │2
│сварщик, │---- │-----│-----│-----│-----│-----│----- │----- │----- │
│газорезчик │9-25 │10-73│12-21│13-69│15-36│17-02│20-35 │23-13 │26-83 │
├───────────┼─────┼─────┼─────┼─────┼─────┼─────┼──────┼──────┼──────┼─
│Рабочие │60 │69,6 │79,2 │88,8 │99,6 │110,4│132 │150 │174 │3
│ │(5) │(5,8)│(6,6)│(7,4)│(8,3)│(9,2)│(11,0)│(12,5)│(14,5)│
│ │-----│-----│-----│-----│-----│-----│------│------│------│
│ │46-35│53-77│61-18│68-60│76-94│85-28│101-97│115-88│134-42│
───────┼───────────┼─────┼─────┼─────┼─────┼─────┼─────┼──────┼──────┼──────┼─
Св. 200│Изолировщик│6,6 │7,8 │9 │10 │11,2 │12,4 │14,6 │17 │19,4 │4
│ │---- │---- │---- │---- │---- │---- │----- │----- │----- │
│ │5-31 │6-28 │7-25 │8-05 │9-02 │9-98 │11-75 │13-69 │15-62 │
├───────────┼─────┼─────┼─────┼─────┼─────┼─────┼──────┼──────┼──────┼─
│Электро- │6,6 │7,8 │9 │10 │11,2 │12,4 │14,6 │17 │19,4 │5
│сварщик, │---- │---- │---- │---- │-----│-----│----- │----- │----- │
│газорезчик │6-11 │7-22 │8-33 │9-25 │10-36│11-47│13-51 │15-73 │17-95 │
├───────────┼─────┼─────┼─────┼─────┼─────┼─────┼──────┼──────┼──────┼─
│Рабочие │39,6 │46,8 │54 │60 │67,2 │74,4 │87,6 │102 │116,4 │6
│ │(3,3)│(3,9)│(4,5)│(5) │(5,6)│(6,2)│(7,3) │(8,5) │(9,7) │
│ │-----│-----│-----│-----│-----│-----│----- │----- │----- │
│ │30-59│36-15│41-72│46-35│51-91│57-47│67-67 │78-80 │89-92 │
───────┴───────────┼─────┼─────┼─────┼─────┼─────┼─────┼──────┼──────┼──────┼─
│к │л │м │н │о │п │р │с │т │N
Примечание. При протаскивании трубопровода без наращивания плетей Н. вр. и Расц. умножать на 0,8 (ПР-1).
§ Е39-19. Укладка трубопроводов в подводную траншею
заполнением водой (свободное погружение)
Указания по применению норм
Нормами предусмотрено, что трубопровод, покрытый изоляцией, с приваренными по концам заглушками на плаву заводится в створ перехода по схемам, изображенным на рис. 9, 10 и 11.
Рис. 9. Схема установки трубопровода в створ при ширине реки
до 250 м
I - начальное положение; II - промежуточное положение;
III - конечное положение; 1 - трубопровод; 2 - тяговый трос;
3 - тросы-оттяжки
Рис. 10. Схема установки трубопровода в створ при ширине реки
более 250 м
I - начальное положение; II - промежуточное положение;
III - конечное положение; 1 - трубопровод; 2 - тяговый трос;
3 - тросы-оттяжки
Рис. 11. Схема установки трубопровода в створ
разворотом на плаву
I - IV - положения трубопровода в процессе установки;
V - конечное положение; 1 - трубопровод; 2 - тросы-оттяжки;
3 - понтоны; 4 - анкеры
После заводки трубопровода в створ перехода и проверки правильности положения в один из его концов заливается вода и открывается воздушный вентиль на противоположном конце трубопровода. Погружение трубопровода в подводную траншею происходит по мере заполнения его водой.
При выполнении работ по укладке трубопровода способом свободного погружения необходимо перед заливом воды тщательно проверить расстановку судов, плавучих технических средств и механизмов.
Необходимый состав и количество судов, плавучих технических средств и механизмов (катеров, плавучих опор с лебедками, насосных установок, сварочных агрегатов, водолазных станций и т.д.) определяются проектом производства работ.
В зависимости от глубины погружения, скорости течения и длины перехода трубопровод оснащается разгружающими понтонами для уменьшения напряжений от изгиба и оттяжками для предотвращения сноса его со створа перехода. Количество понтонов и оттяжек устанавливается расчетом.
Нормами не учтены: устройство оттяжек, установка и снятие разгружающих понтонов, якорей, обслуживание плавсредств и механизмов, а также дежурство водолазных станций.
Состав работы
1. Расстановка судов, плавучих технических средств и механизмов. 2. Заводка трубопровода в створ. 3. Застропка трубопровода на оттяжки. 4. Центровка трубопровода с помощью лебедок. 5. Заливка трубопровода с опусканием его на дно траншеи. 6. Уборка плавучих средств и механизмов.
Таблица 1
Состав звена
──────────────────────────────────────────┬───────────────────────
Профессия и разряд рабочих │ При диаметре
│ трубопровода, мм
├───────┬───────┬───────
│351 - │529 - │920 -
│ 478 │ 820 │ 1620
──────────────────────────────────────────┼───────┼───────┼───────
Монтажник наружных трубопроводов 6 разр. │1 │1 │2
──────────────────────────────────────────┼───────┼───────┼───────
То же, 4 " │2 │4 │4
──────────────────────────────────────────┼───────┼───────┼───────
Речные рабочие 3 разр. │8 │11 │17
Таблица 2
Нормы времени и расценки на укладку 100 м трубопровода
───────┬─────────────────────────────────────────────────────────────────────────────┬─
Длина │ Диаметр трубопровода, мм │
трубо- ├─────┬─────┬─────┬─────┬─────┬─────┬─────┬─────┬─────┬─────┬─────┬─────┬─────┤
прово- │ 351 │ 377 │ 426 │ 478 │ 529 │ 630 │ 720 │ 820 │ 920 │1020 │1220 │1420 │ 1620│
да, м │ │ │ │ │ │ │ │ │ │ │ │ │ │
───────┼─────┼─────┼─────┼─────┼─────┼─────┼─────┼─────┼─────┼─────┼─────┼─────┼─────┼─
До 200 │17,6 │19,8 │22 │25,3 │28,8 │35,2 │41,6 │49,6 │57,5 │64,4 │80,5 │96,6 │112,7│1
│(1,6)│(1,8)│(2) │(2,3)│(1,8)│(2,2)│(2,6)│(3,1)│(2,5)│(2,8)│(3,5)│(4,2)│(4,9)│
│-----│-----│-----│-----│-----│-----│-----│-----│-----│-----│-----│-----│-----│
│13-18│14-83│16-48│18-95│21-46│26-22│30-99│36-95│42-95│48-11│60-13│72-16│84-19│
───────┼─────┼─────┼─────┼─────┼─────┼─────┼─────┼─────┼─────┼─────┼─────┼─────┼─────┼─
Св. 200│15,4 │16,5 │18,7 │20,9 │24 │30,4 │35,2 │41,6 │46 │52,9 │66,7 │80,5 │92 │2
│(1,4)│(1,5)│(1,7)│(1,9)│(1,5)│(1,9)│(2,2)│(2,6)│(2) │(2,3)│(2,9)│(3,5)│(4) │
│-----│-----│-----│-----│-----│-----│-----│-----│-----│-----│-----│-----│-----│
│11-54│12-36│14-01│15-66│17-88│22-65│26-22│30-99│34-36│39-52│49-82│60-13│68-72│
───────┼─────┼─────┼─────┼─────┼─────┼─────┼─────┼─────┼─────┼─────┼─────┼─────┼─────┼─
│а │б │в │г │д │е │ж │з │и │к │л │м │н │N
§ Е39-20. Укладка трубопроводов в подводную траншею
со льда заполнением водой
Указания по применению норм
Нормами предусмотрено, что трубопровод, подготовленный к укладке на льду или спусковой дорожке, стаскивается на плав в подготовленную майну и застрапливается за кнехты пал. В зависимости от диаметра трубопровода и глубин водоема применяются разгружающие понтоны, количество которых определяется по расчету.
В зависимости от скорости течения для удержания трубопровода в створе при его погружении забиваются сваи или устанавливаются маятниковые оттяжки.
Состав и количество тракторов, мотопомп, сварочных агрегатов и водолазных станций определяются проектом производства работ.
Нормами не учтены установка пал, маятниковых оттяжек, направляющих свай, навеска грузов, разгружающих понтонов, обслуживание плавсредств и механизмов, а также дежурство водолазных станций.
Состав работы
1. Расстановка механизмов. 2. Спуск трубопровода в майну. 3. Застропка трубопровода за кнехты пал и столбы маятниковых оттяжек. 4. Заливка трубопровода водой с опусканием его на дно траншеи и отстропкой. 5. Уборка механизмов и снятие маятниковых оттяжек.
Таблица 1
Состав звена
──────────────────────────────────────────┬───────────────────────
Профессия и разряд рабочих │ При диаметре
│ трубопровода, мм
├───────┬───────┬───────
│351 - │520 - │920 -
│ 478│ 820│ 1620
──────────────────────────────────────────┼───────┼───────┼───────
Монтажник наружных трубопроводов 6 разр. │1 │1 │2
──────────────────────────────────────────┼───────┼───────┼───────
То же 4 " │2 │4 │4
──────────────────────────────────────────┼───────┼───────┼───────
Речные рабочие 3 разр. │8 │11 │17
Таблица 2
Нормы времени и расценки на укладку 100 м трубопровода
───────┬──────────────────────────────────────────────────────────────────────────────┬─
Длина │ Диаметр трубопровода, мм │
трубо- ├──────┬─────┬─────┬─────┬─────┬─────┬─────┬─────┬─────┬─────┬─────┬─────┬─────┤
прово- │ 351 │ 377 │ 426 │ 478 │ 529 │ 630 │ 720 │ 820 │ 920 │1020 │1220 │1420 │1620 │
да, м │ │ │ │ │ │ │ │ │ │ │ │ │ │
───────┼──────┼─────┼─────┼─────┼─────┼─────┼─────┼─────┼─────┼─────┼─────┼─────┼─────┼─
До 200 │20,9 │22 │25,3 │28,6 │32 │38,4 │46,4 │54,4 │62,1 │73,6 │89,7 │108,1│128,8│1
│(1,9) │(2) │(2,3)│(2,6)│(2) │(2,4)│(2,9)│(3,4)│(2,7)│(3,2)│(3,9)│(4,7)│(5,6)│
│----- │-----│-----│-----│-----│-----│-----│-----│-----│-----│-----│-----│-----│
│15-66 │16-48│18-95│21-42│23-84│28-61│34-57│40-53│46-39│54-98│67-01│80-75│96-21│
───────┼──────┼─────┼─────┼─────┼─────┼─────┼─────┼─────┼─────┼─────┼─────┼─────┼─────┼─
Св. 200│16,5 │17,6 │19,8 │23,1 │25,6 │32 │38,4 │43,2 │50,6 │57,5 │71,3 │87,4 │101,2│2
│(1,5) │(1,6)│(1,8)│(2,1)│(1,6)│(2) │(2,4)│(2,7)│(2,2)│(2,5)│(3,1)│(3,8)│(4,4)│
│----- │-----│-----│-----│-----│-----│-----│-----│-----│-----│-----│-----│-----│
│12-36 │13-18│14-83│17-30│19-07│23-84│28-61│32-18│37-80│42-95│53-26│65-29│75-60│
───────┼──────┼─────┼─────┼─────┼─────┼─────┼─────┼─────┼─────┼─────┼─────┼─────┼─────┼─
│а │б │в │г │д │е │ж │з │и │к │л │м │н │N
§ Е39-21. Укладка секций трубопроводов на дно подводной траншеи
и стыковка их на фланцах
Указания по применению норм
Нормами предусмотрена укладка в подводную траншею трубопроводов длиной до 50 м с помощью двух плавучих кранов необходимой грузоподъемности (рис. 12). Секцию трубопровода устанавливают в створе укладки, отдают заглушки и опускают в подводную траншею, после чего водолаз стыкует секцию с ранее уложенной и берет ее на оправки. Место укладки трубопровода обозначают вехами или буйками. Нормами не учтено устройство приямков при стыковке трубопроводов. Постановка болтов нормируется по § Е39-32.
Рис. 12. Схема расположения механизмов и оборудования
для секционной укладки трубопровода
1 - секция трубопровода; 2 - плавучие краны; 3 - водолазный
бот; 4 - уложенный трубопровод
Состав работы
1. Установка секции в створ перехода и застропка ее к кранам. 2. Снятие заглушек. 3. Опускание секции под воду. 4. Стыковка секций и взятие их на оправки. 5. Постановка буйка или вехи у конца уложенной плети. 6. Отстропка секции.
Состав звена
Водолазная станция - 1
Монтажник наружных трубопроводов 4 разр. - 2
То же, 3 разр. - 2
Речной рабочий 2 разр. - 1
Нормы времени и расценки на 1 секцию
───────────────┬──────────────────────────────────────────────┬───
Диаметр │ При длине секций, м │
трубопровода, ├──────────────────────┬───────────────────────┤
мм │ от 20 до 35 │ св. 35 до 50 │
├──────────────────────┴───────────────────────┤
│ Н. вр. │
│ ------ │
│ Расц. │
├────────────┬─────────┬────────────┬──────────┤
│ водолазной │ рабочих │ водолазной │ рабочих │
│ станции │ │ станции │ │
───────────────┼────────────┼─────────┼────────────┼──────────┼───
273 │1,9 │11 │2,6 │15 │1
│---- │(2,2) │---- │(3) │
│7-18 │----- │9-83 │----- │
│ │7-96 │ │10-86 │
───────────────┼────────────┼─────────┼────────────┼──────────┼───
299 │2 │11,5 │2,7 │15,5 │2
│---- │(2,3) │----- │(3,1) │
│7-56 │----- │10-21 │----- │
│ │8-33 │ │11-22 │
───────────────┼────────────┼─────────┼────────────┼──────────┼───
325 │2,1 │12 │2,8 │16 │3
│---- │(2,4) │----- │(3,2) │
│7-94 │----- │10-58 │----- │
│ │8-69 │ │11-58 │
───────────────┼────────────┼─────────┼────────────┼──────────┼───
От 351 до 377 │2,2 │12,5 │2,9 │16,5 │4
│---- │(2,5) │----- │(3,3) │
│8-32 │----- │10-96 │----- │
│ │9-05 │ │11-95 │
───────────────┼────────────┼─────────┼────────────┼──────────┼───
426 │2,3 │13 │3,1 │17,5 │5
│---- │(2,6) │----- │(3,5) │
│8-69 │----- │11-72 │----- │
│ │9-41 │ │12-67 │
───────────────┼────────────┼─────────┼────────────┼──────────┼───
От 478 до 529 │2,5 │14,5 │3,3 │19 │6
│---- │(2,9) │----- │(3,8) │
│9-45 │----- │12-47 │----- │
│ │10-50 │ │13-76 │
───────────────┼────────────┼─────────┼────────────┼──────────┼───
630 │2,8 │16 │3,6 │20,5 │7
│----- │(3,2) │----- │(4,1) │
│10-58 │------ │13-61 │----- │
│ │11-58 │ │14-84 │
───────────────┼────────────┼─────────┼────────────┼──────────┼───
720 │3,1 │17,5 │3,9 │22 │8
│----- │(3,5) │----- │(4,4) │
│11-72 │----- │14-74 │----- │
│ │12-67 │ │15-93 │
───────────────┼────────────┼─────────┼────────────┼──────────┼───
820 │3,3 │19 │4,2 │24 │9
│----- │(3,8) │----- │(4,8) │
│12-47 │----- │15-88 │----- │
│ │13-76 │ │17-38 │
───────────────┼────────────┼─────────┼────────────┼──────────┼───
920 │3,6 │20,5 │4,7 │27 │10
│----- │(4,1) │----- │(5,4) │
│13-61 │----- │17-77 │----- │
│ │14-84 │ │19-55 │
───────────────┼────────────┼─────────┼────────────┼──────────┼───
1020 │3,7 │21 │4,9 │28 │11
│----- │(4,2) │----- │(5,6) │
│13-99 │----- │18-52 │----- │
│ │15-20 │ │20-27 │
───────────────┼────────────┼─────────┼────────────┼──────────┼───
1220 │4,1 │23,5 │5,5 │31,5 │12
│----- │(4,7) │----- │(6,3) │
│15-50 │----- │20-79 │----- │
│ │17-01 │ │22-81 │
───────────────┼────────────┼─────────┼────────────┼──────────┼───
1420 │4,6 │26 │6,1 │35 │13
│----- │(5,2) │----- │(7) │
│17-39 │----- │23-06 │----- │
│ │18-82 │ │25-34 │
───────────────┼────────────┼─────────┼────────────┼──────────┼───
1620 │5,1 │29 │6,7 │38 │14
│----- │(5,8) │----- │(7,6) │
│19-28 │----- │25-33 │----- │
│ │21-00 │ │27-51 │
───────────────┼────────────┼─────────┼────────────┼──────────┼───
│а │б │в │г │N
§ Е39-22. Установка под водой соединительных муфт
на секциях трубопроводов
Указания по применению норм
Нормами предусмотрена установка под водой на стыки состыкованных между собой секций трубопровода диаметром 820 - 1220 мм стальных полумуфт с прокладками, изготовленными из пакли или других материалов. Соединение полумуфт между собой производится болтами.
Разработка грунта (приямков) для установки муфт нормами не учтена. Постановка болтов нормируется по § Е39-32.
Состав работы
1. Установка в створе перехода водолазного катера и понтона с лебедкой. 2. Подача водолазу полумуфт. 3. Установка полумуфт на стык.
Нормы времени и расценки на установку 1 муфты
────────────────────────────────────────────┬───────────┬─────────
Состав звена │Водолазная │ Рабочие
│ станция │
────────────────────────────────────────────┼───────────┼─────────
Водолазная станция - 1│1,5 │5,1
Монтажник наружных трубопроводов 4 разр. - 1│---- │----
Речные рабочие 3 разр. - 2│5-67 │3-72
│ │
├───────────┼─────────
│а │б
§ Е39-23. Подводное соединение "уток" с трубопроводами на фланцах
Указания по применению норм
Установленные под набережной "утки" стыкуются с опущенным в подводную траншею трубопроводом диаметром 630 - 820 мм. Стыковка производится с помощью плавкранов и лебедок по указанию водолаза. При совмещении фланцев снимаются временные заглушки и производится постановка болтов водолазом, которая нормами не учтена и нормируется по § Е39-32.
Количество и состав плавучих средств, плавкранов, механизмов и другого оборудования определяется проектом производства работ в зависимости от длины "утки", скорости течения, глубины воды и других условий.
Состав работы
1. Водолазное обследование. 2. Застропка "утки" и трубопровода к стрелам плавкранов. 3. Стыковка "утки". 4. Снятие временных заглушек. 5. Центровка фланцев.
Нормы времени и расценки на 1 соединение
─────────────────────────────────────────────┬──────────┬─────────
Состав звена │Водолазная│ Рабочие
│ станция │
─────────────────────────────────────────────┼──────────┼─────────
Водолазная станция - 1 │2,7 │46,5
Монтажник наружных трубопроводов 5 разр. - 1 │----- │(3,1)
То же, 4 " - 2 │10-21 │-----
" 3 " - 4 │ │32-27
Речные рабочие 2 разр. - 8 │ │
├──────────┼─────────
│а │б
§ Е39-24. Установка на трубопроводы балластных грузов
А. УСТАНОВКА БАЛЛАСТНЫХ КОЛЬЦЕВЫХ ГРУЗОВ НА БЕРЕГУ
Указания по применению норм
Нормами предусмотрена установка на трубопроводы балластных кольцевых, чугунных и железобетонных грузов массой 150 - 1100 кг, состоящих из двух половинок, скрепляемых четырьмя болтами (рис. 13).
Рис. 13. Установка грузов на трубопровод
1 - трубоукладчик; 2 - верхняя половина груза; 3 - трубопровод;
4 - нижняя половина груза
Нормами учтена укладка трубопровода с помощью трубоукладчика или автокрана на временные опоры, расположенные на спланированной площадке. Подача грузов к месту установки нормами не учтена.
Состав работы
1. Выкладывание трубопровода на опоры. 2. Застропка и отстропка грузов. 3. Установка нижних половинок грузов под трубопровод. 4. Снятие опор и укладка трубопровода на нижние половинки грузов. 5. Установка верхних половинок грузов. 6. Постановка и затягивание болтов.
Таблица 1
Нормы времени и расценки на 1 груз
────────────────────────────────────────────┬────────────┬──────┬─
Состав звена │Масса груза,│Н. вр.│N
│ кг │------│
│ │Расц. │
────────────────────────────────────────────┼────────────┼──────┼─
Машинист крана-трубоукладчика 6 разр. - 1│До 150 │0,85 │1
│ │(0,17)│
│ │------│
│ │0-67,2│
────────────────────────────────────────────┼────────────┼──────┼─
Монтажник наружных трубопроводов 4 разр. - 1│Св. 150 до │1,65 │2
То же 3 " - 3│450 │(0,33)│
│ │------│
│ │1-30 │
────────────────────────────────────────────┼────────────┼──────┼─
Машинист крана-трубоукладчика 6 разр. - 1│Св. 450 до │2,52 │3
Монтажник наружных трубопроводов 4 разр. - 1│1100 │(0,42)│
То же 3 " - 4│ │------│
│ │1-95 │
Б. УСТАНОВКА БАЛЛАСТНЫХ СЕДЛОВИДНЫХ ГРУЗОВ НА БЕРЕГУ
Указания по применению норм
Нормой предусмотрена установка балластных седловидных железобетонных грузов массой 500 - 800 кг на подготовленные к укладке спаренные плети трубопроводов трубоукладчиками или автокранами.
Состав работы
1. Застропка грузов. 2. Установка грузов на спаренный трубопровод. 3. Отстропка грузов. 4. Крепление грузов к трубопроводу.
Таблица 2
Норма времени и расценка на 1 груз
─────────────────────────────────────────────────┬────────────────
Состав звена │ Н. вр.
│ ------
│ Расц.
─────────────────────────────────────────────────┼────────────────
Машинист крана-трубоукладчика 6 разр. - 1 │1,04
Монтажник наружных трубопроводов 4 разр. - 1 │(0,26)
То же, 3 " - 2 │------
│0-84,5
В. УСТАНОВКА БАЛЛАСТНЫХ ГРУЗОВ ПОД ВОДОЙ ВОДОЛАЗАМИ
Указания по применению норм
Нормами предусмотрена установка плавучим краном с участием водолазов балластных седловидных или П-образных грузов массой 4 - 10 т на уложенный в подводную траншею трубопровод (рис. 14). Грузы находятся на плавучей площадке или барже. Кран и плавучая площадка (баржа) по мере надобности переставляются буксиром вдоль трассы уложенного трубопровода.
Рис. 14. Схема установки грузов на подводный трубопровод
1 - подводный трубопровод; 2 - водолазный бот; 3 -
плавучий кран; 4 - баржа с грузами; 5 - грузы, установленные
на трубопровод.
Транспортирование грузов и их погрузка на плавучую площадку (баржу), а также подмыв стенок траншеи гидромониторной струей или грунтососом в местах прилегания уложенного трубопровода к стенкам траншеи для придания устойчивого положения грузов на трубопроводе нормами не учтены.
Состав работы
1. Швартовка крана к плавучей площадке (барже). 2. Застропка груза и его перемещение краном в створ трубопровода. 3. Установка груза водолазами на подводный трубопровод. 4. Отстропка груза и возвращение стрелы крана к месту расположения плавучей площадки (баржи). 5. Перестановка плавучего крана и плавучей площадки с грузами вдоль трубопровода с перекладкой якорей.
Состав звена
Водолазная станция - 1
Речные рабочие 2 разр. - 2
Таблица 3
Нормы времени и расценки на установку 1 груза
───────────────────────┬─────────────────────┬───────────────┬────
Масса груза, т │ Водолазная станция │ Рабочие │
───────────────────────┼─────────────────────┼───────────────┼────
До 4 │0,32 │0,72 │1
│---- │(0,36) │
│1-21 │------ │
│ │0-46,1 │
───────────────────────┼─────────────────────┼───────────────┼────
Св. 4 до 6 │0,52 │1,18 │2
│---- │(0,59) │
│1-97 │------ │
│ │0-75,5 │
───────────────────────┼─────────────────────┼───────────────┼────
" 6 " 8 │0,73 │1,66 │3
│---- │(0,83) │
│2-76 │------ │
│ │1-06 │
───────────────────────┼─────────────────────┼───────────────┼────
" 8 " 10 │0,82 │1,86 │4
│---- │(0,93) │
│3-10 │------ │
│ │1-19 │
───────────────────────┼─────────────────────┼───────────────┼────
│а │б │N
Примечание. При установке грузов массой до 500 кг с креплением их к трубопроводу следует применять на 1 груз: Н. вр. водолазной станции 0,94 ст.-ч и Расц. 3-55; Н. вр. рабочих 2,1 чел.-ч и Расц. 1-04 (ПР-1).
§ Е39-25. Установка универсальных жестких (стальных)
понтонов на трубопроводы и снятие их
Указания по применению норм
Нормами предусмотрены установка одиночных и спаренных понтонов подъемной силой 15 и 30 кН (1,5 и 3 тс) на трубопроводы на плаву и суше и снятие их под водой.
Заливка понтонов водой перед перерезкой тросов и продувка его воздухом для подъема, а также извлечение понтонов из воды и их буксировка нормами не учтены.
Состав работ
А. При установке на плаву
1. Доставка понтонов к месту работы на расстояние до 20 м. 2. Установка на плавающий трубопровод одиночных или спаренных понтонов. 3. Протаскивание через клюзы понтонов готовых стропов. 4. Крепление понтонов к трубопроводу. 5. Переходы к следующему понтону.
Б. При установке на суше автокраном
1. Заготовка стропов из троса или каната. 2. Подкатывание понтонов на расстояние до 20 м. 3. Установка понтонов на трубопровод с помощью автокрана. 4. Протаскивание через клюзы понтонов готовых стропов. 5. Крепление понтонов к трубопроводу. 6. Переходы к следующему понтону и перевод крана.
В. При снятии понтонов
1. Осмотр водолазами места застропки. 2. Перерезка тросов. 3. Переход водолаза к следующему понтону.
Таблица 1
Состав звена
───────────────────────────────────────────┬───────────┬──────────
Профессия и разряд рабочих │ Установка │ Снятие
│ понтонов │ понтонов
───────────────────────────────────────────┼───────────┼──────────
Водолазная станция │- │1
───────────────────────────────────────────┼───────────┼──────────
Монтажник наружных трубопроводов 5 разр. │1 │-
───────────────────────────────────────────┼───────────┼──────────
Речные рабочие 2 разр. │2 │-
Таблица 2
Нормы времени и расценки на 1 понтон
─────────────────────────────┬──────────────────┬────────────┬────
Наименование работ │Водолазная станция│ Рабочие │
───────────────┬─────────────┼──────────────────┼────────────┼────
Установка пон- │одиночных │- │3 │1
тонов на плаву │ │ │(1) │
│ │ │---- │
│ │ │2-19 │
├─────────────┼──────────────────┼────────────┼────
│спаренных │- │2,49 │2
│ │ │(0,83) │
│ │ │------ │
│ │ │1-82 │
───────────────┴─────────────┼──────────────────┼────────────┼────
Установка одиночных понтонов │- │1,98 │3
на суше автокраном │ │(0,66) │
│ │------ │
│ │1-45 │
─────────────────────────────┼──────────────────┼────────────┼────
Снятие понтонов под водой │0,72 │- │4
│---- │ │
│2-72 │ │
─────────────────────────────┼──────────────────┼────────────┼────
│а │б │N
ГЛАВА 3. ПОДВОДНЫЕ РАБОТЫ С МЕТАЛЛИЧЕСКИМИ КОНСТРУКЦИЯМИ
Техническая часть
1. Нормами настоящей главы предусмотрены подводная резка и сварка металла, а также другие работы с металлическими конструкциями.
2. При резке металла под водой электрокислородным способом должны выполняться правила техники безопасности при работе с кислородом.
3. К выполнению водолазных работ по электрической сварке и резке металла допускаются водолазы только в исправном снаряжении, в водолазной рубахе или гидрокомбинезоне с приклеенными рукавицами, прошедшие соответствующую подготовку и имеющие удостоверение на производство указанных работ.
Для защиты металлических частей водолазного снаряжения, в том числе водолазного шлема, от разрушения в результате электролиза, при подводной электросварке и резке необходимо нанести на них изоляционное покрытие с последующей полимеризацией.
4. Производить резку и сварку сосудов и трубопроводов, находящихся под давлением, запрещается.
5. Работы, связанные с перемещением оборудования для подводной сварки и резки металла, подготовкой оборудования, приспособлений и материалов к работе, в нормах не учтены.
6. Предварительный отмыв грунта для обеспечения свободного доступа к конструкциям, очистка металлических конструкций для удобства работ с ними (за исключением параграфов, где эти работы включены в состав работ) нормами не предусмотрены и нормируются отдельно по соответствующим параграфам настоящего Сборника.
7. Место работ по резке и сварке металла тщательно очищается от посторонних предметов и здесь устраивается настил или спускается забалластированная площадка из досок. Производство этих работ нормами не учтено.
8. При подводной сварке и резке металла нормами соответствующих параграфов учтена работа водолаза в зимней рубахе, независимо от температуры воды (коэффициент 1,25 к Н. вр. и Расц. водолазной станции не применять) (ТЧ-2).
§ Е39-26. Подводная электродуговая резка стали
Указания по применению норм
Нормами предусмотрена подводная электродуговая резка стали с применением электродов со специальным покрытием, которое должно быть эластичным, обладать повышенной механической прочностью и образовывать при сварке "козырек", способствующий стабилизации процесса горения дуги.
Для соблюдения направления реза надлежит пользоваться направляющими деревянными шаблонами или стальными угольниками.
Состав работы
1. Подача водолазу электрододержателя, электродов, направляющих шаблонов, скребков и металлических щеток. 2. Зачистка поверхности металла по месту реза. 3. Резка металла. 4. Подъем наверх электрододержателя и вспомогательных приспособлений.
Состав звена
Водолазная станция - 1
Машинист электросварочного агрегата 4 разр. - 1
Нормы времени и расценки на 1 м реза листовой или профильной стали
и на 100 резов круглой стали
────────┬────────────┬─────────────────────────────────────────┬──
Сталь │Толщина лис-│ Положение реза │
│товой или ├────────────────────┬────────────────────┤
│профильной и│ нижнее │ вертикальное или │
│диаметр │ │ горизонтальное │
│круглой ├────────────────────┴────────────────────┤
│стали, мм │ Н. вр. │
│ │ ------ │
│ │ Расц. │
│ ├──────────┬─────────┬──────────┬─────────┤
│ │водолазной│машиниста│водолазной│машиниста│
│ │ станции │ │ станции │ │
────────┼────────────┼──────────┼─────────┼──────────┼─────────┼──
Листовая│До 5 │0,52 │0,59 │0,65 │0,74 │1
или про-│ │---- │------ │---- │------ │
фильная │ │1-97 │0-46,6 │2-46 │0-58,5 │
├────────────┼──────────┼─────────┼──────────┼─────────┼──
│Св. 5 до 8 │0,75 │0,86 │0,96 │1,1 │2
│ │---- │------ │---- │------ │
│ │2-84 │0-67,9 │3-63 │0-86,9 │
├────────────┼──────────┼─────────┼──────────┼─────────┼──
│" 8 " 10 │0,9 │1 │1,2 │1,4 │3
│ │---- │---- │---- │---- │
│ │3-40 │0-79 │4-54 │1-11 │
├────────────┼──────────┼─────────┼──────────┼─────────┼──
│" 10 " 15 │1,2 │1,4 │1,6 │1,8 │4
│ │---- │---- │---- │---- │
│ │4-54 │1-11 │6-05 │1-42 │
├────────────┼──────────┼─────────┼──────────┼─────────┼──
│" 15 " 20 │1,8 │2,1 │2,3 │2,6 │5
│ │---- │---- │---- │---- │
│ │6-80 │1-66 │8-69 │2-05 │
├────────────┼──────────┼─────────┼──────────┼─────────┼──
│" 20 " 25 │2,4 │2,7 │3,2 │3,6 │6
│ │---- │---- │----- │---- │
│ │9-07 │2-13 │12-10 │2-84 │
────────┼────────────┼──────────┼─────────┼──────────┼─────────┼──
Круглая │До 12 │7,3 │8,3 │8,3 │9,5 │7
│ │----- │---- │----- │---- │
│ │27-59 │6-56 │31-37 │7-51 │
├────────────┼──────────┼─────────┼──────────┼─────────┼──
│Св. 12 до 25│10,5 │12,0 │12,5 │14,5 │8
│ │----- │---- │----- │----- │
│ │39-69 │9-48 │47-25 │11-46 │
├────────────┼──────────┼─────────┼──────────┼─────────┼──
│" 25 " 50│20,5 │23,5 │25,5 │29,0 │9
│ │----- │----- │----- │----- │
│ │77-49 │18-57 │96-39 │22-91 │
├────────────┼──────────┼─────────┼──────────┼─────────┼──
│" 50 " 75│33,5 │38,0 │44,5 │51 │10
│ │------ │----- │------ │----- │
│ │126-63 │30-02 │168-21 │40-29 │
├────────────┼──────────┼─────────┼──────────┼─────────┼──
│" 75 " 100│48,5 │55 │63 │72 │11
│ │------ │----- │------ │----- │
│ │183-33 │43-45 │238-14 │56-88 │
────────┴────────────┼──────────┼─────────┼──────────┼─────────┼──
│а │б │в │г │N
§ Е39-27. Подводная электрокислородная резка стали и труб
Указания по применению норм
Нормами предусмотрена электрокислородная резка труб и стали с помощью специального электрододержателя типа ЭКД-4, который обеспечивает подачу тока и кислорода к электродам ЭПР-1, предназначенным для подводной резки.
Для удобства резки трубопровода, находящегося на дне водоема или траншеи, вокруг него должен быть удален грунт для обеспечения доступа водолаза к месту резки. Удаление грунта нормами не учтено.
Состав работы
1. Регулирование электрододержателя на горение в надводном и подводном положениях. 2. Подача водолазу электрододержателя, скребков, металлических щеток и электродов. 3. Зачистка поверхности металла по месту реза. 4. Резка металла. 5. Подъем наверх электрододержателя и вспомогательных приспособлений.
Состав звена
Водолазная станция - 1
Машинист электросварочного агрегата 4 разр. - 1
Таблица 1
Нормы времени и расценки на 1 м реза листовой
или профильной стали и на 100 резов круглой стали
───────┬────────────┬─────────────────────────────────────────┬───
Сталь │Толщина лис-│ Положение реза │
│товой или ├─────────────┬─────────────┬─────────────┤
│профильной и│ нижнее │вертикальное │ потолочное │
│диаметр │ │ или горизон-│ │
│круглой ста-│ │ тальное │ │
│ли, мм ├─────────────┴─────────────┴─────────────┤
│ │ Н. вр. │
│ │ ------ │
│ │ Расц. │
│ ├──────┬──────┬──────┬──────┬──────┬──────┤
│ │водо- │маши- │водо- │маши- │водо- │маши- │
│ │лазной│ниста │лазной│ниста │лазной│ниста │
│ │стан- │ │стан- │ │стан- │ │
│ │ции │ │ции │ │ции │ │
───────┼────────────┼──────┼──────┼──────┼──────┼──────┼──────┼───
Листо- │До 8 │0,21 │0,24 │0,26 │0,3 │0,42 │0,48 │1
вая или│ │------│---- │------│------│---- │------│
про- │ │0-79,4│0-19 │0-98,3│0-23,7│1-59 │0-37,9│
фильная├────────────┼──────┼──────┼──────┼──────┼──────┼──────┼───
│Св. 8 до 10 │0,24 │0,27 │0,31 │0,35 │0,51 │0,58 │2
│ │------│------│---- │------│---- │------│
│ │0-90,7│0-21,3│1-17 │0-27,7│1-93 │0-45,8│
├────────────┼──────┼──────┼──────┼──────┼──────┼──────┼───
│" 10 " 15 │0,32 │0,36 │0,41 │0,47 │0,71 │0,81 │3
│ │---- │------│---- │------│---- │---- │
│ │1-21 │0-28,4│1-55 │0-37,1│2-68 │0-64 │
├────────────┼──────┼──────┼──────┼──────┼──────┼──────┼───
│" 15 " 20 │0,49 │0,56 │0,61 │0,7 │1 │1,1 │4
│ │---- │------│---- │------│---- │------│
│ │1-85 │0-44,2│2-31 │0-55,3│3-78 │0-86,9│
├────────────┼──────┼──────┼──────┼──────┼──────┼──────┼───
│" 20 " 30 │0,65 │0,74 │0,8 │0,91 │1,3 │1,5 │5
│ │---- │------│---- │------│---- │---- │
│ │2-46 │0-58,5│3-02 │0-71,9│4-91 │1-19 │
├────────────┼──────┼──────┼──────┼──────┼──────┼──────┼───
│" 30 " 40 │0,83 │0,95 │1 │1,1 │1,8 │2,1 │6
│ │---- │------│---- │------│---- │---- │
│ │3-14 │0-75,1│3-78 │0-86,9│6-80 │1-66 │
├────────────┼──────┼──────┼──────┼──────┼──────┼──────┼───
│" 40 " 50 │1 │1,1 │1,3 │1,5 │2,2 │2,5 │7
│ │---- │------│---- │---- │---- │---- │
│ │3-78 │0-86,9│4-91 │1-19 │8-32 │1-98 │
───────┼────────────┼──────┼──────┼──────┼──────┼──────┼──────┼───
Круглая│До 12 │3,9 │4,4 │5,8 │6,6 │8,7 │9,9 │8
│ │----- │---- │----- │---- │----- │---- │
│ │14-74 │3-48 │21-92 │5-21 │32-89 │7-82 │
├────────────┼──────┼──────┼──────┼──────┼──────┼──────┼───
│Св. 12 до 25│6,8 │7,8 │7,8 │8,9 │13 │15 │9
│ │----- │---- │----- │---- │----- │----- │
│ │25-70 │6-16 │29-48 │7-03 │49-14 │11-85 │
├────────────┼──────┼──────┼──────┼──────┼──────┼──────┼───
│" 25 " 50│13 │15 │16 │18 │29,5 │33,5 │10
│ │----- │----- │----- │----- │------│----- │
│ │49-14 │11-85 │60-48 │14-22 │111-51│26-47 │
├────────────┼──────┼──────┼──────┼──────┼──────┼──────┼───
│" 50 " 75│21,5 │24,5 │27,5 │31,5 │58 │66 │11
│ │----- │----- │------│----- │------│----- │
│ │81-27 │19-36 │103-95│24-89 │219-24│52-14 │
├────────────┼──────┼──────┼──────┼──────┼──────┼──────┼───
│" 75 " 100│38,5 │44 │45,5 │52 │107 │122 │12
│ │------│----- │------│----- │------│----- │
│ │145-53│34-76 │171-99│41-08 │404-46│96-38 │
───────┴────────────┼──────┼──────┼──────┼──────┼──────┼──────┼───
│а │б │в │г │д │е │N
Таблица 2
Нормы времени и расценки на 1 рез трубы
──────┬─────────────────────────────────────────────────────────────────────────────────────────────────────────────────┬─
│ Диаметр трубы, мм │
├──────┬──────┬────┬──────┬──────┬──────┬──────┬──────┬──────┬──────┬──────┬──────┬──────┬────┬────┬────┬────┬────┤
│ 219 │ 245 │ 273│ 299 │ 325 │ 351 │ 377 │ 426 │ 478 │ 529 │ 630 │ 720 │ 820 │920 │1020│1220│1420│1620│
──────┼──────┼──────┼────┼──────┼──────┼──────┼──────┼──────┼──────┼──────┼──────┼──────┼──────┼────┼────┼────┼────┼────┼─
Водо- │0,26 │0,29 │0,33│0,36 │0,39 │0,42 │0,46 │0,51 │0,58 │0,64 │0,76 │0,87 │0,99 │1,1 │1,2 │1,5 │1,7 │2,1 │1
лазная│------│---- │----│---- │---- │---- │---- │---- │---- │---- │---- │---- │---- │----│----│----│----│----│
стан- │0-98,3│1-10 │1-25│1-36 │1-47 │1-59 │1-74 │1-93 │2-19 │2-42 │2-87 │3-29 │3-74 │4-16│4-54│5-67│6-43│7-94│
ция │ │ │ │ │ │ │ │ │ │ │ │ │ │ │ │ │ │ │
──────┼──────┼──────┼────┼──────┼──────┼──────┼──────┼──────┼──────┼──────┼──────┼──────┼──────┼────┼────┼────┼────┼────┼─
Маши- │0,3 │0,33 │0,38│0,41 │0,44 │0,48 │0,52 │0,58 │0,66 │0,73 │0,87 │0,99 │1,1 │1,3 │1,4 │1,7 │1,9 │2,4 │2
нист │------│------│----│------│------│------│------│------│------│------│------│------│------│----│----│----│----│----│
│0-23,7│0-26,1│0-30│0-32,4│0-34,8│0-37,9│0-41,1│0-45,8│0-52,1│0-57,7│0-68,7│0-78,2│0-86,9│1-03│1-11│1-34│1-50│1-90│
──────┼──────┼──────┼────┼──────┼──────┼──────┼──────┼──────┼──────┼──────┼──────┼──────┼──────┼────┼────┼────┼────┼────┼─
│а │б │в │г │д │е │ж │з │и │к │л │м │н │о │п │р │с │т │N
Примечания. 1. Нормы даны для труб с толщиной стенки 10 - 12 мм. При толщине стенки 8 - 9 мм Н. вр. и Расц. умножать на 0,9 (ПР-1), при толщине 13 - 14 мм - на 1,35 (ПР-2).
2. При необходимости зачистки электродов в состав звена следует вводить речного рабочего 2 разр. (ПР-3).
§ Е39-28. Подводная электросварка
Указания по применению норм
Нормами предусмотрена подводная сварка металлических конструкций в неответственных соединениях, не требующих герметизации с применением высококачественных электродов, имеющих специальную обмазку.
Нормы установлены для нижнего, горизонтального или вертикального и потолочного положений шва.
Нормами учитывается постоянный контроль за режимом сварки, который подбирается в зависимости от вида работ по табл. 1.
Таблица 1
───────────────────┬─────────────┬───────────────┬────────────────
Вид работ │ Толщина │ Диаметр │Сила сварочного
│свариваемого │ электрода, мм │ тока, А
│ металла, мм │ │
───────────────────┼─────────────┼───────────────┼────────────────
Сварка встык │3 - 5 │4 │160 - 180
───────────────────┼─────────────┼───────────────┼────────────────
То же, внахлестку │6 - 8 │4 │180 - 200
───────────────────┼─────────────┼───────────────┼────────────────
Заварка трещин │9 - 10 │5 │200 - 220
Состав работы
1. Подача водолазу электрододержателя, электродов и инструмента для очистки стали. 2. Зачистка кромок свариваемой стали от краски, ржавчины и обрастания. 3. Установка режима сварки. 4. Сварка стали. 5. Очистка сварного шва от окалины. 6. Подъем наверх инструментов и приспособлений.
Состав звена
Водолазная станция - 1
Машинист электросварочного агрегата 4 разр. - 1
Таблица 2
Нормы времени и расценки на 1 м сварного шва
─────────┬──────────┬───────────────────────────────────────────┬─
Сварка │Толщина │ Положение шва │
│сваривае- ├──────────────┬──────────────┬─────────────┤
│мой стали,│ нижнее │горизонтальное│ потолочное │
│мм │ │или вертикаль-│ │
│ │ │ное │ │
│ ├──────────────┴──────────────┴─────────────┤
│ │ Н. вр. │
│ │ ------ │
│ │ Расц. │
│ ├───────┬──────┬───────┬──────┬───────┬─────┤
│ │водо- │маши- │водо- │маши- │водо- │маши-│
│ │лазной │ниста │лазной │ниста │лазной │ниста│
│ │станции│ │станции│ │станции│ │
─────────┼──────────┼───────┼──────┼───────┼──────┼───────┼─────┼─
Внахлест-│До 4 │0,59 │0,67 │0,95 │1,1 │1,5 │1,7 │1
ку │ │---- │------│---- │------│---- │---- │
│ │2-23 │0-52,9│3-59 │0-86,9│5-67 │1-34 │
├──────────┼───────┼──────┼───────┼──────┼───────┼─────┼─
│Св. 4 до 6│0,81 │0,92 │1,3 │1,5 │2 │2,3 │2
│ │---- │------│---- │---- │---- │---- │
│ │3-06 │0-72,7│4-91 │1-19 │7-56 │1-82 │
├──────────┼───────┼──────┼───────┼──────┼───────┼─────┼─
│" 6 " 8│1,2 │1,4 │1,9 │2,2 │2,7 │3,1 │3
│ │---- │---- │---- │---- │----- │---- │
│ │4-54 │1-11 │7-18 │1-74 │10-21 │2-45 │
├──────────┼───────┼──────┼───────┼──────┼───────┼─────┼─
│" 8 " 10│1,6 │1,8 │2,4 │2,7 │3,3 │3,8 │4
│ │---- │---- │---- │---- │----- │---- │
│ │6-05 │1-42 │9-07 │2-13 │12-47 │3-00 │
─────────┼──────────┼───────┼──────┼───────┼──────┼───────┼─────┼─
Встык и │До 4 │0,47 │0,54 │0,76 │0,87 │1,2 │1,4 │5
заварка │ │---- │------│---- │------│---- │---- │
трещин │ │1-78 │0-42,7│2-87 │0-68,7│4-54 │1-11 │
├──────────┼───────┼──────┼───────┼──────┼───────┼─────┼─
│Св. 4 до 6│0,65 │0,74 │1 │1,1 │1,6 │1,8 │6
│ │---- │------│---- │------│---- │---- │
│ │2-46 │0-58,5│3-78 │0-86,9│6-05 │1-42 │
├──────────┼───────┼──────┼───────┼──────┼───────┼─────┼─
│" 6 " 8│0,95 │1,1 │1,6 │1,8 │2,1 │2,4 │7
│ │---- │------│---- │---- │---- │---- │
│ │3-59 │0-86,9│6-05 │1-42 │7-94 │1-90 │
├──────────┼───────┼──────┼───────┼──────┼───────┼─────┼─
│" 8 " 10│1,3 │1,5 │1,9 │2,2 │2,7 │3,1 │8
│ │---- │---- │---- │---- │----- │---- │
│ │4-91 │1-19 │7-18 │1-74 │10-21 │2-45 │
─────────┴──────────┼───────┼──────┼───────┼──────┼───────┼─────┼─
│а │б │в │г │д │е │N
§ Е39-29. Перепиливание металлических конструкций
ручной ножовкой
Указания по применению норм
Нормами предусмотрено перепиливание под водой металлических конструкций с площадью перепила не св. 60 см2 ручной ножовкой.
Состав работ
1. Подача водолазу инструментов. 2. Разметка мест перепиливания. 3. Перепиливание конструкций (элементов). 4. Удаление отпиленных конструкций (элементов) от места работы или подача наверх. 5. Подъем наверх инструментов и приспособлений.
Нормы времени и расценки на 10 см2 площади
перепиливания
──────────────────────┬───────────────────────────────────────────
Состав звена │ Марка стали
├──────────────┬─────────────┬──────────────
│Ст. 1, Ст. 2 и│Ст. 3 и Ст. 4│Ст. 5 и Ст. Л2
│ Ст. Л │ │
──────────────────────┼──────────────┼─────────────┼──────────────
Водолазная станция - 1│0,78 │0,97 │1,2
│---- │---- │----
│2-95 │3-67 │4-54
──────────────────────┼──────────────┼─────────────┼──────────────
│а │б │в
§ Е39-30. Срубка заклепок в металлических конструкциях
Состав работы
1. Подача водолазу инструментов. 2. Срубка заклепок вручную зубилом. 3. Переходы в процессе работы. 4. Подъем наверх инструментов.
Нормы времени и расценки на срубку 1 заклепки
────────────┬─────────────────────────────────────────────────────
Состав звена│ Диаметр заклепок, мм
├─────────┬─────────────┬──────────────┬──────────────
│ до 16 │св. 16 до 19 │ св. 19 до 22 │ св. 22 до 25
────────────┼─────────┼─────────────┼──────────────┼──────────────
Водолазная │0,08 │0,12 │0,16 │0,2
станция - 1 │------ │------ │------ │------
│0-30,2 │0-45,4 │0-60,5 │0-75,6
────────────┼─────────┼─────────────┼──────────────┼──────────────
│а │б │в │г
§ Е39-31. Постановка заглушек на водоприемные отверстия
и снятие их
Состав работ
При постановке заглушек
1. Спуск под воду заглушки, болтов с гайками, прокладок, ключей и прочих инструментов. 2. Установка заглушки с прокладкой, постановкой болтов и завертыванием гаек до отказа. 3. Подъем из воды инструментов и приспособлений.
При снятии заглушек
1. Спуск под воду инструментов и приспособлений. 2. Отвертывание или срубка гаек и снятие шайбы. 3. Выбивка болтов или перепиливание. 4. Снятие заглушки и подача ее наверх или относка в сторону. 5. Подъем наверх инструментов и приспособлений.
Нормы времени и расценки на постановку
или снятие 1 заглушки
───────────────┬──────────────┬────────────────────┬───────────┬──
Состав звена │ Количество │ Водолазная станция │ Рабочие │
│ болтов, шт. │ │ │
───────────────┼──────────────┼────────────────────┼───────────┼──
Водолазная │До 8 │2 │4,6 │1
станция - 1 │ │---- │---- │
│ │7-56 │2-94 │
├──────────────┼────────────────────┼───────────┼──
│Св. 8 до 16 │4 │9,1 │2
│ │----- │---- │
│ │15-12 │5-82 │
├──────────────┼────────────────────┼───────────┼──
Речные рабочие │Св. 16 до 24 │8,1 │18,5 │3
2 разр. - 2 │ │----- │----- │
│ │30-62 │11-84 │
├──────────────┼────────────────────┼───────────┼──
│Св. 24 до 32 │14,5 │33 │4
│ │----- │----- │
│ │54-81 │21-12 │
───────────────┴──────────────┼────────────────────┼───────────┼──
│а │б │N
§ Е39-32. Постановка и снятие болтов в трубах и прочих
металлических конструкциях
Указания по применению норм
Нормами предусмотрены постановка и снятие болтов в трубах и прочих металлических конструкциях при расстоянии от места постановки или снятии болтов не менее 0,5 м.
В противном случае следует сделать приямок, затраты на устройство которого в нормы не входят.
Состав работы
1. Подача водолазу инструментов, болтов. 2. Осмотр места работы. 3. Постановка болта с навертыванием гайки с помощью гаечного ключа. 4. Переходы в процессе работы. 5. Подъем из воды инструментов.
Нормы времени и расценки на постановку или снятие 1 болта
────────────────────────┬──────────────────────┬───────────────┬──
Состав звена │ Наименование работ │ Н. вр. │
│ │ ------ │
│ │ Расц. │
────────────────────────┼──────────────────────┼───────────────┼──
Водолазная станция - 1 │Постановка болта │0,2 │1
│ │------ │
│ │0-75,6 │
├──────────────────────┼───────────────┼──
│Снятие болта │0,12 │2
│ │------ │
│ │0-45,4 │
§ Е39-33. Укладка железнодорожных рельсов под водой
Указания по применению норм
Нормами предусмотрена укладка железнодорожных рельсов длиной 12,5 м под водой с помощью плавучего крана при устройстве наклонного подводного пути, используемого для спуска на воду оголовков водозаборных и выпускных сооружений, железобетонных массивов и т.п.
Подготовительные работы по устройству основания (балласт, шпалы, подкладки и т.д.), а также окончательное крепление рельсов нормами не учтены.
Состав работы
1. Спуск рельсов под воду. 2. Укладка рельсов на подготовленное основание. 3. Проверка и уточнение направления ниток рельсов и высоты головок по проекту. 4. Пригонка стяжек и накладок. 5. Закрепление звена рельсов костылями.
Нормы времени и расценки на укладку 1 рельса
──────────────────────────────┬─────────────────────┬─────────────
Состав звена │ Водолазная станция │ Рабочие
──────────────────────────────┼─────────────────────┼─────────────
Водолазная станция - 1 │1,5 │5,1
Речные рабочие 2 разр. - 3 │---- │(1,7)
│5-67 │-----
│ │3-26
§ Е39-34. Очистка металлических конструкций от обрастания,
краски и ржавчины под водой
Состав работы
1. Подача водолазу щеток и скребков. 2. Очистка конструкций щетками и скребками от обрастания, краски и ржавчины. 3. Переходы во время работы. 4. Подъем наверх инструментов.
Нормы времени и расценки на 1 м2 очищенной поверхности
───────────────────────────┬──────────────────────────────────────
Состав звена │ Очистка конструкций от
├────────────────┬─────────────────────
│ обрастания │ краски и ржавчины
───────────────────────────┼────────────────┼─────────────────────
Водолазная станция - 1 │0,32 │0,72
│---- │----
│1-21 │2-72
───────────────────────────┼────────────────┼─────────────────────
│а │б
ГЛАВА IV. ПОДВОДНЫЕ РАБОТЫ С ДЕРЕВЯННЫМИ КОНСТРУКЦИЯМИ
Техническая часть
1. Нормы настоящей главы предусматривают производство работ по устройству и разборке деревянных конструкций под водой.
2. Все элементы деревянных конструкций, подлежащие установке под водой, должны быть заранее заготовлены на берегу или плавучих средствах. Заготовка этих конструкций (опиловка, выделка врубок, сверление отверстий и т.п.) нормами настоящей главы не учтена. Под водой водолаз собирает и устанавливает элементы конструкций с необходимой по ходу работ подгонкой деталей, устройством врубок и сопряжений на ранее установленных (и находящихся под водой) деревянных конструкциях, со сверлением отверстий и постановкой креплений.
3. Все заготовленные детали перед подачей водолазу должны быть забалластированы. Во избежание простоя водолаза на рабочем месте должно находиться не менее двух комплектов балласта.
4. Предварительное обследование водолазом места работ или конструкций с целью определения метода работ, выбора инструментов, приспособлений, а также размыв грунта вблизи деревянных конструкций и очистка стыкуемых деталей от обрастания нормами не учтены.
5. Части деревянных элементов, находящиеся в зоне переменных горизонтов воды, надлежит выполнять из антисептированных лесоматериалов в соответствии с требованиями СНиПа.
§ Е39-35. Установка деревянных элементов конструкций
гидротехнических сооружений
Состав работы
1. Разметка водолазом места установки элементов деревянных конструкций. 2. Балластировка деревянных элементов и подача их водолазу. 3. Постановка элементов водолазом с подгонкой и закреплением их. 4. Снятие балласта и подача его наверх.
Таблица 1
Состав звена
─────────────────────────────┬────────────────────────────────────
Профессия и разряд рабочих │ Конструктивные элементы
├───────────────────┬────────────────
│ схватки, раскосы, │ распорки
│ брусья, насадки │
─────────────────────────────┼───────────────────┼────────────────
Водолазная станция │1 │1
─────────────────────────────┼───────────────────┼────────────────
Речные рабочие 2 разр. │2 │1
Рис. 15. Установка деревянных элементов
а - сопряжение схватки со сваями на скобах; б - сопряжение
насадки со сваями на шипах; в - сопряжение насадки
со сваями с помощью хомутов; г - раскосы из пластин;
1 - сваи; 2 - скоба; 3 - схватка; 4 - насадка; 5 - шип;
6 - хомут; 7 - раскосы
Таблица 2
Нормы времени и расценки на 1 элемент
─────────────────────────────────────┬────────────┬───────────┬───
Конструктивные элементы │ Водолазная │ Рабочие │
│ станция │ │
─────────────────────────────────────┼────────────┼───────────┼───
Схватки или раскосы длиной до 6,5 м │0,51 │1,2 │1
на скобах │---- │------ │
│1-93 │0-76,8 │
─────────────────────────────────────┼────────────┼───────────┼───
Брусья длиной от 3 до 6 м при уста- │0,61 │1,4 │2
новке на скобах к шпунтовой брусчатой│---- │------ │
стене │2-31 │0-89,6 │
─────────────────────────────────────┼────────────┼───────────┼───
То же, к сплошному свайному ряду или │0,71 │1,6 │3
одиночным сваям │---- │---- │
│2-68 │1-02 │
─────────────────────────────────────┼────────────┼───────────┼───
Готовые насадки длиной до 2 м на │0,48 │1,1 │4
шипах │---- │------ │
│1-81 │0-70,4 │
─────────────────────────────────────┼────────────┼───────────┼───
То же, на хомутах │2,6 │5,9 │5
│---- │---- │
│9-83 │3-78 │
─────────────────────────────────────┼────────────┼───────────┼───
Распорки длиной до 2,5 м на гвоздях │0,29 │0,33 │6
│---- │------ │
│1-10 │0-21,1 │
─────────────────────────────────────┼────────────┼───────────┼───
│а │б │N
Примечания. 1. Выравнивание свай перед постановкой брусьев нормами не учтено (ПР-1).
2. При установке деревянных подушек, когда брус неплотно прилегает к свае, Н. вр. и Расц. умножать на 1,4 (ПР-2).
§ Е39-36. Установка хомутов
Состав работы
1. Снятие шаблона со свай и подбор хомутов по шаблону. 2. Установка хомута на место и подгонка его к свае. 3. Стягивание хомута болтами.
Рис. 16. Установка хомутов
а - при наращивании свай; б - на свайные кусты; 1 - сваи;
2 - наросток сваи; 3 - хомуты
Нормы времени и расценки на 1 хомут
──────────────────────┬───────────────────────────────────────────
Состав звена │ Место установки хомутов
├─────────┬─────────────────────────────────
│при нара-│на свайные кусты при расстоянии
│щивании │между кустами до 15 м, при числе
│свай │ свай в кусте, шт.
│ ├───────┬────────────┬────────────
│ │ до 10 │св. 10 до 15│св. 15 до 25
──────────────────────┼─────────┼───────┼────────────┼────────────
Водолазная станция - 1│0,74 │1,5 │2 │4
│---- │---- │---- │-----
│2-80 │5-67 │7-56 │15-12
──────────────────────┼─────────┼───────┼────────────┼────────────
│а │б │в │г
§ Е39-37. Постановка стяжек
Состав работы
1. Надевание крючьев на ушки болтов. 2. Подача водолазу стяжек. 3. Установка стальных стяжек в готовые отверстия деревянных конструкций. 4. Подтягивание стяжек талрепами (для составных стяжек).
Состав звена
Водолазная станция - 1
Речной рабочий 2 разр. - 1
Нормы времени и расценки на 1 стяжку
────────────────────────────┬──────────┬────────────┬──────────┬──
Стяжки │ Длина │Водолазная │ Рабочие │
│стяжек, м │ станция │ │
────────────────────────────┼──────────┼────────────┼──────────┼──
Цельные сквозные диаметром │До 3 │0,95 │1,1 │1
до 25 мм │ │---- │------ │
│ │3-59 │0-70,4 │
────────────────────────────┼──────────┼────────────┼──────────┼──
Составные диаметром св. 25 │До 3 │1,9 │2,2 │2
до 65 мм │ │---- │---- │
│ │7-18 │1-41 │
├──────────┼────────────┼──────────┼──
│Св. 3 до 6│3,6 │4,1 │3
│ │----- │---- │
│ │13-61 │2-62 │
────────────────────────────┴──────────┼────────────┼──────────┼──
│а │б │N
§ Е39-38. Устройство шипов на сваях
Указания по применению норм
Нормами предусмотрено устройство шипов высотой от 50 до 70 мм на сваях диаметром от 200 до 300 мм с помощью шаблона, с вырезанными на нем соответственно расположению шипов отверстиями.
Состав работы
1. Подача водолазу забалластированного дощатого шаблона и инструментов. 2. Разметка шипов с помощью шаблона. 3. Запиловка шипа. 4. Сколка и подчистка шипа. 5. Подъем наверх шаблона и инструментов.
Нормы времени и расценки на устройство 1 шипа
────────────────────────────┬─────────────────────────────────────
Состав звена │ Положение шипа
├─────────────────┬───────────────────
│ вертикальное │ наклонное
────────────────────────────┼─────────────────┼───────────────────
Водолазная станция - 1 │0,52 │0,63
│---- │----
│1-97 │2-38
────────────────────────────┼─────────────────┼───────────────────
│а │б
§ Е39-39. Перепиливание и наращивание отдельных венцов ряжей
Состав работ
При перепиливании отдельных венцов ряжей диаметром
от 220 до 240 мм ручной ножовкой
1. Разметка водолазом мест перепиливания. 2. Перепиливание венцов ручной ножовкой. 3. Подбивка клина при защемлении ножовки.
При наращивании отдельных венцов ряжей
1. Подача водолазу забалластированного дощатого шаблона. 2. Разметка и подготовка шаблона водолазом. 3. Поднятие шаблона наверх. 4. Подача водолазу заготовляемого по шаблону отрезка венца. 5. Установка отрезка венца на место и закрепление скобами или ершами. 6. Снятие и подача наверх балласта.
Таблица 1
Состав звена
─────────────────────────┬────────────────────┬───────────────────
Профессия и разряд │ При перепиливании │ При наращивании
рабочих │ венцов ряжей │ венцов ряжей
─────────────────────────┼────────────────────┼───────────────────
Водолазная станция │1 │1
─────────────────────────┼────────────────────┼───────────────────
Речные рабочие 2 разр. │- │2
Таблица 2
Нормы времени и расценки на одно перепиливание бревна
в венце и на наращивание 1 м венца
─────────────────────────────┬────────────────────┬───────────┬───
Наименование работы │ Водолазная станция │ Рабочие │
─────────────────────────────┼────────────────────┼───────────┼───
Перепиливание бревна в венце │0,26 │- │1
│------ │ │
│0-98,3 │ │
─────────────────────────────┼────────────────────┼───────────┼───
Наращивание венца │0,31 │0,71 │2
│---- │------ │
│1-17 │0-45,4 │
─────────────────────────────┼────────────────────┼───────────┼───
│а │б │N
§ Е39-40. Спиливание свай и шпунтовых рядов
Указания по применению норм
Нормами предусмотрено спиливание свай и шпунтовых рядов пневматической пилой или ручной ножовкой по предварительно установленным шаблонам на расстоянии 3 м друг от друга.
Состав работы
1. Подача водолазу пневматической пилы или ручной ножовки. 2. Спиливание сваи или шпунтового ряда под водой. 3. Отводка спиленных деревянных элементов в сторону или подача их наверх. 4. Переход к следующей свае. 5. Подъем из воды пневматической пилы или ручной ножовки.
Таблица 1
Состав звена
─────────────────────────────┬────────────────────────────────────
Профессия и разряд рабочих │ При работе
├────────────────────┬───────────────
│пневматической пилой│ручной ножовкой
─────────────────────────────┼────────────────────┼───────────────
Водолазная станция │1 │1
─────────────────────────────┼────────────────────┼───────────────
Машинист компрессора 4 разр. │1 │-
─────────────────────────────┼────────────────────┼───────────────
Речные рабочие 2 разр. │2 │2
Таблица 2
Нормы времени и расценки на 1 сваю или на 1 м
шпунтового ряда
───────────┬─────────────────────┬───────────┬─────────┬───────┬──
При работе │ Конструкции │Водолазная │Машинист │Рабочие│
│ │ станция │ │ │
───────────┼────────────┬────────┼───────────┼─────────┼───────┼──
Пневмати- │Сваи диа- │до 220 │0,12 │0,14 │0,28 │1
ческой │метром, мм │ │------ │------ │------ │
пилой │ │ │0-45,4 │0-11,1 │0-17,9 │
│ ├────────┼───────────┼─────────┼───────┼──
│ │св. 220 │0,18 │0,21 │0,42 │2
│ │до 320 │---- │------ │------ │
│ │ │0-68 │0-16,6 │0-26,9 │
│ ├────────┼───────────┼─────────┼───────┼──
│ │св. 320 │0,22 │0,25 │0,5 │3
│ │до 360 │------ │------ │---- │
│ │ │0-83,2 │0-19,8 │0-32 │
───────────┼────────────┼────────┼───────────┼─────────┼───────┼──
Ручной │Сваи диа- │до 260 │0,35 │- │0,8 │4
ножовкой │метром, мм │ │---- │ │------ │
│ │ │1-32 │ │0-51,2 │
│ ├────────┼───────────┼─────────┼───────┼──
│ │св. 260 │0,59 │- │1,3 │5
│ │до 360 │---- │ │------ │
│ │ │2-23 │ │0-83,2 │
├────────────┼────────┼───────────┼─────────┼───────┼──
│Шпунтовые │до 75 │0,46 │- │1 │6
│ряды без │ │---- │ │---- │
│засыпки за │ │1-74 │ │0-64 │
│шпунтом при ├────────┼───────────┼─────────┼───────┼──
│толщине │св. 75 │0,73 │- │1,7 │7
│шпунта, мм │до 150 │---- │ │---- │
│ │ │2-76 │ │1-09 │
│ ├────────┼───────────┼─────────┼───────┼──
│ │св. 150 │1,3 │- │3,0 │8
│ │до 200 │---- │ │---- │
│ │ │4-91 │ │1-92 │
├────────────┼────────┼───────────┼─────────┼───────┼──
│Шпунтовые │до 75 │1,6 │- │3,6 │9
│ряды с за- │ │---- │ │---- │
│сыпкой за │ │6-05 │ │2-30 │
│шпунтом при ├────────┼───────────┼─────────┼───────┼──
│толщине │св. 75 │3 │- │6,8 │10
│шпунта, мм │до 150 │----- │ │---- │
│ │ │11-34 │ │4-35 │
│ ├────────┼───────────┼─────────┼───────┼──
│ │св. 150 │4,0 │- │9,1 │11
│ │до 200 │----- │ │---- │
│ │ │15-12 │ │5-82 │
───────────┴────────────┴────────┼───────────┼─────────┼───────┼──
│а │б │в │N
Примечания. 1. При расстоянии между сваями св. 3 мм на каждый последующий метр расстояния к Н. вр. и Расц. применять коэффициент 1,1 (ПР-1).
Пример. При расположении свай диаметром 320 мм на расстоянии 6 м друг от друга Н. вр. водолазной станции (табл. 2, разновидность 2 "а") равна Н. вр. = 1,1 х 1,1 х 1,1 х 0,18 = 0,24 станцие-ч.
2. При спиливании шпунтовых рядов ножовкой по заданному уклону к Н. вр. и Расц. вводить коэффициент 1,1 (ПР-2).
§ Е39-41. Наращивание деревянных свай
Указания по применению норм
Нормами предусмотрено наращивание деревянных свай двумя способами: впритык - путем соединения их торцовых концов с помощью металлического стакана или вполдерева - с креплением свай скобами (рис. 17).
Рис. 17. Способы наращивания свай
а - впритык с металлическим стаканом: 1 - наросток сваи;
2 - металлический стакан; 3 - свая; б - вполдерева с помощью
скоб: 1 - наросток сваи; 2 - свая; 3 - скобы
Состав работы
1. Выделка врубки вполдерева водолазом под водой (в наращиваемой части сваи - плотниками) или подборка стакана. 2. Надевание стакана на подводную часть сваи. 3. Наращивание сваи вполдерева с подгонкой врубки или в стакан. 4. Крепление скобами.
Нормы времени и расценки на 1 сваю
───────────────────────┬─────────────────┬───────────┬─────────┬──
Состав звена │Диаметр сваи, мм │Водолазная │ Рабочие │
│ │ станция │ │
───────────────────────┼─────────────────┼───────────┼─────────┼──
Водолазная станция - 1 │До 220 │0,55 │1,3 │1
│ │---- │------ │
│ │2-08 │0-83,2 │
├─────────────────┼───────────┼─────────┼──
Плотники 2 разр. - 2 │Св. 220 │0,73 │1,7 │2
│ │---- │------ │
│ │2-76 │1-09 │
───────────────────────┴─────────────────┼───────────┼─────────┼──
│а │б │N
§ Е39-42. Обшивка подводных конструкций и заделка щелей
в шпунтовых рядах
Состав работы
1. Снятие размеров для заготовки досок. 2. Спуск водолазу забалластированных досок. 3. Подгонка досок по месту. 4. Закрепление досок гвоздями. 5. Подъем наверх балласта.
Состав звена
Водолазная станция - 1
Речные рабочие 2 разр. - 1
Нормы времени и расценки на пришивку 1 доски
────────────────┬───────────────┬────────────────┬────────────┬───
Длина доски, м │Толщина доски, │ Водолазная │ Рабочие │
│ мм │ станция │ │
────────────────┼───────────────┼────────────────┼────────────┼───
До 3 │До 25 │0,09 │0,1 │1
│ │---- │------ │
│ │0-34 │0-06,4 │
├───────────────┼────────────────┼────────────┼───
│Св. 25 до 50 │0,12 │0,14 │2
│ │------ │---- │
│ │0-45,0 │0-09 │
├───────────────┼────────────────┼────────────┼───
│" 50 " 75 │0,16 │0,18 │3
│ │------ │------ │
│ │0-60,5 │0-11,5 │
────────────────┼───────────────┼────────────────┼────────────┼───
Св. 3 до 5 │До 25 │0,13 │0,15 │4
│ │------ │------ │
│ │0-49,1 │0-09,6 │
├───────────────┼────────────────┼────────────┼───
│Св. 25 до 50 │0,16 │0,18 │5
│ │------ │------ │
│ │0-60,5 │0-11,5 │
├───────────────┼────────────────┼────────────┼───
│" 50 " 75 │0,21 │0,24 │6
│ │------ │------ │
│ │0-79,4 │0-15,4 │
────────────────┼───────────────┼────────────────┼────────────┼───
Св. 5 до 6,5 │До 25 │0,16 │0,18 │7
│ │------ │------ │
│ │0-60,5 │0-11,5 │
├───────────────┼────────────────┼────────────┼───
│Св. 25 до 50 │0,29 │0,33 │8
│ │---- │------ │
│ │1-10 │0-21,1 │
├───────────────┼────────────────┼────────────┼───
│" 50 " 75 │0,24 │0,27 │9
│ │------ │------ │
│ │0-90,7 │0-17,3 │
────────────────┴───────────────┼────────────────┼────────────┼───
│а │б │N
§ Е39-43. Постановка деревянных пробок длиной до
100 мм в отверстия
Состав работы
1. Подача водолазу забалластированных пробок. 2. Установка пробки в ранее обследованное готовое отверстие. 3. Проконопачивание пробки. 4. Переход к следующему отверстию на расстояние до 5 м. 5. Подъем наверх балласта.
Состав звена
Водолазная станция - 1
Речные рабочие 2 разр. - 2
Нормы времени и расценки на установку 1 пробки
────────────┬──────────┬───────────┬─────────────┬────────────┬───
Диаметр │ До 5 │Св. 5 до 10│Св. 10 до 20 │Св. 20 до 30│
пробки, см │ │ │ │ │
────────────┼──────────┼───────────┼─────────────┼────────────┼───
Водолазная │0,15 │0,21 │0,32 │0,43 │1
станция │------ │------ │---- │---- │
│0-56,7 │0-79,4 │1-21 │1-63 │
────────────┼──────────┼───────────┼─────────────┼────────────┼───
Рабочие │0,34 │0,48 │0,73 │0,98 │2
│------ │------ │------ │------ │
│0-21,8 │0-30,7 │0-46,7 │0-62,7 │
────────────┼──────────┼───────────┼─────────────┼────────────┼───
│а │б │в │г │N
§ Е39-44. Постановка деревянных прокладок толщиной
до 100 мм в зазоры деревянных конструкций
Состав работы
1. Подача водолазу забалластированных прокладок. 2. Подгонка прокладок по месту. 3. Установка прокладок и скрепление их двумя строительными скобами. 4. Подъем наверх балласта.
Нормы времени и расценки на постановку 1 прокладки
────────────────────────────────┬─────────────────────────────────
Состав звена │ Н. вр.
│ ------
│ Расц.
────────────────────────────────┼─────────────────────────────────
Водолазная станция - 1 │0,17
│------
│0-64,3
§ Е39-45. Выравнивание свай
Состав работы
1. Подача водолазу стропов. 2. Застропка свай под водой и сверху на тали или лебедки. 3. Выравнивание свай с помощью талей или лебедок. 4. Расшивка выравненных свай досками или пластинами с помощью гвоздей или скоб.
Состав звена
Водолазная станция - 1
Речные рабочие 2 разр. - 4
Нормы времени и расценки на выравнивание 1 сваи
──────────────────────┬───────────────────────┬───────────────┬───
Длина конца сваи, м │ До 2 │ Св. 2 │
──────────────────────┼───────┬───────┬───────┼───────┬───────┤
Отклонение свободного │До 15 │Св. 15 │До 15 │Св. 15 │Св. 30 │
конца сваи, см │ │до 30 │ │до 30 │до 50 │
──────────────────────┼───────┼───────┼───────┼───────┼───────┼───
Водолазная станция │0,47 │0,67 │0,35 │0,47 │0,62 │1
│---- │---- │---- │---- │---- │
│1-78 │2-53 │1-32 │1-78 │2-34 │
──────────────────────┼───────┼───────┼───────┼───────┼───────┼───
Рабочие │2,1 │3,1 │1,6 │2,1 │2,8 │2
│---- │---- │---- │---- │---- │
│1-34 │1-98 │1-02 │1-34 │1-79 │
──────────────────────┼───────┼───────┼───────┼───────┼───────┼───
│а │б │в │г │д │N
§ Е39-46. Сверление отверстий, постановка и снятие болтов
Состав звена
Водолазная станция - 1
Машинист компрессора 4 разр. - 1
Нормы времени и расценки на 100 отверстий или болтов
────────────────────────────────────┬───────────┬─────────────┬───
Наименование работ │Водолазная │ Машинист │
│ станция │ компрессора │
──────────┬───────────────┬─────────┼───────────┼─────────────┼───
Сверление │пневматическим │до 250 │6 │6,8 │1
отверстий │сверлом при │ │----- │---- │
диаметром │глубине отвер- │ │22-68 │5-37 │
до 50 мм │стия, мм ├─────────┼───────────┼─────────────┼───
│ │св. 250 │8,3 │9,5 │2
│ │до 400 │----- │---- │
│ │ │31-37 │7-51 │
│ ├─────────┼───────────┼─────────────┼───
│ │св. 400 │20 │23 │3
│ │до 700 │----- │----- │
│ │ │75-60 │18-17 │
├───────────────┼─────────┼───────────┼─────────────┼───
│вручную при │до 250 │25 │- │4
│глубине отвер- │ │----- │ │
│стия, мм │ │94-50 │ │
│ ├─────────┼───────────┼─────────────┼───
│ │св. 250 │29,5 │- │5
│ │до 400 │------ │ │
│ │ │111-51 │ │
│ ├─────────┼───────────┼─────────────┼───
│ │св. 400 │73 │- │6
│ │до 700 │------ │ │
│ │ │275-94 │ │
──────────┼───────────────┼─────────┼───────────┼─────────────┼───
│Постановка в │до 1 │19 │- │7
│готовые отвер- │ │----- │ │
│стия болтов │ │71-82 │ │
│длиной, м ├─────────┼───────────┼─────────────┼───
│ │св. 1 до │29,5 │- │8
│ │1,5 │------ │ │
│ │ │111-51 │ │
──────────┼───────────────┴─────────┼───────────┼─────────────┼───
Снятие │с элементов деревянных │18 │- │9
болтов │конструкций │----- │ │
│ │68-04 │ │
├─────────────────────────┼───────────┼─────────────┼───
│со шпунтовой стенки │25 │- │10
│ │----- │ │
│ │94-50 │ │
──────────┴─────────────────────────┼───────────┼─────────────┼───
│а │б │N
Примечание. При установке деревянных прокладок (коротышей) во время постановки болтов Н. вр. и Расц. строк N 7 и 8 умножать на 1,1 (ПР-1).
§ Е39-47. Выпиливание окон в шпунтовых стенках, в сплошном
свайном ряду или ряже
Состав работы
1. Разметка окна. 2 Сверление отверстия для пропуска ножовки. 3. Выпиливание окна в шпунтовой стенке, в сплошном свайном ряду или в ряже.
Состав звена
Водолазная станция - 1
Нормы времени и расценки на 1 окно
───────────────────┬────────────────────────────┬─────────────┬───
Размер окна, м, до │ Толщина шпунтовой стенки │ Н. вр. │
│ свайного ряда или ряжа, мм │ ------ │
│ │ Расц. │
───────────────────┼────────────────────────────┼─────────────┼───
1 x 1 │До 80 │1,8 │1
│ │---- │
│ │6-80 │
├────────────────────────────┼─────────────┼───
│Св. 80 до 160 │3,0 │2
│ │----- │
│ │11-34 │
├────────────────────────────┼─────────────┼───
│" 160 " 200 │5,1 │3
│ │----- │
│ │19-28 │
───────────────────┼────────────────────────────┼─────────────┼───
0,25 x 0,25 │" 200 " 320 │1,5 │4
│ │---- │
│ │5-67 │
───────────────────┴────────────────────────────┼─────────────┼───
│а │N
§ Е39-48. Забивка и вытаскивание ершей, скоб, глухарей,
костылей, гвоздей
Состав работы
1. Разметка места забивки. 2. Подача крепежных деталей водолазу. 3. Забивка или вытаскивание строительных скоб, ершей, костылей или гвоздей. 4. Подъем наверх снятых крепежных деталей.
Состав звена
Водолазная станция - 1
Нормы времени и расценки на 1 предмет
─────────────────────────┬────────────────────────────┬────────┬──
Вид и размеры креплений │ Забивка в поверхность │Вытаски-│
├───────────────────┬────────┤вание │
│горизонтальную при │верти- │ │
│расстоянии между │кальную │ │
│смежными крепления-│ │ │
│ми, м │ │ │
├─────────┬─────────┤ │ │
│ до 0,5 │св. 0,5 │ │ │
│ │ до 2 │ │ │
──────────┬──────────────┼─────────┼─────────┼────────┼────────┼──
Ерши дли- │до 350 │0,08 │0,1 │0,16 │0,19 │1
ной, мм │ │------ │------ │------ │------ │
│ │0-30,2 │0-37,8 │0-60,5 │0-71,8 │
├──────────────┼─────────┼─────────┼────────┼────────┼──
│св. 350 до 500│0,14 │0,16 │0,28 │0,32 │2
│ │------ │------ │---- │---- │
│ │0-52,9 │0-60,5 │1-06 │1-21 │
├──────────────┼─────────┼─────────┼────────┼────────┼──
│" 500 " 700│0,23 │0,28 │0,45 │0,53 │3
│ │------ │---- │---- │---- │
│ │0-86,9 │1-06 │1-70 │2-00 │
├──────────────┼─────────┼─────────┼────────┼────────┼──
│" 700 " 1000│0,35 │0,42 │0,71 │0,85 │4
│ │---- │---- │---- │---- │
│ │1-32 │1-59 │2-68 │3-21 │
──────────┴──────────────┼─────────┼─────────┼────────┼────────┼──
Костыли │0,18 │0,22 │0,35 │0,11 │5
│---- │------ │---- │------ │
│0-68 │0-83,2 │1-32 │0-41,6 │
─────────────────────────┼─────────┼─────────┼────────┼────────┼──
Гвозди барочные │0,11 │0,13 │0,22 │0,11 │6
│------ │------ │------ │------ │
│0-41,6 │0-49,1 │0-83,2 │0-41,6 │
─────────────────────────┼─────────┼─────────┼────────┼────────┼──
Гвозди проволочные │0,03 │0,04 │0,07 │0,04 │7
│------ │------ │------ │------ │
│0-11,3 │0-15,1 │0-26,5 │0-15,1 │
──────────┬──────────────┼─────────┼─────────┼────────┼────────┼──
Скобы │до 100 │0,11 │0,14 │0,23 │0,16 │8
строитель-│ │------ │------ │------ │------ │
ные при │ │0-41,6 │0-52,9 │0-86,9 │0-60,5 │
глубине ├──────────────┼─────────┼─────────┼────────┼────────┼──
забивки, │св. 100 до 150│0,17 │0,21 │0,34 │0,19 │9
мм │ │------ │------ │---- │------ │
│ │0-64,3 │0-79,4 │1-29 │0-71,8 │
──────────┴──────────────┼─────────┼─────────┼────────┼────────┼──
Глухари │0,19 │0,26 │0,37 │0,23 │10
│------ │------ │---- │------ │
│0-71,8 │0-98,3 │1-40 │0-86,9 │
─────────────────────────┼─────────┼─────────┼────────┼────────┼──
│а │б │в │г │N
Примечания. 1. При вытаскивании костылей, ершей и глухарей, не имеющих заплечиков, Н. вр. и Расц. умножать на 2 (ПР-1).
2. При вытаскивании строительных скоб с надрубкой дерева Н. вр. и Расц. умножать на 1,7 (ПР-2).
§ Е39-49. Разборка деревянных конструкций вручную
Состав работы
1. Подача водолазу инструментов. 2. Разборка венцов ряжей, насадок, раскосов, схваток и прочих деревянных конструкций с помощью топора, пилы, лома, гаечного ключа. 3. Снятие металлических креплений. 4. Подъем наверх инструментов и разобранных частей конструкций с помощью ручной лебедки.
Состав звена
Водолазная станция - 1
Речные рабочие 2 разр. - 4
Нормы времени и расценки на разборку 1 м
бревен или брусьев
────────────────────────────┬────────────────────┬────────────┬───
Разбираемые конструкции │ Водолазная станция │ Рабочие │
────────────────────────────┼────────────────────┼────────────┼───
Насадки, раскосы, схватки │0,14 │0,64 │1
│------ │---- │
│0-52,9 │0-41 │
────────────────────────────┼────────────────────┼────────────┼───
Ряжи с креплением нагелями │0,22 │1 │2
или ершами через 1 м │------ │---- │
│0-83,2 │0-64 │
────────────────────────────┼────────────────────┼────────────┼───
│а │б │N
§ Е39-50. Выдергивание деревянных свай
Указания по применению норм
Нормами предусмотрено выдергивание плавучим краном одиночных круглых деревянных свай с глубиной забивки до 3 м (рис. 18). Грузоподъемность крана устанавливается в каждом случае в зависимости от массы свай и характера грунта.
Рис. 18. Выдергивание деревянных свай плавучим краном
1 - сваи; 2 - плавучий кран; 3 - баржа; 4 - водолазная
станция на самоходном боте; 5 - буксир
Состав работы
1. Очистка поверхности сваи в месте застропки. 2. Застропка сваи. 3. Выдергивание сваи плавучим краном. 4. Укладка сваи на плавучие средства и отстропки. 5. Перемещение крана и плавучих средств к следующей свае.
Нормы времени и расценки на 1 сваю
──────────────────────────────┬─────────────────┬─────────────────
Состав звена │ Водолазная │ Рабочие
│ станция │
──────────────────────────────┼─────────────────┼─────────────────
Водолазная станция - 1 │0,35 │0,80
Речные рабочие 2 разр. - 2 │---- │(0,40)
│1-32 │------
│ │0-51,2
──────────────────────────────┼─────────────────┼─────────────────
│а │б
§ Е39-51. Разборка деревянных настилов вручную
Состав работы
1. Подача водолазу инструментов. 2. Разборка с расколкой досок настила с помощью топора, пилы, лома. 3. Перемещение разобранных досок в сторону или подача их наверх. 4. Подъем инструмента наверх.
Состав звена
Водолазная станция - 1
Речные рабочие 2 разр. - 4
Нормы времени и расценки на 1 м2 разобранного настила
───────────────────┬───────────────────────────────────────────┬──
Наименование работ │ Настил │
├─────────────────────┬─────────────────────┤
│ одинарный │ двойной │
├─────────────────────┴─────────────────────┤
│ Н. вр. │
│ ------ │
│ Расц. │
├───────────┬─────────┬───────────┬─────────┤
│водолазной │ рабочих │водолазной │ рабочих │
│ станции │ │ станции │ │
───────────────────┼───────────┼─────────┼───────────┼─────────┼──
Разборка палубы │0,84 │3,8 │1,6 │7,3 │1
судов │---- │---- │---- │---- │
│3-18 │2-43 │6-05 │4-67 │
───────────────────┼───────────┼─────────┼───────────┼─────────┼──
Разборка настила │0,53 │2,4 │0,96 │4,4 │2
гидротехнических │---- │---- │---- │---- │
сооружений │2-00 │1-54 │3-63 │2-82 │
───────────────────┼───────────┼─────────┼───────────┼─────────┼──
│а │б │в │г │N
§ Е39-52. Разборка деревянных конструкций с помощью
плавучего крана
Указания по применению норм
Нормами предусмотрено обследование деревянных конструкций водолазом и разборка их с помощью плавучего крана.
Грузоподъемность плавучего крана, а также состав и количество судов и плавучих технических средств устанавливаются проектом производства работ.
Состав работ
1. Осмотр конструкций и определение места для застропки. 2. Застропка элементов конструкции стальными стропами. 3. Отрыв застропленных элементов от основной конструкции с помощью плавучего крана. 4. Подъем элементов на поверхность и складирование их на берегу или погрузка на баржи или плавплощадки. 5. Перестановка плавучего крана на новое место по мере надобности.
Таблица 1
Состав звена
───────────────────────┬──────────────────────────────────────────
Профессия и разряд │ Плавучий кран
рабочих ├────────────────────────┬─────────────────
│с механической лебедкой │с ручной лебедкой
───────────────────────┼────────────────────────┼─────────────────
Водолазная станция │1 │1
───────────────────────┼────────────────────────┼─────────────────
Речные рабочие 2 разр. │3 │8
Таблица 2
Нормы времени и расценки на разборку 100 м бревен и брусьев
──────────────────┬──────────────────┬────────────┬───────────┬───
Плавучий кран │ Наименование │ Водолазная │ Рабочие │
│ разбираемых │ станция │ │
│ конструкций │ │ │
──────────────────┼──────────────────┼────────────┼───────────┼───
С механической ле-│Насадки, раскосы, │2,4 │8,1 │1
бедкой │схватки │---- │(2,7) │
│ │9-07 │----- │
│ │ │5-18 │
├──────────────────┼────────────┼───────────┼───
│Ряжи │3,2 │10,8 │2
│ │----- │(3,6) │
│ │12-10 │----- │
│ │ │6-91 │
──────────────────┼──────────────────┼────────────┼───────────┼───
С ручной лебедкой │Насадки, раскосы, │3,2 │29,0 │3
│схватки │----- │----- │
│ │12-10 │18-56 │
├──────────────────┼────────────┼───────────┼───
│Ряжи │4,8 │44,0 │4
│ │----- │----- │
│ │18-14 │28-16 │
──────────────────┴──────────────────┼────────────┼───────────┼───
│а │б │N
§ Е39-53. Подводная конопатка щелей
в гидротехнических сооружениях
Состав работы
1. Подача водолазу пакли, планок или жести. 2. Конопатка пазов паклей. 3. Набивка на пазы планок или жести.
Состав звена
Водолазная станция - 1
Речной рабочий 2 разр. - 1
Нормы времени и расценки на 1 м конопатки
────────────────┬─────────┬───────────┬───────────┬──────────┬────
Положение щели │Конопатка│ Ширина │Водолазная │ Рабочие │
│ │ щели, см │ станция │ │
────────────────┼─────────┼───────────┼───────────┼──────────┼────
Горизонтальное │В жгуте │До 1 │0,15 │0,17 │1
│ │ │------ │------ │
│ │ │0-56,7 │0-10,9 │
│ ├───────────┼───────────┼──────────┼────
│ │Св. 1 до 2 │0,17 │0,19 │2
│ │ │------ │------ │
│ │ │0-64,3 │0-12,2 │
│ ├───────────┼───────────┼──────────┼────
│ │Св. 2 до 3 │0,20 │0,23 │3
│ │ │------ │------ │
│ │ │0-75,6 │0-14,7 │
│ ├───────────┼───────────┼──────────┼────
│ │Св. 3 до 5 │0,39 │0,44 │4
│ │ │---- │------ │
│ │ │1-47 │0-28,2 │
├─────────┼───────────┼───────────┼──────────┼────
│В кишке │До 2 │0,12 │0,14 │5
│ │ │------ │---- │
│ │ │0-45,4 │0-09 │
│ ├───────────┼───────────┼──────────┼────
│ │Св. 2 до 3 │0,13 │0,15 │6
│ │ │------ │------ │
│ │ │0-49,1 │0-09,6 │
│ ├───────────┼───────────┼──────────┼────
│ │Св. 3 до 5 │0,25 │0,29 │7
│ │ │------ │------ │
│ │ │0-94,5 │0-18,6 │
────────────────┼─────────┼───────────┼───────────┼──────────┼────
Вертикальное │В жгуте │До 1 │0,23 │0,26 │8
│ │ │------ │------ │
│ │ │0-86,9 │0-16,6 │
│ ├───────────┼───────────┼──────────┼────
│ │Св. 1 до 2 │0,25 │0,29 │9
│ │ │------ │------ │
│ │ │0-94,5 │0-18,6 │
│ ├───────────┼───────────┼──────────┼────
│ │Св. 2 до 3 │0,31 │0,35 │10
│ │ │---- │------ │
│ │ │1-17 │0-22,4 │
│ ├───────────┼───────────┼──────────┼────
│ │Св. 3 до 5 │0,59 │0,67 │11
│ │ │---- │------ │
│ │ │2-23 │0-42,9 │
├─────────┼───────────┼───────────┼──────────┼────
│В кишке │До 2 │0,17 │0,19 │12
│ │ │------ │------ │
│ │ │0-64,3 │0-12,2 │
│ ├───────────┼───────────┼──────────┼────
│ │Св. 2 до 3 │0,20 │0,23 │13
│ │ │------ │------ │
│ │ │0-75,6 │0-14,7 │
│ ├───────────┼───────────┼──────────┼────
│ │Св. 3 до 5 │0,39 │0,44 │14
│ │ │---- │------ │
│ │ │1-47 │0-28,2 │
────────────────┴─────────┴───────────┼───────────┼──────────┼────
│а │б │N
ГЛАВА 5. ПОДВОДНЫЕ БУРОВЗРЫВНЫЕ РАБОТЫ
Техническая часть
1. Нормами настоящей главы предусмотрены специфические буровзрывные работы по рыхлению подводных грунтов, а также работы по взрыванию корчей, топляков, камней и затопленных стальных конструкций при разработке подводных траншей и котлованов и при дноочистительных (дноуглубительных) работах.
2. Взрывные работы на берегу и вспомогательные работы по подготовке взрывчатых веществ и средств взрывания, изготовлению и заправке бурового инструмента должны нормироваться по сб. Е2 "Земляные работы", вып. 3 "Буровзрывные работы".
3. При производстве работ в зимних условиях нормами предусмотрены работы при температуре не ниже 15 °С.
4. При взрывных работах без водолазной станции нормами предусмотрено производство работ при глубине воды до 6 м. При глубине воды св. 6 м к Н. вр. и Расц. применять коэффициенты:
при глубине до 11 м .................... 1,25 (ТЧ-3)
" " св. 11 до 17 ................ 1,5 (ТЧ-4)
" " " 17 " 20 ................ 1,6 (ТЧ-5)
" " " 20 " 26 ................ 1,75 (ТЧ-6)
" " " 26 м .................... 1,9 (ТЧ-7)
5. Нормами не предусмотрены работы по разбивке створов, установке предупредительных и запрещающих знаков и несению охраны во время взрывных работ. Эти работы определяются местными условиями и в каждом отдельном случае должны предусматриваться проектом производства работ.
6. При расстояниях перемещения больше или меньше, чем указано в составах работ, к Н. вр. добавлять или вычитать из них на каждые 100 м перемещений:
────────────────────┬────────────────────────┬────────────────────
Параграф сборника │ Для водолазной станции │ Для рабочих
────────────────────┼────────────────────────┼────────────────────
§ Е39-56, Е39-60, │0,005 │0,025
Е39-61 │------ │------
│(ТЧ-8) │(ТЧ-9)
────────────────────┼────────────────────────┼────────────────────
§ Е39-57, Е39-63 │- │0,019
│ │-------
│ │(ТЧ-10)
7. Группа грунтов (пород) определяется по времени чистого бурения 1 м шпура в соответствии с табл. 1 Вводной части сб. Е2 "Земляные работы", вып. 3 "Буровзрывные работы".
8. Нормами предусматривается длина лезвия коронки или головки бура 42 мм. При бурении бурами, имеющими другую длину лезвия коронки или головки бура, Н. вр. и Расц. умножать на коэффициенты, помещенные в таблице.
────────┬───────┬───────┬───────┬───────┬───────┬───────┬───────┬───────┬───────
Длина │ 32 │ 34 │ 36 │ 38 │ 40 │ 44 │ 46 │ 48 │ 50
лезвия │ │ │ │ │ │ │ │ │
коронки │ │ │ │ │ │ │ │ │
или │ │ │ │ │ │ │ │ │
головки │ │ │ │ │ │ │ │ │
бура, мм│ │ │ │ │ │ │ │ │
────────┼───────┼───────┼───────┼───────┼───────┼───────┼───────┼───────┼───────
Коэффи- │0,73 │0,77 │0,83 │0,89 │0,94 │1,06 │1,12 │1,18 │1,24
циент │-------│-------│-------│-------│-------│-------│-------│-------│-------
│(ТЧ-11)│(ТЧ-12)│(ТЧ-13)│(ТЧ-14)│(ТЧ-15)│(ТЧ-16)│(ТЧ-17)│(ТЧ-18)│(ТЧ-19)
9. Порядок выполнения подводных взрывных работ, принятый в нормах, учитывает правила техники безопасности. Повышать производительность труда за счет нарушения правил техники безопасности категорически воспрещается.
10. По вопросам техники безопасности, связанным с приемом, хранением, транспортированием взрывчатых материалов, подводным взрыванием и др., следует руководствоваться "Едиными правилами безопасности при взрывных работах".
11. При производстве буровзрывных работ в зимнее время все ледокольные работы следует нормировать по соответствующим параграфам сб. В13 "Строительство и ремонт речных гидротехнических сооружений", вып. 1 "Выправительные и берегоукрепительные работы".
§ Е39-54. Бурение шпуров под водой
А. БУРЕНИЕ ШПУРОВ С ГРУНТА
Указания по применению норм
Нормами предусмотрено бурение шпуров под водой при расстоянии между шпурами под водой до 5 м и глубине бурения до 1 м бурильными молотками.
Работы, предшествующие бурению, - водолазное обследование места работы, разметка мест бурения шпуров с установкой вешек, размыв гидромониторными установками малой мощности мест бурения от наносов нормами не учтены.
Состав работы
1. Запуск и обслуживание компрессора. 2. Подача водолазу бурильного молотка. 3. Бурение шпуров. 4. Очистка шпуров. 5. Закрывание шпуров пробками или вехами. 6. Переход водолаза в процессе работы от шпура к шпуру.
Состав звена
Водолазная станция - 1
Машинист компрессора 4 разр. - 1
Речной рабочий 2 разр. - 1
Нормы времени и расценки на 1 м шпура
─────────────────┬─────────────┬──────────────┬──────────────┬────
Группа грунтов │ Водолазной │ Машиниста │ Речного │
│ станции │ компрессора │ рабочего │
─────────────────┼─────────────┼──────────────┼──────────────┼────
XI - VIII │0,18 │2,1 │2,1 │1
│---- │---- │---- │
│6-80 │1-66 │1-34 │
─────────────────┼─────────────┼──────────────┼──────────────┼────
VII - IV │1 │1,1 │1,1 │2
│---- │------ │------ │
│3-78 │0-86,9 │0-70,4 │
─────────────────┼─────────────┼──────────────┼──────────────┼────
│а │б │в │N
Примечание. При обслуживании нескольких водолазных станций одной компрессорной установкой норма и расценка для машиниста компрессора не изменяются (ПР-1).
Б. БУРЕНИЕ ШПУРОВ С ПОНТОННОЙ ПЛОЩАДКИ
Указания по применению норм
Нормами предусмотрено бурение шпуров перфоратором ОМ-506 с площадки, смонтированной на спаренных понтонах, оборудованных лебедками. Передвижение площадки производится способом папильонирования. Водолаз производит разметку мест бурения шпуров на расстояниях до 1,5 м друг от друга. Забуривание шпуров на глубину 1 - 6 см производится с участием водолаза, который удерживает забурник специальными клещами с широкими щеками. Бурение шпуров производится бурильщиками с понтонной площадки. Предварительное водолазное обследование места работы и размыв гидромониторными установками малой мощности мест бурения от наносов в нормы не входят.
Состав работы
1. Установка площадки на месте работ. 2. Установка защитного приспособления. 3. Перемещение площадки в пределах рабочей зоны. 4. Разметка мест бурения шпуров. 5. Запуск и обслуживание компрессора. 6. Забуривание шпуров с помощью водолаза. 7. Бурение шпуров. 8. Закрывание шпуров пробками или вехами.
Состав звена
Водолазная станция - 1
Машинист компрессора 4 разр. - 1
Бурильщик 4 разр. - 3
Речные рабочие 2 разр. - 3
Нормы времени и расценки на 1 м шпура
─────────────────┬───────────┬────────────┬────────────┬──────────
Группа грунтов │Водолазная │ Машинист │ Бурильщики │ Речные
│ станция │компрессора │ шпуров │ рабочие
─────────────────┼───────────┼────────────┼────────────┼──────────
XI - VIII │0,18 │0,21 │0,63 │0,63
│---- │------ │------ │------
│0-68 │0-16,6 │0-49,2 │0-40,3
─────────────────┼───────────┼────────────┼────────────┼──────────
│а │б │в │г
В. БУРЕНИЕ ШПУРОВ СО ЛЬДА
Указания по применению норм
Нормами предусмотрено бурение шпуров перфораторами ОМ-506 и ПМ-508 диаметром 42 мм с настила, уложенного над майной. Забуривание шпуров осуществляется так же, как и при бурении шпуров с понтонной площадки, при расстоянии между шпурами до 1,5 м и глубине бурения шпуров от 0,6 до 2 м. Устройство настила над майной нормами не учтено.
Состав работы
1. Водолазное обследование места бурения. 2. Разметка шпуров. 3. Запуск и обслуживание компрессора. 4. Забуривание шпуров с помощью водолаза. 5. Бурение шпуров. 6. Закрывание шпуров пробками или вехами.
Состав звена
Водолазная станция - 1
Машинист компрессора 4 разр. - 1
Бурильщики шпуров 4 разр. - 2
Нормы времени и расценки на 1 м шпура
─────────────────┬─────────────┬──────────────┬───────────────┬───
Группа грунтов │ Водолазной │ Машиниста │ Бурильщиков │
│ станции │ компрессора │ │
─────────────────┼─────────────┼──────────────┼───────────────┼───
VIII │0,2 │0,23 │0,46 │1
│------ │------ │------ │
│0-75,6 │0-18,2 │0-36,3 │
─────────────────┼─────────────┼──────────────┼───────────────┼───
IX │0,26 │0,3 │0,6 │2
│------ │------ │------ │
│0-98,3 │0-23,7 │0-47,4 │
─────────────────┼─────────────┼──────────────┼───────────────┼───
X │0,33 │0,38 │0,76 │3
│---- │---- │---- │
│1-25 │0-30 │0-60 │
─────────────────┼─────────────┼──────────────┼───────────────┼───
│а │б │в │N
§ Е39-55. Патронирование порошкообразного ВВ и изготовление
боевых зарядов для подводного взрывания
Состав работ
При патронировании порошкообразных ВВ в бутылки
и изготовлении боевых зарядов
1. Подноска ВВ, средств взрывания, песка и бутылок на расстояние до 10 м. 2. Насыпка ВВ в бутылки и уплотнение. 3. Введение в заряд детонатора. 4. Намотка в бухту проводов электродетонатора или бикфордова шнура зажигательной трубки. 5. Засыпка песка. 6. Подноска разогретого парафина. 7. Заливка горлышка бутылки парафином. 8. Укладка готовых боевых зарядов в ящик. 9. Относка ящиков на расстояние до 10 м.
При патронировании порошкообразных ВВ в мешки из крафтбумаги,
изготовлении боевых зарядов и заливке их изолирующей смесью
1. Подноска ВВ, средств взрывания, песка, мешков на расстояние до 10 м. 2. Распаковка мешков и заготовка бумажных прокладок. 3. Засыпка песка и укладка бумажной прокладки. 4. Наполнение мешков ВВ с уплотнением встряхиванием. 5. Введение в заряд детонатора. 6. Намотка в бухту проводов электродетонатора или бикфордова шнура зажигательной трубки. 7. Укладка бумажной прокладки и верхнего слоя песка. 8. Растопка печи. 9. Заготовка и разогрев асфальтировочной смеси. 10. Заливка слоев бумажного мешка смесью и заделка его. 11. Заливка смесью ввода детонатора. 12. Подноска и относка изолировочной смеси.
При изготовлении удлиненных зарядов ВВ
1. Подноска взрывчатых материалов, песка и мешков и увязочного материала на расстояние до 10 м. 2. Распаковка банок с ВВ и засыпка их в бункер. 3. Наполнение мешков ВВ и завязка их. 4. Относка готовых зарядов и порожней тары.
Таблица 1
Нормы времени и расценки на патронирование 1 заряда
──────────────────┬───────────────────────────────────────────────
Состав звена │ Патронирование ВВ
├──────────┬────────────────────────────────────
│в бутылки │ в мешки из крафтбумаги
│ ├────────────────────────────────────
│ │ Масса заряда, кг
│ ├────────┬────────────┬──────────────
│ │ до 5 │св. 5 до 10 │ св. 10 до 25
──────────────────┼──────────┼────────┼────────────┼──────────────
Взрывники 4 разр. │0,31 │0,3 │0,42 │0,56
│------ │------ │------ │------
│0-24,5 │0-23,7 │0-33,2 │0-44,2
──────────────────┼──────────┼────────┼────────────┼──────────────
│а │б │в │г
Примечания. 1. В нормах предусмотрено патронирование в бутылках с узким горлом. При патронировании в бутылки с широким горлом норму времени умножать на 0,85 (ПР-1).
2. Просушка песка нормами не учтена (ПР-2).
Таблица 2
Нормы времени и расценки на изготовление 100 зарядов
──────────────────┬─────────┬──────────────────────────────────┬──
Состав звена │ Длина │ Диаметр зарядов, см │
│зарядов, ├───────┬────────────┬─────────────┤
│ см │ до 8 │св. 8 до 14 │св. 14 до 20 │
──────────────────┼─────────┼───────┼────────────┼─────────────┼──
Взрывники 4 разр. │100 │3,2 │5,4 │8,1 │1
│ │---- │---- │---- │
│ │2-53 │4-27 │6-40 │
├─────────┼───────┼────────────┼─────────────┼──
│200 │5,8 │9,1 │14,5 │2
│ │---- │---- │----- │
│ │4-58 │7-19 │11-46 │
├─────────┼───────┼────────────┼─────────────┼──
│300 │- │- │24 │3
│ │ │ │----- │
│ │ │ │18-96 │
──────────────────┴─────────┼───────┼────────────┼─────────────┼──
│а │б │в │N
§ Е39-56. Рыхление грунта под водой взрывами накладных
и шпуровых зарядов
А. ПРИ УКЛАДКЕ ЗАРЯДОВ ВОДОЛАЗАМИ
Указания по применению норм
Нормами предусмотрено рыхление грунта под водой взрывами накладных и шпуровых зарядов. У места укладки зарядов с водолазного катера спускается оттяжной конец каната с якорем. Находящийся на водолазном трапе водолаз принимает с рабочей лодки заряд и спускается с ним на грунт, придерживаясь одной рукой за оттяжной (спусковой) конец. Уложив заряд, водолаз поднимается на трап, принимает и укладывает в том же порядке очередной заряд.
По окончании укладки всех зарядов, подлежащих одновременному взрыванию, водолаз поднимается на катер, который отходит от места взрыва на безопасное расстояние (при взрывании нескальных грунтов на расстояние не менее 100 м, при взрывании скальных грунтов: шпуровыми зарядами не менее 50 м; накладными зарядами до 100 кг не менее 200 м; накладными зарядами более 100 кг не менее 300 м). Одновременно отходит рабочая лодка с взрывником, который разматывает провода электровзрывной сети.
Состав работы
1. Перемещение водолазного катера и лодки с взрывником от расходного склада ВМ на расстояние до 500 м. 2. Установка катера на якоря. 3. Опускание оттяжного конца каната с якорем. 4. Укладка зарядов водолазом. 5. Перемещение лодки и катера на безопасное расстояние. 6. Производство взрыва. 7. Возвращение лодки и катера к расходному складу ВМ.
Таблица 1
Состав звена
──────────────────────────────┬───────────────────────────────────
Профессия и разряд рабочих │Количество одновременно взрываемых
│ зарядов
├──────────────────┬────────────────
│ до 5 │ св. 5
──────────────────────────────┼──────────────────┼────────────────
Водолазная станция │1 │1
──────────────────────────────┼──────────────────┼────────────────
Взрывник 6 разр. │1 │1
──────────────────────────────┼──────────────────┼────────────────
" 4 " │- │1
Речные рабочие 2 разр. │3 │3
Таблица 2
Нормы времени и расценки на 1 заряд
───────────┬──────────┬──────────────┬────────────┬───────────┬───
Заряды │ Масса │ Количество │ Водолазная │ Рабочие │
│ зарядов, │ одновременно │ станция │ │
│ кг, до │ взрываемых │ │ │
│ │ зарядов │ │ │
───────────┼──────────┼──────────────┼────────────┼───────────┼───
Накладные │1 │1 │0,21 │0,96 │1
│ │ │------ │------ │
│ │ │0-79,4 │0-71,5 │
│ ├──────────────┼────────────┼───────────┼───
│ │От 2 до 5 │0,11 │0,5 │2
│ │ │------ │------ │
│ │ │0-41,6 │0-37,3 │
│ ├──────────────┼────────────┼───────────┼───
│ │Св. 5 │0,09 │0,57 │3
│ │ │---- │---- │
│ │ │0-34 │0-43 │
├──────────┼──────────────┼────────────┼───────────┼───
│5 │1 │0,25 │1,1 │4
│ │ │------ │---- │
│ │ │0-94,5 │0-82 │
│ ├──────────────┼────────────┼───────────┼───
│ │От 2 до 5 │0,15 │0,68 │5
│ │ │------ │------ │
│ │ │0-56,7 │0-50,7 │
│ ├──────────────┼────────────┼───────────┼───
│ │Св. 5 │0,12 │0,68 │6
│ │ │------ │------ │
│ │ │0-45,4 │0-51,3 │
├──────────┼──────────────┼────────────┼───────────┼───
│10 │1 │0,34 │1,6 │7
│ │ │---- │---- │
│ │ │1-29 │1-19 │
│ ├──────────────┼────────────┼───────────┼───
│ │От 2 до 5 │0,24 │1,1 │8
│ │ │------ │---- │
│ │ │0-90,7 │0-82 │
│ ├──────────────┼────────────┼───────────┼───
│ │Св. 5 │0,21 │1,2 │9
│ │ │------ │------ │
│ │ │0-79,4 │0-90,5 │
───────────┼──────────┼──────────────┼────────────┼───────────┼───
Шпуровые │1 │1 │0,31 │1,4 │10
│ │ │---- │---- │
│ │ │1-17 │1-04 │
│ ├──────────────┼────────────┼───────────┼───
│ │От 2 до 5 │0,22 │1 │11
│ │ │------ │------ │
│ │ │0-83,2 │0-74,5 │
│ ├──────────────┼────────────┼───────────┼───
│ │Св. 5 │0,2 │1,1 │12
│ │ │------ │------ │
│ │ │0-75,6 │0-82,9 │
├──────────┼──────────────┼────────────┼───────────┼───
│5 │1 │0,4 │1,8 │13
│ │ │---- │---- │
│ │ │1-51 │1-34 │
│ ├──────────────┼────────────┼───────────┼───
│ │От 2 до 5 │0,3 │1,4 │14
│ │ │---- │---- │
│ │ │1-13 │1-04 │
│ ├──────────────┼────────────┼───────────┼───
│ │Св. 5 │0,27 │1,5 │15
│ │ │---- │---- │
│ │ │1-02 │1-13 │
───────────┴──────────┴──────────────┼────────────┼───────────┼───
│а │б │N
Б. ПРИ УКЛАДКЕ УДЛИНЕННЫХ ЗАРЯДОВ С ПОВЕРХНОСТИ
Указания по применению норм
Нормами предусмотрено рыхление подводного скального твердого грунта. Удлиненные заряды монтируются на наклонной, покрытой брезентом, площадке, установленной на спаренном понтоне; специальные мешки-ленты диаметром 35 - 40 см, длиной 6 - 8 м, изготовленные из технической марли, заполняются ВВ и в них закладываются боевики. Заряд может быть смонтирован из нескольких мешков-лент, укладываемых параллельно на расстоянии 30 см один от другого. Для придания жесткости заряду поверх мешков выкладывается рама из жердей диаметром 8 - 12 см. Жерди скрепляются веревкой в местах пересечений и с мешками.
Полностью подготовленный к взрыву заряд буксируется методом толкания к месту установки на расстояние до 3 км. На месте взрыва заряд концевой частью крепится к заранее установленной вехе и при заднем ходе буксирного катера с участием взрывников стаскивается по наклонной площадке в воду и опускается на дно. После отхода катера и понтонной площадки на безопасное расстояние, во время которого производится разматывание магистральных проводов, производится взрыв, магистральные провода сматываются лебедкой и площадка с рабочими буксируется к складу ВМ.
Состав работы
1. Перемещение спаренного понтона на расстояние до 20 м к складу ВМ. 2. Подготовка мешков-лент к заполнению ВВ. 3. Изготовление боевиков. 4. Вскрытие ящиков с ВВ и подноска ВВ на расстояние до 20 м. 5. Заполнение мешков-лент ВВ. 6. Монтаж рамы жесткости. 7. Монтаж заряда, боевиков и электровзрывной цепи. 8. Введение боевиков в заряды. 9. Перемещение спаренного понтона к месту взрыва. 10. Опускание заряда на дно. 11. Отвод понтона на безопасное расстояние с разматыванием электровзрывных проводов. 12. Взрывание заряда. 13. Выборка и наматывание на барабан лебедки магистральных проводов. 14. Возвращение понтона к складу ВМ.
Таблица 3
Нормы времени и расценки на 1 т заряда
─────────────────────────────────────┬────────────────────────────
Состав звена │ Н. вр.
│ ------
│ Расц.
─────────────────────────────────────┼────────────────────────────
Взрывник 6 разр. - 1 │18,5
" 4 " - 2 │-----
Речные рабочие 2 разр. - 4 │13-74
§ Е39-57. Рыхление песчаного грунта взрывами
накладных зарядов
Указания по применению норм
Нормами предусмотрено, что заряды грузятся в отдельную лодку, которая буксируется рабочей лодкой на безопасное расстояние от места взрыва. Один, а при групповых взрывах несколько зарядов перегружаются в рабочую лодку, которая направляется к месту взрыва. После взрыва на рабочую лодку грузятся очередные заряды и она снова направляется к месту взрыва.
Состав работы
1. Погрузка зарядов в лодку с расходного склада ВМ. 2. Перемещение лодки на расстояние до 500 м. 3. Установка лодки на якорь на расстоянии 100 м от места взрыва. 4. Погрузка зарядов в рабочую лодку. 5. Перемещение рабочей лодки к месту взрыва. 6. Установка зарядов с отходом в безопасную зону. 7. Взрывание зарядов. 8. Промеры глубин наметкой. 9. Возвращение рабочей лодки за очередными зарядами на расстояние до 500 м.
А. ЭЛЕКТРИЧЕСКОЕ И ОГНЕВОЕ ВЗРЫВАНИЕ ОДИНОЧНЫХ
НАКЛАДНЫХ ЗАРЯДОВ
Таблица 1
Нормы времени и расценки на 1 заряд
──────────────────────────┬───────────────────────┬─────────────┬─
Состав звена │ Способ взрывания │Масса заряда,│
│ │ кг │
│ ├──────┬──────┤
│ │до 10 │св. 10│
│ │ │ до 15│
──────────────────────────┼───────────────────────┼──────┼──────┼─
Взрывник 6 разр. - 1│Электрическое взрывание│0,74 │0,96 │1
" 4 " - 1│одиночных зарядов │------│------│
Речные рабочие 2 разр. - 2│ │0-57,9│0-75,1│
──────────────────────────┼───────────────────────┼──────┼──────┼─
То же │Огневое взрывание │0,59 │0,66 │2
│ │------│------│
│ │0-46,2│0-51,6│
──────────────────────────┼───────────────────────┼──────┼──────┼─
" │Огневое взрывание │0,53 │0,58 │3
│зарядов укладываемыми │------│------│
│сериями до 5 шт. │0-41,5│0-45,4│
──────────────────────────┴───────────────────────┼──────┼──────┼─
│а │б │N
Б. ЭЛЕКТРИЧЕСКОЕ ВЗРЫВАНИЕ ГРУППОВЫМИ НАКЛАДНЫМИ ЗАРЯДАМИ
Таблица 2
Нормы времени и расценки на 1 заряд
──────────────────────────────┬───────────────────────────────────
Состав звена │ Количество зарядов в группе
├───────────┬───────────┬───────────
│ 5 - 6 │ 7 - 8 │ 9 - 10
──────────────────────────────┼───────────┼───────────┼───────────
Взрывник 6 разр. - 1 │0,42 │0,35 │0,31
То же 4 разр. - 1 │------ │------ │------
Речные рабочие 2 разр. - 2 │0-32,9 │0-27,4 │0-24,3
──────────────────────────────┼───────────┼───────────┼───────────
│а │б │в
§ Е39-58. Рыхление грунта под водой в зимних условиях
взрывами накладных зарядов
Состав работы
1. Раскладывание зарядов по готовым лункам. 2. Монтаж электровзрывной сети. 3. Опускание зарядов. 4. Подключение электровзрывной магистрали к сети. 5. Размотка магистральных проводов. 6. Уход в укрытие. 7. Производство взрыва. 8. Уборка проводов.
Таблица 1
Состав звена
────────────────────────────────────┬──────────────┬──────────────
Количество одновременно взрываемых │ До 5 │ Св. 5
зарядов │ │
────────────────────────────────────┼──────────────┼──────────────
Взрывник 6 разр. │1 │1
────────────────────────────────────┼──────────────┼──────────────
" 4 " │- │1
Таблица 2
Нормы времени и расценки на 1 заряд
─────────────────┬─────────────────────────────────────────────┬──
Масса заряда, кг │ Количество одновременно взрываемых зарядов │
├───────────┬───────────┬──────────┬──────────┤
│ 1 │ 2 - 3 │ 4 - 5 │ св. 5 │
─────────────────┼───────────┼───────────┼──────────┼──────────┼──
До 10 │0,37 │0,2 │0,16 │0,2 │1
│------ │------ │---- │------ │
│0-39,2 │0-21,2 │0-17 │0-18,5 │
─────────────────┼───────────┼───────────┼──────────┼──────────┼──
Св. 10 до 20 │0,44 │0,25 │0,2 │0,25 │2
│------ │------ │------ │------ │
│0-46,6 │0-26,5 │0-21,2 │0-23,1 │
─────────────────┼───────────┼───────────┼──────────┼──────────┼──
│а │б │в │г │N
Примечание. Устройство настила над майной в нормы не входит (ПР-1).
§ Е39-59. Взрывание накладными зарядами отдельных камней, свай,
топляков и других затопленных предметов
Состав работы
1. Перемещение лодки от расходного склада на расстояние до 500 м к месту взрыва. 2. Ощупывание затопленного предмета. 3. Устройство подкопа. 4. Привязывание заряда к месту. 5. Опускание заряда к затопленному предмету. 6. Отвод лодки в безопасное место на расстояние не менее 100 м. 7. Производство взрыва. 8. Возвращение лодки к месту взрыва. 9. Обследование взорванного предмета. 10. Переход к следующему предмету. 11. Возвращение лодки обратно к расходному складу ВМ после взрыва 10 зарядов.
Состав звена
Взрывник 6 разр. - 1
Речные рабочие 2 разр. - 3
Нормы времени и расценки на 1 заряд
───────────────────────┬──────────────────────────────────────┬───
Способ взрывания │ Количество одновременно взрываемых │
│ зарядов │
├────────────┬────────────┬────────────┤
│ 1 │ 2 - 3 │ 4 - 5 │
───────────────────────┼────────────┼────────────┼────────────┼───
Электрический │1,3 │0,71 │0,51 │1
│------ │------ │---- │
│0-96,9 │0-52,9 │0-38 │
───────────────────────┼────────────┼────────────┼────────────┼───
Огневой │1,1 │0,69 │0,54 │2
│---- │------ │------ │
│0-82 │0-51,4 │0-40,2 │
───────────────────────┼────────────┼────────────┼────────────┼───
│а │б │в │N
§ Е39-60. Взрывание стальных конструкций под водой
Состав работы
1. Перемещение водолазного катера и лодки с ВМ и взрывником от расходного склада ВМ на расстояние до 500 м. 2. Установка катера и лодки на якоря. 3. Обследование и подготовка водолазом места укладки заряда. 4. Перемещение лодки с взрывником к катеру. 5. Укладка заряда водолазом с укреплением заряда на взрываемом элементе. 6. Подъем водолаза на катер. 7. Перемещение катера и лодки в безопасное место на расстояние не менее 100 м. 8. Производство взрыва. 9. Возвращение катера и лодки к расходному складу ВМ после взрыва 10 зарядов.
Состав звена
Водолазная станция - 1
Взрывник 6 разр. - 1
Речные рабочие 2 разр. - 3
Нормы времени и расценки на 1 заряд
────────┬───────────────────────────────────────────────────────┬─
Коли- │ Масса патронов, кг │
чество ├────────────────┬───────────────────┬──────────────────┤
патронов│ до 1 │ св. 1 до 5 │ св. 5 до 10 │
в заряде├────────────────┴───────────────────┴──────────────────┤
│ Н. вр. │
│ ------ │
│ Расц. │
├────────┬───────┬──────────┬───────┬───────────┬───────┤
│водолаз-│рабочих│водолазной│рабочих│водолазной │рабочих│
│ной │ │ станции │ │ станции │ │
│станции │ │ │ │ │ │
────────┼────────┼───────┼──────────┼───────┼───────────┼───────┼─
1 │0,25 │1,1 │0,28 │1,3 │0,32 │1,5 │1
│------ │---- │---- │------ │---- │---- │
│0-94,5 │0-82 │1-06 │0-96,9 │1-21 │1-12 │
────────┼────────┼───────┼──────────┼───────┼───────────┼───────┼─
2 │0,38 │1,7 │0,44 │2 │0,56 │2,6 │2
│---- │---- │---- │---- │---- │---- │
│1-44 │1-27 │1-66 │1-49 │2-12 │1-94 │
────────┼────────┼───────┼──────────┼───────┼───────────┼───────┼─
3 │0,5 │2,3 │0,64 │2,9 │0,75 │3,4 │3
│---- │---- │---- │---- │---- │---- │
│1-89 │1-71 │2-42 │2-16 │2-84 │2-53 │
────────┼────────┼───────┼──────────┼───────┼───────────┼───────┼─
4 │0,64 │2,9 │0,75 │3,4 │0,9 │4,1 │4
│---- │---- │---- │---- │---- │---- │
│2-42 │2-16 │2-84 │2-53 │3-40 │3-05 │
────────┼────────┼───────┼──────────┼───────┼───────────┼───────┼─
5 │0,75 │3,4 │0,9 │4,1 │1,1 │5 │5
│---- │---- │---- │---- │---- │---- │
│2-84 │2-53 │3-40 │3-05 │4-16 │3-73 │
────────┼────────┼───────┼──────────┼───────┼───────────┼───────┼─
│а │б │в │г │д │е │N
§ Е39-61. Взрывание под водой элементов сооружений
(устоев мостов, плотин, подпорных стенок)
Состав работы
1. Перемещение водолазного катера и лодки с ВМ и взрывником от расходного склада ВМ на расстояние до 500 м. 2. Установка катера и лодки на якоря. 3. Осмотр и подготовка места укладки заряда водолазом. 4. Перемещение лодки с взрывником к катеру. 5. Укладка заряда водолазом. 6. Подъем водолаза на катер после укладки заряда. 7. Перемещение лодки и катера в безопасное место на расстояние не менее 100 м. 8. Производство взрыва. 9. Возвращение лодки и катера к расходному складу ВМ после производства 10 взрывов.
Состав звена
Водолазная станция - 1
Взрывник 6 разр. - 1
Речные рабочие 2 разр. - 3
Нормы времени и расценки на 1 заряд
───────┬────────────────────────────────────────────────────────┬─
Коли- │ Масса заряда, кг │
чество ├──────────────────┬──────────────────┬──────────────────┤
одно- │ до 5 │ св. 5 до 10 │ св.10 до 15 │
времен-├──────────────────┴──────────────────┴──────────────────┤
но │ Н. вр. │
взры- │ ------ │
ваемых │ Расц. │
зарядов├──────────┬───────┬──────────┬───────┬──────────┬───────┤
│водолазной│рабочих│водолазной│рабочих│водолазной│рабочих│
│ станции │ │ станции │ │ станции │ │
───────┼──────────┼───────┼──────────┼───────┼──────────┼───────┼─
1 │0,23 │1 │0,26 │1,2 │0,3 │1,4 │1
│------ │------ │------ │------ │---- │---- │
│0-86,9 │0-74,5 │0-98,3 │0-89,4 │1-13 │1-04 │
───────┼──────────┼───────┼──────────┼───────┼──────────┼───────┼─
2 │0,16 │0,73 │0,18 │0,82 │0,2 │0,91 │2
│------ │------ │---- │------ │------ │------ │
│0-60,5 │0-54,4 │0-68 │0-61,1 │0-75,6 │0-67,8 │
───────┼──────────┼───────┼──────────┼───────┼──────────┼───────┼─
│а │б │в │г │д │е │N
Примечание. Устройство ниш для укладки зарядов нормами не предусмотрено (ПР-1).
§ Е39-62. Взрывание льда
Указания по применению норм
Нормами предусмотрено, что заряды связываются бечевкой, длина которой соответствует глубине погружения заряда и привязывается к перекладине, укладываемой поперек лунки и удерживающей заряд на нужной глубине. К заряду привязывается груз, по массе равный половине массы заряда.
Взрывник, подготовив серию зарядов, опускает под лед один за другим заряды, зажигает шнур и отходит в безопасное место. В серии должно быть не св. 6 зарядов.
Состав работы
1. Раскладка зарядов у готовых лунок. 2. Связывание патронов. 3. Привязывание заряда и груза к перекладине. 4. Опускание заряда в лунку. 5. Поджигание шнура. 6. Отход на расстояние не менее 200 м.
Состав звена
Взрывник 6 разр. - 1
Нормы времени и расценки на 100 зарядов
──────────────────┬───────────────────────────────────────────┬───
Масса заряда, кг │Количество одновременно взрываемых зарядов │
├─────────────┬─────────────┬───────────────┤
│ 1 │ 2 - 4 │ 5 - 6 │
──────────────────┼─────────────┼─────────────┼───────────────┼───
До 3 │18 │9,5 │7,1 │1
│----- │----- │---- │
│19-08 │10-07 │7-53 │
──────────────────┼─────────────┼─────────────┼───────────────┼───
Св. 3 до 6 │22 │12 │9,4 │2
│----- │----- │---- │
│23-32 │12-72 │9-96 │
──────────────────┼─────────────┼─────────────┼───────────────┼───
Св. 6 до 10 │23 │15 │11,5 │3
│----- │----- │----- │
│24-38 │15-90 │12-19 │
──────────────────┼─────────────┼─────────────┼───────────────┼───
│а │б │в │N
§ Е39-63. Перевозка зарядов ВВ в лодке и на санях
Состав работы
1. Погрузка боевых зарядов в лодку или сани. 2. Перевозка зарядов. 3. Выгрузка зарядов. 4. Возвращение обратно к месту погрузки.
Таблица 1
Состав звена
──────────────────────────┬───────────────────────────────────────
Профессия и разряд рабочих│ Способ перевозки зарядов
├───────────────────┬───────────────────
│ в лодках │ на санях
──────────────────────────┼───────────────────┼───────────────────
Взрывник 4 разр. │1 │1
──────────────────────────┼───────────────────┼───────────────────
Речные рабочие 3 разр. │3 │
Таблица 2
Нормы времени и расценки на 1 перевозку
──────────────────────┬────────────────────────────────────────┬──
Расстояние перевозки │ Способ перевозки зарядов │
├───────┬───────────────┬────────────────┤
│в лодке│ на санях по │на санях по рых-│
│по воде│ гладкому льду │лому снегу в ус-│
│ │ │ловиях снеготая-│
│ │ │ния │
│ ├───────────────┴────────────────┤
│ │Масса одновременно перевозимых │
│ │ зарядов, кг │
│ ├───────┬───────┬────────┬───────┤
│ │ до 40 │св. 40 │ до 40 │св. 40 │
│ │ │ до 80 │ │ до 80 │
──────────────────────┼───────┼───────┼───────┼────────┼───────┼──
До 200 м │0,58 │0,15 │0,34 │0,19 │0,45 │1
│------ │------ │------ │---- │------ │
│0-41,9 │0-11,9 │0-26,9 │0-15 │0-35,6 │
──────────────────────┼───────┼───────┼───────┼────────┼───────┼──
Добавлять на каждые │0,24 │0,05 │0,11 │0,09 │0,16 │2
последующие 100 м │------ │---- │------ │------ │------ │
│0-17,3 │0-04 │0-08,7 │0-07,1 │0-12,6 │
──────────────────────┼───────┼───────┼───────┼────────┼───────┼──
│а │б │в │г │д │N
ГЛАВА 6. РАЗНЫЕ РАБОТЫ
§ Е39-64. Подъем из воды разных предметов
Указания по применению норм
Нормами предусмотрен подъем разных предметов со дна водоема с помощью плавучего крана или крана-балки с ручной лебедкой. Грузоподъемность кранов и лебедок определяется в зависимости от вида и массы поднимаемых предметов. До начала работ производится тщательное водолазное обследование поднимаемых предметов (определение приблизительной массы, конфигурации конструкции и пр.).
При подъеме предметов кран-балкой с ручной лебедкой подъемное оборудование размещается на плавучей площадке.
Состав работы
1. Осмотр предметов. 2. Застропка поднимаемых предметов. 3. Подъем застропленных предметов плавучим краном или кран-балкой с ручной лебедкой. 4. Укладка предметов на плавучие средства. 5. Отстропка предметов. 6. Перемещение плавучих средств и кранов к новому месту подъема.
Таблица 1
Состав звена
──────────────────────────────┬───────────────────────────────────
Профессия и разряд рабочих │ Кран
├───────────────┬───────────────────
│ плавучий │кран-балка с ручной
│ │ лебедкой
──────────────────────────────┼───────────────┼───────────────────
Водолазная станция │1 │1
──────────────────────────────┼───────────────┼───────────────────
Речные рабочие 2 разр. │2 │6
Таблица 2
Нормы времени и расценки на подъем одного предмета
───────┬──────┬─────────────────────────────────────────────────────────┬─
Способ │Состав│ Поднимаемые конструкции │
подъема│ звена├────────────┬─────────────────────────────┬───────┬──────┤
│ │ фермы │ обломки железобетонных │рельсы,│бревна│
│ │ стальные │конструкций (ящики, массивы │ трубы │длиной│
│ │ │ и пр.) │длиной │6,5 м │
│ │ │ │до 13 м│и диа-│
│ │ │ │ │мет- │
│ │ │ │ │ром до│
│ │ │ │ │300 мм│
│ ├────────────┴─────────────────────────────┴───────┴──────┤
│ │ Масса, т │
│ ├─────┬──────┬──────┬───────┬───────┬──────┬───────┬──────┤
│ │до 10│св. 10│до 0,1│св. 0,1│св. 0,5│св. 3 │до 0,6 │до 0,6│
│ │ │до 50 │ │до 0,5 │ до 3 │до 15 │ │ │
───────┼──────┼─────┼──────┼──────┼───────┼───────┼──────┼───────┼──────┼─
Краном │Водо- │2,5 │5 │0,12 │0,28 │0,56 │0,84 │0,3 │0,08 │1
│лазная│---- │----- │------│---- │---- │---- │---- │------│
│стан- │9-45 │18-90 │0-45,4│1-06 │2-12 │3-18 │1-13 │0-30,2│
│ция │ │ │ │ │ │ │ │ │
├──────┼─────┼──────┼──────┼───────┼───────┼──────┼───────┼──────┼─
│Рабо- │5,8 │11,4 │0,28 │0,64 │1,28 │1,92 │0,68 │0,18 │2
│чие │(2,9)│(5,7) │(0,14)│(0,32) │(0,64) │(0,96)│(0,34) │(0,09)│
│ │-----│----- │------│------ │------ │------│------ │------│
│ │3-71 │7-30 │0-17,9│0-41 │0-81,9 │1-23 │0-43,5 │0-11,5│
───────┼──────┼─────┼──────┼──────┼───────┼───────┼──────┼───────┼──────┼─
Краном-│Водо- │- │- │0,12 │0,28 │0,56 │0,84 │0,3 │0,08 │3
балкой │лазная│ │ │------│---- │---- │---- │---- │------│
с руч- │стан- │ │ │0-45,4│1-06 │2-13 │3-18 │1-13 │0-30,2│
ной ле-│ция │ │ │ │ │ │ │ │ │
бедкой ├──────┼─────┼──────┼──────┼───────┼───────┼──────┼───────┼──────┼─
│Рабо- │- │- │0,82 │1,9 │3,8 │5,7 │2,1 │0,55 │4
│чие │ │ │------│---- │---- │---- │---- │------│
│ │ │ │0-52,5│1-22 │2-43 │3-65 │1-34 │0-35,2│
───────┴──────┼─────┼──────┼──────┼───────┼───────┼──────┼───────┼──────┼─
│а │б │в │г │д │е │ж │з │N
§ Е39-65. Очистка подводной траншеи от валунов
Указания по применению норм
Нормами предусмотрена очистка дна подводной траншеи от валунов массой до 500 кг с перемещением их на расстояние до 10 м с помощью установленного на плавучей площадке крана-укосины.
Нормами учтен размыв грунта вокруг валуна гидромониторной струей (для создания условий застропки валуна) в объеме до 1 м3. При необходимости разработки вокруг валуна грунта объемом св. 1 м3 к приведенным Н. вр. и Расц. следует добавлять на дополнительный объем разработки Н. вр. и Расц. в соответствии с § Е39-6.
Состав работы
1. Подача водолазу гидромониторного шланга. 2. Отмыв грунта от валуна. 3. Подача водолазу стропов. 4. Застропка валуна. 5. Подъем и отстропка валуна. 6. Подъем гидромониторного шланга.
Нормы времени и расценки на 1 валун
────────────────────────────────────┬───────────┬─────────┬───────
Состав звена │Водолазная │Машинист │Рабочий
│ станция │ │
────────────────────────────────────┼───────────┼─────────┼───────
Водолазная станция - 1 │0,53 │1,8 │0,6
Машинист электростанции передвижной │---- │---- │------
5 разр. - 1 │2-00 │1-39 │0-38,4
Машинист насосной установки 3 разр. │ │ │
- 1 │ │ │
Машинист электролебедки 3 разр. - 1 │ │ │
Речной рабочий 2 разр. - 1 │ │ │
────────────────────────────────────┼───────────┼─────────┼───────
│а │б │в
§ Е39-66. Очистка дна водоема от камней
Указания по применению норм
Нормами предусмотрена очистка дна водоема от камней с помощью крана-укосины, установленного на понтоне или плашкоуте с лебедкой грузоподъемностью 1,5 - 3 т.
Нормами учтен подъем камней массой до 50 кг и щебня в стальных корзинах вместимостью от 0,5 до 1 м3, камень массой св. 50 кг поднимается с помощью специальных захватов или цепей.
Состав работы
1. Подача под воду корзин, цепей и захватов. 2. Сбор и погрузка щебня или камня в корзину. 3. Застропка цепью или накладывание захватов на отдельные крупные камни. 4. Подъем корзин или отдельных камней. 5. Выгрузка камня на плашкоут или на лед. 6. Отвод плашкоута. 7. Передвижка крана. 8. Погрузка камня на сани (при работе зимой) с отвозкой его на расстояние до 100 м.
Таблица 1
Состав звена
──────────────────────────────┬───────────────────────────────────
Профессия и разряд рабочих │ Время производства работ
├─────────────────┬─────────────────
│ летом │ зимой
──────────────────────────────┼─────────────────┼─────────────────
Водолазная станция │1 │1
──────────────────────────────┼─────────────────┼─────────────────
Речные рабочие 2 разр. │4 │5
Таблица 2
Нормы времени и расценки на 1 м3 камня
──────────┬─────────────┬──────────────────────────────────────┬──
Способ │Наименование │ Производство работ │
подъема │ поднимаемых ├──────────────────┬───────────────────┤
│ предметов │ с плавсредств │ со льда │
│ ├──────────────────┴───────────────────┤
│ │ Н. вр. │
│ │ ------ │
│ │ Расц. │
│ ├──────────┬───────┬───────────┬───────┤
│ │водолазной│рабочих│водолазной │рабочих│
│ │ станции │ │ станции │ │
──────────┼─────────────┼──────────┼───────┼───────────┼───────┼──
Корзинами │Камень массой│1,1 │5,0 │0,9 │5,1 │1
│от 8 до 50 кг│---- │---- │---- │---- │
│ │4-16 │3-20 │3-40 │3-26 │
├─────────────┼──────────┼───────┼───────────┼───────┼──
│То же, до │2,0 │9,1 │1,6 │9,1 │2
│8 кг │---- │---- │---- │---- │
│ │7-56 │5-82 │6-05 │5-82 │
├─────────────┼──────────┼───────┼───────────┼───────┼──
│Щебень │2,9 │13,0 │2,3 │13,0 │3
│ │----- │---- │---- │---- │
│ │10-96 │8-32 │8-69 │8-32 │
──────────┼─────────────┼──────────┼───────┼───────────┼───────┼──
Захватами │Камень массой│2,3 │10,5 │2,1 │12,0 │4
или цепями│св. 50 кг │---- │---- │---- │---- │
│ │8-69 │6-72 │7-94 │7-68 │
──────────┴─────────────┼──────────┼───────┼───────────┼───────┼──
│а │б │в │г │N
Примечания. 1. Устройство майны нормируется по гл. 3, сб. В13 "Строительство и ремонт речных гидротехнических сооружений и подводных переходов", вып. 1 "Выправительные и берегоукрепительные работы" (ПР-1).
2. При подъеме камня краном с механической лебедкой Н. вр. и Расц. водолазной станции умножать на 0,8; Н. вр. и Расц. рабочих умножать: строку 1 - на 0,4, а строку 2 - на 0,5 (ПР-2).
§ Е39-67. Переноска и перекидка камня под водой
Состав работы
1. Подъем камней массой от 10 до 50 кг. 2. Подноска камней вручную на расстояние до 4 м. 3. Перекидка камня на бровку траншеи и котлована или через стенку высотой до 1 м.
Нормы времени и расценки на 1 м3 камня
───────────────────────┬──────────────────┬───────────────────────
Состав звена │ Переноска на │Переноска с перекидкой
│расстояние до 4 м │ на бровку выемки или
│ │ через стенку
───────────────────────┼──────────────────┼───────────────────────
Водолазная станция - 1 │1,3 │1,7
│---- │----
│4-91 │6-43
───────────────────────┼──────────────────┼───────────────────────
│а │б
§ Е39-68. Прокладка тросов через водоем
Состав работы
1. Разматывание троса с бухты с замером, обрубкой и заделкой конца проволочной оплеткой. 2. Погрузка троса в завозню, катер или баржу. 3. Закрепление одного конца троса на берегу. 4. Стравливание троса по створу при переходе через водоем. 5. Вытаскивание второго конца троса на берег трактором (при прокладке троса диаметром св. 32 мм). 6. Закрепление второго конца троса на другом берегу.
Состав звена
Такелажники на монтаже 3 разр. - 2
Речной рабочий 2 разр. - 1
Нормы времени и расценки на 100 м троса
────────────────────┬────────────────┬────────────────────────┬───
Диаметр троса, мм │ Ширина водоема │ Добавлять на каждые │
│ до 150 м │ следующие 50 м ширины │
────────────────────┼────────────────┼────────────────────────┼───
12 │2,8 │0,4 │1
│---- │------ │
│1-90 │0-27,2 │
────────────────────┼────────────────┼────────────────────────┼───
25 │5,1 │0,7 │2
│---- │------ │
│3-47 │0-47,6 │
────────────────────┼────────────────┼────────────────────────┼───
32 │9,6 │0,96 │3
│---- │------ │
│6-53 │0-65,3 │
────────────────────┼────────────────┼────────────────────────┼───
│а │б │N
Примечания. 1. Длина троса равна примерно полуторной ширине водоема (ПР-1).
2. Подрезка троса нормами не учтена (ПР-2).
§ Е39-69. Устройство и разборка деревянных якорей
(анкерных опор) тяжелого типа
Указания по применению норм
Нормами предусмотрено устройство якоря (рис. 19), состоящего из бревна (поперечины) длиной 2 м, диаметром 300 мм, укладываемого на дно траншеи, к которому крепится трос, и четырех стоек из бревен длиной 2 м, диаметром 200 мм, связанных двумя поперечными связями из бревен длиной 2 м, диаметром 200 мм, которые пришиваются к стойкам строительными скобами. Стойки устанавливаются в траншее наклонно, опираясь верхними концами на бровку и служат упором для бревна (поперечины).
Рис. 19. Схема деревянного якоря
1 - петля; 2 - скоба; 3 - анкер; 4 - свая;
5 - поперечная связь; 6 - трос
Траншея для установки якоря должна быть размером 1 x 2 м, длиной 2 м и после установки якоря засыпается грунтом слоями 25 - 30 см с плотной утрамбовкой.
Разработка грунта для закладки и выемки якорей нормами не учтена.
Состав работ
При устройстве якоря
1. Подноска бревен на расстояние до 10 м. 2. Разметка и перепиливание бревен. 3. Подтеска стоек и связей в местах их сопряжений. 4. Пришивка поперечных связей к стойкам скобами. 5. Установка связанных стоек в готовой траншее. 6. Закрепление троса за якорь. 7. Засыпка траншеи и якоря грунтом с утрамбовкой.
При разборке якоря
1. Открепление и вытаскивание троса. 2. Разборка якоря с подъемом его частей наверх. 3. Относка материалов на расстояние до 10 м с укладкой в штабель.
Состав звена
Такелажник на монтаже 3 разр. - 1
Плотники 2 разр. - 2
Нормы времени и расценки на 1 якорь
─────────────────────────────────┬─────────────────────────────┬──
Работа │ Н. вр. │
│ ------ │
│ Расц. │
─────────────────────────────────┼─────────────────────────────┼──
Устройство якоря │7,1 │1
│---- │
│4-69 │
─────────────────────────────────┼─────────────────────────────┼──
Разборка якоря │3,4 │2
│---- │
│2-24 │
§ Е39-70. Устройство П-образной береговой опоры
для скрепера
Указания по применению норм
Нормами предусмотрено устройство береговых опор из бревен диаметром до 250 мм для блока. Стойки опор устанавливаются в землю на глубину в 1,5 м и укрепляются четырьмя подкосами из бревен диаметром 180 - 200 мм. Верхние брусья крепятся к стойкам штырями и четырьмя строительными скобами.
Нормами не учтены копка ям для закладки стоек опор и монтаж блоков на опоре.
Состав работы
1. Заготовка бревен. 2. Изготовление и установка опоры. 3. Засыпка ям с трамбованием. 4. Постановка подкосов. 5. Насадка и крепление верхнего бруса.
Норма времени и расценка на 1 опору
───────────────────────────────────┬──────────────────────────────
Состав звена │ Н. вр.
│ ------
│ Расц.
───────────────────────────────────┼──────────────────────────────
Плотники 3 разр. - 1 │5,4
" 2 " - 1 │----
│3-62
§ Е39-71. Установка и разборка щитовой опалубки
для подводного бетонирования
Указания по применению норм
Нормами предусмотрена установка и разборка щитовой опалубки водолазом для подводного бетонирования разных конструкций.
Нормами учтены водолазный осмотр и тщательное уплотнение просмоленной паклей стыков и мест примыкания щитовой опалубки. При возможности опалубку следует уплотнять изнутри бетонируемого блока.
При установке опалубки в виде шпунтового ограждения водолаз проверяет плотность шпунтовых замков и мест примыкания шпунта.
Состав работ
При установке опалубки
1. Забалластирование ранее заготовленного щита. 2. Затопление щита. 3. Пригонка щита к месту. 4. Закрепление его гвоздями или скобами. 5. Уплотнение стыков и мест примыкания опалубки. 6. Снятие балласта со щита.
При разборке опалубки
1. Разборка крепления. 2. Разборка опалубки отдельными щитами. 3. Застропка, подъем щитов и отстропка их.
Таблица 1
Состав звена
───────────────────────┬──────────────────────────────────────────
Профессия и разряд │ Площадь одного щита, м2
рабочих ├─────────────┬─────────────┬──────────────
│ до 4 │ св. 4 до 8 │ св. 8 до 16
───────────────────────┼─────────────┼─────────────┼──────────────
Водолазная станция │1 │1 │1
───────────────────────┼─────────────┼─────────────┼──────────────
Речные рабочие 2 разр. │2 │3 │4
Таблица 2
Нормы времени и расценки на установку или снятие 1 щита
──────────────────────────────┬──────────┬───────────┬────────┬───
Наименование работ │ Площадь │Водолазная │Рабочие │
│ щита, м2 │ станция │ │
──────────────────────────────┼──────────┼───────────┼────────┼───
Установка щитовой опалубки под│До 4 │1,4 │3,2 │1
водой │ │---- │---- │
│ │5-29 │2-05 │
├──────────┼───────────┼────────┼───
│Св. 4 до 8│2,2 │7,5 │2
│ │---- │---- │
│ │8-32 │4-80 │
├──────────┼───────────┼────────┼───
│" 8 " 16│4,2 │19,0 │3
│ │----- │----- │
│ │15-88 │12-16 │
──────────────────────────────┼──────────┼───────────┼────────┼───
Разборка щитовой опалубки под │До 4 │0,68 │1,6 │4
водой │ │---- │---- │
│ │2-57 │1-02 │
├──────────┼───────────┼────────┼───
│Св. 4 до 8│0,94 │3,2 │5
│ │---- │---- │
│ │3-55 │2-05 │
├──────────┼───────────┼────────┼───
│" 8 " 16│1,6 │7,3 │6
│ │---- │---- │
│ │6-05 │4-67 │
──────────────────────────────┴──────────┼───────────┼────────┼───
│а │б │N
§ Е39-72. Укладка бетонной смеси в бадьях
Указания по применению норм
Нормами предусмотрена укладка бетонной смеси, подаваемой водолазу в специальных бадьях вместимостью 0,1 м3, при замоноличивании каверн или трещин в сооружениях.
Нормами учтены подача бадьи с бетонной смесью под воду и подъем порожней бадьи рабочими с плавучей площадки с применением простейших приспособлений.
Укладка бетонной смеси в бадьи и подача их на плавучую площадку нормами не учтена.
Состав работы
1. Подача готовой бетонной смеси, уложенной в бадьи, водолазу. 2. Укладка бетонной смеси на место. 3. Разравнивание бетонной смеси. 4. Подъем бадьи наверх.
Нормы времени и расценки на укладку 1 м3 бетонной смеси
по обмеру в бадьях
───────────────────────────────┬────────────────────┬─────────────
Состав звена │ Водолазная станция │ Рабочие
───────────────────────────────┼────────────────────┼─────────────
Водолазная станция - 1 │1,8 │8,2
Речные рабочие 2 разр. - 4 │---- │----
│6-80 │5-25
───────────────────────────────┼────────────────────┼─────────────
│а │б
§ Е39-73. Укладка бетонной смеси в мешках
Указания по применению норм
Нормами предусмотрена укладка бетонной смеси в мешках массой до 50 кг.
Нормами учтена укладка бетонной смеси в мешках с соблюдением следующих требований: а) мешки должны заполняться бетонной смесью не более чем на 2/3 объема; б) мешки с бетонной смесью укладываются с перевязкой швов между ними; в) при укладке каждого мешка водолаз должен тщательно распределить его содержимое для заполнения имеющихся неровностей.
Состав работы
1. Подача водолазу бетонной смеси в мешках. 2. Приемка водолазом мешков. 3. Укладка мешков в готовую опалубку или заранее намеченное место.
Состав звена
Водолазная станция - 1
Речные рабочие 2 разр. - 3
Нормы времени и расценки на укладку 100 мешков
───────────────────────┬─────────────────────┬────────────────┬───
Укладка │ Водолазная станция │ Рабочие │
───────────────────────┼─────────────────────┼────────────────┼───
Тщательная закладка │4,7 │16 │1
сопряжений │----- │----- │
│17-77 │10-24 │
───────────────────────┼─────────────────────┼────────────────┼───
Заполнение площадей │3,3 │11,5 │2
│----- │---- │
│12-47 │7-36 │
───────────────────────┼─────────────────────┼────────────────┼───
│а │б │N
Примечание. Заполнение мешков бетонной смесью нормами не учтено (ПР-1).
§ Е39-74. Укладка мешков с песком в подводную траншею
Указания по применению норм
Нормами предусмотрены работы по заполнению песком мешков и укладке их в подводную траншею с целью защиты подводного кабеля от повреждений.
Нормой учтены заполнение мешков песком на берегу вручную или с помощью ленточного транспортера на 2/3 объема (массой до 50 кг) и их укладка на поддоны по 10 шт.
Поддоны с мешками устанавливаются на плавучую площадку, а затем краном подаются в подводную траншею, где водолаз укладывает их с перевязкой швов, распределяя при этом содержимое мешков так, чтобы не было пустот. Затраты времени на установку и перемещение плавучих средств в процессе укладки мешков нормами учтены.
Таблица 1
Состав звена
────────────────────────┬─────────────────────────────────────────
Профессия или разряд │ Работа
рабочих ├──────────┬──────────┬─────────┬─────────
│заполнение│заполнение│загрузка │укладка
│ мешков │мешков с │транспор-│мешков в
│ вручную │помощью │тера пес-│подводную
│ │ленточного│ком вруч-│траншею
│ │транспор- │ную │
│ │тера │ │
────────────────────────┼──────────┼──────────┼─────────┼─────────
Водолазная станция │- │- │- │1
────────────────────────┼──────────┼──────────┼─────────┼─────────
Речные рабочие 2 разр. │- │- │- │2
────────────────────────┼──────────┼──────────┼─────────┼─────────
Такелажник на монтаже │1 │1 │- │-
2 разр. │ │ │ │
────────────────────────┼──────────┼──────────┼─────────┼─────────
Транспортерщик 2 разр. │- │1 │- │-
────────────────────────┼──────────┼──────────┼─────────┼─────────
Подсобные (транспортные)│4 │1 │4 │-
рабочие 1 разр. │ │ │ │
Таблица 2
Нормы времени и расценки на 100 мешков
────────────────────────────────────────────┬──────────┬───────┬──
Состав работ │Водолазная│Рабочие│
│ станция │ │
────────────────────────────────────────────┼──────────┼───────┼──
Загрузка транспортера вручную │- │5,4 │1
│ │---- │
│ │3-19 │
─────────────────────────┬──────────────────┼──────────┼───────┼──
Заполнение мешков с │при заполнении │- │4,2 │2
укладкой их на поддоны и │мешков с помощью │ │(1,4) │
подачей поддонов краном │ленточного транс- │ │----- │
на плавучую площадку │портера │ │2-62 │
├──────────────────┼──────────┼───────┼──
│при заполнении │- │15 │3
│мешков вручную │ │---- │
│ │ │9-00 │
─────────────────────────┴──────────────────┼──────────┼───────┼──
Укладка мешков с песком в подводную траншею │2,3 │5,2 │4
с помощью водолаза с подачей мешков на под- │---- │(2,6) │
донах под воду плавучим краном │8-69 │----- │
│ │3-33 │
────────────────────────────────────────────┼──────────┼───────┼──
│а │б │N
§ Е39-75. Пробивка отверстий в каменных и бетонных стенах
Состав работы
1. Подача водолазу инструментов. 2. Разметка отверстия. 3. Пробивка отверстия с помощью лома или шлямбура и кувалды. 4. Прочистка отверстия. 5. Подъем инструментов наверх.
Состав звена
Водолазная станция - 1
Нормы времени и расценки на 1 м глубины отверстия
───────────────────┬──────────────────────────────────────────┬───
Стены │ Диаметр отверстия, см │
├────────────┬───────────────┬─────────────┤
│ до 2,5 │ св. 2,5 до 5 │ св. 5 до 10 │
───────────────────┼────────────┼───────────────┼─────────────┼───
Слабая каменная │3,9 │6,5 │9,7 │1
│----- │----- │----- │
│14-74 │24-57 │36-67 │
───────────────────┼────────────┼───────────────┼─────────────┼───
Крепкая каменная │6,5 │9,7 │13,5 │2
или бетонная │----- │----- │----- │
│24-57 │36-67 │51-03 │
───────────────────┼────────────┼───────────────┼─────────────┼───
│а │б │в │N
§ Е39-76. Пробивка окон в каменной и бетонной кладке
Указания по применению норм
Нормами предусмотрена пробивка окон в каменной и бетонной кладке при толщине стенки до 50 см.
Состав работы
1. Подача водолазу инструментов. 2. Разметка окон. 3. Пробивка окон с помощью лома или шлямбура и кувалды. 4. Выравнивание стенки окна. 5. Подъем инструментов наверх.
Состав звена
Водолазная станция - 1
Нормы времени и расценки на пробивку 1 окна
─────────────────────┬─────────────────────────────────────────┬──
Материал кладки │ Площадь окна, м2 │
├──────────┬──────────┬────────┬──────────┤
│ до 0,25 │св. 0,25 │св. 0,5 │св. 0,75 │
│ │ до 0,5 │до 0,75 │ до 1,0 │
─────────────────────┼──────────┼──────────┼────────┼──────────┼──
Слабый известняк или │6,2 │7,5 │8,3 │9,3 │1
кирпич │----- │----- │----- │----- │
│23-44 │28-35 │31-37 │35-15 │
─────────────────────┼──────────┼──────────┼────────┼──────────┼──
Бетон │9,3 │11,5 │12,5 │14 │2
│----- │----- │----- │----- │
│35-15 │43-47 │47-25 │52-92 │
─────────────────────┼──────────┼──────────┼────────┼──────────┼──
│а │б │в │г │N
§ Е39-77. Разборка каменной кладки и гранитной облицовки
Состав работ
При разборке каменной кладки
1. Подача водолазу инструментов. 2. Обследование кладки. 3. Разметка мест разборки. 4. Разборка каменной кладки под водой водолазом с помощью отбойного молотка или вручную крючьями, киркой, ломом или клиньями с кувалдой. 5. Откидывание камня. 6. Подъем инструментов наверх.
При разборке гранитной облицовки
1. Подача водолазу инструментов. 2. Обследование места работ. 3. Разборка водолазом гранитной облицовки с помощью клиньев с кувалдой. 4. Застропка камня. 5. Подъем камня плавкраном наверх. 6. Отстропка камня. 7. Перемещение плавкрана. 8. Подъем инструментов наверх.
Таблица 1
Состав звена
────────────────────────────┬─────────────────┬───────────────────
Профессия и разряд рабочих │ Разборка кладки │Разборка гранитной
│ │ облицовки
────────────────────────────┼─────────────────┼───────────────────
Водолазная станция │1 │1
────────────────────────────┼─────────────────┼───────────────────
Речные рабочие 2 разр. │- │2
Таблица 2
Нормы времени и расценки на разборку 1 м3 каменной
кладки или на разборку и подъем 1 камня
гранитной облицовки
──────────┬──────────┬────────────────────────────┬───────────┬───
Способ │ Состав │ Разборка каменной кладки │ Разборка │
разборки │ звена ├────────────────────────────┤ гранитной │
камня │ │ Род раствора │ облицовки │
│ ├───────┬──────────┬─────────┤с подъемом │
│ │слабый │крепкий │ крепкий │ камня │
│ │извест-│известко- │цементный│ наверх │
│ │ковый │вый или │ │ │
│ │ │слабый │ │ │
│ │ │цементный │ │ │
──────────┼──────────┼───────┼──────────┼─────────┼───────────┼───
Отбойными │Водолазная│2,4 │4,3 │6,2 │- │1
молотками │станция │---- │----- │----- │ │
│ │9-07 │16-25 │23-44 │ │
──────────┼──────────┼───────┼──────────┼─────────┼───────────┼───
Вручную │То же │6,2 │9,4 │12 │0,40 │2
│ │----- │----- │----- │---- │
│ │23-44 │35-53 │45-36 │1-51 │
├──────────┼───────┼──────────┼─────────┼───────────┼───
│Рабочие │- │- │- │0,91 │3
│ │ │ │ │------ │
│ │ │ │ │0-58,2 │
──────────┴──────────┼───────┼──────────┼─────────┼───────────┼───
│а │б │в │г │N
Примечания. 1. При разборке каменной кладки под водой нормами не учтен подъем камней из воды (ПР-1).
2. При подъеме камней гранитной облицовки ручной лебедкой состав звена рабочих, а также Н. вр. и Расц. разновидности 3 "г" увеличивать вдвое (ПР-2).
3. Работа машиниста, обслуживающего компрессор, нормами не учтена (ПР-3).
§ Е39-78. Срубка бетона под водой
пневматическими отбойными молотками
Указания по применению норм
Нормами предусмотрена срубка гидротехнического бетона марок М150 - 200, толщиной до 1 м водолазами с помощью пневматических отбойных молотков типа МО-8У, МО-9У, МО-10У или МО-10П, воздух к которым под давлением 0,5 - 0,6 МПа (5 - 6 кгс/см2) поступает от компрессора, установленного на специальной плавучей площадке. Уборка срубленного бетона нормами не учтена.
Состав работы
1. Осмотр водолазом места работ. 2. Подача водолазу пневматического отбойного молотка. 3. Срубка бетона отбойным пневматическим молотком с очисткой забоя в процессе работы. 4. Подъем отбойного молотка наверх.
Нормы времени и расценки на 1 м3 бетона
─────────────────────────────────┬─────────────────────┬──────────
Состав звена │ Водолазная станция │ Машинист
─────────────────────────────────┼─────────────────────┼──────────
Водолазная станция - 1 │24,5 │28
Машинист компрессора 4 разр. - 1 │----- │-----
│92-61 │22-12
─────────────────────────────────┼─────────────────────┼──────────
│а │б
§ Е39-79. Выдергивание стальных и железобетонных свай
с помощью плавучего крана
Указания по применению норм
Нормами предусмотрено извлечение плавучим краном стальных и железобетонных свай с глубиной забивки до 15 м, расположенных друг от друга на расстоянии до 5 м.
Грузоподъемность крана устанавливается в каждом случае в зависимости от вида, размеров, массы и глубины забивки свай и характера грунта.
Нормами учтено складирование извлеченных свай на барже или плавучей площадке.
Состав работы
1. Очистка поверхности сваи в месте застропки. 2. Застропка сваи. 3. Выдергивание сваи плавучим краном. 4. Укладка сваи на плавучие средства. 5. Отстропка сваи. 6. Перемещение крана и плавучих средств к следующей свае.
Нормы времени и расценки на 1 сваю
───────────────────────────────┬────────────────────┬─────────────
Состав звена │ Водолазная станция │ Рабочие
───────────────────────────────┼────────────────────┼─────────────
Водолазная станция - 1 │0,86 │1,96
Речные рабочие 2 разр. - 2 │---- │(0,98)
│3-25 │------
│ │1-25
───────────────────────────────┼────────────────────┼─────────────
│а │б
КВАЛИФИКАЦИОННЫЕ ХАРАКТЕРИСТИКИ
ДОЛЖНОСТЕЙ РУКОВОДИТЕЛЕЙ, СПЕЦИАЛИСТОВ И СЛУЖАЩИХ
СТРОИТЕЛЬНЫХ ОРГАНИЗАЦИЙ
Дополнение к Общеотраслевому квалификационному справочнику
Извлечение из Постановления
Госстроя СССР
от 3 июля 1987 г. N 131
ОБЩИЕ ПОЛОЖЕНИЯ
1. Квалификационные характеристики служат основой при разработке должностных инструкций исполнителям, закрепляющих их обязанности, права и ответственность, составлении положений о структурных подразделениях, определяющих их роль и место в системе управления строительной организации и ее подразделений <*>, подборе и расстановке кадров, осуществлении контроля за правильностью их использования в соответствии со специальностью и квалификацией, а также при проведении аттестации руководителей и специалистов.
-----------------------------------
<*> К строительной организации относятся: строительно-монтажные тресты, производственные строительно-монтажные объединения, проектно-промышленно-строительные объединения, проектно-строительные объединения, тресты механизации; домостроительные и сельские строительные комбинаты, управления строительства, шахто-строительные, углестроительные и разрезо-строительные комбинаты (на правах и со структурой треста); строительно-монтажные управления, передвижные механизированные колонны и другие приравненные к ним организации, на которые распространено действие Положения о социалистическом государственном предприятии; организации, выполняющие работы по сооружению, ремонту и реставрации памятников культуры, мемориальных комплексов и монументально-декоративному оформлению; ремонтно-строительные организации, а также подразделения (бригады, участки) производственных объединений, предприятий, организаций, осуществляющих строительство и капитальный ремонт хозяйственным способом за счет специальных ассигнований на строительство и капитальный ремонт зданий и сооружений, когда указанным объединениям, предприятиям, организациям вышестоящими организациями устанавливается план по труду в строительстве.
2. Должностные наименования работников, квалификационные характеристики которых включены в настоящий сборник, установлены в соответствии с Общесоюзным классификатором профессий рабочих, должностей руководителей, специалистов и служащих, утвержденным Госстандартом СССР по согласованию с Госкомтрудом СССР, Госпланом СССР и ЦСУ СССР, и Постановлением ЦК КПСС, Совета Министров СССР и ВЦСПС от 17 сентября 1986 г.
3. Конкретные требования к каждой квалификационной категории утверждаются руководителем организации по согласованию с профсоюзным комитетом, исходя из особенностей организации производства, труда и управления, при соблюдении требований к уровню подготовки и стажу работы, указанных в квалификационных характеристиках должностей.
4. В справочник не включены квалификационные характеристики должностей ведущих специалистов, а также заместителей руководителей, поскольку их должностные обязанности, требования к знаниям и квалификации определяются на основе содержащихся в Справочнике характеристик соответствующих должностей.
Должностные обязанности "ведущих" устанавливаются на основе характеристик соответствующих должностей специалистов. Кроме того, на них возлагаются функции руководителя и ответственного исполнителя работ по одному из направлений деятельности строительной организации или ее подразделений, либо обязанности по координации и методическому руководству группами исполнителей, создаваемыми в отделах, с учетом рационального разделения труда в конкретных организационно-технических условиях. Требования к необходимому стажу работы повышаются на 2 - 3 года по сравнению с предусмотренными для специалистов 1 квалификационной категории.
Должностные обязанности, требования к знаниям и квалификации заместителей руководителей определяются на основе характеристик соответствующих должностей руководителей.
5. Характеристика каждой должности имеет три раздела. В разделе "Должностные обязанности" перечислены функции, которые могут быть полностью или частично поручены для выполнения работнику, занимающему данную должность.
В разделе "Должен знать" содержатся основные требования, предъявляемые к работнику в отношении специальных знаний, законодательных актов, положений, инструкций и других руководящих и нормативных документов, а также методов и средств, которые работник должен уметь применять при выполнении должностных обязанностей.
В разделе "Квалификационные требования" определены уровень и профиль специальной подготовки работника, необходимые для выполнения возложенных на него обязанностей, и требования к стажу работы.
6. В характеристиках приведен перечень основных, наиболее часто встречающихся работ, исходя из сложившегося разделения и кооперации труда. При необходимости обязанности, включенные в характеристику той или иной должности, могут быть распределены между несколькими исполнителями без увеличения численности работников по сравнению с определенной по нормативу. В процессе постоянного совершенствования организации управленческого труда, проведения мероприятий по повышению его эффективности возможно экономически целесообразное расширение круга обязанностей работников по сравнению с установленными соответствующей характеристикой. В этом случае работнику может быть поручено выполнение обязанностей, предусмотренных характеристиками других должностей, родственных по содержанию работ, т.е. относящихся к одной функции управления, равных по сложности, выполнение которых не требует другой специальности, квалификации, изменения должностного наименования.
7. Соответствие фактически выполняемых обязанностей и квалификации работников требованиям должностных характеристик определяется аттестационными комиссиями согласно действующему Положению о порядке проведения аттестации руководителей, инженерно-технических работников и других специалистов. При этом особое внимание уделяется качеству выполняемых работ, ответственности за порученное дело.
8. Лица, не имеющие специальной подготовки или стажа работы, установленных квалификационными требованиями, но обладающие достаточным практическим опытом и выполняющие качественно и в полном объеме возложенные на них должностные обязанности, по рекомендации аттестационных комиссий, в порядке исключения, могут быть назначены на соответствующие должности так же, как лица, имеющие специальную подготовку и стаж работы.
НАЧАЛЬНИК ОТДЕЛА ПОДСОБНЫХ ПРОИЗВОДСТВ
Должностные обязанности. Обеспечивает организацию и развитие собственной промышленной базы и выпуск продукции промышленных предприятий высокого качества в объемах и сроки согласно плану и договорным обязательствам; освоение производства новой продукции, соответствующей по своим технико-экономическим показателям высоким достижениям отечественной и зарубежной техники. Осуществляет координацию работы предприятий подсобных производств. Определяет потребности в капитальных вложениях на строительство новых, реконструкцию и модернизацию существующих предприятий. Разрабатывает предложения по развитию собственного производства. Готовит заключения на документацию по проектированию строительства и реконструкцию предприятий подсобных производств. Разрабатывает предложения по совершенствованию системы хозрасчетных взаимоотношений между предприятиями и строительно-монтажными организациями. Участвует в разработке годовых и квартальных планов работ и промфинпланов предприятий подсобных производств, рассмотрении проектов планов внедрения новой техники и оргтехмероприятий, размещении заказов на изготовление оборудования, инструментов и технологической оснастки. Проводит анализ хозяйственной деятельности промышленных предприятий. Осуществляет контроль за разработкой оперативных планов работы предприятий, своевременной выдачей им технической документации для изготовления строительных конструкций, деталей, нетипового оборудования и т.п., выполнением годовых и квартальных планов работы предприятий, качеством выпускаемой продукции, выполнением плана материально-технического обеспечения предприятий. Принимает участие в определении потребности предприятий в материалах, полуфабрикатах и запасных частях. Организует социалистическое соревнование между подведомственными предприятиями и систематическое подведение итогов. Участвует в разработке коллективного договора и выполнении его мероприятий. Руководит работниками отдела.
Должен знать: постановления, распоряжения, приказы вышестоящих органов, методические, нормативные и другие руководящие материалы по вопросам производственного планирования и оперативного управления производством, специализацию предприятий и производственные связи между ними; номенклатуру выпускаемой продукции, виды выполняемых работ (услуг); основы технологии производства; порядок разработки производственных программ и календарных графиков выпуска продукции; организацию складского хозяйства, транспортных и погрузочно-разгрузочных работ на предприятиях; организационную технику и средства механизации оперативного учета и регулирования хода производства, основы экономики, организации производства, труда и управления; основы трудового законодательства; правила и нормы охраны труда, техники безопасности, производственной санитарии и противопожарной защиты.
Квалификационные требования. Высшее техническое или инженерно-экономическое образование и стаж работы по управлению производством на инженерно-технических и руководящих должностях не менее 5 лет.
НАЧАЛЬНИК ОТДЕЛА РЕАЛИЗАЦИИ И ПЕРЕВОЗОК УПТК
Должностные обязанности. Осуществляет работу по реализации материально-технических ресурсов в соответствии с утвержденной номенклатурой поставки материалов на строительные объекты. Обеспечивает контроль за выполнением поставщиками договорных обязательств, за качеством поступающих материалов и изделий. Подготавливает документацию по претензиям к поставщикам при нарушении договорных обязательств. Организует своевременную передачу на центральный пункт контрольного учета сопроводительных и товарно-транспортных документов на самовывоз материалов и изделий. Содействует расширению централизованной поставки материалов и изделий со складов поставщиков. Организует ведение оперативного учета движения материальных ресурсов, особенно поступления материалов, используемых непосредственно в монтаже. Организует составление отчетности о ходе реализации материально-технических ресурсов. Контролирует деятельность складского хозяйства в части выполнения условий приемки материалов и изделий по качеству и количеству, правильности погрузки и разгрузки, складирования и хранения. Проводит выборочный контроль за отпуском материалов на строительные объекты согласно утвержденным нормам. Выявляет сверхнормативные и неликвидные материалы и изделия, подготавливает материалы для их реализации в установленном порядке. Участвует в разработке коллективного договора и выполнении его мероприятий. Участвует в организации и совершенствовании социалистического соревнования. Руководит работниками отдела.
Должен знать: постановления, распоряжения, приказы вышестоящих органов, методические, нормативные и другие руководящие материалы, касающиеся деятельности отдела и УПТК; техническую документацию по материально-техническому обеспечению; порядок разработки текущих и перспективных планов материально-технического обеспечения, нормативов производственных запасов; стандарты, технические условия, прейскуранты оптовых цен, номенклатуру потребляемых материалов; основы трудового законодательства; правила и нормы охраны труда, техники безопасности, производственной санитарии и противопожарной защиты.
Квалификационные требования. Высшее образование и стаж работы в строительных организациях на инженерно-технических должностях не менее 3 лет или среднее специальное образование и стаж работы в строительных организациях на инженерно-технических должностях не менее 5 лет.
НАЧАЛЬНИК ОТДЕЛА СОЦИАЛЬНОГО РАЗВИТИЯ
Должностные обязанности. Обеспечивает развитие и улучшение использования материальной базы социальных мероприятий с целью совершенствования физического и духовного развития членов производственного коллектива на основе внедрения комплекса социально-экономических мероприятий. Участвует в формировании благоприятного психологического микроклимата в производственном коллективе, изучении и распространении передового опыта по социальному развитию, повышении творческой активности работников, сокращению текучести кадров. Организует проведение социально-экономических исследований проблем социального развития коллектива. Разрабатывает и реализует методики сбора и обработки социально-экономической информации. Участвует в организации и осуществляет методическое руководство разработкой комплексных планов социального развития коллектива. Принимает участие в совершенствовании форм социалистического соревнования, материального и морального стимулирования и улучшения системы подбора, расстановки и воспитания кадров. Организует периодическое проведение анкетирования разных групп работающих. Проводит анализ результатов анкетирования и подготовку мероприятий по социальным вопросам. Разрабатывает показатели социального паспорта коллектива. Осуществляет пропаганду социологических и психологических знаний в коллективе, обучение руководителей подразделений, работников кадровой службы. Участвует в подготовке коллективного договора и в подведении итогов его выполнения. Проводит анализ социальной и экономической эффективности мероприятий по социальному развитию трудовых коллективов. Руководит работниками отдела.
Должен знать: постановления, распоряжения, приказы вышестоящих органов, методические, нормативные и другие руководящие материалы по вопросам социального развития трудовых коллективов; социологию труда; методы проведения социологических исследований; основы психологии труда, инженерной и социальной психологии; основы экономики, организации производства, труда и управления; формы и системы заработной платы; порядок и методы планирования социального развития трудового коллектива; передовой отечественный и зарубежный опыт работы социологов на предприятиях и в организациях; основы технологии строительного производства; основы трудового законодательства; правила и нормы охраны труда, техники безопасности, производственной санитарии и противопожарной защиты.
Квалификационные требования. Высшее экономическое или психологическое образование и стаж работы в строительных организациях на инженерно-экономических и руководящих должностях не менее 5 лет.
НАЧАЛЬНИК ОТДЕЛА ЭКСПЛУАТАЦИИ И РЕМОНТА МАШИН
И МЕХАНИЗМОВ ТРЕСТА МЕХАНИЗАЦИИ СТРОИТЕЛЬСТВА
Должностные обязанности. Принимает участие в формировании производственной программы треста механизации и организует ее выполнение. Осуществляет контроль за своевременной подготовкой объекта к производству механизированных работ и соблюдением требований нормативной и технической документации, а также проектов производства работ при эксплуатации строительных машин. Организует перевозку машин и заправку их топливно-смазочными материалами. Руководит работой радиодиспетчерской связи. Разрабатывает предложения по совершенствованию структуры парка машин, повышению сменности работы машин, внедрению прогрессивных технологий производства работ. Осуществляет меры по подготовке техники к работе в зимних условиях. Принимает участие в разработке и согласовывает планы осмотров, испытаний, ремонтов строительной техники. Организует ведение технической, учетной и отчетной документации. Обеспечивает контроль за исправным техническим состоянием машин и механизмов. Подготавливает предложения по изготовлению сменного рабочего оборудования. Изучает условия работы машин и оборудования, отдельных узлов и готовит предложения по улучшению технико-эксплуатационных характеристик машин и сменного рабочего оборудования. Организует работу ремонтной службы (в случае отсутствия службы главного механика). Проводит работу по совершенствованию организации труда службы эксплуатации и ремонтной службы. Контролирует соблюдение требований охраны труда, техники безопасности, производственной санитарии и противопожарной защиты. Принимает участие в изучении причин аварий, разрабатывает и внедряет мероприятия по созданию безопасных и здоровых условий труда при эксплуатации и ремонте машин и механизмов. Участвует в рассмотрении рационализаторских предложений, касающихся улучшения эксплуатации и ремонта машин и механизмов. Руководит работниками отдела и подразделений по эксплуатации и ремонту машин и механизмов. Участвует в разработке коллективного договора и выполнении его мероприятий. Участвует в организации и совершенствовании социалистического соревнования.
Должен знать: постановления, распоряжения, приказы вышестоящих органов, методические, нормативные и другие руководящие материалы, касающиеся производственной и хозяйственной деятельности отдела; единую систему планово-предупредительного ремонта и рациональной эксплуатации машин и механизмов; организацию ремонта и технического обслуживания машин и механизмов; технические характеристики, конструктивные особенности и эксплуатационные данные машин и механизмов; стандарты, технические условия и инструкции по эксплуатации машин и механизмов; основы экономики, организации производства, труда и управления; правила государственной автоинспекции; правила безопасной эксплуатации грузоподъемных машин и механизмов; основы трудового законодательства; нормы и правила охраны труда, техники безопасности, производственной санитарии и противопожарной защиты.
Квалификационные требования. Высшее техническое образование и стаж работы в строительных организациях на инженерно-технических должностях не менее 3 лет или среднее специальное (техническое) образование и стаж работы в строительных организациях на инженерно-технических должностях не менее 5 лет.
НАЧАЛЬНИК ТРАНСПОРТНОГО ОТДЕЛА ДОМОСТРОИТЕЛЬНЫХ
И СЕЛЬСКИХ СТРОИТЕЛЬНЫХ КОМБИНАТОВ
Должностные обязанности. Обеспечивает своевременную и комплектную поставку на объекты строительных материалов, конструкций и деталей, рациональное использование транспортных средств, повышение производительности труда, снижение себестоимости, повышение рентабельности перевозок. Осуществляет организацию погрузочно-разгрузочных и транспортных работ, реализацию мероприятий по механизации этих работ и сокращению простоев транспортных средств под погрузкой и разгрузкой. Определяет объем грузоперевозок, потребность транспортных средств по количеству и номенклатуре и обеспечение этой потребности за счет собственного и привлекаемого транспорта. Участвует в разработке годовых и квартальных планов перевозок и работы автотранспорта по установленным показателям. Осуществляет распределение транспортных средств и оперативный контроль за их использованием. Производит расчеты и участвует в составлении заявок на материально-технические ресурсы (запасные части, горюче-смазочные и другие материалы), осуществляет контроль за их использованием. Контролирует составление и выполнение графиков планово-предупредительных ремонтов. Осуществляет планирование и организацию технического обслуживания и ремонта автотранспорта, составление заявок на капитальный ремонт транспортных средств и контроль за реализацией лимитов на капитальный ремонт. Обеспечивает соблюдение высокой производственной дисциплины. Организует работу по охране труда, обеспечению безопасности движения транспорта. Контролирует техническое состояние транспортных средств. Анализирует причины дорожно-транспортных происшествий, разрабатывает и реализует мероприятия по их предупреждению. Обеспечивает подведомственные организации соответствующим транспортом для перевозки рабочих. Обеспечивает ведение оперативного учета работы транспортных средств, а также их наличия, поступления и перемещения. Проводит работу по внедрению научной организации труда на погрузочно-разгрузочных и транспортных работах. Участвует в разработке коллективного договора и выполнений его мероприятий, организации и совершенствовании социалистического соревнования. Руководит работниками отдела.
Должен знать: постановления, распоряжения, приказы вышестоящих органов, методические, нормативные и другие руководящие материалы по организации работы транспорта; организацию работы автотранспорта и правила его эксплуатации; порядок определения потребности в автотранспорте и необходимых материально-технических ресурсах; основы экономики, организации производства труда и управления; основы трудового законодательства; правила и нормы охраны труда, техники безопасности, производственной санитарии и противопожарной защиты.
Квалификационные требования. Высшее техническое образование и стаж работы в автотранспорте на инженерно-технических и руководящих должностях не менее 5 лет.
НАЧАЛЬНИК ПРОЕКТНО-СМЕТНОГО БЮРО (ГРУППЫ)
Должностные обязанности. Руководит разработкой проектно-сметной документации на строительстве объектов собственной производственной базы, а также по согласованию с заказчиками - на технически несложные объекты. Участвует в подготовке и представлении проектным организациям заданий на проектирование. Участвует в организации и оформлении отвода земельных участков, сноса строений, закреплении пунктов опорной геодезической службы, главных осей зданий и сооружений, красных линий, передачи подготовленных строительных площадок для объектов собственного строительства. Организует проверку комплектности и качества, приемку проектно-сметной документацией, разрабатываемой проектными организациями. Обеспечивает подрядные организации проектно-сметной документации на собственное строительство. Следит за обеспечением его финансирования, изготовлением и своевременной поставкой технологического оборудования. Участвует в проведении технического надзора и приемке выполненных строительно-монтажных работ объектов собственного строительства. Организует подготовку и проведение государственной комиссии по приемке в эксплуатацию объектов собственного строительства. Участвует в разработке коллективного договора и выполнении его мероприятий, организации и совершенствовании социалистического соревнования. Руководит работниками бюро (группы).
Должен знать: постановления, распоряжения, приказы вышестоящих органов, методические, нормативные и другие руководящие материалы по вопросам проектирования объектов строительства; проектно-сметное дело; технологию строительного производства; основы экономики, организации производства, труда и управления; достижения науки и передовой отечественный и зарубежный опыт в области проектирования объектов строительства; основы трудового законодательства; нормы и правила охраны труда, техники безопасности, производственной санитарии и противопожарной защиты.
Квалификационные требования. Высшее техническое образование и стаж работы в строительных организациях на инженерно-технических должностях не менее 5 лет.