Главная // Актуальные документы // Анкета (форма)СПРАВКА
Источник публикации
М.: Стройиздат, 1980
Примечание к документу
Название документа
"Руководство по проектированию динамического освещения в производственных помещениях"
"Руководство по проектированию динамического освещения в производственных помещениях"
ПО ПРОЕКТИРОВАНИЮ ДИНАМИЧЕСКОГО ОСВЕЩЕНИЯ
В ПРОИЗВОДСТВЕННЫХ ПОМЕЩЕНИЯХ
Рекомендовано к изданию НТС НИИСФ Госстроя СССР.
Содержит характеристики динамического по спектру освещения, программу динамического освещения для работ, выполняемых в одну смену в помещениях без естественного света, при отсутствии высоких требований к цветоразличению, методы оценки эффективности динамического освещения, способы размещения установок динамического освещения в помещении.
Для светотехников, проектирующих искусственное освещение производственных зданий; архитекторов, разрабатывающих проекты цветовой отделки интерьеров производственных зданий с динамическим освещением; работников подразделений НОТ, занимающихся совершенствованием свето-цветовой среды на производстве, а также для светотехников, гигиенистов, физиологов, занимающихся исследованием динамического по спектру освещения.
Разработано Научно-исследовательским институтом строительной физики (НИИСФ) Госстроя СССР (канд. техн. наук Н.М. Беляева, инж. В.А. Аверьянов); Центральным научно-исследовательским и проектно-экспериментальным институтом промышленных зданий и сооружений (ЦНИИпромзданий) Госстроя СССР (канд. архит. В.В. Блохин); Научно-исследовательским институтом гигиены труда и профзаболеваний АМН СССР (НИИГТ и ПЗ) (канд. мед. наук Н.И. Зоз); Ленинградским научно-исследовательским институтом гигиены труда и профзаболеваний Министерства здравоохранения РСФСР (Ленинградский НИИГТ и ПЗ) (д-р мед. наук Ф.М. Черниловская, врач И.Л. Елисеева); Харьковским институтом инженеров коммунального строительства (ХИИКС) (канд. биол. наук С.И. Мельникова, инженеры О.И. Лесная, В.А. Салтыков).
1.1. Настоящее Руководство распространяется на проектирование динамического по спектру освещения помещений производственных зданий с постоянным искусственным освещением с целью создания в них благоприятной свето-цветовой среды для работы.
1.2. Варьируемым параметром спектра освещения является цветовая температура излучения Tцв. Сопутствующим варьируемым параметром может являться индекс цветопередачи Ra.
Примечания: 1. При проектировании динамического по спектру освещения следует соблюдать требования соответствующих нормативных документов.
2. Основные термины, используемые в настоящем руководстве, приведены в
прил. 1.
1.3. По условиям зрительной работы помещения зданий, в которых проектируется динамическое по спектру освещение, следует разделять на четыре группы в зависимости от требований к цветоразличению согласно
табл. 1.
Группа | Зрительная задача при работе с цветными и ахроматическим объектами |
I | Контроль цвета |
II | Сопоставление цветов без контроля |
III | Различение цветных объектов без контроля сопоставления |
IV | Требование цветоразличения отсутствует |
2. ХАРАКТЕРИСТИКИ ДИНАМИЧЕСКОГО ПО СПЕКТРУ ОСВЕЩЕНИЯ
2.1. Характеристиками динамического по спектру освещения являются:
амплитуда колебаний варьируемого параметра ВП;
средний уровень ВП;
форма кривой изменения ВП;
время экстремумов;
период или частота колебаний ВП;
повторяемость циклов.
Амплитуда колебаний определяется для цветовой температуры по шкале Кельвина, для индекса цветопередачи - в условных единицах. Амплитуда колебаний - в зависимости от зрительной задачи при работе с цветными и ахроматическими объектами, точности выполняемой работы или нормируемого уровня освещенности, режима труда и отдыха, монотонности выполняемой работы, монотонности окружения, светоклиматических особенностей района строительства, системы освещения (искусственное, совмещенное), геометрии расположения динамически излучающих или освещаемых поверхностей в поле зрения и их угловых размеров.
Примечания: 1. Монотонность окружения характеризуется следующими основными признаками: воздействием на ограниченное количество анализаторов (зрительный, слуховой, тактильный, вкусовой, обонятельный и т.д.); ограниченностью степени связи с внешней средой (нахождение в условиях частичного или полного исключения физических датчиков времени - условия Крайнего Севера, бесфонарные и безоконные здания и т.д.). При отсутствии связи с внешней средой - длительностью пребывания в экстремальных условиях.
2. Монотонность выполняемой работы характеризуется следующими основными признаками: выполнением однообразных действий, ограниченностью общения, ограниченностью поля зрения.
Средний уровень колебаний определяется для цветовой температуры по шкале Кельвина в зависимости от зрительной задачи при работе с цветными и ахроматическими объектами, точности выполняемой работы, светоклиматических особенностей района строительства.
Форма кривой изменения (прямоугольная, синусоидальная и т.п.) определяется в зависимости от монотонности окружения, монотонности выполняемой работы, амплитуды колебаний, от геометрии расположения динамически излучающих или освещаемых поверхностей в поле зрения и их угловых размеров.
Время экстремумов определяется в часах в зависимости от монотонности работы и монотонности окружения и режима труда.
Период, или частота, колебаний определяется в минутах или часах в зависимости от монотонности выполняемой работы и монотонности окружения и режима труда.
Повторяемость циклов определяется в зависимости от монотонности выполняемой работы и монотонности окружения.
2.2. Определение параметров динамического по спектру освещения следует осуществлять с учетом подчинения изменения спектра ритму изменения спектра естественного излучения, динамике работоспособности и утомления.
2.3. Величины амплитуды колебаний и среднего уровня колебаний варьируемого параметра, а также значения индекса цветопередачи следует выбирать согласно
табл. 2 в зависимости от зрительной задачи при работе с цветными и ахроматическими объектами, от нормируемого уровня освещенности и светоклиматических особенностей района строительства.
Группа | Зрительная задача при работе с цветными и ахроматическими объектами | Освещенность в системе общего освещения E, лк | Максимальная амплитуда колебаний цветовой температуры Tцв, К | Средний уровень цветовой температуры Tцв, К | Минимальный индекс цветопередачи Ra |
I | Контроль цвета | 300 и более | 5000 - 6500 | 5700 | 92 |
II | Сопоставление цветов без контроля | 300 и более | 4000 - 6500 | 5300 | 85 |
III | Различение цветных объектов без контроля и сопоставления | Свыше 300 | 3500 - 6500 | 5000 - 5200 | 50 |
От 150 до 300 | 3000 - 4500 | 3700 | 50 |
Менее 150 | 2700 - 3500 | 3100 | 45 |
IV | Требование цветоразличения отсутствует (работа с ахроматическими объектами) | Свыше 500 и более | 3500 - 6500 | 5000 - 5200 | 50 |
Свыше 300 до 500 | 3500 - 6500 | 5000 - 5200 | 40 |
От 150 до 300 | 3000 - 4500 | 3700 | 30 |
Менее 150 | 2100 - 3500 | 3100 | 25 |
Примечание. При расположении здания в I и II поясах по светоклиматической карте СССР из диапазона цветовых температур выбираются преимущественно значения, приближенные к нижней границе диапазона, в V поясе - к верхней.
2.4. Для работ, выполняемых в одну смену, относящихся в соответствии с
табл. 2 к группе III (св. 300 лк) и IV (св. 500 лк, св. 300 до 500 лк), параметры динамического по спектру освещения в помещениях без естественного света должны соответствовать характеристикам, приведенным в
табл. 3.
Группа | Зрительная задача при работе с цветными и ахроматическими объектами | Освещенность в системе общего освещения E, лк | Амплитуда колебаний цветовой температуры Tцв, К | Минимальный индекс цветопередачи Ra | Средний уровень цветовой температуры Tцв, К | Форма кривой изменения, ВП | Время экстремумов ВЦ | Период колебаний ВП | Повторяемость циклов |
III | Различение цветных объектов без контроля и сопоставления | Свыше 300 | 3500 - 6500 | 50 | 5200 | Прямоугольная | Первая половина до обеденного перерыва (6500 К); вторая половина после обеденного перерыва (3500 К) | Два часа с начала дня - 6500 К; 5 ч с учетом обеденного перерыва - 5200 К; 2 ч в конце дня - 3500 К | Нет |
IV | Требование цветоразличения отсутствуют | Свыше 500 | 3500 - 6500 | 50 | 5200 | То же | То же | То же | " |
Свыше 300 до 500 | 3500 - 6500 | 40 | 5200 | " | " | " | " |
2.5. Критерием эффективности динамического по спектру освещения является улучшение в динамическом режиме освещения по сравнению со статическим на 95% доверительном уровне или уровне значимости 0,05 показателей работоспособности, утомления, качества работы, установленных по методикам, приведенным в
прил. 2,
3 в абсолютных единицах или в относительных единицах в динамике дня.
3. ОСОБЕННОСТИ ПРОЕКТИРОВАНИЯ ДИНАМИЧЕСКОГО
ПО СПЕКТРУ ОСВЕЩЕНИЯ
3.1. В проектах динамического искусственного освещения дополнительно к разделам, включающим решение вопросов искусственного и совмещенного освещения, установленных соответствующими документами, должны учитываться:
| | ИС МЕГАНОРМ: примечание. В официальном тексте документа, видимо, допущена опечатка: имеется в виду приложение 3, а не приложение 4. | |
архитектурные требования к проектированию динамического по спектру освещения в соответствии с
прил. 4;
| | ИС МЕГАНОРМ: примечание. В официальном тексте документа, видимо, допущена опечатка: приложение 5 отсутствует. Возможно, имеется в виду приложение 4. | |
цветопередача искусственных источников света в соответствии с
прил. 5;
способы изменения спектра освещения (включение в определенном сочетании или последовательности различных по спектральному составу искусственных источников света
(табл. 4), изменение спектра освещения с помощью светофильтров, кино- или диапроекция, электролюминесцентные панели);
способы регулирования спектра освещения (автоматическое или ручное, групповое или индивидуальное).
Наименование лампы | Световая отдача, лм/Вт | Общий индекс цветопередачи Ra | Цветовая температура Tцв, К | Срок службы, ч |
Лампа накаливания | 15 | 100 | 2800 | 1000 |
Газоразрядные лампы: | | | | |
ЛДЦ-40 | 52,5 | 90,5 | 6000 | 10 000 |
ЛД-40 | 58,5 | 73 | 6500 | 10 000 |
ЛБ-40 | 75 | 57 | 3500 | 10 000 |
ЛХБ-40 | 65 | 62 | 4300 | 10 000 |
ЛТБ-40 | 64,5 | 47 | 2700 | 10 000 |
ЛЕ-40 | 50 | 85 | 3900 | 12 000 |
ЛТБЦ-40 | 42,5 | 88 | 2700 | 12 000 |
ЛХЕ-40 | 48 | 93 | 5200 | 12 000 |
ЛДЦ УФ-40 | 40 | 90,5 | 6000 | 12 000 |
ДНаТ-400 | 95 | 25 | 2100 | 7 000 |
ДРЛ-400 | 55 | 40 | 3800 | 10 000 |
ДРИ-500 | 75 | 50 | 4700 - 6500 | 1 500 |
3.2. Программа динамического освещения для работ, указанных в
п. 2.4, выполняется наиболее экономичными люминесцентными лампами ЛД и ЛБ в соответствии с характеристиками, приведенными в
табл. 3.
3.3. Нормируемый уровень освещенности обеспечивается в период совместного включения ламп ЛД и ЛБ с учетом их равного количества. При этом уровень освещенности при лампах ЛД будет на 10% ниже нормируемого, при лампах ЛБ на 10% выше, что приведет к использованию приема динамики уровня освещенности.
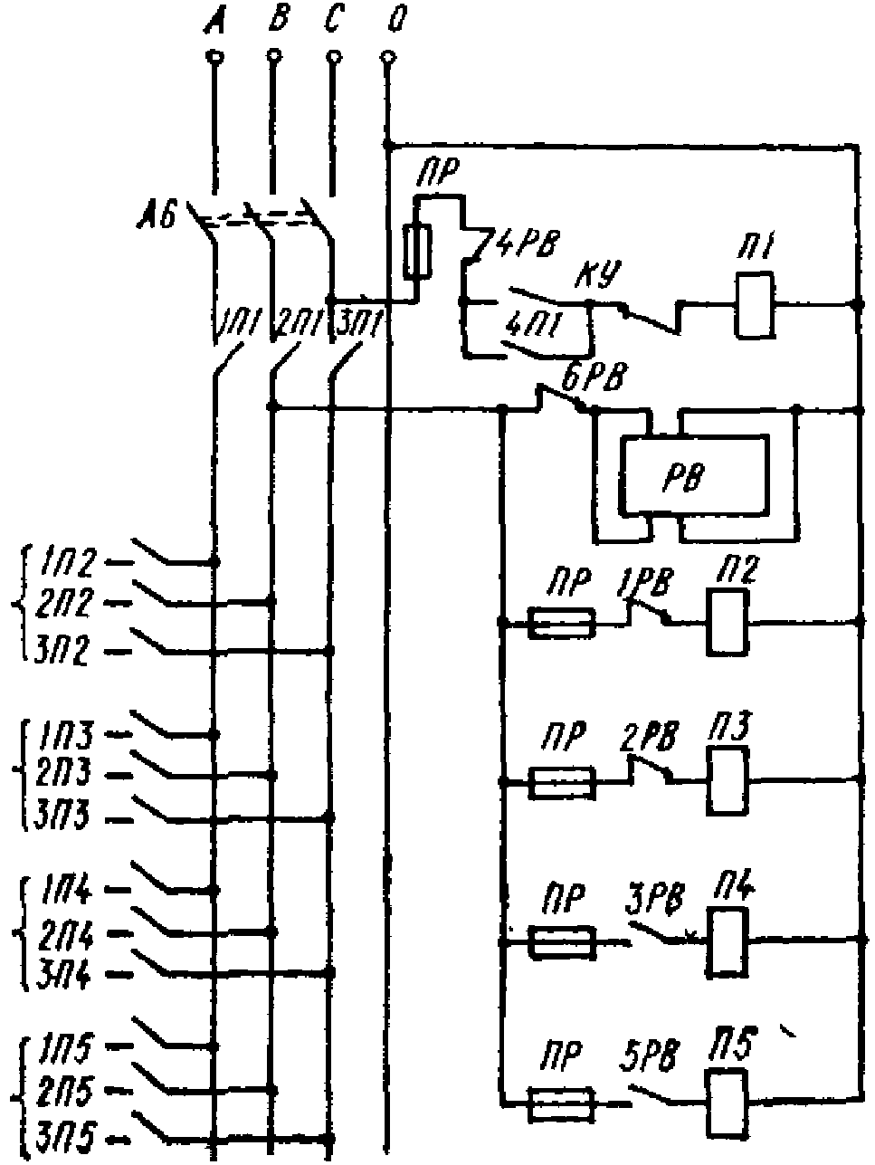
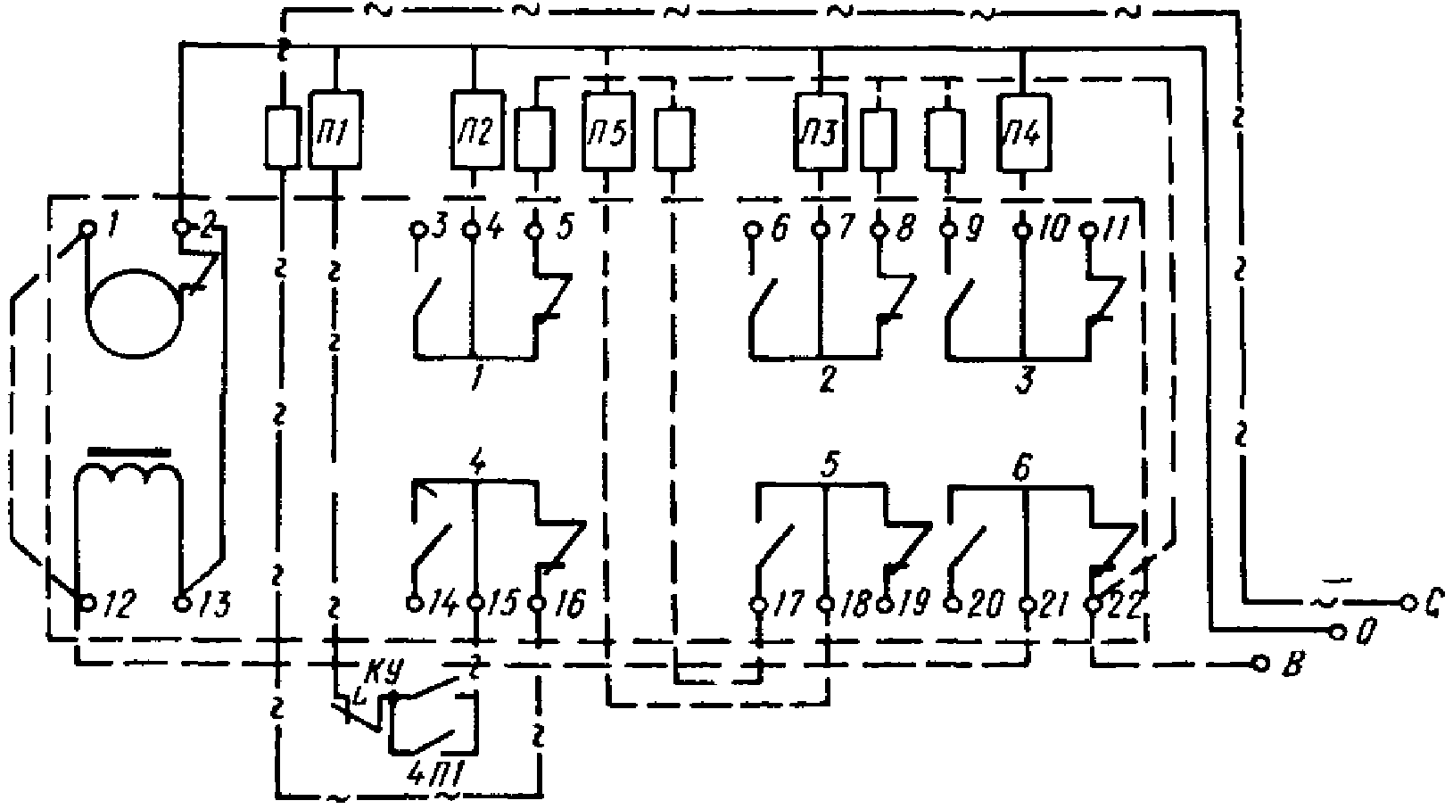
3.4. Размещение светильников удвоенными рядами с лампами ЛД и ЛБ должно осуществляться по схеме
(рис. 1) с учетом включения ламп на три фазы
(рис. 2).
Рис. 1. Блок-схема подключения реле времени и ламп
Примечания: 1. Выдержки времени устанавливаются следующие:
2 ч 30 мин - 1 РВ и 3 РВ;
7 ч 30 мин - 2 РВ и 5 РВ;
9 ч 30 мин - 4 РВ и 6 РВ.
2. Спецификация элементов схемы:
Обозначение | Наименование | Количество |
П2 - П5 | Магнитные пускатели ПМЕ-121 | 4 |
РВ | Реле времени программное ВС-10-67 | 1 |
П1 | Магнитный пускатель ПАЕ-321 | 1 |
КУ | Кнопка управления КС1-22 | 1 |
ПР | Предохранитель ДПК-3 | 5 |
Ав | Автомат А3163 (Iр-30А) | 1 |
Рис. 2. Распределение нагрузки по фазам
в сдвоенных рядах светильников
I - ряд с люминесцентными лампами ЛБ;
II - ряд с люминесцентными лампами ЛД
3.5. Включение ламп по программе осуществляется с помощью реле времени типа ВС-10-67 по схеме, показанной на
рис. 3, или с помощью тиристорных регуляторов.
Рис. 3. Принципиальная схема подключения
реле времени ВС-10-67
Динамическое по спектру искусственное освещение - изменение спектра за счет использования в определенной последовательности и в сочетании различных источников света, светящихся элементов и устройств, а также спектра излучения осветительных устройств, используемых для подсветок.
Динамическое по спектру освещение во времени - изменение спектра во всем интерьере происходит одинаково.
Динамическое по спектру освещение во времени и пространстве - изменение спектра происходит неодинаково в разных зонах интерьера.
Цветовая температура - температура черного тела, при которой его излучение имеет ту же цветность, что и рассматриваемое излучение, единица: Кельвин (К).
Коррелированная цветовая температура - цветовая температура, полученная путем определения на равноконтрастном цветовом графике точки на линии черного тела, ближайшей к точке, представляющей собой цветность рассматриваемого источника света, К.
Цветопередача - общее выражение, характеризующее влияние спектрального состава источника света на зрительное восприятие цветных объектов, сознательно или бессознательно сравниваемое с восприятием тех же объектов, освещенных стандартным источником.
Индекс цветопередачи (источника света) - мера соответствия зрительных восприятий цветного объекта, освещенного исследуемым и стандартным источниками света, при определенных условиях наблюдения.
Цветовой тон - характеристика цвета (воспринимаемого), описываемая словами синий, зеленый, желтый, красный и т.д.
Насыщенность цвета - характеристика зрительного ощущения, служащая для оценки отличия данного цвета от ахроматического цвета той же светлоты.
ОЦЕНКА ЭФФЕКТИВНОСТИ ДИНАМИЧЕСКОГО ПО СПЕКТРУ ОСВЕЩЕНИЯ
Оценку эффективности динамического по спектру освещения следует производить по результатам комплексного исследования у работающих состояния зрительных функций, функционального состояния центральной нервной системы, данных производительности труда, качества выполняемой работы или работоспособности по тестовым показателям, а также по данным исследования на основе субъективных оценок.
Выбор методов для исследования должен производиться с учетом характера трудовой деятельности, они должны быть адекватными и отзывчивыми к выполняемой работе.
Набор методов должен быть не слишком велик, но давать возможность разносторонне характеризовать зрительный анализатор (как периферическое, так и центральное его звено).
Оценка состояния зрительных функций может быть проведена по результатам исследований:
устойчивости ясного видения;
устойчивости зрения по временному порогу адиспаропии;
скорости времени различения детали;
видимости;
адаптометрии;
периметрии;
эргографии (для оценки мышечного аппарата зрения).
Для оценки функционального состояния центральной нервной системы могут быть применены:
латентный период зрительно-моторной реакции;
критическая частота слияния мельканий;
электроокулография;
хроноксиметрия;
электроэнцефалография.
Учет психологического состояния может проводиться по специальным анкетам на основании субъективной оценки (САН и др.).
Оценку эффективности световой среды следует проводить после адаптации к ней через 2 - 4 недели работы в этих условиях.
Исходное состояние физиологических функций снимается в начале рабочего дня после 15 - 20 мин адаптации к заданным условиям освещения. Последующие данные регистрируются перед обеденным перерывом и в конце рабочего дня. При необходимости дополнительные показания можно снимать после перерыва или через каждый час работы; для суждения о быстроте и характере восстановительных процессов показания регистрируются также через определенные отрезки времени после окончания работы.
Во всех случаях физиолого-гигиенических исследований условия освещения (освещенность, цветность излучения, распределения яркости и др.) на тест-объектах и поверхностях адаптации должны соответствовать условиям освещения на рабочих местах.
В исследованиях динамического по спектру освещения апробирован следующий комплекс методов в заданной последовательности:
временной порог ахроматической адиспаропии или устойчивость ясного видения;
латентный период зрительно-моторной реакции;
производительность и качество труда по корректурному тесту;
субъективная оценка состояния работающих.
Ахроматическая адиспаропия
Экспонируемым тест-объектом является круг радиусом 12 мм, состоящий из двух ахроматических полей в виде кругов с контрастом 60%, разделенных вертикальной линией. В центре круга находится фиксационная точка.
Тест-объект устанавливается в вертикальной плоскости на расстоянии 50 см от глаз. Голова наблюдателя фиксируется на подбороднике, тест-объект находится на уровне линии зрения.
Фиксация теста проводится одним глазом, второй глаз прикрывается заслонкой (но не прижимается). На протяжении всего времени наблюдения теста нельзя переводить взгляд и передвигать голову. Перед первым измерением наблюдатель адаптируется к поверхности адаптации в течение 1 мин.
По сигналу экспериментатора наблюдатель фиксирует тест-объект до момента слияния полуполей, т.е. появления однородного по контрасту поля, появления ореола или разделительной полосы, отмечая этот момент условным сигналом "есть", "да" или др.
Экспериментатор регистрирует время по секундомеру. Исследование повторяется три раза с перерывами 20 - 30 с (до исчезновения последовательного образа), во время которых наблюдатель переводит взгляд с теста на поверхность адаптации.
Время адиспаропии высчитывается как среднее арифметическое из результатов трех измерений.
Устойчивость ясного видения
Устойчивость ясного видения (УЯВ) характеризует способность глаза длительно поддерживать ясное различение рассматриваемого объекта и определяется коэффициентом k.
Экспонируемым тест-объектом при исследовании является кольцо Ландольта. Время наблюдения 180 с.
Расстояние кольца от глаза наблюдателя должно составлять около 35 - 45 см.
Размер кольца подбирается в зависимости от остроты зрения наблюдателя таким образом, чтобы коэффициент УЯВ составлял от 0,7 до 0,85.
Коэффициент УЯВ представляет собой отношение времени ясного видения за период наблюдения к общему времени наблюдения (180 с):
Голова наблюдателя фиксируется на подбороднике, тест-объект находится на линии зрения. Во время наблюдения теста нельзя переводить взгляд и смещать голову.
Наблюдатель фиксирует обоими глазами кольцо Ландольта и отмечает словесным сигналом все моменты ясного видения кольца (разрыв виден ясно) и неясного его различения (разрыв исчезает, покрывается дымкой и т.п.) в течение всего времени наблюдения.
Экспериментатор по секундомеру регистрирует время ясного и неясного различения и записывает его. По времени ясного видения (с) в течение всего периода наблюдения и общему времени наблюдения (180 с) рассчитывается коэффициент УЯВ.
Зрительно-моторная реакция на речевом подкреплении
Прибором для исследования служит универсальный хронорефлексометр или хроноволеоптимограф.
Измеряется время латентного периода зрительно-моторной реакции. В зависимости от постановки эксперимента по результатам исследования можно судить о состоянии возбудительных и тормозных процессов, а также о подвижности нервных процессов в коре головного мозга человека.
Раздражителем служат разного цвета световые сигналы, которые подаются экспериментатором. Прибор устанавливается так, чтобы в поле зрения наблюдателя находился блок сигналов; индикаторный блок размещается так, чтобы исключить звуковые сигналы при переключениях. Экспериментатор перед началом исследования дает инструкцию наблюдателю о том, на какой сигнал по цвету (белый или красный) и в какой последовательности подаваемого сигнала (например, белый после красного) нужно реагировать нажатием на кнопку.
Инструкция может содержать простую программу предъявления сигналов, согласно которой наблюдатель должен реагировать в ответ на предъявление только одного цвета светового сигнала (например, "нажимайте на кнопку, как только увидите белый свет") или сложную, с дифференцировкой (например, "нажимайте на кнопку, как только увидите белый свет после красного").
О готовности к началу исследования наблюдатель сообщает нажатием на кнопку "Готовность", при этом на основном блоке загорается лампочка.
Количество предъявляемых сигналов или их сочетаний должно быть 5 - 6. Время латентного периода Tл.п высчитывается как среднее арифметическое из полученных результатов с учетом числа допущенных ошибок

(1)
где Tобщ - общее время реакции на N сигналов (по счетчику на приборе);
N - количество сигналов (по счетчику);
n - количество ошибок (по счетчику).
Корректурные таблицы Анфимова
Оценка зрительной работоспособности может проводиться при помощи тестовых исследований - таблиц Анфимова.
схавнхевихнаиснхвхвкснаисвхвхенаисневхак
внхивснавсавснаекеахвкесвснаисаиснавхнвк
нхисхвхеквхивхеиснеинаиенкхкикхеквкисвхи
хакхнскаисвеквхнаиснхекхиснаксквхквнавсн
иснамкаехкиснаикхехеиснахкекхвиснаихвикх
снаисвнкхваиснахеккхснаксвеевеаиснаснкив
кхкекнвиснкхвехснаискесикнаеснкхквихкакс
аиснаехквенвхкеаиснкаикнвевнквхавеивисна
кахвеивнахиенаиквиеакеиваксвеикснавакесв
нкеснксвхиесвхкнквсквевкниесавиехевнаиен
хеивкаиснаснаисхаквннаксхаменаснаисвкхев
евхкхснеиснаиснквкхвекевквнаиснаиснкевкх
авснахкасеснеисесхкваиснасавкхснеисхихек
виквегаиенекхавихнвихкхеанвиснвсаехмснаи
нкехвивнаеиснвиаеваенхвхвиснаеиекаивекех
кеиснесаеихвкевеиснаеаиснквехикхнкеаисна
еакаекхевскхекхнаиснквевеснаисекхекнаисн
иснекснвиехквхеивнакисхаиевкивкиекеиснаи
вхвксиснаивиенаксхкивхникиснаиуеснакнехс
снаиквехквкесвнснхиаснаксхкхвхеаесксеаик
иснаиехкехкеихнвхакеиснаикхвсхнвиехаесве
снаисаквснхаесхаиснаенкисхкехвхвекнеисна
екхекнаивквкхехиснаихкахенаиениквкеиснаи
ехвквиехаиехеквснеиесвневиснаеахнхкснахс
иснаиеиневиснаивевхсисваиевхеихскеиехкие
кевхваеснаснкисхеаехквехеаиснасваисевеке
хвекхснкисекаекснаииехсехснаисвнекхснаис
авенахиакхвеивеаиквавихнахксвхехивхаисиа
внсиеахснанаеснвкснзаевикаикнкнавснмевхк
сиаесвкхекснаксхвхквснхксвехкаснаисксхке
наиснхавкевзкиеиснаинхаснехвсхевкхеихнаи
хевхенвехнквхекнаиснхаивенаехнхквхенаисн
вкевхаиснахквнваиенсхвкхеаиснавхсвкахсиа
киснкекнсваисваехсхваиснаекхекаивсавекве
аенкаисхаиснхисвквсекхвекиснаиснаисквесв
искаиквккевхсквнамениснаихавкнвехванкиех
евхевнаискаианакхквкевеквнхискаиснвхавхв
наиснхсхвкиснаиехекхнаисивехвеиснхвкхквн
хквнхвкснхнаиснвкахсвкхвхаиснанахснхвхвх
аисхааикхаевехкснвиваиснахкивхекиахинаис
Таблицы Анфимова разбиваются на три карточки
(табл. 5), которые разрезаются и при исследовании даются наблюдателю в разной последовательности, чтобы исключить привыкание.
Экспериментатор дает инструкцию: какую букву и в какой последовательности наблюдатель должен вычеркнуть (или подчеркнуть) при чтении каждой строчки в карточке. Например, "будете вычеркивать букву к после н" или "будете вычеркивать букву к после н, при этом н подчеркивать". Сочетание букв следует выбирать трудноразличимое по начертанию.
Работа с таблицами выполняется в течение 2 мин по секундомеру. Конец работы наблюдатель отмечает чертой после словесного сигнала экспериментатора: "Стоп", "Конец" или др.
Задание меняется при постоянной сложности.
Оценка состояния работоспособности проводится по коэффициенту работоспособности I и коэффициенту точности K.
Для расчета этих показателей необходимо определить:
d - общее количество всех просмотренных букв в тексте;
a - количество правильно проверенных букв;
b - количество пропущенных букв;
c - количество допущенных ошибок - неправильно отмеченных букв.
Вычисляют коэффициент точности

(2)
коэффициент работоспособности
I = Kd. (3)
Для облегчения подсчета указанных выше показателей изготовляются специальные маски из прозрачного материала, на которых обозначены сочетания, которые нужно проверить.
Субъективная оценка
Субъективная оценка проводится работающими по специально разработанным анкетам.
Широкое распространение для такой оценки в физиологии и гигиене труда получил психологический тест САН (самочувствие, активность, настроение)
(табл. 6).
Дата ____________ Время ____________ N ____________
Состояние | Характеристика состояния | Состояние |
Самочувствие хорошее | 3 2 1 0 1 2 3 | Самочувствие плохое |
Чувствую себя сильным | 3 2 1 0 1 2 3 | Чувствую себя слабым |
Пассивный | 3 2 1 0 1 2 3 | Активный |
Малоподвижный | 3 2 1 0 1 2 3 | Подвижный |
Веселый | 3 2 1 0 1 2 3 | Грустный |
Хорошее настроение | 3 2 1 0 1 2 3 | Плохое настроение |
Работоспособный | 3 2 1 0 1 2 3 | Разбитый |
Полный сил | 3 2 1 0 1 2 3 | Обессиленный |
Медлительный | 3 2 1 0 1 2 3 | Быстрый |
Бездеятельный | 3 2 1 0 1 2 3 | Деятельный |
Счастливый | 3 2 1 0 1 2 3 | Несчастный |
Жизнерадостный | 3 2 1 0 1 2 3 | Мрачный |
Собранный | 3 2 1 0 1 2 3 | Расслабленный |
Здоровый | 3 2 1 0 1 2 3 | Больной |
Безучастный | 3 2 1 0 1 2 3 | Увлеченный |
Равнодушный | 3 2 1 0 1 2 3 | Заинтересованный |
Восторженный | 3 2 1 0 1 2 3 | Унылый |
Радостный | 3 2 1 0 1 2 3 | Печальный |
Отдохнувший | 3 2 1 0 1 2 3 | Усталый |
Свежий | 3 2 1 0 1 2 3 | Изнуренный |
Сонливый | 3 2 1 0 1 2 3 | Энергичный |
Желание отдохнуть | 3 2 1 0 1 2 3 | Желание работать |
Спокойный | 3 2 1 0 1 2 3 | Восторженный |
Оптимистический | 3 2 1 0 1 2 3 | Пессимистический |
Выносливый | 3 2 1 0 1 2 3 | Утомляемый |
Бодрый | 3 2 1 0 1 2 3 | Вялый |
Соображать трудно | 3 2 1 0 1 2 3 | Соображать легко |
Рассеянный | 3 2 1 0 1 2 3 | Внимательный |
Экспериментатор дает предварительно инструкцию наблюдателю по оценке субъективного состояния и методике заполнения анкеты.
Наблюдатель должен соотнести свое состояние с рядом признаков, представленных в виде полярных противоположностей, между которыми расположена семичленная шкала.
На тестовой карте размещено 30 пар антонимов, из них N 1, 2, 7, 8, 13, 14, 19, 20, 25, 26 характеризуют самочувствие (например, силу, здоровье, утомление и т.п.), N 3, 4, 9, 10, 15, 16, 21, 22, 27, 28 - активность (подвижность, деятельность, сонливость, желание работать и т.п.), N 5, 6, 11, 12, 17, 18, 23, 24, 29, 30 - настроение (веселый, счастливый, восторженный, унылый и т.п.).
Наблюдатель должен просмотреть каждую строчку тестовой карты и заполнить ее.
Из семи цифр в каждой строчке нужно отметить кружком ту, которая больше всего соответствует состоянию в момент исследования. При этом "0" соответствует среднему состоянию, которое наблюдатель не может оценить ни положительно, ни отрицательно. Цифры 1, 2, 3, находящиеся слева от нуля, характеризуют положительное состояние "самочувствия" и "настроения" и отрицательное состояние "активности", справа - наоборот. Цифра 1 характеризует состояние несколько лучше среднего, цифра 2 - удовлетворительное, цифра 3 - прекрасное. Те же цифры справа от нуля таким же образом характеризуют отрицательное состояние "самочувствия" и "настроения" и положительное "активности".
При расшифровке экспериментатор все оценки наблюдателя перекодирует от 1 до 7: балл 3, соответствующий плохому самочувствию, низкой активности и плохому настроению, приобретает значение 1, балл 0 оценивается цифрой 4, балл 1 положительной оценки цифрой 5, балл 2 положительной оценки цифрой 6 и балл 3, отражающий хорошее самочувствие, высокую активность и хорошее настроение, - цифрой 7.
Наблюдатель должен отмечать цифры по первому впечатлению.
Для каждой категории состояния (самочувствие, активность, настроение) подсчитывается среднее арифметическое значение.
На производстве удобна упрощенная анкета
(табл. 7), составленная на основе анкеты САН.
| | ИС МЕГАНОРМ: примечание. В официальном тексте документа, видимо, допущена опечатка: пропущен номер таблицы. Возможно, имеется в виду таблица 7. | |
Дата, время заполнения _________________________________________
Фамилия наблюдателя ____________________________________________
Степень влияния | Характеристика |
внимание | качество работы | темп работы | самочувствие | настроение |
Значительное положительное влияние | | | | | |
Среднее положительное влияние | | | | | |
Слабое положительное влияние | | | | | |
Нет влияния | | | | | |
Слабое отрицательное влияние | | | | | |
Среднее отрицательное влияние | | | | | |
Значительное отрицательное влияние | | | | | |
Инструкция для заполнения этой анкеты заключается в следующем. Следует вести самонаблюдение и оценить степень влияния условий освещения на внимание (концентрацию внимания на выполняемой работе, способность сосредоточиться при действии посторонних раздражителей), качество работы, темп работы, самочувствие и настроение.
При заполнении анкеты следует дифференцировать по силе положительное и отрицательное влияние различных условий освещения (слабое влияние, среднее, значительное).
Принятое решение о направленности и силе влияния условий освещения на оцениваемую характеристику отмечается знаком "+" в соответствующей графе анкет.
Методика предъявления и заполнения анкеты в условиях статического и динамического освещения одинакова.
ДОПОЛНИТЕЛЬНО МОГУТ БЫТЬ ИСПОЛЬЗОВАНЫ СЛЕДУЮЩИЕ МЕТОДИКИ
Скорость различения деталей
Скорость различения детали оценивается наименьшим временем, в течение которого глаз может различить детали предъявляемого объекта.
Исследование может проводиться на тахистоскопе Нечаева или при помощи другого прибора, предназначенного для этой цели. Голова наблюдателя фиксируется (на подставке или др.), тест-объект находится на уровне линии зрения. При исследовании на тахистоскопе тест-объектом является кольцо Ландольта, размер кольца подбирается в зависимости от остроты зрения наблюдателя.
Расстояние от наблюдателя до тест-объекта 1 м.
Экспериментатор устанавливает тест-объект нужного размера на специальную подставку с задней стороны окошка. От наблюдателя тест-объект закрыт ширмой, состоящей из двух секторных дисков, расстояние между которыми может меняться. Изменение угла раскрытия секторов определяет время предъявления теста наблюдателю.
По сигналу экспериментатора ("начали", "можно" или др.) наблюдатель нажимает на кнопку, при этом секторный диск, закрывающий окошко, опускается, предъявляя на определенное время тест-объект наблюдателю.
Исследование начинается с небольшого угла раскрытия секторного диска, при котором отсутствует правильное различение тест-объекта. Постепенно увеличивая угол раскрытия секторов, определяется то наименьшее время, в течение которого наблюдатель впервые правильно определяет направление разрыва кольца.
Для контроля правильности показаний наблюдателя экспериментатор может менять направление разрыва кольца.
Видимость
Видимость характеризует способность глаза к восприятию сверхпороговых контрастов и формы объектов.
Измерение видимости производится поляризационным бинокулярным измерителем видимости Дашкевича.
Тест-объектом является точка диаметром 2 мм, нанесенная черной тушью на карточку белого цвета. Расстояние от глаз до тест-объекта 25 - 30 см.
Наблюдатель подносит измеритель видимости к глазам и поворотом окуляра находит положение поляроида, при котором изображение тест-объекта находится на пороге видимости (продолжение поворота поляроида в ту же сторону приводит к исчезновению изображения тест-объекта, а поворот в обратную сторону - к его появлению). Показание стрелки прибора характеризует видимость в условных единицах.
Во время измерений глаза от прибора не отрываются. Измерение видимости проводится по исчезновению (гашению) левого изображения, правое изображение служит контролем.
Момент гашения изображения отмечается наблюдателем условным сигналом ("Все" и др.).
Экспериментатор следит за стрелкой прибора и по сигналу наблюдателя регистрирует показания прибора.
Следует производить 3 - 5 измерений. Перед каждым последующим отсчетом стрелка прибора приводится к нулевому положению, глаза от прибора не отрываются.
Видимость характеризуется средним арифметическим из 3 - 5 близких по значению результатов измерений.
Критическая частота слияния световых мельканий
Исследования выполняются на специальном приборе КЧСМ-1, световые сигналы подаются при помощи неоновой лампочки, частота мельканий которой регулируется.
Панель прибора, на которой находится неоновая лампочка, устанавливается на расстоянии 0,5 м от наблюдателя, лампочка должна находиться на уровне зрения. Голова наблюдателя фиксируется на подставке. Предварительно экспериментатор инструктирует наблюдателя о поведении во время исследования и демонстрирует ему слияние световых мельканий.
По сигналу экспериментатора наблюдатель фиксирует лампочку. Световые импульсы подаются от малых частот к большим до слияния мельканий. Момент слияния световых мельканий наблюдатель отмечает сигналом ("Все", "Да", "Есть" или др.). Экспериментатор регистрирует показания прибора.
По сигналу экспериментатора "Еще раз" исследование повторяют 3 - 4 раза до получения трех близких результатов. Критическая частота слияния мельканий (КЧСМ) рассчитывается как среднее арифметическое из трех близких показаний.
Б. МЕТОДЫ СТАТИСТИЧЕСКОЙ ОБРАБОТКИ РЕЗУЛЬТАТОВ ИССЛЕДОВАНИЙ
Подавляющее большинство результатов биологических экспериментов, к разряду которых относятся экспериментальные исследования состояния функций зрения, а также всего организма человека, имеют симметричное распределение, близкое к нормальному. Проверка согласия действительного распределения с теоретическим осуществляется по критерию

в соответствии с ГОСТ 11.006-74 "Прикладная статистика. Правила проверки согласия опытного распределения с теоретическим".
Далее определение параметров и доверительных границ по совокупности экспериментальных данных, подчиняющихся нормальному закону распределения, проводится в соответствии с ГОСТ 11.004-74 "Прикладная статистика. Правила определения оценок и доверительных границ для параметров нормального распределения".
Вначале проводятся анализ полученных данных, оценка и исключение сильно отклоняющихся вариант в совокупности. Для определения принадлежности максимальной варианты к совокупности применяется критерий vN:

(4)
где xN - максимальная варианта;
xN-1 - варианта, следующая по величине за максимальной;
x2 - варианта, стоящая в ранжированном ряду рядом с минимальной.
Для определения принадлежности минимальной варианты к совокупности применяется критерий v1:

(5)
где x2 - варианта, стоящая рядом с минимальной;
x1 - минимальная варианта;
xN-1 - вторая по значению варианта после максимальной.
Вычисленные значения критериев сопоставляются затем со значениями
табл. 8 на уровне значимости 0,05. Если значения, вычисленные по
формулам (4) и
(5), превышают значения
табл. 8, то варианта отбрасывается.
N | xN | x1 | N | xN | x1 | N | xN | x1 |
4 | 0,991 | 0,955 | 14 | 0,502 | 0,395 | 24 | 0,400 | 0,309 |
5 | 0,916 | 0,807 | 15 | 0,486 | 0,381 | 25 | 0,394 | 0,304 |
6 | 0,805 | 0,689 | 16 | 0,472 | 0,369 | 26 | 0,389 | 0,299 |
7 | 0,740 | 0,610 | 17 | 0,460 | 0,359 | 27 | 0,383 | 0,295 |
8 | 0,683 | 0,554 | 18 | 0,449 | 0,349 | | | |
9 | 0,635 | 0,512 | 19 | 0,439 | 0,341 | | | |
10 | 0,597 | 0,477 | 20 | 0,430 | 0,334 | | | |
11 | 0,556 | 0,450 | 21 | 0,421 | 0,327 | | | |
12 | 0,541 | 0,428 | 22 | 0,414 | 0,320 | | | |
13 | 0,520 | 0,410 | 23 | 0,407 | 0,314 | | | |
Далее рассчитываются следующие статистические показатели: средняя арифметическая M:

(6)
где

- сумма всех вариант ряда;
N - объем выборки;
среднее квадратическое отклонение 
:

(7)
где x - варианты совокупности;
ошибка средней арифметической mM:

(8)
доверительный интервал средней арифметической:
M - tmM < истинное значение < M + tmM,
где
t - критерий Стъюдента, который для доверительного уровня 95% или уровня значимости 0,05 и достаточно больших выборок (
N > 30) принимается равным 2
(табл. 9);
коэффициент вариации V:

(9)
В зависимости от величины коэффициента вариации варьирование данных считают небольшим (0 - 10%), средним (11 - 20%) и большим (V > 20%);
показатель точности опыта P:

(10)
Точность опыта считается удовлетворительной, если P не превышает 5%.
Для установления статистической достоверности различий между результатами эксперимента сравниваются совокупности по средней арифметической абсолютных или относительных значений и по их вариабельности.
Для больших выборок (N > 20) с равными или близкими объемами сравнение средних производится по формуле

(11)
где M1, M2 - сравниваемые средние арифметические;
m1, m2 - ошибки сравниваемых средних арифметических.
Далее определяются число степеней свободы
v =
N1 +
N2 - 2 и соответствующее этому числу значение критерия
t на 95% доверительном уровне
(табл. 9). Если вычисленное значение больше, делается вывод о достоверности различия сравниваемых величин. Доверительному уровню 95% соответствует выраженный в долях единицы уровень значимости
W1 = 0,05.
Число степеней свободы | t | Число степеней свободы | t | Число степеней свободы | t |
1 | 12,71 | 12 | 2,18 | 23 | 2,07 |
2 | 4,30 | 13 | 2,16 | 24 | 2,06 |
3 | 3,18 | 14 | 2,14 | 25 | 2,06 |
4 | 2,78 | 15 | 2,13 | 26 | 2,06 |
5 | 2,57 | 16 | 2,12 | 27 | 2,05 |
6 | 2,45 | 17 | 2,11 | 28 | 2,05 |
7 | 2,36 | 18 | 2,10 | 29 | 2,04 |
8 | 2,31 | 19 | 2,09 | 30 | 2,04 |
9 | 2,26 | 20 | 2,09 | 40 | 2,02 |
10 | 2,23 | 21 | 2,08 | 60 | 2,00 |
11 | 2,20 | 22 | 2,07 | 120 | 1,98 |
Сравнение дисперсий осуществляется по критерию F:

(12)
где

,

- дисперсия сравниваемых выборок (в числителе всегда берется большая дисперсия).
Для установления достоверности различия дисперсий определяется число степеней свободы
v1 =
N1 - 1 и
v2 =
N2 - 1. Далее вычисленное значение
F сопоставляется со значением
табл. 10 на доверительном уровне 95%.
| | ИС МЕГАНОРМ: примечание. Таблица дана в соответствии с официальным текстом документа. | |
f2 | f2 |
1 | 2 | 3 | 4 | 5 | 6 | 8 | 12 | 24 | |
3 | 10,1 | 9,6 | 9,3 | 9,1 | 9,0 | 8,9 | 8,8 | 8,7 | 8,6 | 8,5 |
4 | 7,7 | 6,9 | 6,6 | 6,4 | 6,3 | 6,2 | 6,0 | 5,9 | 5,8 | 5,6 |
5 | 6,6 | 5,8 | 5,4 | 5,2 | 5,1 | 5,0 | 4,8 | 4,7 | 4,5 | 4,4 |
6 | 6,0 | 5,1 | 4,8 | 4,5 | 4,4 | 4,3 | 4,1 | 4,0 | 3,8 | 3,7 |
7 | 5,6 | 4,7 | 4,4 | 4,1 | 4,0 | 3,9 | 3,7 | 3,6 | 3,4 | 3,2 |
8 | 5,3 | 4,5 | 4,1 | 3,8 | 3,7 | 3,6 | 3,4 | 3,3 | 3,1 | 2,9 |
9 | 5,1 | 4,3 | 3,9 | 3,6 | 3,5 | 3,4 | 3,2 | 3,1 | 2,9 | 2,7 |
10 | 5,0 | 4,1 | 3,7 | 3,5 | 3,3 | 3,2 | 3,1 | 2,9 | 2,7 | 2,5 |
12 | 4,8 | 3,9 | 3,5 | 3,3 | 3,0 | 3,0 | 2,9 | 2,7 | 2,5 | 2,3 |
14 | 4,6 | 3,7 | 3,3 | 3,1 | 3,0 | 2,9 | 2,7 | 2,5 | 2,3 | 2,1 |
16 | 4,5 | 3,6 | 3,2 | 3 0 | 2,9 | 2,7 | 2,6 | 2,4 | 2,2 | 2,0 |
18 | 4,4 | 3,6 | 3,2 | 2,9 | 2,8 | 2,7 | 2,5 | 2,3 | 2,1 | 1,9 |
20 | 4,4 | 3,5 | 3,1 | 2,9 | 2,7 | 2,6 | 2,4 | 2,3 | 2,1 | 1,8 |
25 | 4,2 | 3,4 | 3,0 | 2,8 | 2,6 | 2,5 | 2,4 | 2,2 | 2,0 | 1,7 |
30 | 4,2 | 3,3 | 2,9 | 2,7 | 2,5 | 2,4 | 2,3 | 2,1 | 1,9 | 1,6 |
35 | 4,1 | 3,3 | 2,9 | 2,6 | 2,5 | 2,4 | 2,2 | 2,0 | 1,8 | 1,5 |
40 | 4,1 | 3,2 | 2,8 | 2,6 | 2,4 | 2,3 | 2,2 | 2,0 | 1,8 | 1,5 |
50 | 4,0 | 3,2 | 2,8 | 2,6 | 2,4 | 2,3 | 2,1 | 1,9 | 1,7 | 1,4 |
60 | 4,0 | 3,1 | 2,8 | 2,5 | 2,4 | 2,2 | 2,1 | 1,9 | 1,7 | 1,4 |
80 | 4,0 | 3,1 | 2,7 | 2,5 | 2,3 | 2,2 | 2,0 | 1,9 | 1,6 | 1,3 |
100 | 3,9 | 3,1 | 2,7 | 2,5 | 2,3 | 2,2 | 2,0 | 1,8 | 1,6 | 1,3 |
| 3,8 | 3,0 | 2,6 | 2,4 | 2,2 | 2,1 | 1,9 | 1,7 | 1,5 | 1,0 |
АРХИТЕКТУРНЫЕ ТРЕБОВАНИЯ К ПРОЕКТИРОВАНИЮ
ДИНАМИЧЕСКОГО ПО СПЕКТРУ ОСВЕЩЕНИЯ
1. Размещение осветительных установок динамического по спектру освещения должно производиться таким образом, чтобы они способствовали созданию у работающих зрительного впечатления приближения световой среды в интерьере (по направлению светового потока, распределению яркостей и теней в интерьере и др.) к условиям естественного освещения данной местности.
2. Динамическое по спектру освещение рекомендуется устраивать в виде осветительных установок общего искусственного освещения производственных помещений (по нижнему поясу ферм, под потолком, в подвесных потолках или над световыми проемами в них и др.).
В отдельных обоснованных случаях (безоконные помещения) динамическое освещение можно компоновать в виде иллюзорных световых окон или иллюзорных пейзажных окон в стенах производственных помещений, внутренних иллюзорных световых пейзажных двориков и др., а также возможно устройство осветительных установок динамического освещения в виде иллюзорного неба с постепенным изменением спектра света (например, в помещениях с подвесными потолками из светорассеивающих материалов).
3. Иллюзорные световые окна рекомендуется, как правило, выполнять со светорассеивающим остеклением
(рис. 4). Местоположение окон, рисунок их переплетов, равномерность и яркость освещения, цветовая температура излучения источников света осветительных установок, изменяемая во времени, должны создавать впечатление светопроемов естественного освещения.
Рис. 4. Принципиальная схема устройства иллюзорных
световых окон в производственных помещениях
1 - осветительные установки общего освещения;
2 - осветительные установки с изменяемым уровнем и спектром
освещения; 3 - светорассеивающее остекление
4. Иллюзорные пейзажные окна рекомендуется выполнять с остеклением обычного типа, за которым могут располагаться панно с живописными изображениями или цветными фотографиями природного или архитектурного ландшафта, характерного для данной местности, подсвеченные осветительными установками, цветовая температура источников света которых изменяется по аналогии с естественным освещением (
рис. 5,
А) или в виде цветных слайдов с изменяемой во времени интенсивностью подсветки (
рис. 5,
Б). В композицию иллюзорных пейзажных окон рекомендуется включать элементы озеленения.
Примечание. Изображения на панно и слайдах рекомендуется периодически заменять с учетом смены времен года или по какой-либо иной специально составленной программе.
Рис. 5. Принципиальные схемы устройства иллюзорных
пейзажных окон в производственных помещениях
А - иллюзорное пейзажное окно с подсвечиваемым
изображением; Б - иллюзорное пейзажное окно с цветными
слайдами; 1 - осветительные установки общего освещения;
2 - осветительные установки подсветки с изменяемым уровнем
и спектром освещения; 3 - остекление; 4 - цветной слайд
с изображением природного или архитектурного ландшафта
5. Иллюзорные световые пейзажные дворики рекомендуется проектировать в виде отдельных от окружающего пространства производственных помещений сплошным ограждением из стекла участков, внутри которых располагаются осветительные установки с изменяемой по аналогии с естественным освещением цветовой температурой источников света, а также элементы благоустройства и озеленения, имитирующие естественную природную среду
(рис. 6).
Рис. 6. Принципиальная схема устройства иллюзорных
пейзажных световых двориков в производственных помещениях
1 - осветительные установки общего освещения;
2 - осветительные установки с изменяемым уровнем
и спектром освещения; 3 - остекление
С целью придания большего сходства с естественной природной средой озеленение и благоустройство внутри иллюзорных световых пейзажных двориков рекомендуется выполнять в виде живописных ландшафтных композиций (с использованием декоративных бассейнов, фонтанов, участков газонов, замощения и др.).
6. Осветительные установки динамического по спектру освещения должны проектироваться с учетом архитектурного решения интерьера производственных помещений и являться органическим элементом общей композиции внутреннего пространства.
7. Местоположение, габариты, формы, пропорции иллюзорных окон, двориков и т.п. устройств должны определяться с учетом общего архитектурного решения интерьеров производственных помещений.
Иллюзорные световые или пейзажные окна рекомендуется, как правило, располагать по периметру производственных помещений в стенах или перегородках окружающих их вспомогательных и подсобных помещений или в ограждениях, разделяющих смежные цехи. Иллюзорные световые дворики рекомендуется преимущественно располагать в центральных зонах крупных производственных помещений, откуда плохо виден внутренний периметр их ограждений
(рис. 7).
Рис. 7. Примеры размещения иллюзорных окон и двориков
в производственных помещениях промышленных зданий
А - схема планировки корпуса производства прецизионных
станков; Б - схема планировки корпуса прядильно-ткацкой
фабрики; 1 - производственные помещения с постоянным
искусственным освещением; 2 - вспомогательные и технические
помещения; 3 - зоны возможного размещения иллюзорных
световых или пейзажных двориков; 4 - зоны возможного
размещения иллюзорных световых или пейзажных окон
8. К устройству осветительных установок динамического по спектру освещения с целью устранения статичности световой среды рекомендуется введение в безоконных и бесфонарных производственных помещениях кратковременных динамических цветных подсветов отдельных элементов интерьера по специально составленным светоколористическим программам. Дополнительно может быть рекомендовано устройство специальных помещений для кратковременного регламентированного отдыха работающих в течение смены со специально организованной свето-цветовой средой или с наличием в них остекления на уровне глаз человека, ориентированного на озелененные участки заводской территории или на окружающий природный ландшафт.
СПОСОБ УЧЕТА СПЕКТРАЛЬНОГО СОСТАВА
ИСКУССТВЕННЫХ ИСТОЧНИКОВ СВЕТА
Способ предназначен для оценки на стадии проектирования цветовой отделки изменений цветового тона и насыщенности цвета при заданном источнике света в системе динамического освещения по сравнению с аналогичными характеристиками при естественном свете, при котором проект разрабатывается.
Способ показан на примере цветов, воспроизводимых пигментами, перечисленными в
табл. 11 и
12, и смесью этих пигментов с белилами.
Определение изменения насыщенности и цветового тона отделки осуществляется с помощью равноконтрастной диаграммы цветности
vkv3vc (рис. 8).
Рис. 8. Равноконтрастная диаграмма цветности
vkv3vc
На равноконтрастной диаграмме нанесены линии постоянного цветового тона, показанные радиальными прямыми, и постоянной насыщенности, показанные концентрическими окружностями. Цветовой тон выражается в нанометрах (нм); насыщенность - в порогах, которые отсчитываются от точки C. Точка C соответствует усредненной характеристике излучения естественного света с цветовой температурой 6500 К.
Точки
1 -
18 показывают характеристики цветового тона и насыщенности исследуемых цветов при естественном свете, полученных смешением красок
(табл. 11).
N п.п. образца | | Пропорция смеси пигментов и белил |
1 | | 20 частей краплака красного и 80 частей белил |
2 | | 20 частей кадмия пурпурного и 80 частей белил |
3 | | 20 частей кадмия красного светлого и 80 частей белил |
4 | | 20 частей кадмия оранжевого и 80 частей белил |
5 | | 20 частей охры светлой и 80 частей белил |
6 | | 20 частей кадмия лимонного и 80 частей белил |
7 | | 50 частей марганцевой голубой, 50 частей кадмия желтого светлого и 20 частей белил |
8 | | 50 частей кобальта зеленого светлого и 50 частей белил |
9 | - | 50 частей изумрудной зеленой и 50 частей белил |
10 | | 70 частей марганцевой голубой и 30 частей белил |
11 | | 15 частей кобальта синего и 85 частей белил |
12 | | 6 частей ультрамарина и 94 части белил |
13 | | 50 частей кобальта фиолетового темного и 50 частей белил |
14 | | 20 частей кобальта фиолетового светлого и 80 частей белил |
15 | | 3 части краплака фиолетового и 97 частей белил |
16 | - | 10 частей сиены жженой и 89 частей белил |
17 | | 40 частей охры красной и 60 частей белил |
18 | | 20 частей сиены натуральной и 80 частей белил |
Точки
1' -
14' показывают величины цветового тона и насыщенности цветов контура цветового охвата при естественном свете, полученных смешением красок
(табл. 12).
N образца п.п. | Пропорции смеси пигментов и белил |
1' | Краплак красный |
2' | Кадмий пурпурный |
3' | Кадмий красный светлый |
4' | Кадмий оранжевый |
5' | Охра светлая |
6' | Кадмий лимонный |
7' | 50 частей марганцевой голубой и 50 частей кадмия желтого светлого |
8' | Кобальт зеленый светлый |
9' | 80 частей изумрудной светлой и 20 частей белил |
10' | Марганцевая голубая |
11' | Кобальт синий |
12' | 12 частей ультрамарина и 88 частей белил |
13' | Кобальт фиолетовый темный |
14' | Кобальт фиолетовый светлый |
На
рис. 9 точками
1 -
18 показаны цветовой тон и насыщенность исследуемых цветов при естественном свете и измененные характеристики этих цветов - концы векторов - при освещении люминесцентной лампой ЛБ; на
рис. 10 - то же, при освещении люминесцентной лампой ЛД; на
рис. 11 - то же, при освещении смесью равных потоков люминесцентных ламп ЛБ и ЛД.
Рис. 9 и
11 целесообразно изготавливать на прозрачной основе.
Рис. 9. Изменение цветностей при освещении
люминесцентной лампой ЛБ
Рис. 10. Изменение цветностей при освещении
люминесцентной лампой ЛД
Рис. 11. Изменение цветностей при смешанном освещении
люминесцентными лампами ЛД и ЛБ с равными потоками
Чтобы определить изменение цветового тона образца
1 при люминесцентной лампе ЛБ, нужно совместить
рис. 9 и
рис. 8 так, чтобы совпали все точки от
1 до
18. Далее следует провести одну прямую линию через
C и точку
1 до пересечения с контуром цветового охвата. Точка пересечения характеризует цветовой тон образца
1 при естественном свете; вторую линию нужно провести через точку
C и конец вектора, исходящего из точки
1 до пересечения с контуром цветового охвата. Точка пересечения характеризует цветовой тон образца
1 при люминесцентной лампе ЛБ.
Изменение насыщенности цвета 1 при люминесцентной лампе ЛБ характеризуется различием в расстояниях от точки C до точки 1 - это насыщенность цвета при естественном свете и от точки C до конца вектора, исходящего из точки 1, - это насыщенность цвета 1 при люминесцентной лампе ЛБ.
Изменение цветового тона и насыщенности других цветов при люминесцентной лампе ЛБ определяется аналогично. Чтобы определить те же характеристики для другого источника света, нужно наложить на
рис. 8 соответственно
рис. 10 или
11.
Степень изменения цвета показана на примере 18 цветов. Путем интерполяции эти изменения приближенно можно определить для других промежуточных цветов. При этом следует иметь в виду, что по мере уменьшения насыщенности цветов уменьшается величина их изменения по насыщенности и цветовому тону.
При изменении пропорции смеси потоков ламп конец вектора, характеризующий цветность образца при освещении смешанным потоком, смещается в сторону источника света с

потоком.