Главная // Актуальные документы // Акт (форма)СПРАВКА
Источник публикации
Документ опубликован не был
Примечание к документу
Документ утратил силу с 19 декабря 2014 г. в связи с изданием
Приказа Ростехнадзора от 19.12.2014 N 581. Взамен введены в действие "Методические
рекомендации по порядку применения пломб при надзоре за учетом и контролем ядерных материалов, радиоактивных веществ и радиоактивных отходов".
Название документа
"Методические рекомендации по порядку применения пломб при надзоре за учетом и контролем ядерных материалов, радиоактивных веществ и радиоактивных отходов"
(утв. Приказом Ростехнадзора от 04.06.2014 N 239)
"Методические рекомендации по порядку применения пломб при надзоре за учетом и контролем ядерных материалов, радиоактивных веществ и радиоактивных отходов"
(утв. Приказом Ростехнадзора от 04.06.2014 N 239)
по экологическому, технологическому
и атомному надзору
от 4 июня 2014 г. N 239
МЕТОДИЧЕСКИЕ РЕКОМЕНДАЦИИ
ПО ПОРЯДКУ ПРИМЕНЕНИЯ ПЛОМБ ПРИ НАДЗОРЕ ЗА УЧЕТОМ
И КОНТРОЛЕМ ЯДЕРНЫХ МАТЕРИАЛОВ, РАДИОАКТИВНЫХ ВЕЩЕСТВ
И РАДИОАКТИВНЫХ ОТХОДОВ
1. Методические рекомендации по порядку применения пломб при надзоре за учетом и контролем ядерных материалов, радиоактивных веществ и радиоактивных отходов (далее - Методические рекомендации) разработаны в развитие Административного
регламента по исполнению Федеральной службой по экологическому, технологическому и атомному надзору государственной функции по осуществлению контроля и надзора за физической защитой ядерных установок, радиационных источников, пунктов хранения, ядерных материалов и радиоактивных веществ, за системами единого государственного учета и контроля ядерных материалов, радиоактивных веществ, радиоактивных отходов, утвержденного приказом Ростехнадзора от 15 декабря 2011 г. N 703 (зарегистрирован Министерством юстиции Российской Федерации 16 апреля 2012 г., регистрационный N 23845) и с учетом
статьи 19.2 Кодекса Российской Федерации об административных правонарушениях.
2. Методические рекомендации содержат описание рекомендуемого порядка обращения с пломбами Федеральной службы по экологическому, технологическому и атомному надзору (далее - пломбы) при надзоре за учетом и контролем ядерных материалов, радиоактивных веществ и радиоактивных отходов (далее - ЯМ, РВ и РАО соответственно), а также рекомендуемые образцы, порядок ведения (заполнения) структурным подразделением центрального аппарата Ростехнадзора, в ведении которого находится организация надзора за учетом и контролем ядерных материалов, радиоактивных веществ и радиоактивных отходов (далее - отраслевое управление центрального аппарата) и межрегиональными территориальными управлениями по надзору за ядерной и радиационной безопасностью (далее - МТУ ЯРБ) Ростехнадзора учетных и отчетных документов (баз данных), связанных с получением, хранением, передачей, установкой, контролем состояния, снятием, заменой, утилизацией пломб, устанавливаемых на контейнеры и хранилища с ЯМ, РВ и РАО.
3. Методические рекомендации предназначены для должностных лиц Ростехнадзора, на которых возлагается организация применения и непосредственное использование пломб при надзоре за учетом и контролем ЯМ, РВ и РАО.
4. Используемые в Методических рекомендациях термины и их определения приведены в
Приложении N 1 к настоящим Методическим рекомендациям.
5. Основные цели применения пломб при надзоре за учетом и контролем ЯМ, РВ и РАО:
повышение результативности выявления нарушений в учете и контроле ЯМ, РВ и РАО, их предупреждение и предотвращение;
достижение объективности при осуществлении надзора;
исключение возможности сокрытия неконтролируемых действий с ЯМ, РВ и РАО, нарушений в учете и контроле РВ и РАО при проведении проверок состояния учета и контроля ЯМ, РВ и РАО;
снижение трудозатрат, связанных с проведением инспекционных измерений, за счет снижения их количества в случае использования пломб.
6. При применении пломб в рамках надзора за учетом и контролем ЯМ, РВ и РАО следует руководствоваться принципом, устанавливающим, что создание необоснованных препятствий деятельности проверяемой организации является недопустимым.
II. ОРГАНИЗАЦИЯ ПРИМЕНЕНИЯ ПЛОМБ ПРИ НАДЗОРЕ ЗА УЧЕТОМ
И КОНТРОЛЕМ ЯДЕРНЫХ МАТЕРИАЛОВ, РАДИОАКТИВНЫХ ВЕЩЕСТВ
И РАДИОАКТИВНЫХ ОТХОДОВ
7. При осуществлении надзора за учетом и контролем ЯМ, РВ и РАО пломбы применяются в ходе проведения проверок ЯМ, РВ и РАО для исключения возможности неконтролируемого и несанкционированного доступа к объектам пломбирования.
Объектами пломбирования являются:
контейнеры с ЯМ, РВ и РАО, подлежащие инспекционным проверкам или измерениям;
помещения и хранилища с ЯМ, РВ и РАО при проверке проведения физической инвентаризации ЯМ, инвентаризации РВ и РАО, проверке наличия ЯМ, РВ и РАО в местах их нахождения на время перерывов проводимых работ;
помещения, хранилища и/или контейнеры с ЯМ, РВ и РАО при обнаружении аномалий (нарушений) в учете и контроле в целях обеспечения дальнейшего надзора со стороны должностных лиц Ростехнадзора за проводимым расследованием должностными лицами организаций причин выявленных аномалий (нарушений);
помещения, хранилища, сейфы и/или контейнеры с ЯМ, РВ и РАО в случае приостановки или прекращения действия лицензий организации;
используемые в инспекционных целях приборы неразрушающего контроля, эталонные образцы, образцы проб ядерных материалов и средства наблюдения (в том числе с носителями видеоинформации).
8. При применении пломб при надзоре за учетом и контролем ЯМ, РВ и РАО следует учитывать, что в зависимости от конкретных целей и условий:
пломбы могут устанавливаться на объекты пломбирования как до, так и после инспекционных измерений ЯМ, РВ и РАО, проводимых должностными лицами Ростехнадзора;
пломбы могут устанавливаться должностными лицами Ростехнадзора на объектах пломбирования вне зависимости от применения пломб проверяемых организаций на выбранных объектах пломбирования.
Следует предусмотреть незамедлительное последующее информирование соответствующего должностного лица или подразделения Ростехнадзора в случае экстренного удаления пломбы Ростехнадзора персоналом организации.
9. Основные мероприятия, связанные с применением пломб в целях надзора за учетом и контролем ЯМ, РВ и РАО.
9.1. В структурных подразделениях МТУ ЯРБ Ростехнадзора осуществляется:
выбор типа (типов) пломб и согласование при необходимости по условиям безопасного применения с поднадзорной организацией;
формирование заявки на поставку пломб и направление ее в МТУ ЯРБ Ростехнадзора (
Приложение N 2 к настоящим Методическим рекомендациям);
получение пломб из МТУ ЯРБ, постановка на учет, учет неиспользованных и использованных пломб, регистрация установки, контроля состояния и снятия пломб;
непосредственное применение пломб в надзорной деятельности (установка, контроль состояния и снятие);
утилизация использованных пломб, списание с учета использованных пломб, подлежащих утилизации;
представление в установленные сроки в МТУ ЯРБ Ростехнадзора сведений о применении, наличии и движении пломб.
9.2. В МТУ ЯРБ Ростехнадзора осуществляется:
составление сводной заявки на основании заявок структурных подразделений;
закупка и учет применения пломб структурными подразделениями; представление в установленные сроки сведений о применении пломб в отраслевое управление центрального аппарата Ростехнадзора.
9.3. В отраслевом управлении центрального аппарата Ростехнадзора осуществляется:
анализ результатов применения пломб в МТУ ЯРБ;
методическое руководство применением пломб при надзоре за системами учета и контроля ЯМ, РВ и РАО.
10. Описание используемых пломб и технология их применения должностными лицами Ростехнадзора приведены в техническом руководстве по применению пломб при надзоре за учетом и контролем (далее - Техническое руководство) (
Приложение N 3 к настоящим Методическим рекомендациям).
11. Контроль пломб рекомендуется проводить с целью определения правильности их установки, исправности и целостности, возможности их дальнейшей эксплуатации на объекте установки, обнаружения и фиксации видимых следов несанкционированных воздействий. Порядок проведения контроля пломб приведен в Техническом руководстве.
12. Проведение расследования при выявлении факта повреждения пломбы, фактов доступа к содержимому объекта установки пломб рекомендуется проводить с привлечением специалистов проверяемой организации.
13. Порядок утилизации пломб установлен национальным стандартом Российской Федерации
ГОСТ Р 52326-2005 "Устройства пломбировочные. Учет, контроль и утилизация", утвержденным приказом Федерального агентства по техническому регулированию и метрологии от 31 марта 2005 г. N 72-ст. Технология утилизации предусматривает приведение конструкции пломбы в состояние, исключающее ее повторное применение.
14. Для организации работы по применению пломб при надзоре за учетом и контролем ЯМ, РВ и РАО в каждом МТУ ЯРБ Ростехнадзора рекомендуется назначить приказом или распоряжением руководителя:
ответственного за организацию применения пломб и представление отчетных документов в МТУ ЯРБ Ростехнадзора и в каждом его структурном подразделении, применяющем пломбы;
ответственного за получение, хранение, выдачу пломб и ведение учетных документов (далее - ответственный за хранение);
должностных лиц, имеющих право на установку, контроль состояния и снятие пломб.
Рекомендуется назначать лиц, прошедших обучение применению пломб на соответствующих учебных курсах или курсах повышения квалификации, или обеспечить их обучение в кратчайшие сроки после назначения.
15. Рекомендуется предусмотреть хранение пломб и учетной документации в сейфе (запираемом металлическом шкафу повышенной прочности) ответственного за хранение, а также предусмотреть при смене ответственных за хранение передачу пломб и учетной документации по акту (
Приложение N 2 к настоящим Методическим рекомендациям). Акт утверждается руководителем МТУ ЯРБ или структурного подразделения МТУ ЯРБ Ростехнадзора. Также при смене ответственных за хранение рекомендуется провести сверку акта по итогам физической инвентаризации пломб с данными учетных документов с отметкой в акте приема-передачи пломб.
16. Рекомендуется предусмотреть процедуры, в соответствии с которыми при возникновении необходимости передачи пломб между структурными подразделениями МТУ ЯРБ Ростехнадзора основанием для постановки на учет (списания с учета) пломб является распоряжение руководителя МТУ ЯРБ о передаче пломб и акт о приеме-передаче пломб (
Приложение N 2 к настоящим Методическим рекомендациям). Акт о приеме-передаче, утверждаемый руководителем МТУ ЯРБ, рекомендуется составлять в двух экземплярах, при этом по одному экземпляру акта находится у отправителя и получателя пломб.
III. ПОРЯДОК ВЕДЕНИЯ УЧЕТНЫХ И ОТЧЕТНЫХ
ДОКУМЕНТОВ (БАЗ ДАННЫХ)
17. Рекомендуемые для ведения в МТУ ЯРБ Ростехнадзора и их структурных подразделениях образцы учетных и отчетных документов о наличии и движении пломб, а также рекомендации по их заполнению приведены в
Приложении N 2 к настоящим Методическим рекомендациям. Данные рекомендуемые образцы документов рекомендуется использовать для ведения соответствующих электронных баз данных.
18. Следует предусмотреть, чтобы пломбы, подлежащие документальному учету (
Приложение N 2 к настоящим Методическим рекомендациям), учитывались на всех этапах их применения, включая:
получение для установки;
установку на объекты пломбирования;
снятие с объектов пломбирования.
19. Учет использованных пломб после их снятия рекомендуется производить на основании актов снятия пломб с объектов пломбирования. Утилизация и списание пломб фиксируется в учетной документации с оформлением соответствующих актов, подлежащих хранению.
20. Внесение сведений в учетную документацию и постановку на учет полученных пломб рекомендуется осуществлять на основании актов приема-передачи пломб.
21. Рекомендуется при планировании проведения проверок указывать в программе проведения проверки применение пломб, при этом данную программу рекомендуется использовать в качестве основания для выдачи пломб с целью установки на объекты пломбирования, а также снятия и возврата использованных пломб.
22. Рекомендуется факт установки пломб на объекты пломбирования и снятия пломб с указанных объектов фиксировать оформленным актом установки (снятия) пломб должностным лицом Ростехнадзора на контейнер (хранилище) (
Приложение N 2 к настоящим Методическим рекомендациям).
23. При утилизации пломб рекомендуется использовать в качестве основания для списания с учета использованных пломб акт утилизации использованных пломб комиссией структурного подразделения МТУ ЯРБ Ростехнадзора (
Приложение N 2 к настоящим Методическим рекомендациям).
24. В качестве отчетных документов рекомендуется использовать:
а) сведения о наличии и движении пломб в отделе инспекции (отделе надзора) (
Приложение N 2 к настоящим Методическим рекомендациям) - представляются структурными подразделениями (отделами инспекций) в МТУ ЯРБ Ростехнадзора. Отделы надзора МТУ ЯРБ Ростехнадзора представляют данные сведения при осуществлении ими непосредственного применения пломб при надзоре за учетом и контролем ЯМ, РВ и РАО;
б) сведения о наличии и движении пломб в МТУ ЯРБ Ростехнадзора (
Приложение N 2 к настоящим Методическим рекомендациям) - представляются МТУ ЯРБ Ростехнадзора в отраслевое управление центрального аппарата Ростехнадзора;
в) сведения о наличии и движении пломб в МТУ ЯРБ Ростехнадзора учитываются в отраслевом управлении центрального аппарата Ростехнадзора (
Приложение N 2 к настоящим Методическим рекомендациям).
25. Отчетные документы МТУ ЯРБ об использовании пломб представляются в отраслевое управление центрального аппарата Ростехнадзора одновременно с квартальными отчетами о надзоре за учетом и контролем ЯМ, РВ и РАО.
к Методическим рекомендациям
по порядку применения пломб
при надзоре за учетом и
контролем ядерных материалов,
радиоактивных веществ и
радиоактивных отходов, утвержденным
Приказом Федеральной службы
по экологическому, технологическому
и атомному надзору
от 4 июня 2014 г. N 239
Аномалия в учете и контроле ядерных материалов - расхождение значений фактически наличного количества ядерных материалов и данных учетных документов, выходящее за установленные пределы, недостача (излишек) учетной единицы с ядерными материалами.
Идентификационный признак - контролируемая совокупность параметров и характеристик пломбировочного устройства, присущая данному конкретному пломбировочному устройству, свидетельствующая о его подлинности и целостности, нарушаемая или изменяемая при попытке снятия (демонтажа) пломбировочного устройства с защищаемого объекта.
Нарушение в учете и контроле радиоактивных веществ и радиоактивных отходов - недостача или излишек, несанкционированное использование и/или незаконное перемещение РВ и РАО, ошибки в учетных или отчетных документах, повреждения средств контроля доступа к РВ и РАО, несоответствие атрибутивных признаков учетной единицы зарегистрированным данным, нарушения порядка использования и передачи РВ и РАО.
Система учета и контроля ядерных материалов - совокупность технических и организационных мер, обеспечивающих своевременное получение информации о местонахождении и использовании, о составе и массе ядерных материалов, а в случае их недостачи позволяющих своевременно установить потерю, хищение или несанкционированное использование ядерных материалов.
Учет пломб - составление, регистрация и ведение учетных документов по идентификационным признакам пломб с указанием изготовителя, поставщика, времени получения, применения, места нахождения в конкретный период времени и других данных.
к Методическим рекомендациям
по порядку применения пломб
при надзоре за учетом и контролем
ядерных материалов, радиоактивных
веществ и радиоактивных отходов,
утвержденным приказом Федеральной службы
по экологическому, технологическому
и атомному надзору
от 4 июня 2014 г. N 239
(рекомендуемые образцы)
Заявка N _______ от "____" ____________ 20___ года
на поставку пломб в __________________________________________________
(МТУ ЯРБ или структурное подразделение МТУ ЯРБ)
N п/п | Тип пломб | Количество | Примечание |
| | | |
| | | |
| | | |
| | | |
| | | |
| | | |
Руководитель _______________________________ ___________
(подпись, фамилия, инициалы) (дата)
Ответственный за хранение пломб _______________________________ ___________
(подпись, фамилия, инициалы) (дата)
Рекомендации по заполнению
Заявка на поставку пломб в структурное подразделение МТУ ЯРБ Ростехнадзора составляется и подписывается ответственным за хранение пломб и руководителем структурного подразделения МТУ ЯРБ Ростехнадзора, представляется в МТУ ЯРБ Ростехнадзора по подчиненности.
Заявка на поставку пломб в МТУ ЯРБ Ростехнадзора составляется и подписывается ответственным за хранение пломб и руководителем МТУ ЯРБ Ростехнадзора, представляется в отраслевое управление центрального аппарата Ростехнадзора.
Утверждаю
_________________________________________
(Руководитель структурного подразделения)
________________ ________________________
(подпись) (инициалы, фамилия)
"______" _______________ 20_____ г.
о приеме-передаче пломб
Акт составлен в том, что ______________________________________________
(должность, фамилия, инициалы)
передал, а _____________ __________________________________________________
(должность, фамилия, инициалы)
принял пломбы в количестве, как ниже указано:
N п/п | Наименование | Количество | Индивидуальные номера (с ... по ...) |
1 | | | |
2 | | | |
3 | | | |
Замечания и недостатки: _______________________________________________
Передал _________________ _________________ ___________________________
(должность) (подпись) (фамилия, инициалы)
Принял _________________ _________________ ___________________________
(должность) (подпись) (фамилия, инициалы)
"_____" ______________ 20____ г.
Рекомендации по заполнению
Акт о приеме-передаче пломб оформляется в двух экземплярах. Один экземпляр акта остается у передающего пломбы, второй экземпляр акта - у принимающего пломбы.
неиспользованных (использованных) пломб
Левая сторона журнала
N п/п | Дата получения пломб | Тип и количество полученных пломб | Номера полученных пломб (с ... по ...) | Основание для получения пломб | Ф.И.О. и подпись сдавшего | Ф.И.О. и подпись получившего |
1 | 2 | 3 | 4 | 5 | 6 | 7 |
Правая сторона журнала
N п/п | Дата выдачи пломб | Тип и количество выданных пломб | Номера выданных пломб (с ... по ...) | Основание для выдачи пломб | Ф.И.О. и подпись выдавшего | Ф.И.О. и подпись получившего |
1 | 2 | 3 | 4 | 5 | 6 | 7 |
Рекомендации по заполнению
По данному документу

ведется учет неиспользованных и использованных пломб лицами, ответственными за хранение пломб в структурных подразделениях МТУ ЯРБ Ростехнадзора. Учет использованных пломб ведется в журнале отдельным разделом на основании актов снятия пломб с объектов пломбирования.
установки (снятия) пломб должностным лицом Ростехнадзора
(ненужное зачеркнуть)
на _______________________ на ____________________________________
(объект пломбирования) (название ядерной установки или ЗБМ)
N п/п | Здание | Тип объекта пломбирования | Идентификатор объекта пломбирования | Проведение инспекционных измерений | Тип пломбы | Номер пломбы | Дата установки (снятия) пломбы |
1 | 2 | | | | 6 | 7 | 8 |
| | | | | | | |
| | | | | | | |
______________________________________ ___________ ________________________
(должность представителя подразделения (подпись) (фамилия, инициалы)
Ростехнадзора)
______________________________________ ___________ ________________________
(должность ответственного лица (подпись) (фамилия, инициалы)
инспектируемой организации)
Результаты проверки снятых пломб (заполняется при снятии пломб):
Загрязнение поверхности неснимаемое (фиксированное) отсутствует
______________________________________ ___________ ________________________
(дозиметрист инспектируемой (подпись) (фамилия, инициалы)
организации)
Рекомендации по заполнению
В
графе 3 указывается тип объекта пломбирования (контейнер, сейф, хранилище).
В
графе 4 указывается идентификатор объекта пломбирования (номер контейнера, номер или обозначение хранилища).
В случае если объектом пломбирования является контейнер, в
графе 5 ставится знак "+", если перед установкой пломб были проведены инспекционные измерения ЯМ, РВ, РАО в соответствующем контейнере.
После установки пломб оформленный акт передается на хранение ответственному за организацию применения пломб в отделе инспекций (отделе надзора).
После снятия пломб оформленный акт передается вместе со снятыми пломбами ответственному за хранение пломб в отделе инспекций (отделе надзора) и хранится до списания использованных пломб.
Утверждаю
______________________________________________
(Начальник структурного подразделения МТУ ЯРБ)
________________ ____________________________
(подпись) (инициалы, фамилия)
"_____" _____________ 20____ г.
утилизации использованных пломб
Комиссия в составе: ___________________________________________________
___________________________________________________________________________
___________________________________________________________________________
(наименование должностей, Ф.И.О. председателя и членов комиссии)
проверила фактическое наличие и сверила с учетными документами снятые с
объектов применения пломбы. В результате проверки установлено фактическое
наличие использованных пломб.
N п/п | Тип пломб | Количество | Индивидуальные номера (с ... по ...) |
1 | | | |
Пломбы приведены в непригодное для дальнейшего использования состояние
путем ______________________________________________________, утилизированы
(указать способ)
___________________________________________________________________________
указать способ и/или место сбора утилизированных пломб)
Председатель комиссии: ___________________ _____________________
(подпись) (дата)
Члены комиссии: ___________________ _____________________
(подпись) (дата)
___________________ _____________________
(подпись) (дата)
Рекомендации по заполнению
Акт утверждается начальником соответствующего структурного подразделения МТУ ЯРБ Ростехнадзора, назначившим комиссию.
Утвержденный акт является основанием для списания с учета утилизированных пломб и находится у ответственного за хранение пломб в структурном подразделении МТУ ЯРБ Ростехнадзора.
Сводка о наличии и движении пломб
в ______________________________________________
(по состоянию на "___" ___________ 20____ года)
N п/п | Выполняемые операции с пломбами | Количество пломб по типам | Индивидуальные номера (с ... по ...) пломб по типам | Всего (кол-во) |
| | | | | | | |
1 | 2 | 3 | 4 | 5 | 6 | 7 | 8 | 9 | 10 | 11 |
1 | Получено пломб | | | | | | | | | |
2 | Имеется неиспользованных пломб | | | | | | | | | |
3 | Установлено пломб на контейнеры и хранилища | | | | | | | | | |
4 | Имеется использованных пломб | | | | | | | | | |
5 | Утилизировано и списано пломб | | | | | | | | | |
Рекомендации по заполнению
Сводка о наличии и движении пломб заполняется в отделе инспекций (отделе надзора) ответственным за организацию применения пломб на основании фактически выполненных работ, зафиксированных в актах установки (снятия) пломб должностным лицом Ростехнадзора (
Приложение N 2 к настоящим Методическим рекомендациям).
В позиции 3 указываются суммарные сведения об установленных пломбах на контейнерах и хранилищах во всех инспектируемых организациях.
В позиции 5 указываются сведения об утилизированных и списанных пломбах.
Сводки о наличии и движении пломб ежеквартально представляются в МТУ ЯРБ Ростехнадзора ответственному за организацию применения пломб.
МТУ ЯРБ предоставляют сводный отчет (составленный на основе отчетов отделов инспекций) в отраслевое управление центрального аппарата Ростехнадзора вместе с отчетом о результатах надзора за УК ЯМ, РВ и РАО.
Сводка о наличии и движении пломб в межрегиональных
территориальных управлениях по надзору за ядерной
и радиационной безопасностью Ростехнадзора
(по состоянию на "____" ____________ 20_____ года)
N п/п | Выполняемые операции с пломбами | ЦМТУ | СЕМТУ | ВМТУ | ДМТУ | УМТУ | МТУ СДВ | Всего (кол-во) |
кол-во | инд. N (с ... по ...) | кол-во | инд. N (с ... по ...) | кол-во | инд. N (с ... по ...) | кол-во | инд. N (с ... по ...) | кол-во | инд. N (с ... по ...) | кол-во | инд. N (с ... по ...) |
1 | 2 | 3 | 4 | 5 | 6 | 7 | 8 | 9 | 10 | 11 | 12 | 13 | 14 | 15 |
1 | Получено пломб |
| | | | | | | | | | | | | |
2 | Имеется неиспользованных пломб |
| | | | | | | | | | | | | |
3 | Установлено пломб на контейнеры и хранилища |
| | | | | | | | | | | | | |
4 | Имеется использованных пломб |
| | | | | | | | | | | | | |
5 | Списано и утилизировано пломб |
| | | | | | | | | | | | | |
Рекомендации по заполнению
Сводка о наличии и движении пломб ведется в отраслевом управлении центрального аппарата Ростехнадзора на основании представляемых сводок о наличии и движении пломб в МТУ ЯРБ Ростехнадзора (
Приложение N 2 к настоящим Методическим рекомендациям).
к Методическим рекомендациям
по порядку применения пломб при
надзоре за учетом и контролем ядерных
материалов, радиоактивных веществ
и радиоактивных отходов, утвержденным
Приказом Федеральной службы
по экологическому, технологическому
и атомному надзору
от 4 июня 2014 г. N 239
ТЕХНИЧЕСКОЕ РУКОВОДСТВО ПО ПРИМЕНЕНИЮ ПЛОМБ
ПРИ НАДЗОРЕ ЗА УЧЕТОМ И КОНТРОЛЕМ
1. Техническое руководство по применению пломб при надзоре за учетом и контролем (далее - Техническое руководство) содержит описание пломб типа чашка - "Е", "Кобра", ПК-91оп, ПК-91рх, технологии их применения, организации и порядка проведения контроля их состояния на всех этапах применения.
2. Техническое руководство предназначено для специалистов Федеральной службы по экологическому, технологическому и атомному надзору, осуществляющих надзор за учетом и контролем ядерных материалов, радиоактивных веществ и радиоактивных отходов с использованием пломб.
3. Техническое руководство является дополнением к руководящим и методическим документам Федеральной службы по экологическому, технологическому и атомному надзору, в которых изложены процедуры, которые должны соблюдаться при использовании пломб при надзоре за учетом и контролем.
4. Техническое руководство разработано на основе технической документации изготовителя пломб типа "Кобра", ПК-91оп, ПК-91рх - ЗАО "Инженерно-промышленный концерн "Страж".
II. ОПИСАНИЕ ПЛОМБ И ТЕХНОЛОГИИ ИХ ПРИМЕНЕНИЯ
2.1. Описание пломб типа чашка - "Е" и технологии их применения.
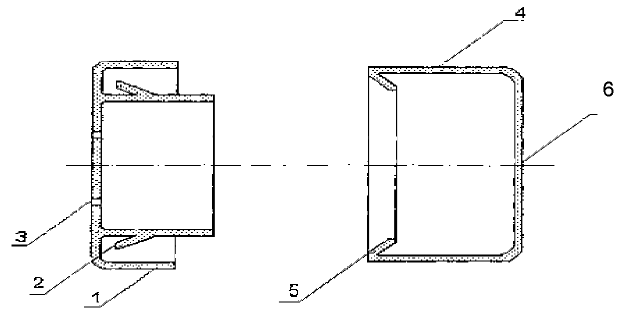
2.1.1. Пломбы представляют собой медно-латунные пломбы чашечного типа с маркировкой Ростехнадзора, нанесенной латинскими и русскими буквами и индивидуальным номером, нанесенным на крышке пломбы. На внутренней поверхности корпуса и крышки каждой пломбы нанесены идентификационные знаки, оптико-электронные изображения которых занесены в базу данных. Корпус и крышка каждой пломбы помещены в отдельный полиэтиленовый пакет.
Схема конструкции пломбы приведена на
рисунке 1.
1 - корпус пломбы
2 - фиксатор
3 - отверстия под проволоку
4 - крышка пломбы
5 - фиксатор крышки
6 - места маркировки пломбы
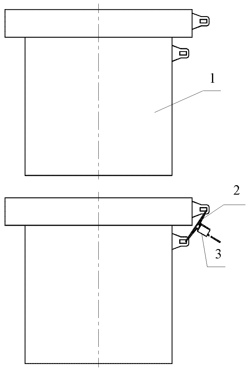
2.1.2. Технология установки пломбы на контейнер с завинчивающейся крышкой.
2.1.2.1. Получив пломбу, убедитесь, что корпус и крышка пломбы не имеют видимых дефектов (вмятин, трещин, следов коррозии и т.п.).
2.1.2.2. Подготовьте для работы:
инструмент (кусачки);
мягкую проволоку (диаметр 0,6 - 1,2 мм);
при необходимости средства безопасности (спецодежда, защитные очки, резиновые перчатки, респиратор типа "Лепесток").
2.1.2.3. Откусите кусачками отрезок проволоки необходимой длины.
2.1.2.4. Убедитесь, что:
крышка контейнера полностью завинчена;
отверстия в проушинах крышки и корпуса находятся как можно ближе друг к другу (см.
рисунок 2).
1 - контейнер
2 - проволока
3 - корпус пломбы
4 - узел из проволоки
5 - крышка пломбы
2.1.2.5. Пропустите один конец проволоки через отверстия проушин крышки и корпуса контейнера.
2.1.2.6. Извлеките корпус пломбы из полиэтиленового пакета и пропустите концы проволоки через отверстия в корпусе пломбы с внешней стороны.
2.1.2.7. Продвиньте корпус пломбы вплотную к корпусу контейнера.
2.1.2.8. Завяжите узел из проволоки, исключающий перемещение и снятие пломбы без разрыва проволоки или повреждения пломбы.
2.1.2.9. Откусите кусачками концы проволоки.
2.1.2.10. Подогните узел к донышку корпуса пломбы.
2.1.2.11. Извлеките крышку пломбы из полиэтиленового пакета, из которого был извлечен корпус пломбы, вставьте крышку пломбы в корпус и нажатием пальцев продвиньте крышку в корпус до щелчка фиксаторов.
2.1.2.12. Убедитесь, что крышка надежно зафиксирована в корпусе пломбы (извлечь ее без разрушения пломбы невозможно).
Внимание! Признаком правильной установки крышки в корпус пломбы является вращение крышки относительно корпуса при небольшом усилии и возможность считывания маркировки на крышке пломбы при повороте ее вокруг своей оси.
2.1.2.13. Документально зарегистрируйте факт установки пломбы.
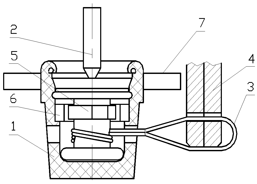
2.2. Описание пломб типа "Кобра" и технологии их применения.
2.2.1. Запорно-пломбировочное устройство (ЗПУ) "Кобра" относится к силовым моноблочным пломбировочным устройствам одноразового использования. Конструкция пломбы
(рис. 3) состоит из пластмассового корпуса и неразъемно вмонтированного в него запирающего механизма и троса. На боковой поверхности корпуса лазерной маркировкой нанесен индивидуальный номер пломбы.
1 - корпус пломбы
2 - крышка
3 - ролик
4 - пружина
5 - трос
2.2.2. Технология установки пломбы на контейнер с завинчивающейся крышкой.
2.2.2.1. Получив пломбу, убедитесь, что корпус пломбы не имеет видимых дефектов (вмятин, трещин, и т.п.);
2.2.2.2. Подготовьте, при необходимости, для работы средства безопасности (спецодежду, защитные очки, резиновые перчатки, респиратор типа "Лепесток").
2.2.2.3. Убедитесь, что:
крышка контейнера полностью завинчена;
отверстия, имеющиеся в проушинах крышки и корпуса, находятся как можно ближе друг к другу (см.
рисунок 4).
1 - контейнер
2 - трос
3 - пломба
2.2.2.4. Пропустите трос через отверстия проушин крышки и корпуса контейнера.
2.2.2.5. Вставьте конец троса во входное отверстие корпуса пломбы и затяните образованную петлю до упора.
2.2.2.6. Документально зарегистрируйте факт установки пломбы.
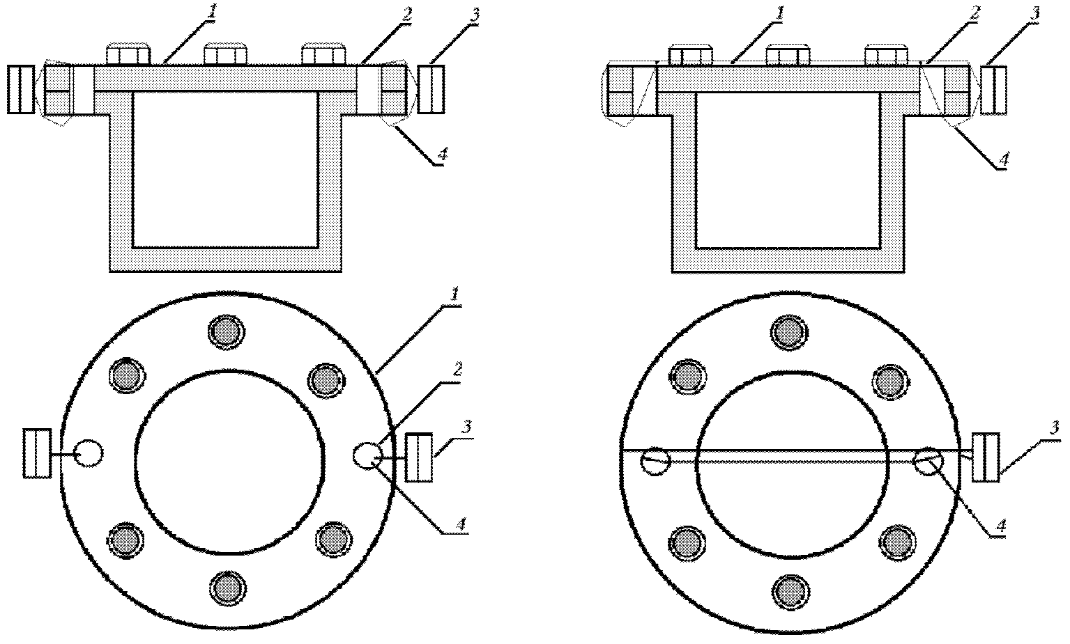
2.3. Описание пломб типа ПК-91оп и технологии их применения.
2.3.1. Пломба ПК-91оп относится к контрольным пломбировочным устройствам. Пломба имеет моноблочную конструкцию, состоящую из корпуса с гибким хвостовиком и ярлыком и неразъемно вмонтированной в корпус цанги. Гибкий хвостовик совместно с цангой служат для создания неразъемной затягивающейся петли, охватывающей проушины запорного узла пломбируемого объекта. Ярлык предназначен для нанесения на нем информации при изготовлении пломбы. Материал корпуса пломбы - пластмасса, цанги - стальная лента. Конструкция пломбы изображена на
рис. 5.
1 - корпус пломбы
2 - цанга
3 - гибкий хвостовик
4 - ярлык
2.3.2. Технология установки пломбы на контейнер с завинчивающейся крышкой.
2.3.2.1. Получив пломбу, убедитесь, что корпус пломбы не имеет видимых дефектов (вмятин, трещин, и т.п.).
2.3.2.2. Подготовьте для работы, при необходимости, средства безопасности (спецодежду, защитные очки, резиновые перчатки, респиратор типа "Лепесток").
2.3.2.3. Убедитесь, что:
крышка контейнера полностью завинчена;
отверстия в проушинах крышки и корпуса находятся как можно ближе друг к другу (см.
рисунок 6).
1 - контейнер
2 - пломба
2.3.2.4. Пропустите гибкий хвостовик через отверстия проушин крышки и корпуса контейнера.
2.3.2.5. Пропустите хвостовик через отверстие пломбы и затяните получившуюся петлю до минимального размера. При температуре окружающей среды ниже минус 10 °C внутренний радиус изгиба хвостовика должен быть не менее 15 мм.
2.3.2.6. Документально зарегистрируйте факт установки пломбы.
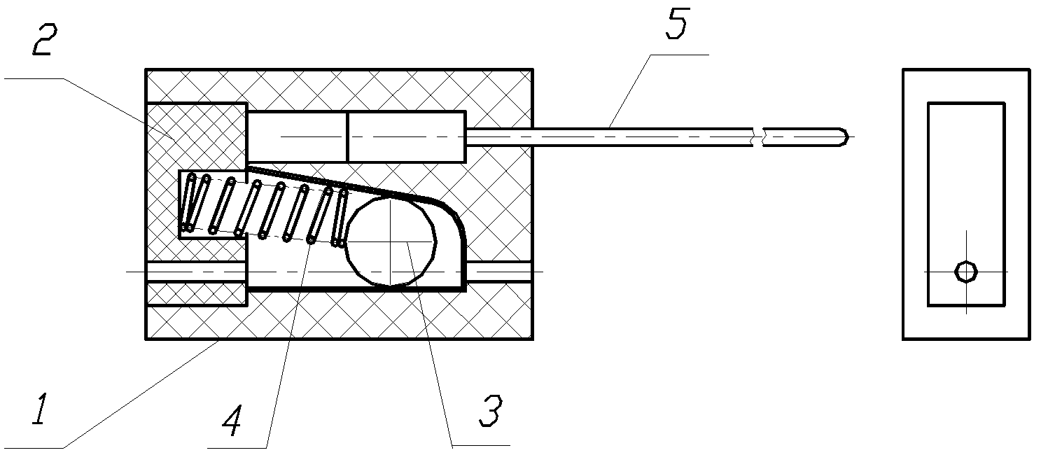
2.4. Описание пломб типа ПК-91рх и технологии их применения.
2.4.1. Пломба ПК-91рх относится к контрольным пломбировочным устройствам роторного типа. Конструкция пломбы состоит из корпуса с фланцем, предназначенным для нанесения контрольной информации, и неразъемно вмонтированного в него стержня с ручкой. Корпус и стержень изготовлены из пластмассы. В корпусе и на стержне выполнены элементы храпового зацепления, допускающие вращение стержня только по часовой стрелке. Принадлежностью пломбы является также проволока, поставляемая отдельно и используемая для создания неразъемной петли. Конструкция пломбы приведена на
рис. 7.
1 - корпус пломбы
2 - ручка стержня
3 - проволока
4 - проушины пломбируемого объекта
5, 6 - элементы храпового зацепления
7 - фланец
2.4.2. Технология установки пломбы на контейнер с завинчивающейся крышкой.
2.4.2.1. Получив пломбу, убедитесь, что:
корпус пломбы не имеет видимых дефектов (вмятин, трещин, и т.п.);
стержень пломбы можно повернуть только в одну сторону.
2.4.2.2. Подготовьте для работы:
инструмент (кусачки);
мягкую проволоку (диаметр 0,4 ... 0,5 мм);
при необходимости, средства безопасности (спецодежду, защитные очки, резиновые перчатки, респиратор типа "Лепесток").
2.4.2.3. Откусите кусачками отрезок проволоки необходимой длины.
2.4.2.4. Убедитесь, что:
крышка контейнера полностью завинчена;
отверстия в проушинах крышки и корпуса находятся как можно ближе друг к другу (см.
рисунок 8).
1 - контейнер
2 - проволока
3 - пломба
4 - ручка стержня пломбы
2.4.2.5. Пропустите проволоку через отверстия проушин крышки и корпуса контейнера и сделайте скрутку концов проволоки длиной не менее 20 мм.
2.4.2.6. Вставьте скрутку в совмещенные отверстия корпуса и стержня пломбы так, чтобы скрутка выступала не более 2 мм из корпуса и вращением ручки стержня не менее чем на 2 оборота затяните петлю из проволоки до упора.
2.4.2.7. Обломите ручку стержня пломбы.
2.4.2.8. Документально зарегистрируйте факт установки пломбы.
2.5. Использованные пломбы утилизируются любым удобным способом, исключающим их повторное применение.
III. ОПИСАНИЕ МАРКИРОВКИ ПЛОМБ
3.1. Описание маркировки пломб типа чашка - "Е".
На крышке пломбы нанесена маркировка, представляющая собой нанесенные тиснением друг под другом аббревиатуру "GAN", четырехзначный номер и аббревиатуру "ГАН".
3.2. Маркировка пломб типа "Кобра", ПК-91оп, ПК-91рх, изготовленных ЗАО "Инженерно-промышленный концерн "Страж" для применения при надзоре за учетом и контролем.
3.2.1. На видимой поверхности каждого типа пломб нанесена надпись "ФСЭТАН" и указан номер (семизначное число), начинающийся с цифры 7 (7N00001). Нумерация пломб каждого типа начинается с номера 7N00001.
3.2.2. На пломбах типа "Кобра" значение N в номере равно единице (1). Цвет корпуса темно-красный. На одной боковой поверхности нанесена надпись на белом поле "ФСЭТАН", на другой боковой поверхности нанесена надпись "Kobra" и на белом поле семизначный номер.
3.2.3. На пломбах типа ПК-91оп значение N в номере равно двум (2). Цвет корпуса ярко-красный. На ярлыке пломбы со стороны цанги нанесен белым цветом семизначный номер и надпись "ФСЭТАН".
3.2.4. На пломбах типа ПК-91рх значение N в номере равно трем (3). Цвет корпуса и фланца прозрачный, цвет стержня и ручки стержня ярко-красный. На фланце пломбы со стороны ручки стержня нанесен белым цветом семизначный номер и выгравирована надпись "ФСЭТАН".
3.2.5. Описание исполнения маркировки пломб типа "Кобра".
3.2.5.1. Информация наносится на боковые поверхности на корпусе:
зона маркировки и постоянная составляющая информации наносится методом тампонной печати;
порядковый номер наносится методом лазерной гравировки.
Образец типовой маркировки и шрифта представлен на фото 1.
Фото 1. Общий вид типовой маркировки пломбы "Кобра"
Следует обращать внимание на применение двух методов маркировки, что значительно усложняет процесс подделки нанесенной информации. С этой же целью на данной пломбе нанесено продольное рифление в месте маркировки порядкового номера пломбы.
3.2.5.2. При контроле маркировки пломбы "Кобра" необходимо проверить:
соответствие взаиморасположения отдельных элементов нанесенной информации с эталоном-образцом. С одной стороны корпуса пломбы размещено наименование пломбы и идентификационный номер. С другой стороны корпуса пломбы размещен логотип пользователя;
соответствие расположения всей нанесенной информации с эталоном-образцом;
соответствие идентификационного номера;
соответствие шрифта идентификационного номера на установленной пломбе со шрифтом пломбы эталона-образца (тип и размер шрифта);
имеется ли частичное отсутствие краски;
различие в цвете маркировки;
имеется ли сглаживание рельефной поверхности места маркировки, изменение геометрии штрихов и отдельных его элементов.
3.2.6. Описание исполнения маркировки пломб ПК-91оп.
3.2.6.1. Маркировка наносится на корпусе пломбы с одной стороны. Идентификационный номер и логотип пользователя наносятся методом термотиснения.
Образец типовой маркировки и шрифта представлен на фото 2.
Фото 2. Общий вид типовой маркировки пломбы ПК-91оп
3.2.6.2. При контроле маркировки пломбы ПК-91оп необходимо проверить:
соответствие взаиморасположения отдельных элементов нанесенной информации с эталоном-образцом;
соответствие расположения всей нанесенной информации с эталоном-образцом;
соответствие идентификационного номера;
шрифт идентификационного номера на установленной пломбе со шрифтом пломбы эталона-образца (тип и размер шрифта);
отсутствие сдвоенных элементов маркировки (цифр, букв);
имеется ли частичное отсутствие краски;
имеется ли изменение геометрии штрихов и отдельных элементов;
однородность цвета маркировки.
3.2.7. Описание исполнения маркировки пломб ПК-91рх.
3.2.7.1. Маркировка наносится на ярлык:
идентификационный номер наносится методом термотиснения, над номером выдавлена аббревиатура "ФСЭТАН";
при изготовлении корпуса литьем на ярлыке формируются рельефное название пломбы (РХ) и логотип фирмы изготовителя;
логотип пользователя наносится методом термопечати.
Образец типовой маркировки и шрифта представлен на фото 3.
Фото 3. Общий вид типовой маркировки пломбы ПК-91рх
3.2.7.2. При контроле маркировки пломбы ПК-91рх необходимо проверить:
соответствие взаиморасположения отдельных элементов нанесенной информации с эталоном-образцом;
соответствие расположения всей нанесенной информации с эталоном-образцом;
соответствие шрифта идентификационного номера на установленной пломбе шрифту пломбы эталона-образца (тип и размер шрифта);
соответствие идентификационного номера;
отсутствие сдвоенных элементов маркировки (цифр, букв);
имеется ли частичное отсутствие краски;
изменение геометрии штрихов и отдельных его элементов;
различие в цвете маркировки;
уточнение зоны нанесения знаков на ярлыке;
соответствие элементов постоянной информации на ярлыке, заложенной в литьевой форме (логотип товарного знака предприятия-изготовителя и название пломбы) и дополнительной информации (логотипа пользователя).
IV. ОРГАНИЗАЦИЯ И ПОРЯДОК ВЫПОЛНЕНИЯ КОНТРОЛЯ
СОСТОЯНИЯ ПЛОМБ
4.1. Основные принципы проверки характеристик пломб:
достоверность полученных результатов;
минимальная трудоемкость и длительность (цикл) контроля;
документирование процедур и результатов контроля;
применение штатных средств измерений и контроля;
оперативное информирование должностных лиц Ростехнадзора, администрации поднадзорных организаций о качестве и состоянии пломб, установленных инспекторами Ростехнадзора;
представление изготовителю данных об отказах и недостатках пломб, выявленных в реальных условиях эксплуатации, для принятия мер по их устранению и совершенствованию.
4.2. Основные цели проверки характеристик пломб:
обеспечение надежности и безотказности пломб в период эксплуатации (поставка, транспортирование, хранение, применение по назначению);
обеспечение эксплуатационных характеристик пломб, установленных в согласованных с заказчиком нормативных (стандартах) и технических документах;
выявление несоответствий характеристик пломб нормативным требованиям перед началом применения на соответствующем этапе;
выявление факторов, влияющих на качество пломб, оценка степени их влияния для принятия предупреждающих мер по их нейтрализации;
исключение из обращения потенциально ненадежных пломб и пломб с отклонениями по качеству;
обеспечение и подтверждение гарантий на поставляемую потребителю продукцию.
4.3. Стадии жизненного цикла, на которых осуществляется технологический процесс проверки характеристик пломб:
приемочный контроль изготовителем готовых пломб;
входной контроль пломб, полученных от изготовителя, Ростехнадзором, его структурными подразделениями и территориальными органами;
входной контроль пломб, полученных инспекторами Ростехнадзора от структурных подразделений и территориальных органов;
инспекционный контроль пломб при установке на пломбируемый объект, проведение контроля состояния в период нахождения и при снятии с объекта;
экспертиза (идентификация) пломб, в которых выявлены отклонения при контроле состояния.
4.4. Контроль состояния пломб типа чашка - "Е" заключается в проверке:
отсутствия видимых повреждений крышки и корпуса;
отсутствия видимых повреждений оплетки контровочного провода;
свободного вращения корпуса относительно крышки;
целостности контровочного провода при приложении попытки отрыва пломбы от места пломбирования с определенным усилием;
соответствия номера пломбы документально зафиксированному при ее установке.
4.5. Виды контроля состояния пломб, изготовленных ЗАО "Инженерно-промышленный концерн "Страж", при всех передачах включают.
4.5.1. Контроль качества пломб включает следующие виды проверок:
контроль целостности упаковки;
проверку соответствия информации, указанной на этикетках упаковки и в паспорте на поставленную партию изделий данным, приведенным в товаросопроводительных документах;
проверку количества пломб в упаковке;
сплошной визуальный контроль пломб в упаковке;
выборочный контроль пломб.
4.5.2. Контроль целостности упаковки с пломбами проводится органолептически: визуальным осмотром и вручную. При этом проверяется:
отсутствие существенных деформаций и разрывов упаковки;
отсутствие намокания поверхности;
наличие и целостность клеящей ленты и ее скрепление с поверхностью упаковки;
наличие и разборчивость транспортной маркировки по
ГОСТ 14192-96;
наличие и качество приклеивания этикеток на упаковке, разборчивость внесенной в них информации.
4.5.3. При проверке соответствия информации, указанной на этикетках упаковки и в паспорте на поставленную партию изделий, данным, приведенным в товаросопроводительных документах, контролируется:
наименование изготовителя - ЗАО "ИПК "Страж";
наименование (тип) пломбы - ПЕК-91оп, ПЕК-91рх или "Кобра";
дата изготовления;
количество изделий в упаковке;
диапазон идентификационных номеров пломб;
отметка о приемке ОТК изготовителя.
В паспортах на поставляемую партию пломб проверяется наличие раздела "Гарантийные обязательства", заверенного подписью руководства ЗАО "ИПК "Страж" и печатью изготовителя.
4.5.4. Количество пломб в упаковке проверяется прямым счетом. Сплошной визуальный контроль всех пломб в упаковке включает проверку:
отсутствия внешних видимых повреждений (трещин, сколов, деформаций, разломов;
частичного или полного отсутствия маркировки;
разборчивости маркировки.
4.5.5. Выборочный контроль пломб включает:
контроль габаритных размеров;
контроль работоспособности механизма фиксации;
контроль маркировки.
Для проведения выборочного контроля из каждой упаковки случайным образом отбирается 10 пломб по одной пломбе из каждого пакета.
4.5.6. Контроль габаритных размеров проводится на трех образцах. При этом проверяются габаритные размеры корпуса, диаметр и длина хвостовика. Измерения проводятся линейкой металлической L = 500 мм с ценой деления 1 мм и штангенциркулем L = 300 мм с точностью 0,05 мм.
4.5.7. Работоспособность механизма фиксации пломб ПК-91оп и "Кобра" проверяется контрольными калибрами, прилагаемыми ко всей поставляемой партии изделий. Калибр должен с небольшим усилием до 3 кгс проходить через входное отверстие пломбы и блокироваться механизмом фиксации при попытке обратного перемещения калибра. В качестве контрольных калибров могут применяться хвостовики одной из полученных пломб каждого типа.
Работоспособность механизма фиксации пломбы ПК-91рх проверяется вращением ротора пломбы по часовой стрелке. При этом ротор должен легко проворачиваться и блокироваться при попытке вращения в обратном направлении. Контроль работоспособности механизма фиксации проводится на всех образцах в выборке.
4.5.8. Контроль маркировки проводится на трех образцах. При этом проверяется:
состав маркировки (логотипы изготовителя и пользователя, идентификационный номер, последняя цифра года выпуска, условное обозначение типа пломбы, специальная информация, определенная заказчиком);
считываемость идентификационного номера;
неповторяемость идентификационных номеров пломб в выборке;
гарнитура и размещение маркировки.
Идентификационный номер должен уверенно считываться всеми контролерами с расстояния 0,5 м при естественной или искусственной освещенности 50 лк. При этом идентификационные номера контролируемых пломб не должны повторяться. Гарнитура шрифта, используемого для маркировки, и ее размещение на поверхности пломб проверяется визуальным сравнением с контрольным образцом. Размещение контрольного знака и размер шрифта измеряется штангенциркулем и сравнивается с образцом. В качестве контрольного образца допускается применение одной из полученных пломб каждого типа.
4.5.9. При проведении входного контроля пломб решающими браковочными признаками являются:
нарушение целостности корпуса и хвостовика пломбы, наличие трещин и разрывов;
неработоспособность механизма фиксации;
нечитаемость маркировки, повторяемость идентификационных номеров, ошибки в составе маркировки.
4.5.10. Проверку необходимо осуществлять с использованием технических средств, находящихся в пакете принадлежностей, для установки (снятия) и контроля пломб или с использованием отдельных принадлежностей, аналогичных находящимся (входящим в состав) пакета принадлежностей.
4.6. Контроль состояния пломб при их нахождении на пломбируемом объекте и перед их снятием осуществляется визуально.
4.6.1. Визуальный контроль пломб на пломбируемом объекте включает:
проверку внешних видимых повреждений, следов несанкционированного воздействия (трещин, сколов, разломов, изменения цвета корпуса, деформаций охватывающего элемента - хвостовика);
проверку соответствия идентификационного номера;
выявление частичного или полного отсутствия маркировки;
неразборчивость маркировки, наличие отслоения красителя маркировки.
4.6.2. В процессе проверки пломб инспекторами при периодическом контроле их нахождения на пломбируемом объекте решающими признаками нарушения являются:
нарушение целостности корпуса и хвостовика пломбы, наличие трещин и разрывов, изменение цвета корпуса пломбы;
несоответствие идентификационного номера пломбы на пломбируемом объекте номеру, зарегистрированному при ее установке;
нечитаемость маркировки, повторяемость идентификационных номеров, ошибки в составе маркировки, изменение цвета маркировки.
4.6.3. Проверку пломб при периодическом контроле их нахождения на пломбируемом объекте осуществлять с использованием технических средств, находящихся в пакете принадлежностей, для установки (снятия) и контроля пломб или с использованием отдельных принадлежностей, аналогичных находящимся (входящим в состав) пакета принадлежностей.
V. СХЕМЫ ПЛОМБИРОВАНИЯ КОНТЕЙНЕРОВ
5.1. Схемы установки пломб на металлические контейнеры, крышки которых крепятся болтами, изображены на
рис. 9,
10:
1 - контейнер
2 - отверстие под проволоку
3 - пломба
4 - проволока
5.2. Схема установки пломб на упаковках из деревянных и картонных материалов приведена на
рис. 11.
1 - пломба
2 - упаковка
3 - проволока