Главная // Актуальные документы // Акт (форма)
СПРАВКА
Источник публикации
В данном виде документ опубликован не был.
Первоначальный текст документа опубликован в издании
М.: Стандартинформ, 2014.
Информацию о публикации документов, создающих данную редакцию, см. в справке к этим документам.
Примечание к документу
Текст данного документа приведен с учетом поправки, опубликованной в "ИУС", N 1, 2016.

Изменение N 1, утв. Приказом Росстандарта от 02.09.2016 N 1032-ст, введено в действие с 1 января 2017 года.
Название документа
"ГОСТ Р 55666-2013. Национальный стандарт Российской Федерации. Оборудование для спортивных игр. Ворота для хоккея на траве. Требования и методы испытаний с учетом безопасности"
(утв. и введен в действие Приказом Росстандарта от 28.10.2013 N 1271-ст)
(ред. от 02.09.2016)

"ГОСТ Р 55666-2013. Национальный стандарт Российской Федерации. Оборудование для спортивных игр. Ворота для хоккея на траве. Требования и методы испытаний с учетом безопасности"
(утв. и введен в действие Приказом Росстандарта от 28.10.2013 N 1271-ст)
(ред. от 02.09.2016)


Содержание


Утвержден и введен в действие
Приказом Федерального
агентства по техническому
регулированию и метрологии
от 28 октября 2013 г. N 1271-ст
НАЦИОНАЛЬНЫЙ СТАНДАРТ РОССИЙСКОЙ ФЕДЕРАЦИИ
ОБОРУДОВАНИЕ ДЛЯ СПОРТИВНЫХ ИГР
ВОРОТА ДЛЯ ХОККЕЯ НА ТРАВЕ
ТРЕБОВАНИЯ
И МЕТОДЫ ИСПЫТАНИЙ С УЧЕТОМ БЕЗОПАСНОСТИ
Equipment for sports games. Hockey goals.
Requirements and test methods with regard to safety
EN 750:2004
(NEQ)
ГОСТ Р 55666-2013
Список изменяющих документов
Росстандарта от 02.09.2016 N 1032-ст)
ОКС 97.220.40
ОКП 96 1450
Дата введения
1 января 2015 года
Предисловие
1. Разработан Саморегулируемой организацией Некоммерческим партнерством "Отраслевое объединение национальных производителей в сфере физической культуры и спорта "Промспорт" (СРО "Промспорт") и автономной некоммерческой организацией "Центр содействия развитию физической культуры и спорта" (АНО "ЦСРФКиС").
(в ред. Изменения N 1, утв. Приказом Росстандарта от 02.09.2016 N 1032-ст)
2. Внесен Техническим комитетом по стандартизации ТК 444 "Спортивные и туристские изделия, оборудование, инвентарь, физкультурные и спортивные услуги".
3. Утвержден и введен в действие Приказом Федерального агентства по техническому регулированию и метрологии от 28 октября 2013 г. N 1271-ст.
4. Настоящий стандарт разработан с учетом основных нормативных положений европейского регионального стандарта ЕН 750:2004 "Оборудование для спортивных игр. Хоккейные ворота. Требования и методы, включая безопасность" (EN 750:2004 "Playing field equipment - Hockey goals - Functional and safety requirements, test methods", NEQ).
5. Введен впервые.
Правила применения настоящего стандарта установлены в ГОСТ Р 1.0-2012 (раздел 8). Информация об изменениях к настоящему стандарту публикуется в ежегодном (по состоянию на 1 января текущего года) информационном указателе "Национальные стандарты", а официальный текст изменений и поправок - в ежемесячном информационном указателе "Национальные стандарты". В случае пересмотра (замены) или отмены настоящего стандарта соответствующее уведомление будет опубликовано в ближайшем выпуске ежемесячного информационного указателя "Национальные стандарты". Соответствующая информация, уведомление и тексты размещаются также в информационной системе общего пользования - на официальном сайте Федерального агентства по техническому регулированию и метрологии в сети Интернет (gost.ru).
1. Область применения
Настоящий стандарт устанавливает функциональные требования и требования безопасности к хоккейным воротам двух типов, предназначенных для игры в хоккей на траве.
Ворота для хоккея на траве для закрытых спортивных площадок - по ГОСТ Р 55665.
(в ред. Изменения N 1, утв. Приказом Росстандарта от 02.09.2016 N 1032-ст)
2. Нормативные ссылки
В настоящем стандарте использованы нормативные ссылки на следующие стандарты:
ГОСТ 2.601-2013 Единая система конструкторской документации. Эксплуатационные документы
(ссылка введена Изменением N 1, утв. Приказом Росстандарта от 02.09.2016 N 1032-ст)
ГОСТ 25552-82 Изделия крученые и плетеные. Методы испытаний
ГОСТ Р 55665-2013 Оборудование для спортивных игр. Ворота для мини-футбола и гандбола. Требования и методы испытаний с учетом безопасности.
Примечание. При пользовании настоящим стандартом целесообразно проверить действие ссылочных стандартов в информационной системе общего пользования - на официальном сайте Федерального агентства по техническому регулированию и метрологии в сети Интернет или по ежегодному информационному указателю "Национальные стандарты", который опубликован по состоянию на 1 января текущего года, и по выпускам ежемесячного информационного указателя "Национальные стандарты" за текущий год. Если заменен ссылочный стандарт, на который дана недатированная ссылка, то рекомендуется использовать действующую версию этого стандарта с учетом всех внесенных в данную версию изменений. Если заменен ссылочный стандарт, на который дана датированная ссылка, то рекомендуется использовать версию этого стандарта с указанным выше годом утверждения (принятия). Если после утверждения настоящего стандарта в ссылочный стандарт, на который дана датированная ссылка, внесено изменение, затрагивающее положение, на которое дана ссылка, то это положение рекомендуется применять без учета данного изменения. Если ссылочный стандарт отменен без замены, то положение, в котором дана ссылка на него, рекомендуется применять в части, не затрагивающей эту ссылку.
3. Требования
3.1. Функциональные требования
3.1.1. Классификация ворот для хоккея на траве
(в ред. Изменения N 1, утв. Приказом Росстандарта от 02.09.2016 N 1032-ст)
Классификация ворот приведена в таблице 1.
Таблица 1
Классификация ворот
Тип
Рисунок
Описание оборудования
1
Хоккейные ворота, закрепленные в установочных гильзах
2
Свободно стоящие хоккейные ворота
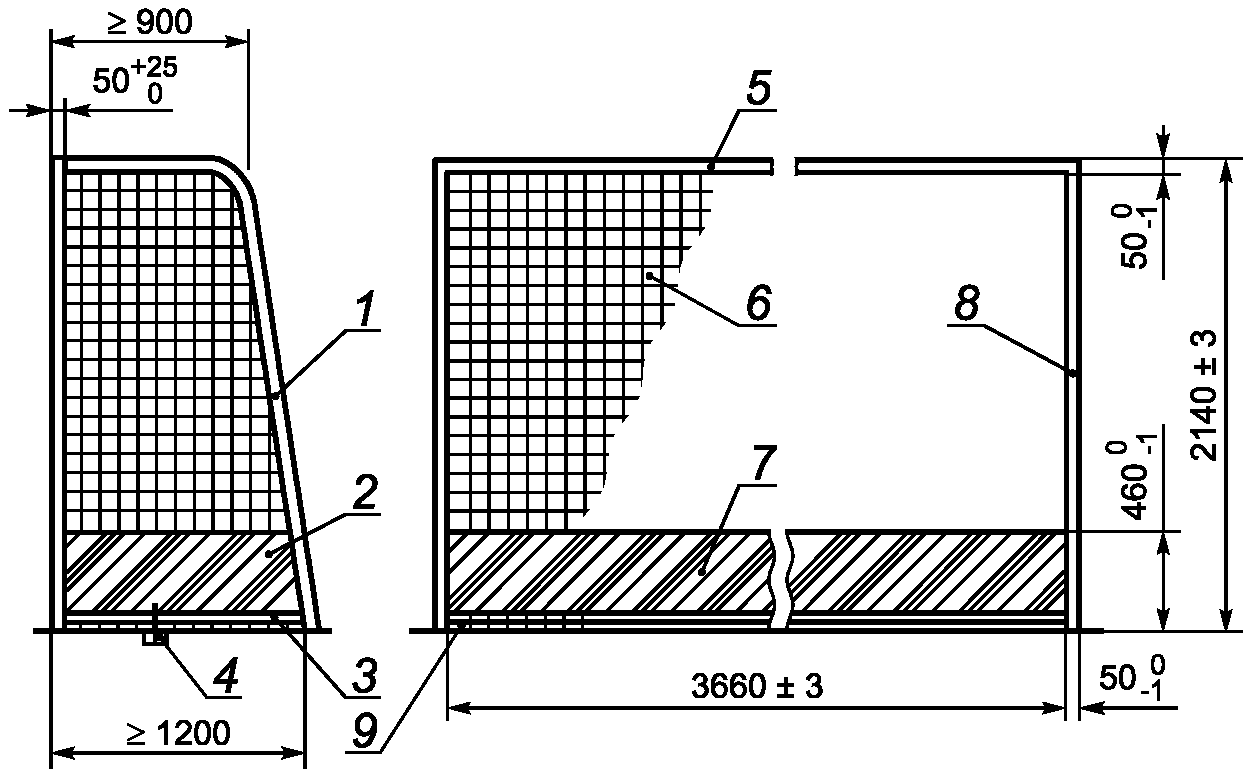
3.1.2. Конструкция и размеры ворот
Конструкция и размеры хоккейных ворот приведены на рисунке 1. Ворота для хоккея на траве состоят из следующих элементов:
(в ред. Изменения N 1, утв. Приказом Росстандарта от 02.09.2016 N 1032-ст)
- рама ворот (две штанги и одна перекладина) с элементами крепления сетки (и установочными гильзами в случае типа 1);
- щиты (один задний, два боковых);
- две дуги для крепления сетки;
- две боковые трубы для крепления к земле;
- противоопрокидывающие устройства (минимум по одному с каждой стороны) (в случае типа 2);
- одна задняя труба для крепления к земле;
- одна сетка.
Примечание. Толщина перекладины 75 мм соответствует правилам Международной федерации хоккея на траве.
1 - дуга для крепления сетки; 2 - боковой щит;
3 - боковая труба для крепления к земле;
4 - пример противоопрокидывающего устройства;
5 - перекладина; 6 - сетка; 7 - задний щит; 8 - штанга;
9 - задняя труба для крепления к земле
Рисунок 1. Конструкция и размеры ворот типа 2
3.1.3. Применяемые материалы
Рама ворот и щиты должны быть изготовлены из дерева, стали, легкого металла или пластика с условием, что должны быть выполнены требования настоящего стандарта.
Дуги для крепления сетки, боковые и задние трубы для крепления к земле должны быть изготовлены из легкого металла и/или стали, защищенной от коррозии (например, оцинкованной, с порошковым покрытием или окрашенной).
Веревка, из которой изготовлена сетка, может быть синтетической или натуральной.
3.1.4. Конструкция
3.1.4.1. Рама ворот
Конструкция рамы ворот должна обладать достаточной прочностью, чтобы выдерживать нагрузки, возникающие во время игры и при транспортировании ворот.
Требования считаются выполненными, если при испытаниях в соответствии с Приложением А угловая часть рамы ворот не деформируется и не разрушается.
Рама ворот должна быть либо белого цвета, либо естественного серебристого цвета при изготовлении из легкого металла.
Примечание. Белый цвет соответствует правилам Международной федерации хоккея на траве.
Рама ворот должна быть окрашена (маркирована) в соответствии с требованиями соответствующих спортивных федераций.
3.1.4.2. Сетка
Размеры сетки должны соответствовать указанным в таблице 2.
Таблица 2
Размеры сетки
Размеры в миллиметрах
Длина, не менее
Высота, не менее
Глубина, не менее
Ширина ячейки, не более
Диаметр веревки <*>, не менее
Вверху
Внизу
3690
2160
900
1200
45
2
<*> Диаметр веревки представляет собой минимальный размер, позволяющий уменьшить опасность пореза.
Физические характеристики сетки должны соответствовать указанным в таблицах 3 и 4.
Таблица 3
Устойчивость сетки к разрыву
Класс
Усилие, Н, не менее
A
1800
B
1080
C
792
Таблица 4
Устойчивость шнура натяжения сетки к разрыву
Класс
Усилие, Н, не менее
Z
7000
Y
3000
Сетка должна свисать свободно, чтобы попавший в ворота мяч не мог отскочить от элементов конструкции.
3.1.4.3. Установочные гильзы
При закреплении установочных гильз должны предусматриваться дренажные отверстия.
Пример крепления установочных гильз приведен в ГОСТ Р 55665, приложение В.
3.2. Требования безопасности
3.2.1. Общие требования
Радиус закругления углов и кромок, которые могут стать причиной травм, должен быть не менее 3 мм.
3.2.2. Требования к раме ворот
Радиус закругления кромки рамы ворот должен быть не менее (4 +/- 1) мм.
3.2.3. Прочность
При проведении испытаний на прочность в соответствии с Приложением А верхняя перекладина ворот не должна иметь трещин, поломок или остаточной деформации более 10 мм через 30 мин после снятия нагрузки.
3.2.4. Устойчивость
При проведении испытаний в соответствии с Приложением Б ворота не должны опрокидываться или скользить.
3.2.5. Крепление сетки
Крепление сетки на раме ворот должно иметь дуги/трубы, которые должны быть сконструированы таким образом, чтобы исключить застревание частей тела спортсменов и получение ими травм.
Элементы крепежа сетки к воротам должны быть разработаны таким образом, чтобы исключить травмы спортсменов.
Примечание. Требование выполняется, если любые отверстия/зазоры, расположенные на поверхности штанги перекладины ворот, имеют размер (ширину или диаметр) не более 8 мм или не менее 25 мм.
Не следует использовать открытые захватывающие металлические крючки.
Если используются карабины, они должны быть оснащены колпачковыми гайками.
3.2.6. Испытание устойчивости шнура натяжения сетки
Испытание устойчивости шнура натяжения сетки - по ГОСТ 25552.
3.2.7. Предотвращение застреваний
Во избежание застреваний ни один из элементов конструкции ворот, расположенных выше 1200 мм от поверхности земли (например, рама поддержки сетки), не должен иметь сужений с углом менее чем 60° и отверстий (проемов) диаметром менее 230 мм.
4. Методы испытаний
4.1. Требования в соответствии с разделом 3 проверяют визуально, органолептически или инструментальными методами.
4.2. При проведении испытаний в лабораторных условиях ворота должны быть выдержаны не менее одного часа при температуре (20 +/- 5) °C.
4.3. Испытания на прочность - в соответствии с Приложением А.
4.4. Испытания на устойчивость - в соответствии с Приложением Б.
4.5. По результатам испытаний оформляют отчет или протокол.
5. Документация изготовителя (поставщика)
(раздел 5 в ред. Изменения N 1, утв. Приказом
Росстандарта от 02.09.2016 N 1032-ст)
5.1. Изготовитель (поставщик) должен иметь паспорт на ворота согласно ГОСТ 2.601 на русском языке, а также при необходимости на государственных языках субъектов Российской Федерации и родных языках народов Российской Федерации.
5.2. Паспорт на ворота должен содержать следующую минимальную информацию:
- основные сведения об оборудовании;
- основные технические данные;
- комплектность;
- гарантийные обязательства;
- сведения о хранении;
- инструкцию по монтажу/установке ворот;
- инструкцию по контролю и техническому обслуживанию ворот;
- правила безопасной эксплуатации;
- форму подтверждения ввода оборудования в эксплуатацию.
Рекомендуемая форма акта подтверждения ввода оборудования в эксплуатацию приведена в Приложении В.
5.3. Инструкция по монтажу/установке ворот должна содержать следующую минимальную информацию:
- порядок монтажа;
- необходимые обозначения, облегчающие сборку;
- перечень необходимых специальных приспособлений и инструментов для монтажа (шаблонов, калибров, лекал);
- меры предосторожности при монтаже и установке;
- значение крутящего момента (по необходимости);
- инструкцию по способу установки ворот (для ворот со стойками, закрепленными в установочных гильзах), обеспечивающему устойчивость ворот на месте эксплуатации в соответствии с требованиями 3.2.4;
- инструкцию по способу установки ворот (для свободно стоящих ворот с противовесом), обеспечивающему устойчивость ворот на месте эксплуатации в соответствии с требованиями 3.2.4.
5.4. В документации изготовителя (поставщика) следует указать, что ворота должны быть защищены от опрокидывания и в том случае, когда они не используются.
6. Информационная табличка
На воротах должна быть закреплена прочная табличка с одной из следующих надписей:
"Ворота предназначены для использования исключительно в качестве ворот для хоккея на траве".
(в ред. Изменения N 1, утв. Приказом Росстандарта от 02.09.2016 N 1032-ст)
"Перед использованием ворот необходимо проверить прочность затяжки всех соединений и регулярно повторять такую проверку в дальнейшем".
"Ворота должны быть защищены от опрокидывания".
"Не залезать на сетку или раму ворот".
Примечание. Можно также использовать подходящие графические обозначения.
7. Маркировка оборудования
(раздел 7 в ред. Изменения N 1, утв. Приказом
Росстандарта от 02.09.2016 N 1032-ст)
7.1. Маркировка оборудования должна содержать информацию для потребителей, однозначно понимаемую, полную и достоверную.
7.2. Маркировка не должна содержать информацию рекламного характера.
7.3. Информация об организации, принимающей претензии (предложения) по качеству оборудования на территории Российской Федерации, указывается в эксплуатационной документации.
7.4. Маркировка, содержащая информацию в соответствии с эксплуатационной документацией, в виде текста, отдельных графических, цветовых знаков (условных обозначений) и (или) рисунка и их комбинаций, наносится непосредственно на оборудование и (или) этикетку (ярлык, табличку).
7.5. Маркировка должна быть нанесена на русском языке. В дополнение к маркировке на русском языке допускается наносить идентичную информацию на других языках.
7.6. Маркировка должна быть четко обозначенной, разборчивой и размещаться на фоне, контрастном по отношению к цвету поверхности, на котором она расположена.
7.7. Маркировка должна сохраняться в течение срока службы оборудования, установленного производителем. Способы нанесения и изготовления этикеток (ярлык, табличка) должны учитывать особенности оборудования и обеспечивать необходимое качество изображения.
7.8. Маркировка, нанесенная на оборудование, не должна влиять на его безопасность и качество, должна обеспечивать стойкость нанесенной информации при хранении, транспортировании, реализации, использовании и воздействии климатических факторов.
7.9. Сохранность маркировки, применяемой в условиях активного воздействия окружающей среды может быть обеспечена одним из следующих способов или их сочетанием:
- применение стойкого к воздействию материала-носителя (влагостойкого, термостойкого);
- применение соответствующего метода нанесения (выдавливание, травление);
- применение стойкой к воздействию оболочки (прозрачная пленка).
7.10. Маркировка всего оборудования должна содержать следующую минимальную информацию:
- обозначение настоящего стандарта;
- наименование или товарный знак изготовителя (при наличии);
- информационную табличку в соответствии с разделом 6;
- уникальный идентификационный номер (для единичного изделия).
8. Обеспечение требований безопасности
(раздел 8 введен Изменением N 1, утв. Приказом
Росстандарта от 02.09.2016 N 1032-ст)
8.1. Ввод оборудования в эксплуатацию
8.1.1. Готовность ворот к применению (использованию) осуществляется в форме документально оформленного ввода в эксплуатацию.
8.1.2. В эксплуатацию вводится оборудование, сертифицированное на соответствие требованиям настоящего стандарта в части, подлежащей обязательной сертификации.
8.1.3. Ввод в эксплуатацию осуществляется по завершении монтажа/установки оборудования, на месте эксплуатации. Монтаж/установка должны быть осуществлены по технологии, учитывающей требования технической документации, местные условия проведения монтажа и обеспечивающей выполнение требований безопасности. По окончании монтажных/установочных работ выполняющая их организация вносит запись о качестве монтажа/установки оборудования в паспорт оборудования. Указанная запись должна быть подписана уполномоченными лицами организации, эксплуатирующей оборудование, организации, выполнившей монтаж/установку (при монтаже силами сторонней организации), скреплена печатями. Указанная запись является подтверждением ввода оборудования в эксплуатацию.
8.1.4. Не допускается использование ворот, не прошедших сертификацию и/или не введенных в эксплуатацию.
8.2. Контроль и техническое обслуживание оборудования
8.2.1. Ворота осматривают и обслуживают в соответствии с инструкцией изготовителя с периодичностью, установленной изготовителем.
8.2.2. Контроль за техническим состоянием ворот, техническое обслуживание и ремонт осуществляет эксплуатант (владелец).
8.2.3. При обнаружении в процессе контроля и технического обслуживания ворот дефектов, влияющих на безопасность оборудования, дефекты немедленно устраняют. Если это невозможно, эксплуатант (владелец) принимает меры, исключающие возможность использования ворот, либо удаляет ворота с места эксплуатации.
8.3. Требования безопасности при эксплуатации
Эксплуатант (владелец) разрабатывает и обеспечивает выполнение комплекса мероприятий по безопасной эксплуатации ворот на основе учета:
- конструкции ворот;
- эксплуатационных и иных документов, предоставленных владельцем;
- установки, обслуживания и использования ворот;
- климатических условий и условий эксплуатации ворот.
8.4. Вся эксплуатационная документация подлежит постоянному хранению. Следует обеспечить постоянный доступ персонала к документации во время осмотров, технического обслуживания и ремонта ворот.
Приложение А
(обязательное)
ОЦЕНКА ПРОЧНОСТИ ВОРОТ ПРИ ВЕРТИКАЛЬНОМ НАГРУЖЕНИИ
А.1. Сущность метода
При испытаниях к середине перекладины ворот прикладывают сосредоточенную вертикальную нагрузку (1800 +/- 50) Н и выдерживают в течение (60 +/- 10) с.
При приложении вертикальной испытательной нагрузки фиксируют наличие повреждений, в т.ч. трещин, поломок, ослабление соединений и значение прогиба перекладины в вертикальном направлении.
После снятия нагрузки проверяют наличие остаточной деформации ворот через (1800 +/- 30) с, которая не должна превышать 10 мм.
После испытаний на перекладине не должно быть повреждений, в т.ч. трещин, поломок, ослабления соединений и связей.
А.2. Устройство нагружения
Устройство нагружения должно обеспечивать сосредоточенную вертикальную нагрузку (1800 +/- 50) Н, прикладываемую к середине перекладины ворот.
А.3. Процедура
А.3.1. Прикладывают вертикальную сосредоточенную нагрузку F = (1800 +/- 50) Н к середине перекладины ворот и выдерживают в течение (60 +/- 10) с.
А.3.2. Контролируют и фиксируют наличие повреждений, в т.ч. трещин, поломок, ослабление соединений и значение прогиба перекладины в вертикальном направлении.
А.3.3. Через (1800 +/- 30) с после снятия нагрузки проверяют наличие остаточной деформации ворот, которая не должна превышать 10 мм.
Приложение Б
(обязательное)
ОЦЕНКА УСТОЙЧИВОСТИ ВОРОТ ПРИ ГОРИЗОНТАЛЬНОМ НАГРУЖЕНИИ
Б.1. Сущность метода
При испытаниях к середине перекладины прикладывают сосредоточенную горизонтальную нагрузку (1100 +/- 50) Н и выдерживают в течение (60 +/- 10) с.
При приложении горизонтальной испытательной нагрузки ворота не должны опрокидываться или скользить.
После испытаний на конструкции ворот не должно быть повреждений, в т.ч. трещин, поломок, чрезмерных остаточных деформаций, ослабления соединений и связей.
Б.2. Аппаратура
Б.2.1. Устройство нагружения
Устройство нагружения должно обеспечивать сосредоточенную горизонтальную нагрузку (1100 +/- 50) Н, прикладываемую к середине перекладины ворот.
Б.3. Процедура
Б.3.1. Прикладывают горизонтальную сосредоточенную нагрузку F = (1100 +/- 50) Н к середине перекладины и выдерживают в течение (60 +/- 10) с, используя веревку длиной 3000 мм, в соответствии с рисунком Б.1.
Рисунок Б.1. Схема нагружения ворот
Б.3.2. Регистрируют наличие опрокидывания или скольжения ворот.
Б.3.3. После снятия нагрузки осматривают ворота.
На конструкции ворот не должно быть повреждений, в т.ч. трещин, поломок, чрезмерных остаточных деформаций, ослабления соединений и связей.
Приложение В
(рекомендуемое)
(Приложение В введено Изменением N 1, утв. Приказом
Росстандарта от 02.09.2016 N 1032-ст)
ФОРМА
АКТА ПОДТВЕРЖДЕНИЯ ВВОДА ОБОРУДОВАНИЯ В ЭКСПЛУАТАЦИЮ
Место составления _____________________________ дата _______________
Мы, нижеподписавшиеся: ____________________________________ (эксплуатант, монтажная организация при наличии), настоящим подтверждаем, что ворота для игры в хоккей на траве ________________________________________ (производитель, модель, иная идентификационная информация) установлены по адресу: ____________________________________________.
Установка осуществлена надлежащим образом, с соблюдением требований ГОСТ 55666, паспорта оборудования и инструкции по монтажу/установке.
Члены комиссии:
______________ (подпись, печать) _______________ (подпись, печать).