Главная // Актуальные документы // Акт (форма)СПРАВКА
Источник публикации
М.: "Оргтрансстрой", 1975
Примечание к документу
Документ утратил силу на территории Российской Федерации в связи с изданием
Приказа Минстроя России N 217/пр, Минтранса России N 124 от 08.04.2021.
Введен в действие с 1 января 1976 года.
Взамен "Указаний по технологии производства работ при сооружении железнодорожного земляного полотна" ВСН 57-61, "Указаний по технологии возведения насыпей железных и автомобильных дорог на болотах и устройству построечных дорог" ВСН 134-66 (в части строительства железных дорог) и "Технических указаний по содержанию земляного полотна в период сооружения верхнего строения пути, рабочего движения и временной эксплуатации" ВСН 51-61.
Название документа
"ВСН 186-75. Ведомственные строительные нормы. Технические указания по технологии сооружения железнодорожного земляного полотна"
(утв. Приказом Минтрансстроя СССР от 10.06.1975 N 19)
"ВСН 186-75. Ведомственные строительные нормы. Технические указания по технологии сооружения железнодорожного земляного полотна"
(утв. Приказом Минтрансстроя СССР от 10.06.1975 N 19)
Приказом Минтрансстроя СССР
от 10 июня 1975 г. N 19
ВЕДОМСТВЕННЫЕ СТРОИТЕЛЬНЫЕ НОРМЫ
ТЕХНИЧЕСКИЕ УКАЗАНИЯ
ПО ТЕХНОЛОГИИ СООРУЖЕНИЯ ЖЕЛЕЗНОДОРОЖНОГО
ЗЕМЛЯНОГО ПОЛОТНА
ВСН 186-75
Дата введения
1 января 1976 года
Внесены Всесоюзным научно-исследовательским институтом транспортного строительства (ЦНИИС).
Согласованы с Госстроем СССР 26 ноября 1973 г. и утверждены Главным техническим управлением Министерства транспортного строительства Приказом N 19 от 10 июня 1975 г.
Взамен "Указаний по технологии производства работ при сооружении железнодорожного земляного полотна" ВСН 57-61, "Указаний по технологии возведения насыпей железных и автомобильных дорог на болотах и устройству построечных дорог" ВСН 134-66 (в части строительства железных дорог) и "Технических указаний по содержанию земляного полотна в период сооружения верхнего строения пути, рабочего движения и временной эксплуатации" ВСН 51-61.
Настоящие "Технические указания по технологии сооружения железнодорожного земляного полотна" (ВСН 186-75) разработаны взамен "Указаний по технологии производства работ при сооружении железнодорожного земляного полотна" (ВСН 57-61), "Указаний по технологии возведения насыпей железнодорожных и автомобильных дорог на болотах и устройству построечных дорог" (ВСН 134-66) (в части строительства железных дорог) и "Технических указаний по содержанию земляного полотна в период сооружения верхнего строения пути, рабочего движения и временной эксплуатации" (ВСН 51-61).
Новый нормативный документ дополнен указаниями по технологии сооружения земляного полотна вторых путей, в районах распространения барханных песков, производству работ в зимнее время, укреплению откосов земляного полотна гидропосевом многолетних трав и др. В технологических схемах предусмотрено использование новых землеройных, транспортных, грунтоуплотняющих машин и передового опыта организации работ в механизированных колоннах.
Нормативный документ рассмотрен и одобрен секцией строительства железных дорог Технического совета, главными строительными управлениями Минтрансстроя и рассчитан на широкий круг строителей и проектировщиков железных дорог.
В разработке "Указаний" принимали участие кандидаты технических наук В.П. Чернавский (руководитель работы), Б.И. Цвелодуб, М.А. Шубин, И.Д. Ткачевский, Е.П. Орлов; инженеры Б.В. Воронцов, В.П. Рябов, И.И. Осмоловский, В.Г. Баранова, Ж.А. Петрова, А.А. Гринчик, М.А. Басистов, Д.И. Анисимов и др.
Директор ЦНИИС
Д.И. Федоров
ОБЩИЕ ПОЛОЖЕНИЯ
1.1. Указания предназначены для руководства при разработке проектов производства работ и организации комплексно-механизированных процессов сооружения железнодорожного земляного полотна проектными и строительными организациями.
1.2. Указания по технологии выполнения каждого вида работ изложены в такой последовательности:
область применения;
комплект машин;
состав комплексной бригады;
технико-экономические показатели (производительность ведущей машины и выработка на одного рабочего);
технология работ.
1.3. В комплект машин включены современные, серийно изготовляемые промышленностью машины. В некоторых случаях предусмотрены машины и оборудование, выпускаемые малой серией, а также и опытные образцы машин, выпуск которых намечается в ближайшие два года. Основные характеристики новых машин и оборудования указаны в соответствующих разделах.
1.4. Состав комплекта машин подобран, исходя из производительности ведущей машины. В случае использования на одном объекте или на объектах, расположенных в непосредственной близости друг от друга, нескольких ведущих машин в состав комплекта следует внести изменения с целью более производительного использования вспомогательных машин.
1.5. Производительность ведущих машин в комплектах принята по ЕНиР, 1969. При составлении проектов производства работ ее следует повышать в соответствии с плановыми заданиями по росту производительности труда и достижениями новаторов производства.
1.6. В Указаниях рекомендации даны с учетом передовых, прогрессивных методов организации земляных работ.
1.7. Технико-экономические показатели рассчитаны на восьмичасовую рабочую смену. Распределение грунтов по группам в зависимости от трудности их разработки для различных ведущих машин принято по ЕНиР, 1969. Технико-экономические показатели разработаны для использования при сравнении технологических вариантов и не могут быть применены непосредственно для целей ценообразования.
Классификация грунтов и их характеристики приведены в
Приложении 1 (по
СН 449-72 "Указания по проектированию земляного полотна железных и автомобильных дорог", Госстрой СССР).
1.8. К работам по сооружению земляного полотна допускаются работники, прошедшие в соответствующих комиссиях проверку знаний "Правил техники безопасности и производственной санитарии при сооружении железнодорожного земляного полотна" (М., "Оргтрансстрой", 1972), а также "Правил технической эксплуатации железных дорог Союза ССР" (М., "Транспорт", 1972), "Инструкции по сигнализации на железных дорогах Союза ССР" (М., "Транспорт", 1972), "Инструкции по движению поездов на железных дорогах Союза ССР" (М., "Транспорт", 1972), должностных инструкций в объемах по профессиям и должностям согласно Указаниям Министерства транспортного строительства и Министерства путей сообщения N А-1685/Г34848 от 24 декабря 1971 г.
1.9. Технологические указания по разработке карьеров, резервов, выемок и отсыпке насыпей экскаваторами, скреперами, бульдозерами, грейдер-элеваторами и самосвалами, предохранению грунтов от промерзания, планировке откосов земляного полотна и укреплению их посевом многолетних трав могут быть использованы и при сооружении земляного полотна автомобильных дорог.
ОСНОВНЫЕ ТРЕБОВАНИЯ ПО ОРГАНИЗАЦИИ И ПОДГОТОВКЕ
ПРОИЗВОДСТВА ЗЕМЛЯНЫХ РАБОТ
2.1. В комплекс земляных сооружений железнодорожного земляного полотна входят:
насыпи, полунасыпи, выемки, полувыемки главного пути, станций и разъездов;
водоотводные устройства: кюветы в выемках и полувыемках, нагорные и водоотводные канавы, резервы при насыпях, дренажи, прорези, лотки, штольни;
защитные укрепительные устройства: бермы, струенаправляющие дамбы, траверсы и другие регуляционные сооружения, противообвальные и противооползневые сооружения;
специальные насыпи под переезды, кавальеры и банкеты при выемках.
2.2. Работы по сооружению земляного полотна подразделяются на подготовительные, основные и укрепительные.
А. К подготовительным работам относятся:
восстановление и закрепление трассы дороги, разбивка и закрепление полосы отвода и находящихся за ее пределами площадей для размещения карьеров;
удаление мелколесья, кустарника, пней и крупных камней (валунов);
разбивка земляного полотна;
устройство землевозных дорог;
устройство нагорных и других водоотводных канав, необходимых для создания нормальных условий производства основных работ;
выполнение комплекса работ для сооружения земляного полотна в зимнее время;
осушение заболоченных и переувлажненных участков трассы;
срезка дерна, заготовка растительной земли.
Б. К основным работам относятся:
послойное рыхление сухих плотных грунтов при разработке выемок, карьеров и резервов скреперами, бульдозерами и трейдер-элеваторами, рыхление скальных пород, а также мерзлого грунта в зимнее время;
разработка грунта в отвал или с погрузкой в транспортные средства;
перемещение грунта из выемок, карьеров и резервов в насыпи, кавальеры или отвалы;
послойное разравнивание грунта в насыпях или кавальерах;
послойное уплотнение грунта в насыпях;
устройство и ликвидация въездов и съездов при отсыпке насыпей транспортными средствами;
срезка с откосов насыпей вторых путей балластных шлейфов и растительного покрова;
устройство уступов при сооружении насыпей на косогорах и вторых путей;
выторфовывание при сооружении насыпей на болотах;
нарезка кюветов в выемках;
устройство регуляционных сооружений;
планировочные работы, к числу которых относятся:
планировка основной площадки земляного полотна и нарезка сливной призмы;
планировка откосов выемок и насыпей;
планировка станционных площадок;
планировка берм, дна и откосов резервов;
планировка верха и откосов кавальеров.
Планировочные работы должны производиться немедленно, вслед за окончанием разработки выемок и возведения насыпей.
В. К укрепительным работам относятся: укрепление откосов выемок и насыпей, кюветов, канав, берм, конусов, регуляционных сооружений и пр.
Укрепительные работы должны производиться, как правило, немедленно, вслед за окончанием основных работ. Укрепление посевом многолетних трав производится с учетом агротехнических требований.
2.3. Земляные работы при сооружении железнодорожного земляного полотна должны выполняться с максимальным применением комплексной механизации подготовительных, основных и укрепительных работ.
Комплекты машин следует подбирать с расчетом обеспечения максимальной производительности ведущей машины, наименьшей трудоемкости и стоимости работ.
2.4. Работы по сооружению земляного полотна должны вестись круглогодично с отнесением на зимний период времени тех видов работ, которые:
дают меньшую или одинаковую стоимость по сравнению с выполнением их в летнее время;
создают возможность широкого развертывания строительных работ с наступлением весны;
сокращают расходы и сроки окончания работ в целом по строительству;
обеспечивают надлежащее качество земляного полотна.
В проектах необходимо предусматривать мероприятия по предохранению от промерзания грунта в выемках и карьерах, особенно для районов с большой длительностью зимнего периода. Участки земляного полотна, возводимого в зимнее время, необходимо определять на стадии разработки проекта организации строительства.
2.5. Разработка выемок в сложных гидрогеологических условиях (при наличии грунтовых вод, замене переувлажненных грунтов, наличии просадочных грунтов и др.), а также возведение насыпей на болотах и слабых основаниях должны производиться в соответствии с индивидуальным проектом, составленным проектной организацией.
Выбор способов комплексной механизации и организация
земляных работ на объекте
2.6. Выбор ведущих землеройных и транспортных машин следует производить исходя из видов грунтов, объемов земляных работ, сроков их исполнения, рабочих отметок насыпей и выемок с одновременным распределением земляных масс, с учетом рельефа местности, климатических условий, наличия местных ресурсов (воды, топлива, электроэнергии). Наиболее правильное решение этой комплексной задачи достигается при использовании современных математических методов и электронно-вычислительных машин (ЭВМ).
2.7. При сооружении земляного полотна в качестве ведущих машин в комплектах для подготовительных, основных и укрепительных работ используют экскаваторы, скреперы, бульдозеры, автогрейдеры, грейдер-элеваторы, гидросеялки.
2.8. Корчевка пней может производиться механизированным или взрывным способом с одновременным удалением выкорчеванных пней с очищаемой территории.
Для этих целей следует применять машины:
при диаметре пней до 30 см - тракторы, бульдозеры, корчеватели-собиратели;
при диаметре пней 30 - 50 см - бульдозеры, корчеватели-собиратели, экскаваторы со специальным оборудованием.
При диаметре пней более 50 см, а также пней с сильно развитой корневой системой или при диаметре пней более 30 см в мерзлом грунте для корчевки следует применять взрывной способ.
2.9. Валуны (камни), находящиеся на поверхности земли в местах устройства выемок в нескальных грунтах, должны удаляться до начала земляных работ только в том случае, если они для применяемой землеройной машины являются "негабаритными". "Негабаритными" считаются валуны, наибольший поперечный размер которых превышает:
для экскаваторов-прямых лопат или обратных лопат - 2/3 ширины ковша;
для экскаваторов-драглайнов - 1/2 ширины ковша;
для скреперов - 2/3 наибольшей конструктивной глубины копания;
для бульдозеров и грейдеров - 1/2 высоты отвала;
для автосамосвалов - 1/2 ширины кузова, а по весу - половину его паспортной грузоподъемности.
"Негабаритные" валуны (камни) удаляются за пределы зоны работ бульдозером или дробятся взрывным способом.
2.10. Кюветы и водоотводные канавы в нескальных грунтах рекомендуется разрабатывать канавокюветокопателями и экскаваторами-планировщиками, оснащенными профилировочными ковшами. В полускальных грунтах IV - VI групп и в мерзлых водоотводные канавы рационально разрабатывать экскаватором-обратной лопатой, оборудованным ковшом активного действия. Для устройства водоотводов на болотах и в грунтах со слабой несущей способностью рекомендуется применять экскаватор-обратную лопату на уширенном гусеничном ходу, оборудованный профилировочным ковшом.
2.11. Для сооружения железнодорожного земляного полотна рекомендуется применять экскаваторы с ковшом емкостью 0,65 - 1,6 м3.
В скальных грунтах следует использовать экскаваторы с ковшом емкостью не менее 1 м3. В таежно-заболоченной местности рационально применять экскаваторы с ковшом емкостью 0,65 - 1 м3.
Скальные трещиноватые грунты V - VI групп и мерзлые на вторых путях рекомендуется разрабатывать экскаваторами, оборудованными ковшами активного действия.
2.12. При работе на болотах и грунтах, имеющих малую несущую способность, должны применяться экскаваторы повышенной проходимости (на уширенных гусеницах).
2.13. Одноковшовые экскаваторы применяются как при работе в отвал, так и на транспортные средства. Оптимальное соотношение между емкостью ковша экскаватора, м3, и грузоподъемностью автосамосвала, т, 1:10 - 1:12
(Приложение 2).
Наименьшая грузоподъемность автосамосвалов в зависимости от емкости ковша экскаватора:
Емкость ковша экскаватора, м3 ......... 0,4 - 0,65 1 - 1,6 2,5
Грузоподъемность автосамосвала, т .... 4,5 7 12
2.14. Для разработки выемок и карьеров в грунтах, не имеющих каменистых включений, рекомендуется применение роторных экскаваторов с технической производительностью 300 - 400 м3/ч и массой не более 40 т с погрузкой на автосамосвалы грузоподъемностью 10 - 25 т. Оптимальное соотношение между грузоподъемностью автосамосвала, т, и технической производительностью роторного экскаватора, м3/ч, 1:18 - 1:20.
2.15. Применение экскаваторов
(Приложение 3) целесообразно при следующих соотношениях емкости ковша и объема земляных работ на одном объекте (карьере, выемке):
Емкость ковша экскаватора, м3 ...... 0,65 - 0,8 До 1,25 До 1,6 До 2
Объем земляных работ, тыс. м3
(не менее) ......................... 20 40 - 50 70 - 80 100
Роторный экскаватор с технической
производительностью 300 - 400 м3/ч 50
При необходимости применения этих экскаваторов на объекте с меньшими объемами следует учитывать удорожание работ в связи с передислокацией комплектов.
2.16. Прицепные и самоходные скреперы применяются при выполнении следующих видов земляных работ:
возведении насыпей из резервов и карьеров;
разработке выемок с перемещением грунта в насыпи или кавальеры.
При необходимости устройства въездов не рекомендуется возводить скреперами насыпи высотой более 4 - 5 м.
2.17. Скреперы применяются для сооружения земляного полотна в нескальных грунтах; плотные сухие грунты при этом рекомендуется разрыхлять. В глинистых грунтах с влажностью более границы раскатывания плюс четверть числа пластичности, а также в сухих сыпучих песчаных грунтах эффективность работы скреперов резко снижается, поэтому в этих условиях применять их не рекомендуется. Исключением являются барханные пески (
пп. 7.4,
7.12 -
7.14).
2.18. Прицепные скреперы по сравнению с экскаваторными комплексами эффективнее применять при дальности перемещения грунта до 500 м, а по сравнению с самоходными скреперами - до 300 м. Самоходные скреперы рекомендуется применять при дальности перемещения грунта до 3000 м.
2.19. При возведении земляного полотна бульдозеры применяются для выполнения следующих видов работ:
разработки выемок с перемещением грунта в насыпь или в кавальер;
возведения насыпей из резервов;
устройства полувыемок и полунасыпей на косогорах;
срезки растительного слоя в основании невысоких насыпей;
нарезки уступов в основании насыпей на косогорах и на откосах насыпей при строительстве вторых путей;
разравнивания грунта при послойном возведении насыпей;
планировки откосов (с дополнительным оборудованием);
ремонта и содержания автодорог.
2.20. Бульдозеры рекомендуется применять для возведения насыпей высотой до 1 м непосредственно из резервов. Высота насыпей, возведенных бульдозером при одновременной разработке выемки, не ограничивается, но перемещение грунта на расстояние более 100 м, как правило, нецелесообразно.
2.21. Грейдер-элеваторы применяются для возведения насыпей высотой до 0,8 из односторонних и до 1 м - из двусторонних резервов.
Они могут быть также использованы для разработки грунта в карьерах с погрузкой его в автосамосвалы и перемещением в насыпь.
2.22. При разработке грейдер-элеваторами сухих плотных грунтов рекомендуется производить предварительное рыхление их. В сухих сыпучих песках, глинистых грунтах с влажностью более границы раскатывания плюс четверть числа пластичности, а также в грунтах, содержащих большие камни и валуны, грейдер-элеваторы применять не следует.
2.23. Грейдер-элеваторы целесообразно применять при длине фронта работ 400 - 2000 м. Не рекомендуется использовать их при длине фронта работ менее 200 м.
2.24. При транспортировании грунта в возводимые насыпи или другие земляные сооружения необходимо учитывать его потери в размере 0,5 - 1,5% в зависимости от вида транспорта, категории грунта и расстояния, размеры карьеров и резервов должны назначаться в проекте с учетом:
потерь грунта при транспортировании;
степени уплотнения грунтов;
осадок основания и тела насыпей.
2.25. Рыхление твердых скальных грунтов (свыше V группы) следует выполнять буровзрывным способом. Трещиноватые, сильно разрушенные скальные грунты до VI группы могут быть разрыхлены механическими рыхлителями на базе трактора мощностью не менее 300 л.с.
Для рыхления мерзлых грунтов рекомендуется применение механических рыхлителей и буровзрывного способа.
2.26. Планировка основной площадки и нарезка сливной призмы земляного полотна в нескальных талых грунтах может быть выполнена средними и тяжелыми автогрейдерами.
2.27. Потребность в транспортных и других машинах комплекта должна определяться с учетом обеспечения часовой технической производительности и бесперебойной работы ведущей машины комплекта.
2.28. При выборе способа работы на объекте рекомендуется сравнивать следующие основные показатели:
производительность комплекта машин;
выработку на одного рабочего;
приведенную стоимость производства работ;
мощность энергоустановок и металлоемкость на единицу продукции.
2.29. Выработка на одного рабочего определяется по формуле

,
где

- расчетная эксплуатационная производительность ведущей машины комплекта, м3/смену;
N - количество рабочих в бригаде в соответствии с технологической схемой.
Трудоемкость работ на единицу продукции является величиной, обратной выработке на одного рабочего,

, чел.-дн.
2.30. Приведенная стоимость определяется по формуле

,
где С - себестоимость единицы объема;
К - капитальные вложения, отнесенные к единице годовой производительности ведущей машины;
Е - нормативный коэффициент эффективности капитальных вложений.
Себестоимость единицы объема определяется по формуле

,
где

- суммарная стоимость машино-смен комплекта, руб.;

- коэффициент, учитывающий накладные расходы на заработную плату;

- суммарная заработная плата рабочих, не учтенная в стоимости машино-смен, руб.
2.31. Мощность энергоустановок машин комплекта на единицу объема земляных работ определяется по формуле

или кВт/м3,
где

- суммарная мощность энергоустановок всех машин комплекта, л.с. или кВт.
2.32. Металлоемкость определяется по формуле

,
где

- суммарная масса металла всех машин комплекта, кг.
2.33. Сравнительные графики выработки на одного рабочего и стоимости единицы продукции различных комплектов приведены в
Приложениях 2 -
13.
2.34. Земляные работы при сооружении земляного полотна рекомендуется выполнять специализированными строительными подразделениями - механизированными колоннами, которые должны быть оснащены машинами и механизмами, необходимыми для выполнения подготовительных, основных и укрепительных работ, с учетом климатических и гидрогеологических условий района строительства.
Минимальный годовой объем работ механизированных колонн, как правило, следует принимать 800 тыс. руб. Наиболее эффективны механизированные колонны с годовыми объемами работ 1 - 1,5 млн. руб.
2.35. Организация земляных работ на объекте и эксплуатация машин комплекта должны быть направлены на обеспечение максимальной производительности ведущей машины при возможно лучшем использовании остальных машин комплекта и на создание земляного полотна высокого качества.
2.36. При производстве земляных работ рекомендуется применять диспетчерское управление. С этой целью необходимо предусматривать устройство телефонной связи или радиосвязи на объектах (СНиП III-А.8-62 "Оперативное планирование и диспетчеризация").
2.37. Для более рационального и четкого руководства производством работ по сооружению земляного полотна в механизированных колоннах рекомендуется применение сетевого планирования.
Сетевой график, являясь составной частью проекта производства работ, разрабатывается с учетом положений укрупненного графика организации строительства и должен включать работы, выполняемые специализированными управлениями трестов "Трансвзрывпром" и "Трансгидромеханизация".
2.38. Исходными материалами для составления сетевого графика являются:
данные укрупненного комплексного графика организации строительства;
рабочие чертежи и сметы;
материалы проектов организации строительства и производства работ, ЕНиР и другие нормативные справочники;
данные о наличии в механизированной колонне землеройных машин, транспорта, рабочих кадров;
условия обеспечения материально-техническими ресурсами, сроки поступления машин и оборудования.
2.39. Основным элементом при построении сетевого графика является работа одного комплекта машин на отдельном фронте.
2.40. Подготовительные, планировочные и укрепительные работы, производимые при сооружении земляного полотна, должны отражаться на сетевом графике производства работ в пределах тех же фронтов, что и основные земляные работы.
2.41. На сетевом графике производства работ должна быть четко показана взаимосвязь между земляными работами и работами, не относящимися к возведению земляного полотна (окончание строительства временных жилых поселков для работников механизированных колонн, расчистка полосы отвода, вынос линий связи, готовность искусственных сооружений, постройка временных притрассовых автомобильных дорог и др.).
При составлении графика следует использовать "Указания по составлению и применению сетевых графиков в транспортном строительстве". М., "Оргтрансстрой", 1967.
2.42. Грунты для насыпей следует применять с учетом их свойств и состояния, особенностей природных условий в пределах участка размещения проектируемого объекта, а также местонахождения запасов грунта (табл. 1).
Таблица 1
────────────────────────┬───────────────────────┬──────────────────────────
Вид грунта │ Ограничения для │ Примечание
│ применения │
────────────────────────┼───────────────────────┼──────────────────────────
Скальные, │ Без ограничения │ Во всех случаях
крупнообломочные, │по условиям обеспечения│
дренирующие песчаные, │устойчивости земляного │
а также супеси легкие │полотна │
крупные │ │
────────────────────────┼───────────────────────┼──────────────────────────
Недренирующие мелкие │ Ограничено применение │ При всех условиях, в том
и пылеватые пески │по условиям │числе на болотах I и II
и супеси легкие │производства земляных │типов (
п. 7.2 СН 449-72),
│работ (при отсыпке │за исключением случаев,
│в воду) │когда требуется отсыпка
│ │грунта в воду при
│ │пересечении водотоков и
│ │водоемов, а также болот
│ │III типа
────────────────────────┼───────────────────────┼──────────────────────────
Все глинистые грунты │ Ограничено применение │ Во всех случаях при
за исключением │по условиям увлажнения │влажности, не превышающей
перечисленных в
п. 2.43 │грунтов основания │установленные нормы
│и состоянию грунта, │(
п. 2.22 СН 449-72);
│используемого для │на сухом основании - для
│насыпи, в период │насыпей высотой 12 м
<1>;
│производства земляных │на сыром и мокром
│работ │основаниях - для насыпей
│ │не менее установленных
────────────────────────┴───────────────────────┴──────────────────────────
--------------------------------
<1> Условия применения глинистых грунтов для насыпей высотой более 12 м устанавливаются по результатам расчетов.
Для насыпей во всех условиях можно применять грунты, состояние которых под воздействием природных факторов практически не изменяется или изменяется незначительно и не влияет на прочность и устойчивость земляного полотна. К ним следует относить:
скальные из слабовыветривающихся и легковыветривающихся неразмягчаемых горных пород;
крупнообломочные, песчаные, за исключением мелких недренирующих и пылеватых песков;
супеси легкие крупные.
Применение этих грунтов, а также кислых и нейтральных металлургических шлаков может быть ограничено только по экономическим соображениям с учетом местных условий.
2.43. Не допускается, как правило, применять для насыпей следующие грунты:
глинистые избыточно засоленные;
глинистые с влажностью, превышающей допустимую (
п. 2.22 СН 449-72);
торф, ил, мелкий песок и глинистые грунты с примесью ила и органических веществ;
верхний почвенный слой, содержащий в большом количестве корни растений, - для насыпей высотой до 1 м;
тальковые, пирофиллитовые грунты и трепелы - для насыпей на мокром основании и на участках, где возможен длительный застой воды;
грунты, содержащие гипс в количестве, превышающем нормы, приведенные в табл. 2.
Таблица 2
────────────────────────────────────────────────────────────────┬──────────
Условия применения │Предельное
│содержание
│ гипса, %
────────────────────────────────────────────────────────────────┼──────────
1. В пределах II - IV дорожно-климатических зон для насыпей │
на участках с основаниями: │
а) сухими и сырыми (I и II тип местности,
п. 2.23 СН 449-72) │ 30
б) мокрыми (III тип местности,
п. 2.23 СН 449-72) │ 20
2. В пределах V дорожно-климатической зоны для насыпей │
на участках с основаниями: │
а) сухими и сырыми │ 40
б) мокрыми │ 30
3. Для нижней части пойменных и подтопляемых насыпей железных │ 5
дорог во всех дорожно-климатических зонах │
Перечисленные грунты разрешается применять в исключительных случаях для дорог III - V категорий при обязательном осуществлении дополнительных мер, направленных на обеспечение требуемой прочности и устойчивости земляного полотна.
2.44. Для нижней части постоянно подтопляемых насыпей, при сооружении которых требуется отсыпка грунта в воду, необходимо применять скальные или крупнообломочные грунты, песок крупный или средней крупности, а также супесь легкую крупную с содержанием в ней глинистых частиц не более 6%.
2.45. Для насыпей на болотах I и II типов при отсутствии дренирующих грунтов допускается применять пылеватый песок, а также легкую крупную и легкую супесь. Применение этих грунтов для насыпей на болотах III типа, а также других глинистых грунтов на болотах всех типов допускается только для верхней надземной части насыпей при соблюдении следующих условий:
для нижней части насыпи необходимо использовать дренирующие грунты;
величину возвышения бровки нижней части насыпи из дренирующих грунтов над поверхностью болота или над уровнем поверхностной воды следует назначать не менее 0,5 м;
поперечный профиль надземной части насыпи и очертание ее верха следует проектировать соответственно виду, состоянию и свойствам применяемого глинистого грунта или пылеватого песка.
Величину возвышения бровки насыпей над поверхностью болот следует назначать не менее норм, приведенных в табл. 3. Насыпи из пылеватого песка и легкой супеси, сооружаемые в пределах осушенных или осушаемых болот, допускается проектировать высотой 2,0 м и более над уровнем грунтовой воды или над уровнем воды в водоотводных канавах.
Таблица 3
────────────────────────────────────────────────┬──────────────────────────
Вид грунта, используемого для насыпи │Величина возвышения бровки
│ над поверхностью, м
├─────────────┬────────────
│ болота │ воды
────────────────────────────────────────────────┼─────────────┼────────────
Дренирующий │0,8 - 1,2 <*>│ 1,0
Мелкий песок, легкая крупная супесь │ 1,2 │ 1,2
Пылеватый песок, легкая супесь │ 2,0 │ -
--------------------------------
<*> 0,8 и 1,2 м - величины возвышения соответственно при полном или частичном удалении торфа из основания насыпи.
Размещение и разравнивание грунтов в насыпях
2.46. Насыпи рекомендуется возводить из однородных грунтов. Отсыпаемый грунт должен разравниваться горизонтальными слоями по всей ширине насыпи.
2.47. В случае необходимости использования разнородных грунтов отсыпка их в насыпь должна вестись также горизонтальными слоями. При этом каждый слой должен состоять из однородного грунта.
2.48. При расположении горизонтального слоя песчаного грунта над слоем глинистого грунта поверхности последнего должен быть придан поперечный уклон 0,04 от середины к краям насыпи (
рис. 1, а, б), поверхность слоя песчаного грунта, расположенного под слоем глинистого, подлежит выравниванию без придания уклонов (см.
рис. 1, в). Сопряжение слоев разнородных грунтов в продольном направлении показано на
рис. 2.
а)
б)
в)
Рис. 1. Схемы допустимого расположения грунтов
в теле насыпи:
а - песчаный грунт над слоем глинистого;
б - слой глинистого грунта между слоями песчаного;
в - слой глинистого грунта над песчаным;
1 - песчаный грунт; 2 - глинистый грунт
Рис. 2. Сопряжение слоев разнородных грунтов
в продольном направлении (вдоль оси насыпи):
1 - грунт из карьера I; 2 - грунт из карьера II
2.49. При возведении насыпей отсыпку слоев грунта следует производить от краев к середине. На мокрых (слабых) основаниях и болотах отсыпка должна вестись от середины к краям до высоты насыпи 3 м и от краев к середине - после достижения высоты 3 м.
2.50. Запрещается покрывать откосы насыпей грунтом с худшими дренирующими свойствами, чем у грунта, уложенного в тело насыпи; исключением является покрытие глинистым грунтом песчаных откосов для защиты от выдувания.
2.51. С эстакад насыпи отсыпаются в исключительных случаях, когда перемещение транспортных средств по склонам и дну глубокого лога затруднительно, а также при необходимости быстрейшего открытия рабочего движения по эстакаде до окончания отсыпки насыпи.
Отсыпаемый с эстакад грунт должен разравниваться горизонтальными слоями и уплотняться.
Отсыпка насыпей и полунасыпей на косогорах
2.52. Состав работ по подготовке основания насыпей следует назначать с учетом высоты проектируемой насыпи и поперечного уклона местности, в том числе: удаление дерна под насыпями высотой до 0,5 м - на равнинных участках местности и в пределах косогоров крутизной до 1:10; под насыпями высотой до 1 м - в пределах косогоров крутизной от 1:10 до 1:5; рыхление поверхности основания насыпей высотой более 1,0 м - в пределах косогоров крутизной от 1:10 до 1:5; удаление дерна и нарезку уступов шириной от 1 до 4 м, высотой до 2 м - в пределах косогоров крутизной от 1:5 до 1:3, независимо от высоты насыпи.
Верху уступов в основании насыпей следует придавать поперечный уклон в низовую сторону величиной 0,01 - 0,02; стенки уступов при их высоте до 1 м можно проектировать вертикальными, а при высоте до 2 м - с наклоном около 1:0,5.
Подготовка основания не предусматривается для насыпей, размещаемых на косогорах, сложенных дренирующими грунтами и не имеющих растительного покрова. Необходимость подготовки основания насыпей, размещаемых на косогорах, сложенных скальными породами, следует устанавливать в зависимости от местных условий. Технология и механизация срезки растительного слоя, нарезки уступов и послойной отсыпки насыпи аналогичны применяемой при возведении насыпей II пути и освещены в
разделе 8.
2.53. Засыпка пазух между водоотводной канавой и откосом насыпи должна производиться одновременно с ее возведением.
2.54. Отсыпка насыпи на косогорах до устройства продольных водоотводных канав запрещается.
Отвод поверхностных и грунтовых вод при разработке выемок
2.55. При всех способах разработки выемок должен быть обеспечен отвод от них поверхностных и грунтовых вод.
2.56. Отвод поверхностных вод, поступающих с прилегающих к выемке территорий, обеспечивается устройством до начала разработки выемки нагорных канав в соответствии с проектом.
2.57. В случае необходимости до начала разработки выемки, кроме нагорных канав, должны устраиваться канавы для выпуска застойных вод, скопившихся в низинах в зоне расположения выемки.
2.58. Болота, расположенные в зоне выемки, подлежат осушению в случае, если фильтрация воды может вредно отразиться на устойчивости откосов выемки.
2.59. Отвод поверхностных вод из выемки в период производства работ должен обеспечиваться:
расположением проходок машин с общим продольным уклоном в сторону начала разработки;
устройством в необходимых случаях временных водоотводных канав и лотков.
2.60. При расположении водоносных горизонтов выше отметок основной площадки выемки грунтовая вода должна быть перехвачена дренажами и отведена за пределы выемки.
2.61. При разработке выемок в лессовидных грунтах необходимо принимать специальные меры против застоя воды во время производства работ, которые должны быть предусмотрены в проекте в соответствии с правилами производства и приемки работ по строительству на просадочных грунтах (СНиП III-Б.10-62).
2.62. При недостатке грунта для возведения насыпей допускается уширение выемок, которое должно производиться с учетом дальнейшего строительства вторых путей.
2.63. Выемки должны уширяться по всей их длине. Если уширение выемки не превышает 4 м, кюветы располагаются у пути, принимая воду, стекающую с откосов выемки и с образованной в результате уширения полки, которой должен быть придан уклон 0,02 - 0,04 в сторону кювета.
При уширении выемки на величину более 4 м устройство кюветов решается индивидуальным проектом.
Перерывы и возобновление работ
2.64. Перед длительным перерывом работ поверхность незаконченной насыпи необходимо тщательно уплотнить и спланировать с двусторонним уклоном 0,02 - 0,04. Водоотводные устройства и резервы привести в надлежащее состояние. На откосах насыпей и выемок устранить местные углубления, препятствующие свободному стоку дождевой воды.
Перед перерывом работ на одни-двое суток поверхность незаконченной насыпи выравнивается.
2.65. В периоды затяжных дождей выбор грунтов и карьеров производится с учетом атмосферных условий.
Работы по возведению насыпей из глинистых грунтов должны прекращаться при интенсивных дождях, снегопадах, метелях и поземках. Места укладки грунта приводятся в надлежащее состояние, а в зимний период дополнительно ограждаются от снегозаносов.
При возобновлении работ с поверхности насыпи полностью удаляются снег и лед.
2.66. Возобновление весной работ по досыпке насыпей, возведенных из глинистых грунтов и промерзших в зимнее время, допускается только после оттаивания грунтов и просыхания их до приобретения тугопластичного состояния с коэффициентом консистенции не свыше +0,25.
ПРОИЗВОДСТВО ПОДГОТОВИТЕЛЬНЫХ РАБОТ
Восстановление и закрепление трассы
3.1. На строительстве земляных сооружений разбивка и закрепление трассы производятся силами и средствами заказчика и передаются до начала работ строительной организации по акту.
3.2. При восстановлении и закреплении трассы необходимо:
закрепить вершины углов поворота;
произвести разбивку круговых и переходных кривых и закрепление начала, середины и конца кривых;
закрепить пикеты и плюсы;
проверить отметки существующих реперов и восстановить сбитые;
проверить и закрепить оси искусственных сооружений.
3.3. Трасса закрепляется точками и сторожками по оси, а также выносными столбами и кольями, устанавливаемыми вне зоны расположения насыпей, выемок, резервов, кавальеров и водоотводов.
3.4. Закрепление оси пути выносными столбами и кольями на прямых участках трассы показано на рис. 3. Выносными столбами закрепляются осевые точки не реже чем через 1000 м, а кольями - все четные пикеты
(рис. 4).
Рис. 3. Закрепление оси пути на прямом участке трассы
выносными столбами и кольями:
1 - выносные столбы; 2 - выносные колья;
3 - стоянка теодолита; 4 - точки и сторожки с надписью;
5 - четные пикеты
Рис. 4. Выносные столбы и колья:
1 - выносной столб; 2 - выносной кол
3.5. Закрепление оси пути выносными столбами на кривых участках показано на рис. 5. Вершину угла закрепляют угловым столбом и точкой, в которую забивается гвоздь
(рис. 6).
Рис. 5. Закрепление оси пути на кривой выносными столбами:
1 - выносные столбы; 2 - точки и сторожки с надписью;
3 - биссектриса угла
1 - угловой столб; 2 - угловая точка с гвоздем;
3 - биссектриса угла
Если вершина угла попадает на место будущего резерва или кавальера, она закрепляется установкой двух створных столбов на продолжении тангенсов, на расстоянии не менее 20 м один от другого.
3.6. На выносных столбах и кольях должны быть надписи, указывающие, какая точка закрепляется, например, ось, ВУ, НПК, ПК-152, ПК-153 + 10 и др.
Все надписи на выносках должны быть обращены в сторону оси линии, а на сторожках - в сторону начала пикетажа.
3.7. В местах, где затруднена установка деревянных столбов, они могут быть заменены обрезками газовых труб или железобетонными свайками. В скальных грунтах положение точек как на оси линии, так и на выносках отмечается пересечением двух высеченных в скале прямых канавок. Все точки при этом должны быть обложены валиками из камней, а надписи - нанесены масляной краской на скале и крупных камнях.
3.8. Во время работ по восстановлению и закреплению трассы необходимо вести журнал выносок, в который заносятся схемы расположения вынесенных знаков, отметки и расстояния до соответствующего знака на оси линии, а также направление выноски
(Приложение 14).
3.9. Реперы, в качестве которых могут служить как местные предметы, так и специально вкопанные и закрепленные столбы, должны быть установлены в стороне от оси пути, вдоль трассы, не реже чем через 2 км. Кроме того, необходимо устанавливать по одному реперу у каждого малого искусственного сооружения и по два репера - у больших и средних мостов, на станционных площадках и у всех насыпей и выемок с рабочими отметками более 5 м.
Реперы должны быть пронумерованы и записаны в ведомость реперов с указанием их отметок, описанием вида и местоположения.
Журнал нивелирования прилагается к ведомости реперов.
3.10. Для восстановления трассы рекомендуется использовать геодезические инструменты:
теодолиты, обеспечивающие точность отсчета по верньерам не менее 30 с, и специальные вешки;
нивелиры, снабженные специальными оптическими устройствами для установки инструмента в горизонтальное положение.
Разбивка земляного полотна
3.11. Разбивочные работы обеспечивают соответствие натурных размеров и геометрических форм земляного полотна проектным профилям в течение всего процесса его возведения.
3.12. Разбивочные работы ведутся от оси пути и репера с обозначением на местности знаками разбивки границ откосов насыпей, выемок, резервов, кавальеров и водоотводных канав, а также высотных отметок.
3.13. Исходными документами для разбивки служат:
подробный продольный профиль;
поперечные профили;
рабочие чертежи водоотводных канав;
ведомость реперов;
журнал выносок и схема закрепления трассы.
3.14. Допускаемые нормы точности разбивки при сооружении земляного полотна приведены в табл. 4.
Таблица 4
───────────────────────────────────┬─────────┬──────────┬──────────────────
Характеристики точности измерений│ Единица │Допустимая│ Примечания
│измерения│ величина │
───────────────────────────────────┼─────────┼──────────┼──────────────────
│ │ _ │
Невязка углов в полигоне │ сек │+/- 90\/n │n - количество
│ │ │углов в полигоне
Относительная разность между двумя│ │ │
измерениями длин линии в полигоне │ │ │
при рельефе местности: │ │ │
равнинном │ - │ 1:1000 │
горном │ - │ 1:500 │
│ │ _ │
Невязка двойного нивелирного хода │ мм │ 30\/L │L - длина хода, км
3.15. Разбивку предусматривается выполнять геодезическими инструментами, а также приспособлениями типа визирок, угломеров, ватерпасов и шаблонов.
3.16. Для закрепления на местности элементов профиля земляного полотна в процессе производства земляных работ рекомендуется пользоваться следующими знаками:
кольями для обозначения бровок насыпей, выемок и водоотводов, а также границ резервов и кавальеров;
откосниками для обозначения направления откосов;
вешками для обозначения направления движения экскаваторов по проходкам канавокюветокопателей и планировочных машин;
вешками-визирками и шпильками-высотниками для обозначения отметок.
3.17. Все знаки рабочей разбивки устанавливаются не реже чем через 20 м. Они должны быть хорошо видимыми и различимыми на местности. Для этого их следует окрашивать в яркие цвета.
3.18. При производстве работ следует руководствоваться "Методическими указаниями по разбивочным работам при сооружении земляного полотна" (М., "Оргтрансстрой", 1966).
Разбивочные работы выполняются инженерами-геодезистами и строительными мастерами.
Форма выписки на производство земляных работ приведена в
Приложении 15.
Корчевание пней и срезка кустарника
Область применения
3.19. Указания применяются при подготовке основания насыпей высотой до 1 м, выемок и резервов при разработке их скреперами, бульдозерами, грейдер-элеваторами и экскаваторами-драглайнами.
Корчевка пней выполняется после валки леса и вывоза деловой древесины. Тракторными навесными корчевателями удаляются пни диаметром до 50 см (тракторы мощностью 100 - 300 л.с.). Пни

диаметра или не поддающиеся выкорчевыванию подлежат удалению взрывным способом.
Комплект машин
3.20. Для корчевания пней и срезки кустарника необходимы машины и оборудование: гусеничный трактор мощностью 100 - 300 л.с.; сменное оборудование к нему: бульдозер, кусторез, корчеватель-собиратель; моторная пила "Дружба".
Состав комплексной бригады
3.21. Работы по корчеванию пней и срезке кустарника выполняет бригада в составе: машинист бульдозера 6 разряда, рабочий 4 разряда.
Технико-экономические показатели
3.22. Производительность комплекта машин и выработка на одного рабочего:
Трактор, л.с.
100 300
При корчевании пней производительность, га/смену .......... 1 1,5
Выработка на одного рабочего, га/смену .................... 0,5 0,75
При срезании кустарника производительность, га/смену ...... 4,0 6,0
Выработка на одного рабочего, га/смену .................... 2,0 3,0
Технология работ
3.23. Перед началом работ по корчеванию пней строительный мастер вместе с комплексной бригадой должны:
осмотреть участок трассы, подлежащий раскорчевке;
определить объем и характер предстоящих работ;
разметить пни, подлежащие корчеванию взрывным способом;
установить последовательность работ и необходимое для выполнения их навесное оборудование.
3.24. Пни, подлежащие корчеванию взрывным способом, подрываются до начала раскорчевки участка тракторным навесным оборудованием.
После выкорчевывания крупных пней с мощными вертикальными корнями взрывным способом приступают к корчеванию прочих пней тракторным навесным оборудованием.
Для удобства погрузки и перевозки пней в кузовах автомобилей торчащие корни отпиливаются моторной пилой "Дружба".
3.25. Пни диаметром 15 - 30 см, а также диаметром более 30 см с корнями, распространенными параллельно поверхности грунта, выкорчевываются корчевателем на тракторе 100 л.с.
3.26. Пни диаметром 40 - 50 см, особенно с вертикальными корнями, следует удалять корчевателем на тракторе не менее 130 л.с.
3.27. Кустарники и пни диаметром до 15 см срезаются бульдозером или кусторезом на тракторе не менее 100 л.с. после удаления крупных пней.
3.28. При корчевании пней на участках трассы, где предстоит удалить растительный слой или торф бульдозером или автогрейдером, а также в зонах заложения резервов, намечаемых к разработке скреперами или драглайнами, более крупные корни, оставшиеся после удаления пней, необходимо извлечь из грунта корчевателем.
3.29. Оставшиеся после удаления крупных корней ямы в основании невысоких насыпей следует, во избежание их просадок, заполнять грунтом, однородным с грунтом насыпей, и уплотнять его.
3.30. По мере расчистки участка трассы выкорчеванные пни, корни и кустарники необходимо переместить от границ полосы отвода (просеки) к оси трассы, сжечь или погрузить на автомобили с транспортированием к месту складирования.
3.31. При корчевании пней бульдозером сначала подрезаются корни ножом отвала при заглублении его в грунт на 15 - 20 см, затем, подняв отвал, нож упирается в верхнюю часть пня и опрокидывает его движением трактора вперед.
3.32. Кустарник и мелколесье срезают ножами отвалов кустореза и бульдозера на уровне или несколько ниже дневной поверхности грунта (при одновременной срезке растительного слоя) с таким расчетом, чтобы острые пеньки не выступали из грунта и не портили покрышек автомобилей при их движении по расчищенной поверхности земли.
3.33. Схемы движения трактора при корчевании пней и срезании кустарника приведены на рис. 7.
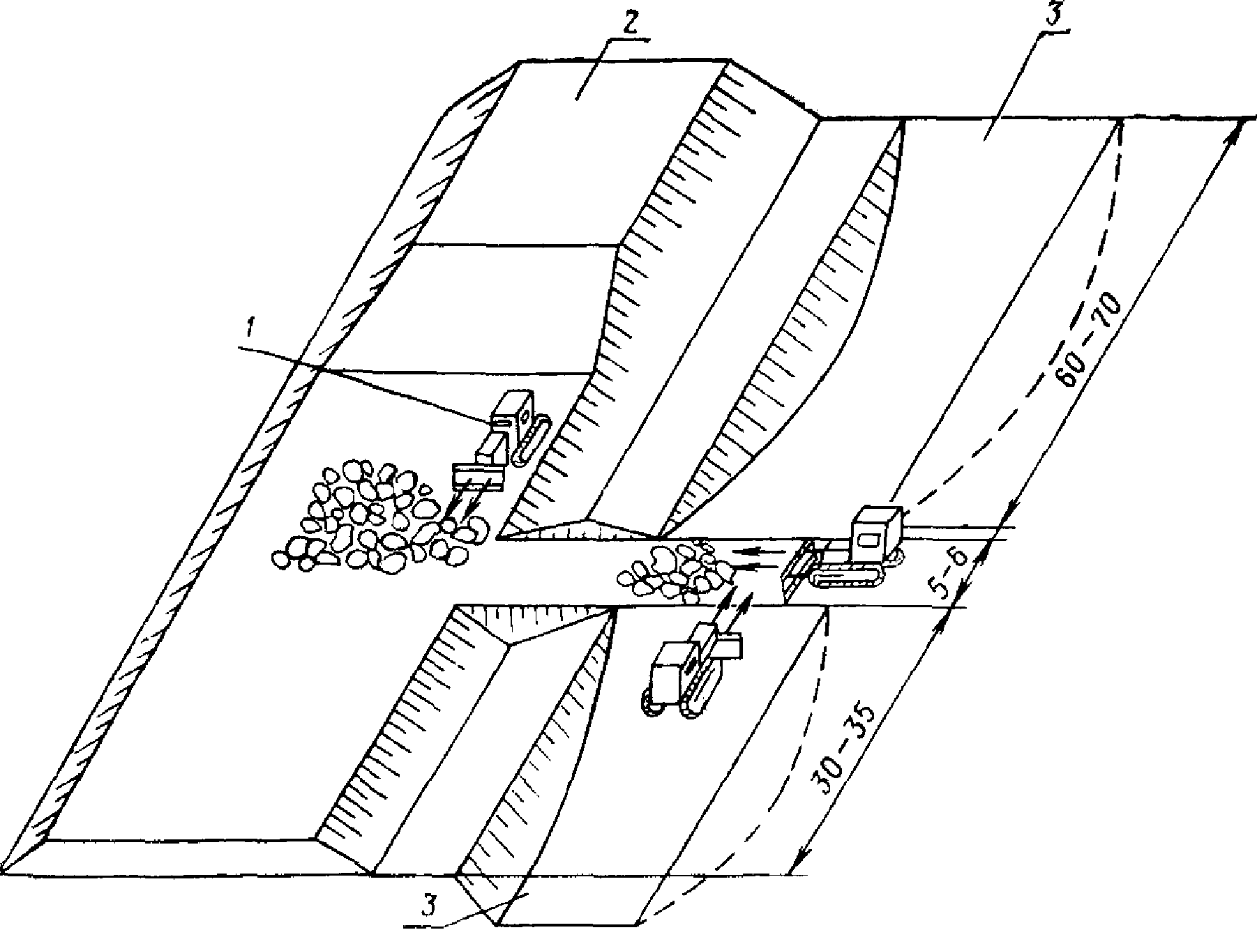
Рис. 7. Схема работы трактора при выкорчевывании пней
бульдозером или корчевателем:
1 - границы просеки; 2 - направление движения кустореза
или бульдозера при срезании кустарника и пней мелкого леса;
3 - зона сжигания отходов; 4 - направление движения
бульдозера при перемещении хвороста и пней в зону сжигания;
5 - направление движения трактора при выкорчевывании пней
Устройство нагорных и водоотводных канав
Общие положения
3.34. Нагорные и водоотводные канавы должны устраиваться до начала основных работ.
3.35. До устройства водоотводных канав должна быть спланирована горизонтальная площадка шириной 3 - 3,5 м для работы канавокопателя.
3.36. Перед началом работ должна быть разбита ось водоотвода с закреплением ее кольями через каждые 20 м.
3.37. При устройстве водоотводов канавокопателями непрерывного действия производится разбивка кольями через 5 м линии хода правой гусеницы, а при использовании экскаваторов цикличного действия - через 10 м контуров канавы.
3.38. Сооружение водоотводов с заданным продольным уклоном контролируется нивелировкой и визуально визирками, а также автоматическим приспособлением на многоковшовых экскаваторах.
3.39. Для устройства водоотводных канав могут быть использованы канавокюветокопатели, универсальные экскаваторы-планировщики, а также экскаваторы-обратные лопаты с профилировочным ковшом.
3.40. Нагорные и водоотводные канавы в мерзлых и полускальных грунтах рекомендуется нарезать экскаватором-обратной лопатой Э-652 с ковшом активного действия.
3.41. Водоотводы на болотах устраиваются экскаваторами с применением щитов или экскаваторами на болотном ходу.
3.42. При расчетах технико-экономических показателей во всех схемах дальность транспортировки грунта автосамосвалами принята 0,5 км. Потребность в автосамосвалах при дальности транспортировки более 0,5 км определяется расчетами.
Устройство водоотводных канав канавокопателями ЭТУ-354
Область применения
3.43. Указания составлены для случаев устройства водоотводов глубиной до 0,8 м в нескальных талых грунтах.
3.44. При необходимости разработки канавы глубиной более 0,8 м верхняя часть ее предварительно разрабатывается бульдозером или скрепером на ширину, достаточную для прохода экскаватора. При этом откосы канавы должны иметь крутизну 1:1,5.
Комплект машин
3.45. Разработка нагорных и водоотводных канав выполняется комплектом машин (табл. 5).
Таблица 5
──────────────────────────────────────────────┬────────────────────────────
Наименование машин │Количество машин при работе
├──────────────┬─────────────
│ в отвал │на транспорт
──────────────────────────────────────────────┼──────────────┼─────────────
Канавокопатель │ 1 │ 1
Бульдозер 100 л.с. │ 1 │ -
Автосамосвалы грузоподъемностью 4,5 т │ - │ 2
Состав комплексной бригады
3.46. Устройство водоотводов канавокопателями производит бригада (табл. 6).
Таблица 6
────────────────────────────────────────────┬──────┬───────────────────────
Профессия │Разряд│ Количество чел.
│ ├──────────┬────────────
│ │ в отвал │на транспорт
────────────────────────────────────────────┼──────┼──────────┼────────────
Машинист канавокопателя │ 6 │ 1 │ 1
Помощник машиниста канавокопателя │ 5 │ 1 │ 1
Машинист бульдозера │ 6 │ 1 │ -
Шоферы автосамосвалов │ - │ - │ 2
Технико-экономические показатели
3.47. Технико-экономические показатели комплекта по устройству водоотводов канавокопателями приведены в табл. 7.
Таблица 7
──────────────────────────────────────┬───────┬────────────────────────────
Показатели │Группа │ Способ разработки грунта
│грунтов├────────────┬───────────────
│ │ в отвал │ на транспорт
──────────────────────────────────────┼───────┼────────────┼───────────────
Производительность комплекта, м3/смену│ I │ 360 │ 310
│ II │ 285 │ 240
Выработка на 1 рабочего, м3/смену │ I │ 120 │ 78
│ II │ 95 │ 60
Технология работ
3.48. Разработка водоотводов производится за один проход канавокопателя. При этом машинист и его помощник должны следить, чтобы правая гусеница шла по линии разбивки. При работе в отвал вынутый из канавы грунт укладывается с низовой стороны в виде призмы.
3.49. Контроль глубины водоотводной или нагорной канавы следует производить путем нивелировки ее дна и бровок.
3.50. Изменение заложения откосов водоотвода, разрабатываемого канавокопателями, осуществляется путем соответствующего изменения угла наклона боковых ножей-откосников и угла установки крыльев профилера.
Устройство водоотводов универсальными
экскаваторами-планировщиками
3.51. Указания составлены для случаев устройства водоотводов в талых грунтах I - III групп универсальными экскаваторами-планировщиками Э-4010; ЭО-3332 и Сатур-051К (рис. 8 и
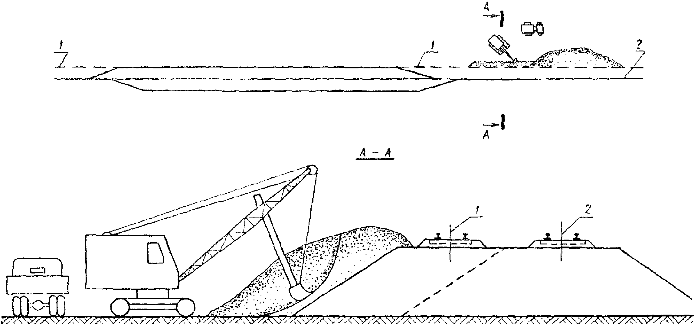
9).
Рис. 8. Погрузка грунта экскаватором Э-4010 в автосамосвал
Рис. 9. Устройство водоотводной канавы
экскаватором-планировщиком
Технические характеристики универсальных экскаваторов-планировщиков Э-4010; ЭО-3332 и Сатур-051К даны в
Приложении 16.
3.52. Нарезку кюветов рекомендуется производить профилировочным ковшом полного профиля
(п. 3.63).
Комплект машин
3.53. Водоотводные и нагорные канавы устраиваются комплектом машин (табл. 8).
Таблица 8
──────────────────────────────────────────────┬────────────────────────────
Наименование машин │Количество машин при работе
├──────────────┬─────────────
│ в отвал │на транспорт
──────────────────────────────────────────────┼──────────────┼─────────────
Экскаватор-планировщик │ 1 │ 1
Автосамосвалы грузоподъемностью 4,5 т │ - │ 2
Состав комплексной бригады
3.54. Устройство водоотводов универсальными экскаваторами-планировщиками производит бригада в составе:
Машинист экскаватора 6 разр. ............................... 1
Помощник машиниста (на Э-4010 шофер-дизелист) 5 разр. ...... 1
Шоферы автосамосвалов (при работе на транспорт) ............ 2
Технико-экономические показатели
3.55. Технико-экономические показатели комплекта по устройству водоотводов универсальными экскаваторами-планировщиками в грунтах II группы приведены в табл. 9.
Таблица 9
──────────────────────────────────────────────┬────────────────────────────
Показатели │ При работе
├──────────────┬─────────────
│ в отвал │на транспорт
──────────────────────────────────────────────┼──────────────┼─────────────
Производительность комплекта, м3/смену │ 150 │ 130
Выработка на одного рабочего, м3/смену │ 75/150 │ 32/43
Примечание. В числителе приведены показатели комплекта с экскаватором Э-4010, в знаменателе - с ЭО-3332 и Сатур-051К.
Технология работ
3.56. Разработка водоотводных и нагорных канав в отвал (рис. 10) универсальными экскаваторами-планировщиками с ковшом емкостью 0,4 или 0,25 м3 за одну проходку. При этом экскаватор устанавливается и передвигается по оси канавы, проектная глубина которой указывается на колышках разбивки оси.
Рис. 10. Технологическая схема разработки нагорной канавы
экскаватором-планировщиком
Экскавация грунта на одной стоянке производится в три приема (рис. 11).
Рис. 11. Последовательность разработки профиля канавы
экскаватором-планировщиком:
1, 2 и 3 - первая, вторая и третья экскавация грунта
Ковшом, установленным под углом заложения откоса, вначале вырезается грунт по контуру одного откоса, а затем - по контуру другого.
Оставшийся грунт по оси канавы выбирается нормально установленным ковшом, с зачисткой дна или поперечной экскавацией при втором проходе сбоку канавы.
Передвижка экскаватора Э-4010 производится шофером по сигналу машиниста, а ЭО-3332 и Сатур-051К - самим машинистом.
3.57. Планировка грунта, уложенного на берме с низовой стороны, при необходимости, выполняется непосредственно экскаватором, оборудованным отвалом, при второй проходке.
Устройство водоотводных канав экскаватором-обратной лопатой
Область применения
3.58. Указания составлены для случаев устройства водоотводов экскаваторами Э-304, Э-352, ТЭ-3 со специальным профилировочным ковшом в талых нескальных грунтах I - III групп и экскаватором Э-652 с ковшом активного действия емкостью 0,65 м3 в мерзлых и полускальных грунтах IV - VI групп.
Комплект машин
3.59. Устройство водоотводных и нагорных канав в отвал производится следующими комплектами машин:
в нескальных талых грунтах - экскаваторы Э-304 или Э-352, или ТЭ-3 со специальным профилировочным ковшом, бульдозер 100 л.с.;
в мерзлых и полускальных грунтах - экскаватор Э-652 с ковшом активного действия, компрессор ПР-16 или ПР-10, или ДК-9М, бульдозер 100 л.с.
Состав комплексных бригад
3.60. Устройство водоотводов экскаваторами Э-304 или Э-352, или ТЭ-3 производит бригада в составе: машиниста экскаватора 6 разр., помощника машиниста экскаватора 4 разр. и машиниста бульдозера 6 разр.
3.61. Устройство водоотводов экскаватором Э-652 с ковшом активного действия производит бригада в составе:
Машинист экскаватора 6 разр. ............................... 1
Помощник машиниста экскаватора 5 разр. ..................... 1
Машинист компрессора 5 разр. ............................... 1
Землекопы 3 разр. .......................................... 3
Машинист бульдозера 6 разр. ................................ 1
Технико-экономические показатели
3.62. Технико-экономические показатели комплектов машин по устройству водоотводных и нагорных канав экскаваторами, оборудованными обратной лопатой, приведены в табл. 10.
Таблица 10
──────────────────────────────────────┬───────────────────┬────────────────
Показатели │ Экскаваторы Э-304 │Экскаватор Э-652
│или Э-352, или ТЭ-3│ с ковшом
│ с профилировочным │ активного
│ ковшом │ действия
├───────────────────┴────────────────
│ Группа грунта
├───────────────────┬────────────────
│ II │ IV
──────────────────────────────────────┼───────────────────┼────────────────
Производительность, м3/смену │ 200 │ 140
Выработка на одного рабочего, м3/смену│ 67 │ 20
Технология работ
3.63. Разработка нагорных и водоотводных канав в отвал экскаваторами-обратными лопатами Э-304 или Э-352, или ТЭ-3 с профилировочным ковшом
(рис. 12) производится за один или несколько проходов в зависимости от глубины канавы. При глубине канавы, меньшей или равной высоте ковша, экскаватор перемещается по оси водоотвода и отрывает его сразу на полную глубину. В этом случае во время передвижки экскаватора производится зачистка дна и откосов канавы. Для этого рукоять экскаватора устанавливается в вертикальное положение так, чтобы ковш ножами плотно прилегал ко дну и откосам канавы. Если глубина канавы больше высоты ковша, ее отрывают за несколько проходов экскаватора, начиная с откосных частей
(рис. 13). После разработки грунта канава также зачищается ковшом.
Рис. 12. Профилировочный ковш
Рис. 13. Последовательность разработки канав
экскаватором-обратной лопатой с профилировочным ковшом:
1, 2 и 3 - первая, вторая и третья проходки
3.64. Контроль глубины канавы выполняется путем нивелировки дна и способом визирок
(рис. 14). Для этого к рукояти экскаватора крепится деревянная планка с подвижной визиркой на высоте 2 - 2,5 м от режущей кромки ковша, и, изменяя заглубление рабочего органа, верхний конец этой визирки держат на уровне других визирок такой же высоты, установленных по нивелиру в отрытой части канавы. По мере удаления экскаватора задняя визирка переносится вперед и устанавливается на расстоянии 15 - 20 м от экскаватора. В точке перелома профиля вновь на проектную отметку устанавливается одна из визирок, а на расстоянии 10 - 15 м от нее по направлению к экскаватору - вторая, также на проектную отметку. Установкой визирок по нивелиру занимается мастер и помощник машиниста экскаватора.
Рис. 14. Устройство водоотвода экскаватором Э-304
с профилировочным ковшом:
1 - неподвижные визирки; 2 - подвижная визирка;
3 - проектный уровень дна канавы
3.65. Разработка нагорных и водоотводных канав в отвал экскаватором-обратной лопатой с ковшом активного действия производится за один проход. При этом экскаватор передвигается по оси канавы. Разработку грунта рекомендуется начинать с оконтуривания границ канавы на поверхности спланированной полосы. Затем до отметки дна на ширину ковша выбирается грунт из средней части канавы, после чего добирается грунт откосной части (рис. 15).
Рис. 15. Схема разработки канав экскаватором-обратной
лопатой Э-652 с ковшом активного действия:
1 - оконтуривание границ канавы; 2 - разработка средней
части канавы на полную глубину; 3 - доработка откосов
Контроль глубины канавы производится нивелировкой.
3.66. Наиболее производительная работа экскаватора с ковшом активного действия происходит при разработке мерзлого слоя с подходом к нему зубьев из массива незамерзшего грунта. Мелкие недоборы грунта устраняются вручную.
3.67. Грунт разрабатываемой канавы укладывается на берму с низовой стороны и при необходимости разравнивается бульдозером.
Устройство притрассовых и землевозных автомобильных дорог
3.68. Для перевозок в пределах строительства железнодорожной линии материалов, конструкций, оборудования, грунта для возведения земляного полотна, а также личного состава строительных подразделений устраиваются автомобильные дороги:
притрассовые - для осуществления всех видов внутрипостроечных перевозок и землевозные - для подъезда к карьерам, выемкам и насыпям.
3.69. Притрассовые автомобильные дороги следует проектировать согласно
СНиП II-Д.5-72 и III-Д.5-73, если расчетная интенсивность движения, расчетная годовая грузонапряженность и срок службы притрассовой дороги соответствуют требованиям к автомобильной дороге IV или V категории.
В других случаях притрассовые, а также землевозные дороги следует проектировать в соответствии со СНиП III-Б.1-71,
Приложением 17 и пп. 3.70 -
3.78.
3.70. Категорию и число полос движения притрассовой дороги следует устанавливать по отдельным участкам, исходя из предполагаемой расчетной грузонапряженности с учетом движения автомобилей и тракторов в обоих направлениях.
Расчетную грузонапряженность по участкам притрассовой дороги следует определять с учетом перевозок всех грузов, включая грунт, доставляемый из карьеров в насыпь.
3.71. Временные землевозные дороги следует устраивать, как правило, для двухполосного движения. Однополосные дороги допускаются только при кольцевом движении.
3.72. Ширина проезжей части при движении по ней автосамосвалов грузоподъемностью до 12 т должна быть при двустороннем движении 7 м, а при одностороннем - 3,5 м.
При грузоподъемности автосамосвалов более 12 т ширину проезжей части дорог следует назначать по расчету в проекте организации строительства.
3.73. Ширина каждой обочины должна быть не менее 1 м. В стесненных условиях и на въездах и съездах указанная ширина может быть уменьшена до 0,5 м.
В забоях, на отвалах и дорогах без покрытий обочины не устраиваются.
3.74. Руководящий уклон автомобильных дорог следует принимать равным 0,05; а наибольший уклон 0,08. В исключительных случаях (сложные топографические условия, выезды из котлованов и карьеров, въезды на насыпи и т.п.) величина уклона может быть повышена до 0,1.
При кольцевом движении для порожнего направления величину наибольшего уклона дороги следует принимать 0,12, а в исключительных случаях 0,15.
3.75. Для обеспечения отвода поверхностных вод необходимо устраивать кюветы, водоотводные и нагорные канавы.
3.76. В северных районах страны, на участках, где строительные работы ведутся зимой при отсутствии притрассовых дорог круглогодичного пользования, следует устраивать зимние автомобильные дороги.
Зимнюю дорогу следует прокладывать в полосе отвода, рядом с трассой железной дороги, с устройством одежды проезжей части из уплотненного снега толщиной 15 - 20 см на спланированной и промороженной поверхности грунта (без насыпей и искусственных сооружений), а на болотах - на сланях.
3.77. Притрассовую автомобильную дорогу целесообразно строить поэтапно в соответствии с ростом грузопотока: на первом этапе - однополосную дорогу с разъездами и покрытием низшего типа, на втором - уширение проезжей части дороги для организации двухполосного движения с последующим совершенствованием покрытия в соответствии с проектом.
3.78. Конструкции и виды покрытий притрассовых и землевозных дорог, указания по производству работ и технико-экономические показатели приведены в
Приложении 17.
СООРУЖЕНИЕ ЗЕМЛЯНОГО ПОЛОТНА ОСНОВНЫМИ
ЗЕМЛЕРОЙНО-ТРАНСПОРТНЫМИ МАШИНАМИ
Разработка выемок с отвалом грунта в кавальеры
и возведение насыпей из резервов драглайнами
Область применения
4.1. Указания даны для случаев разработки выемок с укладкой грунта в кавальеры и возведения насыпей из резервов драглайнами в грунтах I - III групп.
4.2. Разработку грунтов предусматривается производить драглайнами с ковшами ЦНИИСа емкостью 0,8 и 1,2 м3 полукруглой формы со сплошной режущей кромкой.
Ковшами емкостью 0,8 м3 оборудуются экскаваторы типа Э-652 и емкостью 1,2 м3 - экскаваторы типа Э-10011 и Э-1004.
4.3. Наибольшая высота отсыпаемой драглайном насыпи, зависящая от длины, угла наклона его стрелы и от глубины проектируемых резервов, при ширине берм 3 и 7,1 м и угле поворота стрелы 180° (рис. 16), приведена в
табл. 11.
Рис. 16. Схема определения максимальной высоты насыпи,
возводимой драглайном из резервов:
1 - ось стоянки экскаватора
───────────┬─────────────┬─────────┬─────────┬─────────────────────────────
Тип │ Резервы │ Длина │ Угол │Наибольшая высота возводимой
экскаватора│ │стрелы, м│ наклона │ насыпи до верха сливной
│ │ │ стрелы, │ призмы H, м, при глубине
│ │ │ град │ резервов, м
│ │ │ ├─────┬─────┬─────┬─────┬─────
│ │ │ │ 0,5 │0,75 │ 1 │1,25 │ 1,5
───────────┼─────────────┼─────────┼─────────┼─────┼─────┼─────┼─────┼─────
Э-652 │Односторонние│ 10 │ 30 │0,76 │1,01 │1,23 │ 1,3 │1,37
│ │ 13 │ 45 │0,9 │1,15 │1,35 │ 1,5 │1,63
├─────────────┼─────────┼─────────┼─────┼─────┼─────┼─────┼─────
│Двусторонние │ 10 │ 30 │1,42 │1,8 │2,1 │ 2,33│2,5
│ │ 13 │ 45 │1,66 │2,09 │2,43 │ 2,7 │2,94
───────────┼─────────────┼─────────┼─────────┼─────┼─────┼─────┼─────┼─────
Э-1004 │Односторонние│ 13 │ 30 │1,07 │1,38 │1,6 │ 1,8 │2,0
│ │ 16 │ 45 │1,16 │1,5 │1,76 │ 1,96│2,16
├─────────────┼─────────┼─────────┼─────┼─────┼─────┼─────┼─────
│Двусторонние │ 13 │ 30 │1,93 │2,45 │2,87 │ 3,2 │3,5
│ │ 16 │ 45 │2,06 │2,63 │3,08 │ 3,51│3,77
───────────┼─────────────┼─────────┼─────────┼─────┼─────┼─────┼─────┼─────
Э-10011 │Односторонние│ 12,5 │ 30 │1,03 │1,33 │1,54 │ 1,73│1,93
│ │ 15 │ 45 │1,09 │1,42 │1,65 │ 1,84│2,03
├─────────────┼─────────┼─────────┼─────┼─────┼─────┼─────┼─────
│Двусторонние │ 12,5 │ 30 │1,86 │2,36 │2,77 │ 3,08│3,37
│ │ 15 │ 45 │1,93 │2,46 │2,88 │ 3,30│3,54
───────────┴─────────────┴─────────┴─────────┴─────┴─────┴─────┴─────┴─────
4.4. Наибольшая глубина выемок при различных способах разработки в зависимости от длины и угла наклона стрелы экскаватора, оборудованного драглайном, приведена в табл. 12.
──────────────┬───────────────┬──────────────┬─────────────────────────────
Тип │Длина стрелы, м│ Угол наклона │ Наибольшие глубины
экскаватора │ │ стрелы, град │ разрабатываемых выемок, м
│ │ ├──────────────┬──────────────
│ │ │ боковой │ торцовый
│ │ │ (поперечный) │ (продольный)
│ │ │ забой │ забой
──────────────┼───────────────┼──────────────┼──────────────┼──────────────
Э-652 │ 10 │ 30 │ 4,4 │ 7,3
│ 10 │ 45 │ 3,8 │ 5,6
│ 13 │ 45 │ 5,9 │ 7,8
──────────────┼───────────────┼──────────────┼──────────────┼──────────────
Э-1004 │ 13 │ 30 │ 5,8 │ 9,5
│ 13 │ 45 │ 4,9 │ 7,4
│ 16 │ 45 │ 7,1 │ 9,6
──────────────┼───────────────┼──────────────┼──────────────┼──────────────
Э-10011 │ 12,5 │ 30 │ 5,5 │ 9,3
│ 12,5 │ 45 │ 4,6 │ 7,2
│ 15 │ 45 │ 6,7 │ 9
──────────────┴───────────────┴──────────────┴──────────────┴──────────────
Комплект машин
4.5. Для разработки выемок и возведения насыпей драглайнами необходимы следующие машины (табл. 13).
────────────────────────────────────────────────┬──────────────────────────
Наименование машин │ Комплект машин
├──────────────┬───────────
│при разработке│при отсыпке
│ выемки в │ насыпи из
│ кавальер │ резервов
────────────────────────────────────────────────┼──────────────┼───────────
Драглайн с ковшом ЦНИИСа емкостью 0,8 или 1,2 м3│ 1 │ 1
Бульдозер на тракторе 100 л.с. │ 1 │ 1
Пневмокаток весом 25 - 30 т │ - │ 1
Состав комплексных бригад
4.6. Разработку выемок и возведение насыпей производит бригада (табл. 14).
Таблица 14
─────────────────────────────────────────┬──────┬──────────────────────────
Профессия │Разряд│ Количество рабочих
│ ├──────────────┬───────────
│ │при разработке│при отсыпке
│ │ выемки │ насыпи из
│ │ в кавальер │ резервов
─────────────────────────────────────────┼──────┼──────────────┼───────────
Машинист экскаватора │ 6 │ 1 │ 1
Помощник машиниста экскаватора │ 5 │ 1 │ 1
Машинист бульдозера │ 6 │ 1 │ 1
Машинист грунтоуплотняющей машины │ 5 │ - │ 1
Технико-экономические показатели комплектов машин
4.7. Производительность экскаваторов, оборудованных драглайном, и выработка на одного рабочего приведены в табл. 15.
───────────────────────────────┬───────┬─────────────────┬─────────────────
Показатели │Группы │Разработка выемок│ Отсыпка насыпей
│грунтов│ в кавальер │ из резервов
│ ├─────────────────┴─────────────────
│ │ Емкость ковша драглайна, м3
│ ├────────┬────────┬────────┬────────
│ │ 0,8 │ 1,2 │ 0,8 │ 1,2
───────────────────────────────┼───────┼────────┼────────┼────────┼────────
Производительность, м3/смену │ I │ 640 │ 940 │ 640 │ 940
│ II │ 535 │ 720 │ 535 │ 720
│ III │ 430 │ 570 │ 430 │ 570
Выработка на одного рабочего, │ I │ 213 │ 313 │ 160 │ 244
м3/смену │ II │ 178 │ 240 │ 134 │ 180
│ III │ 143 │ 190 │ 108 │ 142
Технология работ
4.8. Перед началом работы поверхность земли на полосе передвижения экскаватора необходимо выровнять бульдозером.
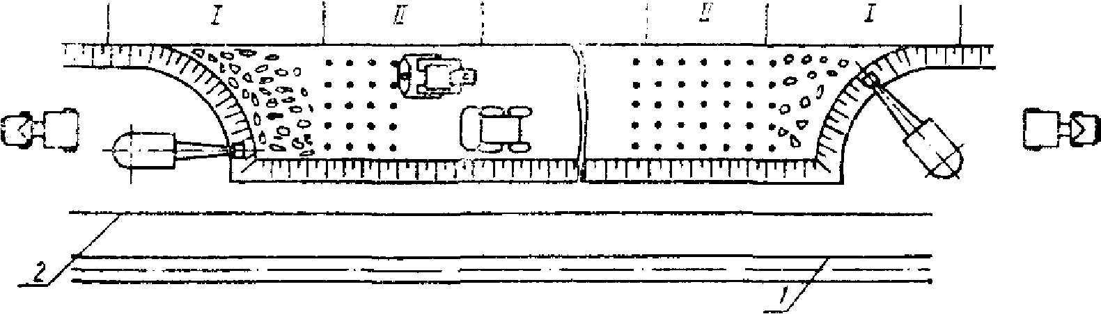
4.9. При сооружении выемки грунт из нее отсыпается драглайном непосредственно в кавальер или в отвал. В последнем случае грунт перемещается бульдозером в кавальер (рис. 17); поверхности кавальера придается необходимый уклон.
Рис. 17. Схема разработки выемки драглайном
с перемещением грунта бульдозером из вала в кавальер:
1 - кавальер; 2 - откос будущего второго пути;

- величина проектируемого уширения выемки
под второй путь
4.10. При возведении насыпей из резервов грунт из них перемещается в насыпь, послойно разравнивается бульдозером и уплотняется грунтоуплотняющими машинами.
4.11. Разработка резервов и выемок драглайнами ведется двумя способами:
проходками с торцовым забоем, когда экскаватор перемещается в пределах разрабатываемой им полосы;
проходками с боковым забоем, когда экскаватор перемещается за пределами разрабатываемой им полосы.
4.12. По сравнению с боковым забоем торцовый имеет преимущество, так как за одну проходку дает возможность разрабатывать грунт на полосе шириной, почти равной удвоенному наибольшему радиусу резания, а также вести разработку с небольшими средними углами поворота. Глубина торцового забоя может быть значительно больше глубины бокового. Однако при разработке резервов и выемок боковым забоем уменьшается объем бульдозерных работ, связанных с дополнительным перемещением грунта.
4.13. При разработке выемок проходками с торцовым забоем, а также проходками с боковым и укладкой грунта в кавальер, располагаемый со стороны будущего второго пути, необходимо производить дополнительное перемещение грунта из отсыпаемого вала в кавальер. По сравнению с драглайном эту работу экономичнее выполнять бульдозером.
Проходки должны назначаться такой ширины, при которой средняя величина угла поворота стрелы драглайна не превышает 90°.
4.14. Наибольшие значения рабочих размеров драглайнов приведены в табл. 16.
Таблица 16
─────────────┬───────┬───────┬─────────┬────────┬────────────────┬─────────
Тип │ Длина │ Угол │ Радиус │ Радиус │Глубина резания │ Высота
экскаватора │стрелы,│наклона│ резания │выгрузки│ в забоях H, м │выгрузки
│ м │стрелы,│на уровне│ R , м ├──────┬─────────┤ H , м
│ │альфа, │ стоянки │ в │в тор-│в боковом│ в
│ │ град │ R, м │ │цовом │ │
─────────────┼───────┼───────┼─────────┼────────┼──────┼─────────┼─────────
Э-652 │ 10 │ 30 │ 11,1 │ 10 │ 7,3 │ 4,4 │ 3,5
│ 10 │ 45 │ 10,2 │ 8,3 │ 5,6 │ 3,8 │ 5,5
│ 13 │ 45 │ 13,2 │ 10,4 │ 7,8 │ 5,9 │ 8
─────────────┼───────┼───────┼─────────┼────────┼──────┼─────────┼─────────
Э-10011 │ 12,5 │ 30 │ 14,3 │ 12,2 │ 9,4 │ 5,5 │ 4,1
│ 12,5 │ 45 │ 12,9 │ 10,2 │ 7,4 │ 4,2 │ 6,1
│ 15 │ 45 │ 15,2 │ 12 │ 9,2 │ 5,7 │ 8,3
─────────────┼───────┼───────┼─────────┼────────┼──────┼─────────┼─────────
Э-1004 │ 13 │ 30 │ 14,4 │ 12,8 │ 9,5 │ 5,8 │ 4,2
│ 13 │ 45 │ 13,2 │ 10,8 │ 7,4 │ 4,8 │ 6,9
│ 16 │ 45 │ 16,2 │ 12,9 │ 9,6 │ 7,1 │ 9
─────────────┴───────┴───────┴─────────┴────────┴──────┴─────────┴─────────
4.15. Набор грунта ковшом драглайна рекомендуется производить на возможно более коротком расстоянии при наиболее толстой стружке. Необходимо максимально совмещать подъем и разгрузку ковша с поворотом стрелы на выгрузку, а также - поворот стрелы и опускание ковша в забой. Для предотвращения высыпания грунта ковш должен перемещаться к месту выгрузки с несколько приподнятой кверху режущей кромкой.
4.16. Резание грунта стружками наибольшей толщины достигается:
регулировкой на месте работы подвески ковша к подъемному и тяговому канатам, длины цепей и опрокидного каната для получения наиболее выгодной величины угла врезания режущего органа ковша;
полным использованием мощности двигателя во время резания грунта ковшом;
передвижками драглайна на расстояние не более 1/5 длины стрелы.
4.17. Для сокращения числа переходов драглайна из одного забоя в другой выемку рекомендуется разрабатывать уширенными проходками с передвижками его зигзагами (рис. 18).
Рис. 18. Схема разработки выемки драглайном
уширенными проходками:
1 - 3 - места стоянки драглайна; 4 - кавальер;
5 - кавальер со стороны будущего второго пути
4.18. Возведение насыпи драглайном из резервов ведется попеременно на двух смежных захватках. При этом на одной из них отсыпается слой грунта с разравниванием бульдозером, а на другой - уплотняется грунтоуплотняющими машинами (рис. 19).
Рис. 19. Схема отсыпки насыпи драглайном из резервов:
1, 2 и 3 - последовательность уплотнения катком;

- участок уплотнения слоя грунта;

- участок отсыпки и разравнивания слоя грунта
4.19. Уплотнение грунта при возведении насыпей из резервов драглайнами может производиться пневмокатками, а также машинами ударного или виброударного действия.
С целью лучшего использования бульдозера и грунтоуплотняющей машины, снижения стоимости и трудоемкости земляных работ возведение насыпей следует организовывать на небольшом фронте так, чтобы при работе двух драглайнов использовать один бульдозер и одну грунтоуплотняющую машину.
4.20. Толщины отсыпаемых слоев насыпи принимаются в зависимости от типа грунтоуплотняющей машины и нормы плотности грунта. При этом необходимо иметь в виду, что с уменьшением толщины отсыпаемого слоя снижается производительность драглайна, а именно:
Толщины отсыпаемых слоев Потери производительности, %
насыпи, м (по сравнению с ЕНиР)
0,3 .................... 14
0,5 .................... 8
0,8 .................... 4
4.21. Уплотнение грунта грунтоуплотняющими машинами производится в соответствии с девятым разделом.
4.22. Количество проходок драглайна в резерве, а также их ширины назначаются в зависимости от высоты возводимой насыпи, толщины отсыпаемых слоев и глубины резерва и определяются расчетом.
Номограмма для определения площади поперечного сечения резерва приведена в
Приложении 18.
Разработка выемок, карьеров, резервов одноковшовыми
экскаваторами и возведение насыпей автосамосвалами
Область применения
4.23. Указания даны для случаев разработки выемок, карьеров и резервов экскаваторами, оборудованными прямыми лопатами и драглайнами, в грунтах I - IV групп с перемещением и укладкой их в насыпь автосамосвалами.
4.24. Разработку грунта предусматривается производить экскаваторами, оборудованными прямыми лопатами и драглайнами с ковшами ЦНИИСа емкостью 0,8; 1,2 и 1,5 м3, а также экскаваторами, оборудованными прямыми лопатами со стандартными ковшами емкостью 0,65; 1; 1,25 и 1,6 м3. Экскаваторы с ковшами ЦНИИСа используются для разработки грунтов I - III групп, со стандартными ковшами - для разработки грунтов I - IV групп.
Ковшами ЦНИИСа емкостью 0,8 м3 оборудуются экскаваторы типа Э-652, емкостью 1,2 м3 - экскаваторы Э-10011 (Э-1004) и емкостью 1,5 м3 - экскаватор Э-1252. Производительность гидравлических экскаваторов на 20 - 30% выше по сравнению с канатными.
4.25. Количество ковшей грунта, помещаемого в кузов автосамосвала, приведено в табл. 17.
Таблица 17
───────────────────────────┬─────────┬─────────────────────────────────────
Тип экскаватора и ковша │ Емкость │ Количество ковшей грунта
│ковша, м3│при грузоподъемности автосамосвала, т
│ ├──────┬───────┬──────┬───────┬───────
│ │ 4,5 │ 5 │ 7 │ 10 │ 25
───────────────────────────┼─────────┼──────┼───────┼──────┼───────┼───────
Прямая лопата с ковшом │ 0,8 │ 4 │ 5 │ 6 │ - │ -
ЦНИИСа │ 1,2 │ - │ - │ 4 │ 6 │ -
│ 1,5 │ - │ - │ - │ 5 │ -
───────────────────────────┼─────────┼──────┼───────┼──────┼───────┼───────
То же, со стандартным │ 0,65 │ 5 │ 6 │ 8 │ - │ -
ковшом │ 1 │ - │ - │ 5 │ 7 │ -
│ 1,25 │ - │ - │ 4 │ 6 │ -
│ 1,6 │ - │ - │ - │ 5 │ 11
───────────────────────────┼─────────┼──────┼───────┼──────┼───────┼───────
Драглайн с ковшом ЦНИИСа │ 0,8 │ 4 │ 5 │ 6 │ - │ -
│ 1,2 │ - │ - │ 4 │ 6 │ -
│ 1,5 │ - │ - │ - │ 5 │ -
───────────────────────────┴─────────┴──────┴───────┴──────┴───────┴───────
4.26. Состояние автомобильных землевозных дорог должно обеспечивать движение со скоростями, указанными в
Приложении 17.
Комплект машин
4.27. Комплект машин при разработке грунта экскаваторами, оборудованными прямой лопатой, приведен в табл. 18.
Таблица 18
──────────────────┬─────────────┬────────────┬──────────┬──────────┬──────────┬──────────┬──────────
Наименование машин│ С ковшом │Со стандарт-│ С ковшом │Со стан- │ С ковшом │Со стан- │Со стан-
│ ЦНИИСа │ным ковшом │ ЦНИИСа │дартным │ ЦНИИСа │дартным │дартным
│ │ │ │ковшом │ │ковшом │ковшом
├─────────────┴────────────┴──────────┴──────────┴──────────┴──────────┴──────────
│ Емкость, м3
├─────────────┬────────────┬──────────┬──────────┬──────────┬──────────┬──────────
│ 0,8 │ 0,65 │ 1,2 │ 1,0 │ 1,5 │ 1,25 │ 1,6
├─────────────┴────────────┴──────────┴──────────┴──────────┴──────────┴──────────
│ Дальность транспортировки грунта, км
├────┬───┬─┬──┬────┬───┬─┬─┬───┬─┬─┬──┬───┬─┬─┬──┬───┬─┬─┬──┬───┬─┬─┬──┬───┬─┬─┬──
│0,25│0,5│1│3 │0,25│0,5│1│3│0,5│1│2│3 │0,5│1│2│3 │0,5│1│2│3 │0,5│1│2│3 │0,5│1│2│3
──────────────────┼────┴───┴─┴──┼────┴───┴─┴─┼───┴─┴─┴──┼───┴─┴─┴──┼───┴─┴─┴──┼───┴─┴─┴──┼───┴─┴─┴──
Экскаватор │ 1 │ 1 │ 1 │ 1 │ 1 │ 1 │ 1
Автосамосвалы │ 4 │ 5 │7│10│ 4 │ 5 │6│9│ - │-│-│- │ - │-│-│- │ - │-│-│- │ - │-│-│- │ - │-│-│-
грузоподъемностью │ │ │ │ │ │ │ │ │ │ │ │ │ │ │ │ │ │ │ │ │ │ │ │ │ │ │ │
4,5 - 5 т │ │ │ │ │ │ │ │ │ │ │ │ │ │ │ │ │ │ │ │ │ │ │ │ │ │ │ │
То же, 7 т │ 3 │ 4 │5│8 │ 3 │ 4 │5│7│ 5 │6│8│10│ 5 │6│8│10│ - │-│-│- │ 6 │7│9│11│ - │-│-│-
" 10 т │ - │ 3 │4│6 │ - │ - │-│-│ 4 │5│7│8 │ 4 │5│6│8 │ 5 │6│8│10│ 5 │6│7│9 │ 5 │6│8│10
" 25 т │ - │ - │-│- │ - │ - │-│-│ - │-│-│- │ - │-│-│- │ - │-│-│- │ - │-│-│- │ 3 │4│5│6
Бульдозер на │ 1 │ 1 │ 1 │ 1 │ 1 │ 1 │ 1
тракторе 100 л.с. │ │ │ │ │ │ │
Автогрейдер │ 1 │ 1 │ 1 │ 1 │ 1 │ 1 │ 1
Грунтоуплотняющая │ 1 │ 1 │ 1 │ 1 │ 1 │ 1 │ 1
машина │ │ │ │ │ │ │
Электростанция │ 1 │ 1 │ 1 │ 1 │ 1 │ 1 │ 1
5 - 7 кВт │ │ │ │ │ │ │
4.28. Комплект машин при разработке грунта драглайнами с ковшом ЦНИИСа приведен в табл. 19.
Таблица 19
────────────────────────────────────────┬──────────────────────────────────
Наименование машин │ Емкость ковша ЦНИИСа, м3
├────────────┬──────────┬──────────
│ 0,8 │ 1,2 │ 1,5
├────────────┴──────────┴──────────
│Дальность транспортировки грунта,
│ км
├────┬───┬─┬─┬───┬─┬─┬──┬───┬─┬─┬──
│0,25│0,5│1│3│0,5│1│2│3 │0,5│1│2│3
────────────────────────────────────────┼────┴───┴─┴─┼───┴─┴─┴──┼───┴─┴─┴──
Экскаватор │ 1 │ 1 │ 1
Автосамосвалы грузоподъемностью │ 4 │ 5 │6│9│ - │-│-│- │ - │-│-│-
4,5 - 5 т │ │ │ │ │ │ │ │ │ │ │ │
То же, 7 т │ 3 │ 4 │5│7│ 5 │6│8│10│ - │-│-│-
" 10 т │ - │ 3 │4│6│ 4 │5│6│8 │ 5 │6│7│9
Бульдозер на тракторе 100 л.с. │ 1 │ 1 │ 1
Автогрейдер │ 1 │ 1 │ 1
Грунтоуплотняющая машина │ 1 │ 1 │ 1
Электростанция 5 - 7 кВт │ 1 │ 1 │ 1
Состав комплексных бригад
4.29. Состав комплексных бригад при разработке грунта экскаваторами, оборудованными прямой лопатой, указан в табл. 20.
────────────┬────┬─────────────┬────────────┬──────────┬───────────┬──────────┬───────────┬──────────
Профессия │Раз-│ С ковшом │Со стандарт-│ С ковшом │Со стан- │ С ковшом │Со стан- │Со стан-
│ряд │ ЦНИИСа │ным ковшом │ ЦНИИСа │дартным │ ЦНИИСа │дартным │дартным
│ │ │ │ │ковшом │ │ковшом │ковшом
│ ├─────────────┴────────────┴──────────┴───────────┴──────────┴───────────┴──────────
│ │ Емкость, м3
│ ├─────────────┬────────────┬──────────┬───────────┬──────────┬───────────┬──────────
│ │ 0,8 │ 0,65 │ 1,2 │ 1,0 │ 1,5 │ 1,25 │1,6
│ ├─────────────┴────────────┴──────────┴───────────┴──────────┴───────────┴──────────
│ │ Дальность транспортировки грунта, км
│ ├────┬───┬─┬──┬────┬───┬─┬─┬───┬─┬─┬──┬───┬──┬─┬──┬───┬─┬─┬──┬───┬─┬──┬──┬───┬─┬─┬──
│ │0,25│0,5│1│3 │0,25│0,5│1│3│0,5│1│2│3 │0,5│1 │2│3 │0,5│1│2│3 │0,5│1│2 │3 │0,5│1│2│3
────────────┼────┼────┴───┴─┴──┼────┴───┴─┴─┼───┴─┴─┴──┼───┴──┴─┴──┼───┴─┴─┴──┼───┴─┴──┴──┼───┴─┴─┴──
Машинист │ 6 │ 1 │ 1 │ 1 │ 1 │ 1 │ 1 │ 1
экскаватора │ │ │ │ │ │ │ │
Помощник │ 5 │ 1 │ 1 │ 1 │ 1 │ 1 │ 1 │ 1
машиниста │ │ │ │ │ │ │ │
экскаватора │ │ │ │ │ │ │ │
Шоферы │ - │ 4 │ 5 │7│10│ 4 │ 5 │6│9│ - │-│-│- │ - │- │-│- │ - │-│-│- │ - │-│- │- │ - │-│-│-
автосамо- │ │ │ │ │ │ │ │ │ │ │ │ │ │ │ │ │ │ │ │ │ │ │ │ │ │ │ │ │
свалов │ │ │ │ │ │ │ │ │ │ │ │ │ │ │ │ │ │ │ │ │ │ │ │ │ │ │ │ │
грузоподъем-│ │ │ │ │ │ │ │ │ │ │ │ │ │ │ │ │ │ │ │ │ │ │ │ │ │ │ │ │
ностью │ │ │ │ │ │ │ │ │ │ │ │ │ │ │ │ │ │ │ │ │ │ │ │ │ │ │ │ │
4 - 4,5 т │ │ │ │ │ │ │ │ │ │ │ │ │ │ │ │ │ │ │ │ │ │ │ │ │ │ │ │ │
То же, 7 т │ - │ 3 │ 4 │5│8 │ 3 │ 4 │5│7│ 5 │6│8│10│ 5 │6 │8│10│ - │-│-│- │ 6 │7│9 │11│ - │-│-│-
" 10 т │ - │ - │ 3 │4│6 │ - │ - │-│-│ 4 │5│7│8 │ 4 │5 │6│8 │ 5 │6│8│10│ 5 │6│7 │9 │ 5 │6│8│10
" 25 т │ - │ - │ - │-│- │ - │ - │-│-│ - │-│-│- │ - │- │-│- │ - │-│-│- │ - │-│- │- │ 3 │4│5│6
Машинист │ 6 │ 1 │ 1 │ 1 │ 1 │ 1 │ 1 │ 1
бульдозера │ │ │ │ │ │ │ │
Машинист │ 6 │ 1 │ 1 │ 1 │ 1 │ 1 │ 1 │ 1
автогрейдера│ │ │ │ │ │ │ │
Машинист │ 5 │ 1 │ 1 │ 1 │ 1 │ 1 │ 1 │ 1
грунтоуплот-│ │ │ │ │ │ │ │
няющей │ │ │ │ │ │ │ │
машины │ │ │ │ │ │ │ │
Машинист │ 5 │ 1 │ 1 │ 1 │ 1 │ 1 │ 1 │ 1
передвижной │ │ │ │ │ │ │ │
электростан-│ │ │ │ │ │ │ │
ции │ │ │ │ │ │ │ │
4.30. Состав комплексных бригад при разработке грунта драглайнами с ковшом ЦНИИСа приведен в табл. 21.
Таблица 21
───────────────────────────────────┬────┬──────────────────────────────────
Профессия │Раз-│ Емкость ковша ЦНИИСа, м3
│ряд ├────────────┬──────────┬──────────
│ │ 0,8 │ 1,2 │ 1,5
│ ├────────────┴──────────┴──────────
│ │Дальность транспортировки грунта,
│ │ км
│ ├────┬───┬─┬─┬───┬─┬─┬──┬───┬─┬─┬──
│ │0,25│0,5│1│3│0,5│1│2│3 │0,5│1│2│3
───────────────────────────────────┼────┼────┴───┴─┴─┼───┴─┴─┴──┼───┴─┴─┴──
Машинист экскаватора │ 6 │ 1 │ 1 │ 1
Помощник машиниста экскаватора │ 5 │ 1 │ 1 │ 1
Шоферы автосамосвалов │ - │ 4 │ 5 │6│9│ - │-│-│- │ - │-│-│-
грузоподъемностью 4,5 - 5 т │ │ │ │ │ │ │ │ │ │ │ │ │
То же, 7 т │ - │ 3 │ 4 │5│7│ 5 │6│8│10│ - │-│-│-
" 10 т │ - │ - │ 3 │4│6│ 4 │5│6│8 │ 5 │6│7│9
Машинист бульдозера │ 6 │ 1 │ 1 │ 1
Машинист автогрейдера │ 6 │ 1 │ 1 │ 1
Машинист грунтоуплотняющей машины │ 5 │ 1 │ 1 │ 1
Машинист передвижной электростанции│ 5 │ 1 │ 1 │ 1
5 - 7 кВт │ │ │ │
Технико-экономические показатели
4.31. Технико-экономические показатели при разработке грунта экскаваторами, оборудованными прямой лопатой, приведены в табл. 22.
Таблица 22
───────────────┬──────┬──────────────┬──────────────┬────────────┬────────────┬────────────┬────────────┬───────────────
Показатели │Группы│ С ковшом │Со стандартным│ С ковшом │Со стандарт-│ С ковшом │Со стандарт-│Со стандартным
│грун- │ ЦНИИСа │ ковшом │ ЦНИИСа │ным ковшом │ ЦНИИСа │ным ковшом │ ковшом
│тов ├──────────────┴──────────────┴────────────┴────────────┴────────────┴────────────┴───────────────
│ │ Емкость, м3
│ ├──────────────┬──────────────┬────────────┬────────────┬────────────┬────────────┬───────────────
│ │ 0,8 │ 0,65 │ 1,2 │ 1,0 │ 1,5 │ 1,25 │ 1,6
│ ├──────────────┴──────────────┴────────────┴────────────┴────────────┴────────────┴───────────────
│ │ Дальность транспортировки грунта, км
│ ├────┬───┬──┬──┬────┬───┬──┬──┬───┬──┬──┬──┬───┬──┬──┬──┬───┬──┬──┬──┬───┬──┬──┬──┬───┬───┬───┬───
│ │0,25│0,5│1 │3 │0,25│0,5│1 │3 │0,5│1 │2 │3 │0,5│1 │2 │3 │0,5│1 │2 │3 │0,5│1 │2 │3 │0,5│ 1 │ 2 │ 3
───────────────┼──────┼────┴───┴──┴──┼────┴───┴──┴──┼───┴──┴──┴──┼───┴──┴──┴──┼───┴──┴──┴──┼───┴──┴──┴──┼───┴───┴───┴───
Производитель- │ I │ 590 │ 534 │ 800 │ 695 │ 975 │ 880 │ 1100
ность, м3/смену│ II │ 485 │ 420 │ 645 │ 570 │ 760 │ 695 │ 870
│ III │ 380 │ 330 │ 520 │ 465 │ 655 │ 590 │ 715
│ IV │ - │ 275 │ - │ 350 │ - │ 445 │ 535
Выработка │ I │ 66 │59 │49│39│ 59 │53 │48│38│ - │- │- │- │ - │- │- │- │ - │- │- │- │ - │- │- │- │ - │ - │ - │ -
на одного │ II │ 54 │49 │40│33│ 47 │42 │38│27│ - │- │- │- │ - │- │- │- │ - │- │- │- │ - │- │- │- │ - │ - │ - │ -
рабочего, │ III │ 42 │38 │32│25│ 37 │33 │30│24│ - │- │- │- │ - │- │- │- │ - │- │- │- │ - │- │- │- │ - │ - │ - │ -
м3/смену при │ IV │ - │ - │- │- │ 30 │27 │23│18│ - │- │- │- │ - │- │- │- │ - │- │- │- │ - │- │- │- │ - │ - │ - │ -
автосамосвалах │ │ │ │ │ │ │ │ │ │ │ │ │ │ │ │ │ │ │ │ │ │ │ │ │ │ │ │ │
грузоподъем- │ │ │ │ │ │ │ │ │ │ │ │ │ │ │ │ │ │ │ │ │ │ │ │ │ │ │ │ │
ностью │ │ │ │ │ │ │ │ │ │ │ │ │ │ │ │ │ │ │ │ │ │ │ │ │ │ │ │ │
4,5 - 5 т │ │ │ │ │ │ │ │ │ │ │ │ │ │ │ │ │ │ │ │ │ │ │ │ │ │ │ │ │
То же, грузо- │ I │ 74 │66 │59│45│ 67 │60 │53│45│80 │73│62│53│70 │63│53│46│ - │- │- │- │80 │73│68│55│ - │ - │ - │ -
подъемностью │ II │ 61 │54 │49│37│ 53 │47 │42│35│65 │59│50│43│57 │52│44│38│ - │- │- │- │63 │58│54│43│ - │ - │ - │ -
7 т │ III │ 48 │42 │38│29│ 41 │37 │33│28│52 │48│40│35│47 │42│36│31│ - │- │- │- │54 │49│45│37│ - │ - │ - │ -
│ IV │ - │ - │- │- │ 34 │30 │27│21│ - │- │- │- │35 │32│27│23│ - │- │- │- │40 │37│32│28│ - │ - │ - │ -
То же, 10 т │ I │ - │74 │66│54│ - │ - │- │- │89 │80│67│62│78 │70│63│53│98 │88│75│65│88 │80│73│63│110│100│85 │73
│ II │ - │61 │54│44│ - │ - │- │- │72 │65│54│50│63 │57│52│44│76 │69│59│51│70 │63│58│50│87 │79 │67 │58
│ III │ - │48 │42│35│ - │ - │- │- │58 │52│43│40│52 │47│42│36│66 │60│50│44│59 │54│49│42│72 │65 │55 │48
│ IV │ - │ - │- │- │ - │ - │- │- │ - │- │- │- │39 │35│32│27│ - │- │- │- │44 │40│37│32│53 │49 │41 │35
" 25 т │ I │ - │ - │- │- │ - │ - │- │- │ - │- │- │- │ - │- │- │- │ - │- │- │- │ - │- │- │- │138│122│110│100
│ II │ - │ - │- │- │ - │ - │- │- │ - │- │- │- │ - │- │- │- │ - │- │- │- │ - │- │- │- │109│97 │87 │79
│ III │ - │ - │- │- │ - │ - │- │- │ - │- │- │- │ - │- │- │- │ - │- │- │- │ - │- │- │- │90 │80 │71 │65
│ IV │ - │ - │- │- │ - │ - │- │- │ - │- │- │- │ - │- │- │- │ - │- │- │- │ - │- │- │- │67 │60 │53 │49
Примечание. При определении выработки принято, что автогрейдер и электростанция на обслуживании комплекта машин в среднем заняты в течение половины смены.
4.32. Технико-экономические показатели при разработке грунта драглайнами с ковшами ЦНИИСа указаны в табл. 23.
Таблица 23
────────────────────────────┬─────┬────────────────────────────────────────
Показатели │Груп-│ Емкость ковша ЦНИИСа, м3
│пы ├──────────────┬────────────┬────────────
│грун-│ 0,8 │ 1,2 │ 1,5
│тов ├──────────────┴────────────┴────────────
│ │ Дальность транспортировки грунта, км
│ ├────┬───┬──┬──┬───┬──┬──┬──┬───┬──┬──┬──
│ │0,25│0,5│1 │3 │0,5│1 │2 │3 │0,5│1 │2 │3
────────────────────────────┼─────┼────┴───┴──┴──┼───┴──┴──┴──┼───┴──┴──┴──
Производительность, м3/смену│ I │ 515 │ 760 │ 880
│ II │ 432 │ 590 │ 685
│ III │ 333 │ 470 │ 590
Выработка на одного │ I │ 57 │52 │47│38│ - │- │- │- │ - │- │- │-
рабочего, м3/смену, │ II │ 48 │43 │39│31│ - │- │- │- │ - │- │- │-
при автосамосвалах │ III │ 37 │33 │30│24│ - │- │- │- │ - │- │- │-
грузоподъемностью │ │ │ │ │ │ │ │ │ │ │ │ │
4,5 - 5 т <1> │ │ │ │ │ │ │ │ │ │ │ │ │
То же, грузоподъемностью 7 т│ I │ 64 │57 │52│43│76 │69│59│51│ - │- │- │-
│ II │ 54 │48 │43│36│59 │54│46│39│ - │- │- │-
│ III │ 42 │37 │33│28│47 │43│36│31│ - │- │- │-
" 10 т│ I │ - │64 │57│47│85 │76│69│58│88 │80│73│63
│ II │ - │54 │48│39│66 │59│54│45│69 │64│57│49
│ III │ - │42 │37│30│52 │47│43│36│59 │54│49│42
--------------------------------
Технология работ
4.33. Технологический процесс сооружения земляного полотна состоит из разработки экскаватором в забое грунта с погрузкой его в автосамосвалы и перемещением в насыпь, послойного разравнивания бульдозером и уплотнения грунтоуплотняющими машинами.
4.34. Разработка выемок и карьеров ведется отдельными проходками.
Количество проходок и параметры экскаваторного забоя определяются глубиной выемки или глубиной карьера и рабочими размерами экскаватора.
4.35. Проходки должны проектироваться и организовываться с наилучшей производительностью экскаваторов и автосамосвалов. При определении более рациональных размеров забоя (ширины и высоты) следует учитывать, что с уменьшением ширины забоя уменьшается и угол поворота стрелы экскаватора, но одновременно увеличивается количество передвижек экскаватора в забое, а также количество переходов из забоя в забой. Одновременно необходимо решать вопросы о положении транспорта в забое, перемещении экскаваторов, последовательности разработки забоя и проходок экскаватора и о величине недобора грунта при разработке выемок прямой лопатой.
Разработка грунта экскаватором-прямой лопатой
4.36. Разработка выемок и карьеров экскаватором-прямой лопатой производится:
боковым забоем (продольными проходками), когда транспортные средства размещаются сбоку экскаватора, в одном или разных уровнях с ним
(рис. 20);
лобовым забоем (лобовыми проходками), когда экскаватором образуется траншея, а грунт выгружается в транспортные средства, размещенные сзади экскаватора на дне траншеи, в одном уровне с ним
(рис. 21).
а)
б)
Рис. 20. Схема бокового забоя:
а - при погрузке грунта в автосамосвалы на уровне стоянки
экскаватора; б - то же, выше уровня стоянки экскаватора;
1 - вешка-указатель места погрузки
Рис. 21. Схема лобового забоя
4.37. Во всех случаях, где это возможно, разработку выемки (карьера) необходимо осуществлять боковым забоем с погрузкой грунта в транспортные средства, располагаемые на уровне стоянки экскаватора.
4.38. Боковой забой с погрузкой грунта в транспортные средства, располагаемые выше уровня стоянки экскаватора, применяется при разработке глубоких выемок в случае необходимости перехода экскаватора на более низкий рабочий горизонт, а также при разработке пионерных траншей.
4.39. Разработка лобовым забоем должна применяться только при крайней необходимости в коротких выемках, а также в выемках небольшой глубины, разрабатываемых за одну проходку.
По сравнению с работой в боковых забоях при работе в лобовых увеличивается продолжительность цикла и уменьшается производительность экскаватора. В некоторых случаях автосамосвалы при работе в лобовых забоях подаются под погрузку задним ходом, что замедляет их движение и снижает производительность.
4.40. Работа в более широких лобовых забоях способствует уменьшению угла поворота экскаватора, повышению его производительности и улучшает маневренность автосамосвалов.
4.41. Размеры забоев определяются рабочими размерами экскаватора (
рис. 20 и
21).
Наибольшее расстояние B от оси экскаватора до бокового откоса забоя, чтобы не оставалось недобранного грунта, следует принимать на 0,4 - 0,5 м меньше наибольшего радиуса резания R.
Наибольшее расстояние b от оси экскаватора до подошвы забоя принимается на 0,2 м меньше радиуса резания

на уровне стоянки экскаватора.
4.42. В боковом забое с погрузкой грунта в транспортные средства, располагаемые на уровне стоянки экскаватора, расстояние от оси экскаватора до подошвы откоса не должно превышать

на уровне стоянки экскаватора, а наиболее рационально, если это расстояние не будет превышать

.
4.43. В боковом забое с погрузкой грунта в транспортные средства, располагаемые выше уровня стоянки экскаватора, наибольшее расстояние от оси экскаватора до бровки у погрузочного пути определяется по формуле

,
где

- радиус выгрузки при наибольшей высоте выгрузки, м;

- ширина хода транспортных средств, м;
1,0 м - запас ширины землевозного пути для предотвращения обрушения грунта около бровки.
4.44. Наибольшее превышение погрузочного пути над уровнем стоянки экскаватора определяется по формуле

,
где

- максимальная высота выгрузки, м;

- высота автосамосвала до верха бортов, м;
0,5 м - запас высоты над бортом автосамосвала, учитывающий неровности пути и возвышение погруженного грунта над бортом автосамосвала.
4.45. Наибольшие размеры боковых забоев при транспортировании грунта автосамосвалами приведены в табл. 24.
Таблица 24
───────────┬─────────────────────────────────┬─────────────────────────────
Тип │ Наибольшее расстояние от оси │ Наибольшее расстояние
экскаватора│ экскаватора до подошвы, м │ от оси экскаватора, м
├────────┬────────────────────────┼────────────┬────────────────
│забоя b │ откоса b при стоянке │до бокового │ до бровки у
│ 2│ 1 │откоса забоя│ погрузочного
│ │ экскаватора в одном │ B │ пути B
│ │уровне с автосамосвалами│ │ п
───────────┼────────┼────────────────────────┼────────────┼────────────────
Э-652 │ 4,6 │ 3,2 │ 7,4 │ 4,6
Э-10011 │ 4,8 │ 3,5 │ 8,6 │ 5,7
Э-1004 │ 6,2 │ 4,4 │ 9,3 │ 6,3
Э-1252 │ 6,2 │ 4,4 │ 9,4 │ 6,5
4.46. В случае расположения транспортных средств выше уровня стоянки экскаватора расстояние

от оси экскаватора до подошвы откоса определяется в зависимости от величины превышения погрузочного пути над уровнем стоянки экскаватора.
4.47. Наиболее эффективная высота забоя для экскаватора-прямой лопаты должна быть в пределах 0,8 - 1,2 высоты напорного вала, но не больше паспортной наибольшей высоты резания для данного экскаватора (табл. 25).
Таблица 25
───────────────────┬───────────────────┬───────────────────────────────────
Тип экскаватора │ Высота напорного │ Наибольшая паспортная высота
│ вала, м │ резания, м
│ ├───────────────────────────────────
│ │ Угол наклона стрелы, град
│ ├─────────────────┬─────────────────
│ │ 45 │ 60
───────────────────┼───────────────────┼─────────────────┼─────────────────
Э-652 │ 5 │ 7,1 │ 7,9
Э-10011 │ 6,2 │ 6,7 │ 8,2
Э-1004 │ 5,6 │ 8 │ 9
Э-1252 │ 5,6 │ 8 │ 9,3
Наименьшая высота забоя, при которой обеспечивается наполнение ковша на 50%, должна быть не менее 1/3 высоты до напорного вала в мягких грунтах и 1/4 высоты до напорного вала в скальных.
4.48. Продольные уклоны проходок не должны превышать уклонов, допустимых для транспортных средств.
От забоя карьера и разрабатываемой выемки должен быть обеспечен надежный отвод воды, для чего устраивают продольные водоотводные канавы или временные кюветы с уклоном не менее 0,002 со стоком воды к ним в поперечном направлении от каждой проходки.
4.49. Разработка пионерной траншеи экскаватором, оборудованным прямой лопатой, ведется с погрузкой грунта в транспортные средства или в отвал. Наибольшая глубина траншеи в этом случае определяется условиями возможности погрузки грунта в транспортные средства. Пионерная траншея может разрабатываться также бульдозерами или скреперами. Ширину пионерной траншеи по низу следует принимать минимальной, но не менее 4,0 м.
4.50. Во время смены автосамосвалов или в промежутках между их подходами под погрузку ковшом экскаватора набирается грунт в наиболее отдаленных участках забоя, а также производится перекидка грунта из наиболее отдаленных участков его к месту погрузки.
4.51. При опускании ковша рукоять рекомендуется выдвигать на столько, чтобы зубья или режущая кромка ковша находились от дна забоя на расстоянии не более 10 - 20 см, после чего начинается наполнение ковша. Резание грунта производится толстой, равномерной по толщине стружкой, обеспечивающей наполнение ковша за один проход. Переувлажненные грунты рекомендуется резать тонкой стружкой, что предотвращает спрессовывание грунта в ковше, улучшает его наполнение и разгрузку. Ковш необходимо своевременно очищать от налипшего грунта.
При работе на неполном вылете рукояти создаются лучшие условия для резания грунта и сокращается продолжительность цикла. Резание тяжелых грунтов осуществляется на максимально укороченной рукояти.
4.52. Поворот стрелы экскаватора на выгрузку грунта производится только после окончания резания и с полностью наполненным ковшом. При малой высоте забоя выгоднее наполнять ковш за два черпания, чем подавать на разгрузку не полностью наполненный ковш.
4.53. Совмещение отдельных рабочих операций сокращает продолжительность цикла и повышает производительность экскаватора. Подтягивание рукояти на себя после выведения ковша из грунта, подъем его до высоты разгрузки, а также выдвижение рукояти перед его установкой для разгрузки совмещаются с поворотом стрелы на разгрузку. Подтягивание рукояти, опускание ковша в забой совмещаются с обратным поворотным движением стрелы. Поворот стрелы в направлении к забою производится на высоких скоростях.
Разработка грунта драглайнами
4.54. Разработку грунта драглайнами с погрузкой в автосамосвалы рекомендуется вести проходками с торцовым забоем с небольшими средними углами поворота. Характеристика забоев и приемы работы драглайнов даны в
пп. 4.11 -
4.22.
4.55. Разработка выемок, карьеров и резервов с погрузкой грунта в автосамосвалы, устанавливаемые на дне забоя, дает возможность сократить угол поворота стрелы до 10 - 15° и повысить производительность экскаватора.
Наиболее рационально вести разработку грунта с установкой автосамосвалов на дно забоя при глубине его 1 - 3,5 м.
4.56. Значительно может повысить производительность драглайна применение челночного способа разработки и погрузки грунта, при котором автосамосвалы также устанавливаются на дно забоя.
Последовательность выполнения рабочих операций драглайном показана на рис. 22.
Рис. 22. Схема работы драглайна челночным способом:
1 - 2 - набор грунта ковшом с одной стороны автосамосвала;
2 - 3 - подъем наполненного ковша с одновременным
поворотом стрелы экскаватора; 3 - разгрузка на малой
скорости поворотного движения; 3 - 4 - продолжение
поворотного движения с опусканием ковша с другой стороны
автосамосвала. В дальнейшем операции повторяются в той же
последовательности, но с поворотом стрелы
в противоположном направлении
Возведение насыпей автосамосвалами
4.57. При возведении насыпей автосамосвалами уплотнение грунта до установленных норм плотности
(раздел 9) должно осуществляться грунтоуплотняющими машинами.
Для обеспечения уплотнения грунта насыпь по всей ширине и длине отсыпается автосамосвалами горизонтальными слоями, выгруженный из автосамосвалов грунт должен послойно разравниваться бульдозером; движение груженых автосамосвалов при отсыпке слоев насыпи должно производиться по спланированному бульдозером и уплотненному грунтоуплотняющими машинами слою. Толщина отсыпаемого слоя должна приниматься в соответствии с
п. 9.16.
Послойная отсыпка, разравнивание и уплотнение грунта, а также движение автосамосвалов по спланированному и уплотненному слою грунта возможны или при кольцевой езде автосамосвалов, или с разворотами их на насыпи.
4.58. Технология отсыпки слоев насыпи с кольцевой ездой автосамосвалов показана на
рис. 23. Сначала отсыпается одна половина ширины слоя, в это время движение груженых автосамосвалов происходит на другой. Около места выгрузки автосамосвалы переезжают на первую половину и подаются на разгрузку. После отсыпки грунта по всей длине слоя производится разравнивание насыпного грунта бульдозером и уплотнение его грунтоуплотняющей машиной. Уплотнение грунта машинами ударного или виброударного действия целесообразно производить вслед за отсыпкой. Уплотнение пневмокатками рекомендуется начинать после отсыпки грунта на протяжении половины длины слоя при достаточной его ширине для поворота пневмокатка. В случае недостаточной ширины слоя уплотнение следует начинать после отсыпки грунта по всей его длине.
Рис. 23. Схема разработки выемки (карьера)
экскаватором-прямой лопатой и отсыпка насыпи
с кольцевой ездой автосамосвалов:
I - зона отсыпки слоя насыпи; II - зона движения груженых
автосамосвалов; 1 - направление движения груженых
автосамосвалов; 2 - подача автосамосвалов под разгрузку;
3 - отсыпка грунта на первой половине ширины слоя;
4 - разравнивание грунта бульдозером; 5 - уплотнение грунта
грунтоуплотняющей машиной; 6 - вешка; 7 - пионерная траншея
4.59. В случае возведения высоких насыпей с оставлением прогалов для водопропускных труб и на подходах к мостам, а также при невозможности проезда порожних автосамосвалов около насыпи, отсыпка слоев организуется по технологии с разворотом автосамосвалов на насыпи.
При ширине слоя не менее 11 м груженые автосамосвалы разворачиваются около места выгрузки грунта (рис. 24). Отсыпку ведут одновременно по всей ширине слоя. По длине насыпь делят на две захватки, на одной из которых производится отсыпка грунта автосамосвалами с разравниванием его бульдозером, на другой - уплотнение грунтоуплотняющей машиной.
Рис. 24. Схема разработки грунта драглайном и отсыпка
насыпи с разворотом автосамосвалов на насыпи:
1 - драглайн; 2 - автосамосвалы; 3 - вешка;
4 - бульдозер; 5 - каток
Для отсыпки вышележащих слоев, ширина которых менее 11 м, насыпь по длине разбивается на захватки длиной 30 - 50 м (рис. 25). При этом сначала на первой от конца насыпи захватке слои отсыпаются до проектной отметки. Автосамосвалы разворачиваются на насыпи, где ее ширина не менее 11 м, и подаются под разгрузку задним ходом. Для уплотнения грунта целесообразно применять навесные на тракторе машины ударного или виброударного действия.
Рис. 25. Схема отсыпки верхних слоев насыпи
шириной менее 11 м:
1 - автосамосвал; 2 - грунтоуплотняющая машина
Отсыпку слоев насыпи шириной менее 11 м возможно производить также по схеме возведения насыпи с разворотом автосамосвалов на разъезде по технологии, приведенной в
пп. 6.84 -
6.97.
4.60. Ширина въездов на насыпь и съездов должна быть не менее 4,3 м для автосамосвалов грузоподъемностью до 5 т и не менее 4,7 м - для автосамосвалов грузоподъемностью 5 - 12 т. Продольный уклон въездов следует принимать не круче 0,1 (см.
п. 3.74).
Размеры разъездов и расстояния между ними назначаются в соответствии с
п. 6.87.
4.61. Очередной автосамосвал должен прибывать к месту загрузки не позднее времени окончания загрузки предыдущего автосамосвала.
В случае простоя экскаватора в ожидании прибытия автосамосвалов к месту загрузки необходимо тщательно проверить затраты времени на полный рейс автосамосвала, устранить причины опозданий или увеличить количество автосамосвалов. Наоборот, при систематических простоях автосамосвалов в ожидании загрузки, равных или превышающих продолжительность последней, следует уменьшить их количество.
Для обеспечения бесперебойной работы автосамосвалов необходимо вести непрерывный надзор за состоянием землевозных дорог, в особенности в местах погрузки и выгрузки грунта, на въездах на насыпи и спусках с них, и принимать своевременные меры по содержанию дорог в исправном состоянии
(Приложение 17).
Разработка выемок и карьеров роторными экскаваторами
и возведение насыпей автосамосвалами
Область применения
4.62. Указания даны для случаев разработки выемок и карьеров роторными экскаваторами в грунтах I - III групп с перемещением и укладкой их в насыпь автосамосвалами или самоходными землевозами.
4.63. Разработку грунта предусматривается производить роторными экскаваторами типа ЭР-25 (рис. 26), ЭР-50 и ЭР-100
(рис. 27); транспортирование - автосамосвалами или самоходными землевозами грузоподъемностью 7 - 8; 10 - 12 и 20 - 25 т. Основные технические характеристики роторных экскаваторов приведены в
Приложении 19.
Рис. 26. Роторный экскаватор ЭР-25
Рис. 27. Роторный экскаватор ЭР-100
4.64. Грузоподъемность автосамосвалов или самоходных землевозов при комплектовании с роторными экскаваторами, а также высота забоя и объем работ на объекте, при которых целесообразно применять роторные экскаваторы, приведены в табл. 26.
─────────────┬─────────────────────────────┬─────────────┬─────────────────
Тип роторного│ Грузоподъемность │Высота забоя,│ Объем работ на
экскаватора │автосамосвалов или самоходных│ м │объекте, тыс. м3
│ землевозов, т │ │
─────────────┼─────────────────────────────┼─────────────┼─────────────────
ЭР-25 │ 9 - 10 │Не менее 1,5 │ Более 20
ЭР-50 │ 18 - 20 │ То же, 2 │ То же, 40 - 50
ЭР-100 │ 20 - 25 │ " 3 │ " 80 - 100
Комплект машин
4.65. Комплект машин при разработке грунта роторными экскаваторами и возведении насыпей автосамосвалами приведен в табл. 27.
Таблица 27
────────────────────────────────────┬──────────────────────────────────────
Наименование машин │ Роторные экскаваторы типа
├────────────┬────────────┬────────────
│ ЭР-25 │ ЭР-50 │ ЭР-100
├────────────┴────────────┴────────────
│ Дальность транспортировки грунта, км
├───┬──┬──┬──┬───┬──┬──┬──┬───┬──┬──┬──
│0,5│1 │2 │3 │0,5│1 │2 │3 │0,5│1 │2 │3
────────────────────────────────────┼───┴──┴──┴──┼───┴──┴──┴──┼───┴──┴──┴──
Экскаватор │ 1 │ 1 │ 1
Автосамосвалы грузоподъемностью 7 т │ 6 │7 │9 │12│ - │- │- │- │ - │- │- │-
Автосамосвалы грузоподъемностью 10 т│ 5 │6 │8 │10│ 9 │11│15│19│ - │- │- │-
│ │ │ │ │ │ │ │ │ │ │ │
То же, 25 т │ - │- │- │- │ 5 │6 │8 │10│ 6 │7 │9 │11
│ │ │ │ │ │ │ │ │ │ │ │
Самоходные землевозы │ - │- │- │- │ 6 │7 │9 │11│ 7 │8 │10│12
грузоподъемностью 20 т │ │ │ │ │ │ │ │ │ │ │ │
Бульдозер на тракторе 100 л.с. │ 1 │ 1 │ 1
Автогрейдер │ 1 │ 1 │ 1
Грунтоуплотняющая машина │ 1 │ 1 │ 1
Электростанция 5 - 7 кВт │ 1 │ 1 │ 1
Состав комплексных бригад
4.66. Состав комплексных бригад при разработке грунтов роторными экскаваторами и возведении насыпей автосамосвалами приведен в табл. 28.
Таблица 28
───────────────────────┬──────┬────────────────────────────────────────────
Профессия │Разряд│ Роторные экскаваторы типа
│ ├───────────────┬──────────────┬─────────────
│ │ ЭР-25 │ ЭР-50 │ ЭР-100
│ ├───────────────┴──────────────┴─────────────
│ │ Дальность транспортировки грунта, км
│ ├───┬───┬───┬───┬───┬──┬───┬───┬───┬───┬──┬──
│ │0,5│ 1 │ 2 │ 3 │0,5│1 │ 2 │ 3 │0,5│ 1 │2 │3
───────────────────────┼──────┼───┴───┴───┴───┼───┴──┴───┴───┼───┴───┴──┴──
Машинист экскаватора │ 6 │ 1 │ 1 │ 1
Помощник машиниста │ 5 │ 1 │ 1 │ 1
экскаватора │ │ │ │
Шоферы автосамосвалов │ - │ 6 │ 7 │ 9 │12 │ - │- │ - │ - │ - │ - │- │-
грузоподъемностью 7 т │ │ │ │ │ │ │ │ │ │ │ │ │
То же, 10 т │ - │ 5 │ 6 │ 8 │10 │ 9 │11│15 │19 │ - │ - │- │-
" 25 т │ - │ - │ - │ - │ - │ 5 │6 │ 8 │10 │ 6 │ 7 │9 │11
Шоферы самоходных │ - │ - │ - │ - │ - │ 6 │7 │ 9 │11 │ 7 │ 8 │10│12
землевозов │ │ │ │ │ │ │ │ │ │ │ │ │
грузоподъемностью 20 т │ │ │ │ │ │ │ │ │ │ │ │ │
Машинист бульдозера │ 6 │ 1 │ 1 │ 1
Машинист автогрейдера │ 6 │ 1 │ 1 │ 1
Машинист │ 5 │ 1 │ 1 │ 1
грунтоуплотняющей │ │ │ │
машины │ │ │ │
Машинист передвижной │ 5 │ 1 │ 1 │ 1
электростанции │ │ │ │
Технико-экономические показатели
4.67. Технико-экономические показатели при разработке грунта роторными экскаваторами и возведении насыпи автосамосвалами приведены в табл. 29.
Таблица 29
───────────────┬───────┬──────┬────────────────────────────────────────────
Показатели │Грузо- │Группа│ Роторные экскаваторы типа
│подъем-│грун- ├────────────┬───────────────┬───────────────
│ность │тов │ ЭР-25 │ ЭР-50 │ ЭР-100
│авто- │ ├────────────┴───────────────┴───────────────
│само- │ │ Дальность транспортировки грунта, км
│свалов │ ├───┬──┬──┬──┬───┬───┬───┬───┬───┬───┬───┬───
│или │ │0,5│1 │2 │3 │0,5│ 1 │ 2 │ 3 │0,5│ 1 │ 2 │ 3
│земле- │ │ │ │ │ │ │ │ │ │ │ │ │
│возов, │ │ │ │ │ │ │ │ │ │ │ │ │
│т │ │ │ │ │ │ │ │ │ │ │ │ │
───────────────┼───────┼──────┼───┴──┴──┴──┼───┴───┴───┴───┼───┴───┴───┴───
Производи- │ 7 │ I │ 830 │ - │ -
тельность, │ │ II │ 680 │ - │ -
м3/смену │ │ III │ 550 │ - │ -
├───────┼──────┼────────────┼───────────────┼───────────────
│ 10 │ I │ 925 │ 1750 │ -
│ │ II │ 750 │ 1430 │ -
│ │ III │ 610 │ 1170 │ -
├───────┼──────┼────────────┼───────────────┼───────────────
│ 20 │ I │ - │ 1900 │ 2400
│ │ II │ - │ 1560 │ 1970
│ │ III │ - │ 1250 │ 1580
├───────┼──────┼────────────┼───────────────┼───────────────
│ 25 │ I │ - │ 2000 │ 2500
│ │ II │ - │ 1640 │ 2050
│ │ III │ - │ 1320 │ 1650
───────────────┼───────┼──────┼───┬──┬──┬──┼───┬───┬───┬───┼───┬───┬───┬───
Выработка │ 7 │ I │75 │69│59│49│ - │ - │ - │ - │ - │ - │ - │ -
на одного │ │ II │62 │57│49│40│ - │ - │ - │ - │ - │ - │ - │ -
рабочего, │ │ III │50 │46│39│32│ - │ - │ - │ - │ - │ - │ - │ -
м3/смену ├───────┼──────┼───┼──┼──┼──┼───┼───┼───┼───┼───┼───┼───┼───
│ 10 │ I │93 │84│71│62│125│109│88 │73 │ - │ - │ - │ -
│ │ II │75 │68│58│50│102│89 │72 │60 │ - │ - │ - │ -
│ │ III │61 │56│47│41│84 │73 │59 │49 │ - │ - │ - │ -
├───────┼──────┼───┼──┼──┼──┼───┼───┼───┼───┼───┼───┼───┼───
│ 20 │ I │ - │- │- │- │173│159│135│118│200│185│160│141
│ │ II │ - │- │- │- │142│130│112│98 │164│152│132│116
│ │ III │ - │- │- │- │106│98 │84 │73 │131│122│105│93
├───────┼──────┼───┼──┼──┼──┼───┼───┼───┼───┼───┼───┼───┼───
│ 25 │ I │ - │- │- │- │200│182│154│133│227│208│178│156
│ │ II │ - │- │- │- │164│150│126│109│186│171│147│128
│ │ III │ - │- │- │- │132│120│102│88 │150│137│118│160
Технология работ
4.68. Разработка грунта роторными экскаваторами производится главным образом торцовым забоем (рис. 28). При этом в плане роторная стрела может поворачиваться максимально на 90° в обе стороны от продольной оси экскаватора.
Рис. 28. Разработка грунта роторным экскаватором
торцовым забоем
4.69. По виду и последовательности снятия стружки наиболее распространены два способа разработки забоя - горизонтальными (рис. 29) и вертикальными многорядными
(рис. 30) стружками. Применяется также комбинированный способ
(рис. 31), представляющий собой сочетание этих способов.
Рис. 29. Схема разработки забоя роторным экскаватором
горизонтальными стружками
Рис. 30. Схема разработки забоя роторным экскаватором
вертикальными стружками
Рис. 31. Схема разработки забоя роторным экскаватором
комбинированным способом
4.70. При разработке забоя горизонтальными стружками после снятия первой стружки по всей ширине забоя ротор экскаватора опускается вниз на величину, равную максимальной толщине стружки b (см.
рис. 29), и цикл работы повторяется. Закончив отработку забоя на всю его высоту и подняв стрелу в верхнее положение, экскаватор перемещается в сторону забоя на толщину разрабатываемого блока грунта

, оптимальное значение которой равно 2/3 диаметра ротора.
Перед передвижкой экскаватор снимает гребешок грунта на дне забоя, а также удаляет валик грунта, образуемый перед гусеницами.
4.71. При разработке забоя вертикальными многорядными стружками подача экскаватора на забой производится на величину, равную максимальной толщине стружки. После разработки грунта на толщину блока

верхнего подуступа экскаватор отводится назад, стрела ротора опускается вниз на величину h и начинается разработка следующего подуступа (см.
рис. 30). За оптимальную величину h принимается 2/3 диаметра ротора. Во время отхода экскаватора назад разработка грунта прекращается.
В случае разработки забоя вертикальными стружками гребешков на дне забоя не образуется. Дно забоя получается ровное и поэтому не требуется специальной зачистки. Этот способ, в отличие от разработки горизонтальными стружками, позволяет создавать достаточно пологий угол лобового откоса забоя. Кроме того, при одинаковом начальном угле наклона роторной стрелы высота уступа, разрабатываемого вертикальными стружками, может быть больше на величину h, чем при работе горизонтальными стружками.
4.72. Комбинированный способ разработки забоя позволяет уменьшить потери времени на передвижку экскаватора, а также исключить образование гребешков на дне забоя. При этом способе можно отрабатывать забой такой же высоты, как и при схеме с вертикальными стружками.
4.73. При разработке земляных карьеров ввод экскаватора в забой осуществляется путем заглубления в грунт ротора на 0,5 м ниже уровня стоянки экскаватора с постепенным доведением высоты забоя до нормальной величины.
С целью повышения производительности экскаватора место ввода его в забой в карьерах и выемках заранее подготавливается бульдозером.
4.74. Разработка выемок и карьеров ведется отдельными проходками, глубина которых назначается в зависимости от рабочих параметров экскаваторов и рабочих отметок выемок, но не менее 2/3 диаметра ротора (см.
табл. 26).
4.75. Карьеры глубиной не более высоты резания экскаватора разрабатываются с одного горизонта, а более глубокие - с двух и более горизонтов.
4.76. Ширина и глубина проходок при разработке выемок определяется исходя из рабочих отметок их. При этом проходки назначаются так, чтобы получить максимальную производительность экскаватора и автосамосвалов и минимальную величину недобора грунта на откосах выемки.
4.77. При разработке выемок и карьеров ширина первой проходки должна быть не менее 12 м с целью установки двух автосамосвалов рядом друг с другом и обеспечения производства маневров их на дне забоя при установке под загрузку.
Ширина последующих проходок принимается в зависимости от ширины разрабатываемой выемки или карьера. При этом не рекомендуется принимать ее для роторных экскаваторов типа ЭР-25 менее 3 м, для ЭР-50 и ЭР-100 - менее 4 - 5 м.
4.78. Уменьшение недобора грунта на откосах выемки осуществляется за счет уменьшения глубины проходки, установки экскаватора ближе к верхней бровке откоса выемки, а также за счет разработки откосной ее части отдельными уступами. При этом с увеличением числа уступов уменьшается объем недобора грунта на откосах выемки.
4.79. При разработке выемки с образованием уступов на откосах грунт сначала снимается горизонтальными или вертикальными стружками по всей ширине забоя на глубину до встречи ротора с плоскостью проектируемого откоса выемки. Затем угол поворота стрелы ротора от продольной оси машины

уменьшается до величины

(рис. 32), и разработка грунта производится до дна забоя или до следующей встречи ротора с плоскостью откоса выемки. После передвижки экскаватора в новое положение на величину

цикл разработки грунта повторяется.
Рис. 32. Схема разработки выемки роторным экскаватором
с созданием откосов заданной крутизны
Возможен способ разработки выемки (рис. 33) отдельными подуступами. Причем, верхний подуступ из положения 1-1 разрабатывается на всю ширину забоя; ротор опускается до встречи с плоскостью откоса. Затем экскаватор отходит назад на величину

и из положения 2-2 разрабатывает следующий подуступ и т.д. При этом способе увеличивается число передвижек экскаватора по забою, но уменьшается объем недобора грунта на откосах по сравнению с первым способом.
Рис. 33. Схема разработки выемки роторным экскаватором
с созданием торцового откоса забоя и откоса выемки
заданной крутизны
4.80. Автосамосвалы под погрузку устанавливаются сзади экскаватора в одном уровне с ним. Работа их организуется так, чтобы к моменту окончания погрузки одного автосамосвала с ним рядом, по возможности ближе к нему, должен быть установлен второй автосамосвал, для загрузки которого стрела отвального транспортера поворачивается в его сторону и устанавливается над кузовом.
4.81. Возведение насыпи с обеспечением уплотнения грунта производится в соответствии с
пп. 4.57 -
4.61.
Разработка выемок в скальных грунтах
экскаватором-прямой лопатой с рыхлением их взрывом
скважинных зарядов и возведение насыпей автосамосвалами
Область применения
4.82. Указания составлены для случаев разработки выемок в скальных грунтах IV - XI групп <1> с предварительным рыхлением их взрывом скважинных зарядов и возведения насыпей из скальных грунтов автосамосвалами.
--------------------------------
<1> Классификация грунтов принята по трудности бурения в соответствии с ЕНиР, сб. 2, вып. 3, М., 1969.
4.83. Разработка взорванного скального грунта организуется лобовыми проходками с углом поворота стрелы на 90 - 180°. При этом выемка, как правило, должна разрабатываться одновременно с двух концов: двумя захватками с каждого конца (рис. 34). На первых захватках производится бурение скважин и подготовка их к взрыву, на вторых - погрузка ранее взорванного грунта в автосамосвалы и разбуривание "негабаритов" перфораторами. Наибольшие линейные размеры кусков взорванной породы должны удовлетворять требованиям
п. 2.9.
Рис. 34. Схема лобовой разработки скальной выемки
экскаватором-прямой лопатой:
1 - бурение скважин БТС-150; 2 - погрузка взорванного
грунта; 3 - разбуривание негабаритов;
4 - транспортирование грунта; 5 - разравнивание
отсыпного грунта бульдозером; 6 - разгрузка грунта
4.84. Указания по технологии и технико-экономические показатели составлены для случаев сооружения:
выемок без применения контурного взрывания;
выемок с применением контурного взрывания.
4.85. Все взрывные работы должны выполняться в соответствии с требованиями "Единых правил безопасности при взрывных работах"
<1> и "Технических указаний по проектированию и производству буровзрывных работ при сооружении земляного полотна"
<2>.
--------------------------------
| | ИС МЕГАНОРМ: примечание. Взамен ВСН 178-74 с 1 июля 1992 года введены в действие ВСН 178-91, утв. АО Корпорация "Трансстрой" 09.12.1991 N МО-05. | |
Комплект машин
4.86. Комплект машин при разработке скальных выемок экскаваторами с рыхлением грунта взрывом скважинных зарядов приведен в табл. 30.
Таблица 30
─────────────────┬──────┬────────────────────────────────────────────────────────────────
Наименование │Даль- │ Группы грунтов
машин │ность ├────────────┬────────────┬────────────┬────────────┬────────────
│транс-│ IV │ V - VI │ VII - VIII │ IX - X │ XI
│порти-├────────────┴────────────┴────────────┴────────────┴────────────
│ровки,│ Емкость ковша экскаватора, м3
│км ├───┬────┬───┬───┬────┬───┬───┬────┬───┬───┬────┬───┬───┬────┬───
│ │1,0│1,25│1,6│1,0│1,25│1,6│1,0│1,25│1,6│1,0│1,25│1,6│1,0│1,25│1,6
─────────────────┼──────┼───┼────┼───┼───┼────┼───┼───┼────┼───┼───┼────┼───┼───┼────┼───
Экскаватор │ - │ 1 │ 1 │ 1 │ 1 │ 1 │ 1 │ 1 │ 1 │ 1 │ 1 │ 1 │ 1 │ 1 │ 1 │ 1
Автосамосвалы │ 0,5 │ 5 │ 6 │ - │ 4 │ - │ - │ 4 │ - │ - │ 4 │ - │ - │ 4 │ - │ -
грузоподъемностью│ 1,0 │ 6 │ 7 │ - │ 4 │ - │ - │ 5 │ - │ - │ 5 │ - │ - │ 5 │ - │ -
7 т │ 3,0 │10 │ 11 │ - │ 7 │ - │ - │ 7 │ - │ - │ 7 │ - │ - │ 7 │ - │ -
То же, 10 - 12 т │ 0,5 │ 4 │ 5 │ 5 │ 3 │ 4 │ 5 │ 3 │ 3 │ 4 │ 3 │ 3 │ 4 │ 3 │ 3 │ 4
│ 1,0 │ 5 │ 6 │ 6 │ 4 │ 5 │ 6 │ 4 │ 4 │ 5 │ 4 │ 4 │ 5 │ 4 │ 4 │ 5
│ 3,0 │ 8 │ 9 │10 │ 7 │ 9 │10 │ 6 │ 7 │ 9 │ 6 │ 7 │ 9 │ 6 │ 7 │ 9
Буровая машина │ - │ 1 │ 1 │ 1 │ 1 │ 2 │ 3 │ 1 │ 2 │ 3 │ - │ - │ - │ - │ - │ -
шарошечного │ │ │ │ │ │ │ │ │ │ │ │ │ │ │ │
бурения │ │ │ │ │ │ │ │ │ │ │ │ │ │ │ │
d = 150 мм │ │ │ │ │ │ │ │ │ │ │ │ │ │ │ │
(БТС-150) │ │ │ │ │ │ │ │ │ │ │ │ │ │ │ │
Буровая машина │ - │ - │ - │ - │ - │ - │ - │ - │ - │ - │ 3 │ 4 │ 6 │ 6 │ 8 │10
для бурения │ │ │ │ │ │ │ │ │ │ │ │ │ │ │ │
скважин d = 75 мм│ │ │ │ │ │ │ │ │ │ │ │ │ │ │ │
(БТС-75) │ │ │ │ │ │ │ │ │ │ │ │ │ │ │ │
Компрессор ДК-9 │ - │ 1 │ 1 │ 1 │ 1 │ 2 │ 3 │ 1 │ 2 │ 3 │ - │ - │ - │ - │ - │ -
или ПР-10 │ │ │ │ │ │ │ │ │ │ │ │ │ │ │ │
Бульдозер, │ - │ 1 │ 1 │ 1 │ 1 │ 1 │ 1 │ 1 │ 1 │ 1 │ 1 │ 1 │ 1 │ 1 │ 1 │ 1
100 л.с. │ │ │ │ │ │ │ │ │ │ │ │ │ │ │ │
Электростанция, │ - │ 1 │ 1 │ 1 │ 1 │ 1 │ 1 │ 1 │ 1 │ 1 │ 1 │ 1 │ 1 │ 1 │ 1 │ 1
5 - 7 кВт │ │ │ │ │ │ │ │ │ │ │ │ │ │ │ │
Перфоратор │ - │ - │ - │ - │ 1 │ 1 │ 1 │ 1 │ 1 │ 1 │ 1 │ 1 │ 1 │ 1 │ 1 │ 1
При контурном взрывании дополнительно
Машина для │ - │ - │ - │ - │ 2 │ 2 │ 3 │ 3 │ 3 │ 3 │ 4 │ 4 │ 4 │ - │ - │ -
бурения контурных│ │ │ │ │ │ │ │ │ │ │ │ │ │ │ │
скважин │ │ │ │ │ │ │ │ │ │ │ │ │ │ │ │
d = 76 - 105 мм │ │ │ │ │ │ │ │ │ │ │ │ │ │ │ │
Компрессор ДК-9 │ - │ - │ - │ - │ 2 │ 2 │ 3 │ 3 │ 3 │ 3 │ 2 │ 3 │ 3 │ - │ - │ -
или ПР-10 │ │ │ │ │ │ │ │ │ │ │ │ │ │ │ │
Состав комплексных бригад
4.87. Состав комплексных бригад при разработке скальных выемок экскаватором с рыхлением скального грунта взрывом скважинных зарядов приводится в табл. 31.
Таблица 31
──────────────┬────┬──────┬────────────────────────────────────────────────────────────────
Профессия │Раз-│Даль- │ Группы грунтов
│ряд │ность ├────────────┬────────────┬────────────┬────────────┬────────────
│ │транс-│ IV │ V - VI │ VII - VIII │ IX - X │ XI
│ │порти-├────────────┴────────────┴────────────┴────────────┴────────────
│ │ровки,│ Емкость ковша экскаватора, м3
│ │км ├───┬────┬───┬───┬────┬───┬───┬────┬───┬───┬────┬───┬───┬────┬───
│ │ │1,0│1,25│1,6│1,0│1,25│1,6│1,0│1,25│1,6│1,0│1,25│1,6│1,0│1,25│1,6
──────────────┼────┼──────┼───┼────┼───┼───┼────┼───┼───┼────┼───┼───┼────┼───┼───┼────┼───
Машинист │ 6 │ - │ 1 │ 1 │ 1 │ 1 │ 1 │ 1 │ 1 │ 1 │ 1 │ 1 │ 1 │ 1 │ 1 │ 1 │ 1
экскаватора │ │ │ │ │ │ │ │ │ │ │ │ │ │ │ │ │
Помощник │ 5 │ - │ 1 │ 1 │ 1 │ 1 │ 1 │ 1 │ 1 │ 1 │ 1 │ 1 │ 1 │ 1 │ 1 │ 1 │ 1
машиниста │ │ │ │ │ │ │ │ │ │ │ │ │ │ │ │ │
Шофер 3 класса│ │ 0,5 │ 5 │ 6 │ - │ 4 │ - │ - │ 4 │ - │ - │ 4 │ - │ - │ 4 │ - │ -
автосамосвала │ │ 1,0 │ 6 │ 7 │ - │ 4 │ - │ - │ 5 │ - │ - │ 5 │ - │ - │ 5 │ - │ -
грузоподъем- │ │ 3,0 │10 │ 11 │ - │ 7 │ - │ - │ 7 │ - │ - │ 7 │ - │ - │ 7 │ - │ -
ностью 7 т │ │ │ │ │ │ │ │ │ │ │ │ │ │ │ │ │
То же, │ │ 0,5 │ 4 │ 5 │ 5 │ 3 │ 4 │ 5 │ 3 │ 3 │ 4 │ 3 │ 3 │ 4 │ 3 │ 3 │ 4
10 - 12 т │ │ 1,0 │ 5 │ 6 │ 6 │ 4 │ 5 │ 6 │ 4 │ 4 │ 5 │ 4 │ 4 │ 5 │ 4 │ 4 │ 5
│ │ 3,0 │ 8 │ 9 │10 │ 7 │ 9 │10 │ 6 │ 7 │ 9 │ 6 │ 7 │ 9 │ 6 │ 7 │ 9
Бурильщик │ 6 │ - │ 1 │ 1 │ 1 │ 1 │ 2 │ 3 │ 1 │ 2 │ 3 │ 4 │ 5 │ 6 │ 6 │ 8 │10
Бурильщик │ 4 │ - │ - │ - │ - │ 1 │ 1 │ 1 │ 1 │ 1 │ 1 │ 1 │ 1 │ 1 │ 1 │ 1 │ 1
Компрессорщик │ 5 │ - │ 1 │ 1 │ 1 │ 1 │ 2 │ 3 │ 1 │ 2 │ 3 │ - │ - │ - │ - │ - │ -
Взрывник │ 5 │ - │ 5 │ 5 │ 5 │ 6 │ 6 │ 6 │ 6 │ 6 │ 6 │ 6 │ 6 │ 6 │ 6 │ 6 │ 6
Взрывник │ 4 │ - │ 1 │ 1 │ 1 │ 1 │ 1 │ 1 │ 1 │ 1 │ 1 │ 1 │ 1 │ 1 │ 1 │ 1 │ 1
Сигналист │ 3 │ - │ 3 │ 3 │ 3 │ 3 │ 3 │ 3 │ 3 │ 3 │ 3 │ 3 │ 3 │ 3 │ 3 │ 3 │ 3
Машинист │ 5 │ - │ 1 │ 1 │ 1 │ 1 │ 1 │ 1 │ 1 │ 1 │ 1 │ 1 │ 1 │ 1 │ 1 │ 1 │ 1
электростанции│ │ │ │ │ │ │ │ │ │ │ │ │ │ │ │ │
Машинист │ 5 │ - │ 1 │ 1 │ 1 │ 1 │ 1 │ 1 │ 1 │ 1 │ 1 │ 1 │ 1 │ 1 │ 1 │ 1 │ 1
бульдозера │ │ │ │ │ │ │ │ │ │ │ │ │ │ │ │ │
│ │ │
│ │ │ При контурном взрывании дополнительно
│ │ │
Бурильщик │ 6 │ - │ - │ - │ - │ 2 │ 2 │ 3 │ 3 │ 3 │ 3 │ 4 │ 4 │ 4 │ - │ - │ -
Компрессорщик │ 5 │ - │ - │ - │ - │ 2 │ 2 │ 3 │ 3 │ 3 │ 3 │ 2 │ 3 │ 3 │ - │ - │ -
Примечание. Четыре взрывника и два сигналиста используются только в день взрывания скважинных зарядов.
Технико-экономические показатели
4.88. Технико-экономические показатели при разработке скальных выемок экскаватором с рыхлением породы скважинными зарядами приводится в табл. 32.
Таблица 32
──────────────┬──────┬────────────────────────────────────────────────────────────────
Показатели │Даль- │ Группы грунтов
│ность ├────────────┬────────────┬────────────┬────────────┬────────────
│транс-│ IV │ V - VI │ VII - VIII │ IX - X │ XI
│порти-├────────────┴────────────┴────────────┴────────────┴────────────
│ровки,│ Емкость ковша экскаватора, м3
│км ├───┬────┬───┬───┬────┬───┬───┬────┬───┬───┬────┬───┬───┬────┬───
│ │1,0│1,25│1,6│1,0│1,25│1,6│1,0│1,25│1,6│1,0│1,25│1,6│1,0│1,25│1,6
──────────────┼──────┼───┼────┼───┼───┼────┼───┼───┼────┼───┼───┼────┼───┼───┼────┼───
Производи- │ - │465│590 │715│275│380 │450│230│310 │365│230│310 │365│230│310 │365
тельность, │ │ │ │ │ │ │ │ │ │ │ │ │ │ │ │
м3/смену │ │ │ │ │ │ │ │ │ │ │ │ │ │ │ │
Выработка │ 0,5 │31 │ 37 │ - │17 │ - │ - │14 │ - │ - │13 │ - │ - │12 │ - │ -
на одного │ 1,0 │29 │ 34 │ - │17 │ - │ - │13 │ - │ - │12 │ - │ - │11 │ - │ -
рабочего, │ 3,0 │23 │ 28 │ - │14 │ - │ - │12 │ - │ - │11 │ - │ - │10 │ - │ -
м3/смену при │ │ │ │ │ │ │ │ │ │ │ │ │ │ │ │
транспорти- │ │ │ │ │ │ │ │ │ │ │ │ │ │ │ │
ровании грунта│ │ │ │ │ │ │ │ │ │ │ │ │ │ │ │
самосвалами │ │ │ │ │ │ │ │ │ │ │ │ │ │ │ │
грузоподъем- │ │ │ │ │ │ │ │ │ │ │ │ │ │ │ │
ностью 7 т │ │ │ │ │ │ │ │ │ │ │ │ │ │ │ │
То же, грузо- │ 0,5 │33 │ 39 │45 │18 │ 21 │21 │15 │ 18 │18 │14 │ 17 │18 │12 │ 15 │15
подъемностью │ 1,0 │31 │ 37 │42 │17 │ 20 │20 │14 │ 17 │17 │13 │ 16 │17 │18 │ 14 │14
10 - 12 т │ 3,0 │27 │ 31 │34 │14 │ 18 │18 │13 │ 14 │15 │10 │ 14 │15 │11 │ 12 │13
Примечание. Производительность экскаваторов для грунтов IV группы принята по опытным данным, для грунтов V и VI - XI групп по ЕНиР, сб. 2, вып. 1, М., 1969.
Разработка выемок и возведение насыпей скреперами
Область применения
4.89. Указания составлены для случаев разработки выемок и возведения насыпей с продольной и поперечной транспортировками грунта прицепными скреперами емкостью 8; 10 и 15 и самоходными 9; 10 и 15 м3 (рис. 35 и
36).
Рис. 35. Прицепной скрепер Д-511 емкостью ковша 15 м3
Рис. 36. Самоходный скрепер Д-567 емкостью ковша 10 м3
4.90. Возведение насыпей из резервов и разработку выемок с перемещением грунта в кавальеры (поперечная транспортировка) следует производить при рабочих отметках насыпей и выемок до 4 - 5 м, при этом целесообразно применять прицепные скреперы. Разработка выемок и карьеров с перемещением грунта в насыпи (продольная транспортировка) производится при любых рабочих отметках. При дальности перемещения грунта до 300 м целесообразно применять прицепные скреперы, а при большей дальности - самоходные скреперы.
Грунты II группы должны предварительно разрыхляться. В глинистых грунтах с повышенной влажностью, сильно налипающих на ковш, а также в сухих песчаных грунтах скреперы применять не рекомендуется.
Комплект машин
4.91. Для разработки выемок и возведения насыпей скреперами необходимы машины и оборудование (табл. 33).
───────────────────────────────┬───────────────────────────────────────────
Наименование машин │ Потребность машин на комплект скреперов
├─────────────────────────┬─────────────────
│ прицепных │ самоходных
├─────────────────────────┴─────────────────
│ Ковши емкостью, м3
├────────┬────────┬───────┬────────┬────────
│ 8 │ 10 │ 15 │ 9 - 10 │ 15
───────────────────────────────┼────────┼────────┼───────┼────────┼────────
Скрепер с тягачом │ 2 - 6 │ 2 - 6 │ 2 - 6 │ 3 - 9 │ 3 - 9
Бульдозер на тракторе Т-100 │ 1 │ 1 │ 1 │ 1 │ 1
Бульдозер на тракторе Т-180 │ - │ - │ - │ 1 │ 1
(толкач) │ │ │ │ │
Рыхлитель прицепной │ 1 │ 1 │ 1 │ 1 │ 1
Пневмокаток массой 25 - 30 т │ 1 │ 1 │ 1 │ 1 │ 1
с тягачом │ │ │ │ │
Передвижная электростанция │ 1 │ 1 │ 1 │ 1 │ 1
5 - 7 кВт │ │ │ │ │
Максимальное количество самоходных скреперов, обслуживаемых одним толкачом, в зависимости от расстояния перемещения грунта, приведено в табл. 34.
Таблица 34
────────────────────────────────┬──────────────────────────────────────────
Расстояние перемещения грунта, м│ Количество скреперов на один толкач
├──────────────────────────────────────────
│ Ковши емкостью, м3
├────────────────────┬─────────────────────
│ 9 - 10 │ 15
────────────────────────────────┼────────────────────┼─────────────────────
300 │ 3 │ 2
500 │ 4 │ 2
750 │ 5 │ 3
1000 │ 6 │ 3
1500 │ 9 │ 5
2000 │ 11 │ 6
3000 │ 16 │ 9
Состав комплексных бригад
4.92. Разработку выемок и отсыпку насыпей скреперами производят бригады в составе, указанном в табл. 35.
Таблица 35
─────────────────────────┬────┬────────────────────────────────────────────
Профессия │Раз-│ Количество рабочих на комплект скреперов
│ряд ├──────────────────────────┬─────────────────
│ │ прицепных │ самоходных
│ ├──────────────────────────┴─────────────────
│ │ Ковши емкостью, м3
│ ├────────┬────────┬────────┬────────┬────────
│ │ 8 │ 10 │ 15 │ 9 - 10 │ 15
─────────────────────────┼────┼──┬──┬──┼──┬──┬──┼──┬──┬──┼──┬──┬──┼──┬──┬──
При количестве скреперов │ │2 │4 │6 │2 │4 │6 │2 │4 │6 │3 │5 │8 │3 │5 │8
в комплекте │ │ │ │ │ │ │ │ │ │ │ │ │ │ │ │
Машинист скрепера │ 6 │2 │4 │6 │2 │4 │6 │2 │4 │6 │3 │5 │8 │3 │5 │8
Машинист бульдозера │ 6 │ 1 │ 1 │ 1 │ 2 │ 2
Машинист │ 5 │ 1 │ 1 │ 1 │ 1 │ 1
грунтоуплотняющей машины │ │ │ │ │ │
Машинист передвижной │ 5 │ 1 │ 1 │ 1 │ 1 │ 1
электростанции │ │ │ │ │ │
Технико-экономические показатели
4.93. Производительность прицепных скреперов, м3/смену, при транспортировке грунта из резервов в насыпь и из выемок в кавальеры приведена в табл. 36 (при числе скреперов 2, 4 и 6 в комплекте).
Таблица 36
────────┬──────────────┬───────────────────────────────────────────────────
Емкость │Высота насыпи │ Количество прицепных скреперов в комплекте
ковша, │ или глубина ├────────────────┬─────────────────┬────────────────
м3 │ выемки, м │ 2 │ 4 │ 6
│ ├────────────────┴─────────────────┴────────────────
│ │ Группы грунтов
│ ├────────┬───────┬────────┬────────┬───────┬────────
│ │ I │ II │ I │ II │ I │ II
────────┼──────────────┼────────┼───────┼────────┼────────┼───────┼────────
8 │ 2 │ 1430 │ 1228 │ 2860 │ 2460 │ 4290 │ 3680
│ 3 │ 1258 │ 1088 │ 2520 │ 2180 │ 3780 │ 3260
│ 4 │ 1120 │ 981 │ 2240 │ 1960 │ 3360 │ 2943
│ 5 │ 1020 │ 906 │ 2040 │ 1812 │ 3052 │ 2452
│ 6 │ 923 │ 816 │ 1848 │ 1630 │ 2780 │ 1918
────────┼──────────────┼────────┼───────┼────────┼────────┼───────┼────────
10 │ 2 │ 1650 │ 1392 │ 3314 │ 2782 │ 4940 │ 4180
│ 3 │ 1468 │ 1241 │ 2940 │ 2481 │ 4410 │ 3712
│ 4 │ 2320 │ 1132 │ 2643 │ 2270 │ 3970 │ 3400
│ 5 │ 1200 │ 1030 │ 2410 │ 2032 │ 3610 │ 3120
│ 6 │ 1105 │ 960 │ 2210 │ 1916 │ 3320 │ 2900
────────┼──────────────┼────────┼───────┼────────┼────────┼───────┼────────
15 │ 2 │ 3400 │ 2800 │ - │ - │ - │ -
│ 3 │ 3020 │ 2540 │ 6040 │ 5080 │ - │ -
│ 4 │ 2700 │ 2320 │ 5400 │ 4640 │ - │ -
│ 5 │ 2460 │ 2140 │ 4920 │ 4280 │ - │ -
│ 6 │ 2260 │ 1980 │ 4520 │ 3960 │ - │ -
────────┴──────────────┴────────┴───────┴────────┴────────┴───────┴────────
4.94. Производительность комплекта прицепных скреперов, м3/смену, при транспортировке грунта из выемок в насыпь приведена в табл. 37.
Таблица 37
───────────┬────────────────┬──────────────────────────────────────────────
Емкость │ Расстояние │ Количество прицепных скреперов в комплекте
ковша, м3 │транспортировки,├──────────────┬───────────────┬───────────────
│ м │ 2 │ 4 │ 6
│ ├──────────────┴───────────────┴───────────────
│ │ Группы грунтов
│ ├──────┬───────┬───────┬───────┬───────┬───────
│ │ I │ II │ I │ II │ I │ II
───────────┼────────────────┼──────┼───────┼───────┼───────┼───────┼───────
8 │ 100 │ 1186 │ 1003 │ 2370 │ 2062 │ 3550 │ 3095
│ 200 │ 755 │ 675 │ 1510 │ 1350 │ 2260 │ 2020
│ 250 │ 640 │ 576 │ 1280 │ 1151 │ 1920 │ 1730
│ 400 │ 437 │ 398 │ 874 │ 796 │ 1310 │ 1195
│ 500 │ 362 │ 332 │ 724 │ 664 │ 1085 │ 995
───────────┼────────────────┼──────┼───────┼───────┼───────┼───────┼───────
10 │ 100 │ 1390 │ 1184 │ 2780 │ 2370 │ 4170 │ 3560
│ 200 │ 918 │ 800 │ 1837 │ 1600 │ 2780 │ 2400
│ 250 │ 773 │ 686 │ 1546 │ 1370 │ 2320 │ 2060
│ 400 │ 538 │ 485 │ 1074 │ 970 │ 1610 │ 1455
│ 500 │ 444 │ 416 │ 888 │ 810 │ 1330 │ 1215
───────────┼────────────────┼──────┼───────┼───────┼───────┼───────┼───────
15 │ 100 │ 2860 │ 2420 │ 5720 │ 4840 │ - │ -
│ 200 │ 1860 │ 1680 │ 3720 │ 3360 │ 5580 │ 5040
│ 250 │ 1580 │ 1440 │ 3160 │ 2880 │ 4740 │ 4320
│ 400 │ 1100 │ 1020 │ 2200 │ 2040 │ 3300 │ 3060
│ 500 │ 900 │ 860 │ 1800 │ 1720 │ 2700 │ 2580
───────────┴────────────────┴──────┴───────┴───────┴───────┴───────┴───────
Производительность комплектов самоходных скреперов (при числе их в комплекте 3, 5 и 8) указана в табл. 38.
Таблица 38
─────────┬────────────────┬────────────────────────────────────────────────
Емкость │ Расстояние │ Количество самоходных скреперов в комплекте
ковша, м3│транспортировки,├────────────────┬──────────────┬────────────────
│ м │ 3 │ 5 │ 8
│ ├────────────────┴──────────────┴────────────────
│ │ Группы грунтов
│ ├────────┬───────┬───────┬──────┬───────┬────────
│ │ I │ II │ I │ II │ I │ II
─────────┼────────────────┼────────┼───────┼───────┼──────┼───────┼────────
9 - 10 │ 300 │ 1800 │ 1640 │ - │ - │ - │ -
│ 500 │ 1440 │ 1380 │ - │ - │ - │ -
│ 800 │ 1100 │ 920 │ 1830 │ 1530 │ - │ -
│ 1000 │ 885 │ 726 │ 1470 │ 1210 │ - │ -
─────────┼────────────────┼────────┼───────┼───────┼──────┼───────┼────────
15 │ 1500 │ 588 │ 416 │ 981 │ 695 │ 1562 │ 1120
│ 2000 │ 448 │ 400 │ 746 │ 665 │ 1270 │ 1060
│ 3000 │ 294 │ 277 │ 490 │ 460 │ 784 │ 736
│ 500 │ 3180 │ 2820 │ - │ - │ - │ -
│ 800 │ 2250 │ 2114 │ - │ - │ - │ -
│ 1000 │ 1870 │ 1574 │ - │ - │ - │ -
│ 1500 │ 1440 │ 1300 │ 2360 │ 2162 │ - │ -
│ 2000 │ 1050 │ 972 │ 1744 │ 1620 │ - │ -
│ 3000 │ 755 │ 738 │ 1260 │ 1230 │ 2018 │ 1970
─────────┴────────────────┴────────┴───────┴───────┴──────┴───────┴────────
4.95. Выработка на одного рабочего, м3/смену, при перемещении грунта прицепными скреперами из резервов в насыпь и из выемки в кавальер приведена в табл. 39.
Таблица 39
───────┬──────────────┬────────────────────────────────────────────────────
Емкость│Высота насыпи │ Количество прицепных скреперов в комплекте
ковша, │ или глубина ├────────────────┬─────────────────┬─────────────────
м3 │ выемки, м │ 2 │ 4 │ 6
│ ├────────────────┴─────────────────┴─────────────────
│ │ Группы грунтов
│ ├────────┬───────┬────────┬────────┬───────┬─────────
│ │ I │ II │ I │ II │ I │ II
───────┼──────────────┼────────┼───────┼────────┼────────┼───────┼─────────
8 │ 2 │ 318 │ 273 │ 441 │ 378 │ 505 │ 434
│ 3 │ 280 │ 242 │ 388 │ 336 │ 445 │ 383
│ 4 │ 250 │ 218 │ 350 │ 302 │ 395 │ 346
│ 5 │ 227 │ 201 │ 314 │ 278 │ 358 │ 289
│ 6 │ 205 │ 182 │ 285 │ 251 │ 327 │ 225
───────┼──────────────┼────────┼───────┼────────┼────────┼───────┼─────────
10 │ 2 │ 367 │ 310 │ 510 │ 427 │ 581 │ 492
│ 3 │ 326 │ 276 │ 452 │ 382 │ 520 │ 437
│ 4 │ 294 │ 251 │ 406 │ 350 │ 467 │ 400
│ 5 │ 267 │ 229 │ 371 │ 313 │ 425 │ 367
│ 6 │ 246 │ 214 │ 340 │ 295 │ 390 │ 341
───────┼──────────────┼────────┼───────┼────────┼────────┼───────┼─────────
15 │ 2 │ 756 │ 622 │ - │ - │ - │ -
│ 3 │ 671 │ 565 │ 930 │ 782 │ - │ -
│ 4 │ 600 │ 516 │ 830 │ 716 │ - │ -
│ 5 │ 546 │ 475 │ 758 │ 658 │ - │ -
│ 6 │ 502 │ 440 │ 698 │ 610 │ - │ -
───────┴──────────────┴────────┴───────┴────────┴────────┴───────┴─────────
4.96. Выработка на одного рабочего, м3/смену, при перемещении грунта из выемки в насыпь приведена в табл. 40 и
41.
Таблица 40
───────┬────────────────┬──────────────────────────────────────────────────
Емкость│ Расстояние │ Количество прицепных скреперов в комплекте
ковша, │транспортировки,├────────────────┬────────────────┬────────────────
м3 │ м │ 2 │ 4 │ 6
│ ├────────────────┴────────────────┴────────────────
│ │ Группы грунтов
│ ├────────┬───────┬───────┬────────┬───────┬────────
│ │ I │ II │ I │ II │ I │ II
───────┼────────────────┼────────┼───────┼───────┼────────┼───────┼────────
8 │ 100 │ 264 │ 226 │ 365 │ 318 │ 418 │ 364
│ 200 │ 168 │ 150 │ 233 │ 208 │ 266 │ 238
│ 250 │ 142 │ 128 │ 197 │ 172 │ 226 │ 204
│ 400 │ 98 │ 88 │ 135 │ 123 │ 154 │ 141
│ 500 │ 81 │ 74 │ 111 │ 102 │ 128 │ 117
───────┼────────────────┼────────┼───────┼───────┼────────┼───────┼────────
10 │ 100 │ 310 │ 264 │ 430 │ 365 │ 492 │ 419
│ 200 │ 204 │ 178 │ 283 │ 246 │ 327 │ 282
│ 250 │ 172 │ 153 │ 238 │ 211 │ 273 │ 242
│ 400 │ 119 │ 108 │ 165 │ 149 │ 189 │ 171
│ 500 │ 99 │ 93 │ 137 │ 125 │ 157 │ 143
───────┼────────────────┼────────┼───────┼───────┼────────┼───────┼────────
15 │ 100 │ 635 │ 538 │ 880 │ 745 │ - │ -
│ 200 │ 414 │ 373 │ 570 │ 516 │ - │ -
│ 250 │ 351 │ 320 │ 490 │ 444 │ 557 │ 510
│ 400 │ 245 │ 227 │ 340 │ 314 │ 398 │ 322
│ 500 │ 200 │ 191 │ 280 │ 265 │ 317 │ 304
───────┴────────────────┴────────┴───────┴───────┴────────┴───────┴────────
───────┬────────────────┬──────────────────────────────────────────────────
Емкость│ Расстояние │ Количество самоходных скреперов в комплекте
ковша, │транспортировки,├────────────────┬────────────────┬────────────────
м3 │ м │ 3 │ 5 │ 8
│ ├────────────────┴────────────────┴────────────────
│ │ Группы грунтов
│ ├────────┬───────┬───────┬────────┬───────┬────────
│ │ I │ II │ I │ II │ I │ II
───────┼────────────────┼────────┼───────┼───────┼────────┼───────┼────────
9 - 10 │ 300 │ 288 │ 214 │ - │ - │ - │ -
│ 500 │ 230 │ 180 │ - │ - │ - │ -
│ 800 │ 176 │ 120 │ 220 │ 168 │ - │ -
│ 1000 │ 142 │ 94 │ 178 │ 133 │ - │ -
│ 1500 │ 94 │ 54 │ 118 │ 76 │ 141 │ 90
│ 2000 │ 71 │ 51 │ 90 │ 72 │ 114 │ 85
│ 3000 │ 47 │ 36 │ 59 │ 51 │ 71 │ 59
───────┼────────────────┼────────┼───────┼───────┼────────┼───────┼────────
15 │ 500 │ 508 │ 367 │ - │ - │ - │ -
│ 800 │ 360 │ 275 │ - │ - │ - │ -
│ 1000 │ 299 │ 205 │ - │ - │ - │ -
│ 1500 │ 230 │ 169 │ 284 │ 238 │ - │ -
│ 2000 │ 168 │ 126 │ 209 │ 179 │ - │ -
│ 3000 │ 121 │ 96 │ 151 │ 136 │ 180 │ 158
───────┴────────────────┴────────┴───────┴───────┴────────┴───────┴────────
Технология работ
4.97. Технологический процесс производства работ при сооружении земляного полотна скреперами состоит из разработки в выемке или резерве грунта, перемещении и укладки его в насыпь или кавальер, послойного разравнивания и уплотнения в насыпи.
Схема возведения насыпи скреперами с перемещением грунта из резерва показана на рис. 37, а из выемки - на
рис. 38.
Рис. 37. Схема возведения насыпи скреперами
с перемещением грунта из резерва:
1 - скрепер; 2 - грунтоуплотняющая машина;
3 - последовательность отсыпки слоев насыпи
а)
б)
в)
Рис. 38. Схема разработки выемки скреперами
с перемещением и укладкой грунта в насыпь:
а - схема движения скреперов; б - последовательность
проходок при разработке выемок;
в - последовательность отсыпки слоев насыпи;
1 - скреперы; 2 - грунтоуплотняющая машина
4.98. Прицепные скреперы с ковшом емкостью 8 м3 должны работать в сцепе с трактором 100 - 130 л.с., скреперы с ковшом емкостью 10 м3 - с трактором 140 - 180 л.с., скреперы с ковшом емкостью 15 м3 - с трактором 300 л.с.
4.99. Самоходные скреперы с ковшом емкостью 9, 10 и 15 м3 при наборе грунта подталкиваются гусеничными тракторами мощностью не менее 140 - 180 л.с. или колесными тракторами мощностью не менее 200 - 300 л.с., оборудованными специальным устройством для подталкивания.
4.100. После отсыпки слоя грунта он уплотняется пневмокатком весом 25 - 30 т, перед пропуском которого отсыпанный слой должен быть спланирован бульдозером.
4.101. Наполнение ковша скрепера следует производить на прямолинейном участке. При наличии уклона местности слои набора грунта должны быть наклонными (3 - 7°, большие значения для плотных грунтов). Глубину резания при наборе грунта рекомендуется принимать по табл. 42.
Таблица 42
───────────────────────────┬───────────────────────────────────────────────
Грунты │ Глубина резания, см
├───────────────────────────────────────────────
│ Емкость ковша скрепера, м3
├──────────────────────┬────────────────────────
│ 8 │ 10 - 15
───────────────────────────┼──────────────────────┼────────────────────────
Песок │ 20 │ 30
Суглинок │ 12 │ 18
Глина │ 9 │ 14
В песчаных грунтах для улучшения наполнения ковша допускается работать на подъемах до 3°.
Рыхление плотных глинистых и суглинистых грунтов следует производить рыхлителями с тремя стойками к гусеничным тракторам 100 - 130 л.с.
4.102. Во избежание пересыхания грунта рыхление его производится послойно на толщину снимаемой скрепером стружки в объеме не более полусменной потребности грунта для работающих скреперов.
4.103. Для разработки влажных связных грунтов скрепер должен быть оборудован удлиненными средними ножами, что позволяет в 1,5 - 2 раза ускорить наполнение ковша за счет вырезания толстой и узкой стружки.
Малосвязные (песок, супесь), а также предварительно разрыхленные сухие связные грунты разрабатывать скреперами с удлиненными средними ножами менее эффективно из-за разрушения стружки и потерь грунта из ковша через щель между боковыми короткими ножами и заслонкой. Для уменьшения потерь грунта рекомендуется устанавливать планки на передней заслонке против коротких ножей, а сбоку ковша скрепера - щитки, препятствующие образованию валиков грунта.
4.104. В случае разработки прицепными скреперами твердых и плотных грунтов без предварительного рыхления, глинистых грунтов с повышенной влажностью и сухих песков для обеспечения наполнения ковша необходимо применять тракторы-толкачи.
Количество прицепных скреперов, обслуживаемых одним толкачом, принимается по табл. 43, а комплект машин, состав комплексных бригад и технико-экономические показатели определяются отдельным расчетом.
Таблица 43
───────────────────────────────┬───────────────────────────────────────────
Дальность транспортирования │ Емкость ковша скрепера, м3
грунта, м ├────────────────────┬──────────────────────
│ 8 │ 10 - 15
───────────────────────────────┼────────────────────┼──────────────────────
100 │ 2 │ 2
250 │ 3 │ 3
500 │ 4 │ 5
4.105. При наполнении ковша скрепера резание грунта осуществляется по обычной, гребенчатой, ребристо-шахматной схемам и клевками (рис. 39).
Рис. 39. Схемы резания грунта скреперами:
а - обычная; б - гребенчатая;
в - ребристо-шахматная; г - клевками
4.106. При резании грунта по обычной схеме при длине набора L толщину стружки постепенно уменьшают от

в начале резания до

- в конце. Длина набора грунта и толщина стружки зависят от емкости ковша скрепера q и грунтовых условий. Эта схема обеспечивает одинаковую нагрузку на трактор во время набора грунта.
4.107. Резание по гребенчатой схеме производится с переменным заглублением ковша и уменьшением по длине и высоте каждой последующей волны заглубления. В песчаных грунтах рекомендуется в начальный период резания заглублять ковш на h = 30 см при высоко поднятой заслонке, и длину участка заглубления

принимать 10 - 12 м. В тяжелых глинистых грунтах следует принимать наибольшую толщину стружки 10 - 12 см, а длину участка заглублений 4 - 6 м. Для получения более ровного забоя каждый последующий набор грунта на одной и той же полосе производится с перекрытием "гребней" с отступом на 2 - 3 м от начала предыдущего набора. Гребенчатая схема обеспечивает полную загрузку ковша при рациональном использовании мощности трактора.
4.108. Ребристо-шахматная схема предусматривает разработку грунта последовательными рядами проходок L, одинаковыми по длине. Между проходками первого ряда оставляются полосы нетронутого грунта шириной, равной половине ширины ножа скрепера b. Разработка второго ряда проходок производится с отступом от начала первого на половину длины проходки. При этом ось движения скрепера совпадает с осью оставленных нетронутыми полос грунта после проходки первого ряда. В такой же последовательности производится разработка третьего и последующих рядов проходок. При этой схеме в конце набора грунта уменьшается сопротивление резанию и обеспечивается энергичное поступление грунта в ковш.
4.109. При наборе грунта клевками нож скрепера многократно заглубляется на величину

, в 1,5 - 2 раза большую той, которая соответствует устойчивой работе двигателя с полной нагрузкой.
Уменьшая или полностью снимая нагрузку при выглублении, тягачу дается возможность развить скорость и накопить кинетическую энергию, которая затем используется для очередного клевка.
При всех способах резания набор грунта следует производить на первой скорости с максимально возможной толщиной стружки.
4.110. При транспортировке грунта скреперами из резервов или выемок в насыпи могут применяться следующие схемы: по эллипсу, по восьмерке, по зигзагу и продольно-челночная (рис. 40 и
41).
Рис. 40. Схемы движения скрепера:
а - по эллипсу; б - по восьмерке;
1 - набор грунта; 2 - разгрузка грунта
Рис. 41. Схемы движения скрепера:
а - по зигзагу; б - продольно-челночная;
1 - участок укладки грунта из резерва I;
2 - участок укладки грунта из резерва II
При схеме по эллипсу с целью избежания одностороннего износа ходовых частей трактора и скрепера следует периодически (2 раза в смену) изменять направление их движения на обратное.
При расположении резервов или выемок у одного или с двух концов насыпи отсыпку ее следует производить по схемам рис. 42.
Рис. 42. Схемы движения скрепера:
а - при расположении резерва у одного конца насыпи;
б - при расположении резерва с двух концов насыпи;
1 - резерв
В случае движения скрепера по восьмерке исключается односторонний износ ходовых частей машин, экономится один поворот на каждом рейсе.
При применении схемы по зигзагу скреперы идут один за другим вдоль отсыпаемой насыпи, заходя попеременно в резерв для набора грунта и на насыпь - для разгрузки. В конце участка скреперы делают поворот на 180° и следуют обратно, повторяя чередование наборов и разгрузок. Эта схема применяется при протяженности насыпи не менее 200 м.
Продольно-челночная схема применяется при двусторонних резервах и кавальерах. Она позволяет сократить число поворотов.
Применение продольных схем разработки грунта находится в прямой зависимости от дальности доставки его скреперами.
4.111. Дальность транспортировки грунта и расстояние между въездами в зависимости от высоты насыпи указаны в табл. 44.
Таблица 44
──────────────┬────────────────────────┬───────────────────────────────────
Высота │ Расстояние между │ Средняя дальность транспортировки
насыпи, м │ въездами, м │ грунта, м
──────────────┼────────────────────────┼───────────────────────────────────
До 2 │ 65 │ 70
3 │ 80 │ 90
4 │ 95 │ 110
5 │ 110 │ 130
6 │ 130 │ 150
4.112. Въезды на насыпь и съезды при высоте ее до 1,5 - 2 м рекомендуется устраивать прямыми (под прямым углом к оси насыпи), при большей высоте - косыми.
Размеры проезжей части при одностороннем движении и площадки для разворота приведены в табл. 45.
Таблица 45
──────────────────────┬────────────────────────────────────────────────────
Емкость ковша │ Минимальные размеры, м
скрепера, м3 ├────────────────────────┬───────────────────────────
│ проезжей части въезда │ ширины площадки для
│ (съезда) │ разворота на 180°
──────────────────────┼────────────────────────┼───────────────────────────
8 │ 4,5 │ 14
10 │ 4,5 │ 15
Более 10 │ 5,5 │ 21
4.113. Уклоны землевозных дорог для движения скреперов должны быть не круче, а радиусы кривых не менее величин, указанных в табл. 46.
Таблица 46
───────────────────┬───────────┬───────┬────────┬─────────────┬────────────
Наименование машин │Направление│Подъем │ Спуск │ Поперечный │ Радиус
│ движения │ │ │ уклон │закруглений,
│ │ │ │ │ м
───────────────────┼───────────┼───────┼────────┼─────────────┼────────────
Скреперы прицепные │ Порожнее │ 0,17 │ 0,30 │ 0,10 - 0,12 │ 15 - 20
│ Грузовое │ 0,15 │ 0,25 │ 0,08 - 0,12 │ 15 - 20
Скреперы │ Порожнее │ 0,15 │ 0,25 │ 0,08 - 0,1 │ 12 - 15
самоходные │ Грузовое │ 0,12 │ 0,20 │ 0,08 - 0,1 │ 12 - 15
Разработка выемок и возведение насыпей бульдозерами
Область применения
4.114. Бульдозеры целесообразно применять для возведения насыпей высотой до 1 м непосредственно из резервов, разработки выемок с перемещением и укладкой грунта в насыпь или кавальер, устройства полунасыпей-полувыемок на косогорах, а также для нарезки уступов. Перемещение грунта бульдозерами более 100 м нецелесообразно.
Указания распространяются на работы, производимые при разработке грунтов I - III групп. Разработку и перемещение грунтов предусматривается производить бульдозерами с типовыми отвалами, а также с отвалами совкового типа конструкции ЦНИИСа, повышающими производительность до 30%.
Комплект машин
4.115. В комплект машин для разработки выемок и возведения насыпей бульдозерами входят: бульдозер, грунтоуплотняющая машина, рыхлитель при разработке плотных грунтов III группы.
Состав комплексной бригады
4.116. Разработку грунта и возведение насыпей производит бригада в составе:
Машинист бульдозера 6 разр.
Машинист грунтоуплотняющей машины 5 разр.
Машинист рыхлителя 5 разр.
Технико-экономические показатели
4.117. Технико-экономические показатели комплектов машин при разработке выемок с перемещением грунта в насыпь приведены в табл. 47.
Таблица 47
─────────────────┬───────┬─────────────────────────────────────────────────
Показатели │Группы │ Бульдозер на тракторе
│грунтов├───────────────┬────────────────┬────────────────
│ │ 100 л.с. │ 140 л.с. │ 250 л.с.
│ ├───────────────┴────────────────┴────────────────
│ │ Дальность транспортировки, м
│ ├───┬───┬───┬───┬────┬───┬───┬───┬────┬───┬───┬───
│ │25 │50 │75 │100│ 25 │50 │75 │100│ 25 │50 │75 │100
─────────────────┼───────┼───┼───┼───┼───┼────┼───┼───┼───┼────┼───┼───┼───
ИС МЕГАНОРМ: примечание.
Значение в строке 11, для группы грунтов II дано в соответствии
с официальным текстом документа.
Производитель- │ I │709│376│256│194│1160│596│402│303│1270│650│438│328
ность, м3/смену │ II │555│292│198│150│ 930│480│326│246│ 190│616│416│314
│ III │312│274│188│142│ 870│457│312│235│1090│580│394│298
─────────────────┼───────┼───┼───┼───┼───┼────┼───┼───┼───┼────┼───┼───┼───
Выработка на │ I │354│188│128│ 97│ 580│298│201│151│ 635│325│219│164
одного рабочего, │ II │277│146│ 99│ 70│ 465│240│163│123│ 595│308│208│157
м3/смену │ III │256│137│ 94│ 71│ 435│228│151│117│ 545│290│197│149
─────────────────┴───────┴───┴───┴───┴───┴────┴───┴───┴───┴────┴───┴───┴───
4.118. Технико-экономические показатели комплектов машин при возведении насыпи из резерва приведены в табл. 48.
Таблица 48
─────────────────────┬───────┬─────────────────────────────────────────────
Показатели │Группы │ Бульдозер на тракторе
│грунтов├───────────────┬──────────────┬──────────────
│ │ 100 л.с. │ 140 л.с. │ 250 л.с.
│ ├───────────────┴──────────────┴──────────────
│ │ Высота насыпи, м
│ ├─────┬────┬────┬────┬────┬────┬────┬────┬────
│ │0,75 │1,0 │1,5 │0,75│1,0 │1,5 │0,75│1,0 │1,5
─────────────────────┼───────┼─────┼────┼────┼────┼────┼────┼────┼────┼────
Производительность, │ I │ 606 │393 │298 │1070│696 │526 │1117│763 │576
м3/смену │ II │ 510 │330 │254 │ 860│558 │423 │1090│718 │540
│ III │ 465 │308 │238 │ 790│523 │395 │1000│660 │502
─────────────────────┼───────┼─────┼────┼────┼────┼────┼────┼────┼────┼────
Выработка на одного │ I │ 303 │196 │149 │ 535│348 │263 │558 │381 │288
рабочего, м3/смену │ II │ 255 │165 │127 │ 430│279 │211 │545 │359 │270
│ III │ 155 │103 │ 79 │ 263│174 │132 │333 │220 │157
─────────────────────┴───────┴─────┴────┴────┴────┴────┴────┴────┴────┴────
Технология работ
4.119. Технологический процесс сооружения земляного полотна бульдозерами состоит из разработки грунта в выемке или резерве и перемещения его в насыпь, послойного разравнивания и уплотнения грунта на насыпи грунтоуплотняющими машинами.
4.120. Разработку выемки бульдозером следует вести, начиная от откосов, слоями толщиной до 30 - 40 см по всей длине забоя и ширине выемки (рис. 43).
Рис. 43. Схема разработки выемки с перемещением и укладкой
грунта в насыпь бульдозером:
а - организация работ; б - очередность проходок бульдозера;

- участок (захватка) уплотнения грунта;

- участок (захватка) отсыпки и разравнивания грунта
4.121. Для обеспечения заданной крутизны откоса выемки разработку каждого нижележащего слоя надо начинать с отступом от края предыдущего слоя на величину не менее nh (n - показатель крутизны откоса; h - толщина слоя).
4.122. Разработку грунта бульдозерами следует вести под уклон, наибольшая величина которого не должна превышать допустимых уклонов, указанных в паспорте машины. Наиболее производительная работа бульдозеров достигается при уклонах 10 - 15°.
Резание, особенно плотных грунтов, следует производить по гребенчатой схеме (рис. 44). В тяжелых грунтах набор осуществляется "плавающим", т.е. незакрепленным отвалом; в легких грунтах отвал следует закреплять в положении, обеспечивающем определенную глубину резания.
Рис. 44. Схема резания грунта бульдозером с обычным отвалом
(гребенчатая схема, продольный разрез)
4.123. При разработке грунта бульдозерами с типовыми отвалами, в целях увеличения объема набираемого грунта и уменьшения потерь его в процессе перемещения, отвал бульдозера следует оборудовать боковыми щитками или перемещение производить в траншее, образованной предыдущими проходками.
Повышению производительности бульдозера способствует также перемещение грунта с образованием промежуточных валиков по ходу движения (рис. 45).
Рис. 45. Схема разработки и перемещения грунта бульдозером
с образованием промежуточного вала:
I и II - разработка траншеи и перемещение грунта в отвал
на первом отрезке; III - V - то же, на втором, третьем
и четвертом отрезках; 1 - 4 - отрезки длиной 15 м каждый
4.124. Возведение насыпи бульдозерами из резервов (рис. 46) производится попеременно на двух смежных захватках. При этом на одной из них ведется отсыпка грунта с разравниванием его горизонтальными слоями по всей ширине насыпи, а на другой - уплотнение грунта уплотняющими машинами.
Рис. 46. Схема возведения насыпи бульдозером
с перемещением грунта из резерва:

- участок отсыпки и разравнивания грунта;

- участок уплотнения грунта; 1 - бульдозер;
2 - пневмокаток
4.125. В целях лучшего использования грунтоуплотняющей машины возведение насыпи на захватке целесообразно производить двумя - четырьмя бульдозерами.
4.126. Перед разработкой грунта целесообразно намечать на захватке границы заложения откосов насыпи и бровок откосов резерва. Для этого следует сделать проходки бульдозером вдоль колышков разбивки, заглубляя нож отвала на 5 - 7 см. Образующиеся при этом валики земли служат в дальнейшем ориентирами и позволяют возводить насыпь без боковых пересыпок или недосыпок.
4.127. Насыпь, возводимая с перемещением грунта из выемки, по длине делится на две захватки. Отсыпка слоя начинается с дальней от выемки захватки. После отсыпки и разравнивания грунта на этой захватке производится его уплотнение, а на смежной с ней захватке - отсыпка слоя. Во время уплотнения грунта на захватке около выемки бульдозер перемещает грунт с удаленных участков выемки, образуя перед насыпью валы. Уплотнение грунта рекомендуется выполнять навесными на тракторе трамбующими машинами.
4.128. С увеличением высоты насыпи, возводимой из резерва, значительно снижается производительность бульдозера и увеличивается объем грунта, необходимый для устройства въезда его на насыпь. Въезд необходимо устраивать сплошным на всем протяжении насыпи с уклоном не круче 1:5. Потребный для устройства въезда грунт является дополнительной присыпкой к насыпи и в дальнейшем не используется.
4.129. Дополнительный объем грунта для устройства въезда и снижение производительности бульдозера при перемещении грунта на подъем при возведении насыпи из одностороннего резерва приведены в табл. 49.
Таблица 49
────────┬────────────────────────────────┬─────────────────────────────────
Высота │ Дополнительный объем грунта │ Снижение производительности
насыпи, │ въезда от объема насыпи, % │бульдозера при перемещении грунта
м │ │ на подъем, %
├────────────────────────────────┴─────────────────────────────────
│ Толщина отсыпаемых слоев насыпи, м
├───────────┬──────────┬─────────┬──────────┬──────────┬───────────
│ 0,3 │ 0,5 │ 1,0 │ 0,3 │ 0,5 │ 1,0
────────┼───────────┼──────────┼─────────┼──────────┼──────────┼───────────
0,5 │ 5 │ - │ - │ 19 │ - │ -
1,0 │ 15 │ 9 │ - │ 26 │ 19 │ -
1,5 │ 25 │ 18 │ 6 │ 29 │ 24 │ 12
2,0 │ 33 │ 26 │ 13 │ 31 │ 26 │ 17
4.130. Устройство полувыемки на косогоре начинается с разработки в верхней части ее горизонтальной площадки шириной не менее 3 м (рис. 47). Дальнейшая срезка грунта ведется слоями толщиной 30 - 40 см. При перемещении грунта под откос в полунасыпь или в отвал разработка слоев полувыемки начинается со стороны откоса косогора. Нарезка уступов при возведении насыпи на косогоре производится бульдозером последовательно: после возведения насыпи на высоту первого уступа нарезается следующий уступ и т.д.
Рис. 47. Схема разработки полувыемки бульдозером:
1 - 5 - последовательность разработки
4.131. Разработка полувыемок с перемещением грунта под откос в полунасыпь или в отвал эффективно осуществляется универсальными бульдозерами.
4.132. Ножи отвала после износа следует перевернуть или заточить. Перестановку или смену ножей рекомендуется производить после 400 - 600 ч работы в песчаных грунтах и после 1000 - 1200 ч работы в глинистых.
Возведение насыпей грейдер-элеватором из резерва
Область применения
4.133. Схема предусматривает возведение насыпей высотой до 0,8 из односторонних резервов и высотой до 1 м - из двусторонних резервов полуприцепным грейдер-элеватором Д-437А.
4.134. Грейдер-элеватор можно применять для разработки грунтов I - III групп. Плотные глинистые грунты с влажностью менее границы раскатывания на 3% и более рекомендуется предварительно разрыхлять; производительность грейдер-элеватора при разработке разрыхленных грунтов значительно снижается. Грейдер-элеваторы не следует применять для разработки сыпучих песков, глинистых грунтов с влажностью более границы раскатывания плюс четверть числа пластичности, а также грунтов, содержащих большие камни и валуны.
Грейдер-элеваторы целесообразно применять при фронте работ 400 - 2000 м.
Комплект машин
4.135. Для возведения насыпей грейдер-элеваторами необходимы следующие машины и оборудование:
Грейдер-элеватор Д-437А в сцепе с трактором 100 л.с. ....... 1
Бульдозер на тракторе 100 л.с. ............................. 1
Пневмокаток массой 25 - 30 т. .............................. 1
Состав комплексной бригады
4.136. Возведение насыпей грейдер-элеватором производит бригада в составе:
Машинист грейдер-элеватора 6 разр.
Машинист бульдозера 6 разр.
Машинист пневмокатка 5 разр.
Технико-экономические показатели
4.137. Производительность комплекта машин и выработка на одного рабочего приведены в табл. 50.
Таблица 50
───────────────────────────────────┬───────────────────────────────────────
Показатели │ Резервы
├───────────────────┬───────────────────
│ двусторонние │ односторонние
├───────────────────┴───────────────────
│ Группы грунтов
├──────┬──────┬─────┬─────┬──────┬──────
│ I │ II │ III │ I │ II │ III
───────────────────────────────────┼──────┼──────┼─────┼─────┼──────┼──────
Производительность, м3/смену │ 3480 │ 2100 │1270 │1860 │ 1230 │ 835
Выработка на одного рабочего, │ 1160 │ 700 │ 317 │ 620 │ 410 │ 209
м3/смену │ │ │ │ │ │
Технология работ
4.138. Технологический процесс возведения насыпи из резервов грейдер-элеватором состоит из разработки грунта в резервах и укладки его в насыпь, послойного разравнивания бульдозером и послойного уплотнения его на насыпи грунтоуплотняющими машинами.
4.139. При возведении насыпи грейдер-элеватором непосредственно из резервов работа ведется попеременно на двух смежных захватках, на одной из которых отсыпается слой грунта, а на другой - разравнивается и уплотняется (рис. 48).
Рис. 48. Схема возведения насыпи грейдер-элеватором
из резерва:

- участок (захватка) отсыпки слоя грунта;

- участок (захватка) разравнивания и уплотнения грунта;
L - длина фронта работ; 1 - рабочий ход; 2 - нерабочий
4.140. Насыпь по всей ширине отсыпается горизонтальными слоями, толщина которых устанавливается в зависимости от уплотняющих средств. Наиболее экономичным является уплотнение пневмокатками массой 25 - 30 т.
4.141. Для перехода грейдер-элеватора с одной стороны насыпи на другую в последней должны быть оставлены разрывы шириной не менее 10 м. В местах разрывов по окончании работы грейдер-элеватора насыпь возводится бульдозером с обязательным уплотнением грунта уплотняющими машинами.
4.142. Диск грейдер-элеватора устанавливается под углами резания и захвата в зависимости от разрабатываемого грунта (табл. 51).
Таблица 51
─────────────────────────┬─────────────────────────────────────────────────
Параметры │ Угол установки диска, град
├───────────────────────────┬───────────┬─────────
│Супесь и разрыхленный грунт│ Суглинок │ Глина
─────────────────────────┼───────────────────────────┼───────────┼─────────
Угол резания │ 40 - 50 │ 30 - 40 │ 20 - 30
Угол захвата │ 55 │ 45 │ 40
(средняя величина) │ │ │
─────────────────────────┴───────────────────────────┴───────────┴─────────
4.143. Для равномерного распределения грунта по всей ширине ленты транспортера режущий диск устанавливается на расстоянии 160 мм от заднего края ленты, считая по ходу движения грейдер-элеватора. Для обеспечения наиболее полного поступления грунта на транспортер и предотвращения потерь просвет между поверхностью земли и концом транспортера у диска следует оставлять по возможности меньшим; зазор между лентой транспортера и режущим диском должен быть 30 - 40 мм; между задней стороной режущего диска и лентой транспортера рекомендуется устанавливать отражательный козырек, который изготовляется из старой транспортерной ленты.
4.144. Разработка грунта в резервах ведется послойно на всю ширину резерва. Первым проходом грейдер-элеватор прокладывает борозду, строго ориентируясь по колышкам, выставленным на бровке бермы. При этом режущий диск заглубляется до 20 см.
Последующие борозды нарезаются с постепенным заглублением диска на 5 - 10 см, пока не будет достигнута постоянная глубина резания, равная 40 - 45 см.
4.145. Борозду грейдер-элеватором нужно нарезать возможно ровнее. Трактор должен перемещаться так, чтобы расстояние между краем гусеницы его и обрезом борозды от предыдущей проходки было не более 8 см.
4.146. Для увеличения высоты отсыпаемой насыпи длина транспортера должна быть увеличена до предела за счет соответствующей раздвижки и уменьшения угла наклона рамы транспортера.
4.147. Для предотвращения неравномерности износа диска через каждые 80 - 100 ч работы его следует повернуть на угол 120°. После износа всей поверхности на 15 - 20% от первоначальных размеров диск следует заменить новым.
Рабочий ход грейдер-элеватора производится на второй передаче трактора, нерабочий - на третьей.
Разработка карьеров грейдер-элеватором и возведение
насыпей автосамосвалами
Область применения
4.148. Схема предусматривает разработку карьеров полуприцепным грейдер-элеватором Д-437А и возведение насыпей автосамосвалами грузоподъемностью 7 и 10 т (рис. 49).
Рис. 49. Схема разработки карьера грейдер-элеватором
и возведение насыпи автосамосвалами:
1 - грейдер-элеватор; 2 - автосамосвалы; 3 - бульдозер;
4 - пневмокаток; 5 - автогрейдер; l - длина карьера
Комплект машин
4.149. Комплект машин при разработке грунта грейдер-элеватором и возведении насыпей автосамосвалами указан в табл. 52.
Таблица 52
─────────────────────────────────────┬─────────────────────────────────────
Наименование машин │Дальность транспортировки грунта, км
├─────────┬─────────┬────────┬────────
│ 0,5 │ 1 │ 2 │ 3
─────────────────────────────────────┼─────────┴─────────┴────────┴────────
Грейдер-элеватор │ 1
Автосамосвалы грузоподъемностью 7 т │ 11 │ 13 │ 17 │ 21
То же, 10 т │ 10 │ 12 │ 15 │ 19
Бульдозер на тракторе 100 л.с. │ 1
Автогрейдер тяжелый │ 1
Пневмокаток весом 25 - 30 т │ 1
Электростанция 5 - 7 кВт │ 1
Состав комплексных бригад
4.150. Состав комплексных бригад при разработке грунта грейдер-элеватором с погрузкой его в автосамосвалы приведен в табл. 53.
Таблица 53
──────────────────────────────┬──────┬─────────────────────────────────────
Профессия │Разряд│Дальность транспортировки грунта, км
│ ├────────┬─────────┬────────┬─────────
│ │ 0,5 │ 1 │ 2 │ 3
──────────────────────────────┼──────┼────────┴─────────┴────────┴─────────
Машинист грейдер-элеватора │ 6 │ 1
Шоферы автосамосвалов │ - │ 11 │ 13 │ 17 │ 21
грузоподъемностью 7 т │ │ │ │ │
То же, 10 т │ - │ 10 │ 12 │ 15 │ 19
Машинист бульдозера │ 6 │ 1
Машинист автогрейдера │ 6 │ 1
Машинист │ 5 │ 1
грунтоуплотняющей машины │ │
Машинист передвижной │ 5 │ 1
электростанции │ │
Технико-экономические показатели
4.151. Технико-экономические показатели при разработке грунта грейдер-элеватором с погрузкой его в автосамосвалы приведены в табл. 54 и
55.
Таблица 54
─────────────────────────────┬────────────────────┬────────────────────────
Транспортирование грунта │ Группы грунтов │ Производительность
автосамосвалами │ │ грейдер-элеватора,
грузоподъемностью, т │ │ м3/смену
─────────────────────────────┼────────────────────┼────────────────────────
7 │ I │ 2200
│ II │ 1470
│ III │ 995
─────────────────────────────┼────────────────────┼────────────────────────
10 │ I │ 2490
│ II │ 1645
│ III │ 1150
─────────────────────────────┴────────────────────┴────────────────────────
────────────────────────────┬───────┬──────────────────────────────────────
Транспортирование грунта │Группы │Выработка на одного рабочего, м3/смену
автосамосвалами │грунтов├──────────────────────────────────────
грузоподъемностью, т │ │ Дальность транспортировки грунта, км
│ ├────────┬─────────┬─────────┬─────────
│ │ 0,5 │ 1,0 │ 2,0 │ 3,0
────────────────────────────┼───────┼────────┼─────────┼─────────┼─────────
7 │ I │ 139 │ 123 │ 101 │ 85
│ II │ 92 │ 82 │ 67 │ 57
│ III │ 62 │ 55 │ 45 │ 38
────────────────────────────┼───────┼────────┼─────────┼─────────┼─────────
10 │ I │ 166 │ 146 │ 124 │ 104
│ II │ 110 │ 97 │ 82 │ 69
│ III │ 77 │ 68 │ 58 │ 48
────────────────────────────┴───────┴────────┴─────────┴─────────┴─────────
Технология работ
4.152. Разработка грунта грейдер-элеватором производится в соответствии с
пп. 4.142 -
4.147. Скорость движения грейдер-элеватора и автосамосвала во время загрузки должна быть одинаковой. После загрузки автосамосвала грейдер-элеватор прекращает разработку грунта и останавливается на время установки под загрузку очередного автосамосвала. Просвет между транспортером и кабиной автосамосвала должен быть не менее 0,5 м.
СООРУЖЕНИЕ ЗЕМЛЯНОГО ПОЛОТНА В ЗИМНЕЕ ВРЕМЯ
5.1. Земляные работы в зимних условиях планируется производить, если они необходимы для обеспечения готовности земляного полотна под укладку рельсового пути, в сроки, предусмотренные директивным графиком строительства, а также в целях лучшего использования землеройных и транспортных машин.
5.2. Участки земляного полотна, возводимого в зимнее время, необходимо определять на стадии разработки технического и техно-рабочего проекта и уточнять на стадии разработки рабочих чертежей.
5.3. В проектах необходимо учитывать, что на зимний период целесообразно относить следующие работы:
разработку выемок и карьеров в сухих песках, гравийно-галечных и скальных, предварительно разрыхляемых грунтах, а также возведение насыпей из таких грунтов на основаниях, прочностные и деформативные свойства которых изменяются незначительно в результате их промерзания и оттаивания;
разработку в глинистых грунтах выемок глубиной более 3 м с перемещением грунта в кавальер или насыпь;
устройство насыпей на болотах;
устройство штолен и глубоких дренажных прорезей;
укрепление откосов насыпей регуляционных сооружений и русел рек каменной отсыпкой, бетонными массивами, плитами и т.п.
В течение зимнего времени не следует предусматривать:
разработку выемок в нескальных грунтах глубиной до 3 м;
возведение насыпей из резервов;
планировку земляного полотна из глинистых грунтов;
устройство неглубоких канав и русел.
5.4. Для насыпей, возводимых в зимнее время, допускается применять без ограничения следующие грунты из выемок или карьеров: скальные, крупнообломочные, крупный или средний песок. Допускаются также глинистые грунты, имеющие влажность не свыше границы раскатывания, мелкие и пылеватые неводонасыщенные пески.
Глинистые грунты полутвердой консистенции разрешается применять при отсутствии грунтов с меньшей влажностью, причем для верхней части насыпи необходимо использовать только талые грунты.
5.5. Качество работ, выполняемых в зимнее время, должно удовлетворять общим требованиям на производство и приемку земляных работ с учетом указаний настоящего раздела. За качеством работ должен быть организован постоянный контроль, систематически должен производиться инструктаж технического персонала об особенностях производства работ в зимнее время.
5.6. До наступления морозов подлежат выполнению следующие работы:
восстановление и закрепление трассы, установка реперов, установка и закрепление точек через 20 м по оси насыпей, отсыпаемых зимой, нивелировка точек;
подготовка к эксплуатации в зимнее время машин, оборудования, инструмента и инвентаря;
подготовка жилых, культурно-бытовых, производственных и складских помещений;
заготовка топлива и специальных смазочных материалов;
проведение утеплительных мероприятий в карьерах и выемках;
удаление верхнего слоя грунта, непригодного для отсыпки насыпей, укладка рабочих путей и др.;
разбивка земляного полотна;
устройство уступов и срезка дерна на косогорах;
устройство нагорных и водоотводных канав;
разработка концевых участков выемок (глубиной до 3 м), предусмотренных к разработке в зимнее время;
срезка кочек, вырубка кустарника и выкашивание травы для ускорения промерзания болот;
удаление слабых грунтов в основании насыпей в местах, предусмотренных проектом;
подготовка землевозных дорог.
5.7. При отсыпке насыпей необходимо:
тщательно очистить от снега и льда основание под насыпь;
не допускать попадания снега и льда в тело насыпи;
разработку и укладку грунта в насыпь вести с такой интенсивностью, чтобы температура грунта в момент уплотнения была выше нуля;
содержание мерзлого грунта в теле насыпи не допускать более 30% общего объема, укладываемого в насыпь;
работать в забоях с толщиной мерзлого слоя глинистого грунта менее 1/3 общей высоты забоя;
не допускать укладку в насыпь комьев мерзлого грунта с линейными размерами более двух третей толщины уплотняемого слоя или превышающих 0,2 м;
равномерно (не гнездами) размещать мерзлый грунт в насыпи и укладывать его на расстоянии не ближе 1 м от поверхности откосов;
верхнюю часть насыпей, а также слой грунта над верхом водопропускных труб на высоту не менее 1 м отсыпать только талым глинистым или дренирующим грунтом.
5.8. При наличии в основании насыпи пней нижний слой следует отсыпать до покрытия его снегом.
На участках мокрых и сырых оснований нижнюю часть насыпи на высоту не менее 0,5 м рекомендуется отсыпать до начала устойчивых заморозков.
5.9. Максимальная высота насыпей, возводимых в зимнее время, в зависимости от климата района не должна превышать величин, указанных в табл. 56.
───────────────────┬───────────────────────────┬───────────────────────────
Климат района │ Среднегодовая температура │ Наибольшая высота насыпи
│ воздуха, град │ из глинистых грунтов, м
───────────────────┼───────────────────────────┼───────────────────────────
Суровый │ Ниже -2 │ 2,5
Холодный │ От -2 до +1 │ 3,5
Умеренный │ От +1 до +5 │ 4,5
Теплый │ Более +5 │ Не ограничивается
Примечание. Температуру воздуха среднюю за год следует принимать по данным главы
СНиП "Строительная климатология и геофизика".
5.10. Планировку откосов и основной площадки насыпи, сооружаемой зимой, следует производить после оттаивания грунта.
Оттаявший грунт следует уплотнить.
5.11. Для насыпей, возводимых на полную высоту из глинистых грунтов при отрицательной температуре, необходимо предусматривать запас на осадку: до 5% высоты насыпи в районах с суровым и холодным климатом
(табл. 56) и до 3% - в районах с умеренным климатом.
5.12. Разработка выемок в скальных грунтах, сухих песках, щебне и гравии производится по запроектированному поперечному профилю; в остальных грунтах выемки должны разрабатываться на полную ширину по низу, а откосы могут устраиваться ступенчатыми.
Доработку откосов и кюветов до проектного очертания следует производить после оттаивания грунта.
5.13. Разработку грунтов целесообразно производить экскаваторами с ковшом емкостью не менее 1 м3. В случае применения экскаваторов с ковшом емкостью 0,65 м3 для повышения интенсивности производства работ необходимо включать в комплект не менее двух экскаваторов.
5.14. Экскаватором, оборудованным прямой или обратной лопатой, с ковшом емкостью 0,65 м3 можно разрабатывать грунт без предварительного рыхления при толщине мерзлого слоя до 0,25 м, а с ковшом емкостью 1 - 1,6 м3 - до 0,4 м.
Драглайном с ковшом емкостью не менее 1 м3 можно разрабатывать грунт без предварительного рыхления при толщине мерзлого слоя до 0,15 м. Скреперами без предварительного рыхления могут разрабатываться связные грунты, промерзшие на глубину до 5, и сухие песчано-гравийные - до 30 см.
Рыхление мерзлого грунта производится навесными рыхлителями на тракторах; разрыхленный грунт убирается отвалом рыхлителя или бульдозером в кавальер или отвал.
5.15. Работа землеройных машин в забоях с подготовленным для разработки грунтом должна производиться непрерывно и круглосуточно, узким фронтом во избежание промерзания грунта во время перерывов. При этом должны соблюдаться следующие правила:
не раскрывать покрытые снегом или изолирующим материалом площадки разработки до начала работ на них;
вести работы без длительных перерывов;
производить разработку грунта вслед за рыхлением;
защищать от промерзания открытые части забоев, подлежащие разработке при последующих проходках;
не допускать движения транспорта по участкам, намеченным к разработке.
В случаях вынужденных перерывов в работе вследствие метеорологических условий (метели, бураны, сильные морозы) либо выхода из строя машин необходимо тщательно утеплять забой во избежание промерзания грунта в забое и смерзания разрыхленного грунта.
5.16. Запрещается оставлять неразгруженными транспортные средства на время перерывов в работе. Разгрузку грунта из кузовов машин производить тщательно, не оставляя его даже в незначительном количестве.
Машины (экскаваторы, бульдозеры и др.), работающие в карьерах со слабыми влажными основаниями, на время перерывов в работе необходимо отгонять на сухие места или устанавливать на деревянные подмости, а гусеницы их тщательно очищать от налипшей грязи.
Разгруженный грунт должен быть немедленно уложен в насыпь, разровнен и уплотнен.
5.17. В тех случаях, когда сдача земляного полотна под укладку пути производится в зимнее время, необходимо:
основную площадку земляного полотна планировать немедленно, вслед за отсыпкой верхней части насыпи или разработкой нижнего слоя выемки, а все досыпки производить талым грунтом с тщательным уплотнением его;
планировку откосов насыпей и выемок относить на весенне-летний период.
5.18. Укрепление откосов земляного полотна и водоотводных сооружений посевом многолетних трав должно производиться весной, сразу же при наступлении весенних сроков посевов.
5.19. Землевозные автомобильные дороги должны содержаться в таком состоянии, чтобы обеспечивать движение автосамосвалов со скоростью не ниже 25 км/ч.
На дорогах, длительное время используемых для перевозки грунта, должны быть проведены мероприятия по предотвращению снежных заносов (установлены щиты, устроены снежные валы и др.).
5.20. В случае особой необходимости возведения насыпей или слоев мощностью более величин, указанных в
п. 5.9, следует предусматривать использование дренирующих грунтов, а при их отсутствии - разрабатывать индивидуальный проект насыпи из глинистого грунта.
Защита карьеров и выемок от сезонного промерзания
5.21. Предохранение грунта от промерзания следует осуществлять с помощью:
а) предварительного рыхления до промерзания грунта (вспахивания, боронования, перелопачивания);
б) засоления;
в) покрытия поверхности грунта теплоизоляционными материалами;
г) удержания снегового покрова.
Предохранение грунта от промерзания следует производить до наступления устойчивых отрицательных температур.
Защита карьеров и выемок от сезонного промерзания
глубоким рыхлением грунта с задержанием снега
деревянными щитами
Область применения
5.22. Рыхление грунта с последующим задержанием и накоплением снега для предохранения грунтов от промерзания рекомендуется применять в районах, где возможно накопление снега толщиной не менее 1 м, путем установки снегозадерживающих щитов.
Рыхление грунта производится прицепными или навесными рыхлителями на глубину не менее 0,4 м.
Для накопления снега рекомендуется применять стандартные снегозадерживающие щиты размером 2 x 2 м и с площадью просветов 40%, которые, как правило, исключают необходимость их перестановки при накоплении снегового покрова толщиной 1 м.
Комплект машин
5.23. Комплект машин для рыхления грунта, транспортирования щитов к месту их установки, для очистки накопленного снега в процессе разработки зимой карьера или выемки принимается следующим:
Рыхлитель с трактором не менее 100 л.с. .................... 1
Автомашины грузоподъемностью 4,5 т при дальности
транспортировки 25 км ..................................... 2
Бульдозер на тракторе 100 л.с. ............................. 1
Состав комплексной бригады
5.24. Состав комплексной бригады при защите карьеров или выемки от промерзания грунта рыхлением и накоплением снега снегозадерживающими щитами приведен в табл. 57.
Таблица 57
──────────────────────┬───────────────┬────────────────────────────────────
Профессия │ Разряд │Дальность транспортировки щитов, км
│ ├─────────────────┬──────────────────
│ │ 25 │ 50
──────────────────────┼───────────────┼─────────────────┼──────────────────
Тракторист │ 5 │ 1 │ 1
Машинист бульдозера │ 6 │ 1 │ 1
Рабочий-землекоп │ 2 │ 2 │ 2
Грузчик │ 2 │ 4 │ 4
Шофер │ - │ 2 │ 4
Технико-экономические показатели
5.25. Технико-экономические показатели рыхления грунта с накоплением снега снегозадерживающими щитами приведены в табл. 58.
Таблица 58
───────────────────────────────────────┬───────────────────────────────────
Показатели │Дальность транспортировки щитов, км
├─────────────────┬─────────────────
│ 25 │ 50
───────────────────────────────────────┼─────────────────┼─────────────────
Производительность при рыхлении, │ 8300 │ 8300
м3/смену │ │
Выработка на одного рабочего, м3/смену │ 830 │ 690
Технология работ
5.26. Рыхление грунта следует производить в двух взаимно перпендикулярных направлениях с перекрытием следов не менее чем на 20 см. Схема работы рыхлителя показана на рис. 50.
Рис. 50. Схема работы рыхлителя:
1 и 2 - первая и вторая проходки; 3 - последняя проходка
Для прицепного рыхлителя Д-6 целесообразно использовать трактор, оборудованный скреперной лебедкой. Подъемный трос при этом следует снять с барабана ручной лебедки рыхлителя и запасовать на барабан лебедки трактора. Использование лебедки трактора позволяет самому трактористу без рабочего управлять заглублением и подъемом рыхлителя непосредственно из кабины.
5.27. Задержание снегового покрова должно осуществляться валиками из грунта или снега или путем установки снегозадерживающих щитов. Расстояние между валиками или линиями щитов должно составлять 10 - 15-кратную высоту валика или щита.
5.28. Щиты рекомендуется устанавливать в два приема. Вначале до замерзания грунта забиваются колья. После промерзания грунта на глубину 15 - 20 см навешиваются щиты. Расстояние между кольями должно быть равно ширине щита.
За накоплением снега следует установить систематический надзор и в необходимых случаях производить перестановку щитов.
Защита карьеров и выемок от сезонного промерзания
засолением хлористым натрием
Область применения
5.29. Способ засоления глинистых грунтов (супесей, суглинков и глин) для защиты их от сезонного промерзания при разработке зимой карьеров и выемок рекомендуется применять в районах с малой толщиной снежного покрова (до 40 см).
5.30. Работы по засолению должны выполняться осенью до наступления устойчивых отрицательных температур в указанные в табл. 59 сроки.
Таблица 59
─────────────────────────────┬─────────────────────────────────────────────
Грунты │ Сроки выполнения засоления до наступления
│ устойчивых отрицательных температур, сутки
─────────────────────────────┼─────────────────────────────────────────────
Песчаные и супесчаные │ 5 - 15
Глинистые │ 20 - 25
5.31. Количество соли, необходимое для защиты от замерзания карьеров или выемок, предназначенных для разработки экскаватором, зависит от вида грунта, его предзимней влажности и глубины промерзания и определяется по табл. 60.
Таблица 60
───────────────────┬───────────────┬───────────────────────────────────────
Вид грунта, число │ Предзимняя │Количество соли, кг на 1 м2 поверхности
пластичности │ влажность ├───────────────────────────────────────
W │ защищаемого │ Глубина промерзания, м
п │слоя грунта, % ├───────┬───────┬───────┬───────┬───────
│ │ 1,0 │ 1,2 │ 1,4 │ 1,6 │ 1,8
───────────────────┼───────────────┼───────┼───────┼───────┼───────┼───────
Глина │ 15 │ 9 │ 13 │ 16 │ 21 │ 25
17 < W <= 22 │ 20 │ 12 │ 18 │ 20 │ 27 │ 30
п │ 25 │ 14 │ 21 │ 25 │ 30 │ 36
│ 30 и более │ 19 │ 26 │ 30 │ 34 │ 40
Суглинки │ 15 │ 9 │ 12 │ 14 │ 18 │ 20
11 < W <= 17 │ 20 │ 14 │ 19 │ 24 │ 26 │ 32
п │ 25 и более │ 18 │ 23 │ 28 │ 34 │ 36
Супеси, легкие │ 15 │ 10 │ 12 │ 15 │ 19 │ 23
суглинки │ 20 │ 13 │ 20 │ 22 │ 26 │ 32
5 < W <= 11 │ 25 и более │ 16 │ 22 │ 27 │ 32 │ 35
п │ │ │ │ │ │
Комплект машин
5.32. Комплект машин для подготовки поверхности карьера, погрузки, перевозки и разравнивания соли при засолении грунта приведен в табл. 61.
───────────────────────────────────┬───────────────────────────────────────
Наименование машин │ Расход соли, кг/м2
├─────────┬─────────┬─────────┬─────────
│ 10 │ 20 │ 30 │ 40
├─────────┴─────────┴─────────┴─────────
│ Дальность транспортирования соли, км
├────┬────┬────┬────┬────┬────┬────┬────
│ 25 │ 50 │ 25 │ 50 │ 25 │ 50 │ 25 │ 50
───────────────────────────────────┼────┴────┼────┴────┼────┴────┼────┴────
Экскаватор с ковшом емкостью │ 1 │ 1 │ 1 │ 1
0,25 - 0,3 м3 │ │ │ │
Автосамосвалы грузоподъемностью │ 3 │ 5 │ 6 │ 10 │ 9 │ 14 │ 10 │ 19
4,5 т │ │ │ │ │ │ │ │
То же, 7 т │ 2 │ 3 │ 4 │ 6 │ 6 │ 9 │ 8 │ 12
Автогрейдер │ 1 │ 1 │ 1 │ 1
Бульдозер │ 1 │ 1 │ 1 │ 1
Состав комплексной бригады
5.33. Состав комплексной бригады для производства работ по защите от сезонного промерзания засолением хлористым натрием указан в табл. 62.
Таблица 62
────────────────────────────┬──────┬───────────────────────────────────────
Профессия │Разряд│ Расход соли, кг/м2
│ ├─────────┬─────────┬─────────┬─────────
│ │ 10 │ 20 │ 30 │ 40
│ ├─────────┴─────────┴─────────┴─────────
│ │ Дальность транспортирования соли, км
│ ├────┬────┬────┬────┬────┬────┬────┬────
│ │ 25 │ 50 │ 25 │ 50 │ 25 │ 50 │ 25 │ 50
────────────────────────────┼──────┼────┴────┼────┴────┼────┴────┼────┴────
Машинист экскаватора │ 5 │ 1 │ 1 │ 1 │ 1
Машинист бульдозера │ 6 │ 1 │ 1 │ 1 │ 1
Машинист автогрейдера │ 6 │ 1 │ 1 │ 1 │ 1
Шоферы при работе │ │ │ │ │
автосамосвалов │ │ │ │ │
грузоподъемностью, т: │ │ │ │ │
4,5 │ - │ 3 │ 5 │ 6 │ 10 │ 9 │ 14 │ 10 │ 19
7 │ - │ 2 │ 3 │ 4 │ 6 │ 6 │ 9 │ 8 │ 12
Технико-экономические показатели
5.34. Технико-экономические показатели засоления грунта приведены в табл. 63. Если расход соли отличается от указанного в
табл. 61, технико-экономические показатели можно определять по интерполяции.
Таблица 63
───────────────────────────────────┬───────────────────────────────────────
Показатели │ Расход соли, кг/м2
├─────────┬─────────┬─────────┬─────────
│ 10 │ 20 │ 30 │ 40
├─────────┴─────────┴─────────┴─────────
│ Дальность транспортирования соли, км
├────┬────┬────┬────┬────┬────┬────┬────
│ 25 │ 50 │ 25 │ 50 │ 25 │ 50 │ 25 │ 50
───────────────────────────────────┼────┴────┼────┴────┼────┴────┼────┴────
Производительность комплекта │ 4240 │ 4240 │ 4240 │ 4240
при засолении поверхности, м2/смену│ │ │ │
Выработка на одного рабочего, │ │ │ │
м2/смену, при работе автосамосвалов│ │ │ │
грузоподъемностью, т: │ │ │ │
4,5 │707 │530 │471 │326 │353 │250 │326 │202
7 │848 │707 │606 │471 │471 │353 │385 │283
Технология работ
5.35. Работы по засолению выемки или карьера ведутся на четырех захватках
(рис. 51). На первой захватке

бульдозером производится планирование поверхности со срезкой растительного слоя на глубину 5 - 10 см и удаление срезанного грунта за пределы защищаемого участка; на второй

- производится разбивка мест выгрузки соли, исходя из грузоподъемности автосамосвалов и нормы расхода соли; на третьей

- соль выгружается из автосамосвалов; на четвертой

она разравнивается автогрейдером по поверхности площадки.
Длина захваток определяется в проекте организации работ.
Рис. 51. Схема засоления карьера:

- участок планирования поверхности бульдозером;

- участок разбивки мест выгрузки соли;

- участок выгрузки соли из автосамосвалов;

- участок разравнивания соли автогрейдером
Защита карьеров и выемок от сезонного
промерзания пенопластом
Область применения
5.36. Пенопластом предусматривается утеплять как горизонтальные, так и наклонные поверхности, в том числе откосы выемок при строительстве вторых путей.
5.37. В районах с периодически повторяющимися скоростями ветра более 30 м/с применение пенопласта не рекомендуется.
Комплект машин
5.38. Для получения пенопласта и нанесения слоя его на поверхность грунта необходимы:
Установка для изготовления пенопласта ...................... 1
Поливомоечная машина ....................................... 1
Компрессор ПКС-5 (ЗИФ-55) .................................. 1
Автомобиль грузоподъемностью 5 т ........................... 1
Бульдозер на тракторе 74 л.с. .............................. 1
Грузовой автомобиль используется для подвоза химических материалов и воды к месту работ, а бульдозер - для устройства подъездов и передвижки компрессора по площадке, защищаемой от промерзания грунта.
Состав комплексной бригады
5.39. Защита грунта пенопластом от промерзания должна выполняться бригадой в составе:
Оператор установки для изготовления пенопласта 5 разр. .............. 1
Машинист компрессора 5 разр. ........................................ 1
Рабочий, выполняющий нанесение пенопласта на грунт, 4 разр. ......... 1
Разнорабочий 3 разр. ................................................ 1
Шоферы грузовой и поливомоечной машин ............................... 2
Машинист бульдозера 5 разр. ......................................... 1
Технико-экономические показатели
5.40. Производительность комплекта машин составляет 100 м3/смену (по пенопласту); выработка на одного рабочего 14 м3/смену.
Технология работ
5.41. Пенопласт для утепления грунта в виде вспененной массы изготовляется непосредственно на объекте в специальной установке (рис. 52) и шлангом наносится на его поверхность.
Рис. 52. Нанесение пенопласта на поверхность
утепляемого грунта
5.42. Пенопласт изготовляется из смеси компонентов с удельным содержанием их по объему в %:
Мочевино-формальдегидная смола "Крепитель М" .............. 35
Пенообразователь ПО-1 (или "Неол", "Типол") ............... 4
Соляная кислота (концентрация 5 - 6%) ..................... 16
Вода ...................................................... 45
В процессе изготовления пенопласта объем его в результате вспенивания исходной смеси превышает общий объем компонентов в 15 - 25 раз.
Для расчетов кратность увеличения объема пенопласта рекомендуется принимать равной 20.
5.43. Потребность в компонентах для покрытия 100 м2 поверхности грунта в зависимости от толщины слоя пенопласта при кратности пены, равной 20, приводится в табл. 64.
Таблица 64
────────────────────────┬──────────────────────────────────────────────────
Компоненты │ Расход, кг
├──────────────────────────────────────────────────
│ Толщина слоя пенопласта, см
├─────────────────┬───────────────┬────────────────
│ 15 │ 20 │ 30
────────────────────────┼─────────────────┼───────────────┼────────────────
Смола "Крепитель М" │ 265 │ 350 │ 530
Пенообразователь ПО-1 │ 30 │ 40 │ 60
Соляная кислота 5 - 6% │ 120 │ 160 │ 240
Вода │ 335 │ 450 │ 670
5.44. Толщина слоя пенопласта зависит от вида утепляемых грунтов, абсолютных отрицательных температур наружного воздуха в период от нанесения слоя до разработки грунта, продолжительности этого периода и ориентировочно принимается по табл. 65.
Таблица 65
──────────────────────────────────────────┬────────────────────────────────
Географические пункты │ Толщина слоя пенопласта, см
├────────────────────────────────
│ Грунты
├─────────┬──────────────────────
│Глинистые│Песчаные и гравелистые
──────────────────────────────────────────┼─────────┼──────────────────────
Москва, Ленинград, Куйбышев, Киров, Пенза,│ 15 - 20 │ 20 - 25
Пермь │ │
Красноярск, Челябинск, Кустанай, Омск, │ 25 │ 30
Новосибирск, Иркутск, Чита │ │
Примечание. В случаях, когда слой пенопласта в период, предшествующий наступлению отрицательных температур наружного воздуха, может быть сильно увлажнен дождевыми осадками, толщину его следует назначать в 1,5 раза больше.
5.45. Утепление пенопластом в районах с периодически повторяющимися ветрами скоростью от 20 до 30 м/с должно выполняться с защитой слоя грунтовой засыпкой по периметру покрытия.
5.46. Процесс изготовления пенопласта в передвижной установке заключается в выполнении следующих операций:
В цистерну поливомоечной машины закачиваются вода, смола и пенообразователь в установленной пропорции. Насосом машины в режиме циркуляции смесь вспенивается. Одновременно в специальном баке из кислотоупорной стали на автомобильном прицепе приготовляется 5 - 6%-ный раствор соляной кислоты. Для этого в бак вначале закачивается необходимое количество воды, а затем добавляется 30%-ная кислота. Вспененная масса перекачивается в отвердительную камеру реактора; туда же под давлением вводится готовый раствор кислоты.
В камере начинается процесс полимеризации смолы и отвердения вспененной массы - образование пенопласта.
В виде пенообразной полужидкой массы пенопласт под давлением сжатого воздуха наносится через шланг на поверхность утепляемого грунта; процесс твердения продолжается 6 - 10 ч.
5.47. Утепление грунта должно выполняться в осенний период при скорости ветра не более 7 м/с, температуре наружного воздуха не выше +15 и не ниже 0°. При толщине покрытия до 30 см пенопласт наносят одним слоем; при большей толщине - двумя слоями с разрывом во времени в несколько часов.
При устройстве покрытия должен быть предусмотрен запас на усадку пенопласта в размере 10 - 15%.
Во избежание промерзания грунта у контуров площадки, в границах которой намечается разрабатывать выемку или карьер, пенопласт следует наносить с перекрытием их на 0,5 - 1,0 м.
5.48. Нанесение пенопласта следует производить полосами шириной 2 м от дальней стороны захватки в направлении к установке (на откосах по горизонтам).
Длину захватки при длине трубопровода 25 м следует принимать равной 20 м.
5.49. Площадка утепляемого грунта должна быть защищена от дождевого стока временной водоотводной канавой.
5.50. Приготовление пенопласта и нанесение его на поверхность грунта осуществляется с помощью давления сжатого воздуха до 5 атм. В связи с этим рабочие, занятые на утеплении грунта, должны быть обучены методом безопасного производства работ с использованием сосудов, работающих под давлением, а также безопасного обращения и выполнения работ с соляной кислотой.
На месте работ необходимо иметь запас раствора соды для нейтрализации кислоты в случае попадания ее на тело человека.
Разработка выемок и возведение насыпей в зимнее время
5.51. Указания по технологии сооружения земляного полотна в зимнее время даны для следующих случаев:
разработки выемок и карьеров экскаваторами с рыхлением промерзшего слоя грунта взрыванием и возведения насыпей автосамосвалами;
разработки выемок и карьеров экскаваторами с ковшами активного действия и возведения насыпей автосамосвалами;
разработки выемок и карьеров экскаваторами с рыхлением промерзшего слоя грунта рыхлителем на тракторе 250 - 300 л.с. и возведения насыпей автосамосвалами.
5.52. При организации работ следует пользоваться указаниями настоящего раздела.
5.53. Технология разработки выемок и карьеров экскаваторами, технология возведения насыпей автосамосвалами, состав комплектов машин, состав бригад и технико-экономические показатели для разработки выемок и карьеров, предохраненных от промерзания, принимаются в соответствии с указаниями четвертого раздела.
5.54. Перед началом разработки выемок и карьеров снежный покров и утепляющий материал должны быть удалены с участка, предусмотренного для разработки в данную смену.
Разработка выемок и карьеров экскаваторами
с рыхлением промерзшего слоя грунта взрыванием
и возведение насыпей автосамосвалами
Область применения
5.55. Указаниями предусматривается разработка выемок или карьеров в мерзлых грунтах экскаваторами, оборудованными прямыми лопатами, с предварительным рыхлением промерзшего слоя на глубину до 2 м и возведением насыпей автосамосвалами.
5.56. Бурение шпуров производится буровыми машинами БТС-60, БТС-М. При наличии в мерзлых грунтах включений гальки, гравия или валунов для бурения должны использоваться буровые машины БТС-75 или БТС-150 с ударно-шарошечным или шарошечным инструментом. Взрывные работы выполняются в строгом соответствии с "Едиными правилами безопасности при взрывных работах" <1>.
--------------------------------
<1> М., "Недра", 1972.
Комплект машин
5.57. Комплект машин для разработки выемок и карьеров с предварительным рыхлением мерзлого слоя грунта взрыванием и возведением насыпей автосамосвалами приведен в табл. 66.
Таблица 66
───────────────┬───────────────────────────────────┬───────────────────────
Наименование │ Экскаватор со стандартным ковшом │ Экскаватор с ковшом
машин │ емкостью, м3 │ ЦНИИСа емкостью, м3
├───────────┬───────────┬───────────┼───────────┬───────────
│ 1,0 │ 1,25 │ 1,6 │ 0,8 │ 1,5
├───────────┴───────────┴───────────┴───────────┴───────────
│ Дальность транспортировки грунта, км
├───┬───┬───┬───┬───┬───┬───┬───┬───┬───┬───┬───┬───┬───┬───
│0,5│1,0│3,0│0,5│1,0│3,0│0,5│1,0│3,0│0,5│1,0│3,0│0,5│1,0│3,0
───────────────┼───┴───┴───┼───┴───┴───┼───┴───┴───┼───┴───┴───┼───┴───┴───
Экскаватор │ 1 │ 1 │ 1 │ 1 │ 1
Автосамосвалы │ 5 │ 6 │ 9 │ 5 │ 7 │10 │ - │ - │ - │ 5 │ 7 │10 │ - │ - │ -
грузоподъем- │ │ │ │ │ │ │ │ │ │ │ │ │ │ │
ностью 7 т │ │ │ │ │ │ │ │ │ │ │ │ │ │ │
То же, 10 т │ 4 │ 5 │ 8 │ 5 │ 6 │ 9 │ 5 │ 6 │ 9 │ 4 │ 6 │ 8 │ 5 │ 6 │ 9
Грунтоуплот- │ 1 │ 1 │ 1 │ 1 │ 1
няющая машина │ │ │ │ │
Бульдозер │ 1 │ 1 │ 1 │ 1 │ 1
100 л.с. │ │ │ │ │
Буровая машина │ 1 │ 2 │ 2 │ 1 │ 2
БТС-60 │ │ │ │ │
Передвижная │ 1 │ 1 │ 1 │ 1 │ 1
электростанция │ │ │ │ │
7 кВт │ │ │ │ │
Состав комплексных бригад
5.58. Состав комплексных бригад для разработки выемок и карьеров с предварительным рыхлением мерзлого слоя грунта взрыванием и возведения насыпей автосамосвалами приведен в табл. 67.
Таблица 67
───────────────────┬──────┬───────────────────────────────────┬───────────────────────
Профессия │Разряд│ Экскаватор со стандартным ковшом │ Экскаватор с ковшом
│ │ емкостью, м3 │ ЦНИИСа емкостью, м3
│ ├───────────┬───────────┬───────────┼───────────┬───────────
│ │ 1,0 │ 1,25 │ 1,6 │ 0,8 │ 1,5
│ ├───────────┴───────────┴───────────┴───────────┴───────────
│ │ Дальность транспортировки грунта, км
│ ├───┬───┬───┬───┬───┬───┬───┬───┬───┬───┬───┬───┬───┬───┬───
│ │0,5│1,0│3,0│0,5│1,0│3,0│0,5│1,0│3,0│0,5│1,0│3,0│0,5│1,0│3,0
───────────────────┼──────┼───┴───┴───┼───┴───┴───┼───┴───┴───┼───┴───┴───┼───┴───┴───
Машинист │ 6 │ 1 │ 1 │ 1 │ 1 │ 1
экскаватора │ │ │ │ │ │
Помощник машиниста │ 5 │ 1 │ 1 │ 1 │ 1 │ 1
экскаватора │ │ │ │ │ │
Шоферы 3 класса │ │ │ │ │ │
при работе │ │ │ │ │ │
автосамосвалов │ │ │ │ │ │
грузоподъемностью, │ │ │ │ │ │
т: │ │ │ │ │ │
7 │ - │ 5 │ 6 │ 9 │ 5 │ 7 │10 │ - │ - │ - │ 5 │ 7 │10 │ - │ - │ -
10 │ - │ 4 │ 5 │ 8 │ 5 │ 6 │ 9 │ 5 │ 6 │ 9 │ 4 │ 6 │ 8 │ 5 │ 6 │ 9
Машинист │ 5 │ 1 │ 1 │ 1 │ 1 │ 1 │ 1 │ 1 │ 1 │ 1 │ 1 │ 1 │ 1 │ 1 │ 1 │ 1
грунтоуплотняющей │ │ │ │ │ │ │ │ │ │ │ │ │ │ │ │
машины │ │ │ │ │ │ │ │ │ │ │ │ │ │ │ │
Машинист │ 6 │ 1 │ 1 │ 2 │ 1 │ 1 │ 2 │ 1 │ 1 │ 2 │ 1 │ 1 │ 2 │ 1 │ 1 │
бульдозера │ │ │ │ │ │ │ │ │ │ │ │ │ │ │ │
Бурильщик │ 5 │ 1 │ 2 │ 2 │ 1 │ 2
Бурильщик │ 4 │ 1 │ 2 │ 2 │ 1 │ 2
Взрывник │ 5 │ 1 │ 1 │ 1 │ 1 │ 1
Взрывник │ 4 │ 2 │ 2 │ 3 │ 2 │ 3
Машинист │ 4 │ 1 │ 1 │ 1 │ 1 │ 1
электростанции │ │ │ │ │ │
Сигналист │ 3 │ 3 │ 3 │ 3 │ 3 │ 3
Технико-экономические показатели
5.59. Технико-экономические показатели разработки выемок и карьеров с предварительным рыхлением мерзлого слоя грунта взрывным способом и возведение насыпей автосамосвалами приведены в табл. 68.
Таблица 68
───────────┬──────┬─────────────────────────────────────────────────────────────────────────────┬───────────────────────────────────────────────
│Группы│ Экскаватор со стандартным ковшом емкостью, м3 │ Экскаватор с ковшом ЦНИИСа емкостью, м3
│грун- ├───────────────────────┬───────────────────────┬─────────────────────────────┼───────────────────────┬───────────────────────
│тов │ 1,0 │ 1,25 │ 1,6 │ 0,8 │ 1,5
│ ├───────────────────────┴───────────────────────┴─────────────────────────────┴───────────────────────┴───────────────────────
│ │ Дальность транспортирования, км
│ ├───────┬───────┬───────┬───────┬───────┬───────┬─────────┬─────────┬─────────┬───────┬───────┬───────┬───────┬───────┬───────
│ │ 0,5 │ 1,0 │ 3,0 │ 0,5 │ 1,0 │ 3,0 │ 0,5 │ 1,0 │ 3,0 │ 0,5 │ 1,0 │ 3,0 │ 0,5 │ 1,0 │ 3,0
│ ├───────┴───────┴───────┴───────┴───────┴───────┴─────────┴─────────┴─────────┴───────┴───────┴───────┴───────┴───────┴───────
│ │ Содержание мерзлого грунта, %
│ ├───┬───┬───┬───┬───┬───┬───┬───┬───┬───┬───┬───┬────┬────┬────┬────┬────┬────┬───┬───┬───┬───┬───┬───┬───┬───┬───┬───┬───┬───
│ │15 │30 │15 │30 │15 │30 │15 │30 │15 │30 │15 │30 │ 15 │ 30 │ 15 │ 30 │ 15 │ 30 │15 │30 │15 │30 │15 │30 │15 │30 │15 │30 │15 │30
───────────┼──────┼───┼───┼───┼───┼───┼───┼───┼───┼───┼───┼───┼───┼────┼────┼────┼────┼────┼────┼───┼───┼───┼───┼───┼───┼───┼───┼───┼───┼───┼───
Производи-│ I │663│652│663│652│663│652│845│815│845│815│845│815│1060│1021│1060│1021│1060│1021│571│554│571│554│571│554│940│904│940│904│940│904
тельность, │ II │550│534│550│534│550│534│677│660│677│660│677│660│840 │816 │840 │816 │840 │816 │467│448│467│448│467│448│732│704│732│704│732│704
м3/смену │ III │415│383│415│383│415│383│546│507│546│507│546│507│650 │597 │650 │597 │650 │597 │ - │ - │ - │ - │ - │ - │ - │ - │ - │ - │ - │ -
Выработка │ I │37 │36 │35 │34 │28 │28 │42 │41 │39 │37 │33 │31 │ - │ - │ - │ - │ - │ - │32 │31 │29 │28 │24 │23 │ - │ - │ - │ - │ - │ -
на одного │ II │31 │30 │29 │28 │24 │23 │34 │33 │31 │30 │26 │25 │ - │ - │ - │ - │ - │ - │26 │25 │23 │22 │19 │19 │ - │ - │ - │ - │ - │ -
рабочего, │ III │23 │21 │22 │20 │18 │17 │27 │25 │25 │23 │21 │20 │ - │ - │ - │ - │ - │ - │ - │ - │ - │ - │ - │ - │ - │ - │ - │ - │ - │ -
м3/смену, │ │ │ │ │ │ │ │ │ │ │ │ │ │ │ │ │ │ │ │ │ │ │ │ │ │ │ │ │ │ │
при транс- │ │ │ │ │ │ │ │ │ │ │ │ │ │ │ │ │ │ │ │ │ │ │ │ │ │ │ │ │ │ │
портирова- │ │ │ │ │ │ │ │ │ │ │ │ │ │ │ │ │ │ │ │ │ │ │ │ │ │ │ │ │ │ │
нии грунта │ │ │ │ │ │ │ │ │ │ │ │ │ │ │ │ │ │ │ │ │ │ │ │ │ │ │ │ │ │ │
автосамо- │ │ │ │ │ │ │ │ │ │ │ │ │ │ │ │ │ │ │ │ │ │ │ │ │ │ │ │ │ │ │
свалами │ │ │ │ │ │ │ │ │ │ │ │ │ │ │ │ │ │ │ │ │ │ │ │ │ │ │ │ │ │ │
грузо- │ │ │ │ │ │ │ │ │ │ │ │ │ │ │ │ │ │ │ │ │ │ │ │ │ │ │ │ │ │ │
подъемно- │ │ │ │ │ │ │ │ │ │ │ │ │ │ │ │ │ │ │ │ │ │ │ │ │ │ │ │ │ │ │
стью 7 т │ │ │ │ │ │ │ │ │ │ │ │ │ │ │ │ │ │ │ │ │ │ │ │ │ │ │ │ │ │ │
То же, │ I │39 │38 │37 │36 │30 │30 │42 │41 │40 │39 │34 │33 │ 51 │ 49 │ 48 │ 47 │ 41 │ 39 │34 │32 │30 │29 │26 │25 │45 │43 │43 │41 │36 │35
грузо- │ II │32 │31 │31 │30 │25 │24 │34 │33 │32 │31 │27 │26 │ 40 │ 39 │ 38 │ 37 │ 32 │ 31 │27 │26 │25 │24 │21 │20 │35 │33 │33 │32 │28 │27
подъемно- │ III │24 │23 │23 │21 │19 │17 │27 │25 │26 │24 │22 │20 │ 31 │ 28 │ 30 │ 27 │ 25 │ 23 │ - │ - │ - │ - │ - │ - │ - │ - │ - │ - │ - │ -
стью 10 т │ │ │ │ │ │ │ │ │ │ │ │ │ │ │ │ │ │ │ │ │ │ │ │ │ │ │ │ │ │ │
Технология работ
5.60. Разработка выемок и карьеров ведется двумя захватками
(рис. 53):
на первой производится очистка от снега, бурения шпуров в мерзлом грунте и подготовка их к взрыванию;
на второй - разработка экскаватором ранее взорванного грунта и погрузка его в автосамосвалы.
Рис. 53. Технологическая схема разработки выемки
с рыхлением промерзшего слоя грунта взрыванием
с возведением насыпи автосамосвалами:
1 - автосамосвал; 2 - бульдозер; 3 - каток;
4 - участок отсыпки грунта; 5 - участок уплотнения грунта;
6 - экскаватор; 7 - буровая машина; 8 - участок буровых
работ; 9 - участок экскаваторных работ; 10 - шпур
Во избежание излишнего промерзания грунта разработка выемки должна вестись, как правило, лобовым способом с максимальной для данного экскаватора высотой забоя и начинаться с низового конца в целях обеспечения отвода воды в период оттепелей и в весенний период.
5.61. Объем одновременно взрываемого грунта должен обеспечивать работу экскаваторов в течение одной смены. Крупные мерзлые глыбы (негабариты) дробятся накладными или шпуровыми зарядами во время проведения следующего основного взрыва.
Разработка выемок и карьеров экскаваторами,
оборудованными ковшами активного действия,
и возведение насыпей автосамосвалами
Область применения
5.62. Указания составлены для случая разработки выемок или карьеров в мерзлых грунтах экскаваторами, оборудованными прямыми лопатами с ковшами активного действия емкостью 1,1 и 0,9 м3, с возведением насыпей автосамосвалами. Ковшами емкостью 0,9 м3 и 1,1 м3 соответственно оборудуются экскаваторы типа Э-10011 и Э-1252.
5.63. Использование ковшей активного действия наиболее целесообразно в случаях, когда применение взрывного метода невозможно или затруднено в связи с близостью жилых зданий и сооружений.
Комплект машин
5.64. Комплект машин при разработке выемок и карьеров экскаваторами с ковшами активного действия и возведения насыпи автосамосвалами приведен в табл. 69.
Таблица 69
──────────────────────────────────────┬────────────────────────────────────
Наименование машин │ Количество машин в комплекте
├────────────────────────────────────
│Дальность транспортировки грунта, км
├────────────┬───────────┬───────────
│ 0,5 │ 1,0 │ 3,0
──────────────────────────────────────┼────────────┴───────────┴───────────
Экскаваторы с ковшом емкостью 1,1 м3 │ 1
Автосамосвалы грузоподъемностью 7 т │ 4 │ 5 │ 6
То же, 10 т │ 4 │ 4 │ 5
Грунтоуплотняющая машина │ 1
Бульдозер 100 л.с. │ 1
Компрессор ПР-16, ПР-10 или ДК-9М │ 1
Передвижная электростанция 7 кВт │ 1
Состав комплексных бригад
5.65. Состав комплексных бригад для разработки выемок и карьеров экскаваторами с ковшами активного действия и возведения насыпи автосамосвалами приведен в табл. 70.
Таблица 70
───────────────────────────────┬──────┬────────────────────────────────────
Профессия │Разряд│ Количество рабочих в бригаде
│ ├────────────────────────────────────
│ │Дальность транспортировки грунта, км
│ ├────────────┬───────────┬───────────
│ │ 0,5 │ 1,0 │ 3,0
───────────────────────────────┼──────┼────────────┴───────────┴───────────
Машинист экскаватора │ 6 │ 1
Помощник машиниста │ 5 │ 1
экскаватора │ │
Шоферы автосамосвалов │ - │ 4 │ 5 │ 6
грузоподъемностью 7 т │ │ │ │
То же, 10 т │ - │ 4 │ 4 │ 5
Машинист грунтоуплотняющей │ 5 │ 1
машины │ │
Машинист бульдозера │ 6 │ 1
Машинист электростанции │ 4 │ 1
Машинист компрессора │ 4 │ 1
Технико-экономические показатели
5.66. Технико-экономические показатели разработки выемок и карьеров ковшами емкостью 1,1 м3 и возведение насыпей при содержании мерзлого грунта 30% объема приведены в табл. 71, производительность экскаватора с ковшом емкостью 0,9 м3 рекомендуется принимать по этой таблице с коэффициентом 0,8.
Таблица 71
──────────────────────────────────────────┬──────┬─────────────────────────
Показатели │Группы│Дальность транспортировки
│грунта│ грунта, км
│ ├────────┬────────┬───────
│ │ 0,5 │ 1,0 │ 3,0
──────────────────────────────────────────┼──────┼────────┴────────┴───────
Производительность комплекта, м3/смену │ I м │ 470
│ II м │ 380
│III м │ 320
Выработка на одного рабочего, м3/смену, │ I м │ 47 │ 43 │ 40
при транспортировании грунта │ II м │ 38 │ 35 │ 32
автосамосвалами грузоподъемностью 7 т │III м │ 32 │ 30 │ 27
То же, грузоподъемностью 10 т │ I м │ 47 │ 47 │ 43
│ II м │ 38 │ 38 │ 35
│III м │ 32 │ 32 │ 30
Рыхление сезонно-мерзлого грунта тракторными рыхлителями
Область применения
5.67. Указаниями предусматривается рыхление сезонно-мерзлого слоя и уборка разрыхленного грунта в кавальеры или отвал рыхлителями на базе трактора ДЭТ-250.
Разрыхленный грунт в связи с крупностью фракций, превышающей допустимую крупность мерзлых комьев, для отсыпки насыпей не пригоден.
5.68. Технологическую схему не рекомендуется применять для разработки выемок под второй путь, если уширение существующей выемки менее 12 м.
Комплект машин
5.69. Рыхление мерзлого слоя и удаление разрыхленного грунта в отвал выполняется одним рыхлителем на ДЭТ-250.
В случаях, когда производительность одного рыхлителя недостаточна, в комплект машин добавляется бульдозер 100 л.с. для перемещения грунта в отвал.
Состав комплексных бригад
5.70. Состав комплексных бригад для рыхления мерзлого слоя и уборки разрыхленного грунта в отвал рыхлителями на ДЭТ-250 приведен в табл. 72.
Таблица 72
───────────────────┬──────┬────────────────────────────────────────────────
Профессия │Разряд│ Количество рабочих
│ ├────────────────────────────────────────────────
│ │ Комплект машин
│ ├───────┬────────────────────────────────────────
│ │ДЭТ-250│ДЭТ-250 и бульдозер на тракторе 100 л.с.
───────────────────┼──────┼───────┼────────────────────────────────────────
Машинист рыхлителя │ 6 │ 1 │ 1
Машинист бульдозера│ 6 │ - │ 1
Технико-экономические показатели
5.71. Технико-экономические показатели рыхления мерзлого слоя и уборки разрыхленного грунта в отвал рыхлителем на ДЭТ-250 приводятся в табл. 73.
─────────────────────────┬─────────────────────────────────────────────────
Показатели │ Комплект машин
├────────────────────────┬────────────────────────
│ Рыхлитель на ДЭТ-250 │ Рыхлитель на ДЭТ-250
│ │ в комплексе
│ │ с бульдозером
│ │ на тракторе 100 л.с.
├────────────────────────┴────────────────────────
│ Дальность перемещения разрыхленного грунта
│ в отвал, м
├───┬───┬────┬───┬───┬───┬───┬───┬────┬───┬───┬───
│20 │30 │ 40 │50 │60 │70 │20 │30 │ 40 │50 │60 │70
─────────────────────────┼───┼───┼────┼───┼───┼───┼───┼───┼────┼───┼───┼───
Производительность, │290│245│210 │185│165│150│450│375│325 │285│255│230
м3/смену │ │ │ │ │ │ │ │ │ │ │ │
Выработка на одного │290│245│210 │185│165│150│225│187│162 │142│127│115
рабочего, м3/смену │ │ │ │ │ │ │ │ │ │ │ │
Технология работ
5.72. Работа в выемке или карьере ведется на захватке в следующей последовательности: удаление снега, рыхление мерзлого слоя, уборка разрыхленного грунта в отвал.
5.73. Разрыв в период между удалением мерзлого слоя и разработкой забоя должен быть по возможности минимальным, чтобы не допускать промерзания нижележащего грунта на глубину более 5 - 10 см.
5.74. В площадь захватки рыхления и уборки мерзлого слоя в выемках и карьерах, разрабатываемых экскаваторами, должна включаться поверхность призмы обрушения, образующейся в забое при экскавации грунта (рис. 54), с расчетом, чтобы при рыхлении на смежных захватках не требовалось заходить рыхлителю в зону возможного обрушения грунта.
Рис. 54. Технологическая схема рыхления мерзлого слоя
грунта рыхлителем при разработке выемок (карьеров)
экскаваторами:
I, II - захватки; 1 - поперечные проходки рыхлителя;
2 - диагональные проходки рыхлителя; 3 - слой
мерзлого грунта; 4 - контур экскаваторного забоя
5.75. Для рыхления мерзлого грунта рыхлитель проходит параллельными проходками по всей площади захватки: вначале в одном направлении, затем - в другом направлении под углом к первому.
При рыхлении трехстоечным (трехзубым) рыхлителем угол между направлениями проходок принимается 70 - 90°.
При рыхлении грунта в выемках с одностоечным (однозубым) рыхлителем одно из направлений рекомендуется принимать поперек выемки, второе - под углом к первому 50 - 70°, а движение рыхлителя в каждом из направлений - в сторону от откоса (см.
рис. 54).
Расстояния между смежными проходками каждого направления принимаются 0,5 - 0,75 м.
5.76. Величина заглубления зуба рыхлителя устанавливается в каждом случае на основании опытных проходок.
Ориентировочно можно пользоваться следующими данными:
при глубине промерзания до 0,5 м рыхление осуществляется за одну проходку рыхлителя, при большей глубине - за несколько проходок послойно;
глубина рыхления за одну проходку при послойном рыхлении в зависимости от прочности мерзлого грунта может быть 0,25 - 0,45 м.
5.77. Сменная производительность рыхлителя при разработке выемок и карьеров экскаваторами должна удовлетворять условию

,
где K - коэффициент, равный отношению толщины мерзлого слоя к глубине экскаваторного забоя на захватке (без мерзлого слоя);

- сменная производительность экскаватора, м3.
Величина

устанавливается на месте опытным путем, а для предварительных расчетов принимается по
табл. 73.
СООРУЖЕНИЕ ЗЕМЛЯНОГО ПОЛОТНА НА БОЛОТАХ И СЛАБЫХ ОСНОВАНИЯХ
6.1. Технологические схемы составлены в соответствии с конструктивными решениями и классификацией болот, предусмотренными
СН 449-72.
6.2. Классификация торфяных болот и пластов болотных грунтов приведена в
Приложении 20.
К слабым отнесены грунты, не обладающие достаточной несущей способностью; при использовании их в качестве оснований насыпей необходимо учитывать возможность деформаций под воздействием нагрузки от веса насыпи и транспорта.
6.3. Процесс возведения насыпей на болотах включает: подготовку основания под насыпи, отсыпку части, находящейся ниже уровня болота, отсыпку верхней части, находящейся выше поверхности болота.
6.4. Для рационального использования землеройных и транспортных машин, снижения стоимости и трудоемкости сооружения насыпей на болотах, а также ускорения стабилизации земляного полотна рекомендуется производить предварительное осушение болот.
Объем мелиоративных работ устанавливается техническим проектом и рабочими чертежами.
6.5. При сооружении насыпей на болотах следует использовать машины повышенной проходимости. Экскаваторы, бульдозеры и тягачи должны быть оборудованы уширенным и удлиненным гусеничным ходом. Экскаваторы на обычном гусеничном ходу должны работать с переносных щитов на болотах с недостаточной несущей способностью (рис. 55).
Рис. 55. Конструкции деревянных переносных щитов
(размеры, мм):
а - щит из трех бревен, скрепленных тремя скобами;
б - щит из двух бревен, скрепленных проволочной
скруткой из проволоки диаметром 6 - 7 мм; 1 - проушины;
2 - скобы из стержней диаметром 18 - 20 мм; 3 - прокладки
из листа толщиной 6 мм; 4 - гайки; 5 - бревна диаметром
0,18 - 0,3 м; 6 - скрутка из проволоки
диаметром 6 - 7 мм
Технология производства работ по подготовке
основания под насыпи
6.6. Для ускорения стабилизации и повышения устойчивости насыпей проектами могут предусматриваться следующие работы:
устройство траншей, вертикальных песчаных свай-дрен;
разрыхление растительно-корневого покрова болот в основании насыпей;
устройство канав-торфоприемников, водоотводных канав и др.
6.7. Работы по подготовке основания должны быть технологически согласованы с работами по возведению насыпи, опережая их на сроки, обеспечивающие принятый в проекте темп сооружения земляного полотна при сохранении максимально допустимых разрывов в периоды между обоими видами работ. Устройство траншей, прорезей, водоотводных канав, разрыхление растительно-корневого покрова экскаваторами, баровыми машинами, канавокопателями, взрывным методом целесообразно выполнять в зимнее время.
Устройство траншей на болотах типа I драглайнами
6.8. На болотах типа I траншеи глубиной до 3 м рекомендуется разрабатывать драглайнами с ковшами ЦНИИСа емкостью 0,8 м3.
Торф в кавальеры перемещается бульдозером. При невозможности использования бульдозера из-за недостаточной несущей способности болота торф перекидывается экскаватором.
6.9. Комплект машин включает экскаватор и бульдозер на тракторе 100 л.с.
Состав комплексной бригады
6.10. Устройство траншей на болотах типа I драглайнами производит бригада в составе: машинист экскаватора 6 разряда, помощник машиниста экскаватора 5 разряда, машинист бульдозера 6 разряда.
Технико-экономические показатели
6.11. Технико-экономические показатели при устройстве траншей на болотах типа I драглайнами:
Производительность, м3/смену ............................. 340
Выработка на одного рабочего, м3/смену ................... 113
6.12. Разработку траншей экскаватором можно вести по двум схемам:
первой - при движении по оси траншеи или вдоль бровки ее с односторонней или двусторонней разработкой;
второй - при движении вдоль траншеи тремя проходками.
По стоимости и трудоемкости всего комплекса работ эти схемы приблизительно равноценны.
6.13. При организации работ по первой схеме экскаватор, двигаясь по оси траншеи, разрабатывает ее на полный профиль и укладывает грунт в два отвала по обе стороны траншеи (
рис. 56, а).
Рис. 56. Схемы разработки траншеи:
а - при движении экскаватора по ее оси;
б - при одностороннем движении экскаватора;
в - при двустороннем (I; II) движении экскаватора;
г - тремя проходками (I; II; III) экскаватора
Схема обеспечивает наименьшую стоимость и трудоемкость разработки благодаря наименьшим углам поворота стрелы экскаватора. Однако объем работ по перемещению торфа в кавальер бульдозером наибольший, причем бульдозер работает в стесненных условиях ввиду близости отвала торфа к бровке траншеи.
Поэтому торф из отвала в кавальер перемещается только после засыпки траншеи грунтом до уровня болота.
Схема применяется в случаях, не требующих предварительного устройства водоотводных канав.
6.14. При односторонней разработке экскаватор движется вдоль бровки траншеи, разрабатывая ее на полный профиль за одну проходку, и укладывает грунт в один отвал (см.
рис. 56, б).
Углы поворота стрелы экскаватора здесь больше, чем при движении его по оси траншеи, и его производительность уменьшается примерно на 6%.
По этой схеме одновременно с разработкой траншеи возможно устройство одной водоотводной канавы.
Обе схемы позволяют при использовании драглайна с длиной стрелы не менее 13 м разрабатывать траншеи шириной до 12 и глубиной до 2,5 м.
6.15. При двусторонней разработке траншеи (см.
рис. 56, в) работы ведутся двумя проходками. Экскаватор идет по одной стороне траншеи, разрабатывая ее на половину ширины, и затем, возвращаясь по другой бровке, разрабатывает траншею на полный профиль. Торф укладывается в два отвала.
Одновременно с разработкой траншеи возможно устройство водоотводных канав. Работы можно вести либо одним, либо двумя экскаваторами одновременно.
Приведенная схема обеспечивает наименьшую трудоемкость перемещения торфа в кавальер; бульдозер только разравнивает отвал торфа слоем 0,5 м.
Углы поворота стрелы драглайна уменьшаются по сравнению с односторонней разработкой траншеи, а производительность увеличивается в среднем на 2%.
Наибольшая ширина разрабатываемой траншеи (при глубине до 2,5 м) составляет 25 м при работе экскаватора типа Э-652.
6.16. При разработке тремя проходками (см.
рис. 56, г) экскаватор сначала разрабатывает среднюю часть траншеи, а затем ее крайние части.
Одновременно с разработкой крайних частей траншеи возможно устройство водоотводных канав. Работы можно производить одним или двумя экскаваторами одновременно.
Из отвала у центральной части траншеи торф перемещается за пределы очертаний основания насыпи бульдозером или драглайном. В качестве ведущей машины комплекта может быть применен драглайн типа Э-652 с длиной стрелы 13 м, позволяющей разрабатывать траншею шириной до 36 м.
6.17. При устройстве широких и глубоких траншей с большим объемом выторфовывания, особенно на болотах с низкой несущей способностью, торф транспортируется в специальные отвалы автосамосвалами, занятыми на возведении насыпи.
Экскаватор в этом случае перемещается по отсыпаемой насыпи (рис. 57). Крайние захватки траншеи рекомендуется разрабатывать обычным способом в соответствии с
пп. 6.14 и
6.15.
Рис. 57. Схема разработки траншей при размещении
экскаватора на отсыпаемой насыпи:
1 - отвал торфа; 2 - экскаватор на отсыпаемой насыпи;
3 - экскаватор на разработке крайней захватки
Грунт насыпи, выброшенный экскаватором вместе с торфом в отвал, необходимо учитывать в технико-экономическом обосновании способа производства работ.
Устройство траншей на болотах типа I бульдозерами
6.18. Бульдозерами разрабатывают траншеи поперечными проходками глубиной до 1 м на сухих болотах типа I с подстилающим слоем из плотных грунтов при ширине основания насыпи 12 м и более, когда уклон откосов траншей не превышает 1:3,5.
6.19. Комплект машин включает один или несколько бульдозеров на тракторах 100 л.с.
6.20. Разработку траншеи ведут машинисты бульдозеров 6 разряда.
6.21. Производительность бульдозера и выработка на одного рабочего составляют:
При дальности перемещения, м 20 30 40 50 60 70 80 90 100
м3/смену 660 480 380 310 260 230 200 185 165
6.22. Технологический процесс включает разработку траншеи, перемещение торфа в кавальер и разравнивание его слоем толщиной до 0,5 м. Для производства работ следует применять бульдозеры на уширенном гусеничном ходу, оборудованные отвалами с открылками.
Выторфовывание ведется поперечными проходками от одной бровки до другой; торф перемещается за пределы размещения водоотводных канав, которые разрабатываются сразу после выторфовывания.
Устройство водоотводных канав, продольных прорезей
на болотах типа I и канав-торфоприемников
на болотах типа II драглайнами
6.23. Применение драглайнов для устройства водоотводных канав и продольных прорезей на болотах типа I допускается только при отсутствии специальных машин: канавокопателей, баровых машин и др.
6.24. Устройство водоотводных канав, продольных прорезей и канав-торфоприемников производится драглайнами типа Э-304 с ковшами емкостью 0,35 м3 обслуживаемыми машинистами 5 разряда.
6.25. Эксплуатационная производительность и выработка на одного рабочего составляют 150 м3/смену.
6.26. Водоотводные канавы, продольные прорези и канавы-торфоприемники отрывают драглайном сразу на полный профиль при перемещении экскаватора вдоль оси сооружения.
6.27. Продольные прорези разрабатывают на ширину ковша драглайна глубиной, равной толщине растительно-корневого покрова, но не менее 1 м. Выемка торфа из прорези не обязательна.
6.28. При устройстве водоотводных канав ковш драглайна работает под углом к вертикальной оси в соответствии с заложением откосов канавы. Наклон ковша для получения необходимого профиля канавы достигается уменьшением подъемной цепи на 2 - 3 звена.
6.29. Канавы-торфоприемники имеют ширину 2 м и обязательно должны прорезать растительно-корневой покров.
Разрыхление растительно-корневого покрова
болот типов II и III драглайнами
6.30. Разрыхление драглайнами растительно-корневого покрова применяется на болотах типов II и III с несущей способностью, достаточной для безопасной работы драглайна с применением щитов.
6.31. Разрыхление растительно-корневого покрова производится драглайнами типа Э-652 или Э-304.
6.32. Состав бригады:
Для драглайна
с ковшами емкостью, м3
0,8 0,35
Машинист экскаватора 6 разр. ................... 1 -
То же, 5 разр. ................................. - 1
Помощник машиниста 5 разр. ..................... 1 -
6.33. Технико-экономические показатели:
Для драглайна
с ковшами емкостью, м3
0,8 0,35
Производительность, м3/смену ..................... 340 150
Выработка на одного рабочего, м3/смену ........... 170 150
6.34. Процесс разрыхления растительно-корневого покрова заключается в разработке его драглайном на всю толщину без удаления за пределы основания насыпи.
Разрыхление растительно-корневого покрова осуществляется при движении драглайна по оси основания перед отсыпаемой насыпью.
За одну проходку экскаватор типа Э-652 с длиной стрелы 13 м может разрыхлить покров на ширину 25 - 28 м, экскаватор типа Э-304 - на ширину 16 - 17 м.
6.35. При возведении насыпей с широкими основаниями разрыхление растительно-корневого покрова производится при продольно-поперечном перемещении драглайна по отсыпаемой насыпи.
6.36. Когда канавы-торфоприемники на болотах типа II устраиваются одновременно с разрыхлением покрова, рекомендуется совмещать эти работы. Экскаватор в этом случае движется по оси канавы-торфоприемника.
Устройство дренажных прорезей драглайном
6.37. Дренажные прорези, устраиваемые драглайном, обеспечивают вертикальное дренирование основания земляного полотна, ускоряют консолидацию грунтов основания, повышают их устойчивость и снижают величины упругих осадок.
6.38. Устройство дренажных прорезей на болотах глубиной до 4 м рекомендуется производить драглайном в летний период.
6.39. Комплект машин включает:
экскаватор Э-652;
бульдозер на тракторе 100 л.с.
6.40. Состав комплексной бригады: машинист экскаватора 6 разр., помощник машиниста экскаватора 5 разр. и машинист бульдозера 6 разр.
6.41. Технико-экономические показатели приведены в табл. 74.
Таблица 74
──────────────────────────────┬────────────────────────────────────────────
Показатели │Драглайн с ковшом емкостью 0,8 м3 при работе
├──────────────────────┬─────────────────────
│ без щитов │ на щитах
──────────────────────────────┼──────────────────────┼─────────────────────
Производительность, м3/смену │ 410 │ 340
Выработка на одного рабочего, │ 137 │ 113
м3/смену │ │
6.42. Дренажные прорези устраиваются следующим образом. Экскаватор, находясь на захватке 1 (рис. 58), разрабатывает прорези короткими участками (до 8 м) на проектную глубину с одного места стоянки, после чего перемещается на захватку 2 под углом 45 - 60° к оси дороги.
Рис. 58. Схема организации работ по устройству
дренажных прорезей драглайном:
1 и 2 - первая и вторая захватки;
3 - рабочие стоянки экскаватора
Одновременно производится подвозка и накапливание песка в виде вала.
Засыпка прорезей песком, отсыпка первого слоя насыпи и перемещение торфа в отвал с разравниванием его слоем до 0,5 м выполняются бульдозерами. При высоте насыпи не более 3 м и количестве прорезей не более 5 работа выполняется одним бульдозером.
6.43. В процессе засыпки прорезей необходимо избегать образования вертикальных и, особенно, горизонтальных прослоек торфа.
Устройство дренажных прорезей
траншейным многоковшовым экскаватором
6.44. Многоковшовый экскаватор на уширенном гусеничном ходу рекомендуется использовать на болотах без пней глубиной до 3 м, когда несущая способность торфа позволяет экскаватору работать как летом (без щитов или сланей), так и зимой (с применением специального сменного оборудования для разработки мерзлых грунтов).
6.45. Комплект машин включает экскаватор ЭТУ-354, бульдозер на тракторе 100 л.с.
6.46. Состав комплексной бригады: машинист экскаватора 6 разр., помощник машиниста экскаватора 5 разр., машинист бульдозера 6 разр.
6.47. Технико-экономические показатели приведены в табл. 75.
Таблица 75
──────────────────────────────────────┬────────────────────────────────────
Показатели │ Грунты
├─────────────────────┬──────────────
│ талые │ мерзлые
├─────────────────────┴──────────────
│ Глубина прорези, м
├──────┬───────┬──────┬──────┬───────
│ 1,2 │ 2,5 │ 3,5 │ 1,2 │ 2,5
──────────────────────────────────────┼──────┼───────┼──────┼──────┼───────
Производительность, м3/смену │ 430 │ 570 │ 725 │ 340 │ 455
Выработка на одного рабочего, м3/смену│ 142 │ 190 │ 242 │ 114 │ 152
6.48. При разработке дренажных прорезей многоковшовый экскаватор с длиной транспортера 3 м, двигаясь по оси траншеи, разрабатывает ее на полный профиль (рис. 59). При этом первыми разрабатываются средние прорези с удалением вынутого грунта в кавальер, затем - оставшиеся. Для уменьшения дальности перемещения грунта бульдозером транспортер рекомендуется удлинять до 8 м.
Рис. 59. Схема организации работ по устройству прорезей
многоковшовым экскаватором:
I - IV - очередность разработки прорезей; 1 - путь движения
экскаватора; 2 - экскаватор; 3 - отвал торфа;
4 - бульдозер; 5 - грунт для засыпки прорезей
6.49. Величина рабочей захватки назначается в зависимости от консистенции торфа и климатических условий и должна быть увязана с темпом отсыпки насыпи.
6.50. Торф перемещается в отвал бульдозером. При устройстве дренажных прорезей в зимнее время торф должен быть удален в отвал до начала его смерзания.
Устройство дренажных прорезей в зимнее время
экскаватором-обратной лопатой
6.51. Экскаватор, оборудованный обратной лопатой, может разрабатывать дренажные прорези на болотах глубиной до 4 м при глубине их промерзания не более 0,3 м.
6.52. Комплект машин включает экскаватор Э-652, бульдозер на тракторе 100 л.с.
6.53. Состав комплексной бригады: машинист экскаватора 6 разр., помощник машиниста экскаватора 5 разр., машинист бульдозера 6 разр.
6.54. Технико-экономические показатели, м3/смену:
Эксплуатационная производительность ...................... 285
Выработка на одного рабочего .............................. 95
6.55. Для защиты от промерзания грунта, подлежащего разработке, рекомендуется с осени производить укрытие его теплоизоляционными материалами.
Устройство вертикальных песчаных дрен
6.56. Вертикальные песчаные дрены устраивают для ускорения стабилизации слабых грунтов основания, сильносжимаемых увлажненных торфов, глин и илов мощностью более 5 м. Наиболее эффективны вертикальные дрены в грунтах с дренирующими прослойками, у которых водопроницаемость в горизонтальном направлении значительно больше, чем в вертикальном.
6.57. Основные параметры вертикальных дрен (диаметр дрен, расстояния между ними, сроки стабилизации) назначаются проектом после определения физико-механических свойств грунтов основания.
6.58. Работы по устройству дрен и возведению на них насыпи следует производить в теплое время года. В исключительных случаях производятся работы при отрицательной температуре воздуха, не ниже -5°, при этом песок или песчано-гравийная смесь для заполнения дрен не должны содержать кусков льда, снега и смерзшихся комьев грунта.
6.59. Комплект машин приведен в табл. 76.
Таблица 76
───────────────────────────┬───────────────────────────────────────────────
Наименование машин │ Диаметр дрен, мм
├───────────────────────┬───────────────────────
│ 426 │ 325
├───────────────────────┴───────────────────────
│ Длина дрен, м
├───────────┬───────────┬───────────┬───────────
│ 5 - 7 │ 8 - 18 │ 5 - 7 │ 5 - 10
───────────────────────────┼───────────┼───────────┼───────────┼───────────
Экскаватор Э-1252 │ - │ 1 │ - │ -
Экскаватор Э-652 │ 1 │ - │ 1 │ 1
Копровая направляющая мачта│ - │ - │ - │ 1
конструкции Союздорпроекта │ │ │ │
Копровая направляющая мачта│ 1 │ 1 │ 1 │ -
конструкции ЦНИИСа │ │ │ │
Вибромолот ВМ-9 │ 1 │ - │ - │ -
Вибропогружатель ВП-1 │ - │ 1 │ - │ -
Вибропогружатель ВПП-4 │ - │ - │ 1 │ 1
Электростанция 100 кВт │ - │ 1 │ - │ -
Электростанция 65 кВт │ 1 │ - │ 1 │ 1
Ямобур │ 1 │ 1 │ 1 │ 1
Экскаватор Э-153 │ 1 │ 1 │ 1 │ 1
Сварочный агрегат │ 1 │ 1 │ 1 │ 1
Лидер-обсадная труба с │На 100 дрен│На 100 дрен│На 300 дрен│На 300 дрен
наголовником и │ 1 лидер │ 1 лидер │ 1 лидер │ 1 лидер
самораскрывающимся башмаком│и 3 башмака│и 3 башмака│и 3 башмака│и 3 башмака
Центробежный насос С-203 │ 1 │ 1 │ 1 │ 1
Конструкции копровой направляющей мачты ЦНИИСа для различных комплектов машин различны.
В комплекте машин для устройства дрен диаметром 325 мм, длиной 5 - 7 м и в очень слабых грунтах вибропогружатель ВПП-4 может быть заменен вибропогружателем ВПП-6 и соответственно ПЭС-65 на ЖЭС-30Д.
Для бурения скважин и погружения обсадной трубы вместо экскаватора с копровой мачтой может быть использована установка ВВПС-32/19.
При устройстве дрен длиннее 15 м комплект машин подбирается индивидуально.
6.60. Состав комплексной бригады приведен в табл. 77.
Таблица 77
──────────────────────────────────┬───────┬────────────────────────────────
Профессия │Разряд │ Диаметр дрен, мм
│ ├───────────────┬────────────────
│ │ 426 │ 325
│ ├───────────────┴────────────────
│ │ Длина дрен, м
│ ├───────┬───────┬────────┬───────
│ │ 5 - 7 │8 - 18 │ 5 - 7 │5 - 10
──────────────────────────────────┼───────┼───────┼───────┼────────┼───────
Машинист экскаватора │ 6 │ 1 │ 1 │ 1 │ 1
Помощник машиниста │ 5 │ 1 │ 1 │ 1 │ 1
Машинист трактора (ямобура, Э-153)│ 5 │ 2 │ 2 │ 2 │ 2
Машинист электростанции │ 5 │ 1 │ 1 │ 1 │ 1
Электросварщик │ 5 │ 1 │ 1 │ 1 │ 1
Землекоп │ 3 │ 1 │ 1 │ - │ -
6.61. Технико-экономические показатели (по опытно-производственным данным) приведены в табл. 78.
Таблица 78
──────────────────┬────────────────────────────────────────────────────────
Показатель │ Диаметр дрен, мм
├─────────────────────────────────────────┬──────────────
│ 426 │ 325
├─────────────────────────────────────────┴──────────────
│ Длина дрен, м
├───┬───┬───┬──┬───┬───┬───┬────┬────┬────┬───┬───┬───┬──
│ 5 │ 6 │ 7 │8 │ 9 │10 │11 │12 -│14 -│16 -│5 -│7 -│ 9 │10
│ │ │ │ │ │ │ │ 13│ 15│ 18│ 6│ 8│ │
──────────────────┼───┼───┼───┼──┼───┼───┼───┼────┼────┼────┼───┼───┼───┼──
Производитель- │49 │48 │47 │42│41 │40 │39 │ 37 │ 35 │ 34 │55 │54 │49 │48
ность, дрен/смену │ │ │ │ │ │ │ │ │ │ │ │ │ │
(в среднем грунте)│ │ │ │ │ │ │ │ │ │ │ │ │ │
Выработка на │7,2│6,8│6,7│6 │5,8│5,7│5,6│5,3 │ 5 │4,9 │9,1│8,9│8,2│8
одного рабочего, │ │ │ │ │ │ │ │ │ │ │ │ │ │
дрен/смену │ │ │ │ │ │ │ │ │ │ │ │ │ │
6.62. Устройство вертикальных песчаных дрен (рис. 60) включает следующие операции: отсыпку рабочего слоя, бурение скважин, погружение обсадной трубы, засыпку в обсадную трубу заполнителя (песка или песчано-гравийной смеси), извлечение обсадной трубы с одновременным уплотнением заполнителя.
Рис. 60. Технологическая схема устройства вертикальных
песчаных дрен:
1 - рабочий слой; 2 - ямобур; 3 - песок для дрен;
4 - экскаватор Э-153; 5 - вибропогружатель; 6 - копровая
мачта; 7 - экскаватор Э-652; 8 - обсадная труба;
9 - торф
6.63. Рабочий слой отсыпают из песка с коэффициентом фильтрации не менее 5 м/сут, толщиной 0,6 - 1,5 м в зависимости от несущей способности грунта основания и веса механизмов. Работа по отсыпке рабочего слоя организуется по одной из технологических схем сооружения насыпей на болотах.
6.64. Скважины бурят в рабочем слое и верхней части основания ямобуром.
6.65. Погружение в грунт основания обсадной трубы и извлечение ее из грунта выполняется установкой на базе экскаватора Э-652 или Э-1252 (рис. 61), а засыпка дрен - экскаватором Э-153. Дрены устраивают в нескольких продольных рядах в пределах вылета стрелы экскаватора при его движении вдоль оси земляного полотна. Количество проходок зависит от количества продольных рядов дрен и вылета стрелы экскаватора.
Рис. 61. Установка для погружения обсадной трубы
и извлечения ее из грунта
6.66. Перед погружением обсадной трубы направляющая мачта устанавливается в вертикальном положении так, чтобы подвешенная на ней труба находилась над пробуренной скважиной выше поверхности рабочего слоя на 0,5 м. Лепестки самораскрывающегося башмака на нижнем конце обсадной трубы очищаются от находящегося на их кромках грунта и складываются. С помощью специальной рукоятки надевается стяжное кольцо. Обсадная труба опускается на грунт, ослабляют тяговый трос и включают вибратор. Загрузочное устройство для засыпки заполнителя у погруженной обсадной трубы должно находиться выше поверхности рабочего слоя на 1 м.
Если обсадная труба в процессе погружения заполняется через щели башмака разжиженным торфом или грунтом более чем на 0,8 м, она вынимается, очищается и погружается снова.
6.67. Заполнитель засыпают в погруженную обсадную трубу экскаватором Э-153 через специальный бункер (на 1 м выше рабочего слоя) и одновременно насосом заливают водой до полного насыщения.
6.68. Извлечение обсадной трубы из грунта с одновременным уплотнением заполнителя в дрене производится при работающем вибраторе с соблюдением следующих правил:
1. Лебедка крана, которой извлекается труба, включается только после пуска вибратора.
2. После подъема трубы на 0,5 м извлечение ее приостанавливают на 10 - 15 с (без выключения вибратора) для того, чтобы спало стяжное кольцо и башмак полностью раскрылся.
3. Извлечение трубы продолжают с равномерной скоростью, причем общее время извлечения трубы должно быть не менее 1 мин.
4. Вибратор отключают, когда до выхода трубы остается 0,5 - 1 м.
6.69. Количество песка (или песчано-гравийной смеси), извлеченного вместе с лидером на поверхность, не должно превышать 5% объема дрены.
В случае превышения этого объема дрену устраивают снова.
6.70. Если верхняя часть насыпи отсыпается из связных грунтов, то рабочий слой предохраняется от заиливания слоем глинистого грунта.
6.71. Для ускорения процесса стабилизации, если это предусмотрено проектом, используется пригрузка - слой грунта, отсыпаемый выше проектных отметок насыпи. После окончательной осадки излишки грунта удаляются и используются в других местах (на отсыпку смежных участков земляного полотна, устройство берм, расширение обочин и т.д.).
6.72. Песок для заполнения дрен должен иметь коэффициент фильтрации не менее 7 - 10 м/сут, не содержать более 3% пылеватых и глинистых частиц.
Песчано-гравийная смесь не должна иметь фракций более 60 мм в поперечнике.
6.73. В процессе производства работ ведется журнал по устройству вертикальных песчаных дрен, который заполняет строительный мастер. В ходе работ для определения однородности песчаной дрены производят контрольное бурение дрен (5% общего количества) с отбором грунта через 1 м по длине дрены.
Технология возведения насыпей на болотах
6.74. Насыпи отсыпают на основание, заранее подготовленное в соответствии с принятыми проектными решениями, автомобильной и поездной возками с разработкой грунта экскаваторами и скреперами.
6.75. Возведение насыпей с перемещением грунта автосамосвалами и поездами осуществляется круглогодично, причем зимой, особенно в обводненных болотах, эти способы наиболее эффективны.
6.76. При возведении насыпей обязательно послойное равномерное их уплотнение.
Возведение насыпей с использованием автосамосвалов
6.77. Способ применим для возведения насыпей любой высоты на болотах всех типов.
Грунт разрабатывается в карьерах или выемках экскаватором-прямой лопатой и драглайном с ковшами емкостью 0,65 и 1 или с ковшами ЦНИИСа емкостью 0,8 и 1,2 м3.
Экскаваторные работы выполняются в соответствии с рекомендациями четвертого раздела.
6.78. В качестве транспортных средств рекомендуются автомобили-самосвалы грузоподъемностью до 10 т.
6.79. При возведении насыпей используется одна из следующих схем движения автосамосвалов:
с разворотом на насыпи без устройства разъездов или с использованием разъездов;
с кольцевым движением.
Часть насыпи, находящаяся ниже поверхности болота, отсыпается сразу на всю ширину и высоту ("с головы"). Разрыв в период между работами по подготовке основания и отсыпкой насыпи не должен превышать 1 - 2 смены.
При отсыпке насыпи "с головы" в зависимости от ширины слоя автосамосвалы двигаются с разворотом на насыпи или с использованием разъездов.
6.80. На болотах типа II для ускорения посадки насыпи на минеральное дно головная часть ее должна быть несколько перегружена.
Для разрушения валов торфа, образующихся при отсыпке "с головы" и препятствующих осадке насыпи, можно применить взрывной метод.
6.81. Отсыпку части насыпи, находящейся выше уровня поверхности болота, следует вести горизонтальными слоями в соответствии с указаниями четвертого раздела.
6.82. При возведении насыпей на болотах небольшой протяженности первый слой рекомендуется отсыпать сразу на всю длину болота, а при большой его длине - участками.
Нижний слой насыпей на болоте I типа (без выторфовывания) следует отсыпать по направлению от карьера. Послойное уплотнение грунта грунтоуплотняющими машинами выполняется в соответствии с
разделом 9.
6.83. Отсыпка насыпей с разворотом автосамосвалов без устройства специальных разъездов осуществляется в соответствии с
п. 4.59.
Комплект машин, состав комплексных бригад и технико-экономические показатели принимаются по
табл. 15 -
20.
6.84. Технологическая схема отсыпки слоев с разворотом автосамосвалов на насыпи при использовании разъездов применяется в тех случаях, когда ширина отсыпаемого слоя не превышает 11 м.
Комплект машин, состав комплексных бригад и технико-экономические показатели принимаются по
табл. 15 -
20 с добавлением одного автосамосвала и одного шофера.
6.85. Технология производства работ предусматривает разделение каждого слоя на насыпи по ширине на две полосы, а по длине (вдоль насыпи) - на две захватки (рис. 62).
Рис. 62. Схема возведения насыпи с разворотом
автомобилей-самосвалов на разъезде:
I - II - захватки; 1 - автомобиль-самосвал;
2 - бульдозер; 3 - грунтоуплотняющая машина;
l - расстояние между разъездами
Автосамосвалы, двигаясь по одной полосе насыпи, разгружают грунт на другой. После разгрузки грунта (на захватке I) машины доходят до разъезда, где разворачиваются и снова возвращаются для загрузки. Вслед за отсыпкой на захватке I грунт разравнивается бульдозером, а на захватке II уплотняется грунтоуплотняющей машиной. После окончания отсыпки и уплотнения грунта на одной полосе слоя на участке между разъездами по ней открывается движение автосамосвалов, а грунт отсыпается на другой полосе слоя.
6.86. Отсыпать насыпь по направлению к карьеру сразу на всю ширину слоя без деления на две полосы не рекомендуется, так как при этом автосамосвалы после разворота на разъезде должны подаваться к месту разгрузки задним ходом, что приводит к снижению их производительности.
6.87. Ширина площадки разъезда должна быть не менее 5 м, высота разъезда - меньше высоты насыпи на толщину отсыпаемого слоя.
Расстояние между разъездами и дополнительные объемы грунта для отсыпки разъезда на 1 км насыпи при толщине отсыпаемого слоя 0,5 м и крутизне откосов разъезда 1:1 даны в табл. 79.
Таблица 79
──────────────┬────────────┬───────────────┬────────────┬──────────────────
Высота насыпи,│Объем грунта│ Дальность │ Расстояние │ Объем грунта
м │ для │транспортировки│ между │ для устройства
│ устройства │ грунта, м │разъездами, │разъездов на 1 км
│разъезда, м3│ │ м │ насыпи, м3
──────────────┼────────────┼───────────────┼────────────┼──────────────────
1 │ 16,5 │ 500 │ 80 │ 169
│ │ 1000 │ 90 │ 150
│ │ 1500 │ 100 │ 135
│ │ 2000 │ 120 │ 112
──────────────┼────────────┼───────────────┼────────────┼──────────────────
2 │ 47,5 │ 500 │ 150 │ 325
│ │ 1000 │ 170 │ 260
│ │ 1500 │ 190 │ 235
│ │ 2000 │ 210 │ 210
──────────────┼────────────┼───────────────┼────────────┼──────────────────
3 │ 81 │ 500 │ 200 │ 390
│ │ 1000 │ 220 │ 350
│ │ 1500 │ 250 │ 310
│ │ 2000 │ 280 │ 280
──────────────┴────────────┴───────────────┴────────────┴──────────────────
6.88. Если длина болота равна расстоянию между разъездами или меньше этого расстояния, насыпь можно отсыпать продольной транспортировкой с поворотом автосамосвалов на противоположном берегу болота.
Эту схему рационально применять в том случае, если технология предусматривает разделение слоев насыпи на две половины.
В конце болота для автосамосвалов устраиваются въезды на насыпь в соответствии с
п. 4.60.
6.89. Если вблизи трассы расположена автодорога, обеспечивающая параллельное движение автосамосвалов после разгрузки, рекомендуется применять кольцевую схему их движения.
Комплект машин, состав комплексных бригад и технико-экономические показатели принимаются по
табл. 15 -
20.
6.90. Технологическая схема (рис. 63) предусматривает разделение слоев в продольном направлении на две части по ширине и работу двумя захватками. Отсыпка слоев производится в соответствии с
пп. 4.57 -
4.58.
Рис. 63. Схема возведения насыпи при кольцевом
движении автомобилей:
I и II - захватки; 1 - грунтоуплотняющая машина;
2 - бульдозер; 3 - автомобиль-самосвал; 4 - соединительная
автодорога; 5 - притрассовая автодорога
6.91. Применение кольцевой схемы движения автосамосвалов связано с дополнительными затратами на отсыпку съездов с насыпи и временных соединительных дорог.
Дополнительные объемы грунта на отсыпку съездов и соединительных автодорог на 1 км насыпи даны в табл. 80.
Таблица 80
───────┬──────────────┬────────────────┬─────────────┬─────────────────────
Высота │ Объем грунта │ Дальность │ Расстояние │ Объем грунта для
насыпи,│для устройства│транспортировки │ между │ устройства съездов
м │ съезда и │ грунта, м │ съездами, м │ и дороги на 1 км
│ дороги, м3 │ │ │ насыпи, м3
───────┼──────────────┼────────────────┼─────────────┼─────────────────────
1 │ 64 │ 500 │ 160 │ 402
│ --- │ │ --- │ ---
│ 128 │ │ 230 │ 558
│ │ │ │
│ │ 1000 │ 185 │ 342
│ │ │ --- │ ---
│ │ │ 260 │ 498
│ │ │ │
│ │ 1500 │ 200 │ 318
│ │ │ --- │ ---
│ │ │ 290 │ 444
│ │ │ │
│ │ 2000 │ 225 │ 288
│ │ │ --- │ ---
│ │ │ 315 │ 408
───────┼──────────────┼────────────────┼─────────────┼─────────────────────
2 │ 65 │ 500 │ 105 │ 618
│ --- │ │ --- │ ---
│ 130 │ │ 150 │ 876
│ │ │ │
│ │ 1000 │ 120 │ 546
│ │ │ --- │ ---
│ │ │ 170 │ 774
│ │ │ │
│ │ 1500 │ 135 │ 480
│ │ │ --- │ ---
│ │ │ 190 │ 696
│ │ │ │
│ │ 2000 │ 150 │ 432
│ │ │ --- │ ---
│ │ │ 210 │ 630
───────┼──────────────┼────────────────┼─────────────┼─────────────────────
3 │ 69 │ 500 │ 85 │ 804
│ --- │ │ --- │ ----
│ 138 │ │ 115 │ 1190
│ │ │ │
│ │ 1000 │ 95 │ 714
│ │ │ --- │ ----
│ │ │ 135 │ 1013
│ │ │ │
│ │ 1500 │ 105 │ 647
│ │ │ --- │ ---
│ │ │ 150 │ 918
│ │ │ │
│ │ 2000 │ 115 │ 594
│ │ │ --- │ ---
│ │ │ 165 │ 834
───────┴──────────────┴────────────────┴─────────────┴─────────────────────
Примечание. В числителе даны расстояния между съездами и объемы грунта для устройства съезда и дороги на 1 км насыпи при длине соединительной дороги 25 м, в знаменателе - то же при длине 50 м.
Возведение насыпей самоходными скреперами
6.92. Самоходными скреперами с ковшами емкостью 9 - 10 м3 отсыпают насыпи на сухих болотах при дальности транспортировки грунта до 3 км.
6.93. Наиболее эффективна кольцевая схема движения скреперов, которая применяется при наличии дороги вблизи от трассы, но требует дополнительной отсыпки съездов и временных соединительных дорог.
6.94. Отсыпка нижнего слоя насыпи осуществляется скреперами с использованием бульдозеров.
Скреперы транспортируют груз к месту отсыпки, разгружаются и, развернувшись, возвращаются к месту набора грунта, а бульдозеры производят лобовую отсыпку нижнего слоя на всю его ширину.
После отсыпки нижнего слоя скреперы отсыпают насыпь послойно на полную высоту при кольцевой схеме движения.
6.95. Для отсыпки насыпей на болотах с большим количеством пней и сильно обводненных скреперы используют лишь после отсыпки нижнего слоя насыпи автомобилями-самосвалами.
6.96. Примерные расстояния между съездами для самоходных скреперов и объемы грунта для устройства съезда и дороги приведены в табл. 81.
Таблица 81
───────┬───────────────┬───────────────┬────────────┬──────────┬───────────
Высота │ Объем грунта │ Дальность │ Расстояние │Количество│ Объем
насыпи,│для устройства │транспортировки│ между │ съездов │грунта для
м │ съезда │ грунта, м │съездами, м │ на 1 км │устройства
│ и дороги, м3 │ │ │ │ съездов
│ │ │ │ │ и дороги
│ │ │ │ │ на 1 км
│ │ │ │ │насыпи, м3
───────┼───────────────┼───────────────┼────────────┼──────────┼───────────
1 │ 53/106 │ 300 │ 150/220 │ 7/5 │ 371/530
│ │ 500 │ 160/230 │ 6/4 │ 318/424
│ │ 750 │ 170/245 │ 6/4 │ 318/424
│ │ 1000 │ 185/260 │ 5/4 │ 265/424
│ │ 1500 │ 200/290 │ 5/3 │ 265/318
│ │ 2000 │ 225/315 │ 4/3 │ 212/318
───────┼───────────────┼───────────────┼────────────┼──────────┼───────────
2 │ 54/109 │ 300 │ 100/140 │ 10/7 │ 540/762
│ │ 500 │ 105/150 │ 10/7 │ 540/762
│ │ 750 │ 115/160 │ 9/6 │ 486/653
│ │ 1000 │ 120/170 │ 8/6 │ 432/653
│ │ 1500 │ 135/190 │ 7/5 │ 378/545
│ │ 2000 │ 150/210 │ 7/5 │ 378/545
───────┼───────────────┼───────────────┼────────────┼──────────┼───────────
3 │ 57/114 │ 300 │ 80/105 │ 13/10 │ 743/1140
│ │ 500 │ 85/115 │ 12/9 │ 687/1030
│ │ 750 │ 90/125 │ 11/8 │ 628/913
│ │ 1000 │ 95/135 │ 10/7 │ 570/797
│ │ 1500 │ 105/150 │ 10/7 │ 570/797
│ │ 2000 │ 115/165 │ 9/6 │ 513/684
───────┴───────────────┴───────────────┴────────────┴──────────┴───────────
Примечание. В числителе даны величины, относящиеся к длине соединительной дороги 25, в знаменателе - к длине 50 м.
6.97. Комплект машин, состав комплексных бригад и технико-экономические показатели принимаются по
табл. 33 -
41.
Возведение насыпей и подушек из дренирующих грунтов
с использованием железнодорожного
и автомобильного транспорта
Область применения
6.98. Технологическая схема рекомендуется для возведения насыпей и песчаных подушек с использованием железнодорожного и автомобильного транспорта в труднопроходимых заболоченных районах при отсутствии вблизи трассы грунта, пригодного для возведения земляного полотна. При этом использование железнодорожного транспорта целесообразно в случае, когда карьер расположен на расстоянии 15 км и более.
6.99. В зависимости от местных грунтовых условий и технической оснащенности строительных организаций технологическая схема может быть двух вариантов.
Первый - возведение насыпей или песчаных подушек производится на всю высоту с транспортированием грунта поездами широкой колеи из основного карьера в перегрузочный, а из него к месту укладки в насыпь - автосамосвалами.
Второй (двухэтапная схема) - на первом этапе по технологии первого варианта отсыпается насыпь пониженного профиля (тропа); на втором - насыпь досыпается до проектного профиля поездной возкой.
Комплект машин
6.100. Комплект машин, занятых на возведении насыпей и песчаных подушек по технологии первого варианта схемы, приведен в табл. 82.
─────────────────────────────────────────┬─────────────────────────────────
Наименование машин │ Количество машин
├─────────────────────────────────
│ Дальность транспортировки
│ из перегрузочного карьера, км
├────────┬───────┬───────┬────────
│ 0,5 │ 1 │ 3 │ 5
─────────────────────────────────────────┼────────┴───────┴───────┴────────
Экскаватор-прямая лопата с ковшом │ 1
ЦНИИСа емкостью 1,5 м3 │
Экскаватор-драглайн с ковшом ЦНИИСа │ 2
емкостью 0,8 м3 │
Экскаватор-планировщик │ 1
Тепловоз ТЭМ-1 при дальности поездной │ 2
возки 20 км │
То же, 40 км │ 3
" 60 км │ 4
Думпкары грузоподъемностью 60 т при │ 22
дальности поездной │
возки 20 км │
То же, 40 км │ 33
" 60 км │ 44
Автосамосвалы грузоподъемностью 4,5 т │ 10 │ 12 │ 18 │ 24
То же, 7 т │ 8 │ 10 │ 14 │ 18
" 10 т │ 6 │ 8 │ 12 │ 16
Бульдозер на тракторе 100 - 130 л.с. │ 3
Грунтоуплотняющая машина │ 1
Электростанция 7 - 9 кВт │ 2
Примечания. 1. Подвижной состав широкой колеи рассчитан для условий:
руководящий уклон

;
длина перегона до 20 км;
средняя скорость движения поездов 25 км/ч.
2. При отсыпке песчаных подушек рекомендуются автосамосвалы грузоподъемностью 4,5 и 7 т.
6.101. Комплект машин, занятых на втором этапе возведения насыпей по технологии второго варианта схемы, приведен в табл. 83.
Таблица 83
────────────────────────────────────────┬──────────────────────────────────
Наименование машин │ Количество машин
├──────────────────────────────────
│ Подъемка пути
├──────────────────┬───────────────
│ консольным │ ползучим
│электробалластером│путеподъемником
────────────────────────────────────────┼──────────────────┴───────────────
Экскаватор-прямая лопата с ковшом ЦНИИСа│ 1
емкостью 1,5 м3 │
Тепловоз ТЭМ-1 при дальности поездной │ 2
возки 20 км │
То же, 40 км │ 3
" 60 км │ 4
Думпкары или хоппер-дозаторы │ 22
грузоподъемностью 60 т при дальности │
поездной возки 20 км │
Думпкары или хоппер-дозаторы │ 33
грузоподъемностью 60 т при дальности │
поездной возки 40 км │
То же, 60 км │ 44
Бульдозер на тракторе 100 - 130 л.с. │ 2
Консольный электробалластер │ 1 │ -
Ползучий путеподъемник │ - │ 1
Тракторный дозировщик или путевой струг │ - │ 1
Электростанция 7 - 9 кВт │ 2
Примечание. Подвижной состав широкой колеи рассчитан для условий:
руководящий уклон

;
длина перегона до 20 км;
средняя скорость движения поездов 25 км/ч.
Состав комплексных бригад
6.102. Состав комплексной бригады, занятой на возведении насыпей и песчаных подушек по технологии первого варианта схемы, приведен в табл. 84.
───────────────────────────────────┬──────┬────────────────────────────────
Профессия │Разряд│ Количественный состав бригады
│ ├────────────────────────────────
│ │Дальность транспортировки грунта
│ │ из перегрузочного карьера, км
│ ├───────┬───────┬───────┬────────
│ │ 0,5 │ 1 │ 3 │ 5
───────────────────────────────────┼──────┼───────┴───────┴───────┴────────
Машинист экскаватора │ 6 │ 3
Помощник машиниста экскаватора │ 5 │ 3
Машинист локомотива при дальности │ 6 │ 2
поездной возки 20 км │ │
То же, 40 км │ 6 │ 3
" 60 км │ 6 │ 4
Помощник машиниста локомотива при │ 5 │ 2
дальности поездной возки 20 км │ │
То же, 40 км │ 5 │ 3
" 60 км │ 5 │ 4
Думпкарист-старший кондуктор при │ 4 │ 4
дальности возки 20 км │ │
То же, 40 км │ 4 │ 6
" 60 км │ 4 │ 8
Шоферы автосамосвалов │ │ 10 │ 12 │ 18 │ 24
грузоподъемностью 4,5 т │ │ │ │ │
То же, 7 т │ │ 8 │ 10 │ 14 │ 18
" 10 т │ │ 6 │ 8 │ 12 │ 16
Машинист бульдозера │ 6 │ 3
Машинист грунтоуплотняющей машины │ 5 │ 1
Машинист электростанции │ 5 │ 2
Монтеры пути на содержании пути │ 5 │ 1
в карьере │ 3 │ 3
│ 1 │ 1
Машинист экскаватора-планировщика │ 6 │ 1
на очистке думпкаров и пути │ │
в пределах габарита │ │
Помощник машиниста экскаватора- │ 5 │ 1
планировщика │ │
6.103. Состав комплексной бригады, занятой на втором этапе возведения насыпей по технологии второго варианта схемы, приведен в табл. 85.
Таблица 85
─────────────────────────────────────┬──────┬─────────────────────────────
Профессия │Разряд│Количественный состав бригады
│ ├─────────────────────────────
│ │ Подъемка пути
│ ├─────────────┬───────────────
│ │электро- │ ползучим
│ │балластером │путеподъемником
─────────────────────────────────────┼──────┼─────────────┴───────────────
Машинист экскаватора │ 6 │ 1
Помощник машиниста экскаватора │ 5 │ 1
Машинист локомотива при дальности │ 6 │ 2
поездной возки 20 км │ │
Машинист локомотива при дальности │ 6 │ 3
поездной возки 40 км │ │
То же, 60 км │ 6 │ 4
Помощник машиниста локомотива при │ 5 │ 2
дальности поездной возки 20 км │ │
То же, 40 км │ 5 │ 3
" 60 км │ 5 │ 4
Думпкарист-старший кондуктор или │ 4 │ 4
машинисты хоппер-дозаторов при │ │
дальности поездной возки 20 км │ │
То же, 40 км │ 4 │ 6
" 60 км │ 4 │ 8
Машинист электробалластера │ 6 │ 1 │ -
Помощник машиниста электробалластера │ 5 │ 1 │ -
Машинист тракторного дозировщика │ 6 │ - │ 1
Помощник машиниста тракторного │ 5 │ - │ 1
дозировщика │ │ │
Машинист бульдозера │ 6 │ 2
Машинист электростанции │ 5 │ 2
Монтеры пути на подъемке и выправке │ 5 │ 1
пути и уборке грунта в путь │ 3 │ 18
│ 2 │ 2
│ 1 │ 5
Монтеры пути на содержании пути │ 5 │ 1
в карьере │ 3 │ 3
│ 1 │ 1
Землекопы на очистке думпкаров в пути│ 1 │ 9
в пределах габарита │ │
Технико-экономические показатели
6.104. Технико-экономические показатели работы приведены в табл. 86.
─────────────────────────────────────┬──────────────────┬──────────────────
Показатели │Возведение насыпей│Возведение насыпей
│и песчаных подушек│ на втором этапе
│ по технологии │ второго варианта
│ первого варианта │ технологической
│ схемы │ схемы
├──────────────────┴──────────────────
│ Дальность поездной возки грунта, км
├─────┬──────┬─────┬─────┬──────┬─────
│ 20 │ 40 │ 60 │ 20 │ 40 │ 60
─────────────────────────────────────┼─────┴──────┴─────┼─────┴──────┴─────
Производительность, м3/смену │ 975 │ 975
Выработка на одного рабочего, │ │ │ │ 17 │ 16 │ 15
м3/смену, при дальности автовозки │ │ │ │ │ │
грунта из перегрузочного карьера 1 км│ 26 │ 24 │ 22 │ - │ - │ -
То же, 3 км │ 24 │ 22 │ 20 │ - │ - │ -
" 5 км │ 22 │ 20 │ 18 │ - │ - │ -
| | ИС МЕГАНОРМ: примечание. Текст дан в соответствии с официальным текстом документа. | |
Примечания. 1. Технико-экономические показатели определены для случая, когда отсутствует простой экскаватор, а в ожидании подвижного состава широкой колеи. Для конкретных условий показатели определяются на основании проекта производства работ и графика движения поездов, согласованного со службой временной эксплуатации.
2. Потери грунта в перегрузочном карьере при возведении насыпей по технологии первого варианта схемы приведенными показателями не учтены.
Технология работ
6.105. Разработка грунта при использовании ширококолейного транспорта осуществляется в карьерах, имеющих путевое развитие, состоящее из соединительного пути и путей обменного пункта.
6.106. Обменный пункт располагается в непосредственной близости от карьера. Здесь же устраивается диспетчерский пост по управлению движением поездов от карьера до места выгрузки.
На обменном пункте укладываются два-три пути: главный, приемо-отправочный и путь технического осмотра подвижного состава. Длина обменного пункта рассчитывается по формуле

,
где

- длина поезда, м;

- 15 м - резерв на неточность установки поезда;

- расстояние от начала стрелочного перевода до предельного столбика, м;
d - расстояние между остряками стрелочных переводов (не менее 4,5 м).
Если расстояние от карьера до ближайшего раздельного пункта строящейся дороги не превышает 2 км, обменные операции производятся непосредственно на раздельном пункте, и обменный пункт не устраивается.
6.107. Забойный путь укладывается на специально подготовленную площадку. Передвижку забойного пути производит путевая бригада с помощью бульдозера, крана или путепередвигателя.
6.108. Разработка карьера ведется проходками с боковым забоем в соответствии с технологией разработки выемок и карьеров экскаваторами, оборудованными прямыми лопатами.
Для сокращения затрат на передвижки забойного пути размеры забоя следует принимать наибольшими, а стоянку экскаватора целесообразнее располагать на уровне забойного пути.
При переходе на более низкий рабочий горизонт стоянка экскаватора может быть ниже уровня головки рельса забойного пути на величину, не превышающую

,
где

- наибольшая высота выгрузки экскаватора, м;

- высота думпкара, м;
0,5 м - запас высоты над бортом думпкара.
6.109. Транспортирование грунта до временного перегрузочного карьера или места досыпки насыпи до полного профильного очертания производится думпкарами грузоподъемностью 60 т и более. Количество единиц подвижного состава в поезде и количество поездов определяются из условий бесперебойной работы экскаватора с учетом конкретной схемы организации движения, дальности транспортировки, величины руководящего уклона и мощности локомотивов.
6.110. Временные перегрузочные карьеры рекомендуется устраивать в сухих местах на участках насыпей высотой 1,5 - 2 м, как правило, по одну сторону насыпи вдоль пути.
Размеры перегрузочного карьера назначаются, исходя из возможности размещения машин, занятых на выгрузке и разработке грунта. Длину карьера принимают равной 1,5 - 2 длинам землевозных поездов.
6.111. Оптимальное расстояние между первым перегрузочным карьером, который устраивается в начале отсыпаемого участка, и последующими определяется по формуле

,
где

- сменная производительность экскаватора, занятого на разработке грунта в перегрузочном карьере, м3/смену;

- время погрузки одного самосвала в перегрузочном карьере, мин;
v - средняя скорость движения автосамосвалов, занятых на перемещении грунта из перегрузочного карьера, м/мин;

- величина затрат на организацию перегрузочного карьера с учетом потерь привозного дренирующего грунта, руб.;

- величина затрат на передислокацию механизмов из одного перегрузочного карьера в другой, руб.;

- стоимость машино-смен комплекта машин, занятых на отсыпке насыпи, руб.;
n - число рабочих смен, за время которых осуществляется передислокация;

- стоимость маш.-смены автосамосвала, руб.;
S - средневзвешенный объем 1 пог. м отсыпаемой насыпи, м3.
6.112. Грунт в перегрузочном карьере после выгрузки перемещается бульдозером в отвал и грубо планируется. Наиболее рациональная высота отвала составляет 1,5 - 3,5 м. Из отвала грунт разрабатывают драглайном с погрузкой в автосамосвалы проходками с торцовым забоем. Автосамосвалы устанавливаются в нижней части забоя.
Производительность машин, занятых в перегрузочном карьере, должна быть согласована с производительностью экскаватора в основном карьере.
6.113. Отсыпка насыпи из грунта перегрузочного карьера производится с соблюдением технологических требований возведения насыпей автосамосвалами.
6.114. Укладка пути и балластировка на первый слой производятся сразу, вслед за окончанием возведения земляного полотна.
6.115. При устройстве песчаных подушек во избежание деформаций верхней части земляного полотна из глинистых грунтов повышенной влажности движение автосамосвалов, планирующих и грунтоуплотняющих машин должно производиться по отсыпаемому слою дренирующего грунта. Толщина первого (защитного) слоя подушки принимается для груженых автосамосвалов грузоподъемностью 3,5 т по табл. 87, для автосамосвалов грузоподъемностью 4,5 т она увеличивается в 1,2 - 1,5 раза и для автосамосвалов грузоподъемностью 7 т - в 1,4 - 1,7 раза (большая цифра относится к меньшей влажности грунта).
Таблица 87
──────────────────────────────────────┬────────────────────────────────────
Влажность грунта верхней части насыпи │ Минимальная толщина защитного слоя
из глинистых грунтов │ песка в плотном теле, м
──────────────────────────────────────┼────────────────────────────────────
w + 0,26 w │ 0,30
р п │
w + 0,35 w │ 0,40
р п │
w + 0,50 w │ 0,50
р п │
6.116. Отсыпка песчаной подушки ведется сразу на всю ширину с разворотом автосамосвалов на отсыпаемом слое в местах временного специального уширения (рис. 64). В выемках в местах уширения предварительно закладываются в кюветы инвентарные стальные трубы диаметром 300 мм с толщиной стенки 8 мм для обеспечения пропуска воды. Выгруженный из автосамосвалов грунт надвигается на спланированное земляное полотно бульдозером и уплотняется в соответствии с
п. 9.16.
Рис. 64. Схема отсыпки первого слоя песчаной подушки
из перегрузочного карьера:
1 - экскаватор; 2 - землевозный поезд широкой колеи;
3 - бульдозер; 4 - автосамосвалы;
5 - грунтоуплотняющая машина
6.117. В случае возведения песчаной подушки в два слоя верхний слой отсыпают по кольцевой схеме или в направлении к перегрузочному карьеру двумя захватками. На первой захватке отсыпают и разравнивают грунт, на второй - уплотняют.
6.118. Досыпка насыпи поездной возкой с уложенного пути до полного профильного очертания производится захватками, кратными длине землевозных поездов, путем послойной подъемки пути путевыми машинами.
Грунт из думпкаров или хоппер-дозаторов выгружают на обе стороны пути, часть его электробалластером или тракторным дозировщиком дозируют в путь и производят подъемку. Оставшуюся часть грунта разравнивают бульдозером или путевым стругом.
6.119. Запас на осадку песчаной подушки, отсыпаемой автовозкой, в размере 3 - 4% ее толщины следует предусматривать только при толщине подушки 0,5 м и выше. Запас на осадку насыпи, возводимой поездной возкой без применения грунтоуплотняющих машин, принимается равным 5 - 7% ее высоты.
СООРУЖЕНИЕ ЗЕМЛЯНОГО ПОЛОТНА В РАЙОНАХ РАСПРОСТРАНЕНИЯ
БАРХАННЫХ ПЕСКОВ
Особенности сооружения земляного полотна в барханных песках
7.1. При сооружении земляного полотна в барханных песках необходимо учитывать следующие особенности:
жаркий засушливый климат, весьма малое количество осадков (во многих районах - около 100 мм в год и менее), выпадение которых сосредотачивается преимущественно в зимне-весенний период, частые, сильные ветры;
преимущественное распространение одноразмерных мелких песков, содержащих более 90% частиц размером 0,1 - 0,05 мм и менее, не закрепленных или частично закрепленных растительностью и образующих различные формы рельефа;
способность не закрепленных растительностью песков передвигаться под действием ветра как в виде ветропесчаного потока (воздушной струи, несущей взвешенный в ней песок), так и в виде подвижных форм рельефа (барханов высотой до 20 м);
необходимость сохранения в процессе производства земляных работ естественного закрепления песков (растительного покрова) в полосе, непосредственно прилегающей к трассе, а также защиты земляного полотна от выдувания и песчаных заносов;
необходимость ведения земляных работ узким фронтом с максимальной концентрацией на нем средств механизации и закрепления земляного полотна от выдувания и песчаных заносов сразу по окончании основных работ, а также соблюдения минимально возможного разрыва во времени между возведением земляного полотна, укладкой и балластировкой пути;
невозможность проезда по барханным пескам летом всех видов колесного транспорта и ограниченное применение его в осенне-зимний и весенний периоды;
отсутствие в большинстве районов вблизи трассы источников воды.
7.2. Степень естественного закрепления поверхности и подвижности песка на местности, прилегающей к трассе проектируемой дороги, оценивается по табл. 88 (в соответствии с
СН 449-72).
Таблица 88
────────────────────────┬─────────────────────────┬────────────────────────
Наименование поверхности│ Покрыто растительностью │ Степень подвижности
│ от общей площади, % │ песка
────────────────────────┼─────────────────────────┼────────────────────────
Незаросшая │ - │ Очень подвижны
Слабозаросшая │ Менее 15 │ Подвижны
Полузаросшая │ 15 - 35 │ Неподвижны
Заросшая │ Более 35 │ То же
7.3. Для защиты откосов и обочин земляного полотна от выдувания рекомендуется покрытие их поверхности тяжелыми неразвеваемыми грунтами (щебенистыми, дресвяными, гравийно-галечными или глинистыми) слоем толщиной на откосах 0,1 - 0,15, а на обочинах - 0,05 м.
Разработка выемок и возведение насыпей
7.4. При возведении насыпей из резервов и разработка выемок с отвалом грунта в кавальеры основными видами землеройных машин являются экскаваторы, оборудованные драглайнами, с ковшом ЦНИИСа емкостью 0,8 и 1,2 м3, а также бульдозеры - при возведении насыпей из резервов и разработке выемок с перемещением грунта в насыпи на расстояние до 150 м.
В осенне-зимний и ранний весенний периоды, когда пески увлажнены атмосферными осадками, для возведения земляного полотна, особенно в пересеченном рельефе местности с большой высотой барханов и на раздельных пунктах, эффективно могут быть использованы прицепные скреперы с ковшом емкостью 6 - 8 м3 при дальности транспортировки до 500 м и с ковшом емкостью 10 м3 до 800 м.
7.5. На участках с заросшей и полузаросшей поверхностью песков с целью минимального нарушения естественного закрепления целесообразно закладывать узкие, но глубокие резервы с вертикальными откосами. Ширину бермы при этом необходимо увеличивать на 1,5 глубины резерва.
7.6. На участках, где глубина резервов не ограничена, драглайном с ковшом ЦНИИСа емкостью 0,8 м3 при послойном уплотнении грунта возможно возводить насыпи высотой до 4 м без дополнительных перекидок грунта, а драглайном с ковшом ЦНИИСа емкостью 1,2 м3 - до 5 м. Выемки с укладкой грунта в кавальеры возможно разрабатывать глубиной соответственно до 7,5 и 9 м.
7.7. В песках с малой влажностью в случае нецелесообразности их уплотнения (в соответствии с
СН 449-72, § 219) насыпи высотой до 2,5 м возводится бульдозерами из резервов и высотой до 12 м драглайнами с дополнительными перекидками грунта.
7.8. Насыпи высотой до 12 м из двусторонних резервов возводятся драглайнами в два этапа (рис. 65); сначала нижнюю часть по всей ширине на высоту до 6 м, а затем верхнюю. Каждый резерв на требуемую глубину разрабатывается за три проходки экскаватора.
Рис. 65. Схема возведения высокой насыпи
драглайном из резервов:
а, б и в - первое, второе и третье положения;
1 - ось насыпи; I - VII - проходки драглайна
За первый проход драглайн разрабатывает дальнюю часть резерва (первое положение) и укладывает грунт в вал. Затем, зайдя на верх этого вала, производит перекидку в следующий вал и с него - в нижнюю часть насыпи.
Удлиненную стрелу драглайна устанавливают в этом случае под углом 30°. Дальнейшую разработку резерва и отсыпку насыпи ведут при угле наклона стрелы 45°.
При следующей проходке (второе положение) драглайн укладывает грунт в вал

, на берму рядом с отсыпаемой насыпью с последующей перекидкой в верхнюю часть насыпи. Аналогичным образом производят разработку ближней части резерва (третье положение) с укладкой грунта сначала на берму в вал

, а затем в насыпь.
7.9. На участках с незаросшей и слабозаросшей поверхностью песков возведение насыпей высотой более 4 м из резервов эффективно осуществлять драглайном в комплексе с бульдозером. При этом бульдозер производит разработку и перемещение грунта из резервов к месту стоянки драглайна и разравнивание его на насыпи, а драглайн укладывает грунт в насыпь.
Для уменьшения уноса песка ветром возведение насыпи на одном объекте рекомендуется вести несколькими экскаваторами.
7.10. В заросших и полузаросших песках разработку выемок с отвалом грунта в кавальеры целесообразно производить драглайнами в комплексе с бульдозерами. При этом драглайн укладывает грунт в вал, а бульдозер перемещает его в кавальер.
В незаросших и полузаросших песках ввиду того, что кавальеры устраивать не разрешается, образуемый драглайном вал грунта разравнивается бульдозером слоем высотой до 1 м.
7.11. При возведении насыпей из резервов в заросших и полузаросших барханных песках бульдозерами в целях минимального нарушения естественного закрепления разработку и перемещение грунта целесообразно производить несколькими машинами следующим образом: один или два бульдозера разрабатывают грунт в узких глубоких резервах (рис. 66) и перемещают его на перемычки, оставляемые через каждые 60 - 70 м; один бульдозер перемещает этот грунт в пределы насыпи, перпендикулярно ее оси; один или два бульдозера вдоль насыпи, разравнивая его по всей ширине слоя.
Рис. 66. Схема сооружения земляного полотна
комплексом из трех бульдозеров:
1 - бульдозеры; 2 - насыпь; 3 - резерв
7.12. Набор грунта скреперами следует производить по гребенчатой схеме резания с частыми заглублениями и выглублениями ковша. Набор грунта рационально осуществлять с помощью толкача.
7.13. Ввиду того, что пески на глубине свыше 1 - 1,5 м в любое время года сохраняют, как правило, постоянную влажность (3% и более), при которой обеспечивается хорошее наполнение ковша скрепера, разработку глубоких выемок и карьеров скреперами рекомендуется производить с предварительным снятием верхнего сухого песка бульдозером на указанную глубину. При этом площадь вскрыши должна быть минимальной, а разработку влажного грунта скреперами необходимо производить с максимальной интенсивностью.
7.14. С целью уменьшения утечки песка из ковша рекомендуется зазоры в сопрягаемых узлах скрепера сократить до минимально возможных. Для этого к наружным сторонам подвижного днища необходимо приваривать металлическую полоску размером 5 x 80 мм. Более плотное сопряжение днища ковша с боковыми стенками может быть достигнуто путем установки на днище специального резинового уплотнителя. Зазор между крайними ножами и корпусом заслонки можно ликвидировать поднятием крайних ножей над подножевой рамой с помощью шайб толщиной 7 мм. Для устранения щели между ковшом и боковинами заслонки боковые ножи к ковшу следует установить с прокладками толщиной 10 мм, которые внутренним концом должны упираться в приподнятые крайние ножи.
Указанные мероприятия могут быть выполнены в мастерских механизированных колонн.
7.15. При требуемом коэффициенте уплотнения 0,9 и более пески в процессе возведения насыпей подлежат послойному уплотнению грунтоуплотняющими машинами.
Для уплотнения рекомендуется применять прицепные к гусеничным тракторам катки на пневмошинах, а также грунтоуплотняющие машины виброударного действия или виброкатки.
Уплотнение грунта осуществляется в соответствии с указаниями
раздела 9.
В случае назначения коэффициента уплотнения менее 0,9 необходимость уплотнения и технология работ устанавливается опытным путем в процессе возведения насыпи.
7.16. При использовании в зимне-весенний период автотранспорта для перемещения песка из карьеров возведение насыпей организуется в следующей последовательности:
автосамосвалами отсыпается нижний слой насыпи высотой до 0,7 м без заезда их на выгруженный грунт;
после отсыпки слоя на всю длину захватки грунт выгружается рядом с отсыпанным слоем;
бульдозером или драглайном грунт перемещается в насыпь, которую возводят до проектной высоты.
В комплексе с бульдозерами насыпи возводят высотой до 2,5, а в комплексе с драглайнами - до 5 м.
СООРУЖЕНИЕ ЗЕМЛЯНОГО ПОЛОТНА ВТОРЫХ ПУТЕЙ
8.1. В разделе даны указания по возведению насыпей и разработке выемок с учетом основных особенностей устройства земляного полотна второго пути, а именно:
стесненности места производства работ;
необходимости обеспечения безопасности движения поездов по действующему пути, а также машин и механизмов, занятых на земляных работах;
охраны труда работающих на сооружении земляного полотна вторых путей в соответствии с требованиями "Правил техники безопасности и производственной санитарии при сооружении ж.-д. земляного полотна" <1>.
--------------------------------
<1> М., "Оргтрансстрой", 1972.
8.2. При разработке проектов производства работ следует учитывать снижение сменной производительности комплектов машин в связи с периодическими перерывами их работы, вызываемыми движением поездов по действующему пути, введением поправочных коэффициентов (табл. 89 и
90) к производительности, принимаемой для сооружения земляного полотна вновь строящихся железнодорожных линий.
───────────────────────────────────────┬───────────────────────────────────
Виды работ │ Коэффициенты снижения сменной
│производительности комплектов машин
├───────────────────────────────────
│ Число поездов в сутки, проходящих
│ по первому пути
├────────┬───────┬────────┬─────────
│14 - 36 │37 - 72│73 - 112│113 - 140
───────────────────────────────────────┼────────┼───────┼────────┼─────────
Разработка выемок экскаваторами. │ │ │ │
Работа экскаваторов на насыпи │ │ │ │
при срезке грунта временного уширения │ │ │ │
с укладкой в верхние слои или на берму │ │ │ │
у основания насыпи, а также │ │ │ │
при планировке откосов. │ │ │ │
Планировка откосов выемок │ │ │ │
экскаваторами-драглайнами │ │ │ │
и экскаваторами-планировщиками │ │ │ │
при работе с основной площадки выемки. │ │ │ │
Возведение насыпей автосамосвалами │ 0,93 │ 0,85 │ 0,80 │ 0,65
из карьеров при транспортировании │ │ │ │
грунта через переезды на действующем │ │ │ │
пути │ │ │ │
────────────────────────────────────────┬──────────────────────────────────
Виды работ │ Коэффициенты снижения сменной
│ производительности комплектов
│ машин
├──────────────────────────────────
│Число поездов в сутки, проходящих
│ по первому пути
├───────┬───────┬────────┬─────────
│14 - 36│37 - 72│73 - 112│113 - 140
────────────────────────────────────────┼───────┼───────┼────────┼─────────
Возведение верхней части насыпи │ │ │ │
(в пределах высоты 1,3 м до проектной │ │ │ │
отметки) грунтом из карьеров (резервов) │ │ │ │
скреперами, бульдозерами, экскаваторами │ │ │ │
при транспортировании грунта │ │ │ │
автосамосвалами. │ │ │ │
Разработка выемок скреперами, │ │ │ │
бульдозерами. │ │ │ │
Срезка "шлейфов" и растительного │ │ │ │
слоя с откосов насыпей первого пути │ │ │ │
экскаваторами-планировщиками. │ │ │ │
Срезка "шлейфов" и растительного │ 0,95 │ 0,87 │ 0,78 │ 0,70
слоя автогрейдерами и бульдозерами │ │ │ │
с откосниками в верхней части откосов │ │ │ │
насыпей первого пути (ниже бровки │ │ │ │
до 3 м). │ │ │ │
8.3. Количество транспортных, планировочных, уплотняющих и других машин в комплекте устанавливается без учета снижения сменной производительности ведущей машины.
8.4. Возведение автосамосвалами насыпей в зависимости от их высоты предусматривается по схемам однополосного или двухполосного ведения работ.
Однополосная схема предназначается для возведения насыпей высотой до 3 м при движении автосамосвалов к месту укладки грунта задним ходом на расстоянии до 50 м.
Для насыпей высотой более 3 м рекомендуется двухполосная схема (рис. 67) с кольцевым движением или разворотом автосамосвалов на насыпи.
Рис. 67. Двухполосное возведение насыпи:
1 - насыпь второго пути;

- ширина полосы
для накапливания грунта;

- ширина автосамосвала;
B - проектная ширина насыпи;

- временное уширение
насыпи;

- полная ширина насыпи; h - толщина
отсыпаемого слоя
Ширина насыпей

, необходимая для двухполосного ведения работ в зависимости от грузоподъемности автосамосвалов:
──────────────────────┬────────────────────────────────────────────────────
Грузоподъемность │ Ширина насыпи B , м
автосамосвалов, т │ 0
├────────────────────────────────────────────────────
│ Толщина отсыпаемых слоев, м
├─────────────────┬─────────────────┬────────────────
│ 0,3 │ 0,4 │ 0,5
──────────────────────┼─────────────────┼─────────────────┼────────────────
До 4,5 │ 5,35 │ 5,20 │ 5,05
5,0 │ 6,10 │ 5,95 │ 5,80
7,0 │ 6,55 │ 6,40 │ 6,25
10,0 │ 7,60 │ 7,45 │ 7,30
В случаях, когда проектная ширина насыпи недостаточна для двухполосного ведения работ, она может быть временно увеличена
(п. 8.21).
8.5. На неэлектрифицированных линиях грунт временного уширения при окончании возведения насыпи срезается с откосов и укладывается с уплотнением в верхнюю ее часть, если объем срезаемого грунта достаточен для образования слоя не менее 0,2 м
(п. 8.6), или на берму, отсыпаемую у основания, вдоль насыпи.
На электрифицированных линиях, в связи с опасностью приближения к контактному проводу стрелы работающего экскаватора, укладка грунта временного уширения в верхние слои насыпи не производится, поэтому уширение рекомендуется делать не более 0,5 м.
8.6. Толщина слоя насыпи, которая может быть отсыпана грунтом из уширения, определяется по формуле

,
где H - проектная высота насыпи, м;

- коэффициент, равный отношению величины временного уширения

к проектной ширине B присыпаемой насыпи.
8.7. Объемы дополнительных земляных работ при возведении насыпей с временным уширением рекомендуется определять по формуле

,
где

- проектный объем насыпи, м;

- коэффициент относительного увеличения общего объема грунта насыпи сверх проектного, вызываемого уширением, определяется по формулам:
для случаев использования грунта уширения в насыпь

;
для случаев срезки грунта уширения с укладкой на берму

.
8.8. Возведение насыпей автосамосвалами предусматривается с устройством присыпных въездов и съездов или без устройства их при подаче самосвалов по торцевой части насыпи, а на участках болот - с устройством разъездов для разворота и обгона на них автосамосвалов и вспомогательных машин (рис. 68). Грунт из въездов (съездов) высотой до 3 м после окончания возведения насыпей отсыпается на берму у основания насыпи и уплотняется. При высоте насыпей более 3 м грунт из въездов (съездов) отсыпается на берму в случаях, когда расстояние перевозки его для использования в насыпи, возводимые на смежных участках, равно или более дальности транспортирования грунта непосредственно из карьеров; при меньших расстояниях грунт из въездов (съездов) используется для отсыпки в насыпи на смежных участках.
а - въездов, съездов; б - разъездов;
1 - насыпь существующего пути; 2 - насыпь второго пути;
3 - разъезд
──────────────────────────────────────────┬────────────────────────────────
Насыпь шириной B = 4,7 м │Минимальные размеры разъездов, м
├──────────┬───────────┬─────────
│ a │ b │ c
──────────────────────────────────────────┼──────────┼───────────┼─────────
Для автосамосвалов грузоподъемностью 7 т │ 5,5 │ 13 │ 5,5
То же, грузоподъемностью 10 т │ 8,5 │ 11 │ 6
Для прицепных катков │ 8 │ 14 │ 7,5
Грунт из разъездов не используется для отсыпки в насыпь в связи с технологической сложностью и высокой стоимостью выполнения этих работ.
8.9. Объемы дополнительных земляных работ при возведении насыпей с устройством въездов, съездов и разъездов устанавливаются проектом организации строительства.
8.10. До начала основных работ по сооружению земляного полотна должны быть выполнены все подготовительные работы в соответствии с указаниями второго раздела, а также в соответствии с проектом сооружения II пути - относ линий и устройств связи и СЦБ, опор контактной сети, линий и устройств электроснабжения, коммуникаций различного назначения, зданий и сооружений.
8.11. На откосах существующих насыпей из глинистых грунтов высотой более 1 м со стороны присыпки необходимо проектировать уступы шириной от 1 до 1,5 м с устройством поперечного уклона, равного 0,01 - 0,02.
Уступы на откосах с талым грунтом и при наличии мерзлого слоя толщиной до 15 см нарезаются бульдозерами, начиная с нижнего уступа; второй уступ нарезается проходками бульдозера по насыпи, отсыпанной на высоту первого уступа, и т.д.
В пределах насыпей из дренирующих грунтов взамен устройства уступов следует предусматривать удаление с откосов дерна и древесно-кустарниковой растительности, а при отсутствии дерна и растительности - рыхление верхнего слоя грунта на глубину 10 - 15 см.
Работы выполняются автогрейдером или бульдозером 180 л.с. с откосником, а также экскаватором-планировщиком по технологии, указанной в
пп. 8.54 -
8.61.
8.12. Основные и подготовительные работы, не рассмотренные в настоящем разделе, а также укрепительные работы при сооружении земляного полотна вторых путей выполняются по технологическим схемам для новостроящихся железных дорог.
Разработка выемок, карьеров одноковшовыми экскаваторами
и возведение насыпей автосамосвалами
Область применения
8.13. Указания даны для разработки выемок экскаваторами и возведения насыпей автосамосвалами в грунтах I - IV групп.
8.14. Разработка выемок производится драглайнами с ковшами ЦНИИСа емкостью 0,8; 1,2 и 1,5 м3, возведение насыпей автосамосвалами грузоподъемностью от 4,5 до 10 т.
Комплект машин, состав комплексных бригад
и технико-экономические показатели
8.15. Комплект машин, состав комплексных бригад и технико-экономические показатели принимаются по
табл. 13 -
15 с коэффициентами к сменной производительности и выработке на одного рабочего согласно
табл. 89,
90.
Технология работ
Разработка выемок
8.16. Разработка выемок выполняется в соответствии с указаниями
раздела 4.
8.17. Выемки глубиной, не превышающей возможной глубины разработки драглайном
(табл. 12), разрабатываются одним уступом, торцовым забоем. При автовозке грунта автосамосвалы устанавливаются в уровне стоянки экскаватора (рис. 69).
Рис. 69. Разработка выемки второго пути
экскаватором-драглайном:
1 - ось существующего пути; 2 - ось второго пути
8.18. Выемки более глубины резания экскаваторов, указанных в
табл. 12 величин, разрабатываются ярусами:
верхний ярус согласно указаниям
п. 8.17;
каждый следующий ярус разрабатывается драглайном, устанавливаемым на верхней площадке яруса. Работа экскаватора ведется челночным способом, грунт набирается ковшом сзади автосамосвала, устанавливаемого на расстоянии 2,5 - 3 м от откоса забоя на нижней площадке яруса (рис. 70).
Рис. 70. Разработка выемки второго пути
продольно-челночным способом:
1 - положение ковша при наборе грунта; 2 - положение ковша
при разгрузке в автосамосвалы; 3 - ось существующего пути
Подача автосамосвалов под загрузку грунтом в выемках, ширина которых недостаточна для разворота автосамосвалов, осуществляется задним ходом. Такая технология рекомендуется для разработки выемок длиной до 100 м при условии выполнения работ с двух концов. Выемки большей длины разрабатываются по индивидуальному проекту. При разработке выемок, ширина которых достаточна для разворота автосамосвалов, подача их под загрузку грунтом осуществляется передним ходом с разворотом у места погрузки.
Возведение насыпей
8.19. Возведение насыпей на участках трассы, когда подъезд автосамосвалов к насыпи возможен без устройства специальных дорог, выполняется в зависимости от высоты насыпи по схемам однополосного и двухполосного ведения работ согласно
п. 8.4.
8.20. Насыпи высотой до 3 м возводятся по схеме однополосного ведения работ (при большей высоте насыпи расстояние движения автосамосвалов задним ходом будет более допустимого - 50 м).
В качестве транспортных средств рекомендуются автосамосвалы грузоподъемностью до 10 т.
Для въезда на насыпь автосамосвалов, бульдозеров и уплотняющих машин используется торцовая часть насыпи, для чего она отсыпается с продольным уклоном не круче 0,1 (рис. 71).
а)
б)
в)
г)
Рис. 71. Отсыпка насыпи с однополосным ведением работ:
а - разбивка на захватки насыпи при длине ее до 500 м;
б - то же, при длине более 500 м; в - работа на захватке
(фасад и план); г - отсыпка насыпи на стыковых захватках;
0 - 6 - захватки; 7 - въезд с уклоном не круче 0,1;
8 - съезд с уклоном 0,15; 9 - ось пути
Длина концевых захваток принимается до 100 м, промежуточных не более 50 м. Возведение насыпи выполняется одновременно на двух захватках: на одной ведется разгрузка автосамосвалов, на другой - разравнивание и уплотнение грунта.
Возведение насыпи протяжением до 500 м начинается с концевых захваток 1 и 2 (см.
рис. 71, а); при отсыпке слоя на захватке 1, разравнивание и уплотнение грунта производится на захватке 2. Отсыпка следующего слоя ведется на захватке 2, а разравнивание и уплотнение грунта - на захватке 1. После доведения насыпи на захватках 1 и 2 до проектных отметок работы производятся на смежных захватках 3 и 4 в порядке, указанном для первых двух. В такой же последовательности ведутся работы на остальных захватках. На двух последних стыковых захватках насыпь возводится с подачей автосамосвалов по въезду, отсыпаемому одновременно с насыпью.
Возведение насыпей большей протяженности производится участками по 450 - 500 м. Участки делятся на захватки согласно
рис. 71, б.
Возведение насыпей в границах каждого участка начинается с концевых захваток 0 и 0', на стыке которых одновременно отсыпается съезд для кольцевого движения прицепных катков (при уплотнении грунта навесной на тракторе грунтоуплотняющей машиной устройство съездов не требуется).
После доведения насыпи на захватках 0 и 0' до проектных отметок работы продолжаются в последовательности, указанной для участков насыпи длиной до 500 м.
Для отсыпки грунта на концевых и промежуточных захватках автосамосвалы разворачиваются в уровне основания у начала захваток и задним ходом подаются на насыпь по торцовой ее части (см.
рис. 71, в). На стыковых захватках насыпь возводится с подачей автосамосвалов по въезду, отсыпаемому одновременно с насыпью (см.
рис. 71, г).
Уплотнение грунта пневмокатками выполняется по кольцевой схеме с использованием торцовых и присыпных въездов и съездов.
8.21. Насыпи высотой более 3 м возводятся по схеме двухполосного ведения работ автосамосвалами грузоподъемностью до 10 т. В продольном направлении насыпи делятся на две полосы, на одной полосе производится разгрузка грунта, другая полоса используется для проезда автосамосвалов (см.
рис. 67). Насыпи, проектная ширина которых недостаточна для двухполосного ведения работ, возводятся с временным уширением, величина его определяется по формуле

,
где M - расстояние по проекту между осями существующего и второго пути, м.
Работы ведутся одновременно на двух захватках, на одной производится разгрузка грунта, на другой - разравнивание и уплотнение его. Разгрузка грунта ведется от начала захватки со стороны входа автосамосвалов (рис. 72, а).
а)
б)
Рис. 72. Отсыпка насыпи с двухполосным ведением работ:
а - разгрузка грунта на захватке; б - кольцевое движение
автосамосвалов; I - V - захватки; 1 - въезд;
2 - автосамосвалы; 3 - съезд; 4 - кольцевое движение
автосамосвалов при отсыпке грунта на захватках I и IV;
5 - кольцевое движение прицепных катков при уплотнении
грунта на захватках II и V
Насыпи высотой до 6 м сооружаются с устройством въездов и съездов, отсыпаемых одновременно с насыпью. Въезды в целях уменьшения объема грунта для их устройства рекомендуется возводить в местах с повышенными отметками рельефа. Въезды и съезды размещаются, как правило, поочередно (один съезд между двумя въездами или между концом насыпи и въездом). Рациональная длина захватки 200 - 300 м. Движение автосамосвалов и прицепных грунтоуплотняющих катков осуществляется по кольцевой схеме (см.
рис. 72, б).
Насыпи высотой более 6 м возводятся с устройством только съездов. Для заезда на насыпь автосамосвалов и другие машин используются нулевые места на отметке отсыпаемого слоя. Насыпи протяжением до 500 м рекомендуется возводить без устройства съездов, одной захваткой, если автосамосвалы во время разравнивания и уплотнения грунта и грунтоуплотняющая машина во время отсыпки слоя могут быть использованы на смежном участке работ.
Возведение насыпи с количеством захваток 3 и более, в целях уменьшения общего пробега автосамосвалов, рекомендуется выполнять, начиная с дальней от карьера захватки, разравнивание и уплотнение грунта производить вслед на смежной захватке. Движение автосамосвалов и пневмокатков осуществляется по схеме рис. 73.
Рис. 73. Возведение насыпи высотой более 6 м:
а - отсыпка грунта на захватке I, уплотнение грунта
на захватке III; б - отсыпка грунта на захватке II,
уплотнение грунта на захватке I; в - отсыпка грунта
на захватке III, уплотнение грунта на захватке II;
I, II, III - захватки; 1 - схема движения автосамосвалов;
2 - съезды; 3 - схема движения катков
Насыпи длиной более 1000 м в связи со значительным перепробегом пневмокатков рекомендуется сооружать с применением навесных на тракторах грунтоуплотняющих машин.
8.22. В случаях, когда грунт временного уширения насыпи используется для отсыпки верхних слоев и насыпь возводится до высоты
(п. 8.6), въезды (съезды) следует отсыпать также до высоты

, а запас грунта, необходимый для досыпки их до проектной высоты, размещать на откосах въезда (съезда) или на насыпи (рис. 74).
Рис. 74. Размещение запаса грунта для досыпки въезда
(съезда):
1 - существующая насыпь; 2 - насыпь второго пути;
3 - въезд (съезд); 4 - запас грунта
Разработка выемок и возведение насыпей скреперами
Область применения
8.23. Указания даны для разработки выемок, доработки нижнего уступа глубоких выемок и возведения насыпей скреперами в грунтах I и II групп.
8.24. Разработка и доработка выемок, возведение насыпей производится прицепными скреперами емкостью 8; 10; 15 м3 и самоходными 9; 10 и 15 м3.
Комплект машин, состав комплексных бригад
и технико-экономические показатели
8.25. Комплект машин, состав комплексных бригад и технико-экономические показатели принимаются по
табл. 33 -
41 с коэффициентами к сменной производительности и выработке на одного рабочего в соответствии с
табл. 89 и
90.
Технология работ
8.26. Разработка выемок и возведение насыпей выполняются в соответствии с указаниями
пп. 4.97 -
4.112.
8.27. Разработку выемок самоходными скреперами рекомендуется производить наклонными слоями в целях сокращения времени хода тракторов-толкачей. При этом длина забоя должна быть не менее пути набора грунта, а уклон его максимальным, но не более указанного в паспорте машины.
8.28. Часть грунта, не добираемая скреперами у кромки уступа выемки на полосе безопасного приближения их к откосу, через 2 - 3 проходки скреперов срезается и перемещается в зону набора грунта отвалом бульдозера, закрепленным под углом к оси трактора.
Возведение насыпей на болотах I типа
и участках слабых оснований
8.29. Возведение насыпей на болотах состоит из двух технологических процессов:
полного или частичного удаления торфа в основании насыпи с заполнением траншеи грунтом и возведения насыпи выше уровня болота не менее чем на 0,5 м, либо отсыпки первого слоя ("тропы"), если выторфовывания не требуется;
возведения остальной части насыпи до проектной высоты.
8.30. Выторфовывание производится посекционно - участками длиной 10 - 50 м в зависимости от глубины траншеи, плотности и устойчивости торфа (устанавливается проектом).
8.31. Засыпка траншей и отсыпка первого слоя насыпи выше уровня болота осуществляются с "головы" с устройством через каждые 50 м разъездов высотой не менее 0,5 м для разворота и обгона автосамосвалов, бульдозера и грунтоуплотняющей машины.
8.32. В целях наиболее эффективного использования экскаватора на погрузке грунта в карьере, производительность которого выше производительности драглайна на выторфовывании, рекомендуется по мере необходимости одновременно с засыпкой траншеи, отсыпкой первого слоя и разъездов выполнять транспортирование грунта в насыпь, на участок, смежный с болотом.
8.33. Насыпи высотой до 3 м рекомендуется возводить по схеме однополосного ведения работ автосамосвалами грузоподъемностью до 10 т (рис. 75).
Рис. 75. Отсыпка насыпи по схеме однополосного ведения
работ на болотах I типа:
а, б - выторфовывание, засыпка траншей, отсыпка нижнего
слоя и разъездов; в - отсыпка насыпи с отметки 0,5 м выше
уровня болота до проектной; 1 - насыпь существующего пути;
2 - автосамосвалы; 3 - глубина выторфовывания;
4 - экскаватор-драглайн; 5 - насыпь второго пути;
6 - бульдозер; 7 - грунтоуплотняющая машина;
8 - разъезды
Возведение насыпи ведется захватками длиной до 50 м и начинается с дальней от карьера или выемки захватки; в границах ее насыпь доводится до проектной высоты; после чего в таком же порядке выполняются работы на смежной захватке. Автосамосвалы разворачиваются на разъездах у начала захватки и подаются на разгрузку задним ходом по торцовой части насыпи. Отсыпка каждого слоя производится в направлении от дальнего конца к началу захватки. Уплотнение грунта производится навесной на тракторе грунтоуплотняющей машиной.
Разравнивание и уплотнение грунта ведется вслед за его отсыпкой. Работа бульдозера и грунтоуплотняющей машины должна быть организована так, чтобы к окончанию отсыпки слоя на захватке разрыв между выгрузкой, разравниванием и уплотнением грунта был минимальным, а уплотнение слоя на этой части захватки заканчивалось к подходу очередного самосвала для пропуска его в конец захватки отсыпки следующего слоя; грунтоуплотняющая машина и бульдозер при этом отводятся на смежную, ранее отсыпанную, часть насыпи.
8.34. Насыпи высотой более 3 м (а при отсутствии навесной на тракторе грунтоуплотняющей машины и до 3 м) рекомендуется возводить по схеме двухполосного ведения работ (рис. 76) с применением автосамосвалов грузоподъемностью до 7 т.
Рис. 76. Отсыпка насыпи на болоте по схеме
двухполосного ведения работ:
а, б - выторфовывание, засыпка траншей,
отсыпка нижнего слоя и разъездов; в, г - отсыпка насыпи
с отметки 0,5 м выше уровня болота до проектной;
1 - бульдозер; 2 - автосамосвалы; 3 - экскаватор-драглайн;
4 - разъезды вспомогательные; 5 - разъезды основные;
6 - насыпь второго пути; 7 - насыпь существующего пути;
8 - отсыпка грунта; 9 - грунтоуплотняющая машина
Насыпи, проектная ширина которых недостаточна для двухполосного ведения работ, возводятся с временным уширением
(п. 8.21).
Насыпи возводятся с устройством вспомогательных разъездов, отсыпаемых через каждые 50 м на высоту 0,5 м, и основных разъездов, возводимых одновременно с насыпью у концов захваток.
Послойное возведение насыпи с отметки 0,5 м выше уровня болота начинается с дальнего от карьера конца насыпи и ведется одновременно на двух захватках: на одной из них отсыпается грунт, на другой производится разравнивание и уплотнение его.
Отсыпка грунта производится на одной из двух полос, на которые делится захватка в продольном направлении
(п. 8.21) и ведется в направлении от ближнего к дальнему разъезду.
Автосамосвалы проходят от начала болота до мест выгрузки грунта и обратно по насыпи с разворотом на разъезде в конце захватки, на которой ведется его выгрузка. Для пропуска груженых автосамосвалов встречные делают остановку на разъезде, ближайшем к месту скрещения.
Уплотнение грунта рекомендуется выполнять навесными на тракторах грунтоуплотняющими машинами, при отсутствии их - пневмокатками. После каждой проходки по захватке пневмокаток разворачивается в конце или начале ее на разъезде, а также на нулевых местах при уплотнении насыпи на концевых захватках.
Основные разъезды при уплотнении насыпи пневмокатками возводятся с размерами площадок, необходимыми для разворота на них катков; при уплотнении навесными на тракторах машинами - с размерами площадок, необходимыми для разворота автосамосвалов (см.
рис. 68).
Насыпи высотой до 6 м делятся на захватки длиной 300 - 200 м; движение автосамосвалов и катков осуществляется по кольцу (см.
рис. 76).
Насыпи высотой 6 - 12 м, протяженностью до 600 м рекомендуется возводить одной захваткой без устройства основных разъездов с разворотом автосамосвалов для обратного хода у конца насыпи на нулевых отметках. При уплотнении грунта на захватке автосамосвалы используются для отсыпки насыпей на смежных участках. Насыпи протяженностью до 1 км рекомендуется возводить двумя захватками; протяженностью более 1 км - по индивидуальному проекту производства работ.
8.35. Основные разъезды и насыпь в границах их длины во всех случаях рекомендуется отсыпать до полной высоты, включая и те случаи, когда возведение насыпи автосамосвалами между разъездами (на участках с тепловозной тягой) может заканчиваться на высоте

(
пп. 8.6,
8.22). При этом смежные участки насыпи с разными высотами сопрягаются продольным уклоном 0,1 (рис. 77).
Рис. 77. Сопряжение разъезда с насыпью:
1 - насыпь второго пути; 2 - разъезд
Возведение насыпей из дренирующих грунтов поездной возкой
Область применения
8.36. Возведение насыпей поездной возкой рекомендуется в случаях, когда дальность транспортирования грунта автосамосвалами превышает 10 км, а выгрузка грунта из вагонов в насыпь на перегонах может регулярно производиться с действующего пути в "окна".
8.37. Технологическая схема предназначается как для устройства дренирующего слоя верхней части насыпей, так и для возведения насыпей дренирующим грунтом на полную высоту.
Комплект машин
8.38. Комплект машин для отсыпки насыпи дренирующим грунтом поездной возкой приведен в табл. 91.
Таблица 91
────────────────────────────────────────────────────────────────┬──────────
Наименование машин │Количество
────────────────────────────────────────────────────────────────┼──────────
Экскаватор-прямая лопата с емкостью ковша 1,25 м3 │ 1
Тепловоз ТЭМ-1 в карьере │ 1
Тепловоз магистральный при дальности возки до 60 км │ 2
То же, до 60 - 200 км │ 3
" до 200 - 350 км │ 4
Думпкары грузоподъемностью 60 т с откидными бортами │ 44
при дальности возки до 60 км │
То же, до 60 - 200 км │ 66
" до 200 - 350 км │ 88
Бульдозер на тракторе 100 - 130 л.с. │ 1
Грунтоуплотняющая машина │ 1
Электростанция 7 - 9 кВт │ 2
Состав комплексных бригад
8.39. Состав комплексной бригады, занятой на отсыпке насыпей дренирующим грунтом поездной возкой, приведен в табл. 92.
Таблица 92
─────────────────────────────────────────────────────────┬──────┬──────────
Профессия │Разряд│Количество
│ │ человек
─────────────────────────────────────────────────────────┼──────┼──────────
Машинист экскаватора │ 6 │ 1
Помощник машиниста экскаватора │ 5 │ 1
Машинист локомотива в карьере │ 6 │ 1
Помощник машиниста локомотива в карьере │ 5 │ 1
Машинист магистрального локомотива при дальности возки │ 6 │ 2
до 60 км │ │
Машинист магистрального локомотива при дальности возки │ 6 │ 3
до 60 - 200 км │ │
То же, до 200 - 350 км │ 6 │ 4
Помощник машиниста магистрального локомотива │ 5 │ 2
при дальности возки до 60 км │ │
То же, до 60 - 200 км │ 5 │ 3
" до 200 - 350 км │ 5 │ 4
Думпкарист-старший кондуктор при дальности возки до 60 км│ 3 │ 4
То же, до 60 - 200 км │ 3 │ 6
" до 200 - 350 км │ 3 │ 8
Машинист бульдозера │ 6 │ 1
Машинист грунтоуплотняющей машины │ 5 │ 1
Машинист электростанции │ 5 │ 2
Землекопы на очистке думпкаров и пути в пределах габарита│ 1 │ 9
Монтеры пути (содержание пути в карьере) │ 5 │ 1
│ 3 │ 3
│ 1 │ 1
Технико-экономические показатели
8.40. Технико-экономические показатели возведения насыпи дренирующим грунтом поездной возкой приведены в табл. 93.
Таблица 93
─────────────────────────────────────────┬─────────────────────────────────
Показатели │ Дальность возки, км
├──────────┬──────────┬───────────
│ До 60 │ 60 - 200 │ 200 - 350
─────────────────────────────────────────┼──────────┴──────────┴───────────
Производительность, м3/смену │ 700
Выработка на одного рабочего, м3/смену │ 23 │ 20 │ 18
8.41. Потребность в магистральных тепловозах и думпкарах, количественный состав поездных бригад и технико-экономические показатели отсыпки насыпей уточняются в каждом случае на основе проекта производства работ, составляемого с учетом согласованного управлением или отделением дороги графика движения и оборачиваемости поездов на участках работ.
Технология работ
8.42. Способ разработки карьера, длина погрузочного пути и размеры забоев в карьере, а также количество и длина путей обменного пункта устанавливаются в соответствии с
пп. 6.105 -
6.109.
8.43. Формирование поездов до весовой нормы производится на ближайшем от карьера раздельном пункте.
Землевозный поезд выводится на перегон в полном составе, выгрузка грунта производится без передвижки или с передвижкой вагонов в зависимости от толщины отсыпаемого слоя, емкости думпкаров и продолжительности "окна".
8.44. Для предотвращения засорения щебеночного балласта существующего пути дренирующим грунтом необходимо перед выгрузкой грунта из думпкаров откосную часть балластной призмы покрывать со стороны междупутья мешковиной, полиэтиленовой пленкой или щитами. После уборки грунта в насыпь второго пути защитное покрытие снимается для применения его на следующем участке.
8.45. Разгруженный дренирующий грунт планируется по всей ширине насыпи отвалом бульдозера, установленным под углом к оси трактора (рис. 78).
Рис. 78. Отсыпка насыпи дренирующим грунтом
с действующего пути:
1 - бульдозер; 2 - думпкары; 3 - насыпь существующего пути;
4 - насыпь второго пути
8.46. Уплотнение грунта производится навесными на тракторах грунтоуплотняющими машинами или пневмокатками.
8.47. Перед выводом землевозного поезда с перегона на раздельный пункт после выгрузки грунта необходимо:
освободить от грунта борта думпкаров;
очистить от грунта концы шпал и рельсов;
привести землевозный поезд в транспортное состояние.
Возведение насыпей из дренирующих грунтов с использованием
железнодорожного и автомобильного транспорта
Область применения
8.48. Технологическая схема предназначается как для устройства дренирующего слоя верхней части насыпей, так и для возведения их на полную высоту.
8.49. Технологической схемой предусматривается использование железнодорожного транспорта для завоза дренирующего грунта из основных карьеров во временные перегрузочные карьеры и использование автосамосвалов для отсыпки насыпей грунтом из перегрузочных карьеров.
Возведение насыпей с использованием перегрузочных карьеров рекомендуется только в тех случаях, когда по условиям интенсивности движения поездов "окна" для выгрузки грунта на перегонах из железнодорожных составов с действующего пути предоставляться не могут, а дальность транспортирования грунта автосамосвалами из местных карьеров превышает 10 км.
8.50. Целесообразность применения технологической схемы должна устанавливаться проектом организации строительства.
Комплект машин, состав комплексных бригад
и технико-экономические показатели
8.51. При возведении насыпей с использованием железнодорожного и автомобильного транспорта комплект машин, состав комплексных бригад и технико-экономические показатели принимаются по
табл. 82,
84,
86 с исключением бульдозера и грунтоуплотняющей машины и внесением в связи с этим соответствующих поправок в состав комплексных бригад и технико-экономические показатели.
Технология работ
8.52. Перегрузочные карьеры рекомендуется размещать на раздельных пунктах, со стороны II главного пути. Объем дренирующего грунта в карьере должен быть не менее двух-, трехсменной производительности комплекта машин.
Разгрузочный путь карьера при возможности следует укладывать на проектной оси II главного пути (рис. 79).
Рис. 79. Перегрузочный карьер дренирующего грунта
на раздельном пункте:
1 - ось разгрузочного пути; 2 - ось существующего пути
8.53. Отсыпка насыпей высотой до 3 м из дренирующего грунта автосамосвалами выполняется по однополосной схеме согласно указаниям
пп. 8.20;
8.33. Возведение насыпей высотой до 3 м с отсыпкой дренирующего грунта только в верхнюю часть и насыпей высотой более 3 м (полностью или частично из дренирующего грунта) выполняется по двухполосной схеме в соответствии с указаниями
пп. 8.21;
8.34; 8.35.
Временное уширение насыпей при двухполосном возведении их автосамосвалами, а также при использовании скреперов рекомендуется делать не более 0,5 м.
Срезка шлейфов и растительного слоя
с откосов насыпей существующего пути
Область применения
8.54. Указания составлены для срезки растительного грунта с откосов насыпей существующего пути, а также "шлейфов", когда они не являются частью существующей насыпи и удаление их не может угрожать безопасности движения поездов.
Для срезки используются: комплект из двух автогрейдеров среднего типа, или автогрейдер и бульдозер, или бульдозер 180 л.с., оборудованный откосником, или универсальный экскаватор-планировщик.
Экскаваторы-планировщики применяются при высоте насыпи более 2,7 м, когда срезаемый грунт не пригоден для укладки в насыпь и должен быть удален на берму.
В случаях, когда подрезка "шлейфа" снизу может вызвать его сползание с грунтом и местное обрушение откоса, а также когда "шлейф" является частью существующей насыпи, выбор средств механизации и технология срезки устанавливаются индивидуальным проектом производства работ.
Технико-экономические показатели
8.55. Технико-экономические показатели приведены в табл. 94.
Таблица 94
────────────────────┬─────────────────────────────────────────────────────────────────────
Показатели │ Ведущая машина
├──────────────────────────────────┬──────────────────────────────────
│ Автогрейдер │ Универсальный
│ │ экскаватор-планировщик
├──────────────────────────────────┴──────────────────────────────────
│ Число поездов в сутки
├───────┬───────┬────────┬─────────┬───────┬───────┬────────┬─────────
│14 - 36│37 - 72│73 - 112│113 - 140│14 - 36│37 - 72│73 - 112│113 - 140
────────────────────┼───────┼───────┼────────┼─────────┼───────┼───────┼────────┼─────────
Производительность │ 570 │ 530 │ 470 │ 420 │ 190 │ 175 │ 135 │ 140
комплекта, м3/смену │ │ │ │ │ │ │ │
Выработка на одного│ 285 │ 265 │ 235 │ 210 │ 190 │ 175 │ 135 │ 140
рабочего, м3/смену │ │ │ │ │ │ │ │
Технология работ
8.56. До начала работ производится разбивка и закрепление бровки насыпи существующего пути в соответствии с указаниями
п. 10.47.
8.57. Автогрейдер выполняет срезку шлейфов с откосов насыпей высотой до 2,7 м одновременно на всю высоту двумя-тремя проходами, снимая слой тонкими стружками.
При большей высоте насыпи работа выполняется ярусами: вначале срезается шлейф с нижней части откоса на высоту 2,7 м и производится отсыпка насыпи в пределах первого яруса, затем срезается шлейф, и отсыпается насыпь на высоту второго яруса и т.д.
Второй автогрейдер (или бульдозер) планирует срезанный грунт или удаляет его за пределы насыпи.
8.58. Универсальный экскаватор-планировщик выполняет срезку "шлейфов" с насыпей высотой, м:
Э-4010 ................................................... 3,7
ЭО-3332 .................................................. 3,5
Сатур-051К ............................................... 4,7
Э-4010 с удлиненной стрелой .............................. 5,7
ЭО-3332, то же ........................................... 5,2
Сатур-051К, то же ........................................ 6,1
Срезка выполняется движением ковша или скребка сверху вниз за одну или две проходки (две проходки необходимы при работе с удлиненной стрелой). При двух проходках вначале срезается верхняя часть, при этом экскаватор передвигается по линии подошвы откоса существующей насыпи; затем срезается остальная часть, а экскаватор передвигается на расстоянии 3 - 4 м от линии заложения откоса.
Срезка до 20 см выполняется планировочным скребком, более 20 см - ковшом.
Технические параметры экскаваторов-планировщиков приведены в
Приложении 16.
8.59. Срезанный грунт шлейфа укладывается в насыпь с соблюдением требований
пп. 2.46 -
2.50 или удаляется и разравнивается по берме, если по своим качествам он не пригоден для возведения насыпи.
8.60. Растительный грунт срезается по технологии
пп. 8.56 -
8.58, но во всех случаях удаляется за пределы очертания насыпи, разравнивается и уплотняется по берме.
8.61. Работы по срезке шлейфов и растительного грунта выполняются до нарезки уступов.
Срезка грунта из временного уширения
с укладкой его в насыпь или на берму
Область применения
8.62. Схема применяется в случаях, когда насыпь временно уширена для производства работ.
8.63. В зависимости от высоты насыпи для срезки грунта уширенной части применяются экскаваторы-драглайны с ковшом емкостью до 0,8 м3, универсальные экскаваторы-планировщики, автогрейдеры и бульдозеры 130 л.с., оборудованные навесными откосниками.
8.64. Укладка срезанного грунта в верхние слои насыпи рекомендуется исключительно на неэлектрифицированных линиях и при условии, когда объем срезаемого грунта достаточен для образования слоя насыпи толщиной не менее 20 см.
Указанные условия достигаются при коэффициенте
(п. 8.6):
Проектная высота насыпи, м:

2 ................................................... не менее 0,25
3 ................................................... то же, 0,20
4 и более ........................................... " 0,15
8.65. Часть грунта временного уширения в объеме до 30 - 35%
(п. 8.71), которая по технологическим соображениям не может быть использована для досыпки верхней части насыпи, срезается с откосов и отсыпается на берму у основания вдоль насыпи.
Если при срезке грунта не может быть получен слой насыпи 20 см, грунт из уширенной части насыпи полностью отсыпается на берму и уплотняется.
8.66. Отсыпку грунта из уширения в верхние слои насыпи выполняют механизмы:
Максимальная
высота насыпи, м
Экскаватор-драглайн с ковшом ЦНИИСа емкостью 0,8 м3 ..... 8
Экскаватор-планировщик Э-4010 ........................... 1,8
То же, ЭО-3332 .......................................... 2,0
" Сатур-051К ....................................... 3,1
Экскаватор-планировщик с удлиненной стрелой Э-4010 ...... 3,6
То же, ЭО-3332 .......................................... 3,6
" Сатур-051К ....................................... 4,7
При высоте насыпи более 8 м отсыпку грунта из уширения в насыпь следует осуществлять по индивидуальному проекту.
8.67. Участок работ экскаватора, передвигающегося по верху насыпи, должен ограждаться сигналами в соответствии с "Инструкцией по обеспечению безопасности движения поездов при производстве путевых работ" <1>.
--------------------------------
<1> М., "Транспорт", 1966.
Комплект машин
8.68. Комплект машин для срезки грунта временного уширения с укладкой в верхние слои насыпи или на берму состоит из ведущей машины - экскаватора-драглайна с ковшом ЦНИИСа 0,8 м3 (или универсального экскаватора-планировщика), бульдозера на тракторе 130 л.с. и грунтоуплотняющей машины.
Срезка грунта с укладкой на берму выполняется комплектом машин, приведенным в
п. 8.54, с включением в комплект грунтоуплотняющей машины.
Состав комплексных бригад
8.69. Срезка грунта временного уширения с отсыпкой верхних слоев насыпи или укладкой грунта на берму производится бригадами в составе, указанном в табл. 95 и
96.
Таблица 95
─────────────────────────────────────────────────────────┬──────┬──────────
Профессия │Разряд│Количество
│ │ рабочих
─────────────────────────────────────────────────────────┼──────┼──────────
Машинист экскаватора │ 6 │ 1
Помощник машиниста, для экскаватора-планировщика - │ 5 │ 1
шофер-дизелист │ │
Машинист бульдозера │ 6 │ 1
Машинист грунтоуплотняющей машины │ 5 │ 1
─────────────────────────────────────────────────────────┬──────┬──────────
Профессия │Разряд│Количество
│ │ рабочих
─────────────────────────────────────────────────────────┼──────┼──────────
Машинист автогрейдера │ 6 │ 2
Машинист грунтоуплотняющей машины │ 5 │ 1
При срезке грунта с отсыпкой насыпи или укладкой его на берму ведущая машина - экскаватор.
При срезке грунта с укладкой его на берму ведущая машина - автогрейдер.
Технико-экономические показатели
8.70. Технико-экономические показатели при срезке грунта временного уширения с отсыпкой верхних слоев насыпи или укладкой грунта на берму приведены в табл. 97 и
98.
Таблица 97
Срезка грунта с отсыпкой насыпи или укладкой его на берму
──────────────────────────────┬─────────┬──────────────────────────────────
Показатели │ Группа │ Число поездов в сутки
│ грунтов ├───────┬───────┬────────┬─────────
│ │14 - 36│37 - 72│73 - 112│113 - 140
──────────────────────────────┴─────────┴───────┴───────┴────────┴─────────
Ведущая машина - драглайн с ковшом ЦНИИСа 0,8 м3
Производительность, м3/смену │ I │ 384 │ 350 │ 330 │ 268
│ II │ 320 │ 294 │ 276 │ 224
Выработка на одного рабочего, │ I │ 96 │ 88 │ 83 │ 67
м3/смену │ II │ 81 │ 74 │ 69 │ 56
│ │ │ │ │
Ведущая машина - универсальный экскаватор-планировщик
Производительность, м3/смену │ I - II │ 190 │ 175 │ 155 │ 140
Выработка на одного рабочего, │ I - II │ 47 │ 44 │ 39 │ 35
м3/смену │ │ │ │ │
──────────────────────────────────────────────────────┬────────────────────
Показатели │Грунты I - II группы
──────────────────────────────────────────────────────┼────────────────────
Производительность, м3/смену │ 600
Выработка на одного рабочего, м3/смену │ 200
Технология работ
8.71. Грунт из уширения, используемый для отсыпки в верхнюю часть насыпи, срезается экскаватором по контуру camn'o и отсыпается в основную призму pgqd и вспомогательную fpdo, необходимую для уплотнения откоса pd основной призмы (рис. 80). Грунт уширения, заключенный в контур amn'ofpe, не используется для отсыпки верхней части насыпи и после уплотнения грунта в основной призме срезается и укладывается на берму у основания насыпи.
Рис. 80. Схема срезки грунта из временного уширения:
1 - ось действующего пути
8.72. Работы по отсыпке верхних слоев насыпи ведутся одновременно на трех захватах (рис. 81):
на первой - экскаватором срезается грунт из уширения и отсыпается в насыпь;
на второй - грунт разравнивается бульдозером;
на третьей - производится уплотнение слоя грунта.
Рис. 81. Отсыпка верхних слоев насыпи
экскаватором-драглайном грунтом из временного уширения:
1 - насыпь второго пути; 2 - насыпь существующего пути;
3 - грунтоуплотняющая машина; 4 - бульдозер;
5 - экскаватор-драглайн
При необходимости разравнивание и уплотнение грунта может выполняться на одной захватке.
8.73. Толщина слоя, срезаемого за один проход экскаватора, назначается в зависимости от толщины отсыпаемого слоя, в соответствии с указаниями
раздела 9.
8.74. В насыпях высотой до 3,5 м после срезки экскаватором часть грунта, оставшегося на откосе и не используемого в насыпь, срезается автогрейдером или бульдозером 130 л.с. с откосником.
При высоте насыпей более 3,5 м срезка неиспользуемого грунта универсальным экскаватором-планировщиком выполняется по технологии
пп. 10.58 -
10.61 или комбинированным способом: верхняя часть срезается и перемещается к основанию бульдозером или автогрейдером, а затем экскаватором, передвигающимся по берме, весь оставшийся грунт срезается до проектного очертания насыпи и укладывается на берму.
Срезка грунта экскаватором-драглайном выполняется проходками его по основной площадке; грунт, оставшийся на нижней части откоса, срезается автогрейдером или экскаватором-планировщиком с укладкой на берму.
8.75. При срезке грунта экскаваторами с верхней стоянки не допускается поворот стрелы в сторону действующего пути, а после каждой передвижки экскаватора должна быть проведена проверка соблюдения габарита.
Разработка скальных выемок экскаваторами,
оборудованными ковшами активного действия,
и возведение насыпей автосамосвалами
Область применения
8.76. Технологическая схема рекомендуется для разработки выемок II пути глубиной до 8 м в трещиноватых скальных грунтах IV - VI групп экскаватором-прямой лопатой типа Э-10011, оборудованным ковшом активного действия, и возведения насыпей автосамосвалами.
Использование ковшей активного действия наиболее целесообразно в случае, когда применение взрывного метода рыхления невозможно или затруднено в связи с близостью действующего пути, жилых строений, линий электропередачи и других сооружений.
Комплект машин
8.77. Комплект машин при разработке выемок экскаваторами с ковшами активного действия и возведения насыпи автосамосвалами приведен в табл. 99.
Таблица 99
───────────────────────────────────────────┬───────────────────────────────
Наименование машин в комплекте │Дальность транспортирования, км
├─────────┬──────────┬──────────
│ 0,5 │ 1,0 │ 3,0
───────────────────────────────────────────┼─────────┼──────────┼──────────
Экскаватор, оборудованный ковшом активного │ │ 1 │
действия емкостью 0,9 м3 │ │ │
Автосамосвалы грузоподъемностью 7 т │ 4 │ 5 │ 8
То же, грузоподъемностью 10 т │ 3 │ 4 │ 7
Грунтоуплотняющая машина ударного действия │ │ 1 │
Бульдозер 100 - 130 л.с. │ │ 1 │
Компрессор ПР-16, ПР-10 или ДК-9М │ │ 1 │
Передвижная электростанция 5 - 7 кВт │ │ 1 │
Состав комплексных бригад
8.78. Состав комплексных бригад для разработки выемок и возведения насыпей приведен в табл. 100.
Таблица 100
────────────────────────────────────────────┬──────┬───────────────────────
Профессия │Разряд│ Дальность
│ │ транспортирования, км
│ ├───────┬───────┬───────
│ │ 0,5 │ 1,0 │ 3,0
────────────────────────────────────────────┼──────┼───────┼───────┼───────
Машинист экскаватора │ 6 │ │ 1 │
Помощник машиниста экскаватора │ 5 │ │ 1 │
Шоферы автосамосвалов грузоподъемностью 7 т │ │ 4 │ 5 │ 8
То же, грузоподъемностью 10 т │ │ 3 │ 4 │ 7
Машинист грунтоуплотняющей машины │ 5 │ │ 1 │
Машинист бульдозера │ 6 │ │ 1 │
Машинист электростанции │ 4 │ │ 1 │
Машинист компрессора │ 4 │ │ 1 │
Технико-экономические показатели
8.79. Технико-экономические показатели разработки выемок второго пути экскаваторами, оборудованными ковшами активного действия, и возведения насыпей автосамосвалами устанавливаются согласно табл. 101.
Таблица 101
───────────────────────────────────────────────┬───────────────────────────
Показатели │Дальность возки грунта, км
├────────┬────────┬─────────
│ 0,5 │ 1,0 │ 3,0
───────────────────────────────────────────────┼────────┼────────┼─────────
Производительность комплекта, м3/смену │ │ 150 │
Выработка на 1 рабочего, м3/смену, при │ 15 │ 14 │ 11
транспортировании грунта автосамосвалами │ │ │
грузоподъемностью 7 т │ │ │
То же, грузоподъемностью 10 т │ 17 │ 15 │ 12
Примечание. Производительность комплекта и выработка на одного рабочего показаны без учета перерывов в работе для пропуска поездов
(п. 8.2).
Технология работ
8.80. Разработка выемок при совмещенном полотне производится лобовыми (торцовыми) забоями, погрузка грунта осуществляется с поворотом экскаватора на 180°, автосамосвалы подаются к месту погрузки задним ходом (рис. 82).
Рис. 82. Разработка скальных выемок экскаватором
с ковшом активного действия:
1 - экскаватор с ковшом активного действия;
2 - автосамосвалы; 3 - компрессор;
4 - ось существующего пути
8.81. Для разъезда груженых и порожних автосамосвалов в разработанной части выемки существующий кювет в местах разъездов рекомендуется перекрывать настилом.
8.82. В промежутках между временем загрузки автосамосвалов целесообразно производить дополнительное рыхление грунта путем экскавации ковшом с открытым днищем.
8.83. Разработка выемок осуществляется с соблюдением требований "Инструкции по обеспечению безопасности движения поездов при производстве буровзрывных и скальных работ на строительстве вторых путей" <1>.
--------------------------------
<1> М., "Оргтрансстрой", 1971.
8.84. Выемки глубиной более 8 м должны разрабатываться по индивидуальным проектам производства работ.
Разработку раздельных выемок следует выполнять в соответствии с указаниями
раздела 4.
Разработка выемок в скальных грунтах
экскаватором-прямой лопатой с рыхлением взрывами
скважинных зарядов и отвозкой грунта
в насыпь автосамосвалами
Область применения
8.85. Указания даны для уширения выемок в скальных грунтах V - XI групп с применением взрывных работ.
Комплект машин
8.86. Уширение скальных выемок под второй путь производится комплектом машин (табл. 102).
Таблица 102
───────────────────────────────┬─────────┬─────────────────────────────────
Наименование машин │Дальность│ Группы грунтов
│транспор-├────────┬────────────┬───────────
│тировки, │ V │ VI - VIII │ IX - XI
│км ├────────┴────────────┴───────────
│ │ Емкость ковша экскаватора, м3
│ ├────┬───┬──────┬─────┬─────┬─────
│ │0,65│1,0│ 0,65 │ 1,0 │0,65 │ 1,0
───────────────────────────────┼─────────┼────┼───┼──────┼─────┼─────┼─────
Экскаватор │ - │ 1 │ 1 │ 1 │ 1 │ 1 │ 1
Автосамосвалы │ 0,5 │ 3 │ - │ 3 │ - │ 3 │ -
грузоподъемностью 5 т │ 1,0 │ 5 │ - │ 5 │ - │ 5 │ -
│ 3,0 │ 6 │ - │ 6 │ - │ 6 │ -
То же, грузоподъемностью 7 т │ 0,5 │ 3 │ 4 │ 3 │ 4 │ 3 │ 4
│ 1,0 │ 3 │ 5 │ 3 │ 5 │ 3 │ 5
│ 3,0 │ 4 │ 7 │ 4 │ 7 │ 4 │ 7
То же, грузоподъемностью │ 0,5 │ - │ 3 │ - │ 3 │ - │ 3
10 - 12 т │ 1,0 │ - │ 3 │ - │ 3 │ - │ 3
│ 1,3 │ - │ 4 │ - │ 4 │ - │ 4
Буровая машина шарошечного │ │ 1 │ 1 │ 2 │ 2 │ - │ -
бурения с диаметром долота │ │ │ │ │ │ │
150 мм │ │ │ │ │ │ │
Буровая машина универсальная │ │ - │ - │2
<*> │2
<*>│ 2/4 │ 2/4
или ударно-вращательного │ │ │ │ │ │
<**> │
<**>
бурения с диаметром долота │ │ │ │ │ │ │
60 - 105 мм │ │ │ │ │ │ │
Компрессор производительностью│ │ 1 │ 1 │ 0/2 │ 0/2 │ 0/2 │ 0/2
Электростанция 30 кВт для │ │ - │ - │ - │ - │ 0/1 │ 0/1
работы буровых машин ударно- │ │ │ │ │ │
<**> │
<**>
вращательного бурения │ │ │ │ │ │ │
Молоток бурильный легкий │ │ 1 │ 1 │ 1 │ 1 │ 1 │ 1
Компрессор производительностью│ │ 1 │ 1 │ 1 │ 1 │ 1 │ 1
4,5 - 5 м3/мин │ │ │ │ │ │ │
Бульдозер на базе трактора │ │ 1 │ 1 │ 1 │ 1 │ 1 │ 1
100 - 130 л.с. │ │ │ │ │ │ │
Электростанция 5 - 7 кВт для │ │ 1 │ 1 │ 1 │ 1 │ 1/0 │ 1/0
освещения в темное время суток │ │ │ │ │ │
<**> │
<**>
При контурном взрывании дополнительно:
Буровая машина для бурения │ │ - │ - │ 1/2 │ 1/2 │ 2/4 │ 2/5
60 - 105 мм │ │ │ │ │ │ │
Компрессор производительностью│ │ - │ - │ 0/2 │ 0/2 │ 0/3 │ 0/3
--------------------------------
| | ИС МЕГАНОРМ: примечание. Взамен ВСН 178-74 с 1 июля 1992 года введены в действие ВСН 178-91, утв. АО Корпорация "Трансстрой" 09.12.1991 N МО-05. | |
<*> Только при разработке труднодробимых грунтов (по ВСН 178-74).
<**> В числителе указаны цифры для случая применения буровой машины БТС-75; в знаменателе - для случая применения буровых машин ударно-вращательного бурения с пневмоударником или шарошечного бурения.
Состав комплексных бригад
8.87. Уширение скальных выемок под второй путь производится бригадой (табл. 103).
Таблица 103
────────────────────────────┬──────┬─────────┬─────────────────────────────
Профессия │Разряд│Дальность│ Группы грунтов
│ │транспор-├────────┬─────────┬──────────
│ │тировки, │ V │VI - VIII│ IX - XI
│ │км ├────────┴─────────┴──────────
│ │ │Емкость ковша экскаватора, м3
│ │ ├────┬───┬─────┬───┬─────┬────
│ │ │0,65│1,0│0,65 │1,0│0,65 │1,0
────────────────────────────┼──────┼─────────┼────┼───┼─────┼───┼─────┼────
Машинист экскаватора │ 6 │ │ 1 │ 1 │ 1 │ 1 │ 1 │ 1
Помощник машиниста │ 5 │ │ 1 │ 1 │ 1 │ 1 │ 1 │ 1
Шофер 3 класса при │ │ 0,5 │ 3 │ - │ 3 │ - │ 3 │ -
автосамосвалах │ │ 1,0 │ 5 │ - │ 5 │ - │ 5 │ -
грузоподъемностью 5 т │ │ 3,0 │ 6 │ - │ 6 │ - │ 6 │ -
То же, грузоподъемностью │ │ 0,5 │ 3 │ 4 │ 3 │ 4 │ 3 │ 4
7 т │ │ 1,0 │ 3 │ 5 │ 3 │ 5 │ 3 │ 5
│ │ 3,0 │ 4 │ 7 │ 4 │ 7 │ 4 │ 7
То же, грузоподъемностью │ │ 0,5 │ - │ 3 │ - │ 3 │ - │ 3
10 - 12 т │ │ 1,0 │ - │ 3 │ - │ 3 │ - │ 3
│ │ 3,0 │ - │ 4 │ - │ 4 │ - │ 4
Бурильщик │ 6 │ │ 1 │ 1 │ 2 │ 2 │ 2/4 │2/4
Бурильщик │ 5 │ │ 1 │ 1 │ 0/2 │0/2│ 0/2 │0/2
Бурильщик │ 4 │ │ 1 │ 1 │ 1 │ 1 │ 1 │ 1
Взрывник │ 5 │ │ 1 │ 1 │ 1 │ 1 │ 1 │ 1
Взрывник │ 4 │ │ 1 │ 1 │ 1 │ 1 │ 1 │ 1
Машинист электростанции │ 5 │ │ 1 │ 1 │ 1 │ 1 │ 1 │ 1
Сигналист для ограждения │ 3 │ │ 3 │ 3 │ 3 │ 3 │ 3 │ 3
участка пути при │ │ │ │ │ │ │ │
производстве буровзрывных │ │ │ │ │ │ │ │
и экскаваторных работ │ │ │ │ │ │ │ │
Сигналист для оцепления │ 3 │ │ 2 │ 2 │ 2 │ 2 │ 2 │ 2
опасной зоны при взрывах │ │ │ │ │ │ │ │
Машинист бульдозера │ 5 │ │ 1 │ 1 │ 1 │ 1 │ 1 │ 1
При контурном взрывании дополнительно:
Бурильщик │ 6 │ │ - │ - │ 1/2 │1/2│ 2/4 │2/5
Бурильщик │ 5 │ │ - │ - │ 0/2 │0/2│ 0/3 │0/3
--------------------------------
<*> В числителе указаны цифры для случая применения буровой машины БТС-75; в знаменателе - для случая применения буровых машин ударно-вращательного бурения с пневмоударником или шарошечного бурения.
Технико-экономические показатели
8.88. Технико-экономические показатели уширения скальных выемок экскаваторами с рыхлением грунтов взрывами скважинных зарядов и транспортировкой в насыпь автосамосвалами приведены в табл. 104 для условий пропуска по участку выемки 72 поездов в сутки и выделения трех "окон" в неделю по 2 ч каждое.
─────────────┬──────┬────────────────────────────────────────────────────────────────────────────────────
Показатели │Даль- │ Группа пород
│ность ├────────────────────┬───────────────────────────────┬───────────────────────────────
│тран- │ V │ VI - VIII │ IX - XI
│спор- ├────────────────────┴───────────────────────────────┴───────────────────────────────
│тиров-│ Емкость ковша экскаватора, м3
│ки, км├───────┬────────────┬───────────────┬───────────────┬───────────────┬───────────────
│ │ 0,65 │ 1,0 │ 0,65 │ 1,0 │ 0,65 │ 1,0
│ ├───────┴────────────┴───────────────┴───────────────┴───────────────┴───────────────
│ │ Грузоподъемность автосамосвала, т
│ ├───┬───┬────┬───────┬───────┬───────┬───────┬───────┬───────┬───────┬───────┬───────
│ │ 5 │ 7 │ 7 │10 - 12│ 5 │ 7 │ 7 │10 - 12│ 5 │ 7 │ 7 │10 - 12
─────────────┼──────┼───┴───┼────┴───────┼───────┴───────┼───────┴───────┼───────┴───────┼───────┴───────
Производи- │ │ 145 │ 190 │ 120 │ 160 │ 120 │ 160
тельность │ │ │ │ │ │ │
комплекта, │ │ │ │ │ │ │
м3/смену │ │ │ │ │ │ │
Выработка │0,5 │8,5│8,5│10,5│ 11,0 │7,0/6,4│7,0/6,4│9,0/8,0│9,5/7,6│7,0/5,2│7,0/5,7│9,0/6,7│9,5/7,6
рабочего, │1,0 │7,6│7,6│10,0│ 11,0 │6,4/5,8│7,0/6,4│8,4/7,6│9,5/7,6│6,3/4,8│7,0/5,7│8,4/6,4│9,5/7,6
│3,0 │7,2│7,2│9,0 │ 10,5 │6,0/5,2│6,7/6,0│7,6/7,0│8,9/8,0│6,0/4,6│6,7/5,5│7,6/6,0│9,0/6,7
В том числе │ │ │ │ │ │ │
по буровзрыв-│ │ 18 │ 24 │ 15/12
<*> │ 20/16
<*> │ 15/8,6
<*> │ 20/11,5
<*>
ным работам, │ │ │ │ │ │ │
м3/смену │ │ │ │ │ │ │
--------------------------------
<*> В числителе указаны цифры для случая применения буровой машины БТС-75, в знаменателе - для буровых машин ударно-вращательного бурения с пневмоударником или шарошечного бурения.
При другой интенсивности движения поездов по участку работ, другом количестве выделяемых "окон" и продолжительности их показатели определяются умножением данных
табл. 104 на коэффициенты (табл. 105 и
106).
Таблица 105
───────────────────────────────────────────┬───────┬───────┬───────┬───────
Количество поездов в сутки │ 36 │ 72 │ 112 │ 140
───────────────────────────────────────────┼───────┼───────┼───────┼───────
Коэффициенты, учитывающие пропуск поездов │ 1,12 │ 1 │ 0,85 │ 0,76
────────────────────────────────────────┬────────────────┬────────┬────────
Количество выделяемых "окон" в неделю │ 2 │ 3 │ 4
────────────────────────────────────────┼───┬────┬───┬───┼────┬───┼────┬───
Продолжительность "окон", ч │ 1 │ 2 │ 3 │ 4 │ 1 │ 2 │ 1 │ 2
Коэффициент, учитывающий перерывы │1,1│1,05│ 1 │0,9│1,08│ 1 │1,05│0,9
экскавации │ │ │ │ │ │ │ │
Технология работ
| | ИС МЕГАНОРМ: примечание. Взамен ВСН 178-74 с 1 июля 1992 года введены в действие ВСН 178-91, утв. АО Корпорация "Трансстрой" 09.12.1991 N МО-05. | |
8.89. При уширении скальных выемок под второй путь должны выполняться требования ТУ ВСН 178-74 и "Инструкции по обеспечению безопасности движения поездов при производстве буровзрывных и скальных работ на строительстве вторых путей" (ВСН 175-71) <1>.
--------------------------------
<1> М., "Оргтрансстрой", 1971.
8.90. Скальные выемки глубиной до 8 м с откосами 1:0,75 и круче при уширении следует разрабатывать в один уступ торцовой проходкой. Взрывание должно выполняться на коротких участках выемки из расчета уборки взорванного грунта, попавшего на путь, в выделенное "окно".
Разработка выемок при этом должна выполняться, по возможности, с двух ее концов (рис. 83).
Рис. 83. Схема разработки выемки с двух концов:
I - участок экскаваторных работ; II - участок буровзрывных
работ; 1 - действующий путь; 2 - линия габарита
приближения строений
Выемки глубиною до 2 м следует взрывать в один-два приема по всей длине.
8.91. Темпы разработки выемки следует определять из расчета выделения в среднем (за время разработки выемки) от двух до четырех "окон" в неделю. При этом объем грунта, взрываемого в "окно", должен быть в пределах от 200 до 800 м3 в зависимости от длительности "окна", местных условий и характеристики скального массива, а также от применяемых средств и технологии буровзрывных работ.
8.92. Для обеспечения безопасности производства работ и движения поездов при разработке выемок в слабовыветривающихся скальных грунтах с откосами 1:0,2 - 1:0,5, при нормальном междупутье (4,1 м) требуется уширение выемок сверх конструктивно необходимых размеров <1>, при этом расстояние от оси существующего пути до подошвы откоса выемки второго пути должно быть не менее величин, указанных в
табл. 107.
--------------------------------
<1> "Альбом типовых поперечных профилей земляного полотна вторых путей железных дорог" 501-01-12.
─────────────────────────────┬─────────────────────────────────────────────
Емкость ковша экскаватора, м3│ Необходимое расстояние от оси существующего
│ пути до подошвы откоса разрабатываемой
│ выемки, м, при крутизне откосов
├──────────────────────┬──────────────────────
│ 1:0,2 │ 1:0,5
─────────────────────────────┼──────────────────────┼──────────────────────
1,00 │ 11,7 │ 10,3
0,65 │ 10,2 │ 9,4
Примечание. Указанные в таблице расстояния предусматривают работу экскаватора при угле наклона стрелы 60° и максимально втянутой рукояти (рис. 84).
Рис. 84. Схема разработки экскаваторами выемок
в слабовыветривающихся скальных грунтах:
1 - габарит приближения строений; 2 - ось существующего
пути; 3 - ось второго пути; 4 - ось вращения платформы
экскаватора; 5 - линия откоса выемки второго пути
по типовому поперечному профилю при крутизне 1:0,2;
6 - то же, при крутизне 1:0,5; 7 - линия откоса выемки
с учетом уширения, необходимого для работы экскаватора
при крутизне откоса 1:0,2; 8 - то же, при крутизне 1:0,5;
R, A, B - параметры, зависящие от типа экскаваторов:
─────────────────────────────────────────────┬─────────────────────────────
Параметры │Емкость ковша экскаватора, м3
├──────────────┬──────────────
│ 1,0 │ 0,65
├──────────────┴──────────────
│ Крутизна откосов выемок
├───────┬──────┬──────┬───────
│ 1:0,2 │1:0,5 │1:0,2 │ 1:0,5
─────────────────────────────────────────────┼───────┼──────┼──────┼───────
R - радиус поворота хвостовой части │ 2,9 │ │ 3,9 │
платформы экскаватора, м │ │ │ │
A, B - расстояния от оси существующего пути │ 11,7 │ 10,3 │ 10,2 │ 9,4
до нижней бровки откоса выемки второго пути, │ │ │ │
r │ │ │ │
8.93. В пределах участка разрабатываемой выемки, когда ширина ее недостаточна для разворота автосамосвалов, подача их под экскаватор производится задним ходом.
8.94. Уборка взорванного грунта с пути за пределы габарита приближения строений производится в "окно" с перемещением в выработанное пространство выемки.
В случаях, когда объем грунта, попавшего на путь, превышает полутора-двухчасовую производительность бульдозера, для уборки его с пути следует использовать два бульдозера или бульдозер и экскаватор.
Производительность бульдозера на базе трактора 100 л.с. при уборке с пути взорванного грунта определяется по табл. 108.
Таблица 108
───────────────────────────────────────────────┬──────┬──────┬──────┬──────
Продолжительность "окна", ч │ 1 │ 2 │ 3 │ 4
───────────────────────────────────────────────┼──────┼──────┼──────┼──────
Производительность бульдозера, м3 │ 20 │ 50 │ 75 │ 100
8.95. Отсыпка насыпей автосамосвалами при транспортировании грунта выемок выполняется согласно
пп. 4.57 -
4.61 и указаниям настоящего раздела.
УПЛОТНЕНИЕ НАСЫПЕЙ
Требования к плотности грунтов земляного полотна
9.1. В проектах необходимо предусматривать работы по уплотнению насыпей из грунтов всех видов, за исключением скальных из слабовыветривающихся горных пород. Для верхней части насыпей из скальных грунтов слабовыветривающихся пород следует применять щебенистый материал с размером отдельных фракций от 30 до 70 мм.
Уплотнение в железнодорожных насыпях скальных грунтов из легковыветривающихся пород (аргиллитов, алевролитов, глинистых сланцев и т.п.), а также крупнообломочных грунтов, в том числе с глинистым заполнителем, обеспечивается посредством:
назначения необходимого числа проходов уплотняющих машин, устанавливаемого на основе предварительного пробного уплотнения;
ограничения толщины отсыпаемых слоев и размеров отдельных камней;
создания запаса на осадку в размере 3% проектной высоты насыпи.
9.2. Требуемую плотность песчаных и глинистых грунтов в теле насыпей следует определять по формуле

,
где

- максимальная плотность (объемный вес скелета) используемого грунта, г/см3, определяемая по методу стандартного уплотнения
(Приложение 21);
K - минимальный коэффициент уплотнения, принимаемый по табл. 109.
───────────────┬─────────────────────────┬────────────────────────────────
Часть насыпи │Общая толщина уплотняемых│ Коэффициент K
│ слоев, м │
├─────────────────────────┴────────────────────────────────
│ для линий:
├───────────────┬─────────┬────────────────┬───────────────
│I, II категорий│ III │ I категории │ II, III
│и вторых путей │категории│ и вторых путей │категорий
<***>
───────────────┼───────────────┼─────────┼────────────────┼───────────────
Верхняя │ 1,0 │ 0,5 │ 0,98; 0,95
<*> │0,95; 0,92
<*>
Нижняя │Зависит от высоты насыпи │ 0,95; 0,92
<*> │0,95
<**>; 0,90
--------------------------------
<*> Для насыпей из одноразмерных песков.
<**> На участках с сильно пересеченным рельефом, а также в пределах участков длиной до 100 м на подходах к средним и большим мостам и на участках подтопления.
<***> Для линий IV и V категорий минимальное значение коэффициента уплотнения устанавливается равным 0,90 по всей высоте насыпей.
9.3. Уменьшение коэффициента уплотнения песчаных и глинистых грунтов по сравнению с нормами, приведенными в
табл. 109, допускается для насыпей железных дорог в случаях невозможности или нецелесообразности достижения этих значений по физическим свойствам грунтов с малой влажностью, в том числе сухих барханных песков или переувлажненных глинистых грунтов.
Уменьшенные значения коэффициента уплотнения следует принимать на основе данных стандартного уплотнения с учетом положений
пп. 9.7 и
9.9, а также предусматривать дополнительные меры, обеспечивающие общую устойчивость земляного полотна и прочность его основной площадки, с обоснованием решений технико-экономическими расчетами.
Для железнодорожных насыпей, возводимых с K <= 0,95, следует предусматривать запас на осадку по нормам табл. 110.
Таблица 110
───────────────────────────────────────────────────────────────┬───────────
Характеристика условий │ Величина
│ запаса,
│ % от
│ проектной
│ высоты
│ насыпи
───────────────────────────────────────────────────────────────┼───────────
1. Насыпи железнодорожные из скальных и крупнообломочных │ 3
грунтов при послойном возведении с применением уплотняющих │
машин │
2. Насыпи железнодорожные из песчаных и глинистых грунтов, │1 - 2,5
<*>
возводимые с коэффициентом уплотнения 0,90 │
То же, 0,95 │ 0,5
3. Насыпи железнодорожные из глинистых переувлажненных грунтов│ 2 - 3
4. Насыпи железнодорожные из скальных слабовыветривающихся │ До 6
грунтов без уплотнения │
--------------------------------
<*>

величины запаса относятся к насыпям, возводимым к короткие сроки (до 6 месяцев) из грунтов с влажностью, близкой к предельно допустимой (
пп. 9.7;
9.8).
При этом для верхней части (толщиной 0,5 - 1,0 м) железнодорожных насыпей во всех случаях не допускается применять грунты, абсолютное значение плотности которых после уплотнения менее 1,45 г/см3.
9.4. Ширину насыпей на слабых основаниях, а также возводимых с запасом на осадку, следует устанавливать с расчетом обеспечения ее проектной ширины после полной осадки насыпи.
Величина запаса на осадку основания насыпей, возводимых из всех видов грунтов на слабых, мокрых основаниях и на болотах, должна устанавливаться проектом.
В случаях, когда по условиям соблюдения руководящего уклона насыпь не может быть отсыпана с полным запасом на осадку, следует принимать неполную величину осадки; при этом отклонение от руководящего уклона не должно быть больше

и основная площадка должна быть соответственно уширена. Поперечный профиль насыпи, отсыпаемой с неполным запасом на осадку, показан на рис. 85.
Рис. 85. Поперечный профиль насыпи, отсыпанной
с неполным запасом на осадку:
S - требуемый запас на осадку насыпи;

- принятый запас;

- величина уменьшения запаса
на осадку; b - нормальная ширина насыпи; B - ширина
насыпи, отсыпанной с неполным запасом на осадку
Запас на осадку должен уточняться перед укладкой рельсового пути бурением насыпи до естественной поверхности основания.
9.5. Запас на осадку насыпей, сооружаемых в зимнее время, рекомендуется определять по формуле

,
где

- осадка тела насыпи при оттаивании, см;

- осадка основания за счет распученности промерзшего слоя грунтов, см;

- осадка мерзлого слоя за счет уплотнения сильно сжимаемых грунтов основания при их оттаивании, см;

- запас на осадку незамерзаемого сильносжимаемого грунта основания, см.
Величина

принимается равной 3 - 4% от высоты насыпи при песчаных грунтах и 4 - 5% при глинистых.
Величина

принимается равной величине пучения промерзшего до возведения насыпи слоя основания. Она определяется по разности высотных отметок, закрепленных через 20 м точек основания в предзимний период и в период отсыпки насыпи. Отметки выявляются нивелированием от морозоустойчивого репера.
Величина

определяется исходя из имеющихся в проекте данных о сжимаемости грунтов поверхностного слоя основания под нагрузкой и фактической глубины промерзания основания к началу возведения насыпи.
Величина

определяется обычным порядком.
9.6. Влажность песчаных и глинистых грунтов, подлежащих уплотнению, необходимо учитывать при оценке возможности использования их в насыпях, а также при установлении коэффициента уплотнения. Для насыпей следует применять преимущественно грунты, имеющие оптимальную влажность

или близкую к ней.
Примечание. Численные значения оптимальной влажности следует определять при испытании данного грунта по методу стандартного уплотнения (см.
Приложение 21).
Если естественная влажность используемых глинистых грунтов окажется (в резерве, карьере, выемке) ниже

и песков - менее 4%, необходимо предусматривать искусственное увлажнение их до получения оптимальной влажности.
9.7. Максимальная влажность

, при которой будет обеспечена требуемая плотность грунта в насыпях для железных дорог, устанавливается по кривой стандартного уплотнения данного грунта или по формуле, приведенной в
п. 2.22 СН 449-72.
9.8. Величиной максимальной допустимой влажности является абсцисса точки пересечения кривой стандартного уплотнения секущей, параллельной оси влажности, с ординатой, равной заданной плотности. По условиям прочности влажность грунтов не должна превышать, как правило, величины

.
9.9. Глинистые грунты тугопластичной консистенции (0,25 <= B <= 0,50) допускается применять для насыпей на естественном сухом или осушаемом основании.
В этом случае величина достигаемой плотности может быть определена по графику
Приложения 22.
9.10. Фактический объем потребного грунта для насыпей в случаях, когда требуемая плотность грунта в теле насыпи больше естественной плотности грунта в резерве (карьере), определяется по формуле

,
где

- объем проектируемой насыпи, м3;

- коэффициент относительного уплотнения грунта в теле насыпи, определяемый по формуле

,
где

и

- нормативная плотность грунта насыпи и естественная в резерве (карьере), г/см3.
9.11. Методика определения коэффициента относительного уплотнения насыпи приводится в
Приложении 23.
Для ориентировочных расчетов значение

принимается по табл. 111.
Таблица 111
─────────────────────────────────┬─────────────────────────────────────────
Коэффициент уплотнения грунта │ Коэффициент относительного уплотнения K
в насыпи, K │ 1
├──────────────┬───────────┬──────────────
│Пески, супеси,│ Суглинки, │ Лессовидные
│ пылеватые │ глины │грунты, лесс,
│ суглинки │ │ чернозем
─────────────────────────────────┼──────────────┼───────────┼──────────────
1,00 │ 1,10 │ 1,05 │ 1,20
0,95 │ 1,05 │ 1,00 │ 1,15
0,90 │ 1,00 │ 0,95 │ 1,10
Технология уплотнения насыпей
9.12. Уплотнение насыпей должно производиться послойно в процессе производства работ специальными грунтоуплотняющими машинами, технические характеристики которых приведены в
Приложениях 24 и
25.
9.13. Эффективность уплотнения зависит от вида и влажности грунта, толщины уплотняемого слоя, режима работы грунтоуплотняющих машин, температурных условий.
Наибольший экономический эффект достигается при уплотнении грунтов, имеющих оптимальную влажность.
9.14. В процессе производства работ не следует допускать переувлажнения грунта. В дождливый период года отсыпанный грунт необходимо немедленно разравнивать и уплотнять, придавая поверхности слоя уклон 0,01 - 0,02 в сторону откосов.
При интенсивных дождях возведение насыпей из глинистых грунтов следует прекращать.
Перед длительным перерывом в работах поверхность и откосы насыпей должны быть спланированы, а верхний слой уплотнен, чтобы не допускать переувлажнения грунта от застоя воды на поверхности незаконченной насыпи. При переувлажнении в отдельных местах этот грунт должен быть удален до начала работ и заменен грунтом оптимальной влажности.
9.15. В жаркое время отсыпку и уплотнение грунта следует производить быстро, не допуская его пересыхания. Слабо влажные грунты необходимо увлажнять с помощью водополивочной машины, разливая воду в несколько приемов. Уплотнять дополнительно увлажненный грунт следует только после пропитывания водой всего слоя.
Количество воды, потребное для увлажнения 1 м2 слоя грунта, определяется по формуле

,
где

- требуемая плотность, т/м3;
h - толщина увлажняемого слоя после уплотнения, м;

- оптимальная влажность грунта, %;

- естественная влажность грунта в карьере или резерве, %;

- потери влаги при разработке, транспортировании и укладке, %.
Лессы и лессовидные грунты лучше увлажнять в карьере, резерве и при их разработке и погрузке в транспортные средства чередовать (дозировать) влажный и сухой грунты. Уплотнение отсыпанного слоя следует производить после того, как влажность грунта станет равномерной, но не ранее чем через смену. В течение этого периода грунт оставляется в кучах.
На строительстве линий в засушливых районах (при количестве осадков в год до 300 мм) земляные работы, по возможности, следует выполнять в зимний и весенний периоды, когда грунты находятся во влажном состоянии.
9.16. Толщина отсыпаемого слоя, необходимое количество проходов и скорости перемещения машин при уплотнении грунта оптимальной влажности приведены в табл. 112.
─────────────────┬─────────────────────────────┬─────────────────────────────┬───────────
Грунтоуплотняющие│ Наибольшая толщина слоя │ Необходимое число проходов │ Скорость
машины │ в плотном теле, м │ │перемещения
├──────────────┬──────────────┼──────────────┬──────────────┤ при
│ Глины, │Супеси, пески │ Глины, │Супеси, пески │уплотнении,
│ суглинки │ │ суглинки │ │ км/ч, v
├──────────────┴──────────────┴──────────────┴──────────────┤
│ Коэффициент уплотнения грунта │
├────┬────┬────┬────┬────┬────┬────┬────┬────┬────┬────┬────┤
│0,90│0,95│0,98│0,90│0,95│0,98│0,90│0,95│0,98│0,90│0,95│0,98│
─────────────────┼────┼────┼────┼────┼────┼────┼────┼────┼────┼────┼────┼────┼───────────
Пневмокатки │0,5 │0,4 │0,25│0,6 │0,45│0,3 │4 - │8 - │12 -│4 - │6 - │10 -│Первый
массой 25 - 30 т │ │ │ │ │ │ │ 6│ 10│ 15│ 6│ 8│ 12│и последний
│ │ │ │ │ │ │ │ │ │ │ │ │проходы 2,
│ │ │ │ │ │ │ │ │ │ │ │ │5, осталь-
│ │ │ │ │ │ │ │ │ │ │ │ │ные 3 - 5
Решетчатые катки │0,5 │0,35│0,25│0,6 │0,4 │0,3 │3 - │6 - │11 -│2 - │5 - │10 -│То же
массой 25 т │ │ │ │ │ │ │ 5│ 8│ 13│ 4│ 7│ 12│
Виброкатки массой│0,25│ - │ - │0,35│0,25│ - │3 - │ - │ - │2 - │4 - │ - │ "
3 т │ │ │ │ │ │ │ 5│ │ │ 3│ 6│ │
То же, 6 т │0,4 │0,3 │ - │0,5 │0,4 │0,25│4 - │6 - │ - │3 - │5 - │8 - │ "
│ │ │ │ │ │ │ 5│ 8│ │ 4│ 7│ 10│
" 12 т │0,75│0,5 │0,3 │0,9 │0,6 │0,35│5 - │7 -│10 -│4 -│6 - │9 - │ "
│ │ │ │ │ │ │ 6│ 9│ 12│ 5│ 8│ 11│
Трамбовочные │0,5 │0,35│0,2 │0,6 │0,4 │0,25│ 1 │ 1 │ 1 │ 1 │ 1 │ 1 │В глинах
машины с │ │ │ │ │ │ │ │ │ │ │ │ │и суглинках
виброударными │ │ │ │ │ │ │ │ │ │ │ │ │0,3 - 0,5.
органами для │ │ │ │ │ │ │ │ │ │ │ │ │В супесях
стесненных │ │ │ │ │ │ │ │ │ │ │ │ │и песках
условий │ │ │ │ │ │ │ │ │ │ │ │ │0,6 - 0,8
Дизель- │0,75│0,60│0,3 │0,9 │0,8 │0,35│ 1 │ 1 │ 1 │ 1 │ 1 │ 1 │В глинах
трамбовочные │ │ │ │ │ │ │ │ │ │ │ │ │и суглинках
машины │ │ │ │ │ │ │ │ │ │ │ │ │0,15.
│ │ │ │ │ │ │ │ │ │ │ │ │В супесях
│ │ │ │ │ │ │ │ │ │ │ │ │и песках
│ │ │ │ │ │ │ │ │ │ │ │ │0,22
Тракторные │0,8 │0,6 │0,3 │1,0 │0,8 │0,4 │ 1 │ 1 │ 1 │ 1 │ 1 │ 1 │ То же
трамбовки с │ │ │ │ │ │ │ │ │ │ │ │ │
падающими плитами│ │ │ │ │ │ │ │ │ │ │ │ │
массой 1300 кг │ │ │ │ │ │ │ │ │ │ │ │ │
9.17. Легковыветривающиеся размягчаемые скальные грунты (мергели, аргиллиты, алевролиты и т.п.), а также грунты крупнообломочные необходимо отсыпать слоями толщиной не более 0,4 м при размере отдельных камней не более 0,3 м и уплотнять по следующей технологии:
в верхней метровой части насыпи каждый слой уплотняется шестью - восемью проходами пневматических катков типа ДУ-16 (Д-551), решетчатых ЗУР-25 или машинами ударного действия за один проход со скоростью 90 м/ч;
в остальной (нижней) части насыпи каждый слой уплотняется четырьмя - шестью проходами указанных катков или машинами ударного действия за один проход со скоростью 150 м/ч.
Слабовыветривающиеся скальные грунты рекомендуется отсыпать слоями толщиной не более 1,5 - 2 м.
9.18. Уплотнение насыпей катками рекомендуется производить на участке длиной не менее 200 м. Увеличение фронта укатки повышает производительность катков, но в сухую жаркую погоду может привести к значительному снижению влажности грунта, что потребует увеличения количества проходов для обеспечения плотности.
Уплотнение машинами ударного действия может эффективно производиться при фронте работ не менее 25 м.
9.19. Уплотнение пневмокатками ДУ-16 (Д-551), ДСК-1, ДСК-1М, решетчатым катком ЗУР-25, виброкатками Д-480, Д-603, Д-631А и трамбовочной машиной Д-471 во избежание "сползания" машины на откос следует начинать не ближе 1,5 м от бровки с постепенным приближением к откосу при каждом последующем проходе вплоть до 0,5 м от бровки; после прикатки бровочных частей уплотнение в дальнейшем производится от краев к середине насыпи (рис. 86). Уплотнение пневмокатком ЗУ-25, дизель-трамбовочной машиной УМТС-2 и виброударными машинами с выносным рабочим органом следует производить от бровки к середине, так как их крайний рабочий орган может перемещаться по бровке в то время, как тягач или базовая машина находится на безопасном расстоянии от откоса
(рис. 87).
Рис. 86. Технологическая схема уплотнения насыпи
катком по кольцевой схеме:
1 - 5 - последовательность ходов
Рис. 87. Технологическая схема уплотнения насыпи
грунтоуплотняющей машиной, включая бровочные части:
1 - 3 - последовательность ходов
9.20. При уплотнении по кольцевой схеме поворот машин в конце участка производится на насыпи, если ширина ее не меньше размеров, указанных в табл. 113 (с учетом зон безопасности по 0,5 м от каждой бровки откоса).
Таблица 113
────────────────────────────────────────────────────────────┬──────────────
Грунтоуплотняющие машины │Размеры сторон
│ площадок для
│ разворота, м
────────────────────────────────────────────────────────────┼──────────────
Пневмокатки ДУ-16 (Д-551) и ЗУ-25, решетчатый каток ЗУР-25,│ 12
виброкатки Д-603 и Д-631А │
Виброкаток Д-480 │ 10
Дизель-трамбовочные машины: ЦНИИС-РРМЗ, УМТС-2, трамбовка │ 7
с падающими плитами Д-471, виброударные машины на тракторе │
100 л.с. │
Виброударная машина для стесненных условий │ 5,5
Если ширина насыпи меньше указанных размеров, поворот уплотняющих машин производится на специальных разъездах, нулевых местах или вне пределов насыпи с использованием въездов и съездов (рис. 88).
Рис. 88. Кольцевая схема уплотнения насыпи катком
при развороте его вне насыпи
с использованием съездов
9.21. При фронте уплотнения до 50 м работа уплотняющих машин ударного действия возможна без разворота, по челночной схеме (рис. 89) при условии принятия специальных мер безопасности по обеспечению видимости при движении назад.
Рис. 89. Челночная схема уплотнения грунта
дизель-трамбовочной машиной
9.22. Перед началом уплотнения грунт должен быть разровнен бульдозером или автогрейдером слоем принятой толщины. Каждый последующий проход уплотняющей машины по одному и тому же следу необходимо делать после того, как вся площадь уплотняемого слоя будет перекрыта следами предыдущих проходов. При этом смежные следы должны перекрывать друг друга на 0,1 - 0,2 м.
Особое внимание должно быть уделено уплотнению грунта на участках въездов, съездов и концевых участках захваток.
9.23. Эксплуатационная производительность грунтоуплотняющих машин при полной их загрузке в течение смены приведена в табл. 114. При составлении проекта организации работ и определении потребного числа грунтоуплотняющих машин норму выработки их следует принимать по производительности ведущей землеройной машины.
Таблица 114
──────────────────────────────────────┬────────────────────────────────────
Грунтоуплотняющие машины │ Производительность, м3/смену
├────────────────────────────────────
│ Коэффициент уплотнения грунта К
│ упл
├───────────┬───────────┬────────────
│ 0,90 │ 0,95 │ 0,98
──────────────────────────────────────┼───────────┼───────────┼────────────
Пневмокатки Д-551, ЗУ-25 │ 3200 │ 1500 │ 800
│ ---- │ ---- │ ----
│ 4000 │ 2000 │ 1100
│ │ │
То же, ДСК-1 │ 2600 │ 1200 │ 600
│ ---- │ ---- │ ---
│ 3200 │ 1600 │ 900
│ │ │
" ДСК-1М │ 2200 │ 1000 │ 500
│ ---- │ ---- │ ---
│ 2700 │ 1400 │ 800
│ │ │
Решетчатые катки ЗУР-25 │ 4100 │ 1200 │ 500
│ ---- │ ---- │ ---
│ 4900 │ 1600 │ 700
│ │ │
Виброкатки Д-480 │ 900 │ - │ -
│ ---- │ --- │
│ 1500 │ 700 │
│ │ │
То же, Д-603 │ 1400 │ 600 │ -
│ ---- │ ---- │ ---
│ 2200 │ 1100 │ 500
│ │ │
" Д-631А │ 1900 │ 1000 │ 400
│ ---- │ ---- │ ---
│ 2700 │ 1300 │ 600
│ │ │
Дизель-трамбовочные машины ЦНИИС-РРМЗ │ 1200 │ 900 │ 600
│ ---- │ ---- │ ---
│ 2000 │ 1400 │ 900
│ │ │
То же, УМТС-2 │ 1000 │ 700 │ 500
│ ---- │ ---- │ ---
│ 1600 │ 1100 │ 700
│ │ │
Тракторные трамбовки с падающими │ 1100 │ 800 │ 600
плитами Д-471 │ ---- │ ---- │ ---
│ 2100 │ 1500 │ 900
│ │ │
Трамбовочные машины с виброударными │ 900 │ 500 │ 300
органами для стесненных условий │ ---- │ --- │ ---
│ 1400 │ 900 │ 500
Примечания. 1. Величина производительности в числителе относится к уплотнению связных грунтов и каменных материалов, в знаменателе - к уплотнению несвязных грунтов.
2. При расчете производительности длина фронта уплотнения для катков принята 200 и для машин ударного действия 50 м.
9.24. Для уточнения толщины уплотняемого слоя, числа проходов грунтоуплотняющих машин по одному следу или скорости перемещения производится пробное (опытное) уплотнение грунта, которое назначается в следующих случаях:
когда установлена недостаточность уплотнения грунта при толщине слоя, числе проходов или рабочей скорости грунтоуплотняющих машин, принятых по данным
табл. 112;
при отсыпке насыпей в зимнее время;
при значительном (более 3%) отклонении влажности от оптимальной.
9.25. Для пробного уплотнения отсыпается опытный слой грунта на плотном основании размерами 5 x 10 м. Толщина слоя в рыхлом состоянии назначается на 20 - 25% больше указанной в
табл. 112.
Плотность грунта и толщина слоя в плотном теле проверяются после трех, пяти, восьми и двенадцати проходов катка по одному следу и для всех рабочих скоростей движения трамбующих машин. При пробном уплотнении грунта для взятия проб открывают 5 - 6 шурфов по схеме
рис. 90. В плане шурфы можно располагать либо в одном сечении, либо в шахматном порядке. В каждом из шурфов берется по одной пробе в трех горизонтах: на поверхности, в средней и нижней частях слоя; плотность грунта по каждому горизонту определяется как средняя проба из взятых в 5 - 6 шурфах с учетом требований
п. 9.75.
Рис. 90. Схема расположения шурфов для взятия проб
при опытном уплотнении грунта
Перед началом пробного уплотнения устанавливается также плотность грунта в спланированном слое.
Результаты пробного уплотнения оформляются в виде графика (рис. 91), по которому устанавливается наибольшая допустимая толщина уплотняемого слоя и необходимое число проходов по одному следу для катков или рабочая скорость для трамбующих или виброударных машин. После определения этих величин уточняется технология отсыпки насыпи.
Рис. 91. График пробного уплотнения грунта
9.26. Работа грунтоуплотняющих машин должна быть четко увязана с работой основных машин для возведения насыпи.
В случаях, когда производительность уплотняющих машин значительно превышает производительность землеройных машин комплекта, они могут быть использованы для уплотнения двух одновременно возводимых участков насыпи, расположенных друг от друга на расстоянии не более 3 км.
Уплотнение насыпей катками
Уплотнение пневмокатками
9.27. Пневмокатки весом 25 - 30 т с давлением на колесо 4 - 5 т рекомендуется применять для уплотнения насыпей, возводимых из талых песчаных и глинистых грунтов.
9.28. Пневмокаток типа ЗУ-25 (рис. 92) позволяет уплотнять слои грунта по всей ширине насыпи, включая и бровочные части, не нарушая при этом требований техники безопасности. Он оснащен автосцепкой на переднем и заднем дышле, что позволяет реверсировать его работу на площадках шириной 8 м путем быстрой перецепки тягача.
Рис. 92. Пневмокаток ЗУ-25
9.29. Давление в шинах всех колес катка должно быть одинаковым и составлять при уплотнении глин, суглинков и каменных материалов 6 - 8, супесей 3 - 4 и песков 2 атм. Для уплотнения несвязных грунтов следует применять катки, вес которых меньше конструктивного с балластом на 40%.
9.30. В качестве тягачей прицепных пневмокатков используются тракторы мощностью 100 - 130 л.с.
Уплотнение решетчатыми катками
9.31. Прицепные решетчатые 25-тонные катки ЗУР-25 (рис. 93) применяются для уплотнения насыпей из всех видов грунтов, в том числе связных с влажностью не более оптимальной.
Рис. 93. Прицепной решетчатый каток ЗУР-25
Наиболее рационально уплотнять решетчатыми катками скальные и крупнообломочные грунты, а также грунты с включениями мерзлых комьев при производстве работ зимой.
9.32. При уплотнении песчаных и супесчаных грунтов каток ЗУР-25 рекомендуется разгрузить до 20 т (снять четыре балластных блока симметрично продольной оси катка), чтобы уменьшить величину разрыхления верхней части слоя при уплотнении. Кроме того, рекомендуется дополнительно прикатывать каждый слой пневмокатком облегченного веса, либо уменьшить толщину отсыпаемых вышележащих слоев на величину разрыхления нижележащего слоя.
В качестве тягача к решетчатому катку используются тракторы 100 - 130 л.с.
Уплотнение виброкатками
9.33. Прицепные виброкатки Д-480, Д-603 и Д-613А (статическая масса соответственно 3, 6 и 12 т) используются для уплотнения, в основном, песчаных, крупнообломочных, скальных, а также увлажненных глинистых грунтов.
9.34. Виброкаток Д-631А (рис. 94) используется также для уплотнения основной площадки выемок в слабых грунтах.
Для перемещения виброкатков используются тракторы 75 - 100 л.с.
Рис. 94. Виброкаток Д-631А
Уплотнение насыпей машинами ударного действия
9.35. Грунтоуплотняющие машины ударного и виброударного действия предназначаются для уплотнения всех видов грунтов, независимо от длины фронта работ, в летний и зимний периоды.
9.36. Конструкции дизель-трамбовочной машины УМТС-2 (рис. 95) и виброударных машин позволяют уплотнять слои по всей ширине насыпи без нарушения требований техники безопасности. Рабочие органы этих машин могут сдвигаться поперек тракторного хода до 1 м за след гусеницы, что дает возможность трактору при уплотнении бровочных частей находиться вне зоны возможного обрушения откоса.
Рис. 95. Дизель-трамбовочная машина УМТС-2
9.37. При уплотнении насыпей необходимо сохранять постоянную высоту подъема плит у машины Д-471 и не допускать передвижения при прекращении работы отдельных трамбовок у дизель-трамбовочных и виброударных машин.
9.38. При поворотах машин в конце уплотняемого участка и при возвращении в исходное положение задним ходом рабочие органы должны выключаться и приводиться в транспортное положение.
Уплотнение насыпей в стесненных условиях
9.39. Стесненные условия уплотнения грунтов характеризуются узким фронтом, обычно небольшими объемами работ и при возведении насыпей встречаются в случаях:
засыпки водопропускных железобетонных и гофрированных металлических труб;
возведения участков насыпей, примыкающих к устоям мостов;
засыпки временных въездов и съездов;
узких присыпок насыпей второго пути;
возведения насыпей с эстакад;
возведения насыпей небольшой высоты на болотах.
9.40. Устройство водопропускных труб, как правило, должно быть закончено до начала возведения насыпей.
Необходимость оставления в насыпях прогалов для строительства водопропускных труб должна быть обоснована проектом. Ширину прогала понизу следует назначать из расчета обеспечения расстояния между торцовым откосом насыпи и трубой не менее 4 м. Ширина прогала понизу должна быть не менее 10 м.
9.41. При технико-экономическом обосновании допускается уширение пазух в стесненных местах до размеров, обеспечивающих фронт работ в этих местах для высокопроизводительных серийных грунтоуплотняющих машин.
9.42. Засыпку железобетонных водопропускных труб следует производить тем же грунтом, из которого возведена насыпь, а гофрированных металлических труб - песком (за исключением пылеватого), гравийными и крупнообломочными грунтами с размером частиц до 50 мм. Грунт должен укладываться одновременно с обеих сторон трубы на одинаковую высоту и уплотняться послойно. При уплотнении засыпки гофрированных труб коэффициент уплотнения должен быть не менее 0,95, а толщина слоя не более 0,15 - 0,30 м.
9.43. При отсыпке насыпи или засыпке прогалов скальным грунтом или грунтом, содержащим камни размером более 100 мм, водопропускная труба должна быть предварительно засыпана мягким грунтом на высоту не менее 0,5 м над верхом трубы. Ширина этой засыпки поверху должна быть не менее ширины трубы плюс 1 м.
9.44. Езда транспортных средств поверх трубы разрешается при толщине засыпки над ее верхом не менее 1 м, а бульдозеров - не менее 0,5 м.
9.45. Уплотнение грунта вокруг водопропускных труб следует производить специальной грунтоуплотняющей машиной виброударного действия для работы в стесненных условиях (рис. 96), а при ее отсутствии - пневмокатками. В зоне, непосредственно примыкающей к конструкциям гофрированных металлических труб, уплотнение должно производиться ручным механизированным инструментом, например, электротрамбовками ИЭ-4505.
Рис. 96. Грунтоуплотняющая машина виброударного действия
для уплотнения грунта в стесненных условиях
9.46. Не следует допускать переуплотнение грунта непосредственно над звеньями труб, особенно в средней части сооружения, чтобы избежать перегрузки конструкции.
9.47. Технологическая схема уплотнения грунта в прогале водопропускной трубы виброударной машиной для стесненных условий приведена на
рис. 97. Уплотнение грунта с боку трубы производится проходами вдоль ее оси. Приближение уплотняющего органа к телу трубы допускается для железобетонных труб на расстояние 20 см, а для гофрированных - 30 см. Каждые четыре прохода трактор делает по одному следу; при этом уплотняющий орган сдвигается после каждого прохода вбок на ширину плиты; возвращение машины в исходное положение производится задним ходом при поднятом в транспортное положение рабочим органом. После четырех проходов по первой полосе машина задним ходом подается в новое положение (на следующую полосу) и операция уплотнения повторяется. Оставшаяся неуплотненной площадь у противоположного откоса насыпи, равная полутора длинам машины (10 м), уплотняется аналогичным образом; в этом случае машину разворачивают на 180°.
Рис. 97. Технологическая схема уплотнения грунта
в прогале водопропускной трубы:
1 - 16 - последовательность проходов грунтоуплотняющей
машины; I - IV - положения рабочего органа
При уплотнении грунта над трубой первый проход машины вдоль насыпи производится при толщине засыпки не менее 0,6 м для железобетонных труб и 0,8 м для металлических гофрированных.
Последующее уплотнение производится по кольцевой схеме.
Скорости передвижения машины при уплотнении связных грунтов следует принимать равными 400 - 500 и несвязных 700 - 800 м/ч.
9.48. Конусы и участки насыпей, примыкающих к устоям мостов, должны отсыпаться из гравелистых, щебенистых или песчаных грунтов (кроме пылеватых песков) горизонтальными слоями с уплотнением.
Уплотнение конусов и участков за устоями мостов рекомендуется производить виброударной машиной для стесненных условий. Внутри устоев с обратными стенками уплотнение производится при последовательной сдвижке уплотняющего органа поперек виброударной машины, расположенной у входа в устой (рис. 98). При сдвижках рабочего органа вибромолот должен выключаться. Послойное уплотнение грунта конусов должно начинаться от бровки откоса и идти продольными проходами вокруг устоя, при этом допускается приближение уплотняющего органа к телу устоя на расстояние 10 - 15 см.
Рис. 98. Схема уплотнения грунта вокруг
и внутри устоя виброударной машиной
9.49. Прогалы, оставленные при устройстве въездов и съездов с насыпи, рекомендуется заделывать сразу же после окончания возведения ее теми же средствами, которые использовались для выполнения основных объемов работ. При этом грунт должен отсыпаться горизонтальными слоями с обязательным уплотнением каждого слоя.
9.50. Технологические указания по уплотнению насыпей на болотах и насыпей вторых путей даны в
разделах 6 и
8.
Технология создания уплотненных откосов
Область применения
9.51. Уплотнение откосов достигается двумя способами:
уплотнением насыпей по всей ширине грунтоуплотняющими машинами типа ЗУ-25 или УМТС-2, рабочие органы которых могут перемещаться непосредственно по бровочной части отсыпаемого слоя;
за счет временного уширения насыпи сверх проектного очертания не менее 0,5 м с каждой стороны с последующей срезкой рыхлого грунта при уплотнении насыпей катками типа ДУ-16 (Д-551), приближение которых к бровке уплотняемого слоя ограничивается требованиями техники безопасности.
9.52. Выбор способа создания уплотненных откосов зависит от способа возведения насыпи, ее высоты, дальности возки грунта, вида уплотняющих машин и определяется технико-экономическим сравнением с использованием рекомендаций
Приложения 26.
9.53. На насыпях, возводимых из резервов, и на насыпях из тяжелых суглинков и глин (при разработке которых образуются крупные комья) уплотненные откосы рациональнее создавать путем временного уширения насыпи с последующей срезкой рыхлого грунта.
9.54. Срезку рыхлого грунта с откоса на насыпях высотой до 3,5 м, возводимых из резервов, а также из карьеров и выемок при дальности перемещения грунта до 0,5 км, рекомендуется производить бульдозерами с откосными ножами.
В остальных случаях срезка рыхлого грунта производится драглайном.
Комплект машин
9.55. Уплотнение насыпей на всю ширину, включая бровочную часть, производится грунтоуплотняющими машинами типа ЗУ-25 или УМТС-2, входящими в комплекты машин по возведению насыпей.
9.56. Срезка неуплотненного грунта с откосов насыпей выполняется механизмами, приведенными в
п. 8.54, с включением в комплект грунтоуплотняющей машины для уплотнения грунта на берме или комплектом машин, приведенным в табл. 115.
Таблица 115
─────────────────────────────────────────┬─────────────────────────────────
Наименование машин │ Количество машин в комплекте
├───────────┬─────────────────────
│при укладке│при транспортировании
│срезанного │ грунта на смежные
│ грунта │ участки насыпи, км
│ в насыпь ├──────────┬──────────
│ или берму │ 0,25 │ 0,5
─────────────────────────────────────────┼───────────┼──────────┼──────────
Драглайн с ковшом емкостью 0,65 м3 │ 1 │ 1 │ 1
Бульдозер на тракторе 100 - 130 л.с. │ 1 │ 1 │ 1
Грунтоуплотняющая машина │ 1 │ 1 │ 1
Автосамосвалы грузоподъемностью 4,5 т │ - │ 4 │ 5
Состав комплексных бригад
9.57. Грунтоуплотняющие машины УМТС-2 и катки ЗУ-25 обслуживает машинист 5 разр.
9.58. При срезке неуплотненного грунта бульдозером с откосным ножом комплект машин обслуживают машинист бульдозера 6 разр. и машинист автогрейдера 6 разр.
Состав комплексной бригады, ведущей срезку грунта драглайном, приведен в табл. 116.
Таблица 116
─────────────────────────────────────┬──────┬──────────────────────────────
Профессия │Разряд│ Состав бригады
│ ├──────────┬───────────────────
│ │ Укладка │ Транспортирование
│ │срезанного│ грунта на смежные
│ │ грунта в │ участки насыпи
│ │насыпь или├───────────────────
│ │ берму │ Дальность
│ │ │транспортировки, км
│ │ ├─────────┬─────────
│ │ │ 0,25 │ 0,5
─────────────────────────────────────┼──────┼──────────┼─────────┴─────────
Машинист экскаватора │ 6 │ 1 │ 1
Помощник машиниста экскаватора │ 5 │ 1 │ 1
Машинист бульдозера │ 6 │ 1 │ 1
Машинист грунтоуплотняющей машины │ 5 │ 1 │ 1
Шоферы автосамосвалов │ - │ - │ 4 │ 5
Технико-экономические показатели
9.59. Сменная производительность грунтоуплотняющих машин типа ЗУ-25 или УМТС-2 принимается по производительности ведущей машины комплекта.
9.60. Сменная производительность при срезке неуплотненного грунта автогрейдером равна 600 м3/смену, выработка на одного рабочего - 200 м3/смену.
Технико-экономические показатели при срезке неуплотненного грунта драглайном приведены в табл. 117.
Таблица 117
──────────────────────────────────┬──────────┬─────────────────────────────
Показатели │ Укладка │ Транспортирование грунта
│срезанного│ на смежные участки насыпи
│ грунта │ автосамосвалами
│ в насыпь ├─────────────────────────────
│или берму │Дальность транспортировки, км
│ ├──────────────┬──────────────
│ │ 0,25 │ 0,5
──────────────────────────────────┼──────────┼──────────────┴──────────────
Производительность, м3/смену │ 420 │ 340
Выработка на одного рабочего, │ 105 │ 43 │ 38
м3/смену │ │ │
Технология работ
9.61. Создание уплотненных откосов грунтоуплотняющими машинами ЗУ-25 или УМТС-2 производится послойным уплотнением насыпи слоями толщиной не более 0,25 м по всей ширине, включая бровочную часть, с оставлением на откосе слоя рыхлого грунта толщиной 0,15 - 0,2 м.
При отсыпке слоя насыпи следует учитывать отжатие грунта грунтоуплотняющей машиной в сторону откоса, которое устанавливается пробным уплотнением и ориентировочно равно 0,2 - 0,3 м.
Уплотнение грунта начинается от бровок к середине насыпи. При этом рабочий орган машины перемещается непосредственно по бровке уплотняемого слоя.
Движение катка ЗУ-25 организуется по кольцевой схеме или при наличии автосцепки челночным способом с перецепкой тягача в конце захватки.
9.62. При уплотнении грунта катками ДУ-16 (Д-551) и ДСК-1 насыпь возводится слоями оптимальной толщины, величина которой принимается по Приложению 26,
рис. 2.
9.63. При срезке неуплотненного грунта драглайном верхняя часть насыпи оставляется недосыпанной для укладки в нее рыхлого грунта с откоса. Срезка неуплотненного грунта откосным ножом бульдозера производится после возведения насыпи на полную высоту.
9.64. Перед срезкой грунта с откоса верхняя площадка насыпи должна быть спланирована, а бровки отмечены колышками через 20 м. Грунт у основания насыпи рекомендуется предварительно убрать бульдозером до проектной линии заложения откоса.
9.65. Срезка неуплотненного грунта автогрейдером с удлиненным отвалом производится в несколько приемов.
Вначале отвал устанавливается в положение для работы машины с верхней стоянки, и несколькими проходками автогрейдера срезается грунт с верхней части одного откоса, затем - с другого. После этого отвал автогрейдера устанавливается в положение для работы с нижней стоянки. Перед каждой проходкой ведущей машины вторым автогрейдером планируется берма.
При срезке рыхлого грунта с откосов драглайнами, для обеспечения возможности уплотнения последующих слоев, грунт в верхней части откоса оставляется несрезанным. Срезанный грунт укладывается в верхнюю часть насыпи, послойно планируется бульдозером и уплотняется грунтоуплотняющей машиной.
Для контроля за соблюдением проектного положения откоса и для ориентации машиниста экскаватора вслед за срезкой ведется установка откосников через каждые 50 м и обозначаются линии бровок.
После отсыпки верхнего слоя насыпи грунт, оставшийся в верхней части откоса, срезается драглайном, укладывается на берму, разравнивается бульдозером и уплотняется грунтоуплотняющей машиной.
9.66. В случаях, когда неуплотненный грунт откоса пересушен или переувлажнен и не может быть доведен до состояния, соответствующего требованиям технических условий для отсыпки верхних слоев насыпи, его транспортируют автосамосвалами в нижние слои смежных участков или укладывают в берму.
9.67. Срезка рыхлого грунта с откосов насыпей второго пути осуществляется в соответствии с требованиями
пп. 8.62 -
8.75.
Уплотнение насыпей в зимнее время
9.68. Эффективность уплотнения насыпей в зимнее время зависит от температуры воздуха, состояния грунта и интенсивности уплотняющих нагрузок. Грунты, имеющие в момент уплотнения температуру +0,5 °C и выше, считаются талыми, и режимы уплотнения таких грунтов принимаются по
табл. 112.
9.69. При уплотнении в зимних условиях следует применять грунтоуплотняющие машины с увеличенной интенсивностью воздействия: тяжелые виброкатки, решетчатые катки, машины ударного и виброударного действия.
9.70. Допустимое время рабочего цикла от момента разработки грунта до окончания его уплотнения на насыпи T, мин, не должно превышать времени, в течение которого грунт сохраняет способность к уплотнению.
Время T зависит от температуры наружного воздуха, скорости ветра и количества мерзлого грунта и определяется непосредственно на объекте работ. Для предварительных расчетов оно может быть принято по табл. 118.
Таблица 118
──────────────────┬─────────────────────┬──────────────────────────────────
Температура │ Содержание мерзлых │Время T, мин, при скорости ветра,
наружного │ комьев, % общего │ м/с
воздуха, град │ объема грунта ├────────┬───────┬───────┬─────────
│ │ 3 │ 7 │ 10 │Более 10
──────────────────┼─────────────────────┼────────┼───────┼───────┼─────────
Выше минус 10 │ До 10 │ 240 │ 180 │ 140 │ 120
│ 10 - 20 │ 180 │ 130 │ 110 │ 90
│ 20 - 30 │ 120 │ 90 │ 75 │ 60
──────────────────┼─────────────────────┼────────┼───────┼───────┼─────────
Минус 10 - 17 │ До 10 │ 150 │ 120 │ 100 │ 80
│ 10 - 20 │ 110 │ 90 │ 75 │ 60
│ 20 - 30 │ 90 │ 60 │ 50 │ 40
──────────────────┼─────────────────────┼────────┼───────┼───────┼─────────
Минус 17 - 25 │ До 10 │ 120 │ 90 │ 70 │ 60
│ 10 - 20 │ 70 │ 60 │ 50 │ 45
│ 20 - 30 │ 60 │ 45 │ 30 │ 20
──────────────────┴─────────────────────┴────────┴───────┴───────┴─────────
9.71. Отсыпка насыпи производится послойно на двух захватках: на первой - разгрузка грунта из автосамосвалов, на второй - разравнивание и уплотнение. Наибольшая длина захватки уплотнения определяется по формуле

,
где П - производительность комплекта, м3/ч;

- время транспортировки грунта одним автосамосвалом, мин;

- время постановки под разгрузку и разгрузка одного автосамосвала, мин;
b, h - соответственно ширина и высота отсыпаемого слоя грунта в плотном теле, м.
Длина захватки по условиям работы грунтоуплотняющих машин должна быть не менее 20 м.
9.72. Для уменьшения теплопотерь грунта и соответственно увеличения времени T рекомендуется:
привезенный на насыпь грунт разравнивать и планировать непосредственно перед началом уплотнения;
устраивать подогрев кузова автосамосвалов выхлопными газами;
при отсутствии подогрева для уменьшения налипания и намерзания грунта использовать сухие опилки, шлак и другие материалы или обмазывать кузов концентрированным раствором солей хлористого кальция или хлористого натрия.
9.73. Наибольшую дальность транспортирования грунта, исходя из требований минимальных теплопотерь, рекомендуется определять по формуле

,
где v - скорость транспортирования, км/ч;

- минимальная длина захватки, на которой производится уплотнение, м;
П - производительность комплекта, м3/ч.
Контроль качества уплотнения земляного полотна
9.74. Текущий контроль качества уплотнения насыпей осуществляется строительной организацией и включает в себя:
проверку соблюдения установленной технологии производства работ по возведению и уплотнению насыпей;
проверку фактической плотности и влажности грунтов земляного полотна в процессе его сооружения.
9.75. Качество уплотнения земляного полотна из нескальных грунтов оценивается степенью соответствия фактической плотности грунта в насыпях и требуемой по проекту. Отклонения от проектной плотности в сторону понижения допускаются не более чем в 10% проб. По абсолютной величине отклонения должны быть не более 0,04 г/см3.
9.76. Качество уплотнения легковыветривающихся скальных и крупнообломочных грунтов контролируется проверкой соблюдения установленной технологии.
В особо ответственных случаях рекомендуется в выборочном порядке проверять достигаемую плотность грунтов методом лунок
(Приложение 27); в одном слое следует закладывать не менее трех лунок. Фактическая плотность грунтов в насыпи не должна быть меньше полученной при заданном режиме уплотнения на пробном участке.
9.77. В зимнее время следует проверять установленное соотношение между талой и мерзлой частями грунта в уплотняемом слое (не более 30% комьев размером до 20 см), рациональную длину захватки, при которой грунт не замерзает до уплотнения, а также своевременность удаления с уплотняемого слоя выпавшего снега.
9.78. Плотность грунтов определяется весовым способом или плотномером-влагомером системы Н.П. Ковалева по образцам грунта, взятым из уплотненного слоя насыпи режущими кольцами объемом 200 и 500 см3. Кольца объемом 500 см3 применяются в грунтах с крупными включениями. Методика определения плотности прибором Н.П. Ковалева изложена в
Приложении 28.
9.79. В зимних условиях рекомендуется определять объемный вес грунта прибором Н.П. Ковалева или методом лунок (
Приложения 27,
28), а влажность - высушиванием в лаборатории проб грунта, отобранных в бюксы.
9.80. Контроль качества уплотнения насыпи ежедневно должен осуществляться строймастером и регулярно по мере возведения - лаборантом.
Пробы для определения плотности грунта должны отбираться равномерно по всей насыпи, а также в местах, где ожидается пониженная плотность: на въездах, съездах, в прогалах для водопропускных труб, вблизи устоев мостов и т.п.
9.81. Количество отбираемых проб устанавливается из расчета - одна на каждые 300 м3 укладываемого в насыпь грунта.
Пробы грунта отбираются режущими кольцами из нижней части уплотненного слоя при толщине его до 30 см; при большой толщине уплотненного слоя производится отбор двух проб (в средней и нижней частях слоя).
Результаты контроля лаборантом записываются в журнал установленной формы
(Приложение 29).
При осуществлении контроля плотности грунта в процессе отбора и обработки проб необходимо по каждому образцу определить визуально вид грунта, его однородность, наличие включений (камней, растительных остатков и т.д.).
Результаты такого осмотра образцов следует учитывать при оценке плотности грунта и заносить в журнал.
В случае, если результат определения плотности по одному образцу вызывает сомнение, необходимо отобрать пробу грунта повторно.
9.82. Если в насыпи обнаружено недоуплотнение грунта, необходимо установить причину этого, провести пробное уплотнение и внести изменение в технологию уплотнения грунта. Недоуплотненный слой в насыпи следует дополнительно уплотнить.
9.83. Для выявления равномерности уплотнения грунта по всему отсыпаемому слою при контроле, осуществляемом строймастером, для однородных грунтов с постоянной влажностью может дополнительно использоваться динамический пенетрометр
(Приложение 30).
УСТРОЙСТВО СЛИВНОЙ ПРИЗМЫ И КЮВЕТОВ И ПЛАНИРОВКА ОТКОСОВ
ЗЕМЛЯНОГО ПОЛОТНА
10.1. Указания составлены на устройство сливной призмы и кюветов, планировку откосов насыпей и выемок.
10.2. Земляное полотно должно быть сооружено с превышением проектных отметок не более чем на 15 см. В случае, когда для устройства сливной призмы предъявляют земляное полотно с отметками, превышающими проектные более чем на 15 см, необходимо предварительно выполнить грубую планировку скрепером или бульдозером.
10.3. До начала работ грунт должен быть уплотнен равномерно по всей ширине основной площадки, а в выемке спланированы и укреплены откосы.
10.4. Перед началом работ по планировке должна быть восстановлена и закреплена через 20 м ось пути. Нивелировкой должны быть определены фактические абсолютные отметки точек. Затем должны быть вычислены величины необходимых срезок и досыпок грунта, и на основании этого составлена выписка на производство планировочных работ по форме (табл. 119).
Таблица 119
────────┬────────────────┬───────────┬───────────┬─────────────────────────
Пикет │Проектная ширина│ Проектные │Фактические│ Величины срезок
и плюс │ основной │отметки оси│ отметки │и досыпок по оси пути, см
│ площадки, м │ │ ├────────────┬────────────
│ │ │ │ Срезки │ Досыпки
────────┼────────────────┼───────────┼───────────┼────────────┼────────────
│ │ │ │ │
10.5. Для устройства сливной призмы земляного полотна, сооружаемого из нескальных талых грунтов, рекомендуется применять средние автогрейдеры до 150 л.с.
10.6. На земляном полотне из слабовыветривающихся и легковыветривающихся неразмягчаемых скальных, крупнообломочных и песчаных грунтов сливная призма не нарезается, а производится планировка горизонтальной площадки.
10.7. Планировку откосов земляного полотна рекомендуется производить экскаваторами-драглайнами с двухотвальным планировщиком (скребком), универсальными экскаваторами-планировщиками, а также автогрейдерами и бульдозерами, оборудованными откосниками.
10.8. Работы по планировке земляного полотна целесообразно вести на двух или трех соседних участках-захватках, на которых последовательно осуществляют разбивку, грубую планировку, планировку откосов, нарезку сливной призмы.
Величина захваток зависит от сменной производительности комплекта машин, от условий и опыта работы исполнителей и в среднем может быть принята равной для насыпей 500 и выемок 300 пог. м.
10.9. Точность работ при планировке основной площадки и откосов и устройстве сливной призмы должна соответствовать требованиям
п. 12.22.
10.10. По окончании планировочных работ и нарезки сливной призмы необходимо произвести инструментальную проверку крутизны откосов, плана и профиля линии. Участки, на которых допущены отклонения от установленных норм, должны быть выправлены.
Устройство сливной призмы автогрейдером
Область применения
10.11. Указания составлены для случаев устройства сливной призмы насыпей и выемок из нескальных талых грунтов автогрейдерами 90 - 110 л.с. и полускальных трещиноватых грунтов - автогрейдерами 150 - 180 л.с.
Комплект машин
10.12. Устройство сливной призмы производится одним автогрейдером.
Состав комплексной бригады
10.13. Устройство сливной призмы автогрейдером производится бригадой в составе:
Машинист автогрейдера 6 разр................................ 1
Землекопы 3 разр............................................ 3
Рабочие на разбивке 3 разр.................................. 2
Технико-экономические показатели
10.14. Производительность комплекта по устройству сливной призмы автогрейдером и выработка на одного рабочего в смену приведены в табл. 120.
Таблица 120
─────────────────────────────────────────────────────────┬─────────────────
Показатели │ Группы грунтов
├─────┬─────┬─────
│ I │ II │ III
─────────────────────────────────────────────────────────┼─────┼─────┼─────
Производительность комплекта в смену (при ширине основной│ 600 │ 560 │ 470
площадки 6,5 м), пог. м │ │ │
Выработка на одного рабочего в смену, пог. м │ 100 │ 90 │ 80
Технология работ
10.15. Работы по нарезке сливной призмы включают разбивочные и планировочные работы, которые выполняются в следующем порядке:
разбивка для планировки основной площадки;
планировка основной площадки автогрейдером;
проверка отметок спланированной площадки по рейке и уровню;
доработка автогрейдером отдельных мест;
разбивка для нарезки сливной призмы;
нарезка сливной призмы автогрейдером;
проверка отметок сливной призмы по уровню;
зачистка неровностей вручную.
Устройство сливной призмы насыпей
10.16. Для планировки горизонтальной площадки предварительно производится разбивка.
На откосах насыпи, на расстоянии 1 м от бровки насыпи, через каждые 20 м выставляют разбивочные колья. В дальнейшем они используются для восстановления оси насыпи, и поэтому должны быть забиты на глубину не менее 0,5 м. На колья переносят с осевых точек проектные отметки горизонтальной площадки сливной призмы. Затем на уровне отметок, вынесенных на колья, закрепляют съемные высотные визирки.
10.17. Горизонтальная площадка должна быть спланирована на уровне проектной отметки по оси на всю ширину насыпи.
Первый проход автогрейдера рекомендуется производить без срезания грунта с целью ознакомления с участком, подлежащим планировке. Затем короткими проходками автогрейдера осуществляют срезку грунта в отдельных местах, наиболее отличающихся по своим отметкам от проектных. После этого производится общая планировка до проектного уровня сквозными проходками автогрейдера по всей длине захватки.
Работу рекомендуется производить на первой скорости, срезая грунт ножом, установленным в плане под углом 45 - 70° к оси насыпи.
Отметки спланированной площадки проверяют, используя уровень и высотные визирки, установленные на разбивочных кольях.
На участках, где отметки горизонтальной площадки отличаются от проектных более чем на 5 см, должна быть произведена доработка отдельных мест автогрейдером.
10.18. Разбивка для нарезки сливной призмы заключается в понижении на 0,15 м съемных высотных визирок и установке через каждые 10 м колышков по линиям, ограничивающим горизонтальную площадку сливной призмы.
10.19. Нарезку наклонной части сливной призмы насыпи производят автогрейдером в два-три прохода. При первом проходе нож автогрейдера должен быть наклонен в вертикальной плоскости под углом 2 - 3°, при последующих 5° и 3°40' при ширине земляного полотна соответственно 5,8 и 7 м.
По окончании нарезки призмы следует произвести заглаживание верхней площадки тыльной стороной ножа автогрейдера, идущего задним ходом; отвал при этом должен быть расположен перпендикулярно направлению движения автогрейдера.
По окончании нарезки сливной призмы производится проверка правильности отметок и при необходимости - зачистка вручную отдельных небольших неровностей.
Устройство сливной призмы в выемках
10.20. На откосах выемки, на расстоянии 1 м от заложения откоса, через каждые 20 м устанавливают по уровню высотные визирки на 1 м выше проектной отметки горизонтальной площадки сливной призмы.
10.21. Горизонтальная площадка планируется автогрейдером в уровне проектной отметки по оси, которая перед началом планировки обозначается специальными знаками, заложенными в грунт.
10.22. Качество спланированной поверхности следует проверять по визиркам, установленным на откосах, и переносной визирке с вертикальным уровнем.
Участки, где отметки отличаются от проектных более чем на 5 см, должны быть исправлены автогрейдером.
10.23. Разбивку для нарезки сливной призмы выемок и нарезку ее автогрейдером производят так же, как и при работе на насыпях.
Устройство сливной призмы автогрейдером
с автоматическим управлением отвалом
Область применения
10.24. Указания предусматривают нарезку сливной призмы автогрейдером с автоматическим управлением отвалом системой "Профиль-2" в талых песчаных и глинистых грунтах I - III групп, не содержащих включений крупного камня.
10.25. Нарезка сливной призмы производится с применением копирного троса и копирного колеса захватками длиной до 200 м.
Точность нарезки в случае применения копирного троса составляет +/- 3 см, а при работе с копирным колесом +/- 5 см.
Комплект машин
10.26. Устройство сливной призмы производится автогрейдером, оборудованным системой "Профиль-2" для автоматического управления отвалом.
Состав комплексной бригады
10.27. Устройство сливной призмы автогрейдером с автоматическим управлением отвалом производится бригадой в составе:
Машинист автогрейдера 6 разр................................. 1
Рабочие на разбивке и установке копирного троса 3 разр....... 2
Технико-экономические показатели
10.28. Производительность комплекта по устройству сливной призмы автогрейдером с автоматическим управлением отвалом и выработка на одного рабочего в смену приведены в табл. 121.
Таблица 121
──────────────────────────────────────────────────────┬────────────────────
Показатели │ Группы грунтов
├──────┬──────┬──────
│ I │ II │ III
──────────────────────────────────────────────────────┼──────┼──────┼──────
Производительность комплекта в смену (при ширине │ 850 │ 800 │ 600
основной площадки 6,5 м), пог. м │ │ │
Выработка на одного рабочего в смену, пог. м │ 300 │ 250 │ 200
Технология работ
10.29. Сливная призма однопутного земляного полотна нарезается в следующей технологической последовательности:
нарезка горизонтальной части призмы по копирному тросу;
нарезка левой части сливной призмы по копирному колесу;
нарезка правой части сливной призмы по копирному колесу.
10.30. При нарезке сливной призмы земляного полотна второго пути по копирному тросу нарезается первая (внутренняя) со стороны существующего пути полоса, затем оставшаяся часть сливной призмы нарезается по копирному колесу.
10.31. Копирный трос, по которому перемещается щуп датчика продольного профиля, натягивается параллельно оси земляного полотна на высоте, превышающей проектные отметки на 0,55 м.
При нарезке сливной призмы однопутного земляного полотна трос натягивается на расстоянии 1,90 м от оси земляного полотна, а при нарезке сливной призмы земляного полотна второго пути - на расстоянии 0,5 м от границы основной площадки сооружаемого земляного полотна.
10.32. Установка копирного троса в заданное положение производится с использованием специального оборудования и геодезического инструмента:
анкера для закрепления конца копирного троса при его натяжении;
заанкеривающейся лебедки для натяжения троса и сматывания его по окончании работы;
динамометра до 50 кг для измерения усилия натяжения троса;
опорных стоек, поддерживающих натянутый копирный трос в заданном положении;
нивелира НЛ-3 (позволяющего создавать наклонный луч визирования) в комплекте со шток-центриром для измерения высоты инструмента;
трех визирок, устанавливающихся на опорные стойки.
10.33. Опорные стойки устанавливаются через 10 м, на прямой по предварительно натянутому по основной площадке тросу, в горизонтальной или вертикальной кривой - в местах, определенных предварительной разбивкой.
Высота начальной и конечной стоек определяется относительно отметки земляного полотна, заранее закрепленной в месте установки стоек нивелированием. Промежуточные стойки устанавливаются по наклонному визирному лучу нивелира НЛ-3 с помощью переносной визирки. Возможно использование обычного нивелира, но трудоемкость и время разбивки при этом увеличиваются.
10.34. Перед началом нарезки сливной призмы автогрейдер устанавливается в исходную позицию в начале захватки, нож автогрейдера ручным управлением опускается на проектную отметку и производится настройка автоматической системы управления отвалом по копирному тросу или копирному колесу.
10.35. Нарезка каждого элемента сливной призмы производится за несколько проходок, количество которых зависит от толщины срезаемого грунта и толщины стружки.
Срезаемый грунт на насыпи сбрасывается под откос. В выемке срезанный грунт перемещается на место кювета, а затем при разработке кювета удаляется за пределы выемки.
Планировка откосов земляного полотна автогрейдерами
и бульдозерами, оборудованными откосниками
Область применения
10.36. Указания составлены для случаев планировки откосов насыпей и выемок в талых нескальных грунтах при рабочих отметках до 3,5 м.
Комплект машин
10.37. Планировка откосов земляного полотна производится автогрейдером 110 - 150 л.с. или бульдозером с откосником-удлинителем на тракторе не менее 100 л.с.
Состав комплексной бригады
10.38. Планировку откосов производит машинист автогрейдера или машинист бульдозера шестого разряда.
Технико-экономические показатели
10.39. Производительность бригады по планировке откосов земляного полотна автогрейдерами и бульдозерами с откосниками и выработка на одного рабочего приведены в табл. 122.
Таблица 122
────────────────────────────────────────┬──────────────────────────────────
Показатели │ Группы грунтов
├──────────────────────────────────
│ I - II
────────────────────────────────────────┼──────────────────────────────────
Производительность комплекта, м2/смену │ 4000
Выработка на одного рабочего, м2/смену │ 4000
Технология работ
10.40. Планировка откосов автогрейдерами или бульдозерами с откосниками производится в два приема
(рис. 99). Сначала планируется верхняя часть откоса при передвижении машины по основной площадке насыпи или по выровненной берме выемки. Затем откосник переставляется в верхнее положение и планируется нижняя часть откоса. При этом машина передвигается по выровненной берме насыпи или основной площадке выемки. Срезанный грунт планируется на берме, а с основной площадки выемки подбирается скрепером или перемещается бульдозером. Для достижения нужной ровности и крутизны откоса требуется один-два прохода планировщика по одному следу.
Рис. 99. Планировка откосов агрегатом с откосником
10.41. Планировку верхней части откоса производят, ориентируясь на разбивочные колышки бровки, выставленные через каждые 20 м. При планировке нижней части откоса режущая часть откосника должна перемещаться по спланированной поверхности верхней его части.
10.42. В процессе работы необходимо проверять ровность и крутизну откоса шаблоном-откосником и выявившиеся дефекты устранять повторными проходами планировщика.
Планировка откосов земляного полотна
экскаватором-драглайном, оборудованным
двухотвальным планировщиком
Область применения
10.43. Указания составлены для случаев планировки откосов земляного полотна из талых связных и полускальных грунтов с рабочими отметками до 14 м (при работе с верхней и нижней стоянок).
Комплект машин
10.44. Планировка откосов производится экскаваторами с ковшом емкостью 0,65 м3.
Состав комплексной бригады
10.45. Планировку откосов производит бригада в составе машиниста экскаватора 6 разр. и помощника машиниста 5 разр.
Технико-экономические показатели
10.46. Производительность бригады по планировке откосов земляного полотна экскаватором-драглайном с двухотвальным планировщиком и выработка на одного рабочего приведены в табл. 123.
Таблица 123
───────────────────────────────────────────────────┬───────────────────────
Показатели │ Группы грунтов
├───────────┬───────────
│ I - II │ III - IV
───────────────────────────────────────────────────┼───────────┼───────────
Производительность комплекта, м2/смену │ 1250 │ 850
Выработка на одного рабочего, м2/смену │ 625 │ 425
Технология работ
10.47. Разбивка для планировки откосов экскаватором с двухотвальным планировщиком заключается в расстановке кольев через каждые 20 м по линии бровки и в укреплении на них откосников.
10.48. При планировке откосов с верхней стоянки (рис. 100, а) экскаватор устанавливают на расстоянии 2,5 - 2,8 м от бровки, стрелу поворачивают перпендикулярно бровке и, забрасывая скребок планировщика к подошве откоса, протягивают его сначала вверх к бровке откоса, а затем опускают вниз к подошве, куда и выгружают излишки грунта. Такой прием выполняют один-два раза.
Рис. 100. Плакировка откосов экскаватором
с двухотвальным планировщиком:
а - при верхней стоянке экскаватора;
б - при нижней стоянке
После планировки откоса на участке стоянки экскаватор перемещают по фронту работ на 1,5 - 2 м и производят планировку следующего участка с перекрытием предыдущего следа на 1/3.
10.49. При планировке откосов с нижней стоянки (см.
рис. 100, б) стрелу экскаватора опускают до положения, параллельного откосу. Экскаватор устанавливают так, чтобы он двигался на расстоянии 2,5 - 2,8 м от линии подошвы откоса. Скребок планировщика, опуская к подошве откоса, протягивают вверх к бровке, а затем вниз. Этот прием повторяют один-два раза.
10.50. При отсутствии двухотвального планировщика планировку откоса делают ковшом драглайна только с верхней стоянки. При этом производительность в 2,5 раза меньше, чем при работе с двухотвальным планировщиком.
10.51. Излишки срезанного грунта удаляются скрепером или бульдозером.
10.52. Планировка откосов высоких насыпей и глубоких выемок должна производиться по ярусам, разделяемым полками.
Ширина полки должна обеспечивать размещение на ней экскаватора и с учетом зоны безопасного приближения к откосу принимается не менее 5 м с уклоном 0,02 - 0,04 для стока воды.
Максимальная высота ярусов, м
Экскаватор Э-652 с двухотвальным скребком при работе
с верхней и нижней стоянок ..................................... 14
То же, экскаватор-планировщик Э-4010 ........................... 9,0
То же, Сатур-051К .............................................. 11,0
Экскаватор-драглайн Э-652 в комплекте с Э-4010 ................. 14
При выполнении планировочных работ должны учитываться способы укрепительных работ.
Планировка откосов земляного полотна
экскаватором-планировщиком
Область применения
10.53. Указания составлены для случаев планировки откосов земляного полотна с рабочими отметками до 11 м из талых, и в том числе полускальных трещиноватых грунтов.
Комплект машин
10.54. Планировка откосов производится экскаваторами Э-4010, ЭО-3332 или Сатур-051К.
Состав комплексной бригады
10.55. Планировку откосов производит бригада в составе машиниста экскаватора 6 разр. и помощника машиниста (на Э-4010 - шофер-дизелист).
Технико-экономические показатели
10.56. Производительность бригады по планировке откосов и выработка на одного рабочего приведены в табл. 124.
Таблица 124
───────────────────────────────────────────────────┬───────────────────────
Показатели │ Группы грунтов
├───────────┬───────────
│ I - II │ III
───────────────────────────────────────────────────┼───────────┼───────────
Производительность комплекта, м2/смену │ 1100 │ 800
Выработка на одного рабочего, м2/смену │ 550/1100 │ 400/800
Примечание. В числителе - показатель с экскаватором Э-4010, в знаменателе - с остальными экскаваторами.
Технология работ
10.57. Разбивка для планировки откосов экскаваторами-планировщиками аналогична разбивке для планировки экскаватором-драглайном.
10.58. При планировке с верхней стоянки экскаватор устанавливается параллельно бровке откоса на расстоянии 1 м от нее
(рис. 101). Стрелу располагают перпендикулярно или под острым углом к линии бровки, выдвигая подвижную часть ее и опуская ковш к подошве откоса. Вбиранием подвижной стрелы на себя ковшом срезают и планируют грунт на откосе. Обратным ходом скребка производят сдвижку излишков грунта к подошве откоса. Если поверхность недостаточно ровная, планировка повторяется. После этого экскаватор передвигается по фронту на 2 м и планирует очередной участок, перекрывая предыдущий на 30 - 50 см.
Рис. 101. Планировка откосов с верхней стоянки
экскаватором-планировщиком Э-4010:
А - зона планирования
При планировке с нижней стоянки (рис. 102) сначала экскаватор располагают на линии подошвы откоса и планируют верхнюю часть откоса движением ковша сверху вниз. Нижнюю часть откоса планируют аналогичным образом, только экскаватор располагают на расстоянии 3 - 4 м от подошвы откоса. Срезанный грунт укладывают у подошвы откоса.
Рис. 102. Планировка откосов с нижней стоянки
экскаватором-планировщиком ЭО-3332:
А - первая зона планирования; Б - вторая зона планирования;
1 - ось проходки экскаватора при допустимо возможном
приближении к откосу; 2 - ось проходки экскаватора
при допустимо возможном удалении от откоса
10.59. В случае применения экскаватора с удлинителями стрелы при работе с верхней стоянки первый проход делается на расстоянии 1 м от бровки, а второй - на расстоянии до 4 - 5 м от нее; при работе с нижней стоянки первый проход делается по линии подошвы откосов, а второй - на расстоянии 3 - 4 м от нее. Работа в верхней зоне, примыкающей к бровке, и в нижней, примыкающей к подошве откоса, производится под острым углом к оси земляного полотна.
10.60. Выбор технологической схемы должен производиться в зависимости от рабочих отметок земляного полотна с учетом технических параметров экскаваторов-планировщиков, приведенных в
Приложении 16.
10.61. При величине срезки до 20 см применяется планировочный отвал; при большей величине срезки необходимо применять ковш емкостью 0,25 - 0,4 м3.
10.62. Указания составлены для случаев устройства кюветов кюветокопателями ЭТУ-354 и ЭТУ-353, а также универсальными экскаваторами-планировщиками Э-4010, ЭО-3332, Сатур-051К.
Комплект машин
10.63. Устройство кюветов производится комплектом машин (табл. 125).
Таблица 125
───────────────────────────────────┬───────────────────────────────────────
Наименование машин │ Количество машин при погрузке грунта
├──────────────────────┬────────────────
│ в отвал │ на транспорт
│(на основную площадку)│
───────────────────────────────────┼──────────────────────┼────────────────
Кюветокопатель или экскаватор- │ 1 │ 1
планировщик │ │
Бульдозер 100 - 130 л.с. │ 1 │ -
Автосамосвалы <1> │ - │ 2
--------------------------------
<1> Потребность определена при дальности транспортировки 0,5 км. При большей дальности она должна устанавливаться расчетами.
Состав комплексной бригады
10.64. Устройство кюветов производит бригада в составе, указанном в табл. 126.
Таблица 126
─────────────────────────────────────────────────────────┬──────┬──────────
Профессия │Разряд│Количество
│ │ рабочих
─────────────────────────────────────────────────────────┼──────┼──────────
Машинист кюветокопателя или экскаватора-планировщика │ 6 │ 1
Помощник машиниста кюветокопателя │ 5 │ 1
Машинист бульдозера <1> │ 6 │ 1
Шоферы автосамосвалов │ - │ 2
--------------------------------
<1> При работе в отвал.
Технико-экономические показатели
10.65. Технико-экономические показатели комплекта приведены в табл. 127.
Таблица 127
─────────────────────────┬───────┬─────────────────────────────────────────
Показатели │Группы │ Способ устройства кювета
│грунтов├────────────────────┬────────────────────
│ │ кюветокопателем │ экскаватором-
│ │ │ планировщиком
│ ├───────┬────────────┼───────┬────────────
│ │в отвал│на транспорт│в отвал│на транспорт
─────────────────────────┼───────┼───────┼────────────┼───────┼────────────
Производительность, │ II │ 285 │ 240 | │ │
м3/смену │ │ │ } │ 200 │ 170
│ I │ 360 │ 310 | │ │
│ │ │ │ │
Выработка на одного │ I │ 120 │ 78 | │ │
рабочего, м3/смену │ │ │ } │70/100 │ 40/60
│ II │ 95 │ 60 | │ │
Примечание. В числителе - показатель комплекта с экскаватором Э-4010, в знаменателе - с остальными.
Технология работ
10.66. Перед нарезкой кюветов должны быть спланированы откосы выемки, а также основная площадка в уровне проектной отметки с отклонениями не более 5 см.
10.67. При устройстве кюветов кюветокопателями производится разбивка кольями через каждые 5 м по линии хода правой гусеницы. Кроме того, через каждые 20 м должны быть выставлены колья по бровкам основной площадки для контроля правильности ее размеров. При использовании экскаватора цикличного действия должна быть сделана разбивка контура кювета кольями через каждые 10 м.
10.68. Заглубление рабочего органа при нарезке кювета принимается постоянным по всей длине выемки, равным, как правило, 0,6 м, а сечение кювета контролируется специальным шаблоном.
10.69. При разработке кювета (рис. 103) автосамосвал подается под транспортер кюветокопателя и движется с ним с одинаковой скоростью. При смене автосамосвалов кюветокопатель должен быть остановлен.
Рис. 103. Технологическая схема разработки
кювета канавокопателем
10.70. При нарезке кюветов экскаватором-планировщиком применяется профилировочный ковш. Экскаватор устанавливается по оси кювета так, чтобы его колеса или гусеницы передвигались возле подошвы откоса выемки, а машинист для лучшего обозрения путевого откоса кювета находился со стороны бровки основной площадки земляного полотна.
После разработки первых 5 м шаблоном проверяется форма и глубина кювета. В случае отступления от проектных отметок производится исправление. В дальнейшем этот участок служит для машиниста ориентиром.
В случае отсутствия закюветных полок при нарезке кюветов в выемках следует применять боковую вставку стрелы для смещения оси копания. В этом случае экскаватор движется не по оси нарезаемого кювета.
Нарезка кювета начинается от бровки путевого откоса и производится аналогично разработке водоотводных канав за один проход.
10.71. Вынутый из кюветов грунт в выемках целесообразно грузить в автосамосвалы.
Автосамосвалы должны устанавливаться так, чтобы при погрузке ковш не проходил над их кабиной.
10.72. Разработка кюветов в выемках, уширяемых для второго пути, производится после расчистки от растительного слоя и балласта, разборки и удаления укреплений существующих кюветов, подлежащих засыпке грунтом. Расчистку кюветов следует выполнять экскаваторами-планировщиками.
Устройство кюветов выполняется кюветокопателями или экскаваторами-планировщиками с одновременной укладкой грунта в засыпаемый кювет. Уплотнение грунта в засыпаемых кюветах осуществляется пневмокатками или машиной виброударного действия для стесненных условий.
УКРЕПЛЕНИЕ ОТКОСОВ ЗЕМЛЯНОГО ПОЛОТНА
Укрепление откосов земляного полотна и водоотводных канав
посевом многолетних трав
Общие положения и агротехнические требования
11.1. Указания предусматривают укрепление посевом многолетних трав откосов неподтопляемого земляного полотна, сложенного из нескальных талых грунтов.
11.2. Назначение посева - предохранить откосы земляного полотна от разрушающего действия дождевых и талых вод, ветра и температурных воздействий.
11.3. Укрепление откосов посевом многолетних трав может быть осуществлено двумя способами:
механизированным посевом трав по предварительно нанесенному на откосы растительному грунту с содержанием гумуса не менее 2% или разрыхленному торфу, имеющему зольность не более 50%;
гидропосевом многолетних трав без нанесения растительного грунта.
При первом способе растительный грунт наносится на откосы земляного полотна слоем 10 - 15 см. Посев трав и внесение удобрений производится травосеятельным агрегатом ЦНИИСа или гидросеялкой.
Гидропосев без использования растительного грунта заключается в нанесении на откосы земляного полотна рабочей смеси, состоящей из семян трав, минеральных удобрений, мульчирующего и пленкообразующего материалов и воды. Мульчирующий и пленкообразующий материалы создают на откосе благоприятный для произрастания и развития трав влажностно-температурный режим и предохраняют откос от водной и ветровой эрозии.
11.4. Укрепление откосов посевом трав выполняется в соответствии с основными агротехническими требованиями.
11.5. Укрепляемые откосы должны быть предварительно спланированы.
Поверхность откосов планируется обычными способами и средствами, но должна быть шероховатой.
11.6. Для создания шероховатой поверхности откосов выемок в связных плотных грунтах до начала планировки на ноже откосника через каждые 10 см целесообразно прикрепить пикообразные выступы высотой 3 - 4 см в мастерских механизированных колонн.
11.7. Укрепление откосов выемок посевом трав по растительному грунту производится до нарезки кюветов.
11.8. Для укрепления откосов травосмесь должна составляться из семян трав трех биологических групп: рыхлокустовых злаковых, корневищевых злаковых, бобовых (стержнекорневых).
11.9. Подбор видов многолетних трав, установление норм их высева следует производить по таблицам
Приложений 31 -
33. Нормы высева семян трав, указанные в
Приложении 33, при гидропосеве необходимо увеличить: при рабочих отметках земляного полотна до 3 м в 1,5 - 2 раза, а при больших - в 2 - 3 раза. При посеве по растительному грунту следует назначать с учетом требований
табл. 132.
11.10. До начала укрепительных работ необходимо проверить всхожесть семян многолетних трав и внести соответствующую поправку в нормы высева. В
Приложении 33 нормы высева даны для семян со всхожестью 80%, поэтому, если применяются семена с меньшей всхожестью, нормы высева следует соответственно увеличить.
11.11. При укреплении откосов посевом трав по растительному грунту рекомендуется применять удобрения: фосфорные - 3; азотные - 2 и калийные - 2 кг из расчета на 100 м2 укрепляемого откоса.
Для гидропосева применяется такой же состав удобрений, за исключением азотных, норма которых составляет 6 кг на 100 м2.
11.12. В процессе изысканий следует устанавливать кислотность и засоленность грунтов в карьерах, резервах и выемках, а также растительного грунта, предназначенного для укрепительных работ.
Если кислотность pH меньше 5 или засоленность больше 5 млг-экв Na на 100 г почвы, в проекте необходимо предусмотреть в первом случае внесение в грунт откосов земляного полотна известковых материалов: известковых туфов, гашеной извести, доломитовой муки из расчета 20 кг на 100 м2, а во втором случае - гипса из расчета 15 кг на 100 м2.
11.13. Укрепление откосов земляного полотна посевом трав производится с ранней весны до осени, но не позднее лучших сроков посева озимых зерновых культур для данного района.
Ориентировочные предельные сроки высева многолетних трав даны в
Приложении 31.
Наилучшими сроками для посева являются весенние и осенние периоды года, когда почва обеспечена влагой.
Многолетние бобовые травы следует высевать весной и в первой половине лета. Поздней осенью высеваются только семена злаковых трав, а бобовые подсеваются следующей весной.
11.14. При длительной засушливой погоде необходимо производить искусственный полив.
11.15. В случае пропусков при посеве изреженного травостоя или механических повреждений на отдельных участках откосов следует произвести вторичный посев, предварительно исправив поврежденные места. В проектах и сметах в связи с этим следует предусматривать необходимость вторичного посева в объеме 10 - 15% общей площади.
11.16. Если травостой развивается плохо, т.е. растения имеют бледно-зеленый или желтоватый цвет, необходимо произвести подкормку трав смесью минеральных удобрений: азотных 1,5 - 2, фосфорных 2 - 3, калийных 1,5 - 3 кг из расчета на 100 м2 укрепляемой поверхности. Подкормка трав производится гидросеялкой или поливомоечной машиной удобрениями, растворенными в воде.
11.17. Травы в первый же год жизни необходимо скашивать при достижении ими высоты 25 - 30 см, не дожидаясь их цветения. Скашивать травостой более двух раз в год не рекомендуется, так как частое скашивание ослабляет растения. Последнее скашивание травы необходимо производить не позднее чем за месяц до наступления заморозков. Через каждые 3 - 5 лет травы следует оставлять нескошенными до созревания и осыпания семян в целях семенного восстановления их.
11.18. Качество укрепления откосов посевом трав следует устанавливать после развития хорошего травостоя и образования дернины. Время, необходимое для образования хорошей дернины на откосах, зависит от погодных и грунтовых условий. На глинистых грунтах хорошая дернина образуется примерно через 2 - 3 месяца после посева, а на песчаных - через 3 - 4. В случае длительной засушливой погоды и отсутствия полива эти сроки могут сдвинуться на 1 - 2 месяца.
11.19. Качество укрепления определяется по толщине дернины и по количеству побегов на учетной площадке. При этом откос должен быть покрыт травой не менее чем на 90% площади. Метод определения качества дерна приведен в
Приложении 35.
11.20. Если при проверке качества укрепления окажется, что дернина не соответствует нужным требованиям, следует произвести подкормку или подсев трав, как указано в
п. 11.16.
Укрепление откосов земляного полотна и водоотводных канав
гидропосевом многолетних трав
Область применения
11.21. Гидропосев применяется для укрепления неподтопляемого земляного полотна и водоотводных канав с откосами крутизной не более 1:1,5 в супесчаных и глинистых грунтах, кроме жирных и набухающих глин, аргиллитов, алевролитов, мергелистых грунтов.
Гидропосев рекомендуется во всех районах СССР, за исключением засушливых районов юга Европейской части, Казахстана и Средней Азии, а также районов с суровым климатом, где укрепление гидропосевом многолетних трав может производиться в опытном порядке с учетом рекомендаций местных сельскохозяйственных организаций.
Комплект машин
11.22. Для укрепления откосов земляного полотна гидропосевом трав необходимы следующие машины и оборудование: гидросеялка, вибросито (или соломорезка), автосамосвал грузоподъемностью 5 - 7 т (используется 25% сменного времени).
Состав комплексной бригады
11.23. Укрепление откосов гидропосевом трав выполняет бригада в составе:
Шофер гидросеялки........................................... 1
Оператор гидросеялки 5 разр................................. 1
Рабочие на подготовке и загрузке материалов 3 разр.......... 2
Шофер автосамосвала......................................... 1
Технико-экономические показатели
11.24. Производительность комплекта машин при расположении базы заправки на расстоянии 5 км от объекта укрепления составляет 4000, выработка на одного рабочего - 940 м2/смену.
Технология работ
11.25. Перед началом работ по гидропосеву необходимо подготовить все составляющие рабочей смеси. Гидропосев выполняется только при наличии всех компонентов рабочей смеси, предусмотренных данными указаниями, и правильной их дозировкой.
11.26. В качестве мульчирующих материалов рекомендуется использовать древесные опилки, просеянные через сито с ячейками 10 x 10 мм, или солому, нарубленную размером 3 - 4 см.
11.27. Пленкообразующие материалы рекомендуется применять двух видов: латексы <1> (марок СКС-65ГП, СКС-50ПГ, СКН-40ПН) или битумные эмульсии.
--------------------------------
<1> Латекс (промежуточный продукт при получении синтетического каучука) выпускается заводами в виде водной эмульсии различной концентрации. Расчет потребности латекса ведется по весу сухого вещества в эмульсии.
11.28. Расход латекса на 1 м2 укрепляемой поверхности в зависимости от максимальной рабочей отметки земляного полотна, вида грунта и района строительства (табл. 128).
Таблица 128
────────────────┬─────────────────────────┬────────────────────────────────
Номер ливневого │ Максимальная рабочая │ Количество латекса, г/м2
района │ отметка земляного ├────────────────┬───────────────
│ полотна, м │Глинистые грунты│Песчаные грунты
────────────────┼─────────────────────────┼────────────────┼───────────────
а б │ │ │
1 ; 5 │ До 3 │ 40 │ 50
в г │ │ │
6 ; 10 │ До 12 │ 50 │ 60
д │ │ │
10 │ 12 - 25 │ 60 │ 70
────────────────┼─────────────────────────┼────────────────┼───────────────
д в │ │ │
6 ; 6 │ До 3 │ 40 │ 50
а б │ │ │
10 ; 10 │ До 12 │ 50 │ 60
г е │ │ │
10 ; 10 │ 12 - 25 │ 70 │ 80
────────────────┼─────────────────────────┼────────────────┼───────────────
б в │ │ │
1 ; 1 │ До 3 │ 40 │ 50
│ До 6 │ 50 │ 60
3; 4 │ До 12 │ 70 │ 80
│ 12 - 25 │ 90 │ 100
────────────────┴─────────────────────────┴────────────────┴───────────────
Примечания. 1. Карта ливневых районов приведена на рис. 8 "Инструкции по расчету стока с малых бассейнов" (ВСН 63-67).
2. При укреплении земляного полотна с рабочими отметками более 12 м расход латекса для верхней половины откоса принимается по норме, соответствующей рабочей отметке до 12 м, а для нижней - по норме, принимаемой для рабочей отметки более 12 м.
11.29. Битумные эмульсии применяются прямого типа в соответствии с "Техническими указаниями по приготовлению дорожных эмульсий" (ВСН 115-65). Наиболее удобны дорожные битумные эмульсии, приготовленные на эмульгаторе "ССБ" (сульфитно-спиртовая барда), которые разбавляются водой любой жесткости. Другие виды битумных эмульсий следует разбавлять водой, жесткость которой не превышает 3 мг x экв/л.
| | ИС МЕГАНОРМ: примечание. ГОСТ 11954-66 утратил силу с 1 января 1978 года в связи с введением в действие ГОСТ 22245-76 (Постановление Госстандарта СССР от 25.11.1976 N 2649). | |
11.30. Для приготовления прямых битумных эмульсий применяют нефтяные битумы марок БН-II и БН-III (по ГОСТ 1544-65) или БНД-130/200, БНД-90/130 и БНД-60/90 (по ГОСТ 11954-66).
Для получения высококачественных устойчивых эмульсий лучшими битумами являются активные битумы, имеющие кислотное число по едкому калию более 0,7 мг/г.
11.31. Расход эмульсий, мульчирующих материалов и воды на 1 м2 откоса составляет:
Мульчирующие материалы, г:
опилки ................................... 400
или солома ............................... 200
Пленкообразователи:
латекс ................................... В соответствии с п. 11.28
или битумная эмульсия, л ................. 1
Вода, л ................................... 4 - 5
11.32. Приготовление и нанесение рабочей смеси на откосы осуществляется специальными машинами-гидросеялками (рис. 104).
Рис. 104. Машина для гидропосева
11.33. Технология гидропосева состоит из двух основных операций: заправки гидросеялки и собственно гидропосева.
11.34. Заправка цистерны гидросеялки семенами трав, минеральными удобрениями и мульчирующими материалами производится любыми подъемными средствами (легкими автокранами и грузоподъемниками). Вода и пленкообразующие материалы закачиваются в цистерну насосом гидросеялки. Расход материалов для одной заправки в зависимости от емкости цистерны гидросеялки и вида применяемого пленкообразующего материала приведен в табл. 129.
─────────────────────┬────────┬────────────────────────────────────────────
Составляющая │Единицы │ Расход материалов на одну заправку
рабочей смеси │изме- │ гидросеялки
│рения ├────────────────────────────────────────────
│ │ Эмульсии
│ ├──────┬───────┬──────┬───────┬──────┬───────
│ │битум-│латекс-│битум-│латекс-│битум-│латекс-
│ │ная │ная │ная │ная │ная │ная
│ ├──────┴───────┴──────┴───────┴──────┴───────
│ │ Емкость цистерны, м3
│ ├──────────────┬──────────────┬──────────────
│ │ 4,1 │ 5,15 │ 23,5
─────────────────────┼────────┼──────┬───────┼──────┬───────┼──────┬───────
Семена │ кг │ 25 │ 29 │ 31 │ 36 │ 148 │ 172
Удобрения │ " │ 69 │ 80 │ 86 │ 99 │ 407 │ 473
Опилки │ м3 │ 1,6 │ 1,6 │ 2,0 │ 2,25 │ 9,25 │ 10,75
Пленкообразователи: │ │ │ │ │ │ │
битумная эмульсия │ л │ 625 │ - │ 780 │ - │ 3700 │ -
латексная эмульсия │ кг │ - │ 29 │ - │ 36 │ - │ 172
(при норме 40 г │ сухого │ │ │ │ │ │
сухого вещества │вещества│ │ │ │ │ │
на 1 м2) │ │ │ │ │ │ │
Вода │ л │ 3125 │ 3600 │ 3900 │ 4500 │18500 │ 21500
В цистерне гидросеялки все составляющие рабочей смеси перемешиваются в течение 3 - 5 мин.
11.35. Гидропосев заключается в нанесении на откосы рабочей смеси гидромонитором гидросеялки. Оператор обеспечивает равномерность распределения рабочей смеси на откосе, не допуская ее стекания или размыва грунта. Перед началом работ откосы по длине разбиваются на захватки. Площадь одной захватки зависит от объема цистерны гидросеялки и от вида применяемого пленкообразующего материала (табл. 130).
─────────────────────────────────┬─────────────────────────────────────────
Объем цистерны гидросеялки, м3 │Площадь захватки укрепляемого откоса, м2
├─────────────────────────────────────────
│ Пленкообразующая эмульсия
├────────────────────┬────────────────────
│ битумная │ латексная
─────────────────────────────────┼────────────────────┼────────────────────
4,10 │ 625 │ 725
5,15 │ 780 │ 900
23,50 │ 3700 │ 4300
Рабочая смесь наносится при включенной системе перемешивания.
11.36. Откосы укрепляются при движении гидросеялки по берме или по основной площадке земляного полотна как с нижней, так и с верхней стоянок (рис. 105).
Рис. 105. Укрепление откосов выемки гидропосевом:
1 - верхняя стоянка; 2 - нижняя
11.37. С верхней или с нижней стоянки гидропосевом укрепляются откосы земляного полотна с рабочими отметками 10 - 12 м, а с двух стоянок - до 24 м.
11.38. Кюветы засеваются одновременно с откосами выемок. Нагорные и другие водоотводные канавы засеваются при движении машины вдоль канавы и возможно ближе к ней.
После полива рабочей смесью откоса земляного полотна или водоотвода в пределах досягаемости струи гидромонитора машина передвигается на следующую стоянку. Как правило, полив следует производить за несколько проходок гидросеялок на одной захватке, чтобы избежать стекания рабочей смеси с откоса.
11.39. Перед началом работ по гидропосеву следует проверить латекс на коагуляцию его в рабочей смеси. Для этого в 1 л воды разводят 4 г калийных, 12 г азотных, 6 г фосфорных удобрений и 8 г латекса (в расчете на сухое вещество). Если латекс не коагулирует (не происходит выпадения хлопьев латекса), то гидропосев производится по обычной технологии. Если латекс скоагулирует, гидропосев следует производить в два приема.
Откосы земляного полотна предварительно покрывают рабочей смесью, но без добавления в нее латекса. Затем эта же поверхность покрывается раствором латекса. Раствор латекса наносится на откос из расчета 1 л раствора на 1 м2 поверхности специальной распыляющей насадкой. Латексный раствор готовится в цистерне гидросеялки. Количество латекса и воды, необходимое для одной заправки гидросеялки и площадь откосов, которую можно покрыть при этом латексным раствором, приведены в табл. 131.
Таблица 131
─────────────────┬──────────────────┬───────────────┬──────────────────────
Объем цистерны │ Количество │ Количество │ Площадь, покрываемая
гидросеялки, м3 │ латекса, кг │ воды, л │ раствором латекса
│ сухого вещества │ │ с одной заправки, м2
─────────────────┼──────────────────┼───────────────┼──────────────────────
4,1 │ 145 │ 2900 │ 3625
5,15 │ 180 │ 3600 │ 4500
23,50 │ 860 │ 17200 │ 21500
Примечание. Количество латекса дано из расчета 40 г сухого вещества на 1 м2. При других нормах расхода латекса следует произвести перерасчет количества латекса и воды.
11.40. Подготовку материалов к посеву и заправку гидросеялки производят на специально организованной базе заправки, которая должна иметь складские помещения для хранения семян и удобрений, емкости для хранения пленкообразующих материалов, вибросита с ячейками 10 x 10 мм для просеивания опилок или дробильно-кукурузную установку для измельчения соломы, весы для развески семян и удобрений. Семена и удобрения расфасовываются порциями на одну заправку гидросеялки. Базу следует обеспечить грузоподъемными средствами, чтобы упростить заправку гидросеялки семенами, удобрениями, мульчирующими материалами; рекомендуется иметь мерные емкости.
11.41. Подготовку материалов к посеву осуществляют двое рабочих, они же совместно с оператором производят загрузку гидросеялки.
11.42. Производительность гидросеялки в основном зависит от затрат времени на заправку и расстояния от базы заправки до объекта работ. Рациональный район действия базы заправки - 10 км с расположением базы посередине укрепляемого участка. В этом случае средняя производительность гидросеялки при укреплении откосов земляного полотна с рабочими отметками 2 м ориентировочно составит 4000 м2/смену.
График зависимости сменной производительности гидросеялки от расстояния между объектом укрепления и базой заправки показан на рис. 106.
Рис. 106. График зависимости производительности
гидросеялки

от расстояния L между объектом
и базой заправки для различных рабочих отметок
земляного полотна
Укрепление откосов земляного полотна гидропосевом
многолетних трав с уложенного пути
Область применения
11.43. Укрепление откосов с железнодорожного пути применяется при сооружении земляного полотна и укладке пути в периоды года, исключающие возможность посева трав, а также при возведении насыпей поездной возкой и невозможности движения гидросеялки по бермам земляного полотна в связи с отсутствием дорог, большой пересеченностью рельефа местности, неблагоприятными климатическими условиями.
Комплект машин
11.44. Для укрепления откосов земляного полотна гидропосевом трав с уложенного пути создается рабочий поезд, в состав которого входят следующие машины и оборудование:
тепловоз (или мотовоз);
четырехосная платформа;
железнодорожная цистерна емкостью 25 - 50 м3;
гидросеялка.
Состав бригады
11.45. Укрепление откосов выполняет бригада в составе:
Машинист тепловоза 6 разр................................... 1
Помощник машиниста тепловоза 5 разр......................... 1
Шофер гидросеялки........................................... 1
Оператор гидросеялки 5 разр................................. 1
Рабочие по подготовке материалов 3 разр..................... 2
Технико-экономические показатели
11.46. Производительность комплекта, м2/смену ........... 6000
Выработка на одного рабочего, м2/смену .................. 1000
Технология работ
11.47. Технология гидропосева с уложенного железнодорожного пути аналогична технологии, описанной в
пп. 11.25 -
11.39.
11.48. На платформе, входящей в состав поезда, размещаются гидросеялка и запас материалов на смену работы, железнодорожная цистерна заполняется водой.
11.49. Гидропосев с пути производится непрерывно при движении поезда со скоростью 5 - 7 км/ч.
Рекомендуется делать 2 - 3 прохода поезда вдоль захватки, чтобы обеспечить равномерность посева и избежать стекания рабочей смеси или размыва откоса.
11.50. Если рабочие отметки земляного полотна превышают 14 м, осуществить посев по всей длине откоса гидромонитором нельзя. В таких случаях к нему подключается шланг длиной 50 м с гидрометателем на конце и оператор обсеивает отдаленные участки, приближаясь к ним на требуемое расстояние.
11.51. Базу заправки рабочего поезда следует организовывать на станции. Заправлять гидросеялку опилками и латексом следует непосредственно перед посевом для предотвращения оседания опилок и коагуляции латекса при длительном ожидании выхода поезда на перегон. В конце рабочей смеси гидросеялку необходимо промывать водой.
11.52. Если на укрепляемом участке имеются водоисточники, из которых можно закачивать воду в цистерну гидросеялки, в состав рабочего поезда для гидропосева железнодорожную цистерну можно не включать, но при этом следует учитывать потери времени на перемещение поезда к месту заправки водой и обратно.
11.53. В состав поезда следует включить мотопомпу для промывки гидросеялки после работы, а также для закачивания воды в гидросеялку.
11.54. В целях лучшего использования времени "окон" целесообразно организовать рабочий поезд с двумя гидросеялками, которые включаются в работу попеременно, при этом производительность увеличивается до 10000 м2/смену.
11.55. Гидропосев с уложенного пути производится также гидросеялкой, созданной управлением Печорстрой.
11.56. Гидросеялка представляет собой четырехосную платформу, на которой размещены цистерна емкостью 23,5 м3, компрессор ДК-9, электростанция ЖЭС-30, фекальный насос 21/2 НФ. Для перемещения рабочей смеси цистерна оборудована приспособлениями для воздушного и гидравлического барботажа.
11.57. Технология гидропосева машиной управления Печорстрой аналогична технологии посева гидросеялкой, установленной на железнодорожную платформу.
11.58. Расход материалов на одну заправку установки (емкость 23,5 м3) и возможная площадь посева с одной заправки приведены в
табл. 129 и
130.
11.59. Водой гидросеялка заправляется из любого ближайшего водоисточника с помощью мотопомпы. Семена, удобрения и мульчирующие материалы загружаются краном, а пленкообразующие закачиваются мотопомпой.
11.60. Текущий контроль за качеством укрепления откосов земляного полотна осуществляется строймастером и включает:
проверку дозировок компонентов при составлении рабочей смеси и соблюдения технологии производства работ;
ведение журнала установленной формы
(Приложение 36) на каждую выемку и насыпь.
Укрепление откосов земляного полотна посевом трав
по слою растительного грунта
Общие положения
11.61. Способ заключается в нанесении на откосы растительного грунта слоем 10 - 15 см с последующим высевом семян многолетних трав и внесением минеральных удобрений.
11.62. В комплекс работ входят:
заготовка растительного грунта и транспортирование его к месту укладки;
нанесение растительного грунта на откосы и разравнивание до слоя требуемой толщины;
посев трав и внесение удобрений.
11.63. Нормы высева семян трав приведены в табл. 132.
──────────────────┬────────────────────────────────────────────────────────
Грунты, │ Откосы насыпей и выемок в районах
слагающие откосы ├───────────────────────────┬────────────────────────────
│ Все районы СССР, │ Южные области Европейской
│ за исключением южных │ части СССР
│областей Европейской части,│
│ засушливых районов │
│ Казахстана и Средней Азии │
├───────────────────────────┴────────────────────────────
│ Рабочие отметки насыпей и выемок, м
├─────────┬────────┬────────┬─────────┬─────────┬────────
│ До 3 │ 3 - 10 │Более 10│ До 3 │ 3 - 10 │Более 10
──────────────────┼─────────┼────────┼────────┼─────────┼─────────┼────────
Супеси, суглинки, │Посев │Посев │Посев │Посев │Посев │Посев
кроме пылеватых; │трав при │трав при│трав при│трав при │трав при │трав при
глины, кроме │одинарной│двойной │двойной │одинарной│двойной │тройной
жирных │норме │норме │норме │норме │норме │норме
│высева │высева │высева │высева │высева │высева
│семян │семян │семян │семян │семян │семян
Супеси и суглинки │ То же │ То же │Посев │ То же │Посев │ То же
пылеватые (в том │ │ │трав │ │трав при │
числе лессовидные)│ │ │при │ │тройной │
│ │ │тройной │ │норме │
│ │ │норме │ │высева │
│ │ │высева │ │семян │
│ │ │семян │ │ │
Пески (в том числе│ " │ " │ То же │Посев │ То же │ "
пылеватые и мелкие│ │ │ │трав при │ │
речные), жирные │ │ │ │двойной │ │
глины │ │ │ │норме │ │
│ │ │ │высева │ │
│ │ │ │семян │ │
11.64. Посев трав на откосах, как правило, следует производить по слою растительного грунта толщиной 10 см, а на песчаных откосах в южных районах, а также на откосах, сложенных жирными глинами 15 см. При содержании в грунтах, слагающих откосы, более 1,5% гумуса посев трав на них допускается без нанесения растительного грунта.
11.65. При легкоразмываемых грунтах должны укрепляться бровки насыпей.
11.66. Посев многолетних трав и внесение удобрений по растительному грунту следует производить агрегатом ЦНИИСа. До начала посева необходимо приготовить травосмеси семян, смеси минеральных удобрений и произвести тарировку агрегата
(Приложение 37). При подготовке агрегата к работе ящики сеялок заполняются семенами, а туковой сеялки - удобрениями; борона и рыхлитель агрегата приводятся из транспортного положения в рабочее, и регуляторы сеялок устанавливаются на требуемую норму высева.
Для посева трав экскаватор устанавливается на расстоянии 2,5 - 3 м от бровки. Агрегат поднимается над бровкой и опускается на откос так, чтобы стрела экскаватора была перпендикулярна бровке. Первый проход по откосу агрегат делает сверху вниз под действием собственной массы. При этом происходит разрыхление грунта рыхлителем агрегата. Затем тяговым тросом агрегат поднимается вверх по откосу по тому же следу. При движении вверх агрегат высеивает семена и удобрения, заделывает их в грунт и прикатывает катком. После выполнения всего цикла экскаватор перемещается по фронту работ на 1,7 м и проводит посев на следующем участке с перекрытием предыдущего следа на 0,1 м.
11.67. Если до начала посева растительный грунт на откосе сильно пересох, его следует увлажнить поливомоечной машиной (за 2 - 3 ч до начала посева).
11.68. Для заделки семян в сухой грунт рекомендуется задний каток агрегата заполнить водой. При влажном растительном грунте каток агрегата водой не заполняется.
11.69. При укреплении откосов травосеянием агрегатом ЦНИИСа помощник машиниста экскаватора заполняет ящики сеялок семенами и удобрениями, контролирует толщину растительного слоя и глубину заделки семян и удобрений и удаляет посторонние предметы с участка работ. Текущий контроль качества укрепления откосов производится в соответствии с
п. 11.60.
11.70. Если откосы земляного полотна подготовлены для укрепления поздней осенью, когда посев трав невозможен, их следует покрыть растительным грунтом, а посев произвести весной следующего года. В выемках после нанесения растительного грунта необходимо устроить кюветы.
Заготовка растительного грунта
Область применения
11.71. Указания предусматривают разработку растительного грунта бульдозером, погрузку экскаватором-планировщиком Э-4010 в автосамосвалы и транспортировку к месту укрепительных работ автосамосвалами на расстоянии до 10 км.
Комплект машин
11.72. Заготовка растительного грунта производится комплектом машин:
Бульдозер 100 - 130 л.с. ........................................... 1
Экскаватор-планировщик типа Э-4010 ................................. 1
Автосамосвалы грузоподъемностью 4,5 - 5 т
при расстоянии транспортировки 2 км ............................... 4
То же, 5 км ....................................................... 8
" 10 км ...................................................... 14
Состав комплексных бригад
11.73. Состав комплексной бригады для заготовки растительного грунта:
Машинист бульдозера 6 разр. ........................................ 1
Машинист экскаватора 6 разр. ....................................... 1
Шоферы при расстоянии транспортировки 2 км ......................... 4
То же, 5 км ........................................................ 8
" 10 км ....................................................... 14
Технико-экономические показатели
11.74. Производительность комплекта и выработка на одного рабочего приведены в табл. 133.
Таблица 133
──────────────────────────────────────────────┬────────────────────────────
Показатели │ Дальность транспортировки
│ растительного грунта, км
├────────┬─────────┬─────────
│ 2 │ 5 │ 10
──────────────────────────────────────────────┼────────┼─────────┼─────────
Производительность, м3/смену │ 320 │ 320 │ 320
Выработка на одного рабочего, м3/смену │ 54 │ 32 │ 20
Технология работ
11.75. Заготовку растительного грунта следует производить заранее, до начала укрепительных работ.
11.76. Перед заготовкой растительного грунта верхний дерновый покров следует снять для того, чтобы на откос не попали дернины, мешающие планировке и посеву.
11.77. Средняя толщина срезки почвенного слоя при заготовке растительного грунта в зависимости от природной зоны и вида почвы приведена в
Приложении 38.
11.78. Растительный грунт, имеющийся в верхнем слое выемки и в основании под насыпью, следует использовать для укрепления откосов. Для этого он должен быть во время выполнения основных работ заготовлен и собран в виде валов, расположенных на расстоянии не менее 6 м от бровок с учетом удобного подъезда к нему автосамосвалов.
11.79. Растительный грунт срезается бульдозером и собирается в бунты, из которых экскаватором Э-4010 грузится в автосамосвалы.
Укрепление откосов земляного полотна
с рабочими отметками до 3,5 м
Область применения
11.80. Указания предусматривают нанесение растительного грунта на откосы, разравнивание его бульдозером с планировщиком откосов и посев трав на откосе гидросеялкой.
Комплект машин
11.81. Для укрепления посевом трав откосов земляного полотна с рабочими отметками до 3,5 м необходимы следующие машины и оборудование:
бульдозер с планировщиком откосов (или автогрейдер тяжелого типа с откосником-удлинителем);
гидросеялка.
Состав комплексной бригады
11.82. Работы выполняет бригада в составе:
Машинист бульдозера-планировщика 6 разр. ............................ 1
Шофер гидросеялки (загружен 25% рабочего времени) .................. 1
Оператор гидросеялки 5 разр. ........................................ 1
Рабочие по подготовке семян, удобрений и мульчирующих материалов
3 разр. .......................................................... 2
Технико-экономические показатели
11.83. Производительность комплекта машин при расположении базы заправки на расстоянии 5 км от объекта укрепления составляет 4000, выработка на одного рабочего 765 м2/смену.
Технология работ
11.84. Разравнивание растительного грунта на откосах земляного полотна с отметками до 3,5 м рекомендуется выполнять автогрейдерами или бульдозерами с откосниками; при выполнении этой работы, чтобы выдержать правильное направление движения автогрейдера и бульдозера, следует размечать колышками линии хода колеса или гусеницы.
11.85. Высев семян трав и внесение удобрений следует производить гидросеялкой, так как габаритные размеры агрегата травосеяния ЦНИИСа не дают возможности укреплять откосы насыпей и выемок с рабочими отметками до 3,5 м.
11.86. Технология гидропосева изложена в
пп. 11.25 -
11.39. При гидропосеве трав по растительному грунту в рабочую смесь мульчирующие материалы вносятся в половинном объеме.
Укрепление посевом трав откосов земляного полотна
с рабочими отметками до 8 м
Область применения
11.87. Указания предусматривают нанесение на откосы слоя растительного грунта, разравнивание его экскаватором-драглайном и посев трав агрегатом ЦНИИСа.
Комплект машин
11.88. Для укрепления откосов насыпей и выемок с рабочими отметками до 8 м необходимы машины:
экскаватор-драглайн с ковшом емкостью 0,65 м3;
сменное навесное оборудование к экскаватору: планировочная рама; агрегат травосеяния.
Состав комплексной бригады
11.89. Укрепление откосов земляного полотна производит бригада в составе: машиниста экскаватора 6 разр., помощника машиниста экскаватора 5 разр. и рабочего на подготовке семян и удобрений 3 разр.
Технико-экономические показатели
11.90. Производительность комплекта машин составляет 1100, выработка на одного рабочего 370 м2/смену.
Технология работ
11.91. Растительный грунт наносится на откосы драглайном, установленным на основной площадке насыпи или на берме выемки.
В зависимости от местных условий при рабочих отметках земляного полотна до 8 м распределение растительного грунта может производиться и с нижних стоянок экскаватора. Грунт забирается ковшом из заготовленных заранее валов и распределяется по откосу. Вся поверхность откоса должна быть покрыта грунтом равномерным слоем заданной толщины 10 - 15 см.
11.92. Разравнивание растительного грунта на откосах следует производить драглайном, оборудованным специальной планировочной рамой, или экскаваторами-планировщиками типа Э-4010.
11.93. Разравнивание грунта удобнее производить с верхних стоянок экскаваторов. При планировке растительного грунта экскаватором-драглайном планировочная рама опускается к подошве откоса, а затем протаскивается вверх к его бровке. Последующее протаскивание рамы производится с перекрытием 1/3 предыдущего следа.
При планировке растительного грунта экскаватором-планировщиком его стрелу располагают перпендикулярно к линии бровки. Выдвигая и вбирая подвижную часть стрелы со скребком (сменный рабочий орган), производят планировку грунта на откосе. После передвижки экскаватора по фронту работ на 2 м планируется растительный грунт на очередном участке с перекрытием предыдущего на 30 - 50 см.
Укрепление посевом трав откосов земляного полотна
с рабочими отметками более 8 м
Область применения
11.94. Указания предусматривают нанесение растительного грунта на откосы и планировку его с применением экскаватора-драглайна и экскаватора-планировщика Э-4010, а посев агрегатом ЦНИИСа.
Комплект машин
11.95. Для укрепления посевом откосов земляного полотна с рабочими отметками более 8 м необходимы:
Экскаватор-драглайн с ковшом емкостью 0,65 м3 ....................... 1
Сменное навесное оборудование к экскаватору-драглайну:
агрегат травосеяния ............................................... 1
планировочная рама ................................................ 1
Экскаватор-планировщик Э-4010 ....................................... 1
Сменное навесное оборудование к экскаватору Э-4010:
ковш емкостью 0,4 м3 .............................................. 1
скребок ........................................................... 1
Состав комплексной бригады
11.96. Укрепление откосов насыпей и выемок с рабочими отметками более 8 м производит бригада в составе: машиниста экскаватора 6 разр., помощника машиниста экскаватора 5 разр., машиниста экскаватора Э-4010 6 разр., шофера экскаватора Э-4010 и рабочего по подготовке семян и удобрений 3 разр.
Технико-экономические показатели
11.97. Производительность комплекта 1100, выработка на одного рабочего 220 м2/смену.
Технология работ
11.98. Укрепление откосов высоких насыпей и глубоких выемок следует осуществлять после сооружения земляного полотна по частям (ярусам), разделяемым полками.
11.99. Разбивка насыпи или выемки на ярусы производится при индивидуальном проектировании поперечного профиля земляного полотна с одновременной разработкой технологической схемы производства основных и укрепительных работ с учетом местных условий.
11.100. В тех случаях, когда земляное полотно для обеспечения устойчивости откосов проектируется с бермами, рекомендуется предусматривать расположение и размеры берм с учетом использования их при укрепительных работах.
11.101. При работе только с верхней стоянки растительный грунт выгружается на верхнюю полку яруса в количестве, необходимом для укрепления откоса одного яруса.
Грунт наносится на откос ковшом экскаватора и разравнивается планировочной рамой, подвешенной на экскаватор вместо ковша.
При работе с верхней и нижней стоянок часть грунта выгружается на верхнюю полку яруса, часть - на нижнюю. Необходимое количество грунта принимается по расчету. Нанесение и планировка растительного грунта производится с верхней и нижней стоянок. С верхней - экскаватором-драглайном на высоту 8 - 10 м, а с нижней - экскаватором-планировщиком на высоту 6 м (рис. 107).
Рис. 107. Схема разравнивания растительного грунта
на откосах земляного полотна при рабочих отметках выемок
свыше 12 м
11.102. Посев трав производится агрегатом ЦНИИСа, поярусное укрепление откосов следует начинать в насыпях с нижнего яруса, а в выемках - с верхнего. Полки укрепляются так же, как и откосы.
11.103. В глубоких выемках, расположенных в районах с избыточным увлажнением, при сложных гидрогеологических условиях в проекте следует рассмотреть вариант устройства на полке укрепленной водоотводной канавы.
11.104. В южных районах страны при благоприятных климатических и инженерно-геологических условиях с длительным теплым периодом, в виде исключения, насыпи могут проектироваться с полками шириной 1 м, а выемки глубиной до 30 м без полок. При этом укрепление откосов, как и сооружение земляного полотна, ведется поярусно. Нижний ярус насыпи при условии работы экскаватора с нижней и верхней стоянок должен быть не более 16, а остальные - не более 8 м. Верхний ярус выемки может быть глубиной 14 - 16, а все остальные - до 6 м.
Насыпь отсыпается на высоту первого яруса, откосы планируются, наносится растительный грунт и также планируется. Агрегатом ЦНИИСа производится высев трав с внесением удобрений. После этого отсыпается второй ярус насыпи, и все работы повторяются в той же последовательности.
11.105. Полки шириной 1 м в насыпях предусматриваются для возможности возведения насыпи верхнего яруса с уплотнением откосной части, а также для предохранения от засыпания грунтом и повреждения укрепленных откосов нижнего яруса рабочими органами экскаватора при выполнении планировочных и укрепительных работ.
11.106. В выемках после сооружения первого яруса производятся планировка откосов и нанесение растительного грунта. Затем сооружается следующий ярус, планируются откосы, и наносится растительный грунт и т.д.
После полной разработки выемки агрегатом ЦНИИСа осуществляется посев трав и внесение удобрений. При этом в выемках глубиной более 20 м верхняя часть откоса глубиной до 20 м обсевается агрегатом ЦНИИСа, а нижняя - гидропосевом.
Укрепление откосов земляного полотна из подвижных песков
неразвеваемым грунтом
Область применения
11.107. Технологическая схема применяется при укреплении насыпей и выемок неразвеваемым грунтом в районах распространения мелких подвижных песков с разработкой неразвеваемого грунта экскаватором-драглайном и транспортированием автосамосвалами.
Комплект машин
11.108. Комплект машин для производства работ по укреплению откосов неразвеваемым грунтом приведен в табл. 134.
Таблица 134
─────────────────────────────────────────────┬─────────────────────────────
Наименование машин │ Количество машин
├─────────────────────────────
│ Дальность транспортирования
│ грунта, км
├─────────┬─────────┬─────────
│ 1 │ 3 │ 5
─────────────────────────────────────────────┼─────────┴─────────┴─────────
Экскаватор-драглайн с ковшом ЦНИИСа емкостью │ 1
0,8 м3 │
Автосамосвалы грузоподъемностью 7 т │ 5 │ 7 │ 9
Бульдозеры на тракторе 100 - 130 л.с. │ 2
Автогрейдер 90 - 110 л.с. │ 1
Поливомоечная машина │ 1
Примечания. 1. При рабочих отметках земляного полотна более 3,5 м в комплект машин включается экскаватор-драглайн с ковшом ЦНИИСа емкостью 0,8 м3, при этом один бульдозер исключается.
2. Для вырезки глинистого грунта на основной площадке под балластную призму в комплект машин включается прицепной скрепер емкостью 6 - 8 м3.
Состав комплексной бригады
11.109. Состав комплексной бригады для укрепления откосов неразвеваемым грунтом приведен в табл. 135.
Таблица 135
───────────────────────────────┬──────┬────────────────────────────────────
Состав бригады │Разряд│ Количество рабочих
│ ├────────────────────────────────────
│ │Дальность транспортировки грунта, км
│ ├────────────┬───────────┬───────────
│ │ 1 │ 3 │ 5
───────────────────────────────┼──────┼────────────┴───────────┴───────────
Машинист экскаватора │ 6 │ 1
Помощник машиниста экскаватора │ 5 │ 1
Шоферы автосамосвалов │ - │ 5 │ 7 │ 9
Шофер поливомоечной машины │ - │ 1
Машинисты бульдозеров │ 6 │ 2
Машинист автогрейдера │ 6 │ 1
Землекопы │ 3 │ 3
Технико-экономические показатели
11.110. Технико-экономические показатели укрепления земляного полотна неразвеваемым грунтом приведены в табл. 136.
Таблица 136
─────────────────────────────────────────────────┬─────────────────────────
Показатели │Дальность транспортировки
│неразвеваемого грунта, км
├───────┬────────┬────────
│ 1 │ 3 │ 5
─────────────────────────────────────────────────┼───────┼────────┼────────
Производительность комплекта машин, м2/смену │ 2880 │ 2880 │ 2880
Выработка на одного рабочего при укреплении │ 162 │ 142 │ 126
выемок, м2/смену │ │ │
Выработка на одного рабочего при укреплении │ 148 │ 130 │ 117
насыпей, м2/смену │ │ │
Примечание. Для расчета принята рабочая отметка насыпи и выемки 3 м, толщина слоя укрепления неразвеваемым глинистым грунтом 0,15 м.
Технология производства работ
11.111. Для обеспечения проходимости автосамосвалов необходимо покрывать неразвеваемым грунтом всю основную площадку насыпи и полосы шириной 3,5 м вдоль верхних бровок выемки. Толщина слоя покрытия должна быть не менее 0,15 м. Если после отсыпки покрытия проезд автосамосвалов затруднен, необходимо использовать бульдозер для буксирования автосамосвалов.
11.112. Укрепление откосов насыпей и выемок неразвеваемым грунтом следует выполнять последовательно на трех захватках (табл. 137).
Таблица 137
───────────────────────────────────────────────────────────────────────────
Наименование операций Схема работы
───────────────────────────────────────────────────────────────────────────
I Разгрузка неразвеваемого грунта
захватка автосамосвалами и разравнивание
бульдозером
───────────────────────────────────────────────────────────────────
Планировка основной площадки
насыпи или выемки и полос вдоль
верхних бровок выемки и бермы
насыпи
───────────────────────────────────────────────────────────────────────────
II Планировка верхней части
захватка откосов бульдозером,
оборудованным откосным ножом
───────────────────────────────────────────────────────────────────
Планировка нижней части откосов
бульдозером, оборудованным
откосным ножом
───────────────────────────────────────────────────────────────────
Планировка откосов ковшом
драглайна, а затем планировочной
рамой или двухотвальным скребком
───────────────────────────────────────────────────────────────────────────
III Вырезка корыта для производства
захватка балластировочных работ прицепным
скрепером
───────────────────────────────────────────────────────────────────
Окончательная зачистка
отдельных мест
───────────────────────────────────────────────────────────────────────────
На первой захватке разгружается грунт, который затем перемещается бульдозером на откосы насыпи или выемки; часть грунта разравнивается на основной площадке насыпи и полосах вдоль верхних бровок выемки слоем 0,15 м.
На второй захватке неразвеваемый грунт, перемещенный на откосы земляного полотна, разравнивается слоем 0,15 м.
На третьей захватке производится вырезка глинистого грунта на основной площадке шириной 5 м, а также окончательная зачистка отдельных мест вручную. Эта работа должна несколько отставать и производиться перед началом укладки и балластировки пути.
11.113. На насыпях и выемках с рабочими отметками до 3,5 м грунт на откосах разравнивается бульдозером, оборудованным откосником. Предварительно автогрейдером тщательно выравниваются основная площадка насыпи или выемки, а также полосы вдоль верхних бровок выемки или бермы насыпей. Откосный нож бульдозера устанавливается в положение для работы машины сверху, и производится планировка верхней части откоса. Ориентирами служат предварительно установленные по бровкам вешки или колья. Затем откосный нож бульдозера устанавливается в положение для работы машины снизу и производится планировка нижней части откоса. Ориентиром служит верхняя, уже спланированная часть откоса. Лишний грунт, срезанный с откосов, следует разровнять на берме насыпи или вывезти за пределы выемки.
11.114. На насыпях и выемках с рабочими отметками более 3,5 м разравнивание грунта на откосах следует производить экскаватором-драглайном. Вначале грунт наносится и грубо планируется ковшом драглайна. Затем меняется рабочее оборудование и планируются откосы двухотвальным скребком или планировочной рамой.
11.115. При плохой проходимости автосамосвалов от карьера до объекта работ необходимо устраивать землевозную дорогу. Землевозная дорога из сухих песков покрывается слоем неразвеваемого грунта толщиной не менее 0,35 м. При эксплуатации дорога периодически выравнивается автогрейдером.
11.116. Для уменьшения количества пыли в карьере, на землевозной дороге, а также при отсыпке и планировке неразвеваемого грунта необходимо производить полив водой.
СОДЕРЖАНИЕ И ПРИЕМКА ЗЕМЛЯНОГО ПОЛОТНА
Содержание земляного полотна
12.1. Основой правильного содержания земляного полотна и его водоотводных и укрепительных сооружений является предотвращение появления деформаций и своевременное устранение причин их возникновения.
12.2. Постоянный надзор за состоянием земляного полотна и его сооружений должен осуществляться в соответствии с указаниями настоящего раздела.
12.3. В период строительства генподрядная стройорганизация, выполняющая работы, должна подготовить всю исполнительную техническую документацию, требуемую "Правилами приемки в эксплуатацию законченных строительством объектов (строек) железнодорожного транспорта" <1>, в том числе: акты освидетельствования сооружений и устройств земляного полотна, особенно подземных; акты осмотра деформирующихся участков земляного полотна и расследования причин деформации; описание противодеформационных устройств и сооружений с оценкой эффективности их работы.
--------------------------------
<1> М., ЦУКС 2514, 1967.
Все подземные устройства сооружений земляного полотна (дренажи, прорези, штольни и др.) должны иметь специальные наземные знаки.
12.4. Текущее содержание земляного полотна в исправном состоянии в период сооружения верхнего строения пути и рабочего движения осуществляется штатом стройуправления или строительно-монтажного поезда, а в период временной эксплуатации - штатом дистанции пути отдела временной эксплуатации.
12.5. Для предохранения земляного полотна от воздействия поверхностных вод укрепительные работы должны быть выполнены в объеме и в сроки, предусмотренные техническим проектом. Все промоины в откосах неукрепленного полотна и повреждения его укреплений во время дождей следует немедленно исправлять.
12.6. Работы по устранению ливневых и весенних повреждений неукрепленного земляного полотна выполняются стройуправлениями или строительно-монтажными поездами, прочие же исправления повреждений земляного полотна выполняются дистанциями пути отдела временной эксплуатации.
12.7. Содержание основной площадки земляного полотна в исправном состоянии требует выполнения следующих условий: обочины земляного полотна необходимо систематически очищать от мусора, а впадины и ямы, в случае их образования, засыпать грунтом, однородным с грунтом основной площадки и предварительно разрыхленным на глубину 5 - 10 см с последующей тщательной утрамбовкой. Засыпка впадин песком при глинистых грунтах (лессах, солончаках и др.) основной площадки земляного полотна запрещается. При срезке с обочины излишнего грунта он должен быть сброшен под откос насыпи, а в выемках - немедленно убран за их пределы. Обочины земляного полотна должны быть спланированы с уклоном в сторону от пути. Запрещается использовать грунт с обочин и откосов насыпей на выправку пути при появлении, по различным причинам, просадок или перекосов.
12.8. Особое внимание должно быть обращено на своевременную заделку усадочных трещин в бровке земляного полотна. Трещины следует хорошо затрамбовывать грунтом, однородным с грунтом земляного полотна.
Содержание откосов земляного полотна заключается в предупреждении появления неисправностей и немедленном исправлении повреждений (размывов, сплывов, впадин).
12.9. Для предохранения земляного полотна от повреждений при проходе весенних вод до начала таяния снега должны быть выполнены следующие работы:
в кюветах, нагорных, забанкетных и водоотводных канавах прорыты в снегу траншеи, ширина которых равна ширине канавы по дну;
закрытые на зиму отверстия труб в насыпях и под переездами открыты с выколкой намерзшего льда; входные и выходные русла труб и малых мостов очищены от снега;
в период снеготаяния выколот лед в кюветах, канавах и лотках, чтобы избежать образования подпоров и переполнения водоотводных устройств;
откосы насыпей и выемок, угрожающие оползаниями и сплывами, очищены от снега;
с нагорной стороны в снежных валах, образованных щитами, сделаны прорези для выпуска воды в нагорные канавы; установка щитовой линии и ее перестановки зимой должны производиться с таким расчетом, чтобы снеговые валы не откладывались на нагорных канавах;
за всеми участками, где возможно переполнение кюветов и водоотводных канав во время прохода весенних и ливневых вод, должно быть установлено тщательное наблюдение под особым надзором строительного или дорожного мастера, который обязан принимать меры к укреплению кюветов и канав там, где переполнение может угрожать размывом земляного полотна или балластной призмы.
После прохода весенних или ливневых вод кюветы, лотки, нагорные и другие канавы должны быть очищены от ила или оплывшего грунта; нарушенное укрепление канав должно быть немедленно восстановлено.
12.10. Для нормального содержания земляного полотна на болотах, кроме работ, выполняемых в обычных условиях, необходимо производить:
отвод воды, скапливающейся у основания насыпей (для чего устраивают поперечные канавы с выводом их в основные продольные осушительные канавы);
восстановление продольных водоотводных канав у подошвы насыпи, если они заилены;
подъемку пути при осадках (для чего заготовляются специальные запасы балласта на нулевых местах, вблизи насыпи).
12.11. В районах подвижных песков должно быть установлено непрерывное наблюдение за сохранностью постоянных и временных защитных устройств (явных щитов, торчковой защиты из местных трав, клеток из полуявных камышовых щитов, обсыпкой поверхности песка связными глинистыми грунтами), а также за состоянием лесных посадок на подвижных песках. Защитные устройства необходимо своевременно ремонтировать, а засохшие посадки восстанавливать.
Особое внимание при содержании земляного полотна в таких районах следует уделять неукрепленным резервам, откосам насыпей, выемок и кавальерам, являющимся основными источниками образования движущихся песков при несвоевременном или неполном проведении укрепительных работ.
12.12. Откосы земляного полотна, укрепленные посевом многолетних трав по растительному грунту или гидропосевом, необходимо периодически осматривать и, если травостой развивается плохо, следует принимать меры, предусмотренные
пп. 11.15 -
11.17.
Приемка земляного полотна
| | ИС МЕГАНОРМ: примечание. Взамен СНиП III-38-75 Постановлением Минстроя РФ от 18.10.1995 N 18-94 с 1 января 1996 года введены в действие СНиП 32-01-95. | |
12.13. Приемка земляного полотна под укладку пути производится заказчиком совместно с представителем строительной организации (генподрядчиком, субподрядчиком) пообъектно или поэтапно в соответствии с установленными положениями (СНиП III-Б.1-71, СНиП III-38-75 и др.).
12.14. При приемке выемок и насыпей следует проверять:
а) расположение трасс сооружений в плане и профиле и геометрических размеров сооружений;
б) отметки бровок, дна продольных уклонов и поперечных размеров канав и других водоотводных устройств;
в) крутизну и укрепление откосов;
г) степень уплотнения грунта;
д) правильность расположения и оформления резервов, берм, нагорных канав и др.;
е) наличие актов на скрытые работы, а также актов, устанавливающих соблюдение проектных требований к качеству грунтов в насыпях, в том числе возводимых в зимний период.
12.15. Промежуточной приемке с составлением актов на скрытые работы подлежат:
основания насыпей, а также дренажные сооружения;
замена грунтов в основаниях выемок и нулевых местах;
выполнение мероприятий, предусмотренных проектом по обеспечению устойчивости земляного полотна объектов индивидуального проектирования;
нарезка уступов, засыпка кюветов и другие работы при сооружении земляного полотна второго пути;
планировка поверхности нижнего слоя насыпи, отсыпанного из глинистого грунта, в случае возведения верхней части насыпи из дренирующего грунта;
подготовка карьеров к разработке.
12.16. Работы по устройству дренажей принимаются по мере готовности отдельных элементов дренажа, как скрытые работы. Кроме того, производится приемка всего дренажа в целом.
В акте приемки дренажа должно быть отмечено состояние отдельных его элементов и дана характеристика заполнителя.
К акту должны быть приложены инженерно-геологические разрезы, план дренажной системы с показанием выпусков и мест расположения опознавательных знаков.
12.17. Приемка штолен производится по мере готовности отдельных участков и всей системы в целом.
12.18. Приемку насыпей, возводимых на болотах, следует производить лишь после пробных испытаний подвижной или статической нагрузками. Длительность и характер нагрузки должны устанавливаться проектом.
12.19. В процессе возведения насыпей на болотах следует производить контроль с занесением результатов наблюдений в журнал по следующим видам работ:
подготовка основания насыпи (выторфовывание и засыпка траншей);
ход осадок насыпи во времени;
состояние насыпи при рабочем движении поездов.
12.20. Насыпи после длительного перерыва работ подлежат приемке перед возобновлением работ с составлением соответствующего акта.
12.21. Объем грунта, уложенного в насыпь, должен исчисляться в плотном теле по проектным профилям.
| | ИС МЕГАНОРМ: примечание. Взамен СНиП III-38-75 Постановлением Минстроя РФ от 18.10.1995 N 18-94 с 1 января 1996 года введены в действие СНиП 32-01-95. | |
12.22. Отклонение размеров земляного полотна от проектных не должно превышать допусков, приведенных в табл. 138 (см. СНиП III-38-75).
Таблица 138
─────────────────────────────────┬───────────────────┬─────────────────────
Вид отклонения │ Допускаемое │ Способ проверки
│ отклонение │
─────────────────────────────────┼───────────────────┼─────────────────────
Отклонение отметок бровки или │ +/- 0,05 м │ Нивелировка
оси земляного полотна │ │
Отклонение от проектного │ 0,0005 │ То же
продольного уклона дна канавы, │ │
траншеи, дренажа и т.п. │ │
Уменьшение минимально допустимых│ Не допускается │ "
уклонов дна канав, кюветов │ │
и дренажей │ │
Сужение земляного полотна │ То же │ Промеры через 50 м
(уменьшение расстояния от оси │ │
пути до бровки) │ │
Отклонение по ширине верха │ +/- 0,1 м │ Промеры через 50 м
сливной призмы │ │
Увеличение крутизны откосов │ Не допускается │Промеры не менее чем
земляных сооружений │ │ в двух поперечниках
│ │ на каждом пикете
Отклонения в плоскости откосов │+/- 0,15 м на длине│ То же
│ не менее 1,5 м │
Отклонение по ширине берм │ +/- 0,15 м │ Промеры через 50 м
Отклонение в поперечных размерах│ +/- 0,05 м │ Промеры через 50 м,
дренажных траншей │ │ а также
│ │ в местах выпусков
Отклонения в поперечных размерах│ +/- 0,1 м │ Промеры через 50 м
канав │ │
Уменьшение поперечных размеров │ Не допускается │ Промеры через 50 м,
кювета │ │ а также
│ │ в местах выпусков
Отклонения от проекта │ │
вертикальной планировки: │ │
по уклонам спланированной │ 0,001 │ Нивелировкой через
территории │ │ 50 м
по уклонам водоотводных канав │ 0,0005 │ То же
по толщине растительного слоя │ 10% │Промерами на 1000 м2
Примечания. 1. Отклонения в сторону увеличения ширины сооружения, а также в сторону уположения откосов допускаются без включения излишнего (против проекта) грунта в объем выполненных работ.
| | ИС МЕГАНОРМ: примечание. Взамен СНиП III-38-75 Постановлением Минстроя РФ от 18.10.1995 N 18-94 с 1 января 1996 года введены в действие СНиП 32-01-95. | |
2. В местах, где обнаружены недосыпки насыпей или переборы выемок на высоту более 5 см, согласно требованиям главы СНиП III-Б.1-71 основную площадку земляного полотна надлежит досыпать грунтом, однородным с ее телом, и тщательно уплотнить до требуемой нормы плотности. Пересыпки на насыпях и недоборы в выемках следует срезать; недосыпки и переборы до 5 см исправляются за счет балластного слоя при балластировке пути (см. СНиП III-38-75, п. 3.60).
3. По основаниям транспортных выемок, разработанных в скальных грунтах, допускаются недоборы до 0,1 м и переборы до 0,2 м, которые должны быть засыпаны местным скальным грунтом.
4. Отклонения от проектных отметок планировки допускаются лишь в отдельных местах и при условии, если при этом не нарушается заданное направление стока воды.
12.23. При сдаче земляного полотна под укладку пути подрядчик подготавливает и предъявляет заказчику следующие документы:
акты на скрытые работы;
ведомость контрольной нивелировки и замеров ширины основной площадки земляного полотна;
исполнительные поперечные профили земляного полотна, сооруженные по индивидуальным проектам;
выписки из журнала контроля уплотнения земляного полотна;
журнал контроля выполнения и качества укрепления откосов земляного полотна посевом трав
(Приложение 36).
Заказчик устанавливает соответствие земляного полотна его проекту и требованиям настоящего документа и подписывает акт освидетельствования готовности земляного полотна под укладку пути
(Приложение 39).
12.24. Документация, предъявляемая строительной организацией при технической приемке законченных строительством объектов, должна содержать:
рабочие чертежи конструктивных элементов с нанесением на них допущенных в процессе строительства изменений, а при значительных отступлениях - соответствующие исполнительные чертежи с документами по оформлению изменений;
журналы работ;
акты на скрытые работы;
ведомость выполненных работ по противопучинным и противооползневым мероприятиям;
ведомость постоянных реперов и акты геодезической разбивки сооружений;
акты лабораторных испытаний грунтов;
акты лабораторных испытаний материалов, примененных при сооружении насыпей, в том числе камня, материалов для крепления и др.
ГРУНТЫ ДЛЯ ЗЕМЛЯНОГО ПОЛОТНА
Грунты подразделяются на скальные, получаемые посредством разрушения скальных пород, залегающих в естественных условиях в виде сплошного или трещиноватого массива; крупнообломочные, залегающие в естественных условиях в виде аллювиальных и делювиальных отложений или россыпей; песчаные и глинистые.
Скальные грунты и породы различают по временному сопротивлению сжатию, по степени растворимости и размягчаемости в воде, а также подверженности выветриванию.
Показатели сопротивления сжатию и растворимости скальных грунтов и пород, используемых для земляного полотна, не нормируются.
Скальные грунты и породы следует считать размягчаемыми, если отношение их временных сопротивлений сжатию в насыщенном водой и в воздушно-сухом состоянии меньше 0,75, а при отношении, равном или более 0,75, - неразмягчаемыми.
По степени выветриваемости скальные грунты разделяются на слабовыветривающиеся и легковыветривающиеся.
Крупнообломочные и песчаные грунты в зависимости от зернового состава подразделяются на виды (табл. 1).
────────────────────────────────────┬──────────────────────────────────────
Вид грунта │ Содержание частиц в % от общего веса
│ сухого грунта
────────────────────────────────────┼──────────────────────────────────────
Крупнообломочные │
│
Грунт глыбовый (при преобладании │ Вес камней крупнее 200 мм составляет
окатанных камней - валунный) │более 50%
Грунт щебенистый (при преобладании │ Вес частиц крупнее 10 мм составляет
окатанных частиц - галечниковый) │более 50%
Грунт дресвяный (при преобладании │ Вес частиц крупнее 2 мм составляет
окатанных частиц - гравийный) │более 50%
│
Песчаные │
│
Песок гравелистый │ Вес частиц крупнее 2 мм составляет
│более 25%
Песок крупный │ Вес частиц крупнее 0,5 мм составляет
│более 50%
Песок средней крупности │ Вес частиц крупнее 0,25 мм составляет
│более 50%
Песок мелкий │ Вес частиц крупнее 0,1 мм составляет
│более 75%
Песок пылеватый │ Вес частиц крупнее 0,1 мм составляет
│менее 75%
Для установления вида грунта следует последовательно суммировать проценты содержания частиц в исследуемом грунте, начиная с содержания более крупных частиц, и принимать наименование грунта по первой сумме, удовлетворяющей показателю содержания частиц по
табл. 1.
Пески с коэффициентом неоднородности

следует считать разнозернистыми (неоднородными).
Коэффициент неоднородности определяют по формуле

, (1)
где

- диаметр частиц в мм; суммарное содержание частиц, имеющих меньшие диаметры, составляет в данном грунте 60% (по весу);

- диаметр частиц в мм; суммарное содержание частиц, имеющих меньшие диаметры, составляет в данном грунте 10% (по весу).
Пески с

, а также мелкие пески с содержанием по весу 90% и более частиц размером 0,10 - 0,25 мм следует считать одноразмерными.
Степень заполнения объема пор грунта водой G определяется по формуле

, (2)
где W - природная весовая влажность грунта в долях единицы;

- удельный вес материала частиц грунта в т/м3;

- удельный вес воды, принимаемый равным 1 т/м3;

- коэффициент пористости грунта, определяемый как отношение объема пор к объему минеральной части грунта.
Песчаные грунты следует называть: маловлажными, если степень их влажности G <= 0,5; влажными, если 0,50 < G <= 0,8; насыщенными водой, если G > 0,8.
По степени водопроницаемости грунты, используемые для железнодорожных насыпей, разделяются на: дренирующие, к которым относятся скальные и крупнообломочные грунты, пески гравелистые, крупные и средней крупности, а также пески мелкие, удовлетворяющие одному из следующих условий: коэффициент фильтрации грунта должен быть >= 0,5 м/сут; содержание частиц размером меньше 0,1 мм должно быть <= 15%, в том числе размером менее 0,005 мм <= 2% по весу;
недренирующие, к которым относятся глинистые грунты, а также пески мелкие, не удовлетворяющие вышеуказанным условиям.
Примечание. Коэффициент фильтрации следует определять при максимальной плотности для данного грунта, устанавливаемой по методу стандартного уплотнения согласно
Приложению 21.
Глинистые грунты подразделяются на виды и разновидности с учетом их зернового состава и пластичности (табл. 2). В случаях расхождения вида грунта, устанавливаемого по содержанию песчаных частиц и по числу пластичности, следует принимать наименование грунта, соответствующее числу пластичности.
──────────┬───────────────────┬─────────────────────────────┬──────────────
Вид грунта│ Разновидности │ Содержание песчаных частиц │ Число
│ грунтов │размером от 2 до 0,05 мм в % │ пластичности
│ │ │ п
──────────┼───────────────────┼─────────────────────────────┼──────────────
Супесь │легкая
<*> крупная │ > 50 │1 <= W <= 7
│ │ │ п
│легкая │ > 50 │
│ │ │
│пылеватая │ 20 - 50 │
│ │ │
│тяжелая пылеватая │ < 20 │
──────────┼───────────────────┼─────────────────────────────┼──────────────
Суглинок │легкий │ > 40 │7 < W <= 12
│ │ │ п
│легкий пылеватый │ < 40 │
├───────────────────┼─────────────────────────────┼──────────────
│тяжелый │ > 40 │12 < W <= 17
│ │ │ п
│тяжелый пылеватый │ < 40 │
──────────┼───────────────────┼─────────────────────────────┼──────────────
Глина │песчанистая │ > 40 │17 < W <= 27
│ │ │ п
│пылеватая │ Меньше, чем пылеватых │
│ │ размером 0,05 - 0,005 мм │ W > 27
│ │ │ п
│жирная │ Не нормируется │
──────────┴───────────────────┴─────────────────────────────┴──────────────
--------------------------------
<*> Для супесей легких крупных учитывается содержание частиц размером 2 - 0,25 мм.
К наименованию глинистого грунта, установленному по
табл. 2, при содержании в образце рассматриваемого грунта 20 - 50% (по весу) частиц крупнее 2 мм добавляется "гравелистый" (при окатанных частицах) или "щебенистый" (при неокатанных частицах).
Глинистые грунты следует различать по их состоянию согласно
табл. 3 в зависимости от величины коэффициента консистенции B, определяемого по формуле

, (3)
где W - естественная влажность грунта на момент определения его состояния в %;

- влажность на границе раскатывания, определяемая по
ГОСТ 5183-64;

- влажность на границе текучести, определяемая по ГОСТ 5184-64.
────────────────────────────────────┬──────────────────────────────────────
Разновидности грунтов │ Коэффициент консистенции, B
────────────────────────────────────┼──────────────────────────────────────
Супеси, суглинки, глины: │
твердые │ B < 0
полутвердые │ 0 <= B <= 0,25
тугопластичные │ 0,25 < B <= 0,5
мягкопластичные │ 0,5 < B <= 0,75
текучепластичные │ 0,75 < B <= 1
текучие │ B > 1
Глинистые грунты следует считать переувлажненными, если их влажность превышает значения, при которых грунт в насыпи может быть уплотнен до требуемых величин
(п. 9.2), а в пределах выемок они имеют коэффициент консистенции B > 0,25.
ИЗМЕНЕНИЯ СТОИМОСТИ ВОЗВЕДЕНИЯ 1 М3 НАСЫПИ В ЗАВИСИМОСТИ
ОТ ГРУЗОПОДЪЕМНОСТИ АВТОСАМОСВАЛОВ ПРИ ДАЛЬНОСТИ
ТРАНСПОРТИРОВКИ ГРУНТА 2 КМ

- техническая производительность, м3/ч:
1; 2; 3 и 4 - емкость ковша q соответственно 0,65; 1,0;
1,25 и 1,6 м3; 5 - ЭР-25,

; 6 - ЭР-50,

;
7 - ЭР-100,

Условные обозначения:

роторные экскаваторы;
- - - - - - - одноковшовые экскаваторы.
Примечание. Характер зависимости справедлив и для других дальностей транспортировки.
ИЗМЕНЕНИЯ СТОИМОСТИ ВОЗВЕДЕНИЯ 1 М3 НАСЫПИ В ЗАВИСИМОСТИ
ОТ ОБЪЕМА РАБОТ НА ОБЪЕКТЕ ПРИ ДАЛЬНОСТИ ТРАНСПОРТИРОВКИ
ГРУНТА 3 КМ
Ведущая машина комплекта:
1 и 2 - роторные экскаваторы соответственно ЭР-100 и ЭР-50;
3, 4 и 5 - одноковшовые экскаваторы с ковшом емкостью
соответственно 1,6; 1,0 - 1,25 и 0,65 м3
Примечание. Характер зависимости справедлив и для других дальностей транспортировки.
ГРАФИК
ПРОИЗВОДИТЕЛЬНОСТИ ЗЕМЛЕРОЙНЫХ МАШИН В ГРУНТАХ I ГРУППЫ
ПРИ ВОЗВЕДЕНИИ НАСЫПЕЙ ИЗ ВЫЕМОК ИЛИ КАРЬЕРОВ
Ведущая машина комплекта:
1 - бульдозер на тракторе 100 л.с.; 2 - бульдозер
на тракторе 140 л.с.; 3 - бульдозер на тракторе
250 - 300 л.с.; 4 - скрепер прицепной с ковшом емкостью
8 м3; 5 - то же, 10 м3; 6 - то же, 15 м3; 7 - скрепер
самоходный с ковшом емкостью 9 - 10 м3; 8 - то же, 15 м3;
9 - экскаватор-прямая лопата с ковшом ЦНИИСа емкостью
0,8 м2, с погрузкой грунта в автосамосвалы; 10 - то же,
1,2 м3; 11 - то же, 1,5 м3; 12 - экскаватор-прямая лопата
со стандартным ковшом емкостью 0,65 м3, с погрузкой грунта
в автосамосвалы; 13 - то же, 1 м3; 14 - то же, 1,25 м3;
15 - то же, 1,6 м3; 16 - драглайн с ковшом ЦНИИСа емкостью
0,8 м3, с погрузкой грунта в автосамосвалы;
17 - грейдер-элеватор с погрузкой грунта в автосамосвалы
грузоподъемностью 7 т; 18 - то же, 10 т; 19 - роторный
экскаватор типа ЭР-25 с погрузкой грунта в автосамосвалы
грузоподъемностью 10 т; 20 - то же, типа ЭР-50
соответственно 20 т
ГРАФИК
ВЫРАБОТКИ НА ОДНОГО РАБОЧЕГО В ГРУНТАХ I ГРУППЫ
ПРИ ВОЗВЕДЕНИИ НАСЫПЕЙ ИЗ ВЫЕМКИ ИЛИ КАРЬЕРОВ
КОМПЛЕКТОМ МАШИН
Ведущая машина комплекта:
1 - бульдозер на тракторе 100 л.с.; 2 - то же, 250 л.с.;
3 - скрепер прицепной с ковшом емкостью 8 м3; 4 - то же,
10 м3; 5 - скрепер прицепной с ковшом емкостью 15 м3;
6 - скрепер самоходный с ковшом емкостью 9 м3; 7 - то же,
15 м3; 8 - экскаватор-прямая лопата с ковшом ЦНИИСа
емкостью 0,8 м3, автосамосвалы грузоподъемностью 7 т;
9 - то же, 1,5 м3 соответственно 10 т;
10 - экскаватор-прямая лопата со стандартным ковшом
емкостью 1,25 м3 и автосамосвалы грузоподъемностью 10 т;
11 - то же, 1,6 м3 соответственно 10 т;
12 - грейдер-элеватор, автосамосвалы грузоподъемностью
10 т; 13 - роторный экскаватор типа ЭР-25 соответственно
10 т; 14 - то же, типа ЭР-50 соответственно 20 т
СТОИМОСТИ ВОЗВЕДЕНИЯ 1 М3 НАСЫПИ ИЗ ГРУНТА I ГРУППЫ
ПРИ ВОЗВЕДЕНИИ НАСЫПЕЙ ИЗ ВЫЕМОК ИЛИ КАРЬЕРОВ
Ведущая машина комплекта:
1 - бульдозер на тракторе 100 л.с.; 2 - то же, 140 л.с.;
3 - то же, 250 л.с.; 4 - скрепер прицепной с ковшом емкостью
8 м3; 5 - то же, 10 м3; 6 - то же, 15 м3; 7 - скрепер
самоходный с ковшом емкостью 9 - 10 м3; 8 - то же, 15 м3;
9 - экскаватор-прямая лопата с ковшом ЦНИИСа емкостью
0,8 м3 с погрузкой грунта в автосамосвалы грузоподъемностью
7 т; 10 - то же, 1,2 м3 соответственно 10 т; 11 - то же,
1,5 м3 соответственно 10 т; 12 - экскаватор-прямая лопата
со стандартным ковшом емкостью 0,65 м3, автосамосвалы
грузоподъемностью 4,5 - 5 т; 13 - то же, 1,0 м3
соответственно 10 т; 14 - то же, 1,25 м3 соответственно
10 т; 15 - то же, 1,6 м3 соответственно 10 т; 16 - драглайн
с ковшом ЦНИИСа емкостью 0,8 м3, автосамосвалы
грузоподъемностью 7 т; 17 - грейдер-элеватор, автосамосвалы
грузоподъемностью 7 т; 18 - то же, 10 т; 19 - роторный
экскаватор типа ЭР-25, автосамосвалы грузоподъемностью
10 т; 20 - то же, типа ЭР-50 соответственно 20 т
ГРАФИК
ПРОИЗВОДИТЕЛЬНОСТИ ЗЕМЛЕРОЙНЫХ МАШИН В ГРУНТАХ I ГРУППЫ
ПРИ ВОЗВЕДЕНИИ НАСЫПЕЙ ИЗ РЕЗЕРВОВ
Ведущая машина комплекта:
1 - бульдозер на тракторе 100 л.с.; 2 - то же, 140 л.с.;
3 - то же, 250 л.с.; 4 - скрепер прицепной с ковшом емкостью
8 м3; 5 - то же, 10 м3; 6 - то же, 15 м3; 7 - драглайн
с ковшом ЦНИИСа емкостью 0,8 м3; 8 - то же, 1,2 м3;
9 - грейдер-элеватор Д-437А из двусторонних резервов;
10 - то же, из односторонних резервов
ГРАФИК
ВЫРАБОТКИ НА ОДНОГО РАБОЧЕГО В ГРУНТАХ I ГРУППЫ
ПРИ ВОЗВЕДЕНИИ НАСЫПЕЙ ИЗ РЕЗЕРВОВ
КОМПЛЕКТОМ МАШИН
Ведущая машина комплекта:
1 - бульдозер на тракторе 100 л.с.; 2 - то же, 140 л.с.;
3 - то же, 250 л.с.; 4 - скрепер прицепной с ковшом емкостью
8 м3; 5 - то же, 10 м3; 6 - то же, 15 м3; 7 - драглайн
с ковшом ЦНИИСа емкостью 0,8 м3; 8 - то же, 1,2 м3;
9 - грейдер-элеватор Д-437А из двусторонних резервов;
10 - то же, из односторонних резервов
ГРАФИК
СТОИМОСТИ ВОЗВЕДЕНИЯ 1 М3 НАСЫПИ ИЗ РЕЗЕРВОВ
В ГРУНТАХ I ГРУППЫ
Ведущая машина комплекта:
1 - бульдозер на тракторе 100 л.с.; 2 - то же, 140 л.с.;
3 - то же, 250 л.с.; 4 - скрепер прицепной с ковшом емкостью
8 м3; 5 - то же, 10 м3; 6 - то же, 15 м3; 7 - драглайн
с ковшом ЦНИИСа емкостью 0,8 м3; 8 - то же, 1,2 м3;
9 - грейдер-элеватор Д-437А из двусторонних резервов;
10 - то же, из односторонних резервов
ГРАФИК
СРАВНИТЕЛЬНОЙ СТОИМОСТИ ВОЗВЕДЕНИЯ НАСЫПЕЙ ВТОРОГО ПУТИ
С ТРАНСПОРТИРОВАНИЕМ ГРУНТА АВТОСАМОСВАЛАМИ НА 1 КМ
(ИНТЕНСИВНОСТЬ ДВИЖЕНИЯ - 72 ПОЕЗДА В СУТКИ)
1 - однополосная схема; 2 - двухполосная схема,
автосамосвалы грузоподъемностью 7 т; 3 - то же, 4,5 т;

- рекомендуемая область применения схем
ГРАФИК
СРАВНИТЕЛЬНОЙ СТОИМОСТИ ВОЗВЕДЕНИЯ НАСЫПЕЙ ВТОРОГО ПУТИ
С ТРАНСПОРТИРОВАНИЕМ ГРУНТА АВТОСАМОСВАЛАМИ НА 3 КМ
(ИНТЕНСИВНОСТЬ ДВИЖЕНИЯ - 72 ПОЕЗДА В СУТКИ)
1 - однополосная схема; 2 - двухполосная схема,
автосамосвалы грузоподъемностью 7 т; 3 - то же, 4,5 т;

- рекомендуемая область применения схем
ГРАФИК
ТРУДОЕМКОСТИ РАБОТ ПРИ ВОЗВЕДЕНИИ ЗЕМЛЯНОГО ПОЛОТНА
ВТОРОГО ПУТИ АВТОСАМОСВАЛАМИ С ТРАНСПОРТИРОВАНИЕМ
ГРУНТА НА 1 КМ
1 - однополосная схема; 2 - двухполосная, автосамосвалы
7 т; 3 - то же, автосамосвалы 4,5 т, транспортирование
грунта на 3 км; 4 - однополосная; 5 - двухполосная,
автосамосвалы 7 т; 6 - то же, автосамосвалы 4,5 т
СТОИМОСТИ И ТРУДОЕМКОСТИ УКРЕПЛЕНИЯ ОТКОСОВ ТРАВОСЕЯНИЕМ
1 - гидропосев; 2 - гидропосев с уложенного пути;
3 - гидропосев по растительному грунту на откосах земляного
полотна с рабочими отметками до 3,5 м; 4 - механизированный
посев трав по растительному грунту на откосах земляного
полотна с рабочими отметками от 3,5 до 8 м; 5 - то же,
с рабочими отметками более 8 м
ЖУРНАЛА ВЫНОСОК И ОБРАЗЕЦ ЕГО ЗАПОЛНЕНИЯ
────────────┬────────┬──────────────────────┬──────────────────────────────
Наименование│ Пикет │ Сторонность выноски │ Примечания
выносных │ и плюс │и расстояние до оси, м│
│ ├───────────┬──────────┤
│ │ влево │ вправо │
────────────┼────────┼───────────┼──────────┼──────────────────────────────
Пикет │ 120 │ 30 │ │
│ │ -- │ │
│ │ 50 │ │
│ │ │ │
НПК │120 + 40│ 20 │ │
│ │ -- │ │
│ │ 35 │ │
│ │ │ │
КПК │120 + 65│ 35 │ │
│ │ -- │ │
│ │ 50 │ │
│ │ │ │
ВУ │121 + 32│ 30 │ 30 │ Выноски находятся
│ │ -- │ -- │на продолжении линий тангенсов
│ │ 50 │ 50 │
--------------------------------
<1> В числителе указывается расстояние до ближайшего выносного столба или кола, в знаменателе - до дальнего.
НА ПРОИЗВОДСТВО ЗЕМЛЯНЫХ РАБОТ
─────┬──────┬─────┬─────┬─────┬──────┬──────────┬────────────────────────────┬─────────────────────────────┬──────┬────────────────┬──────────────────────────
Кило-│Пикеты│Плюсы│Рас- │План │Уклоны│ Отметки │ Насыпи │ Резервы │Про- │Присыпные бермы │ Выемки
метры│ │ │стоя-│линии│и пло-├────┬─────┼──────┬──────┬──────┬───────┼──────────────┬──────────────┤галы ├───────┬────────┼────┬──────┬──────┬───────
│ │ │ния │ │щадки │Чер-│Крас-│Высота│Добав-│Вычеты│Высота │ правый │ левый │для │Высота │Попе- │Глу-│Добав-│Вычеты│Глу-
│ │ │ │ │ │ные │ные │ │ления │(-) │по оси ├──────┬───────┼──────┬───────┤искус-│бровки │речный │бина│ления │(-) │бина
│ │ │ │ │ │ │ │ │(+) │ │полотна│Ширина│Глубина│Ширина│Глубина│ствен-│бермы │уклон │ │(+) │ │по оси
│ │ │ │ │ │ │ │ │ │ │для │по дну│по │по дну│по │ных │над │и ширина│ │ │ │полотна
│ │ │ │ │ │ │ │ │ │ │произ- │ │водо- │ │водо- │соору-│черными│по верху│ │ │ │для
│ │ │ │ │ │ │ │ │ │ │водства│ │стоку │ │стоку │жений │отмет- │ │ │ │ │разра-
│ │ │ │ │ │ │ │ │ │ │работ │ │от │ │от │от ПК+│ками │ │ │ │ │ботки
│ │ │ │ │ │ │ │ │ │ │ │ │черной │ │черной │до ПК+│полотна│ │ │ │ │
│ │ │ │ │ │ │ │ │ │ │ │ │отметки│ │отметки│ │(гр. 7)│ │ │ │ │
│ │ │ │ │ │ │ │ │ │ │ │ │полотна│ │полотна│ │ │ │ │ │ │
│ │ │ │ │ │ │ │ │ │ │ │ │(гр. 7)│ │(гр. 7)│ │ │ │ │ │ │
─────┼──────┼─────┼─────┼─────┼──────┼────┼─────┼──────┼──────┼──────┼───────┼──────┼───────┼──────┼───────┼──────┼───────┼────────┼────┼──────┼──────┼───────
1 │ 2 │ 3 │ 4 │ 5 │ 6 │ 7 │ 8 │ 9 │ 10 │ 11 │ 12 │ 13 │ 14 │ 15 │ 16 │ 17 │ 18 │ 19 │ 20 │ 21 │ 22 │ 23
─────┼──────┼─────┼─────┼─────┼──────┼────┼─────┼──────┼──────┼──────┼───────┼──────┼───────┼──────┼───────┼──────┼───────┼────────┼────┼──────┼──────┼───────
│ │ │ │ │ │ │ │ │ │ │ │ │ │ │ │ │ │ │ │ │ │
Примечание. Графа 9 служит основанием для разбивки заложения откосов насыпи. Графа 10 - добавления к высоте насыпи (гр. 9):
а) 0,15 м - высота сливной призмы;
б) 0,05 м - при отсыпке на станционных площадках насыпей из крупнообломочных грунтов, крупных и средней крупности песков;
в) величина ординаты кривой, сопрягающей соседние участки полотна с разными уклонами при вогнутом профиле;
г) запас на осадку, предусмотренный проектом и настоящими указаниями;
д) для песчаных и скальных грунтов разность толщин балластного слоя на данной насыпи и на смежных участках земляного полотна, сооружаемого из недренирующих грунтов.
Графа 11 - вычеты от высот насыпи (гр. 9) величин ординат кривой, сопрягающей соседние участки полотна с разными уклонами при выпуклом профиле.
Графа 12 - служит основанием для назначения фактической высоты отсыпки насыпи и постановки откосных лекал.
Графа 21 - добавления к глубине выемок (гр. 20) величин ординат кривой, сопрягающей соседние участки с разными уклонами при выпуклом профиле.
Графа 22 - вычеты:
а) 0,15 м - высота сливной призмы;
б) 0,05 м - при устройстве выемок на станционных площадках в крупнообломочных грунтах, крупных и средней крупности песках;
в) для песчаных и скальных грунтов разность толщин балластного слоя в данной выемке и на смежных участках земляного полотна, сооружаемого из недренирующих грунтов.
Графа 23 - служит основанием для назначения глубины разработки выемки, разбивки бровки и постановки откосных лекал.
ТЕХНИЧЕСКИЕ ХАРАКТЕРИСТИКИ
УНИВЕРСАЛЬНЫХ ЭКСКАВАТОРОВ-ПЛАНИРОВЩИКОВ
─────────────────────────────────────┬───────────┬───────────┬─────────────
Наименование │ Э-4010 │ ЭО-3332 │ Сатур-051К
─────────────────────────────────────┼───────────┼───────────┼─────────────
Наибольшая глубина копания, м │3,42 (5,95)│ 3,8 (5,94)│ 4,45 (6,60)
Наибольшая высота выгрузки, м │4,42 (5,60)│4,26 (5,35)│ 4,65 (6,4)
Наибольший радиус копания, м │7,38 (11,0)│ 8,0 (10,8)│ 9,2 (12)
Наибольшая высота насыпей и глубина │ │ │
выемок, откосы которых можно │ │ │
спланировать, при крутизне откоса │ │ │
1:1,5 м: │ │ │
с верхней стоянки │ 1,8 (3,6) │ 2,0 (3,6) │ 3,1 (4,7)
с нижней стоянки │ 3,7 (5,7) │ 3,5 (5,2) │ 4,7 (6,1)
Угол наклона стрелы к горизонту,│ │ │
град: │ │ │
вверх │ 22 │ 23 │ 22
вниз │ 44 │ 50 │ 50
Емкость ковшей, м3: │ │ │
экскавационных │ 0,25; 0,4 │0,15; 0,25 │ 0,15; 0,35
│ │ 0,4 │
планировочных │ - │ 0,65 │ 0,45
погрузочных │ - │ 0,65 │ 0,75
Ширина планировочного отвала, м │ 2,5 │ 2,4 │ 2,45
Удлинители стрелы, м │ 3,6 │ 1,4; 2,8 │ 1,4; 2,8;
│ │ │ (1,4 + 2,8)*
Вставки для бокового смещения оси │ - │ - │ 1
копания, м │ │ │
Наибольшая скорость передвижения,│ 35,0 │ 18,4 │ 20,0
км/ч │ │ │
Базовая машина │Автомобиль │Самоходный │ Специальная
│ КРАЗ-258 │экскаватор │ самоходная
│ │ ЭО-3332 │пневмотележка
Мощность двигателей, л.с. │ 75 │ 75 │ 110
│ --- │ │
│ 215 │ │
│ │ │
Масса, т │ 18,4 │ 13,5 │ 16,6
Габаритные размеры, м: │ │ │
длина │ 8,45 │ 6,97 │ 7,37
ширина │ 2,63 │ 2,64 │ 2,8
высота │ 3,65 │ 3,13 │ 3,3
Примечания. 1. Размеры в скобках относятся к работе с максимальным удлинителем стрелы (* - сочлененный удлинитель 1,4 + 2,8 = 4,2 м).
2. В числителе дается мощность двигателя экскаватора, в знаменателе - базовой машины.
ПО ПРОЕКТИРОВАНИЮ ПРИТРАССОВЫХ И ЗЕМЛЕВОЗНЫХ
АВТОМОБИЛЬНЫХ ДОРОГ
Типы рекомендуемых конструкций притрассовых и землевозных
автомобильных дорог
1. На местности, сухой или только периодически увлажняемой грунтовыми водами, автомобильные дороги следует строить на насыпях, отсыпаемых из местных грунтов в соответствии с профилями поперечников (
рис. 1, а, б), позволяющими применять при возведении насыпи из местных грунтов автогрейдеры, бульдозеры.
а)
б)
в)
Рис. 1. Типовые поперечники насыпей притрассовой
и землевозной автомобильных дорог:
для сухих участков:
а - при H менее 0,6 м; б - при H от 0,6 до 1 м;
для сырых участков:
в - при H от 0,5 до 1 м; 1 - капилляропрерыватель
из порубочных остатков
Примечание. h - принимать по гидравлическому расчету, но не менее 0,3 м. Откосы крутизной 1:3 применяют при возведении насыпи бульдозером или грейдером. При поперечном уклоне местности круче 1:25 с нагорной стороны устраивают канавы, а круче 1:10 - резервы. На сырых участках канавы устраивают с двух сторон.
На сырых местах с постоянным избыточным увлажнением при отсутствии местных дренирующих грунтов, наличии нестроевого леса и порубочных остатков насыпи следует сооружать с капилляропрерывателями из порубочных остатков в соответствии с поперечником (
рис. 1, в).
В этой конструкции целесообразно использовать настил из порубочных остатков, который образуется на трелевочном волоке в процессе трелевки леса при расчистке полосы отвода. Для этого следует совмещать ось дороги с осью трелевочного волока.
2. Ширина земляного полотна B принимается для двухполосных участков не менее 5 - 9 и однополосных - 4,5 - 5 м.
На однополосных дорогах в местах устройства разъездов насыпь следует уширять (рис. 2).
Рис. 2. Схема разъезда на однополосных дорогах
Расстояние между разъездами, устанавливаемое в зависимости от интенсивности движения, не должно превышать 500 м.
3. На болотах типа I с влажностью торфяной залежи до 1300% рекомендуется строить дороги на сланях с поперечным настилом (рис. 3) с отсыпкой насыпи высотою 40 - 50 см из дренирующих грунтов.
Рис. 3. Слани для притрассовых и землевозных автодорог
на болотах типа I:
1 - слой дренирующего грунта толщиной 40 - 45 см;
2 - колесо-отбой диаметром 18 - 20 см;
3 - скрутка из проволоки диаметром 5 мм; 4 - лежни
диаметром 20 - 22 см через 80 - 85 см с нахлестом на 50 см
в стыках; 5 - выстилка из порубочных остатков высотой
15 - 20 см в плотном состоянии; 6 - сплошной настил
из бревен диаметром 18 - 20 см; B - ширина настила:
6 м - для однополосных и 9 м - для двухполосных дорог
При влажности торфа болота до 600% лежни под настил следует укладывать без хворостяной выстилки.
На участках болот с рыхлым водонасыщенным торфом обнаруженные просветы в сланях целесообразно проконопатить мхом и прикрыть торфом слоем 5 см.
4. Для болот типа I с рыхлым торфом и влажностью свыше 1300%, а также для болот типов II и III ширина поперечного настила и размеры элементов конструкций сланей устанавливаются расчетом с учетом несущей способности болотных залежей на участках прокладки проектируемой временной автомобильной дороги.
Как правило, устройство сланей обходится дорого и требует значительных затрат ручного труда. Поэтому для сравнения следует разрабатывать вариант прокладки автомобильной дороги на насыпи, отсыпаемой из дренирующего грунта по оси второго пути сооружаемой железнодорожной линии.
Типы рекомендуемых дорожных покрытий притрассовых
и землевозных автомобильных дорог
5. На притрассовых дорогах можно применять покрытия низшего и переходного типов (табл. 1).
| | ИС МЕГАНОРМ: примечание. В официальном тексте документа, видимо, допущена опечатка: не указан номер таблицы. Возможно, имеется в виду таблица 1. | |
Характеристики
дорожных покрытий притрассовых дорог
────────────────────────────────────┬────────────┬───────────┬─────────────
Наименование покрытий │Работо- │ Средняя │Интенсивность
│способность │техническая│ движения
│дороги до │ скорость │ в летние
│капитального│ движения, │сухие месяцы,
│ремонта, │ км/ч │ автомобилей
│млн. т │ │ в сутки
────────────────────────────────────┼────────────┼───────────┼─────────────
Переходный тип: │ │ │
Гравийные и грунтогравийные │ 0,6 │ 30 │ Свыше 300
покрытия толщиной не менее 15 см │ │ │
Грунтовые, укрепленные │ 0,3 │ 25 │ Свыше 300
неорганическими вяжущими материалами│ │ │
(цемент + известь) │ │ │
Сборные колейные из железобетонных │ 4 │ 30 │ Свыше 300
плит, уложенных на песчаном │ │ │
основании толщиной 5 - 10 см │ │ │
Низший тип: │ │ │
Дерево-грунтовые: │ │ │
а) из оптимальных смесей │ 0,04 │ 15 - 20 │ До 300
б) улучшенные крупнозернистым │ 0,07 │ 20 - 25 │ До 400
песком с гравием │ │ │
Грунтовые, улучшенные гравием │ 0,03 │ 20 - 25 │ До 300
Грунтовые из оптимальных смесей │ 0,03 │ 15 - 20 │ До 100
На участках дорог, где предполагается интенсивность движения менее 300 автомобилей в сутки, рекомендуется низший, а при 300 и выше - переходный тип покрытия.
Требуемую прочность и толщину конструктивных слоев дорожной одежды следует определять в соответствии с действующими нормами и техническими условиями проектирования автомобильных дорог.
6. На землевозных дорогах переходный тип покрытия применяется при общем объеме вывозки грунта более 100 тыс. м3, а при дождях и в период весенней распутицы - и при меньших объемах.
Низший тип покрытия применяется при производстве работ в сухое время года, а также при объеме перевозок менее 100 тыс. м3.
7. Гравийные и грунтогравийные покрытия дорог могут быть однослойными серповидного профиля, если толщина их не превышает 15 см (рис. 4).
Рис. 4. Типовые поперечные профили дорожных покрытий:
левая сторона - для гравийных и грунтощебеночных,
грунтогравийных и грунтовых улучшенных покрытий; правая
сторона - для покрытий из грунтов, укрепленных вяжущими
материалами; а - серповидный профиль на дорогах с шириной
обочин, равной или больше 1 м; б - серповидный профиль
на однополосных дорогах с шириной обочин менее 1 м;
в - полукорытный профиль; h - толщина покрытия по расчету,
но не менее 0,15 см;

- толщина покрытия у края
не менее 5 см, а для грунтовых улучшенных
покрытий - не менее 10 см
При большей толщине следует принимать двухслойную дорожную одежду полукорытного или корытного профиля.
8. При недостаточном количестве гравийных и других каменных материалов или большой дальности их подвоза целесообразно устраивать покрытия из грунтов, укрепленных вяжущими веществами с поверхностной обработкой битумной эмульсией или нефтью (табл. 2 и
3). Толщина слоя покрытия из укрепленных грунтов должна быть не менее 10 см в уплотненном состоянии.
Таблица 2
Ориентировочный расход цемента или извести на укрепление
грунтов покрытия дороги серповидного профиля
──────────────────────────────────┬────────────────────────────────────────
Грунты │ Расход вяжущего, кг/м3
├────────────────────────────────────────
│ Содержание в грунте, %
├───────┬───────┬────────┬───────┬───────
│ 6 │ 8 │ 10 │ 12 │ 15
──────────────────────────────────┼───────┼───────┼────────┼───────┼───────
Супесчаные │ 120 │ 160 │ 200 │ - │ -
Суглинистые │ - │ 150 │ 190 │ 230 │ -
Тяжелые суглинистые и глинистые │ - │ - │ 185 │ 220 │ 280
Таблица 3
Расход материалов для поверхностей обработки покрытия
автодорог с укрепленными грунтами
───────────┬───────────┬────────────┬─────────────────────┬────────────────
Обработка │Толщина, см│ Количество │ Примерный расход │ Расход битума,
покрытия │ │ разливов │ минеральных │ л/м2
│ │ │материалов для каждой│
│ │ │ россыпи, м3/100 м2 │
───────────┼───────────┼────────────┼─────────────────────┼────────────────
Одиночная │ 1 │ 1 │ 1,55 │ 1,2 - 1,3
│ 2 │ 1 │ 3,0 │ 2,1 - 2,4
│ 2 │ 1 │ 1,9 │ 1,4 - 1,6
│ │ 2 │ 1,15 │ 0,9 - 1
───────────┼───────────┼────────────┼─────────────────────┼────────────────
Двойная │ 3 │ 1 │ 3 │ 2,1 - 2,4
│ │ 2 │ 1,85 │ 1,4 - 1,6
│ 3 │ 2 │ 1,8 │ 1,3 - 1,5
│ │ 3 │ 1,2 │ 0,9 - 1,0
───────────┼───────────┼────────────┼─────────────────────┼────────────────
Тройная │ 4 │ 1 │ 3 │ 2,1 - 2,4
│ │ 2 │ 1,7 │ 1,2 - 1,4
│ │ 3 │ 1,5 │ 1,1 - 1,3
───────────┴───────────┴────────────┴─────────────────────┴────────────────
9. При кратковременном (на 2 - 4 месяца) увеличении интенсивности движения свыше 300 автомобилей в сутки следует устраивать покрытия переходного типа, используя низший тип покрытия в качестве основания.
В таких случаях наиболее целесообразно применять инвентарное колейное покрытие из типовых железобетонных плит V-I (рис. 5), укладываемых по выравнивающему слою песка толщиной 5 - 10 см на грузовом направлении или на обеих полосах движения, если интенсивность движения превышает 1000 автомобилей в сутки
(рис. 6).
Рис. 5. Ячеистая плита V-I:
площадь плиты - 2 м2; объем бетона марки 300 - 0,204 м3;
расход арматуры - 23 кг; масса плиты - 515 кг;
1 - шплинт 6 x 50 мм, ГОСТ 3917-54
Рис. 6. Типовые поперечные профили колейного покрытия
из железобетонных плит на двухполосных дорогах:
а - на дренирующих грунтах; б - на недренирующих грунтах;
1 - железобетонные плиты; 2 - слой песка (под плитой)
толщиной 0,1 м (из крупнозернистых); 0,15 м
(из мелкозернистых песков) с уплотнением пневмокатками
до плотности 0,95; 3 - покрытие из грунтовых
оптимальных смесей
На дерево-грунтовых дорогах плиты укладывают надколейными настилами.
10. В лесных районах, где нет местных каменных материалов, рекомендуется применять на временных построечных автодорогах дерево-грунтовое покрытие в виде двух продольных лежневых настилов, уложенных под две колеи
(рис. 7) из хлыстов, бревен или щитов
(рис. 8) на поперечинах с последующей засыпкой слоем супесчаных грунтов
(табл. 4) или оптимальных смесей
(табл. 5) толщиной 10 - 15 см. Засыпка производится после обкатки и выправки деталей конструкций, но не позже чем через две недели после укладки деревянного основания покрытия.
Рис. 7. Дерево-грунтовое покрытие:
а - на земляном полотне; б - на естественной поверхности
земли; 1 - слой засыпки над настилами толщиной 10 - 15 см;
2 - дренажная канавка шириной 0,25 м, заполненная песком;
3 - поперечины диаметром 24 - 26 см, через 2 м;
4 - лежни диаметром 13 - 15 см
Рис. 8. Конструкция щита дерево-грунтового покрытия
автомобильных дорог:
1 - бревна диаметром 16 - 20 см, длиной 6 м;
2 - болты диаметром 16, длиной 1050 мм;
3 - ерши диаметром 16, длиной 350 мм; 4 - поперечины
из бревен диаметром 15 - 16 см
Таблица 4
Ориентировочный расход песка на улучшение различных
грунтов, % объема смеси грунтового
улучшенного покрытия
─────────────────────────────────┬─────────────────────────────────────────
Грунт земляного полотна │ Крупность песка
├────────────────────┬────────────────────
│ Крупнозернистый │ Среднезернистый
─────────────────────────────────┼────────────────────┼────────────────────
Супесь мелкая │ 35 │ 45
Суглинок │ 45 │ 55
Пылеватый грунт │ 60 │ 75
Суглинок тяжелый │ 65 │ 75
Суглинок пылеватый │ 65 │ 75
Глина │ 80 │ 85
Таблица 5
Оптимальные гравийные смеси
──────────────┬────────────────────────────────────────────────────────────
Конструктивный│ Количество частиц, проходящих через сито, %
слой ├────────────────────────────────────────────────────────────
│ Отверстия сит, мм
├─────┬─────┬────────┬────────┬───────┬───────┬───────┬──────
│ 70 │ 40 │ 25 │ 15 │ 5 │ 2 │ 0,5 │ 0,05
──────────────┼─────┼─────┼────────┼────────┼───────┼───────┼───────┼──────
Покрытие │ - │ 100 │75 - 90 │45 - 65 │40 - 65│20 - 55│15 - 35│7 - 20
│ - │ - │90 - 100│65 - 90 │50 - 75│36 - 65│20 - 45│8 - 25
│ - │ - │ - │90 - 100│70 - 85│45 - 75│25 - 55│8 - 25
──────────────┼─────┼─────┼────────┼────────┼───────┼───────┼───────┼──────
Основание │ 100 │ - │25 - 45 │20 - 35 │15 - 25│10 - 15│5 - 10 │0 - 3
│ 100 │ - │45 - 65 │35 - 50 │20 - 35│15 - 25│5 - 15 │0 - 5
──────────────┴─────┴─────┴────────┴────────┴───────┴───────┴───────┴──────
Примечания. 1. Применяется какая-либо одна из приведенных в таблице смесей.
2. Предел текучести фракций мельче 0,5 мм должен быть не более 25 и число пластичности не свыше 6.
Варианты настилов из щитов можно рассматривать в тех случаях, когда предполагается использовать лес со склада, на котором имеется лесопильная рама.
11. Грунтовые покрытия низших типов рекомендуется улучшать добавлением к грунту гравия, песка или оптимальных смесей (см.
табл. 4 и
5) с последующим перемешиванием и уплотнением грунта покрытия уплотняющими машинами.
12. При проектировании дорожных одежд следует предусматривать наиболее экономичные и технологичные конструкции с учетом возможности поэтапного усиления дорожных одежд в соответствии с ростом интенсивности движения.
13. Земляное полотно притрассовых и землевозных дорог возводится из местных грунтов автогрейдерами, бульдозерами и скреперами с обязательным уплотнением отсыпаемого грунта грунтоуплотняющими машинами.
14. Устройство гравийных и грунтогравийных дорожных покрытий производят автогрейдером (с кирковщиком и удлинителем для разравнивания) захватками длиной 200 - 300 м в один или два слоя в зависимости от толщины покрытия.
15. Необходимые материалы дорожного покрытия завозят автосамосвалами, перемешивают и разравнивают их автогрейдером и уплотняют грунтоуплотняющей машиной.
16. При устройстве грунтового покрытия, улучшенного добавками песка или гравия, вначале кирковщиком автогрейдера тщательно разрыхляют на всю ширину основание дорожного покрытия, автосамосвалами транспортируют компоненты оптимальной смеси и разгружают в отмеченных местах, а затем автогрейдером перемешивают привозимые компоненты с грунтом и уплотняют грунтоуплотняющей машиной.
17. Укрепление грунтового покрытия неорганическими вяжущими включает следующие операции:
предварительное рыхление и размельчение комьев связных грунтов;
точное дозирование и равномерное распределение в обрабатываемом грунте вяжущих материалов, воды и других реагентов;
распределение готовой смеси по проектному профилю дороги;
максимальное уплотнение смеси при оптимальной ее влажности, соответствующей укрепляемому грунту и применяемому вяжущему;
уход и поддержание заданного режима влажности на период твердения укрепляемого грунта.
Приготовление, укладка и уплотнение цементогрунта должны быть выполнены в течение одной рабочей смены.
18. Железобетонные плиты сборных колейных покрытий укладывают на выравненный и уплотненный слой песчаного грунта толщиной 5 - 10 см.
Перед укладкой колышками обозначают положение внешней грани одной колеи покрытия, плиты другой колеи укладываются по шаблону. Укладка плит производится автокраном.
После укладки плит засыпают обочины и межколейное пространство песчаным грунтом, разравнивают его автогрейдером и уплотняют грунтоуплотняющей машиной.
19. При эксплуатации колейного покрытия из железобетонных плит особое внимание должно быть обращено на предупреждение просадок основания в зоне стыков, которые чаще всего служат причиной разрушения плит.
Всякие повреждения плит следует немедленно устранять: крупные - на специальной ремонтной площадке, мелкие - без снятия плит с колеи дороги.
20. Для устройства деревянного основания дерево-грунтовых покрытий и сланей на участках болот используют нестроевой лес хвойных и лиственных пород, который заготавливают при расчистке полосы отвода и размещают на бермах дороги (рис. 9).
Рис. 9. Схема организации строительства деревянного
основания под грунтовое покрытие:
1 - склад лесоматериала; 2 - площадки для заготовки
и обработки деталей деревянного основания; 3 - автокран
К-51; 4 - поперечины под колейные настилы; 5 - лежни
колейных настилов под две колеи из бревен;
6 - берма дороги
Процесс сооружения деревянного основания включает устройство выстилки из порубочных остатков и бревенчатой части основания.
21. Хворостяную выстилку устраивают по всей ширине дороги в один слой толщиной (в обжатом состоянии) 10 - 15 см. Обжатие производится 6 - 8 проходами трактора.
Для транспортировки порубочных остатков рекомендуется применять сани или саморазгружающиеся лыжи в сцепе с трактором болотоходной модификации.
22. Бревна продольного колейного настила скрепляются с поперечинами через 1,5 - 2 м скрутками из проволоки или укладываются в гнезда, вырубленные в маячных поперечинах. Маячные поперечины (утолщенные и удлиненные бревна) укладываются через 2 - 2,5 м.
Бревна транспортируются и раскладываются по трассе дороги трелевочным трактором. Подгонка бревен, посадка их в гнезда маячных поперечин или скрепление проволокой, подтеска выступающих камней в стыках выполняются вручную.
23. После устройства деревянного основания его обжимают 3 - 6 проходами трактора со скоростью не более 3 км/ч.
24. При разработке и выборе конструктивных решений для строительства дорог путем технико-экономического сравнения вариантов рекомендуется пользоваться таблицами 6,
7,
8 и графиками (
рис. 10 и
11).
Таблица 6
Характеристики типов двухполосных притрассовых дорог
для сырых участков
───────────────────────────┬───────┬─────────┬──────────┬───────────┬──────
Тип покрытия │Годовая│Техни- │Стоимость,│Трудое- │Расход
│работо-│ческая │ тыс. │мкость, │леса,
│способ-│скорость │ руб./км │тыс. чел. -│м3/км
│ность, │движения,│ │дн./км │
│тыс. т │км/ч │ │ │
───────────────────────────┼───────┼─────────┼──────────┼───────────┼──────
Грунтовое улучшенное │ 150 │ 5 │ 15,25 │ 2,85 │ 1375
на поперечном настиле │ │ │ │ │
Гравийное, серповидного │ 300 │ 30 │ 32,5 │ 2,66 │ -
профиля толщиной 30 см │ │ │ │ │
Дерево-грунтовое в грузовом│ 300 │ 15 │ 7,0 │ 1,9 │ 340
и грунтовое в негрузовом │ │ │ │ │
направлении │ │ │ │ │
То же, усиленное │ │ │ │ │
железобетонными плитами │ │ │ │ │
в грузовом направлении: │ │ │ │ │
а) без перекладки плит │ 4000 │ 30 │ 27,9 │ 2,51 │ 340
б) с двумя перекладками │ 4000 │ 30 │ 16,4 │ 2,51 │ 340
в) с четырьмя перекладками │ 4000 │ 30 │ 13,7 │ 2,51 │ 340
Таблица 7
Характеристики типов притрассовых двухполосных дорог
на болотах типа I с влажностью торфа 600 - 1300%
───────────────────────────┬───────┬─────────┬──────────┬───────────┬──────
Тип покрытия │Годовая│Техни- │Стоимость,│Трудо- │Расход
│работо-│ческая │ тыс. │емкость, │леса,
│способ-│скорость │ руб./км │тыс. чел. -│м3/км
│ность, │движения,│ │дн./км │
│тыс. т │км/ч │ │ │
───────────────────────────┼───────┼─────────┼──────────┼───────────┼──────
Грунтовое улучшенное на │ 150 │ 5 │ 17,5 │ 3,4 │ 1640
сланевом поперечном настиле│ │ │ │ │
Дерево-грунтовое на сланях │ 300 │ 15 │ 30,53 │ 5,4 │ 2300
с четырьмя колесопроводами │ │ │ │ │
из бревен │ │ │ │ │
То же, усиленное │ │ │ │ │
железобетонными плитами │ │ │ │ │
в грузовом направлении: │ │ │ │ │
а) без перекладки плит │ 4000 │ 30 │ 52,3 │ 6,1 │ 2300
б) с двумя перекладками │ 4000 │ 30 │ 40,73 │ 6,1 │ 2300
в) с четырьмя перекладками │ 4000 │ 30 │ 38,13 │ 6,1 │ 2300
Дерево-грунтовое с четырьмя│ 300 │ 15 │ 27,18 │ 4,95 │ 2300
колесопроводами из щитов │ │ │ │ │
на сланях │ │ │ │ │
То же, усиленное │ │ │ │ │
железобетонными плитами │ │ │ │ │
в грузовом направлении: │ │ │ │ │
а) без перекладки плит │ 4000 │ 30 │ 48,97 │ 5,7 │ 2300
б) с двумя перекладками │ 4000 │ 30 │ 37,4 │ 5,7 │ 2300
в) с четырьмя перекладками │ 4000 │ 30 │ 34,8 │ 5,7 │ 2300
Дерево-грунтовое на сланях │ 600 │ 30 │ 53,23 │ 5,2 │ 2300
с четырьмя колесопроводами │ │ │ │ │
из бревен, усиленное │ │ │ │ │
крупнозернистым песком │ │ │ │ │
толщиной 30 см с гравием │ │ │ │ │
То же, с колесопроводами │ 600 │ 30 │ 49,9 │ 4,8 │ 2300
из щитов │ │ │ │ │
Таблица 8
Комплекты машин и их эксплуатационная производительность
─────────────────────────────────────────────────────────┬───────┬─────────
Наименование работ и машин │Коли- │Эксплуа-
│чество │тационная
│машин │произво-
│в комп-│дитель-
│лекте, │ность
│шт. │комплекта
│ │машин,
│ │м/смену
─────────────────────────────────────────────────────────┼───────┼─────────
Постройка деревянного основания под грунтовое покрытие │ │ 190
автомобильных дорог: │ │
автокран типа К-51 │ 1 │
бензомоторные пилы "Дружба" │ 4 │
Устройство деревянного основания на болотах типа I: │ │
а) для дерево-грунтовых автодорог: │ │ 110
трактор типа ТДТ-60 │ 2 │
трактор типа Т-100БГ │ 2 │
бензомоторные пилы │ 5 │
сани или саморазгружающиеся лыжи (к трактору Т-100БГ)│ 1 │
б) для сланевых автодорог: │ │ 70
трактор типа ТДТ-60 │ 2 │
трактор типа Т-100БГ │ 2 │
бензомоторные пилы │ 5 │
сани или саморазгружающиеся лыжи (к трактору Т-100БГ)│ 1 │
Укладка временного колейного покрытия из железобетонных │ │ 225
плит: │ │
автокран типа К-51 │ 2 │
автогрейдер типа Д-144 │ 1 │
пневмокаток массой 25 т │ 1 │
автомашины (в числителе МАЗ-503, в знаменателе ЗИЛ-131) │ │
при дальности транспортирования плит, км: │ │
1 │ 2/5 │
2 │ 3/6 │
5 │ 5/7 │
Разборка колейных покрытий из железобетонных плит V-I: │ │ 110
автокран типа К-51 │ 2 │
автомобили типа ЗИЛ-131 при дальности транспортирования │ │
плит, км: │ │
1 │ 3 │
2 │ 3 │
5 │ 4 │
Устройство двухслойного покрытия дорог: │ │ 110
экскаватор с ковшом емкостью 0,65 м3 │ 1 │
автосамосвалы МАЗ-503 при дальности транспортирования, │ │
км: │ │
1 │ 6 │
2 │ 9 │
5 │ 18 │
автогрейдер (с кирковщиком и удлинителем для │ 1 │
разравнивания) │ │
пневмокаток весом 25 т │ 1 │
трактор Т-100 │ 1 │
утюг прицепной │ 1 │
Рис. 10. Графики стоимости перевозки грузов на 20 км
по двухполосным автодорогам, построенным на сырых
участках трассы:
1 - грунтовое улучшенное покрытие на бревенчатом поперечном
настиле; 2 - гравийное покрытие толщиной 30 см;
3 - дерево-грунтовое покрытие; 4 - колейное покрытие
из железобетонных плит по дерево-грунтовому
основанию без перекладки плит; 5 - то же, с двумя
перекладками; 6 - то же, с четырьмя перекладками
Примечание. Показатели определены по ЕРЕР (XI район) для конкретного случая.
Рис. 11. Графики стоимости перевозки грузов на 20 км
по двухполосным автодорогам, построенным на болотах типа I
с влажностью торфа до 1300%:
1 - грунтовое улучшенное покрытие на сланевом поперечном
настиле; 2 - дерево-грунтовое покрытие на сланях с четырьмя
колейными настилами из бревен; 3 - то же, усиленное
железобетонными плитами в грузовом направлении
без перекладки плит; 4 - то же, с двумя перекладками;
5 - то же, с четырьмя перекладками; 6 - дерево-грунтовое
покрытие с четырьмя колейными настилами из щитов на сланях;
7 - то же, усиленное железобетонными плитами в грузовом
направлении без перекладки плит; 8 - то же, с двумя
перекладками; 9 - то же, с четырьмя перекладками;
10 - дерево-грунтовое покрытие на сланях с четырьмя
колейными настилами из бревен, усиленное слоем
крупнозернистого песка с гравием толщиной 30 см;
11 - то же, с колейными настилами из щитов
Примечание. Показатели определены по EPEP (XI район) для конкретного случая.
ГЕОМЕТРИЧЕСКИХ РАЗМЕРОВ РЕЗЕРВОВ
Номограмма для определения площади поперечного
сечения резервов:
1 - линия перехода резерва из односкатного
поперечного профиля в двускатный
Размеры резервов определяются потребностью в грунте для отсыпки насыпей.
Глубина резервов в каждом поперечном сечении рассчитывается на основании продольного нивелирования, как разность поверхности резерва и его дна.
Ширина резерва по верху с каждой стороны насыпи не может превышать значения

,
где B - ширина полосы отвода, м;

- ширина основной площадки насыпи, м;
m - крутизна откосов резерва;
H - высота насыпи, м;

- ширина бермы, м.
Площадь поперечного сечения резервов определяется по формуле

,
где h - глубина резерва, м.
Для графического определения поперечного сечения резерва или его ширины по верху можно пользоваться номограммой рисунка, где учтены профили односкатных резервов (в левой части рисунка) и двускатных (в правой части).
Порядок расчета
1. Проектируется продольный профиль дна резерва и определяется его глубина на пикетах и плюсах.
2. Определяется ширина резерва по верху.
3. Определяется площадь поперечного резерва по формуле или номограмме.
ОСНОВНЫЕ ТЕХНИЧЕСКИЕ ХАРАКТЕРИСТИКИ
СТРОИТЕЛЬНЫХ РОТОРНЫХ ЭКСКАВАТОРОВ
────────────────────────────────────────────────────────┬─────┬─────┬──────
│ЭР-25│ЭР-50│ЭР-100
────────────────────────────────────────────────────────┼─────┼─────┼──────
Емкость ковша, л │ 25 │ 50 │ 100
Количество ковшей │ 7 │ 8 │ 9
Диаметр ротора, м │ 2,1 │ 3 │ 3,9
Теоретическая производительность в рыхлом теле, м3/ч │ 250 │ 450 │ 600
Высота копания, м │ 5 │ 6 │ 7
Глубина копания, м │ 2 │ 3 │ 3,5
Радиус разгрузки отвального транспортера, м │10,3 │ 13 │ 15,5
Наибольшая высота разгрузки, м │ 4,6 │ 5 │ 6,4
Масса машины, т │23,5 │ 35 │ 75
Установочная мощность, л.с. │ 75 │ 100 │ 160
Среднее удельное давление на грунт, кгс/см2 │ 0,8 │0,85 │ 1,1
Емкость ковша базового одноковшового экскаватора, м3 │0,65 │ 1 │ 1,6
ХАРАКТЕРИСТИКИ БОЛОТНЫХ ОТЛОЖЕНИЙ
──────────────┬──────────────────────────────────────────────────────────┬─────────────────┬──────
Разновидность │ Физико-технические характеристики │ Качественные │Тип
отложений ├──────┬───────┬────────┬───────┬──────────────────┬───────┤ визуальные │болот,
│Влаж- │Степень│Плот- │Коэффи-│Модуль деформации │Сопро- │ показатели │сло-
│ность │разло- │ность │циент │ E, кгс/см2 при │тивле- │ │женных
│w, % │жения │гамма ,│порис- │ нагрузке P, │ние │ │только
│ │R, % │ ск │тости, │ кгс/см2 │сдвигу │ │данной
│ │ │г/см3 │эпсилон├──────┬─────┬─────┤тау, │ │разно-
│ │ │ │ │ 0,6 │ 1,0 │ 1,5 │кгс/см2│ │вид-
│ │ │ │ │ │ │ │ │ │ностью
──────────────┼──────┼───────┼────────┼───────┼──────┼─────┼─────┼───────┼─────────────────┼──────
А. Торф сухой │до 300│ - │ > 0,20 │ < 5 │> 2,4 │> 2,6│> 2,7│0,5 - │ Плотный, в том │ I
│ │ │ │ │ │ │ │ 0,3│числе минерали- │
│ │ │ │ │ │ │ │ │зованный, │
│ │ │ │ │ │ │ │ │различных цветов │
Б. Торф мало- │300 - │ 50 │0,20 - │ 5 - 8 │2,4 - │2,6 -│2,7 -│0,3- │ Лесной, плотный,│ I
влажный │ 600│ │ 0,15│ │ 1,8│ 2,1│ 2,5│ 0,2│черный или корич-│
│ │ │ │ │ │ │ │ │невый; буровой │
│ │ │ │ │ │ │ │ │наконечник можно │
│ │ │ │ │ │ │ │ │погрузить в торф │
│ │ │ │ │ │ │ │ │усилием двух │
│ │ │ │ │ │ │ │ │человек; сильно │
│ │ │ │ │ │ │ │ │пачкает руку │
│ │ │ │ │ │ │ │ │и при сжатии │
│ │ │ │ │ │ │ │ │полностью │
│ │ │ │ │ │ │ │ │продавливается │
│ │ │ │ │ │ │ │ │сквозь пальцы; │
│ │ │ │ │ │ │ │ │вода не │
│ │ │ │ │ │ │ │ │отжимается; │
│ │ │ │ │ │ │ │ │остатков трав │
│ │ │ │ │ │ │ │ │и мхов нет или │
│ │ │ │ │ │ │ │ │они встречаются │
│ │ │ │ │ │ │ │ │в небольшом │
│ │ │ │ │ │ │ │ │количестве │
В. Торф │600 - │50 - 30│0,15 - │8 - 14 │1,8 - │2,1 -│2,5 -│0,2 - │ Лесотопяной │ I
средней │ 900│ │ 0,10│ │ 1,3│ 1,7│ 2,0│ 0,15│средней плотно- │
влажности │ │ │ │ │ │ │ │ │сти, темный или │
│ │ │ │ │ │ │ │ │серо-коричневый; │
│ │ │ │ │ │ │ │ │буровой наконеч- │
│ │ │ │ │ │ │ │ │ник можно │
│ │ │ │ │ │ │ │ │погрузить усилием│
│ │ │ │ │ │ │ │ │одного человека; │
│ │ │ │ │ │ │ │ │пачкает руку │
│ │ │ │ │ │ │ │ │и при сжатии │
│ │ │ │ │ │ │ │ │частично продав- │
│ │ │ │ │ │ │ │ │ливается сквозь │
│ │ │ │ │ │ │ │ │пальцы; вода │
│ │ │ │ │ │ │ │ │коричневого цвета│
│ │ │ │ │ │ │ │ │отжимается │
│ │ │ │ │ │ │ │ │в небольшом │
│ │ │ │ │ │ │ │ │количестве. │
│ │ │ │ │ │ │ │ │Содержит остатки │
│ │ │ │ │ │ │ │ │древесины, трав │
│ │ │ │ │ │ │ │ │и мхов │
Г. Торф очень │900 - │30 - 10│0,10 - │14 - 20│1,3 - │1,7 -│2,0 -│0,15 - │ Топяной малой │ I
влажный │ 1300│ │ 0,06│ │ 0,9│ 1,4│ 1,8│ 0,1│плотности, │
│ │ │ │ │ │ │ │ │светлого или │
│ │ │ │ │ │ │ │ │темного цвета; │
│ │ │ │ │ │ │ │ │буровой наконеч- │
│ │ │ │ │ │ │ │ │ник погружается │
│ │ │ │ │ │ │ │ │под действием │
│ │ │ │ │ │ │ │ │одной вытянутой │
│ │ │ │ │ │ │ │ │руки. Не пачкает │
│ │ │ │ │ │ │ │ │рук и не продав- │
│ │ │ │ │ │ │ │ │ливается сквозь │
│ │ │ │ │ │ │ │ │пальцы. Вода │
│ │ │ │ │ │ │ │ │отжимается │
│ │ │ │ │ │ │ │ │в большом коли- │
│ │ │ │ │ │ │ │ │честве и имеет │
│ │ │ │ │ │ │ │ │желтый цвет. │
│ │ │ │ │ │ │ │ │Древесные остатки│
│ │ │ │ │ │ │ │ │отсутствуют или │
│ │ │ │ │ │ │ │ │встречаются редко│
Д. Торф │> 1300│ - │ 0,06 │ 20 │< 0,90│< 1,4│< 1,8│ < 0,1 │ Рыхлый, светло- │ II,
избыточно │ │ │ │ │ │ │ │ │коричневый, │ III
влажный │ │ │ │ │ │ │ │ │иногда желтый; │
│ │ │ │ │ │ │ │ │видны стебельки │
│ │ │ │ │ │ │ │ │мхов. Прозрачная │
│ │ │ │ │ │ │ │ │вода отжимается │
│ │ │ │ │ │ │ │ │как из губки, │
│ │ │ │ │ │ │ │ │после чего торф │
│ │ │ │ │ │ │ │ │пружинит │
Е. Сапропель │< 200 │ - │ - │ - │ - │> 5,0│ - │ > 0,2 │ Плотный, черный,│ I
маловлажный │ │ │ │ │ │ │ │ │серо-коричневый │
│ │ │ │ │ │ │ │ │или зеленоватый │
│ │ │ │ │ │ │ │ │органический ил │
│ │ │ │ │ │ │ │ │с включением │
│ │ │ │ │ │ │ │ │неразложившихся │
│ │ │ │ │ │ │ │ │остатков растений│
Ж. Сапропель │200 - │ - │ - │ - │ - │5,0 -│ - │0,2 - │ Пластичная │ III
влажный │ 1000│ │ │ │ │ 1,2│ │ 0,05│жирная масса │
│ │ │ │ │ │ │ │ │незначительной │
│ │ │ │ │ │ │ │ │плотности черного│
│ │ │ │ │ │ │ │ │или зеленоватого │
│ │ │ │ │ │ │ │ │цвета; имеются │
│ │ │ │ │ │ │ │ │включения нераз- │
│ │ │ │ │ │ │ │ │ложившихся │
│ │ │ │ │ │ │ │ │остатков растений│
│ │ │ │ │ │ │ │ │и частиц мине- │
│ │ │ │ │ │ │ │ │рального грунта │
З. Жидкие │ - │ - │ - │ - │ - │ - │ - │< 0,05 │ Неразложившиеся │ III
образования │ │ │ │ │ │ │ │ │остатки трав │
│ │ │ │ │ │ │ │ │и мхов находятся │
│ │ │ │ │ │ │ │ │в воде во взве- │
│ │ │ │ │ │ │ │ │шенном состоянии.│
│ │ │ │ │ │ │ │ │Жидкие образова- │
│ │ │ │ │ │ │ │ │ния имеют темную │
│ │ │ │ │ │ │ │ │окраску, на гори-│
│ │ │ │ │ │ │ │ │зонтальной │
│ │ │ │ │ │ │ │ │поверхности │
│ │ │ │ │ │ │ │ │растекаются │
--------------------------------
<*> При наличии в болотной толще двух или более слоев, если кроме разновидностей А, Б, В, Г или Е болотная толща содержит разновидности Ж или З, то болото следует относить ко II типу, а в случае, когда разновидности Ж или З преобладают (по мощности), - к III типу.
СТАНДАРТНОГО УПЛОТНЕНИЯ ГРУНТОВ В ЛАБОРАТОРНЫХ УСЛОВИЯХ
Целью стандартного уплотнения является определение практически максимальной плотности

и оптимальной влажности

грунта, при которой достигается максимальная плотность.
В качестве стандартного принят метод уплотнения образцов грунта с использованием приборов Союздорнии или ЦНИИС (рис. 1 и
2,
табл. 1).
Рис. 1. Схема прибора Союздорнии для стандартного
уплотнения грунтов:
1 - подстаканник; 2 - разъемный цилиндр; 3 - зажимной винт;
4 - зажимное кольцо; 5 - верхний стакан; 6 - груз;
7 - стойка с уплотнителем; 8 - ограничительное кольцо
Рис. 2. Схема прибора ЦНИИСа для стандартного
уплотнения грунтов:
1 - подстаканник; 2 - металлическая пластина; 3 - кольцо;
4 - зажим; 5 - насадка; 6 - штамп; 7 - гиря;
8 - стержень; 9 - ограничительное кольцо
────────────────────────────────────────────────────────┬──────────────────
Основные параметры приборов и способы уплотнения │Прибор конструкции
├──────────┬───────
│Союздорнии│ЦНИИСа
────────────────────────────────────────────────────────┼──────────┼───────
Диаметр цилиндра или кольца в мм для размещения образцов│ 100 │ 70
уплотняемого грунта │ │
Высота цилиндра или кольца в мм │ 127 │ 52
Масса груза в кг │ 2,5 │ 2,5
Масса вертикальной стойки со штампом в кг │1,3 - 1,4 │ 1,9
Высота падения груза в мм │ 300 │ 300
Количество слоев, на которые разделяется образец грунта │ 3 │ 1
при уплотнении ударами груза │ │
Количество ударов на каждый слой при уплотнении: │ │
песков и супесей │ 25 │ 20
пылеватых супесей, суглинков, глин │ 40 │ 20
жирных глин │ 50 │ -
Прибор Союздорнии следует применять для испытания грунтов с содержанием до 5% частиц размером более 5 мм, прибор ЦНИИСа - для ускоренного испытания грунтов с содержанием до 5% частиц размеров более 2 мм.
Образец исследуемого грунта уплотняют 4 - 6 раз при систематически увеличиваемой влажности. Уплотнение целесообразно начинать при влажности несколько большей, чем влажность грунта в воздушно-сухом состоянии, но отличающейся не менее чем на 8 - 10% от оптимальной, ориентировочно равной: для песков - 8 - 13%; супесей - 9 - 15%; суглинков - 12 - 22%; глин - 16 - 26%.
Количество воды Q, необходимое для получения требуемой влажности грунта, определяют по формуле:

, (1)
где P - вес грунта, подлежащего уплотнению, г;

,

- влажность, соответственно требуемая и начальная, %.
Опыты по уплотнению выполняют в следующем порядке. Вначале берут образец грунта в воздушно-сухом состоянии, размельчают и просеивают через сито с отверстиями 5 мм (для прибора Союздорнии) или 2 мм (для прибора ЦНИИС). Грунт, прошедший через сито, увлажняют до требуемой влажности, перемешивают, закладывают в цилиндр или кольцо прибора и уплотняют.
При использовании прибора Союздорнии уплотнение выполняют последовательно в три слоя. Каждый из слоев уплотняют ударами груза массой 2,5 кг, падающего с высоты 300 мм. Количество ударов назначают в зависимости от вида грунта (см.
табл. 1).
При использовании прибора ЦНИИС ударами падающего груза уплотняют одновременно весь образец грунта, укладываемого в кольцо и насадку пятью слоями, с уплотнением каждого из слоев вручную пестиком.
Объемная масса уплотненного грунта

определяется по формуле:

, (2)
где

- общая масса разъемного цилиндра или кольца с уплотненным грунтом в г;

- масса пустого цилиндра или кольца в г;
V - объем цилиндра или кольца в см3.
Для определения влажности уплотненного грунта отбирают пробы по 15 - 20 г из верхней, средней и нижней частей образца.
Следующий опыт начинают с размельчения уплотненного в предшествующем опыте образца грунта и увеличения его влажности на 2 - 3% посредством добавления 50 - 70 г воды на каждые 3 кг грунта.
Объемную массу скелета или плотность грунта

в каждом опыте определяют по формуле:

, (3)
где

, W - соответственно объемная масса в г/см3 и весовая влажность в % уплотненного грунта.
По полученным данным строят кривую стандартного уплотнения (рис. 3), а по ней определяют максимальную плотность и соответствующую ей оптимальную влажность.
Рис. 3. Кривая стандартного уплотнения
Для грунтов, содержащих от 5 до 40% частиц размером более 5 мм, максимальную плотность

и оптимальную влажность

определяют расчетным способом по формулам:

; (4)

, (5)
где

,

- соответственно максимальная стандартная плотность в г/см3 и оптимальная влажность в % отсеянного грунта с размером частиц менее 5 мм;

,

- коэффициенты, учитывающие влияние наличия крупных частиц соответственно на плотность и влажность грунта; их значения принимают по табл. 2.
Таблица 2
──────────────────────────────────┬────────────────────┬───────────────────
Содержание частиц крупнее 5 мм в %│ K │ K
│ гамма │ W
──────────────────────────────────┼────────────────────┼───────────────────
5 │ 1,02 │ 0,95
10 │ 1,04 │ 0,90
15 │ 1,06 │ 0,85
20 │ 1,08 │ 0,80
25 │ 1,10 │ 0,75
30 │ 1,13 │ 0,70
40 │ 1,15 │ 0,65
ЗАВИСИМОСТИ ПЛОТНОСТИ ГРУНТА ОТ ВЛАЖНОСТИ ЕГО
ПРИ СОДЕРЖАНИИ ВОЗДУХА, РАВНОМ 5%
4 -

; 5 -

Примечание. Приведенная на графике зависимость используется для определения предельно возможной величины плотности переувлажненных глинистых грунтов.
ОПРЕДЕЛЕНИЯ КОЭФФИЦИЕНТА ОТНОСИТЕЛЬНОГО УПЛОТНЕНИЯ НАСЫПИ
Фактический объем земляных работ определяется на основании данных обследования плотности грунтов в насыпи и в резервах, выполняемого в процессе сооружения земляного полотна.
Имея данные фактической плотности грунтов в насыпи, определяют среднюю ее величину (средняя объемная масса сухого грунта) -

на определенном участке насыпи

, (1)
где

- фактически замеренные плотности грунта в насыпи;
n - общее количество замеров плотности (из расчета 1 замер на 300 м уплотненного грунта).
Для определения средней плотности грунта в резерве (карьере) предварительно вычисляется средняя плотность грунтов по отдельным обследованным обнажениям (шурфам)
| | ИС МЕГАНОРМ: примечание. Формула и обозначения даны в соответствии с официальным текстом документа. | |

, (2)
где

;

- плотности отдельных слоев грунта, г/см3;

;

- толщины соответствующих слоев, см.
Средняя плотность грунта в резерве

, (3)
где

- количество шурфов, которые должны размещаться равномерно по всей площади разрабатываемого резерва или карьера.
Разделив средние значения

на

, получим коэффициент относительного уплотнения грунта, необходимый для вычисления фактически выполненного объема земляных работ

.
ТЕХНИЧЕСКИЕ ХАРАКТЕРИСТИКИ КАТКОВ
──────────────┬───────────┬───────┬─────────────┬───────────┬───────────┬─────┬──────┬───────────
Характеристики│ ДСК-1 │ Д-703 │ Д-551 │ ЗУ-25 │ ЗУР-25 │Д-480│Д-603 │ Д-631А
катков │ (ДСК-1М) │ │ (ДУ-16) │ │ │ │ │
──────────────┼───────────┼───────┼─────────────┼───────────┼───────────┼─────┼──────┼───────────
Рабочий орган │ │Пневмо-│ │ │Решетчатый │ │Вибро-│
│ │колеса │ │ │валец │ │валец │
Масса, т: │ │ │ │ │ │ │ │
без балласта │ 16 (13,3) │ 16,5 │ 18,5 │ 13 │ 14,2 │ 3 │ 6 │ 12
с балластом │ 25 (22,5) │ 25 │ 30 │ 25 │ 25 │ - │ - │ -
Возмущающая │ - │ - │ - │ - │ - │ 8 │ 18 │ 36
сила, тс │ │ │ │ │ │ │ │
Ширина │3,07 (2,53)│ 2,53 │ 2,80 │ 4,24 │ 2,90 │1,40 │ 1,80 │ 1,80
уплотняемой │ │ │ │ │ │ │ │
полосы, м │ │ │ │ │ │ │ │
Габаритные │ │ │ │ │ │ │ │
размеры, мм: │ │ │ │ │ │ │ │
длина │4710 (4710)│ 5770 │ 9030 │ 6770 │ 6300 │4120 │ 4950 │ 5800
ширина │3238 (2690)│ 2850 │ 3320 │ 4485 │ 3200 │1780 │ 2300 │ 2440
высота │2880 (2080)│ 2260 │ 2925 │ 2600 │ 2275 │1500 │ 2130 │ 2470
Тяговые │ Прицепной │ Самоходный │ Прицепной │ Прицепной │ Прицепной │ Прицепной
средства │ к трактору, │полуприцепной│к трактору,│к трактору,│к трактору, │к трактору,
│ 100 л.с. │ к тягачу, │ 100 л.с. │ 100 л.с. │ 75 л.с. │ 100 л.с.
│ │ 180 л.с. │ │ │ │
ТЕХНИЧЕСКАЯ ХАРАКТЕРИСТИКА
ГРУНТОУПЛОТНЯЮЩИХ МАШИН УДАРНОГО И ВИБРОУДАРНОГО ТИПОВ
───────────────────────────────┬─────────┬─────────┬───────────────────────
Характеристики машин │ Д-471 │ УМТС-2 │ Виброударная машина
│ │ ├────────────┬──────────
│ │ │ для │ для
│ │ │ уплотнения │стесненных
│ │ │ насыпей │ условий
│ │ │ по всей │
│ │ │ ширине, │
│ │ │ включая │
│ │ │ бровочную │
│ │ │ часть │
───────────────────────────────┼─────────┼─────────┼────────────┼──────────
Тип рабочих органов │Падающие │Дизель- │Вибромолоты │Вибромолот
│плиты │трамбовка│ │
Число ударов в минуту │ До 20 │ 68 - 72 │ 300 - 360 │ 360
Количество рабочих органов, шт.│ 2 │ 4 │ 2 │ 1
Ширина уплотняемой полосы, м │ 2,6 │ 2,3 │ 1,9 │ 0,8
│ │ │ │
Базовая машина │ Трактор │ Трактор │ Трактор │ Трактор
│с ходо- │с гидро- │ Т-100 МГП │с ходо-
│уменьши- │приводом │ │уменьши-
│телем, │и ходо- │ │телем,
│100 л.с. │уменьши- │ │74 л.с.
│ │телем, │ │
│ │100 л.с │ │
Рабочие скорости передвижения, │80 - 200 │90 - 240 │ 300 - 900 │300 - 800
м/ч │ │ │ │
Масса машины, т │ 17,5 │ 19 │ │ 9,6
Габаритные размеры, мм: │ │ │ │
длина │ 6330 │ 7010 │ 8000 │ 7135
ширина │ 2500 │ 4150 │ 3200 │ 3200
высота │ 3050 │ 3650 │ 3059 │ 2300
РАЗЛИЧНЫХ СПОСОБОВ СОЗДАНИЯ УПЛОТНЕННЫХ ОТКОСОВ
И ОПРЕДЕЛЕНИЕ ОПТИМАЛЬНОЙ ТОЛЩИНЫ ОТСЫПАЕМОГО СЛОЯ
Рациональный способ создания уплотненных откосов определяется следующим образом.
По ординате дальности возки и линии графика, соответствующей выбранному способу, находят стоимость возведения насыпи 0,6 р./м3.
Пересечение линии стоимости возведения насыпи с кривой равных стоимостей 1 показывает, что в данном случае откосы насыпей высотой до 5 м целесообразно создавать уплотнением насыпи катком типа ЗУ-25, а при высоте насыпи более 5 м экономичнее уширять насыпь и срезать рыхлый грунт драглайном.
График позволяет решить и обратную задачу: выбрать способ создания уплотненных откосов, а затем определить, при какой высоте насыпи и способе производства работ он рационален.
Стоимость возведения насыпи в зависимости от способа производства работ может быть определена по
Приложению 6.
Рис. 1. График определения области применения различных
способов создания уплотненных откосов:
I - линия равных стоимостей создания уплотненных откосов
при использовании грунтоуплотняющих машин типа ЗУ-25
или УМТС-2 (область применения лежит ниже линии) или срезки
рыхлого грунта драглайном с укладкой его в насыпь (область
применения выше линии); II - то же, для машин типа ЗУ-25
или УМТС-2 (область применения - справа) или срезки рыхлого
грунта драглайном с укладкой его на берму (область
применения - слева); 1 - отсыпка насыпи прицепным скрепером
с ковшом емкостью 10 м3; 2 - то же, экскаватором-прямой
лопатой с ковшом емкостью 1,6 м3 в комплекте
с автосамосвалами грузоподъемностью 10 т; 3 - то же,
экскаватором-прямой лопатой с ковшом емкостью 0,8 м3
в комплекте с автосамосвалами грузоподъемностью 7 т;
4 - то же, самоходным скрепером с ковшом
емкостью 9 - 10 м3
Пример. Насыпь возводится экскаватором-прямой лопатой с ковшом емкостью 0,8 м3 в комплекте с автосамосвалами грузоподъемностью 7 т при дальности транспортирования грунта 3,5 км.
Рис. 2. График зависимости оптимальной толщины отсыпаемого
слоя от высоты насыпи и стоимости срезки грунта с откоса

с учетом потерь грунта при срезке:
1; 2 и 3 -

соответственно равно 0,2; 0,5 и 1 руб./м3
срезаемого грунта. Величина определяется по графику (рис. 3)
Рис. 3. График изменения стоимости срезки рыхлого грунта
с откоса в зависимости от способа срезки и стоимости
возведения насыпи:
1 - срезка драглайном с укладкой грунта в насыпь;
2 - срезка драглайном с укладкой грунта на берму;
3 - срезка драглайном с транспортированием грунта
автосамосвалами в смежные участки насыпей; 4 - срезка
бульдозером с укладкой грунта на берму
ПЛОТНОСТИ ГРУНТА МЕТОДОМ ЛУНОК
На уплотненном слое грунта выравнивают небольшую площадку и выкапывают лунку глубиной 3/4 толщины слоя и объемом 6 - 10 л. При выкапывании лунки нельзя сминать ее края и боковые стенки рабочим инструментом, так как это может привести к увеличению объема лунки и искажению получаемых результатов.
Грунт из лунки тщательно собирается и взвешивается.
Объем лунки определяется следующим образом.
Над лункой устанавливается двойная жестяная воронка диаметром основания 25 см
(рисунок). В лунку и нижнюю воронку через верхнюю воронку насыпается сухой песок. Для этого используются отдельные фракции песка 0,5 - 1; 1 - 2 мм. Песок не должен содержать пылеватых и глинистых частиц. Если такие частицы имеются, их следует отмыть и песок высушить. Объем засыпаемого песка измеряется мерными стеклянными цилиндрами емкостью 0,1 - 1 л с точностью до 5 см3 (основной объем песка может быть засыпан в лунку любым мерным сосудом, остальную часть песка до полного заполнения лунки желательно засыпать небольшими мерными цилиндрами емкостью не более 0,1 - 0,25 л). Песок в цилиндр насыпается через обычную воронку без встряхивания. Вычитая из общего объема песка его объем, находящийся в воронке, получим объем песка в лунке, т.е. объем лунки. Вместо песка в летних условиях можно применять воду, заливая ее в резиновую, уложенную в лунку, оболочку толщиной 1 мм. Разделив вес грунта, извлеченного из лунки, на его объем, определяют объемную массу влажного грунта. Затем способом высушивания определяется влажность грунта по включениям размером до 20 мм и обычным порядком рассчитывается плотность (объемная масса скелета) грунта.

ОПРЕДЕЛЕНИЯ ВЛАЖНОСТИ И ПЛОТНОСТИ ГРУНТА
ВЛАГОМЕРОМ-ПЛОТНОМЕРОМ СИСТЕМЫ
Н.П. КОВАЛЕВА
Прибор (см. рисунок) основан на принципе гидростатического взвешивания и состоит из следующих основных частей: латунного поплавка 4 с трубкой 3, латунного сосуда 5, ведра-футляра 1 и режущего кольца-грунтонасоса 2.
Влагомер-плотномер системы Н.П. Ковалева:
1 - ведро-футляр; 2 - режущее кольцо; 3 - трубка;
4 - латунный поплавок; 5 - латунный сосуд
На трубке поплавка нанесены четыре шкалы показателей объемной массы грунтов. Шкала с пометкой ВЛ служит для определения объемной массы влажного грунта. Шкала с пометками Ч, П, Г служит для определения объемной массы сухого грунта (плотности) соответственно чернозема, песка и глинистых грунтов.
Для соединения подвесного сосуда с поплавком устроены специальные замки, которые соединяют их таким образом, чтобы между ними был зазор 1 - 2 мм для свободного входа воды и выхода воздуха из сосуда. Вес сосуда в воде 240 г; вес грунтоноса 123 г, его объем 200 см3. В ведро-футляр при испытании наливается вода, и, кроме того, оно служит для переноски всех частей прибора.
К комплекту прибора прилагаются насадки для вдавливания режущего кольца в грунт и нож для срезания избытка грунта, выступающего над краями кольца после отбора пробы.
Тарировка прибора. Перед началом работы прибор необходимо тарировать. Тарировка прибора производится путем погружения в воду поплавка 4 с подвешенным к нему сосудом 5 и вложенным в поплавок кольцом 2. При этом поплавок должен опуститься в воду до начальной черты по шкале влажного грунта ВЛ, соответствующей объемному весу 1,2 г/см3. Незначительные отклонения регулируются путем добавления или снятия тарировочного груза, находящегося в крышке поплавка.
При получении новых приборов, кроме тарировки, необходимо также произвести контрольное определение объемного веса влажного и сухого грунтов весовым методом.
При помощи влагомера-плотномера определяются:
объемная масса влажного грунта

;
объемная масса сухого грунта

;
влажность грунта w.
Определение объемной массы влажного грунта
Режущее кольцо с грунтом вставляется в нижнюю часть поплавка, который снизу герметически закрывается крышкой. После этого поплавок без нижнего сосуда погружается в ведро-футляр с водой так, чтобы трубка стояла вертикально. По шкале с отметкой ВЛ на уровне воды берется отсчет, который и представляет величину объемного веса влажного грунта

, г/см3.
Определение объемной массы сухого грунта (плотности)
После того, как объемная масса влажного грунта установлена, пробу из режущего кольца переносят в латунный сосуд, который примерно до 3/4 емкости наполняется водой. В сосуде грунт тщательно размешивают до состояния суспензии так, чтобы не оставалось комьев. Затем сосуд соединяют с поплавком, и все вместе (без кольца) погружают в воду, налитую в ведро-футляр. Вода через зазор между поплавком и сосудом заполняет остальное пространство сосуда, и весь прибор погружается в воду до определенного уровня. В зависимости от вида грунта по шкалам Ч, П, Г, нанесенным на трубке поплавка, на уровне воды, берется отсчет, который и будет соответствовать объемной массе сухого грунта,

, г/см3.
Определение влажности
По установленным величинам

и

рассчитывается влажность грунта по формуле

.
Некоторые дополнительные указания по работе
с плотномером-влагомером Н.П. Ковалева
1. Шкалы, нанесенные на трубке поплавка, ВЛ; Ч; П; Г рассчитаны на строго определенные размеры отдельных элементов прибора, указанных ранее.
Работать с прибором Н.П. Ковалева можно только после того, как проверены размеры колец и произведена тарировка прибора, иначе могут быть получены ошибочные результаты замера.
2. При определении плотности по образцам, отобранным из суглинков и глин, рекомендуется грунт из кольца переносить в сосуд с водой, нарезая его тонкой стружкой и оставлять для насыщения на 20 - 40 мин. Это облегчает последующее размешивание грунта в воде.
Если отбирается большое количество проб из тяжелых суглинков и глин и если необязательно получение результатов в поле, целесообразно пользоваться комбинированным методом. При этом объемную массу влажного грунта

определяют прибором инж. Н.П. Ковалева на месте отбора проб, затем из колец в бюксы берутся навески грунта весом 10 - 15 г, по которым в лаборатории методом сушки определяется влажность грунтов w.
Объемная масса сухого грунта (плотность) определяется в этом случае по формуле

.
КОНТРОЛЯ КАЧЕСТВА УПЛОТНЕНИЯ НАСЫПЕЙ
────┬───────┬───┬──────────────────────────────┬──────┬──────┬──────┬──────┬──────┬──────────────────────┬───────┬────────────┬─────
Дата│Проект-│КМ,│ Место взятия проб │Типы │Тол- │ Вид │Макси-│Опти- │ Результаты контроля │Требу- │Коэффициенты│При-
│ная │ПК │ │грун- │щина │грунта│маль- │маль- │ плотности │емая │ уплотнения │меча-
│высота │ ├────────────────┬──────┬──────┤то- │уплот-│ │ная │ная ├───────┬──────┬───────┤объе- ├─────┬──────┤ние
│насыпи │ │ Расстояние │Гори- │Глу- │уплот-│няе- │ │стан- │влаж- │Объем- │Влаж- │Объем- │мная │За- │Факти-│
│ │ │ от оси, м │зонт │бина │няющих│мого │ │дарт- │ность,│ная │ность,│ная │масса │дан- │ческий│
│ │ ├───┬─────┬──────┤взятия│отбора│машин │слоя, │ │ная │% │масса │% │масса │сухого │ный │ │
│ │ │Ось│Влево│Вправо│пробы │от по-│ │м │ │плот- │ │влаж- │ │сухого │грунта │ │ │
│ │ │ │ │ │над │верх- │ │ │ │ность,│ │ного │ │грунта,│(плот- │ │ │
│ │ │ │ │ │уров- │ности │ │ │ │г/см3 │ │грунта,│ │г/см3 │ность),│ │ │
│ │ │ │ │ │нем │слоя, │ │ │ │ │ │г/см3 │ │ │г/см3 │ │ │
│ │ │ │ │ │земли,│м │ │ │ │ │ │ │ │ │ │ │ │
│ │ │ │ │ │м │ │ │ │ │ │ │ │ │ │ │ │ │
────┼───────┼───┼───┼─────┼──────┼──────┼──────┼──────┼──────┼──────┼──────┼──────┼───────┼──────┼───────┼───────┼─────┼──────┼─────
1 │ 2 │ 3 │ 4 │ 5 │ 6 │ 7 │ 8 │ 9 │ 10 │ 11 │ 12 │ 13 │ 14 │ 15 │ 16 │ 17 │ 18 │ 19 │ 20
────┼───────┼───┼───┼─────┼──────┼──────┼──────┼──────┼──────┼──────┼──────┼──────┼───────┼──────┼───────┼───────┼─────┼──────┼─────
│ │ │ │ │ │ │ │ │ │ │ │ │ │ │ │ │ │ │
ДИНАМИЧЕСКОЙ ПЕНЕТРАЦИИ
Метод динамической пенетрации может применяться только в дополнение к основному методу контроля за уплотнением грунтов, осуществляемому в установленном порядке путем отбора проб и определения по ним плотности и влажности.
При пенетрации плотность грунтов оценивается по величине сопротивления грунта внедрению в него стержня с коническим наконечником. Величина этого сопротивления зависит от вида грунта, его плотности и влажности, что можно проследить по графику рисунка.
1 - наконечник-конус диаметром 20 мм, угол заострения 30°
(навинчивается на трубу); 2 - кольцо-фиксатор,
надевается на штангу; 3 - штанга-труба диаметром
12 - 13,5 мм со стойками толщиной 2,5 мм
(на трубе нарезаются штрихи через 10 см, начиная
от основания конуса); 4 - шабот (у нижнего конца
сваривается со штангой); 5 - груз-молот массой 3,2 кг;
6 - ограничитель
Начинать работу на объекте следует с установления сопротивления внедрению наконечника, соответствующего требуемому уплотнению при фактической влажности используемого грунта.
Для этого первоначально зондирование должно производиться около шурфа, в котором одновременно определяется плотность. Полученный таким образом показатель может быть использован для расшифровки результатов зондирования в пределах всего слоя, отсыпаемого из данного грунта при постоянной его влажности. Тарировку следует производить систематически даже при однородных грунтах в карьере, так как может изменяться их влажность.
Для проведения зондирования может быть использован легкий динамический пенетрометр типа ДИИТ-4
(рисунок). При этом сопротивление грунта внедрению зонда характеризуется числом ударов груза, необходимых для заглубления стержня на каждые 10 см.
Интервалы погружения наблюдаются по нанесенной на штанге шкале с помощью кольца-фиксатора, лежащего на грунте и свободно перемещающегося по штанге по мере заглубления конуса.
И ПРЕДЕЛЬНЫЕ СРОКИ ПОСЕВА СЕМЯН ЗЛАКОВЫХ ТРАВ
А - нечерноземная
Б - лесостепная
В - степная
Г - полупустынная и пустынная
Д - горная
───────────────────────────────────────────────────────────┬───────┬───────
Край, область, республика │Природ-│Послед-
│ная │ний
│зона │месяц
│ │посева
───────────────────────────────────────────────────────────┼───────┼───────
I. РСФСР │ │
│ │
Края │ │
│ │
Алтайский, в том числе Горно-Алтайская автономная область │В, Д │VIII
Краснодарский, в том числе Адыгейская автономная область │В, Д │IX
Красноярский, в том числе Хакасская автономная область │А, Б, В│VIII
Приморский │А, В │VIII
Ставропольский, в том числе Карачаево-Черкесская автономная│В │IX
область │ │
Хабаровский, в том числе Еврейская автономная область │А, Б │VIII
│ │
Области │ │
│ │
Амурская │А, Б │VIII
Архангельская │А │VIII
Астраханская │В, Г │IX
Белгородская │В │IX
Брянская и Владимирская │А, Б │VIII
Вологодская │А │VIII
Волгоградская │В │VIII
Воронежская │Б, В │IX
Горьковская │А, Б │VIII
Ивановская │А │VIII
Иркутская │А, Б, В│VIII
Калининградская и Калининская │А │VIII
Калужская │А, В │VIII
Камчатская, в том числе Корякский национальный округ │А, Д │VIII
Кемеровская │Б, В │VIII
Кировская и Костромская │А │VIII
Куйбышевская │Б, В │IX
Курганская │Б, В │VIII
Курская │Б │IX
Ленинградская │А │VIII
Липецкая │Б │IX
Магаданская │А, Д │VIII
Московская, Мурманская и Новгородская │А │VIII
Новосибирская и Омская │А, Б, В│VIII
Оренбургская │В │IX
Орловская │А, В │VIII
Пензенская │Б, В │IX
Пермская, в том числе Коми-Пермяцкий национальный округ │А, Б │VIII
Псковская │А │VIII
Ростовская │В │IX
Рязанская │А, Б │VIII
Саратовская │Б │IX
Сахалинская │А, Д │VIII
Свердловская │А, Д │VIII
Смоленская │А │VIII
Тамбовская │Б │IX
Томская, Тульская, Тюменская и Тувинская автономная область│А, Б │VIII
Ульяновская │Б, В │IX
Челябинская │А, Б │VIII
Читинская, в том числе Бурятский национальный округ │А, Б, В│VIII
Ярославская │А │VIII
│ │
АССР │ │
│ │
Башкирская │А, Б, Г│VIII
Бурятская │В, Д │VIII
Дагестанская и Кабардино-Балкарская │Д │IX
Калмыцкая │В, Г │IX
Карельская, Коми и Марийская │А │VIII
Мордовская │А, Б │VIII
Северо-Осетинская │Д │IX
Татарская │А, Б, В│VIII
Удмуртская │Б, В │VIII
Чечено-Ингушская │Д │IX
Чувашская │А │VIII
Якутская │А, Б │VIII
│ │
II. Украинская ССР │ │
│ │
Винницкая │Б │IX
Волынская │А, Б │IX
Ворошиловградская │В │IX
Днепропетровская │В │IX
Дрогобычская │А, Б, Д│IX
Житомирская │А, Б │IX
Закарпатская │Д │IX
Запорожская │В │IX
Киевская │А, В │IX
Кировоградская │Б, В │IX
Крымская │В, Д │IX
Львовская │А, Б, Д│IX
Николаевская и Одесская │В │IX
Полтавская │Б, В │IX
Ровенская │А, Б │IX
Донецкая │Б │IX
Станиславская │Б, Д │IX
Сумская │А, Б │IX
Тернопольская │Б, Д │IX
Харьковская │Б, В │IX
Хмельницкая и Черкасская │Б │IX
Херсонская │В │IX
Черниговская │А, Б │IX
Черновицкая │Б, Д │IX
│ │
III. Белорусская ССР (все области) │А │VIII
│ │
IV. Грузинская ССР │В, Д │
│ │
Абхазская АССР, Аджарская, Южно-Осетинская │Д │IX
│ │
V. Армянская ССР │Д │IX
│ │
VI. Азербайджанская ССР │Д │IX
│ │
VII. Литовская ССР │А │VIII
│ │
VIII. Латвийская ССР │А │VIII
│ │
IX. Эстонская ССР │А │VIII
│ │
X. Молдавская ССР │Б, В │IX
│ │
XI. Узбекская ССР, Кара-Калпакская АССР │Г │IX
│ │
XII. Казахская ССР │ │
│ │
Актюбинская │Г │VIII
Алма-Атинская и Восточно-Казахстанская │Б, Д │IX
Гурьевская │Г │XI
Джамбульская │Г, Д │XI
Карагандинская │Г, Д │VIII
Кзыл-Ордынская │Г │IX
Кустанайская, Павлодарская, Северо-Казахстанская │В │VIII
и Кокчетавская │ │
Семипалатинская │В, Д │VIII
Талды-Курганская, Аджарская │Г │XI
Южно-Осетинская, Целиноградская │В │VIII
│ │
XIII. Киргизская ССР │Д │XI
│ │
XIV. Таджикская ССР │Д │XI
│ │
XV. Туркменская ССР │Г │XI
ОСНОВНЫЕ ХАРАКТЕРИСТИКИ
МНОГОЛЕТНИХ ТРАВ, РЕКОМЕНДУЕМЫХ ДЛЯ УКРЕПЛЕНИЯ ОТКОСОВ
ЗЕМЛЯНОГО ПОЛОТНА
────────────┬───────────────────────────────────────────────────────┬──────────┬───────────────
Наименование│ Оценка качеств трав для дернообразования │ Особые │ Рекомендуемые
трав ├────────┬────────┬────────┬────────┬───────────────────┤ свойства │ области
│Корне- │Долго- │Зимо- │Засухо- │Приспособляемость │ трав │применения трав
│вая │веч- │стой- │устой- │ к особым условиям │ │для укрепления
│ │ность │кость │чивость ├────────┬──────────┤ │ откосов
│ │ │ │ │ плохо │ хорошо │ │ земляного
│ │ │ │ │растущие│ растущие │ │ полотна
────────────┴────────┴────────┴────────┴────────┴────────┴──────────┴──────────┴───────────────
Злаковые рыхлокустовые
Тимофеевка │Хорошая │Хорошая │Хорошая │Плохая │На сухих│На связных│Требует │Нечерноземная
луговая │ │ │ │ │почвах │и влажных │устойчивой│полоса,
│ │ │ │ │ │грунтах │влажности │северная часть
│ │ │ │ │ │ │почвы │лесостепной
│ │ │ │ │ │ │ │зоны и горные
│ │ │ │ │ │ │ │районы
Овсяница │Хорошая │Хорошая │Хорошая │Удовлет-│На очень│На сугли- │Требова- │Вся нечерно-
луговая │ │ │ │вори- │кислых │нистых │тельна │земная полоса,
│ │ │ │тельная │почвах │умеренно │к плодо- │кроме самых
│ │ │ │ │ │влажных │родию │северных
│ │ │ │ │ │почвах │почвы │районов,
│ │ │ │ │ │ │ │лесостепная
│ │ │ │ │ │ │ │часть Украины,
│ │ │ │ │ │ │ │вся центрально-
│ │ │ │ │ │ │ │черноземная
│ │ │ │ │ │ │ │полоса,
│ │ │ │ │ │ │ │Северный Кавказ
│ │ │ │ │ │ │ │и Сибирь
Житняк │Хорошая │Отличная│Отличная│Отличная│На избы-│На черно- │Хорошо │Степные районы
широко- │ │ │ │ │точно │земах │переносит │юга, даже самые
колосный │ │ │ │ │влажных │и каштано-│длительную│засушливые, при
│ │ │ │ │почвах │вых сугли-│засуху │наличии
│ │ │ │ │ │нистых │ │каштановых
│ │ │ │ │ │почвах │ │и бурых почв
Пырей │Хорошая │Хорошая │Отличная│Хорошая │На │На черно- │Требует │Степные
бескорне- │ │ │ │ │слишком │земах │устойчивой│и лесостепные
вищевый │ │ │ │ │сухих │и каштано-│влажности │районы Сибири,
│ │ │ │ │почвах │вых почвах│почвы, │Дальнего
│ │ │ │ │и на │ │засоряется│Востока,
│ │ │ │ │солонцах│ │пыреем │Северного
│ │ │ │ │ │ │ползучим │Казахстана,
│ │ │ │ │ │ │ │Предуралья
│ │ │ │ │ │ │ │и Зауралья,
│ │ │ │ │ │ │ │Средней Волги,
│ │ │ │ │ │ │ │севера Украины
│ │ │ │ │ │ │ │и Молдавской
│ │ │ │ │ │ │ │ССР
│ │ │ │ │ │ │ │и предгорные
│ │ │ │ │ │ │ │районы
│ │ │ │ │ │ │ │Северного
│ │ │ │ │ │ │ │Кавказа, Крыма
│ │ │ │ │ │ │ │и Средней Азии
│ │ │ │ │ │ │ │с несуровым
│ │ │ │ │ │ │ │и незасушливым
│ │ │ │ │ │ │ │климатом
Регнерия │Хорошая │Хорошая │Отличная│Хорошая │То же │То же │Отличается│То же
(пырей │ │ │ │ │ │ │особой │
волокнистый)│ │ │ │ │ │ │скоро- │
│ │ │ │ │ │ │спелостью │
Райграс │Хорошая │Удовлет-│Плохая │Плохая │На сухих│На плодо- │Требует │Западные районы
пастбищный │ │ворите- │ │ │почвах │родных │устойчивой│нечерноземной
│ │льная │ │ │ │суглини- │влажности │полосы и
│ │ │ │ │ │стых │почвы, │причерноморские
│ │ │ │ │ │почвах │отличается│районы Кавказа.
│ │ │ │ │ │в районах │быстрым │Высевается как
│ │ │ │ │ │с влажным │ростом │дополнительный
│ │ │ │ │ │климатом │ │компонент
│ │ │ │ │ │ │ │к другим
│ │ │ │ │ │ │ │рыхлокустовым
│ │ │ │ │ │ │ │злаковым травам
Райграс │Удовлет-│Удовлет-│Плохая │Удовлет-│На │На рыхлых │Быстро- │Лесостепные
высокий │ворите- │ворите- │ │ворите- │песчаных│и доста- │растущая │районы
│льная │льная │ │льная │почвах │точно │трава. │Европейской
│ │ │ │ │ │плодород- │Остистые │части СССР
│ │ │ │ │ │ных сугли-│семена │и степные
│ │ │ │ │ │нистых │плохо │районы Украины,
│ │ │ │ │ │почвах │высеваются│Молдавской ССР,
│ │ │ │ │ │ │сеялками │юга Крыма,
│ │ │ │ │ │ │ │Северного
│ │ │ │ │ │ │ │Кавказа, Южного
│ │ │ │ │ │ │ │Казахстана,
│ │ │ │ │ │ │ │Закавказья
│ │ │ │ │ │ │ │с несуровым
│ │ │ │ │ │ │ │и незасушливым
│ │ │ │ │ │ │ │климатом
Ежа сборная │Хорошая │Хорошая │Удовлет-│Удовлет-│На сухих│На почвах,│Быстро- │Центральные
│ │ │ворите- │ворите- │почвах │обеспе- │растущая │и западные
│ │ │льная │льная │в засуш-│ченных │трава, │районы
│ │ │ │ │ливых │влагой │рано │нечерноземной
│ │ │ │ │условиях│ │обрастаю- │зоны РСФСР,
│ │ │ │ │ │ │щая │Белорусская
│ │ │ │ │ │ │весной, │и Литовская
│ │ │ │ │ │ │легко │ССР, а также
│ │ │ │ │ │ │вымерзает │горные районы
│ │ │ │ │ │ │ │и лесная зона
│ │ │ │ │ │ │ │с незасушливым
│ │ │ │ │ │ │ │и несуровым
│ │ │ │ │ │ │ │климатом
Волосенец │Хорошая │Отличная│Отличная│Хорошая │В усло- │На черно- │Остистые │Лесостепные
сибирский │ │ │ │ │виях │земных │семена, │и степные
│ │ │ │ │избыточ-│и каштано-│плохо │районы Сибири
│ │ │ │ │ной │вых почвах│высеваются│и Дальнего
│ │ │ │ │влаж- │ │сеялками. │Востока
│ │ │ │ │ности │ │Быстро- │с суровым
│ │ │ │ │ │ │развиваю- │климатом
│ │ │ │ │ │ │щаяся │
Типчак │Хорошая │Отличная│Отличная│Отличная│То же │На солон- │Плотно- │Степные и полу-
(овсяница │ │ │ │ │ │цах │кустовой │пустынные
бороздчатая)│ │ │ │ │ │в степях │злак, │районы
│ │ │ │ │ │ │образующий│Европейской
│ │ │ │ │ │ │неровный │части СССР,
│ │ │ │ │ │ │кочковатый│Казахстана
│ │ │ │ │ │ │травостой │и Средней Азии
│ │ │ │ │ │ │ │с суровым
│ │ │ │ │ │ │ │и засушливым
│ │ │ │ │ │ │ │климатом.
│ │ │ │ │ │ │ │Высевается как
│ │ │ │ │ │ │ │дополнительный
│ │ │ │ │ │ │ │компонент
│ │ │ │ │ │ │ │к смеси рыхло-
│ │ │ │ │ │ │ │кустовых злаков
Злаковые корневищевые
Костер │Отличная│Отличная│Отличная│Хорошая │На │На богатых│Семена │Лесостепные
безостый │ │ │ │ │кислых │гумусом │остисты │и степные
│ │ │ │ │почвах │суглини- │и плохо │районы и
│ │ │ │ │ │стых │высеваются│нечерноземная
│ │ │ │ │ │и супес- │сеялками │полоса, в том
│ │ │ │ │ │чаных │ │числе и Сибирь.
│ │ │ │ │ │почвах │ │Пригоден для
│ │ │ │ │ │ │ │большей части
│ │ │ │ │ │ │ │СССР
Овсяница │Отличная│Отличная│Отличная│Хорошая │На сухих│На обеспе-│Обладает │Нечерноземная
красная │ │ │ │ │почвах │ченных │исключи- │полоса и горные
│ │ │ │ │в засуш-│перегноем │тельной │районы СССР
│ │ │ │ │ливых │и водой │жизнеспо- │
│ │ │ │ │районах │почвах │собностью │
│ │ │ │ │ │ │и приспо- │
│ │ │ │ │ │ │собляе- │
│ │ │ │ │ │ │мостью │
│ │ │ │ │ │ │к местным │
│ │ │ │ │ │ │условиям │
Мятлики │Отличная│Отличная│Хорошая │Удовлет-│На очень│На сугли- │Весной │Нечерноземная
(луговой, │ │ │ │ворите- │кислых │нистых │трогается │полоса, лесная
болотный, │ │ │ │льная │и засо- │почвах, │в рост │зона и горные
сплюснутый) │ │ │ │ │ленных │обеспечен-│раньше │районы
│ │ │ │ │почвах │ных пере- │других │Европейской
│ │ │ │ │ │гноем и не│трав. Раз-│части СССР
│ │ │ │ │ │засоренных│вивается │
│ │ │ │ │ │сорняками │медленно │
│ │ │ │ │ │ │в 3 - │
│ │ │ │ │ │ │4 года │
Полевица │Хорошая │Отличная│Хорошая │Плохая │На сухих│На влажных│Требова- │Нечерноземная
белая │ │ │ │ │и тяже- │местах и │тельна │полоса
│ │ │ │ │лых │на легких │к почвам │Европейской
│ │ │ │ │почвах │влажных │и наличию │части СССР.
│ │ │ │ │ │почвах │влажности.│Высевается
│ │ │ │ │ │ │Растет │в дополнение
│ │ │ │ │ │ │медленно. │к другой
│ │ │ │ │ │ │Полного │корневищевой
│ │ │ │ │ │ │развития │злаковой траве
│ │ │ │ │ │ │достигает │
│ │ │ │ │ │ │в 2 - │
│ │ │ │ │ │ │3 года │
Бобовые (стержнекорневые)
Клевер │Удовлет-│Удовлет-│Плохая │Плохая │На пес- │На влажных│Отличается │Обеспеченные
красный │ворите- │ворите- │ │ │чаных │глинистых │быстрым │влаголесные
│льная │льная │ │ │очень │и сугли- │ростом. │и лесостепные
│ │ │ │ │кислых │нистых │Требователен│районы
│ │ │ │ │и засо- │почвах │к почвам │нечерноземной
│ │ │ │ │ленных │ │и нуждается │полосы
│ │ │ │ │почвах │ │в устойчивой│и горные
│ │ │ │ │ │ │влажности │районы
Клевер белый│Хорошая │Отличная│Удовлет-│Удовлет-│На очень│На связных│Требователен│Нечерноземная
│ │ │ворите- │ворите- │кислых и│суглинис- │к почвам. │полоса.
│ │ │льная │льная │соленых │тых почвах│Хорошо │Лесостепные и
│ │ │ │ │почвах │ │восстанав- │горные
│ │ │ │ │ │ │ливает │районы.
│ │ │ │ │ │ │травостой │Высевается
│ │ │ │ │ │ │самообсеме- │как дополни-
│ │ │ │ │ │ │нением │тельный
│ │ │ │ │ │ │ │компонент
│ │ │ │ │ │ │ │к другой
│ │ │ │ │ │ │ │бобовой траве
Клевер │Удовлет-│Удовлет-│Удовлет-│Плохая │На засо-│На почвах,│Требует │Нечерноземная
розовый │ворите- │ворите- │ворите- │ │ленных │обеспечи- │постоянной │полоса СССР
│льная │льная │льная │ │и сухих │ваемых │влажности │
│ │ │ │ │почвах │влагой │почвы и │
│ │ │ │ │ │ │устойчив │
│ │ │ │ │ │ │при ее │
│ │ │ │ │ │ │переувлаж- │
│ │ │ │ │ │ │нении │
Люцерна │Удовлет-│Хорошая │Хорошая │Хорошая │На │На черно- │После │Степные
│ворите- │ │ │ │кислых │земных │скашивания │и лесостепные
│льная │ │ │ │подзоли-│почвах │быстро │районы
│ │ │ │ │стых │ │отрастает │нечерноземной
│ │ │ │ │и бедных│ │при наличии │полосы СССР,
│ │ │ │ │гумусом │ │влажности │где является
│ │ │ │ │почвах │ │в почве │основной
│ │ │ │ │ │ │ │бобовой
│ │ │ │ │ │ │ │травой
Эспарцет │Удовлет-│Хорошая │Хорошая │Хорошая │На │На извест-│Высевается │Лесостепные
│ворите- │ │ │ │кислых │ковых │семенами │и степные
│льная │ │ │ │почвах │почвах │в крупных │районы
│ │ │ │ │ │ │оболочках- │Поволжья,
│ │ │ │ │ │ │бобах │Северного
│ │ │ │ │ │ │ │Кавказа,
│ │ │ │ │ │ │ │Алтая и южные
│ │ │ │ │ │ │ │районы Сибири
│ │ │ │ │ │ │ │и Казахстана
Лядвенец │Удовлет-│Хорошая │Хорошая │Удовлет-│На засо-│На кислых │Быстроразви-│Нечерноземная
│ворите- │ │ │ворите- │ленных │почвах в │вающаяся │полоса
│льная │ │ │льная │почвах │условиях │трава, │и лесостепные
│ │ │ │ │ │избыточной│хорошо │районы
│ │ │ │ │ │влажности │растущая │Европейской
│ │ │ │ │ │ │на кислых │части СССР
│ │ │ │ │ │ │почвах │
Донник │Удовлет-│Плохая │Хорошая │Отличная│На очень│На засо- │Одно- │Степные
│ворите- │ │ │ │кислых │ленных │двухлетнее │районы
│льная │ │ │ │почвах │почвах │и очень │Сибири,
│ │ │ │ │ │ │высокорослое│Казахстана,
│ │ │ │ │ │ │растение │юга СССР
│ │ │ │ │ │ │ │и с солонце-
│ │ │ │ │ │ │ │ватыми
│ │ │ │ │ │ │ │почвами
Примечания. 1. Кроме ползуче-корневищевой формы овсяницы красной, встречаются еще формы: плотнокустовая и корневищево-плотнокустовая (наилучшая для дернообразования).
2. Лучшие виды люцерны: желтая или желто-гибридная (для суровых условий засушливых районов Юго-Востока и Казахстана и для южных степных районов Сибири и Средней Азии); синяя или сине-гибридная для степных и лесостепных районов Европейской части СССР, пестро-гибридная для нечерноземной полосы СССР.
ПОДБОРА ВИДОВОГО СОСТАВА И НОРМ ВЫСЕВА СЕМЯН МНОГОЛЕТНИХ
ТРАВ ПРИ УКРЕПЛЕНИИ ОТКОСОВ ЗЕМЛЯНОГО ПОЛОТНА
───────────────────┬───────────────────────────────────────────────────────
Виды многолетних │ Нормы высева семян II класса на 100 м2 укрепляемого
трав │ откоса крутизной 1:1,5
├─────────────┬─────────────┬─────────────┬─────────────
│Нечерноземная│ Лесостепная │Степная зона │Пустынная
│ зона │ зона │ В │и полупустын-
│ А │ Б │ │ная зона Г
├──────┬──────┼──────┬──────┼──────┬──────┼──────┬──────
│Глина,│Песок,│Глина,│Песок,│Глина,│Песок,│Глина,│Песок,
│сугли-│супесь│сугли-│супесь│сугли-│супесь│сугли-│супесь
│нок │ │нок │ │нок │ │нок │
───────────────────┼──────┼──────┼──────┼──────┼──────┼──────┼──────┼──────
Злаковые │ │ │ │ │ │ │ │
рыхлокустовые │ │ │ │ │ │ │ │
│ │ │ │ │ │ │ │
Тимофеевка луговая │ 140 │ 140 │ - │ - │ - │ - │ - │ -
│ (95) │ (95) │ │ │ │ │ │
Овсяница луговая │ 330 │ 330 │ 440 │ 660 │ - │ - │ - │ -
│(220) │(220) │(275) │(495) │ │ │ │
Житняк │ - │ - │ │ - │ 375 │ │ 1000 │
ширококолосный │ │ │(250) │ │(260) │(310) │(750) │(750)
Житняк узкоколосный│ - │ - │ - │ │ │ 375 │ │ 1000
(сибирский) │ │ │ │(250) │(250) │(250) │(750) │(750)
Пырей │ │ │ │ │ │ │ │
бескорневищевый │ 300 │ 480 │ 300 │ 480 │ 360 │ 480 │ - │ -
или регнерия │(180) │(300) │(180) │(300) │(240) │(360) │ │
Райграс высокий │ │ │ 400 │ 530 │ - │ - │ - │ -
│(265) │(265) │(265) │(400) │(400) │ │ │
Райграс пастбищный │(265) │(265) │ - │ - │ - │ - │ - │ -
Волоснец сибирский │ │ │ 580 │ 725 │ 580 │ 725 │ │
│(290) │(290) │(435) │(580) │(435) │(580) │ - │ -
Типчак │ - │ - │ - │ - │ │ │ 270 │ 840
(овсяница) │ │ │ │ │(240) │(300) │(540) │(600)
бороздчатая │ │ │ │ │ │ │ │
│ │ │ │ │ │ │ │
Злаковые │ │ │ │ │ │ │ │
корневищевые │ │ │ │ │ │ │ │
│ │ │ │ │ │ │ │
Костер безостый │ 600 │ 720 │ 600 │ 720 │ 720 │ 840 │ - │ -
│(420) │(540) │(420) │(540) │(540) │(600) │ │
Овсяница красная │ 480 │ 600 │ 600 │ 720 │ │ │ │
│(360) │(420) │(420) │(480) │(420) │(480) │ - │ -
Мятлик луговой, │ │ │ │ │ │ │ │
болотный, │(195) │(260) │(260) │(185) │ - │ - │ - │ -
сплюснутый │ │ │ │ │ │ │ │
Пырей ползучий │ │ │ │ │ 600 │ 720 │ - │ -
│ │(540) │(420) │(540) │(420) │(480) │ │
Полевица белая или │ │ │ │ │ │ │ │
обыкновенная │(180) │ - │ - │ - │ - │ - │ - │ -
Бобовые │ │ │ │ │ │ │ │
(стержнекорневые): │ │ │ │ │ │ │ │
клевер красный │ 90 │ │ │ │ │ │ │
│ (70) │(110) │ (85) │ - │ - │ - │ - │ -
люцерна │ 90 │ 110 │ 80 │ 110 │ 110 │ 130 │ │
│ (65) │ (90) │ (60) │ (80) │ (80) │(100) │(130) │(155)
Эспарцет │ │ │ 1000 │ 1320 │ 880 │ 1100 │ - │ -
│ - │ - │(700) │(880) │(715) │(770) │ - │ -
Лядвенец рогатый │ 120 │ 170 │ 100 │ 170 │ - │ - │ - │ -
│ (90) │(120) │ (75) │(120) │ │ │ │
Клевер белый │ │ │ │ │ │ │ │
│ (65) │ (90) │ 100 │ - │ - │ - │ - │ -
Клевер розовый │ │ │ │ │ │ │ │
│ (65) │ - │ - │ - │ - │ - │ - │ -
Донник │ │ │ 80 │ 110 │ 100 │ 120 │ 150 │ 170
│ - │ - │ (60) │ (80) │ (75) │(115) │(110) │(131)
Примечания. 1. Природные зоны А, Б, В, Г применительно к административному делению СССР даны в
Приложении 31.
2. Для горных районов Д необходимо учитывать вертикальную зональность: у подножий гор на юге принимать виды трав, нормы высева для степной В или полупустынной Г зоны; выше - норма для лесостепной зоны Б; еще выше - в субальпийской зоне - норма для нечерноземной полосы А.
3. Цифры в скобках означают нормы высева семян трав, если в смеси высевается не один, а два или более видов трав данного типа.
4. Нормы даны для семян II класса. При семенах I класса норму следует уменьшить на 10%. При семенах III класса - увеличить на 20 - 25%. Семена ниже III класса для укрепительных работ не допускаются.
ОПРЕДЕЛЕНИЯ ВСХОЖЕСТИ СЕМЯН
Из каждой партии семян отбирают среднюю пробу массой около 0,5 кг. Семена рассыпают по ровной поверхности и отбирают 3 образца по 100 семян в каждом. Их проращивают в ванночках или противнях, лучше всего эмалированных или фарфоровых, заполненных чистым кварцевым песком. Песок обильно смачивают водой и покрывают фильтровальной бумагой. Семена аккуратно укладывают на слой бумаги по 100 шт. в каждую ванночку и укрывают сверху влажной фильтровальной бумагой. Ванночки закрывают стеклом и темной бумагой и ставят в теплое место, лучше в термостат, с температурой 25 - 28°. Через 10 дней подсчитывают проросшие семена и процент всхожести по каждой ванночке, а также средний процент по данной партии.
ОПРЕДЕЛЕНИЯ КАЧЕСТВА ДЕРНА
Следует вырезать из дернового покрова монолит размером 20 x 30 или 20 x 10 см на глубину 10 - 15 см и сильно потрясти его, чтобы осыпалась почва нижней части, слабо связанная корнями растений. Монолит дерна не должен быть излишне влажным, иначе почва не осыпается. Оставшаяся после встряхивания часть монолита представляет собой почву, переплетенную корнями и связанную ими в механически прочную массу - дернину. Чем толще дернина, тем выше ее качество.
Наблюдениями установлена также пропорциональная зависимость качества дерна от количества побегов на единице площади откоса.
Для подсчета количества побегов следует наложить на поверхность откоса шаблон-рамку квадратной формы из проволоки сечением 5 - 6 мм с внутренними размерами 20 x 20 см (400 см2) и подсчитать побеги, оказавшиеся внутри квадрата. Необходимо брать подсчеты не менее чем с одной такой учетной площадки на каждые 500 - 1000 м2 откоса. Чем однороднее и гуще травостой, образовавшийся на откосе, тем меньше надо брать учетных площадок, чем разнороднее - тем больше.
Учетные площадки нужно назначать в разных частях откоса: в верхней, средней и нижней.
Качество дернины следует оценивать по таблице.
─────────────────────────┬─────────────┬───────────────────────────────────
Качество дернины │ Толщина │ Число побегов на полосах
│ дернины, см ├─────────────┬───────────┬─────────
│ │нечерноземной│лесостепной│ степной
─────────────────────────┼─────────────┼─────────────┼───────────┼─────────
Отличное │ 10 - 12 │ Более 200 │ Более 160 │Более 120
Хорошее │ 7 - 10 │ 120 - 200 │ 80 - 160 │60 - 120
Удовлетворительное │ 5 - 7 │ 60 - 100 │ 40 - 80 │ 20 - 60
Плохое │ 5 │ Менее 60 │ Менее 40 │Менее 20
КОНТРОЛЯ ВЫПОЛНЕНИЯ И КАЧЕСТВА УКРЕПЛЕНИЯ ОТКОСОВ
ЗЕМЛЯНОГО ПОЛОТНА ПОСЕВОМ ТРАВ
──────┬───┬────────┬────────┬──────┬───────┬───────┬──────────┬──────────┬──────────┬──────────┬─────────┬─────┬──────────┬────────┬──────
Дата │КМ,│Объект │Макси- │ Вид │Толщина│Содер- │Расход │ Расход │Вид муль- │Вид │Всхожесть│Тол- │Количество│Оценка │Приме-
произ-│ПК │(выемка,│мальная │грунта│слоя │жание │удобрений,│семян трав│чирующего │пленко- │семян │щина │ побегов │качества│чание
вод- │ │насыпь, │рабочая │ │расти- │гумуса │а также │по видам, │материала │образую- │трав │дер- │на учетной│дернины │
ства │ │водо- │отметка,│ │тель- │в рас- │извест- │кг/1000 м2│и расход, │щего мате-│по видам,│нины,│ площадке │в соот- │
работ │ │отвод) │м │ │ного │титель-│ковых │ │кг/1000 м2│риала │опреде- │см │в 400 см2,│ветствии│
│ │ │ │ │грунта,│ном │материалов│ │ │и расход, │ленная │ │ шт. │с При- │
│ │ │ │ │см │грунте,│по видам, │ │ │кг/1000 м2│непосред-│ │ │ложе- │
│ │ │ │ │ │% │кг/1000 м2│ │ │ │ственно │ │ │нием
35 │
│ │ │ │ │ │ │ │ │ │ │перед │ │ │ │
│ │ │ │ │ │ │ │ │ │ │выполне- │ │ │ │
│ │ │ │ │ │ │ │ │ │ │нием │ │ │ │
│ │ │ │ │ │ │ │ │ │ │укрепи- │ │ │ │
│ │ │ │ │ │ │ │ │ │ │тельных │ │ │ │
│ │ │ │ │ │ │ │ │ │ │работ, % │ │ │ │
──────┼───┼────────┼────────┼──────┼───────┼───────┼──────────┼──────────┼──────────┼──────────┼─────────┼─────┼──────────┼────────┼──────
1 │ 2 │ 3 │ 4 │ 5 │ 6 │ 7 │ 8 │ 9 │ 10 │ 11 │ 12 │ 13 │ 14 │ 15 │ 16
──────┼───┼────────┼────────┼──────┼───────┼───────┼──────────┼──────────┼──────────┼──────────┼─────────┼─────┼──────────┼────────┼──────
│ │ │ │ │ │ │ │ │ │ │ │ │ │ │
Примечания. 1. В графах 6, 8, 9, 10, 11 в числителе даются проектные данные, а в знаменателе фактические.
2. По агротехническим требованиям в растительном грунте, применяемом для укрепления, должно содержаться не менее 2% гумуса.
3. В проектах нормы высева даются для семян трав всхожестью 80%. Если фактическая всхожесть семян трав меньше 80%, то нормы высева соответственно увеличиваются.
4. Качество укрепления по графам 13, 14 и 15 определяется через 3 - 4 месяца после посева трав. В случае, если укрепительные работы производятся в конце августа и позже, качество укрепления определяется в мае - июне следующего года.
СЕЯЛОК АГРЕГАТА НА ТРЕБУЕМУЮ НОРМУ ВЫСЕВА
Перед посевом сеялки агрегата необходимо тарировать на требуемую норму высева семян и удобрений. Для регулирования высева на торцовых стенках двух ящиков для крупных семян и на задней стенке ящика сеялки для мелких семян установлены рукоятки регуляторов и циферблаты, показывающие выдвижение катушек высевающих аппаратов.
Для тарировки сеялок необходимо поднять агрегат на тарировочные козлы, установить под углом 34° к горизонту (положение, в котором он находится на откосе) и снять цепь с катка и контрпривода. Проверить правильность установки катушек высевающих аппаратов, переводя рычаг регулятора на нулевое деление шкалы циферблата. При этом все катушки должны быть закрыты, а торцы их должны быть установлены заподлицо с плоскостью розеток. Если же катушки выступают или утопают в розетках, то необходимо отпустить болты крепления корпуса катушек к ящику и отрегулировать их положение. После этого можно приступить к тарировке.
Сначала тарируют сеялку для высева мелких семян, затем - обе сеялки для высева крупных семян. Первоначально сеялки тарируют на максимальный высев, а затем подбирают положение регулятора, соответствующее требуемой норме высева.
Сеялку для мелких семян надо заполнить семенами наполовину, подостлать брезент или мешковину под агрегат для сбора высыпающихся семян, установить регулятор высева в требуемое положение и специальным съемочным ключом повернуть вал контрпривода пять раз для наполнения высевающих аппаратов семенами. За 27 оборотов вала контрпривода из высевающих аппаратов сеялки высевается количество семян, необходимое для посева на 50 м2 поверхности откоса. Высыпавшиеся семена собирают, взвешивают и, умножив этот вес на два, сравнивают полученную величину с требуемой по нормам на 100 м2.
Тарирование сеялки повторяют три раза, если разница между фактическим высевом и нормой не более 3%, то тарирование считается законченным. Сеялки крупных семян тарируют поочередно: сначала верхнюю, затем - нижнюю. Ящики заполняют на 2/3 их объема. Если количество семян, собранных при тарировке одной из сеялок для крупных семян при полностью открытом регуляторе менее нормы высева, то сеялка тарируется вновь примерно на половинную норму с тем, чтобы вторую половину высевала вторая сеялка.
При тарировании туковой сеялки ее необходимо заполнить минеральными удобрениями на 1/2 объема, а регулятор высева, расположенный на передней стенке, установить на максимум.
Для тарирования туковой сеялки необходимо предварительно передний каток повернуть до полного наполнения тарелок. За 15 оборотов катка высыпается такое количество удобрений, которое требуется для 50 м2 поверхности откосов. Полученный вес следует умножить на два, и результаты сравнить с заданной на 100 м2 нормой высева удобрений.
Все данные тарировки сеялок должны быть занесены в журнал тарировок.
тарировки сеялок агрегата на требуемую норму высева
───┬────────┬──────────┬───────┬────────────┬─────┬───────┬────────────────
N │Высе- │Наимено- │Поло- │Общая масса │Сумма│Средняя│ Высев
п/п│ваемая │вание │жение │семян или │ │масса │ на 100 м2
│культура│тарируемой│регуля-│удобрений за│ │из трех├───────┬────────
│ │сеялки │тора │n оборотов │ │повтор-│по рас-│по тари-
│ │(крупных, │высева │приводного │ │ностей │чету │ровке
│ │мелких │ │катка │ │ │ │
│ │семян, │ │повторности │ │ │ │
│ │удобрений)│ ├───┬───┬────┤ │ │ │
│ │ │ │ 1 │ 2 │ 3 │ │ │ │
───┼────────┼──────────┼───────┼───┼───┼────┼─────┼───────┼───────┼────────
1 │ 2 │ 3 │ 4 │ 5 │ 6 │ 7 │ 8 │ 9 │ 10 │ 11
───┼────────┼──────────┼───────┼───┼───┼────┼─────┼───────┼───────┼────────
│ │ │ │ │ │ │ │ │ │
СРЕДНЯЯ ТОЛЩИНА СРЕЗКИ ПОЧВЕННОГО СЛОЯ ПРИ ЗАГОТОВКЕ
РАСТИТЕЛЬНОЙ ЗЕМЛИ ДЛЯ УКЛАДКИ ЕЕ НА УКРЕПЛЯЕМЫЕ ОБСЕВОМ
ОТКОСЫ ЗЕМЛЯНОГО ПОЛОТНА
─────────────────┬─────────────────────────────────────────────┬───────────
Природные зоны │ Почвы │ Средняя
│ │ толщина
│ │почвенного
│ │ слоя для
│ │срезки, см
─────────────────┼─────────────────────────────────────────────┼───────────
А. Нечерноземная │Дерново-подзолистые: │
│ из-под леса │ 3 - 10
│ окультуренные │ 10 - 20
│ торфоболотные │ 30 - 100
│ │ и более
│Пойменные луговые │ 20 - 40
Б. Лесостепная │Серые лесные (оподзоленные): │
│ из-под леса │ 10 - 15
│ окультуренные │ 15 - 25
│Выщелоченные (деградированные) черноземы │ 20 - 40
│Пойменные, луговые │ 20 - 40
В. Степная │Черноземы типичные │ 30 - 60
│Каштановые: │
│ темно-каштановые │ 25 - 40
│ каштановые │ 20 - 30
│ светло-каштановые │ 15 - 20
│ солонцеватые │ 5 - 15
│Пойменные, луговые │ 15 - 40
Г. Полупустынная │Сероземы: │
и пустынная │ окультуренные │ 15 - 20
│ неокультуренные │ 10 - 15
│Бурые окультуренные │ 5 - 10
│Аллювиально-луговые пойменные │ 15 - 25
Д. Горные районы │Горно-степные │ 10 - 25
│Горно-луговые │ До 20
│Дерново-подзолистые │ До 10
│Красноземы │ 8 - 15
Субподрядчик
Генподрядчик
Заказчик
освидетельствования готовности земляного полотна
перед укладкой пути и передачи его Генподрядчику
на ответственное хранение
Линия железной дороги _____________________________________________________
Перегон ___________________________________________________________________
Участок пути от ПК ______________________ до ПК ___________________________
Наименование и номер пути станции с указанием пикетажа ____________________
Мы, нижеподписавшиеся, представитель заказчика, ___________________________
представитель генерального подрядчика _____________________________________
и представитель субподрядчика _____________________________________________
___________ числа _______________ месяца _________ года _________ произвели
осмотр земляного полотна и установили следующее:
1. Земляное полотно построено по техническому проекту (N рабочих чертежей)
___________________________________________________________________________
2. Очертание и состояние верха земляного полотна __________________________
3. Состояние откосов земляного полотна, их укрепления _____________________
4. Наличие и состояние кюветов, нагорных канав и других водоотводных
сооружений _____________________________________________________________
5. Наличие и состояние кавальеров, резервов, банкетов _____________________
6. Способ производства работ при сооружении земляного полотна _____________
7. Способ и качество уплотнения земляного полотна _________________________
8. Замечания ______________________________________________________________
9. Оценка выполненных работ _______________________________________________
Постановили:
Работы в объеме ____________________________________ признать законченными.
Разрешить приступить к укладке пути от ПК ____________ до ПК ______________
Приложения. Акты на скрытые работы; ведомость контрольной нивелировки и
замеров ширины основной площадки земляного полотна; исполнительные
поперечные профили земляного полотна, сооружаемые по индивидуальным
проектам; выписка из журнала контроля уплотнения земляного полотна.