Главная // Актуальные документы // Акт (форма)СПРАВКА
Источник публикации
М.: ООО Издательство "БСТ", 2014
Примечание к документу
Название документа
"СТО НОСТРОЙ 2.2.77-2012. Стандарт организации. Крановые пути. Требования к устройству, строительству и безопасной эксплуатации наземных крановых путей. Общие технические требования"
(утв. и введен в действие Протоколом Ассоциации "Национальное объединение строителей", "НОСТРОЙ" от 25.10.2012 N 36)
"СТО НОСТРОЙ 2.2.77-2012. Стандарт организации. Крановые пути. Требования к устройству, строительству и безопасной эксплуатации наземных крановых путей. Общие технические требования"
(утв. и введен в действие Протоколом Ассоциации "Национальное объединение строителей", "НОСТРОЙ" от 25.10.2012 N 36)
Утвержден и введен в действие
Протоколом Совета Национального
объединения строителей
от 25 октября 2012 г. N 36
СТАНДАРТ ОРГАНИЗАЦИИ
КРАНОВЫЕ ПУТИ
ТРЕБОВАНИЯ К УСТРОЙСТВУ, СТРОИТЕЛЬСТВУ
И БЕЗОПАСНОЙ ЭКСПЛУАТАЦИИ НАЗЕМНЫХ КРАНОВЫХ ПУТЕЙ
ОБЩИЕ ТЕХНИЧЕСКИЕ ТРЕБОВАНИЯ
Gantry rail
Requirements for design, construction
and safe operation of onshorw crane tracks
General technical requirements
СТО НОСТРОЙ 2.2.77-2012
1 РАЗРАБОТАН | АНО "Научно-исследовательский центр "Путь К" |
2 ПРЕДСТАВЛЕН НА УТВЕРЖДЕНИЕ | Комитетом Национального объединения строителей по системам инженерно-технического обеспечения зданий и сооружений, протокол от 29 августа 2012 г. N 14 |
3 УТВЕРЖДЕН И ВВЕДЕН В ДЕЙСТВИЕ | Решением Совета Национального объединения строителей, протокол от 25 октября 2012 г. N 36 |
4 ВВЕДЕН | ВПЕРВЫЕ |
Настоящий стандарт разработан в целях реализации "Приоритетных направлений деятельности и задач Национального объединения строителей", утвержденных на Всероссийском съезде саморегулируемых организаций, основанных на членстве лиц, осуществляющих строительство, реконструкцию, капитальный ремонт объектов капитального строительства.
Стандарт разработан в соответствии с Программой стандартизации Национального объединения строителей.
Настоящий стандарт направлен на реализацию в Национальном объединении строителей Федерального
закона от 29 декабря 2004 г. N 190-ФЗ "Градостроительный кодекс Российской Федерации", Федерального
закона от 27 декабря 2002 г. N 184-ФЗ "О техническом регулировании", Федерального
закона от 30 декабря 2009 г. N 384-ФЗ "Технический регламент о безопасности зданий и сооружений", Федерального
закона от 01 декабря 2007 г. N 315-ФЗ "О саморегулируемых организациях", Федерального
закона от 21 июля 1997 г. N 116-ФЗ "О промышленной безопасности опасных производственных объектов", Технического
регламента от 18 октября 2011 г. ТР ТС 010/2011. "Технический регламент Таможенного союза. О безопасности машин и оборудования".
Авторский коллектив: Г.М. Банных (АНО "НИЦ "Путь К"), А.Г. Банных (АНО "НИЦ "Путь К"), И.А. Козловский (АНО "НИЦ "Путь К"), В.А. Косов (АНО "НИЦ "Путь К"), Н.С. Селезнев (ООО "ГАММА-Центр), В.Г. Жуков (НП "СРО "МОЛО").
1.1 Настоящий стандарт распространяется на устройство, строительство и безопасную эксплуатацию наземных крановых путей (башенных, козловых, портальных кранов по
ГОСТ 13556,
ГОСТ 27584, режимов работы

ИСО 4301/1, исполнения У, УХЛ, ХЛ по
ГОСТ 15150) с деревянными и железобетонными полушпалами, а также на крановые пути с продольными железобетонными опорными элементами (плиты, балки) и монолитными железобетонными основаниями.
1.2 Стандарт предназначен для инженерно-технических и линейных работников строительных организаций, осуществляющих строительство и эксплуатацию наземных крановых путей.
1.3 Стандарт устанавливает общие требования к устройству, проведению работ по строительству наземных крановых путей при новом строительстве, реконструкции и ремонте, безопасной эксплуатации крановых путей объектов капитального строительства.
1.4 Стандарт распространяется на строительство и эксплуатацию наземных крановых путей как в обычных, так и в особых условиях:
- на крановые пути при работе грузоподъемного крана в стесненных условиях (точечная застройка в населенных пунктах, при нахождении в зоне возможного падения крана на действующие здания и сооружения, тротуары, дороги и т.п.);
- в местностях с карстовыми явлениями;
- на слабых или переувлажненных грунтах;
- на макропористых просадочных грунтах и заболоченных местностях;
- на крановые пути со снежными балластными призмами и в районах вечномерзлых грунтов;
- на косогорах с поперечным уклоном свыше 1:10;
- на участках перегона кранов от объекта к объекту;
- на криволинейных участках пути.
В настоящем стандарте использованы ссылки на следующие стандарты и своды правил:
ГОСТ 12.1.030-81 Система стандартов безопасности труда. Электробезопасность. Защитное заземление. Зануление
ГОСТ 21.704-2011 СПДС. Правила выполнения рабочей документации наружных сетей водоснабжения и канализации
ГОСТ 78-2004 Шпалы деревянные для железных дорог широкой колеи. Технические условия
ГОСТ 103-2006 Прокат сортовой стальной горячекатаный полосовой. Сортамент
ГОСТ 427-75 Линейки измерительные металлические. Технические условия
| | ИС МЕГАНОРМ: примечание. ГОСТ 809-71 утратил силу с 1 марта 2015 года в связи с введением в действие ГОСТ 809-2014 (Приказ Росстандарта от 30.10.2014 N 1468-ст). | |
ГОСТ 809-71 Шурупы путевые. Технические условия
ГОСТ 1451-77 Краны грузоподъемные. Нагрузка ветровая. Нормы и метод определения
ГОСТ 2590-2006 Прокат сортовой стальной горячекатаный круглый. Сортамент
ГОСТ 5180-84 Грунты. Методы лабораторного определения физических характеристик
ГОСТ 5264-80 Ручная дуговая сварка. Соединения сварные. Основные типы, конструктивные элементы и размеры
ГОСТ 5812-82 Костыли для железных дорог широкой колеи. Технические условия
ГОСТ 5915-70 Гайки шестигранные класса точности B. Конструкция и размеры
ГОСТ 7394-85 Балласт гравийный и гравийно-песчаный для железнодорожного пути. Технические условия
ГОСТ 7502-98 Рулетки измерительные металлические. Технические условия
ГОСТ 7512-82 Контроль неразрушающий. Соединения сварные. Радиографический метод
ГОСТ 7798-70 Болты с шестигранной головкой класса точности B. Конструкция и размер
ГОСТ 8193-73 Накладки двухголовые к рельсам типов Р65 и Р75. Конструкция и размеры
ГОСТ 8194-75 Подкладки костыльного скрепления к железнодорожным рельсам типов Р65 и Р75. Конструкция и размеры
ГОСТ 8486-86 Пиломатериалы хвойных пород. Технические условия
ГОСТ 8509-93 Уголки стальные горячекатаные равнополочные. Сортамент
ГОСТ 8732-78 Трубы стальные бесшовные горячедеформированные. Сортамент
ГОСТ 11530-93 Болты для рельсовых стыков железнодорожного пути. Технические условия
ГОСТ 11532-93 Гайки для болтов рельсовых стыков железнодорожного пути. Технические условия
| | ИС МЕГАНОРМ: примечание. ГОСТ 12135-75 утратил силу с 1 марта 2015 года в связи с введением в действие ГОСТ 32694-2014 (Приказ Росстандарта от 22.08.2014 N 930-ст). | |
ГОСТ 12135-75 Подкладки костыльного скрепления к железнодорожным рельсам типа Р50. Конструкция и размеры
ГОСТ 12536-79 Грунты. Методы лабораторного определения гранулометрического (зернового) и микроагрегатного состава
ГОСТ 13556-91 Краны башенные строительные. Общие технические условия
ГОСТ 14782-86 Контроль неразрушающий. Соединения сварные. Методы ультразвуковые
ГОСТ 15150-69 Машины, приборы и другие технические изделия. Исполнения для различных климатических районов. Категории, условия эксплуатации, хранения и транспортирования в части воздействия климатических факторов внешней среды
ГОСТ 16016-79 Болты клеммные для рельсовых скреплений железнодорожного пути. Конструкция и размеры. Технические требования
ГОСТ 16017-79 Болты закладные для рельсовых скреплений железнодорожного пути. Конструкция и размеры. Технические требования
ГОСТ 16018-79 Гайки для клеммных и закладных болтов рельсовых скреплений железнодорожного пути. Конструкция и размеры. Технические требования
ГОСТ 16277-93 Подкладки раздельного скрепления железнодорожных рельсов типов Р50, Р65 и Р75. Технические условия
ГОСТ 19127-73 Накладки двухголовые к рельсам типа Р43. Конструкция и размеры
ГОСТ 19128-73 Накладки двухголовые к рельсам типа Р50. Конструкция и размеры
ГОСТ 19281-89 Прокат из стали повышенной прочности. Общие технические условия
ГОСТ 20522-2012 Грунты. Методы статистической обработки результатов испытаний
ГОСТ 22343-90 Клемма раздельного рельсового скрепления железнодорожного пути. Технические условия
ГОСТ 23407-78 Ограждения инвентарные строительных площадок и участков производства строительно-монтажных работ. Технические условия
ГОСТ 25706-83 Лупы. Типы, основные параметры. Общие технические требования
ГОСТ 27584-88 Краны мостовые и козловые электрические. Общие технические условия
ГОСТ 28514-90 Строительная геотехника. Определение плотности грунтов методом замещения объема
ГОСТ Р 12.4.026-2001 Система стандартов безопасности труда. Цвета сигнальные, знаки безопасности и разметка сигнальная. Назначение и правила применения. Общие технические требования и характеристики. Методы испытаний
ГОСТ Р 51248-99 Пути наземные рельсовые крановые. Общие технические требования
ГОСТ Р 53778-2010 Здания и сооружения. Правила обследования и мониторинга технического состояния
ГОСТ Р 54748-2011 Щебень из плотных горных пород для балластного слоя железнодорожного пути. Технические условия
ГОСТ OIML R 111-1-2009 Государственная система обеспечения единства измерений. Гири классов точности E (индекса 1), E (индекса 2), F (индекса 1), F (индекса 2), M (индекса 1), M (индекса 1 - 2), M (индекса 2), M (индекса 2 - 3) и M (индекса 3). Часть 1. Метрологические и технические требования
ИСО 4301/1-86 Краны грузоподъемные. Классификация
СП 49.13330.2010 "СНиП 12-03-2001 Безопасность труда в строительстве. Часть 1. Общие требования. Актуализированная редакция"
| | ИС МЕГАНОРМ: примечание. В официальном тексте документа, видимо, допущена опечатка: имеется в виду СП 70.13330.2012, а не СП 70.13330.2011. | |
СНиП 12-04-2002 Безопасность труда в строительстве. Часть 2. Строительное производство
СТО НОСТРОЙ 2.33.14-2011 Организация строительного производства. Общие положения
СТО НОСТРОЙ 2.33.51-2011 Организация строительного производства. Подготовка и производство строительных и монтажных работ
Примечание - При пользовании настоящим стандартом целесообразно проверить действие ссылочных стандартов и классификаторов в информационной системе общего пользования - на официальных сайтах национального органа Российской Федерации по стандартизации и НОСТРОЙ в сети Интернет или по ежегодно издаваемым информационным указателям, опубликованным по состоянию на 1 января текущего года. Если ссылочный документ заменен (изменен), то при пользовании настоящим стандартом следует руководствоваться новым (измененным) документом. Если ссылочный документ отменен без замены, то положение, в котором дана ссылка на него, применяется в части, не затрагивающей эту ссылку.
В настоящем стандарте приведены термины в соответствии с Градостроительным
кодексом РФ
[1], Федеральным
законом N 384-ФЗ
[2],
РД 10-117-95 [3], а также следующие термины с соответствующими определениями:
3.1 балластная призма: Элемент верхнего строения кранового пути, укладываемый на земляное полотно, служащий для распределения нагрузок от колес крана через опорные элементы на земляное полотно.
3.2 берма: Расстояние от бровки котлована до основания земляного полотна.
3.3 бровка: Элемент сопряжения откоса с горизонтальной плоскостью грунтового основания.
3.4 верхнее строение кранового пути: Часть кранового пути, состоящая из направляющих со скреплениями и промежуточными скреплениями, опорных элементов (шпал, плит и др.) и балластного слоя.
3.5 земляное полотно: Сооружение, служащее основанием верхнего строения кранового пути, которое воспринимает нагрузку от верхнего строения пути и грузоподъемного крана, равномерно распределяет ее на нижележащий естественный грунт, выравнивает неровности земной поверхности и защищает верхнее строение пути от расстройств, вызываемых изменениями природно-климатической среды.
3.6 крановый путь: Сооружение, предназначенное для передвижения грузоподъемных кранов.
3.7 наземный крановый путь: Крановый путь, опорные элементы которого (шпалы, балки, плиты и т.д.) опираются непосредственно на грунтовое основание.
3.8 направляющая: Элемент кранового пути используемый для направления движения крана.
3.9 плечо балластной призмы: Расстояние по горизонтали от опорного элемента направляющей до бровки балластной призмы.
3.10 промежуточное скрепление: Устройство, обеспечивающее соединение направляющих с опорными элементами (балки, шпалы).
3.11 просадка кранового пути: Накопленная остаточная деформация грунтового основания.
3.12
путевое оборудование: Устройства, обеспечивающие безопасную эксплуатацию кранового пути (тупиковые упоры, ограничители передвижения, ограждения, система заземления, электропитание крана, комплект знаков безопасности) (по
РД 10-117-95 [3]).
3.13 ремонт кранового пути: Восстановление поврежденных или пришедших в негодность элементов кранового пути, а также их замена.
3.14 стыковое скрепление: Элемент кранового пути, обеспечивающий соединение стыков направляющих.
3.15 уклон пути: Отношение разности уровней двух точек кранового пути к расстоянию между ними.
4 Основные положения по организации строительства наземного кранового пути
4.1 Строительство наземного кранового пути ведется в соответствии с требованиями проектной документации.
4.2 Проект на наземный крановый путь может быть самостоятельным (типовой проект или разработанный с учетом особых условий эксплуатации) или являться составной частью проекта на объект капитального строительства.
4.3 Проект на крановый путь разрабатывается организацией по техническому заданию застройщика, разработанному на основании проектной документации на объект капитального строительства, утвержденной и согласованной в соответствии с Градостроительным кодексом РФ
(статья 49) [1].
4.4 При разработке технического задания необходимо руководствоваться требованиями к крановому пути, изложенными в эксплуатационной документации на грузоподъемный кран с учетом его конструктивных особенностей, а также особых условий эксплуатации (ветровые, сейсмические районы).
4.5 Техническое задание на разработку проектной документации на наземный крановый путь составляется на основании изысканий, проектной документации на объект капитального строительства и должно содержать:
- сведения об объекте капитального строительства (ширина, длина, высота и т.д.);
- технические данные из паспорта на грузоподъемный кран, устанавливаемый на крановый путь (грузоподъемность, нагрузка от колеса крана на направляющую, требования к крановому пути и т.д.);
- сведения о перемещаемых грузах (габариты, масса, места установки и т.д.);
- режим работы объекта (сменность) и крана (режим нагружения);
- рекомендуемые типы элементов кранового пути (
разделы 1 -
2 паспорта крана);
- результаты геологических и геодезических изысканий (состав грунтов, уровень грунтовых вод, рельеф стройплощадки и т.д.);
- указание сейсмического, ветрового и климатического района.
4.6 Проектная документация на наземный крановый путь должна содержать:
- рабочие чертежи (планы, разрезы, узлы и детали элементов, конструкций кранового пути, чертежи на комплектующие, а при необходимости чертежи на установку путевого оборудования);
- технические условия (ТУ) на строительство, эксплуатацию и комплектующие кранового пути;
- прочностной расчет кранового пути и его элементов (направляющая, опорные элементы, балластная призма, земляное полотно);
- расчет устойчивости элементов (направляющая, монолитное основание) с учетом сложного сопротивления (вертикальный, горизонтальный изгиб и кручение);
- расчет тупиковых упоров;
- рабочие чертежи на устройство заземления;
- чертежи на конструкцию элемента кранового пути обеспечивающего устойчивость крана против опрокидывания, с учетом
приложения А, в ветровых районах
(ГОСТ 1451);
- чертежи на конструкцию гасителей динамических нагрузок при строительстве кранового пути в районах с повышенной сейсмичностью (более 6 баллов) по
СП 14.13330 в соответствии с ПБ 10-382-00
(подпункт 2.1.6) [4];
- рабочие чертежи на устройство электропитания крана;
- дополнительные технические условия или проект на возведение земляного полотна кранового пути эксплуатирующегося в особых условиях.
4.7 Особые условия эксплуатации крановых путей предполагаются:
- в местностях с карстовыми явлениями;
- на слабых или переувлажненных грунтах;
- на макропористых просадочных грунтах и заболоченных местностях;
- на косогорах с поперечным уклоном свыше 1:10;
- на криволинейных участках пути.
4.8 В проектной документации должны быть предусмотрены:
- предельные величины отклонений контролируемых параметров, периодичность и методы контроля;
- минимальная периодичность осуществления проверок и осмотров состояния элементов кранового пути при строительстве и в процессе эксплуатации;
- сведения для пользователей и эксплуатационных служб о значениях эксплуатационных нагрузок на строительные конструкции кранового пути, которые недопустимо превышать в процессе эксплуатации.
4.9 Все отступления от проекта и настоящего стандарта согласовываются лицом, осуществляющим строительство наземного кранового пути, с разработчиком проекта.
4.10 В состав проекта кранового пути включаются мероприятия по созданию безопасных условий производства работ, обслуживания и эксплуатации наземного кранового пути.
4.11 В технических условиях на изготовление комплектующих кранового пути (промежуточные скрепления, опорные элементы, тупиковые упоры, стяжки) наряду с требованиями к изготовлению и браковочными показателями, необходимо включать требования по контролю качества сварки, порядок приемки отдельных элементов, а также сведения о применяемых для изготовления материалах (сталь, железобетон и др.) и сварочных материалах.
4.13 На все этапы строительства кранового пути (
раздел 6 настоящего стандарта) лицо, осуществляющее строительство, должно иметь проект производства работ (ППР), разрабатываемый проектной организацией.
4.14 Предусмотренное ППР перемещение строительных конструкций кранового пути с использованием вспомогательного грузоподъемного крана осуществляется в соответствии с требованиями ПБ 10-382-00
(подпункт 9.5) [4] и проекта производства работ краном (ППРк), разработанного в соответствии с
РД 11-06-2007 [5].
4.15 Все работы, связанные с прокладкой подземных коммуникаций на строительной площадке кранового пути, должны быть закончены лицом, осуществляющим строительство, к началу возведения кранового пути, что подтверждается актом на скрытые работы по
форме Б.7 (приложение Б), разработанным на основании
РД 11-02-2006 [6].
4.16 На крановом пути следует предусматривать участок длиной не менее 1,5 базы крана для стоянки крана в нерабочее время в соответствии с требованиями ПБ 10-382-00
(подпункт 8.10) [4]. Около участка выставить табличку: "Место стоянки крана".
4.17 Для обеспечения контроля планово-высотного положения элементов кранового пути в процессе строительно-монтажных работ (СМР) необходимо оборудовать площадку знаками геодезической основы в соответствии с
СП 126.13330, СТО НОСТРОЙ 2.33.14,
СТО НОСТРОЙ 2.33.51. Крановый путь, срок эксплуатации которого не превышает один год, может быть оборудован временными закрепляющими знаками геодезической основы в соответствии РД 10-117-95
(подпункт 3.1.7) [3].
4.18 Отклонения планово-высотного положения элементов наземного кранового пути от проектного при строительно-монтажных работах и эксплуатации не должны превышать значений, приведенных в проекте на крановый путь, в соответствии с требованиями эксплуатационной документации на кран или рекомендуемых
таблицей В.1 (приложение В).
4.19 При строительстве наземного кранового пути необходимо производить контроль выполненных работ на всех этапах строительства кранового пути (нижнее строение кранового пути, верхнее строение кранового пути, опорные элементы кранового пути, направляющие кранового пути, путевое оборудование) в соответствии с настоящим стандартом.
4.20 По окончании каждого этапа строительства составляется акт выполненных работ в соответствии формами
приложения Б с исполнительной геодезической съемкой в соответствии с
РД 11-02-2006 [6]. Акты на выполненные этапы работ хранятся у лица, осуществляющего строительство, до сдачи-приемки кранового пути в эксплуатацию.
4.21 Лицо, осуществляющее строительство, хранит комплект эксплуатационной документации:
5 Устройство наземного кранового пути
5.1 Наземный крановый путь включает нижнее строение, верхнее строение и путевое оборудование.
5.2 Общий вид (план), продольный и поперечный профиль наземных крановых путей показан на рисунке 5.1
а) план кранового пути; б) схема расположения пути;
в) продольный профиль кранового пути;
г) поперечный профиль кранового пути
Д - расстояние от оси здания до оси направляющей
кранового пути с учетом выступающих конструкций
здания и габаритов крана; Bз - ширина земляного полотна;
Bбп - ширина балластной призмы; Bоп - длина опорного
элемента (полушпалы); hб - высота балластного слоя
под опорным элементом; Lб - плечо балластной призмы;
К - колея кранового пути; Л - расстояние
до складируемого груза;
1 - ограждение; 2 - заземление; 3 - стяжка; 4 - отключающая
линейка; 5 - тупиковые упоры; 6 - направляющая; 7 - опорный
элемент (полушпала); 8 - балластная призма; 9 - насыпной
грунт (земляное полотно); 10 - основной грунт площадки;
11 - водоотвод; I - ось направляющей; II - ось кранового
пути. 6, 7, 8 - верхнее строение кранового пути;
9, 10, 11 - нижнее строение кранового пути
Рисунок 5.1 - План, продольный и поперечный профиль,
основные конструктивные элементы и геометрические размеры
наземного кранового пути
5.3 В состав нижнего строения наземного кранового пути входят земляное полотно и водоотвод. Общий вид нижнего строения кранового пути показан на рисунке 5.2.
а) у котлована строящегося объекта; б) в выемке или нулевом
месте; в) с насыпью; г) на слабых и переувлажненных грунтах
Bзп - ширина земляного полотна; Bб - берма; B - расстояние
от оси направляющей до бровки котлована;
hк - глубина котлована; hзпmin - минимальная величина
возвышения бровки насыпи;
1 - ось направляющей кранового пути; 2 - основной грунт;
3 - водоотвод; 4 - насыпной грунт; 5 - котлован;
6 - копеляропрерывающий слой
Рисунок 5.2 - Нижнее строение кранового пути
5.3.1 Конструкция земляного полотна определяется условиями:
- рельефа площадки строительства кранового пути (возвышение, косогор, низина) (изображения а) и б),
рисунок 5.2);
- вида грунта площадки строительства кранового пути (просадочные грунты, водонасыщенные грунты) (изображения в) и г),
рисунок 5.2);
- земляного полотна кранового пути, совмещенного с земляным полотном автомобильной дороги, железной дороги и площадки складирования (рисунок 5.3).
а, б) с железнодорожным путем; в) с автодорогой;
г, д) со складской площадкой
1 - земляное полотно; 2 - балластная призма;
3 - водоотводная канава; 4 - ось направляющей;
5 - ось железной дороги; 6 - ось автомобильной дороги
Рисунок 5.3 - Поперечный профиль наземного
кранового пути на общем земляном полотне
5.3.2 При возведении земляного полотна на слабых основаниях, водонасыщенных, глинистых, лессовых и просадочных грунтах минимальную величину возвышения бровки насыпи hзпmin над уровнем длительного (более 20 дней) стояния поверхностных вод или над уровнем грунтовых вод (у.г.в.) в зависимости от вида грунтов земляного полотна и глубины сезонного промерзания следует принимать согласно таблице 5.1.
Таблица 5.1
Необходимое возвышение бровки земляного полотна
над уровнем поверхностных и грунтовых вод
Грунты земляного полотна | Минимальная величина возвышения бровки земляного полотна hзпmin над уровнем грунтовых вод или длительного (более 20 дней) стояния поверхностных вод при глубине промерзания, м |
1,0 | 1,5 | 2,0 | 2,5 и более |
Водопроницаемые грунты | 0,40 | 0,70 | 0,90 | 1,00 |
Неводопроницаемые грунты: мелкие, пылеватые, пески и супеси | 0,70 | 1,00 | 1,20 | 1,35 |
Суглинки и глины | 0,80 | 1,20 | 1,35 | 1,70 |
5.3.3 В конструкциях земляного полотна, возводимого из неводопроницаемых грунтов, на местности с постоянным избыточным увлажнением грунта, нижняя часть насыпи должна состоять из водостойких грунтов (песок, песчано-гравийная смесь и т.п.) толщиной не менее 200 мм, а на отметке выше горизонта расчетного подтопления на 300 мм должен быть капилляропрерывающий слой толщиной не менее 150 мм из гравия или щебня
(ГОСТ Р 54748).
5.3.4 Для возведения земляного полотна применяются следующие виды грунтов в соответствии с
ГОСТ 25100:
а) водопроницаемые:
1) скальные грунты;
2) крупнообломочные грунты;
3) песчаные грунты;
б) неводопроницаемые:
1) суглинки и супесь;
2) глинистые грунты.
5.3.5 Плотность (объемная масса скелета) сухого грунта земляного полотна (выемки и нулевого места) должна быть не менее:
- 1,7 г/см3 для мелких и пылеватых песков;
- 1,65 г/см3 для супесей и суглинков;
- 1,55 г/см3 для тяжелых суглинков;
- 1,5 г/см3 для пылеватых суглинков;
- 1,5 г/см3 для глин.
5.3.6 Если плотность основного грунта площадки строительства кранового пути соответствует требованиям проекта и настоящего стандарта, то земляное полотно кранового пути возводится из основного грунта строительной площадки.
5.3.7 Земляное полотно возводится из основного или насыпного грунта, или из их смеси, виды грунтов должны соответствовать требованиям
5.3.4.
5.3.8 Земляное полотно может возводиться на планировочных насыпях (для выравнивания площадки), на подсыпочных насыпях (для приведения площадки к проектной отметке) и распределительных насыпях (для распределения нагрузок от крана при строительстве кранового пути), на слабых основаниях, переувлажненных грунтах.
5.3.9 Поперечный уклон поверхности земляного полотна выполняется в сторону водоотводных канав в соответствии с проектом кранового пути для отвода воды с поверхности земляного полотна.
5.3.10 Земляное полотно, сложенное из водопроницаемого грунта, может выполняться без уклона.
5.3.11 Для удаления поверхностных вод и понижения уровня грунтовых вод от земляного полотна кранового пути предусматривается водоотвод, дренаж или ливневая канализация.
5.3.12 Отвод поверхностных вод с кранового пути, выполненного на уровне с проезжей частью, осуществляется с помощью создания уклона, соответствующего общему уклону площадки складирования, или ливневой канализации открытого или закрытого типа. Техническая документация должна отвечать требованиям
ГОСТ 21.704.
5.3.13 Водоотводные канавы, с уклоном дна не менее 0,003 следует располагать по оси пути и при двухскатном земляном полотне по обеим сторонам (при односкатном земляном полотне - с одной стороны). Водоотводные канавы включаются в общую систему водоотвода площадки строительства (РД 11-06-2007
(пункт 19.6) [5]).
5.3.14 Водоотводные канавы допускается засыпать высокодренирующим материалом (щебнем, гравием, крупнозернистым песком
ГОСТ Р 54748) (РД 10-117-95
(пункт 3.3.19) [3]).
5.4 Конструкция верхнего строения кранового пути приведена на рисунке 5.4 с геометрическими параметрами, размерами и условными обозначениями.
а) на деревянных полушпалах; б) на железобетонных
полушпалах; в) на железобетонных плитах
1 - направляющая; 2 - опорный элемент; 3 - балластная
призма; 4 - промежуточные скрепления; Bз - ширина земляного
полотна; Bбп - ширина балластной призмы; Bоп - длина
опорного элемента (полушпалы); hб - высота балластной
призмы; 1:m - крутизна откоса); hп - высота плеча
балластной призмы
Рисунок 5.4 - Верхнее строение кранового пути
5.4.1 В состав верхнего строения наземного кранового пути входят:
- стыковые и промежуточные скрепления (см.
рисунок 5.4, позиция 4);
- путевое оборудование (см.
рисунок 5.1, позиции 1, 2, 3, 4, 5).
5.4.2 Балластная призма передает давление от опорных элементов кранового пути на земляное полотно.
5.4.3 Параметры балластной призмы (высота балластной призмы hб, высота плеча балластной призмы hп, ширина балластной призмы Bбп) приведены в проекте кранового пути, определенные расчетом на стадии проектирования исходя из двух условий:
- в зависимости от конструкции опорных элементов и давления колес крана на направляющую кранового пути;
- в зависимости от условия пучения грунтов земляного полотна.
5.4.4 Минимальную высоту балластной призмы h6 принимают не менее 100 мм. Высоту плеча балластной призмы hп для полушпал принимают не менее 2/3 их высоты, а для балок и плит - не менее 50 мм.
5.4.5 В качестве материала для отсыпки балластной призмы наземного кранового пути следует применять щебень из природного камня по
ГОСТ Р 54748, гравий или гравийно-песчаную смесь, песок по
ГОСТ 7394, а также гранулированные и доменные шлаки, гранулометрический состав которых приведен в таблице 5.2.
Таблица 5.2
Гранулометрический состав балластного материала
Вид балластного материала | Размер частиц фракций, мм | Содержание частиц фракций по массе, % не менее | Допуски | Примечание |
Максимальный размер частиц, мм | Содержание частиц по массе, % |
более верхнего предела крупности фракции | менее верхнего предела крупности фракции | размером менее 0,14 мм | песка размером до 3 мм |
Шлак гранулированный | 0,5 - 3,0 | 90 | - | 5 | 10 | 4 | - | - |
Шлак доменный | 3 - 60 | 50 - 80 | 80 | 20 | 30 | 4 | 20 - 50 | Прочность на сжатие должна быть не менее 0,4 МПа |
5.4.6 Использование металлургических шлаков не допускается.
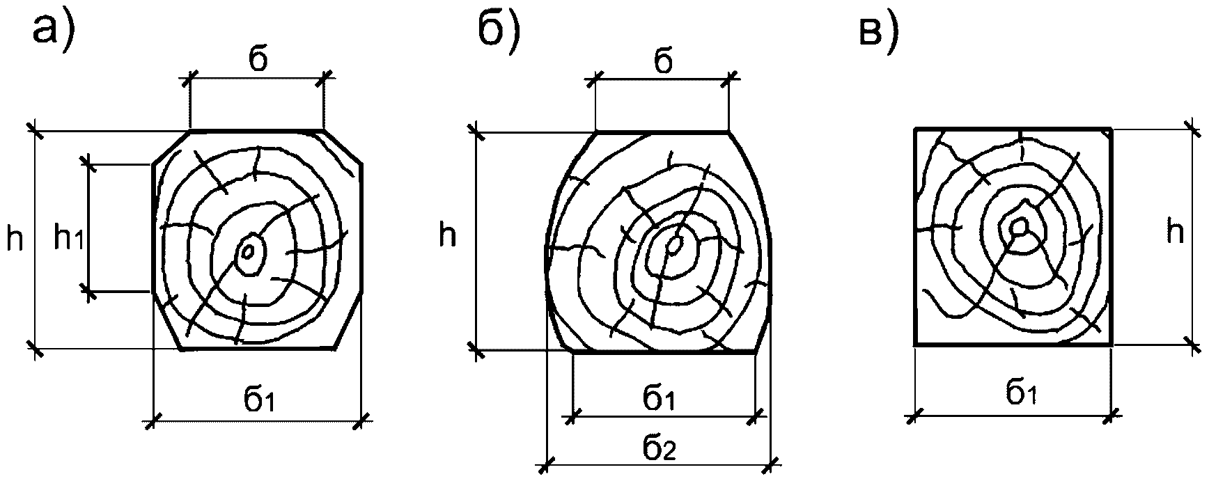
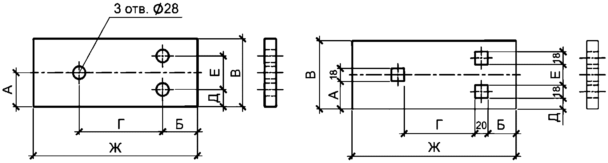
5.4.7 В качестве опорных элементов наземного кранового пути рекомендуется применять деревянные или железобетонные полушпалы, продольные балки, плиты, монолитные основания из железобетона, соответствующие проектно-конструкторской документации. Общий вид и основные параметры опорных элементов приведенные в
приложении Г
5.4.8 При строительстве кранового пути на монолитном железобетонном основании необходимо обеспечить глубину заложения опорных элементов с учетом глубины промерзания и уровня грунтовых вод по таблице 5.3.
Таблица 5.3
Глубина заложения монолитного основания
Грунты под подошвой монолитного железобетонного основания | Глубина заложения монолитного основания в зависимости от глубины расположения уровня грунтовых вод dw, м, при |
dw <= df + 2 | dw > df + 2 |
Скальные, крупнообломочные с песчаным заполнителем, пески гравелистые, крупные и средней крупности | Не зависит от df | Не зависит от df |
Пески мелкие и пылеватые | Не менее df | Не зависит от df |
Супеси с показателем текучести IL < 0 | Не менее df | То же |
То же, при IL >= 0 | То же | Не менее df |
Суглинки, глины, а также крупнообломочные грунты с глинистым заполнителем при показателе текучести грунта или заполнителя IL >= 0,25 | " | То же |
То же, при IL < 0,25 | " | Не менее 0,5df |
Примечание - В случаях, когда глубина заложения монолитного основания не зависит от расчетной глубины промерзания df, соответствующие грунты, указанные в настоящей таблице, должны залегать до глубины не менее нормативной глубины промерзания dfn.
5.4.9 В качестве направляющих для наземного кранового пути применяются:
5.4.10 При строительстве и эксплуатации крановых путей параметры направляющих должны соответствовать приведенным на рисунке 5.5.
Тип рельса | bп, мм | b1, мм | b2, мм | H1, мм | H2, мм | hr, мм | Масса кг/м | Приведенный износ, мм |
Р43 | 114 | 70,0 | 59,50 | 140 | 133,70 | 42 | 44,60 | 10,5 |
Р50 | 132 | 72,0 | 61,20 | 152 | 145,70 | 42 | 51,67 | 11,0 |
Р65 | 150 | 75,0 | 63,75 | 180 | 173,25 | 45 | 64,72 | 11,5 |
Р75 | 150 | 71,8 | 61,30 | 192 | 183,75 | 55 | 74,41 | 12,0 |
КР80 | 130 | 87,0 | 73,95 | 130 | 124,75 | 35 | 64,24 | 10,5 |
КР100 | 150 | 108,0 | 918,00 | 150 | 140,00 | 40 | 89,05 | 12,0 |
КР120 | 170 | 129,0 | 109,65 | 170 | 163,25 | 45 | 118,29 | 14,5 |
КР140 | 170 | 150,0 | 127,50 | 170 | 162,50 | 50 | 146,92 | 16,5 |
Примечание - Приведенный износ головки рельса - это вертикальный износ плюс половина горизонтального.
а) рельс Р; б) рельс КР
H1 - высота рельса; H2 - высота изношенного рельса;
hr - высота головки; b1 - ширина головки;
b2 - ширина изношенной головки; bп - ширина подошвы
Рисунок 5.5 - Общий вид и размеры рельсов
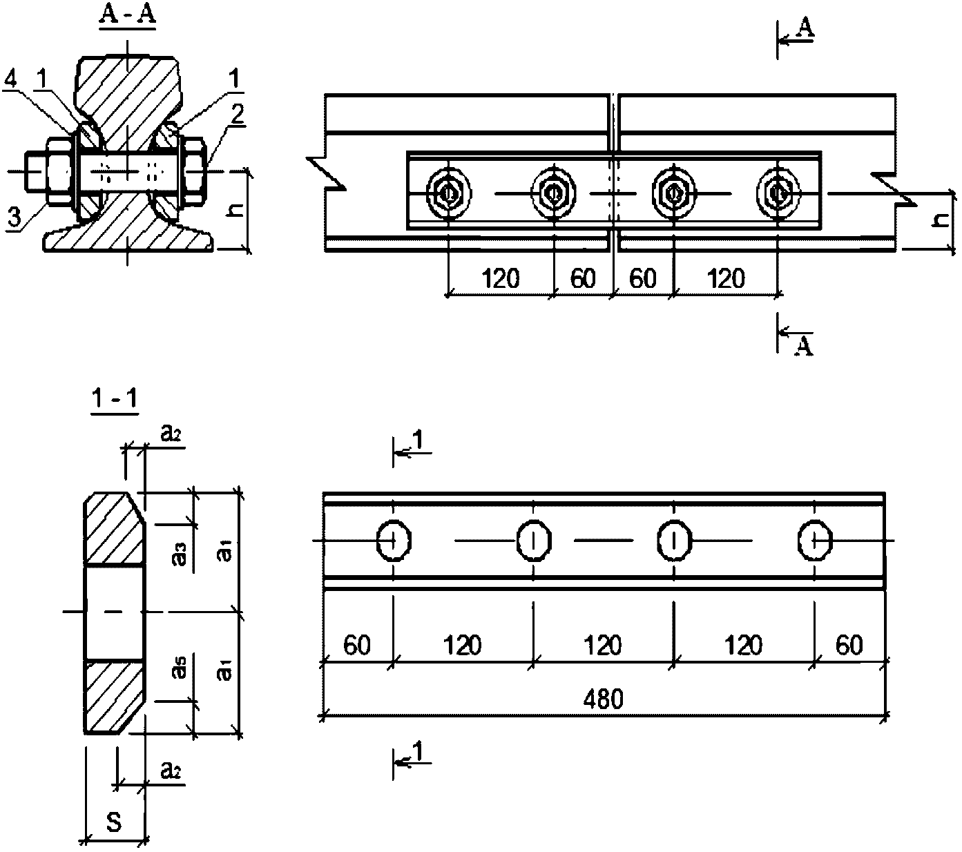
5.4.11 Для исключения горизонтальных и вертикальных смещений торцов направляющих в стыке их необходимо крепить с помощью стыковых скреплений между собой. Стыковые скрепления целесообразно выполнять разъемными (
рисунок 5.6 для направляющих типа Р и
рисунок 5.7 для направляющих типа КР) при малом сроке эксплуатации кранового пути и неразъемными при длительном сроке эксплуатации кранового пути. Выполнение стыковых скреплений направляющих кранового пути обязательно.
5.4.12 Для рельсов Р43, Р50, Р65, Р75 по
ГОСТ Р 51685 в качестве разъемных стыковых скреплений применяют двухголовые, четырех- или шестидырные железнодорожные накладки по
ГОСТ 19127,
ГОСТ 19128,
ГОСТ 8193 (рисунок 5.6, позиция 1), одновитковые шайбы пружинные по
ГОСТ 19115 (рисунок 5.6, позиция 4), болты для рельсовых стыков по
ГОСТ 11530 (рисунок 5.6, позиция 3) и гайки по
ГОСТ 11532 (рисунок 5.6, позиция 2).
Тип рельса | А | Б | В | Г | Д | Е | Ж | З | И | Л | Число отверстий | Масса 1 шт., кг |
Р43 | 65 | 160 | 110 | 120 | 24 | 32 | 94 | - | - | 790 | 3 | 3 | 16,0 |
Р43 | 65 | - | - | - | 24 | - | 94 | 110 | 120 | 470 | - | 4 | 16,0 |
Р50 | 50 | 140 | 150 | 140 | 26 | 34 | 104 | - | - | 820 | 3 | 3 | 18,8 |
Р50 | 50 | - | - | - | 26 | - | 104 | 150 | 140 | 540 | - | 4 | 18,8 |
Р65 | 49 | 130 | 220 | 202 | 30 | 40 | 127 | - | - | 1000 | 3 | 3 | 29,1 |
Р65 | 79 | - | - | - | 28 | - | 127 | 220 | 202 | 800 | - | 4 | 29,1 |
Р75 | 70 | - | - | - | 32 | - | 127 | 165 | 435 | 900 | - | 4 | 29,1 |
а) шестидырные; б) четырехдырные
1 - накладка двухголовая; 2 - гайка; 3 - болт; 4 - шайба
Рисунок 5.6 - Общий вид и размеры стыковых
разъемных скреплений для рельсов типа Р
5.4.13 Для разъемных стыковых скреплений рельсов крановых КР70, КР80, КР100, КР120, КР140 по
ГОСТ 4121 применяют специальные накладки по серии 1.426.2-7
[7] (рисунок 5.7, позиция 1) с комплектом болтов по
ГОСТ 7798 (рисунок 5.7, позиция 3), гаек по
ГОСТ 5915 (рисунок 5.7, позиция 2) и шайб по
ГОСТ 11371 (рисунок 5.7, позиция 4). Накладки для рельсов крановых КР70, КР80, КР100 изготавливаются из специальных марок стали ВСт3пс6-1 (например по ТУ 14-1-3032-80
[8]), а для КР120 и КР140 из стали марок 09Г2С-12 по
ГОСТ 19281.
Тип направляющей | h | a1 | a2 | a3 | a4 | a5 | S |
КР70 | 48 | 30 | 5 | 8 | 8 | 7 | 16 |
КР80 | 51 |
КР100 | 58 | 35 | 6 | 9 | 9 | 9 | 20 |
КР120 | 66 | 40 | 7 | 11 | 12 | 12 | 25 |
КР140 | 70 | 45 | 11 | 17 | 15 | 12 | 30 |
1 - специальная накладка; 2 - болт;
3 - гайка; 4 - шайба пружинная
Рисунок 5.7 - Общий вид и размеры разъемного
стыкового скрепления для рельсов типа КР
5.4.14 Для соединения направляющих с опорными элементами применяются промежуточные скрепления. Общий вид промежуточных скреплений на деревянных и железобетонных опорных элементах показан на рисунке 5.8.
I) раздельного типа; II) нераздельного типа
а) шурупы; б) костыли; в) закладные болты
1 - направляющая; 2 - шуруп путевой; 3 - прижим;
4 - подкладка плоская; 5 - костыль; 6 - опорный элемент;
7 - подкладка СД; 8 - прокладка резиновая ЦП; 9 - подкладка
СК; 10 - клемма промежуточная; 11 - болт клеммный;
12 - прокладка резиновая ЦП; 13 - гайка; 14 - двухвитковая
шайба; 15 - подкладка СК; 16 - болт закладной;
17 - прокладка; 18 - шпилька
Рисунок 5.8 - Промежуточные скрепления направляющих
на деревянных и железобетонных опорных элементах
| | ИС МЕГАНОРМ: примечание. ГОСТ 12135-75 утратил силу с 1 марта 2015 года в связи с введением в действие ГОСТ 32694-2014 (Приказ Росстандарта от 22.08.2014 N 930-ст). | |
5.4.15 При установке направляющих на деревянные полушпалы применяются промежуточные скрепления нераздельного типа Д0 (костыльное скрепление с подкладками СД по
ГОСТ 8194, ГОСТ 12135) и раздельного типа Д2 (шурупное скрепление с подкладками СК по
ГОСТ 16277), для железобетонных опорных элементов применяются скрепления раздельного типа КБ (скрепление с подкладками СК по
ГОСТ 16277)
(рисунок 5.8).
5.4.16 Промежуточное скрепление направляющих кранового пути нераздельного типа Д0 состоит из:
5.4.17 Промежуточные скрепления направляющих кранового пути на деревянных полушпалах раздельного типа Д2 и на железобетонных полушпалах раздельного типа КБ состоят из:
| | ИС МЕГАНОРМ: примечание. ГОСТ 809-71 утратил силу с 1 марта 2015 года в связи с введением в действие ГОСТ 809-2014 (Приказ Росстандарта от 30.10.2014 N 1468-ст). | |
- шурупа путевого по ГОСТ 809 (для деревянных полушпал) (
рисунок 5.8, позиция 2);
- прокладки резиновой по ТУ 2539-161-01124323-2003
[9] (
рисунок 5.8, позиции 8, 12, 17).
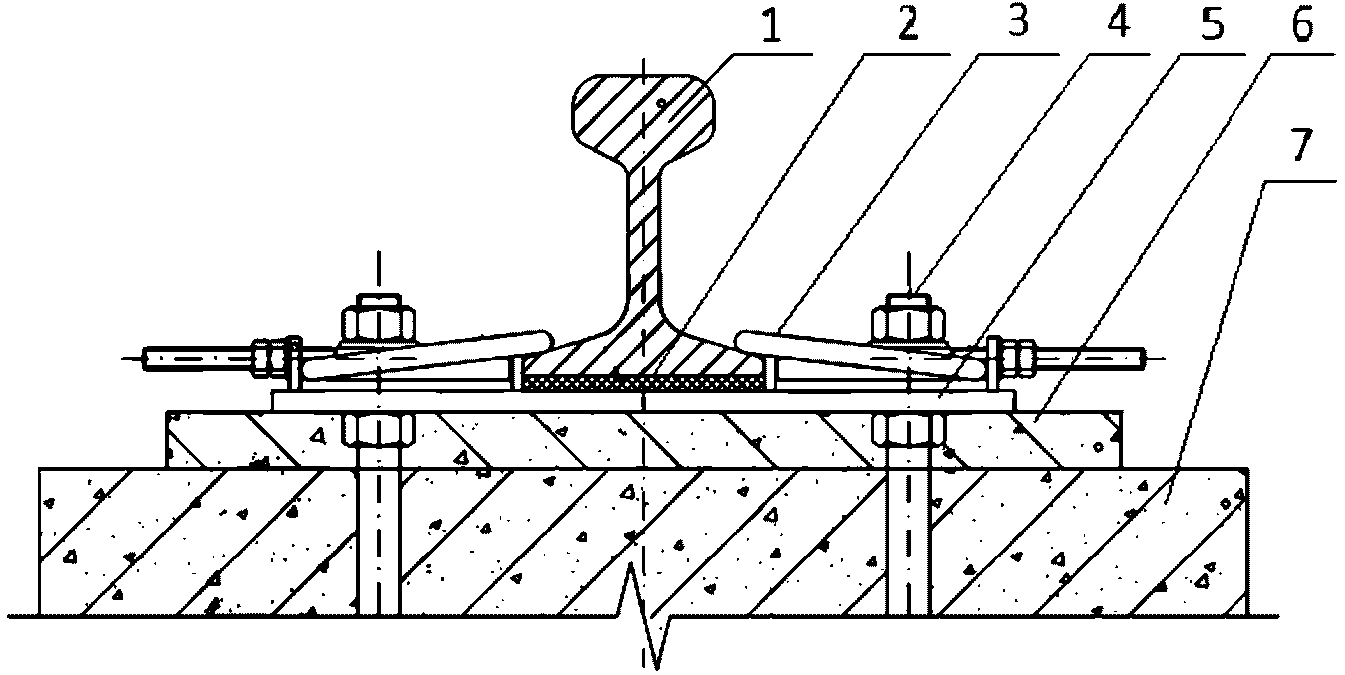
5.4.18 Общий вид промежуточных скреплений направляющих на железобетонном монолитном основании показан на рисунке 5.9. Элементы промежуточного скрепления изготавливаются заводом-изготовителем по конструкторской документации проектной организации.
1 - направляющая; 2 - упругая прокладка; 3 - промежуточное
скрепление УПК-1; 4 - анкерный болт; 5 - опорная плита;
6 - подливка безусадочного раствора; 7 - монолитное
железобетонное основание
Рисунок 5.9 - Промежуточное скрепление направляющих
на железобетонном монолитном основании
5.4.19 Конструкция промежуточного скрепления на железобетонных опорных элементах должна включать упругие прокладки - амортизаторы по ТУ 2539-161-01124323-2003
[9], рассчитанные, при проектировании, для обеспечения упругой податливости кранового пути. Для районов с повышенной сейсмичностью параметры упругих прокладок - амортизаторов определяются расчетами на стадии проектирования.
5.4.20 В состав путевого оборудования входят:
- тупиковые упоры;
- ограничители передвижения;
- лоток для предотвращения износа токоподводящего кабеля;
- система заземления;
- ограждение (для башенных кранов);
- стяжки для колеи крановых путей до 6 м включительно (для башенных кранов);
- конструкция элемента кранового пути, обеспечивающая устойчивость крана против опрокидывания в нерабочем состоянии при эксплуатации кранового пути в ветровых районах с

по
ГОСТ 1451.
5.4.21 Тупиковые упоры являются устройствами безопасности, обеспечивающими безопасную эксплуатацию грузоподъемного крана, гашение остаточной скорости и предотвращение схода крана с кранового пути в аварийных ситуациях. Общий вид, рекомендованных к установке в качестве путевого оборудования, тупиковых упоров ударного и безударного типа показан на рисунке 5.10.
а), б) безударного типа; в), г) ударного типа
1 - тупиковый упор; 2 - направляющая; 3 - накладка;
4 - упругий амортизатор
Рисунок 5.10 - Тупиковые упоры
5.4.22 Для своевременного отключения механизма передвижения крана на конечных участках кранового пути необходимо устанавливать ограничители передвижения (рисунок 5.11).
а) линейка отключающая; б) копир
* - размеры принимаются в соответствии с конструкцией крана
Рисунок 5.11 - Ограничители передвижения крана
5.4.23 Конструкция ограничителей передвижения должна соответствовать установленному на кране типу концевого выключателя указанному в паспорте на кран.
5.4.24 Ограничители в виде линейки отключающей (изображение а),
рисунок 5.11) с концевым выключателем типа КУ-701 и в виде копира (изображение б),
рисунок 5.11) с концевым выключателем типа КУ-704 применяются на крановом пути независимо от конструкции опорных элементов (РД 10-117-95
(пункт 3.5.6) [3]).
5.4.25 Во избежание попадания токоподводящего кабеля крана на направляющие кранового пути, в соответствии с проектом на крановый путь, следует:
- для кранов, оборудованных кабельным барабаном, спланировать грунт до уровня верха опорных элементов или установить лоток из деревянных или других материалов
(рисунок 5.12);
- для кранов без кабельного барабана установить лоток соответствующий конструкции крана.
5.4.26 Общий вид и основные установочные размеры лотков приведены на рисунке 5.12.
а) из древесины; б) железобетонные лотки для кранов
с троллейной подводкой электропитания
L - длина лотка
Рисунок 5.12 - Лоток для укладки кабеля
5.4.27 Направляющие кранового пути башенных кранов скрепляют поперечными стяжками (
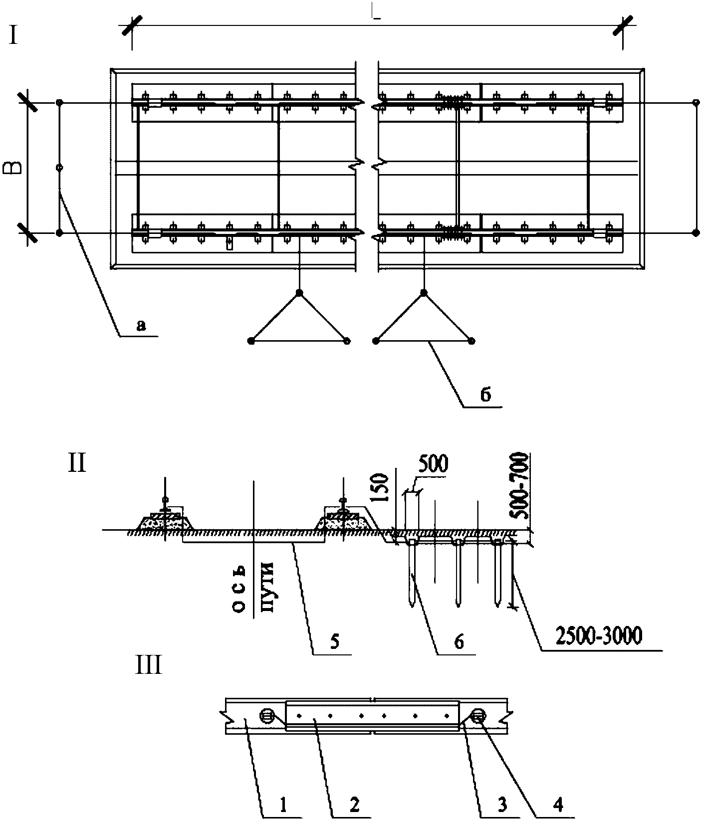
рисунок 5.1, позиция 3). Обязательно должны быть установлены стяжки в начале и конце кранового пути. Стяжки устанавливают не менее одной на инвентарную секцию или с шагом 6,25 м в соответствии с
ГОСТ Р 51248. Размеры и прикрепления стяжек к направляющим наземного кранового пути показаны на рисунке 5.13.
Ширина колеи, м | 4,5 | 6,0 | 7,5 |
Длина стяжки L, мм | 4380 | 5880 | 7380 |
Масса стяжки, H | 25,0 | 29,0 | 40,0 |
I) составная из трубы и узел
крепления стяжки; II) из швеллера
Рисунок 5.13 - Стяжки для кранового пути башенных кранов
5.4.29 Наземный крановый путь должен быть оборудован системой заземления, выполненной в соответствии с требованиями ППР, ПУЭ
[10] и настоящего стандарта. Общий вид заземления приведен на рисунке 5.14.
I) расположение заземлителей:
а) по прямой линии; б) треугольное;
II) схема соединения вертикальных заземлителей;
III) прикрепление соединительных
проводников и перемычек к направляющим
1 - направляющая; 2 - стыковая накладка; 3 - перемычка;
4 - промежуточная пластина; 5 - проводник; 6 - заземлитель
Рисунок 5.14 - Заземление наземного кранового пути
5.4.30 В соответствии с требованиями РД 11-06-2007
(пункт 19.10) [5] крановый путь башенных кранов должен иметь ограждение по
ГОСТ 23407.
6 Правила выполнения работ по строительству наземного кранового пути
6.1 Лицу, осуществляющему строительство кранового пути, необходимо выполнить следующие подготовительные работы:
- очистить площадку строительства кранового пути от строительного мусора, посторонних предметов, а в зимнее время - от снега и наледи;
- плодородный грунт (почва) снять на установленную проектом толщину со всей поверхности, занимаемой земляным полотном;
- до начала строительства кранового пути выполнить работы по строительству дренажей и прокладке различных коммуникаций в основании земляного полотна;
- на площадке строительства кранового пути установить разбивочные оси кранового пути и высотные отметки в соответствии с проектом на крановый путь.
6.3 Уклон откоса в месте примыкания земляного полотна к котловану должен приниматься по таблице 6.1 согласно
СНиП 12-04.
Таблица 6.1
Крутизна откосов
Грунты | Крутизна откосов при глубине выемки, м |
до 1,5 | от 1,5 до 3,0 | от 3,0 до 5,0 |
Насыпной, естественной влажности | 1:0,67 | 1:1 | 1:1,25 |
Песчаный и гравелистый влажные | 1:0,50 | 1:1 | 1:1 |
Супесь | 1:0,25 | 1:0,67 | 1:0,85 |
Суглинок | 1:0 | 1:0,50 | 1:0,75 |
Глина | 1:0 | 1:0,25 | 1:0,50 |
Лессовый грунт сухой | 1:0 | 1:0,50 | 1:0,50 |
6.4 Коэффициент уплотнения насыпного грунта земляного полотна должен соответствовать значениям, приведенным в таблице 6.2. Грунт земляного полотна необходимо доуплотнить, если полученные значения менее приведенных в таблице.
Таблица 6.2
Коэффициент уплотнения насыпного грунта земляного полотна
Вид грунта в насыпи | Значения коэффициентов уплотнения Кcom грунтов при нагрузке от колеса на рельс КН(тс) |
180 - 220 (18 - 22) | 221 - 260 (22,1 - 30) | 261 - 30 (26,1 - 30) | > 300 (> 30) |
Распределительные насыпи: | | | | |
песчаные грунты | 0,94 | 0,95 | 0,96 | 0,96 |
пылевато-глинистые грунты | 0,95 | 0,96 | 0,97 | 0,97 |
Планировочные и подсыпочные насыпи: | | | | |
песчаные грунты | 0,93 | 0,94 | 0,95 | 0,95 |
пылевато-глинистые грунты | 0,94 | 0,95 | 0,96 | 0,96 |
6.5 Уплотнение земляного полотна должно производиться при оптимальной влажности грунта, приведенной в таблице 6.3 (
РД-10-117-95 [3]), если влажность грунта отличается от оптимальной, то грунт необходимо увлажнить или осушить до оптимальной влажности. Влажность грунта определяется по
ГОСТ 5180,
ГОСТ 30416,
ГОСТ 20522.
Таблица 6.3
Оптимальная влажность грунта
Вид грунта | Оптимальная влажность, % |
Песок | 8 - 12 |
Супесь | 9 - 15 |
Суглинок | 12 - 18 |
Тяжелый суглинок | 15 - 22 |
Пылеватый суглинок | 17 - 23 |
Глина | 18 - 25 |
6.6 При возведении земляного полотна из насыпного грунта не допускается:
- применять грунты с примесью строительного мусора, древесных отходов, гниющих или подверженных набуханию включений, льда, снега, дерна;
- применять неводопроницаемый грунт (глину, суглинок) в смеси с дренирующим;
- прикрывать слой высоко дренирующего грунта грунтом с меньшей дренирующей способностью;
- укладывать мерзлый грунт, а также талый в смеси с мерзлым;
- уплотнять грунты поливкой воды в зимнее время;
- возводить полотно во время интенсивного снегопада без принятия мер по защите насыпного грунта от включений снега.
6.7 Насыпной грунт укладывается слоями с обязательным послойным уплотнением. Толщина уплотняемого слоя определяется в зависимости от вида и естественной плотности грунта, а также от вида и типа грунтоуплотняющих машин и оборудования. Примерный перечень машин и оборудования приведен в таблице 6.4, при использовании других машин и оборудования толщина уплотняемого слоя и количество проходов определяются проектом производства работ.
Таблица 6.4
Зависимость толщины уплотненного слоя грунта
от типа уплотняющих машин и механизмов
Тип уплотняющих машин и механизмов (диаметр, м (d); масса, т; вес, кН (Q)) | Толщина уплотненного слоя грунта, м | Количество проходов или ударов трамбовки по одному следу |
гравелисто-пылеватого | песчано-глинистого |
Трамбовки (свободно-падающие к экскаватору) | | | |
d = 1,2, Q = 2,5; | 2,20 | 2,0 | 10 - 12 |
d = 1,4, Q = 3,5; | 2,60 | 2,4 | 10 - 12 |
d = 1,6, Q = 4,5 | 3,00 | 2,7 | 10 - 12 |
Катки на пневмашинах массой: | | | |
12,5 - 16,0 | 0,40 | 0,3 | 10 - 12 |
22,5 - 25,0 | 0,50 | 0,4 | 10 - 12 |
30,0 - 36,0 | 0,60 | 0,5 | 10 - 12 |
Груженые автомобили | | | |
КрАЗ | 0,50 | 0,4 | 10 - 12 |
КамАЗ | 0,35 | 0,3 | 10 - 12 |
Трамбующие машины: | | | |
ДУ-12А, ДУ-12Б | 1,20 | 1,0 | 2 - 3 |
Тракторы (бульдозеры): | | | |
Т-140, Т-100 | 0,25 | 0,2 | 8 - 10 |
Вибрационные катки массой: | | | |
1,8 - 2,2 | 0,60 | - | 2 - 3 |
5,0 - 8,0 | 1,00 - 1,20 | - | 2 - 3 |
Вибротрамбовки самопередвигающиеся массой 0,10 - 0,35 | 0,20 - 0,40 | - | 2 - 3 |
Виброплиты самопередвигающиеся массой 0,15 - 1,40 | 0,30 - 0,90 | - | 2 - 3 |
Примечания
1 В таблице приведены значения толщины слоя уплотненного грунта при оптимальной влажности до коэффициентов уплотнения Кcom = 0,94 - 0,95.
В рыхлом состоянии толщина слоя отсыпаемого грунта для гравелистых и песчаных грунтов принимается больше на 15% - 20%, а для пылевато-глинистого - на 20% - 25%.
2 При уплотнении грунтов до коэффициентов уплотнения Кcom = 0,96 - 0,98, а также при пониженной влажности грунтов толщина уплотненного слоя снижается на 20% - 25%.
6.8 Если в процессе уплотнения не достигнута требуемая плотность грунта, дальнейшая подготовка земляного полотна проводится по специальному проекту, согласованному с организацией разработчиком проекта кранового пути. Контроль уплотнения грунта проводится лицом, осуществляющим строительство, при уплотнении каждого слоя по
ГОСТ 28514.
6.9 Доувлажнение грунтов, в необходимых случаях, может выполняться только в теплое время года расчетным количеством воды, ее разбрызгиванием из шланга или поливочной машины по всей поверхности отсыпного грунта.
6.10 Для равномерного увлажнения грунта производится перемешивание и выдерживается в течение 0,5 - 2 суток.
6.11 Если на подготовленной поверхности под земляное полотно окажется разуплотнение или разжиженный пылевато-глинистый грунт, то первый слой следует отсыпать из щебенистого или гравелистого грунта пониженной влажности и уменьшенной толщины (до 0,6 - 0,8 от требуемой по
таблице 6.3).
6.12 Разнородные по составу грунты в планировочные и подсыпочные насыпи допускается отсыпать слоями таким образом, чтобы состав грунта в каждом слое был однородным.
6.13 Допускается отсыпать непучинистые (песчаные и т.п.) грунты на промороженную в процессе возведения поверхность земляного полотна при условии, что:
- толщина промерзшего слоя песчаного грунта не превышает 0,3 м, а пылевато-глинистого - 0,2 м;
- влажность в мерзлом состоянии песчаного грунта не превышает 0,12wp, а пылевато-глинистого - 0,9wp (wp - влажность на пределе пластичности);
- исключается дальнейшее увеличение глубины промерзания грунтов основания.
6.14 При отсыпке земляного полотна допускается использование грунтов, включающих комья мерзлого грунта, размером не более толщины отсыпаемого слоя, которые равномерно распределяются в отсыпаемом слое и располагаются не ближе 1 м от откоса насыпи земляного полотна.
6.15 Уплотнение грунтов укаткой осуществляется по всей площади отсыпанного слоя не менее чем в 2 следа катками и в 3 следа гружеными автомобилями и тракторами с перекрытиями следов на 10 - 15 см. Число проходов грунтоуплотняющих машин по каждому следу должно быть одинаковым. Механизм для уплотнения выбирается в зависимости от ширины земляного полотна.
Уплотнение выполняют в 2 - 3 этапа с 3 - 4 проходами грунтоуплотняющего механизма по каждому следу.
При уплотнении грунтов укаткой необходимо повышенное внимание обращать на равномерность уплотнения по всей площади, особенно по ее краям, торцам, углам. В этих местах количество проходов механизмов необходимо увеличивать на 15% - 20% по сравнению с приведенными в
таблице 6.4 или производить доуплотнение грунта трамбованием.
6.16 Уплотнение грунтов трамбованием производится путем свободного сбрасывания трамбовки с высоты 3 - 6 м.
6.17 Трамбование грунта следует выполнять отдельными участками с одной стоянки в один-три следа ударом трамбовки вдоль котлована (траншеи). На каждом участке производится уплотнение в несколько этапов, по 2 - 6 удара трамбовки по каждому следу, с последующим смещением каждого следа на 0,8 - 0,9 диаметра трамбовки. Количество этапов и число ударов для уплотнения до отказа устанавливается при уплотнении опытного участка.
6.18 После каждого этапа трамбования, отдельные неровности на уплотненной поверхности выравниваются легкими ударами трамбовки, сбрасываемой с высоты 1,0 - 1,5 м.
6.19 Уплотнение грунта на каждом участке производится до расчетного отказа до тех пор, пока понижение уплотненной поверхности не уменьшится за один проход или удар до величины отказа Sa, равной от 1 до 3 см, которая уточняется по результатам опытных работ.
В тех местах, где в процессе уплотнения из под трамбовки будет происходить интенсивное разжижение и выпирание переувлажненного грунта, необходимо выбрать грунт на 0,4 - 0,6 требуемой глубины уплотнения, а образовавшиеся выемки засыпать местным пылевато-глинистым грунтом с влажностью близкой к оптимальной.
6.20 После замены переувлажненного пылевато-глинистого грунта менее влажным, уплотнение грунтов продолжается до достижения требуемого отказа. Высота засыпки маловлажного грунта принимается на 15% - 20% больше глубины выемок с учетом уплотняемой поверхности при трамбовании.
6.21 На границах между насыпным грунтом и грунтом природного залегания уплотнение производится до величины отказа Sa, равной от 1 до 3 см, которая уточняется по результатам опытных работ, но при этом количество ударов трамбовки по одному следу должно быть не менее 6.
Количество этапов и число ударов в них, необходимых для уплотнения до предела, устанавливают в соответствии с данными, полученными при опытном уплотнении.
6.22 В процессе уплотнения грунта укаткой и трамбованием необходимо:
- обеспечить ровную поверхность планировки (притрамбовывать выступающие поверхности);
- исключить переувлажнение уплотненных грунтов (не трамбовать переувлажненный грунт);
- обеспечить отвод поверхностных вод (придание площадке необходимых уклонов);
- не допускать разуплотнения ранее уплотненных грунтов при движении механизмов в процессе строительства верхнего строения кранового пути (запретить заезд транспорта);
- обеспечить требуемые минимальные расстояния от уплотняющих машин и механизмов до строительных конструкций. Примерный перечень уплотняющих машин приведен в
таблице 6.5, для других расстояние определяется проектом производства работ;
- вести журнал производства работ;
- не выполнять работы по возведению земляного полотна при среднесуточной температуре ниже минус 15°;
- не допускать длительные перерывы между отсыпкой и уплотнением грунтов, при которых может произойти промерзание на глубину более 5 см при их укатке и 20 см при трамбовании.
6.23 Работы по возведению земляного полотна в зимнее время следует выполнять с учетом:
- отсыпки в земляное полотно только маловлажных песчаных, а также пылевато-глинистых грунтов с влажностью wp не выше 0,9 от влажности на пределе пластичности;
- выполнения работ по отсыпке, разравниванию, уплотнению и контролю качества с высокой интенсивностью без перерывов, благодаря чему практически исключается смерзание грунтов в процессе производства работ.
6.24 При строительстве кранового пути на вечномерзлых грунтах для предупреждения оттаивания верхнего слоя земляного полотна необходимо сделать присыпку земляного полотна материалами, не допускающими оттаивание (опил, песок, торф и т.п.). При производстве работ в зимнее время не допускается отсыпать пылевато-глинистый грунт во время обильных снегопадов.
Таблица 6.5
Минимальные расстояния от уплотняющих машин
и механизмов до строительных конструкций
Уплотняющие машины и механизмы, тип и марка | Масса, кг; вес, H, уплотняющих машин и механизмов | Минимальное расстояние от строительных конструкций l, см, и толщина отсыпаемого слоя грунта над конструкциями h0, в зависимости от соотношения масс строительных конструкций M и уплотняющих машин и механизмов m |
M <= m | M <= 5m | M <= 10m |
l | h0 | l | h0 | l | h0 |
1 | 2 | 3 | 4 | 5 | 6 | 7 | 8 |
Гидромолоты (навесные на экскаваторы) | | | | | | | |
ГПМ-120 | 275 | 25 | 50 | 20 | 40 | 20 | 30 |
СП-62 | 2000 | 60 | 90 | 40 | 90 | 20 | 80 |
СП-71 | 50 | 50 | 70 | 30 | 70 | 20 | 60 |
Трамбовки (свободно падающие, подвесные к экскаватору) диаметром, м: | | | | | | | |
1,2 | 2500 | 120 | 160 | 60 | 150 | 40 | 140 |
1,4 | 3500 | 140 | 180 | 70 | 170 | 40 | 160 |
1,6 | 4500 | 160 | 200 | 80 | 190 | 40 | 180 |
Виброплиты (подвешенные к крану или экскаватору) | | | | | | | |
ВПП-2 | 2650 | 50 | 100 | 40 | 80 | 20 | 80 |
ВПП-3 | 1500 | 40 | 80 | 35 | 60 | 20 | 60 |
ВПП-5 | 1500 | 35 | 80 | 30 | 60 | 20 | 60 |
ВПП-6 | 950 | 30 | 60 | 25 | 50 | 20 | 50 |
Вибротрамбовка (подвесная к крану или экскаватору) ПВТ-3 | 2600 | 50 | 120 | 20 | 100 | 20 | 80 |
Виброплиты самопередвигающиеся | | | | | | | |
SVP-12,5 | 150 | 10 | 30 | 5 | 20 | 5 | 20 |
SVP-25 | 270 | 15 | 40 | 10 | 30 | 5 | 30 |
SVP-31,5 | 500 | 20 | 50 | 10 | 40 | 5 | 40 |
SVP-63,1 | 700 | 25 | 60 | 15 | 50 | 5 | 50 |
BSD-31,5 | 1100 | 30 | 80 | 20 | 70 | 5 | 70 |
BSD-63 | 1400 | 35 | 90 | 25 | 80 | 5 | 80 |
GSD-22 | 200 | 15 | 40 | 10 | 90 | 5 | 30 |
Трамбовки электрические | | | | | | | |
ИЭ-4504 | 130 | 20 | 50 | 5 | 35 | 5 | 35 |
ИЭ-4502 А | 80 | 10 | 40 | 5 | 25 | 5 | 25 |
ИЭ-4505 | 28 | 5 | 15 | 5 | 10 | 5 | 10 |
Вибротрамбовки самопередвигающиеся | | | | | | | |
ВУТ-5 | 100 | 10 | 30 | 5 | 20 | 5 | 20 |
ВУТ-4 | 200 | 15 | 40 | 5 | 30 | 5 | 30 |
ВУТ-3 | 350 | 20 | 50 | 5 | 40 | 5 | 40 |
СВТ-ЗМП | 350 | 20 | 50 | 5 | 40 | 5 | 40 |
6.25 Определение высотного положения земляного полотна следует производить по проектным осям направляющих с шагом не более 5 м и параллельными замерами через 1 м, с целью определения уклонов земляного полотна.
6.26 При возведении земляного полотна не допускается отклонение по вертикали от проектного положения более 0,001L (L - длина земляного полотна) и 0,01 на длине 10 м. В поперечном направлении не более 0,03 - 0,01 по всему поперечному сечению.
6.27. Отклонение высотных отметок по проектным осям направляющих кранового пути от проектного положения подготовленного земляного полотна не должно превышать минус 100 мм, превышение проектной отметки не допускается.
6.28 Контролируемые показатели предельных отклонений, объемов и методов контроля при возведении земляного полотна приведены в таблице 6.6.
Таблица 6.6
Контролируемые показатели земляного полотна
Технические требования | Предельные отклонения | Контроль (метод, объем) |
1 | 2 | 3 |
Вид и характеристика вскрытого грунта естественного сложения земляного полотна | Должны соответствовать рекомендациям проекта и техническим условиям | Измерительный, по ГОСТ 25100. С целью установления соответствия проекту |
Вид и характеристика грунта основания земляного полотна | Должны соответствовать рекомендациям проекта и техническим условиям | Измерительный, по ГОСТ 25100. С целью установления соответствия проекту |
Вид грунта для возведения распределительной, подсыпочной планировочной насыпей | Должны соответствовать рекомендациям проекта и техническим условиям | Измерительный, по ГОСТ 25100. С целью установления соответствия проекту |
Содержание в грунте для возведения распределительной и планировочной насыпей: | | |
а) древесины, бытового мусора и др. гниющих материалов | не допускается | ежесменный, визуальный |
б) органических веществ | не должно превышать 0,5% (по массе) | измерительный, по указаниям проекта, но не реже одного на каждые 1 тыс. м3 грунта и не менее двух на весь объем |
в) комьев мерзлого грунта | не должно превышать 15% | визуальный, периодический по указаниям проекта |
г) крупных включений твердых материалов | не должно превышать 30% | визуальный, периодический по указаниям проекта |
Наличие снега, льда в земляном полотне, а также в распределительных подушках и подсыпках | Не допускается | Визуальный периодический по указаниям проекта |
Влажность отсыпаемого грунта в распределительной планировочной и подсыпочной насыпях | Должна быть в пределах, установленных проектом. Допускаются отклонения значений влажности от проектных не более 10% от общего количества определений | Измерительный, по ГОСТ 30416, не менее одного определения влажности на 1 - 2 тыс. м 3 грунта и не менее двух на весь объем |
Средний по проверяемому участку коэффициент уплотнения грунта Кcom в распределительной подушке и планировочной насыпи-подсыпке | Не ниже проектного. Допускается снижение значений К com ниже проектных или приведенных в таблице 6.2 на 0,02 и не более 20% от общего количества определений | С целью установления соответствия проекту |
Средняя по проверяемому участку плотность сухого грунта (d) | Не ниже проектной. Допускаются значения d ниже проектной, но не более, чем на 0,05 т/м в количестве, не превышающем 20% от всех определений | Измерительный, по ГОСТ 30416 и указаниям проекта, но не менее одного определения влажности на 1 - 2 тыс. м 3 грунта и не менее двух на весь объем |
Средняя по проверяемому участку величина отказа Sa при контрольном уплотнении | Не ниже величины, полученной при опытном уплотнении. Допускается снижение Sa не более чем на 50% | Измерительный, по указаниям проекта ( 6.20 настоящего стандарта) |
Отклонение отметок верха земляного полотна от проектного положения | -100 мм | Измерительный, по указаниям проекта (нивелир) |
Отклонение от проектного положения продольного профиля (уклона) земляного полотна | +/- 0,001 | Измерительный, по указаниям проекта (нивелир) |
Отклонение от проектного положения поперечного уклона земляного полотна | +/- 0,01 | Измерительный, по указаниям проекта (нивелир) |
Отклонение размеров земляного полотна от проектного: | | Измерительный, по крайним точкам земляного полотна (рулетка) |
а) по длине | -500 мм |
б) по ширине | -250 мм |
6.29 По окончании возведения земляного полотна и производства планировочных работ (придание профиля и нарезки водоотводных канав) необходимо произвести контроль соответствия элементов строения требованиям проекта (планово-высотная съемка, проверка плотности грунта, установка геометрических размеров). По окончанию выполнения работ должен быть составлен акт сдачи-приемки земляного полотна в соответствии с
формой Б.1 (приложение Б) под строительно-монтажные работы верхнего строения кранового пути с занесением результатов, характеризующих земляное полотно, в приложение к акту.
6.30 До начала отсыпки балластного материала на земляном полотне, подготовленным производителем работ, имеющим допуск к соответствующим видам работ, устанавливают разбивочные оси направляющих кранового пути, в соответствии с геодезическими знаками, ранее закрепленными производителем работ по верхнему строению кранового пути.
6.31 Лицом, осуществляющим строительство (службой которая осуществляет контроль качества строительных материалов и конструкций), перед отсыпкой балластной призмы определяется гранулометрический состав балластных материалов в соответствии с
ГОСТ 12536, из которых будет отсыпаться балластная призма. Результаты проверки необходимо занести в паспорт кранового пути (см.
раздел Технические данные приложения Б).
6.32 Балластную призму следует отсыпать по проектным осям направляющих на высоту соответствующей проектной отметке.
6.33 При отсыпке балластной призмы из гранулированного или доменного шлаков ее боковые откосы принимают -

, при отсыпке из щебня и гравия -

.
6.34 Песчаный балласт в летнее время допускается уплотнять поливкой распыленной струей воды 50 литров на 1 м3 песка.
6.35 Работы по отсыпке балластной призмы в зимнее время должны производиться в соответствии с ППР, чтобы балласт был доставлен, уложен и уплотнен до его смерзания. Время смерзания приведено в таблице 6.7.
Таблица 6.7
Время смерзания балластного материала
Температура окружающего воздуха, °C | Время до начала смерзания, мин |
-5 | 90 - 100 |
-10 | 60 - 80 |
-20 | 40 - 50 |
-30 | 30 - 40 |
6.36 При строительстве кранового пути в ветровых районах

по
ГОСТ 1451 боковые стороны балластного слоя из песка, гранулированного шлака рекомендуется укреплять не выветриваемым балластным материалом (щебень по
ГОСТ Р 54748, слоем 100 мм).
6.37 На земляное полотно, состоящее из не дренирующих грунтов, перед отсыпкой балластной призмы из щебня или гравия высотой не менее 300 мм дополнительно отсыпается песчаная балластная призма высотой не менее 100 мм.
6.38 При отсыпке балластной призмы на увлажненное земляное полотно высоту балластного слоя под опорными элементами следует увеличивать в соответствии с данными, приведенными в таблице 6.8.
Таблица 6.8
Высота балластной призмы на увлажненном земляном полотне
Грунты | Степень влажности грунта | Увеличение высоты, % |
Маловлажные | до 0,5 | 10 |
Влажные | от 0,5 до 0,8 | 15 |
Насыщенные | от 0,8 до 1,0 | 20 |
6.39 Деревянные полушпалы для крановых путей изготавливаются из деревянных шпал железных дорог широкой колеи по
ГОСТ 78.
6.40 Полушпалы должны соответствовать требованиям проекта на крановый путь.
6.41 Допускается изготавливать деревянные полушпалы (соответствующей длины не менее 1350 мм) из брусьев по
ГОСТ 8486 с использованием древесины хвойных пород (сосны, ели, пихты, лиственницы), а также из березы.
6.42 Полушпалы, изготовленные из древесины, должны быть пропитаны масляными антисептиками на основе растительных и синтетических масел (погружение полушпал в ванну с антисептиком).
6.43 На балластную призму укладываются полушпалы перпендикулярно проектной оси направляющей кранового пути в соответствии с требованиями проекта на крановый путь.
6.44 Расстояние между осями полушпал должно соответствовать принятому в проекте. Допускается отклонение расстояния между осями полушпал от проектного до 50 мм.
6.45 Опорные элементы кранового пути в виде железобетонных балок, плит укладываются на балластную призму с совмещением продольных осей с проектной осью направляющей кранового пути.
6.46 Направляющие кранового пути крепят к опорным элементам полным комплектом промежуточных скреплений в соответствии с
рисунками 5.8 -
5.9 и проектом на крановый путь.
6.47 В деревянных полушпалах следует сверлить отверстия диаметром 12 мм, глубиной 130 мм - для костылей и диаметром 18 мм, глубиной 155 мм - для путевых шурупов.
6.48 Для предотвращения от самовывинчивания путевых шурупов в отверстия полушпал перед закручиванием шурупов рекомендуется заливать расплавленный тугоплавкий битум (РД 10-117-95
(пункт 3.4.35) [3]).
| | ИС МЕГАНОРМ: примечание. ГОСТ 809-71 утратил силу с 1 марта 2015 года в связи с введением в действие ГОСТ 809-2014 (Приказ Росстандарта от 30.10.2014 N 1468-ст). | |
| | ИС МЕГАНОРМ: примечание. ГОСТ 12135-75 утратил силу с 1 марта 2015 года в связи с введением в действие ГОСТ 32694-2014 (Приказ Росстандарта от 22.08.2014 N 930-ст). | |
6.49 Направляющие к деревянным полушпалам следует прикреплять через плоские металлические подкладки типа СД по
ГОСТ 8194, ГОСТ 12135 и костылями по
ГОСТ 5812, а подкладки типа СК по
ГОСТ 16277 - путевыми шурупами по ГОСТ 809 с клеммами по
ГОСТ 22343 и болтами клеммными по
ГОСТ 16016.
6.50 Направляющие к железобетонным полушпалам следует крепить через подкладки СД по
ГОСТ 16277, с применением резиновых прокладок типа ЦП в соответствии с ТУ 2539-161-01124323-2003
[9], болтами закладными по
ГОСТ 16017 с клеммами по
ГОСТ 22343 и болтами клеммными по
ГОСТ 16016.
6.51 Не допускается:
- прикреплять направляющие к деревянным полушпалам шурупами без установки прижимов и забивать шурупы молотком;
- приваривать направляющую к закладным деталям железобетонных опорных элементов;
- выступ направляющих за грань опорного элемента типа балок (плит), а на полушпалах - выступ направляющей на расстояние более половины проектного расстояния по осям полушпал.
6.52 Для сокращения сроков строительства и разборки наземного кранового пути допускается производить операции по
6.43 -
6.50 на площадке укрупненной сборки. Узлы, состоящие из направляющей и опорных элементов (инвентарных секций) с железобетонными балками длиной 6250 мм или с полушпалами длиной 6250 мм или 12500 мм, показанные на рисунке 6.1.
а) с железобетонными балками;
б) с железобетонными полушпалами
b - расстояние по осям полушпал
Рисунок 6.1 - Инвентарные секции кранового пути
6.53 Стыки направляющих следует располагать между опорными элементами. Величина зазора в стыке не должна превышать 6 мм.
6.54 Смещение стыка направляющей одной нити кранового пути относительно другой в одном поперечном сечении не должно превышать 20 мм.
6.55 Стык направляющих должен быть закреплен полным комплектом элементов стыкового соединения в соответствии с
рисунками 5.6 и
5.7 и проектом на крановый путь, стыковые накладки и болты для рельсовых стыков по
ГОСТ 11530 должны быть смазаны и установлены поочередно внутрь и наружу гайками с шайбами пружинными.
6.56 Резьбовые соединения должны быть затянуты с моментом в соответствии с таблицей 6.9.
Таблица 6.9
Рекомендуемые крутящие моменты затяжки болтовых соединений
Диаметр резьбы болтов, мм | 16 | 20 | 24 | 30 | 36 | 42 | 48 |
Допускаемый максимальный крутящий момент при затяжке конструктивных болтов, Н x м | 60 | 100 | 250 | 550 | 950 | 1500 | 2300 |
6.57 Для предотвращения схода крана с кранового пути на концевых участках кранового пути на расстоянии не менее 500 мм от середины крайней полушпалы или от конца крайней балки кранового пути на направляющую в сечении, перпендикулярном оси кранового пути, устанавливаются четыре тупиковых упора. Отклонение направляющей должно составлять не более 10 мм.
6.58 Тупиковые упоры должны быть проверены на соответствие их конструкторской документации (размеры, примененные материалы, качество выполненных сварочных соединений). Комплект тупиковых упоров должен иметь учетные номера, паспорт изготовителя с указанием года выпуска и типа крана для которого предназначены тупиковые упоры данной конструкции.
6.59 Ограничители передвижения устанавливаются в соответствии с принятым в проекте решением на расстоянии, чтобы отключение двигателей механизма передвижения крана происходило на расстоянии не менее полного пути торможения крана (принимаемого из паспорта крана) до тупиковых упоров (ПБ 10-382-00
(пункт 2.12.6) [4]).
6.60 Если в паспорте крана отсутствует сведения о пути торможения крана, то расстояние от тупиковых упоров до места установки ограничителя передвижения следует принимать не менее 1200 мм.
6.61 Заземление кранового пути должно быть выполнено организацией, имеющей допуск к выполнению данного вида работ, в соответствии с требованиями ПУЭ
(глава 1.7) [10].
6.62 При выполнении заземления необходимо обеспечить непрерывность электрической цепи, для чего направляющие в начале и в конце пути, а также на стыках соединяются перемычками из круглой (6 - 9 мм) стали по
ГОСТ 2590 или полосовой стали с площадью сечения не менее 48 мм
2 по
ГОСТ 103. Перемычки приваривают к промежуточной пластине, привариваемой по нейтральной оси направляющей.
6.63 При длине кранового пути более 100 м перемычки заземления между направляющими устанавливаются через каждые 50 м.
6.64 Заземление выполняется в виде контура из располагаемых по прямой линии или треугольником трех стержней, в качестве которых применяют трубы диаметром 50 - 70 мм по
ГОСТ 8732, сталь угловую сечением 50 x 50 мм и 60 x 50 мм по
ГОСТ 8509 или сталь круглую диаметром 10 - 20 мм по
ГОСТ 2590, длиной 2 - 3 м.
6.65 Заземлители забивают или завинчивают в предварительно вырытую траншею глубиной от 500 до 700 мм таким образом, чтобы концы выступали на 150 - 200 мм. Проводники к заземлителям прикрепляются сваркой по
ГОСТ 5264.
6.66 Направляющая кранового пути соединяется с заземлителем проводником (
рисунок 5.14, позиции 5 и 6) с помощью нахлесточного соединения сваркой по
ГОСТ 5264.
6.67 После строительства заземления проверяется сопротивление растеканию тока заземляющей системы согласно ПУЭ
(пункт 1.7.101) [10], оно должно быть в соответствии с требованиями
ГОСТ 12.1.030 для питающей электросети 3-х фазного тока напряжением 380 В с заземленной нейтралью - не более 4 Ом, с изолированной нейтралью - не более 10 Ом.
6.68 Результаты проверки сопротивления заземления и удельное сопротивление грунта, оформляются актом в соответствии с
формой Б.2 (приложение Б) и заносятся в паспорт кранового пути
(таблица Б.3).
6.69 В соответствии с проектом кранового пути оборудуются специальными противоугонными системами места стоянки кранов в нерабочем состоянии в зонах с повышенными ветровыми нагрузками для районов
(ГОСТ 1451) и в районах с повышенной сейсмичностью более 4 баллов
(СП 14.13330).
6.70 Сведения об установленном путевом оборудовании заносятся в паспорт кранового пути
(приложение Б).
6.71 Готовность кранового пути (или его части) под монтаж крана оформляется лицом, осуществляющим строительство, актом в соответствии с
формой Б.3 (приложение Б), в котором отражаются все отступления от проекта, а также дефекты и нарушения, допущенные в процессе строительства.
6.72 Минимальная длина кранового пути под монтаж крана должна быть не менее трех баз крана.
6.73 Скрытые работы подлежат освидетельствованию лицом, осуществляющим строительство, с составлением актов в соответствии с
формой Б.7 (приложение Б).
6.74 При СМР кранового пути на сложных и уникальных объектах акты приемки ответственных элементов и освидетельствования скрытых работ составляются лицом, осуществляющим строительство, с учетом особых указаний в проекте на крановый путь.
6.75 Пуско-наладочные работы и обкатка кранового пути производятся после окончания работ по монтажу грузоподъемного крана и полной готовности наземного кранового пути.
6.76 Перед проведением обкатки лицом, осуществляющим строительство, производится съемка планово-высотного положения элементов наземного кранового пути. Для выявления скрытых дефектов и повреждений элементов кранового пути, определения упругой податливости, деформации и неравномерной просадки опорных элементов производится съемка высотного положения направляющей кранового пути без нагрузки и под нагрузкой от крана.
6.77 Результаты геодезической съемки заносят в
таблицу Б.2 паспорта кранового пути (приложение Б).
6.78 После обкатки крановый путь предъявляется к приемо-сдаточным испытаниям, которые предназначены для оценки соответствия выполненных работ по строительству кранового пути, его соответствия проектной документации и принятию решения о вводе кранового пути в эксплуатацию.
7 Контроль выполнения строительно-монтажных работ
7.1 Контроль выполнения СМР кранового пути осуществляется лицом, осуществляющим строительство, на всех этапах:
- при приемке комплектующих элементов кранового пути;
- при строительстве нижнего строения кранового пути;
- при монтаже верхнего строения и путевого оборудования кранового пути;
- при обкатке и испытаниях кранового пути в эксплуатацию.
7.2 Контроль выполнения строительно-монтажных работ включает:
- входной контроль;
- операционный контроль этапов выполняемых работ;
- оценка соответствия этапов выполненных работ.
7.3 При входном контроле проверяется:
- комплектность рабочей документации, достаточность содержащейся в ней информации для производства работ;
- соответствие элементов кранового пути требованиям проекта, ГОСТ, ТУ и настоящего стандарта;
- наличие паспортов и сертификатов на комплектующие кранового пути.
7.4 При операционном контроле проверяется соответствие выполняемых операций (этапов) требованиям проекта на крановый путь, ППР и настоящего стандарта.
Результаты операционного контроля фиксируются в журнале выполненных работ и актах на скрытые работы.
7.5 В процессе устройства кранового пути производится оценка соответствия этапов выполненных работ:
- подготовка строительной площадки под монтаж кранового пути;
- вынесение в натуру геодезической разбивочной основы;
- выполнение СМР;
- сдача кранового пути под монтаж крана;
- оценка соответствия кранового пути для ввода в эксплуатацию.
7.7 При визуальном контроле проверяется:
- наличие и состав конструкторской, рабочей и эксплуатационной документации;
- узлы и соединения элементов на наличие стыковых и промежуточных скреплений, креплений тупиков и отключающих линеек наземного кранового пути;
- наличие и состояние болтовых соединений на соответствие требованиям
СП 70.13330 и проектной документации;
- наличие коррозии, трещин, вмятин, изгибов, сколов и других механических повреждений на всех элементах и комплектующих кранового пути;
- отсутствие трещин в стальных элементах.
7.8 Приборно-инструментальный контроль всех элементов, узлов и соединений кранового пути включает проведение следующих измерений:
- планово-высотную съемку (геодезическая съемка по
СП 126.13330) положения элементов кранового пути;
- измерение геометрических размеров элементов кранового пути;
- замеры прогибов, просадок, уклонов элементов кранового пути;
- смещение направляющих с продольной разбивочной оси кранового пути;
- взаимное смещение торцов направляющих в стыке;
- замеры ширины и глубины раскрытия трещин в бетоне в железобетонных элементах;
- замеры повреждений древесины (гниль, червоточины, трещины);
- замеры величины коррозии стальных и железобетонных элементов.
7.9 При проведении приборно-инструментального контроля применяются следующие средства измерений:
- планово-высотная съемка выполняется с помощью нивелира и теодолита либо тахеометра;
- геометрические измерения ширины колеи на всем протяжении кранового пути проверяется с помощью компорированной стальной рулетки с ценой деления 1 мм или лазерной рулеткой (дальномером).
7.9.1 Для геодезической съемки кранового пути, замеров прогибов, уклонов, просадок применяют:
- теодолиты;
- нивелиры;
- прогибомеры типа 6-ПАО.
7.9.2 Для измерения геометрических размеров применяют:
- металлические рулетки (
ГОСТ 7502 класс точности не ниже 3);
- линейки измерительные металлические с пределом измерений 0 - 1000 мм
(ГОСТ 427);
- линейки поверочные типа ЛЧ-1-200, ЛЧ-1-320
(ГОСТ 8026);
- угольник поверочный 250 x 160 мм (
ГОСТ 3749 класс точности 2);
- штангенциркуль с пределом измерений 0 - 150 мм (
ГОСТ 166 класс точности 4);
- метр складной типа МСМ-82, МСД-1;
- лазерную рулетку (дальномер).
7.9.3 Для замеров ширины и глубины раскрытия трещин применяют иглы проверочные и щупы плоские, лупы с 10
x с ценой деления 0,05 мм
(ГОСТ 25706) и другие приборы для неразрушающих методов контроля.
7.10 Коррозия стальных элементов определяется методом сравнения размеров элементов, очищенных от коррозии, с проектными размерами; в случае язвенной коррозии проводится тщательная обработка поверхности механическим или химическим способом с удалением ржавчины из язв. Глубина язвенного участка измеряется с помощью индикатора с игольчатым наконечником. Стыковые и промежуточные скрепления проверяются методом простукивания (глухой звук свидетельствует о наличии трещин или ослаблении крепления). Средства измерений не должны иметь погрешности более 2,5%.
7.11 Лабораторные испытания и исследования элементов кранового пути включают испытания материалов (сталь, бетон) с целью определения их физико-механических показателей. Сталь, бетон испытываются в стационарных лабораториях.
7.12 Оценка соответствия сварных соединений по результатам внешнего осмотра и неразрушающего контроля производится в соответствии с проектом на изготовление, монтаж, ремонт или реконструкцию кранового пути, который содержит нормы оценки качества сварных соединений, исключающие выпуск изделий с дефектами, снижающими их прочность и эксплуатационную надежность.
7.13 Контроль сварных соединений расчетных элементов металлоконструкций проводится только после установления дефектов, выявленных внешним осмотром. При этом обязательному контролю подвергают начало и окончание всех сварных швов стыковых соединений поясов и стенок коробчатых металлоконструкций.
7.14 Сварные соединения, качество которых согласно проекта следует проверять при монтаже физическими методами, надлежит контролировать радиографическим по
ГОСТ 7512 или ультразвуковым методом по
ГОСТ 14782 в объеме 5% при ручной или механизированной сварке и 2% при автоматизированной сварке.
Места обязательного контроля указывают в проекте наземного кранового пути.
7.15 Перед проведением рентгено- и гамма-контроля соответствующие участки сварного соединения маркируются так, чтобы их можно было легко обнаружить на контрольных рентгено- или гамма-снимках.
7.16 При выявлении во время неразрушающего контроля недопустимых дефектов в сварных соединениях контролю подвергается все соединения. Дефектные участки сварных швов, выявленных при контроле, удаляются механическим способом и перевариваются.
7.17 Механические испытания сварных соединений проводятся с целью проверки соответствия прочностным и пластическим характеристикам сварного соединения на контрольных образцах, сваренных в условиях, полностью отвечающим условиям изготовления элементов металлоконструкций (основные и присадочные материалы, сварочные режимы, положение сварки).
7.18 Средства нагружения в виде контрольных грузов, предназначенных для испытания наземного кранового пути, применяются с динамометром растяжения.
7.19 Полученные при осмотрах и контрольных измерениях данные сравнивают с проектными и допускаемыми отклонениями на изготовление и монтаж конструкций, которые разрешены проектом и настоящим стандартом, а также сопоставляют с результатами выполненных ранее диагностических работ (обследований).
7.20 Величина допускаемого зазора и взаимное смещение торцов направляющих для разъемных стыковых соединений в плане и по высоте не должны превышать допустимых значений в соответствии с
приложением В.
7.21 Все разъемные стыковые скрепления должны иметь комплектное полное количество болтовых соединений, смазанных и поставленных поочередно внутрь и наружу.
7.22 Расстояние между осями промежуточных скреплений должно соответствовать принятому в проекте. Допускается отклонение между осями промежуточных скреплений от проектного до 50 мм.
7.23 При отсутствии требований в паспорте грузоподъемного крана направляющие кранового пути монтируются с отклонениями в плане и по высоте от проектного положения не более 1 мм на 2 метра и не более 10 мм по всей длине кранового пути. Сужение - уширение колеи кранового пути должно составлять не более 0,002 пролета, но не более 10 мм.
7.24 Для равномерного распределения нагрузок на опоры крана упругая податливость должна составлять 0,4 - 0,6 мм/т. Определение упругой податливости производится по
методике в соответствии с приложением Д. Просадка кранового пути не должна превышать значений, указанных в таблице 7.1.
Таблица 7.1
Максимальная просадка кранового пути, мм
Вид балласта | Класс нагружения кранового пути |
перед обкаткой | после обкатки | после года эксплуатации |
Щебень (25 - 70 мм) | 11,0 | 9,0 | 7,0 |
Щебень мелкий, смешанный балласт (5 - 25 мм) | 14,0 | 11,0 | 8,0 |
Гравий | 14,0 | 11,0 | 8,0 |
Песок | 17,0 | 13,0 | 10,0 |
7.25 В случае превышения значений допусков на строительство наземного кранового пути лицу, осуществляющему строительство, необходимо привести элементы кранового пути в проектное положение.
8 Оценка соответствия кранового пути
8.1 Перед сдачей-приемкой в эксплуатацию кранового пути лицо, осуществляющее строительство, обеспечивает обкатку кранового пути не менее 10 проходов крана без груза и 5 проходов крана с максимальным рабочим грузом, после чего производят планово-высотную съемку (нивелировку) кранового пути по головке направляющей. При необходимости производится восстановление проектного положения элементов кранового пути.
8.2 При сдаче-приемке в эксплуатацию кранового пути представляется комплект эксплуатационной документации, включающий:
- проект и паспорт кранового пути;
- справка о соответствии наземного кранового пути нагрузкам от установленного крана по
форме Е.4 (приложение Е);
- паспорта или сертификаты, инструкции по эксплуатации, описания, рабочие чертежи на поставленные материалы и комплектующие изделия, требующие совместного рассмотрения;
- проект установки крана;
- проект производства работ краном (ППРк);
- акт комплексного обследования кранового пути (
форма Е.3 приложение Е).
8.3 Результаты рассмотрения эксплуатационной документации, испытаний и обследований кранового пути заносят в паспорт кранового пути
(приложение Б), который заполняется лицом, осуществляющим строительство, после сдачи кранового пути в эксплуатацию.
8.4 Подписанный и утвержденный паспорт кранового пути является неотъемлемой частью эксплуатационной документации на крановый путь.
8.5 Сдачу-приемку в эксплуатацию кранового пути рекомендуется совмещать со статическими и динамическими испытаниями крана при его полном техническом освидетельствовании согласно ПБ 10-382-00
(пункт 9.2.3) [4].
9 Эксплуатация наземного кранового пути
9.1 Эксплуатация наземного кранового пути осуществляется в соответствии с требованиями ПБ 10-382-00
(пункт 9.3.9) [4], проекта кранового пути, руководства по эксплуатации крана и настоящего стандарта.
9.2 Находящийся в эксплуатации наземный крановый путь, с целью своевременного выявления и устранения несоответствия требованиям промышленной безопасности, в соответствии с требованиями ПБ 10-382-00 (
пункты 9.3. и
9.4)
[4] должен проходить:
- осмотры (ежесменные, плановые и внеплановые);
- технические освидетельствования (частичные и полные);
- комплексные обследования.
9.3 Инженерно-технические работники, ответственные за безопасную эксплуатацию кранового пути, обязаны:
- разрабатывать проект организации работ (ПОР) и ППР, технологические карты на ремонт кранового пути;
- фиксировать деформации конструкций, размеры их смещений, условия опирания элементов, качество сопряжения и стыков, нарушение сплошности, а при необходимости определять прочность материала конструкции;
- производить периодические инструментальные обследования наземного кранового пути с целью контроля расчетных параметров, геометрических размеров пролетов и поперечных сечений элементов и конструкций пути, просадок и прогибов опорных элементов, глубины и ширины раскрытия трещин.
9.4 Перед каждой сменой работы производится визуальный осмотр кранового пути и путевого оборудования.
9.5 Периодические осмотры кранового пути проводятся два раза в год (весной и осенью).
9.6 Весной осмотры следует проводить после таяния снега с целью проверки состояния кранового пути и выявления появившихся за зимний период повреждений и дефектов, определения работ по текущему ремонту кранового пути.
9.7 Периодичность плановых осмотров кранового пути зависит от режима эксплуатации крана, вида нагружения, физического состояния, среды и степени ее воздействия на деревянные, железобетонные и металлические конструкции кранового пути.
9.8 Внеплановые (дополнительные) осмотры кранового пути проводятся при особо неблагоприятных метеорологических условиях (ливнях, таянии снега и т.п.), а также при наличии неустойчивых участков кранового пути.
9.9 Результаты плановых (текущих) осмотров с указанием выявленных дефектов и повреждений (прогибы, отклонения, ширина и длина раскрытия трещин, их направление, отслоение защитного слоя бетона и пр.) фиксируют в паспорте кранового пути в соответствии с
таблицей Б.6 (приложение Б).
9.10 При обнаружении дефектов и повреждений кранового пути аварийного характера в процессе проведения плановых (текущих) и внеплановых (дополнительных) осмотров, немедленно уведомляется лицо, осуществляющее эксплуатацию, предписанием запрещается работа крана и ограждается аварийный участок.
9.11 Техническое состояние элементов кранового пути и кранового пути в целом определяется и оценивается в соответствии с ГОСТ Р 53778-2010
(пункт 5.1.5), по четырем категориям состояния:
- нормативно-техническое;
- работоспособное;
- ограниченно-работоспособное;
- аварийное.
9.12 Периодические осмотры, техническое обслуживание, а также ремонт кранового пути проводятся в сроки, установленные графиком, составленным с учетом результатов обследований и оценки технического состояния кранового пути.
9.13 Результаты осмотров, технических обслуживаний, сведения о ремонтах кранового пути заносятся в паспорт наземного кранового пути.
9.14 Сведения о выявленных повреждениях, вызывающих необходимость внеочередного комплексного обследования кранового пути заносят в паспорт кранового пути.
9.15 Комплексное обследование кранового пути проводится специализированной организацией в соответствии с требованиями
РД 10-138-97 [11] не реже одного раза в 3 года.
9.16 При технических осмотрах визуально оценивается техническое состояние элементов кранового пути и путевого оборудования.
9.17 При частичном техническом обследовании кранового пути проводят:
- осмотр элементов кранового пути и путевого оборудования;
- приборно-инструментальную диагностику технического состояния и положения элементов кранового пути и путевого оборудования.
9.18 При комплексном обследовании кранового пути проверяется комплектность и фактическое состояние элементов кранового пути и путевого оборудования, проводятся испытания тупиковых упоров, ограничителей передвижения и элементов заземления кранового пути и проводится инструментальная выверка положения элементов кранового пути.
(рекомендуемое)
ОСНОВНЫЕ ТРЕБОВАНИЯ К ВЕТРОЗАЩИТНЫМ СИСТЕМАМ, НАПРАВЛЯЕМЫМ
НА ПРЕДОТВРАЩЕНИЕ УГОНА ГРУЗОПОДЪЕМНЫХ КРАНОВ
А.1 Ветрозащитные системы должны:
- надежно удерживать грузоподъемные краны на месте при действии ветра как в рабочем, так и в нерабочем состоянии;
- не создавать каких-либо препятствий или помех нормальной эксплуатации грузоподъемного крана;
- быть доступными и удобными при эксплуатации и ремонте грузоподъемного крана.
А.2 В состав ветрозащитной системы в общем случае входят следующие составляющие части:
- противоугонные устройства (противоугонные захваты, остановы или стопоры) с устройством (приспособлением) для приведения их в действие;
- тормозная система механизма передвижения грузоподъемного крана;
- устройство для замера силы ветра;
- устройство светового и звукового оповещения;
- расчет по удержанию грузоподъемного крана, выполненный специализированной организацией по отдельной методике.
А.3 Работоспособность ветрозащитных систем должна быть обеспечена при условии устройства и содержания крановых путей в соответствии с требованиями
ПБ 10-382-00 [4], руководства по эксплуатации конкретного грузоподъемного крана и настоящего нормативного документа.
А.4 Для обеспечения удержания грузоподъемного крана должно быть выдержано следующее условие:
- при действии ветра нерабочего состояния для грузоподъемных кранов, снабженных противоугонными захватами, остановами или стопорами

, (А.1)
где

- сумма удерживающих усилий всех противоугонных устройств грузоподъемного крана;
nуд - запас удерживающего усилия (nуд >= 1,20);
Fнр - ветровая нагрузка рабочего состояния;
Fукл - горизонтальная составляющая веса крана от уклона кранового пути;

- сумма тормозных усилий всех тормозов механизма передвижения грузоподъемного крана, приведенных к ободьям ходовых колес;
Wтр - сопротивление от сил трения в ходовых колесах грузоподъемного крана.
А.5 Проектирование, изготовление, ремонт и модернизацию ветрозащитных систем должны выполнять только специализированные организации и заводы-изготовители, имеющие право проведения работ соответствующих видов применительно к грузоподъемным кранам.
(обязательное)
ПАСПОРТ НАЗЕМНОГО КРАНОВОГО ПУТИ
УТВЕРЖДАЮ
_______________________
(должность)
_______________________
(организация)
_______________________
(подпись, Ф.И.О.)
"__" __________ 20__ г.
ПАСПОРТ
НАЗЕМНОГО КРАНОВОГО ПУТИ
ПС-XXXX-XXX-XXXXXXXX-XX <*>
(регистрационный номер паспорта)
___________________________________________________________________________
(адрес организации - владельца кранового пути)
___________________________________________________________________________
--------------------------------
первая группа знаков - код ОКП;
вторая группа знаков - регистрационный номер паспорта,
третья группа знаков - регистрационный номер предприятия-разработчика паспорта;
четвертая группа знаков - год.
Место нахождения (адрес) кранового пути:
___________________________________________________________________________
___________________________________________________________________________
___________________________________________________________________________
Тип и основные характеристики крана приведены в
таблице Б.1.
После окончания строительно-монтажных работ и приемо-сдаточных испытаний составляется акт по
форме Б.4 к Паспорту.
Таблица Б.1
Характеристика крана, установленного на крановом пути
<*>
1 | Тип крана | | |
2 | Заводской номер | | |
3 | Регистрационный номер (инвентарный номер) | | |
4 | Грузоподъемность, т | | |
5 | Высота подъема груза, м | | |
6 | Скорость подъема груза, м/с (м/мин) | | |
7 | Скорость передвижения м/с (м/мин) | | |
8 | Режим работы | | |
9 | Масса (кН), вес (т) | | |
10 | Дата изготовления (установки) | | |
11 | Дата демонтажа | | |
--------------------------------
<*> Заполняется перед испытанием крана
1.1. Земляное полотно
1.1.1. Длина, м ___________________________________________________________
1.1.2. Ширина, м __________________________________________________________
1.1.3. Минимальная высота, м ______________________________________________
1.1.4. Максимальная высота, м _____________________________________________
1.1.5. Вид грунта основной площадки _______________________________________
1.1.6. Вид насыпного грунта _______________________________________________
1.1.7. Общий продольный уклон основной площадки, промилле _________________
1.1.8. Общий продольный уклон земляного полотна, промилле _________________
1.1.9. Плотность, г/см3 (или коэффициент уплотнения для насыпного грунта)
___________________________________________________________________________
1.1.10. Водоотводные канавы: ______________________________________________
основные размеры, м _______________________________________________________
уклон, промилле ___________________________________________________________
1.2. Балластная призма
1.2.1. Высота, м __________________________________________________________
1.2.2. Ширина, м __________________________________________________________
1.2.3. Материал ___________________________________________________________
1.2.4. Гранулометрический состав __________________________________________
1.2.5. Коэффициент уплотнения _____________________________________________
1.3. Элементы верхнего строения
1.3.1. Длина кранового пути, м ____________________________________________
1.3.2. Колея, м ___________________________________________________________
1.3.3. Тип направляющих ___________________________________________________
1.3.4. Тип опорного элемента ______________________________________________
1.3.5. Интервал между опорными элементами по длине пути, м ________________
1.3.6. Количество опорных элементов, шт. __________________________________
1.3.7. Тип подкладки ______________________________________________________
1.3.8. Стыковые скрепления (накладки) _____________________________________
1.3.9. Промежуточные скрепления ___________________________________________
1.3.10. Расстояние по осям промежуточных скреплений, мм ___________________
1.3.11. Тип упоров ________________________________________________________
1.3.12. Тип выключающих линеек (копиров) __________________________________
По окончании возведения земляного полотна составляется акт по
форме Б.1 к Паспорту, в котором указываются основные параметры (вид грунта, коэффициент уплотнения, уклоны и т.д.).
2. ПЛАНОВО-ВЫСОТНОЕ ПОЛОЖЕНИЕ ЭЛЕМЕНТОВ КРАНОВОГО ПУТИ
Перед сдачей и приемкой в эксплуатацию и периодически не менее одного раза в год в процессе эксплуатации кранового пути необходимо определять планово-высотное положение элементов кранового пути.
Результаты планово-высотной съемки заносятся в таблицу Б.2 (в паспорте должно быть не менее 15 листов заполняемых форм-таблиц).
Таблица Б.2
Планово-высотное положение элементов кранового пути
Наименование параметра (значение параметра) | Значение величин |
1 | 2 | 3 | 4 | 5 | 6 | 7 | 8 | 9 | 10 | 11 | 12 |
Разность отметок верха направляющей в одном поперечном сечении (Р1), мм | а) б/н | (без нагрузки) | | | | | | | | | | | | |
б) п/н | (под нагрузкой) | | | | | | | | | | | | |
Профиль верха направляющей вдоль пути (Р2), мм | а) б/н | Направляющая А | | | | | | | | | | | | |
Направляющая Б | | | | | | | | | | | | |
б) п/н | Направляющая А | | | | | | | | | | | | |
Направляющая Б | | | | | | | | | | | | |
Величина упругой податливости, мм/т | Направляющая А | | | | | | | | | | | | |
Направляющая Б | | | | | | | | | | | | |
Отклонение направляющей от прямой линии (Р6), мм | Направляющая А | | | | | | | | | | | | |
Направляющая Б | | | | | | | | | | | | |
Отклонение направляющей от проектного положения в плане (Р3), мм (колея) | | | | | | | | | | | | |
| | | | | | | | | | | |
Зазор в стыке направляющих (Р5), мм | Направляющая А | | | | | | | | | | | | |
Направляющая Б | | | | | | | | | | | | |
Смещение торцов направляющих в стыке (Р5), мм | Направляющая А | | | | | | | | | | | | |
Направляющая Б | | | | | | | | | | | | |
Не перпендикулярность установки тупиковых упоров, мм | Направляющая А | | | | | | | | | | | | |
Направляющая Б | | | | | | | | | | | | |
Угол наклона направляющей, град | Направляющая А | | | | | | | | | | | | |
Направляющая Б | | | | | | | | | | | | |
А - левая направляющая Вывод _________ Геодезическую съемку выполнил
Б - правая направляющая _______________ ________________________________
(подпись, Ф.И.О.)
Вид нагружения: __________
"__" __________ 20__ г.
3. ЗАЗЕМЛЕНИЕ КРАНОВОГО ПУТИ
3.1. Конструкция заземления и N проекта ___________________________________
___________________________________________________________________________
3.2. Место расположения и длина заземления ________________________________
___________________________________________________________________________
___________________________________________________________________________
3.3. По результатам работ по заземлению составляется акт (
форма Б.2
приложение к Паспорту).
В процессе эксплуатации кранового пути необходимо производить периодические проверки заземления.
Количество таблиц должно быть достаточно на весь срок эксплуатации кранового пути.
Таблица Б.3
Результаты проверки заземления
| Место измерения | Сопротивление растеканию тока, Ом | Заключение | Дата и подпись выполнившего измерения (Ф.И.О.) |
1 | 2 | 3 | 4 | 5 |
| | | | |
| | | | |
| | | | |
--------------------------------
<*> Сведения о погоде в течение последних трех дней и в день производства испытаний.
4. СВЕДЕНИЯ О РЕМОНТЕ КРАНОВОГО ПУТИ
В процессе эксплуатации кранового пути могут производиться ремонтные работы с заменой или усилением отдельных элементов пути.
Сведения о ремонте кранового пути необходимо заносить в таблицу Б.4.
Таблица Б.4
Сведения о ремонте кранового пути
Дата отказа элемента кранового пути | Характер неисправности | Принятые меры по устранению неисправности. Дата начала и окончания работ | Должность, фамилия и подпись лица, ответственного за проведение работ |
1 | 2 | 3 | 4 |
| | | |
| | | |
| | | |
5. СВЕДЕНИЯ О ЛИЦАХ, ОТВЕТСТВЕННЫХ ЗА БЕЗОПАСНУЮ
ЭКСПЛУАТАЦИЮ И СОДЕРЖАНИЕ КРАНОВОГО ПУТИ
Перед сдачей кранового пути в эксплуатацию владелец обязан назначить приказом лиц, ответственных за безопасную эксплуатацию кранового пути.
Сведения о лицах, ответственных за безопасную эксплуатацию и содержание в исправном состоянии кранового пути, заносятся в таблицу Б.5.
Таблица Б.5
Сведения о лицах, ответственных за безопасную эксплуатацию
и содержание кранового пути в исправном состоянии
Ф.И.О., должность | Номер и дата приказа | Подпись ответственного лица |
Назначение | Освобождение |
1 | 2 | 3 | 4 |
| | | |
| | | |
| | | |
6. СВЕДЕНИЯ О ПЛАНОВЫХ (ТЕКУЩИХ) ОСМОТРАХ КРАНОВОГО ПУТИ
Плановый (текущий) осмотр кранового пути проводится по графику планово-предупредительных работ. Сведения о техническом состоянии кранового пути, полученные в результате планового (текущего) осмотра кранового пути, заносятся в таблицу Б.6.
Таблица Б.6
Ведомость плановых (текущих) осмотров кранового пути
Вид и дата осмотра | Выявленные неисправности | Принятые меры по устранению неисправностей | Подпись лица, ответственного за содержание кранового пути в исправном состояния |
1 | 2 | 3 | 4 |
| | | |
| | | |
| | | |
7. СВЕДЕНИЯ О ЧАСТИЧНЫХ И ПОЛНЫХ ТЕХНИЧЕСКИХ
ОСВИДЕТЕЛЬСТВОВАНИЯХ КРАНОВОГО ПУТИ
Сведения о результатах частичных и полных технических освидетельствованиях заносятся в ведомость (таблица Б.7).
Таблица Б.7
Ведомость частичных и полных технических
освидетельствований кранового пути
Дата и вид освидетельствования | Выявленные неисправности | Принятые меры по устранению неисправностей | Подпись ответственного лица |
1 | 2 | 3 | 4 |
| | | |
| | | |
| | | |
Примечание -
Таблицы Б.3 -
Б.7 формируются в отдельное приложение к Паспорту.
Проект кранового пути является обязательной составляющей Паспорта. Состав проектной документации определяется перечнем чертежей проекта, составленным организацией-разработчиком.
Сведения об изменениях в проекте кранового пути, возникающих в процессе эксплуатации кранового пути, заносятся в лист регистрации изменений (таблица Б.8), а в Паспорт кранового пути подшивается дополнительная техническая документация.
Таблица Б.8
Лист регистрации изменений
N п/п | Номера листов | Всего листов (страниц) в документе | N документа | Входящий номер сопровождающий документ | Подпись | Дата |
Измененных | Замененных | Новых | Аннулированных |
1 | 2 | 3 | 4 | 5 | 6 | 7 | 8 | 9 | 10 |
| | | | | | | | | |
| | | | | | | | | |
| | | | | | | | | |
Примечание -
Таблицы Б.2 -
Б.8 формируются в отдельное приложение к Паспорту.
УТВЕРЖДАЮ
_________________________
_________________________
_________________________
"__" ___________ 20__ г.
СДАЧИ-ПРИЕМКИ ЗЕМЛЯНОГО ПОЛОТНА ПОД УСТРОЙСТВО
ВЕРХНЕГО СТРОЕНИЯ КРАНОВОГО ПУТИ
Город _________________ "__" ___________ 20__ г.
Вид грунта основной площадки ______________________________________________
Вид насыпного грунта земляного полотна ____________________________________
Тип насыпи ________________________________________________________________
(распределительной, подсыпочной, планировочной)
Земляное полотно __________________________________________________________
Плотность земляного полотна под опорными элементами (коэффициент уплотнения
Требования технических условий N __________________________________________
___________________________________________________________________________
(выполнены, не выполнены)
Земляное полотно __________________________________________________________
___________________________________________________________________________
(отвечает, не отвечает проектной документации)
Работы по устройству земляного полотна выполнил и сдал ____________________
___________________________________________________________________________
(организация, должность, фамилия, подпись) М.П.
Земляное полотно кранового пути принял ____________________________________
___________________________________________________________________________
(организация, должность, фамилия, подпись) М.П.
(приложение N 1 к акту форма Б.1)
К акту от _______________ N ______
Схема плана земляного полотна
А - размер колеи крана, м.
Б - расстояние от проектной оси здания до оси направляющей (рельса) с учетом выступающих частей крана, здания и других предметов, м.
Д - расстояние от оси направляющей до оси водоотводной канавы, м.
С - расстояние между точками отбора проб грунта, м.
Е - расстояние от проектной оси здания до начала кранового пути, м.
Исполнитель:
_________________ _______________ ______________
(должность) (подпись) (Ф.И.О.)
(приложение N 2 к акту форма Б.1)
К акту от _____________ N _________
Схема плана земляного полотна
А - размер колеи крана.
Б - расстояние от проектной оси здания до оси направляющей (рельса) с учетом выступающих частей крана, здания и других предметов, м.
Д - расстояние между проектными осями направляющей и водоотводной канавы, м.
С - расстояние замеров высотного положения точек земляного полотна, м.
Е - расстояние от проектной оси здания до начала кранового пути, м.
Исполнитель:
_________________ _______________ ______________
(должность) (подпись) (Ф.И.О.)
УТВЕРЖДАЮ
_______________________
_______________________
_______________________
"__" __________ 20__ г.
СДАЧИ-ПРИЕМКИ ЗАЗЕМЛЕНИЯ КРАНОВОГО ПУТИ
Город ________________ "__" _________ 20__ г.
Проектная документация ____________________________________________________
Конструкция заземления ____________________________________________________
(соответствует, не соответствует проекту)
Место расположения и длина заземления _____________________________________
Наименование, тип и номер прибора для измерения сопротивления заземления __
___________________________________________________________________________
Место измерения ___________________________________________________________
___________________________________________________________________________
Погода в течение последних трех дней и в день производства измерений ______
Сопротивление заземления, Ом ______________________________________________
Заземления пути:
удовлетворяет нормам ______________________________________________________
не удовлетворяет нормам ___________________________________________________
Заземление кранового пути выполнил и сдал _________________________________
___________________________________________________________________________
(организация, должность, фамилия, подпись)
Измерение сопротивления заземления выполнил _______________________________
___________________________________________________________________________
(организация, должность, фамилия, подпись)
Заземление пути принял
___________________________________________________________________________
(организация, должность, фамилия, подпись)
УТВЕРЖДАЮ
_______________________
_______________________
_______________________
"__" __________ 20__ г.
ПРИЕМКИ КРАНОВОГО ПУТИ ПОД МОНТАЖ КРАНА
Город ________________ "__" _________ 20__ г.
Настоящий акт составлен в том, что крановый путь в осях ___________________
Ряд _______________________________________________________________________
Выполненный по проекту ____________________________________________________
(наименование проектной организации)
N чертежей ________________________________________________________________
Соответствует указанным чертежам и требованиям стандарта __________________
___________________________________________________________________________
(сдается под монтаж крана)
Особые замечания. Крановый путь оснащен тупиковыми упорами, выполнено,
проверено и сдано заземление.
Приложение. Исполнительная схема кранового пути.
Примечания:
1. Для монтажа крана крановый путь может быть принят отдельным выверенным
участком длины не менее трех баз крана с установленными упорами на границе
участка.
2. К моменту окончания монтажа крана должны быть полностью закончены
строительные работы, геодезическая съемка и проверка заземления кранового
пути.
Представители:
________________________________________ _______________ _____________
(наименование организации-заказчика) (должность) (подпись)
________________________________________ _______________ _____________
(наименование организации, проводившей (должность) (подпись)
строительство кранового пути)
________________________________________ _______________ _____________
(наименование организации-проектировщика (должность) (подпись)
кранового пути)
УТВЕРЖДАЮ
_______________________
_______________________
_______________________
"__" __________ 20__ г.
СДАЧИ-ПРИЕМКИ КРАНОВОГО ПУТИ В ЭКСПЛУАТАЦИЮ
_________________________________________________________________
(организация)
Город ________________ "__" _________ 20__ г.
Адрес объекта _____________________________________________________________
Тип, заводской и регистрационный номер крана ______________________________
___________________________________________________________________________
Разработчик проекта кранового пути ________________________________________
(организация, N свидетельства)
Проектная документация ____________________________________________________
(N, соответствует, не соответствует ЕСКД)
Конструкция кранового пути ________________________________________________
(соответствует, не соответствует
проектной документации)
Наличие акта сдачи-приемки заземления пути ________________________________
Тупиковые упоры ___________________________________________________________
(тип и заводской N)
Ограничители передвижения крана ___________________________________________
(отвечают, не отвечают
требованиям эксплуатации)
Произведена обкатка пути проходами крана:
без груза _____________________________________________________________
с максимальным рабочим грузом _________________________________________
Результаты измерений планово-высотного положения элементов кранового пути
ВЫВОДЫ И ЗАКЛЮЧЕНИЯ
___________________________________________________________________________
(крановый путь в целом соответствует или не соответствует)
требования правил Ростехнадзора РФ и
___________________________________________________________________________
(допускается или не допускается к эксплуатации)
Работу по устройству кранового пути выполнил и сдал _______________________
(организация, должность,
фамилия, подпись)
Крановый путь принял в эксплуатацию _______________________________________
(организация, должность,
фамилия, подпись)
___________________________________________________________________________
План технического обслуживания
и ремонта кранового пути на 2___ г.
Наименование организации |
Место расположения пути | Количество ТО и ремонтов в планируемом году |
К | Т | ТО |
| | | |
| | | |
| | | |
К - капитальный ремонт; Т - текущий ремонт; ТО - техническое обслуживание.
План-график технического обслуживания и ремонта
кранового пути _____ месяц 2___ г.
Наименование организации |
Место расположения пути | Числа месяца и виды ТО и ремонта |
| | | | | | | |
| | | | | | | |
| | | | | | | |
УТВЕРЖДАЮ
_______________________
_______________________
"__" __________ 20__ г.
ОСВИДЕТЕЛЬСТВОВАНИЯ СКРЫТЫХ РАБОТ
_________________________________________________________________
(наименование работ)
выполненных в _________________________________________________________
(наименование и расположение объекта)
Город ________________ "__" _________ 20__ г.
Представители:
Застройщика или заказчика _________________________________________________
(фамилия, инициалы, должность)
Лица, осуществляющего строительство _______________________________________
(фамилия, инициалы, должность)
Разработчика проекта ______________________________________________________
(фамилия, инициалы, должность)
Лица, осуществляющего строительство по вопросам строительного контроля
___________________________________________________________________________
(фамилия, инициалы, должность)
произвели осмотр работ, выполненных _______________________________________
(наименование строительно-монтажной
организации)
и составили настоящий акт о нижеследующем:
1. К освидетельствованию предъявлены следующие работы _____________________
___________________________________________________________________________
(наименование скрытых работ)
2. Работы выполнены по проектно-сметной документации ______________________
___________________________________________________________________________
(наименование проектной организации, N чертежей и дата их составления)
3. При выполнении работ применены _________________________________________
___________________________________________________________________________
(наименование материалов конструкций, изделий со ссылкой на сертификаты
или другие документы, подтверждающие качество)
4. При выполнении работ отсутствуют (или допущены) отклонения от
проектно-сметной документации _____________________________________________
(при наличии отклонений указывается, кем
согласованы, N чертежей и дата согласования)
5. Дата начала работ ______________ окончания работ ______________
Решение комиссии
Работы выполнены в соответствии с проектно-сметной документацией,
стандартами, строительными нормами и правилами и отвечают требованиям их
приемки. На основании изложенного разрешается производство последующих
работ по устройству (монтажу) _____________________________________________
___________________________________________________________________________
(наименование работ и конструкций)
Представители:
застройщика или заказчика _________________________________________________
(фамилия, инициалы, должность)
лица, осуществляющего строительство _______________________________________
(фамилия, инициалы, должность)
разработчика проекта ______________________________________________________
(фамилия, инициалы, должность)
лица, осуществляющего строительство по вопросам строительного контроля
___________________________________________________________________________
(фамилия, инициалы, должность)
(рекомендуемое
при отсутствии требований
в паспорте грузоподъемного крана)
ПРЕДЕЛЬНЫЕ ВЕЛИЧИНЫ ОТКЛОНЕНИЙ ОТ ПРОЕКТНОГО ПОЛОЖЕНИЯ
ПРИ СТРОИТЕЛЬСТВЕ И ЭКСПЛУАТАЦИИ КРАНОВОГО ПУТИ
(ПО ПРАВИЛАМ ДЛЯ КОНСТРУИРОВАНИЯ ПОДЪЕМНЫХ МЕХАНИЗМОВ [12]
Таблица В.1
Предельные величины отклонений от проектного положения
при строительстве и эксплуатации наземного кранового пути
Наименование отклонения | Буквенное обозначение отклонения | Графическое изображение отклонения | Предельные величины отклонений, мм |
строительство | эксплуатация |
1 | 2 | 3 | 4 | 5 |
Разность отметок верха направляющих в одном поперечном сечении кранового пути | Р1 | | 0,002S, но не более 30 | 0,004S, но не более 40 |
Отклонения от осей симметрии направляющих кранового пути (сужение-расширение колеи) | Р2 | | 0,002S, но не более 10 | 0,002S, но не более 15 |
Наибольшее отклонение направляющих от прямой линии по высоте в вертикальной плоскости на всей длине пути. Отклонение от прямой линии на базе 2000 мм в вертикальной плоскости в любой точке | Р3 | | не более 10 | не более 20 |
b | <= 2 | <= 3 |
Наибольшее отклонение направляющих от прямой линии в горизонтальной плоскости на всей длине пути. Отклонение от прямой линии на базе 2000 мм в горизонтальной плоскости в любой точке | Р4 | | не более 10 | не более 20 |
b | <= 1 | <= 2 |
Взаимное смещение торцов стыкуемых направляющих в плане и по высоте | Р5 | | 1 | 2 |
Зазоры в стыках направляющих, не более | Р6 | | не более 6 | не более 12 |
Перекос крана | Р7 | | 0,001B, но не более 5 | 0,002B, не более 10 |
Параллельность установки буферов | Р8 | | 0,001S, но не более 10 | 0,002S, не более 20 |
Закручивание рельса | Р9 | | +/- 0,05K, но не более +/- 2 | +/- 0,08K, но не более +/- 3 |
Примечания 1 Допуски при строительстве кранового пути принимать с коэффициентом К1 = 0,5 2 Допуски принимаемые с учетом режима работы крана с коэффициентом Кр1-3 = 1; Кр4-5 = 0,9; Кр6-7 = 0,85; Кр = 0,8. S - ширина колеи кранового пути; B - база крана; K - головка рельса; a, b - высотные отметки направляющей. |
(рекомендуемое)
Размеры поперечного сечения деревянных полушпал, мм
Тип полушпал | Предельная нагрузка, Тс | h | б | б1 | б2 | h1 |
IА | 7,0 | 180 | 165 | 250 | - | 150 |
IIА | 5,5 | 160 | 160 | 230 | - | 130 |
IIIА | 4,8 | 150 | 150 | 230 | - | 105 |
I Б | 9,0 | 180 | 165 | 250 | 280 | - |
II Б | 8,0 | 160 | 160 | 230 | 260 | - |
III Б | 7,1 | 150 | 150 | 230 | 250 | - |
Брус | 9,0 | 200 | - | 250 | - | - |
а) обрезных тип IА; II А; III А;
б) необрезных тип I Б; II Б; III Б; в) из бруса
Рисунок Г.1 - Поперечные сечения деревянной полушпалы
а) ПШН1 - 13-325 - I; б) ПШН4 - 13-325 - I
Рисунок Г.2 - Железобетонные полушпалы
Рисунок Г.3 - Железобетонная балка БРП - 62.8.3
Размеры подкладок для крепления
направляющей к полушпалам, мм
Тип направляющей | А | Б | В | Г | Д | Е | Ж |
Р43 | 75/66 | 72/73 | 150 | 156/114 | 35/27 | 80/60 | 300 |
Р50 | 80/71 | 63/64 | 160 | 174/132 | 40/32 | 80/60 | 300 |
Р65, Р75 | 80/71 | 94/95 | 160 | 192.150 | 40/32 | 80/60 | 300 |
Рисунок Г.4 - Подкладки для крепления
направляющих к полушпалам
Размеры прижимов для крепления направляющих к полушпалам, мм
Тип направляющей | А | Б | В | Г | Д | Е | Ж |
Р43, Р50, Р65, Р75 | 75/66 | 50 | 35/30 | 26/31 | 12/14 | 15 | 10 |
Рисунок Г.5 - Прижимы для крепления
направляющих путевыми шурупами
(обязательное)
МЕТОДИКА ОПРЕДЕЛЕНИЯ УПРУГОЙ ДЕФОРМАЦИИ, ПОДАТЛИВОСТИ
И ПРОСАДКИ НАЗЕМНОГО КРАНОВОГО ПУТИ
Д.1 Упругая податливость определяется путем нагружения нити кранового пути статической нагрузкой известной величины с одновременным измерением вертикального перемещения направляющей в месте приложения нагрузки.
Д.2 При определении величины упругой податливости и просадки кранового пути номинальный груз необходимо располагать в крайнем положении со стороны проверяемой направляющей.
Д.3 Для контроля вертикального перемещения в контролируемой точке устанавливается геодезическая рейка РН-0,5, закрепляемая на направляющей.
Д.4 После монтажа крана производится определение упругой податливости кранового пути, путем накатывания опоры крана на контрольную точку с максимальным грузом. Поднимаемый груз контролируется по динамометру.
Д.5 В случае использования для нагружения кранового пути груза, поднимаемого краном, нагружение проводится перемещением груза вдоль пролетного строения или стрелы крана при контроле его положения с помощью мерной ленты и его массы по динамометру.
Д.6 Величина вертикального перемещения направляющей в контрольной точке определяется нивелиром типа Н-0,5, установленным на расстоянии не менее 10 м от контролируемой точки.
Д.7 Упругая податливость определяется для каждой нити отдельно. Контрольные точки для кранового пути с полушпалами должны располагаться через каждые 5,0 м, а для кранового пути на продольных железобетонных элементах - в месте стыка и в середине продольного опорного элемента, т.е. через каждые 3,12 м.
Количество контрольных точек кранового пути должно быть не менее 5.
Д.8 Все контрольные точки маркируются краской на направляющей и нумеруются. Контрольные точки на обеих нитях должны располагаться в перпендикулярных створах. Разбивка створов выполняется с использованием теодолита.
Д.9 Результаты измерений вертикальных перемещений в контрольных точках (отсчеты условных высотных отметок) заносятся в протокол измерений, приведенный в
форме Д.1.
Д.10 Просадка кранового пути hi определяется как разность отметки верха направляющей до приложения нагрузки ci и после снятия нагрузки ai по формуле:
hi = |ci - ai|. (Д.1)
Д.11 Упругая деформация yi, мм, определяется по формуле:
yi = |ai - bi|, (Д.2)
где ai - условный отсчет после снятия загрузки, мм;
bi - условный отсчет под нагрузкой, мм.
Д.12 Упругая податливость ni, мм/кН, кранового пути определяется по формуле:

, (Д.3)
где G - дополнительная нагрузка в опоре крана от контрольного груза, кН (тс).
Определения упругой деформации, податливости и просадки
наземного кранового пути
1 Условия проведения испытаний
1.1 Дата и время проведения измерений _____________________________________
___________________________________________________________________________
1.2 Место проведения измерений ____________________________________________
1.3 Атмосферные условия:
1.3.1 Температура окружающего воздуха, °C _________________________________
1.3.2 Влажность относительная, % __________________________________________
1.3.3 Атмосферное давление, мм рт. ст. ____________________________________
1.3.4 Скорость ветра на уровне анемометра крана, м/с ______________________
да, нет
1.3.5 Наличие осадков _____________________________________________________
(ненужное зачеркнуть)
1.3.6 Индекс крана, используемого для нагружения __________________________
2 Применяемые средства измерений
2.1 _______________________________________________. Заводской N _________.
(ненужное зачеркнуть)
Поверен __________.
(дата)
2.2 Линейка измерительная металлическая
(ГОСТ 427). Аттестована ___________
(дата)
2.3 Рулетка измерительная металлическая
(ГОСТ 7502). Заводской N _________.
Аттестована __________________
(дата)
______________
(дата)
Данные и результаты определения измерений упругой
деформации, податливости и просадки кранового пути
Просадка, мм | Упругая деформация, мм | Упругая податливость, мм/т |
| | |
| | |
| | |
___________________
Испытания производил:
____________________________ ______________________
(должность, организация) (инициалы, фамилия)
____________________________ ______________________
(должность, организация) (инициалы, фамилия)
(рекомендуемое)
ДОКУМЕНТЫ ДЛЯ СТРОИТЕЛЬСТВА, ЭКСПЛУАТАЦИИ
И РЕМОНТА НАЗЕМНОГО КРАНОВОГО ПУТИ
ПРИКАЗ N _____
___________________ "__" ___________ 20__ г.
(город)
по ________________________________________________________________________
(наименование правообладателя оборудования)
с _________________________________________________________________________
проводится ________________________________________________________________
(вид работ)
___________________________________________________________________________
___________________________________________________________________________
Для обеспечения выполнения указанных работ ПРИКАЗЫВАЮ:
1. Вывести из эксплуатации на время проведения работ следующее
оборудование:
Тип | Марка | Завод. N | Рег. N | Срок проведения работ | Ответственный |
| | | | | |
| | | | | |
| | | | | |
2. Возложить на _________________________________ обязанности по подготовке
(должность, Ф.И.О.)
технической документации и необходимых справок для работы комиссии,
обеспечению условий проведения работ, обеспечению обслуживающим персоналом,
оказанию помощи комиссии в ее работе, выделению помещения для комиссии и
обеспечению охраны имущества комиссии.
3. Возложить ответственность и надзор за соблюдением правил техники
безопасности при проведении работ на _____________________________________
(Ф.И.О., должность сотрудника
правообладателя оборудования)
и _________________________________________________________________________
(Ф.И.О., должность сотрудника)
4. Техническую документацию по результатам проведения работ после ее
утверждения представить мне на рассмотрение.
__________________________________________ _____________________
(должность руководителя организации - (подпись, Ф.И.О.)
владельца оборудования)
М.П.
ПРИКАЗ N _____
___________________ "__" ___________ 20__ г.
(город)
По ________________________________________________________________________
(наименование организации, выполняющей вид работ по)
Для выполнения работ в соответствии с договором N __ от "__" ______ 20__ г.
___________________________________________________________________________
ПРИКАЗЫВАЮ:
1. Назначить комиссию по _______________________________________ в составе:
(вид работ)
Председатель комиссии: ____________________________________________________
Члены комиссии: ___________________________________________________________
___________________________________________________________________________
___________________________________________________________________________
2. Комиссии провести обследование _________________________________________
(вид работ)
___________________________________________________________________________
___________________________________________________________________________
___________________________________________________________________________
в период с "__" _________ 20__ г. по "__" _________ 20__ г.
3. По результатам комиссии _________________ составить акт и представить на
(вид работ)
утверждение.
Для выполнения указанных работ
__________________________________________ ______________________
(должность руководителя организации) (подпись Ф.И.О.)
М.П.
СОГЛАСОВАНО УТВЕРЖДАЮ
__________________ __________________
__________________ __________________
"__" _____ 20__ г. "__" _____ 20__ г.
КОМПЛЕКСНОГО ОБСЛЕДОВАНИЯ КРАНОВОГО ПУТИ
ГРУЗОПОДЪЕМНЫХ МАШИН
г. ____________ "__" _________ 20__ г.
Комиссия __________________________________________________________________
(название специализированной организации)
в составе:
Председатель: _____________________________________________________________
N удостоверения ___________________________________________________________
Члены комиссии:____________________________________________________________
N удостоверений ___________________________________________________________
___________________________________________________________________________
___________________________________________________________________________
действующая на основании Договора N ____________от "__" ____________ 20__ г
по свидетельству о допуске к работам ______________________________________
и приказа N _______________________________________________________________
(по организации)
провела комплексное обследование кранового пути ___________________________
___________________________________________________________________________
(цех, площадка, регистрационный N крана)
ХАРАКТЕРИСТИКА ОБЪЕКТА
1. Основные конструктивные элементы _______________________________________
___________________________________________________________________________
___________________________________________________________________________
2. Режим эксплуатации _____________________________________________________
___________________________________________________________________________
___________________________________________________________________________
3. Дата ввода в эксплуатацию ______________________________________________
РЕЗУЛЬТАТЫ КОМПЛЕКСНОГО ОБСЛЕДОВАНИЯ КРАНОВОГО ПУТИ
1. Проверка системы организации эксплуатации кранового пути.
1.1. Организована служба надзора за эксплуатацией грузоподъемных машин ____
___________________________________________________________________________
(приказ N, от ___________)
1.2. Наличие аттестованных ИТР ____________________________________________
___________________________________________________________________________
(должность, N удостоверения)
2. Комплектность и состояние проектно-конструкторской документации:
___________________________________________________________________________
(соответствие ЕСКД, да/нет; комплектность)
2.1. Наличие паспорта кранового пути ______________________________________
(да/нет, заполняется)
2.2. Эксплуатационная документация (при отсутствии паспорта): _____________
___________________________________________________________________________
(журналы крановщика, технических освидетельствований кранового пути)
3. Поэлементное обследование кранового пути
3.1. Соответствие кранового пути проектной документации ___________________
___________________________________________________________________________
___________________________________________________________________________
(да/нет, указывается несоответствие)
3.2. Направляющие _________________________________________________________
___________________________________________________________________________
(тип, состояние)
3.3. Стыковые крепления ___________________________________________________
(тип, состояние)
3.4. Промежуточные скрепления _____________________________________________
(тип, состояние)
3.5. Опорные элементы направляющих ________________________________________
(тип, серия)
3.6. Наземные крановые пути:
балластная призма _________________________________________________________
(состояние)
земляное полотно __________________________________________________________
(состояние)
водоотвод _________________________________________________________________
(состояние)
3.7. Путевое оборудование:
тупиковые упоры ___________________________________________________________
(тип, состояние)
ограничитель передвижения _________________________________________________
(тип, состояние)
ограждения ________________________________________________________________
(состояние)
предупредительные знаки ___________________________________________________
(состояние)
заземление ________________________________________________________________
(состояние и сведения)
3.8. Конструкция электроподвода ___________________________________________
4. Планово-высотное положение элементов кранового пути приведено в таблице
приложения к акту.
5. Все выявленные отклонения приведены в дефектной ведомости приложения к
акту.
6. Заключение комиссии.
По результатам проведенного обследования комиссия считает:
а) крановый путь к эксплуатации ___________________________________________
(пригоден, непригоден)
б) дополнительные условия эксплуатации ____________________________________
___________________________________________________________________________
Следующие обследование провести не позднее ________________________________
(месяц, год)
Председатель комиссии: ____________________________________________________
(Ф.И.О., подпись)
Члены комиссии: ___________________________________________________________
(Ф.И.О., подпись)
___________________________________________________________
(Ф.И.О., подпись)
ПРИЛОЖЕНИЯ:
1. Копия приказа лица, осуществляющего строительство, о проведении
обследования кранового пути.
2. Ведомость дефектов.
3. Результаты проверки положения элементов кранового пути.
4. Рекомендации
ВЕДОМОСТЬ ДЕФЕКТОВ
Крановый путь ________________________________ длиной _____ погонных метра,
(указать наземный или надземный)
смонтирован и сдан в эксплуатацию _________________________________________
(дата сдачи)
на основании Акта сдачи-приемки N _________________________________________
Лицо, осуществляющее строительство кранового пути _________________________
___________________________________________________________________________
В ходе проведенного комплексного обследования кранового пути, комиссией
выявлены следующие дефекты:
Наименование узла элемента кранового пути | Описание дефекта | Заключение о необходимости и сроках устранения дефекта |
1 | 2 | 3 |
| | |
| | |
| | |
Председатель комиссии: ____________________________________________________
(Ф.И.О., подпись)
Члены комиссии: ___________________________________________________________
(Ф.И.О., подпись)
___________________________________________________________
(Ф.И.О., подпись)
___________________________________________________________
(Ф.И.О., подпись)
___________________________________________________________
(Ф.И.О., подпись)
Форма справки о соответствии кранового пути нагрузкам
от устанавливаемого крана
Выполняется на бланке проектной организации
г. _____________ "__" ___________ 20__ г.
СПРАВКА
о соответствии кранового пути
нагрузкам от устанавливаемого крана
Дана __________________________________________________________________
(организация - владелец кранового пути)
для предъявления в органы Ростехнадзора при регистрации грузоподъемного
крана _____________________________________________________________________
(тип крана, грузоподъемность, заводской номер)
в том, что крановый путь выполненный по проекту N ___________ соответствует
нагрузкам от устанавливаемого грузоподъемного крана.
_________________ _________________ _________________
(должность) (подпись) (Ф.И.О.)
М.П.
УТВЕРЖДАЮ
___________________
___________________
"__" ______ 200 г.
АКТ
ОБСЛЕДОВАНИЯ ТУПИКОВЫХ УПОРОВ
г. _______________ "__" ________ 200 г.
Комиссия _______________________________________________ в составе:
(название специализированной организации)
Председатель: _____________________________________________________________
Члены комиссии: ___________________________________________________________
___________________________________________________________________________
___________________________________________________________________________
действующая на основании договора N _______________________________________
приказа N _________________________________________________________________
(по организации)
провела обследование тупиковых упоров _____________________________________
___________________________________________________________________________
(цех, площадка, регистрационный N крана)
___________________________________________________________________________
(полное наименование и адрес организации-владельца тупиковых упоров)
РЕЗУЛЬТАТЫ ОБСЛЕДОВАНИЯ ТУПИКОВЫХ УПОРОВ.
1. Общее количество тупиковых упоров, находящихся в эксплуатации
комплектов (шт.) ___: в т.ч. ударных - ___ комплект (шт.), инв. NN ________
2. Общее количество тупиковых упоров, выбракованных по результатам
обследований (шт.) ___: в т.ч. ударных - ___ комплект (шт.), инв. NN ______
3. На основании результатов проведенного обследования установлено, что
тупиковые упоры
___________________________________________________________________________
___________________________________________________________________________
4. Настоящий акт является основанием для заполнения журнала учета
эксплуатирующихся тупиковых упоров.
5. Следующее обследование тупиковых упоров провести не позднее
__________________
(месяц, год)
Председатель комиссии Члены комиссии
по обследованию:
_____________ ________________ ______________________
(подпись) (Ф.И.О.) ______________________
______________________
______________________
УЧЕТНЫЙ ЛИСТ
прохождения инструктажа по охране труда
и технике безопасности
на ________________________________________________________________________
(наименование объекта)
при выполнении работ по ___________________________________________________
(вид работ)
Дата инструктажа | Фамилия, инициалы инструктируемого | Год рождения | Профессия и должность инструктируемого | Инструктаж | Фамилия, инициалы инструктирующего | Подпись |
инструктирующего | инструктируемого |
| | | | По должностной инструкции | | | |
| | | | На рабочем месте | | | |
| Федеральный закон от 29 декабря 2004 г. N 190-ФЗ "Градостроительный кодекс Российской Федерации" (ГрК РФ) с изменениями на 19 июля 2011 г. |
| Федеральный закон от 30 декабря 2009 г. N 384-ФЗ "Технический регламент о безопасности зданий и сооружений" |
| Руководящий документ | Требования к устройству и безопасной эксплуатации рельсовых путей козловых кранов |
| Правила безопасности | Правила устройства и безопасной эксплуатации грузоподъемных кранов |
| Руководящий документ | Методические рекомендации о порядке разработки проектов производства работ грузоподъемными машинами и технологических карт погрузо-разгрузочных работ |
| Руководящий документ | Требования к составу и порядку ведения исполнительной документации при строительстве, реконструкции, капитальном ремонте объектов капитального строительства и требования, предъявляемые к актам освидетельствования работ, конструкций, участков сетей инженерно-технического обеспечения |
| Серия 1.426.2-7 Балки подкрановые стальные под мостовые опорные краны. Выпуск 6. Узлы крепления рельсов к подкрановым балкам и стыки рельсов. Чертежи КМ |
| Технические условия ТУ 14-1-3032-80 | Стали специальные. Марки |
| Технические условия ТУ 2539-161-01124323-2003 | Прокладки - амортизаторы резиновые для рельсовых скреплений железнодорожного пути |
| ПУЭ | Правила устройства электроустановок. (Издание седьмое) |
| Руководящий документ | Комплексное обследование крановых путей грузоподъемных машин. Часть 1. Общие положения. Методические указания |
| F.E.M.1.001 Правила для конструирования подъемных механизмов. Буклет 8. Тестовые нагрузки и допуски. |