Главная // Актуальные документы // Акт (форма)СПРАВКА
Источник публикации
М.: Стройиздат, 1986
Примечание к документу
Название документа
"Рекомендации по ударно-канатному бурению скважин при инженерных изысканиях в строительстве"
"Рекомендации по ударно-канатному бурению скважин при инженерных изысканиях в строительстве"
ПО УДАРНО-КАНАТНОМУ БУРЕНИЮ СКВАЖИН
ПРИ ИНЖЕНЕРНЫХ ИЗЫСКАНИЯХ В СТРОИТЕЛЬСТВЕ
Рекомендованы к изданию решением секции технического нормирования и стандартизации инженерных изысканий Научно-технического совета ПНИИИС Госстроя СССР.
Обобщен отечественный и зарубежный опыт технологии ударно-канатного бурения при производстве инженерных изысканий в строительстве. Освещены вопросы малой механизации буровых работ и приведены пути развития и совершенствования способа ударно-канатного бурения, оборудования и инструмента. Особое внимание уделено технологии бурения и возможным осложнениям в различных геолого-гидрогеологических условиях. Приведены основные данные о буровых станках, буровом технологическом, вспомогательном и аварийном инструментах, обсадных трубах, стальных канатах, а также по технике безопасности.
Для техников и инженеров, геологов, гидрогеологов и буровиков, а также буровых мастеров, проводящих изыскания для всех видов строительства.
Разработаны ПНИИИС Госстроя СССР (канд. геол.-минерал. наук А.Р. Агронский, инж. П.А. Анатольевский, д-р техн. наук Б.М. Ребрик, инженеры Н.Ф. Фаерман и В.Л. Шатов).
1.1. Буровые работы - один из наиболее универсальных методов изучения естественных оснований проектируемых сооружений.
Буровые скважины при изысканиях проходятся для изучения геологического разреза, отбора образцов грунта для лабораторных испытаний, постановки различного рода опытных работ, изучения водоносности пород и др.
1.2. Задачи, решаемые с помощью бурения, предъявляют ряд специфических требований к буровым скважинам, проходимым при инженерных изысканиях. Эти требования существенно отличаются от требований поисков и разведки полезных ископаемых, подземных вод и других целей. Основными из этих требований являются:
а) получение исчерпывающих сведений о геологическом и гидрогеологическом строении исследуемого района;
б) получение достаточных и достоверных данных о физико-механических свойствах грунтов;
в) обеспечение возможности производства опытных работ как в процессе, так и по окончании бурения.
1.3. К наиболее важным особенностям инженерно-геологических скважин могут быть отнесены следующие:
а) небольшая глубина, определяемая видом сооружения и геологическими условиями;
б) диаметры скважин следует определять, в основном, видом и характером опробования, и различаются они незначительно;
в) непрерывный отбор керна по всей скважине;
г) отбор из скважин образцов грунта со сложением, близким к природному (монолитов);
д) проведение различных опытных работ, которые часто бывают более продолжительны, чем сам процесс бурения.
Эти особенности являются необходимыми исходными предпосылками для разработки специализированных технических средств и технологических приемов бурения и организации буровых работ при инженерных изысканиях в строительстве.
1.4. Большое значение буровые работы имеют и для решения вопросов водоснабжения. Вода является одним из основных факторов в развитии и рациональном использовании производительных сил страны. Без воды не может обойтись ни одно промышленное предприятие, немыслимо существование городов и сел, нельзя рационально вести сельское хозяйство.
В условиях гигантского роста народного хозяйства СССР, непрерывно повышающегося уровня культурно-бытовых условий, вода и водоснабжение приобретают еще более важное значение, а изучение водных ресурсов страны относится к очень серьезной проблеме.
Поиски и разведка месторождений подземных вод для водоснабжения населенных пунктов, промышленности и сельского хозяйства немыслимы без производства буровых работ, среди которых важное место занимает ударно-канатный способ сооружения скважин.
Сущность и область применения ударно-канатного бурения
при инженерных изысканиях в строительстве
1.5. Под ударным понимается такой способ бурения скважин, при котором процесс разрушения забоя осуществляется внедрением в породу породоразрушающего инструмента, которому сообщается значительная начальная скорость, т.е. запас кинетической энергии, расходуемой на разрушение забоя и преодоление других сопротивлений грунта.
1.6. Могут быть выделены следующие основные разновидности ударного бурения. По характеру площади разрушаемого забоя ударное бурение подразделяется на бурение сплошным и кольцевым забоем. При бурении сплошным забоем дно скважины разрушается по всей площади. Разрушение должно осуществляться долотами различных типов и желонками. Во всех случаях инструмент приподнимается на некоторую высоту и затем свободно сбрасывается на забой, или каким-то иным способом ему сообщается значительная начальная скорость. Извлекаемый из скважины продукт разрушения представляет собой шлам, смешанный с водой. Извлечение шлама следует производить главным образом желонками. Эта разновидность ударно-канатного бурения используется, в случаях, когда не требуется точное и детальное описание геологического разреза, а также для проходки инженерно-гидрогеологических скважин.
Для проходки инженерно-геологических скважин способ используется в основном при наличии больших толщ валунно-галечных грунтов, где использование других способов бурения крайне затруднено или невозможно.
1.7. При бурении кольцевым забоем разрушение дна скважины должно производиться по наружной кольцевой площади, что позволяет сохранить центральный столбик породы (керн) в его естественном сложении. По керну после извлечения его на поверхность производится достаточно точное и детальное описание геологического разреза. Углубление скважины осуществляется стаканами (зондами) с боковой продольной прорезью (или без нее), оборудованными на нижнем конце упрочненным башмаком (коронкой) с клапаном или без него, а на верхнем - переходником для соединения с ударной штангой, ударным патроном или бурильными трубами. При встрече несвязных грунтов углубление скважины продолжается желонками, т.е. процесс проходки становится комбинированным: бурение кольцевым забоем сменяется бурением сплошным забоем и наоборот.
1.8. По способу накопления и передачи кинетической энергии породоразрушающему инструменту ударное бурение кольцевым забоем подразделяется на "клюющее" и забивное. При "клюющем" бурении инструмент вместе с ударной штангой сбрасывается с достаточно большой высоты на забой скважины и после каждого удара извлекается на поверхность для очистки от грунта. Глубина погружения снаряда за удар обычно небольшая, от нескольких сантиметров до 10 - 20 см, и зависит от свойств грунта, параметров удара и размеров инструмента.
1.9. При забивном бурении инструмент следует погружать в грунт серией наносимых по нему ударов. Для этой цели используют специальные забойные ударные патроны, основной частью которых является тяжелая ударная штанга. Глубина погружения инструмента за рейс зависит в основном от числа нанесенных ударов и колеблется от 0,2 до 1 м и более.
Основными достоинствами ударного бурения кольцевым забоем являются высокое качество получаемого геологического и инженерно-геологического материала, высокая производительность и низкая стоимость проходки скважин, простота используемого оборудования и технологии бурения. Существенным недостатком его является ограниченная область применения.
1.10. Ударное бурение кольцевым забоем используется для бурения инженерно-геологических и геологоразведочных скважин глубиной от 3 до 100 м (преимущественно от 5 до 30 м) диаметром от 73 до 325 мм (в отдельных случаях до 900 мм) в песках, супесях, суглинках, глинах, насыпных и крупнообломочных грунтах любой степени водонасыщения, а также в грунтах, находящихся в мерзлом состоянии, в отдельных случаях в известняках, песчаниках, сланцах, доломитах, аргиллитах и других полускальных породах. Простота, небольшие габариты и масса используемого оборудования позволяют применять рассматриваемую разновидность ударного бурения практически во всех районах СССР и в любое время года. А простота технологии бурения позволяет легко освоить этот способ бурения буровому персоналу. Наконец, несложность оборудования существенно упрощает его ремонт и восстановление.
Рекомендуемая область применения разновидностей ударно-канатного бурения приведена в
табл. 1.
Разновидность бурения | Способы бурения скважин и их модификации, способ очистки от шлама | Грунты, степень их обводненности | Глубина бурения, м | Тип скважин по назначению | Способ отбора монолитов |
Ударно-канатное кольцевым забоем | Забивной без промывки и продувки | Глинистые (полутвердые, пластичные, текучие), песчаные, сильно- и слабообводненные | <= 50 | Зондировочные, разведочные, технические, гидрогеологические | Отбираются забивными грунтоносами |
"Клюющий" без промывки и продувки | Глинистые (лессовидные), слабообводненные | <= 50 |
Ударно-канатное сплошным забоем | Без промывки и продувки | Крупнообломочные, глинистые, песчаные, сильно- и слабообводненные, в отдельных случаях полускальные и скальные | Во всем диапазоне глубин | Гидрогеологические | Монолиты не отбираются |
Типовые конструкции скважин при инженерных изысканиях
Типовые конструкции инженерно-геологических скважин
1.11. В основу разработки типовых конструкций инженерно-геологических скважин положены следующие принципы:
а) конструкции скважин должны отвечать современному состоянию производства изысканий и возможному их техническому прогрессу. В частности, следует учитывать более широкое применение в изысканиях полевых методов, возможное совершенствование техники и технологии отбора монолитов за счет внедрения, например, нормального ряда грунтоносов, более широкое использование геофизических методов, нового опытно-фильтрационного оборудования и т.д.;
б) конструкции скважин должны исходить или, по крайней мере, учитывать существующие нормативно-методические документы (стандарты, СНиПы, инструкции, указания и рекомендации). В соответствии с
ГОСТ 12071-84 для отбора монолитов должны использоваться грунтоносы с внутренним диаметром не менее 90 мм. Следовательно, диаметр скважин, предназначенных для отбора монолитов, должен быть не менее 127 мм. В соответствии с ГОСТ 12374-77 площадь штампа для испытаний грунта статической нагрузкой должна быть равна 600 см
2, поэтому минимальный диаметр скважин для производства таких испытаний должен быть не менее 325 мм и т.д.;
в) конструкции скважин в известном смысле должны учитывать современное техническое оснащение изысканий буровыми станками. Следует иметь в виду, что в ближайшее время полная замена парка существующих буровых станков новыми моделями невозможна;
г) следует учитывать возможность применения самых прогрессивных способов бурения, в том числе ударно-вибрационного, пневмоударного, вибрационно-вращательного и др.;
д) наконец, конструкции скважин должны быть оптимальными, т.е. они должны способствовать совершенствованию процесса и технологии бурения, повышению производительности труда и снижению стоимости бурения скважин. Иными словами, конструкции должны способствовать повышению экономической эффективности буровых работ и инженерно-геологических изысканий в целом.
1.12. На
рис. 1 представлены типовые конструкции инженерно-геологических скважин, разработанные на основе указанных принципов. Рассмотрим эти конструкции более подробно. Всего выделены три типа скважин. Каждый тип определяется глубиной и диаметром скважины.
Первый тип объединяет неглубокие (до 7 - 10 м) скважины. Здесь выделяются две группы скважин. В первой объединены скважины, стенки которых не требуют закрепления обсадными трубами, во второй, - требующие закрепления начальных интервалов. Принципиальной разницы между обеими группами скважин нет. Скважины первого типа проходятся при линейных изысканиях, обследовании железнодорожных и других насыпей, изысканиях под несложное сельскохозяйственное и гидромелиоративное строительство.
Рис. 1. Типовые конструкции инженерно-геологических скважин
А - скважины или части скважин, бурение которых
осуществляется без крепления обсадными трубами;
Б - то же, с креплением обсадными трубами
Второй тип объединяет скважины средней глубины (до 10 - 30 м). Бурение этих скважин осуществляется главным образом перевозимыми и самоходными буровыми установками. В этом типе выделяются три группы скважин. В первой группе объединены скважины, не требующие закрепления стенок обсадными трубами, во второй, - требующие закрепления только начальных интервалов, и в третьей, - требующие закрепления большей части интервала скважин. Скважины групп а, б, в также принципиально не отличаются между собой, хотя известные различия в технологии их проходки имеются. Скважины второго типа - основные при производстве современных инженерно-геологических изысканий в строительстве. Они используются при изысканиях под объекты промышленного и гражданского строительства, объекты газовой, лесной и деревообрабатывающей промышленности, несложные энергетические и объекты сельскохозяйственного и гидромелиоративного строительства. К этому типу следует отнести практически все скважины, диаметр которых превышает 108 мм и из которых отбираются монолиты (даже если глубина этих скважин не превышает 4 - 5 м).
Третий тип включает в себя глубокие скважины (до 20 - 25 м). Основными особенностями скважин этого типа являются: а) более значительные глубина и диаметр скважины; б) они проводятся в осложненных геологических условиях; в) к ним предъявляются особые требования в части проведения опытных работ. Для бурения этих скважин используются самоходные и отчасти стационарные станки. Скважины используются при гидроэнергетических изысканиях, изысканиях под сложное промышленное и гражданское строительство, при подземном строительстве и т.д.
В третьем типе выделяется пять групп. К группе а относятся сравнительно глубокие скважины, проходимые в устойчивых грунтах (глинах, суглинках); к группе б - скважины, проходимые в менее устойчивых грунтах (в мягкопластичных суглинках, супесях), требующих закрепления верхних интервалов скважины обсадными трубами; к группе в относятся скважины, предназначенные для производства в них опытных работ и, главным образом, для постановки штамповых опытов (с площадью штампа 600 см2). Особенностью скважин этой группы является большой начальный диаметр. Следует подчеркнуть, что в случае, если скважина проходится с начальным диаметром 325 мм и бурится на глубину 5 - 7 м, то эта скважина все равно должна быть отнесена к группе в, поскольку она может быть пройдена только буровыми установками повышенной мощности.
К группе г отнесены сравнительно глубокие инженерно-геологические скважины, имеющие двухколонную конструкцию и проходимые в неустойчивых (в том числе песчаных и крупнообломочных) грунтах. Наконец, к группе д отнесены скважины, проходимые в неустойчивых и слабоустойчивых грунтах, последние интервалы которых пересекают скальные и полускальные грунты. Скважины этой группы проходятся в сложных геологических условиях, в частности при наличии верховодки и двух водоносных горизонтов, требующих перекрытия обсадными трубами. Скважины трехколонных конструкций довольно редки и чаще всего бурятся при изысканиях для гидроэнергетических объектов.
Представленные типы и группы охватывают большинство скважин, проходимых в настоящее время при инженерно-геологических изысканиях.
Типовые конструкции гидрогеологических скважин
1.13. Глубина и конструкция указанных скважин определяются в основном геолого-гидрогеологическими условиями участка изысканий и заданным водоотбором из скважин. В связи с этим в процессе проходки скважин важнейшими обстоятельствами являются:
а) глубина скважин, зависящая от глубины залегания и мощности водоносного пласта (системы пластов), намеченного к эксплуатации, от заданного дебита и ожидаемого динамического понижения, а также от выбранного типа водоподъемника;
б) начальный и конечный диаметры скважин, обусловленные конструкцией водоприемной части скважины, типом и глубиной установки водоподъемного оборудования, обеспечивающего отбор заданного количества воды с учетом, что конечный диаметр обеспечит прием и пропуск расчетного количества воды;
в) эксплуатационный диаметр скважин (внутренний диаметр труб, в которых устанавливается водоподъемник), определяемый типом водоподъемника с учетом необходимости чистки скважины и оборудования ее устройствами для замера динамического уровня при эксплуатации;
г) крепление ствола скважин обсадными трубами и конструкция водоприемной части скважин, зависящие от гидрогеологических условий, характера пород, степени устойчивости ствола и дебита скважины.
1.14. Конструкция скважины должна предусматриваться с учетом следующих требований:
а) в рыхлых и неустойчивых, скальных и полускальных породах ствол скважины от водоприемной части до устья закрепляется обсадными трубами, а в пределах водоносного горизонта устанавливается фильтровая колонна, состоящая из фильтрующей (рабочей) части, надфильтровой трубы и отстойника. Фильтр можно устанавливать как впотай, так и с выводом надфильтровой трубы до устья скважины;
б) в сложных гидрогеологических условиях, когда необходимо надежно перекрыть вышележащие неэксплуатируемые водоносные горизонты или для предупреждения прорыва высоконапорных вод по затрубному пространству, устанавливают дополнительные обсадные трубы;
в) излишние колонны обсадных труб, предназначенные лишь для временного закрепления стенок скважины в процессе проходки, извлекают. При этом верхний обрез обсадной трубы, оставляемой в скважине, или фильтровой колонны при установке впотай должен находиться выше башмака предыдущей колонны не менее чем на 3 м при глубине скважины до 50 м и не менее чем на 5 м при большей глубине. Кольцевой зазор между трубами у обреза обсадной трубы перекрывается сальником или цементируется.
1.15. Защита скважин от загрязнения с поверхности и от проникания в них воды из неиспользуемых водоносных горизонтов должна предусматриваться в зависимости от конкретного гидрогеологического разреза. Для этого можно применять следующие способы изоляции:
а) забивку или задавливание колонны труб в слой естественной глины или искусственно созданную глиняную пробку;
б) подбашмачную цементацию (затрубная цементация способом подачи цементного раствора под башмак);
в) затрубную цементацию колонн труб с доведением цементного раствора до отметок, предусмотренных проектом (при роторном бурении);
г) закрепление верхней части скважины двумя колоннами труб или одной колонной труб с затрубной цементацией для изоляции скважины от попадания в нее поверхностных вод;
д) при наличии агрессивных вод в используемых и гидравлически связанных с ними водоносных горизонтах должна предусматриваться антикоррозионная защита обсадных труб.
Кроме перечисленного необходимо учитывать и следующие общие технические требования к конструкции скважин для водоснабжения:
а) скважина должна быть закреплена наименьшим количеством колонн обсадных труб;
б) отклонение оси скважины от вертикали должно быть в пределах, обеспечивающих нормальную работу запроектированного водоподъемного оборудования;
в) конструкция скважины должна быть простой и удобной для эксплуатации и ремонта.
Примеры типичных конструкций скважин ударно-канатного способа бурения показаны на
рис. 2.
Рис. 2. Схемы конструкции скважин
при ударно-канатном бурении
1 - кондуктор; 2 - техническая колонна; 3 - эксплуатационная
колонна: 4 - фильтровая колонна; 5 - затрубная
цементация; 6 - межтрубная цементация; 7 - сальник;
8 - гравийная обсыпка; 9 - отстойник
2. БУРОВЫЕ СТАНКИ ДЛЯ УДАРНО-КАНАТНОГО БУРЕНИЯ
Буровые станки, используемые
при инженерно-геологических изысканиях
2.1. Из большого числа применяемых в отечественной практике буровых станков и установок для ударно-канатного бурения в настоящем разделе кратко описываются выпускаемые серийно и широко используемые в производстве инженерно-геологических изысканий.
Установка буровая пенетрационная УБП-15М
2.2. Установка УБП-15М предназначена для бурения инженерно-геологических скважин ударно-канатным способом (кольцевым забоем) и для проведения ударного зондирования (пенетрации) грунтов. Техническая характеристика установки приведена в
табл. 2.
Параметры | УБП-15М | БУКС-ЛГТ |
Номинальная глубина бурения, м | 15 | 15 |
Начальный диаметр скважины, мм | 168 | 168 |
Грузоподъемная сила лебедки, кН | 10 | 7 |
Скорость навивки каната на барабан, м/с | 0,9 | 0,5 |
Тип двигателя | УД-2 | Д-300 |
Мощность двигателя, кВт | 5,9 | 4,4 |
Высота мачты, м | 5,6 | 5 |
Габаритные размеры в транспортном положении, м: | | |
длина | 4 | 5,1 |
ширина | 1,8 | 1,4 |
высота | 2,2 | 1,4 |
Общая масса станка, кг | 1000 | 440 |
Установка УБП-15М представляет собой одноосный прицеп, на раме которого смонтированы бензиновый двигатель, трансмиссия, планетарная лебедка, ручная червячная лебедка подъема мачты, направляющий ролик, станина мачты и мачта. Мачта из профильного проката (уголковой и швеллерной стали) состоит из двух соединенных шарнирами половин, складывающихся в транспортном положении. При помощи придаваемого пенетрационного снаряда установка может производить ударное зондирование грунтов на глубину 10 - 15 м. Масса ударной бабы пенетрационного молота 60 кг, высота падения ударной бабы 0,8 м.
Установка УБП-15М спроектирована Гидропроектом и выпускается Угличским экспериментальным ремонтно-механическим заводом (УЭРМЗ) Гидропроекта.
Буровой ударно-канатный станок БУКС-ЛГТ
2.3. Буровой ударно-канатный станок БУКС-ЛГТ предназначен для бурения инженерно-геологических скважин ударно-канатным способом (кольцевым забоем). Техническая характеристика станка см. в
табл. 2.
Основные узлы станка - прицеп, трубчатая тренога, двигатель, тренога и рама.
Для передвижения станка в транспортном положении используется одноосный прицеп, состоящий из трубчатой оси, рессор и колес автомашины УАЗ-69.
Трубчатая тренога состоит из одной опорной стойки и двух свободных стоек. В транспортном положении тренога служит дышлом прицепа, а верхний узел используется в качестве серьги для транспортирования станка в виде длинного прицепа. В особо трудных дорожных условиях должна производиться дополнительная разборка треноги дышла, а станок должен транспортироваться в виде короткого прицепа. Привод станка осуществляется от двигателя марки Д-300.
Кроме транспортирования в виде длинного или короткого прицепа станок можно перевозить мотоциклом, конной тягой, а также, на небольшое расстояние, вручную. Конструкция его позволяет полностью отделять прицеп и в зависимости от условий района работ перемещать станок как на колесах, так и без колес.
Для перевозки на большое расстояние в кузове автомашины станок может быть разобран на отдельные легкие и малогабаритные узлы. Станок спроектирован Ленгипротрансом и выпускается Свердловским машиностроительным заводом им. Воровского.
Универсальная буровая установка БУЛИЗ-15
2.4. Установка БУЛИЗ-15
(табл. 3) предназначена для бурения инженерно-геологических скважин вращательным, ударно-канатным и вибрационным способами в основном в нескальных грунтах при линейных изысканиях. С помощью навесного автоматического пенетрометра установка может производить динамическое зондирование грунтов. Установка обеспечивает бурение скважин следующими начальными диаметрами: колонковым способом - 127 мм; шнековым способом - 116 мм; медленновращательным способом (змеевиками и ложковыми бурами) - 146 мм; ударно-канатным способом - 168 мм.
Параметры | БУЛИЗ-15 | АВБ-2М | АВБ-3 | УРБ-1 | УРБ-2М |
Глубина бурения, м | 15 | 40 | 20, 40, 100 | 15 | 25 |
Начальный диаметр скважин, мм | 168 | 219 | 168, 325 | 127 | 253 |
Способы бурения | Колонковый "всухую", шнековый, медленновращательный, ударно-канатный, вибрационный | Вибрационный, ударно-канатный | Ударно-канатный, вибрационный, вибровращательный, колонковый "всухую", колонковый с промывкой | Ударно-канатный, медленновращательный | Ударно-канатный, медленновращательный |
База | Автомобиль УАЗ-69 | Автомобиль ГАЗ-66 | Автомобиль ЗИЛ-131 | Стационарный на полозьях | Автомобиль ЗИЛ-131 |
Основной рабочий орган | Ротор, вибромолот | Вибромолот ВБ-7 | Вибромолот ВБ-7М | Ротор, ударное устройство | Ротор, ударное устройство |
Грузоподъемная сила лебедки, кН | 12 | 40 | 40 | 10 | 18 |
Грузоподъемность мачты, кг | 5000 | 12 000 | 12 000 | 3000 | 6000 |
Высота мачты до оси ролика кронблока, м | 5,2 | 7,5 | 7,6 | 7 | 8 |
Скорость вращения ротора, об/мин | 32 - 165 | - | 50; 98; 124; 245; 390 | 7; 12 | 12; 24; 76 |
Диаметр проходного отверстия ротора, мм | Ротор откидной | - | - | 135 | 255 |
Привод | От тягового двигателя автомашины | От тягового двигателя автомашины | От двигателя Д 37-С3-1 | От двигателя Д-300 | От двигателя 24-8,5/11 |
Мощность двигателя, кВт | - | - | 29 | 4,4 | 10 |
Габариты в транспортном положении, мм: | | | | | |
длина | 4200 | 7500 | 7600 | 1900 | 2670 |
ширина | 1750 | 2350 | 2350 | 980 | 962 |
высота | 2300 | 3400 | 3500 | 1350 | 8285 |
Масса, кг | 2030 | 6300 | 9900 | 1025 | 2000 |
Примечание. Габариты и масса установки УБР-2М указаны без автомашины; высота дана в рабочем положении.
Установка БУЛИЗ-15 состоит из следующих основных узлов: автомобиля, трубчатой мачты, опоры мачты, лебедки, откидного вращателя, механизма подачи инструмента, рычагов управления. Установка комплектуется одноблочным вибромолотом с приводом от двигателя автомашины посредством гибкого вала и одноосным автомобильным прицепом. Прицеп оборудован отсеками для перевозки бурового инструмента. Грузоподъемность прицепа 500 кг. Установка разработана Энергосетьпроектом.
Агрегат вибробуровой АВБ-2М
2.5. Агрегат вибробуровой АВБ-2М
(табл. 3) предназначен для бурения инженерно-геологических скважин: а) вибрационным способом - на глубину 20 м начальным диаметром 168 мм и конечным 108 мм; б) ударно-канатным способом (кольцевым забоем) на глубину до 40 м начальным диаметром 219 мм и конечным 89 мм. Ударно-канатное бурение кольцевым забоем может осуществляться забивным способом с помощью забойного ударного патрона, "клюющим" способом с помощью утяжеленной ударной штанги и желоночным способом с помощью желонки с клапаном.
Агрегат АВБ-2М смонтирован на шасси автомобиля ГАЗ-66 и состоит из следующих основных узлов: рамы, коробки отбора мощности, раздаточного редуктора, лебедки, мачты, опоры мачты, винтового подъемника мачты, талевой оснастки, вибропогружателя, системы управления, электрооборудования. В качестве рабочего органа для бурения скважин на агрегате используется электрический дебалансный беспружинный вибромолот ВБ-7.
Техническая характеристика
Мощность электродвигателя, кВт ...................................... 7
Момент дебалансов, Н·м .............................................. 20
Скорость вращения дебалансов, об/мин ................................ 1250
Максимальная вынуждающая сила, кН ................................... 35
Масса, кг ........................................................... 340
Агрегат может обслуживаться двумя рабочими. Вибробуровой агрегат АВБ-2М разработан Гидропроектом и конструкторским бюро машиностроительного завода им. Воровского и выпускается названным заводом.
Агрегат вибровращательного бурения АВБ-3
2.6. Агрегат АВБ-3 (см.
табл. 3) предназначен для бурения инженерно-геологических скважин вибрационным, вращательным "всухую", вибровращательным и ударно-канатным способами. По требованию заказчика установка может поставляться с автоприцепом, на котором установлен буровой насос. Это дает возможность вести агрегатом вращательное бурение с промывкой в мягких и твердых породах. Агрегат можно использовать при разведке россыпных месторождений, при картировочном бурении и при бурении гидрогеологических скважин. Вибропогружатель - беспружинный
вибромолот ВБ-7М предназначен для бурения скважин вибрационным и вибровращательным способами, для погружения и извлечения обсадных труб, ликвидации аварий, связанных с прихватом снаряда на забое.
Техническая характеристика
Мощность электродвигателя, кВт ....................................... 5,5
Скорость вращения дебалансов, об/мин ................................. 1460
Момент дебалансов, Н·м ............................................... 24
Максимальная вынуждающая сила, кН .................................... 57
Вибромолот состоит из вибромеханизма, блока двигателя, талевого блока и виброударного патрона.
Агрегат АВБ-3 разработан конструкторским бюро машиностроительного завода им. Воровского.
Буровая установка УБР-1
2.7. Установка УБР-1 (см.
табл. 3) предназначена для бурения скважин в сложных геологических условиях (по мерзлым и немерзлым сухим и обводненным, песчаным и крупнообломочным грунтам) комбинированными (ударно-канатным и медленновращательным) способами. Установка предназначена в основном для разведки россыпных месторождений взамен ручных комплектов "Эмпайр".
Рабочие органы установки позволяют сочетать ударно-канатный и медленновращательный способы бурения в любой последовательности и одновременно крепить стенки скважины обсадными трубами. Ударно-канатное бурение должно осуществляться долотами, желонками и забивными стаканами. Для медленновращательного бурения используются ложковые и спиральные буры, опускаемые в скважину на бурильных трубах. Погружение обсадных труб следует производить забивкой их ударным снарядом с одновременным вращением ротором. При этом трубы могут погружаться с опережением либо отставанием башмака по отношению к забою скважины.
Установка разработана Московским Специальным конструкторским бюро НПО "Геотехника" и выпускается экспериментальным заводом геологоразведочного оборудования и приборов названного объединения.
Буровая установка УБР-2М
2.8. Установка УБР-2М (см.
табл. 3) предназначена для бурения геологоразведочных скважин при поисках и разведке россыпных месторождений полезных ископаемых и строительных материалов, ее можно использовать также при бурении скважин на воду. Установка обеспечивает бурение скважин в сухих и обводненных рыхлых отложениях с содержанием большого количества валунов и гальки в сложных геологических условиях. Установка позволяет вести бурение ударно-канатным способом (забивными стаканами, долотом или желонкой) и вращательным (шнековым, колонковым и медленновращательным) способом без промывки; допускает погружение обсадных труб без приостановки процесса бурения; механизирует вращение обсадных труб. Установку можно устанавливать на автомашине, прицепе, тракторе или на полозьях и легко разбирать на самостоятельные узлы. Обслуживается установка двумя рабочими.
Буровая установка УБР-2М по требованию заказчика может поставляться в одном из следующих вариантов: на полозьях, на автомашине ЗИЛ-131. Поставляется также буровой инструмент.
Установка разработана Московским Специальным конструкторским бюро НПО объединения "Геотехника" и выпускается экспериментальным заводом геологоразведочного оборудования и приборов названного объединения.
Буровая установка ЛБУ-50
2.9. Буровая установка ЛБУ-50
(табл. 4) предназначена для бурения гидрогеологических скважин, а также шурфов и инженерно-геологических скважин вращательным и ударно-канатным способами.
Параметры | ЛБУ-50 | УГБ-50М | БУГ-50 | ЛБУ-100 |
Глубина бурения, м | 50 | 50 - 100 | 50 | 100 - 200 |
Начальный диаметр скважин, мм | 200 | 230 | 273 | 273 |
Способ бурения | Вращательный, ударно-канатный | Шнековый, колонковый, ударно-канатный | Ударно-канатный | - |
База | Автомобиль ЗИЛ-131 | Автомобиль ГАЗ-66 | Автомобиль ЗИЛ-157КЕ | Стационарная на полозьях |
Тип вращателя | Подвижной ротор | Подвижной ротор | - | - |
Скорость вращения инструмента, об/мин | 14; 38; 63; 101 | 70; 125; 200 | - | - |
Грузоподъемная сила лебедки, кН | 25 | 25 | 30 | 40 |
Масса ударного снаряда, кг | 500 | 400 | 500 | 1000 |
Величина хода ударного снаряда, мм | 1000 | 650 | 600 | 250; 500 |
Высота мачты, м | 8,3 | 8 | 9,8 | - |
Максимальная грузоподъемная сила мачты, кН | 50 | 73 | 90 | - |
Тип механизма для погружения обсадных труб | - | - | Кривошипно-шатунный механизм расходки труб |
Максимальный крутящий момент механизма погружения обсадных труб, кН·м | - | - | 14 | 20 |
Габаритные размеры в транспортном положении, мм: | | | | |
длина | 8380 | 8000 | 9700 | 3455 |
ширина | 2315 | 2000 | 2100 | 2200 |
высота | 2546 | 3000 | 4500 | 2200 |
Масса, кг | 8440 | 5100 | | 2900 |
--------------------------------
<*> Масса указана без базового автомобиля, тяг и ключей расходки.
Установка комплектуется двухосным автомобильным прицепом 2ПН-2, комплектом инструмента, а также запасными частями и ремонтно-монтажным инструментом.
Основной вид бурения установкой - шнековый в сочетании с ударно-канатным. Приводом установки является двигатель автомобиля. Крутящий момент передается через коробку отбора мощности, установленную на корпусе коробки передач. Все узлы установки смонтированы на общей раме. К раме шарнирно прикреплена телескопическая раздвижная мачта, которая при транспортировке укладывается в горизонтальное положение. Промежуточная высота мачты 5 м. Гидравлическое и электрическое оборудование расположены на раме и мачте установки.
Шурфы глубиной до 15 м и диаметром 1050 мм бурят специальным буром. Бур опускается на забой по гладкой бурильной колонне и поднимается с забоя на канате при помощи лебедки. Стенки шурфов крепятся железобетонными или дерево-металлическими кольцами.
Установка разработана Щигровским специальным опытно-конструкторским бюро и выпускается Щигровским заводом геологоразведочного оборудования.
Буровая установка УГБ-50М
2.10. Комплексная буровая установка УГБ-50М (см.
табл. 4) предназначена для бурения гидрогеологических скважин с выполнением пробных откачек, а также для бурения инженерно-геологических и разведочных скважин.
Установка состоит из ряда основных узлов, которые смонтированы в следующем порядке. На общей сварной раме установки, прикрепленной к раме автомашины, установлен приводной двигатель Д-48Л с муфтой сцепления. На одной оси с двигателем расположена коробка передач, наверху которой установлена лебедка с тормозами. На конце рамы установлены мачта, соединенная с рамой через заднюю стойку, и откидывающиеся кронштейны. По направляющим мачты передвигается вращатель установки, крутящий момент которому передается от коробки передач через вертикальный вал. Перемещение вращателя производится двумя гидроцилиндрами подачи. В средней части рамы расположен ударный механизм с оттяжным роликом. Пост управления установкой расположен на левой стороне рамы, где сосредоточены все рычаги и кнопки управления узлами установки.
Трехскоростная коробка передач сообщает вращение от приводного двигателя следующим механизмам: вращателю (три скорости при прямом и обратном вращении), лебедке (три скорости при прямом вращении), буровому насосу, который устанавливается в непосредственной близости от установки. Для обеспечения возможности переключения скоростей коробки передач и запуска двигателя в картере маховика установлена муфта сцепления постоянно разомкнутого типа, которая соединена с коробкой передач промежуточным валом.
Мачта установки представляет собой цельносварную пространственную ферму, выполненную из профильного проката. Мачта присоединяется к станку с помощью разъемных подшипников. Поворачиваясь вокруг оси, мачта может занимать либо вертикальное (рабочее), либо горизонтальное (транспортное) положение. В последнем случае мачта опирается верхней частью на специальную стойку, расположенную на переднем бампере автомашины.
Для проведения спуско-подъемных операций на установке служит лебедка планетарного типа с приводом от коробки передач. На конце вала лебедки закреплен кривошип, предназначенный для привода ударного механизма. Последний состоит из следующих подузлов: вала с подшипниками, балансира и кривошипно-шатунного механизма.
Помимо перечисленных основных узлов установка включает в себя электрооборудование (главным образом для освещения установки в темное время суток) и гидросистему, предназначенную для осуществления подачи инструмента на забой, спуска и подъема мачты.
Установка УГБ-50М является одной из наиболее широко применяемых для бурения инженерно-геологических скважин в отечественной практике.
Установка выпускается Щигровским заводом геологоразведочного оборудования.
Буровая установка ударно-канатного бурения БУГ-50
2.11. Установка БУГ-50 предназначена для бурения инженерно-геологических скважин ударно-канатным способом с механизированным погружением и извлечением обсадных труб. Техническую характеристику установки см. в
табл. 4.
Агрегат состоит из следующих основных узлов: силового блока, двух планетарных лебедок, установленных одна за другой, ударного механизма, механизма расходки обсадных труб, мачты, механизмов управления. Все узлы агрегата, кроме ударного механизма и мачты, смонтированы на плоской металлической раме станка; ударный механизм и шарнир поворота мачты смонтированы на специальной раме ударного механизма. Агрегат установлен в кузове автомобиля ЗИЛ-157КЕ. Агрегат разработан Гидропроектом и изготовляется Угличским ЭРМЗ.
Буровая установка БУГ-100
| | ИС МЕГАНОРМ: примечание. Нумерация пунктов дана в соответствии с официальным текстом документа. | |
2.2. Установка БУГ-100 (см.
табл. 4) предназначена для бурения гидрогеологических и инженерно-геологических скважин ударно-канатным способом с механизированной расходкой, свинчиванием и развинчиванием колонны обсадных труб. В комплект агрегата входят: буровой станок, металлическая вышка, трубчатые ключи, подкатные оси и специальный буровой инструмент. Особенностью агрегата является его универсальность, т.е. возможность бурения скважин в различных грунтовых условиях. Агрегат наиболее эффективен при бурении больших толщ несвязных песчаных и крупнообломочных грунтов.
Агрегат разработан в Гидропроекте. По устройству он аналогичен установке БУК-75-2М, хорошо зарекомендовавшей себя на изысканиях. Агрегат выпускается Угличским ЭРМЗ (Минэнерго) Гидропроекта.
Буровые станки, используемые при гидрогеологических
изысканиях
2.13. При гидрогеологических изысканиях для водоснабжения, водопонижения и дренажа применяется большое количество разнообразных станков ударно-канатного бурения, однако наибольшее распространение имеют хорошо зарекомендовавшие себя для этих целей станки типов УГБ-3УК, и УГБ-4УК, выпускаемые серийно Новочеркасским машиностроительным заводом им. А.А. Никольского. Станки УГБ-3УК и УГБ-4УК предназначены для бурения ударно-канатным способом гидрогеологических и других скважин различного назначения.
Техническая характеристика | УГБ-3УК | УГБ-4УК |
Габариты, м, соответственно в транспортном и рабочем положении: | | |
длина | 8,5 и 5,8 | 10 и 8 |
ширина | 2,3 | 2,64 |
высота | 2,75 и 12,75 | 3,5 и 16,3 |
Число ударов в 1 мин | 40; 45; 50 | 40; 45; 50 |
Масса бурового снаряда, кг | 1500 | 2500 |
Наибольший диаметр бурения, мм | 600 | 900 |
Глубина бурения, м, до | 300 | 500 |
Грузоподъемность, т, барабанов: | | |
инструментального | 2 | 3,2 |
желоночного | 1,2 | 2 |
талевого | 2 | 3,2 |
Диаметр стальных канатов, мм: | | |
инструментального | 22 | 26 |
желоночного | 15,5 | 17,5 |
талевого | 15,5 | 21,5 |
Канатоемкость барабанов, м: | | |
инструментального | 350 | 500 |
желоночного | 350 | 500 |
талевого | 135 | 210 |
Электродвигатель: | | |
тип | АО-2 | АО-2 |
мощность, кВт | 22 | 40 |
напряжение, В | 220/380 | 220/380 |
число оборотов в 1 мин | 1000 | 750 |
привод | Клиноременный из шести ремней типа В-6300 | Клиноременный из шести ремней типа Г-800 |
Мачта: | | |
грузоподъемность, т | 15 | 25 |
высота до оси инструментального блока, м | 13 | 16 |
Масса станка с канатами и двигателем, т | 8 | 12,7 |
Станки состоят из механизмов для производства ударов буровым снарядом, для чистки скважины желонкой, для спуско-подъемных операций с буровым снарядом, а также для спуско-подъемных операций при обсадке скважины трубами в пределах грузоподъемности мачты с использованием при этом верхних (талевых) блоков и подвижного блока из трех-четырех роликов.
Все основные узлы станков (главный вал, инструментальный барабан, ударный механизм, желоночный барабан, талевый барабан, механизмы управления установкой, мачта) смонтированы на сварной металлической станине с двумя осями (поворотной и неповоротной), установленной на пневматических колесах.
Буровой инструмент для ударно-канатного бурения скважин
сплошным забоем
3.1. Буровой инструмент подразделяется на технологический, вспомогательный и аварийный.
3.2. Технологический инструмент - буровой инструмент, при помощи которого буровым станком производится бурение скважины и извлечение из нее разрушенной породы. Набор технологического инструмента, соединенного в определенной последовательности, образует буровой снаряд. В него входят: ударное долото, переходник (если необходим), ударная, раздвижная штанги, канатный замок, а также желонки, желоночное ушко.
3.3. Вспомогательный инструмент - буровой инструмент, предназначенный для обслуживания технологического инструмента при бурении. К нему относятся инструментальные ключи, канаты стальные, инструмент для работы с обсадными трубами (трубные хомуты, забивные головки обсадных труб, башмаки обсадных труб, забивной снаряд).
3.4. Аварийный инструмент - буровой инструмент, предназначенный для ликвидации аварий в буровой скважине. К нему относятся: шлипсы, ловильные ерши, канаторезки, отводные крюки, труболовки, буровые пауки, боковые долота, электромагниты.
Технологический и аварийный инструменты соединяются в буровой или аварийный снаряд при помощи конусных резьбовых замков. Конусная резьба облегчает и ускоряет операции по сборке и разборке инструмента. Во избежание поломки конуса замка, а также самопроизвольного развинчивания резьбового соединения свинчивать его необходимо до полного соприкосновения заплечников соединяемых половин замка, поэтому перед сборкой снаряда необходимо нагреть муфту замка, а конус замка смазать расплавленным строительным битумом. Довинчивать буровой инструмент необходимо с большим усилием на рукоятях инструментальных ключей с помощью специальной затяжной трещотки.
Для ликвидации прихватов и аварий буровых снарядов у всех технологических и аварийных инструментов на шейке конуса замка имеются кольцевые ловильные канавки, служащие для захвата бурового инструмента в скважине при его извлечении аварийным инструментом. Технологический и аварийный инструменты имеют также плоскости (квадрат) для захвата инструментальными ключами при свинчивании.
По размеру шейки конуса замка технологический и аварийный инструменты изготовляются пяти размеров - 112, 140, 165, 188 и 220 мм; при этом каждому размеру соответствует своя коническая резьба
(табл. 5).
Наружный диаметр, мм | Размер квадрата под ключ, мм | Диаметр основания конуса, мм | Длина конусной резьбы, мм | Число ниток на 25,4 мм | Диаметр применяемого долота, мм |
наружная | внутренняя |
112 | 84 | 74,547 | 102 | 115 | 7 | 148 |
140 | 102 | 92,575 | 115 | 130 | 7 | 195 |
165 | 128 | 104,579 | 128 | 142 | 7 | 245 и 295 |
188 | 140 | 124,110 | 140 | 155 | 7 | 345 и 395 |
220 | 152 | 148,148 | 178 | 195 | 7 | 445, 595, 695 |
Технологический инструмент
3.5. Ударные долота служат для разрушения пород на забое и для обработки стенок скважины. Применяют долота трех видов -
двутавровые, округляющие и
крестовые (табл. 6).
Длина лезвия долота, мм | Толщина корпуса долота, мм | Диаметр шейки долота, мм | Длина от лезвия до шейки долота, мм | Общая длина долота, мм | Квадрат под ключ с зевом, мм | Масса, кг |
Двутавровые долота |
148 | 84 | 112 | 310 | 650 | 84 | 42,5 |
198 | 102 | 140 | 365 | 750 | 102 | 70 |
248 | 128 | 165 | 420 | 850 | 128 | 93 |
298 | 128 | 165 | 470 | 900 | 128 | 120 |
345 | 140 | 188 | 530 | 1000 | 140 | 180 |
395 | 140 | 188 | 580 | 1050 | 140 | 200 |
445 | 152 | 220 | 550 | 1100 | 152 | 320 |
495 | 152 | 220 | 600 | 1150 | 152 | 400 |
595 | 152 | 220 | 650 | 1200 | 152 | 440 |
695 | 152 | 220 | 750 | 1300 | 152 | 520 |
795 | 152 | 220 | 950 | 1400 | 152 | 570 |
850 | 152 | 220 | 950 | 1500 | 152 | 630 |
Округляющие долота |
148 | 90 | 112 | 810 | 1150 | 84 | 85 |
195 | 120 | 140 | 815 | 1200 | 102 | 120 |
245 | 160 | 165 | 870 | 1300 | 128 | 200 |
295 | 200 | 165 | 870 | 1300 | 128 | 310 |
345 | 230 | 188 | 880 | 1350 | 140 | 370 |
395 | 260 | 188 | 880 | 1350 | 140 | 398 |
445 | 300 | 220 | 950 | 1500 | 152 | 596 |
495 | 330 | 220 | 950 | 1500 | 152 | 700 |
595 | 400 | 220 | 950 | 1500 | 152 | 900 |
695 | 470 | 220 | 950 | 1500 | 152 | 1400 |
Крестовые долота |
148 | - | 112 | 660 | 1000 | 84 | 66 |
198 | - | 140 | 715 | 1100 | 102 | 140 |
248 | - | 165 | 770 | 1200 | 128 | 210 |
298 | - | 165 | 770 | 1200 | 128 | 230 |
345 | - | 188 | 830 | 1300 | 140 | 350 |
395 | - | 188 | 830 | 1300 | 140 | 390 |
445 | - | 220 | 850 | 1400 | 152 | 580 |
495 | - | 220 | 950 | 1500 | 152 | 690 |
595 | - | 220 | 950 | 1500 | 152 | 980 |
Двутавровые долота применяют для бурения пород средней твердости и вязких пород. Лезвие долота заправляется под углом 80 - 100° (в среднем 90°).
Округляющие долота применяют для бурения твердых пород и валунно-галечных отложений. Форма и лезвие долота обеспечивают округление стенок скважины. Угол приострения лезвия долота обычно 90 - 120°.
Крестовые долота применяют для проходки трещиноватых пород и валунно-галечных отложений.
Кроме долот, указанных в
табл. 6, Новочеркасский завод машиностроительный им. А.А. Никольского изготовляет долота округляющие диаметром 630, 660 и 760 мм, а также крестово-овальные диаметром 860 и 960 мм.
3.6. Штанги ударные
(табл. 7) применяют для увеличения массы бурового снаряда и сохранения вертикальности скважины.
Наружный диаметр, мм | Длина квадрата под ключ, мм | Длина высаженного конца ударной штанги, мм | Квадрат под ключ с зевом, мм | Общая длина ударной штанги, мм | Масса, кг |
112 | 180 | 220 | 84 | 4000 | 303 |
| | | | 2000 | 235 |
140 | 190 | 235 | 102 | 4000 | 464 |
| | | | 2000 | 330 |
165 | 210 | 250 | 128 | 4000 | 600 |
| | | | 2000 | 410 |
188 | 230 | 280 | 140 | 4000 | 845 |
| | | | 2000 | 530 |
220 | 260 | 320 | 152 | 4000 | 1120 |
Для определения массы штанг другой длины можно пользоваться массой 1 м круглой стали:
Диаметр, мм ................................... 112 140 165 188 220
Масса 1 м круглой стали, кг ................... 77 120 167 217 296
3.7. Штанги раздвижные
(табл. 8) служат для резкого отрыва инструмента из породы. Ход раздвижных штанг составляет 250 мм. Удар верхнего звена раздвижной штанги по нижнему во время нахождения инструмента на забое выбивает снаряд, благодаря чему он легче извлекается из породы. Штанги раздвижные служат также для освобождения снаряда при его заклинивании.
Ширина звеньев раздвижной штанги, мм | Наружный диаметр высаженного конуса, мм | Размер раздвижной штанги в раздвинутом состоянии, мм | Квадрат под ключ с зевом, мм | Масса, кг |
120 | 112 | 1620 | 84 | 112 |
160 | 140 | 1795 | 102 | 166 |
190 | 165 | 1920 | 128 | 245 |
220 | 188 | 2030 | 140 | 340 |
260 | 220 | 2235 | 152 | 490 |
3.8. Замки канатные
(табл. 9) служат для соединения бурового снаряда с рабочим канатом.
Наружный диаметр, мм | Наружный диаметр шейки замка, мм | Наружный диаметр кольцевых канавок, мм | Длина шейки замка, мм | Общая длина замка, мм | Масса, кг |
112 | 112 | 108 | 240 | 600 | 37,7 |
140 | 112 | 108 | 280 | 700 | 55,8 |
165 | 112 | 108 | 280 | 750 | 77,3 |
188 | 112 | 108 | 280 | 800 | 95 |
220 | 112 | 108 | 290 | 900 | 127 |
3.9. Переходники
(табл. 10) служат для соединения отдельных инструментов, имеющих неодинаковые по размерам шейки и резьбы.
Номинальные размеры, мм | Наружный диаметр переходника со стороны конической резьбы, мм | Общая длина переходника, мм | Масса, кг |
внутренней | наружной |
140 x 112 | 140 | 112 | 650 | 50 |
170 x 140 | 165 | 140 | 750 | 88 |
190 x 140 | 188 | 140 | 775 | 112 |
190 x 165 | 188 | 165 | 800 | 120 |
220 x 165 | 220 | 165 | 880 | 165 |
220 x 180 | 220 | 188 | 900 | 173 |
3.10. Желонки с плоским клапаном применяются для удаления с забоя породы, разрушенной долотами, а также для непосредственного бурения в мягких и рыхлых породах
(табл. 11). Клапан изготовляется одностворчатым или двустворчатым, при этом для лучшего разрыхления породы в башмак желонки устанавливается нож.
Наружный диаметр желоночного башмака, мм | Наружный диаметр трубы, мм | Высота желоночного башмака, мм | Общая длина желонки, мм | Масса, кг |
Желонки с одностворчатым клапаном |
120 | 114 | 39 | 6175 | 95 |
173 | 168 | 55 | 4475 | 181 |
225 | 219 | 62 | 4550 | 248 |
285 | 273 | 80 | 4590 | 334 |
335 | 325 | 60 | 4580 | 409 |
390 | 377 | 70 | 4720 | 522 |
435 | 426 | 75 | 4800 | 635 |
540 | 529 | 80 | 3900 | 800 |
Желонки с двустворчатым клапаном |
335 | 325 | 60 | 4580 | 409 |
390 | 377 | 70 | 4720 | 522 |
435 | 426 | 75 | 4800 | 635 |
540 | 529 | 80 | 3900 | 800 |
Желонки с полусферическим клапаном |
130 | 127 | - | 3230 | 85 |
172 | 168 | - | 3240 | 115 |
224 | 219 | - | 3450 | 200 |
280 | 273 | - | 3450 | 248 |
Желонки с окнами |
170 | 168 | 60 | 3000 | 100 |
223 | 219 | 70 | 3500 | 130 |
283 | 273 | 70 | 4000 | 180 |
322 | 325 | 80 | 4000 | 215 |
Для проходки вязких пород служит желонка без клапана (стакан) с окнами. Очищается желонка через окна, а порода удерживается от выпадения отогнутыми внутрь треугольниками, вырезанными в нижней части желонки. Для проходки песков-плывунов, очистки забоя от шлама, вычерпывания воды из скважины применяются желонки с полусферическим клапаном. Шейка под коническую резьбу на вилке всех видов желонок имеет диаметр 140 мм (квадрат под инструментальный ключ с зевом 102 мм).
3.11. Буровой снаряд состоит из ударного долота, ударной и раздвижной штанг и канатного замка. Если диаметр шейки долота не совпадает с диаметром ударной штанги, между ними устанавливают переводник. Для чистки скважин используется желонка с ушком, соединенная с канатом при помощи рабочей серьги, или желонка с канатным замком. При использовании желонки для проходки скважин буровой снаряд состоит из желонки, ударной штанги 140 мм, раздвижной штанги и канатного замка.
3.12. Масса бурового снаряда зависит от размеров технологических инструментов, из которых он собран. Для изменения массы снаряда при заданном диаметре скважины в снаряд устанавливают ударную штангу той или иной длины и диаметра.
Масса бурового снаряда в кг на 1 см длины лезвия долота в зависимости от крепости пород принимается равной:
Для пород весьма крепких ........................................ 70 - 80
Для пород крепких ............................................... 50 - 70
Для пород средней крепости ...................................... 40 - 50
Для пород мягких ................................................ 25 - 40
Длина собранного снаряда должна быть не более 9 м для станка УГБ-3УК и 12 м для станка УГБ-4УК, масса снаряда соответственно не более 1,5 и 2,5 т.
Отдельные элементы бурового снаряда должны быть свинчены плотно между собой, для чего используют ключи инструментальные.
Вспомогательный инструмент
3.13. Ключи инструментальные служат для свинчивания и развинчивания технологического и аварийного инструментов при сборке или разборке бурового или аварийного снаряда
(табл. 12).
Размер зева ключа, мм | Толщина ключа, мм | Общая длина ключа, мм | Масса, кг | Диаметр шейки инструмента, мм |
84 | 80 | 1435 | 67 | 112 |
102 | 90 | 1470 | 101 | 140 |
128 | 100 | 1495 | 115 | 165 |
140 | 100 | 1505 | 119 | 188 |
152 | 120 | 1742 | 152 | 220 |
Инструмент для работы с трубами
3.14. Хомуты
(табл. 13) служат для подвешивания обсадных труб во время спуска или подъема их из скважины, во время наращивания колонны труб.
Наружный диаметр труб, мм | Внутренний диаметр в свободном состоянии, мм | Толщина стенки хомута, мм | Высота стенки хомута, мм | Общая длина хомута, мм | Зазор между стенками в свободном состоянии, мм | Масса, кг |
168 | 170 | 20 | 150 | 640 | 15 | 41 |
219 | 220 | 20 | 150 | 680 | 20 | 43,3 |
273 | 275 | 22 | 200 | 750 | 25 | 64,8 |
325 | 325 | 22 | 200 | 800 | 25 | 70 |
377 | 375 | 22 | 200 | 850 | 30 | 75 |
426 | 430 | 22 | 200 | 900 | 30 | 81 |
478 | 480 | 25 | 250 | 950 | 40 | 90,7 |
529 | 535 | 25 | 250 | 1000 | 50 | 131 |
630 | 640 | 25 | 250 | 1100 | 50 | 147 |
720 | 745 | 25 | 250 | 1200 | 60 | 157,7 |
3.15. Головки забивные
(табл. 14) служат для предохранения от деформации муфты или верхнего конца труб (безрезьбовых) при забивке их в скважину забивным снарядом. Для безрезьбовых труб применяются многоступенчатые забивные головки.
Наружный диаметр труб, мм | Наружный диаметр, мм | Внутренний диаметр (диаметр отверстия), мм | Высота, мм | Масса, кг |
Многоступенчатые головки |
273, 325 и 377 | 400 | 175 | 210 | 94 |
426, 478 и 529 | 550 | 175 | 200 | 256 |
630 и 720 | 750 | 175 | 225 | 412 |
Резьбовые головки |
168 | 216 | 150 | 210 | 21 |
219 | 275 | 200 | 242,5 | 36 |
273 | 336 | 252 | 292 | 57 |
325 | 395 | 303 | 338 | 99 |
377 | 445 | 352 | 358 | 103 |
426 | 495 | 405 | 378 | 125 |
3.16. Башмаки трубные
(табл. 15) предназначаются для предохранения нижнего конца труб от повреждения при их обсадке, а также для расширения ствола скважины, что облегчает посадку труб.
Наружный диаметр труб, мм | Наружный диаметр, мм | Высота башмака от основания до резьбы, мм | Внутренний диаметр, мм | Общая высота башмака, мм | Масса, кг |
168 | 192 | 62 | 155 | 175 | 11 |
219 | 243 | 107,5 | 205 | 225 | 19 |
273 | 294 | 151 | 255 | 275 | 30 |
325 | 346 | 210,5 | 307 | 325 | 44 |
377 | 396 | 246,5 | 356 | 360 | 57 |
426 | 447 | 385,5 | 407 | 400 | 77 |
Для электросварных (безрезьбовых) труб башмаки трубные серийно промышленностью не выпускаются и при необходимости их изготовляют хозяйственным способом.
3.17. Забивные снаряды предназначены для забивки обсадных труб в ствол скважины. Они состоят из корпуса, штока с серьгой, канатной петли, гибко соединяющей шток с корпусом. Для буровых станков УГБ-3УК выпускаются забивные снаряды массой 800 - 850 кг, для буровых станков УГБ-4УК - 1200 кг. Типы, основные размеры, описание аварийного инструмента и наиболее типичные приемы его применения приводятся в
п. 4.47 -
4.50.
Буровой инструмент для ударно-канатного бурения скважин
кольцевым забоем
3.18. В комплект основного бурового инструмента для ударно-канатного бурения скважин кольцевым забоем входят забивные стаканы (зонды, гильзы), ударные патроны, утяжеленные штанги, желонки, долота и др.
3.19. Забивные стаканы представляют собой породоразрушающий инструмент, при помощи которого углубляется скважина и отбираются образцы для геологической документации. В связных глинистых грунтах обычно применяют стаканы с одним или двумя продольными окнами, позволяющими описывать геологический разрез и очищать стаканы от породы. В нижней части стаканы оборудуются рабочим кольцом с упрочненной режущей кромкой. Скос у рабочего кольца обычно делается с внутренней стороны, чтобы лучше удержать породу в стакане, а также предупредить прихват стакана в скважине. В связных глинистых грунтах используются стаканы, режущая часть рабочего конуса которых имеет наружный скос.
На верхней части стакана имеется резьбовый переходник для соединения его с ударным патроном либо утяжеленной (ударной) штангой. Для забивного и "клюющего" способов бурения используются стаканы одинаковой конструкции. Стаканы изготовляются из обсадных (колонковых) труб либо из ниппельных заготовок с наружным диаметром 73, 89, 108, 127, 146, 168, 219 и 273 мм.
Некоторые конструкции стаканов рабочими кольцами не оборудуются. Режущая кромка таких стаканов выполняется фигурной, а внутри для упрочнения привариваются пластины жесткости.
Для бурения слабосвязных пород применяются стаканы с клапаном (клапанами), вмонтированным в рабочее кольцо. Клапан позволяет удерживать породу от выпадения при извлечении стакана из скважины.
3.20. В последнее время широкое распространение получили разъемные стаканы. При использовании разъемных стаканов существенно облегчается и ускоряется процесс очистки последних от породы. Разборка и сборка таких стаканов занимает не более 1 - 2 мин.
3.21. Наиболее трудоемким процессом при ударно-канатном бурении стаканами является их очистка от грунта. Процесс очистки обычно осуществляется вручную с использованием ломов, специальных лопаток и кувалд. Нанесение ударов по стакану приводит к его деформации и преждевременному выходу из строя. Особенно быстро выходят из строя безбашмачные стаканы. Помимо этого при таком способе очистки нарушается строение керна, что затрудняет ведение геологической документации. Процесс очистки становится чрезвычайно трудоемким, если бурение ведется в плотных вязких глинистых грунтах. Эта операция при ударно-канатном бурении занимает до 30% рабочего времени.
В ПНИИИСе разработана достаточно простая и удобная в работе конструкция поршневого стакана. Работа с поршневым стаканом производится следующим образом. Стакан с поршнем, зафиксированным пальцем в крайнем верхнем положении, опускается в скважину. После углубки заполненный грунтом стакан извлекается на поверхность и вставляется в специальный патрубок, жестко зафиксированный от осевого перемещения (упиранием в станину станка или каким-либо иным образом). Из стакана выбивается палец, фиксирующий поршень, а затем в отверстие поршня вставляется длинный штырь. С помощью лебедки стакан поднимается вверх, штырь своими концами упирается в патрубок и не позволяет поршню двигаться вверх. За счет этого грунт выталкивается из наконечника. Концы штыря в это время двигаются в вырезах корпуса стакана. Затем штырь вынимается, поршень поднимается в верхнее положение и вновь фиксируется пальцем. Применение поршневого стакана указанной конструкции позволяет улучшить качество геологической документации, сократить затраты времени на вспомогательные операции при бурении, облегчить труд буровых бригад, увеличить долговечность стаканов.
3.22. Для забивки стакана (грунтоноса) в грунт без отрыва его от забоя после каждого удара применяется ударный патрон. Патрон состоит из ударной штанги, трубного корпуса, наковальни. На верхней части ударной штанги имеется коническая резьба, с помощью которой ударный патрон соединяется с переходником для его подвески на канате. Наковальня с помощью резьбы присоединяется к забивному стакану. В процессе бурения ударная штанга приподнимается и сбрасывается на наковальню, благодаря чему стакан углубляется в грунт. Для бурения скважин в несвязных грунтах применяются желонки.
3.23. Утяжеленные штанги предназначены для увеличения массы стакана (при "клюющем" способе бурения) или желонки (при желонировании). Утяжелитель представляет собой стальной цилиндр, жестко присоединяемый к стакану. Бурение в этом случае осуществляется путем подъема стакана с утяжеленной штангой на некоторую высоту и сбрасывания его на забой.
3.24. При ударно-канатном бурении скважин большого диаметра (шурфов) буровыми установками, в частности УГБ-50М, применяют ячеистые забивные стаканы. Стакан состоит из переходника для соединения с ударной штангой, радиальных косынок, корпуса центральной трубы и ребер. Ребра одновременно служат и радиальными ножами, поэтому их рекомендуется затачивать. Центральная труба в нижней части выступает относительно корпуса. Это обеспечивает возможность бурения скважины ступенчатым забоем.
3.25. В более плотных грунтах применяют стаканы с меньшей толщиной стенки. Количество ребер (режущих ножей) должно быть минимальным, но обеспечивающим отрыв грунта от забоя и удержание его в стакане при подъеме последнего на поверхность. Толщину ребер допускается уменьшать до 5 - 6 мм. В плотных влажных грунтах (тяжелые суглинки, глины тугопластичной консистенции и т.д.) целесообразно применять забивные стаканы с 4 - 6 ножами, в рыхлых увлажненных глинистых грунтах с 6 - 8 ножами, в рыхлых сухих лессовых грунтах с 8 - 12 ножами.
3.26. В качестве ударных штанг при бурении шурфов "клюющим" способом рекомендуется использовать штанги из комплекта бурового инструмента к установкам УГБ-3УК и УГБ-4УК. Необходимо применять штанги диаметром 127, 146 мм и длиной не более 2,5 - 3 м. Масса штанг не должна превышать 350 - 400 кг.
3.27. Наиболее распространенным типом породоразрушающего инструмента при ударном бурении крупнообломочных грунтов являются желонки. Они могут быть использованы как непосредственно породоразрушающий инструмент в сухих и обводненных гравийно-галечниковых разновидностях крупнообломочных грунтов, так и в качестве инструмента для извлечения из скважины крупного валунно-галечникового грунта после его предварительного разрушения долотом.
Существует много типов желонок, которые могут быть использованы для проходки крупнообломочных грунтов. Тот или иной тип желонки может быть эффективно использован только в отдельных разновидностях крупнообломочных грунтов. При проходке галечников (речников) и обводненных галечниковых грунтов рекомендуется использовать желонки с плоским клапаном. Высоту клапана следует принимать 20 - 25 мм. Желонка в этом случае заполняется довольно быстро. Гальку и гравий, связанные глинистым материалом, проходят желонкой с ножом, помогающим разрушить породу. Можно применять также желонку без клапана, при этом извлекают породу с почти ненарушенной структурой.
Хорошие результаты получены при использовании желонки с укороченным языковым клапаном. Однако, как показывает опыт работы, желонка с плоским клапаном обеспечивает лучшую очистку забоя от шлама, чем желонка с языковым клапаном.
Бурение в галечниковых грунтах успешнее всего проводить желонкой возможно большего диаметра. Если отверстие в клапане желонки превосходит по размеру наиболее крупную гальку, то при ударах желонки о забой галька свободно проходит через клапан и скважина углубляется довольно быстро. Если галька не проходит в отверстие желонки, ее необходимо предварительно раздробить. При проходке крупного галечника дробление его осуществляется желонкой, а галечники крепких кристаллических пород разрушаются долотом.
Для отбора проб при ударно-канатном бурении применяют поршневые желонки, различающиеся по конструкции клапана и размеру мертвого пространства. В разных районах применяются желонки с различными клапанами: в Северо-Восточном и Якутском ГУ - желонки с языковым клапаном, в Закавказье - с тарельчатым. Величина мертвого пространства в желонках обоих типов колеблется от 100 до 140 мм.
Желонки всех типов, имея мертвое пространство, не позволяют полностью извлекать породу из скважины в каждом рейсе, и на забое всегда остается столбик шлама.
3.28. При бурении скважин в крупнообломочных грунтах, представленных валунно-галечниковыми разновидностями крепких пород, возникает необходимость в применении долот различного типа. В гравийных породах, песчано-глинистых с щебнем и галькой могут быть использованы крестовые, а также двутавровые долота. Если по условиям проходки скважины можно использовать способ трамбования - отжатие гальки, то с успехом применяют округляющие долота. Такая операция возможна при бурении грунтов с глинистым заполнителем. Если во время бурения скважины встречаются одиночные валуны небольших размеров и вмещающий их грунт небольшой плотности, его можно отжать пирамидальным или эксцентриковыми долотами. Если валун отбить в сторону не удается, то начинают бурить крестовым или округляющим долотом. При встрече валунистых пород, где наблюдается прихватывание плоского долота, следует переходить на бурение копытообразным, трехлопастным или крестовым долотом. Копытообразные долота можно использовать при проходке рыхлых отложений с большим количеством валунов; применение крестовых долот в этих условиях ограничено.
3.29. Забивной способ бурения целесообразно использовать при проходке крупнообломочных грунтов гравийно-галечниковой разновидности с глинистым заполнителем. При этом буровой снаряд может включать забивной стакан конструкции Мингео СССР, состоящий из керноприемника и ударного патрона, или ударный патрон конструкции Гидропроекта.
3.30. Во ВНИИ-1 Министерства цветной металлургии СССР была разработана поршневая желонка улучшенной конструкции Р-8Ж-4У. Отличительными особенностями ее является шаровой клапан и более герметичный двойной поршень, обеспечивающий лучший вакуум при отборе пробы.
Техническая характеристика
Диаметр проходного отверстия башмака, мм ............................ 92
Ход штока, мм ....................................................... 1800
Максимальный объем шлама, поднимаемого за 1 рейс, л ................. 42
Внутренний диаметр корпуса желонки, мм .............................. 150
Наружный диаметр корпуса желонки, мм ................................ 168
Длина корпуса желонки, мм ........................................... 2980
Общая длина при опущенном штоке, мм ................................. 3345
Максимальная общая длина, мм ........................................ 5145
Масса, кг ........................................................... 152
Желонка может быть использована при проходке скважин глубиной до 25 м и более.
3.31. В крупнообломочных грунтах с глинистым заполнителем успешно могут быть использованы забивные стаканы разнообразных конструкций. Устройство забивных стаканов конструкции Мингео СССР приведено на
рис. 3. Эти стаканы комплектуются башмаками различных типов, что позволяет использовать их для бурения разнообразных грунтов.
Рис. 3. Забивной стакан конструкции СКБ МГ СССР
1 - башмак; 2 - керноприемная часть; 3 - ударная часть;
4 - крышка; 5 - гайка
3.32. На
рис. 4,
а приведен башмак с внутренним уступом (с уширенным кольцом), который предназначен для бурения грунтов со значительным количеством крупнообломочного материала при диаметре скважин 150 и 190 мм. Он обладает повышенной прочностью; наличие уступа на внутренней поверхности способствует удержанию крупнообломочного материала в полости керноприемника. Башмак имеет повышенное лобовое сопротивление, что снижает скорость бурения. Разработан также башмак с шарнирно-откидывающимися лапками (
рис. 4,
б), который может быть использован для бурения гравийно-галечниковых отложений при диаметре скважины 190 и 230 мм. Откидывающиеся лапки перекрывают до 60% проходного сечения башмака. Эти башмаки имеют повышенное лобовое сопротивление, а уменьшение проходного сечения не позволяет применять конструкцию башмака диаметром менее 150 мм. Изготовляются они из стали марок 40Х или 45Х с ленточной резьбой для соединения с корпусом забивного стакана. Помимо вышеуказанных конструкций забивных стаканов, необходимо отметить конструкции забивных стаканов ДальТИСИЗа, СевкавТИСИЗа, СМУ "Буртехналадка".

Рис. 4. Башмаки к забивным стаканам конструкции
СКБ МГ СССР
а) - гладкий башмак; б) - башмак
с шарнирно-откидывающимися лапками
3.33. В ДальТИСИЗе забивные стаканы изготовляют из дробовых коронок, вследствие чего они обладают повышенной прочностью и долговечностью и могут успешно применяться для бурения крупнообломочных грунтов.
3.34. В СевкавТИСИЗе разработана усиленная конструкция забивного стакана. Усиление бурового стакана осуществлено методом наварки швов жесткости электродуговой сваркой с присадкой сурьмы. Швы (4 шт.) шириной 10 - 15 мм и толщиной 3 - 5 мм накладываются по внешним стенкам стакана вдоль его оси и по режущей части башмака с внутренней стороны. Такие стаканы свободно работают в грунтах, представленных галькой размером от 41 до 100 мм, галечниково-щебенистым материалом, связанным глиной, в песчано-глинистых грунтах с включением гальки, щебня и валунов.
3.35. В СМУ "Буртехналадка" для проходки грунтов со значительным количеством валунно-галечникового материала используют забивные стаканы диаметром 168 - 273 мм, изготовляемые из толстостенных обсадных труб
(рис. 5). Наличие сплошной вертикальной прорези на теле стакана позволяет механизировать процесс очистки стакана от грунта с помощью специального приспособления (выталкивателя).
Рис. 5. Забивной стакан СМУ "Буртехналадка"
3.36. В Казаковской экспедиции Читинского ГУ предложен и использован усовершенствованный клапан желонки
(рис. 6), что позволило увеличить срок его службы и привело к более полному извлечению породы из скважины.
Рис. 6. Башмак желонки с шарнирным клапаном
1 - башмак; 2 - шарнирный клапан; 3 - корпус желонки
3.37. Особо следует отметить применяемый при ударно-канатном бурении в СВГУ буровой инструмент Оротуканского завода горного оборудования объединения "Северовостокзолото", отличающийся надежностью, износоустойчивостью и удобством в работе.
Башмак обсадной трубы изготовляют из стальных труб марки 30ХГС. Он соединяется с обсадной трубой резьбой; низ его имеет режущую кромку с углом приострения 45°, закаленную на длине 25 мм. Наружный диаметр башмака равен наружному диаметру соединительных муфт.
Обсадные трубы длиной 2,2 м соединяются муфтами (30ХГСА). Муфты обточены и имеют диаметр 226 - 230 мм (на 10 - 14 мм менее стандартного). Обточка муфт позволяет избежать осложнений при спуске и подъеме обсадных труб.
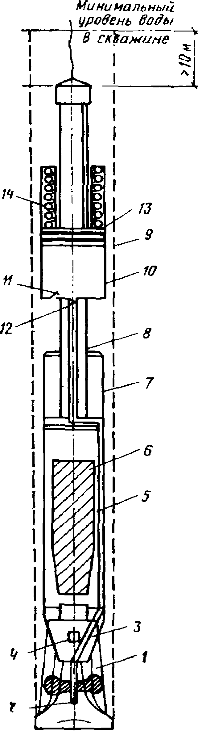
Многолетний опыт работы показал, что в условиях Северо-Востока страны при разведке россыпей наиболее эффективны поршневые желонки с языковым клапаном, которые с успехом можно применять при инженерных изысканиях
(рис. 7). Основным их достоинством является простота в изготовлении и безотказность в работе, кроме того, они обеспечивают удовлетворительное наполнение и дают вполне достоверные данные при опробовании скважины.
Рис. 7. Поршневая желонка с клапаном
1 - башмак с клапаном; 2 - корпус; 3 - гайка; 4 - шплинт;
5 - поршень; 6 - клапан; 7 - гайка опорная; 8 - пружина;
9 - шток; 10 - головка желонки; 11 - ограничительная шайба;
12 - тарелка клапана
3.38. В Гидропроекте разработана желонка, состоящая из цилиндрического корпуса, в нижней части которого укреплен конический зонд с клапаном, а в верхней - вилка для соединения с канатом лебедки. На наружной поверхности зонда в шахматном порядке установлены шипы - рыхлители высотой 30 мм. При ударе желонки о забой порода разрыхляется и во взвешенном состоянии поступает через клапан в полость желонки. На поверхности земли ее освобождают опрокидыванием. Желонку успешно применяли при бурении скважин в песчано-гравийных отложениях на изысканиях при строительстве Горьковской ГЭС.
3.39. Во ВНИИ-1 разработана желонка
Р-20Ж-4У для ударно-канатного бурения скважин диаметром 500 - 600 мм. Желонка работает по принципу всасывания шлама (в виде пульпы) под действием вакуума, создаваемого движением двух поршней в трубе
(рис. 8). От шлама желонку освобождают посредством специального устройства
(рис. 9), предотвращающего потерю шлама и улучшающего условия труда.
Рис. 8. Желонка Р-20Ж-4У ВНИИ-1
1 - башмак; 2 - корпус; 3 - шаровой клапан; 4 - шток;
5 - поршень; 6 - манжет опорный; 7 - манжет уплотнительный;
8 - упор; 9 - втулка; 10 - гайка со шплинтом;
11 - амортизатор
Рис. 9. Разгрузочное устройство
1 - воронка; 2 - центрирующая труба; 3 - сливной лоток;
4 - ребро; 5 - втулка; 6 - штырь-толкатель
Техническая характеристика
Диаметр проходного отверстия башмака, мм ........................... 190
Ход штока, мм ...................................................... 1790
Максимальный объем шлама, поднимаемого за рейс, л .................. 168
Внутренний диаметр корпуса желонки, мм ............................. 307
Наружный диаметр корпуса желонки, мм ............................... 325
Длина корпуса желонки, мм .......................................... 3000
Общая длина при опущенном штоке, мм ................................ 3390
Максимальная общая длина, мм ....................................... 5180
Масса, кг .......................................................... 465
Опытные испытания желонки, проведенные при бурении скважин диаметром 450 - 500 мм и глубиной 20 - 25 м ударно-канатным способом станком УКС-22М в мерзлых грунтах, представленных гравийно-галечниковым материалом, сцементированным песчано-глинистым заполнителем, показали ее высокую извлекающую способность и существенное повышение производительности труда (почти в пять раз меньше времени затрачено на желонирование по сравнению с обычной беспоршневой желонкой с плоским клапаном).
3.40. В Якутском ГУ были созданы желонки грейферного и вакуумного типов
(рис. 10), которыми бурили рыхлые отложения, представленные валунно-гравийно-галечниковым материалом с прослойками и линзами леденисто-илистой массы в верхних горизонтах. Валуны мелких и средних размеров составляют 5 - 8% всей массы породы. Мощность пластов аллювия достигает 20 - 25 м. Бурение велось рейсами 0,2 и 0,4 м. Извлечение шлама производили вакуумной и грейферной желонками. Бурение вели двумя станками БУ-20-2УШ. Масса снаряда на одном из них 1485 кг, на втором - 1350 кг. В первом случае в состав снаряда входили крестово-двутавровое долото диаметром 500 мм, переходник размерами 220 x 165 мм, две гладкоствольные ударные штанги диаметром 165 и канатный замок диаметром 165 мм. Извлечение дробленого материала осуществляли четырехлопастной грейферной желонкой. В состав второго снаряда входили: округляющее долото диаметром 500 мм, переходник размерами 220 x 165 мм, одна гладкоствольная двухметровая ударная штанга диаметром 165 мм, переходник размерами 165 x 140 мм и канатный замок диаметром 140 мм. Дробленый материал извлекали вакуумной желонкой конструкции П.В. Киселева. Частоту ударов бурового инструмента изменяли в пределах 48 - 56 ударов в 1 мин.

Рис. 10. Грейферная желонка
1 - ударный боек; 2 - фиксатор; 3 - лапка; 4 - пружина;
5 - шток; 6 - направляющие; 7 - тяга; 8 - корпус;
9 - лопасть
Результаты эксперимента показали, что полнота извлечения шлама из скважин грейферной и поршневой желонками составила 76 - 80%, что значительно превышает возможности обычных поршневых желонок, применяемых повсеместно.
3.41. Разновидностью ударно-канатного бурения является ударно-захватный способ, отличающийся в основном типом используемого бурового инструмента (грейферы).
На
рис. 11 представлен одноканатный грейфер к установке УБСР-25, который можно использовать для бурения скважин в обводненных рыхлых отложениях с включениями валунов крупностью до 500 мм. Грейфер для бурения скважин диаметром 500 - 600 мм должен иметь массу 400 - 500 кг и обеспечить минимальное лобовое сопротивление при вхождении его в жидкость. Существуют также грейферы вибрационного действия, к которым, в частности, относится виброгрейфер ВГ-1000 института Гидропроект. Виброгрейфер ВГ-1000 предназначен для бурения скважин диаметром 1000 мм в мягких породах, преимущественно в обводненных песчаных и валунно-галечниковых отложениях. Эффективность бурения в последних обеспечивается применением четырехлопастного наконечника.
Рис. 11. Одноканатный грейфер
1 - челюсть; 2 - рычажная втулка; 3 - корпус; 4 - полиспаст;
5 - пружина; 6 - головка; 7 - подвесная штанга; 8 - собачка;
9 - палец; 10 - штанга
Виброгрейфер ВГ-1000 может быть применен для бурения скважин в комплекте с буровой вышкой или самоходным краном грузовым усилием не менее 10 кН.
4.1. Эффективность разрушения породы, а следовательно, производительность бурения, зависят от: а) массы бурового снаряда; б) высоты падения инструмента; в) числа ударов инструмента по забою в единицу времени; г) крепости проходимых пород; д) формы, качества закалки и заправки режущей части долота.
С увеличением диаметра и крепости проходимых пород массу снаряда нужно увеличивать. На эффективность удара долота в значительной степени влияют регулирование подачи каната и число ударов инструмента по забою скважины. Инструмент в скважине должен висеть на натянутом канате и при верхнем положении балансира бурового станка касаться забоя или быть несколько выше его (в зависимости от крепости пород). Высота падения инструмента регулируется перестановкой пальцев кривошипов бурового станка. Число ударов бурового инструмента должно быть подобрано так, чтобы долото касалось забоя скважины одновременно с достижением ролика балансира верхней мертвой точки.
При бурении твердых пород применяется тяжелый снаряд при малой высоте подъема инструмента над забоем и наибольшем числе ударов; при проходке мягких пород - снаряд малой массы с большей высотой подъема и меньшим числом ударов. При большем количестве ударов, когда оттяжной ролик опускается и нажимает на канат до подъема инструмента вверх, а долото еще не коснется забоя, происходят сильные рывки каната, что ведет к его износу, а иногда и к обрыву.
4.2. В современных станках количество ударов может изменяться перестановкой сменных шкивов на электродвигателе. Число ударов обычно принимается равным 45 - 50 в минуту.
Повороты бурового снаряда в скважине происходят автоматически благодаря применению самовращающегося канатного замка и свойству стального каната раскручиваться при нагрузке и вновь скручиваться, когда нагрузка снята. В момент удара снаряда по забою канат разгружается и закручивается, свободно вращая имеющиеся в теле замка втулку и шайбу. При подъеме инструмента канат натягивается, раскручивается и поворачивает замок, а вместе с ним и буровой снаряд. Поэтому инструментальный канат должен быть левой свивки (против хода часовой стрелки), чтобы раскручиваясь при подъеме снаряда, поворачивать инструмент по ходу часовой стрелки (при этом предотвращается разворачивание резьбовых соединений). Угол поворота снаряда зависит от эластичности стального каната, веса снаряда, сопротивления среды, в которой работает инструмент, чистоты полости замка и т.п.
4.3. Крепкие и вязкие породы следует проходить в два последовательных приема: разрушение производится буровым снарядом, состоящим из долота, ударной и раздвижной штанг, а удаление разрушенных пород из скважины - желонкой. Буровой снаряд ударяет по породе забоя с определенной частотой, причем при каждом ударе снаряд поворачивается на определенный угол для полной обработки всего забоя и стенок скважины. По мере углубления скважины буровой снаряд подается на забой путем сматывания с барабана каната, к которому он присоединен.
4.4. Рыхлые и частично вязкие породы проходят желонкой, которая, одновременно разрыхляя породу, заполняется ею, после чего поднимается из скважины для освобождения.
4.5. В зависимости от крепости пород применяются долота различной конструкции. Так, при бурении в крепких и средней твердости породах рекомендуется применять округляющее долото, при бурении в породах средней крепости - двутавровое, при бурении в мягких породах - долото зубильного типа (плоское).
Угол заострения лезвия долота, град, в зависимости от крепости пород принимается:
При бурении в крепких породах ................................. 100 - 140
При бурении в породах средней крепости ........................ 90 - 110
При бурении в мягких породах .................................. 60 - 80
Эффект разрушения породы забоя зависит от живой силы удара, величина которой определяется, с одной стороны, массой снаряда, а с другой - скоростью его падения. Чем крепче порода, тем больше должны быть масса снаряда и скорость падения. Последняя зависит от высоты и частоты сбрасывания снаряда.
4.6. В зависимости от крепости породы масса бурового снаряда, кг, приходящаяся на 1 см длины лезвия долота, принимается приближенно в следующих размерах:
Для мягких пород ................................................ 25 - 40
Для пород средней крепости ...................................... 40 - 50
Для крепких пород ............................................... 50 - 70
Для весьма крепких пород ........................................ 70 - 80
В
табл. 16 приводятся значения масс буровых снарядов в зависимости от номинальных размеров долот с учетом существующих норм на буровой инструмент.
Номинальный диаметр долота, мм | Масса инструмента, кг | Масса бурового снаряда в сборе, кг |
долота | ударной штанги длиной 4 м | раздвижной штанги | канатного замка | с двутавровым долотом | с округляющим долотом |
двутаврового | округляющего |
148 | 43 | 85 | 303 | 112 | 38 | 496 | 538 |
198 | 70 | 120 | 464 | 166 | 56 | 756 | 806 |
248 | 93 | 200 | 600 | 245 | 77 | 1015 | 1122 |
298 | 120 | 310 | 600 | 245 | 77 | 1042 | 1232 |
345 | 180 | 370 | 845 | 340 | 95 | 1460 | 1650 |
395 | 200 | 398 | 845 | 340 | 95 | 1480 | 1678 |
445 | 320 | 596 | 1120 | 490 | 127 | 2057 | 2333 |
495 | 400 | 700 | 1120 | 490 | 127 | 7137 | 2437 |
Иногда при проходке в крепких породах добавляют вторую ударную штангу, увеличивая массу бурового снаряда, благодаря чему повышается скорость бурения. Однако в этом случае нельзя допускать перегрузки бурового станка. На высоту сбрасывания снаряда влияют крепость и вязкость пород. Она принимается от 300 до 1000 мм (скорость падения снаряда несколько меньше скорости свободного падения из-за сопротивления движению снаряда в скважине). Частота ударов в минуту, составляющая от 45 до 60, зависит от глубины скважины и высоты сбрасывания.
Угол поворота бурового снаряда с учетом крепости породы изменяется от 20 до 50°: чем крепче порода, тем угол поворота меньше.
Длина каната должна быть отрегулирована так, чтобы при данном числе ударов инструмента долото полностью отдавало энергию падения на удар по забою. При недостаточной длине каната часть этой энергии остается неиспользованной, а при излишней длине происходят сильные рывки каната, что неблагоприятно сказывается на работе станка. От неточной регулировки канат может оборваться. Если долото, внедряясь в породу, несколько заклинивается, то канат работает так, как описано выше. В действительности иногда долото с забоя приходится не только поднимать, но и вырывать. При этом создается дополнительная нагрузка на канат в момент после удара и канат в этот момент раскручивается и удлиняется больше, чем до удара, а иногда даже обрывается при сильных захватах снаряда. В этом случае применение раздвижной штанги облегчает работу каната и способствует быстрейшему освобождению бурового снаряда. Как только долотом произведен удар, нижний конец каната с верхним звеном раздвижной штанги проскальзывает вследствие разбега по нижнему звену на некоторую длину, а затем за счет скручивания и укорачивания каната верхнее звено раздвижной штанги ударяет в верхний конец нижнего звена и таким образом выколачивает долото из породы забоя.
4.7. Если при работе происходят частые и сильные захваты, буровой снаряд собирается несколько иначе, а именно: долото, рабочая ударная штанга, раздвижная штанга, верхняя выбивная штанга и канатный замок. Выбивная штанга применяется для увеличения силы инерции при выколачивании прихватываемого породой снаряда. Чем массивнее выбивная штанга, тем сильнее удар выбивания. Чтобы при долблении скважина была правильного круглого сечения, необходимо обеспечить возможность поворачивания долота, что создается применением самовращающегося канатного замка.
Левое направление свивки каната обеспечивает вращение инструмента по ходу резьбы, что препятствует разворачиванию инструмента во время работы. Применение раздвижной штанги и эластичность каната создают условия, близкие к свободному падению снаряда на забой, что способствует более эффективному разрушению породы.
Монтаж и демонтаж станков ударно-канатного бурения
4.8. Монтаж и демонтаж легких станков ударно-канатного бурения, используемых при инженерно-геологических изысканиях, не вызывает особых затруднений. Поэтому более подробно остановимся на описании монтажа и демонтажа тяжелых ударно-канатных станков УГБ-3УК и УГБ-4УК, используемых при инженерных изысканиях, проводимых для водоснабжения и водопонижения. Для установки передвижных буровых станков УГБ-3УК и УГБ-4УК с мачтой, размещения бурового инструмента и труб для крепления скважин необходима площадка размерами не менее 10 x 10 м, которая должна находиться от зданий и сооружений на расстоянии не менее полуторной высоты мачты около 20 м. В месте заложения скважины роют шурф сечением 2 x 2 м и глубиной до 1,5 м. Стенки его крепят досками.
Для установки якорей канатных растяжек мачты станка УГБ-3УК роют четыре ямы, которые располагаются согласно схеме на
рис. 12. Пятая яма, на расстоянии 2 - 3 м от задней стороны станка, предназначается для столба линии электропередачи, на котором устанавливается закрытый трехполюсный рубильник, с помощью гибкого кабеля (ГРШС) соединяющийся с блоком управления электродвигателя станка. Для разгрузки пневматических скатов оси станка устанавливаются на уложенные на земле брусья или балки так, чтобы скаты оказались на весу, а основная рама станка располагалась строго горизонтально.
Рис. 12. Схема крепления мачты станка УГБ-3УК
1 - станок; 2 - канатные растяжки; 3 - якори;
4 - трубчатые растяжки
На площадке у шурфа, на расстоянии 0,6 м один от другого, укладывают четыре продольных бруса размерами 0,25 x 0,25 x 5 м, наполовину зарытые в землю, поверх которых кладут четыре поперечных бруса размерами 0,25 x 0,25 x 3 м и соединяют скобами с продольными. Брусья укладывают так, чтобы первый, у станка, являлся опорой плиты под домкраты мачты, а остальные два находились у шурфа. По поперечным брусьям настилают пол из досок 5 x 20 см.
Подъем мачты осуществляется специальной лебедкой, установленной на неповоротной оси станка. Один конец подъемного каната закрепляется в верхней части нижнего звена мачты, другой, сбегающий конец, - на барабане лебедки. При пуске электродвигателя мачта поднимается в вертикальное положение. Не следует с помощью лебедки выводить мачту до упора на раме; окончательная доводка производится вручную. После подъема нижнего звена мачты ее упорные винты вывертываются с таким расчетом, чтобы нагрузка передавалась непосредственно через них на опорную балку, а не на станок. Болты, соединяющие верхнее звено с нижним, снимаются, канатные растяжки раскладываются по направлению своих якорей, и включается электродвигатель для подъема верхнего звена мачты. Доводка верхнего звена мачты до места соединения с нижним производится вручную. Верхнее звено скрепляется с нижними восемью болтами с гайками и контргайками. Мачта расчаливается четырьмя канатными растяжками из стального каната диаметром 13,5 - 15,5 мм, натяжение которых регулируется стяжными болтами.
Перед началом регулировки канатных растяжек устанавливают трубчатые растяжки мачты и на все крепежные болты навертывают по две гайки. Затем к мачте крепится поворотная укосина с червячной талью и все барабаны заправляются канатами.
4.9. Заземление станка следует производить следующим образом. К одной из сторон стальной пластины (сталь марки Ст3) размером 0,8 x 0,8 x 0,03 - 0,05 м приваривается под прямым углом полоса из такой же стали размером 0,5 x 0,5 x 0,1 м. В противоположном конце полосы просверливается отверстие под болт диаметром 10 - 12 мм. Медный заземляющий провод с площадью сечения не менее 10 мм2 посредством болта присоединяется одним концом к стальной полосе, а вторым - к специальной проушине или болту на раме станка, к которому проводом присоединены корпус электродвигателя, блок управления, а также корпус главного рубильника. Заземляющую пластину укладывают на дно шурфа размером 0,9 x 0,8 м глубиной 0,6 м и засыпают слоем смоченного грунта толщиной 0,15 - 0,2 м. Слой трамбуют, и шурф затем засыпают вынутым грунтом. Заземляющий провод также закапывают на глубину 0,2 - 0,3 м. На этом установка станка считается оконченной.
4.10. После этого буровой мастер должен проверить установку станка: пополнить смазку, выключить все фрикционные муфты, убрать посторонние предметы со станка и проверить направление вращения приводного шкива (по часовой стрелке, если смотреть со стороны его ограждения). После проверки при нормальной работе механизмов станка в течение 3 - 5 мин на холостом ходу установка считается готовой к бурению.
Для увеличения грузоподъемности мачты бурового станка УГБ-3УК трестом Промбурвод спроектировано усиление мачты добавлением двух ног из труб диаметром 168 мм. Ноги, соединенные шкворнями между собой и мачтой, крепятся ниже оси блока на 1,5 м. Благодаря усилению мачта может воспринимать большие нагрузки при извлечении труб из скважины.
4.11. Перед установкой станка УГБ-4УК планируется площадка размерами 15 x 10 м, которая должна быть расположена на расстоянии полуторной высоты мачты от зданий и сооружений. При установке станка необходимо принять меры, обеспечивающие достаточную устойчивость его во время работы. Как под мачтой станка, так и под самим станком должна быть надежная опорная поверхность, поскольку при спуске или извлечении колонн обсадных труб возникают большие нагрузки. Для этого на заранее выровненной площадке, около намеченной скважины вначале следует уложить поперечные доски, а на них - четыре продольных бруса, на которые затем накатывается станок. Для предупреждения перемещения станка во время работы под его колеса необходимо подводить специальные поперечные упорные брусья, а для разгрузки скатов под их оси подкладывать два продольных бруса. Таким образом, нагрузка от станка на почву будет передаваться через значительную опорную поверхность.
Рабочую площадку у станка нужно настилать из досок, уложенных на брусья. При установке станка необходимо проследить за тем, чтобы основная его рама располагалась строго горизонтально. Перед подъемом мачты к верхним частям верхнего и нижнего звеньев присоединяют по четыре канатные растяжки и закапывают четыре якоря согласно схеме на
рис. 13. Верхняя рабочая площадка должна быть укреплена на мачте перед ее подъемом. Подъем мачты со станка в вертикальное положение производится специальным подъемным механизмом, смонтированным на основной раме станка.
Рис. 13. Схема крепления мачты станка УГБ-4УК
1 - станок; 2 - канатные растяжки; 3 - якори
Во время подъема мачты в рабочее положение ее необходимо придерживать за канатные растяжки, идущие по направлению от скважины к электродвигателю (особенно в момент перехода мачты через вертикальное положение). После подъема мачты вывертываются нижние упорные винты с таким расчетом, чтобы нагрузка от мачты передавалась не на станок (через шарнирное соединение), а на опорные винты и через них - на опорную балку.
Канатные растяжки следует раскладывать попарно (верхние и нижние) в направлении установленных якорей. После подъема мачты в рабочее положение нижнее звено крепят, для этого на якори надевают специальные хомуты с отверстиями, а на концах канатных растяжек зачаливают петли для стяжных крюков. В отверстие хомута заводят крюк стяжного болта и с помощью стяжной гайки регулируют натяжение канатов. После крепления нижнего звена мачты из него выдвигается верхнее. Перед выходом звена в рабочее положение автоматические упоры раскрываются и входят в предназначенные для них гнезда, а верхнее звено в месте его сочленения с нижним затягивается восемью болтами. Далее устанавливаются трубчатые и раскрепляются канатные растяжки. В болтовых соединениях на каждый болт навинчивается по две гайки.
Все рабочие канаты станка заправляются после установки мачты в рабочее положение. Талевые блоки оснащаются по мере необходимости (при операции с обсадными трубами или ликвидации аварии).
4.12. Одновременно с установкой мачты осуществляется электропроводка к двигателю и заземление станка (аналогично соответствующим операциям для станка УГБ-3УК). После этого установка станка считается законченной.
4.13. Перед пуском станка необходимо проверить исправность всех его механизмов, защитных ограждений, пополнить смазку, а также проверить направление вращения двигателя по часовой стрелке, если смотреть на электродвигатель со стороны его шкива. Если станок работает вхолостую нормально в течение 3 - 5 мин, он считается готовым к бурению.
4.14. На расстоянии полуторной высоты мачты (24 - 25 мм) от станка устанавливается передвижная будка, предназначенная для отдыха, обогрева рабочих и принятия ими пищи. При отсутствии передвижной будки строится временное отепленное помещение размерами в плане 3 x 4 м и высотой 2,5 - 2,6 м. К одной из стенок его пристраивают кладовую размерами 2 x 3 м для хранения мелкого инструмента. Для отопления будки в зимнее время в ней устанавливают металлическую печь. При этом необходимо строго соблюдать правила противопожарной безопасности.
4.15. Инструмент и трубы для крепления скважин необходимо размещать следующим образом. Трубы укладывают против мачты на расстоянии 3 - 4 м от помоста. Чистка желонки производится на помосте, справа или слева от станка, чтобы извлеченная жидкость со шламом стекала по уклону местности. В противоположной стороне на подкладках нужно разложить буровой инструмент: ближе к станку - инструмент большего размера, которым на первых стадиях бурения производится работа, дальше от станка - меньших размеров. Трубы и инструмент подтаскивают с помощью желоночного барабана. Для этого внизу рамы станка закрепляют однороликовый блок и через него протягивают стальной канат от желоночного барабана, которым и выполняют все вспомогательные работы. После окончания работ буровой снаряд и желонку отсоединяют от канатов, которые затем наматывают на барабаны. Канатные растяжки мачты снимают с якорей, трубчатые - со станка и мачты или только со станка, а горизонтальные - с мачты. Посредством лебедки подъема верхнее звено мачты немного приподнимают для извлечения крепежных болтов и путем натяжения каната, проходящего внутри мачты, складывают опорные кулачки. В этом положении верхнее звено опускают в нижнее до отказа и одновременно освобождают подъемный канат. Сдвинутые звенья мачты скрепляют четырьмя болтами, и опорные домкраты ввинчиваются в мачту. После этого мачта считается готовой к укладке на станок.
За канатные растяжки при одновременном освобождении подъемного каната мачта оттягивается на станок до ее перехода через вертикальное положение. Окончательная укладка мачты на опоры производится путем ослабления подъемного каната (реверсированием электродвигателя). Уложенную на станок мачту крепят на опоре около двигателя. Трубчатые растяжки укладывают вдоль мачты, канатные - свертывают в бухты и привязывают к мачте, отсоединяют от рубильника на столбе токоподводящий кабель, а из-под осей извлекают опорные брусья.
При переброске станка на большие расстояния желательно снимать с него мачту и транспортировать ее вместе с буровым инструментом отдельно на грузовой автомашине с прицепом.
Забуривание скважин и бурение в различных
геологических условиях
4.16. Забуривание скважин следует производить после установки станка и проверки его действия на холостом ходу. Для определения центра скважины через блок мачты в шурф опускается желонка, след которой на дне шурфа и является центром скважины. Через отверстие в настиле шурфа опускается обсадная труба с навернутым на ее нижний конец башмаком и устанавливается в шурфе по центру скважины строго вертикально. Вертикальность трубы проверяется уровнем или отвесом по двум ее противоположным поверхностям.
После установки трубы к доскам настила на дне шурфа прибивают вплотную к трубе доски или бруски ("центры"), препятствующие отклонению трубы от вертикального положения. Первая вертикально установленная труба дает правильное направление всей скважине.
После того как труба будет установлена и закреплена в "центрах", приступают к бурению желонкой. При ударах, в момент отрыва желонки от забоя и подъема ее вверх, труба под действием своего веса опускается вниз. Необходимо следить за движением трубы вниз и при подходе муфты трубы к "центрам" своевременно снимать их во избежание задержки движения трубы. Когда муфта первой обсадной трубы будет находиться от дна шурфа на расстоянии 0,5 - 0,6 м, на нее навинчивается следующая труба и углубление скважины продолжается. После навинчивания второй трубы ее вертикальность также проверяется по уровню или отвесу.
Бурение ведется на натянутом канате, без провисания.
4.17. В зависимости от проходимых пород бурение нужно осуществлять следующим образом:
а) Для бурения в гранитах, кварцитах и других крепких абразивных породах, а также в крепких известняках, песчаниках, глинистых сланцах и т.п. применяются округляющие долота с большим углом приострения и вогнутым лезвием, а для чистки скважины - желонки с плоским клапаном. Число ударов станка должно быть максимальным (для чего на электродвигателе устанавливается соответствующий шкив), а высота подъема инструмента - минимальной, что достигается установкой пальца в отверстие кривошипа. Длина рабочего каната, на котором подвешен буровой снаряд, должна быть отрегулирована так, чтобы долото находилось несколько выше забоя скважины. Это необходимо для предотвращения ослабления резьбовых соединений снаряда, искривления скважины и эффективности удара. Диаметр долота следует периодически проверять шаблоном и при износе лезвия более чем на 3 - 4 мм производить наплавку лезвия долота до номинального диаметра наплавочными электродами марки Т-620. Если порода устойчива и без трещин, стенки скважины трубами не крепятся. Через каждые 10 - 15 мин долбления снаряд следует поднимать на поверхность и по риске проверять плотность резьбовых соединений долота с ударной штангой или переводником.
При проходке безводных пород, в периоды между чистками желонкой, в скважину подливается 20 - 30 л воды. Скважину необходимо прочищать желонкой через каждые 0,4 - 0,8 м проходки. Если интервал скважины в результате бурения сработанным долотом окажется суженным, его необходимо разработать новым долотом. В этом случае суженную часть скважины забрасывают кусками твердой породы (щебнем) и вновь прорабатывают.
Во время прекращения работы долото нельзя оставлять на забое, так как может произойти прихват инструмента. В этом случае буровой снаряд следует поднять выше шламового осадка.
При бурении в крепких породах буровой снаряд работает успешно, если высота его подъема составляет 1 м и более. При возможной поломке шейки долота у резьбы высоту подъема снаряда можно в некоторых случаях принять 0,6 м, а число ударов по забою около 60 в минуту. Бурение в закарстованных породах проходит так же, как и в других крепких породах, но при обязательном применении округляющих долот.
Известны случаи, когда при проходке закарстованных пород зубильными долотами последние застревали в трещинах, а при попытке их извлечения ломались в резьбовом соединении и оставались в скважине. После применения округляющих долот аварии прекратились. Было пробурено большое количество скважин с благоприятными результатами и с довольно большой скоростью.
При бурении в закарстованных породах высота подъема бурового снаряда должна быть не более 0,5 м, с числом ударов до 60 в минуту.
б) Бурение в мягких известняках, твердых глинах, суглинках, мелах, мергелях и аналогичных породах производится двутавровым или плоским долотом, желонкой с ножом, а в более мягких породах, не требующих предварительного разрыхления, - желонкой с плоским клапаном или желонкой с окнами. В этих случаях желонку утяжеляют короткой ударной штангой.
В обрушающихся породах выход желонки из-под башмака обсадных труб не должен превышать 1/3 - 1/2 ее длины, а диаметр ее должен быть на 100 мм меньше диаметра труб, в которых производится бурение. Это дает возможность захватить желонку каким-либо ловильным инструментом, если она окажется прихваченной при обрушении породы. Для лучшего заполнения желонки породой, после каждого подъема ее на поверхность в скважину необходимо подливать 20 - 40 л воды в зависимости от характера проходимых пород.
При бурении мергелей, мела и некоторых разновидностей глин желонку следует наполнять породой не более чем на 2/3 ее длины, так как в результате ударов о забой порода в желонке подбрасывается вверх к вилке, налипает на нее и образуется своего рода сальник ("шапка"), что затрудняет проходку, а иногда приводит к затяжке желонки в породу или трубы. При проходке вязких пород опорожненную желонку следует спускать на забой с притормаживанием барабана, так как при сильном ударе о забой ее может прихватить порода. В песчанистых глинах проходку можно вести забивным стаканом.
При бурении в полускальных породах высота подъема инструмента устанавливается в зависимости от их крепости. Наиболее приемлемой считается высота 0,5 м при числе ударов 40 в минуту. В глинах число ударов можно довести до 50 при подъеме инструмента до 1 м.
в) Бурение в глинистых и песчаных породах с валунами (моренные отложения) следует вести крестовыми или округляющими долотами, и применять для чистки скважины желонки с плоским клапаном. Если диаметр валуна больше диаметра скважины, то, применяя округляющие или крестовые долота, нужно попытаться разбить валуны на отдельные куски, извлекаемые из скважины желонкой. Если же диаметр валуна меньше диаметра скважины или валун располагается так, что не закрывает ее собой полностью, то его сбивают в сторону плоским двутавровым или округляющим долотом, диаметр которого на 100 - 150 мм меньше диаметра скважины.
Небольшие валуны выбираются желонкой. В некоторых случаях валуны удается сбить в сторону трубой с конусом на конце. Конец трубы, диаметр которой на 50 - 100 мм меньше, чем диаметр колонны закрепленных в скважине труб, разрезается на длину 1,5 - 2 диаметра и сваривается на конус. В верхней части трубы прожигают два отверстия, в которые вставляют штырь и приваривают его к телу трубы. Штырь серьгой соединяется с рабочим канатом станка. Для утяжеления труба заполняется песком и опускается на забой скважины. Включив ударный механизм бурового станка, ею производят удары. Углубляясь в породу, конус отталкивает в сторону валуны и дает возможность закрепить трубами стенки скважины. Если валун препятствует проходке и сбить его не удается, применяют торпедирование. Высота подъема инструмента должна быть не менее 1 м при числе ударов в пределах 40 в минуту.
г) Пески проходят желонкой, причем сухие пески предварительно разрыхляют плоским или двутавровым долотом. Выход желонки ниже труб должен быть не более 1/3 ее длины, а диаметр - меньше диаметра последней колонны обсадных труб не менее чем на 100 мм. Наличие такого зазора между внутренним диаметром обсадных труб и наружным диаметром желонки предохраняет последнюю от прихвата породой. Кроме того, создаются более благоприятные условия для извлечения желонки в том случае, если она будет оставлена в скважине. Стенки скважины крепятся трубами вслед за ее углублением.
При проходке сухих песков в скважину подливается вода; в некоторых случаях сухие пески успешно проходятся желонкой без клапана (стаканом), для утяжеления которой навинчивается короткая (2 м) ударная штанга.
При проходке песков необходимо тщательно следить за объемом выбираемой желонкой породы, который должен примерно равняться геометрическому объему пройденного интервала скважины, так как иначе излишек выбранного песка будет замещаться оплывом или обрушением вышележащих пород. В этом случае разрез скважины не показывает естественного напластования пород. При значительной выборке песков может произойти такое перемещение пород, что вокруг устья скважины образуются провалы, каверны и колонны обсадных труб "уходят" вниз.
При проходке водоносных песков вследствие излишней выборки породы происходит оплыв вышележащих пластов, что может значительно ухудшить водоотдачу водоносного горизонта. Для уменьшения объема извлекаемой породы при проходке песков бурение производится с "опережением" забоя башмаком обсадных труб, т.е. трубы вначале забивают на глубину 2 - 3 м, затем из них выбирают породу. Для более успешной проходки песков рекомендуется в скважину подбрасывать жирную глину, которая способствует связыванию частиц песка, что ускоряет процесс углубления. В процессе крепления скважины трубами необходимо посадку обсадных труб проводить одновременно с бурением.
При проходке водонасыщенных песков-плывунов в мелкозернистых песках бурят желонкой и также с обязательным одновременным креплением ствола трубами. Когда желонка находится в работе, число ударов ее не должно превышать 30 в минуту. Как только желонка заполнится породой примерно на 1/3 своей высоты, ее начинают приподнимать, не прекращая при этом посадку труб. Обычно такой метод буровики называют "подсосом" (создается вакуум). Подъем желонки с одновременной посадкой труб вызывает движение песка вверх по трубе, а в это время трубы под своим собственным весом погружаются.
При проходке среднезернистых и крупнозернистых песков, а также песков с примесью гравия, щебня и гальки успешно применяется бурение с опережением, для чего сначала забивается труба в целик, а потом извлекается порода. Если песок трамбуется и желонка плохо его забирает, надо добавить глины, налить два ведра воды и перейти на работу легким долотом зубильного типа с одновременной посадкой обсадных труб. Во время бурения в песках подъем желонки над забоем можно допустить до 1 м при числе ударов 35 в минуту.
д) Пески-плывуны при их проходке поднимаются в скважине одновременно с подъемом от забоя желонки, создавая песчаную пробку высотой до 10 - 15 м. Поэтому плывуны также проходят с "опережением" трубами с последующей выборкой из них породы желонкой. Для создания противодавления напору плывуна в скважину подливают воду и поддерживают ее постоянный уровень у устья. При значительном подъеме плывуна в скважину вместо воды заливают глинистый раствор, обладающий большой плотностью. При проходке плывунов, создающих большие пробки, бурение должно быть организовано в три смены для непрерывного крепления скважины трубами. Как правило, в плывунах не производится переход с крепления труб одного диаметра на другой.
Часто при посадке трубы вначале идут вниз свободно, но потом погружение замедляется, а затем прекращается. В этих случаях нужно расхаживать трубы, поворачивая слева направо, и одновременно забивать "забивной бабой".
Во время подъема желонки содержимое ее частично или полностью уходит обратно на забой скважины; чтобы избежать этого, к верхней части клапана желонки следует прикреплять кожу или резину для более полного перекрытия его седла. Часто наружный диаметр башмака желонки меньше внутреннего диаметра трубы всего на 25 - 30 мм (а должно быть не менее 100 мм), в этом случае надо быть особо внимательным и не допускать заполнения желонки доверху, иначе плывун, перебрасываемый через ее верхний край, безусловно, вызовет прихват желонки. При бурении в плывунах мастер обязан сам вести смену. Несоблюдение необходимых мер предосторожности при проходке плывунов вызывает отклонение обсадных труб от вертикали, обвал кровли над плывунами и изоляцию водоносного горизонта, в результате чего в некоторых случаях скважины оказывались аварийными.
е) Галечник и гравий разрыхляют двутавровым долотом и проходят желонкой с плоским клапаном. Для более успешной проходки следует применять желонку с низко расположенным башмаком (расстояние от низа башмака до клапана - 15 - 25 мм). При проходке гальки или гравия в скважину подбрасывают глину, которая, перемешиваясь с породой, облегчает ее выборку желонкой. Диаметр желонки обязательно должен быть на 100 мм меньше диаметра труб, в которых производится бурение (так как между желонкой и трубами может попасть галька), а выход желонки ниже башмака труб - не более 1/3 ее длины. Заполнять желонку следует не более чем на 1/3 ее длины, чтобы порода не выпадала через верхний край желонки и не заклинила бы ее в трубах. При бурении в галечниках работа желонкой производится не сильными, но частыми ударами (40 - 45 в минуту); высоту подъема желонки следует довести до 0,8 - 1 м.
ж) Бурить в валунах чрезвычайно трудно, поэтому, если валуны встречены на небольшой глубине, лучше перенести точку бурения на новое место.
Обычно валун разрушают буровым снарядом, состоящим из долота и ударной штанги. Иногда применяют пирамидальное долото с легкой ударной штангой. Снаряд свободно бросают в скважину. При падении долото развивает большую скорость, с силой ударяется о валун и раскалывает его. Штанга на долоте используется для последующего извлечения долота из скважины. Для разрушения больших по размеру валунов применяют тяжелые округляющие долота. С помощью второй ударной штанги можно утяжелить снаряд.
В некоторых случаях принимаются меры к сдвигу валуна в сторону; такая работа выполняется при помощи пирамидального долота. Долото, углубляясь в породу, отталкивает валун в сторону.
В процессе бурения в валунах необходимо следить за состоянием ствола. Чтобы предупредить искривление скважины, в некоторых случаях на забой подсыпают крепкую щебенку с размером частиц 4,5 - 6 см. При встрече валунов с большими пустотами между ними также рекомендуется засыпать крепкий щебень для заполнения им промежутков - пустот. Иногда для устойчивости стенок скважины следует подбрасывать жирную глину.
Очень важно при бурении в валунах как можно скорее перекрыть обсадными трубами зоны валунов.
Для ускорения проходки крупных валунов применяют взрывные работы. На время взрыва рекомендуется приподнять обсадные трубы, чтобы их не повредить.
При работе буровым снарядом тяжелого типа в зоне валунов высота подъема снаряда должна быть максимальной (не менее 1 м), а число ударов в пределах 40 в минуту.
з) Бурение в районах с распространением многолетнемерзлых пород несколько отличается от бурения в обычных условиях.
Зимой из-за низких температур наблюдается прихватывание бурового инструмента в скважине, а посадка труб проходит иногда с затруднениями. Чтобы этого избежать, необходимо в скважину подливать горячую воду, растворив в ней немного соли (1 кг соли на два-три ведра воды на 1 м проходки). После углубления скважины приблизительно на 0,5 м в нее опускают желонку для удаления буровой грязи и остывшей воды. Если в скважину подливать большое количество воды, то это способствует обледенению бурового снаряда и одновременно сужению ствола скважины и осложнению работ при посадке обсадных труб.
Очень важно, чтобы при проходке буровой снаряд находился все время в движении. Даже незначительная остановка в бурении приводит к образованию ледяных пробок и схватыванию бурового снаряда породой.
Летом в этих условиях бурить легче, так как температура воздуха доходит до 20 - 22 °C и в скважину опускается несколько нагретый на воздухе инструмент, однако бурение ведется более успешно, если в скважину подливать горячую воду. В это время года реже наблюдается образование ледяных пробок.
Окончание нижней границы многолетнемерзлых пород буровой мастер отмечает по более легкому удару бурового долота. Посадка обсадных труб не вызывает особых осложнений, если ствол скважины не имеет сужений.
Некоторые особенности технологии бурения скважин
при инженерно-геологических изысканиях
4.18. Бурение скважин при инженерно-геологических изысканиях производится забивными стаканами, желонками и долотами.
Перед забуриванием скважины рекомендуется выкопать небольшой приямок глубиной 0,5 - 0,7 м. После заглубления скважины на 1,5 - 2 м, строго вертикально устанавливают кондуктор диаметром большим, чем начальный диаметр скважины.
4.19. Неглубокие скважины (до 25 м) в нескальных грунтах обычно бурят забивными стаканами диаметром от 168 до 89 мм. Часто для этих целей используют буровые установки, не имеющие балансирных или оттяжных устройств, т.е. бурят непосредственно с лебедки установки. Скорость навивки каната на барабан лебедки должна быть довольно высокой (0,8 - 1,5 м/с). Забивной способ используют при наличии любых разновидностей связных грунтов, "клюющий" - при наличии мягкопластичных и лессовых глинистых пород и при глубине скважины более 3 м, желонирование - в водонасыщенных песчаных грунтах, бурение сплошным забоем - в полускальных и крупнообломочных грунтах.
4.20. При забивном бурении инструмент углубляется серией наносимых по нему с помощью ударного патрона ударов. После очередного углубления инструмент извлекается на поверхность для производства геологической документации и очистки стакана от грунта. При "клюющем" бурении снаряд погружается за один удар и извлекается на поверхность после каждого удара. Желонирование и процесс бурения сплошным забоем с помощью долот производится по технологии, описанной выше.
При пересечении скважиной неустойчивых пород ее стенки закрепляют обсадными трубами. Способ погружения труб выбирается исходя из технических возможностей используемой буровой установки. При необходимости из скважины отбирают образцы грунта ненарушенной структуры (монолиты), пробы воды и т.д.
4.21. Основными технологическими параметрами при забивном бурении являются: масса ударного патрона, число ударов, высота подъема активной части ударного патрона и глубина погружения стакана в грунт.
Масса ударного патрона в зависимости от диаметра бурения должна составлять 1 - 1,5 кН, высота подъема активной части ударного патрона обычно регламентируется его конструкцией и равна 0,6 - 1 м. Число ударов забивного патрона зависит от конструкции лебедки, скорости навивки каната и навыков бурового мастера. Рекомендуется 20 - 25 ударов в 1 мин. В случае использования механизированного способа подъема и сбрасывания активной массы, частота ударов может быть увеличена до 40 - 80 ударов в 1 мин. Углубление за рейс ограничивается длиной забивного стакана, последняя обычно не превышает 0,5 - 0,8 м. Однако целесообразно рейсовую углубку уменьшать до 0,2 - 0,4 м для сохранения резерва объема в стакане для поступления в него керна, длина которого, как правило, увеличивается за счет всегда имеющегося на забое шлама, а также во избежание прихвата снаряда в скважине. Особенно часто прихваты снаряда происходят в вязких глинистых грунтах. При бурении в слабосвязных грунтах следует применять забивные стаканы с клапаном.
4.22. Основными параметрами "клюющего" способа являются масса бурового снаряда и высота его подъема над забоем. Буровой снаряд в этом случае включает забивной стакан и утяжеленную штангу, жестко присоединяемую к забивному стакану. Для эффективного бурения необходимо стремиться к возможно большей массе снаряда, доводя ее до 1,5 - 3 кН. Как уже говорилось, "клюющий" способ состоит в том, что буровой снаряд с некоторой высоты сбрасывается на забой, стакан углубляется в породу на 0,1 - 0,25 см, а затем снаряд поднимается на поверхность для очистки стакана. Глубина погружения стакана зависит от энергии удара снаряда. В связи с этим рекомендуется буровой снаряд сбрасывать на забой с возможно большей высоты (3 - 8 м).
При производстве желонирования число ударов желонки должно быть равно 20 - 30 в 1 мин, а высота ее подъема 0,15 - 0,2 м и более. Желонки рекомендуется применять с утяжеленными штангами с таким расчетом, чтобы масса снаряда была равна 0,5 - 1 кН. В процессе желонирования скважину, как правило, необходимо закреплять трубами. При этом желонка не должна выходить за башмак обсадных труб более чем на 0,5 - 1 м.
4.23. Глубокие инженерно-геологические скважины (до 100 м) бурят станками и установками, оснащенными балансирными либо оттяжными устройствами. Основные режимные параметры бурения такими станками с использованием забивных стаканов и желонок для скважин диаметром 168 - 325 мм имеют следующие значения:
Высота подъема бурового снаряда (активной части
забивного патрона), мм ........................................ 250 - 700
Число ударов снаряда в 1 мин .................................. 60 - 120
Масса ударного патрона для бурения в связных
грунтах, кН .................................................. 1,5 - 3
Масса желонки с утяжеленной штангой для бурения
в несвязных грунтах, кН ...................................... 1 - 2
4.24. При бурении крупнообломочных грунтов, а также полускальных и очень плотных глинистых и песчаных грунтов следует переходить на ударно-канатное бурение сплошным забоем, используя обычный ударно-канатный инструмент (долота, желонки и т.д.).
Частота ударов бурового снаряда (долота) должна регулироваться в соответствии с высотой его подъема над забоем скважины. Правильное соотношение частоты ударов и высоты подъема снаряда определяют по силе рывков или по вращению оттяжного ролика. Когда частота ударов понижена, движение бурового снаряда следует за движением балансира; канат плотно прилегает к оттяжному ролику, поэтому ролик в течение одного или нескольких ударов остается неподвижным по отношению к своей оси. При нормальной частоте ударов движение оттяжного ролика в первую половину пути опережает движение снаряда (снаряд совершает движение под действием собственной силы тяжести); канат отстает от оттяжного ролика, который поворачивается вокруг своей оси (на 20 - 30 мм на ободе) при каждом ударе. Вращение ролика можно наблюдать, если сделать на нем отметку мелом или краской. При повышенной частоте ударов снаряд еще не успевает внедриться в породу, как оттяжной ролик начинает натягивать канат и поднимать его над забоем. Такая работа станка сопровождается сжатием амортизатора и сильными рывками. Скорость бурения при этом понижается.
Частота ударов должна меняться и в течение одного рейса, так как в процессе накопления в скважине шлама скорость падения снаряда снижается. Регулировка частоты может производиться увеличением или снижением скорости вращения двигателя.
Углубление скважины должно чередоваться с ее очисткой от шлама желонкой. При бурении в слабых породах чистку производят через каждые 1,5 - 2 м, а в крепких породах через 0,6 - 1 м. Не следует злоупотреблять временем, затрачиваемым на чистку. При использовании желонки нормальных размеров достаточно сделать 2 - 3 черпания.
Перед тем как начать чистку скважины, рекомендуется влить в нее 2 - 3 ведра воды и некоторое время продолжать бурение, а в случаях, когда в скважине держится сравнительно высокий уровень шлама, необходимо сделать 2 - 3 подъема и сбрасывания снаряда. Это обеспечит лучшее перемешивание шлама перед опусканием желонки и облегчит чистку скважины.
4.25. Масса инструмента при ударном бурении должна соответствовать грузоподъемности буровой установки (с учетом необходимости отрыва породоразрушающего инструмента с породой от забоя) и обеспечивать удобство работы с ним. Чем больше масса инструмента, тем большая глубина погружения обеспечивается за удар. Рекомендуемая масса инструмента (для установок типа УГБ-50М, АВБ-2М и др.) составляет 2 - 5 кН.
Углубление породоразрушающего инструмента за один удар в зависимости от грунтов может изменяться от 5 до 20 см.
Отрыв породоразрушающего инструмента от забоя и подъем его на поверхность следует производить на первой скорости лебедки, при этом скорость подъема не должна превышать 0,5 м/с.
Поскольку при проходке крупнообломочных и валунно-галечниковых грунтов наиболее эффективным из всех способов является ударное бурение, остановимся более подробно на технологии этого бурения, согласно разработкам, выполненным канд. техн. наук Б.В. Цынским.
4.26. Технология бурения скважин ударно-канатным способом достаточно хорошо отработана для проходки скважин технического назначения (взрывных, вентиляционных, водопонижающих и др.). Проходка же скважин инженерно-геологического назначения имеет существенные отличия в технологии бурения, вызванные прежде всего повышенными требованиями к отбору образцов грунта. Особые сложности возникают при проходке крупнообломочных грунтов, поскольку бурение скважин в них, как правило, сопровождается обсадкой стенок скважины трубами.
Погружать обсадные трубы можно забивкой, расхаживанием или вращением. Наиболее рациональный способ - сочетание вращения обсадной колонны (или ее расхаживания) с забивкой.
Расхаживание обсадных труб заключается в передаче им возвратно- или прерывисто-поворотных движений относительно их оси. Угол поворота обсадных труб изменяется от 20 до 40°, частота поворотов достигает 60 в 1 мин, что соответствует 3 - 6 полным оборотам. При этом трубы погружаются в скважину без дополнительных усилий забивкой или задавливанием, так как расхаживание приводит к снижению сил трения труб о стенки скважины. Благодаря возвратно-поступательному движению труба достаточно свободно продвигается в грунте, а фрезерный башмак обсадной трубы разрыхляет грунт забоя скважины, облегчая последующую проходку скважины.
Расхаживание обсадных труб можно производить вручную или механическим способом - специальными поворотными ключами, приводимыми в действие кривошипно-шатунными устройствами либо гидравлическими домкратами. Из буровых установок, оснащенных механизмами расхаживания труб, следует отметить установки Гипропромтрансстроя БУК-75, БУГ-100 (БУ-80). Следует отметить также опыт оснащения механизмом расходки и других буровых установок, в частности УГБ-50А.
4.27. Вместе с тем некоторые авторы работ указывают, что способ расхаживания обсадных труб нельзя считать экономичным, поскольку при изменении направления вращения труб происходит их мгновенная остановка и приходится преодолевать увеличение сил трения в момент перехода от трения покоя к трению движения. Однако это положение требует теоретического и экспериментального обоснования. Ряд специалистов считает, что более целесообразно осуществлять постоянное вращение обсадной колонны в одном направлении, так как в этом случае величина трения стабилизируется. Башмак колонны разрушает породу резанием или разрыхляет ее, задавливая твердые включения в затрубное пространство или захватывая их внутрь трубы. При реверсивном расхаживании в связи с низкой окружной скоростью разрушение пород башмаком колонны происходить не может, а небольшой угол поворота затрудняет удаление твердых включений. Это положение также требует экспериментальной проверки.
4.28. Бурение скважин в крупнообломочных грунтах ударно-канатным способом, как правило, сопровождается обсадкой стенок скважины трубами. Бурение же можно осуществлять по двум схемам: бурение в трубах и бурение ниже труб.
В
табл. 17 предложены технология и рациональные параметры процесса ударно-канатного бурения в крупнообломочных грунтах.
Параметры | Группа пород |
Неустойчивые талые грунты | Устойчивые мерзлые грунты с содержанием гальки и валунов |
песчано-глинистые с небольшим содержанием крупной гальки и валунов (до 10%) | гравийно-галечниковые с небольшим содержанием крупной гальки и валунов (до 20%) | галечниково-щебенистые с большим количеством гальки и валунов (до 40%) | крупногалечниковые и щебенистые с очень большим содержанием крупной гальки и валунов (до 40%) | до 10 - 20% | до 40% и более |
Технологическая схема бурения | В трубах | В трубах, ниже труб | Ниже труб | Ниже труб | Без труб |
Тип долота | Плоское | Плоское | Плоское | Плоское | Плоское | Плоское |
Угол приострения долота, град | 70 - 90 | 90 - 100 | 100 - 110 | До 130 | 80 - 100 | 100 - 130 |
Масса бурового снаряда, кг | 800 (600) | 800 (600) | 1000 (800) | 1000 (800) | 800 - 1000 (600 - 700) | 1000 - 1200 (800) |
Высота сбрасывания инструмента, м | 0,95 - 1 (0,75) | 0,95 - 1 (0,9) | 0,95 - 1 (0,9) | 1 - 1,1 | 1 (0,9) | 1 - 1,1 (1) |
Инструмент для отбора проб | Желонка | Пробоотборник |
Примечание. В скобках указаны рекомендуемые параметры.
В тех случаях, когда не производят отбор грунта, бурение следует вести по схеме ниже труб, так как при этом значительно сокращаются затраты времени на крепление скважины. При проходке сравнительно устойчивых грунтов со значительным процентным содержанием крупной гальки и валунов и необходимости отбора образцов грунта схема бурения в трубах неэффективна. Грунт в этом случае поступает в обсадные трубы неравномерно, башмак обсадных труб деформируется, а трубы рвутся в соединениях, что приводит к авариям и снижает темп бурения.
4.29. При бурении гравийно-галечниковых грунтов следует использовать желонки массой от 25 до 100 кг. Для более эффективной работы масса снаряда должна быть как можно большей (более 200 кг), в наиболее тяжелых условиях масса снаряда может быть доведена до 800 кг. Высоту подъема желонки рекомендуется принимать 50 - 100 см, частоту ударов 40 - 60 в 1 мин. Учитывая неустойчивость галечников в стенках скважины, бурение следует вести с одновременным креплением трубами. Во избежание осыпания стенок скважины от поперечных ударов по ним инструмента и прихватывания инструмента углубление скважины ниже башмака обсадных труб допускается не более чем на 50 см.
4.30. При проходке перемытых галечников и гравия с песком рекомендуется забрасывать в скважину пластичную глину, задавливая ее в стенки скважины долотом. Бурение осуществляют поочередно долотом и желонкой. При необходимости отбора образца грунта скважину бурят с опережением забоя обсадными трубами и дальнейшим извлечением грунта желонкой. При работе желонкой в гравелистых грунтах во избежание ее прихватывания необходимо следить за тем, чтобы грунт не выпадал через край желонки, т.е. при работе необходимо учитывать ее длину и закрывать верх желонки съемной сеткой.
4.31. Для успешного бурения валунов, крупных галечников и предупреждения искривления ствола скважины может быть использован прием засыпки в скважину щебня крепких грунтов размером 6 - 8 см. Этот же прием рекомендуется при бурении чистых валунов. Для устойчивости стенок скважины в нее забрасывают куски жирной глины. Бурение в этом случае ведут тяжелым буровым снарядом с эксцентриковым долотом или долотом со скошенным лезвием.
При встрече бокового валуна производят забутовку этого интервала мелкими гранитными валунами с последующим разбуриванием крестовым долотом. Необходимо, чтобы в процессе бурения удар производился при натянутом канате. Это устраняет заклинивание, способствует сохранению направления и тщательности обработки стенок скважины. В особо затрудненных условиях (большие валуны) производят торпедирование скважины зарядом ВВ (от 6 до 8 кг).
4.32. При проходке мощных пластов ледниковых отложений часто встречаются зоны сплошных валунов. Бурение этих зон, особенно в слабосцементированных грунтах, не дает положительного результата, так как резко возрастает опасность заклинивания бурового снаряда. Попытка закрепить скважину в таких условиях обычно кончается деформацией башмака и обсадных труб, поэтому бурение скважин приостанавливают и забуривают новую скважину.
Опыт работы ударно-канатным способом с использованием установки УГБ-50М выявил, что масса снаряда, которым укомплектована установка УГБ-50М, недостаточна для эффективной работы в крупнообломочных грунтах.
4.33. При бурении в обводненных галечниках применяют желонку с плоским клапаном с высотой кольца башмака желонки 20 - 25 мм; в этом случае желонка работает лучше, быстрее заполняется. Буровой снаряд - тяжелый, частота ударов 40 - 45 в 1 мин. Бурение производят с использованием ударного механизма станка УГБ-50. При небольшой массе бурового инструмента и малой частоте ударов (25 - 30 в 1 мин) при работе желонкой как бы происходит сортировка галечника от песка. Это явление чаще наблюдается при бурении станком БУКС-ЛГТ. Песок забирается желонкой, а гравий уплотняется, образуется пробка, и проходка, по существу, прекращается. В этом случае в скважину опускают ударный стакан или долото зубильного типа, которыми разрыхляют породу или же приподнимают обсадные трубы на высоту 20 - 25 см. В подобных условиях рекомендуется применять желонку с клапаном-ножом, которая одновременно разрыхляет и забирает грунт. Необходимо следить, чтобы желонка не переполнялась, не выходила ниже башмака трубы и не было выброса галечника через верхний край желонки во избежание ее заклинивания.
В отдельных случаях для лучшей проходки галечников в скважину можно забрасывать жирную пластичную глину. Глина смешивается с гравием и легче забирается желонкой. Обсадку трубами осуществляют аналогично обсадке в сухих галечниках.
Причины и меры предотвращения искривления скважин
4.34. Основными причинами искривления скважин при ударном бурении являются:
а) негоризонтальность установленного бурового станка или незначительное передвижение его во время работы, а также вибрация станка;
б) несовпадение центра верхнего кронблока с центром устья скважины;
в) бурение большим долотом при несоответствующем диаметре ударной штанги, ножниц и др.;
г) недостаточно точная установка первой обсадной трубы;
д) встреча трещин и пустот при бурении крепких пород с большим углом падения пластов;
е) несоблюдение мер предосторожности при бурении в зоне валунов;
ж) кривизна ударной штанги;
з) переход на меньший диаметр бурения в незакрепленной трубами скважине без необходимых мер предосторожности.
Правильная технология и режим бурения обеспечивают хорошее качество работы, а следовательно, исключают кривизну скважины.
Наклонное залегание и различная твердость смежных пластов способствуют отклонению бурового снаряда от оси ствола скважины, что ведет к искривлению ствола скважины, поэтому здесь нужно проявить особую осторожность в работе.
Для предотвращения указанных факторов необходимо увеличить массу бурового снаряда. Диаметр применяемого бурового снаряда должен соответствовать диаметру долота согласно принятому нормативу.
Если долото при работе встречает твердую породу только с одной стороны забоя, то, опираясь на нее концом лезвия, оно отклоняется на некоторый угол и уходит в более мягкую породу. Чтобы предотвратить искривление, следует на забой подбросить крепкого щебня или канатной сечки.
Искривление ствола возрастает в процессе бурения в перемежающихся слоях твердых и мягких пород. При переходе с твердой породы в мягкую долото будет направляться по падению породы. Отклонение ствола при этом будет меньше, чем при переходе в твердую породу, так как отклонению долота будет препятствовать сопротивление стенок скважины со стороны крепкой породы.
Неточность установки станка, несовпадение центра верхнего ролика с центром ствола скважины также часто вызывают искривление скважины. Чтобы предотвратить такое искривление, необходимо тщательно выверить установку бурового станка во всех направлениях. Станок должен быть хорошо и надежно прикреплен к брусьям. Нельзя допускать вибрации станка во время работы.
При забуривании и установке первой и последующих труб необходимо проверить вертикальность их направления, проследить за спуском колонны труб до перекрытия всей мощности наносов.
При переходе на вторую колонну труб и спуске ее в скважину следует наблюдать за направлением колонны, которая должна идти по центру ствола.
Опыт работы показал, что при правильном режиме бурения искривления скважины можно избежать.
Крепление скважин трубами
4.35. Трубы перед началом спуска необходимо перенумеровать, перемерить и сделать в буровом журнале соответствующую запись.
Устанавливая первую обсадную трубу, необходимо точно определить центр скважины. Для этого через блок мачты в шурф опускают желонку, след от которой указывает центр скважины. Затем через отверстие в полу в шурф направляется первая обсадная труба с плотно навинченным башмаком.
Центр трубы должен обязательно совпадать с центром скважины. Перед спуском колонны обсадных труб следует снять с конца опускаемой трубы предохранительное кольцо и металлической щеткой очистить резьбу на трубе для удаления с нее грязи, после чего резьбу смазать. Затем очистить и смазать резьбу в муфте уже установленной трубы.
Операцию необходимо повторять со всеми последующими трубами.
Наращиваемую трубу осторожно опускают резьбой в муфту при соблюдении строгой соосности уже посаженной колонны и наращиваемой трубы, которая должна обязательно стоять вертикально. Для свинчивания трубы и муфты после установки рекомендуется применять цепные ключи.
После окончания навинчивания муфты, в случае свободно висящей колонны, трубы слегка приподнимают за верхний хомут, снимают нижний хомут и всю колонну медленно опускают в скважину до упора верхнего хомута на брусья, установленные у устья скважины, или на торец посаженной ранее трубы большого диаметра.
4.36. При принудительной посадке обсадных труб на верхнюю муфту навинчивают забивную головку и ударами, наносимыми забивной бабой по этой головке, всю колонну забивают в скважину. Трубы забивают до тех пор, пока верхний торец трубы установится не выше 0,5 м над буровой площадкой. Более высокое положение конца обсадных труб над буровой площадкой создает неудобство при заведении бурового снаряда в скважину и мешает работе.
Очень важно работу по забивке колонны труб не прерывать, особенно в песках. Даже незначительный перерыв в работе при посадке труб может вызвать их прихват породой, особенно при перекрытии мелких песков-плывунов.
Скорость посадки колонны труб во многом зависит от непрерывности в работе, поэтому ее можно начинать только в том случае, если все заранее продумано и подготовлено.
Если порода зажала колонну труб и дальнейшая их посадка забивкой невозможна, а колонну все же необходимо посадить дальше, прибегают к забивке их "с весу". Для этого колонна труб подвешивается на полиспасте при помощи лебедки, а по трубам начинают бить забивной бабой. Когда канаты полиспаста сильно натянуты, трубы от ударов забивной бабы начинают пружинить и медленно, по 1 - 3 см, подниматься вверх, в зависимости от степени натяжения каната. При дальнейших ударах бабой колонна труб начинает еще более подпрыгивать на месте. Добившись такого момента, продолжают забивку труб, при этом постепенно травят канат. При таком способе посадки труб разрушаются затрубные препятствия и появляется возможность посадки колонны труб еще на некоторую глубину.
Переход на следующую колонну труб необходимо делать в глинах или суглинках. Ни в коем случае не следует допускать перехода колонны труб в песках. В этом случае лучше недообсадить колонну, чем допустить переход в песках.
Заканчивая посадку той или иной колонны труб, последние 2 - 3 м труб забиваются в целик, чем достигается плотность облегания башмака породой, гарантирующая от проникновения вышележащих вод, а вместе с ними и песка в скважину.
Если трубы в скважине сильно захвачены породами, приходится иногда прибегать к домкратам, чтобы стронуть трубы с места. Для этого домкраты устанавливают под массивные хомуты, закрепленные на трубах. Когда трубы стронуты с места домкратами, дальнейшее извлечение их можно вести способом выбивания.
4.37. Скважины больших диаметров крепят безмуфтовыми трубами, которые соединяются дуговой или газовой сваркой. Для этого рекомендуется к каждой трубе с трех сторон приварить металлические пластинки толщиной 6 мм, шириной 80 - 100 мм и длиной 300 мм. Каждая пластинка приваривается на половину своей длины к верхней части трубы. Следующую трубу устанавливают на стыке предыдущей трубы с заходом в приваренные пластинки. После тщательной подгонки на стыке труба приваривается по всей окружности и к боковым пластинкам. Боковые пластинки служат направлением, способствуют устойчивости трубы при наращивании с последующей трубой, а также для сохранения вертикальности колонны труб. Рекомендуется также применять предварительную подгонку труб по стыковой окружности.
Перед сваркой нужно очистить торцы труб от грязи и ржавчины. Безмуфтовые трубы спускают в скважину аналогично муфтовым трубам.
При наличии на буровой электроэнергии соединение производят электросваркой, а при отсутствии электроэнергии - газовой сваркой.
Извлечение труб из скважин
4.38. Извлечение труб из скважин производится для обнажения фильтра, удешевления стоимости скважины (подъемом вспомогательных колонн труб), ликвидации аварий и т.п.
Трубы из скважины поднимаются полиспастами, винтовыми и гидравлическими домкратами, а также вибраторами.
Подъем труб полиспастом (талями)
4.39. Полиспаст собирается из системы неподвижных и подвижных блоков. Канат натягивается с помощью станка, редукционной или ручной лебедки.
Петлей из стального каната крюк подвижного блока соединяется с хомутами, надетыми на извлекаемые трубы. Петля может также надеваться под муфту обсадной трубы или под планки, приваренные у стыков безмуфтовых труб. При отсутствии заранее приваренных планок их следует приварить специально. Если после натяжения полиспаста трубы не двигаются с места, необходимо одновременно с натягиванием ударять забивным снарядом по забивной головке, надетой на верхнюю трубу. После подъема трубу вывинчивают из муфты следующей трубы (приваренную трубу отрезают), с вывинченной трубы хомуты переставляют под муфту или планку следующей трубы, и подъем продолжается в том же порядке.
После того как трубы начнут легко выходить из породы, полиспаст разбирают и трубы продолжают извлекать непосредственно инструментальным барабаном станка, если его грузоподъемная сила является достаточной для этой операции.
Грузоподъемность полиспаста зависит от числа роликов, способа крепления конца каната, прикладываемых усилий для подъема груза.
Подъем труб домкратами
4.40. Два домкрата (винтовые или гидравлические) устанавливаются с противоположных сторон возможно ближе к извлекаемой трубе. Перед установкой домкратов под них необходимо изготовить основание из бревен, металлических балок или бетонных плит, чтобы при нагрузке домкраты не вдавливались в грунт и были устойчивыми.
На трубу под муфту, а при ее отсутствии - под заранее приваренные трубы упорные планки, надевается стальной хомут. Между головками домкратов и стальными хомутами должна быть уложена деревянная прокладка.
Если трубы извлекаются отдельными неспаренными домкратами, то выход винтов или цилиндров домкратов регулируется так, чтобы подъем труб был равномерным, без перекосов.
Во избежание скольжения хомутов по трубе во время подъема выше первой пары хомутов поперек них надевают вторую пару или к трубе приваривают упорные планки.
Обычно домкратами трубы сдвигаются с места и поднимаются на 2 - 3 м. В дальнейшем извлечение труб осуществляется полиспастом или непосредственно со станка.
В настоящее время применяются гидравлические домкраты марок Т-57 и Т-58 грузоподъемностью 100 и 200 т и приводной спаренный домкрат грузоподъемностью 100 т с ходом поршня 500 мм.
Подъем труб вибраторами
4.41. Из слабых грунтов (песков, суглинков и т.п.) трубы извлекаются вибраторами. Применение этого способа при подъеме труб из других грунтов малоэффективно.
Для обеспечения жесткого соединения с извлекаемыми трубами вибратор соединяется с ними специальным переводником. Для простейшего из них применяется наголовник вибратора ВПП-2. Переводник состоит из муфты извлекаемой трубы, к которой приварен отрезок шпунтовой сваи плоского сечения, усиленный четырьмя приваренными косынками (по две с каждой стороны). В шпунте вырезано отверстие, в которое заходит клин вибратора.
Соединив вибратор с трубами, крюк подвижного блока полиспаста станка надевают на ушко вибратора. После нескольких минут работы вибратора, не выключая его, с помощью станка натягивают полиспаст. Вибратор выключают и снимают с труб лишь после того, как их можно будет извлекать полиспастом.
Способы погружения и извлечения обсадных труб при бурении
инженерно-геологических скважин
4.42. При бурении инженерно-геологических скважин ударно-канатным способом в настоящее время применяют следующие способы погружения обсадных труб:
а) свободный спуск под действием собственной силы тяжести;
б) проворот обсадной колонны вручную;
в) вращение с помощью ротора;
г) расхаживание с помощью механизма расходки;
д) задавливание с помощью механизмов подачи;
е) забивку с помощью ударной бабы;
ж) погружение с помощью вибропогружателей.
Свободный спуск используется, когда диаметр скважины превышает наружный диаметр муфт обсадных труб. Он возможен только в случаях, когда скважина бурится в сравнительно устойчивых породах. При бурении в неустойчивых породах, а также на последних интервалах спуска обсадной колонны возникает необходимость в ее принудительном погружении. Если скважина неглубокая, а ее диаметр не превышает 168 мм, погружение труб можно осуществлять проворачиванием их вручную цепными или накидными ключами и хомутами. Если буровая установка оборудована низкооборотным ротором, погружение труб можно осуществлять вращением их с помощью ротора. Частота вращения должна быть минимальной и не превышать 20 об/мин. В процессе вращения, если имеется возможность, трубам сообщается принудительное давление вниз.
Одним из высокоэффективных способов погружения обсадных труб является их расхаживание. Этот способ дает особенно хорошие результаты, когда трубы погружаются с одновременным углублением скважины.
На установках и агрегатах, оборудованных механизмами подачи, погружение труб может производиться принудительным задавливанием. Скорость задавливания должна быть минимальной. Однако этот способ во многих случаях не приводит к желаемым результатам, поскольку силы тяжести буровой установки оказывается недостаточно для задавливания труб.
Для погружения труб забивным способом используют забивные головки и забивные снаряды. Забивные головки применяют для предохранения концов обсадных труб от разрушения при ударах. Для сокращения количества потребных головок их выполняют многоступенчатой формы, что дает возможность при погружении нескольких колонн труб использовать одну забивную головку.
Ударный снаряд может выполняться в двух вариантах: составным и цельнокованым. Чаще используют составные снаряды. Масса ударных снарядов колеблется в широких пределах от 200 до 1300 кг. При бурении неглубоких скважин диаметром не более 273 мм рекомендуется использовать забивные снаряды массой не более 600 кг.
Для погружения обсадных труб рекомендуется также использовать вибропогружатели: ВБ-7, ВБ-7М, С-835, ВО-10, ВМ-7 и др. Процесс посадки труб вибропогружателем достаточно прост. Он состоит из чередующихся операций по наращиванию и погружению труб. Нередко процесс погружения приостанавливается, в этом случае вибропогружатель включают и производят очистку внутритрубного пространства от грунта. Затем процесс погружения продолжают до заданной проектной отметки.
При бурении сравнительно глубоких скважин ориентировочная глубина спуска колонн и их число, как правило, устанавливают заранее и в процессе бурения происходит лишь некоторое их уточнение. Для качественного крепления ствола обсадными трубами необходимо, чтобы при установке колонн башмак труб находился в сравнительно плотных пластичных породах (глинах, суглинках).
При бурении неглубоких скважин (до 10 - 25 м) обычно необходимость крепления ствола скважин трубами заранее не предусматривается. Она устанавливается в процессе бурения. Если при очередном спуске инструмента в скважину последний не доходит до забоя на несколько метров, а извлекаемый грунт представляет собой разрушенную или разжиженную массу, это указывает на необходимость закрепления стенок скважины обсадными трубами. Диаметр труб должен соответствовать диаметру скважины. Трубы погружаются до полного перекрытия водоносного горизонта или неустойчивого слоя. При этом рекомендуется периодически очищать внутреннюю полость труб от шлама с помощью желонок или стаканов с клапаном. Последующий процесс бурения следует вести стаканом диаметром на 2 размера меньше диаметра обсадных труб. Например, при использовании обсадных труб диаметром 168 мм последующее бурение целесообразно вести стаканом диаметром 127 мм. Такая мера позволит уменьшить вероятность расклинки снаряда в трубах. Если заданием предусматривается бурение скважины в районе с малоизученным разрезом или где ожидается встреча нескольких водоносных горизонтов, требующих перекрытия их обсадными трубами, забуривание необходимо производить породоразрушающим инструментом возможно большего диаметра (например, 219 мм). Это позволит иметь необходимый резерв переходов с одного диаметра зондов на другой в случае, если возникнет необходимость в закреплении стенок скважины трубами.
Извлекать трубы из скважины можно следующими способами: 1) лебедкой станка без талевой оснастки; 2) лебедкой станка с талевой оснасткой; 3) механизмом подачи, который у большинства установок развивает значительные усилия вверх; 4) домкратами; 5) лебедкой станка с вращением труб ротором либо расхаживанием их механизмом расходки; 6) лебедкой станка с нанесением ударным снарядом ударов по трубам вверх и вниз; 7) лебедкой станка с применением вибропогружателей; 8) лебедкой станка с использованием торпедирования.
Предупреждение и ликвидация аварий
4.43. Основными причинами аварий при бурении скважин вообще, и ударно-канатном бурении в частности, являются: а) несоблюдение обслуживающим персоналом основных рекомендуемых технологических приемов и способов производства работ; недостаточный опыт, низкая квалификация и невнимательность буровых мастеров и буровых рабочих; б) ненадежность, несовершенство и некомплектность используемого бурового оборудования; в) особо сложные геологические условия, либо их резкое изменение в процессе бурения скважины.
Приведенный перечень далеко не исчерпывает всех причин, которые могут привести к аварии на буровой скважине. Однако большинство аварий так или иначе связано с этими причинами.
4.44. Уже на основании приведенного перечня причин аварийности может быть сделан ряд рекомендаций о мерах по предупреждению аварий:
а. Перед выездом на место производства работ должна быть полная уверенность в надежности и работоспособности установки и инструмента.
б. В процессе бурения скважин необходимо соблюдать рекомендуемые инструкциями технологические режимы и способы производства работ.
в. Буровой персонал должен учитывать, что при бурении может произойти резкое изменение свойств проходимых пород, поэтому процесс бурения следует вести с учетом возможности этих изменений.
г. Важным условием безаварийной работы бригады является обеспечение непрерывности процесса бурения. Последний следует приостанавливать только в случае крайней необходимости, соблюдая при этом все необходимые меры предосторожности (не следует оставлять на забое буровой инструмент, незакрепленные участки скважины надо закреплять обсадными трубами и т.д.).
д. Помимо перечисленных общих рекомендаций особенное внимание следует уделять проходке за рейс при бурении, которая не должна быть больше рекомендуемой по инструкции. Незначительное увеличение проходки за рейс при забивном ударном бурении кольцевым забоем может привести к сильному прихвату бурового снаряда на забое скважины. Особенно важно в процессе забивки стакана делать его периодические подрывы.
е. При переходе скважин в несвязных породах необходимо по возможности избегать бурения стаканами внутри обсадных труб, т.е. при опережении башмаком забоя скважины, чтобы предотвратить расклинивание снаряда с обсадными трубами. Для очистки пробки следует применять желонирование, причем наружный диаметр желонки должен быть на один размер меньше внутреннего диаметра обсадных труб.
Основным видом аварии при неглубоком бурении является прихват бурового снаряда или обсадных труб на забое скважины. Ликвидацию прихвата целесообразно производить с использованием талевой системы. Буровой персонал при прихвате обычно сразу стремится извлечь снаряд кратковременными натяжениями каната лебедкой. Во многих случаях это приводит к желаемому результату. Но иногда это, наоборот, усложняет аварию: канат обрывается, выходит из строя лебедка и т.д. Своевременным использованием талевой системы можно быстро ликвидировать аварию и избежать нежелательных последствий. При обвале стенок скважины во многих случаях проще передвинуть установку на новую точку и начать новую скважину, чем ликвидировать осложнение в старой. То же можно сказать и в отношении встречи крупного валуна.
4.45. В целях предупреждения поломок инструмента, обрывов каната, заклинивания и прихвата стаканов, долот и желонок в процессе бурения рекомендуется периодически проверять: а) надежность закрепления резьбовых замков и соединений; б) вращение втулки в канатном замке; в) состояние каната и качество его смазки; г) исправность стаканов, желонок и долот.
4.46. Ликвидация аварий на буровой скважине требует от буровой бригады особенно строгого соблюдения правил техники безопасности. Отступление от этих правил может привести к самым серьезным последствиям - вплоть до несчастных случаев.
В случае аварий необходимо прежде всего установить, что осталось в скважине, на какой глубине, осмотреть извлеченный на поверхность остаток снаряда. Если и после осмотра не удается выяснить условий, в которых находился снаряд, оставшийся в скважине, положение его определяется с помощью печати. Печать изготовляют из дерева, торцовую поверхность покрывают мастикой, приготовленной из смеси битума (70 - 75%) и какого-либо технического масла (автола, солидола и т.п. - 30 - 25%).
После определения состояния и положения оставшегося в скважине инструмента намечают мероприятия по ликвидации аварии и выбирают необходимый ловильный инструмент. Применяется следующий ловильный инструмент.
4.47. Шлипс (табл. 18) опускается в скважину в составе снаряда с раздвижной штангой. Шлипс набивают на резьбу или выточки на шейке оставшегося в скважине инструмента, поэтому каждый шлипс снабжен комплектом плашек для захвата за выточки шейки. При работе шлипсов в трубах большого диаметра на нижний его конец навертывается направляющая воронка.
Наружный диаметр направляющей воронки шлипса, мм | Внутренний диаметр входного отверстия по плашкам, мм | Диаметр шейки шлипса, мм | Квадрат под ключ с зевом, мм | Наружный диаметр корпуса шлипса, мм | Общая высота шлипса, мм | Масса, кг |
145 | 108 | 112 | 84 | 127 | 1000 | 56 |
190 | 135 | 140 | 102 | 168 | 1150 | 85 |
285 | 160 | 165 | 128 | 219 | 1350 | 184 |
385 ------ 550 | 182 ------ 215 | 188 | 140 | 299 | 1480 | 348 |
4.48. Ерш однорогий (табл. 19) применяется при извлечении из скважины оборвавшегося каната, если оставшийся в скважине канат лежит плотным клубком.
Горизонтальное расстояние между рогами ерша, мм | Диаметр шейки, мм | Квадрат под ключ с зевом, мм | Общая высота ерша, мм | Масса, кг |
150 | 140 | 102 | 1450 | 58 |
250 | 165 | 128 | 1730 | 110 |
4.49. Ерш двурогий (табл. 20) применяется для извлечения каната, если оборвавшийся канат находится в скважине спиралеобразно и прилегает к ее стенкам.
Наружная ширина ерша, мм | Внутренняя ширина ерша, мм | Квадрат под ключ с зевом, мм | Общая высота, мм | Масса, кг |
185 | 105 | 102 | 1435 | 80 |
285 | 185 | 128 | 1730 | 118 |
4.50. Канаторезка предназначена для резки каната в скважине при сильном прихвате инструмента, когда при значительном натяжении канат может оборваться на любой глубине. Канаторезку опускают на отдельном канате, а рабочий канат пропускают между телом канаторезки и ее ножом. При работе балансира станка нож канаторезки врезается в рабочий канат и постепенно его перерезает.
Применяются также "счастливые" крюки, овершот пружинный, ловильные колокола, "пауки" из труб, конусы из труб и т.п., которые изготавливаются на месте производства работ в зависимости от специфики аварии.
В состав ловильного снаряда входят: а) ловильный инструмент; б) переводник (при несовпадении резьбовых соединений); в) аварийная раздвижная штанга, имеющая увеличенный ход, равный 500 мм; г) ударная штанга (в случае необходимости увеличения силы удара); д) канатный замок.
При создании значительных усилий во время ликвидации аварий аварийный инструмент опускается в скважину на бурильных трубах диаметром 50, 63, 73 и 89 мм, а также на обсадных трубах.
Анализ неполадок, аварий, их устранение и предупреждение
4.51. Если проанализировать статистические данные по учету аварий и неполадок, большинство из них связано с песками, а именно: захватом желонки песками и захватом колонны труб песками в процессе их посадки. Захват желонки песками происходит в основном по следующим причинам.
а) Невнимательное наблюдение бурового мастера или его помощника за работой желонки в зоне песков, в результате чего песок выбрасывается через верх желонки и, проникая в зазор между желонкой и колонной труб, заклинивает желонку или, как иначе говорят в этом случае, "спаривает" ее с трубами. Сила такого спаривания зависит от диаметра желонки, ее длины и количества выброшенного песка. Иногда прихват желонки приводит к разрыву каната и отрыву массивных железных вилок от корпуса желонки.
б) Неожиданное вскрытие при бурении желонкой мелкозернистого песка (водоносного) с большим напором. Песок, в зависимости от скорости движения его в трубах, достигает иногда большой высоты.
Песок, заполняя пространство между желонкой и трубами, спаривает их, а в некоторых случаях поднимается выше желонки и покрывает ее.
4.52. Для ликвидации указанных выше осложнений следует применять следующие способы: а) выбивание желонки ударами вверх; б) освобождение желонки под натяжкой; в) подъем колонны труб вместе с желонкой.
4.53. Необходимо отметить, что при наличии в грунтах над желонкой значительного столба песка следует вычистить песок до самой желонки, что выполняется второй желонкой меньшего диаметра, а при возможности применяют промывку.
4.54. При обнаружении захвата желонки песком необходимо продолжать работать балансиром станка ударами вверх.
Если желонка при выколачивании поднимается несколько вверх, то работу надо продолжать до полного выхода желонки. Одновременно надо следить за канатом, сделав на нем пометку против края трубы. Если поступательный подъем желонки пойдет на убыль, следует немедленно прекратить удары вверх, так как это указывает на затяжку желонки песком. В этом случае рекомендуется немедленно перейти к другому способу ликвидации захвата желонки. Данный способ освобождения желонки дает хороший результат только в том случае, если желонка несильно прихвачена песком.
4.55. Освобождение желонки под натяжкой. Если выбивание желонки ударами вверх не дает положительных результатов, следует перейти к освобождению желонки под натяжкой. Для этого дают сильную натяжку каната при помощи блоковых передач (полиспаста) и лебедки или подъемного барабана станка; одновременно продолжают расхаживать трубы по ходу часовой стрелки. В это время песок между трубой и желонкой придет в движение и уйдет на забой.
Благодаря натяжке каната и расхаживанию труб желонка начнет пружинить, в этом случае необходимо не прерывать работу до полного ее освобождения.
Для наблюдения за подъемом желонки на канате необходимо сделать пометки.
4.56. Если описанные выше способы не дадут положительных результатов по извлечению желонки, следует поднять на некоторую высоту колонну труб вместе с желонкой. Для этого закрепляют канат, идущий от желонки, шарнирным хомутом на колонне труб, чтобы при подъеме желонка не отстала от нее и не оказалась ниже труб.
Колонну труб приподнимают примерно на 3 м, в это время песок, находящийся между трубами и желонкой, постепенно начнет перемещаться и уходить на забой, а желонка будет освобождаться.
Освобождение желонки от прихвата песками проходит значительно быстрее, если при работе в песках диаметр желонки будет меньше диаметра труб минимум на 102 мм.
Спаривание труб песками
4.57. Переход с одного диаметра труб на другой при бурении в песках ни в коем случае недопустим во избежание спаривания колонн труб песками.
Если спаривание труб все же произойдет, рекомендуются следующие способы для их разъединения:
а) Подъем последней колонны труб домкратами. Этот способ аналогичен обычному извлечению труб при ликвидации скважины. При подъеме последней колонны труб домкратами, работа в начале подъема идет очень медленно - по нескольку сантиметров в смену. Постепенно скорость извлечения труб увеличивается и дальнейшее извлечение производится уже станком. Иногда вначале трубы идут хорошо, но постепенно извлечение их замедляется вплоть до полной остановки. Происходит это из-за постепенного спрессовывания песка в межтрубном пространстве. В этом случае нужно работу приостановить и перейти к другому способу.
б) Ликвидация спаривания труб ударами по колонне под натяжкой. Удары по колонне труб производят забивным снарядом, приводящимся в движение балансиром станка, который соединяется с трубой стальным канатом, прикрепляемым к железным хомутам, установленным на трубах. Освобождение колонн от спаривания идет очень медленно, после каждого удара, но затем подъем труб все увеличивается и наступает полное освобождение их. Способ ликвидации спаривания труб ударами по колонне труб под натяжкой часто приводит к благоприятному результату.
в) Подъем предпоследней колонны труб. Если освобождение спаренных колонн труб идет очень медленно или совершенно прекращается, то для ослабления спаривания можно предпоследнюю колонну труб приподнять на некоторую высоту, от чего участок спаривания сократится, в то время как при подъеме эксплуатационной колонны труб участок спаривания не уменьшается, а возможно даже несколько увеличивается.
Если при сильном спаривании не удается сдвинуть с места предпоследнюю колонну отдельно от внутренней эксплуатационной колонны, рекомендуется приподнять обе колонны труб вместе.
Одновременно с этим производятся удары забивным снарядом по обеим колоннам труб, и довольно часто при этом трубы разъединяются.
Чтобы избежать спаривания труб в песках, как указывалось ранее, нельзя переходить с одного диаметра на другой. Переход допускается в плотных устойчивых породах, таких, как глины, суглинки, мел, мергель и др. Когда все же геологические условия таковы, что переход с одного диаметра на другой неизбежен, то необходимо создать преграду на пути возможного проникновения песка в межтрубное пространство. Это достигается применением подбашмачного глиняного тампонажа затрубного пространства.
Для тампонажа берется жирная (без примеси песка) глина и замешивается в неглубоком ящике. Затем из этой глины приготовляют главные шарики таких размеров, чтобы они свободно проходили в эксплуатационную колонну труб. Для этого форму шариков иногда заменяют длинными колбасками. Чтобы глиняные шарики не разваливались в воде, их, перед тем как опустить в скважину, подсушивают до тех пор, пока на них не образуется корка. Когда шарики подсохнут, а зимой замерзнут, их можно считать приготовленными для подачи в скважину.
Обычно при остановке продвижения колонны труб в водоносном песке, последний поднимается в трубах на некоторую высоту. Для ликвидации пробки в скважину забрасывают глиняные шарики. Когда в трубах остается сравнительно небольшой слой песка (примерно до 1 м), дальнейшую чистку прекращают, так как в противном случае песок может вновь прорваться в трубы и создать пробку.
Когда подача песка в трубы прекратится, приступают к тампонажу. Для этого на забой подают 1,5 - 2 десятка глиняных шариков с таким расчетом, чтобы утрамбованной массы получилось около 1 - 1,5 м.
После этого опускают в скважину тяжелую ударную штангу большого диаметра, которой утрамбовывают глиняные шарики до создания плотной массы. Оставив на глинистой пробке ударную штангу, приподнимают колонну труб настолько, чтобы глинистой пробки осталось в трубах около 0,5 м. Затем из скважины извлекают инструмент, вновь забрасывают на забой партию глиняных шариков и вновь их утрамбовывают. Одновременно с этим поднимают трубы, в противном случае пробка из глины будет подниматься вместе с колонной. Такая операция продолжается до тех пор, пока в песках не будет образована глинистая пробка на протяжении 5 - 6 м ниже труб, т.е. на ту высоту, на которую были приподняты трубы. Затем производится обратная посадка труб уже в глинистую пробку.
Посадка колонны труб выполняется под давлением собственной массы или под дополнительным давлением, благодаря чему часть глины входит в трубы, а часть попадает за трубы.
После посадки колонны труб на 3 - 4 м производят чистку забоя. При чистке глины желонка не должна выходить ниже башмака труб, с тем чтобы образовать в колонне труб на высоту около 1,5 м от забоя глинистую пробку. На этом тампонаж считают законченным и приступают к спуску новой колонны для перехода на следующий диаметр труб.
Осложнения при бурении в различных геологических условиях
4.58. На ликвидацию аварий при бурении скважин затрачивается много времени и средств. Иногда осложнения ведут к потере пробуренной скважины, поэтому особо важное значение имеют мероприятия, предупреждающие возникновение аварий при работе. В первую очередь необходимо правильно вести процесс бурения.
4.59. Часто аварии происходят вследствие недостаточной квалификации буровых бригад, применения недоброкачественного инструмента и механизмов, неправильного ведения технологического процесса бурения, непредвиденных геологических особенностей.
Поэтому аварии можно разбить на четыре группы:
а) связанные с неправильным монтажом механизмов и бурового оборудования;
б) вызванные изношенностью инструмента, механизмов, материалов или использованием оборудования с нагрузками сверх допустимых;
в) связанные с неправильным ведением буровых работ, без учета геологического разреза и свойств проходимых пород;
г) связанные с геологическими особенностями, осложняющими процесс бурения.
4.60. До сих пор существует мнение, что появление песчаных пробок при бурении в плывунах - явление неизбежное, поэтому профилактическая борьба с образованием пробок часто не ведется. Однако образование песчаных пробок в основном зависит от режима бурения, применяемого к моменту вскрытия плывуна.
Во время бурения водосодержащих пород с одновременным креплением обсадными трубами в скважине устанавливается столб воды, соответствующий статическому уровню пройденного горизонта. После проходки водоносного горизонта и дальнейшего бурения в водоупорном слое столб воды в скважине постепенно понижается. Это происходит вследствие того, что при перекрытии водоносного горизонта обсадными трубами приток воды уменьшается и, кроме того, во время чистки скважины вода отчерпывается желонкой. При проходке плывуна с высоким статическим уровнем столб воды быстро поднимается до уровня, соответствующего напору вскрытого пласта. Так, если водоотдача плывуна незначительна, а вода в скважине поднимается быстро, она увлекает за собой мелкозернистый песок, который в результате и образует пробку. Увеличению пробки в скважине способствует желонка, которая, работая в скважине как поршень, при ходе вверх всасывает за собой песок на большую высоту.
4.61. Борьба с образованием пробок при вскрытии плывунов или мелкозернистых песков должна вестись увеличением подлива воды в скважину во время бурения, а также с таким расчетом, чтобы при вскрытии пласта плывуна столб воды в скважине был несколько выше уровня воды вскрытого пласта. В таких случаях лучше иметь скважину, наполненную водой.
Аварии, связанные с захватом бурового инструмента песчаной пробкой, происходят во время вскрытия кровли водоносного горизонта в песках-плывунах.
Когда водоупорный слой пройден долотом или желонкой, вскрывают напорный пласт плывуна при пониженном столбе воды в скважине. В этот момент песчаная коробка интенсивно растет за счет повышения напора и поршневания желонки. В момент вскрытия плывуна мастер видит, что желонка работает в скважине нормально и легко углубляется, не замечая при этом, что песчаная пробка поднимается и прихватывает желонку. В этот момент желонка может оказаться прихваченной пробкой.
4.62. Иногда при вскрытии плывуна пробка не образуется, однако желонка, работая на одном месте, не в состоянии понизить забой. Каждый раз при ударе желонки о забой она набирает порцию песка, но при подъеме желонки вверх происходит поршневание - засасывание песка и забой быстро вновь заплывает. При такой работе желонка быстро переполняется и песок выбрасывается через верхний край желонки. Обычно в таких случаях часть желонки работает в трубах. При перебрасывании песка через верхний край желонки она заклинивается, в результате чего происходит авария.
Само бурение в плывунах и в мелкозернистых песках тоже сопряжено с образованием пробок и захватом инструмента, если в скважине не будет создано противодавление в виде столба воды высотой, несколько превышающей напор песчаного горизонта. Присасывание песчаных пробок способствует также использованию для проходки желонок, диаметр которых ненамного меньше внутреннего диаметра последней обсадной колонны. С уменьшением диаметра желонки возможность поршневая снижается, при этом рост песчаной пробки замедляется.
Средние, крупнозернистые пески и галька
4.63. При вскрытии песков, средних и крупнозернистых, а особенно галечника, пробки образуются редко даже при пониженном столбе воды в скважине, так как водоотдача этих пород гораздо больше, чем в мелкозернистых песках и в плывунах. Быстрый рост столба воды в скважине в данном случае мало способствует всасыванию песка и образованию песчаной пробки.
Осложнения при бурении в указанных породах чаще всего происходят вследствие переполнения желонки и заклинивания ее.
Глины, мергели, суглинки
4.64. Глинистые породы очень разнообразны по своему составу и свойствам. В зависимости от плотности глины проходят долотом, желонкой и стаканом.
Осложнения при бурении этих пород в большинстве случаев происходят в результате переполнения желонки породой во время чистки или углубления, т.е. поступления породы через верх желонки, а в связи с этим и расклинивания ее в обсадных трубах. Это особенно часто происходит после посадки труб ударами или расхаживанием без расширения. Во время этой операции башмак колонны срезает со стенки скважины стружку, которая остается висеть в обсадной колонне. Желонка, спущенная для чистки, быстро погружается и заполняется. Чрезмерное заполнение желонки приводит к ее прихвату.
Вязкая глина
4.65. При работе в вязких глинах не следует применять для разрыхления породы длинное долото, так как на него будет налипать глина и долото будет медленно опускаться в буровой шлам, в результате чего оно окажется прихваченным породой.
Буровой станок в вязкой глине, вместо плавного подъема и спуска инструмента, начинает работать неравномерно, увеличивая скорость качания инструментальной части станка, расшатывая при этом не только буровой станок, но и буровой снаряд. В этом случае рвется канат, ножницы получают трещины и т.д.
При работе в вязких глинах следует уменьшать высоту подъема инструмента и число ударов.
Известняки и песчаники
4.66. Во время бурения в твердых породах - известняках или песчаниках осложнения возникают вследствие сужения ствола скважины сработанным долотом при последующем спуске в скважину нового долота для дальнейшего бурения.
При неосторожном спуске долота для обработки суженной части ствола скважины оно заклинивается. В процессе бурения в известняках или песчаниках буровая грязь (шлам) образует сальник в суженной части ствола скважины и тем самым способствует схватыванию на забое долота.
При бурении в твердой породе без поворота инструмента долото или ударная штанга могут развернуться и инструмент останется в скважине, поэтому необходимо следить за поворотами бурового снаряда.
В процессе бурения в известняках осложнений в работе и при посадке труб бывает значительно меньше, а чтобы избежать, необходимо, как и при бурении в других породах, следить за состоянием бурового снаряда. Прежде чем опустить его в скважину, необходимо тщательно проверить положение меток резьбовых соединений, ударной штанги, ножниц, канатного замка; установить, нет ли трещин на инструменте бурового снаряда; проследить за лезвием долота, не допуская уменьшения его диаметра вследствие сработки при бурении. Иногда при переполнении желонки во время работы она заклинивается, реже это происходит от падения со стенок ствола кусков известняка.
Некоторые рекомендации по предупреждению аварий
4.67. Трудно рассмотреть все возникающие осложнения при бурении на воду. Однако для предупреждения аварий и осложнений можно рекомендовать проведение ряда мероприятий.
а) Строго соблюдать технологию бурения.
б) Во время бурения буровой мастер или его помощник должен следить за работой бурового наконечника, долота или желонки. Если мастер заметил изменения в ударе, он должен немедленно извлечь на поверхность земли инструмент и выяснить причину. При переходе из плотной или крепкой породы в более мягкую бурение необходимо приостановить, определить, какая порода вскрыта и какие меры предосторожности в связи с этим нужно принять.
в) Чтобы предупредить образование песчаных пробок при вскрытии плывунов, необходимо ствол скважины заполнять водой. В некоторых случаях столб воды предохраняет ствол скважины от обвалов и оползней. Столб воды облегчает посадку труб. При вскрытии в скважине водоносного горизонта столб воды занимает уровень вскрытого водоносного горизонта.
г) Внимательно наблюдать за работой самовращающегося канатного замка.
д) Следить за состоянием резьбовых соединений инструмента, периодически извлекая его на поверхность земли для осмотра. Сборку инструмента необходимо проводить затяжной трещоткой. В процессе бурения необходимо периодически проверять метки в местах стыков резьбовых соединений инструмента.
е) Нельзя допускать срабатывания долота более чем на 3 - 4 мм, особенно в твердых породах.
ж) Спускать новое долото для расширения суженного ранее участка следует осторожно, чтобы не заклинить долото.
з) Нельзя работать с ослабленным канатом в твердых породах, это может привести к его обрыву, а также к образованию эллипсов в скважине.
и) При работе желонкой необходимо следить за тем, чтобы она не наполнялась более 2/3 ее длины. Желание набрать желонкой как можно больше породы приводит к ее переполнению, выбросу породы через верхний край желонки и к ее заклиниванию.
к) Чистку скважины желонкой надо проводить как можно чаще, так как буровой шлам создает препятствия для нормальной работы долота на забое.
л) Дальнейшую посадку труб следует приостановить, если они начинают пружинить, а сам процесс идет очень медленно.
м) Если буровой мастер обнаружил, что буровой инструмент прихвачен, а электродвигатель по какой-то причине перестал работать, нужно немедленно приподнять инструмент на 2 - 3 м штурвальным винтом или, в крайнем случае, ручным способом.
н) Если намечается установка фильтра, его необходимо подготовить заранее, чтобы не допускать простоев на его изготовление, так как за это время может произойти прихват обсадных труб песком, что осложнит установку фильтра. Перед пуском фильтра в скважину забой должен быть еще раз проверен и очищен от бурового шлама.
о) Необходимо аккуратно и своевременно вести буровой журнал, иметь запись размеров бурового инструмента.
п) Перед тем как приступить к работе, нужно детально ознакомиться с геологическим разрезом и проектом конструкции скважины.
р) Резьбовые соединения технологического и аварийного инструмента при перевозке необходимо предохранять от ударов и порчи защитными приспособлениями; предохранительными колпаками, кольцами, а при их отсутствии деревянными накладками.
с) На буровой необходимо иметь ловитель с плашками, ерш однорогий, канаторезку, ловильные крюки и аварийную раздвижную штангу. Типоразмер ловильного инструмента должен соответствовать диаметру применяемого бурового инструмента. Ловильный инструмент должен быть своевременно проверен.
т) До спуска ловильного инструмента в скважину необходимо установить положение и размер оставшегося в скважине инструмента, состояние его верхней части, а также породы, слагающие разрез скважины.
у) При спуске в скважину ловильный инструмент обязательно закрепляется затяжной трещоткой.
Основные мероприятия по предупреждению и ликвидации аварий приведены в
табл. 21.
Вид аварии | Причины возникновения | Мероприятия по предупреждению аварии | Способ ликвидации аварии |
I. Прихват породой бурового снаряда или желонки | 1. Значительный выход бурового снаряда из-под башмака обсадных труб в неустойчивых породах. 2. Удары снарядом или желонкой с большой высоты в вязких породах. 3. Заклинивание долота в трещиноватых породах | 1. Недопущение выхода снаряда ниже башмака обсадных труб в неустойчивых породах более чем на половину длины снаряда или одну треть длины желонки. 2. Уменьшение высоты падения снаряда в вязких породах. 3. Применение двутавровых и округляющих долот при бурении в трещиноватых породах | 1. Наносить удары по прихваченному инструменту. 2. Если прихваченный инструмент частично находится в обсадных трубах, заклинить его в них и поднимать трубы совместно с инструментом. 3. При прихвате желонки захватить крючком за ее вилку, крючок спустить на штангах. 4. На снаряд или желонку нагнать ударами трубу с внутренним диаметром, равным наружному диаметру снаряда. Для этого нижнюю часть трубы на длине 0,6 - 0,7 м разрезать и слегка раздать. 5. При сильном прихвате инструмента срубить канаторезкой канат возле канатного замка и затем нагнать ударами на замок ловильник с плашками (шлипс) |
II. Развинчивание в скважине резьб снаряда, поломка резьбового конуса ножниц или ударной штанги | 1. Недостаточное затягивание резьбового соединения. 2. Дефект в изготовлении инструмента. 3. Плохое качество металла | 1. Затягивание резьбовых соединений до отказа трещоткой. 2. Применение инструмента, изготовленного из специальных сортов стали | 1. Крючком на штангах вывести прислонившийся к стенке скважины снаряд или инструмент в центр скважины. Опустить желонку с плоским клапаном для захвата за кольцевые канавки на инструменте (клапан на желонке подрезать по размеру шейки оставленного в скважине инструмента). 2. Нагнать ударами на кольцевые канавки оставленного в скважине инструмента ловильник с плашками или овершот |
III. Поломка резьбового конуса долота | Большая масса ударной штанги и ножниц: чрезмерно большая высота подъема снаряда над забоем при бурении в твердых породах | 1. Замена ударной штанги или ножниц. 2. Уменьшение высоты подъема снаряда. 3. Применение инструмента, изготовленного из специального металла | 1. Вывести долото крючком в центр скважины, нагнать ударами на кольцевые канавки ловильник с плашками (шлипс). 2. Накрыть долото трубой с развальцованным по диаметру долота нижним концом. 3. Если долото не удается вывести в центр скважины, забой следует обработать боковым долотом и затем отвести оставшееся долото в сторону. 4. Торпедировать забой для разрушения долота или образовать каверну в стенке скважины для отвода долота в сторону |
IV. Поломка звена ножниц | Пережог металла при сварке, усталость металла, плохое качество металла | Проверка качества инструмента перед спуском в скважину снаряда (не использовать инструмент с видимыми дефектами) | 1. При поломке верхнего звена ножниц применять крюк на штангах или вилку с защелкой для захвата оставшегося нижнего звена. 2. При поломке нижнего звена ножниц в каждом отдельном случае требуется изготовлять специальный ловильный инструмент |
V. Обрыв стального каната | 1. Разрывы отдельных проволок каната. 2. Отсутствие регулирования длины каната при бурении, подъем инструмента вверх до удара по забою | 1. Проверка качества стального каната перед спуском его в скважину. 2. Своевременная замена поврежденного каната. 3. Регулирование длины каната во время бурения | 1. Оставшийся в скважине канат захватить однорогим или двурогим ершом |
VI. Обрыв каната непосредственно у канатного замка. Вырыв каната из канатного замка | 1. Излом стального каната у корпуса замка вследствие перегибов. 2. Плохая заправка каната в замке | 1. Тщательный периодический осмотр каната у верхнего конца канатного замка. 2. Правильная заправка каната во втулке замка | 1. При вертикальном положении снаряда захватить его за кольцевые канавки клапаном желонки или ловильником с плашками. 2. Если снаряд отведен в сторону, вывести его в центр скважины крючком на штангах и захватить ловильником |
VII. Обрыв вилки желонки | 1. Значительные усилия, срезавшие заклепки (тяжелая ударная штанга, навернутая для увеличения веса желонки). 2. Ослабление заклепки вилки, неплотное прилегание к стенкам желонки | Проверка и переклепка заклепочного соединения | 1. При обрыве заклепок вилки желонки забить в нее трубу с наружным диаметром, равным внутреннему диаметру желонки, заделанную на конус. 2. Если наружный диаметр желонки меньше диаметра обсадных труб на 100 мм, нагнать на желонку разрезанную и расширенную внизу трубу того же диаметра, что и желонка |
VIII. Искривление скважины | Проходка крутопадающих пластов или чередующихся прослоек и крепких пород прослоек слабых и крепких пород | 1. Бурение на натянутом канате. 2. Проходка на штангах с направляющими фонарями в интервале крутопадающих пластов. 3. Проверка уровнем или отвесом вертикальности колонны труб (особенно в начале бурения) | 1. Искривленный участок скважины заполнить кусками более твердой породы и проходить заново с медленной проработкой. 2. При небольшой глубине скважины и мягких породах извлечь или приподнять колонну труб, затампонировав искривленный участок. При проходке заново крепить скважину трубами, систематически проверяя их вертикальность |
4.68. Тампонаж скважин подразделяется на ликвидационный и для разобщения отдельных водоносных горизонтов в скважине. Все работы по тампонажу должны вестись согласно "
Правилам ликвидационного тампонажа буровых скважин различного назначения, засыпки горных выработок и заброшенных колодцев для предотвращения загрязнения и истощения подземных вод" (1968 г.), утвержденных Мингео СССР и Главсанупром СССР.
4.69. Ликвидационным тампонажем называется заполнение ствола скважины (полный тампонаж) или части его (частичный тампонаж) цементом, глиной или другим водонепроницаемым материалом. Ликвидационный тампонаж скважин производится для предотвращения загрязнения и засоления водоносных горизонтов через скважину, а также нежелательного смешивания вод различного качества и истощения водоносных горизонтов при фонтанировании.
4.70. Частичный тампонаж скважин производится для изоляции нижележащих водоносных горизонтов и уменьшения глубины скважин. Перед началом работ по ликвидационному тампонажу старых скважин следует уточнять данные об их техническом состоянии (наличие завала, заиления и т.д.). Из скважин, закрепленных обсадными трубами, последние по возможности извлекаются.
Скважину необходимо проработать буровым инструментом, промыть водой или, при неустойчивости стенок скважины, глинистым раствором (нормы количества глины и воды для приготовления 1 м
3 глинистого раствора приведены в
табл. 22). После этого ее следует залить хлорированной водой (объем воды принимается равным тройному объему ствола скважины). Концентрация хлорной извести следующая: 1 л раствора должен содержать 125 мг активного хлора. Массу хлорной извести подсчитывают по формуле
P = mV/(S104),
где P - масса хлорной извести, кг;
m - количество хлора на 1 л воды, мг;
V - объем воды, подлежащий обработке;
S - содержание хлора в хлорной извести, % (обычно промышленная хлорная известь содержит 20 - 25% активного хлора).
Плотность глины | Потребное количество глины и воды, м3, при плотности глинистого раствора |
1,18 | 1,20 | 1,22 | 1,24 | 1,26 | 1,28 | 1,3 |
глина | вода | глина | вода | глина | вода | глина | вода | глина | вода | глина | вода | глина | вода |
1,8 | 0,225 | 0,85 | 0,25 | 0,83 | 0,275 | 0,8 | 0,3 | 0,77 | 0,325 | 0,74 | 0,35 | 0,72 | 0,375 | 0,69 |
1,9 | 0,2 | 0,88 | 0,222 | 0,86 | 0,244 | 0,83 | 0,267 | 0,81 | 0,269 | 0,78 | 0,311 | 0,76 | 0,333 | 0,73 |
2,0 | 0,18 | 0,9 | 0,2 | 0,88 | 0,220 | 0,86 | 0,24 | 0,84 | 0,26 | 0,81 | 0,28 | 0,79 | 0,3 | 0,77 |
2,1 | 0,164 | 0,92 | 0,182 | 0,9 | 0,2 | 0,88 | 0,218 | 0,86 | 0,236 | 0,84 | 0,254 | 0,82 | 0,272 | 0,81 |
2,2 | 0,15 | 0,94 | 0,167 | 0,92 | 0,183 | 0,9 | 0,2 | 0,88 | 0,217 | 0,86 | 0,233 | 0,84 | 0,25 | 0,88 |
2,3 | 0,138 | 0,95 | 0,154 | 0,93 | 0,169 | 0,91 | 0,185 | 0,9 | 0,28 | 0,88 | 0,215 | 0,86 | 0,291 | 0,85 |
2,4 | 0,129 | 0,96 | 0,143 | 0,94 | 0,157 | 0,93 | 0,171 | 0,91 | 0,186 | 0,9 | 0,2 | 0,88 | 0,241 | 0,86 |
2,5 | 0,12 | 0,97 | 0,133 | 0,95 | 0,147 | 0,94 | 0,16 | 0,92 | 0,173 | 0,91 | 0,187 | 0,89 | 0,2 | 0,88 |
2,6 | 0,112 | 0,98 | 0,125 | 0,96 | 0,137 | 0,95 | 0,15 | 0,94 | 0,162 | 0,92 | 0,175 | 0,91 | 0,187 | 0,89 |
2,7 | 0,106 | 0,98 | 0,118 | 0,97 | 0,129 | 0,96 | 0,141 | 0,95 | 0,153 | 0,93 | 0,165 | 0,92 | 0,176 | 0,91 |
2,8 | 0,1 | 0,99 | 0,111 | 0,98 | 0,122 | 0,97 | 0,133 | 0,96 | 0,144 | 0,94 | 0,156 | 0,93 | 0,167 | 0,91 |
Скважину в пределах водоносного слоя необходимо засыпать чистым песком (объем песка берется равным объему ствола скважины в пределах водоносного слоя), верхнюю же часть скважины залить глинистым раствором, забросать глиной с последующим трамбованием либо залить цементным раствором.
4.71. Скважины, вскрывшие несколько водоносных горизонтов с пресными водами, близкими по солевому составу, следует обработать хлорированной водой или раствором хлорной извести и засыпать в пределах песчаных слоев продезинфицированным чистым песком, интервалы же между водоносными слоями забросать глиной с последующим трамбованием, заливать тяжелым глинистым или цементным раствором.
В скважинах, закрепленных зацементированными трубами, на глубине 3 - 5 м необходимо поставить деревянную пробку, и ствол скважины доверху забросать глиной.
Для защиты водоносных горизонтов от проникания вод вышележащих, часто загрязненных, горизонтов, перекрытых незацементированными обсадными трубами, в последних на глубине 5 - 10 м ниже подошвы горизонта необходимо поставить пробку, вырезать или торпедировать трубы с постепенным извлечением их и произвести заливку ствола цементным раствором до отметки на 5 - 10 м выше места вырезки труб. Всю вышележащую часть скважины до устья следует забросать глиной, залить глинистым или цементным раствором.
Скважины, вскрывшие один или несколько водоносных горизонтов с одинаковыми статическими уровнями и одинаковым химическим составом воды, следует засыпать в пределах водоносного слоя песком, а в пределах водоупоров тампонировать глиной. Для тампонажа следует применять вязкую глину с содержанием песка не более 5 - 6%, из которой изготавливают шарики диаметром на 30 - 40 мм меньше диаметра скважины. Шарики бросают на забой скважины до тех пор, пока она не будет заполнена до глубины на 10 - 15 м выше кровли от поверхности водоносного горизонта. Для устранения возможности образования глиняных пробок шарики бросают один за другим с интервалом 2 - 3 с, с тщательной трамбовкой их через 1,5 - 2 м.
4.72. Более надежен и производителен тампонаж глиняными цилиндрами, которые изготовляются на глинопрессе (производительность глинопресса Гидропроекта конструкции П.С. Савенкова и Г.И. Лукьянова до 250 м цилиндров глины в смену). Глиняные цилиндры помещают в специальный снаряд - колонковую трубу или желонку с поршнем. Снаряд опускают в скважину на колонне бурильных труб и устанавливают на высоте 1 - 1,5 м от забоя. Затем с помощью насоса выдавливают глину из снаряда на забой скважины.
4.73. Скважины, вскрывшие водоносные горизонты с различным химическим составом и разными напорами воды, тампонируются цементом.
Тампонаж скважин цементом следует производить в такой последовательности:
а) по возможности извлечь из скважины фильтровую колонну, а в устойчивых породах - обсадные трубы;
б) для удаления мелких фракций и сора заготовленный для тампонажа гравий, щебень и песок промыть чистой водой. Если скважина расположена в первом поясе зоны санитарной охраны или вблизи других действующих скважин, материал для тампонажа, кроме того, продезинфицировать раствором хлорной извести с содержанием 75 - 100 мг активного хлора на 1 л воды;
в) по окончании подготовительных работ скважину, свободную от обсадных труб, от забоя до глубины 10 - 15 м ниже подошвы последнего вскрытого водоносного горизонта забросать глиной или залить глинистым раствором плотностью 1,25 - 1,3. Затем поставить цементные мосты. Интервалы скважины в пределах водоносных слоев засыпать песком. Интервалы в водоупорах между цементными мостами и выше цементных мостов до устья либо забросать глиной или затрамбовать, либо заполнить глинистым раствором плотностью 1,25 - 1,3, либо залить цементным раствором. При наличии небольших поглощающих зон к глинистому раствору следует добавить 10% известкового молока.
Скважину, пройденную в устойчивых скальных или полускальных породах, промывают чистой водой и засыпают песком, щебнем, гравием. На глубине 3 - 5 м от устья ставится деревянная пробка, и скважина доверху заливается глинистым или цементным раствором.
В том случае, когда обсадные трубы извлечь не удается, в скважину засыпают песчано-гравийную или щебенисто-песчаную смесь, чтобы скважина была заполнена до башмака обсадной колонны. Поверх смеси на 1 - 2 м выше башмака обсадных труб или кровли водоносного пласта насыпают слой песка. Для предотвращения у точки цементного раствора в водоносный пласт и в затрубное пространство песок плотно утрамбовывают, затем в скважину на высоту 10 - 15 м выше кровли водоносного пласта заливают цементный раствор через заливочные трубы.
Нижний конец заливочных труб опускают на 1 - 2 м выше уровня песчаной засыпки. Цементный раствор в скважину лучше нагнетать насосом, а при отсутствии насоса заливать при помощи воронки или сифона.
4.74. Сильно засоренные эксплуатационные скважины на воду, которые невозможно было очистить, обязательно тампонируются цементным раствором под давлением цементировочными агрегатами или обычными грязевыми насосами до глубины 10 - 15 м выше кровли эксплуатируемого водоносного горизонта.
Верхнюю часть ствола скважины заливают густым глинистым раствором плотностью 1,25 - 1,3 или забрасывают глиной.
4.75. Тампонаж скважин, вскрывших сильно поглощающие породы, производится особенно тщательно. Если пласт сильно дренирован или сложен трещиноватыми породами, цементный раствор приготовляется из цемента с волокнистыми добавками или цементно-алебастровыми смесями.
В качестве волокнистой добавки в тампонажный цемент вводится асбестовая мелочь, очес и т.д. в количестве до 5% массы; длина волокон не более 5 мм. В целях экономии цемента можно применять добавку песка.
4.76. Скважины, расположенные в первом поясе зон санитарной охраны или вблизи действующих скважин, независимо от глубины залегания водоносного горизонта, подлежат сплошной заливке глино-цементным или песчано-цементным раствором (содержание и гранулометрический состав компонентов приведены в
табл. 23 и
24).
Зоны | Соотношение цемента и глины в глино-цементном растворе | Содержание песка в песчано-цементном растворе, % |
Сильно поглощающие породы | 1:2 | До 25 - 30 |
Переслаивающиеся водоносные и неводоносные породы | 1:3 | До 40 |
Зоны с мощными водоупорами | 1:4 | До 50 |
Наименование | Размер, мм | Содержание, % |
Песчаных частиц | 0,05 - 1,00 | 0 - 35 |
Пылеватых " | 0,005 - 0,05 | 35 - 70 |
Глинистых " | - | 18 - 45 |
Примечания: 1. Число пластичности суглинков не более 25.
2. Для песчано-цементных растворов применяется мелкозернистый кварцевый песок.
При многоколонном креплении скважины межтрубное и затрубное пространства должны быть зацементированы в процессе бурения. Если это не было сделано, оставшуюся пустоту необходимо обязательно зацементировать. Для этого выше башмака обсадной колонны (предполагается, что башмак затампонирован) перфорируют ее на высоту 10 - 15 м (10 отверстий на 1 м трубы). Затем через эти отверстия межтрубное и затрубное пространства промывают чистой водой.
В зависимости от санитарного состояния скважины хлорируют, и под давлением нагнетают в них цементный раствор. Для цементации применяют тампонажный цемент по ГОСТ 1581-78. Качество тампонажа контролируют по уровню воды в скважине и в кольцевом зазоре между трубами и стенками скважины.
Если в скважине образуется большая песчаная пробка, которая не позволяет изолировать между собой водоносные горизонты, нужно желонкой или эрлифтом очистить ствол скважины от пробки и одновременно закачать в скважину утяжеленный глинистый раствор для создания избыточного противодавления на забой и предотвращения подъема песчаной пробки. Затем на забой насыпают гравийно-щебенистую смесь. Скважину выше засыпки промывают водой и тампонируют цементным раствором до глубины 10 - 15 м выше кровли изолируемого водоносного горизонта.
По истечении не менее 24 ч после тампонажа испытывают скважину с цементным раствором на герметичность. Испытание производится либо гидравлической опрессовкой на давление, большее, чем пластовое, но не более 50·105 Па (50 атм), либо на приток путем оттартывания промывочной жидкости с понижением не более 300 м. Тампонаж считается качественным, если за 30 мин давление в обсадной колонне снизится не более чем на 5·105 Па (5 атм) или если уровень за 24 ч поднимется не более чем на 1 м. Если через цементную пробку поступает вода, производят повторную цементацию до полной изоляции водоносного горизонта и прекращения притока воды из него в скважину. После затвердевания цементного раствора скважину забрасывают глиной или заливают густым глинистым раствором. При производстве работ по ликвидации скважин и горных выработок необходимо предусматривать меры безопасности в соответствии с инструкциями по технике безопасности при бурении и ремонте скважин.
По окончании ликвидационного тампонажа скважин, колодцев в горных выработках составляют акт, форма которого приведена в конце раздела.
Для разобщения отдельных водоносных горизонтов в скважине также применяется тампонаж.
Водоносный горизонт изолируется от нижележащего следующим образом. Когда водоносный горизонт представлен твердыми породами - известняком, мергелем, опокой и другими, - он перекрывается трубами с вдавливанием стального башмака в пластическую плотную глину, а если встречены другие породы, создают пробку из жирной плотной глины, набросав ее на забой. Глина при этом поступает за наружную поверхность башмака и в затрубное пространство. Достигается это трамбованием желонкой с заделыванием низа деревянной пробкой. При мягких, легко обваливающихся породах (глинах, мергелях и др.) водоносный горизонт можно перекрыть нагнетанием глинистого раствора в затрубное пространство с погружением башмака в густой глинистый раствор и забивкой его в искусственно созданную плотную глинистую пробку. При слабых и мягких подстилающих породах водоносный горизонт также изолируется задавливанием башмака в предварительно набросанную на забой пластичную глину в виде небольших шариков диаметром 10 - 15 см. Шарики следует слегка подсушить.
После того как на забой скважины введена пластичная глина с подъемом обсадных труб на высоту до 5 - 10 м, перекрывающая колонна обсадных труб вдавливается в глину, выжимая ее вверх в затрубное пространство между стенками скважины и наружной поверхностью башмака.
При нагнетании глинистого раствора в затрубное пространство необходимо следить, чтобы циркуляция раствора не прекращалась. Колонну труб при этом расхаживают до тех пор, пока глинистый раствор не заполнит все межтрубное пространство между колонной труб и стенками ствола скважины.
После перекрытия водоносного горизонта нужно проверить надежность этого перекрытия, для чего досуха выкачивают из скважины находящуюся в ней воду тартанием желонкой или откачкой насосом. Если после этого вода в скважину не прибывает, тампонаж проведен удовлетворительно. В процессе дальнейшего углубления скважины до встречи нового водоносного горизонта периодически проверяют уровень воды в скважине.
При устройстве цементных мостов обычно применяется тампонажный цемент (ГОСТ 1581-78), являющийся особым сортом портландцемента. Для приготовления 1 м3 раствора берут 1 т портландского цемента, 0,77 т просеянного песка и 0,3 т воды.
Удельный вес цементного раствора обычно бывает в пределах 1,8 - 1,95.
4.77. При производстве ликвидационного тампонажа составляется акт по следующей форме:
АКТ НА ПРОИЗВОДСТВО ЛИКВИДАЦИОННОГО ТАМПОНАЖА
___________________________________________ скважины N ___________________,
(тип скважины)
пробуренной на территории _________________________________________________
___________________________________________________________________________
(наименование и адрес объекта)
Начало бурения скважины "______________" __________________________ 19__ г.
Окончание бурения скважины "______________" _______________________ 19__ г.
Дата производства тампонажа скважины "___________" ________________ 19__ г.
город
"___________" _________________ 19__ г. _________ _________________________
поселок
Мы, нижеподписавшиеся, представители ______________________________________
__________________________________________, с одной стороны, и представители
(организация, проводившая работы)
___________________________________________, с другой стороны, удостоверяем
(организация, проводившая работы)
производство работ по ___________________________ ликвидационному тампонажу
(полному, частичному)
скважины __________________________ согласно ______________________________
(проекту, заданию)
Работы по ликвидационному тампонажу характеризуются следующими данными:
Глубина скважины перед тампонажем _____________________________________
Состояние скважины перед тампонажем с анализом воды
___________________________________________________________________________
Обсадные колонны в скважине перед тампонажем:
количество колонн _______________, диаметр ______________, интервал обсадки
____________________ м, состояние обсадных труб ___________________________
___________________________________________________________________________
___________________________________________________________________________
Фильтр в скважине:
диаметр _____________________________, интервал посадки ___________________
Данные о санитарной обработке скважины перед тампонажем
___________________________________________________________________________
Вид тампонажа _________________________________________________________
(цементом, глиной)
Состав тампонажной смеси, количество смеси ____________________________
___________________________________________________________________________
Способ заливки цементного раствора ____________________________________
Способ тампонажа глиной _______________________________________________
___________________________________________________________________________
Количество и интервал установки цементных мостов ______________________
___________________________________________________________________________
Способ установки цементных мостов _____________________________________
Данные о межтрубной и затрубной цементации в момент тампонажа:
Интервал и метод перфорации ___________________________________________
Интервал цементации ___________________________________________________
Способ цементации, количество и качество тампонажного цемента _________
___________________________________________________________________________
Интервалы частичного тампонажа скважины _______________________________
Способ испытания скважины на герметичность и полученные результаты ____
___________________________________________________________________________
Время, затраченное на ликвидационный тампонаж _________________________
___________________________________________________________________________
Ответственный исполнитель _____________________________________________
Подписи:
5. ОСНОВНЫЕ НАПРАВЛЕНИЯ СОВЕРШЕНСТВОВАНИЯ БУРОВОЙ ТЕХНИКИ
И ТЕХНОЛОГИИ БУРЕНИЯ СКВАЖИН УДАРНО-КАНАТНЫМ СПОСОБОМ
Совершенствование технологии бурения
5.1. При сооружении скважин на воду в настоящее время в основном применяют два способа бурения: ударно-канатный и роторный.
Каждый из этих способов имеет свои преимущества и недостатки, которые необходимо учитывать при выборе способа бурения скважины. В практике известны случаи, когда даже в благоприятных гидрогеологических условиях были получены отрицательные результаты только из-за неправильного выбора способа бурения.
Применимость каждого способа бурения в зависимости от геолого-гидрогеологических, климатических и других условий определяется многими факторами.
5.2. Ударно-канатное бурение для гидрогеологических целей и водоснабжения применяется давно. Появилась тенденция считать этот способ бурения устаревшим, что объясняется прежде всего сравнительно низкими техническими скоростями бурения, особенно при глубинах скважин более 100 - 150 м. Кроме того, вследствие ограниченного выхода колонн обсадных труб скважины, пробуренные ударно-канатным способом, как правило, имеют сложные конструкции, что приводит к повышенному расходу металла.
Отдельные показатели работы буровых организаций по ударно-канатному бурению обычно более низки по сравнению с роторным способом бурения.
Однако несмотря на отмеченные недостатки, ударно-канатный способ имеет и ряд важных преимуществ. Основное из них то, что в процессе бурения этим способом, осуществляемым без глинистого раствора, не происходит глинизации стенок скважины и, следовательно, сохраняется естественная водопроницаемость водоносных слоев в прискважинной зоне. Особенно велико значение указанного преимущества ударно-канатного бурения по сравнению с роторным при бурении в водоносных породах, представленных мелкозернистыми песками, содержащими безнапорные и слабонапорные водоносные горизонты.
В этих условиях скважины, пробуренные ударно-канатным способом, как правило, дают значительно большее количество воды по сравнению со скважинами, пройденными роторным способом.
При ударно-канатном бурении представляется возможным в процессе проходки скважин вести наблюдения за положением уровня воды, отбирать пробы для химического анализа, последовательно опробовать встреченные водоносные горизонты, по косвенным признакам судить о водообильности этих горизонтов, отбирать пробы грунта, по которым с удовлетворительной точностью можно документировать проходимый геологический разрез.
Ударно-канатный способ бурения при значительно меньшей энергоемкости и технической вооруженности (сравнительно с роторным способом) позволяет сооружать скважины с конечным диаметром до 400 мм и более и оборудовать эти скважины фильтрами с гравийной обсыпкой. Такие скважины имеют лучшие эксплуатационные характеристики, большую водозахватную способность, продолжительные сроки безремонтной работы.
В связи с этим в ряде случаев себестоимость кубометра воды, извлекаемой из скважин при бурении ударно-канатным способом, оказывается значительно ниже, чем при других способах бурения.
5.3. В последнее время находит все большее распространение применение комбинированного ударно-канатного способа бурения. При этом наиболее часто бурение осуществляется без крепления обсадными трубами под защитой избыточного гидростатического давления. Такой способ бурения не влечет за собой, как правило, значительных переделок существующего оборудования: скважины сооружаются обычными ударно-канатными станками.
5.4. В качестве примера приводим описание одной из таких разновидностей - способа проходки скважин и устройства для его осуществления.
При ударно-канатном способе бурения скважин в рыхлых грунтах (например, в песках-плывунах) создается избыточное гидростатическое давление для устранения подпора грунтов и сохранения устойчивости стенок скважины.
При данном способе
(рис. 14) одновременно с бурением в скважину забивают обсадную трубу постоянной длины.
Рис. 14. Комбинированный способ бурения скважин
1 - обсадная труба; 2 - буровой станок; 3 - канат;
4 - буровой снаряд; 5 - наружные выступы на снаряде;
6 - внутренний упор на трубе; 7 - искусственный уровень
Приводной механизм бурового станка через стальной канат поднимает и сбрасывает на забой буровой снаряд. При падении буровой снаряд углубляет скважину и, двигаясь вниз, ударяет своими наружными выступами по кольцевому внутреннему упору инвентарной обсадной трубы, обеспечивая разработку призабойной зоны без подплывов и обрушения стенок. Буровой снаряд по мере его наполнения грунтом извлекают на поверхность, освобождают от породы и вновь опускают на забой.
Сначала ствол скважины заливают водой до уровня 3 - 5 м выше статического. Затем в скважину на забой опускают инвентарную обсадную трубу постоянной длины и диаметра с внутренним кольцевым упором, после этого внутрь трубы опускают буровой снаряд (например, желонку) с выступами, который осуществляет ударно-канатное бурение при сбрасывании на забой с высоты 1 м и частоте ударов 50 в 1 мин. При ударно-канатном бурении желонкой происходит углубление забоя и одновременно осуществляется крепление призабойной зоны скважины инвентарной обсадной трубой постоянной длины с одновременным созданием в полости скважины избыточного гидростатического давления подливом в нее жидкости. Способ и устройство для его осуществления позволяют получить значительный экономический эффект, так как крепление призабойной зоны инвентарной обсадной трубой, постоянно взаимодействующей с буровым снарядом, позволяет исключить операции по наращиванию обсадных труб, совместить работы по обсадке скважины с собственно бурением.
В процессе совершенствования способа разработаны конструкции инвентарного патрубка, позволяющие извлекать его из скважины. Имеются схемы осуществления способа без применения инвентарных патрубков с использованием желонок со специальными башмаками, допускающими переток жидкости в стволе скважины при возвратно-поступательном движении желонки и исключающими эффект поршневания или частичное обрушение забоя при бурении.
Сооружение скважин ударно-канатным способом без обсадки трубами под защитой избыточного гидростатического давления обладает рядом преимуществ: сокращается расход обсадных труб, не требуется переделка серийного оборудования, скорость проходки скважин относительно ударно-канатного бурения возрастает в 2 - 4 раза.
Ниже приводится описание конструкций инвентарной обсадной трубы, которая облегчает извлечение трубы из скважины после окончания бурения.
5.5. Обсадная труба должна быть выполнена с вертикальными прорезями, а часть внутренней поверхности трубы на упорах - конусной; при этом часть наружной поверхности выступа бурового снаряда выполнена конусной, причем буровой снаряд и обсадная труба установлены с возможностью взаимодействия конусными поверхностями. На
рис. 15,
а изображена инвентарная разрезная обсадная труба; на
рис. 15,
б - скважина с обсадной трубой в разрезе; на
рис. 15,
в - узел 1 (деталь устройства в момент удара бурового снаряда и расширения разрезной обсадной трубы). Устройство работает следующим образом.
Рис. 15. Устройство для проходки скважин
1 - обсадная труба; 2 - разрезы на трубе; 3 - упор;
4 - поверхность кольцевого упора; 5 - выступ на снаряде;
6 - конус; 7 - горизонтальная поверхность
При погружении (забивке) инвентарной обсадной трубы с помощью бурового снаряда кольцевой выступ последнего взаимодействует с кольцевым упором обсадной трубы так, что конусообразная поверхность выступа скользит по конусообразной поверхности упора. За счет действия горизонтальных (радиальных) сил диаметр обсадной трубы увеличивается при соответствующем расширении вертикальных разрезов. В конце пути кольцевой выступ бурового снаряда своей горизонтальной поверхностью ударяет по горизонтальной поверхности кольцевого упора, передавая вертикальное усилие забиваемой в грунт трубе. При подъеме бурового снаряда горизонтальные радиальные силы перестают действовать, вертикальные разрезы сжимаются и диаметр обсадной трубы уменьшается, возвращаясь к первоначальному размеру. Уменьшение диаметра обсадной трубы менее диаметра скважины позволяет извлекать ее на поверхность земли с помощью ловильного инструмента.
5.6. В устройстве с обсадной трубой и буровым снарядом обсадная труба выполнена составной, при этом верхняя часть имеет вид усеченного конуса сужением вниз, в котором на диаметрально противоположных концах сделаны прорези, а нижняя часть выполнена цилиндрической и имеет дополнительные упоры, установленные с возможностью перемещения в прорезях верхней части обсадной трубы, при этом кольцевой упор расположен в нижней части трубы. Нижняя цилиндрическая часть обсадной трубы - разрезная по вертикали, а кольцевой упор состоит из двух полуколец, одно из которых имеет пазы, а другое - штыри, размещенные в пазах
(рис. 16).
Рис. 16. Устройство для проходки скважин
1 - буровой снаряд; 2 - наружные выступы бурового снаряда;
3 - обсадная труба; 4, 11 - внутренний кольцевой упор
обсадной трубы; 5 - цилиндрическая часть обсадной трубы;
6 - коническая часть обсадной трубы; 7 - упоры цилиндра;
8 - края упругих листов; 9 - накладные прорези;
10 - вертикальная прорезь; 12 - паз кольцевого упора;
13 - выступ кольцевого упора; 14 - ловитель
На
рис. 16,
а показано устройство в процессе проходки скважины; на
рис. 16,
б - разрез
А-А рис. 16,
а; на
рис. 16,
в - вид
Б на
рис. 16,
а; на
рис. 16,
г - схема извлечения устройства; на
рис. 16,
д и
16,
е - устройство для увеличения конусности при извлечении.
Устройство содержит буровой снаряд с наружными выступами и обсадную трубу с внутренним кольцевым упором. Обсадная труба состоит из нижней части в виде цилиндра и верхней части в виде усеченного конуса. Цилиндр жесткий и снабжен с противоположных сторон дополнительными упорами. Конус выполнен из упругих листов, края которых перепущены внахлестку, и имеют противоположно наклоненные прорези, а с противоположной стыку поверхности конуса - вертикальную прорезь. Цилиндр разрезан на две части вдоль образующих, а внутренний кольцевой упор выполнен из двух полуколец, причем одно полукольцо имеет на концах пазы, а другое - выступы.
При сбросе буровой снаряд ударяет наружными выступами по внутреннему кольцевому упору и осаживает по мере проходки цилиндр. Цилиндр с помощью дополнительных упоров, входящих в прорези (прорези совпадают в нижней части), перемещает конус за собой. Упругость конуса и сужение его внизу облегчают погружение устройства в скважине и исключают прихваты при подъеме снаряда.
После завершения проходки скважины устройство извлекают. Для этого поднимают буровой снаряд, опускают в скважину инвентарный ловитель и захватывают цилиндр. При подъеме цилиндра упоры движутся вверх по прорезям конуса, сжимая его по диаметру, и обсадная труба извлекается.
Для увеличения конусности устройства при извлечении разрезной цилиндр и составной внутренний кольцевой упор при подъеме ловителем сужаются, так как упоры при перемещении вверх сжимают конус, который в свою очередь сжимает полукольцо внутреннего кольцевого упора с прикрепленными к нему частицами цилиндра.
Совершенствование буровой техники
Устройство для ударно-канатного бурения с обратной промывкой
(опытная разработка)
5.7. Устройство представляет собой механизм, предназначенный для бурения скважин большого диаметра ударно-канатным способом без крепления трубами с выносом выбуренной породы обратной промывкой
(рис. 17) в гравийно-галечниковых и валунных отложениях. Ударно-канатное бурение с обратной промывкой основано на применении ускоренных ударных импульсов, удалении выбуренной породы с забоя без прекращения процесса разрушения, а также с исключением необходимости крепления ствола обсадными трубами.
Рис. 17. Устройство для ударно-канатного бурения под защитой
избыточного гидростатического давления
1 - долото; 2 - подвижная лопасть; 3 - элероны;
4 - бурильная колонна; 5 - съемный оголовник; 6 - патрубок;
7 - воздуховод; 8 - основание долота; 9 - насадка;
10 - подвижные захваты; 11 - каретка; 12 - пружина;
13 - отверстие
Свободное падение долота в устройстве выполнено принудительно-ускоренным, силы трения при падении долота сведены до минимума в результате существенного сокращения числа трущихся деталей, при этом долото выполнено поворотным, оснащено подвижной лопастью, способствующей равномерной разработке забоя, и отклоняющимися элеронами, обеспечивающими интенсификацию местной циркуляции у долота.
Устройство для ударно-канатного бурения скважин с выносом выбуренной породы обратной промывкой состоит из бурильной колонны, звенья которой соединяются муфтами. Верхняя часть бурильной колонны оборудована съемным оголовком, имеющим пульпоотводный патрубок, воздуховод, подъемный крюк и два ушка для крепления каната. Нижняя часть бурильной колонны имеет коническое основание и несет ступенчатое трехперое долото, снабженное насадкой с кольцевым зубчатым выступом под подвижные захваты, соединенные с кареткой.
В кольцевую полость долота и бурильной колонны установлена пружина. Низ бурильной колонны имеет пульпоприемное отверстие. Одна из лопастей долота снабжена дополнительной поворотной лопастью. После наращивания очередного звена бурильной колонны, установки оголовка, монтажа каната и его натяжки начинается подъем каретки, при котором происходит сжатие пружины. Опорные концы подвижных захватов скользят по поверхности бурильной колонны до попадания в вырезы. Каретка с долотом при этом поворачивается за счет перемещения роликов в специальных направляющих. При попадании опорных концов захватов в вырезы на колонне долото освобождается из зацепления и под воздействием собственной массы и пружины принудительно-ускоренно падает к забою.
Устройство для проходки скважин в рыхлых породах
5.8. Проходку скважины производят ударно-канатным бурением путем подъема на канате и сбрасывания бурового инструмента, а крепление стенок скважины при ударно-канатном бурении осуществляют путем вращения и погружения колонны труб, имеющей наружную шнековую навивку. Способ может быть применен при бурении скважин диаметром до 168 мм и глубиной до 20 м.
На
рис. 18 изображена схема, поясняющая работу по предлагаемому способу. При бурении в относительно устойчивых например, суглинистых, породах предлагаемый способ осуществляется при такой последовательности операций. Сначала производится ударно-канатное бурение путем подъема на канате и сбрасывания бурового инструмента, например желонки с плоским клапаном (
рис. 18,
а). При сбрасывании желонки забой разрушается, а разрушенная порода забирается внутрь желонки и извлекается на поверхность при подъеме последней. При необходимости ударно-канатное бурение может производиться долотом, стаканом или другим инструментом. После проходки ударно-канатным бурением на глубину, примерно равную высоте желонки, крепят стенки скважины путем вращения и погружения колонны труб, имеющей наружную шнековую навивку (
рис. 18,
б,
в). Таким образом, периодически повторяя ударно-канатное бурение и крепление, обеспечивают проходку скважины (
рис. 18,
г), которую затем оборудуют фильтрами или ликвидируют, а колонну труб, имеющую наружную шнековую навивку, извлекают.

Рис. 18. Способ проходки скважины в рыхлых породах
В неустойчивых породах, например в песках-плывунах, дающих пробку, вначале производят опережающее крепление стенок скважины вращением и погружением колонны труб с наружной шнековой навивкой в целике грунта на глубину, например, 2 м; затем внутри колонны производится ударно-канатное бурение до башмака колонны труб. Таким образом, периодически повторяя крепление и ударно-канатное бурение, обеспечивают проходку скважины. Экономический эффект получается за счет повышения производительности бурения, так как сокращается время на обсадку скважины, исключаются операции по забивке и извлечению обсадных труб, уменьшается расход металла ввиду сокращения числа обсадных колонн.
Буровой инструмент для ударно-канатного бурения
крепких пород
5.9. Разрушение крепких пород существующими буровыми снарядами происходит при периодических свободных ударах породоразрушающего инструмента по забою и вследствие малой эффективности такого воздействия требует значительных затрат времени. В известных технических решениях, направленных на интенсификацию процесса разрушения породы, дополнительное воздействие сообщается забою с помощью вмонтированных в буровой снаряд вибрационных устройств, снабженных отдельной системой привода, либо отдельных масс, движение которых, как правило, вызывается действием сил инерции.
В первом случае буровой снаряд выполняется в виде долота или желонки, скрепленных с электромеханическим вибратором продольно направленного действия. Недостаток устройств такого типа состоит в необходимости спуска в скважину кабеля для электропитания двигателя.
Известно, что сопротивление крепких пород деформациям сдвига и растяжения почти в десять раз меньше, чем при сжатии, а их динамическая твердость в несколько раз меньше статической. Рассматривая с этой точки зрения процесс ударно-канатного бурения, в котором разрушение породы происходит при периодических ударах клинообразного лезвия долота по забою, можно заключить, что по характеру действующих на породу нагрузок оно является наиболее рациональным. При этом малая скорость ударно-канатного бурения крепких пород объясняется недостаточной частотой динамического нагружения забоя (существующее оборудование не позволяет получить частоту ударов более 50 в 1 мин), а также тем, что энергия удара долота используется неэффективно, так как применяемые конструкции буровых снарядов обеспечивают такое перемещение долота в породе, при котором на скалывание расходуется лишь 20 - 30% энергии удара, а остальное идет на сжатие.
Из сказанного следует, что без увеличения массы бурового снаряда и его габаритов скорость ударно-канатного бурения крепких пород может быть повышена за счет увеличения частоты ударов долота по забою и его перемещения, при котором преобладающими были бы деформации скалывания (сдвига).
5.10. Буровой снаряд (
рис. 19,
а), обеспечивающий дополнительно продольные удары, состоит из породоразрушающего долота, ударной штанги, раздвижной штанги и канатного замка. Ударная штанга имеет полый герметичный корпус, в котором смонтирован ударник с пружинами. На нижнем и верхнем торцах ударника размещены бойки, а в основаниях корпуса смонтированы наковальни. Пружины выбирают такой жесткости, чтобы в нерабочем положении имелся зазор между бойками и наковальнями.
Рис. 19. Принципиальная конструктивная схема буровых
снарядов для ударно-канатных станков
а - буровой снаряд с дополнительными продольными ударами;
б - буровой снаряд с дополнительным крутильным ударом;
в - буровой снаряд с дополнительными рыхлителями;
1 - долото; 2 - ударная штанга; 3 - ножницы; 4 - канатный
замок; 5 - корпус; 6, 10 - дополнительная масса; 7 - пружина;
8 - боек; 9 и 12 - пружина; 11 - рыхлители; 13 - поршень;
14 - траверса
В процессе бурения в результате основного удара долота по забою ударник приходит в колебательное движение, при котором в период контакта долота с породой бойки поочередно наносят серию разнонаправленных ударов по наковальням. Такой виброударный характер работы снаряда способствует интенсификации разрушения породы и исключает возможность заклинивания долота на забое.
Буровой снаряд (
рис. 19,
б) с дополнительным крутильным ударом отличается от известных тем, что кроме вертикальных ударов с его помощью можно воздействовать на забой крутильными ударами. Снаряд состоит из корпуса, во внутренней полости которого смонтирован ударник, породоразрушающего долота и пружины. Ударник снабжен 6 продольными выступами, которые входят в пазы корпуса, выполненные по винтовым линиям. В верхней части ударника расположен клиновой пояс, с которым закреплена штанга.
Корпус выполнен с внутренним конусом, угол которого совпадает с углом клина пояса. Снаружи корпус закрыт обшивкой. Крепление штанги на канате осуществляется с помощью канатного замка.
5.11. Работа бурового снаряда осуществляется следующим образом. После сброса снаряд ударяет долотом по забою. В момент удара вследствие действия силы инерции клиновые пояса расклиниваются, ударник отделяется от корпуса и начинает скользить торцами выступов по винтовым пазам. Это перемещение осуществляется как за счет силы тяжести, так и за счет энергии, накопленной в пружине во время подъема снаряда. Ударный импульс, в результате которого осуществляется поворот снаряда, происходит при ударе выступов по корпусу. Поворот породоразрушающего инструмента на некоторый угол вокруг его продольной оси, осуществляемый после каждого вертикального удара снаряда по забою, обеспечивает дополнительное скалывание породы, что позволяет повысить скорость бурения и добиться эффективного округления забоя, исключающего случаи прихвата инструмента породой.
Буровой снаряд (
рис. 19,
в) с дополнительными рыхлителями позволяет производить опережающее рыхление породы путем образования в забое кольцеобразного углубления. Снаряд состоит из породоразрушающего долота и штанги с герметизированной полостью, в которую может быть залита жидкость или помещена дополнительная ударная масса. В нижней части полости штанги имеется выступ, на котором размещены пружина и поршень. Внутренняя часть долота снабжена прямоугольной полостью, сквозными отверстиями и смонтированными в них соответственно траверсой и пикообразными рыхлителями. Отверстия имеют уплотнения, препятствующие проникновению бурового шлама в полость. Шток жестко соединяет траверсу с поршнем.
После сброса снаряд ударяет долотом по забою. В момент удара жидкость или дополнительная масса продолжает двигаться вниз и производит удар по поршню. Вследствие этого удара рыхлители получают ускорение и внедряются в породу забоя. Малая суммарная масса поршня, штока и рыхлителей обеспечивает достаточно высокую скорость движения этих элементов, которая в сочетании с незначительной лобовой площадью рыхлителей позволяет им эффективно внедряться в забой. При повторном сбросе снаряд канатным замком поворачивается на некоторый угол, поэтому в процессе бурения рыхлители внедряются в новые точки забоя и постепенно образуют в нем кольцеобразное углубление. Снаряд позволяет увеличить скорость проходки крепких пород за счет уменьшения усилий, необходимых для скалывания породы при основном ударе долота, так как он наносится по забою с предварительно нарушенной структурой (опытная разработка).
5.12. Устройство для ударно-канатного бурения предназначено для сооружения скважин с гидрогеологическими целями для водоснабжения и водопонижения при строительстве.
Устройство
(рис. 20) состоит из долота с отверстиями для выхода промывочной жидкости, соединительного звена со шкворнями, герметичной капсулы с бойком, магазина для выбуренной породы, стояка и камеры местной циркуляции, включающей: цилиндр с обратными клапанами, поршень с пружиной и ропсокет с канатом. По наружной поверхности капсулы от стояка к долоту проложена водоподводящая труба.
Рис. 20. Устройство для ударно-канатного бурения
1 - долото; 2 - отверстия; 3 - соединительное звено;
4 - шкворень; 5 - капсула; 6 - боек; 7 - магазин; 8 - стояк;
9 - ствол скважины; 10 - камера; 11 и 12 - клапаны;
13 - поршень; 14 - пружина
5.13. Работа устройства для ударно-канатного бурения скальных пород осуществляется следующим образом. В скважину на стальном канате опускается устройство в сборе, которое с высоты 1 м сбрасывается на забой. Далее при ходе балансира станка вниз устройство поднимается над забоем. При этом происходят следующие процессы: поршень сжимает пружину до упора и в камеру местной циркуляции через обратный клапан поступает из скважины жидкость. При дальнейшем подъеме каната устройство поднимается над забоем (при этом боек лежит на оголовке долота).
При резком движении балансира вверх устройство устремляется к забою. В этот момент при падении (в связи с различным режимом работы) происходит отставание бойка от устройства и при достижении забоя образуется сдвоенный удар. Кроме того, канат ослабляется и поршень под воздействием пружины и собственной массы (включая массу штока и ропсокета) перемещается вниз и выдавливает жидкость по водопроводящим трубам через отверстия в долоте к забою.
Промывочная жидкость, ударившись о забой, поднимается вверх по кольцевому зазору между стволом скважины и капсулой с магазином для выбуренной породы. При дальнейшем продвижении жидкости вверх скорость резко снижается (благодаря увеличению поперечного сечения между стволом скважины и стояком) и происходит осаждение выбуренных частиц в магазин. Такая конструкция устройства обеспечивает постоянное удаление разбуренной породы от забоя, исключает применение операций, связанных с желонированием скважины, обеспечивает высокую производительность работ.
Известны буровые снаряды для ударно-канатного бурения, включающие долото, полую ударную штангу с цилиндрическим грузом для создания на долото дополнительных ударных нагрузок. Недостатками этих устройств являются громоздкость и необходимость создания сложных герметичных камер для ударника.
Буровой снаряд с двойным ударом
5.14. Буровой снаряд
(рис. 21) выполнен составным из двух неравных частей, соединенных устройством для регулирования их продольных перемещений относительно друг друга, причем на верхней части смонтирован уравновешивающий груз. Кроме того, устройство для регулирования продольных перемещений частей бурового снаряда относительно друг друга выполнено в виде направляющего патрубка с вертикальными прорезями, жестко соединенного с верхней частью бурового снаряда и расположенного концентрично относительно нижней его части, снабженной фиксатором, при этом свободный ход фиксатора в прорезях ограничен сменным сухарем. Верхняя часть бурового снаряда через буровые ножницы, канатный замок соединена стальным канатом. Направляющий патрубок, имеющий вертикальные прорези, наибольшая ось которых совпадает с продольной осью бурового снаряда, расположен концентрично относительно нижней части бурового снаряда с жесткозакрепленным на ней фиксатором. Сочленение фиксатора с прорезями обеспечивает передачу вращения верхней и нижней частям бурового снаряда одновременно от каната через канатный замок и буровые ножницы.

Рис. 21. Буровой снаряд для ударно-канатного бурения
1 - груз; 2 - направляющий патрубок; 3 - прорези;
4 - фиксатор; 5 - сменный сухарь; 6 - раздвижная штанга;
7 - канатный замок; 8 - канат; 9 - долото
Зазор между верхней и нижней частями бурового снаряда регулируется изменением свободного хода фиксатора в прорезях направляющего патрубка посредством установки в прорези сменных сухарей. Направляющий патрубок относительно нижней части бурового снаряда центрируется выступами.
Работа бурового снаряда осуществляется следующим образом. При спуске в скважину бурового снаряда на стальном канате вначале нижняя часть бурового снаряда, включающая долото, достигает забоя и разрушает его, а затем дополнительный удар наносится его верхней частью, включающей груз. При движении вверх между нижней и верхней частями бурового снаряда образуется зазор. В зависимости от величины зазора устанавливается расчетный интервал времени для последовательного нанесения ударов по забою вначале нижней, а затем верхней частями бурового снаряда. Таким образом, с осуществлением двойного удара в расчетное время проводится бурение на всем интервале скальных пород.
Буровой снаряд для ударно-канатного бурения
(опытная разработка)
5.15. При бурении буровым снарядом в рыхлых и набухающих породах происходит быстрая потеря диаметра бурения. Кроме того, диаметр ствола скважины оказывается равным диаметру снаряда, что обусловливает его прихват и заклинивание в стволе, заметно затрудняет прохождение жидкости в скважину ниже снаряда при его подъеме, а также исключает воздействие на этот интервал избыточного гидростатического давления. Эти обстоятельства обусловливают возникновение эффекта поршневания при подъеме бурового снаряда из скважины. В связи с этим при бурении рыхлых и набухающих пород буровым снарядом без обсадки трубами под защитой избыточного гидростатического давления возникает проблема снижения трения боковой поверхности снаряда о стенки ствола и обеспечения перетока жидкости из верхней части скважины в нижнюю при подъеме бурового снаряда.
На
рис. 22 изображен описываемый снаряд в трех проекциях с разрезами. Буровой снаряд включает корпус с уширением в нижней части, жестко соединенные с башмаком, снабженным прорезями, над которыми расположены неподвижные режущие элементы, с каждой стороны имеющие вертикальные проточки, выполненные на всю длину уширения корпуса. Работает буровой снаряд следующим образом.
Рис. 22. Буровой снаряд для ударно-канатного бурения
1 - корпус; 2 - уширение корпуса; 3 - башмак; 4 - прорези;
5 - режущие элементы; 6 - проточки
В скважину подают жидкость для создания гидростатического давления, необходимого для сохранения устойчивости стенок. Далее, в скважину опускают снаряд и производят ее углубление путем подъема - сбрасывания и набора грунта внутрь устройства. После того как буровой снаряд данного диаметра начинает с затруднением проходить по стволу скважины, переходят на бурение снарядом меньшего диаметра, образуя при этом ступенчатый ствол. Уширение корпуса бурового снаряда позволяет снизить боковое трение при продвижении по стволу скважины.
При подъеме бурового снаряда жидкость, находящаяся в скважине, проходит между корпусом и стволом скважины и далее, перетекая через вертикальные проточки, выполненные в уширении, через прорези в башмаке поступает в ствол ниже снаряда, обусловливая передачу гидростатического давления и устойчивость стенок скважины.
Использование бурового снаряда позволяет широко применять проходку скважин без обсадки трубами в рыхлых, набухающих и неустойчивых грунтах, увеличить производительность бурения.
Вибратор с проходным отверстием при ударно-канатном бурении
скважин на воду
5.16. Разработан специализированный вибратор ВПФ-1, предназначенный в основном для посадки фильтровых колонн с конусным башмаком-расширителем. Параметры вибратора были установлены с учетом особенностей его применения. В конструктивном решении вибратора исключены недостатки существующих машин, кроме того, вибратор снабжен быстродействующим клиновым захватом нового типа.
Вибратор ВПФ-1
(рис. 23) состоит из вибрационного механизма, двух приводных электродвигателей, установленных на верхней плите вибрационного механизма, и клинового захвата. Кроме того, в комплект вибратора входят: пружинный амортизатор, пульт электрического управления и переходники для труб разных диаметров.
Рис. 23. Общий вид вибратора ВПФ-1
1 - подвеска; 2 - раструб; 3 - электродвигатель;
4 - вибрационный механизм; 5 - кожух цепной передачи;
6 - клеммная коробка; 7 - клиновой захват; 8 - проходное
отверстие; 9 - кабельная разводка
Вибрационный механизм, двухвальный, дебалансного типа, размещен в сварном корпусе, в центре которого имеется проходное отверстие с направляющим раструбом в верхней части. На консолях дебалансных валов расположены с одной стороны синхронизирующие шестерни, связанные между собой зубчатыми колесами, а с противоположной - приводные звездочки, каждая из которых связана однородной втулочно-роликовой цепью со звездочкой вала электродвигателя. Угловую скорость вращения валов дебалансов изменяют сменой звездочек. Раструб корпуса облегчает заводку желонки во внутреннюю полость колонны труб. Раструб снабжен проушинами для закрепления тросовой подвески при спуско-подъемных операциях или пружинного амортизатора при виброизвлечении труб.
Клиновой захват
(рис. 24) служит для жесткого соединения вибрационного механизма с колонной труб. Он состоит из полой клиновой обоймы с фланцем для ее крепления к днищу вибромеханизма, ползуна, специальной гайки и полой клиновой втулки, ввинчиваемой непосредственно или через переходник в муфту погружаемой (извлекаемой) трубки. Клиновая обойма с наружной и внутренней сторон имеет конические рабочие поверхности. Внутренняя коническая поверхность служит для взаимодействия с коническими участками клиновой втулки, а наружная поверхность, конические выступы которой чередуются с цилиндрическими пазами, предназначена для сопряжения с соответствующими поверхностями ползуна. Для перемещения ползуна служит специальная гайка, которую вращает рабочий вороток, вставляемый в отверстия в теле гайки.
Рис. 24. Конструкция быстродействующего клинового
захвата вибратора
а - расположение деталей при работе в зафиксированном
положении; б - расположение деталей, когда ползун
не фиксирует клиновую обойму; 1 - фланец; 2 - клиновая
обойма; 3 - конические выступы; 4 - ползун; 5 - клиновая
втулка; 6 - специальная гайка; 7 - фиксирующее кольцо;
8 - сменный переходник; 9 - цилиндрические пазы ползуна;
10 - отверстия для воротка; 11 - винтовая нарезка ползуна
и гайки; 12 - шпонка клиновой втулки
Соединение вибратора с трубой осуществляется путем опускания его клиновой обоймы в полость ползуна, последующего разворота обоймы до совмещения конических рабочих поверхностей и их заклинивания. Для фиксации этого положения рабочих поверхностей ползун перемещают вниз, а для расклинивания - вверх. Операция по скреплению вибратора с трубой или его отсоединения от трубы занимает около 8 - 10 мин.
Пульт электрического управления вибратора обеспечивает одновременное включение его электродвигателей, их автоматическое отключение при перегрузках; по установленным приборам позволяет осуществлять контроль за напряжением и силой тока в цепи питания двигателей.
5.17. Проведенные производственные испытания опытного образца нового вибратора позволили сделать следующие выводы:
а) вибратор ВПФ-1 по сравнению с существующими вибраторами аналогичного назначения обладает большей надежностью, меньшими массой и габаритами при достаточно высокой эффективности;
б) клиновой захват вибратора прост в эксплуатации и обеспечивает надежное и быстрое закрепление вибратора на трубе; к его недостаткам следует отнести необходимость прикладывать значительные усилия к воротку при вращении гайки для расклинивания рабочих поверхностей;
в) вибратор может быть успешно использован для посадки фильтровых колонн
(рис. 25) с конусным башмаком-расширителем при ударно-канатном бурении скважин на воду глубиной до 60 м и при погружении (извлечении) обсадных труб длиной до 40 м; применение вибратора обеспечивает достаточно высокую скорость погружения фильтровых колонн и позволяет эффективно преодолевать встречающиеся в водоносном слое плотные прослойки и таким образом осуществлять посадку фильтра в необходимый интервал и устранять возможность возникновения его прихвата в ходе бурения;
г) вибратор дает возможность бурить скважины на воду глубиной до 20 м с помощью самоходных агрегатов, укомплектованных фрикционной лебедкой, и позволяет за счет этого снижать затраты труда на транспортировку и монтаж ударно-канатных станков.
Рис. 25. Технологическая схема работы вибратора ВПФ-1
при погружении фильтровой колонны в процессе устройства
гравийно-проволочного фильтра скважины с конусным
башмаком-расширителем
1 - вибратор; 2 - клиновой захват; 3 - переходник;
4 - обсадная колонна; 5 - фильтровая колонна; 6 - гравийная
засыпка; 7 - конусный башмак-расширитель; 8 - кровля
водоносного пласта; 9 - водоупорная порода;
10 - направляющая труба
Устройство для разгрузки желонок (УРЖ) при ударно-канатном
бурении скважин станками УКС (УГБ)
5.18. Устройство УРЖ предназначено для использования при ударно-канатном бурении скважин различного назначения в строительстве.
В настоящее время при бурении скважин станками типа УКС или УГБ широко применяются желонки, с помощью которых осуществляется отбор породы с забоя. Процесс разгрузки желонки, поднятой из скважины, заполненной породой и имеющей массу до 1,3 т весьма трудоемок и связан с выполнением ряда ручных операций, опасных с точки зрения техники безопасности. Так, разгрузка желонки выполняется при ее опрокидывании с применением канатной петли с рабочего барабана (станка) без каких-либо приспособлений и средств малой механизации.
Для улучшения условий труда и повышения уровня техники безопасности разработано специальное устройство
(рис. 26) для разгрузки желонок, представляющее собой механизм, крепящийся на раме бурового станка. Механизм имеет трубчатый корпус с направляющими роликами, внутри которого свободно движется труба, также оборудованная роликами и захватом для желонки в виде полукольца с поддерживающим крюком. Полукольцо свободно вращается на оси, смонтированной в трубе. Угол вращения составляет 180° в одну сторону; полукольцо снабжено тросиком с зажимом.
Рис. 26. Устройство для разгрузки желонок (УРЖ)
при ударно-канатном бурении станками УКС-22М (УГБ-3УК)
1 - механизм разгрузки; 2 - буровой станок; 3 - подвижная
труба; 4 - захват; 5 - поддерживающий крюк; 6 - тросик
Желонка, заполненная грунтом, поднимается из скважины на рабочем тросе на высоту 1 - 1,5 м от поверхности земли и затем после прикрепления к ней желоночного троса вводится в полукольцо и устанавливается на поддерживающий крюк. Корпус желонки охватывают тросиком и закрепляют его зажимом. Далее все операции производятся с применением желоночного троса. Желонку наклоняют в сторону оси скважины, а затем резко выбирая трос, переводят через вертикальное положение в сторону разгрузки. Эту операцию также можно выполнять после полного выдвижения внутренней трубы механизма вперед от станка на величину свободного хода. Разгрузив желонку, возвращают ее в исходное вертикальное положение, вдвигают внутреннюю трубу, снимают крепежный тросик, отсоединяют желоночный трос и вновь приступают к бурению с применением рабочего троса.
Технические преимущества применения устройства УРЖ состоят в практически минимальном участии бурового рабочего (охват желонки тросиком и его закрепление) в трудоемком процессе разгрузки желонки. Устройство УРЖ удерживает желонку в фиксированном положении, облегчает и обеспечивает надежность манипуляций с ней, улучшает условия труда бурового рабочего и повышает уровень техники безопасности всего процесса. Стоимость изготовления устройства УРЖ невелика (600 - 800 руб.).
Приспособления к буровым станкам, повышающие
безопасность работ
5.19. Буровые работы даже при современном уровне развития техники требуют постоянного повышения их безопасности.
Наряду с улучшением организации работ на объектах бурения скважин и усилением надзора за соблюдением правил техники безопасности со стороны руководящих и ответственных лиц предприятий и организаций исключительно важное значение имеет оснащение трудоемких работ и не лишенных опасности операций более совершенными техническими средствами, способными не только повысить эффективность труда бурильщиков, но и устранить опасные факторы, возникающие в процессе работ.
Основным изготовителем ударно-канатных буровых станков является Новочеркасский машиностроительный завод им. Никольского, однако выпускаемые им станки типа УКС в течение многих лет не модернизировались с точки зрения повышения требований безопасности работ. В настоящее время головные блоки мачты станков УКС оснащаются более совершенным предохранительным устройством против соскальзывания рабочих канатов. Новое устройство представляет собой стальные ролики с большими ребордами, которые вращаются на оси, закрепленной в кронштейнах. Головные блоки закрываются предохранительными роликами с зазором по ширине и диаметру не более 1 мм.
В случае отклонения рабочий канат касается реборды ролика и при движении вверх заставляет вращаться предохранительный ролик, который и направляет его в канавку головного блока, и предохраняет от соскальзывания. Конструкция предохранительного ролика с высокими ребордами была впоследствии принята отдельными предприятиями для оснащения блоков на стрелах грузоподъемных кранов и других монтажных машинах.
5.20. Широкое применение нашло защитное устройство рабочего места машиниста-бурильщика на станках УКС. Это место у рычагов управления находится в наиболее опасной зоне, где на расстоянии 1,5 м от устья буримой скважины производятся работы по подъему и спуску буровых снарядов, желонированию скважин, подъему и спуску обсадных труб, а также работы с помощью забивного снаряда. Все эти операции, выполняемые в непосредственной близости от находящегося у рычагов машиниста-бурильщика, как показал опыт, являются весьма опасными. Имели место случаи падения буровых снарядов и деталей крепления мачты, которые были причиной несчастных случаев.
5.21. Устройство представляет собой жесткую конструкцию, состоящую из поперечной трубы диаметром 170 мм, длиной 2 м, которая одним концом закрепляется на кронштейне рамы станка, а другим - опирается на вертикальную стойку-трубу диаметром 146 мм со стальным башмаком, врытым в землю. К стальным трубам крепится сварная рама с натянутой на нее металлической сеткой. Устройство быстро монтируется, а при перевозке станка легко разбирается на отдельные детали, соединяемые специальными болтами.
5.22. Особое значение для безопасности работ на станках УКС (УГБ) имеет надежное состояние тормозов всех грузоподъемных лебедок.
Известно, что попадание дождя, снега и отложение инея на тормозных лентах резко снижает эффективность торможения и приводит часто к авариям на буровой. Не менее серьезную опасность представляет собой обледенение тормозных лент и примерзание их к барабанам в зимние холода. Требуются значительное время и затраты труда буровой бригады на отогрев и просушку тормозов. Завод-изготовитель выпускал станки без защиты тормозных лент от попадания атмосферных осадков.
Над тормозной лентой на шпильках с резьбой М-6 закрепляется стальная полоса толщиной 0,5 - 0,8 мм с отогнутыми по краям бортиками, закрывающими ленту и барабан. Кожухи на тормозные ленты выполняются в соответствии с их размерами и конфигурацией по каждой из трех лебедок с таким расчетом, чтобы края кожуха не выступали за пределы барабана и не касались наматываемого лебедкой рабочего каната.
6. КРАТКИЕ СВЕДЕНИЯ ПО ТЕХНИКЕ БЕЗОПАСНОСТИ
6.1. Разработка мероприятий по технике безопасности должна занимать важное место в деятельности изыскательских организаций. Ниже изложены основные правила безопасности, относящиеся непосредственно к ударному бурению инженерно-геологических скважин. Очевидно, что приводимый перечень правил не является исчерпывающим. Его следует рассматривать лишь как дополнение к существующим по этому вопросу нормативным документам. Полные сведения о технике безопасности содержатся в
СНиП III-4-80 "Техника безопасности в строительстве" в "Правилах безопасности при геологоразведочных работах" (М.: Недра, 1979).
6.2. К работе на буровых станках, установках и агрегатах должны допускаться лица соответствующей квалификации, имеющие соответствующие права и прошедшие инструктаж по технике безопасности. Буровые машины, механизмы, инвентарь и инструменты должны соответствовать выполняемой работе и находиться в исправном состоянии; в опасных местах необходимо устанавливать ограждения. Запрещается оставлять работающие механизмы без надзора, за исключением специально оговоренных случаев.
Электропроводка на буровых установках должна быть защищена от механических повреждений, а также иметь влагостойкую изоляцию. Металлические части машин и механизмов с электроприводом и электрическими пусковыми аппаратами должны быть заземлены. Перед началом работы обязательно проверяется исправность тормозных устройств, работоспособность фрикционных муфт, пусковой аппаратуры.
6.3. Перед пуском двигателя буровой мастер должен убедиться в полной исправности установки. Работа на неисправной установке или агрегате категорически запрещается. Пуск двигателя должен производиться при отключенной трансмиссии.
6.4. Во время работы запрещается: ремонтировать механизмы, закреплять какие-либо части, чистить, смазывать движущиеся части вручную или при помощи не предназначенных для этих целей приспособлений, а также наносить удары по приспособлениям или их частям, тормозить движущиеся части механизмов, сбрасывать, натягивать или ослаблять ременные, клиноременные или цепные передачи, направлять канат на барабан лебедки руками или ломами, вагами или другими предметами, которые могут повредить проволоку каната, входить за ограждения, переходить через движущиеся неогражденные канаты и приводные ремни или прикасаться к ним.
6.5. В процессе работы необходимо следить за нормальным натяжением канатных растяжек. Работа при ослабленных растяжках ведет к разрушению мачты. Спуск бурового снаряда в скважину следует производить с притормаживанием барабана, а не свободным падением.
Запрещается крепление двух канатных растяжек к одному якорю. Крепление растяжек должно быть выполнено коушем и не менее, чем тремя зажимами.
Запрещается производить бурение скважин в населенных пунктах, имеющих подземные коммуникации, без предварительного согласования места работ и глубины скважины с организацией, ответственной за эксплуатацию и сохранность данных коммуникаций.
Запрещается присутствие посторонних на рабочей площадке у бурового станка.
6.6. При передвижении самоходных буровых установок рабочие могут находиться только в кабине водителя или на специальном сиденье платформы установки. При передвижении буровой установки с приданным к ней двухосным или одноосным прицепом нахождение рабочих на прицепе запрещается. При подъеме и опускании мачты буровой установки запрещается: находиться около ротора или шпинделя станка, на площадке и в кабине автомобиля всем, кроме лица, управляющего подъемом и опусканием мачты, находиться на поднимаемой мачте или под ней, оставлять приподнятую мачту на весу или удерживать ее вручную или подпорками. Передвижение станков ударно-канатного бурения с поднятой мачтой допускается только по ровной местности. Кронблок и талевую оснастку мачты, не имеющей специальной кронблочной площадки, разрешается ремонтировать только при горизонтальном положении мачты.
6.7. При эксплуатации самоходных и передвижных буровых установок мачта в рабочем положении должна быть закреплена соответствующими запорами, а опоры мачты прочно поддомкрачены. Во избежание смещения буровой установки в процессе буровых работ ее колеса, гусеницы, полозья должны быть прочно закреплены. Площадка около буровой установки должна быть очищена от посторонних предметов, грязи и наледи и посыпана песком. В процессе работы площадка должна периодически очищаться от извлекаемой породы.
6.8. При бурении скважины категорически запрещается: направлять буровой снаряд руками при его спуске в скважину либо оттаскивании в сторону, для этого необходимо пользоваться отводными крюками, браться за канат руками без рукавиц, оставлять буровой снаряд и желонку в подвешенном состоянии, производить резкое торможение лебедки при свободном спуске бурового снаряда, обслуживающему персоналу находиться вблизи подвешенного снаряда, поддерживать руками снизу стакан или грунтонос, находящийся в подвешенном состоянии, проверять рукой положение образца в подвешенном стакане, оставлять устье скважины открытым после окончания буровых работ, подниматься вверх на крюке. Устье скважины диаметром более 600 мм должно быть ограждено.
До остановки двигателя подъем рабочих на мачту запрещается.
Запрещается производить работы на мачте во время непогоды (ливень, снегопад, гололедица, при силе ветра свыше 5 баллов).
Запрещается использовать при работе инструмент в оледеневшем состоянии, а также допускать оледенение блоков. Для предупреждения переподъема бурового снаряда и затаскивания его в кронблок на подъемном канате в надлежащем месте должна быть четкая и хорошо видимая метка. Спуск и подъем снаряда должен производиться плавно, без рывков.
Работа на буровых установках под проводами высокого напряжения разрешается, если между верхней точкой поднятой мачты и проводами остается расстояние не менее 3 м.
6.9. Одежда обслуживающего персонала не должна быть широкой во избежание захвата ее движущимися частями установки или канатом.
В ночное время или сумерки рабочая зона и установка должны быть хорошо освещены.
Особое внимание следует уделять состоянию стальных канатов. Канат должен браковаться и заменяться новым, если одна прядь каната оборвана, или число оборванных проволок составляет 5% на длине шага свивки каната, или износ по диаметру каната составляет более 10%.
Во всех случаях при бурении и спуско-подъемных операциях на барабане лебедки должно оставаться не менее трех витков каната.
6.10. При работе на буровых установках также должны соблюдаться следующие противопожарные мероприятия:
а) на установке должен постоянно находиться огнетушитель в исправном состоянии;
б) обтирочный материал и тряпки должны складываться в железные ящики с крышкой, откуда они по мере накопления должны удаляться и сжигаться;
в) при заправке горючим и смазочными материалами, а также при осмотре топливных баков курение категорически запрещается. После заполнения заправочных емкостей необходимо их закрыть и тщательно обтереть. Течь топлива из топливного бака и топливопроводов недопустима;
г) в зимнее время для подогрева двигателя не разрешается применять открытый огонь (факелы, костры, паяльные лампы и др.);
д) при работе склад горючего должен находиться не ближе 50 м от буровой установки;
е) категорически запрещается открывать бочку с горючим ударами по пробке металлическими предметами;
ж) помнить, что пустые бочки из-под горючего представляют не меньшую пожарную опасность, чем полные;
з) в случае воспламенения горючего пламя можно гасить только огнетушителем или забрасывать песком, землей, покрывать брезентом или войлоком. Категорически запрещается заливать горящее топливо водой.
ОБСАДНЫЕ ТРУБЫ И СТАЛЬНЫЕ КАНАТЫ
Обсадные трубы
Трубы используют для крепления стенок скважин и изготовления фильтров. Обсадные трубы стальные бесшовные с короткой, нормальной и удлиненной резьбой
(ГОСТ 632-80) изготовляют из стали групп прочности С, Д, К, Е, Л
(табл. 1).
Трубы | Муфты |
наружный диаметр, мм | толщина стенки, мм | внутренний диаметр, мм | теоретическая масса 1 м трубы, кг | наружный диаметр, мм | длина, мм | масса, кг |
114,3 | 6 | 102,3 | 16 | 133 | 158 | 3,7 |
7 | 100,3 | 18,5 |
8 | 98,3 | 20,9 |
127 | 6 | 115 | 17,9 | 146 | 165 | 5,7 |
7 | 113 | 20,7 |
8 | 111 | 23,5 |
9 | 109 | 26,2 |
139,7 | 6 | 127,7 | 19,8 | 159 | 171 | 7 |
7 | 125,7 | 23,8 |
8 | 123,7 | 26,8 |
9 | 121,7 | 29,1 |
10 | 119,7 | 32,1 |
11 | 117,7 | 35,5 |
146 | 6,5 | 133 | 22,85 | 166 | 177 | 8 |
7 | 132 | 25,8 |
8 | 130 | 29,2 |
9 | 128 | 32,2 |
10 | 126 | 35,55 |
11 | 124 | 39,05 |
168,3 | 6 | 155,3 | 25,9 | 188 | 184 | 9,1 |
7 | 154,3 | 27,8 |
8 | 152,3 | 31,6 |
9 | 150,3 | 35,3 |
10 | 148,3 | 39 |
11 | 146,3 | 42,6 |
12 | 144,3 | 46,2 |
177,8 | 7 | 163,8 | 29,6 | 198 | 184 | 10 |
8 | 161,8 | 33,6 |
9 | 159,8 | 37,3 |
10 | 157,8 | 41,4 |
11 | 155,8 | 45 |
12 | 153,8 | 49 |
193,7 | 7 | 179,4 | 32,3 | 216 | 190 | 12,2 |
8 | 176,7 | 36,7 |
9 | 175,7 | 41,1 |
10 | 173,7 | 45,4 |
12 | 169,7 | 53,9 |
219,1 | 7 | 205,1 | 36,6 | 245 | 196 | 16,2 |
8 | 203,1 | 41,6 |
9 | 201,1 | 46,1 |
10 | 194,1 | 51,3 |
12 | 195,1 | 61,3 |
244,5 | 7 | 230,5 | 41,1 | 270 | 196 | 17,3 |
8 | 228,5 | 46,5 |
9 | 226,5 | 52,4 |
10 | 224,5 | 58,3 |
12 | 220,5 | 69,7 |
273,9 | 7 | 259,1 | 45,9 | 299 | 203 | 21 |
8 | 257,1 | 52,3 |
9 | 255,1 | 58,6 |
10 | 253,1 | 64,9 |
12 | 249,1 | 77,2 |
298,5 | 8 | 282,5 | 57,4 | 324 | 203 | 22,4 |
9 | 280,5 | 64,4 |
10 | 278,5 | 71,3 |
11 | 276,5 | 78,1 |
12 | 274,5 | 84,9 |
323,9 | 9 | 305,9 | 70,1 | 351 | 203 | 23,4 |
10 | 303,9 | 77,6 |
11 | 301,9 | 85,1 |
339,7 | 9 | 321,7 | 73,2 | 365 | 203 | 25,5 |
10 | 319,7 | 82 |
11 | 317,7 | 89 |
12 | 315,7 | 96,6 |
351 | 9 | 333 | 75,9 | 376 | 229 | 29 |
10 | 331 | 84,1 |
11 | 329 | 92,2 |
12 | 327 | 100,3 |
377 | 9 | 359 | 81,7 | 402 | 229 | 31 |
10 | 357 | 90,5 |
11 | 355 | 99,3 |
12 | 353 | 108 |
406,4 | 9 | 388,4 | 88 | 432 | 229 | 35,8 |
10 | 386,4 | 97,5 |
11 | 384,4 | 107 |
12 | 382,4 | 117,5 |
426 | 10 | 406 | 102,7 | 451 | 229 | 37,5 |
11 | 404 | 112,6 |
12 | 402 | 122,5 |
508 | 11 | 486 | 135 | 533 | 228 | 44,6 |
| | ИС МЕГАНОРМ: примечание. Взамен ГОСТ 10704-76 Постановлением Госстандарта СССР от 15.11.1991 N 1743 с 01.01.1993 введен в действие ГОСТ 10704-91. | |
Трубы стальные больших диаметров прямошовные и спиральношовные диаметром от 159 мм до 2520 мм. Сортамент ГОСТ 10704-76 с изм., технические требования
ГОСТ 10706-76 с изм.
(табл. 2).
Диаметр, мм | Толщина стенки, мм | Масса 1 м трубы, кг | Диаметр, мм | Толщина стенки, мм | Масса 1 м трубы, кг |
наружный | внутренний | наружный | внутренний |
146 | 116 | 15 | 48,46 | 351 | 321 | 15 | 124,29 |
114 | 16 | 51,3 | 319 | 16 | 132,19 |
112 | 17 | 54,08 | 317 | 17 | 140,03 |
110 | 18 | 56,82 | 315 | 18 | 147,82 |
108 | 19 | 59,61 | 313 | 19 | 155,56 |
180 | 152 | 14 | 57,31 | 402 | 370 | 16 | 152,3 |
150 | 15 | 61,04 | 368 | 17 | 161,4 |
148 | 16 | 64,71 | 366 | 18 | 170,45 |
146 | 17 | 68,34 | 364 | 19 | 179,45 |
144 | 18 | 71,91 | 362 | 20 | 188,4 |
245 | 217 | 14 | 79,76 | 450 | 418 | 16 | 171,24 |
215 | 15 | 85,08 | 416 | 17 | 181,52 |
213 | 16 | 90,36 | 414 | 18 | 191,76 |
211 | 17 | 95,59 | 412 | 19 | 201,94 |
209 | 18 | 100,77 | 410 | 20 | 212,08 |
299 | 271 | 14 | 98,4 | 550 | 500 | 25 | 323,66 |
269 | 15 | 105,06 | 498 | 26 | 335,97 |
267 | 16 | 111,67 | 494 | 28 | 360,43 |
265 | 17 | 118,23 | 490 | 30 | 384,7 |
263 | 18 | 124,74 |
| | ИС МЕГАНОРМ: примечание. Взамен ГОСТ 20295-74 Постановлением Госстандарта СССР от 25.11.1985 N 3693 с 01.01.1987 введен в действие ГОСТ 20295-85. | |
Трубы стальные сварные для магистральных газонефтепроводов диаметром от 159 мм до 820 мм (ГОСТ 20295-74 с изм.).
Трубы стальные бесшовные горячедеформированные из стали марок 15, 20, 25 диаметром от 25 до 550 мм. Сортамент
ГОСТ 8732-78 с изм., технические требования
ГОСТ 8731-74 с изм.
(табл. 3). Применяются - для изготовления муфт, трубных и желоночных башмаков.
Наружный диаметр, мм | Масса 1 м трубы, кг, при толщине стенки, мм |
5 | 6 | 7 | 8 | 9 | 10 | 11 | 12 | 13 | 14 |
127 | 15 | - | - | - | - | - | - | - | - | - |
140 | 16,7 | - | - | - | - | - | - | - | - | - |
168 | 20,1 | 24 | - | - | - | - | - | - | - | - |
219 | 26,4 | 31,5 | 36,6 | 41,6 | - | - | - | - | - | - |
273 | 33 | 39,5 | 45,9 | 52,3 | - | - | - | - | - | - |
325 | 39,5 | 47,2 | 54,9 | 62,5 | - | - | - | - | - | - |
426 | 52 | 62 | 72,3 | 82,5 | 92,6 | 102,6 | 112,6 | 122,5 | - | - |
478 | 58 | 70 | 81,3 | 92,7 | 104,1 | 115,4 | 126,7 | 137,9 | - | - |
529 | - | 97,4 | - | 102,8 | 115,4 | 128 | 140,5 | 153 | - | - |
630 | - | 98,3 | - | 122,7 | 137,8 | 152,9 | 167,9 | 182,9 | - | - |
720 | - | - | - | - | 157,8 | 175,1 | 192,3 | 209,5 | - | - |
820 | - | - | - | - | 180 | 199,8 | 219,5 | 239,1 | 258,7 | 278,3 |
920 | - | - | - | - | 202,2 | 224,4 | 246,6 | 268,7 | 290,8 | 312,8 |
1020 | - | - | - | - | 224,4 | 249,1 | 273,7 | 298,3 | 322,8 | 347,3 |
1120 | - | - | - | - | - | 273,7 | 300,8 | 327,9 | 354,9 | 381,8 |
1220 | - | - | - | - | - | 298,4 | 328 | 357,5 | 387 | 416,4 |
1320 | - | - | - | - | - | 323 | 355 | 387 | 418 | 450,9 |
1420 | - | - | - | - | - | - | 382,2 | 416,7 | 451,1 | 485,4 |
Стальные электросварные и горячедеформированные трубы выпускают заводы-изготовители без резьб, их соединяют в колонну с помощью электросварки.
Трубы сварные водогазопроводные (
ГОСТ 3262-75 с изм.) изготовляют неоцинкованными (черные) и оцинкованными сварными. Трубы применяются для крепления скважин, изготовления фильтров, водопроводов (подземных и наружных), насосных коммуникаций, для промывки скважин и т.д.
(табл. 4).
Условный проход, мм | Наружный диаметр, мм | Легкие | Обыкновенные | Усиленные |
толщина стенки, мм | теоретическая масса 1 м (без муфт), кг | толщина стенки, мм | теоретическая масса 1 м (без муфт), кг | толщина стенки, мм | теоретическая масса 1 м (без муфт), кг |
8 | 13,5 | 2 | 0,57 | 2,2 | 0,61 | 2,8 | 0,74 |
10 | 17 | 2 | 0,74 | 2,2 | 0,8 | 2,8 | 0,98 |
15 | 21,3 | 2,5 | 1,16 | 2,8 | 1,28 | 2,8 | 1,43 |
20 | 26,8 | 2,5 | 1,5 | 2,8 | 1,66 | 3,2 | 1,86 |
25 | 33,5 | 2,8 | 2,12 | 3,2 | 2,39 | 4 | 2,91 |
32 | 42,3 | 2,8 | 2,73 | 3,2 | 3,09 | 4 | 3,78 |
40 | 48 | 3 | 3,33 | 3,5 | 3,84 | 4 | 4,34 |
50 | 60 | 3 | 4,22 | 3,5 | 4,88 | 4,5 | 6,16 |
65 | 75,5 | 3,2 | 5,71 | 4 | 7,05 | 4,5 | 7,88 |
80 | 88,5 | 3,5 | 7,34 | 4 | 8,34 | 4,5 | 9,32 |
90 | 101,3 | 3,5 | 8,44 | 4 | 9,6 | 4,5 | . 10,74 |
100 | 114 | 4 | 10,85 | 4,5 | 12,15 | 5 | 13,44 |
125 | 140 | 4 | 13,42 | 4,5 | 15,04 | 5,5 | 18,24 |
150 | (165) | 4 | 15,88 | 4,5 | 17,81 | 5,5 | 21,63 |
Примечания: 1. Оцинкованные трубы тяжелее черных на 3 - 4%.
2. Трубы поставляются длиной от 4 до 12 м. Количество укороченных труб может быть увеличено по соглашению с заводом-изготовителем.
3. Оптовые цены установлены на трубы немерной длины обычной точности без резьбы и муфт. При поставке труб с резьбами или с резьбами и муфтами взимается соответствующая приплата.
Трубы напорные из полиэтилена низкой плотности изготовляют методом непрерывной шнековой экструзии из полиэтилена низкой плотности (ПНП) по МРТУ6 N 05-918-67
(табл. 5).
Условный проход, мм | Наружный диаметр | Легкий тип - давление P = 2,5·105 Па (2,5 кгс/см2) | Средний тип - давление P = 6·105 Па (6 кгс/см2) | Тяжелый тип - давление P = 10·105 Па (10 кгс/см2) |
номинальный, мм | допускаемое отклонение, мм | толщина стенки | масса 1 м, кг | толщина стенки | масса 1 м, кг | толщина стенки | масса 1 м, кг |
номинальная, мм | допускаемое отклонение, мм | номинальная, мм | допускаемое отклонение, мм | номинальная, мм | допускаемое отклонение, мм |
50 | 63 | +1,3 | 3 | +0,7 | 0,59 | 6,8 | +1,2 | 1,21 | 10,5 | +1,8 | 1,73 |
70 | 75 | +1,4 | 3,5 | +0,7 | 0,82 | 8 | +1,4 | 1,71 | - | - | - |
80 | 90 | +1,7 | 4,3 | +0,9 | 1,18 | 9,5 | +1,5 | 2,39 | - | - | - |
100 | 110 | +2 | 5,3 | +1 | 1,76 | 12 | +2 | 3,68 | - | - | - |
125 | 140 | +2,4 | 6,8 | +1,2 | 2,86 | - | - | - | - | - | - |
150 | 160 | +2,7 | 7,5 | + 1,3 | 3,6 | - | - | - | - | - | - |
Примечание. Длина труб 6, 8, 10 и 12 м.
Трубы напорные из полиэтилена высокой плотности изготовляют методом непрерывной шнековой экструзии из полиэтилена высокой плотности (ПВП) низкого давления по МРТУ6 N 06-917-67
(табл. 6).
Условный проход, мм | Наружный диаметр | Легкий тип - давление P = 2,5·105 Па (2,5 кгс/см2) | Средний тип - давление P = 6·105 Па (6 кгс/см2) | Тяжелый тип - давление P = 10·105 Па (10 кгс/см2) |
номинальный, мм | допускаемое отклонение, мм | толщина стенки | масса 1 м, кг | толщина стенки | масса 1 м, кг | толщина стенки | масса 1 м, кг |
номинальная, мм | допускаемое отклонение, мм | номинальная, мм | допускаемое отклонение, мм | номинальная, мм | допускаемое отклонение, мм |
50 | 63 | +1,3 | 1,8 | +0,5 | 0,38 | 3,6 | +0,8 | 0,71 | 5,8 | +1,1 | 1,08 |
70 | 75 | +1,4 | 2 | +0,5 | 0,49 | 4,3 | +0,9 | 1,06 | 6,8 | +1,2 | 1,53 |
80 | 90 | +1,7 | 2,1 | +0,5 | 0,62 | 5,1 | +1 | 1,54 | 8,2 | +1,4 | 2,18 |
100 | 110 | +2 | 2,7 | +0,6 | 0,97 | 6,3 | +1,2 | 2,14 | 10 | +1,7 | 3,24 |
125 | 140 | +2,4 | 3,5 | +0,7 | 1,58 | 8 | +1,4 | 3,44 | 12,8 | +2,1 | 5,26 |
150 | 160 | +2,7 | 4 | +0,8 | 2,06 | 9,1 | +1,6 | 4,47 | 14,6 | +2,4 | 6,86 |
200 | 225 | +3,7 | 5,5 | +1 | 3,94 | 12,8 | +2,1 | 8,8 | - | - | - |
250 | 280 | +4,5 | 6,9 | +1,2 | 6,15 | - | - | - | - | - | - |
300 | 315 | +5,2 | 7,7 | +1,4 | 7,75 | - | - | - | - | - | - |
Примечание. Длина труб 6, 8, 10 и 12 м.
Трубы асбестоцементные
(ГОСТ 539-80) применяются для изготовления каркасов к фильтрам и для крепления стенок скважин взамен стальных обсадных труб
(табл. 7). В зависимости от назначения выпускают трубы следующих марок: ВТ3 - на рабочее гидравлическое давление 3·10
5 Па; ВТ6 - 6·10
5 Па; ВТ9 - 9·10
5 Па; ВТ12 - 12·10
5 Па.
Условный проход трубы, мм | Внутренний диаметр, мм | Наружный диаметр обточенных концов, мм | Толщина стенок обточенных концов, мм | Длина трубы, мм | Ориентировочная масса 1 м трубы, кг |
ВТ3, ВТ6, ВТ9 | ВТ12 | ВТ3 | ВТ6 | ВТ9 | ВТ12 | ВТ3 | ВТ6 | ВТ9 | ВТ12 | ВТ3 | ВТ6 | ВТ9 | ВТ12 |
100 | 100 | - | 118 | 118 | 122 | - | 9 | 9 | 11 | - | 2950 | 21 | 21 | 25 | - |
125 | 119 | - | 137 | 139 | 143 | - | 9 | 10 | 12 | - | 2950 и 3950 | 24 | 26 | 31 | - |
150 | 141 | 135 | 161 | 163 | 169 | 169 | 10 | 11 | 14 | 17 | 2950 и 3950 | 33 | 35 | 41 | - |
200 | 189 | 181 | 209 | 217 | 221 | 224 | 10 | 14 | 16 | 21,5 | 3950 | 57 | 80 | 95 | 128 |
250 | 235 | 228 | 259 | 265 | 273 | 274 | 12 | 15 | 19 | 23 | 3950 | 86 | 106 | 134 | 152 |
300 | 279 | 270 | 305 | 314 | 325 | 325 | 13 | 17,5 | 23 | 27,5 | 5950 | 142 | 146 | 188 | 224 |
350 | 322 | 312 | 352 | 361 | 376 | 376 | 15 | 19 | 27 | 32 | 3950 | 143 | 184 | 238 | 280 |
400 | 368 | 356 | 402 | 414 | 428 | 428 | 17 | 23 | 30 | 36 | 3950 | 185 | 245 | 305 | 405 |
500 | 456 | 441 | 498 | 511 | 532 | 532 | 21 | 27,5 | 33 | 45,5 | 3950 | 274 | 364 | 466 | 560 |
Примечание. Длина обточенных концов труб, мм: ВТ3 и ВТ3 диаметром от 100 до 350 мм - 300, от 350 до 500 мм - 360 и 500 мм - 400; ВТ9 диаметром от 100 до 350 мм - 350, от 350 до 600 мм - 380; ВТ12 диаметром от 150 до 600 мм - 200.
Канаты стальные
| | ИС МЕГАНОРМ: примечание. Взамен ГОСТ 3241-80 Постановлением Госстандарта СССР от 21.11.1991 N 1775 с 01.01.1993 введен в действие ГОСТ 3241-91. | |
При бурении скважин на воду применяются в основном канаты стальные двойной свивки типа ТК, конструкции 6 x 19 x(1 x 6 x 12) + 1 органический сердечник, сортамент ГОСТ 3070-74, технические условия ГОСТ 3241-80
(табл. 8); конструкции 6 x 37 x (1 x 6 + 12 + 18) + 1 органический сердечник, сортамент ГОСТ 3241-80
(табл. 9) и канаты стальные по техническим условиям
(табл. 10).
Диаметр, мм | Разрывное усилие каната, кг (не менее), при расчетном пределе прочности при растяжении, кг/мм2, каната в целом | Расчетная масса 1000 м смазанного каната, кг |
каната | проволоки |
центральной | в слоях |
6 проволок | 108 проволок | 140 | 160 | 170 | 180 |
9,7 | 0,65 | 0,6 | - | 4 420 | 4 695 | 4 840 | 319 |
11 | 0,75 | 0,7 | 5 255 | 6 005 | 6 385 | 6 580 | 433,5 |
13 | 0,85 | 0,8 | 6 860 | 7 845 | 8 330 | 8 560 | 565,5 |
14,5 | 0,95 | 0,9 | 8 670 | 9 900 | 10 500 | 10 800 | 715 |
16 | 1,05 | 1 | 10 700 | 12 200 | 13 000 | 13 400 | 882,5 |
17,5 | 1,15 | 1,1 | 12 900 | 14 750 | 15 700 | 16 150 | 1070 |
19,5 | 1,3 | 1,2 | 15 450 | 17 650 | 18 750 | 19 350 | 1275 |
21 | 1,4 | 1,3 | 18 100 | 20 700 | 22 000 | 22 700 | 1495 |
22,5 | 1,5 | 1,4 | 21 000 | 24 000 | 25 500 | 26 300 | 1735 |
24 | 1,6 | 1,5 | 24 100 | 27 550 | 29 250 | 30 200 | 1990 |
25,5 | 1,7 | 1,6 | 27 450 | 31 350 | 33 300 | 34 300 | 2265 |
Диаметр, мм | Разрывное усилие каната в кг (не менее) при расчетном пределе прочности при растяжении, кг/мм2, каната в целом | Расчетная масса 1 000 м смазанного каната, кг |
каната | проволоки |
центральной | в слоях |
6 проволок | 216 проволок | 140 | 160 | 170 | 180 |
9 | 0,45 | 0,4 | - | 3 685 | 3915 | 4 145 | 273,5 |
11,5 | 0,55 | 0,5 | - | 5 750 | 6 105 | 6 255 | 427 |
13,5 | 0,65 | 0,6 | - | 8 240 | 8 770 | 8 960 | 613,5 |
15,5 | 0,75 | 0,7 | 9 840 | 11 200 | 11 900 | 12 200 | 834,5 |
18 | 0,85 | 0,8 | 12 800 | 14 650 | 15 500 | 15 950 | 1090 |
20 | 0,95 | 0,9 | 16 200 | 18 550 | 19 700 | 20 200 | 1380 |
22,5 | 1,05 | 1 | 20 000 | 22 900 | 24 350 | 24 900 | 1705 |
24,5 | 1,115 | 1,1 | 24 250 | 27 700 | 29 450 | 30 150 | 2060 |
Назначение | Технические условия | Конструкция | Диаметр каната, мм | Расчетная масса 1000 м каната, кг |
Канаты стальные для станков ударно-канатного бурения | ТУ 14-4-93-72 с изм. | 6 x 29 + 1 органический сердечник | 21,5 | 1730 |
Цемент
Для цементирования (тампонажа) скважин следует применять портландцемент тампонажный (ГОСТ 1581-78), который должен удовлетворять следующим техническим требованиям:
а) предел прочности при изгибе не менее 27 кг/см2 (после твердения в течение двух суток) при температуре 22 +/- 2 °C. Для испытания берется цементное тесто (50% воды от массы цемента), из которого изготовляется брусок размером 40 x 40 x 160 мм;
б) начало схватывания после затвердения не ранее чем через 2 ч, а конец схватывания - не позднее чем через 10 ч;
в) плотность сухого цемента в среднем 3,15 г/см3.
Для герметического заполнения затрубного пространства при цементации следует применять смесь портландцемента с гипсоглиноземным расширителем в количестве 15 - 25% или с молотой негашеной известью (10 - 15%) и активной кремнеземной добавкой - шлак, трепел, опока 10 - 20%.
ОСНОВНЫЕ ФОРМЫ ГЕОЛОГО-ТЕХНИЧЕСКОЙ ДОКУМЕНТАЦИИ
УТВЕРЖДАЮ:
Станок ______________________________ Главный инженер ____________________
Бригада бурового мастера ____________ (дата) _____________________________
Геолого-технический наряд на ударно-канатное бурение скважины N ___________
___________________________________________________________________________
(порядковый, проектный)
на территории _____________________________________________________________
(наименование производственного объекта)
___________________________________________________________________________
(адрес объекта: поселок, район, область)
Проектная глубина скважины _____ м, проектный водоносный горизонт _________
Общая сметная стоимость ________
Начало работ _____________________ Окончание работ ________________________
(по наряду, плану)
Проектные данные | Фактические данные |
Стратиграфия | Литографический разрез | Мощность слоя, м | Геологический разрез и конструкция скважины | Категория пород | Тип и диаметр бурового наконечника по интервалам бурения | Конструкция и диаметр бурового снаряда (по интервалам) | Режим бурения | Масштаб | Литологический разрез | Мощность слоя, м | Литологическая колонка | Конструкция пород | Категория пород | Тип и диаметр бурового наконечника по интервалам бурения | Конструкция и диаметр бурового снаряда (по интервалам) | Режим бурения | Указания по отбору образцов, электрометрическим измерениям, по установке и конструкции фильтров, производству пробной откачки и другие замечания |
описание | глубина залегания, м | масса снаряда, кг | число долблений | указания о креплении стенок скважины трубами н применение воды при бурении | описание пород | глубина залегания, м | масса снаряда, кг | число долблений | указания о креплении стенок скважины трубами и применение воды при бурении |
от | до |
от | до |
Составил ______________________________ Проверил ______________________________
(должность, фамилия, инициалы) (должность, фамилия, инициалы)
(Дата) ________________________________ (Дата) ________________________________
Трест (институт) _________________
Партия (отряд) _________________
СМЕННЫЙ РАПОРТ
о ходе работ по ударно-канатному бурению
скважины N ____________ на территории _____________________________________
(наименование производственного
___________________________________________________________________________
объекта) (адрес объекта)
Смена ______________ за число _____________________________ месяца 198__ г.
Глубина скважины в начале смены _________________________________________ м
Уровень воды в начале смены _____________________________________________ м
Глубина скважины в конце смены __________________________________________ м
Уровень воды в скважине в конце смены ___________________________________ м
Пробурено за смену ________________________________________________________
Смена | Состав смены (фамилия) | Время начала смены | Продолжительность каждого процесса | Пробурено, м | Диаметр труб, мм | Глубина установки башмака колонны, м | Режим бурения | Буровой снаряд | Описание работ за смену |
масса снаряда, кг | число долблений | применение воды при бурении | наименование инструмента | длина, м | диаметр, мм |
| | | | | | | | | | | | | |
Геологическая часть
Пройдено, м | Описание пройденных пород и их категория | Номер образца породы | Глубина, с которой взят образец | Глубина уровня воды, м | Примечание |
от | до | появление | установление |
| | | | | | | |
Составил: _______________
Проверил: _______________
Трест (институт) __________________ (Город, поселок) ______________________
Партия (отряд) __________________ (Дата) ________________________________
БУРОВОЙ ЖУРНАЛ
скважины N _____________
Местоположение скважины ___________________________________________________
___________________________________________________________________________
1. Состояние скважины на _________________________________________ 198__ г.
(число, месяц)
2. Общая глубина скважины _________________________________________________
3. Последняя колонна обсадных труб диаметром ______________________________
посажена на глубину __________________________________________________ м
4. Наименование породы в забое ____________________________________________
5. Уровень воды _________________________________________________________ м
6. Скважина N _________________ Работа начата "____" _____________ 198__ г.
7. Журнал составлен за период с ___________________________________________
8. Способ бурения: ударно-канатный ________________________________________
9. Наименование станка (установки) ________________________________________
10. Инвентарный N ________________
11. Буровой мастер ________________________________________________________
Обсажено труб, м | N пласта | N образца породы | Глубина, с которой взят образец, м | Описание пройденных пород | Глубина, м | Мощность, м | Уровень воды, м |
диаметр трубы, мм | от | до | от | до | в начале смены | в конце смены |
| | | | | | | | | | | |
Дата | Смена | Число рабочих в смене, включая сменного мастера | Описание работ, наименование и диаметр труб | Затрачено времени | Пройдено, м |
на чистое бурение | на другие работы и простои | от | до | всего |
| | | | | | | | |
Подписи:
ЖУРНАЛ ПО ТЕХНИКЕ БЕЗОПАСНОСТИ
Трест (институт) __________________________________________________________
____________________________________________________________ Партия (отряд)
Буровой мастер ___________________________ дата __________________________
N п/п | N табеля | Фамилия, имя, отчество и профессия рабочего | Дата поступления или перевода работника | Наименование работы, на которую назначен работник | Дата проведения вводного инструктажа | Фамилия, имя, отчество, должность работника, проводившего вводный инструктаж | Дата проведения инструктажа на рабочем месте | Фамилия, имя, отчество, должность работника, проводившего инструктаж на рабочем месте | Подпись рабочего, получившего инструктаж по технике безопасности | Особые отметки |
| | | | | | | | | | |
Журнал вел: ____________ (подпись)
Трест (институт) ________________
________________ Партия (отряд)
АКТ
о готовности буровой к производству работ
___________________________
(дата)
Место расположения и адрес объекта ________________________________________
Скважина N ____________________________________ для _______________________
(проектный, порядковый) (наименование
___________________________________________________________________________
объекта)
Настоящий акт составлен комиссией в составе бурового мастера
нач. отряда ____________________________________, представителя профсоюзной
организации _______________________________________________________________
_________________________________________ в том, что на буровой установлены
___________________________________________ мачта (вышка) высотой _______ м
с _________________________ оттяжками и кронблоком, закрепленным __________
(вид
______________________; буровой агрегат _________________, прошедший ремонт
закрепления) (наименование)
___________________________________________________________________________
(вид и дата ремонта)
Ограждения установлены на _____________________________________________
___________________________________________________________________________
Установка укрыта __________________________________________ и имеет обогрев
___________________________________________________________________________
Заключение комиссии: все оборудование находится в технически исправном
состоянии и смонтировано согласно правилам безопасного ведения работ, за
исключением следующих нарушений и недостатков _____________________________
(описание нарушений
___________________________________________________________________________
и недостатков с указанием срока их устранения)
Подписи:
Трест (институт) ______________________________ Место расположения скважины
___________________________________________________________________________
______________________________________ Партия (отряд) (дата) ______________
АКТ НА АВАРИЮ
по скважине N ________________________ на территории ______________________
(порядковый, проектный)
___________________________________________________________________________
(наименование и адрес объекта)
Комиссия в составе ____________________________________________________
(должность, фамилия, инициалы)
установила следующее:
Часы, число, месяц, смена, в которой произошла авария Фамилия бурильщика, в смене которого произошла авария | |
На какой глубине произошла авария, в чем она заключается, какова ее причина и кто является виновником аварии | |
Что осталось в скважине (указать в каком положении и размеры) | |
Какие приняты меры для ликвидации аварии | |
Метод и дата окончания ликвидации аварии | |
Подписи членов комиссии: