Главная // Актуальные документы СПРАВКА
Источник публикации
"Бюллетень нормативных актов федеральных органов исполнительной власти", N 22, 02.06.2014 (прил. не приводятся).
По информации, опубликованной в "Бюллетене нормативных актов федеральных органов исполнительной власти", N 22, 02.06.2014, информация размещена на официальном сайте Федеральной службы по экологическому, технологическому и атомному надзору по адресу: http://www.gosnadzor.ru
Примечание к документу
Начало действия документа - 03.09.2014.
Окончание действия документа - 31.12.2020.
- - - - - - - - - - - - - - - - - - - - - - - - -
В соответствии с
пунктом 2 данный документ вступает в силу по истечении трех месяцев после его официального опубликования (опубликован в "Бюллетене нормативных актов федеральных органов исполнительной власти" - 02.06.2014).
Текст данного документа опубликован в "Бюллетене нормативных актов федеральных органов исполнительной власти", N 22, 02.06.2014 не в полном объеме. Подробнее см. Справочную
информацию.
Название документа
Приказ Ростехнадзора от 02.12.2013 N 576
"Об утверждении Федеральных норм и правил в области промышленной безопасности "Положение по безопасному ведению горных работ на месторождениях, склонных и опасных по горным ударам"
(Зарегистрировано в Минюсте России 04.04.2014 N 31822)
Приказ Ростехнадзора от 02.12.2013 N 576
"Об утверждении Федеральных норм и правил в области промышленной безопасности "Положение по безопасному ведению горных работ на месторождениях, склонных и опасных по горным ударам"
(Зарегистрировано в Минюсте России 04.04.2014 N 31822)
Зарегистрировано в Минюсте России 4 апреля 2014 г. N 31822
ФЕДЕРАЛЬНАЯ СЛУЖБА ПО ЭКОЛОГИЧЕСКОМУ, ТЕХНОЛОГИЧЕСКОМУ
И АТОМНОМУ НАДЗОРУ
ПРИКАЗ
от 2 декабря 2013 г. N 576
ОБ УТВЕРЖДЕНИИ ФЕДЕРАЛЬНЫХ НОРМ И ПРАВИЛ
В ОБЛАСТИ ПРОМЫШЛЕННОЙ БЕЗОПАСНОСТИ "ПОЛОЖЕНИЕ
ПО БЕЗОПАСНОМУ ВЕДЕНИЮ ГОРНЫХ РАБОТ НА МЕСТОРОЖДЕНИЯХ,
СКЛОННЫХ И ОПАСНЫХ ПО ГОРНЫМ УДАРАМ"
В соответствии с Федеральным
законом от 21 июля 1997 г. N 116-ФЗ "О промышленной безопасности опасных производственных объектов" (Собрание законодательства Российской Федерации, 1997, N 30, ст. 3588; 2000, N 33, ст. 3348; 2003, N 2, ст. 167; 2004, N 35, ст. 3607; 2005, N 19, ст. 1752; 2006, N 52, ст. 5498; 2009, N 1, ст. 17, ст. 21; N 52, ст. 6450; 2010, N 30, ст. 4002; N 31, ст. 4195, ст. 4196; 2011, N 27, ст. 3880; N 30, ст. 4590, ст. 4591, ст. 4596; N 49, ст. 7015, ст. 7025; 2012, N 26, ст. 3446; 2013, N 9, ст. 874; N 27, ст. 3478), а также в соответствии с
пунктом 5.2.2.16(1) Положения о Федеральной службе по экологическому, технологическому и атомному надзору, утвержденного постановлением Правительства Российской Федерации от 30 июля 2004 г. N 401 (Собрание законодательства Российской Федерации, 2004, N 32, ст. 3348; 2006, N 5, ст. 544; N 23, ст. 2527; N 52, ст. 5587; 2008, N 22, ст. 2581; N 46, ст. 5337; 2009, N 6, ст. 738; N 33, ст. 4081; N 49, ст. 5976; 2010, N 9, ст. 960; N 26, ст. 3350; N 38, ст. 4835; 2011, N 6, ст. 888; N 14, ст. 1935; N 41, ст. 5750; N 50, ст. 7385; 2012, N 29, ст. 4123; N 42, ст. 5726; 2013, N 12, ст. 1343, N 45, ст. 5822), приказываю:
1. Утвердить прилагаемые Федеральные
нормы и правила в области промышленной безопасности "Положение по безопасному ведению горных работ на месторождениях, склонных и опасных по горным ударам".
2. Настоящий приказ вступает в силу по истечении трех месяцев после его официального опубликования.
Врио руководителя
А.В.ФЕРАПОНТОВ
приказом Федеральной службы
по экологическому, технологическому
и атомному надзору
от 02.12.2013 N 576
ФЕДЕРАЛЬНЫЕ НОРМЫ И ПРАВИЛА
В ОБЛАСТИ ПРОМЫШЛЕННОЙ БЕЗОПАСНОСТИ "ПОЛОЖЕНИЕ
ПО БЕЗОПАСНОМУ ВЕДЕНИЮ ГОРНЫХ РАБОТ НА МЕСТОРОЖДЕНИЯХ,
СКЛОННЫХ И ОПАСНЫХ ПО ГОРНЫМ УДАРАМ"
1. Настоящие Федеральные нормы и правила в области промышленной безопасности "Положение по безопасному ведению горных работ на месторождениях, склонных и опасных по горным ударам" (далее - Положение) разработаны в соответствии с
пунктом 3 статьи 4 Федерального закона от 21 июля 1997 г. N 116-ФЗ "О промышленной безопасности опасных производственных объектов" (Собрание законодательства Российской Федерации, 1997, N 30, ст. 3588; 2000, N 33, ст. 3348; 2003, N 2, ст. 167; 2004, N 35, ст. 3607; 2005, N 19, ст. 1752; 2006, N 52, ст. 5498; 2009, N 1, ст. 17, ст. 21; N 52, ст. 6450; 2010, N 30, ст. 4002; N 31, ст. 4195, ст. 4196; 2011, N 27, ст. 3880; N 30, ст. 4590, ст. 4591, ст. 4596; N 49, ст. 7015, ст. 7025; 2012, N 26, ст. 3446; 2013, N 9, ст. 874; N 27, ст. 3478), а также в соответствии с
пунктом 5.2.2.16(1) Положения о Федеральной службе по экологическому, технологическому и атомному надзору, утвержденного постановлением Правительства Российской Федерации от 30 июля 2004 г. N 401 (Собрание законодательства Российской Федерации, 2004, N 32, ст. 3348; 2006, N 5, ст. 544; N 23, ст. 2527; N 52, ст. 5587; 2008, N 22, ст. 2581; N 46, ст. 5337; 2009, N 6, ст. 738; N 33, ст. 4081; N 49, ст. 5976; 2010, N 9, ст. 960; N 26, ст. 3350; N 38, ст. 4835; 2011, N 6, ст. 888; N 14, ст. 1935; N 41, ст. 5750; N 50, ст. 7385; 2012, N 29, ст. 4123; N 42, ст. 5726; 2013, N 12, ст. 1343, N 45, ст. 5822).
2. Настоящее Положение устанавливает обязательные требования к безопасному ведению горных работ (за исключением добычи общераспространенных полезных ископаемых и разработки россыпных месторождений полезных ископаемых, осуществляемых открытым способом без применения взрывных работ).
3. В Положении динамические проявления горного давления по силе и характеру подразделяются на горно-тектонические удары и собственно горные удары (далее - горные удары), микроудары, толчки, стреляния. К внешним признакам динамического проявления горного давления относятся динамическое заколообразование и шелушение пород (руд) на контуре горных выработок. Термины и определения приведены в
приложении N 1 к настоящему Положению.
4. На всех разведуемых и разрабатываемых месторождениях, проектируемых и строящихся рудниках, шахтах, тоннелях и других подземных сооружениях должны быть выполнены работы по своевременному выявлению склонности горных пород к горным ударам.
Месторождения или части месторождений (далее - месторождения) подразделяются на неопасные, склонные и опасные по горным ударам.
5. К склонным и опасным по горным ударам относятся месторождения или их части, в пределах которых имеются горные породы и руды с высокими упругими свойствами, способные к хрупкому разрушению под нагрузкой, а также месторождения или их части, где имело место стреляние пород, интенсивное заколообразование, происходили толчки или горные удары на соседнем руднике (шахте) в пределах того же рудного тела и в аналогичных геологических условиях.
Заключение об отнесении месторождения, массива горных пород к склонным по горным ударам дает специализированая организация, выполняющая работы по проблеме горных ударов на месторождении.
На основании заключения, а также при появлении внешних признаков удароопасности пород (руд) руководитель предприятия (организации) обязан издать приказ об отнесении месторождения к склонным по горным ударам и о создании комиссии по горным ударам (далее - Комиссия) с назначением председателя Комиссии.
Ответственность за издание приказа возлагается на технического руководителя предприятия (организации).
Перечень месторождений, склонных и опасных по горным ударам, приведен в приложении N 2 к настоящему Положению.
Примерное
положение о комиссии по горным ударам приведено в приложении N 3 к настоящему Положению.
6. К опасным по горным ударам относятся месторождения, на которых имели место микроудары и горные удары, а также, если прогнозом при определении степени удароопасности массива горных пород локальными инструментальными методами выявлена категория - "Опасно" (удароопасная).
На каждом месторождении, склонном или опасном по горным ударам, должны проводиться исследования по совершенствованию прогнозирования и предотвращения горных ударов.
7. Комиссия должна быть создана из представителей предприятия (организации), представителя территориального управления Ростехнадзора, специализированной организации, выполняющей работы по проблеме горных ударов на данном месторождении. Если на эксплуатируемом месторождении ведут горные работы другие организации, их представители должны входить в состав Комиссии. Председателем Комиссии назначается технический руководитель предприятия (организации).
Комиссия рассматривает вопросы, которые относятся к ее компетенции в соответствии с примерным
положением о комиссии по горным ударам, приведенным в приложении N 3 к настоящему Положению, в том числе вопросы, связанные с особенностями разработки месторождения.
Принятые решения оформляются протоколом и являются обязательными для исполнения предприятием (организацией), ведущей разработку данного месторождения.
8. На каждом предприятии, ведущем подземные горные работы на месторождениях, склонных и опасных по горным ударам, должна быть создана специальная служба, работающая под научно-методическим руководством специализированной организации, выполняющей работы по проблеме горных ударов на данном месторождении. Примерное
положение о службе прогноза и предотвращения горных ударов (далее - Служба) приведено в приложении N 4 к настоящему Положению.
Контроль за деятельностью Службы осуществляется техническим руководителем предприятия (организации).
9. По степени опасности участки горного массива вокруг выработок разделяют на две категории: "Опасно" и "Неопасно".
Категория "Опасно" соответствует напряженному состоянию массива в приконтурной части выработки, при котором может произойти горный удар. Такой участок выработки должен быть приведен в неудароопасное состояние. Приведение в неудароопасное состояние должно осуществляться по проекту, утвержденному председателем Комиссии. До приведения выработки в неудароопасное состояние запрещается ведение горных работ и передвижение людей, не связанных с проведением профилактических мероприятий.
Категория "Неопасно" соответствует неудароопасному состоянию и не требует проведения противоударных мероприятий. При этом сохраняется необходимость прогноза удароопасности.
Категории по степени опасности определяются локальными методами прогноза в соответствии с указаниями по безопасному ведению горных работ на месторождении, склонном и опасном по горным ударам (далее - Указания), разрабатываемыми для каждого месторождения, склонного и опасного по горным ударам, а также для месторождений, опасных по техногенным геодинамическим явлениям.
10. Указания разрабатывает специализированная организация, выполняющая работы по проблеме горных ударов на данном месторождении, рассматривает Комиссия, создаваемая в соответствии с
пунктом 7 настоящего Положения, и утверждает технический руководитель предприятия (организации).
Правила составления Указаний по безопасному ведению горных работ на месторождениях, склонных и опасных по горным ударам, содержатся в приложении N 5 к настоящему Положению.
11. Порядок перехода к применению мероприятий по предотвращению горных ударов в соответствии с требованиями настоящего Положения определяет Комиссия.
12. Части месторождений, опасные по горным ударам, а также места проявления последних должны быть обозначены на планах горных работ условными обозначениями, приведенными в
приложении N 1 к настоящему Положению.
На каждом предприятии, ведущем горные работы на месторождении, склонном и опасном по горным ударам, должен вестись учет всех случаев горных ударов, микроударов и толчков, стреляний, интенсивного заколообразования и шелушения, результатов определения категорий удароопасности выработок, примененных мер по предотвращению горных ударов с оценкой их эффективности. Учет производит Служба или маркшейдерско-геологическая служба в книгах, оформленных по образцам, согласно
приложению N 6 к настоящему Положению.
13. О каждом случае горного удара и микроудара технический руководитель предприятия (организации) обязан немедленно сообщить в территориальный орган Федеральной службы по экологическому, технологическому и атомному надзору.
При обнаружении внешних признаков удароопасности работник предприятия (организации) должен немедленно сообщить об этом диспетчеру или лицу технического надзора.
Горные выработки, расположенные в удароопасных участках месторождения, должны быть обеспечены телефонной связью.
14. Произошедшие случаи горных ударов должны расследоваться в соответствии с
Порядком проведения технического расследования причин аварий, инцидентов и случаев утраты взрывчатых материалов промышленного назначения на объектах, поднадзорных Федеральной службе по экологическому, технологическому и атомному надзору, утвержденным приказом Федеральной службы по экологическому, технологическому и атомному надзору от 19 августа 2011 г. N 480 (зарегистрирован Министерством юстиции Российской Федерации 8 декабря 2011 г., регистрационный N 22520; Бюллетень нормативных актов федеральных органов исполнительной власти, 2012, N 5).
Расследование несчастных случаев, происшедших в результате горного удара, должно производиться в соответствии со
статьями 229 -
229.2 Трудового кодекса Российской Федерации (Собрание законодательства Российской Федерации, 2002, N 1, ст. 3; N 30, ст. 3014, ст. 3033; 2003, N 27, ст. 2700; 2004, N 18, ст. 1690; N 35, ст. 3607; 2005, N 1, ст. 27; N 13, ст. 1209; N 19, ст. 1752; 2006, N 27, ст. 2878; N 52, ст. 5498; N 41, ст. 4285; 2007, N 1, ст. 34; N 17, ст. 1930; N 30, ст. 3808; N 41, ст. 4844; N 43, ст. 5084; N 49, ст. 6070; 2008, N 9, ст. 812; N 30, ст. 3613; N 30, ст. 3616; N 52, ст. 6235, ст. 6236; 2009, N 1, ст. 17, ст. 21; N 19, ст. 2270; N 29, ст. 3604; N 30, ст. 3732, ст. 3739; N 46, ст. 5419; N 48, ст. 5717; N 50, ст. 6146; 2010, N 31, ст. 4196; N 52, ст. 7002; 2011, N 1, ст. 49; N 25, ст. 3539; N 27, ст. 3880; N 30, ст. 4586, ст. 4590, ст. 4591, ст. 4596; N 45, ст. 6333, ст. 6335; N 48, ст. 6730, ст. 6735; N 49, ст. 7015, ст. 7031; N 50, ст. 7359; N 52, ст. 7639; 2012, N 10, ст. 1164; N 14, ст. 1553; N 18, ст. 2127; N 31, ст. 4325; N 47, ст. 6399; N 50, ст. 6954; N 50, ст. 6957, ст. 6959; N 53, ст. 7605; 2013, N 14, ст. 1666, ст. 1668; N 19, ст. 2322, ст. 2326, ст. 2329; N 23, ст. 2866, ст. 2883; N 27, ст. 3449, ст. 3454, ст. 3477; N 30, ст. 4037).
15. Случаи микроударов, толчков, стреляния, интенсивного заколообразования и шелушения ежемесячно, а при первом их появлении в течение суток рассматривает технический руководитель рудника с инженерными службами в целях установления причин и разработки мер борьбы с ними.
16. Работы по ликвидации последствий горного удара разрешаются председателем Комиссии, расследовавшей данный случай, на основании результатов локального прогноза удароопасности на участке, подвергшемся воздействию горного удара.
Составляется проект работ и мероприятий по ликвидации последствий горного удара, утверждаемый техническим руководителем предприятия (организации).
На заполнение полостей, образовавшихся в результате горных ударов в процессе проведения горных выработок, составляется акт на выполненные скрытые работы.
17. На все случаи горно-тектонических ударов, горных ударов и микроударов составляются карточки горных ударов, направляемые в специализированные организации, выполняющие работы по проблеме горных ударов на месторождении. Карточки горного удара оформляются в соответствии с
приложением N 7 к настоящему Положению.
Ежегодно, до окончания первого квартала, предприятия (организации), разрабатывающие месторождения, склонные и опасные по горным ударам, представляют в территориальный орган Ростехнадзора аналитическую информацию по горно-тектоническим ударам, горным ударам и микроударам за прошедший год.
18. Рабочие и должностные лица организаций должны быть ознакомлены с признаками проявления горных ударов и проинструктированы о мерах безопасности, содержащихся в
пунктах 19 и
21 настоящего Положения.
19. При проектировании и вскрытии новых, а также реконструкции существующих горизонтов месторождений действующих предприятий, при условии отнесения их к склонным или опасным по горным ударам, в проектной документации должны предусматриваться меры, направленные на предотвращение горных ударов.
В проекте должны быть предусмотрены капитальные и эксплуатационные затраты, в том числе на приборы и оборудование по борьбе с горными ударами. Все необходимые затраты по обеспечению безопасности горных работ должны быть включены в пусковой комплекс.
В проектной документации на ведение горных работ на объектах, склонных и опасных по горным ударам, должны быть обоснованы формы сечения выработок, тип и конструкция временной и постоянной крепи в соответствии с действующими на предприятии локальными проектами по креплению, а также длина участка выработок с временной крепью.
Тип крепи, отставание постоянной крепи от забоя и протяженность выработок, требующих крепления, регламентируются Указаниями.
Технологическая часть технического проекта (вскрытие, подготовка и порядок отработки, проведение горных выработок и системы разработки) должны согласовываться со специализированной организацией, выполняющей работы по проблеме горных ударов на месторождении по представлению проектной организации.
20. Опытно-промышленные испытания систем разработки, способов проходки выработок, а также горно-экспериментальные работы по прогнозу и предотвращению горных ударов должны проводиться по проектам, разработанным проектной организацией и утвержденным техническим руководителем предприятия (организации).
21. При планировании горных работ на каждый месяц, год на объектах, склонных и опасных по горным ударам, должны предусматриваться меры, направленные на предотвращение горных ударов в соответствии с проектной документацией.
22. Изменение параметров противоударных мероприятий и периодичности прогноза степени удароопасности, предусмотренных настоящим Положением и Указаниями, осуществляется Комиссией на основе специальных исследований и заключения проектной организации, выполняющей работы по проблеме горных ударов на данном месторождении.
23. В особо сложных горно-геологических условиях (большая тектоническая нарушенность и глубина разработки, современные тектонические движения и высокая сейсмическая активность районов, гористый рельеф земной поверхности и другие возможные предпосылки возникновения горно-тектонических ударов) на месторождениях (их участках), склонных и опасных по горным ударам, необходимо предусматривать создание (расширение сети) сейсмостанций для непрерывного выявления зон и оценки сейсмичности массива горных пород.
II. Вскрытие, подготовка и порядок отработки месторождений
24. При проектировании вскрытия, подготовки и систем разработки на месторождениях, склонных и опасных по горным ударам, необходимо соблюдать следующее:
разделение месторождения на шахтные поля и порядок их отработки должны обеспечивать планомерное извлечение запасов по возможности без образования целиков, острых углов и выступов фронта очистных работ;
использование опережающей отработки защитных залежей (слоев), в том числе бурение разгрузочных скважин большого диаметра, расположение выработок в защищенных зонах;
сокращение применения систем разработки с открытым очистным пространством;
снижение количества горных выработок, проводимых вблизи фронта очистных работ, особенно в зонах опорного давления;
ограничение встречных и догоняющих фронтов очистных работ;
преимущественное проведение горных выработок вне зоны влияния тектонических нарушений и по направлению наибольшего напряжения в массиве горных пород.
25. При разработке сближенных рудных тел в первую очередь должна производиться выемка неопасного или менее опасного рудного тела.
Работы на месторождении, опасном по горным ударам, должны вестись в пределах защищенной зоны. Границы построения защищенной зоны определяются Указаниями для каждого месторождения. Методика построения границ защищенных зон приведена в
приложении N 8 к настоящему Положению.
В пределах защищенных зон ведение горных работ осуществляется как в неудароопасных условиях.
Параметры защитного действия, границы защищенных зон, зон повышенного горного давления от предохранительных, барьерных и межэтажных целиков следует определять в соответствии с требованиями
пунктов 19 и
21 настоящего Положения.
26. При отработке склонного и опасного по горным ударам мощного рудного тела (залежи) наклонными, горизонтальными или вертикальными слоями (блоками, лентами) первый отрабатываемый слой (блок, лента) является защитным по отношению к последующим.
27. При отработке рудных тел не должны оставляться целики, которые могут влиять на отработку соседних рудных тел. Если выполнить это требование невозможно, то места заложения выработок следует выбирать с учетом влияния целиков на удароопасность выработок. Места заложения выработок должны регламентироваться Указаниями.
III. Прогноз удароопасности участков массива горных
пород и руд
28. Прогноз удароопасности участков массива горных пород подразделяется на региональный и локальный. С помощью регионального прогноза выделяют удароопасные зоны в пределах шахтных полей.
Данные регионального прогноза должны учитываться на стадии проектирования, планирования, ведения горных работ и уточняться в горных выработках локальными методами.
Региональный прогноз осуществляется с учетом данных геодинамического районирования следующими методами:
по данным прочностных и деформационных характеристик всех разновидностей пород и руд;
на стадии геологоразведочных работ на основе анализа кернового материала по интенсивности дискования керна;
по данным наблюдений с использованием систем непрерывного автоматизированного контроля напряженного состояния и удароопасности массива горных пород;
по изменению величин (скоростей) деформаций и смещений;
по изменению напряжений в массиве горных пород и руд, определяемых инструментально;
аналитическими расчетами напряженного состояния и удароопасности массива горных пород с учетом его блочного строения путем построения прогнозных карт;
по данным геодинамического полигона.
Методы регионального прогноза удароопасности месторождений, склонных и опасных по горным ударам, приведены в
приложении N 9 к настоящему Положению.
Региональный прогноз осуществляется Службой с помощью сейсмостанции и с участием специализированной организации, ведущей исследования на данном месторождении.
29. Локальный прогноз удароопасности участков массива горных пород и руд, а также оценка эффективности мер предотвращения горных ударов производятся геомеханическими, геофизическими методами или визуальными наблюдениями за разрушением приконтурного массива выработок, изложенными в
приложении N 10 к настоящему Положению.
В качестве базового метода локального прогноза удароопасности участков массива горных пород принимается метод дискования керна.
Комиссией совместно с проектными организациями, выполняющими работы по проблеме горных ударов на конкретном месторождении, может быть принято решение о применении других методов оценки удароопасности участков массива горных пород, разработанных применительно к конкретным условиям месторождения.
Методы применяются для прогноза удароопасности массива вокруг выработки после проведения опытно-промышленных испытаний и сопоставления полученных критериев удароопасности с критериями, полученными базовым методом по дискованию керна. Вопрос о применении методов и критериев локального прогноза решает проектная организация, выполняющая работы по проблеме горных ударов на данном месторождении.
Методы прогноза удароопасности и его периодичность определяются Указаниями.
30. Оценка удароопасности на месторождениях, склонных к горным ударам, должна осуществляться в наиболее нагруженных участках, к которым относятся:
опасные зоны, выявленные в результате регионального прогноза;
участки рудного массива и массива горных пород в зоне опорного давления от очистных работ;
участки рудного массива и массива горных пород с дизъюнктивными и пликативными геологическими нарушениями;
рудные, безрудные целики и выступающие части рудного массива и массива горных пород;
приконтактные зоны литологических разновидностей пород;
сопряжения выработок и передовые выработки.
Удароопасные участки для каждого месторождения должны конкретизироваться Указаниями.
31. Контроль удароопасности в выработках должен производиться периодически при изменениях горно-геологической и горнотехнической обстановки во время ведения горных работ в местах, где ранее была установлена категория "Опасно" или появились внешние признаки удароопасности. Периодичность контроля в выработках, в том числе неудароопасных, должна быть определена Указаниями.
IV. Приведение горных выработок в неудароопасное состояние
32. При проведении выработок в удароопасных породах прогноз удароопасности и мероприятия по предотвращению горных ударов должны входить непосредственно в технологию проходки.
Приведение горных выработок, пройденных в рудном массиве и в массиве горных пород с категорией "Опасно", в неудароопасное состояние осуществляется путем создания защитной зоны с помощью камуфлетного взрывания, разгрузочных скважин, разгрузочных щелей, полостей, сочетанием перечисленных способов.
Кроме перечисленных способов могут применяться другие способы, разработанные для конкретных геологических и горнотехнических условий. Выбор способов и их параметров определяется Указаниями.
33. Участки выработок категории "Опасно" приводят в неудароопасное состояние путем создания в краевой части массива пород защитной зоны шириной n, но не менее 2 м.
Ширина защитной зоны в очистных забоях устанавливается экспериментально с учетом конкретных геологических и горнотехнических условий и регламентируется Указаниями.
Защитная зона образуется путем создания в краевых (призабойных) частях массива полосы (слоя) разрушенных пород или сплошной щели способами, изложенными в
пункте 30 настоящего Положения, при соблюдении следующих условий:
плоскость разрушенных пород (разгрузочной щели) должна быть перпендикулярна направлению действия максимальных напряжений в массиве;
размеры защитной зоны по длине (протяженности) выработки должны не менее чем на 2 м в подготовительных и не менее чем на 3 м в очистных выработках превышать протяженность удароопасного участка с каждой стороны.
34. Требования к камуфлетному взрыванию при формировании защитной зоны в окружающем горную выработку рудном массиве и массиве горных пород определены в
приложении N 11 к настоящему Положению.
V. Проведение и поддержание капитальных
и подготовительных выработок
35. При проектировании, строительстве и эксплуатации шахт на месторождениях, склонных и опасных по горным ударам, должны соблюдаться следующие требования:
стволы должны располагаться вне зоны влияния крупных геологических нарушений с расстоянием между стенками стволов не менее 50 метров. При проведении стволов контрольную геологическую скважину с обязательным определением склонности горных пород и руд к горным ударам следует бурить в пределах сечения ствола;
применение податливых крепей, крепей поддерживающего, распорного или ограждающего типов, а также комбинированных крепей, штанговой крепи с элементами податливости;
придание выработке полигональной (устойчивой) формы поперечного сечения;
бурение разгрузочных щелей и скважин, создание щелей камуфлетным или контурным взрыванием;
прекращение или временное исключение из эксплуатации горных выработок категории "Опасно";
регламентация во времени и пространстве технологических процессов и способов предотвращения горных ударов;
ограничение проведения выработок в зоне опорного давления от очистных работ;
осуществление прогноза удароопасности и контроля эффективности противоударных мероприятий.
36. Основные горизонтальные и наклонные выработки околоствольных дворов, включая камеры, должны ориентироваться в направлении действия максимального горизонтального напряжения нетронутого массива.
37. Проведение и поддержание выработок на месторождениях, на которых происходили горные удары, должно осуществляться при выполнении следующих профилактических мероприятий:
крепление выработок, предотвращающее обрушение пород кровли и боков, создание устойчивых форм, бурение разгрузочных щелей и скважин, контурное взрывание;
предпочтение должно отдаваться податливым типам крепи;
приведение выработок категории "Опасно" в неудароопасное состояние;
крепление выработок в зонах влияния геологических нарушений (такое крепление должно производиться постоянной крепью с элементами податливости, например, арочной металлической).
Тип крепи, отставание постоянной крепи от забоя и протяженность участков выработок, требующих крепления, регламентируются Указаниями.
38. Подготовительные выработки в рудном теле должны проводиться вне зоны опорного давления от очистных работ. Допустимое расстояние от фронта очистных работ регламентируется Указаниями. При проектировании это расстояние следует принимать не менее 40 м. Рациональные формы выработок приведены в
приложении N 12 к настоящему Положению.
39. Расстояние между ближайшими боками параллельных выработок и камер различного назначения на удароопасных участках до глубины 1000 м должно быть не менее 4

, где

- наибольший размер поперечного сечения большей выработки, а при глубине более 1000 м - не менее 5

.
40. При проходке стволов допускается отставание постоянной крепи от забоя не более диаметра ствола вчерне. Проходка выработок непосредственно от ствола должна осуществляться после возведения временной или постоянной крепи в стволе.
41. Сбойка двух выработок на участках, склонных и опасных по горным ударам, с расстояния между забоями 15 м должна вестись одним забоем, другой забой должен быть остановлен. Образующийся при сбойке целик должен быть приведен при категории "Опасно" в неопасное состояние по всей площади.
42. Пересечение выработок должно осуществляться под прямым или близким к нему углом. Очередность проведения выработок регламентируется Указаниями.
43. При проходке стволов на участках категории "Опасно" необходимо применять передовые разгрузочные щели с таким расчетом, чтобы плоскость щели располагалась перпендикулярно направлению действия максимальных горизонтальных напряжений.
При расположении стволов в породах, опасных по горным ударам, должны быть запроектированы и выполняться мероприятия, обеспечивающие снижение до неопасных значений концентраций напряжений в стенках ствола. Мероприятия по предотвращению горных ударов должны проводиться до возведения в стволе постоянной крепи.
В особо сложных условиях мероприятия по предотвращению горных ударов должны утверждаться Комиссией.
44. При проведении камер и выработок большого сечения на участках с категорией "Опасно", наряду с передовой разгрузочной щелью, необходимо применять удлиненную штанговую крепь с элементами податливости в кровле и боках призабойного пространства выработки.
Целесообразность и параметры элементов крепи регламентируются Указаниями.
45. Проходку горизонтальных выработок большого сечения при категории "Опасно" необходимо производить поэтапно с первоочередной выемкой верхнего слоя, приведенного предварительно в неудароопасное состояние.
46. Очистные работы в блоке (панели) на склонных и опасных по горным ударам участках должны производиться по техническому проекту в соответствии с требованиями настоящего Положения и Указаний.
47. В проектах на очистные работы на склонных и опасных по горным ударам участках рудного массива должны соблюдаться следующие требования:
первоочередная отработка защитных рудных залежей или слоев;
общее развитие фронта очистных работ должно осуществляться в направлении от выработанных пространств на массив с минимальным количеством передовых выработок и целиков. При необходимости применения целиков их безопасность должна быть обеспечена за счет создания искусственной податливости, снижения уровня напряжений, создания щелей, камуфлетного или сотрясательного взрывания зарядов взрывчатых веществ и других профилактических мероприятий;
при подходе очистного забоя к передовой выработке или к выработанному пространству необходимо производить прогноз степени удароопасности в передовой выработке. При установлении категории "Опасно" передовые выработки должны быть приведены в неудароопасное состояние формированием защитной зоны, например, с помощью камуфлетного взрывания, разгрузочных скважин, разгрузочных щелей, полостей, сочетанием перечисленных способов;
ширина целиков между очистным забоем и передовой выработкой (выработанным пространством), при которой необходимо привести их в неудароопасное состояние по всей площади, определяется Указаниями или Комиссией;
горные работы в выработках должны производиться после затухания стреляний и интенсивного заколообразования.
48. Отгрузку руды (породы) в забое необходимо производить погрузочно-доставочными машинами с дистанционным управлением или с расположением кабины машиниста, снабженной защитным ограждением, не ближе 4 м от переднего края ковша или другого погрузочного органа.
49. При отработке месторождений, склонных и опасных по горным ударам, необходимо предусматривать последовательное продвигание фронта очистных работ в пределах как шахтного поля (участка), так и месторождения в целом. Отступления от этого требования допускается с разрешения Комиссии.
50. При отработке мощных рудных тел (залежей) системами с этажным принудительным обрушением для защиты днищ блоков необходимо применять предварительную отбойку руды для формирования защитной подушки.
51. При разработке удароопасных сближенных рудных тел необходимо в качестве защитного использовать наиболее протяженное и выдержанное по простиранию и падению рудное тело, первоочередную отработку которого следует производить без оставления целиков в выработанном пространстве. Если все рудные залежи на месторождении имеют незначительную протяженность в пределах отрабатываемого этажа, то опережающая защитная выемка обеспечивается последовательной отработкой отдельных близко расположенных залежей или слоев с перекрытием защищенных зон.
52. При отработке защитной залежи безрудные зоны необходимо разгружать рядами скважин, пробуренными в одной плоскости, параллельно защищаемой рудной залежи или с помощью камуфлетного взрывания.
53. При слоевой системе разработки мощных рудных тел с закладкой выработанного пространства следует осуществлять опережающую отработку защитного слоя по кровле (почве) рудной залежи или разгрузку рудного массива скважинами большого диаметра, с обязательной оценкой эффективности разгрузки. Параметры скважинной разгрузки определяются Указаниями.
54. Опережение отработки защитного рудного тела (слоя) по простиранию для защиты очистных выработок определяется Указаниями.
55. Разработку крутопадающих мощных рудных тел необходимо производить преимущественно системой одностадийного этажного или подэтажного принудительного обрушения с отбойкой руды на зажатую среду.
56. При разработке рудных залежей, склонных и опасных по горным ударам, запрещается применять системы разработки с движением фронта очистных работ на выработанное пространство, в том числе по восстанию без проведения профилактических мероприятий.
57. При разработке крутопадающих рудных тел средней мощности следует применять системы подэтажного обрушения или подэтажных штреков (ортов) с отработкой подэтажей в нисходящем порядке, закладкой выработанного пространства твердеющими смесями и торцевым выпуском руды.
При использовании системы подэтажного обрушения применять полевую подготовку, позволяющую вести очистные работы от центра залежи к флангам, либо единым фронтом от одного фланга к другому.
58. Разработку пологих и наклонных рудных тел следует осуществлять преимущественно системами с закладкой или обрушением кровли без оставления удароопасных целиков.
59. Продвигание фронта очистных работ при разработке рудных тел следует осуществлять преимущественно от зон повышенной удароопасности, разломов, тектонических нарушений, зон концентрации напряжений. Эти зоны должны быть предварительно приведены в неудароопасное состояние и отработаны в первую очередь.
60. Намечаемые к отработке участки рудного массива или массива горных пород в особо сложных условиях шириной, соизмеримой с протяженностью зоны опорного давления, должны быть приведены в неудароопасное состояние заблаговременно, до возникновения в них категории "Опасно". Работы должны проводиться по специальному проекту, утвержденному техническим руководителем предприятия (организации). В проекте необходимо предусмотреть следующее:
до начала горных работ по подготовке горизонта должны быть выявлены отдельные блоки, ограниченные крупными разрывными нарушениями в пределах месторождения, и основные элементы залегания нарушений;
на участках рудного массива или массива горных пород, расположенных на удалении 5 - 10 метров от плоскости сместителя тектонического нарушения, горные работы следует производить с применением комплекса мер по профилактике горных ударов, высыпаний, вывалов и обрушения пород (руд);
удароопасные целики приводить в неудароопасное состояние по всей площади;
отработку целиков производить в одном направлении от выработанного пространства с формированием защищенной зоны.
Указаниями должны быть предусмотрены профилактические мероприятия, разработанные для каждого конкретного месторождения с учетом особенностей.
61. В соответствии с действующим законодательством обязанности по обеспечению безопасных условий ведения горных работ на месторождениях, склонных и опасных по горным ударам, возлагаются на пользователей недр, которые обязаны организовать осуществление производственного контроля за соблюдением требований промышленной безопасности, в том числе требований настоящего Положения и Указаний.
62. За несоблюдение требований промышленной безопасности предприятия (организации), ведущие горные работы на месторождениях, склонных и опасных по горным ударам, а также должностные лица (специалисты), выполняющие проектные, конструкторские и научно-исследовательские работы, несут ответственность в соответствии с законодательством Российской Федерации.
к Федеральным нормам и правилам
в области промышленной безопасности
"Положение по безопасному ведению
горных работ на месторождениях,
склонных и опасных по горным
ударам", утвержденным приказом
Федеральной службы по экологическому,
технологическому и атомному надзору
от 02.12.2013 N 576
Геодинамически активные зоны - разрывы, по которым наиболее вероятно возникновение сейсмических явлений, горно-тектонических ударов, горных ударов и внезапных выбросов в горных выработках при разработке месторождений.
Геодинамическое районирование горного массива - определение его блочного строения и напряженного состояния. Геодинамическое районирование включает: выделение блочной структуры месторождения, установление динамического взаимодействия блоков, выделение тектонически напряженных зон, оценку направления и величину главных напряжений в блоках.
Горно-тектонический удар - мгновенная подвижка блоковых структур по разрывам. Горно-тектонический удар сопровождается сильным сотрясением массива, резким звуком, образованием пыли и воздушной волной, и нарушением технологического процесса.
Горный удар - мгновенное хрупкое разрушение целика или краевой части массива, проявляющееся в виде выброса руды (породы) в подземные выработки с нарушением крепи, смещением машин, механизмов, оборудования и вызывающее нарушение технологического процесса. Удар сопровождается резким звуком, сильным сотрясением горного массива, образованием пыли и воздушной волной.
Защитная зона - область разгруженных горных пород вблизи контура выработки, препятствующая проявлению динамических форм горного давления.
Защитное рудное тело или его часть (слой) - рудное тело или его часть (слой), при отработке которых обеспечивается защита прилегающего массива пород (руд) от проявления горных ударов.
Защищенная зона - часть зоны разгрузки, в пределах которой напряжения меньше, чем в нетронутом массиве на критической глубине по условию удароопасности.
Зона опорного давления - часть массива пород в зоне влияния очистной или подготовительной выработки, в пределах которой напряжения больше, чем в нетронутом массиве.
Зона повышенного горного давления (зона ПГД) - часть рудного тела (вмещающих пород), испытывающая повышенное горное давление, передаваемое краевыми частями или целиками смежного (защитного) рудного тела (слоя).
Зона разгрузки - часть массива пород в зоне влияния очистных работ, в пределах которой напряжения меньше, чем в нетронутом массиве.
Интенсивное заколообразование - возникновение заколов вслед за их оборкой. Оно происходит по ненарушенному массиву, не связано с его видимой трещиноватостью (слоистостью, сланцеватостью) и сопровождается звуком. При этом образуются и отделяются от обнажения плиты, по форме повторяющие контур выработки.
Категория удароопасности - уровень напряженности рудного или породного массива в зоне максимума опорного давления и расстояния до этого максимума от обнажения рудного или породного массива.
Критическая глубина - глубина от земной поверхности, начиная с которой при производстве горных работ возникают горные удары или установлена категория "Опасно".
Локальный прогноз - определение удароопасности отдельных участков рудного (породного) массива, выработки, целика геомеханическими или геофизическими методами.
Микроудар - мгновенное разрушение целика или приконтурной части выработки, проявляющееся в виде выброса руды (породы) в подземные выработки, не вызывающее нарушение технологического процесса. Микроудар сопровождается сотрясением массива и образованием пыли.
Особо сложные условия - ведение горных работ на выработанное пространство, на передовую выработку, в зонах ПГД, в зонах влияния геологических нарушений, в ранее оставленных или образовавшихся целиках, перекрепление выработок, работы по ликвидации последствий горных ударов, а также работы по приведению выработок в неудароопасное состояние после установления в них категории "Опасно".
Прогноз удароопасности - установление категории опасности, на основе которого участки породного или рудного массива относятся к одной из двух категорий удароопасности: "Опасно", "Неопасно".
Региональный прогноз удароопасности - выделение удароопасных зон в пределах шахтного поля или месторождения.
Сближенные рудные тела - рудные тела, не исключающие появление зон повышенного горного давления при отработке одного из них или попадающие в защищенную зону вследствие отработки одного из них.
Стреляние - отскакивание с резким звуком от массива линзовидных или с острыми краями пластин различных размеров.
Сейсмическое событие - геодинамическое явление, характеризующееся появлением в массиве горных пород или руд сейсмических волн.
Толчок - разрушение руды (породы) в глубине массива без выброса в горную выработку, сопровождающееся звуком, сотрясением массива, образованием пыли.
Удароопасность месторождения или его части - наличие склонных к горным ударам пород и уровня напряжений, при котором возможно хрупкое разрушение пород в процессе ведения подземных горных работ.
Шелушение - разрушение породы по контуру выработки на отдельные пластины, имеющие чаще всего чечевицеобразную форму с заостренными краями. Место шелушения в выработке выглядит "свежим" из-за постоянного осыпания пластин. Сюда не относится шелушение некоторых типов пород, связанное с физико-химическими процессами.
Условные обозначения на планах горных работ
| Граница, ниже которой месторождение (залежь массива горных пород) отнесено к опасным по горным ударам | | Место микроудара |
| Участки выработок, подвергшиеся разрушению в результате горного удара, горно-тектонического удара | | Гипоцентр (эпицентр) толчка, вызвавшего горно-тектонический удар |
| Место горного удара | | Участки выработок, подвергшиеся стрелянию горных пород и интенсивному заколообразованию, микроударам |
к Федеральным нормам и правилам
в области промышленной безопасности
"Положение по безопасному ведению
горных работ на месторождениях,
склонных и опасных по горным
ударам", утвержденным приказом
Федеральной службы по экологическому,
технологическому и атомному надзору
от 02.12.2013 N 576
ПЕРЕЧЕНЬ МЕСТОРОЖДЕНИЙ, СКЛОННЫХ И ОПАСНЫХ ПО ГОРНЫМ УДАРАМ
Месторождение | Породы и руды, склонные к хрупкому разрушению | Критическая глубина по условию удароопасности, м |
1 | 2 | 3 |
Абаканское | Железная руда, агломератовые туфы, песчаники, кератофиры | 600 |
Высокогорское | Магнетиты, скарны, роговики, туфы порфиритов, сиениты, известняки | 600 |
Гороблагодатское | Микросиениты, сиениты, оспенные руды, скарны, гранат-магнетитовые, скаполитовые породы | 300 |
Естюнинское | Порфириты, роговики, диориты, пироксеннплагиоклазовые породы | 150 |
Казское | Диориты, роговики | 600 |
Коробковское | Железистые кварциты | 600 |
Лебяжинское | Магнетиты, скарны, роговики | 600 |
Песчанское | Порфириты, туфы порфиритов, известняки, диориты, скарны, магнетиты | 400 |
Таштагольское | Сиениты, скарны, туфо-сланцы, железная руда | 400 |
Шерегешское | Сиениты, граниты, роговики, альбитофиры | 600 |
Яковлевское | Рудный массив в указанных интервалах глубин | 600 |
Белогорское (Белогорского ГОКа) | Граниты, руды | 600 |
Березовское | Гранитоиды, диабазы | 400 |
Берикульское | Кварциты, порфириты, диориты, габбро, мрамор | 600 |
"Восток-2" | Сульфидные руды, гранит-порфиры | 500 |
Гайское | Порфириты, диабазы, колчедан | 1000 |
Дарасунское | Кварцевые диориты, кварцевые порфириты | 400 |
Кочкарское | Плагиограниты, табашки, кварцевые жилы | 190 |
Константиновское | Кварцевые диориты | 300 |
Ловозерское | Фойяиты, уртиты, малиньиты, луявриты | 500 |
участок Карнасурт | Фойяиты, уртиты, малиньиты, луявриты | 400 |
участок Умбозеро | Фойяиты, уртиты, малиньиты, луявриты | 200 |
Николаевское (ОАО "Дальполиметалл") | Известняки, порфириты, туфы | 700 |
Южное (ОАО "Дальполиметалл") | Песчаники, алевролиты, руда, кварцсульфидная жила | 180 |
Огневско-Бакенное (Белогорский ГОКа) | Граниты, руды | 600 |
Октябрьское и Талнахское (кроме рудника "Маяк"). (ЗФ ОАО "ГМК "Норильский никель") | Сплошные сульфидные руды, роговики Аргиллиты, известняки, оливиносодержащие габбро-долериты, пикритовые габбро-долериты, мергели | 700 |
Перевальное (Солнечный ГОК) | Порфиры, серицито-хлоритовые кварцсодержащие сланцы, колчедан | 600 |
Солнечное (Солнечный ГОК) | Порфиры, серицито-хлоритовые кварцсодержащие сланцы, колчедан | 600 |
Садонское | Окварцованные граниты, альбитофиры, жильные альбитофиры | 700 |
Саткинское | Магнезиты, доломиты, диабазы, сланцы | 250 |
Тырнаузское | Роговики, скарны, граниты | 800 |
Хинганское | Серициты, хлоритовые порфириты и брекчии | 500 |
Коашвинское | Ийолит-уртиты, рисчорриты, бедные и богатые руды | 400 |
Апатитовый цирк | Ийолит-уртиты, бедные и богатые руды | 200 |
Плато Росвумчорр | Ийолит-уртиты, бедные и богатые руды | 300 |
Ньоркпахское | Ийолит-уртиты, бедные и богатые руды | 400 |
Олений ручей | Ийолит-уртиты, бедные и богатые руды | 400 |
Партомчоррское | Ийолит-уртиты, бедные и богатые руды | 400 |
Расвумчоррское | Ийолит-уртиты, бедные и богатые руды | 400 |
Юкспорское | Ийолит-уртиты, бедные и богатые руды | 300 |
Кукисвумчоррское | Ийолит-уртиты, бедные и богатые руды | 300 |
Узельгинское | Кварцевые липаритовые порфиры, дайки диабазов, диабазовые порфириты, габро-долериты, диабазы, диориты, метасоматиты кварцсеритового состава с сульфидной минерализацией, метаморфизированные липаритовые порфиры | 650 |
Стрельцовское рудное поле (ОАО "ППГХО") | Трихидациты, андезиты, базальты, алевролиты, граниты, руда | 500 |
к Федеральным нормам и правилам
в области промышленной безопасности
"Положение по безопасному ведению
горных работ на месторождениях,
склонных и опасных по горным
ударам", утвержденным приказом
Федеральной службы по экологическому,
технологическому и атомному надзору
от 02.12.2013 N 576
ПРИМЕРНОЕ ПОЛОЖЕНИЕ О КОМИССИИ ПО ГОРНЫМ УДАРАМ
1. Комиссия по горным ударам (далее - Комиссия) создается на предприятии в соответствии с законодательством Российской Федерации в области промышленной безопасности.
2. Вопросы на рассмотрение Комиссии выносятся руководителями шахт, рудников, стройуправлений и стройучастков, подрядных организаций, проектными организациями, выполняющими работы по проблеме горных ударов на данном месторождении.
3. Комиссия решает все вопросы ведения горных работ на месторождениях, склонных и опасных по горным ударам в соответствии с ее задачами, правами и обязанностями. Решение Комиссии оформляется протоколом, подписывается всеми членами Комиссии.
Задачи, права и обязанности комиссии по горным ударам
4. Основными задачами Комиссии являются:
рассмотрение способов вскрытия, схем подготовки и систем разработки, а также средств и способов поддержания горных выработок;
решение вопросов очередности и технологии ведения очистных и подготовительных работ;
выбор способов предотвращения горных ударов, средств обеспечения безопасности работ на удароопасных участках;
рассмотрение проектов и порядка ведения горных работ на склонных и удароопасных участках;
решение вопросов организации, разрабатывающей месторождение, склонное и опасное по горным ударам, обучения персонала и оценка результатов деятельности Комиссии;
контроль за внедрением данного Положения, Указаний по безопасному ведению горных работ на месторождении, склонном и опасном по горным ударам (далее - Указания) и выполнением решений Комиссии;
рассмотрение предложений по перспективному планированию горных работ на месторождении, а также по совершенствованию способов прогноза и мер предотвращения горных ударов;
рассмотрение отчетов должностных лиц шахт, рудников, стройучастков, стройуправлений о состоянии ведения работ на удароопасных участках;
решение вопросов ежегодного подтверждения отнесения месторождения к склонным или опасным по горным ударам;
безотлагательное отнесение месторождения к удароопасным в случае неожиданных проявлений горных ударов или установления категории "Опасно";
подготовка и проведение научно-технических совещаний и семинаров по проблеме горных ударов.
5. Комиссия имеет право:
останавливать горные работы, если нарушены требования Положения и Указаний, касающиеся вопросов безопасной отработки участков, склонных и опасных по горным ударам;
приглашать на заседания Комиссии представителей организаций, работающих по проблеме борьбы с горными ударами;
получать от руководителей предприятий необходимую документацию по описанию мер по борьбе с горными ударами;
решать технические и организационные вопросы по безопасному ведению горных работ.
6. Комиссия по горным ударам обязана:
анализировать причины горных ударов, происшедших на месторождении, и намечать пути их предупреждения;
производить на эксплуатируемых и строящихся объектах проверку выполнения мероприятий по описанию мер по борьбе с горными ударами.
к Федеральным нормам и правилам
в области промышленной безопасности
"Положение по безопасному ведению
горных работ на месторождениях,
склонных и опасных по горным
ударам", утвержденным приказом
Федеральной службы по экологическому,
технологическому и атомному надзору
от 02.12.2013 N 576
О СЛУЖБЕ ПРОГНОЗА И ПРЕДОТВРАЩЕНИЯ ГОРНЫХ УДАРОВ
1. Служба прогноза и предотвращения горных ударов (далее - Служба) является структурным подразделением предприятия (организации) и осуществляет работы по оценке категории удароопасности участков массива горных пород и выполнению мероприятий по предотвращению горных ударов. Структура и количественный состав Службы определяется и утверждается Комиссией по горным ударам (далее - Комиссия).
2. Служба возглавляется начальником и подчиняется техническому руководителю предприятия (организации). Специалисты Службы должны пройти обучение и аттестацию по вопросам промышленной безопасности в соответствии с
Положением об организации работы по подготовке и аттестации специалистов организаций, поднадзорных Федеральной службе по экологическому, технологическому и атомному надзору, утвержденным приказом Ростехнадзора от 29 января 2007 г. N 37 (зарегистрирован Министерством юстиции Российской Федерации 22 марта 2007 г., регистрационный N 9133; Бюллетень нормативных актов федеральных органов исполнительной власти, 2007, N 16) с изменениями, внесенными приказами Федеральной службы по экологическому, технологическому и атомному надзору от 5 июля 2007 г. N 450 (зарегистрирован Министерством юстиции Российской Федерации 23 июля 2007 г., регистрационный N 9881; Бюллетень нормативных актов федеральных органов исполнительной власти, 2007, N 31), от 27 августа 2010 г. N 823 (зарегистрирован Министерством юстиции Российской Федерации 7 сентября 2010 г., регистрационный N 18370; Бюллетень нормативных актов федеральных органов исполнительной власти, 2010, N 39), от 15 декабря 2011 г. N 714 (зарегистрирован Министерством юстиции Российской Федерации 8 февраля 2012 г., регистрационный N 23166; Бюллетень нормативных актов федеральных органов исполнительной власти, 2012, N 13) и от 19 декабря 2012 г. N 739 (зарегистрирован Министерством юстиции Российской Федерации 5 апреля 2013 г., регистрационный N 28002; Российская газета, 2013, N 80).
3. Начальник Службы руководит проведением работ по прогнозу и оценке удароопасности участков массива горных пород и горных выработок, контролирует выполнение рекомендаций по безопасному ведению горных работ на удароопасных участках и осуществляет контроль и оценку эффективности мероприятий по предотвращению горных ударов.
4. Начальник Службы несет персональную ответственность за своевременное размещение в планах горных работ результатов регионального и локального прогноза удароопасности.
5. Организационно-техническая работа Службы определяется документом, разработанным на базе настоящего Положения, и осуществляется в соответствии с планом работы Службы, согласованным с проектной организацией, выполняющей работы по проблеме горных ударов на данном месторождении, и утвержденным техническим руководителем предприятия (организации).
6. Начальником Службы назначается горный инженер, имеющий практический стаж подземных работ не менее трех лет и опыт руководящей работы.
7. В своей работе Служба руководствуется законодательством Российской Федерации в области промышленной безопасности, Указаниями по безопасному ведению горных работ на месторождении, склонном и опасном по горным ударам.
8. Руководители и специалисты Службы назначаются и освобождаются от должности приказом руководителя предприятия (организации) по согласованию с председателем Комиссии.
9. Предписания начальника Службы являются обязательными для руководителей всех участков и служб, ответственных за безопасное ведение подземных горных работ.
10. Если на предприятии создана система непрерывного прогноза и контроля напряженного состояния массива горных пород, то персонал, обслуживающий эту систему, может являться составной частью Службы и подчиняться непосредственно ее начальнику. Научно-методическое руководство работами по эксплуатации системы непрерывного прогноза и контроля напряженного состояния массива горных пород осуществляет проектная организация, выполняющая работы по проблеме горных ударов на данном месторождении.
Основные задачи и функции
11. Основной задачей Службы являются работы по прогнозу удароопасности участков выработок и предотвращению горных ударов, а также оценка эффективности выполненных мер по предотвращению горных ударов, выявление причин возникновения горных ударов, разработка мер их предотвращения. Задачами Службы также являются:
проведение регионального прогноза удароопасности шахтных полей с целью выявления удароопасных участков и разработка мероприятий по безопасному ведению горных работ;
осуществление контроля за соблюдением требований законодательства Российской Федерации в области промышленной безопасности, а также Указаний по безопасному ведению горных работ на месторождении, склонном и опасном по горным ударам;
разработка решений по предотвращению горных ударов, проведение горно-экспериментальных работ, испытание и внедрение новых методов прогноза и способов предотвращения горных ударов.
12. К полномочиям Службы относится:
участие в исследованиях по проблеме прогноза и предотвращения горных ударов;
осуществление взаимодействия с научными организациями, в том числе с сейсмостанциями;
ведение документации по вопросам горных ударов;
участие в разработке ежегодных календарных и перспективных планов развития горных работ и проектов вскрытия, подготовки и отработки месторождения;
участие в составлении проектов на отработку блоков (панелей) и паспортов проведения выработок на участках, склонных и опасных по горным ударам;
осуществление контроля за выполнением мероприятий по предотвращению горных ударов;
обобщение накопленного опыта по предотвращению горных ударов.
13. Служба выполняет работы (с привлечением специализированных организаций) по определению механических, физических, структурных и других характеристик горных пород и руд в образцах и массиве, характеризующих склонность к накоплению упругой энергии и хрупкому разрушению.
14. Служба собирает и анализирует информацию о напряженно-деформированном состоянии, признаках удароопасности и горных ударах, механических и физических свойствах горных пород, особенностях поведения горных пород в зонах повышенного горного давления, а также у тектонических нарушений, эффективности принятых мер предотвращения горных ударов, своевременности разработки и внедрения мероприятий по безопасному ведению горных работ на удароопасных участках.
15. Служба участвует в составлении проектов замерных станций, их оборудовании и ведении наблюдений.
16. Служба изучает предложения по вопросам безопасной отработки удароопасных месторождений. Разрабатывает рекомендации по использованию результатов анализа.
17. Служба проверяет исправность, правильность эксплуатации и текущего ремонта приборов. Составляет заявки на оборудование, приборы и материалы.
Взаимоотношения с другими подразделениями предприятия
(организации), структурными подразделениями предприятия
(организации) и сторонними организациями
18. Служба работает в контакте со структурными подразделениями предприятия (организации) и другими службами. По распоряжению председателя Комиссии отдельные виды работ, необходимые для выполнения задач и функций службы, производят специализированные отделы и службы предприятия (организации).
19. Научно-методическое руководство работой Службы осуществляет проектная организация, выполняющая работы по проблеме горных ударов на данном месторождении.
20. В конце календарного года начальник Службы составляет отчет о деятельности Службы. Отчет утверждает председатель Комиссии или его заместитель.
Обязанности, права и ответственность начальника Службы
21. Начальник Службы обязан:
знать технологию ведения горных работ предприятия (организации);
обучать персонал Службы (участков) правилам безопасного производства горных и экспериментальных работ;
разрабатывать предложения главному инженеру предприятия (организации) по безопасному ведению горных работ;
выдавать справки и отчеты о проделанной работе и ее результатах по указанию главного инженера предприятия (организации) или вышестоящей организации;
оказывать помощь привлеченным организациям в проведении исследований;
по законченным исследовательским и горно-экспериментальным работам составлять отчеты с обобщениями, выводами, практическими рекомендациями по безопасному ведению горных работ и предложениями для их внедрения;
подготавливать материалы к заседаниям Комиссии;
составлять ежегодные и годовые отчеты-информации о выполненных работах;
делать сообщения и доклады по результатам работы и популяризации методов безопасного ведения горных работ в удароопасных условиях для руководителей и специалистов и рабочих предприятия (организации);
проводить инструктаж персонала Службы (подземных участков) по правилам безопасности при ведении горных работ в удароопасных условиях и проверять знание этих правил, а также назначать ответственного за проведение противоудароных мероприятий в выработках с категорией "Опасно".
22. Начальник Службы имеет право:
требовать от руководителей подразделений предприятий выполнения мероприятий по безопасности ведения горных работ на удароопасных участках;
приостанавливать горные работы при невыполнении противоударных мероприятий и ставить в известность руководство предприятия (организации);
принимать участие в рассмотрении вопросов проведения горноэкспериментальных и исследовательских работ, направленных на разработку методов прогноза и способов борьбы с горными ударами.
23. Начальник Службы несет ответственность за:
осуществление контроля за выполнением утвержденного плана мероприятий по предотвращению горных ударов;
состояние, ведение и хранение документации по проводимым работам;
своевременность выполнения указаний главного инженера предприятия (организации) и решений Комиссии;
выполнение работ по прогнозу удароопасности участков месторождения, соответствие применяемых мер предотвращения горных ударов горно-геологическим условиям, а также за своевременную оценку их эффективности;
создание безопасных условий при горно-экспериментальных и исследовательских работах по прогнозу и предотвращению горных ударов;
выполнение требований нормативных документов по прогнозу и предотвращению горных ударов.
24. Возложение на работников Службы функций, не связанных с выполнением задач, определенных настоящим Положением, Указаниями и решениями Комиссии, запрещается.
к Федеральным нормам и правилам
в области промышленной безопасности
"Положение по безопасному ведению
горных работ на месторождениях,
склонных и опасных по горным
ударам", утвержденным приказом
Федеральной службы по экологическому,
технологическому и атомному надзору
от 02.12.2013 N 576
СОСТАВЛЕНИЯ УКАЗАНИЙ ПО БЕЗОПАСНОМУ ВЕДЕНИЮ ГОРНЫХ РАБОТ
НА МЕСТОРОЖДЕНИЯХ, СКЛОННЫХ И ОПАСНЫХ ПО ГОРНЫМ УДАРАМ
1. Указания по безопасному ведению горных работ на месторождении, склонном и опасном по горным ударам (далее - Указания), должны содержать следующие разделы:
титульный лист (образец приведен в настоящем
приложении);
аннотация;
введение;
общие положения;
порядок вскрытия, подготовки к выемке и отработки выемочных участков, блоков;
методы прогноза удароопасности участков массива горных пород и руд;
приведение горных выработок в неудароопасное состояние;
проведение и поддержание горных выработок.
В Указаниях не должны повторяться положения настоящих Федеральных норм и правил в области промышленной безопасности.
2. Раздел "Введение" содержит краткую геологическую и горнотехническую характеристику месторождения, его особенностей, достигнутых глубин разведанности, вскрытия и разработки, перспективу развития горных работ, характеристику тектоники, результатов геодинамического районирования, блочного строения и трещиноватости, напряженного состояния нетронутого массива, сведения о размерах зон опорного давления.
3. В разделе "Введение" приводятся сведения об удароопасности пород, глубине горных работ, по которым месторождение отнесено к склонным или опасным по горным ударам.
4. В разделе "Общие положения" должна быть четко отражена организация работ с указанием подчиненности и ответственности лиц по прогнозу и контролю удароопасности, а также по осуществлению мер предотвращения горных ударов и контролю их эффективности. Необходимо отразить порядок проведения обучения и инструктажа горняков.
В данном разделе представляется характеристика горных ударов, других геодинамических явлений, отражающих специфику геологических условий и технологии отработки месторождения.
5. В разделе "Порядок вскрытия, подготовки к выемке и отработки выемочных участков, блоков" необходимо дать рекомендации по перспективному планированию горных работ, направлениям и расположению полевых выработок, а также по порядку отработки выемочных участков и блоков, использованию опережающей защитной выемки и другим региональным и локальным мероприятиям по снижению удароопасности массива горных пород.
6. В разделе "Методы прогноза удароопасности участков массива горных пород и руд" должны быть отражены:
выполняющие работы лица и структурные подразделения, организация работ, отчетность, а также организация работ по прогнозу удароопасности участков массива горных пород и руд;
классификация участков массива горных пород и руд по удароопасности;
места и периодичность проведения прогноза удароопасности участков массива горных пород и руд;
методы и технические средства прогноза удароопасности (с номограммами определения категорий удароопасности);
основные рекомендации по осуществлению работ по прогнозу и контролю эффективности мероприятий по предотвращению удароопасности участков массива горных пород и горных выработок;
ведение документации и порядок оповещения технического руководителя предприятия (организации) о результатах прогноза;
меры безопасности при проведении работ по прогнозу удароопасности.
7. В разделе "Приведение горных выработок в неудароопасное состояние" должны быть указаны способы приведения горных выработок в неудароопасное состояние и их параметры. Необходимо отразить организацию работ и исполнителей, порядок ведения документации, а также критерии эффективности и методы ее оценки. Здесь должны быть отражены технологические особенности и технические средства для осуществления работ по приведению горных выработок и участков массива горных пород в неудароопасное состояние, а также меры безопасности при выполнении этих работ.
8. В разделе "Проведение и поддержание горных выработок" необходимо отразить:
перечень мер предотвращения горных ударов при проведении и поддержании выработок в удароопасных условиях;
меры безопасности, организацию и особенности работ по осуществлению мер предотвращения горных ударов.
9. В приложениях к Указаниям должны содержаться необходимые образцы ведения документации и отчетности, отражающие специфику месторождения, положение о Службе, утвержденное техническим руководителем предприятия (организации), а также методики прогноза и контроля удароопасности с номограммами, параметрами, нормативами и рекомендациями по условиям их применения.
10. Указания могут корректироваться и дополняться Комиссией на основании полученных результатов научных исследований и обобщения опыта ведения горных работ.
Титульный лист Указаний
┌────────────────────────────────────┬────────────────────────────────────┐
│УТВЕРЖДАЮ: │РАЗРАБОТАНО: │
│___________________________________ │___________________________________ │
│ │___________________________________ │
│Технический руководитель │____________ │
│предприятия (организации) │(наименование проектной│
│ │организации, выполняющей работы по│
│ │проблеме горных ударов на данном│
│ │месторождении (предприятии) │
│ │ │
│"__" _________ ____ г. │"__" _________ ____ г. │
│ │ │
│ │ │
│ │ │
│ │ │
│ │ │
├────────────────────────────────────┴────────────────────────────────────┤
│ УКАЗАНИЯ │
│ по безопасному ведению горных работ │
│ на месторождении, склонном и опасном по горным ударам │
│ (название месторождения, предприятия) │
│ │
└─────────────────────────────────────────────────────────────────────────┘
к Федеральным нормам и правилам
в области промышленной безопасности
"Положение по безопасному ведению
горных работ на месторождениях,
склонных и опасных по горным
ударам", утвержденным приказом
Федеральной службы по экологическому,
технологическому и атомному надзору
от 02.12.2013 N 576
(образец)
учета горных ударов, микроударов, толчков, стреляний,
интенсивных заколообразований и шелушений
N N пп | Дата проявления (число, месяц, год, смена) | Наименование выработки | Место проявления, привязка к плану горных работ (стенки, кровля, протяженность участка) | Проявления, характер и объем разрушений с привязкой к горно-технической обстановке, геологическая характеристика участка, характеристика трещиноватости (эскиз) | Влияние взрывных работ | Тип крепи и отставание ее от забоя | Форма сечения выработки до и после проявления | Мероприятия по безопасности (намеченные после проявления) | Должность, Ф.И.О. и подпись исполнителя |
1 | 2 | 3 | 4 | 5 | 6 | 7 | 8 | 9 | 10 |
| | | | | | | | | |
Книга предписаний и разрешений на ведение горных работ
N N пп | Дата, шахта, горизонт, выработка | Наименование выработки | Участок выработки | Характер проявлений и нарушений | Запрещение ведения горных работ или основные противоударные мероприятия | Должность, Ф.И.О., подпись выдавшего предписание | Должность, Ф.И.О., подпись получившего предписание | Должность, Ф.И.О., подпись о выполнении предписания |
1 | 2 | 3 | 4 | 5 | 6 | 7 | 8 | 9 |
| | | | | | | | |
прогноза и контроля эффективности
профилактических мероприятий
Дата определения (число, месяц, год, смена) | Наименование объекта (шахта, горизонт, выработка, место) | Номер скважины, точки замера | Оценка удароопасности | Параметры профилактических мероприятий | Результаты контроля мероприятий | Подпись начальника участка или Службы или их заместителей |
Азимут скважины | Угол наклона | Длина | Метод оценки и параметры | Категория удароопасности |
1 | 2 | 3 | 4 | 5 | 6 | 7 | 8 | 9 | 10 |
| | | | | | | | | |
к Федеральным нормам и правилам
в области промышленной безопасности
"Положение по безопасному ведению
горных работ на месторождениях,
склонных и опасных по горным
ударам", утвержденным приказом
Федеральной службы по экологическому,
технологическому и атомному надзору
от 02.12.2013 N 576
(горно-тектонический удар, горный удар и микроудар)
1. Рудник (шахта, объект), месторождение.
2. Дата горного удара.
3. Глубина места удара от поверхности, м.
4. Место.
5. Геологическая характеристика района горного удара, сведения о геологических нарушениях, элементах их залегания, прочностных свойствах руды и вмещающих пород.
6. Элементы залегания рудного тела и вмещающих пород.
7. Сведения о напряжениях нетронутого массива, методы и результаты прогноза степени удароопасности пород (руды) в районе горного удара до и после него.
8. Внешние признаки горного удара, их наличие.
9. Работы, выполнявшиеся перед горным ударом.
10. Сведения о применявшихся профилактических мероприятиях.
11. Сведения о системе разработки, управлении кровлей, технологии работ.
12. Сведения о горном ударе и его последствиях.
13. Причины горного удара.
14. Основные выводы комиссии, расследовавшей горный удар, и принятые решения по обеспечению безопасности дальнейшего ведения горных работ.
15. Эскиз места проявления горного удара (план, разрезы).
Главный инженер рудника (шахты)
Главный маркшейдер
Главный геолог
Начальник Службы прогноза
и предотвращения горных ударов
к Федеральным нормам и правилам
в области промышленной безопасности
"Положение по безопасному ведению
горных работ на месторождениях,
склонных и опасных по горным
ударам", утвержденным приказом
Федеральной службы по экологическому,
технологическому и атомному надзору
от 02.12.2013 N 576
МЕТОДИКА ПОСТРОЕНИЯ ГРАНИЦ ЗАЩИЩЕННЫХ ЗОН
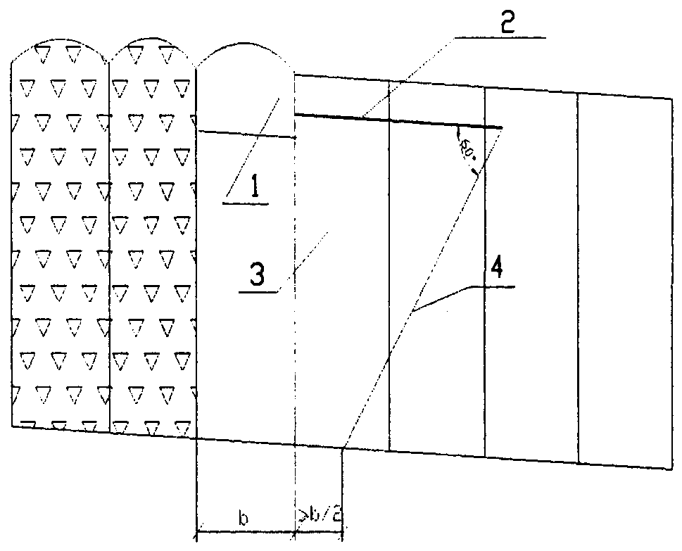
При отработке свиты рудных залежей
Для построения защищенной зоны в плоскости, перпендикулярной направлению ведения горных работ, через края выработанного пространства шириной

под углом 75° к ее поверхности проводят прямые в сторону кровли и почвы (рисунок 1).
Рисунок 1 - Построение защищенной зоны
Размеры защищенных зон в кровлю залежи

и в почву

определяют по формулам

и

.
Для защиты очистных работ

,

, но

и

не более 50 метров.
Для защиты подготовительных выработок

,

, но

и

не более 40 метров.
Коэффициент

зависит от

- отношения критической глубины

к глубине разработки защитного слоя H. При

, соответственно 0,25, 0,5, 0,7 и 1, он равен 1; 1,4; 1,6, 1,65.
При отработке одиночной рудной залежи
При отработке одиночной рудной залежи построение защищенных зон осуществляют в соответствии с рисунком 2.
Согласно рисунку в плоскости, перпендикулярной направлению горных работ, по защитному слою проводят прямую в сторону почвы (кровли) под углом защиты

, определяемым в зависимости от

. При

равном 0,4; 0,5; 0,6; 0,7; 0,8; 0,9 значение

составляет, соответственно, 20°; 35; 42; 52; 58; 64°.
Минимальную величину опережения защитного слоя C для полной защиты вынимаемых блоков (панелей, полос, лент) определяют по формуле

,

,
где n - количество защищаемых блоков (панелей, полос, лент);

- ширина защищаемого блока (панели, полосы, ленты); m - отрабатываемая мощность рудного тела.
Рисунок 2 - Построение защищенной
зоны при опережающей надработке рудного тела
I - IV - номер блока, панели, полосы, ленты
Влияние горно-геологических, тектонических и других особенностей месторождения (наличие блочного строения массива, тектонических нарушений, неоднородность напряженного поля в нетронутом массиве), а также горнотехнических условий отработки определяется Указаниями по безопасному ведению горных работ на месторождениях, склонных и опасных по горным ударам (далее - Указания). Если напряжения в нетронутом массиве преобладают над вертикальными, то построение защищенных зон осуществляют с учетом действующих главных напряжений по условию

,
где

,

- значения главных напряжений в массиве;

,

,
где

- отношение горизонтальных напряжений в нетронутом массиве к вертикальным;

- угол падения отрабатываемой залежи на разрезе вкрест простирания.
Опережающая надработка или подработка защитным слоем должна производиться параллельными выработками с оставлением временных неудароопасных податливых целиков. Размеры целиков определяются экспериментально и регламентируются Указаниями.
В начальной стадии отработки, в качестве первого приближения, состояние целиков должно быть оценено сопоставлением величин сжатия целика V по нормали с предельными значениями смещений

и

, оценки состояния целиков, по графикам, приведенным на рисунке 3 (а, б).
По графикам рисунка (а) определяется состояние целика в зависимости от ширины выработки, по графикам рисунка (б) - в зависимости от ширины целика. Опасное состояние целика наступает, когда замеряемые смещения V находятся между значениями

и

.
Замеры должны начинаться, когда ширина целика L приближается к величине

, где

- предельный размер целика. Значение

устанавливают по графику, приведенному на рисунке 4.
Рисунок 3 - Графики состояния целика
Рисунок 4 - Определение предельного размера целика
в зависимости от пролета выработанного пространства
Формирование защищенной зоны может производиться также бурением скважин большого диаметра. Для построения защищенной зоны в плоскости, перпендикулярной направлению ведения горных работ, через забои скважин к ее поверхности проводят прямые в сторону кровли или почвы рудного тела, под углом, значение которого приведено на рисунке 5.
а)
б)
Рисунок 5 - Построение защищенной зоны бурением скважин
большого диаметра по кровле (а) и почве (б) рудного тела
1 - выработка; 2 - скважина; 3 - защищенная зона;
4 - граница защищенной зоны; b - ширина ленты
Защищенная зона строится с учетом бермы безопасности, протяженность которой принимается равной не менее половины ширины вынимаемой ленты.
При формировании защищенной зоны расстояние между стенками смежных скважин не определяется Указаниями.
На участках рудного массива с ранее забуренными скважинами расстояние между стенками разгрузочных скважин для формирования защищенных зон определяется по следующей методике:
1. Определяется протяженность зоны опорного давления от ранее забуренных скважин по формуле

, м,
где

- диаметр разгрузочных скважин, м;

- модуль упругости руды, Мпа;

- коэффициент структурного ослабления рудного массива;

- коэффициент длительной прочности рудного массива;

- предел прочности горной породы на одноосное сжатие, МПа.
Значение предела прочности руды на одноосное сжатие определяется полевым пробником или механическим нагрузочным индикатором.
2. Определяется параметр, учитывающий формирование зоны пластических деформаций вокруг ранее забуренных скважин, по формуле

, м,
где

- напряженность рудного массива, которая определяется геомеханическими методами по дискованию керна или степени разрушения стенок скважины.
3. На участках рудного массива с ранее забуренными скважинами расстояние между стенками разгрузочных скважин для формирования защищенных зон определяется по формуле

, м
к Федеральным нормам и правилам
в области промышленной безопасности
"Положение по безопасному ведению
горных работ на месторождениях,
склонных и опасных по горным
ударам", утвержденным приказом
Федеральной службы по экологическому,
технологическому и атомному надзору
от 02.12.2013 N 576
РЕГИОНАЛЬНОГО ПРОГНОЗА УДАРООПАСНОСТИ МЕСТОРОЖДЕНИЙ,
СКЛОННЫХ И ОПАСНЫХ ПО ГОРНЫМ УДАРАМ
По дискованию керна на стадии геологоразведочных работ
Прогноз осуществляется в следующем порядке:
определяют среднюю толщину дисков (

) по геологоразведочным скважинам на участке интенсивного дискования керна с одновременной привязкой его по глубине скважин;
находят вертикальные и горизонтальные напряжения

,

, где

- средневзвешенный объемный вес горных пород; H - глубина до участка дискования,

- коэффициент бокового распора;
устанавливают уровень напряженности массива

по номограмме для оценки напряженного состояния пород по дискованию керна, приведенной на рисунке 6, в соответствии с полученными величинами

и

.
Месторождение относят к склонным по горным ударам, если уровень напряженности

превышает 0,8.
Рисунок 6 - Номограмма для оценки
напряженного состояния пород по дискованию керна

- средняя толщина дисков, d - диаметр дисков,

- горизонтальные напряжения,

- предел прочности
пород на сжатие
По геодинамическому районированию месторождений
Степень и характер проявления горного давления, в том числе горных ударов, находятся в прямой зависимости от напряженного состояния горного массива в период вскрытия, подготовки и отработки месторождения. Напряженное состояние массива, в свою очередь, определяется его естественным напряженным состоянием и накладывающимся на него полем напряжений, возникающим под воздействием горных работ.
Строение и напряженное состояние массива горных пород необходимо изучать методом геодинамического районирования еще до начала освоения месторождения. Этот вопрос особенно важен при разработке рудных месторождений, к которым, как правило, приурочены большие тектонические напряжения, часто в несколько раз превышающие глубину до участка дискования H. Безопасная и эффективная разработка таких месторождений должна быть обеспечена профилактическими мерами регионального порядка, исключающими излишние концентрации напряжений в горном массиве. Геодинамическое районирование месторождений предусматривает:
выявление блочной структуры горного массива в районе расположения месторождения по данным геоморфологии с выделением тектонически напряженных зон;
установление динамики взаимодействия блоков и реконструкции главных напряжений по тектоно-физическим и геологическим данным;
оценку напряженного состояния нетронутого массива расчетными методами с учетом его блочного строения;
оценку удароопасности массива и его участков по структурному анализу;
разработку основанного на результатах геодинамического районирования комплекса региональных профилактических мер по снижению удароопасности в процессе строительства и эксплуатации горных предприятий. При этом раскройка шахтных полей, расположение стволов, околоствольных и других капитальных выработок, порядок и последовательность во времени отработки рудных тел, слоев и другие вопросы должны решаться из условия обеспечения минимальных концентраций напряжений в горном массиве вблизи мест ведения горных работ.
По мере развития горных работ необходимо проводить текущий прогноз напряженного состояния массива с использованием аналитических методов расчета напряжений.
Для расчетов напряженного состояния используются: геометрические параметры горных работ, напряжения, имевшиеся до начала отработки месторождения, механические свойства вмещающих пород и полезного ископаемого, а также результаты геодинамического районирования.
По геологоразведочным данным опасных зон в районе
разрывных нарушений
Методика регионального прогноза удароопасности массива по геологоразведочным данным применяется на предприятиях, не имеющих автоматизированную систему контроля горного давления.
Региональный прогноз удароопасности по геологоразведочным данным предусматривает выявление областей, опасных по горным ударам, в пределах шахтного поля.
Для прогноза ширины удароопасного участка при отработке тектонически нарушенных залежей используются параметры зоны влияния блокообразующего разрыва, ширина зоны опорного давления впереди фронта очистных работ, либо одиночной выработки и угол наклона рудной залежи. Определение ширины удароопасного участка производится по функциональной связи вида b = f (m, Z,

, d,

), где b - ширина участка, опасного по горным ударам; f - функция; m - мощность зоны дробления разрыва, м; Z - истинная амплитуда смещения, м;

- угол падения разрыва, градус; d - ширина зоны опорного давления впереди фронта очистных работ, м;

- пролет выработанного пространства;

- угол падения рудной залежи, градус.
Функциональная связь параметров представлена в форме номограммы для прогнозирования местоположения и ширины участка, опасного по горным ударам, которая приведена на рисунке 7.
По данным систем исследования сейсмичности месторождения
Система контроля сейсмичности месторождения включает в себя сеть сейсмических пунктов, связанных в единую систему (сейсмостанцию), которая позволяет выявлять в пределах шахтного поля опасные зоны на основе непрерывной регистрации параметров сейсмической активности рудопородного массива.
Рисунок 7 - Номограмма для прогнозирования местоположения
и ширины участка, опасного по горным ударам
На предприятиях, работающих в особо сложных горногеологических условиях, они должны создаваться на шахтах и рудниках на стадиях проектирования и строительства.
Необходимость создания автоматизированной системы исследования сейсмичности месторождения определяется комиссией по горным ударам (далее - Комиссия) по представлению проектной организации, выполняющей работы по проблеме горных ударов на данном месторождении.
Автоматизированная система контроля сейсмичности предусматривает:
регистрацию количества сейсмических явлений, определение их координат и сейсмической энергии;
составление карт сейсмической активности, совмещенных с планами горных работ (карты регионального прогноза удароопасности);
определение прогнозных зон повышенного горного давления.
Данные прогноза появления зон повышенного горного давления рассматриваются Комиссией, руководством предприятия (организации) и проектной организацией, выполняющей работы по проблеме горных ударов на данном месторождении.
к Федеральным нормам и правилам
в области промышленной безопасности
"Положение по безопасному ведению
горных работ на месторождениях,
склонных и опасных по горным
ударам", утвержденным приказом
Федеральной службы по экологическому,
технологическому и атомному надзору
от 02.12.2013 N 576
ЛОКАЛЬНОГО ПРОГНОЗА УДАРООПАСНОСТИ МАССИВА ГОРНЫХ ПОРОД
Локальный прогноз удароопасности массива горных пород проводится геофизическими и геомеханическими методами.
Прогноз удароопасности массива геофизическими методами, основанными на измерении электропроводности, амплитуды акустических сигналов, акустической эмиссии или естественного электромагнитного излучения при изменении напряженного состояния горного массива, проводится после проведения опытно-промышленных испытаний с установлением критериев удароопасности и по рекомендации комиссии по горным ударам (далее - Комиссия). Опытно-промышленные испытания геофизическими методами должны проводиться в сопоставлении с базовым методом, в качестве которого для рудных и не рудных месторождений принят метод дискования керна. Критерии удароопасности, определенные геофизическими методами, должны быть сверены на сходимость с результатами базового метода и вводятся в действие решением Комиссии.
Типовые схемы замерных станций для локального прогноза удароопасности участков массива горных пород геомеханическими методами представлены на рисунке 8 (а, б).
Паспорт замерной станции для локального прогноза выработки должен включать в себя:
схему станции;
раздельные или совмещенные маркшейдерские и геологические планы и разрезы с нанесением местоположения станции (X, Y, Z в координатной системе рудника, дата и время начала и окончания бурения скважин);
пространственные параметры прогнозных скважин (длина, угол наклона, азимут, диаметр скважины) и, если есть, керна;
описание состояния выработки в непосредственной окрестности замерной станции;
формы проявления горного давления в выработке при бурении скважин.
Рисунок 8 - Типовые схемы замерных станций
для определения категории удароопасности выработки:
а - при равномерном разрушении контура выработки;
б - при хорошо выраженном месте максимального
разрушения контура
Схема станции выполняется в масштабе 1:100.
Определение категории удароопасности по дискованию керна
Метод дискования керна основан на способности керна хрупких пород разрушаться на диски под действием высоких напряжений. Чем больше величина действующих напряжений в массиве горных пород, тем меньше толщина диска.
При оценке напряженности рудного массива по дискованию керна для бурения скважин необходимо применять буровое оборудование со следующими характеристиками:
скорость вращения бурового става 350 - 450 об/мин., усилие подачи 1 МПа;
скорость бурения 1 - 2 см/мин.;
количество воды, подаваемой в скважину, 3 - 7 л/мин.
Категория удароопасности скважин по дискованию керна устанавливается по номограмме (рисунок 9) или расчетным методом.
Рисунок 9 - Номограмма для определения
категории удароопасности скважин по дискованию керна
(для скважин 59 мм; керна 42 мм):

- расстояние
от - контура выработки до максимума опорного давления, м;

- мощность приконтурной зоны разрушенных пород, м;

- наибольший размер выработки, м
Для анализа напряженности массива горных пород используются диски руд и пород, толщиной не более 1 см.
Установление категории удароопасности по номограмме проводится следующим образом.
По оси ординат номограммы откладывается отношение

длины зоны дискования

(с установленной характеристической толщиной диска) к фактической высоте

выработки:

,
по оси абсцисс отношение

расстояния от контура выработки до максимума опорного давления

за вычетом приконтурной зоны разрушенных пород

к фактической высоте

выработки:
Максимуму опорного давления соответствует середина полученного интервала с наибольшим выходом дисков. При одинаковых параметрах дискования, но различных прочностных свойствах породы положение максимума опорного давления устанавливается в наиболее прочной разновидности пород и руд.
Определение категории скважины расчетным методом основывается на следующем условии:
- категория "Опасно" в случае, если

,
- категория "Неопасно" в случае, если
Выработка относится к категории "Опасно", если в ней не менее чем в двух смежных скважинах, пробуренных по паспорту замерной станции, установлена категория "Опасно".
Прогноз удароопасности участков блоковых структур
горного массива
Метод основан на определении показателя степень объемности напряженного состояния горного массива

, имеющего блоковое строение, и представляет собой соотношение между удельной потенциальной энергией сил деформирования при изменении объема и удельной потенциальной энергией сил деформирования при формоизменении горного массива горных пород (руд).
При одноосном растяжении

= -1, при одноосном сжатии

= +1, а при чистом сдвиге

= 0. Положительное значение показателя свидетельствует о том, что массив горных пород (руд) деформируется в упруго-пластичном режиме сжатия, и чем больше его абсолютное значение, тем меньше вероятность хрупкого разрушения массива. При отрицательном значении показателя массив горных пород (руд) деформируется в упругом режиме, и чем больше его абсолютное значение, тем выше вероятность его хрупкого разрушения.
Значение показателя объемности напряженного состояния горного массива определяется по исследованию относительных деформаций стенок скважины в вертикальной и горизонтальной плоскости.
Месторасположение скважины для прогноза удароопасности блоковых структур массива горных пород (руд) определяется на основе данных геодинамического районирования, сейсмоактивности района и текущего прогноза напряженного состояния, который проводится Службой по горным ударам.
При оценке напряженности блоковых структур, имеющих морфологию тектонического шва, в форме сглаженной и плотно сомкнутой поверхности скважины бурятся с пересечением тектонического нарушения. При этом забой скважины в смежном блоке должен располагаться от плоскости тектонического нарушения на расстоянии не менее 15 м. При оценке напряженности блоковых структур, имеющих морфологию тектонического шва с зонами дробления, скважины бурятся без пересечения плоскости тектонического нарушения. При этом забои скважин в смежных блоках должны располагаться от плоскоскости тектонического нарушения на расстоянии не более 10 м. Величина показателя

, определяется для каждой точки массива по формуле

,
где:

,

- относительные деформации стенок скважины в вертикальной и горизонтальной плоскости,

- коэффициент Пуассона.
Прогноз опасного состояния блоковых структур массива горных пород (руд) проводится дифференцировано по глубине массива путем сравнения величин полученных обобщенных показателей с его критическим значением

.
Прогноз удароопасности по визуальным наблюдениям
за разрушением приконтурного массива выработок
Рассматриваемый способ применим, если напряжения в массиве высоки и способны вызвать разрушение руды и горных пород на контуре выработок.
Оценка направления действия напряжений производится на основе анализа пространственной ориентировки трещин и отслоений на контуре выработок и в скважинах. Приближенные величины напряжений оцениваются по известным значениям предела прочности пород на одноосное сжатие.
По визуальным наблюдениям можно сравнивать степень напряженности отдельных конструктивных элементов системы разработки и ориентировочно определять величину и направление действия наибольших напряжений в нетронутом массиве пород. Ориентировка участков разрушения пород в сечении выработки относительно наибольших сжимающих напряжений изображена на рисунке 10.
Визуально оценку напряжений выполняют следующим образом.
Обследуют все незакрепленные выработки, различно ориентированные в пространстве. При этом фиксируют места разрушений на контуре выработок. Дополнительно фиксируют участки разрушений контура скважин. Необходимо знать особенности проявления горного давления в момент проходки, так как при недостаточно высоких напряжениях в массиве разрушения выработок происходят лишь в момент проходки.
Рисунок 10 - Ориентировка участков разрушения
пород в сечении выработки относительно наибольших сжимающих
напряжений
Следует обращать внимание на характер разрушения пород на контуре, насколько параллельны отслаиваемые плитки контуру выработки и как согласуются поверхности отслоений с естественными поверхностями ослаблений (трещинами, слоистостью).
Места разрушений наносят на планы горных работ. Для оценки необходимо иметь рулетку и горный компас.
По разрушению приконтурного массива выработок можно приближенно оценивать величину наибольших нормальных напряжений в массиве горных пород (руд) по соотношению

,
где

- прочность пород (руд) в массиве.
При таком уровне напряженности массива необходим инструментальный прогноз категории удароопасности.
Величину максимальных нормальных напряжений на участках выработок, на которых визуально отмечено появление повышенных напряжений, можно определить по деформированию стенок скважины по формуле

, МПа,
где:

- измеренный диаметр скважины, мм;

- диаметр скважины, мм;

- предел прочности горных пород на одноосное сжатие, МПа.
к Федеральным нормам и правилам
в области промышленной безопасности
"Положение по безопасному ведению
горных работ на месторождениях,
склонных и опасных по горным
ударам", утвержденным приказом
Федеральной службы по экологическому,
технологическому и атомному надзору
от 02.12.2013 N 576
К КАМУФЛЕТНОМУ ВЗРЫВАНИЮ ПРИ ФОРМИРОВАНИИ ЗАЩИТНОЙ ЗОНЫ
В ОКРУЖАЮЩЕМ ГОРНУЮ ВЫРАБОТКУ РУДНОМ МАССИВЕ
И МАССИВЕ ГОРНЫХ ПОРОД
При проведении камуфлетного взрывания следует выполнять следующие требования:
при одновременном взрывании нескольких шпуров (скважин) должны использоваться электродетонаторы, как правило, с миллисекундным замедлением;
допуск людей к месту взрыва разрешается через 30 минут после его производства при условии соблюдения других требований законодательства Российской Федерации в области промышленной безопасности;
количество одновременно взрываемых шпуров (скважин) и параметры камуфлетного взрывания должны уточняться путем опытного взрывания и оценки его эффективности в соответствии с Указаниями по безопасному ведению горных работ на месторождении, склонном и опасном по горным ударам (далее - Указания);
камуфлетное взрывание шпуров (скважин) производить для приведения в неудароопасное состояние призабойной части массива с использованием одной из схем камуфлетного взрывания по рядам шпуров, приведенных на рисунке 11;
Рисунок 11 - Схемы камуфлетного взрывания по рядам шпуров:
а) для разгрузки от горизонтальных напряжений;
б) для разгрузки от вертикальных напряжений;
в) в восстающих выработках и вертикальных стволах;

- направление действия максимальных
нормальных напряжений
ориентировочные параметры камуфлетного взрывания ряда шпуров определяются с помощью номограммы (рисунок 12), если они не регламентированы Указаниями;
Рисунок 12 - Номограмма
для определения параметров камуфлетного
взрывания ряда шпуров (масса патронов ВВ 0,2 кг)
I - относительная длина заряжаемой части скважины;
II - расстояние до максимума напряжений, м
для создания защитной зоны в призабойной части очистных и подготовительных выработок глубина шпуров (скважин) должна быть не менее n + b, где n - минимально допустимая ширина защитной зоны, b - подвигание забоя за цикл или несколько циклов проходки.
Расстояние между шпурами (скважинами), длина заряда и режим взрывания регламентируются Указаниями. Допускается взрывание камуфлетных шпуров совместно со шпурами по отбойке породы.
Камуфлетное взрывание с компенсационными шпурами и скважинами применяется для разгрузки краевых частей массива и целиков на участках, где требуется свести к минимуму вредное воздействие взрыва, а также для создания разгрузочных щелей. Компенсационные скважины и шпуры могут быть использованы и в предыдущих схемах, приведенных на рисунке 11.
В этом случае камуфлетные и компенсационные скважины (шпуры) чередуются, как это показано на рисунке 13.
Расстояния между камуфлетными и компенсационными скважинами (шпурами) определяются по нижеприведенной таблице.
Таблица - Расстояние между камуфлетными и компенсационными
скважинами (шпурами), м
Глубина скважин (шпуров), м | Диаметр скважин, м |
| 0,043 | 0,059 | 0,076 | 0,093 | 0,105 | 0,130 |
5 | 0,27 | 0,42 | 0,58 | 0,75 | 0,86 | 1,12 |
6 | 0,25 | 0,39 | 0,55 | 0,71 | 0,83 | 1,08 |
7 | 0,24 | 0,37 | 0,52 | 0,68 | 0,80 | 1,05 |
8 | 0,23 | 0,35 | 0,50 | 0,66 | 0,77 | 1,01 |
9 | 0,22 | 0,33 | 0,48 | 0,63 | 0,74 | 0,98 |
10 | 0,20 | 0,31 | 0,46 | 0,61 | 0,72 | 0,95 |
15 | - | - | - | 0,49 | - | 0,75 |
20 | - | - | - | 0,41 | - | 0,66 |
40 | - | - | - | 0,41 | - | 0,66 |
70 | - | - | - | 0,26 | - | 0,47 |
Таблица составлена для условий равенства диаметров камуфлетных и компенсационных скважин. Коэффициент разрыхления принят равным 1,15. Средние значения исходных напряжений 75 МПа, средний модуль упругости пород

МПа, допускаемые (безопасные) напряжения составляют 70% от исходных.
Допускается увеличивать диаметр компенсационных скважин (шпуров). Расстояния между скважинами (шпурами) в этом случае могут быть увеличены.
Параметры камуфлетного взрывания (в том числе с компенсационными скважинами) принимаются на основании экспериментальных данных и регламентируются Указаниями. Длина заряда камуфлетных шпуров и скважин должна быть не менее ширины защитной зоны n и определяется опытным путем по результатам оценки эффективности.
1-й вариант
2-й вариант
Рисунок 13 - Схема применения
камуфлетных и компенсационных скважин (шпуров)
1 - камуфлетный шпур; 2 - компенсационная скважина
Камуфлетное взрывание по рядам и пучкам скважин необходимо для снижения тектонических напряжений на участках, опасных по горно-тектоническим ударам, по типовой схеме, приведенной на рисунке 14.
Рисунок 14 - Схема расположения
скважин вблизи тектонического нарушения
1 - проектируемый горизонт;

- длина скважины;

- длина заряда;

Расстояние между пучками (рядами) скважин, вес заряда и направление бурения скважин определяются экспериментально и регламентируются Указаниями.
Целью таких взрывов является разрушение жестких связей между бортами тектонических нарушений, являющихся концентраторами напряжений.
Бурение необходимо производить по более подвижному и тектонически напряженному борту нарушения.
Сотрясательное взрывание, предназначенное для инициирования горных ударов, должно производиться при отсутствии людей в опасной зоне, определяемой проектом. Одним из видов сотрясательного взрывания являются массовые взрывы.
к Федеральным нормам и правилам
в области промышленной безопасности
"Положение по безопасному ведению
горных работ на месторождениях,
склонных и опасных по горным
ударам", утвержденным приказом
Федеральной службы по экологическому,
технологическому и атомному надзору
от 02.12.2013 N 576
РАЦИОНАЛЬНЫЕ ФОРМЫ ВЫРАБОТОК
Сечение выработок следует выбирать из условия характерного разрушения массива горных пород на контуре выработки.
Если сечению выработки необходимо придать полигональную (шатровую) форму, то вершину угла (шатра) следует располагать в местах характерных разрушений выработки (стреляние, шелушение). Варианты полигональной формы поперечного сечения выработок приведены на рисунке 15.
Рисунок 15 - Полигональная форма выработок
при расположении мест разрушения: а - в кровле,
б - в стенках, в - в забое выработки, г - в сопряжении
кровли со стенкой,

- угол разрушения поперечного сечения