Главная // Актуальные документы
СПРАВКА
Источник публикации
"Бюллетень нормативных актов федеральных органов исполнительной власти", N 16, 22.04.2013 (прил. 2 к Федеральным нормам и правилам и рисунки не приводятся)
Примечание к документу
Начало действия документа - 03.05.2013.
Окончание действия документа - 31.12.2020.
Документ утратил силу с 1 января 2021 года в связи с изданием Постановления Правительства РФ от 06.08.2020 N 1192.

Текст данного документа опубликован в "Бюллетене нормативных актов федеральных органов исполнительной власти", N 16, 22.04.2013 не в полном объеме. Подробнее см. Справочную информацию.
Название документа
Приказ Ростехнадзора от 06.11.2012 N 625
"Об утверждении Федеральных норм и правил в области промышленной безопасности "Инструкция по устройству, осмотру и измерению сопротивления шахтных заземлений"
(Зарегистрировано в Минюсте России 11.02.2013 N 26976)

Приказ Ростехнадзора от 06.11.2012 N 625
"Об утверждении Федеральных норм и правил в области промышленной безопасности "Инструкция по устройству, осмотру и измерению сопротивления шахтных заземлений"
(Зарегистрировано в Минюсте России 11.02.2013 N 26976)


Содержание


Зарегистрировано в Минюсте России 11 февраля 2013 г. N 26976

ФЕДЕРАЛЬНАЯ СЛУЖБА ПО ЭКОЛОГИЧЕСКОМУ, ТЕХНОЛОГИЧЕСКОМУ
И АТОМНОМУ НАДЗОРУ
ПРИКАЗ
от 6 ноября 2012 г. N 625
ОБ УТВЕРЖДЕНИИ ФЕДЕРАЛЬНЫХ НОРМ И ПРАВИЛ
В ОБЛАСТИ ПРОМЫШЛЕННОЙ БЕЗОПАСНОСТИ "ИНСТРУКЦИЯ
ПО УСТРОЙСТВУ, ОСМОТРУ И ИЗМЕРЕНИЮ СОПРОТИВЛЕНИЯ
ШАХТНЫХ ЗАЗЕМЛЕНИЙ"
В соответствии с подпунктом 5.2.2.16(1) Положения о Федеральной службе по экологическому, технологическому и атомному надзору, утвержденного постановлением Правительства Российской Федерации от 30 июля 2004 г. N 401 (Собрание законодательства Российской Федерации, 2004, N 32, ст. 3348; 2006, N 5, ст. 544; N 23, ст. 2527, N 52, ст. 5587; 2008, N 22, ст. 2581; N 46, ст. 5337; 2009, N 6, ст. 738; N 33, ст. 4081; N 49, ст. 5976; 2010, N 9, ст. 960; N 26, ст. 3350; N 38, ст. 4835; 2011, N 6, ст. 888; N 14, ст. 1935; N 41, ст. 5750; N 50, ст. 7385), приказываю:
утвердить прилагаемые Федеральные нормы и правила в области промышленной безопасности "Инструкция по устройству, осмотру и измерению сопротивления шахтных заземлений".
Руководитель
Н.Г.КУТЬИН
Утверждены
приказом Федеральной службы
по экологическому, технологическому
и атомному надзору
от 6 ноября 2012 г. N 625
ФЕДЕРАЛЬНЫЕ НОРМЫ И ПРАВИЛА
В ОБЛАСТИ ПРОМЫШЛЕННОЙ БЕЗОПАСНОСТИ "ИНСТРУКЦИЯ
ПО УСТРОЙСТВУ, ОСМОТРУ И ИЗМЕРЕНИЮ СОПРОТИВЛЕНИЯ
ШАХТНЫХ ЗАЗЕМЛЕНИЙ"
1. Настоящие Федеральные нормы и правила в области промышленной безопасности "Инструкция по устройству, осмотру и измерению сопротивления шахтных заземлений" (далее - Инструкция) разработаны в соответствии с Федеральным законом от 21 июля 1997 г. N 116-ФЗ "О промышленной безопасности опасных производственных объектов" (Собрание законодательства Российской Федерации, 1997, N 30, ст. 3588; 2000, N 33, ст. 3348; 2003, N 2, ст. 167; 2004, N 35, ст. 3607; 2005, N 19, ст. 1752; 2006, N 52, ст. 5498; 2009, N 1, ст. 17, ст. 21, N 52, ст. 6450; 2010, N 30, ст. 4002, N 31, ст. 4195, ст. 4196; 2011, N 27, ст. 3880, N 30, ст. 4590, ст. 4591, ст. 4596, N 49, ст. 7015, ст. 7025), Правилами безопасности в угольных шахтах (ПБ 05-618-03), утвержденными постановлением Госгортехнадзора России от 5 июня 2003 г. N 50 (зарегистрировано Министерством юстиции Российской Федерации 19 июня 2003 г., регистрационный N 4737) (Российская газета, 2003, N 120/1; 2004, N 71) в редакции приказа Федеральной службы по экологическому, технологическому и атомному надзору от 20 декабря 2010 г. N 1158 (зарегистрирован Министерством юстиции Российской Федерации 15 марта 2011 г., регистрационный N 20113) (Бюллетень нормативных актов федеральных органов исполнительной власти, 2011, N 16).
2. Инструкция предназначена для специалистов организаций, занимающихся проектированием, строительством и эксплуатацией электроустановок угольных шахт, и содержит порядок:
общего построения защитного заземления шахты;
монтажа главных и местных заземлителей;
выполнения заземляющих проводников;
заземления стационарного электрооборудования;
заземления кабелей и кабельных муфт;
заземления передвижного и переносного электрооборудования;
заземления трубопроводов;
осмотра и измерения сопротивления заземляющего устройства шахты.
3. Для целей настоящей Инструкции используются термины и их определения в приложении N 1 к настоящей Инструкции.
4. Заземляющее устройство шахты состоит из главных и местных заземлителей, соединенных заземляющими проводниками в общую сеть заземления.
Посредством надежной электрической связи всех проводящих частей электрооборудования, машин и конструкций в общее заземляющее устройство обеспечивается электробезопасность и снижается вероятность искрений во взрывоопасной среде.
Принципиальная схема общего заземляющего устройства в шахте приведена в приложении N 2 к настоящей Инструкции.
5. Для связи местных и главных заземлителей используют заземляющие жилы, стальную броню и свинцовую оболочку кабелей или другие заземляющие проводники.
При применении кабелей с заземляющими жилами общую сеть заземления создают путем присоединения заземляющих жил кабелей к внутренним заземляющим зажимам электрооборудования. Электрооборудование с присоединенным бронированным кабелем с бумажной изоляцией связывают перемычками из стали сечением не менее 50 мм2 или из меди сечением не менее 25 мм2 между броней вместе со свинцовой оболочкой и корпусом электрооборудования.
6. Надежность электрических контактов в цепях заземления и механическая прочность заземляющей проводки обеспечивается выполнением требований, приведенных в приложении N 3 к настоящей Инструкции.
7. Надежность болтового соединения заземляющих проводников обеспечивается следующим:
диаметр зажима - не менее 8 мм;
контактные поверхности - не менее площади шайбы для принятого болта и должны быть зачищены;
болты и гайки снабжаются пружинными шайбами или контргайками.
Заземляющие проводники и места их соединений выполняют так, чтобы они были доступны для осмотра.
8. При установке одного заземлителя на группу заземляемых объектов сборные заземляющие проводники (шины) выполняют из стали или меди с минимальным сечением соответственно 50 или 25 мм2. Эти сборные шины подсоединяют к местному заземлителю с помощью полосы (троса). Требования к материалу и сечению полосы те же, что и к сборным шинам.
9. Каждый подлежащий заземлению объект присоединяют к сборным заземляющим проводникам (шинам) или заземлителю при помощи отдельного ответвления из стали сечением не менее 50 мм2 или из меди сечением не менее 25 мм2. Для устройств связи присоединение аппаратуры к заземлителям выполняют стальным или медным проводом сечением соответственно не менее 12 и 6 мм2.
Заземление выполняют таким образом, чтобы при отсоединении отдельных аппаратов и машин от заземления не нарушалось заземление остального оборудования.
Последовательное присоединение заземляемых объектов к сборным заземляющим проводникам или заземлителям запрещается, кроме кабельных муфт и светильников в сети стационарного освещения.
10. Главные заземлители выполняют из стальной полосы (троса) сечением не менее 100 мм2.
Для главных заземлителей в зумпфе, водосборнике или специальном колодце применяют стальные полосы площадью не менее 0,75 м2, толщиной не менее 5 мм и длиной не менее 2,5 м.
Колодцы для размещения главных заземлителей сооружают глубиной не менее 3,5 м, с прочным перекрытием, приспособлением для установки подъемного устройства, отводом от пожарного трубопровода для заполнения водой. Крепь колодца делают проницаемой для контакта воды с горным массивом.
11. Главные заземлители соединяют с заземляющим контуром (сборными заземляющими шинами) околоствольных электромашинных камер и центральной подземной подстанции. Заземляющий контур выполняют из стальной полосы сечением не менее 100 мм2.
12. При прокладке кабелей по буровым скважинам главный заземлитель сооружают на поверхности или в водосборниках шахты. При этом устраивают не менее двух главных заземлителей, резервирующих друг друга. Если скважина закреплена обсадными трубами, они используются в качестве одного из главных заземлителей.
13. Местные заземлители монтируют:
в распределительных или трансформаторных подстанциях, электромашинных камерах, за исключением центральной подземной подстанции и околоствольных электромашинных камер, заземляющие контуры которых соединены с главными заземлителями заземляющими проводниками;
у стационарных или передвижных распределительных пунктов, за исключением распределительных пунктов, установленных на платформах, ежесуточно перемещающихся по рельсам;
у отдельно установленного выключателя или распределительного устройства;
у кабельных муфт, за исключением условий отсутствия сточной канавы, металлокрепи, наличия крепких пород;
в сети стационарного освещения через каждые 100 м кабеля у муфт или светильников;
у отдельно установленных машин.
14. Местные заземлители подразделяются на естественные и искусственные. Для естественных заземлителей используют металлические элементы рамной и анкерной крепей.
Способы выполнения местного заземления приведены в приложении N 4 к настоящей Инструкции.
15. Заземление металлических оболочек стационарного электрооборудования, кабелей переменного и постоянного тока и других, подлежащих заземлению конструкций, установленных в трансформаторных, распределительных и преобразовательных подстанциях, осуществляется соединением всех заземляемых объектов (независимо от рода тока) с общим контуром заземления, оборудованным в подстанции и присоединенным к местному заземлителю и общешахтной сети заземления.
16. Заземление корпусов электрооборудования осуществляют с помощью наружного заземляющего зажима, к которому присоединяют проводник сети заземления.
На скребковых и ленточных конвейерах, перегружателях, имеющих непосредственное металлическое соединение с электрооборудованием, например, с приводным электродвигателем, производят заземление только электрооборудования.
17. Заземляющий контур в камере тяговой подстанции электровозной контактной откатки присоединяют к токоведущим рельсам, используемым в качестве обратного провода контактной сети, или к соединенному с рельсами отрицательному полюсу источника постоянного тока.
18. Заземление оболочек электрооборудования, кабелей и кабельной арматуры постоянного тока, относящихся к контактной тяговой сети, осуществляют присоединением заземляемых оболочек к рельсам, используемым в качестве обратного провода указанной сети. Корпуса электрооборудования переменного тока, имеющего металлическую связь с токоведущими рельсами электровозной контактной откатки (например, привод стрелочного перевода с электродвигателем переменного тока), присоединяют к рельсам.
Присоединение заземляющих проводников к рельсам производят с помощью специальных зажимов либо с помощью сварки. Запрещается присоединять к токоведущим рельсам трубопроводы, нетоковедущие рельсы и другие металлические предметы и конструкции.
19. Устройство заземления кабелей и кабельной арматуры приведены в приложении N 5 к настоящей Инструкции.
20. Заземление передвижного и переносного электрооборудования осуществляется путем соединения его корпусов с общей сетью заземления посредством заземляющих жил кабелей.
Заземляющие жилы кабелей присоединяют к внутренним заземляющим зажимам кабельных вводов, предусмотренным в этом электрооборудовании и в соответствующей пусковой аппаратуре.
21. Для передвижных машин и забойных конвейеров обеспечивают непрерывный автоматический контроль заземления путем использования заземляющей жилы в цепи управления. При использовании для управления машинами заземляющей жилы силового питающего кабеля искробезопасность обеспечивается только при подаче напряжения на машины.
Автоматический контроль заземления не предусматривается для передвижных машин и забойных конвейеров, имеющих два и более привода, заземление электродвигателей которых осуществляется не менее чем двумя заземляющими жилами разных силовых кабелей.
22. Для заземления металлических трубопроводов используют местные заземлители электроустановок. При этом заземляющий проводник присоединяют к трубопроводу при помощи стального хомута. Контактные поверхности трубопровода и хомута зачищают. Для присоединения заземляющих проводников используют крепежные болты трубопроводов и других конструкций.
23. Заземление металлических вентиляционных труб и трубопроводов сжатого воздуха в выработках, где не применяется электроэнергия, осуществляется в начале и в конце воздухопроводов с помощью местных заземлителей.
24. Устройство заземления металлических элементов гибких вентиляционных труб приведено в приложении N 6 к настоящей Инструкции.
25. Ежесменный осмотр всех заземляющих устройств производят в начале каждой смены лица, обслуживающие электрооборудование, а также дежурные электрослесари участка. Проверяется целостность заземляющих цепей и проводников, состояние контактов. Электроустановку включают после проверки исправности ее заземляющего устройства. После каждого ремонта электрооборудования проверяют исправность его заземления.
26. Не реже одного раза в три месяца производят наружный осмотр общей заземляющей сети шахты и измеряют общее сопротивление заземляющей сети у каждого заземлителя.
Результаты осмотра и измерений заносят в книгу регистрации состояния электрооборудования и заземления. Рекомендуемый образец книги регистрации состояния электрооборудования и заземления приведен в приложении N 7 к настоящей Инструкции.
27. При осмотре заземлений особое внимание обращают на непрерывность заземляющей цепи и состояние контактов. При ослаблении и окислении контактов зачищают контактные поверхности, затягивают болтовые соединения. Состояние контактов проверяют и перед измерением сопротивления заземлений.
28. Не реже одного раза в 6 месяцев проводят осмотр и ремонт главных заземлителей, расположенных в зумпфе и водосборнике.
29. При измерении сопротивления заземляющих устройств вспомогательные электроды устанавливают на расстоянии не менее 15 м и в разные стороны от проверяемого заземлителя на максимально возможном расстоянии от протяженных металлических объектов (трубопроводы, рельсы, металлическая крепь). В качестве вспомогательных электродов применяют стальные (желательно луженые) стержни с заостренными концами, забиваемые во влажную почву на глубину до 0,8 м.
30. Сопротивление заземления измеряют приборами в соответствии с заводскими инструкциями. В месте проведения работ по измерению сопротивления заземления контролируют содержание метана и при концентрации более 1% работы прекращают.
При установке одного местного заземлителя на группу машин или аппаратов измеряют сопротивление заземления отдельно каждого аппарата, не отсоединяя его от местного заземлителя. Измеряют общее сопротивление заземления у заземлителя и у заземляющих зажимов каждого из аппаратов. При расхождении результатов измерений проверяют надежность подсоединения заземляющих проводников.
В книге регистрации состояния электрооборудования и заземления делают одну запись, независимо от числа единиц электрооборудования, присоединенного к одному заземлителю.
Приложение N 1
к Федеральным нормам и правилам
в области промышленной безопасности
"Инструкция по устройству, осмотру
и измерению сопротивления шахтных
заземлений", утвержденным приказом
Федеральной службы по экологическому,
технологическому и атомному надзору
от 06.11.2012 N 625
ТЕРМИНЫ И ИХ ОПРЕДЕЛЕНИЯ
Защитное заземление - преднамеренное электрическое соединение с землей или ее эквивалентом металлических нетоковедущих частей, которые могут оказаться под напряжением.
Заземлитель - проводящая часть (электрод) или совокупность соединенных между собой проводящих частей, находящихся в электрическом контакте с землей непосредственно или через промежуточную проводящую среду.
Искусственный заземлитель - заземлитель, специально выполняемый для целей заземления.
Естественный заземлитель - сторонняя проводящая часть, находящаяся в электрическом контакте с землей непосредственно или через промежуточную проводящую среду, используемая для целей заземления.
Заземляющий проводник - проводник, соединяющий заземляемую часть (точку) с заземлителем.
Заземляющее устройство - преднамеренно образованная совокупность соединенных между собой заземлителей и заземляющих проводников.
Общая сеть заземления - совокупность главных и местных заземлителей и соединяющих их заземляющих проводников, предназначенных для защиты заземлением.
Приложение N 2
к Федеральным нормам и правилам
в области промышленной безопасности
"Инструкция по устройству, осмотру
и измерению сопротивления шахтных
заземлений", утвержденным приказом
Федеральной службы по экологическому,
технологическому и атомному надзору
от 06.11.2012 N 625
ПРИНЦИПИАЛЬНАЯ СХЕМА ОБЩЕГО ЗАЗЕМЛЯЮЩЕГО УСТРОЙСТВА ШАХТЫ
1 - главный заземлитель в водосборнике; 2 - комплектные распредустройства (КРУ); 3 - кабель бронированный со свинцовой оболочкой; 4 - дополнительный заземлитель; 5 - местные заземлители; 6 - кабельная муфта; 7 - трансформаторная подстанция; 8 - комбайн; 9 - кабель бронированный с заземляющей; 10 - главный заземлитель в зумпфе; жилой; 11 - магнитный пускатель; 12 - дополнительный заземлитель (ДЗ)
Приложение N 3
к Федеральным нормам и правилам
в области промышленной безопасности
"Инструкция по устройству, осмотру
и измерению сопротивления шахтных
заземлений", утвержденным приказом
Федеральной службы по экологическому,
технологическому и атомному надзору
от 06.11.2012 N 625
ТРЕБОВАНИЯ
К НАДЕЖНОСТИ ЭЛЕКТРИЧЕСКИХ КОНТАКТОВ В ЦЕПЯХ ЗАЗЕМЛЕНИЯ
И МЕХАНИЧЕСКАЯ ПРОЧНОСТЬ ЗАЗЕМЛЯЮЩЕЙ ПРОВОДКИ
1. Присоединение заземляющих проводников к заземлителям осуществляют сваркой, выполняемой на поверхности.
2. Присоединение заземляющих проводников к корпусам машин и аппаратов и к различным конструкциям, которые в процессе эксплуатации подвергаются перемещению, замене, выполняют с помощью специальных заземляющих зажимов (болтов, шпилек), предусмотренных для этой цели на корпусах электрооборудования и конструкциях.
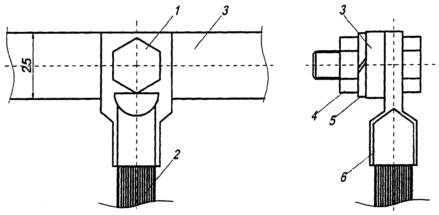
3. Присоединение заземляющих проводников к заземляющей шине осуществляется сваркой (если позволяют условия) или с помощью болтового соединения (рис. 1 и 2), или другими равноценными способами. Пример соединения двух отрезков заземляющих тросов показан на рис. 3.
Рис. 1. Схема присоединения заземляющего проводника из полосовой стали к заземляющему контуру или сборной заземляющей шине:
1 - болт; 2 - заземляющий проводник; 3 - контур или сборная шина; 4 - гайка; 5 - шайба
Рис. 2. Схема присоединения заземляющего проводника из троса к заземляющему контуру или сборной заземляющей шине:
1 - болт; 2 - трос; 3 - контур или сборная шина; 4 - гайка; 5 - шайба; 6 - наконечник
Рис. 3. Схема соединения двух отрезков заземляющих тросов
4. В машинных камерах и прочих выработках с бетонной крепью заземляющие контуры и проводники поддерживаются специальными штырями или скобами (рис. 4).
5. В выработках с деревянной крепью заземляющие проводники укрепляют стальными скобами (рис. 5).
Рис. 4. Схема крепления заземляющих проводников в камере с бетонной крепью:
1 - штырь для крепления плоских шин; 2 - шина; 3 - штырь для крепления троса; 4 - трос
Рис. 5. Схема крепления заземляющих проводников в выработке с деревянной крепью:
1 - стальная скоба; 2 - заземляющий проводник
Приложение N 4
к Федеральным нормам и правилам
в области промышленной безопасности
"Инструкция по устройству, осмотру
и измерению сопротивления шахтных
заземлений", утвержденным приказом
Федеральной службы по экологическому,
технологическому и атомному надзору
от 06.11.2012 N 625
СПОСОБЫ ВЫПОЛНЕНИЯ МЕСТНОГО ЗАЗЕМЛЕНИЯ
1. Монтаж искусственных местных заземлителей в сточных канавах производят стальными полосами площадью не менее 0,6 м2, толщиной не менее 3 мм и длиной не менее 2,5 м.
Заземлитель укладывают в горизонтальном положении в углубленном месте сточной канавы на "подушку" толщиной не менее 50 мм из песка или мелких кусков породы и сверху засыпают слоем в 150 мм из такого же материала (рис. 1).
Рис. 1. Схема расположения заземлителей в сточной канаве:
1 - заземлитель; 2 - заземляющий проводник
2. Для заземлителей в выработках, в которых нет сточной канавы, применяют стальные трубы диаметром не менее 30 мм и длиной не менее 1,5 м. Стенки труб имеют на разной высоте не менее 20 отверстий диаметром не менее 5 мм.
Трубу помещают в шпур, пробуренный вертикально или под углом до 30° от вертикальной оси на глубину не менее 1,4 м (рис. 2).
Рис. 2. Схема расположения заземлителя в шпуре
При необходимости устраивают несколько заземлителей.
Трубу, а также пространство между наружной стенкой трубы и стенкой шпура заполняют гигроскопичным материалом (песком, золой), периодически увлажняемым.
3. В качестве естественного местного заземления используют анкерную или рамную металлокрепь подземных выработок.
Анкерная крепь, применяемая в качестве местных заземлителей, по длине выработки на протяжении не менее 10 м не должна иметь видимых разрывов, а металлические подхваты и решетка должны быть плотно прижаты к горным породам. Для заземления используют анкерную крепь, установленную как в кровле, так и в бортах выработок. Запрещается выполнять заземлитель из отдельных анкеров, не связанных между собой металлической решеткой.
Перед использованием анкерной крепи для устройства заземлителя подтягивают болтовое соединение так, чтобы металлический верхняк плотно прижимал затяжку к кровле.
Присоединение заземляемого объекта или шины заземления к анкеру производят с помощью заземляющих проводников из стали или меди сечением не менее соответственно 50 и 25 мм2 (рисунок 3).
Рис. 3. Пример присоединения заземляющего проводника к анкерной крепи:
1 - анкер; 2 - металлическая сварная решетка из проволоки; 3 - металлический верхняк; 4 - натяжная гайка; 5 - дополнительная гайка; 6 - стальной наконечник; 7 - заземляющий проводник
Заземляющие проводники выполняют из стального троса, на концах которого на поверхности шахты приваривают стальные наконечники. В местах стационарной установки электрооборудования в качестве заземляющих проводников между анкерами используют специально изготовленные стяжки из уголков или полосы.
Заземляющие проводники между анкерами располагают так, чтобы ими не воспринимались усилия в случае деформации крепи под воздействием давления горных пород и не загромождались проходы для людей и транспортных средств.
4. Рамы металлокрепи, используемые в качестве местных заземлений, укомплектовывают крепежными и распорными элементами. Запрещается нарушать конструкцию металлокрепи (снимать зажимы, распорные элементы, рамы, скобы, хомуты и т.д.), а также использовать рамы крепи, подлежащие замене или демонтажу.
Используемая для этой цели рамная крепь имеет не менее 3-х секций. Заземляющий проводник присоединяют с помощью дополнительной гайки к скобе, закрепляющей звенья рамной металлокрепи (рис. 4).
Рис. 4. Пример присоединения заземляющего проводника к металлической рамной крепи:
1 - стальной наконечник; 2 - гайка; 3 - дополнительная гайка; 4 - спецпрофиль СВП; 5 - скобка; 6 - планка; 7 - межрамная стяжка; 8 - заземляющий проводник
Перед использованием рам металлокрепи для устройства заземлителя обтягиваются резьбовые соединения крепежных элементов не менее 3-х секций, прилегающих к месту заземления электрооборудования (рис. 5). Подготовку рам металлокрепи осуществляют лица электротехнического персонала, прошедшие специальный инструктаж по правилам выполнения таких работ, или горнорабочие по ремонту горных выработок.
5. Для дополнительного заземления аппаратов защиты от токов утечки используют в качестве заземлителя одну секцию рамной или анкерной металлокрепи, выбранную на удалении не менее 5 м от рам, используемых в качестве защитного заземления, или отдельный искусственный заземлитель (рис. 6).
Рис. 5. Устройства местного заземлителя с помощью рамной крепи
Рис. 6. Устройства местного заземлителя с помощью анкерной крепи:
1 - заземляющий проводник; 2 - изолированный проводник дополнительного заземления; 3 - передвижная трансформаторная подстанция; 4 - наружный заземляющий зажим; 5 - внутренний заземляющий зажим; 6 - бронированный кабель; 7 - гибкий кабель
При выполнении ремонтных работ на металлокрепи, используемой для заземления, элементы заземления присоединяют к другим рамам, на которых ремонтные работы не ведутся. Работы по перекреплению выработок в местах установки электрооборудования согласовывают с техническим руководителем шахты.
Приложение N 5
к Федеральным нормам и правилам
в области промышленной безопасности
"Инструкция по устройству, осмотру
и измерению сопротивления шахтных
заземлений", утвержденным приказом
Федеральной службы по экологическому,
технологическому и атомному надзору
от 06.11.2012 N 625
УСТРОЙСТВО ЗАЗЕМЛЕНИЯ КАБЕЛЕЙ И КАБЕЛЬНОЙ АРМАТУРЫ
1. В кабеле с бумажной изоляцией в качестве заземляющего проводника используются свинцовая оболочка и броня. При заделке данного кабеля в вводное устройство рудничного электрооборудования броню присоединяют к внешнему заземляющему зажиму, а свинцовую оболочку - к внутреннему (рис. 1).
Рис. 1. Заземление бронированного кабеля с бумажной изоляцией в вводном устройстве рудничного электрооборудования с заливкой кабельной мастикой:
1 - заземляющий хомут с зажимом; 2 - болты; 3 - зажим; 4 - стальная броня; 5 - кольцо уплотнительное; 6 - муфта; 7 - мастика; 8 - свинцовая оболочка; 9 - изоляция жилы; 10 - изоляционный диск; 11 - фланец вводной коробки; 12 - корпус вводной коробки; 13 - заземляющие зажимы; 14 - бандаж
2. Бронированные кабели с пластмассовой и резиновой изоляцией имеют заземляющую жилу, которую присоединяют к внутреннему заземляющему зажиму вводного устройства. При этом хомут на броне соединяется проводником с внутренним заземляющим зажимом.
Рис. 2. Заземление бронированного кабеля с пластмассовой изоляцией во вводном устройстве рудничного электрооборудования:
1 - кабель, 2 - нажимная скоба, 3 - муфта, 4 - болт, 5 - кольцо уплотнительное, 6 - гнездо; 7, 10 - бандажи; 8 - броня; 9 - хомут на броню для заземления; 11 - жила заземления; 12 - вспомогательная жила кабеля; 13 - силовая жила; 14 - корпус вводной камеры; 15 - внутренний зажим заземления
3. При соединении кабелей с бумажной изоляцией хомуты с двух сторон соединительной муфты имеют между собой и корпусом муфты соединение, осуществляемое с помощью стальной перемычки сечением не менее 50 мм2 или медной перемычки сечением не менее 25 мм2.
Для осветительных соединительных муфт, соединительных муфт контрольных кабелей и телефонных аппаратов перемычки выполняются сечением 12 мм2 из стали или 6 мм2 из меди.
Присоединение заземляющего проводника к соединительной муфте и к оболочкам соединяемых муфтой кабелей показан на рис. 3.
Рис. 3. Схема заземления соединительной муфты для бронированного кабеля с бумажной изоляцией:
1 - свинцовая оболочка; 2 - защитный покров; 3 - стальная броня; 4 - перемычка (выполняется цельным проводником)
При отсутствии местного заземлителя устанавливают две перемычки с отдельными хомутами, обеспечивающие соединение оболочек соединяемых кабелей между собой и с корпусом муфты.
Приложение N 6
к Федеральным нормам и правилам
в области промышленной безопасности
"Инструкция по устройству, осмотру
и измерению сопротивления шахтных
заземлений", утвержденным приказом
Федеральной службы по экологическому,
технологическому и атомному надзору
от 06.11.2012 N 625
УСТРОЙСТВО
ЗАЗЕМЛЕНИЯ МЕТАЛЛИЧЕСКИХ ЭЛЕМЕНТОВ ГИБКИХ
ВЕНТИЛЯЦИОННЫХ ТРУБ
1. Заземление металлических элементов гибких вентиляционных труб, датчиков расхода воздуха и других объектов, на которых происходит накопление статического электричества, осуществляют подвешиванием этих элементов к стальной затяжке из сварной решетки или сетки с помощью крючков (петель, колец) из проволоки диаметром не менее 5 мм (рис. 1).
Заземление металлических деталей (крючков, колец, петель, спиралей), предусмотренных в конструкции воздухопроводов из гибких вентиляционных труб, выполняют путем подвешивания их на металлическом, заземленном с обоих концов, тросе или проводе диаметром не менее 5 мм (рис. 2).
В тупиковых выработках, проводимых в условиях многолетней мерзлоты, заземление троса (провода) производят только на одном конце, используя магистраль заземления.
2. Для заземления параллельных, пересекающихся или сближенных воздухопроводов используют общие заземлители и общие заземляющие проводники. Если на расстоянии не более 100 мм от воздухопровода расположены металлические конструкции, то их присоединяют к заземлению воздухопровода.
3. Сопротивление заземляющей цепи, предназначенной для защиты только от статического электричества, не должно превышать 100 Ом.
Рис. 1. Пример устройства заземления вентиляционных труб:
1 - гибкая шахтная вентиляционная труба; 2 - элементы подвески (крючки); 3 - металлическая сварная решетка (сетка)
а)
б)
Рис. 2. Схемы присоединения металлических деталей гибких вентиляционных труб:
а) - типа М (прорезиненных); б) - типа К (капроновых)
Приложение N 7
к Федеральным нормам и правилам
в области промышленной безопасности
"Инструкция по устройству, осмотру
и измерению сопротивления шахтных
заземлений", утвержденным приказом
Федеральной службы по экологическому,
технологическому и атомному надзору
от 06.11.2012 N 625
(рекомендуемый образец)
КНИГА
РЕГИСТРАЦИИ СОСТОЯНИЯ ЭЛЕКТРООБОРУДОВАНИЯ И ЗАЗЕМЛЕНИЯ
Предприятие _____________
Начата __________________
Окончена ________________
Дата
проверки
Наименование
и место
установки
проверяемого
объекта
Результаты
осмотра и
измерений с
указанием
заводских
номеров
неисправного
оборудования и
характер
неисправностей
Необходимы
меры по
устранению
неисправностей
Фамилия и
подпись лица,
производившего
проверку
Распоряжение
главного
энергетика
(главного
механика)
шахты об
устранении
нарушений с
указанием
лица,
которому эта
работа
поручена
Отметка об
устранении и
подпись лица,
производившего
устранение
1
2
3
4
5
6
7
Пояснения к ведению книги
1. В графе 2 записывают название объекта без указания отдельных видов электрооборудования, а также наименование выработки, в которой расположен объект.
2. В графе 3 указывают общую оценку состояния всего электрооборудования и заземления, величину переходного сопротивления заземления, а также характер неисправностей, наименование и заводской номер электрооборудования, в котором обнаружены неисправности (в том числе и снижение сопротивления изоляции ниже нормы).
3. Книга хранится у главного энергетика шахты.