Главная // Актуальные документы СПРАВКА
Источник публикации
М., ЦПТИиТО ОРГРЭС, 2005
Примечание к документу
Название документа
"Методические указания по организации и проведению наблюдений за осадкой фундаментов и деформациями зданий и сооружений строящихся и эксплуатируемых тепловых электростанций. СО 153-34.21.322-2003"
(утв. Приказом Минэнерго России от 30.06.2003 N 283)
"Методические указания по организации и проведению наблюдений за осадкой фундаментов и деформациями зданий и сооружений строящихся и эксплуатируемых тепловых электростанций. СО 153-34.21.322-2003"
(утв. Приказом Минэнерго России от 30.06.2003 N 283)
Приказом Министерства энергетики
Российской Федерации
от 30 июня 2003 г. N 283
МЕТОДИЧЕСКИЕ УКАЗАНИЯ
ПО ОРГАНИЗАЦИИ И ПРОВЕДЕНИЮ НАБЛЮДЕНИЙ ЗА ОСАДКОЙ
ФУНДАМЕНТОВ И ДЕФОРМАЦИЯМИ ЗДАНИЙ И СООРУЖЕНИЙ СТРОЯЩИХСЯ
И ЭКСПЛУАТИРУЕМЫХ ТЕПЛОВЫХ ЭЛЕКТРОСТАНЦИЙ
СО 153-34.21.322-2003
1.1 Настоящие Методические указания СО 153-34.21.322-2003 содержат основные положения по организации и методике наблюдений за осадкой фундаментов, деформациями строительных конструкций зданий и сооружений тепловых электростанций (ТЭС).
1.2 Настоящие Методические указания разработаны с учетом специфики производства измерений осадки и деформаций в условиях строительства и эксплуатации ТЭС.
1.3 Инструментальные измерения за осадкой фундаментов основного оборудования, производственных зданий, гидротехнических сооружений и деформациями строительных конструкций ТЭС производятся в соответствии с
ПТЭ [1] при всех грунтовых условиях, кроме скальных, в целях определения абсолютных и относительных значений осадки, деформаций и сравнения их с допустимыми (расчетными), уточнения расчетных данных физико-механических характеристик грунтов основания, контроля состояния зданий и сооружений в процессе их возведения и эксплуатации, разработки и проведения мероприятий по предупреждению опасных деформаций.
1.4 Материалы наблюдений своевременно анализируются специалистами цехов, служб или отделов, ведающих строительством и эксплуатацией зданий и сооружений, для выявления причин и принятия мер к своевременному устранению обнаруженных дефектов.
1.5 Проект организации наблюдений за осадкой фундаментов зданий и сооружений разрабатывается проектной организацией в составе проекта строительства (реконструкции) ТЭС.
1.6 Материалы по наблюдению за осадкой в период строительства и в период эксплуатации хранятся в архиве ТЭС.
1.7 С выходом настоящих Методических указаний утрачивают силу "Методические указания по организации и проведению наблюдений за осадками фундаментов и деформациями зданий и сооружений строящихся и эксплуатируемых тепловых электростанций: РД 34.21.322-94" (М.: СПО ОРГРЭС, 1997).
2 ИЗМЕРЕНИЕ ОСАДКИ ФУНДАМЕНТОВ
Измерения осадки фундаментов зданий и сооружений производятся методом геометрического и гидростатического нивелирования. Измерения осадки (нивелирование) в период эксплуатации осуществляются с точностью, характеризующейся средней квадратической погрешностью определения осадки в слабом месте не более 1 мм (наиболее удаленной марки от исходных реперов).
Измерения осадки фундаментов в период строительства, а также земляных плотин гидротехнических сооружений производятся с точностью, характеризующейся средней квадратической погрешностью определения превышения на станции (одного штатива) не более 0,5 мм.
Инструментальные измерения осадки фундаментов зданий и сооружений необходимо начинать в период выполнения строительных работ нулевого цикла, т.е. после возведения фундаментов. Сроки проведения измерений устанавливаются проектной организацией в зависимости от характеристик грунта основания, значения ожидаемых деформаций и класса ответственности сооружения.
Наблюдения за осадкой фундаментов в период эксплуатации электростанции производятся в соответствии с ПТЭ: в первые два года эксплуатации - два раза в год, в дальнейшем до стабилизации осадки фундаментов - один раз в год, а после стабилизации осадок (1 мм в год и менее) - один раз в 5 лет.
При обнаружении очага интенсивной осадки фундаментов дальнейшее измерение осадки выполняется по специально разработанной программе в зависимости от влияния деформаций на прочность и устойчивость сооружений, а также на допустимость осадки с учетом характера технологического процесса.
2.1 Объекты для наблюдений за осадкой фундаментов
2.1.1 В процессе проектирования ТЭС разрабатывается проект наблюдения за деформациями оснований зданий и сооружений, в котором устанавливаются:
- объекты для наблюдения за осадкой;
- точность измерений;
- расположение исходных (глубинных, грунтовых) реперов;
- размещение деформационных марок на объектах;
- система обработки материалов наблюдений и форма отчетной документации.
2.1.2 К объектам, подлежащим наблюдению за осадкой, относятся:
- здания:
главный корпус ТЭС;
здания дробильных устройств;
многоэтажный административный корпус;
береговые насосные;
здания водоподготовительной установки с баками на опорах;
- сооружения:
дымовые трубы;
градирни;
опоры эстакад топливоподачи;
фундаменты под турбоагрегаты;
фундаменты под котлы;
фундаменты под дробилки;
резервуары для хранения мазута (10000 м3 и более);
плотины водохранилища.
2.1.3 Устанавливаются наблюдения за осадкой любых не упомянутых выше зданий и сооружений, в том числе гидротехнических сооружений и дамб золоотвалов, если в процессе строительства или эксплуатации в них будут обнаружены (визуально) недопустимые деформации.
2.1.4 На просадочных, закарстованных, вечномерзлых, насыпных и набухающих грунтах наблюдению за осадкой фундаментов подлежат все расположенные на них построенные объекты.
2.2.1 Измерения деформаций и осадки фундаментов зданий и сооружений производятся относительно исходных глубинных или грунтовых реперов.
В зависимости от инженерно-гидрогеологической характеристики промплощадки ТЭС устанавливаются глубинные или грунтовые реперы:
- глубинные реперы, основания которых закладываются в скальные, полускальные или другие коренные, практически несжимаемые грунты;
- грунтовые реперы, основания которых закладываются ниже глубины сезонного промерзания или перемещения грунта;
- стенные реперы, устанавливаемые на несущих конструкциях зданий и сооружений, осадка фундаментов которых практически стабилизировалась.
При наличии на строительной площадке набивных или забивных свай, верхним концом выступающих на поверхность, допускается их использование в качестве грунтовых реперов с соответствующим оформлением верхней части сваи.
2.2.2 Типы исходных реперов устанавливаются в зависимости от грунтовых условий строительной площадки:
- для участков, на которых скальные грунты залегают на глубине до 2 м, принимаются исходные реперы для скальных пород (рисунок 1). Репер закладывается в шурф непосредственно в скальный грунт;
- на участках, где скальные или другие слабосжимаемые грунты залегают глубже 2 м, закладываются глубинные реперы (рисунок 2);
- на участках с грунтами средней плотности (модуль деформации Е = 200

300 кгс/см
2) мощностью более 10 м устанавливаются реперы с бетонным монолитом (рисунок 3).
Рисунок 1 - Исходный репер для скальных грунтов
Рисунок 2 - Трубчатый глубинный репер
Репер устанавливается в шурфе на 1 м ниже глубины промерзания грунтов, но не менее 1,5 м от поверхности; на бетонный монолит размером 1,3 x 1,3 x 0,4 м устанавливается асбоцементная труба диаметром 250 мм с металлическим арматурным каркасом и заливается бетоном;
- на участках насыпных неоднородных по составу грунтов, а также заторфованных грунтов, на которых невозможно применить реперы указанных выше конструкций, могут применяться свайные реперы.
Форма, сечение и глубина забивки свай определяются специальным расчетом. Выбор типа и места установки исходных реперов производится на основании материалов инженерных изысканий.
2.2.3 Число реперов должно быть не менее трех.
Реперы размещаются:
- в стороне от проездов, подземных коммуникаций, складских и других территорий, где возможно разрушение или изменение положения репера;
- вне зоны распространения давления от здания или сооружения;
- вне пределов влияния осадочных явлений, оползневых склонов, нестабилизированных насыпей, торфяных болот, подземных выработок, карстовых образований и других неблагоприятных инженерно-геологических и гидрогеологических условий;
- на расстоянии от здания (сооружения) не менее тройной толщины слоя просадочного грунта;
- на расстоянии, исключающем влияние вибрации от транспортных средств, машин, механизмов;
- в местах, где в течение всего периода наблюдений возможен беспрепятственный и удобный подход к реперам для установки геодезических инструментов.
Конкретное расположение и конструкция реперов определяются при разработке проекта.
2.2.4 Исходные реперы закладываются не позднее чем за 2 мес. до начала наблюдений за осадкой фундаментов. После установки реперов на них должна быть передана высотная отметка от ближайших пунктов государственной нивелирной сети или от знаков местного геодезического обоснования, служивших исходными для разбивочных работ при строительстве.
Рисунок 3 - Исходный репер для грунтов средней плотности
В процессе измерения вертикальных деформаций следует контролировать устойчивость исходных реперов для каждого цикла наблюдений.
2.3 Осадочные деформационные марки
2.3.1 Осадочными марками называются геодезические знаки, укрепляемые на фундаментах, колоннах, стенах, перекрытиях и т.п., меняющие свое высотное положение вследствие осадки фундамента здания (сооружения).
Осадочные марки служат для установки или подвески нивелирных реек и определения отметок одних и тех же конструкций в каждом цикле измерения осадки.
Осадочные марки делятся на стенные, плитные и марки-конструкции.
Стенные марки устанавливаются на вертикальных гранях конструкций, плитные - на горизонтальных плоскостях, "марки-конструкции" - это детали сооружения, используемые в качестве марок.
Стенные осадочные марки по своему устройству и способу закрепления бывают трех типов: марки, закладываемые в железобетонные и бетонные конструкции, в наружные и внутренние кирпичные (блочные) стены и столбы, а также осадочные марки, устанавливаемые на стальные закладные полосы и на стальные колонны (рисунок 4,
приложение А).
В местах, где марки могут подвергаться нарушению и порче (у входов, в тесных проемах и т.д.), устанавливаются марки в виде костыля с полусферической головкой и предохранительным колпачком.
2.3.2 Плитные осадочные марки, расположенные на перекрытиях подземных сооружений, горизонтальных обрезах фундаментов и т.п., выполняются двух типов:
- марки в местах, подверженных механическим повреждениям (где возможно перемещение грузов по плите, фундаменту и пр.), делаются закрытыми;
- там, где повреждения маловероятны, марки могут состоять из одной заклепки диаметром 20 мм (без защитной коробки), заделываемой в плиту или фундамент на 100 мм с выходом головки наружу.
2.3.3 Под осадочными "марками-конструкциями" понимаются отдельные детали самих конструкций, используемые в качестве марок для нивелирования.
Рисунок 4 - Конструкции деформационных марок
Чертежи осадочных марок и их спецификация приводятся на рабочих чертежах фундаментов турбоагрегатов и дымовых труб; для всех остальных зданий и сооружений ТЭС - в проекте по организации наблюдений за осадкой.
Установленные на зданиях и сооружениях осадочные марки нумеруются несмываемой краской, привязываются к осям колонн или выступам и углам стен и наносятся на план объекта, хранящийся с материалами по наблюдению за осадкой.
Все осадочные марки независимо от их типов окрашиваются масляной краской или другим антикоррозионным составом. Окраска возобновляется каждые два года.
2.3.4 Стенные марки закладываются, как правило, на отм. 0,4 - 0,8 м, считая от уровня отмостки - для наружных марок и от уровня полов - для марок, устанавливаемых внутри помещений. Исключение составляют марки, которые могут быть закрыты оборудованием и окажутся недоступными для использования (их можно размещать на иной, удобной для наблюдения высоте, на гранях конструкций, снаружи и внутри помещений).
Высотное положение плитных осадочных марок выбирается так, чтобы они были:
- жестко связаны с фундаментом сооружения (возможно через промежуточные элементы);
- доступны для производства нивелирных работ;
- расположены в безопасных от механических повреждений местах.
Расположение осадочных марок в плане:
- в каркасных зданиях марки закладываются по периметру наружных стен по осям здания, снаружи или на внутренних колоннах каркаса. Расстояние между марками принимается, как правило, равное шагу колонн;
- в некаркасных зданиях на ленточных и отдельно стоящих фундаментах с рындбалками марки располагаются в наружных (снаружи) и внутренних стенах и колоннах - через каждые 10 - 14 м по осям фундаментов;
- во всех случаях установка осадочных марок предусматривается также по углам зданий, в осадочных швах (по обе их стороны), в местах пересечения продольных и поперечных стен, по углам (снаружи) отрезанных от основного здания башен лестничных клеток, по углам башен, возвышающихся над общим контуром здания;
- в дымовых трубах закладывается не менее 4 марок на одинаковом расстоянии по окружности трубы;
- в градирнях на колоннаде - не менее 12 марок на равном расстоянии по ее периметру;
- на резервуарах для хранения мазута - не менее 12 марок;
- на эстакадах топливоподачи - на каждой опоре по одной марке;
- в фундаментах под турбоагрегаты устанавливается не менее 6 марок при мощности турбоагрегатов менее 180 МВт и не менее 12 при мощности турбоагрегатов 180 МВт и более;
- в фундаментах под котлы - на каждой колонне каркаса котла;
- в фундаментах под питательные, циркуляционные тяжелые сетевые насосы и резервные возбудители - по 6 марок, под трансформаторы - по 4 марки;
- в фундаментах под мельницы - по одной марке на каждом фундаменте под коренные подшипники, по 2 марки - на фундаментах под редуктор с двигателем на противоположных по диагоналям углах;
- в фундаментах под дробилки - 4 марки (по одной на всех угловых стойках с лицевой стороны);
- в верхнем перекрытии насосной - 4 плитные марки (по одной на каждом углу).
Примерные схемы размещения марок приведены на рисунке 5.
2.3.5 При составлении проекта размещения деформационных марок учитываются конструкции фундаментов, распределение нагрузок, геологические и гидрогеологические условия основания. Количество марок рассчитывается из условий определения неравномерности осадки, кренов, прогибов наблюдаемых сооружений.
Рисунок 5 - Схема размещения марок в главном корпусе ГРЭС
с энергоблоками 800 МВт
Конструкции деформационных марок должны обеспечивать долговременную сохранность, устойчивость, а в случае высокоточного нивелирования иметь полусферическую головку для точного фиксирования положения рейки.
2.3.6 Местоположение марок наносится условным знаком на общую схему расположения зданий и сооружений, выполненную в масштабе 1:500 или 1:1000. Каждой марке присваивается номер, под которым в дальнейшем записываются все наблюдения, относящиеся к данной марке.
Для удобства наблюдений и обработки измерений нумерация марок на каждом сооружении (здании, фундаменте турбоагрегата, котла, градирне и т.д.) принимается по однотипной схеме и начинается с номера 1 с возрастанием нумерации по часовой стрелке. При записи наблюдений номер марки сопровождается сокращенным наименованием здания или сооружения. Например, марка 5 на здании водоподготовительной установки записывается М-5 ВПУ.
2.4 Измерение осадки (деформаций) фундаментов
2.4.1 Осадка оснований фундаментов измеряется одним из следующих методов (или их комбинированием): геометрическим, тригонометрическим, гидростатическим.
2.4.2 Геометрическое нивелирование применяется в качестве основного метода измерения вертикальных перемещений.
2.4.3 Тригонометрическое нивелирование применяется при измерениях вертикальных перемещений фундаментов в условиях резких перепадов высот (больших насыпей, глубоких котлованов, косогоров и т.п.).
2.4.4 Гидростатическое нивелирование применяется в помещениях со стабильным температурным режимом (например, в подвальной части машинного зала, где могут вестись измерения переносными гидронивелирами или устанавливаться стационарные гидростатические системы).
2.5 Геометрическое нивелирование
2.5.1 Геометрическое нивелирование реперов и марок производится высокоточными нивелирами Н-05 и им подобными по точности и инварными штриховыми рейками РН-05 длиной 3,0; 2,0; 1,2; 1,0 м, подвесными рейками с инварной шкалой, а также рейками из алюминиевого корпуса с инварной полосой.
2.5.2 Нивелирование деформационных марок производится короткими лучами от 2,0 до 25 м (для земляных плотин до 50 м) при соблюдении равенства расстояний от инструмента до реек двойным горизонтом по одной из следующих программ:
| I программа | II программа |
Первый горизонт инструмента | Зо | По | Пд | Зд | Зо | Зд | По | Пд |
Второй горизонт инструмента | По | Зо | Зд | Пд | По | Пд | Зо | Зд |
Здесь | Зо - отсчет по основной шкале задней рейки; |
Зд - отсчет по дополнительной шкале задней рейки; |
По - отсчет по основной шкале передней рейки; |
Пд - отсчет по дополнительной шкале передней рейки. |
При нивелировании в помещениях и при установке нивелира на жестком основании применяется II программа с использованием одной рейки.
2.5.3 Для измерения осадки фундаментов с точностью, характеризующейся средней квадратической погрешностью 1 мм, взаимное положение исходных глубинных реперов определяется со средней квадратической погрешностью не более 0,5 мм.
2.5.4 Между исходными реперами создается жесткая система основных ходов. Для равноточной передачи отметок на марку от цикла к циклу необходимо сохранять однотипность схемы нивелирования. Для сокращения объема измерений, обработки и получения требуемой точности необходимо разрабатывать схему основных ходов с минимальным количеством штативов.
2.5.5 Основные ходы прокладываются в наиболее благоприятных условиях для производства нивелирования. Время для прокладки ходов вне зданий выбирается с учетом использования их тени для защиты нивелира от солнечных лучей.
2.5.6 При прокладке основных ходов соблюдается равенство расстояний до реек (0,5 м). Для облегчения определения места установки нивелира расстояния могут определяться по осям зданий и сооружений. Если это исключено, то расстояния измеряются по дальномерным нитям нивелира либо рулеткой.
2.5.7 Проверка уровня нивелира и уровней реек в случае работы в условиях вибрации (машинный зал, дымососное отделение) производится ежедневно, в остальных условиях - один раз в неделю. Для удобства определения угла i нивелира на объекте работ выбираются в качестве базисных две удобные марки, удаленные одна от другой на расстояние не менее 25 м, превышение между которыми определяется путем многократных измерений. Внутри главного корпуса для этой цели могут использоваться фотошкалы, закрепленные на стенах или колоннах.
2.5.8 В течение первого часа работы до принятия нивелиром температуры окружающей среды производится нивелирование марок, не входящих в основные ходы.
2.5.9 Для определения осадки наиболее удаленных от исходных реперов фундаментов с точностью 1 мм (при mст = 0,13 мм) предельное количество штативов основного хода между исходными реперами не должно превышать 14.
2.5.10 Отметки на промежуточные марки передаются от марок основного хода. На самую удаленную от основного хода марку отметка передается максимум двумя штативами от марки основного хода, а при большем удалении прокладывается ход второго порядка или увеличивается число основных ходов.
2.5.11 Для более достоверного определения осадки фундаментов колонн каркаса главного корпуса необходимо продольные основные нивелирные ходы по машинному и котельному отделениям при наличии проходов связывать между собой поперечными ходами.
В случае отсутствия проходов устанавливаются через каждые 120 - 150 м по две марки на одной и той же колонне с двух сторон: одна со стороны машинного зала, дублирующая - со стороны котельного цеха.
2.5.12 Передача отметок при входе в машинный зал и котельное отделение (для исключения влияния разности температур и конвекции) производится несколько раз, причем нивелир каждый раз должен принять температуру окружающей среды. Для более точной передачи отметок при входе в главный корпус устанавливаются на одной и той же колонне две марки: одна - вне помещения, а дублирующая - внутри.
Для этой же цели можно использовать наклеенную на окно шкалу на прозрачной основе. Эта шкала будет служить переходной точкой при передаче отметки через стекло. Ошибка, вызванная преломлением луча при прохождении через стекло, находится в пределах

0,1 мм.
2.5.13 Для получения равноценных данных и исключения влияния сезонного колебания отметок глубинных реперов и марок, а также упрощения последующего анализа данных при годовых циклах производятся измерения в одни и те же сроки или с незначительными отклонениями по времени от установленной даты наблюдений (до месяца), а при полугодовых циклах для правильного анализа осадки сравниваются, кроме того, соответствующие сезонные измерения (лето - лето, зима - зима).
2.5.14 При работе в слабо освещенных помещениях применяется искусственное освещение шкал реек, уровней и отсчетного приспособления инструмента.
2.5.15 Для уменьшения значения ошибки из-за неправильной установки рейки на марке рекомендуется применять подпятники, у которых центр оградительного кольца лежит на оси рейки.
Для удобства удержания рейки в вертикальном положении применяются подпорки (рисунок 6). Пятка рейки должна быть чистой.
2.5.16 В качестве переходных точек применяются костыли для грунта и бетона (можно винтовые). Для исключения ошибок из-за недостаточной устойчивости переходных точек предусматривается установка дополнительных марок на рядом расположенных сооружениях и фундаментах.
2.5.17 Для уменьшения неблагоприятного влияния вибраций оборудования на нивелир применяются подкладки под ножки штатива нивелира или виброгаситель, закрепляемый на трубе нивелира или штатива. В случае асфальтового покрытия территории и пола котельного отделения подкладки используются для исключения ошибок из-за осадки штатива.
Рисунок 6 - Приспособления, применяемые
при производстве нивелирования
2.5.18 Передача отметки на марки производится до ближайшего исходного репера с точностью, характеризующейся средней квадратической погрешностью определения превышения не более 0,7 мм.
2.5.19 Подготовка инструмента к работе (исследования и поверки, компарирование реек) производится в соответствии с требованиями, приведенными в
приложении Б.
2.5.21 Расхождение значений измеренных превышений между двумя горизонтами нивелира не должно быть более 6 делений отсчетного барабана (0,3 мм), а превышений, полученных по основной и дополнительной шкалам - 4 деления (0,2 мм). При больших расхождениях измерения переделываются.
2.5.22 Допустимая невязка (мм) нивелирного хода или полигона определяется по формуле:
где n - число штативов в ходе или полигоне.
2.6 Обработка материалов геометрического нивелирования и отчетность
2.6.1 После повторной проверки журналов наблюдений составляется схема нивелирных ходов, на которую записываются средние превышения и невязки.
2.6.2 При обработке материалов измерений достаточно применять при уравнении ходов и полигонов способы эквивалентной замены, последовательных приближений или полигонов проф. В.В. Попова, обеспечивающие необходимую точность.
2.6.3 Во всех циклах измерений отметки исходных глубинных (грунтовых) реперов принимаются неизменными, если при контроле их положения изменение превышений между реперами окажется меньше ошибок измерений или одного порядка с ними. Критерием неподвижности глубинных (грунтовых) реперов служит предельное значение, мм:
где:
mст - средняя квадратическая погрешность определения превышения штатива (станции), принимаемая 0,15 мм;
n - число станций в ходе.
2.6.4 Отметки марок вычисляются с точностью до 0,01 мм, а при составлении каталога отметок и осадки записываются с точностью до 0,1 мм. Осадка фундаментов определяется как разность отметок последующего и первого циклов нивелирования. Форма каталога отметок и осадки реперов и марок приведена в
приложении Г.
2.6.5 По каталогу составляется схема со значениями осадки фундаментов на плане размещения зданий и сооружений, а в случае значительной неравномерности осадки на схему наносятся линии равной осадки через каждые 5 - 10 мм.
Рекомендуется строить графики осадки марок по осям зданий и сооружений с приведением геологического разреза основания с указанием уровня подземных вод.
2.6.6 После выполнения начального цикла измерений осадки фундаментов составляется пояснительная записка (отчет) с характеристикой глубинных (грунтовых) реперов, схемой размещения деформационных марок, нивелирных ходов, методикой нивелирования и уравнивания, оценкой точности измерений, а также каталог отметок марок и реперов.
2.6.7 По трем циклам измерений определяются значение, скорость и динамика осадки. Вычисляются среднее значение осадки сооружений, ее среднегодовая скорость, относительные прогибы и крены, наибольшая и наименьшая осадка, а по значению осадки - места возможных деформаций конструкций.
2.6.8 В отчет по измерениям осадки фундаментов включаются сведения о начале и объеме работ, краткие инженерно-геологическая и гидрогеологическая характеристики промплощадки, характеристики фундаментов и несущих конструкций главного корпуса и основных сооружений, определение степени опасности неравномерной осадки и ее влияния на деформации конструкций и работу оборудования, оценка допустимых значений, прогноз осадки и рекомендации по дальнейшим измерениям.
2.7 Гидростатическое нивелирование
2.7.1 Для гидростатического нивелирования применяется переносный шланговый гидронивелир проф. О. Мейссера (народное предприятие "Фрайберген Прецизионсмеханик" - Германия) с диапазоном измерения 100 мм с ценой деления микрометрического винта 0,01 мм, с центральным подвешиванием, а также специальной штативной установкой, позволяющей производить измерения практически независимо от длины шланга.
Для исключения температурной погрешности вводятся поправки, для чего в шланге под измерительной системой устанавливается специальный термометр, с помощью которого определяется температура столба воды. Для облегчения работ во время процесса измерения контакт острия измерительного шпинделя с уровнем жидкости определяется по потуханию электрической лампочки.
2.7.2 Гидростатический уровень модели 115-1 завода "Калибр" предназначается для измерений превышений в диапазоне

25 мм. В закрытых помещениях с постоянным температурным режимом уровень модели 115 обеспечивает измерение превышения на станции (одного штатива) со средней квадратической ошибкой около 5 - 8 мкм.
Для предохранения от нагрева головки гидронивелира модели 115-1 необходимо термоизолировать, а процесс измерений сокращать во времени.
2.7.3 Для измерения осадки и деформаций фундаментов турбоагрегатов, дымовых труб, башен градирен могут устанавливаться простейшие стационарные гидростатические системы. Простейшая гидростатическая система состоит из проложенных по периметру сооружения шланга или трубы, имеющих в наблюдаемых точках выходы (пьезометры) в виде стеклянных водомерных трубок с делениями. Измерительные сосуды (пьезометры) в гидростатических системах могут иметь последовательное соединение - разомкнутое и замкнутое. Замкнутая гидростатическая система во всех случаях предпочтительнее, так как каждый сосуд имеет двойную связь с другим и, кроме того, при изменении высоты отдельных сосудов жидкость значительно быстрее приходит в состояние статического равновесия.
2.7.4 Сосуды (пьезометры) гидростатической системы закрепляются на сооружении. В каждом цикле наблюдений берется отсчет уровня жидкости в сосудах. Разность отсчетов, взятых в различных циклах, характеризует значения осадки сосудов и, следовательно, сооружений.
2.7.5 Для устранения изменения начальной отметки поверхности жидкости вследствие вертикальных смещений отдельных сосудов в гидростатическую систему вводится компенсатор-резервуар значительного объема.
2.7.6 При измерении осадки и деформаций фундаментов турбоагрегатов ТЭС, где имеются большие тепловыделения в качестве рабочей жидкости, применяется жидкость с малым коэффициентом расширения, а также предусматривается теплоизоляция и термостабилизация рабочей жидкости.
3 ИЗМЕРЕНИЕ ДЕФОРМАЦИЙ СТРОИТЕЛЬНЫХ КОНСТРУКЦИЙ
3.1 Измерение деформаций фундаментов турбоагрегатов мощностью 180 МВт и более
3.1.1 Нормальная работа турбоагрегата обеспечивается неизменным положением опор подшипников турбоагрегата, т.е. отсутствием значительных деформаций (прогибов, кренов) верхней фундаментной плиты турбоагрегата. Одной из причин вышеуказанных деформаций является неравномерная осадка основания.
Измерения осадки и деформаций фундаментов турбоагрегатов мощностью 180 МВт и более производятся методом высокоточного геометрического или гидростатического нивелирования. Данные измерений дополняют материалы исследований центровки валопровода и вибрации турбоагрегатов при установлении причин нарушения нормальной работы турбоагрегатов.
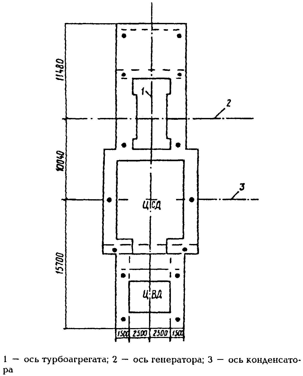
3.1.2 Установка деформационных марок предусматривается на трех уровнях: по верху нижней плиты, на отметке 0,6 м и на верхней плите (рисунок 7).
Рисунок 7 - Схема размещения марок на фундаменте
турбоагрегата мощностью 300 МВт (отметка обслуживания)
Марки по верху нижней плиты используются в период строительства фундамента турбоагрегата. В период эксплуатации используются только марки, доступные для нивелирования.
Марки на отметке 0,6 м устанавливаются на наружных гранях стоек фундамента, при этом взаимное смещение их в плане относительно марок верхнего строения не должно превышать 1 м. Расстояние между марками измеряется с точностью 1 см, производится их привязка относительно осей подшипников.
3.1.3 Для головных образцов турбоагрегатов предусматриваются дополнительно марки у корпусов подшипников на уровне горизонтального разъема цилиндров.
3.1.4 Измерения деформаций фундаментов начинаются после возведения нижней фундаментной плиты, далее они производятся после возведения колонн фундамента, после возведения верхней фундаментной плиты, а затем выполняются в такой последовательности:
- два раза в процессе монтажа турбоагрегата;
- до и после гидроиспытаний вакуумной системы;
- перед комплексными пусковыми операциями турбоагрегата на холодном фундаменте;
- в процессе эксплуатации через 0,5 - 3 мес. в зависимости от тепловых деформаций и скорости осадки.
3.1.5 Передача отметок на марки, установленные в верхнем строении фундамента турбоагрегатов, производится один раз в начале измерений с помощью нивелира и стальной рулетки. На отметке обслуживания в качестве исходных устанавливаются марки на нескольких колоннах ряда Б главного корпуса. Осадка этих же колонн на отметке 0,6 м контролируется относительно исходных глубинных (грунтовых) реперов, и поправка за их осадку вводится в отметку марок на площадке обслуживания.
3.1.6 За межремонтный период турбоагрегата (4 года) стрела прогиба нижней плиты фундамента не должна превышать 0,0001 ее длины при длине турбоагрегата в осях крайних подшипников не более 40 м и 0,00015 - при длине турбоагрегата более 40 м.
При промежуточных длинах турбоагрегата допустимое значение относительного прогиба нижней плиты принимается по интерполяции. Кривая прогиба должна быть плавной, иметь кривизну одного знака. Эти требования относятся к остывшему фундаменту и не учитывают колебаний температуры окружающей среды.
3.1.7 Измерения производятся выверенным в установленном порядке (см.
приложение Б) нивелиром с замыканием нивелирного хода на каждом фундаменте на всех отметках.
3.1.8 Для повышения точности измерений и сокращения количества штативов в ходе предусматривается закладка связующих марок с обеих сторон фундамента. Места установки нивелира во всех циклах измерений желательно выбирать одни и те же, для чего они маркируются краской.
3.1.9 По результатам нивелирования марок, установленных в нижней плите, определяется ее деформация осадочного характера, а по результатам нивелирования верхней плиты - температурные деформации фундамента и турбоагрегата.
По результатам нивелирования составляется график осадки и прогиба фундамента турбоагрегата (рисунки 8 и 9).
Рисунок 8 - Формуляр осадки и деформаций
фундамента турбоагрегата
Рисунок 9 - График осадки фундамента турбоагрегата
(отм. 0,6 м)
3.1.10 Измерение деформаций фундамента турбоагрегата методом гидростатического нивелирования производится при условии обеспечения точности (см.
пункт 3.1.6) с соблюдением рекомендаций
раздела 2.5 настоящих Методических указаний и применением стационарных гидростатических систем, установленных на нижней плите.
3.2. Измерение деформаций перекосов (поворотов) ригелей фундамента и опор подшипников турбоагрегатов
3.2.1. Деформации перекосов ригелей фундамента и опор подшипников турбоагрегатов проявляются при пусках (из холодного состояния) и остановах турбин и достигают до

3,5 мм/м (опора подшипника N 2 турбин К-300-240-1 и К-300-240-2 ПОАТ ХТЗ). Деформации перекосов приводят к задеванию роторов о гребни верхних половин обойм концевых уплотнений цилиндров, диагональным надирам баббита (или выкрашиванию) на вкладышах подшипников, нарушению равномерного перемещения стула подшипников N 1 и 2 при расширении цилиндров, росту вибрации подшипника N 1 и, как следствие этого, в ряде случаев к недопустимому прогибу роторов.
3.2.2. Максимальные деформации перекосов наблюдаются в основном на сборных железобетонных фундаментах турбоагрегатов, эксплуатирующихся длительное время. Допустимое значение перекосов составляет

0,6 мм/м.
3.2.3 Недопустимые значения перекосов могут быть вызваны следующими причинами:
- перекосом продольных шпонок опоры и их заклиниванием вследствие деформации чугунной опорной плиты в процессе эксплуатации;
- задеванием в отдельных случаях на турбинах вертикальной шпонки ЦСД за продольную шпонку опоры;
- снижением в 1,5 - 2 раза жесткости железобетонного ригеля сборного фундамента при его длительном нагреве в период эксплуатации до 100 - 200 °C (допуск 50 °C).
Недопустимо высокие температуры в зоне расположения ригеля под опорами подшипников возникают вследствие утечек пара из горизонтального разъема цилиндров и фланцев присоединения паровпускных паропроводов к цилиндрам, а также недостаточной теплоизоляции паропроводов отсоса пара из уплотнений.
3.2.4. Определение перекосов ригелей фундамента и опор подшипников производится на всех головных турбоагрегатах мощностью 180 МВт и более, а также на сборных железобетонных фундаментах турбоагрегатов мощностью свыше 180 МВт.
3.2.5 Для измерения деформаций перекосов ригелей фундамента и опор подшипников турбоагрегатов устанавливаются деформационные марки (рисунок 10).
Рисунок 10 - Размещение контрольно-измерительной аппаратуры
в ригелях фундамента турбоагрегата
Измерение температуры внешних граней ригелей фундамента производится либо термощупом, либо с помощью термоэлектрических термометров (термопар) ХК, заделанных в тело ригеля на глубину 10 - 15 см.
3.2.6 Начало измерений деформаций перекосов следует относить к холодному состоянию фундамента и турбоагрегата (окончание монтажа турбоагрегата, пуск турбоагрегата из среднего или капитального ремонта).
Измерения перекосов производятся в зависимости от температуры металла ЦВД и ЦСД, а также абсолютного расширения ЦВД и ЦСД. Измерения производятся через каждые 50 °C повышения температуры металла до температуры 200 °C, далее в зависимости от абсолютного расширения ЦВД и ЦСД вплоть до полного прогрева металла цилиндров турбоагрегата, но не более чем через 50 °C. После полного прогрева металла турбоагрегата измерения производятся один раз в сутки. Заканчиваются измерения на 10 - 14-е сутки непрерывной работы турбоагрегата, т.е. после прогрева фундамента турбоагрегата.
3.2.7 Измерение перекосов ригелей фундамента и опор подшипников турбоагрегата производится методом высокоточного геометрического нивелирования с помощью высокоточного нивелира Н-05 и ему подобных по точности и инварных штриховых реек, а также с помощью уровня модели 118 или 122 завода "Калибр".
В качестве исходной принимается марка на отметке обслуживания типа "а" или "б" (см. рисунок 4), установленная на ближайшей к фундаменту турбоагрегата колонне каркаса главного корпуса (лучше по ряду Б).
3.2.8 Погрешность получения отметок деформационных марок, установленных в ригелях и на опорах подшипников турбоагрегата, находится в пределах 0,10 - 0,15 мм, при холодном состоянии турбоагрегата - 0,10

0,20 мм на работающем турбоагрегате.
3.2.9 При измерениях, связанных с определением перекосов, фиксируются также температура металла ЦВД и ЦСД, абсолютное расширение цилиндров ЦВД и ЦСД, температура бетона ригелей, а в случае неудовлетворительного расширения цилиндров турбоагрегата - также относительное расширение роторов.
3.2.10 Обработка материалов измерений заключается в составлении каталога отметок марок, вычислении перекосов ригелей и опор подшипников (соотношение мм/м), составлении графиков.
На графиках перекосов ригелей и опор подшипников одновременно наносятся данные абсолютного расширения цилиндров и температуры металла ЦВД и ЦСД (рисунок 11).
Рисунок 11 - Деформация перекосов ригелей фундамента
турбоагрегата и опор подшипников турбины
3.3 Определение кренов инженерных сооружений башенного типа
3.3.1 Крен является наиболее характерным показателем совместной деформации сооружения башенного типа и его основания.
В сооружениях, обладающих повышенной чувствительностью к деформациям грунтов основания, крен вызывает развитие дополнительного момента, который в свою очередь способствует увеличению крена и может привести к потере устойчивости сооружения. В проектах высоких сооружений (дымовые трубы, градирни, резервуары и др.) предусматриваются наряду с наблюдениями за осадкой оснований и фундаментов натурные измерения кренов как в период строительства, так и особенно в процессе эксплуатации.
3.3.2 Крены сооружений башенного типа определяются с помощью теодолитов Т1, 2Т2 и им подобных по точности.
3.3.3 Крен сооружения может быть выражен в линейной, угловой и относительной мере.
Под линейной величиной абсолютного крена в i-м цикле наблюдений понимается отрезок между проекциями центра подошвы фундамента и центра верхнего сечения сооружения на горизонтальную плоскость. Приращение крена в линейной мере представляет собой расстояние (отрезок) между проекциями центра верхнего сечения сооружения в двух циклах наблюдений на горизонтальной плоскости.
Абсолютный крен в угловой мере определяется острым углом между отвесной линией в центре подошвы фундамента и положением оси сооружений в i-м цикле.
Относительным креном называется отношение абсолютного крена сооружения в i-м цикле к высоте сооружения.
3.3.4 В период строительства выверка вертикальности в зависимости от высоты возведенной части сооружения с требуемой точностью может быть выполнена с помощью тяжелого отвеса, зенит-прибора, способом малых углов, способом вертикального проектирования.
3.3.5 Определение крена эксплуатируемого сооружения и его последующего изменения в зависимости от требуемой точности и высоты, а также местных условий может быть осуществлено одним из следующих способов: направлений (горизонтальных углов); малых углов; зенитных расстояний; высокоточного нивелирования деформационных марок.
3.3.6 Для определения крена сооружений башенного типа в стесненных условиях (на застроенных территориях) применяется способ зенитных расстояний с применением оптической насадки на окуляр или на объектив зрительной трубы теодолита в виде прямоугольной преломляющей призмы.
3.3.7 В целях ослабления влияния ошибок, вызываемых неровностями поверхности сооружения и несимметричностью поясов относительно его оси, следует наблюдать несколько (два - три) близко расположенных по высоте сечений - верхних и нижних. За направление на центр верхнего и соответственно нижнего сечения принимается среднее из направлений на центры наблюдавшихся (двух - трех) верхних и соответственно нижних поясов.
3.3.8 При определении крена дымовых труб необходимо выявить искривления их стволов, вызванные прогарами или нарушениями технологии их возведения. Для этого подъемными винтами теодолита устанавливается вертикальная нить параллельно одной из (видимых с данного пункта) образующих ствола трубы и путем подвода ее микрометренным винтом алидады к образующей проверяется прямолинейность последней на видимом участке трубы. Вращая зрительную трубу теодолита вокруг ее оси так, чтобы вертикальная нить скользила вдоль проверяемой образующей, можно обнаружить изгиб. Аналогично проверяется противоположная образующая ствола трубы. Такие операции выполняются не менее чем на двух пунктах.
3.3.9 С каждой установки инструмента должны быть измерены горизонтальные углы на правую и левую образующие ствола трубы вверху и внизу. Для однозначного определения оси трубы на измеряемом уровне выбираются в качестве точек наведения места крепления светофорных площадок и примыкающих газоходов. Одновременно должны быть измерены вертикальные углы
(приложение Д).
3.3.10 При измерениях приращения кренов сооружений башенного типа методом направлений или малых углов теодолиты устанавливаются на расстоянии 1,5 - 2H от объекта (где H - высота), закрепляются на местности постоянными знаками и привязываются промерами к существующим зданиям и сооружениям.
Одна из точек установки располагается под углом 90° к направлению максимального крена.
3.3.11 Расстояние от точек стояния теодолита до центра трубы определяется прямой геодезической засечкой или по генплану.
3.3.12 Определение полного значения и направления крена сооружения производится методом экстраполяции после вычисления частных наклонов сооружения.
3.3.13 Допустимая погрешность определения крена по образующим ствола трубы из-за дефектов бетонирования или кладки не должна превышать 0,0005 высоты сооружения.
3.3.14 В случае обнаружения крена, превышающего допустимое значение, должны быть организованы дальнейшие наблюдения за изменениями крена как по образующим ствола трубы теодолитом, так и по неравномерности осадки марок, установленных на цоколе ствола сооружения.
3.3.15 После измерения осадки на схеме осадки фундамента сооружения проводятся линии равной осадки (рисунок 12) и по максимальной разности осадки вычисляется прирост крена

K (мм) по формуле:
где:

S - максимальная разность осадки по диаметру сооружения, мм;
H - высота сооружения, м;
D - диаметр сооружения, м.
Направление крена определяется как перпендикуляр к линиям равной осадки фундамента.
3.3.16 Погрешность определения прироста крена по измерениям осадки фундамента дымовой трубы составляет 1 см при определении разности осадки с точностью 1 мм.
Значения предельных деформаций оснований и кренов сооружений приведены в
приложении Е.
Рисунок 12 - Определение направления и прироста
значения крена трубы по осадке ее фундамента (пример)
3.4 Геодезическая съемка подкрановых путей
3.4.1 Геодезическая съемка подкрановых путей производится при сдаче подкрановых путей в эксплуатацию, а в последующем периодически, в зависимости от степени неравномерности осадки фундаментов, для выполнения рихтовки подкрановых путей.
3.4.2 Геодезическая съемка подкрановых путей включает следующие измерения:
- нивелирование подкрановых рельсов;
- определение планового положения подкрановых рельсов;
- измерение смещения рельса с оси подкрановой балки и расстояния от грани колонн до оси рельсов;
- измерение пролетов подкранового пути и мостовых кранов.
3.4.3 Нивелирование подкрановых рельсов производится нивелиром Н-3. Инструмент устанавливается на тормозной площадке подкрановых путей. Рейка устанавливается на головку рельса против середины каждой колонны при шестиметровом шаге колонн и дополнительно между колоннами при шаге колонн 12 м.
3.4.4 При длине зала свыше 100 м передача отметок с одного ряда на другой производится через каждые 70 - 100 м. Невязка в полигонах не должна превышать

3 мм.
3.4.5 Профиль подкранового пути строится в абсолютных отметках, а если невозможно передать отметку на подкрановые пути от реперов промплощадки, то в условных отметках.
3.4.6 Определение положения рельсов в плане производится теодолитом с увеличением не менее 25х и шаблоном со шкалой рисунок 13).
3.4.7 Теодолит устанавливается на штативе над головкой рельса в одном конце зала, ориентируется на визирную марку (см. рисунок 13), установленную над головкой рельса с погрешностью 1 - 2 мм в другом конце зала, после чего делаются отсчеты с погрешностью до 1 мм по шаблону, надеваемому на головку рельса против середины каждой колонны. Теодолит при этом центрируется над головкой рельса приближенно с погрешностью 1 - 2 см.
Рисунок 13 - Приспособления для плановой съемки
подкранового пути
3.4.8 При съемке подкрановых путей большой протяженности применяется способ последовательных створов. В этом случае съемка второго, третьего и т.д. створа продолжается с точки, бывшей предпоследней в предыдущем створе. Каждый частный створ ориентируется по визирной марке, установленной в конце подкранового пути и хорошо освещенной.
Вычисление и построение планового положения приведены в
приложении Ж и на рисунке 14, при этом частные створы приводятся к общему (единому) створу.
Рисунок 14 - Детальная планово-высотная геодезическая
съемка подкранового пути
3.4.9 Измерение пролетов подкранового пути и мостовых кранов производится стальной рулеткой с постоянным натяжением 70Н при пролете до 30 м и 100Н при большем пролете. Натяжение обеспечивается динамометром. Для удобства измерения один конец рулетки вкладывается в зажим-упор.
3.4.10 Измерение смещения рельса с оси подкрановой балки и расстояния от грани колонны до оси рельса производится с помощью линейки с погрешностью до 1 мм.
Построение взаимного положения колонн, балок и рельсов приведено на рисунке 14.
3.4.11 Для составления проекта рихтовки подкрановых путей измеряются расстояния от наиболее выступающих боковых частей крана до граней колонн или стен, а также от самой высокой точки крана до нижнего пояса ферм или предметов, прикрепленных к фермам.
3.4.12 Проект рихтовки подкрановых путей разрабатывается с учетом существующих допусков отклонений конструкций подкрановых путей при эксплуатации
(приложение И).
3.4.13 При отсутствии наблюдений за осадкой фундаментов по деформации подкрановых путей может быть установлена степень неравномерности осадки фундаментов здания. По профилю подкрановых путей и его изменению со временем может быть установлен очаг неравномерной осадки, а по изменению планового положения - деформации каркаса здания.
4 ИЗМЕРЕНИЕ ОСАДКИ И ДЕФОРМАЦИЙ ГИДРОТЕХНИЧЕСКИХ СООРУЖЕНИЙ ТЭС
4.1 Измерения осадки производятся на водоподпорных сооружениях: бетонных, земляных, каменно-набросных плотинах, а также береговых насосных, водозаборных и сбросных сооружениях.
4.2 Нивелирование марок гидротехнических сооружений производится с помощью нивелира Н-05 и ему подобных по точности и инварных штриховых реек. Оно осуществляется в виде прямого и обратного ходов между исходными глубинными (грунтовыми) реперами, устанавливаемыми у противоположных сторон плотин (дамб).
4.3 Измерение горизонтальных смещений гидротехнических сооружений производится методом оптических створов, измерением малых горизонтальных углов, методом микротриангуляции либо комбинированным способом.
4.4 Измерения осадки грунтовых плотин в период строительства плотины и наполнения водохранилища (шламонакопителя) производятся со следующей периодичностью: ежеквартально; в первый год после сдачи в эксплуатацию 3 раза, во второй - 2 раза; затем - ежегодно, вплоть до стабилизации (менее 0,02%H, где H - высота плотины).
4.5 В случае обнаружения в процессе эксплуатации грунтовых плотин значительных деформаций либо других неблагоприятных явлений (повышения уровня подземных вод, возникновения оползней) производятся внеочередные измерения.
4.6 Измерение осадки бетонных гидротехнических сооружений на скальном основании производится в первые 3 года эксплуатации ежегодно, в дальнейшем - 1 раз в 2 - 3 года; на сооружениях, возведенных на нескальном основании, - в первые 3 года эксплуатации 2 раза в год, в дальнейшем - 1 раз в год.
Пример размещения исходных реперов и осадочных марок приведен на рисунке 15.
В случае стабилизации осадки (1 мм в год) контрольный цикл измерений осуществляется через 5 лет.
Рисунок 15 - Схема размещения исходных реперов и осадочных
марок на гидроузле ТЭС
КОНСТРУКЦИИ ДЕФОРМАЦИОННЫХ МАРОК И СПОСОБЫ ИХ УСТАНОВКИ
Деформационная марка (см. рисунок 4 настоящих Методических указаний) состоит из головки с колпачком и штыря, на котором крепится головка с помощью электросварки.
Штырь марки типа "а" рекомендуется изготовлять из арматуры периодического профиля. Если штырь изготовлен из гладкого стержня, то для надежности его заделки необходимо сделать хвостик или наплавить электродом несколько выступов. Марка изготовляется из Ст3 (ГОСТ 380-94
[3]).
Марки устанавливаются, как правило, на 0,6 м выше планировки или уровня пола в здании с условием обеспечения свободной установки вертикальной нивелирной рейки длиной 1,2 м на репер при производстве измерений, т.е. плоскость стены или колонны выше марки не должна быть закрыта какими-либо выступающими предметами.
В кирпичные стены зданий и железобетонные конструкции марки устанавливаются на цементном растворе (желателен расширяющийся цемент) с глубиной заделки штыря марки на 11 - 14 см в заранее пробитое отверстие. Установка марок в железобетонные колонны может быть осуществлена также приваркой штыря к вскрытой арматуре с последующим восстановлением защитного слоя бетона. На металлических колоннах штырь марки приваривается электросваркой верхним и нижним швами длиной 10 - 12 см.
На металлических колоннах наибольшее применение нашла марка типа "б".
В фундаменты турбоагрегатов или гидротехнических сооружений закладывается торцевая марка типа "в".
В ПОЛЕВЫХ УСЛОВИЯХ НИВЕЛИРОВ, ПРИМЕНЯЕМЫХ
ПРИ ГЕОМЕТРИЧЕСКОМ НИВЕЛИРОВАНИИ
Требование поверки | Производство поверки | Исправление | Частота поверки | Рекомендации |
1. Оси установочных уровней должны быть перпендикулярны к оси вращения инструмента | С помощью подъемных винтов пузырьки уровней приводятся на середину, труба поворачивается на 180°. Пузырьки уровней при этом должны остаться на середине или сместиться не больше чем на одно деление | На одну половину смещения пузырек возвращается с помощью исправи тельных винтов уровней, а на другую - подъемных винтов | В начале каждой программы наблюдений | Поверка повторяется, если имели место резкие удары по штативу или прибору |
2. Вертикальная нить сетки нитей должна быть параллельна отвесной линии | Ось вращения инструмента тщательно приводится в отвесное положение. Глядя в трубу нивелира, совмещают один конец вертикальной нити с отвесной линией. При этом и вся вертикальная нить должна совпадать с отвесной линией | Сетка нитей устанавливает ся в правильное положение путем ослабления закрепительных винтов | 2 - 3 раза в год | В качестве отвесной линии может служить тонкий шнур с отвесом на расстоянии 25 - 30 м от инструмента |
3. Проекции визирной оси и оси цилиндрического уровня на горизонтальную плос кость должны быть параллельны | В 40 м от нивелира устанавливается рейка так, чтобы к ней был обращен один из подъемных винтов. Нивелир приводится в рабочее положение, и отсчет ведется по рейке; двумя другими винтами дается небольшой боковой наклон нивелиру сначала в одну, потом в другую сторону. Необходимо следить, чтобы при этом отсчет по рейке не изменился. В обоих случаях концы уровня должны не расходиться или расходиться одинаково в одну сторону | Установка уровня поправляется его горизонтальными исправительными винтами | В начале и конце каждой программы измерений | - |
4. Угол между проекциями на вертикальную плоскость визирной оси и оси цилиндри ческого уровня по абсолютному значению не должен превышать 2  4" | На горизонтальном участке выбираются две деформационные марки на расстоянии 30 м одна от другой. Определяется превышение между ними при двух горизонтах инструмента способом из середины. Переставляется инструмент так, чтобы одно плечо было равно 5, а другое 25 м. При двух горизонтах вторично определяется превышение между этими точками. Вычисляется угол i по формуле: где:  h = h 1 - h 2;  S - разность плеч, мм;  - 206265 | Труба наводится на удаленную рейку, и по ней берется отсчет. Путем прибавления к нему с учетом знака превышения вычисляется отсчет, который должен быть на ближней рейке. Барабан микрометра устанавливается по вычислительному отсчету, труба наводится на ближнюю рейку, и с помощью элевационного винта биссектор совмещается со штрихом, соответствующим вычислительному отсчету. Разошедшиеся при этом концы пузырька уровня совмещаются с помощью его вертикальных испра вительных винтов | Ежедневно при производстве работ | Место для поверхности выбирается затененное и не подверженное воздействию вибраций от оборудования |
НАБЛЮДЕНИЙ В ЖУРНАЛЕ ВЫСОКОТОЧНОГО
ГЕОМЕТРИЧЕСКОГО НИВЕЛИРОВАНИЯ
Дата _____________________________ Ход ___________________________
Погода ___________________________ Цех ___________________________
Горизонт | Задняя рейка | Превышение в полумиллиметрах | Передняя рейка | Превышение, мм |
1 | М-23 | | М-17 | |
(1) 764 180 | -702 90 (7) | 834 470 (4) | |
(2) 171 695 | -702 65 (8) | 241 960 (5) | |
(3) 592 485 | -702 78 (9) | 598 510 (6) | -351,39 (10) |
| | Среднее М-17 | -351,38 (21) |
2 | М-23 | | М-17 | |
(14) 765 120 | -702 80 (17) | 835 400 (11) | |
(15) 192 624 | -702 70 (18) | 242 895 (12) | |
(16) 592 495 | -702 75 (19) | 592 505 (13) | -351,38 (20) |
Примечания 1. Цифрами в скобках указана последовательность записи и обработки. 2. Порядок записи: рейка устанавливается на марку N 23. После записи отсчетов по основной (1) и дополнительной (2) шкалам рейки при первом горизонте нивелира подсчитывается разность (1) - (2), которая должна быть равна постоянному числу 592500 с отклонением от него в ту или другую сторону не более 20 ед. После этого рейка ставится на марку N 17. Порядок отсчетов и заполнения журнала остается тем же. Все наблюдения проводятся при двух горизонтах нивелира. Для определения превышения между маркой N 23 и маркой N 17 из числа записи (1) вычитается число записи (4) и получается запись (7). Запись (8) получается как разность записей (2) и (5), запись (9) есть среднее арифметическое значение из числа записей (7) и (8). Число записи (10) - превышение марки N 23 над маркой N 17. Оно получается от деления пополам числа записи (9), так как все отсчеты по рейке и барабану производятся в полуделениях. Из превышений между маркой N 23 и маркой N 17 первого и второго горизонтов - записи (10) и (20) - берется среднее - запись (21). |
ОТМЕТОК И ОСАДКИ ГЛУБИННЫХ РЕПЕРОВ И МАРОК, УСТАНОВЛЕННЫХ
НА ФУНДАМЕНТАХ СООРУЖЕНИЙ
Наименование объекта | Номер репера или марки | Дата начала наблюдений | Начальная отметка, мм | Осадка, мм | Отметка 06.03 г., мм | Суммарная осадка с 06.98 г. по 06.03 г., мм |
с 06.98 г. по 06.99 г. | с 06.99 г. по 06.00 г. | с 06.00 г. по 09.01 г. | с 09.01 г. по 06.03 г. |
Служебный корпус | М-1 | 06.98 г. | 93826,4 | -5,3 | -4,0 | -3,3 | -1,0 | 93812,8 | -13,6 |
М-2 | | 93677,8 | -4,7 | -4,2 | -2,5 | -0,8 | 93665,6 | -12,2 |
М-3 | | 93690,5 | -4,4 | -4,1 | -2,3 | -0,5 | 93679,2 | -11,3 |
М-4 | | 93715,8 | -6,1 | -4,4 | -2,4 | -1,2 | 93701,7 | -14,1 |
Турбогенератор N 1 | М-1 | 06.98 г. | 93558,5 | -15,1 | -11,0 | -6,3 | -3,5 | 93522,6 | -35,9 |
М-2 | | 93588,6 | -16,0 | -12,6 | -4,1 | -3,3 | 93552,6 | -36,0 |
М-3 | | 93699,2 | -14,3 | -10,3 | -4,2 | -3,1 | 93667,5 | -31,7 |
М-4 | | 93575,4 | -15,2 | -11,3 | -5,0 | -4,2 | 93539,7 | -35,7 |
М-5 | | 93476,6 | -17,0 | -11,5 | -4,3 | -3,2 | 93440,6 | -36,8 |
М-6 | | 93627,0 | -14,4 | -10,3 | -5,8 | -3,7 | 93592,8 | -34,2 |
КРЕНА ДЫМОВОЙ ТРУБЫ ПО УГЛОВЫМ ИЗМЕРЕНИЯМ И ПО РАЗНОСТИ
ОСАДКИ ЕЕ ФУНДАМЕНТА (ПРИМЕР)
Д.1 Вычисление крена по угловым измерениям
Частный крен трубы вычисляется по формуле
где Кi - частный крен трубы, мм;

- крен трубы в угловой мере по разности углов в верхнем и нижнем сечениях трубы, ";
li - расстояние от центра трубы до точки установки теодолита, м.
Например, при

= 124", l
i = 130 м, К
i = 0,49 · 124 · 1,3 = 79 мм.
Полученное значение частного крена должно быть экстраполировано на всю высоту трубы.
Согласно абрису и частному крену в 79 мм получаем значение частного крена на полную высоту трубы:
79 мм - 105 мм,
К мм - 120 м,
К120 - 90,5 мм.
Полное значение крена К и его направление получаются графическим построением в масштабе по правилу перпендикуляров от частных кренов - векторов.
Д.2 Определение прироста крена дымовой трубы по разности осадки фундамента
Прирост крена трубы по разности осадки фундамента вычисляется по формуле
где

- разность осадки, получаемая по линиям равной осадки фундамента трубы, мм;
H - высота трубы, м;
D - диаметр трубы на отметке установки деформационных марок, получаемый измерением окружности трубы рулеткой, м.
Например, при

= 14,5 мм, D = 10,250 м, H = 120,0 м
ЗНАЧЕНИЯ ПРЕДЕЛЬНЫХ ДЕФОРМАЦИЙ ОСНОВАНИЙ
Наименование и конструктивные особенности сооружений | Относительная деформация | Максимальная и средняя абсолютная осадка, см |
Вид | Значение | Вид | Значение |
1. Производственные и гражданские многоэтажные здания с полным каркасом: | | | | |
1.1. Железобетонные рамы без заполнения | Относительная разность осадки | 0,002 | Максимальная абсолютная осадка Siпр | 8 |
1.2. Стальные рамы без заполнения | То же | 0,004 | То же | 12 |
1.3. Железобетонные рамы с заполнением | -"- | 0,001 | -"- | 8 |
1.4. Стальные рамы с заполнением | -"- | 0,002 | -"- | 12 |
2. Здания и сооружения, в конструкциях которых возникают дополнительные условия от неравномерной осадки | -"- | 0,006 | -"- | 15 |
3. Многоэтажные бескаркасные здания с несущими стенами из: | | | | |
3.1. Крупных панелей | Относительный прогиб или выгиб | 0,0007 | Средняя осадка Sср.пр | 10 |
3.2. Крупных блоков и кирпичной кладки без армирования | То же | 0,001 | То же | 10 |
3.3. Крупных блоков и кирпичной кладки с армированием или железобетонными поясами | -"- | 0,0012 | -"- | 15 |
3.4. Независимо от материала стен | Крен в попе речном направлении | 0,005 | - | - |
4. Высотные жесткие сооружения: | | | | |
4.1. Сооружения элеваторов из железобетонных конструкций: | | | | |
4.1.1. Рабочее здание и силосный корпус монолитной конструкции, сблокированные на одной фундаментной плите | Поперечный и продольный крены | 0,003 | Средняя осадка Sср.пр | 40 |
4.1.2. То же сборной конструкции | То же | 0,003 | То же | 30 |
4.1.3. Отдельно стоящее рабочее здание | Поперечный крен | 0,003 | Средняя осадка Sср | 25 |
Продольный крен | 0,004 | То же | 25 |
4.1.4. Отдельно стоящий силосный корпус монолитной конструкции | Поперечный и продольный крены | 0,004 | -"- | 40 |
4.1.5. То же сборной конструкции | То же | 0,004 | -"- | 30 |
4.2. Дымовые трубы высотой Н, м: | | | | |
4.2.1. 20 | Кренiпр | 140 мм | -"- | 40 |
4.2.2. 40 | -"- | 280 мм | -"- | 40 |
4.2.3. 60 | -"- | 420 мм | -"- | 40 |
4.2.4. 80 | -"- | 550 мм | -"- | 40 |
4.2.5. 100 | -"- | 650 мм | -"- | 40 |
4.2.6. 120 | -"- | 680 мм | -"- | 30 |
4.2.7. 150 | -"- | 700 мм | -"- | 30 |
4.2.8. 200 | -"- | 700 мм | -"- | 20 |
4.2.9. 300 | -"- | 700 мм | -"- | 20 |
4.2.10. > 300 | -"- | 700 мм | -"- | 10 |
4.3. Прочие высотные (до 100 м) жесткие сооружения | -"- | 0,004 | -"- | 20 |
ВЫЧИСЛЕНИЯ ПОЛОЖЕНИЯ ОСИ РЕЛЬСА В ПЛАНЕ ПО СПОСОБУ
ПОСЛЕДОВАТЕЛЬНЫХ СТВОРОВ В СЛУЧАЕ ПРИБЛИЖЕННОГО
ЦЕНТРИРОВАНИЯ ТЕОДОЛИТА (ПРИМЕР)
N п.п. | Измеренное смещение оси рельса относительно створа I, мм | Поправка на приведение створа I к оси рельса в точке 3  , мм | Приведенный створ I к оси рельса в точке 3, мм | Измеренное смещение оси рельса относительно створа II к створу I, мм | Поправка на приведение створа II к створу I  , мм | Смещение оси рельса относительно створа, проходящего через оси рельсов конечных точек, мм |
3 | -28 | +28 | 00 | | | |
4 | -23 | +27 | +04 | | | |
5 | -32 | +26 | -06 | | | |
6 | -32 | +25 | -07 | | | |
7 | -22 | +24 | +02 | | | |
8 | -11 | +23 | +12 | | | |
9 | -13 | +22 | +09 | | | |
10 | -11 | +20 | +09 | | | |
11 | -28 | +19 | -09 | | | |
12 | -28 | +18 | -10 | | | |
13 | -27 | +17 | -10 | | | |
14 | -38 | +16 | -22 | | | |
15 | -35 | +15 | -20 | | | |
16 | -37 | +14 | -23 | | | |
17 | -47 | +13 | -35 | | | |
18 | -55 | +11 | -44 | | | |
19 | -60 | +10 | -50 | -07 | -43 | -50 |
20 | | | | -16 | -40 | -56 |
21 | | | | -15 | -38 | -53 |
22 | | | | -13 | -35 | -48 |
23 | | | | -16 | -32 | -48 |
24 | | | | -10 | -29 | -39 |
25 | | | | 00 | -26 | -26 |
26 | | | | 00 | -23 | -23 |
27 | | | | +12 | -20 | -08 |
28 | | | | +08 | -17 | -09 |
29 | | | | +11 | -14 | -03 |
30 | | | | +19 | -11 | +08 |
31 | | | | +17 | -8 | +09 |
32 | | | | +18 | -7 | +12 |
33 | | | | +08 | -3 | +05 |
34 | | | | 0 | 0 | 0 |
ОТКЛОНЕНИЙ РЕЛЬСОВЫХ ПУТЕЙ (В ПЛАНЕ И ПРОФИЛЕ)
ОТ ПРОЕКТНОГО ПОЛОЖЕНИЯ
Отклонение | Графическое изображение отклонения | Краны |
мостовые | башенные | козловые | портальные | мостовые перегружатели |
Разность отметок головок рельсов в одном поперечном сечении Р1, мм (S - размер колеи, м) | | 40 | 45 - 60 (для S = 4,5 - 6 м) | 40 | 40 | 50 |
Разность отметок рельсов на соседних колоннах Р2, мм | | 10 | - | - | - | - |
Сужение или уширение колеи рельсового пути (отклонение рельсов от проектного положения в плане) Р3, мм | | 15 | 10 | 15 | 15 | 20 |
Взаимное смещение торцов стыкуемых рельсов в плане и по высоте Р4, мм | | 2 | 3 | 2 | 2 | 2 |
Зазоры в стыках рельсов (при температуре 0 °C и длине рельса 12,5 м) Р5, мм | | 6 | 6 | 6 | 6 | 6 |
Разность отметок головок рельсов на длине 10 м рельсового пути (общая) Р6, мм | | - | 40 | 30 | 20 | 30 |
Примечания. 1. Предельные значения отклонений должны соблюдаться во время эксплуатации. Допуски на укладку должны быть указаны в проектной документации на рельсовый путь. 2. Измерения отклонений Р1 и Р2 выполняются на всем участке возможного движения крана через интервалы не более 5 м. 3. При изменении температуры на 10 °C допуск на зазор Рs изменяется на 1,5 мм. Например, зазор при температуре 20 °C должен быть уменьшен до 3 мм. 4. Отклонения для рельсовых путей козловых кранов пролетом более 30 м принимаются по нормам для мостовых перегружателей. |
СПИСОК ИСПОЛЬЗОВАННОЙ ЛИТЕРАТУРЫ
1.
Правила технической эксплуатации электрических станций и сетей Российской Федерации (ПТЭ). - М.: СПО ОРГРЭС, 2003.
2. ГОСТ 8509-93. Уголки стальные горячекатаные равнополочные. Сортамент.
3. ГОСТ 380-94. Сталь углеродистая обыкновенного качества. Марки.