Главная // Пожарная безопасность СПРАВКА
Источник публикации
В данном виде документ опубликован не был.
Первоначальный текст документа опубликован в изданиях
"Нормирование, стандартизация и сертификация в строительстве", N 2, 2013 (Приказ),
"Пожарная безопасность", N 3, 2013 (Свод правил),
"Информационный бюллетень о нормативной, методической и типовой проектной документации", N 4, 2013 (Приказ).
Информацию о публикации документов, создающих данную редакцию, см. в справке к этим документам.
Примечание к документу
Начало действия редакции - 12.09.2020 <*>.
Окончание действия редакции - 30.06.2025.
<*> Внимание! Есть неопределенность с датой начала действия редакции, связанная с исчислением срока вступления в силу изменяющего документа.
Изменение N 2, внесенное Приказом МЧС России от 12.03.2020 N 152,
введено в действие через 6 месяцев со дня издания данного документа. Подробнее см.
Справочную информацию.
Название документа
Приказ МЧС России от 21.02.2013 N 116
(ред. от 12.03.2020)
"Об утверждении свода правил СП 7.13130 "Отопление, вентиляция и кондиционирование. Требования пожарной безопасности"
Приказ МЧС России от 21.02.2013 N 116
(ред. от 12.03.2020)
"Об утверждении свода правил СП 7.13130 "Отопление, вентиляция и кондиционирование. Требования пожарной безопасности"
МИНИСТЕРСТВО РОССИЙСКОЙ ФЕДЕРАЦИИ ПО ДЕЛАМ ГРАЖДАНСКОЙ
ОБОРОНЫ, ЧРЕЗВЫЧАЙНЫМ СИТУАЦИЯМ И ЛИКВИДАЦИИ
ПОСЛЕДСТВИЙ СТИХИЙНЫХ БЕДСТВИЙ
ПРИКАЗ
от 21 февраля 2013 г. N 116
ОБ УТВЕРЖДЕНИИ СВОДА ПРАВИЛ
СП 7.13130 "ОТОПЛЕНИЕ, ВЕНТИЛЯЦИЯ И КОНДИЦИОНИРОВАНИЕ.
ТРЕБОВАНИЯ ПОЖАРНОЙ БЕЗОПАСНОСТИ"
| | Список изменяющих документов (в ред. Изменения N 1, утв. Приказом МЧС России от 27.02.2020 N 119, | |
В соответствии с Федеральным
законом от 22 июля 2008 г. N 123-ФЗ "Технический регламент о требованиях пожарной безопасности" (Собрание законодательства Российской Федерации, 2008, N 30 (ч. I), ст. 3579; 2012, N 29, ст. 3997),
Указом Президента Российской Федерации от 11 июля 2004 г. N 868 "Вопросы Министерства Российской Федерации по делам гражданской обороны, чрезвычайным ситуациям и ликвидации последствий стихийных бедствий" (Собрание законодательства Российской Федерации, 2004, N 28, ст. 2882; 2005, N 43, ст. 4376; 2008, N 17, ст. 1814, N 43, ст. 4921, N 47, ст. 5431; 2009, N 22, ст. 2697, N 51, ст. 6285; 2010, N 19, ст. 2301, N 20, ст. 2435, N 51 (ч. III), ст. 6903; 2011, N 1, ст. 193, ст. 194, N 2, ст. 267, N 40, ст. 5532; 2012, N 2, ст. 243, N 6, ст. 643, N 19, ст. 2329, N 47, ст. 6455),
постановлением Правительства Российской Федерации от 19 ноября 2008 г. N 858 "О порядке разработки и утверждения сводов правил" (Собрание законодательства Российской Федерации, 2008, N 48, ст. 5608) и в целях обеспечения соответствия отдельных положений (требований, показателей) свода правил интересам национальной экономики, состоянию материально-технической базы и научному прогрессу приказываю:
1. Утвердить и ввести в действие с 25 февраля 2013 г. прилагаемый свод правил
СП 7.13130 "Отопление, вентиляция и кондиционирование. Требования пожарной безопасности".
2. Признать утратившим силу с 25 февраля 2013 г.
приказ МЧС России от 25.03.2009 N 177 "Об утверждении свода правил СП 7.13130.2009 "Отопление, вентиляция и кондиционирование. Противопожарные требования".
Министр
В.А.ПУЧКОВ
приказом МЧС России
от 21.02.2013 N 116
СП 7.13130.2013
ОТОПЛЕНИЕ, ВЕНТИЛЯЦИЯ И КОНДИЦИОНИРОВАНИЕ
ТРЕБОВАНИЯ ПОЖАРНОЙ БЕЗОПАСНОСТИ
Heating, ventilation and conditioning
Fire safety requirements
| | Список изменяющих документов (в ред. Изменения N 1, утв. Приказом МЧС России от 27.02.2020 N 119, | |
Дата введения - 21.02.2013
Цели и принципы стандартизации в Российской Федерации установлены Федеральным
законом от 27 декабря 2002 г. N 184-ФЗ "О техническом регулировании", а правила разработки -
постановлением Правительства Российской Федерации от 19 ноября 2008 г. N 858 "О порядке разработки и утверждения сводов правил".
Применение настоящего свода правил обеспечивает соблюдение требований к системам отопления, вентиляции и кондиционирования воздуха, противодымной вентиляции зданий и сооружений, установленных Федеральным
законом от 22 июля 2008 г. N 123-ФЗ "Технический регламент о требованиях пожарной безопасности".
1. РАЗРАБОТАН И ВНЕСЕН Федеральным государственным бюджетным учреждением "Всероссийский ордена "Знак Почета" научно-исследовательский институт противопожарной обороны" (ФГБУ ВНИИПО МЧС России), ОАО "СантехНИИпроект".
2. УТВЕРЖДЕН И ВВЕДЕН В ДЕЙСТВИЕ приказом Министерства Российской Федерации по делам гражданской обороны, чрезвычайным ситуациям и ликвидации последствий стихийных бедствий (МЧС России) от 21 февраля 2013 года N 116.
3. ЗАРЕГИСТРИРОВАН Федеральным агентством по техническому регулированию и метрологии от 22 марта 2013 года.
Информация об изменениях к настоящему своду правил публикуется разработчиком в его официальных печатных изданиях и размещается в информационной системе общего пользования в электронно-цифровой форме. В случае пересмотра (замены) или отмены настоящего свода правил соответствующее уведомление будет опубликовано в ежемесячно издаваемом информационном указателе "Национальные стандарты". Соответствующая информация и уведомление размещаются также в информационной системе общего пользования на официальном сайте национального органа Российской Федерации по стандартизации в сети Интернет.
Настоящий свод правил не может быть полностью или частично воспроизведен, тиражирован и распространен в качестве официального издания без разрешения МЧС России.
1.1. Настоящий свод правил применяется при проектировании и монтаже систем отопления, вентиляции и кондиционирования воздуха, противодымной вентиляции вновь строящихся и реконструируемых зданий и сооружений.
1.2. Настоящий свод правил не распространяется на системы:
а) отопления, вентиляции и кондиционирования воздуха защитных сооружений гражданской обороны; сооружений, предназначенных для работ с радиоактивными веществами, источниками ионизирующих излучений; объектов подземных горных работ и помещений, в которых производятся, хранятся или применяются взрывчатые вещества;
б) специальных нагревающих, охлаждающих и обеспыливающих установок и устройств для технологического и электротехнического оборудования; аспирации, пневмотранспорта и пылегазоудаления от технологического оборудования и пылесосных установок.
В настоящем своде правил использованы нормативные ссылки на следующие стандарты:
ГОСТ Р 53296 - 2009 Установка лифтов для пожарных в зданиях и сооружениях. Требования пожарной безопасности
(в ред.
Изменения N 1, утв. Приказом МЧС России от 27.02.2020 N 119)
(в ред.
Изменения N 1, утв. Приказом МЧС России от 27.02.2020 N 119)
ГОСТ Р 53300 - 2009 Противодымная защита зданий и сооружений. Методы приемосдаточных и периодических испытаний
ГОСТ Р 53301-2013 Клапаны противопожарные вентиляционных систем. Метод испытаний на огнестойкость
(в ред.
Изменения N 1, утв. Приказом МЧС России от 27.02.2020 N 119)
ГОСТ Р 53302 - 2009 Оборудование противодымной защиты зданий и сооружений. Вентиляторы. Метод испытаний на огнестойкость
ГОСТ Р 53303 - 2009 Конструкции строительные. Противопожарные двери и ворота. Метод испытаний на дымогазопроницаемость
ГОСТ Р 53306 - 2009 Узлы пересечения ограждающих строительных конструкций трубопроводами из полимерных материалов. Метод испытаний на огнестойкость
Примечание - При пользовании настоящим сводом правил целесообразно проверить действие ссылочных стандартов, сводов правил и классификаторов в информационной системе общего пользования - на официальном сайте Федерального агентства по техническому регулированию и метрологии в сети Интернет или по ежегодно издаваемому информационному указателю "Национальные стандарты", который опубликован по состоянию на 1 января текущего года, и по соответствующим ежемесячно издаваемым информационным указателям, опубликованным в текущем году. Если ссылочный стандарт заменен (изменен), то при пользовании настоящим сводом правил следует руководствоваться заменяющим (измененным) стандартом. Если ссылочный стандарт отменен без замены, то положение, в котором дана ссылка на него, применяется в части, не затрагивающей эту ссылку.
В настоящем своде правил приняты следующие термины с соответствующими определениями:
3.1. воздушный затвор: Конструктивный элемент этажного ответвления воздуховода от вертикального коллектора, обеспечивающий разворот потока газов (продуктов горения), перемещаемых в воздуховоде, в противоположном (обратном) направлении для предотвращения задымления вышележащих этажей.
3.2. дымоприемное устройство: Проем или отверстие в канале системы вытяжной противодымной вентиляции с установленной в них сеткой или решеткой или с установленным в них дымовым люком или нормально закрытым противопожарным клапаном.
3.3. дымовой канал (дымовая труба): Вертикальный канал прямоугольного или круглого сечения для создания тяги и отвода дымовых газов от теплогенератора (котла), печи вверх в атмосферу.
3.4. дымоход: Канал, по которому осуществляется движение продуктов горения внутри печи.
3.5. дымоотвод: Канал для отвода дымовых газов от теплогенератора до дымового канала или наружу через стену здания.
3.6. дымовая зона: Часть помещения, защищаемая автономными системами вытяжной противодымной вентиляции, конструктивно выделенная из объема этого помещения в его верхней части при применении систем с естественным побуждением.
3.7. дымовой люк (фонарь или фрамуга): Автоматически и дистанционно управляемое устройство, перекрывающее проемы в наружных ограждающих конструкциях помещений, защищаемых вытяжной противодымной вентиляцией с естественным побуждением тяги.
3.8. клапан противопожарный: Автоматически и дистанционно управляемое устройство для перекрытия вентиляционных каналов или проемов в ограждающих строительных конструкциях зданий, имеющее предельные состояния по огнестойкости, характеризуемые потерей плотности и потерей теплоизолирующей способности:
- нормально открытый (закрываемый при пожаре);
- нормально закрытый (открываемый при пожаре или после пожара);
(в ред.
Изменения N 1, утв. Приказом МЧС России от 27.02.2020 N 119)
- двойного действия (закрываемый при пожаре и открываемый после пожара).
3.9. клапан дымовой: Клапан противопожарный нормально закрытый, имеющий предельное состояние по огнестойкости, характеризуемое только потерей плотности, и подлежащий установке непосредственно в проемах дымовых вытяжных шахт в защищаемых коридорах и холлах (далее - коридоры).
(в ред.
Изменения N 1, утв. Приказом МЧС России от 27.02.2020 N 119)
3.10. отступка: Пространство между наружной поверхностью печи или дымового канала и защищенной или незащищенной от возгорания стеной или перегородкой из горючих или трудногорючих материалов.
3.11. помещение с постоянным пребыванием людей: Помещение, в котором люди находятся непрерывно более двух часов.
3.12. помещение без естественного проветривания при пожаре: Помещение (в том числе коридор) без открываемых окон или проемов в наружных ограждающих строительных конструкциях или помещение (коридор) с открываемыми окнами или проемами площадью, недостаточной для наружного выброса продуктов горения, предотвращающего задымление этого помещения при пожаре в соответствии с положениями
пункта 8.5.
3.13. противодымная вентиляция: Регулируемый (управляемый) газообмен внутреннего объема здания при возникновении пожара в одном из его помещений, предотвращающий поражающее воздействие на людей и (или) материальные ценности распространяющихся продуктов горения, обусловливающих повышенное содержание токсичных компонентов, увеличение температуры и изменение оптической плотности воздушной среды.
3.14. противодымный экран: Автоматически и дистанционно управляемое устройство с выдвижной шторой или неподвижный конструктивный элемент из дымонепроницаемого материала группы горючести не ниже Г1 на негорючей основе (сетке, тканом полотне и т.п.), устанавливаемый в верхней части под перекрытиями защищаемых помещений или в стеновых проемах с опуском по высоте не менее толщины образующегося при пожаре дымового слоя и предназначенный для предотвращения распространения продуктов горения под межэтажными перекрытиями, через проемы в стенах и перекрытиях, а также для конструктивного выделения дымовых зон в защищаемых помещениях.
(в ред.
Изменения N 1, утв. Приказом МЧС России от 27.02.2020 N 119)
3.15. разделка: Утолщение стенки печи или дымового канала в месте соприкосновения с конструкцией здания, выполненной из горючего материала.
3.16. система противодымной вентиляции вытяжная: Автоматически и дистанционно управляемая вентиляционная система, предназначенная для удаления продуктов горения при пожаре через дымоприемное устройство наружу.
3.17. система противодымной вентиляции приточная: Автоматически и дистанционно управляемая вентиляционная система, предназначенная для предотвращения при пожаре задымления помещений зон безопасности, лестничных клеток, лифтовых шахт, тамбур-шлюзов посредством подачи наружного воздуха и создания в них избыточного давления, а также для ограничения распространения продуктов горения и возмещения объемов их удаления.
3.18. тамбур-шлюз: Объемно-планировочный элемент, предназначенный для защиты проема противопожарной преграды, выгороженный противопожарными перекрытиями и перегородками, содержащий два последовательно расположенных проема с противопожарными заполнениями или большее число аналогично заполненных проемов при принудительной подаче наружного воздуха во внутреннее выгороженное таким образом пространство - в количестве, достаточном для предотвращения его задымления при пожаре.
3.19 нижняя часть помещения (коридора): Часть помещения (коридора), защищаемого приточно-вытяжной противодымной вентиляцией, расположенная ниже дымового слоя при пожаре.
(п. 3.19 введен
Изменением N 1, утв. Приказом МЧС России от 27.02.2020 N 119)
3.20 помещение с высокой плотностью пребывания людей: Помещение площадью 50 м2 и более с постоянным или временным пребыванием людей числом более одного человека на 1 м2 площади помещений, не занятой оборудованием и предметами интерьера.
(п. 3.20 введен
Изменением N 1, утв. Приказом МЧС России от 27.02.2020 N 119)
3.21 системы противодымной тоннельной вентиляции приточно-вытяжные: Автоматически и дистанционно управляемые вентиляционные системы, предназначенные для удаления продуктов горения непосредственно из транспортного отсека тоннеля при возникновении в нем пожара и компенсирующей подачи воздуха в этот отсек с ограничением распространения в нем продуктов горения.
В зависимости от принудительного (управляемого) перемещения газовоздушных потоков в защищаемом транспортном отсеке тоннеля приточно-вытяжные системы противодымной тоннельной вентиляции проектируются в соответствии с одной из ниже приведенных схем:
- продольной схеме, при которой механически побуждаемая тяга вентиляторов вытяжных и приточных систем односторонне направлена по нормали к плоскостям проходных сечений транспортного отсека тоннеля (параллельно продольной оси этого отсека);
- поперечной схеме, при которой посредством механически побуждаемой тяги вентиляторов вытяжных и приточных систем осуществляется принудительное перемещение потоков, образующихся при пожаре продуктов горения и воздушных потоков в плоскостях проходных сечений транспортного отсека тоннеля (перпендикулярно продольной оси этого отсека);
- продольно-поперечной схеме, при которой посредством механически побуждаемой тяги вентиляторов вытяжных и приточных систем осуществляется принудительное перемещение потоков, образующихся при пожаре продуктов горения в плоскостях проходных сечений транспортного отсека тоннеля (перпендикулярно продольной оси этого отсека), а воздушных потоков - по нормали к тем же плоскостям (параллельно продольной оси того же отсека).
(п. 3.21 введен
Изменением N 1, утв. Приказом МЧС России от 27.02.2020 N 119)
4.1. В зданиях и сооружениях следует предусматривать технические решения, обеспечивающие пожаровзрывобезопасность систем отопления, вентиляции и кондиционирования.
4.2. Для всех систем противодымной вентиляции, кроме совмещенных с ними систем общеобменной вентиляции, уровни шума и вибрации действующего оборудования при пожаре или при приемосдаточных и периодических испытаниях не нормируются.
4.3. При реконструкции и техническом перевооружении действующих производственных, жилых, общественных и административно-бытовых зданий допускается использовать существующие системы отопления, вентиляции и кондиционирования, в том числе противодымной вентиляции, если они отвечают требованиям настоящих правил.
5. Пожарная безопасность систем теплоснабжения и отопления
5.1. Выбор систем внутреннего теплоснабжения и отопления с необходимыми пожарно-техническими характеристиками функциональных узлов и составных элементов, соответствующими установленным показателям комплексной безопасности (техногенной, экологической, санитарно-гигиенической и пожарной безопасности), следует предусматривать в соответствии с
[1].
5.2. Установку газоиспользующего оборудования, в том числе систем поквартирного теплоснабжения с индивидуальными теплогенераторами на газовом топливе, следует применять в соответствии с
[1] в многоквартирных жилых и общественных зданиях высотой не более 28 м.
Установка газоиспользующего оборудования в помещениях общественного питания (кухнях) на объектах защиты классов функциональной пожарной опасности Ф1.1, Ф2.1, Ф4.1 не допускается.
При применении систем поквартирного отопления и горячего водоснабжения на газовом топливе для жилых зданий с количеством этажей 6 и более, а также встроенных в них помещений общественного назначения, может применяться только газоиспользующее оборудование с закрытой камерой сгорания.
Помещения, в которых устанавливается газоиспользующее оборудование любой мощности, должны быть оснащены автоматикой безопасности, сблокированной с электромагнитными клапанами, обеспечивающими прекращение подачи топлива при:
отключении подачи электроэнергии;
неисправности цепей защиты;
погасании пламени горелки;
падении давления теплоносителя ниже предельно допустимого значения;
достижении предельно допустимой температуры теплоносителя;
достижении температуры среды в помещении при пожаре 70 °C;
срабатывании автоматической установки пожарной сигнализации (при ее наличии);
нарушении отвода дымовых газов и содержании взрывоопасных и вредных веществ (метан, оксид углерода) в воздухе помещения в количестве, превышающем 10% нижнего концентрационного предела распространения пламени или предельно-допустимой концентрации.
(п. 5.2 в ред.
Приказа МЧС России от 12.03.2020 N 152)
5.3. Печное отопление допускается предусматривать в зданиях согласно
приложению А.
5.4. Максимальная температура поверхности печей (кроме чугунного настила, дверок и других металлических печных элементов) не должна превышать:
90 °C - в помещениях детских дошкольных и амбулаторно-поликлинических учреждений;
110 °C - в других зданиях и помещениях на площади печи не более 15% от общей площади поверхности печи;
120 °C - то же, на площади печи не более 5% от общей площади поверхности печи.
В помещениях с временным пребыванием людей (кроме детских дошкольных учреждений) при установке защитных экранов допускается применять печи с температурой поверхности выше 120 °C, но не более 500 °С.
(в ред.
Изменения N 1, утв. Приказом МЧС России от 27.02.2020 N 119)
5.5. Одну печь следует предусматривать для отопления не более трех помещений, расположенных на одном этаже.
В двухэтажных зданиях допускается предусматривать двухъярусные печи с обособленными топливниками и дымовыми каналами для каждого этажа, а для двухъярусных квартир - с одной топкой на первом этаже. Применение деревянных балок в перекрытии между верхним и нижним ярусами печи не допускается.
5.6. В зданиях с печным отоплением не допускается:
а) устройство вытяжной вентиляции с механическим побуждением, не компенсированной притоком с механическим побуждением;
б) отвод дыма в вентиляционные каналы и использование для вентиляции помещений дымовых каналов и дымоотводов.
5.7. Для каждой печи следует предусматривать отдельный дымовой канал. Допускается присоединять к одной дымовой трубе две печи, расположенные в одной квартире на одном этаже. При соединении дымовых труб в них следует предусматривать рассечки высотой не менее 1 м от низа соединения труб.
5.8. Сечение дымовых труб (дымовых каналов), выполненных из глиняного кирпича или жаростойкого бетона в зависимости от тепловой мощности печи, следует принимать не менее:
140 x 140 мм - при тепловой мощности печи до 3,5 кВт;
140 x 200 мм - при тепловой мощности печи от 3,5 до 5,2 кВт;
140 x 270 мм - при тепловой мощности печи от 5,2 до 7 кВт.
Площадь сечения круглых дымовых каналов должна быть не менее площади указанных прямоугольных каналов.
5.9. На дымовых каналах печи, работающей на твердом топливе, следует предусматривать задвижки с отверстием не менее 15 x 15 мм.
5.10. Высоту дымовых труб от колосниковой решетки до устья следует принимать не менее 5 м. Высоту дымовых труб, размещаемых на расстоянии, равном или большем высоты сплошной конструкции, выступающей над кровлей, следует принимать: не менее 500 мм - над плоской кровлей; не менее 500 мм - над коньком кровли или парапетом при расположении трубы на расстоянии до 1,5 м от конька или парапета; не ниже конька кровли или парапета - при расположении дымовой трубы на расстоянии от 1,5 до 3 м от конька или парапета; не ниже линии, проведенной от конька вниз под углом 10° к горизонту, - при расположении дымовой трубы от конька на расстоянии более 3 м.
Дымовые трубы следует выводить выше кровли более высоких зданий, пристроенных к зданию с печным отоплением.
Высоту вытяжных вентиляционных каналов, расположенных рядом с дымовыми трубами, следует принимать равной высоте этих труб.
5.11. Дымовые трубы должны быть вертикальными без уступов из глиняного кирпича со стенками толщиной не менее 120 мм или из жаростойкого бетона толщиной не менее 60 мм, с карманами в основаниях глубиной 250 мм с отверстиями для очистки, закрываемыми дверками. Допускается применять дымовые каналы из хризотилоцементных (асбестоцементных) труб или сборных изделий из нержавеющей стали заводской готовности (двухслойных стальных труб с тепловой изоляцией из негорючего материала). При этом температура уходящих газов не должна превышать 300 °C для асбестоцементных труб и 400 °C для труб из нержавеющей стали.
Допускается предусматривать отводы труб под углом до 30° к вертикали с относом не более 1 м; наклонные участки должны быть гладкими, постоянного сечения, площадью не менее площади поперечного сечения вертикальных участков.
5.12. Устья дымовых труб следует защищать от атмосферных осадков. Зонты, дефлекторы и другие насадки на дымовых трубах не должны препятствовать свободному выходу дыма.
5.13. Дымовые трубы для печей на дровах и торфе на зданиях с кровлями из горючих материалов следует предусматривать с искроуловителями из металлической сетки с отверстиями размером не более 5 x 5 мм и не менее 1 x 1 мм.
5.14. Размеры разделок в утолщении стенки печи или дымового канала в месте примыкания строительных конструкций следует принимать в соответствии с
приложением Б. Разделка должна быть больше толщины перекрытия (потолка) на 70 мм. Опирать или жестко соединять разделку печи с конструкцией здания не следует.
5.15. Разделки печей и дымовых труб, установленных в проемах стен и перегородок из горючих материалов, следует предусматривать по всей высоте печи или дымовой трубы в пределах помещения. При этом толщину разделки следует принимать не менее толщины указанной стены или перегородки.
5.16. Зазоры между перекрытиями, стенами, перегородками и разделками должны быть заполнены негорючими материалами.
5.17. Отступку следует принимать в соответствии с
приложением Б, а для печей и дымовых каналов заводского изготовления - по документации завода-изготовителя. Отступки печей в зданиях детских дошкольных и амбулаторно-поликлинических учреждений должны выполняться закрытыми со стенами и покрытием из негорючих материалов.
(в ред.
Изменения N 1, утв. Приказом МЧС России от 27.02.2020 N 119)
В стенах, закрывающих отступку, следует предусматривать отверстия над полом и вверху с решетками площадью живого сечения каждой не менее 150 см2. Пол в закрытой отступке должен быть из негорючих материалов и располагаться на 70 мм выше пола помещения.
5.18. Расстояние между верхом перекрытия печи, выполненного из трех рядов кирпича, и потолком из горючих материалов, защищенным штукатуркой по стальной сетке или стальным листом по асбестовому картону толщиной 10 мм, следует принимать равным 250 мм для печей с периодической топкой и 700 мм для печей длительного горения, а при незащищенном потолке - соответственно 350 и 1000 мм. Для печей, имеющих перекрытие из двух рядов кирпича, указанные расстояния следует увеличивать в 1,5 раза.
Расстояние между верхом металлической печи с теплоизолированным перекрытием и защищенным потолком следует принимать равным 800 мм, а для печи с нетеплоизолированным перекрытием и незащищенным потолком - 1200 мм.
5.19. Пространство между перекрытием (перекрышей) теплоемкой печи и потолком из горючих материалов допускается закрывать со всех сторон кирпичными стенками. Толщину перекрытия печи при этом следует увеличивать до четырех рядов кирпичной кладки, а расстояние от потолка принимать в соответствии с положениями
пункта 5.20. В стенах закрытого пространства над печью следует предусматривать два отверстия на разном уровне с решетками, имеющими площадь живого сечения каждая не менее 150 см
2.
5.20. Расстояние от наружных поверхностей кирпичных или бетонных дымовых труб до стропил, обрешеток и других деталей кровли из горючих материалов следует предусматривать в свету не менее 130 мм, от керамических труб без изоляции - 250 мм, а при теплоизоляции с сопротивлением теплопередаче 0,3 м
2 · град./Вт негорючими или горючими, группы Г1, материалами - 130 мм. Пространство между дымовыми трубами и конструкциями кровли из негорючих и горючих группы Г1 материалов следует перекрывать негорючими кровельными материалами.
5.21. Конструкции зданий следует защищать от возгорания:
а) пол из горючих материалов под топочной дверкой - металлическим листом размером 700 x 500 мм по асбестовому картону толщиной 8 мм, располагаемым длинной его стороной вдоль печи;
б) стену или перегородку из горючих материалов, примыкающую под углом к фронту печи - штукатуркой толщиной 25 мм по металлической сетке или металлическим листом по асбестовому картону толщиной 8 мм от пола до уровня на 250 мм выше верха топочной дверки.
Расстояние от топочной дверки до противоположной стены должно быть не менее 1250 мм.
5.22. Минимальные расстояния от уровня пола до дна дымохода и зольников следует принимать:
а) при конструкции перекрытия или пола из горючих материалов до дна зольника - 140 мм, до дна дымохода - 210 мм;
б) при конструкции перекрытия или пола из негорючих материалов - на уровне пола.
5.23. Пол из горючих материалов под каркасными печами, в том числе на ножках, следует защищать (в пределах горизонтальной проекции печи) от возгорания листовой сталью по асбестовому картону толщиной 10 мм, при этом расстояние от низа печи до пола должно быть не менее 100 мм.
5.24. Для присоединения печей к дымовым трубам допускается предусматривать дымоотводы длиной не более 0,4 м при условии:
а) расстояние от верха дымоотвода до потолка из горючих материалов должно быть не менее 0,5 м при отсутствии защиты потолка от возгорания и не менее 0,4 м - при наличии защиты;
б) расстояние от низа дымоотвода до пола из горючих материалов должно быть не менее 0,14 м. Дымоотводы следует выполнять из негорючих материалов.
5.25. В многоэтажных жилых и общественных зданиях допускается устройство каминов на твердом топливе при условии присоединения каждого камина к индивидуальному или коллективному дымовому каналу.
(в ред.
Изменения N 1, утв. Приказом МЧС России от 27.02.2020 N 119)
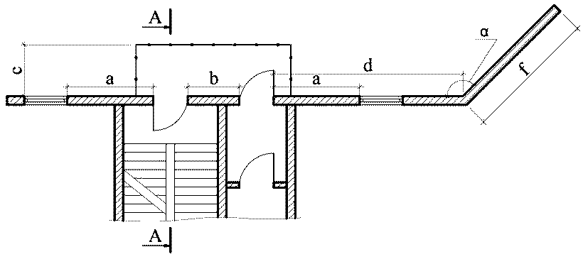
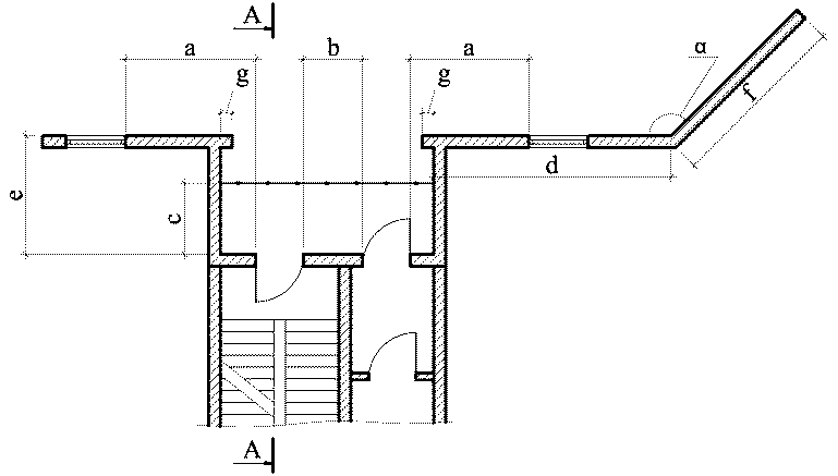
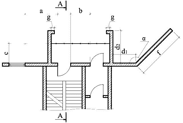
Подключение к коллективному дымовому каналу должно производиться через воздушный затвор с присоединением к вертикальному коллектору ответвлений воздуховодов через этаж (на уровне каждого вышележащего этажа).
(в ред.
Изменения N 1, утв. Приказом МЧС России от 27.02.2020 N 119)
5.26. Сечение дымовых каналов заводской готовности для дымоотвода от каминов должно быть не менее 8 см2 на 1 кВт номинальной тепловой мощности каминов.
5.27 Размеры разделок и отступок у теплогенерирующих аппаратов (в том числе каминов) и дымовых каналов заводского изготовления следует принимать в соответствии с технической документацией завода-изготовителя.
(п. 5.27 в ред.
Изменения N 1, утв. Приказом МЧС России от 27.02.2020 N 119)
6. Пожарная безопасность систем вентиляции и кондиционирования
6.1. Пожарно-технические характеристики конструкций и оборудования систем общеобменной вентиляции, местных отсосов, воздушного отопления и кондиционирования (далее - систем вентиляции) в зданиях различного назначения, необходимые для обеспечения комплексной безопасности (техногенной, экологической, санитарно-гигиенической и пожарной безопасности), должны соответствовать установленным требованиям настоящих правил и в соответствии с
[1].
6.2. Системы вентиляции следует предусматривать отдельными для групп помещений, размещенных в разных пожарных отсеках.
Общие системы вентиляции для групп помещений, размещенных в пределах одного пожарного отсека, следует предусматривать с учетом класса функциональной пожарной опасности помещений жилых, общественных и административно-бытовых зданий, а также категорий по взрывопожарной и пожарной опасности производственных и складских помещений в соответствии с
[1].
Помещения одной категории по взрывопожарной опасности, не разделенные противопожарными преградами, а также имеющие открытые проемы общей площадью более 1 м2 в другие помещения, допускается рассматривать как одно помещение.
6.3. Общие приемные устройства наружного воздуха для систем вентиляции следует предусматривать согласно
[1].
6.4. В пределах одного пожарного отсека общие приемные устройства наружного воздуха не следует предусматривать для систем приточной противодымной вентиляции и для систем приточной общеобменной вентиляции.
Допускается предусматривать общие приемные устройства наружного воздуха для систем приточной противодымной вентиляции и для систем приточной общеобменной вентиляции (кроме систем, обслуживающих помещения категорий А, Б и В1 и склады категорий А, Б, В1 и В2, а также помещения с оборудованием систем местных отсосов взрывоопасных смесей и систем общеобменной вытяжной вентиляции для помещений категорий В1 - В4, Г и Д, удаляющих воздух из 5-метровой зоны вокруг оборудования, содержащего горючие вещества, которые могут образовать в этой зоне взрывопожарные смеси) при условии установки противопожарных нормально открытых клапанов на воздуховодах приточных систем общеобменной вентиляции в местах пересечения ими ограждений помещения для вентиляционного оборудования.
6.5. Общие приемные устройства наружного воздуха не следует предусматривать для систем приточной противодымной вентиляции разных пожарных отсеков. Расстояние по горизонтали и по вертикали между приемными устройствами, расположенными в смежных пожарных отсеках, должно быть не менее 3 м.
Общие приемные устройства наружного воздуха допускается предусматривать для систем приточной противодымной вентиляции разных пожарных отсеков при установке противопожарных клапанов:
а) нормально закрытых - на воздуховодах систем приточной противодымной вентиляции в местах пересечения ограждающих строительных конструкций помещения для вентиляционного оборудования, если установки этих систем размещаются в общем помещении для вентиляционного оборудования;
б) нормально закрытых - на воздуховодах систем приточной противодымной вентиляции перед клапанами наружного воздуха всех таких систем, если установки этих систем размещаются в разных помещениях для вентиляционного оборудования; в указанных установках противопожарные клапаны допускается устанавливать взамен клапанов наружного воздуха.
6.6. Помещения для вентиляционного оборудования вытяжных систем общеобменной вентиляции и местных отсосов по взрывопожарной и пожарной опасности следует относить:
а) к категории помещений, которые они обслуживают, если в них размещается оборудование систем общеобменной вентиляции производственных зданий;
б) к категории Д, если в них размещаются вентиляторы, воздуходувки и компрессоры, подающие наружный воздух в эжекторы, расположенные вне этих помещений;
в) к категории помещений, из которых забирается воздух вентиляторами, воздуходувками и компрессорами для подачи в эжекторы;
г) к категории А или Б, если в них размещается оборудование систем местных отсосов, удаляющих взрывоопасные смеси от технологического оборудования.
Помещения для оборудования систем местных отсосов взрывоопасных пылевоздушных смесей с пылеуловителями мокрой очистки, размещенными перед вентиляторами, допускается при обосновании относить к помещениям категории Д;
д) к категории Д, если в них размещается оборудование вытяжных систем общеобменной вентиляции жилых, общественных и административно-бытовых помещений.
Помещения для оборудования вытяжных систем, обслуживающих несколько помещений различных категорий по взрывопожарной и пожарной опасности, следует относить к более опасной категории.
6.7. Помещения для вентиляционного оборудования приточных систем вентиляции по взрывопожарной и пожарной опасности следует относить:
а) к категории В1, если в них размещены установки (фильтры и др.) с маслом вместимостью 75 л и более в одной из установок;
б) к категориям В1, В2, В3, В4 или Г, если система работает с рециркуляцией воздуха из помещений соответственно категорий В1, В2, В3, В4 или Г, кроме случаев забора воздуха из помещений, где не выделяются горючие газы и пыль или для очистки воздуха от пыли применяются пенные или мокрые пылеуловители;
в) к категориям В1, В2, В3, В4, если в помещении для вентиляционного оборудования размещаются вытяжные установки, обслуживающие помещения соответственно категорий В1, В2, В3, В4;
г) к категории помещений, теплота удаляемого воздуха из которых используется в воздухо-воздушных теплоутилизаторах, размещаемых в помещении для оборудования приточных систем;
д) к категории Г, если в обслуживаемых системами помещениях размещено теплогенерирующее оборудование на газовом топливе;
е) к категории Д - в остальных случаях.
Помещения для оборудования приточных систем с рециркуляцией, обслуживающих несколько помещений различных категорий по взрывоопасной и пожарной опасности, следует относить к более опасной категории.
6.8. Помещения для вентиляционного оборудования следует размещать непосредственно в пожарном отсеке, в котором находятся обслуживаемые и (или) защищаемые помещения.
В зданиях I и II степени огнестойкости помещения для вентиляционного оборудования допускается предусматривать вне обслуживаемого (защищаемого) пожарного отсека:
а) непосредственно за противопожарной преградой (противопожарной стеной или противопожарным перекрытием) на границе такого пожарного отсека - при установке противопожарных нормально открытых или нормально закрытых клапанов на воздуховодах систем общеобменной вентиляции или систем противодымной вентиляции, соответственно, в местах пересечений указанной противопожарной преграды;
б) на удалении от границы этого пожарного отсека - при аналогичной установке противопожарных клапанов и при исполнении воздуховодов на участках от ограждений помещения для вентиляционного оборудования до пересекаемой противопожарной преграды с пределами огнестойкости не менее пределов огнестойкости конструкций этой преграды.
6.9. Ограждающие строительные конструкции помещений для вентиляционного оборудования согласно
подпунктам "а",
"б" пункта 6.8 должны быть выполнены с обеспечением пределов огнестойкости не менее пределов огнестойкости противопожарной преграды, отделяющей обслуживаемый (защищаемый) пожарный отсек. В этих помещениях допускается устанавливать оборудование систем приточной или вытяжной общеобменной вентиляции в ограниченном перечне в соответствии с
[1] или систем приточной или вытяжной противодымной вентиляции, обслуживающих или защищающих помещения разных пожарных отсеков.
6.10. Для предотвращения распространения продуктов горения при пожаре в помещения различных этажей по воздуховодам систем общеобменной вентиляции, воздушного отопления и кондиционирования должны быть предусмотрены следующие устройства:
а) противопожарные нормально открытые клапаны - на поэтажных сборных воздуховодах, а также на воздухоприемных устройствах и устройствах подачи воздуха в местах присоединения их к вертикальному или горизонтальному коллектору для жилых, общественных, административно-бытовых (кроме санузлов, умывальных, душевых, бань, а также кухонь жилых зданий) и производственных помещений категорий В4 и Г;
(в ред.
Изменения N 1, утв. Приказом МЧС России от 27.02.2020 N 119)
б) воздушные затворы - на поэтажных сборных воздуховодах, а также на воздухоприемных устройствах и устройствах подачи воздуха в местах присоединения их к вертикальному или горизонтальному коллектору для жилых, общественных, административно-бытовых (в том числе, для санузлов, умывальных, душевых, бань, а также кухонь жилых зданий) и производственных помещений категории Г.
(в ред.
Изменения N 1, утв. Приказом МЧС России от 27.02.2020 N 119)
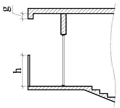
Геометрические и конструктивные характеристики воздушных затворов должны обеспечивать при пожаре предотвращение распространения продуктов горения из коллекторов через поэтажные сборные воздуховоды, а также через воздухоприемные устройства и устройства подачи воздуха в помещения различных этажей; длину вертикального участка воздуховода воздушного затвора следует принимать расчетную, но не менее 2 м, толщину листовой стали следует принимать не менее 0,8 мм. При размещении воздушных затворов совместно с коллектором внутри шахты в соответствии с
подпунктом "б" пункта 6.18, их предел огнестойкости не нормируется, в остальных случаях предел огнестойкости должен составлять не менее EI 30.
(в ред.
Изменения N 1, утв. Приказом МЧС России от 27.02.2020 N 119)
Вертикальные коллекторы, за исключением вертикальных коллекторов с воздушными затворами, допускается присоединять к общему горизонтальному коллектору, размещаемому на чердаке или техническом этаже; в зданиях высотой более 28 м на вертикальных коллекторах в местах присоединения их к общему горизонтальному коллектору следует устанавливать противопожарные нормально открытые клапаны.
(в ред.
Изменения N 1, утв. Приказом МЧС России от 27.02.2020 N 119)
К каждому горизонтальному коллектору следует присоединять не более пяти поэтажных сборных воздуховодов с последовательно расположенных этажей.
В многоэтажных зданиях допускается присоединять:
- к горизонтальному коллектору - более пяти поэтажных сборных воздуховодов при условии установки противопожарных нормально открытых клапанов в местах присоединения дополнительных (сверх пяти безусловно предусматриваемых) этажных воздуховодов;
- к общему коллектору, размещаемому на чердаке или техническом этаже, группу горизонтальных коллекторов, при условии установки противопожарных нормально открытых клапанов в местах присоединения их к общему коллектору;
в) противопожарные нормально открытые клапаны - в местах пересечений ограждающих строительных конструкций с нормируемыми пределами огнестойкости обслуживаемых помещений воздуховодами:
- систем, обслуживающих производственные помещения, склады и кладовые категорий А, Б, В1, В2 или В3, сауны;
(в ред.
Изменения N 1, утв. Приказом МЧС России от 27.02.2020 N 119)
- систем местных отсосов взрывопожароопасных и пожароопасных смесей;
- систем общеобменной вентиляции помещений категорий В1 - В4, Г и Д, удаляющих воздух из 5-метровой зоны вокруг оборудования, содержащего горючие вещества, способные к образованию взрывоопасной смеси в этой зоне;
г) противопожарные нормально открытые клапаны - на каждом транзитном сборном воздуховоде непосредственно перед ближайшими ответвлениями к вентиляторам систем, обслуживающих группы помещений (кроме складов) одной из категорий А, Б, В1, В2 или В3 общей площадью не более 300 м
2 в пределах одного этажа с выходами в общий коридор;
д) противопожарные нормально открытые клапаны - на сборных воздуховодах систем общеобменной вентиляции и воздушного отопления, обслуживающих помещения подземных и закрытых надземных многоэтажных стоянок автомобилей одной из категорий В1, В2 или В3.
6.11. Противопожарные нормально открытые клапаны, указанные в
подпунктах "а",
"в",
"г" и
"д" пункта 6.10, следует устанавливать в проемах ограждающих строительных конструкций с нормируемыми пределами огнестойкости или с любой стороны указанных конструкций, обеспечивая предел огнестойкости воздуховода на участке от поверхности ограждающей конструкции до закрытой заслонки клапана, равный нормируемому пределу огнестойкости этой конструкции. При этом различные варианты установки в зависимости от технических характеристик противопожарных нормально открытых клапанов, соответствующие различным направлениям возможного теплового воздействия на их конструкции, следует принимать с учетом данных сертификатов соответствия.
Если по техническим причинам установить противопожарные клапаны или воздушные затворы невозможно, то объединять воздуховоды из разных помещений в одну систему не допускается. В этом случае для каждого помещения необходимо предусмотреть отдельные системы без противопожарных клапанов или воздушных затворов.
Возможность установки противопожарного нормально открытого клапана в проеме ограждающей строительной конструкции с нормируемым пределом огнестойкости, без его подключения к воздуховоду системы вентиляции со стороны возможного теплового воздействия, выполненному из негорючих материалов с ненормируемым пределом огнестойкости, а также с нормируемым пределом огнестойкости, должна определяться по результатам процедуры подтверждения соответствия, согласно схемам испытаний по
ГОСТ Р 53301-2013.
(абзац введен
Изменением N 1, утв. Приказом МЧС России от 27.02.2020 N 119)
6.12. В противопожарных перегородках, отделяющих общественные, административно-бытовые или производственные помещения (кроме складов) категорий В4, Г и Д от коридоров, допускается устройство отверстий для перетекания воздуха при условии защиты отверстий противопожарными нормально открытыми клапанами. Установка указанных клапанов не требуется в помещениях, для дверей которых предел огнестойкости не нормируется.
6.13 Воздуховоды с нормируемыми пределами огнестойкости (в том числе теплозащитные и огнезащитные покрытия в составе их конструкций) должны быть из негорючих материалов. При этом толщину листовой стали для воздуховодов следует принимать расчетную, но не менее 0,8 мм. Для уплотнения разъемных соединений таких конструкций (в том числе фланцевых) следует использовать негорючие материалы. Конструкции воздуховодов с нормируемыми пределами огнестойкости при температуре перемещаемого газа более 100 °С, кроме воздуховодов, проложенных в общих шахтах и соединенных ответвлениями с этажными, в том числе сборными воздуховодами, следует предусматривать с компенсаторами линейных тепловых расширений. Элементы креплений (подвески) конструкций воздуховодов должны иметь пределы огнестойкости не менее нормируемых для воздуховодов (по установленным числовым значениям, но только по признаку потери несущей способности) в пределах обслуживаемого пожарного отсека и не менее нормируемых для строительных конструкций, к которым крепятся воздуховоды, за пределами обслуживаемого пожарного отсека.
(в ред.
Изменения N 1, утв. Приказом МЧС России от 27.02.2020 N 119)
Строительные конструкции зданий из негорючих материалов с пределами огнестойкости не менее нормируемых для воздуховодов допускается использовать для перемещения воздуха, не содержащего легкоконденсирующиеся пары. При этом следует предусматривать герметизацию конструкций, гладкую отделку внутренних поверхностей (затирку или облицовку листовой сталью) и возможность очистки.
Вентиляционные каналы систем приточно-вытяжной противодымной вентиляции строительного исполнения длиной до 50 м допускается предусматривать:
а) класса герметичности В, в соответствии с
[1];
б) при сохранении неизменности формы и площади проходного сечения (с относительным отклонением последней не более 3%) с исключением локальных выступов в местах пересечения межэтажных перекрытий.
Во всех остальных случаях строительное исполнение вентиляционных каналов систем противодымной вентиляции (кроме воздухозаборных каналов приточной противодымной вентиляции) не допускается без применения внутренних сборных или облицовочных стальных конструкций.
При этом фактические пределы огнестойкости различных конструкций вентиляционных каналов, в том числе стальных воздуховодов с огнезащитными покрытиями и каналов строительного исполнения, следует определять в соответствии с
ГОСТ Р 53299.
6.14. Воздуховоды из негорючих материалов следует предусматривать в соответствии с требованиями
[1].
6.15. Воздуховоды из горючих материалов (с группой горючести не ниже Г1) допускается предусматривать в пределах обслуживаемых помещений, кроме воздуховодов, указанных в
пункте 6.14. Гибкие вставки у вентиляторов, кроме систем местных отсосов взрывопожароопасных смесей, аварийной вентиляции и перемещающих газовые среды температурой 80 °C и выше, могут быть из горючих материалов. Не допускается применение гибких вставок из горючих материалов при присоединении к вентиляторам воздуховодов с нормируемыми пределами огнестойкости.
6.16. Плотность воздуховодов вентиляционных систем различного назначения должна соответствовать классам герметичности, установленным в соответствии с
[1].
6.17. Условия прокладки транзитных воздуховодов и коллекторов систем вентиляции любого назначения (кроме систем противодымной вентиляции) в одном пожарном отсеке и пределы огнестойкости указанных воздуховодов и коллекторов следует предусматривать на всем протяжении от мест пересечений ограждающих строительных конструкций обслуживаемых помещений до помещений для вентиляционного оборудования согласно
приложению В.
6.18. Транзитные воздуховоды и коллекторы систем любого назначения (кроме систем противодымной вентиляции) в пределах одного пожарного отсека допускается проектировать:
(в ред.
Изменения N 1, утв. Приказом МЧС России от 27.02.2020 N 119)
а) из материалов группы горючести Г1 при условии прокладки каждого воздуховода в отдельной шахте, кожухе или гильзе из негорючих материалов с пределом огнестойкости EI 30;
(в ред.
Изменения N 1, утв. Приказом МЧС России от 27.02.2020 N 119)
б) из негорючих материалов и с ненормируемым пределом огнестойкости при условии прокладки каждого воздуховода или коллектора в отдельной шахте с ограждающими конструкциями, имеющими предел огнестойкости не менее EI 45, и установки противопожарных нормально открытых клапанов на каждом пересечении воздуховодами ограждающих конструкций такой шахты или воздушных затворов в соответствии с
подпунктом "б" пункта 6.10;
(в ред.
Изменения N 1, утв. Приказом МЧС России от 27.02.2020 N 119)
в) из негорючих материалов с ненормируемым пределом огнестойкости при условии прокладки транзитных воздуховодов и коллекторов (кроме воздуховодов и коллекторов для производственных помещений категорий А и Б, а также для складов категорий А, Б, В1, В2) в общих шахтах с ограждающими конструкциями, имеющими предел огнестойкости не менее EI 45, и установки противопожарных нормально открытых клапанов на каждом воздуховоде, пересекающим ограждающие конструкции общей шахты;
(в ред.
Изменения N 1, утв. Приказом МЧС России от 27.02.2020 N 119)
г) из негорючих материалов с ненормируемым пределом огнестойкости, предусматривая при прокладке транзитных воздуховодов (кроме помещений и складов категорий А, Б, складов категорий В1, В2, а также жилых помещений) установку противопожарных нормально открытых клапанов при пересечении воздуховодами каждой противопожарной преграды и ограждающей строительной конструкции с нормируемыми пределами огнестойкости.
(в ред.
Изменения N 1, утв. Приказом МЧС России от 27.02.2020 N 119)
Пределы огнестойкости воздуховодов и коллекторов (кроме транзитных), систем вентиляции любого назначения, прокладываемых в помещениях для вентиляционного оборудования, а также воздуховодов и коллекторов, прокладываемых снаружи здания (кроме систем вытяжной противодымной вентиляции), не нормируются.
(в ред.
Изменения N 1, утв. Приказом МЧС России от 27.02.2020 N 119)
6.19. Транзитные воздуховоды, прокладываемые за пределами обслуживаемого пожарного отсека, после пересечения ими противопожарной преграды обслуживаемого пожарного отсека следует проектировать с пределами огнестойкости не менее EI 150.
Указанные транзитные воздуховоды допускается проектировать с ненормируемым пределом огнестойкости при прокладке каждого из них в отдельной шахте с ограждающими конструкциями, имеющими пределы огнестойкости не менее EI 150. При этом присоединяемые к таким транзитным воздуховодам коллекторы или воздуховоды из обслуживаемого пожарного отсека должны соответствовать требованиям
подпункта "б" пункта 6.18.
6.20. Транзитные воздуховоды и коллекторы систем любого назначения из разных пожарных отсеков допускается прокладывать в общих шахтах с ограждающими конструкциями из негорючих материалов с пределами огнестойкости не менее EI 150 при условиях:
а) транзитные воздуховоды и коллекторы в пределах обслуживаемого пожарного отсека предусматриваются с пределом огнестойкости EI 30, поэтажные ответвления присоединяются к вертикальным коллекторам через противопожарные нормально открытые клапаны;
б) транзитные воздуховоды систем другого пожарного отсека должны иметь предел огнестойкости EI 150;
в) транзитные воздуховоды систем другого пожарного отсека должны быть с пределом огнестойкости EI 60 при условии установки противопожарных нормально открытых клапанов на воздуховодах в местах пересечения ими каждой противопожарной преграды с нормируемым пределом огнестойкости REI 150 и более.
6.21. Транзитные воздуховоды систем, обслуживающих тамбур-шлюзы при помещениях категорий А и Б, а также систем местных отсосов взрывоопасных смесей следует проектировать:
а) в пределах одного пожарного отсека - с пределом огнестойкости EI 30;
б) за пределами обслуживаемого пожарного отсека - с пределом огнестойкости EI 150.
6.22. Противопожарные нормально открытые клапаны, устанавливаемые в проемах ограждающих строительных конструкций с нормируемыми пределами огнестойкости и (или) в воздуховодах, пересекающих эти конструкции, следует предусматривать с пределами огнестойкости:
- EI 60 - при нормируемом пределе огнестойкости противопожарной преграды REI 150 и более;
(в ред.
Изменения N 1, утв. Приказом МЧС России от 27.02.2020 N 119)
- EI 45 - при нормируемом пределе огнестойкости противопожарной преграды REI 60;
(в ред.
Изменения N 1, утв. Приказом МЧС России от 27.02.2020 N 119)
- EI 30 - при нормируемом пределе огнестойкости противопожарной преграды или ограждающей строительной конструкции REI 45 (EI 45);
(в ред.
Изменения N 1, утв. Приказом МЧС России от 27.02.2020 N 119)
- EI 15 - при нормируемом пределе огнестойкости противопожарной преграды или ограждающей строительной конструкции REI 15 (EI 15).
(в ред.
Изменения N 1, утв. Приказом МЧС России от 27.02.2020 N 119)
Допускается не устанавливать противопожарные нормально открытые клапаны при пересечении транзитными воздуховодами противопожарных преград или строительных конструкций с нормируемыми пределами огнестойкости (кроме ограждающих конструкций шахт с проложенными в них воздуховодами других систем) при обеспечении пределов огнестойкости транзитных воздуховодов не менее пределов огнестойкости пересекаемых противопожарных преград или строительных конструкций.
В других случаях противопожарные нормально открытые клапаны следует предусматривать с пределами огнестойкости не менее нормируемых для воздуховодов, на которых они устанавливаются, но не менее EI 15.
Подсосы и утечки воздуха через неплотности противопожарных клапанов должны соответствовать требованиям
пункта 7.5.
Фактические пределы огнестойкости различных конструкций противопожарных клапанов следует определять в соответствии с
ГОСТ Р 53301.
6.23. Места прохода транзитных воздуховодов через стены, перегородки и перекрытия зданий (в том числе в кожухах и шахтах) следует уплотнять негорючими материалами, обеспечивая нормируемый предел огнестойкости пересекаемой ограждающей конструкции, за исключением мест прохода воздуховодов через перекрытия (в пределах обслуживаемого отсека) в шахтах с транзитными воздуховодами, выполненными согласно
подпунктам "б",
"в" пункта 6.18 и
подпунктам "а" -
"в" пункта 6.20.
6.24. Для зданий и помещений, оборудованных автоматическими установками пожаротушения и (или) автоматической пожарной сигнализацией, следует предусматривать автоматическое отключение при пожаре систем общеобменной вентиляции, кондиционирования воздуха и воздушного отопления (далее - системы вентиляции), а также закрытие противопожарных нормально открытых клапанов.
Отключение систем вентиляции и закрытие противопожарных нормально открытых клапанов должно осуществляться по сигналам, формируемым автоматическими установками пожаротушения и (или) автоматической пожарной сигнализацией, а также при включении систем противодымной вентиляции в соответствии с
пунктом 7.19.
Необходимость частичного или полного отключения систем вентиляции и закрытия противопожарных клапанов должна определяться в соответствии с технологическими требованиями.
Требования
пункта 6.24 не распространяются на системы подачи воздуха в тамбуры-шлюзы помещений категорий А и Б.
7. Противодымная вентиляция
7.1. Противодымную вентиляцию следует предусматривать для предотвращения поражающего воздействия на людей и (или) материальные ценности продуктов горения, распространяющихся во внутреннем объеме здания при возникновении пожара в одном помещении на одном из этажей одного пожарного отсека.
Системы приточно-вытяжной противодымной вентиляции зданий (далее - противодымной вентиляции) должны обеспечивать блокирование и (или) ограничение распространения продуктов горения в помещения безопасных зон и по путям эвакуации людей, в том числе с целью создания необходимых условий пожарным подразделениям для выполнения работ по спасанию людей, обнаружению и локализации очага пожара в здании.
Системы противодымной вентиляции должны быть автономными для каждого пожарного отсека, кроме систем приточной противодымной вентиляции, предназначенных для защиты лестничных клеток и лифтовых шахт, сообщающихся с различными пожарными отсеками, и систем вытяжной противодымной вентиляции, предназначенных для защиты атриумов и пассажей, не имеющих конструктивного разделения на пожарные отсеки. Системы приточной противодымной вентиляции должны применяться только в необходимом сочетании с системами вытяжной противодымной вентиляции. Обособленное применение систем приточной противодымной вентиляции без устройства соответствующих систем вытяжной противодымной вентиляции не допускается.
7.2. Удаление продуктов горения при пожаре системами вытяжной противодымной вентиляции следует предусматривать:
а) из коридоров и холлов жилых, общественных, административно-бытовых и многофункциональных зданий высотой более 28 м;
б) из коридоров и пешеходных тоннелей подвальных и цокольных этажей жилых, общественных, административно-бытовых, производственных и многофункциональных зданий при выходах в эти коридоры (тоннели) из помещений с постоянным пребыванием людей;
в) из коридоров без естественного проветривания при пожаре длиной более 15 м в зданиях с числом этажей два и более:
- производственных и складских категорий А, Б, В;
- общественных и административно-бытовых;
- многофункциональных;
| | ИС МЕГАНОРМ: примечание. П. 7.2 г) распространяется на все коридоры и холлы зданий, вне зависимости от наличия в них оконных проемов (Письмо ФГБУ ВНИИПО МЧС России от 24.01.2017 N 337эп-13-2-3). | |
г) из общих коридоров и холлов зданий различного назначения с незадымляемыми лестничными клетками;
д) из атриумов и пассажей;
е) из каждого производственного или складского помещения с постоянными рабочими местами, в том числе книгохранилищ, библиотек, фондохранилищ и реставрационных мастерских музеев, архивов (а для помещений высотного стеллажного хранения - вне зависимости от наличия постоянных рабочих мест), если эти помещения отнесены к категориям А, Б, В1, В2, В3 в зданиях I - IV степени огнестойкости, а также В4, Г или Д в зданиях IV степени огнестойкости;
(в ред.
Изменения N 1, утв. Приказом МЧС России от 27.02.2020 N 119)
ж) из каждого помещения на этажах, сообщающихся с незадымляемыми лестничными клетками, или из каждого помещения без естественного проветривания при пожаре:
- с высокой плотностью пребывания людей;
(в ред.
Изменения N 1, утв. Приказом МЧС России от 27.02.2020 N 119)
- торговых залов;
(в ред.
Изменения N 1, утв. Приказом МЧС России от 27.02.2020 N 119)
- офисов;
- площадью 50 м2 и более с постоянными рабочими местами, предназначенного для хранения или использования горючих веществ и материалов;
(в ред.
Изменения N 1, утв. Приказом МЧС России от 27.02.2020 N 119)
- гардеробных площадью 200 м2 и более;
- автодорожных, кабельных, коммутационных с маслопроводами и технологических тоннелей, встроенно-пристроенных и сообщающихся с подземными этажами зданий различного назначения;
з) помещений хранения автомобилей закрытых надземных и подземных автостоянок, отдельно расположенных, встроенных или пристроенных к зданиям другого назначения (с парковкой как при участии, так и без участия водителей - с применением автоматизированных устройств), а также из изолированных рамп этих автостоянок.
Допускается проектировать удаление продуктов горения через примыкающий коридор из помещений площадью до 200 м2: производственных категорий В1, В2, В3, а также предназначенных для хранения или использования горючих веществ и материалов.
Для торговых залов и офисных помещений площадью не более 800 м2 при расстоянии от наиболее удаленной части помещения до ближайшего эвакуационного выхода не более 25 м удаление продуктов горения допускается предусматривать через примыкающие коридоры, холлы, рекреации, атриумы и пассажи.
Тупиковые части коридоров в зданиях различного назначения не допускается разделять перегородками с дверями на участки длиной менее 15 м.
(абзац введен
Изменением N 1, утв. Приказом МЧС России от 27.02.2020 N 119)
а) на помещения площадью до 200 м2, оборудованные установками автоматического водяного или пенного пожаротушения (кроме помещений категорий А и Б, помещений, сообщающихся с незадымляемыми лестничными клетками типа Н2 или Н3, и закрытых автостоянок с парковкой при участии водителей);
(в ред.
Изменения N 1, утв. Приказом МЧС России от 27.02.2020 N 119)
б) на помещения, оборудованные установками автоматического газового, аэрозольного или порошкового пожаротушения (кроме закрытых автостоянок с парковкой при участии водителей);
в) на коридоры и холлы, если из всех сообщающихся с ними через дверные проемы помещений предусмотрено непосредственное удаление продуктов горения;
г) на помещения площадью до 50 м2 каждое, находящиеся на площади основного помещения, из которого предусмотрено удаление продуктов горения;
д) на коридоры (за исключением указанных в
подпунктах "а" и
"б" пункта 7.2) без естественного проветривания при пожаре, если во всех помещениях, имеющих выходы в этот коридор, отсутствуют постоянные рабочие места и на выходах из этих помещений в указанный коридор установлены противопожарные двери в дымогазонепроницаемом исполнении с минимальным удельным сопротивлением дымогазопроницанию не менее 1,96·

м
3/кг; фактическое сопротивление дымогазопроницанию противопожарных дверей должно определяться в соответствии с
ГОСТ Р 53303;
(в ред.
Изменения N 1, утв. Приказом МЧС России от 27.02.2020 N 119)
е) на помещения общественного назначения, встроенные или встроенно-пристроенные на нижнем надземном этаже жилых зданий, конструктивно изолированные от жилой части и имеющие эвакуационные выходы непосредственно наружу при наибольшем удалении этих выходов от любой части помещения не более 25 м и площади каждого помещения не более 800 м
2.
(в ред.
Изменения N 1, утв. Приказом МЧС России от 27.02.2020 N 119)
7.4. Расход продуктов горения, удаляемых вытяжной противодымной вентиляцией, следует рассчитывать в зависимости от мощности тепловыделения очага пожара, теплопотерь через ограждающие строительные конструкции помещений и вентиляционные каналы, температуры удаляемых продуктов горения, параметров наружного воздуха, состояния (положений) дверных и оконных проемов, геометрических размеров:
Не допускается принимать без расчета фиксированные значения температуры удаляемых продуктов горения из коридоров или помещений. Положительный дисбаланс не допускается.
(в ред.
Изменения N 1, утв. Приказом МЧС России от 27.02.2020 N 119)
Температуру наружного воздуха следует принимать для теплого периода года согласно
[2], скорость ветра по наибольшим значениям независимо от периода года.
При совместном действии систем приточной и вытяжной противодымной вентиляции отрицательный дисбаланс в защищаемом помещении допускается не более 30%. При этом перепад давления на закрытых дверях эвакуационных выходов не должен превышать 150 Па.
7.5. При определении расхода удаляемых продуктов горения следует учитывать:
а) подсосы воздуха через неплотности каналов систем вытяжной противодымной вентиляции в соответствии с
пунктом 6.14;
б) подсосы воздуха через неплотности закрытых противопожарных клапанов по данным протоколов сертификационных испытаний (фактическим значениям удельной характеристики дымогазопроницанию испытываемых образцов), но не более чем определяемые по формуле

, (3)
где

- площадь проходного сечения клапана, м
2;

- перепад давления на закрытом клапане, Па;

- удельная характеристика сопротивления дымогазопроницанию клапана, м
3/кг.
Минимальная допустимая величина сопротивления дымогазопроницанию для клапанов различного конструктивного исполнения не должна быть менее 2,4 x 103 м3/кг.
(в ред.
Изменения N 1, утв. Приказом МЧС России от 27.02.2020 N 119)
7.6. Системы вытяжной противодымной вентиляции, предназначенные для защиты коридоров, следует проектировать отдельными от систем, предназначенных для защиты помещений. Не допускается устройство общих систем для защиты помещений различной функциональной пожарной опасности.
Для защиты коридоров помещений общественного назначения, согласно
подпункту "е" пункта 7.3 и коридоров жилых помещений вышележащих этажей, могут быть предусмотрены общие системы вытяжной противодымной вентиляции, если все указанные помещения расположены в одном пожарном отсеке.
(абзац введен
Изменением N 1, утв. Приказом МЧС России от 27.02.2020 N 119)
7.7 Здания, где не предусмотрена конкретная технология эксплуатации этажей (этажей свободной планировки), которые при дальнейшей эксплуатации здания в результате разделения на части могут содержать коридоры и помещения, подлежащие защите вытяжной противодымной вентиляцией согласно
подпунктам "а",
"в",
"г",
"ж" пункта 7.2, должны иметь системы вытяжной противодымной вентиляции обоих указанных типов. При этом расход удаляемых продуктов горения посредством систем, предназначенных для защиты помещений, следует определять согласно
подпункту "б" пункта 7.4 с учетом всей площади этажа за вычетом площади лестнично-лифтовых узлов на этаже.
(п. 7.7 в ред.
Изменения N 1, утв. Приказом МЧС России от 27.02.2020 N 119)
7.8. При удалении продуктов горения из коридоров дымоприемные устройства следует размещать на шахтах под потолком коридора, но не ниже верхнего уровня дверных проемов эвакуационных выходов. Допускается установка дымоприемных устройств на ответвлениях к дымовым шахтам. Длина коридора, приходящаяся на одно дымоприемное устройство, должна составлять:
- не более 45 м при прямолинейной конфигурации коридора;
- не более 30 м при угловой конфигурации коридора;
- не более 20 м при кольцевой (замкнутой) конфигурации коридора.
Длину коридора следует определять как сумму длин условно выделенных и последовательно расположенных участков прямоугольной формы или близкой к ней формы.
(абзац введен
Изменением N 1, утв. Приказом МЧС России от 27.02.2020 N 119)
7.9 При удалении продуктов горения непосредственно из помещений площадью более 3000 м2 их необходимо конструктивно или, при соответствующем расчетном обосновании, условно разделять на дымовые зоны каждая площадью не более 3000 м2 с учетом возможности возникновения пожара в одной из зон. Площадь помещения, приходящаяся на одно дымоприемное устройство, должна быть определена расчетом и составлять не более 1000 м2.
При конструктивном разделении помещения противодымными экранами на дымовые зоны включение системы вытяжной противодымной вентиляции допускается предусматривать только в дымовой зоне с очагом пожара, а при условном разделении на дымовые зоны включение систем вытяжной противодымной вентиляции следует предусматривать одновременно во всех дымовых зонах помещения.
(п. 7.9 в ред.
Изменения N 1, утв. Приказом МЧС России от 27.02.2020 N 119)
7.10 Для удаления продуктов горения непосредственно из помещений одноэтажных зданий следует применять вытяжные системы с механическим или естественным побуждением через шахты с дымовыми клапанами, дымовые люки или открываемые незадуваемые фонари.
В многоэтажных зданиях следует применять вытяжные системы с механическим побуждением. Для удаления продуктов горения с верхних этажей многоэтажных зданий допускается применение дымовых люков, клапанов или открываемых фонарей и фрамуг в составе систем вытяжной противодымной вентиляции с естественным побуждением.
Конструкции дымовых люков, клапанов, фонарей и фрамуг, применяемые согласно
подпункту "е" пункта 7.2, а также
пункту 7.10, должны обеспечивать условия непримерзания створок, незадуваемости, фиксации в открытом положении при срабатывании и иметь площадь проходного сечения, соответствующую расчетным режимам действия вытяжной противодымной вентиляции с естественным побуждением. Указанные расчетные режимы должны определяться согласно
пункту 7.4 с учетом параметров наружного воздуха в теплое время года по
[2] при прямом направлении ветра на открываемые элементы конструкций.
(п. 7.10 в ред.
Изменения N 1, утв. Приказом МЧС России от 27.02.2020 N 119)
7.11. Для систем вытяжной противодымной вентиляции следует предусматривать:
а) вентиляторы различных аэродинамических схем с пределами огнестойкости 0,5 ч/200 °С; 0,5 ч/300 °С; 1,0 ч/300 °С; 2,0 ч/400 °С; 1,0 ч/600 °С; 1,5 ч/600 °С в зависимости от расчетной температуры перемещаемых газов и в исполнении, соответствующем категории обслуживаемых помещений. Допускается применять мягкие вставки из негорючих материалов. Фактические пределы огнестойкости указанных вентиляторов следует определять в соответствии с
ГОСТ Р 53302;
б) воздуховоды и каналы согласно
пунктам 6.13,
6.16 из негорючих материалов класса герметичности В по
[1] с пределами огнестойкости не менее:
- EI 150 - для транзитных воздуховодов и шахт за пределами обслуживаемого пожарного отсека; при этом на транзитных участках воздуховодов и шахт, пересекающих противопожарные преграды пожарных отсеков, не следует устанавливать противопожарные нормально открытые клапаны;
- EI 60 - для воздуховодов и шахт в пределах обслуживаемого пожарного отсека при удалении продуктов горения из закрытых автостоянок;
- EI 45 - для вертикальных воздуховодов и шахт в пределах обслуживаемого пожарного отсека при удалении продуктов горения непосредственно из обслуживаемых помещений;
- EI 30 - в остальных случаях в пределах обслуживаемого пожарного отсека;
в) нормально закрытые противопожарные клапаны с пределом огнестойкости не менее:
- EI 60 - для закрытых автостоянок;
- EI 45 - при удалении продуктов горения непосредственно из обслуживаемых помещений;
- EI 30 - для коридоров и холлов при установке клапанов на ответвлениях воздуховодов от дымовых вытяжных шахт;
- E 30 - для коридоров и холлов при установке дымовых клапанов непосредственно в проемах шахт.
В составе противопожарных нормально закрытых клапанов (за исключением дымовых клапанов) не допускается применять заслонки без термоизоляции;
г) выброс продуктов горения над покрытиями зданий и сооружений на расстоянии не менее 5 м от воздухозаборных устройств систем приточной противодымной вентиляции; выброс в атмосферу следует предусматривать на высоте не менее 2 м от кровли из горючих материалов; допускается выброс продуктов горения на меньшей высоте при защите кровли негорючими материалами на расстоянии не менее 2 м от края выбросного отверстия или без такой защиты при установке вентиляторов крышного типа с вертикальным выбросом. Допускается выброс продуктов горения:
- через дымовые люки с учетом скорости ветра и снеговой нагрузки
- через решетки на наружной стене (или через шахты у наружной стены) на фасаде без оконных проемов или на фасаде с окнами на расстоянии не менее 5 м по горизонтали и по вертикали от окон и не менее 2 м по высоте от уровня земли или при меньшем расстоянии от окон при обеспечении скорости выброса не менее 20 м/с;
- через отдельные шахты на поверхности земли на расстоянии не менее 15 м от наружных стен с окнами или от воздухозаборных устройств систем приточной общеобменной вентиляции других примыкающих зданий или систем приточной противодымной вентиляции данного здания.
Выброс продуктов горения из шахт, отводящих дым из нижележащих этажей и подвалов, допускается предусматривать в аэрируемые пролеты плавильных, литейных, прокатных и других горячих цехов. При этом устье шахт следует размещать на уровне не менее 6 м от пола аэрируемого пролета (на расстоянии не менее 3 м по вертикали и 1 м по горизонтали от строительных конструкций зданий) или на уровне не менее 3 м от пола при устройстве дренчерного орошения устья дымовых шахт. Дымовые клапаны на этих шахтах устанавливать не следует;
д) утратил силу. -
Изменение N 1, утв. Приказом МЧС России от 27.02.2020 N 119.
Допускается применение противодымных экранов с дренчерными завесами взамен тамбур-шлюзов или противопожарных ворот с воздушными завесами для защиты этажных проемов изолированных рамп закрытых надземных и подземных автостоянок. При этом опускание выдвижной шторы противодымного экрана следует предусматривать на половину высоты защищаемого проема.
(в ред.
Изменения N 1, утв. Приказом МЧС России от 27.02.2020 N 119)
Фактические пределы огнестойкости противодымных экранов следует определять в соответствии с
ГОСТ Р 53305.
При необходимости установки обратных клапанов у вентиляторов, их конструктивное исполнение должно соответствовать требованиям, предъявляемым к противопожарным клапанам по
подпункту "в" пункта 7.11 (по требуемым пределам огнестойкости).
(абзац введен
Изменением N 1, утв. Приказом МЧС России от 27.02.2020 N 119)
7.12 Вентиляторы для удаления продуктов горения следует размещать в отдельных помещениях с ограждающими строительными конструкциями, имеющими пределы огнестойкости не менее требуемых для конструкций пересекающих их воздуховодов (но не менее требуемых по
пункту 6.9 для систем, защищающих различные пожарные отсеки с установкой вентиляторов в общем помещении) или непосредственно в защищаемых помещениях, а также в вентиляционных каналах при специальном исполнении вентиляторов. Параметры воздушной среды в указанных отдельных помещениях с учетом тепловыделений при действии установленных в них вентиляторов должны соответствовать регламентированным условиям эксплуатации предприятий-изготовителей и поддерживаться при необходимости посредством дополнительного вентилирования таких помещений с расчетной кратностью воздухообмена.
Вентиляторы противодымных вытяжных систем допускается (в соответствии с техническими данными предприятий-изготовителей) размещать на кровле и снаружи зданий с ограждениями для защиты от доступа посторонних лиц. Установка вентиляторов на наружных стенах фасадов допускается с учетом требований, указанных в
подпункте "г" пункта 7.11.
(п. 7.12 в ред.
Изменения N 1, утв. Приказом МЧС России от 27.02.2020 N 119)
7.13. Для удаления газов и дыма после пожара из помещений, защищаемых установками газового, аэрозольного или порошкового пожаротушения, следует применять системы с механическим побуждением удаления воздуха из нижней и верхней зон помещений, обеспечивающих расход газоудаления не менее четырехкратного воздухообмена с компенсацией удаляемого объема газов и дыма приточным воздухом. Для удаления газов и дыма после срабатывания автоматических установок газового, аэрозольного или порошкового пожаротушения допускается использовать также системы основной и аварийной вентиляции или передвижные установки. Для удаления остаточной порошковой массы после пожара из помещений, защищаемых установками порошкового пожаротушения, следует предусматривать применение пылесосов или систем вакуумной пылеуборки.
В местах пересечения воздуховодами (кроме транзитных) ограждений помещения, защищаемого установками газового, аэрозольного или порошкового пожаротушения, следует устанавливать противопожарные клапаны с пределом огнестойкости не менее EI 15:
а) нормально открытые - в приточных и вытяжных системах защищаемого помещения;
б) нормально закрытые - в системах для удаления дыма и газа после пожара;
в) двойного действия - в системах основной вентиляции защищаемого помещения, используемых для удаления газов и дыма после пожара.
7.14. Подачу наружного воздуха при пожаре системами приточной противодымной вентиляции следует предусматривать:
а) в шахты лифтов (при отсутствии у выходов из них тамбур-шлюзов, защищаемых приточной противодымной вентиляцией), установленных в зданиях с незадымляемыми лестничными клетками;
б) в шахты лифтов с режимом "перевозка пожарных подразделений" независимо от назначения, высоты надземной и глубины подземной части зданий и наличия в них незадымляемых лестничных клеток - предусматривая отдельные системы согласно
ГОСТ Р 53296 (кроме общих конструктивно неразделенных шахт для лифтов с режимом "перевозка пожарных подразделений" и для лифтов с режимом "пожарная опасность");
(в ред.
Изменения N 1, утв. Приказом МЧС России от 27.02.2020 N 119)
в) в незадымляемые лестничные клетки типа Н2;
г) в тамбур-шлюзы на этаже с очагом пожара при незадымляемых лестничных клетках типа Н3;
(в ред.
Изменения N 1, утв. Приказом МЧС России от 27.02.2020 N 119)
д) в тамбур-шлюзы, парно-последовательно расположенные при выходах из лифтов в помещения хранения автомобилей подземных автостоянок;
е) в тамбур-шлюзы при внутренних лестницах, ведущих в помещения первого этажа из цокольного этажа, в помещениях которого применяются или хранятся горючие вещества и материалы, из цокольного этажа с коридорами без естественного проветривания, а также из подвального или подземных этажей. В плавильных, литейных, прокатных и других горячих цехах в тамбур-шлюзы допускается подавать воздух, забираемый из аэрируемых пролетов здания;
(в ред.
Изменения N 1, утв. Приказом МЧС России от 27.02.2020 N 119)
ж) в тамбур-шлюзы на входах из коридоров в атриумы и пассажи с уровней подземных, подвальных и цокольных этажей;
(в ред.
Приказа МЧС России от 27.02.2020 N 119)
| | ИС МЕГАНОРМ: примечание. Нумерация подпунктов дана в соответствии с официальным текстом документа. | |
и) в тамбур-шлюзы на этаже с очагом пожара при незадымляемых лестничных клетках типа Н2 в многофункциональных зданиях и комплексах высотой более 28 м, в жилых зданиях высотой более 75 м, в общественных зданиях высотой более 50 м;
(пп. "и" в ред.
Изменения N 1, утв. Приказом МЧС России от 27.02.2020 N 119)
к) в нижние части помещений (в том числе коридоров), защищаемых системами вытяжной противодымной вентиляции, - для возмещения объемов удаляемых из них продуктов горения;
(пп. "к" в ред.
Изменения N 1, утв. Приказом МЧС России от 27.02.2020 N 119)
л) в тамбур-шлюзы, отделяющие помещения для хранения автомобилей закрытых надземных и подземных автостоянок от помещений иного назначения;
м) в тамбур-шлюзы, отделяющие помещения для хранения автомобилей от изолированных рамп подземных автостоянок, или - в сопловые аппараты воздушных завес, устанавливаемые над воротами изолированных рамп со стороны помещений для хранения автомобилей подземных автостоянок (как равнозначные по технической эффективности варианты защиты);
н) в тамбур-шлюзы при выходах в вестибюли из незадымляемых лестничных клеток типа Н2, сообщающихся с надземными этажами зданий различного назначения;
| | ИС МЕГАНОРМ: примечание. Нумерация подпунктов дана в соответствии с официальным текстом документа. | |
п) в тамбур-шлюзы (лифтовые холлы) при выходах из лифтов в подвальные, подземные этажи зданий различного назначения;
(в ред.
Изменения N 1, утв. Приказом МЧС России от 27.02.2020 N 119)
р) в помещения безопасных зон на этаже с очагом пожара.
(в ред.
Изменения N 1, утв. Приказом МЧС России от 27.02.2020 N 119)
Допускается предусматривать подачу наружного воздуха для создания избыточного давления в общих коридорах помещений, из которых непосредственно удаляются продукты горения, а также в коридорах, сообщающихся с рекреациями, другими коридорами, холлами, атриумами, защищаемыми системами вытяжной противодымной вентиляции.
Для лифтов, имеющих остановки на этажах подземной автостоянки и только на нижнем надземном этаже, устройства двойных тамбур-шлюзов согласно
подпункту "д" пункта 7.14 не требуется.
В тамбур-шлюзы (лифтовые холлы) при выходах из лифтов в подвальный и подземные этажи зданий различного назначения не допускается подача воздуха через противопожарные нормально закрытые клапаны из объема лифтовых шахт, если основной посадочный этаж этих лифтов расположен на уровне нижнего надземного этажа здания, а шахты таких лифтов защищены системами приточной противодымной вентиляции с подачей наружного воздуха в них не ниже уровня основного посадочного этажа. При размещении безопасных зон в лифтовых холлах не допускается подача воздуха в эти холлы через противопожарные нормально закрытые клапаны из примыкающих лифтовых шахт.
(абзац введен
Изменением N 1, утв. Приказом МЧС России от 27.02.2020 N 119)
7.15. Расход наружного воздуха для приточной противодымной вентиляции следует рассчитывать при условии обеспечения избыточного давления не менее 20 Па:
а) в лифтовых шахтах - при закрытых дверях на всех этажах (кроме основного посадочного этажа);
б) в незадымляемых лестничных клетках типа Н2 при открытых дверях на пути эвакуации из коридоров и холлов или непосредственно из помещений на этаже пожара в лестничную клетку, или при открытых дверях из здания наружу и закрытых дверях из коридоров и холлов на всех этажах, принимая большее из полученных значений расходов воздуха;
в) в тамбур-шлюзах на этаже пожара (при закрытых дверях).
Расход воздуха, подаваемого в тамбур-шлюзы, расположенные при выходах в незадымляемые лестничные клетки типа Н2 или типа Н3, во внутренние открытые лестницы 2-го типа, на входах в атриумы и пассажи с уровней подвальных и цокольных этажей, перед лифтовыми холлами подземных автостоянок, следует рассчитывать для условия обеспечения средней скорости истечения воздуха через открытый дверной проем не менее 1,3 м/с и с учетом совместного действия вытяжной противодымной вентиляции. Расход воздуха, подаваемого в другие тамбур-шлюзы при закрытых дверях, необходимо рассчитывать с учетом утечек воздуха через неплотности дверных притворов.
Величину избыточного давления следует определять относительно помещений, смежных с защищаемым помещением;
г) расход воздуха, подаваемого в общие коридоры помещений, из которых непосредственно удаляются продукты горения, должен рассчитываться при условии обеспечения массового баланса с максимальным расходом подлежащих удалению продуктов горения из одного помещения с учетом утечек воздуха через закрытые двери всех помещений (кроме одного горящего). Подача воздуха в помещения безопасных зон должна осуществляться из расчета необходимости обеспечения скорости истечения воздуха через одну открытую дверь защищаемого помещения не менее 1,5 м/с. Для лифтовых холлов цокольных и подземных этажей расчетные значения расхода подаваемого воздуха следует определять с учетом утечек через закрытые двери этих холлов и закрытые двери лифтовых шахт (при отсутствии избыточного давления воздуха в последних). Сопловые аппараты воздушных завес требуют подачи в них воздуха с расходом, соответствующим минимальной скорости истечения воздушной струи 10 м/с с начальной толщиной 0,03 м и шириной, равной горизонтальному размеру защищаемого проема (ворот рампы).
7.16. При расчете параметров приточной противодымной вентиляции следует принимать:
а) температуру наружного воздуха и скорость ветра для холодного периода года по
[2], температуру воздуха в помещениях - по заданию на проектирование. Не допускается температуру воздуха в помещениях всех этажей здания приравнивать к температуре воздуха в защищаемых приточной противодымной вентиляцией лестничных клетках и (или) лифтовых шахтах;
б) избыточное давление воздуха не менее 20 Па и не более 150 Па в незадымляемых лестничных клетках типа Н2, в тамбур-шлюзах при поэтажных входах незадымляемых лестничных клеток типа Н2 или типа Н3, в тамбур-шлюзах на входах в атриумы и пассажи с уровней подвальных и цокольных этажей относительно смежных помещений (коридоров, холлов), а также в тамбур-шлюзах, отделяющих помещения для хранения автомобилей от изолированных рамп подземных автостоянок и от помещений иного назначения, в лифтовых холлах подземных и цокольных этажей, в общих коридорах помещений, из которых непосредственно удаляются продукты горения, и в помещениях безопасных зон. Избыточное давление воздуха в шахтах лифтов должно быть не менее 20 Па и не более 70 Па;
(в ред.
Изменения N 1, утв. Приказом МЧС России от 27.02.2020 N 119)
в) площадь большей створки двустворчатых дверей. При этом ширина такой створки должна быть не менее необходимой для эвакуации: в противном случае в расчете следует учитывать всю ширину дверей;
г) кабины лифтов остановленными на основном посадочном этаже.
Величина избыточного давления на закрытых дверях эвакуационных выходов при совместном действии приточно-вытяжной противодымной вентиляции в расчетных режимах не должна превышать 150 Па. Если расчетное давление в лестничной клетке превышает максимально допустимое, то требуется зонирование ее объема посредством рассечек (сплошных противопожарных перегородок 1-го типа), разделяющих объем лестничной клетки, с устройством обособленных выходов на уровне рассечки через примыкающее помещение или коридор этажа здания. В каждую зону лестничной клетки должна быть обеспечена подача наружного воздуха от отдельных систем или от одной системы через вертикальный коллектор. При распределенной подаче наружного воздуха в объем лестничной клетки и обеспечении условия непревышения указанного максимально допустимого давления устройство рассечек не требуется.
7.17. Для систем приточной противодымной вентиляции следует предусматривать:
а) установку вентиляторов в отдельных от вентиляторов другого назначения помещениях, с ограждающими строительными конструкциями, имеющими пределы огнестойкости не менее требуемых для конструкций, пересекающих их воздуховодов. В пределах одного пожарного отсека допускается размещать вентиляторы систем приточной противодымной вентиляции в помещении для оборудования приточных систем согласно
пунктам 6.4,
6.8, а также непосредственно в защищаемых объемах лестничных клеток, коридоров и тамбур-шлюзов. Вентиляторы противодымных приточных систем допускается (в соответствии с техническими данными предприятий-изготовителей) размещать на кровле и снаружи зданий с ограждениями для защиты от доступа посторонних лиц;
б) воздуховоды и каналы из негорючих материалов класса герметичности B по
[1] с пределами огнестойкости не менее:
- EI 150 - при прокладке воздухозаборных шахт и приточных каналов за пределами обслуживаемого пожарного отсека;
- EI 120 - при прокладке каналов приточных систем, защищающих шахты лифтов с режимом перевозки пожарных подразделений;
- EI 60 - при прокладке каналов подачи воздуха в тамбур-шлюзы на поэтажных входах в незадымляемые лестничные клетки типа Н2 или Н3, а также в помещениях закрытых автостоянок;
- EI 30 - при прокладке воздухозаборных шахт и приточных каналов в пределах обслуживаемого пожарного отсека;
в) установку обратного клапана у вентилятора с учетом
пункта 7.11;
(в ред.
Изменения N 1, утв. Приказом МЧС России от 27.02.2020 N 119)
г) приемные отверстия наружного воздуха, размещаемые на расстоянии не менее 5 м от выбросов продуктов горения систем противодымной вытяжной вентиляции;
д) противопожарные нормально закрытые клапаны в каналах подачи воздуха в тамбур-шлюзы с пределами огнестойкости:
(в ред.
Изменения N 1, утв. Приказом МЧС России от 27.02.2020 N 119)
(в ред.
Изменения N 1, утв. Приказом МЧС России от 27.02.2020 N 119)
Противопожарные клапаны не следует устанавливать для систем, обслуживающих один тамбур-шлюз. Не допускается применение в качестве нормально закрытых противопожарных клапанов в каналах подачи воздуха в тамбур-шлюзы изделий, заслонки которых выполнены без термоизоляции;
е) подогрев воздуха, подаваемого в помещения безопасных зон с расходом, определенным с учетом утечек через закрытые двери таких помещений;
(пп. "е" в ред.
Изменения N 1, утв. Приказом МЧС России от 27.02.2020 N 119)
ж) минимальное расстояние между дымоприемным устройством системы вытяжной противодымной вентиляции и приточным устройством системы приточной противодымной вентиляции, указанной в
подпункте "к" пункта 7.14, должно быть не менее 1,5 метра по вертикали.
(пп. "ж" введен
Изменением N 1, утв. Приказом МЧС России от 27.02.2020 N 119)
7.18. Для противодымной защиты допускается использовать системы приточно-вытяжной общеобменной вентиляции при обеспечении требований
пунктов 7.1 -
7.17. Расчетное определение требуемых параметров систем противодымной вентиляции или совмещенных с ними систем общеобменной вентиляции следует производить в соответствии с положениями настоящих норм. Расчеты могут быть выполнены в соответствии с
[4] или на основе других методических пособий, не противоречащих указанным требованиям.
(в ред.
Изменения N 1, утв. Приказом МЧС России от 27.02.2020 N 119)
7.20. Включение оборудования противодымной вентиляции должно осуществляться автоматически (от автоматической пожарной сигнализации или автоматических установок пожаротушения) и дистанционно (с пульта дежурной смены диспетчерского персонала и от кнопок, установленных у эвакуационных выходов или в пожарных шкафах). Управляемое совместное действие систем регламентируется в зависимости от реальных пожароопасных ситуаций, определяемых местом возникновения пожара в здании - расположением горящего помещения на любом из его этажей. Заданная последовательность действия систем должна обеспечивать опережающее включение вытяжной противодымной вентиляции от 20 до 30 секунд относительно момента запуска приточной противодымной вентиляции. Во всех вариантах требуется отключение систем общеобменной вентиляции и кондиционирования с учетом положений
[1]. Необходимое сочетание совместно действующих систем и их суммарную установленную мощность, максимальное значение которой должно соответствовать одному из таких сочетаний, следует определять в зависимости от алгоритма управления противодымной вентиляцией, подлежащего обязательной разработке при проведении расчетов согласно
пункту 7.18.
(в ред.
Изменения N 1, утв. Приказом МЧС России от 27.02.2020 N 119)
7.21. Оценка технического состояния систем противодымной вентиляции на объектах нового строительства и реконструкции, а также на эксплуатируемых зданиях должна производиться в соответствии с
ГОСТ Р 53300.
7.22. Электроснабжение электроприемников систем противодымной вентиляции должно осуществляться в соответствии с требованиями
[1].
(в ред.
Изменения N 1, утв. Приказом МЧС России от 27.02.2020 N 119)
Не допускается применение аппаратов электрической защиты с тепловыми расцепителями в цепях электроснабжения исполнительных элементов оборудования систем противодымной вентиляции.
(в ред.
Изменения N 1, утв. Приказом МЧС России от 27.02.2020 N 119)
Возможность применения преобразователей частоты в составе вентиляторов систем вытяжной противодымной вентиляции следует определять на основании испытаний по
ГОСТ Р 53302.
8. Требования к объемно-планировочным и конструктивным решениям
8.1 Ограждающие строительные конструкции помещений для вентиляционного оборудования систем общеобменной вентиляции, расположенных в пожарном отсеке, где находятся обслуживаемые этими системами помещения, должны иметь пределы огнестойкости не менее EI 45, систем противодымной вентиляции - с учетом требований
пункта 7.12,
подпункта "а" и пункта 7.17.
Двери таких помещений (за исключением помещений для вентиляционного оборудования систем общеобменной вентиляции, отнесенных к категории Д) должны быть противопожарными 2-го типа.
(п. 8.1 в ред.
Изменения N 1, утв. Приказом МЧС России от 27.02.2020 N 119)
8.2. Помещения для вентиляционного оборудования, расположенные вне пожарного отсека, в котором находятся обслуживаемые и (или) защищаемые помещения, должны быть выгорожены строительными конструкциями с пределами огнестойкости не менее EI 150. Двери таких помещений должны быть противопожарными 1-го типа.
(в ред.
Изменения N 1, утв. Приказом МЧС России от 27.02.2020 N 119)
8.3. Поэтажные переходы через наружную воздушную зону незадымляемых лестничных клеток типа Н1 с учетом расположения в местах примыкания к входящим углам фасадов должны соответствовать типовым решениям обязательного
приложения Г.
8.4. Различия конструктивного устройства незадымляемых лестничных клеток типа Н2 и Н3 не исключают равнозначной эффективности их применения в зданиях различного назначения по условиям обеспечения пожарной безопасности. Не допускается нормирование обязательно-предпочтительного применения каждого одного относительно другого из указанных типов незадымляемых лестничных клеток. Предпочтительный выбор для применения в зданиях одного из этих типов лестничных клеток должен производиться в технологической части проекта. В зданиях высотой более 28 м выход из незадымляемой лестничной клетки типа Н2 в вестибюль следует устраивать через тамбур-шлюз с подпором воздуха во время пожара.
(в ред.
Изменения N 1, утв. Приказом МЧС России от 27.02.2020 N 119)
8.5. Для естественного проветривания коридоров при пожаре следует предусматривать открываемые оконные или иные проемы в наружных ограждениях с расположением верхней кромки не ниже 2,5 м и нижней кромки не выше 1,5 м от уровня пола и шириной не менее 1,6 м на каждые 30 м длины коридора. Запорные устройства или механизмы приводов должны быть доступны для свободного и неограниченного ручного открывания заполнений таких проемов при расположении соответствующих конструктивных элементов (рычагов, ручек и др.) не выше 2 м от уровня пола.
(в ред.
Изменения N 1, утв. Приказом МЧС России от 27.02.2020 N 119)
Для естественного проветривания помещений при пожаре необходимы аналогичные открываемые проемы в наружных ограждениях шириной не менее 0,24 м на 1 м длины наружного ограждения помещения при максимальном расстоянии от его внутренних ограждений не более 20 м, а для помещений с наружными ограждениями на противоположных фасадах зданий - при максимальном расстоянии не более 40 м между этими ограждениями. При этом длина наружного ограждения должна быть не меньше 1/3 суммы длин внутренних ограждений помещения.
(в ред.
Изменения N 1, утв. Приказом МЧС России от 27.02.2020 N 119)
Необходимые размеры и количество открываемых оконных и других проемов для естественного проветривания при пожаре помещений или коридоров могут быть определены расчетом согласно требованиям
пункта 7.4.
8.6. В зданиях, помещения которых не защищаются противодымной вентиляцией, не допускается открытое фиксированное положение дверей лифтовых шахт на основном посадочном или других этажах.
(в ред.
Изменения N 1, утв. Приказом МЧС России от 27.02.2020 N 119)
8.7. При выходах из лифтов в помещения хранения автомобилей подземных автостоянок следует предусматривать тамбур-шлюзы, защищаемые приточной противодымной вентиляцией. Если такие лифты имеют не менее двух остановок на вышележащих надземных этажах, то на этажах подземной автостоянки необходимо устройство двух последовательно расположенных тамбур-шлюзов для отделения выходов из этих лифтов в помещения хранения автомобилей, защищаемых отдельными системами приточной противодымной вентиляции.
(в ред.
Изменения N 1, утв. Приказом МЧС России от 27.02.2020 N 119)
8.8. Для возмещения объемов удаляемых продуктов горения из помещений, защищаемых вытяжной противодымной вентиляцией, должны быть предусмотрены системы приточной противодымной вентиляции с естественным или механическим побуждением.
Для естественного притока воздуха в защищаемые помещения могут быть выполнены проемы в наружных ограждениях или шахты с клапанами, оснащенными автоматически и дистанционно управляемыми приводами. Проемы должны быть в нижней части защищаемых помещений. Притворы клапанов должны быть снабжены средствами предотвращения примерзания в холодное время года. Для компенсирующего притока наружного воздуха в нижнюю часть атриумов или пассажей могут быть использованы дверные проемы наружных эвакуационных выходов. Двери таких выходов должны быть снабжены автоматически и дистанционно управляемыми приводами принудительного открывания. Суммарная площадь проходного сечения открываемых дверей должна определяться согласно требованиям
пункта 7.4 и по условию непревышения скорости воздушного потока в дверных проемах более 6 м/с.
Компенсирующая подача наружного воздуха приточной противодымной вентиляцией с механическим побуждением может быть предусмотрена автономными системами или с использованием систем подачи воздуха в тамбур-шлюзы или лифтовые шахты. При этом в ограждениях тамбур-шлюзов или лифтовых шахт, к которым непосредственно примыкают защищаемые помещения, должны предусматриваться специально выполненные проемы с установленными в них противопожарными нормально-закрытыми клапанами и регулируемыми жалюзийными решетками. Двери тамбур-шлюзов должны быть сблокированы с приводами клапанов в цикле противохода. Допускается применение клапанов избыточного давления в противопожарном исполнении с требуемыми пределами огнестойкости. Компенсирующий переток воздуха из шахт лифтов допускается только для лифтовых установок с режимом управления "пожарная опасность". Шахты лифтов с режимом "перевозка пожарных подразделений" и незадымляемые лестничные клетки типа Н2 использовать для подобного устройства не допускается.
8.9 Окна в незадымляемых лестничных клетках типа Н2 должны быть неоткрывающимися.
(п. 8.9 введен
Изменением N 1, утв. Приказом МЧС России от 27.02.2020 N 119)
ПРИМЕНЕНИЕ ПЕЧНОГО ОТОПЛЕНИЯ В ЗДАНИЯХ
Здания | Количество |
этажей, не более | мест, не более |
Жилые | 3 | - |
Административные | 2 | - |
Общежития, бани | 1 | 25 |
Поликлиники, спортивные, предприятия бытового обслуживания населения (кроме домов быта, комбинатов обслуживания), предприятия связи, а также помещения категорий Г и Д площадью не более 500 м2 | 1 | - |
Клубные здания | 1 | 100 |
Общеобразовательные школы без спальных корпусов | 1 | 80 |
Детские дошкольные учреждения с дневным пребыванием детей, предприятия общественного питания и транспорта | 1 | 50 |
Примечание - Этажность зданий принимается без учета цокольного этажа. |
РАЗМЕРЫ РАЗДЕЛОК И ОТСТУПОК У ПЕЧЕЙ И ДЫМОВЫХ КАНАЛОВ
Б.1. Размеры разделок печей и дымовых каналов с учетом толщины стенки печи следует принимать равными 500 мм до конструкций зданий из горючих материалов и 380 мм - до конструкций, защищенных в соответствии с
подпунктом "б" пункта 5.21.
Б.2. Требования к отступкам приведены в таблице Б.1.
Толщина стенки печи, мм | Отступка | Расстояние от наружной поверхности печи или дымового канала (трубы) до стены или перегородки, мм |
не защищенной от возгорания | защищенной от возгорания |
120 | Открытая | 260 | 200 |
120 | Закрытая | 320 | 260 |
65 | Открытая | 320 | 260 |
65 | Закрытая | 500 | 380 |
Примечания: |
1. Для стен с пределом огнестойкости REI 60 и более и пределом распространения пламени РП0 расстояние от наружной поверхности печи или дымового канала (трубы) до стены перегородки не нормируется. |
2. В зданиях детских учреждений, общежитий и предприятий общественного питания предел огнестойкости стены (перегородки) в пределах отступки обеспечивается не менее REI 60. |
3. Защита потолка в соответствии с пунктом 5.18, пола, стен и перегородок в соответствии с пунктом 5.21 выполняется на расстоянии, не менее чем на 150 мм превышающем габариты печи. |
ПРЕДЕЛЫ ОГНЕСТОЙКОСТИ ТРАНЗИТНЫХ ВОЗДУХОВОДОВ
| | Список изменяющих документов (в ред. Изменения N 1, утв. Приказом МЧС России от 27.02.2020 N 119) | |
(в ред.
Изменения N 1, утв. Приказом МЧС России от 27.02.2020 N 119)
Помещения, обслуживаемые системой вентиляции | Предел огнестойкости EI, мин, при прокладке транзитных воздуховодов и коллекторов через помещения |
склада и кладовых категорий А, Б, В1 - В4 | Производственные категории | технического этажа, коридора производственного здания | общественные и административные | бытовые (санузлы, душевые, умывальные, бани и т.п.) | технического этажа, коридора (кроме производственного здания) | жилы е |
А, Б или В1 - В4 | Г | Д |
Склады и кладовые категорий А, Б, В1 - В4, тамбур-шлюзы при помещениях категорий А и Б, а также местные отсосы взрывопожароопасных смесей | 30 ----- 30 | 30 ----- 30 | 30 ----- 30 | 30 ----- 30 | 30 ----- 30 | НД | НД | 30 | НД |
Производственные категорий А, Б или В1 - В4 | 30 ----- 30 | 15 ----- 30 | 15 ----- 30 | 15 ----- 30 | 15 ----- 30 | --------- 30 | 15 ----- 30 | 15 ----- 30 | НД |
Производственные категории Г | 30 ----- 30 | 15 ----- 30 | НН | НН | 15 --------- | 30 ----- 30 | 15 ----- 30 | 15 ----- 30 | НД |
Производственные категории Д | 30 ----- 30 | 15 ----- 30 | НН | НН | НН --------- | 15 --------- | НН ----- 30 | НН ----- 30 | НД |
Коридор производственного здания | 30 ----- 30 | 15 ----- 30 | НН --------- | НН --------- | НН --------- | НН --------- | НН --------- | НН --------- | НД |
Общественные и административно-бытовые | НД | --------- 30 | 30 ----- 30 | НН --------- | НН --------- | НН --------- | НН --------- | НН --------- | НД |
Бытовые (санузлы, душевые, умывальные, бани и т.п.) | 30 ----- 30 | 15 ----- 30 | 15 ----- 30 | НН --------- | НН --------- | НН --------- | НН --------- | НН ------ 30 | НД |
Коридор (кроме производственных зданий) | НД | НД | НД | НН --------- | НН --------- | НН --------- | НН --------- | НН ----- 30 | НН ----- 30 |
Жилые | НД | НД | НД | НН --------- | НН --------- | НН --------- | НН --------- | НН ----- 30 | НН ----- 30 |
<*> EI 15 - в зданиях III или IV степени огнестойкости. <**> Не допускается прокладка воздуховодов из помещений категорий А и Б. Примечания 1 НД - не допускается прокладка транзитных воздуховодов. 2 НН - не нормируется предел огнестойкости транзитных воздуховодов. 3 Значения предела огнестойкости приведены в таблице в виде дроби: в числителе - на обслуживаемом этаже в знаменателе - вне обслуживаемого этажа. 4 Воздуховоды, прокладываемые через различные помещения этажа, должны быть выполнены с одинаково большим пределом огнестойкости. |
ПО УСТРОЙСТВУ ПОЭТАЖНЫХ ПЕРЕХОДОВ ЧЕРЕЗ НАРУЖНУЮ ВОЗДУШНУЮ
ЗОНУ К НЕЗАДЫМЛЯЕМЫМ ЛЕСТНИЧНЫМ КЛЕТКАМ ТИПА Н1
а) по балконам с торцевыми сплошными ограждениями
б) по балконам без торцевых сплошных ограждений
В вариантах исполнения "а", "б", "в" при различных входящих углах фасадов зданий характерные геометрические размеры должны иметь следующие значения:
При

< 135° и f

3,0 м - a

2,0 м; b

1,2 м; c

1,2 м;

;

; e

3,0 м; g

0,2 м; 1,2 м

h

1,5 м;
При

135° - a

2,0 м; b

1,2 м; c

1,2 м;

- не нормируется; e

3,0 м; f - не нормируется; g

0,2 м; 1,2 м

h

1,5 м.
Дверные проемы выходов с этажей на балконы или лоджии по "а" - "в" и дверные проемы входов с этих балконов или лоджий на лестничные клетки должны быть расположены в одной плоскости.
Рисунок (не приводится) - сплошное или ячеистое ограждение;
Рисунок (не приводится) - оконный проем с остеклением не противопожарного исполнения.
ПРОТИВОДЫМНАЯ ВЕНТИЛЯЦИЯ ТРАНСПОРТНЫХ ТОННЕЛЕЙ
| | Список изменяющих документов (введено Изменением N 1, утв. Приказом МЧС России от 27.02.2020 N 119) | |
Д.1 Настоящие требования не распространяются на железнодорожные и автодорожные тоннели длиной более 3000 м, на железнодорожные тоннели метрополитенов, на железнодорожные высокоскоростные тоннели (со скоростью движения более 200 км/ч), на скоростные автодорожные тоннели (с установленной скоростью движения более 130 км/ч).
Д.2 Тоннели протяженностью 300 м и более должны быть оборудованы системами приточно-вытяжной противодымной вентиляции, преимущественно по поперечной или продольно-поперечной схемам. При расчетном обосновании для тоннелей до 1000 м с односторонним движением допускается предусматривать противодымную вентиляцию по продольной схеме.
Д.3 Тоннели длиной от 200 м до 300 м подлежат оснащению системами противодымной вентиляции, преимущественно по продольной схеме.
Д.4 Каждый транспортный отсек автодорожного тоннеля длиной 300 м и более подлежит оснащению автономными системами противодымной вентиляции.
Д.5 Системы приточно-вытяжной противодымной вентиляции тоннелей допускается предусматривать совмещенными с системами общеобменной вентиляции.
Д.6 Тоннели, оборудованные в соответствии с
пунктом Д.2, подлежат условному разделению на дымовые зоны длиной до 100 метров. При этом расстояние между дымоприемными устройствами в каждой дымовой зоне при устройстве противодымной вентиляции по поперечной или продольно-поперечной схемам должно быть не более 10 м (по осям таких устройств).
Д.7 Системы приточно-вытяжной противодымной вентиляции в соответствии с
пунктом Д.2 должны обеспечивать:
- удаление продуктов горения из верхней части транспортного отсека с учетом возможности возникновения пожара на границе дымовых зон;
- подачу наружного воздуха для возмещения объемов удаляемых продуктов горения в смежные с очагом пожара дымовые зоны, в том числе через порталы тоннеля (при продольно-поперечной схеме противодымной вентиляции).
Д.8 При устройстве противодымной вентиляции по продольной схеме в соответствии с
пунктом Д.3 должна быть обеспечена продольная скорость воздушного потока в транспортном отсеке навстречу направлению эвакуации с требуемой по расчету величиной.
Д.9 Пределы огнестойкости вентиляторов систем вытяжной противодымной вентиляции должны соответствовать расчетным режимам их действия при пожаре, но не ниже значений 2 ч/400 °C или 1,5 ч/600 °C.
Д.10 Пределы огнестойкости вентиляторов систем противодымной вентиляции по продольной схеме должны быть не ниже значений 2 ч/400 °C. В обоснованных расчетами случаях допускается использование струйных вентиляторов со сниженным до 1 ч/250 °C пределом огнестойкости.
Д.11 В составе систем приточной противодымной вентиляции по поперечной схеме допускается применение вентиляторов общего сантехнического назначения (без ограничения огнестойкости).
Д.12 Для вентиляторов в соответствии с
пунктами Д.9 -
Д.11 должно быть предусмотрено резервирование.
Д.13 Предел огнестойкости вентиляционных каналов систем вытяжной противодымной вентиляции должен быть не менее EI 120, приточной противодымной вентиляции - не менее EI 90.
Д.14 Дымоприемные и воздухоприточные устройства подлежат оснащению противопожарными нормально закрытыми клапанами с пределами огнестойкости EI 120 и EI 90 соответственно. При протяженности защищаемого транспортного отсека до 300 м противопожарные нормально закрытые клапаны допускается не предусматривать.
Д.15 При расчете параметров противодымной вентиляции следует учитывать мощность тепловыделения очага пожара, температуру продуктов горения, теплопотери через ограждающие строительные конструкции (в том числе через стенки вентиляционных каналов), параметры наружного воздуха, скорость ветра на порталах тоннеля, продольные уклоны тоннеля.
Д.16 При определении требуемых параметров противодымной вентиляции по продольной схеме в автодорожных тоннелях должно быть дополнительно учтено скопление автомобильного транспорта на участке до места возгорания (по направлению движения), а для автодорожных тоннелей в городской черте должна быть учтена вероятность образования транспортной пробки на всем протяжении тоннеля до возникновения пожара.
Д.17 Функционально совмещенная с общеобменной вентиляцией вытяжная противодымная вентиляция по поперечной и продольно-поперечным схемам не должна содержать участков с шумоглушителями. При необходимости устройства таких участков следует предусматривать обводные вентиляционные каналы (байпасы).
Д.18 Изолированные эвакуационные переходы (сбойки) между тоннелями подлежат защите системами приточной противодымной вентиляции. При этом забор воздуха допускается предусматривать из смежного транспортного отсека с относом воздухозаборного отверстия системы от дверного проема перехода на расстояние не менее 5 м.
Д.19 В автодорожных тоннелях до 300 м, а также на припортальных участках тоннелей большей протяженности (на расстояние от портала не более 150 м) допускается предусматривать защиту эвакуационных переходов сопловыми аппаратами в соответствии с
подпунктом "м" пункта 7.14.
Д.20 Оборудование, применяемое в составе систем приточно-вытяжной противодымной вентиляции, должно иметь коррозионностойкое исполнение, включая узлы крепления.
Д.21 Противодымную защиту притоннельных помещений следует проектировать в соответствии с требованиями
разделов 6,
7 настоящего свода правил.
| СП 60.13330.2012 | |
(в ред. Изменения N 1, утв. Приказом МЧС России от 27.02.2020 N 119) |
| СП 131.13330.2012 | |
(в ред. Изменения N 1, утв. Приказом МЧС России от 27.02.2020 N 119) |
| СП 20.13330.2011 | |
| МД.137-13 | Расчетное определение основных параметров противодымной вентиляции зданий: Метод. рекомендации. М., ВНИИПО |
(в ред. Изменения N 1, утв. Приказом МЧС России от 27.02.2020 N 119) |
[5] | ПУЭ | Правила устройства электроустановок |
───────────────────────────────────────────────────────────────────────────
Ключевые слова: отопление, вентиляция, кондиционирование, дымовая зона,
клапан противопожарный, продукты горения, транзитный воздуховод, предел
огнестойкости, вентиляционная камера, незадымляемая лестничная клетка,
тамбур-шлюз, избыточное давление
───────────────────────────────────────────────────────────────────────────