Главная // Пожарная безопасность
СПРАВКА
Источник публикации
"Бюллетень нормативных актов федеральных органов исполнительной власти", N 12, 24.03.2008 (прил. к Правилам не приводятся)
Примечание к документу
Начало действия документа - 04.04.2008.

Оценка соблюдения обязательных требований, содержащихся в данном документе, привлечение к административной ответственности за их несоблюдение допускаются до 1 сентября 2025 года (Постановление Правительства РФ от 31.12.2020 N 2467).
Название документа
Приказ Росаэронавигации от 28.11.2007 N 119
"Об утверждении Федеральных авиационных правил "Размещение маркировочных знаков и устройств на зданиях, сооружениях, линиях связи, линиях электропередачи, радиотехническом оборудовании и других объектах, устанавливаемых в целях обеспечения безопасности полетов воздушных судов"
(Зарегистрировано в Минюсте РФ 06.12.2007 N 10621)

Приказ Росаэронавигации от 28.11.2007 N 119
"Об утверждении Федеральных авиационных правил "Размещение маркировочных знаков и устройств на зданиях, сооружениях, линиях связи, линиях электропередачи, радиотехническом оборудовании и других объектах, устанавливаемых в целях обеспечения безопасности полетов воздушных судов"
(Зарегистрировано в Минюсте РФ 06.12.2007 N 10621)


Содержание


Зарегистрировано в Минюсте РФ 6 декабря 2007 г. N 10621

ФЕДЕРАЛЬНАЯ АЭРОНАВИГАЦИОННАЯ СЛУЖБА
ПРИКАЗ
от 28 ноября 2007 г. N 119
ОБ УТВЕРЖДЕНИИ ФЕДЕРАЛЬНЫХ АВИАЦИОННЫХ ПРАВИЛ
"РАЗМЕЩЕНИЕ МАРКИРОВОЧНЫХ ЗНАКОВ И УСТРОЙСТВ НА ЗДАНИЯХ,
СООРУЖЕНИЯХ, ЛИНИЯХ СВЯЗИ, ЛИНИЯХ ЭЛЕКТРОПЕРЕДАЧИ,
РАДИОТЕХНИЧЕСКОМ ОБОРУДОВАНИИ И ДРУГИХ ОБЪЕКТАХ,
УСТАНАВЛИВАЕМЫХ В ЦЕЛЯХ ОБЕСПЕЧЕНИЯ БЕЗОПАСНОСТИ
ПОЛЕТОВ ВОЗДУШНЫХ СУДОВ"
В соответствии со статьей 51 Воздушного кодекса Российской Федерации (Собрание законодательства Российской Федерации, 1997, N 12, ст. 1383; 1999, N 28, ст. 3483; 2004, N 35, ст. 3607; N 45, ст. 4347; 2005, N 13, ст. 1078; 2006, N 30, ст. 3290, 3291) и пунктом 5.2.1.4 Положения о Федеральной аэронавигационной службе, утвержденного Постановлением Правительства Российской Федерации от 30.03.2006 N 173 (Собрание законодательства Российской Федерации, 2006, N 15, ст. 1612; N 44, ст. 4593), приказываю:
Утвердить и ввести в действие прилагаемые Федеральные авиационные правила "Размещение маркировочных знаков и устройств на зданиях, сооружениях, линиях связи, линиях электропередачи, радиотехническом оборудовании и других объектах, устанавливаемых в целях обеспечения безопасности полетов воздушных судов".
Руководитель
А.В.НЕРАДЬКО
Утверждены
Приказом Федеральной
аэронавигационной службы
от 28.11.2007 N 119
ФЕДЕРАЛЬНЫЕ АВИАЦИОННЫЕ ПРАВИЛА
"РАЗМЕЩЕНИЕ МАРКИРОВОЧНЫХ ЗНАКОВ И УСТРОЙСТВ
НА ЗДАНИЯХ, СООРУЖЕНИЯХ, ЛИНИЯХ СВЯЗИ, ЛИНИЯХ
ЭЛЕКТРОПЕРЕДАЧИ, РАДИОТЕХНИЧЕСКОМ ОБОРУДОВАНИИ И
ДРУГИХ ОБЪЕКТАХ, УСТАНАВЛИВАЕМЫХ В ЦЕЛЯХ ОБЕСПЕЧЕНИЯ
БЕЗОПАСНОСТИ ПОЛЕТОВ ВОЗДУШНЫХ СУДОВ"
I. ОБЩИЕ ПОЛОЖЕНИЯ
1.1. Настоящие Федеральные авиационные правила (далее - Правила) определяют организацию и порядок размещения маркировочных знаков и устройств на зданиях, сооружениях, линиях связи, линиях электропередачи, радиотехническом оборудовании и других объектах, устанавливаемых в целях обеспечения безопасности полетов воздушных судов.
II. ДНЕВНАЯ МАРКИРОВКА ПРЕПЯТСТВИЙ И ОБЪЕКТОВ
2.1. Дневная маркировка (далее - маркировка) наносится на все объекты, расположенные в пределах от границы спланированной части до границы летной полосы, а также на препятствия в виде зданий и сооружений, выступающие за установленные переходные поверхности, внутреннюю горизонтальную поверхность, поверхность взлета и захода на посадку в пределах 4000 м от нижних границ.
2.2. Допускается отсутствие маркировки на памятниках, культовых сооружениях, зданиях за пределами ограждений аэродрома. Также допускается отсутствие маркировки на трубах и других сооружениях из красного кирпича и на объектах, "затененных" более высокими маркированными неподвижными объектами.
2.3. Маркировка наносится на объекты управления воздушным движением (далее - УВД), радионавигации и посадки, исключая командно-диспетчерский пункт (далее - КДП), предназначенные для обслуживания полетов и расположенные вблизи летной полосы и на территории полосы воздушных подходов.
2.4. Маркировка объектов должна иметь цвета - красный (оранжевый) и белый.
2.5. Объекты, подлежащие маркировке и имеющие практически сплошные поверхности, окрашиваются:
а) одним цветом (красным или оранжевым), если проекции поверхностей объекта на любую вертикальную плоскость имеют ширину и высоту менее 1,5 м;
б) в шахматном порядке прямоугольниками (квадратами) со стороной 1,5 - 3,0 м, если проекции поверхностей объекта на любую вертикальную плоскость составляют или превышают 4,5 м в обоих измерениях, причем углы окрашиваются в темный цвет;
в) чередующимися по цвету полосами шириной 0,5 - 3,0 м перпендикулярно большему измерению, если одна из сторон объекта в горизонтальном или вертикальном измерении составляет или более 1,5 м, а другая сторона составляет или менее 4,5 м, причем крайние полосы окрашиваются в темный цвет (Приложение N 1 к Правилам).
2.6. Объекты (трубы, теле- и метеомачты, опоры линий электропередачи, связи и др.):
а) при высоте до 100 м маркируются от верхней точки до линии пересечения с поверхностью ограничения препятствий, но не менее чем на 1/3 их высоты, чередующимися по цвету горизонтальными полосами шириной 0,5 - 6,0 м. Минимальное число чередующихся полос - три (Приложение N 1 к Правилам);
б) расположенные в аэропортах сооружения каркасно-решетчатого типа (независимо от их высоты) маркируются от верха до основания чередующимися по цвету полосами (Приложение N 1 к Правилам);
в) при высоте более 100 м маркируются от верха до основания чередующимися по цвету полосами (Приложение N 2 к Правилам). При нанесении маркировки руководствоваться соотношениями высоты объекта и ширины маркировочной полосы, приведенной в таблице 1 приложения N 2 к Правилам.
III. СВЕТООГРАЖДЕНИЕ ПРЕПЯТСТВИЙ
3.1. Объекты в виде зданий и сооружений, линий связи и линий электропередач, радиотехнических и других искусственных сооружений, выступающих за внутреннюю горизонтальную, коническую или переходную поверхность, поверхность взлета или поверхность захода на посадку в пределах 6000 м от их внутренних границ, должны иметь световое ограждение (далее - светоограждение).
3.2. Допускается отсутствие светоограждения на памятниках и культовых сооружениях, а также на объектах, "затененных" более высоким неподвижным объектом, имеющим светоограждение. (Применение принципа "затенения" изложено в Приложении N 3 к Правилам.)
3.3. Светоограждению подлежат объекты радиосветотехнического и метеорологического оборудования, расположенные на территории аэродрома.
3.4. Препятствия должны иметь световое ограждение на самой верхней части (точке) и ниже через каждые 45 м (не более) ярусами, при этом в верхних точках препятствий должно быть установлено не менее двух заградительных огней, работающих одновременно.
На дымовых трубах верхние огни должны размещаться ниже обреза трубы на 1,5 - 3,0 м.
3.5. Количество и расположение заградительных огней на каждом уровне, подлежащем маркировке, должно быть таким, чтобы с любого направления в горизонтальной плоскости было видно не менее двух огней.
Если в каком-либо направлении огонь затеняется близко расположенным объектом, то на этом объекте должны быть предусмотрены дополнительные огни, устанавливаемые так, чтобы они давали общее представление об объекте, подлежащем световому ограждению, а заслоняемый огонь не устанавливается.
3.6. Заградительные огни, устанавливаемые на объектах, находящихся в створе взлетно-посадочной полосы (далее - ВПП), дальнего приводного радиомаркерного пункта (далее - ДПРМ), ближнего приводного радиомаркерного пункта (далее - БПРМ), курсового радиомаяка (далее - КРМ) и т.п., должны быть размещены на линии, перпендикулярной оси ВПП, с интервалом между огнями не менее 3 м. Огонь должен быть сдвоенной конструкции с силой света не менее 30 кд.
3.7. На объектах, имеющих большую протяженность, или группах близко расположенных объектов верхние заградительные огни, по крайней мере, на точках или краях объектов, имеющих самое большое превышение по отношению к поверхности ограничения препятствий, должны быть размещены так, чтобы можно было определить общие очертания и протяженность объекта. Если два или более края препятствия находятся на одной и той же высоте, допускается маркировать только край, ближайший к летному полю.
При использовании заградительных огней малой интенсивности продольные интервалы между ними не должны превышать 45 м, а для огней средней интенсивности - 90 м.
3.8. На протяженных препятствиях в виде антенн, линий электропередач, связи и т.п., подвешенных между опорами, заградительные огни должны устанавливаться на мачтах (опорах) независимо от расстояния между ними.
3.9. Высотные здания и сооружения, расположенные внутри застроенных районов, должны быть обозначены заградительными огнями сверху вниз до высоты 45 м над средним уровнем высоты застройки.
Примеры размещения заградительных огней на сооружениях различной высоты и конфигурации приведены в Приложении N 4 к Правилам.
3.10. В верхних точках объектов должны быть предусмотрены сдвоенные заградительные огни, работающие одновременно или по одному при наличии устройства для автоматического включения резервного огня при выходе из строя основного огня.
Автомат для включения резервного огня должен работать так, чтобы в случае выхода его из строя оказались включенными оба заградительных огня.
3.11. В качестве заградительных огней применяются огни низкой, средней или высокой интенсивности либо их сочетание (Приложение N 5 к Правилам).
3.12. Заградительные огни низкой интенсивности на неподвижных объектах должны быть огнями постоянного излучения красного цвета.
Сила света должна быть такой, чтобы они были заметны, учитывая интенсивность соседних огней и общую яркость фона, на котором они будут наблюдаться. При этом сила света огня в любом направлении должна быть не менее 10 кд.
3.13. Для светового ограждения отдельно стоящих объектов, расположенных вне зоны аэродрома и не имеющих вокруг себя посторонних огней, допускается применение проблесковых огней малой интенсивности, излучающих белый свет. Эффективная сила света в проблеске должна быть не менее 10 кд, частота проблесков 60 - 90 в минуту. Все проблесковые огни, установленные на объекте, должны работать синхронно.
3.14. Заградительные огни средней интенсивности должны быть красными проблесковыми огнями с эффективной силой света не менее 1600 кд. Частота проблесков должна составлять 20 - 60 проблесков в минуту.
При использовании совместно с заградительными огнями высокой интенсивности допускается применение белых проблесковых огней.
3.15. Заградительные огни высокой интенсивности должны быть проблесковыми огнями белого цвета.
IV. ХАРАКТЕРИСТИКА ПОВЕРХНОСТЕЙ ОГРАНИЧЕНИЯ ПРЕПЯТСТВИЙ
4.1. Применительно к направлению ВПП для взлета устанавливается поверхность ограничения препятствий для взлета, которая представляет собой наклонную плоскость, расположенную за пределами летной полосы (Приложения N 3, 6, 7 к Правилам).
Поверхность взлета имеет:
а) нижнюю границу установленной длины, расположенную горизонтально в конце летной полосы, перпендикулярно и симметрично осевой линии ВПП;
б) две боковые границы, начинающиеся у концов нижней границы, равномерно расходящиеся под установленным углом от линии пути воздушного судна при взлете:
- до ширины 2000 метров и затем продолжающиеся параллельно до верхней границы - для ВПП классов А, Б, В, Г;
- до верхней границы установленной длины для ВПП классов Д и Е;
в) верхнюю границу, проходящую горизонтально и перпендикулярно линии пути воздушного судна при взлете.
Высота нижней границы поверхности взлета равна высоте наивысшей точки местности на продолжении осевой линии ВПП в пределах от конца ВПП до конца летной полосы.
При прямолинейной поверхности взлета наклон поверхности измеряется в вертикальной плоскости, содержащей осевую линию ВПП.
При криволинейной поверхности взлета наклон поверхности измеряется в вертикальной плоскости, содержащей установленную линию пути воздушного судна при взлете.
4.2. Коническая поверхность представляет собой поверхность, простирающуюся вверх и в стороны от внешней границы внутренней горизонтальной поверхности (Приложение N 6 к Правилам).
Коническая поверхность имеет:
а) нижнюю границу, совпадающую с внешней границей внутренней горизонтальной поверхности;
б) верхнюю границу, представляющую собой линию пересечения данной поверхности с внешней горизонтальной поверхностью.
Наклон конической поверхности измеряется в вертикальной плоскости, перпендикулярной внешней границе внутренней горизонтальной поверхности, и составляет 5% для аэродромов всех классов (Приложение N 7 к Правилам).
4.3. Внутренняя горизонтальная поверхность представляет собой поверхность овальной формы, расположенной в горизонтальной плоскости над аэродромом и прилегающей к нему территорией на заданной высоте относительно высоты аэродрома (Приложение N 6 к Правилам).
Внешней границей этой поверхности является линия, образуемая касательными и дугами окружностей установленного радиуса (Приложение N 7 к Правилам).
4.4. Поверхность захода на посадку представляет собой наклонную плоскость или сочетание плоскостей, расположенных перед порогом ВПП (Приложения N N 6, 7 к Правилам).
Поверхность захода на посадку имеет:
а) нижнюю границу установленной длины, расположенную горизонтально на заданном расстоянии перед порогом ВПП, перпендикулярно и симметрично осевой линии ВПП;
б) две боковые границы, начинающиеся от концов внутренней границы и равномерно расходящиеся под установленным углом к продолжению осевой линии ВПП;
в) верхнюю границу, параллельную нижней границе.
Высота нижней границы поверхности захода на посадку соответствует высоте средней точки порога ВПП.
Наклон поверхности захода на посадку измеряется в вертикальной плоскости, содержащей осевую линию ВПП.
4.5. Переходная поверхность представляет собой наклонную комбинированную поверхность, расположенную вдоль боковой границы поверхности захода на посадку и летного поля, и простирающуюся вверх и в стороны до внутренней горизонтальной поверхности (Приложения N N 6, 7 к Правилам).
Переходная поверхность является контрольной поверхностью ограничения естественных и искусственных препятствий, функциональное назначение которых не требует их размещения вблизи ВПП.
Наклон переходной поверхности измеряется в вертикальной плоскости, перпендикулярной оси ВПП или ее продолжению.
Переходная поверхность имеет:
а) нижнюю границу, начинающуюся у пересечения боковой границы поверхности захода на посадку с внутренней горизонтальной поверхностью и продолжающуюся вниз вдоль боковой границы поверхности захода на посадку и далее вдоль летной полосы параллельно осевой линии ВПП на расстоянии, равном половине длины нижней границы поверхности захода на посадку;
б) верхнюю границу, расположенную в плоскости внутренней горизонтальной поверхности.
Высота нижней границы поверхности является переменной величиной. Высота точки на этой границе равна:
а) вдоль боковой границы поверхности захода на посадку - превышению поверхности захода на посадку в этой точке;
б) вдоль летной полосы - превышению ближайшей точки осевой линии ВПП или ее продолжения.
Часть переходной поверхности, расположенная вдоль летной полосы, является криволинейной при криволинейном профиле ВПП или представляет собой плоскость при прямолинейном профиле ВПП.
Линия пересечения переходной поверхности с внутренней горизонтальной поверхностью будет также криволинейной или прямолинейной в зависимости от профиля ВПП.
4.6. Внутренняя поверхность захода на посадку представляет собой наклонную поверхность, расположенную перед порогом ВПП (Приложения N N 6, 7 к Правилам).
Внутренняя поверхность захода на посадку имеет:
а) нижнюю границу, совпадающую с нижней границей поверхности захода на посадку, но имеющую меньшую длину;
б) две боковые границы, начинающиеся у концов нижней границы;
в) верхнюю границу, параллельную нижней границе.
4.7. Внутренняя переходная поверхность представляет собой поверхность, аналогичную переходной поверхности, но расположенную ближе к ВПП (Приложения N N 7, 8 к Правилам).
Внутренняя переходная поверхность является контрольной поверхностью ограничения препятствий для навигационных средств, которые должны располагаться вблизи ВПП, воздушных судов на рулежной дорожке (далее - РД) и других транспортных средств.
Наклон внутренней переходной поверхности измеряется в вертикальной плоскости, проходящей перпендикулярно осевой линии ВПП, или ее продолжению.
Внутренняя переходная поверхность имеет:
а) нижнюю границу, начинающуюся от конца верхней границы внутренней поверхности захода на посадку и простирающуюся вдоль боковой границы этой поверхности, и далее вдоль летной полосы параллельно осевой линии ВПП, а затем по боковой границе поверхности прерванной посадки до конца верхней границы этой поверхности;
б) верхнюю границу, расположенную на высоте 60 м относительно высоты аэродрома.
Высота нижней границы внутренней переходной поверхности является переменной величиной и равна:
- вдоль боковой границы внутренней поверхности захода на посадку и поверхности прерванной посадки - превышению соответствующей поверхности в рассматриваемой точке;
- вдоль летной полосы - превышению ближайшей точки на осевой линии ВПП.
Часть внутренней переходной поверхности, расположенная вдоль летной полосы, является криволинейной при криволинейном профиле ВПП или плоской при прямолинейном профиле ВПП. Верхняя граница внутренней переходной поверхности является криволинейной или прямолинейной в зависимости от профиля ВПП.
4.8. Поверхность прерванной посадки представляет собой наклонную поверхность, расположенную за порогом ВПП и проходящую между внутренними переходными поверхностями (Приложения N N 7, 8 к Правилам).
Поверхность прерванной посадки имеет:
а) нижнюю границу, проходящую перпендикулярно к осевой линии ВПП на заданном расстоянии за порогом ВПП;
б) две боковые границы, начинающиеся у концов нижней границы и равномерно расходящиеся под заданным углом от вертикальной плоскости, содержащей осевую линию ВПП;
в) верхнюю границу, параллельную нижней границе и расположенную на высоте 60 м относительно высоты аэродрома.
Высота нижней границы равняется превышению осевой линии ВПП в месте расположения нижней границы.
Наклон поверхности прерванной посадки измеряется в вертикальной плоскости, содержащей осевую линию ВПП.
Приложение N 1
к Федеральным авиационным
правилам "Размещение
маркировочных знаков
и устройств на зданиях,
сооружениях, линиях связи,
линиях электропередачи,
радиотехническом оборудовании
и других объектах,
устанавливаемых в целях
обеспечения безопасности
полетов воздушных судов",
утвержденным Приказом
Росаэронавигации
от 28.11.2007 N 119
ОСНОВНЫЕ СХЕМЫ МАРКИРОВКИ
Приложение N 2
к Федеральным авиационным
правилам "Размещение
маркировочных знаков
и устройств на зданиях,
сооружениях, линиях связи,
линиях электропередачи,
радиотехническом оборудовании
и других объектах,
устанавливаемых в целях
обеспечения безопасности
полетов воздушных судов",
утвержденным Приказом
Росаэронавигации
от 28.11.2007 N 119
ПРИМЕРЫ МАРКИРОВКИ И СВЕТОВОГО ОГРАЖДЕНИЯ
ВЫСОКИХ СООРУЖЕНИЙ
┌────────┐ ┌────────┐ ┌────────┐
│ Рис. 1 │ │ Рис. 2 │ │ Рис. 3 │
└────────┘ └────────┘ └────────┘
A - шаблон окраски верхней части крышки.
B - изогнутая поверхность.
C - каркасное сооружение.
Примечание: H - меньше 45 м для примеров, приведенных на рисунках 1 и 2. Для более высоких сооружений необходимы дополнительные промежуточные огни, как это показано на рис. 3.
Y (м)
Число ярусов огней: N = -----
X (м)
Таблица 1
Ширина маркировочных полос
┌──────────────────────────────────────┬───────────────────────────────────────┐
│ Высота сооружения, м │ Ширина полосы │
├──────────────────────────────────────┼───────────────────────────────────────┤
│ От 100 до 210 │ 1/7 высоты объекта │
│ От 210 до 270 │ 1/9 │
│ От 270 до 330 │ 1/11 │
│ От 330 до 390 │ 1/13 │
│ От 390 до 450 │ 1/15 │
│ От 450 до 510 │ 1/17 │
│ От 510 до 570 │ 1/19 │
│ От 570 до 630 │ 1/21 │
└──────────────────────────────────────┴───────────────────────────────────────┘
Приложение N 3
к Федеральным авиационным
правилам "Размещение
маркировочных знаков
и устройств на зданиях,
сооружениях, линиях связи,
линиях электропередачи,
радиотехническом оборудовании
и других объектах,
устанавливаемых в целях
обеспечения безопасности
полетов воздушных судов",
утвержденным Приказом
Росаэронавигации
от 28.11.2007 N 119
ПРАВИЛА ЗАТЕНЕНИЯ ПРЕПЯТСТВИЙ
1. Общие положения
"Затененным" считается препятствие, расположенное в зоне "затенения" и не пересекающее "затеняющую" поверхность, которая проходит через вершину "затеняющего" препятствия.
Зона "затенения" образуется только неподвижными препятствиями, которые не являются легкими и ломкими.
Если протяженное препятствие только частично расположено в зоне "затенения", его остальная часть должна рассматриваться как обычное препятствие, к которому не применяются правила "затенения".
2. Внутренняя горизонтальная и коническая поверхности
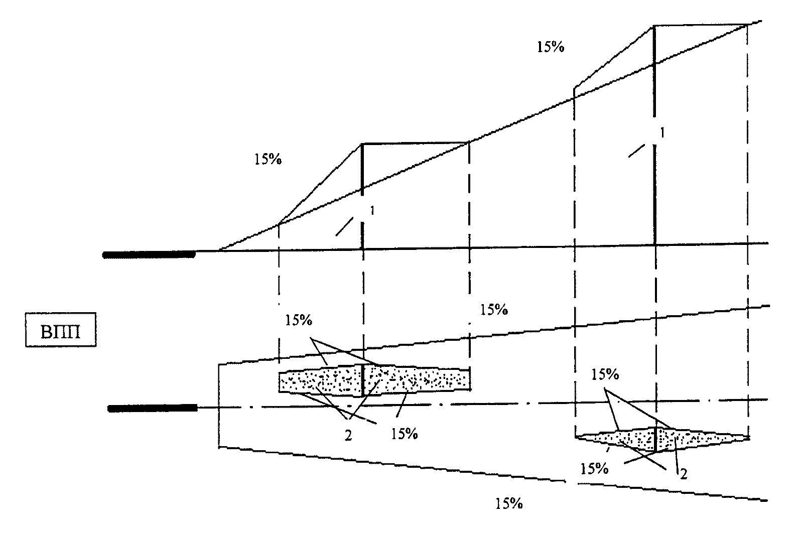
Зона "затенения" от расположенных в пределах внутренней горизонтальной и конической поверхностей точечных препятствий представляет собой круг радиусом 100 метров с центром в точке расположения препятствия. "Затеняющая" поверхность проходит через вершину препятствия с нисходящим уклоном 15% (рис. 1).
Зона "затенения" от протяженных препятствий, расположенных в пределах внутренней горизонтальной и конической поверхностей, представляет собой полосу шириной 100 м по периметру препятствия. "Затеняющая" поверхность проходит через верх препятствия с нисходящим уклоном 15% (рис. 1).
"Тень" от препятствий, расположенных вблизи границ поверхности захода на посадку, переходных поверхностей или поверхности взлета, не распространяется на зоны этих поверхностей (рис. 1).
Высота "затеняющей" поверхности на расстоянии L от "затеняющего" препятствия равна
H = Hп - 0,15L,
где Hп - высота "затеняющего" препятствия;
L - расстояние от "затеняющего" препятствия.
Расстояние L определяется по плану внутренней горизонтальной и конической поверхностей.
Рис. 1. К образованию зоны "затенения"
препятствиями, расположенными в пределах внутренней
горизонтальной и конической поверхностей: 1 - препятствие;
2 - зона "затенения"; 5, 6 - препятствия
в зоне "затенения"; 3, 4, 7, 8 -
ограничительные поверхности
3. Поверхность захода на посадку
Точечные препятствия, расположенные в пределах поверхности захода на посадку, не могут рассматриваться в качестве "затеняющих" препятствий.
Для вычерчивания зоны "затенения" от протяженных препятствий на плане поверхности захода на посадку (рис. 2) от краев "затеняющего" препятствия проводятся линии, параллельные боковым границам поверхности захода на посадку.
"Затеняющая" поверхность образуется двумя плоскостями, одна из которых проходит через верх "затеняющего" препятствия с нисходящим уклоном 15% в направлении к ВПП, вторая - горизонтально в направлении от ВПП (рис. 2). "Затеняющая" поверхность продолжается или до точки пересечения с поверхностью захода на посадку, или до точки, в которой пересекаются линии, проведенные от краев "затеняющего" препятствия (линии, образующие зону "затенения") - в зависимости от того, что ближе к "затеняющему" препятствию (рис. 2).
Высота "затеняющей" поверхности в направлении к ВПП равна:
H = Hп - 0,15L.
Высота "затеняющей" поверхности в направлении от ВПП равна:
H = Hп.
Рис. 2. К образованию зоны "затенения" непрерывным
препятствием в пределах поверхности захода на
посадку: 1 - препятствие; 2 - зона "затенения"
4. Поверхность взлета
В пределах поверхности взлета зона "затенения" создается любым неподвижным препятствием (точечным или протяженным, но не легким и ломким), превышающим наклонную поверхность 1,6% или 1,2% в соответствующих случаях, установленных Нормами годности к эксплуатации аэродромов.
Внутренняя граница ее начинается от линии, проведенной через верх "затеняющего" препятствия перпендикулярно к оси зоны поверхности взлета. "Затеняющая" поверхность образуется плоскостью, проведенной горизонтально от внутренней границы зоны в направлении от ВПП до пересечения с поверхностью взлета, имеющей в соответствующих случаях наклон 1,6% или 1,2% (рис. 3).
Высота "затеняющей" поверхности равна: H = Hп.
Рис. 3. К образованию зоны "затенения"
в пределах поверхности взлета: 1 - препятствие; 2, 4 -
ограничительные поверхности; 3 - "затеняющая" поверхность;
5 - зона "затенения"
Приложение N 4
к Федеральным авиационным
правилам "Размещение
маркировочных знаков
и устройств на зданиях,
сооружениях, линиях связи,
линиях электропередачи,
радиотехническом оборудовании
и других объектах,
устанавливаемых в целях
обеспечения безопасности
полетов воздушных судов",
утвержденным Приказом
Росаэронавигации
от 28.11.2007 N 119
СВЕТОВОЕ ОГРАЖДЕНИЕ ЗДАНИЙ
A, B = 45 - 90 м
C, D, E < 45 м
Приложение N 5
к Федеральным авиационным
правилам "Размещение
маркировочных знаков
и устройств на зданиях,
сооружениях, линиях связи,
линиях электропередачи,
радиотехническом оборудовании
и других объектах,
устанавливаемых в целях
обеспечения безопасности
полетов воздушных судов",
утвержденным Приказом
Росаэронавигации
от 28.11.2007 N 119
ХАРАКТЕРИСТИКА ЗАГРАДИТЕЛЬНЫХ ОГНЕЙ
1
2
3
4
5
6
7
8
9
10
11
12
Тип огня
Цвет
Тип
сигнала
(частота
проблес-
ков)
Пиковая
интенсивность (в кд)
при заданной фоновой
яркости
Вертик.
угол
рас-
сеив.
луча
Интенсивность (d) при
заданных углах превышения,
когда блок огня выставлен
по горизонтали
более
500 кд
50 -
500 кд
менее
50 кд
-10
град.
(e)
-1
град.
(f)
+/- 0
град.
(f)
+6
град.
+10
град.
Низкой
интенсивн.
типа A
(непод-
вижн. пре-
пятствие)
Крас-
ный
Пост.
свечения
N/A
10
миним.
10
миним.
10
град.
-
-
-
10
мин.
(g)
10
мин.
(g)
Низкой
интенсивн.
типа B
(непод-
вижн. пре-
пятствие)
Крас-
ный
Пост.
свечения
N/A
32
миним.
32
миним.
10
град.
-
-
-
32
мин.
(g)
32
мин.
(g)
Средней
интенсивн.
типа A
Белый
Проб-
лесков.
(20 - 60
fpm)
20000
(b)
+/-
25%
20000
(b)
+/-
25%
2000
(b)
+/-
25%
3
град.
миним.
3%
макс.
50%
мин.
75%
макс.
100%
мин.
-
-
Средней
интенсивн.
типа B
Крас-
ный
Проб-
лесков.
(20 - 60
fpm)
N/A
N/A
2000
(b)
+/-
25%
3
град.
миним.
-
50%
мин.
75%
макс.
100%
мин.
-
-
Средней
интенсивн.
типа C
Крас-
ный
Пост.
свечения
N/A
N/A
2000
(b)
+/-
25%
3
град.
миним.
-
50%
мин.
75%
макс.
100%
мин.
-
-
Высокой
интенсивн.
типа A
Белый
Проб-
лесков.
(40 - 60
fpm)
200000
(b)
+/-
25%
20000
(b)
+/-
25%
2000
(b)
+/-
25%
3 - 7
град.
3%
макс.
50%
мин.
75%
макс.
100%
мин.
-
-
Высокой
интенсивн.
типа B
Белый
Проб-
лесков.
(40 - 60
fpm)
100000
(b)
+/-
25%
20000
(b)
+/-
25%
2000
(b)
+/-
25%
3 - 7
град.
3%
макс.
50%
мин.
75%
макс.
100%
мин.
-
-
а) Число и расположение заградительных огней низкой, средней или высокой интенсивности на каждом уровне, подлежащем маркировке, является таковым, что объект обозначен со всех направлений в горизонтальной плоскости. Если в каком-либо направлении огонь затеняется другой частью объекта или близко расположенным объектом, предусматриваются дополнительные огни на этом объекте и они располагаются таким образом, чтобы дать общее представление об объекте, подлежащем световому ограждению. Если затененный объект не способствует определению общего очертания объекта, подлежащего светоограждению, он может не устанавливаться.
б) Заградительные огни низкой интенсивности типа C, устанавливаемые на транспортных средствах, используемых аварийной службой или службой безопасности, являются проблесковыми огнями синего цвета, а огни, устанавливаемые на других транспортных средствах, являются проблесковыми огнями желтого цвета.
в) Угол рассеивания луча определяется как угол между двумя направлениями в плоскости, в которой интенсивность равна 50% меньшего значения диапазона интенсивностей, указанных в колонках 4, 5 и 6. Форма луча необязательно является симметричной относительно угла превышения, при котором достигается пиковое значение интенсивности.
г) Углы превышения (вертикальные) определяются относительно горизонтальной плоскости.
д) Интенсивность в направлении любого горизонтального радиала как процентная доля фактической пиковой интенсивности в направлении того же радиала для каждого из значений интенсивности, указанных в колонках 4, 5 и 6.
е) Интенсивность в направлении любого конкретно определенного горизонтального радиала как процентная доля меньшего значения диапазона интенсивностей, указанных в колонках 4, 5 и 6.
ж) Помимо указанных значений огни должны иметь достаточную интенсивность для обеспечения заметности при углах превышения в диапазоне между +/- 0 град. и 50 град.
з) Пиковая интенсивность должна достигаться при вертикальном угле, примерно составляющем 2,5 град.
и) Пиковая интенсивность должна достигаться при вертикальном угле, приблизительно составляющем 17 град.
fpm - вспышек в минуту; N/A - не применимо.
Приложение N 6
к Федеральным авиационным
правилам "Размещение
маркировочных знаков
и устройств на зданиях,
сооружениях, линиях связи,
линиях электропередачи,
радиотехническом оборудовании
и других объектах,
устанавливаемых в целях
обеспечения безопасности
полетов воздушных судов",
утвержденным Приказом
Росаэронавигации
от 28.11.2007 N 119
ПОВЕРХНОСТИ ОГРАНИЧЕНИЯ ПРЕПЯТСТВИЙ
1 - коническая поверхность; 4 - поверхность взлета;
2 - внутренняя горизонтальная; 5 - ВПП;
3 - поверхность захода на посадку; 6 - переходная поверхность.
Внутренняя горизонтальная
поверхность для одной ВПП
Составная внутренняя горизонтальная
поверхность двух параллельных ВПП
Сечение А-А
Сечение В-В
Приложение N 7
к Федеральным авиационным
правилам "Размещение
маркировочных знаков
и устройств на зданиях,
сооружениях, линиях связи,
линиях электропередачи,
радиотехническом оборудовании
и других объектах,
устанавливаемых в целях
обеспечения безопасности
полетов воздушных судов",
утвержденным Приказом
Росаэронавигации
от 28.11.2007 N 119
ПАРАМЕТРЫ ПОВЕРХНОСТЕЙ ОГРАНИЧЕНИЯ ПРЕПЯТСТВИЙ
┌────────────────────────────────────────┬─────────────────┬───────────────────┐
│ Поверхность и ее параметры │ Направление ВПП │ Направление ВПП │
│ │ для захода на │ для захода на │
│ │ посадку по │ посадку по │
│ │ приборам │ минимумам I, II, │
│ │ │ III категорий │
│ ├─────────────────┼───────────────────┤
│ │ класс ВПП │ класс ВПП │
│ ├──────────┬──────┼───────────────────┤
│ │ А Б В Г │ Д Е │ А Б В Г │
├────────────────────────────────────────┼──────────┼──────┼───────────────────┤
│Коническая: │ │ │ │
│наклон, % │ 5 │ 5 │ 5 │
│высота, м (относительно внутренней │ │ │ │
│горизонтальной поверхности) │ 100 │ 60 │ 100 │
│ │ │ │ │
│Внутренняя горизонтальная: │ │ │ │
│радиус R, м │ 4000 │ 3500 │ 4000 │
│высота, м (относительно высоты │ 50 │ 50 │ 50 │
│аэродрома) │ │ │ │
│ │ │ │ │
│Захода на посадку: │ │ │ │
│длина нижней границы, м │ 300 │ 150 │ 300 │
│расстояние от порога ВПП, м │ 60 │ 60 │ 60 │
│расхождение в каждую сторону, % │ 15 │ 15 │ 15 │
│первый сектор: длина, м │ 3000 │ 2500 │ 3000 │
│ наклон, % │ 2 │ 2,5 │ 2 │
│второй сектор: длина <*> , м │ 3600 │ - │ 3600 │
│ наклон, % │ 2,5 │ - │ 2,5 │
│горизонтальный сектор, длина <*> , м │ 8400 │ - │ 8400 │
│общая длина, м │ 15000 │ - │ 15000 │
│ │ │ │ │
│Внутренняя захода на посадку: │ │ │ │
│ширина, м │ - │ - │ 120 │
│расстояние от порога ВПП, м │ - │ - │ 60 │
│длина, м │ - │ - │ 900 │
│наклон, % │ - │ - │ 2 │
│ │ │ │ │
│Переходная: наклон, % │ 14,3 │ 20 │ 14,3 │
│ │ │ │ │
│Внутренняя переходная: наклон, % │ - │ - │ 33,3 │
│ │ │ │ │
│Прерванной посадки: │ │ │ │
│длина нижней границы, м │ - │ - │ 120 │
│расстояние от порога ВПП <**>, м │ - │ - │ 1800 │
│расхождение в каждую сторону, % │ - │ - │ 10 │
│наклон, % │ - │ - │ 3,33 │
└────────────────────────────────────────┴──────────┴──────┴───────────────────┘
--------------------------------
<*> Эта длина может изменяться в зависимости от высоты горизонтального сектора.
<**> Или расстояние от порога ВПП до конца ВПП, противоположного направлению посадки, в зависимости от того, что меньше.
┌─────────────────────────────────────┬────────────────────────────────────────┐
│ Параметр <*> поверхности взлета │ Класс ВПП │
│ ├─────────────┬─────────────┬────────────┤
│ │ А Б В Г │ Д │ Е │
├─────────────────────────────────────┼─────────────┼─────────────┼────────────┤
│Длина нижней границы, м │ 180 │ 80 │ 60 │
│Расхождение в каждую сторону, % │ 12,5 │ 12,5 │ 12,5 │
│Длина, м │ 15000 │ 7000 │ 7000 │
│Длина верхней границы, м │ 2000 │ 1830 │ 1810 │
│Наклон, % │ 1,6 │ 1,6 │ 1,6 │
└─────────────────────────────────────┴─────────────┴─────────────┴────────────┘
--------------------------------
<*> Все линейные размеры даны в горизонтальной плоскости.
Приложение N 8
к Федеральным авиационным
правилам "Размещение
маркировочных знаков
и устройств на зданиях,
сооружениях, линиях связи,
линиях электропередачи,
радиотехническом оборудовании
и других объектах,
устанавливаемых в целях
обеспечения безопасности
полетов воздушных судов",
утвержденным Приказом
Росаэронавигации
от 28.11.2007 N 119
ПОВЕРХНОСТИ ОГРАНИЧЕНИЯ ПРЕПЯТСТВИЙ,
ДОПОЛНИТЕЛЬНО УСТАНОВЛЕННЫЕ ДЛЯ ПОСАДКИ ПО МИНИМУМАМ
I, II И III КАТЕГОРИЙ
Сечение А-А
Сечение В-В
1 - внутренняя переходная;
2 - внутренняя захода на посадку;
3 - внутренняя горизонтальная;
4 - прерванной посадки.