Главная // Пожарная безопасность СПРАВКА
Источник публикации
"Бюллетень нормативных актов федеральных органов исполнительной власти", N 29, 16.07.2001 (Постановление, Единые правила, прил. 1 табл. 1 - 6)
Примечание к документу
Начало действия документа - 01.03.2002.
Окончание действия документа - 09.12.2014.
В соответствии с Постановлением Госгортехнадзора РФ от 02.11.2001 N 48 Единые правила безопасности при взрывных работах, утвержденные данным документом, введены в действие с 1 марта 2002 года.
Документ утратил силу в связи с изданием Приказа Ростехнадзора от 16.12.2013 N 605, вступившего в силу по истечении шести месяцев после его официального опубликования (опубликован в "Бюллетене нормативных актов федеральных органов исполнительной власти" - 09.06.2014).
Текст данного документа приведен в соответствии с публикацией в "Бюллетене нормативных актов федеральных органов исполнительной власти", N 29, 16.07.2001.
Название документа
Постановление Госгортехнадзора РФ от 30.01.2001 N 3
"Об утверждении Единых правил безопасности при взрывных работах"
(Зарегистрировано в Минюсте РФ 07.06.2001 N 2743)
Постановление Госгортехнадзора РФ от 30.01.2001 N 3
"Об утверждении Единых правил безопасности при взрывных работах"
(Зарегистрировано в Минюсте РФ 07.06.2001 N 2743)
Зарегистрировано в Минюсте РФ 7 июня 2001 г. N 2743
ФЕДЕРАЛЬНЫЙ ГОРНЫЙ И ПРОМЫШЛЕННЫЙ НАДЗОР РОССИИ
ПОСТАНОВЛЕНИЕ
от 30 января 2001 г. N 3
ОБ УТВЕРЖДЕНИИ ЕДИНЫХ ПРАВИЛ
БЕЗОПАСНОСТИ ПРИ ВЗРЫВНЫХ РАБОТАХ
Федеральный горный и промышленный надзор России (Госгортехнадзор России) постановляет:
Начальник
Госгортехнадзора России
В.М.КУЛЬЕЧЕВ
Постановлением
Госгортехнадзора России
от 30.01.2001 N 3
| | Настоящие Правила имеют шифр ПБ 13-407-01 (Приказ Ростехнадзора от 21.10.2013 N 485). | |
БЕЗОПАСНОСТИ ПРИ ВЗРЫВНЫХ РАБОТАХ
1. Настоящие Единые правила безопасности при взрывных работах (далее - Правила) обязательны для выполнения организациями (независимо от форм собственности и ведомственной принадлежности), осуществляющими деятельность, связанную с изготовлением <1>, хранением, использованием и учетом взрывчатых материалов.
--------------------------------
<1> Кроме специализированных организаций - изготовителей взрывчатых материалов оборонной промышленности.
2. Организации, ведущие взрывные работы (работы с взрывчатыми материалами), также обязаны иметь их надлежащее организационное и техническое обеспечение, в т.ч. соответствующую документацию, склады и иные специальные места хранения взрывчатых материалов, транспорт для перевозки взрывчатых материалов и службы, включающие исполнителей и руководителей взрывных работ.
3. Организации, эксплуатирующие опасные производственные объекты, представляют в порядке, установленном законодательством Российской Федерации, декларацию промышленной безопасности.
Организации, эксплуатирующие опасные производственные объекты, обязаны страховать ответственность за причинение вреда жизни, здоровью или имуществу других лиц и окружающей природной среды в случае аварии на опасном производственном объекте <1>.
--------------------------------
<1> Статья 15 Федерального закона "О промышленной безопасности опасных производственных объектов". Собрание законодательства Российской Федерации, 1997, N 30, ст. 3588.
4. Виды деятельности, на осуществление которых требуются лицензии, и порядок оформления лицензий устанавливаются законодательством Российской Федерации.
5. Все промышленные взрывчатые материалы (взрывчатые вещества, средства инициирования и прострелочно - взрывная аппаратура) по степени опасности при обращении с ними (хранение, перевозка, доставка на места работ, использование и т.п.) относятся к классу 1 и разделяются на группы (Приложение 1,
таблица 1) и подклассы (Приложение 1,
таблица 2).
6. Находящуюся на складах взрывчатых материалов селитру во всех случаях следует рассматривать как взрывчатое вещество группы D.
7. Взрывчатые материалы различных групп совместимости должны храниться и перевозиться раздельно.
Допускается совместное хранение:
1) дымных (группа совместимости D) и бездымных (группа совместимости С) порохов в соответствии с требованиями к наиболее чувствительным из них;
2) огнепроводного шнура, средств зажигания его и порохов, сигнальных и пороховых патронов и сигнальных ракет (группа совместимости D) с взрывчатыми материалами групп совместимости В, С и D;
3) детонирующего шнура и детонирующей ленты (группа совместимости D) с капсюлями - детонаторами, электродетонаторами и пиротехническими реле (группа совместимости В).
Допускается совместная перевозка автомобильным транспортом взрывчатых материалов групп В, С, D, E, G, N и S только при соблюдении условий, указанных в
пункте 25 главы I настоящих Правил, а также при выполнении следующих требований:
1) взрывчатые материалы одной группы совместимости, но разных подклассов можно перевозить совместно при условии применения к ним в целом мер безопасности как к взрывчатым материалам, имеющим подкласс 1.1 (Приложение 1,
таблица 2);
2) взрывчатые материалы групп совместимости С, D и Е можно перевозить совместно при выполнении требований, установленных для подкласса с меньшим номером, отнесенного к группе совместимости Е (если перевозится груз этой группы) или С (при отсутствии взрывчатых материалов группы Е);
3) взрывчатые материалы группы совместимости N, как правило, не должны перевозиться с взрывчатыми материалами других групп совместимости, кроме S. Однако, если взрывчатые материалы группы совместимости N перевозятся с взрывчатыми материалами групп совместимости С, D и Е, то все они должны рассматриваться как имеющие группу совместимости D.
8. Промышленные взрывчатые вещества по условиям применения разделяются на классы, указанные в Приложении 1,
таблица 3.
Условия применения взрывчатых материалов должны соответствовать указанным в настоящих Правилах и могут уточняться разрешениями Госгортехнадзора России. Они подлежат указанию в эксплуатационной документации.
9. Все взрывчатые материалы должны подвергаться испытаниям организациями - потребителями в целях определения пригодности для хранения и применения:
при поступлении на склад взрывчатых материалов организации - потребителя (входной контроль);
при возникновении сомнений в доброкачественности (по внешнему осмотру или при неудовлетворительных результатах взрывных работ - неполные взрывы, отказы);
перед истечением гарантийного срока.
Испытания должны проводиться в лабораториях базисных складов взрывчатых материалов и полигонах согласно требованиям стандартов, технических условий (инструкций, руководств по применению) на соответствующие взрывчатые материалы в порядке, установленном руководством организации.
Результаты испытаний необходимо оформлять актом с последующей записью в Журнале учета испытаний взрывчатых материалов
(Приложение 3).
Запрещается применять и хранить взрывчатые материалы с истекшим гарантийным сроком без предварительных испытаний.
На угольных и сланцевых шахтах применение нитроэфирсодержащих взрывчатых веществ с истекшим гарантийным сроком не допускается.
10. Взрывчатые материалы должны упаковываться и маркироваться согласно требованиям стандартов и технических условий, при этом ящики, мешки, пакеты и патроны с взрывчатыми веществами должны иметь отличительные по цвету признаки в виде оболочек и специальных полос (Приложение 1,
таблица 2).
11. Изготовление простейших гранулированных и водосодержащих, в т.ч. эмульсионных, взрывчатых веществ в организациях, ведущих взрывные работы, допускается осуществлять на стационарных пунктах и в передвижных смесительно - зарядных установках на основании лицензий Госгортехнадзора России.
Подготовка взрывчатых веществ заводского производства к механизированному заряжанию, а также изготовление взрывчатых веществ должны осуществляться при соблюдении требований правил устройства и безопасной эксплуатации стационарных пунктов изготовления гранулированных и водосодержащих взрывчатых веществ и пунктов подготовки промышленных взрывчатых веществ в организациях, ведущих взрывные работы, правил устройства зарядного, доставочного и смесительного оборудования, предназначенного для механизации взрывных работ и иной проектной и эксплуатационной документации на механизмы, предназначенные для изготовления и подготовки указанных взрывчатых веществ.
Изготовители взрывчатых материалов обязаны обеспечить соответствие свойств продукции требованиям государственных стандартов (технических условий).
12. Сушка, измельчение, просеивание, наполнение оболочек взрывчатыми веществами и оттаивание взрывчатых веществ должны проводиться в сооруженных по проектам, предназначенных для этих целей и расположенных на территории склада взрывчатых материалов или вне его помещениях, в том числе зданиях подготовки взрывчатых материалов или на открытых площадках с навесом. При выполнении указанных операций в здании подготовки взрывчатых материалов одновременно может находиться не более 3 т взрывчатых веществ.
13. Сушка, измельчение, просеивание взрывчатых веществ и наполнение оболочек на открытом воздухе могут проводиться только в сухую погоду, с исключением попадания во взрывчатые вещества песка и пыли.
14. Сушить патроны взрывчатых веществ на основе аммиачной селитры, имеющие влажность до 1,5%, можно в заводской оболочке. При влажности более 1,5% их следует просушивать россыпью. Температура воздуха в помещениях для сушки взрывчатых веществ должна быть не выше 50 град. C. Сушку дымного пороха необходимо проводить при температуре не выше 40 град. C.
При сушке взрывчатых веществ столы и полки, на которых они раскладываются в помещении, должны находиться от греющих поверхностей (печей, труб, радиаторов) на расстоянии не менее 1 м.
15. Для сушки промышленных взрывчатых веществ разрешается использовать воздушные сушилки (шкафы, камеры) с температурой теплоносителей (воздуха) не выше 60 град. C для взрывчатых веществ, сенсибилизированных тротилом, и для взрывчатых веществ, сенсибилизированных нитроэфирами, - с температурой не выше 30 град. C. Калорифер с воздуходувкой должен размещаться в изолированном помещении или пристройке.
16. Запрещается измельчать взрывчатые вещества, содержащие гексоген и нитроэфиры.
17. Оттаивание взрывчатых веществ необходимо проводить в заводской упаковке в поверхностных складах в отапливаемых помещениях при температуре воздуха не выше 30 град. C или в подземных складах взрывчатых материалов. Для контроля за оттаиванием следует вести запись времени поступления и выдачи каждой партии.
18. Перевозки взрывчатых материалов автомобильным, железнодорожным, морским, речным и воздушным видами транспорта осуществляются в соответствии с правилами перевозок на указанных видах транспорта, утвержденными в установленном порядке.
19. Прием взрывчатых материалов, их погрузка и выгрузка в организациях, ведущих взрывные работы, должны выполняться в специально отведенном и оборудованном в соответствии с проектом, охраняемом месте (на погрузочно - разгрузочной площадке) и под наблюдением специально назначенного лица, имеющего право руководства взрывными работами. На площадку не должны допускаться лица, не имеющие отношения к погрузке (выгрузке) взрывчатых материалов.
20. Организация обязана обеспечить контроль за количеством всех поступивших мест со взрывчатыми материалами при их приемке на погрузочно - разгрузочной площадке.
21. Погрузочно - разгрузочная площадка должна отвечать следующим требованиям:
ограждаться колючей проволокой на расстоянии не менее 15 м от места погрузки (выгрузки) транспортных средств. Высота ограды должна составлять не менее 2 м;
освещаться в темное время суток стационарным электрическим освещением или рудничными аккумуляторными светильниками. Рубильники в нормальном исполнении разрешается располагать на расстоянии не ближе 50 м от места погрузки (выгрузки) взрывчатых материалов;
обеспечиваться необходимыми противопожарными средствами;
иметь телефонную связь с организацией, железнодорожной станцией (пристанью, портом и т.п.), органом внутренних дел и пожарной охраной. Телефон должен устанавливаться в караульном помещении, расположенном не далее 50 м от места погрузки (выгрузки) взрывчатых материалов.
Указанные требования (за исключением ограждения) не распространяются на площадки около ствола шахт (штолен).
22. Доставка взрывчатых материалов от склада на места работ на земной поверхности (в пределах земельного отвода) должна проводиться по установленным руководителем организации (руководителем взрывных работ) маршрутам. Она может осуществляться проинструктированными рабочими под наблюдением взрывников или сопровождающих лиц.
23. Взрывчатые вещества и средства инициирования необходимо доставлять и перевозить к местам производства взрывных работ раздельно в сумках, кассетах, заводской упаковке и т.п. Средства инициирования или боевики с детонаторами могут переноситься (кроме погрузочно - разгрузочных операций) только взрывниками, при этом они должны помещаться в сумки с жесткими ячейками (кассеты, ящики), покрытыми внутри мягким материалом.
24. При совместной доставке средств инициирования и взрывчатых веществ взрывник может переносить не более 12 кг взрывчатых материалов. Масса боевиков, переносимых взрывником, не должна превышать 10 кг.
При переноске в сумках взрывчатых веществ без средств инициирования норма может быть увеличена до 24 кг.
При переноске взрывчатых веществ в заводской упаковке их количество должно быть в пределах действующих норм переноски тяжестей.
25. При доставке взрывчатых материалов со склада на склад одной организации или непосредственно к местам работ по разрешению руководителя (технического руководителя) организации (шахты, рудника, карьера и т.п.), ведущей взрывные работы, совместное транспортирование взрывчатых веществ, средств инициирования и прострелочно - взрывной аппаратуры допускается только при соблюдении следующих условий:
загрузки транспортного средства не более 2/3 его грузоподъемности;
размещения средств инициирования в передней части транспортного средства в специальных плотно закрывающихся ящиках с внутренними мягкими прокладками со всех сторон;
разделения упаковок с взрывчатыми веществами и ящиков со средствами инициирования способами, исключающими передачу детонации от последних;
размещения порохов группы С и перфораторных зарядов в заводской упаковке или в специальных ящиках и не ближе 0,5 м от других взрывчатых материалов;
закрепления ящиков и другой тары с взрывчатыми материалами, исключающего удары и трение их друг о друга.
Совместная доставка взрывчатых материалов, за исключением групп совместимости В и F, на специализированных автомобилях разрешается при их загрузке до полной грузоподъемности.
Автомобили, используемые для транспортирования взрывчатых материалов, должны отвечать требованиям Правил перевозки опасных грузов автомобильным транспортом, утвержденных Приказом Министра транспорта Российской Федерации от 08.08.95 N 73 <1>.
--------------------------------
<1> Зарегистрированы в Министерстве юстиции Российской Федерации 18.12.95, регистрационный N 997.
26. Доставка к местам работ взрывников и подносчиков вместе с выданными им взрывчатыми материалами допускается только в автомобилях, предназначенных для этой цели.
27. Доставка взрывчатых материалов в подземных условиях разрешается всеми видами и средствами шахтного транспорта, специально оборудованными для этих целей и отвечающими требованиям безопасности.
Допускается доставка под собственным весом гранулированных взрывчатых веществ, не содержащих тротил, гексоген и нитроэфиры, по трубам (обсаженным скважинам) на рабочие горизонты (подземные пункты) рудников, шахт. Доставка должна осуществляться по специальным проектам, согласованным с Госгортехнадзором России.
28. Запрещается транспортирование взрывчатых материалов по стволу шахты во время спуска и подъема людей. При погрузке, разгрузке, перемещении взрывчатых материалов по стволу шахты в околоствольном дворе и надшахтном здании около ствола допускается присутствие только взрывника, раздатчика, нагружающих и разгружающих взрывчатые материалы рабочих, рукоятчика, стволового и лица надзора, ответственного за доставку взрывчатых материалов.
29. Спуск - подъем взрывчатых материалов по стволу шахты может проводиться только после извещения об этом диспетчера (дежурного по шахте) лицом технического надзора, ответственного за подъем, доставку (спуск) взрывчатых материалов.
Ящики и мешки с взрывчатыми материалами должны занимать не более 2/3 высоты этажа клети, но не выше высоты дверей клети.
При спуске в вагонетках ящики и мешки с взрывчатыми материалами не должны выступать выше бортов вагонеток, а сами вагонетки необходимо прочно закреплять в клети.
Средства инициирования следует спускать (поднимать) отдельно от взрывчатых веществ.
Ящики и сумки с детонаторами должны размещаться по высоте в один ряд.
30. При спуске - подъеме взрывников с взрывчатыми материалами и подносчиков с взрывчатыми веществами по наклонным выработкам в людских вагонетках на каждом сиденье может находиться не более одного взрывника или подносчика.
Допускается доставка взрывчатых веществ ленточными конвейерами и канатно - кресельными дорогами в соответствии с установленным на шахте (руднике) порядком, при этом посадка и сход должны производиться при их остановке.
31. Разрешается одновременно спускаться или подниматься в одной клети нескольким взрывникам с сумками с взрывчатыми материалами и подносчикам с сумками с взрывчатыми веществами из расчета 1 м2 пола клети на одного человека на этаже. Каждому из указанных лиц разрешается иметь при себе не более указанного в
пункте 24 главы I настоящих Правил количества взрывчатых материалов.
Спуск - подъем взрывников с взрывчатыми материалами и подносчиков с взрывчатыми веществами должен проводиться вне очереди.
32. Транспортирование взрывчатых материалов по подземным выработкам должно осуществляться со скоростью не более 5 м/с. Машинист обязан включать в работу и останавливать подъемную машину, лебедку, электровоз и т.п. плавно, без толчков.
33. Перевозка (доставка) взрывчатых материалов в подземных выработках транспортными средствами должна проводиться при соблюдении следующих условий:
а) погрузочно - разгрузочные работы с взрывчатыми материалами разрешается проводить только в установленных местах;
б) в аварийных ситуациях место погрузочно - разгрузочных работ определяет лицо надзора, ответственное за доставку взрывчатых материалов;
в) при перевозке в одном железнодорожном составе взрывчатые вещества и средства инициирования должны находиться в различных вагонетках, разделенных таким числом порожних вагонеток, при котором расстояние между вагонетками с взрывчатыми веществами и средствами инициирования, а также между этими вагонетками и электровозом было бы не менее 3 м. В составе не должно быть вагонеток, загруженных, кроме взрывчатых материалов, другими грузами;
г) детонаторы должны перевозиться в транспортных средствах, футерованных внутри деревом и закрытых сплошной крышкой из несгораемых материалов. Ящики, а также сумки и кассеты с этими средствами инициирования должны быть переложены мягким материалом и размещены по высоте в один ряд. Прочие взрывчатые материалы разрешается перевозить в обычных транспортных средствах, загружая их до бортов;
д) перевозка взрывчатых веществ контактными электровозами может проводиться в вагонетках, закрытых сплошной крышкой из несгораемых материалов. Гранулированные взрывчатые вещества допускается укрывать несгораемой тканью;
е) транспортные средства (составы) с взрывчатыми материалами спереди и сзади должны иметь специальные световые опознавательные знаки, со значением которых необходимо ознакомить всех работающих в шахте (руднике, карьере и т.п.);
ж) при перевозке взрывчатых материалов по горным выработкам водители встречного транспорта и люди, проходящие по этим выработкам, обязаны остановиться и пропустить транспортное средство с взрывчатыми материалами;
з) водители транспортных средств и все лица, связанные с перевозкой (доставкой) взрывчатых материалов, должны быть проинструктированы о требованиях безопасности;
и) при транспортировании взрывчатых материалов рельсовым транспортом в поезде никого не должно быть, кроме машиниста электровоза, взрывника или раздатчика, а также рабочих, связанных с перевозкой взрывчатых материалов; сопровождающие лица должны находиться в людской вагонетке в конце поезда. Допускается сопровождение поезда пешком при условии, что его скорость не превышает скорости передвижения сопровождающих лиц;
к) транспортирование взрывчатых материалов в специально оборудованных вагонетках, контейнерах, других емкостях, запертых на замок и опломбированных на складе взрывчатых материалов, допускается без сопровождающих лиц;
л) перевозка (доставка) взрывчатых материалов транспортными средствами с двигателями внутреннего сгорания, в части требований к их техническому состоянию, должна осуществляться в соответствии с Правилами перевозки опасных грузов автомобильным транспортом, утвержденными Приказом Министра транспорта Российской Федерации от 08.08.95 N 73 <1>. Допускается доставка взрывчатых веществ (кроме содержащих гексоген и нитроэфиры) в ковшах погрузочно - доставочных машин от участковых пунктов хранения и мест выгрузки к местам взрывных работ при осуществлении дополнительных мер безопасности, согласованных с органом госгортехнадзора;
--------------------------------
<1> Зарегистрированы в Министерстве юстиции Российской Федерации 18.12.95, регистрационный N 997.
м) лица, непосредственно участвующие в перевозке взрывчатых материалов, должны обеспечиваться изолирующими самоспасателями.
34. Спуск - подъем взрывчатых материалов при проходке шурфов, оборудованных ручными воротками и лебедками, необходимо выполнять с соблюдением следующих условий:
а) в забое не должны находиться лица, не связанные со взрывными работами;
б) спуск - подъем взрывчатых материалов осуществлять не менее чем двум лицам;
в) вороток или лебедку оборудовать храповыми устройствами или автоматически действующими тормозами, а прицепной крюк - предохранительным замком;
г) спуск - подъем взрывчатых веществ проводить отдельно от средств инициирования.
35. Спуск - подъем взрывчатых материалов с применением лебедок по восстающим выработкам (печам) должен осуществляться в соответствии с организацией работ и паспортом на установку лебедки, утвержденными руководителем шахты (рудника).
36. Утраты взрывчатых материалов (хищения, разбрасывания, потери) подлежат техническому расследованию в порядке, установленном Инструкцией о порядке технического расследования и учета утрат взрывчатых материалов в организациях, на предприятиях и объектах, подконтрольных Госгортехнадзору России, утвержденной Постановлением Госгортехнадзора России от 18.06.97 N 21 <1>.
--------------------------------
<1> Зарегистрирована в Министерстве юстиции Российской Федерации 11.08.97, регистрационный N 1374.
37. Взрывчатые материалы, доставленные в организации - потребители, необходимо хранить в складах, помещениях и других местах в соответствии с требованиями
главы X настоящих Правил. Склады взрывчатых материалов должны оборудоваться молниезащитой согласно требованиям
главы XI настоящих Правил.
38. Взрывчатые материалы, доставленные к местам работ, должны находиться в сумках, кассетах или в заводской упаковке, а также в спецмашинах и контейнерах. При этом во всех случаях взрывчатые вещества и средства инициирования при хранении необходимо размещать раздельно, на расстоянии, исключающем передачу детонации. Нахождение лиц, не связанных со взрывными работами, в местах хранения взрывчатых материалов не допускается.
39. Взрывчатые материалы на местах работ, а также заряженные шпуры, скважины и т.п. запрещается оставлять без надзора (охраны). Порядок надзора (охраны) должен устанавливаться руководителем организации (шахты, рудника, карьера и т.п.).
При производстве взрывных работ в населенных пунктах или внутри зданий (сооружений) взрывчатые материалы должны находиться под охраной в изолированном помещении.
40. Допускается хранение взрывчатых материалов в размере сменной потребности в подземных выработках без постоянного надзора (охраны) при условии размещения их в специально оборудованных местах хранения - в металлических ящиках или контейнерах (сейфах), закрытых на замки.
41. Взрывчатые материалы разрешается хранить до заряжания на местах работ в размере суточной потребности вне запретной зоны и сменной потребности в пределах запретной зоны, за исключением массовых взрывов, когда в запретной зоне может находиться под охраной подлежащее заряжанию количество взрывчатых веществ.
Средства инициирования и боевики должны храниться отдельно, на расстоянии, исключающем передачу детонации.
42. Допускается хранить взрывчатые вещества в зарядных машинах на специально выделенной площадке на территории склада взрывчатых материалов или стационарном пункте подготовки или изготовления взрывчатых веществ, при этом срок хранения не должен превышать двух суток.
43. У стволов шахт, устьев штолен (тоннелей) при их проходке разрешается хранить взрывчатые материалы в размере сменной потребности в будках или под навесами на расстоянии не ближе 50 м от ствола шахты или устья штольни (тоннеля), а также от зданий и сооружений на земной поверхности.
44. Уничтожение взрывчатых материалов, в том числе не отвечающих требованиям стандартов и технических условий, должно проводиться по письменному распоряжению руководителя организации (шахты, рудника, карьера и т.п.) взрыванием, сжиганием или растворением в воде согласно требованиям стандартов и технических условий.
О каждом уничтожении взрывчатых материалов необходимо составлять акт с указанием количества и наименования уничтоженных взрывчатых материалов, причин и способа уничтожения. Акт составляется в двух экземплярах, которые предназначаются складу взрывчатых материалов и бухгалтерии организации.
45. Место для уничтожения взрывчатых материалов необходимо оборудовать согласно проекту, утвержденному руководителем организации. При этом должна быть определена опасная зона.
46. Уничтожение взрывчатых материалов должно выполняться взрывниками под руководством заведующего складом взрывчатых материалов или лица технического надзора, назначенного руководителем организации (шахты, рудника, карьера и т.п.).
47. Уничтожение взрыванием следует проводить при помощи доброкачественных взрывчатых материалов: патронированные взрывчатые вещества подлежат уничтожению пачками, а детонаторы, детонирующие шнуры и пиротехнические реле - в любой упаковке зарытыми в землю или другими способами, исключающими разброс невзорвавшихся изделий.
48. Уничтожению сжиганием подлежат взрывчатые материалы, не поддающиеся взрыванию. Запрещается уничтожать сжиганием детонаторы и изделия с ними.
Безопасные расстояния при сжигании взрывчатых материалов должны рассчитываться, как при взрывании соответствующего количества взрывчатых веществ.
49. Сжигание взрывчатых материалов разрешается проводить только в сухую погоду в количествах, установленных руководством (инструкцией) по применению.
50. Взрывчатые вещества, огнепроводные шнуры и детонирующие шнуры необходимо сжигать раздельно, причем на костре разрешается сжигать за один прием не более 20 кг. При уничтожении сжиганием порохов они должны рассыпаться дорожками шириной не более 30 см при толщине слоя до 10 см и расстоянии между ними не менее 5 м. Одновременно разрешается поджигать не более трех дорожек с порохами.
Патроны взрывчатых веществ при сжигании необходимо раскладывать в один слой так, чтобы они не соприкасались.
Пороха, заключенные в оболочки, должны уничтожаться в порядке, установленном техническими условиями на эти изделия.
51. Запрещается сжигать взрывчатые материалы в их таре. Перед сжиганием взрывчатых веществ необходимо убедиться в отсутствии в них средств инициирования. Непригодные к дальнейшему использованию ящики, коробки, бумага, мешки и т.п., в том числе со следами экссудата, после осмотра и очистки от взрывчатых веществ и средств инициирования должны сжигаться отдельно от них.
52. Для поджигания костра с взрывчатыми материалами необходимо с подветренной стороны прокладывать огнепроводный шнур или дорожку из легковоспламеняющегося материала длиной не менее 5 м. После поджигания взрывник должен немедленно удалиться в укрытие или за пределы опасной зоны.
Поджигание может проводиться только после окончания всех подготовительных работ и вывода людей в безопасное место.
53. Костер должен быть таким, чтобы в него не приходилось подкладывать горючий материал во время сжигания взрывчатых материалов. Запрещается осмотр места сжигания до полного прекращения горения костра с взрывчатыми материалами.
54. Растворением в воде разрешается уничтожать только неводоустойчивые взрывчатые вещества на основе аммиачной селитры, не содержащие нитроэфира и гексогена.
Растворение допускается проводить в бочках и иных аналогичных сосудах, при этом не допускается загрязнение окружающей среды.
Нерастворимый осадок должен собираться и уничтожаться сжиганием.
55. По окончании уничтожения взрывчатых материалов персонал, выполнявший соответствующие операции, в том числе руководитель работ, обязан убедиться в полном уничтожении изделий с взрывчатыми веществами.
56. Освободившаяся тара должна быть тщательно очищена от остатков взрывчатых веществ.
Непригодная к использованию тара и тара со следами экссудата должна быть уничтожена.
57. При обращении с взрывчатыми материалами должны соблюдаться меры предосторожности, предусмотренные инструкциями (руководствами) по их применению, меры безопасности и противопожарной безопасности.
58. Запрещается применять открытый огонь и курить ближе 100 м от места нахождения взрывчатых материалов. Зажигательные принадлежности разрешается иметь только взрывникам, осуществляющим огневое взрывание, а огнестрельное оружие - лицам охраны.
59. Запрещаются выдача взрывчатых материалов со склада при наличии экссудации на поверхности патронов и применение смерзшихся взрывчатых веществ, содержащих жидкие нитроэфиры свыше 15%, а также выполнение с ними каких-либо действий, не связанных с оттаиванием.
60. Работа с дымными порохами и порохами группы совместимости С в помещениях для их хранения должна проводиться в обуви, не имеющей металлических частей на подошве и каблуках. Инструменты и другой металлический инвентарь должны быть изготовлены из материалов, не дающих искр. Из стали могут изготовляться только отвертки.
61. Порошкообразные взрывчатые вещества на основе аммиачной селитры в патронах и в мешках перед применением должны быть размяты без нарушения целостности оболочки. Запрещается применять взрывчатые вещества, увлажненные свыше норм, установленных стандартами (техническими условиями) и указанных в инструкциях (руководствах) по применению.
Слежавшиеся и не поддающиеся размятию порошкообразные взрывчатые вещества, не содержащие гексогена или жидких нитроэфиров, должны измельчаться в соответствии с требованиями настоящих Правил, после чего они могут использоваться только в шахтах (рудниках), не опасных по газу или разрабатывающих пласты (рудные тела), не опасные по взрывам пыли <1>, а также при работах на земной поверхности.
--------------------------------
<1> Далее по тексту - шахты (рудники), опасные по газу или пыли.
Слежавшиеся порошкообразные взрывчатые вещества, содержащие гексоген или жидкие нитроэфиры, должны использоваться без размятия или измельчения и только при взрывных работах на земной поверхности.
В угольных и сланцевых шахтах, опасных по газу или разрабатывающих пласты, опасные по взрывам пыли <1>, запрещается использовать патронированные взрывчатые вещества с нарушенной оболочкой.
--------------------------------
<1> Далее по тексту - шахты (рудники), опасные по газу или пыли.
Область применения взрывчатых веществ, прошедших сушку или измельчение, должна определяться инструкциями (руководствами) по их применению.
Непригодные к использованию взрывчатые материалы должны уничтожаться.
62. Одежда лиц, непосредственно обращающихся с электродетонаторами, не должна накапливать заряды статического электричества до опасных потенциалов.
1. Перед выдачей электродетонаторы должны быть проверены по внешнему виду и электрическому сопротивлению, а также пронумерованы в помещении склада взрывчатых материалов или в других установленных местах на открытом воздухе под навесом в соответствии с инструкциями (техническими условиями).
При проверке электродетонатор должен помещаться в футерованную металлическую трубу, за щит или в специальное устройство, исключающее поражение людей в случае взрыва. Провода электродетонаторов после проверки их сопротивления должны быть замкнуты накоротко и в таком положении находиться до момента присоединения к взрывной сети. При выполнении этой операции на рабочем столе проверяющего должно быть не более 100 электродетонаторов. Источники освещения на столе не должны находиться.
2. Электровзрывные сети должны иметь исправную изоляцию, надежные электрические соединения.
Концы проводов и жил кабелей должны быть тщательно зачищены, плотно соединены (срощены) и соединения (сростки) изолированы при помощи специальных зажимов или других средств.
В шахтах (рудниках), опасных по газу или пыли, провода электродетонаторов и электровзрывной сети необходимо соединять только с применением контактных зажимов.
3. Электровзрывная сеть должна быть двухпроводной. Использование воды, земли, труб, рельсов, канатов и т.п. в качестве одного из проводников запрещается. До начала заряжания взрывник обязан осмотреть взрывную магистраль, соединительные провода, убедиться в исправности сети.
4. В шахтах (рудниках), опасных по газу или пыли, должны применяться электродетонаторы только с медными проводами. Это требование распространяется также на соединительные и магистральные провода (кабели) электровзрывной сети. Допускается для этих целей использовать стальные луженые провода в полиэтиленовой оболочке, имеющие допуск Госгортехнадзора России.
5. Запрещается монтировать электровзрывную сеть в направлении от источника тока или включающего ток устройства к заряду.
6. В каждый электродетонатор должен поступать ток силой не менее установленной ГОСТ (техническими условиями).
7. Постоянная взрывная магистраль должна отставать от места взрыва не более чем на 100 м.
8. После монтажа и осмотра электровзрывной сети необходимо проверить ее токопроводимость. При проверке токопроводимости сети взрывперсонал должен находиться вне опасной зоны.
9. Перед взрыванием скважинных и камерных зарядов общее сопротивление всей электровзрывной сети должно быть подсчитано и затем измерено из безопасного места электроизмерительными приборами, допущенными Госгортехнадзором России. В случае расхождения величин измеренного и расчетного сопротивлений более чем на 10% необходимо устранить неисправности, вызывающие отклонения от расчетного сопротивления электровзрывной сети.
При невозможности измерить сопротивление электровзрывной сети допускается по разрешению лица технического надзора, руководящего проведением взрыва, ограничиться проверкой ее токопроводимости.
10. Подавать напряжение для взрывания необходимо из безопасного места, установленного паспортом (проектом). Взрывной прибор (устройство) должен иметь специальные клеммы для подсоединения магистральных проводов электровзрывной сети.
Подсоединять магистральные провода к взрывному прибору (машинке) следует при отсутствии людей в опасной зоне.
При проведении массового взрыва подавать напряжение можно только по команде его руководителя.
11. Концы проводов смонтированной части электровзрывной сети должны быть замкнуты накоротко все время, предшествующее подсоединению их к проводам следующей части электровзрывной сети. Запрещается присоединение проводов уже смонтированной части электровзрывной сети к следующим проводам, пока противоположные концы последних не замкнуты накоротко.
Концы магистральных проводов электровзрывной сети также должны быть замкнуты в течение всего времени до присоединения их к клеммам прибора или устройства, подающего напряжение для взрывания.
При дублировании электродетонаторов во избежание перепутывания проводов основных и дублирующих электродетонаторов провода каждого из них должны быть свиты, а по окончании заряжания смотаны в отдельные бунтики. При производстве массовых взрывов провода основной и дублирующих электровзрывных сетей должны быть замаркированы.
12. Со всех электроустановок, кабелей, контактных и воздушных проводов и других источников электроэнергии (в том числе источников опасных электромагнитных излучений), действующих в зоне монтажа электровзрывной сети, напряжение должно быть снято с момента монтажа сети.
В подземных условиях в зону монтажа электровзрывной сети необходимо включать выработки, в которых монтируется такая сеть.
На земной поверхности в зону монтажа электровзрывной сети должна включаться поверхность, ограниченная контуром, на 50 м превышающим контур электровзрывной сети, независимо от высоты подвески проводников электрического тока, а при прострелочно - взрывных работах в скважинах - соответственно на 10 м.
При невозможности снятия напряжения с электрооборудования должны приниматься утвержденные руководителем организации (шахты, рудника, карьера и т.п.) дополнительные меры защиты от блуждающих токов (применение защищенных электродетонаторов, исключение повторного использования соединительных проводов, обязательное применение специальных зажимов для изоляции скруток проводов и др.).
При монтаже электровзрывных сетей в подземных выработках допускается не отключать находящиеся в пределах опасной зоны вентиляторы местного проветривания, а также осветительные электрические сети и сигнализацию при проходке стволов напряжением не более 42 В с осуществлением мер защиты электродетонаторов от воздействия блуждающих токов.
В необходимых случаях при большом притоке воды в стволах допускается не снимать напряжение с насосов, при этом также должны приниматься меры защиты от блуждающих токов.
При взрывании с помощью электродетонаторов, стойких к блуждающим токам и зарядам статического электричества, допускается в выработках большого сечения использовать при заряжании и монтаже сети специальное самоходное оборудование с подъемными площадками.
13. Взрывные приборы (машинки) и взрывные стационарные устройства должны храниться в местах, исключающих доступ к ним посторонних лиц.
Ключи от взрывных приборов (машинок) при производстве взрывных работ должны находиться у взрывника (мастера - взрывника) или руководителя взрывных работ.
14. Запрещается проводить электрическое взрывание непосредственно от силовой или осветительной сети без предназначенных для этого устройств.
15. При взрывании с применением электродетонаторов выход взрывника из укрытия после взрыва разрешается только после проветривания, отсоединения электровзрывной сети от источника тока и замыкания ее накоротко, но не ранее чем через 5 мин., за исключением случая, предусмотренного
пунктом 18 главы VI настоящих Правил.
16. Если при подаче напряжения взрыва не произошло, взрывник обязан отсоединить от прибора (источника тока) электровзрывную сеть, замкнуть накоротко ее концы, взять с собой ключ от прибора (ящика, в котором находится взрывное устройство) и только после этого выяснить причину отказа.
17. В каждой организации на основании типового положения должен быть определен порядок хранения, выдачи и технического обслуживания приборов и устройств взрывания, а также контрольно - измерительных приборов.
Взрывные приборы (машинки) перед выдачей взрывникам должны проверяться согласно инструкциям по эксплуатации на соответствие установленным техническим характеристикам, в том числе на развиваемый ток, импульс тока; на шахтах (рудниках), опасных по газу или пыли, кроме того, - на длительность импульса напряжения. Указанную проверку могут выполнять специально подготовленные лица.
Контрольно - измерительные приборы должны проходить государственную поверку в органах метрологической службы по согласованным графикам.
Ремонт контрольно - измерительных приборов и замена элементов питания должны осуществлять специализированные организации, имеющие на это соответствующие разрешения метрологической службы и лицензии органов Госгортехнадзора России.
18. Взрывные приборы стационарных взрывных пунктов на угольных, сланцевых шахтах и объектах геологоразведки, опасных по газу или пыли, должны проверяться в местах их установки не реже одного раза в 15 дней.
19. Электроогневое взрывание должно проводиться с учетом соответствующих требований, предусмотренных при электрическом способе взрывания. Количество взрываемых зарядов не ограничивается.
20. Огневой способ инициирования зарядов разрешается применять на земной поверхности и только в тех случаях, когда он не может быть заменен электрическим или другим, в т.ч. неэлектрическими системами инициирования.
21. Зажигательные и контрольные трубки необходимо поджигать тлеющим фитилем, отрезком огнепроводного шнура или специальными приспособлениями. Спичкой разрешается зажигать трубку только при взрывании одиночного заряда.
22. При огневом взрывании длины огнепроводного шнура в зажигательных трубках должны быть рассчитаны так, чтобы обеспечивался отход взрывника от зарядов на безопасное расстояние.
Длина каждой зажигательной трубки должна составлять не менее 1 м; конец огнепроводного шнура должен выступать из шпура не менее чем на 25 см.
23. При поджигании пяти трубок и более на земной поверхности для контроля времени, затрачиваемого на зажигание, должна применяться контрольная трубка. Контрольную трубку необходимо поджигать первой; длина ее огнепроводного шнура должна быть не менее чем на 60 см короче по сравнению со шнуром самой короткой из применяемых зажигательных трубок, но не менее 40 см.
После окончания поджигания зажигательных трубок или после взрыва капсюля - детонатора контрольной трубки (сгорания контрольного отрезка шнура), а также при затухании контрольного отрезка все взрывники обязаны немедленно отойти на безопасное расстояние или в укрытие.
24. Контрольная трубка при взрывании на земной поверхности должна размещаться не ближе 5 м от зажигательной трубки, поджигаемой первой, и не на пути отхода взрывников.
25. В зарядах из пороха огнепроводный шнур зажигательной трубки не должен соприкасаться с взрывчатыми веществами заряда.
26. Сращивать огнепроводный шнур запрещается. При дублировании зажигательных трубок их необходимо поджигать одновременно.
27. Взрывник должен вести счет взорвавшихся зарядов. Если выполнить это требование невозможно или какой-либо заряд не взорвался, то подходить к месту взрыва разрешается не ранее чем через 15 мин. после последнего взрыва, при отсутствии отказов - через 5 мин. после последнего взрыва.
28. Работа с детонирующим шнуром (резка, соединение отрезков друг с другом, с пиротехническим реле, неэлектрическими системами инициирования, изготовление промежуточных детонаторов) должны выполняться способами, указанными в соответствующих инструкциях (руководствах).
29. При выборе детонирующего шнура для взрывания взрывчатых веществ с повышенными температурами должны учитываться температурные пределы применения шнуров.
30. Взрывание основной и дублирующей сетей детонирующего шнура во всех случаях должно проводиться от одного инициатора.
31. Работа с неэлектрическими системами инициирования с использованием низкоэнергетических волноводов должна выполняться в соответствии с инструкциями по их применению. При этом должны обеспечиваться надежные соединения элементов систем и приниматься меры по предупреждению повреждения волноводов при размещении их на поверхности.
32. При инициировании неэлектрических систем инициирования электродетонаторами и капсюлями - детонаторами последние должны располагаться кумулятивной выемкой в сторону распространения взрывного импульса.
33. При взрывании этими системами подход взрывника к месту взрыва разрешается не ранее чем через 5 мин. Если взрыва не произошло, - то не ранее чем через 15 мин.
34. Дистанционное взрывание (радиовзрывание) разрешается осуществлять при наличии технической документации и соответствующего оборудования (радиостанции с командным блоком и исполнительными блоками с радиоприемниками), допущенного к применению Госгортехнадзором России.
35. Командный блок с радиопередатчиком должен устанавливаться за пределами опасной зоны.
36. Исполнительный блок с радиоприемником устанавливаются в местах, имеющих удобный подъезд, и размещается от места взрыва на расстоянии, исключающем его разрушение крупными кусками горной массы от взрыва.
37. При проведении массового взрыва подавать радиоимпульс на взрыв допускается только по команде его руководителя, который должен убедиться в готовности к взрыву исполнительных блоков и выводе всех людей за пределы опасной зоны.
38. При подключении электродетонаторов к зажимам исполнительного блока взрывник должен убедиться, что исполнительный блок заблокирован. Затем электродетонаторы подсоединяются к взрывной сети.
39. Допуск к месту взрыва осуществляется с разрешения руководителя взрыва не ранее чем через 10 мин. после информации о заблокированном состоянии исполнительного блока.
III. Изготовление боевиков, зажигательных
и контрольных трубок
1. Боевики должны изготавливаться на местах производства работ или в других местах, установленных руководителем организации (шахты, рудника карьера и т.п.), в количествах, требующихся для взрывания зарядов за один прием.
При проходке стволов шахт с поверхности боевики должны изготавливаться в будках (помещениях).
2. Детонатор должен вводиться в патрон на полную глубину и надежно фиксироваться, при этом используемые для образования углублений иглы необходимо изготавливать из материалов, не дающих искр и не корродирующих от взаимодействия с взрывчатыми веществами.
3. Боевики из прессованных или литых взрывчатых веществ с инициированием от детонаторов разрешается изготавливать только из патронов (шашек) с гнездами заводского изготовления. Расширять или углублять имеющееся гнездо запрещается.
4. При изготовлении промежуточных детонаторов из порошкообразных патронированных взрывчатых веществ с применением детонирующего шнура конец детонирующего шнура в патроне должен завязываться узлом или складываться не менее чем вдвое. Разрешается обматывать детонирующий шнур вокруг патрона взрывчатых веществ.
5. Неиспользованные боевики подлежат уничтожению взрыванием в порядке, установленном руководителем организации (шахты, рудника, карьера и т.п.).
6. Зажигательные и контрольные трубки должны изготавливаться взрывниками и раздатчиками взрывчатых материалов в отдельном помещении здания подготовки взрывчатых материалов; в подземном складе - в камере для изготовления зажигательных трубок.
Лицо, изготавливающее зажигательные и контрольные трубки, должно находиться за ограждением (щитком), исключающим его поражение в случае взрыва.
При взрывных работах продолжительностью не более шести месяцев с разрешения руководителя организации (шахты, рудника, карьера и т.п.) изготовление зажигательных и контрольных трубок допускается проводить в отдельных приспособленных для этого помещениях, палатках, под навесом или, при работах передвижного характера, под открытым небом. Операции по изготовлению трубок должны выполняться на столах, имеющих бортики и обитых брезентом по мягкой прокладке или резиной толщиной не менее 3 мм.
7. При изготовлении зажигательных и контрольных трубок на столе исполнителя этой работы может находиться не более одной коробки капсюлей - детонаторов с соответствующим количеством отрезков огнепроводного шнура.
Резка огнепроводного шнура должна осуществляться при отсутствии на столе капсюлей - детонаторов.
Изготовленные зажигательные трубки следует сортировать по длине, сворачивать в круг и укладывать на полки. Контрольные трубки следует связывать шпагатом; они могут находиться на тех же полках.
Каждая контрольная трубка должна иметь четко видимый невооруженным глазом отличительный знак.
8. Перед изготовлением зажигательной (контрольной) трубки каждый капсюль - детонатор должен быть осмотрен на чистоту внутренней поверхности гильзы и отсутствие внутри нее каких-либо частиц. При наличии частиц последние удаляются только легким постукиванием открытым дульцем капсюля - детонатора о ноготь пальца.
Запрещается извлекать соринки из гильзы капсюля - детонатора введением в нее каких-либо приспособлений, а также выдуванием.
9. Огнепроводный шнур следует вводить в капсюль - детонатор до соприкосновения с чашечкой последнего прямым движением без вращения.
10. Закрепление огнепроводного шнура в капсюле - детонаторе с металлической гильзой должно проводиться путем равномерного обжатия края гильзы у дульца при помощи специального прибора (головки маркировочной). При обжиме запрещается надавливать на то место капсюля - детонатора, где находится взрывчатый состав.
11. Выдергивать или вытягивать огнепроводный шнур, закрепленный в капсюле - детонаторе, запрещается.
IV. Общие правила ведения взрывных работ
1. При производстве взрывных работ (работ с взрывчатыми материалами) необходимо проводить мероприятия по обеспечению безопасности персонала взрывных работ, предупреждению отравлений людей пылью взрывчатых веществ и ядовитыми продуктами взрывов, а также осуществлять комплекс мер, исключающий возможность взрыва пыли взрывчатых веществ и взрываемой массы. Эти меры должны утверждаться руководителем организации (шахты, рудника, карьера и т.п.).
2. Взрывные работы должны выполняться взрывниками под руководством лица технического надзора по письменным нарядам с ознакомлением под роспись и соответствующим наряд - путевкам и проводиться только в местах, отвечающих требованиям правил и инструкций по безопасности работ.
3. При одновременной работе нескольких взрывников в пределах общей опасной зоны одного из них необходимо назначать старшим. Свои распоряжения он должен подавать голосом или заранее обусловленными и известными взрывникам сигналами.
4. Взрывник во время работы обязан быть в соответствующей спецодежде, иметь при себе выданные организацией часы, необходимые приборы и принадлежности для взрывных работ. При взрывании несколькими взрывниками часы могут быть только у старшего взрывника.
5. Взрывание зарядов взрывчатых веществ должно проводиться по оформленной в установленном порядке технической документации (проектам, паспортам и т.п.). С такими документами персонал, осуществляющий буровзрывные работы, должен быть ознакомлен под роспись.
6. Проекты необходимо составлять для взрывания скважинных, камерных, котловых зарядов, в том числе при выполнении взрывных работ на строительных объектах, валке зданий и сооружений, простреливании скважин, ведении дноуглубительных и ледоходных работ, работ на болотах, подводных взрывных работ, при взрывании горячих массивов, выполнении прострелочно - взрывных, сейсморазведочных работ, производстве иных специальных работ.
Другие взрывные работы, за исключением особо оговоренных в настоящих Правилах случаев, могут выполняться по паспортам.
Каждая организация, ведущая взрывные работы с применением массовых взрывов <1>, должна иметь типовой проект производства буровзрывных работ, являющийся базовым документом для разработки паспортов и проектов, в том числе и проектов массовых взрывов, выполняемых в конкретных условиях.
--------------------------------
<1> Массовым взрывом следует считать: на подземных работах - взрыв, при осуществлении которого требуется время для проветривания и возобновления работ в руднике (шахте, участке) большее, чем это предусмотрено в расчете при повседневной организации работ; на открытых работах - взрыв смонтированных в общую взрывную сеть двух и более скважинных, котловых или камерных зарядов, независимо от протяженности заряжаемой выработки, а также единичных зарядов в выработках протяженностью более 10 м.
На объектах строительства массовые взрывы необходимо проводить в соответствии с проектами производства буровзрывных работ (ППР) и рабочими чертежами.
Типовой проект (ППР) должен утверждаться техническим руководителем и вводиться в действие приказом руководителя организации. При выполнении взрывных работ подрядным способом типовой проект (проект буровзрывных работ) утверждается техническими руководителями организации - подрядчика и организации - заказчика.
Проекты буровзрывных (взрывных) работ в числе прочих вопросов должны содержать решения по безопасной организации работ с указанием основных параметров буровзрывных работ; способам инициирования зарядов; расчетам взрывных сетей; конструкциям зарядов и боевиков; предполагаемому расходу взрывчатых материалов; определению опасной зоны и охране этой зоны с учетом объектов, находящихся в ее пределах (здания, сооружения, коммуникации и т.п.); проветриванию района взрывных работ и другим мерам безопасности, дополняющим в конкретных условиях требования настоящих Правил.
При попадании в опасную зону объектов другой организации ее руководитель должен письменно оповещаться не менее чем за сутки о месте и времени производства взрывных работ, при этом все люди из этих объектов должны выводиться в обязательном порядке за пределы опасной зоны с письменным оповещением об этом ответственного руководителя массового взрыва.
7. Паспорта должны утверждаться одним из руководителей той организации (шахты, рудника, карьера и т.п.), которая ведет взрывные работы. Паспорта составляются на основании и с учетом результатов не менее трех опытных взрываний. По разрешению руководителя взрывных работ организации (шахты, рудника, карьера и т.п.) допускается вместо опытных взрываний использовать результаты взрывов, проведенных в аналогичных условиях.
Паспорт должен включать:
а) схему расположения шпуров или наружных зарядов; наименования взрывчатых материалов; данные о способе заряжания, числе шпуров, их глубине и диаметре, массе и конструкции зарядов и боевиков, последовательности и количестве приемов взрывания зарядов, материале забойки и ее длине, длинах зажигательных и контрольных трубок (контрольного отрезка огнепроводного шнура); схему монтажа взрывной (электровзрывной) сети с указанием длины (сопротивления), замедлений, схемы и времени проветривания забоев;
б) величину радиуса опасной зоны;
в) указания о местах укрытия взрывника (мастера - взрывника) и рабочих на время производства взрывных работ, которые должны располагаться за пределами опасной зоны;
г) указания о расстановке постов охраны или оцепления, расположении предохранительных устройств, предупредительных и запрещающих знаков, ограждающих доступ в опасную зону и к месту взрыва.
Кроме того, для шахт, опасных по газу или пыли, в паспорте должны быть указаны количество и схема расположения специальных средств по предотвращению взрывов газа (пыли), а также режим взрывных работ.
8. В отдельных случаях в связи с изменением горно - геологических или других условий с разрешения лица технического надзора, осуществляющего непосредственное руководство взрывными работами, допускается уменьшение массы и числа зарядов в сравнении с показателями, предусмотренными паспортом.
9. Разовые взрывы зарядов в шпурах для доведения контура выработки до размеров, предусмотренных проектом, удаления навесов, выравнивания забоя, подрывки почвы выработки, расширения выработки при перекреплении и опытном взрывании, а также в целях ликвидации отказов разрешается проводить по схемам. Схема составляется и подписывается лицом технического надзора, осуществляющим непосредственное руководство взрывными работами, и на шахтах, опасных по газу или пыли, подлежит утверждению техническим руководителем шахты. В схеме указываются расположение шпуров, масса и конструкция зарядов, места расположения постов и укрытия взрывника, необходимые дополнительные меры безопасности. Со схемой под роспись должен быть ознакомлен взрывник (мастер - взрывник).
10. Перед началом заряжания на границах запретной (опасной) зоны должны быть выставлены посты, обеспечивающие ее охрану, а люди, не занятые заряжанием, выведены в безопасные места лицом технического надзора или по его поручению взрывником. Постовым запрещается поручать работу, не связанную с выполнением прямых обязанностей.
В опасную зону разрешается проход лиц технического надзора организации и работников контролирующих органов при наличии связи с руководителем взрывных работ (взрывником) и только через пост, к которому выходит взрывник.
На подземных работах на время заряжания допускается замена постов аншлагами с надписями, запрещающими вход в опасную зону.
В подземных выработках с исходящей вентиляционной струей воздуха, по которым направляются продукты взрыва, посты не выставляются. Эти выработки должны быть ограждены аншлагами с надписями, запрещающими вход в опасную зону.
Аншлаги должны выставляться на расстоянии, при котором содержание ядовитых продуктов взрыва снижается до безопасных концентраций. Эти расстояния определяются опытным путем на основании результатов отбора проб воздуха при максимальном количестве взорванных в забое взрывчатых веществ.
После окончания взрывных работ и полного проветривания выработок указанные ограждения и знаки с надписями снимаются.
11. При подготовке массовых взрывов на открытых и подземных горных работах в случае применения взрывчатых веществ группы D (кроме дымного пороха) на период заряжания вместо опасных зон могут устанавливаться запретные зоны, в пределах которых запрещается находиться людям, не связанным с заряжанием. Размеры запретной зоны должны определяться проектом.
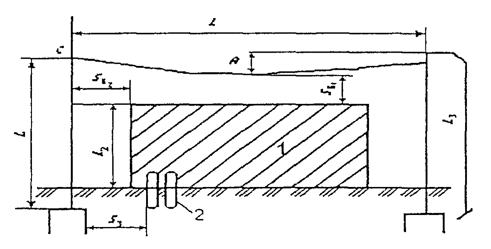
На открытых горных работах при длительном (более смены) заряжании в зависимости от горнотехнических условий и организации работ запретная зона должна составлять не менее 20 м от ближайшего заряда. Она распространяется как на рабочую площадку того уступа, на котором проводится заряжание, так и на ниже- и вышерасположенные уступы, считая по горизонтали от ближайших зарядов.
В подземных выработках запретная зона определяется расчетом по действию ударной воздушной волны от возможного взрыва наибольшего количества взрывчатых веществ в зарядной машине и крайней заряжаемой скважине. С учетом условий и организации работ она должна составлять не менее 50 м. Запретная зона распространяется на все выработки, сообщающиеся с местом размещения зарядной машины или заряжаемой скважиной. На границах этой зоны с начала заряжания следует выставлять посты охраны; в выработках, ведущих к заряжаемым скважинам, вместо постов можно устанавливать аншлаги с запрещающими надписями.
За границей запретных зон на открытых и подземных горных работах в пределах опасной зоны допускается нахождение только максимально ограниченного распорядком массового взрыва числа людей.
Опасная зона, определенная расчетом в проекте, вводится при взрывании с применением электродетонаторов с начала укладки боевиков; при взрывании детонирующих шнуров - до начала установки в сеть пиротехнических реле (замедлителей), а при использовании неэлектрических систем инициирования с низкоэнергетическими волноводами - с момента подсоединения взрывной сети участков к магистральной.
12. При производстве взрывных работ обязательна подача звуковых, а в темное время суток, кроме того, и световых сигналов для оповещения людей. Запрещается подача сигналов голосом, а также с применением взрывчатых материалов.
Значение и порядок сигналов:
а) первый сигнал - предупредительный (один продолжительный). Сигнал подается при вводе опасной зоны;
б) второй сигнал - боевой (два продолжительных). По этому сигналу проводится взрыв;
в) третий сигнал - отбой (три коротких). Он означает окончание взрывных работ.
Сигналы должны подаваться взрывником (старшим взрывником), выполняющим взрывные работы, а при массовых взрывах - специально назначенным работником организации.
Способы подачи и назначение сигналов, время производства взрывных работ должны быть доведены до сведения трудящихся организации, а при взрывных работах на земной поверхности - до жителей населенных пунктов, примыкающих к опасной зоне.
13. Допуск людей к месту взрыва после его проведения может разрешаться лицом технического надзора, осуществляющим непосредственное руководство взрывными работами в данной смене, только после того, как им или по его поручению бригадиром (звеньевым) будет установлено совместно со взрывником, что работа в месте взрыва безопасна.
При производстве взрывных работ мастером - взрывником допуск рабочих к месту взрыва для последующих работ может разрешаться мастером - взрывником.
14. Число зарядов, взрываемых взрывником в течение времени, отведенного ему для взрывания, должно быть таким, чтобы при этом соблюдались требования настоящих Правил, паспортов взрывных работ (проектов).
Число взрываемых зарядов должно устанавливаться хронометражными наблюдениями и утверждаться во всех случаях, в том числе и для аналогичных условий, руководителем организации (шахты, рудника, карьера и т.п.).
15. Число подготовленных к взрыванию зарядов должно быть таким, какое будет взорвано за один прием.
16. Поверхность у устья подлежащих заряжанию нисходящих шпуров, скважин и других выработок должна быть очищена от обломков породы, буровой мелочи, посторонних предметов и т.п. на расстоянии, исключающем падение кусков (предметов).
Перед заряжанием шпуры и скважины должны быть очищены от буровой мелочи.
17. Забойники могут изготавливаться только из материалов, не дающих искр. Длина забойника должна быть больше длины шпура.
18. Патрон - боевик должен быть расположен первым от устья шпура. При этом электродетонатор (капсюль - детонатор) необходимо помещать в ближайшей к устью шпура торцевой части патрона - боевика так, чтобы дно гильзы электродетонатора (капсюля - детонатора) было направлено ко дну шпура.
При заряжании без применения средств механизации допускается расположение патрона - боевика с электродетонатором (капсюлем - детонатором) первым от дна шпура. В этом случае дно гильзы электродетонатора (капсюля - детонатора) должно быть направлено к устью шпура. В угольных и сланцевых шахтах такое расположение в шпуре патрона - боевика с электродетонатором допускается только при отсутствии газовыделения и взрывчатой пыли, а также при наличии электродетонаторов с длиной проводов, превышающей глубину шпуров не менее 0,6 м.
Возможность обратного инициирования при огневом (электроогневом) взрывании устанавливается руководителем организации по согласованию с органом госгортехнадзора.
19. Запрещается пробивать застрявший боевик. Если извлечь застрявший боевик не представляется возможным, заряжание шпура (скважины) необходимо прекратить; боевик взорвать вместе с другими зарядами.
20. При предварительном рыхлении угольного массива взрыванием удлиненных или рассредоточенных зарядов в шпурах или скважинах длиной более 5 м и при наличии в шпуре (скважине) гидравлической забойки допускается в качестве дополнительного средства инициирования использовать детонирующий шнур без вывода его из шпура (скважины).
21. При рассредоточенных по длине шпура или скважины зарядах в каждой части заряда может быть помещен только один боевик.
В шахтах, опасных по газу или пыли, рассредоточенные заряды допускается применять в породных забоях выработок, в которых отсутствует выделение горючих газов, и только во врубовых шпурах.
22. Если во время заряжания часть заряда будет пересыпана, шпур (скважину, рукав) необходимо дозарядить и заряд взорвать вместе с другими зарядами.
23. Запрещается выдергивать или тянуть огнепроводный или детонирующий шнур, а также провода электродетонаторов, введенные в боевики.
Переломы выходящих из зарядов концов огнепроводного или детонирующего шнура не допускаются.
24. На шахтах (рудниках), опасных по газу или пыли, взрывание зарядов без забойки запрещается.
Допустимость взрывания зарядов без забойки на открытых работах и шахтах (рудниках), не опасных по газу или пыли, устанавливается руководителем организации с учетом опасности экологических последствий и указывается в технической документации (проектах, паспортах).
25. Заполнять шпуры (скважины) забоечным материалом следует осторожно. При этом электрический провод, детонирующий шнур и волноводы должны иметь слабину.
В качестве забойки для шпуров и скважин нельзя применять кусковатый или горючий материал.
Размещать забойку в шпурах и скважинах с помощью забоечных машин необходимо в соответствии с инструкциями (руководствами) по их эксплуатации.
26. Заряжание шпуров (скважин) на высоте более 2 м разрешается только со специально оборудованных подъемных площадок (помостов), позволяющих обеспечить безопасность работ, правильное размещение зарядов и монтаж взрывной сети.
Заряжание шпуров (скважин) с лестниц допускается только по согласованию с территориальными органами госгортехнадзора.
27. При взрывании наружных зарядов необходимо их размещать так, чтобы взрыв одного не нарушил соседние заряды. Если это сделать не представляется возможным, взрывание должно проводиться только одновременно (с применением электродетонаторов или детонирующего шнура).
Запрещается закрывать наружный заряд или детонирующий шнур камнями, щебнем.
28. Взрывание нескольких скважинных зарядов должно проводиться только с применением средств инициирования, допущенных для этих целей. При глубине скважин более 15 м обязательно дублирование внутрискважинной сети.
Необходимость дублирования сети в подземных выработках определяется руководителем организации по согласованию с территориальными органами госгортехнадзора.
29. При необходимости взрывания группы зарядов, прикрытых защитными приспособлениями, заряды должны взрываться одновременно или с замедлением до 200 мс.
30. Во время грозы запрещается производство взрывных работ с применением электровзрывания как на земной поверхности, так и в проводимых с поверхности горных выработках. Если электровзрывная сеть была смонтирована до наступления грозы, то перед грозой необходимо провести взрывание или отсоединить участковые провода от магистральных, концы тщательно изолировать, людей удалить за пределы опасной зоны или в укрытие.
31. Запрещается проводить взрывные работы (работы с взрывчатыми материалами) при недостаточном освещении рабочего места.
32. При взрывании шпуровых и наружных зарядов для разделки негабаритных кусков на развалах заряжание и монтаж взрывной (электровзрывной) сети разрешается выполнять только сверху вниз.
33. Запрещается во всех случаях разбуривать "стаканы" вне зависимости от наличия или отсутствия в них остатков взрывчатых материалов.
34. "Стаканы" от предыдущего взрыва должны закрываться деревянными пробками.
35. После произведенного прострела скважины или шпура новое заряжание разрешается не ранее чем через 30 мин.
36. Взрывание камерных зарядов разрешается проводить только с применением детонирующего шнура или электродетонатора. В каждую зарядную камеру должно помещаться два боевика; взрывная или электровзрывная сеть должна дублироваться тем же способом, которым производится основное взрывание.
Боевики в камерных зарядах должны размещаться в жестких прочных оболочках (ящиках, коробках и т.п.).
37. Перед заряжанием выработок, в которых будут находиться камерные заряды, электропроводка в них должна сниматься.
38. При механизированном заряжании разрешается применять зарядно - транспортное оборудование и взрывчатые вещества, допущенные для этой цели в установленном порядке.
Зарядное оборудование должно иметь дозирующие и смачивающие устройства, а также удобную и надежную систему управления процессом заряжания, обеспечивающую безопасность работ.
39. Механизированное заряжание должно осуществляться в соответствии с правилами устройства зарядного, доставочного и смесительного оборудования, предназначенного для механизации взрывных работ, инструкциями по эксплуатации зарядного оборудования, руководствами (инструкциями) по применению соответствующих взрывчатых материалов, а также инструкциями по безопасности работ при механизированном заряжании взрывчатых веществ, разработанными организациями и согласованными территориальными органами Госгортехнадзора России.
40. При пневмозаряжании алюмо- и тротилсодержащими рассыпными гранулированными взрывчатыми веществами необходимо добавлять во взрывчатые вещества воду или смачивающий раствор в количествах, установленных руководством по применению взрывчатых веществ и инструкциями по эксплуатации зарядных устройств.
Пневматическое транспортирование рассыпных гранулированных взрывчатых веществ в приемные емкости (бункеры, вагонетки и др.) может проводиться без увлажнения или смачивания взрывчатых веществ, но при обязательном осуществлении мер борьбы с пылью взрывчатых веществ, исключающих ее взрывы и отравление людей, а также мер, обеспечивающих своевременный отвод зарядов статического электричества.
41. Трубопроводы (шланги) при механизированном заряжании взрывчатых веществ должны иметь удельное электрическое сопротивление материала не более 1Е4 Ом.м, отличительные знаки (маркировку). Допускается применять в качестве зарядных трубопроводов металлические трубки длиной до 5 м, изготовленные из антикоррозийных материалов, не дающих искр при ударе и трении. При пневмозаряжании (пневмотранспортировании) взрывчатых веществ вся зарядная (пневмотранспортная) система должна быть заземлена в соответствии с установленными требованиями. Изгибы трубопроводов радиусом менее 0,6 м не допускаются.
В пневмозарядных устройствах порционного действия с разовой дозой гранулированных взрывчатых веществ массой до 5 кг и длине зарядного трубопровода (металлической трубки) до 5 м специальное заземление может не выполняться.
42. Пневматическое транспортирование рассыпных гранулированных взрывчатых веществ в приемные емкости (бункеры), а также заряжание шпуров и скважин при расстоянии между оператором установки и взрывником более 20 м или без прямой видимости между ними без двухсторонней связи проводить запрещается. В процессе пневмотранспортирования или пневмозаряжания необходимо применять заранее обусловленные команды.
43. Просыпавшиеся, а также задержанные пылеуловителями взрывчатые вещества должны быть собраны и уничтожены.
На открытых работах допускается при дозарядке скважин использовать просыпавшиеся взрывчатые вещества, не имеющие посторонних примесей, при этом подача взрывчатых веществ в скважины должна осуществляться вручную.
44. При взрывании с применением незащищенных электродетонаторов введение боевиков разрешается только после окончания механизированного заряжания и удаления зарядного оборудования.
При применении электродетонаторов, защищенных от зарядов статического электричества, боевик может устанавливаться первым от забоя скважины (шпура) и должен прикрываться не менее чем одним патроном от воздействия взрывчатых веществ при механизированном (пневматическом) заряжании.
45. По окончании заряжания зарядные устройства и трубопроводы необходимо очистить от остатков взрывчатых веществ способами, исключающими механическое воздействие.
46. База зарядных машин на автомобильных шасси должна быть исправна и отвечать соответствующим требованиям Правил перевозки опасных грузов автомобильным транспортом, утвержденных Приказом Министра транспорта Российской Федерации от 08.08.95 N 73 <1>.
--------------------------------
<1> Зарегистрированы в Министерстве юстиции Российской Федерации 18.12.95, регистрационный N 997.
47. Ремонт зарядного оборудования, доставочно - зарядных машин, зарядчиков и других средств механизации заряжания необходимо проводить в установленные технической документацией сроки или при неисправности в оборудованных для этой цели помещениях (горных выработках) специально обученным и аттестованным в установленном порядке персоналом, при этом заменяемые (отремонтированные) узлы должны соответствовать требованиям технических условий.
48. Массовые взрывы должны проводиться в соответствии с требованиями типовых инструкций, утвержденных Госгортехнадзором России, а также
главы IX настоящих Правил.
49. Лица, участвующие в подготовке массовых взрывов, при нахождении в подземных выработках должны обеспечиваться изолирующими самоспасателями.
50. Опасные зоны, их охрана, а также места нахождения людей и оборудования, порядок доставки и размещения взрывчатых материалов при подготовке и проведении массовых взрывов, порядок допуска людей после взрыва должны определяться проектом.
51. Массовые взрывы на земной поверхности, представляющие угрозу безопасности воздушного движения, могут осуществляться только после согласования их проведения в установленном порядке с федеральными органами.
52. Во всех случаях, когда заряды не могут быть взорваны по причинам технического характера (неустранимые в течение смены нарушения взрывной сети и т.д.), они рассматриваются как отказы.
Каждый отказ должен быть записан в Журнал регистрации отказов при взрывных работах
(Приложение 5).
Не реже одного раза в полугодие в каждой организации необходимо проводить анализ причин отказавших зарядов с принятием соответствующих мер по их предупреждению.
53. При обнаружении отказа (или при подозрении на него) на земной поверхности взрывник должен выставить отличительный знак у невзорвавшегося заряда, а в подземных условиях - закрестить забой выработки или установить запрещающий вход знак и во всех случаях уведомить об этом лицо технического надзора.
54. Работы, связанные с ликвидацией отказов, в том числе на земной поверхности, должны проводиться под руководством лица технического надзора в соответствии с инструкцией, утвержденной руководителем организации по согласованию с территориальными органами госгортехнадзора.
55. В местах отказов запрещаются какие-либо производственные процессы, не связанные с их ликвидацией. В угольных шахтах до работ по ликвидации отказа отбитый уголь должен быть убран вручную из забоя.
56. Провода обнаруженного электродетонатора в отказавшем заряде необходимо замкнуть накоротко.
57. При ликвидации отказавшего наружного заряда следует поместить на него новый и провести взрывание в обычном порядке.
58. Ликвидацию отказавших шпуровых зарядов разрешается проводить взрыванием зарядов во вспомогательных шпурах, пробуренных параллельно отказавшим на расстоянии не ближе 30 см. Число вспомогательных шпуров, места их размещения и направление должны определяться лицом технического надзора. Для установления направления таких шпуров разрешается вынимать из шпура забоечный материал на длину до 20 см от устья.
При взрывании без забойки отказавшие заряды разрешается взрывать введением в шпур дополнительного патрона - боевика.
На земной поверхности, а также в выработках шахт (рудников), не опасных по газу или пыли, в случае обнаружения проводов электродетонаторов, выходящих из отказавшего шпурового заряда, взрывнику разрешается из безопасного места проверить допущенными для этой цели приборами проводимость мостика электродетонатора и взорвать отказавший заряд в обычном порядке.
На шахтах, опасных по газу или пыли, этим способом разрешается ликвидировать только необнаженные отказавшие заряды, линии наименьшего сопротивления которых не уменьшились, и при соответствии других условий установленным требованиям безопасности.
59. В забоях, где установлены гидромониторы, допускается ликвидация отказов в шпурах струей воды под наблюдением взрывника и лица технического надзора. В момент непосредственной ликвидации отказа в забое не должны находиться люди и пуск воды надлежит проводить дистанционно. При этом должны быть приняты меры по улавливанию электродетонатора из размытого боевика.
60. При дроблении металла и металлических конструкций ликвидация отказавших шпуровых зарядов должна проводиться удалением забойки, введением в шпур нового боевика и его последующим взрыванием.
61. Ликвидацию отказавших скважинных зарядов разрешается проводить:
а) взрыванием отказавшего заряда в случае, если отказ произошел в результате нарушения целостности внешней взрывной сети (если линия наименьшего сопротивления отказавшего заряда не уменьшилась). Если при проверке выявится возможность опасного разлета кусков горной массы или воздействия ударной воздушной волны при взрыве, взрывание отказавшего заряда запрещается;
б) разборкой породы в месте нахождения скважины с отказавшим зарядом с извлечением последнего вручную. При взрывании с применением детонирующего шнура, заряда из взрывчатого вещества на основе аммиачной селитры, не содержащего в своем составе порохов, нитроэфиров или гексогена, разборку породы у отказавшего заряда допускается проводить экскаватором с исключением непосредственного воздействия ковша на взрывчатые материалы.
Порядок ликвидации отказа зарядов взрывчатых веществ с использованием при взрывных работах неэлектрических систем инициирования и промежуточного детонатора (шашки) с содержанием гексогена определяется кратким руководством (инструкцией), согласованным с Госгортехнадзором России и экспертной организацией.
При невозможности разборки породы разрешается вскрывать скважину обуриванием и взрыванием шпуровых зарядов, располагаемых не ближе 1 м от стенки скважины. В этом случае число и направление шпуров, их глубина и масса отдельных зарядов устанавливаются проектом или руководителем взрывных работ организации (шахты, рудника, карьера и т.п.);
в) взрыванием заряда в скважине, пробуренной параллельно на расстоянии не менее 3 м от скважины с отказавшим зарядом;
г) при взрывании взрывчатых веществ группы совместимости D (кроме дымного пороха) с применением детонирующего шнура - вымыванием заряда из скважины;
д) при невозможности ликвидировать отказ перечисленными способами - по проекту, утвержденному руководителем организации.
62. Ликвидация отказавших зарядов в рукавах должна проводиться взрыванием заряда во вспомогательном рукаве, пройденном на расстоянии не менее 1/3 длины рукава с отказавшим зарядом, а также способами, указанными в
пункте 61 главы IV настоящих Правил.
63. Ликвидация отказавших камерных зарядов должна проводиться разборкой забойки с последующим вводом нового боевика, забойки и взрыванием в обычном порядке (если линия наименьшего сопротивления отказавшего заряда не уменьшилась).
Если при проверке линии наименьшего сопротивления выявится возможность опасного разлета кусков горной массы или воздействия ударной воздушной волны при взрыве, взрывание отказавшего заряда запрещается.
В этом случае необходимо проводить разборку забойки с последующим извлечением взрывчатых веществ.
До ликвидации отказа такие заряды должны охраняться.
В тех случаях, когда для ликвидации отказавшего камерного заряда необходимо проводить дополнительные выработки, эти работы должны осуществляться по проекту, утвержденному руководителем организации.
64. После взрыва заряда, предназначенного для ликвидации отказа, необходимо тщательно осмотреть взорванную массу и собрать взрывчатые материалы. Только после этого рабочие могут быть допущены к дальнейшей работе с соблюдением определенных лицом технического надзора мер предосторожности. Обнаруженные взрывчатые материалы должны быть уничтожены в установленном в организации порядке.
65. Ликвидация зарядов, отказавших при массовых взрывах, должна проводиться по проектам, утвержденным руководителем организации.
66. Заряд, отказавший в скважине (шпуре) при сейсморазведочных работах, должен быть извлечен и после устранения причины отказа вновь опущен на заданную глубину. Если извлечь отказавший заряд не представляется возможным, его необходимо ликвидировать взрывом дополнительно опущенного накладного заряда. В других случаях ликвидация отказа осуществляется по специальному проекту с учетом конкретных условий.
67. При отказе прострелочного (взрывного) аппарата взрывные провода необходимо отсоединить от источника тока и после его подъема - от взрывной магистрали и замкнуть накоротко.
Поднятый из скважины отказавший прострелочный (взрывной) аппарат должен быть проверен взрывником. При этом необходимо извлечь средства инициирования и их проводники закоротить, а аппарат доставить в зарядную мастерскую. Остатки взрывчатых веществ, оказавшиеся в аппарате в результате неполного взрыва, подлежат сбору и уничтожению в установленном порядке.
В случае прихвата прострелочно - взрывной аппаратуры в скважине уничтожение снаряженного аппарата или работы, связанные с его подъемом на поверхность, должны проводиться по плану (мероприятиям), согласованному с заказчиком.
68. Отказавшие заряды при взрывании льда и подводных взрывных работах разрешается извлекать не ранее чем через 15 мин. после последнего взрыва.
При невозможности извлечь отказавший заряд к нему должен привязываться новый заряд массой не менее 25% массы отказавшего с последующим взрыванием в воде.
69. При взрывании горячего массива подход к отказавшему заряду разрешается по истечении 15 мин. и при температуре ниже 80 град. C, а также при условии, что не будет наблюдаться разложение аммиачной селитры.
Ликвидация отказавшего заряда взрывчатых материалов в шпуре должна проводиться вымыванием водой.
70. Ликвидация отказавших зарядов при корчевке пней должна осуществляться путем извлечения вручную забойки из шпура (подкопа), помещения нового заряда на отказавший и повторного взрывания.
71. Когда работы по ликвидации отказа не могут быть закончены в данной смене, разрешается поручать их продолжение взрывнику очередной смены с соответствующим инструктажем и отметкой в выдаваемой ему наряд - путевке. В этом случае допуск рабочих к месту после ликвидации отказа должен быть разрешен лицом технического надзора смены.
V. Дополнительные требования при ведении
взрывных работ в подземных выработках
1. Перед началом заряжания шпуров при ведении взрывных работ в подземных выработках необходимо обеспечить проветривание забоя, убрать ранее взорванную в забое горную массу, вывести людей, не связанных с выполнением взрывных работ, за пределы опасной зоны, в места, определенные паспортом буровзрывных работ, при этом должны быть обеспечены безопасные условия работы взрывника.
2. Производство взрывных работ при проведении выработок встречными забоями и сбойке выработок разрешается с соблюдением следующих условий:
а) с момента сближения забоев на расстояние 15 м перед началом заряжания шпуров в одном из встречных забоев все не связанные с выполнением взрывных работ люди должны быть удалены из этих забоев в безопасное место, и у входа в противоположный забой выставлен пост.
Взрывание шпуровых зарядов в каждом забое необходимо вести в разное время с обязательным определением размера целика между встречными забоями. На каждое отдельное взрывание зарядов в шпурах взрывнику должна быть выдана наряд - путевка, подписанная руководителем шахты (рудника) или назначенным им лицом. Работы необходимо выполнять в присутствии лица технического надзора;
б) взрывание может проводиться лишь после того, как будет получено сообщение о выводе людей из противоположного забоя и выставлении там поста;
в) пост в противоположной выработке может быть снят только с ведома взрывника;
г) когда размер целика между встречными забоями составит 7 м, работы должны проводиться только из одного забоя. При этом необходимо бурить опережающие шпуры глубиной на 1 м больше, чем глубина заряжаемых шпуров;
д) при толщине целика 3 м в шахтах и рудниках, опасных по газу или пыли, в сбиваемых выработках перед каждым взрыванием должен быть проведен замер газа и приняты меры по обеспечению устойчивого проветривания этих выработок, а также по предупреждению взрыва пыли.
Кроме проведения замеров газа рабочими и лицами технического надзора, в сбиваемых забоях угольных шахт III категории по газу и выше должны устанавливаться средства автоматического контроля метана.
3. В параллельно проводимых (парных) выработках угольных и сланцевых шахт при расстоянии между выработками 15 м и менее взрывание зарядов в каждом забое может проводиться только после вывода людей из других забоев в безопасное место и выставления постов охраны, предусмотренных паспортами буровзрывных работ. Разрешается не выводить людей из параллельной выработки, забой которой отстает на расстояние более 50 м от забоя, где проводится взрывание.
4. Запрещается ведение взрывных работ на расстоянии менее 30 м от склада взрывчатых материалов, участкового пункта, раздаточной камеры, а также нахождение людей в перечисленных местах хранения взрывчатых материалов при взрывных работах, проводящихся на расстоянии ближе 100 м от них. Указанное расстояние определяется от места взрывания до ближайшей камеры (ячейки) с взрывчатыми материалами.
5. Запрещается взрывание зарядов, если на расстоянии менее 20 м от места их заложения находятся неубранная отбитая горная масса, вагонетки или предметы, загромождающие выработку более чем на 1/3 площади ее поперечного сечения, при отсутствии свободных проходов.
6. При ведении взрывных работ в лаве на крутом угольном пласте обязательно наличие магазина, размеры которого должны быть достаточны для размещения взорванного угля, доступа в лаву необходимого количества воздуха и свободного прохода людей.
7. Перед допуском людей в выработку (забой) после взрывных работ содержание ядовитых продуктов взрыва не должно превышать 0,008% по объему в пересчете на условный оксид углерода. Такое разжижение вредных газов должно достигаться не более чем за 30 мин. после взрывания зарядов.
При проверке достаточности разжижения вредных продуктов взрыва 1 л диоксида азота следует принимать эквивалентным 6,5 л оксида углерода.
8. Огневое и электроогневое взрывание зарядов запрещается применять в угольных и сланцевых шахтах, в рудниках, опасных по газу или пыли, а огневое - во всех подземных горных выработках, включая шахты и рудники, не опасные по газу или пыли.
9. При послойной отбойке угля не допускается присутствие людей в очистном забое под гибким перекрытием, настилом или межслойной пачкой, когда в одном из забоев проводятся взрывные работы. При взрывании в лавах, камерах и в верхних нишах лав, а также в вентиляционных штреках на угольных пластах крутого и наклонного падения допускается нахождение взрывника в выработках с исходящей струей воздуха при условии выполнения требований настоящих Правил и проведения указанных в паспортах буровзрывных работ мероприятий по предупреждению отравления людей ядовитыми газами.
10. Взрывные работы в искусственно замороженных породах или в зонах сжатого воздуха (кессонах) должны проводиться только по проектам.
11. При проходке и углубке стволов шахт взрывание разрешается проводить только с поверхности или с действующего горизонта. Лица, проводящие взрывание, должны находиться в выработке со свежей струей воздуха. Взрывание огневым способом запрещается.
12. Изготавливать патроны - боевики разрешается на поверхности в специально оборудованных в соответствии с проектом помещениях (зарядных будках), расположенных не ближе 50 м от ствола, зданий и сооружений. Место расположения зарядной будки на стадии проектирования согласовывается с территориальными органами госгортехнадзора.
13. Запрещается спуск - подъем боевиков в разгружающихся через дно бадьях.
Выполнение этих работ в опрокидывающихся бадьях разрешается при наличии исправных блокировочных устройств, препятствующих подъему бадьи выше верхней приемной площадки ствола. Скорость спуска - подъема не должна превышать 1 м/с при движении без направляющих и 2 м/с при движении по направляющим.
14. Спуск в ствол патронов - боевиков должен проводиться в специальных сумках (ящиках) отдельно от взрывчатых веществ в сопровождении взрывника. При этом в забое могут находиться только лица, занятые при заряжании, и машинист насоса.
На рабочем полке и натяжной раме разрешается находиться лицам, занятым сопровождением бадей через раструбы. Другие работы на этих полках во время заряжания шнуров запрещаются.
15. Электровзрывная сеть в обводненном забое ствола шахты должна монтироваться при помощи антенных проводов. Стойки для установки проводов должны быть такой высоты, чтобы вода не достигала антенны.
При этом электродетонаторы должны иметь длину концевых проводов, позволяющую их подсоединение к антенным без дополнительных соединений.
16. Взрывник может осуществлять монтаж электровзрывной сети только после выезда из забоя всех рабочих (кроме ответственных за подачу сигналов и обслуживание проходческого полка).
17. В качестве магистральных проводов необходимо применять гибкий кабель во влагонепроницаемой оболочке, который не должен опускаться ниже проходческого полка.
18. Присоединять соединительные провода к кабелю и проводить взрывание имеет право взрывник, на которого выписана наряд - путевка на ведение взрывных работ.
19. После окончания монтажа взрывной сети и выезда всех людей на поверхность в стволе должны быть открыты все ляды.
20. При проходке вертикальных стволов шахт вновь пробуриваемые шпуры должны быть смещены по окружности по отношению к шпурам предыдущего цикла без изменения схемы расположения шпуров.
21. Ведение взрывных работ вблизи подземных и наземных сооружений должно осуществляться по проекту, утвержденному по согласованию с органом госгортехнадзора и с организацией, эксплуатирующей эти сооружения.
22. При проходке стволов шахт в городских условиях и наличии большого притока воды патроны - боевики разрешается изготавливать на первом полке от забоя ствола или на специально устроенном полке.
23. Заряжание шпуров и монтаж взрывной сети на высоте более 2 м разрешается проводить только с полков, примыкающих к забою, или с выдвижных площадок укладчиков тоннельной обделки и щитов.
24. При проходке тоннелей с применением электровзрывания со всего проходческого оборудования напряжение должно быть снято до начала заряжания.
Запрещается изготовление патронов - боевиков непосредственно на площадках укладчика тоннельной обделки или щита.
25. При рассечке верхних штолен из восстающих одновременное взрывание в противоположных забоях запрещается.
26. Взрывные работы в калоттах разрешаются при соблюдении следующих условий:
а) предельная масса заряда устанавливается руководителем организации (строительного управления);
б) взрывание в обоих крыльях калотты должно проводиться в разное время.
27. Заряжание должно осуществляться взрывниками в присутствии лица технического надзора.
28. При разработке месторождений горючего сланца подземным способом в целях предупреждения взрывов пыли при взрывных работах должны приниматься дополнительные меры безопасности, предусмотренные руководством по безопасному применению электровзрывания и предупреждению взрывов пыли на сланцевых шахтах, утвержденные руководителем организации по согласованию с органом госгортехнадзора.
29. При ведении взрывных работ на угольных шахтах, опасных по газу или пыли, перед каждым заряжанием шпуров, их взрыванием и при осмотре забоя после взрывания мастер - взрывник обязан проводить замер концентрации метана по всему сечению забоя, особенно в верхней его части. Запрещается выполнять взрывные работы при содержании метана 1% и более в забоях и в примыкающих выработках на протяжении 20 м от них, а также в месте укрытия мастера - взрывника.
Замер концентраций метана в месте укрытия мастера - взрывника должен проводиться перед каждым подключением электровзрывной сети к взрывному прибору.
30. Взрывные работы допускаются только:
а) в забоях выработок, непрерывно и устойчиво проветриваемых в соответствии с требованиями правил безопасности в угольных и сланцевых шахтах и при осуществлении необходимых мер борьбы с взрывчатой угольной пылью;
б) при взрывании зарядов с применением предохранительных электродетонаторов, при этом в выработках с повышенным выделением метана в качестве источника тока должны применяться только искробезопасные взрывные приборы.
До выпуска искробезопасных взрывных приборов, обеспечивающих одновременное взрывание необходимого числа электродетонаторов, разрешается в порядке исключения по согласованию с органами госгортехнадзора временно применять взрывные приборы в исполнении РВ с опережающим ограничением длительности импульса, допущенные Госгортехнадзором России.
К выработкам с повышенным выделением метана следует относить:
все выработки на выемочных участках на пластах, опасных по пыли, с относительной метанообильностью 10 м3/т и более и абсолютной газообильностью 3 м3/мин. и более;
все выработки на выемочных участках на пластах, не опасных по пыли, с относительной метанообильностью 15 м3/т и более и абсолютной - 3 м3/мин. и более;
в) при выполнении мастерами - взрывниками, а в наиболее сложных условиях (при сотрясательном взрывании, разбучивании углеспускных выработок, дроблении негабаритных кусков породы, взрывной посадке кровли в очистных забоях, подземных взрывах по разупрочнению труднообрушаемых кровель на выемочных участках, ликвидации отказов и т.п.) - в присутствии и под руководством лица технического надзора, ответственного за безопасное ведение работ в смене (на участке);
г) в выработках с повышенным выделением метана при отсутствии людей на пути следования продуктов взрыва.
31. Взрывные работы в очистных, подготовительных забоях и на отдельных участках выработок, в которых имеется газовыделение или взрывчатая пыль, допускается проводить при соблюдении определенного для каждого забоя (выработки) режима, утвержденного руководством организации по согласованию с органом госгортехнадзора. В режиме указывается наименование забоя (угольный, породный), тип применяемого взрывчатого вещества и средств взрывания, установленное время ведения взрывных работ, включая начало заряжания, время проветривания, осмотра забоя, места вывода людей и место укрытия мастера - взрывника, наличие людей на пути движения исходящей струи воздуха.
32. Запрещается:
а) частичное выбуривание газоносных угольных пластов в тупиковых забоях подготовительных выработок, проводимых взрывным способом по вмещающим породам;
б) предварительное рыхление угольного массива в очистных забоях впереди комбайнов, стругов. Это требование не распространяется на безлюдную выемку угля, гидровзрывание, а также полную отбойку угля и породы в зонах геологических нарушений.
33. Выбор соответствующих взрывчатых материалов должен утверждаться руководителем организации (шахты, шахтоуправления, шахтостроительного управления) в зависимости от степени опасности работ в забое (выработке), условий взрывания, в том числе указанных в
пункте 8 главы I настоящих Правил, и необходимости создания предохранительной среды согласно перечисленным ниже требованиям.
34. Непредохранительные взрывчатые вещества II класса разрешается применять:
а) для проведения горизонтальных, наклонных, восстающих и вертикальных выработок <1>, углубки шахтных стволов с действующих горизонтов шахт при следующих условиях:
--------------------------------
<1> Далее по тексту - выработки.
отсутствии в забоях угольных пластов, пропластков, а также выделения метана;
подтоплении водой забоя углубляемого ствола перед взрыванием на высоту не менее 20 см, считая по наивысшей точке забоя;
отставании от любой точки забоя до угольного пласта (при приближении к нему) не менее 5 м, считая по нормали. После пересечения пласта забоем выработки расстояние от любой точки забоя до пласта должно быть более 20 м, считая по протяжению выработки.
Если выработка закреплена монолитной крепью, исключающей поступление в нее метана из пласта, и работы по изоляции пласта ведутся по проекту, согласованному с организацией - экспертом по безопасности работ, взрывчатые вещества II класса могут применяться после пересечения угольных пластов и пропластков;
б) в забоях, проводимых с поверхности шурфов или стволов шахт, опасных по газу или пыли, в том числе при пересечении этими забоями пластов, опасных по внезапным выбросам угля, породы и газа, при выполнении следующих условий:
подтоплении водой забоя перед взрыванием на высоту не менее 20 см, считая по наивысшей точке забоя. При проведении ствола в искусственно замороженных породах или отсутствии притока воды вместо подтопления забоя ствола должны быть приняты другие меры, согласованные с организацией - экспертом по безопасности работ;
осуществлении взрывания с поверхности при отсутствии людей в стволе и на расстоянии не менее 50 м от него;
в) при сотрясательном взрывании в выработках, проводимых по выбросоопасным породам, при условии применения водораспылительных завес, создаваемых взрывным распылением воды из полиэтиленовых сосудов в сочетании с туманообразующими завесами.
Взрывание зарядов должно проводиться с поверхности или из камер - убежищ при отсутствии людей в шахте;
г) при торпедировании угольного массива на пластах, опасных по внезапным выбросам угля и газа, в соответствии с инструкцией по безопасному ведению горных работ на пластах, опасных по внезапным выбросам угля, породы и газа, утвержденной руководителем организации по согласованию с органом госгортехнадзора;
д) при применении скважинных зарядов для создания предохранительных надщитовых подушек на участках, опасных по прорыву глины и пульпы;
е) для предварительного разупрочнения труднообрушаемой кровли в механизированных очистных забоях в соответствии с требованиями инструкции по выбору способа и параметров разупрочнения труднообрушаемой кровли на выемочных участках, утвержденной руководителем организации по согласованию с органом госгортехнадзора.
При выполнении перечисленных работ в зависимости от крепости пород и условий взрывания должны использоваться следующие взрывчатые вещества:
при проведении горизонтальных и наклонных выработок, перечисленных в
п. а) (кроме углубки стволов) и
п. в) по породам с коэффициентом крепости f по шкале проф. М.М. Протодьяконова менее 7, а также при разупрочнении труднообрушаемых пород любой крепости - взрывчатые вещества, не содержащие сенсибилизаторов, более чувствительных, чем тротил (аммонит 6ЖВ, аммонал М-10 и т.п.);
при проведении горизонтальных и наклонных выработок, перечисленных в
п. а) (кроме углубки стволов) и
п. в) по породам с коэффициентом крепости f от 7 до 10 применение взрывчатых веществ, содержащих гексоген или нитроэфиры, допускается только во врубовых шпурах. Во всех остальных шпурах должны применяться взрывчатые вещества, не содержащие сенсибилизаторы, более чувствительные, чем тротил;
при проведении горизонтальных и наклонных выработок по породам с коэффициентом крепости f = 10 и более допускается применение любых взрывчатых веществ;
при взрывании в условиях, перечисленных в
п. п. б), г), д), а также при углубке стволов допускается применение любых взрывчатых веществ.
35. Предохранительные взрывчатые вещества III класса разрешается применять:
а) в забоях выработок, проводимых только по породе, в том числе и по выбросоопасным породам, при выделении метана и отсутствии взрывчатой пыли;
б) в забоях стволов, проводимых только по породе, при их углубке с действующих горизонтов и выделении в них метана;
в) при вскрытии пластов, опасных по внезапным выбросам угля и газа, до обнажения пласта при условии применения водораспылительных завес и наличии между пластом и забоем выработки породной пробки по всей площади сечения выработки. Размер пробки (считая по нормали) должен быть не менее 2 м при вскрытии крутых и не менее 1 м при вскрытии пологих пластов.
36. Предохранительные взрывчатые вещества IV класса разрешается применять:
а) в угольных и смешанных забоях выработок, проводимых по угольным пластам, опасным по взрывам пыли, при отсутствии выделения метана в этих выработках;
б) в угольных и смешанных забоях горизонтальных, наклонных и восстающих (до 10 град.) выработок, проводимых по пластам, опасным по газу или пыли, в которых отсутствует повышенное выделение метана при взрывных работах;
в) при сотрясательном взрывании, в том числе камуфлетном, вскрытии угольных пластов после их обнажения и последующем проведении выработок на протяжении не менее 20 м;
г) в бутовых штреках с нижней подрывкой пород;
д) в бутовых штреках с верхней подрывкой пород при относительной метанообильности выемочного участка менее 10 м3/т;
е) при взрывании по породе в смешанных забоях выработок, проводимых по пластам, опасным по внезапным выбросам угля и газа, при опережающем породном забое;
ж) для подрывки боковых пород f > 4 в смешанных забоях выработок с повышенным выделением метана при взрывных работах при условии проведения предварительной выемки угля без применения взрывных работ;
з) при взрывной выемке угля в лавах;
е) при проведении восстающих выработок (печей) на пластах с углом падения свыше 45 град. по предварительно пробуренным скважинам диаметром не менее 500 мм, обеспечивающим проветривание выработок за счет общешахтной депрессии.
37. Предохранительные взрывчатые вещества V класса разрешается применять:
а) в угольных и смешанных забоях горизонтальных, наклонных и восстающих (до 10 град.) выработок с повышенным выделением метана при взрывных работах. В смешанных забоях по углю и по породе должно применяться одно и то же взрывчатое вещество. В отдельных случаях по разрешению органа госгортехнадзора, выданному на основании заключения организации - эксперта по безопасности работ, допускается применение по углю взрывчатых веществ V класса, а по породе - IV класса;
б) в угольных и смешанных забоях восстающих (10 град. и более) выработок, в которых выделяется метан, при проведении их с предварительно пробуренными скважинами, обеспечивающими проветривание выработок за счет общешахтной депрессии;
в) в нишах лав, не отнесенных к забоям с повышенным выделением метана;
г) в бутовых штреках, проводимых с верхней подрывкой пород, при относительной метанообильности выемочного участка 10 м3/т и более;
д) для верхней и смешанной подрывки боковых пород с f = 4 и менее в смешанных забоях выработок с повышенным выделением метана при взрывных работах при условии предварительной выемки угля без применения взрывных работ.
38. Предохранительные взрывчатые вещества VI класса разрешается применять:
а) в верхних нишах лав с повышенным выделением метана;
б) в угольных забоях восстающих (10 град. и более) выработок, в которых выделяется метан, при проведении их без предварительно пробуренных скважин;
в) в забоях выработок, проводимых по нарушенному массиву (в том числе и в забоях выработок, проводимых в присечку к нарушенному массиву), при выделении в них метана. Глубина шпуров должна быть не более 1,5 м, а масса шпурового заряда патронированного взрывчатого вещества - не более 0,6 кг;
г) для верхней и смешанной подрывки пород с f = 4 и менее в вентиляционных штреках, проводимых вслед за лавой.
39. Предохранительные взрывчатые вещества VII класса разрешается применять для следующих видов специальных взрывных работ:
а) ликвидации зависаний горной массы в углеспускных выработках;
б) дробления негабаритов наружными зарядами;
в) взрывного перебивания деревянных стоек при посадке кровли.
Взрывные работы по разделке негабаритов и разбучиванию углеспускных выработок должны проводиться по инструкциям, согласованным с территориальными органами Госгортехнадзора России.
Для каждого из перечисленных видов работ должны применяться взрывчатые вещества или заряды, специально допущенные Госгортехнадзором России.
40. Во всех забоях выработок, кроме проводимых сотрясательным взрыванием, а также при выполнении специальных работ допускается применять предохранительные взрывчатые вещества и более высокого класса по сравнению с указанными в
пунктах 34 -
38 главы V настоящих Правил.
41. В забоях выработок, где имеется газовыделение или взрывчатая угольная пыль, разрешается применять только предохранительные электродетонаторы мгновенного и короткозамедленного действия.
При этом должны соблюдаться следующие условия:
а) максимальное время замедления электродетонаторов короткозамедленного действия с учетом разброса по времени срабатывания не должно превышать при применении взрывчатых веществ IV класса - 220 мс, V и VI классов - 320 мс;
б) в подготовительных выработках, проводимых по углю, и в комбайновых нишах очистных забоев без машинного вруба все заряды в угольном забое должны взрываться от одного импульса тока взрывного прибора;
в) при протяженности угольного забоя более 5 м разрешается его делить по длине на участки, и взрывание в каждом из них производить раздельно при соблюдении требований
пункта 47 главы V настоящих Правил;
г) в подготовительных выработках, проводимых по углю с подрывкой боковых пород, взрывание зарядов в шпурах по углю и породе может проводиться как раздельно, так и одновременно (одним забоем или с опережением одного из них), причем раздельное взрывание может осуществляться только по разрешению руководителя шахты при числе циклов не более одного по углю и одного по породе, за исключением случаев создания опережающих заходок в начале проведения выработок, но не более 5 м.
42. Запрещается одновременная выдача мастеру - взрывнику для проведения взрывных работ взрывчатых веществ различных классов, а также предохранительных и непредохранительных электродетонаторов, в том числе короткозамедленного и замедленного действия, для разных забоев, если в одном из них применяются электродетонаторы с большим замедлением или взрывчатые вещества более низкого класса.
43. Места укрытия мастеров - взрывников должны находиться в выработках, проветриваемых свежей струей воздуха за счет общешахтной депрессии, и располагаться от места взрыва на расстоянии не менее:
а) в горизонтальных и наклонных (до 10 град.) подготовительных выработках, при дроблении негабаритов наружными зарядами, а также при взрывной посадке кровли в лавах - 150 м;
б) в наклонных, в том числе восстающих (более 10 град.), подготовительных выработках - 100 м, но обязательно в горизонтальной выработке и не ближе 10 м от устья выработки или ее сопряжения с другой выработкой;
в) в лавах (слоях) с углом залегания до 18 град. - 50 м;
г) в лавах (слоях) с углом залегания 18 град. и более - 50 м, но не ближе 20 м от сопряжения с лавой (слоем) на штреке;
д) в очистных забоях камерного типа, а также при погашении угольных целиков - 200 м;
е) в щитовых забоях - 50 м, но не ближе 20 м от ходовой печи;
ж) при пропуске угля и породы в восстающих выработках - 150 м;
з) при проведении стволов (шурфов) с поверхности - 50 м.
В отдельных случаях на шахтах Кузнецкого бассейна допускается нахождение мастера - взрывника и постов охраны подходов к опасной зоне на исходящей струе воздуха (за исключением взрывных работ на пластах, опасных по внезапным выбросам или суфлярным выделениям метана) при выполнении мероприятий, рекомендованных организацией - экспертом по промышленной безопасности и утвержденных руководителем организации по согласованию с органом госгортехнадзора.
44. Места укрытия мастера - взрывника, расположения постов охраны, других людей во всех случаях следует определять в проектах, паспортах или схемах буровзрывных работ с учетом того, что расстояние от места укрытия мастера - взрывника до постов охраны, располагаемых за мастером - взрывником, должно быть не менее 10 м и от места расположения постов охраны до места нахождения остальных людей - также не менее 10 м.
45. Тупиковые выработки протяженностью более 100 м по углю или смешанным забоем должны проводиться при наличии постоянной взрывной магистрали, проложенной до взрывной станции в месте укрытия мастера - взрывника.
46. Заряжание и взрывание зарядов каждого цикла, в том числе и при раздельном взрывании по углю и породе, допускаются только после проветривания забоя, замера содержания метана, уборки взорванного угля, проведения мероприятий по пылевзрывозащите забоя и прилегающих к нему выработок на расстоянии не менее 20 м. Во всех случаях глубина заходки по углю должна быть не более 2 м.
47. В очистных забоях на пластах, опасных по газу или пыли (кроме опасных по внезапным выбросам), разрешается разделять очистной забой по длине на участки, взрываемые раздельно. Заряжание и взрывание зарядов на каждом участке допускаются после взрыва зарядов на предыдущем участке, уборки отбитого угля, крепления забоя и принятия мер по предупреждению взрывов газа и угольной пыли.
48. При засечке подготовительных и нарезных выработок по углю и породе из других выработок на протяжении 5 м от сопряжения необходимо предусматривать уменьшение длины шпуров и зарядов взрывчатых веществ с целью снижения опасности нарушения крепи, обрушения пород, а также повреждения кабелей и трубопроводов.
49. В породных и смешанных забоях подготовительных выработок при наличии газовыделения разрешается применять электродетонаторы мгновенного и короткозамедленного действия. При этом максимальное время замедления должно устанавливаться с учетом требований пункта
41 главы V настоящих Правил.
Взрывание комплекта зарядов в забое допускается проводить раздельно, но не более чем за три приема. Заряжание шпуров в каждом отдельном приеме должно проводиться после взрывания в предыдущем и принятия мер, обеспечивающих безопасность взрывных и других работ в забое.
50. При проведении по породе выработок, в которых отсутствует выделение метана, взрывание может проводиться с применением электродетонаторов мгновенного, короткозамедленного и замедленного действия со временем замедления до 2 с без ограничения количества приемов и пропускаемых серий замедления.
51. В забоях выработок, в которых имеется газовыделение или взрывчатая угольная пыль (кроме бутовых штреков с подрывкой кровли), разрешается применять электродетонаторы короткозамедленного действия с интервалом замедления не более 60 мс (по номиналу). В бутовых штреках с подрывкой кровли разрешается применять только электродетонаторы мгновенного действия.
52. Электродетонаторы замедленного действия разрешается применять для взрывания зарядов в забоях, где допущено использование непредохранительных взрывчатых веществ II класса, при отсутствии газовыделения и взрывчатой пыли.
53. В выработках, где допущено использование непредохранительных взрывчатых веществ и электродетонаторов замедленного действия, разрешается применять в одном забое и выдавать одному мастеру - взрывнику непредохранительные взрывчатые вещества различной работоспособности или непредохранительные и предохранительные взрывчатые вещества при условии размещения взрывчатых веществ с меньшей работоспособностью только в оконтуривающих шпурах. При проведении таких выработок в направлении угольных пластов или пропластков, опасных по газу или пыли, с расстояния 5 м (считая от них по нормали), а также на расстоянии 20 м после их пересечения (считая по протяжению выработки) обязательно применение предохранительных взрывчатых веществ и электродетонаторов мгновенного и короткозамедленного действия с соблюдением мер безопасности, предусмотренных настоящими Правилами для забоев, опасных по газу или пыли.
54. Запрещается размещать в одном шпуре взрывчатые вещества различных классов или различных наименований и при сплошном заряде - более одного патрона - боевика.
55. Минимальная глубина шпуров при взрывании по углю и породе должна быть 0,6 м.
56. Заряд, состоящий из двух патронов взрывчатого вещества и более, необходимо вводить в шпур одновременно. Боевик может досылаться отдельно.
57. В качестве забойки должны применяться глина, смесь глины с песком, гидрозабойка в шпурах в сочетании с запирающей забойкой из глины или смеси глины с песком или иные материалы, допущенные Госгортехнадзором России.
58. При взрывании по углю и по породе минимальная величина забойки для всех забоечных материалов должна составлять:
а) при глубине шпуров 0,6 - 1,0 м - половину глубины шпура;
б) при глубине шпуров более 1 м - 0,5 м;
в) при взрывании зарядов в скважинах - 1 м.
59. Расстояние от заряда взрывчатых веществ до ближайшей поверхности должно быть не менее 0,5 м по углю и не менее 0,3 м по породе, в том числе и при взрывании зарядов в породном негабарите. В случае применения взрывчатых веществ VI класса при взрывании по углю это расстояние допускается уменьшать до 0,3 м.
60. Минимально допустимые расстояния между смежными шпуровыми зарядами должны соответствовать показателям
таблицы 4 Приложения 1.
В породах с f > 10 расстояние между смежными шпуровыми зарядами должно определяться нормативами, разработанными по согласованию с организацией - экспертом по безопасности работ.
61. На пластах, опасных по пыли, перед каждым взрыванием в забоях, проводимых по углю или по углю с подрывкой боковых пород, необходимо проводить осланцевание или орошение осевшей угольной пыли водой с добавлением смачивателя как у забоя, так и в выработке, примыкающей к забою, на протяжении не менее 20 м от взрываемых зарядов.
В очистных забоях на пластах, опасных по взрыву пыли, при взрывании по углю в кутках или нишах лав также должно проводиться осланцевание или орошение призабойного пространства водой с применением смачивателей.
62. В призабойном пространстве горных выработок взрывозащита (водовоздушные, порошковые завесы и др.) при взрывании шпуровых зарядов должна осуществляться в соответствии с инструкциями (руководствами), согласованными Госгортехнадзором России.
63. Торпедирование пород и угольного массива путем взрывания скважинных зарядов также следует осуществлять в соответствии с инструкциями, согласованными с Госгортехнадзором России.
64. Взрывные работы в угольных шахтах с нефтепроявлениями должны вестись с учетом требований
пунктов 95 -
101 главы V настоящих Правил.
65. Сотрясательное взрывание должно осуществляться при соблюдении требований инструкции по применению сотрясательного взрывания в угольных шахтах.
Сотрясательное взрывание должно проводиться при отработке пластов, опасных по внезапным выбросам угля, породы и газа, а также на угрожаемых пластах, где текущим прогнозом или прогнозом при вскрытии получены значения "опасно", в определенном режиме, направленном на защиту людей от последствий выбросов, в том числе:
а) при проведении горизонтальных, наклонных (проводимых сверху вниз) и восстающих выработок с углом наклона до 10 град. включительно, а также для отбойки угля в очистных забоях;
б) при вскрытии выбросоопасных угольных пластов мощностью более 0,1 м;
в) при вскрытии угрожаемых угольных пластов, если прогнозом установлены опасные значения показателей выбросоопасности или прогноз перед вскрытием не проводился;
г) при вскрытии песчаников на глубине 600 м и более, если прогнозом установлено, что песчаник выбросоопасный или прогноз выбросоопасности перед вскрытием не осуществлялся;
д) при проведении выработок по выбросоопасным песчаникам.
Требования настоящих Правил к сотрясательному взрыванию также распространяются на пластовое и внепластовое (передовое) торпедирование, предназначенное для предотвращения внезапных выбросов угля и газа.
Взрывные работы при вскрытии пластов, а также в очистных и подготовительных выработках в пределах защищенных зон допускается проводить без соблюдения режима, предусмотренного для сотрясательного взрывания.
66. Выбор параметров паспорта буровзрывных работ для выработок, проводимых по угольным пластам и породам, опасным по внезапным выбросам, должен обеспечивать полную отбойку угля (породы) по всей площади сечения выработки. Если при сотрясательном взрывании не достигнута требуемая конфигурация забоя, следует провести повторное сотрясательное взрывание по оконтуриванию выработки.
В местах геологических нарушений взрывание по углю и породе должно проводиться одновременно.
Проведение выработок смешанным забоем с опережающей взрывной отбойкой угля разрешается при отставании породного забоя не более 5 м.
Проведение выработок смешанным забоем с опережающей взрывной отбойкой породы может осуществляться только на пластах мощностью до 0,8 м.
67. Запрещается применять машины, механизмы и ручные ударные инструменты для оформления забоя после сотрясательного взрывания.
68. Для каждого забоя, где применяется сотрясательное взрывание, должна быть составлена и утверждена руководителем взрывных работ организации (шахты, шахтостроительной организации) рабочая инструкция, устанавливающая порядок, технологию такого взрывания и меры безопасности. Инструкция должна предусматривать магнитофонную запись телефонных переговоров ответственного руководителя сотрясательным взрыванием, находящегося на поверхности.
69. С паспортом буровзрывных работ и инструкцией по сотрясательному взрыванию должны быть ознакомлены под роспись лица технического надзора шахты, связанные с проведением сотрясательного взрывания, и рабочие участков, на которых проводится сотрясательное взрывание.
70. Сотрясательное взрывание проводится в специальные смены или межсменные перерывы. Период времени на сотрясательное взрывание, порядок проведения сотрясательного взрывания и лица, ответственные за его выполнение, должны утверждаться приказом по шахте. В случае подготовки горизонта на эксплуатационной шахте специализированными шахтостроительными организациями такой порядок устанавливается совместным приказом шахтостроительного управления и эксплуатационной шахты.
При осуществлении сотрясательного взрывания должен вестись журнал проведения сотрясательного взрывания по шахте (см. упомянутую инструкцию).
Сведения о месте и времени проведения сотрясательного взрывания (в виде объявлений) не позже чем за смену до начала взрывания необходимо доводить до всех трудящихся, занятых в подземных выработках.
71. При проведении сотрясательного взрывания должна устанавливаться опасная зона, в которую включаются все выработки шахты, расположенные по ходу движения исходящей вентиляционной струи воздуха от места взрывания, а также все выработки со свежей струей воздуха от забоя до места укрытия мастера - взрывника.
Перед началом заряжания во всех выработках шахты, расположенных в пределах опасной зоны, электроэнергия должна быть отключена. Включение электроэнергии допускается только после проверки содержания метана в атмосфере выработок после взрывания и отсутствии повреждений электрооборудования и кабелей.
Не допускается при проведении сотрясательного взрывания отключать вентиляторы местного проветривания, а также приборы автоматического контроля содержания метана и датчики, используемые для контроля выбросоопасных зон угольных пластов.
В забоях выработок, в которых нельзя отключать электроэнергию до начала заряжания шпуров (в связи с их возможным затоплением), напряжение необходимо снимать перед началом монтажа взрывной сети.
72. Вскрытие угольных пластов сотрясательным взрыванием, кроме мощных крутых пластов, допускается проводить полным проектным сечением вскрывающей выработки. При вскрытии мощных крутых пластов взрывные работы допускаются только для обнажения угольного пласта (удаления породной пробки).
Пересечение пластов должно проводиться в соответствии с требованиями инструкции по безопасному ведению горных работ на пластах, опасных по внезапным выбросам угля, породы и газа.
Участок породной пробки непосредственно перед пластом необходимо ликвидировать за одно взрывание.
Режим сотрясательного взрывания в забое вскрывающей выработки должен вводиться с расстояния не менее 4 м и может отменяться после удаления забоя выработки на расстояние не менее 4 м по нормали от пласта угля.
Вскрытие угольных пластов необходимо выполнять в следующей последовательности: приближение забоя вскрывающей выработки к пласту, обнажение и пересечение пласта, удаление (отход) от пласта.
При этом во всех случаях следует считать:
при вскрытии крутых угольных пластов "участком приближения" - участок вскрывающей выработки с 4 до 2 м перед вскрываемым пластом и "участком удаления" - с 2 до 4 м за пластом;
при вскрытии пологих, наклонных и крутонаклонных угольных пластов "участком приближения" - участок вскрывающей выработки с 4 до 1 м перед вскрываемым пластом и "участком удаления" - с 1 до 4 м за пластом. Все расстояния принимать по нормали к пластам.
73. Расстояния до места укрытия, из которого проводится взрывание при вскрытии выбросоопасных и угрожаемых угольных пластов горизонтальными и наклонными выработками, должны составлять: на участках приближения к пласту и удаления от него - 600 м; на участке пересечения особо выбросоопасных пластов - с поверхности; в остальных случаях - 1000 м. Эти расстояния определяются от места слияния струи, исходящей из взрываемого забоя, со свежей струей, считая против направления движения свежей струи.
Место укрытия, из которого проводится взрывание при вскрытии выбросоопасных и угрожаемых угольных пластов при углубке вертикальных стволов с действующих горизонтов, должно находиться:
на участке пересечения - на поверхности в 50 м от ствола;
на участках приближения и удаления - на действующем горизонте, но не ближе 200 м от углубляемого ствола при условии обеспечения изолированного отвода исходящей струи воздуха согласно руководству для соответствующего угольного бассейна. При невозможности выполнения указанных условий взрывание должно проводиться с поверхности.
В угольных и смешанных забоях выработок, проводимых по выбросоопасным угольным пластам, при взрывании зарядов только по углю или по углю и породе одновременно, а также по породе без опережающей выемки угля, при проведении выработок по выбросоопасным породам и при вскрытии таких пород расстояние до укрытия мастера - взрывника должно быть не менее 600 м от забоя, но не ближе 200 м от места слияния исходящей из взрываемого забоя струи воздуха со свежей струей. Люди, не связанные с проведением взрывных работ, должны находиться на свежей струе воздуха на расстоянии не менее 1000 м от взрываемого забоя.
При взрывании зарядов по породе в забоях, где произведена опережающая выемка выбросоопасного угольного пласта, расстояние до места укрытия мастера - взрывника должно быть не менее 200 м от места слияния исходящей из взрываемого забоя струи воздуха со свежей струей.
74. Выработка, в которой проводится сотрясательное взрывание, перед взрывными работами должна быть освобождена на протяжении не менее 100 м от забоя от вагонеток и других предметов, загромождающих ее более чем на 1/3 площади поперечного сечения.
75. Перед проведением сотрясательного взрывания вентиляционные устройства, расположенные в пределах опасной зоны, а также перемычки, установленные для предотвращения проникновения газа на другие участки или горизонты шахты, должны быть осмотрены лицами технического надзора.
В случае обнаружения неисправности вентиляционного устройства до ее устранения сотрясательное взрывание запрещается.
76. При наличии в забое, где применяется сотрясательное взрывание, опережающих шпуров и скважин, не предназначенных для размещения взрывчатых веществ, они должны быть заполнены глиной или другим негорючим материалом на длину, превышающую глубину заряжаемых шпуров (скважин) не менее чем на 1 м. Взрывание зарядов в таких шпурах (скважинах) запрещается.
77. Для подготовки и проведения сотрясательного взрывания должны быть назначены приказом руководителя шахты непосредственный руководитель сотрясательным взрыванием в забое и ответственный руководитель сотрясательным взрыванием на поверхности.
Руководство подготовкой и проведением сотрясательного взрывания в забое (группе забоев) должны осуществлять инженерно - технические работники участка, на котором ведутся взрывные работы.
Сотрясательное взрывание должно проводиться мастером - взрывником в присутствии лица технического надзора по должности не ниже заместителя (помощника) начальника участка (далее по тексту этой главы - лицо технического надзора).
Разрешение на проведение сотрясательного взрывания выдается по телефону руководителем сотрясательного взрывания с поверхности шахты.
Мастера - взрывники и лица технического надзора должны иметь индивидуальные светильники со встроенными датчиками метана и изолирующие самоспасатели.
78. После окончания сотрясательного взрывания осмотр выработки должен проводиться по разрешению руководителя сотрясательным взрыванием с поверхности после получения им сведений о содержании метана в забое, в котором проводилось взрывание, но не ранее чем через 30 мин. после взрыва и при концентрации метана менее 2%. Осмотр забоя должен проводиться лицом технического надзора (руководителем сотрясательного взрывания в забое) и мастером - взрывником.
79. Лицо технического надзора, замеряющее содержание метана, при продвижении к забою для осмотра его после сотрясательного взрывания должно находиться на расстоянии 3 м впереди мастера - взрывника. При обнаружении концентрации метана 2% и более они обязаны немедленно возвратиться в выработку со свежей струей воздуха.
На случай возможного выброса угля (породы) и газа руководителем шахты заблаговременно должны быть утверждены мероприятия по разгазированию выработок.
80. Для проведения сотрясательного взрывания к забоям подготовительных выработок должны быть проложены постоянные взрывные магистрали из специальных кабелей.
81. Инициирование зарядов при сотрясательном взрывании в угольных и смешанных забоях и по выбросоопасным породам должно осуществляться предохранительными электродетонаторами мгновенного и короткозамедленного действия со временем замедления не более 220 мс.
При вскрытии пластов до их обнажения сотрясательным взрыванием время замедления электродетонаторов короткозамедленного действия со временем замедления не более 320 мс.
82. В случае отказа одного или нескольких зарядов их необходимо ликвидировать в период времени, отводимый на сотрясательное взрывание.
83. При вскрытии пластов сотрясательным взрыванием допускается применение рассредоточенных (двухъярусных) зарядов взрывчатых веществ при соблюдении следующих условий:
а) инициирование зарядов осуществляют электродетонаторами мгновенного и короткозамедленного действия;
б) в шпурах с рассредоточенными зарядами замедление в донном заряде должно быть больше, чем в первом заряде от устья;
в) при использовании допущенных для соответствующих условий взрывчатых веществ III и IV классов длина забойки между рассредоточенными зарядами должна быть не менее 0,75 м, а масса первого от устья шпура заряда - не более 1,2 кг.
При использовании взрывчатых веществ II класса длина забойки между рассредоточенными зарядами должна быть не менее 1 м, а масса первого от устья шпура заряда взрывчатых веществ - не более 1 кг;
г) длина шпуров с рассредоточенными зарядами должна составлять не менее 3 м.
84. Обнажение и пересечение пластов при помощи буровзрывных работ необходимо проводить при толщине породной пробки между забоем выработки и крутым пластом (пропластком) не менее 2 м, а для пологих, наклонных и крутонаклонных - не менее 1 м по нормали к пласту.
Перед пересечением крутых и крутонаклонных пластов после гидровымывания угольного массива толщина породной пробки между забоем вскрывающей выработки и вымытой полостью должна составлять не менее 1,2 м. Шпуры для взрывания зарядов последней заходки с целью удаления породной пробки после гидровымывания должны не добуриваться до вымытой полости на 0,5 м.
85. Сотрясательное взрывание в забоях подготовительных выработок, проводимых по крутым или крутонаклонным выбросоопасным пластам, склонным к высыпанию, необходимо осуществлять с предварительной установкой опережающей крепи или с опережающей отбойкой боковых пород, либо с укреплением угольного пласта.
При составлении паспортов буровзрывных работ в случае использования опережающей крепи верхний ряд шпуров необходимо располагать на расстоянии не менее 0,5 м от опережающей крепи.
86. При взрывании скважинных зарядов (торпедировании) должны осуществляться следующие дополнительные меры безопасности:
при пластовом торпедировании (гидровзрывной обработке пласта) - заливка наклонных скважин водой с непрерывной их подпиткой, а также применение водораспылительных завес, создаваемых взрывным распылением воды из полиэтиленовых сосудов, в соответствии с действующими нормативными документами;
при передовом (внепластовом) торпедировании - забойка из увлажненной смеси карбамида с хлоридом калия в соотношении 3:1 или забойка из воды, помещаемой в полиэтиленовую специальную ампулу, с применением герметизаторов, а также применение водовоздушной или водораспылительной завесы в соответствии с действующими нормативными документами.
87. Сотрясательное взрывание в забоях выработок, проветриваемых обособленно, но расположенных таким образом, что взрывание зарядов в одних забоях может привести к повреждению электровзрывных сетей, проложенных к другим забоям, должно проводиться:
с одновременной подачей импульса тока во все забои;
в разное время с заряжанием и взрыванием в каждом последующем забое (или группе забоев) после взрывания в предыдущих забоях и принятия мер, обеспечивающих безопасность взрывных работ.
88. Бурение шпуров по углю для сотрясательного взрывания следует проводить только вращательным способом. Бурение шпуров по породе допускается с применением ударных и ударновращательных инструментов.
89. Участки пласта должны приводиться в неудароопасное состояние путем камуфлетного взрывания с соблюдением следующей очередности работ:
оценка удароопасности краевых частей в местах взрываний;
определение параметров камуфлетного взрывания (длины шпуров, массы заряда, расстояний между шпурами);
оценка эффективности камуфлетного взрывания.
Эти работы на угольных шахтах должны осуществляться в соответствии с инструкцией по безопасному ведению работ на шахтах, разрабатывающих пласты, опасные по горным ударам.
90. Камуфлетное взрывание необходимо проводить по специальному проекту, утвержденному руководителем организации (шахты).
91. На удароопасных угольных пластах перед производством взрывных работ в очистных и подготовительных забоях, а также при отработке целиков люди должны быть удалены от места взрывания на безопасное расстояние, но не менее 200 м, и находиться на свежей струе воздуха.
92. При проведении выработок встречными забоями, начиная с расстояния 15 м между ними, взрывные работы должны вестись только в одном из забоев, другой забой должен быть остановлен.
93. Длина внутренней забойки при камуфлетном взрывании в скважинах длиной до 10 м должна определяться проектом и составлять не менее половины длины скважины. В скважинах длиной более 10 м величина внутренней забойки должна быть не менее 5 м.
При использовании гидрозабойки, в том числе из полиэтиленовых ампул с водой, шпуры со стороны устья заполняются глиняной забойкой на протяжении не менее 1 м.
94. При I - II категориях удароопасности пород взрывные работы по отбойке угля или породы в очистных и подготовительных выработках разрешается вести после приведения участка в неудароопасное состояние.
95. В нефтяных шахтах производство взрывных работ допускается:
только в забоях, проветриваемых свежей струей воздуха, при концентрации взрывчатых газов, не превышающей норм, установленных правилами безопасности при разработке нефтяных месторождений шахтным способом;
с применением предохранительных взрывчатых веществ не ниже III класса;
взрыванием зарядов предохранительными электродетонаторами мгновенного и короткозамедленного действия. Максимальное время замедления электродетонаторов короткозамедленного действия не должно превышать 220 мс (с учетом разброса по времени срабатывания);
с применением предохранительной среды в продуктивных пластах.
Применение наружных зарядов и детонирующего шнура может быть допущено при проведении выработок по породам, не содержащим нефти, и при отсутствии в них газовыделений.
96. Взрывные работы должны проводиться в присутствии лица технического надзора.
97. Непосредственно перед заряжанием шпуров, а также перед взрыванием зарядов и лицо технического надзора, и мастер - взрывник обязаны провести замер содержания взрывчатых газов в забое, примыкающих к забою выработках на протяжении 20 м и месте нахождения мастера - взрывника.
98. При взрывных работах в продуктивных пластах лицо технического надзора обязано на месте сделать запись в наряд - путевке мастера - взрывника о разрешении производства взрывных работ.
99. Шпуры, из которых происходит выделение легкой нефти или газа, заряжать и взрывать запрещается. Они должны быть надежно забиты глиной.
Все потеки легкой нефти в забое и в выработке на протяжении 20 м от него должны быть удалены и места их нахождения засыпаны песком.
100. Условия заряжания, масса зарядов взрывчатых веществ и длина забойки должны соответствовать следующим требованиям:
в продуктивном пласте запрещается применять шпуры глубиной менее 1 м;
в шпурах глубиной от 1 до 1,5 м заряд должен занимать не более половины их длины; оставшаяся часть шпура должна быть заполнена забойкой;
в шпурах глубиной более 1,5 м заряд должен занимать не более 2/3 их длины, при этом забойка должна заполнять всю оставшуюся свободную часть шпура;
патроны взрывчатых веществ должны посылаться в шпур в соответствии с требованиями
пункта 56 главы V настоящих Правил;
при наличии в забое нескольких обнаженных поверхностей линия наименьшего сопротивления от любой точки заряда до ближайшей обнаженной поверхности должна быть не менее 0,5 м в продуктивном пласте и не менее 0,3 м по породе.
Минимальное расстояние между смежными шпуровыми зарядами должно соответствовать требованиям
пункта 60 главы V настоящих Правил.
101. Каждый забой в продуктивном пласте должен быть оборудован двумя оросителями, установленными на противопожарном водопроводе на расстоянии не более 8 м от забоя. Водоразбрызгиватели должны приводиться в действие за 5 мин. до взрывания зарядов.
102. Взрывные работы на объектах горнорудной и нерудной промышленности, опасных по газу или пыли, должны проводиться в соответствии с требованиями настоящих Правил и специальных мероприятий (инструкций), согласованных Госгортехнадзором России.
VI. Дополнительные требования при ведении
специальных взрывных работ на объектах,
расположенных на земной поверхности
1. Взрывные работы, на границе опасной зоны которых располагаются объекты, имеющие важное значение (ядерные реакторы, электростанции, железные и автомобильные дороги, водные пути, линии электропередачи, подстанции, заводы, железнодорожные станции, порты, пристани, подземные сооружения, телефонные линии и т.п.), должны проводиться по согласованию с заинтересованными организациями.
2. Взрывную станцию необходимо размещать за пределами опасной зоны. При невозможности выполнить это требование должны устраиваться специальные укрытия (блиндажи и т.п.). Места расположения укрытий и их конструкция определяются проектом или паспортом.
Искусственные или естественные укрытия должны надежно защищать исполнителей взрывных работ от действия взрыва, в том числе ядовитых газов. Подходы к укрытию не должны быть загромождены.
3. Если подготовленные к взрыву заряды расположены в местах, затрудняющих быстрое их обнаружение (заросли кустарника и т.п.), при огневом взрывании зарядов должны устанавливаться отличительные знаки.
4. При применении скважинных зарядов из взрывчатых веществ группы D (кроме дымного пороха) и детонирующего шнура разрешается доставлять забоечный материал на заряжаемый блок автосамосвалами, оборудованными искрогасителями и имеющими огнетушители. При этом должен быть исключен наезд на детонирующий шнур.
5. Заряжание скважин, пробуренных станками огневого бурения, запрещается проводить ранее чем через 24 ч после окончания бурения.
6. В сложных горно - геологических условиях (вечная мерзлота, плывуны) при взрывании зарядов детонирующим шнуром или неэлектрическими системами инициирования разрешается по согласованию с территориальными органами госгортехнадзора заряжать скважины непосредственно вслед за бурением.
Буровые установки, не имеющие приспособления для заряжания, должны быть убраны от скважины на расстояние не менее 10 м.
7. Порядок проведения взрывных работ в многолетнемерзлых породах с размещением камерных зарядов в полостях, образованных воздействием напорной струи воды (гидрополостях), должен определяться инструкцией, утвержденной руководителем организации по согласованию с органом госгортехнадзора.
8. На станции взрывного пункта в процессе работы разрешается находиться только персоналу взрывных работ, водителю транспортного средства и лицам, осуществляющим контроль за выполнением взрывных работ.
9. Радиостанции, используемые для обеспечения связи и работы систем синхронизации при взрывных работах, разрешается устанавливать на станции взрывного пункта в специальном изолированном отсеке кузова или в кабине автомобиля. В этом отсеке запрещается хранить и перевозить электродетонаторы, выполнять с ними какую-либо работу.
10. При изготовлении зарядов и заряжании скважины допускается нахождение станции взрывного пункта в пределах опасной зоны. При этом запрещается работа в режиме передачи.
11. Ввод электровзрывной магистрали в отсек, где установлена радиостанция (дешифратор системы синхронизации взрыва), допускается, если часть магистрали, проложенная в кузове станции взрывного пункта, выполнена экранированным двухпроводным кабелем с заземлением экрана.
12. Запрещается применение для взрывной магистрали и вспомогательных линий проводов без вилок, предназначенных для подключения к аппаратуре. Вилки должны отличаться внешним видом или маркировкой, предотвращающими ошибочное подключение.
13. На пункте взрыва при ведении взрывных работ разрешается применять только одну электровзрывную магистраль.
14. Моментная магистраль (магистраль вертикального времени) внешне должна заметно отличаться от электровзрывной магистрали.
15. Скважины, пробуренные в устойчивых породах и заряженные без забойки, до отстрела должны находиться под постоянной охраной.
16. Запрещается опускать заряды в скважины с применением бурового инструмента, шестов или других предметов, не оборудованных устройствами, обеспечивающими безопасность этой операции.
Необходимость шаблонирования скважин перед спуском заряда определяется проектом.
17. Если заряд не дошел до забоя скважины, он должен быть извлечен и на время проработки скважины отнесен от нее на безопасное расстояние. В случае невозможности извлечения заряда его следует взорвать в обычном порядке.
18. При взрывании зарядов в одиночных скважинах время подхода взрывника к устью скважины после взрыва не лимитируется.
19. При сейсморазведочных работах взрывание выполняется по команде оператора сейсмостанции по согласованию с руководителем взрывных работ.
20. Запрещается перебуривать скважины с отказавшими зарядами или после подрыва отказавшего заряда.
21. Использовать взрывчатые материалы при сейсморазведочных работах на водных бассейнах необходимо по специальным проектам, согласованным заинтересованными организациями и органами госгортехнадзора.
22. Прострелочные и взрывные работы разрешается проводить только в подготовленных скважинах, оформленных актом установленной формы.
23. Подвезенные к месту взрывных работ взрывчатые материалы, заряженные прострелочные и взрывные аппараты должны храниться в специально отведенном месте на расстоянии не менее 50 м от устья скважины. При хранении взрывчатых материалов, прострелочных и взрывных аппаратов в передвижной зарядной мастерской (лаборатории перфораторной станции) она должна располагаться от устья скважины не ближе 20 м.
24. Разборка зарядов взрывчатых веществ, средств инициирования, а также прострелочных и взрывных аппаратов, снаряженных на заводах - изготовителях, запрещается.
Запрещается отрезать от бухты детонирующий шнур после прокладки его в детонационной цепи аппарата.
25. Каждый прострелочный и (или) взрывной аппарат перед снаряжением должен быть проверен на исправность.
Снаряжение и заряжание прострелочных и взрывных аппаратов должны проводиться в соответствии с эксплуатационной документацией:
в передвижных зарядных мастерских, лабораториях перфораторных станций;
в приспособленных и оборудованных помещениях (будка, сарай и т.п.), расположенных не ближе 20 м от скважины;
на открытых площадках, подготовленных для работы в соответствующих погодных условиях, при этом должны устанавливаться столы с неметаллическим (резиновым) покрытием и бортиками. Длина стола должна быть не менее длины снаряжаемого прострелочного и взрывного аппарата или его секции. На столе должны быть зажимы (приспособления) для фиксации прострелочно - взрывной аппаратуры в процессе снаряжения;
на месте снаряжения прострелочно - взрывной аппаратуры могут находиться взрывчатые материалы в количестве, не превышающем необходимого для снаряжения одного аппарата.
26. Для транспортирования снаряженных прострелочного и взрывного аппаратов должны использоваться транспортные средства, имеющие устройства для их крепления. Запрещается транспортировать и хранить с установленными в них средствами инициирования.
27. Проверку целостности (измерение сопротивления или проводимости) смонтированной электровзрывной сети допускается проводить только после спуска прострелочно - взрывной аппаратуры на глубину не менее 50 м от устья скважины (при морских работах - подводного устьевого оборудования).
28. Для торпедирования скважины должны использоваться торпеды заводского изготовления. При необходимости допускается применять торпеды, изготовленные на месте по проектам, утвержденным в установленном порядке.
29. Заряжание торпеды разрешается только после окончания на скважине всех подготовительных работ к торпедированию и проверки скважины шаблоном.
30. Переносить вручную заряженные прострелочные и взрывные аппараты массой более 10 кг необходимо с применением приспособлений, исключающих их падение.
31. Средства инициирования должны устанавливаться в прострелочный или взрывной аппарат только непосредственно у устья скважины перед спуском аппарата.
Допускается установка средств инициирования в прострелочный (взрывной) аппарат в лаборатории перфораторной станции (передвижной зарядной мастерской) при применении блокировочного устройства, исключающего случайное срабатывание прострелочно - взрывной аппаратуры, а также в случаях использования защищенных от воздействия блуждающих токов средств инициирования.
В процессе установки электрических средств инициирования в прострелочно - взрывной аппаратуре необходимо не допускать случайных касаний проводников средств инициирования окружающих металлических предметов.
32. Запрещается спуск прострелочных и взрывных аппаратов без предварительного шаблонирования ствола скважины с одновременным замером гидростатического давления и температуры бурового раствора, которая не должна превышать предельно допустимую для применяемых прострелочных и взрывных аппаратов.
33. Запрещается проведение прострелочных или взрывных работ в скважинах:
а) во время пурги, грозы, буранов и сильных (при видимости менее 50 м) туманов, за исключением случаев выполнения работ в закрытых помещениях буровых;
б) в сухих газирующих и поглощающих раствор скважинах без применения лубрикаторов.
34. Спуск и подъем прострелочных и взрывных аппаратов в скважине следует проводить только при изолированных концах проводников электровзрывной магистрали (каротажного кабеля).
35. Прострелочные и взрывные аппараты массой более 50 кг или длиной более 2 м должны подниматься над устьем скважины и опускаться с помощью грузоподъемных механизмов.
36. Если прострелочный или взрывной аппарат не проходит в скважину до заданной глубины, он должен быть извлечен. При извлечении аппарата у скважины могут находиться только персонал взрывных работ и лица, работающие на подъемном механизме.
37. Неизрасходованные прострелочные и взрывные аппараты должны быть доставлены в зарядную мастерскую, склад взрывчатых материалов.
38. Прострелочно - взрывные работы в морских скважинах должны проводиться при благоприятном прогнозе погоды на время, необходимое для их производства.
Допустимые параметры скорости ветра и волнения моря определяются техническими характеристиками морских буровых установок и транспортных средств, используемых для доставки персонала, взрывчатых материалов и каротажно - перфораторных станций.
39. При получении штормового предупреждения во время производства прострелочных (взрывных) работ спущенные в скважину прострелочные или взрывные аппараты должны быть отстреляны в заданном интервале без промедления.
40. Взрывной прибор должен подсоединяться к электровзрывной сети только на время взрывания и отключаться от нее сразу после взрыва.
В случае отказа наземные концы электровзрывной сети вначале закорачиваются, а затем размыкаются и изолируются.
Поднятые из скважины отказавшие корпусные прострелочные и взрывные аппараты отсоединяются от геофизического кабеля и только после этого выясняются причины отказа. В необходимых случаях производят их разряжание.
В бескорпусных прострелочных и взрывных аппаратах в первую очередь проводник средств инициирования необходимо отключить от токовода и извлечь из прострелочно - взрывной аппаратуры.
В случае невозможности разрядки производят уничтожение прострелочных и взрывных аппаратов.
41. Тушение возникающих при нефтяных и газовых выбросах на скважинах пожаров с применением взрывных работ должно проводиться в соответствии с требованиями инструкций, согласованных организацией - экспертом по безопасности работ.
42. В проект взрывных работ на болотах должны быть включены мероприятия по предупреждению взрыва горючих газов.
Огневое взрывание не допускается.
При взрывании с применением электродетонаторов или капсюлей - детонаторов необходимо использовать боевики в специальной оболочке, не передающей давление на детонатор при нажатии на боевик забойником.
43. Заряжать скважины (шпуры) при взрывании детонирующим шнуром допускается непосредственно вслед за бурением. В скважине (шпуре) одновременно можно досылать не более двух патронов взрывчатых веществ без средств инициирования.
44. Монтаж электровзрывной сети в обводненных условиях разрешается выполнять только применением антенных проводов.
45. При формировании траншейных зарядов расстояние между экскаватором (траншеекопателем) и краном, укладывающим взрывчатые вещества в траншею, должно быть не менее 1,1 суммы радиусов черпания (разворота) экскаватора и крана, а расстояние между краном и бульдозером, выполняющим забойку, - не менее 1,1 радиуса разворота крана.
46. При заряжании линейных зарядов более суток боевики следует укладывать в день производства взрыва.
47. В сложных горно - геологических условиях (многолетнемерзлые породы и т.п.) при взрывании неэлектрическими системами инициирования и детонирующим шнуром зарядов взрывчатых веществ группы D (кроме дымного пороха) допускается размещение удлиненных горизонтальных зарядов (траншейных, щелевых) непосредственно вслед за проведением горных выработок. Отставание заряда от многоковшового экскаватора должно быть не менее 5 м, одноковшового - 10 м.
48. Взрывание льда и подводные взрывные работы на реках, озерах и других водоемах могут проводиться только по согласованию с соответствующими контролирующими органами.
При использовании на этих работах труда водолазов надлежит руководствоваться соответствующими правилами безопасности на водолазных работах.
49. Взрывание льда должно проводиться только под непосредственным руководством лица технического надзора.
50. При работе с лодки работающие должны обеспечиваться спасательными жилетами или страховочными поясами.
51. Взрывать заряды следует от середины реки к берегам, от крутого берега к пологому в направлении против течения.
52. При дроблении льда одному взрывнику разрешается производить за один прием не более 10 поджиганий зажигательных трубок.
53. Бросание зарядов на плывущие льдины, на участки уплотнения шуги или заторы с берега либо непосредственно с защищаемого сооружения допускается в исключительных случаях. Такую работу может выполнять только взрывник, имеющий практический стаж на ледокольных работах не менее двух сезонов. Заряды необходимо бросать по одному.
Длина огнепроводного шнура (зажигательной трубки) бросаемых зарядов должна быть не менее 15 и не более 25 см.
54. При взрывании ледяного покрова подводными зарядами они должны опускаться в прорубь (лунку) на шпагате и тому подобных средствах, обеспечивающих надежное крепление.
Запрещается опускать заряды через проталины и промоины со льда.
Непосредственно перед опусканием заряда в воду размеры проруби (лунки) и глубина воды должны быть проверены.
55. При взрывании льда с судна выдавать взрывчатые материалы разрешается только при наличии письменного распоряжения капитана судна по заявке руководителя взрывных работ.
56. При выполнении подводных взрывных работ состав бригад должен определяться в проекте взрывных работ. Укладку зарядов может проводить только взрывник.
Если общая масса зарядов превышает 40 кг, должны использоваться самоходные плавсредства, оборудованные для производства взрывных работ.
57. При огневом взрывании общее число поджиганий в одном заезде не должно превышать пяти.
58. Для предохранения электровзрывной сети от разрывов силой течения обязательно дополнительное соединение зарядов между собой средствами, воспринимающими растягивающие усилия.
59. Взрывать заряды должен взрывник, устанавливающий их.
60. Проверка исправности электровзрывной сети, подсоединение магистральных проводов к источнику тока и взрывание размещенных под водой зарядов могут проводиться только тогда, когда плавсредство будет отведено от места взрыва на определенное проектом расстояние, но не менее чем на 100 м, и выставлено оцепление опасной зоны.
61. Конструкция заряда должна быть такой, чтобы при погружении в воду он свободно опускался на дно.
К каждому опускаемому заряду должен прочно прикрепляться буй, видимый с судна (лодки) и с места, где размещен взрывной прибор.
62. Заряды должны опускаться в воду по команде взрывника или специально назначенного лица технического надзора.
63. При выполнении подводных взрывных работ зарядами массой до 50 кг нахождение в воде водолазов и других лиц не допускается в радиусе 1000 м, а зарядами массой более 50 кг - не менее 2000 м.
В случае ведения взрывных работ на реках оцепление и сигналы вверх и вниз по течению реки должны выставляться на расстоянии не менее 500 м от установленной границы опасной зоны.
64. Выполнение взрывных работ при тумане или в темное время суток, а также при волнении воды свыше 3 баллов или скорости ветра более 12 м/с запрещается.
65. Взрывные работы по металлу должны выполняться по проектам в соответствии с требованиями настоящих Правил. При необходимости в организациях в установленном порядке должны разрабатываться и утверждаться по согласованию с органами госгортехнадзора инструкции, учитывающие специфические особенности безопасности при соответствующих способах металлообработки.
66. Конструкции помещений и площадок, где проводится обработка металлов, должны быть рассчитаны на взрыв максимально допустимого заряда. Такие помещения и площадки должны приниматься в эксплуатацию комиссиями организаций с участием представителей органов госгортехнадзора и ежегодно осматриваться комиссией организации (цеха и т.п.) с составлением акта о возможности дальнейшей эксплуатации.
67. Средства, предназначенные для подъема и перемещения технологической оснастки со смонтированными на ней зарядами, должны быть оборудованы двумя тормозами, действующими независимо друг от друга, а также концевыми выключателями автоматической остановки. Грузоподъемные средства должны быть заземлены и иметь исправную изоляцию.
68. Подготовка зарядов должна осуществляться в специально оборудованном помещении. В этих помещениях допускается хранить сменный запас взрывчатых материалов, но не более 10 кг взрывчатых веществ и соответствующего количества средств инициирования.
Ключи от помещения на время хранения в нем взрывчатых материалов должны находиться только у взрывника.
69. Каждая бронеяма должна иметь два обособленных выхода. Масса крышки для бронеямы и ее конструкция должны исключать возможности сдвига или разрушения крышки при взрывах. Перед вводом бронеямы в эксплуатацию, а также после ремонта или замены хотя бы части броневых плит крышки или стен бронеяма должна быть испытана на прочность троекратным взрыванием зарядов удвоенной (против максимально применяемой) массы заряда.
После каждого взрывания бронеяма должна быть проветрена.
70. Запрещается заряжать шпуры, имеющие температуру более 80 град. C, зарядами без защитных оболочек.
71. Проверка, транспортирование, хранение и уничтожение взрывоопасного металлолома должны проводиться согласно требованиям соответствующего стандарта по обеспечению взрывобезопасности.
72. Дробление горячих массивов должно выполняться в соответствии с инструкцией, согласованной Госгортехнадзором России или территориальным органом госгортехнадзора.
73. Для взрывания в горячих массивах разрешается применять только соответствующие взрывчатые вещества группы D (кроме дымного пороха). Электрический способ взрывания запрещается.
74. При температуре в шпуре (скважине, рукаве) до 80 град. C разрешается заряжание без термоизолирующей оболочки. В этом случае боевик должен дополнительно упаковываться в пергаментную, крафтцеллюлозную или оберточную бумагу.
Необходимо проводить испытания надежности упаковки боевика путем помещения зажигательной трубки в шпуре. Если детонатор взорвется ранее 5 мин., толщина упаковки должна быть увеличена.
75. При температуре более 80 град. C весь заряд должен помещаться в общую термоизолирующую оболочку. Взрывание необходимо проводить при помощи зажигательной трубки с длиной огнепроводного шнура не менее 60 см, помещенного вместе с дульцем капсюля - детонатора в единую изолирующую оболочку. Запрещаются скручивание и свертывание огнепроводного шнура внутри изолирующей оболочки патрона - боевика и в общей оболочке.
Заряжание и взрывание зарядов в шпурах при температуре свыше 200 град. C запрещаются.
76. Применять наружные заряды в горячих массивах с температурой свыше 80 град. C не разрешается.
77. При температуре в шпуре ниже 80 град. C разрешается одновременно заряжать и взрывать не более пяти зарядов, а при температуре свыше 80 град. C - не более одного.
78. Во всех случаях заряжание и забойка должны проводиться двумя взрывниками в присутствии лица технического надзора, руководящего взрывными работами.
Перед заряжанием лицо технического надзора должно замерить температуру и только после этого дать разрешение на заряжание.
Если в течение 4 мин. взрывники не успели закончить заряжание всех шпуров, лицо технического надзора, руководящее взрывными работами, обязано подать команду о немедленном прекращении заряжания и удалении людей в безопасное место.
79. В проектах на взрывные работы, наряду с решением общих вопросов, должны быть указаны направление валки разрушаемого объекта, а также мероприятия на случай неполного его разрушения.
80. Запрещается заряжать шпуры (скважины), вскрывшие пустоты в массиве разрушаемого объекта.
81. Первый сигнал допускается подавать перед укладкой в заряды боевиков с электродетонаторами, а при взрывании детонирующим шнуром или неэлектрическими системами инициирования - перед началом монтажа взрывной сети.
Сигнал "отбой" может быть подан только по распоряжению ответственного за проведение взрыва лица технического надзора после того, как он вместе со старшим взрывником осмотрит место взрыва.
82. При наличии в опасной зоне котлов, трубопроводов и других объектов, находящихся под давлением, оно должно быть понижено до пределов, установленных по согласованию с организацией, эксплуатирующей эти объекты.
83. Отдельно работающие на корчевке пней взрывники или бригады взрывников должны находиться друг от друга не ближе 500 м и точно знать места расположения и направления движения своих соседей.
Отдельные взрывники и бригады взрывников, работающие на корчевке пней и входящие в состав одной организации, могут располагаться на расстоянии не менее 300 м между собой при условии продвижения в одну и ту же сторону и при точном согласовании отхода в укрытие после поджигания зажигательных трубок.
84. Запрещается бурить (подкапывать) пни с подготовленными к взрыву зарядами.
85. При ведении взрывных работ по корчевке пней или валке деревьев огневым способом несколькими взрывниками старший взрывник до начала взрывных работ обязан указать направление движения каждому взрывнику.
86. При корчевке пней и валке деревьев контрольная трубка во всех случаях должна быть короче зажигательной не менее чем на 85 см при работе на ровной площадке и не менее чем на 1 м - при работе в зарослях или на пересеченной местности.
87. При взрывании смерзшихся дров, балансов и т.п. для их рыхления разрешается применять только предохранительные взрывчатые вещества. При этом обязательно выполнение следующих условий:
а) использование в качестве средств инициирования электродетонаторов;
б) обеспечение безопасности передвижения взрывников по дровам (перекрытие провалов между штабелями или отвалами и др.);
в) проведение до начала заряжания необходимых противопожарных мероприятий.
88. При ликвидации заторов леса на сплаве порядок взрывания устанавливается лицом, непосредственно руководящим взрывными работами.
89. Взрывные работы при борьбе с лесными пожарами должны выполняться в соответствии с требованиями инструкции по безопасному ведению взрывных работ при борьбе с лесными пожарами, согласованной Госгортехнадзором России.
При ликвидации лесных пожаров разрешается сбрасывать взрывчатые вещества и средства инициирования с вертолетов при условии, что средства инициирования упакованы в специальные контейнеры, предназначенные для этих целей, и применении мер безопасности, утвержденных техническим руководителем организации, осуществляющей ликвидацию пожара.
90. Взрывные работы по тушению торфяного (подземного) пожара разрешается проводить не ближе 10 м от кромки пожара.
91. Запрещается при рыхлении смерзшихся руды, угля, сланцев, рудных концентратов, металлической стружки и т.п. применять взрывчатые вещества, содержащие нитроэфиры.
При рыхлении металлической стружки электрическое взрывание не разрешается.
Рыхление взрывом минеральных удобрений на основе аммиачной селитры не допускается.
92. Рыхление соли может проводиться взрывным способом с применением детонирующего шнура.
93. Взрывные работы в высокогорных районах и горнопересеченной местности должны проводиться при выполнении требований соответствующих инструкций, утвержденных руководителями организаций по согласованию с органами госгортехнадзора.
94. Взрывные работы в охранной зоне открытого или закрытого (заглубленного) магистрального трубопровода должны проводиться только при наличии письменного согласия организации, эксплуатирующей трубопровод. При этом производитель взрывных работ обязан представить эксплуатирующей трубопровод организации на согласование проект на взрывные работы. Такой проект должен отвечать требованиям настоящих Правил и обеспечивать сохранность трубопровода, сооружений (перекачивающих станций и т.д.) от воздействия взрыва, а также соблюдение других условий, установленных организацией, эксплуатирующей трубопровод.
VII. Безопасные расстояния при производстве
взрывных работ и хранении взрывчатых материалов
1. Безопасные расстояния для людей при производстве взрывных работ (работ с взрывчатыми материалами) должны устанавливаться проектом или паспортом и быть такими, чтобы исключить несчастные случаи
(пункты 4, 5 главы VII,
глава VIII, глава X настоящих Правил).
За безопасное расстояние необходимо принимать наибольшее из установленных по различным поражающим факторам.
2. Для защиты зданий и сооружений от сейсмического воздействия при взрывных работах и работах с взрывчатыми материалами масса зарядов взрывчатых веществ должна быть такой, чтобы при взрывании исключались повреждения, нарушающие их нормальное функционирование.
3. При размещении на земной поверхности нескольких объектов с взрывчатыми материалами (хранилищ, открытых площадок, пунктов изготовления, подготовки взрывчатых веществ и т.п.) между ними должны соблюдаться расстояния, исключающие возможность передачи детонации при взрыве взрывчатых материалов на одном из объектов. Безопасные расстояния следует рассчитывать согласно
главе VIII настоящих Правил.
4. Для защиты людей, зданий, сооружений от поражающего и разрушающего действия воздушной волны между местами возможного взрыва (хранения взрывчатых материалов), нахождения людей и размещения охраняемых объектов должны вводиться и соблюдаться расстояния, так называемые опасные зоны, обеспечивающие безопасность. При этом безопасные расстояния необходимо определять в отношении мест взрывов, складов взрывчатых материалов, площадок для хранения взрывчатых веществ, средств инициирования и прострелочных и взрывных аппаратов (указанное требование не относится к околоствольным площадкам рудников).
Места (площадки) выгрузки, погрузки и отстоя железнодорожных вагонов с взрывчатыми материалами должны быть удалены от жилых и производственных строений, от главных стационарных железнодорожных путей на расстояние не менее 125 м.
5. Безопасные расстояния для людей при взрывных работах на земной поверхности следует принимать не менее величин, указанных в Приложении 1,
таблица 5.
VIII. Порядок определения
безопасных расстояний при взрывных работах
и хранении взрывчатых материалов <1>
--------------------------------
<1> При производстве взрывных работ в сложных случаях, предусмотренных настоящей главой, безопасные расстояния должны определяться организацией, ведущей взрывные работы, с привлечением (при необходимости) специализированных организаций.
1. Расстояния, безопасные по разлету отдельных кусков породы (грунта) при взрывании скважинных зарядов рыхления.
1.1. Расстояние rразл (м), опасное для людей по разлету отдельных кусков породы при взрывании скважинных зарядов, рассчитанных на разрыхляющее (дробящее) действие, определяется по формуле:
________________
/ f d
rразл = 1250этаз \ / ---------- x ---, (1)
\ / 1 + этазаб a
\/
где этаз - коэффициент заполнения скважины взрывчатым веществом;
этазаб - коэффициент заполнения скважины забойкой;
f - коэффициент крепости пород по шкале проф. М.М. Протодьяконова;
d - диаметр взрываемой скважины, м;
a - расстояние между скважинами в ряду или между рядами, м.
Коэффициент заполнения скважин взрывчатым веществом этазаб равен отношению длины заряда в скважине lз (м) к глубине пробуренной скважины L (м).
этаз = lз / L
Коэффициент заполнения скважины забойкой этаз равен отношению длины забойки lзаб (м) к длине свободной от заряда верхней части скважины lн (м).
этазаб = lзаб / lн
При полном заполнении забойкой свободной от заряда верхней части скважины этазаб = 1, при взрывании без забойки - этазаб = 0.
Коэффициент крепости пород
f = сигма сж / 100,
где сигма сж - предел прочности пород на одноосное сжатие при стандартном испытании образцов правильной формы, кгс/см2 (1 кгс/см2 = 98066,5 Па).
При ведении взрывных работ в горных породах, классификация которых осуществляется по строительным нормам, в случае отсутствия или недостаточной представительности данных по прочностным характеристикам разрабатываемых грунтов (сигма сж), коэффициент крепости f определяется по формуле:
2
f = (F / 2,5) ,
где f - номер группы взрываемых грунтов по строительным нормам.
1.2. При взрывании серии скважинных зарядов одинакового диаметра с переменными параметрами а, этаз, этазаб расчет безопасного расстояния по
формуле (1) должен проводиться по наименьшим значениям а, этазаб и наибольшему этаз из всех имеющихся в данной серии.
Если взрываемый участок массива представлен породами с различной крепостью, следует в расчете rразл принимать максимальное значение коэффициента крепости грунта f. При взрывании параллельно сближенных (кустов, пучков) скважинных зарядов диаметром d принимается их эквивалентный диаметр
___
/
dэ = d \/ Nс ,
где Nс - число параллельно сближенных скважин в кусте.
1.3. При определении опасных расстояний необходимо учитывать возможные в процессе производства буровзрывных работ отклонения отдельных параметров взрывания скважинных зарядов а, этазаб, этаз от принятых проектных значений. Поэтому расчет rразл по формуле
(1) следует проводить с определенным запасом, принимая для этого минимально возможные в процессе производства взрывных работ значения параметров а, этазаб и максимально возможное значение этаз.
1.4. При производстве взрывов на косогорах, а также в условиях превышения верхней отметки взрываемого участка над участками границы опасной зоны более чем на 30 м размеры опасной зоны rразл в направлении вниз по склону должны быть увеличены и безопасные расстояния по разлету отдельных кусков породы (м) рассчитаны по формуле:
где Rразл - опасное расстояние по разлету отдельных кусков породы в сторону уклона косогора или местности, расположенной ниже 30 м, считая от верхней отметки взрываемого участка;
Кр - коэффициент, учитывающий особенности рельефа местности.
При взрывании на косогоре
где бетта - угол наклона косогора к горизонту, градус.
В тех случаях, когда вместо угла бетта известно превышение места взрыва над границей опасной зоны,
__________
/ 4 x H
Кр = 0,5 x (1 + \ / 1 + -----), (4)
\/ rразл
где Н - превышение верхней отметки взрываемого участка над участком границы опасной зоны, м.
Если в каком-либо направлении граница опасной зоны, рассчитанная по
формуле (1) или
(2), проходит по уклону (склону), необходимо учесть возможное скатывание отдельных кусков породы и увеличить в этом направлении безопасное расстояние. Также необходимо учитывать влияние силы ветра на возможное увеличение дальности разлета кусков породы.
1.5. Расчетное значение опасного расстояния округляется в большую сторону до значения, кратного 50 м. Окончательно принимаемое при этом безопасное расстояние не должно быть меньше минимальных расстояний, указанных в Приложении 1,
таблица 4 настоящих Правил.
1.6. Безопасные расстояния от места взрыва до механизмов, зданий, сооружений определяются в проекте на взрыв с учетом конкретных условий.
1.7. Примеры определения безопасных расстояний по разлету отдельных кусков породы при взрывах скважинных зарядов приведены ниже.
1.7.1. Определить rразл при взрывании породы на карьере для следующих параметров серии скважинных зарядов рыхления; коэффициент крепости взрываемых грунтов f = 12, высота уступа H = 8 м, диаметр скважины d = 0,15 м, число рядов скважин 3.
Параметры сетки скважин: расстояние между скважинами в ряду 4,5 м, расстояние между рядами 5 м, длина заряда lз = 6 м, глубина скважины L = 9,5 м.
Верхняя часть скважины заполняется до устья забойки lн = lзаб = 3,5 м; этазаб = 1. Коэффициент заполнения скважины взрывчатым веществом:
этаз = 6 / 9,5 = 0,63.
Расстояние между скважинами а принимается равным 4,5 м (см.
пункт 1.2 главы VIII настоящих Правил).
___________
/ 12 0,15
rразл = 1250 x 0,63 x \ /----- x ---- = 325,5 м.
\/ 1 + 1 4,5
Найденное расчетное значение безопасного расстояния rразл = 350 м.
1.7.2. Определить безопасное расстояние по разлету отдельных кусков породы при взрывании на косогоре с углом наклона к горизонту бетта = 30 град. Радиус опасной зоны rразл = 250 м.
Коэффициент, учитывающий рельеф местности, определяется по
формуле (3):
Kр = 1 + tg 30 град. = 1,58.
Rразл = 250 x 1,58 = 394 м.
Найденное по
формуле (2) расчетное значение Rразл = 400 м.
1.7.3. Определить безопасное расстояние по разлету кусков породы при взрыве серии скважинных зарядов рыхления в условиях превышения верхней отметки взрываемого участка над участками границы опасной зоны на H = 50 м. Расчетное значение радиуса опасной зоны rразл = 200 м.
Определяем коэффициент, учитывающий рельеф местности, по
формуле (4):
___________
/ 4 x 50
Кр = 0,5 x (1 + \ / 1 + ------) = 1,21.
\/ 200
Расчетное безопасное расстояние по разлету отдельных кусков породы по
формуле (2) Rразл = 200 x 1,21 = 248 м. Окончательное безопасное расстояние Rразл принимается равным 250 м.
2. Расстояния, безопасные по разлету отдельных кусков породы при взрывах на выброс, сброс и взрывах сосредоточенных зарядов рыхления.
2.1. Расстояния, безопасные по разлету отдельных кусков породы при взрывании на выброс и сброс, определяются в соответствии с Приложением 1,
таблица 6 в зависимости от значений показателей действия взрыва заряда n и линии наименьшего сопротивления W.
2.2. При взрывании серии зарядов с различными значениями W и n радиус опасной зоны определяется по
таблице 6 Приложения 1. За исходную величину принимается наибольшее значение W при одинаковых n или наибольшее значение n при одинаковых W. Если же оба значения (W и n) являются переменными, находят такие заряды, у которых сочетания W и n дают в соответствии с Приложением 1,
таблица 6 наибольший радиус зоны. Последнюю принимают в качестве опасной зоны для взрыва данной серии зарядов.
2.3. Принимаемые значения радиусов опасных зон для людей должны быть не менее указанных в Приложении 1,
таблица 5 настоящих Правил.
2.4. Для зарядов с существенно различными значениями W и n при образовании протяженной выемки (0,5 км и более) радиус опасной зоны для людей может быть принят различным для разных ее участков.
2.5. Радиусы зон, опасных по разлету отдельных кусков породы, при взрывах сосредоточенных зарядов рыхления (n < 1) определяют следующим образом. Из всех зарядов данной серии выбирается заряд с наибольшей линии наименьшего сопротивления - Wmax. Для этого заряда рассчитывают значение длины той условной линии наименьшего сопротивления (Wнв), при которой он явился бы зарядом нормального выброса (n = 1).
Поскольку значение принято определять из соотношения Wнв = 5Wрыхл / 7, для рассматриваемого случая
Wнв = 5Wmax / 7.
Полученное значение Wнв является отправным для определения радиусов опасных зон по разлету отдельных кусков для людей. Искомые значения радиусов rразл находятся в тех же графах таблицы
6 Приложения 1, которые относятся к зарядам с n = 1 и показаны на горизонтальной строке, соответствующей расчетному значению Wнв.
2.6. Безопасные расстояния, обеспечивающие сохранность механизмов, зданий и сооружений от повреждения их разлетающимися кусками породы, должны устанавливаться в проекте с учетом конкретных условий.
2.7. Примеры определения радиусов зон, опасных по разлету отдельных кусков взорванной породы rразл при производстве взрывов, приведены ниже.
2.7.1. Определить rразл при взрыве на выброс серии зарядов с линией наименьшего сопротивления W = 8 - 11,4 м и показателем действия взрыва n = 2.
Для расчета rразл принимают за исходную линию наименьшего сопротивления Wmax = 11,4 м и округляют ее (в большую сторону) до 12 м.
По
таблице 5 Приложения 1 в графе, относящейся к зарядам с показателями действия взрыва n = 2 на горизонтальной строке, соответствующей 12 м, находят значение радиуса опасной зоны для людей по разлету отдельных кусков взорванной породы
rразл = 900 м.
2.7.2. Определить rразл при взрыве на выброс серии зарядов для образования выемки, имеющей по длине неодинаковую глубину.
Проектом производства взрыва приняты следующие значения показателей действия взрыва: для зарядов с W = 7 - 8 м, n = 2,5; для зарядов с W = 9 - 12 м, n = 2.
Вначале определяют rразл для зарядов с W = 12 м при n = 2. По
таблице 6 Приложения 1 устанавливают, что для данных параметров rразл для людей должен быть принят равным 900 м.
Затем определяют rразл для зарядов с n = 2,5 и Wmax = 8 м. По той же таблице устанавливают, что для данных параметров rразл составляет 1000 м.
Сопоставление полученных значений rразл показывает, что проектом производства взрыва должны быть предусмотрены значения радиусов опасных зон по разлету отдельных кусков взорванной породы не менее 1000 м.
2.7.3. Для расширения дороги требуется обрушить уступ серией камерных зарядов рыхления с W = 11 - 16 м.
Для вычисления rразл принимают к расчету заряд с Wmax = 16 м и, согласно
пункту 2.5 главы VIII настоящих Правил, определяют для этого заряда условную линию наименьшего сопротивления:
Wнв = 5 Wmax / 7 = 5 16 / 7 = 11,4 м
или округленно (в большую сторону) 12 м.
Значения радиусов опасных зон по разлету отдельных кусков взорванной породы для зарядов нормального выброса с Wнв, равной 12 м, находят по
таблице 6 Приложения 1 в графах со значениями радиусов rразл при n = 1. Для заданных параметров (W = 12 м) искомая величина rразл = 500 м.
3. Расстояния, безопасные по высоте разлета отдельных кусков породы.
При определении максимальной высоты разлета отдельных кусков породы при n <= 2 ее следует приравнивать к значениям, определенным в соответствии с требованиями
пунктов 1 и
2 главы VIII настоящих Правил. При n > 2 полученные значения необходимо увеличить в 1,4 раза.
4. Расстояния (м), на которых колебания грунта, вызываемые однократным взрывом сосредоточенного заряда взрывчатых веществ, становятся безопасными для зданий и сооружений, определяются по формуле:
__
3 /
rc = Kr x Kc x a x \/ Q , (5)
где rc - расстояние от места взрыва до охраняемого здания (сооружения), м;
Кr - коэффициент, зависящий от свойств грунта в основании охраняемого здания (сооружения);
Кс - коэффициент, зависящий от типа здания (сооружения) и характера застройки;
а - коэффициент, зависящий от условий взрывания;
Q - масса заряда, кг.
Значения коэффициента Kr
Скальные породы плотные, ненарушенные .......................... 5
Скальные породы, нарушенные, неглубокий слой мягких грунтов на
скальном основании ............................................. 8
Необводненные песчаные и глинистые грунты глубиной более 10 м . 12
Почвенные обводненные грунты и грунты с высоким уровнем
грунтовых вод ................................................. 15
Водонасыщенные грунты ......................................... 20
Примечание. В тех случаях, когда характеристика грунта не в полной мере соответствует приведенной выше или известна ориентировочно, следует принимать для расчета ближайшее большее значение коэффициента Кr.
Значения коэффициента Кс
Одиночные здания и сооружения производственного назначения с
железобетонным или металлическим каркасом ...................... 1
Одиночные здания высотой не более двух - трех этажей с
кирпичными и подобными стенами ............................... 1,5
Небольшие жилые поселки ........................................ 2
Примечание. При взрывании на расстоянии менее 100 м от зданий или сооружений сейсмическое действие взрыва имеет локальный характер, и поэтому определенная с помощью
формулы (5) предельно допустимая масса заряда получается заниженной. Допускается при необходимости увеличение этой массы.
Значения коэффициента альфа
Камуфлетный взрыв и взрыв на рыхление .......................... 1
Взрыв на выброс .............................................. 0,8
Взрыв полууглубленного заряда ................................ 0,5
Примечания. 1. При размещении заряда в воде или в водонасыщенных грунтах значения коэффициента следует увеличить в 1,5 - 2 раза.
2. При взрыве наружных зарядов на поверхности земли сейсмическое действие не учитывается.
Сейсмическая безопасность зданий и сооружений при взрывах предполагает отсутствие повреждений, нарушающих нормальное их функционирование (вероятность появления в отдельных зданиях и сооружениях легких повреждений составляет около 0,1).
4.1. При одновременном (без замедления) взрывании группы из N зарядов взрывчатых веществ общей массой Q в тех случаях, когда расстояния от охраняемого объекта до ближайшего заряда и до наиболее удаленного заряда различаются не более чем на 20%, безопасное расстояние (м)
__
1/6 3 /
rc = N KrKc альфа \/ Q . (6)
При большем различии в расстояниях охраняемый объект будет находиться вне сейсмически опасной зоны, если будет соблюдаться условие:
3 N qi
(KrKc альфа) SUM ----- <= 1, (7)
i=1 3
ri
где N - число зарядов взрывчатых веществ;
qi - масса отдельного заряда взрывчатых веществ, кг;
ri - расстояние от отдельного заряда взрывчатых веществ до охраняемого объекта, м.
4.2. При неодновременном взрывании N зарядов взрывчатых веществ общей массой Q со временем замедления между взрывами каждого заряда не менее 20 мс безопасное расстояние (м)
KrKc альфа 1/3
rc = ---------- x Q . (8)
1/4
N
При определении N и Q можно не учитывать заряды, масса которых в 3 раза и более меньше массы максимального заряда взрываемой группы.
В тех случаях, когда расстояние ri от крайних зарядов массой qi до охраняемого объекта различается более чем на 20%, последний будет находиться вне сейсмически опасной зоны, если будет соблюдаться условие:
3
KrKc альфа N qi
(----------) SUM ---- <= 1. (9)
1/4 i=1 3
N ri
При определении N не учитываются заряды, для которых величина
3
qi / ri в 3 раза и более меньше максимальной из всей взрываемой
группы.
При взрывании групп зарядов с замедлениями между взрывами в отдельной группе менее 20 мс каждую такую группу следует рассматривать как отдельный заряд с общей массой для группы; rc определять по
формулам (8), (9), где N - число групп.
4.3. Приведенные в
пунктах 4 - 4.2 главы VIII настоящих Правил методы определения безопасных расстояний относятся к зданиям, находящимся в удовлетворительном техническом состоянии.
При наличии повреждений в зданиях (трещин в стенах и т.п.) безопасные расстояния, определенные по
формулам (5) -
(9), должны быть увеличены. Это увеличение устанавливается по заключениям специализированных организаций. При отсутствии таких заключений безопасные расстояния должны быть увеличены не менее чем в 2 раза.
Указанные методы определения безопасных расстояний неприменимы для зданий и сооружений уникального характера (здания атомных электростанций, башни, высотные здания, монументальные общественные здания и т.п.) и для ответственных и сложных инженерных сооружений (мосты, реакторы различного назначения, гидротехнические сооружения, радиомачты и т.п.). Для таких объектов вопросы сейсмической безопасности должны решаться с привлечением специализированных организаций.
Условия взрывания, не предусмотренные
пунктом 4 главы VIII настоящих Правил, и такие факторы, как направленность сейсмического действия группы зарядов большой протяженности, наличие повреждений зданий при повторяющихся взрывах, особенности сейсмического действия мощных (1000 т взрывчатых веществ и более) взрывов, следует определять с привлечением специализированных организаций.
5. Определение расстояний, безопасных по действию ударной воздушной волны (УВВ) при взрывах.
5.1. Расстояния, безопасные по действию ударной воздушной волны на здания и сооружения.
5.1.1. Безопасные расстояния по действию ударной воздушной волны при взрыве на земной поверхности для зданий и сооружений рассчитываются по формулам:
__
3 /
__
3 /
где rв - безопасное расстояние, м;
Q - масса заряда взрывчатых веществ, кг;
Kв, kв - коэффициенты пропорциональности, значения которых зависят от условий расположения и массы заряда, а также от степени допускаемых повреждений зданий или сооружений (Приложение 1,
таблица 7).
Формулы (10) и
(11) следует применять для определения относительно безопасных расстояний до зданий (сооружений) от мест изготовления взрывчатых веществ, хранения взрывчатых материалов на складах (хранилища, площадки и т.п.), мест погрузки, разгрузки и переработки взрывчатых материалов, а также отстоя транспортных средств с ними <1>, от мест взрывов наружных зарядов и зарядов выброса.
--------------------------------
<1> Далее по тексту - склады взрывчатых материалов и т.п. объекты.
Формула (10) должна применяться при допустимости первой - третьей степеней повреждений для открытых (наружных) зарядов массой больше 10 т и для зарядов, углубленных на свою высоту, массой больше 20 т при допустимости первой - второй степеней повреждений.
Формулу (11) нужно применять при допустимости первой - третьей степеней повреждений для открытых зарядов массой менее 10 т и первой - второй степеней повреждений - для зарядов, углубленных на свою высоту, с массой менее 20 т, а также для соответствующих зарядов выброса. Кроме того,
формула (11) применима при допустимости четвертой - пятой степеней повреждений независимо от массы и расположения заряда.
5.1.2. При пользовании
таблицей 7 Приложения 1 необходимо руководствоваться следующим:
а) при выборе степени повреждения и значений коэффициентов должна учитываться вся совокупность местных условий, причем в сложных случаях в выборе степени безопасности должны участвовать руководитель взрывных работ организации, представители заинтересованных организаций, владеющих охраняемым объектом, и представитель органа госгортехнадзора;
б) степень повреждения и значения коэффициентов при выборе местоположения складов взрывчатых материалов должны устанавливаться в зависимости от значимости объектов, расположенных в районе склада.
В общих случаях при расчете безопасных расстояний от складов взрывчатых материалов и тому подобных объектов до населенных пунктов, авто- и железнодорожных магистралей, крупных водных путей, заводов, складов взрывчатых и огнеопасных материалов и сооружений государственного значения принимается третья степень повреждения.
Для отдельно стоящих зданий и других сооружений второстепенного значения, автомобильных и железных дорог с небольшим движением, для особо прочных сооружений (стальные и железобетонные мосты, стальные и железобетонные копры, элеваторы, углемойки и т.п.), а также при расположении складов взрывчатых материалов и тому подобных объектов на высоких берегах (при расчете расстояний до крупных водных путей) принимается четвертая степень повреждения;
в) при определении расстояний до линии электропередачи следует исходить из значений радиуса разлета кусков выбрасываемой взрывом породы, поскольку линии электропередачи относятся к категории конструкций, стойких по отношению к действию ударной воздушной волны;
г) обвалованные хранилища при первой и второй степенях повреждений рассматриваются как наружные заряды. При необходимости принимать в расчетах степени повреждений выше второй обвалованные хранилища приравниваются к зарядам, углубленным на свою высоту;
д) коэффициенты в
таблице 6 указаны не однозначно. То или иное значение следует выбирать в зависимости от состояния объекта, для которого устанавливаются безопасные расстояния: чем прочнее этот объект, тем меньшее значение коэффициента может быть принято при расчете в пределах значений, указанных в
таблице 6;
е) свойства взрывчатых веществ при расчете безопасных расстояний не учитываются.
5.1.3. Если защищаемый объект расположен непосредственно за преградой (на опушке густого леса, у подножия холма), стоящей на пути распространения ударной воздушной волны, то безопасное расстояние, определенное по приведенным формулам, может быть уменьшено, но не более чем в 2 раза.
5.1.4. При производстве взрыва в узкой долине (ущелье) или между домами улицы безопасное расстояние должно быть увеличено в 2 раза.
__
/
5.1.5. Если за местом взрыва в радиусе 1,5 \/ Q имеются
прочные преграды в виде стен, валов и т.п., в направлении,
противоположном этим преградам, безопасное расстояние должно
увеличиваться: при расчете по
формуле (10) - в 1,3, а по формуле
5.1.6. Для уменьшения поражающей способности УВВ могут быть использованы следующие способы:
а) засыпка (забойка) наружного заряда слоем грунта. При слое засыпки, равном не менее пяти высот заряда над всей площадью его основания, безопасное расстояние может быть уменьшено в 4 раза. Материал засыпки не должен содержать тяжелых предметов (камней, гальки и т.п.);
б) удаление створок оконных рам или открывание окон и закрепление их в открытом положении; закрывание оконных проемов прочными щитами и т.п.;
в) защита мешками или ящиками, заполненными песком.
5.1.7. Безопасные расстояния по действию ударной воздушной волны при выборе местоположения складов взрывчатых материалов и тому подобных мест хранения взрывчатых материалов, а также при выборе мест размещения иных объектов в отношении складов взрывчатых материалов могут приниматься согласно
таблице 8 Приложения 1.
5.1.8. Пример определения вместимости хранилища взрывчатых веществ, находящегося на заданных расстояниях от охраняемых объектов, приведен ниже.
Определить предельную вместимость хранилища взрывчатых веществ, если от места его расположения находятся в 900 м здание железобетонного элеватора и в 1400 м - рабочий поселок. Рассмотреть варианты открытого расположения на поверхности.
Из п. 2
таблицы 7 Приложения 1 находим, что необвалованное хранилище взрывчатых веществ на расстоянии 1400 м от рабочего поселка не может содержать более 100 т взрывчатых веществ, а для безопасности элеватора (Приложение 1, п. 1
таблицы 8) могут быть взяты значительно большие массы взрывчатых веществ и, следовательно, выбор вместимости хранилища должен проводиться исходя из безопасности рабочего поселка.
5.1.9. Определение расстояний, безопасных по действию ударных воздушных волн на застекление при взрывании наружных зарядов и скважинных (шпуровых) зарядов рыхления <1>.
--------------------------------
<1> Определяется в проекте для случаев, когда разрушение стекол недопустимо.
5.1.10. При одновременных взрывах наружных и скважинных (шпуровых) зарядов рыхления безопасные расстояния rв по действию УВВ на застекление при взрывании пород VI - VIII групп по классификации строительных норм определяют по формулам:
__
3 /
rв = 200 \/ Qэ, м, при 5000 > Qэ >= 1000 кг, (12)
__
/
rв = 65 \/ Qэ, м, при 2 <= Qэ < 1000 кг, (13)
___
3 / 2
rв = 63 \/ Qэ, м, при Qэ <= 2 кг, (14)
где Qэ - эквивалентная масса заряда, кг.
При взрывании пород IX группы и выше по строительным нормам радиус опасной зоны, определенный по
формулам (12) - (14), должен быть увеличен в 1,5 раза, а при взрывании пород V группы и ниже радиус опасной зоны может быть уменьшен в 2 раза.
Эквивалентную массу заряда определяют следующим образом:
а) для наружных зарядов (высотой hзap с засыпкой слоем грунта hзаб), взрываемых одновременно
где Q - суммарная масса зарядов, кг;
Кн - коэффициент, значение которого зависит от отношения hзаб / hзар;
Значение коэффициента Кн
для расчета эквивалентной массы заряда
при взрывании наружных зарядов, засыпанных грунтом
hзаб / hзар 0 1 2 3 4
Кн 1 0,5 0,3 0,1 0,03;
б) для группы в количестве N скважинных (шпуровых) зарядов (длиной менее 12 своих диаметров), взрываемых одновременно
Qэ = PlзарKзN, (16)
где Р - вместимость взрывчатых веществ 1 м скважины (шпура), кг;
lзар - длина заряда, м;
Кз - коэффициент, значение которого зависит от отношения длины забойки lзаб к диаметру скважины (шпура) d (при отсутствии забойки - зависит от отношения длины свободной от заряда части скважины lсв к d);
Значение коэффициента Кз
в зависимости от отношения lзаб / d или lсв / d
lзаб / d 0 5 10 15 20
Kз 1 0,15 0,02 0,003 0,002
Lсв /d 0 5 10 15 20
Кз 1 0,3 0,07 0,02 0,004;
в) для группы из N скважинных (шпуровых) зарядов (длиной более 12 своих диаметров), взрываемых одновременно
5.1.11. Во всех случаях, когда заряды инициируются детонирующим шнуром, суммарная масса взрывчатых веществ сети детонирующего шнура добавляется к значениям Qэ, вычисленным по
формулам (15) - (17).
5.1.12. В случае короткозамедленного взрывания под Qэ и N следует понимать соответственно массу эквивалентного заряда и число зарядов одной группы. При наличии нескольких групп зарядов, взрываемых с замедлениями, к расчету принимается группа с максимальным Qэ. Если интервал замедления между группами 50 мс и более, безопасное расстояние определяется по
формулам (12) - (14). При интервале замедления от 30 до 50 мс безопасное расстояние, рассчитанное по
формулам (12) - (14), должно быть увеличено в 1,2, от 20 до 30 мс - в 1,5 и от 10 до 20 мс - в 2 раза.
Суммарная масса зарядов и число групп замедлений не ограничиваются.
5.1.13. Если взрывные работы проводятся при отрицательной температуре воздуха, безопасное расстояние, определенное по
формулам (12) - (14), должно быть увеличено не менее чем в 1,5 раза.
5.1.14. При взрывах вблизи лечебных, детских учреждений и зданий с большой площадью застекления, значительным скоплением людей и т.п. вопрос определения безопасных расстояний следует решать с привлечением специализированных организаций.
5.1.15. Примеры расчета радиусов зон, безопасных по действию УВВ на застекление при взрывах на открытых работах, приведены ниже.
5.1.15.1. Определить радиус опасной зоны по действию УВВ при взрыве наружного заряда массой 84 кг без забойки. Взрываемые породы - известняки IV группы по строительным нормам.
Поскольку масса заряда Qэ = 84 кг (< 1000 кг), для определения радиуса опасной зоны воспользуемся
формулой (13).
При положительной температуре воздуха
__ __
/ /
rв = 65 \/ Qэ = 65 \/ 84 = 596 м.
При отрицательной температуре воздуха радиус опасной зоны должен быть увеличен в 1,5 раза (см.
пункт 5.1.13 главы VIII настоящих Правил) и rв составит 894 м.
5.1.15.2. Определить радиус опасной зоны по действию УВВ при взрыве серии скважинных зарядов общей массой 25 228 кг. Заряды (одной и той же массы в каждой скважине) взрывают тремя группами с интервалом замедления между ними 25 мс. В первой группе взрывают 20, во второй - 40, в третьей - 10 скважин. Диаметр скважин 0,22 м, глубина скважин 15 м, длина забойки 4,4 м. Взрываемые породы представлены гранитами Х группы по строительным нормам. Взрывные работы проводятся при отрицательной температуре воздуха.
Поскольку взрывание проводится с интервалом замедления между группами 25 мс, к расчету принимается группа с максимальным числом скважин N = 40. Длина заряда 10,6 м больше 12 диаметров скважин, поэтому эквивалентный заряд определяется по
формуле (17). Значения расчетных параметров будут следующие:
Р = 34 кг/м; lзаб / d = 20 и Кз = 0,002.
Эквивалентный заряд
Qэ = 12PdKзN = 12 x 34 x 0,22 x 0,002 x 40 = 7,2 кг.
Для определения радиуса опасной зоны воспользуемся формулой
(13). Радиус опасной зоны (для гранитов Х группы) согласно пункту
5.1.10 главы VIII настоящих Правил должен быть увеличен в 1,5 раза. С учетом крепости пород, интервала замедления между группами (см.
пункт 5.1.12 главы VIII настоящих Правил) и отрицательной температуры воздуха (см.
пункт 5.1.14 главы VIII настоящих Правил)
___
/
rв = 65 x 1,5 x 1,5 x 1,5 x \/ 7,2 = 589 м.
5.2. Определение безопасного расстояния по действию ударной воздушной волны на человека.
Расстояние (м), безопасное по действию на человека ударной воздушной волны наружного заряда, следует определять по формуле:
__
3 /
где Q - масса взрываемого наружного заряда взрывчатых веществ, кг.
Формула (18) используется только, если по условиям работ необходимо максимальное приближение персонала, производящего взрывание, к месту взрыва. В остальных случаях полученное по формуле расстояние следует увеличивать в 2 - 3 раза.
При наличии блиндажей расстояние, рассчитанное по формуле
(18), может быть сокращено не более чем в 1,5 раза.
6. Расстояние rд, исключающее возможность передачи детонации от взрыва на земной поверхности одного объекта со взрывчатыми материалами - активного заряда к другому такому объекту - пассивному заряду, определяется по формуле:
__ __
3 / 4 /
где rд - безопасное расстояние от центра активного до поверхности пассивного заряда, м;
Kд - коэффициент, значение которого зависит от вида взрывчатых материалов зарядов и условий взрыва (Приложение 1,
таблица 9);
Q - масса взрывчатых веществ активного заряда, кг;
b - меньший линейный размер пассивного заряда (ширина штабеля), м.
7. При определении коэффициента Кд по
таблице 9 Приложения 1 для расчета безопасных расстояний по передаче детонации необходимо приравнивать:
- обвалованные хранилища (объекты) - к зарядам, углубленным на свою высоту в грунт;
- необвалованные, расположенные на поверхности хранилища и площадки с взрывчатыми материалами, - к открытым зарядам.
8. Определять безопасное расстояние между двумя объектами (хранилищами) следует по
формуле (19), считая поочередно каждый объект за активный заряд. За безопасное расстояние между объектами принимается большее из двух рассчитанных. При размещении взрывчатых материалов в расположенных по одной оси хранилищах удлиненной формы безопасное расстояние между ними во всех случаях должно составлять не менее удвоенной ширины большего (по ширине) хранилища.
При любом расположении хранилищ (площадок) безопасное расстояние должно быть не менее разрыва, установленного правилами противопожарной защиты.
Если при проектировании склада необходимо сблизить объекты (хранилища) на расстояние меньшее, чем определено по
формуле (19), безопасные расстояния для такого склада должны определяться исходя из суммарного запаса взрывчатых материалов на складе.
Объекты повышенной опасности (хранилища средств инициирования, стационарные пункты растаривания и изготовления взрывчатых веществ, бункеры с взрывчатыми веществами и т.п.), вместимость которых меньше вместимости основных хранилищ, можно располагать только на таких расстояниях от каждого из хранилищ взрывчатых материалов, чтобы их взрыв не вызывал детонацию взрывчатых материалов в хранилищах. Это расстояние определяется по формуле
(19), причем в качестве активного заряда принимаются взрывчатые материалы, находящиеся на объектах повышенной опасности.
9. Безопасные расстояния по передаче детонации можно определять также по
таблице 10 Приложения 1.
10. Если пассивный заряд состоит из разных взрывчатых материалов (например, аммонита и тротила), при расчете безопасных расстояний значение коэффициента Кд выбирается для того взрывчатого материала (из числа входящих в состав заряда), которое обладает наибольшей чувствительностью к детонации.
11. Примеры расчета безопасных расстояний по передаче детонации приведены ниже.
11.1. Определить безопасное расстояние rд по передаче детонации между двумя хранилищами, из которых одно обвалованное, предназначено для 120 т тротила, второе - необвалованное для 240 т гранулита.
Для хранилища гранулита при передаче детонации к обвалованному хранилищу тротила находим по табл. 4П Кд = 1. Аналогично при передаче детонации от тротила к гранулиту Кд = 1, b = 1,6 м.
Ввиду того что в хранилищах размещают разные взрывчатые вещества, определение rд следовало бы выполнять для каждого хранилища раздельно и принять большее значение rд. Однако в нашем случае, когда значения Кд для двух хранилищ равны между собой, этого можно не делать, достаточно принять большее хранилище за активный заряд. При этом безопасное расстояние
__ __ ______ ___
3 / 4 / 3 / 4 /
rд = Kд \/ Q \/ b = 1 x \/ 240000 x \/ l,6 = 70 м.
11.2. На территории склада взрывчатых материалов необходимо разместить открытое хранилище тротила на 120 т и открытое хранилище на 500000 электродетонаторов (капсюлей - детонаторов). Определить безопасное расстояние по передаче детонации rд между хранилищами.
Определим массу взрывчатых веществ (кг), содержащихся в электродетонаторах,
Qд = qдn,
где qд = 0,0015 кг - масса взрывчатых веществ в одном электродетонаторе;
n - число электродетонаторов.
Qд = 0,0015 x 500000 = 750 кг
Согласно
пункту 8 главы VIII настоящих Правил за активный заряд принимаем хранилище с электродетонаторами. По таблице 8 находим значение Кд = 0,7 для условий передачи детонации от открытого заряда детонаторов к открытому заряду тротила; b = 1,6 м.
Безопасное расстояние по передаче детонации без учета противопожарного разрыва и размещения хранилищ
___ ___
3 / 4 /
rд = 0,7 \/ 750 x \/ 1,6 = 8 м.
11.3. Определить безопасное расстояние по передаче детонации rд между открытым существующим хранилищем 420 т граммонита и проектируемым обвалованным хранилищем для 40 т тротила. Территория склада позволяет разместить хранилище тротила на удалении не более 45 м от хранилища граммонита.
Принимая за активный заряд хранилище на 420 т граммонита и определив по таблице 8 значение Kд = 1, вычисляем при b = 1,6 м безопасное расстояние по передаче детонации:
______ ___
3 / 4 /
rd = \/ 420000 x \/ 1,6 = 85 м.
Если принять за активный заряд хранилище 40 т тротила (Кд = 1, b = 1,6), то
_____ ___
3 / 4 /
rд = \/ 40000 x \/ 1,6 = 39 м.
Согласно
пункту 8 главы VIII настоящих Правил хранилище тротила можно разместить на расстоянии 39 м от хранилища граммонита только при условии перерасчета безопасного расстояния по действию УВВ и сейсмическому действию взрыва, исходя из суммарного запаса взрывчатых материалов на складе.
12. При одновременном взрывании зарядов выброса общей массой более 200 т должна быть учтена газоопасность взрыва и установлено безопасное расстояние rг, за пределами которого содержание ядовитых газов (в пересчете на условную окись углерода) не должно превышать предельно допустимых концентраций.
12.1. Безопасное по действию ядовитых газов расстояние rг (м) в условиях отсутствия ветра или в направлении, перпендикулярном к распространению ветра, при взрыве зарядов на выброс определяется по формуле:
__
3 /
где Q - суммарная масса взрываемых зарядов, т.
В направлении, противоположном распространению ветра, радиус газоопасной зоны следует принимать также равным rг. По направлению ветра радиус газоопасной зоны rг1 определяется по формуле:
__
3 /
rг1 = 160 \/ Q (1 + 0,5Vв), (21)
где Vв - скорость ветра перед взрывом, м/с.
12.2. Пример определения безопасных расстояний по действию ядовитых газов приведен ниже.
Определить безопасные расстояния по действию ядовитых газов при взрыве серии камерных зарядов выброса с суммарной массой Q = 1000 т.
Скорость ветра перед взрывом Vв = 3 м/с.
В направлении, перпендикулярном направлению ветра, значение rг рассчитывается по
формуле (20):
____
3 /
rг = 160 \/ 1000 = 1600 м.
В направлении, противоположном направлению ветра, радиус газоопасной зоны принимается также равным rг = 1600 м.
Безопасное расстояние в направлении ветра рассчитывается по
формуле (21):
____
3 /
rг1 = 160 \/ 1000 (1 + 0,5 x 3) = 4000 м.
IX. Меры безопасности в отношении ядовитых
газов, образующихся при массовых взрывах
1. При проектировании массового взрыва в проект на взрыв должен вводиться раздел, предусматривающий необходимые меры безопасности, в том числе проветривание всех выработок, в которые могут поступить газообразные продукты взрыва, порядок допуска людей в опасные места.
2. До взрыва вентиляционный надзор шахты (рудника) <1> совместно с ВГСЧ обязан проверить надежность вентиляции по принятой схеме проветривания.
--------------------------------
<1> Далее по тексту главы - шахта.
3. Командир ВГСЧ совместно с руководителем шахты в необходимых случаях должен составить план обслуживания электроустановок, водоотливных и вентиляторных установок и других объектов силами ВГСЧ после взрыва.
4. В здании главного вентилятора на поверхности на время проветривания после массового взрыва необходимо выставить пост ВГСЧ.
В обязанности поста входят:
контроль за содержанием ядовитых продуктов взрыва в диффузоре вентилятора (при работе его на всасывание) <1>;
--------------------------------
<1> При работе вентилятора на нагнетание контроль должен осуществляться на исходящей струе.
обслуживание вентилятора в случае прорыва газов в здание.
5. Спуск ВГСЧ в шахту после массового взрыва может разрешаться не ранее чем через 1 ч, в том числе не ранее чем через 2 ч в выработки района взрыва.
При производстве массового взрыва по разрушению потолочин или целиков спуск в шахту ВГСЧ разрешается через 2 ч после взрыва, в том числе не ранее чем через 4 ч в выработки района взрыва.
6. ВГСЧ выполняет следующие работы:
осматривает указанные в распорядке массового взрыва выработки;
включает необходимые вентиляторные установки и обслуживает их до полного проветривания выработок;
контролирует загазованность рудничной атмосферы;
проверяет состояние вентиляционных сооружений;
проводит (при необходимости) их ремонт, а также выполняет другие работы, предусмотренные заданием.
7. Допуск работников шахты в подземные выработки (кроме района взрыва) может разрешаться только после проверки состояния выработок ВГСЧ и восстановления нормальной рудничной атмосферы.
8. В район взрыва работники шахты допускаются также только после восстановления нормальной рудничной атмосферы, приведения выработок в безопасное состояние и проверки ВГСЧ, но не ранее чем через 8 ч после взрыва.
9. При проектировании массового взрыва в карьере (разрезе) <1> в проект на взрыв должен вводиться раздел, определяющий порядок допуска людей в район взрыва и иные выработки, пребывание в которых может представлять опасность.
--------------------------------
<1> Далее по тексту главы - карьер.
9.1. При массовом взрыве должны устанавливаться посты ВГСЧ, контролирующие содержание ядовитых продуктов взрыва в карьере <1>. Количество постов определяет командир ВГСЧ и руководитель карьера.
--------------------------------
<1> Необходимость привлечения ВГСЧ определяется руководителем организации.
9.2. В обязанности постов ВГСЧ входят:
контроль за загазованностью воздуха на уступах;
осмотр состояния уступов.
Посты ВГСЧ могут допускаться в пределы опасной зоны не ранее чем через 15 мин. после взрыва.
9.3. Допуск других людей в карьер разрешается после получения ответственным руководителем взрыва сообщений ВГСЧ о снижении концентрации ядовитых продуктов взрыва в воздухе до установленных норм, но не ранее чем через 30 мин. после взрыва, рассеивания пылевого облака и полного восстановления видимости в карьере, а также после осмотра мест (места) взрыва соответствующим лицом технического надзора (согласно распорядку массового взрыва).
9.4. При совмещении открытых и подземных работ контроль за загазованностью воздуха должен осуществляться ВГСЧ как в карьерах, так и в подземных выработках при выполнении требований
пунктов 1 -
9 главы IX настоящих Правил.
X. Требования по устройству и эксплуатации
складов взрывчатых материалов
1. Комплексы зданий и сооружений основного производственного и вспомогательного назначения, расположенные на общей территории с оформленным в установленном порядке земельным отводом <1>, камеры и ячейки для хранения взрывчатых материалов и вспомогательные камеры с подводящими к складу горными выработками <2>, другие места хранения взрывчатых материалов должны сооружаться или приспосабливаться по проектам, утвержденным в установленном порядке, и эксплуатироваться в соответствии с требованиями настоящих Правил.
--------------------------------
<1> Далее - склады ВМ.
<2> Далее - подземные склады ВМ.
2. По месту расположения относительно земной поверхности склады взрывчатых материалов разделяются на поверхностные, полууглубленные, углубленные и подземные.
К поверхностным относятся склады, основания хранилищ которых расположены на уровне поверхности земли; к полууглубленным - склады, здания хранилищ которых углублены в грунте ниже земной поверхности не более чем на карниз; к углубленным - у которых толща грунта над хранилищем составляет менее 15 м, и к подземным - соответственно более 15 м.
3. В зависимости от срока эксплуатации склады разделяются на постоянные - 3 года и более, временные - до трех лет и кратковременные - до одного года, считая эти сроки с момента завоза взрывчатых материалов.
Эксплуатация кратковременных складов может быть продлена на один последующий срок при условии повторной приемки комиссией.
4. По назначению склады взрывчатых материалов разделяются на базисные и расходные.
Допускается заменять при хранении взрывчатые вещества средствами инициирования и наоборот, а также одни взрывчатые материалы другими при той же группе совместимости с учетом коэффициентов по теплоте взрыва.
5. Общая вместимость базисных складов взрывчатых материалов не ограничивается и должна устанавливаться с учетом того, что вместимость отдельного хранилища не должна превышать 420 т взрывчатых материалов (нетто) и 600 т для аммиачной селитры (АС).
6. На поверхностных и полууглубленных расходных складах:
6.1. Общая вместимость всех хранилищ постоянного расходного склада не должна превышать: взрывчатых веществ - 240 т, детонаторов - 300 тыс. шт., детонирующего шнура - 400 тыс. м, огнепроводного шнура и средств его поджигания - не ограничивается.
Для организаций с сезонным завозом взрывчатых материалов при их хранении в контейнерах или хранилищах общая вместимость постоянных расходных складов может не ограничиваться.
6.2. Общая вместимость всех хранилищ временного расходного склада взрывчатых материалов не должна превышать: взрывчатых веществ - 120 т, детонаторов - 150 тыс. шт., детонирующего шнура - 200 тыс. м, огнепроводного шнура и средств его поджигания - не ограничивается.
6.3. Общая вместимость всех хранилищ кратковременного расходного склада взрывчатых материалов не должна превышать: взрывчатых веществ - по проекту, детонаторов - 75 тыс. шт., детонирующего шнура - 100 тыс. м, огнепроводного шнура и средств его поджигания - не ограничивается.
6.4. Предельная вместимость каждого хранилища взрывчатых веществ постоянных расходных складов взрывчатых материалов не должна превышать 120 т, временных - 60 т, кратковременных - по проекту.
6.5. Допустимо хранение взрывчатых веществ и АС в контейнерах на специальных открытых площадках. Площадки для контейнеров с взрывчатыми веществами могут сооружаться на территории складов взрывчатых материалов и как самостоятельные склады с контейнерными площадками. Вместимость контейнерных площадок должна приниматься аналогично установленной для хранилищ складов взрывчатых материалов. Контейнеры должны быть исправны, опломбированы и пронумерованы.
При поступлении на склад взрывчатых материалов незатаренной аммиачной селитры она может храниться в бункерах, имеющих приспособления для ее механизированной загрузки и выгрузки. Срок хранения АС в бункере без перегрузки или рыхления не должен превышать 10 дней.
7. Общую вместимость подземного (углубленного) расходного склада и вместимость отдельных камер (ячеек) необходимо определять проектом. При этом на угольных и сланцевых шахтах вместимость склада без учета емкости раздаточных камер не должна превышать семисуточного запаса взрывчатых веществ и пятнадцатисуточного запаса средств инициирования.
Вместимость камеры в складах камерного типа не должна превышать 2 т взрывчатых веществ, а в складах ячейкового типа в каждой ячейке разрешается хранить не более 400 кг взрывчатых веществ.
Предельная вместимость отдельной раздаточной камеры в подземных выработках не должна превышать 2 т взрывчатых веществ и соответствующего количества средств инициирования, а отдельного участкового пункта хранения - 1 т взрывчатых веществ и соответствующего количества средств инициирования.
8. В научно - исследовательских институтах, лабораториях и учебных заведениях взрывчатые материалы разрешается хранить в сейфах (в каждом не более 10 кг взрывчатых веществ или 500 детонаторов и по 300 м детонирующего и огнепроводного шнуров). Допускается хранение взрывчатых материалов в одном помещении, но в разных сейфах. Сейфы должны размещаться на расстоянии, исключающем передачу детонации.
9. В организациях должны обеспечиваться условия для испытаний и уничтожения взрывчатых материалов. В этих целях по проектам необходимо оборудовать полигоны и лаборатории, оснащенные соответствующими приборами и оборудованием.
Допускается уничтожение взрывчатых материалов на подготовленных площадках на нерабочих уступах карьеров.
10. При выполнении на базисном складе операций по выдаче взрывчатых материалов взрывникам и приемке от них неизрасходованных взрывчатых веществ, средств инициирования, прострелочных и взрывных аппаратов помещение, в котором выполняются эти операции, должно находиться вблизи въезда (входа) на склад, но не ближе 20 м от хранилищ взрывчатых материалов, сооружаться из несгораемых материалов и разделяться на две части для хранения взрывчатых веществ и средств инициирования сплошной несгораемой капитальной кирпичной или бетонной стеной толщиной не менее 25 см. Его необходимо оборудовать двумя тамбурами для выдачи - приемки взрывчатых веществ и средств инициирования.
Кроме того, должны выполняться следующие условия:
общее количество взрывчатых веществ всех наименований (изделий) в указанном помещении не должно превышать 3 тыс. кг, в том числе детонаторов не более 10 тыс. шт.;
ящики с детонаторами должны размещаться на стеллажах у наружной стены хранилища.
11. В постоянных и временных расходных складах раскупорку тары
и выдачу взрывчатых материалов взрывникам, а также приемку от них
неизрасходованных взрывчатых веществ, средств инициирования,
прострелочных и взрывных аппаратов следует проводить в отдельных
помещениях или в тамбурах хранилищ либо в здании подготовки
взрывчатых материалов. При этом для выдачи детонаторов необходимо
устанавливать стол, обитый брезентом по войлоку или полупроводящей
5
с сопротивлением не более 10 Ом/м резиновой пластиной толщиной не
менее 3 мм, и стол для резки детонирующего и огнепроводного
шнуров. Для устранения опасного влияния на электродетонаторы
зарядов статического электричества стол должен быть заземлен, при
этом сопротивление заземлителя не должно превышать 100 Ом.
Изготовление (подготовка) боевиков с детонирующим шнуром в случае выдачи - приемки взрывчатых материалов на базисном складе должно проводиться в отдельном здании (помещении).
12. В хранилищах складов взрывчатых материалов полы должны быть без щелей, ровные, а стены - побелены или покрашены.
Каждое хранилище взрывчатых материалов должно проветриваться и защищаться от проникновения воды и снега.
Хранилища взрывчатых материалов должны обеспечиваться приточно - вытяжным естественным проветриванием.
13. Постоянные и временные склады взрывчатых материалов должны иметь два вида освещения - рабочее и резервное (аварийное).
14. Освещенность полов рабочих мест на всех местах хранения взрывчатых материалов должна обеспечивать нормальные условия работы и при обращении со средствами инициирования составлять не менее 30 лк.
15. В хранилищах складов взрывчатых материалов стеллажи для взрывчатых веществ и средств инициирования и штабели для взрывчатых материалов должны отстоять от стен не менее чем на 20 см, а от пола - не менее чем на 10 см. Мешки, ящики с взрывчатыми веществами необходимо размещать на настилах. Высота штабеля не должна превышать 2 м. По ширине штабеля можно располагать не более двух мешков (ящиков) так, чтобы свободно обеспечивался подсчет мест.
При использовании средств механизации погрузочно - разгрузочных операций разрешается хранить ящики и мешки с взрывчатыми веществами в пакетах на поддонах, в том числе в стропконтейнерах, до двух ярусов по высоте. Порядок размещения поддонов и стропконтейнеров необходимо определять проектом. Максимальная высота штабелей не должна превышать 2,6 м.
Между штабелями, в том числе со стропконтейнерами, и стеллажами следует оставлять проходы шириной соответственно не менее 1,3 и 1 м.
16. На стеллажах ящики, мешки и другие места с взрывчатыми материалами должны размещаться не более чем по два в высоту и в штабелях (стропконтейнерах) - в соответствии с требованиями стандартов (технических условий). Вскрытые места со взрывчатыми материалами групп В и С могут размещаться только в один ряд по высоте. Высота верхних полок стеллажей для указанных взрывчатых материалов не должна превышать 1,7 м и для прочих - 2 м.
Расстояние между каждыми двумя полками должно быть таким, чтобы между ящиками (мешками) с взрывчатыми материалами и полками над ними оставались зазоры не менее 4 см. По ширине полки запрещается ставить ящики более чем в два ряда, а при размещении возле стен при отсутствии прохода - более чем в один ряд.
Головки железных гвоздей и болтов, применяемых для укрепления полок в хранилищах взрывчатых материалов, необходимо утапливать полностью.
Доски полок стеллажей должны настилаться с промежутками до 3 см. Нижняя полка должна быть сплошной.
17. Возле камер, стеллажей и штабелей на складе взрывчатых материалов должны быть вывешены таблички с указанием наименований взрывчатых веществ, средств инициирования или прострелочных и взрывных аппаратов, их количества, номера партии, даты изготовления и гарантийного срока хранения.
18. Электродетонаторы, электрозажигательные трубки и электровоспламенители, а также содержащие их изделия с взрывчатыми веществами на складах и в других местах хранения взрывчатых материалов должны находиться только в заводской или специально предназначенной упаковке (таре).
19. Зажигательные и контрольные трубки должны изготавливаться в помещении здания подготовки взрывчатых материалов, отделенном от помещения подготовки взрывчатых веществ капитальной стеной из несгораемых материалов или (при сгораемых материалах) стеной, оштукатуренной и покрытой несгораемой краской, а в подземных складах - в отдельных камерах для изготовления зажигательных трубок. Стол, на котором изготавливают зажигательные и контрольные трубки, при работе нескольких взрывников должен быть разделен по всей длине поперечными деревянными щитками.
Полы помещений в местах изготовления и хранения зажигательных и контрольных трубок (контрольных отрезков огнепроводного шнура) должны быть покрыты мягкими ковриками.
Заготовленные зажигательные трубки следует хранить в хранилищах склада взрывчатых материалов (раздаточной камере) в металлических или деревянных, обитых металлическими листами снаружи ящиках (шкафах), кассетах и т.п. с мягкой прокладкой внутри. Ящики должны закрываться крышками.
20. Температура в хранилищах складов и контейнерах с взрывчатыми веществами на основе аммиачной селитры не должна превышать 30 град С.
21. При хранении взрывчатых веществ в контейнерах на площадках допускается размещение их в два яруса. Между рядами контейнеров должны оставляться проходы шириной, обеспечивающей проезд подъемно - транспортных механизмов.
22. Погрузочно - разгрузочные операции с взрывчатыми материалами на складах могут выполняться только предназначенными для этой цели механизмами, грузоподъемность которых должна быть не менее номинальной массы брутто упакованных взрывчатых материалов, а также вручную. Лебедки подъема груза грузоподъемных машин (а у стреловых кранов и лебедки подъема стрелы) должны быть оборудованы двумя тормозами.
23. Эксплуатация грузоподъемных механизмов должна осуществляться согласно требованиям соответствующих правил.
При работе внутри хранилищ склада взрывчатых материалов грузоподъемные механизмы с двигателями внутреннего сгорания должны оснащаться системой нейтрализации выхлопных газов и искрогасителями, а электрооборудование (электропогрузчики, тельферы и др.) - отвечать требованиям электробезопасности для помещений класса В-IIа.
24. При ремонте мест хранения взрывчатых материалов они должны освобождаться от взрывчатых веществ, средств инициирования, прострелочных и взрывных аппаратов, которые необходимо временно размещать в других хранилищах (на площадках). Если хранилище разделено на части капитальной стеной, на время ремонта одной части допускается хранить взрывчатые материалы в другой.
25. Для склада взрывчатых материалов емкостью 50 т и более должны разрабатываться декларация безопасности и план ликвидации аварий, определяющий порядок действий в аварийных ситуациях. Такие планы для складов (кроме подземных) подлежат утверждению юридическим владельцем склада, руководителем организации (шахты, рудника, карьера и т.п.) по согласованию с ВГСЧ, а при отсутствии ВГСЧ - с территориальными органами ГПС. Для подземных складов взрывчатых материалов меры по ликвидации возможных аварий должны включаться в общий План ликвидации аварий.
26. Поверхностные и полууглубленные постоянные склады взрывчатых материалов.
26.1. Поверхностные постоянные склады должны отвечать следующим условиям:
иметь водоотводные канавы (в условиях многолетнемерзлых пород необходимость канав определяется проектом);
дороги и подъездные пути необходимо содержать в чистоте и исправности;
хранилища следует располагать так, чтобы обеспечивался свободный подход и подъезд к каждому из них;
расстояния между отдельными хранилищами, а также между хранилищами и различными зданиями и сооружениями на территории склада и вне ее должны быть не менее установленных противопожарных разрывов и соответствовать требованиям
главы VIII настоящих Правил;
склады должны ограждаться и иметь запретную зону шириной от ограды не менее 50 м. Границы запретной зоны и порядок ее использования определяются администрацией организации с участием органов внутренних дел. На границах запретной зоны устанавливаются предупредительные знаки.
26.2. Допускается непосредственное примыкание территории расходных складов взрывчатых материалов к территории базисного склада взрывчатых материалов при наличии отдельного въезда (входа) на территорию расходного склада взрывчатых материалов и соблюдения других требований к этим складам.
26.3. На территории склада разрешается располагать только следующие здания и сооружения: хранилища взрывчатых веществ, средств инициирования, прострелочных и взрывных аппаратов; площадки для взрывчатых веществ, средств инициирования, прострелочных и взрывных аппаратов и контейнеров; здание (помещение) для выдачи взрывчатых материалов; вспомогательное помещение (хранилище, площадка); здание для подготовки взрывчатых материалов; приемные рампы и другие объекты, связанные с приемом, хранением и отгрузкой взрывчатых материалов; пункты изготовления гранулированных и водосодержащих взрывчатых веществ, а также пункты подготовки взрывчатых веществ заводского производства к механизированному заряжанию; лабораторию; караульные вышки, будки для сторожевых собак; вышки (мачты, столбы) с фонарями, прожекторами и т.п.; щиты для противопожарных средств; противопожарные водоемы (насосы); проходные будки.
26.4. За запретной зоной склада в пределах опасной зоны, определяемой согласно требованиям
главы VIII настоящих Правил, разрешается размещать: полигон для испытаний и уничтожения взрывчатых материалов, сжигания тары; караульное помещение; административно - бытовое помещение для персонала, обслуживающего склад; пункты обслуживания и заправки средств механизации; котельные, емкости для нефтепродуктов; водопроводные и канализационные насосные станции; трансформаторные подстанции.
Сарай или навес для хранения тары допускается размещать в пределах запретной зоны не ближе 25 м от ограды склада.
Здания и сооружения караульной службы следует предусматривать и располагать в соответствии с требованиями органов внутренних дел.
26.5. Расстояние от ограды до ближайшего хранилища должно быть не менее 40 м. В горных местностях это расстояние может быть уменьшено по согласованию с органами внутренних дел.
Ограду необходимо выполнять из колючей проволоки, дерева, кирпича, камня, металла. Высота ограды должна быть не менее 2 м. По верху ограды из дерева, кирпича, камня, металла на металлические стержни высотой не менее 0,5 м должна натягиваться колючая проволока в четыре нитки.
В ограде должны быть устроены ворота и калитка, запирающиеся на замки.
26.6. На территории склада и запретной зоны вокруг него деревья и кустарник должны быть вырублены, сухая трава, заросли, хворост и другие легковоспламеняющиеся предметы убраны.
В отдельных случаях по согласованию с органами внутренних дел и пожарного надзора допускается не производить вырубки деревьев в запретной зоне.
26.7. Хранилища взрывчатых материалов постоянных складов должны устраиваться из несгораемых материалов.
При устройстве каркасно - засыпных стен и перегородок в качестве засыпки разрешается применять тощий бетон, шлак или пропитанные известковым молоком опилки.
Стены каркасно - засыпных и бревенчатых хранилищ взрывчатых материалов и перегородки должны быть покрыты несгораемым составом или оштукатурены с внутренней и наружной сторон. Деревянные потолки в хранилищах взрывчатых материалов должны быть оштукатурены или покрыты несгораемым составом.
В местностях с сухим климатом разрешается возведение глинобитных хранилищ, а также хранилищ из сырцового или саманного кирпича.
Крыши хранилищ должны быть сооружены из несгораемых материалов или покрыты несгораемым составом изнутри и снаружи.
Хранилища необходимо устраивать так, чтобы температура воздуха в них не могла подниматься выше 30 град. C. Каждое из хранилищ должно иметь чердачное помещение (при железобетонных перекрытиях устройство чердачных помещений не обязательно).
В районах Крайнего Севера и приравненных к ним разрешается строительство базисных складов облегченного типа (каркасно - обшивных и т.п.) без чердачных помещений при условии пропитки стен и потолков известково - соляным раствором и устройстве кровли из несгораемого материала.
26.8. Полы в хранилищах должны быть деревянные, бетонные, асфальтированные или глинобитные.
26.9. В хранилищах, предназначенных для выдачи взрывчатых материалов мелкими партиями, необходимо оборудовать не менее одного тамбура. Тамбур должен иметь размер 2 x 2 м и сооружаться из несгораемых материалов. Вход через тамбур следует оборудовать не менее чем двумя двустворчатыми дверями, открывающимися наружу: одна из них ведет снаружи в тамбур, вторая - из тамбура в хранилище. Наружная дверь должна быть сплошной, обитой кровельной сталью. Вторая дверь должна быть решетчатой, деревянной или металлической.
В хранилищах, имеющих рампы и средства механизации погрузочно - разгрузочных работ (электропогрузчики и др.), устройство тамбуров не обязательно, но обе двери подлежат установке.
26.10. Число входов в хранилище взрывчатых материалов следует определять исходя из того, чтобы максимальное расстояние от входа в хранилище до наиболее удаленной точки одного помещения по проходам было не более 15 м, а при механизации погрузочно - разгрузочных работ - 25 м.
26.11. Окна хранилищ необходимо оборудовать стальными решетками, выполненными из прутка диаметром не менее 15 мм, который подлежит сварке в каждом перекрестке, с образованием ячеек не более 150 x 150 мм. Концы прутков должны заделываться в стену на глубину не менее 80 мм. Решетки следует покрывать светлой краской. Стекла окон, выходящие на солнечную сторону, должны быть матовыми или покрываться белой краской. Отношение световой поверхности окон к площади пола должно составлять от 1:25 до 1:30.
26.12. В чердачных помещениях запрещается хранить какие-либо предметы или материалы. Для входа на чердак необходимо предусматривать лестницу, установленную снаружи здания.
26.13. Входы в хранилище и на чердак должны запираться на замок и опломбироваться или опечатываться.
26.14. Если расстояние от мест хранения или переработки взрывчатых материалов до зданий и сооружений либо между ними меньше значений, предусмотренных в
главе VIII "Порядок определения безопасных расстояний при взрывных работах и хранении взрывчатых материалов" настоящих Правил, то обязательно устройство валов. При этом безопасные расстояния подсчитываются так же, как для случая углубленного заряда.
26.15. Валы насыпают только из пластичных или сыпучих грунтов. Запрещается для насыпки валов использовать камень, щебень и горючие материалы (угольную мелочь и т.п.).
В районах Крайнего Севера допускается насыпать валы из местных материалов при условии, что склады будут строиться на безопасных (по дальности разлета кусков грунта) расстояниях от жилых зданий и сооружений.
26.16. Валы должны быть на 1,5 м выше верхнего уровня штабеля (стеллажа) с взрывчатыми материалами. Ширина валов по верху должна быть не менее 1 м. Ширина валов по низу обусловливается углом естественного откоса грунта, из которого насыпан вал.
26.17. Для устройства выходов при полном обваловывании хранилища валы должны иметь разрыв, перед которым необходимо размещать защитный вал.
Длина защитного вала должна быть принята с таким расчетом, чтобы прямая линия, проведенная в плане от ближайшего угла здания через ближайшую конечную точку гребня главного вала и продолженная дальше, проходила через гребень защитного вала.
26.18. Требования к электроустановкам (распределительным устройствам, подстанциям, аварийным источникам питания), категорийности электроприемников, обеспечению надежности и т.д. должны определяться проектом с учетом нормативных документов. При этом необходимо применять электроустановки с изолированной нейтралью. Допускается по согласованию с региональными органами госгортехнадзора и экспертной организацией применять установки с глухозаземленной нейтралью.
26.19. Электроустановки складов взрывчатых материалов, в том числе силовые и осветительные сети, должны быть оснащены защитой от утечек тока и токов короткого замыкания, а также от поражения людей электрическим током. Заземление электроустановок складов взрывчатых материалов необходимо осуществлять в соответствии с проектом.
26.20. Склад взрывчатых материалов, подступы к нему и хранилища взрывчатых материалов должны быть освещены. Освещение допускается выполнять по периметру ограждения.
26.21. Рабочее освещение склада взрывчатых материалов должно осуществляться лампами (светильниками) напряжением до 220 В. Вид аварийного освещения надлежит определять в проекте.
В качестве аварийного освещения для хранилищ склада разрешается применять рудничные аккумуляторные светильники или фонари с сухими батареями (при металлических корпусах - в резиновых чехлах). Применение ручных переносных ламп, питаемых от электросети, запрещается во всех помещениях склада.
Если выдача взрывчатых материалов осуществляется только в светлое время суток, электроосвещение хранилищ не обязательно.
26.22. Выключатели, предохранители, распределительные щиты, штепсели и т.п. необходимо устанавливать снаружи здания в закрытых ящиках или в изолированном помещении, которое должно быть снабжено противопожарными средствами.
26.23. Для осветительной сети внутри хранилищ должны применяться кабели с оболочкой, не распространяющей горения.
26.24. Крепление кабелей к стенам и потолку помещений должно проводиться не реже чем через 0,8 м при горизонтальной и через 2 м при вертикальной прокладке.
Для соединений и присоединений кабелей должны применяться специальные муфты.
26.25. Все склады, в том числе караульные помещения на складах, должны оборудоваться телефонной связью с организацией, пожарной охраной и органом внутренних дел. При отсутствии возможности оборудовать телефонную связь, по согласованию руководителя организации с местным органом внутренних дел, склад может обеспечиваться радиосвязью с перечисленными абонентами. Между караульными постами и караульным помещением должна обеспечиваться двусторонняя телефонная связь.
Средства связи необходимо размещать вне взрывопожароопасных помещений.
Склады и хранилища могут оборудоваться средствами охранной и пожарной сигнализации только в соответствии с проектами, утвержденными в установленном порядке.
26.26. На территории складов не допускаются источники открытого огня, искрение и перегрев оборудования, а также эксплуатация оборудования без присмотра.
26.27. Все склады должны оборудоваться противопожарными средствами, номенклатура, количество и расположение которых устанавливаются проектом, согласованным территориальными органами госпожнадзора.
26.28. Для предохранения от лесных и напольных пожаров дерн на расстоянии не менее 5 м вокруг каждого здания должен быть снят; вокруг территории склада на расстоянии 10 м от ограды необходимо оборудовать канавы шириной по верху не менее 1,5 м и глубиной не менее 0,5 м или систематически вспахивать полосу шириной 5 м для уничтожения растительности. В скальных и щебенистых грунтах устройство канавы или вспаханной полосы не обязательно. В условиях многолетнемерзлых пород необходимость принятия таких мер определяется проектом.
26.29. В каждом складе должна быть вывешена инструкция о порядке действия персонала склада, лиц его охраны в случае пожара, содержания противопожарных средств и пользования ими. Персонал склада следует знакомить с инструкцией под роспись.
26.30. При наличии объектов с печным отоплением на дымовых трубах должны устанавливаться искроуловительные сетки.
26.31. Все механизмы, оснащенные двигателями внутреннего сгорания и используемые при транспортных и погрузочно - разгрузочных операциях с взрывчатыми материалами, а также пожарные автомобили должны быть оснащены искрогасителями.
26.32. Склады взрывчатых материалов должны иметь молниезащиту, устройство и содержание которой определяются требованиями
главы XI настоящих Правил.
27. Поверхностные и полууглубленные временные склады взрывчатых материалов.
27.1. Хранилища временных складов взрывчатых материалов могут быть дощатыми, глинобитными, земляными и т.п.
Под хранилища складов разрешается приспосабливать неиспользуемые строения, сараи, землянки и другие помещения. Эти помещения должны проветриваться и защищаться от попадания в них дождя и снега. Топки печей, имеющихся в приспособленных для хранилищ зданиях, должны быть замурованы.
27.2. Во временных складах:
а) полы могут быть деревянные, бетонные или глинобитные;
б) деревянные стены и крыши должны покрываться огнезащитным составом;
в) ограждение разрешается устраивать из жердей, плетней, досок и других подобных материалов, причем высота ограды должна быть не менее 2 м;
г) устройство водоемов не обязательно;
д) устройство тамбуров не обязательно, двери могут быть одинарными;
е) рабочее освещение внутри хранилищ может осуществляться рудничными аккумуляторными светильниками или фонарями с сухими батареями (при металлических корпусах - в резиновых чехлах);
ж) в приспосабливаемых помещениях могут быть сохранены существующие размеры дверей и окон.
В остальном к временным складам предъявляются такие же требования, как и к постоянным складам.
27.3. Временные склады взрывчатых материалов, устраиваемые в черте города (проходка выработок при строительстве метрополитена и др.), могут размещаться в сухих проветриваемых подвалах неиспользуемых строений или в специально заглубленных до 2,5 м помещениях с засыпкой по верху не менее 2 м. Взрывчатые вещества, средства инициирования, прострелочные и взрывные аппараты должны храниться в помещениях, отделенных друг от друга и от помещения подготовки взрывчатых материалов кирпичной (бетонной) стеной толщиной не менее 25 см.
28. Поверхностные и полууглубленные кратковременные склады взрывчатых материалов.
28.1. Для производства работ кратковременного характера хранение взрывчатых материалов допускается: в неиспользуемых строениях, сараях, землянках и пр.; в железнодорожных вагонах; на судах; в автомобилях, прицепах и повозках; в палатках, на площадках у мест производства взрывных работ.
28.2. На кратковременных складах взрывчатых материалов должны выполняться требования
пунктов 27.1, 27.2 главы Х настоящих Правил. При этом не обязательны устройство молниезащиты, освещения, телефонной связи, канавы вокруг ограды склада и очистка зоны вокруг склада взрывчатых материалов от деревьев. Во всем остальном должны быть выполнены соответствующие требования, предусмотренные
главой Х настоящих Правил.
Ограду кратковременных складов разрешается делать высотой не менее 1,5 м не ближе 20 м от ближайшей стены хранилища. Расстояние от ограды до караульного помещения должно быть не менее 15 м.
Деревянные стены хранилищ кратковременных складов снаружи и внутри необходимо покрывать в качестве огнезащитного состава известково - соляным раствором в три слоя. Крыша, потолок и конструкции чердачных перекрытий склада должны быть несгораемыми или также покрыты огнезащитным составом.
28.3. Хранение взрывчатых материалов в нежилых строениях, землянках и прочих помещениях.
28.4. При кратковременном хранении взрывчатых материалов в нежилых строениях, землянках и т.п. в одном хранилище количество взрывчатых веществ не должно превышать 3 т взрывчатых веществ и 10 тыс. шт. детонаторов с соответствующим количеством детонирующего и огнепроводного шнуров (средств поджигания огнепроводного шнура), при этом должны обеспечиваться сохранение их качества и соответствующая охрана.
Детонаторы следует помещать в деревянный ящик, обитый изнутри войлоком, а снаружи - металлическими листами. Ящик должен устанавливаться на расстоянии не ближе 2 м от взрывчатых веществ и запираться на замок.
29. Хранение взрывчатых материалов в железнодорожных вагонах.
29.1. В отдельном двухосном вагоне допускается хранить не более 3 т взрывчатых веществ или 10 тыс. шт. детонаторов и 1000 м детонирующего шнура.
В четырехосном вагоне разрешается хранить не более 6 т взрывчатых веществ или 20 тыс. шт. детонаторов и 2000 м детонирующего шнура.
В указанных случаях количество совместно хранимого огнепроводного шнура и средств его поджигания не ограничивается.
29.2. Разрешается совместно хранить взрывчатые материалы в двухосном вагоне не более 1 т взрывчатых веществ, 5 тыс. шт. детонаторов, 1000 м детонирующего шнура и необходимое количество огнепроводного шнура (средств поджигания огнепроводного шнура), а в четырехосном - соответственно вдвое больше взрывчатых материалов.
29.3. Вагоны, предназначенные для совместного хранения взрывчатых веществ, средств инициирования, прострелочных и взрывных аппаратов, должны быть разделены на три отделения деревянными перегородками. Крайние отделения вагона служат для хранения взрывчатых веществ (прострелочных и взрывных аппаратов) и средств инициирования, среднее (тамбур) - для выдачи взрывчатых материалов.
Двери для входа в отделения должны быть сплошными и иметь размер не менее 1,8 x 0,9 м.
29.4. Вагоны, оборудуемые под хранение взрывчатых материалов, должны быть исправны и иметь запорно - предохранительные устройства. Вагоны, использовавшиеся для перевозки угля и других легковоспламеняющихся материалов, перед размещением взрывчатых материалов следует очистить от этих продуктов и промыть щелочной водой.
29.5. Двери вагона должны быть зашиты наглухо и с внутренней стороны обшиты тесом. Для входа в вагон с одной стороны необходимо оборудовать дверь размером не менее 1,8 x 0,9 м, открывающуюся внутрь.
Вагон должен быть обеспечен средствами пожаротушения.
29.6. Выдавать взрывчатые материалы, а также принимать их остатки необходимо только во время стоянок вагона в тупиках или на запасных путях, отстоящих от магистральных путей, промышленных и жилых строений на расстояние, определяемое по согласованию с начальником станции (перегона), но не менее 125 м. Для подхода автомобильного транспорта к вагону должны быть удобные подъезды.
29.7. До начала любых маневров с вагонами, загруженными взрывчатыми материалами, а также в пути следования таких вагонов все люки должны быть закрыты, вагоны заперты на замки и опломбированы. Ящики, мешки с взрывчатыми материалами должны быть закреплены.
29.8. В ночное время при стоянке вагона - хранилища взрывчатых материалов в тупике или на запасных путях он должен обозначаться видимыми сигналами.
В остальном должны соблюдаться требования правил перевозки опасных грузов по железным дорогам.
30. Хранение взрывчатых материалов на судах.
30.1. При выполнении взрывных работ на морях, реках, озерах и водохранилищах разрешается хранить взрывчатые материалы на судах, специально оборудованных для этой цели.
Определение годности таких судов и приемка помещений (хранилищ) должны проводиться в установленном порядке комиссиями.
30.2. Погрузка, разгрузка и движение судов с взрывчатыми материалами осуществляются в установленном порядке.
30.3. Хранилища для взрывчатых материалов разрешается устраивать только на исправных судах, имеющих для хранения этих материалов соответствующие помещения. Запрещается использовать несамоходные суда под хранилища взрывчатых материалов при выполнении взрывных работ на море.
30.4. Судно, предназначенное для совместного хранения взрывчатых материалов, должно иметь отдельные помещения для взрывчатых веществ, средств инициирования, прострелочных и взрывных аппаратов с отдельными входами. В остальном к нему предъявляются требования, установленные для транспортирования взрывчатых материалов морским и речным транспортом.
30.5. Для стоянки судна должно выбираться место, удаленное от пристаней, жилых, производственных и иных зданий и сооружений на безопасное расстояние, и, во всех случаях, вне судового хода.
30.6. Суда, ранее служившие для перевозки нефтепродуктов, кислот, бертолетовой соли или других легковоспламеняющихся веществ, должны быть очищены от них и промыты щелочной водой до загрузки взрывчатых материалов.
30.7. Взрывчатые материалы должны укладываться и закрепляться так, чтобы в случае крена судна, качки, удара, посадки на мель и т.д. исключалась возможность их падения, удара и т.п.
30.8. В случае пожара или возникшей опасности для судна возможность дальнейшего хранения взрывчатых материалов решается капитаном.
30.9. При постановке судна с взрывчатыми материалами у берега посторонние лица не должны допускаться к нему по берегу ближе 50 м. Для этого береговая стоянка ограждается с суши изгородью (жердями, колючей проволокой или канатом). Концы ограды должны вводиться в воду на расстоянии не менее 3 м от берега.
30.10. Суда, предназначенные для хранения взрывчатых материалов, должны быть оборудованы молниезащитой.
30.11. На судах, осуществляющих специальные работы с применением взрывчатых материалов на море, озерах, водохранилищах и реках (дноуглубительные, водолазные, океанографические, геофизические и т.п.), а также на судах полярного плавания, применяющих взрывчатые материалы для расчистки прохода во льдах, допускается одновременно с взрывчатыми материалами перевозить и другие грузы.
30.12. Хранение взрывчатых материалов непосредственно на палубе судна разрешается только на речных судах или судах, выходящих в море на срок не более трех суток; при условии, что взрывчатые вещества, средства инициирования, прострелочные и взрывные аппараты будут храниться в специальных контейнерах (ларях) отдельно друг от друга; контейнеры (лари) должны быть прочно укреплены, и лари, кроме того, покрыты брезентом.
30.13. Освещение хранилищ взрывчатых материалов на технических судах должно быть электрическое с расположением проводки, осветительной арматуры и выключателей вне хранилищ. В качестве аварийного освещения могут применяться аккумуляторные светильники.
30.14. Загрузка взрывчатых материалов на судах, проводящих специальные работы, должна осуществляться только после погрузки других грузов. Детонаторы следует грузить в последнюю очередь.
30.15. Во время плавания судовые хранилища взрывчатых материалов должны находиться под постоянным наблюдением персонала взрывных работ. При стоянке судна в порту у хранилища взрывчатых материалов должна быть выставлена вооруженная охрана.
30.16. При возвращении судна из рейса все взрывчатые материалы должны быть немедленно свезены на берег и сданы на склад взрывчатых материалов.
31. Хранение взрывчатых материалов на автомобилях, прицепах и повозках.
31.1. На работах передвижного характера (сейсморазведка, расчистка трассы для лесных дорог и т.п.) допускается хранение взрывчатых материалов на специально оборудованных автомобилях, прицепах, повозках и санях (передвижные склады).
В этом случае к транспортным средствам предъявляются требования, установленные для автогужевых перевозок взрывчатых материалов.
31.2. Передвижной склад должен представлять собой прочный фургон, установленный и капитально закрепленный на автомобиле, повозке, прицепе, санях.
Дерево, применяемое для изготовления кузова (фургона) должно пропитываться огнезащитным составом. Для внутреннего покрытия следует использовать материалы, не вызывающие искр и не способные образовывать опасные соединения с перевозимым грузом.
Такой склад взрывчатых материалов может быть самоходным или несамоходным.
В передней части кузова (в правом нижнем углу) должен быть размещен ящик (отсек) для средств инициирования. Этот ящик (отсек) должен быть изнутри покрыт мягким материалом (войлок, резина, поролон и др.). Конструкция ящика (отсека) должна исключать передачу детонации взрывчатым веществам в случае непредвиденного взрыва наибольшего количества средств инициирования.
В фургоне должно также оборудоваться рабочее место для заведующего склада взрывчатых материалов (раздатчика).
Погрузка (разгрузка) взрывчатых веществ должна проводиться через дверь, расположенную с правой стороны фургона. Допускается расположение двери в задней стенке фургона при условии устройства сигнализации, выведенной в кабину транспортного средства и срабатывающей при открывании двери.
Двери отсеков для взрывчатых веществ, средств инициирования, прострелочных и взрывных аппаратов должны быть снабжены врезными замками и приспособлениями, препятствующими открытию их в случае выхода из зацепления замков.
Фургон должен освещаться светильником, плафон которого устанавливается в верхней передней части кузова с наружной электропроводкой, проложенной в защитном кожухе. Электрические проводки внутри кузова не допускаются.
В кузове передвижного склада должны быть оборудованы окна, снабженные металлическими решетками. Окна в передней стенке фургона необходимо устраивать на уровне заднего окна кабины транспортного средства.
Передвижной несамоходный склад должен иметь устройство для присоединения на жесткой сцепке к буксирующему транспортному средству.
Техническое состояние, оборудование, укомплектованность передвижного склада, организация его движения и подготовленность к ликвидации аварийных ситуаций должны отвечать требованиям Правил перевозки опасных грузов автомобильным транспортом, утвержденных Приказом Министра транспорта Российской Федерации от 08.08.95 N 73 <1>.
--------------------------------
<1> Зарегистрированы в Министерстве юстиции Российской Федерации 18.12.95, регистрационный N 997.
При транспортировании несамоходного склада взрывчатых материалов масса буксируемого прицепа не должна превышать половины массы буксирующего транспортного средства или трех четвертей тягового усилия тягача.
32. Площадки для хранения взрывчатых материалов.
32.1. При проведении взрывных работ по охране объектов от повреждения ледоходом и паводковыми водами допускается кратковременное (не более 30 суток) хранение взрывчатых материалов на специальных площадках. Для производства массовых взрывов, геофизических и других разовых работ срок кратковременного хранения взрывчатых материалов не должен превышать 90 суток. При этом во всех случаях взрывчатые материалы необходимо размещать на деревянном настиле высотой не менее 20 см от земли и под навесом или брезентовым покрытием.
32.2. Сроки, место и порядок временного хранения взрывчатых материалов на площадках при мелиоративном строительстве могут устанавливаться руководителями строительных организаций по согласованию с органами госгортехнадзора и внутренних дел, но во всех случаях не должны превышать двух лет при ежегодной перерегистрации площадок и приемке их в эксплуатацию.
32.3. При хранении взрывчатых материалов на площадках средства инициирования должны размещаться на отдельных площадках или в палатках, расположенных на расстоянии, безопасном по передаче детонации взрывчатых веществ из условия принятия средств инициирования за активный заряд.
33. Помещения с сейфами и помещения - сейфы.
В научных и учебных организациях взрывчатые материалы должны храниться в помещениях с сейфами или помещениях - сейфах. Такие помещения должны иметь несгораемые стены и перекрытия. В смежных комнатах, а также комнатах, расположенных под и над помещениями, предназначенными для хранения взрывчатых материалов, не должно быть рабочих мест с постоянным пребыванием людей. От соседних помещений эти комнаты следует отгораживать капитальной кирпичной или бетонной стеной толщиной не менее 25 см. Дверь в помещении должна быть изготовлена из материала с пределом огнестойкости не менее 45 мин.
Сейф для хранения средств инициирования должен быть футерован внутри мягким материалом, заземлен и размещен не ближе 2 м от сейфа с взрывчатыми веществами.
Помещение должно быть оборудовано пожарной и охранной сигнализациями.
34. Подземные и углубленные склады взрывчатых материалов.
34.1. Подземные склады взрывчатых материалов, раздаточные камеры, участковые пункты хранения.
34.2. В подземных условиях взрывчатые материалы должны храниться в особо оборудованных выработках - камерах или ячейках, которые необходимо располагать так, чтобы взрыв взрывчатых материалов в одной из них не мог вызвать детонацию взрывчатых материалов в соседних.
Подземный склад должен состоять из выработок, представляющих собой собственно склад, в которых расположены камеры или ячейки для хранения взрывчатых материалов, а также подводящих выработок и вспомогательных камер.
К вспомогательным относятся камеры:
для проверки электродетонаторов или изготовления зажигательных трубок и маркировки детонаторов;
для выдачи взрывчатых материалов;
для размещения средств механизации взрывных работ;
для хранения кассет и сумок;
для размещения электрораспределительных устройств и противопожарных средств.
Перечисленные камеры могут располагаться в тупиках выработок, подводящих к складу.
Взрывные, контрольные и измерительные приборы и устройства, а также кассеты и сумки в подземных и углубленных складах взрывчатых материалов должны храниться на специальных стеллажах или в шкафах.
Каждый склад взрывчатых материалов необходимо оборудовать телефонной связью с организацией или прямым телефонным выходом к диспетчеру.
В подземных складах разрешается использовать аккумуляторные погрузчики или другие средства механизации погрузочно - разгрузочных работ только во взрывобезопасном исполнении.
Участковые пункты хранения взрывчатых материалов должны эксплуатироваться в соответствии с инструкциями, утвержденными руководителями организаций.
34.3. Для ведения взрывных работ способом короткозамедленного и замедленного взрывания на угольных и сланцевых шахтах в подземных расходных складах и раздаточных камерах должно быть не менее чем по одному ящику электродетонаторов каждой ступени замедления, допущенных к применению в соответствующих условиях.
34.4. Расположение подземных складов взрывчатых материалов должно отвечать следующим условиям:
а) расстояние от любой ближайшей точки склада до ствола шахты и околоствольных выработок, а также до вентиляционных дверей, разрушение которых может лишить притока свежего воздуха всю шахту либо значительные ее участки, должно быть для камерного склада не менее 100 м, для склада ячейкового типа - 60 м;
б) расстояние от ближайшей ячейки или камеры до выработок, служащих для постоянного прохода людей, для склада камерного типа должно быть не менее 25 м и для склада ячейкового типа - не менее 20 м;
в) расстояние от склада до поверхности для склада камерного типа должно быть не менее 30 м и для склада ячейкового типа - не менее 15 м;
г) выработки, в которых расположены камеры или ячейки для хранения взрывчатых материалов (хранилища), должны соединяться с главными выработками не менее чем тремя подводящими прямолинейными или криволинейными выработками, образующими друг с другом прямые углы.
Подводящие к складу выработки должны заканчиваться тупиками длиной не менее 2 м и площадью сечения не менее 4 м2;
д) ширина основной выработки склада взрывчатых материалов, в которой применяются погрузчики, должна обеспечивать их движение с поворотом на 90 град. и иметь размеры, превышающие максимальные размеры погрузочно - разгрузочных механизмов с грузами, в том числе на криволинейных участках, не менее чем на 60 см с каждой стороны по ширине и 50 см по высоте от светильников;
е) каждый склад должен иметь два выхода для людей. При строительстве метрополитена и тоннелей, а также при проведении подземных горно - разведочных выработок разрешается иметь временные склады взрывчатых материалов с одним выходом при вместимости склада, не превышающей 1 т взрывчатых веществ;
ж) при строительстве метрополитена, сооружении тоннелей и проведении геологическими организациями подземных горно - разведочных выработок расстояние от ближайшей ячейки или камеры до ствола шахты, камер и выработок, по которым проложены основные питающие магистрали (водоотливные и вентиляционные трубы, кабели), и от выработок, служащих для прохода людей, должно быть не менее 15 м;
з) при наличии в складе взрывчатых материалов рельсовых путей необходимо обеспечить их электроизоляцию от общешахтных.
Допускается соединение выработок, в которых расположены камеры (ячейки), с главными выработками меньшим количеством подводящих выработок при условии устройства между хранилищами и заездами определенных проектом стальных дверей, локализующих взрыв в хранилищах.
Не разрешается расположение складов взрывчатых материалов между выработками главных направлений, уклонами, бремсбергами и ходками при них.
34.5. Все выработки склада взрывчатых материалов должны быть закреплены несгораемой крепью и побелены.
В устойчивых породах крепление подводящих выработок не обязательно.
34.6. Проветривать склад необходимо струей свежего воздуха. Количество подаваемого в склад воздуха должно обеспечить его четырехкратный часовой обмен во всех выработках.
Исходящую из склада воздушную струю запрещается направлять в выработки со свежей струей воздуха.
34.7. Склад взрывчатых материалов должен быть обеспечен средствами пожаротушения (огнетушители, ящики с песком, сосуды с водой, пожарный трубопровод с гидрантами). С согласия организации - эксперта по безопасности работ допускается оборудование автоматическими средствами пожаротушения. Количество и размещение средств пожаротушения согласовываются командиром ВГСЧ.
В начале подводящих выработок к камерам или ячейкам склада должны быть устроены противопожарные двери.
34.8. В подводящих выработках и в складах взрывчатых материалов шахт (рудников), опасных по газу или пыли, должно применяться электрооборудование во взрывозащищенном исполнении, а в прочих шахтах (рудниках) - в рудничном нормальном исполнении. Электропроводку для освещения в складах и подводящих выработках разрешается выполнять бронированным кабелем в свинцовой или поливинилхлоридной оболочке или гибкими резиновыми кабелями с негорючей изоляцией и оболочкой.
Для питания осветительных установок должно применяться напряжение (линейное) не выше 220 В. Осветительную сеть необходимо защищать от утечек тока.
Подводящие выработки, вспомогательные камеры должны освещаться светильниками, подвешенными к кровле выработки, а камеры (ячейки) для хранения взрывчатых материалов - косым светом из подводящей выработки через фрамугу, расположенную над дверью.
34.9. При оборудовании подземных складов взрывчатых материалов автоматической охранной сигнализацией должен обеспечиваться вывод сигнала на пульт дежурного (диспетчера) организации (шахты, рудника и т.п.).
34.10. В угольных и сланцевых шахтах, разрабатывающих пласты, опасные по взрывам пыли, в подводящих к складам взрывчатых материалов и раздаточным камерам выработках с обеих сторон должны быть установлены сланцевые или водяные заслоны, а сами выработки следует периодически осланцовывать или очищать от отложившейся пыли.
34.11. В складах у входной двери и в камере выдачи взрывчатых материалов должны быть установлены телефоны.
34.12. Порядок хранения взрывчатых материалов, содержания и охраны подземных раздаточных камер должен быть таким же, как и в подземных складах взрывчатых материалов. При этом взрывчатые вещества и средства инициирования должны храниться в отделениях, отгороженных друг от друга кирпичной, бетонной и им подобной стеной толщиной не менее 25 см. В раздаточной камере должно быть оборудовано место для выдачи взрывчатых материалов взрывникам.
34.13. Раздаточные камеры должны устраиваться не ближе 200 м от мест посадки людей в пассажирские вагоны и погрузки - выгрузки горной массы.
Раздаточные камеры вместимостью до 1000 кг взрывчатых веществ могут оборудоваться на расширении выработок горизонтов, проветриваться свежей струей воздуха за счет общешахтной депрессии и должны ограждаться сплошной по высоте кирпичной, бетонной или подобной стеной толщиной не менее 25 см.
Раздаточная камера вместимостью более 1000 кг взрывчатых веществ должна размещаться в специально отведенной проветриваемой аналогично складам взрывчатых материалов выработке на расстоянии не менее 25 м от выработок, служащих для постоянного прохода людей.
34.14. Раздаточные камеры должны быть закреплены несгораемой крепью и иметь стационарное освещение. Подводящие выработки на протяжении не менее 5 м также должны быть закреплены несгораемой крепью.
В выработке, подводящей к раздаточной камере, должны быть металлические двери - сплошная (противопожарная) и решетчатая с окном для выдачи и приемки взрывчатых материалов. Двери должны иметь надежные запоры.
Для размещения взрывчатых материалов в раздаточных камерах необходимо устраивать стеллажи, а для хранения взрывных машинок, проводов, контрольно - измерительных приборов, полиэтиленовых мешков, ампул для гидрозабойки и т.п. - устанавливать ящики, взрывчатые вещества в заводской упаковке могут храниться в штабелях.
Со стороны поступающей струи воздуха у раздаточной камеры должен быть установлен телефон и оборудован пункт хранения средств противопожарной защиты.
34.15. Участковый пункт хранения взрывчатых материалов должен представлять собой огражденную решетчатыми стенками (перегородками) выработку или часть выработки, в которой установлены специальные металлические шкафы (ящики) или запирающиеся на замки контейнеры с взрывчатыми материалами. Дверь пункта должна запираться на внутренний замок.
34.16. На участковых пунктах в качестве шкафов (контейнеров) для взрывчатых материалов могут использоваться металлические сейфы или ящики, изготовленные из металлических листов толщиной не менее 2 мм, а также шахтные вагонетки, оборудованные металлическими крышками. Указанные емкости с взрывчатыми материалами, разделив перегородками, следует располагать непосредственно в выработке или устанавливать в нишах.
34.17. При совместном хранении взрывчатых материалов шкаф (ящик) должен быть разделен не менее чем на три отделения: для размещения взрывчатых веществ и детонирующего шнура, для хранения взрывных и контрольно - измерительных приборов, проводов и т.п. и для кассет (сумок) с электродетонаторами или зажигательными трубками. Все стенки отделения для хранения детонаторов должны быть покрыты изнутри мягким материалом.
34.18. Установленные в участковых пунктах металлические шкафы для хранения взрывчатых материалов должны заземляться. При этом переходное сопротивление не должно превышать 2 Ом. В породах с высоким удельным сопротивлением значение переходного сопротивления устанавливается местной инструкцией.
34.19. Отдельные металлические ящики и контейнеры (сейфы), предназначенные для хранения сменного запаса взрывчатых материалов вблизи мест взрывных работ, должны отвечать требованиям пунктов
34.17 и
34.18 главы Х настоящих Правил и иметь внутренние замки.
34.20. Запрещается вести взрывные работы ближе 30 м от складов взрывчатых материалов, раздаточных камер или участковых пунктов хранения взрывчатых материалов при наличии в них взрывчатых веществ (средств инициирования).
35. Углубленные склады.
35.1. Устья выработок, ведущих к складу, должны быть оборудованы двойными дверями, открывающимися наружу. Наружная дверь должна быть сплошной металлической или деревянной, обитой кровельной сталью, а внутренняя - решетчатой.
35.2. Если расстояние от входа в склад до ближайшей камеры хранения взрывчатых материалов более 15 м, склад должен иметь два выхода. Склад должен проветриваться в соответствии с требованиями к подземным складам.
35.3. Перед устьем выработки, ведущей к складу, необходимо устраивать защитный вал высотой, превышающей высоту выработки на 1,5 м. Длина защитного вала должна быть не менее утроенной ширины выработки, считая по гребню вала, а ширина - не менее 1 м по гребню. Размеры вала по подошве определяются углом естественного откоса грунта.
35.4. Камеры, предназначенные для хранения взрывчатых материалов, и подводящие к ним выработки должны быть закреплены несгораемой или деревянной крепью, обработанной огнезащитным составом.
35.5. Электрооборудование углубленных складов взрывчатых материалов должно соответствовать требованиям
пункта 34.8 главы Х настоящих Правил. Включение и выключение освещения выработок углубленного склада должны проводиться с поверхности.
При отсутствии стационарных источников электроэнергии по разрешению руководителя организации допускается использовать для освещения в складе индивидуальные рудничные аккумуляторные светильники.
35.6. Каждый склад должен оборудоваться телефонной связью с организацией.
35.7. Хранилища углубленных складов взрывчатых материалов при толщине покрывающего слоя более 10 м молниезащитой не оборудуются.
При наличии в складе рельсовых путей и трубопроводов они должны быть изолированы от рельсов и труб, проложенных на земной поверхности.
35.8. Территория углубленных складов взрывчатых материалов должна ограждаться с таким расчетом, чтобы выходы находились внутри ограды.
35.9. Посты охраны должны располагаться как у входа в склад, так и у устья вентиляционных выработок и у запасного выхода, если они не просматриваются постом, расположенным у входа в склад.
Другие требования к устройству углубленных складов должны соответствовать предъявляемым к поверхностным постоянным складам.
XI. Проектирование, устройство и эксплуатация
молниезащиты складов взрывчатых материалов
1. Молниезащиту складов взрывчатых материалов необходимо выполнять в соответствии с проектом.
2. Молниезащита должна устраиваться независимо от грозовой активности местности. Исключение составляют склады, расположенные выше 66 град. 33 мин. северной широты, которые оборудовать молниезащитой не обязательно.
3. Для хранилищ постоянных и временных поверхностных, полууглубленных и углубленных (при толщине покрывающего слоя менее 10 м) складов взрывчатых материалов, расположенных на земной поверхности зданий подготовки взрывчатых материалов, а также пунктов изготовления боевиков с электродетонаторами обязательна защита как от прямых ударов, так и от вторичных воздействий молний.
Стационарные пункты изготовления и подготовки взрывчатых веществ в организациях, ведущих взрывные работы, также должны оборудоваться молниезащитой согласно требованиям
главы XI настоящих Правил.
4. Площадки для хранения взрывчатых материалов в контейнерах и пункты отстоя транспортных средств с взрывчатыми материалами должны защищаться только от прямого удара молнии. Кратковременные склады взрывчатых материалов (за исключением плавучих складов) молниезащитой могут не оборудоваться.
5. Во время грозы перемещение людей в зоне расположения заземляющих устройств молниезащиты не должно допускаться.
В целях снижения опасности шаговых напряжений следует применять углубленные и рассредоточенные заземлители в виде колец и расходящихся лучей.
6. Молниезащитные устройства.
6.1. Защита от прямых ударов молнии зданий и сооружений, указанных в
пункте 3 главы XI настоящих Правил, должна выполняться отдельно стоящими стержневыми или тросовыми молниеотводами
(Приложение 4, рисунки 1 и 2), включающими молниеприемники, токоотводы и заземлители (см.
пункты 8.1.5, 8.1.6, 8.1.8, 8.2.1 главы XI настоящих Правил).
6.2. Подводка воздушных проводов к зданиям и сооружениям, защищаемым от прямых ударов молнии, запрещается.
6.3. Наименьшие допустимые расстояния от токоотвода отдельно стоящего стержневого молниеотвода в точке А на рисунке 1
Приложения 4 до защищаемого сооружения выбираются в зависимости от импульсного сопротивления заземления Ru по рисунку 3
Приложения 4.
Наименьшие допустимые расстояния Sв1 и Sв2
(Приложение 4, рис. 2) от тросового молниеотвода (соответственно в точках А и С) до защищаемого сооружения определяются по рисункам 4 и 5 Приложения
4.
Расстояние между молниеотводами и хранилищами должно обеспечивать свободный проезд транспортных средств.
6.4. Для исключения заноса высоких потенциалов в защищаемые сооружения по подземным металлическим коммуникациям необходимо располагать заземлители защиты от прямых ударов молнии и подводы к ним на расстоянии Sз от коммуникаций, вводимых в здания или сооружения
(Приложение 4, рисунки 1 и 2), в том числе от электрических кабелей любого назначения. Это расстояние определяется по соотношениям: Sз = 0,5Ru - расстояние для стержневых молниеотводов, м; Sв = 0,3Ru - расстояние для тросовых молниеотводов, м; где Ru - импульсное сопротивление каждого заземлителя защиты от прямых ударов молнии, Ом.
Расстояние Sз должно приниматься не менее 3 м, за исключением случаев, когда металлические подземные трубопроводы и кабели не вводятся в защищаемое здание, а расстояние до места их ввода в соседние защищаемые здания более 50 м. Тогда Sз может быть уменьшено до 1 м.
6.5. Каждый молниеотвод должен иметь свой заземлитель. Импульсное сопротивление заземлителя для каждого отдельного стержневого молниеотвода и для каждого токоотвода тросового молниеотвода должно быть не более 10 Ом.
В грунтах с электрическим удельным сопротивлением 500 Ом.м и выше допускается увеличение импульсного сопротивления каждого заземлителя до 40 Ом с удалением молниеотводов от защищаемого сооружения на расстояние согласно
пунктам 6.3, 6.4 главы XI настоящих Правил. При электрическом удельном сопротивлении грунта более 500 Ом.м допускается уменьшение расстояний Sз и Sв до 1 м, если значение Ru более 25 Ом.
При наличии на складах взрывчатых материалов нескольких хранилищ взрывчатых веществ в районах с электрическим удельным сопротивлением грунтов 1000 Ом.м и выше допускается заземлители каждого молниеотвода объединять в единую заземляющую систему. Импульсное сопротивление системы должно определяться проектом.
Предельно допустимые длины соединительных проводников заземляющей системы в зависимости от электрического удельного сопротивления грунта приведены ниже.
Электрическое удельное
сопротивление грунта, Ом.м 1000 2000 3000 5000 10000 20000
Предельная длина
соединительных проводников
заземлителей, м 100 150 200 250 350 450
Соединительные проводники между отдельными заземлителями должны быть удалены от защищаемых сооружений на расстояния, указанные в
пунктах 6.3, 6.4 главы XI настоящих Правил.
6.6. При наличии в хранилищах и зданиях металлических коммуникаций большой протяженности, а также в случаях, когда взрывчатые материалы хранятся в металлических упаковках (короб), для защиты от электростатической индукции необходимо обеспечивать наложение металлической сетки по крыше здания с соответствующим заземлением и заземление всех металлических конструкций, находящихся в здании.
Заземлитель защиты от вторичных воздействий должен выполняться в виде контура, прокладываемого в земле снаружи хранилища по его периметру на расстоянии 0,5 - 1 м от фундамента на глубине 0,5 м. Сопротивление контура растеканию тока промышленной частоты должно быть не более 10 Ом. Для снижения этого сопротивления допускается присоединять к заземлителю все трубопроводы, расположенные в земле (водопровод, трубы отопления и т.п.).
В грунтах с электрическим удельным сопротивлением 500 Ом.м и выше сопротивление заземляющего устройства не нормируется.
Заземлители защиты от прямых ударов молнии и защиты от вторичных воздействий должны быть удалены друг от друга на расстояния, не менее указанных в
пунктах 6.4, 6.5 главы XI настоящих Правил.
При выполнении защиты от электростатической индукции наложением металлической сетки по крыше здания к заземлителю от вторичных воздействий должны присоединяться кратчайшими путями все металлические предметы.
При наличии металлической кровли защиту необходимо осуществлять присоединением кровли к заземлителю защиты от вторичных воздействий путем прокладки вертикальных токоотводов по наружным сторонам зданий на расстоянии до 25 м. Верхние концы токоотводов подлежат соединению с металлом крыши, а нижние - с заземлителем.
Если кровля выполнена из непроводящего материала, то по верху крыши необходимо накладывать металлическую сетку с размером ячеек до 5 x 5 м, выполненную из стальной проволоки диаметром не менее 6 мм, и присоединять ее токоотводами из того же материала к заземлителю.
6.7. Для защиты от электромагнитной индукции все проложенные по территории склада трубопроводы, бронированные кабели и пр. необходимо надежно соединять друг с другом в местах их сближения менее чем на 10 см, а также через 15 - 20 м их длины при параллельном расположении, для того чтобы не допустить образования незамкнутых контуров. Такие же соединения должны быть сделаны и во всех других случаях сближения металлических протяженных предметов с каркасами стальных конструкций зданий, оборудованием, оболочками кабелей и пр. При этом нужно обеспечить контакты в местах соединения трубопроводов, во фланцах, муфтах и т.п. В местах соединения переходное электрическое сопротивление не должно превышать 0,05 Ом на один контакт, в том числе при необходимости путем устройства дополнительных металлических перемычек из стальной проволоки площадью сечения не менее 16 мм2 или других проводников соответствующей площади сечения.
6.8. Защита хранилищ от заноса высоких потенциалов при вводе в них электрических сетей освещения обеспечивается:
а) при бронированных кабелях, проложенных в земле, - присоединением металлической брони и оболочки кабеля к заземлителю защиты от вторичных воздействий, а при его отсутствии - к специальному заземлителю с импульсным сопротивлением не более 10 Ом. Кабели должны быть удалены от заземлителей молниеотводов на расстояние, указанное в
пункте 6.4 главы XI настоящих Правил;
б) при небронированных кабелях - путем присоединения к заземлителю, указанному в
пункте 6.8 а) главы XI настоящих Правил;
в) при кабелях, присоединенных к воздушной линии (для складов взрывчатых материалов, находящихся в эксплуатации), - подключением в месте перехода воздушной линии в кабель
(Приложение 4, рисунок 6) (не приводится) металлической брони и оболочки, а также штырей (крючьев) к специальному заземлителю с импульсным сопротивлением Ri1 не более 10 Ом.
Кроме того, в месте перехода между жилой кабеля и заземленными элементами должны быть устроены закрытые воздушные промежутки с межэлектродными расстояниями 2 - 3 мм или установлен низковольтный вентильный разрядник. Штыри (крючья) изоляторов воздушной линии на ближней опоре от места перехода линии в кабель должны быть присоединены к заземлителю с импульсным сопротивлением Ri2 не более 20 Ом.
В грунтах с электрическим удельным сопротивлением 500 Ом.м и выше допускается увеличение импульсных сопротивлений Ri, Ri1 и Ri2, заземлителей до 40 Ом, а в многолетнемерзлых и скальных грунтах - по проекту.
6.9. Хранилища, в которых размещаются взрывчатые материалы, нечувствительные к воздействию электростатической или электромагнитной индукции (взрывчатые вещества на основе аммиачной селитры, детонирующий шнур и т.п.), оборудовать защитой от вторичных воздействий молнии не обязательно.
7. Зоны защиты молниеотводов.
7.1. Одиночный стержневой молниеотвод.
Зона защиты одиночного стержневого молниеотвода высотой h представляет собой круговой конус
(Приложение 4, рисунок 7) (не приводится), вершина которого находится на высоте h0 < h. На уровне земли зона защиты образует круг радиусом r0. Горизонтальное сечение зоны защиты на высоте защищаемого сооружения hx представляет собой круг радиусом гx.
Зона защиты одиночных стержневых молниеотводов имеет следующие размеры:
h0 = 0,85 h,
r0 = (1,1 - 0,002h)h,
hx
rx = (1,1 - 0,002h) x (h - ----) (1)
0,85
7.2. Двойной стержневой молниеотвод.
7.2.1. Зона защиты двойного стержневого молниеотвода высотой h показана на рисунке 8
Приложения 4. Торцевые области зоны защиты определяются как зоны одиночных стержневых молниеотводов. Размеры h0, r0, rx1, rx2 определяются по
формулам (1) главы XI настоящих Правил для обоих типов зон защиты.
Зона защиты двойного стержневого молниеотвода имеет следующие габариты:
при L <= h hc = h0; rcx = rx; rc = r0; (2)
┌─
│hc = h0 - (0,17 + 3 x 1Е(-4) h) x (L - h)
│ hc - hx
│rcx = r0 x ---------; rc = r0
│ hc
└─
Зона защиты существует при L <= 3h. При L > 3h стержневые молниеотводы следует рассматривать как одиночные.
7.2.2. Зона защиты двух стержневых молниеотводов разной высоты h1 и h2 представлена на рисунке 9
Приложения 4 (не приводится). Торцевые области этой зоны определяются как зоны защиты одиночных стержневых молниеотводов соответствующей высоты, и размеры h01, h02, r01, r02, rx1, rx2 вычисляются по
формулам (1) главы XI настоящих Правил для обоих типов зон защиты. Остальные размеры зоны определяются по формулам:
r01 + r02 hc1 + hc2 hc - hx
rc = ---------; hc = ---------; rcx = rc x -------, (4)
2 2 hc
где hc1 и hc2 вычисляются по
формулам (2) и (3). Для разновысокого двойного стержневого молниеотвода зона защиты существует при L <= 3hmin.
7.3. Многократный стержневой молниеотвод.
7.3.1. Зона защиты многократных стержневых молниеотводов равной высоты определяется как зона защиты попарно взятых соседних стержневых молниеотводов
(Приложение 4, рисунок 10) (не приводится).
Основное условие защищенности одного или группы сооружений высотой hx с надежностью 99,5% - выполнение неравенства rcx > 0 для всех попарно взятых молниеотводов (rcx определяется по
формулам (2) и (3) главы XI настоящих Правил).
7.4. Одиночный тросовый молниеотвод.
7.4.1. Зона защиты одиночного тросового молниеотвода приведена на рис. 11 (не приводится), где h - высота троса в точке наибольшего провеса. С учетом стрелы провеса при известной высоте опор hon высота стального троса площадью сечения 35 - 50 мм2 определяется при длине пролета L < 120 м как h = hon - 2 м, а при L = 120 - 150 м как h = hon - 3 м.
Зона защиты одиночных тросовых молниеотводов имеет следующие размеры:
h0 = 0,85h,
r0 = (1,35 - 0,0025h)h, (5)
hx
rx = (1,35 - 0,0025h) x (h - ----)
0,85
7.5. Двойной тросовый молниеотвод.
7.5.1. Зона защиты двойного тросового молниеотвода показана на рисунке 12
Приложения 4 (не приводится). Размеры r0, h0, гx определяются по
формулам (5) главы XI настоящих Правил.
Остальные габариты зоны защиты определяются по формулам:
при L <= h hc = h, rcx = rx, rc = r0; (6)
┌─
│hc = h0 - (0,14 + 5 x 1Е(-4)h) x (L - h);
│
при L > h < L h0 - hx hc - hx
│rx = --- x -------; rc = r0; rcx = r0 x ------- (7)
│ 2 h0 - hc hc
└─
Зона защиты существует при L <= 3h.
8. Конструктивное выполнение молниеотводов.
8.1. Опоры, молниеприемники и токоотводы.
8.1.1. Опоры молниеотводов следует выполнять из стали любой марки, железобетона или древесины
(Приложение 4, рисунок 13) (не приводится). Металлические трубчатые опоры допускается изготовлять из некондиционных стальных труб. Металлические опоры должны быть предохранены от коррозии. Окрашивать контактные поверхности в соединениях не допускается, деревянные опоры и пасынки должны предохраняться от гниения пропиткой антисептиками.
8.1.2. Опоры стержневых молниеотводов необходимо рассчитывать на механическую прочность как свободно стоящие конструкции, а тросовые - с учетом натяжения троса и ветровой нагрузки на трос, без учета динамических усилий от токов молнии в обоих случаях.
8.1.3. К верхнему концу опоры 1 прикрепляется молниеприемник 2, выступающий над опорой не более чем на 1,5 м
(Приложение 4, рисунок 13) (не приводится). Молниеприемник соединяется токоотводом 3 с заземлением 4 и крепится к столбу скобами 5. Для больших хранилищ применяются сложные опоры.
Для увеличения срока службы деревянные опоры можно устанавливать на рельсовые или железобетонные приставки.
Размеры деревянных опор
Высота молниеотвода, м 9 11 13 14 16 18 20 22
Высота составных
деревянных частей
опоры, м:
верхней a 6 7 8 9 10 11 12 13
нижней b 5,5 6,5 7,5 8,5 9,5 10,5 11,5 12,5
8.1.4. Использование деревьев в качестве опор для молниеприемников не допускается.
8.1.5. Площадь сечения стального молниеприемника стержневого молниеотвода должна быть не менее 100 мм2
(Приложение 4, рисунок 14) (не приводится). Длина молниеприемника должна быть не менее 200 мм. Молниеприемники следует защищать от коррозии оцинкованием, лужением или покраской.
8.1.6. Молниеприемники тросовых молниеотводов необходимо выполнять из стального многопроводного оцинкованного троса площадью сечения не менее 35 мм2.
8.1.7. Соединение молниеприемников с токоотводами должно выполняться сваркой, а при невозможности применения сварки - болтовым соединением с переходным электрическим сопротивлением не более 0,05 Ом.
Соединение стальной кровли с токоотводами может выполняться зажимами
(Приложение 4, рисунок 15) (не приводится). Площадь контактной поверхности в соединении должна быть не менее удвоенной площади сечения токоотводов.
8.1.8. Токоотводы, перемычки и заземлители необходимо выполнять из фигурной стали с размерами элементов, не менее указанных в
таблице 13 Приложения 1.
8.2. Заземляющие устройства.
8.2.1. По расположению в грунте и форме электродов заземлители делятся на:
а) углубленные - из полосовой (площадью сечения 40 x 4 мм) или круглой (диаметром 20 мм) стали, укладываемые на дно котлована в виде протяженных элементов или контуров по периметру фундаментов. В грунтах с электрическим удельным сопротивлением р >= 500 Ом.м в качестве углубленных заземлителей может использоваться арматура железобетонных свай и железобетонных фундаментов других видов;
б) горизонтальные - из полосовой (площадью сечения 40 x 4 мм) или круглой (диаметром 20 мм) стали, уложенные горизонтально на глубине 0,6 - 0,8 м от поверхности земли или несколькими лучами, расходящимися из одной точки, к которой присоединяется токоотвод;
в) вертикальные - из стальных, вертикально ввинчиваемых стержней (диаметром 32 - 56 мм) или забиваемых электродов из угловой (40 x 40 мм) стали. Длина ввинчиваемых электродов должна приниматься 3 - 5 м, забиваемых - 2,5 - 3 м. Верхний конец вертикального заземлителя должен быть заглублен на 0,5 - 0,6 м от поверхности земли;
г) комбинированные - вертикальные и горизонтальные, объединенные в общую систему. Присоединение токоотводов следует проводить в середину горизонтальной части комбинированного заземлителя.
В качестве комбинированных следует применять сетки с глубиной заложения 0,5 - 0,6 м или сетки с вертикальными электродами. Шаг ячеек сетки должен быть не менее 5 - 6 м;
д) пластинчатые - для судов с взрывчатыми материалами, корпуса которых изготовлены из непроводящего материала.
8.2.2. Все соединения электродов заземлителей между собой и с токоотводами должны проводиться сваркой. Длина сварочного шва должна быть не менее двойной ширины свариваемых полос и не менее 6 диаметров свариваемых круглых проводников.
Болтовой контакт допускается только при устройстве временных заземлителей и в местах соединения между собой отдельных контуров, выполненных в соответствии с
пунктом 6.6 главы XI настоящих Правил. Площадь сечения соединительных полос заземлителей должна быть не менее указанной в
пункте 8.1.8 главы XI настоящих Правил.
8.2.3. Проектирование заземлителей должно вестись с учетом неоднородности грунта.
8.2.4. Конструкция заземлителей выбирается в зависимости от требуемого импульсного сопротивления с учетом структуры и электрического удельного сопротивления грунта, а также удобства ведения работ по их укладке. Типовые конструкции заземлителей и значения их сопротивления растеканию тока промышленной частоты R~, Ом, приведены в
таблице 11 Приложения 1.
В грунтах с электрическим удельным сопротивлением менее 500 Ом.м следует использовать заземлители горизонтального или вертикального типа. При грунтах неоднородной проводимости следует применять горизонтальные заземлители, если электрическое удельное сопротивление верхнего слоя грунта меньше нижнего, и вертикальные заземлители, если проводимость нижнего слоя лучше, чем верхнего.
8.2.5. Каждый заземлитель характеризуется своим импульсным сопротивлением, т.е. сопротивлением растеканию тока молнии Ri. Импульсное сопротивление заземлителя может существенно отличаться от сопротивления R~, получаемого обычно принятыми способами. Его величина определяется по формуле:
Ri = альфаR~, (8)
где альфа - импульсный коэффициент, зависящий от параметров тока молнии, электрического удельного сопротивления грунта и конструкции заземлителя.
Предельные длины горизонтальных заземлителей, гарантирующих альфа <= 1 при разных удельных сопротивлениях грунта ро, приведены ниже.
ро, Ом.м До 500 500 1000 2000 4000
lпр, м 25 35 50 80 100
Заземлители большей длины практически не отводят импульсный ток на участке, превышающем lпр.
Значения импульсного коэффициента альфа при разных удельных сопротивлениях грунта приведены в
таблице 12 Приложения 1.
Импульсные коэффициенты определены для значений амплитуды тока молнии 60 кА и крутизны 20 кА/мкс.
8.2.6. После монтажа заземлителей расчетное сопротивление растеканию должно быть уточнено непосредственным замером. Измерения следует проводить летом в сухую погоду.
Соединение между собой отдельных заземлителей молниеотводов стальной полосой допускается в грунтах с электрическим удельным сопротивлением ро > 500 Ом.м.
Если измеренное сопротивление заземлителей превышает расчетное, то в грунтах с электрическим удельным сопротивлением 500 Ом.м и более необходимо соединять между собой заземлители молниеприемников соседних хранилищ при расстоянии между ними не более указанных в
пункте 6.4 главы XI настоящих Правил.
9. Молниезащита плавучих судов со взрывчатыми материалами.
9.1. Молниезащита плавучих судов должна осуществляться посредством установки на каждой мачте молниеотводов с учетом следующих положений:
9.2. Если корпус судна и мачта изготовлены из металла и имеют надежный электрический контакт, а на топе металлической мачты нет никакого электрического или электронного оборудования, эта мачта обеспечивает защиту от действия молнии.
9.3. Если корпус и мачта изготовлены из металла и имеют надежный электрический контакт, а на топе металлической мачты установлено какое-либо электрическое или электронное оборудование, на мачте должен быть установлен молниеприемник, возвышающийся над этим оборудованием не менее чем на 300 мм.
9.4. Если корпус судна изготовлен из непроводящего материала, а мачта из металла, на части корпуса, находящейся в воде, должен устанавливаться заземляющий лист, к которому присоединяется мачта. В случае, когда на топе мачты установлено какое-либо электрическое или электронное оборудование, должно быть выполнено требование
пункта 9.2 главы XI настоящих Правил.
9.5. Если мачта изготовлена из дерева или другого непроводящего материала, на ней должен быть установлен молниеприемник, возвышающийся также не менее чем на 300 мм над любым устройством, находящимся на топе мачты.
Молниеприемник должен быть соединен с помощью токоотвода с металлическим корпусом судна или с заземляющим листом на судах с непроводящим корпусом.
9.6. Молниеприемник для установки на мачтах должен представлять собой металлический стержень диаметром не менее 12 мм. В качестве материала могут применяться медь, медные сплавы или сталь, защищенная металлическим антикоррозийным покрытием.
9.7. В качестве токоотвода на судах следует использовать шину, трос, прут или провод из меди площадью сечения не менее 70 мм2 или стали площадью сечения не менее 100 мм2, при этом токоотвод должен быть защищен от коррозии.
9.8. Токоотводы должны прокладываться по наружной стороне мачт и надстроек.
9.9. На судах с корпусом из непроводящего материала в качестве заземлителей необходимо применять листы из углеродистой стали площадью не менее 1,5 м2 и толщиной 5 - 6 мм, погруженные в воду при любой осадке и наибольшем допустимом крене судна.
9.10. Соединения между молниеприемником, токоотводом и заземлителем должны выполняться сваркой или болтовыми зажимами. В случае применения болтовых зажимов площадь контактной поверхности между токоотводом и молниеприемником или заземлителем должна быть не менее 100 мм2 для меди и ее сплавов и 1000 мм2 для стали.
9.11. Если судно оборудовано заваливающимися мачтами, между стандерсом и стойкой мачты должна быть установлена гибкая перемычка на токоотводе площадью сечения не менее 70 мм2 для меди и 100 мм2 для стального многожильного проводника.
10. Проектирование и приемка молниезащиты складов взрывчатых материалов.
10.1. Проект должен содержать:
план склада со всеми прилегающими к нему сооружениями;
расчет зон защиты от прямых ударов с обоснованием и размерами всех молниезащитных элементов;
расчет защиты от вторичных воздействий молнии (если это требуется) или мотивировку нецелесообразности ее выполнения;
рабочие чертежи всех конструкций;
спецификацию материалов.
10.2. Смонтированные молниезащитные устройства могут быть введены в эксплуатацию только после приемки их комиссией в установленном порядке.
11. Проверка молниезащиты.
11.1. Молниезащита должна проверяться в предгрозовой период, но не реже одного раза в год, а также после выявления повреждений комиссией, назначенной руководителем организации (шахты, рудника, карьера и т.п.), в составе: энергетика (электромеханика) или лица, выполняющего его обязанности, заведующего складом взрывчатых материалов, руководителя взрывных работ, в ведении которого находится склад.
Наружный осмотр молниезащитных устройств периодически, но не реже одного раза в месяц, проводится заведующим складом.
В проверку молниезащиты входит:
а) наружный осмотр молниезащитных устройств;
б) измерение сопротивления заземлителей молниезащиты;
в) проверка переходного сопротивления контактов устройств защиты от вторичных воздействий молнии.
11.2. Измерение сопротивления заземлителей должно проводиться в период наибольшего просыхания грунта. В тех районах, где в период грозовой деятельности существует промерзший слой, измерение проводится при его оттаивании.
11.3. Результаты наружного осмотра молниезащиты оформляются актом, а результаты измерения сопротивления заземлителей заносятся в ведомость состояния заземлителей молниезащиты по прилагаемой форме.
11.4. Наружным осмотром молниезащитных устройств (с обязательным применением бинокля) должно определяться состояние молниеприемников, токоотводов, мест пайки и соединений, опорных мачт и надземных частей защиты от вторичных воздействий молнии.
11.5. При осмотре молниеприемников необходимо установить целостность конического наконечника, состояние его полуды, надежность и плотность соединения с токоотводом, наличие ржавчины, чистоту поверхностей в соединениях на болтах.
Молниеотвод с оплавившимся или поврежденным коническим наконечником и поврежденный ржавчиной более чем на 1/3 площади поперечного сечения должен быть заменен новым.
Поврежденные полуда, оцинковка должны быть восстановлены, ржавчина с контактных поверхностей удалена и слабые соединения закреплены.
11.6. При осмотре токоотводов определяются отсутствие перегибов и петель, целостность и плотность соединений, отсутствие ржавчины и повреждений.
Токоотводы, поврежденные ржавчиной, если их площадь сечения остается менее 50 мм2, должны быть заменены новыми.
11.7. Осмотром деревянных опорных мачт определяется степень поражения гнилостными грибками, если она достигает 1/3 площади сечения, мачты должны быть заменены новыми.
11.8. При осмотре наземных частей защиты от вторичных воздействий молнии, вызываемых электростатической индукцией, проверяются целостность сетки и токоотводов, плотность и надежность их соединений, степень повреждения ржавчиной.
При повреждении ржавчиной сетки и токоотводов до площади сечения более 16 мм2 поврежденные участки должны быть заменены.
11.9. При проверке устройств защиты от вторичных воздействий определяются целостность перемычек, их состояние и измеряется переходное сопротивление контактов, которое должно быть не более значения, указанного в
пункте 6.7 главы XI настоящих Правил. При этом следует проверять связь всех заземляемых элементов с заземлителями защиты от вторичных воздействий.
11.10. Измерение сопротивления заземлителей молниезащиты должно проводиться специальными электроизмерительными приборами или методом трех измерений вольтметра - амперметра при высоком удельном сопротивлении грунтов. Сопротивление стыков надлежит измерять микроомметром. Измеренные сопротивления необходимо занести в ведомость состояния заземлителей молниезащиты на складе взрывчатых материалов по приведенной форме.
11.11. При измерении сопротивления заземлителей по трехэлектродной схеме следует применять схемы расположения токового Т и потенциального П электродов, приведенные на рисунке 16
Приложения 4. При D > 40 м размер альфа должен быть не менее D.
При D < 40 м размер а = 40 м. При D = 10 м размер а = 20 м.
Место расположения измерительных электродов нужно определять при проектировании молниезащиты. Измерительные электроды следует устанавливать при сооружении заземлителей молниезащиты.
В качестве вспомогательного заземления можно использовать один из заземлителей соседних молниеотводов, не связанный с измеряемым заземлителем.
11.12. Измерение сопротивления заземлителя может быть проведено способом трех измерений вольтметра - амперметра.
На рисунке 17
Приложения 4 показаны 4 отдельных заземлителя от четырех молниеотводов.
Измерение сопротивления (Ом) 3 заземлителей N 1, 2, 3 должно проводиться попарно:
измерение I R1 + R2 = a,
измерение II R1 + R3 = b,
измерение III R2 + R3 = c,
отсюда сопротивление (Ом) каждого заземлителя:
a + b - c
R1 = ---------,
2
a + c - b
R2 = ---------,
2
b + c - a
R3 = ---------.
2
Для получения сопротивления (Ом) заземлителя N 4 проводятся еще два (четвертое и пятое) дополнительных измерения:
измерение IV R4 + R3 = d,
измерение V R4 + R2 = е,
отсюда сопротивление заземлителя N 4:
d + e - c
R4 = ---------, Ом.
2
В таком же порядке могут быть измерены сопротивления и других заземлителей, если они имеются.
При одном или двух заземлителях необходимо сделать два или одно вспомогательное заземление.
11.13. Для определения импульсного сопротивления R1 заземлителя следует его измеренное сопротивление умножить на импульсный коэффициент альфа, принятый по
таблице 12 Приложения 1 в зависимости от типа заземлителя и удельного сопротивления грунта.
Удельное сопротивление грунта должно быть измерено на стадии предпроектных изысканий. В условиях эксплуатации и реконструкции измерение проводится по четырехэлектродной схеме с применением мегомметра. Расчетное значение ро определяется по формуле ро = 2пиRlКс, где R - показание прибора, Ом; l - расстояние между электродами, м; Кс - сезонный коэффициент промерзания (высыхания) грунта.
11.14. Пример расчета молниезащиты склада взрывчатых материалов приведен ниже.
Необходимо осуществить молниезащиту хранилища взрывчатых материалов следующих размеров: длина 50 м, ширина на уровне крыши 16 м, высота до конька крыш тамбуров 4,7 м, расстояние от оси хранилищ до дверей тамбуров 11,1 м. Здание деревянное. Расчетное электрическое удельное сопротивление грунта 450 Ом.м. Требуемое импульсное сопротивление заземлителя молниеотвода (согласно пункту
6.5 главы XI настоящих Правил) Ru = 10 Ом.
Защиту от прямых ударов молнии наиболее рационально осуществить двойным стержневым молниеотводом, расположив его у торцевых сторон хранилища.
Наименьшее допустимое расстояние по воздуху Sв от стержневого молниеотвода до хранилища
(Приложение 4, рисунок 3) (не приводится) при сопротивлении заземлителя Ru = 10 Ом составляет Sв ~= 4 м. С учетом проезда автомашин (см.
пункт 6.3 главы XI настоящих Правил) расстояние от молниеотвода до хранилища принимается 5 м. Расстояние между молниеотводами составит L = 50 + 2 x 5 = 60 м.
Для обеспечения надежной защиты хранилища взрывчатых материалов от прямых ударов молнии необходимо, чтобы все части хранилища вписывались в зону защиты, образуемую двойным стержневым молниеотводом высотой h
(Приложение 4, рисунок 18) (не приводится).
Из условия существования зоны защиты двойного стержневого молниеотвода
(пункт 7.2.1 главы XI настоящих Правил) определим необходимую высоту молниеотвода
L 60
h = --- = --- = 20 м.
3 3
По
формулам (1) определим основные габариты торцевой зоны защиты как зоны одиночных стержневых молниеотводов.
Вершина конуса зоны защиты находится на высоте
h0 = 0,85, h = 0,85 x 20 = 17 м.
Зона защиты на уровне земли образует круг радиусом
r0 = (1,1 - 0,002h)h = (1,1 - 0,002 x 20) x 20 = 21,2 м.
Горизонтальное сечение зоны защиты в наиболее удаленной ry = 11,1 м от оси хранилища точки на высоте конька крыш тамбуров hx = 4,7 м представляет собой круг радиусом
hx
rx = (1,1 - 0,002h) x (h - ----) =
0,85
4,7
= (1,1 - 0,002 x 20) x (20 - -----) = 15,35 м.
0,85
Зону защиты двойного стержневого молниеотвода определим по
формулам (3) главы XI настоящих Правил.
Вершина конуса зоны защиты двойного стержневого молниеотвода находится на высоте
hс = h0 - (0,17 + 3 x 1Е(-4) x h) x (L - h) =
= 17 - (0,17 + 3 x 1Е(-4) x 20) x (60 - 20) = 9,96 м.
На уровне земли rс = r0 = 21,2 м.
Радиус rсx зоны защиты двойного стержневого молниеотвода на высоте hx = 4,7 м в наиболее удаленной точке от оси хранилища составит:
hc - hx 9,96 - 4,7
rcx = r0 ------- = 21,2 x ---------- = 11,2 м,
hc 9,96
что превышает расстояние ry = 11,1 м.
Произведя аналогичные графические построения, легко убедиться, что все части хранилища вписываются в зону защиты двойного стержневого молниеотвода высотой h = 20 м.
Опоры молниеприемников выполняются согласно
пунктам 8.1.1 -
8.1.3 главы XI настоящих Правил.
Заземлители устраиваются у основания каждого молниеотвода. В нашем примере импульсное сопротивление для грунтов с электрическим удельным сопротивлением 450 Ом.м составляет Ru = 10 Ом. Оно определяется также расстоянием в земле от заземлителя до предметов, имеющих связь с хранилищем. Таким предметом, связанным с хранилищем, является заземлитель вторичных воздействий, выполненный из полосовой стали, укладываемый в землю вокруг хранилища на расстоянии 0,8 м от его стен. Следовательно, импульсное сопротивление заземлителя молниеотводов должно быть не более (см.
пункт 6.4 главы XI настоящих Правил).
S3 5,0
Ru <= --- = --- = 10 Ом
0,5 0,5
В качестве заземлителя молниеотводов принимаем горизонтальный трехлучевой с длиной луча l = 20 м, выполненный из полосовой стали 40 x 4 мм и находящийся на глубине 0,8 м от поверхности земли.
Сопротивление растеканию тока промышленной частоты такого заземлителя, согласно
таблице 11, Приложение 1, после интерполяции составит Ru = 15,3 Ом.
Импульсный коэффициент альфа определяем по
таблице 12 Приложения 1. Для горизонтального заземлителя в грунте с удельным сопротивлением ро = 450 Ом.м импульсный коэффициент альфа ~= 0,6.
При принятых электрическом сопротивлении грунта и конструкции заземлителя замеренному приборами сопротивлению растекания 15,3 Ом будет соответствовать импульсное сопротивление заземлителя.
Ru = альфаR1 = 0,6 x 15,3 = 9,18 Ом.
Ввиду наличия в хранилище металлических предметов, а также кабельной подводки освещения необходимо предусмотреть защиту от вторичных воздействий.
Защита от вторичных воздействий осуществляется наложением на здание хранилища сетки из стальной проволоки. Проволока прокладывается по коньку и краям крыши и присоединяется к заземлителю защиты от вторичных воздействий посредством 14 вертикальных спусков. К этому же заземлителю присоединяются оболочки и броня кабеля освещения.
ТАБЛИЦЫ
К ЕДИНЫМ ПРАВИЛАМ БЕЗОПАСНОСТИ ПРИ ВЗРЫВНЫХ РАБОТАХ
(к
п. 5 главы I. ОСНОВНЫЕ ПОЛОЖЕНИЯ)
КЛАССИФИКАЦИЯ
ВЗРЫВЧАТЫХ МАТЕРИАЛОВ ПО ГРУППАМ СОВМЕСТИМОСТИ
Группа совместимости (опасности) | Вещества, изделия |
A | Инициирующие взрывчатые вещества |
B | Изделия, содержащие инициирующие взрывчатые вещества |
C | Метательные взрывчатые вещества и другие дефлагирующие взрывчатые вещества или изделия, содержащие их (бездымный порох) |
D | Вторичные детонирующие взрывчатые вещества; дымный порох; изделия, содержащие детонирующие взрывчатые вещества без средств инициирования и метательных зарядов (детонирующего шнура) |
E | Изделия, содержащие вторичные детонирующие вещества без средств инициирования, но с метательным зарядом (кроме содержащих легковоспламеняющуюся жидкость) |
F | Изделия, содержащие вторичные детонирующие вещества, средства инициирования и метательные заряды, или без метательных зарядов |
G | Пиротехнические вещества и изделия, содержащие их |
N | Изделия, содержащие чрезвычайно нечувствительные детонирующие вещества |
S | Вещества или изделия, упакованные или сконструированные так, что при случайном срабатывании любое опасное проявление ограничено самой упаковкой, а если тара разрушена огнем, то эффект взрыва или разбрасывания ограничен, что не препятствует проведению аварийных мер или тушению пожара в непосредственной близости от упаковки |
(к
п. 5, 7 главы I. ОСНОВНЫЕ ПОЛОЖЕНИЯ)
КЛАССИФИКАЦИЯ
ВЗРЫВЧАТЫХ МАТЕРИАЛОВ ПО ПОДКЛАССАМ
Подкласс | Наименование подкласса |
1.1. | Взрывчатые материалы с опасностью взрыва массой |
1.2. | Взрывчатые материалы, не взрывающиеся массой |
1.3. | Взрывчатые материалы пожароопасные, не взрывающиеся массой |
1.4. | Взрывчатые материалы, не представляющие значительной опасности |
1.5. | Очень нечувствительные взрывчатые материалы |
1.6. | Изделия чрезвычайно низкой чувствительности |
(к
п. 8 главы I. ОСНОВНЫЕ ПОЛОЖЕНИЯ)
КЛАССИФИКАЦИЯ
ВЗРЫВЧАТЫХ МАТЕРИАЛОВ ПО УСЛОВИЯМ ПРИМЕНЕНИЯ
Класс взрыв- чатых веществ | Группа взрыв- чатых веществ | Вид взрывчатых веществ и условия применения | Цвет отличи- тельной полосы или оболочек патронов (пачек) |
1 | 2 | 3 | 4 |
I | - | Непредохранительные взрывчатые вещества для взрывания только на земной поверхности | Белый |
II | - | Непредохранительные взрывчатые вещества для взрывания на земной поверхности и в забоях подземных выработок, в которых либо отсутствует выделение горючих газов или взрывчатой угольной (сланцевой) пыли, либо применяется инертизация призабойного пространства, исключающая воспламенение взрывоопасной среды при взрывных работах | Красный |
III | - | Предохранительные взрывчатые вещества для взрывания только по породе в забоях подземных выработок, в которых имеется выделение горючих газов, но отсутствует взрывчатая угольная (сланцевая) пыль | Синий |
IV | - | Предохранительные взрывчатые вещества для взрывания: по углю и (или) породе или горючим сланцам в забоях подземных выработок, опасных по взрыву угольной (сланцевой) пыли при отсутствии выделения горючих газов; по углю и (или) породе в забоях подземных выработок, проводимых по угольному пласту, в которых имеется выделение горючих газов, кроме выработок с повышенным выделением горючих газов; для сотрясательного взрывания в забоях подземных выработок угольных шахт | Желтый |
V | - | Предохранительные взрывчатые вещества для взрывания по углю и (или) породе в выработках с повышенным выделением горючих газов, проводимых по угольному пласту, когда исключен контакт боковой поверхности шпурового заряда с газовоздушной смесью, находящейся либо в пересекающих шпур трещинах массива горных пород, либо в выработке | Желтый |
VI | - | Предохранительные взрывчатые вещества для взрывания: по углю и (или) породе в выработках с повышенным выделением горючих газов, проводимых в условиях, когда возможен контакт боковой поверхности шпурового заряда с газо - воздушной смесью, находящейся либо в пересекающих шпур трещинах горного массива, либо в выработке; в угольных и смешанных забоях восстающих (более 10 град.) выработок, в которых выделяется горючий газ, при длине выработок более 20 м и проведении их без предварительно пробуренных скважин, обеспечивающих проветривание за счет общешахтной депрессии | Желтый |
VII | - | Предохранительные взрывчатые вещества и изделия из предохранительных взрывчатых веществ V - VI классов для ведения специальных взрывных работ (водораспыление и распыление порошкообразных ингибиторов, взрывное перебивание деревянных стоек при посадке кровли, ликвидация зависания горной массы в углеперепускных выработках, дробление негабаритов) в забоях подземных выработок, в которых возможно образование взрывоопасной концентрации горючего газа и угольной пыли | Желтый |
Специ- альный (C) | - | Непредохранительные и предохранительные взрывчатые вещества и изделия из них, предназначенные для специальных взрывных работ, кроме забоев подземных выработок, в которых возможно образование взрывоопасной концентрации горючего газа и угольной (сланцевой) пыли | - |
| 1 | Взрывные работы на земной поверхности: импульсная обработка металлов; инициирование скважинных и сосредоточенных зарядов; контурное взрывание для заоткоски уступов; разрушение мерзлых грунтов; дробление негабаритных кусков горной массы; сейсморазведочные работы в скважинах; создание заградительных полос при локализации лесных пожаров, другие специальные работы | Белый |
| 2 | Взрывные работы в забоях подземных выработок, не опасных по газу и (или) угольной (сланцевой) пыли; взрывание сульфидных руд; дробление негабаритных кусков горной массы; контурное взрывание, другие специальные работы | Красный |
| 3 | Прострелочно - взрывные работы в разведочных, нефтяных, газовых скважинах | Черный |
| 4 | Взрывные работы в серных, нефтяных и других шахтах, опасных по взрыву серной пыли, водорода и паров тяжелых углеводородов | Зеленый |
(к
п. 60 главы V. ДОПОЛНИТЕЛЬНЫЕ
ТРЕБОВАНИЯ ПРИ ВЕДЕНИИ ВЗРЫВНЫХ РАБОТ
В ПОДЗЕМНЫХ ВЫРАБОТКАХ)
МИНИМАЛЬНО ДОПУСТИМЫЕ РАССТОЯНИЯ
МЕЖДУ СМЕЖНЫМИ ШПУРОВЫМИ ЗАРЯДАМИ
Условия взрывания | Минимально допустимое расстояние (м) между смежными шпуровыми зарядами при применении взрывчатых веществ класса |
| II | III - IV | V | VI |
По углю | 0,6 | 0,6 | 0,5 | 0,4 |
По породе: | | | | |
при f < 7 | 0,5 | 0,45 | 0,3 | 0,25 |
при f = 7 :- 10 | 0,4 | 0,3 | - | - |
(к
п. 5 главы VII. БЕЗОПАСНЫЕ РАССТОЯНИЯ
ПРИ ПРОИЗВОДСТВЕ ВЗРЫВНЫХ РАБОТ
И ХРАНЕНИИ ВЗРЫВЧАТЫХ МАТЕРИАЛОВ)
БЕЗОПАСНЫЕ РАССТОЯНИЯ
ДЛЯ ЛЮДЕЙ ПРИ ВЗРЫВНЫХ РАБОТАХ НА ЗЕМНОЙ ПОВЕРХНОСТИ
┌───┬─────────────────────────────────────────┬──────────────────┐
│ N │ Виды и методы взрывных работ │ Минимально │
│п/п│ │допустимые радиусы│
│ │ │ опасных зон, м │
├───┼─────────────────────────────────────────┼──────────────────┤
│ 1 │ 2 │ 3 │
├───┼─────────────────────────────────────────┼──────────────────┤
│ 1.│Взрывание на открытых работах методами: │ │
│ │ 1.1. Наружных зарядов, │ 300 │
│ │ В том числе кумулятивных │ По проекту │
│ │ 1.2. Шпуровых зарядов │ 200 <1> │
│ │ 1.3. Котловых шпуров │ 200 <1> │
│ │ 1.4. Малокамерных зарядов (рукавов) │ 200 <1> │
│ │ 1.5. Скважинных зарядов │ Не менее 200 │
│ │ │ <2> │
│ │ 1.6. Котловых скважин │ Не менее 300 │
│ │ 1.7. Камерных зарядов │ Не менее 300 │
├───┼─────────────────────────────────────────┼──────────────────┤
│ 2.│Дробление валунов зарядами в подкопах │ 400 │
├───┼─────────────────────────────────────────┼──────────────────┤
│ 3.│Корчевка пней │ 200 │
├───┼─────────────────────────────────────────┼──────────────────┤
│ 4.│Прокладка защитных полос в грунте при │ │
│ │борьбе с лесными пожарами │ 50 │
├───┼─────────────────────────────────────────┼──────────────────┤
│ 5.│Взрывание при посадке насыпей на болотах │ 100 │
├───┼─────────────────────────────────────────┼──────────────────┤
│ 6.│Дноуглубительные работы: │ │
│ │ 6.1. Без ледяного покрова на │ │
│ │ поверхности водного бассейна │ │
│ │ при взрывании: │ │
│ │ Нескальных грунтов │ 100 │
│ │ Скальных грунтов зарядами: │ │
│ │ шпуровыми │ 50 │
│ │ накладными массой до 100 кг │ 200 │
│ │ накладными массой более 100 кг │ 300 │
│ │ 6.2. При ледяном покрове вне │ │
│ │зависимости от свойств взрываемых грунтов│ 200 │
├───┼─────────────────────────────────────────┼──────────────────┤
│ 7.│Ледоходные работы при взрывании: │ │
│ │ 7.1. Льда толщиной до 1 м │ 100 │
│ │ 7.2. Льда толщиной 1 - 2 м │ 200 │
│ │ 7.3. Заторов │ 200 │
│ │ 7.4. По шуге │ 50 │
│ │ 7.5. Льда толщиной более 2 м и заторов│ │
│ │ зарядами более 300 кг │ 300 │
├───┼─────────────────────────────────────────┼──────────────────┤
│ 8.│Работы по металлу: │ │
│ │ 8.1. На открытых полигонах │ По проекту │
│ │ 8.2. При взрывании в бронеямах │ 30 │
│ │ 8.3. При взрывании на территории │ │
│ │ заводских площадок │ По проекту │
│ │ │ <3> │
│ │ 8.4. При взрывании в горячих массивах │ 30 │
│ │ 8.5. При штамповке изделий │ 25 │
├───┼─────────────────────────────────────────┼──────────────────┤
│ 9.│Валка зданий и сооружений │ 100 │
├───┼─────────────────────────────────────────┼──────────────────┤
│10.│Дробление фундаментов │ По проекту │
├───┼─────────────────────────────────────────┼──────────────────┤
│11.│Простреливание шпуров для образования │ │
│ │котловых зарядов │ 50 │
├───┼─────────────────────────────────────────┼──────────────────┤
│12.│Простреливание скважин для образования │ │
│ │котловых зарядов │ 100 │
├───┼─────────────────────────────────────────┼──────────────────┤
│13.│При торпедировании и прострелочно - │ │
│ │взрывных работах в нефтяных, газовых и │ │
│ │артезианских скважинах │ 50 │
│ │ │ <4> │
├───┼─────────────────────────────────────────┼──────────────────┤
│14.│При взрывах для сейсмической разведки: │ │
│ │ В шурфах и на земной поверхности │ 100 │
│ │ в скважинах │ 30 │
├───┼─────────────────────────────────────────┼──────────────────┤
│15.│Взрывные работы на стройплощадке │ По проекту │
│ │ │ <3> │
└───┴─────────────────────────────────────────┴──────────────────┘
--------------------------------
<1> При взрывании на косогорах в направлении вниз по склону величина радиуса опасной зоны должна приниматься не менее 300 м.
<2> Радиус опасной зоны указан для взрывания зарядов с забойкой.
<3> В проект должен включаться раздел, в котором излагаются особые меры по обеспечению безопасности людей.
<4> Радиус опасной зоны при торпедировании и перфорации может быть уменьшен до 10 м после спуска аппарата в скважину на глубину более 50 м. Для морских буровых установок радиус опасной зоны определяется в проекте.
ПОРЯДОК ОПРЕДЕЛЕНИЯ БЕЗОПАСНЫХ
РАССТОЯНИЙ ПРИ ВЗРЫВНЫХ РАБОТАХ
И ХРАНЕНИИ ВЗРЫВЧАТЫХ МАТЕРИАЛОВ)
РАССТОЯНИЯ,
БЕЗОПАСНЫЕ ПО РАЗЛЕТУ ОТДЕЛЬНЫХ КУСКОВ ПОРОДЫ
Линия наимень- шего сопротив- ления W, м | Радиус опасной зоны (м) для людей при значении показателя действия взрыва заряда |
1,0 | 1,5 | 2,0 | 2,5 - 3,0 |
1,5 | 200 | 300 | 350 | 400 |
2 | 200 | 400 | 500 | 600 |
4 | 300 | 500 | 700 | 800 |
6 | 300 | 600 | 800 | 1000 |
8 | 400 | 600 | 800 | 1000 |
10 | 500 | 700 | 900 | 1000 |
12 | 500 | 700 | 900 | 1200 |
15 | 600 | 800 | 1000 | 1200 |
20 | 700 | 800 | 1200 | 1500 |
25 | 800 | 1000 | 1500 | 1800 |
30 | 800 | 1000 | 1700 | 2000 |
Примечание. При взрывании на косогорах или в условиях превышения верхней отметки взрываемого участка над участками границы опасной зоны безопасное расстояние должно быть увеличено в соответствии с
пунктом 1.4 главы VIII настоящих Правил.
ПОРЯДОК ОПРЕДЕЛЕНИЯ БЕЗОПАСНЫХ
РАССТОЯНИЙ ПРИ ВЗРЫВНЫХ РАБОТАХ
И ХРАНЕНИИ ВЗРЫВЧАТЫХ МАТЕРИАЛОВ)
ЗНАЧЕНИЯ КОЭФФИЦИЕНТОВ КВ И КВ ДЛЯ РАСЧЕТА
РАССТОЯНИЙ, БЕЗОПАСНЫХ ПО ДЕЙСТВИЮ УВВ ПРИ ВЗРЫВЕ
┌───────┬─────────────────────┬────────────────────────┬────────────────────┬────────┐
│Степень│Возможные последствия│ Наружный заряд │ Заряд, углубленный │ n = 3 │
│повреж-│ │ │ на свою высоту │ │
│дения │ ├──────┬────────┬────────┼──────┬───────┬─────┼────────┤
│ │ │ Q, т │ kв │ Kв │ Q, т │ kв │ Kв │ kв │
├───────┼─────────────────────┼──────┼────────┼────────┼──────┼───────┼─────┼────────┤
│ 1. │Отсутствие поврежде- │ < 10 │50 - 150│ - │ < 20 │20 - 50│ - │ 3 - 10 │
│ │ний │ > 10 │ - │ 400 │ > 20 │ - │ 200 │ - │
├───────┼─────────────────────┼──────┼────────┼────────┼──────┼───────┼─────┼────────┤
│ 2. │Случайные повреждения│ < 10 │10 - 30 │ - │ < 20 │ 5 - 12│ - │ - │
│ │застекления │ > 10 │ - │60 - 100│ > 20 │ - │ 50 │ 1 - 2 │
├───────┼─────────────────────┼──────┼────────┼────────┼──────┼───────┼─────┼────────┤
│ 3. │Полное разрушение │ < 10 │ 5 - 8 │ - │ - │ - │ - │ - │
│ │застекления. Частич- │ > 10 │ - │30 - 50 │ - │ 2 - 4 │ - │ 0,5 - 1│
│ │ное повреждение рам, │ │ │ │ │ │ │ │
│ │дверей, нарушение │ │ │ │ │ │ │ │
│ │штукатурки и внут- │ │ │ │ │ │ │ │
│ │ренних легких пере- │ │ │ │ │ │ │ │
│ │городок │ │ │ │ │ │ │ │
├───────┼─────────────────────┼──────┼────────┼────────┼──────┼───────┼─────┼────────┤
│ 4. │Разрушение внутренних│ - │ 2 - 4 │ - │ - │ 1 - 2 │ - │Разруше-│
│ │перегородок, рам, │ │ │ │ │ │ │ние в │
│ │дверей, бараков, са- │ │ │ │ │ │ │пределах│
│ │раев и т.п. │ │ │ │ │ │ │воронки │
├───────┼─────────────────────┼──────┼────────┼────────┼──────┼───────┼─────┼────────┤
│ 5. │Разрушение малостой- │ - │1,5 - 2 │ - │ - │0,5 - 1│ - │ - │
│ │ких каменных и дере- │ │ │ │ │ │ │ │
│ │вянных зданий, опро- │ │ │ │ │ │ │ │
│ │кидывание железнодо- │ │ │ │ │ │ │ │
│ │рожных составов │ │ │ │ │ │ │ │
└───────┴─────────────────────┴──────┴────────┴────────┴──────┴───────┴─────┴────────┘
Примечание. Взрыв заряда на глубине, меньшей 1,5 высот заряда, следует рассматривать как взрыв наружного заряда.
ПОРЯДОК ОПРЕДЕЛЕНИЯ БЕЗОПАСНЫХ
РАССТОЯНИЙ ПРИ ВЗРЫВНЫХ РАБОТАХ
И ХРАНЕНИИ ВЗРЫВЧАТЫХ МАТЕРИАЛОВ)
ДОПУСТИМЫЕ РАССТОЯНИЯ
ПО ДЕЙСТВИЮ УДАРНОЙ ВОЗДУШНОЙ ВОЛНЫ ОТ СКЛАДОВ
ВЗРЫВЧАТЫХ МАТЕРИАЛОВ И АНАЛОГИЧНЫХ МЕСТ ХРАНЕНИЯ
ВЗРЫВЧАТЫХ МАТЕРИАЛОВ ДО РАЗЛИЧНЫХ ОБЪЕКТОВ
Примерный перечень объектов, до которых рассчитываются безо- пасные расстояния | Условия рас- положения хранилищ (площадок) складов взрывчатых материалов и тому по- добных мест хранения взрывчатых материалов | Расчетные формулы | Минимально допустимые расстояния до объектов (м) при массе взрывчатых веществ, кг |
500 | 1 x 1Е3 | 2 x 1Е3 | 4 x 1Е3 | 1 x 1Е4 | 1,5 x 1Е4 | 2,5 x 1Е4 | 5 x 1Е4 | 7,5 x 1Е4 | 1 x 1Е5 | 2 x 1Е5 | 2,5 x 1Е5 |
и сооружения, авто- и железные дороги с небольшим движением, особо прочные по сопротивляемости действию ударной воздушной волны сооружения (железобетонные и стальные мосты, элеваторы, углемойки и т.п.) | Углубленные (обвалован- ные) | rв = | 20 | 30 | 40 | 65 | 100 | 120 | 160 | 220 | 270 | 320 | 450 | 500 |
Открыто рас- положенные | rв = 2 | 45 | 60 | 90 | 130 | 200 | 240 | 320 | 450 | 550 | 630 | 900 | 1000 |
2. Населенные пункты, авто- и железнодорожные магистрали, крупные водные пути, заводы, фабрики, склады взрывчатых огнеопасных материалов, сооружения государственного значения | Углубленные (обвалован- ные) | rв = 2 | 45 | 60 | 90 | 130 | 200 | 240 | 320 | 450 | 550 | 630 | 900 | 1000 |
Открыто рас- положенные | rв = 5 при Q <= 10 m rв = 30 при Q > 10 m | 100 | 160 | 220 | 320 | 500 | 740 | 880 | 1100 | 1250 | 1400 | 1750 | 1900 |
3. Объекты, для которых допустимы только случайные повреждения застекления | Углубленные (обвалован- ные) Открыто рас- положенные | rв = 10 при Q <= 10 m rв = 60 при Q > 10 m | 220 | 320 | 450 | 630 | 1000 | 1500 | 1750 | 2200 | 2500 | 2800 | 3500 | 3800 |
Примечание. При выборе расстояний исходить не из полной вместимости склада, а из вместимости наибольшего хранилища взрывчатых материалов.
(к
пп. 6, 7 главы VIII. ПОРЯДОК ОПРЕДЕЛЕНИЯ
БЕЗОПАСНЫХ РАССТОЯНИЙ ПРИ ВЗРЫВНЫХ РАБОТАХ
И ХРАНЕНИИ ВЗРЫВЧАТЫХ МАТЕРИАЛОВ)
ЗНАЧЕНИЯ КОЭФФИЦИЕНТА КД
ДЛЯ РАСЧЕТА РАССТОЯНИЙ, БЕЗОПАСНЫХ
ПО ПЕРЕДАЧЕ ДЕТОНАЦИИ
Взрывчатые материалы | Местоположение | Взрывчатые вещества на основе ам- миачной се- литры без нитроэфиров и взрывчатые вещества с содержанием нитроэфиров до 40% | Взрывчатые вещества с содержанием нитроэфиров 40% и более | Тротил | Детонаторы |
О | У | О | У | О | У | О | У |
Активный заряд | Пассивный заряд |
взрывчатые вещества на основе аммиачной селитры с содержа- нием нитроэфиров до 40% | Открытый | 0,8 | 0,5 | 1,1 | 0,8 | 1,3 | 1 | 0,8 | 0,5 |
Углубленный | 0,5 | 0,3 | 0,8 | 0,5 | 1 | 0,6 | 0,5 | 0,3 |
взрывчатые вещества с содержанием нитро- эфиров 40% и более | Открытый | 1,6 | 1 | 2,3 | 1,6 | 2,5 | 2 | 1,6 | 1 |
Углубленный | 1 | 0,6 | 1,6 | 1 | 2 | 1,3 | 1 | 0,6 |
Тротил | Открытый | 1,3 | 1 | 1,6 | 1,3 | 1,9 | 1,4 | 1,3 | 1 |
Углубленный | 1 | 0,6 | 1,3 | 0,9 | 1,4 | 0,8 | 1 | 0,7 |
Детонаторы | Открытый | 0,4 | 0,25 | 0,75 | 0,5 | 0,7 | 0,6 | 0,4 | 0,25 |
Углубленный | 0,25 | 0,2 | 0,5 | 0,4 | 0,6 | 0,4 | 0,25 | 0,2 |
Примечание. У - углубленный заряд; О - открытый заряд.
(к
п. 9 главы VIII. ПОРЯДОК ОПРЕДЕЛЕНИЯ
БЕЗОПАСНЫХ РАССТОЯНИЙ ПРИ ВЗРЫВНЫХ
РАБОТАХ И ХРАНЕНИИ ВЗРЫВЧАТЫХ
МАТЕРИАЛОВ)
ЗНАЧЕНИЯ ДОПУСТИМЫХ РАССТОЯНИЙ
ПО ПЕРЕДАЧЕ ДЕТОНАЦИИ МЕЖДУ ХРАНИЛИЩАМИ
ВЗРЫВЧАТЫХ ВЕЩЕСТВ (Rd). РАСЧЕТ ПРОИЗВЕДЕН
ПО ФОРМУЛЕ (19) ПРИ b = 1,6 М
┌──────────────┬────┬───────────────┬────────────────────────────┐
│Активный заряд│ Kd │Пассивный заряд│Безопасные расстояния по │
│ │ │ │передаче детонации (м) при │
│ │ │ │вместимости хранилища │
│ │ │ │(массе взрывчатых матери- │
│ │ │ │алов), т │
│ │ │ ├───┬───┬────┬────┬────┬─────┤
│ │ │ │ 10│ 25│ 60 │ 120│ 240│ 420 │
├──────────────┼────┼───────────────┼───┼───┼────┼────┼────┼─────┤
│взрывчатые │ │взрывчатые │ │ │ │ │ │ │
│вещества на │ │вещества на │ │ │ │ │ │ │
│основе │ │основе │ │ │ │ │ │ │
│аммиачной │ │аммиачной │ │ │ │ │ │ │
│селитры с │ │селитры с │ │ │ │ │ │ │
│нитроэфирами │ │нитроэфирами │ │ │ │ │ │ │
│до 40% │ │до 40% │ │ │ │ │ │ │
│Открытый │0,8 │Открытый │ 20│ 27│ 36 │ 45 │ 56 │ 68 │
│То же │0,5 │Углубленный │ 12│ 17│ 22 │ 28 │ 35 │ 43 │
│Углубленный │0,5 │Открытый │ 12│ 17│ 22 │ 28 │ 35 │ 43 │
│То же │0,3 │Углубленный │ 7│ 10│ 14 │ 17 │ 21 │ 26 │
├──────────────┼────┼───────────────┼───┼───┼────┼────┼────┼─────┤
│взрывчатые │ │Тротил │ │ │ │ │ │ │
│вещества на │ │ │ │ │ │ │ │ │
│основе │ │ │ │ │ │ │ │ │
│аммиачной │ │ │ │ │ │ │ │ │
│селитры с │ │ │ │ │ │ │ │ │
│нитроэфирами │ │ │ │ │ │ │ │ │
│до 40% │ │ │ │ │ │ │ │ │
│Открытый │1,3 │Открытый │ 32│ 43│ 58 │ 73 │ 91 │110 │
│То же │1 │Углубленный │ 25│ 33│ 44 │ 56 │ 70 │ 85 │
│Углубленный │1 │Открытый │ 25│ 33│ 44 │ 56 │ 70 │ 85 │
│То же │0,6 │Углубленный │ 15│ 20│ 27 │ 34 │ 42 │ 51 │
├──────────────┼────┼───────────────┼───┼───┼────┼────┼────┼─────┤
│Тротил │ │взрывчатые │ │ │ │ │ │ │
│ │ │вещества на │ │ │ │ │ │ │
│ │ │основе │ │ │ │ │ │ │
│ │ │аммиачной │ │ │ │ │ │ │
│ │ │селитры с │ │ │ │ │ │ │
│ │ │нитроэфирами │ │ │ │ │ │ │
│ │ │до 40% │ │ │ │ │ │ │
│Открытый │1,3 │Открытый │ 32│ 43│ 58 │ 73 │ 91 │110 │
│То же │1 │Углубленный │ 25│ 33│ 44 │ 56 │ 70 │ 85 │
│Углубленный │1 │Открытый │ 25│ 33│ 44 │ 56 │ 70 │ 85 │
│То же │0,6 │Углубленный │ 15│ 20│ 27 │ 34 │ 42 │ 51 │
├──────────────┼────┼───────────────┼───┼───┼────┼────┼────┼─────┤
│Тротил │ │Тротил │ │ │ │ │ │ │
│Открытый │1,9 │Открытый │ 46│ 63│ 84 │106 │133 │160 │
│То же │1,4 │Углубленный │ 34│ 46│ 62 │ 78 │ 98 │118 │
│Углубленный │1,4 │Открытый │ 34│ 46│ 62 │ 78 │ 98 │118 │
│То же │0,8 │Углубленный │ 20│ 27│ 36 │ 45 │ 56 │ 68 │
└──────────────┴────┴───────────────┴───┴───┴────┴────┴────┴─────┘
УСТРОЙСТВО И ЭКСПЛУАТАЦИЯ
МОЛНИЕЗАЩИТЫ СКЛАДОВ
ВЗРЫВЧАТЫХ МАТЕРИАЛОВ)
ТИПОВЫЕ КОНСТРУКЦИИ ЗАЗЕМЛИТЕЛЕЙ И ЗНАЧЕНИЯ ИХ
СОПРОТИВЛЕНИЯ РАСТЕКАНИЮ ТОКА ПРОМЫШЛЕННОЙ ЧАСТОТЫ
┌───────┬────────────┬──────────────┬────────────────────────────┐
│Рисунки│ Тип │ Материал │Значение сопротивления (Ом) │
│ │ │ │растеканию тока промышленной│
│ │ │ │частоты при различных элек- │
│ │ │ │трических удельных сопротив-│
│ │ │ │лениях грунта, Ом.м │
│ │ │ ├──────┬───────┬──────┬──────┤
│ │ │ │ 50 │ 100 │ 500 │ 1000 │
├───────┼────────────┼──────────────┼──────┼───────┼──────┼──────┤
│ 1 │ 2 │ 3 │ 4 │ 5 │ 6 │ 7 │
├───────┼────────────┼──────────────┼──────┼───────┼──────┼──────┤
│Рис. │Вертикальный│Сталь угловая │ │ │ │ │
│ │стержневой │40 x 40 x 4 мм│ │ │ │ │
│ │ │l = 2 м │ 19 │ 38 │ 190 │ 380 │
│ │ │l = 3 м │ 14 │ 28 │ 140 │ 280 │
│ │ │Сталь круглая │ │ │ │ │
│ │ │диаметром │ │ │ │ │
│ │ │10 - 20 мм: │ │ │ │ │
│ │ │l = 2 м │ 24 │ 48 │ 240 │ 480 │
│ │ │l = 3 м │ 17 │ 34 │ 170 │ 340 │
│ │ │l = 5 м │ 14 │ 28 │ 140 │ 280 │
├───────┼────────────┼──────────────┼──────┼───────┼──────┼──────┤
│Рис. │Горизонталь-│Сталь полосо- │ │ │ │ │
│ │ный полосо- │вая 4 x 40 мм │ │ │ │ │
│ │вой │l = 2 м │ 22 │ 44 │ 220 │ 440 │
│ │ │l = 5 м │ 12 │ 24 │ 120 │ 240 │
│ │ │l = 10 м │ 7 │ 14 │ 70 │ 140 │
│ │ │l = 20 м │ 4 │ 8 │ 40 │ 80 │
│ │ │l = 30 м │ 3,2 │ 6,5 │ 35 │ 70 │
├───────┼────────────┼──────────────┼──────┼───────┼──────┼──────┤
│Рис. │Горизонталь-│Сталь полосо- │ │ │ │ │
│ │ный полосо- │вая 4 x 40 мм │ │ │ │ │
│ │вой с вводом│l = 5 м │ 9,5 │ 19 │ 95 │ 190 │
│ │тока в сере-│l = 10 м │ 5,85 │ 12 │ 60 │ 120 │
│ │дину │l = 12 м │ 5,4 │ 11 │ 54 │ 110 │
│ │ │l = 24 м │ 3,1 │ 6,2 │ 31 │ 62 │
│ │ │l = 32 м │Не │Не при-│ 24 │ 48 │
│ │ │ │приме-│меняет-│ │ │
│ │ │ │няется│ся │ │ │
│ │ │l = 40 м │То же │То же │ 20 │ 40 │
├───────┼────────────┼──────────────┼──────┼───────┼──────┼──────┤
│Рис. │Горизонталь-│Сталь полосо- │ │ │ │ │
│ │ный трехлу- │вая 4 x 40 мм │ │ │ │ │
│ │чевой │l = 6 м │ 4,6 │ 9 │ 45 │ 90 │
│ │ │l = 12 м │ 2,6 │ 5,2 │ 26 │ 50 │
│ │ │l = 16 м │ 2 │ 4 │ 20 │ 40 │
│ │ │l = 20 м │ 1,7 │ 3,4 │ 17 │ 34 │
│ │ │l = 32 м │Не │Не при-│ 14 │ 28 │
│ │ │ │приме-│меняет-│ │ │
│ │ │ │няется│ся │ │ │
│ │ │l = 40 м │То же │То же │ 12 │ 24 │
├───────┼────────────┼──────────────┼──────┼───────┼──────┼──────┤
│Рис. │Комбиниро- │Сталь угловая │ │ │ │ │
│ │ванный двух-│40 x 40 мм, │ │ │ │ │
│ │стержневой │сталь полосо- │ │ │ │ │
│ │ │вая 4 x 40 мм:│ │ │ │ │
│ │ │C = 3 м; │ │ │ │ │
│ │ │l = 2,5 м │ 7 │ 14 │ 70 │ 140 │
│ │ │C = 3 м; │ │ │ │ │
│ │ │l = 3 м │ 6 │ 12 │ 60 │ 120 │
│ │ │С = 6 м; │ │ │ │ │
│ │ │l = 2,5 м │ 5,5 │ 11 │ 55 │ 110 │
│ │ │С = 6 м; │ │ │ │ │
│ │ │l = 3 м │ 4,5 │ 9,1 │ 45 │ 90 │
│ │ ├──────────────┼──────┼───────┼──────┼──────┤
│ │ │Сталь круглая │ │ │ │ │
│ │ │диаметром 10 -│ │ │ │ │
│ │ │20 мм, сталь │ │ │ │ │
│ │ │полосовая 4 x │ │ │ │ │
│ │ │40 мм: │ │ │ │ │
│ │ │C = 3 м; │ │ │ │ │
│ │ │l = 2,5 м │ 7,5 │ 15 │ 75 │ 150 │
│ │ │C = 3 м; │ │ │ │ │
│ │ │l = 3 м │ 6,8 │ 14 │ 70 │ 140 │
│ │ │С = 5 м; │ │ │ │ │
│ │ │l = 2,5 м │ 6 │ 12 │ 60 │ 120 │
│ │ │С = 5 м; │ │ │ │ │
│ │ │l = 3 м │ 5,5 │ 11 │ 55 │ 110 │
│ │ │С = 3 м; │ │ │ │ │
│ │ │l = 5 м │ 5,5 │ 11 │ 55 │ 110 │
│ │ │С = 5 м; │ │ │ │ │
│ │ │l = 5 м │ 4 │ 8 │ 40 │ 80 │
├───────┼────────────┼──────────────┼──────┼───────┼──────┼──────┤
│Рис. │Комбиниро- │Сталь угловая │ │ │ │ │
│ │ванный трех-│40 x 40 x │ │ │ │ │
│ │стержневой │4 мм, │ │ │ │ │
│ │ │сталь полосо- │ │ │ │ │
│ │ │вая 4 x 40 м: │ │ │ │ │
│ │ │C = 3 м; │ │ │ │ │
│ │ │l = 2,5 м │ 4 │ 8 │ 40 │ 80 │
│ │ │C = 6 м; │ │ │ │ │
│ │ │l = 2,5 м │ 3 │ 6 │ 30 │ 60 │
│ │ │C = 7 м │ │ │ │ │
│ │ │l = 3 м │ 2,5 │ 5,4 │ 27 │ 55 │
│ │ ├──────────────┼──────┼───────┼──────┼──────┤
│ │ │Сталь круглая │ │ │ │ │
│ │ │диаметром 10 -│ │ │ │ │
│ │ │20 мм, сталь │ │ │ │ │
│ │ │полосовая 4 x │ │ │ │ │
│ │ │40 мм: │ │ │ │ │
│ │ │C = 2,5 м; │ │ │ │ │
│ │ │l = 2,5 м │ 4,8 │ 9,7 │ 50 │ 100 │
│ │ │C = 2,5 м; │ │ │ │ │
│ │ │l = 2 м │ 4,4 │ 8,9 │ 45 │ 90 │
│ │ │С = 5 м; │ │ │ │ │
│ │ │l = 2,5 м │ 3,5 │ 7,1 │ 36 │ 70 │
│ │ │С = 5 м; │ │ │ │ │
│ │ │l = 3 м │ 3,3 │ 6,6 │ 33 │ 65 │
│ │ │С = 6 м; │ │ │ │ │
│ │ │l = 5 м │ 2,7 │ 5,4 │ 27 │ 55 │
├───────┼────────────┼──────────────┼──────┼───────┼──────┼──────┤
│Рис. │Комбиниро- │Сталь угловая │ │ │ │ │
│ │ванный пяти-│40 x 40 x │ │ │ │ │
│ │стержневой │4 мм; │ │ │ │ │
│ │ │Сталь полосо- │ │ │ │ │
│ │ │вая 4 x 40 м: │ │ │ │ │
│ │ │C = 5 м; │ │ │ │ │
│ │ │l = 2 м │ 2,2 │ 4,4 │ 22 │ 44 │
│ │ │C = 5 м; │ │ │ │ │
│ │ │l = 3 м │ 1,9 │ 3,8 │ 19 │ 38 │
│ │ │C = 7,5 м; │ │ │ │ │
│ │ │l = 2 м │ 1,8 │ 3,7 │ 18,5 │ 37 │
│ │ │C = 7,5 м; │ │ │ │ │
│ │ │l = 3 м │ 1,6 │ 3,2 │ 16 │ 32 │
│ │ ├──────────────┼──────┼───────┼──────┼──────┤
│ │ │Сталь круглая │ │ │ │ │
│ │ │диаметром 10 -│ │ │ │ │
│ │ │20 мм, сталь │ │ │ │ │
│ │ │полосовая 4 x │ │ │ │ │
│ │ │40 мм: │ │ │ │ │
│ │ │С = 5 м; │ │ │ │ │
│ │ │l = 2 м │ 2,4 │ 4,8 │ 24 │ 48 │
│ │ │С = 5 м; │ │ │ │ │
│ │ │l = 3 м │ 2 │ 4,1 │ 20,5 │ 41 │
│ │ │С = 7,5 м; │ │ │ │ │
│ │ │l = 2 м │ 2 │ 4 │ 20 │ 40 │
│ │ │С = 7,5 м; │ │ │ │ │
│ │ │l = 3 м │ 1,7 │ 3,5 │ 17,5 │ 35 │
│ │ │С = 5 м; │ │ │ │ │
│ │ │l = 5 м │ 1,9 │ 3,8 │ 19 │ 38 │
│ │ │С = 7,5 м; │ │ │ │ │
│ │ │l = 5 м │ 1,6 │ 3,2 │ 16 │ 32 │
├───────┼────────────┼──────────────┼──────┼───────┼──────┼──────┤
│Рис. │Комбиниро- │Сталь угловая │ │ │ │ │
│ │ванный че- │40 x 40 x │ │ │ │ │
│ │тырехстерж- │х 4 мм, сталь │ │ │ │ │
│ │невой │полосовая │ │ │ │ │
│ │ │4 x 40 мм: │ │ │ │ │
│ │ │С = 6 м; │ │ │ │ │
│ │ │l = 3 м │ 2,1 │ 4,3 │ 21,5 │ 43 │
├───────┼────────────┼──────────────┼──────┼───────┼──────┼──────┤
│Рис. │Горизонталь-│Сталь полосо- │ │ │ │ │
│ │ный с вводом│вая 4 x 40 мм:│ │ │ │ │
│ │тока в цент-│D = 4 м │ 4,5 │ 9 │ 45 │ 90 │
│ │ре │D = 6 м │ 3,3 │ 6 │ 33 │ 66 │
│ │ │D = 8 м │ 2,65 │ 5,3 │ 26,5 │ 53 │
│ │ │D = 10 м │ 2,2 │ 4,4 │ 22 │ 44 │
│ │ │D = 12 м │ 1,9 │ 3,8 │ 19 │ 38 │
└───────┴────────────┴──────────────┴──────┴───────┴──────┴──────┘
УСТРОЙСТВО И ЭКСПЛУАТАЦИЯ МОЛНИЕЗАЩИТЫ
СКЛАДОВ ВЗРЫВЧАТЫХ МАТЕРИАЛОВ)
ЗНАЧЕНИЯ ИМПУЛЬСНОГО КОЭФФИЦИЕНТА АЛЬФА
ПРИ РАЗНЫХ УДЕЛЬНЫХ СОПРОТИВЛЕНИЯХ ГРУНТА
┌─────────────────────────┬──────────────────────────────────────┐
│ Тип заземлителя │Значение импульсного коэффициента при │
│ │ электрическом удельном сопротивлении │
│ │ pо грунта, Ом.м │
│ ├───────┬──────┬──────┬───────┬────────┤
│ │До 100 │ 100 │ 500 │ 1000 │ 2000 │
│ │ │ │ │ │и более │
├─────────────────────────┼───────┼──────┼──────┼───────┼────────┤
│Вертикальный │ 0,9 │ 0,9 │ 0,7 │ 0,5 │ 0,35 │
│Горизонтальный │ 0,9 │ 0,8 │ 0,6 │ 0,4 │ 0,3 │
│Комбинированный │ 0,9 │ 0,7 │ 0,5 │ 0,3 │ - │
└─────────────────────────┴───────┴──────┴──────┴───────┴────────┘
УСТРОЙСТВО И ЭКСПЛУАТАЦИЯ МОЛНИЕЗАЩИТЫ
СКЛАДОВ ВЗРЫВЧАТЫХ МАТЕРИАЛОВ)
┌──────────────────────────────┬─────────────────────────────────┐
│ Вид │ Место расположения токоотвода │
│ ├──────────────────┬──────────────┤
│ │ Снаружи здания │ В земле │
│ │ на воздухе │ │
├──────────────────────────────┼──────────────────┼──────────────┤
│Круглые токоотводы и перемычки│ 6 │ - │
│диаметром, мм │ │ │
│Круглые вертикальные электроды│ - │ 10 │
│диаметром, мм │ │ │
│Круглые горизонтальные│ - │ 10 │
│электроды диаметром, мм <1> │ │ │
│Прямоугольные (из квадратной и│ │ │
│полосовой стали): │ │ │
│площадь сечения, мм2 │ 48 │ 160 │
│толщина, мм │ 4 │ 4 │
│Из угловой стали: │ │ │
│площадь сечения, мм2 │ - │ 160 │
│толщина полки, мм │ - │ 4 │
│Трубы стальные с толщиной│ - │ 3,5 │
│стенок, мм │ │ │
└──────────────────────────────┴──────────────────┴──────────────┘
--------------------------------
<1> Применяются только для углубления заземлителей и выравнивания потенциалов внутри зданий.
УСТРОЙСТВО И ЭКСПЛУАТАЦИЯ
МОЛНИЕЗАЩИТЫ СКЛАДОВ
ВЗРЫВЧАТЫХ МАТЕРИАЛОВ)
Рисунок 1 (к
пп. 6.1, 6.4). Отдельно стоящий стержневой молниеотвод: l - протяженность токопровода от точки А до заземлителя; Sв - наименьшее допустимое расстояние до защищаемого сооружения; Sз - наименьшее допустимое расстояние от заземлителя до металлических коммуникаций; 1 - защищаемое сооружение; 2 - металлические коммуникации.
Рисунок 2 (к
пп. 6.1, 6.3, 6.4). Отдельно стоящий тросовый молниеотвод: l - расстояние между молниеотводами; l1, l3 - протяженность токопроводов; l2 - высота защищаемого сооружения; Sв1, Sв2 - наименьшие допустимые расстояния от тросового молниеотвода соответственно в точках А и С до защищаемого сооружения; S3 - наименьшее допустимое расстояние от заземления до металлических коммуникаций; 1 - защищаемое сооружение; 2 - металлические коммуникации.
Рисунок 3 (к
пп. 6.3, 11.14). Наименьшие допустимые расстояния от стержневого молниеотвода до защищаемого сооружения.
Рисунок 4 (к
п. 6.3). Наименьшие допустимые расстояния от троса в середине пролета до защищаемого сооружения.
Рисунок 5 (к
п. 6.3). Наименьшие допустимые расстояния от молниеотвода до защищаемого сооружения.
Рисунок 6 (к
п. 6.8). Схема защиты от заноса высоких потенциалов в хранилище.
Рисунок 7 (к
п. 7.1). Схема зоны защиты одиночного стержневого молниеотвода: 1, 2 - границы зоны защиты на уровнях соответственно земли и высоты защищаемого сооружения.
Рисунок 8 (к
п. 7.2.1). Схема зоны защиты двойного стержневого молниеотвода: 1, 2, 3 - границы зоны защиты на уровнях соответственно земли и высоты защищаемого сооружения.
Рисунок 9 (к
п. 7.2.2). Схема зоны защиты двух стержневых молниеотводов разной высоты: 1, 2 - границы зон защиты на уровнях соответственно земли и высоты защищаемого сооружения.
Рисунок 10 (к
п. 7.3.1). Схема зоны защиты (в плане) многократного стержневого молниеотвода: L1, L2, L3 - расстояния между молниеотводами; 1, 2 - границы зон защиты на уровнях соответственно земли и высоты защищаемого сооружения.
Рисунок 11 (к
п. 7.3.1). Схема зоны защиты одиночного тросового молниеотвода: 1, 2 - границы зон защиты на уровне соответственно земли и высоты защищаемого сооружения; 3 - трос.
Рисунок 12 (к
п. 7.5.1). Схема зоны защиты двойного тросового молниеотвода: 1, 2, 3 - границы зон защиты на уровнях соответственно земли и высот защищаемого сооружения; 4 - трос.
Рисунок 13 (к
пп. 8.1.1, 8.1.3). Устройство стержневых молниеотводов на деревянных опорах: а - двух: б - одной.
Рисунок 14 (к
п. 8.1.5). Конструкции молниеприемников из круглой стали (а), стальной проволоки диаметром 2 - 3 мм (б), стальной трубы (в), полосовой стали (г), угловой стали (д): 1 - токоотвод.
Рисунок 15 (к
п. 8.1.7). Зажим для присоединения плоского (а) и круглого (б) токоотводов к металлической кровле: 1 - токоотвод: 2 - кровля; 3 - свинцовая прокладка; 4 - стальная пластинка: 5 - пластина с приваренным токоотводом.
Рисунок 16 (к
п. 11.11). Двухлучевая (а) и однолучевая (б) схемы расположения электродов при измерении сопротивлений сложных заземлений и одиночных горизонтальных полос: П - потенциальный электрод; Т - токовый электрод.
Рисунок 17 (к
п. 11.12). Схема измерения сопротивления заземлителей способом трех измерений.
Рисунок 18 (к
п. 11.14). Схема к примеру расчета молниезащиты хранилища взрывчатых материалов: 1, 2 - заземлители соответственно вторичного воздействия и молниеотвода; 3, 4 - границы зон защиты на уровнях соответственно высоты защищенного сооружения и земли.
ОСНОВНЫЕ ПОЛОЖЕНИЯ)
ФОРМА
ЖУРНАЛА УЧЕТА ИСПЫТАНИЙ ВЗРЫВЧАТЫХ МАТЕРИАЛОВ <1>
__________________________________________________________________
наименование склада организации (шахты, рудника, карьера и т.п.)
N п/п | Дата пос- тупления на склад | Наиме- нова- ние | Вид (порош- кообразное, патрониро- ванное, литое и т.д.) | Органи- зация - изгото- витель | Номер партии | Дата изго- товле- ния | Гарантий- ный срок хранения, мес. | Дата испы- таний |
1 | 2 | 3 | 4 | 5 | 6 | 7 | 8 | 9 |
Выдержало (да) или не выдержало (нет) испытания на | Фамилия, имя, отчество и подпись прово- дивших испыта- ния | Решение руководителя организации (шахты, рудника, карьера и т.п.) по взрывчатым веществам, не выдер- жавшим испытания |
осмотр внешне- го вида упаков- ки | наружный осмотр | экссу- дацию | содер- жание влаги | полноту детона- ции | передачу детонации на расстоянии между патронами |
сухими | после зама- чивания в воде |
10 | 11 | 12 | 13 | 14 | 15 | 16 | 17 | 18 |
--------------------------------
<1> Форма Журнала учета испытаний в зависимости от взрывчатых материалов, установленных видов испытаний может быть изменена.
2. Средства инициирования
N п/п | Дата пос- тупления на склад | Наиме- нование | Органи- зация - изгото- витель | Номер партии | Дата изго- тов- ления | Гарантийный срок хране- ния, мес. | Дата ис- пытаний |
1 | 2 | 3 | 4 | 5 | 6 | 7 | 8 |
Выдержало (да) или не выдержало (нет) испытания на | Фамилия, имя, отчество и подпись про- водивших ис- пытания | Решение руко- водителя ор- ганизации (шахты, руд- ника, карьера и т.п.) по средствам инициирования, не выдержавшим испытания |
осмотр внешне- го вида упаков- ки | наруж- ный осмотр | средства электро- взрывания | огнепроводный шнур | детонирующий шнур (лента) | пиротехни- ческое реле, сред- ства зажи- гания огне- проводный шнур и пороха |
скорость, полноту и равно- мерность горения | полноту горения после замачи- вания в воде | восприим- чивость и полноту детонации | полноту детона- ции пос- ле зама- чивания в воде | иниции- рующую способ- ность |
электри- ческое сопротив- ление |
безотказность действия |
9 | 10 | 11 | 12 | 13 | 14 | 15 | 16 | 17 | 18 | 19 |
(рекомендуемое)
АКТ N ___
испытания взрывчатых
материалов при __________________________________________________
(вид контроля)
Испытания проведены на складе ____________________________________
(наименование организации)
комиссией в составе
заведующего складом
взрывчатых материалов ____________________________________
взрывника (лаборанта по
испытанию взрывчатых
материалов) ____________________________________
____________________________________
"__" _______________________ 20__ г.
1. Паспортные данные взрывчатых материалов
Наименование взрывчатых материалов | Завод - изгото- витель | Номер партии | Дата изго- товле- ния | Гарантийный срок хране- ния | Дата пос- тупления | Приме- чание |
1 | 2 | 3 | 4 | 5 | 6 | 7 |
2. Результаты наружного осмотра тары и взрывчатых материалов.
3. Результаты физического обследования взрывчатых материалов.
4. Результаты испытаний на взрывчатые свойства (полноту детонации, полноту и равномерность горения и др.).
Образец ________________________ от партии N ___ удовлетворяет
(наименование взрывчатых материалов)
требованиям __________________________________________________
(наименование стандарта, технических условий)
Партия N ______________________ допускается к взрывным работам
______________________________________________________________
(наименование взрывчатых материалов)
______________________________________________________________
(условия выполнения взрывных работ)
Дата проведения испытаний Подписи
УСТРОЙСТВО И ЭКСПЛУАТАЦИЯ
МОЛНИЕЗАЩИТЫ СКЛАДОВ ВЗРЫВЧАТЫХ МАТЕРИАЛОВ)
ВЕДОМОСТЬ
СОСТОЯНИЯ ЗАЗЕМЛИТЕЛЕЙ МОЛНИЕЗАЩИТЫ НА СКЛАДЕ
ВЗРЫВЧАТЫХ МАТЕРИАЛОВ
I. Основные технические данные о заземлителях
Номер храни- лища | Номер зазем- лителя на схеме | Дата соору- жения зазем- ления | Конструк- ция зазем- лителя, номер чер- тежа | Состояние погоды | Способ изме- рения | Электрическое удельное соп- ротивление грунта, Ом.м | Сопротивление растеканию тока, Ом |
до изме- рения | во время измерения |
расчетное | измерен- ное | импульсное |
| | | | | | | | | | |
Технические данные внес __________________________________________
(должность, Ф.И.О., подпись)
Измерения произвел _______________________________________________
(подпись)
II. Результаты осмотра молниезащиты и измерений
Номер храни- лища | Номер зазем- лителя на схеме | Дата из- мерения и осмотра устройства | Результаты наружного осмотра устройства | Состояние погоды | Способ изме- рения | Сопротивление расте- канию тока, Ом | Заклю- чение |
до изме- рения | во время измерения |
измеренное | импульсное |
| | | | | | | | | |
Осмотр и измерения произвели _____________________________________
(должность, Ф.И.О., подпись)
__________________________________________________________________
(должность, Ф.И.О., подписи)
ОБЩИЕ ПРАВИЛА ВЕДЕНИЯ
ВЗРЫВНЫХ РАБОТ)
ФОРМА ЖУРНАЛА
РЕГИСТРАЦИИ ОТКАЗОВ ПРИ ВЗРЫВНЫХ РАБОТАХ
N п/п | Дата, смена взры- вания | Наименование места взрыва | Всего заря- дов, шт. | Результаты взрыва | Подпись взрыв- ника, выявив- шего отказ | Ликви- диро- вано отказов | Дата, смена | Подпись взрывника, проводив- шего лик- видацию отказов | Подпись лица технического надзора, ру- ководившего ликвидацией отказов |
взорва- лось за- рядов | произош- ло отка- зов |
1 | 2 | 3 | 4 | 5 | 6 | 7 | 8 | 9 | 10 | 11 |
| | | | | | | | | | |