Главная // Пожарная безопасность
СПРАВКА
Источник публикации
В данном виде документ опубликован не был.
Первоначальный текст документа опубликован в издании
Официальный сайт Администрации Санкт-Петербурга http://www.gov.spb.ru, 10.10.2016.
Информацию о публикации документов, создающих данную редакцию, см. в справке к этим документам.
Примечание к документу
Начало действия редакции - 01.06.2025.
Изменения, внесенные постановлением Правительства Санкт-Петербурга от 08.04.2025 N 199, вступили в силу с 01.06.2025, за исключением отдельных изменений, вступивших в силу со дня официального опубликования (опубликовано на официальном сайте Администрации Санкт-Петербурга http://www.gov.spb.ru - 08.04.2025).
Название документа
Постановление Правительства Санкт-Петербурга от 06.10.2016 N 875
(ред. от 08.04.2025)
"Об утверждении Правил благоустройства территории Санкт-Петербурга в части, касающейся правил производства земляных, ремонтных и отдельных работ, связанных с благоустройством территории Санкт-Петербурга"
(с изм. и доп., вступающими в силу с 01.06.2025)

Постановление Правительства Санкт-Петербурга от 06.10.2016 N 875
(ред. от 08.04.2025)
"Об утверждении Правил благоустройства территории Санкт-Петербурга в части, касающейся правил производства земляных, ремонтных и отдельных работ, связанных с благоустройством территории Санкт-Петербурга"
(с изм. и доп., вступающими в силу с 01.06.2025)


Содержание


ПРАВИТЕЛЬСТВО САНКТ-ПЕТЕРБУРГА
ПОСТАНОВЛЕНИЕ
от 6 октября 2016 г. N 875
ОБ УТВЕРЖДЕНИИ ПРАВИЛ БЛАГОУСТРОЙСТВА ТЕРРИТОРИИ
САНКТ-ПЕТЕРБУРГА В ЧАСТИ, КАСАЮЩЕЙСЯ ПРАВИЛ ПРОИЗВОДСТВА
ЗЕМЛЯНЫХ, РЕМОНТНЫХ И ОТДЕЛЬНЫХ РАБОТ, СВЯЗАННЫХ
С БЛАГОУСТРОЙСТВОМ ТЕРРИТОРИИ САНКТ-ПЕТЕРБУРГА
Список изменяющих документов
(в ред. Постановлений Правительства Санкт-Петербурга от 26.11.2018 N 899,
от 22.04.2020 N 237, от 14.05.2020 N 289, от 20.09.2021 N 682,
от 27.05.2022 N 452, от 29.06.2023 N 682, от 08.09.2023 N 966,
от 06.06.2024 N 448, от 01.08.2024 N 654, от 08.04.2025 N 199)
В соответствии со статьей 5 Закона Санкт-Петербурга от 23.12.2015 N 891-180 "О благоустройстве в Санкт-Петербурге" Правительство Санкт-Петербурга постановляет:
1. Утвердить Правила благоустройства территории Санкт-Петербурга в части, касающейся правил производства земляных, ремонтных и отдельных работ, связанных с благоустройством территории Санкт-Петербурга.
2. Контроль за выполнением постановления возложить на вице-губернатора Санкт-Петербурга Разумишкина Е.Н.
(в ред. Постановлений Правительства Санкт-Петербурга от 22.04.2020 N 237, от 08.09.2023 N 966)
Губернатор Санкт-Петербурга
Г.С.Полтавченко
УТВЕРЖДЕНЫ
постановлением
Правительства Санкт-Петербурга
от 06.10.2016 N 875
ПРАВИЛА
БЛАГОУСТРОЙСТВА ТЕРРИТОРИИ САНКТ-ПЕТЕРБУРГА В ЧАСТИ,
КАСАЮЩЕЙСЯ ПРАВИЛ ПРОИЗВОДСТВА ЗЕМЛЯНЫХ, РЕМОНТНЫХ
И ОТДЕЛЬНЫХ РАБОТ, СВЯЗАННЫХ С БЛАГОУСТРОЙСТВОМ
ТЕРРИТОРИИ САНКТ-ПЕТЕРБУРГА
Список изменяющих документов
(в ред. Постановлений Правительства Санкт-Петербурга от 26.11.2018 N 899,
от 22.04.2020 N 237, от 14.05.2020 N 289, от 20.09.2021 N 682,
от 27.05.2022 N 452, от 29.06.2023 N 682, от 08.09.2023 N 966,
от 06.06.2024 N 448, от 01.08.2024 N 654, от 08.04.2025 N 199)
1. Общие положения
1.1. Настоящие Правила благоустройства территории Санкт-Петербурга в части, касающейся правил производства земляных, ремонтных и отдельных работ, связанных с благоустройством территории Санкт-Петербурга (далее - Правила), разработаны в соответствии с Федеральным законом "Об общих принципах организации местного самоуправления в Российской Федерации", Законом Санкт-Петербурга от 23.12.2015 N 891-180 "О благоустройстве в Санкт-Петербурге".
Правила устанавливают:
Порядок планирования и координации производства земляных, ремонтных и отдельных работ, связанных с благоустройством территории Санкт-Петербурга, в соответствии с разделом 2 Правил;
Обязанности заказчика и производителя работ при производстве земляных, ремонтных и отдельных работ, связанных с благоустройством территории Санкт-Петербурга, в соответствии с разделом 3 Правил;
Перечень плановых земляных, ремонтных и отдельных работ, связанных с благоустройством территории Санкт-Петербурга, требующих получения ордера Государственной административно-технической инспекции на производство указанных работ, в соответствии с разделом 4 Правил;
(в ред. Постановления Правительства Санкт-Петербурга от 22.04.2020 N 237)
Перечень земляных, ремонтных и отдельных работ, связанных с благоустройством территории Санкт-Петербурга, производство которых разрешено без ордера Государственной административно-технической инспекции, в соответствии с разделом 5 Правил;
Порядок оформления и выдачи ордера Государственной административно-технической инспекции на производство земляных, ремонтных и отдельных работ, связанных с благоустройством территории Санкт-Петербурга, в соответствии с разделом 6 Правил;
Перечень документов, необходимых для оформления ордера Государственной административно-технической инспекции в соответствии с разделом 7 Правил;
Перечень оснований для отказа в выдаче ордера Государственной административно-технической инспекции в соответствии с разделом 8 Правил;
Абзац исключен. - Постановление Правительства Санкт-Петербурга от 22.04.2020 N 237;
Порядок признания ордера на производство земляных, ремонтных и отдельных работ, связанных с благоустройством территории Санкт-Петербурга, недействующим в соответствии с разделом 10 Правил;
Порядок восстановления элементов благоустройства, нарушенных в результате производства земляных, ремонтных и отдельных работ, связанных с благоустройством территории Санкт-Петербурга, в соответствии с разделом 11 Правил;
(в ред. Постановления Правительства Санкт-Петербурга от 22.04.2020 N 237)
Порядок закрытия ордеров на производство земляных, ремонтных и отдельных работ, связанных с благоустройством территории Санкт-Петербурга, и подтверждения выполнения требований по восстановлению элементов благоустройства, нарушенных в результате производства аварийных работ в соответствии с разделом 12 Правил;
(в ред. Постановления Правительства Санкт-Петербурга от 22.04.2020 N 237)
Порядок производства аварийных работ, связанных с благоустройством территории Санкт-Петербурга, в соответствии с разделом 13 Правил.
1.2. Действие Правил не распространяется на производство земляных, ремонтных и отдельных работ, связанных с благоустройством территории Санкт-Петербурга, на земельных участках, находящихся в государственной собственности или собственность на которые не разграничена, предоставленных для целей строительства (реконструкции) объектов капитального строительства, а также на земельных участках, находящихся в частной собственности, на которых осуществляется строительство (реконструкция) на основании разрешения на строительство.
Осуществление мероприятий по содержанию временных ограждений зон производства работ (строительных площадок) выполняется в соответствии с Правилами благоустройства территории Санкт-Петербурга, утвержденными постановлением Правительства Санкт-Петербурга от 09.11.2016 N 961 (далее - Правила благоустройства территории Санкт-Петербурга).
(в ред. Постановления Правительства Санкт-Петербурга от 01.08.2024 N 654)
(п. 1.2 в ред. Постановления Правительства Санкт-Петербурга от 26.11.2018 N 899)
1.3. Правила обязательны для всех организаций независимо от их организационно-правовой формы и ведомственной принадлежности, индивидуальных предпринимателей, физических лиц, осуществляющих (планирующих) производство земляных, ремонтных и отдельных работ, связанных с благоустройством территории Санкт-Петербурга в его административных границах.
1.4. В Правилах используются следующие основные термины и понятия:
1.4.1. Аварийные работы - ремонтно-восстановительные работы на инженерных коммуникациях и иных объектах при их повреждениях, требующих безотлагательного производства земляных, ремонтных и отдельных работ для устранения опасности, непосредственно угрожающей безопасности людей, их правам, а также охраняемым законом интересам.
(в ред. Постановления Правительства Санкт-Петербурга от 26.11.2018 N 899)
1.4.2. Агротехнический период - период времени с температурами грунта и наружного воздуха, позволяющими выполнить работы по восстановлению зеленых насаждений, покрытий, а также иные работы по благоустройству, проведение которых в зимний период невозможно; агротехнический период в Санкт-Петербурге устанавливается с 16 апреля по 15 октября (в зависимости от погодных условий указанный период сокращается или продлевается распоряжением Комитета по благоустройству Санкт-Петербурга).
За пределами агротехнического периода выполняются работы по первичному восстановлению благоустройства (засыпка траншеи, укладка с разравниванием и уплотнением грунта, первичное восстановление покрытий).
(п. 1.4.2 в ред. Постановления Правительства Санкт-Петербурга от 26.11.2018 N 899)
1.4.2-1. АР - администрация района Санкт-Петербурга.
(п. 1.4.2-1 введен Постановлением Правительства Санкт-Петербурга от 08.09.2023 N 966)
1.4.3. Владелец - лицо, которому объект благоустройства, в том числе земельный участок, и(или) элемент благоустройства, инженерные коммуникации принадлежат на праве собственности или ином вещном праве, либо лицо, получившее разрешение на использование земельного участка, находящегося в государственной собственности Санкт-Петербурга или государственная собственность на который не разграничена, в установленном законом порядке, либо иные лица, на которых обязательства по содержанию объектов благоустройства и(или) элементов благоустройства, инженерных коммуникаций возложены действующим законодательством или договором, в том числе исполнительные органы государственной власти Санкт-Петербурга, органы местного самоуправления в Санкт-Петербурге, уполномоченные на содержание объекта благоустройства и(или) элемента благоустройства.
(в ред. Постановления Правительства Санкт-Петербурга от 08.04.2025 N 199)
1.4.3-1. Временные элементы благоустройства - элементы благоустройства, размещаемые на срок не более шести месяцев.
(п. 1.4.3-1 введен Постановлением Правительства Санкт-Петербурга от 26.11.2018 N 899)
1.4.4. ГАТИ - Государственная административно-техническая инспекция.
1.4.5. ГКУ ДОДД - Санкт-Петербургское государственное казенное учреждение "Дирекция по организации дорожного движения".
1.4.6. Заказчик - юридическое или физическое лицо, уполномоченное владельцем (или само являющееся владельцем) объекта благоустройства и(или) элемента благоустройства, обеспечивающее производство земляных, ремонтных и отдельных работ, связанных с благоустройством территории Санкт-Петербурга.
1.4.7. Земляные работы - комплекс работ, связанных с благоустройством территории Санкт-Петербурга, включающий выемку (разработку) грунта, его перемещение, укладку с разравниванием и уплотнением грунта, сопутствующие работы (в том числе планировка площадей, откосов, полотна выемок и насыпей; отделка земляного полотна; устройство уступов по откосам (в основании) насыпей; бурение ям бурильно-крановыми машинами; рыхление грунтов; засыпка пазух котлованов).
1.4.8. Зона производства работ - территория, используемая для производства земляных, ремонтных и отдельных работ, связанных с благоустройством территории Санкт-Петербурга, в том числе для размещения временных зданий и сооружений, техники, строительных материалов, оборудования, временных знаков. При получении ордера на производство земляных, ремонтных и отдельных работ, связанных с благоустройством территории Санкт-Петербурга, зона производства работ определяется условиями ордера на срок действия ордера до его закрытия".
1.4.9. Инженерные коммуникации - подземные и надземные сети, трассы открытой и закрытой канализации, электро-, тепло-, газо-, водоснабжения, связи, контактные сети электротранспорта.
1.4.10. КБ - Комитет по благоустройству Санкт-Петербурга.
1.4.11. КГА - Комитет по градостроительству и архитектуре.
1.4.12. КГИОП - Комитет по государственному контролю, использованию и охране памятников истории и культуры Санкт-Петербурга.
1.4.13. КТ - Комитет по транспорту.
1.4.14. Отдельные работы - работы, связанные с благоустройством территории Санкт-Петербурга, указанные в разделах 4 и 5 Правил, не являющиеся земляными и ремонтными работами.
1.4.15. Оперативная адресная программа - адресная координационная программа земляных, ремонтных и отдельных работ, связанных с благоустройством территории Санкт-Петербурга, - документ, утвержденный руководителем ГАТИ, содержащий перечень работ, планируемых к производству на три месяца, с указанием сроков, места их производства, а также вида планируемых работ, сформированный ГАТИ на основании представленных заказчиками заявок.
1.4.16. Ордер - документ, дающий право на производство земляных, ремонтных и отдельных работ, связанных с благоустройством территории Санкт-Петербурга, выдаваемый ГАТИ в целях координации производства указанных работ и контроля за восстановлением нарушенных в ходе производства работ элементов благоустройства.
(в ред. Постановления Правительства Санкт-Петербурга от 22.04.2020 N 237)
1.4.17. Перспективная адресная программа - координационный график комплексного проектирования - документ, утвержденный руководителем ГАТИ по согласованию с вице-губернатором Санкт-Петербурга, координирующим и контролирующим деятельность ГАТИ, содержащий перечень земляных, ремонтных и отдельных работ, связанных с благоустройством территории Санкт-Петербурга, на плановый год и последующую четырехлетнюю перспективу, с указанием сроков и места их производства, а также вида планируемых работ, сформированный ГАТИ на основании представленных заказчиками заявок.
(в ред. Постановления Правительства Санкт-Петербурга от 06.06.2024 N 448)
1.4.18. Плановые работы - земляные, ремонтные и отдельные виды работ, связанные с благоустройством территории Санкт-Петербурга, за исключением аварийных работ.
1.4.19. Исключен. - Постановление Правительства Санкт-Петербурга от 08.04.2025 N 199.
1.4.20. Производитель работ - юридическое или физическое лицо, которое выполняет работы или организовывает производство работ путем привлечения субподрядчиков (генеральный подрядчик).
1.4.21. Работы - земляные, ремонтные и отдельные работы, связанные с благоустройством территории Санкт-Петербурга.
1.4.22. Разработка грунта - выемка (полувыемка), насыпь (полунасыпь), устройство выравнивающего слоя, противофильтрационной подушки, обратного фильтра, дренаж, рекультивация. Разработка грунта может выполняться механизированным способом с использованием средств гидромеханизации или вручную.
1.4.23. Ремонтные работы - связанные с благоустройством территории Санкт-Петербурга работы по восстановлению исправности элемента благоустройства (в том числе его эксплуатационных характеристик), за исключением работ по изменению планировочного устройства и покрытия, размещенного на объекте благоустройства.
1.4.24. Согласующие организации - организации (в том числе исполнительные органы государственной власти Санкт-Петербурга, органы местного самоуправления в Санкт-Петербурге), дающие свое согласие на производство земляных, ремонтных и отдельных видов работ, связанных с благоустройством территории Санкт-Петербурга, а также подтверждающие факт завершения работ и восстановление нарушенных в ходе производства работ элементов благоустройства, в соответствии с их компетенцией, указанные в разделах 6 и 12 Правил.
(в ред. Постановления Правительства Санкт-Петербурга от 22.04.2020 N 237)
1.4.25. Строительная площадка - территория, используемая для производства работ по строительству и реконструкции объектов капитального строительства, в том числе для размещения временных зданий и сооружений, техники, строительных материалов, оборудования на указанной территории.
1.4.26. Схема производства работ - документ, содержащий материалы в графической форме, определяющий границы зоны производства работ.
При подаче документов в электронной форме указанная схема должна быть выполнена в виде одного файла с цифровым обозначением зоны производства работ (имя файла "Зона производства работ", расширение файла PSP, система координат МСК-64); файл формата PSP должен соответствовать требованиям, указанным в пункте 1.5 Правил.
При подаче документов на бумажных носителях схема производства работ выполняется в масштабе 1:200 или 1:500 с привязкой к топографическим объектам, утверждается подписью заказчика.
При подаче документов в электронной форме для проведения работ на инженерных коммуникациях схема производства работ, выполненная в виде одного файла с цифровым обозначением зоны производства работ с расширением файла PSP, должна включать также схемы трасс инженерных коммуникаций (имена слоев должны соответствовать названиям инженерных коммуникаций).
(п. 1.4.26 в ред. Постановления Правительства Санкт-Петербурга от 08.04.2025 N 199)
1.4.27. Территория зеленых насаждений - территория, занятая зелеными насаждениями или предназначенная для озеленения.
1.4.28. ЭП - квалифицированная электронная подпись, сертификат ключа которой выдан удостоверяющим центром, аккредитованным Министерством связи и массовых коммуникаций Российской Федерации в соответствии с требованиями Федерального закона "Об электронной подписи".
1.5. Требования, предъявляемые к электронным документам (при подаче документов в электронном виде):
1.5.1. Все файлы должны иметь имена, состоящие не более чем из 30 символов (русских или латинских букв, цифр, символов подчеркивания, пробела и точки). Использование иных символов в имени файлов недопустимо.
1.5.2. Файлы, содержащие согласования производства работ, должны иметь имя файла, включающее префикс "Согласование" и уточняющую часть, а также должны быть выполнены в формате текстового процессора (с расширением файла *.docx, *.doc, *.rtf) или Portable Document Format (с расширением файла PDF).
(в ред. Постановления Правительства Санкт-Петербурга от 22.04.2020 N 237)
1.5.3. Файл с цифровым обозначением зоны производства работ должен иметь имя "Зона производства работ.PSP" и включать в себя картографические данные в системе координат МСК-64. К заявке прилагается не более одного файла с расширением PSP.
(в ред. Постановления Правительства Санкт-Петербурга от 08.04.2025 N 199)
1.5.3.1 - 1.5.3.2. Исключены. - Постановление Правительства Санкт-Петербурга от 08.04.2025 N 199.
1.5.4. Все файлы должны быть подписаны с использованием ЭП уполномоченного лица заказчика. При этом применяется формат ЭП, при котором подпись хранится в отдельном файле. Имя файла ЭП должно совпадать с именем подписываемого файла, файл должен иметь информацию о сертификате ключа проверки ЭП, иметь расширение файла SIG.
1.5.5. Файл заявки должен иметь имя "Заявка" в виде файла текстового процессора в форматах *.docx, *.doc, *.rtf или PDF. Файл заявки должен быть подписан с использованием ЭП уполномоченного лица заказчика, при этом применяется формат ЭП, при котором подпись хранится в отдельном файле с информацией о сертификате ключа проверки ЭП, расширением файла SIG.
1.5.6. Файлы в формате Portable Document Format (с расширением PDF) должны быть постраничными, на каждой странице файла должна располагаться одна страница исходного документа (без поворота), все используемые шрифты (кроме стандартных) должны быть внедрены в файл, файл не должен содержать скриптов и гиперссылок, растровое содержимое документа должно быть преобразовано в формат JPEG с порогом сжатия от 8 до 12 и максимальным размером любой из сторон изображения до 2000 пикселей. Размер файла не должен превышать 5 Мб.
1.5.7. Файлы формата текстового процессора (с расширением файла *.docx, *.doc, *.rtf) должны содержать текст с использованием шрифтов "Arial", "Times New Roman", "Calibri", "Courier New", размер шрифта должен быть от 8 до 14 пунктов, файл не должен содержать скриптов и гиперссылок, растровое содержимое документа должно быть преобразовано в формат JPEG с порогом сжатия от 8 до 12 и максимальным размером любой из сторон изображения до 2000 пикселей. Размер файла не должен превышать 5 Мб.
(в ред. Постановления Правительства Санкт-Петербурга от 22.04.2020 N 237)
1.5.8. Файлы формата JPEG должны содержать изображение с порогом сжатия от 8 до 12, максимальным размером любой из сторон изображения до 2000 пикселей. Размер файла не должен превышать 5 Мб.
1.6. Прием документов может быть осуществлен с использованием установленных правил авторизации и аутентификации через подсистему "Портал "Государственные и муниципальные услуги (функции) в Санкт-Петербурге" Межведомственной автоматизированной информационной системы предоставления в Санкт-Петербурге государственных и муниципальных услуг в электронном виде (www.gu.spb.ru) (далее - портал) в информационно-телекоммуникационной сети "Интернет" (далее - сеть Интернет).
(в ред. Постановлений Правительства Санкт-Петербурга от 14.05.2020 N 289, от 27.05.2022 N 452)
1.7. В настоящих Правилах понятие "место (площадка) накопления твердых коммунальных отходов (далее - ТКО)" используется в значении, предусмотренном Правилами благоустройства территории Санкт-Петербурга.
(п. 1.7 введен Постановлением Правительства Санкт-Петербурга от 01.08.2024 N 654)
2. Порядок планирования и координации производства земляных,
ремонтных и отдельных работ, связанных с благоустройством
территории Санкт-Петербурга
2.1. Основные принципы планирования и координации производства работ.
2.1.1. При планировании работ необходимо максимально учитывать возможность их комплексного ведения.
2.1.2. Координация сроков производства работ проводится ГАТИ в соответствии с ее компетенцией в целях обеспечения жизнедеятельности города, устойчивого энерго-, тепло-, газо- и водоснабжения, бесперебойной работы транспорта и связи, городских эксплуатационных служб, исключения аварийных ситуаций на объектах городской инфраструктуры, соблюдения сроков производства работ, максимальной экономии ресурсов, уменьшения отрицательного влияния работ на условия проживания населения и жизнедеятельности Санкт-Петербурга.
2.1.3. При формировании оперативной адресной программы и перспективной адресной программы учитывается необходимость восстановления элементов благоустройства в агротехнический период, а также запрет при планировании работ общей продолжительностью менее шести месяцев предусматривать технологический перерыв (приостановление работ) до агротехнического периода.
(в ред. Постановления Правительства Санкт-Петербурга от 22.04.2020 N 237)
2.1.4. Планирование и координация производства работ включает в себя:
учет работ, заявленных для включения в адресные программы, мониторинг информационных ресурсов Санкт-Петербурга;
(в ред. Постановления Правительства Санкт-Петербурга от 26.11.2018 N 899)
формирование оперативных и перспективных адресных программ;
размещение утвержденных адресных программ на сайте ГАТИ в сети Интернет;
мониторинг выполнения адресных программ;
включение заявленных работ в адресную программу путем внесения сведений в электронной форме в государственную информационную систему "Автоматизированная информационная система Государственной административно-технической инспекции" либо выдача отказа о включении заявленных работ в адресную программу.
(в ред. Постановления Правительства Санкт-Петербурга от 08.04.2025 N 199)
2.1.5. Заказчики, планирующие производство работ, требующих получения ордера ГАТИ, обязаны не позднее чем за три месяца до даты начала производства работ обратиться в ГАТИ с заявкой по форме согласно приложению N 1 к Правилам о включении работ в адресную программу (далее в настоящем разделе - заявка).
Заявка должна быть подписана уполномоченным представителем заказчика.
2.1.6. К заявке должны быть приложены:
документы, удостоверяющие полномочия лица, подписавшего заявку;
схема производства работ.
При подаче документов на бумажных носителях схема выполняется с привязкой к топографическим объектам, подписывается заказчиком.
При подаче документов в электронном виде схема должна соответствовать требованиям пункта 1.5 Правил.
2.1.7. ГАТИ осуществляет:
учет работ, содержащихся в поступивших заявках;
сопоставление сроков их проведения между собой, со сроками производства работ, заявленных (согласованных для включения) в оперативные и перспективные адресные программы, а также со сроками производства работ, указанных в выданных ГАТИ ордерах;
(в ред. Постановления Правительства Санкт-Петербурга от 08.09.2023 N 966)
согласование сроков производства работ с КБ (критерием принятия решения о согласовании заявки является истечение гарантийных сроков производства работ по государственным контрактам, выполненным на основании ордера ГАТИ (разрешения на строительство);
(в ред. Постановления Правительства Санкт-Петербурга от 26.11.2018 N 899)
согласование условий производства работ, а именно места производства работ, объемов работ, вида работ, условий о возможности, периодах и сроках ограничения движения или прекращения движения транспортных средств по автомобильным дорогам общего пользования регионального значения в Санкт-Петербурге, а также о необходимости выполнения мероприятий по управлению движением на указанных автомобильных дорогах при планировании работ, связанных с ограничением или прекращением движения транспортных средств, формирование графика ограничения движения или прекращения движения транспортных средств и размещение его на сайте ГАТИ в сети Интернет;
(в ред. Постановления Правительства Санкт-Петербурга от 26.11.2018 N 899)
согласование перспективной адресной программы с вице-губернатором Санкт-Петербурга, координирующим и контролирующим деятельность ГАТИ;
оформление выписки из государственной информационной системы "Автоматизированная информационная система Государственной административно-технической инспекции" о включении заявленных работ в адресную программу либо оформление и направление (вручение) отказа о включении заявленных работ в адресную программу по форме согласно приложению N 3 к Правилам.
(в ред. Постановления Правительства Санкт-Петербурга от 08.04.2025 N 199)
2.1.8. ГАТИ принимает решение об отказе о включении работ в адресную программу в случае, если:
2.1.8.1. Заявка не соответствует требованиям, указанным в пункте 2.1.5 Правил.
2.1.8.2. Отсутствуют документы, указанные в пункте 2.1.6 Правил.
2.1.8.3. Заявленные сроки и(или) условия производства работ (место производства работ, объемы работ, вид работ, периоды и сроки ограничения движения или прекращения движения транспортных средств по автомобильным дорогам общего пользования регионального значения в Санкт-Петербурге) невозможны для реализации в связи с несоответствием срокам и(или) условиям производства работ, заявленных (согласованных для включения) в оперативные и перспективные адресные программы, срокам и(или) условиям производства работ, указанным в выданных ГАТИ ордерах, не закрытых в соответствии с разделом 12 Правил.
(в ред. Постановления Правительства Санкт-Петербурга от 08.09.2023 N 966)
2.1.8.4. Получен мотивированный отказ в согласовании заявки от КБ.
2.1.8.5. Сведения, указанные в заявке, не соответствуют информации, содержащейся в прилагаемых документах или государственной информационной системе "Автоматизированная информационная система Государственной административно-технической инспекции", государственной информационной системы Санкт-Петербурга "Региональная геоинформационная система", информационной системе обеспечения градостроительной деятельности, Единой информационной системе Службы государственного строительного надзора и экспертизы Санкт-Петербурга "Стройформ", Едином государственном реестре юридических лиц, Едином государственном реестре индивидуальных предпринимателей, Едином государственном реестре прав на недвижимое имущество и сделок с ним (далее - государственные информационные системы).
(в ред. Постановления Правительства Санкт-Петербурга от 29.06.2023 N 682)
2.1.8.6. Заявленные сроки производства работ предполагают восстановление элементов благоустройства за пределами агротехнического периода, а также предусматривают технологический перерыв (приостановление работ) до наступления агротехнического периода при общей продолжительности работ менее шести месяцев.
(п. 2.1.8.6 введен Постановлением Правительства Санкт-Петербурга от 26.11.2018 N 899; в ред. Постановления Правительства Санкт-Петербурга от 22.04.2020 N 237)
2.1.9. Исключен. - Постановление Правительства Санкт-Петербурга от 08.04.2025 N 199.
2.1.10. Срок рассмотрения заявки на включение работ в адресную программу и направление заявителю результата не может превышать восемь рабочих дней.
(в ред. Постановлений Правительства Санкт-Петербурга от 20.09.2021 N 682, от 06.06.2024 N 448)
2.2. Оперативные адресные программы.
2.2.1. Оперативные адресные программы формируются на плановый период три месяца на основании заявок, по которым ГАТИ принято решение о включении работ в адресную программу.
(в ред. Постановления Правительства Санкт-Петербурга от 08.04.2025 N 199)
2.2.2. Оперативные адресные программы утверждаются руководителем ГАТИ и публикуются на официальном сайте ГАТИ в сети Интернет не позднее 25 числа месяца, предшествующего началу планового периода.
2.2.3. Производители работ и заказчики обязаны соблюдать сроки производства работ, заявленных в оперативные адресные программы.
(в ред. Постановления Правительства Санкт-Петербурга от 08.09.2023 N 966)
2.3. Перспективные адресные программы.
2.3.1. Перспективные адресные программы формируются на плановый год с перспективой на четыре года на основании заявок, по которым ГАТИ принято решение о включении работ в адресную программу.
(в ред. Постановлений Правительства Санкт-Петербурга от 06.06.2024 N 448, от 08.04.2025 N 199)
2.3.2. Перспективная адресная программа утверждается руководителем ГАТИ по согласованию с вице-губернатором Санкт-Петербурга, координирующим и контролирующим деятельность ГАТИ, и публикуется на официальном сайте ГАТИ в сети Интернет не позднее 15 декабря предпланового года.
(в ред. Постановления Правительства Санкт-Петербурга от 06.06.2024 N 448)
2.3.3. Заказчики, чьи работы заявлены в перспективную адресную программу, обязаны соблюдать сроки выполнения работ.
(в ред. Постановления Правительства Санкт-Петербурга от 08.09.2023 N 966)
3. Обязанности заказчика и производителя работ
при производстве земляных, ремонтных и отдельных работ,
связанных с благоустройством территории Санкт-Петербурга
3.1. Обязанности заказчика:
3.1.1. Получить ордер ГАТИ на производство работ, указанных в разделе 4 Правил.
(п. 3.1.1 в ред. Постановления Правительства Санкт-Петербурга от 26.11.2018 N 899)
3.1.2. Контролировать сроки производства работ, качество восстановления элементов благоустройства, нарушенных при производстве работ.
(в ред. Постановлений Правительства Санкт-Петербурга от 26.11.2018 N 899, от 22.04.2020 N 237)
3.1.3. До начала производства работ, указанных в разделе 5 Правил, информировать о начале производства работ владельцев объектов благоустройства, организации, проектирующие и эксплуатирующие метрополитен (при проведении каких-либо работ в пределах технических и охранных зон метрополитена), а также владельцев инженерных коммуникаций (при производстве работ в охранных зонах инженерных коммуникаций), владельцев объектов культурного наследия, выявленных объектов культурного наследия (при производстве работ в границах территории объектов культурного наследия, выявленных объектов культурного наследия, в зонах охраны объектов культурного наследия).
(п. 3.1.3 в ред. Постановления Правительства Санкт-Петербурга от 26.11.2018 N 899)
3.1.4. В процессе выполнения работ информировать ГАТИ об изменении условий, на основании которых производилась выдача ордера, в срок, не превышающий пяти рабочих дней после возникновения обстоятельств, свидетельствующих об изменении условий.
3.1.5. После завершения работ с нарушением элементов благоустройства обеспечить восстановление элементов благоустройства.
(п. 3.1.5 введен Постановлением Правительства Санкт-Петербурга от 22.04.2020 N 237)
3.2. Обязанности производителя работ:
3.2.1. Установить на месте работ информационный щит с указанием вида работ, наименования заказчика, производителя работ и его подрядчиков (в случае наличия договоров субподряда), сроков начала и окончания работ, начала и окончания временного ограничения или временного прекращения движения транспортных средств (в случае такого ограничения или прекращения), фамилий, имен, отчеств должностных лиц, ответственных за производство работ, номеров их рабочих телефонов. Не допускается установка и размещение информационного щита со сведениями, не соответствующими действительности (в том числе с указанием истекших сроков работ). Размер информационного щита не менее 1 x 1 м, текст сведений черного цвета на белом фоне.
(в ред. Постановлений Правительства Санкт-Петербурга от 26.11.2018 N 899, от 22.04.2020 N 237)
В случае временного ограничения или временного прекращения движения транспортных средств по автомобильным дорогам общего пользования регионального значения в Санкт-Петербурге информационный щит должен быть установлен не менее чем за два дня до начала такого ограничения (прекращения) движения, за исключением производства аварийных работ.
(в ред. Постановления Правительства Санкт-Петербурга от 26.11.2018 N 899)
При производстве аварийных работ организация, устраняющая аварию, обязана установить на месте производства работ информационный щит из профильного листа, имеющего высоту 1,25 м, ширину - 1,0 м, содержащий информацию о наименовании производителя работ и соответствующий требованиям, указанным в приложении N 10 к Правилам, либо использовать ограждение с информацией о наименовании производителя работ.
(в ред. Постановлений Правительства Санкт-Петербурга от 22.04.2020 N 237, от 08.09.2023 N 966)
3.2.2. Обеспечить доступ к зоне производства работ представителей ГАТИ.
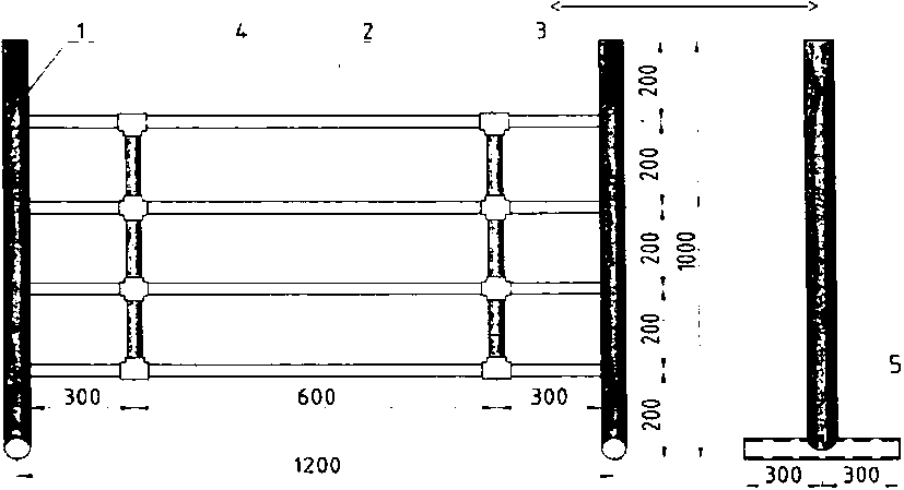
3.2.3. Оградить зону производства работ ограждением, обеспечивающим безопасное движение транспорта и пешеходов, сохранность объектов и элементов благоустройства, входящих в зону производства работ. На углах ограждения, перегораживающего (частично или полностью) тротуар или проезжую часть, должна быть сделана вертикальная разметка в соответствии с действующими нормами. Ограждение зон производства работ должно соответствовать требованиям, установленным в приложении N 11 к Правилам.
(в ред. Постановлений Правительства Санкт-Петербурга от 26.11.2018 N 899, от 22.04.2020 N 237, от 20.09.2021 N 682)
Абзацы второй - четвертый исключены. - Постановление Правительства Санкт-Петербурга от 22.04.2020 N 237.
При работах на проезжей части улиц в качестве ограждения могут использоваться специально предназначенные для этого блоки из полимерных материалов. Применение бетонных блоков и железобетонных свай в качестве ограждения зоны работ запрещено. Блоки из полимерных материалов должны быть зафиксированы и закреплены.
(в ред. Постановления Правительства Санкт-Петербурга от 22.04.2020 N 237)
3.2.4. Исключен. - Постановление Правительства Санкт-Петербурга от 22.04.2020 N 237.
3.2.5. В целях безопасности пешеходов в местах близкого размещения зоны производства работ к пешеходной зоне над ограждением установить защитный козырек, а на пешеходных дорожках, тротуарах - настил для пешеходов, оборудованный перилами со стороны движения транспорта и временными пандусами или иными средствами, позволяющими использование таких проходов инвалидами и другими маломобильными группами населения.
(в ред. Постановления Правительства Санкт-Петербурга от 26.11.2018 N 899)
3.2.6. Содержать ограждения зоны производства работ в чистом и исправном состоянии: ограждения зоны производства работ должны быть покрашены, очищены от грязи, промыты, не иметь проемов, поврежденных участков, отклонений от вертикали, посторонних наклеек, объявлений, надписей.
3.2.7. Выполнить ограждения с окраской красками, устойчивыми к неблагоприятным погодным условиям.
(в ред. Постановления Правительства Санкт-Петербурга от 26.11.2018 N 899)
3.2.8. Обеспечить при производстве работ свободные проходы к зданиям и входы в них путем установки через траншеи (зону производства работ) пешеходных мостиков с перилами, а также свободные въезды во дворы.
Обеспечить безопасность пешеходов и безопасность пешеходного движения при производстве работ.
(абзац введен Постановлением Правительства Санкт-Петербурга от 26.11.2018 N 899)
Обеспечить при производстве работ беспрепятственный доступ инвалидов к объектам социальной, инженерной и транспортной инфраструктур, к местам отдыха, которые предусмотрены федеральным законодательством.
(абзац введен Постановлением Правительства Санкт-Петербурга от 08.04.2025 N 199)
3.2.9. Не допускать начала производства работ до полного обустройства зоны производства работ в соответствии с условиями пунктов 3.2.1 - 3.2.8 Правил.
3.2.10. Исключен. - Постановление Правительства Санкт-Петербурга от 08.04.2025 N 199.
3.2.11. Обеспечить сохранность и содержание в исправном состоянии всех временных знаков, а также технических средств организации дорожного движения и их инженерных коммуникаций, находящихся в зоне производства работ и используемых при реализации проекта организации дорожного движения, а также временного ограждения зоны производства работ.
(в ред. Постановления Правительства Санкт-Петербурга от 22.04.2020 N 237)
3.2.12. Исключен. - Постановление Правительства Санкт-Петербурга от 08.04.2025 N 199.
3.2.13. Для обеспечения безопасного пешеходного движения по обеим сторонам улицы предусмотреть проход шириной не менее 1,5 м. В исключительных случаях тротуар может быть полностью закрыт для движения пешеходов. При этом в обязательном порядке должно быть сохранено движение пешеходов по противоположному тротуару с организацией пешеходных переходов.
3.2.14. При необходимости вскрытия крышек колодцев в местах движения автомобильного транспорта и пешеходов оградить люки и обустроить зону производства работ средствами сигнализации и временными предупредительными знаками с обозначениями направления объезда или обхода в соответствии с проектом организации дорожного движения.
(в ред. Постановления Правительства Санкт-Петербурга от 22.04.2020 N 237)
3.2.15. Производить складирование материалов, оборудования, временное хранение техники и размещение временных зданий и сооружений, а также временное размещение грунта, образовавшегося при производстве земляных работ, в пределах зоны производства работ.
3.2.16. Выполнять условия ордера.
3.2.17. Исключен. - Постановление Правительства Санкт-Петербурга от 08.04.2025 N 199.
3.2.18. После завершения работ с временным нарушением элементов благоустройства в пределах срока действия ордера выполнить восстановление элементов благоустройства, в том числе демонтировать временное ограждение.
(в ред. Постановления Правительства Санкт-Петербурга от 22.04.2020 N 237)
Подтверждением восстановления элементов благоустройства является получение согласований организаций, установленных в разделе 12 Правил.
(в ред. Постановления Правительства Санкт-Петербурга от 22.04.2020 N 237)
3.2.19. В случае установки элемента благоустройства в нарушение требований Правил (при необходимости оформления ордера ГАТИ на весь период размещения элемента благоустройства) снести (демонтировать) указанный элемент благоустройства и восстановить нарушенное благоустройство. В случае расторжения договора подряда и передачи элемента благоустройства по акту заказчику или другой организации, выполняющей функции генерального подрядчика (при заключении заказчиком договора подряда с другим производителем работ), обязанность демонтировать самовольно установленный элемент благоустройства возлагается на принявшую элемент благоустройства организацию.
3.2.20. Получить распоряжение ГАТИ о временном ограничении (временном прекращении) движения транспортных средств по автомобильным дорогам общего пользования регионального значения в Санкт-Петербурге при необходимости такого ограничения (прекращения).
Соблюдать порядок и сроки временного ограничения (временного прекращения) движения транспортных средств по автомобильным дорогам общего пользования регионального значения в Санкт-Петербурге в соответствии с распоряжением ГАТИ в случае введения такого ограничения (прекращения).
3.2.21. Осуществлять контроль за выполнением привлеченными им субподрядчиками требований Правил и нести ответственность за необеспечение выполнения таких требований.
3.2.22. Содержать зону производства работ и прилегающую территорию в соответствии с требованиями Правил благоустройства территории Санкт-Петербурга.
(в ред. Постановления Правительства Санкт-Петербурга от 20.09.2021 N 682)
В случае временного ограничения (прекращения) движения транспортных средств по автомобильным дорогам общего пользования регионального значения в Санкт-Петербурге содержать зону производства работ, на которой введено указанное ограничение (прекращение), до окончания срока такого ограничения (прекращения).
(абзац введен Постановлением Правительства Санкт-Петербурга от 26.11.2018 N 899)
В случае расторжения государственного контракта (договора подряда) ответственность за содержание зоны производства работ возлагается на Заказчика работ до момента заключения нового государственного контракта (договора подряда).
(абзац введен Постановлением Правительства Санкт-Петербурга от 08.09.2023 N 966)
3.2.23. Устранять замечания согласующих организаций в течение 10 дней с момента их размещения на сайте ГАТИ в сети Интернет по адресу gati-online.ru, полученные в соответствии с пунктом 12.2 Правил.
(п. 3.2.23 введен Постановлением Правительства Санкт-Петербурга от 20.09.2021 N 682)
3.2.24. При производстве работ не допускать технологический перерыв (приостановление работ), не предусмотренный графиком производства работ, представленным при получении ордера, а при его возникновении обеспечить первичное восстановление благоустройства, освобождение зоны производства работ от ограждения, материалов и строительной техники, свободный проход и проезд транспортных средств.
(п. 3.2.24 введен Постановлением Правительства Санкт-Петербурга от 20.09.2021 N 682; в ред. Постановления Правительства Санкт-Петербурга от 08.04.2025 N 199)
4. Перечень плановых земляных, ремонтных и отдельных работ,
связанных с благоустройством территории Санкт-Петербурга,
требующих получения ордера Государственной
административно-технической инспекции на производство
указанных работ
(в ред. Постановления Правительства Санкт-Петербурга
от 22.04.2020 N 237)
4.1. Производство земляных работ при вскрытии грунта более 0,4 м.
4.2. Производство земляных работ при работах на инженерных коммуникациях.
4.3. Ремонт покрытий, за исключением производства работ, указанных в разделе 5 Правил.
4.4. Установка и размещение временных ограждений строительных площадок и зон производства работ, в том числе строительных лесов, за исключением производства работ, указанных в разделе 5 Правил.
4.5. Складирование и размещение временных инженерных коммуникаций, а также материалов, оборудования, некапитальных строений, сооружений, используемых для производства работ.
4.6. Работы по установке элементов благоустройства площадью более 10 кв. м, для планировочного устройства, покрытий, ограждений - без ограничений по площади.
4.7. Работы по установке и размещению временных элементов благоустройства площадью более 10 кв. м.
5. Перечень земляных, ремонтных и отдельных работ, связанных
с благоустройством территории Санкт-Петербурга, производство
которых разрешено без ордера Государственной
административно-технической инспекции
5.1. Работы, указанные в разделе 4 Правил, производимые в пределах земельных участков, находящихся в частной собственности, а также предоставленных для ведения садоводства, огородничества, дачного хозяйства, в пределах закрытых территорий режимных военных и оборонных объектов, объектов уголовно-исполнительной системы, водных объектов, мест погребений.
(в ред. Постановления Правительства Санкт-Петербурга от 26.11.2018 N 899)
5.2. Срезка фрезерованием покрытий на толщину асфальтового слоя при общей площади зоны производства работ до 300 кв. м с восстановлением покрытия в течение суток.
5.3. Ремонт покрытия из штучного материала при общей площади зоны производства работ до 300 кв. м с восстановлением покрытия в течение трех суток.
5.4. Ликвидация просадок покрытия, заделка выбоин, устранение деформаций и повреждений покрытий площадью до 100 кв. м и при заглублении до 0,4 м, регулировка и замена комплектов люков колодцев, производимые в течение суток.
(в ред. Постановлений Правительства Санкт-Петербурга от 22.04.2020 N 237, от 08.09.2023 N 966)
5.5. Работы по содержанию территорий зеленых насаждений, ремонту объектов зеленых насаждений, расположенных на территориях зеленых насаждений, компенсационному озеленению при заглублении до 0,4 м, включая замену ограждений газонов.
5.6. Установка детского игрового и спортивного оборудования взамен существующего, а также установка детского игрового и спортивного оборудования, для установки которого необходимо производство земляных работ при вскрытии грунта на глубину до 0,4 м.
5.7. Производство земляных работ при вскрытии грунта до 0,4 м.
5.8. Замена бортовых камней на участках общей протяженностью не более 100 м.
5.9. Установка и размещение временных ограждений на земельных участках, предоставленных для целей строительства (реконструкции) объектов капитального строительства, а также на земельных участках, находящихся в частной собственности, на которых в соответствии с разрешением на строительство разрешено строительство (реконструкция) объекта капитального строительства.
5.10. Установка элементов благоустройства площадью не более 10 кв. м, а также установка и размещение временных элементов благоустройства площадью не более 10 кв. м.
5.11. Работы по размещению и ремонту элементов благоустройства для обустройства мест (площадок) накопления ТКО при вскрытии грунта не более 0,4 м и без изменения покрытия.
(п. 5.11 в ред. Постановления Правительства Санкт-Петербурга от 01.08.2024 N 654)
5.12. Установка и размещение элементов благоустройства на срок не более одних суток, включая восстановление нарушенного благоустройства.
(п. 5.12 введен Постановлением Правительства Санкт-Петербурга от 26.11.2018 N 899)
5.13. Работы по освобождению земельных участков, находящихся в государственной собственности Санкт-Петербурга или государственная собственность на которые не разграничена, от движимого имущества лиц, незаконно использующих указанные земельные участки, продолжительностью не более пяти суток, включая восстановление нарушенного благоустройства.
(п. 5.13 введен Постановлением Правительства Санкт-Петербурга от 26.11.2018 N 899)
5.14. Производство работ по восстановлению элементов благоустройства, выполняемых в целях исполнения судебного акта с уведомлением ГАТИ о начале и сроках производства работ.
(п. 5.14 введен Постановлением Правительства Санкт-Петербурга от 26.11.2018 N 899; в ред. Постановления Правительства Санкт-Петербурга от 22.04.2020 N 237)
5.15. Установка и размещение нестационарных торговых объектов, включенных в схему размещения нестационарных торговых объектов на земельных участках, находящихся в государственной собственности Санкт-Петербурга или государственная собственность на которые не разграничена.
(п. 5.15 введен Постановлением Правительства Санкт-Петербурга от 22.04.2020 N 237)
5.16. Производство аварийных работ в соответствии с разделом 13 Правил.
(п. 5.16 введен Постановлением Правительства Санкт-Петербурга от 22.04.2020 N 237)
6. Порядок оформления и выдачи ордера Государственной
административно-технической инспекции на производство
земляных, ремонтных и отдельных работ, связанных
с благоустройством территории Санкт-Петербурга
6.1. Заказчики, планирующие работы, указанные в разделе 4 Правил, обязаны получить ордер в ГАТИ на их производство. Выполнение работ, предусмотренных в разделе 4 Правил, без ордера ГАТИ на их производство запрещено.
(в ред. Постановления Правительства Санкт-Петербурга от 26.11.2018 N 899)
6.2. Ордер на работы выдается заказчику на основании представленной необходимой разрешительной документации, установленной в разделе 7 Правил.
6.3. Для получения ордера заказчик представляет в ГАТИ не ранее чем за три месяца до начала планируемых работ и не позднее даты начала работ, указанной в заявке, с учетом срока оформления ордера, установленного в пункте 6.8 Правил, заявку на получение ордера (далее - заявка) по форме согласно приложению N 4 к Правилам.
(в ред. Постановления Правительства Санкт-Петербурга от 08.09.2023 N 966)
6.4. Заявка должна быть подписана уполномоченным представителем заказчика.
В случае подачи документов в электронном виде заявка заполняется посредством портала в форме электронного документа с использованием установленных инструментов авторизации в соответствии с инструкцией, регламентирующей процесс подачи документов для предоставления данной услуги, размещенной на портале. Все необходимые документы загружаются с использованием интерфейсных средств портала. В случае подачи заявки на электронном носителе на личном приеме в ГАТИ (в виде файла с именем "Заявка" и в виде файла текстового процессора в форматах *.docx, *.doc, *.rtf или PDF) файл должен быть подписан с использованием ЭП.
(в ред. Постановления Правительства Санкт-Петербурга от 08.04.2025 N 199)
При подаче документов в электронном виде должны быть выполнены требования, указанные в пункте 1.5 Правил.
Абзац исключен. - Постановление Правительства Санкт-Петербурга от 27.05.2022 N 452.
Абзац исключен. - Постановление Правительства Санкт-Петербурга от 14.05.2020 N 289.
6.5. Уполномоченным представителем заказчика признается его руководитель, действующий на основании учредительных документов или положения об исполнительном органе государственной власти (в случае если заказчик является юридическим лицом), а также лицо, уполномоченное на подпись заявки соответствующей доверенностью (договором, решением собрания).
6.6. Заявка должна быть согласована с согласующими организациями в соответствии с пунктом 6.7 Правил:
6.6.1. С КТ - о возможности производства работ при временном ограничении или временном прекращении движения транспортных средств по автомобильным дорогам общего пользования регионального значения в Санкт-Петербурге, при работах на территории объектов транспортной инфраструктуры, находящейся в ведении КТ. Критерием принятия решения о согласовании заявки является соблюдение (нарушение) нормативных правовых актов Санкт-Петербурга в сфере обеспечения населения услугами городского наземного маршрутного транспорта общего пользования, легкового таксомоторного транспорта, метрополитена, железнодорожного пригородного транспорта и водного транспорта Санкт-Петербурга (возможность организации движения общественного транспорта по объездным маршрутам, необеспечение сохранности сетей на объектах транспортной инфраструктуры, необеспечение графика движения маршрутных транспортных средств).
6.6.2. С КГА - о возможности производства работ по созданию и размещению элементов благоустройства. Критерием принятия решения о согласовании заявки на получение ордера является соблюдение (нарушение) требований Правил (наличие/отсутствие согласованных КГА проектов благоустройства, за исключением размещения временных ограждений строительных площадок, зоны производства работ, при условии сохранения существующих подземных коммуникаций и сооружений).
6.6.3. С КБ - о возможности производства работ:
на территории зеленых насаждений. Критерием принятия решения о согласовании заявки является соблюдение нормативных правовых актов Санкт-Петербурга при необходимости повреждения или уничтожения зеленых насаждений и других элементов благоустройства при производстве работ, связанных с благоустройством территорий Санкт-Петербурга (наличие или отсутствие порубочного билета, наличие или отсутствие оплаты восстановительной стоимости зеленых насаждений);
(в ред. Постановления Правительства Санкт-Петербурга от 26.11.2018 N 899)
по вскрытию существующих асфальтовых и плиточных покрытий в красных линиях дорог. Критерием принятия решения о согласовании заявки является истечение гарантийных сроков производства работ по государственным контрактам, выполненным на основании ордера ГАТИ (разрешения на строительство), за исключением согласования заявки на получение ордера на производство работ, связанных с нарушением дорожных конструкций и покрытий в случае, при котором после восстановления благоустройства гарантийные обязательства возлагаются на подрядную организацию, осуществляющую производство земляных работ;
(в ред. Постановления Правительства Санкт-Петербурга от 08.09.2023 N 966)
в течение пяти лет после завершения работ по государственным контрактам, заключенным КБ или подведомственными ему учреждениями, выполненным на основании ордера ГАТИ.
(в ред. Постановления Правительства Санкт-Петербурга от 08.09.2023 N 966)
6.6.4. С Комитетом имущественных отношений Санкт-Петербурга - о возможности производства работ на земельном участке, находящемся в государственной собственности Санкт-Петербурга или государственная собственность на которые не разграничена, за исключением случаев согласования заявок на выдачу ордеров на производство работ в отношении земельных участков, предоставленных и(или) используемых в установленном порядке третьим(и) лицам(и), если проведение работ соответствует целям предоставления и(или) использования участка таким(и) лицам(и). Критерием принятия решения о согласовании заявки является соблюдение (нарушение) прав Санкт-Петербурга как собственника земельного участка (наличие/отсутствие договора аренды земельного участка, договора безвозмездного срочного пользования земельным участком, разрешения на использование земельного участка, договора на размещение объектов, размещение которых может осуществляться на землях или земельных участках, находящихся в государственной собственности Санкт-Петербурга, или земельных участках, государственная собственность на которые не разграничена, без предоставления земельных участков и установления сервитутов, публичного сервитута).
(в ред. Постановления Правительства Санкт-Петербурга от 14.05.2020 N 289)
6.6.5. С Комитетом по печати и взаимодействию со средствами массовой информации - о возможности производства работ при установке отдельно стоящих рекламных конструкций или объектов для размещения информации. Критерием принятия решения о согласовании заявки является наличие (отсутствие) разрешения Комитета по печати и взаимодействию со средствами массовой информации на установку рекламной конструкции в Санкт-Петербурге или разрешения на установку объекта для размещения информации в Санкт-Петербурге соответственно.
6.6.6. С КГИОП - о возможности производства работ при работах в границах территорий объектов культурного наследия, выявленных объектов культурного наследия. Критерием принятия решения о согласовании заявки является наличие/отсутствие разрешения на проведение работ по сохранению объекта культурного наследия или выявленного объекта культурного наследия (консервации объекта культурного наследия, ремонту памятника, реставрации памятника или ансамбля, приспособлению объекта культурного наследия для современного использования).
6.6.7. С АР - о возможности производства работ на территории соответствующего района Санкт-Петербурга в течение пяти лет после завершения работ по государственным контрактам, заключенным АР или подведомственными им учреждениями, выполненным на основании ордера ГАТИ.
(п. 6.6.7 введен Постановлением Правительства Санкт-Петербурга от 08.09.2023 N 966)
6.6.8. С органами местного самоуправления в Санкт-Петербурге - о возможности производства работ на внутриквартальных территориях в течение пяти лет после завершения работ по муниципальным контрактам, выполненным на основании ордера ГАТИ.
(п. 6.6.8 введен Постановлением Правительства Санкт-Петербурга от 08.04.2025 N 199)
6.7. Согласование заявки на получение ордера с согласующими организациями, указанными в пункте 6.6 Правил, осуществляется ГАТИ в рамках межведомственного взаимодействия, при этом срок для принятия решения согласующей организацией о согласовании (отказе в согласовании) заявки на получение ордера не может превышать двух рабочих дней.
(в ред. Постановлений Правительства Санкт-Петербурга от 14.05.2020 N 289, от 08.04.2025 N 199)
Согласования заявки, полученные в рамках межведомственного взаимодействия, могут быть учтены ГАТИ при рассмотрении последующих заявок на производство работ, если не изменились условия производства работ, указанные в заявке.
6.8. Срок оформления ордера на производство плановых работ не может превышать пяти рабочих дней со дня подачи документов, указанных в разделе 7 Правил, за исключением случаев оформления ордеров в порядке, установленном постановлением Правительства Санкт-Петербурга от 09.11.2016 N 996 "О Порядке организации деятельности исполнительных органов государственной власти Санкт-Петербурга при оформлении разрешений на использование земель или земельных участков, определении восстановительной стоимости зеленых насаждений и выдаче порубочных билетов, оформлении ордеров на производство земляных, ремонтных и отдельных работ, связанных с благоустройством территории Санкт-Петербурга, выполняемых при подключении (технологическом присоединении) к системам теплоснабжения, к централизованным системам водоснабжения и водоотведения, к сетям газораспределения, электрическим сетям, а также при присоединении сетей электросвязи".
(п. 6.8 в ред. Постановления Правительства Санкт-Петербурга от 14.05.2020 N 289)
6.9. При принятии положительного решения ГАТИ оформляет ордер на производство работ по форме согласно приложению N 5 к Правилам.
Ордер выдается (направляется) заявителю и размещается на сайте ГАТИ в сети Интернет gati-online.ru в открытом доступе.
6.10. Срок действия ордера определяется ГАТИ исходя из периода времени, необходимого для производства работ в соответствии с заявкой, а также с учетом условий производства работ, заявленных в адресную программу, но не более срока, указанного в разрешении на строительство (при проведении работ для обеспечения строительства (реконструкции) объектов капитального строительства за пределами земельного участка, предоставленного для целей строительства).
(в ред. Постановлений Правительства Санкт-Петербурга от 22.04.2020 N 237, от 08.09.2023 N 966, от 08.04.2025 N 199)
Запрещено при определении сроков производства работ предусматривать технологический перерыв (приостановление работ), восстановление объектов и элементов благоустройства вне агротехнического периода.
(в ред. Постановления Правительства Санкт-Петербурга от 20.09.2021 N 682)
6.11. Производство работ разрешено только в сроки и в зоне производства работ, которые указаны в ордере. При изменении сроков и(или) зоны производства работ, которые указаны в ордере, заказчик обязан оформить новый ордер. Новые сроки завершения работ и восстановления нарушенных в результате производства работ элементов благоустройства определяются с учетом выполненных этапов производства работ и графика производства работ.
(в ред. Постановлений Правительства Санкт-Петербурга от 20.09.2021 N 682, от 27.05.2022 N 452)
После получения нового ордера ранее выданный ордер считается недействующим. Исполнение порядка его закрытия в соответствии с разделом 12 Правил не требуется при условии, если зона производства работ по новому ордеру охватывает зону производства работ по ранее выданному ордеру.
(в ред. Постановлений Правительства Санкт-Петербурга от 20.09.2021 N 682, от 27.05.2022 N 452)
(п. 6.11 в ред. Постановления Правительства Санкт-Петербурга от 26.11.2018 N 899)
6.12. В случае проведения работ в пределах технических и охранных зон метрополитена, а также в охранных зонах инженерных коммуникаций и объектов инженерной инфраструктуры владельцы данных объектов уведомляются заказчиком о начале производства работ.
(п. 6.12 в ред. Постановления Правительства Санкт-Петербурга от 26.11.2018 N 899)
7. Перечень документов, необходимых для оформления ордера
Государственной административно-технической инспекции
7.1. Для оформления ордера ГАТИ принимает от заказчика оформленную в соответствии с разделом 6 настоящих Правил заявку, а также:
7.1.1. Документ, подтверждающий полномочия лица, подписавшего заявку от имени заказчика.
7.1.2. Письменное согласование владельцев земельных участков, на которых планируется производство работ, по форме согласно приложению N 14 к Правилам.
(в ред. Постановления Правительства Санкт-Петербурга от 26.11.2018 N 899)
В случае подачи документов в электронном виде, в том числе на электронном носителе, согласование, предусмотренное в абзаце первом настоящего пункта, представляется в виде электронной копии бумажного документа, предназначенной для подробного воспроизведения графического образа и созданной с использованием открытого графического формата *.jpeg или *.pdf, которая должна быть подписана с использованием ЭП либо загружена с использованием установленных средств авторизации и аутентификации портала.
(в ред. Постановлений Правительства Санкт-Петербурга от 14.05.2020 N 289, от 27.05.2022 N 452, от 08.04.2025 N 199)
7.1.3. Схему производства работ, соответствующую требованиям, указанным в пункте 1.4.26 Правил.
(п. 7.1.3 в ред. Постановления Правительства Санкт-Петербурга от 08.04.2025 N 199)
7.1.4. Согласование сроков производства работ с организациями, производящими (планирующими) производство работ, заявленных в адресную программу ГАТИ (при отсутствии заявленных работ в адресной программе и(или) несоответствии сроков и условий заявленных работ срокам и условиям производства работ, заявленным в адресную программу), по форме согласно приложению N 14 к Правилам.
(в ред. Постановления Правительства Санкт-Петербурга от 08.09.2023 N 966)
В случае подачи документов в электронном виде, в том числе на электронном носителе, они должны быть подписаны с использованием ЭП либо загружены с использованием установленных средств авторизации и аутентификации портала. Электронные документы должны соответствовать требованиям, указанным в пункте 1.5 Правил.
(в ред. Постановления Правительства Санкт-Петербурга от 08.04.2025 N 199)
7.1.5. Исключен. - Постановление Правительства Санкт-Петербурга от 08.04.2025 N 199.
8. Перечень оснований для отказа в выдаче ордера
Государственной административно-технической инспекции
8.1. ГАТИ принимает решение об отказе в выдаче ордера в случаях, если:
8.1.1. Заявка не соответствует требованиям, указанным в разделе 6 Правил, в том числе в части соблюдения требований при определении сроков производства работ, заявка не подписана уполномоченным лицом.
8.1.2. Отсутствуют документы, необходимые для оформления ордера в соответствии с разделами 6 и 7 Правил, либо получен отказ (отказы) в согласовании заявки на получение ордера от органов (организаций), указанных в пункте 6.6 Правил.
8.1.3. Сведения, указанные в заявке, не соответствуют информации, содержащейся в прилагаемых документах или содержащейся в государственных информационных системах.
8.1.4. Запрашиваемый вид работ не был включен в адресную программу, и сроки и условия производства работ, указанные в заявке на получение ордера, не соответствуют срокам и условиям производства работ, заявленных в адресную программу.
(в ред. Постановления Правительства Санкт-Петербурга от 08.09.2023 N 966)
8.1.5. Нарушен срок подачи заявки на получение ордера в соответствии с пунктом 6.3 Правил.
8.1.6. Производство работ, содержащихся в заявке, не требует получения ордера ГАТИ.
8.1.7. Исключен. - Постановление Правительства Санкт-Петербурга от 27.05.2022 N 452.
8.2. Отказ в выдаче ордера по форме согласно приложению N 6 к Правилам вручается заявителю с мотивированным обоснованием причин отказа в случае наличия оснований, предусмотренных в пункте 8.1 Правил.
9. Порядок переоформления ордера на производство земляных,
ремонтных и отдельных работ, связанных с благоустройством
территории Санкт-Петербурга
Исключен. - Постановление Правительства Санкт-Петербурга
от 26.11.2018 N 899.
10. Порядок признания ордера на производство земляных,
ремонтных и отдельных работ, связанных с благоустройством
территории Санкт-Петербурга, недействующими
10.1. Основанием для признания ордера недействующим является изменение условий производства работ, при котором исключается необходимость получения ордера.
10.2. О признании ордера недействующим ГАТИ в течение пяти рабочих дней извещает производителя работ и заказчика посредством размещения указанной информации на официальном сайте ГАТИ в сети Интернет.
(п. 10.2 в ред. Постановления Правительства Санкт-Петербурга от 26.11.2018 N 899)
10.3. Ордер считается недействующим после размещения информации о признании ордера недействующим на официальном сайте ГАТИ в сети Интернет.
11. Порядок восстановления элементов благоустройства,
нарушенных в результате производства земляных, ремонтных
и отдельных работ, связанных с благоустройством территории
Санкт-Петербурга
(в ред. Постановления Правительства Санкт-Петербурга
от 22.04.2020 N 237)
11.1. После проведения работ производителем работ организовывается и(или) производится восстановление элементов благоустройства, нарушенных в результате производства работ (далее - восстановление благоустройства), в сроки производства работ, указанные в ордере ГАТИ.
(в ред. Постановления Правительства Санкт-Петербурга от 22.04.2020 N 237)
Производитель работ осуществляет контроль качества и сроков восстановления благоустройства при привлечении субподрядчиков и отвечает за соблюдение таких сроков и за соблюдение требований к качеству восстановления благоустройства.
Абзац исключен. - Постановление Правительства Санкт-Петербурга от 22.04.2020 N 237.
После проведения работ, указанных в разделе 5 Правил, производителем работ организовывается и(или) производится восстановление благоустройства в соответствии с требованиями раздела 11 Правил.
(абзац введен Постановлением Правительства Санкт-Петербурга от 26.11.2018 N 899)
11.2. Работы по восстановлению покрытия должны быть начаты после засыпки траншеи (котлована):
в местах поперечных разрытий улиц в пределах территорий, на которых расположены трамвайные и другие рельсовые пути, - немедленно и закончены в течение 24 часов;
во всех остальных случаях - выполнены в течение трех суток.
Покрытие должно быть восстановлено в существующей конструкции.
11.3. Восстановление покрытия в местах регулировки крышек колодцев, камер и коверов, а также после производства работ по ремонту трамвайных и других рельсовых путей должно выполняться в течение 24 часов после окончания работ.
11.4. Восстановление покрытия после производства работ в пределах территорий, на которых расположены трамвайные и другие рельсовые пути, или после снятия трамвайных и иных рельсовых путей должно начаться немедленно после восстановления дорожной конструкции в траншее.
11.5. Восстановление покрытия осуществляется прямоугольными картами с продольными сторонами, параллельными оси проезжей части, кромке тротуара, с поперечными сторонами, перпендикулярными оси проезжей части, кромке тротуара, с учетом существующих параметров проезжей части и тротуаров и следующих особенностей:
(п. 11.5 в ред. Постановления Правительства Санкт-Петербурга от 08.04.2025 N 199)
11.5.1. Восстановление асфальтобетонного покрытия тротуаров.
(п. 11.5.1 в ред. Постановления Правительства Санкт-Петербурга от 08.04.2025 N 199)
11.5.1.1. При вскрытиях асфальтобетонного покрытия тротуаров шириной до 2 м включительно покрытие тротуаров восстанавливается на всю ширину тротуаров по всей протяженности участка земляных работ.
(п. в ред. Постановления Правительства Санкт-Петербурга от 08.04.2025 N 199)
11.5.1.2. При вскрытиях асфальтобетонного покрытия тротуаров шириной более 2 м покрытие тротуаров восстанавливается с перекрытием кромок траншеи, котлована на 1 м с каждой стороны, в случае возникновения обрушений стенок траншеи, котлована - на 1 м от кромки обрушения.
(в ред. Постановления Правительства Санкт-Петербурга от 08.04.2025 N 199)
11.5.1.3. Покрытие тротуаров восстанавливается с устройством не более одного продольного технологического шва на сопряжении нового покрытия с существующим.
При поперечном разрытии тротуаров покрытие тротуаров восстанавливается с перекрытием кромок траншеи, котлована на 1 м с каждой стороны, в случае возникновения обрушений стенок траншеи, котлована - на 1 м от кромки обрушения.
(п. 11.5.1.3 введен Постановлением Правительства Санкт-Петербурга от 08.04.2025 N 199)
11.5.1.4. Восстановление покрытия тротуара при установке (перестановке) бортового камня выполняется с перекрытием кромок траншеи на 1 м.
(п. 11.5.1.4 введен Постановлением Правительства Санкт-Петербурга от 08.04.2025 N 199)
11.5.2. Восстановление тротуаров с плиточным покрытием:
11.5.2.1. Производится укладка тротуарных плит в границах зоны производства работ.
11.5.2.2. В случае повреждения плит обеспечивается замена плит на новые.
11.5.3. Восстановление асфальтобетонного покрытия проезжей части:
11.5.3.1. По длине:
с перекрытием кромок траншеи, включая торцевые кромки траншеи, котлована на 1 м с каждой стороны, в случае возникновения обрушений стенок траншеи, котлована - на 1 м от кромки обрушения.
(п. 11.5.3.1 в ред. Постановления Правительства Санкт-Петербурга от 08.04.2025 N 199)
11.5.3.2. По ширине:
восстановление отдельных шурфов по ширине поврежденных полос движения с перекрытием кромок траншеи, включая торцевые кромки траншеи, котлована или от кромки обрушения траншеи - на 1 м с каждой стороны.
(п. 11.5.3.2 в ред. Постановления Правительства Санкт-Петербурга от 08.04.2025 N 199)
11.5.3.3. Восстановление покрытия проезжей части при установке (перестановке) бортового камня выполняется с перекрытием кромок траншеи до 1 м.
(п. 11.5.3.3 введен Постановлением Правительства Санкт-Петербурга от 08.04.2025 N 199)
11.5.4. Восстановление булыжного, щебеночного и гравийного покрытия производится в границах зоны производства работ.
(п. 11.5.4 в ред. Постановления Правительства Санкт-Петербурга от 26.11.2018 N 899)
11.5.5. Восстановление асфальтобетонного покрытия внутриквартальных проездов производится прямолинейными картами на всю ширину внутриквартального проезда и по длине с перекрытием зоны производства работ на 1 метр. Восстановление асфальтобетонного покрытия иных внутриквартальных территорий производится прямолинейными картами с перекрытием шурфа на 1 метр. Восстановление покрытия из штучного материала производится в границах зоны производства работ.
(п. 11.5.5 введен Постановлением Правительства Санкт-Петербурга от 20.09.2021 N 682)
11.6. В случае производства работ, предусматривающих повреждение дорожного покрытия, имеющих открытый водоотвод, обеспечивается прочистка кюветов и водоотводных канав.
11.7. Зеленые насаждения, нарушенные в процессе производства работ, должны быть восстановлены в полном объеме в соответствии со следующими требованиями:
11.7.1. Вертикальная планировка допускает изменения вертикальных отметок против существующих не более 5 см. В тех случаях, когда засыпка или обнажение корневой системы неизбежны, необходимо установить соответствующие устройства, обеспечивающие нормальные условия роста деревьев.
11.7.2. При асфальтировании или мощении вокруг деревьев необходимо оставлять круг (мягкий круг) диаметром не менее 3 м (площадь мягкого круга должна быть не менее 9 кв. м).
11.7.3. Технология восстановления газона:
места просадок в газонах не допускаются, газоны следует устраивать на полностью подготовленном и спланированном земляном грунте с соблюдением уклона 0,5-0,6 процента, растительный слой земли должен составлять 15-20 см, посев газона должен осуществляться по вертикальной поверхности, семена газонных трав следует заделать граблями;
не допускается использование земляного грунта с включениями камней, строительного мусора;
не допускается использование торфа в качестве растительной земли;
необходимо исключить складирование отходов на газонах;
поверхность растительного слоя должна быть ниже опорной бровки или окаймляющего газон бортового камня;
не допускается превышение высотных отметок крышек колодцев над уровнем газона;
всходы газонных трав должны быть равномерными, без прогалин.
11.8. Исключен. - Постановление Правительства Санкт-Петербурга от 22.04.2020 N 237.
11.9. При невосстановлении благоустройства и передаче зоны производства работ по акту заказчику или новому производителю работ (генеральному подрядчику) при расторжении договора подряда с заказчиком и заключением договора подряда с новым производителем работ (генеральным подрядчиком) обязанность восстановить благоустройство возлагается на лицо, принявшее зону производства работ.
11.10. Ответственность за невосстановление элементов благоустройства, нарушенных в результате производства работ, несет производитель работ.
Ответственность за нарушение сроков производства работ по восстановлению элементов благоустройства несет заказчик.
(п. 11.10 в ред. Постановления Правительства Санкт-Петербурга от 22.04.2020 N 237)
11.11. В случае возникновения на месте работ просадок, провалов, вспучиваний покрытий, трещин, отклонений бортового камня от нормативного горизонтального и вертикального положений, отклонений плитки от нормативного горизонтального и вертикального положений, выкрашиваний и разрушений шва на сопряжении нового и старого покрытий в течение трех лет после завершения работ (при производстве работ без ордера ГАТИ) или закрытия ордера на выполнение работ заказчик обязан обеспечить устранение вышеуказанных дефектов в срок, не превышающий 10 дней со дня уведомления заказчика ГАТИ и(или) организацией, уполномоченной на содержание территории, на которой зафиксированы дефекты, об их наличии.
(в ред. Постановления Правительства Санкт-Петербурга от 26.11.2018 N 899)
В случае отсутствия равномерной всхожести газонных трав (образования прогалин), неприживаемости зеленых насаждений на месте работ в течение вегетативного периода (с 20 мая до 1 ноября) заказчик обязан обеспечить повторное восстановление газона, посадку зеленых насаждений в соответствии с пунктом 11.7 Правил в срок, не превышающий месяца со дня уведомления заказчика об обнаружении факта отсутствия всхожести газона, неприживаемости зеленых насаждений.
В случае выдачи ГАТИ ордера на производство работ иной организации или регистрации факта аварийных работ в установленный период обязанность по обеспечению устранения дефектов возлагается на нового заказчика в пределах зоны производства работ по вышеуказанному ордеру (зоны производства аварийных работ).
(абзац введен Постановлением Правительства Санкт-Петербурга от 08.09.2023 N 966)
11.12. В случае невыполнения работ по восстановлению покрытия после засыпки траншеи (котлована) заказчик обязан обеспечить выполнение указанных работ в срок, не превышающий трех дней со дня уведомления заказчика о необходимости выполнения таких работ.
(п. 11.12 введен Постановлением Правительства Санкт-Петербурга от 20.09.2021 N 682)
11.13. При вскрытиях асфальтобетонного покрытия тротуаров в рамках установки пешеходных ограждений, стоек для дорожных знаков, г- и п-образных опор и других технических средств организации дорожного движения, устройстве скважин покрытие восстанавливается в границах траншеи либо котлована.
При вскрытиях асфальтобетонного покрытия проезжей части и тротуаров в рамках регулировки высотного положения крышек колодцев, коверов покрытие восстанавливается в границах траншеи либо котлована.
(п. 11.13 введен Постановлением Правительства Санкт-Петербурга от 08.04.2025 N 199)
11.14. Восстановление кернов производится незамедлительно.
(п. 11.14 введен Постановлением Правительства Санкт-Петербурга от 08.04.2025 N 199)
12. Порядок закрытия ордеров на производство земляных,
ремонтных и отдельных работ, связанных с благоустройством
территории Санкт-Петербурга, и подтверждения выполнения
требований по восстановлению элементов благоустройства,
нарушенных в результате производства аварийных работ
(в ред. Постановления Правительства Санкт-Петербурга
от 22.04.2020 N 237)
12.1. Закрытие ордера производится ГАТИ после истечения срока действия ордера при установлении факта восстановления элементов благоустройства, нарушенных в результате производства работ.
(в ред. Постановлений Правительства Санкт-Петербурга от 26.11.2018 N 899, от 22.04.2020 N 237)
12.2. Закрытие ордера и подтверждение выполнения требований по восстановлению элементов благоустройства, нарушенных в результате производства аварийных работ, подлежит согласованию с согласующими организациями на предмет соблюдения требований по восстановлению элементов благоустройства, нарушенных в результате производства работ:
(в ред. Постановления Правительства Санкт-Петербурга от 22.04.2020 N 237)
12.2.1. КБ (при работах на территории зеленых насаждений, при вскрытии асфальтовых и плиточных покрытий в границах красных линий улиц).
(в ред. Постановления Правительства Санкт-Петербурга от 08.09.2023 N 966)
12.2.2. ГКУ ДОДД (при работах, проводимых в границах красных линий улиц).
12.2.3. Администрацией района Санкт-Петербурга, на территории которой производились работы (при производстве работ на земельных участках, находящихся в собственности Санкт-Петербурга или право собственности на которые не разграничено).
12.2.4. КГИОП - при работах в границах территорий объектов культурного наследия, выявленных объектов культурного наследия.
12.2.5. Органами местного самоуправления в Санкт-Петербурге (при производстве работ на внутриквартальных территориях в границах внутригородского муниципального образования города федерального значения Санкт-Петербурга, на территории которого производились работы).
(в ред. Постановления Правительства Санкт-Петербурга от 06.06.2024 N 448)
12.3. Согласование закрытия ордера с исполнительными органами государственной власти Санкт-Петербурга, а также их подведомственными организациями, органами местного самоуправления в Санкт-Петербурге, указанными в пункте 12.2 настоящих Правил, и подтверждение указанными органами и организациями выполнения требований по восстановлению элементов благоустройства, нарушенных в результате производства аварийных работ, осуществляется ГАТИ в рамках межведомственного взаимодействия, при этом срок для принятия решения исполнительным органом государственной власти Санкт-Петербурга (подведомственной организацией), органами местного самоуправления в Санкт-Петербурге о согласовании (отказе в согласовании) и подтверждение (отказе в подтверждении) не может превышать пять рабочих дней.
(в ред. Постановления Правительства Санкт-Петербурга от 22.04.2020 N 237)
12.4. В течение пяти рабочих дней после истечения срока действия ордера владелец земельного участка, на котором производились работы, вправе обратиться в ГАТИ с уведомлением о факте невосстановления элемента благоустройства, нарушенного в результате производства работ, с указанием пунктов раздела 11 Правил, которые были нарушены. Отсутствие уведомления владельца земельного участка не является препятствием для принятия ГАТИ решения о закрытии ордера при соблюдении условий пунктов 12.1 и 12.6 Правил.
(в ред. Постановления Правительства Санкт-Петербурга от 22.04.2020 N 237)
12.5. Решение о закрытии ордера оформляется по форме согласно приложению N 9 к Правилам и размещается на сайте ГАТИ в сети Интернет по адресу gati-online.ru в открытом доступе.
12.6. Решение о закрытии ордера не принимается в случаях:
выявления ГАТИ факта незавершения работ и(или) невосстановления элементов благоустройства,
(в ред. Постановления Правительства Санкт-Петербурга от 22.04.2020 N 237)
получения отказа в согласовании закрытия ордера от органов (организаций), указанных в пункте 12.3 Правил, в рамках межведомственного взаимодействия, за исключением случаев установления факта восстановления благоустройства вступившим в законную силу решением суда, а также постановлением по делу об административном правонарушении.
12.7. Производитель работ несет обязанность по устранению замечаний согласующих организаций на предмет соблюдения требований Правил. Информация об указанных замечаниях размещается ГАТИ в открытом доступе на сайте ГАТИ в сети Интернет по адресу gati-online.ru.
(п. 12.7 введен Постановлением Правительства Санкт-Петербурга от 20.09.2021 N 682)
13. Порядок производства аварийных работ, связанных
с благоустройством территории Санкт-Петербурга
13.1. Владельцы инженерных коммуникаций, иных объектов (далее - владельцы объектов), при повреждении которых возникает необходимость производства аварийных работ, обязаны зарегистрироваться в "Личном кабинете" на сайте ГАТИ в сети Интернет по адресу gati-online.ru, подав заявку на регистрацию в соответствии с приложением N 12 к Правилам, которая согласовывается с КГА на предмет наличия (отсутствия) сведений об инженерных коммуникациях в государственной информационной системе Санкт-Петербурга "Автоматизированная информационная система управления градостроительной деятельностью", с приложением унифицированной формы первичной учетной документации по учету основных средств N ОС-1а "Акт о приемке-передаче здания (сооружения)" и схем инженерных коммуникаций, подтверждающих принадлежность инженерных коммуникаций, иных объектов.
13.1.1. Согласование заявки на регистрацию, указанной в пункте 13.1 Правил (далее - заявка), с КГА в "Личном кабинете" на сайте ГАТИ в сети Интернет по адресу gati-online.ru осуществляется ГАТИ в рамках межведомственного взаимодействия, при этом срок для согласования заявки не может превышать трех рабочих дней.
13.1.2. Срок регистрации в "Личном кабинете" на сайте ГАТИ в сети Интернет по адресу gati-online.ru не может превышать 10 рабочих дней со дня подачи заявки.
13.1.3. ГАТИ принимает решение об отказе в регистрации в "Личном кабинете" на сайте ГАТИ в сети Интернет по адресу gati-online.ru, если:
13.1.3.1. Получен мотивированный отказ в согласовании заявки от КГА.
13.1.3.2. Сведения, указанные в заявке, не соответствуют информации, содержащейся в прилагаемых документах или содержащейся в государственных информационных системах.
13.1.4. При принятии решения о согласовании заявки ГАТИ регистрирует владельца объекта в "Личном кабинете" на сайте ГАТИ в сети Интернет по адресу gati-online.ru и создает учетную запись (логин и пароль) для владельца объекта.
(п. 13.1 в ред. Постановления Правительства Санкт-Петербурга от 22.04.2020 N 237)
13.1-1. При возникновении повреждений, влекущих необходимость производства аварийных работ, владельцы объектов обязаны до начала производства земляных работ, связанных с ликвидацией аварии на объектах, внести информацию об аварии в "Личный кабинет" на сайте ГАТИ в сети Интернет по адресу gati-online.ru, заполнив форму уведомления о проведении работ по ликвидации аварии. Уведомление о проведении работ по ликвидации аварии содержит информацию о владельце объектов, адресе производства работ, характере аварии, месте производства работ.
Внесение информации об аварии в "Личный кабинет" на сайте ГАТИ в сети Интернет по адресу gati-online.ru является осуществлением регистрации факта аварии (присвоение уникального кода регистрации факта аварии). Без регистрации уведомления о проведении работ по ликвидации аварии и факта аварии в "Личном кабинете" на сайте ГАТИ в сети Интернет по адресу gati-online.ru производство земляных работ, связанных с ликвидацией аварии на объектах, запрещено.
(в ред. Постановления Правительства Санкт-Петербурга от 20.09.2021 N 682)
Владельцы объектов при получении информации об аварии обязаны незамедлительно приступить к ликвидации аварии, обеспечивая безопасность дорожного движения и сохранность расположенных рядом инженерных коммуникаций, элементов благоустройства.
(в ред. Постановления Правительства Санкт-Петербурга от 06.06.2024 N 448)
До завершения работ по устранению аварии и восстановления нарушенных элементов благоустройства повторная регистрация аварии не допускается.
(абзац введен Постановлением Правительства Санкт-Петербурга от 20.09.2021 N 682)
(п. 13.1-1 введен Постановлением Правительства Санкт-Петербурга от 22.04.2020 N 237)
13.2. Одновременно с регистрацией факта аварии в соответствии с пунктом 13.1-1 настоящих Правил владелец объекта обязан:
(в ред. Постановления Правительства Санкт-Петербурга от 06.06.2024 N 448)
отправить владельцам инженерных коммуникаций, объектов и элементов благоустройства, находящихся в зоне производства работ, сообщение о характере и месте аварии и дополнительно при авариях в границах красных линий улиц - в подразделение Государственной инспекции безопасности дорожного движения соответствующего территориального органа Министерства внутренних дел Российской Федерации на районном уровне Санкт-Петербурга и Ленинградской области, ГКУ ДОДД, КБ, КТ (при производстве аварийных работ на маршрутах следования наземного городского пассажирского транспорта);
абзац исключен. - Постановление Правительства Санкт-Петербурга от 22.04.2020 N 237.
13.3 - 13.3.3. Исключены. - Постановление Правительства Санкт-Петербурга от 22.04.2020 N 237.
13.4. Владельцы объектов и элементов благоустройства, находящихся в зоне аварийных работ, обязаны вне зависимости от времени суток обеспечить прибытие к месту аварии в течение часа после получения сообщения об аварии своего представителя, который должен указать расположение своих коммуникаций или подземных частей объектов и для обеспечения их сохранности проконтролировать порядок производства аварийных работ.
13.5. В зоне производства работ по ликвидации аварии постоянно должен находиться ответственный представитель владельца объекта.
(в ред. Постановления Правительства Санкт-Петербурга от 06.06.2024 N 448)
Абзац исключен. - Постановление Правительства Санкт-Петербурга от 22.04.2020 N 237.
13.6. Производство аварийных работ должно быть произведено в срок, не превышающий 96 часов с момента регистрации аварии, включая время на восстановление элементов благоустройства. Информация о производстве аварийных работ размещается на сайте ГАТИ в сети Интернет по адресу gati-online.ru в открытом доступе.
Владелец объекта обязан приступить к восстановлению элементов благоустройства незамедлительно после завершения работ по устранению аварии.
(в ред. Постановления Правительства Санкт-Петербурга от 06.06.2024 N 448)
(п. 13.6 в ред. Постановления Правительства Санкт-Петербурга от 22.04.2020 N 237)
13.7 - 13.7.4. Исключены. - Постановление Правительства Санкт-Петербурга от 22.04.2020 N 237.
13.8. Организации, складировавшие различные материалы и оборудование или устроившие отвалы грунта или строительного мусора в зоне производства аварийных работ, если это препятствует аварийным работам, обязаны по требованию владельца объекта немедленно и за свой счет освободить зону работ.
(в ред. Постановления Правительства Санкт-Петербурга от 06.06.2024 N 448)
13.9. Не допускается устройство котлованов (траншей) глубиной более 1 м без крепления их стен.
13.10. Владелец объекта после ликвидации аварии в зоне производства работ, находящейся на проезжей части, обязан убрать лишний грунт и произвести первичное восстановление дорожной одежды в течение 24 часов.
(в ред. Постановления Правительства Санкт-Петербурга от 06.06.2024 N 448)
13.10.1. Первичное восстановление дорожного покрытия проезжей части из камня производится путем мощения снятым камнем с восстановлением существующей конструкции дорожной одежды.
13.10.2. Первичное восстановление асфальтобетонного покрытия производится путем укладки в уровне существующего покрытия укрепленного щебеночного слоя толщиной 40 см на песчаном основании толщиной 60 см. Первичное восстановление без укрепления щебеночного слоя горячей асфальтобетонной смесью, холодным асфальтобетоном или другими связующими материалами не допускается.
(в ред. Постановления Правительства Санкт-Петербурга от 26.11.2018 N 899)
Первичное восстановление включает в себя восстановление асфальтобетонного покрытия зоны работ.
(абзац введен Постановлением Правительства Санкт-Петербурга от 26.11.2018 N 899)
13.10.3. При восстановлении покрытия должны использоваться материалы, идентичные по своим характеристикам материалам существующих покрытий, за исключением первичного восстановления набивных покрытий, восстановление которых в зимний период выполняется в уплотненном щебеночном основании с последующим восстановлением набивных покрытий материалами, идентичными по своим характеристикам материалам существующего покрытия, не позднее срока, указанного в пункте 13.10.5.2 Правил.
(в ред. Постановления Правительства Санкт-Петербурга от 08.09.2023 N 966)
13.10.4. Дальнейшее благоустройство зоны производства работ выполняется в соответствии с разделом 11 Правил.
13.10.5. В случае привлечения к работам по восстановлению элементов благоустройства, нарушенных в результате производства работ, подрядных либо субподрядных организаций владелец объекта обязан осуществлять контроль за качеством и сроками производства работ и несет полную ответственность за выполнение требований Правил, в том числе по восстановлению нарушенных элементов благоустройства.
(в ред. Постановлений Правительства Санкт-Петербурга от 22.04.2020 N 237, от 06.06.2024 N 448)
13.10.5.1. Работы по восстановлению элементов благоустройства в полном объеме должны быть выполнены в сроки, установленные в пункте 13.6 Правил.
(в ред. Постановления Правительства Санкт-Петербурга от 22.04.2020 N 237)
13.10.5.2. В случае если сроки производства аварийных работ не приходятся на агротехнический период и отсутствует возможность восстановления элементов благоустройства, владелец объектов обязан восстановить нарушенные элементы благоустройства в зависимости от периода производства работ в зимний период по следующему графику:
(в ред. Постановления Правительства Санкт-Петербурга от 08.09.2023 N 966)
по уведомлениям о проведении работ по ликвидации аварии со сроком завершения аварийных работ с 16 октября по 15 декабря не позднее 20 апреля;
(в ред. Постановления Правительства Санкт-Петербурга от 08.09.2023 N 966)
по уведомлениям о проведении работ по ликвидации аварии со сроком завершения аварийных работ с 16 декабря по 15 января не позднее 30 апреля;
(в ред. Постановления Правительства Санкт-Петербурга от 08.09.2023 N 966)
по уведомлениям о проведении работ по ликвидации аварии со сроком завершения аварийных работ с 16 января по 15 февраля не позднее 10 мая;
(в ред. Постановления Правительства Санкт-Петербурга от 08.09.2023 N 966)
по уведомлениям о проведении работ по ликвидации аварии со сроком завершения аварийных работ с 16 февраля по 15 марта не позднее 20 мая;
(в ред. Постановления Правительства Санкт-Петербурга от 08.09.2023 N 966)
по уведомлениям о проведении работ по ликвидации аварии со сроком завершения аварийных работ с 16 марта по 15 апреля не позднее 26 мая.
(в ред. Постановления Правительства Санкт-Петербурга от 08.09.2023 N 966)
При этом работы по первичному восстановлению благоустройства территории (засыпка траншеи, укладка с разравниванием и уплотнением грунта, первичное восстановление ранее существовавших покрытий) должны быть выполнены в срок, не превышающий 96 часов с момента регистрации аварии.
(п. 13.10.5.2 в ред. Постановления Правительства Санкт-Петербурга от 22.04.2020 N 237)
13.11. Владельцы объектов в зоне ликвидированной аварии в течение трех лет после завершения работ обязаны следить за состоянием элементов благоустройства, а в случае просадок или разрушения покрытия обязаны принимать меры по устранению выявленных дефектов.
(п. 13.11 в ред. Постановления Правительства Санкт-Петербурга от 22.04.2020 N 237)
13.12. В случае восстановления зеленых насаждений подрядными либо субподрядными организациями после выполнения работ по первичному восстановлению благоустройства (засыпка траншеи, укладка с разравниванием и уплотнением грунта (песка) на территории зеленых насаждений владелец объекта обязан передать по акту зону производства работ указанным организациям для восстановления элементов благоустройства в полном объеме.
При этом владелец объекта обязан контролировать сроки и качество восстановления элементов благоустройства.
(п. 13.12 в ред. Постановления Правительства Санкт-Петербурга от 06.06.2024 N 448)
13.13. Восстановление зеленых насаждений в зоне аварийных работ должно выполняться в соответствующие агротехнические сроки и в соответствии с пунктом 11.7 Правил, при этом работы по первичному восстановлению благоустройства (засыпка траншеи, укладка с разравниванием и уплотнением грунта (песка) должны быть выполнены в срок, не превышающий 96 часов с момента регистрации аварии.
(в ред. Постановлений Правительства Санкт-Петербурга от 22.04.2020 N 237, от 08.09.2023 N 966)
13.14. Подтверждение требований по восстановлению элементов благоустройства, нарушенных в результате производства аварийных работ, производится после истечения сроков, предусмотренных в пунктах 13.6 и 13.10.5.2 Правил, и подлежит согласованию с согласующими организациями в порядке, предусмотренном в пунктах 12.2 и 12.3 Правил.
(п. 13.14 в ред. Постановления Правительства Санкт-Петербурга от 22.04.2020 N 237)
13.15. Запрещается производить плановые работы под видом аварийных работ.
13.16. При необходимости выполнения работ на инженерных коммуникациях с общей длиной трассы (траншеи) более 50 метров или продолжительностью более 96 часов оформляется ордер в порядке, предусмотренном для оформления ордера на производство плановых работ.
(п. 13.16 в ред. Постановления Правительства Санкт-Петербурга от 22.04.2020 N 237)
13.17. В случае производства аварийных работ, связанных с ограничением или прекращением движения транспортных средств по автомобильным дорогам общего пользования регионального значения в Санкт-Петербурге, ГАТИ в день регистрации факта аварии размещает информацию об указанном ограничении на своем официальном сайте в сети Интернет.
(в ред. Постановления Правительства Санкт-Петербурга от 20.09.2021 N 682)
Приложение N 1
к Правилам благоустройства территории
Санкт-Петербурга в части, касающейся
правил производства земляных,
ремонтных и отдельных работ,
связанных с благоустройством
территории Санкт-Петербурга
Список изменяющих документов
(в ред. Постановления Правительства Санкт-Петербурга от 08.09.2023 N 966)
ЗАЯВКА
в Государственную административно-техническую инспекцию о включении работ в адресную программу
От заказчика работ:
Наименование
,
Местонахождение (юридический адрес)
,
ИНН
, тел.
, эл. почта
.
Сведения о единоличном исполнительном органе:
должность
Ф.И.О.
.
Прошу включить в адресную программу производство работ по адресу:
Запрашиваемый вид работ: производство земляных работ при вскрытии грунта более 0,4 м.
Цель работ:
установка аттракционов;
установка водных устройств;
установка ограждения;
установка декоративного ограждения;
установка газонного ограждения;
установка технического ограждения;
установка шлагбаума;
установка произведения монументального искусства;
установка оборудования;
установка уличной мебели;
установка опоры;
устройство приямка;
устройство, реконструкция светофорных объектов;
установка рекламной конструкции;
восстановление и ремонт гидроизоляции;
планировка грунтового покрытия;
исправление профиля открытой системы отвода поверхностных и дренажных вод и объектов мелиоративной системы;
укладка и замена водопропускных труб;
производство проектно-изыскательских работ;
проведение археологических полевых работ;
бурение скважин;
статистическое зондирование;
производство инженерно-геологических изысканий;
устройство пробно-испытуемых свай;
устройство и ремонт отмостки;
посадка деревьев, кустарников;
размещение колодцев для установки арматуры на сетях (задвижек, кранов, вентилей и т.п.);
ремонт колодцев;
ремонт трамвайных путей, узлов;
устройство иных объектов, не требующих получения разрешения на строительство
(выбрать один или несколько из представленных вариантов).
Запрашиваемый вид работ: производство земляных работ при работах на инженерных коммуникациях.
Цель работ - производство земляных работ при работах на следующих инженерных коммуникациях:
газопровод;
теплосеть;
водопровод;
водоотведение (канализация);
электрокабель;
сети связи;
оборудование теплопроводов;
дренаж;
электрохимзащита;
установка некапитальных сетевых сооружений (блочная комплектная трансформаторная подстанция, блочный комплектный распределительный трансформаторный пункт, комплектная трансформаторная подстанция, кабельные киоски и т.д.)
(выбрать один или несколько из представленных вариантов).
Запрашиваемый вид работ: ремонт покрытий, за исключением производства работ, указанных в разделе 5 настоящих Правил.
Цель работ - ремонт следующих элементов благоустройства:
асфальтобетонное покрытие проезжей части;
асфальтобетонное покрытие внутриквартальных территорий;
покрытие (грунтовое);
покрытие (газонное);
покрытие (мощение);
покрытие (полимерное);
покрытие (щебеночное);
покрытие (песчано-гравийное);
покрытие (плиточное);
планировочное устройство (озеленение);
планировочное устройство (пешеходные коммуникации);
планировочное устройство (отмостка);
планировочное устройство (бортовой камень общей протяженностью более 100 м)
(выбрать один или несколько из представленных вариантов).
Запрашиваемый вид работ: установка и размещение временных ограждений строительных площадок и зон производства работ, в том числе строительных лесов, за исключением производства работ, указанных в разделе 5 настоящих Правил.
Цель работ:
обеспечение строительства (реконструкции) объектов капитального строительства;
консервация объекта капитального строительства или объекта незавершенного строительства;
противоаварийные мероприятия по сохранению зданий, сооружений;
выполнение работ по сносу зданий, строений, сооружений;
разборка аварийных конструкций;
сохранение объекта культурного наследия;
текущий и капитальный ремонт зданий, строений, сооружений;
обеспечение безопасности на культурно-массовых и спортивных мероприятиях
(выбрать один или несколько из представленных вариантов).
Запрашиваемый вид работ: складирование и размещение временных инженерных коммуникаций, а также материалов, оборудования, некапитальных строений, сооружений, используемых для производства работ.
Цель работ:
размещение временных инженерных сетей (газопровод);
размещение временных инженерных сетей (теплосеть);
размещение временных инженерных сетей (водопровод);
размещение временных инженерных сетей (водоотведение (канализация);
размещение временных въездов-выездов;
размещение временной дороги;
размещение бытового городка;
складирование материалов, оборудования и т.п.;
установка временных опор для электроснабжения, кабелей связи и т.п.;
размещение пешеходной галереи (защитное сооружение)
(выбрать один или несколько из представленных вариантов).
Запрашиваемый вид работ: работы по установке элементов благоустройства площадью более 10 кв. м, для планировочного устройства, покрытий, ограждений - без ограничений по площади.
Цель работ:
установка аттракционов;
установка водных устройств;
установка ограждения;
установка декоративного ограждения;
установка газонного ограждения;
установка технического ограждения;
установка шлагбаума;
установка произведения монументального искусства;
установка оборудования;
установка уличной мебели;
устройство покрытия (грунтового);
устройство покрытия (газонного);
устройство покрытия (асфальтового);
устройство покрытия (мощение);
устройство покрытия (полимерного);
устройство покрытия (щебеночного);
устройство покрытия (песчано-гравийного);
устройство покрытия (плиточного);
планировочное устройство (озеленение);
планировочное устройство (пешеходные коммуникации);
планировочное устройство (отмостка);
планировочное устройство (бортовой камень общей протяженностью более 100 м);
планировочное устройство (пандус);
планировочное устройство (лестница);
планировочное устройство (пешеходный мостик);
планировочное устройство (система отвода поверхностных и дренажных вод);
установка некапитального объекта (гараж-бокс);
установка некапитального объекта (туалет);
установка некапитального объекта (навес);
установка некапитального объекта (беседка);
установка некапитального объекта (будка)
(выбрать один или несколько из представленных вариантов).
Запрашиваемый вид работ: работы по установке и размещению временных элементов благоустройства площадью более 10 кв. м.
Цель работ - установка и размещение следующих элементов благоустройства:
объекты сезонной торговли;
элементы оформления, включая элементы оформления Санкт-Петербурга к мероприятиям, в том числе культурно-массовым мероприятиям, городского, всероссийского и международного значения;
нестационарный торговый объект, не включенный в утвержденную схему размещения нестационарных объектов
(выбрать один или несколько из представленных вариантов).
Производство работ планируется
в период с ______________ по _______________,
объем работ (длина - для инженерных коммуникаций, площадь - для иных видов работ): ___________________________________.
Ограничение движения транспорта при выполнении работ
требуется
/
не требуется
(Ненужное зачеркнуть)
Информация об ограничении движения (Заполняется, если ограничение требуется)
N п/п
Адрес ограничения движения транспорта
Вид ограничения (заполняется значением из таблицы)
Период ограничения (дата начала и окончания)
Длительность (дней)
Таблица выбора значения для графы "Вид ограничения":
Вид ограничения
Четная сторона
Нечетная сторона
Без ограничения движения
1
Полное закрытие движения
2
Закрытие движения в одном направлении
3
4
Ограничение по одной полосе движения
5
6
Ограничение по двум и более полосам движения
7
8
Информация о планируемом порядке ограничения движения в случае невозможности представления ее
Для заключения контракта (договора) требуется/не требуется проведение конкурсных процедур (Ненужное зачеркнуть)
Данную заявку прошу использовать для формирования
только оперативных/оперативных и перспективных адресных программ (Ненужное зачеркнуть)
Для внутригородских муниципальных образований города федерального значения Санкт-Петербурга:
обеспеченность финансированием: да/нет (Ненужное зачеркнуть)
возникновение гарантийных обязательств после окончания производства работ: да/нет (Ненужное зачеркнуть)
Обязуюсь представлять в ГАТИ информацию о готовности к проведению работ, своевременно обратиться в ГАТИ с заявкой на оформление ордера, а также соблюдать сроки производства работ, включенных в адресные программы.
Приложение на ____ листах (схема зоны работ и информация об ограничении движения).
"__" ____________ 20__ года
Подпись
М.П.
Должность, Ф.И.О.
Примечание.
Государственная услуга предоставляется бесплатно.
Приложение N 2
к Правилам благоустройства территории
Санкт-Петербурга в части, касающейся
правил производства земляных,
ремонтных и отдельных работ,
связанных с благоустройством
территории Санкт-Петербурга
УВЕДОМЛЕНИЕ
о включении заявленных работ в адресную программу
Исключено. - Постановление Правительства Санкт-Петербурга
от 08.04.2025 N 199.
Приложение N 3
к Правилам благоустройства территории
Санкт-Петербурга в части, касающейся
правил производства земляных,
ремонтных и отдельных работ,
связанных с благоустройством
территории Санкт-Петербурга
Список изменяющих документов
(в ред. Постановления Правительства Санкт-Петербурга от 08.09.2023 N 966)
ОТКАЗ
о включении заявленных работ в адресную программу
Рассмотрев Вашу заявку о включении работ в адресную программу, поданную в Государственную административно-техническую инспекцию (далее - ГАТИ), в соответствии с Правилами благоустройства территории Санкт-Петербурга в части, касающейся правил производства земляных, ремонтных и отдельных работ, связанных с благоустройством территории Санкт-Петербурга, утвержденными настоящим постановлением, при сопоставлении сроков и условий проведения Ваших работ и работ, заявленных в адресные программы ГАТИ, сроков и условий проведения работ по выданным ордерам ГАТИ, а также с учетом выполненного благоустройства, ГАТИ отказывает во включении в адресную программу следующих работ:
Код
Адрес
Вид работ
Заявленные сроки
Основания для отказа
При устранении обстоятельств, послуживших основанием для настоящего отказа, Вы можете повторно обратиться в ГАТИ для включения работ в адресную программу.
(Должность, ФИО исполнителя)
(Должность, ФИО уполномоченного лица)
Настоящий отказ вручен (отправлен по почте) "__" ___________ 20__ г.
Приложение N 4
к Правилам благоустройства территории
Санкт-Петербурга в части, касающейся
правил производства земляных,
ремонтных и отдельных работ,
связанных с благоустройством
территории Санкт-Петербурга
Список изменяющих документов
(в ред. Постановления Правительства Санкт-Петербурга от 08.04.2025 N 199)
ИС МЕГАНОРМ: примечание.
Достоверность сведений на каждом листе заявления подтверждается подписью с расшифровкой и указанием должности.
ЗАЯВКА
на получение ордера на производство работ в Государственную административно-техническую инспекцию (далее - ГАТИ)
Код работы, включенной в адресную программу (в банк работ)
.
От заказчика:
Наименование
ИНН
.
Местонахождение (юридический адрес)
,
тел.
, эл. почта
.
Единоличный исполнительный орган:
, Ф.И.О.
.
Производитель работ:
Наименование
ИНН
.
Местонахождение (юридический адрес)
,
тел.
, эл. почта
.
Единоличный исполнительный орган:
, Ф.И.О.
.
В соответствии с пунктом 7.1 Правил благоустройства территории Санкт-Петербурга в части, касающейся правил производства земляных, ремонтных и отдельных работ, связанных с благоустройством территории Санкт-Петербурга, утвержденных постановлением Правительства Санкт-Петербурга от 06.10.2016 N 875 (далее - Правила), прошу принять решение о выдаче ордера на производство работ в соответствии со схемой, прилагаемой к настоящей заявке.
Запрашиваемый вид работ: производство земляных работ при вскрытии грунта более 0,4 м.
Цель работ:
установка аттракционов;
установка водных устройств;
установка ограждения;
установка декоративного ограждения;
установка газонного ограждения;
установка технического ограждения;
установка шлагбаума;
установка произведения монументального искусства;
установка оборудования;
установка уличной мебели;
установка опоры;
устройство приямка;
устройство, реконструкция светофорных объектов;
установка рекламной конструкции;
восстановление и ремонт гидроизоляции;
планировка грунтового покрытия;
исправление профиля открытой системы отвода поверхностных и дренажных вод и объектов мелиоративной системы;
укладка и замена водопропускных труб;
производство проектно-изыскательских работ;
проведение археологических полевых работ;
бурение скважин;
статистическое зондирование;
производство инженерно-геологических изысканий;
устройство пробно-испытуемых свай;
устройство и ремонт отмостки;
посадка деревьев, кустарников;
размещение колодцев для установки арматуры на сетях (задвижек, кранов, вентилей и т.п.);
ремонт колодцев;
ремонт трамвайных путей, узлов;
устройство иных объектов, не требующих получения разрешения на строительство.
(Выбрать один или несколько из представленных вариантов)
Запрашиваемый вид работ: производство земляных работ при работах на инженерных коммуникациях.
Цель работ - производство земляных работ при работах на следующих инженерных коммуникациях:
газопровод;
теплосеть;
водопровод;
водоотведение (канализация);
электрокабель;
сети связи;
оборудование теплопроводов;
дренаж;
электрохимзащита;
установка некапитальных сетевых сооружений (блочная комплектная трансформаторная подстанция, блочный комплектный распределительный трансформаторный пункт, комплектная трансформаторная подстанция, кабельные киоски и т.д.)
(Выбрать один или несколько из представленных вариантов)
Запрашиваемый вид работ: ремонт покрытий, за исключением производства работ, указанных в разделе 5 настоящих Правил.
Цель работ - ремонт следующих элементов благоустройства:
асфальтобетонное покрытие проезжей части;
асфальтобетонное покрытие внутриквартальных территорий;
покрытие (грунтовое);
покрытие (газонное);
покрытие (мощение);
покрытие (полимерное);
покрытие (щебеночное);
покрытие (песчано-гравийное);
покрытие (плиточное);
планировочное устройство (озеленение);
планировочное устройство (пешеходные коммуникации);
планировочное устройство (отмостка);
планировочное устройство (бортовой камень общей протяженностью более 100 м).
(Выбрать один или несколько из представленных вариантов)
Запрашиваемый вид работ: установка и размещение временных ограждений строительных площадок и зон производства работ, в том числе строительных лесов, за исключением производства работ, указанных в разделе 5 настоящих Правил.
Цель работ:
обеспечение строительства (реконструкции) объектов капитального строительства;
консервация объекта капитального строительства или объекта незавершенного строительства;
противоаварийные мероприятия по сохранению зданий, сооружений;
выполнение работ по сносу зданий, строений, сооружений;
разборка аварийных конструкций;
сохранение объекта культурного наследия;
текущий и капитальный ремонт зданий, строений, сооружений;
обеспечение безопасности на культурно-массовых и спортивных мероприятиях.
(Выбрать один или несколько из представленных вариантов)
Запрашиваемый вид работ: складирование и размещение временных инженерных коммуникаций, а также материалов, оборудования, некапитальных строений, сооружений, используемых для производства работ.
Цель работ:
размещение временных инженерных сетей (газопровод);
размещение временных инженерных сетей (теплосеть);
размещение временных инженерных сетей (водопровод);
размещение временных инженерных сетей (водоотведение (канализация);
размещение временных въездов-выездов;
размещение временной дороги;
размещение бытового городка;
складирование материалов, оборудования и т.п.;
установка временных опор для электроснабжения, кабелей связи и т.п.;
размещение пешеходной галереи (защитное сооружение).
(Выбрать один или несколько из представленных вариантов)
Запрашиваемый вид работ: работы по установке элементов благоустройства площадью более 10 кв. м, для планировочного устройства, покрытий, ограждений - без ограничений по площади.
Цель работ:
установка аттракционов;
установка водных устройств;
установка ограждения;
установка декоративного ограждения;
установка газонного ограждения;
установка технического ограждения;
установка шлагбаума;
установка произведения монументального искусства;
установка оборудования;
установка уличной мебели;
устройство покрытия (грунтового);
устройство покрытия (газонного);
устройство покрытия (асфальтового);
устройство покрытия (мощение);
устройство покрытия (полимерного);
устройство покрытия (щебеночного);
устройство покрытия (песчано-гравийного);
устройство покрытия (плиточного);
планировочное устройство (озеленение);
планировочное устройство (пешеходные коммуникации);
планировочное устройство (отмостка);
планировочное устройство (бортовой камень общей протяженностью более 100 м);
планировочное устройство (пандус);
планировочное устройство (лестница);
планировочное устройство (пешеходный мостик);
планировочное устройство (система отвода поверхностных и дренажных вод);
установка некапитального объекта (гараж-бокс);
установка некапитального объекта (туалет);
установка некапитального объекта (навес);
установка некапитального объекта (беседка);
установка некапитального объекта (будка).
(Выбрать один или несколько из представленных вариантов)
Запрашиваемый вид работ: работы по установке и размещению временных элементов благоустройства площадью более 10 кв. м.
Цель работ - установка и размещение следующих элементов благоустройства:
объекты сезонной торговли;
элементы оформления, включая элементы оформления Санкт-Петербурга к мероприятиям, в том числе культурно-массовым мероприятиям, городского, всероссийского и международного значения;
нестационарный торговый объект, не включенный в утвержденную схему размещения нестационарных объектов.
(Выбрать один или несколько из представленных вариантов)
Описание объекта
(Название объекта, для каких целей необходимы заявленные работы/на период каких работ необходимы заявленные работы, в рамках какой программы реализовываются заявленные работы, для какого мероприятия необходима установка временных элементов благоустройства и пр.
(заполняется в свободной форме)
Фотофиксация общего плана (панорамная фотография) места производства работ в светлое время суток, с разных ракурсов (не менее пяти фотографий)
По адресу: район
, ул.
, дом
,
уточнение:
.
Период производства работ с
по
.
Ограничение движения транспорта при выполнении заявленных работ требуется/не требуется (нужное выбрать).
Для установления временного ограничения или прекращения движения транспортных средств по автомобильным дорогам регионального значения в Санкт-Петербурге в ГАТИ подана заявка на предоставление государственной услуги по принятию решений о временных ограничении или прекращении движения транспортных средств по автомобильным дорогам регионального значения в Санкт-Петербурге N __________
(ограничение движения планируется в период
).
График производства работ:
Выполнение заявленных работ, в том числе эксплуатация временных объектов по ________.
Первичное восстановление благоустройства по
.
(заполняется при завершении заявленных работ и демонтаже временных объектов за пределами агротехнического периода)
Полное восстановление благоустройства по
.
Документы, необходимые для согласования заявки (строки заполняются при необходимости)
Наименование документа
N документа
Дата
Разрешение Комитета по государственному контролю, использованию и охране памятников истории и культуры на проведение работ
Порубочный билет (акт)
Договор (разрешение) Комитета имущественных отношений Санкт-Петербурга
Разрешение Комитета по печати и взаимодействию со средствами массовой информации на установку рекламы
Согласование Комитета по градостроительству и архитектуре проекта благоустройства (регистрационный номер)
Иные документы, необходимые для согласования заявки на получение ордера в соответствии с разделом 6 Правил
Ответственное лицо за производство работ:
.
Ф.И.О., должность, тел.
Заказчик:
(Должность)
(Подпись)
(Расшифровка подписи)
Подтверждаю достоверность сведений
(Должность)
(Подпись)
(Расшифровка подписи)
Приложение N 5
к Правилам благоустройства территории
Санкт-Петербурга в части, касающейся
правил производства земляных,
ремонтных и отдельных работ,
связанных с благоустройством
территории Санкт-Петербурга
Список изменяющих документов
(в ред. Постановления Правительства Санкт-Петербурга от 08.04.2025 N 199)
ПРАВИТЕЛЬСТВО САНКТ-ПЕТЕРБУРГА
ГОСУДАРСТВЕННАЯ АДМИНИСТРАТИВНО-ТЕХНИЧЕСКАЯ ИНСПЕКЦИЯ
ОРДЕР НА ПРОИЗВОДСТВО ПЛАНОВЫХ РАБОТ
N ________ от _____________ 20__ г.
Заказчик:
ИНН
Наименование:
Производитель работ:
ИНН
Наименование:
Производство работ разрешено с ____________ по ____________
Вид работ:
Адрес работ:
Район:
Цель работ:
Условные сведения о месте производства работ
ПРАВИТЕЛЬСТВО САНКТ-ПЕТЕРБУРГА
ГОСУДАРСТВЕННАЯ АДМИНИСТРАТИВНО-ТЕХНИЧЕСКАЯ ИНСПЕКЦИЯ
ПРИЛОЖЕНИЕ К ОРДЕРУ НА ПРОИЗВОДСТВО ПЛАНОВЫХ РАБОТ
N ________ от _____________ 20__ г.
Условия производства работ:
Выполнение заявленных работ, в том числе эксплуатация временных объектов по ________________________________________________________________.
Первичное восстановление благоустройства по __________________________.
(при завершении заявленных работ и демонтаже временных объектов за пределами агротехнического периода)
Полное восстановление благоустройства по _____________________________
Условия производства работ в охранных зонах объектов инженерной инфраструктуры
Исполнитель ________________ Уполномоченное лицо __________________
Приложение N 6
к Правилам благоустройства территории
Санкт-Петербурга в части, касающейся
правил производства земляных,
ремонтных и отдельных работ,
связанных с благоустройством
территории Санкт-Петербурга
Список изменяющих документов
(в ред. Постановления Правительства Санкт-Петербурга от 26.11.2018 N 899)
ПРАВИТЕЛЬСТВО САНКТ-ПЕТЕРБУРГА
ГОСУДАРСТВЕННАЯ АДМИНИСТРАТИВНО-ТЕХНИЧЕСКАЯ ИНСПЕКЦИЯ
____________________________
____________________________
ОТКАЗ В ВЫДАЧЕ ОРДЕРА
Рассмотрев Вашу заявку (заявление) от __________________ N ____________
на получение ордера Государственной административно-технической инспекции
(ГАТИ) на ________________________________________________________________,
(Запрашиваемый вид работ, N, дата выдачи ордера -
в случае отказа в выдаче ордера взамен ранее выданного)
поданную в ГАТИ "__" _________ 20__ года, учитывая ________________________
___________________________________________________________________________
___________________________________________________________________________
(Мотивированное обоснование отказа в выдаче ордера)
__________________________________________________________________________,
в соответствии с пунктом _________ Правил благоустройства территории
Санкт-Петербурга в части, касающейся правил производства земляных,
ремонтных и отдельных работ, связанных с благоустройством территории
Санкт-Петербурга, ГАТИ отказывает Вам в выдаче ордера на __________________
__________________________________________________________________________.
(Запрашиваемый вид работ, N, дата выдачи ордера - в случае отказа
в выдаче ордера взамен ранее выданного)
При устранении обстоятельств, послуживших основанием для настоящего
Отказа, Вы можете повторно обратиться с заявкой на получение ордера.
__________________________ _________ _____________ "__" _______ 20__ года
(Должность уполномоченного (Подпись) (Расшифровка
лица ГАТИ) подписи)
Настоящий Отказ вручен "__" _________ 20__ года.
___________________________________________________________________________
(Подпись, должность, Ф.И.О. представителя, реквизиты доверенности
(для представителя, действующего по доверенности)
Приложение N 7
к Правилам благоустройства территории
Санкт-Петербурга в части, касающейся
правил производства земляных,
ремонтных и отдельных работ,
связанных с благоустройством
территории Санкт-Петербурга
ПРАВИТЕЛЬСТВО САНКТ-ПЕТЕРБУРГА
ГОСУДАРСТВЕННАЯ АДМИНИСТРАТИВНО-ТЕХНИЧЕСКАЯ ИНСПЕКЦИЯ
УВЕДОМЛЕНИЕ
о признании ордера недействующим
Санкт-Петербург "__" _________ 20__ г.
Кому: ________________________
______________________________
______________________________
______________________________
Настоящим уведомляем Вас о возникновении обстоятельств для признания
ордера N _________ от _________ недействующим.
___________________________________________________________________________
(Указываются основания для признания ордера недействующим)
___________________________________________________________________________
___________________________________________________________________________
__________________________________________________________________________.
Учитывая изложенное, в соответствии с Правилами благоустройства
территории Санкт-Петербурга в части, касающейся правил производства
земляных, ремонтных и отдельных работ, связанных с благоустройством
территории Санкт-Петербурга, ордер N ________ от ________ признается ГАТИ
недействующим.
__________________________________________ ____________________
(Должность, Ф.И.О. специалиста ГАТИ) (Подпись)
Приложение N 8
к Правилам благоустройства территории
Санкт-Петербурга в части, касающейся
правил производства земляных,
ремонтных и отдельных работ,
связанных с благоустройством
территории Санкт-Петербурга
Заявка
на получение ордера на производство аварийных работ
в Государственную административно-техническую инспекцию
в соответствии с Правилами благоустройства территории
Санкт-Петербурга в части, касающейся правил производства
земляных, ремонтных и отдельных работ, связанных
с благоустройством территории Санкт-Петербурга
(далее - Правила)
Исключена. - Постановление Правительства Санкт-Петербурга
от 22.04.2020 N 237.
Приложение N 9
к Правилам благоустройства территории
Санкт-Петербурга в части, касающейся
правил производства земляных,
ремонтных и отдельных работ,
связанных с благоустройством
территории Санкт-Петербурга
┌─────────────┬───────────────────────────────────────────────────────────┐
│ │ ПРАВИТЕЛЬСТВО САНКТ-ПЕТЕРБУРГА │
│ │ ГОСУДАРСТВЕННАЯ АДМИНИСТРАТИВНО-ТЕХНИЧЕСКАЯ ИНСПЕКЦИЯ │
│ ├───────────────────────────────────────────────────────────┤
│ │ РЕШЕНИЕ О ЗАКРЫТИИ ОРДЕРА │
├─────────────┴───────────────────────────────────────────────────────────┤
│ ┌───────────────┐ │
│Заказчик: ИНН │ │ │
│ └───────────────┘ │
│Наименование: __________________________________________________________ │
│ __________________________________________________________ │
│ │
├─────────────────────────────────────────────────────────────────────────┤
│ │
│Ордер N _____ от ________________ закрыт "__" _______________ 20__ г. │
│ │
│ │
│ │
│Исполнитель _________________ Уполномоченное лицо ______________________ │
│ │
└─────────────────────────────────────────────────────────────────────────┘
Приложение N 10
к Правилам благоустройства территории
Санкт-Петербурга в части, касающейся
правил производства земляных,
ремонтных и отдельных работ,
связанных с благоустройством
территории Санкт-Петербурга
ИНФОРМАЦИОННЫЙ ЩИТ С СИГНАЛЬНЫМИ БАРЬЕРАМИ
Список изменяющих документов
(в ред. Постановления Правительства Санкт-Петербурга от 22.04.2020 N 237)
абзац исключен. - Постановление Правительства
Санкт-Петербурга от 22.04.2020 N 237
1. Труба пластиковая d 40 мм L = 1,25 м - 2 шт.
2. Труба ст. d 32 мм L = 0,6 + 0,2 м - 2 шт.
3. Профильный лист с полосами красного и белого цвета 1,25 x 1,0 м.
4. Информационный лист (0,7 x 0,3 м), содержащий наименование организации, со световозвращающим свойством.
┌─────────────────────┐ /\
│ │ │
│ │300│
│ │ │
└─────────────────────┘ \/
700
<─────────────────────>
Приложение N 11
к Правилам благоустройства территории
Санкт-Петербурга в части, касающейся
правил производства земляных,
ремонтных и отдельных работ,
связанных с благоустройством
территории Санкт-Петербурга
ТРЕБОВАНИЯ
К ОБУСТРОЙСТВУ ЗОНЫ ПРОИЗВОДСТВА РАБОТ
И ВРЕМЕННЫХ ОГРАЖДЕНИЙ
Список изменяющих документов
(в ред. Постановлений Правительства Санкт-Петербурга от 22.04.2020 N 237,
от 08.09.2023 N 966)
Ограждения предназначены для предотвращения доступа посторонних лиц на строительную площадку, в зону производства работ, а также снижения вредных факторов при производстве работ (шум, пыль, грязь), а также для предупреждения о границах территорий и участков с опасными и вредными производственными факторами.
1. Ограждения строительных площадок
1.1. Ограждение строительной площадки должно быть выполнено из сплошных износостойких материалов, иметь серый цвет, соответствующий колерам 7040, 7038, 7035, 7004 согласно стандарту RAL или аналогу.
1.2. При въезде на площадку и выезде с нее должны быть установлены информационные щиты в соответствии с требованиями пункта 3.2.1 Правил благоустройства территории Санкт-Петербурга в части, касающейся правил производства земляных, ремонтных и отдельных работ, связанных с благоустройством территории Санкт-Петербурга, утвержденных постановлением Правительства Санкт-Петербурга от 06.10.2016 N 875 (далее - Правила), или паспорт объекта.
1.3. Высота ограждения должна быть 2-2,5 м.
Примерные виды ограждений:
Тип 1
Узел 1 - крепление стойки к бетонному блоку.
Узел 2 - крепление панелей к стойке.
1 - рама из металлического уголка 40 x 40 мм;
2, 3 - профлист; 4 - стойка, металлическая труба d 50 мм;
5 - бетонный блок 400 x 400 x 3000 мм с облицовкой из профлиста;
6 - подъемные петли; 7 - прижимная пятка; 8 - фиксатор;
9 - пластина с направляющими, приваренная к стойке; 10 - петли.
Возможно устройство секций, оборудованных информационными щитами. Для обеспечения безопасности людей и обозначения места проведения ремонтных работ должны использоваться фонари, дорожные знаки и сигнальные окраски, нанесенные на опорные железобетонные блоки.
Технические характеристики:
габариты секции с опорным блоком и ограждением 2500 x 2000 мм;
опорный блок - железобетонный блок 400 x 400 x 3000 мм;
стойки металлические d 50 мм;
секция ограждения - рамная;
рама - из металлического уголка 40 x 40 мм.
Дополнительные комплектующие:
ворота и калитки стандартных исполнений;
фонари светодиодные сигнальные;
лотки проволочные, например ПЛМ-100.35;
кронштейны настенные унитарные, например КНПЛ-100.
Тип 2
Узел 1 - установка проволочного лотка на стойку ограждения.
Узел 2 - крепление ограждающих панелей к стойкам рамы.
1 - рама поперечная, стальная труба 40 x 60 x 2 мм;
2, 3 - панель рамная, уголок 40 x 40 мм,
заполнение - профлист; 4 - пригрузочный железобетонный блок
ФБС; 5 - фонарь сигнальный; 6 - болтовое соединение;
7 - поручень; 8 - настил на тротуар; 9 - лоток проволочный;
10 - кронштейн настенный; 11 - отверстие для крепления
ограждения; 12 - кронштейн опорный; 13 - продольные связи,
строганые доски сечением 45 x 100 мм
Ограждение изготавливается с навесом из металлических профилированных листов, уложенных и закрепленных на металлической обрешетке или на строганых досках сечением не менее 40 x 100 мм, перилами и деревянным настилом для обеспечения безопасности людей в местах интенсивного прохода. Секции ограждения могут заполняться металлическими профилированными листами для скрытия отдельных участков строительных работ.
Технические характеристики:
конструкция ограждения - стальной рамный каркас, собранный из труб прямоугольного сечения 40 x 60 мм, скрепленных между собой поперечными связями и навесными панелями. Для обеспечения устойчивости рамы крепятся самоанкерующимися болтами или пригрузочными блоками ФБС 15-6-4;
высота рамы ограждения - 2,5 м;
панели ограждения - рама из металлического уголка 40 x 40 мм с габаритными размерами 2000 x 950 мм, с заполнением профнастилом. Дополнительные комплектующие:
фонари светодиодные сигнальные, например ФС-41 или ФС-12;
лотки проволочные, например ПЛМ-100.35;
кронштейны настенные унитарные, например КНПЛ-100.
2. Ограждение при выполнении фасадных работ
2.1. Ограждения для фасадов зданий и сооружений должны быть выполнены из специально предусмотренных пригодных для этого по своим декоративным, прочностным и пожаробезопасным характеристикам материалов, сохраняющих свои первоначальные свойства на весь период строительства. При этом нижний ярус ограждений фасадов, выходящих на улицы, должен быть в обязательном порядке выполнен из сплошных непрозрачных износостойких материалов, иметь серый цвет, соответствующий колерам 7040, 7038, 7035, 7004 согласно стандарту RAL или аналогу.
2.2. Строительные леса при выполнении фасадных работ должны размещаться с использованием фасадной сетки по всему периметру строительных лесов.
Фасадная сетка выполняется из специально предусмотренных для этой цели материалов, пригодных по своим декоративным, прочностным и пожароопасным качествам, сохраняющих свои первоначальные свойства на весь период строительства. Цветовое решение фасадной сетки должно соответствовать колеру фасада здания или нижнему ярусу ограждения.
(абзац введен Постановлением Правительства Санкт-Петербурга от 08.09.2023 N 966)
2.3. Информационный щит должен быть установлен на нижнем ярусе ограждения фасада с просматриваемой стороны.
2.4. При выполнении фасадных работ ограждения, граничащие с пешеходным движением, должны иметь козырьки, настилы для пешеходов, пандусы (уклон 1:20) для заезда на настил и поручни. При этом должны выполняться следующие требования:
козырьки и настилы должны быть выполнены в виде отдельных панелей прямоугольной формы. Длина панелей козырьков и настилов должна быть кратна длине панелей ограждений;
защитный козырек должен устанавливаться по верху ограждений с подъемом к горизонту под углом 20° в сторону тротуара или проезжей части;
панели козырька должны обеспечивать перекрытие тротуара и выходить за его край (со стороны движения транспорта) на 50-100 мм;
конструкция панелей настила должна обеспечивать проход для пешеходов шириной не менее 1,2 м;
конструкция панелей козырьков и настилов должна обеспечивать сток воды с их поверхностей в процессе эксплуатации;
зазоры в настилах допускаются не более 5 мм;
поручни должны быть установлены со стороны движения транспорта;
конструкция поручней должна состоять из стоек, прикрепленных к верхней части ограждения или козырьку, а также поручня и промежуточного горизонтального элемента, расположенных, соответственно, на высоте 1,1 м и 0,5 м от уровня тротуара, поручни перил должны крепиться к стойкам с внутренней стороны.
Примерные виды ограждений:
Тип 1
1 - полотно ограждения; 2 - леса; 3 - крепление лесов
к зданию; 4 - кронштейн со светильником, шаг установки 3 м;
5 - прожектор наружного освещения
Для установки защитного экрана могут использоваться конструкции строительных лесов. На элементах лесов, расположенных у мест подъема груза, в качестве экрана устраивается сплошная стенка из досок толщиной 25 мм или профлиста.
Пешеходный переход вдоль защитного ограждения (экрана) должен иметь козырек, сплошную обшивку со стороны строящегося здания и располагаться от него не ближе 2 м.
Тип 2
Узел 1 - установка проволочного лотка на стойку ограждения.
Узел 2 - крепление ограждающих панелей к стойкам рамы.
1 - рама поперечная, стальная труба 40 x 60 x 2 мм; 2,
3 - панель рамная, уголок 40 x 40 мм, заполнение - профлист;
4 - пригрузочный железобетонный блок ФБС; 5 - фонарь
сигнальный; 6 - болтовое соединение; 7 - поручень;
8 - настил на тротуар; 9 - лоток проволочный; 10 - кронштейн
настенный; 11 - отверстие для крепления ограждения;
12 - кронштейн опорный; 13 - продольные связи, строганые
доски сечением 45 x 100 мм
Ограждение изготавливается с навесом из металлических профилированных листов, уложенных и закрепленных на металлической обрешетке или на строганых досках сечением не менее 40 x 100 мм, перилами и деревянным настилом для обеспечения безопасности людей в местах интенсивного прохода. Секции ограждения могут заполняться металлическими профилированными листами для скрытия отдельных участков строительных работ.
Технические характеристики:
конструкция ограждения - стальной рамный каркас, собранный из труб прямоугольного сечения 40 x 60 мм, скрепленных между собой поперечными связями и навесными панелями. Для обеспечения устойчивости рамы крепятся самоанкерующимися болтами или пригрузочными блоками ФБС 15-6-4;
высота рамы ограждения - 2,5 м;
панели ограждения - рама из металлического уголка 40 x 40 мм с габаритными размерами 2000 x 950 мм, с заполнением профнастилом. Дополнительные комплектующие:
фонари светодиодные сигнальные, например ФС-41 или ФС-12;
лотки проволочные, например ПЛМ-100.35;
кронштейны настенные унитарные, например КНПЛ-100.
3. Ограждение зоны производства работ при проведении работ
на инженерных коммуникациях и производстве земляных работ
при вскрытии грунта более 0,4 м
3.1. При производстве плановых земляных работ при работах на инженерных коммуникациях ограждение зоны производства работ должно быть сборно-разборным с унифицированными элементами соединения и деталями крепления, из металлических секций, имеющих ширину - 2-3 м, высоту - 1,8-2,5 м, иметь серый цвет, соответствующий колерам 7040, 7038, 7035, 7004 согласно стандарту RAL или аналогу.
3.2. Информационные щиты должны быть установлены с просматриваемой стороны зоны производства работ.
3.3. В местах пересечения с проходами и проездами, выходами из парадных должны быть размещены схемы, содержащие информацию о маршрутах безопасного прохода пешеходов и проезда автотранспорта.
Примерные виды ограждений:
Тип 1
Спецификация материалов на одну секцию:
1. Уголок 40 x 40 L = 3000 мм - 2 шт.
2. Уголок 40 x 40 L = 1925 мм - 2 шт.
3. Арматурная сетка d 2 мм 100 x 100 мм - 4,5 кв. м.
4. Уголок 50 x 50 L = 360 мм - 4 шт.
5. Уголок 50 x 50 L = 310 мм - 2 шт.
6. Уголок 50 x 50 L = 500 мм - 2 шт.
Примечание.
Все конструкции ограждения и подпятника собираются на сварку.
Спецификация материалов на одну секцию:
1. Пленка полиэтиленовая 350 мк 1500 x 3000 мм - 4,5 кв. м <*>;
2. Металлическая пластина МП-1 полоса 4 x 40 мм L = 1,5 м (ГОСТ 103-2006) с тремя отверстиями d 9 мм под болты - 2 шт.;
3. Металлическая пластина МП-2 полоса 4 x 40 мм L = 1,5 м (ГОСТ 103-2006) с четырьмя отверстиями d 9 мм под болты - 1 шт.;
4. Металлическая пластина МП-3 полоса 4 x 40 мм L = 0,5 м (ГОСТ 103-2006) с двумя отверстиями d 9 мм под болты - 1 шт. <**>;
5. Болт М8 x 40 (ГОСТ 7798-2008) с гайкой и двумя шайбами - 10 шт.
--------------------------------
<*> Пленка полиэтиленовая крепится к сетке ограждения с наружной стороны.
<**> Металлическая пластина МП-3 крепится к МП-2 с внутренней стороны сетки по центру двумя болтами М8.
Тип 2
Узел 1 - соединение доборных панелей. Узел 2 - крепление ПВХ
экрана к панели ограждения. Узел 3 - соединение секций
ограждения. Узел 4 - установка проволочного лотка на стойку
ограждения. Узел 5 - установка стабилизационной стойки.
1 - панель рамная; 2 - сигнальный фонарь вставной; 3 - знак
дорожный; 4 - экран (информационная панель), ткань ПВХ;
5 - опорный бетонный блок; 6 - кабельная стяжка;
7 - кронштейн настенный, унитарный; 8 - лоток проволочный;
9 - стабилизационная подпорка; 10 - стальная соединительная
втулка; 11 - доборная панель; 12 - хомут; 13 - штырь
металлический (d 40 мм, длина 800 мм); 14 - настил
из профлиста; 15 - подставка универсальная строительная С-3
Секции ограждения могут быть дополнены доборными элементами для увеличения высоты и заполняться металлическими сетками различного шага, металлическими профилированными листами или ПВХ-экранами для скрытия отдельных участков строительных работ. При заполнении секций металлическими профилированными листами или ПВХ-экраном необходимо использование стабилизационной подпорки. Возможно устройство секций, оборудованных информационными щитами. Для обеспечения безопасности движения и обозначения места проведения ремонтных, строительных и дорожных работ должны использоваться сигнальные фонари.
Технические характеристики:
габариты секции с опорным блоком и ограждением 2000 x 2000 (2400) мм;
опорный блок - подставка универсальная "Строительная" С-3 с габаритами 700 x 220 x 125 мм;
секция ограждения - рама сварная из стальных труб d 42 мм;
заполнение - решетка из оцинкованных металлических прутьев d 4 мм, размер ячейки 50 x 300 мм;
стабилизационная подпорка, труба стальная d 42 мм.
Дополнительные комплектующие:
ворота и калитки стандартных исполнений;
фонари светодиодные сигнальные, например ФС-41 или ФС-12;
лотки проволочные, например ПЛМ-100.35;
экран - ткань ПВХ, крепление к ограждению кабельной стяжкой КСС 5 x 200 мм; кронштейны настенные унитарные, например КНПЛ-100.
4. Ограждение зоны производства работ при проведении работ
по ремонту покрытий и складированию материалов и установке
элементов благоустройства с заглублением более 0,4 м
4.1. При производстве работ по ремонту покрытий и складирования материалов ограждение зоны производства работ должно быть сборно-разборным с унифицированными элементами соединения и деталями крепления, из металлических секций, имеющих ширину - 1,5-3 м, высоту - 1,6-2,5 м, иметь серый цвет, соответствующий колерам 7040, 7038, 7035, 7004 согласно стандарту RAL или аналогу.
4.2. Информационный щит должны быть установлен с просматриваемой стороны зоны производства работ.
4.3. В местах пересечения с проходами и проездами, выходами из парадных должны быть размещены схемы, содержащие информацию о маршрутах безопасного прохода пешеходов и проезда автотранспорта.
4.4. При производстве работ на внутриквартальных территориях, огражденных примыкающими фасадами с трех и более сторон, производитель работ обязан обеспечить безопасные проходы пешеходов в твердом покрытии с отдельным ограждением зоны производства работ.
4.5. В случае производства работ на значительной площади квартала огораживаются места непосредственного выполнения работ (траншеи, места складирования материалов, размещения бытовых городков, строительной техники).
Примерные виды ограждений:
Тип 1
Узел 1 - соединение секций ограждения.
Технические характеристики:
конструкция цельнометаллическая из стальных труб.
Тип 2
Узел 1 - соединение доборных панелей. Узел 2 - крепление ПВХ
экрана к панели ограждения. Узел 3 - соединение секций
ограждения. Узел 4 - установка проволочного лотка на стойку
ограждения. Узел 5 - установка стабилизационной стойки.
1 - панель рамная; 2 - сигнальный фонарь вставной; 3 - знак
дорожный; 4 - экран (информационная панель), ткань ПВХ;
5 - опорный бетонный блок; 6 - кабельная стяжка;
7 - кронштейн настенный, унитарный; 8 - лоток проволочный;
9 - стабилизационная подпорка; 10 - стальная соединительная
втулка; 11 - доборная панель; 12 - хомут; 13 - штырь
металлический (d 40 мм, длина 800 мм); 14 - настил
из профлиста; 15 - подставка универсальная строительная С-3
Секции ограждения могут быть дополнены доборными элементами для увеличения высоты и заполняться металлическими сетками различного шага, металлическими профилированными листами или ПВХ-экранами для скрытия отдельных участков строительных работ. При заполнении секций металлическими профилированными листами или ПВХ-экраном необходимо использование стабилизационной подпорки. Возможно устройство секций, оборудованных информационными щитами. Для обеспечения безопасности движения и обозначения места проведения ремонтных, строительных и дорожных работ должны использоваться сигнальные фонари.
Технические характеристики:
габариты секции с опорным блоком и ограждением 2000 x 2000 (2400) мм;
опорный блок - подставка универсальная "Строительная" С-3 с габаритами 700 x 220 x 125 мм;
секция ограждения - рама сварная из стальных труб d 42 мм;
заполнение - решетка из оцинкованных металлических прутьев d 4 мм, размер ячейки 50 x 300 мм;
стабилизационная подпорка, труба стальная d 42 мм.
Дополнительные комплектующие:
ворота и калитки стандартных исполнений;
фонари светодиодные сигнальные, например ФС-41 или ФС-12;
лотки проволочные, например ПЛМ-100.35;
экран - ткань ПВХ, крепление к ограждению кабельной стяжкой КСС 5 x 200 мм; кронштейны настенные унитарные, например КНПЛ-100.
Тип 3
Ограждения выполняются из дорожных блоков (водоналивные ограждения) и предназначены для временного визуального ограждения территории, на которой проводятся ремонтные или строительные работы. Водоналивные барьеры, ограждения производятся из высококачественного морозостойкого светостабилизированного полиэтилена. Материал не подвержен коррозии, легко очищается от грязи, имеет высокую прочность и не растрескивается при ударах. Изготовленные из него блоки выдерживают перепад температур от -30 до +60° C. Ограждения из дорожных блоков могут быть дополнительно оборудованы световозвращателями и сигнальными фонарями.
5. Ограждение зоны производства работ при проведении
аварийных работ на инженерных коммуникациях
5.1. При производстве аварийных работ ограждение зоны производства работ должно иметь сигнальный бело-красный или красно-желтый цвет.
5.1-1. При производстве аварийных работ ограждение зоны производства работ должно быть единым по цвету, свойствам и характеристикам.
(п. 5.1-1 введен Постановлением Правительства Санкт-Петербурга от 08.09.2023 N 966)
5.2. При проведении аварийных работ на инженерных коммуникациях должен быть информационный щит, соответствующий требованию пункта 3.2.1 Правил.
Примерные виды ограждений:
Тип 1
1. Труба пластиковая d 40 мм L = 1,0 м - 2 шт.
2. Труба металлопластиковая d 20 мм:
горизонтальная L = 1,2 м - 4 шт.;
вертикальная L = 0,6 м - 2 шт.
3. Тройник для металлопластиковой трубы d 20 мм - 4 шт.
4. Крестовина для металлопластиковой трубы d 20 мм - 4 шт.
5. Труба стальная d 32 мм в пластиковой трубе d 40 мм L = 0,6 + 0,2 м - 2 шт.
Тип 2
1. Труба пластиковая d 40 мм L = 1,0 м - 2 шт.
2. Тройник для металлопластиковой трубы d 20 мм - 10 шт.
3. Труба металлопластиковая d 20 мм:
горизонтальная L = 1,2 м - 2 шт.;
вертикальная L = 0,6 м - 5 шт.
4. Труба стальная d 32 мм в пластиковой трубе d 40 мм L = 0,6 + 0,2 м - 2 шт.
Тип 3
1. Труба пластиковая d 40 мм L = 1,0 м - 2 шт.
2. Труба металлопластиковая d 20 мм:
горизонтальная L = 1,2 м - 2 шт.;
вертикальная L = 0,6 м - 2 шт.
3. Тройник для металлопластиковой трубы d 20 мм - 4 шт.
4. Труба стальная d 32 мм в пластиковой трубе d 40 мм L = 0,6 + 0,2 м - 2 шт.
Тип 4
1. Труба пластиковая d 40 мм L = 1,0 м.
2. Труба металлопластиковая d 20 мм:
горизонтальная L = 1,2 м;
вертикальная L = 0,6 м - 2 шт.
3. Тройник для металлопластиковой трубы d 20 мм - 4 шт.
4. Труба стальная d 32 мм в пластиковой трубе d 40 мм L = 0,6 + 0,2 м.
5. Труба металлопластиковая d 20 мм.
Тип 5
Тип 6
Ограждение состоит из цельнометаллических секций со светоотражающими элементами и оснащается сигнальными фонарями.
Приложение N 12
к Правилам благоустройства территории
Санкт-Петербурга в части, касающейся
правил производства земляных,
ремонтных и отдельных работ,
связанных с благоустройством
территории Санкт-Петербурга
Список изменяющих документов
(в ред. Постановления Правительства Санкт-Петербурга от 22.04.2020 N 237)
ЗАЯВКА
на регистрацию владельца инженерных коммуникаций в "личном кабинете"
в Государственную административно-техническую инспекцию
В соответствии с пунктом 13.1 Правил благоустройства территории
Санкт-Петербурга в части, касающейся правил производства земляных,
ремонтных и отдельных работ, связанных с благоустройством территории
Санкт-Петербурга, утвержденных постановлением Правительства
Санкт-Петербурга от 06.10.2016 N 875, прошу зарегистрировать в "Личном
кабинете" на сайте: gati-online.ru.
Владелец инженерных коммуникаций:
Наименование ___________________________________________ ИНН _____________,
Местонахождение (юридический адрес) ______________________________________,
тел. _________________, эл. почта ____________________.
Единоличный исполнительный орган: _____________, Ф.И.О. __________________.
Логин ответственного лица на портале "Наш Петербург".
Логин _____________
Акт о приемке-передаче здания (сооружения) N _____________ от _____________
(форма первичной учетной документации по учету основных средств N ОС-1а)
Владелец инженерных коммуникаций:
___________________ __________________ ________________________________
(Должность) (Подпись) (Расшифровка подписи)
Приложение N 13
к Правилам благоустройства территории
Санкт-Петербурга в части, касающейся
правил производства земляных,
ремонтных и отдельных работ,
связанных с благоустройством
территории Санкт-Петербурга
ОРДЕР НА ПРОИЗВОДСТВО АВАРИЙНЫХ РАБОТ
Исключен. - Постановление Правительства Санкт-Петербурга
от 22.04.2020 N 237.
Приложение N 14
к Правилам благоустройства территории
Санкт-Петербурга в части, касающейся
правил производства земляных,
ремонтных и отдельных работ,
связанных с благоустройством
территории Санкт-Петербурга
Список изменяющих документов
(в ред. Постановления Правительства Санкт-Петербурга от 08.04.2025 N 199)
СОГЛАСОВАНИЕ
производства работ
,
(Наименование владельца территории (владельца помещения), заказчика, согласовывающего производство работ, являющегося владельцем объекта (земельного участка, помещения)
(нужное подчеркнуть)
расположенного по адресу:
,
заказчиком работ, заявленных в адресную программу, на основании
(Реквизиты правоустанавливающего документа на объект недвижимости, код работ, включенных в адресную программу)
согласовываю производство следующих работ/получение ордера взамен ордера N ______ от _________ (нужное подчеркнуть), связанных с благоустройством территории Санкт-Петербурга на указанном земельном участке:
вид работ:
;
заказчик производства работ:
;
сроки производства работ:
.
Приложение: акт приема-передачи (в случае получения ордера взамен).
Владелец территории настоящим Согласованием подтверждает, что уведомлен о возможности обращения в Государственную административно-техническую инспекцию в течение пяти рабочих дней после истечения срока производства работ, указанного в настоящем Согласовании, с уведомлением о невосстановлении благоустройства, нарушенного после производства работ по указанному выше адресу.
Дата согласования: "____" ________________ 20__ года
(Подпись)
(Расшифровка подписи, должность, реквизиты доверенности)