Главная // Пожарная безопасность СПРАВКА
Источник публикации
Документ опубликован не был
Примечание к документу
Документ утратил силу на территории Российской Федерации в связи с изданием Приказа Минтранса России от 13.12.2023 N 420.
Название документа
"Инструкция по загрузке, разгрузке, швартовке и перевозке грузов на самолетах Ан-12 в гражданской авиации"
(утв. МГА СССР 15.04.1975)
"Инструкция по загрузке, разгрузке, швартовке и перевозке грузов на самолетах Ан-12 в гражданской авиации"
(утв. МГА СССР 15.04.1975)
Заместитель министра
гражданской авиации
Н.П.БЫКОВ
15 апреля 1975 года
Вводится в действие
с 1 июля 1975 года
ИНСТРУКЦИЯ
ПО ЗАГРУЗКЕ, РАЗГРУЗКЕ, ШВАРТОВКЕ И ПЕРЕВОЗКЕ ГРУЗОВ
НА САМОЛЕТАХ АН-12 В ГРАЖДАНСКОЙ АВИАЦИИ
С вводом в действие настоящей инструкции "Инструкцию по погрузке, выгрузке, швартовке и перевозке грузов на самолетах Ан-12 в гражданской авиации" от 27.02.68 считать утратившей силу.
1. Транспортный самолет Ан-12 в гражданской авиации предназначен для перевозки грузов, предусмотренных действующими правилами и инструкциями.
2. Выполнение требований настоящей инструкции, касающихся швартовки грузов в грузовой кабине самолета, норм допустимых нагрузок на каждый участок площади грузовой кабины, правильности расчета центровочного графика и размещения груза в кабине самолета, а также соблюдение правил погрузки, выгрузки и перевозки грузов являются важнейшими условиями безопасности эксплуатации самолета Ан-12.
3. В инструкции приведены некоторые технические характеристики самолета Ан-12, изложены сведения об устройстве грузовой кабины самолета, швартовочных средств и правила пользования ими, нормы допустимых статических нагрузок на площадь пола грузовой кабины и требования к грузам, разрешенным к перевозке на самолете.
4. Инструкция регламентирует правила погрузки-выгрузки и швартовки тяжеловесных, крупногабаритных и длинномерных грузов, а также основные обязанности и ответственность должностных лиц предприятий ГА, связанных с приемом к перевозке, погрузкой-выгрузкой, швартовкой и перевозкой грузов в самолетах Ан-12.
5. Инструкция предназначена для работников службы перевозок, инженерно-авиационной службы, летного состава.
6. Каждый самолет Ан-12 обеспечивается полным комплектом погрузочного и швартовочного оборудования согласно перечню, указанному в данной инструкции (см.
табл. 2).
7. В инструкции приводятся слова "техника" и "грузы". К понятию "техника" относятся автомашины, тракторы, бульдозеры и другие подобные им грузы, разрешенные к перевозке на самолетах Ан-12. Все остальное имущество, принятое к перевозке воздушным транспортом, определяется понятием "грузы".
Глава 1. ОБОРУДОВАНИЕ ГРУЗОВОЙ КАБИНЫ САМОЛЕТА
ДЛЯ ПОГРУЗКИ, ШВАРТОВКИ И ПЕРЕВОЗКИ ГРУЗОВ
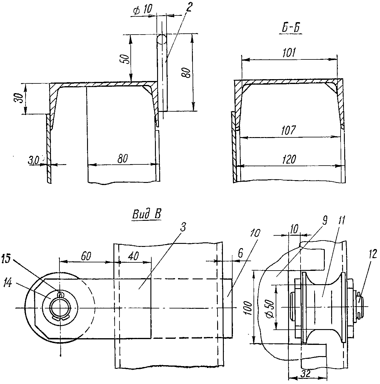
1.1. Возможность размещения техники и грузов определяется габаритами грузовой кабины
(рис. 1) и допустимыми нагрузками на трапы и пол грузовой кабины
(табл. 1).
Геометрические размеры грузовой кабины (см.
рис. 1):
- ширина | грузовой кабины | - 2,79 м; |
- высота | " | - 2,40 м; |
- объем | " | - 123,3 м3; |
- площадь пола | " | - 14,87 м2; |
- максимальная высота от земли до верхней кромки грузолюка | - 3,5 м; |
- высота от земли до порога грузовой кабины самолета | - 1,5 м; |
- длина грузовой кабины | - 13 м. |
Грузовая кабина самолета негерметична, оборудована системами подогрева и вентиляции воздуха в полете, которые обеспечивают поддержание температуры от +5 до +25 °C.
Рис 1. Схема грузовой кабины
Таблица 1
ДОПУСТИМЫЕ НАГРУЗКИ НА ПОЛ ГРУЗОВОЙ КАБИНЫ
ось шпангоута N 13 | Боковая панель |
Грузовая | | дорожка |
Центральная | панель |
Грузовая | дорожка |
Боковая панель |
ось шпангоута N 19 | ось шпангоута N 25 | ось шпангоута N 127 | ось шпангоута N 33 | ось шпангоута N 43 |
Максимальная нагрузка на отсек при транспортировке, кГ | 3600 | 8000 | | 20000 | 8000 |
Техника на пневматиках | Грузовая дорожка | Погрузка | | на колесо, кГ | 1500 (1800) | 2300 (3500) | | 3500 | 2540 (3500) |
на ось, кГ | 3600 | 8500 (11000) | | 12000 | 10200 (12000) |
на двухколесную тележку, кГ | 3600 | 11000 (15000) | | 15000 | 12000 (15000) |
Транспортировка | на колесо без распределителя | 650 | 900 | | 1350 | 900 |
на ось | без распределителя | 1300 | 3000 | | 4100 | 3600 |
распределитель П9405-0 | 2000 | 4000 | | 7000 | 5000 |
распределитель Т9405-30 | 2300 | 4600 | 11200 | 8000 | 5500 |
на 2-осную тележку | без распределителя | 2650 | 4500 | | 7000 | 5500 |
распределитель Т9405-30 | - | 7000 | | 10500 | 8000 |
Техника на гусматиках и домкратах | Грузовая дорожка | погрузка | на одну опору, кГ | 900 | 900 | 2000 | 1350 | 900 |
Центр и бок панели | 700 | 700 | 1600 | 1000 | 700 |
Грузовая дорожка | транспортировка | на одну опору, кГ | 450 | 450 | 1000 | 658 | 450 |
Центр и бок панели | 350 | 350 | 800 | 550 | 350 |
Грузовая дорожка | давление на опорную площадку, кГ/см2 | 5,5 | 5,5 | 12 | 8 | 5,5 |
Центр и бок панели |
4 | 4 | 10 | 5 | 4 |
Контейнеры с продольными поверхностями | Транспортировка на грузовой и боковой дорожках | колея, м | > 1,0 | 1000 | 2000 | | 3400 | 2000 |
> 1,6 | 1500 | 3000 | | 5000 | 3000 |
Гусеничная техника | Нагрузка длины грузового пола, кГ/пог. см | колея, м | > 1,0 | 1850 | 2500 | | 3200 | 2500 |
> 1,6 | 750 | 1100 | | 1400 | 1100 |
Грузы в мягкой таре | Грузовая дорожка | Нагрузка на при транспортировке, кГ/м2 | 1160 | 2300 | | 3100 | 2300 |
Центр и бок панели | 800 | 800 | | 3100 | 800 |
Контейнеры на поперечных полозьях | Длина полоза, м | > 1,7 | | нагрузка на один поперечный полоз, кг | 850 | 1600 | | 2000 | 1700 |
> 1,7 | загрузка в один ряд по оси симметрии | 1300 | 2000 | | 4000 | 2200 |
Примечания: 1. Разрешается прикладывать нагрузку Gосев = 8000 кГ на оси шпангоута N 33 и Gосев = 10000 кГ по осям шпангоутов N 25, 27 и 30 при транспортировке колесной техники с колеей не менее 1900 мм и при условии обеспечения передачи нагрузки непосредственно по осям перечисленных шпангоутов.
2. При расстоянии между осями В перевозимой колесной техники в данных ниже пределах пользоваться графами:
1 м < В < 1,5 м - "на двухосную тележку";
В > 1,5 м - "на ось" для каждой оси техники в отдельности;
В < 1,0 м - "на ось", сравнивая с ней суммарный вес, приходящийся на обе оси.
3. При превышении нагрузок сверх допустимых, указанных в табл. 1,
графе "Техника на гусматиках и домкратах", следует пользоваться дополнительными распределителями, опирающимися на два шпангоута.
4. Значения нагрузок, указанных в скобках, соответствуют допустимым нагрузкам при наличии деревянного настила толщиной не менее 30 мм.
1.2. Перечень погрузочного и швартовочного оборудования приводится в табл. 2.
Таблица 2
ПЕРЕЧЕНЬ ПОГРУЗОЧНОГО И ШВАРТОВОЧНОГО ОБОРУДОВАНИЯ
Наименование | Чертеж | К-во | Вес 1 шт., кг |
Грузовой трап | Т9403-10-1 | 1 | 98,7 |
Грузовой трап | Т9403-10-2 | 1 | 93,7 |
Трап средний | Т9403-410 | 1 | 78,9 |
Подставка передняя | Т9403-320 | 2 | 38,3 |
Подставка задняя | Т9403-300 | 2 | 25,8 |
Настил на трап | Т9403-550 | 2 | 22,0 |
Настил | Т9403-570 | 2 | 27,0 |
Лебедка | ГЛ1500Б (ГИЗ) | 2 | 62 |
Трос погрузочный | Т9400-20 | 1 | 13,5 |
То же, l = 1 м | Т9400-106-9 | 1 | 1,3 |
То же, l = 2 м | Т9401-60-1 | 1 | 2,0 |
То же, l = 4 м | Т9401-60-2 | 1 | 4,2 |
То же, l = 8 м | (10-93-151-5) | 1 | 2,1 |
То же, l = 12 м | Т9401-60-3 | 1 | 12,6 |
Блок | Т9401-46 | 2 | 1,7 |
Блок оттяжной | Т9401-80 | 4 | 0,7 |
Блок | Т9401-95 | 1 | 7,2 |
Ролик опорный | Т9400-150 | 1 | 2,4 |
Серьга | Т9401-111 | 1 | 0,3 |
Удлинитель | Т9406-40 | 5 | 0,3 |
Крюк | Т9401-31 | 2 | 0,3 |
Колодка упорная | Т9405-20 | 2 | 6,4 |
Грузовой распределитель | Т9405-0 | 2 | 23,6 |
Грузовой распределитель | Т9405-30 | 2 | 41,5 |
Колодка распределительная | Т9405-0 | 8 | 3,2 |
Трос швартовочный, l = 4 м | Т9404-0-1 | 14 | 1,6 |
Трос швартовочный, l = 7,8 м | Т9404-0-2 | 22 | 2,1 |
Ремень швартовочный | Т9404-750 | 53 | 1,3 |
Серьга с роликом | 50-9501-30 | 36 | 1,0 |
Переходник | 50-9501-400 | 14 | 0,4 |
Удлинитель | Т9406-40 | 5,0 | 0,3 |
Сетка швартовочная большая | Т9404-710 | 2 | 57,4 |
Сетка швартовочная малая | Т9404-720 | 1 | 42,5 |
Трос стяжной, l = 14 м | 20П9404-30 | 6 | 7,2 |
Шомпол | Т9404-730-3 | 6 | 1,3 |
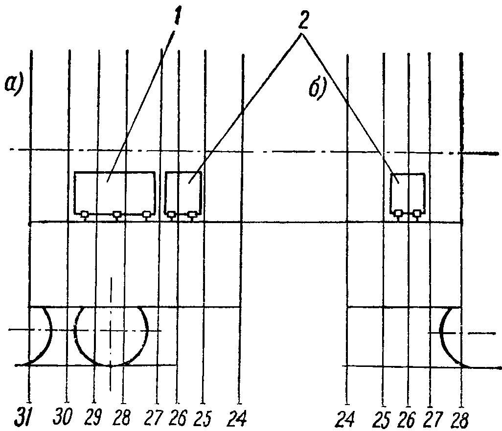
1.3. Швартовочные узлы для швартовки тросами и сетками грузов при транспортировке установлены в каркасе грузового пола в местах пересечения продольных балок с поперечными.
Швартовочные узлы расположены в четыре ряда, по 14 узлов в каждом. Кроме того, на шпангоуте N 43 между рядами установлено дополнительно по одному швартовочному узлу.
Общее количество швартовочных узлов - 62.
В рядах узлы расположены в шахматном порядке. Оборудование пола грузовой кабины швартовочными узлами показано на рис. 2.
Рис. 2. Схема размещения швартовочных узлов
Швартовочные узлы всех четырех рядов в районе шпангоутов N 13 - 27 и 34 - 43 крепятся к верхним профилям поперечных балок каркаса грузового пола и к штампованным швартовочным чашкам. Швартовочные узлы всех четырех рядов в районе шпангоутов N 27 - 33 ввертываются и крепятся к специальным фитингам грузового пола.
Все кольца швартовочных узлов в нерабочем положении не выступают из настила грузового пола, а размещаются в углублениях швартовочных чашек.
На самолете с N 1901801 установлены ремешки для крепления швартовочных колец в районе шпангоутов N 34 - 43.
Скобы ввертных швартовочных узлов выступают над настилом грузового пола и при необходимости могут быть вывернуты.
Швартовочные узлы выдерживают нагрузку 7500 кГ вдоль оси самолета. В других направлениях узлы выдерживают нагрузку 7000 кГ, кроме ввертных узлов и узлов, установленных на шпангоутах N 14 - 17, которые рассчитаны на нагрузку 6000 кГ.
1.4. Швартовочные тросы обеспечивают надежное крепление всех видов транспортируемых грузов в самолете. Они состоят из стального троса с крюком на одном конце и замка с зажимом на другом (рис. 3).
Рис. 3. Швартовочный замок со швартовочным тросом:
1 - крюк; 2 - муфта; 3 - втулка; 4 - вентиль;
5 - наконечник; 6 - корпус; 7 - ручка; 8 - вкладыш;
9 - пружина; 10 - крюк; 11 - заклепка; 12 - швартовочный
трос; 13 - стопор; 14 - втулка; 15 - заклепка; 16 - шайба;
17 - штифт; 18 - шайба; 19 - заклепка; 20 - шайба
Швартовочный трос зацепляется замком за швартовочные кольца на полу грузовой кабины. Конструкция замка обеспечивает быстрое отцепление троса от швартовочных колец.
1.5. Швартовочная сетка (рис. 4) предназначена для швартовки мелких грузов общим весом до 2500 кг.
Рис. 4. Швартовочная сетка:
1 - карабин с замком; 2 - замок, 3 - ремень
швартовочный; 4 - сетка
В комплект швартовочного оборудования самолета входят четыре сетки. Швартовка сеткой производится с помощью ремней и замков, входящих в комплект сетки.
Сетка связана из капронового шнура ШККП-15-550. Для вязки ее применяется шнур, сложенный в два слоя и прошитый капроновыми нитками. Расположение ячеек диагональное. Размер ячейки 150 x 150 мм, сетки 2400 x 3750 мм.
Швартовочные ремни состоят из капроновой ленты ПЛК-44 и двух карабинов, один из которых наглухо заделан на ленте, второй соединяется с лентой замком, позволяющим производить натяжение ленты. Замок надежно фиксирует ленту в натянутом состоянии. Карабины позволяют легко закрепить швартовочные ремни за любые ячейки сетки.
Три швартовочных ремня крепятся к одному швартовочному узлу на полу с помощью замка. Ленты ремней перекинуты через цилиндрические ролики замка. Таким образом, от одного замка выходит шесть лент к сетке. Натяжение каждого ремня производится за один конец ленты, переброшенной через замок карабина.
Расшвартовка всех трех ремней производится одновременно путем оттяжки запорной втулки на замке. Для удобства в эксплуатации к замкам швартовочной сетки подходят ремни различной длины (l = 3; 4; 4,5 м).
Часть самолетов укомплектована швартовочными сетками, сплетенными из ремней: двумя большими (рис. 5) - для швартовки груза весом до 5000 кг и одной малой
(рис. 6) - для швартовки груза весом 2500 кг. Каждый ремень имеет на конце крюк, регулируемый по всей длине. На
рис. 37 и
38 показан типовой пример швартовки груза ременными сетками.
Рис. 5. Сетка швартовочная большая
Рис. 6. Сетка швартовочная малая
Колодки-распределители и упорные колодки
1.6. Колодки-распределители ограничивают перемещение вперед и рассредоточивают нагрузки от колес на конструкцию пола. Они устанавливаются на самолете при транспортировке колесной техники. В зависимости от вида техники колодки-распределители могут быть малыми и большими.
Малые колодки-распределители (рис. 7) представляют собой сварную раму с приваренной трубчатой дугой, опирающейся на два подкоса.
Рис. 7. Колодка-распределитель (малая)
Для увеличения площади соприкосновения колеса с дугой вверху последней приварена стальная косынка.
Колеса загружаемой техники опираются на поперечные профили рамы и дугу. Колодки устанавливаются под колеса дугой вперед по полету самолета.
Под односкатные колеса устанавливаются малые колодки-распределители.
Средние колодки-распределители (рис. 8) представляют собой сварную раму, к которой прикреплена панель из сплава Д16Т с приклеенной резиной.
Рис. 8. Грузовой распределитель нагрузки П9405-0.
Большие колодки-распределители (рис. 9) устанавливаются под двухскатные и односкатные колеса загружаемой техники.
Рис. 9. Грузовой распределитель нагрузки П9405-30.
Самолеты Ан-12 с N 0901401 комплектуются упорными колодками для страховки техники в процессе загрузки ее по грузовым трапам.
Упорные колодки (рис. 10) представляют собой сварную раму, изготовленную из труб сечением 24 x 20 мм.
Рис. 10. Упорная колодка:
1 - рама; 2 - фиксатор; 3 - ролик
В передней части колодки установлен фиксатор с роликом, служащий для фиксации колодки в неподвижном положении в момент накатывания заднего колеса на колодку.
1.7. Грузовые трапы - 2 шт. (рис. 11) состоят из двух силовых балок с гофрированным настилом. Ширина трапа - 700 мм, длина - 4000 мм. Силовые балки грузового трапа представляют собой две вертикальные дюралюминиевые стенки, подкрепленные стойками и окантованные сверху и снизу мощными профилями. К концам трапа балки суживаются и замыкаются кронштейнами. Кронштейны имеют цапфы и штыри, которыми трап фиксируется на пороге грузового пола. На концах трапов приварены втулки для закрепления на них тросов, удерживающих трап в горизонтальном положении.
Рис. 11. Грузовой трап:
1 - стенка; 2 - гофр; 3 - борт; 4 - цапфа; 5 - шпилька
запорная; 6 - трос; 7 - штырь; 8 - кронштейн
С боков каждого трапа с одной стороны установлены скобы для крепления трапа к борту самолета в походном положении и использования его для сидения, с другой - накладки с отверстиями под штыри замков походного положения.
Грузовой настил изготовлен из дюралюминиевого гофрированного листа.
Гофры располагаются поперек трапа. По вершинам гофров для увеличения сцепления колеса загружаемой техники с трапом установлены специальные заклепки.
С обеих сторон грузового настила сделаны борты высотой 30 мм из дюралюминиевого листа для крепления среднего трапа.
Трапы (грузоподъемность на трафарете 6000 кг) служат для погрузки техники на пневматиках с нагрузкой на ось до 12000 кГ. Вес гусеничной техники при погрузке по трапам допускается до 16000 кГ, при погонной нагрузке - не более 2100 кГ/м.
Средний трап (рис. 12) представляет собой сварную ферму, состоящую из двух частей, которая сверху окантована бортами 4 и гофрированным настилом 5.
1 - сварная ферма; 2 - шпилька; 3 - съемный кронштейн;
4 - борт; 5 - настил
Средний трап предназначен для погрузки трехколесной техники и других специальных грузов.
Соединение двух частей среднего трапа осуществляется с помощью морских шпилек 2.
Для обеспечения установки трапа на порог по концам его установлены узлы крепления, а для его крепления к основному трапу - конусные воротки.
Средний трап (грузоподъемность на трафарете 2400 кг) допускает погрузку техники на пневматиках с нагрузкой, не превышающей 2400 кГ.
Подставки под грузовые трапы
1.8. Подставки под грузовые трапы устанавливают для обеспечения погрузки техники своим ходом (рис. 13).
Рис. 13. Установка подставок под грузовые трапы:
1 - грузовой трап; 2 - подставка передняя;
3 - подставка задняя
С помощью подставок обеспечивается угол наклона трапов к поверхности земли 14°. Подставки состоят из двух частей - передней и задней. Они изготовлены из продольных силовых профилей, которые соединены между собой вертикальными профилями.
Сверху продольных профилей наклепан дюралюминиевый гофрированный лист.
С обеих сторон подставок сделаны борта из дюралюминиевого листа высотой 30 мм.
Соединение подставок между собой осуществляется с помощью морских шпилек и кронштейнов (см.
рис. 12), установленных на их боковые поверхности. Для исключения продольного перемещения подставок установлены фиксаторы, которые входят в отверстия грузового трапа при его установке.
Электрифицированные лебедки
1.9. Электрифицированные лебедки ГЛ-1500ДП применяются для погрузки-выгрузки грузов в самолеты Ан-12 (рис. 14).
Рис. 14. Лебедка ГЛ-1500ДП:
1 - лебедка; 2 - рама; 3 - опора; 4 - скоба; 5 - шпилька;
6 - гайка; 7 - вороток; 8 - втулка; 9 - ручка
в походном положении; 10 - упор
В комплект лебедок входят следующие агрегаты:
1. Две лебедки ГЛ-1500ДП (правая и левая) с электродвигателями МП-2500.
2. Коробка управления СУЛ-1500ДП.
3. Пульт управления лебедкой ПУЛ-1500ДП.
4. Электрожгуты подключения питания лебедок.
Работа лебедки осуществляется с помощью электрического двигателя МП-2500 и съемной рукоятки.
Лебедка на самолете устанавливается в районе шпангоутов N 14 - 16 на сварные рамы, которые крепятся к полу с помощью воротков.
Коробка управления СУЛ-1500 устанавливается в районе шпангоутов N 16 и 17.
ТЕХНИЧЕСКИЕ ДАННЫЕ ЛЕБЕДКИ
Грузоподъемность лебедки | 1500 кг |
Скорость погрузки груза | не менее 6,5 м/мин. |
Скорость погрузки груза ручным приводом | 0,4 м/мин. |
Скорость разгрузки груза | не более 9 м/мин. |
Питание лебедок осуществляется от бортовой сети самолета напряжением 27 В +/- 10% | |
Мощность, потребляемая двумя лебедками в момент погрузки при температуре: | |
+20 °C | не более 8 кВт |
-60 °C | не более 10 кВт |
Усилие на рукоятке ручного привода | не более 15 кГ |
Длина основного троса | 39 м |
Длина дополнительного троса | 52 м |
Рабочая длина обоих тросов | 36 м |
Диаметр троса | 9,75 мм |
Вес лебедки (без троса) | 62 т |
Вес системы | 185 кг |
Погрузочные тросы и роликовые блоки
1.10. Погрузочные тросы, оттяжные блоки, опорный ролик, крюк со стаканом, переходник применяются для погрузки и выгрузки техники.
Погрузочные тросы (рис. 15) представляют собой тросы диаметром 16,5 мм, длиной один - 2 м, второй - 4 м и третий трос - 12 м, заделанные с двух концов на крюк. Трос длиной 2 м служит для выравнивания нагрузки при одновременной работе двух лебедок. Тросы длиной 4 и 12 м цепляются непосредственно за погружаемую технику, а крюками - за серьгу погрузочного блока. Крюки снабжены защелками, устраняющими самовыпадание крюка из серьги при расслаблении троса.
Рис. 15. Блоки и тросы для погрузки тяжелой техники:
1 - обойма; 2 - ролик; 3 - серьга; 4 - резиновый каток;
5 - крюк со стаканом; 6 - оттяжной ролик; 7 - опорный ролик;
8 - погрузочный блок; 9 - выравнивающий блок с тросом;
10 - погрузочный трос; 11 - оттяжной ролик
Погрузочные блоки (см.
рис. 15) состоят из обоймы 1, ролика 2, серьги 3 и резинового катка 4. Обойма сварена из хромансилевых щек, соединенных двумя штифтами. В ней имеются две пары отверстий для крепления дюралюминиевого ролика и хромансилевой серьги, предназначенной для крепления погрузочного троса. К обойме приварены кронштейны для установки резинового катка. Резиновый каток служит для предохранения конструкции пола от повреждений блоком. Один из погрузочных блоков собран с тросом.
Оттяжные блоки состоят из обоймы, сваренной из хромансилевого листа. На одном конце обоймы находится хромансилевый крюк 2, на противоположном - дюралюминиевый ролик 3, вращающийся на оси (рис. 16).
Рис. 16. Оттяжной блок:
1 - обойма; 2 - крюк; 3 - ролик
Опорный ролик устанавливается во время погрузки и разгрузки техники на пороге грузовой кабины в специальные гнезда в центральном кронштейне порога и служат для опоры грузового троса в месте его перегиба (рис. 17).
Рис. 17. Опорный ролик
Опорный ролик состоит из литого кронштейна, дюралюминиевого ролика с впрессованными бронзовыми втулками и оси.
Крюк со стаканом (рис. 18) изготовлен из стали 30ХГСА и термически обработан до величины

Наконечник троса лебедки укладывается в стакан 5; поворачивая замок 3 и фиксируя его подпружиненным шариком 6, предохраняют наконечник троса от выпадания из стакана.
Рис. 18. Крюк со стаканом:
1 - крюк; 2 - собачка; 3 - замок; 4 - стопорное кольцо;
5 - стакан; 6 - шарик
Переходник служит для соединения наконечников двух тросов лебедок. Он представляет собой втулку с пазом под наконечники троса. На середину переходника устанавливается пружина с упором, предотвращая выпадание наконечников тросов из переходника (рис. 19).
Рис. 19. Переходник
Катки и ваги служат для перемещения безколесных тяжелых грузов (типа ящиков, контейнеров и т.п.) в грузовой кабине самолета.
1.11. Кран-балка с блок-динамометром, предназначенная для погрузки и перемещения грузов в районе шпангоутов от N 15 до N 51, установлена в грузовой кабине самолета. Она обеспечивает загрузку грузов весом до 2300 (2800) кг.
Кран-балка (рис. 20) представляет собой ферму 1, сваренную из хромансилевых труб. К ферме с каждой стороны с помощью двух легкосъемных шпилек закреплены каретки 2, представляющие собой литые кронштейны из сплава АЛ-9. На каретках с двух концов установлены четыре ролика (с каждой стороны по 2 ролика), которые перемещаются по рельсам фюзеляжа.
Рис. 20. Кран-балка:
1 - ферма; 2 - каретка; 3 - тяговое колесо;
4 - лебедка БЛ-47; 5 - блок-динамометр
Для определения нагрузки на кран-балку установлен блок-динамометр 5, циферблат которого градуирован через 0,5 т.
Кран-балку перемещают вдоль оси фюзеляжа вручную за ремни. Слева по полету на ферме установлена лебедка БЛ-47 с тросом длиной 23 м, которая крепится с помощью скобы и хромансилевого болта.
Лебедка 4 имеет ручной привод, который состоит из тягового колеса 3, имеющего резьбовую втулку; грузовой цепи и тормозного устройства.
Для крепления грузовой цепи кран-балки предусмотрены специальные обрезиненные кронштейны (рис. 21), которые приклепываются к косынкам на ферме кран-балки. Грузовая цепь фиксируется на них с помощью ремешков 2.
Рис. 21. Грузовая цепь кран-балки:
1 - кронштейн; 2 - ремешок
Подъем груза осуществляется с помощью перемещения грузовой цепи, перекинутой через тяговое колесо.
Тормозное устройство исключает возможность самопроизвольного опускания груза, так как при опускании под действием веса груза тяговое колесо проворачивается на оси и зажимается через храповик фрикционной прокладкой.
Примечание. Для удобства работы цепью кран-балки (при подъеме или спуске груза) на нижней стороне плиты крепления лебедки, у соответствующих ветвей цепи, нанесен трафарет "СПУСК", "ПОДЪЕМ".
Размещение погрузочного и швартовочного оборудования
1.12. Погрузочное оборудование, перечень которого приведен в
табл. 2 (грузовые трапы, колодки, распределители и пр.) хранится в АТБ базового аэропорта или устанавливается на самолетах в случаях, когда возникает необходимость в его применении.
Трапы крепятся в грузовой кабине по бортам самолета в районе шпангоутов N 34 - 42 (рис. 22), а прочее свободное оборудование крепится тросами или сетками как обычный груз на местах, определенных условиями центровки самолета.
Рис. 22. Грузовой трап в походном положении:
1 - резиновый упор; 2 - трап грузовой; 3 - трап средний;
4 - замок; 5 - скоба; 6 - крючок
1.13. Швартовочное оборудование (сетки, тросы) укладывается в контейнеры, расположенные вдоль бортов самолета и нишах между шпангоутами N 25 - 30 (рис. 23).
Рис. 23. Схема установки контейнеров для размещения
швартовочного оборудования: а - по левому борту;
б - по правому борту; 1 - контейнер для сеток;
2 - контейнер для тросов
Контейнеры для сеток и тросов легкосъемные и имеют крышки, открывающиеся вверх и фиксирующиеся в этом положении. Крепление контейнеров к бортам и полу грузовой кабины показано в
приложении 1.
Глава 2. ПОДГОТОВКА САМОЛЕТА К ПЕРЕВОЗКЕ ГРУЗОВ
И ОРГАНИЗАЦИЯ ПОГРУЗОЧНО-РАЗГРУЗОЧНЫХ РАБОТ
Общие требования к грузам
2.1. Самолетами Ан-12 можно перевозить грузы и технику, состояние которых не изменится в условиях:
- понижения барометрического давления до 0,2 атм при наборе высоты с вертикальной скоростью до 20 м/сек.;
- повышения барометрического давления при вертикальной скорости снижения 50 м/сек.;
- воздействия высокочастотных виброперегрузок до 2,9 g в диапазоне частот 40 - 200 Гц и широкочастотных виброперегрузок до 2 g в диапазоне частот 0,6 - 23 Гц;
- воздействия статических перегрузок, указанных в
табл. 5.
2.2. Грузы обеспечиваются исправной тарой или упаковкой, соответствующей государственным стандартам. Грузы, на тару и упаковку которых стандарты не установлены, упаковываются в исправную тару, обеспечивающую возможность их надежной швартовки и сохранность при перевозке.
Отдельные грузы по согласованию с перевозчиками могут перевозиться без упаковки.
Тяжеловесные, крупногабаритные и длинномерные грузы допускаются к перевозке только после предварительной подготовки самолета и груза в соответствии с требованиями настоящей инструкции.
2.3. Тара для грузов или отдельные грузы, допущенные к перевозкам, должны быть оборудованы такелажными и швартовочными узлами для строповки, присоединения погрузочных тросов лебедок ГЛ-1500 и швартовочных узлов.
Прочность такелажных узлов должна соответствовать расчетному усилию от веса брутто, умноженному на 4, а прочность швартовочных узлов должна обеспечивать надежное крепление груза во всех случаях, включая случаи аварийной посадки. Прочность швартовочных узлов должна соответствовать прочности подходящих к узлу швартовочных элементов.
2.4. При перевозке жидких, газообразных и других веществ в герметической таре прочность ее должна учитывать дополнительные нагрузки, возникающие из-за перепада давлений и изменения температуры в зависимости от высоты полета. Перепад давлений и температура определяются по таблице стандартной атмосферы.
2.5. Погрузка грузов в самолет разрешается только после проверки:
- соответствия грузов указанным требованиям;
- состояния грузов, принятых к отправке;
- наличия самолетного погрузочного и швартовочного оборудования, необходимого для погрузки-выгрузки и швартовки данного груза;
- комплектации и исправности дополнительного наземного и самолетного оборудования, гарантирующего надежную швартовку груза для всех расчетных случаев полета и посадки, предусмотренных Руководством по летной эксплуатации, и обеспечивающего загрузку-разгрузку;
- наличия и правильности оформления сопроводительной документации.
Ответственные лица за проведение
погрузочно-разгрузочных работ
2.6. Ответственность за правильное использование средств механизации, выделяемых аэропортом для погрузочно-разгрузочных работ на самолете, возлагается на начальника отдела перевозок. Ответственность за исправность самолетного погрузочно-разгрузочного и швартовочного оборудования несет бортмеханик.
Запрещается:
- применение всякого рода рычагов при установке грузов на пол грузовой кабины самолета;
- загрузка юзом без уложенного на грузовой пол предохранительного настила.
2.7. Обязанности, права и ответственность воздушно-транспортных предприятий, а также организаций, пользующихся воздушным транспортом (грузоотправителей и грузополучателей), изложены в "Правилах перевозки пассажиров, багажа и грузов по воздушным линиям Союза ССР".
2.8. Обязанности бортоператора:
Бортоператор отвечает за обеспечение надежного крепления грузов в соответствии с требованиями настоящей инструкции, он несет материальную ответственность за сохранность загруженного на борт самолета груза, за исключением случаев перевозки груза с сопровождающим.
2.9. Бортоператор должен уметь:
- управлять грузовыми лебедками ГЛ-1500 с помощью пульта и ручного привода;
- использовать кран-балку и другие средства механизации погрузочно-разгрузочных работ;
- определять количество швартовочных точек и тросов в зависимости от веса грузов;
- наиболее рационально размещать грузы в грузовой кабине в зависимости от условий центровки и в соответствии с
таблицей удельных нагрузок на грузовой пол самолета;
- собирать погрузочные тросы и блоки лебедок ГЛ-1500 в зависимости от необходимого тягового усилия.
2.10. Бортоператор должен знать:
- правила и особенности обращения с грузом;
- меры безопасности при погрузке, в полете и при выгрузке;
- мероприятия по предупреждению и ликвидации опасных случаев, которые могут возникнуть с грузом в полете;
- применяемые способы швартовки грузов;
2.11. При подготовке самолета к загрузке бортоператор обязан:
- проверить исправность и принять согласно описи бортовое швартовочное и погрузочно-разгрузочное оборудование;
- доложить бортмеханику для записи в бортовой журнал самолета о недостатках в комплектации погрузочного и швартовочного оборудования и о неисправностях;
- принять от диспетчера по загрузке грузы и сопроводительную документацию и по прибытии в аэропорт назначения сдать грузы согласно приложенным документам диспетчеру по загрузке;
- прибыть на грузовой склад и определить средства, порядок загрузки и способ швартовки груза;
- принять бортовое питание на экипаж;
- следить за открытием (закрытием) грузового люка и докладывать командиру корабля при обнаружении каких-либо нарушений;
- установить опорный домкрат перед загрузкой-разгрузкой на кронштейн по шпангоуту N 43 <*>;
--------------------------------
<*> При погрузке-выгрузке техники и грузов весом до 6000 кг пята домкрата устанавливается на высоте 150 мм и при весе свыше 6000 кг - на высоте 180 мм от земли.
- обеспечить подготовку грузовой кабины к погрузке грузов;
- определить способ погрузки грузов;
- руководить подъездом аэродромных средств механизации и автомобилей к грузовому люку;
2.12. При погрузке бортоператор обязан:
- руководить работой бригады грузчиков при выполнении погрузочных и швартовочных работ;
- управлять кран-балкой и лебедками ГЛ-1500;
- отвечать за крепление погрузочного оборудования, кран-балки и опорной пяты после загрузки;
- убирать перед запуском двигателей трап у входной двери.
2.13. В полете бортоператор обязан следить за состоянием груза при взлете, наборе высоты, горизонтальном полете и посадке и своевременно докладывать командиру корабля о замеченных нарушениях в грузовой кабине.
Размещение грузов в самолете
2.14. Погружаемые в самолет техника и грузы размещаются в грузовой кабине в соответствии с допустимыми нагрузками на грузовой пол самолета (см.
табл. 1) и требованиями "Руководства по центровке и загрузке самолетов" (РЦЗ).
2.15. Для удобства ориентирования при размещении техники и грузов на полу грузовой кабины самолета нанесены координатные линии, указывающие расстояние в метрах от оси шпангоута N 9 (рис. 24). Допуск на положение центров тяжести техники и грузов относительно этих линий не должен превышать +/- 100 мм.
Рис. 24. Схема разметки грузового пола
2.16. Зазоры между техникой, грузами и элементами конструкции самолета должны быть сверху и с боков не менее 150 мм, а спереди и сзади - не менее 500 мм.
2.17. Для удобства погрузки и размещения грузов допускается использовать поддоны с укладкой и креплением на них грузов. Крепление груза в этом случае должно рассчитываться в соответствии с требованиями
раздела 3.5 настоящей инструкции.
Подготовка самолета к перевозке грузов
Установка трапов в рабочее положение
2.18. Установку грузовых трапов производить в следующем порядке:
- снять трапы из походного положения;
- поднять грузовые трапы у шпангоута N 43 до горизонтального положения на уровне порога, завести цапфами в гнезда кронштейнов;
- опустить свободный конец трапа на землю (бетон) или на подставки под трапы;
- закрепить трапы шпильками через отверстия в кронштейнах и цапфах.
При погрузке трехколесной самодвижущейся техники или двухколесной техники с помощью погрузочной тележки устанавливается средний трап.
2.19. При расположении грузовых трапов на самой узкой колее устанавливать средний трап в следующем порядке:
- отвернуть воротки, снять половины среднего трапа с обоих грузовых трапов;
- установить между обоими грузовыми трапами средний трап, расположив его к шпангоуту N 43 вперед с маркировкой "Передний-Правый" и вниз с маркировкой "Задний-Левый", закрепить их воротками на грузовых трапах и шпильках между собой.
При расположении двух других грузовых трапов на более широкой колее средний трап устанавливать в следующем порядке:
- снять кронштейн навески с передней половины среднего трапа и установить его на трубку передней половины среднего трапа;
- соединить обе половины среднего трапа шпильками;
- поднять средний трап до горизонтального положения на уровень порога и завести цапфы кронштейнов навески в гнезда кронштейнов на пороге грузового пола. Козырьки среднего трапа при этим должны лечь на порог грузового пола;
- опустить на землю свободный конец трапа;
- закрепить трап шпильками через отверстия в кронштейнах порога и в цапфах кронштейнов навески.
2.20. Установку подставок производить в следующем порядке:
- соединить переднюю и заднюю подставки между собой с помощью шпилек;
- приподнять свободный конец грузового трапа и подвести под него переднюю подставку;
- опустить свободный конец грузового трапа на подставку, совместив штыри на подставке с отверстиями на трапе.
2.21. При погрузке гусеничной техники с плоскими траками на грузовой пол, на трапы и подставки укладываются веревочные настилы.
Укладку веревочных настилов производить в следующем порядке:
- расправить веревочный настил и уложить его на грузовой пол по колее загружаемой техники;
- закрепить настилы с помощью ремней за швартовочные узлы на шпангоутах N 14, 15, 43;
- расправить веревочный настил, уложить его на трапы и закрепить с помощью ремней за швартовочные узлы на шпангоуте N 42;
- в случае установки трапов на землю подогнуть под трап задний конец настила. При установке трапов на подставки сплести настилы на трапы с настилами на подставке с помощью соединительных канатиков.
Установка опорного ролика
2.22. При установке ролика фиксаторы кронштейна входят в отверстия на пороге, а переднее ребро его, упираясь в стенку порога, ограничивает ролик от поворота.
По оси самолета на перегибе грузового пола по шпангоуту N 34 устанавливается на винтах лист из нержавеющей стали для предотвращения трения о рифленку пола при погрузке.
2.23. Подготовка лебедок ГЛ-1500 к работе:
- открыть лючки на полу в районе шпангоута N 14;
- отсоединить штепсельный разъем (ШР) от лючков и подключить к правой и левой лебедкам;
- снять пульт ПУЛ-1500;
- подключить ШР пульта ПУЛ-1500 к коробке управления системы управления лебедками СУЛ-1500.
После монтажа произвести опробование работы лебедок ГЛ-1500, для этого необходимо:
- включить на коробке управления главные выключатели АЗС-15 правой и левой лебедок;
- плавно повернуть рукоятки пульта в сторону "Спуск" до упора, при этом трос будет разматываться с барабана;
- вернуть рукоятки пульта в исходное нейтральное положение. Двигатель лебедки обесточится, и она остановится;
- проверить прокладку тросов по направляющим роликам в соответствии со схемой загрузки;
- плавно повернуть рукоятку пульта в сторону "Подъем" до упора, выбрать слабину троса, придерживая его рукой;
- отключить барабаны лебедок от двигателей, для чего ручку механизма отключения барабана оттянуть вверх за рукоятку и повернуть на себя;
- снять колпачок, закрывающий хвостовик валика ручного привода;
- надеть на хвостовик рукоятку, закрепить ее на валике стопором и, вращая рукоятку, проверить работу лебедки на "Подъем" и "Спуск".
При работе без груза трос необходимо придерживать рукой, не допуская слабины троса (нагрузка по тросу 10 - 30 кГ).
2.24. При установке кран-балки необходимо:
- снять упоры, расположенные на передних концах рельсов и положить их вместе со шпильками на верхнюю поверхность рельсов;
- развернуть ферму кран-балки поперек фюзеляжа с ориентацией лебедки кран-балки по правому борту;
- поднять кран-балку на уровень рельсов;
- завести одновременно задние ролики обеих кареток в рельсы;
- разворачивая кран-балку, завести передние ролики кареток в рельсы и сместить ее таким образом, чтобы открылось отверстие на передних концах рельсов. Застопорить кран-балку;
- установить упоры на передние концы рельсов и закрепить их шпильками;
- вывернуть полностью стопоры на каретках и произвести перекатывание кран-балки по рельсам за ремни. Перемещение кран-балки по рельсам должно быть свободным, без рывков и заеданий;
- проверить работу тормоза лебедки кран-балки.
2.25. Демонтаж кран-балки производится в порядке, обратном установке ее на самолете.
Погрузка-выгрузка грузов лебедками ГЛ-1500
2.26. Погрузку-выгрузку грузов лебедками ГЛ-1500 производят в соответствии со схемами рис. 25 и
табл. 3.
Рис. 25. Схема погрузки:
I - одной лебедкой грузов весом до 3000 кг на колесах;
II - двумя лебедками с полиспастом грузов весом до 15000 кг
на колесах; III - одной лебедкой с полиспастом грузов весом
до 6000 кг на колесах; IV - двумя лебедками грузов весом
до 6000 кг на колесах
Таблица 3
СХЕМА УСТАНОВКИ ПОГРУЗОЧНОГО ОБОРУДОВАНИЯ С ЛЕБЕДКОЙ ГЛ-1500
Номер схемы | Схема | Тяговое усилие схемы, кГ | Вес груза, кг | Ход полиспаста, м | Скорость погрузки, м/мин. |
трапы с подставками | трапы без подставок |
| Схемы погрузки | | | | | |
1 | | 1500 | 4000 | 3000 | 36 | 6 |
2 | | 3000 | 7500 | 6000 | 17 | 3 |
| | 3000 | 7500 | 6000 | 35 | 6 |
4 | | 3000 | 8000 | 6000 | 36 | 6 |
5 | | 3000 | 7500 | 6000 | 33 | 6 |
6 | | 6000 | 15000 | 12000 | 17 | 3 |
| | 6000 | 15000 | 12000 | 15 | 3 |
| | 6000 | 1000 | 12000 | 17 | 3 |
9 | | 6000 | 15000 | 12000 | 17 | 3 |
| | - | 4000 | 3500 | - | - |
| Схемы выгрузки | | | | | |
| | 1500 | 7500 | 600 | - | 6 |
12 | | 3000 | 15000 | 12000 | - | 6 |
13 | | 3000 | 15000 | 12000 | - | 6 |
| Схемы передвижения в кабине самолета | | | | | |
14 | | 1500 | - | - | - | 6 |
15 | | 3000 | - | - | - | 3 |
| | 3000 | - | - | - | 3 |
Примечания: 1. Скорость погрузки указана при одновременной работе двух лебедок.
2. В качестве конечных блоков тросовых систем допускается использовать силовые блоки техники при их диаметре не менее 200 мм.
3. При погрузке по
схемам 8 и
16 используется блок груза.
4. При погрузке по
схеме 10 используется тягач.
5.
Схемы 3 и
7 применять не рекомендуется.
Для удобства работы схемы сборки тросов и блоков приведены на трафарете, установленном на правом борту грузовой кабины в районе шпангоута N 36.
Погрузка-выгрузка грузов кран-балкой
2.27. Для погрузки-выгрузки тяжеловесных бесколесных грузов весом до 2300 (2800) кг и перемещения их в грузовой кабине вдоль фюзеляжа применяется кран-балка.
Перед погрузкой-выгрузкой грузов с помощью кран-балки необходимо проверить наличие и надежность такелажных узлов у мест грузов, подготовленных к погрузке-выгрузке.
Погрузку-выгрузку грузов с помощью кран-балки производить в следующем порядке:
- переместить кран-балку так, чтобы она находилась над грузом;
- опустить вниз подвижной блок полиспаста, вращая тяговое колесо с помощью цепи, при этом крюк блока тянуть вниз с усилием не менее 10 - 15 кГ;
- зацепить крюк блока за такелажные узлы на грузе;
- поднять груз до высоты свободного его перемещения над грузовым полом, вращая тяговое колесо лебедки с помощью цепи;
- переместить груз к месту установки, равномерно толкая его и кран-балку за ремни в направлении движения, не допуская перекоса кран-балки в рельсах;
- опустить груз на место швартовки, вращая тяговое колесо с помощью цепи, и отцепить крюк блока от груза.
При поднятом грузе кран-балку страховать ремнями во избежание самопроизвольного ее перемещения.
2.28. По окончании погрузки-выгрузки грузов поднять подвижной блок полиспаста в крайнее верхнее положение. При подъеме блока к его крюку приложить нагрузку не менее 10 - 15 кГ. Зацепить цепь тягового колеса в походное положение на ферму кран-балки, для чего пропустить цепь между раскосами фермы и конец цепи зацепить за карабин. Переместить кран-балку в район шпангоута N 14 или в необходимое по расчету центровки место и застопорить кран-балку с помощью стопорных болтов.
2.29. При погрузке или выгрузке грузов с помощью кран-балки категорически запрещается:
- производить подъем грузов весом более 2300 кг;
- находиться под грузом;
- производить подъем и опускание груза, если на барабане лебедки находится менее двух витков троса;
- отключать барабан лебедки при поднятом грузе;
- поднимать или опускать подвижной блок полиспаста без нагрузки на крюке;
- оставлять груз подвешенным на кран-балке более 15 мин.;
- перемещать кран-балку при не полностью вывернутых стопорах кареток;
- производить подъем грузов при неустановленной опорной пяте на шпангоуте N 43;
- производить открытие и закрытие створок грузового люка при нахождении кран-балки над грузовым люком.
Погрузка-выгрузка несамоходной техники с помощью тягача
2.30. При отсутствии лебедок или при невозможности их использования по каким-либо причинам погрузка несамоходной техники производится с помощью тягача и тросовой системе, выведенной через боковую дверь из самолета (рис. 26).
Рис. 26. Погрузка техники тягачом:
1 - блок погрузочный; 2 - трос грузовой; 3 - накладка
на перегиб пола; 4 - блок с катком; 5 - трап грузовой;
6 - ролик опорный; 7 - трос погрузочный;
8 - накладка на порог двери
При погрузке-выгрузке несамоходной техники на буксире тягачом обязательно обеспечивается подстраховка швартовочными тросами и другими приспособлениями. Для этого к комплекту погрузочного оборудования прикладывается погрузочный трос диаметром 8 мм, который с одного конца заканчивается капроновой лямкой, а с другого - крюком.
На трос надеты два погрузочных блока, представляющие собой обойму с закрепленным на ней роликом.
Обоймы блоков имеют крюки, с помощью которых блоки цепляются за швартовочные кольца. Ролики блоков могут самоориентироваться под действием нагрузки на трос.
Кроме блоков, на трос надевают полиспаст, с которого предварительно снимают выравнивающий трос. За серьгу полиспаста крепят крюками оба конца грузового трапа, петля которого схватывает крюк погружаемой техники (груза). При погрузке грузов погрузочные блоки крепят крюками за швартовочные кольца в районе шпангоутов N 16 и 24.
Погрузочный трос крюками зацепляется за швартовочное кольцо в районе шпангоута N 14, проходит через полиспаст и погрузочные блоки, выводится через входную дверь за борт самолета и капроновой лямкой цепляется за буксировочный крюк тягача.
Для предохранения порога входной двери от повреждения тросом на порог устанавливается текстолитовая накладка.
При движении тягача от самолета погружаемая техника (груз) затягивается тросом в грузовую кабину по трапам.
2.31. Погрузку техники тягачом производить в следующем порядке:
- собрать схему тросов и блоков для погрузки тягачом, как показано на
рис. 26;
- открыть грузовой люк;
- установить грузовые трапы в рабочее положение;
- зацепить погружаемую технику погрузочным тросом;
- зацепить свободные концы троса крюками к последнему блоку собранной системы блоков;
- прицепить концы погрузочного троса капроновой лямкой к тягачу;
- плавно вводить в фюзеляж технику (груз) по команде бортоператора.
2.32. При выгрузке передвижение техники по фюзеляжу осуществляется грузчиками, а торможение при ее движении по грузовым трапам производится тягачом. При движении колесного груза по трапам необходимо подстраховывать его опорными колодками.
Погрузка грузов из автомашин
2.33. Погрузка в самолет грузов из автомашин производится без применения трапов <*>.
--------------------------------
<*> Подъезд автомашины с грузами к самолету осуществляется водителем Аэрофлота или водителем, имеющим специальный допуск на проезд к стоянкам самолета.
Грузы непосредственно из автомашины загружают в грузовую кабину самолета с помощью кран-балки, а штучные мелкие грузы, не уложенные в пакет или на поддоны, - вручную.
2.34. Погрузку грузов из автомашин производить в следующем порядке:
- при подъезде к самолету остановить автомашину с грузом на расстоянии 7 - 10 м от хвостовой части самолета, кузовом к самолету;
- по команде бортоператора водителю медленно подъехать к порогу грузового пола самолета и, не доезжая 200 - 300 мм до порога, остановить автомашину, выключить двигатель и поставить ее на тормоз;
- открыть задний борт кузова и положить его на порог грузового пола;
- разместить грузы на грузовом полу самолета согласно центровочным данным и допустимым нагрузкам на грузовой пол.
Погрузка-выгрузка самоходной техники
2.35. На всех автомашинах при подготовке их к перевозке обозначать центр тяжести и указывать их вес.
Перед погрузкой особое внимание должно быть обращено на следующее:
- отсутствие течи горючего и масла;
- исправность тормозов;
- исправность противопожарного оборудования.
Въезд автомашин в самолет производится на первой скорости, плавно, без резких остановок.
Перед швартовкой автомашин осуществляется выключение рессор с помощью установки прокладок между элементами рессорной подвески. Выезд автомашины из самолета производится при включенной задней скорости.
Погрузка автомашин и другой техники с неработающими двигателями (отправка в ремонт или перевозка техники без заправки горючим и т.п.) осуществляется с помощью лебедок, как показано на
рис. 24.
Погрузка гусеничной техники
2.36. Перед погрузкой гусеничной техники (тягачей, тракторов, бульдозеров) на трапы и грузовой пол укладываются деревянные настилы по ширине колеи.
По команде бортоператора трактор плавно, без рывков въезжает по трапам в грузовую кабину и останавливается, не доезжая приблизительно 1000 мм до отметки, определенной центровкой.
Тягачи (тракторы, бульдозеры) грузятся в самолет таким образом, чтобы их продольные оси совпадали с осью самолета.
При размещении в грузовой кабине техники необходимо обеспечивать зазоры не менее 100 - 150 мм.
При запуске двигателей погружаемой в самолет техники необходимо следить за вентиляцией в грузовой кабине и противопожарной безопасностью. Вентиляция грузовой кабины производится открытием грузового и аварийных люков.
2.37. При погрузке техники в самолет запрещается:
- находиться в зоне тросов и блоков (за исключением оператора, рабочее место которого расположено на левом борту фюзеляжа самолета против движущихся блоков);
- находиться сзади погружаемой техники;
- грузить гусеничную технику без настилов.
2.38. Выгрузку техники производить в следующем порядке:
- открыть грузовой люк;
- снять грузовые трапы с походного положения и установить в рабочее положение;
- расшвартовать технику;
- включить рессорную подвеску;
- завести мотор тягача;
- вывести технику из фюзеляжа по команде бортоператора.
Тягач должен медленно, без рывков двигаться как в фюзеляже, так и по трапам.
При движении колесной техники по трапам производятся торможение и страховка лебедками, подстраховка - упорными колодками.
Погрузка-выгрузка тяжеловесных длинномерных грузов
2.39. Тяжеловесные длинномерные и крупногабаритные грузы разрешается перевозить на самолетах Ан-12 только после оборудования их в соответствии с требованиями
разделов 2.42 - 2.45 настоящей инструкции и при наличии специальных приспособлений, изготовленных грузоотправителем для надежной швартовки в грузовой кабине самолета. Эти приспособления возвращаются в аэропорты отправления без дополнительной оплаты за их перевозку в обратном направлении.
Подготовка к погрузке тяжеловесных длинномерных грузов
2.40. Длинномерные грузы (трубы, профили и т.д.) принимаются к перевозке уложенными грузоотправителем в пакеты на специальные ложементы.
Допускаются к перевозке пакеты весом до 12 т. Трубы комплектуются в пакеты, разность длин которых не превышает +/- 100 мм.
Трубы при укладке в пакет выравниваются по торцу (например, с помощью стенки). Разрешается компенсировать неравномерность по длине деревянными брусками или приваренными стальными профилями, с обеспечением прочности, соответствующей расчетному усилию, возникающему от веса трубы. В пакете трубы укладываются компенсатором в сторону задней упорной стенки.
Пакет формируется таким образом, чтобы его центр тяжести находился на высоте 500 - 600 мм от грузового пола самолета.
При укладке труб в два и более рядов между рядами устанавливаются деревянные прокладки толщиной 50 - 60 мм с укрепленной на них прорезиненной лентой для увеличения трения между трубами.
Ложементы должны иметь шарнирную опору и допускать возможность поворота их опорных поверхностей относительно оси пакетов на 3 - 5° для равномерной передачи нагрузок на пол при погрузке.
Задний и передний ложементы скрепляются между собой тросами диаметром не менее 20 мм (см.
рис. 32).
На ложементах имеются петли для швартовки пакета в самолете.
Трубы в пакете стягиваются с помощью верхних прижимных планок ложементов.
На поверхности ложемента и верхней планки, соприкасающихся с трубами, устанавливаются деревянные прокладки с укрепленными на них прорезиненными лентами.
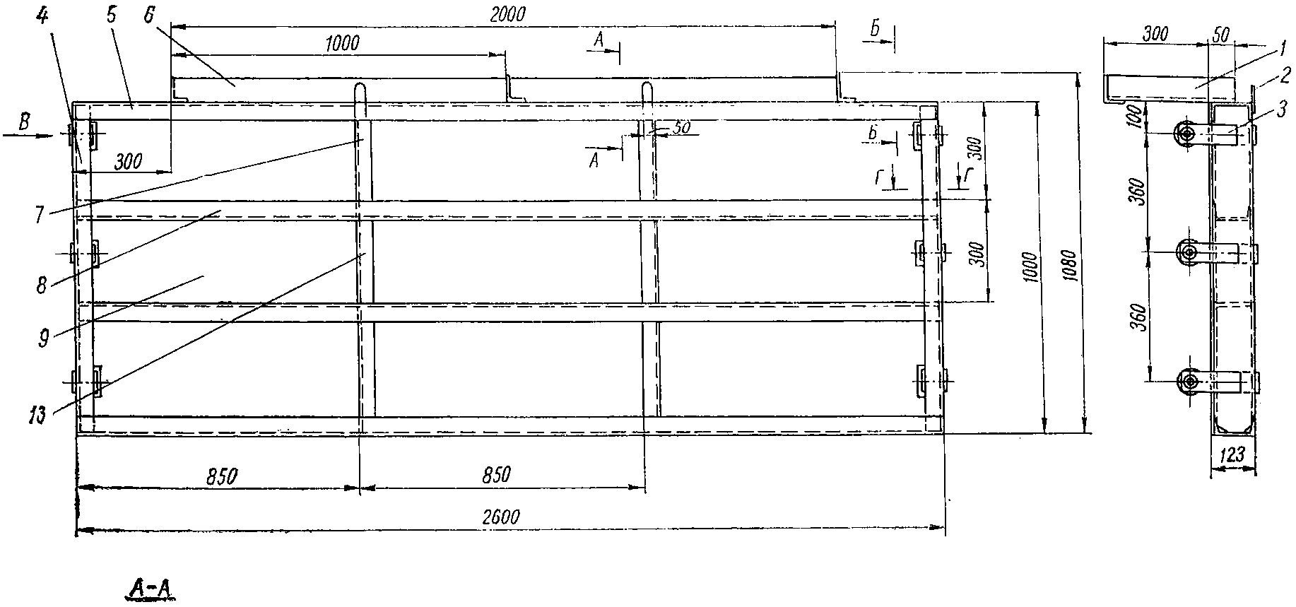
2.41. На укомплектованный пакет надевается задний упорный щит, представляющий собой сварную конструкцию из стальных профилей (рис. 27).
Рис. 27. Пакет труб на эстакаде:
1 - амортизирующее устройство; 2 - эстакада из сварных
профилей; 3 - ложемент; 4 - деревянная прокладка; 5 - трубы;
6 - технологический трос; 7 - задний упорный щит;
8 - прижимная планка; 9 - направляющие на эстакаде
Задний упорный щит крепится к пакету четырьмя технологическими тросами диаметром 5 - 10 мм. Прочность щита рассчитывается на нагрузку, соответствующую максимальному весу пакета с учетом коэффициента перегрузки К = 1,6.
Оборудование самолета для перевозки
тяжеловесных длинномерных грузов
2.42. Для перевозки длинномерных тяжеловесных грузов, погрузка и разгрузка которых производятся "юзом", самолет оборудуется настилами (деревянными и металлическими) для предохранения пола грузовой кабины от механических повреждений и упорной стенкой для предотвращения смещения груза вперед (рис. 28).
Рис. 28. Схема крепления настила
и упорной стенки к полу грузовой кабины:
1 - деревянный настил; 2 - металлический настил;
3 - передняя упорная стенка
2.43. Деревянный настил изготовляется из досок толщиной 30 - 40 мм или из бакелитовой фанеры толщиной 10 мм, а в районе наклонной части пола - до 30 мм.
Настил - сплошной, с поперечным расположением досок.
Под люки и швартовочные узлы производятся вырезы по месту.
Вес деревянного настила не должен превышать 700 кг.
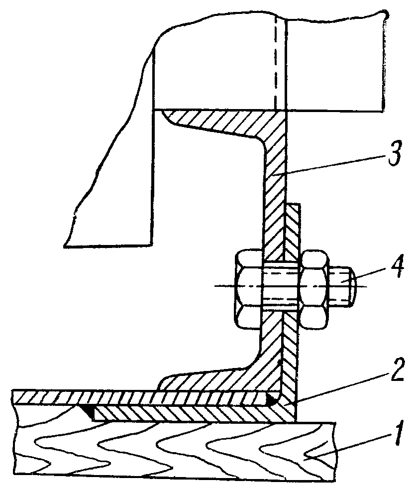
2.44. Металлический настил представляет собой сварную конструкцию в виде двух отдельных полос из прокатной стали толщиной 4 - 5 мм размером 500 x 12800, ГОСТ 5681-57. К внешней стороне каждой полосы приварены направляющие из углового проката 80 x 80, ГОСТ 8509-57. Крепления настила осуществляются болтами М 18 x 90 к фитингам на шпангоутах N 27, 30, 33 (рис. 29, а), стяжными болтами к швартовочным узлам на шпангоутах N 16, 37, 40, 41 (рис. 29, б) и металлическими прутками диаметром 32 мм на шпангоуте N 43 (рис. 29, в).
Рис. 29. Крепление настила к грузовому полу самолета:
а - по шпангоутам N 27, 30, 33; б - по шпангоутам
N 16, 37, 40, 41; в - по шпангоуту N 43;
1 - деревянный настил; 2 - металлический настил;
3 - болт М 18 x 80; 4 - стяжной крюк

16 - 20;
5 - шайба; 6 - металлический пруток

30
При изготовлении полос из отдельных листов в места стыка под шов навариваются пластины для обеспечения жесткой конструкции.
Головки крепежных болтов не должны выступать над поверхностью пола.
2.45. Упорно-предохранительная стенка (рис. 30) устанавливается в районе шпангоутов N 16 и 17 и крепится шестью-семью болтами М 18 x 90 в нижней части к настилу
(рис. 31), расчаливается восьмью тросами к швартовочным узлам с помощью двух распределительных механизмов (качалок) к шпангоутам N 20, 22, 24, 25. На узлы шпангоута N 22 устанавливаются переходники.
Рис. 30. Передняя упорная стенка
Рис. 31. Крепление передней стенки к настилу:
1 - деревянный настил; 2 - металлический настил;
3 - передняя упорная стенка; 4 - болт М18
Конструкция стенки рассчитана на максимальную нагрузку, возможную при перевозке груза весом до 12 т, центр тяжести которого находится на высоте 500 - 600 мм от грузового пола самолета (без настила). Коэффициент перегрузки при расчете принят равным 6 (случай аварийной посадки). Вес стенки не должен превышать 300 кг.
Применение стенок иной конструкции и их швартовка по другим схемам не допускаются.
Погрузка-выгрузка длинномерных тяжеловесных грузов
2.46. Погрузка-выгрузка длинномерных тяжеловесных грузов весом до 12 т производится с эстакады из сварных профилей (рис. 32) или с прицепа автомашины МАЗ-5245, у которых должны быть предусмотрены устройства для регулирования высоты платформы.
Рис. 32. Транспортировка пакета труб к самолету
Эстакада и прицеп оборудуются направляющими из углового проката с шириной полки 80 мм. Для предотвращения повреждения шпангоута N 43 при загрузке-разгрузке на эстакаде (прицепе) устанавливается амортизирующее устройство.
Простейшее амортизирующее устройство изготовляется из профиля N 14, к которому крепится деревянный брус с протекторной резиной.
Погрузка-выгрузка производится с помощью двух бортовых лебедок ГЛ-1500ДП, с применением блоков и полиспастов в соответствии со схемой загрузки.
Высота пола загруженной эстакады (прицепа) от поверхности земли должна быть выше, а незагруженной - ниже на 50 - 100 мм порога пола в районе шпангоута N 43.
Выгрузка пакета длинномерного тяжеловесного груза производится с помощью блоков, устанавливаемых на эстакаде, согласно
схемам 11 - 13 (см. табл. 3).
Глава 3. ШВАРТОВКА ТЕХНИКИ И ГРУЗОВ В САМОЛЕТЕ
3.1. После погрузки техники и грузов в самолет и выключения рессорной подвески их необходимо зашвартовать. Швартовка техники и грузов осуществляется бригадой грузчиков аэропорта или грузоотправителя под руководством бортоператора, ответственного на коммерческую загрузку.
Для того чтобы не сместить технику, натяжение швартовочных тросов производить постепенно, увеличивая натяжение двух противоположных тросов одновременно.
На кольца швартовочных узлов, к которым тросы подходят под малыми углами (угол между тросом и полом менее 15°), надевать удлинители. При необходимости использовать серьги с роликами и переходники с кольцами.
3.2. Швартовку производить по схемам, приведенным в инструкции, в следующем порядке:
- зацепить крюк замка швартовочного троса за соответствующий швартовочный узел, стопор крюка завести под муфту замка;
- охватить тросом указанное в схеме место на технике;
- завести крюк на свободном конце троса в проушину вкладыша зажима;
- после закрепления всех швартовочных тросов затянуть их с помощью рукоятки (рис. 33) и равномерно натянуть тандеры замков с помощью спецключа, оттарированного на Мкр = 150 кГсм.
Рис. 33. Установка рукоятки
в процессе подтяжки швартовочных тросов:
1 - швартовочный узел; 2 - швартовочный трос; 3 - крюк;
4 - рукоятка; 5 - половинка; 6 - накладка;
7 - шарнир; 8 - серьга с роликом
3.3. При всех вариантах загрузки самолета рамы с лебедками не демонтируются. Системы погрузочных тросов и блоков швартуются к швартовочному узлу на грузовом полу.
3.4. На случай обрыва в полете швартовочного троса в грузовой кабине крепятся несколько швартовочных тросов из числа оставшихся свободными.
3.5. Для обеспечения надежной швартовки грузов необходимо пользоваться табл. 5, в которой показано потребное количество швартовочных тросов для швартовки грузов в зависимости от их веса.
Таблица 5
КОЛИЧЕСТВО ШВАРТОВОЧНЫХ ТРОСОВ ДЛЯ ШВАРТОВКИ ГРУЗОВ
В ЗАВИСИМОСТИ ОТ ИХ ВЕСА
Вес груза, т | Количество швартовочных тросов |
от смещения груза вперед | от смещения груза назад | |
Угол наклона тросов в градусах |
45 | 30 | 45 | 30 | 45 | 30 |
До | 1,5 | 2 | 2 | 2 | 2 | 2 | 2 |
" | 2,5 | 4 | 4 | 2 | 2 | 2 | 2 |
" | 3,5 | 6 | 4 | 2 | 2 | 2 | 2 |
" | 4,5 | 6 | 4 | 2 | 2 | 2 | 2 |
" | 5,5 | 8 | 6 | 4 | 2 | 2 | 2 |
" | 6,5 | 8 | 6 | 4 | 2 | 2 | 2 |
" | 7,0 | 10 | 8 | 4 | 4 | 4 | 4 |
" | 7,5 | 10 | 8 | 4 | 4 | 4 | 4 |
" | 9,00 | 12 | 10 | 4 | 4 | 4 | 4 |
" | 11,0 | 14 | 10 | 6 | 4 | 4 | 4 |
" | 12,0 | 16 | 12 | 6 | 4 | 4 | 4 |
" | 13,0 | 16 | 12 | 6 | 4 | 4 | 4 |
" | 14,0 | 18 | 14 | 6 | 6 | 6 | 6 |
" | 15,0 | 18 | 14 | 8 | 6 | 6 | 6 |
" | 16,0 | - | 16 | 8 | 6 | 6 | 6 |
Примечания: 1. В
графе "от смещения груза вбок" количество тросов указано для одной стороны.
2. При весе груза, попадающем в промежуток между двумя цифрами таблицы, количество тросов определяется по большей средней цифре.
3.6. При проведении швартовочных работ запрещается:
- использовать грузовые тросы лебедок ГЛ-1500 для швартовки грузов;
- швартовать грузы двумя короткими тросами, соединенными "на удавку".
3.7. Коэффициенты статических перегрузок на грузы для всех случаев полета и посадки, предусмотренные в РЛЭ, указаны в табл. 6.
Таблица 6
КОЭФФИЦИЕНТЫ СТАТИЧЕСКИХ ПЕРЕГРУЗОК
Обозначения расчетных случаев | Расчетные перегрузки | Коэффициент безопасности |
в начале грузовой кабины | в конце грузовой кабины |
| | | | | |
f |
Е'ш | - | -4,6 | - | - | -5,4 | - | 1,65 |
Еш | - | -6,4 | - | - | -5,1 | - | 1,65 |
Е'ш + GшI | +2,3 | -2,0 | - | +2,3 | -5,65 | - | 1,65 |
Е'ш + GшII | -1,6 | 5,5 | - | -1,6 | -4,4 | - | 1,65 |
R1ш | - | -4,1 | +/- 1,3 | - | -4,3 | +/- 1,5 | 1,65 |
Д' | - | +1,5 | - | - | 1,5 | - | 1,5 |
Нф | - | -2,0 | +/- 2,0 | - | - | - | 2,0 |
Пф | +6,0 | -2,0 | | +6,0 | -2,0 | - | - |
Условные обозначения:
Еш' - посадка на главное шасси;
Еш - посадка на три точки;
Еш' + GшI - посадка на главное шасси с лобовым ударом;
Еш' + GшII - посадка на главное шасси с обратным ударом;
R1ш - посадка с боковым ударом;
Д' - горка или нисходящий поток;
Нф - колебания носовой части фюзеляжа;
Пф - аварийная посадка на фюзеляж с убранными шасси; при этом должна быть обеспечена безопасность экипажа, работоспособность техники не гарантируется.
Знак "минус" означает: для Пx - перегрузка, направленная назад; для Пy - перегрузка, направленная вниз.
Знак "плюс" означает: для Пx - перегрузка, направленная вперед; для Пy - перегрузка, направленная вверх.
Швартовка длинномерных пакетов труб
3.8. Пакет труб на ложементах за траверсы подтягивается в самолет до упора в переднюю стенку выровненными торцами. На узлы заднего упорного щита устанавливаются ролики, через которые проходят шесть швартовочных тросов (по три с каждой стороны). Швартовочные тросы крепятся замками за швартовочные узлы шпангоутов N 34, 36, 38; на узлах шпангоутов N 34 и 38 крепление производится через переходники.
На узлы переднего и заднего ложементов устанавливаются соответственно по четыре серьги (рис. 34) с швартовочными тросами (по две с каждой стороны), крепящиеся замками через переходники к швартовочным узлам шпангоутов N 34 и 38
(рис. 35).
Рис. 34. Серьга с роликом
1 - кольцо; 2 - вилка; 3 - шпилька
После крепления заднего упорного щита швартуются передний и задний ложементы (рис. 36).
Рис. 36. Схема швартовки длинномерных пакетов труб
Швартовка листового металла
3.9. Стальной листовой прокат, поставляемый отдельными пачками в соответствии с требованиями ГОСТ 15846-70, раздел "Металлы и металлические изделия", укладывается на грузовой пол самолета между упорной стенкой и задним щитом. Углы сформированного из отдельных пачек пакета окантовываются уголками 50 x 50 x 3, ГОСТ 8509-57, соединенными между собой. К продольным уголкам привариваются скобы в количестве, соответствующем количеству тросов, определенному по
табл. 5 в зависимости от веса пакета.
За скобы пакет швартуется к грузовому полу самолета. Допускается перевозка листового проката на специальном поддоне, указанном в
разделе 4.26, самолетами, оборудованными предохранительным настилом (см.
приложение 5).
Уложенные на поддоне листы в этом случае надежно швартуются к поддону тросами или иными приспособлениями, удерживающими их от перемещения при перегрузках, указанных в
табл. 6.
Швартовка поддона выполняется в соответствии с требованиями
разд. 3.10 - 3.12 настоящей инструкции.
Для предотвращения смещения листов назад на поддон устанавливается задний упорный щит (см.
приложение 4).
Швартовка тяжеловесных грузов
3.10. Тяжеловесные грузы перевозятся как в упакованном виде, так и без упаковки, если это разрешено техническими условиями транспортировки.
Тара тяжеловесного груза должна быть рассчитана на нагрузку, равную весу груза, с учетом коэффициентов перегрузок, приведенных в таблице.
Направление | Коэффициент эксплуатационных перегрузок | Коэффициент максимальных перегрузок |
Вперед | 1 | 3 |
Назад | 1 | 1,5 |
Вверх | 1 | 2,5 |
Вниз | 3 | 5 |
В стороны | 1 | 1,5 |
При эксплуатационных перегрузках тара с грузом не должна иметь остаточной деформации.
В условиях максимальных перегрузок тара с грузом может получить остаточную деформацию, но не должна иметь разрушений, при которых возможно перемещение груза.
Тара тяжеловесных грузов должна иметь такелажные узлы для строповки при выполнении погрузочно-разгрузочных работ и швартовочные узлы для обеспечения надежной швартовки в самолете. Количество швартовочных узлов должно соответствовать количеству тросов, определенному в зависимости от веса брутто по
табл. 5.
Швартовочные узлы должны располагаться симметрично, а прочность их соответствовать расчетной нагрузке, равной весу брутто, умноженному на коэффициент перегрузки 6.
3.11. Опорная поверхность груза обеспечивает равномерную передачу нагрузки на грузовой пол в соответствии с допустимыми нагрузками, указанными в
табл. 1.
Если груз не располагает соответствующими опорными площадками, то перевозку его следует осуществлять на специальных поддонах или брусьях с достаточной площадью опоры.
3.12. Для соблюдения требований безопасности полетов при перевозках тяжеловесных грузов в районе шпангоута N 17 устанавливается передняя упорная стенка (см.
рис. 30) для предотвращения смещения груза вперед.
Мероприятия, выполняемые экипажем после загрузки самолета
3.13. После погрузки в самолет техники и грузов необходимо:
- размонтировать и убрать погрузочное оборудование и установить его в грузовой кабине;
- выключить лебедки и кран-балку, установить и закрепить их в походное положение; собрать тросы и блоки, используемые при погрузке техники и грузов; собрать оставшиеся лишние швартовочные тросы и уложить их в походное положение;
- закрыть грузовые люки;
- выключить рессорную подвеску у колесной техники;
- закончить швартовку техники и грузов.
При предполетном осмотре необходимо проверить:
- правильность размещения и швартовки техники и грузов;
- выключение рессор;
- нет ли посторонних предметов в грузовой кабине;
- закрепление в походном положении грузовых трапов и оборудования, не используемого в данном полете.
Глава 4. ПЕРЕВОЗКА ОПАСНЫХ ГРУЗОВ
4.1. Опасные, особо опасные и разрядные грузы перевозятся на самолетах Ан-12 в соответствии с требованиями, изложенными в "Правилах перевозки опасных грузов воздушным транспортом".
4.2. Перевозка опасных грузов на самолетах Ан-12 требует повышенных мер предосторожности, которые состоят в следующем:
- к перевозке принимаются опасные грузы, имеющие исправную и прочную упаковку, гарантирующую полную безопасность перевозки в условиях значительных изменений температуры и понижения барометрического давления (до 0,2 атм), возникающих во время полета самолета на больших высотах;
- каждое место груза обеспечивается устройствами для погрузки-выгрузки с помощью средств механизации и надежной швартовки его в самолете;
- погрузка-выгрузка грузов производится в специально отведенных местах, удаленных от других самолетов и от сооружений аэропорта на 300 м (не менее), оборудованных противопожарным инвентарем, огражденных условными сигналами;
- погрузка-выгрузка грузов производится в присутствии ответственных представителей отправителя (получателя), аэропорта и экипажа самолета;
- самолеты, назначенные для перевозки опасных грузов, оснащаются дополнительными огнетушителями и другими средствами, обеспечивающими безопасность экипажа;
- в необходимых случаях груз сопровождается представителем отправителя или грузополучателя с необходимым инструментом для устранения неисправностей тары груза и наблюдения за его состоянием во время перевозки;
4.3. Разведение огня вблизи мест погрузки-выгрузки, курение, заправка топливом, техническое обслуживание и ремонт загруженных опасными грузами самолетов во время погрузки-выгрузки категорически запрещается.
Перевозка горюче-смазочных материалов. Требования к таре
4.4. Горюче-смазочные материалы принимаются к перевозке воздушным транспортом только в специальной таре: в сварных металлических бочках емкостью 200 л (ГОСТ 6247-52), в двадцатилитровых металлических бидонах (ГОСТ 5105-49) и в таре, согласованной с МГА.
К перевозке допускается тара, не имеющая вмятин на обечайке и днище, на резьбе и фланцах заливных горловин и пробок.
Герметизация тары обеспечивается плотным прилеганием крышек или пробок к фланцам заливных горловин с надежной фиксацией закрытого положения и качеством сварных швов (отсутствие наплывов, подрезов и пористостей).
Пробки должны иметь прокладки из маслобензостойкой резины.
4.5. Заполнение тары горюче-смазочными материалами производится на специально отведенной и оборудованной площадке.
Заполнение тары горючим у стоянки самолетов или в самолете категорически запрещается.
Тара с горюче-смазочными материалами перед погрузкой выдерживается в течение 3-х ч.
При доставке грузоотправителем заполненной тары с закрытыми пробками и крышками к сопроводительной документации прилагается свидетельство грузоотправителя о том, что заполненная тара выдерживалась не менее 3-х ч.
Нормальным уровнем недолива горючего относительно фланца заливной горловины следует считать:
- для бочек 60 - 80 мм;
- для бидонов 30 - 40 мм.
Недолив бочек увеличивать при возможности подогрева горючего. При прогреве на каждые 10 - 15 °C недолив увеличивать на 8 - 10 мм.
Затяжка пробок бочек должна производиться специальным ключом, не дающим искры.
Неравномерное выпучивание прокладки из-под пробки не допускается.
4.6. Перед погрузкой каждая бочка или бидон проверяется на отсутствие течи через пробки или крышки опрокидыванием пробкой вниз, а бидонов - вниз заливной горловиной. Проверку выполняет отправитель грузов в присутствии ответственного службы перевозок.
Тара с течью или отпотеванием к перевозке не принимается.
Необходимо учитывать, что наиболее вероятной может быть течь горючего из бочек по сварным швам и из-под пробок и крышек. На это следует обращать особое внимание.
Подготовка самолетов для транспортировки горючего
4.7. Перед погрузкой горючего из грузовой кабины удаляются все посторонние предметы, проверяется наличие и исправность швартовочных приспособлений и намечаются места для размещения групп тары в грузовой кабине.
4.8. При подготовке самолета проверяется:
- исправность изоляции электрической проводки. Все электропровода, имеющие частичное разрушение изоляции верхнего слоя, изолировать дополнительно хлорвиниловой лентой, не допуская при этом вытягивания проводов из зажимов;
- плотность контакта в штепсельных разъемах объектов радиотехнического оборудования, размещенного под полом грузовой кабины; надежность клеммных соединений электросети и плотное закрытие крышек коробок и пультов электрооборудования; отсутствие подключенных источников электроэнергии к штепсельным розеткам, расположенным в грузовой кабине;
- исправность электрических разрядов и качество их электрического соединения с массой самолета;
- исправность арматур плафонов освещения и сигнализации в грузовой кабине и в технических отсеках.
Примечание. Обратить внимание на наличие бортовых переносных огнетушителей в грузовой кабине и в герметизированной кабине, в которой располагаются бортоператор и сопровождающий. Убедиться в исправности и качественном состоянии огнетушителей путем проверки даты их зарядки, срока годности и наличия пломб, а также их комплектности и наличия подходов к ним.
4.9. Подготовка, погрузка-выгрузка, швартовка и перевозки горюче-смазочных материалов на самолетах Ан-12 в гражданской авиации осуществляется при выполнении всех требований настоящей инструкции и "Правил перевозки опасных грузов воздушным транспортом".
Размещение тары с горючим в грузовой кабине
4.10. Горюче-смазочные материалы в стандартных металлических бочках (ГОСТ 6247-52), имеющих горловину на боковой стенке, располагают в грузовой кабине самолета стоя - горловиной вверх. При швартовке ременными сетками в грузовой кабине размещают 54 бочки общим весом 11800 кг.
Бочки располагают тремя группами, как показано на рис. 37.
Рис. 37. Швартовочное оборудование для бочек с горючим:
1 - сетка швартовочная большая; 2 - сетка швартовочная
малая; 3 - трос стяжной; 4 - замок; 5 - переходник
Переднюю и заднюю группы по 22 бочки располагают в районе шпангоутов N 15 - 23 и 35 - 43 и швартуют сетками к полу.
Вес каждой большой группы не должен превышать 5000 кг.
4.11. Горюче-смазочные материалы в 20-литровых металлических бидонах (ГОСТ 5105-49) располагают в грузовой кабине также тремя группами, как показано на рис. 38. Переднюю группу в количестве 182 бидонов располагают в районе шпангоутов N 15 - 24. Вес группы 3640 кг.
Рис. 38. Швартовочное оборудование для бидонов с горючим:
1 - ремень стяжной; 2 - шомпол
Среднюю группу в количестве 112 бидонов располагают в районе шпангоутов N 27 - 34. Вес группы 2240 кг.
Заднюю группу в количестве 154 бидонов располагают в районе шпангоутов N 35 - 42. Вес группы 3080 кг.
Крепление бидонов в группах осуществляется с помощью швартовочных ремней и металлических шомполов. Шомполы устанавливаются в переднем и заднем рядах каждой группы.
4.12. При распределении и швартовке групп бочек или бидонов с горючим, с учетом строгого соблюдения центровочного графика, обеспечивается свободный доступ к аппаратуре "Хром" (район шпангоутов N 24 - 27).
4.13. При швартовке капроновыми сетками в грузовой кабине не могут быть размещены:
- 56 бочек с горючим общим весом 12000 кг;
- 462 бидона с горючим общим весом 9646 кг.
В каждой группе должно быть не более 14 шт. 200-литровых бочек общим весом до 3000 кг.
Примечание. Перед погрузкой тары с горючим экипаж обязан проверить центровку самолета.
4.14. При размещении бочек и бидонов с горючим в грузовой кабине в других вариантах места размещения тары определяются после получения данных о количестве и сорте перевозимого горючего. В этом случае определяется число групп бочек и бидонов и составляется перечень весов, необходимых для определения центровки самолета.
На основании составленного перечня весов определяется центровка самолета первоначально без груза, затем намечается положение центра тяжести группы тары и определяется центровка загружаемого самолета.
Необходимая центровка может быть получена изменением расстояния центра тяжести каждой группы тары от шпангоута N 15 либо изменением количества бочек или бидонов в группах.
Погрузка тары с горючим в самолет
4.15. Погрузка тары с горюче-смазочными материалами в самолет производится под руководством ответственного представителя от аэропорта (ст. кладовщика, кладовщика), представителя пожарной охраны, второго пилота, ответственного за прием груза к перевозке, а также бортоператора, которые обязаны осмотреть исправность тары перед загрузкой ее в самолет.
При этом выборочному осмотру подлежит не менее пятой части тары, с проверкой уровня залива горючего мерной линейкой.
4.16. Погрузка тары с горючим производится с автомашин, автопогрузчиков или с погрузочных эстакад, оборудованных специальными трапами.
Подъезд автотранспорта к самолету начинается только по команде руководителя погрузкой. Руководитель выделяет из состава погрузочной бригады двух человек, которые занимают места в кузове автомашины и в грузовой кабине самолета или находятся на земле, наблюдая за тем, чтобы не было препятствий движению автомашины к самолету. Автомашина останавливается немедленно по команде наблюдающего.
4.17. Бочки с горючим грузят в самолет три человека. Вначале бочки ставят на обечайку, затем перекатывают к месту размещения в грузовой кабине и устанавливают на днище пробкой вверх.
Перекатывание бочек в грузовой кабине и их установка на днище производятся с соблюдением осторожности, не допуская ударов бочки о бочку и о пол грузовой кабины. Бидоны с горючим из кузова автомашины переносятся вручную к месту размещения в грузовой кабине.
Примечания: 1. Бочки с острыми кромками и зазубринами на буртике обечайки нельзя размещать по краям групп во избежание перетирания или подреза ремней швартовочных сеток.
2. При погрузке тары с горючим грузчики обязаны следить за исправностью и чистотой тары. Тара, имеющая течь и потеки через пробки, крышки или по сварным швам, немедленно удаляется из грузовой кабины самолета. Неисправная тара устанавливается в отдалении от самолета и группы бочек и бидонов с горючим, доставленными для погрузки в самолет.
4.18. По окончании погрузки группы тары надежно швартуются. Грузовая кабина проветривается от паров горючего, для этого необходимо держать открытыми как грузовые люки, так к входные двери самолета.
4.19. Швартовка тары с горючим в грузовой кабине самолета производится с помощью комплекта швартовочного оборудования самолета.
4.20. Перед швартовкой проверяется:
- правильность размещения бочек и бидонов в группах для обеспечения центровки самолета;
- обеспеченность свободных проходов, подходов к группам;
- отсутствие утечки горючего из тары;
- надежность затяжки пробок и наличие прокладок под пробками;
- комплектность и исправность швартовочного оборудования.
4.21. При швартовке горюче-смазочных материалов края сетки, свисающие по переднему и заднему торцам пакетов бидонов и бочек, захватываются ремнями таким образом, чтобы сетка совместно с ремнями образовала вертикальные сетки, удерживающие пакеты от смещения вперед и назад под действием перегрузок.
4.22. Швартовку тары с горючим выполняет бригада грузчиков, производящая погрузку под руководством бортоператора или второго пилота. Бригада грузчиков получает инструктаж о порядке швартовки грузов в самолетах Ан-12 и изучает устройство швартовочных средств и правила пользования ими.
4.23. Швартовку бочек производить в следующем порядке:
- обвязать (стянуть) группу бочек одним тросом посередине, между верхними и нижними обручами, для чего соединить крюк замка с кольцом троса, стопор крюка закрепить муфтой и натянуть трос тендером. Эту операцию выполняют два грузчика;
- накрыть стянутую группу бочек швартовочной сеткой, равномерно растянув ее на группе;
- подсоединить швартовочные замки сетки к швартовочным узлам, швартовочные ремни к сеткам, предварительно натягивая последние. Эту операцию выполняют одновременно шесть человек: по двое спереди и сзади и по одному человеку по бокам;
- равномерно подтянуть швартовочные ремни и проверить надежность швартовки.
4.24. При швартовке бидонов выполнить следующие операции:
- связать группу бидонов, для чего двум грузчикам, пропустив швартовочные ремни под ручки бидонов переднего и заднего рядов группы, соединить их концы замками;
- связать группу бидонов между собой стяжными ремнями, пропуская ремни по середине высоты бидонов;
- накрыть группы бидонов швартовочными сетками;
- подсоединить швартовочные замки к швартовочным узлам, а крючки рамочных замков ремней - к ячейкам сеток, предварительно натягивая последние. Эту операцию выполняют четыре грузчика: по двое с боков групп бидонов;
- равномерно, путем натягивания свободных концов ремней на рамочных замках, натянуть ремни одновременно с двух сторон, относительно оси симметрии самолета.
4.25. Для обеспечения быстрой расшвартовки сеток необходимо муфту на швартовочном замке развернуть, оттянуть вверх и развернуть в обратную сторону, при этом крюк замка выйдет из зацепления со швартовочным узлом.
4.26. Бочки, бидоны и прочие грузы, упакованные в герметичную тару, могут устанавливаться на специальные корытообразные стальные поддоны группами до 5000 кг каждая. Поддон изготовляется из листовой стали толщиной 2 мм с бортами высотой 200 - 300 мм, верх бортов окантовывается стальными уголками со швартовочными узлами для закрепления поддона тросами в количестве, определенном по
табл. 5.
Установленные на поддоне бочки или бидоны не должны иметь перемещений в горизонтальной плоскости.
После швартовки поддона тросами выполнить швартовку сеткой.
Примечания: 1. Использование швартовочных сеток и ремней, имеющих прорывы или нарушения верхних слоев, запрещается.
2. Погрузка загружаемых поддонов производится только на самолетах, оборудованных предохранительным настилом (см.
рис. 28).
Предполетный осмотр состояния груза в грузовой кабине
4.27. Предполетный осмотр после загрузки груза в самолет осуществляет командир корабля или по его указанию второй пилот, диспетчер по загрузке (ДЗ) и ответственный работник службы перевозок аэропорта (начальник смены, кладовщик), которые обязаны проверить:
- исправность загруженной в самолет тары с горючим. При обнаружении признаков неисправности тары, потеков через пробки или сварные швы и при наличии заметного запаха паров бензина в грузовой кабине выпуск самолета в полет не допускается. Неисправную тару удалить из самолета и произвести новый расчет центровки самолета, обеспечив достаточное проветривание помещения грузовой кабины;
- правильность размещения тары, как требовалось при расчете центровки, надежность швартовки груза;
- наличие на борту самолета переносных огнетушителей и свободного подхода к ним;
- отсутствие в грузовой кабине посторонних предметов, незакрепленных мест груза и служебного оборудования.
Перевозка радиоактивных материалов
4.28. Транспортировка радиоактивных материалов самолетами Ан-12 осуществляется в соответствии с требованиями, изложенными в "Правилах перевозки радиоактивных материалов самолетами гражданской авиации".
Глава 5. ПЕРЕВОЗКА ЖИВНОСТИ
5.1. Перевозка живности на самолете Ан-12 в негерметизированной грузовой кабине производится только в исключительных случаях и в полете на высоте не выше 3000 м. Перевозка живности осуществляется в соответствии с "Правилами перевозки пассажиров, багажа и грузов по воздушным линиям Союза ССР".
5.2. Для размещения крупных домашних животных в самолете Ан-12 грузовая кабина оборудуется стойлами.
Стойла имеют приспособления для кормушек и для закрепления животных двойной привязью. Стойла устанавливаются по оси самолета в несколько рядов, между ними оставляются пространства для свободного подхода обслуживающего персонала к животным и удобства подачи корма, для пойки, уборки и замены подстилки (опилок). Между рядами стойл оставляются проходы для членов экипажа самолета, а также подходы к оборудованию самолета.
ВНИМАНИЕ! Если для установки и швартовки стойл при массовых перевозках животных потребуется дополнительное швартовочное оборудование, кроме имеющегося в самолете, то оно изготовляется только с разрешения предприятия - разработчика самолета.
5.3. Стойла изготовляются из легкого, но прочного металла. Размеры стойла: длина - 220, ширина - 80 - 150, высота - 150 см.
Стойла должны быть съемными, легко и быстро собираться и разбираться, не иметь ни внутри, ни снаружи острых предметов (в виде шайб, болтов и т.п.), чтобы не травмировать животных.
Стенки стойл обиваются войлоком или пористой резиной. Стойла, пол и боковые стенки по оси фюзеляжа оснащаются узлами для надежной швартовки в определенных местах грузовой кабины, в зависимости от веса, месторасположения животных и центровочного графика самолета.
5.4. На пол грузовой кабины укладываются деревянные доски, поверх которых настилается сплошная резиновая рифленая пластина с покрытым слоем древесных опилок. Такой настил обеспечивает удобное передвижение животных внутри грузовой кабины при погрузке-выгрузке, их устойчивость при взлете-посадке и во время полета самолета. Кроме того, резиновая пластина предохраняет от проникновения на пол грузовой кабины испражнений животных.
5.5. В грузовой кабине самолета устанавливаются емкости (бочки) для питьевой воды и ящики (сетки) для сена. Кабина снабжается ведрами для пойки животных, лопатами, совками, метлами и прочим инвентарем для уборки помещений. Все перечисленное оборудование и инвентарь крепятся в грузовой кабине.
5.6. Каждый самолет, перевозящий крупных домашних животных, снабжается съемным легким трапом. Трап имеет сплошной настил, покрытый гофрированной резиной или войлоком, деревянные планки, расположенные на расстоянии 320 мм одна от другой, для предупреждения скольжения животных. Ширина трапа, - не менее 1500, длина - 4300 мм. Трап должен выдерживать вес животных до 1000 кг и сопровождающего до 100 кг, а также динамические нагрузки при возможных прыжках животных.
5.7. Животные размещаются в стойлах головой вперед по ходу самолета.
5.8. Перед погрузкой в самолет животных осматривают представители ветеринарной службы, которые выдают о состоянии здоровья животных и проведенной обработке ветеринарный сертификат, прилагаемый вместе с другими документами на перевозку животных в пункт назначения.
5.9. Перевозка животных разрешается только с сопровождающими лицами, которые обязаны постоянно следить за состоянием животных, их поведением во время полета, за прочной швартовкой стойл. Эти лица обеспечивают также кормление, пойку животных, своевременную уборку стойл от испражнений, замену опилок.
Сопровождающие лица подчиняются командиру корабля и без его разрешения не могут производить никаких действий.
В числе сопровождающих должен быть ветеринарный работник, имеющий необходимые медикаменты для оказания неотложной помощи животным.
Число сопровождающих зависит от количества перевозимых животных и согласовывается отправителем со службой перевозок.
5.10. В случае задержки самолетов или при посадках в промежуточных аэропортах выводить животных из самолета не рекомендуется.
5.11. После выполнения каждого рейса по перевозке животных все помещения самолетов, в которых перевозились животные, тщательно убираются. В необходимых случаях по указанию ветеринарных работников производится дезинфицирование препаратами, не приводящими к коррозии оборудования самолета.
5.12. Примерный перечень съемного оборудования самолета Ан-12 для перевозки крупных домашних животных:
1. Стойла для размещения животных.
2. Доски деревянные для настила пола грузовой кабины самолета и под стойла.
3. Резиновая рифленая пластина для настила пола грузовой кабины и под стойла.
4. Трап для погрузки-выгрузки животных, оборудованный досками, планками и гофрированной резиной или войлоком.
5. Емкости для запаса воды и ведра для пойки животных.
6. Ящики (сетки) для корма животным.
7. Инвентарь (лопаты, совки, метлы) для уборки помещения самолета.
Установка контейнеров для швартовочного оборудования:
1 - контейнер для сеток; 2 - контейнер для тросов; 3 - винт;
4 - лента ограждающая; 5 - болт; 6 - винт; 7 - подставка
Передняя упорная стенка:
1 - лист 2660 x 940 (S = 5) - 1 шт.; 2 - двутавр 24 - 2 шт.;
3 - двутавр 24 - 4 шт.; 4 - швеллер 20 (l = 1030) - 4 шт.;
5 - двутавр 24 - 1 шт.; 6 - швеллер 10 - 1 шт.; 7 - втулка -
2 шт.; 8 - швеллер 10 - 2 шт.; 9 - швеллер; 10 - 1 шт.
Примечания: 1. Два проема для прохода тросов лебедок вырезать по месту.
2. Конструкцию грунтовать и красить.
Распределительный механизм:
1 - шайба - 2 шт.; 2 - кронштейн - 1 шт.; 3 - шайба - 8 шт.;
4 - болт 2М20 - 2 шт.; 5 - гайка 20 - 2 шт.; 6 - шайба -
2 шт.; 7 - шплинт - 2 шт.; 8 - косынка - 4 шт.;
9 - втулка - 4 шт.
Задний упорный щит:
1 - уголок 80 x 50 x 5, ГОСТ 5810-72, - 3 шт.;
2 - петля монтажная - 2 шт.; 3 - щека - 6 шт.; 4 - стойка -
2 шт.; 5 - швеллер 12, ГОСТ 8240-72, - 2 шт.; 6 - уголок
80 x 50 x 5 - 1 шт.; 7 - уголок 80 x 50 x 5 - 4 шт.;
8 - швеллер 12 - 2 шт.; 9 - лист 2540 x 940 x 3,
ГОСТ 3680-57, - 1 шт.; 10 - щека - 6 шт.; 11 - ролик -
6 шт.; 12 - палец - 6 шт.; 13 - уголок 8 x 50 x 5 -
2 шт.; 14 - шайба 20, ГОСТ 11371-68, - 6 шт.;
15 - шплинт 3 x 32-001, ГОСТ 397-66, - 6 шт.
Предохранительный настил:
1 - пластина (S = 8) - 10 шт.; 2 - пластина - 2 шт.;
3 - пластина - 2 шт.; - 4 - металлический пруток

30
- 2 шт.; 5 - полоса, ГОСТ 5681-57, (S = 4) - 2 шт.;
6 - уголок 80 x 80 x 5, ГОСТ 8509-57, - 2 шт.
Ложемент:
1 - косынка 400 x 400 (S = 6) - 4 шт.;
2 - швеллер 18 (l = 3200) - 2 шт.; 3 - проушина 120 x 120
(S = 10) - 2 шт.; 4 - лист 350 x 1200 (S = 6) - 2 шт.;
5 - уголок 70 x 70 x 6 (l = 1200) - 4 шт.; 6 - петля
(пруток

16) - 2 шт.; 7 траверса 120 x 200 (S = 6) - 1 шт.;
8 - траверса 200 x 200 (S = 6) - 1 шт.; 9 - петля
(пруток

16) - 2 шт.; 10 - труба

114 x 10
(l = 2200) - 1 шт.; 11 - косынка 160 x 160
(S = 6) - 8 шт.; 12 - палец - 2 шт.;
13 - болт специальный - 2 шт.
Примечание. Дет. 11 и 12 на чертеже не показаны. Палец дет. 12 вставляется в отверстие косынки дет. 1 и швеллера дет. 2. Болт специальный надевается на палец дет. 12.